//
|
|
Федеральное государственное унитарное предприятие «Научно-исследовательский центр «Строительство» ФГУП «НИЦ «Строительство» СТАНДАРТ ОРГАНИЗАЦИИ БЕТОНЫ СТО 36554501-009-2007 Москва 2007 Содержание Предисловие Цели и
задачи разработки, а также использования стандартов организаций в РФ
установлены Федеральным законом от 24 декабря Сведения о стандарте 1 РАЗРАБОТАН И ВНЕСЕН лабораторией железобетонных конструкций и контроля качества НИИЖБ - филиалом ФГУП «НИЦ «Строительство» (д-р техн. наук В. А. Клевцов, кандидаты техн. наук М.Г. Коревицкая, Б.Х. Тухтаев). Эксперт - д-р техн. наук В.Г. Шевалдыкин (ООО «Акустические контрольные системы») 2 РЕКОМЕНДОВАН К ПРИМЕНЕНИЮ конструкторской секцией
Научно-технического совета НИИЖБ (протокол № 4/07 от 17 мая 3 УТВЕРЖДЕН И ВВЕДЕН В ДЕЙСТВИЕ приказом и.о.
генерального директора ФГУП «НИЦ «Строительство» от 16.07.2007 г. № 128 с 15
июля 4 ВВЕДЕН ВПЕРВЫЕ СТАНДАРТ ОРГАНИЗАЦИИ
Дата введения 15-07-2007 1 Область примененияНастоящий стандарт распространяется на конструкционные тяжелые и легкие бетоны монолитных и сборных бетонных и железобетонных изделий, конструкций и сооружений (далее - конструкций) и устанавливает ультразвуковой импульсный метод (далее - ультразвуковой метод) определения прочности бетона классов В7,5-В40. При разработке стандарта использованы материалы ГОСТ 17624. 2 Нормативные ссылкиВ настоящем стандарте использованы ссылки на следующие нормативные документы: СП 13-102-2003 Правила обследования несущих строительных конструкций зданий и сооружений ГОСТ 10180-90 Бетоны. Методы определения прочности по контрольным образцам ГОСТ 17624-87 Бетоны. Ультразвуковой метод определения прочности ГОСТ 18105-86 Бетоны. Правила контроля прочности ГОСТ 22690-88 Бетоны. Определение прочности механическими методами неразрушающего контроля ГОСТ 28570-90 Бетоны. Методы определения прочности по образцам, отобранным из конструкций ПМГ 06-2001 Порядок взаимного признания результатов испытаний утвержденного типа, поверки и метрологической аттестации средств измерений. 3 Термины и определенияУльтразвуковой метод определения прочности бетона - неразрушающий метод определения прочности, основанный на связи прочности бетона с показанием прибора (косвенной характеристикой прочности). Косвенная характеристика прочности (косвенный показатель) - скорость или время распространения ультразвука, или показатель прибора в условных единицах прочности. Градуировочная зависимость - графическая или аналитическая зависимость, связывающая косвенный показатель с прочностью бетона. База прозвучивания - расстояние между центрами рабочих поверхностей ультразвуковых преобразователей (излучателя и приемника), установленных на одну и ту же поверхность конструкции при поверхностном прозвучивании, и между центрами рабочих поверхностей преобразователей при сквозном прозвучивании. Коэффициент совпадения - коэффициент, используемый для корректировки ранее построенной или универсальной градуировочной зависимости. 4 Общие положения4.1 Ультразвуковой метод применяют для определения прочности бетона в установленном проектной документацией промежуточном (не менее 7 сут) и проектном (как правило, 28-суточном) возрасте, а также при экспертном контроле. 4.2 Ультразвуковой метод основан на связи между скоростью распространения ультразвуковых колебаний в бетоне и его прочностью. 4.3 Ультразвуковые измерения в бетоне проводят способами сквозного или поверхностного прозвучивания в соответствии с приложением А. 4.4 Прочность бетона в конструкциях определяют по экспериментально установленным градуировочным зависимостям. 4.5 Прочность бетона определяют на участках конструкций, не имеющих видимых повреждений (отслоения защитного слоя, трещин, каверн и др.). 4.6 Ультразвуковые испытания проводят при положительной температуре бетона. Допускается проведение ультразвуковых испытаний конструкций при отрицательной температуре бетона не ниже минус 10°С при условии, что построение градуировочной зависимости осуществлено в соответствии с п. 6.11. 5 Средства контроля5.1 Ультразвуковые измерения проводят приборами, предназначенными для измерения времени распространения ультразвука в бетоне и аттестованными в установленном порядке по ПМГ 06-2001. 5.2 Предел допускаемой абсолютной погрешности измерения времени распространения ультразвука на стандартных образцах, входящих в комплект прибора, не должен превышать значения Δ = ±(0,01t + 0,1), (1) где t - время распространения ультразвука, мкс. 5.3 При поверхностном прозвучивании размер базы должен быть не менее 5.4 Между бетоном и рабочими поверхностями ультразвуковых преобразователей должен быть обеспечен надежный акустический контакт за счет применения переходных устройств или прокладок, обеспечивающих сухой способ акустического контакта, или при преобразователях и с плоской рабочей поверхностью, за счет применения вязких контактных материалов (пластилин, технический вазелин и др.). Способ контакта должен быть одинаковым при контроле бетона в конструкции и установлении градуировочной зависимости. 5.5 Применение ультразвуковых приборов, градуированных в единицах прочности бетона для непосредственного определения прочности бетона, не допускается. Показания этих приборов следует рассматривать как косвенный показатель прочности бетона и использовать при контроле так же, как и скорость или время распространения ультразвука, или же корректировать эти показания в соответствии с п. 6.25. 6 Подготовка испытания6.1 Подготовка испытания включает проверку используемых приборов в соответствии с инструкциями по эксплуатации и установку градуировочных зависимостей в соответствии с выбранным способом прозвучивания. 6.2 Градуировочная зависимость должна связывать косвенный показатель с прочностью бетона. 6.3 Для контроля прочности бетона монолитных конструкций при поверхностном прозвучивании градуировочная зависимость устанавливается на основании данных параллельных испытаний одних и тех же участков конструкций ультразвуковым методом и методом отрыва со скалыванием по ГОСТ 22690 или по данным ультразвуковых испытаний участков конструкций и испытаний образцов-кернов, вырезанных из тех же участков конструкций и испытанных в соответствии с ГОСТ 28570. 6.4 Для контроля прочности бетона сборных и монолитных конструкций при сквозном прозвучивании градуировочную зависимость устанавливают по результатам ультразвуковых измерений в бетонных образцах-кубах и механических испытаний тех же образцов. 6.5 Градуировочные зависимости строят для каждого вида нормируемой прочности бетона, указанного в п.4.1. При этом диапазон значений прочности бетона не должен превышать значений, соответствующих трем соседним классам. В отдельных случаях, согласованных с разработчиками стандарта, допускается диапазон, соответствующий четырем соседним классам. 6.6 При построении градуировочной зависимости по данным параллельных испытаний ультразвуковым методом и методом отрыва со скалыванием или испытаний образцов, вырезанных из конструкций, на подлежащих испытанию конструкциях или их зонах предварительно проводят ультразвуковые измерения и определяют участки с минимальным и максимальным косвенными показателями. Затем выбирают не менее 12 участков, включая участки, в которых величина косвенного показателя максимальна, минимальна и имеет промежуточные значения. После испытания ультразвуковым методом эти участки испытывают методом отрыва со скалыванием или отбирают из них образцы для испытания под прессом. 6.7 Возраст бетона в отдельных участках не должен отличаться более чем на 25 % среднего возраста бетона подлежащей контролю зоны конструкции или группы конструкций. Исключение составляет построение градуировочной зависимости конструкций, возраст которых превышает два месяца. В этом случае различие в возрасте отдельных участков не регламентируется. 6.8 На каждом участке магнитным прибором (ИЗС-10Н, ИПА-МГ4.01, «Поиск» или др.) определяют положение арматуры, а затем ультразвуковым прибором проводят не менее двух измерений косвенного показателя. Измерения проводят в двух взаимно перпендикулярных направлениях. Прозвучивание производят под углом примерно 45° к направлению арматуры, параллельно или перпендикулярно ей. При прозвучивании в направлении, параллельном арматуре, линию прозвучивания располагают между арматурными стержнями (рис. 1).
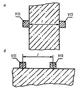
1 - положение прибора при испытании; 2 - расположение арматуры Отклонение отдельных результатов измерений скорости (времени) распространения ультразвука на каждом участке от среднего арифметического значения результатов измерений для данного участка не должно превышать 2 %. Результаты измерений, не удовлетворяющие этому условию, не учитываются при вычислении среднего арифметического значения скорости (времени) распространения ультразвука для данного участка. 6.10 При необходимости проведения испытаний монолитных конструкций непосредственно после тепловой обработки при температуре поверхности бетона выше 40 °С, ультразвуковые испытания на конструкции проводят при этой температуре, а испытание бетона методом отрыва со скалыванием или испытания образцов - после остывания. Конструкции, подвергавшиеся тепловой обработке, могут быть испытаны в возрасте не менее 15 сут при условии, что при замораживании они имели не менее 70 % проектной прочности. 6.12 При построении градуировочной зависимости по результатам ультразвуковых измерений в бетонных образцах-кубах и механических испытаний тех же образцов механические испытания образца проводят по ГОСТ 10180 непосредственно после ультразвуковых измерений. При необходимости проведения ультразвуковых испытаний бетона конструкций непосредственно после термообработки (горячего) для определения отпускной прочности бетона этих конструкций после их остывания допускается устанавливать градуировочную зависимость по результатам ультразвуковых измерений горячих образцов и механических испытаний тех же образцов после их остывания. 6.13 Для построения градуировочной зависимости используют не менее 15 серий образцов-кубов. Образцы изготавливают в соответствии с требованиями ГОСТ 10180 в разные смены в течение не менее трех суток из бетона того же номинального состава, по той же технологии, при том же режиме твердения, что и конструкции, подлежащие контролю. В случае применения на производстве способов и режимов уплотнения бетона конструкций, приводящих к изменению его состава за счет отжатия воды затворения, способ приготовления образцов необходимо указывать в нормативно-технической или проектной документации на эти конструкции. Допускается изготовление до 40 % общего числа образцов из бетонной смеси, состав которой отличается от номинального по цементно-водному отношению не более 0,4. 6.14 При установлении градуировочной зависимости для способа сквозного прозвучивания измерения производят в соответствии с рис. 2, а.
а - схема испытания кубов способом сквозного прозвучивания; б - схема испытания кубов способом поверхностного прозвучивания; УП - ультразвуковые преобразователи; 1 - направление формования; 2 - направление испытания при сжатии; l — база прозвучивания Рисунок 2 База
прозвучивания должна быть не менее 6.15 При установлении градуировочной зависимости для способа поверхностного прозвучивания измерения производят в соответствии с рис. 2, б. База
прозвучивания должна быть не менее Измерения следует проводить на поверхности, занимающей при изготовлении то же положение относительно формы и направления формования, что и контролируемая поверхность изделия. 6.16 Число измерений в каждом образце должно быть при сквозном прозвучивании три, при поверхностном - четыре. 6.17 Отклонение отдельного результата измерения косвенного показателя в каждом образце от среднего арифметического значения результатов измерений для данного образца не должно превышать 2 %. Результаты измерения времени распространения ультразвука в образцах-кубах, не удовлетворяющие этому условию, не учитывают при расчете среднего арифметического значения косвенного показателя в данной серии образцов. При наличии в серии двух образцов, не удовлетворяющих этому условию, результаты испытаний серии бракуют. 6.18 Градуировочную зависимость устанавливают по единичным значениям косвенного показателя и прочности бетона. Единичное значение прочности бетона при построении градуировочной зависимости для монолитных конструкций - прочность бетона участка. При построении градуировочной зависимости по данным испытаний образцов-кубов за единичное значение прочности бетона принимают среднюю прочность бетона в серии образцов, определенную по ГОСТ 10180. 6.19 В зоне контакта ультразвуковых преобразователей с поверхностью
бетона не должно быть раковин и воздушных пор глубиной более 6.20 Относительная погрешность измерения базы прозвучивания не должна превышать 0,5%. 6.21 Установление, проверку градуировочной зависимости и оценку ее погрешности проводят с использованием ЭВМ (программы EXCEL или других программ построения градуировочной зависимости). Рекомендуется использовать линейную зависимость R = a + bK (гдe R - прочность бетона, К - косвенный показатель). Коэффициент корреляции градуировочной зависимости должен быть не менее 0,7, а значение относительного среднего квадратического отклонения Sт.н.м./Rср ≤ 0,15. В отдельных случаях, по согласованию с разработчиками настоящего стандарта, допускается использовать градуировочную зависимость при Sт.н.м./Rср ≤ 0,2. Пример градуировочной зависимости, построенной с использованием программы EXCEL, приведен в приложении Б. Проверка и корректировка установленной зависимости с учетом дополнительно получаемых результатов испытаний должны производиться не реже одного раза в месяц. Число образцов или участков при проведении проверки или корректировки должно быть не менее трех. 6.24 Для приборов, градуированных в единицах прочности бетона, градуировка, заложенная в прибор, может использоваться в качестве унифицированной градуировочной зависимости. 6.25 Ранее установленную или унифицированную градуировочную зависимость для конкретных условий испытаний следует уточнять с помощью коэффициента совпадения, методика определения которого приведена в приложении Г. 7 Проведение испытаний и определение прочности бетона в конструкциях7.1 Число и расположение контролируемых участков в конструкциях назначаются с учетом: - задач контроля (определение фактического класса бетона, разопалубочной или отпускной прочности, выявление участков пониженной прочности и др.); - вида конструкций (колонны, балки, плиты и др.); - размещения захваток и порядка бетонирования; - армирования конструкций. 7.2 Прочность бетона в каждом участке можно определять способом поверхностного или сквозного прозвучивания. На каждом участке проводят не менее двух измерений при способе поверхностного прозвучивания и одного измерения при способе сквозного прозвучивания. Отклонение отдельных результатов от среднего при поверхностном прозвучивании должно отвечать условиям п. 6.9. Прочность бетона в участке определяют по среднему значению скорости (времени) ультразвука. 7.3 Для исключения влияния арматуры поверхностное прозвучивание должно производиться по схеме, приведенной на рис. 1. 7.4 Для оценки класса бетона группы (партии) конструкций, конструкции или зоны конструкций общее число участков измерений должно быть не менее 15 при средней прочности до 20 МПа, 20 - при средней прочности до 30 МПа и 25 - при средней прочности выше 30 МПа. 7.5 В монолитных зданиях прочность бетона должна определяться в каждой колонне (или пилоне). Число участков в каждой конструкции должно быть не менее шести. В качестве единицы прочности колонны (пилона) принимается среднее значение из всех измерений при условии, что прочность бетона в каждом участке не отличается от среднего значения более чем на 5 %. 7.6 При контроле прочности бетона монолитных перекрытий, стен и фундаментов в каждой захватке прочность бетона должна определяться не менее чем в трех участках. 7.7 При контроле прочности бетона сборных конструкций и оценке класса бетона в партии число участков определения прочности бетона в произвольно выбранных из партии конструкциях должно быть не менее трех. 7.8 Прочность бетона контролируемого участка конструкции определяют по градуировочной зависимости, установленной в соответствии с разд. 6 при условии, что измеренное по разд. 7 значение косвенного показателя находится в пределах между его наименьшим и наибольшим значениями, полученными при построении градуировочной зависимости. 7.9 Статистическая оценка класса бетона производится по приложению Д настоящего стандарта. Статистическая оценка класса бетона по результатам испытаний ультразвуковым методом производится только в тех случаях, когда прочность бетона определяется по градуировочной зависимости, построенной в соответствии с разд. 6 настоящего стандарта. 8 Оформление результатов8.1 Результаты испытаний оформляют в заключении. 8.2 В заключении приводят: - данные об испытанных конструкциях с указанием проектного класса и даты бетонирования и проведения испытаний; - данные, используемые для построения градуировочной зависимости; - данные о числе участков определения прочности бетона и об их размещении; - прочность бетона участков и среднюю прочность бетона захватки или колонны, класс бетона. 8.3 Результаты испытаний представляют в табличной форме, в которой указывают вид конструкций, проектный класс бетона, возраст бетона, прочность бетона каждого контролируемого участка. Форма таблицы приведена в приложении Е. 8.4 В заключении приводят обработку полученных результатов с указанием фактического класса бетона. Приложение А
| ||||||||||||||||||||||||||||||||||||||||||||||||||||||||||||||||||||||||||||||||||||||||||||||||||||||||||||||||||||||||||||||||||
|
№ п.п. |
V, м/с |
R, МПа |
|
1 |
3245 |
20,8 |
|
2 |
2470 |
13,6 |
|
3 |
3095 |
22,6 |
|
4 |
2870 |
15,6 |
|
5 |
4320 |
37,3 |
|
6 |
3615 |
33,5 |
|
7 |
2655 |
14,2 |
|
8 |
3780 |
30,7 |
|
9 |
3490 |
21,8 |
|
10 |
3840 |
38,1 |
|
11 |
3400 |
30,3 |
|
12 |
3255 |
22,5 |
|
13 |
3940 |
35,8 |
|
14 |
4070 |
33,1 |
|
15 |
3340 |
23,2 |
|
16 |
2940 |
15,6 |
|
17 |
3130 |
17,5 |
|
18 |
3305 |
29,7 |
|
19 |
3765 |
32,3 |
Таблица результатов, получаемых по программе EXCEL
|
0,015570697 |
-27,18416814 |
|
0,001651328 |
5,662095812 |
|
0,839485973 |
3,403570532 |
|
88,909747 |
17 |
|
1029,956503 |
196,9329702 |
Данные, необходимые для контроля, из таблицы результатов
|
R = 0,0156 V - 27,2 |
|
Rср = 25,7 |
|
S = 3,4 |
|
S/ Rср = 13,2% |
|
r = 0,92 |
Градуировочная зависимость «Скорость ультразвука - прочность бетона»


Примечание – R = 0,016 V - 27,3.
Значение прочности бетона, определенное с использованием градуировочной зависимости, установленной для бетона, отличающегося от испытываемого, умножают на коэффициент совпадения Кс, значение которого определяют по формуле
|
|
(3) |
где Ri - прочность бетона в участке, определяемая методами отрыва со скалыванием или испытанием кернов по ГОСТ 10180;
Ry - то же, ультразвуковым методом;
n - число участков, принимаемое не менее пяти.
Значение прочности бетона не должно отличаться от среднего значения по градуировочной зависимости более чем на ± 30 %.
Определенное с использованием коэффициента Кс значение прочности бетона может быть использовано только в том случае, если получаемое с учетом этого коэффициента значение прочности бетона не выходит за пределы значений, которые могут быть определены по градуировочной зависимости.
1 Статистическая оценка прочности бетона может применяться только в тех случаях, когда прочность бетона определяется по градуировочной зависимости, построенной в соответствии с требованиями пп. 6.3 - 6.20 настоящего стандарта.
2 Среднюю квадратическую ошибку градуировочной зависимости SТ определяют по формуле
(4)
где SТ.М.Н. - средняя квадратическая ошибка построенной градуировочной зависимости;
SТ.М.О.С. - средняя квадратическая ошибка градуировочной
зависимости метода отрыва со скалыванием, принимаемая равной 0,04 средней
прочности бетона участков, использованных при построении градуировочной
зависимости, при анкерном устройстве с глубиной заделки
3 Среднее квадратическое отклонение в группе конструкций, в конструкции или в контролируемом участке бетона Sm определяют по формуле
(5)
где SН.М. - среднее квадратическое отклонение по результатам ультразвуковых испытаний;
n - число участков испытаний в конструкции;
r - коэффициент корреляции градуировочной зависимости.
4 Условный класс бетона по прочности на сжатие определяют по формуле
B = RСР/КТ, (6)
где RСР - средняя прочность бетона, МПа, конструкций, участка или группы конструкций по данным испытаний неразрушающими методами;
КТ - коэффициент требуемой прочности, принимаемый по табл. 2 ГОСТ 18105 в зависимости от Vn = Sm/RСР.
5 Значение условного класса бетона В отдельной зоны конструкции или отдельной конструкции, в которой невозможно осуществить число испытаний, требуемое по п. 7.4 настоящего стандарта, а прочность бетона отдельных участков отклоняется от средней прочности бетона или участка не более чем на 5 %, определяют по формуле
(7)
где Ri - средняя прочность бетона участка или средняя прочность бетона конструкций;
tα - коэффициент, принимаемый по таблице в зависимости от числа измерений.
Таблица
|
n-1 |
3 |
4 |
5 |
6 |
|
tα |
3,18 |
2,78 |
2,57 |
2,45 |
6 Статистическая оценка прочности бетона при использовании градуировочных зависимостей по пп. 6.22; 6.23; 6.25 не допускается.
Приближенное значение условного класса бетона определяют без статистической обработки, принимая его равным 80 % средней прочности бетона конструкций, участка или группы конструкций, но не более минимального частного значения прочности бетона участка.
При обследовании конструкций класс бетона определяют по СП 13-102.
|
Наименование конструкции, проектный класс бетона, дата бетонирования или возраст бетона испытанной конструкции |
№ участка (по схеме) или размещение в осях |
Прочность бетона, МПа |
Класс бетона |
|
|
участка |
средняя (по захватке или колонне) |
|||
|
|
|
|
|
|
|
|
|
|