//
ТехЛит.ру
- крупнейшая бесплатная электронная интернет библиотека для "технически умных" людей.
WWW.TEHLIT.RU - ТЕХНИЧЕСКАЯ ЛИТЕРАТУРА

:: Алготрейдинг::


АЛГОТРЕЙДИНГ
шаг за шагом
с нуля по урокам!

Торговые роботы на PYTHON, BackTrader,
Pandas, Pine Script для TradingView. Связка с брокерами, телеграм и легкими приложениями.


ОАО «ЦНИИПромзданий»

Скатные кровли из черепицы «BRAAS» с теплоизоляцией мансарды из изделий «URSA»

Материалы для проектирования и рабочие чертежи узлов.

Шифр М24.40/2003

Москва-2004

 

Зам. Генерального директора канд. техн. наук

С.М. Глинкин

 

Рук. Отдела кровель канд. техн. наук

А.М. Воронин

Предисловие

В последние годы в России наблюдается увеличение объемов дачного строительства, в том числе коттеджей, а также строительства многоэтажных жилых и других типов зданий с верхними этажами в виде мансард, крыши которых имеют различную, нередко очень сложную конфигурацию и относительно большие уклоны. На таких крышах наиболее эффективно применение штучных кровельных изделий и лёгких теплоизоляционных материалов, к которым относятся цементно-песчаная и керамическая черепица "BRAAS" (поставляется ООО "БРААС ДСК-1") и теплоизоляционные изделия из стеклянного штапельного волокна в виде матов и плит "URSA" (поставляются ОАО "УРСА - Серпухов" и ОАО " УРСА - Чудово"), отличающиеся высокими физико-техническими характеристиками и занявшие прочное место на отечественном рынке.

Особенностью черепичной кровли является наличие в ней специфических элементов, которые присущи только такому типу кровли и предусмотрены для обеспечения её надёжности в процессе эксплуатации. С этой же целью черепичная кровля комплектуется набором дополнительных материалов и элементов, позволяющих обеспечить вентиляцию конструкции крыши, её водонепроницаемость, а также быстроту и качество её устройства.

Содержание

Пояснительная записка

1. Общие положения

2. Применяемые материалы и изделия

2.1. Кровельные изделия

2.2. Теплоизоляция.

2.3. Пароизоляция.

2.4 Защитные и диффузионно-гидроизоляционные плёнки

2.5 Соединительные ленты

2.6 Уплотнительная лента

3. Требования к элементам крыши

3.1. Несущие элементы

3.2. Нормы тепло- и парозащиты. Толщина теплоизоляции

3.3. Определение параметров вентиляции

4. Конструктивные решения крыши.

5. Устройство крыши

5.1. Узлы и детали

5.2. Особенности устройства кровли на конической поверхности

5.3. Система водостока

Карниз мансардной крыши с ограждением и снегозадержанием.

Карниз мансардной крыши с двумя вентиляционными зазорами

Карниз мансардной крыши с одним вентиляционным зазором.

Карниз крыши с выносом и двумя вентиляционными зазорами

Карниз крыши с выносом и одним вентиляционным зазором.

Карниз крыши с выносом и одним вентиляционным зазором и подшивкой свеса.

Карниз крыши с выносом и водоизоляционным ковром (крыша с уклоном 10-16 град.)

Карниз чердачной кровли

Форточный свес крыши без выноса и с лобовой доской.

Фронтонный свес крыши без выноса и с боковой цементно-песчаной черепицей

Фронтонный свес крыши без выноса стропил с боковой облегченной черепицей

Фронтонный свес крыши без выноса и водоизоляционным ковром

Фронтонный свес крыши с парапетом

Фронтонный свес крыши с выносом и лобовой доской

Фронтонный свес крыши с выносом и боковой цементно-песчаной черепицей

Фронтонный свес крыши с выносом и боковой облегченной черепицей

Фронтонный свес крыши с выносом и водоизоляционным ковром

Конек чердачной крыши

Конек чердачной крыши с диффузионно-гидроизоляционной пленкой

Конек мансардной крыши с двумя вентиляционными зазорами

Конек мансардной крыши с одним вентиляционным зазором

Конек мансардной крыши с водоизоляционным ковром

Конек чердачной крыши с вентиляционным элементом в диффузионно-гидроизоляционной пленке

Хребет мансардной крыши

Хребет мансардной крыши с водоизоляционным ковром

Хребет мансардной крыши

Ендова черепичной кровли чердака

Ендова мансардной крыши с диффузионно-гидроизоляционной пленкой

Ендова мансардной крыши с ветрозащитной диффузионно-гидроизоляционной пленкой

Ендова мансардной крыши с водоизоляционным ковром

Примыкание крыши к печной трубе

Примыкание крыши к трубе

Примыкание крыши к стене (уклон кровли от стены)

Примыкание чердачной крыши к стене

Примыкание крыши к окну

Примыкание крыши к стене (уклон кровли вдоль стены)

Примыкание скатной мансардной крыши к ее плоской части

Расчёт парозащиты крыши мансарды

Пояснительная записка

1. Общие положения

1.1 Альбом содержит материалы для проектирования и рабочие чертежи узлов скатных кровель мансард и чердаков, выполненных с применением черепицы "BRAAS" (по ТУ 5756-002-41546053-03) и теплоизоляции "URSA" (по ТУ 5763-002-00287697-97).

1.2 Проектные материалы разработаны для зданий с сухим и нормальным температурно-влажностным режимом для строительства на всей территории России.

1.3 Проектирование следует вести с учётом указаний и ограничений действующих норм:

СНиП 2.08.01-89* "Жилые здания";

СНиП 2.08.02-89* "Общественные здания и сооружения";

СНиП 2.09.04-87* "Административные и бытовые здания";

СНиП 23-02-2003 "Тепловая защита зданий";

СНиП II-25-80 "Деревянные конструкции";

СНиП 2.01.01-82 "Строительная климатология и геофизика";

СНиП 23-01-99 "Строительная климатология";

СНиП 21-01-97* "Пожарная безопасность зданий и сооружений";

СНиП 2.01.07-85* "Нагрузки и воздействия";

СТ СЭВ 4868-84 "Надежность строительных конструкций и оснований. Конструкции деревянные. Основные положения по расчёту".

2. Применяемые материалы и изделия

2.1. Кровельные изделия.

а) Черепица цементно-песчаная.

2.1.1. Цементно-песчаная рядовая черепица "Франкфуртская NOVO" (рис. 1) - это пазовая черепица нескольких цветов (красная, коричневая, черная, зелёная и синяя) имеет опорную длину 399 мм, расчётную ширину - 300 мм, нахлёст 75... 108 мм; другие необходимые для кровли виды черепицы приведены в таблице 2.1.

Рис. 1. Черепица "Франкфуртская NOVO"рядовая (а) и коньковая (б).

Таблица 2.1

Черепица

Наименование

Назначение

Потребность

Рядовая половинчатая, 420×180 мм

Доборный элемент кровли

1 шт./2 ряда ендовы или хребта

Боковая (правая и левая)

Отделка фронтонного свеса кровли

1 шт./ряд

Вентиляционная (площадь вентиляционного отверстия 32 см2/шт.

Усиление вентиляции кровли

-

Начальная хребтовая черепица

Отделка хребта кровли

1 шт./начало хребта

Колокообразная черепица (вальмовая)

Отделка вальмы

1 шт. вальму

б) Вентиляционные изделия.

2.1.2. Вентиляционные изделия предназначены для усиления вентиляции кровли, их номенклатура приведена в таблице 2.2.

Таблица 2.2

Изделие

Наименование, потребность

Место установки

Площадь вентиляционных отверстий, см2/м

Аэроэлемент конька AFE, 1 шт/п.м.

В мансардных крышах

общая 380

на скат 190

Фигароль, рулон/5м

На коньке и хребте кровли

210

Аэроэлемент свеса, 1 шт/п.м.

На карнизном участке вместе с решёткой от про­никновения птиц и грызунов

200

Металлрол, рулон/5м

На коньке и хребте кровли

230

Продолжение таблицы 2.2

Изделие

Наименование, потребность

Место установки

Площадь вентиляционных отверстий, см2/м

Вентиляционная лента, 1 рулон / 5 м

На карнизном участке как препятствие для птиц и насекомых

При ширине ленты 10см-460см2/м

 

Вентиляционная решётка нижней защитной плёнки

В зоне нахлёстки ветрозащитной плёнки

60 см2/1 шт.

Аэроэлемент конька "Коверлэнд", 2,2 шт./п.м.

Для чердачных кровель

общая 90

на скат 45

в) Комплектующие изделия из ПВХ и других материалов

2.1.3. Доборные элементы из ПВХ предназначены для обеспечения прохода через кровлю вентиляционных и дымовых труб, антенн и т.п., что способствует повышению эксплуатационной надёжности кровли в местах примыкания её к выступающим над нею конструкциям; номенклатура этих элементов приведена в таблице 2.3.

Таблица 2.3

Изделие

Наименование

Потребность

Черепица для прохода трубы из ПВХ

1шт./проем

Насадка вентиляционной трубы из ПВХ

Тоже

Противоосадочный колпак для насадки венттрубы из ПВХ

1 шт./на пасадку

Антенная насадка из ПВХ

1 шт. / на антенну

Соединительная труба для насадки из ПВХ

1 шт./на трубу

Торцевой элемент, Фирафикс из ПВХ

1 шт./торец конька

Коньковый торцевой элемент из ПВХ

1 шт./торец конька или хребта

Боковая облегчённая черепица из окрашенного алюминия, правая/левая

1 шт./ряд

Подножка 410×250 мм или 880×250 мм из горячеокрашенного алюминия

По проекту

Продолжение таблицы 2.3

Изделие

Наименование

Потребность

Бугель из алюминия для крепления подножки и решетки

2 шт./на подножку и решетку

Снегозадерживающая решётка 200×2500 мм, окрашенная сталь

1 шт./2,5 м

Опора для крепления решётки, алюминий окрашенный

1 шт./на черепицу

Соединительный зажим для решетки, алюминий окрашенный

2 шт./стык

Снегозадерживающая (опорная) черепица 420×180 мм из горячеокрашенного алюминия

1,1 шт./п.м. снегозадерживания

Вакафлекс-лента для отделки примыкания, рулон 0,28×5 м

1 рулон/4,95 м

Свинец-лента для отделки примыкания, рулон 0,3×5 м

Тоже

Планка ВАКА, окрашенный алюминий

1 шт./2,3 м примыкания

Шуруп с термостойким дюбелем для планки Вака

12 шт./на планку

Герметик-К, 310 мл, синтетический каучук

60 мл./м

Крепление коньковой или хребтовой обрешётки, оцинкованная сталь

Конёк: 1 шт. на стык стропил

Зажим (кляммер) коньковой черепицы, окрашенный алюминий

1 шт. на коньковую черепицу

Противоветровой зажим SK, оцинкованная сталь, max нагрузка 0,15 кН

1 шт. на рядовую черепицу

Шурупы: 4,5×50 для рядовой черепицы 5,0×70 для коньковой черепицы

2 шт. на черепицу

Фартук свеса из ПВХ, длина 2 м

1 шт. /1,95 м карнизного свеса

Скоба для крепления фартука свеса

Шаг установки 25...30 см

2.2. Теплоизоляция.

2.2.1. Для утепления мансард применяют следующие теплоизоляционные изделия "URSA":

маты марок М-15, М-15С, М-17, М-17С, М-25, М-25С;

плиты марок П-15, П-15С, П-15Г, П-17, П-17С, П-17Г, П-20, П-20С, П-20Г, П-30, П-30С,

П-30Г.

Примечание: изделия с индексом "Г" - гидрофобизированые, и имеют покрывной слой с индексом "С" - стеклохолст, "Ф" - фольга.

2.2.2. Маты поставляют шириной 600 или 1200 мм и длиной от 4000 до 18000 мм в зависимости от толщины; номинальные размеры плит 600×1250 мм. Сортамент типоразмеров матов и плит приведён в таблице 2.4.

Таблица 2.4

Толщина изделия, мм

 

 

Марки изделия

 

 

М-15

М-17

М-25

П-15

П-17

П-20

П-30

50

+

+

+

+

+

+

+

60

+

+

+

+

+

+

+

70

-

-

-

+

+

+

+

80

+

+

+

+

+

+

+

100

-

-

+

+

+

+

+

110

+

+

+

+

+

+

+

120

+

+

+

+

+

+

+

140

+

+

+

+

+

+

+

150

+

+

-

-

-

-

-

160

+

+

+

+

+

+

+

180

+

+

+

+

+

+

+

200

+

+

-

+

+

+

+

220

+

+

-

+

+

+

-

240

+

+

-

-

-

-

-

2.2.3. Расчётные характеристики теплоизоляционных изделий, полученные в испытательной лаборатории НИИСФ, приведены в таблице 2.5.

Таблица 2.5

Наименование показателя, ед. измерения

Марка изделия

М-15

М-17

М-25

П-15

П-17

П-20

П-30

1. Плотность, кг/м3

15

17

25

15

17

20

30

2. Расчётное массовое отношение влаги в материале, %, в условиях эксплуатации:

 

 

 

 

 

 

 

А

2

2

2

2

2

2

2

Б

5

5

5

5

5

5

5

3. Теплопроводность в условиях эксплуатации, Вт/(м×К), не более

 

 

 

 

 

 

 

А

0,048

0,046

0,043

0,049

0,047

0,043

0,042

Б

0,053

0,053

0,050

0,055

0,053

0,048

0,046

4. Коэффициент паропроницаемости, мг/(м×ч×Па)

0,68

0,66

0,61

0,55

0,54

0,53

0,52

2.2.4. К группе НГ относятся все изделия, указанные в таблице 2.5., если они не оклеены стеклохолстом или фольгой. Изделия оклеенные стеклохолстом или фольгой относятся к группе П - слабогорючие.

2.3. Пароизоляция.

2.3.1. Для пароизоляции крыши мансарды могут быть применены плёнки "Ютафол" фирмы "JUTA", URSA SECO 400, URSA SECO 500 компании "URSA".

Физико-технические показатели этих плёнок приведены в таблице 2.6.

Таблица 2.6

Наименование показателя, ед. изменения

Марка пленки "Ютафол"

Марка пленки "URSA

Н 110 Стандарт

Н 110 Специал.

Н 140 Стандарт

Н 140 Специал.

Н 220 Стандарт

Н АЛ 170 Специал.

SECO 400

SECO 500

SECO 1000

SECO STORM

1. Масса, г м

110

110

140

140

220

170

50

140

85

135

2. Размер рулона

1,5×50

1,5×50

1,5×50

1,5×50

1,5×50

1,5×50

1,5×50

2,0×50

1,5×50

1,5×50

3. Паропроницаемость, г/м224 ч.

0,9

0,9

1,1

1,1

0,52

0,2

18

0,31

1600

0,33

4. Коэффициент паропроницаемости г/(м×ч×Па)

0,000028

0,000028

0,000034

0,000034

0,000016

0,000006

-

-

-

-

5. Разрывная сила при растяжении, Н(кгс)/5см.

220 (22)

220 (22)

240 (24)

240 (24)

250 (25)

200 (20)

200,5

120,7

195

1049

Примечание: Пленка с индексом "Специал" имеет пониженную горючесть

2.4 Защитные и диффузионно-гидроизоляционные плёнки

2.4.1. Плёнки предназначены для удаления водяных паров, проникающих в мансардное покрытие (крышу) из внутренних помещений, и для защиты теплоизоляции от ветра и увлажнения от дождя (снега) или конденсата. Номенклатура таких плёнок приведена в таблице 2.7.

Таблица 2.7

Марка плёнки

Структура плёнки

Паропроницаемость, г/м2/24 ч.

Особенности применения

Дифорол ПРО

Полипропиленовая плёнка

120,0

Можно укладывать на теплоизоляцию или сплошной деревянный настил с вентиляционным

Европлёнка (Eurofol Q140)

Полиэтиленовая плёнка, армированная полипропиленом. Имеет микроперфорации

25,0

Нельзя укладывать на утеплитель или сплошной деревянный настил. Применяется в конструкции кровли с двойным вентиляционным каналом

Ютафол Д 110

- Стандарт

- Специал

Трёхслойный материал: армирующая сетка из полиэтиленовых волокон ламинирована с обеих сторон полимерной плёнкой.

Имеет микроперфорации

40,98

Тоже

Ютафол Д 140

- Стандарт

- Специал

49,47

Ютафол Д 220 Специал

20,00

Ютакон:

- Н140 ВС УВ

- Н130 ВС УВ

Четырехслойный материал из полипропилена, на одну (нижнюю) сторону материала нанесён специальный адсорбирующий слой из нетканого текстиля.

Не имеет микроперфорации

0,352

Тоже

Ютафол ДТБ150

- Стандарт

- Специал

Четырехслойный материал из полиэтилена; на одну (нижнюю) сторону материала нанесён защитный слой из нетканого текстиля (защита от механических воздействий при укладке на настил). Не имеет микроперфорации, но паропроницаем за счёт плёнки из специального химического состава.

12,00

Можно укладывать на сплошной деревянный настил с вентиляционным каналом над ним. Можно укладывать на теплоизоляцию или настил без зазора под ним только в случае применения пароизоляции из плёнки "Ютафол Н АЛ" (см. таблицу 2.6) или ей подобной

Ютадах (Ютавек) 85,95, 115, 135

Четырехслойный полипропиленовый материал

> 1200,00

Можно укладывать на теплоизоляцию или сплошной деревянный настил с вентиляционным каналом над ним.

Примечание: цифра в маркировке плёнки означает массу в г/м2, а индекс "Специал" - пониженную горючесть

2.5 Соединительные ленты

2.5.1 Соединительные ленты "Ютафол СП1" и "Ютафол СП АЛ" предназначены для проклейки швов (нахлесток) пароизоляционных плёнок "Ютафол Н" и "Ютафол Н АЛ" (см. таблица 2.6), а также для приклейки этих плёнок к проходящим через мансардное покрытие элементам. "Ютафол СП 1" можно применять также для крепления диффузионных плёнок с другими материалами.

2.5.2 Соединительная лента представляет собой двухстороннюю неармированную склеивающую полосу сечением 1×15 мм, длиной 45 м, намотанную в ролик.

2.6 Уплотнительная лента

2.6.1 Уплотнительная лента "Ютафол ТП 15" предназначена для воздухонепроницаемого соединения пароизоляционных плёнок "Ютафол Н" и "Ютафол Н АЛ" к прилегающим строительным конструкциям с рыхлой поверхностью.

2.6.2 Уплотнительная лента - это односторонняя клеящая полоса из импрегнированной мягкой полиэтиленовой пены сечением 4×15 мм, длины 20 м, намотанная в ролик.

3. Требования к элементам крыши

3.1. Несущие элементы

а) Поперечное сечение элементов

3.1.1. Для стропил, обрешётки и контробрешётки применяют древесину хвойных пород в соответствии с требованиями СНиП II-25-80. Для контробрешётки используют бруски с минимальным сечением 30×50 мм; для крыш с длинными скатами и сложных многоскатных мансардных крыш толщину контробрешёток увеличивают до 50 мм. В зависимости от шага стропил (рекомендуемое) сечение обрешётки принимают по таблице 3.1.

Таблица 3.1

Шаг стропил (межосевой размер в см)

Сечение обрешётки, мм×мм

75

30×50

90

40×50

110

40×60 или 50×50

3.1.2. Рекомендуемое сечение стропил не менее 50×150 мм, шаг стропил 60...110 см в зависимости от расчётной нагрузки и длины стропильных ног. Величину расчётной нагрузки в зависимости от района строительства и профиля кровли принимают по СНиП 2.01.07-85. Требуемое сечение стропильных ног для конкретного объекта (мансарды) определяют расчётом по СНиП II-25-80 и СТ СЭВ 4868-84. Нагрузку от кровли (от цементно-песчаной черепицы и обрешётки) в расчётах принимают по таблице 3.2, вес и расход керамической черепицы приведены в п.п. 3.1.5...3.1.11.

Таблица 3.2

Шаг обрешётки, см

Количество черепицы, шт./м2

Нагрузка от кровли, кН/м2

33,3...34,5

-10

0,50

31,2...33,2

-11

0,55

б) Уклоны кровли

3.1.3 Черепичную кровлю можно применять на уклонах от 10 до 90°; наиболее предпочтителен уклон от 22 до 60°.

3.1.4 Требования к черепичной кровле в зависимости от её уклона приведены в таблице 3.3.

Таблица 3.3

Уклон кровли, град

Шаг обрешётки, см

Нахлёстки черепицы, см

Требования

60...90

32,1...34,5

7,5...10,8

Дополнительное крепление черепицы шурупами и кляммерами

30...60

Крепление черепицы не требуется

22...30

31,2...33,5

8,5...10,8

16...22

31,2...32

10...10,8

Под кровлей необходим водоизоляционный ковёр

10...16

0...10

 

Применение черепицы не допускается!

в) Расчёт шага обрешётки и длины кровли из цементно-песчаной черепицы

3.1.5. Для определения количества рядов черепицы на проектируемой кровле вначале рассчитывают шаг (Ш0бр) обрешётки (рис. 2):

Ш0бр.=lчер. - Н,

где lчер. (длины черепицы "Франкфуртская NOVO") = 420 мм (см. рис. 1);

Н (нахлёстка черепиц) = 75... 108 мм в зависимости от уклона (см. табл. 3.3).

Рис. 2. Поперечный разрез черепичной кровли

Зная длину стропилы Lcтр. можно определить количество рядов черепицы (n):

где Шкарн. (шаг стропил у карниза) = 32...39 см (см. рис. 2) в зависимости от положения водосточного желоба;

4 см - расстояние от конька до верхней грани обрешётки.

На многоскатных кровлях шаг обрешётки и количество рядов черепицы рассчитывают для каждого ската. Для ската длиной 10 м количество рядов черепицы можно принимать по таблице 3.4.

Таблица 3.4

Уклон кровли

30°

Количество горизонтальных рядов,

 

22°-30°

 

22°

Шаг обрешётки, см

34,5

34,0

33,5

33,0

32,5

32,0

31,5

32,1

(шт.)

1

0,36

0,36

0,36

0,36

0,36

0,36

0,36

0,36

1

0,70

0,70

0,69

0,69

0,68

0,68

0,67

0,67

2

2

1,05

1,04

1,03

1,02

1,01

1,00

0,99

0,98

3

1,39

1,38

1,36

1,35

1,33

1,32

1,30

1,29

4

1,74

1,72

1,70

1,68

1,66

1,64

1,62

1,608

5

3

2,08

2,06

2,03

2,01

1,98

1,96

1,93

1,92

6

2,43

2,40

2,37

2,34

2,31

2,28

2,25

2,23

7

2,77

2,74

2,70

2,67

2,63

2,60

2,56

2,54

8

4

3,12

3,08

3,04

3,00

2,96

2,92

2,88

2,85

9

3,46

3,42

3,37

3,33

3,28

3,24

3,19

3,16

10

3,81

3,76

3,71

3,66

3,61

3,56

3,51

3,48

11

5

4,15

4,10

4,04

3,99

3,93

3,88

3,82

3,79

12

4,50

4,44

4,38

4,32

4,26

4,20

4,14

4,10

13

4,84

4,78

4,71

4,65

4,58

4,52

4,45

4,41

14

6

5,19

5,12

5,05

4,98

4,91

4,84

4,77

4,72

15

5,53

5,46

5,38

5,31

5,23

5,16

5,08

5,04

16

5,88

5,80

5,72

5,64

5,56

5,48

5,40

5,35

17

7

6,22

6,14

6,05

5,97

5,88

5,80

5,71

5,66

18

6,57

6,48

6,39

6,30

6,21

6,12

6,03

5,97

19

6,91

6,82

6,72

6,63

6,53

6,44

6,34

6,28

20

8

7,26

7,16

7,06

6,96

6,86

6,76

6,66

6,60

21

7,60

7,50

7,39

7,29

7,18

7,08

6,97

6,91

22

7,95

7,84

7,73

7,62

7,51

7,40

7,29

7,22

23

9

8,29

8,18

8,06

7,95

7,83

7,72

7,60

7,53

24

8,64

8,52

8,40

8,28

8,16

8,04

7,92

7,84

25

8,98

8,86

8,73

8,61

8,48

8,36

8,23

8,16

26

 

9,33

9,20

9,07

8,94

8,81

8,68

8,55

8,47

27

9,67

9,54

9,40

9,27

9,13

9,00

8,86

8,78

28

10

10,02

9,88

9,74

9,60

9,46

9,32

9,18

9,09

29

 

10,36

10,22

10,07

9,93

9,78

9,64

9,49

9,40

30

Нахлёст черепицы, см

7,5

8,0

8,5

9,0

9,5

10,0

10,5

10,8

 

3.1.6. Длина кровли (длина обрешётки) зависит от длины здания и применяемой боковой черепицы (рис. 3). Точная подгонка длины кровли обеспечивается применением половинчатой черепицы и свободной укладкой черепицы (с люфтом 3 мм в каждом стыке черепицы).

Рис. 3. Схема для расчёта длины кровли с боковой цементно-песчаной (а) и облечённой (б) черепицей 1 - боковая левая черепица; 2 - половинчатая черепица; 3 - цельная рядовая черепица; 4 -боковая правая черепица; 5 - шуруп с уплотнительной шайбой.

г) Расчёт шага обрешётки (длины ската) и длины кровли из керамической черепицы.

3.1.5. Черепица "Рубин". Размеры этой черепицы, расчёт длины ската и кровли приведены на рис. 4...6.

Рис. 4. План черепицы, поперечный и продольный разрезы.

Рекомендуемый уклон кровли - 22°.

Вес черепицы - 3 кг.

Расход на 1 м2 - 13 шт.

Средняя длина черепицы в кровле - 360 мм (см. рис. 5);

Средняя ширина черепицы в кровле -215 мм (см. рис. 6).

Рис. 5. Поперечный разрез кровли (скат кровли).

LAF - расстояние от конька до обрешётки равно 40 мм при уклоне кровли до 30°; 30 мм - от 30 до 45° и 20 мм - > 45°;

LA - шаг обрешётки;

LAA - регулирующий шаг;

LAT - шаг на свесе.

Длина ската будет равна:

L = LAT+LAA+LA·n+LAF,

где n - количество рядов черепицы.

Рис. 6. Продольный разрез кровли с применением на фронтоне боковой черепицы (левой и правой)

3.1.6. Черепица "АГАТ" Размеры этой черепицы, расчёт длины ската и кровли приведены на рис. 7…9.

Рис. 7. План черепицы, поперечный и продольный разрезы.

Рекомендуемый уклон кровли - 22°.

Вес черепицы-3,2 кг.

Расходная-14 шт.

Средняя длина черепицы в кровле - 345 мм (см. рис. 8);

Средняя ширина черепицы в кровле -209 мм (см. рис. 9).

Рис. 8. Поперечный разрез кровли (скат кровли).

LAF - расстояние от конька до обрешётки равно 40 мм при уклоне кровли до 30°; 35 ммот 30 до 45° и 30 мм - > 45°;

LA - шаг обрешётки;

LAT - шаг обрешётки на свесе.

Длина ската будет равна:

L = LAT+LAF+LA·n,

где n- количество рядов черепицы.

Длина здания

Рис. 9. Продольный разрез кровли с применением на фронтоне боковой черепицы (левой и правой)

3.1.7. Черепица «ГРАНАТ» Размеры этой черепицы, расчёт длины ската и кровли приведены на рис. 10...12.

Рис. 10. План черепицы, поперечный и про­дольный разрезы.

Рекомендуемый уклон кровли - 30°.

Вес черепицы -3,7 кг.

Расходная-11,4 шт.

Средняя длина черепицы в кровле - 376 мм (см. рис. 11);

Средняя ширина черепицы в кровле -229 мм (см. рис. 12).

Рис. 11. Поперечный разрез кровли (скат кровли).

LAF - расстояние от конька до обрешётки равно 45 мм при уклоне кровли до 30°; 35 мм - от 30 до 45° и 25 мм- > 45°;

LA - шаг обрешётки;

LAT - шаг обрешётки на свесе.

Длина ската будет равна:

L = LAT+LAF+LA·n,

где n-количество рядов черепицы.

Рис. 12. Продольный разрез кровли с применением на фронтоне боковой черепицы (левой и правой)

3.1.8. Черепица "ТОПАЗ". Размеры этой черепицы, расчёт длины ската и кровли приведены на рис. 13... 15.

Рис. 13. План черепицы, поперечный и продольный разрезы.

Рекомендуемый уклон кровли -28°.

Вес черепицы-3,5 кг.

Расходная-13 шт.

Средняя длина черепицы в кровле - 320...360 мм (см. рис. 14);

Средняя ширина черепицы в кровле -215 мм (см. рис.15).

Рис. 14. Поперечный разрез кровли (скат кровли).

LAF - расстояние от конька до обрешётки равно 15 мм при уклоне кровли до 30°; 15 мм-от30 до 45° и 10 мм-> 45°;

LA - шаг обрешётки;

LAT - шаг обрешётки на свесе.

Длина ската будет равна:

L = LAT+LAF+LA·n,

где n-количество рядов черепицы.

Рис. 15. Продольный разрез кровли с применением на фронтоне боковой черепицы (левой и правой)

3.1.9. Черепица "ОПАЛ" Размеры этой черепицы, расчёт длины ската и кровли приведены на рис. 16...18.

Рис. 16. План черепицы, поперечный и продольный разрезы.

Рекомендуемый уклон кровли -30°. Вес черепицы-1,8 кг.

Расходная-34 шт. Средняя длина черепицы в кровле - 360 мм;

Средняя ширина черепицы в кровле -180 мм (см. рис. 18);

Шаг обрешётки: при двойной укладке - 145...165 мм (см. рис. 18, а) и при корончатой укладке - 290.. .330 мм (см. рис. 18, б).

а)

б)

Рис. 17. Поперечный разрез кровли (скат кровли) при двойной (а) и при корончатой (б) укладке черепицы.

LAF - расстояние от конька до обрешётки равно 100 мм при уклоне кровли до 30°; 90….100 мм - от 30 до 45° и 75…90 мм - > 45°;

LA - шаг обрешётки;

LAT1 и LAT2 - шаг обрешётки на свесе.

Длина ската будет равна:

L = LAT1+LAT2+LAF+LA·n,

где n -количество рядов черепицы.

Рис. 18. Продольный разрез кровли с применением на фронтоне боковой черепицы (а) и без применения такой черепицы (б).

3.1.10. Черепица "ИЗУМРУД" Размеры этой черепицы, расчёт длины ската и кровли приведены на рисунке 19…21.

Рис. 19. План черепицы, поперечный и продольный разрезы.

Рекомендуемый уклон кровли -16°.

Вес черепицы -3,7 кг.

Расходная-13 шт.

Средняя длина черепицы в кровле - 165...185 мм (см. рис. 20);

Средняя ширина черепицы в кровле -430 мм (см. рис. 21).

Рис. 20. Поперечный разрез кровли (скат кровли).

LAF - расстояние от конька до обрешётки равно 50 мм при уклоне кровли до 16°; 45 мм - от 16 до 30°, 40 мм - от 30 до 45° и 35 мм - > 45°;

LA - шаг обрешётки;

LAT1 и LAT2 - шаг обрешётки на свесе.

Длина ската будет равна:

L = LAT1+LAT2+LAF+LA·n,

где п -количество рядов черепицы.

Рис. 21. Продольный разрез кровли с применением на фронтоне боковой черепицы (левой и правой).

3.1.11. Черепица "КАРТАГО". Размеры этой черепицы, расчёт длины ската и кровли приведены на рис. 22.. .24.

Рис. 22. План черепицы, поперечный и продольный разрезы.

Рекомендуемый уклон кровли -22°. Вес черепицы-3,6 кг.

Расходная-14 шт.

Средняя длина черепицы в кровле - 340 мм (см. рис. 23);

Средняя ширина черепицы в кровле -205 мм (см. рис. 24).

Рис. 23. Поперечный разрез кровли (скат кровли).

LAF - расстояние от конька до обрешётки равно 45 мм при уклоне кровли до 30°; 40 ммот 30 до 45° и 30 мм - > 45°;

LA - шаг обрешётки;

LAT - шаг обрешётки на свесе.

Длина ската будет равна:

L = LAT+LAF+LA·n,

где п - количество рядов черепицы.

Рис. 24. Продольный разрез кровли с применением на фронтоне боковой черепицы (левой и правой)

3.2. Нормы тепло- и парозащиты. Толщина теплоизоляции

3.2.1 Минимальное допустимое сопротивление теплопередаче покрытия мансарды в различных климатических условиях регламентировано СНиП 23-02-2003 и "Московскими городскими строительными нормами" МГСН 2.01-94.

3.2.2 По назначению рассматриваемые в работе здания образуют две группы:

- жилые, лечебно-профилактические и детские учреждения;

- общественные, кроме указанных выше, административные и бытовые, за исключением помещений с влажным воздухом.

3.2.3. Требуемая толщина (таблица 3.5) слоя теплоизоляции из стекловолокнистых материалов "URSA" определяли с учётом следующих условий: покрытие имеет снизу отделочный слой из гипсокартона.

3.2.6. Требуемое дополнительное сопротивление паропроницанию определяется на основании расчёта влажностного режима конструкции покрытия мансарды при заданных внешних и внутренних параметрах среды и паропроницаемости слоев покрытия в соответствии с требованиями СНиП и приведённых в таблице 2.3.

Пример расчёта парозащиты покрытия мансарды приведён на листах М 24.40/2003 - Р.

Таблица 3.5

№ п/п

Город РФ

ГСОП

Тип помещения

 м2׺С/Вт

Толщи на теплоизоляции, мм, из изделий и “URSA®” марок

П-15

М-15, М-17, П-17

М-25

П-20

П-30

1

Архангельск

5700

1

4,47

240

230

220

210

200

2

3,30

180

170

160

150

150

2

Астрахань

3400

1

3,43

180

170

170

160

150

2

2,49

130

120

120

120

110

3

Анадырь

9000

1

5,95

330

320

300

290

280

2

4,45

250

240

220

220

210

4

Барнаул

5800

1

4,51

250

240

220

210

200

2

3,33

190

180

160

160

150

5

Белгород

4000

1

3,70

200

190

180

170

160

2

2,70

150

140

130

130

120

6

Благовещенск

6300

1

4,74

260

250

230

220

210

2

3,51

190

190

170

160

160

7

Брянск

4000

1

3,70

200

190

180

170

160

2

2,70

150

140

130

130

120

8

Братск

6900

1

5,01

270

260

250

240

230

2

3,72

200

190

190

180

170

9

Волгоград

3900

1

3,66

190

190

180

170

160

2

2,67

140

140

130

120

120

Продолжение таблицы 3.5

№ п/п

Город РФ

ГСОП

Тип помещения

 м2׺С/Вт

Толщина теплоизоляции, мм, из изделий “URSA®” марок

П-15

М-15, М-17, П-17

М-25

П-20

П-30

10

Вологда

5200

1

4,24

230

220

210

200

190

2

3,12

170

160

160

150

140

11

Воронеж

4300

1

3,84

200

200

190

180

170

2

2,81

150

150

140

130

120

12

Владимир

4900

1

4,11

220

210

200

190

180

2

3,02

160

150

150

140

130

13

Владивосток

4600

1

3,97

210

210

190

190

180

2

2,91

150

150

140

140

130

14

Владикавказ

3200

1

3,34

180

170

160

150

140

2

2,42

130

120

120

110

100

15

Грозный

2900

1

3,21

170

160

150

150

140

2

2,32

120

120

110

110

100

16

Екатеринбург

5600

1

4,42

240

230

220

210

200

2

3,26

180

170

160

160

150

17

Иваново

4900

см. Владимир

18

Игарка

9300

1

6,09

340

320

310

300

290

2

4,56

260

240

230

230

220

19

Иркутск

6500

1

4,83

260

250

240

230

220

2

3,58

190

190

180

170

160

20

Ижевск

5400

1

4,33

230

230

210

200

190

2

3,19

170

170

160

150

140

21

Йошкар-Ола

5300

1

4,29

230

220

210

200

190

2

3,16

170

160

160

150

140

22

Казань

5200

см. Вологда

23

Калининград

3400

1

3,43

180

170

170

160

150

2

2,49

130

120

120

120

110

24

Калуга

4600

см. Владивосток

25

Кемерово

6200

1

4,69

250

250

230

220

210

2

3,47

190

190

170

160

160

26

Киров

5500

1

4,38

240

230

210

210

200

2

3,23

180

170

160

160

150

27

Кострома

5000

1

4,15

220

220

200

200

190

2

3,05

160

160

150

150

140

28

Краснодар

2500

1

3,03

160

150

140

140

130

2

2,18

120

110

100

100

100

29

Красноярск

5900

1

4,56

250

240

220

210

200

2

3,37

190

180

160

160

150

30

Курган

5800

см. Барнаул

31

Курск

4200

1

3,79

200

200

180

180

170

2

2,77

150

150

130

130

120

32

Кызыл

7800

1

5,41

300

290

270

260

250

2

4,03

220

220

200

190

190

33

Липецк

4400

1

3,88

210

200

190

180

170

2

2,84

150

150

140

130

120

Продолжение таблицы 3.5

 

Город РФ

ГСОП

Тип помещения

 м2׺С/Вт

Толщина теплоизоляции, мм, из изделий "URSA®" марок

П-15

М-15, М-17, П-17

М-25

П-20

П-30

34

Магадан

7700

1

5,37

290

280

270

260

250

2

4,00

220

210

200

190

190

35

Махачкала

2300

1

2,94

150

150

140

130

120

2

2,11

110

110

100

90

90

36

Москва

4600

1

3,97

210

210

190

190

180

2

2,91

150

150

140

140

130

37

Мурманск

6000

1

4,60

250

240

230

220

210

2

3,40

190

180

170

160

160

38

Нальчик

3100

1

3,30

170

170

160

150

140

2

2,39

120

120

120

110

100

39

Нижний Новгород

4900

 

см. Владимир

40

Новороссийск

1800

1

2,71

140

130

130

120

110

2

1,93

100

90

90

90

80

41

Новгород

4500

1

3,93

210

200

190

180

170

2

2,88

150

150

140

130

120

42

Новосибирск

6200

 

см. Кемерово

43

Омск

6000

 

см. Мурманск

44

Оренбург

5200

 

см. Вологда

45

Орёл

4400

 

см. Липецк

46

Пенза

4800

1

4,06

220

210

200

190

180

2

2,98

160

150

150

140

130

47

Пермь

5500

 

см. Киров

48

Петропавловск-Камчатский

5400

 

см. Ижевск

49

Петропавловск

5200

 

см. Вологда

50

Псков

4200

 

см. Курск

51

Ростов-на-Дону

3300

1

3,39

180

170

160

160

150

2

2,46

130

120

120

120

110

52

Рязань

4700

1

4,02

220

210

200

190

180

2

2,95

160

150

150

140

130

53

Самара

5000

 

см. Кострома

54

Санкт-Петербург

4400

 

см. Орёл

55

Саранск

4800

 

см. Пенза

56

Саратов

4600

 

см. Москва

57

Салехард

8300

1

5,64

310

300

280

270

260

2

4,21

230

220

210

200

190

58

Смоленск

4300

 

см. Воронеж

59

Ставрополь

3000

1

3,25

170

160

160

150

140

2

2,35

120

120

120

110

100

60

Сыктывкар

5900

 

см. Красноярск

Продолжение таблицы 3.5

№ п/п

Город РФ

ГСОП

Тип помещения

 м2׺С/Вт

Толщина теплоизоляции, мм, из изделий "URSA®" марок

П-15

М-15, М-17, П-17

М-25

П-20

П-30

61.

Тамбов

4500

 

см. Новгород

62.

Тверь

4800

 

см. Пенза

63.

Томск

6300

 

см. Благовещенск

64.

Тула

4500

 

см. Новгород

65.

Тюмень

5600

 

см. Екатеринбург

66.

Ульяновск

5000

 

см. Кострома

67.

Улан-Удэ

6700

1

4,92

270

260

240

230

220

2

3,65

200

190

180

170

160

68.

Уфа

5300

 

см. Йошкар-Ола

69.

Хабаровск

5800

 

см. Барнаул

70.

Чебоксары

5100

1

4,20

230

220

210

200

190

 

2

3,09

170

160

150

150

140

71.

Челябинск

5500

 

см. Киров

72.

Чита

7200

1

5,14

280

270

260

240

230

2

3,82

210

200

190

180

170

73.

Элиста

3500

1

3,48

180

180

170

160

150

2

2,53

130

130

120

120

110

74.

Южно-Сахалинск

5200

 

см. Вологда

75.

Якутск

10000

1

6,40

350

340

320

310

300

2

4,80

260

260

240

230

230

76.

Ярославль

4300

 

см. Воронеж

3.2.7. Марку теплоизоляции (п. 2.2.1) в зависимости от уклона крыши принимают по табл. 3.6.

Уклон, град

Марка теплоизоляции

10-16

П-15, П-15С, П-15Г, М-15иМ-25С

16-30

П-17, П-17С, М-17, М-17С, П-17Г, П-20, П-20С и П-20Г

более 30

П-30, П-ЗОС, П-ЗОГ, М-25 и М-25С

3.3. Определение параметров вентиляции

а) Карнизный участок

3.3.1. Сечение вентиляционного зазора (fкap, см2/п.м), в любом месте ската, в т.ч. и на карнизном участке, должно составлять 0,2% от площади ската, но не менее 200 см2/м.

Расчёт сечения зазора производится для одного погонного метра ширины ската по формуле:

l - длина ската (стропил), см;

l×100 см2 - площадь ската на ширине 1 м.

Пример расчёта сечения вентиляционного зазора (канала) на карнизе для ската мансарды длиной 9 м=900 см (рис. 25).

Рис. 25. К расчёту вентиляционного зазора на карнизном свесе.

fкар = 900× 100×0,2/100 = 180 см2/м < 200 см2/м

Поскольку рассчитанное сечение меньше требуемого, то следует проектировать конструкцию свеса с вентиляционным зазором сечением 200 см2/м.

б) Конёк

3.2.2. Поперечное сечение вентиляционного зазора на коньке (fкон, см2/п.м) должно составлять 0,05% от площади обоих скатов, но не менее 5 см2/м.

Расчёт сечения зазора производится для 1 погонного метра ширины ската по формуле:

где l×100 см2 - площадь обоих скатов на ширине 1 м.

Пример расчёта сечения вентиляционного зазора (канала) на коньке двухскатной кровли мансарды с длиной ската 9 м = 900 см (см. рис. 25):

fкон = 2×900×100×0,05/100 =90 см2/м > 5см2/м

При проектировании кровли мансарды принимаем сечение вентиляционного зазора с одной стороны конька 45 см2/м.

в) Параметры вентиляции

3.3.3. В связи с тем, что в кровлях с длиной ската более 10 м увеличивается площадь сечения вентиляционного зазора (см. таблицу 3.6), высоту этого зазора необходимо также увеличивать, приняв высоту зазора для кровель с длиной ската до 10 м около 2,4 см = 2 (минимальная высота)×1,2, где 1,2 - коэффициент запаса, учитывающий возможные отклонения сечения канала в процессе устройства кровли.

Таблица 3.6

Длина стропил, м

6

7

8

9

10

11

12

13

14

15

16

17

18

19

20

Конек (хребет)

Площадь вентиляционного зазора с одной стороны, см2/м

30

35

40

45

50

55

60

65

70

75

80

85

90

95

100

Скат кровли

Высота вентиляционного зазора, см

2,4

2,4

2,4

2,4

2,4

2,6

2,9

3,1

3,3

3,6

3,8

4,0

4,3

4,5

4,8

Свес карниза

Площадь вентиляционных зазоров, см2/п

200

200

200

200

200

220

240

260

280

300

320

340

360

380

400

4. Конструктивные решения крыши.

4.1. В зависимости от величины уклона, расположения теплоизоляции и ветрогидроизоляционного слоя различают следующие конструктивные решения крыши мансарды (таблица 4.1):

- уклон более 16°; толщина теплоизоляции меньше высоты стропила, диффузионно-гидроизоляционная плёнка располагается с провисом и образованием двух вентиляционных каналов; в этом случае для утеплителя крыши мансарды необходимо применять маты (М-15С. М-17С, М-25С) и плиты (П-15С, П-17С, П-20С и П-30С) с покровным (ветрозащитным) слоем из стеклохолста (см. п. 2.2.1), а в качестве диффузионно-гидроизоляционного слоя - плёнка "Ютафол Д 110", "Ютафол Д 140", "Ютафол Д 220", "Ютакон", Европлёнка и Дифорол ПРО (см. п. 2.4.1);

- уклон более 16°; толщина теплоизоляции равна высоте стропила, ветрозащитная диффузионно-гидроизоляционная плёнка располагается на поверхности теплоизоляции с образованием одноканального вентиляционного зазора над пленкой; в этом случае для утепления кровли мансарды применяют теплоизоляционные изделия без покровного (ветрозащитного) слоя из стеклохолста (см.п. 2.2.1), а в качестве ветрозащитного диффузионно-гидроизоляционного слоя - супердиффузионные материалы (мембраны) "Ютадах" ("Ютавек"), URSA SECO 1000. (см. п. 2.4.1);

- уклон более 16°; толщина теплоизоляции больше высоты стропила; в этом случае дополнительный слой теплоизоляции может быть расположен снизу между поперечными потолочными брусками либо между брусками контробрешетки, высота которых равна толщине дополнительной теплоизоляции;

- уклон менее 16° (до 10°); под черепичной кровлей предусматривают водоизоляционный ковёр из слоя битумно-полимерного рулонного материала "Изопласт", "Техноэласт" или URSA SECO STORM.

Таблица 4.1.

Уклон, град

Схема крыши

Условные обозначения

> 16

1 - отделка потолка (гипсокартонные листы);

2 - пароизоляция;

3 - теплоизоляция;

4 - стропило;

5 – диффузионно-
гидроизоляционная плёнка
;

6 - двухканальный вентиляционный зазор;

7 - контробрешётка;

8 - обрешётка;

9 - черепичная кровля;

10 - стеклохолст на утеплителе;

11 – ветрозащитная диффузионно-
гидроизоляционная плёнка;

12 - одноканальный вентиляционный зазор;

13-потолочные рейки;

14-теплоизоляция;

15-сплошной дощатый настил толщиной 25 мм;

16водоизоляционный

ковёр.

> 16

10-16

4.2 Вариант конструктивного решения крыши мансарды выбирают после определения уклона кровли, расчёта сечения стропила и теплотехнического расчёта или выбора по таблице 3.5 толщины теплоизоляции.

4.3 Конструктивные решения черепичной кровли чердака приведены в таблице 4.2.

Таблица 4.2

Уклон, град

Схема кровли

Условные обозначения

> 16

1 - стропило;

2 - диффузионно-
гидроизоляционная плёнка («ЮтафолД" 110,140, 220 "Ютакон", Европлёнка и Дифорол ПРО см. п. 2.4.1), URSASECOSTORM;

3 - обрешётка;

4 - черепичная кровля;

5 - контробрешётка;

6 - сплошной дощатый настил толщиной 25 мм;

7 - водоизоляционный ковёр из слоя "Изопласта", "Техноэласта" и т.п..

10-16

5. Устройство крыши

5.1. Узлы и детали

Рис. 26 Основные узлы и детали черепичной крыши.

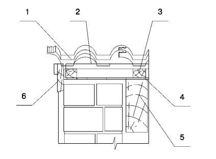
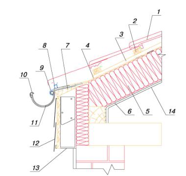
5.1.1. К основным узлам и деталям крыши относятся карниз, конёк, хребет, примыкание к кирпичной трубе, фронтонный свес, ендова; расположение этих узлов показано на рис. 26.

5.1.2 Перед устройством кровли проверяют плоскостность стропил: при укладке двухметровой рейки на стропилу отклонение по высоте должно быть в пределах ± 5 мм; при превышении этого допуска поверхность стропил выравнивают.

5.1.3 Кровельную черепицу, как правило, не требуется крепить (см. таблицу 3.3); обязательному креплению подлежат:

- первый ряд черепицы на карнизе;

- приконьковый ряд;

- боковая (фронтонная);

- вся подрезная черепица (в ендове, на хребте);

- черепица, примыкающая к стенам, печным трубам, мансардным окнам, люкам.

Черепица выпускается с заготовленными (несквозными) отверстиями под шурупы; при необходимости крепления намеченные отверстия просверливают (сверлом по бетону). Закрепляют черепицу коррозионными шурупами и противоветровыми кляммерами-зажимами (см. таблицу 2.3).

а) Карнизный свес.

5.1.3. На карнизном участке вначале устанавливают водосточные желоба с защитными фартуками (рис. 27). Минимальный уклон желоба 3 мм/м (0,3%).

Рис. 27 Карнизный свес кровли. 1 - водосточный желоб; 2 - выравнивающий брусок толщиной 20...30 мм или аэроэлемент; 3 - обрешётка; 4 - ветрозащитный диффузионно-гидроизоляционный слой; 5 - контробрешётка; 6 - стропило; 7 - настил; 8 - фартук.

Шаг установки кронштейнов желоба - не более 70 см; их можно закреплять непосредственно к стропилам или контробрешётке при шаге стропил не более 70 см. при большем шаге необходимо поверх стропил выполнить сплошной настил толщиной не менее 30 мм (см. рис. 27).

При этом напуск черепицы на жёлоб может быть не более 1/3 его диаметра для надёжного попадания в жёлоб дождевой и талой воды.

5.1.4 Кронштейны устанавливают (сгибают) так, чтобы передняя кромка желоба была ниже задней на 10 мм (см. рис. 27).

5.1.5 Ветрозащитную диффузионно-гидроизоляционную плёнку 4 (см. рис. 27) укладывают поверх стропил вдоль карнизного свеса с нахлёсткой не менее 10 см; плёнку крепят степлерными скобами, обеспечивая небольшой (не более 2 см) провис. Если плёнку укладывают в холодное время, то её следует натянуть без провиса.

5.1.6 Контробрешётку прибивают вдоль стропил поверх плёнки оцинкованными гвоздями с шагом около 300 мм.

В подшивке карнизного свеса всегда закрепляют вентиляционную ленту или оставляют щели шириной не менее 2,0 см для обеспечения вентиляции кровли (см. узел М 24.40/2003-1 и М 24.40/2003-2). Карнизные свесы могут быть выполнены без выноса или с выносом по отношению к стене, а также с одним или двумя вентиляционными зазорами (см. узел М 24.40/2003-3...М 24.40/2003-9).

5.1.7 В карнизном свесе чердачной крыши вентиляция осуществляется так же, как и в свесе мансардной крыши - через аэроэлемент свеса и вентиляционную ленту (см. узел М 24.40/2003-9 и М 24.40/2003-10). Для утепления чердачного перекрытия необходимо применить теплоизоляционные изделия из стеклянно штапельного волокна "URSA" с покровным слоем (см. п. 2.2.1).

б) Фронтонный свес

5.1.8. На фронтонных свесах можно применять боковые цементно-песчаные или облегчённые черепицы, либо устроить фронтон традиционными способами: с применением лобовых досок или накрывающих досок (см. узлы М 24.40/2003-11...М 24.40/2003-19).

в) Конёк крыши

5.1.9. Если под кровлей устраивается холодный чердак или длина стропила не превышает 9 м, то вентиляцию чердака можно обеспечить аэроэлементом конька "Каверлэнд", который укладывают под коньковую черепицу на коньковый брус (см. узел М 24.40/2003-20). Зазор между коньковой черепицей и верхней гранью конькового бруска должен быть равен около 5 мм.

5.1.10. При наличии в чердачной крыше диффузионно-гидроизоляционной плёнки (для повышения водонепроницаемости кровли) на коньке необходимо оставить вентиляционный зазор не менее 100 мм (см. узел М 24.40/2003-21 и М 24.40/2003-22). Конёк чердачной крыши в снежных районах строительства выполняют в соответствии с узлом М 24.40/2003-23. Конёк мансардной крыши приведён на узлах М 24.40/2003-24...М 24.40/2003-28.

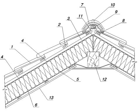
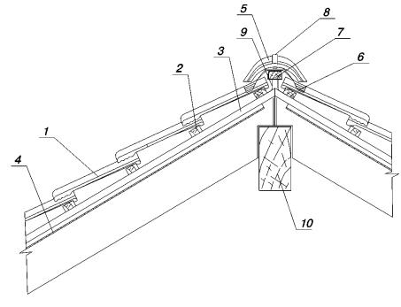
г) Хребет крыши

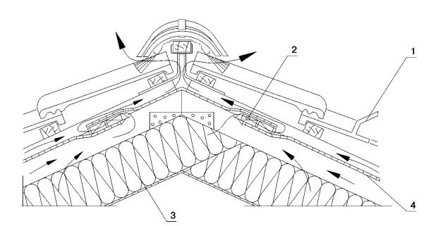
5.1.11 При устройстве хребта (см. рис. 28) диффузионно-гидроизоляционную плёнку 2 укладывают (с нахлёстом 100 мм) через накосную стропильную ногу 10; перед укладкой черепицы у хребта её подрезают так, чтобы после укладки образовывался зазор 15...25 мм между черепицей и хребтовым бруском 1; черепицу закрепляют шурупами, а коньковую черепицу 6 крепят к хребтовому бруску также шурупами 5x70 мм (см. таблицу 2.3) и зажимами (кляммерами) 7.

5.1.12 Для надёжной защиты хребта от попадания воды и снега под коньковую черепицу рекомендуется укладывать "Фигароль" или аэроэлемент хребта (см. узлы М 24.40/2003-30 и М 24.40/2003-33).

Рис. 28. Хребет черепичной кровли чердака. 1 - хребтовый брусок; 2 - диффузионно-гидроизоляционная плёнка; 3 - обрешётка; 4 - контробрешётка; 5 - капельник из оцинкованной кровельной стали; 6 - коньковая черепица; 7 -зажим (кляммер) коньковой черепицы; 8 - торцовый элемент (см. таблицу 2.3); 9 - аэроэлемент хребта; 10 - накосная (хребтовая) стропильная нога

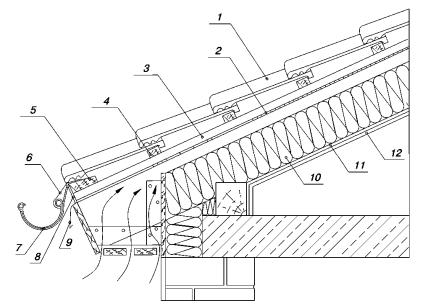
д) Ендова крыши

5.1.13 При устройстве ендовы (см. узлы М 24.40/2003-34...М 24.40/2003-37) под металлический желобок ендовы вначале выполняют сплошной настил из обрезной доски шириной не менее 300 мм такой же толщины, как и у контробрешётки.

5.1.14 Желобки из окрашенного алюминия или оцинкованной кровельной стали укладывают снизу вверх с нахлёсткой не менее 100 мм на скатах с уклоном > 22° и 150 мм - от 10 до 22°; каждый желобок в верхней части крепят оцинкованными гвоздями, а по длине - скобами через 300...400 мм; ширина желобка от оси до отбортовки - 250 мм.

Напуск черепицы на желобок - 80... 100 мм; защита от задувания снега обеспечивается поролоновой полосой.

е) Примыкание крыши к выступающим над нею конструкциям

5.1.15. Примыкание к печной трубе выполняют (см. узлы М 24.40/2003-38 и М 24.40/2003-39) с применением ленты "Вакафлекс" (см. таблицу 2.3). Над печным проёмом обязательно выполняют дренажный желобок из диффузионно-гидроизоляционной плёнки. После укладки черепицы вокруг трубы с зазором 20...30 мм её закрепляют коррозионостойкими шурупами. Поверхности трубы и черепицы, на которые будет наклеиваться "Вакафлекс", должны быть чистыми и сухими. Если работа выполняется при температуре ниже +5°С, поверхности под "Вакафлекс" нагревают при помощи технического фена.

Наклеивание "Вакафлекса" начинают с нижней части трубы, затем выполняется наклейка на боковые и верхнюю поверхности трубы, обеспечивая при этом необходимые величины нахлёстки и подъёма "Вакафлекса" на стены трубы.

5.1.16. Примыкание к стене и окну выполняют (см. узел М 24.40/2003-40 и М 24.40/2003-42) также с применением "Вакафлекса". Если кровля примыкает к стене с уклоном от неё, то такое примыкание выполняют с продухом для сообщения вентиляционного канала с наружным воздухом.

Если крыша примыкает к стене с уклоном вдоль стены, то примыкание выполняют в соответствии с узлами М 24.40/2003-43 и М 24.40/2003-44.

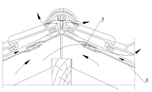
5.1.17. Примыкание скатной мансардной крыши к плоской её части выполняют из "Вакафлекс" с продухом, сообщающим вентиляционный канал скатной крыши с наружным воздухом, а плоскую часть крыши - с кровельным ковром из битуминозных рулонных материалов (см. узел М 24.40/2003-45).

5.2. Особенности устройства кровли на конической поверхности

5.2.1 Для устройства такой кровли используется наиболее простая по форме черепица, в частности черепица "Опал" (см. п. 3.1.9). Для формирования равномерно выгнутой кровельной поверхности применяют, как правило, кольцевые стропила с обшивкой из досок, расположенных длинной стороной по уклону; контробрешётку располагают также по уклону, а обрешётка может быть выполнена закруглённой формы (после выдержки в воде).

5.2.2 В зависимости от размера конической кровли различают следующие виды укладки черепицы неравномерную и равномерную.

При неравномерной форме укладки (рис. 29) черепица первого ряда (5) вышерасполо­женной стропильной фермы (2) перекрывает последний ряд (6) нижерасположенной стропильной фермы (1) с боковым смещением; при этом ширина бокового перекрывания (нахлёстки) одной черепицы другой должны составлять 1/4 её ширины (180:4=45, где 180 мм - ширина черепицы "Опал", см. п. 3.1.9)

Рис. 29. Неравномерная укладка черепицы. 1...4- кольцевые стропильные фермы; 5 - первый ряд стропильной фермы 2; 6 - последний ряд стропильной фермы 1.

При равномерной форме укладки (рис. 30) черепица срезается с обеих сторон на конус так, что формируется равномерное боковое перекрытие (нахлёстка) черепицы в пределах одной стропильной фермы. В этом случае при боковой нахлёстке меньше 1/4 ширины черепицы сверху (на стропильной ферме 2) укладывают более широкую черепицу.

Рис. 30. Равномерная укладка черепицы 1 и 2- стропильные фермы

5.2.3. При равномерной форме укладки потребность в черепице лежит в пределах от 34 (норма, см. п. 3.1.9) до 70 (максимально, поскольку черепица разрезается практически до половинного размера), т.е. приблизительно требуемое количество черепицы (шт.) = (34 + 70): 2×Sкон, где Sкон - площадь конической поверхности кровли.

5.3. Система водостока

5.3.1. Черепичные кровли имеют наружный организованный водосток, для которого предусмотрены различные изделия, приведённые на рис. 31.

Рис. 31. Изделие из ПВХ для водостока.

5.3.2. В многоснежных районах жёлоб следует установить так, чтобы снег мог соскальзывать, не повреждая желобов. В местах, где падение снега не допускается, на кровле монтируют снегозадерживающие устройства (см. рисунок 26, узел М 24.40/2003-1).

5.3.3. Элементы для механической стыковки желобов состоит из наружной и внутренней скобы, которые обеспечивают компенсационный зазор (30 мм) между желобами.

Карниз мансардной крыши с ограждением и снегозадержанием.

1 Черепица

2 Обрешетка

3 Контробрешетка

4 Диффузионно-гидроизоляционная пленка

5 Утеплитель с покровным (ветрозащитным) слоем из стеклохолста

6 Клинообразный брус

7 Капельник

8 Крепление желоба

9 Водосточный желоб

10 Подшивка карниза

11 Трубки ограждения и снегозадержания

12 Стойка ограждения

13 Укосина

14 Опорный кронштейн

15 Доска крепления

16 Вентиляционная лента

Карниз мансардной крыши с двумя вентиляционными зазорами

1 Черепица

2 Диффузионно-гидроизоляционная пленка

3 Контробрешетка

4 Обрешетка

5 Клинообразный брус

6 Фартук свеса

7 Водосточный желоб

8 Вентиляционная лента

9 Капельник

10 Утеплитель

11 Пароизоляция

12 Внутренняя обшивка

1 черепица

2 Обрешетка

3 Контробрешетка

4 Диффузионно-гидроизоляционная пленка

5 Утеплитель с покровным (ветрозащитным) слоем из стеклохолста

6 Пароизоляция

7 Клинообразный брус

8 Аэроэлемент свеса

9 Фартук свеса

10 Крепление желоба

11 Водосточный желоб

12 Декоративные плитки Браас

13 Вентиляционная лента

14 Внутренняя обшивка

Карниз мансардной крыши с одним вентиляционным зазором.

1 Черепица

2 Обрешетка

3 Контробрешетка

4 Ветрозащитная диффузионно-гидроизоляционная пленка

5 Утеплитель

6 Пароизоляция

7 Клинообразный брус

8 Аэроэлемент свеса

9 Фартук свеса

10 Крепление желоба

11 Водосточный желоб

12 Декоративные плитки Браас

13 Вентиляционная лента

14 Внутренняя обшивка

Карниз крыши с выносом и двумя вентиляционными зазорами

1 Черепица

2 Обрешетка

3 Контробрешетка

4 Диффузионно-гидроизоляционная пленка

5 Утеплитель с покровным (ветрозащитным) слоем из стеклохолста

6 Пароизоляция

7 Клинообразный брус

8 Аэроэлемент свеса

9 Фартук свеса

10 Крепление желоба

11 Водосточный желоб

12 Вентиляционная лента

13 Внутренняя обшивка

Карниз крыши с выносом и одним вентиляционным зазором.

1 Черепица

2 Обрешетка

3 Контробрешетка

4 Ветрозащитная диффузионно-гидроизоляционная пленка

5 Утеплитель

6 Пароизоляция

7 Клинообразный брус

8 Аэроэлемент свеса

9 Фартук свеса

10 Крепление желоба

11 Водосточный желоб

12 Внутренняя обшивка

Карниз крыши с выносом и одним вентиляционным зазором и подшивкой свеса.

1 Черепица

2 Обрешетка

3 Контробрешетка

4 Ветрозащитная диффузионно-гидроизоляционная пленка

5 Утеплитель

6 Пароизоляция

7 Клинообразный брус

8 Аэроэлемент свеса

9 Фартук свеса

10 Крепление желоба

11 Водосточный желоб

12 Подшивка карнизного свеса

13 Брусок каркаса подшивки

14 Внутренняя обшивка

Карниз крыши с выносом и водоизоляционным ковром (крыша с уклоном 10-16 град.)

1 Черепица

2 Обрешетка

3 Контробрешетка

4 Водоизоляционный ковер

5 Утеплитель

6 Пароизоляция

7 Клинообразный брус

8 Аэроэлемент свеса

9 Фартук свеса

10 Крепление желоба

11 Водосточный желоб

12 Дощатый настил

13 Внутренняя обшивка

Карниз чердачной кровли

1 Черепица

2 Обрешетка

3 Контробрешетка

4 Диффузионно-гидроизоляционная пленка

5 Утеплитель с покровным (ветрозащитным) слоем из стеклохолста

6 Пароизоляция

7 Клинообразный брус

8 Аэроэлемент свеса

9 Фартук свеса

10 Крепление желоба

11 Водосточный желоб

12 Вентиляционная лента

1 Черепица

2 Обрешетка

3 Контробрешетка

4 Диффузионно-гидроизоляционная пленка

5 Клинообразный брус

6 Аэроэлемент свеса

7 Фартук свеса

8 Крепление желоба

9 Водосточный желоб

10 Декоративные плитки Браас

11 Вентиляционная лента

Форточный свес крыши без выноса и с лобовой доской.

1 Черепица

2 Обрешетка

3 Контробрешетка

4 Диффузионно-гидроизоляционная пленка

5 Стропильная нога

6 Фигурная лобовая доска

Фронтонный свес крыши без выноса и с боковой цементно-песчаной черепицей

1 Боковая цементно-песчаная черепица

2 Обрешетка

3 Контробрешетка

4 Диффузионно-гидроизоляционная пленка

5 Стропильная нога

Фронтонный свес крыши без выноса стропил с боковой облегченной черепицей

1 Черепица

2 Обрешетка

3 Контробрешетка

4 Диффузионно-гидроизоляционная пленка

5 Стропильная нога

6 Боковая облегченная черепица

7 Шуруп с резиновой шайбой

Фронтонный свес крыши без выноса и водоизоляционным ковром

1 Черепица

2 0брешетка

3 Контробрешетка

4 Водоизоляционный ковер

5 Защитный металлический фартук

6 Лобовая доска

7 Стропильная нога

8 Накрывающая доска

9 Гидроизоляция (покраска холодной битумной мастикой)

Фронтонный свес крыши с парапетом

1 Черепица

2 Обрешетка

3 Контробрешетка

4 Диффузионно-гидроизоляционная пленка

5 Капельник

6 Вакафлекс

7 Стропильная нога

8 Декоративные плитки Браас

Фронтонный свес крыши с выносом и лобовой доской

1 Черепица

2 Обрешетка

3 Контробрешетка

4 Диффузионно-гидроизоляционная пленка

5 Подшивка свеса

6 Фигурная лобовая доска

Фронтонный свес крыши с выносом и боковой цементно-песчаной черепицей

1 Боковая цементно-песчаная черепица

2 Обрешетка

3 Контробрешетка

4 Диффузионно-гидроизоляционная пленка

5 Подшивка карниза

6 Стропильная нога

Фронтонный свес крыши с выносом и боковой облегченной черепицей

1 Черепица

2 Обрешетка

3 Контробрешетка

4 Диффузионно-гидроизоляционная пленка

5 Подшивка свеса

6 Боковая облегченная черепица

7 Шуруп с резиновой шайбой

Фронтонный свес крыши с выносом и водоизоляционным ковром

1 Черепица

2 Обрешетка

3 Контробрешетка

4 Водоизоляционный ковер

5 Защитный металлический фартук

6 Лобовая доска

7 Стропильная нога

8 Накрывающая доска шириной 200 мм

9 Гидроизоляция (покраска холодной битумной мастикой)

10 Сплошной настил

Конек чердачной крыши

1 Черепица

2 Обрешетка

3 Стропило

4 Прогон из бруса

5 Зажим (кляммер) коньковой черепицы

6 Крепление конькового бруска

7 Вентиляционная черепица

8 Коньковая черепица

9 Аэроэлемент конька или "Фигароль"

10 Стойка

Конек чердачной крыши с диффузионно-гидроизоляционной пленкой

1 Черепица

2 Обрешетка

3 Контробрешетка

4 Диффузионно-гидроизоляционная пленка

5 Зажим (кляммер) коньковой черепицы

6 Крепление конькового бруска

7 Вентиляционная черепица

8 Коньковая черепица

9 Аэроэлемент конька или "Фигароль"

10 Коньковый брусок

1 Черепица

2 Обрешетка

3 Контробрешетка

4 Диффузионно-гидроизоляционная пленка

5 Коньковая черепица

6 Коверленд - аэроэлемент конька

7 Коньковый брусок

8 Зажим коньковой черепицы

9 Крепление коньковой обрешетки

10 Коньковый прогон

1 Черепица

2 Обрешетка

3 Контробрешетка

4 Диффузионно-гидроизоляционная пленка

5 Дополнительная полоса из пленки

6 Крепление конькового бруска

7 Вентиляционная черепица

8 Коньковая черепица

9 Аэроэлемент конька или "Фигароль"

10 Коньковый брусок

22 Зажим (кляммер) коньковой черепицы

Конек мансардной крыши с двумя вентиляционными зазорами

1 Черепица

2 Обрешетка

3 Контробрешетка

4 Диффузионно-гидроизоляционная пленка

5 Утеплитель с покровным (ветрозащитным) слоем из стеклохолста

6 Пароизоляция

7 Вентиляционная черепица

8 Коньковая черепица

9 Аэроэлемент конька или "Фигароль"

10 Коньковый брусок

11 Зажим (кляммер) коньковой черепицы

12 Крепление конькового бруска

13 Прогон из бруса

14 Внутренняя обшивка

Конек мансардной крыши с одним вентиляционным зазором

1 Черепица

2 Обрешетка

3 Контробрешетка

4 Ветрозащитная диффузионно-гидроизоляционная пленка

5 Утеплитель

6 Пароизоляция

7 Коньковая черепица

8 Аэроэлемент конька или Фигароль

9 Коньковый брусок

10 Зажим коньковой черепицы

11 Крепление коньковой обрешетки

12 Коньковый прогон

13 Внутренняя обшивка

1 Черепица

2 Обрешетка

3 Контробрешетка

4 Ветрозащитная диффузионно-гидроизоляционная пленка

5 Утеплитель

6 Пароизоляция

7 Вентиляционная черепица

8 Коньковая черепица

9 Аэроэлемент конька или "Фигароль"

10 Коньковый брусок

11 Зажим (кляммер) коньковой черепицы

12 Крепление конькового бруска

13 Прогон из бруска

14 Внутренняя обшивка

Конек мансардной крыши с водоизоляционным ковром

1 Черепица

2 Обрешетка

3 Контробрешетка

4 Водоизоляционный ковер по сплошному настилу

5 Утеплитель

6 Пароизоляция

7 Вентиляционная черепица

8 Коньковая черепица

9 Аэроэлемент конька или Фигароль

10 Коньковый брусок

11 Зажим коньковой черепицы

12 Крепление коньковой обрешетки

13 Коньковый прогон

14 Внутренняя обшивка

Конек чердачной крыши с вентиляционным элементом в диффузионно-гидроизоляционной пленке

1 Вентиляционная черепица

2 Вентиляционный элемент

3 Диффузионно-гидроизоляционная пленка

1 Вентиляционная черепица

2 Вентиляционный элемент

3 Утеплитель с покровным (ветрозащитным) слоем из стеклохолста

4 Диффузионно-гидроизоляционная пленка

Хребет мансардной крыши

1 Черепица

2 Обрешетка

3 Контробрешетка

4 Ветрозащитная диффузионно-гидроизоляционная пленка

5 Утеплитель

6 Пароизоляция

7 Хребтовая стропильная нога

8 Коньковая черепица

9 Фигароль - аэроэлемент хребта

10 Хребтовый брусок

11 Зажим (кляммер) коньковой черепицы

12 Крепление хребтовой обрешетки

13 Внутренняя обшивка

Хребет мансардной крыши с водоизоляционным ковром

1 Черепица

2 Обрешетка

3 Контробрешетка

4 Водоизоляционный ковер

5 Утеплитель

6 Пароизоляция

7 Накосная (хребтовая) стропильная hoi

8 Коньковая черепица

9 Фигароль - аэроэлемент хребта

10 Хребтовый брусок

11 Зажим коньковой черепицы

12 Крепление хребтовой обрешетки

13 Сплошной деревянный настил

14 Внутренняя обшивка

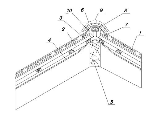
Хребет мансардной крыши

1 Черепица

2 Обрешетка

3 Контробрешетка

4 Диффузионно-гидроизоляционная пленка

5 Утеплитель с покровным (ветрозащитным) слоем из стеклохолста

6 Пароизоляция

7 Накосная стропильная нога

8 Коньковая черепица

9 Фигароль - аэроэлемент хребта

10 Хребтовый брусок

11 Зажим коньковой черепицы

12 Крепление хребтовой обрешетки

13 Внутренняя обшивка

1 Черепица

2 Обрешетка

3 Контробрешетка

4 Диффузионно-гидроизоляционная пленка

5 Накосная стропильная нога

6 Коньковая черепица

7 Фигароль - аэроэлемент хребта

8 Хребтовый брусок

9 Зажим коньковой черепицы

10 Крепление хребтовой обрешетки

Ендова черепичной кровли чердака

1 Черепица

2 Обрешетка

3 Контробрешетка

4 Диффузионно-гидроизоляционная пленка

5 Алюминевый окрашенный желобок БРААС

6 Сплошной дощатый настил ендовы

7 Поролоновая полоса

8 Скоба крепления желоба

9 Оцинкованный гвоздь

Ендова мансардной крыши с диффузионно-гидроизоляционной пленкой

1 Черепица

2 Обрешетка

3 Контробрешетка

4 Диффузионно-гидроизоляционная пленка

5 Утеплитель с покровням (ветрозащитным) слоем

6 Пароизоляция

7 Алюминевый окрашенный желобок БРААС

8 Сплошной дощатый настил ендовы

9 Поролоновая полоса

10 Скоба крепления желоба

11 Оцинкованный гвоздь

12 Внутренняя обшивка

Ендова мансардной крыши с ветрозащитной диффузионно-гидроизоляционной пленкой

1 Черепица

2 Обрешетка

3 Контробрешетка

4 Ветрозащитная диффузионно-гидроизоляционная пленка

5 Утеплитель

6 Пароизоляция

7 Алюминиевый окрашенный желобок Браас

8 Сплошной деревянный настил ендовы

9 Поролоновая полоса

10 Скоба крепления желоба

11 Оцинкованный гвоздь

12 Внутренняя обшивка

Ендова мансардной крыши с водоизоляционным ковром

1 Черепица

2 Обрешетка

3 Контробрешетка

4 Водоизоляционный ковер

5 Утеплитель

6 Пароизоляция

7 Алюминиевый окрашенный желобок БРААС (ендова)

8 Настил ендовы

9 Поролоновая полоса ендовы

10 Скоба крепления ендовы

11 Оцинкованный гвоздь

12 Деревянный настил

13 Внутренняя обшивка

Примыкание крыши к печной трубе

1 Черепичная кровля

2 Обрешетка

3 Контробрешетка

4 Ветрозащитная диффузионно-гидроизоляционная пленка

5 Утеплитель

6 Пароизоляция

7 Выравнивающий брусок

8 Сплошная подшивка

9 Вакафлекс

10 Планка Вака

11 Герметик К

12 Шуруп с дюбелем для планки Вака

13 Внутренняя обшивка

14 Труба

15 Дренажный желоб

Примыкание крыши к трубе

1 Черепичная кровля

2 Обрешетка

3 Контробрешетка

4 Утеплитель с покровням (ветрозащитным) диффузионно-гидроизоляционным слоем

5 Вакафлекс

6 Труба

7 Пароизоляция

8 Внутренняя обшивка

9 Дренажный желоб

Примыкание крыши к стене (уклон кровли от стены)

1 Черепица

2 Обрешетка

3 Контробрешетка

4 Ветрозащитная диффузионно-гидроизоляционная пленка

5 Утеплитель

6 Пароизоляция

7 Каркас вентиляционного канала

8 Доска для приклейки Вакафлекса

9 Фартук (капельник)

10 Вакафлекс

11 Внутренняя обшивка

12 Крепежный элемент гидроизоляционная

13 Герметик

14 Стена

Примыкание чердачной крыши к стене

1 Черепица

2 Обрешетка

3 Контробрешетка

4 Диффузионно-гидроизоляционная пленка

5 Вентелируемый каркас

6 Доска для наклейки Вакафлекса

7 Отлив (капельник)

8 Вакафлекс

9 Герметик

10 Стена

Примыкание крыши к окну

1 Черепица

2 Обрешетка

3 Контробрешетка

4 Ветрозащитная диффузионно-гидроизоляционная пленка)

5 Утеплитель

6 Пароизоляция

ентелируемый каркас подшивки

8 Доска для наклейки Вакафлекса

9 Отлив (капельник)

10 Вакафлекс

11 Внутренняя обшивка

Примыкание крыши к стене (уклон кровли вдоль стены)

1 Стена

2 Стропило

3 Утеплитель

4 Ветрозащитная диффузионно-гидроизоляционная пленка

5 Обрешетка

6 Контробрешетка

7 Черепичная кровля

8 "Вакафлекс"

9 Пароизоляция

10 Планка "Вака"

11 Крепежный элемент

12 Герметик

13 Внутренняя обшивка

1 Стена

2 Стропило

3 Диффузионно-гидроизоляционная пленка

4 Обрешетка

5 Контробрешетка

6 Черепичная кровля

7 "Вакафлекс"

8 Планка "Вака"

9 Крепежный элемент

10 Герметик

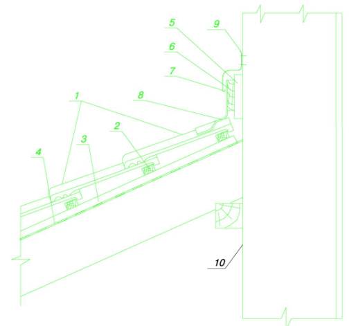
Примыкание скатной мансардной крыши к ее плоской части

1 Черепица

2 Обрешетка

3 Контробрешетка

4 Ветрозащитная диффузионно-гидроизоляционная пленка

5 Утеплитель

6 Пароизоляция

7 Вентиляционная черепица

8 Парапетный брус 75×150 мм

9 Обделка парапета

10 Вакафлекс

11 Кронштейн

12 Вентиляционная лента

13 Крепежный элемент

14 Кровельный ковер из битуминозных материалов

15 Сплошной дощатый настил

Расчёт парозащиты крыши мансарды

Цель расчёта - определение необходимости устройства дополнительной парозащиты в крыше (см. рисунок)

1 - гипсокартон (µ = 0,075 мг/м×ч×Па; δ = 0,01 м);

2 - стекловолокнистая плита марки П-17С (µ = 0,60 мг/м×ч×Па; δ = 0,23 м);

3 - контробрешётка;

4 -обрешётка;

5 - черепичная кровля.

а - а - плоскость возможной конденсации пара.

1. Исходные данные, г. Архангельск, tвн = 20 °С, ϕв, = 60%.

Расчёт выполнен по СНиП II-3-79*.

Требуемое сопротивление паропроницанию слоев крыши до плоскости возможной конденсации должно быть не менее величины, определяемой по формуле (38):

фактическое сопротивление паропроницанию равно по формуле (39):

 

ев - упругость водяного пара внутреннего воздуха равна Ев×ϕ = 17,54×0,6×133,3 = 1403 Па (см. К.Ф. Фокин "Строительная теплотехника ограждающих конструкций", Приложение 3 и 6);

ено - средняя упругость водяного пара наружного воздуха периода месяцев с отрицательными температурами равна (см. СНиП 2.01.01-82): 69+67+87+84+44+58 = 409 Па.

Тогда 0,0012×(1403-409) = 1,19 м2×ч×Па/мг >0,51 м2×ч×Па/мг.

Дополнительное сопротивление паропроницанию равно 1,19-0,51 = 0,68 м2×ч×Па/мг; оно может быть обеспечено применением полиэтиленовой плёнки в качестве пароизоляционного слоя.

2. Исходные данные, г. Новгород, tвн = 20 °С, ϕв, = 50%. Толщина стекловолокнистых плит марки 17С - 0,19 м.

ев = 17,54×0,5×133,3 = 1166 Па;

ено = 33+31+37+55+40 = 196 Па;

 = 0,0012×(1166-196) = 1,16 м2×ч×Па/мг

 = 0,01+0,19 = 0,13+0,32 = 0,45 м2×ч×Па/мг < 1,16 м2×ч×Па/мг

Дополнительное сопротивление паропроницанию равно 1,16-0,45 = 0,71 м×ч×Па/мг.




Яндекс цитирования