//
ТехЛит.ру
- крупнейшая бесплатная электронная интернет библиотека для "технически умных" людей.
WWW.TEHLIT.RU - ТЕХНИЧЕСКАЯ ЛИТЕРАТУРА

:: Алготрейдинг::


АЛГОТРЕЙДИНГ
шаг за шагом
с нуля по урокам!

Торговые роботы на PYTHON, BackTrader,
Pandas, Pine Script для TradingView. Связка с брокерами, телеграм и легкими приложениями.


СОЮЗДОРПРОЕКТ

МЕТОДИЧЕСКОЕ ПОСОБИЕ по изысканиям, проектированию и расчетам периодически затопляемых участков автомобильных дорог и искусственных сооружений в соответствии с особенностями их строительства, эксплуатации, содержания и воздействия на окружающую природу

Москва - 1998 г.

Содержание

1. Предисловие

2. Общие положения по устройству периодически затопляемых дорожно-мостовых сооружений

3. Типы, условия применения и особенности функционирования периодически затопляемых дорожно-мостовых сооружений

4. Основы проектирования периодически затопляемых дорожно-мостовых объектов и сооружений

5. Условия движения автомобилей по периодически затопляемым участкам дорог и переливным сооружениям

5.1. Общие положения по оценке условий движения автомобилей

5.2. Расчеты устойчивости автомобиля против бокового скольжения (сдвига) при его движении по затопленному прямолинейному горизонтальному участку низководного дорожного сооружения

5.3. Расчеты устойчивости автомобиля против сил опрокидывания при его движении по горизонтальной проезжей части на прямолинейном участке продольного профиля затопляемого дорожного сооружения

5.4. Расчеты устойчивости автомобиля против сил сдвига и опрокидывания водным потоком при его движении (нахождении) на наклонной проезжей части криволинейных в плане участков периодически затопляемых дорожных сооружений

6. Расчеты режимов затопления и движения автотранспорта по периодически затопляемым участкам дорог и переливным сооружениям

6.1. Особенности движения автомобилей на затопляемых участках и методика определения их пропускной способности

6.2. Расчеты продолжительности затопления, перерывов движения и экономической целесообразности автомобильных дорог с периодически переливными сооружениями

7. Расчеты водопропускной способности периодически затопляемых сооружений и гидравлических характеристик водного потока

7.1. Расчеты гидравлических характеристик при переливе воды через земляное полотно

7.2. Расчеты для проектирования периодически затопляемых подходов к высоководным мостам

7.3. Гидравлические расчеты переливных лотковых сооружений при нестесненном водном потоке

7.4. Гидравлические расчеты переливных лотков при стесненном потоке

7.5. Расчеты водопропускной способности переливных лотковых сооружений, устраиваемых по типу конструкций, разработанных Союздорпроектом

8. Проектно-конструктивные решения по устройству и эксплуатации периодически затопляемых (переливных) сооружений

8.1. Рекомендации для повторного применения, индивидуального и типового проектирования конструктивных решений и эксплуатационных возможностей ранее построенных сооружений

8.2. Рекомендации по разработке и обоснованию проектно-конструктивных решений применительно к конкретным условиям и обеспечению безопасности движения

8.3. Особенности проектирования земляного полотна периодически затопляемых участков дорог и низководных подходов к мостам

8.4. Учет особенностей организации строительства и эксплуатации сооружений

9. Инженерные изыскания для проектирования периодически затопляемых (переливных) участков дорог и дорожных сооружений

10. Мероприятия по охране окружающей среды при устройстве периодически затопляемых (переливных) участков дорог и водопропускных сооружений

Список литературы

1. Предисловие

Методическое пособие по изысканиям, проектированию и расчетам периодически затопляемых участков автомобильных дорог и искусственных сооружений в соответствии с особенностями их строительства, эксплуатации, содержания и воздействия на окружающую природу разработано в целях обобщения разрозненного по многим дорожным объектам многолетнего опыта, научно-методического сопровождения, опытно-экспериментального строительства и эксплуатации периодически затопляемых участков дорог и водопропускных сооружений.

Необходимость такого обобщения продиктована стремлением не только сохранить весьма обширные проработки прежних лет, но и сделать их доступными для последующего использования при проектировании, строительстве и эксплуатации автомобильных дорог с этими типами сооружений.

Методическое пособие направлено на восполнение весьма существенного пробела знаний и опыта использования данного типа дорожно-мостовых сооружений, необходимость устройства которых предопределена практикой с давних лет и не теряет своей актуальности в настоящее время.

Оно является результатом многолетних исследований, осмысления и систематизации отечественного и мирового опыта строительства и эксплуатации подобных сооружений. В работе над Методическим пособием был учтен и проанализирован как положительный, так и отрицательный опыт взаимодействия затапливаемых и переливных сооружений с водным потоком и автомобильным транспортом, рассмотрены, классифицированы и типизированы различные конструкции, условия их расположения, возможности и режимы функционирования рассматриваемых сооружений.

Предпосылкой к разработке данного пособия послужило неудовлетворительное состояние нормативно-методической базы проектирования, а вернее полное отсутствие нормативов, нагрузок, критериев и факторов воздействий, а также инструкций по проектированию подобных сооружений и методов их расчета.

Методическое пособие создано на базе ранее написанной Б.Ф. Перевозниковым книги «Водопропускные сооружения лоткового типа» (1973 г.). Но оно ни в коей мере не является ее повторением. За прошедшие четверть века после издания этой книги был накоплен большой фактический материал, проведены наблюдения за построенными по проектам Союздорпроекта отечественными и зарубежными объектами, обобщен зарубежный опыт строительства подобных сооружений. В печатных трудах прежних лет это в должной мере отражено не было.

В дорожной отрасли до настоящего времени отсутствуют четкие требования, документы и рекомендации по научно-методическому сопровождению проектных решений периодически затопляемых сооружений. Перечисленные выше причины и потребности дорожного строительства послужили основанием для создания настоящего пособия.

В Методическом пособии обобщены, конкретизированы и выработаны принципы, методы расчета, правила и приемы проектирования и научно-методического сопровождения проектно-строительных решений периодически затопляемых типов и конструкций водопропускных сооружений.

Наряду с этим Методическое пособие содержит основу научного обоснования нормативных требований, нагрузок, критериев воздействий и основных положений проектирования периодически затопляемых дорожных объектов и сооружений. Оно может служить основополагающим материалом для последующих разработок нормативно-методических документов и типовых решений по проектированию и строительству периодически затопляемых дорог и переливных водопропускных сооружений.

Методическое пособие рассчитано на инженеров-дорожников, специализирующихся на проектировании, строительстве и эксплуатации автомобильных дорог и сооружений на них. Оно может быть также использовано для обучения студентов дорожно-строительных факультетов высших и средних специальных учебных заведений.

Методическое пособие разработано заслуженным деятелем науки России доктором технических наук, профессором Б.Ф. Перевозниковым при участии М.Л. Мурафера, Н.В. Лагутиной и Г.Л. Пальмовой. Оно было подготовлено для практического использования и впервые издано в 1995 г. в виде машинописного текста с иллюстрациями. Настоящее издание является стереотипным и публикуется без изменений этого машинописного оригинала 1995 г.

2. Общие положения по устройству периодически затопляемых дорожно-мостовых сооружений

Автомобильные дороги и автодорожные переходы через водотоки с временно затопляемыми на них сооружениями строились всегда и почти во всех странах. По объемам строительно-монтажных работ они в 3-5 раз дешевле, но, в то же время, они требуют очень тщательной проектной проработки, аккуратного ведения работ и соблюдения технологии строительства. Как и дороги высоких технических категорий, дороги периодически затопляемые требуют квалифицированного и постоянного содержания, меняющегося по своему составу в зависимости от времени года.

Дороги подобного типа могут быть не только местными или внутрихозяйственными, но и дорогами общего пользования низших категорий.

Изучение методов строительства и путей снижения стоимости автомобильных дорог сейчас весьма актуальны, так как проблема местных дорог в России будет тем острее, чем все в большем размере будет происходить рост числа автомобилей, развитие колхозно-совхозных, фермерских, сельскохозяйственных производств и создание хуторских поселений.

Особенностями сельскохозяйственного производства России являются большое количество мелких населенных пунктов с большой их разбросанностью и весьма большая социальная деградация, выражающаяся в наличии пустых и полупустых деревень (особенно на север и на восток от Черноземья).

Распространены мелкоконтурные поля площадью в несколько га (13). Весьма большие площади сельскохозяйственных угодий расположены на заливных поймах, заболоченных и переувлажненных площадях.

Однако приведенные выше особенности мало учитываются нормативными документами при проектировании, строительстве, ремонте и содержании дорог.

Существует устойчивое мнение, что проектировать и строить местные и внутрихозяйственные дороги для сельскохозяйственного и карьерного производства очень просто, а содержать их необязательно. Это, как правило, оборачивается крупными потерями. Тем не менее к проектированию и строительству таких дорог, как и дорог низких категорий, все в большем количестве привлекаются организации, фирмы, кооперативы, не специализирующиеся в дорожном строительстве или не имеющие нужной квалификации.

Сейчас, как никогда прежде, требуется более обоснованный подход к проектированию внутрихозяйственных дорог. Проектирование местных и внутрихозяйственных дорог ведется, в основном, дорожными отделами территориальных проектных организаций или, в лучшем случае, проектными конторами Автодоров. Выполненные ими проекты местных и внутрихозяйственных дорог, как правило, не базируются на предварительных технико-экономических обследованиях, а в некоторых случаях, особенно при строительстве дорог по сельхозугодьям, расположенным на поймах, их решения граничат с опасными экологическими отступлениями.

Часто проектирование и строительство ведется без предварительных инженерных изысканий, инженерно-геологических и инженерно-гидрологических обследований.

Основная нормативно-проектная документация СНиП 2.05.11-83 (4) имеет ряд недостатков и недоработок. И особенно это относится к нормам по проектированию дорог (или отдельных их участков) с временно затопляемыми сооружениями.

Не меньшее значение, чем для сельскохозяйственного производства, имеют периодически затопляемые дороги для лесохозяйственных нужд, карьерного хозяйства и строительства. При определенных условиях временно затопляемые и переливные сооружения или отдельные участки дорог могут иметь место и на дорогах IV-V категорий.

Автомобильные дороги с переливными сооружениями могут иметь замедленное движение по ним автотранспорта или его перерыв в течение некоторого времени в пиковые периоды проявления паводочных процессов.

На ряде таких дорог перерывы или замедление движения автотранспортных средств недопустимы, а на ряде из них вполне возможны, что определяется предназначением автомобильных дорог, сезонностью и характером перевозок, наличием удобных объездов, интенсивностью движения, необходимостью разновременности реализации инвестиций, степенью (классом) ответственности возводимых сооружений, необходимостью улучшения работы существующих дорог и наиболее быстрого восстановления разрушенных дорог, экологической ситуацией и рядом других факторов.

Формулирование требований к проектированию и составу исходных данных должно определяться заказчиком в задании на проектирование. Окончательные решения по принятию конструкций должны обосновываться на завершающем этапе проектирования с учетом объемов работ, стоимости строительства и потерь, включая потери от перерывов в движении транспорта, по каждому варианту с учетом местных природных и хозяйственных особенностей дорог.

При разработке комплекса конструкций затопляемых сооружений должны быть учтены все действующие нормы для проектирования по каждому типу и конструкциям проектируемых сооружений, а также санитарные нормы и нормы по рациональному водоземлепользованию, охране окружающей природной среды и обеспечению экологической безопасности рекомендуемого варианта.

Для целенаправленного ведения процесса проектирования рекомендуется следующая технологическая схема последовательности выполнения работ (рис. 1).

Рис. 1. Технологическая схема проектирования периодически затопляемых участков дорог и водопропускных сооружении.

Условия применения переливных и затопляемых сооружений должны быть обоснованы расчетами частоты, продолжительности затопления и перерыва движения автотранспорта при различном стеснении водного (речного) потока.

Эти расчеты являются основополагающими для: оценки пропускной способности моста и подходов к нему; лоткового сооружения (или дороги в целом); водопропускных труб; определения основных параметров этих сооружений; выбора рациональных типов конструкций и узлов не только лотковых и мостовых сооружений, но и регуляционных и укрепительных сооружений (конструкций); проектирования продольного и поперечного профилей дороги, расчета экономической целесообразности и эффективности по сравнению с другими типами водопропускных сооружений и незатопляемых участков дорог и сооружений.

Эти расчеты определяют состав и технологическую последовательность методического обоснования применения переливных и затопляемых сооружений, представленных на рис. 1.

Оптимальные условия применимости таких сооружений могут быть оценены при последовательном выполнении расчетов: максимального стока; гидрографа расчетного паводка; распределения расчетных расходов и скоростей течения по руслу и поймам; графиков внутригодового колебания уровней и расходов воды в нестесненных створах и в отверстиях сооружений; длительности и частоты затопления пойменных массивов и затопляемых дорог и сооружений; судовых и ледово-термических условий (наледеобразование, толщина льда; характеристики ледохода по размерам отдельных ледовых полей, условиям формирования, интенсивности, траекториям и уровням; уровни становления ледостава и первых подвижек льда); лесосплава и карчехода и других местных факторов и процессов природно-техногенного происхождения (подпоры, попятные эрозионные явления, прорывы плотин и другие).

Строительные нормы (1, 4, 5) и рекомендательные документы (9, 10, 11, 12) не дают сколько-нибудь конкретных указаний транспортно-эксплуатационной способности автомобильных дорог относительно бесперебойности движения по ним при пропуске паводков.

Дороги с временно затапливаемыми участками и сооружениями весьма распространены и являются неотъемлемой частью всей дорожной сети страны. Эти дороги хотя нормативно игнорируются, но, тем не менее, строятся и функционируют.

В то же время на дорогах общего пользования имеются отдельные участки и сооружения, временно затапливаемые и переливаемые. На ряде из них возникает реальная угроза затопления и переливов воды. Все это также предопределяет необходимость изучения процессов затопления, а иногда и принятия срочных мер по их предотвращению.

Нормы 2.05.02-85 (1), не предусматривая прямо возможности перерывов или замедления движения из-за угрозы возникновения условий затопления, допускают, однако, при проектировании земляного полотна индивидуальные решения при соответствующих обоснованиях. И, в частности: для насыпей, располагаемых на участках временного подтопления, а также при пересечении постоянных водоемов и водотоков; при проектировании периодически затопляемых дорог при пересечении ими водотоков; при насыпях и выемках, сооружаемых в сложных инженерно-геологических условиях: на участках дорог с наличием или возможностью развития селей, оползневых явлений и других процессов, включая и совместного инженерно-геологического и инженерно-гидрометеорологического происхождения.

Нормы (1) не учитывают, но опыт показывает, что в дополнение к ним индивидуальные решения следует предусматривать: при длительности затопления (подтопления) более 20 суток; при проектировании дорог, располагаемых вдоль пойменных массивов и узких речных долин, а также в прибрежных зонах морей, озер и водохранилищ, в зонах влияния приливно-отливных и сгонно-нагонных явлений; при разнице уровней подтопления верхнего и нижнего бьефа более 0,7 метра и длительности подтопления 10 и более суток; при устройстве фильтрующих насыпей и дорог по типу переливных лотков водосливов; при восстановлении разрушенных от затопления участков дорог и в других подобных случаях.

Согласно нормам 2.05.11-83 (4) при выборе типа водопропускного сооружения следует отдавать предпочтение трубам. Режимы протекания воды в этих трубах и другие нормативные требования к их проектированию в соответствии с этими нормами надлежит принимать согласно уже устаревшим и отмененным нормам (СНиП II-Д.7-62*, СН 200-62 и СН 365-67).

При технико-экономическом обосновании нормами (4) допускается устройство затопляемых подходов с незатопляемыми и затопляемыми мостами, переливных лотковых сооружений, бродов, фильтрующих насыпей, дюкеров, паромных и ледовых переправ.

Если водопропускные трубы и высоководные мосты регламентируется в настоящее время проектировать в соответствии с нормами 2.05.03-84 (2), то нормы на проектирование затопляемых мостов и труб, переливных лотковых сооружений, бродов, фильтрующих насыпей, паромных и ледовых переправ отсутствуют.

Отсутствуют нормы и на проектирование краткосрочных и временных сооружений (мосты, трубы, дороги, броды, лотковые и другие сооружения), предусматривающие возможность их затопления.

Нормы 2.05.03-84 (2) по регламентации различных критериев вероятности превышения паводков для дорог I-V категорий, по допущению напорного режима протекания воды в трубах и аккумуляции части паводочного стока ливневого происхождения, по отсутствию ограничений в образовании пруда такой аккумуляции перед дорогой и по неучету ряда других факторов паводочных воздействий, а также по рекомендации использования СНиП 2.01.14-83 (15), не гарантируют незатопляемость дорог общего пользования и сооружений на них от воздействия паводочных процессов. И прежде всего в районах опасного их проявления во внутригодовом и многолетнем периоде.

Гарантии незатопляемости таких дорог и сооружений на них нет и на таких объектах, которые были построены по прежним строительным нормам, предусматривавшим различные вероятности превышения для высоководных мостов и подходам к ним.

Весьма разнообразные условия формирования и проявления паводочных процессов и вызываемые ими искусственно создаваемые явления затоплений (подтоплений), а также необходимость их своевременного учета являются исходными не только для проектирования нового строительства и эксплуатации затопляемых дорог и сооружений, но и для новых и эксплуатируемых незатопляемых дорожных объектов.

При возникновении угрозы затопления и вследствие этого угрозы разрушения нормативно обусловленных или заданных к незатопляемому функционированию построенных дорожных объектов необходимы инженерные проработки обеспечения их сохранности как непосредственно в периоды опасных проявлений паводочных процессов, так и в последующие периоды эксплуатации.

При этом не исключаются и варианты своевременного укрепления дорожного полотна с допущением на определенный период времени организованного и безаварийного перелива части паводочных вод через него и с последующим его переустройством в незатопляемое. Этим может быть достигнута сохранность дорожного полотна и выиграно время для его последующего переустройства.

Создание организованного и безаварийного перелива воды через дорожное полотно существующих дорог предопределяет необходимость выполнения соответствующих гидравлико-гидрологических расчетов и разработку проектно-строительных решений по укреплению верхового и низового откосов применительно к конкретным условиям подтопления и затопления, а также режимам протекания воды через дорогу. При этом должна быть устранена возможность фильтрации воды через тело земляного полотна, а также обеспечена защита подошвы этих откосов от подмыва в верхнем и нижнем бьефах.

На автомобильных дорогах общего пользования IV-V категорий, а также на внутрихозяйственных и полевых дорогах целесообразно при разработке проектов нового строительства предусматривать наряду с незатопляемым вариантом вариант с затопляемыми участками дороги и сооружениями.

Затопляемые участки дорог и водопропускные сооружения по сравнению с незатопляемыми имеют свои достоинства и недостатки, которые следует учитывать при разработке и сопоставлении вариантов их возможного применения.

К достоинствам затопляемых участков дорог и водопропускных сооружений следует прежде всего отнести следующие из них:

• возможность пропуска расходов воды, превышающих расчетные, так как они не имеют ограничений водопропускной способности по фронту затопления и по отверстиям сооружений;

• снижение риска их разрушения в гидрологически малоизученных районах строительства, а также при неблагоприятном и аномальном проявлении и сочетании разнообразных природно-техногенных факторов и паводочных процессов;

• исключение образования высоких подпорных уровней воды и длительного затопления пойменных массивов, что обеспечивает условия, близкие к их естественному водно-балансовому режиму и сохранению условий хозяйственного использования;

• невысокая стоимость строительства и эксплуатации по сравнению с незатопляемыми участками дорог и высоководными сооружениями;

• возможность снижения стоимости строительства дорог пионерного значения и других дорог с малой интенсивностью движения и труднопрогнозируемым ее увеличением;

• возможность разновременности инвестиций с учетом роста интенсивности движения и приобретения дорогами большей народнохозяйственной значимости;

• возможность использования как временной эксплуатационной меры по защите дорог от наводнений, восстановлению движения на разрушенных участках, а также для улучшения экологической обстановки и водно-балансового режима на пойменных массивах, прилегающих к дороге;

• возможность дифференциации и соразмерения капитальных вложений на устройство дорог с невысокой интенсивностью движения относительно их предназначения, требуемого режима транспортно-эксплуатационного функционирования и перспектив его изменения;

• возможность комбинированных решений с устройством на одной дороге как высоководных сооружений на крупных водотоках, так и низководных на малых водотоках.

К недостаткам затопляемых участков дорог и водопропускных сооружений следует прежде всего отнести следующие из них:

• наличие перерывов или замедления движения автотранспортных средств по дороге в неблагоприятные паводочные периоды года;

• необходимость переустройства в высоководные и незатопляемые в связи с ростом интенсивности движения или изменением предназначения и использования дорог;

• возможность образования: повышенной скользкости проезжей части из-за отложений мелких взвешенных частиц твердого стока; отложений на поверхности дорог и сооружений твердой составляющей селевых потоков; заноса отверстий переливных сооружений остатками твердого стока и карчехода; отложений остатков карчехода на поверхности дорожного полотна и проезжей части сооружений;

• необходимость своевременных послепаводочных осмотров, более тщательного содержания и ремонта некапитальных типов водопропускных сооружений и поверхности дорожного полотна при устройстве чернощебеночных и асфальтобетонных покрытий;

• необходимость устройства и эксплуатации разводных пролетов на судоходных реках, а также временных причальных устройств и подходов к ним при устройстве паромных переправ.

Приступая к проектированию затопляемых участков дорог и водопропускных сооружений, необходимо учитывать:

• требования заказчика, местных администраций и природоохранных органов;

• назначение дороги и транспортно-экономические характеристики условий ее эксплуатации;

• расчетный расход и уровень высоких вод различной повторяемости о диапазоне от 1 до 50%, частоту и продолжительность паводков и половодий;

• характер ледохода и его уровни;

• скорости течения и объемы воды, проходящей через затопленное сооружение в расчетном створе;

• распределение расчетных расходов воды между руслом и поймами в расчетном створе строительства;

• наличие и характер карчехода;

• топографические материалы района строительства;

• тип местности по условиям увлажнения;

• погодно-климатические и ледово-термические условия района строительства;

• расчетную или заданную интенсивность движения, сезонность грузооборота и его особенности;

• нагрузки от подвижного состава;

• характеристики грунтов основания;

• наличие местных строительных материалов (природных, искусственных), условия их разработки и доставки;

• наличие схемы расположения и условия функционирования близрасположенных народнохозяйственных объектов и населенных пунктов;

• условия судоходства и требования органов их управления.

В ходе проектирования путем экономического сравнения вариантов необходимо выбрать:

• типы искусственных сооружений;

• конструкцию земляного полотна и дорожной одежды;

• типы укреплений верхового и низового откосов земляного полотна;

• организацию водоотвода после прохождения паводка не только от искусственных сооружений и дороги, но и с прилегающей местности;

• организацию и безопасность движения;

• организацию ремонта и особенности сезонного содержания дороги и искусственных сооружений.

Затопляемыми могут быть дороги общего пользования V, а иногда и IV категорий, но в большей мере затопляемыми могут быть внутрихозяйственные дороги: сельскохозяйственного и лесохозяйственного назначения, карьерные, пионерные и промышленные дороги.

Дороги общего пользования могут быть затапливаемыми как с перерывом, так и без перерыва движения, что должно определяться технико-экономическими расчетами и последующими согласованиями с заказчиком по целесообразности принятия наиболее приемлемого варианта режима транспортно-эксплуатационного функционирования конкретной дороги.

Внутрихозяйственные дороги могут быть затапливаемыми, а режим их функционирования должен определяться с учетом обеспечения потребностей производственного технологического цикла, обслуживаемого дорогой конкретного хозяйства; и с учетом требований заказчика.

Затопляемые дороги являются, как правило, дорогами низкой стоимости, и по сравнению с обычными дорогами капитального типа они должны иметь требуемый нормами минимальный запас прочности, который может повышаться в процессе эксплуатации по принципу стадийного совершенствования.

Дорога низкой стоимости не означает, что она должна обязательно быть с минимальной стоимостью строительства.

Она должна отвечать требованиям надежного функционирования в заданном режиме, степени ответственности и экологической безопасности.

Принципами проектирования таких затапливаемых дорог низкой стоимости должны быть:

• установление и обоснование требуемого режима внутригодового и многолетнего функционирования и его обеспечения;

• вариантность проектирования и его гидрологическая и экономическая обоснованность;

• наиболее полное использование местных строительных материалов, отвечающих своими качествами и свойством для данного объекта, а также требованиям конкретных условий, периодов и срока эксплуатации возводимых сооружений;

• наиболее полный учет особенностей формирования и проявления опасных паводочных процессов и их регулирования природно-техногенными факторами в конкретных районах строительства, включая и влияние хозяйственной деятельности на пересекаемых водотоках и их водосборных бассейнов;

• обязательный анализ и учет влияния проектируемой дороги на окружающую среду, населенные пункты и народнохозяйственные объекты;

• комплексность и взаимная увязка всех проектно-строительных решений по обеспечению наиболее оптимального режима протекания воды и условий затопления дороги, устойчивости возводимого объекта и обеспечения заданного или требуемого режима его транспортно-эксплуатационного функционирования;

• обеспечение системы самого тщательного отвода паводочной воды сразу после ее спада;

• стадийность строительства;

• тщательность инженерно-гидрологических и грунтово-геологических изысканий;

• обязательность проведения инженерных изысканий;

• высокая квалификация изыскателей и проектировщиков, широкое применение аэрофотометодов;

• необходимость составления подробного проекта организации строительства, ремонта и содержания дорог и сооружений на них в разные времена года.

Движение по дорогам в Центральных и Северных районах, имеющим низководные затопляемые и наплавные мосты, прекращается на время подготовки к ледоходу, его пропуску, пропуску паводка и для исправления повреждений после прохода ледохода.

В местах, где ледоход отсутствует, перерывы движения менее продолжительны, а затраты на ремонт значительно ниже.

В мировой практике затопляемые переходы встречаются гораздо чаще, чем в России, особенно в развивающихся странах с теплым климатом (в Алжире, Сирии, Марокко, Индонезии, Индии и многих других странах).

Часто при пересечении рек устраивают, броды, если преобладающим является грузовое движение (Лаос, Вьетнам, Монголия, Непал и другие страны).

В России и СНГ броды также находят широкое применение, но в основном на предгорных реках с каменистыми руслами (Алтай, Камчатка, Средняя Азия, Дальний Восток и другие регионы).

На периодических водотоках весьма широкое распространение нашли переливные открытые лотки и лотковые искусственные сооружения с групповыми отверстиями в них.

К настоящему времени как в мировой, так и в отечественной практике накоплен весьма значительный опыт проектирования, строительства и эксплуатации затопляемых участков дорог, водопропускных сооружений и переливных лотковых конструкций. Этот опыт имеет большое значение для повторного применения и соответствующих обобщений, включая использование в научно-методическом сопровождении вновь разрабатываемых проектно-строительных решений.

Для этих целей целесообразно использовать монографию (15), впервые рассматривающую теорию и практику устройства водопропускных лотковых сооружений и конструкций.

Как показывает опыт прежних лет, затопляемые подходы в ряде случаев применимы на подъездах к затопляемым народнохозяйственным объектам, на временных дорогах при пересечении как больших водотоков (с широкими до нескольких километров поймами), так и малых водотоков, затопляемых ежегодно и на значительную глубину.

У специалистов существует разный взгляд на высоту верха земляного полотна. Так, в ПМП-91 (11) рекомендуется отметку верха затопляемых подходов назначать выше уровня ледохода. В Методических рекомендациях по проектированию рациональных конструкций земляного полотна периодически затопляемых участков автомобильных дорог (16), для наилучшего сохранения обычных условий прохождения паводка и максимального сохранения рельефа поймы, рекомендуется высоту насыпи принимать не более 0,3 м.

В Методических рекомендациях (16), вопреки практическому опыту, указывается, что проектировать периодически затопляемую дорогу в насыпи высотой более 0,3 м нерационально, так как это требует сооружение сложных и мощных укреплений против размыва, сравнимых с водосливом с плотин.

При сооружении высоких периодически затапливаемых насыпей затраты на их укрепление могут быть сопоставимы с затратами на сооружение незатапливаемой дороги. Однако это может быть установлено лишь на основе технико-экономических расчетов для конкретных условий проложения дороги и ее использования.

Рекомендации НИМП-72 (9) не столь категоричны, но и они не обоснованны как рекомендации работ (11, 16). Так, в них сказано, что на реках с ледоходом, заходящим на пойму, перелив через пойменную насыпь нежелателен. Окончательное решение о назначении верха бровки затопляемых участков дороги возможно после определения и сравнения всех возможных в каждом конкретном случае вариантов.

Затопляемые дорожные объекты (участки дорог и водопропускных сооружений) весьма разнообразны по типам, условиям их планово-высотного расположения, компоновке отдельных сооружений и режиму функционирования во внутригодовом и многолетнем периодах.

Наиболее оптимальный вариант затопляемого объекта (сооружения) и оценка эффективности капитальных затрат в его строительство по сравнению с высоководным вариантом должны прорабатываться путем обоснования выбора и проектной проработки конкурентоспособных типов и вариантов затопляемых объектов (сооружений).

Обоснование выбора таких конкурентоспособных вариантов рекомендуется выполнять с учетом классификации типов затопляемых дорожных объектов (сооружений) и условий их применения в различных условиях функционирования, рассматриваемых в разделе 3 настоящего Методического пособия.

Особо сложные и специфические условия функционирования затопляемых дорожных объектов и сооружений возникают при их расположении в прибрежной полосе морей, озер и океанов, подверженной воздействиям приливно-отливных и сгонно-нагонных явлений.

По частоте проявления эти явления имеют более регулярный характер, чем паводки, половодья и сели на водотоках и могут оказывать совместное с ними влияние на внутригодовые и многолетние режимы функционирования затопляемых дорожных объектов и сооружений.

К другим особенностям этих явлений относится смена направлений движения водных масс на противоположное при приливах (нагонах) и отливах (сгонах), что вызывает неизбежность заполнения водой замкнутых пространств и емкостей рельефа пойменных массивов, разобщаемых дорогой, а также принятия соответствующих мер по ликвидации (недопущению) остаточного подтопления местности и дороги.

Разрушительная способность, регулярность и частота проявления этих явлений, смена направлений движения водных масс обуславливают необходимость выполнения весьма специфических гидравлико-гидрологических расчетов и разработки индивидуальных проектно-строительных решений.

3. Типы, условия применения и особенности функционирования периодически затопляемых дорожно-мостовых сооружений

Периодически затопляемые - это участки автомобильных дорог и водопропускные сооружения, вертикальные отметки которых заранее заданы ниже паводковых горизонтов и экономически оправданы расчетным режимом транспортно-эксплуатационных характеристик движения. На них предусматривается периодическое затопление и связанные с этим временные перерывы или замедление движения транспорта.

К периодически затопляемым следует относить и те высоководные дорожные объекты и сооружения, которые в период их эксплуатации способны подвергаться временному затоплению от недостаточного учета особенностей условий формирования и проявления опасных паводочных процессов и явлений природно-техногенного происхождения.

В общем составе и классификации периодически затопляемых низководных участков дорог и водопропускных сооружений имеют место следующие из них основные типы (рис. 2): низководные мостовые переходы через водотоки (тип 1); переходы через водотоки с высоководными мостами и низководными подходами к ним (тип 2); переходы через водотоки с низководными наплавными мостами и подходами к ним (тип 3); паромные переправы с разновысотными поименно-прибрежными подходами к причальным сооружениям (тип 4); низководные мосты с незатопляемыми подходами к ним (тип 5); переливные мосты-лотки с незатопляемыми и затопляемыми подходами к ним (тип 6); переливные сооружения лоткового типа через малые водотоки с отверстиями а них в виде водопропускных труб для пропуска меженных вод (тип 7); переливные лотковые сооружения для пропуска паводочных и меженных вод малых водотоков с периодическим внутригодовым стоком (тип 8); переливные лотковые сооружения для пропуска селевых потоков, паводочных и меженных вод, периодически формирующихся на малых водосборах (тип 9); вдольбереговые участки дорог, подходов к мостам, паромным переправам, причалам и сооружениям лоткового типа (тип 10).

Рис. 2. Типы периодически затопляемых дорожных объектов и водопропускных сооружений:
1 - РУВВ; 2 - проезжая часть насыпи (лотка); 3 - низководный мост; 4 - высоководный мост; 5 - наплавной мост, 6 - паромная переправа; 7 - подходы и причальные устройства; 8 - переливной лоток с отверстиями; 9 - вдоль береговая дороги с водопропускными трубами; 10 - тоже с переливным лотком тип-8.

Мостовые переходы по типу 1 предусматриваются на автомобильных дорогах, допускающих, как правило, весьма значительный перерыв движения автотранспорта и преимущественно в паводочный сезон. В ряде других случаев они могут устраиваться и без перерыва движения, а с его замедлением при передвижении автотранспорта с ограниченной скоростью в период диапазона колебаний слоя затопления (перелива воды) от предельно допустимого для безопасного движения автотранспорта до отметок незатопляемой поверхности проезда.

Мостовые переходы по типу 1 находят применение как на судоходных и несудоходных относительно больших равнинных реках с широкими односторонними или двухсторонними поймами, так и на средних и малых водотоках.

Мосты, располагаемые на судоходных реках, должны иметь разводные пролеты понтонно-баржевого типа с соответствующим обустройством и оснащением для своевременного вывода их за пределы необходимой судоходной зоны.

Одной из разновидностей этого типа являются мостовые переходы с двумя низководными мостами (рис. 3). Они целесообразны при пересечениях речных долин в местах слияния притоков с основным водотоком и общей акваторией разлива паводочных вод. В этом случае предусматривается низководный мост через основной водоток и аналогичный мост через приток этого водотока.

Мосты в первом типе дорожных объектов и его разновидностях сооружаются из деревянных, железобетонных уши комбинированных конструкций, включающих и металлические элементы опор и пролетов (прокат, трубы).

При недостаточной заделке опор и в других необходимых случаях эти мосты пригружаются в осенне-зимний и весенний периоды, а движение организуется по ледовым и паромным переправам, располагаемым выше или ниже по течению от этих мостов. Устройство паромных переправ может осуществляться применительно к переходам по типу 4 (см. рис. 2).

Пригрузка мостов в эти периоды является одной из мер по сохранению их устойчивости против возможного всплытия и других причин. Период функционирования низководных мостовых переходов (тип 1) определяется заданным режимом движения автотранспорта (с его перерывом или с ограничением), а также с учетом сроков открытия и закрытия движения по мосту.

Необходимость пропуска судовых средств через разводные пролеты низководных мостов вызывает дополнительное увеличение перерыва движения автотранспорта в летние периоды года с начала и до конца сезона возможного судоходства на конкретной река.

Несмотря на вышерассмотренные дополнительные ограничения периодов функционирования и продолжительности перерыва движения автотранспорта по низководным мостовым переходам, следует считать, что они вполне конкурентоспособны как с высоководными, так и с низководными переходами других типов (см. рис. 2).

Однако конкурентоспособность переходов типа 1 по сравнению с другими типами переходов может быть выявлена только при выполнении достаточных технико-экономических расчетов, обоснований и сопоставлений со всеми возможными типами переходов на данном объекте проектирования и применительно к конкретному месту (створу) пересечения речной долины.

Следует при этом учитывать, что низководные мостовые переходы по типу 1 могут обеспечить наибольший экономический эффект и целесообразность применения при их устройстве на реках с преобладающим весенним половодьем, небольшими и кратковременными поднятиями уровней воды в летний период (не превышающих затопление пойменных массивов более чем на 0,3-0,5 м), относительно устойчивой и маловодной меженью, а также в створах этих рек, по которым большая часть расчетных половодных расходов воды проходит по поймам (примерно от 50 до 65%).

При больших расстояниях между двумя низководными мостами (см. рис. 3) и необходимости обеспечения интенсивных или неотложных (бесперебойных) внутрихозяйственных связей между одной из незатопляемых береговых территорий и примыкающих к ней пойменным массивам может возникнуть необходимость переустройства малого низководного моста через приток основной реки в высоководный. Этим мероприятием может быть положено начало реконструкции всего мостового перехода при разновременных на это затратах.

По условиям применения и функционирования наиболее конкурентоспособным вариантом низководных переходов, устраиваемых на больших реках по типу 1, являются переходы по типу 3 с наплавными мостами (см. рис. 2), подробное рассмотрение которых приведено ниже.

Мостовые переходы по типу 2 (см. рис. 2) представляют собой промежуточный тип между низководными переходами (тип 1 и тип 3) и высоководными. Они также, как тип 1 и тип 3, находят применение на судоходных и несудоходных равнинных реках с относительно широкими односторонними или двухсторонними поймами.

Однако в отличие от мостовых переходов типа 1 и типа 3 переходы по типу 2 могут применяться и быть целесообразными на реках не только с преимущественным в году половодным весенним режимом речного стока, но и на реках с многопиковыми паводками весенне-летнего и осеннего периодов, включая половодья, дождевые паводки и паводки смешанного происхождения.

Мостовые переходы по типу 2 могут применяться применительно к двум принципиально различным случаям (вариантам) их транспортно-эксплуатационного использования и проектирования: 1 - для временного функционирования затопляемых подходов до их реконструкции в высоководные; 2 - дни постоянного и целевого функционирования по условиям жизнеобеспечения и народнохозяйственного использования.

Целесообразность и правомерность устройства мостовых пароходов типа 2 применительно к любому варианту их транспортно-эксплуатационного использования должны быть изначально обусловлены заданием заказчика на проектирование или технико-экономическими расчетами, обоснованиями и сопоставлениями с конкурентоспособными низководными (тип 1 и тип 3) и высоководными вариантами мостовых переходов.

Эффективность и целесообразность устройства мостовых переходов по типу 2 применительно к обоим случаям (вариантам) их транспортно-эксплуатационного использования должны определяться с учетом реальной перспективы возможного увеличения интенсивности движения автотранспортных средств, их состава, а также с учетом необходимости равномерного вложения инвестиций в строительство, предназначения и народнохозяйственной значимости этих дорожных объектов.

При наличии перспективы реконструкции низководных подходов в высоководные отверстие моста, его схема, отметки заглубления опор, возвышение низа пролетных строений и другие конструктивные особенности моста должны быть определены применительно к его постоянному (долговременному) функционированию; категории дороги, на которой он расположен; степени ответственности; а также с учетом условий судоходства, карчехода, ледовых явлений и других факторов.

Подходы к мостовым переходам по типу 2 могут устраиваться как с допущением перерыва движения по ним в паводочные периоды года, так и с ограничением скорости передвижения по ним. В любом из этих двух случаев проезжую часть подходов и укрепление откосов целесообразно устраивать с применением строительных материалов и укрепительных конструкций, допускающих их повторное применение при реализации реконструкции мостового перехода и превращения его в высоководный.

Отверстие мостов на переходах типа 2, предназначаемых для постоянного и целевого функционирования с затопляемыми подходами, должно быть определено на расчетный расход воды требуемой или заданной вероятности превышения, но не более 1% за вычетом суммарной доли части этого расхода, приходящегося (проходящего) по пойменным затопляемым участкам подходов. Оно но должно быть менее ширины устойчивого бытового русла в заданном створе. В этом случае менять затопляемые подходы на незатопляемые нельзя, так как это вызовет затопление моста.

Высоководные мосты для постоянного и целевого функционирования с затопляемыми подходами должны быть устойчивы против различного рода паводочных и ледово-термических воздействий.

Частота и суммарная продолжительность внутригодового затопления этих подходов: суммарная доля части расчетного расхода воды, проходящего по пойменным затопляемым участкам подходов, должны определяться применительно к расчетному режиму движения автотранспортных средств с перерывом этого движения или с ограничением скорости их передвижения в паводочные периоды. Одной из разновидностей мостовых переходов типа 2 с постоянным и целевым функционированием затопляемых подходов на внегородских дорогах низших категорий являются мостовые переходы через малые и средние водотоки (рис. 4). Основной их особенностью является то, что они позволяют осуществлять сброс части паводочного стока любого происхождения по низководным участкам дорог или лотковым сооружениям, устраиваемым на пойменных или пониженных участках местности, примыкающим к дну, бортам логов или руслам водотоков.

В качестве высоководного сооружения в этом типе малого перехода (см. рис. 4) могут быть использованы прямоугольные железобетонные трубы типовых размеров и конструкций. Могут быть применены и групповые отверстия из круглых железобетонных труб типовых размеров и конструкций как в русле водотока или по дну лога, так и в тело затопляемого участка дороги в дополнение к русловым и водопропускным трубам.

Наряду с весьма низкой строительной стоимостью переходы этого типа (см. рис. 4) обладают и рядом других преимуществ для автомобильных дорог низших категорий. Так, они позволяют обеспечивать бесперебойный режим движения автотранспортных средств с заданной скоростью за счет назначения отметки проезда в пониженной части затопляемой насыпи, соответствующей этому режиму и скорости движения.

Эти переходы (см. рис. 4) позволяют избежать возникновения подпора воды с верховой части дороги, исключить аккумуляцию паводочных вод перед дорогой и нежелательное подтопление прилегающих земель и самой дороги.

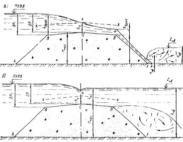
Рис. 3. Переход с двумя затопляемыми мостами и подходами:
1 - затопляемые подходы; 2 - затопляемый деревянный мост через р. Хопер; 3 - разводной пролет; 4 - затопляемый деревянный мост через р. Бузулук

Рис. 4. Переход с высоководным мостом и низководным подходом к нему в виде переливной насыпи или лотка:
1 - РУВВ; 2 - мост; 3 - низководный подход к мосту.

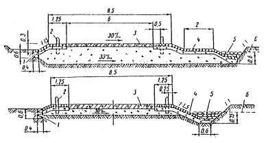
Рис. 5. Конструкции переливного лотка через постоянный малый водоток:
1 - покрытие лотка; 2 - фильтрующая насыпь; 3 - земляное полотно дороги; R - радиус вертикальной кривой; hк - критическая глубина быстротока; b - ширина разлива; l - уклон продольного профиля дороги; РУПВ - расчетный уровень подпертой воды

Переходы через водотоки с низководными наплавными мостами и подходами к ним (тип 3) находят применение на судоходных и несудоходных равнинных реках с преимущественными половодьями весеннего периода и относительно устойчивой высокой меженью летне-осеннего периода года.

Они могут находить применение и на реках с однопиковыми паводками дождевого и смешанного происхождения и высоким уровнем стояния меженных вод

Переходы типа 3 конкурентоспособны с переходами, устраиваемыми по типу 1, типу 2 и типу 4 (см. рис. 2), а также с высоководными мостовыми переходами, а поэтому они должны вариантно сопоставляться с этими конкурентоспособными типами переходов.

Мостовые переходы типа 3 в отличие от переходов типа 1 наиболее целесообразны на реках со значительной шириной русла, водностью в меженный летне-осенний период и глубинами воды в русле в этот период.

Период их функционирования определяется от начала наведения и до начала разборки наплавного моста. Колебания уровней воды в этот период учитываются двухсторонними консольно-подвижными переходными конструкциями моста, сопрягающимися с торцевыми откосными причальными участками левобережных и правобережных подходов к нему.

Суммарная продолжительность перерыва движения автотранспорта по наплавному мосту в период судоходства складывается из времени на вывод разводных секций моста, пропуск судов и наведение этих секций в исходное положение Чем больше интенсивность движения судов по реке, тем продолжительнее суммарный период перерыва движения автотранспорта по наплавному мосту.

В зависимости от конкретных условий судоходства может иметь место одиночный или групповой пропуск судов через наплавной мост. Наиболее оптимальный режим пропуска судов через наплавной мост и режим передвижения автотранспорта по нему может быть установлен в результате выполнения соответствующего технико-экономического анализа и соответствующих согласований с территориальными органами управления судоходства и автомобильными дорогами.

Одной из разновидностей мостовых переходов типа 3 являются переходы с наплавными мостами и высоководными подходами к ним. Эта разновидность мостовых переходов является конкурентоспособным вариантом с высоководными мостовыми переходами и переходами, устраиваемыми по типу 1, типу 2, типу 4, типу 5 и типу 6 (см. рис. 2)

Однако при вариантном сопоставлении этих типов следует учитывать ряд факторов, ограничивающих нормальные условия функционирования наплавных мостов как с низководными, так и с высоководными подходами к ним. И прежде всего - волновые и ледовые воздействия, ледостав, карчеход, лесосплав, значительные скорости течения воды, интенсивность судоходства, водные акватории большой ширины и другие

Мостовые переходы с наплавными мостами находят применение и могут функционировать как краткосрочные для организации движения автотранспорта в межпаводочные периоды и для наведения жизненно важных переправ в чрезвычайных ситуациях, как временные на период строительства низководных и капитальных высоководных мостовых переходов, так и как постоянные до наступления необходимых сроков их переустройства в высоководные.

Подходы к наплавным мостам и особенно высоководные не должны вызывать значительное стеснение водного потока в створе мостового перехода, так как это может вызвать повышение скоростей течения, а также подмывы береговых линий русла и торцевых участков этих подходов, на которых размещаются причальные и консольно-опирающиеся устройства мостов.

На значительных по ширине водных акваториях рек, озер, заливов, водохранилищ и других водных объектах с высоким периодическим (сезонным) и постоянным внутригодовым уровнем воды и при больших глубинах находят весьма широкое применение паромные переправы с разновысотными поименно-прибрежными подходами к причальным сооружениям по типу 4 (см. рис. 2).

Этот тип переходов может применяться как для постоянного функционирования в качестве альтернативного варианта по отношению к высоководным мостовым переходам, так и для временного сезонного функционирования по обеспечению автотранспортных связей в паводочно-половодные периоды (на переходах типа 1, типа 3 и типа 5) и в весенне-летне-осенний период на многоводных и глубоководных реках и других водных объектах со значительной акваторией.

Он может применяться и для краткосрочного функционирования при организации движения автотранспорта в паводочные периоды в чрезвычайных и жизненно важных ситуациях.

Разновысотные поименно-прибрежные подходы, включая и низководные, предусматривают возможность причаливания к ним паромов при разных уровнях воды в реках. Эти подходы применяются на реках с широкими поймами в целях обеспечения необходимых глубин воды в поименно-прибрежных массивах для передвижения парома и организации спусков автотранспорта с берегов к причальным устройствам, размещенных на подходах к ним.

При высоких уровнях воды низководные подходы функционируют как затопляемые и непроезжаемые, а при низких уровнях воды они становятся причальными и используемыми для передвижения автотранспорта к парому и выезду с него. Поэтому низководные подходы более протяженные, чем высоководные.

На высоких берегах речных долин подходы к причальным устройствам паромных переправ устраивают в выемках или в виде спуска по склонам берегов. В этом случае причаливание паромов организуется непосредственно к таким видам подходов в любом диапазоне колебаний уровней воды расчетного периода функционирования паромных переправ.

Продолжительность периода функционирования паромных переправ определяется сроками начала и конца их организации с учетом проезжаемости подходов и других местных факторов.

Продолжительность передвижения автотранспорта по переходам с применением паромных переправ определяется суммарным временем ожидания парома, с погрузкой на него, передвижением по водному объекту и выгрузкой с парома.

Продолжительность ожидания парома автотранспортом и перерыва, вследствие этого, движения, а также пропускная способность переходов через водотоки, устраиваемых по типу 4 (см. рис. 2), находятся в зависимости от количества курсирующих паромных средств, их вместимости, числа рейсов в сутки и ряда других факторов.

В зимний период движение автотранспорта организуется по ледовым переправам.

Перерывы движения автотранспорта по переходам типа 4 в период работы паромных переправ происходят в промежутки времени от окончания функционирования ледовых переправ и до начала организации паромного движения, а также от окончания функционирования паромного движения и до начала движения по ледовым переправам.

Все рассмотренные выше положения, связанные с продолжительностью периода функционирования паромных и ледовых переправ, а также с оценкой перерывов движения и организацией движения по переходам этого типа, подлежат детальному технико-экономическому анализу с учетом конкретных условий формировании и проявления паводочных, ледовых и других процессов во внутригодовом и многолетнем периодах эксплуатации этих переходов.

Низководные мосты с незатопляемыми подходами (тип 5) находят наиболее широкое применение при пересечении автомобильными дорогами сравнительно узких речных долин в горной, предгорной и холмистой местностях. Объекты этого типа наиболее целесообразны в труднодоступных районах при пересечениях несудоходных рек и водотоков с относительно коротким весенним или летним паводочным периодом, непродолжительными и с небольшим количеством паводков (4-5) в этом периоде, а также на реках с периодическим стоком.

Совокупность таких изначально исходных условий формирования и проявления паводочных процессов с короткими и относительно редкими потенциально возможными паводками и небольшой сезонной интенсивностью движения предопределяют возможность значительного снижения стоимости строительства низководных мостов по типу 5 (см. рис. 2) за счет допущения преобладающего и более продолжительного периода с перерывом движения в затопляемом режиме функционирования этих объектов в многолетнем внутригодовом периоде.

В этом варианте устройства низководного моста суммарная продолжительность периодов с ограниченной скоростью движения на подъеме и спаде уровней воды в диапазоне от отметок проезда по мосту до предельно допустимого уровня возможного начала (окончания) движения может быть весьма незначительной и составлять 2-4 часа на средних и малых горных реках и реках предгорной зоны.

Аналогичные условия функционирования по сравнению с типом 5 присущи низководным мостам, устраиваемым по типу 6 (см. рис. 2). Однако мосты по типу 6 наиболее целесообразны в предгорной местности о местах выхода рек из гор.

Низководные мосты типа 6 устраивают из сборно-монолитного или монолитного бетона. Длину этих мостов определяют, исходя из конкретных условий мест пересечения рек с учетом необходимости перекрытия ими активной русловой зоны. Размеры пролетов могут изменяться от 1,5 до 3-4 м. Ширина опор может изменяться от 0,4 до 1-1,2 м.

Опоры этих мостов опираются на фундаментную плиту, заглубляемую в толщу аллювия не менее 0,5-0,7 величины перемываемого слоя русловых отложений. Под концевыми частями фундаментной плиты, располагаемыми выше и ниже по течению, устраивают укрепительные ленточные упоры-зубы, заглубляемые в толщу аллювия на глубину не менее величины перемываемого слоя русловых отложений.

Мосты с фундаментной плитой функционируют как сооружения лотковую типа. Они известны как переливные мосты-лотки.

В отдельных случаях при длине пролетов более 4 м, а также при наличии близкорасположенных скальных неразмываемых грунтов русла опоры мостов типа 6 могут быть устроены на этих грунтах.

При устройстве мостов типа 5 и типа 6 следует учитывать возможность истирания и повреждения их опор от воздействий твердого стока.

В концевых участках мостов типа 6 могут быть применены бетонные и железобетонные переходные конструкции в виде переливаемых массивов прямоугольного поперечного сечения, располагаемых за пределами моста в русловой зоне; плит на дневной поверхности прибрежно-русловых частей водотоков за пределами моста; укрепленных насыпей на возвышенных участках прибрежно-русловой зоны.

Возможность заносимости отверстий мостов типа 5 и типа 6 твердым стоком может быть уменьшена за счет периодического забора из русел рек галечнико-гравийного или валунно-галечникового материала. Забор этого материала возможен на участках рек с избыточным отложением остатков твердого стока, а также при выполнении соответствующих согласований с природоохранными органами и органами рыбнадзора.

Как правило, такой забор остатков твердого стока возможен и целесообразен из русел рек с периодическим речным стоком. При наличии такой возможности в местах пересечения наиболее крупных рек могут быть организованы карьерно-сортировочные и дробильные хозяйства.

Объем и места забора остатков твердого стока должны быть тщательно обоснованы расчетами и контролироваться в процессе карьерных разработок Это необходимо для того, чтобы не вызвать эрозионное понижение русла роки и развитие попятного размыва, а также размывов береговой линии, перемещения русла, разрушения моста и других нежелательных последствий.

Во внепаводочный сезон низководные мосты по типу 5 и типу 6 позволяют обеспечить беспрепятственный пропуск меженных русловых под среднемноголетнего и многолетнего их проявления.

Величины пролетов этих мостов обуславливаются наличием на реках карчехода и размерами отдельных карчей, наличием строительных материалов и конструкций, также возможностями строительных организаций и их оснащенностью мостостроительным оборудованием и другими факторами.

Расчетные величины длительности периодов с перерывом и замедленным движением с ограниченной скоростью, а также соотношения продолжительности этих периодов наиболее обоснованно и достоверно могут быть определены по фактическим графикам ежегодных колебаний уровней воды, а также по задаваемым отметкам проезда по мосту и предельно допустимого уровня начала (окончания) передвижения в затопляемом режиме функционирования моста.

Сооружения по типу 7, типу 8 и типу 9 являются переливными водопропускными сооружениями лоткового типа (см. рис. 2). Движение автотранспорта осуществляется по их укрепленной поверхности, которая одновременно является периодически затопляемым и переливным лотком - водосливом.

Преимущественное и наиболее массовое применение этих трех типов лотковых водопропускных сооружений имеет место в горной, холмистой, пересеченной и предгорной местности на сравнительно небольших водотоках с периодическим и меженным поверхностным стоком.

Протяжение лотковых сооружений вдоль дороги определяется суммой необходимой длины их водопропускной части и длиной двух концевых участков, предназначенных для въезда автотранспорта в пониженную затопляемую часть этих сооружений и выезда с нее.

Отверстие водопропускной части лотковых сооружений определяется шириной разлива воды в ней при расчетном уровне высоких вод (РУВВ) в паводочный сезон.

Длина концевых участков лотковых сооружений определяется расчетными величинами радиусов вогнутых и выпуклых кривых продольного профиля дороги.

Лотковые сооружения типа 7, типа 8 и типа 9 способны пропускать паводочный, периодически возникающий поверхностный и меженный сток пересекаемых водотоков, а также селевые потоки.

Они применимы для двух режимов функционирования по безопасному пропуску автотранспортных средств в периоды затопления: 1 - с кратковременными перерывами движения в периоды затопления их поверхности расчетными или сверхрасчетными паводками; 2 - для передвижения по ним с ограниченной скоростью в периоды расчетного затопления водой их поверхности (водопропускной части).

Оба эти режимы функционирования лотковых сооружений, устраиваемых по типу 7, типу 8 и типу 9, конкурентоспособны как по отношению друг к другу, так и к варианту высоководных переходов через водотоки.

Выбор оптимального режима функционирования и сопоставление различных вариантов устройства переходов через водотоки должен обуславливаться технико-экономическими расчетами и строительно-эксплуатационной целесообразностью с учетом конкретных природных условий формирования и проявления паводочных процессов, интенсивности и состава движения автотранспорта, конструктивных особенностей лотковых сооружений типа 7, типа 8 и типа 9, а также ряда других факторов.

Предельно допустимые условия возможного передвижения автотранспорта (и в том числе с ограниченной скоростью) по лотковым водопропускным сооружениям в период их затопления лимитированы предельными критериями устойчивости различных типов автомобилей против их сдвига и опрокидывания, а также захлестывания и заполнения водой их жизненно важных узлов и конструктивных элементов.

Критериями допустимого и возможного передвижения автотранспорта по затопляемым лотковым сооружениям являются расчетные для каждого типа автомобилей предельные величины глубин и соответствующие им скорости перелива воды через пониженную водопропускную часть этих сооружений.

Фактические, заданные или требуемые по технико-экономическим расчетам отверстия лотковых сооружений типа 7, типа 8 и типа 9, а также отметки пониженных их водопропускных частей (отметки проезда по ним) и расчетные уровни воды во многом определяют тот или иной режимы функционирования и применения лотковых сооружений и их конструктивные особенности.

Лотковые сооружения по типу 9 являются простейшими из всех других типов переливных лотков. Их очертание в продольном профиле диктуется рельефом местности в створе дороги, а пониженная водопропускная часть устраивается в виде вогнутой кривой или ее отрезка. Эти сооружения вписывают вертикальными кривыми в пониженную часть рельефа и плавно сопрягают с прилегающими к ним соседними участками продольного профиля.

Весьма часто пониженную часть сооружений типа 9 возвышают над дном логов и поверхностью земли на 0,2-0,3 м. При таком их устройстве они способны пропускать паводочный, поверхностный и меженный сток, функционируя с перерывом движения автотранспорта в паводочные периоды. И лишь при слое перелива воды менее предельно допустимого эти сооружения могут обеспечить передвижение автотранспорта с ограниченной скоростью.

Для обеспечения движения автотранспорта с преимущественным режимом бесперебойного передвижения с ограниченной скоростью в период затопления необходимо повысить отметки проезда (пониженной водопропускной части) лоткового сооружения (типа 9). При этом длина лотка в продольном его профиле увеличится за счет подпора воды в верхнем бьефе. Для уменьшения этого подпора, застоя воды перед дорогой и увеличения водопропускной способности лоткового сооружения для обеспечения преимущественного режима бесперебойного движения в теле лоткового сооружения типа 9 целесообразно устраивать водопропускные трубы.

Лотковые сооружения по типу 9 могут применяться в сочетании с высоководными мостами как одна из разновидностей сооружений типа 2 (см. рис. 4). Они могут быть применены и на высоководных подходах к незатопляемым мостам как одно из эксплуатационных мероприятий по обеспечению регулированного перелива воды, стихийно возникающего на существующих высоководных насыпях и угрожающих их разрушению. Конструктивно такие лотковые сооружения решаются в виде плавного понижения продольного профиля отдельных участков земляного полотне, предназначенных для перелива воды через дорогу и укрепления откосов.

На относительно ровных участках местности с распластанными логами и нечетко выраженными руслами малых водотоков наиболее применимы конструкции переливных лотков, разработанные Союздорпроектом в 1965-1960 гг. (тип 8). Они нашли применение на ряде объектов дорожного строительства, а ряд из них успешно эксплуатируется более 30 лет.

Конструкции типа 8 находят применение и при пересечении водотоков с относительно широкими русловыми зонами в полупустынных районах с периодическим и кратковременным стоком поверхностных вод. В этих случаях лотковое сооружение устраивается в виде армированной цементобетонной плиты толщиной 0,2-0,25 м, укладываемой по галечнико-гравийному или песчано-гравийному дну русла реки по всей его ширине с выходами за пределы береговой линии

При наличии четко выраженного русла с постоянным меженным стоком летне-осеннего периода наиболее предпочтительны лотковые сооружения, устраиваемые по типу 7 (см. рис. 2). Они так же, как и конструкции типа 8, были впервые разработаны и внедрены в строительство Союздорпроектом в 1965- 1966 гг.

Отверстия для пропуска воды под лотковой частью сооружения типа 8 устраивают из круглых или прямоугольных водопропускных труб. Переливные лотки с отверстиями могут иметь единичные и многосекционные отверстия.

Единичные отверстия служат для пропуска в основном меженных и поливных вод, а многосекционные - для пропуска и определенной части паводочного стока на более значительных водотоках.

Переливные лотки с многосекционными отверстиями могут применяться на реках, несущих твердый сток не только во взвешенном, но и во влекомом состоянии. В этих случаях их устройства вся ширина русловой активной зоны может быть перекрыта лотковым многосекционным сооружением в сочетании с открытыми лотками типа 8 на концевых участках для обеспечения въезда и выезда на берега.

Для обеспечения пропуска под лотковым сооружением части поверхностного стока находят применение разновидности конструкций типа 6, типа 7 и типа 8 с применением камненабросных хорошо фильтрующих материалов (рис. 5).

Фильтрующие насыпи лоткового типа (см. рис. 5) следует применять только при надежном обосновании коэффициента и объема фильтрации воды через тело сооружения. Фильтрующий камненабросной материал может располагаться как под нижней частью лоткового сооружения, так и под всей длиной этого сооружения, что должно определяться расчетами требуемого объема фильтрации воды с учетом процессов заиления.

Периодически затопляемые участки автомобильных дорог вдоль берегового расположения (тип 10, см. рис. 2) составляют часто встречающуюся и особо специфическую по условиям функционирования группу дорожных сооружений.

Участки дорог могут располагаться у бортов речной долины, на пойменных массивах и в непосредственной близости от русел рек. Во всех этих случаях расположения они испытывают двухстороннее периодическое подтопление и затопление от паводочного стока рек (вдоль которых они находятся), а также от поверхностного и паводочного стока пересекаемых ими притоков рек, малых логов или склонового стока с бортов речной долины.

Эти особенности подтопления и затопления предопределяют необходимость изучения внутригодового режима формирования и проявления паводочных, межпаводочных, ледово-термических, волновых, сгонно-нагонных и других процессов и явлений, способных возникнуть не только на основной реке, но и на ее притоках.

Конструкция затопляемой насыпи должна соответствовать длительности подтопления и возможности попеременного двухстороннего перелива воды как с речной, так и с прибрежно-бортовой стороны. Для ликвидации застоя воды в пойменно-прибрежной зоне, отсекаемой дорогой, и перепуска через затопляемую дорогу паводочного, меженного и поверхностного стока возникает необходимость устройства водопропускных сооружений в пониженных местах продольного профиля, а также о местах пересечения логов и водотоков, являющихся притоками основной реки.

В качестве таких водопропускных сооружений на затопляемой вдоль береговой дороге могут быть применены лотковые сооружения по типу 7, типу В или комбинированному типу (см. рис. 5).

Продолжительность затопления и различные режимы функционирования затопляемой дороги вдольберегового расположения по безопасному пропуску по ней автотранспорта в периоды затопления должны оцениваться применительно к режиму речного стока основной реки и стоку пересекаемых логов (склонов) и водотоков с учетом возможности их совпадения или несовпадения во времени.

4. Основы проектирования периодически затопляемых дорожно-мостовых объектов и сооружений

Периодически затопляемые участки автомобильных дорог и водопропускные сооружения могут быть применены в следующих трех основных случаях их предназначения и функционирования:

1) как самостоятельные титульные дорожные объекты, предназначенные для пересечения наиболее крупных водных объектов (тип 1, тип 2, тип 3, тип 4, тип 5 и тип 6);

2) как основные типы малых и средних водопропускных сооружений на всем протяжении дорог, допускающих перерывы или замедление движения автотранспорта в паводочные периоды года (тип 7, тип 8, тип 9 и их разновидности);

3) как дополнительные и переходные (до начала реконструкции) типы малых и средних водопропускных сооружений (тип 2, тип 6, тип 7, тип 8, тип 9 и их разновидности) в сочетании с высоководными сооружениями.

Основная направленность процесса проектирования низководных и периодически затопляемых участков дорог и водопропускных сооружений должна быть ориентирована на установление и обоснование транспортно-эксплуатационной целесообразности и технико-экономической эффективности функционирования автомобильных дорог с этими типами дорожных сооружений.

Оптимальный вариант строительства автомобильной дороги с периодически затопляемыми ее участками и водопропускными сооружениями может быть установлен лишь на основе детальной и достоверной проектной проработки и сопоставлении друг с другом вариантов проектируемой дороги с различными конкурентоспособными режимами ее функционирования по пропуску автотранспортных средств во внутригодовом периоде.

Проектной проработке должен подлежать каждый из следующих пяти основных режимов возможного функционирования автомобильных дорог с заданной или требуемой транспортно-эксплуатационной способностью: 1) бесперебойный во внутригодовом периоде; 2) с замедлением движения автотранспорта по всем затопляемым дорожным объектам (сооружениям) в паводочные периоды; 3) с допущением перерывов движения по всем дорожным сооружениям в паводочные периоды; 4) комбинированный с бесперебойным движением во внутригодовом периоде по наиболее крупным и ответственным высоководным сооружениям и с замедлением движения по всем остальным сооружениям, затопляемым в паводочные периоды; 5) комбинированный с бесперебойным движением во внутригодовом периоде по наиболее крупным и ответственным высоководным сооружениям и с допущением перерыва движения по всем остальным сооружениям, затапливаемым в паводочные периоды.

Вариантная проработка каждого из этих пяти режимов возможного внутригодового функционирования проектируемой автомобильной дороги должна основываться на результатах, выполненных в процессе проектирования расчетов, инженерных прогнозов и обоснований по:

• определению расчетно-прогнозной интенсивности движения автотранспортных средств, их состава, габаритов и грузоподъемности;

• оценке предназначения проектируемой дороги и перспективы ее использования применительно к народнохозяйственным целям, жизнеобеспечению прилегающих населенных пунктов, к возможному возникновению чрезвычайных ситуаций и к другим целям;

• определению возможности допущения перерывов движения автотранспорта или его замедленного передвижения с ограниченной скоростью в паводочные периоды; сезонности и продолжительности такого допущения применительно как к отдельным, так и ко всем пересекаемым водотокам, а также к конкретным разновидностям автотранспортных средств;

• определению предельно допустимых слоев перелива воды для безопасного передвижения с ограниченной скоростью всех разновидностей и типов автотранспортных средств (включая и строительную технику) по затопляемым насыпям и водопропускным сооружениям в паводочный период;

• определению мест расположения и количеству требуемых водопропускных сооружений;

• выявлению условий формирования и установлению расчетных гидрологических характеристик внутригодового распределения речного (поверхностного) стока по всем пересекаемым водотокам;

• выявлению и установлению расчетных гидрологических характеристик формирования и проявления паводочных, ледово-термических, сгонно-нагонных, волновых, селевых и других природно-техногенных процессов по всем пересекаемым водным объектам;

• установлению режима затопления пойменных массивов и местности, прилегающей к затопляемым дорожным объектам и сооружениям;

• определению расчетных величин максимальных расходов и уровней воды в нестесненных створах всех пересекаемых водотоков с вероятностью превышения 0,3, 1, 2, 3, 4, 5, 10 и 50%;

• выбору и сопоставлению между собой конкурентоспособных типов и конструкций высоководных водопропускных сооружений применительно к их использованию на малых, средних и больших водотоках;

• установлению наиболее оптимальных и целесообразных типов, размеров и конструкций высоководных водопропускных сооружений (малых, средних и больших), рекомендуемых к сопоставительному анализу и проектированию для высоководного (бесперебойного) режима их функционирования на всем протяжении проектируемой дороги или на отдельных водотоках в сочетании с низководными затопляемыми сооружениями;

• разработке проектно-строительных решений и определению объемно-стоимостных показателей по всем типам высоководных водопропускных сооружений, принятых для сопоставительного анализа, проектирования и использования в варианте высоководного (бесперебойного) их функционирования на всем протяжении проектируемой дороги или на отдельных водотоках в сочетании с низководными периодически затопляемыми сооружениями;

• выбору и сопоставлению между собой конкурентоспособных типов и конструкций низководных периодически затопляемых водопропускных сооружений (насыпи, мосты, переливные лотки) применительно к их использованию на малых, средних и больших водотоках;

• установлению наиболее оптимальных и целесообразных типов, размеров и конструкций низководных периодически затопляемых водопропускных сооружений (малых, средних и больших), рекомендуемых к сопоставительному анализу и проектированию для низководного периодически затопляемого (перебойного или с замедленным движением) режима их функционирования на всем протяжении проектируемой дороги или на отдельных водотоках в сочетании с высоководными водопропускными сооружениями,

• разработке проектно-строительных решений и определению объемно-стоимостных показателей по всем типам низководных периодически затопляемых водопропускных сооружений, принятых для сопоставительного анализа, проектирования и использования в варианте низководного периодически затопляемого их функционирования на всем протяжении проектируемой дороги или на отдельных водотоках и сочетании с высоководными водопропускными сооружениями;

• разработке оптимальных проектно-строительных решений и определению объемно-стоимостных показателей устройства земляного полотна, дорожной одежды, укреплений откосов водоотвода, регуляционных сооружений, временных и вспомогательных сооружений, обстановки дороги, организации строительства, а также охраны окружающей среды применительно к рассмотренным выше пяти режимам возможного функционирования автомобильных дорог.

Основными требованиями и критериями по обеспечению и оценке достоверности и достаточности вариантных проработок и результатов их сопоставления по каждому из пяти режимов возможного внутригодового функционирования проектируемой дороги или отдельного титульного дорожного объекта являются:

• выполнение всех проектных работ на единой исходной информации о районе строительства, основанной на результатах проведения инженерных изысканий;

• полнота и качество материалов инженерных изысканий по всему комплексу вопросов проектирования;

• проведение проектно-изыскательских работ с максимальным использованием и соблюдением существующей нормативно-методологической базы инженерных расчетов и назначения транспортно-эксплуатационных показателей плана трассы, продольного и поперечного профилей дороги и других ее элементов расположения на местности;

• индивидуальное обоснование основных положений проектирования низководных и периодически затопляемых водопропускных сооружений и их расчетных транспортно-эксплуатационных и гидравлико-гидротехнических параметров (характеристик), не имеющих отражения и регламентации в ныне действующих нормативно-рекомендательных документах;

• индивидуальное обоснование тех основных положений и случаев проектирования высоководных автомобильных дорог, которые обусловлены строительными нормами (1) к необходимости такого обоснования (см. раздел 2);

• индивидуальное обоснование выбора и проектирования рекомендуемых конструкций низководных и периодически затопляемых водопропускных сооружений и участков дорог.

Вариантные проектные проработки устройства низководных участков дорог или мостов, а также периодически затопляемых водопропускных сооружений должны учитывать реальную перспективу их переустройства в высоководный режим на всем протяжении проектируемой дороги или на отдельных водотоках.

Степень детальности проектных проработок должна соответствовать стадии проектирования, а точность определения сопоставительных и результирующих объемно-стоимостных показателей должна быть достигнута на первой стадии проектирования и не отличаться более чем на ±5% от результатов работ на последующих стадиях.

Инженерные изыскания должны предусматривать сбор, анализ и обобщение исходных материалов по инженерному изучению и прогнозу изменения экономических, топографических, гидрометеорологических, геологических и экологических условий района расположения проектируемой дороги, а также по поиску и разведке месторождений дорожно-строительных материалов и организаций строительства.

При необходимости проведения проектных проработок низководных, высоководных и комбинированных режимов возможного внутригодового функционирования проектируемой дороги (или отдельного титульного дорожного объекта) с целью выполнения сопоставительного анализа результатов этих проработок между собой инженерные изыскания должны проводиться в таком составе и объеме, которые позволяли бы обеспечить исходной информацией проектирование каждого из этих режимов.

Реализация такой направленности процесса проектирования предопределяет необходимость большего объема, детальности и трудоемкости проектно-изыскательских работ с учетом их особой специфики по сравнению с разработками проектов только высоководных дорожных объектов.

Программы проведения изыскательских работ по обеспечению реализации процесса проектирования низководных и периодически затопляемых сооружений должны быть ориентированы на выполнение такого комплекса инженерных изысканий, который предусматривал бы полный комплекс изысканий, необходимых для проектирования высоководных дорожных объектов, а также дополнительные изыскательские работы по учету особенностей применения и функционирования низководных и периодически затопляемых сооружений.

При разработке программы и проведении инженерных изысканий для проектирования высоководных объектов (сооружений) следует руководствоваться требованиями, рекомендациями и методами, регламентированными общеотраслевыми, и ведомственными документами (6, 7, 8, 11, 17, 18, 19).

Для учета особенностей экономических, гидрологических, гидротехнических, экологических и транспортно-эксплуатационных условий функционирования низководных и периодически затопляемых дорожных объектов (сооружений) и получения дополнительной изыскательской информации необходимо при разработке программы и проведении инженерных изысканий руководствоваться рекомендациями работы (15), а также рекомендациями раздела 9 настоящей работы.

При организации и выполнении инженерных изысканий, а также проектировании низководных и периодически затопляемых дорожных объектов (сооружений) необходимо учитывать и руководствоваться: заданием заказчика; типами конкурентоспособных сооружений; общим составом комплекса конструктивных элементов этих сооружений; конкурентовозможными условиями планово-высотного их размещения на местности; основными техническими нормами и транспортно-эксплуатационными показателями проектирования автомобильных дорог и водопропускных сооружений на них; нормативными требованиями устройства земляного полотна, дорожных одежд, пересечений и примыканий, а также на организацию и безопасность движения автотранспортных средств, обустройство дорог и защитные сооружения; расчетно-прогнозными критериями вероятности превышения воздействий паводочных и других опасных процессов природно-техногенного происхождения; предельно допустимыми слоями перелива воды через верх проезжей части (поверхность дороги) для безопасного передвижения с ограниченной скоростью всех разновидностей и типов автотранспортных средств (включая и строительную технику) по периодически затопляемым насыпям и водопропускным сооружениями паводочные периоды; требованиями охраны окружающей природной среды и местных органов управления.

В зависимости от конкретных условий, целей и задач строительства заданием на проектирование может быть обусловлена необходимость проектных проработок одного или нескольких вариантов режима возможного внутригодового функционирования дорожных объектов (сооружений).

Однако наиболее оптимальный режим функционирования низководных и периодически затопляемых дорожных объектов (сооружений) и наибольшая обоснованность оценки эффективности и окупаемости затрат на их строительство могут быть достигнуты лишь при выполнении совместных проектных проработок и сопоставительного анализа низководного, высоководного и комбинированного режимов функционирования этих объектов (сооружений).

Поэтому в задании заказчика на проектирование следует предусматривать выполнение одновременных и совместных проработок этих режимов функционирования дорожных объектов (сооружений) с учетом и обозначением конкурентоспособных типов низководных и периодически затопляемых объектов (сооружений), а также четырех возможных вариантов их функционирования во внутригодовом периоде.

При выборе конкурентоспособных типов низководных и периодически затопляемых объектов (сооружений) для последующих вариантных проработок следует руководствоваться условиями их применения и функционирования, подробное рассмотрение которых отражено в разделе 3 настоящей работы

В общий состав комплекса конструктивных элементов низководных и периодически затопляемых объектов (сооружений) входят: искусственное (водопропускное) сооружение или средство переправы через основной водоток, пересекаемый дорогой (мост, паромная и ледовая переправы, лотковые сооружения); подходы к этому сооружению, располагаемые как в пределах затопления (низководные, высоководные или комбинированные из них), так и вне зоны затопления (высоководные); малые водопропускные сооружения, устраиваемые на этих подходах в пониженных местах и при пересечении проток, ручьев и логов для водоперепуска меженных и поверхностных вод; сопрягающие и причальные устройства, располагаемые между подходами и основным искусственным (водопропускным) сооружением или для обеспечения движения автотранспорта с наплавных мостов и паромных средств; регуляционные, выправительные и берегозащитные конструкции; подводящие и отводящие русла; укрепления откосов и обочин затопляемых и незатопляемых участков подходов; укрепления прилегающих к подходам участков местности (подошвы насыпей, оврагов, подводящих и отводящих русел и других мест); съезды и переезды подходов на затопляемых прибрежных участках их расположения; конструкции обустройства мостов и подходов сигнальными и опознавательными знаками, столбиками, перилами, колесоотбойными и другими устройствами по обеспечению безопасности движения пешеходов и автотранспорта во внутригодовом периоде, а также в периоды движения с ограниченной скоростью по затапливаемой (переливаемой) проезжей части; незатопляемые площадки; для размещения служб регулирования пропуска судов и автотранспорта через наплавные и низководные сооружения и с помощью паромных и ледовых переправ; для вынужденной стоянки и ремонта автотранспортных средств при перерывах их движения в паводочные периоды; для складирования и хранения ремонтных запасов дорожно-строительных материалов и конструкций.

Состав этого комплекса конструктивных элементов может претерпевать изменение и уточнение на конкретных объектах (сооружениях) в зависимости от местных условий планово-высотного расположения этих объектов (сооружений), режимов их внутригодового функционирования, конструктивных особенностей и ряда других факторов, включая необходимость учета влияния близраспопоженных народнохозяйственных объектов, поселений, хозяйственного использования поименно-прибрежных массивов, а также учета мероприятий по охране природной среды.

Конструкции и конструктивные элементы низководных и периодически затопляемых сооружений (мосты, мосты-лотки, переливные лотки, броды и другие типы), а также судово-паромных средств передвижения весьма разнообразны и индивидуальны.

По ряду типов и конструкций этих сооружений и судово-паромных средств накоплен известный опыт их устройства и функционирования. По некоторым из них имеются типовые решения. По некоторым другим имеются индивидуальные пообъектные решения, которые апробированы опытом строительства, и эксплуатации в ряде регионов, а поэтому они могут быть использованы для повторного применения.

Так, для проектирования переливных лотковых сооружений могут быть использованы типовые решения, разработанные Союзгипролесхозом в 1987 г. (20). Дополнительно к ним, а также в качестве вспомогательных материалов для аналогового и повторного (индивидуального и типового) применения рекомендуется использование конструкций Союздорпроекта, Дальгипротранса, Белгородавтодора и других организаций (11, 12, 15, 21).

Конструкции переливных лотковых сооружений и некоторых других типов низководных и периодически затопляемых сооружений, которые наряду с типовыми решениями (20) могут быть использованы в качестве аналогов и для повторного применения при предпроектных и проектных проработках, а также опыт их строительства и эксплуатации отражены и более подробно рассматриваются в разделе 6 настоящей работы.

Типовые решения конструкций низководных мостов к настоящему времени пока еще не разработаны, а соответствующие и достаточные обобщения по отдельным объектам отсутствуют. По сравнению с высоководными, низководные мосты работают в особо сложных и специфических условиях как по срокам их службы, по восприятию особых нагрузок подвижного состава, так и по восприятию паводочных, ледово-термических и других природно-техногенных воздействий.

Проектирование низководных мостов и их конструкций сопряжено с необходимостью разработки индивидуальных решений и гидрологических обоснований, а также с необходимостью учета нагрузок от подвижного состава на конкретном объекте, учета местных строительных материалов (конструкций), оснащенности строительных организаций мостостроительным оборудованием и ряда других факторов.

Как следует из анализа опыта строительства, наиболее предпочтительны и применимы конструкции низководных мостов с разборными и неразборными плитными и балочными пролетными строениями, изготавливаемыми из различных материалов. Однако находят применение и другие конструкции этих мостов. Некоторые конструкции низководных мостов и опыт их применения отражены в разделе 8 настоящей работы.

Как высоководные, так и низководные и комбинированные режимы функционирования, а также проектно-строительные решения и эксплуатационные мероприятия по ним должны основываться на технических нормах.

Если для проектирования высоководных дорожных объектов (сооружений) такие нормы имеют место и представлены для руководства ими в следующих документах (1, 2, 4, 5, 6, 7), то для проектирования низководных и комбинированных объектов (сооружений) и режимов их внутригодового функционирования рекомендаций в существующих нормах нет.

Отсутствуют и соответствующие обобщения и рекомендации, которые можно было бы использовать в качестве основ для разработки нормативных документов, за исключением двух работ прошедшего времени (15, 16), в которых положено лишь начало таких обобщений и рекомендаций по отдельным видам низководных и периодически затопляемых объектов (сооружений).

Однако подготовка заданий на проектирование и разработка проектов этих объектов (сооружений), как и любых других дорожных объектов, должны базироваться на четко обозначенных и обоснованных требованиях, положениях и критериях нормативного уровня.

Для уникальных и особо сложных объектов (сооружений) индивидуального проектирования такие требования, положения, критерии и технические нормы (условия) принято разрабатывать на основе постановки и проведения работ научно-проектного сопровождения.

Из-за отсутствия требуемых нормативных документов (рекомендаций), сложности условий функционирования, необходимости индивидуального проектирования низководные и периодически затопляемые объекты (сооружения) находятся в аналогичных условиях.

Именно поэтому для их проектирования следует на каждом объекте разрабатывать пообъектные технические нормы (условия), основанные на результатах работ научно-проектного сопровождения.

Регламентации, техническому нормированию и обоснованию в этих пообъектных нормах (условиях), работах научно-проектного сопровождения и в проектной документации низководных и периодически затопляемых объектов (сооружений) подлежат следующие вопросы: возможность и допустимость по технико-экономическим или другим соображениям перерывов движения автотранспорта с ограниченной скоростью в паводочные периоды года; фазы возможного внутригодового функционирования автомобильных дорог; критерии вероятности превышения воздействий паводочных, ледово-термических, волновых, сгонно-нагонных, приливно-отливных и других процессов природно-техногенного происхождения; типы и сроки службы сооружений; специфические и сверхтяжелые нагрузки и габариты подвижного состава; предельно допустимые слои перелива воды через поверхность проезда в период паводочного затопления для возможности проезда с ограниченной скоростью передвижения автотранспортных и других средств различных типов; вариантность совместных проектных проработок низководного, высоководного и комбинированного режимов внутригодового функционирования дорожных объектов (сооружений); транспортно-эксплуатационные показатели: по нагрузкам и расчетным скоростям движения, по основным параметрам продольного и поперечного профилей дорог и сооружений на них, по плану трассы; устройство земляного полотна и дорожных одежд; укрепительные и защитные сооружения; безопасность движения; охрана окружающей среды; эффективность и окупаемость капиталовложений в строительство и эксплуатацию; степень (класс) ответственности объектов или отдельных сооружений; инженерные изыскания.

В основу разработки пообъектных технических норм и работ научно-проектного сопровождения как этих норм, так и проектных разработок нового строительства должны быть положены: строительные нормы (1, 2, 3, 4, 5, 6, 7, 8); документы, научно-исследовательские работы местного и территориального уровня; проектная документация прежних лет и настоящая работа, которая, являясь методическим пособием, тем не менее содержит конкретные рекомендации и методы обоснования большинства вышеуказанных вопросов технического нормирования и их проектной реализации.

Для обоснования параметров плана трассы, продольного и поперечного профилей низководных и периодически затопляемых дорог и сооружений могут быть, с учетом специфики их функционирования и капитальности возводимых объектов, использованы рекомендации строительных норм (1, 4, 5) по возможности применения минимально допустимых радиусов горизонтальных и вертикальных кривых, а также продольных уклонов.

Так, низководные дороги с периодическим затоплением, предназначенные исключительно для внутрихозяйственных и других целей местного значения, могут иметь и нередко имеют значительно заниженные геометрические параметры горизонтальных и вертикальных кривых по сравнению с аналогичными параметрами автомобильных дорог общего пользования. Это обусловлено тем, что эти дороги являются частью технологического цикла производственной деятельности конкретного хозяйственного субъекта, определяющего состав, интенсивность и сезонность транспортных перевозок и ряд других факторов.

Практикой проектирования, строительства и эксплуатации отдельных объектов были выработаны некоторые правила и методы обоснования параметров плана трассы, продольного и поперечного профилей, конструкции и типы дорожных одежд, а также укреплений нижнего и верхнего бьефов переливных лотковых сооружений. Многие из этих вопросов нашли конкретное отражение в конструкциях, приведенных в разделе 8 настоящей работы.

Земляное полотно низководных и периодически затопляемых дорог, подходов к мостам и паромным переправам может отсыпаться из различных недренирующих материалов, за исключением фильтрующих насыпей. Оно может быть земляным, каменно-земляным и каменно-набросным в зависимости от условий его функционирования и наличия местных материалов. Рекомендации по его устройству более подробно рассмотрены в разделе 7 настоящей работы.

На низководных и периодически затопляемых дорогах и подходах к мостам (паромным переправам) дорожная одежда должна отвечать нагрузкам от подвижного состава, климатическим условиям и внутригодовому режиму затопления проезжей части, а также перспективам ее переустройства при реконструкции этих объектов в высоководные.

При весьма значительном периоде затопления проезжей части дорог, водопропускных лотковых сооружений, подходов к мостам, значительных нагрузках от подвижного состава и небольшом периоде от начала эксплуатации до переустройства этих объектов в высоководные дорожные объекты бывает целесообразно устраивать из сборных железобетонных плит. При этих же условиях, но при длительном периоде эксплуатации, наиболее предпочтительно цементобетонное покрытие.

Расчетные критерии вероятности превышения воздействий паводочных процессов для совместных проектных проработок и сопоставительного анализа низководного, высоководного и комбинированного режимов внутригодового функционирования дорожных объектов (сооружений) следует назначать в соответствии с данными табл. 4.1 (2), одинаковыми для каждого из этих режимов.

В районах с малоразвитой сетью автомобильных дорог для сооружений, имеющих особо важное народнохозяйственное значение, при технико-экономическом обосновании нормами (2) допускается принимать вероятность превышения (ВП) равной 0,33% вместо 1% и 1% вместо 2% для критериев ВП, обозначенных в табл. 4.1 двумя звездочками.

Таблица 4.1

Типы сооружений

Категория дорог

Вероятность превышения максимальных паводочных расходов воды, %

Большие и средние мосты

I-III. III-n

1**

-«-

IV, IV-n, V, 1-c, II

2**

Малые мосты и водопропускные трубы

I

1

-«-

II, III, III-n

2

-«-

IV, IV-n, V и внутрихозяйственные дороги

3

Принятие к этим совместным проработкам одинаковых расчетных критериев вероятности превышения паводочных воздействий для данных режимов диктуется необходимостью равнопрочной оценки продолжительности перерывов движения и продолжительности периодов с ограниченной скоростью передвижения автотранспорта по низководным и периодически затопляемым дорожным объектам (сооружениям) в паводочные периоды.

Принятие одинаковых расчетных критериев вероятности превышения паводочных воздействий для каждого из трех сопоставляемых режимов внутригодового функционирования дорожных объектов (сооружений) позволяет оценить по результатам проектных разработок объемно-стоимостные показатели строительства низководных и периодически затопляемых объектов (сооружений), а также продолжительность перерывов движения и периодов с ограниченной скоростью передвижения автотранспорта в паводочные периоды и тем самым создать условия сопоставимости применительно к этим же показателям высоководного режима.

Величины объемно-стоимостных показателей строительства низководных и периодически затопляемых объектов (сооружений) и продолжительность периодов с перерывом движения и движением с ограниченной скоростью обусловлены отметками пониженной части проезда по этим объектам (сооружениям), а поэтому могут регулироваться (изменяться) в зависимости от этих конкретно задаваемых отметок проезда.

Обеспечение заданной заказчиком или допустимой по технико-экономическим соображениям (расчетам) продолжительности периодов с перерывом движения или движения с ограниченной скоростью может быть достигнуто задаваемыми отметками пониженной части проезда лишь в том случае, если они будут соотнесены применительно к конкретному расчетному уровню высокой воды (т.е. при известной его величине). Вероятность превышения этого уровня воды будет таким образом обусловлена заданной или допустимой продолжительностью периодов с перерывом движения или движения по затопляемому сооружению с ограниченной скоростью передвижения. Вероятность превышения (ВП) этого уровня воды может быть установлена путем сопоставления с вероятностью превышения уровней воды, определенных гидрологическими расчетами по известным величинам расчетных расходов воды или зависимости Нр = f (ВП), где Нр - уровень воды с расчетной ВП.

При приоритетном значении технико-экономической оценки расчетной интенсивности движения на проектируемых низководных и периодически затопляемых объектах (сооружениях) расчетные критерии ВП паводочных воздействий должны назначаться в соответствии с данными табл. 4.1 и применительно к категории дороги и величине водотока (малый, средний, большой).

При заданной заказчиком (или нормативами) степени (уровне) ответственности возводимых низководных и периодически затопляемых дорожных объектов (сооружений) или при необходимости по технико-экономическим, народнохозяйственным, экологическим или иным соображениям соотнесения этих объектов (сооружений) к уровню ответственности расчетные критерии вероятности превышения паводочных воздействий следует назначать в соответствии с данными табл. 4.2 и табл. 4.3.

Таблица 4.2

Расчетные случаи

Класс ответственности (табл. 4.3)

I

II

III

IV

V

ВП максимальных расходов воды, %

Основной

0,3

1

2

5

10

Поверочный

0,2

0,3

1

3

5

Степень ответственности объектов и сооружений, характеризуемая экономическими, социальными и экологическими последствиями их отказов, должна оцениваться по следующим трем нормативно регламентируемым (22) уровням: I - повышенный; II - нормальный; III - пониженный (табл. 4.3).

Таблица 4.3

Уровни ответственности

Классы ответственности

Наименование объектов и сооружений

I

I

Автодорожные и совмещенные с ними мосты длиной более 100 м

 

 

Дорожные объекты независимо от их категорий, разрушение которых способно вызвать чрезвычайные и труднообратимые экологические последствия, а также длительное нарушение жизнеобеспечения с ущербами, вдвое превышающими начальную стоимость строительства

 

II

Автомагистрали и дороги I-III категорий, водопропускные сооружения и подтопляемые насыпи на них

II

III

Автомобильные дороги IV-V категорий, водопропускные сооружения и подтопляемые насыпи на них

 

 

Автомобильные дороги и искусственные сооружения на них, не вошедшие в I-III классы

III

IV

Временные и краткосрочные дороги и мосты со сроком службы до 10 лет

 

V

Временные и вспомогательные сооружения, возводимые при строительстве (реконструкции, защите) дорог и мостов

Повышенный уровень ответственности следует принимать для объектов и сооружений, отказы которых могут привести к тяжелым экономическим, социальным и экологическим последствиям.

Нормальный уровень ответственности следует принимать для объектов и сооружений массового строительства.

Пониженный уровень ответственности следует принимать для сооружений сезонного или вспомогательного назначения.

При проектировании и расчете конструкций дорожно-гидротехнических объектов следует учитывать коэффициент надежности по ответственности.

Величины коэффициентов надежности по назначению gn надлежит устанавливать в зависимости от уровня ответственности объектов и сооружений по соотношениям, рекомендуемым работой (22).

Критерии ВП поверочных расчетов сооружений IV класса (табл. 4.2) или тех ВП, которые могут быть наиболее целесообразны в конкретных условиях строительства сооружений этого класса, следует уточнять на основании технико-экономических расчетов эффективности затрат на их устройство и сохранение на период строительства.

Необходимость выполнения поверочных расчетов согласно соответствующим им критериям ВП, приведенным в табл. 4.2, предусмотрена требованием по недопущению возникновения в период эксплуатации предельного состояния устойчивости дорожно-гидротехнических объектов (сооружений), а также по предотвращению ущербов от возможного возникновения этого состояния.

При недостаточности этих поверочных критериев ВП они должны быть приняты более усиленными, чем те, которые приведены в табл. 4.2.

Оценка продолжительности затопления и перерывов движения, а также определение пропускной способности дорог на участках периодического затопления и на лотковых переливных сооружениях должны выполняться с учетом рекомендаций раздела 5 настоящей работы.

В составе издаваемой части проектной документации на строительство (реконструкцию) низководных и периодически затопляемых дорожных объектов (сооружений) должны быть отражены следующие разделы:

• инженерная оценка природных условий, включая обстоятельный анализ особенностей формирования и проявления паводочных процессов и внутригодового распределения речного (поверхностного) стока;

• технические нормы и транспортно-эксплуатационные показатели с необходимыми обоснованиями работ научно-проектного сопровождения;

• план трассы, продольный и поперечные профили земляного полотна;

• конструкции земляного полотна и дорожной одежды;

• конструкции искусственных сооружений;

• организация и безопасность движения;

• обустройство, обстановка и озеленение дороги и прилегающей местности;

• мероприятия по сохранению или улучшению окружающей среды и их логическое обоснование;

• мероприятия по организации строительства, содержания, ремонта и совершенствования дороги;

• результаты сопоставительного анализа по выбору и обоснованию оптимального варианта функционирования проектируемой дороги (сооружения);

• объемно-стоимостные показатели строительства (реконструкции) и эксплуатации по рекомендуемому варианту;

• оценка эффективности и окупаемости приведенных затрат на строительство (реконструкцию) и эксплуатацию;

• рекомендации по эксплуатации и регулированию движения автотранспорта в паводочные и внутригодовые периоды.

Проектом организации строительства должно быть предусмотрено строительство затопляемых (переливных) сооружений в теплое время года из талых грунтов.

Сроки непосредственно возведения сооружений должны быть определены интервалом от окончания весеннего паводка до наступления морозов и установления снежного покрова.

В проекте должны быть даны рекомендации по эксплуатации, содержанию и ремонту затопляемых сооружений в зависимости от климатических условий, характера прохождения паводка, наличия ледохода и карчехода, конструкции, грунтов и характеристик материалов сооружения.

Так, например, обвалование в одних случаях может защищать от снежных заносов, а в других способствовать им.

В зависимости от географической широты меняется характер снежного покрова и в зависимости от этого должен быть решен вопрос очистки сооружений от него или защиты с его помощью от размыва на первоначальном этапе паводка, вследствие сохранения земляного полотна дороги в мерзлом состоянии, а также использование снежного покрова на дороге для движения по ней зимой.

Должны быть рекомендованы сроки проведения ремонтных работ, рациональная технология, наиболее дешевые устройства и способы проведения ремонта и содержания

В проекте должны быть указаны ближайшие дорожно-эксплуатационные организации, способные на договорных условиях производить эксплуатационное содержание, если проектируемые сооружения не передаются эксплуатационным организациям.

В проекте должны быть предусмотрены мероприятия по допаводочным и послепаводочным осмотрам и уходу за состоянием низководных и периодически затопляемых дорожных объектов и сооружений. При необходимости должны выполняться работы по очистке проезжей части от остатков твердого стока, карчехода и ледохода, а также ремонтно-восстановительные работы.

В проектно-строительных решениях и эксплуатационных мероприятиях должны предусматриваться работы по обустройству паромно-наплавных сооружений, а также работы по организации и регулированию пропуска судовых средств через разводные пролеты и движения автотранспорта в судоходные, зимние и паводочные периоды года.

В отдельных случаях низководные и периодически затопляемые участки автомобильных дорог, кроме основных своих функций, могут быть использованы в качестве берегозащитных, волнозащитных, волногасящих, регулирующих, струенаправляющих, ограждающих, склоноукрепительных сооружений. Они также могут быть использованы для защиты пониженных территорий и поселений от подпорно-разрушающего воздействия и затопления при сгонно-нагонных и приливно-отливных явлениях.

В отдельных случаях низководные и периодически затопляемые участки дорог, как и высоководные насыпи, могут быть использованы как низконапорные плотины для создания небольших прудов, используемых для водозаборов, разведения водоплавающей птицы и для других хозяйственных целей.

Во всех этих случаях необходимы дополнительные проектные проработки по обеспечению нормального транспортно-эксплуатационного, защитного и народнохозяйственного функционирования низководных и периодически затопляемых участков автомобильных дорог с использованием соответствующих норм на проектирование и материалов согласований.

5. Условия движения автомобилей по периодически затопляемым участкам дорог и переливным сооружениям

5.1. Общие положения по оценке условий движения автомобилей

Условия движения автомобилей по периодически затопляемым участкам дорог и переливным сооружениям зависит от ряда фактором. И прежде всего от:

• конфигурации и параметров плана трасс, продольного и поперечного профилей затопляемых участков дорог и переливных сооружений;

• эксплуатационного состояния конструктивных элементов затопляемых участков дорог и переливных сооружений;

• особенностей внутригодового распределения речного (поверхностного) продолжительности и внезапности (непредсказуемости) процессов периодического затопления низководных дорожных сооружений;

• глубины затопления (слоя перелива) низководных дорожных сооружений и скоростей течения водного потока по заливаемой поверхности проезжей части;

• направления и скорости ветра;

• лобовой и боковой площадей проекций автомобиля, его обтекаемости и степени гладкости его поверхности;

• силы трения скольжения и качения;

• габаритов и массы загруженного и незагруженного автомобиля;

• дорожного просвета (клиренса);

• состояния повержности проезжей части, включая ее увлажненность, а также загрязненность горюче-смазочными материалами, остатками твердого стока и карчехода;

• способов регулирования движения автомобилей из затапливаемых низководным дорожным сооружениям, включая сигнализацию и осветительные устройства и другие мероприятия;

• технического состояния автомобиля и его подготовленности к движению по затопленной проезжей части низководных дорожных сооружений.

При поступательном движении автомобиля на подъем по затопленному низководному дорожному сооружению он вынужден преодолевать следующие силы (рис. 6): 1 - трение в механизмах силовой передачи (трансмиссии) от двигателя до ведущих колес, так называемое сопротивление качению - Рк; 2 - сопротивление качению колес; 3 - сопротивление движению на подъем - Pi; 4 - сопротивление воздуха - Рw, 5 - инерционные силы автомобиля и вращающихся масс его механизмов, возникающие при изменении скорости движения - Ри; 6 - сопротивление речного потока воды - Fn.

Сопротивления качению и воздушной среде действуют на автомобиль всегда во время его движения Сопротивления движению на подъем и силы инерции автомобиля могут отсутствовать (равномерное движение по горизонтальной дороге) и даже изменять свой знак на обратный (движение под гору или торможение).

Сопротивления качению, движению на подъем, воздуха и инерционные силы, действующие на автомобиль, более подробно рассматриваются при расчетах тягового баланса в специальных курсах проектирования автомобильных дорог.

Сопротивление речного потока поступательному движению автомобиля действует при его перемещении по затопленной проезжей части низководного дорожного сооружения.

Воздействие потока воды на движущийся в период затопления проезжей части автомобиль выражается как в лобовом сопротивлении этого потока, так и в силах его бокового воздействия, возникающих как перед автомобилем, так и действующими на его верховую боковую поверхность.

Лобовое сопротивление воды движению автомобиля при скорости течения водного потока менее 0,3 м/сек может быть определено по следующей формуле:

                                                                                                                    (5.1)

при w = hbSb,                                                                                                                      (5.2)

где: С - коэффициент сопротивления водной среды, кгс24, зависящий от обтекаемости форм автомобиля и ровности его поверхности, принимаемый при hпер > П (П - высота дорожного просвета - клиренса) равным для грузовых автомобилей - 0,09, автобусов - 0,07, легковых - 0,05, а при hпер £ П - для грузовых автомобилей - 0,04, автобусов - 0,03, легковых - 0,015; v - скорость движения автомобиля, км/ч; w - площадь проекции лобовой части автомобиля на плоскость водной преграды, перпендикулярную к направлению движения автомобиля, м2; Sb - сумма ширин отдельных частей поверхности автомобиля, соприкасающихся с водой, м.

Pиc. 6. Схема сил сопротивления движению, действующих на автомобиль на переливных сооружениях в паводок.

Рис. 7. Схема сил, действующих на автомобиль при движении по горизонтальному лотку в паводок.

Pиc. 8. Зависимость коэффициента сцепления j от состояния асфальтобетонного покрытия:
I - сухая поверхность; II - мокрая поверхность; III - замасленная поверхность; IV - покрытие из 9 в.ч. уличной грязи + 7 в.ч. воды; V - то же, 9 + 12 ; VI - то же, 9 + 17; VII -тоже, 9 + 22.

При пересечении автомобилем водного потока, протекающего со скоростью течения более 0,3 м/сек, лобовое сопротивление этого потока может быть определено по формуле (5.1) с учетом введения в нее коэффициента Кп, учитывающего скоростное сопротивление воды и определяемого по следующим соотношениям:

Vбп, м/сек

0,4

0,5

0,6

0,7

0,8

0,9

Кп

1,33

1,66

2,0

2,33

2,66

3,0

Vбп, м/сек

1,0

1,2

1,4

1,5

1,7

1,9

Кп

3,33

4,0

4,66

5,0

5,66

6,33

Vбп, м/сек

2,0

2,2

2,4

2,6

2,8

3,0

Кп

6,66

7,33

8

8,66

9,33

10

Наряду с вышерассмотренными силами (см. рис. 6) на движущийся по затопленным участкам ниэководного сооружения автомобиль действуют еще две боковые силы (рис. 7): сила бокового давления воды (F1) и сила бокового давления ветра (F2).

Эти две силы воздействуют и на остановившийся или стоящий на низководном сооружении автомобиль. Они могут действовать как разновременно, так и одновременно

Лобовое сопротивление водного потока, движущегося со скоростью течения свыше 0,3 м/сек, а также боковое воздействие сил F1 и F2 (см. рис. 7) должны учитываться в расчетах тягового баланса при движении различных типов (марок) автотранспорта по затопляемым дорожным сооружениям.

Воздействие сил F1 и F2 способно вызвать боковое скольжение (сдвиг) автомобиля по проезжей части лотка, а также его опрокидывание. При значительном боковом скольжении автомобиль может быть сдвинут с переливного лотка на неукрепленное русло водотока и подвергнут опасности подмыва, опрокидывания, затопления и заноса твердым стоком Если же высота лотка значительна, то автомобиль в результате скольжения может быть сброшен с него. При наличии оградительных бордюров у низовых кромок лотка и сдвижке автомобиля к ним возможно опрокидывание автомобиля речным потоком. Опрокидывание возможно и на проезжей части лотка в определенных условиях при отсутствии скольжения. Поэтому необходимы две проверки устойчивости автомобиля - на боковое скольжение и опрокидывание

Расчеты устойчивости автомобиля необходимо выполнять применительно к различным типам (маркам) автотранспортных средств (автобусы, легковые и грузовые автомобили и другая автотехника); к загруженному и незагруженному автотранспорту; к замедленному или заданному режимам движения с учетом тягового баланса и слою перелива воды, к возможному сочетанию (совпадению) различных сил воздействия на автомобиль в периоды затопления проезжей части низководных дорожных сооружений, к движущемуся и остановившемуся автотранспорту на проезжей части в периоды затопления; к уклонам проезжей части затопляемых сооружений, а также к различным задаваемым уровням затопления (перелива) проезжей части низководных дорожных сооружений.

Это позволит более надежно обосновать расчетный режим движения автотранспорта и функционирования этих сооружений, а также способы регулирования движения автотранспортных средств при максимально допустимой глубине перелива, при которой гарантируется безопасность и устойчивость передвижения различных типов (марок) автотранспортных средств.

5.2. Расчеты устойчивости автомобиля против бокового скольжения (сдвига) при его движении по затопленному прямолинейному горизонтальному участку низководного дорожного сооружения

Устойчивость автомобиля против бокового скольжения (сдвига) может быть обеспечена (15), если будет соблюдено следующее условие (см. рис. 7):

(P - P0)j ³ F1 + F2                                                                                                                (5.3)

при                                                                                                              (5.4)

где Р - вес автомобиля в загруженном или незагруженном состоянии; P0 - потеря веса автомобиля в воде; j - коэффициент поперечного сопротивления боковому сдвигу; F1 - сила бокового давления водного потока; F2 - сила давления боковой ветровой нагрузки; j0 - коэффициент сцепления шин автомобиля с покрытием проезжей части; j1 - коэффициент тягового (или тормозного) усилия.

С учетом данных А.В. Макарова (15, 23) коэффициент j1  может быть принят равным 0,7j0, а выражение (5.4) представлено в следующем виде:

                                                                                                                                               (5.5.)

Для затопленных участков дороги значение j0 следует определять в зависимости от типов покрытия и его состояния (15):

• мокрые поверхности покрытий, покрытых слизью или лишайником = 0,4 + 0,5;

• покрытия со скользкой поверхностью (грязь, лед и т.п.) = 0,3 + 0,2;

• черные щебеночные покрытия во время перелива вод = 0,2 + 0,08;

• цементобетонные покрытия в таких же условиях = 0,15 + 0,06.

Рекомендуемая зависимость коэффициента сцепления от состояния асфальтобетонного покрытия показана на графике (рис. 8).

Потеря веса автомобиля в воде может быть определена по следующей формуле:

P0 = g(SWк + W)                                                                                                                   (5.6)

где g - объемный вес воды; SWк - сумма объемов затопленных частей колес; W - объем затопленной части автомобиля на высоту выше отметки просвета в средней его части.

Сумма объемов затопленных частей колес и сопрягаемых с ними узлов (деталей) автомобиля определяется по формуле:

SWк = Wв + Wн + Wq                                                                                                             (5.7)

при                                                                                       (5.8)

и                                                                              (5.9)

где Wв - сумма объемов затопленных частей колес, находящихся с верховой стороны по отношению направления течения водного потока; Wн - то же с низовой стороны; п - количество колес, расположенных в одном ряду по одной из сторон автомобиля; Wq - сумма объемов затопленных узлов и деталей, сопряженных с колесами автомобиля; R - радиус колеса; R1 - радиус части круга колеса, занятой креплением к нему передней или задней осей (рис. 9); t - ширина колеса, m - число градусов длины дуги, которая определяется глубиной затопления колеса при переливе воды через проезжую часть низководного дорожного сооружения.

Pиc. 9. Схема к расчету параметров затопления колеса автомобиля.

Рис. 10. Схемы к расчету устойчивости автомобиля при движении по наклонной поверхности проезжей части

При глубине (слое) перелива воды hпеp < R - R1 в расчетах по формуле (5.7) может быть использовано равенство объемов Wн объемам Wв, т.е. Wн = Wв.

Сумма объемов Wq должна определяться индивидуальными расчетами применительно к конкретным конструктивным особенностям и размерам узлов и деталей конкретных типов (марок) автомобилей.

Для предварительных соображений определение объема затапливаемой части автомобиля на высоту выше просвета в средней его части может быть произведено по следующей формуле:

W = 0,9×Ш×Sn                                                                                                                                               (5.10)

где Ш - габаритная ширина автомобиля; Sn - затопляемая площадь поверхности кузова автомобиля, определяемая при габаритной длине Д автомобиля по следующим приближенным формулам:

для легковых автомобилей и автобусов:

Sn = 2Д(hпеp - П)                                                                                                                                               (5.11)

для грузовых автомобилей.

Sn = 1,8Д(hпеp - П)                                                                                                                                               (5.12)

где П - высота просвета в средней части автомобиля.

При выполнении этих расчетов следует руководствоваться расчетными параметрами конкретных типов (марок) автомобилей, для некоторых из них могут быть полезны данные табл. 5.1.

Таблица 5.1

Марка автомобиля

Параметры автомобилей

Р, кг

Рп, кг

R, м

Д, м

П, м

Ш, м

b, м

ЗАЗ-966 "Запорожец"

780

1080

0,643

3,73

0,19

1,535

1,22

"Москвич-412"

1000

1340

0,635

4,09

0,17

1,55

1,227

ВАЗ-2101 "Жигули"

945

1345

0,643

4,073

0,17

1,611

1,345

ГАЗ-21 "Волга"

1400

1825

0,729

4,735

0,174

1,8

1,42

РАФ-2203 "Латвия"

1720

2550

0,735

4,9

0,4

1,81

1,41

ПАЗ-672

4535

8060

0,927

7,15

0,45

2,4

1,9

УАЗ-451 ДМ

1500

2450

0,807

4,46

0,445

2,044

1,442

ГАЗ-53А

3250

7400

0,927

6,395

0,347

2,38

1,69

ЗИЛ-130Г

4575

9800

0,965

7,61

0,4

2,5

1,79

МАЗ-516

8800

23525

1,065

8,52

0,75

2,5

1,866

КрАЗ-257

11130

23355

1,118

9,66

0,68

2,65

1,92

В табл. 5.1. Р - собственный вес автомобиля в снаряженном состоянии; Рп - полный вес; b - расстояние между точками касания левых и правых колес автомобиля; R - радиус круга, равновеликого следу колеса; Д - габаритная длина автомобиля; Ш - ширина; П - высота просвета между низом кузова автомобиля и поверхностью проезжей части дороги.

Сила бокового давления водного потока при любых величинах уровней воды на проезжей части, и в том числе при уровне (слое) воды перелива, превышающем высоту просвета (П), может быть определена по следующей формуле:

при                                                                                                                                                 (5.13)

где Vп - максимальная расчетная скорость переливающегося водного потока, м/сек; п - количество колес автомобиля, расположенных в одном ряду по одной из его сторон; Sп - имеет то же обозначение, что в формуле (5.10) и определяется по формулам (5.11) и (5.12); Sд - суммарная площадь поверхностей деталей, выступающих под автомобилем (на которые способен оказывать боковое давление водный поток), определяемая для приближенных расчетов равной: 1,1п(Sв - 0,64Sн) для легковых автомобилей и 1,4п(Sв - 0,64Sн) для грузовых автомобилей и автобусов; Sв - площадь затопленной поверхности колеса автомобиля (автобуса) с верховой его стороны по отношению к направлению течения водного потока (см. рис. 9) и определяемая по нижеследующей формуле (5.14); Sн - площадь сегментной части (поверхности) верховой стороны колеса, располагаемого во втором нижележащем ряду колес автомобиля (автобуса) по отношению к направлению течения водного потока, и определяемая по нижеследующим формулам (5.15) и (5.16).

В формуле (5.13) параметры Sд и Sп равны нулю при слое перелива воды hпеp £ П (просвету в средней части автомобиля (автобуса). Величины параметров Sв и Sн могут быть определены по следующим формулам:

                                                                                                                                               (5.14)

Sн = Sв при hпеp < R - R1                                                                                                                                               (5.15)

при hпеp > R - R1:

                                                                                                                                               (5.16)

Параметры формул (5.14), (5.15) и (5.16) имеют те же обозначения, что и в формулах (5.8) и (5.9).

Сила бокового давления ветра может быть определена по следующей формуле:

                                                                                                                                              (5.17)

где С - коэффициент, зависящий от обтекаемости и степени гладкости поверхности кузова: r - плотность воздуха, которую можно всегда считать равной 1,293 кг/м3; Vв - расчетная скорость ветра, м/сек; S - площадь боковой проекции автомобиля на плоскость, параллельную продольной оси автомобиля, исчисляемая от уровня затопления (перелива) водой проезжей части.

В расчете на сдвиг и опрокидывание от ветровой нагрузки следует принимать ее максимальные значения для времени года, соответствующего времени возможного затопления проезжей части дорожных сооружений.

Формула (5.3) действительна для условий воздействия сил F1 и F2 на остановившийся (стоящий) автомобиль на затопленном участке дорожного сооружения или движущийся по нему при незначительных лобовых воздействиях ветровой нагрузки и скорости течения водного потока, не превышающей 0,3 м/сек.

При значительных лобовых проявлениях ветровой нагрузки и водного потока устойчивость движущегося автомобиля против бокового скольжения (сдвига) на затопленном участке переливаемого сооружения может быть обеспечена, если будут учтены суммарные силы ветра и водного потока, оказывающие как сопротивление этому движению автомобиля, так и боковое давление на него и соблюдено следующее условие:

                                                                                                                                              (5.18)

при SFлc = Fп + Pw,                                                                                                                                               (5.19)

и SFбд = F1 + F2                                                                                                                                               (5.20)

где SFлc - сумма сил лобового сопротивления воды (Fп) и воздуха (Pw) при поступательном движении автомобиля; SFбд - сумма сил бокового давления водного потока (F1) и ветра (F2)

5.3. Расчеты устойчивости автомобиля против сил опрокидывания при его движении по горизонтальной проезжей части на прямолинейном участке продольного профиля затопляемого дорожного сооружения

Расчет устойчивости автомобиля должен выполняться применительно к расположению автомобиля на проезжей части и схеме приложения сил бокового воздействия ветровой нагрузки и движущегося водного потока (см. рис. 7).

Опрокидывающий момент Мо возникает по линии, соединяющей точки касания 0 крайних колес автомобиля, расположенных с его низовой стороны по отношению направления течения водного потока. Его величина может быть определена по следующим формулам:

• при наличии ветровой нагрузки, совпадающей с направлением течения водного потока:

Мо = F1hnep + F2hв                                                                                                                                               (5.21)

при                                                                                                                                               (5.22)

при отсутствии ветровой нагрузки, совпадающей с направлением течения водного потока:

Мо = F1hnep                                                                                                                                              (5.23)

Удерживающий момент может быть определен по следующим формулам:

при наличии ветровой нагрузки, направленной против течения водного потока

Му = 0,5b(Р - Р0) + F2hв                                                                                                                                               (5.24)

при отсутствии ветровой нагрузки, направленной против течения водного потока

Му = 0,5b(Р - Р0)                                                                                                                                               (5.25)

В формулах (5.21), (5.22) и (5.24) hв - расстояние (высота) приложения силы бокового ветрового воздействия; Нa - габаритная высота автомобиля (автобуса) с учетом ее возможного превышения за счет загруженности грузового автомобиля; b - ширина колеи в осях колес, значения приведены в табл. 5.1.

Устойчивость автомобиля против его опрокидывания может быть обеспечена, если будет соблюдено следующее условие:

Му ³ Мо                                                                                                                                               (5.26)

При соблюдении этого условия необходимо учитывать различные возможные сочетания направлений ветровой нагрузки и силы бокового воздействия водного потока.

5.4. Расчеты устойчивости автомобиля против сил сдвига и опрокидывания водным потоком при его движении (нахождении) на наклонной проезжей части криволинейных в плане участков периодически затопляемых дорожных сооружений

Затопляемые дорожные сооружения нередко приходится устраивать на криволинейных участках дорог, что при проектировании требует назначения радиусов кривых, обеспечивающих устойчивость автомобилей и безопасность движения автомобиля в паводок. На уже построенных криволинейных сооружениях нередко возникает необходимость оценить устойчивость автомобилей и лимитировать расчетную скорость безопасного движения. В таких случаях необходим расчет устойчивости автомобиля при движении на односкатном вираже в период перелива паводковых вод.

В плоскости, поперечной к направлению движения, на автомобиль действуют: вес Р автомобиля, центробежная сила Ц, направленная горизонтально, и сила F1 бокового воздействия речного потока, направленная с учетом наклона проезжей части (по отношению к течению воды).

По расположению наклона проезжей части виража к направлению перелива воды следует различать два случая (рис. 10): I - направления потока и наклона не совпадают; II - направления потока и наклона совпадают. В обоих случаях расчета вес автомобиля и центробежную силу можно разложить на составляющие, перпендикулярные к проезжей части и параллельные ей.

Сила бокового воздействия речного потока в случае I параллельна дну водотока. Ее можно разложить на две составляющие - F1cosa и F1sina. В случае II сила F1 действует в направлении, параллельном проезжей части лотка, и может быть определена по формуле (5.13).

Центробежную силу, действующую на автомобиль, принято определять по формуле (15):

                                                                                                                                              (5.27)

где Rz - радиус кривой траектории движения; V - скорость движения автомобиля.

Опрокидывающий момент от действия этих сил вокруг точки 0: для случая I (см. рис. 10) равен:

М01 = {Цcosa - [(Р - P0)sina]´h + F1cosahnep};                                                                                                                                               (5.28)

для случая II (см. рис. 10):

М02 = Цcosa - [(Р - P0)sina]´h + F1hnep;                                                                                                                                               (5.29)

Удерживающий момент определяется по формуле:

Му1 = {Цsina + [(Р - Р0)cosa + F1sina]b/2};                                                                                                                                              (5.30)

Му2 = {Цsina + [(Р - Р0)cosa]b/2};                                                                                                                                              (5.31)

Устойчивость автомобиля на опрокидывание выражается условием Му ³ Мо (см. рис. 10):

для случая I:

b[Цi + (Р - Р0) + F1i] ³ 2h[Ц - (Р - Р0)i] + F1hnep;                                                                                                                                               (5.32)

для случая II:

b[Цi + (Р - Р0) + F1i] ³ 2h[Ц - (Р - Р0)i] + F1hnep/cosa                                                      (5.33)

при i = tga

Величина радиуса Rz кривой, обеспечивающего устойчивость автомобили в зависимости от поперечной сипы, скорости движения и глубины перелива, может быть получена путем преобразования формул (5.32) и (5.33) с учетом формулы (5.27):

для случая I:

                                                                                                                                              (5.34)

для случая II:

                                                                                                                                               (5.35)

Для обеспечения устойчивости на боковой сдвиг результирующая сдвигающая поперечная сила должна быть меньше реакции сопротивления автомобиля боковому сдвигу по покрытию (см. рис. 10):

для случая I:

Цcosa - (Р - P0)sina + F1cosa < [(Р - Р0)cosa + Цsina + F1sina]j;                                                                                                                                               (5.36)

для случая II:

Цcosa - (Р - P0)sina + F1 < [(Р - Р0)cosa + Цsina]j.                                                                                                                                               (5.37)

Деля обе части неравенств (5.36) и (5.37) на cosa и выражая tga через I, получим условия устойчивости автомобиля на боковой сдвиг:

для случая I:

Ц - (Р - P0)i + F1 < j(Р - Р0) + Цij + F1ij;                                                                                                                                               (5.38)

для случая II:

Ц - (Р - P0)i + F1/cosa < j(Р - Р0) + Цij                                                                                                                                               (5.39)

Преобразуя неравенства (5.38) и (5.39) с учетом формулы (5.27), получим минимальный радиус кривой, обеспечивающий устойчивость автомобиля против сдвига с проезжей части переливного лотка в период перелива паводковых вод (см. рис. 10):

для случая I:

                                                                                                                                               (5.40)

пренебрегая членом ij  из-за его малости, получим:

                                                                                                                                               (5.41)

для случаи I:

                                                                                                                                               (5.42)

Если условия, определяемые неравенствами (5.38) - (5.42), не удовлетворяются, то возможны скольжение и сдвиг автомобиля к внешней кромке кривой.

Допустимая глубина перелива воды на лотках определяется проверкой различных типов автомобилей на боковой сдвиг и опрокидывание при различных глубинах hnеp перелива и назначением расчетной глубины перелива для всей дороги или отдельных лотков по одной или нескольким маркам автомобилей.

Лимитирующими служат автомобили, преобладающие в составе ожидаемого движения, а для остальных возможность движения по лотку в период паводка и продолжительность перерыва движения будет определяться их устойчивостью против сдвига и опрокидывания. Такими расчетами нужно обосновывать нормативы на проектирование для каждого объекта.

Максимальная допустимая глубина перелива лимитируется для ряда марок автомобилей не только устойчивостью против сдвига и опрокидывания, но и конструктивными особенностями их, т.е. высотой тех частей автомобиля, в которые может попасть вода и нарушить нормальную работу двигателя (карбюратор, маслозаливная и бензозаливная горловины).

При наличии ветровой нагрузки и ее совпадении с воздействием водного потока в паводочные периоды расчеты устойчивости автомобиля против его опрокидывания должны выполняться с учетом силы бокового давления ветра. Учет этой силы должен производиться по аналогии с рекомендациями п. 5.3 настоящей работы и применительно к схеме расположения сил, представленной на рис. 10.

6. Расчеты режимов затопления и движения автотранспорта по периодически затопляемым участкам дорог и переливным сооружениям

6.1. Особенности движения автомобилей на затопляемых участках и методика определения их пропускной способности

Внутригодовая пропускная способность дорог с переливными искусственными сооружениями циклична. В межпаводковый период их пропускная способность определяется как для обычных дорог и зависит только от технических параметров и конструктивных особенностей сооружений и дороги.

В паводковый период пропускная способность дорог значительно уменьшается и зависит от ряда дополнительных факторов: различных допустимых глубин перелива для различных типов движущегося транспорта, определяющих возможность передвижения по сооружению; специфических особенностей движения транспорта по затопленной проезжей части в паводочный период; продолжительности затопления и перерыва движения, наличия твердого стока и т.д. Анализ натурных наблюдений позволил выявить специфику и основные особенности движения автомобилей по затопляемым сооружениям в период допустимого перелива паводковых вод, которые в значительной мере определяют пропускную способность дорог. К таким особенностям надо отнести: необходимость равномерного движения автомобилей с небольшой скоростью движения в один ряд при ширине проезжей части меньше 7,5 м; интервал между двумя двигающимися автомобилями, который должен быть выдержан исходя из безопасности движения, нежелательности остановки на лотке переливного сооружения нескольких автомобилей и необходимости оказания своевременной технической помощи (отбуксировка с дороги, подъемно-спасательные работы) и помощи людям; регулирование очередностью и сменой направления движения; необходимость подготовки автомобиля к движению по воде (снятие ремня вентилятора, закупорка отверстия для маслоопределительного щупа и др.); ликвидация последствий после движения при частичном затоплении автомобиля (одевание ремня вентилятора, просушка тормозов, проверка электрооборудования и др.).

Движение автомобилей с небольшой скоростью вызывается потребностью преодоления сопротивления речного потока и обеспечением их непрерывного движения без вынужденных остановок из-за перебоев в работе двигателя при переключениях передач скоростей.

Движение в один ряд определяется значительным боковым воздействием речного потока и поверхности проезда на рулевое управление и автомобиль в целом, которое вызывает местные изменения траектории движения. Движение по переливному сооружению в период паводка сопряжено с отсутствием видимости проезжей части, а в некоторых случаях - и боковых границ лотков. К непредвиденным помехам можно отнести плывущие карчеход и наносы. Все это создает условия, когда для уверенного и безопасного управления автомобилем необходима ширина полосы, значительно большая, чем при движении по переливным сооружениям в обычных условиях внепаводочного периода.

Как показывают наблюдения, ширину полосы движения автомобиля в период максимально допустимого перелива нужно принимать не меньше 4,5 м для грузовых автомобилей и автобусов и не меньше 4 м для легковых. С обеих сторон расчетной полосы движения надо предусматривать на переливных лотках гарантийное уширение проезжей части. Ширина полосы движения на переливных сооружениях (лотках) может быть определена по формуле:

В = bп + Ву                                                                                                                            (6.1)

где bп - ширина полосы движения автомобиля в период максимально допустимого перелива; Ву - гарантийное уширение проезжей части, принимаемое в зависимости от длины L лотков, при L £ 100 м Ву = 0,5; при L = 100¸150 м Ву = 0,75 м и при L > 150 м Ву = 1 м.

Исходя из обеспечения этих условий и особенностей движения транспорта по переливным лоткам, наиболее целесообразным интервалом Iр между двумя автомобилями будет интервал, равный длине разлива паводковых вод вдоль оси переливного сооружения. При периодической смене направления движения этот интервал должен быть равным длине лотка L и необходимому расстоянию для разъезда встречных автомобилей L + Ву.

На дорогах с интенсивным движением во избежание заторов автотранспорта желательно предусматривать на подходах к переливаемым сооружениям остановочные площадки для технической подготовки автомобилей к движению в период паводка и приведению их в нормальный эксплуатационный порядок после форсирования брода для дальнейшего движения по дороге.

Для дорог с переливными сооружениями целесообразно рассматривать три интервала при определении пропускной способности: 1 - в сечении переливного сооружения; 2 - на участке дороги между переливными сооружениями; 3 - а целом на всем протяжении дороги; с одним переливным сооружением; с несколькими сооружениями; с переливными лотками, служащими основным типом водопропускных сооружений.

Применение переливных сооружений (лотков) в качестве основного типа сооружений позволяет регулировать соответствие интенсивности движения с их капитальностью. Применение на одной дороге различных по капитальности сооружений должно быть основано различиями по интенсивности движения различных участков дорог или необходимостью их устройства по технико-экономическим соображениям (дороги пионерного характера, стадийность переустройства, административные и др.).

На местных дорогах с незначительной интенсивностью нередко переливные сооружения (лотки) применяют в качестве сооружений, обеспечивающих проезд одиночных автомобилей через водные препятствия.

Поскольку передвижение по переливным сооружениям (лоткам) в паводок ограничено одной полосой, по которой транспорт движется в один ряд, то пропускная способность дороги в створе переливного лоткового сооружения будет зависеть от пропускной способности одной полосы движения.

Количество автомобилей, пропускаемых через переливное сооружение (лоток) в паводочный период, который состоит из нескольких паводков, при глубине перелива менее допустимой (рис. 11) надо определять по формуле:

                                                                                  (6.2)

где V - расчетная скорость движения автомобиля при затоплении лотка в пределах допустимой глубины перелива, км/ч; Ip - допустимый интервал между автомобилями в период затопления лотка, м; tn, tcn - время паводка соответственно на его подъеме и спаде, при котором возможно движение автомобиля через переливной лоток, ч; Dtn, Dtcn - время на подъеме и спаде паводка, при котором движение еще происходит в две полосы, т.е. как во внепаводочный период, ч.

Рис. 11. График к расчету пропускной способности переливного сооружения в паводочный период:
Нпд - уровень допустимого перелива воды, Но - уровень воды, ниже которого может происходить обычное для внепаводочного периода движение автомобилей в две полосы.

Пропускную способность (авт/ч) переливного лотка за суммарную продолжительность паводочного периода нужно определять по формуле:

                                                                                                       (6.3)

или

                                                                                    

Для приближенных вычислений пропускной способности (авт/час) при недостатке исходных данных можно использовать формулу:

                                                                                                            (6.4)

где tз, Тп - среднемноголетние и среднегодовые величины паводочного периода (см. рис. 11).

Пропускная способность транзитного участка дороги между двумя переливными сооружениями будет определяться наименьшей пропускной способностью одного из этих сооружений, вычисленной по формуле (6.2).

Пропускная способность во многом зависит от длительности паводка и той его части, при которой движение прекращается. Пропускная способность дороги будет зависеть от количества сооружений, расстояния между ними, времени появления паводков и их продолжительности на каждом из сооружений. Наибольшая пропускная способность в паводочный период может быть достигнута в районах с краткосрочными и неодновременными паводками на всей длине дороги.

6.2. Расчеты продолжительности затопления, перерывов движения и экономической целесообразности автомобильных дорог с периодически переливными сооружениями

Замедление и остановка движения транспорта на автомобильных дорогах с периодически затопляемыми участками и сооружениями в паводковые периоды вызывает некоторые экономические потери, пределы которых могут регламентироваться заданием.

Если эти потери больше установленных или больше, чем снижение строительной стоимости переходов с применением переливных сооружений, то с экономической точки зрения устройство таких сооружений нецелесообразно. Чем чаще и продолжительнее затопляются сооружения на глубину, большую Нпд (см. рис. 11), тем больше потери от перерыва движения и снижения строительной стоимости низководных сооружений.

Потери от перерыва движения зависят не только от продолжительности перерыва, но и от интенсивности движения по дороге в паводочный период. Чем выше интенсивность движения в паводочный период, тем больше потери от длительности перерыва движения.

Экономическая целесообразность строительства автомобильных дорог с низководными периодически затопляемыми сооружениями должна обосновываться сравнительным анализом с высоководным внутригодовым режимом функционирования дорог по заданному их направлению и планово-высотному расположению.

Сопоставительный анализ должен выполняться в сопоставимых ценах с примененном следующей зависимости:

                                                                                                          (6.5)

где: Пз - потери от уменьшения интенсивности замедленного движения по дороге в паводочный период; По - потери от перерыва движения при уровнях воды более предельно допустимого; Э - затраты на эксплуатацию, содержание и восстановление затопляемых сооружений в послепаводочный период; DС - снижение строительной стоимости.

Снижение строительной стоимости периодически затопляемых дорожных объектов (низководные дороги, отдельные низководные участки дорог, подходы к мостам и другим сооружениям, переливные мосты и лотковые конструкции и другие типы) по сравнению с высоководными или объектами комбинированного функционирования зависит от ряда факторов и может быть определено в общем виде по следующей формуле:

DС = DК + DН + DР ± DУ ± DЗ,                                                                                          (6.6)

где DК - уменьшение строительной стоимости конструкции переливных (затапливаемых) сооружений; DН - снижение стоимости земляных работ; DР - снижение стоимости регуляционных сооружений; DУ - снижение (увеличение) стоимости укрепительных работ по защите затопляемых, переливных сооружений от размывов переливающимся через них водным потоком и волнового воздействия; DЗ - уменьшение (увеличение) стоимости строительства конструктивов и затрат, не учтенных вышеприведенными параметрами формулы (6.6) и необходимых для устройства как высоководных, так и низководных сооружений (дорожная одежда, остановочные площадки, обустройство дороги и средств регулирования движения, временные и вспомогательные сооружения и другие).

Анализируя выражения (6.5) и (6.6) относительно каждого из входящих в него параметров, можно установить экономическою целесообразность сооружений лоткового типа в любом конкретном случае проектирования. Наибольшая экономическая целесообразность строительства переливных сооружений лоткового типа может быть достигнута на автомобильных дорогах низших категорий при невысокой интенсивности движения и такой сезонности перевозок, кома потери от задержки доставки грузов в паводочный период невелики.

Предельно допустимая продолжительность tдоп перерыва движения, исходя из экономической целесообразности, может быть установлена расчетами из соблюдения условия:

Пз + По + Э = DС                                                                                                                  (6.7)

Продолжительность перерыва движения определяется не только в зависимости от экономических факторов, но и от гидрологических условий района проектирования.

Из анализа гидрологических условий видно, что tдоп ограничивается гидрологическими условиями и не может быть больше периода затопления проезжей части переливного сооружения, при котором движение транспорта вынуждено осуществляться по одной полосе, т.е. tдоп £ tnep, где tnep - продолжительность перелива в интервале изменений уровней от Н0 до Нпд (см. рис. 11).

Наличие на пересекаемых водотоках интенсивного ледохода, карчехода, сплава и судоходства вызывает дополнительные ограничения гидрологического характера и хозяйственной деятельности. В ряде случаев приходится допускать перерыв движения только при высоких паводках (переходы с затопляемыми пойменными насыпями), а в ряде случаев значительно увеличивать продолжительность затопления (броды и низководные затопляемые мосты).

При одинаковых интенсивностях движения и всех остальных параметрах выражений (6.5) и (6.6) наибольшая целесообразность устройства переливных лотковых сооружений достигается в период непродолжительных паводков. К таким случаям относятся переливные сооружения через малые и средние водотоки с дождевым и снеговым максимальным стоком.

Сложность гидрологических условий проложения дорог приводит в ряде случаев к значительному снижению строительной стоимости, если применить переливные сооружения, что определяет их экономическую целесообразность и при значительном паводочном периоде и продолжительности перерыва движения.

Экономический эффект может быть достигнут и в случае недопущения перерыва движения по переливным сооружениям, т.е. при соблюдении расчетных глубин перелива hnp £ hnд. В каждом конкретном случае необходим индивидуальный подход к решению вопроса об экономической целесообразности строительства и эффективности капиталовложений в его реализацию. Основой решения этого вопроса должны служить результаты расчетов по формулам (6.5), (6.6), (6.20).

Одной из основных задач проектирования является нахождение уровня начала перелива - минимальной отметки проезжей части лотка в одной из характерных точек его поперечного сечения, принимаемой в качестве расчетной (верховой или низовой бровкам, или же на оси проезда). Для переливных лотков, устраиваемых без стеснения речного потока, расчетный уровень перелива надо определять по конструктивным соображениям и условиям возможного затопления местности.

При стеснении потока лотковыми сооружениями уровень начала перелива (верх лотка) надо назначать, исходя из того, допущен или не допущен перерыв движения.

Назначение расчетной отметки верха лотка с перерывом движения зависит от допустимого и наиболее рационального в заданных условиях перерыва, что устанавливают на основе технико-экономического сравнения различных вариантов высотного положения проезжей части.

Допущение перелива воды через низководное (лотковое) сооружение при необходимости обеспечения непрерывного движения по дороге неразрывно связано с решением вопроса о предельно возможном слое перелива, не препятствующем замедленному движению транспорта.

Наряду с рассмотренными воздействиями водного потока на устойчивость автомобиля при движении по лотку в паводок (см. раздел 5) необходимо оценивать допустимый набег водного потока на автомобиль и такое его затопление, при котором движение автомобиля становится невозможным из-за попадания воды в детали и узлы двигателя, а также в кабину, кузов и другие его части.

Предельно допустимая глубина hд воды у верховой боковой поверхности автомобиля при его движении в период перелива зависит от скорости течения речного потока и может быть вычислена с учетом допустимой глубины hпд перелива по условиям устойчивости против сдвига и опрокидывания и набега волны Dhн от динамического воздействия потока по формуле:

hд = hпд + Dhн                                                                                                                        (6.8)

при hпд = hк = Н/1,5                                                                                                             (6.9)

и Н = V2/(qg2) = 0,14V 2,                                                                                                                                               (6.10)

где hпд соответствует критической глубине переливаемого потока, определяемой для переливных лотков без отверстий; Dhн - набег воды от динамического воздействия речного потока на боковую поверхность автомобиля; Н - подъем уровня воды перед лотком при свободном протекании через лоток; j - коэффициент скорости переливаемого потока, учитывающий потери энергии и равный 0,85; V - расчетная скорость водного потока.

Набег воды от динамического воздействия речного потока на боковую поверхность автомобиля определяется по формуле:

                                                                                                                                              (6.11)

где aн - коэффициент, учитывающий зависимость набега волны от средней бытовой скорости в русле на участке устройства лотка; k - переменный показатель степени редукции, учитывающий изменение высоты набега воды в зависимости от скорости речного потока; Vcp - средняя бытовая скорость.

Величину Dhн набега воды от динамического воздействия потока на поверхность автомобиля при предельно допустимой глубине hд у верховой боковой поверхности автомобиля определяют из соотношений:

Vcp, м/с

0,5

1,0

1,5

2

2,5

3

4

aн

1,01

1,0

0,97

0,95

0,92

0,9

0,82

Vk : q

0,1

0,2

0,32

0,45

0,55

0,75

1,17

Dhн

0,1

0,2

0,3

0,42

0,5

0,63

0,95

hд, м

0,12

0,29

0,5

0,8

1,07

1,47

2,45

По предельно допустимой глубине hпд затопления надо учитывать расчетную скорость течения речного потока по проезжей части лотка, допуская для различных марок автомобилей предельные значения скоростей течения (при обеспечении устойчивости против сдвига и опрокидывания); V£1,5¸1,6 м/сек для автомобилей ЗАЗ-966 "Запорожец", "Москвич-412", ВАЗ-2101 "Жигули", ГАЗ-24 "Волга", РАФ-2203 "Латвия" и УАЗ-451ДН не больше 1,5-1,6 м/с, а для автомобилей ПАЗ-672, ГАЗ-53А, ЗИЛ-1305, МАЗ-516, КрАЗ-257 - не больше 2,4-2,5 м/с. Однако эти данные весьма приближенные и их надо проверять расчетами на устойчивость автомобилей.

Для вычисления предельно допустимой глубины затопления и гидрологических характеристик, определяющих ее, необходимо найти расчетный расход Qp при РУВВ заданной ВП. С этой целью строят кривую Q = f(H) (рис. 12) по данным гидрометрических или морфометрических наблюдений. В поперечном сечении водотока выделяют характерные части и вычисляют соответствующие им расходы для разных уровней По этим данным строят кривую расходов Q = f(H), где Н - глубина воды от наинизшей точки дна поперечного сечения водотока.

Рис. 12. Графики для определения длительности затопления и перерыва движения:
1 - кривая Q = f(H); 2 - кривая v = f(H); 3 - поперечное сечение водотока в месте перехода (пунктир); 4 - график колебаний уровней требуемой ВП; 5 - уровень перелива Но ниже которого может происходить обычное для внепаводочного периода движение автомобилей в две полосы; 6 - уровень допустимого перелива, выше которого движение автомобилей прекращается; 7 - уровень проезжей части высоководного моста-лотка или незатопляемой насыпи; 8 - tпер; 9 - проезжая часть переливного сооружения; 10 - toi; 11 - кривые продолжительности затопления от уровня Н, воды на лотке до РУВВ

Кривую расходов строят по уравнению равномерного движения жидкости, для чего определяют по формулам:

                                                                                                                                               (6.12)

                                                                                                                                               (6.13)

Для определения периода затопления необходимы сведения по внутригодовым колебаниям уровней воды за ряд лет, а чтобы узнать, на какой период будет затапливаться переливное сооружение, надо располагать расчетным снижением высоты проезжей части высоководного моста (или незатопляемой насыпи), которое можно выразить следующими формулами:

Дня незатопляемой насыпи:

DZ = Dhп + Dhв + Dhз + Dhy                                                                                                                                              (6.14)

Для высоководного моста:

DZ = DНв + DНс + DНп                                                                                                                                               (6.15)

В формулах (6.12), (6.13), (6.14) и (6.15); т = 1/п - коэффициент, учитывающий шероховатость лотка водотока; J - уклон реки;  - средняя глубина при РУВВ; Wрб - площадь сечения потока в русле при РУВВ; Dhп - подпор перед незатопляемой насыпью; Dhв - высота волны с набегом; Dhз - допустимый нормативами запас; Dhy - возвышение насыпи по условиям проектирования; DНв - минимально допустимое возвышение низа пролетных строений мостов; DНс - высота пролетных строений; DНп - слои дорожной одежды.

Продолжительность допускаемого затопления переливных сооружений заданной ВП при различных уровнях нужно устанавливать по расчетному графику колебаний уровней воды той же ВП (см. рис. 12).

Период изменения необходимого учета и регулирования пропускной способности автотранспорта на периодически затопляемых сооружениях (tп + tз + tcn) при прохождении отдельного пика (однопикового) паводка (см. рис. 11) должны предусматривать следующие последовательно возникающие фазы режима затопления переливных сооружений: 1 - фаза возможного движения автомобиля с ограниченной скоростью на подъеме паводка от уровня начала затопления проезжей части Н0 (см. рис. 11) до уровня допустимого перелива воды через нее Нпд; 2 - фаза перерыва движения на период tз (см. рис. 11), характеризуемый уровнями воды Н ³ Нпд (см. рис. 11); 3 - фаза возможного движения автомобиля с ограниченной скоростью на спаде паводка от уровня Нпд до уровня Но (см. рис. 11).

Продолжительность периода возможного движения автомобиля с ограниченной скоростью при однопиковом паводке (см. рис. 11) состоит из продолжительности первой фазы (tп) и продолжительности третьей фазы (tcn) и составляет, применительно к рис. 12, величину tдв = tо - tnеp, где tо - продолжительность затопления проезжей части однопиковым паводком при уровне воды, равном Но (см. рис. 11).

При многопиковых паводках (см. рис. 12) суммарную во внутригодовом периоде допустимую (расчетную) продолжительность перерыва движения при уровне перелива Нnеp, равном уровню воды Нпд с глубиной воды hпд, определяют по формуле:

tnеp = tn1 + tn2 + tn3 + ... + tnn                                                                                                                                               (6.16)

Суммарная во внутригодовом периоде допускаемая продолжительность многопикового паводочного периода с ограниченной скоростью движения и движения автомобилей в одну полосу (при уровнях Но¸Нпд) определяется по формуле:

tдв = (to1 - tn1) + (to2 - tn2) + ... + (ton - tnn)                                                                                                                                               (6.17)

при tni = Wni/(Hp - Hперi)                                                                                                                                               (6.18)

 и toi = Woi/(Hp - Но)                                                                                                                                               (6.19)

где tni, toi - продолжительность отдельных паводочных. волн; Нр - расчетный уровень высокой воды; Wni, Woi - площади графика колебаний уровней воды отдельных паводочных волн соответственно выше уровней Hперi и Но (см. рис. 12).

На основе данных о многолетних колебаниях уровней воды необходим расчетный график зависимости продолжительности затопления от высоты слоя переливающейся воды при паводках разной ВП, т.е. tnep= f(hnep), по которому (см. рис. 12) следует определять длительность затопления при паводках с различными ВП (ежегодной, 50, 10, 5, 2, 3, 1% и других).

Ограничение пропускной способности переливных сооружений по пропуску автотранспорта в периоды первой и третьей фаз режима затопления этих сооружений вызвано не только необходимостью передвижения автомобилей с ограниченной скоростью, но и рядом сопутствующих и сопряженных с нею условий: разграничением по грузоподъемности и проходимости разных типов (марок) автомобилей, а также с ограничением, связанным с необходимостью регулирования движения как в одном, так и в обоих направлениях, и с другими факторами.

Экономическая эффективность строительства периодически затопляемых сооружений при паводках различной вероятности превышения и снижения проезжей части высоководных сооружений (мостов или незатопляемых насыпей) в пределах колебаний уровней воды (от Но до РУВВ), вызывающих затопление переливных сооружений, может быть оценена по следующему выражению:

                                                                                                                                              (6.20)

где Кэ - коэффициент повышения эффективности капиталовложений, определяемый заданием на проектирование, а при ого отсутствии принимаемый равным 1,25; DСг - годовая экономия от снижения стоимости строительства; Пг - годовые потери, определяемые по формуле:

Пг = Пог + Пзг + Эг + DРг + DДг                                                                                                                                               (6.21)

где Пог - среднегодовые потери при паводках различной ВП и различных вариантах высотного положения проезжей части затопляемых сооружений в пределах колебаний уровней воды от Нпд до РУВВ (Нр), вызывающих перерыв движения автотранспорта, определяемые по формуле (6.22); Пзг - среднегодовые потери от уменьшения ожидаемой (расчетной) интенсивности движения и движения по одной полосе в интервале колебаний уровней воды от Но до Нпд (см. рис. 12), определяемые по формуле (6.25); Эг - среднегодовые затраты на эксплуатацию, содержание и восстановление периодически затопляемых (переливных) сооружений во внутригодовом и послепаводочном периодах, определяемые по формуле (6.27); DРг - среднегодовые затраты на подготовку затопляемых сооружений к пропуску паводков и их эксплуатации после прохода паводков; DДг - среднегодовые затраты на регулирование движения автотранспорта в периоды первой и третьей фаз затопления переливных сооружений, а также на регулирование движения по пропуску автотранспорта и судов на судоходных реках

Пог = NpGr0tcгп,                                                                                                                                               (6.22)

где Np - ожидаемая суточная интенсивность движения автомобилей в период паводков с учетом расчетной перспективы; G - расчетная грузоподъемность автомобиля; r0 - среднегодовая величина потерь от задержки в пути на одни сутки единицы груза, определяемая путем оценки ущерба от задержки грузов в среднегодовом периоде вынужденного простоя (перерыва движения) автотранспорта tcгп при уровне воды Нпд (см. рис. 11 и рис. 12); tcгп - среднегодовая продолжительность внутригодового периода с перерывом движения (простоя) автотранспорта мри уровне перелива Нпд (см. рис. 11) и более, определяемая по среднемноголетнему графику внутригодовых колебаний уровней воды H = f(t) с использованием формулы (6.16).

При отсутствии данных многолетних наблюдений за внутригодовыми колебаниями уровней воды и невозможности их использования для построения требуемого среднемноголетнего графика H = f(t) необходимо для определение величины tcгп использование следующей формулы:

tcгп = tпер Кр                                                                                                                                               (6.23)

где tпер - определяемая по формуле (6.16) суммарная внутригодовая продолжительность перерыва движения при уровне перелива Нпд для паводка любого года с известной или заранее определенной ВП; Кр - коэффициент перехода от паводка с любой известной ВП, используемый для определения величины tпер по формуле (6.16), к среднемноголетнему паводку с ВП = 50%.

При возможности доставки грузов в обход периодически затопляемого сооружения может быть использована следующая формула для определения величины r0:

r0 = ас DL + Drп,                                                                                                                                               (6.24)

где ас - стоимость 1 ткм; DL - увеличение пробега грузов, Drп - потери от запаздывания доставки грузов к месту назначения при переброске движения автотранспорта в обход затопляемого сооружения.

Среднегодовые потери от уменьшения ожидаемой (расчетной) интенсивности движения автотранспорта и его движения по одной полосе в интервале колебаний уровней воды от Но до Нпд рекомендуется определять по следующей формуле:

Пзг = (Np - Nn)Grgtcдв,                                                                                                                                               (6.25)

где Nn - суточная интенсивность движения автомобилей с ограниченной скоростью в период колебаний уровней воды от Но до Нпд, rg - среднегодовая величина потерь от задержки (при ограниченном движении) в пути на одни сутки единицы груза определяется путем оценки ущерба от задержки грузов в среднегодовом периоде вынужденного движения автотранспорта с ограниченной скоростью tcдв при изменении уровней воды от Но до Нпд (см. рис. 11 и рис. 12); tcдв - среднегодовая продолжительность внутригодового периода с движением автотранспорта с ограниченной скоростью в период изменения уровней воды от Но до Нпд и от Нпд до Но (первая и третья фазы режима) затопления, определяемая (см. рис. 11) по среднемноголетнему графику колебаний уровней воды H = f(T) с использованием формулы (6.17).

При отсутствии данных многолетних наблюдений за внутригодовыми колебаниями уровней воды и невозможности их использования для построения требуемого среднемноголетнего графика H = f(t) необходимо для определения tcдв, использование следующей формулы:

tcдв = tдвКр,                                                                                                                                               (6.26)

где tдв - определяемая по формуле (6.17) суммарная во внутригодовом периоде продолжительность паводочного периода с ограниченной скоростью движения и движения в одну полосу автомобилей в диапазоне колебаний уровней воды от Но до Нпд (см. рис. 11 и рис. 12); Кр - коэффициент, имеющий то же обозначение и применение, как в формуле (6.23).

Среднегодовые затраты на эксплуатацию, содержание и восстановление периодически затопляемых (переливных) сооружений во внутригодовом и послепаводочном периодах рекомендуется определять по формуле:

Эг = П(DД + DУ + DРз + DЧ + DО + DПу)                                                                                                                                               (6.27)

где DД - затраты на ремонт или восстановление дорожной одежды; DУ - то же укреплений откосов, входных и выходных конструкций; DРз - затраты на ремонт и восстановление регуляционных сооружений и сигнально-регулирующих обустройств; DЧ - затраты на очистку проезжей части затопляемых (переливных) сооружений от остатков твердого стока, карчехода, ледохода и т.п.; DО - то же на прочистку отверстий водопропускных сооружений, находящихся под проезжей частью и предназначенных для пропуска меженного стока от заиливания, наледно-мерзлотных и снего-ледовых образований, остатков карчехода и твердого стока; DПу - ремонт и восстановление причальных устройств и опор низководных деревянных мостов и других сооружений.

При устройстве затопляемых сооружений в местах, подверженных особо интенсивному отложению твердой части стока речного или склонового, следует учитывать, что срок службы этих сооружений может быть ограничен условиями заносимости.

В таких условиях особое значение для экономической оценки приобретает не только сумма годовых затрат на восстановление эксплуатационных характеристик затопляемых, переливных сооружений, но и затраты, которые могут потребоваться на полное переустройство сооружений.

Определяющими условиями устройства затопляемых, переливных сооружений (участков дорог, подходов к мостам, лотков и др.) являются: 1 - использование их для движения транспорта в кратковременный период эксплуатации (дороги и подъезды к карьерам, стройплощадкам, нефтепромыслам, лесо- и торфоразработкам, сельскохозяйственным угодьям и т.п.; 2 - пионерные дороги и сооружения на них с последующим стадийным переустройством и совершенствованием; 3 - использование для форсирования вброд водных преград, а также для более надежной связи разобщенных территорий и небольших поселений; 4 - дороги и сооружения на них, имеющие внутрихозяйственное, административное и другое специальное назначение.

При оценке экономической эффективности затрат на строительство периодически затопляемых (переливных) дорожных сооружений следует, наряду с вышеизложенными рекомендациями, руководствоваться Рекомендациями Минтранса РФ (24).

7. Расчеты водопропускной способности периодически затопляемых сооружений и гидравлических характеристик водного потока

7.1. Расчеты гидравлических характеристик при переливе воды через земляное полотно

Переливаемая насыпь автомобильных дорог относится к частному случаю водослива.

В зависимости от глубины водного потока в нижнем бьефе hб = hн, высоты земляного полотна hзп и критической глубины hкр можно ожидать одну из следующих двух характерных форм водной поверхности при переливе водного потока через дорогу (рис. 13):

насыпь не затоплена (свободный перелив) (см. рис. 13а)

при hб < hн + hкр                                                                                                                   (7.1)

насыпь затоплена (см. рис. 13б):

при hб > hн + hкр                                                                                                                   (7.2)

Рис.13. Режим перелива волы на затопляемых участках дорог и переливных лотках:
а - истопленный; б - затопленный; К - К - линия критических глубин

Одной из главных задач проектирования является выявление и обоснование расчетного режима протекания водного потока и условий функционирования нижнего бьефа при расчетном паводочном затоплении дорог в каждом конкретном случае (месте) пересечения ими водотоков

Бытовую глубину в нижнем бьефе hб переливного сооружения определяют по живому сечению водотока в месте его пересечения при расчетном уровне высокой воды (РУВВ), соответствующем максимальному расходу требуемой ВП.

Критическую глубину воды по оси дороги при расчете незатопленной насыпи (см. рис. 13а) рекомендуется определять по формуле:

                                                                                                                        (7.3)

где a - коэффициент кинетической энергии, равный 1,1; g - ускорение силы тяжести (9,81 м/сек2); q - удельный расход воды, переливаемый через насыпь дороги.

Поперечный уклон дороги от оси к бровкам способствует созданию условий перехода потока из спокойного состояния в бурное. Значение удельного расхода, переливаемого через насыпь, и длина I участка перелива связаны с общим расходом перелива воды выражением:

Qпер = qI                                                                                                                               (7.4)

При проектировании перелива через насыпь или лотковое сооружение на подходе к основному водопропускному сооружению (например, к мосту) расчетная величина расхода Qпер перелива будет разностью между расчетным расходом реки Qp и расходом Qм, пропускаемым отверстием основного сооружения, и тогда расход перелива определяется по формуле:

Qпер = Qp - Qм                                                                                                                       (7.5)

Если по условиям проектирования в тело переливаемой насыпи необходимо устройство водопропускных сооружений (труб или фильтрующего слоя в нижней част земляного полота), то расход перелива определяется по формуле:

Qпер = Qp - Qсоор                                                                                                                   (7.6)

Напор воды над осью дороги определяется по формуле

                                                                                                                 (7.7)

где m - коэффициент расхода принимаемый равным 0,37

Напор над верховой бровкой определяется по формуле:

                                                                                                               (7.8)

где in - поперечный уклон полотна дороги, bнаc - ширина земляного полотна

По известной отметке уровня воды (ПУВВ) в верхнем бьефе, определенной гидравлическим расчетом, и напору DН или DН1 может быть определена отметка оси дороги или верховой ее бровки по следующим формулам:

Zocь = ПУВВ - DН                                                                                                                (7.9)

Zбp = ПУВВ - DН1                                                                                                                                               (7.10)

Если отметка оси или бровки дороги задана, то в зависимости от уровня и напора в верхнем бьефе находят удельный расход qпер, а после этого длину участка перелива I.

В случае затопленной насыпи (см. рис. 13б) необходимо в начале расчетов при заданных отметках уровня воды верхнего бьефа (ПУВВ) и оси дороги Zocь, определить напор воды над осью дороги:

DН = ПУВВ - Zocь                                                                                                                                               (7.11)

Затем определить превышение уровня нижнего бьефа над осью дороги (глубину подтопления переливной части насыпи или переливного лотка) с использованием формулы

hп = Zнб - Zocь                                                                                                                                               (7.12)

При hп ³ 1,44hкp насыпь работает как подтопленный водоем (см. рис. 13б). При 0 < hп < 1,44hкp участок СД работает как быстроток (см. рис. 13а), а на низовой бровке (у точки Д) возникает гидравлический прыжок, при этом максимум скоростей течения должен определяться по глубине на низовой бровке

При заданных отметках уровней воды в верхнем и нижнем бьефах и отметке оси дороги удельный расход воды в м3 (см), пропускаемый затопленной насыпью, определяется по формуле:

                                                                                                                                              (7.13)

где m - коэффициент расхода, равный 0,37; sн - коэффициент подтопления, определяемый в функции относительной глубины подтопления hп/DН по данным табл. 7.1.

Таблица 7.1

hп/DН

sн

hп/DН

sн

hп/DН

sн

0,8

1,0

0,90

0,84

0,96

0,59

и менее

 

0,92

0,72

0,97

0,40

0,84

0,97

0,94

0,70

1,0

0

0,88

0,90

0,95

0,65

 

 

Длина участка переливаемой насыпи определяется по формуле:

I = Qпер/qпер                                                                                                                                               (7.14)

Если же задаются значение удельного расхода q, отметки уровня в верхнем и нижнем бьефах и требуется определить отмотку оси дороги, расчет ведется методом последовательного приближения по тем же зависимостям (7.11), (7.12) и (7.13).

Дли определения глубины и скорости течения потока в характерных точках поперечного сечения незатопленной дороги (лотка) находят критическую глубину по формуле (7.3) и нормальную глубину на участках CD и DE (см. рис. 13а) по выражению

                                                                                                                                              (7.15)

где n - коэффициент шероховатости на участке (по Маннингу); i - уклон участка.

Зная длину Icd участка CD для данной категории дороги (см. рис. 13а) и принимая глубину на оси дороги равной критической (hоси = hк), глубину воды на низовой бровке дороги (точка D) определяют по уравнению Бахметьева (15):

                                                                                                                                              (7.16)

По найденной глубине на бровке hбр(н) и длине участка DF, а также по уравнению неравномерного движения (уравнение Бахметьева) определяют глубину hпд у подошвы насыпи в точке F. Участок ВС насыпи может быть рассмотрен как русло с обратным уклоном дна. Фиктивная нормальная глубина на участке определится по формуле:

                                                                                                                                               (7.17)

По известной глубине на оси дороги hc = hкр и длине IBC участка BC по формуле Бахметьева определяется глубина воды над верховой бровкой дороги:

IBC[i0] : h0= - (e2 - e1) + (1 + j) - j(e1)                                                                                                                                               (7.18)

При расчете глубин воды во всех точках водной поверхности эти глубины должны быть увеличены с учетом аэрации водного потока путем их умножения на коэффициент 1,09 при крутизне откосов 1:4, на 1,14 при откосах 1:2 и на 1,2 при откосах 1:1,5

По всем определенным глубинам h в точках В, С, D и F находят скорости течения водного потока:

                                                                                                                                              (7.19)

Скорость течения водного потока у подошвы верхового откоса может быть определена по формуле:

                                                                                                                                               (7.20)

Коэффициенты шероховатости принимают:

для проезжей части и обочины n1 = 0,013, для низового откоса - n2 = 0,017. Расчеты скоростей течения делают по формуле (7.19) одинаково дли затопленной и незатопленной насыпи при следующих глубинах:

на оси дороги h = hn

на верховой бровке h = DН

на низовой бровке h = h0 + i0(bнас/2)

Для расчетов укрепления низового откоса рекомендуется использовать табл. 7.2.

Таблица 7.2.

Глубина воды, м

Напор над осью DН, м

Удельный расход qпер

Скорость течения, м/с, на расстоянии от низовой бровки вдоль по откосу

по оси

на низовом бровке

0 м

1 м

2 м

4 м

6 м

8 м

0,2

0,15

0,3

0,3

1,9

2,3

2,0

3,3

3,5

3,0

0,4

0,3

0,6

0,8

2,6

3,4

4,2

4,0

5,5

5,7

0,6

0,4

0,9

1,4

3,1

4,0

4,7

5,6

6,3

6,7

0,8

0,6

1,2

2,1

3,7

4,5

5,1

6,2

6,9

7,5

1,0

0,7

1,6

3,0

4,1

4,9

5,6

6,7

7,4

8,0

1,2

0,9

1,9

4,0

4,6

5,4

5,9

7,0

7,8

8,4

1,5

1,1

2,4

5,5

5,0

5,8

6,3

7,3

8,2

8,8

2,0

1,5

3,1

8,4

5,8

6,3

6,8

7,8

8,7

9,4

Данные табл. 7.2 соответствуют переливу потока через насыпь высотой до 4 м с откосом 1:2.

Возможны два режима сопряжения бьефов за насыпью автомобильных дорог: поверхностный (см. рис. 13б) и донный (см. рис. 13а). Поверхностный режим характеризуется возникновением гидравлического прыжка с донным вальцом. Донный режим сопровождается образованием за насыпью отогнанного, надвинутого или затопленного совершенного гидравлического прыжка с поверхностным вальцом (рис. 14). В этом случае на низовом откосе и в отводящем русле поток имеет значительные скорости, что требует соответствующих креплений и водобойных сооружений.

Рис. 14. Донный режим сопряжения бьефов:
а - при устройстве искусственного носка-уступа; б - при односкатном низовом откосе;
1 - искусственный уступ; 2 - затопленный прыжок; 3 - надвинутый прыжок; 4 - оторванный прыжок

Поверхностный режим не может возникнуть, если за насыпью образуется отогнанный прыжок, т.е. если

h"F > hнб                                                                                                                                               (7.21)

Без устройства специальных конструктивных мер поверхностный режим за насыпью (см. рис. 13а) возникает, если:

                                                                                                                                              (7.22)

при                                                                                                                                               (7.23)

где в формулах (7.21), (7.22) и (7.23) h"F - глубина, сопряженная с глубиной у подошвы низового откоса; h0 - высота от подошвы до бровки насыпи; Т0 - полная удельная энергия потока перед насыпью отнесена к плоскости сравнения, приведенной по подошве насыпи.

Для получения поверхностного режима потока при меньших глубинах в нижнем бьефе можно создавать на низовом откосе специальный уступ, отбрасывающий транзитную струю вверх. Однако это решение малоприемлемо для нового строительства. Метод расчета при необходимости устройства такого уступа рассмотрен в работе (15).

При данном режиме сопряжения бьефов определяют глубину h", сопряженную с глубиной у подошвы насыпи, по уравнению совершенного гидравлического прыжка (рис. 15):

                                                                                                                                              (7.24)

где  и  - глубины погружения центра тяжести соответственно первого и второго сечений; w1 и w2 - площади этих сечений, определены применительно к данным рис. 15.

Рис. 15. Схема гидравлического прыжка:
1 - бурный поток; 2 - спокойный поток; 3 - валец

Резкое увеличение глубины водного потока при его переходе из бурного состояния в спокойное обусловлено возникновением гидравлического явления, называемого гидравлическим прыжком. Его возникновение и проявление во многом определяется формой (очертанием) и размерами поперечного сечения русла в нижнем бьефе. Поэтому расчеты по формуле (7.24) справедливы для относительно небольших логов с очертанием и формой выходных русел аналогичных тем, которые представлены на рис. 15. В других случаях и особенно при пересечении распластанных русел необходимо проведение индивидуальных опытно-экспериментальных расчетов и лабораторного моделирования.

Глубины бурного потока перед прыжком h¢ и спокойного за прыжком h¢¢ носят название сопряженных глубин. Если бурный поток перед прыжком характеризуется числом Фруда Fr ³ 3, то в нестесненном русле получается совершенный прыжок, характерный наличием поверхностного вальца.

Другим критерием возможного проявления и образования совершенного прыжка является соблюдение выражения h¢¢/h¢ ³ 2.

Число Фруда принято определять по следующей формуле:

Fr = aV2/gh                                                                                                                                               (7.25)

Если глубина первого сечения h¢ известна, то вычисляют левую часть уравнения совершенного гидравлического прыжка и подбирают для правой части такое значение глубины h¢¢, при котором уравнение превращается в тождество; это и будет вторая сопряженная глубина

Для практических целей можно воспользоваться уравнением для прямоугольного сечения русла:

                                                                                                                                              (7.26)

где - число Фруда при глубине h¢.

Величины h¢ и h¢¢ в этом уравнении можно поменять местами, но тогда вместо  под корнем пишут , т.е. число при большей сопряженной глубине h¢¢.

Для ускорения расчетов можно использовать графики, представленные на рис. 16 и рис. 17.

Рис. 16. График для определения сопряженных глубин в трапецеидальном русле (12).

Рис. 17. График для определения глубины сжатого сечения и сопряженных глубин в прямоугольном русле (12).

Сравнивая сопряженную глубину у подошвы насыпи h¢¢ с глубиной нижнего бьефа, устанавливают тип сопряжения и потребность в водобойных сооружениях.

Затопление гидравлического прыжка обеспечивается, если соблюдается условие:

hб >1,1h¢¢                                                                                                                                               (7.27.)

При соблюдении этого условия водобойные устройства в нижнем бьефе переливных сооружений не требуются.

Во всех других случаях необходимо предусматривать водобойные сооружения или принимать укрепительные меры против размывов.

В качестве одного из типов водобойных устройств, удобных для эксплуатации, может быть применена водобойная стенка с небольшими отверстиями (15´15 см) у основания для сброса воды после окончания паводка и для промывки наносов (рис. 18). Высота водобойной стенки может быть определена по формуле:

Рст = sh" - Н                                                                                                                                               (7.28)

Рис. 18. Сопряжение бьефов с водобойным устройством:
1 - водобойная стенка; 2 - бетонное укрепление; 3 - каменная призма-банкет

Статический напор перед стенкой принято определять по формуле:

Н = Н0 - V02 :(2g)                                                                                                                                               (7.29)

при Н0 = (q : 4,43)2,3                                                                                                                                               (7.30)

В формуле (7.29) коэффициент расхода водобойной стенки принят в среднем равным 0,4.

При hб > Рст водобойная стенка может работать как подтопленный водослив. Учет этого обстоятельства дает возможность снизить высоту стенки за счет роста напора перед стенкой.

Расстояние I1 до водобойной стенки определяют как длину подпертого гидравлического прыжка:

I1 = 2(2,1h" - hF)                                                                                                                                               (7.31)

Затем устанавливают тип сопряжения бьефов за водобойной стенкой. Для этого подсчитывают глубину hc в сжатом сечении за стенкой и вторую сопряженную с ней глубину  по следующим формулам (15):

Н0 + Рст = hc + 1/19,6 (q/hc)2                                                                                                                                               (7.32)

                                                                                                                                              (7.33)

После этого необходимо определить тип гидравлического прыжка за стенкой. При отгонке прыжка за стенкой необходима дополнительная отсыпка каменной призмы над ныряющим откосом на высоту hн+a0. Высота hн определяется аналогично высоте Рст водобойной стенки. Расстояние от водобойной стенки до каменной отсыпки находят по зависимости (см. рис. 18):

I2 = I3 + I4                                                                                                                                               (7.34)

при I3 = Рст + 0,33Н1

где I3 - дальность полета струи; I4 - длина прыжка, определяемая по выражению (7.31).

Возможность возникновения размыва неукрепленного русла в нижнем бьефе выявляют путем сопоставления значений скоростей потока V с допустимыми Vдоп по грунту русла. Скорость потока за водобойными сооружениями определяется по уравнению:

V = q/hб                                                                                                                                               (7.35)

Размыв будет происходить при V > Vдоп. Глубина размыва может быть определена по выражению (7.36) или (7.37):

Dhp = (q/Vдоп) - hнб                                                                                                                                               (7.36)

                                                                                                                                              (7.37)

где dcp - средний диаметр частиц грунта, слагающего участок нижнего бьефа, расположенный за низовым откосом переливной (затопляемой) насыпи дороги, hнб = hб (см. рис. 18).

Перелив через дорогу в местах установки переливных лотков с отверстиями и без них осуществляют в зависимости от гидравлического режима переливающегося потока по двум расчетным схемам: без изменения бытовых условий (см. п. 7.3) и со стеснением потока (см. п. 7.4). По первой схеме рассчитывают преимущественно переливные лотки без отверстий, по второй - без отверстий и с отверстиями.

7.2. Расчеты для проектирования периодически затопляемых подходов к высоководным мостам

При проектировании затопляемых насыпей на переходах с высоководными мостами необходимо рассчитывать и сравнивать варианты различных отверстий мостов с разной степенью затопления насыпи. В расчете устанавливается распределение расхода при расчетном уровне воды заданной ВП и определяется скорость течения отдельных частей потока, направленных под мост и через затопляемую насыпь.

Методика расчета базируется и предполагает следующие исходные условия: 1 - подпор Dh зависит от отверстия моста и от высоты затопления насыпи, снижающей фактический подпор по сравнению с максимальным (рис. 19); 2 - подпор перед мостом равен подпору перед затопляемой насыпью (рис. 20). При переливе через насыпь подпор принимается в виде сосредоточенного перепада, а для подмостового потока подпор проявляется в увеличении уклона свободной поверхности; 3 - уровни воды под мостом и на затопленной насыпи подходов устанавливаются одинаковые и приблизительно равные РУВВ в створе перехода.

Рис.19. Зависимость высоты насыпи от нарастания подпора
1 - высота незатопляемой насыпи Dz = Dhм; 2 - максимум подпора Dhм

Рис. 20. Схема к определению перепада уровней перед насыпью:
1 - мост; 2 - затопляемая насыпь; 3 - поверхность поймы; 4 - дно русла

Задача расчета состоит в определении необходимого отверстия L моста и наиболее целесообразной высоты hн насыпи, оптимальное сочетание которых определяется на основе технико-экономического обоснования (см. раздел 6 настоящей работы).

Каждому сочетанию величин L и hн соответствуют определенные скорости перелива и размывы подмостового русла, обуславливаемые расчетным распределением расхода между мостом и затопляемой насыпью. По скорости перелива определяются конструкция и размеры укрепления поверхности затопляемой насыпи.

Варианты отверстия моста изменяют в пределах от максимальной его величины Lм (соответствующей мостовому переходу с незатопляемой насыпью при коэффициенте размыва Р = 1) до ширины русла (Вр).

Варианты высот затопляемой насыпи изменяются от нуля до высоты незатопляемой насыпи hпрд.

Для каждой пары величин L и hн справедливы следующие два уравнения:

Q = Qм + Qпеp = wмVм + wпеpVпеp                                                                                                                                               (7.38)

или                                                                                                                                               (7.39)

где wм и wпеp - площади живого сечения соответственно под мостом и на длине фронта перелива (Впеp). Фронт перелива может быть односторонним или двусторонним.

Расчетные скорости под мостом и при переливе односторонних подходов рекомендуется определять по следующим формулам:

                                                                                                                                              (7.40)

                                                                                                                                               (7.41)

Величина 2gDh в формуле (7.39) зависит от распределения расхода воды между мостом и затопляемой насыпью (т.е. от Qпеp:Q) и может быть определена по формуле (15):

                                                                                                                                               (7.42)

С использованием формулы (7.42) рекомендуется произвести построение графика (рис. 21), на котором для каждой пары значений wм и wпеp должны быть получены две взаимно пересекающиеся кривые, соответствующие заданному отверстию моста.

Pиc. 21. График для определения подпора перед затопляемой насыпью.

При расчете по wм величина 2gDh убывает с ростом отношения Qпеp:Q и возрастает при расчете по wпеp.

Точка пересечения кривых соответствует искомому расчетному распределению расхода воды (Qпеp:Q) и дает расчетную величину подпора (2gDhpас), по которой вычисляют скорость перелива водного потока (15):

                                                                                                                                               (7.43)

при j = 0,85 = const

Расход воды под мостом может быть определен по формуле:

                                                                                                                                               (7.44)

где Кг - коэффициент учета формы гидрографа расчетного паводка, принимаемый с учетом района расположения мостового перехода по следующим соотношениям:

Qпеp:Q

0

0,1

0,3

0,5

0,7

0,9

1

Кг для немуссонного района

0,85

0,77

0,60

0,43

0,26

0,09

0

Кг для муссонного района

1,05

0,94

0,73

0,52

0,32

0,11

0

Расчетная скорость течения под мостом и коэффициент размыва определяют соответственно по формулам:

Vpcч = Qpcч : wм                                                                                                                                               (7.45)

Рpcч = Vpcч : Vгp                                                                                                                                               (7.46)

где Vгp - средняя бытовая скорость в русле, при превышении которой начинается размыв в подмостовом створе. Для практических расчетов ее можно определить по данным табл. 7.3.

Таблица 7.3.

Средний диаметр фракций грунта, мм

Высота насыпи Н, м

2

3

4

5

6

7

8

9

10

Vгp, м/с

0,05

0,40

0,48

0,54

0,60

0,65

0,69

0,74

0,77

0,81

0,1

0,48

0,57

0,65

0,72

0,77

0,82

0,88

0,99

1,08

0,3

0,65

0,77

0,87

0,96

1,03

1,10

1,16

1,22

1,26

0,5

0,74

0,88

0,99

1,08

1,16

1,24

1,31

1,38

1,44

1

0,90

1,05

1,18

1,29

1,39

1,48

1,56

1,64

1,70

2

1,08

1,27

1,42

1,54

1,66

1,77

1,86

1,95

2,02

3

1,20

1,40

1,57

1,70

1,83

1,94

2,04

2,13

2,22

6

1,44

1,67

1,85

2,00

2,14

2,24

2,36

2,48

2,56

10

1,65

1,90

2,11

2,28

2,42

2,56

2,68

2,80

2,91

15

1,84

2,10

2,32

2,51

2,67

2,81

2,94

3,06

3,18

25

2,10

2,38

2,62

2,82

2,98

3,14

3,27

3,40

3,51

50

2,50

2,82

3,08

3,28

3,47

3,63

3,78

3,92

4,05

100

3,00

3,36

3,64

3,88

4,07

4,25

4,42

4,56

4,70

200

3,60

3,99

4,30

4,56

4,77

4,97

5,16

5,30

5,46

300

3,93

4,38

4,68

4,95

5,17

5,36

5,53

5,70

5,84

Сравнение и оценка вариантов конструкций мостов с различными отверстиями и степенью затопления производится с помощью построения двух групп пересекающихся кривых (рис. 22). Точность такого расчета достаточна для определения частоты затопления пойменного участка насыпи по заданным экономическим параметрам.

Рис. 22. График для оценки подпоров и скорости перелива при различных высотах насыпи и отверстиях моста.

Протекание пойменного потока через насыпь после начала перелива аналогично протеканию через свободный (незатопленный) водослив с широким порогом.

После некоторого подъема уровня воды водослив становится затопленным и дальнейший перелив будет аналогичен несвободному истечению. Скорость перелива зависит от изменения перепада (DZ) глубин перед насыпью, достигающего максимума при уровне h2 (рис. 23) свободного истечения воды через водослив с широким порогом, т.е. переливную насыпь, в момент затопления которой Vпер резко уменьшается, площадь водного сечения возрастает, a Qпер не меняется (см. рис. 23).

Рис. 23. Схема гидравлической работы лотка с отверстиями.

Величина скорости перелива водного потока может быть уточнена дополнительными расчетами. Методика уточнения Vпер состоит из следующих пяти последовательных этапов расчета:

1. Определяют подпор Dhн того расхода воды, при котором перелива еще нет.

Dhн = Dhм + sбln.                                                                                                                                               (7.47)

где ln - расстояние от створа перехода до створа, в котором создается максимальный подпор Dhм при заданном расходе воды.

По величине Dhн устанавливают уровень h1 начала перелива воды через насыпь вследствие подпора перед мостом.

2. Известными методами расчета определяют подпор Dh при наивысшем уровне воды. При равенстве величин подпора перед мостом и насыпью величина подпора может быть найдена по формуле (7.39) при заданной скорости перелива (условие равенства подпоров положено в основу расчета).

3. Строят графики колебаний уровней перед и за насыпью (рис. 24).

Рис. 24. График колебания уровней для оценки перехода от свободного перелива к несвободному:
1 - кривая Н = f(t); за насыпью в бытовых условиях; 2 - кривая h = f(t) перед насыпью с учетом подпора; 3 - кривая 0,8Н = f(t); Н - высота насыпи.

4. Определяют по графику изменения глубин hзат и Н величины Нкр, соответствующие моменту затопления потоком насыпи, и уровень воды h2, при котором произойдет это затопление. Установлено, что затопление насыпи произойдет в тот период, когда глубина hзат ниже створа перехода составит величину, равную 0,8H=f(t). Затопление водослива произойдет из-за того, что глубина Нкр перед насыпью будет на 25% больше глубины за насыпью.

Глубины H, h2 и Нкр измеряют от бровки насыпи.

5. По величинам Dh при РУВВ и Нкр, используя формулы (7.43) и (7.48), находят соответствующие скорости перелива водного потока:

                                                                                                                                              (7.48)

Для затопляемых подходов к низководным затопляемым мостам и причалам паромных переправ, устраиваемых в равнинной местности, расчетной схемой будет несвободное истечение через затопленный водослив с широким порогом, при котором в момент затопления скорость перелива резко снижается, а площадь живого сечения возрастает; расход переливающегося потока не меняется. Скорость перелива в этом случае определяется по формуле:

Vпер = Qnep : (w - wн)                                                                                                                                               (7.49)

где Qnep - расход воды на участке проектируемой затопляемой насыпи; w - живое сечение потока на этом же участке при уровне воды, соответствующем Qnep; wн - площадь живого сечения потока, занимаемая (или стесняемая) затопляемой насыпью (рис. 25).

Рис. 25. Возможные случаи стеснения пойм затопляемыми дорогами:
1 - поперечное пересечение (насыпью) речной долины; 2 - насыпь вдохи, пойменного потока; 3 - причалы паромной переправы

При выборе типа и конструкции укрепления нужно учитывать возможные последствия искусственного стеснения потока положением трассы затопляемой дороги. В определенных сочетаниях в плане трассы дороги и русла реки может возникнуть продольное течение воды вдоль насыпи (рис. 26) при уровнях подтопления, меньших высоты перелива через дорогу.

Рис. 26. Схемы течения пойменных потоков до начала затопления насыпей:
а - при косом пересечении равнинных водотоков с широкими поймами; б - при расположении дороги вблизи излучин меандрирующих русел; в - то же, на распластанных предгорных водотоках. Стрелками показано направление течения

Сброс воды вдоль пойменных насыпей может вызвать развитие эрозионного вреза вдоль подошвы насыпи. Это требует проверки устойчивости укрепления против продольного течения и проверки достаточности заглубления верховой подошвы укрепления.

При пересечении рукавов предгорных рек, при скоростях течения более 1,5 м/сек, происходит набег потока на подтопляемую (еще не затопленную) насыпь и локальные переливы через нее. В таких случаях надо проверить достаточность укрепления откосов на локальные переливы при уровнях воды менее расчетных.

При назначении поперечного профиля затопляемых насыпей, выборе грунтов для возведения земляного полотна и типов укреплений необходима оценка длительности затопления и уровня ледохода.

Для осуществления на пойменных массивах, пересекаемых затопляемыми дорогами, гидромелиоративных мероприятий (полив, осушение и др.) следует предусматривать устройство малых водопропускных сооружений в виде круглых или прямоугольных труб.

При проектировании затопляемых мостов устанавливается допускаемая длительность перерыва движения, определяемая по формуле:

Тп = tn + tз + tв                                                                                                                                               (7.50)

где tn - время подготовки моста к затоплению; tз - длительность затопления проезжей части; tв - длительность восстановления проезда после затопления.

Отметку проезжей части низководного моста на затопляемом участке устанавливают по расчетному графику колебаний уровней воды, исходя из длительности затопления и уровней ледохода и карчехода. Расчетный график колебаний уровней определяют по устанавливаемой в зависимости от капитальности затопляемого моста ВП.

Затопляемые мосты, как правило, должны быть расположены в руслах рек. Отверстие затопляемого моста определяется шириной, конфигурацией русла и расчетной длительностью затопления проезжей части.

Величину пролетов моста назначают в зависимости от материала конструкции, судоходства на реке в межпаводковый период. На судоходных реках могут устраиваться выдвижные или разводные пролетные строения для пропуска судов.

7.3. Гидравлические расчеты переливных лотковых сооружений при нестесненном водном потоке

Условия протекания нестесненного водного потока, как правило, возникают при пересечении небольших логов без ограничения ширины разлива и длительности перерыва движения автотранспорта. Эти условия характерны при наибольшем вписывании переливного сооружения в поперечное сечение водотока (рис. 27).

Рис. 27. Схема продольного профиля переливного лотка.

Длину l лотка, расчетную глубину hк перелива через лоток и среднюю скорость  потока определяют из уравнения:

                                                                                                                                              (7.51)

где wл - площадь живого сечения потока на лотке по оси трассы; wб - то же, по оси трассы в бытовых условиях (см. рис. 27); Qm - максимальный расход заданной ВП.

Наибольшее соответствие рельефу поперечного сечения лога, представленного на рис. 27а, при наименьшем стеснении потока достигается круговой вертикальной кривой вогнутого очертания (см. рис. 27б). Отрезок круговой вертикальной вогнутой кривой при больших радиусах и сравнительно малых глубинах перелива практически совпадает с параболой, поэтому площадь живого сечения при переливе wл равна 0,67hкl, где l - ширина разлива воды на лотке, определяемая по следующей формуле:

                                                                                                                                              (7.52)

Средняя скорость потока при переливе водного потока может быть определена по формуле:

                                                                                                                                               (7.53)

Расход перелива с учетом формул (7.52) и (7.53) определяется по формуле:

                                                                                                                                               (7.54)

Критическая глубина может быть определена по формуле (15):

                                                                                                                                               (7.55)

Глубину размыва в нижнем бьефе принято определять по формуле

hр = hк (Vm: Vдоп - 1)                                                                                                                                               (7.56)

при Vm = mphm2,3sл1/2                                                                                                                                               (7.57)

где mp - гидравлическая шероховатость русла; sл - уклон русла на участке перелива, соответствующий поперечному уклону лотка; Vдоп - допускаемая скорость для грунтов русла; Vm - максимальная скорость потока при переливе при глубине hm.

Площади живого сечения при различных величинах радиусов вогнутых кривых и глубинах перелива приведены в табл. 7.4.

Таблица 7.4.

P1, м

Максимальная глубина перелива, м

0,1

0,15

0,2

0,25

0,3

0,35

0,4

0,45

0,5

0,6

0,7

0,8

1,0

Площадь живого сечения потока, м2

1000

1,9

3,5

5,3

7,5

10

12

15

18

21

28

35

43

60

1500

2,3

4,2

6,5

9,2

12

15

18

22

26

34

43

52

73

2000

2,7

4,9

7,5

10,5

14

17

21

26

30

39

49

61

83

2500

3,0

5,4

8,5

12

16

20

24

29

33

44

55

67

95

3000

3,3

6

9,3

13

17

22

26

31

37

48

61

74

103

4000

3,8

7

10,7

15

20

25

30

36

42

56

70

85

119

5000

4,1

7,8

12

17

22

28

34

40

47

62

78

95

133

6000

4,6

8,4

13,1

18

24

30

37

44

52

68

86

105

146

8000

5,3

9,8

15,1

21

28

35

43

51

60

78

99

120

169

10000

6,0

10,9

16,8

23

31

39

48

57

67

83

110

135

189

12500

6,7

12,3

18,8

26

35

44

53

64

75

98

123

151

210

15000

7,3

13,2

20,8

29

38

48

59

70

81

107

135

165

231

20000

8,4

15,6

24

33

44

55

67

81

95

124

156

191

267

25000

9,5

17,6

26,7

37

49

62

76

90

106

138

175

213

299

30000

10,4

18,8

29,4

41

54

67

82

98

116

151

192

235

326

40000

12,3

21,6

34,2

47

62

78

95

114

133

176

220

269

376

50000

13,3

24,7

37,9

53

70

88

107

127

150

197

246

301

422

Если продольный профиль лотков совпадет с очертанием живого сечения водотока, то расчетная глубина перелива определится по формуле:

                                                                                                                                              (7.58)

При резких различиях конфигурации поперечного сечения водотока на отдельных участках коэффициент mp определяют раздельно по этим участкам. Гидравлические характеристики потока устанавливают путем построения графика Qmax = f(hб)

Проектирование лотковых сооружений без изменения бытовых условий не представляется сложным, так как их геометрические размеры и тип укрепления лотка определяются бытовыми условиями потока: глубинами, скоростями течения, характером и интенсивностью наносов, размываемостью русла и другими факторами. Глубина размыва за укреплениями определяется превышением бытовой скорости над допускаемой для грунтов нижнего бьефа.

7.4. Гидравлические расчеты переливных лотков при стесненном потоке

Необходимость стеснения бытовых условий протекания потока возникает в случаях вынужденных ограничений ширины разлива и длительности перерыва движения, а также при устройстве переливаемых лотков с отверстиями.

В рассматриваемом случае расчета поток стесняется насыпью и лотковым водопропускным сооружением с отверстиями (рис. 28) и без них. Такие сооружения рассматривают как незатопленный частный водослив с широким порогом, при котором расчетная глубина перелива равна критической hк. Критическая глубина устанавливается у верховой бровки при односкатном профиле лотка и на оси лотка - при двускатном. Расчетная схема протекания потока при переливе за сечением с критической глубиной совпадает со схемой работы быстротока.

Рис. 28. Схема продольного профиля переливного лотка с отверстиями

Критическая функция может быть записана в виде следующего выражения:

wк:Bк = Q2:g                                                                                                                                               (7.59)

Критическая скорость течения может быть получена путем деления обеих частей этого выражения на :

                                                                                                                                              (7.60)

при wк= Bкhк,                                                                                                                                               (7.61)

где wк и Bк - площадь живого сечения и ширина потока при критической глубине, g = 9,81 м/с2.

Принимая Bк = 1 м (в условиях плоской задачи), можно критическую скорость потока выразить следующей формулой.

                                                                                                                                              (7.62)

Расход перелива при критической глубине на горизонтальном участке определится по формуле:

Qпер = wкVк,                                                                                                                                               (7.63)

В случае применения переходов в виде лотковых водопропускных сооружений криволинейного очертания в продольном профиле дороги расход перелива определится по формуле:

                                                                                                                                              (7.64)

Средняя скорость перелива для параболического очертания живого сечения (при вогнутой круговой вертикальной кривой) при средней глубине этого сечения, равной 0,67hк, может быть определена по формуле.

                                                                                                                                               (7.65)

По формуле (7.65) для параболического очертания живого сечения перелива составлена табл. 7.5, в которой приведены расходы Qпер и ширина lк перелива в зависимости от глубины hк перелива и радиуса R вертикальной вогнутой кривой.

Таблица 7.5.

R1, м

Максимальная глубина перелива, м

0,1

0,2

0,3

0,4

0,5

0,6

0,7

0,8

1

Qnеp, м3

lк, м

Qnеp, м3

lк, м

Qnеp, м3

lк, м

Qnеp, м3

lк, м

Qnеp, м3

lк, м

Qnеp, м3

lк, м

Qnеp, м3

lк, м

Qnеp, м3

lк, м

Qnеp, м3

lк, м

1000

1,5

28

6,1

40

14

50

24

56

38

62

56

69

76

76

98

80

154

90

1500

1,8

34

7,5

49

17

60

30

69

47

78

68

85

92

92

120

98

187

110

2000

2,2

40

8,6

56

19

69

34

80

54

89

77

98

106

106

139

114

218

127

2500

2,4

46

9,8

64

22

78

39

90

61

100

87

110

118

118

154

126

242

142

3000

2,7

49

11

70

24

85

43

98

67

110

95

120

130

130

169

138

264

155

4000

3,1

57

12

80

27

98

49

113

76

126

111

139

150

150

195

160

305

179

5000

3,4

62

14

90

31

110

54

126

86

142

123

155

167

167

219

179

341

200

6000

3,8

69

15

98

34

120

60

138

95

156

135

170

184

184

240

196

375

219

8000

4,3

79

17

113

39

138

69

160

109

180

155

196

212

212

276

226

432

253

10000

4,9

90

19

126

44

155

77

178

121

200

175

219

236

236

310

253

485

283

12500

5,4

100

22

141

49

173

86

200

136

224

194

245

264

264

346

283

538

316

15000

6

110

24

156

53

188

95

220

147

244

212

268

291

290

380

310

592

346

20000

6,8

126

28

180

62

220

109

252

172

284

245

310

335

334

440

358

682

400

25000

7,7

142

31

200

68

244

122

284

192

316

274

346

376

374

490

400

767

448

30000

8,5

156

34

220

76

268

133

308

212

348

300

378

412

412

540

440

838

490

40000

10

184

39

256

87

312

154

356

242

400

350

440

472

472

620

504

965

564

50000

10,8

200

44

284

98

348

173

400

273

448

390

492

530

528

692

564

1080

632

Поскольку конечной задачей расчета является вычисление максимальной глубины размыва, то расчет производят по наибольшей критической глубине.

Рис. 29. Схема к расчету размывов нижнего бьефа.

В зависимости от размеров лотка и его уклонов определяют глубины от hк до hc поочередно в различных характерных сечениях поперечного профиля лоткового сооружения (рис. 29) в такой последовательности:

1. Задаются величиной критической глубины hк и меньшей h1.

2. Вычисляют удельную энергию сечения при hк и h1 по формулам:

                                                                                                                                              (7.66)

а скорость течения (в м/с) - по формуле:

                                                                                                                                              (7.67)

3. Определяют уклоны трения по зависимостям:

                                                                                                                                               (7.68)

при Rк = hк2,3 и R1 = h12,3

4. Среднее значение уклона трения между сечениями с глубинами hк и h1 вычисляют как среднее арифметическое:

ifcp = 0,5(ifк + if1)                                                                                                                                               (7.69)

5. Расстояние между сечениями с глубинами hк и h1 определяют по формуле:

li = (Э1 - Эк) : (i - ifcp)                                                                                                                                               (7.70)

Глубину потока в конце рассчитываемого участка вычисляют последовательно. Задаваясь глубинами h2, h3, .... hn, вычисляют соответствующие значении l2, l3, .... ln. Расчет заканчивают, когда сумма l1 + l2 + l3 +...+ ln = В или 0,5В при двускатном профиле. Следующий участок, например откос, рассчитывают аналогично, но начальную глубину принимают равной hn, т.е. глубине в конце первого расчетного участка.

Искомая глубина hc на откосе соответствует длине участка

                                                                                                                                               (7.71)

В формулах (7.66) - (7.71) приняты следующие обозначения: ту - гидравлическая шероховатость укреплений на расчетном участке; i - уклон рассчитываемого участка в десятичных дробях; l1 - часть длины кривой свободной поверхности; hн - высота лоткового сооружения; т0 - коэффициент заложения откоса.

Остальные обозначения прежние.

Весь этот расчет обычно производят в табличной форме (см. табл. 7.6.).

Таблица 7.6

h1, м

, м/с

Э

mh2,3, м

if = (V/mh2,3)2

iо - ifcp

DЭ = Э2 - Э1

l, м

Sl, м

 

 

 

 

 

 

 

 

 

Глубину размыва hp находят по следующей формуле (15);

hp = 1,85hnn - hб                                                                                                                                               (7.72.)

при                                                                                                                                                (7.73)

и                                                                                                                                               (7.74)

где mл - гидравлическая шероховатость лога; i0 - уклон лога в нижнем бьефе.

С целью облегчения подсчетов по формуле (7.72) составлены графики величин: 1,85hnn = f(hк, hн) и hб = f(hк, mл, iо) для ширины земляного полотна не более 8,5 м (рис. 30 и рис. 31). Характерные точки для построения графиков назначают при критических глубинах hк, равных 1; 0,6; 0,3; 0,2; 0,1 м.

Рис. 30. График для определения 1,85hnн

Рис. 31. Графики для определения hб = f(hк, mл, iо)

 

Тип укрепления выбирают в зависимости от скорости потока. При определении глубин hc = f(hк, hн) вычисляют соответствующие скорости Vc. Пример такой зависимости дан на рис. 32.

Рис. 32. График для определения расчетной скорости потока.

При определении отверстий и проектировании лотков решают одну из задач: 1) при заданной высоте лотка определяют допустимую степень стеснения потока промежуточными опорами лотка; 2) при заданной степени стеснения находят высоту лотка и выбирают режим его работы.

Для расчета затопления верха лотка необходимы геометрические размеры лотка и данные режима протекания потока.

Безнапорный режим потока установится, если необходимый напор перед лотком для пропуска расхода Qp будет меньше чем 1,2(hл1 - hкон), т.е. если Hл £ 1,2hл2. При уровне воды, затопляющем входное отверстие, т.е. при Hл > 1,2(hл1 - hкон), режим работы будет полунапорным (рис. 33). Напор hл может быть снижен до возможного минимума.

Рис. 33. Схемы перелива потока через лоток:
а - безнапорный режим; б - полунапорный режим

Размеры лотка определяют на основе нижеследующей методики (15). Так, при заданной высоте лотка, определяемой высотой hл1 берегов, можно применить безнапорный режим и определить степень стеснения путем решения уравнения водослива. В этом случае, задавшись пролетами лотка, определяют конструктивную высоту hкон пролетных строений. Тогда высота входа под лоток hл1 - hкон = hл2. Напор перед лотком (гидродинамический, с учетом подходной скорости) может быть определен по формуле:

Нло = 1,2hл2 + 0,5(Vpб2 : 2g)                                                                                                                                               (7.75)

Величина 0,5(V2 : 2g) отражает величину ожидаемого ориентировочного скоростного напора подпертого потока.

Необходимое отверстие лотка (сумма всех пролетов) может быть определено по формуле:

Sb = Qp : (1,35Нло3/2)                                                                                                                                               (7.76)

Степень стеснения потока промежуточными опорами выражается следующей формулой:

h = Sb : SВ                                                                                                                                               (7.77)

где Qp - расход, соответствующий расчетному уровню затопления с учетом возможного движения транспорта по лотку при РУПВ; SВ - длина лотка поверху, равная ширине разлива Врб в при расчетном уровне высоких вод.

Пример. Исходные данные: Q = 400 м3/с; SВ = 100 м; hрб = 2 м, hл1 = 3,5 м; Vрб = 2 м/с; пролеты по 9 м; hкон = 0,6 м

1. Определяем hл2 = 3,5 - 0,6 = 2,9 м;

2. Определяем Нло:

Нло = 1,2´2,9 + 0,5(22 : 19,62) = 3,6 м

3. Необходимое отверстие лотка (сумма отверстий) будет равно:

Sb = 400 : (1,35´3,63/2) = 43,5 м

4. Степень стеснения h = 43,5:100 = 0,435.

Применяя полунапорный режим и допуская перелив через верх лотка, получим другую степень стеснения при заданной высоте hл1 лотка, а сброс воды через верх лотка определится допустимой скоростью перелива.

Ориентируясь, например, на скорость 1,5 м/с, получим перелив с напором Н = 0,3 м и расходом q = 1,35´0,33/2 = 0,25 м2/с на 1 п.м. Полный расход перелива Qпеp = SВq = 0,25SВ. Высота входного сечения остается равной hл2 = hл1 - hкон, а напор перед лотком определяется формулой:

Нло = hл1 + Н + 0,5(Vpб2 : 2g)                                                                                                                                               (7.78)

Лоток будет пропускать расход Qл = Qp - Qnеp. Тогда необходимое отверстие лотка, работающее по полунапорному режиму, определится из уравнения:

                                                                                                                                              (7.79)

Пример. При тех же исходных данных, что и в предыдущем примере, имеем:

Qnеp = 0,25´100 = 25 м2/с; Qл = 375 м3/с;

Нло = 3,5 + 0,3 + 0,1 = 3,9 м; hл2 = 2,9 м. Отверстие лотка равно:

Степень стеснения определяют с учетом затопления конструкций (высотой hк) пролетных строений по формуле (15):

                                                                                                                                              (7.80)

где Вл - длина лотка; hpб, Bpб - соответственно средняя глубина и ширина русла в бытовых условиях.

При ширине Bpб разлива, равной длине лотка SВл, формула (7.80) будет иметь следующий вид:

                                                                                                                                               (7.81)

В рассматриваемом примере степень стеснения будет равна:

h = 39 : 100 + 0,6 : 2 = 0,69

При решении второй задачи, т.е. определении высоты лотка по заданной степени стеснения потока, пользуются теми же формулами, но решают их относительно высоты нотка. Тогда при безнапорном режиме следует пользоваться следующими формулами:

                                                                                                                                              (7.82)

при                                                                                                          (7.83)

и hл1 = hл2 + hкон                                                                                                                                               (7.84)

Пример. При исходных данных предыдущего примера и заданной степени стеснения h = 0,5 для SВ = 100 м по формуле (7.79) имеем Sb = 50 м. Тогда при безнапорном режиме:

hл2 = 0,84×(3,25 - 0,1) = 2,65 м

Высота лотка hл1 = 2,65 + 0,6 = 3,25 м < 3,5 м, так как стеснение уменьшено.

При полунапорном режиме (с допущением перелива) расчетные формулы имеют следующий вид:

Нл = Нло - 0,5(Vpб2 : 2g)                                                                                                                                               (7.85)

Нло = [Qл : (2,25hл2Sb)]2 + 0,6hл2                                                                                                                                               (7.86)

hл1 = Hл - H                                                                                                                                               (7.87)

hл2 = hл1 - hкон                                                                                                                                               (7.88)

Задачу решают последовательными приближениями.

Пример. При исходных данных предыдущего примера, заданной степени стеснения и полунапорном режиме имеем:

Qnеp = 0,25´100 = 25 м3/с.

Qл = 375 м3/с;

Нло = [375 : (2,25´50)]2 + 0,6hл2 = (11,2 : hл22) + 0,6hл2

или Нл = (11,2 : hл22) + 0,6hл2 - 0,1 м

и hл1 = (11,2 : hл22) + 0,6hл2 - 0,4 м

С другой стороны величина hл1 равна:

hл1 = hл2 + hкон = hл2 + 0,6 м

Решая два последних уравнения совместно, получаем hл2 = 2,4 м и hл2 = 2,4 + 0,6 = 3 м (вместо 3,25 м при безнапорном режиме).

Расчеты безнапорного и полунапорного протекания потока выполнены в приведенных выше примерах в предположении свободного вытекания водного потока. Однако в ряде случаев могут затопляться рабочие отверстия лотка уровнем нижнего бьефа. Такое затопление возможно, если безнапорный поток выходит под уровень нижнего бьефа более высокий, чем 0,73Нл.

В предыдущих примерах глубина нижнего бьефа h = 2 м, т.е. затопление безнапорных отверстий лотка возможно лишь при напорах Нл < 2 : 0,73 = 2,75 м. Расчетные напоры составили 3,5 и 3,15 м.

При полунапорном режиме затопление возможно только при выполнении следующего условия:

                                                                                                                                               (7.89)

Расчетные величины  в рассмотренных примерах были равны 3,6 м и 3,1 м, те в обоих случаях не было затопления со стороны нижнего бьефа.

Влияние нижнего бьефа на режим протекания наблюдается только при очень малых стеснениях при малых уклонах реки. Сравнивая выражения расхода воды в реке при равномерном движении и в безнапорных отверстиях при критическом режиме, можно получить формулу степени стеснения, при которой будет наблюдаться затопленный водослив:

h > 0,48mj1/2                                                                                                                                               (7.80)

где j - уклон реки, m = 1:п - коэффициент, характеризующий шероховатости русла.

В рассматриваемых примерах при Vpб = 2 м/с, h = 2 м, m = 30 и j = 0,0017 степень стеснения, при которой может возникнуть затопление, будет определено следующими данными:

h > 0,48´30´0,042 = 0,6

Еще меньшее стеснение допустимо при полунапорном режиме, когда должно отсутствовать подтопление со стороны нижнего бьефа. Однако всегда нужно делать проверки по формулам (7.69) и (7.90).

Ширину лотка (вдоль потока) назначают, исходя из обеспечения сохранности сооружения от разрушения. Такое условие соблюдается при сохранении бытового режима поступления наносов, плавном входе и выходе струй, подходящих к отверстиям лотка (не более, чем под углом 90°) и учете других факторов.

В этих соображениях по расчету отверстий переливных лотков с отверстиями не учитываются особенности пропуска твердого стока, а поэтому они наиболее применимы для малых и средних водотоков, несущих в основном лишь взвешенные наносы.

В связи с тем, что подпор перед лотком при РУПВ значительный и приводит к задержке поступления наносов, в нижнем бьефе за лотком возможен размыв, глубина которого может быть определена по неразмывающей скорости для материала, принятого для укрепления. В месте схода потока с горизонтальной части лотка скорость безнапорного потока оказывается равной бытовой, так как при растекании восстанавливаются бытовые ширина и глубина потока.

Размер (крупность) камня (в м) для укрепления, закладываемого на всю глубину воронки возможного размыва, принято определять по формуле

d = Vp2 : 25                                                                                                                                               (7.91)

Глубина возможного размыва в этом случае определится по фактической крупности грунтов dф в русле:

                                                                                                                                              (7.92)

Укрепление нижнего бьефа целесообразно давать с некоторым запасом. Повышение уровня воды сверх РУПВ приводит к снижению разности уровней верхнего и нижнего бьефов и к восстановлению баланса в движении наносов. В связи с чем при высоких уровнях размывы уменьшаются.

Если переливной лоток предусмотрен по полунапорному режиму при РУПВ, то растекание потока за лотком существенно уменьшается и расчетной скоростью будет не русловая бытовая, а скорость на выходе из сооружения:

Vвых = Qл : (Sb ´ 0,6hл2)                                                                                                                                               (7.93)

Размеры камня d для укрепления, а также глубины размыва hpзм определяют аналогичного этим же формулам, в которых принимают:

Vр = Vвых и Qp = Qл                                                                                                                                               (7.94)

При выполнении расчетов нужно учитывать, что выбор режима нужно увязывать с типом укрепления, необходимым по проекту.

Поток как сооружение, работающее под односторонним напором (Hл - h), надо проверять на выпор и вымывание частиц при фильтрации под сооружением. Наименьшая ширина лотка (вдоль реки) по этим условиям определяется по выражению:

L ³ (Hл - h) : С                                                                                                                                              (7.95)

Коэффициент С принимают равным 1/5 - 1/7 для гальки и 1/7 - 1/10 для крупных и мелких песков.

Влияние высотного положения лотка на водный поток изменяется по мере повышения уровня воды. Поэтому нужен контрольный расчет на пропуск расхода Qp при РУВВ. Очень часто лоток продолжает работать на перелив по схеме свободного водослива даже и при РУВВ. Лотковые же отверстия затапливаются на входе и переходят из безнапорных в полунапорные. Расчетными формулами для проверки будут:

Нло = Н + hл1 + (Vpб2 : 4g)                                                                                                                                               (7.96)

или Н = Нло - hл1 - 0,5(Vpб2 : 2g)                                                                                                                                               (7.97)

Qnеp = 1,35SBH3/2                                                                                                                                               (7.98)

                                                                                                                                              (7.99)

при j = j = 0,85, так как поток из отверстий выходит с большой скоростью, но под уровень воды с большой глубиной h. Поэтому Dh = Нло - h. Задавая ряд величин Dh, можно найти истинное значение подпора по условию, что

Qnеp + Qл = Qр                                                                                                                                               (7.100)

Получив Dh, надо уменьшить подпор на величину 0,5(V2 : 2g), учитывающую подходную скорость водного потока.

Пример. По исходным данным предыдущего примера проверяем режим протекания при h = 4 м, Qр = 1200 м3/с; V = 3 м/с; Sb = 43,5 м; hл2 = 2,9 м; hл1 = 3,5 м

Имеем Qnеp = 1,35´100´Н3/2 = 135Н3/2;

Н = Нло - hл1 - 0,5´(32 :19,62) = Нло - 0,25 м - hл1 = Нло - 3,75 м

Задавая ряд величин Нло, получаем подбором Нло = 6,3 м, Н = 6,3 - 3,75 = 2,55 м. Фактическая величина Нл = 6,05 м.

Скорость перелива ; скорость выхода воды из отверстий лотка

Vл = 0,85´19,62´2,3 = 5,7 м/с

Соответственно этой скорости надо проверить размер камней или массивов укрепления на выходе.

Расчет глубины размыва до допускаемой скорости здесь не нужен, так как через лоток будут поступать наносы в значительном количестве; и определять снова глубину размыва нет необходимости.

На выпор и вымывание частиц проверять надо по наибольшей разнице уровней и с учетом различий грунтов основания опор. При расчете по РУПВ (Qp) получена разность уровней DН » 3,5 - 2 = 1,5 м; по РУВВ (Q) соответственно DН = 6,05 - 4 = 2,05 м. Следовательно, расчетным будет уровень наивысшего паводка.

Для галечниковых грунтов ширина лотка должна быть не меньше 5´2,01 = 10,5 м. Фактическая ширина А = 5 м, b = 9 м, h = 0,43; п = 1,3; L = 5 + 2´1,3´9 = 10,5 м, т.е. вымывание не опасно

Ширину L лотка при проектировании уточняют по конструктивным соображениям.

7.5. Расчеты водопропускной способности переливных лотковых сооружений, устраиваемых по типу конструкций, разработанных Союздорпроектом

Союздорпроектом были разработаны конструкции переливных лотковых сооружений, предназначенные для условий их расположения на равнинных и предгорных участках дорог.

Конструктивные решения, опыт их применения и эксплуатации подробно рассматриваются в разделе 8.1 настоящей работы.

Конструкции этих сооружений предусматривают устройство горизонтального участка в средней части продольного профиля с плавным его сопряжением вертикальными кривыми с незатопляемыми участками дороги на входе в лоток и выходе из него. Эти лотки устраивают с отверстиями и без них.

Водопропускную способность лотковых сооружений, устраиваемых без отверстий, следует определять, исходя из принимаемых (или принятых) глубин воды на верховой бровке по следующей формуле (рис. 34):

Qл = Qг + SQв                                                                                                                                               (7.101)

при Qг = Vгhnеplг                                                                                                                                               (7.102)

                                                                                                                                              (7.103)

где SQв - суммарная пропускная способность лотка на участках вогнутых кривых продольного профиля (см. рис. 34), определяемая по табл. 7.5. в зависимости от заданных длины lк кривых, радиуса Rк вертикальных кривых и максимальной глубины hnеp перелива, равной критической глубине hк; Qг - пропускная способность лотка на горизонтальном участке; lг - длина горизонтального участка лотка; Vг - расчетная скорость течения воды по горизонтальному участку лоткового сооружения.

Рис. 34. Расчетная схема продольного профиля переливных лотков.

Длина горизонтальной части лотка может быть определена по формуле:

lг = Qг : qк                                                                                                                                               (7.104)

при                                                                                                                                                (7.105)

Имея или задаваясь критической глубиной воды и принимая hк = hnеp, можно определить длину горизонтального участка лоткового переливного сооружения по формуле:

                                                                                                                                               (7.106)

Для удобства расчетов величины qк в зависимости от глубины hnеp пользуются графиком, представленным на рис. 35.

Рис. 35. Зависимость удельного расхода q водотока от критической глубины hкр

При отсутствии горизонтального участка водопропускная способность переливного лотка определяется по табл. 7.5 по криволинейному продольному профилю при заданной глубине hnеp, длине вертикальной кривой lк и радиусе Rк. Если данные этой таблицы недостаточны, то необходимо расчеты выполнять по формуле:

                                                                                                                                               (7.107)

Водопропускная способность переливного лотка при постоянной величине hnеp может быть повышена за счет увеличения горизонтальной вставки, длина которой должна быть не менее 10 м, исходя из наибольшего удобства движения транспорта. Увеличение водопропускной способности лотка параболического очертания без горизонтального участка достигается подбором соответствующего радиуса вертикальной кривой.

Водопропускную способность переливного лотка для любого очертания продольного профиля определяют, исходя из заданных глубин воды на верховой бровке. Максимальную глубину воды на верховой бровке лотка в самой низкой точке продольного профиля назначают или из условия беспрепятственного прохода автомобиля в период паводков, или с перерывом движения на некоторое время.

Расчетную глубину перелива hnep воды принимают, исходя из состава движущихся автомобилей, их грузоподъемности и обеспечения безопасного и беспрепятственного движения. В случае необходимости пропускать транспорт грузоподъемностью до 7 т при продольных уклонах водотоков до 0,01 глубину перелива принимают не менее 0,4 м, а для транспортных средств грузоподъемностью меньше 7 т при тех же уклонах водотока глубину перелива принимают в пределах 0,35-0,25 м.

Минимальную глубину перелива воды определяют с учетом экономичности сооружения, но не менее 0,15 м.

В целях удобства взаимной увязки продольного профиля переливного лотка с продольным профилем дороги лотковое сооружение целесообразно проектировать по его низовой бровке.

Для определения водопропускной способности переливного лотка необходимо установить местоположение оси и отметки низовой броски лотка на пониженном участке (или точке) его продольного профиля. Ось лотка целесообразно совмещать с динамической осью потока.

Отметку низовой бровки лотка О1 (рис. 36) назначают с учетом условий сброса воды в нижнем бьефе, обусловленного в ряде районов наличием вблизи него обвалований, арыков, оврагов, пахотных земель, зеленых насаждений, бессточных впадин, высоких обрывов берегов рек и т.п., а также с учетом возможности направленною отвода воды от лотка. Рекомендуется отметку О1 назначать выше дневной поверхности не менее чем на 0,1 м. Отметка верховой бровки определяется по формуле:

Ов = О1 + JлBл                                                                                                                                               (7.108)

Рис. 36. Схема к расчету элементов поперечного профиля переливного лотка

Рекомендуется верховую бровку назначать на 0,30-0,35 м выше поверхности земли. Отметку низовой бровки лотка, в случаях пересечения русла с пилообразным поперечным сечением, принимают конструктивно, исходя из условия максимального вписывания проектной пинии лотка в поперечный профиль водотока без устройства значительных выемок и срезок, т.е. примерно на линии средних глубин.

Другие отметки поперечного и продольного профилей лотка (см. рис. 34 и рис. 36) определяют по уравнениям:

для отметки РУВВ на оси дороги

О2 = О1 + hnep + 0,5JлBл                                                                                                                                              (7.109)

для отметки РУПВ на верховой бровке лотка

О3 = О1 + 1,5hnep + JлBл                                                                                                                                               (7.110)

Минимальная допустимая отметка бровки на подходах к потку:

О4 = О3 + Dhн + Dhв + Dhз                                                                                                                                               (7.111)

Dhн - высота набега волны от динамического воздействия потока при ударе в насыпь подходов; Dhв - высота ветровой волны с набегом; Dhз - нормативный запас, принимаемый равным 0,5 м при длине лотка 80 м и 0,3 - при большой длине лотка. Остальные обозначения прежние.

Минимальная длина лотка определяется допускаемыми геометрическими параметрами продольного профиля дороги, ее принимают не менее 80 м. Протяжение лотка, в пределах которого необходимо укрепление обочин и откосов земляного полотна, принимают с запасом по 10 м с каждой стороны (см. рис. 34):

Lyк = Lpув + 20 м                                                                                                                                               (7.112)

Длину укрепления лотка с верховой стороны принимают с учетом отметки РУПВ (О3) больше величины L, но не менее чем на 20 м и определяют по формуле:

Lyк = Lpув + 40 м                                                                                                                                               (7.113)

Пропускную способность переливных лотков с отверстиями определяют по формуле:

Qn = Qо + Qл                                                                                                                                               (7.114)

Отметку расчетного уровня подпертой воды определяют (рис. 37) по формуле:

Оz = Ос + hт + hнк + 1,5hпеp                                                                                                                                               (7.115)

Qл - расход перелива через проезжую часть лотка, определяемый в зависимости от очертания продольного профиля лотка и допускаемого РУПВ по формуле (7.101); Qо - суммарная пропускная способность отверстий лотка; Ос - отметка пониженной точки живого сечения, равная отметке дна отверстия на входе в лоток; hт - отверстие лотка по высоте; hнк - расстояние от верха отверстия лотка до отметки проезжей части.

Пропуск паводочных и меженных вод через переливной лоток с отверстиями возможен по одной из следующих трех схем: 1) при Н < 1,1hт (см. рис. 37) в отверстия лотка пропускают весь расход - безнапорный режим протекания; 2) при Н > 1,1hт - режим протекания через отверстия полунапорный и Н < hт + hнк - перелива нет; 3) то же, но Н > hт + hнк - часть расхода переливается по лотку.

Рис. 37. Схема гидравлической работы лотка с отверстиями:
1
- уровень воды без перелива при безнапорном режиме; 2 - то же, при полунапорном режиме; 3 - то же, с переливом при полунапорном режиме

Если отверстия лотка принимают в виде круглых труб, то их пропускную способность определяют по типовым проектам или по Пособию (12).

Отверстия прямоугольного сечения рассчитывают применительно к типовым или индивидуальным конструкциям с учетом их размеров. Отверстие лотка и его размеры, с учетом перелива части максимального стока, рассчитывают по уравнению (7.114) методом подбора.

Переход от двускатного поперечного профиля дороги к односкатному на лотке рекомендуется осуществлять на участке подходов длиной не менее 20 м от начала (или конца) лотка. При размещении подходов лотка на горизонтальной кривой, обращенной выпуклостью к низовой бровке, такое же расстояние надо предусматривать от начала (или конца) лотка до начала (или конца) переходной кривой.

8. Проектно-конструктивные решения по устройству и эксплуатации периодически затопляемых (переливных) сооружений

8.1. Рекомендации для повторного применения, индивидуального и типового проектирования конструктивных решений и эксплуатационных возможностей ранее построенных сооружений

Проектно-конструктивные решения прежних лет отражают особенности их разработки и реализации строительством в различных природно-гидрологических районах и различных режимах транспортно-эксплуатационного и гидротехнического функционирования.

Построенные в прежние годы сооружения позволяют оценить не только достаточность их конструкций, но и их эксплуатационные возможности.

Следует учитывать, что периодически затопляемые (переливные) сооружения строились и продолжают еще строиться при отсутствии необходимой нормативной базы условий их применения, при отсутствии регламентации основных критериев транспортно-эксплуатационной и гидротехнической их работы на автомобильных дорогах различных категорий и предназначений, а также при отсутствии регламентации факторов воздействий, расчетных нагрузок, характеристик грунтов и других нормативных положений.

Обобщение накопленного опыта по проектированию, строительству и эксплуатации периодически затопляемых (переливных) сооружений и проведенные в процессе подготовки и написания настоящей работы исследования позволили выработать необходимые рекомендации по научно-практическому обоснованию проектно-строительных решений и эксплуатационных мероприятий применительно к различным условиям эксплуатации и функционирования этих сооружений.

Эти рекомендации отражены в настоящей работе и могут быть использованы как при проектировании отдельных объектов строительства, так и в качестве основы дли подготовки обобщенных нормативных документов.

Конструктивные решения и эксплуатационные возможности ранее построенных сооружений весьма разнообразны. Ряд из них представляют особый интерес для повторного использования, разработки индивидуальных конструкций и типового проектирования.

Для выполнения этих разработок были отобраны наиболее известные и характерные конструктивные решения, рассматриваемые в данном разделе. Этими решениями рекомендуется пользоваться в качестве вспомогательного материала при разработке проектов и их обоснования.

Периодически затопляемые (переливные) сооружения, являясь самостоятельным и весьма экономичным типом конструкций водопропускных сооружений, были известны в дорожном строительстве практически всех стран еще в прошлых столетиях.

Эти сооружения строились, продолжают строиться и эксплуатироваться на местных и региональных дорожных сетях России. Отечественными дорожными организациями были построены переливные сооружения и в некоторых зарубежных странах.

Опыт эксплуатации этих сооружений и их функционирования, а также современные условия развития дорожной сети России и ряда других стран дают основание полагать, что потребность в периодически затопляемых (переливных) сооружениях будет ощущаться еще долгое время.

К числу наиболее характерных примеров существующих периодически затопляемых низководных мостов следует прежде всего, отнести железобетонный мост через р. Нерская на автомобильной дороге Воскресенск-Виноградово) и Московской области (фото 1), переливной мост через р. Оку у города Одоев в Тульской области, низководный мостовой переход через р. Аксай с групповыми отверстиями в Ростовской области, низководные мосты на р. Ик (фото 2) у д. Чути в Башкортостане и на р. Юсень у с. Николаевка в Татарстане. Мосты на р. Аксай деревянные с общей длиной 120 м и с перерывом движения на 3-5 дней.

Через р. Оку низководные мосты существовали в городах Калуга, Одоев и Белев. До настоящего времени только в пределах Московской области функционируют низководные наплавные мосты и паромные переправы через р. Оку у дер. Дединово, Ловцы, Ченькино и у пос. Белоомут.

Фото 1. Низководный мост через р. Нерская на автомобильной дороге Воскресенск - Виноградово Московской области:
а - вид с верховой стороны; б - вид с низовой стороны

Фото 2. Затопляемый мост через p. Ик у дер.Чути.

Фото 3.

Фото 4.

Характерные примеры устройства периодически затопляемых мостов, дорог и лотковых сооружений:
а - мост через р. Вазузу в г. Зубцове (1956 г.);
б - дорога у г. Атбасара через р. Жабсат (1963 г.);
в - переливкой лоток во время спада паводка (1971 г.) на дороге Симра-Джанакиур в Непале (проект Союздорпроекта)

Уже около сорока пет успешно функционируют затопляемые грунтовые и с покрытием из сборных железобетонных плит полевые дороги на пойме р. Оки в совхозе «Каширский» (ныне АПО «Каширское»).Эти дороги (фото 3, фото 4) имеют нулевые по отношению к пойме отметки и глубокие (1,0-1,4 м) боковые канавы. Используются эти дороги не только для подвоза удобрений, посадочного материала и вывоза выращенного урожая (редис, зеленый пук, капуста и др.), но и для прохода по ним поливочных агрегатов («фрегат»). Во время полива в канавы поступает вода, которая забирается поливочными агрегатами.

Существовавшие затопляемые дороги в пойме р. Оки относились к III, IV и V категориям. Наибольшая интенсивность движения на дороге III категории составляла от 1000 до 1500 авт/сутки. Затопление этих дорог происходило ежегодно и продолжалось от двух до пяти недель. Глубина воды над проезжей частью этих дорог при паводочном затоплении колебалась в достаточно широких пределах от 0,5 до 5 м при скоростях течения воды до 2 м/сек. Эксплуатационные характеристики дорог более подробно освещены в работе (25).

Среди наиболее значительных по протяженности наплавных мостов является мост через р. Уссури у г. Хабаровск. Этот мост соединяет город с островной частью этой реки, в зимний период он заменяется на ледовую переправу.

Долгое время на дороге III категории у станицы Вешенская функционировал понтонный мост через реку Дон с выводным пролетом для пропуска судов в летний период.

Низководный мостовой переход с двумя мостами и затопляемыми подходами к ним, а также с необходимостью устройства в паводочный период паромной переправы функционировал более 50 лет на пересечении рек Хопер и Бузулук у станицы Усть-Бузулукская. Мост через року Хопер имел судоходный выводной пролет. Этот переход был заменен в 1966 г. на высоководный из-за недостаточной пропускной способности автотранспорта и, в том числе, из-за задержки сезонных перевозок сельскохозяйственной продукции.

Паромные переправы долгое время функционировали на реке Вятка у г. Советска и у пос. Буйский Перевоз. В последние годы, в связи с ростом автомобильных перевозок, они были заменены на высоководные мостовые переходы. В процессе строительства эти паромные переправы использовались и для транспортировки строительных грузов и техники.

На реке Вятка и до настоящего времени функционируют паромные переправы у городов Вятские Поляны и Малмыж. Период работы этих переправ составляет 170-190 дней в году с мая по ноябрь месяц. В зимний период организуются ледовые переправы, функционирующие в среднем в течение 90 дней, с января по март.

В 1964 г. по проекту Ленинградского филиала ГипродорНИИ была построена на левой пойме Северной Двины автомобильная дорога IV категории с затопляемым участком протяжением в 3,7 км.

Эта дорога была запроектирована на пропуск расхода воды 20% ВП. Высота земляного полотна колеблется от 0,7 до 2,4 м. Средняя высота насыпи на затапливаемом участке 1,4 м. Конструкция дорожной одежды состояла из асфальтобетона толщиной 8 см на 16 см слое гравия, уложенного на песчаное земляное полотно. Обочины были укреплены щебнем слоем 15 см. Естественно, что после затопления дорога с такой конструкцией оказалась разрушенной.

Перелив воды через дорогу происходил при незатопленном нижнем бьефе, который не влиял на условия перелива воды по верху насыпи.

Размывы происходили в одних и тех же местах, где высота насыпи превышала 1 м. Участки насыпи меньшей высоты не размывались. Размыв начинался с низовой бровки и распространялся вверх и вниз по течению. На дорогу оказывал воздействие и ледоход, средний уровень которого совпадал с уровнем воды 20% ВП, т.е. с расчетной высотой насыпи. Протяженность разрушенных участков составила в среднем 50% от общей длины затопляемого участка (26).

В 1969 г. затопляемый участок этой дороги был реконструирован применительно к конструкции, представленной на рис. 38.

Рис. 38. Конструкция затопляемого участка автомобильной дороги на левом пойме Северной Двины после реконструкции

Разрушении затопляемых дорог с высотой насыпи, превышающей 1 м и с недостаточно укрепленными обочинами подтверждаются и характером разрушений на дороге Воскресенск-Маришкино-Виноградово (27) (фото 5), имеющей затопляемый участок протяжением 8,8 км. Дорога имела сборное цементобетонное покрытие. Откосы и обочины укрепления не имели.

Фото 5.

Повреждения на этой дороге произошли после весеннего половодья 1989 г. на пк 29-30 в виде размывов обочины низового откоса. В мае 1970 г. при пропуске через дорогу весеннего половодья произошли следующие дополнительные повреждения, освидетельствованные специалистами Союздорпроекта (27);

пк 28 - пк 28¸60: в результате подмыва с правой (береговой) стороны размыто земляное полотна на глубину 1,5 м, вследствие чего провалилась правая сторона сборного бетонного покрытия, а левая сторона просела на 0,5 м;

пк 28¸60 - пк 29¸98: подмыта обочина у кромки покрытии и основание под прикрытием на глубину до 1,0 м;

пк 38¸00 - пк 40¸90: подмыта правая обочина у кромки покрытия и под покрытием на глубину 0,7 м;

пк 50¸00 - пк 51¸20: подмыта правая обочина у кромки покрытия и под покрытием на глубину 0,5 м.

Участок общим протяжением 3,5 км, на котором произошли указанные повреждения, строго горизонтален в продольном профиле. Общая протяженность повреждений имела место на 610 м дороги.

Повреждения проявились в трех различных местах, удаленных друг от друга на 800-1000 м. Они носили локальный характер.

Основной их причиной послужила не низкая прочность насыпи в этих местах в сравнении с остальной неповрежденной частью насыпи, а различный характер воздействия потока на дорогу в разных местах и недостаточное укрепление обочин и откосов.

Насыпь земляного полотна этой дороги фактически является дамбой, отсекающей от русловой части реки Москвы склоново-пойменный массив площадью около 40 кв. км. Затопление отсеченного пойменного массива начинается через участок на пк 60 - пк 80, который тоже горизонтален, но ниже на 0,9 м того участка, на котором произошли описанные повреждения. Перелив через дорогу на участке пк 4 - пк 57 обычно происходит по частично уже затопленному отсеченному массиву, что приводит к спокойному сопряжению бьефов.

После восстановления и дополнительного укрепления обочин и откосов затопляемый участок этой дороги надежно функционирует и до настоящего времени. По условиям расположения и функционирования этот пойменный участок дороги является эталонным и может быть повторен в проектных проработках на других объектах.

На реке Рожайка у пос. Константиново Домодедовского района Московской области был сооружен и надежно функционирует переход лоткового типа в виде периодически затопляемой насыпи с водопропускными трубами в нижней ее части (фото 6).

Фото 6. Периодически затопляемая насыпь лоткового типа с водопропускными трубами через р.Рожайка у пос. Константиново Домодедовского района Московской обл.:
а - общий вид; б - фрагмент

Этот переход служит для связи жилых и производственных зданий пос. Константиново. Дорога имеет асфальтобетонное покрытие, в том числе и по лотку. Он имеет 7 отверстий из круглых труб диаметром 1,0 м. Ширина проезжей части подходов - 6-7 м, лотка - 5 м.

С верховой и низовой стороны откосы лоткового сооружения укреплены бетоном, в середине лотка щебеночный заполнитель, а сверху асфальтобетон. Примерно на 1/4 высоты трубы занесены песком, который располагается на 5-6 м вверх и вниз по течению реки. Грузовому движению проезд по лотку запрещен. Река Рожайка питается в основном родниковыми водами, имеет круглогодичный сток. Скорость течения воды в межень составляет 0,6-0,8 м/сек. Перелив воды через поверхность лотка происходит в паводковый период. Высота воды над лотком при переливе колеблется от 0,3 до 0,5 м. Это бывает не каждый год. Например, в 1996 г. перелива не было из-за равномерного таяния снега.

Перерывы движения при переливах воды через лоток ограничиваются 3-5 днями. После прохода паводков повреждений лоткового сооружения и покрытия на нем не отмечается.

Более двадцати лет успешно эксплуатируются мостовые переходы с затопляемыми подходами к высоководным мостам в Белгородской области (построенные по проектам института Белгородколхозпроект, а теперь Агропромпроект-1), разработанным при консультативном содействии Союздорпроекта.

В 1977 году были запроектированы два высоководных моста с затопляемыми подходами в колхозе «Большевик» Чермянского района через реку Ольшанка и через реку Халань.

Затопляемые подходы имеют асфальтобетонное покрытие толщиной 6 см на щебеночном основании с песчаным подстилающим слоем. Обочины и откосы укреплены асфальтобетоном толщиной 6 см на десятисантиметровом слое щебня.

Укрепления низовой части откосов заглублены с верховой стороны на 0,5, а с низовой - на 1,0 м. С низовой стороны имеется рисберма с каменной наброской, заложение откосов земляного полотна 1:2. Поперечный профиль двускатный, возвышение оси проезжей части над отметкой поймы на горизонтальном участке затопляемого подхода около одного метра Расчетный расход перелива на подходе к р. Ольшанка 2% ВП равен 75 м3/сек, длина затопляемого участка - 820 м, ширина земляного полотна 8 м, а ширина проезжей части - 4,5 м.

В 1995 г. институтом Белгородагропромпроект-1 запроектирован мостовой переход с переливаемыми подходами через р. Репьевка в с. Шеншиновка к фермерскому хозяйству «Алиса» Волоконовского района.

Расчетный расход 2% ВП составил 65 м3/сек. Критическая глубина при переливе - 0,4 м. Длина перелива 130 м. Скорость протекания воды: по низовой бровке - 2,74 м/сек, у нижней подошвы насыпи - 5,9 м/сек.

Крутизна откосов земляного полотна на переливаемом участке 1:3. Укрепление обочин и откосов выполнено монолитным железобетоном толщиной 12 см, в качестве арматуры использована сварная дорожная сетка с ячейками 20´20 см А-1Æ6 мм. Железобетон уложен на слой щебня толщиной 10 см.

В 1996 г. АООТ «Белгородавтодор» приступил к строительству мостового перехода с переливаемым подходом через р. Ворокла в с. Теплое Борисовского района. Расчетный расход воды 2% ВП составил 204 м3/сек. Расчетный расход воды в отверстии моста 108 м3/сек, а расчетный расход воды, переливающейся через насыпь - 96 м3/сек. Глубина перелива через насыпь - 0,37 м. Длина перелива - 139 м.

Скорость протекания воды: по низовой бровке - 2,34 м/сек, у нижней подошвы насыпи - 2,52 м/сек. Рабочие отметки насыпи на затопляемом участке находится в диапазоне 0,10-0,13 м. Заложение откосов земляного полотна 1:3. Укрепление обочин принято асфальтобетоном толщиной 6 см на щебеночном основании толщиной 10 см, а укрепление откосов - посадкой кустарника.

Наиболее характерные конструктивные решения мостовых переходов с высоководными мостами и периодически затопляемыми (переливными) подходами к ним, реализуемые строительством и разрабатываемые в Белгородской области, представлены на рис. 39 и рис. 40. Эти конструктивные решения основаны на конструкциях, разработанных Союздорпроектом и отражают возможности их применения и развития в других регионах. Отражая специфику условий Белгородской области эти решения соответствуют и зарубежной практике строительства подобных объектов, рассматриваемых в настоящем разделе данной работы.

Рис. 39. Продольные профили переливных участков

Рис. 40. Конструкции переливных сооружений в Белгородском области:
а - при реконструкции; б - пониженные участки; в - в нулевых отметках; г - с односторонним движением в период затопления

За последние 15 лет в Оренбургской области был построен ряд низководных металлических мостов, затапливаемых в период весеннего половодья с вероятностью превышения 2-3% на 2-3 недели и обеспечивающих в остальное время года беспрепятственный проезд автотранспорта. Снеговой сток преобладает в этом регионе над ливневым, и только в редких случаях ливневый сток больше снегового или смешанного с ВП = 2-3%.

К наиболее характерным низководным мостам Оренбургской области относятся прежде всего мосты через р. Урал у пос. Илек, через р. Салмыш у пос. Буланово и у пос. Зеркло, через р. Самара в Сорочинском районе (рис. 41), через р. Сакмара у пос. Бурлыгино и ряд других.

Рис. 41. Схема затопляемого моста через р.Самара

Такие мосты имеют габариты проезда Г-6 или Г-4,5 и возведены на свайных опорах из металлических обсадных труб диаметром 140-160 мм, поднятых из отработанных нефтяных и газовых скважин.

Нередко и дли пролетных строений длиной 3-5 м используются те же трубы с устройством деревянного настила. В большинстве же случаев пролетное строение устраивается из двутавровых балок № 40 и № 50 с деревянной или железобетонной плитой проезжей части.

По многолетним данным Оренбургсельхозпроекта уменьшение габаритов малых мостов на сельских дорогах до Г-6 и Г-4,5 оправдано и не влечет за собой аварийной ситуации из-за относительно малой интенсивности движения автотранспорта, колеблющейся от 200 до 400 авт/сутки. Регулирование движения по мостам обеспечивается посредством дорожных знаков.

При перерыве движения в паводочный период движение автотранспорта организуется в объезд низководных мостов через ближайшие высоководные переходы на дорогах более высоких категорий. Протяженность таких объездов на дорожной сети Оренбургской области составляет в среднем 30-40 км. Короткий перерыв движения и малый объем перевозок не влечет за собой существенного увеличения транспортно-эксплуатационных затрат, так как основной грузопоток приходится на внепаводочный период. Пик интенсивности движения приходится на посевную и уборочную кампанию, т.е. в тот период, когда движение по низководным мостам открыто.

Место мостовых переходов выбирается на распластанных участках речных долин со спокойным течением воды и отсутствием ледяных заторов. Отметка верха пролетного строения и бровок затопляемых насыпей подходов в пределах ширины разлива паводков с ВП = 2-3% назначаются на 1,0-1,5 м выше уровня меженных вод и на 1,0-1,5 м ниже уровня высокого ледохода. Это позволяет обеспечить пропуск над мостами ледохода с толщиной льда до 1,0 м.

Для предохранения мостов от повреждений и разрушений в период подвижек ледяного покрова и низкого ледохода устраиваются ледорезы из наклонных металлических свай.

Простота конструкций низководных мостов позволяет осуществлять их строительство местными строительными организациями за 3-4 месяца. Эти мосты сооружались на автомобильных дорогах местного и сельскохозяйственного значения IV и V категорий.

Наряду с низководными мостовыми переходами на этих дорогах строились затопляемые (переливные) лотковые сооружения. Наиболее характерные конструктивные решения по этим лоткам приведены на рис. 42 и рис. 43. Они были разработаны проектным институтом Оренбургсельхозпроект с учетом рекомендаций специалистов Союздорпроекта.

Рис. 42. Продольный профиль переливного сооружении

Рис. 43. Продольный профиль переливного сооружения

Гидравлические показатели переливного лоткового сооружения (см. рис. 42) представлены в табл. 8.1, а его объемные показатели - в табл. 8.2.

Таблица 8.1.

Q2%,

м3/сек

Уклон дна,

Площадь живого сечения водного потока, м2

Vпер,

м/сек

hкp, м

q, м3/с.м

DН по оси дороги, м

200,8

1

218

1,64

0,29

0,45

0,42

Таблица 8.2.

№№ п/п

Наименование работ

Един, изм

Кол-во

1.

Планировка откосов лотка автогрейдером

м2

5226

2.

Устройство покрытия из щебня толщиной по оси 12 см на фильтрующей насыпи из гигантского щебня толщиной 30 см

 

 

 

а) устройство покрытия из щебня толщиной слоя 12 см

м23

6854/823

 

б) устройство фильтрующей насыпи из гигантского щебня толщиной 30 см

м23

6854/2500

3.

Установка железобетонных сигнальных тумб через 10 м вдоль кромки дорожной одежды с обеих сторон

шт.

100

 

Бетон М-400

м3

5,0

 

Арматура Ст-3

кг

350,0

4.

Каменная наброска

м3

1820

5.

Земляные работы

м3

2580

Строительство низководных мостовых переходов и переливных лотковых сооружений в сельских районах Оренбургской области является экономически оправданным и приносит существенное снижение капиталовложений в строительство местной сети дорог.

Сравнительные данные по сопоставлению стоимости строительства капитальных высоководных мостов и периодически затопляемых мостовых и лотковых переходов, полученные в результате анализа проектных материалов Оренбургсельхозпроекта, представлены в табл. 8.3. Данные этой таблицы отражают ценообразование по состоянию на 01.01.1980 г., стоимость строительства дана без учета накладных расходов, плановых накоплений и прочих работ и затрат.

Таблица 8.3.

№№ пп

 

Створ перехода

F,

км2

Q2%,

м3/сек

Высоководный мост

Низководный переход

длина, п.м.

стоимость,

тыс.руб.

длина, п.м.

стоимость,

тыс.руб.

1.

р. Салмыш у с. Зеркло

1550

700

114,84

165,77

15

8,5

2.

р. Каменка у с. Черноярово

525

342

63,15

157,81

24

10,2

3.

р. Сакмара у с. Бурлыгино

3101

1717

198

445

54,45

18,9

4.

р. Буруктал у п. Светлый

1985

980

220

350

лоток

45,5

5.

Суходол у с. Веселый

320

201

80

200

лоток

48,9

6.

р. Салмыш у с. Буланово

2580

1020

120

350

25

12

Аналогичные по сравнению с низководными мостами Оренбургской области имеют место мосты в Башкирии. Так, опоры мостов через р. Ик у дер. Чути, насадки и прогоны выполнены из металлических труб диаметром 23-12 см. Настилом проезжей части служат сборные железобетонные плиты размером 2,8´1 м и толщиной 0,15-0,2 м. Плиты жестко прикреплены к металлическим трубчатым прогонам. Колесоотбойный брус выполнен также из труб.

В табл. 8.3 высоководный мост из железобетона; в графе "низководный мост" приведены данные по металлическим мостам (см. рис. 41) и переливным лоткам по типу конструкций, представленных на рис. 42 и рис. 43.

В северных и центральных районах страны нередко для пропуска ледохода приходится проводить подготовительные работы. При подготовке затопляемых мостов к пропуску ледохода снимаются перила и настил, а в некоторых случаях и прогоны. Часть этих элементов моста приходится ежегодно обновлять.

Воздействие ледохода бывает опасным и на южных реках Так, в Казахстане в 1969 г. произошел перелив весеннего паводка через мост на р. Ургунтае (фото 7). Льдом были срезаны перила, пострадал деревянный настил. Вода переливалась слоем 35-50 см вместе с огромными льдинами размером 2´3´0,4 м. Аналогичный перелив наблюдался на мосту через водоток у п. Самсы, а также на р. Ловар, где слой перелива воды составил 1 м, а максимальный размер отдельных льдин достигал четырех метров.

Фото 7. Воздействие ледохода на затопляемый мост через р. Ургунтай в половодье 1969 года (в Казахстане).

Из современных проработок мостовых переходов с затопляемыми подходами, представляющих интерес для индивидуального проектирования, следует назвать прежде всего проект мостового перехода через р. Оку у г. Спасск-Рязанский, разработанный Союздорпроектом в 1995 г. (28). В 1992 г. ГипродорНИИ был разработан проект строительства высоководных подходов к наплавному мосту через р. Оку на автомобильной дороге Спасск-Троица (29).

Накоплен весьма значительный опыт проектирования, строительства и эксплуатации переливных лотковых сооружений на временных автомобильных дорогах, включая притрассовые дороги Байкало-Амурской железнодорожной магистрали.

Конструкции переливных лотков для условий притрассовых и построечных дорог БАМа разработаны Дальгипротрансом с учетом рекомендаций работ (12, 15). Они представляют собой камненабросные фильтрующие конструкции с проезжей частью - лотком или комбинированные переливные конструкции с устройством водопропускных труб в теле фильтрующего камненабросного переливаемого дорожного полотна (рис. 44).

Построенные комбинированные фильтрующие переливные лотковые сооружения достаточно успешно эксплуатируются уже более 35 лет в районе восточного участка БАМ.

Рис. 44. Конструкции переливных лотков:
а - разрез по оси и план переливного лотка; б - принципиальная схема переливного лотка с комбинированной фильтрующей насыпью; 1 - сигнальный столбик; 2 - фильтрующая насыпь; 3 - рисберма; 4 - покрытие; В - ширина земляного полота; 5 - замененный грунт основания; 6 - водопропускная труба.

Особенности конструкций этих сооружений и их устройства более подробно освещены в работе (21), которой можно руководствоваться в дополнение к рекомендациям данного раздела настоящей работы.

Переливные лотковые сооружения весьма распространены в Средней Азии и на Кавказе. Находят они применение в районах Сибири и Дальнего Востока.

К числу наиболее крупных лотковых сооружений в Самаркандской области надо отнести лотки через водотоки Миранкуль-сай, Тепокуль-сай и Агапык-сай, Аксак-Ата, построенные по проекту Узгипроавтодора в 1971 г. (рис. 45). Продольный профиль этих сооружений дан в виде вогнутых вертикальных кривых с радиусами 2500-1000 м. Длины лотков, равные 76-157 м, определены с учетом ширины разлива паводковых вод 2% ВП в створах переходов с запасом 1-8 м. Углы пересечения с водотоком составили 62-90°.

Рис. 45. Переливные лотки в Средней Азии (поперечные профили):
1
- железобетонные плиты 2´2´0,16 м на гравийной подготовке толщиной 10 см; 2 - засыпка грунтом: 3 - наброска из бутового камня

Особые случаи устройства переливных лотковых сооружении в Сирии по состоянию на 1976-1980 г.г.:
а - с низовой стороны железной дороги Дейр - Эз - Зор - Хасеке на вдольбереговом участке р. Ефрат;
б - на участке дороги Ракка - Дейр - Эз - Зор, отсекающим часть правобережного массива р. Ефрат;
в - через периодический водоток в пустыне.

Разность отметок верховых бровок лотков в пониженных местах продольного профиля и соответствующих им отметок дневной поверхности дна русла равна 0 и - 0,49 м. Расчетные расходы водотоков составляют 50 м3/с, русловые бытовые скорости - от 1,25 до 2,18 м/с. Покрытие лотков - двухслойное, черное гравийное, толщиной 12 см. Основание гравийное, толщиной 26 см.

Заглубление укреплений низового откоса принято постоянным на всех лотках и по всей их длине и составило 2,28 м от наименьших отметок земли в створе перехода; заглубление укреплений верхового откоса - 1,17 м. Уклоны водотоков у сооружений - 0,035; 0,044 и 0,018. Максимальные глубины перелива - от 0,25 до 0,94 м.

Продольный профиль построенных в 1961-1968 гг. лотковых сооружений на автомобильных дорогах Ош - Хорог и Фрунзе - Ош (рис. 46) характеризуется горизонтальным участком в пониженной части лотка длиной от 4 до 10 м и наклонными участками с уклонами правосторонними от 1,7 до 9% и левосторонними от 0,5 до 6% Наиболее тяжелые условия для движения характерны для лотков с сочетанием правосторонних уклонов, равных 9%, и левосторонних - 6%. Вертикальные кривые и продольном профиле лотков отсутствуют. Длины лотков колеблются от 17,6 до 120 м. Максимальная водопропускная способность составляет 41-47 м3/с. Уклоны логов у сооружений - от 3 до 12%. Лотковые сооружения расположены как на прямых участках дороги в плане, так и на криволинейных. Их длина определена из условий возможного растекания при выходе воды из логов на дорогу. На широких логах предусмотрено их стеснение регуляционными дамбами с целью обеспечения более концентрированного (по ширине) потока и уменьшения длины лотков. На узких извилистых логах дана срезка и расчистка береговых бортов при выходе на дорогу.

Рис. 46. Переливные лотки на дорогах Памира (поперечные профили):
1 - бетонный зуб; 2 - подпорная стена; 3 - наброска из бутового камня

Переливные лотки Аздорпроекта, примененные на дорогах низших категорий Кавказа в 1960 г. (рис. 47), имеют треугольное сечение в продольном профиле на большинстве сооружений, а в отдельных случаях - трапецеидальное. Лотки предназначены для пропуска сравнительно небольших максимальных расходов - от 0,5 до 8 м3/с. Ширина лотков по кромкам составила от 9,5 до 13,5 м, длина - от 8 до 19,3 м. Максимальная глубина затопления равна 0,3 м. Лотки применены в основном для пропуска максимального стока со склонов и небольших логов.

Рис. 47. Переливные лотки на Кавказе (поперечные профили):
1 - каменная кладка на цементном растворе; 2 - щебеночная подготовка толщиной 15 см; 3 - засыпка гравийным грунтом: 4 - сухая каменная кладка; 5 - гравийная подготовка толщиной 15 см; 6 - бетонная шпора замкнутого четырехугольного очертания в плане, оконтуривающая переливную часть лотка

К этому же типу лотковых сооружений горных дорог низших категорий надо отнести переливные лотки на дорогах Грузии (рис. 48). Продольный профиль этих лотков имеет симметричное или асимметричное (относительно оси лотка) ломаное треугольно-вогнутое очертание без вертикальных кривых.

Рис. 48. Переливные лотки в Грузии:
а - поперечные профили; б - продольные профили; 1 - сухая каменная кладка; 2 - мощение рваным камнем толщиной 20 см на гравийной или щебеночной подготовке толщиной 15 см; 3 - бетонная подпорная стенка: 4 - одиночное мощение на гравийной подготовке толщиной 10 см; 5 - бетонный упор; 6 - мощение на цементном распоре

Максимальная глубина воды на лотках 0,3-0,6 м. Лотки имеют длину от 9,3 до 26 м и предназначены для перепуска поверхностного стока с малых логов. Покрытия лотков укреплены мощеным рваным камнем; верховые и низовые зубы-упоры - из каменной кладки.

Для отечественной практики проектирования может быть полезен известный зарубежный опыт строительства затопляемых мостов в Марокко, Афганистане, Боливии и США.

Отличительной особенностью затопляемых мостов в Марокко (рис. 49) является их большая капитальность по сравнению с другими низководными мостами. Затопляемые мосты не обеспечивают движения по дороге лишь в течение нескольких дней в году в период паводковых вод.

Рис. 49. Затопляемый мост в Марокко:
1 - укрепление габионами; 2 - сваи-оболочки диаметром 0,6 м; 3 - затопляемая проезжая часть; 4 - сигнальные тумбы

Балочно-разрезные железобетонные плитные пролетные строения этих мостов имеют толщину 0,45 м, ширину 6,9 м при габарите проезжей части 6 м. Пролет в свету - 7,68 м. В поперечном сечении плиты имеют 16 пустот, образованных с помощью керамических прямоугольных труб размером 0,25´0,25 м. Железобетонные опоры оперты на армированные буровые и винтовые сваи диаметром 0,56 и 0,42 м. Промежуточные опоры даны в виде сплошных стенок толщиной 0,7 и шириной 7,6 м. При определении длины свай решающим фактором явилась не нагрузка, а глубина Пр размыва, определяемая по формуле:

Пр = 3 + 2Н                                                                                                                          (8.1)

где Н - глубина воды при расчетном уровне воды, м.

Глубина погружения свай принята равной глубине размыва. Устои по конструкции аналогичны промежуточным опорам. Для защиты насыпи от воздействий воды применено габионное укрепление на фильтрующем слое. По строительной стоимости такие мосты в 3 раза дешевле обычных мостов.

Более 40 лет тому назад при въезде в г. Файзабад в Афганистане был построен затопляемый мост через р. Кокчу. Мост арочной конструкции, свод возведен из кирпича, а фундамент и тело опор - из бутобетона. По верху арок сделана стяжка в виде цементобетонной плиты шириной 4,5 м, используемой под проезжую часть. Глубина воды в межень под мостом 8-10 м, скорость течения 2-3 м/с, а в паводок 5-6 м/с; наблюдается карчеход в виде отдельных деревьев. В паводок бывают переливы воды через мост глубиной до 1 м, вызывающие остановку движения транспорта от 2 до 20 ч.

Известны затопляемый мост на Панамериканской дороге в Боливии, а также мост через р. Ньюс в Техасе в США длиной 160 м, имеющий 28 пролетов по 7 м. Подошва рельса этого моста расположена на 3,5 м ниже ВИУ. На подходах к мосту в пределах разлива паводка шпалы прикреплены к обрезкам рельсов, забитым в землю по обеим сторонам шпал вверх и вниз по течению. Рельсы на мосту закреплены на плите с помощью универсальных анкерных соединений, предохраняющих рельс против продольного и бокового движения и позволяющих регулировать ширину колеи. Стоимость затопляемого моста составила 33% от стоимости незатопляемого высоководного.

Среди зарубежных низководных мостов весьма интересным примером может служить мост, построенный в 1992 г. в Австралии через руч. Купер (рис. 50, рис. 51).

Рис. 50. Общий вил моста через руч. Купер:
1 - общая длина моста; 2-5 неразрезных пролетов 5´21,5; 3 - зафиксированный уровень высокой воды; 4 - отметки земли; F - неподвижный шарнир; Е - подвижный.

Рис. 51. Типовая опора моста в главном русле:
1 - отметка уровня высокой воды; 2 - сварные балки со сплошной стенкой; 3 - стальная оболочка d 600 мм: 4 - сила корчехода 23 т на опору; 5 - нормальный уровень воды; 6 - стальная оболочка d 1,8 т, заполненной бетоном; 7 - песок и глина; 8 - твердый галечник, сцементированный кремнеземом; 9 - направление течения.

Мост из преднапряженного железобетона с шириной проезжей части 4,5 м. Уровень проезжей части моста на 2 м ниже максимального зафиксированного уровня высокой воды (фото 8).

Фото 8. Мост после окончания строительства

Мост состоит из 14 пролетов, из которых 5 - неразрезные. Каждая опора рассчитана по отдельности на устойчивость против горизонтального давления и выталкивания сил.

Общая стоимость строительства составила 2,5 млн. австралийских долларов, что составляет 2000 долл./м2. Это на 50% выше стоимости моста в обжитых районах. К настоящему времени мост более чем окупил себя и дал доступ к обширным территориям.

Для отечественной практики проектирования также может быть полезен накопленный зарубежный опыт проектирования, строительства и эксплуатации переливных лотковых сооружений в Сирии, Индии, Афганистане, Йемене. Непале и в Африке, включая и опыт советских специалистов по строительству дорожных объектов в некоторых зарубежных странах.

В Сирии на участке дороги Ракка - Дейр - Ээ - Зор протяженностью 124 км из 193-х сооружений имеется 87 переливных лотков. Продольный профиль и расположение лотков в плане полностью подчинено положению автомобильной дороги на местности. Характерны для этой дороги низкие насыпи из щебенистого грунта. Для обеспечения плавности движения автомобилей и достаточной видимости минимальные радиусы вогнутых кривых на лоткам приняты 1000 м, а выпуклых кривых на входе и выходе из лотков - 2000 м. Для лотков на малых водотоках характерно наличие низовой бровки, укрепленной каменной наброской, мощением рваным камнем, а также стенкой из бетона или габионных ящиков. Речной сток содержит лишь взвешенные наносы.

Особый интерес для изучения переливных сооружений представляет лоток, предназначенный для пропуска автомобильного транспорта через периодический водоток на грунтовой дороге в Сирийской пустыне. Лоток длиной 120 м построен в 1933-1835 гг. «виде плавной бетонной плиты шириной 5,5 м. уложенной непосредственно на галечно-гравийное дно реки. В продольном профиле лоток повторяет очертание поверхности русла водотока в створе перехода. У правого берега он имеет самую пониженную точку, характеризующую максимальные глубины дна русла. Правобережный подход вымощен рваным камнем на протяжении 50 м. У левого берега лоток поднимается на гребень прибрежного побочня и выходит на бровку берега.

Пересечение водотока в месте расположения побочня и устройство поверхности лотка по верху прибрежного побочня - крайне редкое явление и поэтому имеет большое научно-познавательное значение в изучении устойчивости лотковых сооружений.

Принятое очертание лотка и заложение бетонной плиты с учетом рельефа дна не гарантировало его от заносимости наносами в пониженной части и размыва нижнего бьефа в повышенной части. Из-за отсутствия полного комплекса сооружений (незатопленного левобережного подхода и регуляционных сооружений) происходит слив пойменных вод с берега, размыв левого берега и промыв протоки между лотком и берегом, что нарушило возможность передвижения автотранспорта по лотку.

Закрепление верха левобережного побочня вызвало частичную задержку транспортируемых наносов перед лотком, осветление потока и размыв нижнего бьефа за лотком. В результате создалась угроза сохранности сооружения. Воронка размыва глубиной 1,6 м распространилась под плиту лотка на расстояние 1,5 м. Расчетный расход воды 1% ВП составляет 250-300 м3/с.

При обследовании автомобильной дороги, проложенной вдоль левого берега р. Евфрат от Дейр-эз-Зора до Касри, на одном из участков параллельно расположенных автомобильной и железной дорог обнаружены переливные лотки. Конструктивно переливные лотки на этой дороге мало отличаются от лотков, применяемых на других дорогах Сирии. С низовой стороны кромки лотков укреплены вертикальными подпорными стенами (шириной по верху 0,3-0,4 м) неглубокого заложения (1-1,5 м), выполненными из бутовой кладки или габионных ящиков. Покрытие лотков черное, из местного гравия и природного битума. Характерно для лотков их расположение или в отметках прилегающей местности, или с минимальным возвышением, а также на водотоках с наличием твердого стока.

Железнодорожные сооружения построены в 1972-1973 гг., автодорожные переливные лотки - на 10-15 лет раньше. Такое совместное расположение дорог определяет наиболее сложное регулирование максимального стока водопропускными сооружениями.

Для предохранения покрытия дорог от частого затопления (при переливах паводковых вод через них) на обочинах, расположенных с верховой стороны, устроено ограждающее обвалование (рис. 52). В местах переходов через водотоки это обвалование прерывается для пропуска паводковых вод. По капитальности такое обвалование служит временным земляным сооружением с ограниченной высотой (до 1-1,5 м), определяемой шириной обочины - основания дамб обвалования. Земляные валы на обочине ограничивают пропускную способность дороги, снижают в ряде мест видимость и ухудшают эстетическое восприятие дороги, хотя и позволяют несколько снизить затраты на строительство непереливаемых ее участков. В периоды больших наводнений такие дороги подвержены переливам и затоплению.

Рис. 52. Поперечный профиль подтопляемой дороги (Северная Индия):
1 - ограждающий земляной вал: 2 - покрытие дороги

В Северной Индии для перепуска паводковых вод через некоторые автомобильные дороги основным водопропускным сооружением служат переливные лотки. Наибольшая глубина перелива при движении автомобилей допускается на некоторых лотках равной 0,5-0,7 м при скорости перелива 0,6-1 м/с. Подобные лотки устраивают обычно на водотоках, не несущих твердого стока. Непрерывная длительность затопления лотков в течение года составляет от 2 до 4,5 мес. Ширина лотка по верху - 7 м, длина - от 60 до 100 м, радиусы вертикальных кривых максимальные вогнутые - 750-1000 м и выпуклые - 2000 м. Встречаются лотки горизонтальные в пониженной части продольного профиля. Поперечный уклон равен уклону проезжей части. Дорожная одежда на лотках - верхний слой из черного щебня с поверхностной обработкой общей толщиной 6-7 см, а основание из одного или двух слоев обожженного кирпича, поставленного на ребро. Земляное полотно из суглинистого грунта. На подходах к лотковым сооружениям обнаружены пучинистые места и разрушение покрытия. Максимальная интенсивность движения не превышает 300 автомобилей в сутки.

В продольном профиле лотки, построенные в Афганистане по проекту Союздорпроекта, характеризуются корытообразным или сферическим вогнутым очертанием, что достигается различным сочетанием вогнутых вертикальных кривых и участков прямых (рис. 53). Минимальные радиусы вогнутых вертикальных кривых корытообразного профиля составляют 1500 м, а сферического профиля - 2000 м. Наиболее распространены радиусы, сопрягающие выпуклые вертикальные кривые, равные 6000 м. Расчетная глубина перелива в пониженной точке лотков - 0,3 м.

Рис. 53. Продольные профили переливных лотков на автомобильной дороге Кушка - Герат - Кандагар в Афганистане:
1 - подошва зуба; 2 - подошва водослива и верха упора; 3 - подошва упора; 4 - подошва зуба правого откоса: 5 - подошва зуба; НЛ, КЛ - начало и конец лотка; НК, КК - начало и конец крепления; НС, КС - начало и конец стенки; НЗ, КЗ - начало и коней бетонного зуба

Покрытие проезжей части лотков представляет собой цементобетон толщиной 20 см на гравийном основании слоем 20 см. По верху основания дан выравнивающий песчаный слой толщиной 3 см и битумированная бумага. В поперечном сечении лотки имеют несколько отличные конструкции (рис. 54). Пересечение водотоков подчинено направлению автомобильной дороги, лотки имеют значительную длину - от 161 до 245 м с учетом ширины разлива (по оси лотка) с запасом по 20 м в каждую сторону.

Рис. 54. Поперечные профили переливных лотков на автомобильной дороге Кушка-Герат-Кандагар в Афганистане:
1 - отсыпка из местного грунта; 2 - бетонная стена; 3 - покрытие; 4 - бетонный зуб: каменная кладка на цементном растворе (на участке 113 м переливной зоны лотка); 5 - бетонный водослив (с продольным швом 2 см) на гравийной подготовке толщиной 10 см; 7 - бетонный упор; 8 - рисберма из камня толщиной не меньше 30 см; 9 - рисберма из рваного камня, верхний слой которого на цементном растворе

На автомобильной дороге Ходейда - Таиз в Йемене, построенной по проекту Союздорпроекта, сооружен 41 переливной лоток (рис. 55). Особенность их продольного профиля - плавное очертание в виде вогнутых круговых кривых большого радиуса - не меньше 3000 м; радиусы сопрягающих выпуклых кривых приняты не меньше 1000 м. Расчетная глубина перелива в пониженной точке продольного профиля дана переменной для разных лотков в пределах 0,3-0,55 м.

Рис. 55. Поперечные профили переливных лотков на автомобильной дороге Ходейла - Таиз в Йемене:
1 - подошва укрепления низового откоса; 2 - подошва укрепления верхового откоса; 3 - бетонный лоток: 4 - бетон марки 200 на слое гравия толщиной 10 см; 5 - щебеночное покрытие толщиной 12 см с пропиткой битумом на 6 см; 6 - гравийно-песчаная смесь толщиной 10 см; 7 - камень размером 20-50 см; 8 - гравийно-песчаная смесь толщиной 28 см; 9 - каменная кладка на цементном растворе; 10 - армирование краев плиты; 11 - бетон М-300 толщиной 20 см; 12 - гравийное основание толщиной 50 см

Максимальное возвышение осей лотков над пониженными точками русел водотоков различны по величине и составляют от 0,73 до 1,71 м.

В поперечном сечении переливные лотки имеют некоторые различия (рис. 55). Характерны укрепления обочины с устройством заглубленного укрепленного низового откоса или с устройством укрепленной бермы между подошвой низового откоса и заглубленным наклонным укреплением. На большинстве лотков покрытие проезжей части черное щебеночное толщиной 12 см с пропиткой битумом на глубину 6 см с поверхностной обработкой. В основании покрытия - гравийная оптимальная смесь толщиной 28 см на естественном уплотненном грунте или гравийная оптимальная смесь слоем 10 см на гравийном грунте. На отдельных лотках покрытие цементобетонное толщиной 20 см на гравийном основании слоем 50 см и естественном уплотненном грунте. Толщина бетонной плиты на обочинах и на берме 20 см, а на откосах - 12 см.

Длина лотков определяется очертаниями продольного профиля и шириной разлива паводковых вод. Расчетный расход воды 3% ВП на лотках составил от 60 до 350 м3/с, а длина - от 100 до 500 м.

На автомобильной дороге Симра - Джанакпур в Непале (проект Союздорпроекта) сооружено 23 переливных лотка общей длиной 2822 п.м., из которых 15 с бетонным покрытием, а 8 - с черным щебеночным. Относительно ровный характер предгорной равнины и распластанные русла водостоков определили преимущественное корытообразное очертание продольного профиля лотков. Для всех сооружений минимальный радиус вогнутых кривых равен 1000 м, а выпуклых - 2500 м; горизонтальный участок продольного профиля - на меньше 10 м; длина лотка - от 80 до 258 м.

Расчетная глубина перелива на пониженном участке принята равной 0,3-0,4 м. В поперечном сечении лотки имеют два очертания, различающиеся наличием или отсутствием укрепленной бермы в низовом бьефе (рис. 56). Опыт эксплуатации построенных сооружений и наблюдения за их работой в паводки позволили отказаться от устройства бермы на последующем участке строительства. Для отвода скапливающихся грунтовых и фильтрационных вод из основания дорожной одежды лотков предусматривалось устройство водоотводных канав на расстоянии друг от друга не меньше 25 м и не больше 40 м (при длине лотка больше 150 м). Длина канав - от 50 до 120 м.

Рис. 56. Поперечные профили переливных лотков на автомобильной дороге Симра - Джанакпур в Непале:
1 - бутовая кладка на цементном растворе; 2 - сигнальные тумбы; 3 - бетонное покрытие; 4 - одиночное мощение на цементном растворе и слое щебня в 10 см; 5 - каменная наброска; 6 - дно отводящей канавы (пунктир)

Цементобетонное покрытие проезжей части лотков толщиной 18 см устроено на песчано-гравийном основании слоем 35 см. Черное щебеночное покрытие толщиной 12 см обработано битумом на глубину 8 см с двойной поверхностной обработкой. Основание из гравийной смеси, обогащенной 30% щебня, слоем в 12 см на подстилающем слое толщиной 50 см из песчано-гравийного материала.

Обочины, низовая берма и откосы переливных лотков укреплены одиночным мощением камнем (размером 20 см) на цементном растворе на слое щебня 10 см. Верховой зуб упора выполнен из бутовой кладки на цементном растворе. Рисберма дана в виде наброски камня.

На тех лотковых сооружениях, которые были предусмотрены на водотоках с постоянным меженным стоком, в летний период через 1-2 мес. после устройства черного щебеночного покрытия начал разрушаться верхний слой дорожной одежды. Сначала разрушение имело вид малых выбоин, а затем последовало интенсивное их расширение и разрушение покрытия.

Переливные лотковые сооружения Союздорпроекта были построены в Непале в период с 1966 по 1971 гг. Они успешно функционируют и до настоящего времени без каких-либо повреждений от воздействий паводочных потоков. Их конструкции рекомендованы ведомственными отраслевыми документами (10, 12).

В странах со слаборазвитой сетью дорог лотки в виде мощеного брода служат иногда единственной переправой через водоток. На ряде переходов переезд осуществляется через переливные лотки, устраиваемые из крупных валунов и хвороста. Переливные лотки устраивают и при значительных меженных глубинах (до 2,5 м) в межпаводковый сезон.

Одним из наиболее экономичных решений в условиях жаркого климата и, в частности, на дорогах Сахары принято (30) считать устройство открытых лотков (рис. 57). При заполнении русла ливневым потоком перерыв движения по дороге начинается, когда глубина воды на лотковом сооружении достигает 15-20 см. Однако в этих условиях такой поток существует только в течение 1-3 часов.

Рис. 57. Устройство брода:
1 - слой пропитки; 2 - щебеночное основание; 3 - пакеляж; 4 - бетонное основание; 5 - железобетонный защитным слой 7 см; 6 - бетонный упор

Условия применения, функционирования и конструктивные решения переливных лотковых сооружений с отверстиями обладают специфическими особенностями. Представляют практический интерес те сооружения, которые наиболее долго эксплуатируются и имеют достаточное обоснование проектно-конструкторских решений. К их числу, прежде всего, относятся сооружения, построенные по проектам Союздорпроекта на дороге Симра - Джанаклур в 1967-1971 гг. и функционирующие до настоящего времени.

Всего на этой дороге было построено 8 лотков с отверстиями в виде круглых труб (рис. 58) диаметром 1,5 или 1 м. После прохода паводков на поверхности лотков остается слой ила до 1 см, а также остатки карчехода в виде небольших (диаметром до 15 см) стволов деревьев без кроны и сучков. Наблюдаются случаи попадания карчи в отверстия труб. Лотки в плане дороги располагаются как на горизонтальных кривых, так и на прямых участках. В продольном профиле они имеют аналогичное очертание с переливными лотками без отверстий.

Рис. 58. Переливной лоток на автомобильной дороге Симра - Джанакпур в Непале:
1 - старое русло; 2 - новое русло; 3 - двухочковая труба диаметром 1 м; 4 - бетонное покрытие; 5 - каменная наброска

Лотковые сооружения с отверстиями в виде круглых и прямоугольных труб (рис. 59), построенные по проектам Союздорпроекта на дорогах Афганистана, успешно работают с 1960 г. в течение длительного периода. Ширина лотков по верху - 12 м, проезжая часть - 7 м. Покрытие лотка бетонное толщиной 20-21 см на битумированной бумаге (два слоя) по выравнивающему слою песка в 3 см на гравийном основании толщиной 10 см. Откосы лотка имеют крутизну 1:2 и укреплены бетоном толщиной 15 см на гравийном основании 10 см. Рисберма дана из гравийно-песчаного грунта. Заглубление верхового откоса - на 1 м, низового - 1-2,7 м. На отдельных лотках укрепление верхового откоса отсутствует. В продольном профиле лотки идентичны переливным лоткам без отверстий. На некоторых водотоках отверстия подвержены заносу твердым стоком. Сигнальных тумб на лотках нет.

Рис. 59. План и профили переливного лотка с отверстиями на
1 - подошва укрепления верхового откоса; 2 - подошва укрепления низового откоса; 3 -укрепление перед лотком; 4 - укрепление низового откоса лотка; 5 - бетонное укрепление толщиной 15 см на гравийном основании слоем 10 см; 6 - бетонное покрытие; 7 - рисберма из гравийно-песчаного грунта; 8 - бетонная стенка, сопрягающая открылки трубы с бетоном сливного откоса; НЛ - начало лотка; КЛ - конец лотка; НУ - начало укрепления низового откоса; КУ - конец укрепления низового откоса

На автомобильной дороге Герат - Исламкала в Афганистане, построенной с помощью США, имеются лотковые сооружения с черным и цементобетонным покрытием и с большим количеством отверстий диаметром 1 м. Наибольший переливной лоток имеет длину 2,6 км. Лотки расположены в зоне выноса систематического отложения мелких наносов в виде суглинков. Эти лотки после 10 лет эксплуатации (1965-1975 гг.) полностью заилены. Среднегодовой слой заиления лотков составил 12,5 см.

На автомобильной дороге Кабул - Кандагар в качестве водопропускного отверстия нашли применение круглые стальные гофрированные трубы диаметром 0,5-1,5 м как в виде одного отверстия, так и в виде нескольких.

Переливные лотки с отверстиями построены на автомобильных дорогах Таиз - Сана и Ходейда - Таиз в Йемене. Отверстия лотков выполнены в виде единичных круглых труб диаметром от 1 до 1,25 м из бетона и камня. Конструктивно лотки аналогичны лоткам на автомобильной дороге Кушка - Герат - Кандагар в Афганистане. Отличием их на дороге Ходейда - Таиз является меньшая ширина по верху, равная 10 м; крутизна откосов 1:1,5; бетон покрытия - толщиной 20 см. Обочины и откосы верховой части лотка укреплены мощением камнем на слое гравия 15 см с заливкой швов цементным раствором. Обочины и откосы низовой части лотка укреплены двойным мощением камнем с заливкой швов и на основании, аналогичном верховому откосу. Заглубление верхового откоса дано 0,3-0,7 м, а низового - от 0,75 до 1 м. В нижней части лотка у подошвы откоса предусмотрена горизонтальная берма укрепления длиной 1,5-4 м уклоном от лотка.

Несколько иное решение по сбросу небольшого стока воды в отверстия лотков можно видеть на р. Евфрат. Оголовки труб вынесены за пределы лотка. Встречаются лотковые сооружения с двусторонними симметрично расположенными оголовками труб. Всего на дороге Ходейда - Таиз в Йемене построено четыре лотка с отверстиями.

Лотковые водопропускные сооружения могут оказывать значительное влияние на регулирование максимального стока. Так, на дороге Дейр-Эз-Зор - Хасеке в Сирии имеется лоток длиной порядка 200 м, состоящий из трех отверстий, каждое размерам 2´1 м, рассредоточенных по длине лотка и поставленных в пониженных местах распластанного периодического водотока. Для дополнительного сброса воды имеются дополнительные отверстия в виде круглых труб диаметром 0,5 м на высоте 1-1,5 м от дна водотока. Для предотвращения размывов низового и верхового откосов предусмотрено укрепление их бетоном. Крутизна этих откосов переменная - от 1:1,1 до 1:1,25. Бетонные плиты откосов возвышаются над бровкой на 0,2-0,3 м. Одно из преимуществ этого лотка - его высота, позволяющая сохранить пологость продольного профиля дороги и ее ландшафтно-эстетическое восприятие.

На автомобильной дороге Ракка - Дейр-Эз-Зор в Сирии в местах пересечения излучин правобережных пойменных проток р. Евфрат имеются сооружения лоткового типа, работающие в условиях периодического паводочного подтопления (рис. 60). На подъеме и пике паводка они работают на перепуск паводочных вод р. Евфрата в пойменную пазуху, а при спаде - на выпуск воды из нее. Паводочные воды разрушают как низовую, так и верховую бровки глухой части переливного лотка. Укрепление бровок предусмотрено габионами.

Рис. 60. Переливной лоток с рассредоточенными отверстиями в пойме р.Евфрат

Расположение дорог в непосредственной близости друг от друга определило специфику работы лотковых сооружений по пропуску сосредоточенного потока, вытекающего из вышерасположенного мостового перехода. Отверстия лотка не в состоянии пропускать весь поток со скоростью сосредоточенного потока, что вызывает развитие местного размыва на входе в лоток, а также более быстрое наполнение и переполнение аккумуляторной пазухи. Увеличилась глубина и ширина перелива, а также размыва верхнего и нижнего откосов. В связи с этим потребовалось их укрепить подпорными стенами из монолитного бетона в сильно подверженной размыву части.

8.2. Рекомендации по разработке и обоснованию проектно-конструктивных решений применительно к конкретным условиям и обеспечению безопасности движения

8.2.1. Основным нормативным критерием для проектирования периодически затопляемых (переливных) сооружений является расчетная интенсивность движения автотранспорта, по которой назначается категория всей дороги, определяются возможные режимы функционирования этих сооружений во внутригодовом периоде, типы затопляемых сооружений и их капитальность.

На каждом объекте должна быть задана или обоснована расчетами предельно допустимая длительность перерыва или ограничения движения как в поводочный период, так и в остальные периоды года.

Следует различать и учитывать длительность перерыва или ограничения движения при однопиковых и многопиковых паводках в паводочный период, а также в течение года и других характерных периодах года.

Расчетная годовая длительность перерыва или ограничения движения является определяющей для обоснования проектного режима функционирования затопляемых (переливных) сооружений и возможного их сочетания с высоководными сооружениями.

Рекомендуемый к строительству расчетный режим функционирования затопляемых (переливных) сооружений должен обосновываться вариантными проработками всех пяти возможных режимов внутригодового функционирования дороги в соответствии с рекомендациями раздела 4 настоящей работы.

Расчетная годовая длительность допускаемого или заданного перерыва или ограничении движения является одним из основных критериев проектной разработки объекта и обоснования проектно-конструктивных решений. Она в значительной степени определяет типы, конструкции и размеры затопляемых (переливных) сооружений.

Расчетная годовая длительность перерыва или ограничения движения должны быть обусловлены и сопряжены с вероятностью превышения паводочных и других внутригодовых процессов затопления и воздействий гидрометеорологических факторов.

Критерии ВП этих процессов должны быть определены в соответствии с рекомендациями раздела 4 настоящей работы в зависимости от степени ответственности возводимого дорожного объекта, категории дороги и размеров водопропускных сооружений.

При назначении расчетной ВП для данного объекта затопляемые (переливные) сооружения с отверстиями и без них длиной менее 80 м должны быть отнесены по капитальности к малым мостам, длиной от 80 до 170 м - к средним мостам, а свыше 170 м - к большим мостам

Пропускная способность автомобильных дорог с затопляемыми (переливными) сооружениями может быть увеличена при возможности допущения движения автотранспорта с ограниченной скоростью в периоды затопления.

Это движение может осуществляться при предельно допустимом слое перелива воды, обусловленным необходимой устойчивостью автомобилей, передвигающихся (или остановившихся) на затопленной проезжей части переливного сооружения.

Применение того или другого режима перелива ограничено возможностями различных типов автомобилей и их расчетными эксплуатационными параметрами и требует учета как отдельных расчетных параметров, так и всего возможного в заданных условиях состава движения. Поэтому условиями проектирования должны быть четко оговорены состав движения по каждому типу автомобильного транспорта и расчетному автомобилю, а также требования к ним по режиму пропуска через сооружение - очередность, перерыв движения, грузоподъемность и другие.

Для определения предельно допустимого слоя перелива воды, обеспечивающего возможность движения автотранспорта с ограниченной скоростью в периоды затопления переливных сооружений, необходимо руководствоваться рекомендациями раздела 6 настоящей работы.

Разработка проектов периодически затопляемых (переливных) сооружений всех типов относится к индивидуальному проектированию.

Проектно-конструктивные решения должны основываться и предусматривать: обоснование параметров и расположения затопляемых (переливных) сооружений в плане, продольном и поперечном профилях дороги; определение водопропускной способности и отверстий этих сооружений; конструкции дорожной одежды и укреплений откосов; обустройство затопляемых участков дорог; обоснование расчетных нагрузок и природно-техногенных воздействий на сооружения и движущийся (остановившийся) автотранспорт; обоснование конструкций земляного полотна.

При определении водопропускной способности и. отверстий сооружений рекомендуется руководствоваться положениями и методикой расчета, изложенными в разделе 7 настоящей работы. Отверстия затопляемых (переливных) сооружений, гидравлические характеристики стесняемого и бытового водного потока, скорости течения и расчетный уровень подпертых вод, а также глубины размывов верхнего и нижнего бьефов следует определять по максимальному расходу воды требуемой ВП.

При проектировании конструкций переливных лотков и определении расчетных перепускных расходов искусственную аккумуляцию паводочных вод, как правило, не рекомендуется допускать из-за длительного застоя воды перед дорогой. Исключение может составлять необходимый (по хозяйственным нуждам) или вынужденный (по условиям рельефа) сбор воды перед дорогой. В этих случаях расчетный сбросной расход определяется с учетом разлива паводковых вод при глубине воды, соответствующей расчетному уровню подпертых вод (РУПВ). Для уменьшения аккумуляции минимальное возвышение входа воды в лоток в верхнем бьефе рекомендуется назначать не более 0,2-0,3 м над поверхностью земли. При проектировании переливных лотков с отверстиями аккумуляция воды допускается в большем размере и определяется высотой лоткового сооружения и положением РУПВ.

При наличии карчехода, заиления и ледохода должны быть на каждом объекте проектирования обоснованы принципы и критерии по назначению минимальных размеров (отверстий) затопляемых сооружений и отметок возвышения проезжей части (низа пролетных строений) этих сооружений.

Тип затопляемого (переливного) сооружения, место его расположения и режим функционирования следует выбирать и обосновывать с учетом конкретных социально-экономических, инженерно-геологических и гидрологических условий и факторов, каждые из которых взаимно обусловлены. При этом следует руководствоваться рекомендациями раздела 8.1 настоящей работы.

Рекомендуемый тип сооружения следует назначать на основе анализа достаточного количества вариантов и сопоставления их технико-экономических показателей с учетом стоимости и сроков строительства, возможностей строительных организаций (по обеспеченности механизмами, конструкциями и стройматериалами), а также с учетом затрат на эксплуатацию и содержание затопляемых переливных сооружений. При этом следует руководствоваться рекомендациями раздела 6 настоящей работы.

8.2.2. Переливные лотковые сооружения при единой принципиальной схеме работы отличаются по конструктивным решениям поперечного и продольного профилей, расположению в плане, укреплениям верхнего и нижнего бьефов.

Они работают в различных природных и климатических условиях, а наибольшее применение находят на водотоках с периодическим стоком и уклонами у сооружений от 0,008 до 0,044.

Расположение переливных сооружений в плане дороги, как правило, подчинено ее направлению. Их устраивают на прямолинейных участках дороги, а в стесненных горных условиях - и на криволинейных, а также на выпуклых и на вогнутых кривых, обращенных по отношению к направлению течения. Не всегда они удовлетворяют требованиям обеспечения движения и пропуска паводка. Имеются случаи, когда в интересах лучшего прохода паводка через сооружение не устраивают вираж на лотке, в отдельных же случаях вираж ухудшает эксплуатационные характеристики лотков, вызывая их заиление и увеличивая скользкость на поверхности. Радиусы горизонтальных кривых составляют 50-2000 м, а длины лотков - от 20 до 270 м.

Требования к месту расположения затопляемых (переливных) переходов через водотоки должны обуславливаться типом и капитальностью сооружений, а также категорией и предназначением дороги.

Капитальные низководные мосты на дорогах низших категорий, отдельные самостоятельные переходы и переливные лотки значительного протяжения, для которых наиболее благоприятны узкие и устойчивые места речных долин с перпендикулярным пересечением водотоков, в ряде случаев могут определять контрольные точки приложения дорог на местности.

Вынужденное расположение переходов и зависимости от общего направления дороги связано с менее благоприятными условиями их работы и с увеличением стоимостных показателей как строительства, так и эксплуатации сооружений. В то же время применение переливных лотков в ряде случаев позволяет улучшить параметры дорог в плане и продольном профиле, повышая их экономическую эффективность по сравнению с мостами и трубами. И в эстетическом отношении наиболее удачные конструкции переливных лотков не уступают мостам и трубам, придавая автомобильной дороге вполне современный вид.

Переливные лотки наиболее целесообразны: на периодических водотоках при отсутствии твердого стока, на распластанных водотоках и пологих руслах горных логов; при необходимости устройства в месте перехода нескольких малых водопропускных сооружений, работающих одним уровнем подтопления; на водотоках с отсутствием или неопределенностью в установлении водоразделов между смежными водосборами и возможностью переливов паводковых вод из одного бассейна в другой; в местах пересечения неустойчивых русел и ожидаемого в период срока службы сооружений перераспределения расчетных расходов между отдельными водотоками.

При пересечении водотоков с селевым стоком, на конусах выноса и на участках рек со значительным объемом твердого стока (особенно в зоне аккумуляции наносов) переливные лотки без отверстий оказываются наиболее экономически оправданными. Их широко применяют при пересечении активно действующих селевых водотоков, несмотря на необходимость систематической очистки от остатков селей, частой перестройки путем поднятия проезжей части.

Для низководных мостов и переливных сооружений с отверстиями, устраиваемых на реках и имеющих повышенную капитальность и степень ответственности, необходимо предъявлять повышенные требования к выбору места их расположения на пересекаемом водотоке.

В этом случае возникает необходимость более тщательной и достоверной оценки исходных инженерно-геологических и гидрологических условий проектирования.

Наиболее предпочтительны места с прямолинейным течением, отсутствием сплава, судоходства и карчехода, а также с нешироким блужданием русла, не требующим значительных затрат на регулирование, и с благоприятными условиями фундирования. На дорогах нового направления с небольшой интенсивностью движения затопляемые мосты определяют положение контрольных точек проложения трассы дороги. В местах вынужденного положения места перехода затопляемый мост может пересекать реку и под косым углом.

В инженерно-геологическом отношении наиболее благоприятны условия, обеспечивающие расположение сооружений на естественном основании. В гидрологическом отношении предпочтительны пересечения водотоков в наиболее узких и устойчивых во времени местах, а также на участках рек с транзитным характером стока.

Менее желательны участки рек в зоне отложений наносов и на конусах выноса, а также на реках с неустойчивыми руслами. Но если исходить из конструктивных особенностей переливных лотков и их возможностей по пропуску паводков и автомобильного транспорта, то на дорогах низших категорий именно в этих местах наиболее целесообразны переливные лотковые сооружения.

При изысканиях низководных участков дорог и переходов нового направления имеется возможность выбора более благоприятных условий работы затопляемых сооружений: уменьшить возможность прохода больших ледяных попей, карчей и твердого стока, а также размываемости берегов и смещения русел водотоков и избежать других нежелательных воздействий.

Затопляемые (переливные) сооружения могут располагаться как на прямолинейных, так и на криволинейных участках дороги. На вновь строящихся дорогax наиболее целесообразно тип сооружения выбрать до начала трассирования, так как это во многом предопределит правильное назначение местоположения и конструктивные особенности такого сооружения.

Исходя из необходимости обеспечения наибольших удобств для движения автомобилей с заданной расчетной скоростью наиболее предпочтительно располагать переливные сооружения на горизонтальных участках дороги, принимая меры по переходу от двускатного поперечного профиля дороги к односкатному профилю лотка на участке подходов. При расположении переливных лотковых сооружений на криволинейных горизонтальных участках дороги при радиусах кривых меньше 2000 м, в целях обеспечения безопасности движения нужно давать виражи с односкатным поперечным профилем. Наиболее благоприятный пропуск паводка через лоток, устойчивость автомобиля при движении в период перелива и наименьшие объемы работ по сооружению переливных лотков могут быть обеспечены лишь при совпадении направления течения с наклоном проезжей части на вираже. Исходя из этих условий, при трассировании новых или реконструкции эксплуатируемых дорог надо стремиться располагать переливные лотковые сооружения на прямолинейных или криволинейных участках дороги с выпуклым очертанием горизонтальных кривых по отношению к направлению течения. Для достижения этого возможны местные изменения трассы дороги (рис. 61).

Рис. 61. Варианты изменения трассы дороги для более целесообразного расположения переливных лотковых сооружений:
1 - вершины углов поворота; 2 - рекомендуемое положение трассы дороги

Расположение лотковых сооружений на криволинейных участках дорог вогнутого очертания по отношению к направлению течения потока нежелательно. Исключение могут составить случаи регулирования стока предгорных рек направлением дороги. Но и здесь надо изыскивать возможность замены криволинейного очертания на комбинированное с горизонтальной прямолинейной вставкой на участке расположения переливного сооружения (см. рис. 61).

Переход от двускатного профиля дороги к односкатному надо проектировать (в соответствии со СНиП 2.05.02-85) на протяжении переходной кривой, а при ее отсутствии - на прилегающем к кривой прямом участке. При радиусах кривых в плане 1000 м и меньше нужно уширять проезжую часть лотка и дороги с внутренней стороны за счет обочин. Ширина обочин на участке уширения должна быть не менее 1,5 м для дорог II и III категорий и не меньше 1 м для дорог IV-V категорий и дорог местного значения. Величину уширения проезжей части переливных лотков и подходов к ним, расположенных на криволинейных участках дорог, необходимо принимать (по СНиП 2.05.02-85) в зависимости от радиуса R кривой в плане и длины l автомобилей или автопоездов:

R, м

900

700

600

350

200

00

70

50

30

Уширение, м:

 

 

 

 

 

 

 

 

 

при l £ 11 м

-

0,4

0,5

0,6

0,8

1,1

1,3

1,5

2,2

при l £ 13 м

0,4

0,5

0,6

0,8

1

1,8

2,2

3

-

В горной местности уширение проезжей части можно уменьшить до 0,5 этих величин. Уширять проезжую часть нужно с внешней стороны закругления дороги. При уширениях больше 2,5 и рекомендуется переходить на большие радиусы кривых. Радиус закругления надо назначать с учетом обеспечения единого уклона и водотока и поперечного уклона проезжей части лотка.

При недостаточной ширине обочины для устройства уширения проезжей части надо уширять и земляное полотно. Уширять проезжую часть нужно от начала переходной кривой так, чтобы величина полного уширения была достигнута к началу круговой кривой.

Если по условиям местности - оказывается возможным и экономически оправданным для переливных сооружений, то радиусы кривых на криволинейных участках дорог полезно принимать в плане не меньше 3000 м, а расстояние видимости поверхности дороги - не меньше 450 м. В сложных условиях возможно снижение этих нормативов.

Продельные допустимые нормативы проектирования переливных лотковых сооружений в стесненных условиях должны соответствовать нормативам, рекомендуемым СНиП 2.05.02-85 для категории дороги в целом. Так, расчетные расстояния видимости поверхности дороги lп, встречного автомобиля lа и наименьшие радиусы кривых R в плане могут быть приняты в зависимости от расчетной скорости V движения:

V, км/ч

150

120

100

80

60

50

40

30

lп, м

250

175

140

100

75

60

50

40

lа, м

-

350

280

200

150

120

100

80

R, м

1000

600

400

250

125

100

60

30

Расчетные расстояния видимости для лотков, устраиваемых под движение автомобилей особо большой грузоподъемности и с высоким расположением сиденья водителя, рекомендуется принимать по соотношению:

V, км/ч

60

50

40

30

lп, м

125

100

75

50

lа, м

250

200

150

100

При проектировании переливных сооружений (лотков) в залесенной и закрытой местности необходимо обеспечить боковую видимость прилегающей к лоткам и подходам к ним местности и русла водотока на расстоянии не меньше 35 м независимо от категории дороги.

Важным требованием безопасности движения автомобилей по переливным лоткам является обеспечение видимости поверхности лотков в ночное время. Это относится не только к назначению достаточных радиусов горизонтальных кривых и другим мероприятиям, обеспечивающим видимость в дневное время, но и к расстоянию l0, освещаемому лучом света от фар автомобилей. Движение в ночное время будет безопасно, если соблюдено условие:

l0 ³ lр + lт + lб                                                                                                                        (8.2)

где lр - путь, пройденный автомобилем за время реакции водителя; lт - расстояние с момента начала торможения до полной остановки автомобиля, lб - расстояние безопасности между препятствием и остановившимся автомобилем, принимаемое равным двум длинам автомобиля.

На подходах к переливным лоткам при значительной интенсивности движения (больше 400 авт/сут) и продолжительности однопаводочного перерыва движения более 1,5 ч надо предусматривать незатопляемые места для остановки и стоянки автомобилей. Особая необходимость в таких стоянках возникает в стесненных условиях горной и предгорной местностей. Места стоянки автомобилей надо предусматривать со стороны движения на подходах возле лотковых сооружений или других местах, более удобных по рельефу. Независимо от наличия таких площадок на дорогах III-V категорий у начала и конца лотковых сооружений необходимы противоаварийные и эксплуатационные съезды с обеих полос движения на подходах.

К особым случаям расположения лотковых сооружений относят проложение автомобильных дорог вдоль ранее построенных (рис. 62). При необходимости размещения проектируемого сооружения выше существующего в целях сокращения длины сооружений необходимо трассу будущей дороги прокладывать вне зоны искусственной аккумуляции паводковых вод, чтобы не вызывать затопления нижнего бьефа.

Рис. 62. План перехода через водотоки (развитие эрозионных процессов создает угрозу разрушения лотковым сооружениям):
1 - существующая железная дорога; 2 - проектируемая автомобильная дорога; 3 - непереливные сооружения; 4 - переливные сооружения лоткового типа

При расположении дорог нового направления ниже существующих необходимо сделать так, чтобы лотковые сооружения были расположены вне зоны размыва подмостовых русел. Если проектируется дорога в зоне развития эрозионных понижений и вблизи верховьев растущих оврагов, необходимы дополнительные мероприятия по обеспечению устойчивости нижних бьефов лотковых сооружений. Такие обстоятельства нужно учитывать и при проектировании новых дорог выше и ниже существующих лотковых сооружений, так как на их работу будет во многом влиять вновь сооружаемая дорога с водопропускными сооружениями на ней.

Переливные лотковые сооружения иногда оказываются весьма удобными в качестве резервных сооружений для сброса через дорогу излишних паводковых вод, формирующихся в районах с неустойчивыми руслами рек и переливами из бассейна в бассейн. При размещении резервного сооружения учитывают требования (по его расположению на прямолинейном или выпуклом криволинейном участке дороги), аналогичные нерезервным.

Устройство резервного переливного лотка в ряде случаев требует удлинения или укорочения прямолинейного участка подходов к основному (высоководному) водопропускному сооружению, а иногда переноса такого комбинированного перехода из двух водопропускных сооружений различного предназначения выше или ниже по реке. Изменения трассы дороги в местах такого типа сооружений вносят после выполнения первоначальных гидрологических расчетов.

Переливные лотковые сооружения применимы при устройстве съездов или переездов с основной дороги любой категории. Съезды в виде переливных лотков целесообразны при значительном сбросе поверхностных вод вдоль дороги.

Переливные лотковые сооружения с отверстиями значительного протяжения на средних и больших водотоках располагают, как правило, на прямолинейных участках дороги. Малые сооружения, а также переливные насыпи дорог можно располагать при любых сочетаниях элементов плана.

8.2.3 Продольный и поперечный профили переливных лотковых сооружений как и расположение их на местности следует проектировать, исходя из условия наименьшего ограничения скорости и наибольшей безопасности движения как во внепаводочный, так и в паводочный периоды года.

Продольный профиль переливных лотковых сооружений с отверстиями и без них рекомендуется проектировать применительно к четырем типизированным схемам его очертания, представленным на рис. 63.

Рис. 63. Рекомендуемые схемы очертаний продольного профиля переливных лотковых сооружений:
а - вогнутого очертания с постоянным радиусом кривимы по всей длине лотка; б - вогнутого очертания» с постоянным радиусом кривизны в пониженной части лотка и двумя прямыми вставками на входе и выходе из лотка; в - вогнутого очертания с прямолинейной (горизонтальной) частью в пониженной части лотка и двумя вогнутыми сопрягающими частями на входе и выходе из лотка; г - корытообразного с горизонтальным участком в пониженной части лотка и двумя вогнуто-выпуклыми частями ив входе и выходе из лотка

Длина затопляемой части переливного лоткового сооружения в проектном положении определяется точками пересечения поверхности РУВВ в створе дороги с проектной линией его продольного профиля.

Длина прямой вставки может изменяться от 10 до 200 м и более в зависимости от водопропускной способности конкретного переливного сооружения.

Предельно допустимые нормативы проектирования продольного профиля переливных сооружений следует принимать такими же, как и для принятой в проекте категории дороги с учетом расчетной скорости движения автотранспорта и продольного уклона J (табл. 8.4.).

Таблица 8.4.

V, км/ч

J, ‰

Минимальные радиусы вертикальных кривых, м

Rвып

Rвог

150

30

25000

8000

4000

120

40

15000

5000

2500

100

50

7500

3000

1500

80

60

2500

2000

1000

60

70

2000

1500

600

50

80

1500

1200

400

40

90

1000

1000

300

30

100

600

600

200

В табл. 8.4. приняты следующие обозначения:  - радиус вогнутых кривых для основных условий, применяемый для автомобильных дорог и подходов к лотковым переходам;  - то же и для лотковых сооружений в исключительных условиях.

Снижение параметров продольного профиля, приведенных в табл. 8.4., допускается в особо сложных случаях проектирования временных и краткосрочных дорог при надлежащем обосновании и согласовании с заказчиком.

Положение проектной линии, определяющей положение проезжей части и характерных ее частей (бровок и оси), зависит от расчетного уровня перелива, при котором допускается движение транспорта, от длительности перерыва движения и заносимости проезжей части и отверстий переливных лотковых сооружений.

Продольный профиль затопляемых подходов к низководным мостам, паромным переправам и высота затопляемой насыпи определяются гидрологическими условиями пропуска ледохода, условиями рельефа речной долины и необходимостью ограничения перерыва движения транспорта через водоток в паводочный период.

Положение проектной линии затопляемых мостов и подходов к ним назначается с учетом технической возможности устройства опор моста, допускаемой продолжительности перерыва движения (или движения в период прохода паводка по мосту), гидрологических особенностей водотока и экономической эффективности того или иного варианта продольного профиля.

Таким образом, для принятия окончательного высотного положения проектной линии на переходе через водоток и ее очертания в продольном профиле необходима детальная вариантная оценка целесообразности технических возможностей и экономической эффективности.

8.2.4 Поперечный профиль периодически затопляемых (переливных) сооружений может быть односкатным или двускатным.

Поперечный профиль переливных лотковых сооружений с отверстиями и протяженных затопляемых насыпей через хорошо работающие поймы нередко устраивают односкатным.

Поперечные уклоны проезжей части переливных лотков и дорог при односкатном поперечном профиле нужно принимать в зависимости от вида покрытия: для цементобетонных и асфальтобетонных не меньше 20‰; для брусчатых, клинкерных мостовых и покрытий, обработанных органическими вяжущими - не меньше 25‰. Для этих типов покрытий поперечный уклон переливных лотков надо принимать независимо от уклона водотока, а для щебеночных и гравийных покрытий и мостовых из колотого и булыжного камня поперечный уклон переливных лотков - равным продольному уклону водотока в месте перехода, но на больше 40‰.

Если лотковые переливные сооружения проектируются как средства переправы вне строительства дороги, поперечные уклоны могут быть приняты из условий протекания и незаносимости, равными продольному уклону водотока, но не больше 40-50‰, независимо от типа покрытия.

Поперечные уклоны Jпоп односкатной проезжей части переливных лотков на виражах надо назначать в зависимости от радиусов R кривых в плане и не меньше приведенных в следующем соотношении:

R, м

3000-1000

1000-700

700-650

650-600

< 600

Jпоп,

20

30

40

40

40

В районах с возможным образованием гололеда на длительный период наибольший допустимый поперечный уклон проезжей части на виражах нужно назначать, исходя из безопасности движения, не больше 40‰ с соответствующим увеличением наименьших радиусов кривых в плане против приведенных выше.

8.2.5 Конструкции переливных лотковых сооружений весьма разнообразны (см. раздел 8.1 настоящей работы). Все эти конструкции характеризуются различными условиями применения, а их повторное применение может быть рекомендовано лишь при достаточном обосновании на конкретном объекте проектирования.

Наиболее предпочтительны конструкции, в которых типизированы элементы, объединяемые в комплекс переливного сооружения и которые апробированы практикой их многолетней положительной эксплуатации. К таким конструкциям следует прежде всего отнести конструкции Союздорпроекта (см. раздел 8.1 настоящем работы), а также типовые решения Союзгипролесхоза (20).

Для использования в различных природных условиях разработаны пять типов обобщенных конструкций переливных лотков и очертаний их поперечных профилей вдоль речного потока, которые рекомендуются как типовые (рис. 64).

Рис. 64. Типовые конструкции переливных лотков:
1 - укрепленный верховой откос; 2 - укрепленная обочина; 3 - покрытие проезжей части; 4 - сигнальная тумба; 5 - укрепленный низовой откос; 6 - бетонный (бутобетонный) зуб; 7 - укрепленная берма; 8 - каменная наброска

Их применяют: тип I - при неразмываемых и трудноразмываемых грунтах; тип II - при размываемых грунтах и глубинах размыва не более 1,5 м; тип III - при глубинах размыва более 1,5 м и необходимости отгона струи и удаления воронки размыва от низовой бровки, а также в случаях возможного развития эрозионного вреза с низовой стороны; тип IV - в трудноразмываемых грунтах при расположении лотка в нулевых отметках местности и наличии небольшой косогорности за лотком (в условиях значительной косогорности в случае пересыхания небольших водотоков с расчетным расходом воды до 5 м3/с нужно верховую и низовые части лотка проектировать индивидуально с учетом подводящих и отводящих русел); тип V - при пересечении русел рек, несущих значительный твердый сток.

В этих пяти рекомендуемых типах конструкций лотков материал укреплений принимают индивидуально в зависимости от наличия местных каменных материалов и гидравлических условий протекания потока воды. Материалом укрепления могут быть цементобетон, мощение на цементном растворе и др. Ширину лотков устанавливают равной ширине проезжей части дороги и двух обочин, принятым по всей дороге.

При индивидуальном проектировании и типизации конструкций переливных лотковых сооружений нужно различать самостоятельные их элементы, объединяемые в комплекс сооружения: 1) верховой откос и его заглубленная часть; 2) верховая и низовая обочины; 3) покрытие проезжей части лотка; 4) низовой откос и его заглубленная часть; 5) противофильтрационные сооружения; 6) отводные и подводящие русла; 7) регуляционные сооружения; 8) водопропускные отверстия.

Верховая часть переливного лотка состоит из обочины и откоса. Уклон обочины принимают равным уклону проезжей части, а верховой откос - не положе 1:1,5. Для предохранения лотка от разрушения потоком воды нужно предусматривать укрепление верхового откоса и обочины. От местного размыва подошвы верхового откоса рекомендуется его укреплять или заглубленным откосом, или заделкой концевой части (рис. 65). Упор и верховой откос заглубляют по расчету, но не меньше 0,5 м для небольших водотоков при отсутствии русла, а для водотоков с наличием русла заглубление должно быть не меньше 0,75 глубины перемываемого слоя в устойчивом русле, но не меньше 0,7 м.

Рис. 65. Типы укрепления верховой части переливного лотка:
а
- с заглубленным откосом; б - с заделкой концевой части; 1 - каменная наброска; 2 - покрытие верхового откоса и обочины лотка; 3 - сигнальная тумба; 4 - покрытие проезжей части лотка; 5 - бетонный упор

Укрепление низового бьефа отлично от верхового и представлено типами: 1) заглубление откоса с устройством каменной призмы; 2) устройство за укрепленным откосом защитной бермы и заглубленного за ней откоса; 3) устройство вертикальной стенки-зуба и укрепление за ним; 4) укрепление обочин и горизонтального участка за ними при низких лотках и неразмываемых грунтах.

Материал укреплений обочин и откосов следует принимать индивидуально в зависимости от наличия местных каменных материалов и гидравлических условий протекания водного потока. Материалом укрепления может быть железобетон, цементобетон, бутобетон, мощение на цементном растворе и насухо, габионы, горная сортированная масса, щебень и другие.

Ширину лотковой переливной части сооружений в поперечном их сечении устанавливают равной ширине проезжей части дороги и двух обочин, принятым по всей дороге, либо только ширине проезжей части. В отдельных случаях ширина лотка может быть принята равной только для одностороннего движения.

Максимальную глубину размыва за лотком hp рекомендуется определять в следующей последовательности:

1. Глубина воды на нижней кромке (бровке) лотка:

hн = 0,75 hк                                                                                                                           (8.3)

2. Скорость течения воды на нижней кромке лотка:

                                                                                                                 (8.4)

3. Дальность полета струи по низовому откосу:

                                                                                                            (8.5)

4. Скорость течения воды на низовом откосе:

Vо = Vн + gНн : Vн                                                                                                                 (8.6)

5. Глубина воды на низовом откосе или горизонтальной площадке отгона:

hо = g : (Vоbn)                                                                                                                       (8.7)

6. Максимальная глубина размыва за лотком:

                                                                                                  (8.8)

В формулах (8.3) - (8.8) приняты следующие обозначения: bn - ширина укрепления, принимаемая в расчетах условно равной 1 м; hб - бытовая глубина воды в нижнем бьефе, принимается ориентировочно равной hк; Нн - высота низовой бровки над землей; Dhэ - глубина эрозионного вреза при возможных условиях ого развития; Vн - скорость потока на выходе из лотка, м/с; k - коэффициент, учитывающий угол y падения струи с откоса и равный: 1,85 при y=0; 2,0 при y=8°; 1,92 при y=6°41'. Угол y определяют по формуле tgy= Нн:l. Результаты расчетов по формуле (8.8.) представлены на рис. 66.

Рис. 66. Зависимость глубины размыва hp от высоты Нн низовой бровки лотка над землей при критической глубине hкр, равной 0,3 и 0,5 м

Выбор типа покрытия и дорожной одежды следует обосновывать конкретными гидрологическими условиями, расчетной интенсивностью и составом движения транспорта, а также соответствующими технико-экономическими расчетами. При выборе конструкции покрытия переливных лотков целесообразно максимально использовать типовые решения, предназначенные для внегородских дорог Не рекомендуются покрытия черные щебеночные и асфальтобетонные (не на цементобетонном основании) в районах с длительным периодом увлажнения.

Переливные лотки с железобетонным покрытием применяются в наиболее тяжелых гидрометеорологических условиях - при большой истираемости твердым стоком, значительном перепаде температур и длительном подтоплении. Лотки с черным покрытием менее устойчивы в ливнеобильных районах, а при длительности непрерывного ежегодного подтопления больше 15 суток нецелесообразны.

Покрытие на переливных сооружениях может отличаться от покрытия, принятого для всей дороги. В ряде случаев оно может быть более капитальным, чем на дороге, или аналогично ему. До начала проектирования конструкции лотковых сооружений необходимо, сравнивая варианты, выбрать наиболее целесообразный тип покрытия. В немалой степени эту задачу может облегчить анализ натурных данных о работе покрытия на уже построенных лотковых сооружениях. В тяжелых гидрологических условиях, характеризующихся большой длительностью затопления, наиболее предпочтительно для переливных сооружений покрытие из цементобетона или железобетона. Применение асфальтобетона или черных щебеночных покрытий требует особого обоснования, хотя они и находят широкое применение в ряде стран.

На водотоках, переносящих большой объем твердого стока через верх лотка, наблюдается значительное истирание проезжей части. Истирание бетонных и армированных железобетонных покрытий происходит в виде продольных борозд, направленных вдоль потока, и составляет ежегодно от 5 до 10 мм при максимальном размере влекомых камней диаметром до 0,25 м.

8.2.6. Конструкции переливных лотков с отверстиями могут быть разработаны: с единичными отверстиями; с отверстиями в русловой части; с отверстиями по всей ширине поперечного сечения водотока. Расположение отверстий здесь диктуется их назначением - пропуском заданной расчетом части паводковых вод, внутригодового стока (меженных и других), вод сельскохозяйственного, мелиоративного или другого назначения (арыками, коллекторами, каналами и т.п.). В зависимости от этого следует определять размеры, количество и положение отверстий по длине и высоте лотка (многоярусное расположение).

Для пропуска поливных меженных и сбросных (с орошаемых земель) вод в переливных лотках обычно устраивают единичные отверстия в виде круглых или прямоугольных железобетонных труб, располагаемых в низовой части лотков или переносимых на более высокие отметки к началу или концу лоткового сооружения.

Переливные лотки с большим количеством круглых или прямоугольных отверстий наиболее целесообразны на распластанных руслах рек при наличии постоянного стока.

Устройство лотковых сооружений в предгорной местности и в зоне аккумуляции твердого стока может вызвать повышенную заносимость отверстий. Срок службы этих отверстий во многом зависит от среднегодового слоя заносимости этих отверстий твердым стоком. Величина этого слоя должна быть установлена расчетами на каждом конкретном водотоке.

Конструкция лотка с единичными отверстиями должна иметь под железобетонной плитой проезжей части (лотком) отверстия из элементов преимущественно сборных круглых или прямоугольных труб. Размеры и капитальность укреплений на входе и выходе из отверстий назначают в зависимости от гидравлического режима протекания - напорного, полунапорного или безнапорного. Конструкция и материал труб, а также укрепления на входе и выходе целесообразно принимать типовыми (по типовому проекту Ленгипротрансмоста).

Гидравлический режим протекания водного потока через отверстия и через проезжую часть переливного сооружения или затопляемую насыпь, а также конструкции укреплений нижнего и верхнего бьефов следует устанавливать, исходя из реальных условий расчетного затопления этих дорожных сооружений и с учетом их расположения на речной долине (рис. 67).

Рис. 67. Схема режимов затопления низководных участков автомобильных дорог вдольпойменного расположения:
а - подтопление и затопление с переливом воды через дорогу от паводочного стока, формирующегося на склонах отсеченного пойменно-прибрежного массива и водотоках, впадающих в основную реку при его несовпадении во времени с паводком этой реки; б - то же от паводочного стока основной реки, не совпадающего во времени с паводочным склоновым стоком и стоком притоков этой реки; в - подтопление и затопление отсеченного пойменного массива и дороги с переливом воды через нее от совместного во времени проявления паводочного стока основной реки, склонового стока и паводочного стока притоков этой реки; 1 - направление стока со склонов и притоков; 2 - предельно-возможный уровень подтопления отсеченной дорогой части пойменного массива; 3 - направление перелива воды через дорогу; 4 - направление течения воды в водопропускных сооружениях; 5 - направление паводочного подтопления и затопления от основной реки.

Для условий двустороннего режима затопления, способного возникнуть при расположении дорог вдоль речных долин и при воздействиях приливно-отливных и сгонно-нагонных явлений, необходимо соответствующее укрепление обеих сторон затопляемых сооружений.

Концевые звенья устраивают с обычными оголовками (при минимально допустимом возвышении низа дорожной одежды над верхом трубы) или без оголовков с поперечным сечением (скошенным или перпендикулярным) в соответствии с очертанием низовой и верховой частей лотка Максимальный размер отверстий рекомендуется принимать не более 1,5 м, минимальный - 0,75 м.

Лотковые сооружения с отверстиями по всей ширине поперечного сечения водотока могут быть монолитными и из сборных железобетонных элементов, в качестве которых применяют Т-образные сборные блоки высотой 1-1,5 м. Фундаменты лотков этого типа устраивают, как правило, на естественном основании неглубокого заложения (1-1,5 м). Верх фундамента закрывают плитой укрепления вровень с дном отверстий и русла. Конструкцию и длину плитного укрепления вдоль водотока на входе и выходе из сооружений принимают по расчету, но не менее 2 м в каждую сторону от лотка с устройством упорно-противоразмывного зуба в концевой их части (конструкции Б.Ф. Перевозникова).

Для уменьшения заносимости отверстий твердым стоком рекомендуется дно отверстий заглублять на 0,5 среднего слоя перемываемых отложений при отверстиях лотка, равных устойчивому руслу реки в наиболее узком створе.

Перемываемый слой - это слой донных (аллювиальных) отложений в русле рек, приходящий в движение во время прохода паводков.

В лотках с отверстиями, устраиваемыми в русловой части водотока, имеющего поймы, предусматривается переливной пойменный участок, конструкцию которого следует разрабатывать по аналогии с лотками без отверстий. Возможны два варианта пойменной переливной части - в нулевых отметках поймы и выше.

В ряде случаев экономически оправдано (по инженерно-геологическим или другим условиям) уменьшить длину низового укрепления, но с увеличением глубины заложения укрепительного зуба. Заглубление укрепительного зуба должно быть не менее 2,0 м и с обязательным устройством рисбермы из камня с шириной по верху 3 м и больше.

Длину и конструктивную схему переливных лотков с отверстиями различного типа определяют с учетом требуемой водопропускной способности, размеров и количества единичных отверстий, конфигурации поперечного сечения водотока в месте перехода и продольного профиля, наличия твердого стока и интенсивности заноса отверстий, а также с учетом состава, интенсивности движения и величины расчетной нагрузки, размеров сейсмических воздействий, условий фундирования, условий строительства и наличия строительного материала

Размеры опор и пролетных строений определяют на основании сравнения вариантов, исходя не только из архитектурно-эстетических требований, но главным образом из расчета конструкций на прочность по техническим условиям и нормам Расчет ведут по первому предельному состоянию на прочность и по третьему - на раскрытие трещин.

Конструкцию переливных коробчатых с прямоугольными отверстиями лотковых сооружений рассчитывают как жесткую замкнутую раму. Горизонтальное давление земли для упрощения принимают равномерно распределенным. Сооружения с прямоугольными отверстиями, открытые, с накладной плитой, рассчитывают аналогично конструкциям мостов: стенки отверстий (опоры) - на воздействие постоянных и временных нагрузок, а плиту перекрытия, опертую по двум сторонам, - на воздействие нагрузок временной и постоянной от засыпки и собственного веса проезжей части.

При устройстве сооружений в сейсмических районах учитывают соответствующие расчетные усилия. Количество отверстий переливаемых лотков определяют из условия пропуска меженного расхода без перелива. Покрытие проезжей части переливаемых лотков рекомендуется из цементобетона, но в некоторых районах допустимо и из асфальтобетона с устройством упорных цементобетонных полос.

8.2.7. Черное щебеночное покрытие в условиях муссонного климата подвергается интенсивному разрушению уже через год эксплуатации. Другая причина разрушения асфальтобетонных и черных щебеночных (гравийных) покрытий - отсутствие противофильтрационных и дренажных сооружений для отвода воды из подстилающих слоев основания дорожной одежды. Такие разрушения наблюдаются и на стыке бетонного покрытия лотка с черным покрытием дороги.

Основные повреждения лотков происходят при проходе паводков. Наиболее подвержены разрушениям укрепления откосов и нижнего бьефа, а также сопряжение лотков с подходами. Основные причины этого - недооценка расчетного максимума расхода или дополнительного притока воды от перелива из другого водосбора, недостаточная глубина заложения укрепительных сооружений или недостаточная длина лотка, слабое укрепление обочин и откосов. Разрушаются лотки и при незавершенном их строительстве к началу паводочного сезона.

Угрозу повреждения лоткам несут неучтенные эрозии и понижение дна водотока, а также изменение неустойчивых русел предгорных рек и отсутствие достаточной их регуляции. Из-за большого выноса с гор гравийно-каменного материала на отдельных водотоках систематически заносятся лотковые сооружения, что ухудшает их эксплуатационные качества. На некоторых переходах из-за этого необходимо периодическое переустройство лотковых сооружений путем уполаживания вогнутой вертикальной кривой и изменения отметок проезда по лотку, так как лотки здесь приобретают выпуклый профиль.

Особенное значение имеют характер грунтов основания лотков и их поведение при длительном замачивании. На ряде лотков слабые грунты в основании откосов заменялись на необходимую глубину (от 1 до 3 м) песчаным, галечнико-гравелистым или каменистым грунтом с послойным (0,15-0,2 м) уплотнением.

Проектируя лотки, необходимо учитывать топографические, гидрометеорологические и геологические условия района, которые могут влиять на выбор отдельных элементов сооружения. Так, тип покрытия проезжей части нужно назначать не только с учетом длительности подтопления, скоростей течения, но и интенсивности истирания проезжей части (табл. 8.5).

Таблица 8.5.

Тип покрытия

Интенсивность движения,

авт/сут

Длительн.

паводочн.

подтопл., сут

Скорость перелива, м/с

Интенсивн.

истирания,

мм/год

Железобетонное

> 200

³ 20

> 2

> 1,5

Цементобетонное, черное щебеночное

£ 200

< 1-2

£ 1

0,5

Мостовая

£ 50-70

20

1-2

0,5-0,7

8.2.8. Во многом эти факторы определяют конструктивные особенности и тип укрепления обочин, верхнего и нижнего бьефов, а также укрепления выходных и подходных русел. Гидрогеологические условия и конструкция основания дорожной одежды предопределяют противофильтрационные мероприятия, необходимые для устойчивости лоткового сооружения. К противофильтрационным сооружениям относят: противофильтрационные зубы, устраиваемые в начале и конце лотков для отвода воды от лотков, поступающей по слою основания; противофильтрационные стенки в русловой части лотков и отводных русел; воронки для вывода напорной фильтруемой воды на поверхность водотока или дна лотка.

Под фильтрационным стоком понимают подрусловой и дренажный сток, а также возникновение напорных вод. Необходимость регулирования подруслового стока возникает при перекрытии фундаментом лоткового сооружения живого сечения подруслового потока. В этом случае необходимы меры по организации его безопасного пропуска через фундамент или по верху лотка с учетом обеспечения устойчивости всего лоткового сооружения. Принятые меры должны быть основаны на достаточном материале полевых обследований. Особое внимание должно быть обращено на недопущение выноса из-под фундамента фильтрационным потоком мелких частиц основания.

Дренажный сток формируется в дренажных конструкциях фундаментов, оснований дорожных одежд. В этих конструкциях необходимо определить приток воды, минимальные расстояния для выпуска воды из системы, уклоны фильтрации и конечный путь фильтрационного стока.

Особое внимание должно быть уделено организации вывода фильтрационного стока из основания дорожной одежды на подходах к лотковому сооружению и его полный перехват у начала и конца лотка. С этой целью у каждого лоткового сооружения в начале и конце его следует устраивать два поперечных преградительных противофильтрационных зуба и у каждого из них собирательно-отводные призмы - прорези на всю ширину земляного полотна, выводимые на его откосы или подошву (рис. 68).

Для вывода фильтрационной и других вод из каменной набросной призмы, устраиваемой для защиты низа укрепления в нижнем бьефе лоткового сооружения, в грунтах, обладающих малыми фильтрационными способностями (суглинки, глины и др.), целесообразно устройство водоотводных прорезей или канав (см. рис. 68).

Рис. 68. Отвод дренажных, фильтрационных и застойных вод от переливных лотков:
1 - дренажная призма из каменного материала: 2 - противофильтрационный бетонный зуб; 3 - черное покрытие; 4 - цементобетонное покрытие на гравийно-песчаном основании; 5 - водоотводная канава: 6 - одиночное мощение на цементном растворе по щебню слоем 10 см: 7 - направление отвода фильтрационных вод (стрелка)

Формированию напорных вод содействует приток и избыточное скапливание в фильтрационном слое (под покрытием проезжей части или укреплением лотка) фильтрационных, подрусловых, поверхностных и других вод, не имеющих достаточного выхода из-под сооружения, т.е. тех, при которых расход притока больше интенсивности оттока. В этих случаях создаются условия для образования напорных вод, способных понизить несущую способность земляного полотна и слоев основания дорожной одежды и разрушить покрытие или укрепление. Эти воды особенно опасны при смене положительных и отрицательных температур, подсечке грунтовых вод фундаментами, устройстве пазух и при значительных уклонах фильтрующих слоев или их резких переломах.

Основным принципом эффективного регулирования напорных вод надо считать своевременное обеспечение их отвода. Известны приемы с устройством вертикальных или наклонных (по направлению течения) отверстий в укреплении дна в виде коротких асбоцементных труб диаметром 10 см, а также отверстий или контурных дренажных призм вокруг фундаментов с соединением их с продольным дренажем и с отводом воды по дренажам (вдоль или поперек сооружения) в пониженные места рельефа или в перемываемые слои русел периодических водотоков. Полезны и другие мероприятия, уменьшающие приток и скапливание напорных вод.

8.2.9. При устройстве лотков на суглинистых грунтах твердой и полутвердой консистенции, а также макропористых и просадочных заменяют грунт на глубину до 1 м. Дно котлована разрыхляют на глубину 0,5 м. На разрыхленный грунт насыпают песчано-гравийный материал слоем 15 см, перемешивают и уплотняют до коэффициента уплотнения не менее 0,95. Подстилающий слой отсыпают слоями с уплотнением каждого слоя. Толщина слоев зависит от материала и механизмов уплотнения. Заменяемые грунты удаляют за пределы лотка и зоны подтопления в специально устраиваемые кавальеры. Оставлять заменяемые грунты у лотка нельзя, так как это может привести к нежелательным последствиям - к изменению направления потока, увеличению подпора и длительности стояния воды на лотке, а также к дополнительному загрязнению проезжей части. При слабых грунтах русла возможно устройство свайного основания на том участке, где намечаются отверстия лотка.

8.2.10. При разработке проектов обязательным является обеспечение безопасности движения по переливным лоткам, затопляемым мостам и подходам в паводочный период - устройство сигнальных тумб, стоянок для ожидания очередности движения, средств сигнализации и предупреждающих дорожных знаков с указанием правил движения в паводок. Особое внимание должно быть обращено на устойчивость автотранспорта при движении по лоткам в период перелива. В ряде случаев нужно предусматривать дежурство служебных автомобилей и персонала, а также подъемно-транспортных механизмов и тягачей.

На большинстве построенных лотков не уделялось внимания по фиксации допустимой глубины перелива с помощью сигнальных тумб. Это особо важно для лотков с отверстиями, так как они имеют значительную высоту над дном водотока при относительно узкой проезжей части. В результате такой недооценки на некоторых лотках наблюдались случаи опрокидывания транспорта при повышенной скользкости дорожного покрытия.

Для обеспечения безопасности движения в паводок необходимо предусматривать с обеих сторон проезжей части переливаемых лотков устройство сигнальных тумб с расстоянием между ними не меньше 5 м или колесоотбойного бруса с указательными столбиками на нем. Наиболее целесообразно их устанавливать на расстоянии не больше 0,50-0,75 м от левой и правой бровок перепиваемого лотка и на расстоянии 0,5 м от кромки покрытия. Основное назначение тумб - ориентировать водителя автомобиля о глубине перелива воды в паводок. Расчетная допустимая глубина перелива, при которой разрешается движение автотранспорта, обозначена на тумбах сигнальной полосой (рис. 69).

Рис. 69. Конструкция сигнальной тумбы переливных лотков

Для уменьшения опасности сдвига и опрокидывания автомобилей при одностороннем движении в паводочный период на переливных лотках с одно- и двухполосной рядностью движения могут оказаться полезными противоопрокидывающие бордюры-брусья, устраиваемые на низовой кромке проезжей части и посередине каждой полосы. Высота таких бордюров-брусьев принимается в зависимости от состава движения, но не меньше 0,1 м.

Поперечный профиль проезжей части переливных лотков с отверстиями и затопляемых мостов принимается горизонтальным или с небольшим поперечным уклоном (не больше 15%) независимо от типа покрытия. Ширина проезжей части переливных лотков, затопляемых мостов и дорог определяется в зависимости от принятой категории дороги и с учетом безопасного пропуска автомобилей в паводочный период.

8.2.11. В зависимости от конкретных условий эксплуатации и типа водопропускных лотковых сооружений ими могут регулироваться: максимальный паводочный сток пересекаемых водосборов; твердый сток; фильтрационный сток; поверхностный дождевой сток с элементов лотковых сооружений и прилегающих частей водосбора к подходам. Регулированием максимального стока достигается: организация концентрированного пропуска паводочных вод в водопропускное сооружение; предохранение от систематических деформаций береговой линии и ее стабилизация при использовании в качестве регуляционного сооружения; организация сброса пойменных вод в сооружении при пересечении предгорных рек; закрепление искусственного разделения неустойчивых русел на конусах выноса и в местах их свала в соседние водотоки; переброс части стока в соседние сооружения или аккумулирующие емкости; обеспечение более скорого возвращения потока на выходе из лоткового сооружения в бытовые нестесненные условия.

Устройством лотковых водопропускных сооружений вызывается искусственное регулирование твердого стока в период их эксплуатации, которое может характеризоваться начальной и последующей эксплуатационными стадиями. Последствия регулирования твердого стока в обеих стадиях различны на входе и на выходе из сооружений. Переливные лотки в руслах водотоков в начальной стадии вызывают частичную или полную задержку влекомых наносов в верхнем бьефе и их забор в нижнем при насыщении потока, что и служит одной из причин размывов на выходе из лотковых сооружений. В эксплуатационной стадии наблюдается полный перенос твердого стока через лоток сооружения после занесения емкости, аккумулирующей наносы, и частичный размыв нижнего бьефа за счет общего стеснения и концентрации потока лотковыми переходами.

Заносимый твердый сток проезжей части лотков вызывает ограничение скорости и уменьшение безопасности движения, а также необходимость организованной службы эксплуатации. Меньшей заносимостью характеризуются лотки на пойменных участках рек и при пересечении осветленных потоков с небольшим содержанием преимущественно взвешенных наносов. Но и в этих случаях равновесие грунтов ложа водотока в нижнем бьефе может быть нарушено водным потоком.

Переливные лотки с отверстиями и непереливаемые мосты-лотки играют большую регулирующую роль в транзите твердого стока. В результате стеснений переливаемого слоя в начальной стадии работы этих сооружений возникают размывы верхнего бьефа и одновременно с этим начинается заносимость отверстий.

Интенсивность заносимости лотков зависит от места перехода, величины отверстия и размеров пролетов, типа руслового процесса, насыщенности потока твердым стоком и от работы службы эксплуатации. Уменьшению заносимости лотковых сооружений способствует правильное расположение карьеров грунта в русле рек и забор из них галечно-гравийно-песчаного материала, расположение переходов на транзитном участке реки или в узловых местах поперечного сечения русла, устойчивого во времени и неизменного по очертанию, и обоснованное расположение переливного лотка с учетом времени эксплуатации перехода и русловых переформирований предгорных рек.

Заносимость отверстий переливных лотков может быть оценена путем анализа поперечных сечений водотока в заданном створе и учета прогноза русловых изменений в месте перехода. Для предварительных расчетов, в условиях полной неизученности русловых процессов и твердого стока, можно использовать результаты анализа и обобщения натурных данных по заносимости построенных лотковых сооружений. Так, заносимость лотков, пересекающих водотоки, без стеснения потока в устойчивых местах речных долин составляет: при концентрации речного потока наносами до 30% средняя - 2-4 мм в год, максимальная - 7-10 мм; при концентрации больше 30% заносимость отверстий зависит от объема твердого стока, выносимого ежегодно, и может быть оценена известными методами расчета твердого стока. С учетом же частоты повторения паводков для потоков с содержанием твердого стока более 30% средняя ежегодная заносимость может составлять ориентировочно от 20 до 40 мм, а максимальная - от 40 до 100 мм.

8.2.12. Для наиболее эффективной работы переливных лотковых сооружений в части сосредоточения водного потока в его отверстия и затопляемый участок проезжей части, а также недопущения перелива паводочных вод в соседние водопропускные сооружения может возникнуть необходимость устройства регуляционных сооружений.

Для проектирования регуляционных сооружений на лотковых переходах нормативов пока нет. Но опыт устройства и эксплуатации таких сооружений показывает, что они должны быть установлены для объекта применительно к условиям и району его строительства как в части очертания регуляционных дамб, так и конструкций и типов укрепления. При проектировании регуляционных сооружений целесообразно использовать общие правила их проектирования, рассматриваемые ниже.

В комплексе всего периодически затопляемого (переливного) перехода регуляционные сооружения являются весьма дорогостоящими и ответственными. Поэтому в некоторых случаях взамен их устройства целесообразно идти на увеличение длины лоткового сооружения. Но не во всех случаях и этот прием целесообразен. Так, на предгорных водотоках с распластанными блуждающими руслами стабильное регулирование водотока неизбежно и требует капитальных сооружений.

Рекомендуемые схемы и конструкции регуляционных сооружений для наиболее характерных мест расположения переливных переходов в предгорной местности представлены на рис. 70.

Рис. 70. Схемы регуляционных сооружений на предгорных водотоках:
1 - трасса дороги; 2 - регуляционная дамба: 3 - переливной лоток; 4 - укрепленный мощением откос; 5 - береговая линия; 6 - упорная призма из каменного материала

В горной местности для сужения потока и уменьшения длины переливных лотков применяют короткие двусторонние дамбы, замкнутые по контуру (рис. 71). При отсутствии водоразделов у сооружения применяют водораздельные дамбы, длина которых зависит от длины разлива подпорных паводковых вод (рис. 72). При косом пересечении водотоков целесообразны прямые регуляционные дамбы наподобие водораздельных дамб. Эти дамбы являются отбойными и ограничивающими растекание потока. Длину их назначают по ситуационным соображениям с учетом характера пересечения водотока и ширины направляемого в лоток потока.

Рис. 71. Схема регулирования малых горных водотоков:
1 - дорога: 2 - переливной лоток: 3 - регуляционная дамба.
Стрелками показано наихудшее направление растекания потока на лотке

Рис. 72. Прямолинейные водораздельные дамбы:
1 - водораздельная направляющая дамба; 2 - продольным профиль лотка и дороги; 3 - расчетный уровень высокой воды после постройки дороги; 4 - переливной лоток; 5 - расчетный уровень высокой воды в естественных условиях; НЛ, КЛ - начало и конец лотка

Если водотоки регулируют направлением дороги, тогда предпочтительны грушевидные или круговые дамбы малого диаметра, замкнутые по контуру и примыкающие к откосам пойменной насыпи. Может оказаться целесообразной замена регуляционных сооружений укреплением верхового откоса; когда функции регуляционных сооружений выполняют подмостовые конуса или околооткосные закругления перед переливными лотками.

Ввиду небольшой глубины воды перелива регуляционные сооружения переливных лотков устраивают преимущественно с верховой стороны. На переходах с переливными лотковыми сооружениями с отверстиями регуляционные сооружения устраивают по аналогии с регуляционными сооружениями высоководных мостов как с верховой, так и с низовой сторон. Конструкции этих регуляционных сооружений также аналогичны.

Регулированием поверхностного дождевого стока с элементов лотковых сооружений и прилегающих частей водосбора к подходам обеспечивается: организованный отвод воды с проезжей части и обочин, с поверхности регуляционных сооружений и откосов высоких насыпей; отвод воды, стекающей с откосов выемок и прилегающей местности; вывод воды из пазух регуляционных дамб и бессточных понижений, пересекаемых подходами. Особое значение здесь должно уделяться обеспечению поверхностного водоотвода в период строительства.

8.3. Особенности проектирования земляного полотна периодически затопляемых участков дорог и низководных подходов к мостам

Земляное полотно периодически затопляемых участков дорог и низководных подходов к мостам подлежит индивидуальному проектированию, так как оно функционирует в специфическом режиме затопления и воздействия гидрометеорологических факторов.

Типовые решения земляного полотна высоководных автомобильных дорог неприемлемы для их использования в проектах низководных участков дорог и подходов к мостам по условиям применения, длительности подтопления, конструктивным решениям и другим особенностям функционирования во внутригодовом периоде.

Низководный переход следует рассматривать и квалифицировать как один из видов дорожно-гидротехнических водопропускных сооружений низконапорного функционирования.

При проектировании продольного профиля периодически затопляемых низководных участков дорог и подходов к мостам необходимо рационально использовать рельеф поименно-прибрежных массивов и как можно меньше нарушать водно-балансовое и проточное соотношение разобщаемых дорогой участков пойм.

Минимально рекомендуемую руководящую отметку возвышения проезжей части дороги над поверхностью поймы следует принимать 0,3 м, достигал этим наименьшего размыва дороги и устойчивость дорожной одежды.

Однако при таком возвышении дороги (подхода) практически затруднено устройство в них водопропускных сооружений в местах пересечения пойменных проток, ручьев и понижений рельефа, что диктует необходимость устройства с верховой стороны водоотводных канав для вывода с поймы застойно-проточных под и целях недопущения заболачивания пойменных массивов и переувлажнения земляного полотна на более длительный период года.

Оптимальное возвышение земляного полотна над поверхностью поймы определяется требуемой интенсивностью движения автотранспорта м допускаемым периодом затопления при перерывах движения или движения с ограниченной скоростью.

Определяемое по этим условиям возвышение земляного полотна, как правило, превышает высоту насыпей, равную 0,3 м и предопределяет возможность устройства водоперепускных и водопропускных сооружений. В то же время возникает необходимость принятия соответствующих противофильтрационных и противопучинных мероприятий, а также укрепления откосов и обочин дорожного полотна В этом и заключается одна из главных особенностей проектирования земляного полотна низководных участков затопляемых дорог.

При спуске на пойму с крутых берегов затопляемые участки допускается проектировать в выемке, учитывая при этом все существующие условия (геологические, гидрологические, экологические) и возможные последствия.

В теле земляного полотна низководных дорог допускается применять непучинистые с низким коэффициентом фильтрации и капиллярного поднятия искусственные грунтовые смеси, содержащие глинистые, песчаные, дресвяные и крупнообломочные грунты. Состав грунтовой смеси должен определяться по результатам проверки его и производственных условиях и выбираться путем технико-экономического сравнения вариантов.

В целях уменьшения фильтрации для отсыпки насыпи используют смесь пылеватого грунта с песчаным в отношении 1:1.

Фильтрующие грунты, находящиеся под основанием дороги, следует перемешивать с глинистыми, пылеватыми на глубину не менее 0,2 м.

Земляные работы необходимо выполнять с тщательным уплотнением грунта до плотности не ниже 0,95 от максимальной.

В теле земляною полотна и по обоим откосам необходимо предусматривать водонепроницаемые экраны из глины, глины с утапливанием в ней щебня и гравия, дерева, пропитанного антисептиком, бутобетона, гидротехнического асфальтобетона или из других материалов.

Грунты должны быть классифицированы по группам признаков в соответствии с таксономическими категориями, принятыми в ГОСТ 25100-95.

Для проектирования земляного полотна затопляемых участков автомобильных дорог необходимо учитывать следующие основные характеристики грунтов, предназначаемых для укладки в тело земляного полотна и находящихся в его основании; гранулометрический состав; плотность грунта "r"; плотность частиц грунта "rч"; природную влажность грунта "W"; оптимальную влажность "Wо" и максимальную плотность скелета грунта "rd.o"; влажность глинистых грунтов на границах текучести "WL" и раскатывания "Wp"; угол внутреннею трения "j"; удельное сцепление "С"; коэффициент уплотнения "а"; модуль деформации "Е"; коэффициент фильтрации "Кф"; критические градиенты напора (при расчетах выпора основания "Jсг.и", суффозии "Jсг.р" и контактного размыва "Jсг.с") и критические скорости фильтрации; показатели просадочности для глинистых (лессовых) пород; характеристики набухания и усадки для глинистых грунтов, а также морозного пучения.

Кроме того, необходимо определить содержание в грунтах водорастворимых солей и органических примесей.

Предельно допустимым их содержанием является:

• водорастворимые включения хлоридных солей - не болев 5% по массе, сульфатных или сульфатно-хлоридных - не более 10% по массе;

• не полностью разложившихся органических веществ (остатки растений) - не более 5% по массе, или полностью разложившихся органических веществ, находящихся в аморфном состоянии, - не более 8% по массе.

Наиболее пригодными грунтами для отсыпки нефильтрующего земляного полотна и противофильтрационного экрана являются глинистые слабоводопроницаемые с коэффициентом фильтрации Кф £ 0,3 м/сут. и числе пластичности Jp ³ 7.

Песчаные и крупнообломочные грунты допускается применять без ограничений для земляного полотна и улучшения грунтов, подстилающих земляное полотно, при обеспечении их с верховой стороны противофильтрационным экраном, зубом.

Если противофильтрационный экран одновременно служит и укреплением откосе, то он должен быть уложен с обратным фильтром.

Заканчивать экран следует понуром или заглубленным зубом. Глубину минимального заглубления понура и зуба следует определять расчетом из условия неразмываемости.

Допускается устройство в теле насыпи водонепроницаемого ядра, заглубленного ниже основания земляного полотна, с обязательной разработкой технологии производства работ.

Проектирование периодически затопляемых выемок следует вести с учетом возможного заиливания и замачивания, предусматривая для предотвращения этого такие конструктивные решения, как раскрытие выемки, устройство берм; а за пределами выемки - канав, обвалований и других мероприятий.

Крутизну откосов земляного полотна следует назначать, исходя из условий их устойчивости, с учетом:

• физико-механических свойств грунтов земляного полотна и основания;

• сил, действующих на откосы: собственного веса, влияния воды (скоростей и расхода перелива, продольных скоростей протекания, фильтрационных сил, капиллярного давления), морозного пучения, внешних динамических нагрузок (транспорта, набега волны, подпора);

• способа производства работ по возведению земляного полотна и условий его эксплуатации.

При планировке местности с целью водоотвода засыпка впадин не является однозначным решением. Надо сравнить засыпку с организацией водоотвода из впадин с помощью водоотводящих канав. При этом следует учитывать возможное; положение отдельных участков дороги на пойменных массивах (рис. 73)

Рис. 73. Схемы возможного положения отдельных участков низководных дорог и подходов к мостам
а
- на пойме с четко выраженным продольным направлением поименного потока; б - на местных поименных возвышениях; в - на поименных бессточных понижениях рельефа
Стрелками показаны направления течения поименного потока и подтопления дороги

Для предотвращения опасной фильтрации по контакту земляного полотна с его основанием должны предусматриваться меры, зависящие от типа и состояния грунтов основания, перепада отметок затопления верхнего и нижнего бьефов и обеспечивающие консолидацию земляного полотна с грунтом основания.

Следует предусматривать мероприятия по подготовке основания, в том числе по вырубке леса и кустарника, выкорчевыванию пней, удалению растительного слоя и слоя, пронизанного корневищами деревьев и кустов, ходами землеройных животных, а также по удалению грунта, содержащего недопустимо большое количество органических включений или солей, легко растворимых в воде.

Проектировать фильтрующие насыпи на затопляемых переходах можно в местах пересечения на широких поймах стариц, замкнутых понижений рельефа и небольших пересыпаемых проток, а также при пересечении периодических водотоков с небольшим притоком поверхностных вод. В остальных случаях проектирование фильтрующих насыпей вызывает дополнительные трудности (определение глубины затопления, удельного расхода воды, переливающейся через сооружение; конструирование укреплений откосов; подбор и наличие фильтрующих материалов и др.).

Участки фильтрующих насыпей должны быть надежно отделены от смежных нефильтрующих участков конструкциями, не допускающими вымывание грунта из земляного полотна, сопрягающегося с фильтрующей насыпью.

Дороги внутрихозяйственного назначения могут быть затопляемыми и иметь дорожную одежду не на всем протяжении, а лишь на наиболее сложных для проезда участках (крутых подъемах, логах, бродах, переливных лотках и т.п.).

Для улучшения местных грунтов следует использовать только биологически чистые природные и искусственные материалы. Недопустимо применение канцерогенных и химически активных материалов.

Из искусственных материалов хорошо использовать для улучшения местных грунтов отходы после обжига керамических, гончарных, фарфорофаянсовых предприятий.

Повышение несущей способности грунтов, находящихся под основанием земляного полотна дороги, при высоком расположении уровня подземных вод возможно устройством дренирования основания дороги и прилегающих участков местности.

Принятая в каждом конкретном случае конструкция земляного полотна должна быть обоснована технико-экономическими расчетами на основании вариантной проработки проектных решений и согласована с территориальным бассейновым управлением по регулированию и охране водных ресурсов и соответствующей инспекцией рыбоохраны.

Сравниваемые варианты должны иметь одинаковую степень проработанности и надежности.

Если движение автотранспорта на время затопления не прекращается или если возобновляется сразу после схода воды без срока на просыхание и восстановление эксплуатационных характеристик земляного полотна, то конструкция дорожной одежды затопляемого сооружения и автомобильной дороги должна быть капитального типа с преимущественным применением сборно-разборных цементобетонных или железобетонных плит.

В зависимости от назначения затопляемых сооружений они должны иметь различную капитальность.

От капитальности сооружения напрямую зависит возможность обеспечения длительности перерыва движения автотранспорта или его движения с ограниченной скоростью.

Так, участок дороги с капитальным покрытием и укреплением может иметь перерыв движения по времени равный или меньший длительности затопления, а участок дороги с переходным типом покрытия или грунтовым будет иметь перерыв движения (ограничение) больше длительности затопления, т.к. необходимо время на просыхание земляного полотна и дорожной одежды, их ремонт и уход после спада паводка.

Производить предварительное уплотнение грунта следует на ширину дороги + 0,5 м в каждую сторону. Если грунты слабые, одновременно с уплотнением производить закатывание (утрамбовывание) в грунт основания дороги добавок, улучшающих несущую способность грунтов основания (песок, гравийные смеси, щебень, шлаки и т.п.), а в песок - суглинок, глину, цемент.

В проектах грунты насыпей должны быть уплотнены до значений согласно требованиям СНиП 2.05.02-85 (1) по ГОСТ 22733-77.

По условиям применения грунтов в различных элементах земляного полотна должны выполняться требования СНиП 2.05.02-85, изложенные в пунктах 6.1-6.21 (1) для обеспечения стабильности рабочего слоя в условиях расчетной длительности замачивания.

При необеспечении стабильности дорожной одежды, рабочего слоя и верхнего слоя земляного полотна разрабатываются дополнительные мероприятия, обеспечивающие дренаж и осушение этих слоев или применение материалов и грунтов, не теряющих свои изначальные свойства в условиях затопления.

Применение слабо-, среднезасоленных и засоленных грунтов в верхней части земляного полотна (ниже 0,6 м от границы рабочего слоя) в условиях затопления пресными водами нежелательно.

При изучении инженерно-геологических и мерзлотно-теологических условий, а также прогнозировании возможных техногенных процессов и явлений, связанных с изменением состояния грунтов и фильтрационно-суффозионных процессов в основании и самих насыпях, конструктивных слоях дорожной одежды, необходимо иметь исходные данные по прочностным и деформативным характеристикам грунтов для избежания деформаций и фильтраций через дорожную одежду, тело насыпи и основание при длительности затопления.

8.4. Учет особенностей организации строительства и эксплуатации сооружений

Строительство переливных сооружений слагается из технологических операций: 1) подготовки основания под сооружения; 2) устройства подстилающих слоев и покрытия проезжей части; 3) укрепления обочин, откосов и установки сигнальных тумб; 4) устройства укрепления верхнего и нижнего бьефов и противофильтрационных устройств; 5) выполнения регуляционных и берегоукрепительных работ; 6) выравнивания ложа водотока и расчистки его от строительных материалов, кустарника, леса, вскрышного грунта и остатков карчехода; 7) устройства остановочных площадок на въезде и выезде из переливного сооружения; 8) устройства водоотвода.

Проект организации строительства низководных мостов и переливных лотковых сооружений следует разрабатывать по технологической схеме и правилам организации строительства мостовых и других высоководных сооружений.

Строить переливные (затопляемые) сооружения нужно, как правило, в межпаводочный период. При строительстве в паводочный период необходимо предусматривать дополнительные мероприятия, обеспечивающие сохранность выполненных объемов работ и элементов сооружения (отвод русла, ограждающие дамбы и др.). При устройстве дорожной одежды необходимо предусматривать меры, обеспечивающие отвод поверхностных дождевых вод из корыта путем устройства в пониженных его местах водосливных отверстий. Покрытие из черного щебеночного и гравийного материала, как правило, устраивают в сухое время года. Временные объезды и дороги в местах лотковых переходов желательно располагать с низовой стороны, так как они могут служить причиной изменения режима протекания и неучтенного в проекте конструкций размыва укреплений верхнего бьефа.

На предгорных и горных водотоках нужно обращать особое внимание на возможность внезапного появления дождевых паводков, для чего надо иметь заранее подготовленные и спланированные въезды на незатопляемые берега. Такие въезды нужно устраивать у каждого берега с верховой и низовой сторон перехода. Необходимо устраивать специальные незатопляемые стоянки для автомобилей и строительной техники, куда в период длительного перерыва в работе (в том числе и ночь) должна быть выведена вся техника.

До настоящего времени нет обоснованных и четких рекомендаций по дальности расположения русловых карьеров от искусственных сооружений, зависящей от характера водотока и местоположения на нем перехода, типа и глубины заложения фундаментов и укреплений нижнего и верхнего бьефов, состава, характера и тенденций русловых отложений, количества и вида забираемого из русла строительного материала, а также от расположения карьеров относительно перехода, наличия на реки других искусственных сооружений, режима паводочного и твердого стока.

К наиболее благоприятным условиям для расположения карьеров дорожно-строительных материалов относятся участки рек, на которых наблюдается накапливание и отложение твердого стока. Для таких участков характерен выпуклый поперечный профиль русла со значительными уклонами реки в створе перехода. Весьма удобны для забора грунта заросшие растительностью острова и побочни независимо от их расположения. В этих случаях можно организовать значительный забор грунта из русла реки, преследуя цель препятствовать повышению отметок дна в створе перехода. Дальность расположения карьеров и их объем должны быть установлены с учетом конкретных условий строительства. Можно располагать карьеры как выше, так и ниже перехода.

В ряде случаев особо благоприятны для расположения карьеров участки русла в местах образования молодых русел. Забор большого количества грунта в этих местах может способствовать наилучшему регулированию речного потока в основное водопропускное сооружение и предотвращению развития молодых русел. Однако не всегда, даже на небольших водотоках, речной поток можно выправить с помощью русловых карьеров. Тенденция реки, например, к резкому повороту может возобновиться через один или несколько паводков. Более эффективным в этом случае может быть совмещение карьера с устройством спрямления, учитывающего динамику движения потока.

Располагая карьеры, надо выявлять тенденции реки к перемещению ее от одного берега к другому и неблагоприятные места защищать регуляционными сооружениями против смещения русла реки в сторону.

Наиболее неблагоприятны для работы переливного сооружения участки горных рек со значительными продольными уклонами (3-5%) вблизи их впадения в более крупные водотоки из-за развития эрозионного понижения.

Из-за интенсивного эрозионного понижения дна русла могут обнажаться и разрушаться фундаменты низководных мостов и переливные лотковые сооружения, расположенные в руслах рек.

Расположение карьеров выше или ниже переливных сооружений и низководных мостов может привести в таких условиях к одинаковым последствиям, и вопрос об удалении карьера от перехода является главным.

Необходимо обращать особое внимание на те последствия, которые могут возникнуть для уже построенных мостов, находящихся в непосредственной близости от строящихся сооружений.

Не предусмотренный в проекте размыв может произойти от эрозионного понижения, вызванного искусственно.

Другая особенность строительства, которую нужно учитывать при проектировании, - способ возведения регуляционных и берегоукрепительных сооружений. Так, например, возведение регуляционных дамб из грунта прилегающих боковых резервов, располагаемых в русле реки, вызывает искусственное углубление русла у подошвы речного откоса дамбы, что нередко приводит к смещению русла в сторону резерва. В этих случаях при расчетах размывов нужно о качестве максимальной бытовой глубины принимать максимальную глубину в резерве по заданному створу.

К увеличению глубин размыва приводит и извлечение из русла реки крупных фракций (например, валунов для дробления на щебень или для укрепительных работ), что особо нежелательно в районе расположения сооружений лоткового перехода при содержании валунов 20% и менее.

Нарушение естественного состава аллювиальных отложений приводит в ряде случаев к смыву мелкой фракции и обнажению нижележащих слоев.

В большинстве случаев для строительства бывают необходимы местные материалы, получаемые из карьеров в русле реки вблизи перехода На реках с периодическим стоком и местах избыточного отложения аллювиальных грунтов возможно (при соответствующих согласованиях) после каждого паводка, даже небольшого, извлекать крупную фракцию из русловых отложений, независимо от их гранулометрического состава, но только на участках реки не ближе 500 м от перехода, и если эта возможность подтверждается поверочным расчетом размывов в подмостовых створах.

При сооружении фундаментов опор низководных мостов-лотков мелкого заложения должны быть приняты меры по защите их от подмыва кратковременными и внезапными дождевыми паводками, которые могут пройти в период до окончания укрепления подмостового русла. Наиболее эффективно устройство ограждающих земляных дамб, укрепленных сборно-разборными бетонными плитами, гибкими ковровыми покрытиями, или других укреплений.

В ряде случаев возможен временный отвод русла от строящегося сооружения. При устройстве фундаментов опор в галечнико-гравийных руслах надо пробными выработками устанавливать приток фильтрационных вод подруслового потока в котлованы. На ряде периодических рек с постоянной меженью фильтрации не наблюдаются даже в галечнико-гравийных грунтах из-за наличия суглинистого заполнителя. Эти особенности должны быть выявлены при инженерно-геологическом обследовании.

Лотковые переливные сооружения, периодически затопляемые насыпи и мосты требуют систематического наблюдения в период эксплуатации. Состав и объем работ по эксплуатации этих сооружений зависят от их типа, капитальности и особенностей паводочного стока и климата. Для поддержания нормальных условий эксплуатации после каждого паводка необходимы контрольный осмотр переливных сооружений и меры по очистке их проезжей части от наносов, остатков карчехода и ледохода. В ряде районов остатки карчехода и льда могут наблюдаться не только на поверхности сооружений, но и в их отверстиях.

Своевременная очистка сооружений от карчехода и льда - непременное условие безопасности движения и нормальной работы их в период пропуска паводков. На реках со значительным твердым стоком возникает необходимость в мерах по очистке отверстий переливных сооружений от наносов.

В ряде случаев оказываются эффективными на заносимых твердым стоком сооружениях разработка карьеров и забор грунта из русел рек. На отдельных сооружениях при проходи значительною твердого стока происходит истирание проезжей части и поверхности лотка, что связано с необходимостью их своевременного восстановления.

Наличие на поверхности лотков воды, жидкой грязевой слизи или льда увеличивает скольжение и уменьшает устойчивость автомобиля при движении и торможении, что приводит в ряде случаев к опрокидыванию и выносу его с проезжей части. Отсутствие сигнальных тумб, опознавательных и предупреждающих знаков, а также движение в паводок легковесных автомобилей нередко оказывается причиной опрокидывания и сброса их с лотков.

К числу дополнительных мероприятий, повышающих устойчивость периодически затопляемых низководных участков дорог и подходов к мостам or воздействий переливного водного потока, карчехода и ледохода, принято относить следующие временные и вспомогательные конструкции, представленные на рис. 74: продольный насыпной вал; засыпки за свайной деревянной стенкой; засыпки за двумя рядами свайных деревянных стенок; ледозащитные стенки (см. рис. 74д), заанкерные плавающие бревна и склизы над откосами; посадки влаголюбивых древесно-кустарниковых растений.

Все эти и другие возможные временные и вспомогательные конструкции могут сооружаться с одной или с двух сторон дороги в зависимости от конкретного режима ее затопления (см. рис. 67).

Продольный вал может быть отсыпан из различных материалов, способных сопротивляться неразмывающим скоростям и другим воздействиям. Могут быть пригодны: грунт, карьерные отходы, габионы, дерн, мешки, наполненные грунтом, и другие подсобные местные материалы. Этот же материал может быть использован в качестве засыпок за свайные деревянные стенки.

Продольный вал, расположенный в верхнем бьефе, способен выполнять следующие функции; при незначительной (0,3-0,5 м) глубине затопления препятствует переливу воды через дорогу; отодвигает начало затопления; задерживает карчи и льдины, плывущие в уровне ниже отметки верха вала; повышает уровень воды, обеспечивая проход льда над дорогой.

Если позволяет ширина, необходимая для движения по проезжей части, то продольный вал может быть возведен на обочине или ее части с перекрытием откоса.

Вспомогательные конструкции (см. рис. 74 б, в) при расположении их с верховой стороны могут выполнять функции: препятствия переливу воды через дорогу при незначительной (до 0,5 м) глубине затопления; отодвигают начало затопления; задерживают карчи, льдины, плывущие ниже отметки верха конструкций.

Рис. 74. Вспомогательные конструкции:
а - продольный вал; б - засыпки и деревянной стенкой; в - то же между двумя рядами стенок; г - ледозащитная стенка; д - плавающие бревна и склизы; е - посадки растении; ж - столбики укрепленного лотка-брода

При расположении конструкции с обеих сторон они, кроме перечисленного, снижают скорость переливания потока через дорогу, обеспечивают задержание снега. Наличие вала с низовой стороны уменьшает вероятность размыва низового откоса и нижнего бьефа.

Склизы (наклонные бревна, щиты на сваях) над откосами и прикрепляемые к сваям на цепях плавающие бревна (см. рис. 74) предохраняют дорогу от ледового воздействия.

Посадки вдоль дороги способны гасить небольшую волну, задерживать небольшие льдины и другие плывущие предметы, а также способны гасить скорость водного потока.

Общим для всех этих конструкций является отсутствие кюветов, т.к. они могут привести к размыву откосов полотна периодически затопляемой дороги.

Особенности строительства и эксплуатации переливных сооружений нужно учитывать уже на первой стадии проектно-изыскательских работ.

9. Инженерные изыскания для проектирования периодически затопляемых (переливных) участков дорог и дорожных сооружений

Одной из основных особенностей инженерных изысканий периодически затопляемых (переливных) участков автомобильных дорог и дорог с переливными и временно затопляемыми водопропускными сооружениями является их направленность на обеспечение вариантных и сопоставительных проектных проработок по выбору и обоснованию наиболее оптимального режима внутригодового функционирования этих дорожных объектов.

Основными задачами инженерных изысканий такой направленности являются:

• сбор, систематизация и обобщение исходных данных по экономике, топографии, геологии, гидрометеорологии, местным строительным материалам, организации строительства и эксплуатации этих объектов, а также по обеспечению охраны окружающей среды;

• проработка вариантов месторасположения дорожных объектов на местности с учетом социально-экономических и природных условий района строительства с получением по всем вариантам расчетных данных для их проработки и обоснование выбора наиболее оптимальных проектно-конструкторских решений по элементам плана трассы, типам и конструкциям затопляемых (переливных) сооружений, продольному и поперечному профилю дорожного полотна, регуляционным и укрепительным конструкциям, организации строительства и эксплуатации, природоохранным и другим мероприятиям;

• разработка инженерного прогноза с учетом развития социально-экономических и природно-техногенных условий и процессов в районе строительства на расчетный период функционирования проектируемых объектов.

Инженерные изыскания следует проводить на основании технического задания Заказчика, в котором должен быть отражен заранее задаваемый Заказчиком режим функционирования проектируемых дорожных объектов или тот режим функционирования, который должен быть найден и обоснован как оптимальный по результатам проектных проработок. От этого исходного условия и должны определяться конкретные объем и состав работ инженерных изысканий на каждом объекте проектирования.

Инженерные изыскания периодически затопляемых (переливных) участков дорог и дорог с временно затопляемыми (переливными) сооружениями должны быть комплексными независимо от исходных условий Заказчика. Это определяется тем, что задаваемый или оптимальный режим функционирования этих объектов зависит от ряда факторов (экономических, геологических, гидрометеорологических и других), каждый из которых взаимно обусловлен и должен быть оценен в конкретных условиях проектирования.

Инженерные изыскания должны проводиться с учетом нормируемых транспортно-эксплуатационных показателей плана трассы, продольного и поперечного профилей проектируемой дороги и предельно допустимых критериев среднегодовой продолжительности затопления, перерыва движения или движения автотранспорта с ограниченной скоростью.

При установлении этих предельно допустимых сроков следует руководствоваться предельно допустимыми слоями перелива воды, допускающими движение автотранспорта с ограниченной скоростью в периоды затопления, а также возможными режимами движения, методика определения которых рассматривается в разделах 5 и 6 настоящей работы.

Вынужденные отступления от минимально допустимых величин, нормируемых транспортно-эксплуатационных показателей плана трассы, продольного и поперечного профилей периодически затопляемых (переливных) участков дорог и водопропускных сооружений, должны быть обоснованы технико-экономической целесообразностью и согласованы с Заказчиком.

Несмотря на то, что периодически затопляемыми могут быть участки дорог сравнительно низкой категории и низкой стоимости, к выполнению полного комплекса инженерных изысканий следует подходить очень ответственно, так как дорогам и сооружениям данного вида приходится работать в необычно тяжелых условиях внутригодового периода, и от полноты и достоверности изысканий в полной мере зависит обоснованность и качество проектных решений.

На ряде наиболее сложных, ответственных и значительно протяженных объектах инженерным изысканиям могут и должны предшествовать изыскания для разработки технико-экономических обоснований (ТЭО) и других видов прединвестиционной документации.

Для выполнения этих видов предпроектной документации особое значение имеет изучение и использование объектов-аналогов, аналогов конструкций и типов периодически затопляемых (переливных) сооружений, а также методы обобщенной оценки проектных решений.

В качестве таких аналогов и методов разработки обобщенных проектных решений, которые могли быть использованы при разработке предпроектных решений, могут быть использованы ранее построенные и успешно работающие в районе строительства дорожные объекты и методы их проектирования.

Однако эти данные по аналогам могут быть получены и изучены только на основе их полевого обследования, выполненного на предпроектной стадии.

В качестве аналогов проектно-конструкторских решений могут быть использованы конструкции периодически затопляемых (переливных) сооружений и решения по ним, которые рекомендуются для повторного, индивидуального и типового проектирования и более подробно рассматриваются в разделе 8.1 настоящей работы.

Выбор и применение этих конструкций в предпроектной документации должен основываться на обосновании аналогичной сходности социально-экономических и природно-техногенных условий района проектирования и условий эксплуатации сооружений, используемых о качестве аналогов. Именно поэтому инженерная оценка исходных условий проектирования является одной из важных задач и особенностей изыскательской части работ, выполняемых на предпроектных стадиях.

Исходные данные для разработки проектов должны обладать достоверностью, полнотой и подробностью проработки, которые могут быть достигнуты только при выполнении комплексных инженерных изысканий.

Состав, методы и полнота изыскательских работ для разработки проектов периодически затопляемых (переливных) участков дорог и дорог с временно затопляемыми сооружениями, а также отдельных (титульных) переливных сооружений аналогичны в основном составу, методам и полноте работ, предусматриваемых для высоководных переходов через водотоки, но имеют некоторые специфические отличия, отражающие особенности функционирования низководных дорожных объектов и внутригодового режима движения по ним автотранспортных средств.

Так, при экономических изысканиях требуется дополнительно получить сведения о возможности перерыва движения и его продолжительности для различных видов автотранспортных средств, участков дороги или отдельных переходов. Необходимы сведения для расчета среднегодовых потерь, вызванных строительством затопляемых переходов через отдельные водотоки, а также для оценки наиболее целесообразного в заданных условиях повышения эффективности капиталовложений.

При экономических изысканиях должна быть установлена зона экономически выгодных путей обхода переливных сооружений и расположения вариантов затопляемых переходов, имеющих экономические преимущества. С этой целью должна быть выявлена существующая организация движения грузо- и пассажиропотоков в районе изысканий и у каждой существующей переправы на значительных водотоках. Для проектирования затопляемых переходов необходимы данные по составу и интенсивности движения у каждого сооружения.

В ряде случаев оказывается необходимым еще до начала инженерных изысканий определить ориентировочный срок окупаемости капиталовложений в строительство затопляемых объектов.

При проведении инженерно-экономических изысканий необходимо учитывать, что некоторые построенные ранее высоководные мостовые переходы на новых направлениях дорог загружены не полностью или практически бездействуют, а основная масса автомобилей по-прежнему движется по старому, но более короткому направлению местных дорог, реконструкция которых с применением капитальных периодически затопляемых (переливных) сооружений может быть весьма эффективной.

В процессе инженерно-экономических изысканий необходимо выявлять в составе движения количество и типы сельскохозяйственных машин (в том числе крупногабаритных), гусеничных и тяжелых колесных тракторов, а также сезонные колебания интенсивности движения.

Подлежит изучению интенсивность движения пешеходов для определения необходимости устройства тротуаров на низководных мостах.

К особенностям инженерно-геодезических изысканий переливных сооружений нужно отнести необходимость выявления наиболее целесообразного расположения затопляемых переходов в плане дороги, а также получения топографо-геодезических материалов для размещения остановочных площадок и регуляционных сооружений. У начала и конца каждого сооружения должны быть установлены репера постоянного типа с необходимой высотной привязкой. Геодезически обоснованными должны быть геологические и гидрологические работы и полевые обследования затопляемых переходов.

При трассировании периодически затопляемых автодорожных переходов через водотоки и автодорог необходимо собрать полный объем сведений и изучить на местности традиционно сложившиеся хозяйственные и транспортные связи, границы землепользователей, места расположения существующих переправ через водотоки (мосты, паромные и ледовые переправы, броды).

На изысканиях внутрихозяйственных дорог (сельскохозяйственных, лесохозяйственных и другого предназначения) надо выяснить профиль, объемы, технологию, цикличность и перспективу производства предприятий, которые обслуживают эти дороги.

На стадии изысканий надо выявить возможности и условия организации регулярного и квалифицированного эксплуатационного содержания проектируемых объектов, а также другие факторы, определяющие условия эксплуатации этих объектов, т.к. без надлежащего содержания целесообразность строительства становится сомнительной.

При расположении затопляемых (переливных) сооружений следует учитывать, что поймы на участке низководного перехода не обязательно должны быть наиболее узкими, т.к. в узких местах поймы образуются наиболее высокие пойменные скорости, вызывающие необходимость дополнительных затрат на укрепительные работы. Если в месте перехода планируется устройство брода, то может быть рассмотрено место перехода и на перекатном участке.

По обе стороны от оси перехода, если пойма имеет незначительные уклоны, следует делать площадное нивелирование на расстоянии, достаточном для организации водоотвода как от самого перехода, так и для водоотвода на местности, прилегающей к переходу.

На стадии изысканий необходимо выяснить и установить расчетную модель затопления сооружений для того, чтобы на стадии проектирования рассчитывать значения параметров водного потока и его взаимодействия с сооружением и движущимся в период затопления транспортом.

Независимо от продолжительности и календарных сроков проведения комплекса инженерных изысканий следует предусматривать посезонные натурные наблюдения на местности, где будут располагаться затопляемые участки дорог.

Помимо наблюдений и обследований, предусмотренных СНиП 1.02.07-87 (8), необходимо: при спаде воды проследить, как он происходит, замерить направление и скорости стекания воды с поймы, водоотводных канав, отметить места, где вода остается в местных понижениях, как быстро и при каких условиях происходит просыхание местности.

При выполнении изысканий следует выяснить и указать, где и какая древесно-кустарниковая, травяная или мохо-лишайниковая растительность произрастает в месте расположения трассы.

В зимнее время следует проследить за аэродинамическими процессами при выпадении и переносе снега.

Путем опроса местных жителей необходимо выяснить подробности проявления ледохода: даты начала и окончания; размеры льдин; уровни ледохода и стояния ледового покрова; места образования заторов; выход и выпор льдин и ледовых полей на берег и пойму; продолжительность прохождения ледохода; возможность совпадения его с паводком, а также другие особенности ледово-термических условий льдо- и наледеобразований.

Наиболее благоприятным режимом затопления дли затопляемой насыпи автомобильной дороги является отсутствие или слабое проявление поперечных и продольных скоростей течения. Уменьшение, практически до нуля, поперечных скоростей течения достигается в том случае, когда в проекте приняты меры по обеспечению одновременного подъема воды с обеих сторон дорожного полотна дороги, а затем точно такой же ее спад. При этом достигается затопленный режим функционирования нижнего бьефа, наименьший перепад уровней воды, а также уменьшение объемов укрепительных работ и фильтрационной способности земляного полотна. Эти особенности режимов затопления должны учитываться при расположении низководных участков дорог на широких поймах рек.

В инженерно-гидрологическом отношении наибольшее предпочтение следует отдавать нормальному пересечению водотоков, или прокладывать трассу вдоль береговых дорог параллельно главному руслу на участках рек с транзитным характером речного потока.

Место перехода с малыми и средними переливными сооружениями, как правило, подчиняется общему направлению дороги. Исключение могут составлять капитальные лотки на дорогах низших категорий, отдельные самостоятельные переходы и переливные лотки значительного протяжения, для которых наиболее благоприятны узкие и устойчивые места речных долин с перпендикулярным пересечением водотоков.

Направление трассы затопляемого участка дороги, подходов к мостам и лотковых переливных сооружений определяется не только общим направлением дороги, но и ее назначением, а также конкретными местными природно-техногенными, социально-экономическими и экологическими условиями.

Так, например, трасса затопляемой дороги сельскохозяйственного назначения, прокладываемая по пойме вдоль основного русла реки, может быть уложена:

• в качестве прируслового вала, регулирующего характер затопления сельскохозяйственных угодий и отложения на них плодородного ила, находящегося при затоплении поймы во взвешенном состоянии;

• посредине поймы, обеспечивая маневрирование поливочной техники («фрегатов» и других механизмов), а во время уборки урожая - кратчайшие расстояния погрузочно-разгрузочных и других работ;

• в прижиме к коренному берегу, частично предохраняя его тем самым от размыва и других процессов.

При выполнении инженерно-гидрометеорологических изысканий должна быть на каждом пересекаемом водотоке произведена оценка величины максимального расхода воды требуемой или заданной ВП.

По этой величине максимального расхода воды должны быть определены бытовые гидрологические и гидравлические характеристики нестесненного водного потока и необходимые тип, отверстие и длина затопляемого (переливного) сооружения.

Тип и длина такого сооружения, а также другие его конструктивные особенности (наличие и размеры пролетов или отверстий, наличие фундаментов и другие) являются исходными данными для проведения инженерно-геологических изысканий.

Для проектирования периодически затопляемых (переливных) участков дорог и сооружений необходимы исходные данные для инженерной оценки не только паводочного, но и внутригодового стока с учетом особенностей их многолетнего формирования и проявления на каждом пересекаемом водотоке или водотоке, вдоль которого располагается проектируемая дорога.

Необходимы и другие гидрометеорологические характеристики во внутригодовом цикле - температура и влажность воздуха, испарение, туманы, гололед, сила и направление ветра, длительность и частота паводков, глубина промерзания, ледово-термические особенности и ряд других.

При гидрологических обследованиях в предгорной зоне должны быть установлены наиболее узкие и устойчивые места на каждом из пересекаемых водотоков, на которых необходимо выявить величины перемываемых слоев. На этих створах нужно определить уклон водотока, живое сечение и наблюдавшийся уровень высоких вод. На каждом переходе надо установить насыщенность речного потока твердым стоком, его количественные характеристики и выявить условия возможного возникновения селевого стока.

В период полевых работ желательна повторная съемка живых сечений по створу перехода и морфостворам после каждого паводка с целью определения размеров побочней, поднятия и опускания дна и размывов берегов. При рабочем проектировании необходимы дополнительные обследования с целью уточнения исходных данных и ранее принятых проектных решений.

Инженерно-геологическое обследование мест устройства переливных сооружений производится шурфами или скважинами через 30-40 м на глубину до 4-5 м. При расположении сооружений на гравийно-галечниковых и гравийно-песчаных грунтах глубина обследования может быть уменьшена до 2,5-3 м. Особое внимание нужно обращать на наличие карстов, каверн, подземных выработок, слабых и просадочных грунтов и наметить зону их замены или искусственного уплотнения грунта.

Обследование мест устройства затопляемых сооружений рекомендуется производить шурфами или скважинами на глубину не меньше 3-4 м ниже подошвы перемываемого слоя. Разведочные выработки необходимо проходить через 20-30 м по оси перехода. При обнаружении прослоев слабых грунтов надо их оконтуривать выработками и детально опробовать для выяснения возможности использования в качестве подстилающего слоя, замены грунта или его искусственного уплотнения.

В местах устройства низководных мостов и больших переливных лотков с отверстиями необходимо изучить мощность и особенности перемываемого слоя для выявления характера и величины фильтрации подруслового потока. Оценка мощности перемываемых слоев обязательна на водотоках с периодическим стоком и не только в створе перехода, но и в намеченных к обследованию наиболее устойчивых местах русла пересекаемого водотока (рис. 75).

Рис. 75. Схема образования перемываемого слоя:
1 - площадь перемываемого слоя; 2 - площадь
живого сечения водного потока; 3 - граница перемываемого слоя (пунктир); 4 - линии перемещения берега при уширении русла

При одинаковом гранулометрическом составе русловых отложений перемываемый слой отличается от нижележащих слоев по цвету, меньшей плотности, отсутствию суглинистого заполнителя и может быть установлен путем инженерно-геологического обследования русел рек в любом заданном створе.

Величины фактических перемываемых слоев в различных поперечных сечениях рек отражают в результирующем виде потенциальные возможности речных потоков и происходящие в руслах рек русловые деформации. Установлено, что мощность перемываемого слоя и его максимальная глубина находятся в зависимости от ширины русла и величины руслоформирующих расходов. При одинаковой величине расхода чем меньше ширина русла, тем больше перемываемый слой аллювиальных русловых отложений. Для ориентировочных расчетов могут быть полезны данные табл. 9.1.

Таблица 9.1

Водоток, пункт наблюдения

Страна

Кадастр перемываемых русловых слоев

Год обследования

Максимальная глубина перемываемого слоя, м

Скорость течения, м/с

Средний диаметр русловых отложений, мм

Ширина русла, м

Расход воды в русле, м3

Лиахва у с. Джаеа

СССР

1970

1,2

3,3

41

80

400

Селемжа у п. Селемжа

«

1972

2,5

3

30

450

8000

Кимасдон в устье

«

1976

1,5

1,9

40

40

250

Десна у г. Брянска

«

1974

1,9

1,8

2

70

3000

Агалых-сай в среднем течении

«

1970

1,2

1,8

20

70

250

Кашкадарья у д. Чиракчи

«

1969

2,8

2,6

31

130

730

Кашкадарья у с. Лахтакор

«

1969

2,8

2,3

0,44

145

670

Вычегда у с. Корткерос

«

1975

5,8

1,1

0,31

448

3450

Ока у г. Коломны

«

1974

3,2

2,7

0,8

385

16000

Сырдарья у с. Пап

«

1970

2,8

2,1

8

270

5500

Мангугай у с. Мангугай

«

1954

5,6

3,9

37

-

-

Чанди

Непал

1971

1,8

2

14,7

170

650

Паурай

«

1965

0,9

2

1,2

25

170

Лакхандей

«

1969

1

2,1

23

270

750

Лакхандей

«

1970

1,7

2,1

23

70

200

Багмати

«

1969

3,5

5,9

90

340

8500

Пульджор

«

1971

0,8

2

20

120

350

Балганга

«

1970

0,7

2

41

60

200

Дудхаура

«

1966

0,8

2

27

80

300

Данзар

«

1969

0,8

2,1

22

160

40

Бакея

«

1967

1,9

2,5

52

270

2000

Паурай

«

1968

1,1

1,8

1,4

45

170

Тхаро

«

1968

0,7

1,7

0,87

30

100

Банки

«

1970

0,8

2,0

43

120

300

Рату

«

1970

1,4

2,5

37

220

500

Марха

«

1970

0,9

2,2

23

150

40

Евфрат у с. Кара-Казак

Сирия

1975

4,2

2,6

24

270

7700

В табл. 9.1. данные по водотокам Непала приведены по районам пересечения их автомобильной дорогой Симра -Джанакпур.

Натурные обследования показывают, что максимальные глубинные русловые деформации речных потоков отражают лишь наиболее узкие створы, устойчивые по времени и ширине. Наибольшие паводочные русловые деформации отражаются в виде максимального перемываемого слоя. Эти створы и несут необходимую информацию для оценки глубинных деформаций русла во времени существования устойчивого створа. В таких створах происходит ежегодный перемыв наносов слоями, соответствующими ежегодным паводкам.

Широкие створы, не имеющие ограничения по ширине или неустойчивые по времени, отражают глубинные деформации, возникающие одновременно с уширением русла, что ведет к распластыванию паводка в этих створах и уменьшению средней глубины однопаводочного перемываемого руслового слоя. Перемещение русла в связи с его уширением вызывает и перемещение по ширине русла полосы перемываемого слоя, который, суммируясь с перемываемым слоем предыдущего положения русла, превышает величины максимальных однопаводочных слоев.

По перемываемым русловым слоям в этих случаях можно судить только о перемещении русла по ширине реки. Если русло реки до уширения пропустило расчетные паводки, а затем было уширено, то единственной характеристикой произошедших деформаций может быть наибольшая толщина перемываемого слоя. Такая толщина перемываемого руслового слоя может сформироваться и в одной из самых больших проток при проходе по ней, например гребенчатообразной волны, или в случае развития размывов от удара потока в берег или дамбу. Широкие створы с устойчивыми берегами также, как и узкие, несут необходимую для расчетов информацию.

Надо различать перемываемый слой устойчивого русла и перемываемый суммарный, характеризующий сумму деформаций речного русла, которые могут возникнуть от изменения кинематики нестесненного бытового потока: 1) в связи с резким искривлением потока на повороте; 2) от возникновения гребенчатообразного волнения; 3) при выходе в русло неразмываемых берегов; 4) при динамическом воздействии на опоры мостов, откосов, траверс, дамб и подпорных стен.

Развитию больших глубин перемываемых слоев может способствовать понижение русел, вызываемое искусственно при заборе значительного количества грунта из русел рек и при сооружении плотин, препятствующих нормальному стоку наносов.

Установлено, что всякое стеснение перемываемого слоя устойчивого русла вызывает дополнительное увеличение первоначального слоя.

Это обстоятельство имеет особо важное значение для проектирования лотковых сооружений.

При оценке формирования перемываемых слоев необходимо учитывать длительность периода устойчивости русла, а также характер, частоту, величины паводков и их вероятность. Эти данные необходимо собирать при определении мощности перемываемого слоя.

Для определения мощности перемываемых слоев русловых отложений рекомендуются следующие методы:

1. При отсутствии грунтовых и меженных вод наиболее удобный метод - шурфование с визуальным описанием и опробованием (анализом) перемываемых слоев на толщу русловых отложений до неперемываемого слоя. Надо обращать особое внимание на гранулометрический состав отложений, содержание глинистых частиц, связь между гравийными частицами, цвет заполнителя, плотность отложений, наличие линз и прослоек гравия без заполнителя и наличие включений древесины, кирпичей, посуды и других инородных предметов.

2. При высоком стоянии уровня грунтовых вод целесообразно применять колонковое бурение. Перемываемые слои обычно содержат небольшое количество глинистых частиц или не содержат вообще. Грунтовая вода в скважине при проходе перемываемого слоя русловых отложений - более чистая (или чистая). Скважина, пробуренная ниже обсадки, оплывает или грунт образует в скважине напорную пробку. Неперемываемые слои, при одинаковой гранулометрии с перемываемыми, более плотные, а стенки скважины значительно устойчивей, грунтовая вода в скважине становится мутной. Перемываемый слой русловых отложений характеризуется меньшей плотностью, которая может быть определена методом ударной пенетрации.

3. При методе фиксируемого заполнителя шурфов или скважин на всех изучаемых поперечных створах в руслах рек закладывают шурфы или скважины на глубину предполагаемого слоя перемыва с некоторым запасом, ориентировочно равным 0,2 максимальной. Максимальную глубину выработок назначают в зависимости от характера реки, но не больше 5 м для нестесненных бытовых устойчивых русел. Для ориентировочной, аналоговой, оценки глубин выработки можно использовать данные по величинам перемываемых русловых слоев, зафиксированных на ряде рек (см. табл. 9.1). Расстояния между выработками определяют в зависимости от размеров перехода, но не больше чем через 5-10 м.

До начала прохода изучаемого паводка выработки должны быть разработаны, зафиксированы плановой и высотной привязкой, а затем засыпаны сигнализирующими материалами или породами, резко отличающимися от грунтов русла по цвету, но близкими к ним по объемному весу. Такими заполнителями могут быть щебень, колотый кирпич и другие материалы, уплотненные при засыпке выработок до состояния, близкого к естественному залеганию грунтов и русле. После паводка выработки заново раскрывают и по глубине смыва сигнализирующих пород определяют глубину перемываемого слоя в каждой выработке. Этот метод наиболее достоверен и может быть использован на реках, где трудно определить границу перемываемого слоя по другим признакам.

4. Метод определения мощности перемываемого слоя русловых отложений самопогружающимися размывомерами наиболее удобен для определения глубины размыва у опор построенных мостов или других искусственных сооружений. Рекомендуется использовать размывомер с самопогружающейся штангой. Конструкция размывомера приведена в Методических указаниях Союздорпроекта по инженерно-гидрометеорологическим изысканиям автомобильных дорог (М.: Союздорпроект, 1975).

Принцип работы размывомера заключается в погружении тяжелой штанги под собственным (или заданным расчетной нагрузкой) весом по мере увеличения глубины размыва. Количество штанг принимают с учетом задач исследования формы воронки размыва и глубин вокруг опоры. При небольшом возвышении низа пролетных строений и отсутствии карчехода можно устанавливать размывомеры с тротуарных блоков в середине пролетов. В этом случае фиксируется положение линии суммарного размыва по всему подмостовому сечению. Если глубины измерять размывомером непрерывно в течение всего паводка, то можно по этим измерениям построить график нарастания размыва в ходе всего паводка и зафиксировать максимальную глубину. При невозможности непрерывного наблюдения можно фиксировать лишь максимальные глубины.

Для получения большего числа натурных данных особое значение имеют объекты, расположенные в муссонном климате с несколькими паводками в период дождей. Поэтому в этих районах наблюдения целесообразно проводить в течение всего муссонного периода.

5. Метод определения мощности перемываемого слоя русловых отложений путем анализа различий инженерно-геологического строения в створе перехода подразумевает отыскание мощности перемываемого слоя по разнице гранулометрического состава, типа грунтов, их расположению относительно друг друга, а также по расположению неразмываемых и подстилающих грунтов, определяемому после проведения инженерно-геологического обследования. Определять мощности целесообразно по графическому разрезу. Освоению этого метода могут способствовать наиболее характерные примеры, но и они не исчерпывают всего разнообразия сочетания напластований грунтов в руслах рек, по которым можно установить перемываемые слои.

6. Метод определения перемываемого слоя по геометрическому очертанию поперечного сечения водотока, характеризующего геоморфологические особенности речного русла, является приближенным и основан лишь на материалах топографо-геодезических и гидрологических измерений. В его основу положено определение максимального перемываемого слоя русловых отложений в заданном поперечном створе периодического водотока как разности отметок дна русла в его повышенной и наиболее глубокой частях. При наличии межени очертание дна водотока устанавливают гидрометрическими промерами глубин воды в русле. Наиболее применим этот метод на предпроектных стадиях работ и разработке ТЭО при рекогносцировочных обследованиях, а также при работах аэрометодами и по материалам аэрофотосъемки.

7. Анкетный метод определения перемываемых слоев предусматривает поиски сведений по недостаточно заглубленным опорам и разрушенным вследствие этого сооружениям, а также анализ материалов инженерно-геологического обследования водотоков прежних лет по установленным признакам.

Этим способом инженер Смирнов B.C. восстановил глубину перемываемого слоя на р. Мангугай (СССР) в створе изыскиваемого в 1954 г. мостового перехода по окатанным обломкам кирпича и остаткам древесины в слое песчано-гравийных отложений

8. В узких и глубоко врезанных горных долинах с большой крупностью аллювиальных отложений целесообразен метод определения перемываемого слоя по наибольшему размеру остаточных валунов. Метод основан на гидрологической оценке возможности перемещения речным потоком вдоль реки наиболее крупных валунов диаметром не менее 1,5 м. Наибольший перемываемый слой русловых отложений можно приближенно определить как величину, в 1,4-1,6 раз превышающую максимальный размер самого крупного валуна, перемещаемого речным потоком в районе перехода.

Применение нескольких методов целесообразно для более надежного определения перемываемых слоев русловых отложений в заданном створе перехода, что диктуется степенью изученности водотока и стадий работ.

Анализ данных по перемываемым слоям русловых отложений на реках, расположенных в различных районах СССР и за рубежом, и исследование генезиса, их формирования позволили Перевозникову Б.Ф. обосновать методику расчета общих размывов подмостовых русел, основанную на равенстве балансовых соотношений перемываемых слоев в расчетных створах русла и моста.

При отсутствии ограничения размывов по геологическим условиям максимальную глубину maxhnp после общего размыва в створе перехода с учетом естественных природных деформаций речного русла нужно определять по формуле:

                                                                                             (9.1)

при Dhп = Нрб - Нм                                                                                                               (9.2)

и fQ = (Qм : Qp)n                                                                                                                   (9.3)

где wрб - площадь живого сечения водного потока в расчетном створе при расчетном уровне высокой воды заданной ВП; Wпр - площадь перемываемого слоя в расчетном створе; L - отверстие моста-лотка или переливного лотка; aр - коэффициент, характеризующий отношение средней глубины к максимальной в подмостовом створе и принимаемый не больше аналогичной величины в расчетном створе; fQ - коэффициент, учитывающий изменение величин максимальных расходов в створе моста и расчетном створе; Dhп - коэффициент, учитывающий изменение максимальных глубин за счет природных русловых деформаций нестесненных створов и определенный по данным совмещений нескольких поперечных сечений или по формуле; Нрб, Нм, - максимальные бытовые глубины соответственно в расчетном створе и створе моста; Qм - расчетный расход в створе моста заданной ВП; Qp - расчетный расход той же ВП в заданном створе; n - показатель степени редукции, применяемый равным 7/8.

Для выявления наличия и характера фильтрационных вод должны быть произведены особо тщательные инженерно-гидрогеологические обследования. Границы обследования должны быть установлены по предварительным схемам конструкций затопляемых (переливных) сооружений.

Необходимо детально обследовать построенные ранее переходы затопляемого типа и выявить слой заноса и дату начала эксплуатации сооружений.

К наиболее благоприятным инженерно-геологическим условиям устройства периодически затопляемых (переливных) участков дорог и сооружений следует относить условия их расположения и фундирования на естественном основании.

В процессе инженерно-геологических изысканий должны быть получены характеристики местных инженерно-геологических условий по всем вариантам трассы проектируемой дороги (сооружения) и характеристики местных грунтов с разведкой и привязкой источников получения строительных материалов. Эти характеристики должны быть достаточны для проектирования земляного полотна, дорожных одежд, конструкций сооружений и укреплений.

Особенности режима функционирования и конструкций периодически затопляемых (переливных) участков дорог и сооружений предопределяют не только особенности инженерных изысканий этих дорожных объектов, но и особенности последовательности выполнения всего комплекса проектно-изыскательских работ по организации и разработке проектной документации.

Последовательность и примерное содержание выполнения проектно-изыскательских работ предусматривает:

1. Проведение переговоров о намерениях Заказчика с проектной организацией.

При ведении переговоров, кроме сметно-договорных вопросов, следует всесторонне выяснить предварительные технические требования к будущему объекту (сооружению):

• категория объекта;

• геометрические размеры;

• предполагаемый срок эксплуатации; интенсивность и состав движения;

• с какой основной целью предполагается строительство объекта;

• наличие и источники поступления строительных материалов, техники; профиль и квалификацию будущей строительной организации;

• наличие у заказчика соответствующих разрешений, согласований и исходных материалов, включая проектную документацию прошлых лет;

• требования к организации движения (скорости, перерывы сезонные и внутригодовые особенности и т.п.);

• заинтересованность третьих сторон;

• экологическое состояние территории на месте предполагаемого объекта;

• предполагаемую очередность и стоимость строительства, сроки и наличие подрядчика для осуществления строительства, другие сведения.

2. После завершения переговоров о намерениях, а иногда и параллельно с ними, составляются: техническое задание на проектирование; смета, протокол соглашения о договорной цене, календарный график с программой выполнения проектно-изыскательских работ и договор на выполнение этих работ. Договор должен не противоречить условиям Гражданского кодекса Российской Федерации и другим законодательным документам.

3. В ходе выполнения двух первых пунктов проектная организация должна выяснить достаточность исходных данных, необходимых для проведения инженерных изысканий и проектирования.

В случае недостаточности исходных данных Заказчик или проектная организация по поручению Заказчика, оформленному дополнительным соглашением, проводит сбор недостающих исходных данных.

Сбор исходных данных проводят в территориальных административных органах и территориальных геологических, землеустроительных и гидрометеорологических фондах и организациях. Обязательно должны быть изучены схема или проект районной планировки района предполагаемого строительства.

В случае возникновения каких-либо противоречий с какими-либо организациями все вопросы должны быть оговорены с ними и согласованы. О результатах должно быть известно как Заказчику, так и Проектной организации.

4. После сбора исходных данных Проектная организация приступает к проведению изысканий для составления ТЭО. Во время проведения этих изысканий, кроме полевых и камеральных работ, выявляются все заинтересованные предстоящим строительством организации и предприятия. Определяется состав необходимых согласований и технических условий, начинается их получение.

5. На основании имеющихся исходных данных и материалов полевых изысканий разрабатывается технико-экономическое обоснование целесообразности строительства, выявляют и получают недостающие согласования и технические условия.

После этого ТЭО рассматривается и утверждается. Если в ТЭО определена целесообразность строительства, то приступают к выполнению следующих этапов проектно-изыскательских работ:

• комплексные подробные инженерные изыскания для разработки проекта (рабочего проекта);

• разработка и выпуск проекта (рабочего проекта), его издание и передача Заказчику.

Заказчик, получив проектно-сметную документацию, осуществляет ее экспертизу, подписывает акт приема-сдачи проектно-изыскательских работ, производит полную оплату в соответствии с договором работ(и после этого договорные обязательства прекращаются, если в договоре не предусмотрено проектное сопровождение и авторский надзор за строительством.

10. Мероприятия по охране окружающей среды при устройстве периодически затопляемых (переливных) участков дорог и водопропускных сооружений

Периодически затопляемые (переливные) участки автомобильных дорог и водопропускные сооружения при достаточном обосновании проектно-строительных решений и эксплуатационных мероприятий способны оказывать и обладать меньшим характером и масштабностью воздействий на окружающую среду, а также более рациональным природопользованием по сравнению с высоководными дорожными объектами.

Эта особенность периодически затопляемых низководных объектов предопределяется рядом факторов, главными из которых являются следующие: относительно невысокая интенсивность движения автотранспортных средств и его периодичность во внутригодовом периоде; наименьшая площадь занимаемых земель; малое стеснение водного потока и непродолжительное (близкое к естественному) время затопления поименно-прибрежных массивов; меньшая потребность в дорожно-строительных материалах; пионерное значение в организованном движении, ликвидирующее бездорожье, многоколейное хаотичное занятие земель под объезды и параллельное движение в неблагоприятные периоды года; и ряд других факторов.

Однако, устройство и эксплуатация периодически затопляемых (переливных) участков автомобильных дорог и водопропускных сооружений является одной их разновидностей хозяйственной деятельности, обусловленной необходимостью рационального расположения этих объектов на местности и их социально-экономического и природоохранного функционирования.

Такое расположение и функционирование низководных дорожных объектов вызвано необходимостью инженерного обеспечения как устойчивости этих объектов от опасных воздействий природно-техногенных процессов, так и недопущения их негативного влияния на условия жизни населении и окружающую природную среду.

Возведение низководных дорожных объектов сопряжено с необходимостью вторжения и оказания влияния на следующие природные объекты: лога, малые водотоки, озера, пониженные формы рельефа и водораздельные пространства между ними; склоны, надпойменные террасы, поименно-прибрежные массивы речных долин и расположенные на них водотоки, бессточные емкости, старицы, меандры, болота и другие объекты; русла рек и русловые образования в виде островов, побочней, проток, устьевых участков притоков, конуса выноса твердого стока и других форм русловых процессов.

Часто при проектировании возникает необходимость учета природно-техногенных процессов и явлений, оказывающих влияние на эти природные объекты, а также хозяйственное освоение и хозяйственную деятельность на этих природных объектах (сельское хозяйство, животноводство, водозаборы, судоходство, лесное хозяйство, плотины, карьеры, поселения и другие разновидности этой деятельности).

Социально-экономическая и природоохранная потребность выбора оптимального месторасположения низководных дорожных объектов, разработки проектно-строительных решений и эксплуатационных мероприятий, а также обоснование требуемого (заданного) режима функционирования этих объектов в многолетнем периоде определяет нормативную необходимость обеспечения эколого-экономической сбалансированности всех видов хозяйственной деятельности и рационального использования природных ресурсов при устройстве периодически затопляемых (переливных) участков автомобильных дорог и водопропускных сооружений.

Эколого-экономическая сбалансированность и целесообразность устройства и функционирования низководных дорожных объектов может быть достигнута только при обязательном соблюдении экологических требований в предплановой, предпроектной и проектной документации, а также при вариантной проработке пяти режимов возможного внутригодового функционирования этих объектов, более подробно рассматриваемых в разделе 4 настоящей работы.

Экологические требования, обоснования и мероприятия по охране окружающей среды должны учитываться и разрабатываться при выполнении всех видов строительной деятельности, включая все стадии проектирования, виды предплановой, предпроектной и проектной документации, а также при реализации строительства (реконструкции), ремонта и эксплуатации низководных дорожных объектов.

При разработке предплановой, предпроектной и проектной документации, а также при проведении экологической экспертизы этой документации следует руководствоваться Временной инструкцией бывшего Министерства экологии и природных ресурсов РФ (32) и Рекомендациями Минтранса РФ (33), в которых регламентированы экологические требования, состав и основные положения методологии разработки природоохранных мероприятий и обоснований проектно-строительных решений.

Экологические требования в предплановой, предпроектной и проектной документации, а также природоохранные мероприятия и обоснования этой документации должны учитываться и предусматриваться при следующих разработках:

• схем развития дорожных сетей различного территориального и федерального предназначения (областного, регионального и республиканского), а также схем защиты и восстановления этих сетей от наводнений и других опасных процессов и явлений;

• материалов выбора месторасположения низководных объектов;

• технико-экономических или экономических обоснований (ТЭО, ЭО, ТЭР) отдельных объектов;

• проектов строительства, реконструкции, восстановления и ремонта этих объектов;

• рабочей документации.

Результаты инженерно-экологических проработок и обоснований этих видов документации должны быть отражены в специальном разделе по охране окружающей среды. В нем должны получить освещение: экологические требования; исходное состояние экологического и социального фона района строительства и степень его изученности по отдельным компонентам экологии; прогноз развития эколого-социальных условий на многолетний период; оценка возможных воздействий дорожных объектов (сооружений) на окружающую природно-техногенную среду; природоохранные мероприятия; соответствие этих разработок заданию Заказчика, экологическим требованиям и нормативам природопользования; согласования с природоохранными органами; рекомендации по реализации природоохранных мероприятий, научному их сопровождению в особо сложных условиях проектирования, а также по детализации эколого-технических решений на последующих стадиях проектирования, в строительном процессе и при эксплуатации объектов.

Все намечаемые проектно-строительные решения и эксплуатационные мероприятия должны иметь вариантную проработку и быть сопоставлены не только по технико-экономическим и стоимостным показателям планово-высотных и конструктивно-технологических решений, но и по аналогичным показателям вариантных природоохранных технических решений, проработанных на основе оценки воздействия на окружающую социально природную среду, а также с учетом экологической безопасности и санитарно-эпидемиологического благополучия населения, фауны и флоры.

Эти вариантные проработки должны учитывать не только строительные воздействия и воздействия, которые могут проявиться в строительный период возведения низководных дорожных объектов, но и эксплуатационные воздействия, способные проявиться в многолетний период эксплуатации этих объектов.

В составе эксплуатационных воздействий, способных проявиться в течение длительною периода эксплуатации низководного дорожного объекта, следует учитывать

• воздействия, обусловленные функционированием объекта как инженерного сооружения;

• воздействия от использования объекта автомобильным транспортом и другими средствами передвижения;

• воздействия, обусловленные организацией и регулированием движения автотранспортных и судовых средств во внутригодовом периоде функционирования объекта.

Вариантные проработки должны осуществляться с учетом необходимости обеспечения недопущения ухудшения исходного состояния окружающей природно-техногенной среды, а также с учетом экологической безопасности и социальных интересов населения.

Проработка вариантов и их сопоставительная оценка должны быть ориентированы на достижение допустимого состояния окружающей природной среды до уровня, регламентированного соответствующими нормами, правилами, стандартами, а при их отсутствии - ограничениями по пользованию природными ресурсами.

При этом следует руководствоваться законодательными, нормативными и методическими документами, рекомендуемыми в работах (32, 33).

Оптимальным может быть признан вариант, имеющий лучшие показатели экономической эффективности капитальных вложений, социальной значимости и целесообразности с учетом экологической безопасности природно-техногенных объектов и поселений, а также имеющий наименьшие из допустимых показателей негативного влияния на окружающую среду.

В соответствии с рекомендациями (33) рассмотрение варианта отказа от строительства (реконструкции) дорожного объекта и последствий такого решения при проведении оценки воздействии этою объекта на окружающую среду является обязательным. Это в полной мере относится и к периодически затопляемым (переливным) участкам автомобильных дорог и водопропускных сооружений.

Для наиболее полной и объективной оценки дорожностроительной деятельности необходимо, наряду с вариантом отказа от строительства (реконструкции), предусматривать и рассматривать вариант наиболее экологически благоприятного функционирования дорожного объекта как инженерного сооружения. Этот вариант должен основываться на достоверной инженерной оценке прогнозно-расчетных характеристик опасных природно-техногенных процессов и явлений в многолетнем периоде с учетом частоты, длительности и других особенностей проявления этих процессов, а также степени ответственности дорожных объектов (сооружений).

Дорожные объекты и сооружения в этом варианте не должны вызывать стеснение водных потоков и водно-балансовое разобщение пересекаемых поименно-прибрежных массивов. Они должны иметь достаточное и необходимое количество водопропускных, водоперепускных (водосообщающих) и водоотводных сооружений. Эти объекты и сооружения не должны создавать искусственную аккумуляцию части паводочного стока перед дорогой, напорный и полунапорный режимы протекания воды в отверстиях водопропускных труб, срезки и уширения подмостовых русел, значительные размывы подмостового русла и конусов мостов и другие ограничения ныне действующих строительных норм (1, 2, 3, 4), не обоснованные природоохранными требованиями и условиями и вызванные лишь стремлением уменьшить стоимость строительства (реконструкции) дорожных объектов.

Проработка вопросов охраны окружающей среды должна начинаться в предплановой документации и последовательно углубляться и детализироваться в последующей предпроектной и проектной документации. При этом природоохранные мероприятия не должны ухудшаться и упрощаться в угоду удешевления стоимости. Не допускается изменение решений, утвержденных в документации предыдущей стадии, если они не улучшают экологические условия.

При разработке предплановой документации и материалов предварительного согласования местоположения низководных дорожных объектов, выполняемых при необходимости на вариантной основе, следует учитывать:

• природные особенности изучаемой территории;

• состояние природной среды с учетом количественных показателей её загрязнения;

• современное и перспективное хозяйственное использование изучаемой территории, включая гидротехнические, промышленные, гражданские и другие виды объектов;

• ценность территории (природоохранная, культурная, национальная, культовая, ресурсная, археологическая и особо охраняемые природные объекты);

• характер планируемой дорожной деятельности, виды и масштаб возможных воздействий;

• потребность в природных ресурсах;

• прогнозные изменения в окружающей среде в результате предполагаемой реализации проектных решений и последствия этих изменений для природно-техногенной среды и социально-экологических интересов населения;

• возможный ущерб, причиняемый природно-социальной среде.

При разработке предплановой документации дополнительно следует предусматривать:

• оценку видов и особенностей проявления опасных природно-техногенных процессов и явлений на изучаемой территории;

• анализ степени изученности компонентов природной среды;

• разработку предложений по постановке и проведению последующих работ научного сопровождения и обоснования природоохранных мероприятий в предпроектной и проектной документации.

Выбор оптимального варианта размещения объекта следует осуществлять на основании анализа изменений компонентов природной среды (атмосферный воздух, поверхностные и подземные воды, почво-грунты и недра, растительный и животный мир), их комплексного взаимообусловленного воздействия друг на друга, а также с учетом экологической безопасности и социальных интересов населения.

Состав материалов по экологическому обоснованию места расположения низководного дорожного объекта должен быть установлен применительно к приложению 5 рекомендаций (32).

При недостаточной степени изученности всех факторов и компонентов окружающей природной среды и невозможности их раздельной и детальной стоимостной оценки допускается (33) использовать методы многофакторного анализа при разработке предплановой документации и материалов выбора месторасположения низководного дорожного объекта.

Стоимостная оценка природоохранных мероприятий в этих проработках может быть произведена по аналоговым укрупненным стоимостным показателям, установленным в доле от затрат на строительно-монтажные работы.

В качестве таких аналогов целесообразно использовать предплановую, предпроектную и проектную документации прошлых лет по наиболее представительным объектам, включая и те, которые были подвергнуты экологической экспертизе государственного или территориального уровня.

Для ориентировочных соображений при разработке предплановой документации, материалов выбора местоположения дорожных объектов, а также при сопоставлении вариантов с различными режимами внутригодового функционирования и подготовке задания заказчика на все виды разрабатываемой документации, доля природоохранных мероприятий (DС) от стоимости строительно-монтажных работ может быть определена с учетом данных табл. 10.1.

Таблица 10.1.

Районы расположения дорожных объектов

Режимы внутригодового функционирования

дорожных объектов

DС

Горные, предгорные, равнинные в особо сложных условиях проявления и сочетания опасных природно-техногенных процессов

Высоководный

0,3-0,35

Комбинированный

0,25-0,3

Низководный

0,25-0,2

Горные и предгорные в среднесложных условиях проявления и сочетания опасных природно-техногенных процессов

Высоководный

0,3-0,25

Комбинированный

0,25-0,2

Низководный

0,2

Районы с относительно редким проявлением отдельных опасных процессов в несложных условиях расположения дорожных объектов

Высоководный

0,25-0,2

Комбинированный

0,2-0,17

Низководный

0,17-0,15

Данные этой таблицы предполагают и учитывают, что конструктивно-технологические решения высоководных комбинированных и низководных дорожных объектов имеют достаточно достоверную региональную и нормативную инженерную проработку, учитывающую экологическую ситуацию и устойчивость этих объектов от воздействий природно-техногенных факторов

При разработке предпроектной документации (ТЭО, ЭО) должна предусматриваться наиболее полная и детальная проработка вопросов охраны окружающей среды. Материалы ТЭО являются основополагающими для разработки последующих стадий проектирования

В предпроектной документации должна проводиться более детальная проработка решений места размещения дорожного объекта, режимов его внутригодового функционирования, а также должна быть выполнена оценка воздействия на окружающую среду (ОВОС).

ОВОС предусматривает определение характера и степени опасности всех потенциально возможных видов влияния на природную среду предполагаемой к реализации дорожно-строительной деятельности, а также оценку экологических, социальных и экономических последствий осуществления этой деятельности.

Разработка ОВОС должна предусматривать анализ прогнозируемых изменений окружающей природной среды по всем ее компонентам, а также анализ социальных условий и последствий этих изменений. При разработке ОВОС должен быть выполнен анализ как отрицательных, так и положительных последствий намечаемой дорожно-строительной деятельности экологического, социального и экономического характера.

ОВОС проводится с целью предотвращения или приостановления деградации окружающей среды, восстановления нарушенных в результате дорожностроительной деятельности природных экосистем, обеспечения сбалансированности намечаемой деятельности, создания благоприятных условий жизни людей и животных, выработки мер по снижению уровня экологической опасности намечаемой деятельности. ОВОС служит основой для принятия решений об осуществлении того или иного проекта.

В результате разработки ОВОС должен быть определен размер экологического риска планируемой дорожно-строительной деятельности, основанного на выявлении устойчивости природной среды к воздействию (по отдельным компонентам и экосистеме в целом) в периоды нормального режима эксплуатации дорожного объекта и аварийных ситуаций.

Согласно рекомендаций (33), при разработке экономического обоснования (ЭО) строительства (реконструкции) и ремонта автомобильной дороги и сооружений на ней, производится не только оценка влияния дорожного объекта, но и предлагаемых решений на обеспечение безопасных условий движения, санитарно-эпидемиологического благополучия населения, удовлетворение социально-экономических потребностей, соблюдение экологических ограничений, установленных соответствующими органами в районе размещения автомобильной дороги методами процедуры оценки воздействия на окружающую среду (ОВОС).

Проведение процедуры оценки воздействия на окружающую среду (ОВОС) является обязательным.

Экологическое обоснование в проектах следует (32) рассматривать как процесс конкретизации и уточнения природоохранных мероприятий, выполняемых в соответствии с решениями, принятыми в предпроектной документации, а также дополнительного определения достаточности и надежности предпроектных природоохранных мероприятий и решений.

Разработка инженерного проекта должна выполняться на основе результатов ОВОС, полученного предварительного согласования места расположения трассы автомобильной дороги или другого дорожного объекта, а также на основе акта выбора трассы дороги.

В инженерном проекте должны прорабатываться мероприятия по исключению и смягчению воздействия проектируемого объекта по каждому компоненту окружающей среды, а также определяться размеры компенсаций за наносимый ущерб. В составе этих мероприятий и проработок должны быть обоснованы:

• количественные, качественные и конструктивно-технологические характеристики проектируемых ресурсосберегающих и природоохранных мероприятий (метод, способ установки, сооружения, оборудование), а также эксплуатационный режим их функционирования;

• методы и средства контроля функционирования и эффективности мероприятий;

• капитальные вложения в строительство и эксплуатационные расходы на функционирование мероприятий;

• эколого-экономическая эффективность проектируемых природоохранных и ресурсосберегающих мероприятий;

• остаточное после реализации проектируемых природоохранных мероприятий воздействие объекта и возможности его снижения.

Согласно рекомендаций (33), в рабочей документации на основе решений, утвержденных в составе инженерного проекта, производится детальное проектирование элементов инженерных природоохранных мероприятий и конструкций очистных (и других) сооружений, позволяющее осуществить их строительство применительно к конкретным местам и условиям их функционирования. Это в полной мере относится и к низководным объектам.

При разработке ОВОС, раздела охраны окружающей среды в предпроектной и проектной документации следует руководствоваться рекомендациями (32, 33), а также заданием и составом договорной документации заказчика с проектной или другой организацией, выполняющей природоохранные мероприятия.

При этом следует особо учитывать, что полнота и качество проработок вопросов охраны окружающей среды во всех видах документации во многом предопределяется и находится в зависимости от состава, требований и финансирования этих работ, обуславливаемых заказчиком в заданиях и договорной документации на их выполнение.

Именно поэтому техническое задание на проработку вопросов охраны окружающей среды и другие материалы договорной документации должны отвечать экологическим требованиям и тщательно прорабатываться с учетом этих требований и конкретного района предполагаемого строительства.

Принятие экологически обоснованных решений может быть обеспечено лишь в том случае, если эти решения будут основываться на наиболее полной и достоверной информации об окружающей природно-техногенной среде и условиях жизни местного населения и ее детальном анализе.

Источниками исходной информации для разработки вопросов охраны окружающей среды в предплановой документации и материалах предварительного согласования места размещения низководного дорожного объекта являются: фондовые материалы территориальных органов контроля и надзора за состоянием отдельных компонентов природной среды, материалы статистической отчетности, данные режимной сети наблюдений и контроля (мониторинга); данные биологических, географо-геологических и других исследований и наблюдений природной среды, проводимых научными организациями; литературные и отчетные данные научных организаций и ведомств; проектно-изыскательские материалы прошлых лет и специальных инженерных изысканий; технические условия и согласования с заинтересованными органами, ведомствами и организациями.

Эти материалы, как и результаты предплановых природоохранных проработок, являются исходными для подготовительных и начальных проработок ОВОС и природоохранных мероприятий в предпроектной документации. Они должны представляться заказчиком той проектной организации, которой поручается разработка соответствующей предплановой и предпроектной документации. Для разработки предпроектной документации заказчик в соответствии с рекомендациями (33) обязан передать проектной организации имеющиеся, в его распоряжении дополнительные материалы по ранее выполненным проектно-изыскательским и научно-исследовательским работам. Ориентировочный состав этих дополнительных материалов определен приложением 2 рекомендаций (33).

Заказчик может поручить сбор исходной информации проектной организации по договору с ней.

Разработка ОВОС и природоохранных мероприятий в предпроектной документации и природоохранных мероприятий в проектной документации должна основываться на результатах проведения инженерно-экологических изысканий, регламентированных СПиПом 11-02-96 (34).

Инженерно-экологические изыскания для разработки предпроектной документации предназначены для сбора, анализа и обобщения исходных материалов; более конкретного и детального изучения и разработки прогноза изменения компонентов природно-техногенной среды (атмосферного воздуха, поверхностных и подземных вод, почво-грунтов, земель, недр, сельскохозяйственных угодий и других) в сфере ее взаимодействия с предприятиями, сооружениями и поселениями; подготовки материалов для выбора местоположения дорожного объекта, для обеспечения ОВОС и разработки природоохранных мероприятий предпроектного предназначения,

В подготовительный период инженерно-экономических изысканий подготавливается договорная документация с заказчиком с разработкой программы и технического задания; сбор, анализ и обобщение исходной информации и, в том числе той, которая имеется у заказчика; анализ степени природоохранной изученности района проектирования.

В полевой период этих изысканий производится конкретизация исходных материалов подготовительного периода применительно к местоположению объекта; вариантная экологическая проработка трассы дорожного объекта с оценкой оптимального варианта; полевые инструментальные работы; согласования с местными природоохранными органами, органами управления территорий, с заинтересованными предприятиями (организациями).

В камеральный период производится обработка материалов полевых работ; анализ, систематизация и обобщение результатов работ подготовительного и полевого периодов; разработка прогноза изменения компонентов природной среды и социально-экономических условий района расположения дорожного объекта; разработка рекомендаций по учету природоохранных мероприятий в решениях предпроектной документации.

Проведение инженерно-экономических изысканий для разработки предпроектной документации должно предусматривать в составе этих изысканий отдельные виды инженерно-геологических, инженерно-гидрометеорологических и топографо-геодезических работ, направленных на сопровождение и обеспечение целей и задач инженерно-экологических изысканий.

Инженерно-экологические изыскания для разработки проектной документации должны отвечать цепям и задачам разработки природоохранных мероприятий, предусматриваемых (33) для этой документации.

Состав полевых работ инженерно-экологических изысканий, предназначенных для разработки проектной документации, должен быть определен в сокращенном объеме с учетом работ, намечаемых к выполнению при проведении других видов инженерных изысканий, выполняемых, как правило, в составе комплексных инженерных изысканий для строительства.

Организация, выполняющая инженерные изыскания, имеет право устанавливать геодезические знаки (репера, закрепительные столбы); осуществлять проходку горных выработок (буровых скважин, шурфов, раскопок, расчисток); отбирать пробы грунта, воздуха, воды, стоков, выбросов, атмосферных осадков, промышленно-сельскохозяйственных и бытовых отходов; производить разбивку морфостворов (гидрометрических створов), а также работы по измерению гидравлических и русловых характеристик на судоходных и несудоходных реках и других водных объектах; осуществлять подготовительно-сопутствующие работы по расчистке и планировке площадок, прокладке визирок, устройству базовых и временных лагерей, дорог, переездов, переправ и других временных сооружений, необходимых для производства комплекса инженерных и инженерно-экологических изысканий.

Инженерные изыскания могут выполняться только при наличии разрешении (регистрации работ для организаций, осуществляющих территориальные функции федерального уровня, и ведения единого государственного фонда материалов комплексных изысканий в соответствии с Положением об этой деятельности) на выполнение изыскательских работ, выдаваемого геолого-геодезическими службами органов архитектуры и градостроительства Российской Федерации.

Разрешение изыскательских работ должно оформляться заказчиком до подписания договора на выполнение инженерных изысканий. По поручению заказчика это разрешение (регистрация) может выполняться той организацией, которая намечена им к выполнению инженерных изысканий при условии ее согласия и с дополнительной оплатой заказчиком соответствующих затрат.

Требования, которыми следует руководствоваться при оформлении разрешения (регистрации) изыскательских работ, а также при осуществлении согласований с соответствующими организациями, чьи интересы затрагиваются при проведении инженерных изысканий, определены строительными нормами (34).

При организации и производстве инженерных изысканий проектные организации должны разрабатывать для руководства и неукоснительного исполнения своими полевыми изыскательскими подразделениями мероприятия по охране, и сохранению окружающей среды в районе изысканий в период выполнения полевых работ, исходя из следующих требований:

• минимального занятия территории для устройства базовых и временных лагерей и стоянок автотранспорта, буровой и другой техники;

• выполнения всех санитарно-гигиенических требований и правил проживающими в лагере, а также требований по недопущению загрязнений стоянок автотранспорта и буровой техники горюче-смазочными материалами и другими отходами;

• обязательного выполнения противопожарных правил;

• строгого ограничения направлений движения транспорта при прокладке дорог к изыскательским лагерям и к вариантам трассы изыскиваемой дороги;

• тампонажа скважин геологического бурения, засыпки шурфов и других выработок;

• проведения буровых и геологоразведочных работ на сельскохозяйственных угодьях в сроки, согласованные с владельцами этих угодий;

• ликвидации изыскательских лагерей, стоянок изыскательской техники, временных сооружений и устройств, а также рекультивации занимаемой ими территории по окончании изыскательских полевых работ;

• других требований, предъявляемых заинтересованными организациями, чьи интересы затрагиваются при проведении инженерных изысканий.

В соответствии с Земельным кодексом РСФСР и требованиями норм (34) после окончания инженерных изысканий земельные участки должны быть приведены в состояние, пригодное для их использования по целевому назначению.

Все эти природоохранные мероприятия и нормативные требования должны быть отражены в техническом задании, программе на производство инженерных изысканий и в других видах договорной (контрактной) документации заказчика с организацией, выполняющей изыскательские работы.

Список литературы

1. Автомобильные дороги: СНиП 2.05.02-85: Утв. Госстроем СССР: Введ. 01.01.87. - Изд. офиц. - М.: ЦИТП Госстроя СССР, 1986.-56 с.

2. Мосты и трубы: СНиП 2.05.03-84: Утв. Госстроем СССР: Введ. 01.01.86. - Изд. офиц. - М.: ЦИТП Госстроя СССР, 1985. - 200 с.

3. Мосты и трубы. Нормы проектирования: СНиП II-Д.7-70В: Утв. Госстроем СССР: Введ. 01.07.84. - Изд. офиц. - М.: Стройиздат, 1971. - 78 с.

4. Внутрихозяйственные автомобильный дороги в колхозах, совхозах и других сельскохозяйственных предприятиях и организациях: СНиП 2.05.11-83: Утв. Госстроем СССР: Введ. 01.01.85. - Изд. офиц.-М.: Стройиздат, 1984. - 23 с.

5. Промышленный транспорт: СНиП 2.05.07-85: Утв. Госстроем СССР: Введ. 01.07 86. - Изд. офиц. - М.: ЦИТП Госстроя СССР, 1986.-68 с.

6. Инженерная защита территории от затопления и подтопления: СНиП 2.06.15-85: Утв. Госстроем СССР: Введ. 01.07.86. - Изд. офиц. - М.: ЦИТП Госстроя СССР, 1986.- 20 с.

7. Инженерная защита территорий, зданий и сооружений от опасных геологических процессов. Основные положения проектирования: СНиП 2.01.15-90: Утв. Госстроем СССР: Введ. 01.01.92. - Изд. офиц. - М.: Арендное производственное предприятие ЦИТП, 1991. - 32 с.

8. Инженерные изыскания для строительства: СНиП 1.02.07-87: Утв. Госстроем СССР: Введ. 01.01.88 - Госстрой СССР, ГУГК СССР. - М.: ЦИТП Госстроя СССР. 1988 - 104 с.

9. Наставление по изысканиям и проектированию железнодорожных и автодорожных мостовых переходов через водотоки. - ЦНИИС Главтранспроект Минтрансстроя СССР. - М.: Транспорт, 1972. - с. 1-280.

10. Руководство по гидравлическим расчетам малых искусственных сооружений. - М : Транспорт, 1974. - 296 с.

11. Пособие к СНиП 2.05.03-84 (Мосты и трубы) по изысканиям и проектированию железнодорожных и автодорожных мостовых переходов через водотоки (ПМП-91) - Гос. Корпорация "Трансстрой", ПКТИтрансстрой. - М.: 1992. - 411 с.

12. Пособие по гидравлическим расчетам малых водопропускных сооружений. - ВНИИ транспортного строительства (ЦНИИС), главное управление проектирования и капитального строительства (ГУПиКС) Минтрансстроя СССР. -М : Транспорт, 1992. - 408 с.

13. Славуцкий А.К. Научно-техническое обеспечение программы "Дороги Нечерноземья". // Автомобильные дороги, № 6. - 1988.

14. Перевозников Б.Ф. Нормативные требования и критерии по инженерной оценке проявления и воздействий опасных гидрометеорологических процессов на автомобильные дороги // Автомобильные дороги. Научно-технические достижения и передовой опыт в области автомобильных дорог: Информ. сб., вып. 4. - М.: 1993. - С. 1-23.

15. Перевозников Б.Ф. Водопропускные сооружения лоткового типа. - М.: Транспорт, 1978. - 204 с.

16. Методические рекомендации по проектированию рациональных конструкций земляного полотна периодически затопляемых участков автомобильных дорог. - М.: СоюздорНИИ, 1990.

17. Методические указания по инженерно-гидрометеорологическим изысканиям автомобильных дорог. - М.: Союздорпроект, 1974. - 278 с.

18. Инженерно-геодезические изыскания железных и автомобильных дорог: ВСН 208-89: Минтрансстрой СССР: Введ. 01.06.90. - Изд. офиц. - М.: 1990 - 112с.

19. Методические указания по инженерно-геологическим изысканиям автомобильных дорог и сооружений на них. - М.: Союздорпроект, 1992. - 167 с

20. Лотковые сооружения на лесохозяйственных автомобильных дорогах. Альбом I. Типовые материалы для проектирования 503-0-50-87: Союзгипролесхоз: Утв. Гослесхозом СССР 24.09.87 (Протокол № 2): Введ. 01.10.87 (приказ № 115) - М.: 1987. - 46 с.

21. Солодовников Б.И. Переливные сооружения на автомобильных дорогах. - М.: Транспорт, 1983. - 37 с. (ВАМ - В помощь строителям).

22. Изменение № 1 ГОСТ 27751-88: Надежность строительных конструкций и оснований. Основные положения по расчету. // БСТ № 3. - М.: 1094. - с. 37.

23. Бируля А.К. Проектирование автомобильных дорог. - М.: Автотрансиздат, 1961.-499 с.

24. Рекомендации по разработке экономического обоснования на развитие федеральной автомобильной дороги: Минтранс РФ, ФДД. - М.: 1995. - 59 с.

25. Полтаранова Т.Е. Эксплуатация затопляемых дорог. // Автомобильные дороги, № 1. - 1966. - С. 25-26.

26. Карпасов A.M., Полтаранова Т.Е. Опыт эксплуатации затопляемой дороги. // Автомобильные дороги, № 2. - 1986.

27. Бликштейн С.М. Гидравлический расчет затопляемых дорог. // Автомобильные дороги, № 12. - 1973. - С. 26-27.

28. Сравнение вариантов строительства мостовых переходов через р. Оку у г. Спасск-Рязанский с затопляемыми подходами. - М.: Союздорпроект, 1995. - 31с.

29. Рабочий проект на строительству высоководных подходов к наплавному мосту через р. Оку на автомобильной дороге Спасск-Троица. - М.: ГипродорНИИ, 1992.

30. X международный дорожный конгресс. - М.: Автотрансиздат, 1957.

31. Строительные нормы и правила. Плотины из грунтовых материалов: СНиП 2.06.05-84: Утв. Госстроем СССР: Введ. 01.07.85. - М.: 1989.

32. Временная инструкция по экологическому обоснованию хозяйственной деятельности о предпроектных и проектных материалах: Главное упр. гос. эколог. экспертизы Министерства экологии и природных ресурсов РФ: Введ. 01.08.92. - М.: общество «Знание» РФ, 1992. - 46 с.

33. Рекомендации по учету требований по охране окружающей среды при проектировании автомобильных дорог и мостовых переходов: Минтранс РФ, ФДД. Одобрены 26.06.95, согласованы с Минприроды РФ 19.06.95. - М.: 1995. - 124 с.

34. Инженерные изыскания для строительства. Основные положения: СПиП 11-02-96: Введ. Минстроем России 01.11.96.- М.: Минстрой России. ПНИИИС, 1997.- 45 с.




Яндекс цитирования



   Copyright © 2007-2026,  www.tehlit.ru.

[ ѓосты, стандарты, нормативы, инструкции, правила, строительные нормы ]