//
ТехЛит.ру
- крупнейшая бесплатная электронная интернет библиотека для "технически умных" людей.
WWW.TEHLIT.RU - ТЕХНИЧЕСКАЯ ЛИТЕРАТУРА

:: Алготрейдинг::


АЛГОТРЕЙДИНГ
шаг за шагом
с нуля по урокам!

Торговые роботы на PYTHON, BackTrader,
Pandas, Pine Script для TradingView. Связка с брокерами, телеграм и легкими приложениями.


Стандартизация в Группе компаний «Трансстрой»

СТАНДАРТ ОРГАНИЗАЦИИ

Шпунт трубчатый сварной.
Правила производства работ
по строительству шпунтовых стен

СТО ГК «Трансстрой»-010-2007

 

Москва, 2007

Предисловие

1 РАЗРАБОТАН POO «Научно-техническая ассоциация ученых и специалистов транспортного строительства», ОАО «Научно-исследовательский институт транспортного строительства (ЦНИИС)» (кандидаты техн. наук Н.А. Ефремов, Л.Н. Лосев, А.Н. Ефремов, инженеры Д.М. Долганов, А.В. Кручинкин, М.Б. Смирнов, Р.В. Ступников), ООО «Трест Запсибгидрострой» (В.В. Гончаров) по заказу ООО «Группа компаний «Трансстрой»

2 ВНЕСЕН Департаментом развития технологии и стандартизации ООО «Группа компаний «Трансстрой»

3 ПРИНЯТ И ВВЕДЕН В ДЕЙСТВИЕ ООО «Группа компаний «Трансстрой» распоряжением от 09 апреля 2007 г. № ГК/ПН-17

4 СОГЛАСОВАН ОАО «ЛенморНИИпроект» (исх. № ОГС-573 от 13.02.2007 г.), Ассоциация «Гидропроект» (исх. № 3.2.4-20/282 от 28.12.2006 г.), ОАО «СоюзморНИИпроект» (исх. № 8/15 от 11.01.2007 г.), «Подводречстрой-4» Федерального агентства морского и речного транспорта Минтранса РФ (исх. № 262 от 28.12.2006 г.), ОАО «Трансмост» (исх. № 09/10-125 от 31.01.2007 г.), департаментом капитального строительства ОАО «РЖД» (исх. № ЦУКСи-20/643 от 15.03.2007 г.), ЗАО «Трансмонолит» (исх. № Т-01-09/1985 от 11.12.2006 г.)

5 Разработка стандарта организации предусмотрена статьей 13 Федерального закона «О техническом регулировании» от 27.12.2002 № 184-ФЗ

6 Настоящий стандарт разработан в соответствии с СТО-ГК «Трансстрой»-002-2006 «Правила построения, изложения и обозначения при разработке стандартов организации Группы компаний «Трансстрой», а также международных стандартов США А 328/А 328М-93а и Японии J1S А 5525 и J1S А 5530, регламентирующих производство шпунтовых трубчатых свай и их применение при строительстве шпунтовых стен различного назначения

7 ЗАРЕГИСТРИРОВАН ФГУП «Стандартинформ» 11.04.2007 г. № 200/103118 и ООО «Группа компаний «Трансстрой» 24.04.2007 г. № ГК/219

8 ДЕРЖАТЕЛЬ ПОДЛИННИКА - ООО «Группа компаний «Трансстрой»

9 ВВЕДЕН взамен СТП-010-2000

Содержание

1 Область применения

2 Нормативные ссылки

3 Термины, определения и сокращения

4 Классификация (Основные параметры и размеры)

5 Транспортирование и хранение ШТС, анкерных тяг и свай

6 Приёмка, подготовка и складирование ШТС, анкерных тяг и свай

7 Подготовительные работы

8 Выбор оборудования для погружения ШТС и анкерных свай

9 Погружение и извлечение ШТС и анкерных свай

10 Водоотвод и устройство дренажа

11 Засыпка пазух грунтом

12 Производство работ зимой и в Северной климатической зоне

13 Приемка выполненных работ

14 Требования безопасности работ

15 Охрана окружающей природной среды

16 Методы контроля

17 Указания по безопасной эксплуатации шпунтовых стен

Приложение А. Сортамент и характеристики профилей ШТС (ШТСу) и шпунтовых стен из них1)

Приложение Б (справочное) Таблица Б.1 - Сравнительные характеристики шпунтовых стен из ШТС

Приложение В (рекомендуемое) Выбор типа молота для забивки ШТС

Приложение Г (рекомендуемое) Выбор типа вибропогружателя для погружения ШТС

ПриложениеД (Рекомендуемое) Перечень технических документов, подлежащих предъявлению приёмочной комиссии

СТАНДАРТ ОРГАНИЗАЦИИ

Шпунт трубчатый сварной. Правила производства работ по строительству шпунтовых стен

Введен взамен

СТП 010-2000

Утвержден и введен в действие распоряжением ООО «Группа компаний «Трансстрой» от 09 апреля 2007 г. № ГК/ПН-17.

Дата введения 2007-04-10

1 Область применения

Настоящий стандарт распространяется на производство работ по строительству капитальных и временных шпунтовых стен морских и речных портовых, гидротехнических и берегозащитных сооружений, а также шпунтовых стен ограждающих конструкций различного назначения с применением шпунта трубчатого сварного (далее по тексту ШТС).

2 Нормативные ссылки

В настоящем стандарте использованы нормативные ссылки на следующие стандарты и нормативные документы:

ГОСТ 380-94

Сталь углеродистая обыкновенного качества. Марки.

ГОСТ 427-75*

Линейки измерительные металлические. Технические условия.

ГОСТ 2590-88

Прокат стальной горячекатаный круглый. Сортамент.

ГОСТ 5264-80

Ручная дуговая сварка. Соединения сварные. Основные типы, конструктивные элементы и размеры.

ГОСТ 6996-66*

Сварные соединения. Методы определения механических свойств.

ГОСТ 7502-98

Рулетки измерительные металлические. Технические условия.

ГОСТ 7566-94

Металлопродукция. Приемка, маркировка, упаковка, транспортирование и хранение.

ГОСТ 10704-91

Трубы стальные электросварные прямошовные. Сортамент.

ГОСТ 10706-76*

Трубы стальные электросварные прямошовные. Технические требования.

ГОСТ 14771-76*

Дуговая сварка в защитном газе. Соединения сварные. Основные типы, конструктивные элементы и размеры.

ГОСТ 15150-69*

Машины, приборы и другие технические изделия. Исполнения для различных климатических районов. Категории, условия эксплуатации, хранения и транспортирования в части воздействия климатических факторов внешней среды.

ГОСТ 20295-85

Трубы стальные сварные для магистральных газонефтепроводов. Технические условия.

ГОСТ 25100-95

Грунты. Классификация.

ГОСТ 12.3.009-76* ССБТ

Работы погрузо-разгрузочные. Общие требования безопасности.

ГОСТ 17.1.3.13-86

Охрана природы. Гидросфера. Общие требования к охране поверхностных вод от загрязнения.

ГОСТ 17.4.3.02-85

Охрана природы. Почвы. Требования к охране плодородного слоя почвы при производстве земляных работ.

ГОСТ 17.5.3.04-83*

Охрана природы. Земли. Общие требования к рекультивации земель.

ГОСТ 17.5.3.06-85

Охрана природы. Земли. Требования к определению норм снятия плодородного слоя почвы при производстве земляных работ.

ГОСТ Р 52711-2007

Шпунт трубчатый сварной. Технические условия.

СНиП II-23-81*

Стальные конструкции.

СНиП 2.02.03-85

Свайные фундаменты.

СНиП 3.01.04-87*

Приемка в эксплуатацию законченных строительством объектов. Основные положения.

СНиП 3.02.01-87

Земляные сооружения, основания и фундаменты.

СНиП 3.04.03-85

Защита строительных конструкций и сооружений от коррозии.

СНиП 3.07.02-87

Гидротехнические морские и речные транспортные сооружения.

СНиП 12-01-2004

Организация строительства.

СНиП 12-04-2002

Безопасность труда в строительстве. Часть 2. Строительное производство.

СП 53-101-98

Изготовление и контроль качества стальных строительных конструкций.

ВСН 34-91

Правила производства и приемки работ на строительстве новых, реконструкции и расширении действующих гидротехнических морских и речных транспортных сооружений.

ТУ 0925-003-01393674-95

Профиль шпунтовый трубчатый сварной.

ТУ 0925-005-01393674-99

Профиль шпунтовый трубчатый сварной с замками из проката общего назначения.

ТУ 5264-001-40222779-06

Шпунт трубчатый сварной.

При пользовании настоящим стандартом целесообразно проверить действие ссылочных стандартов и нормативных документов в информационной системе общего пользования - на официальном сайте национального органа Российской Федерации по стандартизации в сети Интернет или по ежегодно издаваемому информационному указателю «Национальные стандарты».

3 Термины, определения и сокращения

В настоящем стандарте применены следующие термины с соответствующими определениями:

3.1 анкерная крепь: Крепь из металлических стержней, расположенных в грунтовом массиве, скрепляющая и удерживающая грунты от обрушения.

3.2 анкерная свая (плита): Свая (плита), закрепленная в грунтовом массиве и служащая для удерживания шпунтовой стенки и анкерной крепи.

3.3 больверк: Шпунтовая стенка морского или речного причального сооружения в виде забитых шпунтовых свай, связанных поверху специальной конструкцией, шпунтовых свай в грунтовый массив.

3.4 грунтовый массив: Массив грунта, обеспечивающий общую устойчивость шпунтовой стенки по схеме глубинного сдвига и вращательного перемещения.

3.5 незаанкерованная шпунтовая стенка: Стенка из шпунтовых свай без анкерной крепи.

3.6 свайный молот: Строительная машина ударного действия для забивки шпунтовых свай в фунтовый массив.

3.7 шпунтовые работы: Совокупность технологических операций (работ), выполняемых со шпунтовыми сваями при возведении шпунтовой стены.

3.8 шпунтовая свая (шпунтина): Отдельный монтажный элемент шпунтовой стены в виде стальной трубы (столба) с продольными замковыми элементами традиционного (Ларсен 4 или Ларсен 5) или оригинального профиля, которые присоединяют к трубе электросваркой.

3.9 шпунтовая стена: Сплошная тонкая вертикальная или наклонная стена из забитых в грунт шпунтовых свай (шпунтин). Предназначена для восприятия, в основном, горизонтальных нагрузок и, прежде всего, давления находящегося за ней грунта.

3.10 ПОС: Проект организации строительства.

3.11 ППР: Проект производства работ.

3.12 ШТС: Шпунт трубчатый сварной.

4 Классификация (Основные параметры и размеры)

4.1 Шпунтовая стенка из ШТС с анкерным креплением (рисунок 1) предназначена для удерживания грунтового массива от сдвига или его вращательного перемещения. Она состоит из ШТС, шапочного или колесоотбойного бруса, распределительной балки, анкерных тяг и анкерных свай.

4.2 Заанкерованная шпунтовая стенка снабжена анкерными устройствами, препятствующими перемещению верхнего конца ШТС и может быть с одним или несколькими ярусами анкеров.

Глубина забивки и сечение ШТС, конструкция анкерной крепи, анкерных свай и число ярусов анкеров принимается в соответствии с проектом.

Наиболее распространены шпунтовые стенки из ШТС с одним ярусом анкеров, возводимые при глубине дна 10-16 м

4.3 Незаанкерованная шпунтовая стенка (рисунок 2) имеет более простую конструкцию. Она состоит из забитого в грунт ряда свай ШТС, объединенных шапочным брусом.

Свободная высота незаанкерованной шпунтовой стенки и глубина забивки ШТС, в соответствии с требованиями проектной документации, определяются расчетами на устойчивость. В ординарных условиях свободная высота незаанкерованной шпунтовой стенки не должна превышать 8 м.

4.4 Для ШТС установлены следующие типы замковых соединений (рисунки 3-13):

- из раскроя корытного шпунта;

- из раскроя плоского шпунта;

- замки «УТ» из горячекатаной стали фасонного проката (уголков по ГОСТ 8510 и двутавров по ГОСТ 8239);

- замки «ПБ» из горячекатаной стали (ГОСТ 9235 и ГОСТ 21937);

- замки типа «Corner section»;

- трубы.

4.5 ШТС изготавливают длиной от 6 до 24 м. Длина ШТС в зависимости от его расчетных параметров (диаметр трубы, толщина стенки), фунтовых условий, глубины водотока и замкового соединения для каждого конкретного объекта определяется проектом.

Способ производства работ по возведению шпунтовой стены выбирают в зависимости от типа ШТС, грунтовых условий, технической оснащенности строительной организации. При строительстве на акватории учитывают глубину водоема, скорость течения, размываемость грунтов.

4.6 Изготовление шпунта на строительной площадке не допускается. Шпунт изготавливается только в заводских условиях.

4.7 Профили ШТС изготавливают из стальных электросварных прямошовных труб по ГОСТ 10704-91 или ГОСТ 20295-85 в заводских условиях с использованием специальных стендов. К стальным прямошовным трубам сварными швами присоединяют в соответствии с рисунками 3-13 стандартные замки-полупрофили шпунта корытного типа (типа «Ларсен», ШК-1 и др.), полупрофили плоского шпунта (ШП, FL, AS и др.), получаемые резкой полных профилей по их продольной оси.

Рисунок 1 - Шпунтовая стенка из ШТС с анкерным креплением

1 - массив грунта; 2 - свая ШТС; 3 - шапочный брус; 4 - распределительная балка; 5 - анкерная тяга; 6 - анкерная свая.

Рисунок 2 - Шпунтовая стенка из ШТС

1 - массив грунта; 2 - свая ШТС; 3 - шапочный брус;

Рисунок 3 - Профиль шпунтовый трубчатый сварной с фасонным элементом от шпунта Л4

1 - труба по ГОСТ 10704-91, ГОСТ 20295-85; 2 - фасонный элемент-полупрофиль Л4 по ТУ 14-2-879-89; 3 - сварной шов.

Рисунок 4 - Профиль шпунтовый трубчатый сварной с фасонным элементом от шпунта Л5

1 - труба по ГОСТ 10704-91, ГОСТ 20295-85; 2 - фасонный элемент-полупрофиль Л5 по ТУ 14-2-879-89; 3 - сварной шов.

Рисунок 5 - Профиль шпунтовый трубчатый сварной рядовой ШТС с замками из шпунта ШК-1

1 - труба по ГОСТ 10704-91, ГОСТ 20295-85; 2 - фасонный элемент-полупрофиль ШК-1 по ГОСТ 4781-85*; 3 - сварной шов; 0-0 - ось шпунтовой стенки; 1-1 и 2-2 - главные оси инерции.

Рисунок 6 - Профиль шпунтовый трубчатый сварной угловой ШТСу

1 - труба по ГОСТ 10704-91, ГОСТ 20295-85; 2 - фасонный элемент-полупрофиль ШК-1 по ГОСТ 4781-85*; 0-0-0 - ось шпунтовой стенки; Х-0-Х - ось полок замков; γ - задаваемый проектом угол поворота шпунтовой стенки и угол выполняемого смещения полки замка.

Рисунок 7 - Профиль шпунтовый трубчатый сварной с фасонным элементом от шпунта Л4

1 - труба; 2 - замковый элемент-обойма (по рисункам 10 и 11); 0-0 - ось шпунтовой стенки.

Рисунок 8 - Профиль шпунтовый трубчатый сварной с замками из уголков и тавра с гребнями

1 - труба; 2 - замковый элемент-гребень (по рисункам 10 и 11); 0-0 - ось шпунтовой стенки.

Рисунок 9 - Профиль шпунтовый трубчатый сварной рядовой ШТС с замками из шпунта FL-511 (FL-512)

1 - труба по ГОСТ 10704-91 ГОСТ 20295-85; 2 - фасонный элемент-полупрофиль FL-511 (FL-512) по DIN EN 10248-2; 3 - сварной шов; 0-0 - ось шпунтовой стенки.

Рисунок 10 - Замковые элементы из уголков и тавра (УТ)

1 - труба; 2 - замковый элемент-стенка обоймы; 3 - замковый элемент-гребень; 4 - диафрагма; 5 - сварное соединение Т1 по ГОСТ 14771-76* или ГОСТ 5264-80*; 6 - сварное соединение; 0-0 - ось шпунтовой стенки.

Рисунок 11 - Замковые элементы из полособульбов (ПБ)

1 - труба; 2 - замковый элемент-стенка обоймы; 3 - замковый элемент-гребень; 4 - диафрагма; 5 - сварное соединение Т1 по ГОСТ 14771-76* или ГОСТ 5264-80*; 6 - сварное соединение; 0-0 - ось шпунтовой стенки.

Рисунок 12 - Профиль шпунтовый трубчатый сварной угловой

0-0-0 - ось шпунтовой стенки; Х-0-Х - ось полок замков; γ - задаваемый проектом угол поворота шпунтовой стенки.

Рисунок 13 - Схема контроля перекоса и смещения замковых элементов

1 - диаметральная проверка линии; 2 - контролируемая суммарная величина смещения.

4.8 Марку стали для профилей ШТС выбирают по согласованию между заказчиком и изготовителем: для труб - по ГОСТ 10706-76 или ГОСТ 20295-85, для замков - по ГОСТ 4781-85 или ТУ-14-2-879-89. Трубы, бывшие ранее в употреблении, например, в трубопроводах для транспортирования нефтепродуктов, используются при изготовлении ШТС на основании результатов испытания качества стали.

4.9 Предельная отрицательная температура, при которой допускается производство работ по погружению ШТС, устанавливается проектной организацией в зависимости от марки стали шпунта, ее ударной вязкости и конкретных условий производства работ.

4.10 При изготовлении профилей следует применять виды сварки (ГОСТ 8713-79, ГОСТ 14771-76 и ГОСТ 5264-80), обеспечивающие получение соединений, прочность которых не менее соответствующих характеристик основного металла, а коррозионная стойкость не ниже стойкости основного металла, подвергнутого воздействию термического цикла сварки.

4.11 Сортамент и характеристики ШТС и шпунтовых стен из него приведены в приложении А.

4.12 Отечественные шпунтовые стенки, выполненные из ШТС, по своим характеристикам сопоставимы с импортными шпунтами (стандарты США А 328/А 328 М-93а, Японии JIS А 5525 и JIS А 5530). Для ряда профилей сортамента удельный расход стали, момент сопротивления и допускаемое усилие на разрыв в замковых соединениях ШТС отечественного производства на 10-15 % предпочтительнее зарубежных аналогов.

4.13 Сравнительные характеристики шпунтовых стен из ШТС приведены в приложении Б.

5 Транспортирование и хранение ШТС, анкерных тяг и свай

5.1 ШТС, анкерные тяги и сваи могут перевозиться транспортом всех видов в соответствии с правилами перевозок, действующими на транспорте конкретного вида.

5.2 В пределах акватории ШТС, анкерные сваи и тяги следует транспортировать на палубных баржах, понтонах, имеющих необходимую плавучесть и остойчивость, проверенные расчетом на восприятие сосредоточенных нагрузок от массы шпунта. Разрешается транспортировка ШТС на палубе плавкранов на расстояние до 4 км по защищенной от волнения акватории.

5.3 Транспортирование и хранение ШТС, анкерных тяг и свай в части воздействия климатических факторов внешней среды должно соответствовать требованиям ГОСТ 15150. Допускается хранение ШТС, анкерных свай и тяг на открытом воздухе.

5.4 ШТС следует хранить в штабелях не более чем в 2 ряда по высоте.

5.5 При хранении, погрузке, транспортировке и разгрузке ШТС, анкерных тяг и свай должны применяться подкладки и строповочные устройства, исключающие остаточные деформации и повреждения замков и обеспечивающие сохранность их формы.

5.6 При хранении ШТС, анкерных тяг и свай должна быть обеспечена хорошая видимость маркировки конструкций.

5.7 Размеры проходов и проездов в месте хранения конструкций между штабелями или отдельными конструкциями должны соответствовать требованиям строительных норм.

6 Приёмка, подготовка и складирование ШТС, анкерных тяг и свай

6.1 Каждая партия шпунтовых свай ШТС, анкерных тяг и свай, поступившая на строительную площадку, должна сопровождаться документацией (паспортом) согласно требованиям СНиП 12-01-04, ВСН 34-91, ГОСТ 7566-94, ТУ и иметь сертификаты соответствия согласно требованиям Федерального Закона «О техническом регулировании» (№ 184-ФЗ, глава 4).

6.2 Документ (паспорт) о качестве ШТС, анкерных тяг и свай должен содержать:

- наименование предприятия-изготовителя, его адрес и товарный знак;

- обозначение ШТС, анкерных свай и тяг;

- номер паспорта и дату его составления, информацию о марке стали ШТС, анкерных тяг и свай;

- параметры изделий;

- тип антикоррозионного покрытия и его характеристики;

- количество поставленных изделий;

- подпись начальника ОТК или другого ответственного представителя предприятия-изготовителя;

К документу о качестве прилагаются:

- исполнительные чертежи отгружаемых изделий;

- ведомость документов о качестве материалов, использованных для изготовления изделий;

- копии или номера дипломов (удостоверений) о квалификации газорезчиков и сварщиков, изготовивших изделия;

- ведомость результатов контроля качества сварных соединений в изделиях.

6.3 Допускаются к приемке ШТС и анкерные тяги, если их размеры и формы профилей отличаются от проектных в пределах, указанных в соответствующих ТУ и нормативных документах.

6.4 Защитное покрытие ШТС, анкерных тяг и свай должно иметь не более двух отслоений площадью поверхности до 20 см2 на 1 м2. Отклонения по толщине защитного покрытия не должны превышать ±10 %. При проверке качества защитных покрытий рассматриваются документы, характеризующие составляющие компоненты в части соблюдения сроков их годности.

6.5 Для электрической сварки ШТС, анкерных тяг и свай на строительной площадке следует применять сварочные материалы в соответствии с требованиями проекта, СНиП II-23-81 и настоящего стандарта.

6.6 Сварные соединения надлежит выполнять в соответствии с требованиями ГОСТ 5264-80 и ГОСТ 14771-76.

6.7 Сварочные стыки ШТС выполняют в соответствии с проектом из условия обеспечения равнопрочности стыка основному сечению сваи. Сварочные стыки соседних ШТС допускается устраивать не ближе 2 м один от другого, при этом напряжения на данном участке не должны превышать 50 % расчетного.

6.8 Перед погружением необходимо для всех ШТС проверить геометрические размеры замковых соединений, прямолинейность формы и возможность взаимного беспрепятственного прохождения соседних замковых соединений.

6.9 Геометрические размеры замков ШТС рекомендуется проверять на стенде и с применением шаблонов длиной не менее 2 м. Выявленные дефекты замков ШТС (изгибы, вмятины) надлежит исправлять механической правкой. Для одной ШТС допускается замена одного дефекта замка на участке длиной не более 0,5 м.

6.10 На каждой шпунтине должен быть нанесён несмываемой краской порядковый номер и указана длина, а также нанесена глубина погружения ее в грунт по проекту.

6.11 Каждая ШТС должна быть оборудована специальными строповочными петлями или отверстиями для выполнения погрузо-разгрузочных работ, подъёма и подачи к месту погружения.

6.12 Все подъёмно-транспортные операции надлежит выполнять в соответствии с требованиями ППР, соблюдая меры предосторожности против повреждения антикоррозийного покрытия, замков и возникновения прочих дефектов.

Перевод элементов шпунтовых стен из горизонтального положения в вертикальное должен осуществляться с помощью траверс.

6.13 Места складирования запаса элементов необходимо выбирать возможно ближе к копрам или кранам. Элементы следует перекладывать в штабели с таким расчётом, чтобы не производить перекантовки при строповке.

Места складирования элементов шпунтовой стены должны быть удобными для проезда кранов и транспортных средств и производства погрузо-разгрузочных работ.

7 Подготовительные работы

7.1 Возведение шпунтовых стен с применением ШТС должно выполняться в соответствии с требованиями рабочей документации, СНиП 3.01.01-85, СНиП 12-01-04, ВСН 34-91, ПОС, ППР, а также настоящего стандарта организации. Все отступления от рабочей документации должны предварительно согласовываться с проектной организацией.

7.2 Погружению ШТС должно предшествовать выполнение и принятие по акту следующих работ:

- проверка наличия комплекта проектно-сметной документации на объекте; ознакомление ИТР и рабочих с проектной документацией по возведению шпунтовой стены и ППР;

- разбивка и закрепление главных осей сооружения, вынос в зону работ высотного репера, создание строительной сети, закрепление в натуре границ строительной площадки;

- приёмка (входной контроль) ШТС и других элементов шпунтовой стены и соответствующая подготовка их к погружению;

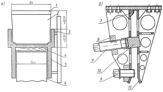
- подготовка и опробование механизмов и машин (грузоподъёмных средств, молотов, вибропогружателей) и вспомогательных устройств (шаблонов, направляющих, кондукторов, рисунок 14), предусмотренных к использованию на строительстве шпунтовой стены;

- на строительстве причального сооружения промеры глубин в зоне возведения шпунтовой стены с целью проверки соответствия подводного откоса проекту и уточнения объема работ по засыпке застенного пространства. В случае значительного отклонения фактического профиля откоса от проектного необходимо привести его в проектное положение дополнительной разработкой или досыпкой грунта;

- подготовка грунтового основания (снятие и складирование растительного слоя), обследование грунтового массива на наличие камней и валунов, в том числе геофизическими методами и т.п.) в створе погружения ШТС и анкерных свай (если они приняты в проектной документации в виде стальных труб);

- водолазное обследование дна акватории причала с целью выявления и удаления предметов, которые могут препятствовать погружению ШТС и анкерных свай;

- устройство в соответствии с ППР подъездных дорог, площадок складирования, линий электроснабжения, наружного освещения строительной площадки, служебно-бытовых помещений и спасательного поста.

7.3. При возведении шпунтовой стены в морских условиях, на реке или другом водном объекте дно акватории обследуют силами водолазов или известными методами: подводными телевизионными установками и т.п. оборудованием. В случае обнаружения каких-либо предметов, препятствующих погружению ШТС в грунт, выполняют мероприятия по их устранению. При производстве свайных работ с воды рекомендуется устройство лидирующей траншеи с удалением грунтов на глубину техногенных отложений.

7.4. Пробное погружение ШТС и их извлечение выполняют по программе, составленной проектной организацией (если оно предусмотрено в проекте), с целью отработки технологии производства работ, уточнения конструкции строповочных устройства, кондукторов, шаблонов, режима работы основного и вспомогательного оборудования, определения длины ШТС и несущей способности свай.

8 Выбор оборудования для погружения ШТС и анкерных свай

8.1 Способ погружения ШТС и применяемое оборудование должны соответствовать указаниям ПОС, ППР, рабочей документации для данной шпунтовой стенки и указаниям настоящего стандарта организации. Выбор погружающего оборудования следует проводить, руководствуясь принятым методом производства работ, указаниями проектной документации, местными технологическими и природными условиями настоящего раздела Стандарта.

8.2 Комплект оборудования для возведения шпунтовой стены выбирают на основе результатов анализа исходных данных, основными из которых являются:

- назначение шпунтовой стенки, требования к обеспечению её безопасности, временные и эксплуатационные нагрузки;

- инженерно-геологические условия на площадке строительства;

- характеристики ШТС, в том числе длина, диаметр трубы, площадь поперечного сечения; длина замков;

- гидрометеорологические условия (глубина воды, скорость течения, колебания уровня воды, роза ветров, защищенность акватории от волнения);

- местные технические условия (наличие оборудования, электроэнергии, транспортных путей и т.п.);

- принятая технология производства работ (последовательность забивки ШТС, время выполнения работ и т.п.).

8.3 При возведении шпунтовых стен ШТС погружают в грунт молотами или вибропогружателем. Допускается также комбинированная схема погружения ШТС в грунтовый массив (вибропогружение с добивкой молотом).

8.4 Тип молота для забивки ШТС и анкерных свай следует выбирать в соответствии с указаниями СНиП 3.02.01-87 (Приложение 5) и приложения В настоящего Стандарта.

Тип вибропогружателя для погружения ШТС и анкерных свай следует выбирать в соответствии с указаниями СНиП 3.02.01-87 (Приложение 6) и приложения В настоящего Стандарта.

8.5 Критерием правильности выбора погружающего механизма является успешное пробное погружение не менее трех ШТС в наиболее характерных пунктах данной площадки.

8.6 В случае тяжелых условий погружения ШТС и анкерных свай (отказ при забивке менее 0,2 см или скорость вибропогружения менее 2 см/мин) необходимо осуществлять дополнительные облегчающие погружение мероприятия.

Разработка и удаление грунта из полых ШТС и анкерных свай грейфером, гидроэлеватором, эрлифтом, шнековым бурением, а также устройство грунтовой прорези способствуют погружению шпунтовых свай до проектных отметок.

9 Погружение и извлечение ШТС и анкерных свай

9.1 ШТС при возведении шпунтовой стенки следует погружать с применением направляющего устройства, конструкцию которого разрабатывают в зависимости от типа сооружения, местных условий, ПОС и ППР.

В качестве направляющей при сооружении шпунтовой стены рекомендуется использовать устройство (рисунок 14) в виде двух параллельных балок, расставленных на расстояние, равное диаметру ШТС плюс зазор не более 0,01-0,02 м. Балки направляющих изготавливают из профильной стали и крепят болтами к уже забитым ШТС, а спереди - к временным вертикальным сваям или специальным переставным опорам.

Плавучие направляющие, как правило, закрепляются не менее чем на четырех прикольных сваях. Величина их предельного перемещения не должна превышать 0,02 м.

Если длина ШТС при забивке превышает в два раза расстояние от дна акватории до направляющих, их устраивают в два яруса и более. Расстояние между ярусами принимают не менее 3 м.

Для обеспечения сохранности антикоррозийного покрытия каждую ШТС при погружении надлежит оснащать переставными обрезиненными роликами.

9.2 ШТС, как правило, погружают захватками. Длина захватки зависит от производительности оборудования, гидрологических условий на площадке строительства и обычно составляет от 10 до 30 м.

9.3 Для уменьшения трения в замках ШТС рекомендуется устанавливать заглушки, заполнять замки бентонитом или другим подобным материалом.

9.4 При погружении первой ШТС и анкерной сваи необходимо особое внимание уделять соблюдению вертикальности (заданного наклона). Правильность забивки ШТС и анкерной сваи контролируют в двух плоскостях и в последующем повторяют не реже, чем через каждую вторую шпунтину или анкерную сваю геодезическими приборами или, например, уровнями длиной 2 м.

9.5 Погружающий механизм (молот или вибропогружатель) рекомендуется устанавливать с предотвращением веерности шпунтовой стенки.

9.6 При наличии слабых грунтов в грунтовом массиве и в основании шпунтовой стенки возможен уход ранее погруженной ШТС ниже проектной отметки. Для предотвращения этого явления шпунтины, погруженные до проектных отметок, рекомендуется объединять с помощью сварки.

9.7 Более мощное оборудование для забивки ШТС или дополнительные средства, обеспечивающие подмыв, удаление грунта из полости трубы и т.п., следует применять, если шпунтина не достигает проектной отметки. При этом предпочтение следует отдавать гидромолотам или молоту с более тяжёлой ударной частью.

9.8 При погружении ШТС и анкерной сваи вибропогружателем необходимо обеспечить жесткую и постоянную связь шпунтины и вибромашины. Для погружения ШТС предпочтение следует оказывать вибропогружателям с гидравлическими наголовниками.

9.9 В процессе вибропогружения ШТС следует осуществлять контроль за положением каната и крюка крана, на котором подвешен вибропогружатель.

При работе с вибропогружателем, оснащенным амортизатором, скорость спуска крюка крана должна исключать зависание вибромашины.

При работе с вибропогружателем без амортизатора скорость спуска крана не должна являться причиной торможения погружения ШТС.

9.10 При погружении ШТС вибропогружателем, снабжённым амортизатором, недопогружение ШТС может быть устранено одно-двукратным подъёмом ШТС на 0,5-1 м и последующим погружением.

Если недопогружение вызвано встречей ШТС с препятствием, процесс погружения следует прекратить и решать вопрос совместно с представителем проектной организации.

9.11 При производстве работ по погружению ШТС и забивке анкерных свай следует вести журнал погружения ШТС и анкерных свай. По данным журнала составляется сводная ведомость погружения шпунта. К журналу следует прилагать плановые и профильные схемы проектного и фактического положения шпунтовой стены и её анкерных свай.

9.12 Срезку ШТС допускается проводить только с разрешения представителя авторского надзора, заказчика, о чем в журнале производства работ должна быть произведена соответствующая запись.

9.13 После забивки ШТС рекомендуется заполнить внутреннее пространство труб песком с уплотнением. Песок по гранулометрическому составу (ГОСТ 25100-95) в зоне промерзания должен быть не ниже средней крупности. В зоне промерзания полость трубы рекомендуется заполнить смесью песка и цемента в количестве до 5 %. Решение о заполнении ШТС песком и цементом принимает проектная организация.

9.14 Забивку ШТС и анкерных свай молотами следует производить с применением специальных наголовников (рисунок 15) в виде распределительных плит, снабжённых в верхней части кольцевой обоймой для размещения в ней амортизатора, а в нижней части - системой выступов для фиксации головы ШТС и определения положения относительно молота.

Наголовник предназначен для равномерного перераспределения нагрузки на ШТС при ударе молота и смягчения резкого ударного импульса.

9.15 Плановые размеры плиты наголовника и её нижняя поверхность должны обеспечивать плотный контакт с торцовой поверхностью ШТС по всей площади трубы, исключая замковые соединения.

Толщина плиты наголовника должна быть не менее 0,15 D, где D - внутренний диаметр трубы ШТС.

9.16 Предпочтительно изготовление амортизаторов в виде резиновых колец.

9.17 Минимальный отказ ШТС и анкерной сваи при забивке должен составлять 0,5 см, но не менее приведенного в паспорте фирмы-изготовителя молота и в инструкции по его эксплуатации.

9.18 Подмыв, эрлифт и гидроэлеватор облегчают условия погружения ШТС и анкерных свай до проектных отметок. Эти методы допускаются к применению на площадке строительства, если расстояние между шпунтовой стенкой и существующими сооружениями не менее двукратной глубины погружения ШТС.

9.19 Применение подмыва наиболее эффективно в сочетании с вибропогружением ШТС. Параметры подмыва, эрлифта и гидроэлеватора следует определять на основе соответствующих гидравлических расчётов с учётом скорости размыва грунта и расхода воды для гидротранспорта разрабатываемых грунтов.

9.20 Для извлечения ШТС рекомендуется применять краны грузоподъёмностью 500 кН и более, краны, оснащенные вибропогружателями, шпунтовыдергиватели ударного действия, молоты двойного действия.

Рекомендуется также комбинированный способ выдергивания ШТС в сочетании с подмывом.

9.21 Сопротивление грунта при выдергивании ШТС слагается из веса шпунта, грунтовой пробки внутри трубы и трения по боковой поверхности. Эффективность выдергивания ШТС повышается при предварительном промачивании грунтового массива на участке работ.

Рисунок 14 - Инвентарные подмости-кондуктор для забивки свай ШТС

1 - направляющие шпунтины; 2 - маячные сваи; 3 - забитая свая ШТС; 4 - деревянные предохранители; 5 - деревянные подмостки; 6 - перильное ограждение; 7 - крепление направляющих

Рисунок 15 - Наголовники для погружения ШТС (а - молотом; б - вибропогружателем)

1 - стальной бандаж; 2 - вкладыш; 3, 5 - верхняя цилиндрическая и нижняя части корпуса; 4 - амортизирующая прокладка; 6 - ШТС; 7 - сменный вкладыш; 8 - направляющая планка; 9 - винты; 10 - клин; 11 - щека; Dштс - диаметр ШТС; Dн - диаметр наголовника.

10 Водоотвод и устройство дренажа

10.1 Для повышения надёжности работ на этапах возведения и эксплуатации шпунтовых стен из ШТС должен выполняться комплекс мероприятий по организации отведения поверхностных и грунтовых вод с площадки строительства.

10.2 Общие решения по отводу воды от шпунтовой стенки разрабатывает проектная организация на основе расчетов стока поверхностных и дренажных вод, расчетов кривой депрессии и предотвращения появления барражного эффекта.

10.3 Отвод поверхностных вод в период строительства следует вести с помощью нагорных канав расчётного профиля и уклонов.

Для отвода грунтовой воды отсыпают дренажные призмы после погружения ШТС. В замковой части ШТС устраивают также отверстия расчётного поперечного сечения для организованного отвода грунтовой воды, снятия давления, повышения надежности и уровня безопасности шпунтовой стены.

10.4 При отводе поверхностных и подземных вод следует исключать подтопление сооружений, образование оползней, размыв грунта и заболачивание местности.

10.5 Все постоянные водопонизительные и водоотводящие устройства, используемые в период строительства, при сдаче в эксплуатацию должны соответствовать требованиям проекта.

10.6 Водонепроницаемость шпунтовой стенки из ШТС следует обеспечивать в соответствии с требованиями проекта и настоящего Стандарта.

Водонепроницаемость шпунтовых стен после погружения ШТС до проектных отметок достигается:

- свариванием стыков замковых соединений с внешней стороны шпунтовой стены и при послойной выемке грунта перед стеной;

- инъектированием в замковое соединение ШТС водонепроницаемых материалов, например герметиков на основе гидроактивных однокомпонентных полиуретановых составов низкой вязкости типа (Cut, Injecto Grout), которые при взаимодействии с водой многократно увеличиваются в объеме.

11 Засыпка пазух грунтом

11.1 Земляные работы по заполнению пазух грунтом должны производиться в соответствии с указаниями СНиП 3.02.01-87, СНиП 3.07.02-87, настоящего Стандарта и ППР, в котором должны быть указаны способы и очередность заполнения пазух грунтом.

11.2 Перед заполнением пазух грунтом должно быть произведено освидетельствование готовности шпунтовой стенки и соответствие проекту выполненных её элементов, в том числе анкерных креплений и устройств, обеспечивающих грунтонепроницаемость. В пазухе не должно быть строительного мусора, снега и льда.

11.3 В проекте должны быть указаны типы и физико-механические характеристики грунтов, предназначенных для устройства обратных засыпок. Если в тылу шпунтовой стенки присутствуют место слабые илистые грунты, то в ПОС должны быть предусмотрены специальные меры для предотвращения подвижек их в сторону шпунтовой стенки в процессе засыпки.

11.4 Засыпку грунтовых пазух выполняют, как правило, из песчаного водопроницаемого грунта, коэффициент фильтрации которого Кф > 0,5 м/сут. Грунт засыпки должен быть непучинистым (ГОСТ 25100-95) и не содержать в своем составе органических и водорастворимых примесей. Для засыпки наиболее желательны песчаные кварцевые пески средней крупности по ГОСТ 25100-95 со степенью неоднородности гранулометрического состава Си > 3.

11.5 Грунты засыпки следует уплотнять до плотности, приведенной в проектной документации. Как правило, степень плотности грунта Id должна быть не менее 0,95 ... 0,98.

11.6 Опытное уплотнение грунтов выполняют в соответствии с требованиями СНиП 3.02.01-87 (приложение 4) с целью установления максимальной объемной массы песка, величины оптимальной влажности, толщины уплотняемого слоя, необходимого числа ударов трамбовки для достижения проектных показателей.

11.7 В процессе устройства грунтовой засыпки шпунтовой стенки осуществляют систематический пооперационный контроль, отслеживая:

- качество выполнения работ по подготовке дна и откоса пазух;

- соответствие отсыпаемого грунта принятому в ППР;

- толщину отсыпаемого слоя грунта;

- влажность отсыпаемого грунта;

- число прохода грунтоуплотняющих машин;

- степень плотности грунта.

11.8 Степень плотности грунта определяют режущим кольцом, зондированием, динамическим пенетрометром.

При недостаточной степени уплотнения грунт в пределах выделенного участка уплотняют дополнительно.

11.9 В процессе устройства грунтовой засыпки следует принять меры, исключающие повреждение анкерных тяг и анкерных свай, а также их антикоррозионного покрытия. Песок в тело шпунтовой стенки, щебень и камень в упорную призму и обратный фильтр с помощью плавкрана рекомендуется отсыпать с применением устройства (рисунок 16), предохраняющего анкерные тяги и анкерные сваи.

11.10 При заполнении пазух намывом грунта не допускается одновременная разработка грунта земснарядом перед шпунтовой стенкой. В процессе производства намывных работ контролируют напор воды в обратной засыпке, размещая не менее двух пьезометров на 25 м шпунтовой стенки. По окончании намывных работ разбирают водосбросные пульпопроводы на глубину не менее 1,5 м от проектной поверхности территории и засыпают грунтом с уплотнением.

11.11 Сдачу-приёмку работ по уплотнению грунта обратной засыпки пазух ведут по данным журнала производства работ, исполнительной схеме, результатам послойного контроля плотности и влажности грунта.

Рисунок 16 - Устройство для защиты анкерных тяг и свай и направляющий экран для отсыпки каменной призмы

1 - ШТС; 2 - распределительный пояс; 3 - анкерная тяга; 4 - защитная конструкция; 5 - направляющий экран; 6- деревянные насадки; 7-анкерная свая.

12 Производство работ зимой и в Северной климатической зоне

12.1 Для условий Севера и для возведения шпунтовой стенки зимой на талых грунтах используются все конструкции ШТС, которые применяются в аналогичных геологических и гидрологических условиях в районах с умеренным климатом.

С целью обеспечения условий погружения ШТС зимой и для условий севера кордон шпунтовой стенки рекомендуется располагать в русловой части акватории, чтобы погружение ШТС производилось в талый грунт.

12.2 Все работы по возведению шпунтовых стен из ШТС при наступлении отрицательных температур должны выполняться в строгом соответствии с ППР и с требованиями настоящего стандарта организации.

12.3 В ППР должны быть отражены конкретные организационные и технологические решения, обеспечивающие безопасность выполняемых работ при наступлении отрицательных температур.

12.4 Персонал производственных организаций, предназначенный для подготовки и выполнения работ по погружению ШТС, до начала производства работ должен изучить и впоследствии выполнять требования ППР.

12.5 Кабины кранов, бульдозеров, копровых установок для выполнения работ по возведению шпунтовых стен из ШТС должны быть остеклены, дополнительно утеплены, оснащены калориферами и другими отопительными приборами заводского изготовления для создания нормальных условий работы машинистов.

12.6 Выполнение работ по погружению ШТС в русле рек в период осеннего ледостава и весеннего ледохода запрещено.

12.7 Работу буксирных судов по разрушению ледового покрова у кордона шпунтовой стенки из ШТС необходимо выполнять с соблюдением мероприятий предосторожности и распоряжений специалистов.

12.8 Ремонт оборудования для погружения ШТС, находящегося на плаву, необходимо выполнять на палубе плашкоута после его надежного закрепления.

Ремонт на воде и на неустойчивом основании запрещен.

12.9 Строительство больверков из ШТС при отрицательных температурах, зимой и в Северной климатической зоне имеет ряд специфических особенностей, влияющих на выбор конструкции ШТС и на технологию возведения больверка.

Особенности гидрологического и ледового режимов оказывают существенное влияние на выбор места строительства стенки из ШТС. Наиболее предпочтительным является размещение больверка на защищенных от навала льда акваториях, искусственно созданных ковшах, в том числе на период строительства, в перегороженных с верховой стороны протоках или под защитой ограждающих дамб.

12.10 Конструкция больверков при возведении зимой должна быть рассчитана на тяжелые ледовые условия. Применять на незащищенных акваториях отдельно стоящие сваи не допускается.

12.11 Верховой открылок шпунтовых стен из ШТС целесообразно выполнять под острым углом к направлению потока.

12.12 При возведении шпунтовых стен из ШТС следует учитывать, что в период весеннего паводка грунтовая засыпка, как правило, приморожена. В связи с этим ледовые нагрузки, действующие на шпунтовую стенку, в период строительства в значительной степени воспринимаются мерзлым грунтом, имеющим плотность ниже предусмотренной проектом.

12.13 Для снижения нагрузок на ШТС от примерзшего льда целесообразно для лицевой стенки применять покрытия в виде гидрофобной консистентной смазки.

12.14 ППР для шпунтовых стен из ШТС на вечномерзлых грунтах должны содержать мероприятия, осуществление которых исключит возможность появления недопустимых деформаций больверка и обеспечивает требуемые эксплуатационные качества, надежность и долговечность. С этой целью предусматривают улучшение строительных свойств грунтового основания, регулирование его теплового режима с помощью охлаждающих устройств различной конструкции.

12.15 В соответствии с проектной документацией мерзлые грунты могут быть использованы в шпунтовой стенке по I принципу (сохранение грунта в мерзлом состоянии в процессе строительства и в течении всего периода эксплуатации) или по II принципу - вечномерзлые грунты используются в оттаивающем состоянии в пределах заданной глубины.

Для каждой шпунтовой стенки из ШТС рекомендуется применять один принцип использования вечномерзлых грунтов.

12.16 Шпунтовые стенки из ШТС в гидротехнических сооружениях непосредственно контактируют с талой водой акватории. Поэтому проект шпунтовой стенки из ШТС с сохранением вечной мерзлоты (принцип I) допускается применять, в основном, при искусственном охлаждении грунта.

12.17 Погружение ШТС в вечномерзлые грунты, используемые по I принципу (в мерзлом состоянии), осуществляется буроопускным, опускным и бурозабивным способами.

12.18 Буроопускной способ погружения ШТС применяется при средней температуре вечномерзлого грунта по длине ШТС минус 0,5°С (и ниже). ШТС погружается в предварительно пробуренные скважины.

13 Приемка выполненных работ

13.1 Шпунтовые стенки из ШТС принимают в соответствии с требованиями проектной документации, указаниями СНиП 3.01.04-87, СНиП 3.07.02-87, ВСН 34-91 и настоящего Стандарта.

13.2 При приемке шпунтовой стенки представляют журналы погружения ШТС и других элементов, которые передают заказчику. К журналам прилагают плановые и профильные схемы погружения ШТС и анкерных свай, сводная ведомость погружения элементов с указанием их номеров, зазоров между шпунтинами и отступлений от проектного решения.

Перечень документов, предъявляемых приёмочной комиссии, указан в приложении Д настоящего Стандарта.

Для шпунтового ряда вычерчивается фасадный чертёж с указанием исполнительного положения каждой ШТС.

В случае применения подмыва, эрлифтирования и т.п. необходимо указать в журнале, на каких отметках начато и закончено применение этих методов.

13.3 Состав приёмочной комиссии и порядок её работы устанавливается заказчиком и строительной организацией.

13.4 Проверка отклонений ШТС производится до срезки и какой-либо выправки шпунтовых, стен. Точность измерений плановых отклонений должна составлять 5 мм, а отклонений от вертикали - 0,1 %.

13.5 Отклонения ШТС от проектного положения в плане и по высоте не должны превышать величин, указанных в таблице 1.

Таблица 1 - Допускаемые отклонения ШТС и анкерных тяг от проектного положения

Контролируемый параметр

Ед. изм.

Допустимое отклонение

Объём контроля

Метод контроля

1

2

3

4

5

Смещение ШТС от оси стены в плане на уровне проектной отметки верха шпунта

мм

Не более ± 150

100 % длины стены

Геодезический контроль и измерения каждого ШТС

Отклонения ШТС от вертикали

%

0,5

100 % длины стены

Геодезический контроль и измерения каждого ШТС

Высота отметки голов ШТС

мм

± 10

Каждый ШТС

Нивелирование

Выход ШТС из замков

 

Не допускается

Каждый ШТС

Обследование

Недобивка ШТС до проектных отметок

мм

100

Каждый ШТС

Расчёт по отметкам

Расстояние между шпунтовой стенкой и анкерной сваей

мм

± 100

Каждая анкерная система

Геодезический контроль

Смещение анкерных свай и анкерных тяг

мм

± 100

Каждая анкерная система

Геодезический контроль

Отметка верха анкерной сваи

мм

± 80

Каждая анкерная свая

Геодезический контроль

Максимальное отклонение анкерных свай в плоскости, параллельной или перпендикулярной шпунтовой стенке

-

100:1

Каждая анкерная свая

Геодезический контроль

Отклонение оси анкерной тяги от проектного угла по направлению к шпунтовой стенке

-

± 0,5°

Каждая анкерная свая

Геодезический контроль

13.6 Проектная организация имеет право устанавливать допуски отклонения ШТС от проектного положения менее указанных в таблице 1. При этом она должна разработать соответствующие направляющие, каркасы, кондукторы или шаблоны, обеспечивающие их соблюдение.

14 Требования безопасности работ

14.1 При производстве работ по строительству шпунтовых стен из ШТС должны соблюдаться требования СНиП 12-04-2002, «Правила по охране труда при производстве строительно-монтажных работ по постройке портовых гидротехнических сооружений», а также правила и требования органов Государственного надзора.

14.2 Применяемые при производстве шпунтовых работ плавучие средства и береговые механизмы и оборудование должны эксплуатироваться с соблюдением требований Регистра и Госгортехнадзора. Судоходные участки акватории в местах производства работ должны быть оборудованы навигационными знаками.

14.3 Максимальная допустимая балльность волнения, при которой разрешается производство работ по погружению шпунта ШТС, устанавливается ППР в зависимости от технических характеристик основной несущей машины (плавучего крана, плавучего копра, самоподъемной платформы) и местных условий.

В любом случае работы по погружению ШТС допускается производить при волнении не более одного балла (высота волны до 0,25 м), если применяют плавучие краны и копры водоизмещением до 500 т, и не более двух баллов (высота волны до 0,75 м) - при большем водоизмещении. При использовании самоподъемных платформ допускается производить работы по погружению шпунта ШТС при волнении не более трех баллов (высота волны до 1,25 м) и скорости ветра более четырех баллов (7,4 м/с).

14.4 Все подъемно-транспортные операции должны выполняться с соблюдением требований СНиП 12-04-2002, ГОСТ 12.3.009-76 и настоящего Стандарта.

Строповка свайных элементов должна производиться в местах, предусмотренных проектом. Подъем шпунтин в любом случае должен производиться при вертикальном положении грузового полиспаста. Кантование, перемещение волоком и сбрасывание ШТС с высоты не допускаются.

При переводе длинномерных ШТС из горизонтального положения в вертикальное следует применять специальные траверсы.

14.5 Забивку ШТС в условиях отрицательных температур необходимо производить по специально разработанной для зимних условий инструкции, утвержденной в установленном порядке.

14.6 При забивке молотом и вибропогружении шпунта ШТС необходимо применять устройства, грузоподъемность которых в 1,5 раза превышает суммарную массу молота с наголовником и навесной направляющей или суммарную массу вибромашины и наголовника. Грузоподъемность устройств также должна быть не менее удвоенной массы ШТС с вибромашиной.

Высота подъема крюка должна обеспечивать подачу шпунтины в замок ранее выставленной или погруженной шпунтины с запасом по высоте не менее 0,25 м при работе береговыми копрами и кранами и не менее 1 м при работе плавучими копрами и кранами.

14.7 Операцию подъема и перемещения ШТС к месту установки во избежание большой раскачки следует вести плавно, без рывков с применением оттяжек, не допуская удары шпунтины о направляющие и о ранее установленный шпунтовый ряд.

Для подъема шпунтин краном рекомендуется применять строповочный захват с дистанционным расцеплением. ШТС в замок на высоте следует заводить только с применением дистанционных устройств.

14.8 При строительстве шпунтовых стен с применением ШТС следует предусматривать меры, исключающие случайное падение человека в полость забитой шпунтины.

15 Охрана окружающей природной среды

15.1 Возведение стен из шпунта ШТС должно выполняться в соответствии с ППР и требованиями раздела ОВОС проектной документации.

15.2 Проектная документация должна предусматривать предварительное снятие почвенного слоя на территории, отведенной под строительную площадку. Нормы снятия плодородного слоя почвы различного типа и механического состава содержатся в ГОСТ 17.5.3.06-85, а требования по охране плодородного слоя почвы при производстве строительных работ - в ГОСТ 17.4.3.02-85. Рекультивация земель производится в соответствии с ГОСТ 17.5.3.04-83.

15.3 При производстве строительно-монтажных работ необходимо предусмотреть мероприятия по предотвращению загрязнения строительной площадки, примыкающих водных объектов и их ледового покрова строительными и бытовыми отходами и нефтепродуктами, уменьшать загрязнение воздуха выбросами вредных веществ, а также уровень вибрации и шума при работе строительных машин и механизмов.

15.4 Возведение шпунтовых стен и выполнение других строительно-монтажных работ допускается проводить согласно ГОСТ 17.1.3.13-86 только после получения письменного уведомления или разрешения, выдаваемого компетентными органами.

15.5 Запрещается заправка транспортных и строительных машин топливом и маслом вне стационарных или передвижных заправочных пунктов. Слив отработанного масла на почвенный покров или в водные объекты запрещается. Не допускается также мытье машин в неустановленных местах.

15.6 Контроль за выполнением требований по охране природы осуществляется должностными лицами и органами государственного и производственного экологического надзора. Наряду с этим, контроль за выполнением экологических требований при строительстве осуществляет разработчик проекта.

16 Методы контроля

16.1 Для контрольных измерений при приемке профилей ШТС следует применять:

- при измерении длины профилей и смещения замков в поперечном сечении - измерительную металлическую рулетку по ГОСТ 7502-98;

- при измерении диаметра труб, размеров поперечного сечения изделий, перекоса торцов профиля, стрелы кривизны профиля - металлические шаблоны, измерительные линейки по ГОСТ 427-75 и приспособления для проведения измерении.

16.2 Размеры поперечного сечения труб и замковых элементов измеряют на расстоянии до 1 м от их торцов и в среднем сечении.

16.3 Перекос кромки замков контролируют с применением шаблона измерением на торцах отклонения кромки от нанесенной на шаблон осевой линии.

16.4 Кривизну профилей контролируют при горизонтальном положении полок замков натяжением струны и измерением стрелы кривизны: в горизонтальной плоскости - по внешней боковой грани замков; в вертикальной плоскости - по нижней образующей линии поверхности трубы.

16.5 Качество продольных и поперечных сварных швов в профилях следует проверять в соответствии с требованиями СП 53-101-98. Геометрические размеры усиления шва контролируют с помощью шаблона.

16.6 Механические свойства металла сварных стыковых соединений определяют и контролируют в соответствии с требованиями ГОСТ 6996-66.

17 Указания по безопасной эксплуатации шпунтовых стен

17.1 Эксплуатация шпунтовых стен из ШТС должна быть организована в соответствии с требованиями проектной документации, ПОС и ППР, разработанными с учетом климатических условий и требований СНиП 3.01.01-85, СНиП 3.02.04-87, СНиП 3.07.02-87, а также настоящего Стандарта.

17.2 В проектной документации на возведение шпунтовых стен, расположенных в сложных гидрометеорологических и инженерно-геологических условиях, при наличии глубин воды более 16 м, течения со скоростью более 1 м/с, колебаний уровня воды более 2 м/сут, вечномерзлых или сильносжимаемых грунтов в основании следует предусматривать раздел, регламентирующий условия нормальной эксплуатации сооружения, и требования по контролю за параметрами, определяющими безопасные условия работы конструкций.

17.3 Точность геодезических наблюдений за деформациями должна соответствовать требованиям СНиП 3.01.01-85, требованиям проектной организации и настоящего Стандарта.

17.4 В случае повреждения изогнутую стенку из ШТС исправляют отдельными участками путем натяжения, придавая ей первоначальное положение. Натяжение следует производить равномерно по всей длине деформированного участка, предварительно установив на поврежденный участок съемную металлическую раму. Рекомендуется вырезать часть разрушенных шпунтовых свай и накладывать металлический пластырь подводной электросваркой или на болтах. Для исправления рекомендуется также забивать дополнительные ШТС.

17.5 В случае размыва грунта у кордона стенки из ШТС рекомендуется размытый участок заполнить камнем, уложить тюфяки, мешки с грунтом и т.п.

17.6 Шпунтовые стенки из ШТС применяют в морских и речных условиях при устройстве набережных и ячеистых конструкций. Возможность применения ШТС определяется в проектной документации. В отечественной практике используют стальной шпунт из углеродистых сталей; для суровых климатических условий - из низколегированных сталей.


Приложение А.
Сортамент и характеристики профилей ШТС (ШТСу) и шпунтовых стен из них1)

Шпунтовые профили ШТС и ШТСу

Характеристики профилей

Характеристики шпунтовой стены длиной 1 м

Размеры поперечного сечения

Площадь поперечного сечения

Масса2)

Справочные значения величин

диаметр трубы

толщина стенки трубы

ширина профиля

для оси 0-03)

для расчета сопротивления грунта погружению профиля

шаг профилей в шпунтовой стене

площадь поперечного сечения

удельный расход стали

справочные значения величин для оси 0-0

расчетная

полная

периметр

площадь торца

D, мм

t, мм

Вр, мм

В, мм

см2

кг

J0, см4

W0, см3

см

см2

l

см2

кг/см2

J0, см4

W0, см3

Свая ШТС с замковым элементом Л4

530×8-Л4

530

8

930

966

225,8

177,0

50861,0

1919,2

488,5

646,1

975,5

242,7

190,3

52651,14

1986,75

530×10-Л4

10

257,9

202,2

61402,6

61402610

1,17

2317,0

487,8

277,3

217,4

63563,77

2398,55

630×8-Л4

630

8

1030

1066

250,9

196,7

82378,3

2615,1

551,3

873,9

1071,3

243,6

190,9

77277,95

2453,19

630×10-Л4

10

289,3

226,8

100381,4

3186,7

550,7

280,9

220,2

94166,42

2989,40

720×8-Л4

720

8

1120

1156

273,5

214.4

120635,6

3350,9

607,8

1112,4

1158,1

244,2

191,4

104356,06

2898,70

720×9-Л4

9

295,6

231,7

134279,1

3729,9

607,5

263,9

206,9

116158,39

3226,56

720×10-Л4

10

317,6

249,0

147806,5

4105,7

607,2

283,6

222,3

127860,29

3551,64

720×12-Л4

12

361,5

283,4

174515,6

4847,6

606,6

322,8

253,0

150965,05

4193,43

820×10-Л4

820

10

1220

1256

349,0

273,6

216372,0

5277,3

670,0

1414,8

1255,0

286,1

224,3

172270,70

4201,67

820×12-Л4

12

399,2

312,9

256283,8

6250,8

669,4

327,2

256,5

204047,61

4976,75

820×14-Л4

14

449,0

352,1

295598,5

7209,7

668,8

368,1

288,6

235349,12

5740,21

1020×10-Л4

1020

10

1420

1456

411,9

322,9

412966,9

8097,3

795,7

2137,4

1450,2

290,1

227,4

283631,11

5561,33

1020×12-Л4

12

474,6

372,1

491036,8

9628,1

795,1

334,2

262,0

337250,55

6612,71

1020×14-Л4

14

537,0

421,0

568171,6

11140,6

794,5

378,2

296,5

390227,75

7651,51

1120×12-Л4

1120

12

1520

1556

512,3

401,6

649656,0

11601,0

857,9

2557,6

1548,3

337,1

264,2

417516,71

7455,66

1120×14-Л4

14

581,0

455,5

752491,5

13437,3

857,3

382,3

299,7

483606,36

8635,80

1220×12-Л4

1220

12

1620

1656

549,9

431,2

839649,0

13764,7

920,7

3017,0

1646,5

339,5

266,2

507034,42

8312,02

1220×14-Л4

14

625,0

490,0

973340,5

15956,4

920,1

385,8

302,5

587766,00

9635,51

1420×12-Л4

1420

12

1820

1856

625,4

490,3

1324766,0

18658,6

1046,4

4053,8

1843,7

343,6

269,4

713774,78

10053,13

1420×14-Л4

14

712,9

558,9

1537521,0

21655,2

1045,8

391,7

307,1

828405,71

11667,67

1420×16-Л4

1420

16

800,3

627,4

1957563,0

27571,3

1045,1

439,7

344,7

1054721,44

14855,23

Продолжение таблицы

Шпунтовые профили ШТС и ШТСу

Характеристики профилей

Характеристики шпунтовой стены длиной 1 м

Размеры поперечного сечения

Площадь поперечного сечения

Масса2)

Справочные значения величин

диаметр трубы

толщина стенки трубы

ширине профиля

для оси 0-03)

для расчета сопротивления грунта погружению профиля

шаг профилей в шпунтовой стене

площадь поперечного  сечения

удельный расход стали

справочные значения величин для оси 0-0

расчётная

полная

периметр

площадь торца

D, мм

t, мм

Bp мм

В. мм

см2

кг

J0 см4

W0 см5

см

см2

l

см2

кг/см2

J 0см4

W0 см3

Свая ШТС с замковым элементом Л5

530×8-Л5

530

8

958

996

258,9

203,0

54591,9

2060,1

500,0

679,3

1010,4

260,0

203,8

54811,14

2068,37

530×10-Л5

10

291,1

228,2

65134,0

2457,9

499,4

292,3

229,1

65395,58

2467,77

630×8-Л5

630

8

1058

1096

284,1

222,7

86948,1

2760,3

562,9

907,1

1105,7

253,2

203,2

79332,21

2518,52

630×10-Л5

10

322,5

252,9

104951,3

3331,8

562,2

294,3

230,7

95758,49

3039,96

720×8-Л5

720

8

1148

1186

306,7

240,4

125483,9

3485,7

619,4

1145,6

1192,1

258,6

202,7

105804,30

2939,04

720×9-Л5

9

328,8

257,8

139127,4

3864,7

619,2

277,2

217,3

117308,09

3258,60

720×10-Л5

10

350,8

275,0

152654,8

4240,4

618,8

295,8

231,9

128714,00

3575,38

720×12-Л5

12

394,6

309,4

179364,0

4982,3

618,2

332,8

260,9

151234,40

4200,93

820×10-Л5

820

10

1248

1286

382,2

299,6

221529,1

5403,1

681,6

1448,0

1288,7

297,2

233,0

172262,13

4201,48

820×12-Л5

12

432,3

338,9

261440,9

6376,6

681,0

336,2

263,6

203297,74

4958,48

820×4-Л5

14

482,3

378,1

300755,6

7335,5

680,4

375,0

294,0

233869,05

5704,12

1020×10-Л5

1020

10

1448

1486

445,0

348,9

418638,6

8208,6

807,3

2170,6

1483,2

299,5

231,8

281721,80

5523,96

1020×12-Л5

12

507,7

398,1

496708,4

9739,4

806,7

341,7

267,9

334258,68

6554,10

1020×14-Л5

14

570,2

447,0

573843,3

11251,8

806,1

383,7

300,8

386166,42

7571,87

1120×12-Л5

1120

12

1548

1586

545,4

427,6

655578,2

11706,8

869,5

2590,8

1580,9

343,9

269,6

413353,22

7381.34

1120×14-Л5

14

614,2

481,5

758413,7

13543,1

868,9

387,2

303,6

478192,75

8539,16

1220×12-Л5

1220

12

1648

1686

583,1

457,2

843167,8

13822,4

932,3

3050,2

1679,0

345,8

271,2

500099,53

8198,34

1220×14-Л5

14

658,1

516,0

976859,4

16014,1

931,7

390,4

306,0

579394,66

9498,28

1420×12-Л5

1420

12

1848

1886

658,5

516,3

1329862,0

18730,5

1058,0

4086,9

1875,7

349,2

273,7

705123,01

9931,34

1420×14-Л5

14

746,1

585,0

1542617,0

21727,0

1057,4

395,6

310,2

817930,54

11520,15

1420×16-Л5
1420

16

833,5

653,4

1753545,0

24697,8

1056,8

441.9

346,5

929769,35

13005,33

Продолжение таблицы

Шпунтовые профили ШТС и ШТСу

Характеристики профилей

Характеристики шпунтовой стены длиной 1 м

Размеры поперечного сечения

Площадь поперечного сечения

Масса2)

Справочные значения величин

диаметр трубы

толщина трубы

ширина профиля

для оси 0-03)

для расчета сопротивления грунта погружению профиля

шаг профилей в шпунтовой стене

площадь поперечного сечения

удельный расход стали

справочные значения величин для оси 0-0

расчетная

полная

периметр

площадь тора»

D, мм

t, мм

Вp, мм

В, мм

см2

кг

J0, см4

W0, см3

см

см2

l

см2

кг/см2

J0, см4

W0, см3

Свая ШТС с замковым элементом ШК-1

530×8-ШК1

530

8

949

928

194,8

152,7

45402,7

1713,3

449,4

615,1

934,5

205,7

161,3

48925,3

1846,21

530×10-ШК1

10

226,9

177,9

55944,3

2111,1

448,7

239,7

187,9

60284,8

2274,91

630×8-ШК1

630

8

1047

1028

219,9

172,4

76319,6

2422,8

512,2

842,9

1033,9

210,1

164,7

74240,9

2356,9

630×10-ШК1

10

258,3

202,5

94322,8

2994,4

511,6

246,8

193,5

91753,7

2912,8

720×8-ШК1

720

8

1137

1118

242,5

190,1

114115,5

3169,9

568,7

1081,5

1123,4

213,3

167,2

102071,1

2835,3

720×9-ШК1

9

264,6

207,4

127759,1

3548,9

568,4

232,7

182,5

114274,7

3174,3

720×10-ШК1

10

286,6

224,7

141286,5

3924,6

568,1

252,1

197,7

126374,3

3510,4

720×12-ШК1

12

330,5

259,1

167995,6

4666,5

567,5

290,7

227,9

150264,4

4174,0

820×10-ШК1

820

10

1237

1218

318,0

249,3

209435,5

5108,2

630,9

1383,8

1222,9

257,1

201,6

171950,3

4193.9

820×12-ШК1

12

368,2

288,7

249347,3

6081,6

630,3

297,7

233,4

204718,6

4993,1

820×14-ШК1

14

418,1

327,8

288661,9

7040,5

629,7

338,0

265,0

236996,6

5780,4

1020×10-ШК1

1020

10

1437

1418

380,9

298,6

405357,6

7948,2

756,6

2106,4

1422,2

265,0

207,8

285865,7

5605,2

1020×12-ШК1

12

443,6

347,8

483427,4

9479,0

756,0

308,7

242,0

340922,0

6684,7

1020×14-ШК1

14

506,0

396,7

560562,3

10991,4

755,3

352,3

276,1

395319,0

7751,4

1120×12-ШК1

1120

12

1537

1518

481,3

377,3

641798,4

11460,7

818,8

2526,6

1521,9

313,2

245,5

422792,1

7549,9

1120×14-ШК1

14

550,0

431,2

744633,9

13297,0

818,2

357,9

280,6

490536,2

8759,6

1220×12-ШК1

1220

12

1637

1618

519,0

406,9

831497,3

13631,1

881,6

2986,0

1621,7

317,1

248,6

513904,4

8424,7

1220×14-ШК1

14

594,0

465,7

965188,9

15822,8

881,0

362,9

284,5

596532,1

9779,2

1420×12- ШК1

1420

12

1837

1818

594,4

466,0

1316188

18537,9

1007,3

4022,8

1821,2

323,6

253,7

723975,8

10196,8

1420×14-ШК1

14

682,0

534,6

1528943

21534,4

1006,7

371,3

291,1

841002,8

11845,1

1420×16-ШК1
1420

16

769,3

603,1

1739871

24505,2

1006,0

418,8

328,4

957024,8

13479,2

Продолжение таблицы

Шпунтовые профили ШТС и ШТСу

Характеристики профилей

Характеристики шпунтовой стены длиной 1 м

Размеры поперечного сечения

Площадь поперечного сечения

Масса2)

Справочные значения величин

диаметр трубы

стенки трубы

ширина профиля

для оси 0-03)

для расчета сопротивления грунта погружению профиля

шаг профилей в шпунтовой стене

площадь поперечного сечения

удельный расход стали

справочные значения величин для оси 0-0

расчетная

полная

периметр

площадь торца

D, мм

t, мм

Bр, мм

В, мм

см2

кг

J0, см4

W0, см3

см

см2

l

см2

кг/см2

J0, см4

W0, см3

Свая ШТС с замковым элементом УТ

530×9-УТо

530×9-УТг

530

9

УТо717 УТг999

УТо748 УТг1030

254,9

247.3

202

196

56300

51000

21251925

376

485

595

247

858

292,7

232

62600

2360

530×10-УТо

530×10-УТг

10

271,0

263,4

214

209

61600

56300

23252125

376

484

611

263

311,4

247

68700

2590

530×11-УТо

530×11-УТг

11

287,0

279,4

228

221

66700

61500

25202320

375

483

627

279

330,0

262

74700

2820

530×12-УТо

530×12-УТг

12

302,9

295,3

240

234

71900

66600

27102510

374

483

643

295

348,6

276

80700

3045

630×9-УТо

630×9-УТг

630

9

УТо823 УТг1099

УТо854 УТг1130

283,2

275,6

225

219

91000

85700

28902720

439

548

632

276

961

290,8

231

92000

2920

630×10-УТо

630х10-УТг

10

302,4

294,8

240

234

99900

94700

31753005

439

547

651

295

310,8

246

101300

3215

630×11-УTo

630×11-УГг

11

321,5

313,9

255

249

108800

103500

34553285

438

546

670

314

330,7

262

110500

3510

630×12-УТо

630×l2-УTг

12

340,6

333,0

270

264

117600

112300

37353565

438

546

689

333

350.6

278

119700

3800

720×10-УТо

720×10-УТг

720

10

УТо916 УТг1189

УТо947 УТг1220

330,6

323,1

262

256

146900

141600

40803935

496

603

685

323

1052

310,6

246

137100

3810

720×11-УТо

720×11-УТг

11

352,6

345,0

280

274

160300

155000

44554305

495

603

707

345

331,4

263

149800

4160

720×12-УТо

720×12-УТг

12

374,5

366,9

297

291

173600

168300

48204675

494

602

729

367

352,2

279

162500

4515

720×13-УТо

720×13-УТг

13

396,3

388,7

314

308

186800

181500

51905040

494

602

751

389

373,0

296

175000

4860

820×10-УТо

820×10-УТг

820

10

УТо1019 УТг1289

УТо1050 УТг1320

362,1

354,5

287

281

215100

209800

52455115

559

666

721

354

1154

310,5

246

184100

4490

820×11-УТо

820×11-УТг

11

387,2

379,6

307

301

235100

229800

57355605

558

666

746

380

332,3

263

201500

4915

820×12-УТо

820×12-УТг

12

412,2

404,6

327

321

255000

249700

62206090

557

665

771

405

354,0

281

218700

5335

820×13-УТо 820×13-УТг

13

437,2

429,6

347

341

274700

269400

67006570

557

664

796

430

375,6

298

235800

5750

Продолжение таблицы

Шпунтовые профили ШТС и ШТСу

Характеристики профилей

Характеристики шпунтовой стены длиной 1 м

Размеры поперечного сечения

Площадь поперечного сечения

Масса2) 1 м

Сплавочные значения величин

диаметр трубы

толщина стенки трубы

ширина профиля

для оси 0-03)

для расчета сопротивления грунта погружению профиля

шаг профилей в шпунтовой стене

площадь поперечного сечения

удельный расход стали

справочные значения величин для оси 0-0

расчетная

полная

периметр

площадь торца

D, мм

t, мм

Bр, мм

В, мм

см2

кг

J0, см4

W0, см3

см

см2

l

см2

кг/см2

J0, см4

W0, см3

920×10-УТо

920×10-УТг

920

10

УТо1121

УТг1389

УТо1152

УТг1420

393,5

385,9

312

306

302300

297000

6570

6455

621

729

756

386

1255

310,5

246

238800

5190

920×11-УГо

920×11-УТг

11

421,7

414,1

334

328

330800

325500

7190

7075

621

729

785

414

333,0

264

261500

5685

920×12-УТо

920×12-УТг

12

449,9

442,3

357

351

359200

353900

7810

7695

620

728

813

442

355,5

282

284100

6175

920×13-УТо

920×13-УТг

13

478,0

470,4

379

373

387300

382000

8420

8305

620

727

841

470

377,9

300

306500

6665

920×14-УTo

920×14-УТг

14

506,1

498,5

401

395

415300

410000

9030

8915

619

727

869

498

400,2

317

328800

7150

1020×10-УТо

1020×10-УТг

1020

10

УТо1223

УТг1489

УТо1254

УТг1520

424,9

417,3

337

331

411000

405700

8060

7955

684

792

791

417

1356

310,6

246

301200

5905

1020×11-УТо

1020×11-УТг

11

456,3

448,7

362

356

450100

444800

8825

8720

684

791

822

449

333,7

265

330000

6470

1020×12-УТо

1020×12-УТг

12

487,6

480,0

387

381

489000

483750

9590

9485

683

791

854

480

356,8

283

358700

7035

1020×13-УТо

1020×13-УТг

13

518,9

511,3

411

405

527700

522400

10345

10245

682

790

885

511

379,9

301

387300

7595

1020×14-УТо

1020×14-УТг

14

550,1

542,5

436

430

566200

560900

11100

11000

682

789

916

542

402,9

319

415600

8150

1120×10-УТо

1120×10-УТг

1120

10

УТо1324

УТг1589

УТо1355

УТг1620

456,3

448,7

362

356

543400

538200

9705

9610

747

855

825

449

1456

310,7

246

371300

6630

1120×11-УТо

1120×11-УТг

11

490,8

483,2

389

383

595600

590300

10635

10540

747

854

859

483

334,4

265

407100

7270

1120×12-УТо

1120×12-УТг

12

525,3

517,7

416

410

647400

642100

11560

11465

746

854

894

518

358,0

284

442700

7905

1120×13-УТо

1120×13-УТг

13

559,7

552,1

444

438

699000

693700

12480

12385

745

853

928

552

381,7

303

478100

8535

1120×14УТо 1120×14-УТг

14

594,0

586,4

471

465

750200

745000

13395

13305

745

852

962

586

405,2

321

513300

9165

Продолжение таблицы

Шпунтовые профили ШТС и ШТСу

Характеристики профилей

Характеристики шпунтовой стены длиной 1 м

Размеры поперечного сечения

Площадь поперечного сечения

Macca2) 1 м

Справочные значения величин

диаметр трубы

толщина стенки трубы

ширина профиля

для оси 0-03)

для расчета сопротивления грунта погружению профиля

шаг профилей в шпунтовой стене

площадь поперечного сечения

удельный расход стали

справочные значения величин для оси 0-0

расчетная

полная

периметр

площадь торца

D, мм

t, мм

Вр, мм

В, мм

см2

кг

J0, см4

W0, см3

см

см2

l

см2

кг/см2

J0, см4

W0, см3

Свая ШТС с замковым элементом УТ

530×9-ПБо

530×9-ПБг

530

9

ПБо842

ПБг928

ПБо884

ПБг970

248,8

213,6

197

169

51500

50100

1945

1890

398

435

494

214

885

261,3

207

57400

2165

530×10-ПБо

530×10-ПБг

10

264,9

229,7

210

182

56800

55300

2145

2090

397

435

510

230

279,5

222

63300

2390

530×11-ПБо

530×11-ПБг

11

280,9

245,6

223

195

62000

60500

2340

2285

397

434

526

246

297,5

236

69200

2610

530×12-ПБо

530×12-ПБг

12

296,8

261,6

235

207

67100

65600

2530

2475

396

433

542

262

315,5

250

75000

2830

630×9-ПБо

630×9-ПБг

630

9

ПБо943

ПБг1028

ПБо985

ПБг1070

277,1

241,9

220

192

86200

84700

2735

2690

461

498

523

242

985

263,4

209

86700

2755

630×10-ПБо

630×10-ПБг

10

296,3

261,1

235

207

95200

93700

3020

2975

460

498

542

261

282,8

224

95800

3040

630×11-ПБо

630×11-ПБг

11

315,4

280,2

250

222

104000

102600

3300

3255

460

497

561

280

302,2

240

104800

3330

630×12-ПБо

630×12-ПБг

12

334,5

299,3

265

237

112800

111400

3580

3535

459

496

580

299

321,6

255

113800

3610

720×10-ПБо

720х10-ПБг

720

10

ПБо1034

ПБг1118

ПБо1076

ПБг1160

324,6

289,3

257

229

142100

140700

3950

3905

517

554

571

289

1076

285,4

226

131500

3650

720×11-ПБо

720×11-ПБг

11

346,5

311,3

275

247

155500

154100

4320

4280

516

553

593

311

305,8

242

143900

4000

720×12-ПБо

720×12-ПБг

12

368,4

333,2

292

264

168800

167400

4690

4650

516

553

615

333

326,2

259

156300

4340

720×13-ПБо

720×13-ПБг

13

390,3

355,0

309

281

182000

180600

5055

5015

515

552

637

355

346,4

275

168500

4680

820×10-ПБо

820×10-ПБг

820

10

ПБо1134

ПБг1218

ПБо1176

ПБг1260

356,0

320,8

282

254

210300

208800

5130

5095

580

617

603

321

1176

278,8

228

178200

4345

820×11-ПБо

820×11-ПБг

11

381,1

345,9

302

274

230300

228800

5615

5580

579

616

628

346

309,1

245

195200

4760

820×12-ПБо

820×12-ПБг

12

406,1

370,9

322

294

250200

248700

6100

6065

578

616

653

371

330,4

262

212200

5175

820×13-ПБо

820×13-ПБг

13

431,1

395,9

342

314

269900

268500

6585

6550

578

615

678

396

351,7

279

228900

5585

Продолжение таблицы

Шпунтовые профили ШТС и ШТСу

Характеристики профилей

Характеристики шпунтовой стены длиной 1 м

Размеры поперечного сечения

Площадь поперечного сечения

Масса2)

Справочные значения величин

диаметр трубы

толщина стенки трубы

ширина профиля

для оси 0-03)

для расчета сопротивления грунта погружению профиля

шаг профилей в шпунтовой стене

поперечного сечения

удельный расход стали

справочные значения величин для оси 0-0

расчетная

полная

периметр

площадь торца

D, мм

t, мм

Bр, мм

B, мм

см2

кг

J0, см4

W0, см3

см

см2

l

см2

кг/см2

J0, см4

W0, см3

920×10-ПБо

920×10-ПБг

920

10

ПБо1234

ПБг318

ПБо1277

ПБг1360

387,4

352,2

307

279

297500

296000

6465

6435

643

680

635

352

1276

289,8

230

232600

5055

920×11-ПБо

920×11-ПБг

11

415,6

380,4

330

302

326000

324600

7090

7055

642

679

663

330

311,9

247

254900

5540

920×12-ПБо 920×12-ПБг

12

443,6

408,6

352

324

354400

352900

7705

7670

691

678

691

409

334,0

265

277200

6025

920×13-ПБо

920×13-ПБг

13

472,0

436,7

374

346

382500

381100

8315

8285

641

678

719

437

356,0

282

299200

6505

920×14-ПБо

920×14-ПБг

14

500,0

464,8

396

368

410500

409000

8925

8890

640

677

747

465

378,0

300

321100

6980

1020×10-ПБо

1020×10-ПБг

1020

10

ПБо1335

ПБг418

ПБо1377 ПБг1460

418,8

383,6

332

304

406200

404700

7965

7935

705

743

667

384

1376

291,5

231

294600

5775

1020×11-ПБо

1020×11-ПБг

11

450,2

415,0

357

329

445300

443900

8730

8705

705

742

698

415

314,3

249

323000

6335

1020×12-ПБо

1020×12-ПБг

12

481,5

446,3

382

354

484200

482800

9495

9465

704

741

729

446

337,1

267

351300

6890

1020×13-ПБо

1020×13-ПБг

13

512,8

477,6

407

379

522900

521500

10255

10225

703

741

761

478

359,8

285

379500

7440

1020×14-ПБо

1020×14-ПБг

14

544,0

508,7

431

403

561400

559900

11010

10980

703

740

792

509

382,5

303

407400

7990

1120×10-ПБо

1120×10-ПБг

1120

10

ПБо1435

ПБг518

ПБо1477

ПБг1560

450,2

415,0

357

329

538700

537200

9620

9595

768

805

698

415

1476

293,0

232

364400

6505

1120×11-ПБо

1120×11-ПБг

11

484,8

449,5

384

356

590800

589300

10550

10525

768

805

733

450

316,4

251

399700

7135

1120×12-ПБо

1120×12-ПБг

12

519,2

484,0

412

384

642600

641200

11475

11450

767

804

767

484

339,8

269

434800

7765

1120×13-ПБо

1120×13-ПБг

13

553,6

518,4

439

411

694200

692700

12395

12370

766

804

802

518

363,1

288

469700

8390

1120×14-ПБо 1120×14-ПБг

14

588,0

552,7

466

438

745500

744000

13310

13285

766

803

836

553

386,3

306

504500

9010

Продолжение таблицы

Шпунтовые профили ШТС и ШТСу

Характеристики профилей

Характеристики шпунтовой стены длиной 1 м

Размеры поперечного сечения

Площадь поперечного сечения

Масса3) 1 м

Справочные значения величин

диаметр

толщина стенки трубы

ширина профиля

для оси 0-03)

для расчета сопротивления грунта погружению профиля

шаг профилей в шпунтовой стене

площадь поперечного сечения

удельный расход стали

справочные значения величин для оси 0-0

расчетная

полная

периметр

площадь торца

D, мм

t, мм

Bр, мм

В, мм

см2

кг

J0, см4

W0, см3

см

см2

l

см2

кг/см2

J0, см4

W0, см3

Свая ШТС с замковым элементом FL-511

530×8-FL511

530

8

1030

1050

219,5

172,1

44945,0

1696,0

470,6

639,8

1050

213,1

167,0

42804,8

1615,3

530×10-FL511

10

251,6

197,3

50246,7

1896,1

470,0

244,3

191,5

47854,0

1805,8

630×8-FL511

630

8

1130

1150

244,6

191,8

75862,0

2408,3

533,5

867,6

1150

216,5

169,7

65967,0

2094,2

630×10-FL511

10

283,0

221,9

93865,1

2979,8

532,8

250,5

196,4

81621,8

2591,2

720×8- FL511

720

8

1220

1240

267,2

209,5

113653,6

3157,0

590,0

1106,1

1240

219,0

171,7

91656,1

2546,0

720×9-FL511

9

289,3

226,8

127297,1

3536,0

589,7

237,1

185,9

102659,0

2851,6

720×10-FL511

10

311,3

244,1

140824,5

3911,8

589,4

255,2

200,1

113568,1

3154,7

720×12-FL511

12

355,2

278,5

167533,6

4653,7

588,7

291,1

228,2

135107,7

3753,0

820×10-FL511

820

10

1320

1340

342,7

268,7

208969,3

5096,8

652,2

1408,5

1340

259,6

203,6

155947,2

3803,6

820×12-FL511

12

392,9

308,0

248881,2

6070,3

651,6

297,6

233,3

185732,2

4530,1

820×14-FL511

14

442,8

347,1

288195,8

7029,2

651,0

335,4

263,0

215071,5

5245,6

1020×10-FL511

1020

10

1520

1540

405,6

318,0

404879,1

7938,8

777,9

2131,1

1540

266,8

209,2

262908,5

5155,1

1020×12-FL511

12

468,3

367,1

482948,9

9469,6

777,2

308,1

241,5

313603,2

6149,1

1020×14- FL511

14

530,7

416,1

560083,8

10982,0

776,6

349,2

273,7

363690,8

7131,2

1120×12-FL511

1120

12

1620

1640

506,0

396,7

641319,9

11452,0

840,1

2551,3

1640

312,3

244,9

391048,7

6983,0

1120×14-FL511

14

574,7

450,6

744155,4

13288,0

839,4

354,8

278,1

453753,3

8102,7

1220×12-FL511

1220

12

1720

1740

543,7

426,2

831018,8

13623,0

902,9

3010,7

1740

316,1

247,8

477597,0

7829,5

1220×14-FL511

14

618,7

485,1

964710,4

15814,0

902,3

359,7

282,0

554431,3

9089,0

1420×12-FL511

1420

12

1920

1940

619,1

485,4

1315710,0

18531,0

1028,6

4047,5

1940

322,4

252,8

678201,0

9552,1

1420×14-FL511

14

706,7

554,0

1528465,0

21527,0

1027,9

368,1

288,6

787868,6

11096,7

1420×16-FL511

16

794,0

622,5

1739393,0

24498,0

1027,3

413,5

324,2

896594,3

12628,1

Окончание таблицы

Шпунтовые профили ШТС и ШТСу

Характеристики профилей

Характеристики шпунтовой стены длиной 1 м

Размеры поперечного сечения

Площадь поперечного сечения

Масса2) 1 м

Справочные значения величин

диаметр трубы

толщина стенки трубы

ширина профиля

для оси 0-03)

для расчета сопротивления грунта погружению профиля

шаг профилей в шпунтовой стене

площадь поперечного сечения

удельный расход стали

справочные значения величин для оси 0-0

расчетная

полная

периметр

площадь торца

D, мм

t, мм

Bр, мм

B, мм

см2

кг

J0, см4

W0, см3

см

см2

l

см2

кг/см2

J0, см4

W0, см3

Свая ШТС с замковым элементом FL-512

530×8-FL512

530

8

1030

1050

223,3

175,1

44945,0

1696,0

470,8

643,7

1050

216,8

170.0

42804,8

1615,3

530×10-FL512

10

255,5

200,3

50246,7

1896,1

470,2

248,0

194,5

47854,0

1805,8

630×8-FL512

630

8

1130

1150

248,4

194,8

75862,0

2408,3

533,6

871,4

1150

219,9

172,4

65967,0

2094,2

630×10-FL512

10

286,9

224,9

93865,1

2979,8

533,0

253,9

199,0

81621,8

2591,2

720×8-FL512

720

8

1220

1240

271,1

212,5

113653,6

3157,0

590,2

1110

1240

222,2

174,2

91656,1

2546,0

720×9-FL512

9

293,1

229,8

127297,1

3536,0

589,8

240,3

188,4

102659,0

2851,6

720x10-FL512

10

315,2

247,1

140824,5

3911,8

589,5

258,3

202,5

113568,1

3154,7

720×12-FL512

12

359,0

281,5

167533,6

4653,7

588,9

294,3

230,7

135107,7

3753,0

820×10-FL512

820

10

1320

1340

346,6

271,7

208969,3

5096,8

652,4

1412,4

1340

262,6

205,8

155947,2

3803,6

820×12-FL512

12

396,7

311,0

248881,2

6070,3

651,7

300,5

235,6

185732,2

4530,1

820×14-FL512

14

446,6

350,1

288195,8

7029,2

651,1

338,3

265,3

215071,5

5245,6

1020×10-FL512

1020

10

1520

1540

409,4

321,0

404879,1

7938,8

778,0

2134,9

1540

269,3

211,2

262908,5

5155,1

1020×12-FL512

12

472,1

370,1

482948,9

9469,6

777,4

310,6

243,5

313603,2

6149,1

1020×14-FL5I2

14

534,6

419,1

560083,8

10982,0

776,8

351,7

275,7

363690,8

7131,2

1120×12-FL512

1120

12

1620

1640

509,8

399,7

641319,9

11452,0

840,2

2555,1

1640

314,7

246,7

391048,7

6983,0

1120×14-FL512

14

578,6

453,6

744155,4

13288,5

839,6

357,1

280,0

453753,3

8102,7

1220×12-FL512

1220

12

1720

1740

547,5

429,3

831018,8

13623,3

903,1

3014,6

1740

318,3

249,6

477597,0

7829,5

1220×14-FL512

14

622,5

488,1

964710,4

15814,9

902,4

361,9

283,8

554431,3

9089,0

1420×12-FL512

1420

12

1920

1940

622,9

488,4

1315710,00

18531,1

1028,7

4051,3

1940

324,4

254,4

678201,0

9552,1

1420×14-FL512

14

710,5

557,0

1528465,0

21527,7

1028,1

370,1

290,1

787868,6

11096,7

1420×16-FL512

16

797,8

625,5

1739393,0

24498,5

1027,5

415,5

325,8

896594,3

12628,1

1)Для замков УТ в таблице принято исполнение 1 по таблице 2. В приложении А даны формулы для расчета характеристик профилей с замками УТ исполнений 2 и 3

2)С учетом наплавленного металла (сварные швы) и L = L3

3)Даны значения Jo и Wо рядовых профилей ШТС. Для угловых профилей ШТСу эти характеристики определяют при проектировании шпунтовой стены


Приложение Б
(справочное)
Таблица Б.1 - Сравнительные характеристики шпунтовых стен из ШТС

Профиль ШТС1), тип замка

Ширина профиля, мм

Масса, кг

Момент сопротивления профиля Wo, см3

Предельная нагрузка замка, тс/п.м.

Показатель эффективности

 

1 м профиля

1 м2 шпунт. стенки

N 3)

M 4)

 

Л4 (рисунок 3)

1156

249,0

222,3

4105,7

67,3

0,82

16,5

 

Л5 (рисунок 4)

1186

275,0

231,9

4240,4

74,9

0,91

15,4

 

ШК-1 (рисунок 5)

1118

224,7

197,7

3924,6

306,7

3,71

17,5

 

УТ

916

262,0

246,0

4080

120,0

1,45

15,6

 

FL-511 (рисунок 9)

1240

244,1

200,1

3911,8

445,0

5,4

16,0

 

JIS 55302)

778

219,0 (труба)

281,0

4780

82,5

1,0

17,0

 

1)В таблице приведены сравнительные характеристики шпунтовых стен из ШТС на основе труб диаметром 720 мм с толщиной стенки 10 мм;

2)В Стандарте Японии JIS 5530 ШТС на основе трубы диаметром 711,2 мм с толщиной стенки 12,7 мм;

3)N - показатель эффективности замкового соединения ШТС, предельная разрывающая нагрузка для замкового соединения профиля / то же для JIS 5530;

4)М - показатель эффективности использования стали в профиле ШТС, момент сопротивления (табл. 1, Wo) см3/ масса 1м длины ШТС в кг.

Приложение В
(рекомендуемое)
Выбор типа молота для забивки ШТС

В.1 Необходимую минимальную энергию удара молота Eh, кДж, следует определять по формуле

Еh = 0,045N,                                                                          (В.1)

где N - расчетная нагрузка, передаваемая на ШТС, кН.

Принятый тип молота с расчетной энергией удара Ed > Еh, кДж, должен удовлетворять условию

                                                                (В.2)

где К - коэффициент применимости молота, значения которого приведены в табл. 1;

m1 - масса молота, т;

m2 - масса ШТС с наголовником, т;

m3 - масса подбабка, т.

Таблица В.1

Тип молота

Коэффициент К, т/кДж

Трубчатые дизель-молоты и молоты двойного действия

0,55

Молоты одиночного действия и штанговые дизель-молоты

0,4

Подвесные молоты и гидромолоты

0,25

Примечание - При погружении свай любого типа с подмывом, а также ШТС из стальных труб с открытым нижним концом указанные значения коэффициентов увеличиваются в 1,5 раза.

В.2 При забивке наклонных ШТС расчетную энергию молота Еh, следует определять с учетом повышенного коэффициента, значение которого принимается для ШТС с наклоном 5:1; 4:1; 3:1; 2:1 равным соответственно 1,1; 1,15; 1,25; и 1,4.

При выборе молота для забивки ШТС значение N определяется расчетом так же, как и для ШТС, в соответствии с указаниями СНиП 2.02.05-85, причем значения коэффициентов условия работ γс, γcR и γсf при этом расчете следует принимать равными 1,0.

В.3 Выбранный в соответствии с рекомендациями В.1 молот следует проверить на минимально допустимый отказ свайного элемента Smin, который принимается равным минимально допустимому отказу для данного типа молота, указанному в его техническом паспорте, но не менее 0,002 м при забивке ШТС, и не менее 0,01 м при забивке шпунтины.

Выбор молота при забивке ШТС длиной свыше 25 м или с расчетной нагрузкой на ШТС более 2000 кН производится расчетом, основанным на волновой теории удара.

В.4 Забивку ШТС до проектных отметок следует выполнять, как правило, без применения лидерных скважин и без подмыва путем использования соответствующего сваебойного оборудования. Применение лидерных скважин допускается только в тех случаях, когда для погружения ШТС до проектных отметок требуются молоты с большой массой ударной части, а также при прорезке сваями просадочных грунтов.

Значение необходимой энергии удара молота Eh, кДж, обеспечивающей погружение ШТС до проектной отметки без дополнительных мероприятий, следует определять по формуле

                                                        (В.3)

где Fi - несущая способность ШТС в пределах io слоя грунта, кН;

Hi - толщина i-го слоя грунта, м;

Bi - число ударов молота, необходимое для погружения ШТС, принимаемое обычно равным не более 500 ударов;

n - параметр, принимаемый равным n = 4,5 при паровоздушных механических и штанговых дизель-молотах и h = 5,5 при трубчатых дизель-молотах;

m2 - масса ШТС, т;

m4 = масса ударной части молота, т.

В.5 При проверке контрольных отказов в случаях, когда в проекте дана только расчетная нагрузка на ШТС N, кН, несущую способность ШТС Fd, кН, следует принимать равной

Fd = γkN,                                                                                (B.4)

где γk - коэффициент надежности, равный 1,25.

Приложение Г
(рекомендуемое)
Выбор типа вибропогружателя для погружения ШТС

Г.1 Значение необходимой вынуждающей силы вибропогружателя Fo, кН, определяют по формуле

                                                  (Г.1)

где Fd - сопротивление грунта погружению шпунта, кН, определяемое так же, как и несущая способность сваи в соответствии с указаниями СНиП 2.02.03, при этом расчётные значения периметра сечения шпунта и площади нижнего торца принимаются по приложению А;

Gn - суммарный вес вибросистемы, включая динамический вес вибропогружателя, зажимов и панели, кН;

Gc - статический вес вибропогружателя, кН;

Gk - вдавливающее усилие на панель от копра, кН;

Ks - коэффициент снижения бокового сопротивления грунта во время вибропогружения, принимаемый по таблице Г.1.

Г.2 По принятой необходимой вынуждающей силе Fo следует подбирать тот вибропогружатель наименьшей мощности, у которого статический момент массы дебалансов Кm (или промежуточное значение Кm для вибропогружателя с регулируемыми параметрами), кг×м, удовлетворяет условию

Кm3МсАо/100,                                                                         (Г.2)

где Мс - суммарная масса вибросистемы, включая динамическую массу вибропогружателя, зажимов и шпунтины, кг;

Ао - необходимая амплитуда колебаний вибросистемы при отсутствии сопротивления грунта, см; принимается по таблице Г.2.

При окончательном выборе типа вибропогружателя следует учитывать, что при равной вынуждающей силе большей погружающей способностью обладает вибропогружатель с большим статическим моментом массы дебалансов Кm , а при прочих равных условиях следует выбирать вибропогружатель с регулируемыми в процессе работы параметрами.

Таблица Г.1 Коэффициент снижения бокового сопротивления грунта Ks

Коэффициент Ks для грунтов

песчаных влажных средней плотности

гравелистых

крупных

средних

пылеватых

мелких

2,6

3,2

4,9

5,6

6,3 1

глинистых с показателем текучести IL

0

0,1

0,2

0,3

0,4

0,5

0,6

0,7

0,8

1,3

1,4

1,5

1,7

2,0

2,5

3,0

3,3

3,5

Примечания:

1 Для водонасыщенных крупных песков значения Ks увеличиваются в 1,2 раза, средних песков - в 1,3 раза, мелких и пылеватых - в 1,5 раза.

2 Для заиленных песков значения Кs понижаются в 1,2 раза.

3 Для плотных песков значения Кs понижаются в 1,2 раза, а для рыхлых - увеличиваются в 1,1 раза.

4 Для промежуточных значений показателей текучести глинистых грунтов значения Кs определяются интерполяцией.

5 При слоистом напластовании грунтов коэффициент Кs определяется, как средневзвешенный по глубине.

Таблица Г.2 Необходимая амплитуда вибросистемы при отсутствии сопротивления грунта

Характеристика прорезаемых шпунтом грунтов

Аo, см, при глубине погружения панели:

до 20 м

свыше 20 м

Водонасыщенные пески и супеси, илы, мягко- и текучепластичные, пылевато-глинистые грунты с показателем текучести IL > 0,5

0,35

0,45

Влажные пески, супеси, тугопластичные, пылевато-глинистые грунты с показателем текучести IL > 0,3

0,5

0,6

Полутвердые и твердые, пылевато-глинистые грунты, гравелистые маловлажные плотные пески

0,7

0,8

Примечание - При слоистом напластовании грунтов значение Аo принимается для слоя самого прочного грунта из числа прорезаемых слоев.

Приложение Д
(Рекомендуемое)
Перечень технических документов, подлежащих предъявлению приёмочной комиссии

А. При приёмке разбивочных работ

1. Схемы разбивки и привязки к опорным пунктам (или к магистральной линии) основных осей сооружения.

2. Каталог геодезических знаков.

3. Журналы измерений углов и линий.

4. Журналы нивелировки.

Б. При приёмке шпунтовой стенки

1. Проектные чертежи с геологическими (гидрогеологическими) профилями.

2. Рабочие чертежи шпунтовых элементов.

3. Исполнительный схематический план забитых шпунтовых элементов с указанием на нем границ сдаваемого участка, основных разбивочных линий, величин отклонений в плане забитых шпунтовых элементов от проектного положения.

4. Продольные профили по линиям забитых шпунтин с указанием фактических и проектных отметок низа и верха шпунтин.

5. Результаты динамических и статических испытаний ШТС.

6. Паспорта заводов-изготовителей на шпунтовые элементы.

7. Акты освидетельствования шпунтовых элементов до их погружения в грунт.

8. Акты освидетельствования и приемки шпунтовой стенки.

9. Журналы забивки ШТС.

10. Сводная ведомость забитых ШТС.

11. Журналы погружения шпунтины.

12. Журналы вибропогружения ШТС.

13. Сводная ведомость погружения ШТС.

Ключевые слова: стандарт, шпунт трубчатый сварной, производство работ, стена, вибропогружение, забивка.




Яндекс цитирования