//
ТехЛит.ру
- крупнейшая бесплатная электронная интернет библиотека для "технически умных" людей.
WWW.TEHLIT.RU - ТЕХНИЧЕСКАЯ ЛИТЕРАТУРА

:: Алготрейдинг::


АЛГОТРЕЙДИНГ
шаг за шагом
с нуля по урокам!

Торговые роботы на PYTHON, BackTrader,
Pandas, Pine Script для TradingView. Связка с брокерами, телеграм и легкими приложениями.


Открытое акционерное общество
"Центральный научно-исследовательский
и
проектно-экспериментальный институт
промышленных
зданий и сооружений"
(
ОАО "ЦНИИПромзданий")

 

"УТВЕРЖДАЮ"

 

Зам. Генерального директора

ОАО «ЦНИИПромзданий»

канд. техн. наук

___________________ С.М. Гликин

«____»_____________2007 г

РУКОВОДСТВО
ПО
ПРИМЕНЕНИЮ В КРОВЛЯХ ВОРОНОК "HL" ФИРМЫ "HL HUTTERER & LECHNER GmbH" (АВСТРИЯ)

МДС 12-36.2007

 

Рук. отдела покрытий и кровель канд. техн. наук

__________________ А.М. Воронин

 

Ст. научный сотрудник канд. техн. наук

_________________ А.В Пешкова

«____»___________ 2007 г

Содержание

ПРЕДИСЛОВИЕ

В составе покрытия здания или сооружения одним из важных элементов служит водосточная воронка, от конструкции которой, места её расположения и сопряжения с водоизоляционным ковром зависит надёжность покрытия и безопасность нижерасположенных помещений.

В главе СНиП II-26-76 «Кровли» и ряде руководств по кровлям из различных материалов рекомендуются, в основном, чугунные воронки. В связи с применением новых материалов, проектированием и вводом в эксплуатацию большего количества комбинированных, инверсионных, эксплуатируемых кровель и увеличением сроков безремонтных работ на кровлях применение чугунных воронок не всегда возможно и экономически не оправдано.

Фирмой "HL Hutterer & Lechner GmbH" (Австрия) предложена большая номенклатура пластмассовых воронок и комплектующих изделий для отвода воды с кровель, которые начали применяться в России с начала 2000 г. Данное Руководство, разработанное в развитие главы СНиП II-26-76, может служить проектным и строительным организациям дополнительным материалом при проектировании, устройстве и ремонте кровель.

Продукция сертифицирована в системе сертификации ГОСТ Р Госстандарта России.

1. ОБЩИЕ ПОЛОЖЕНИЯ

1.1. Настоящее Руководство распространяется на проектирование, устройство и ремонт кровель различных зданий и сооружений, выполняемых с применением воронок "HL".

1.2. При проектировании и устройстве кровель, кроме настоящих рекомендаций, должны выполняться требования норм по проектированию кровель, по технике безопасности в строительстве, действующих правил по охране труда и противопожарной безопасности.

1.3. Работы по устройству изоляционных слоев кровли и установке воронок "HL" должны выполняться специализированными организациями.

1.4. Площадь кровли, приходящаяся на одну воронку, и диаметр воронки должны устанавливаться расчетом по СНиП 2.04.01-85*.

1.5. Водоприёмные воронки внутреннего водостока должны располагаться равномерно по площади кровли на пониженных участках преимущественно вдоль каждого ряда разбивочных осей здания.

1.6. На каждом участке кровли, ограниченном стенами, парапетами или деформационными швами, должно быть не менее двух воронок.

Максимальное расстояние между водосточными воронками при любых видах кровли не должно превышать 48 м (СНиП 2.04.01-85*).

Местное понижение кровли в местах установки воронок внутреннего водоотвода должно составлять 20-30 мм в радиусе 500 мм за счёт уменьшения толщины слоя утеплителя или за счёт уменьшения основания под водоизоляционный ковёр.

1.7. Водоприёмные воронки, расположенные вдоль парапетов и других выступающих частей зданий, должны находиться от них на расстоянии не менее 600 мм. Не допускается установка водосточных стояков внутри стен.

1.8. Водоотводящее устройство не должно менять своего положения при деформации основания кровельного ковра или прогибе несущего основания кровли. Чаши водосточных воронок должны быть прикреплены к несущему основанию кровли и соединены со стояками через компенсаторы.

1.9. В чердачных покрытиях и в покрытиях с вентилируемыми воздушными прослойками приемные патрубки водосточных воронок и охлаждаемые участки водостоков должны иметь теплоизоляцию. Допускается предусмотреть обогрев патрубков водосточных воронок и стояков в пределах охлаждаемых участков.

1.10. Испытания внутренних водостоков следует производить наполнением их водой до уровня наивысшей водосточной воронки. Продолжительность испытания должна составлять не менее 10 мин.

Водостоки считаются выдержавшими испытание, если при осмотре не обнаружено течи, а уровень воды в стояках не понизился (п. 4.15 СНиП 3.05.01-85).

1.11. При устройстве покрытий в зданиях с металлическим профилированным настилом и теплоизоляционным слоем из сгораемых и трудносгораемых материалов необходимо предусматривать заполнение пустот ребер настилов на длину 250 мм несгораемым материалом (минеральной ватой и т.п.) в местах примыканий настила к стенам, деформационным швам, стенкам фонарей, воронкам внутреннего водостока, а также с каждой стороны конька и ендовы.

2. ТИПЫ ВОРОНОК И ИХ ТЕХНИЧЕСКАЯ ХАРАКТЕРИСТИКА

2.1. В зависимости от области применения (типа кровель) воронки имеют различную конструкцию (рис. 1). Для неэксплуатируемой кровли применяют, как правило, воронку серии HL 62 с вертикальным выпуском и листвоуловителем для задержания листьев и другого мусора (рис. 1а).

2.2. Воронка для эксплуатируемых кровель (рис. 1в) отличается наличием надставного элемента с дренажным кольцом (HL 062B.3E) и трапом с решёткой из нержавеющей стали. В маркировке таких воронки присутствует обозначение «В».

2.3. Воронка серии HL 63 для кровель в покрытии с несущим настилом из профилированных листов приведена на рис. 1 е.

2.4. Воронки с горизонтальным выпуском серии HL 64 (рис. 16; г) предусматривают для отвода воды с места её сбора, удалённого от водоотводящего стояка.

Рис. 1. Воронки для неэксплуатируемых и эксплуатируемых кровель с вертикальным (а, в) и горизонтальным (б, г) выпусками, для ремонтируемых кровель (д) и для кровель с несущим настилом из профилированного листа (е)

2.5. Воронки серии HL 69 для ремонтируемых кровель (рис. 1д) имеют удлинённый патрубок с гибкими «юбками» большего диаметра для соединения с существующим стояком (трубой из стали, чугуна или пластика).

2.6. Для кровель из термопластичных или наплавляемых рулонных материалов могут быть применены специальные воронки с окантовкой водоприёмной части из полимербитумного полотна (в маркировке «Н»), или с фланцем из поливинилхлорида для приклейки ПВХ мембраны (в маркировке «Р»).

В маркировку воронок с электрообогревом добавлена «.1».

Диаметр выпуска обозначается через дробь - «/1» - 110 мм, «/7» - 75 мм, «/2» - 125 мм, «/5» - 160 мм.

Пример: HL 62.1 ВН/5. «62» - кровельная воронка с вертикальным выпуском; «/5» DN 160; «.1» с электрообогревом; «Н» с полимербитумным полотном для приварки гидроизоляции; «В» - для эксплуатируемой кровли с максимальной разрешённой нагрузкой до 300 кгс.

2.7. Конструкции воронок для балконов, террас и стилобатов практически одинаковы с вышеприведенными кровельными воронками, но с тем отличием, что воронки для балконов и террас с меньшими диаметрами и соответственно меньшей пропускной способностью, а воронки для стилобатов, выдерживающие большие нагрузки, имеют большую пропускную способность и соответственно больший диаметр (см. табл. 2.1, 2.2, 2.3).

2.8. Кровельные воронки в зависимости от конструкции кровли могут комплектоваться следующими дополнительными элементами:

HL 160 - дренажное кольцо для отвода воды и соединения двух элементов водостока (преимущественно для инверсионных кровель);

HL 65 - надставной элемент с обжимным фланцем из нержавеющей стали (для традиционных и комбинированных кровель);

HL 65H - надставной элемент с полимербитумным полотном для соединения (приварки) с кровельным ковром на битумной основе;

HL 65P - надставной элемент с фланцем из поливинилхлорида для приклейки ПВХ мембраны;

HL 350.1 Н - надставной элемент типа HL 65H, который дает возможность выполнить соединение с водосточной воронкой либо герметично, либо через дренажное кольцо HL 160 или HL 062B.3E;

HL 350.1 - надставной элемент для механического крепления геотекстиля (как правило, инверсионные кровли);

HL350 - удлинитель для надставных элементов;

HL 170 - плоский листвоуловитель;

HL 175 - листвоуловитель из нержавеющей стали;

HL 66 - трап с решёткой из нержавеющей стали (выдерживает нагрузку 1,5 тс).

Таблица 2.1

Тип (марка) воронки

Технические показатели кровельных воронок

выпуск

марка воронки с обогревом

Диаметр выпуска, мм

пропускная способность, л/с

материал воронки

материал решётки

максимальная нагрузка, кгс

1. Неэксплуатируемая кровля

HL64

HL64H

HL64P

Горизонтальный

HL64.1

HL64.1H

HL64.1P

75/110

7,18

ПП (полипропилен)

ПП

150

HL62

HL62H

HL62P

Вертикальный

HL62.1

HL62.1H

HL62.1P

75

6,70

ПП

ПП

150

110

7,67

125

10,00

160

11,05

HL63

HL63H

HL63P

»

HL63.1

HL63.1H

HL63.1P

75

8,60

ПП

ПП

150

110

8,70

125

12,20

HL69

HL69H

HL69P

»

 

75

7,50

ПП

ПП

150

110

7,80

125

11,00

160

10,30

2. Эксплуатируемая кровля

HL64B

HL64BH

HL64BP

Горизонтальный

HL64.1B

HL64.1BH

HL64.1BP

75/110

3,7.

ПП

Нержавеющая сталь

300

HL62B

HL62BH

HL64BP

Вертикальный

HL62.1B

HL62.1BH

HL64.1BP

75

>8,3

ПП

Тоже

300

110

125

75

HL69B

HL69BH

HL69BP

»

 

75

7,00

ПП

»

300

110

6,83

125

8,17

160

6,50

2.9. Воронки для балконов и террас комплектуются следующими деталями:

HL 82 - комплект для электрообогрева воронок и трапов серий HL 310; 90 и 80;

HL 180 - дренажное кольцо для отвода воды и сопряжения двух элементов водостока между собой;

HL 83.0 - обжимной фланец из нержавеющей стали;

HL 83.H - фланец с полимербитумным полотном;

HL 83.Р - фланец из поливинилхлорида;

HL 85N - надставной элемент с фланцем для сопряжения с гидроизоляцией или разделительным слоем (геотекстиль);

HL 340N - удлинитель;

HL 9/7(50) - переход ПП/сталь (чугун);

Таблица 2.2

Тип (марка) воронки

Технические показатели воронок для террас

выпуск

Диаметр выпуска, мм

Пропускная способность, л/с

материал воронки

материал решётки

максимальная нагрузка, кгс

1. Неэксплуатируемая терраса

HL80.3

HL80.3H

С поворотным шарниром

50/75

1,0

ПП, ПЕ

ПП

150

2. Эксплуатируемая терраса

HL80

HL80H

HL80-3000

HL80H-3000

HL80R

HL80HR

С поворотным шарниром

50/75

0,8

ПП, ПЕ

Нержавеющая сталь

150

HL81G

HL81GH

То же.

50/75

0,8

ПП, ПЕ

Чугун

1500

HL310N.2

HL310N.2-3000

Вертикальный

50/75/110

0,9

ПП, ПЕ

Нержавеющая сталь

150

HL310NG.2

»

50/75/110

0,9

ПП, ПЕ

Чугун

1500

HL90

HL90.2

HL90-3000

HL90.2-3000

Горизонтальный

40/50

0,5

ПП, ПЕ

Нержавеющая сталь

150

HL90G

HL90.2G

»

40/50

0,5

ПП, ПЕ

Чугун

1500

2.10. Воронки для стилобатов комплектуются следующими деталями:

HL 609 - комплект для электрообогрева воронок и трапов серий HL 615; 616;

HL 190 - дренажное кольцо для отвода воды и сопряжения двух элементов водостока между собой;

HL 86.0 - обжимной фланец из нержавеющей стали;

HL 86.H - фланец с полимербитумным полотном;

HL 620 - удлинитель;

HL 618 - надставной элемент с фланцем для сопряжения с гидроизоляцией или разделительным слоем (геотекстиль).

Таблица 2.3

Тип (марка) воронки

Технические показатели воронок для стилобата

выпуск

Диаметр выпуска, мм

пропускная способность, л/с

материал воронки

материал решётки (подрамника)

максимальная нагрузка, тс

1. Поверхность стилобата из асфальтобетона

HL615.1

HL615.1H

Горизонтальный

110

4,20

ПП

Чугун (чугун)

до 15

HL616.1

HL616.1H

Вертикальный

110

5,50*

ПП

Чугун (чугун)

до 15

160

4,80*

2. Поверхность стилобата из тротуарной плитки, брусчатки

HL615

HL615H

Горизонтальный

110

4,20

ПП

Чугун (ПП)

до 7

HL616

HL616H

Вертикальный

110

5,50*

ПП

Чугун (ПП)

до 7

160

4,80*

* При удалении из воронки механического запахозапирающего устройства (HL 0606.) пропускная способность увеличивается до 15 л/с.

3. РАСЧЁТ ВОДОСТОКА

3.1. Расчёт водоотводящих устройств заключается в определении расхода дождевых вод (Q, л/с) в зависимости от района строительства и уклона кровли.

3.2. В соответствии с главой СНиП 2.04.01-85* "Внутренний водопровод и канализация зданий" расчётный расход дождевых вод с водосборной площади (F, м2) определяют по формулам:

для кровель с уклоном до 1,5 % включительно:

для кровель с уклоном более 1,5 %:

где q20 - интенсивность дождя, л/с с 1 га (для данной местности), продолжительностью 20 мин (принимается согласно СНиП 2.04.03-85 "Канализация. Наружные сети и сооружения", черт 1);

q5 - интенсивность дождя, л/с с 1 га (для данной местности), продолжительностью 5 мин, определяемая по формуле:

q5 = 4nq20

где п - параметр, принимаемый по СНиП 2.04.03-85 (табл. 4).

3.3. При определении расчётной водосборной площади (F, м2) дополнительно учитывают 30 % суммарной площади вертикальных стен, примыкающих к кровле и возвышающихся над ней.

Пример расчёта. Жилой дом в Московской области с размерами кровли 12×120 м, уклоном 3 % и площадью стен (парапетов и стен лифтовых шахт), возвышающихся над кровлей, -216 м2. Рассчитать водоотводящие устройства.

- Водосборная площадь кровли F= 12×120 + 216×0,3= 1504,8 м2;

- q20 = 80л/с (черт. 1, см. СНиП 2.04.03-85);

- q5 = 4nq20=40,71·80 = 214,07 л/с (n = 0,71, см. СНиП 2.04.03-85, табл. 4).

- Расчётный расход дождевых вод Q = 214,07×1504,8/10000 = 32,2 л/с.

По табл. 2.1 можно принять 6 воронок марки HL 62 диаметром 75 мм (32,2/6,7 = 5,4 шт.) или 5 воронок диаметром 110 мм (32,2 / 7,67 = 4,2 шт.).

4. КОНСТРУКЦИИ ВОРОНОК И ИХ УЗЛЫ

4.1. Для кровель из различных рулонных гидроизоляционных материалов основным в конструкции воронок является надёжность стыка воронки с водоизоляционным ковром. Сопряжение водоизоляционного ковра с воронкой типа HL 62 (рис. 2) осуществляется механическим способом путем зажима гидроизоляции между корпусом воронки и фланцем из нержавеющей стали при помощи накидных гаек.

4.2. В воронках без накидных гаек (с маркировкой «Н») надёжность стыка обеспечивается приклеиванием (приваркой) кромки водоизоляционного ковра к битумно-полимерному полотну, соединённому с чашей (опорным элементом) воронки в заводских условиях (рис. 3 и ); в воронках с маркировкой «Р» водоизоляционный ковёр из ПВХ мембраны приклеивается к плоскому фланцу воронки из поливинилхлорида.

Рис. 2. Воронка HL 62 для неэксплуатируемой кровли

1 -прижимной фланец (HL 062.3E); 2 - чаша (опорный элемент) воронки; 3 - накидные гайки (HL 062.4Е); 4 - листвоуловитель (HL 062.1Е); 5 - выпуск воронки (HL 62)

Рис. 3. Воронка HL 62H для неэксплуатируемых кровель

1 - прижимной фланец; 2 - чаша (опорный элемент) воронки; 3 - битумно-полимерное полотно; 4 - листвоуловитель (HL 062.1Е); 5 - выпуск воронки HL 62H

4.3. Опирание воронок осуществляют на жёсткий элемент покрытия (железобетонную плиту) чашей воронки (рис. 4).

4.4. В утеплённых покрытиях воронку опирают также на жёсткий элемент покрытия (железобетонную плиту). Через резиновый уплотнитель вставляют в кровельную воронку надставной (доборный) элемент HL 65(Н) (Р) на высоту теплоизоляционного слоя (рис. 5), заводят на него гидроизоляцию.

а)

б)

Рис. 4. Примыкание водоизоляционного ковра к воронке HL 62 (а) и HL 62H (б).

1 - плита "холодного" покрытия; 2 - водоизоляционный ковёр; 3 – заделка утеплителем (пенополиуретаном); 4 - опорный элемент (чаша) воронки; 5 - листвоуловитель; 6 - водосточная труба; 7 - битумно-полимерное полотно; 8 - прижимной фланец; 9 - дополнительный ковер (усиление ендовы)

Рис.5. Воронка на утеплённом покрытии

1 - плита покрытия; 2 - пароизоляция; 3 - теплоизоляция; 4 - водоизоляционный ковёр; 5 - листвоуловитель воронки HL62H; 6 - надставной элемент HL 65; 7 - заделка утеплителем (пенополиуретаном); 8 - корпус воронки HL 62H; 9 - водосточная труба; 10 - утепление воронки (для исключения выпадения на её поверхности конденсата).

4.5. Воронки для эксплуатируемых кровель аналогичны вышерассмотренным за исключением надставного элемента, который, как правило, имеет плоскую верхнюю решетку (рис. 6, см. также рис. 1 в и г).

4.6. На рис. 7 показаны примеры эксплуатируемой утеплённой кровли с защитным слоем из цементно-песчаных (тротуарных плиток) по стяжке (а) и по гравию (б).

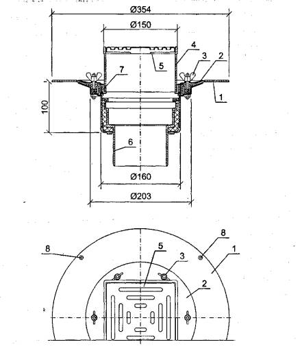
Рис. 6. Воронка HL 62В для эксплуатируемых кровель

1 - опорный элемент (чаша) воронки; 2 - прижимной фланец (HL 062. ); 3 - накидные гайки (HL 062.4E); 4 - надставной элемент из полипропилена (HL 062B.2E); 5 - решётка из нержавеющей стали (HL 062В. 1Е); 6 - выпуск воронки HL 62В; 7 - дренажное кольцо (HL 062В.); 8 - отверстия для крепления воронки к несущей конструкции

а)

б)

Рис. 7. Воронка эксплуатируемой кровли на утеплённом покрытии

1 - несущая плита; 2 - геотекстиль; 3 - пароизоляция; 4 - теплоизоляция; 5 - водоизоляционный ковёр; 6 - гравий; 7 - плитка; 8 - дренажное кольцо HL 160; 9 - трап воронки HL 62B (HL 62BH); 10- надставной элемент HL 65; 11 - корпус воронки HL 62B; 12-утепление воронки от выпадения конденсата; 13 – дополнительный водоизоляционный ковер (усиление ендовы); 14 - цементно-песчаный раствор; 15 - дренажное кольцо воронки; 16 - слой бетона; 17 - надставной элемент HL 65H; 18 - корпус воронки HL 62BH

4.7. При значительном удалении кровельной воронки от вертикального стояка или при установке воронки над жилыми помещениями здания без технического этажа, чердака применяются воронки с горизонтальным выпуском и электрообогревом (рис. 8, см. также рис. 1 б и г) согласно п. 17.10 СНиП 2.04.01-85*.

Рис. 8. Воронка HL 64.1 для кровель с горизонтальным выпуском

1 - переходник HL 0317АЕ; 2 - листвоуловитель HL 062.1 Е; 3 - прижимной фланец HL 062.; 4 - накидная гайка HL 062.4E

Корпус воронки жестко крепится к несущей конструкции. Горизонтальную магистраль от воронки до вертикального стояка рекомендуется выполнять диаметром 75 мм, так как ее легче разместить в кровельном «пироге», а переходник 75/110 устанавливать в месте присоединения горизонтальной магистрали к вертикальному стояку.

Так как горизонтальная магистраль укладывается в утеплителе кровли, необходимо учитывать границу промерзания утеплителя в зависимости от климатических условий в месте будущего строительства здания. Если выпуск кровельной воронки находится выше границы промерзания, то для предотвращения образования ледяных пробок в выпускном патрубке необходимо применять воронки с встроенным электроподогревом. Если расстояние от воронки до теплого помещения превышает 1 м, то рекомендуется обогревать и горизонтальную магистраль.

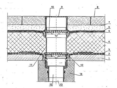
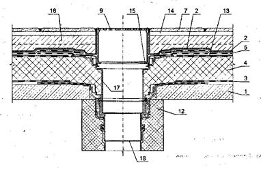
4.8. Для «зеленой» (рис. 9) и эксплуатируемой (рис. 10) инверсионной кровли применяют те же воронки, что и для традиционной с дополнительной деталью - дренажным кольцом HL 160 для отвода просочившейся воды. В таких кровлях под почвенным слоем целесообразно использовать полимерный (полиэтиленовый или на основе ПВХ) материал ячеистой формы, позволяющий задерживать воду в гофрах (для подпитки растений) и отводить лишнюю воду через отверстия в верхних полках гофр.

Поскольку в инверсионной кровле водоизоляционный ковер расположен под теплоизоляционными плитами, воронка для таких кровель должна иметь дренажное кольцо (см. рис. 9 и 10), а в качестве утеплителя применяют только экструдированные пенополистирольные плиты, прочность которых и марку воронки назначают в зависимости от назначения кровли (см. табл. 2.1 - 2.3).

Рис. 9. «Зеленая» кровля с инверсионным покрытием и водосточной воронкой HL62H

1 - несущая железобетонная плита; 2 - дополнительный слой (усиление ендовы); 3 - водоизоляционный ковер; 4 - теплоизоляция из экструдированного пенополистирола; 5 - разделительный слой; 6 - фильтрующий слой (геотекстиль); 7 - полимерный материал гофрированной структуры (ячеистой формы); 8 - почвенный слой; 9 - растения; 10 - засыпка гравием вокруг воронки; 11 - листвоуловитель воронки HL62H; 12 - дренажное кольцо HL160; 13 - удлинитель HL 350; 14 - надставной элемент HL 350.1; 15 - корпус воронки HL62H; 16 - утепление воронки и водосточной трубы; 17 - водосточная труба (ПВХ или ПП)

Рис. 10. Эксплуатируемая кровля с инверсионным покрытием и водосточной воронкой HL62B

1 - несущая железобетонная плита; 2 - дополнительный слой (усиление ендовы); 3 - водоизоляционный ковер; 4 - теплоизоляция из экструдированного пенополистирола; 5 - разделительный слой; 6 - фильтрующий слой (геотекстиль); 7 - засыпка из гравия; 8 - тротуарная плитка; 9 - трап воронки HL 62BH; 10 - дренажное кольцо HL160; 11 - надставной элемент HL 350.1; 12 - корпус воронки HL 62BH; 13 - водосточная труба (ПВХ или ПП); 14 - утепление воронки и водосточной трубы

4.9. Кровельная воронка на покрытии с несущим профилированным настилом отличается от других наличием монтажного короба с утеплителем, позволяющего обжимать теплоизоляционный слой (см. рис. 1е и 11, 12). Монтажный короб закрепляют к стальному листу толщиной 2-3 мм, который, в свою очередь, механически крепится к несущему профнастилу.

Примечание. На скатных кровлях необходимо предусматривать металлический поддон для монтажа воронки в вертикальном положении.

Рис. 11. Водосточная воронка на покрытии по несущему профилированному настилу

1 - профнастил; 2 - утеплитель; 3 - стальной лист толщиной 2-3 мм; 4 - саморез; 5 - монтажный короб; 6 - стягивающие болты (штифты)

Рис. 12. Примыкание изоляционных слоев к воронке HL 63 на плоском покрытии

1 - профнастил; 2 - пароизоляция; 3 - теплоизоляция; 4 - геотекстиль; 5 - водоизоляционный ковер; 6 - утеплитель воронки; 7 - листвоуловитель воронки HL63; 8 - корпус воронки HL63; 9 - утепление водосточной трубы; 10 - водосточная труба (ПВХ или ПП); 11 - стальной лист (позиция 3 на рис. 11); 12 - саморез

4.10. При ремонте (реконструкции) покрытия может быть применена специальная "ремонтная" воронка с обжимным фланцем и гибкими уплотнительными кольцами по диаметру для непосредственного соединения со стальными, чугунными или пластмассовыми водоотводящими трубами (рис. 13). Благодаря гибкому выпускаемому патрубку "ремонтная" воронка не имеет жёсткого соединения водоотводящей с трубой "старой" воронки и может свободно перемещаться в ней, сохраняя герметичность соединения.

Рис. 13. "Ремонтная" воронка в разрезе (а); монтаж воронки (б)

1 - листвоуловитель (HL062.1Е); 2 - прижимной фланец (HL062.3E); 3 - накидная гайка (HL062.4E); 4 - гибкий патрубок с уплотнительными кольцами; 5 - «старая» воронка

4.11 Примыкание кровли к воронкам, расположенным на балконе, террасе или стилобате, принципиально не отличаются от вышеприведенных, при этом необходимо применять соответствующие воронки (см. табл. 2.1 - 2.3).

4.12 Воронки для стилобатов имеют чугунную решетку либо в подрамнике из полипропилена (максимальная нагрузка до 7 тс), либо в подрамнике из чугуна (максимальная нагрузка до 15 тс) (см. табл. 2.3).

На рис. 14 приведена конструкция воронки HL 616.1 с максимальной нагрузкой 15 тс, с надставным элементом из полипропилена, с грязеуловителем, механическим запахозапирающим устройством.

4.13. Вокруг воронки для стилобата предусматривают укладку бетона, армированного сеткой из конструкционной стали для обеспечения устойчивости (жёсткости) её верхней части, а остальные участки могут быть выполнены также из бетона или асфальта, тротуарных плиток и т.п. (рис. 15). Высота воронки в зависимости от толщины слоев покрытия обеспечивается доборными (надставными) элементами, а водонепроницаемость примыкания к воронке водоизоляционного ковра - зажимным фланцем или приклейкой к битумно-полимерному фланцу.

Примечание. При устройстве инверсионной кровли уплотнительное кольцо (см. рис. 14 поз. 9) заменяют дренажным кольцом HL190.

Вариант узла «А» (воронка HL616H)

Рис. 14. Конструкция воронки HL 616.1

1 - решётка (HL 0606.1Е); 2 - грязеуловитель (HL 0606.2E); 3 - запахозапирающее устройство (HL 0606.3E); 4 - корпус воронки HL616.1; 5 - ребро жёсткости; 6 - фланец; 7 - надставной элемент HL 608.1; 8 - полимербитумное полотно воронки HL 616.1 Н; 9 - уплотнительное кольцо

Рис. 15. Воронка HL616 (HL 616Н) стилобата

1 - монолитная железобетонная плита; 2 - пароизоляция; 3 - геотекстиль; 4 - теплоизоляция; 5 - разделительный слой; 6 - бетонная стяжка; 7 – кровельный ковер; 8 - асфальт (бетон, плитки и т.п.); 9 - бетон вокруг воронки; 10 - трап воронки HL 616 (HL 616Н); 11 - надставной элемент HL 618 (HL 618H); 12 - обжимной фланец из нержавеющей стали HL 86.0; 13 - удлинитель HL 620; 14 - корпус воронки HL616 (HL 616Н)




Яндекс цитирования



   Copyright © 2007-2026,  www.tehlit.ru.

[ ѓосты, стандарты, нормативы, инструкции, правила, строительные нормы ]