//
|
|
МИНИСТЕРСТВО ТРАНСПОРТНОГО СТРОИТЕЛЬСТВА ГОСУДАРСТВЕННЫЙ ВСЕСОЮЗНЫЙ ДОРОЖНЫЙ СОЮЗДОРНИИ РУКОВОДСТВО МОСКВА 1991 Приведены требования к каменным материалам, грунтам вяжущим, воде, поверхностно-активным веществам (ПАВ), противоморозным добавкам, а также к обработанным материалам. Даны правила подбора составов смесей, технологии приготовления вяжущих и обработанных смесей, а также применения ПАВ и противоморозных добавок. Изложены основные требования по технике безопасности при приготовлении вяжущих и смесей, транспортировании и хранении каменных материалов, грунтов, вяжущих и добавок. Установлено, что экономический эффект от
применения местных каменных материалов и вяжущих зависит от дальности их
транспортирования, вида применяемых материалов и вяжущих и составляет от 1 до
10 тыс. руб. на Табл. 50, рис. 16. содержание ПРЕДИСЛОВИЕВ настоящее время значительный объем годового строительства дорожных оснований, осуществляемого Минтрансстроем СССР и минавтодорами союзных республик, составляют основания из каменных материалов и грунтов, обработанных различными неорганическими вяжущими. В последние годы нашли применение в дорожном строительстве вяжущие на основе шлаков черной, цветной металлургии и химической промышленности как без добавок, так и с добавками различных активаторов, золы уноса ТЭЦ, белитошламовые вяжущие. Настоящее Руководство разработано в развитие ГОСТ 23558 на основе результатов исследований Союздорнии, его филиалов, Госдорнии, Росдорнии, МАДИ и других организаций и опыта применения в дорожном строительстве нерудных материалов и грунтов, обработанных неорганическими вяжущими. В Руководстве широко представлены безклинкерные вяжущие, которые успешно применяются взамен портландцемента, - шлаковые, зольные, золошлаковые, белитошламовые вяжущие, цементная пыль с активаторами и без них. Приведены различные технологии получения перечисленных вяжущих, их составы; уточнены и дифференцированы требования к вяжущим в зависимости от их вида и активаторов. Установлен ориентировочный расход вяжущих для получения обработанных материалов и грунтов различных марок; дан перечень добавок ПАВ, применение которых обеспечивает экономию вяжущего, (повышение характеристик обработанных материалов и технологических свойств смесей. В приложениях приводятся методики испытаний обработанных материалов, примеры расчета приготовления рабочих растворов солей и добавок ПАВ, перечень ПАВ, рекомендуемых для применения и приготовления обработанных материалов. Экономический эффект от применения
местных каменных материалов и вяжущих зависит от дальности их
транспортирования, вида применяемых материалов и вяжущих и составляет от 1 до
10 тыс. руб. на Настоящее Руководство составили кандидаты технических наук В.М. Юмашев, В.С. Исаев, В.С. Цветков, Ю.Л. Мотылев, Н.Н. Янбых, инженеры Н.А. Еркина, Ф.В. Панфилов (Союздорнии); кандидаты технических наук А.О. Салль, М.Г. Мельникова (Ленинградский филиал Союздорнии); кандидаты технических наук Б.В. Белоусов, В.М. Бескровный (Омский филиал Союздорнии); канд. техн. наук Б.А. Асматулаев (Казахский филиал Союздорнии); кандидаты технических наук Н.Ф. Сасько, И.З. Духовный (Госдорнии). Общее редактирование выполнено В.С. Исаевым. Замечания и предложения по данной работе просьба направлять по адресу: 143900, Московская обл., г. Балашиха-6, ш. Энтузиастов, 79, Союздорнии 1. ОБЩИЕ ПОЛОЖЕНИЯ1.1. "Руководство по подбору и приготовлению материалов нерудных и грунтов, обработанных неорганическими вяжущими, для дорожного строительства" предназначено для использования при строительстве оснований и покрытий автомобильных дорог и аэродромов из каменных материалов и грунтов, обработанных неорганическими вяжущими, на всей территории СССР. 1.2. В Руководстве подробно рассматриваются технологии приготовления местных вяжущих и смесей на их основе, в том числе с добавками ПАВ; требования к исходным и обработанным материалам. Выбор материалов для приготовления вяжущих и смесей рекомендуется осуществлять на основе технико-экономического обоснования с учетом категории строящейся дороги, природных климатических и эксплуатационных условий, а также наличия местных строительных материалов и отходов промышленности. 1.3. Приготовление обработанных материалов рекомендуется осуществлять в стационарных или передвижных смесительных установках, оборудованных смесителями принудительного перемешивания, а при технико-экономическом обосновании - методом смешения на дороге. 1.4. Область применения обработанных материалов в основаниях и покрытиях регламентируется нормативными документами для дорожного строительства. 2. ТРЕБОВАНИЯ К ИСХОДНЫМ МАТЕРИАЛАМ2.1. Нерудные материалы и требования к ним.Подготовка, транспортирование и хранение нерудных материалов, подлежащих обработке 2.1.1. Нерудные материалы (песчано-гравийные, песчано-щебеночные, песчано-гравийно-щебеночные смеси, пески, отсевы дробления), а также подобные материалы из отходов промышленности, предназначенные для обработки вяжущими, должны иметь зерновой состав, отвечающий требованиям табл. 1, рис. 1 и 2.
Рис. 1. Непрерывные зерновые составы щебеночно (гравийно)-песчаных смесей с Ксб = 0,6÷0,8
Примечание. При технико-экономическом обосновании допускается применение смесей других зерновых составов. Допускается при технико-экономическом обосновании применять смеси прерывистого зернового состава как в щебеночной (гравийной), так и в песчаной части (рис. 3, 4), а также полупрерывистого и другие смеси, если при обработке их неорганическими вяжущими получены результаты, удовлетворяющие требованиям ГОСТ 23558. 2.1.2. Щебень из естественного камня, щебень из шлака, щебень из гравия и гравий, щебень из попутно добываемых пород, легкие искусственные каменные материалы (аглопорит, шунгизит, керамзит, шлаковая пемза), входящие в состав указанных смесей, по прочности, морозостойкости, содержанию глины, в том числе в комках, должны отвечать соответственно требованиям ГОСТ 8267-82, ГОСТ 3344-83, ГОСТ 10260-82, ГОСТ 8268-82, ГОСТ 23254-78, ГОСТ 11991-83, ГОСТ 19345-83, ГОСТ 9759-83, ГОСТ 9760-86 и табл. 2 Руководства.
Рис. 2. Непрерывные зерновые составы щебеночно (гравийно)-песчаных смесей: 1 - Ксб =0,6÷0,8: 2 - Ксб =0,55÷0,75
Рис. 3. Прерывистые зерновые составы
щебеночно (гравийно)-песчаных смесей с максимальной крупностью зерен щебеночной
фракции
Рис. 4. Зерновые составы
щебеночно(гравийно)-песчаных смесей с Ксб =0,6÷0,7,
прерывистые в песчаной части: а) отсутствуют фракции 2,5-5 и 1,25- Материалы нерудные по содержанию вредных примесей должны соответствовать ГОСТ 10268-80. 2.1.3. Пески и материалы из отсевов дробления с модулем крупности не менее 1 должны отвечать требованиям ГОСТ 8736-85, ГОСТ 8344-83, ГОСТ 26193-84 и ГОСТ 26873-86. 2.1.4. Содержание пылевато-глинистых частиц в щебеночных смесях, песках и отсевах дробления, определяемых отмучиванием, не должно превышать 10%, из карбонатных пород - 15%; каолиновых глинистых частиц - 8%, иллитовых - 6%, монтмориллонитовых - 1%. Определять наличие глинистых частиц различной природы (активности) рекомендуется по расходу метиленового голубого красителя (прил. 1). 2.1.5. При несоответствии некоторых показателей требованиям стандарта окончательное заключение о пригодности материалов следует давать по результатам их испытания после обработки неорганическими вяжущими; при технико-экономическом обосновании допускается применять такие материалы, если они будут удовлетворять требованиям ГОСТ 23558. 2.1.6. Максимальная крупность зерен
каменных материалов с прочностью менее 30 МПа (300 кгс/см2) должна
быть не более 2.1.7. Взамен гравия целесообразно применять щебень или щебень из гравия, что позволит уменьшить расход вяжущего в обработанном материале на 0,5-1,0% массы смеси. При обработке гравийных смесей с целью повысить прочность и устойчивость оснований в процессе их формирования рекомендуется добавлять щебень или щебень из гравия: 30% - при строительстве оснований на дорогах I категории, 25% - II и 20% - III категории.
2.1.8. Для приготовления обработанных материалов можно использовать каменные материалы различного петрографического состава - известняки, песчаники, доломиты, шлак, гранит, ракушечники и др. Применение известнякового щебня или щебня из шлаков черной металлургии позволяет уменьшить расход вяжущего на 1-2%. 2.1.9. Использование каменного материала одной горной породы, но более высокой марки позволяет снизить расход вяжущего на 0,5-1% массы смеси. 2.1.10. Для сокращения расхода вяжущего на 2-5% следует применять каменные материалы и пески с непрерывным зерновым составом, соответствующим кривым плотных смесей с коэффициентом сбега 0,65-0,75 (см. рис. 1 и 2). 2.1.11. Для повышения плотности смесей из
нерудных материалов неоптимального зернового состава целесообразно вводить
недостающие фракции материала, в том числе мелкозернистые (мельче При технико-экономическом обосновании допускается использовать смеси, содержащие до 20% таких частиц. 2.1.12. Для корректировки зернового
состава целесообразно применять активированный и не активированный минеральные
порошки, золы уноса, шлаки черной металлургии, пыль уноса цементных заводов
(при удельной поверхности частиц - не менее 200 м2/кг, содержании
частиц мельче 2.1.13. Смесительные установки (СБ-78 или ДС-50А) для приготовления смесей с корректирующими добавками следует оснастить дополнительным бункером с дозатором (предел дозирования 1-10% массы смеси) и системой загрузки их в бункер. При устройстве оснований методом смешения на дороге целесообразно перед введением цемента распределять корректирующие частицы с помощью автоцементовоза и перемещать фрезой.
Рис. 5. Оптимальные зерновые составы щебеночно (гравийно)-песчаных и песчаных смесей: 1, 2, 3 - зерновые составы смесей с Kсб = 0,75 и максимальной
крупностью зерен соответственно 20; 5; 2.1.14. Щебень, гравий и готовые смеси транспортируют в открытых железнодорожных вагонах, на судах, в автомобилях-самосвалах согласно утвержденным в установленном порядке правилам перевозки грунтов соответствующим видом транспорта и хранят пофракционно в штабелях на открытых выровненных чистых площадках с твердым покрытием в условиях, исключающих их засорение и загрязнение. 2.2. Грунты и требования к ним.Подготовка транспортирование и хранение грунтов, подлежащих обработке2.2.1. Для обработки неорганическими вяжущими применяют следующие грунты: супеси, суглинки и глины с числом пластичности менее 22, пески щебенистые, гравийные, галечниковые и дресвяные материалы, соответствующие классификации ГОСТ 25100-82, но, в отличие от нерудных материалов, не удовлетворяющие требованиям, предъявляемым к этим материалам соответствующими стандартами. 2.2.2. Для обработки вяжущими применяют грунты следующих генетических типов: покровные глины, суглинки и супеси, лессы и лессовидные суглинки, моренные глины, дерновоподзолистые и серые лесные почвы, черноземы всех видов, особенно их карбонатные разновидности, каштановые почвы и сероземы, солонцеватые почвы, солонцы и некоторые виды солончаков. Для обработки вяжущими предпочтение следует отдавать карбонатным грунтам, которые приобретают после твердения более высокую прочность по сравнению с некарбонатными разновидностями при равных количествах цемента. 2.2.3. Карбонатные разновидности
глинистых грунтов (суглинки, глины) в III дорожно-климатической зоне надлежит
обрабатывать портландцементом и шлакопортландцементом после введения добавок
песка, гравия или отходов камнедробления с крупностью частиц до Некарбонатные разновидности допускается обрабатывать указанными вяжущими только совместно с известью. При укреплении цементом в грунт дополнительно вводят различные легкорастворимые соли, например кальций хлористый, железо хлористое, железо сернокислое и др. 2.2.4. Гумусовые горизонты дерновоподзолистых и полуболотных почв обрабатывать цементом не разрешается. Нижние безгумусовые горизонты дерновоподзолистых и полуболотных почв, имеющих кислую реакцию (рН<5,5), допускается подвергать обработке цементом после их предварительной нейтрализации добавками извести, каустической соды или других щелочных соединений. Не разрешается добавлять портландцемент и шлакопортландцемент или золы уноса в гумусовые горизонты черноземов, содержащие более 2% массы гумусовых веществ, для использования в условиях II дорожно-климатической зоны и 4% - в III-V. Значение рН грунтов при обработке цементом должно быть не менее 7, золой уноса - не менее 4. Содержание гумуса в грунтах, обрабатываемых гранулированными и дисперсными металлургическими шлаками, должно быть не более 1% массы грунта; рН - не менее 5,5. Грунты, обрабатываемые пылью уноса цементных заводов, не должны содержать гумусы; рН - не менее 7. 2.2.5. Грунты, характеризующиеся кислой реакцией среды (рН менее 7), что отрицательно сказывается на гидратации цемента, можно обрабатывать цементом после предварительной нейтрализации добавками извести, каустической соды или других щелочных соединений. 2.2.6. Засоленные грунты, различного зернового состава допускается обрабатывать портландцементом при содержании в них солей не более 4% массы грунта при хлоридном, сульфатно-хлоридном и хлоридно-сульфатном засолении. При сульфатном засолении содержание солей в грунтах, используемых в конструктивных слоях дорожных одежд, не должно превышать 2%. При наличии 4-6% солей (за исключением сульфатного засоления) возможна обработка портландцементом совместно с добавками извести или хлористого кальция, хлористого и сернокислого железа. 2.2.7. Грунты, обработанные портландцементом и шлакопортландцементом, не должны содержать более 10% примесей гипса при использовании их во II-III дорожно-климатических зонах, 20% - в IV и 30% - в V. 2.2.8. Требования к засоленным грунтам при укреплении их известью или известковошлаковым вяжущим аналогичны указанным в п. 2.2.6. При этом, в известковошлаковом вяжущем, применяемом для укрепления тяжелых суглинков и глин, содержание извести должно составлять 15-25% массы цемента. 2.2.9. Допускается обработка золами уноса засоленных грунтов при содержании в них солей не более 3% при сульфатном засолении и не более 5% - при хлоридном; рН, - не менее 4. 2.2.10. Содержание легкорастворимых солей в засоленных грунтах, обрабатываемых гранулированными и дисперсными металлургическими шлаками, не должно превышать 4% массы грунта. 2.2.11. При использовании пыли уноса цементных заводов суммарное содержание водорастворимых солей в пылецементогрунтовой смеси допускается не более 10% массы вяжущего, гипса - не более 5% массы смеси. 2.2.12. В грунтосмесительных установках приготавливают смеси из крупнообломочных, песчаных грунтов и супесей всех разновидностей; легкие суглинки обрабатывают на месте производства работ, проводя при необходимости предварительное рыхление. Для обработки тяжелых суглинков и глин требуются средства механизации, которые могут обеспечить измельчение этих грунтов, равномерное распределение в них вяжущих и достижение требуемых прочности и морозостойкости укрепленного материала. 2.2.13. При определении пригодности грунтов для обработки вяжущими необходимо учитывать требования, предъявляемые к грунтам по зерновому (гранулометрическому) составу, происхождению (генезису), засоленности, содержанию органического вещества (гумуса), водородному показателю среды (рН), влажности, а также дополнительные требования и ограничения, приведенные в настоящем Руководстве. 2.2.14. Зерновой состав крупнообломочных грунтов (щебенистых и дресвяных), укрепленных неорганическими вяжущими материалами как в естественном виде, так ив смесях подобранного состава, должен соответствовать требованиям ГОСТ 23558, табл. 1 и рис. 6 настоящего Руководства. 2.2.15. С целью снизить расход вяжущих, повысить показатели физико-механических свойств укрепленных грунтов следует применять смеси крупнообломочных грунтов оптимального состава. Зерновой состав минеральной части таких смесей должен укладываться в заштрихованную область кривых на рис. 6.
Рис. 6 .Оптимальные зерновые составы смесей
из крупнообломочных грунтов с максимальной крупностью зерен 2.2.16. Допускается применять смеси с близким к оптимальному зерновым составом, если отклонение содержания отдельных фракций от требуемого не превышает 10% и соблюдаются требования к наличию наиболее крупных и наиболее мелких зерен. Допускается также укреплять вяжущими крупнообломочные грунты прерывистого зернового состава, если, содержание отдельных фракций в них укладывается в кривые на рис. 6. 2.2.17. Крупнообломочные грунты оптимального или близкого к оптимальному зернового состава, неоднородные пески (гравелистые, крупные, средней крупности), супеси с числом пластичности более 3 (преимущественно супеси легкие крупные, пылеватые), а также суглинки легкие наиболее пригодны для укрепления вяжущими и не требуют введения гранулометрических добавок; 2.2.18. Крупнообломочные грунты неоптимального состава, однородные пески и супеси с числом пластичности менее 3 целесообразно укреплять вяжущими после улучшения их зернового состава добавками дисперсных веществ: зол уноса, золошлаковых смесей, тонкодисперсных шлаков, цементной пыли, отходов камнедробления, молотых известняков, опок и др., а также легких суглинков. Содержание добавок дисперсных веществ составляет 10-30% массы грунта и уточняется в лабораторных условиях. 2.2.19. При соответствующем технико-экономическом обосновании допускается укреплять вышеперечисленные грунты цементом без введения добавок дисперсных и других веществ. 2.2.20. Мелкие пески (дюнные, барханные и др.) можно укреплять цементом без указанных выше веществ или других гранулометрических добавок в том случае, когда земляное полотно также возводят из песчаных грунтов. 2.2.21. Для укрепления известью пригодны, кроме перечисленных, крупнообломочные грунты оптимального зернового состава. При этом содержание пылевато-глинистых частиц не ограничивается. 2.2.22. Песчаные и супесчаные грунты с числом пластичности менее 3 рекомендуется укреплять известью после введения в них добавок суглинистых грунтов или зол уноса и др. в соответствии с указаниями п. 2.2.18. 2.2.23. Супеси тяжелые пылеватые, суглинки легкие и легкие пылеватые с числом пластичности до 12 допускается укреплять вяжущими без введения гранулометрических добавок. 2.2.24. Глинистые грунты с числом
пластичности более 12 предварительно размельчают. Содержание зерен крупнее Относительная влажность глинистых грунтов при этом должна составлять 0,3-0,4 влажности на границе, текучести. 2.2.25. Перед обработкой следует обязательно улучшить зерновой и химико-минералогический составы указанных грунтов добавками дисперсных и различных химических веществ. 2.2.26. Глинистые грунты с добавками портландцемента или шлакопортландцемента должны иметь влажность грунта на границе текучести не более 55%. Обработке известью или известковошлаковым, вяжущим можно подвергать глинистые грунты с числом пластичности не менее 5. Суглинки и глины с числом пластичности более 12 допускается обрабатывать гранулированными и дисперсными металлургическими шлаками после предварительного улучшения их свойств добавками извести и цементной пыли I и II сортов (2-5% массы грунта). 2.2.27. Глины песчанистые и пылеватые с числом пластичности от 17 до 20 обрабатывают согласно пп. 2.2.24 - 2.2.25 и следующим рекомендациям, В такие грунты надлежит вводить либо одну известь, либо известь с добавками хлористого кальция, жидкого стекла, каустической соды, сернокислого натрия, если необходимо обеспечить большую прочность и водостойкость известнякового грунта. Подготовка, транспортирование и хранение грунтов, подлежащих обработке 2.2.28. Подготовка, транспортирование и хранение грунтов, подлежащих укреплению, зависят от способов приготовления смесей и применяемого смесительного оборудования. 2.2.29. При приготовлении смесей с помощью мобильной грунтосмесительной установки, располагаемой на прирельсовой базе или в карьере, для хранения грунта устраивают открытую площадку с покрытием из асфальтобетона или цементобетона. Вместимость площадки назначают в зависимости от производительности установки и сменного темпа строительства: при производительности установки 100-120 и 200-240 т/ч вместимость площадки составит 25-40 и 50-70 тыс. м3 соответственно. Площадки (карьеры) для приготовления смесей в установках следует располагать в местах залегания грунтов из расчета обеспечения оптимальной дальности возки готовой смеси к месту укладки. Для этого следует предусматривать периодическое перебазирование смесительных установок вдоль трассы строящейся дороги, а также производить доставку и складирование грунтов в штабели на заранее выбранные площадки для последующей их обработки вяжущими. 2.2.30. При использовании для
приготовления смеси грунто- или бетоносмесительных установок принудительного
перемешивания из крупнообломочных грунтов предварительно должны быть отсеяны
частицы крупнее В смесительных установках гравитационного
типа или грунтосмесительной установке типа ДС-50Б допускается приготовление
смеси из крупнообломочных грунтов с частицами до 2.2.31. При использовании однопроходных или многопроходных грунтосмесительных машин обрабатываемые грунты следует заранее вывезти на подготовленное земляное полотно или площадку, спланировать и прикатать до плотности 0,85-0,9 стандартной. Тяжелые суглинки, имеющие повышенную (сверх оптимальной) влажность, следует перед обработкой вяжущими осушить путем периодического рыхления (перелопачивания) или введения сухих минеральных материалов. Зерновой состав обрабатываемых грунтов должен удовлетворять требованиям пп. 2.2.14 - 2.2.15 настоящего Руководства. 2.2.32. Для предохранения укрепляемого глинистого грунта от переувлажнения земляное полотно следует отсыпать с поперечным уклоном не менее 0,05-0,07. Перед обработкой вяжущим излишки грунта по ширине проезжей части следует срезать профилировщиком (типа ДС-97, ДС-108, ДС-151) или автогрейдером, отгружая его в транспортные средства или перемещая на обочину с приданием земляному полотну требуемого поперечного профиля, 2.2.33. До распределения вяжущего по слою глинистого грунта с числом пластичности до 17 последний необходимо разрыхлить с помощью дорожной или сельскохозяйственной техники (автогрейдеров, рыхлителей, плужных агрегатов и т.п.), а затем размельчить фрезой за 3-4 прохода по одной полосе. 2.3. Вяжущие материалыВиды, составы вяжущих и их характеристикаОбщие положения 2.3.1. Вяжущие, используемые для обработки нерудных материалов и грунтов, в зависимости от их активности подразделяют на три группы. 2.3.2. К первой группе вяжущих относятся портландцемент и шлакопортландцемент, отвечающие требованиям ГОСТ 10178-85. Целесообразно применять цемент марки 300 и 400; допускаются цементы марки 200 по ГОСТ 25328-82, сульфатостойкие - по ГОСТ 22266-76, пластифицированный и гидрофобный цементы - по ГОСТ 10178-85. Марку цементов устанавливают по ГОСТ 310.1-76, ГОСТ 310.2-76, ГОСТ 310.3-76, ГОСТ 310.4-81. 2.3.3. Вторая группа - это комплексные вяжущие: шлаковые, зольные, золошлаковые, белитошламовые, а также цементная пыль и известь. Комплексное вяжущее включает основной компонент и активатор, должно удовлетворять требованиям соответствующих стандартов и технических условий, утвержденных в установленном порядке. В качестве активаторов рекомендуется использовать портландцемент и шлакопортландцемент, известь, цементную пыль, содощелочной плав, содосульфатный плед, техническую соду, жидкое стекло, гипсовый камень и др. Ориентировочный расход активатора - 5-30% массы вяжущего. Удельная поверхность комплексных вяжущих
должна быть не менее 10 м2/кг; содержание
частиц мельче 2.3.4. К третьей группе вяжущих относятся
активные и высокоактивные золы ТЭЦ (содержание свободного СаО не менее 8%,
удельная поверхность - не менее 160 м2/кг),
активные и высокоактивные шлаки черной металлургии по ГОСТ
3344-83, в том числе ферросплавные, активные и высокоактивные белитовые
шламы, цементная пыль. Они должны удовлетворять требованиям соответствующих
стандартов и технических условий, утвержденных в установленном порядке.
Удельная поверхность вяжущих должна быть не менее 100 м2/кг;
содержание частиц мельче Марку вяжущих следует принимать по паспорту завода-изготовителя. При его отсутствии марку вяжущего устанавливает строительная лаборатория. Первая группа вяжущих 2.3.5. Все рекомендуемые к применению цементы должны удовлетворять требованиям соответствующих стандартов. Схватывание цемента должно начинаться не ранее чем через 2 ч после его затворения водой. Потеря массы цементов при прокаливании не должна превышать 2%. Содержание свободной извести не нормируется; 2.3.6. С целью повысить механическую прочность обработанных материалов и уменьшить расход вяжущего следует применять тонкомолотые цементы с большой удельной поверхностью, в том числе пластифицированные и гидрофобные. 2.3.7. Для устройства цементогрунтовых однослойных оснований и покрытий дорог во II и III дорожно-климатических зонах надлежит использовать портландцемент марки не ниже 400 для покрытий и не ниже 300 для оснований, отвечающий требованиям ГОСТ 10178-85. Для устройства нижнего слоя оснований дорожных одежд во II-V дорожно-климатических зонах, а также однослойных оснований и покрытий дорог в IV и V дорожно-климатических зонах допускаются грунты, обработанные портландцементом, шлакопортландцементом и пуццолановым портландцементом марки не ниже 200. Для устройства нижних слоев оснований дорожных одежд на дорогах III категории, а также покрытий на дорогах местного значения IV категории с интенсивностью движения до 400 авт/сут и дорогах V категории в IV-V дорожно-климатических зонах допускается применять магнезиальные портландцементы, шлаково-магнезиальные и другие цементы марки 300 и ниже, а также известково-пуццолановый, известково-глинистый и известково-зольный цементы. Вторая группа вяжущих 2.3.8. На основе шлаков черной
металлургии можно получать шлаковые вяжущие различных марок в зависимости от
тонкости измельчения (количество частиц мельче 2.3.9. Шлаковое вяжущее с
порошкообразными активаторами (цементом, известью, цементной пылью и т.д.)
рекомендуется получать путем совместного измельчения шлака и активатора или
тщательного смешения подготовленного недробленого, дробленого или измельченного
шлака с активатором. Максимальная крупность недробленого шлака - Цемент должен иметь марку по прочности не ниже 400 и соответствовать требованиям ГОСТ 10178-85, известь - ГОСТ 9179-77. 2.3.10. На основе доменного гранулированного шлака с активатором-портландцементом в зависимости от тонкости измельчения можно получить шлаковое вяжущее марок по прочности 100-300. Ориентировочный состав вяжущего с активатором-портландцементом приведен в табл. 3. Таблица 3
2.3.11. На основе доменного гранулированного шлака с добавкой, активатора-извести в зависимости от тонкости измельчения шлака (удельной поверхности) можно получить шлаковое вяжущее марок по прочности 50-200. Ориентировочный состав комплексного вяжущего приведен в табл. 4. Таблица 4
2.3.12. Шлаковое вяжущее на основе доменного гранулированного шпака можно получить активацией цементной пылью. Ориентировочные составы приведены в табл. 5. Таблица 5
Шлаковое вяжущее с добавкой цементной пыли можно получить и на основе фосфорного гранулированного шлака, имеющего удельную поверхность не менее 300 м2/кг. Химический состав фосфорного шлака должен быть следующим (%): SiO2 - 40-47; СаО - 48-41; MgО ≤ 5,0; Al2O3 ≥ 2,5; Р2O5 ≤ 2,0; F- 2-2,5. Цементная пыль вторичного улавливания, относящаяся к среднещелочным веществам, должна иметь следующий химический состав (%): SiO2 - 15-20; Al2O3 - 2-4; Fe2O3 - 1-3; СаО - 40-50; MgO - 1-4; SO3 - 3-4; Na2O - 1-2; К2O - 4-5; СаОсвоб ≤ 4. Потери при прокаливании - 20-25%; содержание сернистых соединений - не более 4%. В цементной пыли не должно быть комков и
посторонних примесей. Она полностью проходит через сито с отверстиями Максимальная дозировка цементной пыли не должна превышать 10-12% массы шлака. В зависимости от количества цементной
пыли, добавляемой в шлак (удельная поверхность - 300 м2/кг,
содержание частиц мельче 2.3.13. Шлаковое вяжущее на основе шлаков черной металлургии с добавками жидких активаторов (жидкого стекла) и химических добавок, растворяющихся в воде, приготавливают введением этих добавок в оптимальное, количество воды и перемешиванием их с гранулированным шлаком, имеющим различную удельную поверхности и отвечающим требованиям ГОСТ 3476-74. 2.3.14. На основе доменного гранулированного шлака с удельной поверхностью 300 м2/кг с добавкой содощелочного плава можно получить шлакощелочное вяжущее марок по прочности 100-400. Ориентировочный состав вяжущего с содощелочным плавом приведен в табл. 7. Таблица 6
Таблица 7
Содощелочной плав (отход капролактамового производства), содержащий 95-97% углекислого натрия (Na2CO3) и 2-4% гидрата окиси натрия (NаОН), должен иметь следующий химический состав (%): SiO2 - 0,2-0,5; MgO - 0,3-0,1; Na2O - 60-50; SO3 - 3-2; CO2 - 35-45; Cl - 0,2-0,4; нерастворимый осадок 1,3-2,0; H2O гигроскопичная - 8-11. Вместо содощелочного плава можно использовать и содосульфатный плав в количестве 5-7%. В случае приготовления вяжущего на основе молотого гранулированного электротермофосфорного шлака содержание содосульфатного плава увеличивают до 9-14%. Содощелочной или содосульфатный плав следует предварительно измельчать и растворять в оптимально подобранном количестве подогретой до 40-50°С воды. Плотность раствора содощелочного плава измеряют ареометром с точностью до 0,01 г/см2. 2.3.15. Шлаковое вяжущее с добавкой жидкого стекла (шлакосиликатное вяжущее) приготавливают на основе различных металлургических шлаков. Фосфорный гранулированный шлак можно заготавливать заранее или использовать непосредственно после грануляции. Активность недробленого шлака практически не изменяется в течение длительного времени (до двух лет). Химический состав фосфорных шлаков должен отвечать требованиям п. 2.3.12. Кремнеземистый модуль жидкого стекла - 1,7 - 1,8, плотность - 1,15-1,25 г/см3. Жидкое стекло в зависимости от наличия исходных материалов можно получить двумя способами: автоклавным растворением силиката натрия (силикат глыбы) по ГОСТ 13079-81 с добавкой едкого натра по ГОСТ 2263-79 и путем введения едкого натра в высокомодульное стерло по ГОСТ 13078-81. В зависимости от количества жидкого
стекла, добавляемого в шлак (удельная поверхность - 300 м2/кг,
частиц мельче Требования к доменным гранулированным и дисперсным металлургическим шлакам приведены в табл. 10. Методика расчета показателей гранулированных доменных шлаков приведена в прил. 2, дисперсных металлургических - в прил. 3 настоящего Руководства. 2.3.16. Шлаковое вяжущее с различными добавками активаторов является медленнотвердеющим марка которого к 360-суточному возрасту в зависимости от вида и количества активатора возрастает на 20-50% нормируемого (90 сут.) срока твердения. Таблица 8
Таблица 9
2.3.17. Зольное вяжущее на основе золы уноса сухого отбора можно получить активацией золы портландцементом марки не ниже 300, известью, цементной пылью. При этом зола уноса должна иметь удельную поверхность не менее 300 м2/кг, содержать не более 3% сернистых и сернокислых соединений в пересчете на SO3, потери при прокаливании - не более 10%, а содержание свободной извести при активации ее цементом или цементной пылью должно быть не менее 8%. Ориентировочное содержание цемента или извести составляет 8-10% цементной пыли - 58-80% массы вяжущего (смеси золы и активатора).
Для улучшения свойств вяжущего при активации золы известью рекомендуется вводить до 5% подмыльного щелока или до 3% хлористых солей совместно с водой затворения. Общее количество солей, вводимых в смесь, не должно превышать 1,5% массы сухой смеси. 2.3.18. Золошлаковое вяжущее на основе золошлаковых смесей гидроудаления, а также топливных шлаков и зол можно получить активацией, шлаков или зол добавками извести, портландцемента, цементной пыли. Содержание сернистых и сернокислых соединений (в пересчете на SO3) в шлаках, золах и золошлаковых смесях должно быть не более 3% массы; потери при прокаливании для шлаков - не более 2%, для зол и золошлаковых смесей - не более 10%. Удельная поверхность молотых топливных шлаков и зол должна составлять 350-400 м2/кг. Вяжущее на основе неактивных топливных шлаков и зол должно содержать: 75-95% шлака (золы) и 25-5% портландцемента, или 85-95% шлака (золы) и 15-5% извести, или 48-50% шлака (золы) и 52-50% Цементной пыли. Ориентировочные составы вяжущего на основе золошлаковых смесей гидроудаления следующие: 88-92% смеси и 12-8% извести; 88-90% смеси и 12-10% портландцемента; 48-50% смеси и 52-50% цементной пыли. Для улучшения свойств вяжущего при активации золошлаковых смесей известью рекомендуется с водой затворения вводить до 3% хлористых солей или до 8% подмыльного щелока. 2.3.19. Белитошламовое вяжущее приготавливают на основе нефелиновых или бокситовых шламов с различными активаторами в количестве 5-20%. В качестве активатора используют портландцемент, шлакопортландцемент, известь, портландцементный клинкер, гипсовый камень, известь совместно с гипсовым камнем, цементную пыль, шлаки черной металлургии с удельной поверхностью 300 м2/кг совместно с известью или цементной пылью. Удельная поверхность шламов - не менее
300 м2/кг; содержание частиц мельче 2.3.20. Известь должна отвечать требованиям ГОСТ 9179-77. 2.3.21. Цементная пыль по своим показателям должна удовлетворять требованиям п. 2.3.12 и табл. 11. Методика определения показателей активности приведена в прил. 4. Для повышения активности цементной пыли ее целесообразно активировать добавками (табл. 12). Таблица 11
Примечание. При повышении или снижении марки цемента на 100 табличные значения его дозировки следует соответственно снизить или повысить на 20%. Третья группа вяжущих 2.3.22. Активные золы уноса от сжигания каменных и бурых углей, торфа или горючих сланцев, применяемые в качестве самостоятельных вяжущих, должны иметь удельную поверхность не менее 300 м2/кг, содержать не менее 8% свободного СаО, не более 6% сернистых и сернокислых соединений (в пересчете на SО3) и иметь не более 5% потерь при прокаливании. При устройстве оснований на дорогах III-V категорий допускается применять золы уноса сухого улавливания с удельной поверхностью не менее 160 м2/кг, если они удовлетворяют остальным требованиям. В золах уноса горючих сланцев Северо-Запада СССР допускается, как исключение, до 10% сернистых и сернокислых соединений (в пересчете на SO3). 2.3.23. Активные и высокоактивные шлаки черной
металлургии, в том числе ферросплавные» должны отвечать требованиям ГОСТ
3344-83 и иметь удельную поверхность не менее 100 м2/кг
(не менее 30% частиц; мельче 2.3.24. Активные и высокоактивные
белитовые (нефелиновый и бокситовый) шламы не должны содержать посторонних
загрязняющих примесей. Максимальный размер схватившихся комков - не более Нефелиновый шлам должен соответствовать требованиям ТУ 48-0114-19-84, бокситовый ТУ 48-2853 3/0-84. Некоторые характеристики шламов приведены в табл. 13. Таблица 13
2.3.25. Активная и высокоактивная цементная пыль (отход производства портландцементного клинкера) должна удовлетворять требованиям п. 2.3.12. Начало схватывания цементной пыли - не ранее чем через 2 ч с момента ее затворения водой. Рекомендуется цементная пыль 1-го сорта без добавок, а также 2-го и 3-го сортов с активными добавками (см. табл. 12). Показатели активности пыли должны соответствовать приведенным в табл. 10. 2.4. Вода, ПАВ и противоморозные добавки2.4.1. Вода для приготовления обработанных материалов и растворов ПАВ должна соответствовать требованиям ГОСТ 23732-79. В пустынных районах V дорожно-климатической зоны допускается использовать минерализованную воду, содержащую не более 150 г/л соли, 25 г/л ионов SO2-4, 13 г/л Cl-. 2.4.2. С целью снизить расход цемента, повысить, прочность и морозостойкость обработанного материала следует вводить ПАВ (табл. 14). 2.4.3. Для обеспечения возможности применять обработанные материалы при пониженной положительной и отрицательной температурах воздуха (от 5 до минус -20°С) следует вводить противоморозные добавки (см. табл. 14). 2.4.4. Для ускорения процессов твердения и улучшения физико-механических свойств материалов, обработанных сланцевой золой уноса, следует вводить добавку хлористого кальция CaCl2 по ГОСТ 450-77 в количестве 3-5% массы золы. Таблица 14
Примечания: 1. Ориентировочный расход добавок приведен в табл. 22 настоящего Руководства. 2. Кроме рекомендованных добавок, выпуск которых освоен промышленностью, допускается применение других добавок, удовлетворяющих требованиям ГОСТ 24211-80. 3. ТРЕБОВАНИЯ К НЕРУДНЫМ МАТЕРИАЛАМ И ГРУНТАМ, ОБРАБОТАННЫМ НЕОРГАНИЧЕСКИМИ ВЯЖУЩИМИ3.1. Нерудные материалы и грунты, обработанные неорганическими вяжущими, должны соответствовать требованиям действующих нормативных документов. 3.2. Качество нерудных материалов и грунтов, обработанных неорганическими вяжущими, определяется маркой по морозостойкости (Мрз), маркой по прочности при сжатии (Rc) и на растяжение при изгибе (Rи). Взаимосвязь между прочностью при сжатии и на растяжение при изгибе обработанных материалов приведена в табл. 15. Допускается прочность на растяжение при изгибе (Rи) оценивать по прочности на раскол (Rp), принимая Rp=0,5 Rи.
3.3. Обработанные материалы должны выдерживать 5, 10, 15, 25, 50 циклов попеременного замораживания-оттаивания при коэффициенте морозостойкости не менее 0,75 (отношение прочности при сжатии образца, прошедшего заданное количество циклов замораживания-оттаивания, к прочности образца нормального хранения). Обработанные материалы по морозостойкости подразделяются на марки Мрз 5, Мрз 10, Мрз 15, Мрз 25, Мрз 50. 3.4. Марки по прочности и морозостойкости обработанных материалов, применяемых в районах со среднемесячной температурой наиболее холодного месяца минус 10 °С и ниже, определяют при полном водонасыщении образца по прил. 5; марки по морозостойкости для районов со среднемесячной температурой наиболее холодного месяца выше минус 10°С устанавливают при капиллярном водонасыщении образца, а по прочности при полном водонасыщении (прил. 6). 3.5. Характеристики материалов, обработанных вяжущими первой группы (портландцементом, шлакопортландцементом и другими видами цементов по п. 2.3.2), следует определять в возрасте 28 сут., обработанных вяжущими второй группы (шлаковыми, зольными и золошлаковыми, белитошламовыми вяжущими, шлакощелочными и шлакосиликатными вяжущими, известью, цементной пылью с активаторами) - 90 сут. и вяжущими третьей группы (активными и высокоактивными зола м и ТЭС, активными и высокоактивными шлаками черной металлургии, в том числе ферросплавными, активными, и высокоактивными белитовыми шламами, активной и высокоактивной цементной пылью без активаторов), - в возрасте 180 сут. 3.6. Предварительную прочность обработанных материалов определяют экспресс - методом (прил. 7); при этом предел прочности при сжатии должен составлять не менее 0,5 прочности в нормируемом возрасте. 3.7. Основными расчетными характеристиками конструктивных слоев из обработанных материалов (при расчете на воздействие подвижной нагрузки) являются модуль упругости и предел прочности на растяжение при изгибе. Значения этих характеристик в возрасте 28, 90 и 180 сут. в зависимости от группы вяжущих и вида обработанного материала приведены в табл. 16 и 17. Таблица 16
Таблица 17
Примечания: 1. При составлении табл. 17 использован типовой альбом серии 3.503-71/88, вып. 0 "Материалы для проектирования". 2. В смеси 1 максимальный размер частиц - 3. Для обработанных материалов марки 12,5 значения Е и Rи принимают равными соответственно 1740 и 1,9 МПа, для марки 10,0 - 1560 и 1,6 МПа, для марки 7,5 - 1200 и 1,35 МПа. 3.8. Марки по прочности и морозостойкости назначают в зависимости от типа дорожной одежды, категории дороги и климатических условий по табл. 18. Таблица 18
Примечания: 1. Норма для покрытий со слоем износа на дорогах переходного типа должна быть выше на марку. 2. В условиях, где среднемесячная температура наиболее холодного месяца ниже минус 30°С, покрытия из обработанных материалов и грунтов не устраивают. 3. Минимальная марка по прочности нерудных материалов, применяемых для обработки неорганическими вяжущими, принимается по табл. 2. 4. ПОДБОР (ПРОЕКТИРОВАНИЕ) СОСТАВОВ СМЕСЕЙ4.1. Принципы подбора составов смесей4.1.1. При проектировании следует стремиться получить смеси оптимального зернового состава с наибольшими плотностью, прочностью и требуемой морозостойкостью при минимальном количестве вяжущего, что достигается правильно подобранным содержанием в смеси щебня (гравия), песка или грунта и вяжущих. 4.1.2. Целесообразно применять каменные материалы и пески с непрерывным зерновым составом, соответствующим кривым плотных смесей с коэффициентом сбега Ксб = 0,6÷0,8. Применение смесей с Ксб = 0,65÷0,75 позволяет сократить расход вяжущего на 2-5%. 4.1.3. Повышение плотности смесей за счет
введения недостающих фракций материала, в том числе мелкозернистых (мельче 4.1.4. Для улучшения физико-механических и технологических свойств смесей целесообразно вводить с водой затворения добавки ПАВ. Применение при обработке нерудных материалов и грунтов неорганическими вяжущими добавок ПАВ - пластификаторов типа ЛСТ и ЛСТМ-2, суперпластификаторов типа С-3 и 10-03, пластифицирующе-воздухововлекающих добавок типа ЩСПК (б. ПАЩ) и ГКЖ-10 (ГКЖ-11) в оптимальном количестве позволяет сэкономить 7-12 %, 15-20 %, 6-8 % цемента соответственно. 4.1.5. При проектировании составов смесей с требуемыми параметрами необходимо: подобрать зерновой состав нерудных материалов, крупнообломочных грунтов по соответствующим кривым плотных смесей, обеспечивающих максимальную плотность обработанных материалов; установить оптимальное количество воды в смеси с заданным количеством вяжущего для получения максимальной плотности смеси; выявить оптимальное количество и качество вяжущего в смеси, обеспечивающие заданные прочность и морозостойкость; установить необходимость введения ПАВ и гранулометрических добавок в исходные материалы. 4.1.6. Подобранные составы смесей должны обеспечивать проектные марки обработанного материала по прочности и морозостойкости и удовлетворять требованиям табл. 15 и 18 настоящего Руководства. 4.2. Порядок подбора составов смесей нерудных материалов и грунтов4.2.1. Перед подбором составов смесей все исходные материалы, грунты и вяжущие следует испытать и установить соответствие их свойств требованиям действующих стандартов (прил. 8, 9). 4.2.2. Для определения общего зернового состава обработанной смеси из нерудных материалов или из крупнообломочных грунтов необходимо определить зерновые составы ее составляющих и по прил. 10 подобрать соотношение компонентов, чтобы общий зерновой состав соответствовал одному из приведенных в табл. 1 для конкретной смеси. 4.2.3. Оптимальную влажность и максимальную плотность обработанной смеси определяют экспериментально по прил. 11, 12. 4.2.4. Необходимое количество вяжущего устанавливают экспериментально на образцах, изготовленных по прил. 13. 4.2.5. Оценку физико-механических свойств обработанных материалов из подобранных смесей производят после твердения образцов в нормальных условиях в течение 28, 90 или 180 сут. (в зависимости от группы, вяжущего). Пределы прочности образцов при сжатии определяют по прил. 14, на растяжение при изгибе - по прил. 15, на растяжение при раскалывании - по прил. 16, морозостойкость - по прил. 5; остальные показатели устанавливают по прил. 6, 7, 17, 18. 4.2.6. По результатам испытания определяют лабораторный состав смеси, обеспечивающий требуемые характеристики обработанного материала при минимальном расходе вяжущих. При этом допускаемое отклонение прочности от марочной в сторону ее уменьшения не должно превышать 5%. Обработку результатов испытания производят согласно прил. 19. 4.2.7. По результатам подбора
устанавливают расход материалов для приготовления При назначении окончательного производственного состава смеси на основе подобранного лабораторного состава следует учитывать неоднородность приготовлений и укладки материалов различными грунтосмесительными машинами и механизмами и увеличивать расход вяжущего, чтобы прочность материала в 1,05-1,5 раза превышала прочность лабораторных образцов (табл. 19). Расчетные характеристики обработанных материалов определяют по прил. 21. 4.2.8. С целью более точно назначить необходимое количество вяжущего в зависимости от его марки, что позволит получить обработанный материал требуемой прочности, исходные материалы (заполнители) целесообразно разделить на следующие группы: песчано-щебеночные смеси оптимального зернового состава; песчано-гравийные смеси и крупнообломочные грунты оптимального зернового состава; песчано-гравийные смеси и крупнообломочные грунты неоптимального зернового состава; пески гравелистые и крупные; пески мелкие и пылеватые, супесь легкая и пылеватая. Таблица 19
Примечание. Коэффициент запаса прочности используют в расчетах при дозировке вяжущего до 15%. При больших дозировках коэффициент определяют по формуле K' = (K+1)/2. Ориентировочные дозировки вяжущих в зависимости от их марки и указанных групп материалов следует принимать по табл. 20, в зависимости от группы вяжущих по табл. 21. Дозировку добавки, в том числе и органической, для обработки каменных материалов и грунтов, принимают при технико-экономической целесообразности по табл. 22.
Примечания: 1. Над чертой - дозировка вяжущих для верхнего слоя основания или покрытия, под чертой - нижнего слоя основания. 2. Дозировки шламов как без добавок, так и с добавками активаторами даны для условий II-III климатических зон. При использовании вяжущих в IV-V дорожно-климатических зонах указанные дозировки снижают на 1-3%. 3. Показатели свойств обработанных материалов должны соответствовать ГОСТ 23558. При этом для получения марки 6 принимают максимальные дозировки, для марки 1 - минимальные. 4. Для обработки можно использовать отходы промышленности (золошлаки ТЭС, металлургические шлаки и др.). Дозировку вяжущих принимают в зависимости от их зернового состава.
Примечания: 1. Над чертой приведены дозировки для укрепления крупнообломочных грунтов, песков, супесей и отходов промышленности, под чертой - суглинков и глин. 2. Дозировки добавок неорганических вяжущих и промышленных отходов, органических веществ, а также химических добавок и латексов (СКС-65ГП и СКПС-50) даны в процентах массы смеси, добавки поверхностно-активных веществ - в процентах массы цемента. 4.2.9. Содержание воды в смесях должно обеспечивать их максимальную плотность. Уменьшение или увеличение влажности смеси на 1-2% оптимальной приводит к снижению прочности обработанного материала на 10-30%. Компенсация потери прочности в этом случае возможна за счет увеличения количества вяжущего на 10-20%. Расход воды следует назначать сверх 100%. При использовании нерудных материалов и цемента в смесь вводят 5-8% воды с 8-16% медленнотвердеющего вяжущего. При обработке легких искусственных каменных материалов ориентировочный расход воды составляет 8-11 % массы сухой смеси. Для смесей, содержащих 10-25% пылевато-глинистых частиц, содержание воды увеличивают на 2-3%. Ориентировочное количество воды при обработке грунтов следует принимать по табл. 23.
Примечания: 1. Над чертой - в процентах массы грунта, под чертой - в долях на границе текучести. 2. Оптимальная влажность и максимальная плотность смесей из одноразмерных песков с оптимальным количеством вяжущих (цемента, золы уноса) - не менее 10-12%. 4.3. Особенности подбора составов смесей обработанных материалов для зимнего строительства4.3.1. Порядок подбора составов смесей обработанных материалов для строительства оснований в зимних условиях аналогичен порядку подбора в обычных условиях со следующими дополнениями. При проектировании составов смесей на основе цемента следует определять количество добавляемых хлористых солей, которые должны обеспечить набор 70% проектной прочности обработанного материала до его замерзания. При проектировании составов смесей на основе шлаковых и зольных вяжущих следует определять количество добавляемых хлористых солей, которые должны обеспечить уплотнение смеси в основании. Этот материал не требуется предохранять от замораживания после уплотнениями набор его прочности будет продолжаться после оттаивания весной. 4.3.2. При проектировании составов смесей, приготавливаемых с подогревом воды и при необходимости, щебня (гравия) и песка, назначают температуру подогрева, обеспечивающую требуемый технологический режим укладки и твердения. 4.3.3. Расход воды в смеси, учитывая влажность заполнителей и пластифицирующие свойства солевых добавок, необходимо уменьшить по сравнению с расчетным на 8-10%. 4.3.4. Ориентировочное количество хлористых солей в зависимости от температуры твердения можно принимать по табл. 24, а расчет проводить по прил. 21. 4.3.5. Содержание безводных солей в растворе, а также температуру замерзания следует контролировать по плотности раствора в соответствии с прил. 22. 4.3.6. Дозировку солей, вводимых в смесь на основе шлаковых и зольных вяжущих, приготавливаемых на месте производства работ, устанавливают только с учетом обеспечения уплотнения. При этом целесообразно применять только хлористый натрий, количество которого следует назначать по общему процентному содержанию солей согласно табл. 24. 4.3.7. Достижение 70%-ной проектной прочности цементоминерального материала с противоморозными добавками (хлористыми солями) до замерзания рекомендуется определять по табл. 25. 4.3.8. При пониженных температурах воздуха (от 5 до минус 10°С) допускается приготавливать смесь на) месте производства работ (автомобильные дороги II-V категорий). При этом земляное полотно должно быть возведено при положительных температурах воздуха. При температурах воздуха от 0 до 5°С возможна обработка крупнообломочных, песчаных и глинистых грунтов; при температурах от 0 до минус 10°С - крупнообломочных грунтов и песков гравелистых, крупных, средней крупности, мелких и пылеватых. 4.3.9. В качестве вяжущих применяют портландцемент марки не ниже 400, отходы промышленности и вяжущие на их основе. В IV-V дорожно-климатических зонах при устройстве оснований под усовершенствованные облегченные или переходные типы покрытия из тяжелых суглинков или глин допускается использовать шпакопортпандцемент, известковошлаковое вяжущее или известь.
Примечание. Противоморозные добавки целесообразно использовать совместно с пластифицирующими: ЛСТ, ЩСПК, ЧСЩ в количестве 0,5-1; 1-2 и 0,1-0,2% массы вяжущего соответственно. При этом наименьшие дозировки - для районов со среднемесячной температурой от 0 до минус 5, наибольшие - от минус 15 до минус 20°С. Таблица 25
4.4. Особенности подбора составов сухих цементогрунтовых смесей4.4.1. Для приготовления сухих смесей применяют крупнообломочные грунты, пески гравелистые, крупные, средней крупности, мелкие и мелкие пылеватые, в том числе одноразмерные, имеющие естественную влажность не более 4%. Тип песчаного грунта и степень его неоднородности определяют по ГОСТ 25100-82. 4.4.2. Принцип и порядок подбора состава сухих смесей аналогичны принципу и порядку подбора смесей, которые укладывают в основания сразу после их приготовления. 4.4.3. Дозировки цемента марки 400 при подборе составов сухих смесей следует выбирать по табл. 26. При снижении (или повышении) активности цемента на 5 МПа следует увеличить (или уменьшить) дозировку цемента на 1%. 4.4.5. При использовании для устройства оснований сухой цементогрунтовой смеси, хранившейся в штабеле при отрицательной температуре, для повышения прочности, водо- и морозостойкости обработанного грунта и снижения расхода цемента в смесь вместе с водой затворения следует вводить 0,5-1,0% ЛСТ, или 1-2% ГНД, или 0,2-1% ГКЖ, или 0,2-0,5% (массы цемента) ПЩ, или 1-3% (массы смеси) сырой нефти. Таблица 26
Примечание. Большие дозировки цемента соответствуют песку с меньшим модулем крупности. 4.4.6. Оптимальную влажность и максимальную плотность цементогрунтовой смеси надлежит определять по прил. 12 с нижеследующими дополнениями. Режим уплотнения смеси при изготовлении образцов обработанного грунта (число ударов груза прибора стандартного уплотнения или величину уплотняющей нагрузки гидравлического пресса) следует назначать исходя из максимальной плотности смеси по табл. 27, т.е. число ударов груза или уплотняющая нагрузка должны обеспечить плотность, соответствующую указанному значению коэффициента уплотнения Ку для данного типа грунта. Пример. Требуется установить режим уплотнения образцов смеси песка мелкого с 12% цемента, имеющей максимальную плотность ρmax ck = 1,80 г/см3 при влажности W0 =9,5%. Сухая смесь предназначена для укладки в основание зимой. По табл. 27 находим Кy = 0,95. Определяем требуемую плотность смеси для изготовления образцов при найденном Ку : ρтр.ck = 1,80×0,95 = 1,71 г/см3 и подбираем число ударов падающего груза на приборе стандартного уплотнения, обеспечивающее ρтр.ск = 1,71 г/см3. Число ударов равно 13. В таком режиме из смеси с влажностью 9,5% готовят образцы укрепленного грунта для испытаний. Таблица 27
Примечания: 1. Значения Ку, получены в натурных условиях при уплотнении смеси на дороге катками на пневматических шинах за 12-18 проходов по одному следу. 2. Большие значения Ку соответствуют пескам с большим модулем крупности. 4.4.7. Изготовление, хранение и испытание образцов обработанного грунта следует производить в соответствии с указаниями пп. 4.2.1-4.2.9. 4.5. Особенности подбора составов смесей в V дорожно-климатической зоне4.5.1. При проектировании составов смесей для условий V дорожно-климатической зоны следует учитывать климатические факторы (повышенные температуры,, стабильный водно-тепловой режим земляного полотна) и грунтовые особенности (значительное распространение барханных песков и лессовых грунтов с высоким содержанием карбонатов). Таблица 28
Примечания: 1. Допускается обрабатывать связные грунты с числом пластичности не более 17 при сульфатном, хлоридно-сульфатном и содовом засолении. Содержание гипса - не более 20 %. 2. При обработке грунтов портландцементом в сочетании с цементной пылью или золой уноса меньшим дозировкам цемента соответствуют большие дозировки добавок.
4.5.2. При укреплении крупнообломочных, песчаных и глинистых грунтов портландцементом, известью, известково-шлаковым вяжущим ориентировочные дозировки веществ принимают по табл. 20. Дозировки вяжущих из отходов промышленности, а также добавок, применяемых для укрепления крупнообломочных и песчаных грунтов и отвечающих требованиям разд. 2.2 назначают по табл. 21 и 22. Содержание неорганических вяжущих и добавок, рекомендуемых для укрепления грунтов с различной степенью засоленности, приведено в табл. 28. 4.5.3. Для приготовления смесей допускается применение минерализованной и морской воды с общим содержанием солей до 30 тыс. мг/л (в том числе содержание SO42- не должно превышать 5000 мг/л). 4.5.4. При подборе составов в смесь вначале вводят госсиполовую смолу, жидкие битумы и нефть, смесь перемешивают, а затем добавляют неорганические вяжущие (цемент или золу уноса и др.) и воду. Госсиполовую смолу и жидкие битумы предварительно нагревают до температуры 60-80°С. 4.6. Особенности подбора составов смесей из переувлажненных грунтов4.6.1. В грунты с влажностью выше указанной в табл. 23 требуется вводить осушающие добавки: известь молотую негашеную или гидрофобизированную, а также золу уноса сухого отбора, содержащую не менее 8% свободного оксида кальция. Дозировки указанных добавок даны в табл. 29. Кроме того, при укреплении переувлажненных песков, супесей и суглинков можно использовать молотые шламы (нефелиновый или бокситовый) в количестве 15-25% массы смеси. 4.6.2. При лабораторном подборе составов в переувлажненный грунт вначале вводят осушающую добавку, смесь перемешивают и выдерживают не менее 10-12 ч; затем добавляют основное вяжущее и, если требуется, активные и поверхностно-активные вещества; образцы формуют и испытывают в соответствии с методикой, изложенной в прил. 13-16.
Примечания: 1. Добавка молотой негашеной извести приведена в пересчете на CаO+MgO, активной золы уноса - на свободный СаО. 2. Влажность грунта дана в относительных единицах от оптимальной. 4.6.3. Допускается укреплять переувлажненные грунты портландцементом в увеличенных по сравнению с данными табл. 20-21 дозах. Дополнительный расход вяжущего марки не менее 300, требуемый для связывания избыточной воды, назначают по табл. 30. Таблица 30
Примечания: 1. При применении цемента низших марок дозировки вяжущего увеличивают в 1,2-1,3 раза. 2. Влажность грунта дана в относительных единицах от оптимальной. 5. ТЕХНОЛОГИЯ ПРИГОТОВЛЕНИЯ МЕСТНЫХ (ШЛАКОВЫХ, ЗОЛЬНЫХ, ШЛАМОВЫХ)
ВЯЖУЩИХ. КОНТРОЛЬ КАЧЕСТВА ПРИГОТОВЛЕНИЯ ВЯЖУЩИХ.
| ||||||||||||||||||||||||||||||||||||||||||||||||||||||||||||||||||||||||||||||||||||||||||||||||||||||||||||||||||||||||||||||||||||||||||||||||||||||||||||||||||||||||||||||||||||||||||||||||||||||||||||||||||||||||||||||||||||||||||||||||||||||||||||||||||||||||||||||||||||||||||||||||||||||||||||||||||||||||||||||||||||||||||||||||||||||||||||||||||||||||||||||||||||||||||||||||||||||||||||||||||||||||||||||||||||||||||||||||||||||||||||||||||||||||||||||||||||||||||||||||||||||||||||||||||||||||||||||||||||||||||||||||||||||||||||||||||||||||||||||||||||||||||||||||||||||||||||||||||||||||||||||||||||||||||||||||||||||||||||||||||||||||||||||||||||||||||||||||||||||||||||||||||||||||||||||||||||||||||||||||||||||||||||||||||||||||||||||||||||||||||||||||||||||||||||||||||||||||||||||||||||||||||||||||||||||||||||||||||||||||||||||||||||||||||||||||||||||||||||||||||||||||||||||||||||||||||||||||||||||||||||||||||||||||||||||||||||||||||||||||||||||||||||||||||||||||||||||||||||||
|
Удельная поверхность, м2/кг |
Количество
частиц мельче |
Удельная производительность мельницы, кг/ (ч·л) |
|
|
шаровой (1456) |
вибрационной (СМ-10) |
||
|
30 |
15 |
2,20 |
21,6 |
|
120 |
30 |
1,10 |
11,9 |
|
170 |
50 |
0,75 |
2,5 |
|
300 |
90 |
0,30 |
0,9 |
5.5.4. Важным условием
нормального режима работы мельницы является правильная ее загрузка мелющие ми
телами. Обычно мельницы загружают мелющими телами на 25% объема. Размер мелющих
тел (шаров диаметром 20-
5.5.5. В процессе помола происходит износ мелющих тел и примерно через 100-150 ч работы мельницы их пополняют. Полную замену новыми мелющими телами производят через 1800-2000 ч работы мельницы во время ее планового ремонта.
5.5.6. Полученное вяжущее по аэрожелобам или трубам с помощью пневмонасосов направляется для хранения в силосы. Общая вместимость силосов должна быть не менее 7-суточной производительности цеха. Количество силосов рассчитывают исходя из ассортимента выпускаемых вяжущих, предполагая, что для каждого вида вяжущего необходимо не менее двух силосов.
Таблица 32
|
Диаметр шара, мм |
Масса шара, кг |
Количество шаров в 1 т |
|
100 |
4,05 |
246 |
|
90 |
2,87 |
348 |
|
70 |
1,38 |
752 |
|
60 |
0,80 |
1136 |
|
50 |
0,56 |
1786 |
|
40 |
0,28 |
3572 |
|
30 |
0,12 |
8334 |
5.5.7. Для улавливания пыли, образующейся в сушильном барабане, мельнице и транспортирующих устройствах, чаще всего применяют циклонные пылеуловители и матерчатые фильтры.
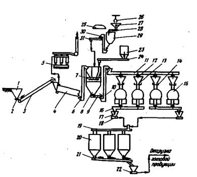
5.5.8. Технологическая схема приготовления местных вяжущих приведена на рис. 7.

Рис. 7. Технологическая схема по приготовлению шлакового вяжущего по 1-му способу:
1 - бункер для шлака; 2, 9, 28 - питатели; 3 - ленточный конвейер; 4 - сушильный барабан; 5 - обеспыливающая установка; 6, 10, 30 - ковшовые элеваторы; 7 - смесительный агрегат с весовым дозатором и двухвальной мешалкой; 8 - бункер; 11, 16, 24, 31 - винтовые конвейеры; 12 - затвор; 13 - бункер; 14 - дисковый питатель; 15 - мельница: 17 - бункер; 18 - пневмовинтовой конвейер; 19 - распределитель; 20 - силосы готового вяжущего; 21 - пневможелоб; 22 - пневмоподъемник; 23 - расходный бункер активатора; 25 -склад активирующей добавки: 28 - грейферный кран; 27 - бункер; 29 - дробилка
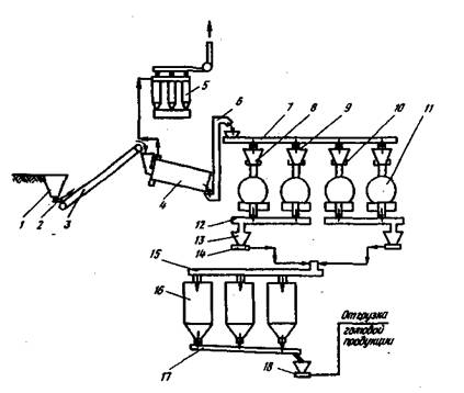
5.5.9. При 2-м способе (приготовление только измельченного шлака) (рис. 8) из отделения сушки и дозирования исключают смеситель, бункер, ленточный питатель, элеватор, а также отделение приготовления активирующих добавок.
Следует отметить, что оборудование отделения измельчения в обоих вариантах рассчитано на измельчение материала только до удельной поверхности 300 м2/кг, что обеспечивает заданную производительность 50 тыс. т в год. При измельчении шлака до удельной поверхности 100-150 м2/кг производительность мельниц увеличивается примерно в 2 раза и составляет около 100 тыс. т в год.

Рис. 8. Технологическая схема измельчения шлаков или шламов по 2-му способу:
1 - бункер для шлака (шлама); 2 - питатель; 3 - ленточный конвейер; 4 - сушильный барабан; 5 - агрегат очистки; - ковшовый элеватор; 7 - винтовой конвейер; 8 - бункер; 9 - затвор; 10 - дисковый питатель; 11 - мельница; 12 - винтовой конвейер; 13 - бункер; 14 - пневмовинтовой конвейер; 15 - распределитель; 16 - силосы готового вяжущего; 17 - пневможелоб; 18 - пневмоподъемник
5.5.10. Местное вяжущее, приготавливаемое по 2-му способу, получают перемешиванием отдельно подготовленного измельченного, дробленого или недробленого основного компонента и активатора. Для этого используют смесительные силосы, представляющие собой цилиндрические металлические резервуары (банки), в которых осуществляют перемешивание. Процесс гомогенизации облегчается, если находящийся в силосе сухой материал насыщают сжатым воздухом.
5.6.1. Контроль за производством вяжущих осуществляет заводская или цеховая лаборатория.
5.6.2. Для контроля качества вяжущих необходимо: измерять один раз в смену влажность исходных материалов, подлежащих помолу;
определять периодически тонкость помола материалов с точностью до 0,1% по ГОСТ 310.2-76 и износ через 100 ч работы мелющих средств;
следить за тонкостью помола вяжущих готовых к отгрузке, чтобы остаток на сите с сеткой № 008 не превышал, 10-12%;
определять марку вяжущего (прочность образцов, наготовленных по ГОСТ 3344-83) в каждой партии вяжущего.
5.7.1. Готовое вяжущее перевозят в цементовозах, специально оборудованных вагонах и контейнерах, которые могут доставляться к месту работы как по железной дороге на платформах, так и автомобильным транспортом.
5.7.2. Вяжущие материалы и добавки поступают с, мест погрузки на прирельсовые базы.
Для приема и хранения порошкообразных неорганических вяжущих следует использовать типовые сборно-разборные склады, оборудованные механизмами для разгрузки вяжущих из железнодорожных вагонов или цементовозов и подачи их на склады заводов и от них в расходные бункеры установок и автотранспортные средства.
5.7.3. Способы приемки, складирования и транспортирования материалов, а также применяемое оборудование должны исключать возможность нанесения ущерба окружающей среде и здоровью рабочих.
5.7.4. Вместимость складов для неорганических вяжущих должна соответствовать производительности смесительной установки и сменного темпа строительства: при производительности 100-120 т/ч вместимость складов для хранения составит 1,5-1,8 тыс. т, при 200-240 т/ч - 2,5-3,0 тыс. т.
5.7.5. Готовые вяжущие следует хранить на складах по видам, сортам и маркам при относительной влажности воздуха не более 85% в условиях, исключающих загрязнение и увлажнение вяжущего.
Использование их допускается только при наличии заводского паспорта или после проведения стандартного или ускоренного испытания на активность. В первую очередь расходуют вяжущее раннего поступления. Цемент и вяжущие второй группы, хранившиеся более 2 мес, перед употреблением надо повторно испытать на прочность (активность).
5.7.6. Белитовые шламы, золы и шлаки ТЭЦ мокрого улавливания, шлаки черной металлургии без активаторов можно хранить в штабелях на открытых площадках. По истечении срока хранения (6 мес.) перед употреблением их необходимо испытать на активность.
6.1.1. Установки по приготовлению смесей необходимо размещать непосредственно у строящейся дороги, в притрассовых карьерах или у железнодорожных и водных путей в случае использования привозных каменных материалов и грунтов.
При использовании установок для приготовления цементоминеральных смесей следует учитывать и сравнительно малые сроки схватывания цемента.
Площадка для размещения завода по приготовлению смесей должна быть ровной, иметь небольшой уклон для стока поверхностных вод и твердое покрытие.
6.1.2. Процесс приготовления обработанной смеси состоит из следующих основных операций:
разгрузка и складирование материалов;
дробление, фракционирование и мойка (при необходимости) материалов;
подача материалов к дозаторному отделению смесителя;
дозирование, подача и перемешивание материалов с вяжущим;
выгрузка смеси и транспортирование ее к месту укладки.
Технологическая схема приготовления смесей приведена на рис. 9.
6.1.3. Разгрузка и подача материалов в приемные бункеры дозаторного отделения смесительной установки осуществляются погрузчиками или транспортерами, оборудованными питателями.
6.1.4. Материалы, поступающие в централизованном порядке на смесительные установки для приготовления смесей, должны удовлетворять требованиям соответствующих стандартов.
При несоответствии этим требованиям материалы необходимо дробить и фракционировать. Эти работы целесообразно проводить в карьерах или на территории завода по приготовлению смеси.

Рис. 9. Технологическая схема приготовления смесей на установке ДС-50Б:
1 - приемный бункер транспортера подачи материалов; 2 - погрузчик; 3 - агрегат питания материала; 4 - бункер цемента и сыпучих добавок; 5 - стойка транспортера; 6 - транспортер; 7 - цистерна для воды и жидких вяжущих; 8 - рама смесителя; 9 - водяной дозатор; 10 - смеситель; 11 - бункер для готовой смеси; 12 - автосамосвал
6.1.5. Для приготовления смесей из
нерудных материалов и крупнообломочных, песчаных, легких супесчаных грунтов и
отходов промышленности, укрепленных цементом и другими минеральными вяжущими,
следует применять грунтосмесительные установки непрерывного действия
принудительного перемешивания (типа ДС-50А и ДС-50Б), а также
бетоносмесительные установки цикличного (типа СБ-5, СБ-93) и непрерывного (типа
СБ-37, СБ-75, СБ-78) действия принудительного перемешивания. Для приготовления
смесей на основе песчаных и крупнообломочных грунтов, содержащих не менее
20-30% частиц крупнее
6.1.6. Минеральные компоненты смеси дозируются весовыми дозаторами, а вода, ПАВ и другие жидкие компоненты - объемными.
6.1.7. При использовании
многокомпонентных смесей установки ДС-50А и ДС-50Б следует оборудовать
дополнительными дозаторами и бункерами вместимостью от 4 до
При применении шлаков, отсевов дробления, отдельных фракций каменных материалов, зол уноса в количестве 5-25% установки типа ДС-50А должны быть оборудованы дополнительно дозаторами типа СБ-42А с бункером открытого типа.
При введении зол уноса, цемента, минерального порошка, цементной пыли и извести, а также их смесей в количестве 4-20 и 2-10% установки типа ДС-50А и ДС-50Б следует оснащать дозаторами типа СБ-71А с герметичным бункером.
Техническая характеристика применяемых смесителей, дозаторов каменных материалов и цемента приведена в прил. 24.
6.1.8. Растворы ЛСТ (б. СДБ), содощелочного плава, хлористых солей, жидкое стекло готовят в растворных узлах смесительных установок (рис. 10).
В состав узла по приготовлению растворов
следует включать также емкость для воды вместимостью 10-
При использовании шлакосиликатного или шлакощелочного вяжущего жидкое стекло или содощелочной плав подаются через систему дозирования битума установок ДС-50А и ДС-50Б. Если вязкость этих материалов менее 17 с по В3-4, то их можно подавать в смеситель через систему дозирования воды. Подачу и дозирование шлака в этом случае следует производить дозатором СБ-71А.

Рис. 10. Схема узла по приготовлению водных растворов химических добавок:
1 - дренажные трубы; 2 -нагревательное устройство: 3 - бак для приготовления первичного раствора; 4 - трубки подачи воды; 5 - электропривод лопастной мешалки; 6 - загрузочный люк; 7 - предохранительная решетка; 8 - фильтр; 9 - насос: 10 - бак для приготовления рабочего раствора; 11 - трубопровод сжатого воздуха; 12 - поплавок; 13 - расходный бак; 14 - дозатор (расходомер); 15 - распылитель; 16 - смеситель
6.1.9. Допустимая погрешность дозирования щебня, гравия, песка, песчано-гравийной смеси, грунтов не должна превышать ±5%, цемента, зол, шлаков, известиях при содержании их в смеси до 5% и ±5% при содержании более 5%.
Несоблюдение указанной точности дозирования приводит к отклонениям от средней прочности обработанных материалов на 10-15%.
6.1.10. Работу дозаторов ежедневно должен проверять представитель лаборатории и не реже одного раза в месяц - представитель государственной метрологической службы.
Для обеспечения оперативного непрерывного контроля за расходом каждого компонента смеси целесообразно дозаторы оснащать датчиками с показывающими или записывающими приборами, непрерывно регистрирующими массу материала, выдаваемого дозатором за определенное время.
6.1.11. Перед началом производственного выпуска обработанной смеси необходимо выполнить пробные замесы, чтобы установить оптимальное время перемешивания, точность дозирования компонентов, равномерность поступления смеси из накопительного бункера смесительной установки и ее однородность.
6.1.12. Для обеспечения работы смесительных установок составляют отряд машин согласно табл. 33.
Таблица 33
|
Тип установки |
Состав отряда |
||||
|
Погрузчик ТО-18А |
Склад порошкообразных материалов СБ-74А |
Цементовоз |
Бульдозер |
Поливомоечная машина |
|
|
ДС-50А |
1 |
2-3 |
2-4 |
1 |
2 |
|
ДС-50Б |
2 |
4-5 |
2-4 |
1 |
3 |
6.1.13. Затворение смесей производят путем введения в смеситель воды или водных растворов химических веществ, расход которых устанавливают с учетом естественной влажности укрепляемых материалов. Общее содержание воды должно соответствовать оптимальной влажности смеси.
При приготовлении смесей из грунтов, содержащих до 15% пылеватых частиц (или подобных материалов), рекомендуется вводить в смесь не более 60% необходимого количества воды во избежание залипания смеси в мешалке. Однако если подавать воду в смеситель приблизительно за 30-50 с до выхода, то можно вводить все требуемое количество воды.
6.1.14. Содержание воды (или растворов), добавляемой в смеситель при приготовлении смеси, определяют по формуле
![]()
где Pв - масса воды, добавляемой в смесь, т;
р - масса материала, естественной влажности, т;
W - естественная влажность материала, % массы;
Wo - оптимальная влажность смеси, % массы.
6.1.15. С целью обеспечить оптимальную влажность смеси, доставляемой к месту укладки, в нее следует добавлять воду с учетом потерь влаги во время транспортирования. Содержание воды зависит от дальности транспортирования, погодных условий и определяется опытным путем. В жаркую погоду смесь при транспортировании автомобилями-самосвалами рекомендуется закрывать брезентовым полотном.
6.1.16. Режим работы смесителя должен соответствовать указанному в заводском паспорте, что гарантирует качество перемешивания. Перегрузка смесителя по объему выпускаемой готовой смеси не должна превышать 10%.
6.1.17. Чтобы предотвратить расслоение и
сегрегацию смеси при погрузке ее в автомобили-самосвалы из смесительной
установки, а также ослабить отрицательный эффект от неравномерной подачи смеси
самосвалами, необходимо устраивать промежуточные накопительные бункеры. Высота
падения перегружаемой смеси не должна превышать
6.1.18. Порядок технологических операций при смешении в установке нерудных материалов, крупнообломочных, песчаных и легких супесчаных грунтов с медленнотвердеющими вяжущими - золой уноса, белитовым шламом, гранулированным шлаком (недробленым, дробленым или молотым) и т.п., в том числе с добавкой порошкообразных или жидких (в виде водных растворов) активаторов, соответствует п. 6.1.2. При этом введение в смесь порошкообразных вяжущих и активаторов твердения осуществляют дозатором для порошкообразных материалов.
При использовании для укрепления грунтов грубодисперсных вяжущих, например немолотых металлургических шлаков, белитового шлама, установки типа ДС-50А, ДС-50Б необходимо дополнительно оборудовать бункером, дозатором и транспортером для подачи вяжущего в смеситель.
6.1.19. Активацию смесей из крупнообломочных, песчаных и супесчаных грунтов, укрепленных золой уноса в сочетании с минеральными добавками (цементом, известью, гипсом и др.), производят водными растворами солей - хлоридных, сульфатных и т.п. При этом концентрацию раствора и его количество следует назначать из условия получения смеси оптимальной влажности.
6.1.20. Для замедления процесса схватывания цементогрунтов при температуре выше 10°С, а также повышения их плотности, прочности и морозостойкости в цементогрунтовые смеси следует вводить добавки пластифицирующих веществ типа ЛСТ. Расход добавок устанавливают в соответствии с табл. 22.
6.1.21. Для ускорения твердения в цементогрунтовые смеси следует добавлять хлоридные, сульфатные и другие соли.
6.1.22. С целью уменьшить пустотность (пористость) в смеси на основе крупнообломочных и песчаных грунтов вводят активные и инертные гранулометрические добавки - золы уноса и золошлаковые смеси, молотые; шлаки и известняки, дробленые пески и другие мелкодисперсные заполнители.
Дозировку гранулометрической добавки устанавливают при подборе состава смеси, а введение осуществляют дозаторами для порошкообразных или сыпучих материалов.
6.1.23. Приготовление смеси с белитовым (нефелиновым или бокситовым) шламом производят в установках принудительного перемешивания, оборудованных дозатором сыпучих материалов.
6.1.24. Порядок приготовления смесей из грунтов, укрепленных вяжущими на основе молотых шлаков, зол уноса или белитовых шламов, соответствует изложенному в п. 6.1.2.
6.1.25. Продолжительность транспортирования смесей из каменных материалов и грунтов с вяжущими перовой группы не должна превышать 30 мин при температуре воздуха во время укладки выше 20°С и 50 мин при температуре ниже 20°С; смесей с вяжущими второй группы - не более 60 мин. Время транспортирования смесей с вяжущими третьей группы не регламентируется.
6.1.26. Технологический перерыв между приготовлением и уплотнением смесей с вяжущими первой группы не должен превышать 2 ч (конец схватывания цемента); смесей с вяжущими второй группы, содержащих основной компонент в дробленом или измельченном виде, - 3-4 ч, а содержащих основной компонент в недробленом виде, - 6-8 ч (в течение рабочей смены). Технологический перерыв между приготовлением и уплотнением смесей с вяжущими третьей группы должен составлять не более 48 ч.
6.2.1. При технико-экономическом обосновании допускается применять метод смешения на месте с использованием линейных распределителей цемента и воды. Однако из-за неточной дозировки компонентов смеси и ухудшения качества перемешивания запроектированное количество цемента должно быть увеличено не менее чем на 2% массы смеси.
Метод смешения на месте включает следующие операции:
грубая планировка завезенного материала на всю толщину основания с учетом уплотнения;
распределение вяжущего;
перемешивание материала с цементом, добавление воды и окончательное перемешивание смеси.
6.2.2. Смеси приготавливают на дороге, специальной площадке или в карьере с использованием однопроходных (типа ДС-152) или многопроходных (типа фрезы ДС-74) грунтосмесительных машин.
6.2.3. Распределение порошкообразных вяжущих (цемента, извести, золы уноса, молотых доменных шлаков и др.) следует производить распределителем цемента типа ДС-72 на всю ширину укрепляемого слоя.
Сыпучие вяжущие материалы (гранулированный или отвальный шлак, белитовые шламы, золы уноса, золошлаковые смеси гидроудаления и др.) следует вывозить на укрепляемую полосу автомобилями-самосвалами и равномерно распределять по ширине профилировщиком «или авто грейдером. При температуре воздуха выше20°С песчаные грунты перед обработкой вяжущим следует увлажнять с помощью поливомоечных машин до влажности, близкой к оптимальной.
6.2.4. Перемешивание материалов с минеральными порошкообразными и сыпучими вяжущими производят:
за один проход по одной полосе - грунтосмесительной машиной типа ДС-152;
за два-три прохода - дорожной фрезой типа ДС-74 или профилировщиком ДС-97 (ДС-108).
6.2.5. Смешение грунта с вяжущим грунтосмесительной машиной типа ДС-152 осуществляют одновременно с обработкой смеси водой или водными растворами активаторов через дозировочное устройство грунтосмесителя.
6.2.6. Рабочая скорость однопроходной грунтосмесительной машины при смешении грунтов с числом пластичности не более 12 с порошкообразными вяжущими должна быть 1-4 м/мин.
6.2.7. Смешение грунта с неорганическими вяжущими с использованием многопроходных машин (дорожных фрез) производят одновременно с введением воды или растворов химических веществ, осуществляемым через дозировочное устройство фрезы.
Допускается доувлажнять смеси поливомоечными машинами, после чего необходимо вновь перемешать смесь за 1-2 прохода фрезы или профилировщика. Поступательная скорость перемещения - 5-8 м/мин.
6.2.8. Вслед за перемешиванием производят профилирование слоя профилировщиком или автогрейдером с учетом запаса на окончательное уплотнение слоя в пределах 1,2-1,3 его проектной толщины.
6.2.9. Выполняемые операции по обработке грунт а, цементом с неактивной золой уноса аналогичны приведенным в пп. 6.2.2-6.2.8.
Распределение золы уноса по слою укрепляемого материала производят распределителем цемента типа ДС-72. Продолжительность технологического перерыва между введением в грунт золы и цемента не регламентируется.
6.2.10. При обработке грунтов известью или активной золой уноса, применяемых в качестве самостоятельного вяжущего, следует предусмотреть введение в смесь повышенного количества воды или водного раствора активатора из расчета получения смеси с влажностью 1,1-1,2 оптимальной.
Технологический перерыв между приготовлением и уплотнением смесей с известью должен составлять 1 сут., а смеси с активной золой уноса должны быть распределены и выдержаны в течение не менее 1-8 сут., после чего уплотнены.
6.2.11. Технология обработки материалов молотым гранулированным или отвальным доменным шлаком с использованием в качестве ведущей машины дорожной фрезы или однопроходной грунтосмесительной машины аналогична изложенной в пп. 6.2.3-6.2.6.
6.2.12. Если в качестве вяжущего применяют дробленый или недробленый гранулированный доменный шлак то количество проходов фрезы по одной полосе следует увеличить до 4-8 с целью активизировать шлаковые гранулы путем их частичного дробления.
6.2.13. Работы по устройству
конструктивных слоев, из материалов, обработанных отвальным доменным шлаком в
виде смеси шлакового щебня с мелкодисперсной фракцией, выполняют однопроходными
грунтосмесительными машинами (типа ДС-152), профилировщиками (типа ДС-97,
ДС-108) или автогрейдером. При отсутствии в шлаке зерен крупнее
6.2.14. Технология обработки материалов белитовым (нефелиновым или бокситовым) шламом соответствует изложенной в пп. 6.2.4-6.2.6 и п. 6.2.8.
6.2.15. Перед осушением и укреплением слоя из переувлажненного, преимущественно глинистого, грунта необходимо определить степень переувлажнения и толщину переувлажненного слоя, рассчитать количество вносимого вяжущего для осушения (см. табл. 29 и пп. 4.6.1-4.6.3) и последующей обработки грунта (см. табл. 20, 21). Влажность обрабатываемого грунта не должна превышать значений, приведенных в табл. 23.
6.2.16. Осушение слоя следует производить многопроходной дорожной или сельскохозяйственной техникой (автогрейдерами, бульдозерами, рыхлителями, плужными агрегатами и т.д.). Осушающие вещества (комовая, дробленая или молотая известь, золы уноса, молотые шлаки, гипс, цемент и др.) доставляют к месту работ автомобилями-самосвалами, цементо- и золовозами, распределителями цемента и другими аналогичными машинами и равномерно распределяют по площади осушаемого слоя. После осушения слой укрепляют вяжущим.
6.2.17. Для повышения качества цементогрунтовых слоев, устраиваемых смешением на дороге при пониженных положительных температурах (5-0°С), приготавливаемые смеси следует обрабатывать растворами солей (СаCl2, NaCl, KCl и др.) в количестве 1-2% массы смеси. Растворы вводят дозирующими устройствами фрезы или грунтосмесительной машины, а также поливомоечными машинами.
6.2.18. Технология устройства морозозащитных и теплоизолирующих слоев при приготовлении смесей на дороге аналогична технологии устройства оснований.
6.3.1. Для обеспечения бесперебойной работы по приготовлению сухих цементогрунтовых смесей следует заблаговременно создать запасы грунта в буртах или в подготовленных к зимней разработке карьерах в расчете на весь объем зимних работ и запасы цемента не менее-двухмесячной потребности.
6.3.2. Осушение переувлажненных грунтов до требуемой влажности (не более 3-4%) надлежит осуществлять при положительной температуре. Грунт вынимают из карьера и укладывают в штабель для дренажа; отжатия воды и высушивания в естественных условиях; Для интенсификации осушения верхний (осушенный) слой грунта снимают бульдозером и перемещают в другой штабель для последующего использования в зимний период.
6.3.3. Твердомерзлые грунты перед использованием для приготовления сухих смесей рыхлят в карьере взрывным: или механическим (рыхлитель, землеройно-фрезерные машины) способом с одновременным вымораживанием влаги до требуемой влажности. Для ускорения вымерзания влаги разрыхленный грунт следует многократно перемещать бульдозером или перелопачивать экскаватором.
6.3.4. Площадки для складирования сухой
цементогрунтовой смеси надлежит расположить на открытой местности, обеспечить
водоотводом, освободить о т растительности, выровнять (досыпкой грунта),
уплотнить. С наступлением зимнего периода следует обеспечить периодическую
расчистку площадок от снега для ускорения промерзания грунта. Перед
складированием сухой смеси в штабель грунт площадки должен быть проморожен на
глубину не менее
6.3.5. При подготовке карьерных грунтосмесительных установок к работе в зимних условиях следует оборудовать бункер-накопитель козырьком, а ленточный транспортер - защитным кожухом для предохранения он атмосферных осадков, обеспечить местный электрообогрев всех электровоздушных клапанов, установить угол наклона ленточного транспортера не более 20° во избежание сползания компонентов сухой смеси (грунта и цемента) с транспортерной ленты, установить вибраторы на стенке бункера-накопителя и электронагревательные устройства для предохранения стенок бункера накопителя от примерзания к нему грунта при температуре воздуха ниже минус 20°С, обеспечить отопление кабины оператора.
6.3.6. Дорожные фрезы должны иметь запасные леи-латки ротора для оперативной замены в процессе строительства.
6.3.7. Перед приготовлением сухих цементогрунтовых смесей в грунтосмесительных установках следует, принимать меры против примерзания грунта к металлическим поверхностям смесительной установки и транспортерной ленте.
6.3.8. При смешении с цементом талого грунта либо сыпучемерзлого в смеси с талым при температуре воздуха ниже минус 20°С следует ежесменное перед началом работы грунтосмесительной установки (при необходимости и во время ее работы) обрабатывать внутреннюю поверхность стенок бункера-накопителя дизельным топливом, мазутом, отработанным маслом или сырой нефтью, а поверхность транспортерной ленты - 20-28%-ным раствором хлористого кальция. При этом подачу грунта в бункер-накопитель следует отрегулировать так, чтобы в нем поддерживался минимальный объем грунта; при необходимости следует включать вибратор, установленный у разгрузочной части бункера.
При смешении сыпучемерзлого грунта с цементом при температурах ниже минус 20°С и талого грунта при температурах выше минус 20°С, как правило, не требуются меры против примерзания грунта.
Для более равномерного распределения цемента в сыпучемерзлом грунте шиберную заслонку в смесителе устанавливают так, чтобы обеспечить однородность смеси на выходе из смесителя.
6.3.9. Приготовление сухой цементогрунтовой смеси на дороге с помощью дорожных фрез необходимо выполнять в следующем порядке:
вывозка грунта на земляное полотно в объеме, необходимом для устройства основания на сменной захватке;
распределение грунта на ширину основания автогрейдером;
дозировка и распределение цемента с помощью распределителя или цементовоза-распределителя;
перемешивание грунта с цементом фрезой за
два прохода по одному следу со скоростью 0,3-
Во избежание поломок лопаток фрезы
толщину слоя грунта при распределении следует задавать такой, чтобы оставить на
границе с земляным полотном слой необработанного грунта толщиной 3-
Как исключение допускается распределять вручную цемент, затаренный в мешки. Последние раскладывают по поверхности грунта из расчета обеспечения требуемого содержания цемента в смеси, затем растеривают и распределяют материал по слою грунта, перемешивая фрезой за три прохода по одному следу.
При наличии в приготовленной смеси комков мерзлого песка следует произвести дополнительные проходы фрезы.
6.3.10. При использовании дорожной фрезы для работы в карьере количество грунта, вывозимого или перемещаемого из забоя на специально подготовленную площадку, следует устанавливать из расчета, чтобы все операции по вывозке грунта, приготовлению и складированию готовой сухой цементогрунтовой смеси в штабель были выполнены за одну рабочую смену. Распределений грунта по поверхности площадки, дозирование, распределение цемента и перемешивание его с грунтом надлежит выполнять согласно указаниям п. 6.3.9.
6.3.11. Сухие смеси следует складировать
и хранить в, зимнее время в штабелях объемом 3,5-4 тыс. м3 и высотой
не более
6.3.12. Готовую смесь из грунтосмесительной установки надлежит вывозить в штабель автомобилями-самосвалами, а приготовленную дорожной фрезой на площадке при карьере перемещать бульдозером. Наращивание штабеля по высоте следует производить бульдозером.
6.3.13. В период хранения во избежание
повышения температуры выше 0°С следует в условиях II-III дорожно-климатических зон укладывать в основание
штабеля металлические, керамические, пластмассовые или асбоцементные трубы
диаметром 0,2-
6.3.14. Объем заготавливаемой сухой смеси для ее укладки в основание при положительных температурах
в начале теплого периода необходимо определять с учетом наличия задела готового земляного полотна к началу летнего строительного сезона и производительности отряда дорожно-строительных машин по укладке смеси в основание из расчета, что всю сухую смесь следует выработать из штабеля и уложить в основание в течение одного месяца.
6.4.1. Приготовление в установках смесей из каменных материалов и грунтов, обработанных неорганическими вяжущими, осуществляют с принятием специальных мер: введением в смесь водных растворов противоморозных добавок или подогревом воды и заполнителей до определенной температуры;
6.4.2. Ориентировочное количество вводимых в смесь добавок солей в зависимости от температуры окружающего воздуха принимают по табл. 24.
6.4.3. Растворы солей рабочей или
повышенной концентрации из твердых продуктов готовят в заданном количестве
воды. После их полного растворения ареометром проверяют плотность полученного
раствора; заданную концентрацию достигают добавлением соли или воды. Плотность
растворов хлористого кальция должна быть не более 1,29 г/см3 (
6.4.4. В процессе приготовления, хранения и перед использованием солевые растворы необходимо перемешивать. Нельзя использовать растворы с осадком не растворившихся солей.
6.4.5. При хранении в штабеле при
отрицательных температурах влажность песка и щебня не должна превышать 3-4%.
Применение смерзшегося песка допускается только после отсева комьев крупнее
6.4.6. Смеси без солевых растворов приготавливают в смесительных установках, как правило, в закрытых помещениях с использованием подогретых заполнителей и воды. Наибольшая допустимая положительная температура воды - 80°С, заполнителя - 50°С; температура, смеси на выходе из смесителя - 35-40°С.
6.4.7. Транспортировать смесь следует в утепленном выхлопными газами крытом брезентом кузове автомобиля-самосвала. Температура смеси в конце транспортирования должна быть не менее 25°С. Ориентировочно температуру смеси следует назначать в зависимости от температуры наружного воздуха и длительности перевозки по табл. 34 (температура приготовленной смеси 35°С).
Таблица 34
|
Температура воздуха, °С |
Вместимость кузова автомобиля, м3 |
Температура смеси, °С, после транспортирования, мин |
|||||
|
10 |
20 |
30 |
40 |
50 |
60 |
||
|
0 |
1-1,4 |
33,5 |
32,2 |
31 |
30,0 |
28,5 |
27,5 |
|
>2 |
34,0 |
33,0 |
32 |
31,0 |
30,0 |
29,0 |
|
|
Минус 10 |
1-1,4 |
33,0 |
31,5 |
30 |
28,5 |
26,5 |
25,5 |
|
>2 |
33,5 |
32,0 |
31 |
30,0 |
28,5 |
27,0 |
|
|
Минус 15 |
1-1,4 |
32,5 |
31,0 |
29 |
27,0 |
25,0 |
23,0 |
|
>2 |
33,0 |
32,0 |
30 |
28,0 |
26,0 |
25,0 |
|
7.1.1. Для улучшения физико-механических свойств обработанных материалов, снижения расхода цемента рекомендуется использовать химические добавки, некоторые характеристики которых приведены в табл. 35.
7.1.2. Химические добавки выбирают с учетом следующих обстоятельств: технологического эффекта, возможности поставки, условий приемки, хранения и приготовления водных растворов добавок, возможностей бетоносмесительной установки (не более двух видов добавок).
Таблица 35
|
Условное обозначение добавок |
Содержание сухого вещества, % |
Примерная стоимость 1 т в пересчете на сухое вещество, руб. |
Способ доставки |
|
С-3 |
33 |
-340 |
Железнодорожные цистерны |
|
10-03 |
19-21 |
1250 |
Металлические бочки или железнодорожные цистерны |
|
ЛСТМ-2 |
47-50 |
53 |
Железнодорожные цистерны |
|
ЛСТ (б. СДБ) |
50-76 |
65 |
Бумажные мешки (сухое вещество) или железнодорожные цистерны |
|
ЩСПК (б. ПАЩ) |
20-40 |
25 |
Железнодорожные или автоцистерны |
|
ГКЖ-10, ГКЖ-11 |
30 |
2100 |
Металлическая тара |
|
136-41 (б. ГКЖ-94) |
100 (жидкость) |
4800 |
Герметичная тара
вместимостью 5- |
7.2.1. Добавки вводят в смесь, как правило, с водой затворения в виде 5-10%-ных растворов. При использовании комплексных добавок растворы компонентов готовят и дозируют раздельно. Необходимая концентрация достигается путем растворения определенного количества добавки в воде, подогретой до 70°С. Концентрацию добавки контролируют также по плотности приготовленных растворов (прил. 25).
7.2.2. Растворы добавок готовят в растворных узлах смесительных установок. На рис. 10 приведена схема установки для приготовления водного раствора однокомпонентной добавки. Добавку растворяют в приготовленной емкости 3, снабженной устройством 2 для подогрева раствора, и вводят через люк 6. Раствор перемешивают механической мешалкой 5, имеющей электродвигатель. Через трубку. 4 подают воду. Приготовленный раствор перекачивают центробежным насосом 9 через фильтр 8 в накопительную емкость 10, где разбавляют до заданной концентрации (5-10%). Из накопительной емкости раствор перекачивают в расходную емкость 13. Перед перекачиванием растворы добавок следует тщательно перемешивать.
При перемешивании растворов поверхностно-активных веществ (ЛСТ, ЛСТМ-2, С-3 и др.) необходимо учитывать возможность ценообразования, особенно при барботировании сжатым воздухом. Для уменьшения вспенивания рекомендуется врезку трубопроводов подачи растворов добавок предусматривать в нижней части, емкости. При механическом перемешивании лопасти мешалки следует располагать как можно ближе к днищу приготовительной емкости. Скорость вращения вала мешалки не должна превышать 60 об/мин.
Растворы добавок надо хранить в чистых емкостях при положительной температуре.
Из расходной емкости раствор подают в загрузочный люк 6 смесителя через дозатор-расходомер 14.
7.2.3. Концентрации водных растворов добавок устанавливают в зависимости от возможности обеспечения точности дозирования и от консистенции раствора, удобной для хранения и перекачивания. Пример расчета приготовления рабочего раствора добавки ЩСПК приведен в прил. 26.
8.1.1. Противоморозную добавку следует выбирать в зависимости от метеорологических условий (температуры наружного воздуха и скорости ветра) и на основе технико-экономического обоснования.
8.1.2. Важное значение имеет назначение оптимального количества противоморозной добавки, так как ее недостаток может вызвать преждевременное замерзание материала, а избыток замедлит темпы твердения материала. Кроме того, неоправданно увеличивается его стоимость.
Замерзание материала происходит при его охлаждении ниже температуры, на которую рассчитано введение в смесь определенного количества противоморозной добавки. Поэтому при назначении дозировки следует исходить из того, чтобы вводимое количество противоморозной добавки предохраняло материал от замораживания до набора им необходимой прочности.
Замерзание материала в раннем возрасте отрицательно влияет на его свойства после оттаивания вследствие необратимого разрушающего воздействия мороза на структуру, в то время как замораживание материала после набора им необходимой прочности приводит лишь к временному замедлению или прекращению твердения.
Количество противоморозных добавок в зависимости от температуры наружного воздуха следует назначать по табл. 24 с учетом температуры замерзания растворов.
8.2.1. Насос и трубопроводы для подачи растворов NaCl и СаCl2 целесообразно выполнять из химически стойких материалов. Так добавка нитрата натрия в количестве 20-30% значительно уменьшает коррозию оборудования и трубопроводов под воздействием хлористых солей.
8.2.2. Водные растворы солей на смесительных установках приготавливают следующим образом (рис. 11).

Рис. 11. Схема узла по приготовлению водных растворов солей:
1, 7 - приготовительные емкости; 2, 6 - дозаторы солей; 3, 5 - склад солей; 4 - дозатор воды; 8 - расходная емкость, 9 - дозатор смесителя
Соль со склада 3 через дозатор 2 подают в приготовительную емкость 1, оборудованную системой трубопроводов для перемешивания раствора сжатым воздухом, а при необходимости и паровыми регистрами для подогрева. Через дозатор 4 в емкость подается вода.
В случае применения солей двух видов вторую соль со склада 5 через дозатор 6 подают в приготовленную емкость 7, оборудованную подобно емкости 1. Вода в нее подается через дозатор 4.
Каждая приготовительная емкость должна обеспечивать бесперебойную работу смесительной установки в течение 1 ч.
Из приготовительных емкостей 1 и 7 подают в расходную емкость 8 растворы и воду из расчета получения раствора рабочей концентрации, который поступает затем через водный дозатор 9 в смеситель.
Особое внимание следует уделять правильности дозирования компонентов в приготовительные емкости и по возможности определять плотность раствора после подачи в емкость каждой добавки.
8.2.3. В качестве дозаторов 2 и 6 при применении добавок в виде твердых продуктов необходимо использовать весы с соответствующим пределом взвешивания а при применении добавок в виде жидких продуктов - дозаторы для воды или точно оттарированные емкости.
8.2.4. Пример расчета потребного
количества рабочего раствора соли для приготовления
9.1.1. Качество поступающих материалов (цемента, гранулированного шлака, извести, золы, песка, щебня, воды, добавок и др.) должно соответствовать требованиям действующих нормативных документов.
9.1.2. Состав смеси должна проектировать центральная лаборатория строительства, а утверждать главный инженер строительства.
9.1.3. Лаборатория должна ежедневно контролировать рабочий состав смеси и при необходимости корректировать его с учетом фактической влажности материалов, температурных условий и дальности возки смеси, а так же проверять и устанавливать расход материалов из дозаторов в соответствии с производительностью смесительной установки.
9.1.4. Правильность работы дозаторов
следует проверять ежедневно отбором проб. Для контроля необходимо иметь весы
грузоподъемностью 0,5 т, секундомер и тару (4-5 ящиков) вместимостью
9.1.5. При контроле работы дозаторов непрерывного действия необходимо:
проверить наличие материалов в расходном бункере;
определить правильность установки стрелки вариатора дозатора по журналу тарировки завода;
включить транспортер и тарирующий дозатор одновременно с секундомером;
через расчетное время выключить секундомер, дозатор и транспортер;
собрать отдозированный материал в тару и взвесить;
проверить расход всех материалов, составляющих смесь, в течение 1 с с учетом влажности материала; при необходимости изменить режим работы дозатора того или другого материала вращением штурвала вариатора.
Время работы дозатора при его тарировке для контрольного взвешивания дозируемого материала принимают равным 10-20 с.
Количество контрольных проб каждого компонента смеси должно составлять не менее трех. Расхождение массы проб не должно превышать Допускаемых отклонений (см. п. 6.1.9).
9.1.5. Чтобы уменьшить трудоемкость ручной тарировки дозаторов и повысить производительность завода, а также обеспечить оперативный непрерывный контроль за расходом каждого компонента смеси, целесообразно оснащать дозаторы датчиками с показывающими или записывающими приборами, непрерывно регистрирующими массу материала, выдаваемого дозатором в единицу времени.
9.2.1. Качество приготовленной смеси следует оценивать по результатам испытаний образцов на прочность при сжатии, на растяжение при изгибе (расколе); на морозостойкость.
Для испытания на прочность при сжатии изготавливают три образца-куба или образца-цилиндра размером 50×50, 70×70, 100×100 мм (в зависимости от крупности материала); для испытания на растяжение при изгибе по три образца-призмы размером 40×40×160 мм, 100×100×400 мм (в зависимости от крупности материала), на морозостойкость - по шесть образцов-кубов или образцов-цилиндров.
9.2.2. Отбор проб образцов в целях
определения прочности при сжатии производят из каждых
Пробы следует отбирать на заводе из кузова автомобиля-самосвала в пяти-шести местах.
9.2.3. При приготовлении смеси в зимнее время необходимо также не реже 2 раз в смену контролировать плотность растворов солей, температуру нагрева заполнителей, воды и готовой смеси, ее однородность (наличие комьев смерзшегося песка).
9.2.4. Полевые методы контроля качества приготовления смесей из обработанных грунтов приведены в прил. 27.
10.1.1. На территории завода должен быть обеспечен в соответствии с нормами проектирования удобный проезд транспортных средств и проход людей. При размещении складов следует предусматривать одностороннее кольцевое движение транспортных средств в соответствии с технологическим процессом.
10.1.2. Проезды на территории завода необходимо оборудовать дорожными знаками в соответствий с Правилами дорожного движения, а также предупредительными надписями и знаками. В ночное время места погрузки и разгрузки должны быть хорошо освещены.
10.1.3. Открытые площадки для хранения каменных материалов, песка, щебня, грунта должны быть хорошо уплотнены и выровнены, чтобы на них не застаивались поверхностные воды, а в зимнее время очищены от льда и снега. Складские площадки на косогорах должны быть защищены от проникания поверхностных вод.
10.1.4. Крутизна откосов сыпучих материалов (щебня, гравия, песка, грунта) должна соответствовать углу естественного откоса данного материала. Выбирать сыпучие материалы из штабеля необходимо сверху, сохраняя угол естественного откоса. При этом должны быть приняты меры против самопроизвольного осыпания каменных материалов.
10.1.6. Вяжущие материалы (цемент, известь и др.) следует хранить в силосах, бункерах, ларях и других закрытых емкостях, принимая меры против их распыления при погрузке, выгрузке и внутрискладском перемещении. Бункеры, силосы, течки, конвейеры и питатели должны быть герметичными и оборудованы пылеотсасывающими и пылеулавливающими устройствами. Перемещение материалов должно осуществляться пневмотранспортом или другими закрытыми транспортными устройствами.
10.2.1. Перед приготовлением смесей необходимо проверить состояние пунктов погрузки-выгрузки, подготовленность их к приему и выдаче материалов, а также состояние погрузочных и разгрузочных устройств.
Перед запуском машины машинист должен убедиться, что на ней нет посторонних предметов, проверить наличие материалов в отсеках расходного бункера, подать сигнал и включить на 1-2 с электродвигатели (предупредительный пуск). После предупредительного пуска и паузы 10-15 с, если не поступит сигнала о запрещении работы, включить электродвигатели для работы под нагрузкой.
После пуска двигателей надо следить за равномерностью движения материалов по технологическим линиям (транспортеру).
10.2.2. Во время работы завода необходимо следить за исправностью всех механических узлов.
Смазка и профилактический осмотр узлов разрешается только при отключенных двигателях.
10.2.3. Затвор смесителя разрешается открывать при наличии транспортных средств под бункером.
10.2.4. Перед остановкой смесителя необходимо вначале прекратить подачу материала, освободить от него смеситель, а затем выключить электродвигатель.
10.2.5. После каждой смены смеситель и накопитель необходимо промыть водой с крупной фракцией щебня или гравия.
10.2.6. Очищать смесительные машины от остатков смеси разрешается только после их полной остановки. Во всех случаях пусковые устройства должны быть закрыты на замок. На пультах управления необходимо вывесить надпись: "Не включать - работают люди".
10.2.7. Регулярно следует производить уборку на территории завода.
10.2.8. Ремонтные работы в бункерах, закромах и баках для воды, обогреваемых паром, разрешается выполнять только после их полного охлаждения и при отсутствии в них материалов и воды.
10.2.9. Шнеки и аэрожелоба для подачи цемента и других пылевидных материалов должны быть герметично закрыты.
10.2.10. Пульт управления затворами, питателями и механизмами установок следует устанавливать в помещении, защищенном от попадания пыли.
10.2.11. Рабочие места должны быть ограждены, снабжены защитными и предохранительными устройствами и приспособлениями. Присутствие посторонних лиц на рабочих местах запрещается.
10.2.12. Рабочие должны быть обеспечены спецодеждой и спецобувью, а также средствами индивидуальной защиты в соответствии с действующими нормами и характером выполняемой работы.
10.2.13. Руководители работ не имеют права допускать к работе лиц, не прошедших инструктаж по технике безопасности (прил. 28).
10.2.14. Строительная площадка должна быть оборудована санитарно-бытовыми помещениями: гардеробными, помещениями для сушки, умывальными, душевыми, туалетами, помещениями для личной гигиены женщин, обогрева работающих, помещениями с аптечками, укомплектованными средствами для оказания первой помощи пострадавшим.
Кроме того, на строительной площадке
должны находиться на расстоянии не более
10.2.15. Рабочие к месту работы доставляются в автобусах или специально оборудованных для этих целей автомобилях.
10.2.16. Запрещается перевозить людей в кузовах автомобилей-самосвалов, на прицепах всех видов, в автомобилях, оборудованных для перевозки длинномерных грузов, а также вместе с огнеопасными и ядовитыми веществами и баллонами со сжатым газом.
10.2.17. Рабочим, сопровождающим грузы (грузчикам), не разрешается находиться в кузовах автомобилей, не оборудованных для перевозки людей. Груз следует складывать так, чтобы исключить его смещение при транспортировании.
10.3.1. Кристаллический нитрат натрия (НН) пожароопасен, так как способен поддерживать огонь или вызывать воспламенение горючих веществ даже при трении или ударе, при взаимодействии с деревом, хлопком, соломой. Смеси с солями аммония или цианидами могут взрываться.
Жидкий нитрат натрия - непожароопасное вещество; однако дерево, ткани и другие подобные материалы, пропитанные раствором этой соли и высушенные, способны загораться и трудно поддаются тушению.
10.3.2. Хлорид кальция (ХК), хлорид натрия (ХН), нитрит-нитрат кальция (ННК), нитрит-нитрат хлорида кальция (ННХК) непожароопасны, однако в местах хранения указанных веществ и при работе с концентрированным раствором (ЩСПК, ПАЩ-1) запрещается курить, применять открытый огонь (производить газосварку, газорезку и т.п.).
10.3.3. Запрещается принимать пищу в помещениях, где хранятся добавки или приготавливаются их водные растворы.
10.3.4. В отделениях, в которых приготавливают растворы добавок и смеси, необходимо предусматривать приточно-вытяжную вентиляцию, а при необходимости - местные отсосы. В лабораториях, контролирующих концентрацию (плотность) растворов добавок, должны быть установлены вытяжные шкафы.
10.3.5. К работе с добавками допускаются рабочие, прошедшие медицинское освидетельствование и обученные безопасным методам работ с химикатами. К работе с НН, ННК, ННХК не допускаются лица моложе 18 лет, а также имеющие повреждения кожного покрова (ссадины, ожоги, царапины, раздражения), заболевания век и глаз.
10.3.6. Рабочие, занятые приготовлением растворов добавок, должны иметь спецодежду из водоотталкивающей ткани, защитные очки, утепленные резиновые сапоги и перчатки, а специалисты, работающие с кристаллическими НН, - кроме того, противопыльные респираторы.
10.3.7. Нитрат натрия ядовит. При попадании в организм человека он вызывает расширение кровеносных сосудов, образование в крови метгемоглобина, что опасно для жизни. Характерные признаки отравления - слабость, тошнота, головокружение и снижение зрения, посинение кончиков пальцев рук и ног, а также кончика носа через 10-15 мин после попадания нитрата натрия в организм.
При появлении первых признаков отравления пострадавшего следует немедленно отвезти в ближайший пункт медицинской помощи или вызвать скорую помощь.
При попадании на кожу человека пораженное место необходимо тщательно промыть водой.
10.3.8. Нитрат кальция, ННК и ННХК вызывают покраснение, зуд и изъязвления кожи; поражают участки кожи, на которых имеются хотя бы незначительные ранки, царапины и другие нарушения ее целостности. Во избежание указанных раздражений кожи необходимо применять защитные мази типа ХИОТ и другие жирные смазки.
10.3.9. ХК, ХН не обладают токсичными свойствами. При попадании растворов этих добавок на кожу лица и рук необходимо тщательно промыть эти участки водой.
10.4.1. Помещения, где приготавливают и хранят растворы химических добавок, должны быть оборудованы приточно-вытяжной вентиляцией. Принимать пищу в этих помещениях запрещается.
10.4.2. К работе с добавками и их растворами допускаются лица не моложе 18 лет, прошедшие медицинский осмотр и инструктаж по технике безопасности. Рабочих необходимо обеспечить резиновыми сапогами, перчатками, защитными очками.
10.4.3. Суперпластификатор С-3 токсичен, его жидкий концентрат пожаробезопасен. Работающие с ним должны иметь защитные очки и резиновые перчатки. Образующийся при высыхании С-3 продукт - трудногорючее вещество.
10.4.4. Пылевидный остаток после высыхания суперпластификатора 10-03 при смешивании с воздухом может образовывать взрывоопасные аэрозоли, которые раздражающе действуют на органы дыхания и слизистые. Пролитый суперпластификатор 10-03 следует сразу же смыть водой.
10.4.5.Работы с ЩСПК должны производиться в резиновых перчатках и соответствующей спецодежде. При попадании добавки на кожу рекомендуется смыть ее обильной струей воды, при попадании в глаза - тщательно промыть их водой, а затем слабым раствором борной кислоты. В местах хранения и использования ЩСПК запрещаются прием пищи, курение и применение огня.
10.4.6. Добавка ЛСТМ-2 нетоксична, пожаро- и взрывобезопасна. Рабочие, занятые приготовлением рабочего раствора ЛСТМ-2, должны быть обеспечены спецодеждой (резиновыми перчатками).
1. Ареометрический метод заключается в измерении плотности суспензии ареометром в процессе ее отстаивания через 1 мин после перемешивания. Для этих целей используются промывочное устройство (рис. 1) ареометр со шкалой 0,995-1-1,030 и ценой деления 0,001 по ГОСТ 12536-76, секундомер по ГОСТ 5072-79.

Рис. 1. Прибор для определения содержания загрязняющих примесей в каменных материалах:
1 - основание; 2 - мотор; 3 - редуктор; 4 - цилиндр для щебня; 5 - крышка: 6 - цилиндр для песка; 7 - крышка; 8, 9 - патрубки для слива суспензии
Аналитическую пробу щебня (гравия) или
песка, отвечающих требованиям ГОСТ
8269-87 и ГОСТ 8735-88,
высушивают до постоянной массы и берут навески соответственно по 5000 и
Проведение испытания
Навеску щебня (гравия) или песка помещают
в промывочное устройство и заливают водой: для навески щебня (гравия) -
Закрывают крышку промывочного барабана с помощью имеющихся на нем крепежных замков, обеспечивающих условия для кругового вращения барабана вокруг своей оси.
Слабо загрязненный песок помещают в воду не менее чем на 5 мин, щебень (гравий) - не менее чем на 10 мин; сильно загрязненные - соответственно не менее чем на 10 и 20 мин.
По истечении требуемого времени
промывочное устройство останавливают в вертикальном положении, снимают крышку и
через специальное сливное отверстие заполняют суспензией два стеклянных цилиндра
вместимостью по
Снятие показаний ареометра производится через 1 мин. При этом за 10-12 с до замера плотности суспензии следует осторожно опустить в нее ареометр, который должен свободно плавать, не касаясь стенок цилиндра. Продолжительность взятия отсчета по ареометру не должна превышать 5-7 с.
При заливке проб водой следует сделать первый замер ее температуры с погрешностью до 0,5°С, а затем и после замера плотности ареометром. Если температура воды ниже или выше 20°С, то к отсчетам по ареометру следует дать поправки согласно табл. 3 ГОСТ 12536-76.
Обработка результатов
Используя функциональную зависимость концентрации суспензии от ее плотности (рис. 2), по полученной после замера величине плотности (с внесенными поправками) устанавливаем численное значение концентрации суспензии.

Рис. 2. Зависимость показаний ареометра от загрязненности (содержания твердого в суспензии):
х - щебень; о - песок
2. Метод расчета содержания глинистых частиц с использованием метиле нового голубого (МГ) заключается в определении по общему расходу МГ на момент образования голубого контура-ореола вокруг пятна, образующегося при перенесении капли из суспензии с введенным в нее МГ на фильтровальную бумагу.
Для этих целей необходимы:
механическая мешалка с четырьмя
стеклянными емкостями по
стеклянные мерные стаканы вместимостью
беззольная фильтровальная бумага среднезернистой структуры;
стеклянные палочки диаметром
мерные стеклянные пипетки вместимостью 1,3 и 5 мл;
1%-ный раствор красителя метиленового голубого;
дистиллированная вода.
Подготовка испытания
Порошок МГ массой
Полученный раствор переливают в емкость из темного стекла с плотно закрывающейся крышкой. (Хранить его в темном месте можно не более 1 мес.).
Затем подготавливают суспензию с отмытыми
загрязняющими частицами с проб нерудных материалов слитую в цилиндр
вместимостью
Проведение испытания
В каждую пробу вводят 1%-ный раствор МГ с помощью мерной пипетки и перемешивают в течение 5-15 мин в зависимости от степени загрязненности. Затем из емкостей отбирают стеклянной палочкой по пять контрольных капель проб и переносят на фильтровальную бумагу. От каждой капли на фильтровальной бумаге образуется пятно. Если пятно имеет четкий контур, то в каждую из суспензий вводят следующую порцию раствора МГ, соответствующую по объему первой. После введения очередной дозы раствора МГ суспензию вновь перемешивают и отбирают контрольные капли. Введение раствора МГ в суспензию продолжается до того момента, когда вокруг пяти контрольных "пятен" на фильтровальной бумаге проявится контур-ореол светло-голубого оттенка (по сравнению с цветом самого пятна) в виде лучей. При опробовании второй пробы рекомендуется в пределах 2/3 объема полученного расхода МГ по первой пробе вводить максимальное по 5 мл) количество МГ, далее по 1 мл до появления ореола.
Оценка результатов
Расход МГ на каждую пробу рассчитывают по формуле
А1 = пρ,
где п - количество доз МГ;
ρ - вместимость мерной пипетки, мл.
Общий расход раствора красителя МГ определяют по формуле
А = А1+А2,
где А1, А2 - расход МГ по 1-й и 2-й пробе соответственно, мг.
Предлагается ввести величину модуля активности МА (мл/г), отражающего степень адсорбционной способности глинистых частиц:
![]()
где А - общий расход красителя МГ по двум параллельным пробам, мл;
m - масса пылевато-глинистых частиц в
Полученные модули активности некоторых основных горных пород и глин приведены в табл. 1.
Таблица 1
|
Горная порода |
Раствор
МГ на |
|
Песок |
0,10 |
|
Мрамор |
0,12 |
|
Гранит |
0,40 |
|
Известняк |
0,50 |
|
Каолин |
5,00 |
|
Иллит |
10,00 |
|
Монтмориллонит |
64,00 |
Установление допускаемого расхода метилетового голубого красителя для обработанных материалов
В результате исследований установлены предельно допустимые нормы содержания глинистых частиц различного минералогического состава (каолина, иллита, монтмориллонита) в обработанных цементом отсевах дробления известняков, (табл. 2).
Предельные нормы содержания пылевато-глинистых частиц и глины составляют 2-12 и 0,25-3%, что регламентировано ГОСТ 8736, ГОСТ 26873, ГОСТ 26193.
Максимально допустимый расход метиленового голубого красителя (см. табл. 2) определяется как произведение модуля активности на допустимое (экспериментально определенное) содержание глин различного минералогического состава.
Таблица 2
|
Наименование глинистых частиц |
Допустимое
содержание, %/г (на |
Модуль активности, мл/г |
Расход
МГ, мл (на |
|
Каолин |
10-14 12 |
5 |
60 |
|
Иллит |
5,5-8,0 6,7 |
10 |
67 |
|
Монтмориллонит |
0,7-1,2 1,0 |
64 |
64 |
Установив единый допускаемый расход метиленового голубого красителя, можно определять возможность использования каменных материалов по степени их загрязненности для обработки цементом, чтобы получить обработанный материал требуемой марки по прочности и морозостойкости без перерасхода вяжущего. Следует отметить, что предлагаемые новые нормы содержания глинистых частиц не превышают максимально допустимую ГОСТами норму пылевато-глинистых частиц.
1. Оценку гидравлических свойств гранулированных доменных шлаков производят при помощи коэффициента качества (К), который определяют по формулам:
при содержании MgO до 10%
![]()
при содержании МgО более 10%
![]()
где СаО, Al2O3, МgО, SiO2,TiO2 - содержание в шлаке указанных окислов, %.
2. Под гидравлической активностью R шлаковых
вяжущих понимают предел прочности при сжатии водонасыщенных образцов высотой и
диаметром
1. Степень насыщения (Н) дисперсных металлургических шлаков активными минералами рассчитывают по данным химического состава по формулам:
для электросталеплавильных и феррохромовых шлаков
![]()
для отвальных доменных шлаков
![]()
2. Гидравлическая активность дисперсных металлургических шлаков определяется по формуле
R=Rmax H2,73,
где Rmax - марочная прочность цемента по ГОСТ 10178-85.
1. С целью установить показатели качества цементной пыли по ГОСТ 5382-73 производят химический анализ, а затем по ГОСТ 11022-75 определяют потери при прокаливании.
2. Химический показатель активности пыли уноса (М) определяют по формуле
![]()
где R2O - содержание водорастворимых щелочных соединений, % массы;
SiO2, Al2O3, Fe2O3, CaOобщ - содержание соответствующих окислов, % массы;
SO3 - содержание чистого ангидрита, % массы.
3. Гидравлический показатель активности (R) определяют по формуле
R = RcpM,
где Rcp - средняя (по стране) марочная прочность цемента, МПа; Rcp = 40 МПа.
4. Коэффициент агрессивности α определяют по формуле
![]()
где CaОсвоб - содержание свободного оксида кальция, % массы.
Перед испытанием на морозостойкость образцы из обработанных материалов, предназначенных для районов со среднемесячной температурой наиболее холодного месяца минус 10°С и ниже, перед загрузкой в морозильную камеру насыщают водой в течение 48 ч ( полное водонасыщение), для районов со среднемесячной температурой выше минус 10 °С - подвергают капилляре ному водонасыщению (см. прил. 5).
Для образцов-цилиндров диаметром и
высотой 50 и
Температура в морозильной камере должна быть минус 15-20°С.
Образцы устанавливают в специальных
контейнерах на сетчатые стеллажи на расстоянии друг от друга, а также от стенок
контейнеров и полок не менее
После прохождения требуемого количества
циклов замораживания-оттаивания образцы вынимают из камеры и погружают в
пресную воду с температурой 18±2°С если до испытания на морозостойкость они
подвергались полному водонасыщению, или во влажный песок (опилки), если они
подвергались капиллярному водонасыщению. Слой воды со всех сторон образца
должен быть не менее
После проведения испытания на оттаявших образцах определяют предел прочности при сжатии Rсжмрз. Морозостойкость образцов оценивают коэффициентом морозостойкости:

Обработку результатов испытания производят по прил. 19.
Среднюю плотность ρ (г/см3) образцов-кернов определяют по формуле
![]()
где m - масса образца, определяемая взвешиванием, г;
v - объем образца, см3.
Объем образца правильной формы можно определить расчетом в зависимости от его размеров, неправильной формы - методом гидростатического взвешивания. В последнем случае образец предварительно выдерживают в воде в течение 2 ч, затем удаляют влагу с его поверхности влажной тканью. После этого определяют объем воды, вытесненной погруженным в воду образцом:
![]()
где P1, P2 - вес, определяемый взвешиванием водонасыщенного (в течение 2ч) образца соответственно на воздухе и в воде, Н (гс);
γв - удельный вес воды, Н/см3 (гс/см3);
γв =0,01 Н/см3 (1 гс/см3).
Для определения полного насыщения образца (керна) по истечении срока хранения (28, 90, 180 сут.) его взвешивают, затем погружают в воду на 1/3 высоты; через 6 ч образец из обработанных нерудных материалов погружают в воду полностью и выдерживают еще 18 ч; образец из обработанных грунтов выдерживают 42 ч. После водонасыщения образцы вытирают мягкой влажной тканью.
Среднюю плотность вычисляют по методике прил. 19. Полное или капиллярное водонасыщение W (%) образца определяют по формуле
![]()
где q1, q2 - вес образца, определяемый взвешиванием соответственно после водонасыщения и до водонасыщения, Н (гс).
Образцы из материала, приготавливаемого для районов со среднемесячной температурой наиболее холодного месяца выше минус 10°С, перед испытанием на прочность подвергают капиллярному водонасыщению по следующей методике.
В металлический или стеклянный сосуд с уровнемером
наливают слой воды до определенного уровня (см. рисунок). На металлическую
подставку укладывают металлическую сетку (или емкость с сетчатым дном), которую
закрывают фильтровальной бумагой. На фильтровальную бумагу насыпают слой
мелкого однородного песка толщиной
Для предотвращения высыхания сосуд с образцами помещают в ванну с гидравлическим затвором.
Методика обработки результатов водонасыщения изложена в прил. 19.

Приспособление для капиллярного водонасыщения образцов:
1 - сосуд; 2 - образцы; 3 - капиллярно увлажненный песок; 4 - водонасыщенный песок; 5 - фильтровальная бумага; 6 -металлическая сетка; 7 - подставка
Предварительную прочность обработанных материалов определяют двумя способами: испытанием образцов в более раннем по сравнению с нормативными сроками возрасте в нормальных условиях хранения и ускоренный способ после тепловлажностной обработки свежеизготовленных образцов (экспресс-метод).
По первому способу отформованные образцы на вяжущем первой, второй или третьей группы хранят в нормальных условиях и после водонасыщения в течение 24 ч испытывают в возрасте 7, 28, 90 сут. соответственно. Прочность образцов должна составлять не менее 0,5 прочности в нормативном возрасте (28, 90, 180 сут.);
По второму способу отформованные образцы на вяжущем первой и второй групп укладывают в герметически закрытый сосуд, помещают в термостат или пропарочную камеру и выдерживают в течение 5 ч при температуре 110°С. Затем образцы охлаждают при комнатной температуре в течение 1 ч и испытывают. Прочность образцов должна составлять не менее 0,5 нормативного значения в соответствующем возрасте.
Отбор проб щебня (гравия) осуществляют по ГОСТ 8269-87; песка - по ГОСТ 8735-88; шлака - по ГОСТ 3344-83; легких заполнителей - по ГОСТ 9758-83; цемента - по ГОСТ 10178-85; грунта - по ГОСТ 12071-84. Зерновой состав щебня (гравия), песчано-гравийной и щебеночно-песчаной смеси устанавливают по ГОСТ 8269-87; песка - по ГОСТ 8735-88, грунта - по ГОСТ 12536-79.
Водопоглощение исходной горной породы и щебня (гравия) рассчитывают по ГОСТ 8289-87.
Дробимость щебня (гравия) при сжатии (раздавливании) в цилиндре определяют по ГОСТ 8269-87.
Прочность крупного легкого заполнителя устанавливают сдавливанием в цилиндре по ГОСТ 9758-83.
Истираемость щебня (гравия) определяют по ГОСТ 8269-87.
Насыпную плотность щебня (гравия), песка, легких заполнителей определяют соответственно по ГОСТ 8269-87, ГОСТ 8735-88, ГОСТ 9758-83.
Морозостойкость щебня (гравия) и легких заполнителей определяют соответственно согласно ГОСТ 8269-87; и ГОСТ 9758-83.
Устойчивость структуры шлакового щебня рассчитывают по ГОСТ 3344-83.
Сроки схватывания, нормальную густоту цемента и других неорганических вяжущих устанавливают по ГОСТ 310.1-76, ГОСТ 310.3-76, марку цемента определяют по ГОСТ 310.4-81, а других неорганических вяжущих - по ГОСТ 3344-83.
Марку (активность) вяжущих допускается устанавливать ускоренным способом по методике, приведенной в прил. 9.
Удельную поверхность цемента и других
неорганических вяжущих определяют по ГОСТ 8735-88 со
следующим дополнением: в гильзу вставляют специальный вкладыш длиной
Границы и число пластичности глинистых грунтов определяют по ГОСТ 5180-84.
Содержание легкорастворимых солей в засоленных грунтах определяют по ГОСТ 25100-82.
____________________________
* Лабораторный контроль в строительстве / Под ред. Л.Н. Попова. - М.: Стройиздат, 1967.
Метод заключается в следующем.
Отвешивают
Заполненные формы помещают во влажную среду при температуре 20±2°С. Через 20 ч одну из форм помещают на полку в баке с водой комнатной температуры, расположенную выше уровня воды; воду в баке доводят до кипения и образцы пропаривают в течение 4 ч; извлекают форму из бака и охлаждают при комнатной температуре в течение 1 ч. После охлаждения форму разбирают, вынимают образцы, измеряют, взвешивают и испытывают на сжатие.
Одновременно из другой формы извлекают образцы, хранившиеся до испытания во влажных условиях, измеряют, взвешивают и также испытывают на сжатие.
Испытание на сжатие должно проводиться на прессе, допускающем увеличение напряжения в испытуемом образце не более чем на 0,2-0,3 МПа в 1 с. Образец необходимо установить на одну из его боковых граней так, чтобы направление разрушающего усилия было параллельно слою укладки. Образец должен быть центрирован относительно приложенного сжимающего усилия. Для каждой серии образцов-кубов вычисляют средний предел прочности при сжатий из четырех наибольших в данной серии результатов. Из средних значений выводят отношение
r = Rсут.пр/Rсут.н (где Rсут.пр и Rсут.н - прочность пропаренных и непропаренных образцов в суточном возрасте).

График для определения масштабного коэффициента
По графику (см. рисунок) устанавливают переходный коэффициент от ускоренного испытания к нормальному: K = Rцем/Rпр по ГОСТ 310.1-76, ГОСТ 310.3-76, ГОСТ 310.4-81.
Прочность (марку) цемента (вяжущего) по результатам ускоренного испытания определяют по формуле
![]()
Для строительства оснований дорожных одежд могут быть использованы три вида смесей непрерывного зернового состава: из щебня (гравия) и песка, песчано-гравийной смеси (ПГС), песка.
Расчет оптимального зернового состава осуществляют в такой последовательности.
Отбирают усредненную пробу исходного каменного материала - щебня (гравия) ПГС или песка (ГОСТ 8269-87 и ГОСТ 8735-88), высушивают до постоянной массы и просеивают через стандартные сита; затем определяют частный остаток (%) каждого материала (см. таблицу).
Из стандартных кривых
плотных смесей выбирают лучшую с Ксб
= 0,7, по которой определяют соотношение между щебнем (гравием) и песком
(материал мельче
П = 100-(Щ+Гр.шл.+ Ц) = 100-(51+10+5)=34%.
Пересчитываем приведенные в таблице частный остаток исходных материалов на запроектированное содержание щебня (гравия) в смеси в количестве 51%, песка - 34%, гранулированного шлака - 10%, цемента-5%:
![]()
где Ci - требуемый частный остаток соответствующе го материала в смеси на i-м сите, %;
ai - частный остаток соответствующего материала в исходном на i-м сите, %;
N - требуемое содержание соответствующего материала в смеси, %.
Полученное расчетом значение частного остатка исходного материала заносят в таблицу.
|
Материал |
Частный остаток, % массы, на сите с размером ячеек, мм |
||||||||||
|
20 |
15 |
10 |
5 |
2,5 |
1,251 |
0,63 |
0,315 |
0,14 |
0,071 |
<0,071 |
|
|
Исходные данные |
|||||||||||
|
Щебень (гравий) |
0 |
29,0 |
30,0 |
41,0 |
- |
- |
- |
- |
- |
- |
- |
|
Песок природный |
- |
- |
- |
- |
12,0 |
10,7 |
31,1 |
34,6 |
7,8 |
1,2 |
3,3 |
|
Гранулированный шлак |
- |
- |
- |
- |
15,4 |
21,4 |
34,2 |
18,8 |
6,9 |
1,9 |
1,4 |
|
Цемент |
- |
- |
- |
- |
- |
- |
- |
- |
- |
15,0 |
85,0 |
|
Расчетные данные |
|||||||||||
|
Щебень (51%) |
0 |
14,8 |
15,3 |
20,9 |
- |
- |
- |
- |
- |
- |
- |
|
Песок (34%) |
- |
- |
- |
- |
4,1 |
3,6 |
10,6 |
11,8 |
2,5 |
0,4 |
1,1 |
|
Гранулированный шлак (10%) |
- |
- |
- |
- |
1,5 |
2,1 |
3,4 |
1,9 |
0,7 |
0,2 |
0,1 |
|
Цемент (5%) |
- |
- |
- |
- |
- |
- |
- |
- |
- |
0,8 |
4,2 |
|
Рассчитанная смесь: |
|
|
|
|
|
|
|
|
|
|
|
|
частный остаток |
0 |
14,8 |
15,3 |
20,9 |
5,6 |
5,7 |
14,0 |
13,7 |
3,2 |
1,4 |
5,4 |
|
полный остаток |
0 |
14,8 |
30,1 |
51,0 |
56,6 |
62,3 |
76,3 |
90,0 |
93,2 |
94,6 |
100,0 |
|
полный проход |
100 |
35,2 |
39,9 |
49,0 |
43,4 |
37,7 |
23,7 |
10,0 |
6,8 |
5,4 |
0 |
Определяют полные остаток и проход рассчитанной смеси (% массы) и заносят в таблицу данного приложения. Сравнивают полученный зерновой состав смеси, со стандартной кривой.
Если кривая, построенная по расчету, выходит за; пределы области, ограниченной стандартными кривыми, изменяют соотношение между щебнем (гравием) и песком и повторяют расчет до тех пор, пока расчетная кривая не будет удовлетворять требованиям ГОСТ 23558.
Каменный материал с подобранным зерновым
составом высушивают до постоянной массы и квартованием отбирают среднюю пробу:
для крупнозернистой смеси - массой
Пробу каменного материала просеивают
через сито с диаметром отверстий
Для определения водоудерживающей
способности каменный материал крупнее
![]()
где Рсух, Рнас - масса крупной части каменного материала соответственно в сухом состоянии и после насыщения водой, кг.
Оптимальную влажность смеси фракции
мельче
При этом содержание вяжущего С (% массы мелочи) вычисляют по формуле
![]()
где n - среднее содержание вяжущего во всей смеси %;
р - содержание мелких фракций в подобранном материале, %.
Оптимальную влажность смеси Wо (% массы) подсчитывают по формуле
![]()
где w1 - водоудерживающая способность каменного материала
фракции крупнев
w2 - оптимальная влажность при стандартном уплотнении
каменного материала фракции мельче
Р1, Р2 - масса отсеянного из
смеси каменного материала соответственно крупнее и мельче
Р3 - масса цемента, расходуемого на приготовление смеси, кг.
(Извлечение из ГОСТ 22733-77 с пополнениями для зернистых материалов по зерновому составу и режиму уплотнения)
Оптимальную влажность и максимальную плотность материала определяют экспериментальным путем и строят график зависимости между плотностью скелета ρск и влажностью при уплотнении Wо одинаковых по размеру образцов, изготовленных при стандартном режиме уплотнения. Наибольшая плотность наблюдается при уплотнении материала оптимальной влажности.
За стандартное уплотнение принимают метод
трамбования 120 ударами гири образцов базового размера (диаметром и высотой
Для определения ρск и Wо
приготавливают 0,5-
Отбирают навеску массой 250-
Образец извлекают из формы, взвешивают и определяют плотность скелета образца. Опыт повторяют несколько раз, увеличивая влажность материала на 2% до тех пор, пока плотность уплотненного материала не станет уменьшаться.
Плотность скелета материала ρск (г/см3) вычисляют по формуле
![]()
где ρв - плотность влажного
материала, г/см3; ![]()
q - масса образца материала при данной влажности, г;
Wo - влажность пробы, % массы сухого материала;
v - объем образца, см3.
По результатам опытов строят график.
Наивысшая точка получающейся кривой определяет оптимальную влажность (абсцисса) и максимальную плотность (ордината) уплотняемого материала.
Допускается определять оптимальную
влажность по максимальной плотности методом прессования в формах-цилиндрах
диаметром и высотой 50 и
Чтобы оценить физико-механические свойства, необходимо приготовить 9-12 образцов каждого пробного состава для испытания на прочность при сжатии, расколе или изгибе и на морозостойкость в возрасте 28, 90, 180 сут. (по три образца на каждый вид испытаний).
При применении однокомпонентного вяжущего готовят три-четыре вида смеси, различающихся содержанием вяжущего на 1-2%. В случае применения двухкомпонентного вяжущего количество смесей увеличивают до шести, чтобы получить образцы с тремя вяжущими и не менее чем с двумя добавками активаторов на каждый вид смеси.
При определении процентного содержания вяжущего за 100% принимают массу смеси каменных материалов и вяжущих.
Для приготовления образцов сначала определяют необходимое количество смеси:
Рсм = ρвvn = ρcк(1+0,01Wo)vn,
где Рсм - масса смеси, г (кг);
ρв, ρск - плотность соответственно влажной смеси и скелета смеси, определенная на прил. 12, г/см3 (кг/м3);
v - объем образца, см3 (м3);
n - количество образцов, необходимое для определения физико-механических свойств смеси;
Wo - оптимальная влажность смеси, % массы.
Содержание воды определяют по оптимальной влажности.
В соответствии с расчетами отвешивают подобранный по зерновому составу каменный материал и вяжущее.
Смесь готовят в лабораторной мешалке. Предварительно высушенные минеральные материалы подают в мешалку и перемешивают 3-5 мин до получения однородной смеси.
Изготовление образцов осуществляют по режимам, приведенным в прил. 13.
Цилиндрические образцы из форм следует освобождать на выпрессовщике или на прессе.
Испытание образцов осуществляют в нормируемом возрасте (28, 90 или 180 сут.) нормального твердения (при температуре 20±2°С и относительной влажности воздуха не менее 90%).
По результатам испытаний выбирают составы смесей, обеспечивающие проектную марку обработанных материалов по прочности и морозостойкости.
Испытываемые в нормируемом возрасте образцы
должны быть правильной геометрической формы, не иметь видимых трещин и сколов
ребер глубиной более
Для испытания образец устанавливают одной боковой гранью на нижнюю опорную плиту пресса по центру относительно его оси, пользуясь рисками на плите.
Между опорными плитами пресса и гранями
образца допускается помещать стальные прокладки толщиной не менее
Достигнутое в процессе испытания максимальное нагружение принимают за разрушающую нагрузку на образец.
Прочность образцов R (МПа) вычисляют по формуле
![]()
где α - масштабный коэффициент прочности по отношению к образцам базового размера;
Р - разрушающая нагрузка, Н;
F - средняя площадь рабочего сечения образца, м2,
Значения коэффициента α для образцов-кубов приведены в табл. 1.
Таблица 1
|
Длина ребра образца-куба, см |
Значение коэффициента α |
|
|
ГОСТ 10180-78 |
по ГОСТ 23558 |
|
|
5 |
- |
0,85 |
|
7 |
0,85 |
- |
|
10 |
0,91 |
1,00 |
|
15 |
1,00 |
- |
|
20 |
1,05 |
- |
Примечание. Значение коэффициента α может уточняться на конкретных материалах.
Для образцов-цилиндров диаметром и высотой 7×14 и 10×20 см значение α по ГОСТ 10180-78 составляет 1,16.
При испытании образцов-цилиндров, имеющих отношение высоты к диаметру менее 2 (керны, выбуренные из конструкций), результат испытания следует умножить на переходный коэффициент 4 к прочности образца-куба базового размера (табл. 2).
Таблица 2
|
h/d |
1,8 |
1,6 |
1,4 |
1,2 |
1,0 |
|
r |
1,18 |
1,14 |
1,12 |
1,09 |
1,07 |
Среднюю прочность материала при сжатии (в пересчете на прочность базовых кубических и цилиндрических образцов) определяют по прил. 19.
Предел прочности при изгибе определяют на образцах-балочках. За эталон принимают образец-балочку размером 15×15×60 см.
Прессы для испытания образцов-балочек на
изгиб должны иметь специальные столы или траверсы, несущие на себе
цилиндрические опоры для балочек, при этом одна из опор должна быть подвижной.
Радиус закругления опорных поверхностей - 10-
Перед испытанием образцы насыщают водой (см. прил. 6). Испытуемый образец помещают на две опоры, расстояние между которыми для балочек равно 3а (где а - площадь сечения балочки). Образец на опоры укладывают той гранью, которая при уплотнении была вертикальной. Место контакта балочек с опорами должно быть без зазоров. Образец нагружают по середине пролета по всей ширине через прокладку, устанавливаемую на образец (ГОСТ 10180-78).
После установки образца верхнюю плиту
пресса опускают так, чтобы зазор между образцом и прокладкой под верхней плитой
пресса составлял 4-
Предел прочности на растяжение при изгибе Rр.н (МПа) вычисляют по формуле
![]()
где δ - масштабный коэффициент к прочности образцов базового размера, устанавливаемый опытным путем по ГОСТ 10180-78;
Р - разрушающая нагрузка, Н;
l - расстояние между опорами, м;
a, в - соответственно ширина и высота балочки, м;
Среднюю прочность материала на растяжение при изгибе определяют по прил. 19.
Предел прочности на растяжение при раскалывании определяют на образцах-цилиндрах или на образцах-кубах после твердения их в течение нормируемого срока во влажных условиях.
Образцы испытывают на гидравлическом прессе. Размеры плит пресса должны быть не менее размера образца.
Образец устанавливают так, чтобы плиты пресса прилегали к двум взаимно противоположным образующим образца-цилиндра или противоположным граням образца-куба. Направление сжимающей сипы должно совпадать с диаметральной плоскостью цилиндрического образца, а ось кубического образца должна проходить через центр шарнира плиты пресса.
Для равномерного распределения нагрузки между плитами пресса и испытуемым образцом помещают прокладки из обычной трехслойной фанеры или пластика. Длина прокладок должна быть не менее длины образца, а ширина составлять 0,2 диаметра образца.
Образец устанавливают на шаблоне на
нижнюю плиту пресса. Зазор между верхними плитами шаблона и пресса должен
составить 4-
Устанавливают рычаг переключения скоростей пресса на скорость подъема нижней плиты пресса 3 мм/мин и включают основной электродвигатель испытательной машины.
Предел прочности на растяжение при раскалывании Rp (МПа) вычисляют по формуле
![]()
где ν - масштабный коэффициент прочности к образцам базового размера; устанавливают опытным путем по ГОСТ 10180-78;
- коэффициент, характеризующий распределение нагрузки
по контакту с образцом;
Р - разрушающая нагрузка, Н;
F - средняя площадь рабочего сечения образца, м2.
Испытания проводят на трех параллельных образцах. Среднюю прочность материала на растяжение при раскалывании вычисляют по прил. 19.
Сущность метода ультразвуковых испытаний заключается в том, что через бетон пропускают продольную ультразвуковую волну, по скорости прохождения которой судят о прочности бетона.
Приготовленные образцы (кубы, цилиндры, балочки) перед испытанием ультразвуком необходимо внимательно осмотреть: замазать цементным раствором имеющиеся мелкие раковины и неплотности, выровнять шлифовальным камнем значительные неровности поверхности образца.
Излучатель и приемник прикладывают к испытуемому образцу соосно с противоположных сторон. Измерение при размещении преобразователей на одной плоскости производят методом переменного акустического расстояния (продольного профилирования) и строят годограф. Для достижения надежного акустического контакта между щупами и испытуемым образцом присоединяют щупы к поверхности бетона с помощью контактной смазки (слоя солидола, вазелина технического). Время распространения ультразвука через толщину образца измеряют в соответствии с инструкцией по эксплуатации используемого прибора (ГОСТ 17624-78).
Модуль упругости определяют путем постепенного (ступенями) нагружения образцов-призм или образцов-цилиндров стандартных размеров осевой сжимающей или изгибающей нагрузкой, составляющей до 30% разрушающей, измеряя в процессе нагружения образцов величину их деформации. Модуль упругости следует определять на образцах-призмах квадратного сечения или цилиндрах круглого сечения с отношением высоты к ширине (диаметру), равным 4.
Для замера деформаций применяют приборы
(АИД-1, ИДЦ-1 и др.), обеспечивающие измерение относительных деформаций с
точностью не ниже 1·10-5, и датчики сопротивления с базой измерения
деформации, в 2,5 раза превышающей максимальный размер зерен заполнителя, но не
менее
Перед испытанием образцы не менее 2 ч должны находиться в помещении лаборатории, затем их осматривают, устраняют дефекты, в том числе отдельные выступы на боковой грани наждачным камнем и мелкой наждачной бумагой, после чего поверхность обезжиривают органическим растворителем (ацетоном и т.п.).
На хорошо подготовленную поверхность (боковую грань) образцов наносят тонкий слой клея БФ-2 или смеси, состоящей из 100 частей эпоксидной смолы и 6-8 частей полиэтиленполиамина и наклеивают датчики сопротивления по следующей схеме:

Датчики тщательно прижимают к поверхности
образцов и в таком положении оставляют до затвердения клея. Датчики имеют базу
Два дополнительных (компенсационных) датчика наклеивают на образец, не подвергающийся нагружению. Эти датчики также соединяют проводками с соответствующими клеммами прибора. Идущие от коммутирующего устройства три проводка с клеммами присоединяют к автоматическому измерителю деформаций АИ-1. После этого включают прибор и прогревают его в течение 30 мин.
Приготовленные образцы с датчиками
сопротивления помещают между плитами пресса на специальные шарнирные подставки
на расстоянии
На середину образца прикладывают нагрузку 0,1 предполагаемой прочности и тут же снимают (обжатие). После этого проверяют работу датчиков сопротивления и снимают показания, принимая их за условный нуль измерения. Затем подают нагрузку прессом на образец, составляющую 0,1; 0,2; 0,3; 0,4; 0,5 предполагаемой прочности, снимая показания датчиков при каждом нагружении. При нагрузке, равной 45±5% разрушающей (Rp), дальнейшее нагружение ведут непрерывно с постоянной скоростью до разрушения образца.
Модуль упругости вычисляют по определенным в процессе испытания нагрузкам и продольным относительным деформациям.
Модуль упругости Еу (МПа) вычисляют для каждого образца при нагрузке, составляющей 30% Rp, по формуле
![]()
где σ - приращение напряжения от условного нуля до уровня внешней нагрузки, составляющей 30% разрушающей, МПа; σ = Рр·10-6/F;
Рр - соответствующее приращение внешней нагрузки, Н;
F - среднее значение площади поперечного сечения образца, определяемое по его линейным размерам (ГОСТ 10180-78), м2;
εср - среднее значение приращения упруго-мгновенной относительной продольной деформации образца, соответствующее уровню нагрузки Р = 0,3Рр и замеренное в начале каждой ступени ее приложения.
Среднее значение приращения относительных деформаций вычисляют как среднеарифметическое показаний датчиков при соответствующем приращении напряжения.
Среднее значение модуля упругости вычисляют по прил. 19.
По результатам определения основных характеристик, например прочности отдельных образцов, устанавливают прочность материала в серии образцов, для чего предварительно отбрасывают аномальные результаты испытаний.
Для отбраковки аномальных результатов сравнивают значения прочности образцов в серии, показавших наибольшую Ri max и наименьшую Ri min прочности по сравнению со средней, и проверяют выполнение условий:
(1)
Если условия не выполняются, то в серии отбрасывают наименьший Ri min и наибольший Ri max результаты, а в качестве средней прочности Ri cp серии принимают результаты испытания оставшегося образца.
Если условия выполняются, то прочность материала в серии образцов определяют по формуле
(2)
где
- средняя прочность
материала в серии образцов, МПа;
Ri - прочность отдельного образца, МПа;
n - число образцов в серии.
Пример. R1 =6,2; R2 = 6,4; R3 = 7,0; Ri cp = 6,53МПа.
Проверяем на аномальность наибольшее значение прочности и выполнение условий (1):
![]()
Получаем 7,2<15; 5,1<15.
Следовательно, условия выполняются, и все результаты испытаний могут быть использованы для определения средней прочности.
Количество щебня (гравия) Rщсух и песка Рпсух в сухом
состоянии, а также цемента Рцсух
(или другого вяжущего) и воды Рв
для получения
![]()
![]()
![]()
![]()
где nщ, nп, nц, nв - содержание соответственно щебня, песка, цемента (или другого вяжущего) и воды (для сухих материалов) в проектной смеси, %;
ρв - плотность влажной смеси, кг/м3, полученная в лаборатории (см. прил. 12);
Wo - оптимальная влажность смеси, %.
В связи с тем, что на производстве щебень и песок могут быть влажными, расчет расхода щебня, песка и воды следует вести по формулам:
![]()
![]()
![]()
где Рщвл, Рпвл - масса соответственно щебня и песка во влажном состоянии, кг;
Wщ, Wп - влажность соответственно щебня и песка, %;
Рвв - масса воды для влажных материалов кг.
Влажность щебня и песка рассчитывают в соответствии с ГОСТ 8269-87 и ГОСТ 8735-88.
Чтобы определить расход щебня и песка для
получения
Расход каждого материала, составляющего смесь,
в единицу времени (т/ч, кг/с) для смесителей непрерывного действия определяют
как произведение массы каждого материала для получения
Расчетное значение прочности на растяжение при изгибе (Rир) определяют по формуле
Rир = RиKрKкпKт,
где Rи - прочность на растяжение при изгибе при однократном нагружении в лаборатории образца-балочки, МПа;
Kр - коэффициент, учитывающий снижение прочности обработанного материала от воздействий, воды и мороза, равный коэффициенту морозостойкости;
Kкп - коэффициент, учитывающий кратковременность и повторность нагружений в натурных условиях, Kкп = N-m = 0,66;
N - интенсивность движения, авт/сут;
m - показатель усталостной зависимости при N = 100 авт/сут m =0,06;
Kт - коэффициент, учитывающий снижение прочности обработанного материала в результате температуроусадочных воздействий; Kт = 0,9.
Расчетное значение модуля упругости обработанного материала Ep определяется по формуле
Ер = KкЕ.
где Е - модуль упругости, определенный на образцах в лаборатории при однократном нагружении, МПа;
Kк - переходный коэффициент, учитывающий изменение модуля упругости обработанного материала в конструктивном слое дорожной одежды в процессе эксплуатации дороги.
Переходный коэффициент Kк назначают для обработанных нерудных материалов и оптимальных крупнообломочных грунтов марки по пластичности Пл1 (ГОСТ 25607-83) равным 0,1; для обработанных грунтов - 0,06.
Необходимо определить состав и потребное
количество рабочего раствора для приготовления
На приготовление
Порядок при расчете рабочего раствора солей следующий.
Определяем количество безводных солей для
приготовления рабочего раствора на затворение
Рассчитываем потребное количество растворов этих солей.
Хлористый натрий применяется в виде
растворов плотностью 1,15 г/см3, для получения которого на
Общее количество раствора NaCl на затворение
14,6:0,250=58,4 кг или 58,4:1,15=51 л.
Хлористый кальций применяется в виде
раствора плотностью 1,29 г/см3, для получения которого на
Следовательно, общая масса данного
раствора, содержащего
Определяем количество воды, вводимой с концентрированными растворами солей: с NaCl - 58,4-14,6=43,8 кг (л); с СaСl2 22,6-9,7=12,9 кг (л).
Таким образом, общее количество воды,
вводимой с солевыми растворами для приготовления
Таким образом, на затворение
Раздельное введение составляющих в бетоносмеситель неудобно, поэтому их предварительно смешивают и рабочий раствор обеих солей вводят в бетоносмеситель.
На приготовление
Объем раствора на один замес должен быть пропорционально изменен в зависимости от вместимости смесителя.
Таблица 1
Содержание хлорида натрия (ХН) в растворах, их плотность и температура замерзания
|
Концентрация раствора, % |
Плотность раствора при 20 °С, г/см3 |
Содержание безводного ХН, кг |
Температура замерзания раствора, °С |
|
|
в |
в |
|||
|
1 |
1,005 |
0,010 |
0,01 |
-0,6 |
|
2 |
1,013 |
0,020 |
0,02 |
-1,2 |
|
3 |
1,020 |
0,031 |
0,03 |
-1,8 |
|
4 |
1,027 |
0,041 |
0,04 |
-2,5 |
|
5 |
1,034 |
0,052 |
0,05 |
-3,1 |
|
6 |
1,041 |
0,062 |
0,06 |
-3,7 |
|
7 |
1,049 |
0,073 |
0,07 |
-4,4 |
|
8 |
1,056 |
0,084 |
0,08 |
-5,2 |
|
9 |
1,064 |
0,096 |
0,09 |
-5,9 |
|
10 |
1,071 |
0,107 |
0,10 |
-6,7 |
|
11 |
1,079 |
0,119 |
0,11 |
-7,5 |
|
12 |
1,086 |
0,130 |
0,12 |
-8,4 |
|
13 |
1,094 |
0,142 |
0,13 |
-9,2 |
|
14 |
1,101 |
0,154 |
0,14 |
-10,1 |
|
15 |
1,109 |
0,166 |
0,15 |
-11,0 |
|
16 |
1,116 |
0,179 |
0,16 |
-12,0 |
|
17 |
1,124 |
0,191 |
0,17 |
-13,1 |
|
18 |
1,132 |
0,204 |
0,18 |
-14,2 |
|
19 |
1,140 |
0,217 |
0,19 |
-15,3 |
|
20 |
1,148 |
0,230 |
0,20 |
-16,5 |
|
21 |
1,156 |
0,243 |
0,21 |
-17,9 |
|
22 |
1,164 |
0,256 |
0,22 |
-19,4 |
|
23 |
1,172 |
0,270 |
0,23 |
-21,1 |
Таблица 2
Содержание хлорида кальция (ХК) в растворах, их плотность и температура замерзания
|
Концентрация раствора, % |
Плотность раствора при 20°С, г/см3 |
Содержание безводного ХК, кг |
Температура замерзания раствора, °С |
|
|
в |
в |
|||
|
2 |
1,015 |
0,020 |
0,02 |
-1 |
|
4 |
1,032 |
0,041 |
0,04 |
-2 |
|
6 |
1,049 |
0,063 |
0,06 |
-3,1 |
|
8 |
1,066 |
0,085 |
0,08 |
-4,2 |
|
10 |
1,084 |
0,108 |
0,10 |
-5,7 |
|
12 |
1,102 |
0,132 |
0,12 |
-7,5 |
|
14 |
1,120 |
0,157 |
0,14 |
-9,5 |
|
16 |
1,139 |
0,182 |
0,16 |
-11,7 |
|
17 |
1,148 |
0,195 |
0,17 |
-13,0 |
|
18 |
1,158 |
0,209 |
0,18 |
-14,4 |
|
19 |
1,168 |
0,222 |
0,19 |
-15,9 |
|
20 |
1,178 |
0,236 |
0,20 |
-17,6 |
|
21 |
1,180 |
0,250 |
0,21 |
-19,4 |
|
22 |
1,198 |
0,264 |
0,22 |
-21,4 |
|
23 |
1,208 |
0,278 |
0,23 |
-23,7 |
|
24 |
1,218 |
0,293 |
0,24 |
-26,2 |
|
25 |
1,228 |
0,307 |
0,25 |
-29,0 |
|
26 |
1,239 |
0,322 |
0,26 |
-32,1 |
|
27 |
1,249 |
0,337 |
0,27 |
-36,1 |
|
28 |
1,260 |
0,353 |
0,28 |
-40,7 |
|
29 |
1,271 |
0,369 |
0,29 |
-45,2 |
|
30 |
1,282 |
0,385 |
0,30 |
-50,2 |
|
31 |
1,293 |
0,401 |
0,31 |
-55,0 |
Таблица 3
Содержание нитрата натрия (НН) в растворах, их плотность и температура замерзания
|
Концентрация раствора, % |
Плотность раствора при 20 °С, г/см3 |
Содержание безводного НН, кг |
Температура замерзания раствора, °С |
|
|
в |
в |
|||
|
2 |
1,011 |
0,020 |
0,02 |
-0,8 |
|
4 |
1,024 |
0,041 |
0,04 |
-1,8 |
|
6 |
1,088 |
0,082 |
0,08 |
-2,8 |
|
8 |
1,052 |
0,084 |
0,08 |
-3,9 |
|
10 |
1,085 |
0,108 |
0,10 |
-4,7 |
|
12 |
1,078 |
0,129 |
0,12 |
-5,8 |
|
14 |
1,092 |
0,153 |
0,14 |
-6,9 |
|
15 |
1,099 |
0,161 |
0,15 |
-7,5 |
|
16 |
1,107 |
0,177 |
0,16 |
-8,1 |
|
17 |
1,114 |
0,189 |
0,17 |
-8,7 |
|
18 |
1,122 |
0,202 |
0,18 |
" -9,2 |
|
19 |
1,129 |
0,214 |
0,19 |
-10,0 |
|
20 |
1,137 |
0,227 |
0,20 |
-10,8 |
|
21 |
1,145 |
0,240 |
0,21 |
-U,7 |
|
22 |
1,153 |
0,254 |
0,22 |
-12,5 |
|
23 |
1,161 |
0,267 |
0,23 |
-13,9 |
|
24 |
1,168 |
0,280 |
0,24 |
-14,4 |
|
25 |
1,176 |
0,293 |
0,25 |
-15,7 |
|
26 |
1,183 |
0,308 |
0,26 |
-17,0 |
|
27 |
1,191 |
0,322 |
0,27 |
-18,3 |
|
28 |
1,198 |
0,836 |
0,28 |
-19,6 |
Таблица 4
Содержание нитрата кальция (НК) в растворах, их плотность и температура замерзания
|
Концентрация раствора, % |
Плотность раствора при 20 °С, г/см3 |
Содержание безводного НК, кг |
Температура замерзания раствора, °С |
|
|
в |
в |
|||
|
2 |
1,014 |
0,020 |
0,02 |
-0,6 |
|
4 |
1,029 |
0,041 |
0,04 |
-1,1 |
|
6 |
1,045 |
0,063 |
0,06 |
-1,7 |
|
8 |
1,055 |
0,089 |
0,08 |
-2,3 |
|
10 |
1,077 |
0,103 |
0,10 |
-3,0 |
|
12 |
1,103 |
0,147 |
0,12 |
-3,8 |
|
14 |
1,116 |
0,169 |
0,14 |
-4,6 |
|
16 |
1,129 |
0,191 |
0,16 |
-5,5 |
|
17 |
1,136 |
0,203 |
0,17 |
-6,0 |
|
18 |
1,143 |
0,218 |
0,18 |
-6,5 |
|
19 |
1,148 |
0,223 |
0,19 |
-7,0 |
|
20 |
1,154 |
0,233 |
0,20 |
-7,6 |
|
21 |
1,165 |
0,248 |
0,21 |
-8,2 |
|
22 |
1,175 |
0,258 |
0,22 |
-8,8 |
|
23 |
1,187 |
0,274 |
0,23 |
-9,5 |
|
24 |
1,199 |
0,288 |
0,24 |
-10,2 |
|
25 |
1,211 |
0,303 |
0,25 |
-10,8 |
|
26 |
1,220 |
0,317 |
0,26 |
-11,5 |
|
27 |
1,230 |
0,338 |
0,27 |
-12,2 |
|
28 |
1,239 |
0,347 |
0,28 |
-13,0 |
|
29 |
1,249 |
0,362 |
0,29 |
-13,7 |
|
30 |
1,259 |
0,378 |
0,30 |
-14,5 |
|
31 |
1,268 |
0,398 |
0,81 |
-15,3 |
|
32 |
1,279 |
0,409 |
0,32 |
-16,1 |
|
33 |
1,290 |
0,425 |
0,33 |
-16,8 |
|
34 |
1,296 |
0,440 |
0,34 |
-17,7 |
|
35 |
11,311 |
0,459 |
0,35 |
-18,5 |
Таблица 5
Содержание нитрит-нитрата кальция (ННК) в растворах, их плотность и температура замерзания
|
Концентрация раствора, % |
Плотность раствора при 20 °С г/см3 |
Содержание безводного ННК, кг |
Температура замерзания раствора, °С |
|
|
в |
в |
|||
|
2 |
1,016 |
0,020 |
0,02 |
-0,8 |
|
4 |
1,034 |
0,041 |
0,04 |
-1,6 |
|
6 |
1,051 |
0,061 |
0,06 |
-2,4 |
|
8 |
1,068 |
0,083 |
0,08 |
-3,3 |
|
10 |
1,085 |
0,108 |
0,10 |
-4,3 |
|
12 |
1,103 |
0,132 |
0,12 |
-5,4 |
|
14 |
1,119 |
0,157 |
0,14 |
-6,5 |
|
16 |
1,128 |
0,180 |
0,16 |
-7,8 |
|
17 |
1,145 |
0,195 |
0,17 |
-8,5 |
|
18 |
0,149 |
0,207 |
0,18 |
-9,2 |
|
19 |
0,162 |
0,221 |
0,19 |
-9,9 |
|
20 |
1,171 |
0,235 |
0,20 |
-10,6 |
|
21 |
1,179 |
0,248 |
0,21 |
-11,5 |
|
22 |
1,188 |
0,261 |
0,22 |
-12,4 |
|
23, |
1,192 |
0,274 |
0,23 |
-13,2 |
|
24 |
1,205 |
0,289 |
0,24 |
-14,3 |
|
25 |
1,212 |
0,302 |
0,25 |
-15,4 |
|
26 |
1,222 |
0,318 |
0,26 |
-16,5 |
|
27 |
1,230 |
0,342 |
0,27 |
-17,7 |
|
28 |
1,238 |
0,346 |
0,28 |
-18,8 |
|
29 |
1,248 |
0,362 |
0,29 |
-20,1 |
|
30 |
1,255 |
0,364 |
0,30 |
-21,5 |
|
31 |
1,268 |
0,381 |
0,31 |
-22,8 |
|
32 |
1,277 |
0,394 |
0,32 |
-24,2 |
|
33 |
1,284 |
0,411 |
0,33 |
-25,6 |
|
34 |
1,294 |
0,420 |
0,34 |
-27,3 |
|
35 |
1,298 |
0,427 |
0,35 |
-29,4 |
Таблица 6
Содержание нитрит-нитрата-хлорида кальция (ННХК) в растворах, их плотность и температура замерзания
|
Концентрация раствора, % |
Плотность раствора при 20°С, г/см3 |
Содержание безводного ННХК, кг |
Температура замерзания раствора, °С |
|
|
в |
в |
|||
|
2 |
1,018 |
0,020 |
0,02 |
-1,2 |
|
4 |
1,035 |
0,041 |
0,04 |
-2,2 |
|
6 |
1,052 |
0,063 |
0,06 |
-3,5 |
|
8 |
1,070 |
0,087 |
0,08 |
-4,9 |
|
10 |
1,087 |
0,108 |
0,10 |
-6,5 |
|
12 |
1,105 |
0,133 |
0,12 |
-8,6 |
|
14 |
1,122 |
0,157 |
0,14 |
-10,9 |
|
16 |
1,140 |
0,182 |
0,16 |
-13,6 |
|
17 |
1,148 |
0,195 |
0,17 |
-15,0 |
|
18 |
1,157 |
0,208 |
0,18 |
-16,6 |
|
19 |
1,166 |
0,222 |
0,19 |
-18,4 |
|
20 |
1,175 |
0,235 |
0,20 |
-20,1 |
|
21 |
1,183 |
0,249 |
0,21 |
-22,3 |
|
22 |
1,192 |
0,262 |
0,22 |
-24,5 |
|
23 |
1,200 |
0,276 |
0,23 |
-26,7 |
|
24 |
1,210 |
0,290 |
0,24 |
-29,4 |
|
25 |
1,218 |
0,305 |
0,25 |
-32,0 |
|
26 |
1,227 |
0,319 |
0,26 |
-34,6 |
|
27 |
1,236 |
0,334 |
0,27 |
-37,7 |
|
28 |
1,245 |
0,349 |
0,28 |
-40,6 |
|
29 |
1,254 |
0,364 |
0,29 |
-44,4 |
|
30 |
1,263 |
0,379 |
0,30 |
-48,0 |
|
31 |
1,268 |
0,393 |
0,31 |
- |
|
32 |
1,277 |
0,408 |
0,32 |
- |
|
33 |
1,284 |
0,424 |
0,33 |
- |
|
34 |
1,295 |
0,440 |
0,34 |
- |
|
35 |
1,306 |
0,457 |
0,35 |
- |
Таблица 1
Характеристика установок ДС-50А и ДС-50Б
|
Параметр |
Значение параметра для установки |
|
|
ДС-50А |
ДС-50Б |
|
|
Производительность, т/ч |
100-120 |
200-240 |
|
Установленная мощность, кВт |
117 |
150 |
|
Количество бункеров |
1 |
2 |
|
Вместимость бункера, м3 |
10 |
12,5 |
|
Масса, т |
28 |
40,5 |
|
Производительность транспортера, т/ч |
100 |
280 |
|
Вместимость бункера, м3: |
|
|
|
для цемента |
3,9 |
22 |
|
для сыпучих добавок |
3,9 |
- |
|
Пределы дозирования, т/ч: |
|
|
|
цемента |
2-11 |
- |
|
сыпучих добавок |
0,5-4 |
4-25 |
|
Вместимость смесителя, т |
2,3 |
2,6 |
|
Пределы дозирования, м3/ч: |
|
|
|
жидких вяжущих |
0,5-16 |
1,5-15 |
|
воды |
1-16 |
1-27 |
|
Вместимость бункера готовой смеси, м3 |
2,86 |
5 |
|
Вместимость цистерны для жидких вяжущих и воды, м3 |
- |
14 |
|
Вместимость кабины, м3 |
12 |
12 |
|
Тип кабины |
Закрытая |
Закрытая с теплозвукоизоляцией |
Примечание. В состав оборудования установок входят: агрегаты питания порошкообразных материалов, смесительный транспортер, кабина. Установка ДС-50 включает, кроме того, цистерну с насосными установками.
Таблица 2
Характеристика дозаторов материалов
|
Параметр |
Значение параметра для дозатора |
||
|
СБ-42А |
СБ-71А |
СБ-90 |
|
|
Производительность, т/ч |
5-80 |
4-24 |
25-50 |
|
Мощность, кВт |
0,7 |
1,2 |
2,5 |
|
Масса, кг |
475 |
935 |
1570 |
|
Концентрация раствора, % |
Плотность раствора, г/см3, добавок |
|||||
|
С-3 |
10-03 |
ЛСТ (б. СДБ) |
СНВ |
ЛСТМ-2 |
ЩСПК (б. ПАЩ) |
|
|
1 |
- |
1,004 |
1,004 |
1,003 |
- |
- |
|
2 |
- |
1,010 |
1,009 |
1,005 |
- |
- |
|
3 |
- |
- |
1,013 |
1,009 |
- |
- |
|
4 |
- |
- |
1,017 |
1,012 |
- |
- |
|
5 |
1,02 |
1,025 |
1,021 |
1,015 |
1,018 |
1,031 |
|
6 |
- |
- |
1,025 |
1,018 |
- |
1,039 |
|
7 |
- |
1,036 |
1,029 |
1,021 |
1,028 |
1,046 |
|
8 |
- |
- |
1,033 |
1,024 |
- |
1,053 |
|
9 |
1,04 |
1,046 |
1,038 |
1,027 |
- |
1,059 |
|
10 |
- |
- |
1,043 |
1,030 |
1,041 |
1,056 |
|
11 |
- |
1,057 |
- |
- |
- |
1,072 |
|
12 |
- |
- |
1,053 |
1,036 |
1,051 |
1,079 |
|
13 |
- |
1,066 |
- |
- |
- |
1,085 |
|
14 |
- |
- |
1,063 |
1,042 |
1,060 |
1,092 |
|
15 |
- |
1,075 |
- |
- |
- |
1,099 |
|
16 |
- |
- |
1,073 |
1,048 |
1,069 |
1,106 |
|
17 |
1,08 |
1,083 |
- |
- |
- |
1,112 |
|
18 |
- |
- |
1,083 |
1,054 |
1,079 |
1,119 |
|
19 |
- |
1,093 |
- |
- |
- |
1,125 |
|
20 |
1,09 |
1,103 |
1,091 |
1,060 |
1,088 |
1,132 |
Необходимо определить количество сухого вещества и потребное количество рабочего раствора добавки ЩСПК для приготовления 1 т цементопесчаной смеси.
Для расчета принят следующий состав смеси (% массы):
песок - 90, цемент - 10, вода - 10 (сверх 100%), ЩСПК (% массы цемента в расчете на сухое вещество). Влажность песка 3%.
Для принятого состава на приготовление 1
т (
Необходимое количество воды (с учетом ее содержания в заполнителе) составляет: 100-27=73 л.
Количество безводной добавки ЩСПК для
приготовления 1 т смеси при содержании 10% (
В связи с тем, что добавка ЩСПК
поставляется в виде раствора 20-45%-кой концентрации, необходимо определить
содержание в нем сухого вещества. Принимаем его равным 30%. Следовательно, в
Определяем потребное количество раствора ЩСПК 30%-ной концентрации для приготовления 1 т смеси:
![]()
Количество воды, содержащейся в
Отсюда содержание воды для рабочего раствора добавки на 1 т смеси должно быть: 73-4,6=68,4 л.
Таким образом, для приготовления 1 т
смеси необходимо
В зависимости от потребности и вместимости смесителя приготавливают рабочий раствор требуемого объема, который определяется как произведение расхода раствора добавки и воды (на 1 т смеси), производительности данного смесителя и времени (в часах) работы. Например, при производительности смесительной установки 100 т/ч. Для работы одной смены (8 ч) необходимо приготовить следующий рабочий раствор: 0,0066×100×8 = 5,28 (т) 30%-ного раствора ЩСПК и 0,684×100×8 = 54,72 (т) воды для разбавления.
Раствор 30%-ной концентрации ЩСПК выливают в воду и хорошо перемешивают. Приготовленный рабочий раствор можно подавать дозатором воды в смеситель.
Определение степени размельчения грунтов
Степень размельчения глинистых грунтов
определяют по ГОСТ
12536-79 на отобранных и просеянных через сито с отверстиями 10 и
Остаток грунта на ситах взвешивают и определяют содержание в массе пробы (%). Содержание комков соответствующего размера П вычисляют по формуле
![]()
где q1 - масса пробы, г;
q - масса остатка в сите, г.
Содержание зерен крупнее
Определение влажности грунтов и смесей грунтов с вяжущими
Влажность грунтов и смесей грунтов с вяжущими определяют высушиванием средней пробы (до постоянной массы):
в термостате при температуре 105-110°С;
при помощи спирта;
радиоизотопными приборами ВПГР-1, УР-70, РВПП-1 в соответствии о требованиями ГОСТ 24181-80;
карбидным влагомером ВП-2;
влагомером системы Н.П. Ковалева (определяют также плотность влажных грунтов и плотность скелет а грунта).
Определение влажности высушиванием средней пробы при помощи спирта
В фарфоровую чашку насыпают навеску 30-
Влажность грунтов W определяют по формуле
(1)
где q1, q2 - масса соответственно влажного и высушенного грунтов, г;
Суммарную влажность для всех частиц крупнообломочных грунтов определяют по формуле
W = w1(1-a)+W2, (2)
где W1
- влажность грунта, содержащего частицы мельче
a -
содержание включений размером более
W2 -
ориентировочная влажность грунта, содержащего частицы крупнее
Определение влажности карбидным влагомером ВП-2
Навеску грунта или
смеси из песчаных и глинистых грунтов массой
|
Породы |
Ориентировочная
влажность W2, %, при содержании в крупнообломочном грунте частиц
крупнее |
|||||||
|
0,1 |
0,2 |
0,3 |
0,4 |
0,5 |
0,6 |
0,7 |
0,8 |
|
|
Изверженные |
0,1 |
0,2 |
0,3 |
0,4 |
0,5 |
0,6 |
0,7 |
0,8 |
|
Осадочные |
0,6 |
1,2 |
1,8 |
2,4 |
3,0 |
3,5 |
4,1 |
4,7 |
|
Смешанные |
0,5 |
0,9 |
1,4 |
1,9 |
2,4 |
2,8 |
3,3 |
3,8 |
Определение естественной влажности, плотности влажного грунта и плотности скелета грунта на приборе Н.П. Ковалева
Прибор (см. рисунок настоящего приложения) состоит из двух основных частей: поплавка 7 с трубкой 6 и сосуда 9. На трубке нанесены четыре шкалы, показывающие плотность грунтов. Одна шкала (Вл) служит для определения плотности влажных грунтов (от 1,20 да 2,20 г/см3), остальные - плотности скелета черноземных (Ч), песчаных (П) и глинистых (Г) грунтов (от 1,00 до 2,20 г/см3),

Прибор Н.П. Ковалева:
1 - крышка прибора; 2 - замки прибора; 3 - ведро-футляр; 4 - приспособление для отбора проб режущим кольцом; 5 - нож; 6 - трубка со шкалами; 7 - поплавок; 8 - замки сосуда; 9 - сосуд; 10 - тарировочный груз (пластинки); 11 - резиновый шланг; 12 - нижняя крышка; 13 - замки поплавка; 14 - режущее кольцо (цилиндр) с нижней крышкой
К вспомогательным принадлежностям прибора относятся: режущий стальной цилиндр (режущее кольцо) объемом 200 см3, насадка для вдавливания режущего кольца, нож для срезания отобранном кольцом пробы, ведро-футляр с крышкой и замками.
Проверка прибора. В нижнюю часть поплавка 7 устанавливают пустое режущее кольцо 4. К поплавку с помощью трех замков присоединяют сосуд 9 и погружают в воду, налитую в ведро-футляр 3.
Правильно уравновешенный прибор погружается в воду до начала шкалы "Вл" т.е. показания ρ (γ0) = 1,20 г/см3. При отклонениях уровня воды в ту или другую сторону прибор должен быть отрегулирован тарировочным грузом (металлическими пластинками), находящимися в нижней крышке 12 поплавка.
Подготовка пробы. Пробу грунта берут грунтоносом - режущим кольцом.
Для этого на месте испытания выравнивают площадку и при помощи насадки
погружают режущее кольцо до полного заполнения кольца объемом 200 см3.
По мере погружения режущего цилиндра (кольца) ножом удаляют грунт. После
заполнения кольца грунтом с избытком на 3-
Ход работы. Работу выполняют в три приема: определяют плотность влажного грунта по шкале "Вл"; устанавливают плотность скелета грунта по одной из трех шкал "Ч", "П", "Г" в зависимости от вида грунта; рассчитывают природную влажность.
Определение плотности влажного грунта по шкале "Вл"
Режущее кольцо с грунтом устанавливают на нижнюю крышку поплавка, закрепляя с поплавком замками. Поплавок погружают в ведро-футляр с водой. По шкале на уровне воды в футляре берут отсчет, соответствующий плотности влажного грунта ρ(γ0). Данные заносят в таблицу.
Определение плотности скелета грунта по шкалам "Ч", "П" или "Г"
Пробу грунта из грунтоноса (режущего кольца) переносят полностью в сосуд, заливают водой на 3/4 вместимости сосуда. Грунт тщательно растирают в воде деревянной ручкой ножа до получения однородной суспензии. Сосуд соединяют с поплавком (без грунтоноса) и погружают в ведро-футляр с водой. Вода через зазор между поплавком и сосудом наполнит остальное пространство сосуда, и весь поплавок с сосудом погрузится в воду до определенного уровня. Взятый по одной из шкал (в зависимости от вида грунта) отсчет принимают за плотность скелета грунта ρск (γск) и заносят в таблицу.
Расчет природной влажности
Природную (естественную) влажность рассчитывают по результатам испытаний по формулам:
![]()
![]()
где ρ(γ0) - плотность влажного грунта по шкале "Вл", г/см3;
ρск(γск) - плотность скелета грунта по одной из шкал ("Ч", "П" или "Г"), г/см3.
Определение прочности ускоренным способом
Для ускоренного определения прочности при
сжатии образцов из смесей, содержащих частицы мельче
Из смеси готовят три образца размером 5×5 см на приборе стандартного уплотнения или прессованием и вставляют в металлические герметически закрывающиеся формы. Формы с образцами помещают в термостат и выдерживают в течение 5 ч при температуре 105-110 °С, после чего вынимают из термостата и выдерживают в течение 1 ч при комнатной температуре. Выдержанные образцы удаляют из форм и определяют предел прочности при сжатии (без водонасыщения) по методике прил. 14.
Результат определения умножают на коэффициент 0,8, и получают прочность, соответствующую прочности образцов после 7 сут. твердения во влажных условиях и испытанных в водонасыщенном состоянии.
Качество смеси устанавливают путем сравнения величин прочности при сжатии образцов, определенной ускоренным способом, и лабораторных образцов 7-суточного возраста из эталонной смеси. При этом прочность эталонных образцов должна составлять не менее 60% нормативной. Отклонения в показателях прочности производственных и лабораторных образцов не должны превышать при приготовлении смесей:
в карьерных смесительных установках ±8%;
однопроходной грунтосмесительной машиной ±15%;
дорожной фрезой ±25%.
Для смесей из грунтов, содержащих частицы
крупнее
1. Участок (прорабство)
2. Фамилия, инициалы
3. На какую работу направлен
4. Фамилия, инициалы мастера (механика)
|
Вводный инструктаж Вводный инструктаж по технике безопасности применительно к профессии _____________проведен ___________ Подпись лица, проводившего инструктаж по технике безопасности ____________ "___" _________ 19____ г. Инструктаж на рабочем месте Инструктаж по технике безопасности у рабочего места, _________________________________________________________________. (Наименование рабочего места) рабочим тов.___________________ получен и усвоен. Подпись рабочего Подпись мастера (механика)
|
Разрешение
|
Тов._________________ разрешено допустить к самостоятельной работе _____________________________________________ (Наименование рабочего места) в качестве __________________________________________________ "___" 19_____ г. Начальник участка (прорабства) _________________________________ (Подпись)
|
|
|
|
|