//
|
|
ИНФОРМАЦИОННЫЙ ЦЕНТР ПО АВТОМОБИЛЬНЫМ ДОРОГАМ УСИЛЕНИЕ И УШИРЕНИЕ АВТОДОРОЖНЫХ МОСТОВ Тематическая подборка Москва 1996 Инструкция
по уширению автодорожных мостов и путепроводов: ВСН 51-88 /
Минавтодор РСФСР, Миндорстрой УССР, Миндорстрой БССР. - М.: Транспорт, 1990. -
128 с: ил.
| ||||||||||||||||||||||||||||||||||||||||||||||||||||||||||||||||||||||||||||||||||||||||||||||||||||||||||||||||||||||||||||||||||||||||||||||||||||||||||||||||||||||||||||||||||||||||||||||||||||||||||||||||||||||||||||||||||||||||||||||||||||||||||||||||||||||||||||||||||||||||||||||||||||||||||||||||||||||||||||||||||||||||||||||||||||||||||||||||||||||||||||||||||||||||||||||||||||||||||||||||||||||||||||||||||||||||||||||||||||||||||||||||||||||||||||||||||||||||||||||||||||||||||||||||||||||||||||||||||||||||||||||||||||||||||||||||||||||||||||||||||||||||||||||||||||||||||||||||||||||||||||||||||||||||||||||||||||||||||||||||||||||||||||||||||||||||||||||||||||||||||||||||||||||||||||||||||||||||||||||||||||||||||||||||||||||||||||||||||||||||||||
|
Наименование типового проекта |
Габарит но типовому проекту |
Технические возможности уширения |
|
|
без усиления |
с усилением |
||
|
ЛПМ 608/1 |
Г-8 + 2×1,5 |
Г-11,5 + 2×1,0 |
- |
|
ЛГТМ 767/1 |
Г-8 + 2×1,5 |
Г-11,5 + 2×1,0 |
- |
|
ПСК 43282 км |
Г-8 + 2×1,5 |
Г-11.5 + 2×1,0 |
- |
|
ПСК 43019 км |
Г-7 + 2×1,5 |
- |
Г-11,5 + 2×1,0 |
|
ПСК 4801 км |
Г-7 + 2×1,5 |
- |
Г-11,5 + 2×1,0 |
|
ИСК 43182 км |
Г-7 + 2×1,5 |
- |
Г-11,5 + 2×1,0 |
|
ИСК 4793 км |
Г-7 + 2×1,5 |
- |
Г-11.5 + 2×1,0 |
|
ГПИ СДП |
Г-7 + 2×1,0 |
Г-10 + 2×1(0,75) |
Г-11,5 + 2×1,0 |

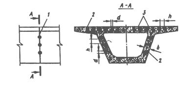
Рис. 3.9. Схемы уширения сталежелезобетонных пролетных строений с прокатными балками


Рис. 3.10. Схемы уширения сталежелезобетонных пролетных строений со сплошной стенкой до габаритов Г-10, Г-11,5 (а) и Г-8 (б) за счет добетонирования плиты и устройства дополнительных прогонов


Рис. 3.11. Схемы уширения сталежелезобетонных пролетных строений со сплошной стенкой до габаритов Г-10 и Г-11,5 за счет замены железобетонных плит новыми: а - повышенное расположение плоских плит; б - применение ребристых плит

Рис. 3.12. Уширение сталежелезобетонного пролетного строения за счет замены железобетонной плиты стальной ортотропной
Таблица 36
|
Наименование типового проекта |
Технические возможности уширения |
|
|
без усиления |
С усилением |
|
|
ЛГТМ 608/1 |
Г-10 + 2×0,75 |
Г-11,5 + 2×1,0 |
|
ЛГТМ 767/1 |
Г-11.5 + 2×1,0 |
- |
|
ПСК 43282 км |
Г-11,5 + 2×1,0 |
- |
|
ПСК 43019 км |
- |
Г-11; 6 + 2×1,0 |
|
ПСК 4801 км |
- |
Г-10 + 2×0,75 |
|
ПСК 43182 км |
- |
Г-10 + 2×0,75 |
|
ГПИ СДП |
Г-10 + 2×0,75 |
Г-11,5 + 2×1,0 |
|
ПСК 4793 км |
- |
Г-10 + 2×0,75 |
Таблица 3.7
|
№ п/п |
Наименование кинологи проекта |
Абсцисса опасного сечения, м |
Резерв по нормальным напряжениям, % от R стали, за счет |
|||
|
использования более точных методов расчета |
изменения класса нагрузки с Н-30 на A-11 |
использования нового критерии прочности по СНиП 2.05.03-84 |
Всего |
|||
|
1 |
ЛГТМ 608/1 |
5,8 |
10 |
4 |
0 |
14 |
|
2 |
ЛГТМ 767/1 |
11,0 |
11 |
5 |
4 |
20 |
|
3 |
ПСК 43282 км |
7,3 |
12 |
1 |
7 |
20 |
|
4 |
ПСК 43019 км |
12,2 |
6 |
3 |
5 |
14 |
|
5 |
ПСК 4801 км |
11,2 |
13 |
2 |
6 |
21 |
|
6 |
ПСК 43182 км |
9,3 |
5 |
3 |
6 |
14 |
|
7 |
ПСК 4793 км |
4,9 |
13 |
2 |
5 |
20 |
|
8 |
ГПИ СДП |
6,4 |
7 |
1 |
8 |
16 |

|
Рис. 3.13. Схема расположения тротуара в пониженном уровне |
Рис. 3.14, Схема выноса пешеходного движения на отдельно стоящее пролетное строение |


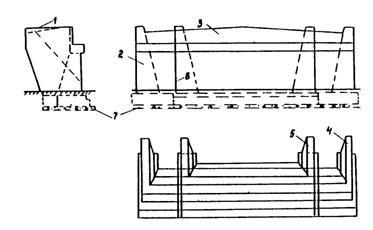
Рис. 3.15. Схемы уширения сталежелезобетонных пролетных строений добавлением новых балок
Данные по техническим возможностям уширения по группе Б для типовых пролетных строений представлены в табл. 3.6.
3.17. При исчерпании резерва несущей способности пролетных строений, уширяемых по схемам группы А и В, допускается использовать вынесение пешеходного движения. При этом пешеходное движение в пониженном уровне возможно только при однотипных пролетных строениях по длине моста, а вынесение пешеходного движения за пределы пролетного строения - при ширине тротуаров более 1,5 м (рис. 3.13, 3.14).
Уширение пролетных строении по схемам группы В, т.е. с добавлением балок, применяют при увеличении габарита свыше 3 м и, как правило, без какого-либо усиления (рис. 3.15).
3.18. Технические возможности уширения сталежелезобетонных пролетных строении обеспечиваются резервом несущей способности. Слагаемые этого резерва следует оценивать по табл. 3.7. В случае исчерпания резерва несущей способности пролетное строение подлежит усилению.
Усиление пролетных строений возможно следующими способами: введением предварительно напрягаемых элементов; развитием высоты сечения главных балок, добавлением главных балок, изменением статической схемы, улучшением поперечного распределения нагрузки, комбинацией вышеуказанных способов.
3.19. Усиление пролетных строении введением предварительно напрягаемых элементов следует применять при уширении по схемам группы А. Усиление развитием высоты сечения следует применять при уширении по схемам группы Б. При этом для включения в совместную работу старых и новых элементов прибегают, как правило, к регулированию усилий.
Для пролетных строений, не имеющих резерва несущей способности, обеспечивающей использование вышеназванных способов усиления, следует применять усиление с добавлением главных балок.
В тех случаях, когда применение перечисленных способов невозможно или нецелесообразно (например, из-за уширения опор), следует использовать усиление за счет изменения статической схемы. Усиление за счет улучшения распределения нагрузки используют при числе балок не менее трех.
3.20. При уширении опор следует в максимальной степени использовать существующие конструкции и все возможности уширения без переустройства фундаментов или уширения свайных промежуточных опор, что упрощает и удешевляет работы по реконструкции моста. Максимальное использование возможности опор связано с учетом упрочнения грунтов от длительной эксплуатации при оценке несущей способности по грунту.
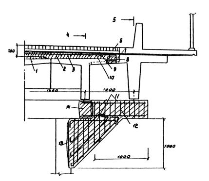
Схемы уширения опор могут быть отнесены к трем группам - уширение только ригеля (В), ригеля и тела опоры (Г) и уширение всей опоры, в том числе с фундаментом (Д).
3.31. При уширении по группе В наращиваемая часть ригеля (насадки) должна быть надежно соединена с существующей конструкцией. Причем она может быть выполнена из железобетона, предварительно напряженного железобетона пли прокатных стальных элементов. В качестве ориентира для выбора технического решения могут быть использованы схемы, представленные на рис. 3.16.

Рис. 3.16. Схемы уширения ригеля опор:
а - добавление железобетонных блоков (с обжатием высокопрочной арматуры); б, г - уширение стальным прокатным профилем: в - уширение консоли с усилением ригеля над крайними спаями: д - уширение консоли с устройством кронштейна; 1 - железобетон; 2 - стальной профиль
3.22. Схемы уширения но группе Г (развитие тела и ригеля опоры) предусматривают возможность превращения свайной опоры в свайно-стоечную; установки дополнительных подкосов (рис. 3.17,а), превращения стоечной опоры в опору-стенку; прибетонирования бетонных массивов в свайных (рис. 3,17,б), столбчатых (рис. 3.17,в) и массивных опорах (рис. 3.18).
Подкосы выполняют из металлических или железобетонных элементов. Для восприятия распора от подкосов уширенных стоечных или столбчатых опор к насадкам (сбоку - или снизу) прибетонируют охватывающие пояса, арматуру которых рассчитывают на полное горизонтальное усилие в насадке. Объединение бетонных массивов с телом опоры осуществляют железобетонными рубашками, охватывающими тело опор.
3.23. Уширение промежуточных опор с развитием тела и ригеля осуществляют, как правило, не более чем на 3 м в каждую сторону. При уширении массивной опоры более чем на 2 м в каждую сторону пристраиваемые железобетонные массивы поверху и понизу должны быть прикреплены охватывающими железобетонными поясами через 3 - 4 м по высоте опоры. При значительном наклоне торцовых граней массивных опор допускается устройство приштрамбованных массивов только в верхней части опоры (рис. 3.18, а).

Рис. 3.17. Схемы уширения стоечных (а. б) и столбчатых (в) опор за счет развития их тела

Рис. 3.18. Схемы уширения массивных опор за счет развития их тела на части высоты (а) и на всей высоте (б)
3.24. Уширение промежуточных опор с развитием фундамента может быть как двустороннее (симметричное и несимметричное), так и одностороннее (рис. 3.19).
Надфундаментную часть опоры развивают элементами, аналогичными существующим (сваи, стойки, столбы).
При небольшой высоте промежуточных опор уширение осуществляют забивкой свай-стоек независимо от типа существующей опоры.
3.25. Бесфундаментные устои уширяют добивкой свай с развитием в обе стороны ригеля и шкафной стенки (рис. 3.20). Причем сваи могут быть забиты как в заранее уширенные конуса, так и до отсыпки новой части конуса.
Массивные устои (устои с обратными стенками и открылками) уширяют путем забивки свай с двух сторон, развитием ригеля (устройством нового ригеля) или возведением с двух сторон Г-образных в плане пристроек. При значительных размерах обратных стенок массивные устои уширяют забивкой свай в двух плоскостях - у начала и конца устоя, а просвет между ними перекрывают плитными или балочными пролетными строениями.
3.26. Из приведенных в данном разделе схем уширения выбирают решения для разработки ТЭР, которые увеличивают габарит и грузоподъемность, позволяют максимально использовать существующие конструкции пролетных строений и опор и соответствуют по области применения фактическим условиям реконструкции.


Рис. 3.19. Схемы уширения промежуточных опор с развитием фундамента опор:
а - одностороннее ил» двустороннее; б - двустороннее; в - одностороннее

Рис. 3.20. Схемы уширения устоев:
а - расширение насадки с объединением по сваям; б - забивка дополнительных свай в заранее уширенную насыпь; в - пристройка конструкций к массивным устоям
1 - существующий ригель (насадка); 2 - удаленный открылок; 3 - монолитные конструкции уширения; 4 - сборные конструкции уширения; 5 - дополнительные сван
Извлечение
2. Конструкции усиления; стыков и отдельных элементов (ребер и плит) пролетных строений и опор мостов
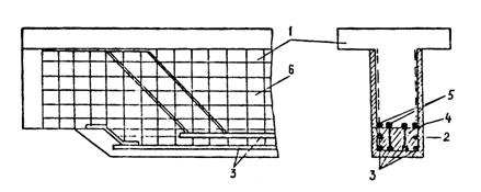
2.1. Рекомендуются следующие способы и конструкции усиления стыков (рис. 1):

|
|
Рис. 1. Конструкция усиления стыков установкой шпонок: 1 - дефектный стык; 2 - шпонка (металлическая или полимерная); 3 - каналы для предварительно напряженной арматуры |
если несущая способность стыка на действие поперечной силы недостаточна, то устанавливают металлические или полимерные шпонки только в ребрах балок. Количество шпонок определяют расчетом согласно разд. 3 настоящих "Методических рекомендаций";
если в стыке имеются неплотности, непроклей, трещины или зазоры, но несущую способность стыка можно восстановить, то сверлят отверстия под шпонки, через которые в трещины и зазоры вводят эпоксидный клей. В этом случае шпонки устанавливают конструктивно через 50 - 100 см по периметру стыка.
|
|
|
|
|
Рис. 2. Схемы усиления дефектных стыков бетонированием дополнительных элементов: а - усиление ребер балки; б - то же, нижней плиты; в - то же, верхней плиты; 1 - дефектный стык; 2 - бетон усиления; 3 - скважина с вклеенным штырем |
|
|
|
Усиление стыка верхней или нижней плиты конструкции путем установки шпонок, работающих на нормальные усилия, производят, как правило, в местах расположения каналов высокопрочной арматуры, так как в этих местах стыка очень сложно восстановить его несущую способность путем введения в зазоры (трещины) эпоксидного клея.
Если несущая способность стыка на действие нормальных, поперечных, главных сжимающих (растягивающих) усилий недостаточна или отдельные элементы конструкции имеют крупные дефекты в виде многочисленных трещин, сколов, лещадок и т.д., то бетонируют дополнительные элементы (ребра, плиты), объединенные с основной конструкцией (рис. 2). Расчет такой конструкции усиления приведен в разд. 3 настоящих "Методических рекомендаций".
2.2. В зависимости от усилия, которое необходимо передать шпонками, а также от температуры окружающего воздуха рекомендуется для усиления использовать (рис. 3):
круглые металлические шпонки, которые вклеивают непосредственно в просверленные отверстия, для усиления стыков, работающих на поперечные и нормальные усилия, как при отрицательных, так и при положительных температурах;
шпонки из отрезка трубы, отверстие которой заранее заполнено эпоксидным клеем, полимерным или обычным бетоном (такие шпонки устраивают вместо металлических в целях экономии металла);
плоские металлические шпонки, если круглые шпонки диаметром 60 - 80 мм не размещаются по периметру стыка стенки. Такие шпонки выполняют, просверливая два спаренных отверстия диаметром 50 - 60 мм, в которые вклеивают металлический лист. Плоские металлические шпонки рационально применять при положительных температурах воздуха;
шпонки из полимербетона (клея) для усиления стыков верхней или нижней плит, которые применяют только при положительных температурах воздуха.
2.3. При конструировании усиления с помощью бетонирования дополнительного элемента его размеры, а также количество штырей и глубину их вклеивания следует назначать расчетом (см. разд. 3).

|
|
Рис. 3. Конструкция усиления с помощью шпонок: а - усиление верхней плиты балки; б - то же, ребер; 1 - дефектный стык; 2 -металлическая шпонка; 3 - шпонка из отрезка трубы, заполненной полимерным составом; 4 - плоская металлическая шпонка; 5 - линия среза бетона; 6 - полимерная шпонка; 7 - каналы для высокопрочной арматуры |
Дополнительный элемент должен перекрывать ослабленный стык не менее чем на 1,5 м в обе стороны от стыка. При усилении нижней плиты коробчатой балки рекомендуется бетон усиления выполнять с вутами до 1/3 высоты ребер (см. рис. 2).
Глубину скважин для штырей и расстояние между штырями рекомендуется назначать не менее 10 диаметров штырей. Штыри следует располагать таким образом, чтобы расстояние от крайнего ряда штырей до грани железобетонного элемента было равно не менее чем 10 диаметрам штыря.
Диаметр скважин для штырей должен превышать в 1,2 - 2 раза диаметр штырей.
Штыри изгибают в виде скобы, вклеиваемой обоими концами в соседние скважины (рис. 4). Скобу необходимо заглублять в бетон усиления на расстояние А, равное не менее чем 7 диаметрам штыря и не менее 12 см. Ширину скобы вп определяют расчетом (см. разд. 3).

Рис. 4. Схема скобы, служащей для связи бетона усиления с ослабленной конструкцией: 1 - скоба; 2 - бетон усиления; 3 - бетон ослабленной конструкции; 4 - скважина, заполненная клеем; 5 - клеевая обмазка
3.1. Увеличение габарита на 1 м (группа А)
3.1.1. Для уширения пролетных строений, не требующих существенного повышения грузоподъемности (Kн ≥ 0,9) и устройства пешеходных тротуаров, а также для случаев выноса пешеходного движения за пределы моста рекомендуется увеличивать габарит за счет наращивания консоли плиты крайней балки (рис. 3.1) с одновременным увеличением несущей способности крайней балки, что необходимо из-за смещения положения расчетной нагрузки.
1 Распространяются на диафрагменные и бездиафрагменные ребристые пролетные строения с каркасной арматурой,
3.1.2. Уширение предусматривает частичное удаление крайней консоли для стыковки арматуры, а в случае неудовлетворительного состояния плиты - всей консоли. Оголенная арматура состыкована с каркасом монолитного участка, в котором предусмотрена закладная деталь для крепления ограждающих устройств.
Над крайней балкой удалены слои одежды мостового полотна. Нижняя арматура монолитного участка связана с выпусками арматуры из защитного слоя, а верхняя проходит в монолитной слое над существующим защитным слоем. При неудовлетворительном состоянии защитного слоя и гидроизоляции слои одежды удаляют до сточного треугольника (выравнивающего слоя), а при нарушения поперечного объединения по накладкам или плите удаляют все слои одежды ездового полотна. В этом случае монолитный бетон дополнительной плиты включают в совместную работу с пролетными строениями известными способами.
3.1.3. Область возможного применения схем по рис. 3.1 ограничена, помимо требований к состоянию сооружения, следующими параметрами:
длина пролетных строений до 18 м;
длина мостов до 25 м в случав отказа от тротуаров, до 100 м в случае переноса пешеходного движения;
габарит моста до уширения - не более 8 м.
Рекомендуется использовать при изменении габарита
с Г-6 до Г-7,
" Г-7 " Г-8,
" Г-8 " Г-9 или Г-9,5.
При необходимости устройства тротуаров уширение можно осуществлять с помощью накладной плиты в соответствии с рекомендациями [2].
3.1.4. При разработке проектов уширения по схемам рис. 3.1 допускается предусматривать объединение пролетных строений в температурно-неразрезные (ТНПС) по монолитному бетону и слоям одежды в соответствии с требованиями [14] при следующих схемах уширяемого моста:
2 + 4×11,36 м; 2 + 3×12,0 м; 2×14,06 (15) м.
При уширении с габарита Г-6 и Г-7 допускается объединять в ТНПС по монолитному бетону и защитному слою.
3.2. Увеличение габарита на 1,5 - 2,0 м
3.2.1. Уширение мостов с увеличением габарита на указанную величину за счет устройства накладной монолитной (сборной, сборно-монолитной) плиты (группа Б) рекомендуется осуществлять, руководствуясь требованиями [2-4].
3.2.2. Уширение за счет добавления дополнительных балок рекомендуется производить по схемам рис.3.2, на которых показано:
схема IB-1a - увеличение габарита с помощью дополнительных балок по проекту 710/5, приставленных с каждой стороны пролетного строения на расстояние от крайней балки на 1 м с опиранием на уширенный ригель;
схема IIГ-1в - увеличение габарита с помощью дополнительных пустотных плит по проекту 384/5 или 384/43, установленных по одной с каждой стороны пролетного строения и максимально приближенных к крайним балкам (и объединенных с ними); плиты опираются на уширенную часть тела опоры;

Рис. 3.1. Уширение пролетных строений с диафрагмами (а) и без диафрагм (б) на 1 м с удалением тротуаров: 1 - новый бетон выравнивающего слоя; 2 - новые слои одежды; 3 - граница обрубки старых слоев; 4 - монолитный бетон консоли; 5 - закладная деталь; 6 -стойка ограждения
схема IГ-1а - увеличение габарита с помощью двух дополнительных балок по проекту 710/5, установленных с одной стороны пролетного строения на достроенную опору; предусмотрено смещение тротуарного блока (на рис. 3.2 левого) в сторону оси моста для ограничения положения временной нагрузки;
схема IIГ-1а - увеличение габарита с помощью двух дополнительных балок по проекту 710/5, установленных с одной стороны пролетного строения на достроенную опору с максимальным приближением одной балки к существующей и объединением их по всей высоте;
схема IIГ-1в - увеличение габарита с помощью трех дополнительных пустотных плит по проекту 384/25, установленных с одной стороны на дополнительную опору с максимальным приближением одной плиты к существующей балке и объединением их по всей длине.
Во всех схемах покрытие удаляют по всей площади.
3.2.3. Длины пролетных строений, для которых рекомендовано использовать приведенные схемы уширения, указаны на рис. 3.2.
Схемы применяют при изменении габаритов:
с Г-6 + 2×0,5 (0,75) м до Г-8 + 2×0,75 (1,0) м;
" Г-7 + 2×0,75 м " Г-9 + 2×1,0 м;
" Г-8 + 2×0,75 м " Г-9,5 + 2×1,0 м и Г-10 + 2×1,0 м;
" Г-10 + 2×1,0 м " Г-11,5 + 2×1,5 м.
Допустимо при реконструкции пролетные строения объединять в ТНПС при условиях, оговоренных в п. 3.1.4,
3.2.4. Схема IB-1a (рис. 3.2б) предусматривает:
удаление всех слоев одежды над крайними балками, а при необходимости и других слоев, что оговорено в п. 3.1.2;
объединение монолитной плиты с крайними балками для обеспечения их совместной работы;
частичную обрубку консолей крайних балок для стыковки с арматурой плиты приставляемой балки (рис. 3.3);
наращивание ригеля с объединением арматуры и устройством подкосов (см. рис. 3.3).
Толщина монолитной плиты над крайними балками - 80 - 100 мм. Армирование производят сварными сетками из арматуры периодического профиля диаметром 10 - 12 мм класса АII.

Рис. 3.2. Схемы уширения на 1,5 - 2 м (мосты на дорогах III - IV категории):
а - пролетное строение до уширения; б - симметричное уширение (схема IB-1a, l = 8,66+16,76 м): в - то же (схема IIВ(Г)-1в, l = 8,66+14,06 м); г - несимметричное уширение (схема I(II)Г-1а, l = 11,36+16,76; д - то же (схема IIГ-1a, l = 11,36+14,06); е - то же (схема-IIГ-1в, l = 8,66+14,06)
При уширении бездиафрагменных пролетных строений с неповрежденной гидроизоляцией слои одежды в пределах существующего пролетного строения не удаляют, а стыкуют с новыми. При наличии в гидроизоляции дефектов руководствуются рекомендациями п. 3.1.2. Консоли плит крайних балок бездиафрагменных пролетных строений частично удаляют для оголения арматуры, стыкуемой с арматурой плиты приставляемых балок.
3.2.5. Схема IIГ-1в (см. рис. 3.2 в) предусматривает:
удаление всех слоев одежды на всей площади проезжей части;
обрубку консолей крайних балок до корня с сохранением выпусков арматуры плиты на длине 100 - 150 мм;
устройство монолитной плиты толщиной от 10 см над крайней балкой до 15 см над средней, армированной в двух уровнях с консолью ~ 0,5 м;
устройство монолитной железобетонной вставки между балкой и плитой;
объединение плиты с ребром балки в зоне диафрагм болтами для обеспечения совместной работы на изгиб и кручение 1;
1 При расчетном обосновании допускается в отдельных случаях объединение болтами (штырями) не устраивать (см. раздел 3.6)
уширение тела опоры (новые и старые насадки могут между собой не объединяться);
устройство закладных деталей в плите.
Толщину монолитной вставки принимают в интервалах от 200 до 400 мм в зависимости от степени необходимой разгрузки средней балки.
3.2.6. В зависимости от степени армирования ребра уширяемого пролетного строения и высоты приставляемой балки объединение конструкций снизу может быть выполнено в двух вариантах:
при выравнивании плит и балок по верху низ плиты соединяют со стенкой балки болтами, пропущенными в отверстия стенки и соединенными с закладными деталями плиты (рис. 3.4): число болтов - по два у каждой диафрагмы, диаметр - 18 - 24 мм (для пролетов 11,36 - 16,76м) 1
1 При расчетном обосновании допускается в отдельных случаях объединение болтами (штырями) не устраивать (см. раздел 3.6).

Рис. 3.3. Узел объединения приставляемых и существующих элементов по схеме IB-1a применительно к варианту уширения на 2,0 м (с Г7 + 2×0,75 до Г-9 + 2×1,0 или с Г-6 + 2×0,75 до Г-10 + 2×1,0l:
1 - оставшийся выравнивающий слой; 2 - монолитная железобетонная плита; 3 - гидроизоляционный слой по монолитной плите; 4 - граница старого габарита; 5 - граница нового габарита; 6 - покрытие; 7 - выпуски арматуры из приставляемого блока; 8 - арматура продольного стыка омоноличивания; 9 - новый защитный слой; 10 - арматура монолитной плиты; 11 - арматура добетонируемой части опоры; 12 - добетонируемая часть ригеля; 13 - оголенная арматура стойки опоры; 14 - участок оголения арматуры

Рис. 3.4. Стыки плитных и ребристых балок с объединением болтами (а) и захватами (б):
1 - существующая балка; 2 - удаленная консоль; 3 - арматурные сетки; 4 - выпуски арматуры из плиты; 5 - арматурный каркас: 6 - монолитный бетон поверх плиты; 7 - закладные детали; 8 - скоба захвата; 9 - клей; 10 - упор; 11 - приставляемая плита; 12 - объединяющий болт; 13 - отверстие в ребре
при пониженном расположении плит их соединяют скобами-захватами (струбцинами), прикрепленными к закладным деталям плит и охватывающими стенку балки (см. рис. 3.4); число скоб - по числу диафрагмы к закладной детали сверху приваривают поперечную арматуру плиты.
3.2.7. Схема IГ-1А (рис. 3.2г) предусматривает:
удаление всех слоев одежды либо на половине существующего пролетного строения, либо только над крайней балкой (см. например, рис. 3.3, что зависит от состояния изоляции и диафрагм пролетных строений;
частичную обрубку консоли крайней балки для стыковки арматурных выпусков;
устройство новой гидроизоляции и вышележащих слоев по обновленному защитному слою или по монолитной плите.
Положение нового тротуарного блока должно быть таким, чтобы избежать попадание колеса расчетной нагрузки на крайнюю балку при невыгодном загружении пролетного строения. При разрешении использовать тротуары различной ширины более широкий тротуар располагают со стороны, противоположной уширению (на рис. 3.2 слева).
3.2.8. Схема IIГ-1a (рис. 3.2,д) предусматривает:
удаление всех слоев одежды;
обрубку консоли плиты крайней балки до корня;
изготовление первой приставляемой балки без одной консоли;
устройство между сближенными балками монолитной железобетонной вставки с объединением по низу;
устройство дополнительной монолитной железобетонной плиты толщиной не менее 100 мм с объединением ее для совместной работы с балками пролетного строения; 1
1 При расчетном обосновании допускается в отдельных случаях объединение по балкам снизу не устраивать (см. раздел 3.6).
устройство закладных деталей в первой приставляемой балке.
Объединять балки по стенке можно с помощью болтов (шпилек) или пластин (рис.3.5). При объединении пластинами рекомендуется использовать два варианта:
с приваркой пластин к оголенной арматуре и закладной детали;
с устройством объемлющего захвата. 2
2 С использованием а.с. № 1013542.
При уширении с габарита Г-10+2×1,0 м до Г-11,5 + 2×1,5 м и с Г-8 + 2×0,75 м до Г-9,5 + 2×1,0 м повышается класс расчетной нагрузки (с НГ-60 до НК-80) при условии смещения левого тротуарного блока в сторону оси на 0,5 м, а для остальных случаев - при дополнительном усилении крайней левой балки.
3.2.9. Схема IIГ-1в (рис. 3.2в) предусматривает:
удаление всех слоев одежды на половине моста;
срубку консоли плиты крайней балки до корня;
устройство монолитной железобетонной вставки между балкой и плитой;
устройство монолитной плиты толщиной до 150 мм над средними балками;
объединение плиты с ребром балки в зоне диафрагм болтами или шпильками;
устройство закладных деталей в одной плите;
смещение одного тротуарного блока в сторону оси моста на величину, исключающую попадание колеса расчетной нагрузки на крайнюю балку.



Рис. 3.5. Узлы сопряжения ребристых балок:
а, в - стыковка балок с помощью накладок; б - болтов; г - захватов
1 - монолитный бетон плиты; 2 - выпуски арматуры; 3 - хомут каркаса; 4 - монолитный бетон вставки; 5 - закладная деталь; 6 - стыковая накладка; 7 - приваренная пластина; 8 - выкол бетона; 9 - просверленное отверстие; 10 - болт; 11 - оголенный хомут; 12 - основная арматура; 13 - сварка; 14 - граница опалубки; 15 - поперечная балка: 16 - удерживающая полоса, приваренная к выпускам; 17 - клей; 18 - упор; 19 - опалубка
Допускается устройство монолитной плиты по всей ширине пролетных строений с объединением их в температурно-неразрезные. В этом случае повышается класс расчетной нагрузки (например, с НГ-60 до НК-80 [12]).
3.3. Увеличение габарита на 3 - 3,5 м
3.3.1. Уширение мостов с увеличением габарита на 3 - 3,5 м может осуществляться как с использованием накладной сборной, сборно-монолитной, монолитной железобетонной плиты (группа Б) [2], приставляемых элементов с увеличенными консолями и уширением лишь ригеля опор (группа В) [4], так и с помощью приставляемых элементов по аналогии с рекомендациями раздела 3.2 с уширением тела опоры (группа Г) или строительством дополнительных опор (группа Д).
3.3.2. Уширение за счет добавления балок (плит) при увеличении габарита на 3 - 3,5 м рекомендуется производить по схемам на рис.3.6, где показаны способы симметричного (а - г) и одностороннего (д - з) уширения с приближением в большинстве случаев новых элементов пролетного строения к существующим и с одновременным устройством накладной монолитной железобетонной плиты (б - г, е - з). При необходимости значительной разгрузки существующих балок в отдельных случаях предусмотрено объединение стыкуемых элементов с помощью монолитной вставки.
При уширении используют Т-образные балки с каркасной арматурой и преднапряженные пустотные плиты. В отдельных случаях, оговоренных ниже, допускается применение предварительно-напряженных балок.
3.3.3. Длины пролетных строений, для которых рекомендуется использовать приведенные схемы уширения, указаны на рис. 3.6. Схемы применяют при изменении габарита
с Г-6 + 2×0,75 м до Г-9 + 2×1,0 м;
" Г-7 + 2×0,75 м " Г-10 + 2×1,0 м;
" Г-8 + 2×1,0 м " Г-11,5 + 2×1,5 м;
" Г-10 + 2×1,0 м " Г-13,25 + 1×1,5 м;


Рис. 3.6. Схемы уширения на 3,0 - 3,5 м (мосты на дорогах III категории):
а - симметричное уширение (схема IГ-1а, l = 8,66 - 16,76 м); б - то же (схема IIГ-1а. l = 8.66 - 11,36 м); в, г - то же (схема IIIГ-1в, l = 8,66 - 14.06 м; д - несимметричное уширение (схема IIГ-2в, l = 8.66 – 16.76 м); е - то же (схема IIД-1а, l = 8.66 - 11,36 м); ж - то же (схема IIIД-1а, l = 8.66 - 14,06 м); з - то же (схема IIIД-1а, l = 8.66 - 11,36 м);
На рис. 3.6 даны варианты для случая увеличения габарита с Г-7 + 2×0,75 м до Г-10 + 2×1,0 м. Во всех вариантах предусмотрено удаление (замена) покрытия проезжей части.
3.3.4. Схема IГ-1а (рис. 3.6а) предусматривает: частичное или полное (в зависимости от состояния) удаление консолей плит крайних балок с оголением арматуры для стыковки;
удаление слоев одежды над крайними балками, а при неудовлетворительном состоянии гидроизоляции по всей площади - полное удаление слоев одежды;
изготовление первой приставляемой балки с укороченной консолью;
максимальное приближение (до 0,5 м) приставляемой балки к существующей;
устройство монолитной плиты над крайней балкой с обеспечением их совместной работы;
развитие тела опоры, позволяющее удлинить ригель на 2 м.
3.3.5. Если слои одежды в средней части существующего пролетного строения не удаляются, поверх оголенного защитного слоя устраивают дополнительный слой бетона толщиной 50 - 70 мм, армированный в поперечном направлении арматурой периодического профиля, стыкуемой с выпусками арматуры из плиты приставляемой балки.
При уширении бездиафрагменных пролетных строений по указанной схеме первую дополнительную балку располагают на расстоянии не менее 0,8 м от существующей крайней, а при наличии в крайней балке дефектов, снижающих ее жесткость, - на расстоянии 0,5 м. В случаях уширения мостов с пролетными строениями длиной 16,76 м допускают использование предварительно-напряженных ребристых балок по проекту 364/26, изготовленных в опалубке l = 18 м. При этом целесообразно применять двухстороннюю несимметричную схему уширения с тремя дополнительными балками.
3.3.6. Схема IIГ-1a (рис. 3.6 б) предусматривает:
частичное или полное (в зависимости от состояния) удаление консолей плит крайних балок;
удаление всех слоев одежды;
максимальное приближение приставляемых балок к существующим (на 0,5 м);
устройство монолитной железобетонной плиты (толщина в середине 22 см), объединенной для совместной работы с балками;
развитие тела опоры, позволяющее удлинить ригель на 2 м.
При уширении с габарита Г-7 и Г-8, по указанному методу, повышается класс расчетной нагрузки (например, с НГ-60 до НК-80).
При уширении бездиафрагменных пролетных строений по указанной схеме первую балку располагают на расстоянии не менее 0,8 м от существующей.
3.3.7. Схемы IIIГ-1a и IIIГ-1в (рис. 3.6 в, г) предусматривают использование четырех пустотных плит (ребристых балок), максимально приближенных к существующему пролету и объединенных с ним по монолитной вставке и накладкам (болтами) - см. рис. 3.4, 3.5.
Кроме того, предусматривается:
удаление консолей плит существующих крайних балок с оголением арматуры для стыковки;
устройство накладной железобетонной монолитной плиты, объединенной для совместной работы с балками;
развитие тела опоры, позволяющее удлинить ригель на 2 - 2,5 м.
Данный метод уширения позволяет повысить класс расчетной нагрузки (например, с НГ-60 до НК-80) даже при наличии в конструкциях дефектов, сникающих жесткость диафрагм и главных балок. В зависимости от степени повреждения конструкций и требуемой степени разгрузки средних балок толщину монолитной вставки принимают в интервалах от 200 до 400 мм.
Пример уширения по схеме III-Г-1а (рис.3.6 г) приведен на рис. 3.7.

Рис. 3.7. Поперечное сечение мостов, уширенных с развитием тела опор (а) и устройством новых опор (б)
3.3.8. Схема IД-2а (рис. 3.6 д) предусматривает;
удаление слоев одежды на половине проезжей части с подготовкой их к стыковке с новыми слоями;
частичную обрубку (на 100 - 150 мм) бетона консоли крайней балки для стыковки с выпусками арматуры плиты приставляемой балки;
применение только ребристых балок по проекту 710/5, а при длине 16,76 м - предварительно-напряженных - по проекту 384/26.
Рекомендованный метод уширения пролетных строений бездиафрагменными балками может быть использован и при увеличении габарита на большую величину, например, с Г-7 + 2×0,75 м до Г-11,5 + 2×1,5 м (рис. 3.8).

Рис. 3.8. Пример одностороннего уширения моста с бездиафрагменными пролетными строениями, имеющими оценку "хорошо" (из проекта Барнаульского филиала Гипродорнии
3.3.9. Схема IIД-1a (рис. 3.6 е) отражает комбинированный метод уширения, предусматривающий:
удаление всех слоев одежды;
частичное удаление консоли плиты крайней балки;
максимальное приближение первой приставляемой балки к существующей (на 0,5 м) с расположением плиты приставляемой балки над старым пролетным строением;
устройство монолитной железобетонной плиты толщиной до 20 см в средней части, объединенной для совместной работы с балками;
смещение одного тротуара в сторону оси моста на величину, исключающую попадание колеса временной расчетной нагрузки на крайнюю балку.
При увеличении габарита с Г-7 до Г-8 указанная схема уширения позволяет повысить класс нагрузки на уширенный мост (например, с НГ-60 до НК-80).
3.3.10. В схеме IIIД-1a (рис. 3.6, ж) консоль существующей балки удалена полностью, а первая приставляемая балка выполнена без одной консоли для обеспечения объединения конструкций по всей высоте стенки с устройством накладок по низу балок1. Как и в предыдущем случае, предусмотрены монолитная железобетонная плита и смещение тротуарного блока к оси шва. Если дефекты в пролетном строении сосредоточены на одной половине пролетного строения, то монолитную плиту можно устраивать не на всей ширине пролета.
1 См. сноску к п. 3.2.5.
3.3.11. Схема IIIД-1A (рис. 3.6, з) во многом повторяет вариант на рис. 3.6, е, с той разницей, что:
удалена крайняя балка (например, из-за ее неудовлетворительного состояния);
плиты дополнительных балок с двух сторон расположены над балками существующего пролетного строения;
минимальная толщина монолитной плиты составляет 16 см, толщина плиты в середине - около 25 см.
Расстояние, на котором первая приставляемая балка расположена от существующей, может изменяться от 0,4 до 0,8 м в зависимости от возможности забивки свай новой опоры. Приведенный способ уширения позволяет увеличить класс расчетной нагрузки на мост после уширения даже при наличии дефектов в балках, плите, диафрагмах, а также позволяет облегчить работу ригеля и крайних свай существующей опоры.
3.3.12. Пролетные строения при уширении на 3 - 3,5 м по рекомендуемым варианта и могут быть объединены в температурно-неразрезные различными, в основной комбинированными способами.
В частности, для схем:
по рис. 3.6, а - по продольный стыкай омоноличивания, а в пределах средней части - по слоям одежды; при этом при объединении по продольным стыкам соединительную плиту отделяют вертикальными прорезями (рис. 3.9); аналогичным образом поступают при двустороннем уширении бездиафрагменных пролетных строении1;
1 С использованием а.с. № 1013542
по рис. 3.6, б - по продольным стыкам омоноличивания с вертикальными прорезями в приставляемой части и по монолитной плите на среднем участке [11];
по рис. 3.6, в - с помощью накладок по плитам и монолитному бетону средней части; при старом габарите Г-7 допускается объединять по накладкам только в пределах приставляемых элементов (рис. 3.10);
по рис. 3.6, г - по продольным стыкам омоноличивания на приставляемых участках и с помощью штырей [11] на среднем участке:
по рис. 3.6, е, г - по продольным стыкам в приставляемой части и накладной плите на остальном участке.
3.4. Увеличение габарита на 4,5 - 5 м
3.4.1. Уширение мостов с увеличением габарита на 4,5 м и более производят добавлением новых элементов пролетных строений с устройством новых опор с двух или с одной стороны (группа Д). В отдельных случаях могут быть использованы решения с добавлением меньшего количества балок (плит) с устройством длинных консолей [2].
3.4.2. Рекомендуемые для уширения схемы (рис. 3.11) базируются на приведенных ранее решениях (см. рис. 3.2 и 3.6) с увеличенным количеством балок или измененными расстояниями между ними.
В частности, при симметричном уширении:
схемы IД-1а (рис. 3.11, а) и IIД-1a (рис. 3.11, б) отличаются от аналогичных схем, приведенных на рис. 3.6, а, увеличенным до 1 м расстоянием между существующей и приставляемой балками и незначительным, в этой связи, увеличением толщины одежды (разрешается применение предварительно-напряженных балок при l = 16,76 м);

Рис. 3.9. Способ объединения уширяемых пролетных строений в температурно-неразрезное:
1 - существующие балки; 2 - новые балки; 3 - продольный шов омоноличивания; 4 - существующий зазор между торцами; 5 - прорезь в шве омоноличивания

Рис. 3.10. Схемы (план) объединения пролетных строений в температурно-неразрезные по приставляемой части с помощью накладок (а) и по плите (б):
1 - существующее пролетное строение; 2 - продольный шов омоноличивания; 3 - приставляемые плиты или балки; 4 - соединительные накладки; 5 - деформационный шов старого пролетного строения; 6 - продольная прорезь в плите


Рис. 3.11. Схемы уширения на 4.5 - 5,0 м (мосты на дорогах II категории):
а - симметричное уширение (схема IA-1e. l =8,66 - 16,76 м); б - то же (схема IIД-1а, l = 8,66 - 11,36 м); в - то же (схема IIIД-1в, l = 8,66 - 14.06 м): г - несимметричное уширение (схема IIД-1а. l = 11,36 - 14,06 м); д - то же (схема IIIД-1а, l = 11,36 - 14,06 м); е - то же (схема IIIД-1а, l = 11,36 - 14,06 м)
схема IIIД-1в (рис. 3.11 в) отличается от схем па рис. 3.6, в, г, количеством дополнительных балок.
3.4.3. При несимметричном уширении используются комбинации различных решений (сближение, объединение в мощные ребра, устройство дополнительной плиты, смещение тротуара, удаление крайней балки). Опоры при этом уширяются в одну сторону с удлинением на другом конце, в отдельных случаях, ригеля. Так, для варианта с удлинением ригеля рекомендуется использовать схемы:
IIД-1a (рис. 3.11, г) - на удлиненную консоль установлена одна балка, на дополнительную опору - несколько; тротуар смещен, монолитная дополнительная плита в середине имеет толщину 20 см;
811-1а (рис. 3.11, д) - то же, с объединением сопрягаемых балок по всей высоте стенки; причем, в среднем омоноличенном узле балки между собой могут быть не связаны болтами (накладками)1.
1 При обосновании расчетом (см. раздел 3.6).
При неудовлетворительном состоянии крайней балки она может быть удалена (схема IIIД-1a на рис. 3.11, е) и заменена новой (бездиафрагменной) с максимальным приближением к оставшемуся массиву. Опору в этом случае уширяют лишь в одну сторону. Не исключается (при обосновании расчетом), что монолитную вставку можно не устраивать.
3.4.4. Длины пролетных строений, при которых рекомендуется применение приведенных на рис. 3.11 схем уширения, ограничены величинами 9 (8,66) м и 12 (11,36) м. Уширение по варианту "а" возможно (допустимо) при длинах пролетных строений 16,76 м (18 м). Рекомендованные схемы приемлемы при увеличении габаритов
с Г-7 + 2×0,75 м до Г-11,5 + 2×1,5 м;
" Г-7 + 2×0,75 м " Г-13,25 + 2×1,5 м;
" Г-8 + 2×1,0 м " Г-13,25 + 2×1,5 м;
" Г-8 + 2×1,0 м " Г-15,25 + 2×1,5 м;
" Г-10 + 2×1,0 м " Г-15,25 + 2×1,5 м.
На рис. 3.11 даны варианты для случая увеличения габарита с Г-7 + 2×0,75 м до Г-11 + 2×1,5 м.
3.4.5. Узлы сопряжения сопрягаемых балок для различных схем уширения приведены на рисунках 3.12 и 3.13.

Рис. 3.12. Объединение балок при одностороннем уширении (схемы 2Д-1а):
а - применительно к схеме по рис. 3.11; б - то же, по рис. 3.11 г, 1 - монолитная плита усиления; 2 - консоль крайней балки; 3 - новая балка;4 - продольный шов омоноличивания; 5 - обрубленная консоль
При устройстве накладной плиты по варианту рис. 3.11, б (вариант составлен на базе решения Белдорнии [3]) бетон армируют двумя рядами из арматуры периодического профиля Ø 12-16 мм. Шаг продольной арматуры нижнего ряда - 25 см, а верхнего - 20 см. Шаг поперечной арматуры соответствует вагу выпусков из плиты балки.
В вариантах с устройством монолитной вставки (рис. 3.11, д, е) армирование плиты зависит от положения приставляемых балок. При выравнивании балок в одной уровне снизу (вариант "д") поперечную арматуру нижнего ряда прерывают между второй и третьей балками и приваривает к накладке диафрагм. При варианте "е" нижняя арматура соединена с выпусками арматуры из плит, а верхняя продлена до конца монолитного бетона плиты.
3.4.6. Объединение пролетных строений в температурно-неразрезные осуществляет в соответствии с требованиям п. 3.3.12. Объединение приставляемых конструкций между собой в поперечной направлении осуществляют известными способами (см., например, а.с. № 1213149).


Рис. 3.13 Объединение балок с усилением диафрагм при уширении:
а -с устройством монолитной вставки;
б -без устройства
1 - приставленная балка; 2 - монолитная вставка; 3 - существующая балка; 4 - монолитный бетон плиты; 5 - закладная деталь в балке; 6 - поперечная балка; 7 - хомут: 8 - упор; 9 - подвеска; 10 - накладка диафрагмы; 11 - клеевой шов
4.1. Основные требования
4.1.1. При необходимости симметричного уширения моста следует в максимальной степени использовать существующие конструкции опор и все возможности их уширения без переустройства фундаментов или тела свайных промежуточных опор, что упрощает и удешевляет работы по реконструкции моста (например, учитывать упрочнение грунтов от длительной эксплуатации моста).
4.1.2. До принятия решения о способе уширения тела опоры следует удостовериться в отсутствии необходимости уширения ее фундамента как при существующих опорных частях, так и при случае замены их резиновыми. Для улучшения работы опор целесообразно при уширений объединять пролетные строения в температурно-неразрезные. Для ускоренной оценки возможности уширения моста без уширения фундаментов следует пользоваться графиками прил. 4, где изложены данные для наиболее распространенных типов опор, типов сопрягающихся пролетов, величин различных уширений и грунтовых условий.
4.2. Схемы уширения промежуточных опор и область их применения
4.2.1. Возможны три характерных способа уширения промежуточных опор:
уширение только ригеля (группа В)
уширение ригеля и тела опор без уширения фундаментной части (группа Г);
то же, но с уширением фундаментной части (группа Д).
Условные схемы уширения по указанным способам приведены на рис. 4.1. Допустимые величины уширения по каждому варианту даны в табл. 4.1.
Таблица 4.1
Допустимые величины уширения опор
|
Вариант по рис. 4.1 |
Высота опор, м |
С, м |
|
а |
без ограничения |
≤ 0,8 |
|
б-1 |
≥ 3,0 |
≤ 1,5 |
|
б-2 |
≥ 4,5 |
≤ 2,0 |
|
в |
без ограничения |
> 2,0 |

Рис. 4.1. Условные схемы уширения опор:
а - без развития тела; б, г - с развитием тела опоры, но без развития фундаментов; в - то же с развитием фундамента
4.2.2. Свайные промежуточные опоры. При уширении моста на 1 - 2 м уширение свайной опоры может быть осуществлено за счет удлинения и усиления только насадки, жестко объединяемой с существующей ее частью (см. рис. 3.3).
При уширении моста на 3,0 - 3,5 м рекомендуется превращение свайной опоры в свайно-стоечную, как это показано на рис. 4.1, б. При этом допускается часть опоры омоноличивать в виде стенки, а штыревое соединение по торцу насадки не устраивать. Арматуру цокольной части соединяют с оголенной вертикальной арматурой стоек-свай.
При уширении моста на 4 - 5 м дополнительные сваи забивают на расстояниях, близких к существующим в опоре. Новая часть насадки может не омоноличиваться с существующей в случае принятия мер для предотвращения неравномерных осадок. Допустимая разница в осадках определяется надежной работой пролетных строений в поперечном направлении и может быть принята в пределах, при которых относительное вертикальное смещение приставляемой балки по сравнению с ближайшей существующей не превышает 0,001 В (В - расстояние между балками) - в диафрагменных пролетных строениях и 0,002 В - в бездиафрагменных. В остальных случаях насадки должны быть объединены.
4.2.3*. Для предотвращения чрезмерной осадки несущая способность пристраиваемой части опоры по грунту и материалу свай должна быть увеличена; степень увеличения несущей способности дана в табл. 4.2.
* В пункты, отпеченные звездочкой, включены требования, приведенные в [2].
Таблица 4.2
|
Глубина погружения сваи существующей части опоры, м |
Увеличение несущей способности опоры на новых сваях при песчаных и глинистых грунтах с коэффициентом консистенции В ≤ 0,5 (под нижними концами свай) |
|
4 |
1,35 |
|
6 |
1,30 |
|
8 |
1,25 |
|
10 |
1,20 |
4.2.4. Свайно-стоечные опоры. Стоечные опоры. При отсутствии необходимости уширения фундамента уширение свайно-стоечных и стоечных опор может быть осуществлено либо за счет удлинения насадки при уширении моста на 1 - 2 м (аналогично п. 4.2), либо при уширении моста до 4 м с установкой дополнительных подкосов (см. рис. 4.1, б). Последние изготовляют из сборного железобетона с выпусками арматуры, заделываемыми в удлиняемую часть насадки. В качестве подкосов могут быть использованы части железобетонных свай со стержневой арматурой. Нижние концы подкосов устанавливает в предварительно вырубленные ниши в фундаменте (ростверке) с последующим обетонированием.
Угол отклонения подкосов от вертикали следует принимать не более 30°. Состояние от верха подкосов до существующих стоек должно быть не более 2,0 м. Части удлинения стоечных опор должны быть соединены со старой опорой сваркой арматуры.
4.2.5. Для восприятия распора от подкосов уширенных стоечных опор под существующей насадкой и к подкосам должны быть прибетонированы железобетонные охватывающие пояса, арматуру которых рассчитывают на полное горизонтальное усилие в насадке (см. рис. 4.1, б). Усиление перегруженных стоек следует производить железобетонными рубашками по насеченной поверхности стоек, рубашки армируют сварными каркасами.
При уширении фундамента уширение тела опор производят достройкой конструкции, аналогичной существующей (см. рис. 3.8, 3.11).
4.2.6. При увеличении ширины ригеля по схеме "б" рис. 4.1 должна быть обеспечена надежная связь добавляемой части с существующей конструкцией как за счет штырей, устанавливаемых в просверленные в торце ригеля отверстия, так и за счет сплошной продольной арматуры, соединяющей новые элементы с двух сторон опоры. Сплошную арматуру вдоль ригеля располагают либо в бетонной рубашке, либо в монолитном бетоне добетонирования старого ригеля. Допустимо применение в качестве продольного связующего элемента прокатного стального профиля, например швеллера.
4.2.7*. Монолитные опоры и опоры-стенки. При отсутствии необходимости уширения фундамента тело опоры рекомендуется уширять пристраиваемыми массивами из монолитного железобетона, опертыми на обрезы существующих фундаментов (рис. 4.2).

Уширение массивных промежуточных опор (из ВР 218 УССР):
обозначения см. на рис. 4.3.
Минимальный размер пристраиваемого массива по низу принимается равный 50 см, а максимальный по верху - 2,0 м, но не более половины высоты опоры. Размер штрабы не менее 30×30 см. В штрабах устанавливают анкера диаметром не менее 25 м из арматуры класса А-II. Глубина шпуров - не менее 15 диаметров анкера. Расстояние между анкерами - 50 см.
4.2.8*. При высоте массивной опоры свыше 5 м и достаточных запасах в несущей способности опор по грунту допустимо уширение ригеля до 2,5 м в каждую сторону. При этой рекомендуется устраивать приштрабованные массивы с большими консолями. Пристраиваемые железобетонные массивы по верху и по низу опоры должны быть прикреплены охватывающими железобетонными поясами с арматурой, проходящей на всю ширину опоры.
4.2.9. При значительном наклоне торцевых граней массивных опор (от 4:1 до 6:1) допускается уширение их приштрабованными массивами только в верхней части опоры (рис. 4.3). Высота массивов должна быть не менее 3,0 м. Нижний охватывающий пояс, являющийся упором для массивов уширения, следует надежно объединить с телом опоры.
При наличии на поверхности опор трещин и других дефектов, снижающих несущую способность опор, рекомендуется устройство сплошных железобетонных рубашек толщиной 10 - 15 см.
4.2.10*. Объединение бетона схватывающих поясов и рубашек со старым бетоном должно осуществляться установкой арматурных штырей диаметром не менее 10 мм (арматура класса А-III) через 50 см в шахматном порядке и обработкой старой поверхности бетона насечкой.
Целесообразно новую рубашку наносить методом сухого торкретирования с использованием цементно-песчаной смеси в соотношении 1:3 и добавлением трех частей щебенки размером зерен 2 - 8 мм.
4.3. Схемы уширения устоев
4.3.1. Конструктивные решения по уширению береговых опор должны по возможности исключать необходимость нарушения плотности насыпи за шкафной стенкой при производстве работ по уширению. При отсутствии такой возможности в чертежах должны быть указаны приемы восстановления плотности насыпи после окончания работ по уширению (послойное трамбование грунта до Купя > 0,98, заполнение пазух цементо-грунтом с тщательным трамбованием и т.п.).

Рис. 4.3. Уширение высоких массивных промежуточных опор (из ВР 218 УССР)
1 - монолитный железобетон уширения тела опоры; 2 - верхний железобетонный охватывающий пояс; 3 - оголовок существующей опоры; 4 - монолитный железобетон оголовка опоры; 5 - штрабы в теле существующей опоры; 6 - анкера из арматуры класса А-II; 7 - тело существующей опоры
4.3.2. Свайные устои. Свайные опоры рекомендуется уширять добивкой свай, при этой новые расстояния между ними "а" могут отличаться от фактически существующих в устоях - "ас".
При ан ≥ вс (вс - размер свай поперек моста} для существующих свай учитывают увеличение несущей способности грунтов, а в остальных случаях - не учитывают. Длину свай или их несущую способность следует назначать из условия п. 4.2.3. Конструкция достраиваемой шкафной части должна повторять конфигурацию существующей и объединяться с ней на штырях. В отдельных случаях объединение дополнительной насадки с существующей осуществляют, соединяя каркас с арматурой крайних свайных стоек (рис. 4.4).
4.3.3. Уширение козловой опоры рекомендуется производить забивкой дополнительных свай (в один или два ряда). Забивку производят как в заранее отсыпанный грунт конуса (уширенный конус), так и до отсыпки конуса. В последнем случае сваи должны входить в существующее основание.
4.3.4*. Пассивные устои. Устои с обратными стенками и открылками рекомендуется уширять либо возводя с двух сторон Г-образные в плане пристойки (рис. 4.5), либо забивают дополнительные сваи в заранее уширенный конус. Соединение старой и новой частей опор производят на штырях.
Уширение фундаментов на свайном основании рекомендуется осуществлять забивкой дополнительных свай без устройства ростверка с соблюдением требований к несущей способности свай в соответствии с табл. 4.2.
4.3.5. Для случаев уширения моста, в котором отсутствуют переходные плиты и шкафные стенки, устои уширяют забивкой дополнительных свай с двух сторон (в один или два ряда), с установкой на них ригеля со шкафной стенкой, а в пределах существующей части - с установкой вертикальной плиты, соединенной по выпускам арматуры со шкафной стенкой. Причем в пределах существующей части сооружения переходные плиты можно не устраивать, если коэффициент уплотнения существующей насыпи не менее 0,98 (рис. 4.6).
4.4. Установка (замена) опорных частей
4.4.1. Установку опорных частей предусматривают в пролетных строениях, где они ранее отсутствовали, например в пролетных строениях длиной 11,36 и частично 14,06 м.

Рис. 4.4. Уширение устья забивкой свай:
1 - насечка на торце ригеля; 2 - балка; 3 - ригель; 4 - стойка; 5 - оголенная арматура стойки; 6 - монолитный бетон ригеля; 7 - арматура монолитного ригеля; 8 - дополнительная стойка; 9 - выпуски арматуры из стойки

Рис. 4.5. Схема уширения массивного устоя:
1 - положение переходной плиты; 2 - обратная стенка; 3 - шкафная стенка; 4 - новый открылок; 5 - старый открылок; 6 - штыревой стык; 7 - песчаная подушка

Рис. 4.6. Способ уширения устоя железобетонных мостов:
1 - новый ригель со шкафной стенкой; 2 - дополнительные сваи; 3 - существующие балки; 4 - новая плита-стенка; 5 - монолитный бетон объединения; 6 - существующая свая; 7 - существующий ригель; 8 - участок с удаленной одеждой под переходную плиту
Отсутствие опорных частей приводит к сколам углов опорного участка балок и углов ригеля, что в свою очередь способствует быстрому износу узла опирания и резкому снижение грузоподъемности моста. В качестве опорных частей могут быть использованы:
ленточные резиновые опорные части размером 150×200 мм в плане и толщиной 5 - 15 мм (для пролетов - 11,36 м);
резиновые прокладки из автомобильных шин (устанавливают на выровненную бетонную поверхность) или из транспортной ленты шириной не более ширины ребра балки;
резиновые слоистые опорные части минимальных размеров в плане [13];
резинофторопластовые опорные части, выполненные в виде РОЧ, скользящих по фторопласту (опорная часть размещена под стальной крышкой, прикрепленной или приклеенной к балке), размер подкладок и фторопласта в плане превышает размеры РОЧ; резинофторопластовые опорные части устанавливают под балки длиной 14,06 и 16,76 м при числе пролетов не менее трех.
4.4.2. Переделка опорных частей при превращении пролетных строений в температурно-неразрезные (пролеты частично 14,06 м, а также 16,76 м и более) предполагает получить подвижную опорную часть из неподвижной, что требуется исходя из условий работы опорных частей в составе ТНПС. В опорных частях с боковыми зубчатыми фиксаторами переделка сводится к удалению фиксаторов, а в опорных частях с центральным штырем - к удалению штыря (подъемка пролетного строения, срезка штыря автогеном). Указанные методы допускаются при длине реконструируемого моста до 60 м. При больших длинах следует заменять либо отдельные элементы опорных частей (балансиры, шарниры), либо опорные части полностью, что устанавливается при проектировании отдельно в каждом конкретном случае в зависимости от расчетных перемещений концов пролетных строений, типа опорных частей, длины моста и конструкции опор.
2.1. Работы по усилению пролетных строений мостов методом наклейки арматуры должны производиться, как правило, при положительной температуре. В экстренных случаях работы могут выполняться и зимой, но при этом возникает необходимость размещения усиляемой конструкции в тепляке или использование специальных полимерных композиций (см. п. 2.16).
2.2. Для принятия решения об усилении моста требуется обследование или испытание его мостоиспытательной станцией. Заключение о грузоподъёмности усиленного моста делается на основании его испытания.
2.3. К подготовительным работам по усилению относятся: организация и обустройство строительной площадки у моста, заготовка необходимых материалов, оборудования, инструментов, механизмов, устройство подмостей и др.
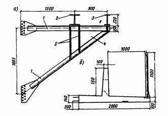
2.4. По размерам, снятым с балок конкретного пролётного строения моста, осуществляют привязку типовых чертежей, готовят элементы усиления (болты, гайки, арматура усиления и т.д.), сечение которых назначается по аналогии с ранее запроектированными конструкциями или по расчету. Затем элементы усиления маркируют и доставляют па строительную площадку. Общие виды усиления балок длиной 8,66; 11,36; 14,06 и 16,76 м показаны на рис. 1, 2, 3 и 4.
2.5. На подлежащих усилению балках по шаблонам производят разметку отверстий под болты крепления наклонных и вертикальных тяг усиления. В соответствии с разметкой в рёбрах балок сверлят отверстия бурильной машиной с алмазной коронкой или перфоратором. Применение для этих целей отбойных молотков запрещается.

Рис. 1
Спецификация элементов усиления на балку длиной 8,66 м
|
№№ |
Наименование элементов |
Характеристика элемента, мм |
Длина, мм |
Кол-во, шт. |
Вес (кг) |
|
|
1 шт. |
на балку |
|||||
|
1 |
Швеллер (ГОСТ 8240-82) |
№ 20а |
6300 |
1 |
123,5 |
123,5 |
|
2 |
Упор (ГОСТ 8510-86) |
< 18/11 |
320 |
4 |
8,5 |
34,0 |
|
3 |
Тяга наклонная |
Ø 30 |
1250 |
8 |
7,2 |
57,6 |
|
4 |
Гайка (ГОСТ 5915-70) |
M30 |
- |
15 |
0,25 |
3,75 |
|
5 |
Шайба (ГОСТ 11371-78) |
М30 б-5 |
- |
22 |
0,14 |
3,08 |
|
6 |
Полоса (ГОСТ 380-71) |
1160×120 б-5 |
- |
4 |
10,9 |
43,6 |
|
7 |
Болт (ГОСТ 7798-70) |
М30 |
340 |
7 |
2,1 |
14,7 |
|
8 |
Накладка под болт М30 (ГОСТ 380-71) |
120×120 б-10 |
- |
2 |
1,1 |
2,2 |
|
9 |
Тяга вертикальная |
Ø 20 |
700 |
2 |
1,725 |
3,450 |
|
.10 |
Опорная планка |
320×200 б-10 |
- |
1 |
5,0 |
5,0 |
|
11 |
Гайка (ГОСТ 5915-70) |
М20 |
- |
2 |
0,08 |
0,16 |
|
12 |
Шайба (ГОСТ 11571-78) |
М20 б-5 |
- |
2 |
0,04 |
0,08 |
|
|
Итого |
|
|
|
291,12 |
|
Расход составляющих полимерраствора
|
№№ |
Наименование |
Расход на одну балку, кг |
|
1 |
Эпоксидная смола ЭД 20, ЭД 22 (ГОСТ 10587-84) |
13,75 |
|
2 |
Отвердитель полиэтиленполиамин ПА (ТУМНХП 6-02-584-70) |
1,575 |
|
3 |
Пластификатор дибутилфталат (ГОСТ 8728-77) |
2,75 |
|
4 |
Заполнитель портландцемент М300 (ГОСТ 10178-65) |
25,0 |

Рис. 2
Спецификация элементов усиления на балку длиной 11,36 м
|
№№ |
Наименование элементов |
Характеристика элемента, мм |
Длина, мм |
Кол-во, шт. |
Вес (кг) |
|
|
1 шт. |
на балку |
|||||
|
1 |
Швеллер (ГОСТ 8240-82) |
№ 20а |
9000 |
1 |
176,4 |
176,4 |
|
2 |
Упор (ГОСТ 8510-86) |
< 18/11 |
320 |
4 |
8,5 |
34,0 |
|
3 |
Тяга наклонная |
Ø 30 |
1430 |
8 |
8,4 |
67,2 |
|
4 |
Гайка (ГОСТ 5915-70) |
M30 |
- |
16 |
0,25 |
3,75 |
|
5 |
Шайба (ГОСТ 11371-78) |
М30 б-5 |
- |
24 |
0,14 |
3,36 |
|
6 |
Полоса (ГОСТ 380-71) |
1160×120 б-5 |
- |
4 |
10,9 |
43,6 |
|
7 |
Болт (ГОСТ 7798-70) |
М30 |
340 |
8 |
2,1 |
16,2 |
|
8 |
Накладка (ГОСТ 380-71) |
120×120 б-10 |
- |
4 |
1,1 |
4,4 |
|
9 |
Тяга вертикальная |
Ø 20 |
800 |
4 |
2,0 |
8,0 |
|
.10 |
Опорная планка |
320×200 б-10 |
- |
2 |
5,0 |
10,0 |
|
11 |
Гайка (ГОСТ 5915-70) |
М20 |
- |
4 |
0,08 |
0,32 |
|
12 |
Шайба (ГОСТ 11571-78) |
М20 б-5 |
- |
4 |
0,04 |
0,16 |
|
|
Итого |
367,39 |
||||
Расход составляющих полимерраствора
|
№№ |
Наименование |
Расход на одну балку, кг |
|
1 |
Эпоксидная смола ЭД 20, ЭД 22 (ГОСТ 10587-84) |
15,0 |
|
2 |
Отвердитель полиэтиленполиамин ПА (ТУМНХП 6-02-584-70) |
1,5 |
|
3 |
Пластификатор дибутилфталат (ГОСТ 8728-77) |
3,0 |
|
4 |
Заполнитель портландцемент М300 (ГОСТ 10178-65) |
30,0 |

Рис. 3
Спецификация элементов усиления на балку длиной 11,36 м
|
№№ |
Наименование элементов |
Характеристика элемента, мм |
Длина, мм |
Кол-во, шт. |
Вес (кг) |
|
|
1 шт. |
на балку |
|||||
|
1 |
Швеллер (Г0СТ 8240-82) |
№ 20а |
11700 |
1 |
215,2 |
215,2 |
|
2 |
Упор (ГОСТ 8510-86) (уголок) |
< 18/11 |
320 |
4 |
8,5 |
34,0 |
|
3 |
Тяга наклонная |
Ø 30 |
1600 |
8 |
9,2 |
73,6 |
|
4 |
Гайка (ГОСТ-5915-70) |
M30 |
- |
17 |
0,25 |
4,75 |
|
5 |
Шайба под М30 (ГОСТ 11371-78) |
б-5 |
- |
26 |
0,14 |
3,64 |
|
6 |
Полоса (ГОСТ 380-71) |
1160×120 б-5 |
- |
4 |
10,9 |
43,6 |
|
7 |
Болт (ГОСТ 7798-70) |
М30 |
340 |
9 |
2,1 |
18,9 |
|
8 |
Накладка (ГОСТ 380-71) |
120×120 б-10 |
- |
6 |
1,1 |
6,6 |
|
9 |
Тяга вертикальная |
Ø 20 |
640 |
6 |
2,0 |
14,4 |
|
.10 |
Опорная планка |
320×200 б-10 |
- |
5 |
5,0 |
25,0 |
|
11 |
Гайка (ГОСТ 5915-70) |
М20 |
- |
6 |
0,08 |
0,48 |
|
12 |
Шайба (ГОСТ 11571-78) |
М20 б-5 |
- |
6 |
0,04 |
0,24 |
|
|
Итого |
468,16 |
||||
Расход составляющих полимерраствора
|
№№ |
Наименование |
Расход на одну балку, кг |
|
1 |
Эпоксидная смола ЭД 20, ЭД 22 (ГОСТ 10587-84) |
20 |
|
2 |
Отвердитель полиэтиленполиамин ПЭПА (ТУМНХП 6-02-584-70) |
2 |
|
3 |
Пластификатор дибутилфталат (ГОСТ 8728-77) |
4 |
|
4 |
Заполнитель портландцемент М300 (ГОСТ 10178-65) |
40 |

Рис.4
Спецификация элементов усиления на балку длиной 11,36 м
|
№№ |
Наименование элементов |
Характеристика элемента, мм |
Длина, мм |
Кол-во, шт. |
Вес (кг) |
|
|
1 шт. |
на балку |
|||||
|
1 |
Швеллер (Г0СТ 8240-82) |
№ 20 а |
14400 |
1 |
282,2 |
282,2 |
|
2 |
Упор (ГОСТ 8510-86) |
< 18/11 |
320 |
4 |
8,5 |
34,0 |
|
3 |
Тяга наклонная |
Ø 30 |
1700 |
8 |
9,72 |
77,76 |
|
4 |
Гайка (ГОСТ-5915-70) |
M30 |
- |
18 |
0,25 |
4,5 |
|
5 |
Шайба под М30 (ГОСТ 11371-78) |
б-5 |
- |
28 |
0,14 |
3,64 |
|
6 |
Полоса (ГОСТ 380-71) |
1160×120 б-5 |
- |
4 |
10,9 |
43,6 |
|
7 |
Болт (ГОСТ 7798-70) |
М30 |
340 |
10 |
2,1 |
21,0 |
|
8 |
Накладка (ГОСТ 380-71) |
120×120 б-10 |
- |
8 |
1,1 |
8,8 |
|
9 |
Тяга вертикальная |
Ø 20 |
940 |
8 |
2,135 |
17,1 |
|
.10 |
Опорная планка |
320×200 б-10 |
- |
4 |
5,0 |
20,0 |
|
11 |
Гайка (ГОСТ 5915-70) |
М20 |
- |
8 |
0,08 |
0,64 |
|
12 |
Шайба (ГОСТ 11571-78) |
М20 б-5 |
- |
8 |
0,04 |
0,32 |
|
|
Итого |
468,16 |
||||
Расход составляющих полимерраствора
|
№№ |
Наименование |
Расход на одну балку, кг |
|
1 |
Эпоксидная смола ЭД 20, ЭД 22 (ГОСТ 10587-84) |
25,0 |
|
2 |
Отвердитель полиэтиленполиамин ПЭПА (ТУМНХП 6-02-584-70) |
2,5 |
|
3 |
Пластификатор дибутилфталат (ГОСТ 8728-77) |
2,75 |
|
4 |
Заполнитель портландцемент М300 (ГОСТ 10178-65) |
25,0 |
Отверстия под болты должны обеспечивать плотное их размещение по всей ширине ребра, поэтому возможна зачистка отверстия или ремонт полимерраствором сколов. При устройстве отверстий необходимо принять меры к сохранности арматуры в рёбрах.
2.6. Для подготовки поверхности балок к усилению, механическим способом удаляют слабые разрушенные слои бетона. Оголенная рабочая арматура ребра балки очищается от продуктов коррозии до металлического блеска. Склеиваемые поверхности бетона и арматуры очищаются от пыли, следов масел, битума и жировых пятен металлическими щетками или пескоструйным аппаратом с последующей продувкой сжатым воздухом. Ржавая арматура смачивается 10 %-ным раствором соляной кислоты с обязательной обработкой, затем металлическими щетками и промывкой водой под напором.
2.7. Металл усиления тщательно очищают от грязи, масел, окалины, следов коррозии и пыли. Продукты коррозии и окалину следует удалять химическим способом, механическими щетками, пескоструйной обработкой или комбинированным методом, обеспечивающим качественную очистку.
2.8. Отверстия в пластинах верхнего пояса под стягивающие болты просверливают после сверления соответствующих отверстий в ребре балки по размерам снятым на месте.
2.9. С помощью высокопрочных болтов и полимерраствора закрепляют в проектное положение пластины верхнего пояса усиления в приопорных участках балок, подвешивает вертикальные и наклонные тяги.
2.10. Перед наклейкой арматуры усиления склеиваемую поверхность бетона прогрунтовывают жидкой эпоксидной композицией. Грунтовку наносят с помощью жестких кистей. Составы эпоксидной грунтовки приведены в таблице 1.
Таблица I
|
Название компонентов |
Весовые отношения в частях |
||
|
1 |
2 |
3 |
|
|
Эпоксидная смола ЭД-20 (ЭД-5) |
100 |
|
10 |
|
Эпоксидная смола ЭД-16, ЭД-14 (ЭД-6) |
|
100 |
|
|
Эпоксидная смола ЗИС-1 |
|
|
100 |
|
Пластификатор |
20 |
20 |
20 |
|
Отвердитель* |
8-20 |
8-20 |
8-20 |
|
Ацетон, толуол |
100 |
100 |
100 |
* Количество отвердителя уточняют с помощью пробных замесов небольших количеств грунтовки.
2.11. Приготовляют полимерраствор и приступают к приклеиванию нижнего пояса усиления, например, швеллера. Швеллер подвешивают на вертикальных тягах и раскладывают по его длине полимерраствор с учетом величины разрушения ребра балки. Затем швеллер плотно прижимают к нижнему поясу ребра балки вертикальными тягами и закрепляют гайками. В упоры нижнего пояса вставляют наклонные тяги и производят их натяжение. После окончательного натяжения гаек на вертикальных и наклонных тягах для того, чтобы исключить их ослабление в процессе эксплуатации, гайки и шайбы фиксируют сваркой. Усилие, с которым натягивают гайки тяжей, назначают из условия обеспечения обжатия швов с учетом консистенции полимерраствора, удельное давление может колебаться в пределах 0,02÷0,2 МПа соответственно при низкой и вноской вязкости полимерраствора.
2.12. Удаляют излишки полимерраствора и ремонтируют дефекты балок, а клеевой шов и зазоры между элементами усиления и в ребрах балок заделывают полимерраствором, исключая возможность попадания влаги.
2.13. Металлические элементы усиления для защиты от коррозии тщательно окрашивают не менее чем за два раза: до и после монтажа.
2.14. Полимерраствор можно готовить, как в механических смесителях, так и вручную в металлических или полиэтиленовых ёмкостях. В подготовленную дозу смолы добавляется пластификатор, смесь тщательно перемешивают и одновременно вводят наполнитель - цемент, песок, а затем смесь снова тщательно перемешивают. Эти работы можно выполнять на ближайшей к мосту базе или в лабораторном помещении и готовую смесь доставлять к месту производства работ. Отвердитель вводят на месте производства работ и после тщательного перемешивания смесь подают к месту укладки. Готовый полимерраствор хранению не подлежит. Жизнеспособность его при температуре воздуха +20 +25°С не более 1,5 часов. Поэтому единовременно готовят количество клея, необходимое для данного этапа работ. На усиление 1 пог. м. ребра балки наклейкой арматуры расходуется 1,5 - 2 кг полимерраствора.
Качество полимерраствора и его прочностные характеристики подлежат лабораторному контролю. Во время пробных "замесов" в малых дозах определяется жизнеспособность клея при данной температуре и уточняется дозировка.
Таблица 2.
|
№ смеси |
Состав клея в весовых частях |
Температура воздуха |
Жизнестойкость в часах |
||
|
технологическая |
адгезионная |
когезионная |
|||
|
1. |
Эпоксидная смола ЭД-20, ЭД-14, ЭД-16 - 100 в.ч. |
+25°С |
1,5 |
3,5 |
24 |
|
Пластификатор - фуриловый спирт или дибутилфталат - 20 в.ч. |
|||||
|
Отвердитель: полиэтиленполиамин - 8 в.ч. |
|||||
|
Наполнитель:(цемент, песок). - 200-250 в.ч. |
|||||
|
2. |
Эпоксидная смола - ЭД-20, ЭД-14, ЭД-16 - 100 в.ч. |
||||
|
Пластификатор: фуриловый спирт или дибутилфталат - 20 в.ч. |
+10 +20°С |
1.5 |
3,5 |
24 |
|
|
Отвердитель: полиэтиленполиамин - 15 в.ч. |
|||||
|
Наполнитель: (цемент, песок) - 150-200 в.ч. |
|||||
При приготовлении и укладке полимерраствора требуется соблюдать правила техники безопасности (см. Приложение 1).
2.15. Рекомендуемые составы полимеррастворов для работы при положительных температурах приведены в таблице 2.
2.16. При выполнении работ по усилению пролетных строений методом наклейки движение транспорта по мосту закрывать не требуется; исключение составляет производство работ при отрицательной температуре (см. п. 2.17).
2.17. При выполнении работ при отрицательных температурах следует применять рецепты полимеррастворов, разработанные в СоюздорНИИ и указанные в табл. 3.
Таблица 3
|
№№ |
Наименование компонентов полимерраствора |
Количество в вес. частях |
||
|
состав 1 |
состав 2 |
состав 3 |
||
|
1 |
2 |
3 |
4 |
5 |
|
1. |
Эпоксидная смола ЭД-20 |
100 |
100 |
100 |
|
2. |
Пластификатор: фуриловый спирт |
30 |
30 |
30 |
|
3. |
Ускоритель: хлорное железо |
- |
8 |
- |
|
солянокислый анилин |
- |
- |
3,6 |
|
|
4. |
Отвердитель: полиэтиленполиамин |
25 |
30 |
30 |
|
5. |
Наполнитель цемент |
200-300 |
- |
200-300 |
|
молотый песок |
- |
200-300 |
- |
|
Состав № 1 рекомендуется применять при температуре 0 + (-5°)С. Составы № 2 и 3 при температурах склеивания (-5°) ÷ (-20°)С.
При выполнении работ при отрицательных температурах следует закрывать движение по мосту. При использовании соответствующих составов при температуре от (-5°) до (-10°)С время твердения полимерраствора - 2 суток, а при температуре от (-15°) до (-20°)С – 6 - 7 суток.
1.17. Полимеррастворы следует готовить в отапливаемых помещениях: при температуре +(15 +25)°С в следующей последовательности: смола + пластификатор + ускоритель (только солянокислый анилин) + наполнитель. Непосредственно перед склеиванием (укладкой) в охлажденную до температуры +(15 +20)°С композицию добавляют отвердитель.
Ускоритель - хлорное железо и отвердитель - полиэтиленполиамин вводят в охлажденную композицию перед склеиванием. Хлорное железо перед введением в состав расплавляют в водяной бане при температуре +30 +40°С.
В полимеррастворе с хлорным железом нельзя применять в качестве наполнителя цемент, известняк, доломиты; можно применять молотый песок, андезит, диабаз, графит и др. кислотостойкие наполнители, которые перед употреблением просушивают и просеивают через сито А 200.
В приложении 2 в качестве примера дана технологическая схема усиления балки длиной 8,66 м.
В тех случаях, когда конструкция моста, подлежащего усилению наклейкой, не соответствует приведенным примерам, выполняется расчет в соответствии с п.п. 3 и 4 данной инструкции.
2.1. Усиление пролетных строений приваркой дополнительной арматуры
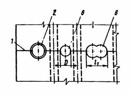
Наибольший эффект от реконструкции достигается при комплексном подходе к решению поставленной задачи, т.е. от увеличения грузоподъемности пролетных строений, изменения габаритов моста, повышения долговечности конструкций и безопасности движения. Ответственной частью работы является увеличение грузоподъемности моста, которая в свою очередь состоит из усиления продольных балок, диафрагм и плиты проезжей части. Наиболее простым способом усилений продольных балок считается постановка дополнительной рабочей арматуры. Поэтому, начиная с 40-х годов, такой способ получил широкое распространение на железобетонных мостах малых пролетов. С этой целью скалывают защитный слой и оголяют продольную арматуру до половины ее диаметра. Как показывают обследования мостов, эксплуатируемых 20 лет и более, защитный слой бетона, как правило, разрушен и в связи с этим имеет место коррозия арматуры [2]. К оголенной арматуре приваривают коротыши диаметром до 40 мм и длиной до 200 мм, а к ним - дополнительную продольную арматуру (рис. 1). Затем защитный слой восстанавливают торкретированием или устанавливают опалубку и омоноличивают. Таким способом можно увеличить сечение изгибаемых элементов до 80 мм.
Как показывают подсчеты, грузоподъемность по нормальным сечениям при таком способе усиления можно повысить на 10 - 15 %. Увеличения грузоподъемности можно достичь также при большей величине наращивания высоты сечения изгибаемых элементов. В этом случае арматуру усиления соединяют с существующей арматурой прямыми и наклонными хомутами, а также наклонными стержнями. Концы стержней рабочей арматуры усиления отгибают и приваривают к существующей арматуре или прикрепляют к ней наклонными стержнями (рис. 2). Подобным образом можно увеличить грузоподъемность до 15 - 35 %. При необходимости усиления не только нормальных, но и наклонных сечений, применяют схему, изображенную на рис. 3.

Рис. 1. Усиление балок постановкой дополнительной арматуры:
1 - балка: 2 - рабочая основная арматура; 3 - дополнительная арматура; 4 - коротыши; 5 - дополнительный слой бетона

Рис. 2. Усиление балок увеличением высоты сечения:
1 - балка; 2 - основная арматура; 3 - дополнительная арматура; 4 - вертикальные и наклонные элементы

Рис. 3. Усиление балок при помощи железобетонной оболочки:
1 - балка; 2 - дополнительный слой бетона; 3 - дополнительная продольная арматура; 4 - коротыши; 5 - основная рабочая арматура; 6 - противоусадочная арматура
В этом случае часть продольной арматуры усиления в приопорной зоне отгибают и выводят на боковые поверхности балок. Перед бетонированием поверхность старого бетона очищают, продувают сжатым воздухом и для улучшения сцепления покрывают адгезионной промазкой. Бетонная смесь укладывается в опалубку.
Минимальная толщина слоя дополнительного бетона определяется расчетом с учетом требований норм по минимальной толщине защитного слоя. Марка бетона по прочности должна быть не ниже В-30 и на 10 МПа выше, чем у бетона усиливаемой конструкции. Консистенция смеси пластичная, по возможности на быстротвердеющих, безусадочных и расширяющихся цементах.
Приведенная схема усиления позволяет повысить грузоподъемность сооружения на 20 - 40 % как по нормальным, так и по наклонным сечениям.
Существенным недостатком всех выше рассмотренных схем является необходимость прекращения движения транспортных средств на период производства работ.
2.2. Усиление пролетных строений наклейкой дополнительной арматуры
В схемах усиления использован принцип внешнего армирования. В качестве арматуры применяются либо стальные листы, либо прокатные профили (швеллеры, уголки). Связь арматуры с бетоном осуществляется при помощи различных полимерных клеевых композиций, приготовленных на основе эпоксидных смол.
На действие только изгибающего момента усиление можно осуществлять по схеме, изображенной на рис. 4. На нижнюю горизонтальную грань балки наклеивается стальной лист, площадь поперечного сечения которого подбирается расчетом. Поверхность бетона должна быть ровной и прочной во избежание отслоения наклеиваемого листа вместе с защитным слоем. Обжатие шва осуществляется домкратами, установленными на специальные подмости.

Рис. 4. Усиление балок способом наклейки стального листа:
1 - балка; 2 - стальной лист
К достоинствам данного способа можно отнести простоту конструкции усиления. Однако на нижней поверхности мостов при их многолетней эксплуатации имеются многочисленные трещины, сколы, повреждения, что в значительной степени затрудняет применение такого способа усиления. Кроме того, при производстве работ необходимо возводить специальные подмости под домкраты обжатия.
По этой схеме 1973 г. были усилены четыре путепровода транспортной развязки на одной из автострад в Англии [3].
Испытания показали, что жесткость балок на изгиб в этом случае увеличилась на 11 %, а ширина раскрытия трещин уменьшилась на 35 - 40 %.
Усиление балок по нормальному и наклонному сечениям можно произвести по схеме, изображенной на рис. 5. К стальному листу приваривают фасонки. Под плитой проезжей части наклеивают стальные полосы, которые соединяются с фасонкой наклонными полосами. Для увеличения надежности усиления фасонки и стальные полосы можно дополнительно прикрепить высокопрочными болтами и шпильками.

Рис. 5. Усиление балок способом наклейки:
1 - балка; 2 - горизонтальный стальной лист; 3 - стальная полоса; 4 - наклонный лист; 5 - фасонка
Эта схема усиления имеет те же недостатки, что и схема, показанная на рис. 4. Особое затруднение вызывает обжатие наклонных листов.
Усиление только наклонных сечений можно осуществить постановкой вертикальных листов на приопорных участках боковых поверхностей балки (рис. 6). В этом случае также существенно увеличиваются прочность и надежность объединения стального листа с бетоном балки, если дополнительно обжать листы болтами.

Рис. 6. Усиление балок способом наклейки стального листа:
а - по наклонным сечениям; б - по нормальным сечениям:
1 - балка; 2 - вертикальный лист; 3 - боковая полосовая арматура; 4 - шпильки
Усиление балок по нормальным и наклонным сечениям можно производить при помощи полосовой арматуры, приклеенной к боковым поверхностям балки (рис. 6, б).
К недостаткам такого усиления можно отнести то, что необходимо высверливать отверстия под шпильки в зоне расположения рабочей арматуры. Кроме того, при таком расположении арматуры плечо внутренней пары не увеличивается, что несколько снижает эффективность усиления.
По этой схеме была усилена балка путепровода в районе центрального вокзала г. Варшавы.
В дальнейшем были предложены решения [2], которые не содержат некоторых предыдущих недостатков. Усиление ребристых балок осуществляется наклейкой швеллера к ребру с устройством гибких и жестких наклонных концевых тяг. Усиление работает как по нормальным, так и по наклонным сечениям (рис. 7).

Рнс.7. Усиление балок способом наклейки швеллеров и постановки тяг:
а - гибких наклонных тяг; б - жестких; 1 - балка; 2 - швеллер; 3 - гибкие наклонные тяги; 4 - гибкие вертикальные тяги; 5 – жесткие наклонные тяги
После подготовки поверхности бетона швеллер подвешивают на вертикальных и наклонных тягах, раскладывают по его длине полимерраствор, плотно прижимают к поверхности бетона вертикальными и наклонными тягами и закрепляют гайками.
Вместо наклейки, в случае необходимости, швеллеры могут быть приварены к рабочей арматуре балки. Для этого в места приварки скалывают с двух сторон ребер углы с оголением арматуры нижнего ряда не менее, чем на половину диаметра. Арматуру очищают, удаляя остатки бетона и продукты коррозии. К оголенной арматуре приваривают через коротыши опорные пластины. Подтягивание профилей усиления к опорным пластинам осуществляют посредством прижимных болтов. Затем производят припарку рабочих швеллеров к опорным пластинам (рис. 8).

Рис. 8. Усиление балок приваркой швеллеров:
1 - балка; 2 - швеллер; 3 - тяги; 4 - опорная пластина; 5 - коротыши
К достоинствам усиления балок при помощи наклейки арматуры можно отнести то, что все работы по усилению можно выполнять без перерыва движения по мосту.
Усиления по изгибающему моменту в два и более раза можно достичь применением способа, показанного на рис. 9.
Особенностью данного устройства является то, что швеллер опирается на специальные стойки, прикрепленные к балке шпильками. Тяги крепятся с одной стороны к стойкам, а с другой к упорам в виде швеллера, объемлющего торец балки. Натяжение тяг можно производить динамометрическим ключом.
За счет увеличения плеча внутренней пары сил возрастает момент, воспринимаемый балкой, величина которого может быть подобрана на восприятие внешней нагрузки.
Достоинством схемы является возможность усиления моста без перерывов в движении транспортных средств, простота конструкций усиления, возможность изготовления их силами эксплуатирующих организаций.

Рис. 9. Усиление балок комбинированными каркасами:
1 - балка; 2 - швеллер; 3 - стойка; 4 - шпилька; 5 - наклонная тяга; 6 - упор
Опыт эксплуатации мостов по схемам усиления, рассмотренным выше, показал достаточную их надежность и долговечность.
2.3. Усиление изгибаемых элементов преднапряженными затяжками
Одним из наиболее простых способов усиления изгибаемых железобетонных балок, осуществляемых без их разгрузки, является устройство предварительно напряженных затяжек, которые могут иметь горизонтальное или шпренгельное очертание.
Применение дополнительной предварительно напряженной арматуры в виде затяжек изменяет напряженно-деформированное состояние балок, обращая их в комбинированные системы. Благодаря чему изгибаемые элементы становятся внецентренно сжатыми с увеличенной площадью сечения арматуры.
Придание затяжкам предварительного напряжения позволяет повысить изгибную жесткость усиливаемых элементов, что весьма важно, т.к. нагрузка после усиления значительно возрастает.
Дополнительная арматура не имеет сцепления с бетоном и ее предварительное напряжение может создаваться либо механическим, либо электротермическим способами.
Усиление при помощи преднапряженных затяжек позволяет повысить первоначальную несущую способность усиливаемых элементов в 2 - 2,5 раза.

Рис. 10. Усиление горизонтальными затяжками:
а - по боковой поверхности; б - по нижней поверхности; 1 - балка; 2 - напрягаемая арматура; 3 - соединительные элементы; 4 - упор
Принципиальные схемы усиления горизонтальными затяжками показаны на рис. 10. Затяжки образуют из двух ветвей, располагаемых симметрично по отношению к ребрам балки. Выполняются они из стержневой высокопрочной арматуры, тросов, пучков, высокопрочной проволоки и т.п. Для их закрепления используют анкерные устройства, применяемые в предварительно напряженных железобетонных конструкциях.
По этим схемам усиление происходит только на действие изгибающих моментов. При необходимости усиления на действие не только изгибающих моментов, но и поперечных сил, вместо прямолинейного применяют затяжки полигонального очертания (рис. 11).

Рис. 11. Усиление полигональными затяжками:
а - крепление специальными упорами; б, в - крепление, упирающееся на диафрагмы; 1 - балка; 2 - напрягаемая арматура; 3 - упор; 4 - анкер
Постановка затяжки прямолинейного или полигонального очертания в значительной степени меняет напряженно-деформированное состояние балки. Система становится статически неопределяемой. Активное давление от затяжек передается внецентренно на опорные сечения балочного элемента, в котором кроме сжатия возникают концевые изгибающие моменты, изменяющие пролетные моменты от внешних нагрузок. Помимо этого в шпренгельных затяжках в местах перегиба тяжей действуют разгружающие силы. Таким образом изгибаемые элементы превращаются во внецентренно сжатые, что необходимо учитывать как при расчете, так и при конструировании.
Одной из опасных зон мостовых балок является приопорная, где возникают максимальные касательные напряжения. Изучение материалов по усилениям наклонных сечений приопорной зоны показывает, что данная проблема остается мало изученной, а использование известных решений не дает должного эффекта.
Для решения данной задачи были предложены простые устройства, разработанные в Казахской государственной архитектурно-строительной академии. Устройство для усиления балок стержневыми параллелограммами представлено на рис. 12 [4, 5, 6].


Рис. 12. Усиление балки наклонными хомутами:
а - общий вид; б, в - устройство и конструкция соответственно до и после создания предварительного натяжения; 1 - закладные детали; 2 - горизонтальные тяжи; 3 - шарнирные параллелограммы; 4 - упорные пластины; 5 - строительная конструкция; 6 - натяжные элементы; 7-муфта; 8, 9 - горизонтальные и наклонные элементы параллелограмма; 10 - шарнир
В зоне развития наклонных трещин устанавливают шарнирный параллелограмм. Один конец горизонтального стержня приваривают к закладным деталям на торце балки, второй - к верхнему горизонтальному элементу устройства. Затем соединяют нижние горизонтальные элементы шарнирного стержневого параллелограмма с горизонтально расположенной арматурой, в которой создастся предварительное напряжение.

Рис. 13. Усиление балок хомутами с консолями:
а - общий вид; б - уголок с зубчатой поверхностью; в - расчетная схема усиливаемой балки и эпюра изгибаемых моментов; 1 - закладные детали; 2 - стержни; 3 - уголки; 4 - строительная конструкция, 5 - хомут основной; 6 - дополнительный хомут: 7 - тяж; 8 - шарнирный параллелограмм; 9 - муфта
Между горизонтальными гранями несущей конструкции и горизонтальными ветвями шарнирного параллелограмма устанавливают упорные пластины на случай возможного смещения в процессе работы конструкции.
При помощи рассмотренного усиления повышается несущая способность балки по нормальным и наклонным сечениям, а также увеличивается жесткость конструкции. На рис. 13 показано модифицированное устройство для усиления балок.
Усиление балок пролетного строения по изгибающему моменту и поперечной силе может быть произведено при помощи устройства, показанного на рис. 14.

Рис. 14. Усиление балок при помощи крестообразных хомутов:
а - общий вид; б - перекрещивающиеся рычаги; в - упорная пластина с регулирующимся кронштейном; г - упорная пластина с кронштейном: 1 - верхние пластины; 2 - несущая конструкция: 3 – хомуты; 4 - закладные детали; 5 - стержни; 6 - нижние пластины; 7 - тяжи; 8 - хомуты; 9 - кронштейны; 10 - цилиндрический шарнир; 11 - фиксатор
В зоне действия поперечной силы устанавливаются крестообразные хомуты, соединенные с продольной напрягаемой арматурой.
При создании в арматуре предварительного напряжения хомуты равномерно обжимают балку в зоне появления наклонных трещин.
За счет изменения высоты кронштейна можно добиться желаемого значения изгибающего момента.
При усилении деревянных мостов из многослойных досок необходимо по длине балки устанавливать несколько крестообразных хомутов, соединенных между собой. При создании предварительного напряжения хомуты будут обжимать все конструкции, повышая тем самым сопротивляемость балки действию поперечных сил.
Для усиления балок можно использовать устройство рычажного типа, показанное на рис. 15.

Рис. 15. Устройство рычажного типа:
а - общий вид; б - А-образный рычаг; в - двухпластинчатая распорка; г - схема закрепления гибкого хомута к балке; д - общий вид усиления трубопровода; 1 - верхние тяжи; 2 - хомуты; 3 - балочная конструкция; 4 - муфта; 5 - упорная пластина; 6 - распорки; 7 - нижние тяжи; 8 - рычаг; 9 - шарнирная перемычка; 10 - гибкие связи; 11 - направляющие; 12 - фиксатор
Устройство состоит из V-образных рычагов и тяжей. К верхним концам рычагов крепятся тяжи, которые проходят через распорку, а к нижнему концу - преднапряженная арматура. На балке вся конструкция закрепляется при помощи хомутов.
При создании предварительного напряжения в нижних тяжах через рычаги усилие передается на верхние тяжи, связанные с распоркой. Распорка, работая как упругая опора, разгружает балку. Подобным способом можно значительно увеличить грузоподъемность балки, уменьшить ее прогибы.
Балки таврового сечения можно усилить включением в работу некоторых распорных систем, как это показано на рис. 16.

Рис. 16. Усиление балки при помощи распорной системы:
а - общий вид; б - расчетная схема балки; поперечный разрез; в - возможная схема соединения несущих элементов распорной системы; 1 - балка; 2 - опора; 3 - подвеска; 4 - упорные пружины; 5 - узел соединения; 6 - распорная система; 7 - жесткий элемент; 8 - подвески-хомуты; 9 - горизонтальный элемент
С двух сторон балки устанавливаются элементы распорной системы с подвесками. В узлах этой системы ставят предварительно сжатые пружины. При освобождении пружины обжимают конструкцию и тем самым создают упругие опоры для балки.
Подвески на концах снабжены резьбой с гайками. При завинчивании гайки часть нагрузки с балки передается на распорную систему.
Элементы распорной системы могут быть выполнены из прокатных профилей, подвески из круглой стали, а горизонтальные элементы - из полосовой.
При помощи подобной конструкции можно в несколько раз увеличить грузоподъемность балки.
Кроме того, применение устройства по сравнению с фермой позволяет уменьшить расход металла до 50 %.
При усилении большепролетных конструкций (балок, ферм) можно использовать шпренгельные устройства, их схема усиления представлена на рис. 17.
При загружении конструкции распорки [1, 7] представляют собой дополнительные упругие опоры для балки, вследствие чего величина изгибающего момента в ней значительно снижается. Все остальные элементы шпренгельной системы работают на растяжение.
Устройство состоит из балки, к нижней поверхности которой прикреплены распорки. Боковые распорки располагаются с двух сторон балки и крепятся к ним при помощи специальных хомутов, допускающих вертикальное перемещение. Одним концом такая распорка опирается на основные тяги, другим соединяется при помощи дополнительной тяги с нижней распоркой. При необходимости в тягах создается предварительное натяжение.

Рис. 17. Усиление большепролетных балок: а - общий вид; б - схема деформации (принцип работы) основной тяги; 1 - стержень; 2 - шарнирные опоры; 3, 6, 7 - распорки; 4 - основная тяга; 5 - дополнительная тяга; 8 - рама; 9 - хомут; 10 - направляющие; 11 - рычаги; 12 - цилиндрический шарнир
2.4. Усиление пролетных строений поперечными балками
Для пролетных строений, у которых нарушены поперечные связи (разрушены объединяющие накладки по диафрагмам, повреждены или разрушены продольные швы омоноличивания), можно предложить схему усиления пролетных строений при помощи поперечной железобетонной или металлической балки [8] (рис. 18).

Рис. 18. Усиление поперечными балками:
1 - ребристые балки пролетного строения; 2 – металлическая поперечная балка; 3 - тяги; 4 - гайки
Балка подвешивается при помощи тяжей, прижимается и закрепляется гайками. Одновременно можно произвести усиление и продольных несущих элементов, например, наклейкой дополнительной арматуры.
Усиление поперечными балками восстанавливает пространственную жесткость сооружения, улучшает распределение нагрузки между балками.
2.5. Усиление дополнительными железобетонными элементами
При реконструкции моста, когда требуется организация движения по объезду, усиление можно осуществить прибетонированием монолитной накладной плиты проезжей части, либо установкой сборной плиты (рис. 19). При этом одновременно проводят работы и по уширению моста.

Рис. 19. Усиление пролетных строений монолитной плитой:
1 - существующее пролетное строение; 2 - монолитная плита; 3 - дополнительная полосовая арматура
При укладке нового бетона поверх старой проезжей части предусматривают мероприятия, обеспечивающие надежное сцепление нового бетона со старым.
Поскольку дополнительная бетонная плита увеличивает постоянную нагрузку на сооружение, часто возникает необходимость усиления ребер балок. Поэтому рекомендуется в этом случае усилить ребро балки внешней предварительно напряженной арматурой или наклейкой полосовой арматуры.
Установка накладной плиты и объединение ее в совместную работу с существующей конструкцией позволяют увеличить рабочую высоту сечения с соответствующим увеличением плеча внутренней пары сил. В результате чего возрастает значение изгибающего момента, воспринимаемого балкой.
Усиление пролетного строения с одновременным уширением может быть выполнено сборными плоскими или ребристыми плитами (рис. 20).

Рис. 20. Усиление сборными плитами:
1 - балки; 2 - сборные железобетонные плиты; 3 - покрытие
При таком усилении требуется до 60 % объема железобетона, необходимого на новое пролетное строение. При этом постоянная нагрузка на продольные балки возрастает на 40 - 50 % [9]. Кроме того, при чрезмерном выносе консолей перегружаются крайние балки. Для расчета сооружения требуется особая методика, учитывающая способы объединения продольных балок с накладными плитами, изменение расчетной схемы пролетного строения и другие факторы.
Сборные пролетные строения могут быть усилены дополнительными балочными элементами в монолитном или сборно-монолитном вариантах (рис. 21).

Рис. 21. Усиление дополнительными балками:
1 - балки старого пролетного строения; 2 - дополнительные железобетонные балки; 3 - монолитная плита; 4 – металлическая арматура усиления
Недостатками рассмотренных схем усиления являются их большая трудоемкость, необходимость возведения опалубки, большие объемы нового бетона, значительное возрастание постоянной нагрузки на старые элементы пролетного строения.
2.6. Усиление балочных мостов изменением их расчетной схемы
Балочно-разрезные мосты могут быть усилены превращением их в неразрезные конструкции. Этот прием является одним из самых старых и широко распространенных. Применяется он с целью не только повышения несущей способности балок, но уменьшения и более равномерного распределения в них изгибающих моментов и прогибов.
Превращение разрезных балок в неразрезные достигается омоноличиванием опорных узлов многопролетных разрезных балок (рис. 22). Соединение смежных балок на опорах должно обеспечивать восприятие опорных изгибающих моментов. С этой целью на опорах балок оголяют арматуру и объединяют ее между собой, затем омоноличивают по всей ширине пролетного строения. Такой способ усиления балок широко использовался в Чехословакии [3].

Рис. 22. Усиление балок омоноличиванием опорных узлов:
1 - балка; 2 - бетон омоноличивания
При воздействии временной нагрузки на опорах появляются изгибающие моменты, в результате чего пролетные моменты уменьшаются. По сравнению с разрезными балками величина предельного разрушающего момента может быть увеличена до 30 %. Кроме того, меняются частоты свободных колебаний.
Недостатком этой схемы усиления является необходимость прекращения движения на период производства работ.
При соединении балок можно исключить бетонные работы. Для этого зазор между балками перекрывается стальным листом, уложенным на поверхность полок на слой полимерраствора. Прикрепляется он к полкам балок высокопрочными болтами. Нижнюю часть балки расклинивают металлическими клиньями (рис. 23).

Рис. 23. Объединение балок дополнительной листовой арматурой:
1 - балка; 2 - стальной лист; 3 - болты; 4 - клин
Усиление по изгибающему моменту и поперечной силе можно производить по схеме, изображенной на рис. 24.
Для этого по нижней поверхности ребер балок наклеивают арматуру (швеллер), а под полками на боковые поверхности ребер смежных балок - стальные полосы, объединяемые высокопрочными болтами. Полосы со швеллерами соединяются наклонными тягами. Омоноличивание можно производить только нижней части балок. При таком усилении можно увеличить изгибающий момент до 50 % и поперечную силу до 30 – 40 %. При этом не прерывается движение транспортных средств на время выполнения работ.
Схема, показанная на рис. 24, б, реализуется при усилении многопролетных мостов пролетами 10 - 18 м. Она может быть использована и при усилении неразрезных многопролетных мостов. Например, подобным образом был усилен трехпролетный неразрезной мост в Швеции [3].
Увеличение несущей способности однопролетных балок в ряде случаев может быть достигнуто превращением их в многопролетные балки путем устройства промежуточных дополнительных опор (рис. 25).


Рис. 24. Объединение балок:
а - комбинированным каркасом; б - высокопрочными затяжками; 1 - балки; 2 - бетон омоноличивания; 3 - стальная полоса; 4 - наклонные тяги; 5 - высокопрочная дополнительная арматура (швеллер)
Если позволяет пространство под мостом, усиление можно осуществить с помощью рамных или арочных поддерживающих систем. С этой целью продольные несущие элементы опирают на поперечные балки, соединенные с поддерживающими конструкциями [3, 9]. Поддерживающие рамы могут опираться как на самостоятельные фундаменты, так и на фундаменты существующего сооружения.


Рис. 25. Усиление балок при помощи устройства промежуточных опор:
а - арки; б - рамы; 1 - балка; 2 - поперечные балки; 3 – рама (раскосы); 4 - арка
2.7. Усиление диафрагм
В случае ослабления или разрушения поперечных связей (накладок по диафрагмам, продольных швов) для восстановления поперечной жесткости сооружения можно использовать принцип усиления при помощи преднапряженной арматуры. Для этого в ребрах балок вдоль диафрагм с двух сторон просверливают отверстия, через которые пропускается высокопрочная проволока. Ее натяжение создается путем взаимного стягивания обеих ветвей стяжными болтами по горизонтали либо оттяжкой их в вертикальном направлении (рис. 26).


Рис. 26. Усиление диафрагм гибкими полосами:
а - преднапряжение на концах; б - преднапряжение вертикальными затяжками; 1 - балка; 2 - преднапряженная арматура; 3 - диафрагма; 4 - горизонтальная затяжка; 5 - вертикальная затяжка
При наличии оборудования для создания преднапряжения в арматуре можно использовать схему усиления, показанную на рис. 27.

Рис. 27. Усиление диафрагм гибкими тросами:
1 - балка; 2 - диафрагма; 3 - высокопрочная арматура
Если возможно, усиление также производится восстановлением работы существующих стыков диафрагм или устройством новых.
2.8. Уширение мостов
Уширение мостов может быть выполнено одним из трех способов [9] приставными элементами с обязательным уширением опор; накладной плитой, когда опоры не требуют уширения, и комбинированными приставными элементами и накладной плитой одновременно.
При уширении старых мостов, как правило, требуется усиление их несущих конструкций. Необходимо также учитывать, что старые мосты имеют большое количество различных дефектов, снижающих их несущую способность. Осложнение вызывает также и то, что приставные элементы в настоящее время могут быть только двух вариантов: из плитных блоков, сплошных или пустотелых и ребристых бездиафрагменных балок, объединяемых по плите.


Рис. 28. Уширение плитой:
а - монолитной; б - сборно-монолитной; 1 - балка; 2 - монолитная плита; 3 - сборная ребристая плита; 4 - монолитный бетон
Уширение накладной плитой может быть выполнено в монолитном сборном и сборно-монолитном вариантах, как показано на рис. 28.
Уширение за счет укладки монолитной плиты без добавления новых балок применяют при увеличении габаритов по ширине на 1 - 3 м и в пролетных строениях до 18 м. При этом необходимо предусмотреть удаление всех элементов мостового полотна (тротуаров, слоев одежды и др.) и обеспечение совместной работы плиты и пролетных строений.
Уширение с помощью ребристой накладной плиты применяется при увеличении габарита в основном на 2 - 5 м в мостах с пролетными строениями как разрезных, так и неразрезных систем. В этом случае расположенные поперек пролетного строения ребра плит выполняют роль дополнительных диафрагм, увеличивая поперечную жесткость пролетного строения. Однако необходимо предусмотреть обеспечение совместной работы накладной плиты с существующими балками.
Уширение ребристой накладной плитой наиболее целесообразно в условиях, когда иные способы затруднены и когда требуется существенное увеличение грузоподъемности существующего пролетного строения.
Уширение мостов приставными элементами с симметричным их расположением с каждой стороны может быть использовано при увеличении габарита от 1,5 до 3,5 м (рис. 29). Дополнительные балки соединяют с существующей конструкцией либо по плите проезжей части, либо по плите и стенке балки. Следует отметить что уширение приставными элементами имеет существенное преимущество, заключающееся в том, что работы можно выполнять почти без нарушения условий движения. В связи с этим за последние 10 - 15 лет почти все уширения выполнены способом приставных элементов.
При комбинированном способе уширения требуется, как правило, организация движения по объезду на период проведения работ.


Рис. 29. Уширение:
а - с добавлением балки; б - дополнительным омоноличиванием; 1 - балки старого пролетного строения; 2 - приставные балки; 3 - монолитный бетон; 4 - ездовое полотно
Объединение приставных элементов со старыми конструкциями и одновременное их усиление осуществляются либо монолитной железобетонной плитой, либо сборными плоскими или ребристыми блоками (рис. 30).


Рис. 30. Уширение сборных пролетных строений:
а - плитными блоками; б - ребристыми балками; 1 - плитные блоки старого пролетного строения; 2 - плитные блоки приставных элементов; 3 - защитный слой старой проезжей части; 4 - монолитная железобетонная плита; 5 - ребристые балки старого пролетного строения
2.9. Усиление коробчатых пролетных строении
Необходимость усиления пролетных строений коробчатого типа может быть вызвана рядом причин: потерей предварительного напряжения, превышающей расчетное значение, возникновением и развитием трещин в бетоне, изменением постоянной или временной нагрузки в процессе эксплуатации и т.п.
Усиление таких конструкций осуществляют, как правило, постановкой дополнительной предварительно напряженной рабочей арматуры. При этом предпочтение отдается полигональному расположению пучков, так как в этом случае усиление происходит как на действие изгибающего момента, так и поперечной силы.
Анкеровка дополнительной предварительно напряженной арматуры может осуществляться на специальных упорах, прикрепленных к станкам пролетного строения, либо на специально устроенных поперечных балках (диафрагмах). Во избежание перерывов в движении транспортных средств упоры, поперечные балки, диафрагмы размещают в полости продольных балок.
Подобным образом было произведено усиление железнодорожного моста через р. Мур (Австрия) [10]. Мост был построен в 1974 г. по схеме 50 + 62 + 105 + 62 + 50 м, полная длина моста составляет 329 м. Железобетонное пролетное строение представляет собой двухпустотную коробку переменной высоты (рис. 31).
Первоначально покрытие проезжей части в соответствии с проектом было выполнено из асфальтобетона толщина 7 см. Однако вскоре его заменили на цементобетонное толщиной 16 см. В результате чего к 1987 г. в средней части центрального пролета прогиб достиг 16 см, что значительно превысило расчетное значение. Вышел из строя водоотвод, уменьшилась комфортабельность проезда.
Обследование показало, что бетон конструкции моста находится в хорошем состоянии, принятый при проектировании моста коэффициент ползучести соответствует величине измеренных в естественных условиях деформаций, изменившаяся в процессе эксплуатации нагрузка вызовет прогиб среднего пролета, равный 22 см.

Рис. 31. Схема армирования коробчатого пролетного строения:
1 - пучки под верхней плитой; 2 - пучки над нижней плитой; 3 - вертикальные пучки; 4 - анкеровка; 5 - дополнительное продольное армирование
На основании этого был составлен проект по уменьшению прогиба, который предусматривал постановку продольных преднапряженных пучков над нижней плитой центральной части коробки и четырех групп продольных пучков в зоне верхней плиты коробки на участках, прилегающих к опорам. Пучки располагались на внутренних плоскостях наружных стенок и на обеих плоскостях средней стенки.
При обжатии коробов анкеры пучков размещали в прибетонированных к стенкам упорах, которые во избежание концентрации усилий рассредоточили по длине пролета. Прочность упоров обеспечивали за счет постановки горизонтальных преднапрягаемых стержней, обжимающих упоры и стенки короба.
Дополнительные продольные усилия в стенках коробов, создаваемые преднапряженной арматурой, вызвали необходимость постановки вертикальных преднапрягаемых и горизонтальных стержней в поперечном направлении.
Все работы по усилению моста были выполнены без перерыва движения.
Идея, заложенная в этом примере, широко применяется в мировой практике усиления коробчатых пролетных строении мостов, отличаясь только отдельными деталями.
Хорошие возможности для регулирования усилий имеет способ усиления ферм разгружающими шарнирно-стержневыми цепями (рис. 36). Применение цепей позволяет создать нагрузку в виде ряда сосредоточенных сил, действующих на усиливаемую конструкцию в направлении, противоположном действию эксплуатационной нагрузки, что позволяет уменьшить напряжения в элементах фермы. Закономерность распределения разгружающих усилий зависит от очертания цепи и выбирается заранее. После натяжения цепи усиливаемая конструкция превращается в комбинированную статически неопределимую систему.

Рис. 36. Усиление ферм шарнирно-стержневыми цепями:
1 - ферма; 2 - цепь; 3 - анкерные устройства; 4 - упорные элементы под узлами ферм; 5 – натяжные гайки
Необходимую степень разгружения конструкции цепями устанавливают после тщательного обследования. Например, должны быть определены все геометрические параметры элементов, состояние металла, взаимное расположение элементов, прочность стали и т.п. Величины внутренних усилий, которые могут быть получены от разгружающих сил, определяются разностью между усилиями, возникающими в результате действия полной нагрузки, и усилиями, которые могут воспринять элементы без усиления.
Если после усиления конструкции будет приложена дополнительная нагрузка, то при расчете следует учитывать возрастание напряжения в элементах цепи. Эту часть нагрузки цепь и конструкция воспринимают как одна комбинированная статически неопределимая система.
Основными элементами при усилении являются шарнирно-стержневая цепь, анкерные устройства, подвески или стойки (если цепь располагается за пределами усиливаемой конструкции).
Цепь может выполняться из прокатных профилей, круглой арматурной стали или канатов. Обычно она состоит из двух одинаковых ветвей, расположенных по обе стороны усиливаемой конструкции. В случае выполнения цепи из арматуры или канатов, узлы, где крепятся подвески, можно с достаточной степенью точности считать шарнирными. При устройстве цепи из прокатных профилей в узлах устраивают шарниры путем подрезки стоек профиля и одновременного усиления сечения горизонтальными накладками.
Анкерные устройства служат для закрепления цепи на усиливаемой конструкции. Они должны быть жесткими, обеспечивать неподвижность опорных узлов и шарнирное закрепление на них ветвей цепи.
Подвески делают из круглой стали и крепят к ветвям цепи шарнирно. Свободные концы подвесок имеют резьбу для обеспечения натяжения цепи и установки ее узлов в рабочее положение. Подвески, расположенные против друг друга с разных сторон конструкции, объединяются соединительной планкой, служащей для передачи усилий.
При натяжении очертание цепи обычно принимают таким, чтобы тангенсы углов наклона звеньев цепи, начиная от середины, соотносились между собой как 1:3:5 и т.д. В этом случае усилия во всех подвесках будут одинаковыми. Величину этих усилий определяют теоретически. При этом соблюдают следующий порядок: определяют требуемое разгружение конструкции, проектируют очертание цепи с определением усилий в подвесках и первоначальной длины цепи, по усилиям в подвесках определяют усилия во всех звеньях цепи и подбирают их сечения, корректируют расчет цепи с учетом ее деформации и намечают положение узлов цепи после натяжения.
При проектировании цепь необходимо принимать по возможности с большей стрелой. Однако во многих случаях ее размещают в габаритах усиливаемой конструкции. Установлено, что чем больше подвесок, тем больший разгружающий момент и поперечная сила обеспечиваются при одних и тех же усилиях в подвесках и стреле цепи. Однако при этом усложняется процесс изготовления и установки цепи и возрастает расход металла.
При усилении необходимо иметь ввиду, что приложение разгружающих сил к узлам нижнего пояса, когда эксплуатационная нагрузка приложена к узлам верхнего пояса, может не только не уменьшить усилия в некоторых стержнях решетки, но и повысить их, что потребует увеличения их несущей способности.
Усиление ферм можно выполнять превращением разрезных пролетных строений в неразрезные, возводя дополнительные опоры или соединяя фермы смежных пролетов.
Дополнительные опоры преимущественно устанавливают в середине пролета ферм (рис. 37,б). При этом представляются широкие возможности искусственного регулирования усилий в элементах фермы путем создания заданных перемещений на дополнительной опоре. На опорах фермы поддомкрачивают так, чтобы обеспечить работу их как неразрезных не только на временную нагрузку, но и на полную постоянную или некоторую ее часть. В большинстве случаев над дополнительной опорой требуется усиление стоек ферм, средних раскосов и панелей поясов, особенно нижнего пояса, который в неразрезной системе будет работать на сжатие.

Рис. 37. Усиление ферм превращением их в неразрезные системы:
а - введением дополнительных стержней; б - дополнительных опор; в - цепью
Следует отметить, что дополнительные опоры уменьшают отверстие моста, возведение их дорого и не всегда возможно по условиям эксплуатации.
Разрезные пролетные строения многопролетных мостов можно превратить в неразрезные, соединяя опорные участки ферм смежных пролетов дополнительными стержнями (рис.37,а). В фермах с ездой понизу с наклонными опорными раскосами дополнительные стержни ставят между узлами верхних поясов, нижние пояса соединяют жесткими вставками. Такими же вставками соединяют смежные фермы с вертикальными опорными стойками. Расположение опорных частей в образованной неразрезной системе может быть сохранено старым.
При изменении статической схемы происходит перераспределение внутренних усилий в элементах усиливаемой фермы. Для более рационального перераспределения усилий можно производить их регулировку, изменяя уровень опорных частей (поддомкрачивая опорные узлы), либо создавая предварительное напряжение в дополнительных стержнях.
Превращая фермы в неразрезные, их можно дополнительно усилить цепью (рис. 37,в). Усиление цепью возможно также и в других системах, например, консольных.
Усиление ферм шпренгельными системами рекомендуется применять при недостаточной жесткости конструкции и отсутствии ограничений в габаритах. Шпренгели могут быть установлены за пределами и в пределах высоты конструкции (рис. 38). Усиление возможно как без нагрузки, так и под нагрузкой, с предварительным напряжением шпренгельной системы и без него. Усилия в системе регулируются выбором схемы шпренгеля, назначением высоты выноса шпренгельной цепи и места крепления шпренгеля по высоте опорного сечения, с целью создания дополнительных разгружающих моментов, выбором интенсивности нагрузки и величины предварительного напряжения шпренгельной цепи.
Включение шпренгеля в работу достигается его начальным напряжением, которое осуществляется за счет укорочения шпренгельной цепи натяжными приспособлениями или подвеской монтажных грузов перед присоединением стоек шпренгеля к усиливаемой конструкции.
Наиболее эффективно усиление под нагрузкой при предварительном напряжении шпренгеля с помощью домкратов, стяжных муфт и т.п. Выбором предварительного напряжения можно достичь существенного перераспределения внутренних усилии в элементах ферм.
Шпренгели, поставленные под фермами, выполняются, как правило, из прокатных профилей со стрелой подъема составляющей 1/10 - 1/20 пролета и натягивают натяжными приспособлениями, расположенными вдоль стоек. Шпренгели, находящиеся в пределах высоты фермы, делают гибкими, преимущественно из тросов заводского изготовления. Тросы закрепляют в верхних опорных узлах за стальные упоры. Опорные узлы можно заполнять бетоном. Усилия в тросах при большой их величине могут быть переданы на жесткую распорную балку, расположенную вдоль верхнего пояса фермы (рис. 38,д).

Рис. 38. Варианты усиления ферм предварительно напряженными затяжками
При усилении ферм весьма эффективно применение предварительно напряженных затяжек из высокопрочной стали. В этом случае наиболее полно используются прочностные свойства металла затяжек и усиливаемых элементов, сравнительно просто достигается рациональное распределение усилий в элементах, почти полностью исключается расклепка существующих соединений и поэтому работы по усилению можно выполнять практически без перерыва движения.
Часто фермы усиливают третьим поясом - гибкими арками (рис. 37,в). Стрелу подъема гибких арок назначают в пределах 1/5 - 1/8 пролета. Для включения арок в работу в них домкратами создают искусственный распор.
4.1. Усиление ферм увеличением сечений стержней
Этот прием может применяться как самостоятельный способ повышения несущей способности фермы или в сочетании с методами, связанными с изменением конструктивной схемы, и является эффективным в том случае, если усиления требуют лишь отдельные наиболее нагруженные элементы. Усиление может осуществляться как после предварительной разгрузки конструкции, так и под нагрузкой в напряженном состоянии.
Наиболее распространенный способ усиления стержней сквозных ферм - увеличение их поперечного сечения дополнительным металлом (рис. 39). Дополнительный металл соединяют со старым высокопрочными болтами, либо закрепками. При проектировании усиления надо стремиться к тому, чтобы не создавать дополнительных эксцентриситетов ни в сечениях, ни в прикреплениях, если это не связано с преднамеренным регулированием напряжений. При этом желательно обеспечить минимальную раскрепку усиливаемых элементов.
Соединение при помощи электросварки может значительно упростить конструкцию усиления, однако необходимо учитывать при этом возможность сварки старого металла, а также пониженное качество сварных швов, выполняемых в монтажных условиях. Усиление поясов главных ферм таврового или коробчатого сечения производят добавлением новых горизонтальных листов. Чтобы не расклепывать одновременно усиливаемые участки пояса по всей ширине пакета, новый металл добавляют в виде отдельных узких полос, прикрепляемых последовательно. Головки старых заклепок на этом участке предварительно удаляют, оставляя стержни в отверстиях. Стыки полос перекрывают накладками. Вместо полос можно использовать уголки.

Рис. 39. Схемы усиления сечений элементов сквозных ферм:
а - поясов; б - раскосов и стоек
Усиление горизонтальными листами значительно увеличивает эксцентриситет прикрепления пояса в узлах. Для его уменьшения кроме горизонтальных листов вводят новый металл и в вертикальные листы. Добавление вертикальных листов для усиления поясов обычно сопряжено с трудностями выполнения работ, поскольку вызывает необходимость переклепки прикреплений элементов в узлах ферм. Чтобы уменьшить количество работ по расклепке, вертикальные листы усиления располагают вплотную к уголкам на той стороне старых вертикальных листов, к которой не прикреплены раскосы.
Пояса ферм удобно усиливать уголками, привариваемыми к коротким прокладкам, которые приклепывают к существующей конструкции заклепками. Толщину прокладок берут несколько больше высоты существующих заклепочных головок, что позволяет обойтись минимальной раскрепкой конструкции. Усиление элементов решетки ферм может быть весьма разнообразным и зависит от типа сечения и конструкции прикрепления к узлам. Размещение нового металла должно быть симметричным и подчинено главным образом удобству присоединения его к узловым фасонкам. В многорешетчатых фермах с плоскими раскосами нужно увеличивать жесткость раскосов из плоскости форм, ставя для этого окаймляющие уголки и соединительные планки.
Добавляемый при усилении металл должен быть надежно перекрыт в стыках и прикреплен к узлам. Для повышения жесткости рекомендуется прикрепления осуществлять на высокопрочных болтах с одновременным, если это требуется по расчету, усилением прикреплений старого металла.
Усиление элементов ферм осуществляется как с разгрузкой, так и без разгрузки от действия постоянной нагрузки. В первом случае достигается более эффективное использование добавляемого металла, который будет работать на все виды нагрузок. Упрощается также производство работ по прикреплению добавляемого металла. Однако для разгрузки усиливаемых элементов требуется сооружение дополнительных временных опор или устройство специальных разгрузочных приспособлений для каждого из них. Устройство разгрузочных приспособлений связано, как правило, со значительными затратами и является достаточно сложным. Поэтому в большинстве случаев элементы ферм усиливают без освобождения от постоянной нагрузки.
Для повышения эффективности применения высокопрочных сталей при усилении элементов используют предварительное напряжение с регулированием усилий между новым и старым металлом. При усилении элементов, работающих на растяжение или на знакопеременные усилия с преимущественным растяжением, используют предварительно напряженные затяжки из высокопрочной стали, натяжение которых осуществляют при помощи гаек, завинчиваемых на их концах. С этой целью могут быть применены тросы и пучки из высокопрочной проволоки, надежно защищенные от коррозии.
Затяжки в сечении усиливаемого элемента располагают так, чтобы равнодействующая усилий предварительного напряжения проходила через центр тяжести сечения (рис. 40). В том случае, когда в усиливаемом элементе нужно создать изгибающий момент от силы предварительного напряжения, обеспечивают требуемый эксцентриситет.
Для уменьшения гибкости и возможных колебаний затяжки ее в отдельных сечениях прикрепляют к основным элементам. Иногда между усиливаемым элементом и затяжками устанавливают связи для предотвращения потери устойчивости частей элемента при его обжатии усилиями предварительного напряжения. Необходимость в связях и их расположение определяют расчетом.

Рис. 40. Варианты расположения преднапряженных затяжек
Предварительное напряжение можно использовать и при усилении сжатых элементов, создавая в них усилия растяжения. В этом случае вместо затяжек ставят распорки.
Усилие с предварительно напряженных затяжек передается на специальные упоры, располагаемые обычно за узлом, к которому прикреплен усиливаемый элемент. Упоры прикрепляют высокопрочными болтами.
Усиление сжатых элементов, кроме увеличения площади поперечного сечения, может быть достигнуто уменьшением свободной длины. С этой целью вводятся шпренгельные элементы решетки (рис. 41).

Рис. 41. Варианты усиления ферм введением дополнительных элементов решетки
1 - существующие фермы; 2 - элементы усиления
Такой способ усиления не изменяет статических свойств конструкции и общего распределения усилий в ней, но позволяет уменьшить расчетные длины сжатых элементов (поясов, раскосов) и является эффективным приемом повышения их устойчивости в плоскости фермы.
Прикрепление дополнительных элементов решетки осуществляется с помощью вновь вводимых фасонок к стержням и узлам существующей конструкции. При этом следует избегать расцентровки осей дополнительных элементов и узлах.
В таких случаях, когда материал существующей конструкции не позволяет использовать сварку, дополнительные фасонки к существующим элементам прикрепляются на болтах. В связи с ослаблением сечений, возникающих при использовании болтов, определяющей несущую способность может оказаться не устойчивость, а прочность усиливаемого стержня.
Усиление ферм может быть осуществлено введением дополнительных элементов решетки. Этот прием служит для разгрузки элементов и узлов решетки ферм и позволяет уменьшить в них усилия от нагрузок, прикладываемых после усиления. Дополнительные элементы можно устанавливать в напряженном состоянии и выполнять из гибких стержней.
Кроме усиления прокатным металлом, растянутые стержни поясов ферм могут быть усилены гибкими кабелями из пучков высокопрочной проволоки или витых тросов. Кабели предварительно натягивают, после чего закрепляют анкерами в узлах ферм. Предварительное напряжение кабелей сжимает основной металл и разгружает его от растяжения основными силами.
В статически определимых фермах предварительное напряжение кабелей вызывает сжатие только усиливаемых стержней и не отражается на усилиях в остальных стержнях. В статически неопределимых системах каждый предварительно напряженный стержень вносит одну лишнюю неизвестную. В этом случае расчет ведется по общим правилам строительной механики с учетом принятой последовательности натяжения.
Неразрезная ферма, пояса которой усилены пучками из 24 проволок диаметром 5 мм с временным сопротивлением 150 кг/мм, приведена на рис. 38,б. Пучки закреплены анкерными колодками за стальные упоры и натянуты домкратом двойного действия. Упоры вклепаны в коробки поясов. Для защиты от коррозии предварительно напряженные пучки помещены в трубы, заполняемые инъекционным раствором после натяжения.
При расчете фермы, усиленной подобным образом, следует различать три стадии работы. Первая - на конструкцию действует внешняя расчетная нагрузка; вторая - конструкция подвергается действию предварительного напряжения кабелей заданными по величине усилиями; третья - на усиленную конструкцию действуют внешние силы, которые воспринимаются как старым металлом, так и кабелями. Окончательные внутренние усилия будут равны сумме усилий, полученных по всем трем стадиям работы.
4.2. Основные расчетные предпосылки усиленных металлических конструкций
Работа усиленных конструкций чрезвычайно сложна и зависит от множества факторов как конструктивного, так и технологического порядка. Выбор схемы усиления стержневых конструкций является многовариантной задачей. Однако, учитывая современный уровень развития методов оптимального проектирования конструкции и многообразие возможных схем и приемов усиления, условий нагружения и т.п., разработка общего подхода к задачам оптимизации представляется делом будущего. Поэтому полагают, что речь идет о расчете усиления конструкции по вполне определенной схеме с заранее заданными параметрами и при известных воздействиях на нее.
При практических расчетах величина начальной нагрузки может быть определена по данным обследования. Если интенсивность начальной нагрузки в момент усиления нельзя установить достоверно или возможна ее изменчивость, то расчетное значение следует определять с учетом коэффициентов надежности по нагрузке, как больших, так и меньших единицы.
Расчет усиленных конструкций на нагрузки, прикладываемые после усиления, следует осуществлять при самых невыгодных сочетаниях этих нагрузок с начальными нагрузками и усилиями преднапряжения. Иногда необходимо учитывать возможные осадки дополнительных опор, падения величины предварительного напряжения, снятия части начальной нагрузки и т.п.
При традиционном подходе к расчету обычной статически неопределимой системы усилия в элементах определяются в предположении ее работы, как упругой и линейно деформируемой. Можно показать, что такой подход не применим к усиленным под нагрузкой системам и что их необходимо в общем случае рассчитывать с учетом физической и геометрической нелинейности работы, т.е. системы, расчетные схемы которых изменяются вместе с изменением нагрузок, не подчиняются обобщенному закону Гука и не являются линейно деформируемыми.
В ряде случаев при статическом расчете необходимо учитывать не только общие деформации, полученные элементами системы к моменту усиления, но и особенности распределения напряжений и деформаций в сечениях. Например, центрально сжатый стержень, несимметрично усиленный путем увеличения сечения, после усиления и дополнительного нагружения начнет работать в условиях внецентренного сжатия. Следует отметить, что любой стержень, усиленный под нагрузкой увеличением его сечения, становится внутренне статически неопределимым и нахождение усилий, перемещений и напряжений в сечениях невозможно без учета особенностей его деформирования.
Эффективность усиления конструкций и их элементов под нагрузкой значительно повышается, когда используется упругопластическая стадия работы материала. Упруго работающие элементы усиления сдерживают развитие пластических деформаций в основных элементах исходной системы, что вызывает перераспределение усилий в системе в целом и в усиленных элементах. Пластические деформации в усиленных под нагрузкой конструкциях и элементах могут появляться при нагрузках, весьма далеких от предельных и сопровождать работу усиленной конструкции в значительном диапазоне нагружения. Это и определяет рациональность использования упругопластической стадии работы усиленных конструкций.
Особенности упругопластической работы усиленных под нагрузкой элементов можно рассмотреть на примере растянутого стержня, симметрично усиленного увеличением сечения.
Начальное напряженно-деформированное состояние стержня в момент усиления характеризуется следующими значениями напряжений и деформаций:
σ0; ε0; σу = 0; εу = 0.
где σ0; и ε0 - напряжение и деформация основного стержня;
σу и εу - напряжение и деформация, возникающие в элементах усиления.
После усиления нагрузка на стержень увеличилась. Приращению нагрузки соответствуют приращения относительных деформаций основного стержня и элементов усиления
Δε = Δε0 = Δεу
Полные относительные деформации основного стержня и элементов усиления составят
ε = ε0+Δε = ε0 + εу; εу = ε - ε0
Зная величины относительных деформаций, можно определить соответствующие им величины напряжений
σ = Еξ·ε; σу = Еξ·εу
где Еξ - секущие модули упругости.
Из условия равновесия внешних и внутренних сил имеем
![]()
Полные удлинения стержня, отвечающие нагрузкам N, будут определяться выражением
Δl = εl = (ε0 + εy)l
При заданных диаграммах работы материалов полученные выражения позволяют проследить процесс развития пластических деформаций в усиленном стержне и построить диаграмму его работы.
Предел упругой работы усиленного стержня определяется условием σ = σT, ему отвечают значения:
Nynp. = σγA0 + (σT - σ0)Ay = σTA - σ0Ay;
Δlупр = εl = (σT/E)l
где А = (А0 = Ау) - площадь усиленного стержня.
Из уравнений видно, что чем больше σ0 и Ау, тем меньше Nупр. Так, при Ау = 0,5А и σ0 = σТ, предел упругой работы усиленного стержня по сравнению с обычным (σ0 = 0) снижается вдвое. Предел несущей способности усиленного стержня определяется условием σу - σγ; ему соответствуют значения:
[N] = σTA0 + σγAy = σTA;
Δlпред = (εy + ε0)l = (εγ + ε0)l.
Как видно из этих уравнений, величина предельной нагрузки не зависит от величины начальных напряжений, однако удлинения в предельном состоянии для усиленного под начальной нагрузкой стержня значительно больше, чем для обычного стержня (при σ0 = σТ) в два раза).
Таким образом, для усиленных под нагрузкой стержней характерны повышенная деформативность, снижение предела упругой работы и упругопластическая работа в значительном диапазоне нагрузок. Эти особенности работы носят общий характер и справедливы для сжатых, изгибаемых, сжато-изогнутых и иных стержней, усиленных под нагрузкой.
В тех случаях, когда предельное состояние элементов определяется условиями статической прочности, развитие пластических деформаций сглаживает неравномерности распределения напряжений в сечениях и начальная нагрузка не отражается на предельной несущей способности усиленных элементов. Однако более раннее развитие пластических деформаций приводит к снижению приведенного модуля упругости, уменьшению размеров упругого ядра и, следовательно, должно существенно влиять на устойчивость усиленных стержней. При работе элементов в составе стержневой системы перечисленные особенности обуславливают и особенности работы системы в целом.
Следует отметить, что и сам процесс усиления может оказать существенное влияние на работу усиленных стержней. Например, при усилении стержня, имеющего начальный прогиб, элементы усиления для обеспечения их прилегания должны быть предварительно прижаты к изогнутому основному стержню. Внутренне уравновешенная система сил приведет к изгибу элементов усиления и обратному выгибу основного стержня. В результате этого прогиб стержня будет характеризоваться новой величиной.
Для усиленных под нагрузкой конструкций ввиду особенностей, связанных с нарушением естественного порядка их деформирования, сложного характера распределения напряжений и деформаций в сечениях, повышенной деформативности, работы в значительном диапазоне нагрузок в упругопластической стадии и т.д., традиционные методы расчета в общем случае являются принципиально неприменимыми. Расчет таких конструкций желательно выполнять как единых физически и геометрически нелинейных систем, прослеживая историю их нагружения и усиления, т.е. с учетом накапливаемых на каждом этапе работы напряжений, деформаций и перемещений системы. Это относится не только к статически неопределимым системам, но и к статически определимым, поскольку оценка их устойчивости и деформативности также невозможна без учета истории их предшествующей работы.
Следует отметить, что почти все методы усиления строительных конструкций приводят к повышению степени либо внешней, либо внутренней статической неопределимости системы или ее отдельных элементов.
Новгородавтодором совместно с Союздорнии при капитальном ремонте двух трехпролетных мостов в 1994 г. были проведены работы по увеличению их габарита и грузоподъемности новым способом, разработанным Союздорнии.
Оба моста расположены на дорогах IV категории. Первый был построен по схеме 3×11,36 м с габаритом Г-7 + 2×0,75 м в середине 60-х годов, второй - по схеме 3×14,06 м с Г-7 + 2×1,0 м, в 1970 г.
Пролетные строения мостов смонтированы из сборных железобетонных балок по типовому проекту Союздорпроекта вып. 56 и рассчитаны на пропуск нагрузок Н-13 и НГ-60.
Оба сооружения имели дефекты, повреждения и недостатки, характерные для сооружений, построенных по указанному проекту. К наиболее существенным недостаткам следует отнести их несоответствие требованиям современных мостовых норм по габариту и грузоподъемности пролетных строений, конструкции и высоте ограждающих устройств проезжей части.
В первоначальных проектах капитального ремонта обоих сооружений, наряду с работами по устранению всех дефектов и повреждений, была предусмотрена и реконструкция мостового полотна с установкой новых тротуарных блоков с металлическими барьерными ограждениями проезжей части высотой 0,75 м, что приводило к уменьшению габаритов мостов до Г-6.5 + 2×0,75 м, т. е. мосты превращались в однополосные. В проектах не было предусмотрено выполнение работ по увеличению грузоподъемности пролетных строений до требований современных мостовых норм.
По заданию Новгородавтодора Союздорнии разработал проектные предложения по приведению габаритов и грузоподъемности обоих мостов в соответствие с требованиями СНиП 2.05.03-84, которые были успешно реализованы. Схема поперечных сечений пролетных строений мостов после усиления и уширения показана на рис. 1.
Для пропуска по пролетным строениям мостов нагрузок A11 + толпа и НК-80 их усилили установкой внешней предварительно напряженной арматуры. Такое решение для каркасных пролетных строений в практике отечественного и зарубежного мостостроения было применено впервые. По расчетам на обоих мостах потребовалось усилить только крайние балки во всех пролетах. Схемы расположения элементов усиления крайних балок мостов показаны на рис. 2.
Пучки из 12 проволок диаметром 5 мм из стали класса B-II напрягали на усилие, обеспечивающее необходимую прочность и трещиностойкость балок. Накладные анкера (упоры для натяжения балок) крепились к ребрам балок болтами, а внутренние цилиндрические анкера и отгибающие устройства вставлялись в отверстия, просверленные в ребрах балок. Анкера обетоннровались после натяжения пучков.
Особое внимание было уделено защите пучков от коррозии. Конструкция защиты разработана Союздорнии. Она проста в устройстве и согласно нормативным документам и результатам многолетних наблюдений обеспечит надежную защиту пучков от коррозии в течение не менее 30 лет.
Увеличение габаритов пролетных строений обоих мостов до Г-8 + 1×1.0 м (см. рис. 1) осуществлено следующим образом:
разбирался бетон консольных участков плит проезжей части уширяемых (крайних) балок на ширину до 25 см (следует отметить, что практически на всех эксплуатируемых мостах бетон на этих участках имеет существенные повреждения от действия влаги, солей и мороза и требует восстановления);
на фасаде уширяемых балок бетонировались диафрагмы, располагаемые напротив имеющихся у них диафрагм, т.е. с шагом 2,7 м вдоль пролета балки;

Рис. 1. Схема поперечных сечений пролетных строений мостов после усиления и уширения:
1 - железобетонная плита уширения; 2 - бетонируемая железобетонная диафрагма; 3, 4 - пучки соответственно на первом и втором мостах; 5 - устраиваемое объединение диафрагм; 6 - асфальтобетонное покрытие проезжей части; 7 - парапетное ограждение; 8 - стальной лоток для водоотвода; hД, hб - высота соответственно диафрагмы и балки (см. рис. 2); ПБ - полоса безопасности из цементобетона. (Размеры даны в сантиметрах)


Рис. 2. Схемы расположения элементов усиления на крайних балках на первом (а) и втором (б) мостах:
1 - стальной накладной анкер; 2 - пучок; 3 - бетонируемая железобетонная диафрагма; 4 - железобетонная плита уширения; 5 - имеющаяся у балки диафрагма; 6 - стальное отгибающее устройство; 7 - стальной внутренний цилиндрический анкер. (Размеры даны в сантиметрах)
бетонировались железобетонные плиты уширения, которые располагались в одном уровне с плитой проезжей части уширяемых балок и опирались на устроенные диафрагмы (следует отметить, что наряду с монолитными могут быть применены и сборные плиты уширения).
Существующее мостовое полотно ремонтировалось только над крайними балками, т.е. в том месте, где оно практически всегда имеет неудовлетворительное состояние. На обоих мостах по требованию заказчика были установлены железобетонные парапетные ограждения высотой 0,75 м.
Работы по усилению балок и подготовка их к уширению выполнялись специалистами Союздорнии, а по устройству подмостей, бетонированию диафрагм, плит уширения и участков вокруг анкеров, ремонту балок, опор и мостового полотна - специалистами ТОО «Акведук» (г. Новгород).
Опытные работы, проведенные на мостах, показали высокую эффективность нового способа усиления и уширения пролетных строений. Работы проводятся без установки дополнительных балок, уширения опор или их ригелей и закрытия движения по мосту.
От применяемого в настоящее время способа уширения железобетонных пролетных строений с помощью укладки монолитного бетона или сборных железобетонных плит по всему пролетному строению разработанный способ отличается значительно меньшей величиной дополнительной постоянной нагрузки на пролетное строение и в 4 - 4,5 раза меньшим расходом материалов и трудозатрат.
С помощью разработанного способа типовые железобетонные пролетные строения мостов с габаритами Г-6, Г-7 и Г-8, рассчитанные под нагрузки Н-13 и НГ-60 и эксплуатируемые в настоящее время на дорогах III и IV категорий, могут быть легко уширены до габаритов Г-8 и Г-10 и усилены для пропуска по ним нагрузок А11+толпа и НК-80.
Способ усиления балок внешней предварительно напряженной арматурой целесообразно применять и при ремонте балок автомобильно-дорожных путепроводов и эстакад, поврежденных при проезде под ними негабаритных по высоте транспортных средств или при ремонте балок, снятых с разбираемых мостов, для их повторного применения.
Союздорнии может оказать научно-техническую и практическую помощь при реконструкции мостов или ремонте отдельных балок с использованием разработанного метода.
Большинство мостов на автомобильных дорогах России построены по старым нормативам с габаритами, которые в настоящее время, в связи с возросшей интенсивностью движения, не отвечают современным требованиям и должны быть реконструированы.
Наибольшую сложность при этом представляют большие высокие мосты через многоводные реки, когда работы необходимо выполнять без перерыва движения.
В июле 1993 г. авторами проведено детальное обследование сталежелезобетонного моста через р. Ворону на автомобильной дороге III категории Тамбов - Саратов. Мост построен в 1970 - 1973 гг. под нагрузки Н-30 и НК-80 с габаритом Г-8 по нормативам СН 200-62. Его высота 10 м. Мост имеет четыре пролета по 42,5 м, перекрытых сталежелезобетонными пролетными строениями по проекту института Проектстальконструкция, выпуск 1966 г. (рис. 1).
В поперечном сечении пролетного строения две сварные балки из стали 15ХСНД с расстоянием в осях 6,40 м и продольный прогон из двутавра № 40, опирающийся на поперечные связи. Металлические балки имеют высоту 2,40 м с толщиной стенки 12 мм и ребрами жесткости через 0,87 м. Железобетонная плита проезжей части сборная толщиной 15 см объединена для совместной работы с металлическими балками жесткими упорами, приваренными к верхнему поясу балок. Тротуары П-образные, повышенного типа опираются на концы удлиненных блоков плиты.
Проведенный расчет пролетного строения по нормативам СНиП 2.05.03-84 под нагрузки АН и НК-80 показал, что несущие элементы отвечают требованиям прочности. Однако в ближайшее время, когда будет закончено строительство дороги Тамбов - Саратов, интенсивность движения резко возрастет. Существующий габарит моста Г-8 требованиям безопасности и условиям движения отвечать не будет, поэтому принято решение мост уширить до габарита Г-10.

Рис. 1. Общий вид моста через р. Ворона на автомобильной дороге Тамбов - Саратов
Проект уширения разработан в Воронежской архитектурно-строительной академии при дипломном проектировании студентом М.В. Тюменевым под руководством проф. В.А. Дементьева.
Для опирания уширяемой части плиты к главным балкам пролетного строения с внешней стороны прикрепляются металлические опорные кронштейны из стали 15ХСНД. Кронштейны 1 (рис. 2) изготавливаются из парных уголков (125×125×9), соединяемых с фасонками сваркой, и прикрепляются к ребрам главных балок высокопрочными болтами в сечениях расположения поперечных связей через 5,25 м. На кронштейны укладываются продольные балки 2 и 3 из двутавров № 30К1 и № 30H1, перекрывающие пролеты между опорными кронштейнами. В местах опирания продольных балок между уголками кронштейнов предусмотрена стенка 4 из листа толщиной 10 мм с ребрами жесткости 5 той же толщины.
Уширение проезжей части моста проводится посредством удлиненных железобетонных блоков (см. рис. 2,б), совмещающих в себе уширяемую часть плиты, парапетное ограждение и плиту пониженных тротуаров. Блоки уширения укладываются на прогоны 2, 3 и соединяются со старой плитой стыками с арматурными выпусками.
Работы по уширению моста предусмотрено проводить без перерыва автомобильного движения. По оси проезжей части устанавливается барьерное ограждение и движение переводится на одну половину моста, на другой - демонтируются тротуары, на полосе шириной 30 см около ограждений существующей проезжей части удаляются покрытие, защитный слой бетона, гидроизоляция, срубаются с оставлением арматурных выпусков концевые участки плиты.
С передвижных вышек или подвесных люлек в ребрах главных балок сверлят отверстия для высокопрочных болтов. Затем автокраном с моста монтируют опорные кронштейны. На них укладывают прогоны 2, 3, которые жестко соединяют сваркой с опорными кронштейнами. Также с моста автокраном укладывают на прогоны сборные железобетонные блоки уширения, после чего бетонируют стыки их соединения со старой плитой. Затем на полосе уширения укладывают выравнивающий слой, гидроизоляцию, защитный слой, покрытие и монтируют перила. На уширенную часть моста переводится движение, а на другой половине в той же последовательности проводят те же работы.
Проведенный расчет показал, что увеличение массы железобетонной плиты после ее уширения не вызвало перенапряжений в нижних поясах главных балок, так как нейтральная ось объединенного сечения переместилась вверх и увеличился момент сопротивления нижнего пояса металлических балок. Увеличение толщины плиты и каких-либо работ по опорам моста не требуется.
Для уширения моста описанным способом с габарита Г-8 до Г-10 требуется 67 т металла, 116 м3 железобетона и 50 м3 бетона, что от массы и объемов существующих пролетных строений моста составляет соответственно 26, 39 и 33 %.

Рис. 2. Элементы уширения моста: опорный кронштейн (а)
и железобетонный блок уширения (б):
1 - кронштейны; 2, 3 - прогоны из двутавров; 4 – стенка кронштейна; 5 - ребра жесткости
Проектирование Московской кольцевой автомобильной дороги велось Союздорпроектом в 1954 - 1962 гг. когда только начиналось массовое применение в СССР сборного железобетона и особенно предварительно напряженного. Совместно с Союздорнии были созданы добротные конструкции мостов и путепроводов, которые служат по сей день, не имея значительных дефектов. Так пролетные строения путепроводов пролетами 15 и 19 м были запроектированы с использованием двухосного предварительного напряжения с натяжением на бетон, причем путепроводы имели различную косину в плане. Было теоретически доказано и впервые осуществлено строительство пролетных строений без диафрагм, значительно усложняющих конструкцию.
При испытании, проведенном в 1989 г. одного такого пролетного строения с попыткой доведения его до разрушения, была приложена сосредоточенная нагрузка более чем в 2 раза превышающая расчетную, однако никаких опасных явлений не было обнаружено. Такие пролетные строения имеют большую сопротивляемость солям (хлоридам) вследствие повышенной плотности бетона от двухосного напряженного состояния.
При замене пролетных строений, вызванной разрушением ребер балок проходящими негабаритными транспортными средствами, все опоры путепроводов использовались без усиления, несмотря на то, что нагрузки возросли. Резиновые опорные части, прослужившие 30 лет, снова используются в реконструируемых сооружениях.
Большие мосты, обладающие архитектурной выразительностью, находятся в удовлетворительном состоянии. В них возникли некоторые дефекты, связанные в основном с протечками воды на несущие конструкции через плохую изоляцию. Наиболее оправдали себя мосты системы Васильева арочной конструкции с предварительно напряженной проезжей частью (затяжкой), имеющие ресурс надежности по оценкам ученых еще лет на 35 - 45, при условии надлежащей эксплуатации. Оригинальна конструкция арочного моста через р. Москву у с. Беседы: металлическая арка с ездой понизу центрального пролета длиной 110 м подпирается железобетонными арками крайних пролетов длиной 63 м.
Имеется один интересный путепровод Беседы - Братеево по схеме 221 м, который был впервые сооружен из сборных блоков с сухими стыками навесным способом, названным позднее "русским методом".
При новой реконструкции МКАД многие путепроводы будут снесены по причине "морального" износа - они не отвечают требованиям СНиП по подмостовым габаритам. Однако было бы желательно сохранить пролетное строение путепровода Беседы - Братеево, как памятник русской инженерной мысли.
Следует отметить, что предложенный подход к реконструкции МКАД, когда ТЭО будет разработано только после выпуска рабочей документации на первые 20 км дороги, затрудняет решение задачи, так как общая концепция фактически новой дороги будет отработана только к концу 1995 г.
В 1988 г. Союздорпроектом совместно с ЦНИИСом, по заданию бывших Минавтодора РСФСР и Минтрансстроя СССР, был выполнен проект усиления моста через р. Шошу на автомобильной дороге Москва - Санкт-Петербург, ранее запроектированного Ленгипродорнии по "Рабочим чертежам неразрезных железобетонных пролетных строений со сплошной стенкой из унифицированных элементов для автодорожных и городских мостов с пролетами до 84 м", разработанным институтом Гипротрансмост.
Усиление этого моста, имеющего пролеты 48 + 73 + 48 м выполняли дважды по проектам Ленгипродорнии, но эффекта не добились - мост был закрыт для движения.

Рис. 1. Поперечный разрез коробки: 1 - предварительно напряженный хомут длиной 2,7 м
Основной недостаток проекта заключался в том, что хомуты, поставленные а стенках для восприятия главных напряжений (рис. 1), потеряли предварительное напряжение из-за их малой длины и обмятия шайб, а рабочая высокопрочная арматура располагалась только горизонтально по верхней и нижней фибрам коробчатого пролетного строения, и не была доведена до опор в нижней плите (рис. 2). В результате этого в стенках образовались наклонные трещины по траектории главных растягивающих напряжений, а швы между балками раскрылись. Аналогичная ситуация была на мосту через р. Сухону в г. Великий Устюг, когда один пролет рухнул (схема моста 63 + 84 + 105 + 84 + 63 м).
Нами предложена методика восстановления несущей способности моста, позволяющая все выше перечисленные неприятности погасить. Особое внимание уделяется восприятию поперечной силы и обжатию швов между блоками путем установки полигональной арматуры в сочетании с монолитным бетоном. Работы по усилению моста по такой технологии очень трудоемки, проводятся в теплое время года, требуют закрытия движения по мосту.

Рис. 2. Схема армирования высокопрочной арматурой: 1 - продольная арматура; L - длина пролета; h - высота пролетного строения
Всего нами разработаны проекты усиления для 7 мостов: через р. Волхов по схеме (36 + 63 + 84) м×2 (ведутся работы); через р. Мcту по схеме 48 + 63 + 84 + 84 + 84 + 63 + 48 м на автомобильной дороге Москва - Санкт-Петербург; через р. Волхов по схеме 48 + 84×3+ 48 м у с. Селище Новгородской обл.; через р. Сок по схеме 48 + 63×3 + 48 м на автомобильной дороге Москва - Челябинск (заканчиваются работы), через р. Ветлугу по схеме 48 + 84×3 + 48 м у п. Шарья Костромской обл.; через р. Сухону у г. Великий Устюг (проектируется третье усиление).
В последнее время часто приходится выполнять усиление арочных мостов постройки 20-х годов: через р. Тезу в г. Шуе, железобетонный по схеме 3×28 м; через р. Северку на дороге Москва - Челябинск, металлический по схеме 2×28 м; через р. Царицу в г.Волгограде, железобетонный по схеме 5×40 м и др. Эти мосты были рассчитаны на нагрузку Н-9, и нам удалось даже увеличить габариты под современные нагрузки. Мост через р. Вазузу на автомобильной дороге Москва - Рига с габаритом Г-7 доведен до габарита Г-11,5 м.
В России накоплен огромный опыт по реконструкции и усилению мостов (в Союздорнии, Росдорнии, ЦНИИС и др.). Однако он не систематизирован и используется не широко.
(57) Сущность изобретения: усиленная балка железобетонного пролетного строения моста включает блок таврового сечения и металлический каркас усиления, состоящий из нижнего пояса и соединенного с ним посредством напрягаемых наклонных тяг верхнего пояса усиления в виде пластин. Пластины верхнего пояса усиления размещены на концевых участках блока сверху и снизу его полок и объединены между собой, а нижний пояс выполнен из установленных в нижней части ребра с обеих его сторон двух металлических балок и напрягаемых элементов, ориентированных параллельно ребру и прикрепленных к концам металлических балок. Металлические балки у опор моста объединены между собой пластинами, а направленные друг к другу концы металлических балок дополнительно соединены с полками блока вертикальными напрягаемыми тягами. Верхние концы вертикальных и наклонных тяг закреплены соответственно на металлических пластинах, уложенных на поверхности полок, и на пластинах верхнего пояса усиления. Нижние концы вертикальных и наклонных тяг прикреплены к направленным друг к другу концам металлических балок. 2 ил.
Изобретение относится к мостостроению и может быть использовано при усилении железобетонных пролетных строений мостов.
Цель изобретения - снижение материалоемкости и трудоемкости монтажа.
На фиг. 1 показан приопорный фрагмент усиленной балки железобетонного пролетного строения моста - фасад; на фиг. 2 - разрез А-А на фиг. 1.
Усиленная балка железобетонного пролетного строения моста включает установленный на опорах 1 моста блок 2 таврового сечения, металлический каркас усиления, состоящий из нижнего пояса усиления и соединенного с ним посредством расположенных с обеих сторон ребра блока 2 напрягаемых наклонных тяг, верхнего пояса усиления, причем пластины 3 верхнего пояса усиления размещены на концевых участках блока 2 сверху и снизу его полок и объединены между собой, а нижний пояс усиления выполнен из установленных в нижней части ребра блока 2 с обеих его сторон и вплотную к нему двух металлических балок 4, противолежащие относительно центра пролета концы которых размещены через дополнительные опорные части 5 на опорах 1 моста, и напрягаемых элементов 6, расположенных с зазором относительно нижней грани ребра блока 2, ориентированных параллельно ему и прикрепленных к направленным друг к другу концам металлических балок 4 посредством уголковых элементов 7, при этом металлические балки у опор 1 объединены между собой пластинами 8, прижатыми к нижней грани ребра блока 2, а направленные друг к другу концы металлических балок 4 дополнительно соединены с полками блока 2 вертикальными напрягаемыми тягами 9, причем верхние концы вертикальных 9 и наклонных 10 напрягаемых тяг пропущены через образованные в полках блока 1 отверстия 11 и закреплены соответственно на металлических пластинах 12 и 3, свободно уложенных на поверхности полок блока 2, и на расположенных сверху полок пластинах 3 верхнего пояса усиления, а нижние концы вертикальных 9 и наклонных 10 напрягаемых тяг посредством резьбовых соединений 13 прикреплены к направленным друг к другу концам металлических балок 4.
Данная конструкция усиленной балки железобетонного пролетного строения моста позволяет снизить материалоемкость и трудоемкость монтажа за счет исключения излишнего металла нижнего пояса усиления, эпоксидного клея и подмостей на период монтажа.
Формула изобретения
Усиленная балка железобетонного пролетного строения моста, включающая установленный на опорах моста блок таврового сечения, металлический каркас усиления, состоящий из нижнего пояса усиления в форме швеллера и соединенного с ним посредством расположенных с обеих сторон ребра блока напрягаемых наклонных тяг верхнего пояса усиления в виде пластин, отличающаяся тем, что, с целью снижения материалоемкости и трудоемкости монтажа, пластины верхнего пояса усиления размещены на концевых участках блока сверху и снизу его полок и объединены между собой, а нижний пояс усиления выполнен из установленных в нижней части ребра с обеих его сторон и вплотную к нему двух металлических балок, противолежащие относительно центра пролета концы которых размещены через дополнительные опорные части на опорах

моста, и напрягаемых элементов, расположенных с зазором относительно нижней грани ребра, ориентированных параллельно ему и прикрепленных к направленным друг к другу концам металлических балок посредством уголковых элементов, при этом металлические балки у опор объединены между собой пластинами, прижатыми к нижней грани ребра, а направленные друг к другу концы металлических балок дополнительно соединены с полками блока вертикальными напрягаемыми тягами, причем верхние концы вертикальных и наклонных напрягаемых тяг пропущены через образованные в полках блока отверстия и закреплены соответственно на металлических пластинах, свободно уложенных на поверхности полок, и на расположенных сверху полок пластинах верхнего пояса усиления, а нижние концы вертикальных и наклонных напрягаемых тяг посредством резьбовых соединений прикреплены к направленным друг к другу концам металлических балок.

|
|
|
|