//
ТехЛит.ру
- крупнейшая бесплатная электронная интернет библиотека для "технически умных" людей.
WWW.TEHLIT.RU - ТЕХНИЧЕСКАЯ ЛИТЕРАТУРА

:: Алготрейдинг::


АЛГОТРЕЙДИНГ
шаг за шагом
с нуля по урокам!

Торговые роботы на PYTHON, BackTrader,
Pandas, Pine Script для TradingView. Связка с брокерами, телеграм и легкими приложениями.


МИНИСТЕРСТВО АВТОМОБИЛЬНЫХ ДОРОГ РСФСР

ЦЕНТРАЛЬНОЕ БЮРО НАУЧНО-ТЕХНИЧЕСКОЙ ИНФОРМАЦИИ

 

ГИДРОИЗОЛЯЦИЯ МОСТОВ

Тематическая подборка

Москва 1985

Предназначается для оказания помощи мостостроительным организациям.

В подборе материала принял участие Воронков Л.В. (Автомост).

Составитель Кери Е.А.

1. НОРМАТИВНЫЕ И НАУЧНО-МЕТОДИЧЕСКИЕ ДОКУМЕНТЫ*

Строительные нормы и правила: Изд. офиц. Ч.III. Гл. 20. Кровли, гидроизоляция, пароизоляция и теплоизоляция. Организация, производство и приемка работ. Утв. Госкомитетом СМ СССР по делам стр-ва. - М.: Стройиздат, 1974.

Внесены изм. (Бюл. строит. техники, 1976, № 12, 1981, № 4).

Строительные нормы и правила:- Изд.офиц. Ч.III. Гл. 23. Защита строительных конструкций и сооружений от коррозии. Организация, производство и приемка работ Утв. Госкомитетом СМ СССР по делам стр-ва. - М.: Стройиздат, 1976.

Строительные нормы и правила: Изд.офиц. Ч.III. Гл. 43. Мосты и трубы. Организация, производство и приемка работ. Утв. Госкомитетом СМ СССР по делам стр-ва. - М.: Стройиздат, 1976.

Инструкция по устройству гидроизоляции мостов и труб на железных, автомобильных и городских дорогах: ВСН 32-81 / Минтрансстрой СССР, ЦНИИС. - М., 1982. - 114 с.

* ГОСТы и ТУ на материалы для гидроизоляционных работ приведены в ВСН 32-81 "Инструкция по устройству гидроизоляции конструкций мостов и труб на железных, автомобильных и городских дорогах", извлечения из которой даны в подборке на с. 31.

Приведены требования к гидроизоляционным материалам в зависимости от климатической зоны строительства и эксплуатации сооружения; классификация гидроизоляций по типам, виду основного гидроизолирующего материала, его технологическим свойствам, виду армирующей основы и области применения; прогрессивная технология гидроизоляции, правила техники безопасности и охраны труда при производстве гидроизоляционных работ.

Инструкция по устройству гидроизоляции конструкций мостовых сооружений из битумно-латексной мастики: ВСН 35-83 / Миндорстрой БССР. - Минск, 1983. - 34 с., табл.

Инструкция распространяется на устройство битумно-латексной гидроизоляции на плитах проезжей части и тротуарах железобетонных и сталежелезобетонных пролетных строений автодорожных и городских мостов, путепроводов и других мостовых сооружений.

Устройство гидроизоляции на ортотропных плитах проезжей части автодорожных мостов: Технолог. карта / ВПТИтрансстрой. - М., 1979. - 19 с.

Рассмотрена область применения гидроизоляции на ортотропных плитах проезжей части автодорожных мостов, указания по технологии производственного процесса, указания по организации работ.

Устройство гидроизоляции проезжей части автодорожного моста с применением эпоксидно-каменноугольной мастики: Технолог. карта. - PC / ВПТИтрансстрой. Мостостроение, 1983, вып. 3, с. 3.

Описана технология устройства подготовительного слоя из цементно-песчаного раствора, гидроизоляции из эпоксидно-каменноугольной мастики защитного слоя, даны состав звеньев, перечень материально-технических ресурсов, используемых механизмов и приспособлений. Приведены технико-экономические показатели, расчет экономической эффективности, график производственного процесса и калькуляция затрат труда.

Методические рекомендации по устройству холодной мастичной дисперсно-армированной гидроизоляции на основе битумных эмульсий для автодорожных и городских мостов / Союздорнии. - М., 1983. - 28 с.

Приведены новая конструкция гидроизоляции и технология работ по ее устройству, обеспечивающие механизацию работ и снижение трудоемкости при одновременном повышении качества гидроизоляции и улучшении условий труда рабочих.

Рекомендации по применению полимерных материалов для защиты стальных и железобетонных конструкций мостов / ЦНИИС Госстроя СССР. - М., 1977.

Временные указания по устройству термопластичной битумной гидроизоляции из утяжеленных рулонных материалов на пролетных строениях автодорожных и городских мостов и путепроводов / ЦНИИС Госстроя СССР. - М., 1975. - 42 с.

Рекомендации по устройству гидроизоляции с применением рулонного битумкаучукабутизола на пролетных строениях автодорожных мостов / ВПТИтрансстрой. - М., 1976. - 64 с.

Рекомендации по конструкции и технологии устройства дисперсно-армированной гидроизоляции проезжей части автодорожных мостов на основе битумных эмульсий (для опытного строительства). - PC / Оргтрансстрой. Трансп. стр-во. Мостостроение, 1978, № 1, с. 2-3.

Содержатся сведения по конструкции, исходным материалам и области применения дисперсно-армированной гидроизоляции, по конструкции и принципам работы оборудования для механизированного нанесения гидроизоляции, а также результаты лабораторных и производственных испытаний экспериментального оборудования.

Исследование новых конструкций гидроизоляции из рулонных материалов промышленного производства повышенной морозостойкости, в том числе на основе битумов, модифицированных полимерными добавками с разработкой рекомендаций для опытного строительства. - PC / Оргтрансстрой. Трансп. стр-во. Мостостроение, 1978, № 1, с. 4.

Исследованы физико-механические, химические и технологические свойства гидроизоляционных материалов на основе бутилкаучука. Выявлены наиболее перспективные на ближайшее время модификации бутилкаучуковых материалов (мастичные и рулонные).

Устройство гидроизоляции проезжей части. - ЭИ / ВПТИтрансстрой. Трансп. стр-во. Мостостроение, 1982, № 6, с. 3-20, ил.

Рассмотрены вопросы применения в Мостотресте при участии ЦНИИСа новых эффективных гидроизоляционных материалов, даны рекомендации по устройству гидроизоляции проезжей части.

Пахомов М.В., Саханский Ю.H. Дисперсно-армированная гидроизоляция проезжей части автомобильно-дорожных мостов. - В кн.: Проектирование и стр-во искусственных сооружений на автомоб. дорогах. М., 1978, с. 138-146, ил. - (Тр. / Союздорнии; Вып. 109).

Рассматриваются конструкция и технология устройства наиболее распространенной гидроизоляции проезжей части автомобильно-дорожных мостов и ее недостатки.

Предлагается гидроизоляция из битумной эмульсии с дисперсным армированием рубленным стекложгутом или распущенными волокнистыми материалами (стеклянная или минеральная вата, асбест).

Приводятся составы гидроизоляции, конструкция опытного образца установки для ее нанесения, рассматривается область применения конструкции гидроизоляции и установки.

Саханский Ю.H., Пахомов М.В. Трещиностойкость полимерной гидроизоляции проезжей части автомобильно-дорожных мостов. - В кн.: Применение полимерных материалов в дор. стр-ве. М., 1977, с. 58-67. (Труды Союздорнии; Вып. 89).

Рассматриваются вопросы совместной работы гидроизоляции и бетона плиты проезжей части различных типов мостов.

Приведены выводы и рекомендации о применении рассмотренных видов полимерных гидроизоляций в проезжей части различных типов железобетонных мостов.

Шестериков В.И. Деформационные швы в автодорожных мостах. - М.: Транспорт. - 1978, 151 с.

В книге изложены принципы проектирования деформационных швов с учетом требований герметичности, коррозионной стойкости, плавности проезда, бесшумности, возможности ремонта и замены. Описаны технология изготовления и монтажа конструкций швов, а также опыт их эксплуатации.

ОПЫТ ГИДРОИЗОЛЯЦИОННЬК РАБОТ

Балалаев Э.Г., Жуков И.А. Устройство гидроизоляции проезжей части автодорожного моста с применением эпоксидно-каменноугольной мастики. - PC / ВПТИтрансстрой. Мостостроение, 1983, вып. 2, с. 11-12.

Нанесение гидроизоляции эпоксидно-каменноугольной мастикой производится высокопроизводительным агрегатом 7000Н, который предназначен для окраски поверхностей конструкций в строительстве методом безвоздушного распыления.

Внедрение нового способа устройства гидроизоляции с применением эпоксидно-каменноугольной мастики по сравнению с существующим методом дало (на 1 м2 гидроизоляции) экономический эффект - 1,65 руб., снижение затрат труда - 0,021 чел.-дня.

Васильев Е.Б. Пролетные строения железобетонных мостов с гидрозащитным слоем. - М.: Транспорт, 1982. - 94 с.

Рассмотрено решение важных вопросов обеспечения прогрессивной гидрозащиты пролетных строений автодорожных пролетных строений мостов.

Гидроизоляция пролетных строений мостов / Ю.Ф. Бредихин, А.Т. Чебоксаров, Э.Г. Балалаев и др. - Трансп. стр-во, 1983, № 12, с. 8-9.

Рассмотрены материалы для гидроизоляции пролетных строений мостов: рулонный гидробутил, эпоксидно-каменноугольная мастика ЭКМ, бутилкаучуковая мастика БГХ.

Гидробутил - эффективный рулонный материал для гидроизоляции пролетных строений мостов / Е.А.Антропова, Л.В. Захаров, Н.П. Лях и др. - Трансп. стр-во, 1979, № 12, с. 20-22.

Рассмотрены вопросы применения рулонного материала - гидробутила, разработанного институтом ВНИИстройполимер.

Захаров Л.В., Новиков Я.Н., Цибров А.Т. Механизированная гидроизоляция проезжей части автодорожных мостов. - Трансп. стр-во, 1982, № 6, с. 24-26, ил.

Дана краткая характеристика материалов машин и оборудования для гидроизоляции мостов.

Новиков Я.Н., Захаров Л.В., Вейцман С.Г. Эффективные материалы для гидроизоляции проезжей части мостов. - Автомоб. дороги, 1982, № 6, с. 10-12, ил.

Обобщен опыт использования отечественных гидроизоляционных материалов.

Новые конструктивные решения гидроизоляции проезжей части мостов и путепроводов. – PC / ВПТИтрансстрой. Трансп. стр-во. Мостостроение, 1980, вып. 2, с. 1-4.

Даны физико-механические показатели материалов, используемых в новых конструктивных решениях гидроизоляции мостовых конструкций.

Пахомов М.В. Мастичная армированная гидроизоляция на основе битумных эмульсий для пролетных строений мостов. - В кн.: Автодорожные мосты: Тезисы докл. и сообщений VII Всесоюзного совещания дорожников "Ускорение научного прогресса, повышение производительности труда и качества дор. работ" / Союздорнии. М., 1981, с. 38-40.

Рассмотрены вопросы применения холодной мастичной дисперсно-армированной гидроизоляции на основе битумных эмульсий, а также механизмы для ее нанесения.

Рулонная бутилкаучуковая гидроизоляция проезжей части мостов северного исполнения: [Проспект ВДНХ] / Оргтрансстрой. - М., 1977. - 2 с, ил.

Предназначается для гидроизоляции проезжей части мостов, строящихся во всех климатических районах страны.

Старокадомский СМ., Кузурман А.Н. Антикоррозионное и гидроизоляционное покрытие проезжей части вантового моста. - Автомоб. дороги, 1984, 4, с. 15-16.

Рассмотрена технология устройства одежды на ортотропных плитах проезжей части с применением полимерных материалов на примере вантового моста через р. Даугаву в Риге.

Тахиров М.К., Валитов Р.Х. Технология механизированного устройства полимерной гидроизоляции железобетонных конструкций мостов. - ЭИ / Оргтрансстрой, 1979. - 8 с, ил.

Обобщен опыт работы треста "Мостострой № 7" по освоению технологии механизированного устройства полимерной гидроизоляции мостовых конструкций. В качестве гидроизоляционного материала используется полимербитумная композиция следующего состава: смола ФАЭД-8, битум БНД-60/90, ксилол, полиэтилен полиамин, портландцемент М400.

Устройство для гидроизоляции очистных сооружений из битумных эмульсионных мастик. - Ашхабад, 1983. - 3 с. - (ИЛ / ТуркменНИИНТИ; № 83-32. Сер. 67.15).

Внутренняя гидроизоляция очистных сооружений выполнена из битумных эмульсионных мастик (известково-лессовой пасты с наполнителем из барханного песка).

Рассмотрена технология гидроизоляционных работ.

Заливщик швов и трещин асфальто- и цементобетонных покрытий: [Проспект ВДНХ] / Миндорстрой УССР. - М., 1983. - 3 с, ил.

На самоходном шасси T-16M смонтирован котел с системой разогрева и выдачи герметика под давлением.

Экономический эффект от внедрения одного комплекта оборудования составляет 3,2 тыс. р.

Заливщик разработан Госдорнии и изготавливается КОМЗом Госдорнии.

Передвижная битумоварка-гудронатор для производства гидроизоляционных работ. - PC / ВПТИтрансстрой. Трансп. стр-во. Мостостроение, 1978, вып. 3, с. 5.

Для производства гидроизоляционных работ предлагается передвижная битумоварка-гудронатор, работающая на жидком топливе. Нанесение жидкого битума на поверхность бетона производится с помощью шланга непосредственно на месте производства работ, что исключает транспортировку горячего битума в таре.

Самоходный заливщик швов сборного железобетонного покрытия: [Проспект ВДНХ] / ВПТИтрансстрой. - М, 1984. - 1 с.

Устройство предназначено для заливки швов сборного железобетонного покрытия пескоцементным раствором. Узлы и агрегаты самоходного заливщика смонтированы на шасси автомобиля КрАЗ-255.

Установка для наклейки мостоизола и гидростеклоизола при устройстве оклеечной гидроизоляции проезжей части мостов: [Проспект ВДНХ] / ВПТИтрансстрой. - М., 1983. - 2 с.

Установка предназначена для устройства гидроизоляции способом наклеивания. Установка для наклейки мостоизола и гидростеклоизола представляет собой перемещаемую вручную тележку, на которой смонтированы барабан для намотки рулонного материала и две линейные пропано-воздушные многофорсуночные горелки РВПЛ. Общий годовой экономический эффект составляет 50 тыс. руб.

Шукуров С.З. Передвижная установка для гидроизоляционных работ. - Строит, и дор. машины, 1984, 10, с. 13, ил.

Рассмотрена передвижная установка для механизации гидроизоляционных работ на проезжей части железобетонных мостов и других сооружений. Установка представляет собой прицеп 2ПТС-4-793, в котором размещены битумоварочный котел, тележка для нанесения битума, красконагнетательный бак СО-42, лестница и огнетушитель.

А.с. 528367. Машина для нанесения гидроизоляционных материалов / Минск. фил. Всесоюз. науч.-исслед. ин-та механизир. и ручного строит.-монтажного инструмента, вибраторов и строит.-отделочных машин; Авт. изобрет.: С.В. Кунашкевич, Г.А. Гриневич. -Заявл. 12.09.73, № 1958196/33; Опубл. в Б.И., 1976, № 34, МКИ Е 01 С 19/16.

Машина для нанесения гидроизоляционных материалов, включающая емкость для материала, подающий насос и распределительное устройство, на котором смонтированы распиливающие форсунки.

А.с. 629286 (СССР). Вяжущее для дорожных и гидроизоляционных работ / Ленинград, филиал Гипродорнии и Ленмосттрест; Авт. изобрет.: Н.И. Бегункова, В.А. Захарова, В.Н. Пономарев и др. Заявл. 16.05.77, № 24866УЗ/29-33; Опубл. в Б.И., 1978, № 39, МКИ Е 02 Д 3/14.

Вяжущее содержит карбамидную смолу и пластификатор.

ИНСТРУКЦИЯ ПО УСТРОЙСТВУ ГИДРОИЗОЛЯЦИИ МОСТОВ И ТРУБ НА ЖЕЛЕЗНЫХ, АВТОМОБИЛЬНЫХ И ГОРОДСКИХ ДОРОГАХ". ВСН 32-81 / МИНТРАНССТРОЙ СССР, ЦНИИС. - М.,1982. - 114 с.

Извлечения

ГИДРОИЗОЛЯЦИИ ПЛИТЫ ПРОЕЗЖЕЙ ЧАСТИ АВТОДОРОЖНЫХ МОСТОВ

5.1. Плиту проезжей части автодорожных и городских мостов и путепроводов гидроизолируют преимущественно в условиях строительной площадки. Тип гидроизоляции, конструкцию ее и необходимые материалы предусматривают проектом с учетом требований пп. 2.1 и 3.1 - 3.3 и табл. 1 приложения 1 настоящей Инструкции.

5.2. Гидроизоляционные работы следует организовывать и выполнять в соответствии с технологической картой, предусматривающей их продолжительность, сроки выполнения и способы производства работ.

5.3. Гидроизоляционные работы в условиях строительной площадки выполняют при отсутствии атмосферных осадков и температуре наружного воздуха не ниже плюс 5°С, в ветреную и дождливую погоду - под прикрытием легких разборных тентов или шатров.

В зимнее время и при температуре воздуха ниже плюс 5°С гидроизоляционные работы следует выполнять под прикрытием сборно-разборных тепляков с обеспечением в них положительной температуры. Тепляки следует обогревать электрокалориферами; использование коксовых жаровен и других приборов с открытым пламенем для нагрева воздуха в тепляках воспрещается.

Гидроизоляционные работы с применением наплавляемых рулонных материалов (тип БРН) и резиноподобных рулонных (типа РПР) допускается выполнять при отрицательной температуре до минус 10°С, а с применением полиэтиленовой пленки (тип ПЭР) - до минус 15°С.

5.4. Гидроизоляционные работы в условиях строительного объекта выполняют поочередно на одной и другой половинах моста относительно продольной оси пролетного строения. Свободную половину пролетного строения используют для проезда по ней транспортных средств с материалами и для перемещения механизмов.

5.5. Необходимые для устройства гидроизоляции оборудование и инвентарь должны быть сосредоточены на объекте и укомплектованы согласно перечню, приведенному в приложении 3.

Требуемые для устройства гидроизоляции материалы должны быть сосредоточены на объекте в количестве, достаточном для выполнения всего объема работ.

5.6. К началу гидроизоляционных работ на проезжей части мостов должна быть завершена установка конструкций деформационных швов, водоотводных трубок, ограждающих и прочих устройств в соответствии с технологической последовательностью, предусмотренной проектом.

5.7. Устройству гидроизоляции должна предшествовать подготовка изолируемого основания приданием ему проектного профиля путем укладки выравнивающего слоя толщиной не менее 30 мм с учетом требований пп. 2.8 - 2.10. На поверхности выравнивающего слоя не должно быть раковин, острогранных включений, бугров и других дефектов. Раковины устраняют заделкой цементно-песчаным раствором, бугорчатые неровности - механической шлифовкой. В местах пересечения изолируемых поверхностей устраивают выкружки радиусом закругления 10 - 15 см.

Подготовленное под гидроизоляцию основание должно быть принято с составлением акта на скрытые работы.

5.8. К началу выполнения гидроизоляционных работ прочность раствора или бетона выравнивающего слоя должна быть не менее 50 кгс/см2 (5 МПа).

5.9. Перед устройством гидроизоляции поверхность выравнивающего слоя должна быть очищена от мусора, промыта струей воды и высушена.

5.10. Сухую и чистую поверхность выравнивающего слоя покрывают грунтовкой, соответствующей принятому в проекте типу гидроизоляции.

Грунтовку в условиях строительной площадки изготавливают с соблюдением требований, изложенных в приложении 1, табл. 2.

Огрунтовка изолируемого основания, покрытого снегом или льдом, запрещается.

5.11. Для нанесения грунтовки на изолируемую поверхность следует применять пневмофорсунки или пистолеты-распылители с красконагнетательными бачками (приложение 3, табл. 1).

5.12. Интервал между нанесением грунтовки и началом устройства гидроизоляционных слоев должен быть не менее 2 ч и не более 16 ч.

5.13. Гидроизоляционные работы начинают с изоляции карнизных свесов, водоотводных трубок, лотков и других элементов водоотвода, устройства примыканий к осветительным столбам, конструкциям тротуаров, деформационных швов, ограждающих устройств и к прочим элементам мостового полотна.

5.14. Проезжую часть гидроизолируют полосами, идущими вдоль пролетного строения, начиная от пониженных мест изолируемой поверхности к более высоким, устраивая стыки перпендикулярно скату.

Битумная мастичная гидроизоляция

5.15. Битумную мастичную гидроизоляцию (см. табл. 4) устраивают послойно с применением горячих битумных мастик марок и составов, соответствующих климатической зоне сооружаемого объекта, и полотен армирующего материала (приложение 1, табл. 3, 4).

5.16. Битумную мастичную гидроизоляцию типа БМ-1 (см. табл. 5), армируемую льно-джуто-кенафной или стеклянной тканями, выполняют путем розлива и разравнивания гребками или щетками горячих мастик, с послойной наклейкой на них разматываемых полотен ткани агрегатом, приведенным на рисунке в приложении 7.

5.17. Битумную мастичную гидроизоляцию типа БМ-2 (см. табл. 5), армируемую стеклосетками, выполняют механизированным послойным нанесением горячих мастик с приклейкой армирующего материала воздействием ударной силы струи наносимой мастики.

5.18. Битумную мастичную гидроизоляцию устраивают, соблюдая нижеуказанную последовательность работ:

приготовление битумной мастики и доставка ее к месту работ;

нанесение на огрунтованную бетонную поверхность первого слоя горячей мастики способом, соответствующим типу гидроизоляции (см. пп. 5.16, 5.17);

раскатка по застывшему слою мастики стеклянных сеток с местной прихваткой полотен горячей мастикой или наклейка на горячую мастику льно-джуто-кенафной или стеклянной ткани и прикатка их катками массой до 80 кг;

нанесение второго слоя горячей мастики;

укладка второго армирующего слоя;

нанесение третьего слоя битумной мастики;

посыпка поверхности гидроизоляции сухим просеянным песком, нагретым до плюс 60°С (допускается посыпка сухим просеянным цементом);

укатка выполненной гидроизоляции (при температуре мастики на поверхности плюс 15 - 20°С) гружеными автомашинами с чистыми протекторами массой до 5 т, со скоростью не более 1 км/ч;

устройство защитного слоя.

5.19. Битумные горячие мастики готовят при малых объемах работ в условиях строительства в соответствии с требованиями приложения 5, а при больших объемах работ на специальных битумных базах и наносят в соответствии с правилами, изложенными в приложении 8.

5.20. В местах примыкания гидроизоляции к элементам мостового полотна (см. п. 5.13) устраивают дополнительный гидроизоляционный слой. Горячую битумную мастику с температурой 160 - 180°С наносят щеткой, отдельные полотна армирующего материала наклеивают вручную с прижатием шпателем или гребком при обеспечении нахлестки стыкуемых кромок не менее 5 см.

5.21. Армирующий материал укладывают с соблюдением следующих приемов и правил;

полотна армирующего материала следует расстилать на проезжей части вдоль оси моста с сохранением направления расстилки в последующем слое;

перекрестное размещение полотен в смежных слоях допускается при изоляции конструкций деформационных швов;

полотна должны соединяться с нахлесткой кромок 5 - 10 см в продольных и 15 - 20 см в поперечных стыках;

продольные стыки полотен в смежных слоях гидроизоляции должны быть расположены вразбежку и находиться на расстоянии не менее 30 см один от другого.

В случае неожиданного увлажнения (дождем) раскатанных полотен стеклосетки гидроизоляционные работы должны быть приостановлены и возобновлены после их просушки.

5.22. При устройстве гидроизоляции в неустойчивую дождливую погоду работы с предварительной расстилкой стеклянных сеток не допускаются. В этом случае гидроизоляцию выполняют на малых участках приемами, указанными применительно к типу БМ-1 по п. 5.16, и заканчивают нанесением верхнего слоя горячей мастики.

5.23. Выполненная гидроизоляция должна быть гладкой, сплошной, без видимых нитей армирующего материала и вздутых мест.

Битумная рулонная гидроизоляция из наплавляемых утяжеленных материалов

5.24. Битумную рулонную гидроизоляцию (тип БРН, см. табл. 5) устраивают из наплавляемых материалов промышленного производства (приложение 1, табл. 5).

5.25. Гидроизоляцию типа БРН устраивают двухслойной с применением гидростеклоизола гидроизоляционного, фольгоизола или мостоизола.

На проезжей части разрезных систем допускается устройство покрытий, включающих один слой гидростеклоизола подкладочного или стеклорубероида, а также только стеклорубероидных покрытий двухслойных в I и трехслойных во II климатических зонах.

5.26. Гидроизоляцию с применением рулонных материалов устраивают в такой последовательности:

нанесение на изолируемое основание битумной грунтовки;

наклейка способом оплавления первого гидроизоляционного слоя из гидростеклоизола гидроизоляционного;

наклейка второго слоя рулонного материала;

укладка мастичного слоя при применении во втором слое бутизола или гидробутила, посыпка поверхности песком или цементом (см. п. 5.18) или нанесение грунтовки поверх фольги при применении фольгоизола;

устройство защитного слоя.

5.27. Полотна рулонных материалов необходимо укладывать в соответствии с указаниями пп. 5.14 и 5.21.

5.28. Наплавляемый рулонный материал укладывают с оплавлением нижней поверхности битумного покровного слоя и немедленным прижатием оплавленного участка роликовым катком.

Рис. 12. Горелка воздушно-пропановая нагревательная (ГВПН): I - колпак; 2 - вставка; 3 - штуцер; 4 - наконечник; 5 - инжектор; 5 - кислородная камера; 7 - латунная трубка; 8 - ацетиленовая камера; 9 - заглушка; 10 - штуцер к шлангу

5.29. Оплавлять приклеиваемую поверхность утяжеленных рулонных материалов при малых объемах работ и в примыканиях следует с применением однофакельных горелок типа ГВПН (рис. 12), а при больших объемах - с применением многофакельных горелок (рис. 13), включенных в самоходный агрегат (рис. 14). При производстве работ необходимо соблюдать правила эксплуатации, приведенные в приложениях 9 и 10.

Рис. 13. Горелка воздушно-пропановая нагревательная линейная многофакельная (ГВПЛ):

1 - штуцер для присоединения запальника; 2 - ствол; 3 - запальник; 4 - распределительный коллектор; 5 - форсунки; 6 - опорные колеса

5.30. Оплавление битумного покровного слоя рулонного материала производится одновременно с нагревом основания или покровного слоя ранее наклеенного материала. Признаком достаточности нагрева покровного слоя служит появление валика капельно-жидкой битумной мастики впереди укладываемого рулона.

5.31. Воздействие пламени на оплавляемую поверхность рулонного материала, во избежание деструкции битумного покровного слоя, должно быть кратковременным при непрерывном перемещении факела нагревательных горелок.

Горелки должны быть удалены от поверхности рулонного материала не менее чем на 7 и не более чем на 15 см.

Рис. 14. Самоходный агрегат для безмастичной приклейки рулонных материалов:

1 - дифференциальный каток; 2 - электрозажигалка; 3 - кожух для баллона с пропаном; 4 - рукоятка скоростей; 5 - руль; 6 - тормозное устройство; 7 - направляемый рулонный материал; 8 - барабан для намотки рулона; 9 - рычаг подъема горелки; 10 - колесо; 11 - форсунки горелки ГВПЛ; 12 - прикатывающие каток; 13 - рычаг подъема катка

Местный сосредоточенный нагрев оплавляемой поверхности рулонного материала запрещается.

5.32. Вздутия, образовавшиеся на поверхности гидроизоляционного слоя в процессе работы, необходимо вскрыть крестообразным разрезом, углы отвернуть, оплавить, вернуть в первоначальное положение и прикатать. Сверху приклеить заплату с перекрытием мест разреза на 10 - 15 см.

5.33. Для мастичного слоя в конструкции битумной рулонной гидроизоляции, включающей резинобитумные материалы, следует применять горячую битумную мастику (приложение 1, табл. 3).

5.34. Выполненная гидроизоляция должна быть надежно защищена в соответствии с требованиями пп. 5.64 - 5,65. Для защитного слоя, устраиваемого поверх фольгоизола, следует применять асфальтобетон. Контакт фольгоизола и цементобетона не допустим.

Резиноподобная рулонная гидроизоляция

5.35. Резиноподобную гидроизоляцию устраивают путем послойного наклеивания на подготовленное основание безосновных рулонных невулканизованных или полувулканизованных; резиноподобных материалов: бутизола или гидробутила (приложение 1, табл. 6).

5.36. Резиноподобные рулонные материалы следует наклеивать горячей битумной мастикой (приложение 1, табл. 3) и холодными мастиками промышленного производства: МРБ-Х-15, МББ-Х-120 (приложение 1, табл. 1) или другими клеящими составами с аналогичными свойствами.

5.37. Резиноподобные рулонные материалы необходимо доставлять к месту работ в заводской упаковке и до применения хранить под навесом, предотвращающим увлажнение их поверхности. Перед применением рулоны должны быть раскатаны и освобождены от противоадгезионного покрытия, инвентарного полотна или разделительной прослойки бумаги, пленки и т.п.

5.38. Холодные приклеивающие мастики следует доставлять к месту работ в заводской герметически закрытой таре. Хранить их следует в помещении с температурой не менее плюс 10°С. Хранившуюся длительное время мастику перед ее применением необходимо перемешать приемами, приведенными в п. 4.25.

5.39. Гидроизоляцию с применением бутилкаучуковых материалов устраивают в такой последовательности:

нанесение на загрунтованную изолируемую поверхность слоя холодной мастики;

выдержка нанесенного слоя мастики «до отлипа» (время устанавливается экспериментально);

укладка полотна рулонного материала на мастику с прикаткой его поверхности;

нанесение второго слоя мастики;

укладка второго слоя рулонного материала;

нанесение слоя мастики;

присыпка высохшей «до отлипа» поверхности песком (см. п. 5.18);

устройство защитного слоя.

5.40. Приклеивающую мастику при больших объемах работ рекомендуется наносить пневмораспылением с использованием агрегатов, снабженных воздухораспыливающей форсункой (приложение 3, табл. 1).

5.41. На поверхность проезжей части, покрытую клеящим слоем мастики, полотна рулонных материалов следует укладывать в соответствии с требованиями пп. 5.14 и 5.21.

5.42. При устройстве гидроизоляции из резиноподобных материалов холодную мастику наносят слоем предусмотренной в таблице 5 толщины. Уложенное полотно прикатывают катком или прижимают шпателем вначале вдоль его оси, затем - от оси под углом 30 - 35° и, наконец, вдоль кромок. На поверхности уложенного материала не должно быть вздутий, складок, особенно в стыках. Обнаруженные в процессе прикатки материала вздутия прокалывают шилом и прикатку продолжают до появления мастики или клея в проколах. Швы стыкуемых полотен рулонного материала каждого слоя дополнительно промазывают слоем мастики.

Полиэтиленовая рулонная гидроизоляция

5.43. Полиэтиленовую гидроизоляцию устраивают по неогрунтованной поверхности выравнивающего слоя.

5.44. Полиэтиленовую рулонную гидроизоляцию выполняют приклейкой только в местах примыкания к вертикальным и наклонным поверхностям.

5.45. Применяемая для устройства гидроизоляции полиэтиленовая пленка должна быть стабилизирована сажей, эластична в интервале отрицательных температур до минус 60°С и иметь толщину не менее 150 мк.

5.46. Конструкцию гидроизоляции выполняют в соответствии с табл. 5 (тип ПЭР) и применяя материалы, приведенные в табл. 1 приложения 1. Работы выполняют в такой последовательности:

раскатка подстилающего слоя беспокровного рулонного материала, например, пергамина;

раскатка первого слоя полиэтиленовой пленки;

сварка стыков полиэтиленовой пленки и приклейка кромок полотна в примыканиях к элементам мостового полотна;

раскатка второго слоя полиэтиленовой пленки;

сварка стыков второго слоя и приклейка кромок в примыканиях;

раскатка слоя рулонного материала гидроизола или пергамина;

устройство защитного слоя.

5.47. В местах примыкания к элементам мостового полотна полиэтиленовую пленку приклеивают кумаронокаучуковой мастикой КН-2 или клеем 88 на основе наирита (табл. 1 приложения 1).

5.48. Рулонный материал подстилающего слоя раскатывают поперек проезжей части моста и укладывают с нахлесткой 5 - 7 см в сторону продольного уклона. Укладываемые полотна во избежание их срыва ветром следует в отдельных местах прихватывать слоем мастики.

5.49. Укладываемые полотна полиэтиленовой пленки наращивают путем их сварки, обеспечивая герметичность стыков.

Кромки полотнищ сваривают импульсным полозом, характеристики которого приведены в приложении 11.

5.50. Стыкуемые кромки полотен пленки сваривают Т-образным швом при одностороннем контактном нагреве с последующим отгибом образующегося гребня. Ширина отгибаемых для стыкования кромок должна составлять 3 - 5 см, а высота отгибаемого гребня - не менее 3 см.

Кромки стыкуемых полотен следует сваривать на подведенной под них доске, покрытой сложенной в четыре слоя байкой, через прокладку из фторопласта-4 по ГОСТ 10097-72, толщиной 100 - 200 мк.

5.51. При одностороннем контактном нагреве стыкуемые кромки пленок сваривают при скорости перемещения нагревателя от 2 до 10 м/мин, зависящей от толщины пленки. Режим сварки с учетом толщины пленки принимают в соответствии с рекомендациями, приведенными в приложении 11.

5.52. Свариваемые поверхности пленки рекомендуется предварительно зашкурить наждачной бумагой и протереть ветошью, смоченной этиловым спиртом или ацетоном. Касаться зачищенных поверхностей грязными руками и протирать их масляной или пыльной ветошью не допускается.

5.53. При выявлении на поверхности пленки отверстия или прокола на дефектное место должна быть наложена заплата, промазанная мастикой КН-2 слоем толщиной 1 - 1,5 мм по периметру на расстоянии 10 - 15 см от дефектного места. Для ремонта дефектного места может быть также применена полиэтиленовая лента с липким слоем. Ленту накладывают с двух, сторон.

Гидроизоляция в местах сопряжения ее с водоотводными трубками

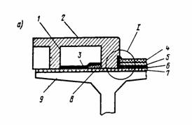
5.54. Герметичность основной гидроизоляции в местах сопряжения ее с водоотводными трубками (рис. 15) пролетных строений автодорожных мостов и путепроводов должна обеспечиваться устройством дополнительных слоев гидроизоляции в соответствии с требованиями пп. 4.67 - 4.69, 5.13.

Рис. 15. Устройство сопряжения гидроизоляции с водоотводной трубкой на пролетных строениях автодорожных мостов:

1 - прижимной стакан (воронка); 2 - водоприемная решетка; 3 - покрытие; 4 - защитный слой; 5 - гидроизоляция; 6 - выравнивающий слой; 7 - плита пролетного строения; 8 - трубка; 9 - отверстия для стока воды

5.55. При битумной рулонной гидроизоляции из наплавляемых материалов допускается устраивать дополнительную изоляцию из гидростеклоизола гидроизоляционного или мостоизола, предварительно раскроив их и уложив в соответствии с указаниями пп. 4.72 и 4.73. При этом отдельные секторные косынки гидростеклоизола или мостоизола следует наклеивать способом оплавления битумного покровного слоя с использованием однофакельных горелок типа ГВПН.

5.56. Гидроизоляцию из резиноподобных рулонных материалов в местах сопряжения с водоотводными трубками выполняют с применением манжетных закладных элементов (см. рис. 6), устанавливаемых на холодных мастиках, применяемых при устройстве гидроизоляции.

5.57. Гидроизоляцию в сопряжении с водоотводными трубками при применении полиэтиленовой пленки выполняют путем, вдавливания ее в раструб воронки. Для этого пленку доводят до пластического состояния гладко обработанным сосудом, наполненным индустриальным маслом, нагретым до 170°С; наружные размеры сосуда должны быть меньше на 2-3 мм диаметра раструба трубки. После установки в раструб прижимного стакана на мастике КН-2 поверхность пленки вокруг трубки на расстоянии 10 - 15 см покрывают мастикой.

Гидроизоляция в местах примыкания к конструкциям деформационных швов

5.58. В пролетных строениях автодорожных мостов и путепроводов в местах примыкания к деформационным швам, имеющим непрерывный металлический компенсатор на всю ширину моста, гидроизоляцию заканчивают у кромки зазора, не заводя в петлю компенсатора. Край гидроизоляции должен быть надежно приклеен к компенсатору.

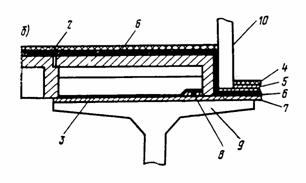
Рис. 16. Устройство гидроизоляции в местах примыканий к конструкции деформационного шва с металлическим компенсатором:

1, 9 - выравнивающий слой соответственно первой и второй очереди; 2 - защитный слой; 3 - металлическая сетка; 4 - асфальтобетонное покрытие; 5, 6 - заполнение шва; 7 - латунный компенсатор, промазанный двумя слоями битумного лака; 8 - гидроизоляция

В случае применения компенсатора, составленного по длине шва из отдельных отрезков, гидроизоляция должна быть заведена в петлю компенсатора (рис. 16), а стыки его на ширине 0,5 - 1 м перекрыты дополнительным гидроизоляционным слоем.

5.59. В сопряжениях с конструкциями деформационных швов, имеющих металлическое окаймление или цементобетонные приливы (рис. 17), выполняют двухслойно-армированную битумную мастичную гидроизоляцию (тип БМ-1, см. табл. 5), независимо от типа основной гидроизоляции на проезжей части.

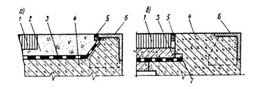
Рис. 17. Устройство гидроизоляции в местах примыкания к конструкции деформационного шва:

а - с металлическим окаймлением; б - с бетонным приливом: 1 - покрытие; 2 – защитный слой; 3 - гидроизоляция; 4 - бетонный прилив; 5 - мастика; 6 - окаймление; 7 - пороизол

Гидроизоляцию заводят под козырек и выводят на горизонтальный участок длиной не менее 50 см с нахлесткой в стыке не менее 10 см.

При окаймлении, примыкающем к асфальтобетонному покрытию, гидроизоляция на наклонном участке должна быть защищена слоем цементно-песчаного раствора толщиной не менее 10 мм.

Гидроизоляция в местах примыкания к конструкциям тротуарных блоков

5.60. На автодорожных пролетных строениях гидроизоляцию устраивают на полную их ширину.

В случае применения тротуаров в повышенном уровне относительно проезда под тротуарами устраивают битумную мастичную неармированную гидроизоляцию.

В примыкании к тротуарному блоку выполняют битумную мастичную двухслойно-армированную гидроизоляцию, которую поднимают на 10 см выше уровня проезда и заводят в штрабу (рис. 18, а).

Рис. 18. Устройство примыкания гидроизоляции к блокам тротуаров:

а - в повышенном уровне; б - с приставным бортовым камнем: 1 - тротуарный блок; 2 - покрытие тротуара; 3 - битумная мастика; 4 - покрытие; 5 - защитный слой; 6 - гидроизоляция проезжей части; 7 - выравнивающий слой; 8 - прилив; 9 - пролетное строение; 10 - бортовой камень

В месте примыкания гидроизоляцию надежно приклеивают к несущей конструкции.

5.61. В случае применения бортовых камней, не связанных с тротуарными блоками, гидроизоляцию следует устраивать поверх тротуарного блока, при этом бортовой камень должен быть установлен на защитный слой (см. рис. 18, б).

5.62. При устройстве тротуаров в уровне проезжей части тротуарные блоки следует устанавливать на выполненный поверх гидроизоляции защитный слой.

В зоне установки стоек металлических ограждающих устройств в основной гидроизоляции проезжей части устраивается вырез, который перекрывают двуслойно-армированной битумной мастичной гидроизоляцией с заведением ее на стойку.

5.63. В случае устройства на проезжей части рулонной гидроизоляции примыкания к тротуарным блокам выполняют преимущественно с применением битумной мастичной двухслойно-армированной гидроизоляции (тип БМ-1, см. табл. 5), которую заводят под рулонную гидроизоляцию проезжей части на ширину не менее 0,5 м с обеспечением герметичности стыка.

Защитный слой гидроизоляции

5.64. Защитный слой гидроизоляции пролетных строений автодорожных мостов и путепроводов устраивают в соответствии с требованиями п. 2.8 из мелкозернистого или песчаного бетона, армированного металлической сеткой в соответствии с п. 2.9.

По гидроизоляции, включающей фольгоизол и в других предусмотренных проектом случаях, защитный слой устраивают из мелкозернистого песчаного асфальтобетона, отвечающего требованиям п. 2.10.

5.65. При устройстве защитного слоя следует принимать меры, предотвращающие повреждение гидроизоляции. Транспортные средства с материалами для защитного слоя перемещают по дорожкам из рубероида с минеральной посыпкой. Материал защитного слоя выгружают на переносные щиты, предварительно уложенные на готовую гидроизоляцию.

8. ПРАВИЛА ТЕХНИКИ БЕЗОПАСНОСТИ И ОХРАНА ТРУДА ПРИ ПРОИЗВОДСТВЕ ГИДРОИЗОЛЯЦИОННЫХ РАБОТ

8.1. Гидроизоляционные работы должны выполнять гидроизолировщики, изучившие настоящую Инструкцию и сдавшие в установленном порядке техминимум по технологии производства гидроизоляционных работ и технике безопасности. Руководство работами и контроль должны осуществлять лица, имеющие опыт в области гидроизоляции мостов.

8.2. Гидроизоляцию выполняют с соблюдением правил безопасности, предусмотренных СНиП III-4-80 «Техника безопасности в строительстве», «Правилами техники безопасности и производственной санитарии при сооружении мостов и труб» (М., Оргтрансстрой, 1977), «Правилами техники безопасности и производственной санитарии при производстве ацетилена, кислорода и газопламенной обработки металлов» (М., Оргтрансстрой, 1975).

8.3. Эксплуатация механизмов, оборудования и механизированного инструмента должна осуществляться по инструкциям, составленным применительно к виду работ и согласованным в установленном порядке с местными органами охраны труда.

8.4. Каждый рабочий при допуске к работе должен пройти инструктаж по технике безопасности на рабочем месте с соответствующей записью в журнале.

8.5. Исполнители работ должны быть осведомлены о степени токсичности применяемых материалов, мерах профилактики, способах защиты от их вредного воздействия и оказании первой помощи. Работающие с вредными составами должны регулярно подвергаться медицинскому осмотру согласно приказу Министерства здравоохранения СССР № 400 от 30 мая 1969 г. и соблюдать правила личной гигиены.

8.6. Работы с пожаро- и взрывоопасными материалами выполняют с соблюдением требований пожарной безопасности. Рабочие места должны быть обеспечены противопожарными средствами. Помещения для хранения огнеопасных материалов должны быть невозгораемыми.

8.7. Электродвигатели и пусковые устройства к ним следует применять во взрывоопасном исполнении. Для освещения следует применять взрывобезопасные светильники или «кососветы».

8.8. При производстве работ на высоте необходимо устанавливать временные ограждения высотой 0,8 - 1 м. Запрещается выполнять гидроизоляционные работы одновременно в двух ярусах по одной вертикали.

8.9. Рабочие, выполняющие гидроизоляцию, должны быть обеспечены:

спецодеждой (из хлопчатобумажной ткани с огнестойкой пропиткой), респираторами типов РНП-62, РУ-60М, защитными очками типа ПО-1, резиновыми перчатками (по ТУ 3313-52), рукавицами брезентовыми с кожаной ладонью;

индивидуальным шкафом для хранения респираторов и спецодежды;

умывальником у места работы с подводкой горячей и холодной воды;

помещением для приема пищи и отдыха.

8.10. Продувку изолируемого основания сжатым воздухом необходимо производить в спецодежде, защитных очках и респираторе. Вблизи места работ не должно быть лиц, не связанных с этой работой.

8.11. При проведении изоляционных работ запрещается:

работать без спецодежды и средств индивидуальной защиты;

применять грунтовки и мастики с канцерогенными (типа бензола) и токсичными (типа этилированного бензина, этилацетата, бутилацетата) растворителями;

сжигать вблизи места работы отходы гидроизоляционных материалов и загрязненную ветошь; места их уничтожения должны быть согласованы с местными санитарно-эпидемиологическими станциями и пожарным надзором.

8.12. При наличии на строительном объекте движения транспортных средств необходимо; обозначить место работ, вывесить предупредительные знаки (ГОСТ 15548-70) и осветить их сигнальными огнями.

8.13. Гидроизоляция блоков пролетных строений мостов в заводских условиях должна выполняться на постоянных постах. Пост должен быть снабжен стационарным ограждающим настилом с жестко прикрепленными к нему лестницами и оборудован местными вытяжными вентиляционными устройствами, обеспечивающими эффективную вытяжку летучих веществ, выделяющихся при устройстве гидроизоляции.

Расходные емкости для приготовления гидроизоляционных составов и весы для дозировки компонентов размещают вне поста в специальном вентилируемом помещении, в котором вентиляцию включают перед началом работ, а выключают не ранее чем через 15 мин после их окончания.

Вентиляционные воздуховоды должны быть снабжены металлическими фильтрами.

8.14. При производстве работ в заводских условиях с применением грунтовок, тиоколовых и других составов, включающих растворители и пластификаторы, запрещается:

допускать к работе лиц, страдающих кожными и аллергическими заболеваниями, а также хроническими заболеваниями верхних дыхательных путей и слизистых оболочек глаз;

выполнять вблизи сварочные и другие работы, которые могут вызвать образование искр и воспламенение паров растворителей;

допускать прямое воздействие токсичных веществ на кожу и промывать растворителем без применения перчаток инструменты и инвентарь;

оставлять у рабочих мест спецодежду с обтирочными концами в кармане.

8.15. Кожу лица рекомендуется защищать глицерином, а для рук использовать пасты АЕ-1, «Микола», ПМ-1, силиконовый крем или «биологические перчатки».

8.16. При производстве гидроизоляционных работ с использованием битумных материалов рабочие-изолировщики должны соблюдать следующие требования:

битумную грунтовку приготавливать на открытом воздухе или в помещении, оборудованном эффективной приточно-вытяжной вентиляцией, и хранить в герметично закрытой таре в огнестойком помещении;

битум и горячие битумные мастики плавить в стационарных котлах под огнестойким навесом либо в передвижных битумоплавильных котлах вне помещений, места установки которых следует согласовать с местными органами пожарной охраны;

склады битума, гидроизоляционных материалов, топлива и деревянные строения располагать не ближе 50 м от емкости для плавления битума;

при использовании в топках твердого топлива (дров, угля) не разжигать его легковоспламеняющимися горючими материалами (бензином, керосином и др.);

емкости с битумной мастикой транспортировать только с закрытыми крышками и на специальных тележках;

переносить вручную емкости с мастикой массой до 16 кг;

загрузку асбеста в расплавленный битум производить в респираторах;

в случае воспламенения битума - пламя гасить сухим песком и огнетушителями;

иметь вблизи битумоплавильной установки аптечки с необходимыми медикаментами, перевязочными материалами и средствами от ожогов.

8.17. При устройстве гидроизоляции с использованием автогудронатора следует руководствоваться следующими правилами:

автогудронатор должен обслуживаться водителем, имеющим полученные в установленном порядке права оператора;

битумную мастику должны наносить изолировщики, ранее сдавшие техминимум и освоившие на практике правила выполнения работ по механизированному нанесению мастики;

резервуар гудронатора допускается заполнять горячим битумом после проверки, подтвердившей отсутствие в нем воды;

работы по механизированному нанесению горячей мастики должны выполнять лица в специальном шлеме с вмонтированными в него очками и в рукавицах с брезентовыми крагами.

8.18. При сварке полиэтиленовой пленки работающим с импульсным полозом необходимо:

нагревать полоз в опущенном положении;

не реже 1 раза в декаду проверять 500-вольтным мегомметром сопротивление изоляции токоподводящих частей корпуса и оболочек трансформатора.

Приложение 1
МАТЕРИАЛЫ, ПРИМЕНЯЕМЫЕ ДЛЯ УСТРОЙСТВАГИДРОИЗОЛЯЦИИ

Перечень материалов для гидроизоляции, их характеристики и свойства

Таблица 1

№ пп

Вид гидроизоляции

Индекс гидроизоляции

Материалы

гост

Назначение

1

Битумная мастичная

БМ-1

Битум нефтяной «пластбит»

ТУ 38.101580-75 Миннефтехимпрома

Вяжущее

БМ-2

Битум нефтяной строительный БН-IV

ГОСТ 6617-76

»

БМ-3

Битум нефтяной специальный марки БНК

ТУ 38.101566-75

»

Битум нефтяной для изоляции нефтегазопроводов

ГОСТ 9812-74

»

Мастика МБР

ГОСТ 15836-79

»

Масло индустриальное И-50А

ГОСТ 20799-75*

Пластифицирование битумной мастики

Скипидар

СТУ 12-12-142

Разжижение битума для грунтовки

Нефрас С50/170 (бензин для промышленно-технических целей)

ГОСТ 8505-80

То же

Бензин автомобильный неэтилированный А-72

ГОСТ 2084-77

»

Уайт-спирит для лакокрасочной промышленности

ГОСТ 3134-78

»

Сетки стеклянные марок:

 

 

Э3-200

ГОСТ 19907-74*

Армирование гидроизоляционного слоя

СС-1, СС-5

ТУ 6-11-99-75 Минхимпрома

ЭТС-5

ТУ 6-11-232-71 Минхимпрома

НПСС-Т-Г

ТУ 6-11-381-76 Минхимпрома

Ткань льно-джуто-кенафная паковочная № 2, 3 и технического назначения № 1 и 2, обработанная антисептиком

ГОСТ 5530-71*

То же

Масло каменно-угольное для пропитки древесины

ГОСТ 2770-74

Антисептирование

Масло каменно-угольное для креолина

ГОСТ 14200-69

То же

Масло сланцевое для пропитки древесины

ГОСТ 10835-78

»

Асбест хризолитовый 7-го сорта

ГОСТ 12871-67*

Наполнитель. Повышение теплостойкости битумной мастики

2

Тиоколовая мастичная

ТМ

Тиоколовый герметик У-30М

ГОСТ 13489-79

Получение эластомера гидроизоляционного слоя

Тиоколовая мастика СМ-1

ТУ 38.33-119-69 Миннефтехимпрома

Дибутилфталат

ГОСТ 8728-77Е

Пластифицирование

Растворители Р-4, Р-5

ГОСТ 7827-74*

Разжижение мастики и грунтовки

Растворитель 647

ГОСТ 18188-72*

То же

Растворитель Р-6

ТУ 6-10-1328-73

»

Сетки стеклянные по п. 1

-

Армирование гидроизоляционного слоя

3

Изольная рулонная

ИР

Изол рулонный

ГОСТ 10296-79

Изолирующий слой

Армоизол

ТУ 21-27. 79

То же

Мастика МРБ-Х-15 изольная

ТУ 200 УССР 82-73

»

Сетки стеклянные по п. 1

-

Армирование гидроизоляционного слоя

4

Резиноподобная рулонная

РПР

Бутизол

ТУ 38.103301-75 Миннефтехимпрома

Изолирующий слой

Гидробутил

ТУ 21-27-54-76 МПСМ

То же

Армогидробутил

ТУ 21-27-54-79 МПСМ

»

Резина техническая ТМКШ(С-С1)

ГОСТ 7338-77*

»

Битумно-бутилкаучуковая мастика МББ-Х-120

ТУ 21-27-39-74 МПСМ

Приклеивание рулонного материала

Мастика изольная МРБ-Х-15

ТУ 200 УССР

То же

Мастика БХСП, включающая: битум по п. 1, хлорсульфополиэтилен ХСПЭ 734 или лак ХП 799

ТУ 02-13-47-75 ТУ 84-618-75

Вяжущее Модифицирующие битум добавки

Клей СВ-1, включающий:

ТУ. 38.105651-74

Приклеивание рулонного материала

клей 45-08

ТУ 38.105480-72 Миннефтехимпрома

клей лейконат

МРТУ 6-14-235-69 Минхимпрома

Вулканизирующая добавка

Бензин по п. 1

-

Сетки стеклянные марок:

 

Э3-200

ГОСТ 19907-74*

Армирование гидроизоляции сопряжений с водопропускными трубками

СС-1, СС-5

ТУ 6-11-99-75 Минхимпрома

5

Битумная рулонная наплавляемая

БРН

Гидростеклоизол гидроизоляционный

ТУ 400-1-51-75

Изолирующий слой

Гидростеклоизол подкладочный

ТУ 400-1/55-16-76 Главмоспромстрой-материалы

То же

Стеклорубероид

ГОСТ 15879-70

»

Фольгоизол

ГОСТ 20429-75*

»

Мостоизол

ТУ 21-27-122-78

»

6

Полиэтиленовая рулонная

ПЭР

Полиэтиленовая пленка

ГОСТ 10354-73

Изолирующий слой

Пергамин

ГОСТ 2697-75

Разделительный слой

ПЭР

Мастика КВ-2

ТУ 38.00566-72 Миннефтехимпрома

Приклеивание полотна по периметру примыканий

Клей 88

ТУ 38.115268-71

7

Битумная мастичная

БМ-1

Асбоцементные плиты

ГОСТ 18124-75*

Защита гидроизоляции водопропускных труб под железную дорогу

Приложение 3
ОБОРУДОВАНИЕ, МЕХАНИЗМЫ И ИНВЕНТАРЬ ДЛЯ ПРОИЗВОДСТВА ИЗОЛЯЦИОННЫХ РАБОТ

Таблица 1

Оборудование и инвентарь для подготовки изолируемой поверхности и грунтовки основания

Тип механизма или инвентаря

Организация-изготовитель или калькодержатель

Техническая характеристика

Назначение

Виброрейка СО-47

Одесский завод строительно-отделочных машин

Производительность 40-50 м2/ч, ширина рабочей полосы 2 м, габариты 2300×1020×475 мм, масса 80 кг

Устройство подготовительного слоя

Машина СО-107

Минский филиал ВНИИСМИ, заводы Минстройдормаша

Производительность 100-120 м2/ч, габариты 2000×900×1100 мм, масса 105 кг

Сушка поверхности основания, удаление наледи

Агрегат с инфракрасным излучением

Киевский Оргтехстрой Минпромстроя УССР

-

Сушка поверхности основания

Компрессор

Вильнюсский завод строительно-отделочных машин

Производительность 15 м3/ч, рабочее давление 0,7 МПа, габариты 380×310×520 мм, масса 46 кг

Сушка и очистка основания от пыли и грязи

Бачки

Оргтехстрой Минпромстроя БССР

-

Транспортирование грунтовки

Тележка ручная со сменными емкостями для перевозки битумной грунтовки

То же

Грузоподъемность 250 кг

То же

Огрунтовочный агрегат (комплект)

»

Производительность 3000-3500 м2/см

Огрунтовка основания

Битумопульт О-45, С-562

Вильнюсский завод строительно-отделочных машин

Производительность 1200 м2/см

То же

Таблица 2

Оборудование и инвентарь для устройства битумной мастичной гидроизоляции

Тип механизма или инвентаря

Организация-изготовитель или калькодержатель

Техническая характеристика

Назначение

Битумоварочный агрегат с котлом типа УБ-1

Пермский механический завод

Производительность 6-8 т/см, вместимость котла 8 м3, масса 13-17т

Приготовление и разогрев битумных мастик

Автоматизированная установка МЭРБ-500 с электроразогревом

Симферопольский экспериментальный ремонтно-механический завод

Производительность 3,2-4 т/см, вместимость котла 1,2 м3, масса 800 кг

То же

Битумоварочный котел

Союзспецстрой

Вместимость 1,8 м3, производительность 6,5 т/ч

Приготовление горячих битумных мастик в заводских условиях

Автогудронатор Д-251 (ДС-53А) с подогревом и обратной циркуляцией

Курганский завод дорожных машин

Производительность 2000 м2/см, вместимость резервуара 3,5-6 м3, масса 9100 кг

Приготовление, доставка и нанесение горячих битумных мастик

Котел-термос

СКБ Мосстроя Главмосстроя

Вместимость 2 м3, время подогрева битумной мастики при 0°С составляет 25-30 мин, давление 0,3 МПа, габариты 3410×1300×1080×2400 мм, масса 1450 кг

Приемка, хранение с подогревом, раздача горячей битумной мастики

Термос с тележкой

Управление механизации отделочных работ Главмосстроя

Вместимость 46 л, масса с тележкой 48 кг

Транспортирование горячих битумных мастик

Бачок-термос биту-мораспылительный

Ленинградский завод строительных механизмов треста «Энергомеханизация»

Производительность 1200 м/см, вместимость 0,1 м3, габариты 924×1456×1800 мм, масса 220 кг

Механизированное нанесение горячих битумных мастик

Бескомпрессорный агрегат конструкции В. Кораблева и Л. Куца

Заводы Главстроймеханизации

Производительность 400-600 м2/см, вместимость котла 0,2 м3, габариты 2100×1100×1300 мм

То же, при малых объемах работ

Агрегат конструкции А. Салькова и К. Галкина

Мостопоезд Л» 435 Главмостостроя

Производительность 2500 м2/см

Механизированное устройство битумной мастичной армированной гидроизоляции

Таблица 3

Оборудование и инвентарь для устройства гидроизоляции из рулонных безосновных материалов

Тип механизма или инвентаря

Организация-изготовитель или калькодержатель

Техническая характеристика

Назначение

Устройство СО-108

Минский филиал ВНИИСМИ

Производительность 3200 м2/см, габариты 1065×950×950 мм, масса 57 кг

Раскатка и прикатка рулонного материала

Установка для наклейки рулонных материалов

ЦЭКБ Строймехавтоматика, ЦНИИ-ОМТП Госстроя СССР

Производительность 1500 м2/см, вместимость бака для мастики 100 л, габариты 1340×168×977 мм, масса 307 кг

Наклейка рулонного материала на горячей и холодной мастиках

Укладчик рулонных материалов

СКБ Главмосстроя

Производительность 1200-1500 м2/см, габариты 1540×1320×1100 мм, масса 46 кг

То же

Бачок рабочий

Завод Главстроймеханизации Главмосстроя

Вместимость 40 л, габариты 520×380 мм, масса 6 кг

Подача мастики к рабочему месту

Бачок утепленный

То же

Вместимость 40 л, габариты 585×452 мм, масса 15 кг

Подача мастики при ведении работ в холодное время

Бачок транспортный

Завод Главстроймеханизации Главмосстроя

Вместимость 20 л, габариты 390×460 мм, масса 4 кг

Доставка мастики к рабочему месту

Тележка

То же

Производительность 100 кг, габариты 1500×840×750 мм, масса 22,5 кг

Перевозка двух транспортных бачков с мастикой или четырех рулонов

Футляр

»

Вместимость для двух рулонов, габариты 1100×575×316 мм, масса 18 кг

Подача к месту работы, хранение рулонных материалов в зимнее время

Контейнер

»

Вместимость 12 транспортных бачков по 20 л, грузоподъемностью 300 кг, габариты 2370×860×600 мм, масса 140 кг

Подача к месту работ транспортных бачков

Нож для резки

КБ треста Росинструмент Минместпрома РСФСР

 

Резка рулонных материалов

Таблица 4

Оборудование и инвентарь для устройства гидроизоляции из наплавляемых рулонных материалов

Тип механизма или инвентаря

Организация-изготовитель или калькодержатель

Техническая характеристика

Назначение

Агрегат типа укладчика ЦНИИС

ЦНИИС, ПКБ

Производительность 1000 м2/см, габариты 1745×1624×1135 мм, масса 600 кг, скорость перемещения 9,65 м/мин

Оплавление покровного слоя утяжеленных рулонных материалов, наклейка его и прикатка

Агрегат типа АОМ-11

Оргтехстрой Ценгротяжстроя

Производительность 450 - 550 м2/см, габариты 1090×1495×970 мм, масса 49,5 кг

Оплавление покровного слоя утяжеленных рулонных материалов, наклейка его и прикатка

Многофакельная пропановая горелка типа ГВПЛ

ВНИИ Автогенмаш

Производительность 1000-1800 м2/см, ширина зоны нагрева 1900 мм, количество факелов 19 шт., масса 11 кг

Оплавление покровного слоя утяжеленного рулонного материала

Воздушно-пропановая нагревательная горелка ГВПН-1 и ГВПН

То же

Производительность 480 м2/см, длина 630 мм, масса 1,5 кг

То же

Баллоны пропановые с запорным вентилем

»

Рабочее давление до 1,6 МПа, емкость 27-50 л

Создание горючей смеси для горелок

Редуктор ДПП-1 или РД1-БМ

»

Рабочее давление от 0,05 до 1,5 кг/см2, пропускная способность 5 м3/ч.

Регулирование рабочего давления пропана

Шланги резиновые ГОСТ 9856-60 или ГОСТ 8818-57

»

Диаметр 9 мм, длина 20 м

Подача газа из баллона к горелке

МЕТОДИЧЕСКИЕ РЕКОМЕНДАЦИИ ПО УСТРОЙСТВУ ХОЛОДНОЙ МАСТИЧНОЙ ДИСПЕРСНО-АРМИРОВАННОЙ ГИДРОИЗОЛЯЦИИ НА ОСНОВЕ БИТУМНЫХ ЭМУЛЬСИЙ ДЛЯ АВТОДОРОЖНЫХ И ГОРОДСКИХ МОСТОВ/ СОЮЗДОРНИИ. -М., 1983. - 28 с.

Извлечение

2. Конструкция гидроизоляции

2.1. При применении холодной мастичной дисперсно-армированной гидроизоляции на основе битумных эмульсий, наносимой механизированным распылением на изолируемую поверхность, следует назначать следующую ее конструкцию (см. рисунок): битумный грунтовочный слой, два или три слоя (толщиной по 2,5 - 3,8 мм) битумной мастики с дисперсным армированием короткими (длиной 2 - 20 мм) отрезками волокнистых материалов и битумный, покровный (неармированный) слой.

2.2. Грунтовочный слой наносят распылением только битумной эмульсии для создания пленки сцепления гидроизоляции с изолируемой поверхностью и тампонирования битумом имеющихся в ней трещин.

2.8. Основные дисперсно-армированные слои наносят совместным напылением битумной эмульсии, порошкообразного или жидкого вещества - коагулятора эмульсии и предварительно подготовленных волокон армирующих материалов. С целью улучшить качество гидроизоляции перед распылением подготовленный волокнистый материал смешивают с порошкообразным коагулятором (цементом) х).

х) См. изобретение по авт. свид. № 707284.

Конструкция одежды ездового полотна с дисперсно-армированной гидроизоляцией (размеры в мм):

1 - выравнивающий слой; 2 - грунтовка из битумной эмульсии; 3 - дисперсно-армированные рубленым стекложгутом слои гидроизоляции; 4 - дисперсно-армированные распушенным асбестом слои гидроизоляции; 5 - покровный (неармированный) слой; 6 - защитный слой

При смешении компонентов, которое происходит в факеле распыления во время полета струи до изолируемой поверхности и на ней, битумная эмульсия под действием коагулятора распадается на битум и воду, армирующие волокна равномерно распределяются по битумному слою. При смешении компонентов большую часть эмульсионной воды химически связывает коагулятор и поглощает бетон изолируемой поверхности, а оставшаяся вода либо стекает с этой поверхности, либо испаряется.

Следует учесть, что армированные слои предназначены для выполнения основных гидроизолирующих функций и сохранения сплошности (целостности) гидроизоляции, особенно в условиях ее работы над пульсирующими трещинами защищаемой поверхности бетона. Равномерное распределение отрезков армирующего материала как по толщине, так и по площади наносимого слоя позволяет значительно повысить деформативность гидроизоляции при отрицательных температурах и величину ее удлинения при разрыве.

2.4. Покровный (неармированный) слой из битумной эмульсии, с наполнителем или без него (в зависимости от марки применяемого битума и требований по теплостойкости), наносят с целью закрыть не обработанные битумной эмульсией волокна армирующего материала и выровнять поверхность армированных слоев, а также для "самозалечивания" в теплый период года трещин в армированных слоях, образовавшихся в критических ситуациях.

2.5. По своим функциональным свойствам (водо-, биостойкости и химической стойкости), трещино-, теплостойкости и т.п. холодная мастичная дисперсно-армированная гидроизоляция на основе битумных эмульсий не уступает традиционно применяемым.

2.6. В зависимости от применяемого волокнистого армирующего материала рекомендуются следующие типы конструкции холодной мастичной дисперсно-армированной гидроизоляции (см. рисунок):

I тип - с дисперсным армированием гидроизолирующего состава рубленым стекловолокном с длиной волокон от 10 до 20 мм;

II тип - с дисперсным армированием распушенными материалами (асбестом, стеклянной или минеральной ватой) с длиной волокон от 2 до 10 мм.

2.7. При выборе типа конструкции гидроизоляции необходимо учитывать степень ответственности сооружения, район строительства, длину моста, величину продольного уклона, конструкцию пролетного строения,

I тип конструкции гидроизоляции следует применять при строительстве малых, средних и больших мостов и путепроводов, а также в. составных по длине балках пролетных строений с арматурой, расположенной в закрытых каналах (с двумя армированными слоями) или в открытых каналах (с тремя армированными слоями), а также при строительстве горизонтальных мостов или мостов с малыми продольными уклонами во II климатической зоне.

II тип гидроизоляции (с двумя армированными слоями) применяется при строительстве малых, средних и больших мостов и путепроводов, а также в составных по длине балках пролетных строений с арматурой, расположенной в закрытых каналах, при наличии продольного уклона.

2.8. Все сопряжения гидроизоляции с тротуарными блоками, деформационными швами, водоотводными трубками и ограждающими устройствами выполняют также путем напыления компонентов дисперсно-армированной гидроизоляции. Конструкции (схемы) сопряжений аналогичны конструкциям сопряжений гидроизоляций из горячих битумных мастик с армированием прослойками сетчатых материалов.

2.9. В узлах сопряжения температурно-неразрезных пролетных строений дисперсно-армированную гидроизоляцию отделяют от ниже и вышележащих конструкций (на длине соединительной плиты плюс 25 см в обе стороны от ее концов) разделительными прокладками (рубероид, пергамин, бумага "крафт" и т.д.). При этом верхнюю разделительную прокладку устраивают из одного слоя разделительного материала, а нижнюю - или из одного слоя, укладываемого непосредственно на бетонную поверхность, или из двух несклеенных слоев, укладываемых на битумный (нанесенный распылением эмульсии на бетонную поверхность) слой толщиной 1-2 мм.

2.10. При устройстве холодной мастичной дисперсно-армированной гидроизоляции на основе битумных эмульсий по свежеуложенному бетону грунтовочный слой не наносят, а нижний армированный слой гидроизоляции (или вся конструкция гидроизоляции) выполняет функцию средства ухода за свежеуложенным бетоном, обеспечивающего оптимальный режим твердения бетона и предотвращающего образование усадочных трещин.

3. Применяемые материалы

3.1. При выполнении холодной мастичной дисперсно-армированной гидроизоляции используют следующие исходные материалы:

быстро- и среднераспадающиеся. битумные эмульсии (катионные - кислые или анионные - щелочные);

коагуляторы битумной эмульсии (жидкие или порошкообразные), предназначенные для ускорения необратимого процесса распада эмульсии на битум и воду;

армирующие материалы (рубленое стекловолокно или распушенные асбест, минеральная и стеклянная вата).

Битумные эмульсии

3.2. Для приготовления битумных анионных и катионных эмульсий можно применять вязкие дорожные, кровельные и изоляционные битумы, выбирая марку битума в зависимости от климатических условий района строительства объекта, т.е. так же как и для производства работ горячим способом. Обычно для приготовления эмульсий применяют дорожные вязкие битумы БНД 90/130, 6НД 60/90 и БНД 40/60. Исходными битумами могут быть:

битум нефтяной пластбит по ТУ-38-101580-75 Миннефтехимпрома (для I и II климатических зон);

битумы дорожные по ГОСТ 22245-76: БНД 90/130 (для II климатической зоны), БНД 60/90 (для I и II климатических зон), БНД 40/60 (для I климатической зоны);

битумы дорожные, улучшенные по ГОСТ 22245-76: БН-II-V (для I и II климатических зон); БН-III-У (для I и II климатических зон);

битум нефтяной строительный по ГОСТ 6617-76 БН-IV (для I и II климатических зон).

3.3. Приготовление эмульсий и оценка их качества должны соответствовать Техническим указаниям по приготовлению и применению дорожных эмульсий (ВСН 115-75 Минтрансстроя). При этом битумная эмульсия должна отвечать следующим требованиям.

Содержание битума 50 - 70 %; вязкость при 20°С в пределах 10 - 20 с по вискозиметру для жидких битумов (отверстие 3 мм) или 2 - 15° по вискозиметру типа ВУ (вискозиметр Энглера); однородность (по остатку на сите с сеткой № 0,14) - не более 0,5 %; устойчивость при хранении: через 7 сут - 0,3 - 0,5 %, через 30 сут - 0,7 - 0,8 %, устойчивость к взбалтыванию при транспортировке - не менее 2 ч.

3.4. В холодных мастичных дисперсно-армированных гидроизоляциях наиболее ответственных сооружений (особенно в гидроизоляции I типа) желательно применять катионные эмульсии, отличающиеся от анионных лучшим качеством образующихся битумных пленок и сцеплением со стекловолокном. Однако можно использовать в гидроизоляции анионные эмульсии, поскольку в настоящее время выпуск катионных эмульсий ограничен из-за дефицита эмульгаторов.

Коагуляторы битумных эмульсий

3.5. В качестве коагуляторов можно применять:

порошкообразные (пылевидные) минеральные вяжущие вещества: гипсы, цементы (имеющие водопотребность 24 - 40 %). Следует учесть, что помимо ускорения распада эмульсии, вызванного отбором части воды из эмульсии для гидратации вяжущих, порошкообразные коагуляторы выполняют также роль наполнителя битума, повышая его теплостойкость и жесткость. Для удобства работы (заправки) гидроизоляционной установки желательно применять пылевидные коагуляторы, поставляемые в мешках;

жидкие растворы: латексы или водные (щелочные или кислые) растворы слабой (3 - 5 %-ной) концентрации.

При применении в гидроизоляции катионных битумных эмульсий в качестве коагуляторов нужно применять щелочные водные растворы, анионные латексы или анионные битумные эмульсии, а при анионных битумных эмульсиях - кислые водные растворы, катионные латексы или катионные битумные эмульсии.

8.6. Рекомендуется применять латексы следующих видов: бутадиенстирольные СКС-30 ШХП (ГОСТ 10265-78), СКС-30ШР (ГОСТ 11808-76); СКС-60ГПС (ГОСТ 14058-68), СКС-65ГП (ГОСТ 10584-79), хлоропреновые наириты Л-4 (ТУ-107-03-01-62) или Л-7 (ВТУ-ЛУ-109-61).

Армирующие материалы

3.7. Для гидроизоляций I типа следует использовать рассыпающийся стекложгут марок ЖС-1 или РБР 13-2520, состоящий из большого числа (60 - 70) непрерывных некрученых нитей.

В процессе устройства гидроизоляции стекложгут рубят на отрезки длиной 10 - 20 мм специальным механизмом рубки и воздушным потоком подают в форсунку пистолета-распылителя.

3.8. Для гидроизоляции II типа с армированием распушенными материалами следует применять:

асбест хризотиловый (ГОСТ 12871-67) 3 - 6-го сортов, марок П и М с длиной волокон от 0,3 до 10 мм и с содержанием волокон по массе от 50 до 24 %;

вату минеральную (ГОСТ 4640-76) марок 100, 150 и 200, представляющую собой скопление тончайших волокон, полученных путем раздува минерального расплава, и выпускаемую в виде полотна длиной 10 м, шириной 1 м, различной толщины в рулонах;

вату стеклянную, состоящую из беспорядочно расположенных стекловолокон, полученных путем раздува или центрифугированной обработки струи стекломассы, поставляемую в виде рулонов.

Армирующие материалы для гидроизоляции II типа распушивают в процессе устройства гидроизоляции специальным механизмом и воздушным потоком транспортируют в центральную форсунку пистолета-распылителя.

4. Составы гидроизоляции

4.1. Грунтовочный слой выполняют из битумной эмульсии, которая выбрана для принятого типа гидроизоляции. Расход битумной эмульсии при этом должен составлять 0,5 - 0,8 л/м.

4.2. Составы основных дисперсно-армированных слоев оптимальной толщины (2,6 - 3,0 мм) приведены в табл. 1 (для битумной эмульсии 50 %-ной концентрации). В случае же применения эмульсии большей концентрации содержание и расход битумной эмульсии уменьшают путем умножения на. поправочный коэффициент,

Таблица 1

№ пп

Компоненты

Содержание, масс. ч.

Расход на 1 м2 слоя, кг

I тип

II тип

I тип

II тип

1.

Битумная эмульсия 50%-ной концентрации

100 (50)

100 (50)

6,0 (8,0)

6,0 (3,0)

2.

Рубленое стекловолокно

2,3 (2,3)

-

0,14 (0,14)

-

3.

Распушенные материалы

 

 

 

0,4 (0,4)

Асбест

-

6 (6)

-

 

минеральная вата

-

6 (6)

-

0,4 (0,4)

стеклянная вата

-

4 (4)

-

0,2 (0,2)

4.

Коагуляторы

10

8 (8)

 

(0,48)

Цемент

 

 

 

 

Латекс

10 - 20

10 – 20

0,6 - 1,2

0.6 - 1,2

водные растворы (кислые или щелочные)

10 - 20

10 – 20

0,6 - 1,2

0,6 - 1,2

битумные эмульсии (кислые или щелочные)

(50)

(50)

(3,0)

(3,0)

Примечания: 1. Цифры в скобках относятся к составам слоев, в которых в качестве коагулятора применяют битумную, эмульсию противоположных основной эмульсии свойств (см. пп. 3.1 и 3.5 настоящих "Методических рекомендаций").

2. По пп. 3 и 4 таблицы выбирают один из перечисленных компонентов, равный отношению принятой в таблице концентрации (50 %) к фактической.

4.8. Покровный (неармированный) слой выполняют из битумной эмульсии с коагулятором или без него (в зависимости от погодных условий и требуемой теплостойкости). При этом расход битумной эмульсии составляет 2 - 3 л/м2, расход коагулятора принимаемся по табл. 1.

4.4. Для ориентировочного подсчета расхода материалов, необходимых для устройства 1 м2 гидроизоляции при двух армированных слоях можно принимать следующие нормы:

битумная эмульсия 50 %-ной концентрации  16 л

рубленое стекловолокно                                    0,3 кг

асбест                                                                   0,8 кг

минеральная вата                                                           0,8 кг

стеклянная вата                                                   0,4 кг

цемент                                                                 1,5 кг

латексы или водные растворы                          2 - 5 л

4.5. Подсчет окончательного расхода материалов выполняют с учетом результатов предварительных испытаний гидроизоляции с различными исходными компонентами.

УСТРОЙСТВО ГИДРОИЗОЛЯЦИИ НА ОРТОТРОПНЫХ ПЛИТАХ ПРОЕЗЖЕЙ ЧАСТИ АВТОДОРОЖНЫХ МОСТОВ:

ТЕХНОЛОГ. КАРТА / ВПТИтрансстрой. - М.,1979. - 19 с.

Извлечение

1. ОБЛАСТЬ ПРИМЕНЕНИЯ

Технологическая карта разработана с учетом прогрессивных методов организации строительства и производства работ, а также методов научной организации труда и предназначена для использования при составлении проекта производства работ и организации труда на объекте.

Применение тонкослойных покрытий позволяет получить значительный технико-экономический эффект в результате экономии основных строительных материалов, увеличивает срок службы мостовых покрытий, обеспечивает шероховатость покрытий и повышает сцепление гидроизоляции с асфальтобетоном.

При разработке карты использованы материалы Союздорнии и обобщенный опыт устройства изоляционных покрытий на основе эпоксиднобитумной композиции на стальных настилах автодорожных мостов через реки Иртыш в г. Омске и Ангару в г. Иркутске (чертеж Гипротрансмоста инв. № 82750, лист 72М).

Технологическая карта составлена на устройство гидроизоляции на ортотропных плитах автодорожного моста (рис. 1). В технологический процесс входят следующие работы: механическая подготовка поверхности, антикоррозионная защита (грунтовка), устройство защитного и шероховатого слоев сцепления.

В качестве материала антикоррозионной защиты применяют протекторную эпоксидно-цинковую грунтовку ЭЛ-057 по ТУ-6-10-1117-71.

Рис. 1. Конструкция гидроизоляции на ортотропной плите;

1 - металлическая ортотропная плита; 2 - антикоррозионный слой; 3 - защитный слой; 4 - слой сцепления (щебень)

Защитный слой выполняют из эпоксидно-битумной композиции на основе алкилрезорциновой смолы ЭИС-1 и жидкого битума. Все материалы, входящие в состав эпоксидно-битумной композиции, выпускаются промышленностью, поставляются в готовом виде и имеют заводские паспорта.

Для устройства шероховатого слоя сцепления применяют гранитный щебень марок 1000 - 1200, фракции 15 - 20 мм. В карте не учтены работы по доставке всех необходимых материалов и оборудования и устройству воздухопровода по тротуарной части моста,

Привязка карты к местным условиям строительства заключается в уточнении объемов работ, затрат труда и материально-технических ресурсов.

II. УКАЗАНИЯ ПО ТЕХНОЛОГИИ ПРОИЗВОДСТВЕННОГО ПРОЦЕССА

Для выполнения требований по качеству и производству работ при гидроизоляции ортотропных плит моста проезжая часть моста разбивается на рабочие зоны I, II, III и т.д. (рис. 2), размеры которых назначаются с учетом ширины проезжей части и производительности основных применяемых машин и механизмов (пескоструйных аппаратов).

Последовательность и время выполнения гидроизоляции по рабочим зонам приведены на рис. 3.

До начала работ по устройству гидроизоляции на ортотропных плитах проезжей части автодорожного моста необходимо:

обучить технический персонал и рабочих технологии по устройству гидроизоляции;

проверить и испытать все технологическое оборудование, обеспечивающее высокопроизводительную и безопасную работу;

подготовить и подвезти к месту производства работ все необходимые материалы и инструменты;

Рис. 2. Схема выполнения работ с разбивкой на рабочие зоны, участки и захватки:

I, II, III - рабочие зоны; А, Б - рабочие участки; 1 - 20 - рабочие захватки

проинструктировать рабочих комплексной бригады по технике безопасности и по всем видам работ, выполняемых в данном процессе;

устроить воздухопровод по тротуарной части моста;

разбить проезжую часть моста на рабочие зоны с вынесением размеров краской на тротуарной части (см. рис. 2).

Перед механической подготовкой поверхности пескоструйной обработкой с поверхности металла удаляются неровности, окалина, ржавчина, задиры, наплывы металла, зачищаются швы и обезжиривается поверхность металла растворителями.

Для пескоструйной очистки применяют просушенный промытый кварцевый песок с влажностью не более 2 % либо металлический песок.

Наименование работ

Сутки /

1

2

3

4

смени

1

2

3

1

2

3

1

2

3

1

2

S

Подготовка поверхности ортотропной плиты

 

 

 

 

 

 

 

 

Устройство антикоррозионного покрытия

 

 

 

 

 

 

 

 

Устройство защитно-сцепляющего слоя

 

 

 

 

 

 

 

 

 

Рис. 3. График последовательности выполнения работ по гидроизоляции на ортотропных плитах по рабочим зонам:

I, II, III, IV - рабочие зоны

Рекомендуется применение кварцевого песка с крупностью зерен 0,75 - 2 мм, металлического - № 1 - 1,5.

Пескоструйная очистка ведется по участкам А и Б (см. рис. 2) двумя дробе-пескоструйными аппаратами производительностью 8 - 10 м2/ч.

При пескоструйной обработке сопло располагают на расстоянии 75 - 150 мм от очищаемой поверхности и под углом 75 - 80° к ней.

Положение сопла относительно поверхности зависит от крупности песка и толщины слоя окалины. Чем толще слой окалины, тем меньше должно быть расстояние.

Технологический перерыв между окончанием процесса очистки и нанесением антикоррозионного слоя покрытия не должен превышать 7 ч - при относительной влажности воздуха до 70 %, при большей влажности - 3 ч. Поэтому должна предусматриваться организация работ на участках, размеры которых определяются производительностью пескоструйных аппаратов. При этом целесообразно организовать работу таким образом, чтобы участок, обработанный пескоструйной очисткой, был защищен антикоррозионным составом в ту же смену, когда производилась очистка.

Обработанная поверхность металла должна иметь равномерный матовый цвет и должна быть достаточно шероховатой. Рекомендуется очищать металл до получения шероховатости поверхности не ниже нормируемой для 4 класса чистоты по ГОСТ 2.309-73, со второй степенью очистки по ГОСТ 9.025-74.

После завершения пескоструйной очистки необходимо собрать с очищенной поверхности песок, продуть струей сжатого воздуха поверхность, обезжирить места, подвергнутые замасливанию в процессе обработки.

Сразу же по завершению пескоструйной очистки на подготовленный участок наносят антикоррозионный слой (по тем же участкам).

Антикоррозионную защиту выполняют при положительных температурах воздуха и температуре поверхности металла не ниже +10°С. Поверхность должна быть сухой, поэтому в утренние часы необходимо просушить ее от росы.

В качестве материала антикоррозионного слоя применяют эпоксидно-цинковую грунтовку в виде трех компонентов:

грунт ЭП-057 по ТУ-6-10-1117-71 (суспензия цинкового порошка в растворе эпоксидной смолы Э-41, стабилизированную бетоном);

отвердитель № 3 по ТУ-6-10-1091-71 (раствор полиамидной смолы или версамида в смеси органических растворителей);

растворитель РП по ТУ-6-10-1045-71 (смесь из 75 % ксилола и 25 % ацетона).

Все поставляемые материалы должны иметь заводские паспорта.

Перед приготовлением рабочего состава необходимо тщательно размешать грунт в бидоне до получения однородной консистенции.

Грунтовка приготовляется путем введения (за 1 ч до нанесения) в грунт отвердителя и растворителя из расчета: на 100 весовых частей грунтовки 7 весовых частей отвердителя и 10 весовых частей растворителя.

После дозирования компонентов грунтовку тщательно перемешивают и при необходимости доводят до рабочей вязкости при помощи растворителя.

Рабочая вязкость грунтовки по вискозиметру в 3 - 4 должна быть 18 - 20 с при температуре + 20°С.

В процессе работы грунтовку необходимо тщательно перемешивать во избежание оседания цинкового порошка.

Жизнеспособность грунтовки после введения отвердителя № 3 должна быть не менее 7 ч.

Грунтовку в краскораспылитель следует заливать через сито с ячейками размером не более 1×1 мм.

Антикоррозионная защита осуществляется путем нанесения на металл грунтовки при помощи краскораспылителя при давлении сжатого воздуха 3 - 5 кгс/см2. Толщине слоя должна быть 0,08 мм. Перед нанесением грунтовки поверхность плиты продувается сжатым воздухом.

При нанесении грунтовки рабочее расстояние от краскораспылителя до окрашиваемой поверхности должно составлять 300 - 400 мм, а ширина отпечатка плоского факела должна быть 300 - 500 мм.

Продолжительность полного высыхания грунтовки при температуре 18 - 22°С составляет 24 ч. Более точное определение времени высыхания определяется лабораторным путем.

По окончании нанесения грунтовки краскораспылитель помещают в ведро с ацетоном для предотвращения затвердевания грунтовки в нем. Загрунтованные участки через сутки подлежат приемке строительной лабораторией. Загрунтованные участки поверхности ограждают.

Загрунтованную поверхность предварительно размечают на захватки площадью 5,2 м2.

Время технологического перерыва между устройством слоя антикоррозионной защиты (после его полного высыхания) и устройством защитного (гидроизоляционного) слоя не должно превышать 10 дней.

Защитный слой устраивают толщиной 2,5 - 4 мм из эпоксидно-битумной композиции на основе алкилрезорциновой смолы ЭИС-1 и жидкого битума.

Для приготовления эпоксидно-битумной композиции применяются следующие материалы:

алкилрезорциновая смола марки ЭИС-1 (ТУ-109-1-71);

жидкий битум марки МГ-70/130 (ГОСТ 11955-74);

отвердитель УП-0633М;

наполнитель - портландцемент (ГОСТ 10178-76);

ксилол (ГОСТ 9949-76) или скипидар (ГОСТ 1572-77);

дивинил-стирольный термоэластопласт ДСТ-30 (ТУ-36-40365-74).

Все материалы, входящие в состав эпоксидно-битумной композиции, выпускаются промышленностью, поставляются в готовом виде и имеют заводские паспорта. Хранение их организуют в прохладном помещении (температура от 0 до 20°С). Смолу в упакованном виде хранят в обычных складских условиях.

Битум хранят в закрытых емкостях, перед использованием он должен быть обезвожен и нагрет до температуры 60°С в котле.

Дивинил-стирольный термоэластопласт хранят в мешках в защищенном от света месте.

Каждый компонент эпоксидно-битумной композиции перед ее приготовлением должен быть тщательно перемешан, цемент просушен. Дивинил-стирольный термоэластопласт должен быть растворен в скипидаре или ксилоле.

Состав эпоксидно-битумной композиции (весовых частей):

Алкилрезорциновая смола ЭИС-1                                           100

Жидкий битум МГ 70/130                                                         65

Ксилол или скипидар                                                                20

Дивинил-стирольный термоэластопласт                                6,5

Цемент                                                                                        100

Отвердитель УП-0633М                                                            20

В емкость для приготовления композиции заливают смолу, добавляют разогретый битум, раствор стирольного термоэластопласта, цемент и тщательно перемешивают в течение 2-3 мин.

В полученный состав вливают отвердитель при температуре смеси не выше 35°С и снова тщательно перемешивают в течение 1-2 мин. Эта композиция готова к употреблению. Время, в течение которого она может быть уложена, составляет не более 40 мин.

Можно заранее приготовить композицию, содержащую все компоненты, кроме отвердителя и хранить несколько суток. Перед непосредственным применением ее подогревают до температуры 36°С, перемешивают в течение 5 мин, добавляют в нее отвердитель и тщательно перемешивают.

Приготовленную композицию доставляют к месту укладки, выливают на подготовленную поверхность, предварительно продутую чистым воздухом и при необходимости промытую ацетоном, распределяют по ней слоем толщиной 2,5 - 4 мм при помощи гребков.

Кромки ранее уложенного слоя, материал которого имеет возраст сутки и более, должны быть промыты толуолом и смазаны следующим составом:

эпоксидная смола                                               100 весовых частей

дибутилфталат                                         10        »          »

отвердитель                                             20        »          »

Эпоксидно-битумную композицию защитного слоя укладывают сразу на полную его толщину. Послойная укладка не допускается.

Сразу после укладки защитного слоя до его отвердения по поверхности слоя вручную (при помощи металлических совков) распределяют чистый сухой гранитный щебень марок 1000 - 1200 фракции 15 - 20 мм. в количестве 4 - 5 кг/м2.

По окончании работ мешалки, емкости и другое оборудование тщательно очищают и промывают растворителями. Емкости, в которых приготовляли эпоксидно-битумную композицию, могут быть очищены выжиганием остатков материалов.

По уложенному слою возможно перемещение людей через 4 - 5 ч после укладки, построечного транспорта - через 24 ч.

При необходимости движения по защитному слою построечного транспорта во избежание загрязнения поверхности слоя по нему рассыпают не ранее чем через 8 - 10 ч песок слоем толщиной, достаточной для укрытия щебенок.

Операционный контроль качества работ по устройству гидроизоляции проезжей части автодорожных мостов выполняется в соответствии с требованиями СНиП III-20-74. На устройство гидроизоляции должен быть составлен акт освидетельствования скрытых работ в соответствии с установленной формой.

Карта операционного контроля качества приведена в разделе VIII.

Москва 1979

ТАХИРОВ М.К., ВАЛИТОВ P.X, ТЕХНОЛОГИЯ МЕХАНИЗИРОВАННОГО УСТРОЙСТВА ПОЛИМЕРНОЙ ГИДРОИЗОЛЯЦИИ ЖЕЛЕЗОБЕТОННЫХ КОНСТРУКЦИЙ МОСТОВ.

ЭИ / ОРГТРАНССТРОЙ, 1979. - 8 с, ил.

Извлечение

Технология нанесения гидроизоляции на мостовые конструкции предусматривает следующие операции:

раскладку конструкций на горизонтальной площадке;

подготовку поверхности, заключающуюся в очистке от пыли выступов в виде включений заполнителя, затирке усадочных трещин цементно-песчаным раствором;

приготовление полимербитумной мастики;

устройство покрытия и его стабилизацию.

Срок службы гидроизоляционного покрытия определяется не только свойствами материала, но и качеством подготовки основания. Помимо дефектов поверхности на долговечность покрытия значительное влияние оказывает влажность поверхности бетона. Как правило, влажность бетонного основания, подлежащего гидроизоляции, допускается в пределах 5 - 6 %.

2 ДНЯ РАБОТЫ НА СЭКОНОМЛЕННЫХ МАТЕРИАЛАХ, СЫРЬЕ И ТОПЛИВЕ РАВНОЦЕННЫ УВЕЛИЧЕНИЮ РЕСУРСОВ В СТРАНЕ:

угля - на 3,5 миллиона тонн

электроэнергии - на 7,6 миллиарда киловатт-часов

проката - на 570 тысяч тонн

цемента - на 680 тысяч тонн

Экономическая газета, январь, 1985, № 2

Для эффективного определения влажности поверхности бетона и оперативного контроля качества основания под полимерную гидроизоляцию в Мостострое № 7 предложен прибор; позволяющий определять влажность как в лабораторных, так и в производственных условиях.

Влажность бетонных образцов-кубов размером 200×200×200 мм из мелкозернистого бетона измеряют при помощи специально сконструированного влагомера, состоящего из емкостного датчика поверхностного типа, мультивибратора, генерирующего прямоугольные импульсы напряжения, эмиттерных повторителей, необходимых для согласования миллиамперметра с выходом мультивибратора.

Когда датчик соприкасается с влажной поверхностью, увеличивается его емкость, в соответствии с этим изменяется скважность генерируемых мультивибратором импульсов. Постоянная составляющая тока, протекающего через прибор, пропорциональна влажности поверхности.

До измерения влажности поверхности бетона в производственных условиях строится тарировочная кривая прибора. Для этого кубы из бетона соответствующей марки, высушенные до постоянной массы, погружают на различное время в воду и затем к поверхности влажного образца прикладывают датчик прибора, одновременно на миллиамперметре фиксируется показание силы тока в мА. По этим показаниям определяют влажность. Испытание повторяется до тех пор, пока не будут получены сходные результаты. Влажность каждого образца измеряют в нескольких местах и определяют среднее значение.

Одновременно с этим определяют влажность образцов весовым способом. В результате определения влажности указанными способами строят тарировочную кривую зависимости силы тока (по показаниям прибора) от влажности (в %). Исходя из показаний прибора, пользуясь тарировочной кривой, определяют соответствующее значение влажности.

Прибор может быть изготовлен из стандартных деталей. Степень точности определения влажности составляет 5 %.

Для приготовления и пневматического распыления мастики на поверхность конструкций использовали красконагнетательный бак С-764А емкостью 60 л (рис. 1) с незначительным конструктивным дополнением и изготовили съемную мешалку с электрическим приводом.

Окрасочный комплект включал в себя битумоплавильный котел, компрессор, два красконагнетательных бака С-764А и форсунку для пневматического распыления мастики (рис. 2).

Для подачи воздуха и мастики форсунка снабжена сменными наконечниками с различными диаметрами выходного отверстия.

Для удобства транспортирования использовали специальные битумные ведра вместимостью 15 кг. Расплавление битума производили в специальном котле с ячейками для ведер.

Отработка технологии механизированного устройства полимербитумной гидроизоляции предложенным комплектом оборудования производилась на базе Мостоотряда № 13 и на строительстве автодорожного моста через р. Сырдарья.

Рис. 1. Красконагнетательный бак:

1 – металлический корпус; 2 - теплоизоляция; 3 - съемная ручная мешалка; 4-мастикопровод

Приготавливали полимербитумную композицию непосредственно в построечных условиях в нагнетательном баке в такой последовательности. Расплавленный и отдозированный битум поочередно совмещали со смолой, растворителем и наполнителем, взятыми в нужном количестве. При этом время совмещения указанных компонентов составляло 2 - 3 мин. Отвердитель вводили в связующую часть при температуре смеси не выше 40 - 50°С и тщательно перемешивали в течение 2 мин. Во избежание сокращения технологической жизнеспособности все составляющие компоненты мастики хранили под навесом, а красконагнетательный бак теплоизолировали слоем стекловаты толщиной 5 см с последующей защитой из двух слоев стеклоткани.

Пневматическое распыление мастики на поверхность конструкции производили при избыточном давлении 3,5 - 4 ати. Перед этим была произведена сборка окрасочного агрегата и проверена надежность шланговых соединении при давлении 5 - 6 атм.

Рис. 2. Форсунка для распыления мастики:

1 - металлический корпус; 2 - воздухопровод; 3 - наконечник; 4 - сменный наконечник мастикопровода

Непрерывность гидроизоляционных работ обеспечивалась применением двух красконагнетательных баков.

Гидроизоляцию конструкций прямоугольного сечения производили следующим образом. Конструкции раскладывали на горизонтальной площадке вплотную друг к другу, производили подготовку их поверхности и наносили два слоя мастики с интервалом в 4 ч. После отверждения покрытия конструкции переворачивали нижней гранью вверх и так далее до тех пор, пока они не были заизолированы со всех сторон.

Гидроизоляцию конструкций круглого сечения производили следующим образом. Сферическую поверхность покрывали слева и справа сверху вниз. После отверждения конструкцию перекатывали и изолировали оставшуюся часть ее поверхности. При этом расход мастики составил 0,6 - 0,8 кг/м2.

В процессе производства гидроизоляционных работ производили операционный контроль качества.

Качество приготовленной смеси оценивали по вязкости смеси, которая составляла 90 - 100 с по прибору ВЗ-4.

Качество подготовки основания и готового гидроизоляционного покрытия проверяли визуально. При этом дефектные места - разрывы покрытия, вздутия, пузыри - очищали и производили восстановление покрытия нанесением вручную в этих местах дополнительного слоя мастики.

Гидроизоляционные работы проводило звено изолировщиков в составе четырех человек. Началу работ предшествовало обучение изолировщиков правилам безопасного производства работ с применением полимерных материалов.

В тресте «Мостострой № 7» годовой объем гидроизоляционных работ с применением эпоксидного покрытия составляет 27600 м2. Для выполнения указанного объема работ эпоксидной гидроизоляции требуется (т):

Эпоксидная смола                                                                                 9

Дибутилфталат                                                                                       1,8

Полиэтиленполиамин                                                                           0,9

Толуол или ацетон                                                                                 6,3

Потребность в исходных материалах для годового объема полимербитумной гидроизоляции составляет (т):

Смола ФАЭД-8                                                                                      9.4

в том числе:

мономер                                                                                           5,0

эпоксидная смола                                                                           3,8

Битум БНД-60/90                                                                                   4,7.

Полиэтиленполиамин                                                                           1,2

Ксилол                                                                                                    3

Портландцемент                                                                                    44

Стоимость материалов при устройстве 100 м2 полимербитумной гидроизоляции с расходом мастики 0,8 кг/м2 составляет 91 руб. 46 коп., эпоксидной гидроизоляции с расходом 0,65 кг/м2 - 163 руб. 6 коп. Основная заработная плата при устройстве полимербитумной гидроизоляции также ниже, чем при устройстве эпоксидной.

Годовой экономический эффект при применении полимербитумной гидроизоляции вместо эпоксидной составляет 29056 руб. при стоимости полимербитумного покрытия 1,17 руб./м2 и увеличении производительности труда в 3 - 3,5 раза.

ШУКУРОВ С.З. ПЕРЕДВИЖНАЯ УСТАНОВКА ДЛЯ ГИДРОИЗОЛЯЦИОННЫХ РАБОТ. - СТРОИТ. И ДОР. МАШИНЫ, 1984, № 10, с. 13.

В тресте «Узоргтехдорстрой» Минавтодора Узбекской ССР создана передвижная установка для механизации гидроизоляционных работ на проезжей части железобетонных мостов и других сооружений. Установка (см. рисунок) представляет собой прицеп 2 ПТО-4-793, в котором размещены битумоварочный котел, тележка для нанесения битума, красконагнетательный бак СО-42, лестница и огнетушитель.

Установка обеспечивает:

транспортирование битумных материалов (битума) к месту производства работ;

разогрев кускового битумного материала до плавления с последующим нагревом его до рабочей температуры 160 - 180°С

сохранение температуры битума в котле без подогрева при транспортировании;

равномерное распределение битума на проезжей части мостов ручным распределителем - удочкой.

Для создания давления в топливной системе битумного котла на месте производства работ имеется передвижная компрессорная станция типа СО-7А, а для питания электроэнергией электродвигателя шестеренного насоса и электронагревателей тележки - передвижная электростанция ЭСД-5-Т/230. Битумоварочный котел предназначен для плавления кускового битума и доведения его до температуры 180°С. Для проведения ремонтных и профилактических работ котел выполнен съемным. Он снабжен догружателем для последующей добавки кускового битума в жидкий. Нагрев битума обеспечивается через жаровую полость под днищем котла двумя стационарными форсунками, используемыми в автогудронаторе Д-641. Для подачи топлива применен красконагнетательный бак СО-42. Наружная поверхность котла теплоизолирована слоем минеральной ваты.

Передвижная установка для гидроизоляционных работ:

1 – прицеп 2 ПТС-4-793; 2 - лестница: 3 - форсунка. 4 – битумоварочный котел; 5 – тележка для нанесения битума; 6 - огнетушитель

Температура нагрева битума в котле контролируется по показаниям термометром.

Тележка служит для равномерного распыления битума слоем 2 - 3 мм на наносимую поверхность. Она состоит из двух баков для битума и керосина, насоса с приводным электродвигателем, электроподогревателей, двух кранов управления, удочки и контрольной аппаратуры: термометров и указателя уровня битума.

Оба бака и металлорукава теплоизолированы. Один из баков является рабочим, куда из котла заливают разогретый до 160 - 180оС битум, второй бак служит для хранения керосина, который нагревается за счет теплопередачи от битума и предназначен для промывки насоса, металлорукавов и удочки.

Бак для битума имеет электроподогреватели для поддержания рабочей температуры, контроль которой ведется по термометру бака. Насос помещен в масляную ванну с электроподогревателем, где также установлен термометр для наблюдения за ходом нагрева.

Насос подает битум под давлением в удочку, с помощью которой можно обрабатывать напыливанием любые поверхности, в том числе и вертикальные.

Удочка состоит из труб со сменными распылителями, ручки и трехходового крана, к которому подсоединены прямой и обратный металлорукава, обеспечивающие постоянную циркуляцию битума.

Техническая характеристика установки для гидроизоляционных работ

Производительность, м2                                                         150

Транспортная скорость, км/ч                                                    До 30

Обслуживающий персонал                                                       чел. 2

Высота загрузки, м                                                                     3

Котел битумоварочный

Эксплуатационная вместимость, м3                                         1

Эксплуатационная производительность, м3                        0,9

Время разогрева битума (0 - 180°), ч                                        2,5

Расход топлива (при давлении 0,3 МПа), л/ч                         12

Расход топлива для разогрева 1000 кг битума, л                    30

Вместимость бака топлива, л                                                    40

Топливо                                                                                      Керосин, дизельное топливо

Масса, кг                                                                                     1800

Тележка для нанесения битума

Вместимость бака, л:

для битума                                                                           100

для керосина                                                                        12

Тип насоса                                                                                  Шестеренный

насос                                                                                51-1011010-А3 (с автомобиля ГАЗ-51)

двигатель насоса                                                            4А71В6УЗ ГОСТ 19523-74

Число электроподогревателей:

битума                                                                                  3

насоса                                                                                   1

Мощность. кВт:

электродвигателя                                                                1,5

электронагревателя                                                             1

Масса, кг                                                                                     235

Габаритные размеры (длина × ширина × высота) мм                        4200×2450×3300

Масса (без прицепа), кг                                                             2200

Внедрение передвижной установки для гидроизоляционных работ обеспечивает хорошее качество отделочных работ, а также сроки их проведения и повышает культуру труда.

ЗАХАРОВ Л.В., НОВИКОВ Я.Н., ЦИБРОВ А.Т. МЕХАНИЗИРОВАННАЯ ГИДРОИЗОЛЯЦИЯ ПРОЕЗЖЕЙ ЧАСТИ АВТОДОРОЖНЫХ МОСТОВ. - ТРАНСП. СТР-ВО, 1982, № 6, с. 24-26, ил.

В качестве гидроизоляционного покрытия в практике отечественного мостостроения традиционно применяют битумно-мастичный гидроизоляционный ковер (гидроизоляция мембранного типа) толщиной 8 - 12 мм. Для обеспечения необходимой прочности при работе покрытия над возможной трещиной в бетоне битумное вяжущее, являющееся основой такой гидроизоляции, упрочняют (армируют) ткаными или сетчатыми материалами.

Состав работ по устройству битумно-мастичного гидроизоляционного ковра включает в себя приготовление и разлив битумного вяжущего и послойную расстилку (не менее двух слоев) армирующих материалов. Как правило, эти работы выполняют вручную и непосредственно на проезжей части моста.

В изоляционных мастиках используют битумы (тепломорозостойкий битум - пластбит по ТУ 38-101580-75, строительный битум марки БН-IV по ГОСТ 6617-76, марки БНК по ТУ 38-101566-75 и др.), пластификаторы и растворители (масло индустриальное И-50А по ГОСТ 20799-75, бензин по ГОСТ 8505-80 или ГОСТ 2084-77, уайт-спирит по ГОСТ 3114-78), наполнитель (микроасбест по ГОСТ 12871-67). Соотношением указанных компонентов регулируют свойства, в том числе технологические, мастик в зависимости от температурных условий строительства и эксплуатации изолируемого сооружения. В последнее время для этих же целей широко применяют модифицированные битумно-полимерные мастики.

Для армирования битумной гидроизоляции используют стеклянные тканые материалы марок Э-3-200 (ГОСТ 19907-74), СС-1 и СС-5 (ТУ 6-11-99-75), ЭТС-5 (ТУ 6-11-232-71) и нетканые, например, НПСС-Т-Г (ТУ 6-11-381-76), а также антисептированную каменно-угольным или сланцевым маслом льно-джуто-кенафную ткань паковочную и технического назначения (ГОСТ 5530-71). В опытном порядке опробована битумно-мастичная гидроизоляция, однослойно дисперсно-армированная стеклохолстом марки МБС-10-420-3/с-230 (ОСТ 6-11-82-73) из рубленых стеклонитей.

Битумно-мастичную гидроизоляцию предпочтительно выполнять с механизированным приготовлением битумных мастик, доставкой их на объект и нанесением на изолируемое основание автогудронаторами, например марки Д-640*, оборудованными для этого обогревом и обратной циркуляцией. Это позволяет наряду с высоким качеством нанесения мастики вследствие хорошей проницаемости через армирующие основы существенно повысить производительность труда. При этом в случае применения нетканых сеток используют эффективный прием одновременной укладки всех армирующих слоев на первый слой битумного вяжущего с одним проходом механизма для нанесения пропиточного и покровного слоев гидроизоляции.

* См. Транспортное строительство. 1973, № 11, с. 13

В целях дальнейшего уменьшения затрат ручного труда, снижения объема или исключения полностью работ с горячими битумными мастиками на стройплощадке, повышения качества и надежности гидрозащиты мостов в последние годы широко применяются для гидроизоляции пролетных строений рулонные гидроизоляционные материалы промышленного производства. При этом следует различать рулонные материалы на основе битумного вяжущего и новые более прогрессивные материалы, изготавливаемые из синтетической резины - бутил-каучука и его модификаций, обладающих чрезвычайно высокой степенью водо- и газонепроницаемости, устойчивостью к световому и атмосферному старению и термостойкостью1.

1 См. Транспортное строительство, 1979, № 12, с. 20

Из рулонных гидроизоляционных материалов на основе битумного вяжущего особый интерес для мостостроения с позиции совершенствования технологии представляет гидростеклоизол - утяжеленный рулонный материал по авторскому свидетельству № 561771. Благодаря повышенной толщине битумного покровного слоя вес 1 м2 его полотна составляет около 3000 г. Реологические свойства битумного вяжущего предопределяют быстрый переход при нагревании поверхностного слоя в капельно-жидкое состояние, позволяющее вести укладку раскатываемого полотна на изолируемое основание без приклеивающих мастик способом наплавления. При этом расплавленная часть битумного покровного слоя выполняет функции приклеивающей прослойки. Таким образом, на стройплощадке объединяются процессы укладки битумного вяжущего и его армирующей основы, что обусловлено свойствами единого материала рулонного типа, создаваемыми на стадии его заводского изготовления.

При гидроизоляции проезжей части автодорожных мостов по технологии наплавления в сочетании с гидростеклоизолом возможно применение других оплавляющихся и неоплавляющихся битумных утяжеленных рулонных материалов, перечень и характеристика которых приводятся в табл. 1.

Гидростеклоизол гидроизоляционный и подкладочный выпускается соответственно по ТУ 400-1-51-75 и ТУ 450-1/55-16-76. Оба материала имеют стеклянную армирующую основу. В отличие от гидроизоляционного, армированного ткаными и неткаными сетками, гидростеклоизол подкладочный армируется стекловолокнистым материалом (стеклохолстом). С армирующей основой из стеклохолста изготавливают другой утяжеленный рулонный материал - стеклорубероид.

Рис. 1

Высокими гидроизоляционными свойствами и технологическими характеристиками отличается фольгоизол, выпускаемый на основе рифленой или гладкой алюминиевой фольги толщиной 0,3 мм. В покровном слое фольгоизола используют битумно-резиновую мастику.

Проходит опытную проверку новый утяжеленный рулонный материал на основе льно-джуто-кенафной ткани паковочной и технического назначения - мостоизол (ТУ 21-27-122- 78). Совмещение процесса антисептирования с нанесением битумных покровных слоев в условиях организованного заводского процесса расширяет применение для целей гидроизоляции армирующих материалов из льняных нитей и отходов льняного производства.

Многообразие утяжеленных рулонных материалов, выделившихся в особую группу, благодаря общей технологии безмастичной наклейки на изолируемое основание позволяет подбирать оптимальное их сочетание в конструкции гидроизоляции (табл. 2).

Новые конструктивно-технологические решения гидроизоляции из рулонных материалов успешно внедрены на ряде строительных объектов Главмостостроя, в частности, на Калининградском и Алтуфьевском путепроводах в Москве, проводе на проспекте Стачек в Ленинграде, мостах через Вятку у Мамадыша, Которосль в Ярославле, Пахру в Московской области и др.

Рис. 2

Таблица 1

Наименование показателей

Гидростеклоизол, ТУ 400-1-51-75 (ТУ 450-1/ 55-16-76)

Стеклорубероид, ГОСТ 15879-70

Фольгоизол, ГОСТ 5.2053-73

Мостоизол, ТУ 21-27-122-78

Масса 1 м2, г

3000

2200

2000

2500

Толщина полотна, мм

3

2

2

2,5

Армирующая основа

Стеклоткань или стеклосетка /стеклохолст/

Стеклохолст

Алюминиевая фольга

Антисептированная льно-джуто-кенафная ткань

Нагрузка при разрыве полоски шириной 50 мм, кг

50

30

-

50

Предел прочности при разрыве, кгс/см2

-

-

40

-

Гибкость при изгибе на стержне диаметром 40 мм - не должно появляться трещин при температуре, °С

-

0

-12

-

Гибкость при изгибе на шаблоне радиусом 250 мм - не должно появляться трещин при температуре, °С

-10

-

-

17

Температура хрупкости битумного вяжущего покровного слоя по Фраасу, °С

-15

-15

-

-

Таблица 2

Материалы

Характеристики

Варианты конструкции гидроизоляции

I

II

III

IV

V

VI

Гидростеклоизол или листоиэол

Число слоев в гидроизоляционном ковре

2

-

1

-

-

-

Стеклорубероид

То же

-

-

-

1

1

3

Фольгоизол

»

-

2

1

1

1

-

Асфальтобетон

Толщина защитного слоя, см

-

4

-

4

-

-

Цементобетон

То же

4

-

4

-

4*

4

* При фольгоизоле с двусторонним покровным слоем.

Проектирование и устройство гидроизоляции на этих мостах выполнены в соответствии с Временными указаниями по устройству термопластичной битумной гидроизоляции из утяжеленных рулонных материалов на пролетных строениях автодорожных и городских мостов и путепроводов (М.: ЦНИИС, 1975, 42 с), регламентирующими порядок использования новых утяжеленных рулонных материалов.

Основным приемом ведения гидроизоляционных работ с применением утяжеленных рулонных материалов является безмастичная проклейка с обязательной предварительной грунтовкой изолируемого бетонного основания.

Для расплава битумного покровного слоя рулонного материала до капельножидкого состояния рекомендованы воздушно-пропановые нагревательные однофакельные (ГВПН) и многофакельные линейные (ГВПЛ) горелки.

Многофакельная линейная горелка (рис. 1) состоит из ствола 1, распределительного коллектора 2, форсунок 3, опорных колес 4, запальника 5 и предназначена только для расплавления битумного покровного слоя укладываемого материала. Поэтому при работе с ней раскатка материала и его прикатка к изолируемому основанию технологически раздельны. Однофакельные горелки преимущественно рекомендуются для работы в стесненных местах и устранения отдельных дефектов наклейки.

В этой связи более эффективными являются специальные механизмы-укладчики утяжеленных рулонных материалов, в которых процесс расплава битума воздушно-пропановыми горелками совмещен с раскаткой и приклейкой рулонного материала и укаткой гидроизоляционного покрытия до полной его готовности. На рис. 2 приведена схема укладчика ЦНИИС, в котором на самодвижущейся платформе 1 с электродвигателем, имеющим рулевое 5 и рычажное 4 управление, агрегатированы многофакельная линейная горелка ГВПЛ 7, баллон с пропаном 3, электрозажигалки 2, питатель рулонного материала 6, прикатывающий 8 и уплотняющий 9 дифференциальные катки.

При укладке гидроизоляции с применением агрегата ЦНИИС на мосту через р. Пахру достигнута производительность до 800 м2 в смену для первого слоя и до 1200 м2 в смену второго слоя гидроизоляционного покрытия. На укладку одного рулона наплавляемого материала (мостоизол) длиной 10 м затрачивали от 2,5 до 4 мин. Агрегат хорошо вписывается в общую организацию работ по устройству мостового полотна на автодорожных мостах. При этом повышается культура производства, качество работ и значительно улучшаются условия труда.

Сверхплановый рост производительности труда на один процент в целом по индустрии страны - это (при неизменной численности работников) дополнительный выпуск продукции на 7,5 миллиарда рублей в год, в том числе:

14,2 миллиарда киловатт-часов электроэнергии;

6,2 миллиона тонн нефти (с газовым конденсатом);

5.4 миллиарда кубических метров газа;

7,2 миллиона тонн угля;

1,5 миллиона тонн стали;

1,2 миллиона тонн проката черных металлов;

297 тысяч тонн минеральных удобрений (в пересчете на 100 процентов питательных веществ);

5640 тракторов;

114 миллионов квадратных метров ткани;

более миллиона квадратных метров жилой площади;

38,5 миллиона тонн перевезенных грузов на железнодорожном транспорте;

Агитатор, 1984, № 12

По страницам газет

МОСТ НОМЕР ПЯТЬ

В Смоленске через Днепр перекинут еще один мост, пятый по счету.

Мостовой пролет выглядит единым, неразрывным полотном. Он состоит из блоков, а не из ферм, соединенных с помощью эпоксидного клея. Поверхность получилась гладкая, ровная, без промежуточных деформационных швов.

Советская Россия,

1984, 14 ноября

МОСТЫ НА СТОЛБЧАТЫХ ОПОРАХ

Сообщается, что впервые в мировой практике было решено сооружать полносборные мосты на столбчатых опорах. Опора представляет собой конструкцию, состоящую из нескольких сборных железобетонных колонн диаметром 80 см, опускаемых в предварительно пробуренные скважины метрового диаметра. Зазор между стенками скважин и столбом заполняется цементопесчаным раствором. Глубина бурения - 8 - 15 м.

Московский комсомолец,

1984, 14 ноября

МОСТ "НА КЛЕЮ"

Завершена установка на опоры первого пролетного строения нового моста "Красный судостроитель", строящегося через реку Большую Охту.

Переправа полностью состоит из клееных деревянных элементов. Возведение экспериментального объекта ведут специалисты РСУ Ленмосттреста.

Из отдельных блоков они собирают пролетные строения, а затем надвигают их на опоры.

Вечерний Ленинград,

1984, 22 ноября

ПУТЕШЕСТВУЕТ МОСТ

Старый понтонный мост в Риге разобрали и отбуксировали в Тихую бухту. Мост будет использован на строительстве защитной дамбы в Ленинграде, где его по частям установят на различных участках стройки.

Труд, 1984, 7 дек.

САМЫЙ ВЫСОКИЙ МОСТ

В Сицилии, неподалеку от города Рагуза, завершено строительство самого высокого в Европе моста. Его пролеты возвышаются на 155 метров над рекой Ирминио. Мост поддерживают 14 опор - 11 железобетонных и 3 стальных. Сооружение моста продолжалось 5 лет.

Советская Россия,

1985, 7 февр.

ЗВУК - ДИАГНОСТ

При Доруправлении Мосгорисполкома создана первая в стране лаборатория диагностики мостовых конструкций, путепроводов и подземных коммуникаций, которая использует метод, разработанный учеными Института металлургии имени А.А. Байкова.

Метод оперативной акустико-эмиссионной диагностики позволяет улавливать с помощью специальной аппаратуры неслышимые звуковые колебания, издаваемые микротрещинами внутри металлических конструкций. Он дает возможность своевременно предупредить разрушения, устранять потенциально опасные дефекты. Новым методом уже обследованы многие московские мосты.

Вечерняя Москва,

1984, 22 дек.




Яндекс цитирования



   Copyright © 2007-2026,  www.tehlit.ru.

[ ѓосты, стандарты, нормативы, инструкции, правила, строительные нормы ]