//
|
|
ОДМ 218.2.002-2008 ОТРАСЛЕВОЙ ДОРОЖНЫЙ МЕТОДИЧЕСКИЙ ДОКУМЕНТ
Утверждены РЕКОМЕНДАЦИИ ПО ПРОЕКТИРОВАНИЮ И УСТАНОВКЕ ПОЛИМЕРНЫХ ОПОРНЫХ ЧАСТЕЙ МОСТОВ ФЕДЕРАЛЬНОЕ ДОРОЖНОЕ АГЕНТСТВО (РОСАВТОДОР) Содержание Предисловие1. РАЗРАБОТАН: ООО «Руссербмост» (под руководством инж., к.э.н. Поспелова В.М.). 2. СОГЛАСОВАН: ОАО «Гипротрансмост», ОАО «Институт Гипростроймост», ОАО «Союздорпроект», ГП «РосдорНИИ», ОАО «Мостотрест», ГУП «Гормост». 3. ВНЕСЕН: Управлением строительства и проектирования автомобильных дорог Федерального дорожного агентства (РОСАВТОДОР). 4. ИЗДАН на основании распоряжения Федерального дорожного агентства (РОСАВТОДОР) от 20 февраля 2008 года № 73-р. 5. ИМЕЕТ РЕКОМЕНДАТЕЛЬНЫЙ ХАРАКТЕР. 1. Область примененияОтраслевой дорожный методический документ «Рекомендации по проектированию и установке полимерных опорных частей мостов» является актом рекомендательного характера. Настоящий ОДМ распространяется на опорные части с полимерными материалами, предназначенные для использования в условиях эксплуатации на мостовых сооружениях федеральных автомобильных дорог общего пользования при воздействии на них различных климатических факторов и агрессивной среды. Использование опорных частей на стадии строительства как технологического приспособления допускается при разработке специального проекта. В ОДМ приведены рекомендации по проектированию, установке, приемке в эксплуатацию, обследованию и содержанию полимерных опорных частей. 2. Нормативные ссылкиВ настоящем методическом документе использованы ссылки на следующие документы: СНиП 2.03.11-85 «Защита строительных конструкций от коррозии» СНиП 2.05.03-84* «Мосты и трубы» СНиП 3.04.03-85 «Защита строительных конструкций и сооружений от коррозии» СНиП 3.06.04-91 «Мосты и трубы» СНиП 3.06.07-86 «Мосты и трубы. Правила обследований и испытаний» СНиП 12-03-2001 «Безопасность труда в строительстве. Общие требования» СНиП 12-04-2002 «Безопасность труда в строительстве. Строительное производство» СНиП 23-01-99* «Строительная климатология» СНиП 52-01-2003 «Бетонные и железобетонные конструкции. Основные положения» СНиП II-7-81* «Строительство в сейсмических зонах» ГОСТ 9.026-74* «Резины. Методы ускоренных испытаний на стойкость к озонному и светоозонному старению» ГОСТ 9.029-74* «Резины. Методы испытаний на стойкость к старению при статической деформации сжатия» ГОСТ 9.301-86* «Покрытия металлические и неметаллические неорганические. Общие требования» ГОСТ 9.302-88 «Покрытия металлические и неметаллические неорганические. Методы контроля» ГОСТ 9.303-84* «Покрытия металлические и неметаллические неорганические. Общие требования к выбору» ГОСТ 2.114-95 «ЕСКД. Технические условия» ГОСТ 209-75* «Резина. Определение прочности связи с металлом методом отрыва» ГОСТ 263-75* «Резина. Метод определения твердости по Шору А» ГОСТ 267-73* «Резина. Метод определения плотности» ГОСТ 270-75* «Резина. Метод определения упругопрочностных свойств при растяжении» ГОСТ 380-94 «Сталь углеродистая обыкновенного качества. Марки» ГОСТ 495-92* «Листы и полосы медные» ГОСТ 535-88 «Прокат сортовой и фасонный из стали углеродистой обыкновенного качества. Общие технические условия» ГОСТ 1050-88* «Сталь углеродистая качественная конструкционная. Технические условия». ГОСТ 5582-75* «Прокат тонколистовой коррозионно-стойкий, жаростойкий и жаропрочный. Технические условия» ГОСТ 6713-91 «Прокат низколегированный конструкционный для мостостроения. Технические условия» ГОСТ 7350-77* «Сталь толстолистовая коррозионно-стойкая, жаростойкая и жаропрочная. Технические условия» ГОСТ 7912-74* «Резина. Метод определения температурного предела хрупкости» ГОСТ 9433-80* «Смазка ЦИАТИМ - 221» ГОСТ 10007-80* «Фторопласт - 4. Технические условия» ГОСТ 11262-80* «Пластмассы. Метод испытания на растяжение» ГОСТ 15139-69* «Пластмассы. Методы определения плотности (объемной массы)» ГОСТ 19281-89* «Прокат из стали повышенной прочности. Общие технические условия» ГОСТ 19903-74* «Прокат листовой горячекатаный. Сортамент» ГОСТ 20403-75* «Резина. Метод определения твердости в международных единицах» 3. Общие положения3.1. Настоящий ОДМ рекомендуется применять при проектировании, установке, приемке в эксплуатацию, обследовании и содержании автодорожных и городских мостовых сооружений с опорными частями, в конструкциях которых наряду со стальными деталями используются полимерные материалы: резина, фторопласт, а также композиты - металлофторопласт. 3.2. Разрешается применять в мостовых сооружениях опорные части, изготовленные только в заводских условиях по проектам, утвержденным в установленном порядке, и принятые контролирующей организацией, уполномоченной в соответствии с нормативно-законодательными актами РФ в области строительства. 3.3. Опорные части с полимерными материалами подразделяются на типы: резиновые армированные, резинофторопластовые, стаканные и сферические (шаровые сегментные). 3.4. По функциональному назначению опорные части подразделяют на: - всесторонне-подвижные, обеспечивающие линейные и угловые перемещения опорных узлов пролетных строений во всех направлениях; - линейно-подвижные, допускающие линейные перемещения только в одном направлении, а угловые - во всех направлениях; - неподвижные, допускающие только угловые перемещения опорных узлов пролетных строений в горизонтальной и вертикальной плоскостях. 3.5. В резиновых армированных опорных частях линейные и угловые перемещения опорных узлов пролетных строений обеспечиваются деформацией резины, привулканизованной к стальным арматурным листам. В резинофторопластовых опорных частях угловые перемещения опорных узлов пролетных строений обеспечиваются деформацией резины, а линейные, - в основном, парой скольжения фторопласт - полированная нержавеющая сталь. В стаканных опорных частях угловые перемещения опорных узлов обеспечиваются перемещениями резиновой пластины (вкладыша), уложенной в стальную обойму, а линейные - парой скольжения фторопласт - полированная нержавеющая сталь. В сферических опорных частях угловые перемещения опорных узлов обеспечиваются вращением шарового сегмента при скольжении по двум плоскостям - сферической и плоской. В качестве пар скольжения используется фторопласт - полированная хромированная или нержавеющая сталь. Линейные перемещения обеспечиваются парой скольжения фторопласт - полированная нержавеющая сталь. 3.6. Область применения опорных частей с полимерными материалами определяют в зависимости от марки резины (см. табл. 1), используемой для изготовления опорных частей или их деталей, и расчетной минусовой температуры воздуха, принимаемой по СНиП 23-01-99* и СНиП 2.05.03-84*, равной средней температуре наружного воздуха наиболее холодной пятидневки в районе строительства с обеспеченностью: 0,92 - для бетонных и железобетонных конструкций; 0,98 - для стальных конструкций и стальных частей сталежелезобетонных конструкций. Таблица 1 Расчетные температуры для используемых марок резин, °С
Резиновые армированные опорные части применяют при величине опорных реакций до 12 МН преимущественно в разрезных, а также неразрезных и температурно-неразрезных пролетных строениях; резинофторопластовые - в неразрезных и температурно-неразрезных пролетных строениях, когда резиновые опорные части не обеспечивают требуемых линейных перемещений опорных узлов пролетных строений. Стаканные и сферические опорные части применяют преимущественно в разрезных, неразрезных и температурно-неразрезных пролетных строениях при величинах опорных реакций 1-30 МН. 3.7. Запроектированную конструкцию опорных частей рекомендуется представлять как устройство (механизм), совокупность элементов которого в зависимости от функционального назначения обеспечивает беспрепятственные перемещения и повороты опорных узлов пролетных строений. 3.8. Конструкцию опорных частей и материалы для изготовления рекомендуется назначать, исходя из района строительства; величины усилий и воздействий, передающихся на опорную часть; обеспечения расчетных линейных и угловых перемещений опорных узлов пролетных строений. Прогнозируемый срок службы опорных частей - не менее срока службы пролетного строения. 3.9. Опорные части с полимерными материалами рекомендуется изготовлять по соответствующим Техническим условиям, утвержденным в установленном порядке. 3.10. При проектировании опорных частей с полимерными материалами рекомендуется предусматривать возможность их замены. 4. Расположение опорных частей. Нагрузки и воздействия4.1. Расположение опорных частей4.1.1. Опорные части располагают горизонтально на подферменниках в соответствии с рабочим чертежом, на котором рекомендуется показывать план расположения опорных частей. В проекте также необходимо обеспечить учет температуры наружного воздуха в момент установки и замыкания пролетного строения. 4.1.2. Положение балочных пролетных строений в плане следует фиксировать постановкой необходимого количества неподвижных и односторонне линейно-подвижных опорных частей. 4.1.3. Пролетные строения балочных систем опирают на опорные части, обеспечивающие всесторонние угловые перемещения опорных узлов в вертикальной и горизонтальной плоскостях. Применение данных опорных частей по концевым опорным сечениям косых и криволинейных в плане пролетных строений является обязательным. 4.1.4. Для криволинейных в плане балочных пролетных строений предусматривают полюсно-лучевое или тангенциальное расположение опорных частей (рис. 1).
Рис. 1. Примеры схем (тирания криволинейных балочных пролетных
строений: 4.1.5. При расстоянии между осями опирания опорных частей в поперечном направлении свыше 15 м следует обеспечивать поперечную подвижность балочного пролетного строения, устанавливая одну из опорных частей поперечно- или всесторонне-подвижную. 4.1.6. Под опорными площадками балок следует располагать в плане только одну резиновую опорную часть. 4.1.7. В одном опорном ряду (поперек оси моста) должны располагаться резиновые опорные части одного типоразмера (с одинаковой жесткостью). Допускается в одном из опорных рядов мостового сооружения устанавливать ряд неподвижных стальных или неподвижных резиновых опорных частей. Неподвижные опорные части в одном ряду должны быть одного типа. В неразрезных и температурно-неразрезных пролетных строениях установка неподвижных опорных частей на одной из опор является обязательной. 4.1.8. В одном пролетном строении (в том числе неразрезном или температурно-неразрезном) необходимо применять опорные части одного типа за исключением комбинации резиновых армированных - резинофторопластовых опорных частей. Другие комбинации типов опорных частей допускаются, если в схеме мостового сооружения предусмотрены различные типы пролетных строений (например, намосту, съездах, эстакадах). 4.1.9. В сейсмоопасных районах строительства, а также в обоснованных расчетом случаях должна быть предусмотрена анкеровка опорных частей. 4.2. Нагрузки и воздействия4.2.1. При проектировании опорных частей с полимерными материалами нагрузки и воздействия следует определять по СНиП 2.05.03-84*, СНиП 23-01-99*, СНиП II-7-81*. 4.2.2. Расчет опорных частей и элементов их крепления с учетом их функционального назначения следует выполнять на вертикальные и горизонтальные силы и воздействия от постоянных и временных нагрузок. При проектировании опорных частей и мостовых сооружений следует учитывать также реактивные усилия (силы трения, реактивные моменты), возникающие в опорных частях при угловых и линейных перемещениях опорных сечений пролетных строений. 4.2.3. Продольное усилие от торможения и силы тяги при расчетах передают на неподвижные опорные части в размере 100 %. При отсутствии в схеме опирания неподвижной опорной части (для резиновых опорных частей) продольное усилие от торможения и силы тяги распределяют пропорционально жесткости опорных частей [48]. 4.2.4. Перемещения в опорных частях следует определять от расчетных температурных воздействий, временных нагрузок и воздействий на пролетное строение и опоры (с учетом коэффициентов сочетаний), а также усадки и ползучести бетона (для железобетонных пролетных строений). 4.2.5. Линейные (продольные и поперечные) перемещения опорных узлов пролетных строений следует определять с учетом направления линейных перемещений, допускаемых опорными частями в опорном сечении. Для определения перемещений следует учитывать методику [48]. 4.2.6 Нагрузки и воздействия на опорные части и перемещения в опорных частях криволинейных или косых в плане балочных пролетных строений необходимо вычислять с учетом криволинейности или косины конструкции. 4.2.7 Величину угловых деформаций (углов поворота) опорных частей, вызываемых отклонениями поверхности подферменников от горизонтального проектного положения, и величину угловых деформаций, вызванных отклонениями отметок поверхности подферменников от проектных и строительным подъемом балок, принимают по СНиП 3.06.04-91. Угловые перемещения опорных узлов железобетонных пролетных строений от усадки и ползучести бетона определяют по СНиП 2.05.03-84*. Максимальные суммарные угловые перемещения опорных узлов пролетных строений от этих воздействий допускается принимать равными 0,01 рад для сборных железобетонных пролетных строений и 0,005 рад для монолитных железобетонных и стальных полетных строений. 5. Материалы для изготовления полимерных опорных частей. Скользящие элементы конструкций5.1. Материалы5.1.1. Для изготовления опорных частей следует использовать материалы, приведенные в табл. 2. 5.1.2. Допускается введение новых материалов после проведения соответствующих типовых испытаний, предусмотренных нормативными документами. 5.1.3. Составы резин для изготовления опорных частей приведены в приложении А. 5.1.4. Рекомендуется, чтобы физико-механические показатели резин, применяемых для изготовления резиновых опорных частей, соответствовали указанным в приложении Б. Таблица2 Материалы для опорных частей
5.1.5. Для антифрикционных пластин в парах скольжения используют только Фторопласт-4. Рекомендуется, чтобы по показателям качества пластины из Фторопласта-4 соответствовали нормам, указанным в табл. 3. Таблица3 Физико-механические показатели Фторопласта-4
5.1.6. Вся сферическая поверхность шарового сегмента должна быть покрыта твердым хромом согласно ГОСТ 9.303-84*. Качество покрытия шарового сегмента, выполненного из твердого хрома, проверяют визуально на отсутствие трещин и сквозных пор. Толщину и сплошность твердохромированного покрытия определяют в соответствии с требованиями ГОСТ 9.302-88. Покрытие из хрома не подлежит ремонту. 5.1.7. Металлофторопластовая лента (МФЛ) представляет собой композиционный многослойный антифрикционный материал. Данный композит состоит из трех слоев: стальной основы с медным или латунным покрытием; пористого слоя из гранул бронзы, напеченного на стальную меднённую или латунированную основу; слоя из фторопласта с наполнителем дисульфид молибдена, покрывающего тонкой пленкой гранулы бронзы (приработочный слой) и заполняющего пустоты пористого бронзового слоя. Материал должен отвечать характеристикам, указанным в табл. 4. Основные размеры МФЛ, мм
На поверхности фторопластового слоя МФЛ не допускаются повреждения в виде задиров и отслоений, а также наличие просвечиваемых гранул бронзы (визуальный осмотр). 5.1.8. В парах скольжения с фторопластом и МФЛ используют тонколистовую коррозионно-стойкую хромоникелевую сталь по ГОСТ 5582-75* с полированной контактной поверхностью. 5.2. Скользящие элементы конструкций опорных частей5.2.1. В опорных частях резинофторопластового, стаканного и сферического типов материалы в парах скольжения должны комбинироваться в соответствии с указаниями табл. 5. Таблица 5 Комбинации материалов для пар скольжения
5.2.2. Фторопластовые пластины должны располагаться в выточках (балансиров, крышек, плит), как показано на рис. 2. Края выточек должны быть острогранными, а боковые стороны - перпендикулярными дну выточки. Глубину выточек определяют в зависимости от размеров фторопластовых пластин по 5.2.6. Размеры
Примечание. Установленное значение глубины среза по периметру окаймления фторопласта дано для облегчения измерения высоты выступа фторопласта hф после установки и при обследовании опорных частей. Рис. 2. Элементы углубления фторопластовых пластин: 5.2.3. Фторопластовые пластины должны иметь ячейки для заполнения смазкой. Фторопластовые полосы направляющих деталей выполняют без ячеек для смазки. Форма и расположение ячеек для смазки в ненагруженном состоянии показаны на рис. 3. Шаблон ячеек должен быть расположен по основному направлению скольжения. Размеры
Рис. 3. Шаблон ячеек для
фторопластовых пластин: 5.2.4. Ячейки для смазки выполняют штамповкой в холодном или горячем состоянии. При штамповке ячеек в горячем состоянии температура не должна превышать 200°С. Фторопластовые пластины для сборки опорных частей поставляют в полной заводской готовности с ячейками для смазки. 5.2.5. Допуск по толщине одной фторопластовой пластины или
объединенных нескольких пластин составляет 5.2.6. Толщина фторопластовой пластины tф и выступающей ее части из выточки hф в недогруженном состоянии должна удовлетворять следующим условиям:
2,2×hф £ tф £ 8 мм. (2) Допуск на выступающую часть фторопласта из выточки hф равен ± 0,2 мм при Dф меньше или равной 1200 мм и ± 0,3 мм при Dф больше 1200 мм (см. Пример Д.1). 5.2.7. Плоские фторопластовые пластины должны быть круглой или прямоугольной формы и могут быть разделены максимум на четыре одинаковые части. Минимальный размер аф должен быть 50 мм. Примеры разделения фторопластовых пластин приведены в приложении В. Прямоугольные фторопластовые пластины применяют в резинофторопластовых опорных частях. 5.2.8. Фторопластовые пластины для сферических поверхностей скольжения должны быть круглыми и могут быть разделены на диск и кольцо. Диаметр диска принимают не менее 1000 мм, а ширину кольца не менее 50 мм. Кольцо может быть поделено на равные сегменты. Ширину разделительного кольца нижнего балансира принимают 10 мм (рис. 4). 5.2.9. Фторопластовые пластины для направляющих элементов выполняют в виде полос шириной не менее 15 мм (рис. 5). Минимальную толщину фторопластовых пластин направляющих элементов, уложенных в выточки, принимают 5,5 мм, а выступающую часть в ненагруженном состоянии 2,5 ± 0,2 мм. Размеры
Рис. 4. Примеры фторопластовых пластин, уложенных в выточки, для сферических поверхностей скольжения Размеры
Рис. 5. Примеры фторопластовых полос, уложенных в выточки, для направляющих элементов 5.2.10. Металлофторопластовые пластины для направляющих элементов выполняют в виде полос шириной не менее 10 мм. 5.2.11. В зависимости от конструкции линейно-подвижных опорных частей, направляющие элементы могут располагаться в центре (рис. 6 а, б) или на внешних сторонах (рис. 6, в).
Рис. 6. Типовые примеры направляющих элементов: 5.2.12. В сферических линейно-подвижных опорных частях деформация сжатия, определяемая по краю фторопластовой полосы (по размеру аф), которая возникает из-за непараллельности при повороте относительно горизонтальной оси, не должна быть больше 0,2 мм. Превышения этого предельного значения следует избегать путем устройства элемента вращения - балансирной рейки, крепящейся к нижнему балансиру опорной части. 5.2.13. Поверхности скольжения направляющих или блокирующих устройств линейно-подвижных и неподвижных опорных частей следует выполнять геометрически таким образом, чтобы предотвратить заедание и заклинивание. 5.2.14. Зазор между элементами скольжения в направляющих в ненагруженном состоянии должен удовлетворять следующему условию:
5.2.15. Фторопластовые диски размещаются в выточках, как правило, без боковых зазоров. Допускаемые зазоры при подгонке фторопластовых пластин не должны превышать значений, приведенных в табл. 6, при температуре (20 ± 2)°С. Таблица 6 Допускаемые зазоры, мм
5.2.16. При креплении полированного нержавеющего листа к скользящей плите непрерывным угловым сварным швом его толщина должна быть: при разнице между диаметром фторопластового диска и максимальным размером полированного листа до 500 мм - 2 мм, при разнице этих размеров более 500 мм - 3 мм. Толщина полированного листа в направляющих элементах должна быть не менее 2 мм. Высота сварного шва не должна превышать толщину полированного листа. Толщина полированного нержавеющего листа должна быть не менее 3 мм при креплении его к скользящей плите винтами из нержавеющей стали с потайной головкой или заклепками. Металлофторопласт допускается крепить точечной, прерывистой сваркой, а также потайными винтами и заклепками из нержавеющей стали в зависимости от толщины композита (см. табл. 4). 5.2.17. Не допускается использование составных (сварных) полированных листов. При сварке следует принимать специальные меры для того, чтобы полированный стальной лист прилегал на всей своей площади к скользящей плите во избежание образования воздушных пустот. 5.2.18. Отклонение поверхности приваренного полированного листа от плоскости в любом направлении должно быть не более 0,0003Dф мм. 5.2.19. Стальной полированный лист должен иметь шероховатость поверхности Ra меньше или равную 0,16 (зеркальная поверхность). 5.2.20. Сферическая поверхность скольжения шарового сегмента должна иметь покрытие из твердого хрома толщиной не менее 100 мкм. Сферический балансир может быть выполнен из нержавеющей стали без покрытия. 5.2.21. Сферическая поверхность скольжения шарового сегмента перед хромированием должна иметь шероховатость Ra меньше или равную 0,63. После хромирования выполняется полировка до зеркальной поверхности. Поверхность скольжения сферического балансира, выполненного из нержавеющей стали, должна иметь полированную зеркальную поверхность с шероховатостью Ra меньше или равной 0,16. 5.2.22. Качество прилегания сферических поверхностей зависит от величины нежелательных отклонений радиусов (Dх) выпуклой и вогнутой сфер друг от друга. Для ограничения этого отклонения действует следующее условие для разницы Dх для шарового сегмента и нижнего балансира сферической опорной части Dх £ 0,2 мм при Dф £ 600 мм; Dх £ 0,0003Dф при Dф ³ 600 мм. 5.2.23. Непосредственно перед сборкой опорных частей поверхности скольжения должны быть очищены, а ячейки фторопластовых пластин полностью заполнены смазкой. На полосы из фторопласта или металлофторопласта в направляющих элементах также наносят смазку. 6. Конструкции опорных частей6.1. Резиновые армированные опорные части6.1.1. Резиновая армированная опорная часть должна иметь плоские стальные листы, чередующиеся с резиновыми слоями, объединенные при вулканизации (рис. 7).
Рис.
7. Поперечное сечение опорной части: 6.1.2. Применяют резиновые опорные части, изготавливаемые из светоозоностойких резин HO-68-1 и РСМ-3Л (рис. 8, а) и из несветоозоностойкой резины ИРП-1347-1 (рис. 8, б) с боковым защитным слоем, выполненным из резины HO-68-1.
Рис. 8. Конструкции всесторонне-подвижных резиновых опорных частей: 6.1.3. Стальные конструкции, используемые в неподвижных и линейно-подвижных резиновых опорных частях, должны оставлять свободными для осмотра возможно большие площади боковых поверхностей опорных частей (рис. 9).
Рис. 9. Конструкции неподвижных и линейно-подвижных резиновых опорных частей 6.1.4. Стороны резиновых опорных частей должны приниматься кратными, как правило, 50 мм. Размер сторон опорных частей в плане должен быть не менее 100 мм. 6.1.5. Толщина верхнего и нижнего наружных слоев резины в опорных частях должна быть не менее 2 мм и не более 5 мм, а бокового защитного слоя - не менее 2 мм и не более 10 мм. Толщины внутренних слоев резины должны быть одинаковыми. В зависимости от размеров опорных частей в плане их толщины принимают по расчету равными 5, 8, 10, 11, 15 или 18 мм. Вертикальные грани опорных частей могут иметь уклон в пределах допуска, установленного на толщину защитного бокового слоя резины (см. рис. 7). 6.1.6. Толщина стальных листов в опорных частях не должна быть меньше 2 мм. Допускается выполнять в стальных листах необходимые технологические отверстия. 6.1.7. Не защищенные резиной стальные элементы опорных частей следует предохранять от коррозии согласно 6.5. 6.2. Стаканные опорные части6.2.1. Стаканные опорные части по функциональному назначению подразделяют на неподвижные, всесторонне-подвижные и линейно-подвижные (рис. 10).
Рис. 10. Конструкции стаканных опорных частей: 6.2.2. Неподвижная стаканная опорная часть состоит из стального стакана (обоймы), резиновой пластины с уплотнительными кольцами и крышки. Всесторонне-подвижная опорная часть включает дополнительно пару скольжения - фторопластовый диск, расположенный в выточке крышки, и скользящую плиту с прикрепленным к ней полированным стальным листом. Линейно-подвижная опорная часть снабжена направляющими элементами скольжения, которые могут располагаться в центре крышки или на ее внешних сторонах (рис. 10,11). Размеры
Рис. 11. Узел линейно-подвижной стаканной опорной части с
направляющим элементом в середине крышки: 6.2.3. Стакан может быть выполнен в виде одной детали, то есть цельновыточным, или сварным, когда кольцо и основание стакана приваривают друг к другу. Толщина основания стакана должна составлять минимум 1/50 его внешнего диаметра, но не менее 12 мм. Высоту и толщину кольца стакана определяют расчетом (см. раздел 8). 6.2.4. Шероховатость Ra внутренней поверхности стенок стакана, плоской поверхности крышки, контактирующей с резиновой пластиной, а также ее цилиндрической поверхности должна быть меньше или равной 0,63. 6.2.5. Диаметр крышки стаканных опорных частей должен быть меньше
внутреннего диаметра стакана на Нижняя часть крышки должна иметь цилиндрическую поверхность в виде кольца, высота которого, определяемая расчетом, не должна быть меньше 10 мм. Верхняя часть крышки должна иметь форму усеченного конуса, угол наклона поверхности которого равен 10° (рис. 11). 6.2.6. Толщина резиновой пластины (вкладыша) должна составлять
1/15 ее диаметра, но не менее 16 мм. Допускаемое отклонение толщины должно
составлять ±1,5 мм. Диаметр резиновой пластины в ненагруженном состоянии должен
быть на 6.2.7. Резиновая пластина должна иметь по периметру паз, в котором располагают уплотнительные кольца. Ширина паза на 0,5-1,0 мм меньше ширины уплотнительных колец, а высота - на 0,5-1,0 мм больше суммарной толщины колец. В резиновой пластине выполняют аккумуляторы смазки на верхних и нижних сторонах площадью не более 30% общей площади пластины и глубиной 1-2 мм (рис. 12). Размеры
Рис. 12. Пример расположения аккумуляторов смазки резиновой пластины 6.2.8. Уплотнитель комплектуют из трех медных колец. На каждом кольце следует выполнять разрез, расположенный под углом 45° к оси кольца. При укладке уплотнительных колец в паз резиновой пластины разрезы необходимо располагать со смещением относительно друг друга в плане под углом приблизительно 120°. Зазор между смежными концами установленных в опорную часть уплотнительных колец не должен быть более 0,5 мм. При диаметре резинового вкладыша меньше или равным 300 мм используют кольца толщиной 2 мм и шириной 10 мм. При диаметре больше 300 мм используют кольца толщиной 3 мм и шириной 15 мм. Уплотнительные кольца при установке в опорную часть плотно сопрягают с внутренними стенками обоймы стакана. Зазор между уплотнительными кольцами и стенкой обоймы должен быть не более 0,1 мм. 6.2.9. Для смазки резинового вкладыша используют специальную смазку мостол. На внутреннюю поверхность стенок стакана наносят дополнительно слой смазки. Зазоры между резиновым вкладышем и стенками стакана должны быть полностью заполнены смазкой. 6.2.10. Оси стаканных опорных частей необходимо зафиксировать на верхней поверхности скользящих плит (крышек) рисками или отверстиями для визирных шпилек. На подвижных и линейно-подвижных опорных частях следует предусматривать указатель перемещений и шкалу перемещений с указанием величин перемещений, допускаемых опорной частью. 6.2.11. Характеристики скользящих элементов указаны в разделе 5. 6.2.12. Поверхность выточек для фторопласта в крышках и боковых упорах должна иметь шероховатость Ra меньше или равную 2,5. Отклонение поверхности дна выточек от плоскости должно быть не более 0,05 мм. 6.2.13. При расчетном смещении опорного узла пролетного строения лист из нержавеющей стали должен перекрывать фторопластовые пластины в опорных частях с запасом не менее 25 мм в каждую сторону - при перемещениях вдоль и поперек пролетного строения. Это требование распространяется и на продольные перемещения в направляющих элементах, выполненных из фторопласта или металлофторопласта. Для поперечных перемещений запас должен быть не менее 10 мм. 6.2.14. Необходимо защищать опорную часть от атмосферных воздействий, грязи и пыли фартуком. Зазор между крышкой и кольцом стакана герметизируют с помощью уплотнителя, выполненного из озоностойкой резины. 6.2.15. Все элементы стаканных опорных частей следует объединять между собой наружными стальными болтами. Съемные стальные болты, объединяющие элементы опорных частей, должны быть виброустойчивы и снабжены пружинными шайбами и контргайками. В опорных частях также необходимо предусмотреть приспособления, необходимые для такелажных работ. 6.2.16. Анкеровка опорных частей допускается наружными анкерными болтами с использованием анкерных плит (рис. 10). 6.2.17. Необходимо обеспечивать доступ для осмотра и замены опорных частей. Для обеспечения возможности извлечения и замены опорных частей без выполнения мокрых работ, сварки или огневой резки между опорными частями и сопрягающимися с ними элементами опор и пролетных строений следует предусматривать установку стальных прокладных плит. Толщина прокладных плит должна быть не менее 0,02 диагонали плиты и не менее 18 мм. 6.3. Сферические (шаровые сегментные) опорные части6.3.1. Сферические опорные части по функциональному назначению подразделяют на всесторонне-подвижные, линейно-подвижные и неподвижные. 6.3.2. Сферическая всесторонне-подвижная опорная часть включает стальной нижний балансир с вогнутой сферической поверхностью, в выточке которой расположен фторопластовый диск; стальной верхний балансир (шаровой сегмент) с фторопластовым диском, расположенным в выточке на плоской поверхности; скользящую плиту с прикрепленным к ней полированным стальным листом. Линейно-подвижная сферическая опорная часть содержит дополнительно направляющие элементы. В неподвижной сферической опорной части скользящая плита имеет кольцевой фиксатор (рис. 13 а, б, в). В комплект опорных частей могут входить анкерные и прокладные плиты.
Рис. 13. Конструкции сферических опорных частей: 6.3.3. В качестве элементов скольжения в сферической опорной части для плоской поверхности скольжения используют фторопласт и полированную нержавеющую сталь, а для сферической поверхности скольжения - фторопласт - полированное твердохромированное покрытие или полированную нержавеющую сталь. В направляющих элементах линейно-подвижных опорных частей в качестве пары трения используют полированную нержавеющую сталь-фторопласт или металлофторопласт. Характеристики скользящих элементов указаны в разделе 5. 6.3.4. Для криволинейных поверхностей пластин из фторопласта с целью обеспечения равномерного распределения напряжений сжатия необходимо выдерживать следующее геометрическое условие: отношение радиуса сферического балансира к диаметру фторопластового диска должно быть больше или равно 1,5. 6.3.5. Нижний балансир с вогнутой поверхностью должен иметь ограничение размеров, указанное на рис. 14. Нижний балансир распределяет под углом 45° действующее на него давление от шарового сегмента (от сферической вогнутой поверхности) на площадь подферменника. Размеры
Рис. 14. Ограничение размеров нижних балансиров 6.3.6. Размеры шарового сегмента получают исходя из конструктивных соображений в зависимости от расчетного диаметра фторопластовой пластины, смещения от расчетного угла поворота и запаса. При расчетном повороте опорного узла пролетного строения твердохромированная (или нержавеющая) поверхность скольжения шарового сегмента должна перекрывать фторопластовую пластину с запасом не менее 5 мм. 6.3.7. Размеры балансирной рейки определяют в зависимости от расчетных размеров фторопластовых (или металлопластовых) полос, а радиус - от допускаемого контактного напряжения смятия при касании цилиндрической поверхности рейки с плоскостью нижнего балансира (рис. 15).
Рис. 15. Узел линейно-подвижной сферической опорной части с
направляющей: 6.3.8. В неподвижной сферической опорной части для обеспечения поворотов внутренний диаметр кольцевого фиксатора должен быть на 2 мм больше диаметра нижнего балансира, контактирующего с фиксатором. 6.3.9. Необходимо снабжать опорные части транспортными, анкерными, такелажными деталями, а также защищать от атмосферных воздействий и коррозии (см. 6.2 и 6.5). 6.4. Резинофторопластовые опорные части6.4.1. Резинофторопластовые опорные части по функциональному назначению подразделяют на всесторонне-подвижные и линейно-подвижные. Всесторонне-подвижная резинофторопластовая опорная часть состоит из деформируемой детали в виде резиновой армированной опорной части соответствующего типоразмера, передающей вертикальную нагрузку и обеспечивающей угловые перемещения опорных узлов пролетных строений, и пары скольжения, обеспечивающей линейные перемещения. Линейно-подвижная резинофторопластовая опорная часть включает дополнительно направляющие элементы. 6.4.2. В качестве элементов скольжения используют фторопласт и полированную нержавеющую сталь. В направляющих элементах линейно-подвижных опорных частей в качестве пары трения используют полированную нержавеющую сталь - фторопласт или металлофторопласт. 6.4.3. Область применения опорных частей определяют в зависимости от марки резины, используемой в резиновой опорной части, согласно 3.6. 6.4.4. Стальной лист с выточками, в которых располагаются фторопластовые пластины, может быть привулканизирован к резиновой опорной части при ее изготовлении или свободно располагаться на ней (рис. 16). Для предотвращения смещения стальной лист, свободно расположенный на резиновой опорной части, должен по периметру иметь ограничители высотой не менее 10 мм. Направляющие элементы линейно-подвижных опорных частей могут располагаться как в центре стального листа (рис. 16, а, г), так и снаружи (рис. 16, в, е).
Рис. 16. Конструкции резинофторопластовых опорных частей: 6.4.5. Элементы конструкций резинофторопластовых опорных частей описаны в 5.2 и 6.1. 6.5. Защита опорных частей от коррозии6.5.1. Стальные поверхности опорных частей следует защищать от коррозии в соответствии с требованиями СНиП 2.03.11-85, СНиП 3.04.03-85 и СТО 001-2006. 6.5.2. Не подлежат окраске поверхности опорных частей, контактирующие с бетоном, а также поверхности скольжения - стальные полированные листы, сферическая хромированная поверхность, фторопластовые и металлофторопластовые детали. 6.5.3. Антикоррозионную защиту допускается не применять на внутренней поверхности стакана, а также на поверхностях крышки, прилегающих к стакану и резиновой пластине (для стаканных опорных частей). 6.5.4. Поверхности выточек для фторопластовых деталей следует покрывать одним слоем нецинкосодержащей грунтовки толщиной от 40 до 100 мкм. 6.5.5. Допускается для защиты от коррозии стальных поверхностей опорных частей после пескоструйной очистки поверхностей до металлического блеска применять комбинированное металлизационно-лакокрасочное покрытие, состоящее из металлизационного цинкового покрытия с последующим нанесением лакокрасочных материалов. Толщина цинкового слоя должна составлять от 60 до 100 мкм. 7. Расчет резиновых армированных опорных частей7.1. Расчетные характеристики7.1.1. Расчетное сопротивление резины сдвигу при внецентренном сжатии опорных частей со сдвигом следует принимать равным Rt = 5 МПа. 7.1.2. Расчетное сопротивление резиновых опорных частей при осевом сжатии следует принимать равным Rc = 15 МПа. 7.1.3. Деформация сдвига (тангенс угла сдвига) опорных частей при действии горизонтальных нагрузок и воздействий в случае, когда суммарная толщина слоев резины h не превышает 0,2 длины меньшей стороны опорной части, не должна превышать tgg = 0,7. 7.1.4. Для резиновых опорных частей, у которых суммарная толщина слоев резины h £ 0,3 длины меньшей стороны опорной части, допускается принимать величину деформации сдвига равной
где а - размер стороны опорной части, параллельной продольной оси пролетного строения (см. рис. 7). 7.1.5. При воздействии сейсмической нагрузки значение тангенса угла сдвига опорных частей, заанкеренных в пролетных строениях и опорах, принимают не более 1,5. 7.1.6. Расчетный угол поворота одного промежуточного слоя резины (см. рис. 7) при нормальных напряжениях в опорной части от расчетной вертикальной нагрузки sd ³ 0,5Rc следует определять по формуле
где сp - толщина промежуточного слоя резины; G - модуль сдвига резины при температуре минус 20°С, принимаемый по табл. 7; а1 - размер стороны арматуры опорной части, параллельной продольной оси пролетного строения; b1 - размер стороны арматуры опорной части, перпендикулярной оси пролетного строения. b - коэффициент формы резиновой опорной части. Модуль сдвига резины Gt
7.1.7. Модуль упругости при сжатии Е, МПа, резиновых опорных частей в диапазоне напряжений от 3 МПа до расчетного значения определяется испытаниями. Допускается устанавливать ряд одинаковых опорных частей на одной опоре при условии, что их жесткость, определяемая при испытаниях, имеет разброс от среднего значения в пределах ±15%. При допустимой оценке ±25% от номинального значения модуль упругости при сжатии допускается определять по формуле Е = 76,5G(b -1,1) (см. Пример Д.3). (6) 7.1.8. Коэффициент трения mр резины марки ИРП-1347-1 по стали и бетону следует определять по формуле где sd - нормальные напряжения в опорной части от расчетной вертикальной нагрузки в МПа (определяется по формуле (9). Коэффициент трения резины марок НО-68-1 и РСМ-3Л по бетону определяют по формуле (7), а по стали по формуле
Коэффициент трения mр от расчетной постоянной нагрузки Fg,d определяют по формулам (7) и (8) с заменой sd на sg,d - нормальные напряжения от постоянной нагрузки, определяемые по формуле (9) с заменой Fd на Fg,d 7.2. Расчет на прочность7.2.1. Нормальные напряжения в резиновых опорных частях (см. рис. 7) от расчетной вертикальной нагрузки следует определять по формуле
где Fd - вертикальная опорная реакция от расчетной вертикальной нагрузки; А1=:а1b1 - площадь стального листа, армирующего опорную часть; dа, db - расчетное перемещение сдвига опорной части по направлениям сторон а и b соответственно. При расчете площади наличие сквозных технологических отверстий в арматуре не учитывают (см. Пример Д.4). 7.2.2. Касательные напряжения, возникающие в резине опорной части от расчетных нагрузок, должны удовлетворять условию td = tv,d +th,d +tu,d £ Rt (10) где tv,d; th,d - касательные напряжения соответственно от расчетной вертикальной и горизонтальной нагрузок; tu,d - касательные напряжения, возникающие в результате поворота верхней плоскости опорной части относительно нижней от расчетных нагрузок и воздействий (см. Пример Д.5). 7.2.3. Касательные напряжения от расчетной вертикальной нагрузки следует определять по формуле
7.2.4. Касательные напряжения от расчетной горизонтальной нагрузки определяют по формуле
где Fh,d - расчетное усилие от торможения, силы ветра, центробежной силы и поперечных ударов подвижной нагрузки; i -угол уклона пролетного строения; dd - линейные перемещения опорного узла пролетного строения от расчетных температурных воздействий, ползучести, усадки бетона и расчетной временной подвижной нагрузки; h - суммарная толщина слоев резины. 7.2.5. При использовании в мостовых сооружениях наряду с подвижными неподвижных резиновых опорных частей, на них передается вся расчетная горизонтальная нагрузка, действующая вдоль оси сооружения. 7.2.6. Касательные напряжения в резине от расчетных нагрузок при повороте верхней плоскости опорной части относительно нижней определяют по формуле
где J - угол поворота опорной части от расчетных нагрузок и воздействий; п - количество слоев резины (см. примечание); Jg,d; Jv,d - угол поворота опорной части от расчетной постоянной и временной подвижной нагрузки; Ji - угол поворота, равный уклону пролетного строения; Jo - начальный угол поворота, принимаемый 0,01 рад для сборных железобетонных пролетных строений и 0,005 рад для монолитных железобетонных и стальных пролетных строений. Примечание. В опорных частях с толщиной наружных слоев резины 5 мм и промежуточных слоев резины до 10 мм допускается принимать п, равным количеству всех слоев резины. При толщине промежуточных слоев резины от 10 до 15 мм в расчете допускается учитывать два наружных слоя резины толщиной по 5 мм как один промежуточный соответствующей толщины. При толщине промежуточных слоев более 15 мм и более допускается принимать п, равным их количеству без учета наружных слоев резины. 7.2.7. Толщину стальных арматурных листов са определяют по формуле [15] (см. Пример Д.6).
где sт - предел текучести стали; gm - коэффициент безопасности, принимаемый равным 1,0 при отсутствии технологических отверстий в арматуре и 2,0 при наличии отверстий. 7.2.8. При проверке устойчивости для опорных частей, у которых h ³ 0,2a, должно соблюдаться условие [15] (см. Пример Д.7).
7.3. Деформации и перемещения7.3.1. Деформацию сжатия резиновых опорных частей от временной подвижной нормативной нагрузки определяют по формуле
где Fv,n - вертикальная опорная реакция от временной подвижной нормативной нагрузки. 7.3.2. Тангенс угла сдвига опорной части, как следствие смещения опорного узла пролетного строения относительно опоры при воздействии постоянных нагрузок и температуры, определяют по формуле
где dt,n - линейные перемещения опорного узла от нормативного перепада температуры, усадки и ползучести бетона; Fg,n - вертикальная опорная реакция от нормативной постоянной нагрузки. Линейные перемещения определяют от всего расчетного перепада температур от положительной до отрицательной, поскольку резиновые армированные опорные части устанавливают при любой температуре в нейтральном (без сдвига) положении. 7.3.3. Тангенс угла сдвига опорной части при действии на нее нормативной временной нагрузки определяют по формуле
где dv,n - линейное перемещение опорного узла вследствие поворота опорного узла пролетного строения от нормативной временной подвижной нагрузки; Fh,n - нормативное усилие от торможения, силы ветра, центробежной силы и поперечных ударов подвижной нагрузки. Тангенс угла сдвига от действия суммарных нормативных нагрузок определяют по формуле Величина tgg не должна превышать значений, указанных в 7.1.3 и 7.1.4 (см. Пример Д.9). 7.3.4. Отсутствие зазоров в зоне контакта опорных частей с элементами пролетных строений и опор следует обеспечивать выполнением следующего условия:
где Jd - расчетный угол поворота одного промежуточного слоя резины (см. 7.1.6). 7.3.5. Если поворот и сдвиг опорной части происходит как вдоль, так и поперек оси мостового сооружения, то результирующее напряжение и углы сдвига рассчитывают как вектор. 7.3.6. Отсутствие скольжения пролетных строений по опорным частям и опорных частей по опорам проверяют по формулам
где Fg,d - вертикальная опорная реакция от расчетной постоянной нагрузки; mp - коэффициент трения резины, принимаемый по формулам (7) и (8); A = ab - общая площадь опорной части (см. рис. 7); dg,1, dg,2 - линейное перемещение опорного узла пролетного строения от усадки и ползучести бетона, а также от расчетного перепада температуры соответственно; Gt - модуль сдвига резины при температуре t°C (см. табл. 7); Fh,d - расчетное усилие от торможения, силы ветра, центробежной силы и поперечных ударов подвижной нагрузки. При sg,d £ 3,0 МПа и невозможности соблюдения требований по 7.3.6 следует предусматривать специальные конструктивные меры, исключающие скольжение резиновой опорной части и пролетного строения (см. Пример Д.11). 7.4. Определение усилий, вызываемых деформациями опорных частей7.4.1. При деформации резиновых опорных частей, вызываемых поворотом опорных сечений в вертикальной плоскости, параллельной оси пролетных строений, в них возникает передающийся опорам реактивный момент, определяемый по формуле
где J - по 7.2.6; Мо - условный начальный момент, равный 0,004 МН×м; K1 - коэффициент, зависящий от отношения размеров а1 и b1 принимают по табл. 8. Таблица 8 Коэффициенты K1
7.4.2. Горизонтальное продольное усилие в опорах мостовых сооружений определяют, как правило, с учетом гибкости опор и жесткости резиновых опорных частей при сдвиге. Реактивное горизонтальное продольное усилие, возникающее в линейно-подвижных и подвижных резиновых опорных частях вследствие перемещений опорных сечений пролетного строения от действия усадки и ползучести бетона, а также перепада температуры, определяют по формуле
где dt,d - линейное перемещение опорного узла пролетного строения относительно опоры от расчетного перепада температуры, ползучести и усадки бетона; Gt - модуль сдвига резины при температуре t°C, который в зависимости от производимых расчетов следует принимать в размерах: максимальном - Gmax; минимальном - Gmin; нормальном - Gn. Расчетные величины реактивных продольных усилий необходимо устанавливать при проверке: по прочности - по значениям модулей Gmax и Gmin (см. табл. 7 и СНиП 2.05.03-84*); железобетонных конструкций по трещиностойкости - по значению модуля Gn, определенного как полусумма максимального и минимального модуля сдвига (см. Пример Д.13). Опорные части должны быть также проверены на поперечные нагрузки от ударов подвижной нагрузки и центробежные силы. 8. Расчет стаканных опорных частей8.1. Расчетные характеристики8.1.1. Расчетное сопротивление при осевом сжатии резиновой пластины в стальном стакане Rp принимают равным 25 МПа. 8.1.2. Расчетное сопротивление при осевом Rn и внецентренном Rm сжатии фторопластовых пластин, расположенных в выточках согласно требованиям 5.2.6, принимают 40 МПа и 50 МПа соответственно. 8.1.3. Расчетное сопротивление при сжатии в направляющих элементах Rн, выполненных с использованием металлофторопластовых полос, принимают 100 МПа, а фторопластовых полос 40 МПа. 8.1.4. Коэффициенты трения mф фторопластовых пластин, контактирующих со стальным полированным листом, принимают по табл. 9. Коэффициенты трения фторопласта
8.1.5. Коэффициенты трения mn в направляющих элементах или кольцевых фиксаторах для материалов пары скольжения принимают вне зависимости от температуры воздуха и напряжений равными: mn = 0,08 для пары фторопласт - полированная сталь, mn = 0,12 для пары металлофторопласт - полированная сталь, mn = 0,20 для пары сталь - сталь. 8.1.6. При определении местного сжатия от опорных частей на подферменники учитывают снижение расчетного сопротивления бетона в случае расположения их в зонах конструкций деформационных швов. В этом случае к расчетным сопротивлениям бетона вводят коэффициенты условия работы т, которые принимают равными: т = 0,95 - для конструкций с косвенным армированием, т = 0,90 - для конструкций без косвенного армирования. 8.2. Определение усилий и напряжений, расчет стальных элементов8.2.1. Нормальные напряжения в резиновых пластинах от расчетной опорной реакции определяют по формуле
где Fd - вертикальная опорная реакция от расчетной вертикальной нагрузки; Rp - расчетное сопротивление резиновой пластины при осевом сжатии (см. 8.1.1); Dp - диаметр резиновой пластины. 8.2.2. Реактивный момент, возникающий в опорных частях при повороте, определяют по формуле M = kGtd3 при k = 8,3×(1 + 0,09×sp) ×tgJ + 0,15 (см. Пример Д.14), (26) где k - коэффициент, учитывающий особенность работы резиновой пластины; Gt - модуль сдвига резины при температуре t°C (см. табл. 7); d - внутренний диаметр стального стакана; sp - нормальные напряжения в резиновой пластине от расчетной осевой нагрузки; J = J1 + 6J2 - расчетный угол поворота опорной части; J1; J2 - углы поворота опорной части от расчетных постоянных и временных нагрузок и воздействий соответственно. 8.2.3. Нормальные осевые и краевые напряжения во фторопластовых пластинах определяют по формулам
где Аф - площадь фторопластовых пластин, включая ячейки для смазки; М - реактивный момент от расчетной нагрузки (см. 8.2.2); Wф - момент сопротивления фторопластовых пластин; Rn и Rm - расчетное сопротивление фторопластовых пластин соответственно при осевом и внецентренном сжатии (см. 8.1.2) (см. Пример Д.14). Расчет полос из фторопласта (МФЛ) для направляющих элементов стаканных опорных частей выполняют по 9.2.4. 8.2.4. Нормативное сопротивление от трения в подвижных опорных частях принимают в виде горизонтального реактивного усилия Fm и определяют по формуле
где mф - коэффициент трения по табл. 9; Fv - нормативная величина вертикальной опорной реакции. Расчетное сопротивление от трения в подвижных опорных частях определяют по формуле (29) с заменой Fv на расчетную величину Fd, а mф на mф mах в случаях, когда в рассматриваемом сочетании нагрузок силы трения увеличивают общее воздействие на рассчитываемый элемент конструкции, и на mф min когда уменьшают общее воздействие (см. Пример Д.15). 8.2.5. Для неподвижных опорных частей в неразрезном или температурно-неразрезном пролетном строении продольное усилие необходимо принимать как разницу от трения при максимальных и минимальных коэффициентах трения в подвижных опорных частях. Максимальные и минимальные коэффициенты трения в подвижных опорных частях для групп опор, воспринимающих в неразрезных и температурно-неразрезных пролетных строениях продольные усилия одного знака (соответственно mф mах,z и mф min,z), допускается определять по формуле
где mф mах и mф min - максимальные и минимальные значения коэффициентов трения; z - число опор в группе. Правую часть формулы принимают со знаком «плюс» при определении mф mах,z и со знаком «минус» - при определении mф min,z (см. Пример Д.16). 8.2.6. Стальную обойму стаканных опорных частей рассчитывают как полое толстостенное кольцо (без учета работы дна) на внутреннее гидростатическое давление от смятия резины и равнодействующую внешних горизонтальных сил (рис. 17). Растягивающее напряжение в обойме определяют по формуле
где Vxy - равнодействующая горизонтальная сила; hp - толщина резиновой пластины; bс - толщина кольца стакана; t - высота кольца стакана (без учета дна); Ry - расчетное сопротивление стали растяжению. 8.2.7. Горизонтальная нагрузка передается от пролетного строения опорам через крышку, объединяющую верхние и нижние элементы опорной части. Горизонтальную силу, передаваемую крышкой, допускается принимать распределенной по параболе на половине периметра кольца стакана (см. рис. 17 б, в). 8.2.8. Стенку кольца, а также сварные швы между кольцом и дном (если стакан не изготовлен из целой заготовки) проверяют на срез от совместного действия гидростатического давления резины и горизонтальной нагрузки от внешних сил Vxy (см. рис. 17 б). Максимальное срезывающее усилие (на 1 см кольца по периметру) определяют по формуле
где Rs - расчетное сопротивление стали (или сварного шва) срезу.
Рис. 17. Схемы для расчета стакана: 8.2.9. Растягивающие напряжения в дне стакана определяют по формуле
где Dc - внешний диаметр кольца стакана; hc - толщина дна стакана (см. Пример Д.17). 8.2.10. Нижняя часть крышки должна заходить в стакан на величину X для обеспечения надежной передачи внешней горизонтальной силы при расчетных (максимальных) углах поворота опорной части. Величину X (см. рис. 17) определяют для каждой опорной части по формуле
где J - угол поворота опорной части; S - высота упора крышки для восприятия внешней горизонтальной силы принимается конструктивно не менее 10 мм. 8.2.11. Расчет напряжений смятия по поверхности между кольцом стакана и упором крышки S с учетом параболического распределения равнодействующей горизонтальной силы Vxy (см. 8.2.7) выполняют по формуле
где PT - расчетное сопротивление стали смятию. 8.2.12. Скользящую плиту рассчитывают на изгиб. Толщина скользящей плиты hn должна составлять не менее 0,04 от ее размера по диагонали, но не менее 40 мм. При расчете плиты на изгиб (см. Пример Д.23) ее толщину определяют из условия равномерного распределения давления от фторопласта [46], [47]. Расчет плиты следует выполнять с учетом конструкции опорного узла пролетного строения, а также смещения оси опорного узла на расчетную величину в обоих направлениях (для стальных пролетных строений). 8.2.13. Сечения элементов опорных узлов пролетных строений в месте их опирания на опорные части должны быть рассчитаны на реактивное давление резины (фторопласта) с учетом смещения в стадии эксплуатации равнодействующей опорной реакции относительно оси опорных узлов пролетных строений. 9. Расчет сферических (шаровых сегментных) опорных частей9.1. Расчетные характеристики9.1.1. Расчетные сопротивления фторопластовых пластин при осевом и внецентренном сжатии принимают согласно 8.1.2. 9.1.2. Расчетное сопротивление на полосы, выполненные из фторопласта или металлофторопласта, в направляющих элементах принимают согласно 8.1.3. 9.1.3. Коэффициенты трения фторопластовых пластин цф, контактирующих со стальным полированным листом скользящей плиты или полированной хромированной поверхностью сферы, принимают по табл. 9. 9.1.4. Коэффициенты трения для определения усилий, возникающих в направляющих и удерживающих элементах линейно-подвижных и неподвижных опорных частей, от действия горизонтальных сил принимают согласно 8.1.5. 9.1.5. Расчетное сопротивление смятия при касании цилиндра балансирной рейки с плоскостью упора принимают 800 МПа. 9.2. Расчет9.2.1. Фторопластовые пластины плоской и сферической поверхностей рассчитывают на нормальные напряжения, а также с учетом воздействия реактивного момента, возникающего при повороте шарового сегмента, по формулам согласно 8.2.3 и 9.2.3. При расчете фторопласта сферической поверхности скольжения принимается площадь ее проекции на плоскую поверхность (рис. 18). Не допускается появления отрицательных краевых напряжений.
Рис. 18. Схема расчета сферической поверхности скольжения: 9.2.2. Сопротивление трению на поверхностях скольжения при повороте сферической опорной части вызывает эксцентриситет вертикального усилия Fd, используемый для расчетов фторопластовых пластин, смежных конструкций опорного узла и анкерных устройств. Если в рассматриваемом сечении на напряжения могут оказывать влияние несколько эксцентриситетов, то их следует складывать. 9.2.3. Эксцентриситеты определяют по формулам (см. Пример Д.18) e1 = mф×R, (36)
e3 = J×(R + x), (38) где e1 - эксцентриситет вследствие сопротивления трению на плоской и сферической поверхностях скольжения; е2 - эксцентриситет вследствие сопротивления трению на поверхностях скольжения направляющих или кольцевых фиксаторов; е3 - эксцентриситет вследствие поворота опорной части (возникает на сферической поверхности скольжения и в сечениях ниже этой поверхности); mф - коэффициент трения, принимаемый по табл. 9 как полусумма максимального и минимального значения; mп - коэффициент трения, принимаемый по 8.1.5; R - радиус шарового сегмента; J - угол поворота опорной части; К - расстояние от плоскости скольжения в направляющих или фиксаторах до центра опорной части; х - расстояние между поверхностью скольжения и рассматриваемым поперечным сечением; Fd - вертикальная опорная реакция от расчетной вертикальной нагрузки; Vxy - равнодействующая горизонтальная сила. 9.2.4. Расчет полос из фторопласта или металлофторопласта в направляющих элементах линейно-подвижных сферических опорных частей выполняют на центральное сжатие. Нормальные напряжения во фторопластовых (металлофторопластовых) полосах направляющих определяют по формуле (см. Пример Д.19)
где Vy - максимальная поперечная горизонтальная сила; Афн - площадь фторопластовой (металлофторопластовой) полосы направляющей; Rн - расчетное сопротивление фторопластовых (металлофторопластовых) полос при осевом сжатии. 9.2.5. Отношение радиуса сферы R к диаметру фторопластового диска Dф при проектировании должно быть больше или равно 1,5. 9.2.6. Скользящие плиты сферических опорных частей следует рассчитывать на изгиб с учетом 8.2.12 и 8.2.13. 9.2.7. Горизонтальное реактивное усилие определяют по 8.2.4, 8.2.5. 10. Расчет резинофторопластовых опорных частей10.1. Расчетные характеристики10.1.1. Расчетные характеристики при расчете резиновой опорной части, являющейся составляющей деталью резинофторопластовой опорной части, следует принимать в соответствии с указаниями 7.1. 10.1.2. Расчетные характеристики при расчете фторопластовых пластин принимают согласно указаниям 8.1. 10.1.3. Коэффициенты трения в направляющих элементах линейно-подвижных опорных частей принимают согласно 8.1.5. 10.2. Расчет10.2.1. Расчет резиновой опорной части на нормальные нагрузки, а также на нагрузки, вызывающие поворот верхней плоскости опорной части относительно нижней, выполняют в соответствии с указаниями 7.2. 10.2.2. Тангенс угла сдвига резиновой опорной части от нормативной постоянной нагрузки определяют по формуле
где mф - коэффициент трения фторопласта, принимаемый по табл. 9; Fg,n - вертикальная опорная реакция от нормативной постоянной нагрузки; А1 - площадь стального листа, армирующего резиновую опорную часть; Gt - модуль сдвига резины при температуре t °C (см. табл. 7). 10.2.3. Тангенс угла сдвига резиновой опорной части от нормативной подвижной временной нагрузки определяют по формуле
где Fv,n - вертикальная опорная реакция от временной подвижной нормативной нагрузки. Тангенс угла сдвига от действия суммарных нормативных нагрузок tgg определяют по формуле (19), а допускаемую величину tgg по 7.1.3 и 7.1.4. 10.2.4. Касательные напряжения от расчетной горизонтальной нагрузки (см. формулу 10) определяют по формуле
где Fd - вертикальная опорная реакция от расчетной вертикальной нагрузки. 10.2.5. Расчет фторопластовых пластин выполняют по 8.2.3. Величину реактивного момента определяют согласно 7.4.1. Фторопластовые полосы направляющих элементов линейно-подвижных опорных частей рассчитывают на нормальные напряжения, принимаемые по 8.1.3. 10.2.6. Перемещения резиновых армированных деталей в комбинации резинофторопластовых опорных частей допускается ограничивать стальными упорами с учетом корректировки высоты резины. 10.2.7. Стальной лист, расположенный между фторопластовыми пластинами и резиновой деталью, следует рассчитывать на изгиб с учетом действия равномерно распределенных нагрузок с одной стороны от резиновой опорной части, а с другой - от фторопластовых пластин. 11. Расчет анкеровки опорных частей11.1. Опорные части автодорожных, городских и пешеходных мостов в обоснованных расчетом случаях допускается устанавливать без прикрепления к пролетному строению и опорам. 11.2. Решение об анкеровке опорных частей (в том числе целесообразность учета совместной работы анкеров с силами трения) принимается проектировщиком для каждой конкретной опорной части. Неподвижные опорные части, как правило, следует анкеровать. 11.3. Опорные части в районах с сейсмической активностью необходимо анкеровать в пролетных строениях и опорах. 11.4. Проверку возможности установки опорных частей без прикрепления к пролетному строению и опорам выполняют по формуле кн × Vxy £ mn × Fmax, min (см. Пример Д.22), (43) где кн - коэффициент надежности, принимаемый равным 1,5 для максимального и 1,0 для минимального значения опорной реакции; Vxy - равнодействующая горизонтальная сила, соответствующая опорной реакции; Fmax, min - максимальное или минимальное значение вертикальной опорной реакции; mn - коэффициент трения, принимаемый равным: 0,2 для контактной пары сталь - сталь; 0,3 для контактной пары сталь - бетон. Приведенные коэффициенты трения обеспечиваются при условиях отсутствия на контактных поверхностях краски и смазочных веществ, наличие которых может привести к уменьшению коэффициента трения. При невыполнении указанного условия проверку выполняют с учетом силы Va, воспринимаемой анкерами по формуле кн × Vxy £ mn × Fmax, min + Va (см. Пример Д.22). (44) В случае повышенных динамических воздействий mn принимают равным нулю. 11.5. Рекомендуется крепить опорные части стаканного и сферического типов к металлическим пролетным строениям наружными болтами. 11.6. Прикрепление опорных частей осуществляется на анкерных болтах, болтах нормальной и повышенной точности или высокопрочных. Прикрепление опорных частей на сварке не допускается. 11.7. Заделку анкерных болтов рассчитывают в соответствии с указаниями СНиП 52-01-2003. 12. Установка опорных частей и элементов пролетных строений12.1. Опорные части перед установкой12.1.1. Заводское изготовление опорных частей всех типов следует выполнять в соответствии с требованиями Технических условий, разработанных и утвержденных в установленном порядке по ГОСТ 2.114-95. 12.1.2. Проектную документацию на конструкцию полимерных опорных частей (неподвижных, всесторонне-подвижных и линейно-подвижных) разрабатывают проектные организации применительно к конкретному строящемуся объекту. 12.1.3. Опорные части не должны повреждаться и загрязняться при транспортировании на строительный объект. 12.1.4. Заводы-изготовители поставляют опорные части на строительную площадку полностью собранными и укомплектованными, с установленными приспособлениями для транспортирования, погрузочно-разгрузочных и монтажных работ. 12.1.5. Погрузку, разгрузку и установку опорных частей необходимо производить с учетом требований СНиП 12-03-2001, СНиП 12-04-2002. 12.1.6. Наружные болты, объединяющие детали стаканных, резинофторопластовых и сферических опорных частей, необходимо затянуть и не повреждать при транспортировании и монтажных работах. 12.1.7. Клиновидные, распределительные, прокладные и анкерные плиты, если они предусмотрены проектом, следует крепить к опорным частям стаканного, резинофторопластового и сферического типов только болтовыми соединениями. Крепление плит сваркой не допускается. 12.1.8. Опорные части комплектуются анкерными деталями и регулировочными устройствами для установки, если это предусмотрено проектом. 12.1.9. Опорные части, поступающие на место производства работ, сопровождаются документом о качестве - Паспортом, оформленным в соответствии с требованиями ТУ, и комплектом проектной документации, включающим чертежи с планом расположения и установки опорных частей со всеми необходимыми данными (такими, как размеры, уклоны, расположение относительно осей сооружения, допуски, температура воздуха при установке и т.д.) 12.1.10. Перед установкой опорных частей необходимо выполнить их освидетельствование с составлением акта. Для этого следует выполнить визуальный осмотр и сверку сопроводительной документации с поступившими опорными частями в следующей последовательности: - проверить наличие маркировки; - проверить содержание и оформление паспортов, соответствие маркировки. Качество опорных частей должно быть подтверждено приемкой контролирующей организации; - убедиться в том, что все транспортные болты затянуты, а болтовые соединения не повреждены при транспортировании и погрузочно-разгрузочных работах; - проверить заводскую регулировку опорных частей, выполненную при сборке. Параллельность скользящей плиты (крышки) и дна стакана стаканной опорной части и параллельность скользящей плиты и основания нижнего балансира сферической опорной части должна быть выдержана с допускаемой погрешностью не более 0,001; - по указателю перемещений проверить положение скользящей плиты относительно нижнего балансира, стакана или резиновой армированной детали. Указатель должен показывать «0» отсчет, если проектом не предусмотрено смещение плиты; - проверить наличие на верхних поверхностях плит скольжения (крышек) опорных частей контрольных рисок или отверстий для визирных шпилек, фиксирующих оси. При нарушении перечисленных требований, а также обнаружении других видимых дефектов в опорной части (смещение или выпадение фторопластовых дисков из выточек, повреждение антикоррозионной защиты, загрязнение скользящих поверхностей, трещины в резине, обнажение арматурных листов и др.) комиссия в присутствии представителя завода-изготовителя должна выполнить освидетельствование с составлением акта. При невозможности устранения дефекта на объекте опорную часть возвращают на завод. 12.1.11. Если опорные части не установлены на подферменники сразу после поставки, их складируют на строительной площадке в помещении, под навесом, на деревянных подкладках, накрыв полиэтиленовой пленкой. Скользящая плита должна находиться сверху. Не допускается попадание на опорные части грязи, песка, а также агрессивных веществ, разрушающих материалы и антикоррозионное покрытие. Не допускается хранение резиновых опорных частей рядом с отопительными приборами, подвергать их непосредственному действию солнечной радиации, а также веществ, разрушающих резину (бензин, масла, кислоты и т.д.). 12.2. Элементы пролетных строений и опор в узлах опирания12.2.1. Участки железобетонных элементов опор (оголовков, ригелей, насадок) в местах установки на них опорных частей и участки железобетонных пролетных строений в местах их опирания на опорные части необходимо армировать. При наличии на поверхности элементов опор уклонов для стока воды, опорные части следует располагать на подферменниках высотой не менее 15 см. 12.2.2. Расстояние от края резиновых (резинофторопластовых) опорных частей до края подферменников и до края опорных площадок железобетонных пролетных строений должно быть не менее 30 мм в направлении поперек оси моста и не менее 50 мм вдоль оси моста. Расстояние от краев резиновой опорной части до краев контактирующих с ней стальных элементов (прокладных плит, клиньев) должно быть не менее 10 мм. Расстояние от края плит опорных частей стаканного и сферического типов до края соответствующих железобетонных элементов пролетных строений и подферменников должно быть не менее 15 см. 12.2.3. Перед установкой опорных частей необходимо выполнить операционный (визуальный и геодезический) контроль качества подферменников опор и опорных узлов пролетных строений. 12.2.4. Подферменные площадки перед установкой опорных частей подготавливаются и выверяются в пределах отклонений, указанных в табл. 10. Контролируемые параметры и допускаемые отклонения, мм
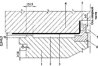
12.2.5. Поверхности опорных площадок пролетных строений или балок, устанавливаемых непосредственно на опорные части, и поверхности подферменных площадок должны быть плоскими и ровными. Местные неровности не должны превышать 1 мм. На поверхностях не допускаются сколы, раковины, трещины, наплывы бетона (визуальный контроль). 12.2.6. Масляные пятна, пыль, грязь и другие загрязнения на подферменных площадках в местах установки опорных частей необходимо удалить (визуальный контроль). 12.2.7. В элементах стальных пролетных строений, контактирующих с опорными частями, не должно быть местных изгибов, неровностей и повреждений (визуальный контроль). 12.2.8. Опорные узлы пролетных строений в местах опирания на опорные части должны быть жесткими. Опорные узлы стальных пролетных строений в местах их опирания на опорные части, как правило, должны быть усилены или между опорными частями и опорными листами стальных пролетных строений необходимо устанавливать жесткие стальные плиты, обеспечивающие передачу распределенной нагрузки от опорных частей на конструкцию опорного узла пролетных строений. При уклонах стальных пролетных строений необходимо усилить опорные узлы стальными плитами, имеющими соответствующий односторонний или двухсторонний уклон. 12.2.9. Вертикальная нагрузка должна передаваться на всю площадь резиновой опорной части. В мостовых сооружениях, расположенных на уклоне, не превышающем 0,005, резиновые опорные части могут устанавливаться на подферменники, имеющие горизонтальную поверхность. При продольном уклоне пролетных строений более 0,005 возможность расположения резиновых опорных частей без клиновидных плит определяется расчетом (см. главу 7). При уклонах пролетных строений, превышающих допустимые для резиновых опорных частей, необходимо предусматривать в проектах мостовых сооружений установку стальных клиновидных плит. Стальные клиновидные плиты, используемые в пролетных строениях, расположенных на уклонах, надлежит устанавливать на резиновые опорные части. 12.2.10. Поперечный уклон балок (плит) в обе стороны пролетного строения допускается обеспечивать при объединенных между собой балках (плитах) соответствующим поперечным уклоном поверхности подферменников. 12.2.11. При установке опорных частей из резин марок НО-68-1 и РСМ-3Л на контактирующих с ними стальных элементах в опорных узлах, как правило, следует предусматривать стальные упоры высотой не менее 8 мм, исключающие возможность угона пролетных строений. 12.2.12. Высота подферменников и размеры опор должны обеспечивать возможность осмотра опорных частей, подъемки пролетных строений и замены опорных частей с установкой домкратов на опоры мостовых сооружений без устройства временных опор. 12.3. Установка опорных частей и пролетных строений12.3.1. Способы и технологический регламент установки опорных частей предусматривают при разработке проекта производства работ. 12.3.2. При установке опорных частей на опоры, а также пролетных строений на опорные части следует обеспечивать плотное, без зазоров опирания опорных частей на опоры, а элементов пролетных строений на опорные части. 12.3.3. Установку опорных частей выполняют в соответствии с указаниями СНиП 3.06.04-91. Опорные части устанавливают на выравнивающий слой из опалубленного по периметру несхватившегося цементно-песчаного раствора или полимербетона толщиной до 3,0 см. Резиновые (резинофторопластовые) опорные части, не имеющие стальных деталей, допускается устанавливать непосредственно на подферменные площадки, подготовленные и выверенные в пределах отклонений, указанных в табл. 10. Допускается стаканные и сферические опорные части устанавливать на клинья и регулировочные устройства с последующим инъектированием зазоров клеем на основе эпоксидной смолы или заполнением их реопластичной безусадочной бетонной смесью. 12.3.4. Опорные части устанавливают на выравнивающий слой в горизонтальное (проектное) положение по уровню таким образом, чтобы скользящая плита (крышка) и дно стакана стаканных опорных частей, скользящая плита и опорная поверхность нижнего балансира сферических опорных частей, а также скользящая плита и опорная поверхность резиновой армированной детали резинофторопластовых опорных частей были расположены в горизонтальной плоскости с отклонением не больше 0,002. 12.3.5. Отклонение от проектной разности отметок опорных поверхностей собранного комплекта опорных частей в пределах одной опоры допускается не более 0,001 расстояния между осями опирания (нивелирование всех опорных частей). 12.3.6. При установке оси всесторонне-подвижных, линейно-подвижных и неподвижных опорных частей выверяют по контрольным рискам (визирным шпилькам), расположенным на верхних поверхностях скользящих плит или крышек. 12.3.7. Отклонение оси линейно-подвижной и всесторонне-подвижной опорной части от направления проектного линейного перемещения опорного узла пролетного строения не должно превышать 0,005 длины подферменника (измерительный контроль). 12.3.8. Установку пролетных строений на опорные части следует выполнять в последовательности и диапазоне температур, указанных в проекте производства работ, а также с учетом усадки и ползучести бетона для железобетонных пролетных строений. 12.3.9. Допускается выполнять смещение скользящей плиты относительно стакана или нижнего балансира всесторонне-подвижной и линейно-подвижной стаканной или сферической опорных частей с учетом температуры воздуха на момент монтажа как на заводе, так и на месте строительства. Работы по смещению скользящих плит допускается выполнять только по специально разработанному проекту производства работ в соответствии с выполненными расчетами. 12.3.10. Работы по смещению скользящих плит должны выполнять специально обученные рабочие и, при необходимости, в присутствии представителя завода-изготовителя и представителя проектной организации-разработчика мостового сооружения. Смещение плиты должно выполняться только путем скольжения плиты по фторопласту. Поднимать скользящую плиту с отрывом от фторопластового диска запрещается. После смещения на проектную величину необходимо выполнить регулировку горизонтальности ее положения по отношению к основанию стакана или нижнего балансира с допуском не более 0,001, после чего плита должна быть зафиксирована наружными болтами. Контроль смещения скользящей плиты выполняют по наружной шкале и фиксатору перемещений. На верхней плоскости плиты несмываемой краской указывают номер опоры, величину и направление смещения, оси и положение опорной части по отношению к пролетному строению и смежным опорам. Факт предварительного смещения скользящей плиты фиксируют специальным актом на каждую опорную часть, в котором указывают температуру при установке, величину смещения, его направление по отношению к пролетному строению. 12.3.11. В пролетных строениях, расположенных на продольном и поперечном уклонах, между опорной частью и пролетным строением для обеспечения горизонтального расположения опорной части согласно указанию проекта устанавливают стальные клиновидные плиты или выполняют верхние приливы, бетонируемые одновременно с основной конструкцией для монолитных железобетонных пролетных строений. 12.3.12. Стальные пролетные строения допускается устанавливать с заранее прикрепленными к ним опорными частями. В этом случае производят опускание пролетного строения с закрепленной опорной частью на вспомогательные конструкции и выполняют в проектном положении заполнение зазора между основанием опорной части и подферменной площадкой раствором. 12.3.13. Не допускается крепить опорные части с полимерными материалами к пролетным строениям и опорам сваркой. 12.3.14. Не допускается выполнять сварочные работы с опорными частями на строительной площадке и огневую резку наружных стальных болтов. 12.3.15. Опускать пролетные строения, балки и блоки на опорные части следует строго вертикально. Нельзя поворачивать пролетные строения, балки и блоки в плане после их установки на опорную часть. При установке балок пролетных строений при наличии уклонов мостового сооружения должны быть предусмотрены специальные меры, предотвращающие угон пролетного строения (наличие неподвижных опорных частей, упоров, клиновидных плит и др.). 12.3.16. Для включения в работу опорной части стаканного, сферического и резинофторопластового типа необходимо отвинтить наружные стальные болты, объединяющие между собой элементы опорной части. Болты следует маркировать красной краской. Их снимают только после того, как опорная часть в проектном положении жестко объединена с подферменником и пролетным строением или после загрузки опорной части, исключающей отрыв полированной поверхности скользящей плиты от фторопластовой детали. 12.3.17. Передачу усилия от веса пролетного строения на опорные части производят только после набора материалом выравнивающего слоя проектной прочности. 12.3.18. Сразу после установки пролетного строения, балок, плит на резиновые опорные части их форма не должна измениться. Не должно быть сдвига верхней поверхности резиновой опорной части относительно нижней, а также дефектов, указанных в главе 13, но при этом возможно образование волн резины с одной или нескольких сторон, что не является дефектом (см. 13.2). 12.3.19. При установке опорных частей и элементов пролетных строений на них в журналах производства работ необходимо фиксировать: - номер опорной части и название завода-изготовителя; - правильность заводской регулировки или ее изменение; - состояние фиксирующих и других приспособлений; - положение скользящей плиты (ее смещение, если это предусмотрено проектом); - положение опорной части в плане и по высоте относительно подферменных площадок и опорных площадок пролетных строений; - дату и час монтажа; - температуру воздуха при установке; - температуру омоноличивания балок; - температуру замыкания пролетного строения; - выполнение выравнивающего слоя, качество заполнения, испытания материала; - результаты замеров функционального зазора и угла поворота; - имеющиеся отступления от проектного положения опорных частей. 12.3.20. Необходимо предусматривать доступ для осмотра установленных опорных частей в процессе эксплуатации и, если потребуется, замены с минимальной трудоемкостью и минимальным использованием монтажных средств. 12.4. Указания по выполнению выравнивающего слоя для опорных частей12.4.1. Железобетонные подферменные площадки под опорные части рекомендуется выполнять из бетона класса В40-В60, в том числе из фибробетона. 12.4.2. Для выравнивающего слоя, а также для омоноличивания анкерных болтов в теле опоры, следует применять цементно-песчаный раствор, полимербетон, клей на основе эпоксидной смолы с наполнителем или готовые сухие бетонные смеси, которые после затворения водой образуют реопластичный, текучий, нерасслаивающийся, безусадочный как в пластичном, так и затвердевшем состоянии материал, применяемый для высокоточного бетонирования. Зазоры между скользящими плитами опорных частей и опорными плоскостями стальных (сталебетонных) и сборных железобетонных пролетных строений следует заполнять клеем на основе эпоксидной смолы с наполнителем. Требования к используемым материалам принимают по СНиП 3.06.04-91 и приложению В. 12.4.3. Все материалы, используемые для выравнивающего слоя, омоноличивания анкерных устройств, заполнения зазоров, должны иметь подтверждение их качества сертификатами, а также соответствующими испытаниями. 12.4.4. Высота опалубки для укладки выравнивающего слоя должна соответствовать проектной отметке нижней поверхности опорной части или превышать ее на величину деформации несхватившегося слоя под нагрузкой (СНиП 3.06.04-91, приложение 11). 12.4.5. Инъектирование зазоров клеем на основе эпоксидной смолы после установки опорных частей на клинья или регулировочные устройства и герметизации зазоров выполняют с помощью штуцеров для нагнетания клея. Штуцера для нагнетания клея устанавливают по периметру каждой опорной части непосредственно в зазор или в специально предусмотренные проектом отверстия в опорных частях, при этом количество штуцеров принимают не менее четырех. 12.4.6. Выравнивающий слой из реопластичной безусадочной бетонной смеси выполняют заливкой ее в пластичной или жидкой консистенции между основанием опорной части и подферменником. 12.4.7. Перед бетонированием выравнивающего слоя следует выполнить все предварительные операции, связанные с подготовкой подферменников, а также опорных частей согласно 12.1, 12.2. Следует удалить верхний слой (пленку цементного молока), чтобы сделать бетонную поверхность шероховатой, но в то же время ровной. Опорная стальная поверхность стаканных или сферических опорных частей должна быть тщательно очищена от следов краски, грязи, масляных пятен и других загрязнений, которые могут помешать гидратации цемента. 12.4.8. Опорную часть устанавливают в проектное (горизонтальное) положение на вспомогательные устройства (рис. 19), при этом необходимо убедиться, что на последующих этапах работ место окончательной установки опорной части не изменится. После установки, выравнивания и нивелирования опорной части бетон подферменника необходимо поддерживать во влажном состоянии, по крайней мере, в течение 6 часов, до того, как производить работы по бетонированию. Избыток воды удаляют воздушной струей.
Рис. 19. Схема выполнения выравнивающего слоя из реопластичной
безусадочной бетонной смеси: 12.4.9. Опалубку для выравнивающего слоя рекомендуется выполнять в виде сборно-разборной рамки или кольца. Отметки верхних кромок опалубки должны соответствовать проектной отметке нижней поверхности опорной части. Опалубку следует изготавливать из прочного водонепроницаемого материала в целях предотвращения вытекания воды из бетонной смеси. Рекомендуется надежно анкеровать и подпирать опалубку с тем, чтобы выдерживать давление бетона после укладки и выравнивания. Между опалубкой и боковыми сторонами опорной части следует предусматривать достаточные зазоры для обеспечения заливки бетонной смеси. Опалубку снимают только после достижения бетоном выравнивающего слоя проектной прочности. Одновременно удаляют вспомогательные устройства (клинья). 12.4.10. Бетонную смесь следует заливать непрерывно и только с одной стороны с тем, чтобы избежать захвата воздуха. С помощью гибкого стержня необходимо убедиться, что пространство между основанием опорной части и подферменником заполнено полностью, без пустот. 12.4.11. Если предусмотрена анкеровка опорной части, то заполнение каналов для анкерных болтов выполняют одновременно с устройством выравнивающего слоя. 12.4.12. После заливки бетонной смеси необходимо осуществлять специальные меры по уходу. Все открытые поверхности должны быть немедленно защищены от потери влаги в результате испарения на период не менее 24 часов. Уход за бетоном осуществляется распылением воды, укрытием влажной мешковиной, нанесением пленкообразующего материала. 13. Приемка в эксплуатацию, обследование и содержание опорных частей13.1. Приемо-сдаточный контроль опорных частей выполняется комиссией в установленном порядке. Вся техническая документация, включая паспорта, должна быть представлена. Расположение опорных частей в плане и по высоте должно соответствовать проекту и подтверждаться геодезическим контролем. Правильность установки опорных частей подтверждают актом освидетельствования и приемки опорных частей в эксплуатацию. 13.2. Внешний вид боковых поверхностей резиновых (резинофторопластовых) опорных частей, доступных для осмотра, контролируют визуально. На одной из боковых поверхностей необходимо предусмотреть маркировку завода-изготовителя. На боковых поверхностях резиновых опорных частей не должно быть трещин, обнажения арматурных листов. Боковые стороны установленных резиновых опорных частей могут иметь волнистую поверхность. Число горизонтально расположенных волн, как правило, равно числу слоев резины в опорной части (см. рис. 20). При этом гребень волны должен располагаться примерно посередине каждого слоя резины, а впадины - в месте расположения торцов стальных листов, которыми армированы резиновые опорные части. Недопустимыми дефектами являются: общее искривление боковых поверхностей, наличие местных выпучиваний резины и непроклеев по торцам стальных листов в виде мостиков резины, объединяющих рядом расположенные резиновые волны. Эти критические дефекты являются скрытыми и проявляются при действии постоянных и временных нагрузок (см. рис. 21-23).
Рис. 20. Нормальный вид боковых поверхностей резиновой опорной
части под нагрузкой:
Рис. 21. Вид недопустимых общих искривлений боковых поверхностей резиновой опорной части под нагрузкой
Рис. 22. Вид боковых поверхностей резиновой опорной части, имеющих
недопустимые местные выпучивания резины, под нагрузкой:
Рис. 23. Вид боковых поверхностей резиновой опорной части с
непроклеем по торцам стальных листов под нагрузкой: При обнаружении этих дефектов резиновая опорная часть подлежит замене. 13.3. Наличие клиновидного зазора между резиновой опорной частью и опорной площадкой пролетного строения или балки не допускается. Для устранения этого дефекта следует установить клиновидную или плоскую стальную прокладную плиту, а шов между плитой и опорным узлом заполнить материалами по СНиП 3.06.04-91, Приложение 11. 13.4. Угол сдвига и направление сдвига боковых поверхностей резиновых опорных частей должны соответствовать указанным в проекте с учетом температуры воздуха, при которой пролетные строения (балки, плиты) были установлены на опорные части, температуры замыкания температурно-неразрезных пролетных строений и температуры воздуха, при которой выполняют приемку сооружения. 13.5. После установки каждой стаканной, сферической или резинофторопластовой опорной части следует выполнить начальные замеры функционального зазора скольжения (высоту выступающего из выточки фторопласта) и угла поворота. Зазоры скольжения замеряют в нескольких точках по периметру фторопластового диска. Угол между плоскостями, в которых расположены скользящая плита (крышка) и основание опорной части, не должен превышать величины, указанной в проекте. Величину угла поворота определяют замером расстояния между скользящей плитой (крышкой) и основанием опорной части, как вдоль, так и поперек оси мостового сооружения. Толщину выступающей части фторопластовых дисков и величину угла поворота фиксируют в акте. 13.6. Обследование и содержание опорных частей в мостовых сооружениях необходимо выполнять в соответствии с указаниями СНиП 3.06.07-86 и ВСН 4-81. 13.7. При обследовании опорных частей необходимо убедиться в прочности подферменников - отсутствии в них трещин и сколов, а также в отсутствии трещин, местных изгибов, неровностей в элементах опорных узлов несущих конструкций, трещин в опорах. 13.8. Резиновые (резинофторопластовые) опорные части обследуют визуально по 13.2, а также выполняют замеры величин сдвига и углов поворота как вдоль, так и поперек оси мостового сооружения (см. рис. 24). Значения Dх, Dу, Jx, Jу фиксируют в акте обследования с указанием температуры воздуха во время обследования.
Рис. 24. Схемы обследования резиновых опорных частей 13.9. Перед обследованием опорных частей (стаканных, сферических, резинофторопластовых) необходимо снять защитные фартуки. При обследовании опорных частей в процессе эксплуатации проверяют и фиксируют: - величину зазоров скольжения (толщину выступающего из выточки фторопласта), его равномерность по периметру фторопластового диска; - состояние открытых участков поверхностей скольжения (листа полированной нержавеющей стали, хромированной сферы), неровности (коробление полированного стального листа), дефекты крепления, коррозию, загрязнение, повреждение поверхностей скольжения в виде царапин, трещин, отслоений; - величину перемещения скользящей плиты от нулевого отсчета с указанием температуры воздуха во время замера; - величину углов поворота. 13.10. Толщину выступающего из выточки фторопласта hф как для плоских, так и для сферических поверхностей скольжения измеряют по периметру щупом в достаточном количестве точек для нахождения минимального значения (рис. 25, 26).
Рис. 25. Схема замера зазора в плоских элементах скольжения:
Рис. 26. Схема замера зазора в сферических элементах скольжения и
угла поворота: 13.11. Ввиду того, что фторопласт подвержен износу в процессе эксплуатации опорных частей, особое внимание необходимо уделять величинам зазоров скольжения hф. При высоте зазора более 1 мм опорная часть считается функционально надежной с точки зрения обеспечения перемещений на продолжительный срок. При меньшем зазоре, а также короблении скользящего листа более 0,5 мм необходимо часто проводить контроль. При величине зазора менее 0,2 мм опорная часть считается функционально ненадежной и фторопластовая деталь подлежит замене.
Рис. 27. Схема замера угла поворота в стаканной опорной части: 13.12. Замеренные углы поворота J опорных частей (13.5, рис. 26,27) не должны превышать проектных значений. Замеряются J, Jmin, Jmax. В направляющих элементах линейно-подвижных опорных частей замеряются зазоры DS между поверхностями скольжения: фторопластовая или металлофторопластовая полоса и нержавеющая полированная сталь (рис. 28). 13.13. Замену, ремонт опорных частей или их элементов следует выполнять без повреждений узлов опирания (подферменников, пролетных строений).
Рис. 28. Схема замера зазора в направляющих элементах
линейно-подвижной опорной части: Приложение А
| ||||||||||||||||||||||||||||||||||||||||||||||||||||||||||||||||||||||||||||||||||||||||||||||||||||||||||||||||||||||||||||||||||||||||||||||||||||||||||||||||||||||||||||||||||||||||||||||||||||||||||||||||||||||||||||||||||||||||||||||||||||||||||||||||||||||||||||||||||||||||||||||||||||||||||||||||||||||||||||||||||||||||||||||||||||||||||||||||||||||||||||||||||||||||||||||||||||||||||||||||||||||||||||||||||||||||||||||||||||||||||||||||||||||||||||||||||||||||||||||||||||||||||||||||||||||||||||||||||||||||||||||||||||||||||||||||||||||||||||||||||||||||||||||||||||||||||||||||||||||||||||||||||||||||||||||||||||||||||
|
Каучуки и ингредиенты |
Резина марки |
||
|
HO-68-1 |
ИРП-1347-1 |
РСМ-3Л |
|
|
Содержание каучуков, не менее |
Хлоропреновый - 22 Нитрильный - 22 |
Изопреновый - 42 Дивиниловый- 14 |
Бутилкаучук – 25 |
|
Содержание наполнителей, не более |
40 |
30 |
40 |
|
Содержание противостарителей, не менее |
3,0 |
3,0 |
1.0 |
|
Содержание серы в пределах |
0,5-2,0 |
1,0-2,0 |
0,5-1,0 |
|
Содержание окиси цинка, не менее |
2,0 |
8,0 |
2,0 |
Таблица Б.1
|
Наименование показателя |
Нормы для резин |
Метод испытания |
||
|
ИРП-1347-1 |
HO-68-1 |
РСМ-3Л |
||
|
Условная прочность при растяжении, МПа, не менее |
17,0 |
8,8 |
11,0 |
ГОСТ 270-75* образец типа I толщиной (2±0,2) мм |
|
Относительное удлинение при разрыве, %, не менее |
550 |
250 |
400 |
то же |
|
Твердость: |
|
|
|
|
|
- в международных единицах IRHD, |
55-65 |
55-70 |
62-72 |
|
|
- по Шору А в единицах Шор А |
54-64 |
55-70 |
60-70 |
|
|
Прочность связи резины с металлом методом отрыва, МПа, не менее |
3,0 |
ГОСТ 209-75* метод В |
||
|
Относительная остаточная деформация после старения на воздухе при сжатии на 20 % в течение (24±0,5) часов, при: |
|
|
|
ГОСТ 9.029-74* метод Б |
|
- температуре (100±1)°С, %, не более |
- |
80 |
70 |
|
|
- температуре (70±1)°С, %, не более |
40 |
- |
- |
|
|
Температурный предел хрупкости, не выше, °С |
минус 60 |
минус 48 |
минус 50 |
|
|
Изменение показателей после термического старения при температуре (100±1)°С в течение (72±0,5) часов (для резин HO-68-1 и РСМ-3Л), при (70±0,5)°С в течение (72±0,5) часов (для резины ИРП-1347-1) |
|
|
|
|
|
- Условная прочность при растяжении, % |
от минус 40 до 0 |
от минус 15 до плюс 30 |
от минус 40 до 0 |
|
|
- Относительное удлинение при разрыве, % |
от минус 30 до 0 |
от минус 45 до 0 |
от минус 45 до 0 |
|
|
- Твердость в единицах ШОР А |
от минус 5 до плюс 10 |
от 0 до плюс 15 |
от минус 2 до плюс 7 |
|
|
Стойкость к озонному старению при температуре (40±2)°С в течение (72±0,5) часов при растяжении образца на (20±2) % с объемной долей озона (5,0±0,5)´10-5, Pph (50±5)´108 |
- |
Отсутствие трещин |
||
|
Плотность резины, г/см3 |
1,14±0,05 |
1,24±0,05 |
1,15±0,05 |
ГОСТ 267-73* гидростатический метод |
Размеры
в миллиметрах

Рис. В.1
Таблица Г.1
Характеристики реопластичной, безусадочной бетонной смеси
|
Наименование показателя |
Единица измерения |
Значение* |
Значение** |
|
Расплыв конуса (удобоукладываемость) |
мм |
Не менее 260 |
Не менее 180 |
|
Воздухововлечение |
% |
До 6 |
До 6 |
|
Прочность на растяжение при изгибе 1 сутки |
МПа |
4 |
7 |
|
Прочность на растяжение при изгибе 28 суток |
МПа |
8 |
10 |
|
Прочность на сжатие на 1 сутки |
МПа |
28 |
25 |
|
Прочность на сжатие 28 сутки |
МПа |
70 |
65 |
|
Сцепление с бетоном на 28 сутки, не менее |
МПа |
1,5 |
2 |
|
Сцепление со сталью на 28 сутки |
|
|
|
|
Стержень периодического профиля |
МПа |
30 |
25 |
|
Гладкий стержень |
МПа |
2,5 |
- |
|
Морозостойкость |
Количество циклов |
Не менее 300 |
Не менее 300 |
|
Модуль упругости |
МПа |
30 000 |
30 000 |
|
Водонепроницаемость |
W (Атм) |
Не менее 12 |
Не менее 12 |
|
Сульфатостойкость |
% |
99 |
- |
Примечания:
* - Температура воздуха во время укладки не ниже + 5°С.
** - Температура воздуха во время укладки не ниже минус 5°С.
Потребность воды для приготовления реопластичной, безусадочной бетонной смеси указана на упаковке и в рекомендациях фирмы-производителя.
Стаканная или сферическая линейно-подвижная опорная часть с расчетным диаметром фторопластового диска Dф 600 мм при толщине фторопласта tф, равной 5 мм.
(1)
2,2×2,3 = 5,0 £ tф £ 8 мм. (2)
Глубина выточки при толщине фторопласта 5 мм составит 2,70 мм.
Зазор между элементами скольжения направляющих:
(1)
Геометрические размеры резиновой опорной части: а = 30 см; b = 40 см; а1 = 28,8 см; b1 = 38,8 см; Н = 10,9 см; h = 8,2 см.
Расчетная деформация сдвига
(4)
Геометрические размеры резиновой опорной части: а = 30 см; b = 40 см; а1 = 28,8 см; b1 = 38,8 см; Н = 7,8 см; h = 6,0 см; ср = 1,0 см; G = 0,90 МПа (резина марки НО-68-1).
Расчетный угол поворота одного промежуточного слоя резины
(5)
Модуль упругости при сжатии резиновой опорной части
Е = 76,5×0,90× (8,265 - 1,1) = 493,3 МПа. (6)
Для расчета принимаем пролет L = 33 м, h = 1,5 м (типовой проект № 384/46).
Нормальные напряжения в резиновой опорной части с геометрическими размерами: а = 30 см; b = 40 см; а1 = 28,8 см; b1 = 38,8 см; Н = 7,8 см; при Fd = 102,8 тс, dа = 2,5 см; db = 0,5 см.
(9)
Коэффициент трения резины марки ИРП-1347-1 по стали и бетону при расчетных нормальных напряжениях
(7)
Коэффициент трения резины марки НО-68-1 по стали при расчетных нормальных напряжениях
(8)
Расчет касательных напряжений в резине опорной части.
Для расчета принимаем пролет L = 33 м, h = 1,5 м, i = 0,5 % (типовой проект № 384/46).
Геометрические размеры резиновой опорной части: а = 30 см; b = 40 см; а1 = 28,8 см; b1 = 38,8 см; Н = 7,8 см; h = 6,0 см; ср= 1,0 см; n = 6; b = 8,265; sin i = 0,005; G = 0,90 МПа (резина марки НО-68-1); dd = 2,5 cм; Fd = 102,8 тс = 1,01 MH; Fh,d = 2,1 тс = 0,021 MH; Jg,d + Jv,d = 0,015 рад; Ji = 0,005 рад; J0 = 0,01 рад.
Касательные напряжения от расчетной нормальной нагрузки
(11)
Касательные напряжения от расчетной горизонтальной нагрузки
(12)
Касательные напряжения при повороте
(13)
Касательные напряжения в резине опорной части от расчетных нагрузок
td = 1,82 + 0,61 + 1,87 = 4,30 МПа < 5МПа. (10)
Толщина стальных арматурных листов при: ср= 1,0 см; Fd = 102800 кгс; Ар = 1006 см2; sT = 2000 кгс/см2; gm = 2,0 (считаем худший вариант при наличии технологических отверстий в арматуре). Для расчета принимаем пролет L = 33 м, h = 1,5 м, i = 0,5 % (типовой проект № 384/46).
(14)
Проверка устойчивости резиновой опорной части при h = 8,2 см; a1 = 28,8 cм; G = 0,70 МПа (резина марки ИРП-1347-1); Fd = 102,8 тс = 1,01 МН; b = 8,265; Ар = 1006 м2.
Для расчета принимаем пролет L = 33 м, h = 1,5 м, i = 0,5 % (типовой проект № 384/46);
(15)
Деформация сжатия резиновой опорной части при Fv,n = 31,7 тс = 0,31 МН; Е = 493,3 МПа; а1 = 0,288 м; b1 = 0,388 м; А1 = 0,288´0,388 = 0,112 м2; G = 0,90 МПа (резина марки HO-68-l); Fd = 1,01 MH; Fw = 2,1 тс = 0,021 MH; Jg,d + Jv,d = 0,015 рад; J0 = 0,01 рад.
Для расчета принимаем пролет L = 33 м, h = 1,5 м, i = 0,5 % (типовой проект № 384/46);
(16)
Тангенс угла сдвига резиновой опорной части при dt,n = 20 мм; dv,n = 3 мм; h = 60 мм; sin i = 0,005; Fg,n = 52,0 тс = 0,51 MH; Fh,n = 1,5 тс = 0,0147 MH; Fn,n = 31,7 тс = 0,31 MH; A1 = 0,288´0,388 = 0,112 м2; G = 0,90 МПа (резина марки НО-68-1).
Для расчета принимаем пролет L = 33 м, h = 1,5 м, i = 0,5 % (типовой проект № 384/46).
Тангенс угла сдвига от нормативных постоянных нагрузок и температуры
(17)
Тангенс угла сдвига от нормативной временной нагрузки
(18)
Тангенс угла сдвига от действия суммарных нормативных нагрузок
tg g = 0,36 + 0,21 = 0,57. (19)
Проверка отсутствия зазора в зоне контакта резиновой опорной части со смежными конструкциями при Jg,n + Jv,n =0,013 рад; Ji =0,005 рад; J0 = 0,01 рад; Jd = 0,0073; n = 6.
Для расчета принимаем пролет L = 33 м, h = 1,5 м, i = 0,5 % (типовой проект № 384/46);
(20)
Проверка на отсутствие проскальзывания резиновой опорной части.
Для расчета принимаем пролет L = 33 м, h = 1,5 м, i = 0,5 % (типовой проект № 384/46);
Fg,d = 60,4 тс = 0,593 MH; Fd = 102,8 тс = 1,01 MH; a = 0,3 м; b = 0,4 м; A = 0,3´0,4 = 0,12 м2; Gt = 0,90 МПа (резина марки HO-68-1); Fh,d = 2,1 тс = 0,021 МН; dg,1 = 6 mm; dg,2 = 16 мм; h = 60 мм; sin i = 0,005; mp = 0,24, mp,1 = 0,18.
![]()
при
(21)
![]()
при
(22)
Реактивный момент в резиновой опорной части при а1 = 0,288 м; b1 = 0,388 м; ср = 0,01 м; Gt = 0,90 МПа (резина марки НО-68-1); n = 6; J = 0,03 рад; К1 = 22,8; М0 = 0,004 МН×м.
Для расчета принимаем пролет L = 33 м, h = 1,5 м, i = 0,5 % (типовой проект № 384/46);
(23)
Максимальное реактивное горизонтальное усилие, возникающее в резиновой опорной части вследствие сопротивлению сдвига при dt,d = 22 мм; h = 60 мм; Gmax = 1,30 МПа (резина марки НО-68-1); А = 0,3´0,4 = 0,12 м2.
(24)
Стаканная опорная часть.
Опорная реакция Fd = 400 тс = 3,924 МН.
Углы поворота J1; J2 опорного узла от постоянных и временных нагрузок равны 0,01 рад и 0,005 рад соответственно.
Диаметр резиновой пластины Dp принимают равным 0,45 м.
Толщину резиновой пластины принимают равной 1/15Dp, т.е. 0,03 м.
Нормальные напряжения в резиновой пластине
(25)
Реактивный момент, возникающий в опорной части при повороте при Gt = 0,70 МПа (резина марки ИРП-1347-1),
М = 1,22×0,7×0,453 = 0,0778 МН×м
при k = 8,3× (1 + 0,09×24,7)×(0,01 + 6×0,005) + 0,15 = 1,22. (26)
Нормальные осевые и краевые напряжения во фторопластовых пластинах при диаметре фторопластовой пластины Dф = 0,39 м
(27)
(28)
Горизонтальное реактивное усилие, возникающее в подвижной стаканной опорной части (для tрасч = минус 30°С) при Fv = 360 тс = 3,532 МН.
(29)
Максимальные и минимальные коэффициенты трения в подвижных опорных частях для z = 4 (для tрасч = минус 30°С)
(30)
Расчет стаканной опорной части (рис. 17).
Растягивающее напряжение в обойме стаканной опорной части при Dp = 0,45 м; hp = 0,03 м; sр = 24,7 МПа = 252 кг/см2; bс = 0,04 м; tc = 0,046 м; Vxy = 28 тс = 0,275 МН; hc = 0,012 м; J = 0,015; Dc = 0,533 м (внешний диаметр кольца стакана).
(31)
Максимальное срезывающее усилие на 1 см кольца по периметру
(32)
Растягивающие напряжения в дне стакана
(33)
Величина максимального заглубления крышки в стакан
(34)
X = tс - hр = 46 - 30 = 16 мм.
Напряжение смятия между кольцом стакана и упором крышки при S = 10 мм
(35)
Сферическая неподвижная опорная часть.
Опорная реакция Fd = 1200 тс = 11,772 МН; Dф = 0,72 м; R = 1,1 м; К = 0,412 м (внутренний радиус кольцевого фиксатора); х = ts + tф = 0,025 м; mф = 0,032 (для tрасч = минус 30°С); mn = 0,2 (пара скольжения сталь -сталь); Vxy = 120 тс = 1,18 МН; J = 0,01.
е1 = 0,032×1,1 = 0,0352 м, (36)
(37)
(38)
Сферическая линейно-подвижная опорная часть.
Опорная реакция Fd = 1200 тс = 11,772 МН.
Горизонтальная сила Vy = 84 тс = 0,824 МН.
Площадь фторопластовой полосы (см. рис. 5)
Aфн = Dф×аф = 0,75×0,03 = 0,0225 м2,
(39)
Тангенс угла сдвига резиновой опорной части (при расчете резинофторопластовой опорной части) при mф = 0,07 (для tрасч = минус 30°С); Fg,n = 52,0 тс = 0,51 МН; Fv,n = 31,7 тс = 0,31 МН; Gt = 1,10 МПа (резина марки НО-68-1); А1 = 0,288×0,388 = 0,112 м2.
От нормативной постоянной нагрузки
(40)
От нормативной подвижной нагрузки при mф = 0,052 (для tрасч = минус 30°С);
(41)
Касательные напряжения от расчетной горизонтальной нагрузки (для резинофторопластовой опорной части) при mф = 0,059 (для tрасч = минус 30°С); площадь фторопластовых пластин Аф = 0,075 м2 Fd = 102,0 тс = 1,01 МН; А1 = 0,288×0,388 = 0,112 м2;
(42)
Расчет анкеровки сферической неподвижной опорной части.
Fmax = 1500 тс = 14,715 МН; Fmin = 750 тс = 7,36 MH; Vху = 150 тс = 1,47 МН; mn = 0,3 (контактная пара сталь - бетон); минимальное усилие, воспринимаемое анкерами Va = 45 тс = 0,44 МН.
1,5×1,47 £ 0,3×14,715 1,0×1,47 £ 0,3×7,36
2,21 < 4,42 1,47 < 2,21. (43)
Анкеровка не требуется.
То же при Vxy = 270 тс = 2,65 МН;
1,0×2,65 £ 0,3×7,36 + 0,44
2,65 = 2,65. (44)
Расчет скользящей плиты стаканной опорной части с опорной реакцией 400 тс под железобетонное пролетное строение.
Диаметр фторопластовой пластины Dф = 400 мм. Расчетные перемещения опорного узла: продольные ±100 мм, поперечные ±10 мм.
Размер полированного листа вдоль пролета:
Lлх = 400 мм + 2×100 мм + 2×25 мм = 650 мм.
Размер полированного листа поперек пролета:
Lлy = 400 мм + 2×10 мм + 2×25 мм = 470 мм.
Размер скользящей плиты вдоль пролета (принимаем запас на приварку полированного листа 20 мм):
Lплx = Lлх + 2×20 мм = 650 + 40 = 690 мм.
Размер скользящей плиты поперек пролета:
Lплy = Lлу + 2×20 мм = 470 + 40 = 510 мм.
Размер плиты по диагонали:
![]()
Толщина скользящей плиты hn = 0,04×Lплxy = 0,04×858 = 35 мм.
Принимаем толщину плиты 40 мм.
Расчет на изгиб выполняют для круглой пластины свободно опертой по контуру загруженной равномерно распределенной нагрузкой (см. [46], [47]).
Расчетное сопротивление стали Ry= 320 МПа.
2b = 44
см, 2а = 48 см,
, lnbn = -0,087,
![]()
![]()
![]()

Момент в середине плиты:
М = Mb - Ма = 0,302 - 0,258 = 0,044 МН×м.
![]()
![]()
Для стали 09Г2С
165,5 МПа < 305
МПа.
|
А |
- общая площадь опорной части; |
|
А1 |
- площадь стального листа, армирующего резиновую опорную часть; |
|
Аф |
- площадь фторопластовых пластин; |
|
Афн |
- площадь фторопластовой (металлофторопластовой) полосы направляющей; |
|
Dр |
- диаметр резиновой пластины; |
|
Dс |
- внешний диаметр кольца стакана; |
|
Dф |
- диаметр фторопластового диска; |
|
Е |
- модуль упругости при сжатии; |
|
Fd |
- вертикальная опорная реакция от расчетной вертикальной нагрузки; |
|
Fg,d |
- вертикальная опорная реакция от расчетной постоянной нагрузки; |
|
Fg,n |
- вертикальная опорная реакция от нормативной постоянной нагрузки; |
|
Fh,d |
- расчетное усилие от торможения, силы ветра, центробежной силы и поперечных ударов подвижной нагрузки; |
|
Fh,n |
- нормативное усилие от торможения, силы ветра, центробежной силы и поперечных ударов подвижной нагрузки; |
|
Fmax,min |
- максимальное или минимальное значение вертикальной опорной реакции; |
|
Ft,d |
- реактивное горизонтальное продольное усилие, возникающее от перепада температуры, действия усадки и ползучести бетона; |
|
Fm |
- горизонтальное реактивное усилие от трения; |
|
Fv |
- нормативная величина вертикальной опорной реакции; |
|
Fv,n |
- вертикальная опорная реакция от временной подвижной нормативной нагрузки; |
|
G |
- модуль сдвига резины; |
|
Gt |
- модуль сдвига резины при температуре t°C; |
|
Gmax |
- максимальный модуль сдвига резины; |
|
Gmin |
- минимальный модуль сдвига резины; |
|
Gn |
- нормальный модуль сдвига резины; |
|
H |
- высота резиновой опорной части; |
|
K |
- расстояние от плоскости скольжения в направляющих или фиксаторах до центра опорной части; |
|
M |
- реактивный момент от расчетной нагрузки; |
|
M0 |
- условный начальный момент; |
|
Mp |
- реактивный момент в резиновой опорной части; |
|
R |
- радиус шарового сегмента (сферы); |
|
Rн |
- расчетное сопротивление фторопластовых (металлофторопластовых) полос при осевом сжатии; |
|
Rp |
- расчетное сопротивление резиновой пластины при осевом сжатии; |
|
Rс |
- расчетное сопротивление резиновых опорных частей при осевом сжатии; |
|
Rm |
- расчетное сопротивление фторопластовых пластин при внецентренном сжатии; |
|
Rт |
- расчетное сопротивление фторопластовых пластин при осевом сжатии; |
|
Rs |
- расчетное сопротивление стали (или сварного шва) срезу; |
|
RT |
- расчетное сопротивление стали смятию; |
|
Ry |
- расчетное сопротивление стали растяжению; |
|
Rt |
- расчетное сопротивление резины сдвигу; |
|
S |
- высота упора крышки; |
|
DS |
- зазор между поверхностями скольжения; |
|
Tmax |
- максимальное срезывающее усилие; |
|
Vxy |
- равнодействующая горизонтальная сила; |
|
Vy |
- максимальная поперечная горизонтальная сила; |
|
Va |
- сила, воспринимаемая анкерами; |
|
Wф |
- момент сопротивления фторопластовых пластин; |
|
X |
- величина, на которую нижняя часть крышки должна заходить в стакан; |
|
а |
- размер стороны резиновой опорной части, параллельной продольной оси пролетного строения; |
|
а1 |
- размер стороны арматуры резиновой опорной части, параллельной продольной оси пролетного строения; |
|
b |
- размер стороны резиновой опорной части, перпендикулярной оси пролетного строения; |
|
b1 |
- размер стороны арматуры резиновой опорной части, перпендикулярной оси пролетного строения; |
|
bс |
- толщина кольца стакана; |
|
са |
- толщина стального арматурного листа; |
|
ср |
- толщина промежуточного слоя резины; |
|
d |
- внутренний диаметр стального стакана; |
|
e1 |
- эксцентриситет вследствие сопротивления трению на плоской и сферической поверхностях скольжения; |
|
e2 |
- эксцентриситет вследствие сопротивления трению на поверхностях скольжения направляющих или кольцевых фиксаторов; |
|
e3 |
- эксцентриситет вследствие поворота опорной части; |
|
h |
- суммарная толщина слоев резины; |
|
hn |
- толщина скользящей плиты; |
|
hp |
- толщина резиновой пластины; |
|
hc |
- толщина дна стакана; |
|
hф |
- выступающая из выточки часть фторопластовой пластины; |
|
i |
- угол уклона пролетного строения; |
|
k |
- коэффициент, учитывающий особенность работы резиновой пластины; |
|
kн |
- коэффициент надежности при расчете анкеровки опорных частей; |
|
m |
- коэффициент условия работы; |
|
n |
- количество слоев резины; |
|
tс |
- высота кольца стакана; |
|
tф |
- толщина фторопластовой пластины; |
|
tggv,n |
- тангенс угла сдвига резиновой опорной части при действии на нее нормативной временной нагрузки; |
|
tggg,n |
- тангенс угла сдвига резиновой опорной части при воздействии постоянных нагрузок и температуры; |
|
tgg |
- тангенс угла сдвига от действия суммарных нормативных нагрузок; |
|
z |
- число опор в группе; |
|
gm |
- коэффициент безопасности; |
|
b |
- коэффициент формы резиновой опорной части; |
|
da, db |
- расчетное перемещение сдвига опорной части по направлениям сторон а и b; |
|
dd |
- линейные перемещения опорного узла пролетного строения от расчетных температурных воздействий, ползучести, усадки бетона и расчетной временной подвижной нагрузки; |
|
dt,d |
- линейное перемещение опорного узла пролетного строения от расчетного перепада температуры, ползучести и усадки бетона; |
|
dt,n |
- линейные перемещения опорного узла от нормативного перепада температуры, усадки и ползучести бетона; |
|
dv,n |
- линейное перемещение опорного узла вследствие поворота опорного узла пролетного строения от нормативной временной подвижной нагрузки; |
|
J |
- расчетный угол поворота опорной части; |
|
J0 |
- начальный угол поворота; |
|
Jd |
- расчетный угол поворота одного промежуточного слоя резины; |
|
Jg,d; Jv,d |
- угол поворота опорной части от расчетной постоянной и временной подвижной нагрузки; |
|
Jg,n; Jv,n |
- угол поворота опорной части соответственно от нормативной постоянной и временной подвижной нагрузок; |
|
Ji |
- угол поворота, равный уклону пролетного строения; |
|
mн |
- коэффициент трения пары скольжения (контактной пары); |
|
mр |
- коэффициент трения резины; |
|
mф |
- коэффициенты трения фторопластовых пластин; |
|
mфmax и mфmin |
- максимальные и минимальные значения коэффициентов трения фторопласта; |
|
sр |
- нормальные напряжения в резиновой пластине от расчетной осевой нагрузки; |
|
sT |
- предел текучести стали; |
|
sф |
- нормальные осевые напряжения во фторопластовых пластинах; |
|
sфн |
- нормальные напряжения во фторопластовых(металлофторопластовых) полосах направляющих; |
|
sфmax |
- нормальные краевые напряжения во фторопластовых пластинах; |
|
sD |
- растягивающие напряжения в дне стакана; |
|
sd |
- нормальные напряжения в резиновой опорной части от расчетной вертикальной нагрузки; |
|
sg,d |
- нормальные напряжения от постоянной нагрузки; |
|
sR |
- растягивающее напряжение в обойме; |
|
td |
- касательные напряжения, возникающие в резине опорной части от расчетных нагрузок; |
|
tv,d; th,d |
- касательные напряжения соответственно от расчетной вертикальной и горизонтальной нагрузок; |
|
tJ,d |
- касательные напряжения, возникающие в результате поворота верхней плоскости опорной части относительно нижней от расчетных нагрузок и воздействий; |
|
x |
- расстояние между поверхностью скольжения и рассматриваемым поперечным сечением. |
[1] СНиП 2.03.11-85 «Защита строительных конструкций от коррозии».
[2] СНиП 2.05.03-84* «Мосты и трубы».
[3] СНиП 3.04.03-85 «Защита строительных конструкций и сооружений от коррозии».
[4] СНиП 3.06.04-91 «Мосты и трубы».
[5] СНиП 3.06.07-86 «Мосты и трубы. Правила обследований и испытаний».
[6] СНиП 12-03-2001 «Безопасность труда в строительстве. Общие требования».
[7] СНиП 12-04-2002 «Безопасность труда в строительстве. Строительное производство».
[8] СНиП 23-01-99* «Строительная климатология».
[9] СНиП 52-01-2003 «Бетонные и железобетонные конструкции. Основные положения».
[10] СНиП II-7-81* «Строительство в сейсмических зонах».
[11] МГСН 5.02-99 «Проектирование городских мостовых сооружений».
[12] ВСН 4-81 «Инструкция по проведению осмотров мостов и труб на автомобильных дорогах».
[13] ВСН 86-83 «Инструкция по проектированию и установке полимерных опорных частей мостов».
[14] СТО 001-2006 «Защита металлических конструкций мостов от коррозии методом окрашивания».
[15] prEN 1337, части 1, 2, 3, 5, 7, 9, 10, 11 Опорные части. Structural bearings.
[16] DIN 4141, части 1, 14, 140 Опорные части в строительстве. Lager im Bauwesen. Teil I, 14, 140.
[17] ГОСТ 9.026-74* «Резины. Методы ускоренных испытаний на стойкость к озонному и светоозонному старению».
[18] ГОСТ 9.029-74* «Резины. Методы испытаний на стойкость к старению при статической деформации сжатия».
[19] ГОСТ 9.301-86* «Покрытия металлические и неметаллические неорганические. Общие требования».
[20] ГОСТ 9.302-88 «Покрытия металлические и неметаллические неорганические. Методы контроля».
[21] ГОСТ 9.303-84* «Покрытия металлические и неметаллические неорганические. Общие требования к выбору».
[22] ГОСТ 2.114-95 «ЕСКД. Технические условия».
[23] ГОСТ 209-75* «Резина. Определение прочности связи с металлом методом отрыва».
[24] ГОСТ 263-75* «Резина. Метод определения твердости по ШОРу А»
[25] ГОСТ 267-73* «Резина. Метод определения плотности».
[26] ГОСТ 270-75* «Резина. Метод определения упругопрочностных свойств при растяжении».
[27] ГОСТ 380-94 «Сталь углеродистая обыкновенного качества. Марки».
[28] ГОСТ 495-92* «Листы и полосы медные».
[29] ГОСТ 535-88 «Прокат сортовой и фасонный из стали углеродистой обыкновенного качества. Общие технические условия».
[30] ГОСТ 1050-88* «Сталь углеродистая качественная конструкционная. Технические условия».
[31] ГОСТ 5582-75* «Прокат тонколистовой коррозионно-стойкий, жаростойкий и жаропрочный. Технические условия».
[32] ГОСТ 6713-91 «Прокат низколегированный конструкционный для мостостроения. Технические условия».
[33] ГОСТ 7350-77* «Сталь толстолистовая коррозионно-стойкая, жаростойкая и жаропрочная. Технические условия».
[34] ГОСТ 7912-74* «Резина. Метод определения температурного предела хрупкости».
[35] ГОСТ 9433-80* «Смазка ЦИАТИМ - 221».
[36] ГОСТ 10007-80* «Фторопласт - 4. Технические условия».
[37] ГОСТ 11262-80* «Пластмассы. Метод испытания на растяжение».
[38] ГОСТ 15139-69* «Пластмассы. Методы определения плотности (объемной массы)».
[39] ГОСТ 19281-89* «Прокат из стали повышенной прочности. Общие технические условия».
[40] ГОСТ 19903-74* «Прокат листовой горячекатанный. Сортамент».
[41] ГОСТ 20403-75* «Резина. Метод определения твердости в международных единицах».
[42] Патент № 2122061 «Опорная часть моста стаканного типа».
[43] Патент №2122062 «Подвижная опорная часть моста стаканного типа».
[44] Патент № 2143024 «Опорная часть моста».
[45] Патент № 2160807 «Опорная часть моста».
[46] Эггерт X., Гроте Ю., Каушке В. «Опорные части в строительстве», Москва, Транспорт, 1978 г., 316 с.
[47] Вайнсберг Д.В., Вайнсберг Е.Д. «Пластины, Диски, Балки-стенки», Киев, 1958 г., 1049 с.
[48] «Методические рекомендации по применению конструкций температурно-неразрезных пролетных строений». Росавтодор. - М„ 2003 г.
|
|
|
|