//
ТехЛит.ру
- крупнейшая бесплатная электронная интернет библиотека для "технически умных" людей.
WWW.TEHLIT.RU - ТЕХНИЧЕСКАЯ ЛИТЕРАТУРА

:: Алготрейдинг::


АЛГОТРЕЙДИНГ
шаг за шагом
с нуля по урокам!

Торговые роботы на PYTHON, BackTrader,
Pandas, Pine Script для TradingView. Связка с брокерами, телеграм и легкими приложениями.


Методическая документация в строительстве

ЗАО «ЦНИИОМТП»

РЕКОМЕНДАЦИИ
по составлению проекта производства работ на монтаж строительных лесов

МДС 12-40.2008

Москва 2008

Содержание

В документе содержатся рекомендации и методический пример по составлению проекта производства работ на монтаж строительных лесов.

Документ разработан в развитие и дополнение МДС 12-81.2007 и МДС 12-25.2006.

Документ разработан сотрудниками ЗАО «ЦНИИОМТП» (кандидатами техн. наук В.В. Володиным и Ю.А. Корытовым).

Документ предназначен для проектных и строительно-монтажных организаций, разрабатывающих проекты производства работ на монтаж строительных лесов.

ВВЕДЕНИЕ

Для размещения рабочих, инструмента и материалов при выполнении строительных и ремонтных работ на фасадах зданий, в том числе, при их утеплении и отделке путем монтажа различных конструкций навесных фасадных систем применяются строительные леса.

Леса применимы для зданий и сооружений с разнообразными архитектурно-планировочными и конструктивными параметрами, конфигурацией, высотой и протяженностью.

Леса незаменимы в стесненных условиях городской застройки, где они используются не только как универсальное средство подмащивания, но и в качестве защитного экрана.

Трудоемкость монтажа лесов не превышает, как правило, 0,5 чел.-ч, приходящихся на 1 м2 площади фасада.

Проекты производства работ на монтаж лесов входят в состав основных организационно-технологических документов на строительство и являются востребованными местными органами государственного надзора при подготовке разрешительных документов на строительные работы.

Настоящий документ содержит рекомендации по разработке проекта производства работ в виде методического примера, в котором даны требования к составу и содержанию разделов, а также к их изложению и оформлению.

Документ применим напрямую к монтажу наиболее широко используемых стоечных приставных лесов, изготовленных по техническим условиям ГОСТ 27321-87. Леса могут быть любой степени сборности (трубчатые, рамные и каркасные) и разнообразными по конструкции узловых соединений (хомутовые, крюковые, клиновые или штырьевые); при этом стойки, рамные и каркасные элементы стыкуются при помощи патрубков.

Проект производства работ состоит из текстовой и графической частей. Графическая часть представлена схемами расположения ограждения опасной зоны, последовательности монтажа, крепления лесов к стене.

Настоящий методический документ предназначен для оказания помощи проектной, проектно-технологической и строительной организациям в разработке проекта производства работ на монтаж лесов.

В основу методического документа положены результаты работ ЗАО «ЦНИИОМТП» и других проектно-технологических институтов, а также обобщение практического опыта монтажа лесов московскими строительными организациями.

1 ПОЯСНИТЕЛЬНАЯ ЗАПИСКА

Проект производства работ на монтаж строительных лесов для устройства системы вентилируемого фасада на здании многофункционального офисно-делового бизнес-центра разработан на основании договора, технического задания и представленных исходных данных. В составе технического задания и исходных данных: рабочая документация на устройство вентилируемого фасада, паспорт и инструкция по монтажу строительных лесов (например, рамных лесов ЛСПР-200), чертежи на здание.

Данный проект производства работ разработан при наличии следующих исходных данных.

Леса ЛСПР-200 - приставные, при устройстве вентилируемого фасада могут достигать высоты 40 м. Шаг яруса по высоте - 2 м, шаг рам вдоль стены - 3 м, ширина прохода между стойками - 0,95 м. Нормативная нагрузка на высоте более 20 м не более 100 кгс/м2. Конструктивные составные части лесов ЛСПР-200 и их вес приведены в таблице 1.

Из таблицы видно, что вес составных частей лесов не превышает 12 кг и они могут быть подняты для монтажа с помощью лебедки или крышевого крана грузоподъемностью не более 250 кг.

Здание прямоугольной формы, длина по фасаду 72,0 м, высота не более 40 м.

Таблица 1

Составные части лесов ЛСПР-200

Вес, кг

Рама (2×1 м)

9,7

Рама с лестницей (2×1 м)

11,7

Связь (3,05 м)

2.64

Связь диагональная (3,3 м)

5,6

Башмак

0,3

Пробка-анкер

1,62

Хомут глухой, 48×48 мм

1,48

Ограждение торцевое

2,30

Ригель настила

12,0

Навесная фасадная система U-kon с облицовочными элементами (керамическая плитка и алюминиевые профили) монтируется на фасад здания. В соответствии с этим леса монтируются по фасаду в осях 1-12.

В проекте изложены положения по организации и технологии монтажа лесов, требования к качеству и приемке работ, определена потребность в средствах механизации, инструменте, инвентаре и приспособлениях, указаны требования техники безопасности и охрана труда.

При разработке проекта использованы нормативные, методические и справочные документы, указанные в Ведомости использованных документов.

2 ВЕДОМОСТЬ ИСПОЛЬЗОВАННЫХ ДОКУМЕНТОВ

Обозначение

Наименование

СНиП 3.03.01-87

Несущие и ограждающие конструкции

СНиП 12-01-2004

Организация строительства

СНиП 12-03-2001

Безопасность труда в строительстве. Часть 1. Общие требования

СНиП 12-04-2002

Безопасность труда в строительстве. Часть 2. Строительное производство

ГОСТ 12.1.004-91

ССБТ. Пожарная безопасность. Общие требования. Изменение (И-1-95)

ГОСТ 12.1.019-79

ССБТ. Электробезопасность. Общие требования и номенклатура видов защиты. (С изменением № 1)

ГОСТ 12.1.030-81

ССБТ. Электробезопасность. Защитное заземление, зануление. (С изменением № 1)

ГОСТ 12.1.046-85

ССБТ. Строительство. Нормы освещения строительных площадок

ГОСТ 12.4.011-89

ССБТ. Средства защиты работающих. Общие требования и классификация

ГОСТ 12.4.026-81

ССБТ. Цвета сигнальные и знаки опасности. Изменения (I-XII-80, 2-X-86)

ГОСТ 12.4.059-89

ССБТ. Строительство. Ограждения защитные инвентарные. Общие технические условия

ГОСТ 7502-98

Рулетки измерительные металлические. Технические условия

ГОСТ 7948-80

Отвесы стальные строительные. Технические условия

ГОСТ 23407-78

Ограждения инвентарные строительных площадок и участков производства строительно-монтажных работ. Технические условия

ГОСТ 24258-88

Средства подмащивания. Общие технические условия

ГОСТ 26887-86

Площадки и лестницы для строительно-монтажных работ. Общие технические условия

ГОСТ 27321-87

Леса стоечные приставные для строительно-монтажных работ. Технические условия

МДС 12-25.2006

Леса строительные. Монтаж, расчет, эксплуатация

ППБ 01-03

Правила пожарной безопасности в Российской Федерации

ПОТ РМ-016-2001

Межотраслевые правила по охране труда (правила безопасности) при эксплуатации электроустановок

3 ОРГАНИЗАЦИЯ И ТЕХНОЛОГИЯ ВЫПОЛНЕНИЯ РАБОТ

3.1 Подготовительные работы

3.1.1 До начала монтажных работ должны быть проведены следующие подготовительные работы:

- рабочая зона (а также подходы к ней и близлежащие территории) освобождается от строительных конструкций, материалов, механизмов и строительного мусора и ограждается согласно требованиям ГОСТ 23407;

- зона монтажа лесов ограждается согласно требованиям СНиП 12-03, устанавливаются предупреждающие знаки по ГОСТ 12.4.026;

- производится инструктаж рабочих-монтажников о порядке, приемах и правилах сборки и креплении лесов к стене.

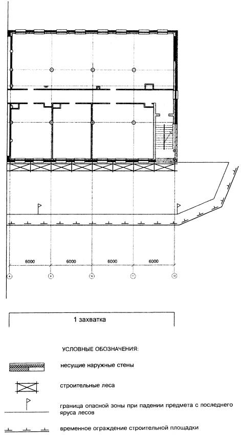
План стройплощадки для устройства вентилируемого фасада и соответственно монтажа лесов приводят в проекте производства работ на листах, как правило, формата А2 (420×594) или А3 (297×420). На рис. 1 приведен в качестве примера фрагмент плана стройплощадки. Условными обозначениями показаны леса, граница опасной зоны при падении предмета с последнего яруса лесов и временное ограждение строительной площадки.

Рис. 1. Фрагмент плана стройплощадки

3.1.2 Производится осмотр, контроль и оценка технического состояния составных частей монтируемых лесов. Наименование составных частей приведено в таблице 1. Поврежденные составные части подлежат выбраковке.

3.1.3 Производится подготовка к работе, установка и запуск грузоподъемных механизмов (крышевого крана или лебедки) для подъема и спуска составных частей лесов. Эти работы выполняют согласно инструкциям заводов-изготовителей грузоподъемных механизмов.

3.1.4 Производится подготовка средств механизации (ручных сверлильных машин, перфораторов, трамбовок и т.п.) и инструмента, проверяется их комплектность и готовность к работе.

3.1.5 Для монтажа лесов подготавливается спланированная и утрамбованная площадка, с которой должен быть устроен отвод воды, или площадка с асфальтобетонным покрытием. Если грунт влажный, то трамбование производят с подсыпкой щебня, битого кирпича, бетона.

В связи с перепадом высот до 400 мм площадку под леса по фасаду в осях 1-12 выравнивают по горизонтали в продольном и поперечном направлениях. Для выравнивания перепада высот до 500 мм применяют стандартные бетонные плиты и доски толщиной не менее 40-50 мм.

3.1.6 Объем работ делится на три захватки длиной 24 м по фасаду здания и высотой не выше 40 м, начиная с захватки в осях 12-8. При этом используется один комплект лесов ЛСПР-200 ( 960 м2 с размерами 40×24 м).

Расположение лесов на первой захватке на стене здания в осях 12-8 показано на рис. 2. Длина опорной площадки лесов 24 м, ширина - не менее 1,5 м. Перепад высот до 400 мм в продольном направлении выровнен путем укладки бетонных плит и досок.

Рис. 2. Расположение лесов на первой захватке

3.1.7 Разметка точек установки анкерных пробок на стене здания проводится в соответствии с рабочим чертежом на стену (см. рис. 2) или «по месту».

На начальном этапе определяют маячные точки разметки стены с таким расчетом, чтобы точки не совпали с проемами окон. При совпадении точки крепления с проемом в стене леса крепят к несущим конструкциям (стенам, колоннам, перекрытиям) с внутренней стороны здания при помощи крепежных устройств и приспособлений; не допускается крепить леса к балконам, карнизам, парапетам.

Расстояние точки установки анкерной пробки до проема должно быть не менее 150-200 мм. Горизонтальность крайних точек определяют с помощью нивелира, точки отмечают несмываемой краской. По двум крайним точкам, используя лазерный уровень и рулетку, определяют и отмечают краской промежуточные точки установки анкерных пробок. Затем по крайним точкам горизонтальной линии определяют вертикальные линии. Несмываемой краской отмечают точки установки анкерных пробок на крайних вертикальных линиях.

3.2 Основные работы

3.2.1 Работы согласно плану (см. п. 3.1.6) производятся захватками длиной 24 м по фасаду здания и высотой не выше 40 м, начиная с первой захватки, в осях 12-8. При наличии нескольких комплектов лесов устройство вентилируемого фасада и соответственно монтаж лесов могут производиться параллельными захватками.

3.2.2 Леса собирают из рам, диагональных связей, башмаков с винтовым регулированием высоты, ригелей настила и настила.

Крепление лесов к стене производится анкерами, завинчиваемыми в пробки.

Пробки вставляют в просверленные в стене отверстия.

Рамы наращивают друг на друга до необходимой высоты и соединяют между собой с помощью замков (фиксаторов) горизонтальными и диагональными связями. Ригели настила навешивают своими кронштейнами на верхние связи смежных рам на двух верхних ярусах, один из которых рабочий, другой - страховочный. На ригели укладывают деревянный настил.

3.2.3 Монтаж лесов производится согласно инструкции завода-изготовителя по ярусам на длину захватки.

Технологический процесс монтажа состоит из сборки первого, второго, третьего и других ярусов и крепления их к стене.

Сборка первого яруса лесов. На подготовленную, ровную в горизонтальной плоскости площадку (см. раздел 3.1.5) устанавливают башмаки с винтовым регулированием высоты. Под башмаками каждой пары стоек укладывают в поперечном направлении подкладку из доски толщиной не менее 40-50 мм. Установка башмаков показана на рис. 3.

Рис. 3. Установка башмаков

В башмаки вставляют две смежные рамы первого яруса, соединяют их связями. Далее устанавливают таким же образом через шаг 3 м другие смежные рамы и повторяют эту операцию до набора длины лесов, равной длине захватки. Затем устанавливают ригели с настилом на первых двух секциях с правой и левой сторон лесов. Сборка первого яруса лесов показана на рис. 4.

Рис. 4. Сборка первого яруса лесов

Стыки настила располагают на опоре и перекрывают ее не менее чем на 200 мм в каждую сторону, пороги при этом скашивают от прямого до угла в 30°. Настил обустраивают бортовым ограждением высотой 150 мм.

Установка второго яруса лесов. На первый ярус устанавливают второй ярус лесов, при этом диагональные связи располагают таким образом, чтобы они были установлены в шахматном порядке. Ригели с настилами устанавливают во втором и третьем пролетах (рис. 5).

Рис. 5. Сборка второго яруса лесов

Крепление лесов к стене. Крепление лесов к стене производят анкерами, закрепленными на стойках рам. Анкеры ввинчивают в пробки, установленные в стене через 4 м в шахматном порядке согласно намеченным точкам крепления (см. рис. 2).

Для крепления в стене пробок в размеченных точках просверливают отверстия, диаметром и глубиной соответствующие анкерам. Прочность крепления пробки в стене проверяется расчетом по МДС 12-25 (разделы 5.1.4 и 5.1.5) и должна быть испытана выборочно с помощью приспособления для выдергивания пробки из стены.

Если отверстие просверлено ошибочно не в том месте и требуется просверлить новое, то последнее должно находиться от ошибочного на расстоянии как минимум одной глубины просверленного отверстия. Это правило необязательно в том случае, если ошибочное отверстие предварительно бетонируется или заполняется аналогичным по прочности полимерным составом.

Очистка отверстий от отходов сверления (пыли) производится сжатым воздухом.

Пробка вставляется в подготовленное отверстие и подбивается монтажным молотком.

Установка и крепление к стене третьего и остальных ярусов лесов производится описанным выше способом. При сборке лесов необходимо следить, чтобы штыри входили в патрубки на всю длину.

На рабочем и страховочном ярусах устанавливают торцевые и продольные ограждения. В местах подъема на рабочий ярус, где не установлены диагональные связи, устанавливают продольные ограждения.

Схема крепления лесов к стене показана на сечении здания (рис. 6).

Рис. 6. Схема крепления лесов к стене

3.2.4 Демонтаж лесов для их перестановки на новую захватку производится в порядке, обратном их монтажу, то есть начиная с верхнего яруса. С настилов убирают остатки облицовочных деталей фасада, инвентарь и инструменты. Спуск демонтированных составных частей лесов осуществляют с помощью лебедки или крышевого крана.

4 ТРЕБОВАНИЯ К КАЧЕСТВУ И ПРИЕМКА РАБОТ

4.1 Качество монтажа лесов обеспечивается текущим контролем технологических операций подготовительных и основных работ, а также при приемке работ. По результатам текущего контроля технологических операций составляются акты освидетельствования скрытых работ (на прочность крепления в стене пробок для анкеров лесов).

4.2 В процессе подготовительных работ проверяют:

- готовность стены и конструктивных элементов здания, средств механизации и инструмента к выполнению монтажных работ;

- качество составных частей лесов (размеры, отсутствие вмятин, изгибов и прочих дефектов элементов лесов);

- правильность и надежность установки башмаков лесов на основание.

4.3 В процессе монтажных работ проверяют:

- точность разметки стены;

- диаметр, глубину и чистоту отверстий под анкерные пробки;

- прочность крепления анкеров;

- вертикальность стоек рам и горизонтальность связей, ригелей, настила лесов.

Горизонтальность лесов в продольном и поперечном направлениях проверяется по уровню, вертикальность - по отвесу.

При наращивании рам зазор между трубами и патрубками не должен превышать 3 мм.

При укладке настила проверяется прочность закрепления и отсутствие возможности сдвигов.

4.4 При приемке работ приемочной комиссией производится осмотр смонтированных лесов в целом и особенно тщательно мест крепления и сопряжений. Обнаруженные при осмотре дефекты устраняются.

Леса подлежат в присутствии приемочной комиссии испытанию нормативной нагрузкой в течение двух часов. При этом оценивается их прочность и устойчивость, надежность крепления к стене, настила и ограждений, заземления.

Перила ограждения должны выдерживать сосредоточенную нагрузку 70 кгс, приложенную к ним посередине и перпендикулярно.

Несущие горизонтальные связи должны выдерживать сосредоточенную нагрузку 130 кгс, приложенную посередине.

4.5 Приемка смонтированных лесов оформляется актом сдачи-приемки работ. К акту сдачи-приемки работ прилагается акт освидетельствования скрытых работ (по п. 4.1).

4.6 Качество монтажа лесов оценивается степенью соответствия фактических параметров и характеристик указанным в проектной и нормативно-технической документации.

Основные контролируемые параметры и характеристики, способы их измерения и оценки приведены в таблице 2.

Таблица 2


п.п.

Технологические операции

Контролируемый параметр,
характеристика

Допускаемое значение,
требование

Способ контроля и
инструмент

1

Разметка крайних точек по горизонтали

Точность разметки

±2,0 мм

Нивелир

2

Разметка крайних точек по вертикали

То же

±2,0 мм

Теодолит

3

Разметка промежуточных точек крепления

То же

±2,0 мм

Лазерный нивелир, отвес, рулетка

4

Сверление отверстий под пробки

Глубина Н, диаметр D

H = длина винта

+10,0 мм

D = диаметр винта

+ 0,2 мм

Глубиномер, нутромер

Расстояние до проема, угла здания

Не менее 150,0 мм

Рулетка

Чистота отверстия

Отсутствие пыли

Визуально

5

Установка башмаков

Толщина подкладки из доски

40-50 мм

Линейка металлическая

6

Сборка секций и ярусов лесов

Отклонение от вертикальности

±1,0 мм на 2 м высоты

Отвес, линейка

Отклонение от горизонтальности

±1,0 мм на 3 м длины

Уровень, линейка

Зазор между стеной здания и настилом

Не более 150 мм

Шаблон

Линейные размеры

До 50 м - ±1 %

Рулетка лазерная DISTO

7

Крепление лесов к стене

Усилие, вырывающее анкер из стены

Не менее 300 кгс

Приспособление для контроля пробки

8

Укладка настила

Зазор между досками

Не более 5 мм

Шаблон

Выступы досок

Не более 3 мм

Шаблон

Перекрытие стыками настила опор

Не менее 200 мм

Линейка металлическая

9

Устройство заземления лесов

Сопротивление заземления

Не более 15 Ом

Тестер Щ 4313

5 ПОТРЕБНОСТЬ В СРЕДСТВАХ МЕХАНИЗАЦИИ, ИНСТРУМЕНТЕ, ИНВЕНТАРЕ И ПРИСПОСОБЛЕНИЯХ

Потребность в основных средствах механизации, инструменте, инвентаре и приспособлениях приведена в таблице 3.

Таблица 3


п.п.

Наименование

Тип, марка, ГОСТ,
№ чертежа, завод-
изготовитель

Техническая
характеристика

Назначение

1

Кран крышевой

Тип «Пионер», ЗАО «ТЭМЗ»

Грузоподъемность 150-500 кгс

Подъем и спуск составных частей лесов, элементов фасада

Лебедка

Тип ТЛ-12, Т-66 А

Тяговое усилие 250 кгс

2

Отвес, шнур

ОТ 400-1, ГОСТ 7948

Шнур трехпрядный капроновый

Масса отвеса не более 0,4 кг, длина 98 м.

Длина шнура -5 м, диаметр 3 мм

Разметка захваток, проверка вертикальности

3

Лазерный нивелир

BL 40 VHR СКБ

«Стройприбор»

Точность измерения 0,1 мм/м

Измерение высот

4

Лазерный уровень

BL 20 СКБ

«Стройприбор»

Точность измерения 0,1 мм/м

Проверка горизонтальных плоскостей

5

Дрель

Интерскол ДУ 1000-ЭР

Мощность 1,0 кВт, диаметр сверления отверстия до 25 мм

Сверление отверстий в стене

6

Рулетка стальная

Р20УЗК, ГОСТ 7502

Длина 20 м, масса 0,35 кг

Измерение линейных размеров

7

Отвертка с наконечником

Отвертка Профи ООО «ИНФОТЕКС»

Реверсивная рычажная

Завинчивание-отвинчивание винтов

8

Приспособление для контроля пробок

РЧ 3408.07.000 ЦНИИОМТП

Выдергивающее усилие - 300 кгс. Габариты:

1240×1200×175 мм

Масса - 7,8 кг

Контроль прочности крепления пробки в стене

9

Ограждение участка производства работ

ГОСТ 23407

Инвентарное

Безопасность работ

10

Сетка защитная на леса

Тип 4.603; 4.504; 4.501.1 фирмы Апекс, фирмы Верт или других фирм

Из полимерных волокон

Защита от падения предметов с высоты

6 ТЕХНИКА БЕЗОПАСНОСТИ И ОХРАНА ТРУДА

6.1 При организации и проведении работ по монтажу строительных лесов должны выполняться требования СНиП 12-03, СНиП 12-04, ГОСТ 12.4.011.

На лесах должна быть вывешена схема размещения и величины допускаемых нагрузок на леса. Не допускается нахождение на настиле лесов более трех человек.

К монтажу лесов допускаются рабочие, имеющие право работать на высоте. Монтажники должны быть обеспечены предохранительными поясами.

6.2 Пожарная безопасность на рабочих местах должна обеспечиваться в соответствии с правилами ППБ 01.

6.3 Электробезопасность на рабочих местах должна обеспечиваться в соответствии с требованиями ГОСТ 12.1.019, ГОСТ 12.1.030, ПОТ РМ-016.

6.4 При организации строительной площадки устанавливается опасная зона от падения предметов с высоты лесов 25 м, равная 7 м. Опасная зона обозначена знаками безопасности и надписями установленной формы в соответствии с ГОСТ 12.4.026. На леса может быть навешена защитная сетка (см. таблицу 3). Опасная зона при этом может не обозначаться.

Расположение и конструкция ограждения строительной площадки приняты согласно требованиям ГОСТ 23407.

6.5 Складирование и хранение составных частей лесов, материалов, изделий и оборудования должны осуществляться в соответствии с требованиями стандартов или технических условий на леса, материалы, изделия и оборудование, а также СНиП 12-03.

6.6 При работе в темное время суток строительная площадка, леса, проезды и подходы к ним должны быть освещены в соответствии с ГОСТ 12.1.046. Освещенность должна быть равномерной, без слепящего действия осветительных приборов.

6.7 Лестницы лесов должны быть оборудованы по ГОСТ 26887. Уклон лестниц к горизонту должен быть не более 75°. Лестницы должны быть с нескользящими ступеньками.

6.8 Подъем грузов на леса осуществляют лебедкой или крышевым краном. Подъем грузов на леса стреловыми кранами недопустим.

6.9 Молниезащита лесов должна быть устроена с сопротивлением заземления не более 15 Ом.

6.10 На время монтажа и демонтажа лесов электрические провода, расположенные ближе 5 м от лесов, обесточивают.

Во время грозы, снегопада и при ветре более 6 баллов монтаж или демонтаж лесов не производится.

Во время монтажа и демонтажа лесов оконные, балконные и дверные проемы должны быть закрыты.

6.11 Техническое состояние лесов контролируется перед каждой сменой и периодическими осмотрами через каждые 10 дней. Если леса не использовались в течение месяца, то они допускаются к эксплуатации после приемки комиссией (см. раздел 4). Результаты приемки и осмотра отмечают в журнале учета по ГОСТ 24258.

Леса подлежат дополнительному осмотру после дождя или оттепели, которые могут уменьшить несущую способность основания.

Приложение
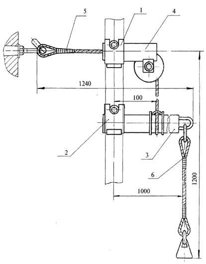
ПРИСПОСОБЛЕНИЕ ДЛЯ КОНТРОЛЯ УСИЛИЙ ЗАКЛИНИВАНИЯ ПРОБОК

Приспособление позволяет производить выборочный контроль прочности заклинивания пробки в материале стены.

Принципиальная схема приспособления показана на рисунке ниже. Приспособление состоит из неповоротного 1 и поворотного 2 хомутов, поперечины 3, вставленной в поворотный хомут, кронштейна 4, вставленного в неповоротный хомут, и строп 5 и 6.

Приспособление для контроля заклинивания пробок

Сборка приспособления выполняется в следующей последовательности. На внутренней стойке лесов напротив пробки с анкером закрепляется хомут 1 с кронштейном 4 и блоком. Ниже на расстоянии около 400 мм закрепляется хомут 2 с поперечиной 3. Строп 5 надевается на крюк анкера, перекидывается через блок и закрепляется «удавкой» на поперечине. Строп 6 навешивается на петлю поперечины. Хомут 2 регулируется и закрепляется так, чтобы поперечина заняла горизонтальное положение и свободно поворачивалась в шарнире. На свободный конец стропа 6 подвешивается контрольный груз 32 кг, который посредством рычага (с учетом коэффициентов полезного действия в шарнире и блоке) создает на крюке анкера выдергивающее усилие 300 кгс. Под действием этого усилия пробка не должна вытаскиваться из стены.

Габариты приспособления: длина - 1240, ширина - 175 и высота - 1200 мм. Масса не превышает 8 кг.

С помощью этого приспособления можно не только контролировать, но и измерять усилие, выдергивающее пробку из стены, если между поперечиной 3 и стропом 6 вставить динамометр.




Яндекс цитирования