//
ТехЛит.ру
- крупнейшая бесплатная электронная интернет библиотека для "технически умных" людей.
WWW.TEHLIT.RU - ТЕХНИЧЕСКАЯ ЛИТЕРАТУРА

:: Алготрейдинг::


АЛГОТРЕЙДИНГ
шаг за шагом
с нуля по урокам!

Торговые роботы на PYTHON, BackTrader,
Pandas, Pine Script для TradingView. Связка с брокерами, телеграм и легкими приложениями.


отраслевой Стандарт

ПРОБКИ РЕЗЬБОВЫЕ КОНИЧЕСКИЕ АВТОТРАКТОРНЫЕ

Конструкция и размеры.

Обще технические условия

(ограничение ГОСТ 12717-78)

ОСТ
3
4-13-128-82

Введен впервые

Приказом Министерства энергетики и электрификация СССР от 3 декабря 1962 г. № 442 срок введения установлен

с 01.07.1983 г

Несоблюдение стандарта преследуется по закону

1. Настоящий стандарт распространяется на резьбовые конические автотракторные пробки (далее - пробки), применяемые в автомобилях и тракторах.

Стандарт полностью соответствует СТ СЭВ 304-76.

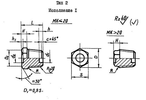
2. Конструкция и размеры пробок о шестигранной головкой должны соответствовать указанным на чертеже и в таблице.

Примечание. Типы пробок 1, 2 (исполнение 2) и 3, предусмотренные ГОСТ 12717-78, в настоящем отраслевом стандарте исключены.

Пример условного обозначения пробки типа 2 исполнения 1, с метрической конической резьбой (МК), наружным диаметром 20 мм, из стали марки 10 кп, с покрытием кадмиевым с хроматированием, толщиной 6 мкм:

Пробка 2-1MK 20.10кп.Кд6. хр. ГОСТ 12717-78

3. Пробки должны изготовляться из сталей марок 10 кп, 20 кп, 35 по ГОСТ 10702-78, латуни марки Л63 по ГОСТ 15527-70, алюминиевых деформируемых сплавов марок Д1П, Д16П по ГОСТ 4784-74, из сталей марок 20, 35 по ГОСТ 1050-74 и A12 по ГОСТ 1414-75.


Размеры в мм

Наружный диаметр резьбы d

Шаг резьбы

Размер "под ключ" S

Диаметр описанной окружности D, не менее

Высота головки Н

Длина пробки L

Ширина фаски С, не более

Радиус закруг-
ления
R, не более

Диаметр выемки d1, не более

Диаметр углуб-
ления
d2, не более

Глубина выемки h не более

Высота углуб-
ления
h1, не более

Номин.

Пред.
откл.
по
h13, мкм

Номин.

Пред.
откл.
по
h15,
мкм

Номин.

Пред.
откл.
по
h15,
мкм

МК 16

1,5

19

0
-330

20,9

6

0
-480

22

0
-840

1.6

2,3

8

15

4

2,0

МК 20

22

24,3

7

0
-580

23

10

МК 24

19

20,9

10

21

2.8

12

4,0

МК 30

2,0

24

26,5

11

0
-700

27

2.0

14

20

6

МК 36

27

29,9

3,3

18

МК 42

30

33,3

13

29

20

24

8

Примечания:

1. Допускается не делать выемки d, xh .

2. Форма дна углубления не регламентируется.

3. Масса пробок приведена в справочном приложения.


4. Виды и условные обозначения покрытий по ГОСТ 9.073-77 должны соответствовать указанным ниже:

Ц.хр. - цинковое, хроматированное;

Кд.хр. - кадмиевое, хроматированное;

Фос.прм. - фосфатное с пропиткой маслом;

Ан.Окс.хр. - окисное анодное, хроматированное.

Допускается по согласованию с потребителем изготовлять пробки с оловянным и медным покрытием, а также без покрытий.

5. Толщина покрытий - по ГОСТ 9.073-77.

6. Остальные технические требования, не оговоренные в настоящем стандарте, по ГОСТ 12717-78.

ПРИЛОЖЕНИЕ
Справочное

Резьба d × P

Масса 1000 шт. стальных пробок, кг

МК 16 × 1,5

36,94

МК 20 × 1,5

63,55

МК 24 × 1,5

70,25

МК 30 × 2

114,30

МК 36 × 2

148,54

МК 42 × 2

214,44

Примечание. Для определения массы пробок, изготовленных из других материалов, величины масс, указанные в таблице, следует умножить на коэффициенты:

1,08 - для латуни;

0,356 - для алюминиевого сплава.




Яндекс цитирования