//
|
|
МИНИСТЕРСТВО АВТОМОБИЛЬНОГО ТРАНСПОРТА И ШОССЕЙНЫХ ДОРОГ СССРГОСУДАРСТВЕННЫЙ ВСЕСОЮЗНЫЙ ДОРОЖНЫЙ НАУЧНО-ИССЛЕДОВАТЕЛЬСКИЙ
ИНСТИТУТ
| |||||||||||||||||||||||||||||||
|
ШВЫ РАСШИРЕНИЯ, ПРИМЕНЯЕМЫЕ В МОСТОСТРОЕНИИ,ИХ НЕДОСТАТКИ И ОСОБЕННОСТИ РАБОТЫ РЕКОМЕНДУЕМЫЕ ШВЫ РАСШИРЕНИЯ И ОСНОВНЫЕ УКАЗАНИЯ ПО ИХ УСТРОЙСТВУ |
ИНФОРМАЦИОННОЕ ПИСЬМО № 70
Правильное конструирование и устройство швов расширения в пролетных строениях мостов способствует удлинению срока службы сооружения и обеспечивает плавный проезд автомобилей на больших скоростях.
Вопрос о рациональном конструировании швов расширения недостаточно освещен в литературе.
Специальное обследование, проведенное Экспертно-мостовым бюро Союздорнии, и опыт эксплуатации автодорожных мостов свидетельствуют о необходимости усовершенствования швов расширения и, в частности, улучшения отвода воды из швов, а также повышения качества работ по их устройству.
В настоящем информационном сообщении приводятся краткие сведения о швах расширения, применяемых в мостостроении, и о предполагаемых новых конструкциях швов для средних и больших перемещений и даются указания по их проектированию.
Директор Союздорнии
канд. техн. наук Н.Ф. ХОРОШИЛОВ
Начальник Экспертно-мостового бюро Союздорнии инж. Л.А. ЗАХАРОВ
В информационном письме № 5 Союздорнии были рассмотрены швы расширения закрытого типа, с использованием для уплотнения их различных заполнителей. Такие швы применимы для перемещений не более 2,5 см.
При перемещениях свыше 2,5 см применяют швы расширения открытого типа. По конструкциям различают швы, перекрытые скользящими или скользяще-качающимися плитами, и швы с применением консольных или балочных пальчатых конструкций.
Швы расширения открытого типа должны без повреждений воспринимать требуемое горизонтальное и вертикальное смещения и иметь достаточно прочную, долговременную и простую конструкцию, обеспечивающую плавность проезда временных нагрузок, хороший водоотвод и удобство очистки лотков.
Швы расширения требуют серьезного внимания к водоотводным устройствам, помещаемым в шве под скользящими листами, так как они пропускают атмосферные воды.
Лотки для отвода воды делают жесткими или эластичными в виде компенсаторов. При жестких лотках, помещаемых между сопрягаемыми частями, оказывается необходимым значительно увеличивать размеры конструкций шва расширения. Этого можно избежать, если есть возможность уменьшить зазор в шве за счет размещения лотка под одной из сопрягаемых частей. Важно при этом, чтобы вода и грязь не попадали на элементы конструкции моста, а желоба были доступны очистке.
Для нормальной работы швов расширения со скользящими плитами важно также, чтобы они допускали не только горизонтальное, но и вертикальное смещение сопрягаемых частей. При жестком закреплении элементов обычно наблюдаются отрыв, погнутости или ослабление закреплений скользящих листов.
Величину наибольшего зазора между скользящим и встречным листами необходимо ограничивать.
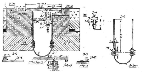
Практикой установлено, что зазор более 4-5 см недопустим, так как быстро движущиеся нагрузки воспринимают значительные толчки, вызывают выбоины в дорожной одежде и оказывают повышенное динамическое воздействие на конструкции швов и мост. Поэтому в конструкции швов расширения со скользящими плитами при необходимости обеспечения перемещений более 5 см предусматривают два зазора (рис. 1).
Шов этой конструкции перекрыт скользящей плитой, уложенной на опорные стулья 1. Консоли стульев входят своими выступами в пазы плит. К плитам снизу прикреплены пластинки 3, не позволяющие плитам приподниматься, так как выступы консолей своими боковыми частями заходят в пространство, образованное пластинками и пазами плит. Величина обоих зазоров благодаря принятой конструкции не может быть более 5 см.

Рис. 1. Шов расширения со скользящей плитой для перемещения до 10 см:
1 - опорные стулья; 2 - цинковый лист; 3 - пластинка, удерживающая плиту от поднятия; 4 - водоотводная труба; 5 - устой; 6 - пролетное строение
Швы расширения, перекрытые скользящими листами, были на ряде мостов тщательно осмотрены Экспертно-мостовым бюро (ЭМБ) Союздорнии. При этом установлено интенсивное ржавление незащищенных металлических элементов швов и сопрягаемых частей от дождя и скапливающейся здесь грязи. Замечено также, что водоотводящие лотки 2, 4 быстро засоряются и в таком состоянии существуют недолго. Засоренные и неокрашенные лотки из стальных 2 мм листов разрушаются ржавчиной уже через 2-3 года после постройки моста. Вследствие этого и затруднительности или полной невозможности очистки лотков, а также отсутствия водоспускных лотков концевые участки балок и опоры периодически увлажняются.
Кроме влияния этих общих недостатков, преждевременное разрушение швов расширения и сопрягаемых частей происходит от плохого выполнения работ. В частности, лотки не центрируют, неплотно закрепляют, а в ряде случаев вообще их не устраивают, вследствие чего на опоры попадают вода и грязь. Иногда при неправильном монтаже и малом зазоре между встречным и скользящим листами в конструкциях с двойными зазорами ограничивается свободное перемещение сопрягаемых концов и происходят поломки.
При плохой пригонке или неплотном прилегании элементов между собой и с полотном проезжей части в плитах появляются погнутости, их соединения быстро нарушаются, а в полотне возникают выбоины. Все это препятствует нормальному движению автомобилей на больших скоростях.
Отмечается также, что изоляция около шва не всегда бывает прикрыта защитным слоем, часто компенсаторы не спаивают в стыках, а металлические элементы швов и концов балок не полностью окрашивают или оставляют вовсе неокрашенными.
Нередко свободной деформации пролетного строения препятствуют остающиеся в шве после постройки моста доски опалубки, наплывы бетона и строительный мусор. Проектировщикам необходимо учесть, что при малом зазоре в шве и большой строительной высоте балок доски опалубки удалять почти невозможно. Все эти дефекты, встречающиеся в отдельных сооружениях, понижают срок службы конструкций швов и сопрягаемых частей пролетных строений мостов.
Для больших перемещений применяют обычно пальчатые конструкции («гребенки»), гарантирующие при правильном их проектировании отсутствие ударов даже при быстром проезде нагрузок.
Большинство ранее применявшихся пальчатых конструкций представляло собой тяжелые консольные отливки из литой стали, требующие сложного и надежного заанкерования.
Более совершенны конструкции из пальчатых балочных плит (рис. 2): они легки, просты в изготовлении, легко заменяются и не требуют такого сложного закрепления, как конструкции консольного типа.
Пальцы, в зависимости от их толщины и длины, могут быть выполнены литыми или фрезерованными, составляя общее целое с плитами.
Толщина пальцев должна быть не более 30 мм. Просветы перекрывать листами нежелательно, так как необходимо избегать неровностей на поверхности полотна, а в случае применения слишком тонких листов они под тяжелыми грузами выпучиваются.
Тонкие и длинные пальцы более просто прикрепить к плитам или поддерживающим частям с помощью сварки.
Изображенная на рис. 2 пальчатая конструкция может быть применена для сопряжения практически неподвижных частей сооружения или частей с одинаковым вертикальным смещением.
В конструкциях швов расширения, обеспечивающих вертикальные смещения сопрягаемых частей, шарнирность достигается болтом с пружинной шайбой, пропущенным в овальные отверстия элементов, поддерживающих закрепленный конец плиты.
К недостаткам пальчатых конструкций относятся постоянное засорение узких просветов между пальцами и возможность застревания в них различных предметов.
Таких недостатков не имеет конструкция, примененная впервые на ряде мостов в Германии (рис. 3). В этой конструкции нет зазоров сверху; она состоит из качающихся плит 1 и 2, скользящей плиты 3, составленной из шарнирносоединенных между собой элементов с цилиндрической выпуклой верхней поверхностью, и опорного элемента 4, верхняя выпуклая поверхность которого очерчена также по дуге круга с радиусом r = 750 мм. Качающаяся плита 2 соединена со скользящей плитой также шарниром. Благодаря этому в шве допустимы вертикальные смещения.

Рис. 2. Пальчатая балочная конструкция
Прикрепление плиты 1 при помощи болта и круглого стержня обеспечивает постоянное прижатие конца ее к скользящим плитам.
В зависимости от числа шарнирносоединенных элементов можно получить то или иное требуемое перемещение. Для постоянного сохранения горизонтального положения качающейся плиты ее подвижной конец должен перемещаться только по горизонтальной части опорного элемента.
Недостатком подобной конструкции надо считать сложность ее изготовления и монтажа.

Рис. 3. Шов расширения для больших перемещений
При освидетельствовании пальчатых конструкций в ряде сооружений обнаруживалось значительное расстройство прикреплений балочных плит, неприспособленных к восприятию вертикальных перемещений. Кроме того, отмечались сильная коррозия, загрязненность и другие дефекты, свойственные швам со скользящими плитами, плохая подводка к швам изоляции (изломы, обрывы) и отсутствие защитного слоя над ней, что благоприятствует попаданию воды под изоляцию.
При проектировании швов расширения с применением пальчатых конструкций необходимо иметь в виду следующее:
1) конструкции с балочными плитами более экономичны в сравнении с консольными;
2) наиболее целесообразным закреплением пальцев к плитам, в особенности при малой толщине и большой длине их, является приварка;
3) длина пальцев каждой плиты должна быть:
Δ = Δ1 + Δ2 +а,
где: Δ1 - перемещение от расчетной разности температур;
Δ2 - полное перемещение от временной нагрузки, с учетом горизонтального смещения от поворота опорного сечения;
а - минимальная длина опорной площадки пальцев, равная 25-30 мм для балочных плит; в консольных конструкциях необходимы запуски пальцев не менее 5 мм;
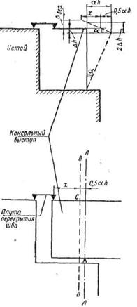
4) от вертикального смещения одной плиты относительно другой на поверхности конструкции шва могут образоваться недопустимые уступы в случаях сопряжения частей с различной вертикальной подвижностью (консоли, гибкие поперечные балки, качающиеся опоры), наличия значительного продольного уклона ездового полотна (рис. 4) и балок с большой строительной высотой.

Рис. 4. Вертикальное смещение в шве за счет продольного уклона:
Δl - горизонтальное смещение; Δh - вертикальное смещение = Δl·ltg a
Для плавности сопряжения концы пальцев должны быть соответствующим образом закруглены. При недопустимых уступах надо применять по возможности конструктивные мероприятия: например, нижние плиты подвижных опорных частей укладывать с таким же продольным уклоном, какой придан пролетному строению, или пальчатые плиты делать коническими.
Рекомендуемые швы расширения представляют собой в основном новые, разработанные в Союздорнии или улучшенные существующие конструкции. Разработка производилась с учетом недостатков, выявленных при освидетельствовании швов. При этом особое внимание обращалось на обеспечение максимально удобной очистки лотков, разработку наиболее легких конструкций с простым закреплением плит, обеспечивающим поворот их в вертикальной плоскости, и конструирование швов расширения со скользящими плитами для больших перемещений.
Для сопряжения вертикально неподвижных частей можно применять швы расширения с жестким закреплением скользящего элемента (см. рис. 5 и 6).
В швах предусмотрены съемные плиты, которые дают возможность удобно производить очистку лотков или ремонт швов, что является одним из существенных требований, предъявляемых к швам расширения.
При съемных плитах становится возможным и рациональным применять лотки-компенсаторы 7 (рис. 5). Они позволяют сохранить минимально допустимый из производственных соображений зазор между сопрягаемыми частями и тем самым облегчить конструкцию шва расширения и уменьшить ширину опор моста. При разной строительной высоте сопрягаемых частей могут быть применены и лотки жесткого типа (см. рис. 10).
Для предотвращения попадания воды в шов необходимо: сопрягать скользящие и встречные листы с полотном проезжей части через прослойку битумной мастики 6 (см. рис. 5), укладывать подкладные листы или уголки на прослойку жирного цементного раствора и спаивать листы компенсатора.
Для увеличения срока службы конструкции шва вместо компенсаторов из оцинкованного железа применяют медные, латунные или алюминиевые компенсаторы толщиной 1,5-2,0 мм и защищают от коррозии металлические части.

Рис. 5. Шов расширения, допускающий перемещение не более 5 см при вертикально неподвижных сопрягаемых частях:
1 - покрытие проезжей части; 2 - защитный слой; 3 - изоляция; 4 - слой из цементного раствора состава 1:2; 5 - плита; 6 - битумная мастика; 7 - лоток-компенсатор d = 1-2 мм; 8 - скользящий элемент из съемных и закрепленных плит; 9 - соединительные планки съемного элемента
Шов расширения можно устроить водонепроницаемым без лотка (рис. 6). В нем пространство между компенсатором 3 и скользящим элементом 5 заполняется консистентной смазкой 4 с наполнителем в виде асбестового волокна № 6-7 (ГОСТ 7-40) в количестве около 25 %.

Рис. 6. Водонепроницаемый шов расширения, сопрягающий вертикально-неподвижные части:
1 - битумная мастика; 2 - слой из цементного раствора; 3 - компенсатор d - 1,5-2,0 мм; 4 - консистентная смазка; 5 - скользящий элемент из съемных и закрепленных плит; 6 - соединительная планка скользящего элемента; 7 - отверстия для нагнетания смазки
В качестве консистентной смазки можно применить солидол Т (ГОСТ 1033-41). Он морозо- и водоустойчив, имеет мазеобразную консистенцию, которую сохраняет при температуре 90°С и более. Солидол смешивают с асбестовым волокном в жидком состоянии.
Пространство над компенсатором заполняется смазкой (до отказа) через отверстие 7. После этого шов становится водонепроницаемым. При принятых размерах от смещения сопрягаемых частей происходит небольшое изменение объема в пространстве, ограниченном компенсатором и скользящим листом, вследствие чего, оно почти полностью бывает заполнено смазкой, если смещение не превышает 5 см. Кроме того, смазка может в небольших пределах уплотняться за счет наличия в ней асбестового волокна.
Кроме водонепроницаемости, положительное значение смазки выражается в предохранении металлических частей шва от преждевременной коррозии.
Значение съемных плит в этом шве заключается в том, что с их помощью можно в любое время выяснить количество и состояние смазки и при необходимости сменить ее.
В рассмотренных ниже конструкциях закрепленные 1 и съемные плиты 2, составляющие скользящий элемент, уложены поочередно (см. рис. 7 и 8).
Практикой установлено, что применяемые для закрепления съемных плит болты и шурупы сильно ржавеют, и отвернуть их без повреждения становится невозможным. Поэтому в предлагаемых конструкциях; рассматриваются съемные, не закрепленные винтами плиты.
В поперечном направлении съемные плиты 2 заходят своими скошенными под углом 45° концами под соответственно скошенные концы «закрепленных» плит 1, а в продольном направлении укладываются непосредственно на опорные элементы шва или опираются на них через ограничительные или скошенные планки (см. рис. 10, 14).
Во избежание произвольного смещения съемных плит вдоль моста и необходимости соединения всех плит в общий скользящий элемент к продольным торцам «закрепленных» плит привариваются или привинчиваются соединительные планки.
Съемные плиты предлагаются в двух вариантах.
По первому варианту съемная плита состоит из двух одинаковых половин, соединенных между собой шарниром 4 (рис. 7). Для удобства осуществления шарнира съемная плита составлена из нижней пластины = 15 мм и верхней 8 = 5 мм.

Рис. 7. Вариант 1 съемной плиты:
1 - закрепленные плиты; 2 - съемные плиты; 3 - соединительные планки; 4 - стержень (шарнир) Æ 10 мм; 5 - нарезное отверстие для выемки плиты
Верхние пластины обеих половин плиты своими выступами поочередно охватывают стержень диаметром 10 мм, создавая таким образом шарнирное соединение. Стержень с торцов обжимается соединительными планками, поэтому возможность выскакивания его устранена. Подъем плиты производится болтом, который каждый раз ввинчивается в нарезное отверстие 5.

Рис. 8. Вариант II съемной плиты:
1 - закрепленные плиты; 2 - съемные плиты; 3 - скользящий элемент, состоящий из плит 1 и 2; 4 - соединительные планки; 5 - вкладыши; 6 - нарезное отверстие для выемки вкладыша
Во втором варианте для выемки плиты предварительно вынимается вкладыш 5 (рис. 8), также с помощью болта, ввинчиваемого в нарезное отверстие 6. Отверстия 6 следует заполнять солидолом.
При проектировании различных вариантов съемных, специально незакрепленных (болтами, шурупами и пр.) плит необходимо иметь в виду, что при проходе нагрузки плиты могут приподниматься от прилипания шин, от вибрирования сопрягаемых частей и самого скользящего элемента, за счет всякого рода неплотностей и пр. Поэтому съемные, незакрепленные плиты должны иметь конструкцию, предотвращающую недопустимое приподнятие плит от прохода нагрузок.
Условием, при котором обычная незакрепленная плита не должна приподниматься при вибрировании, будет:
тj = Р,
где: Р - вес незакрепленной плиты;
т - масса незакрепленной плиты;
j - ускорение, сообщаемое массе при вибрировании незакрепленной плиты.
Для предлагаемой по первому варианту съемной плиты условие будет иным (рис. 9), а именно:
![]()
где f - коэффициент трения.
Сосредоточивая вес плиты ближе к закрепленным плитам, т. е. увеличивая разницу между плечами «а» и «в», можно добиться устойчивого состояния съемной плиты в скользящем элементе при вибрировании его.

Рис. 9. Схема к расчету съемной плиты
Учитывая, что наличие шарнира в середине плиты и способ ее сопряжения с «закрепленными» плитами создают, в противоположность обычным плитам, условия, благоприятствующие быстрому затуханию сообщаемых ей вертикальных колебаний, можно считать достаточным принятое в предлагаемой конструкции соотношение плеч, равное 2,5.
Во втором варианте съемная плита удерживается от вертикального поднятия специальным вкладышем 5. Сам вкладыш может перемещаться не вертикально, а только под углом 45° (угол скоса пластинок), причем подобное перемещение от вибрации мало вероятно: колебания быстро затухают, а вкладыш зажимается между закрепленной и съемной плитами при вибрировании последней.
Для сопряжения вертикально подвижных частей предлагаются конструкции, в которых применены скользяще-качающиеся плиты (см. рис. 10, 11, 12 и 13). Скользяще-качающийся элемент можно закрепить болтом с пружиной (рис. 10). Для поворота плиты 2 и опирания съемных плит служит скошенная планка 4. Диаметры отверстий для болтов должны быть на 0,5-1,0 мм больше их диаметра, чтобы при повороте скользящей плиты могли поворачиваться и болты, скрепленные с ней жестко при помощи сварки.

Рис. 10. Шов расширения для перемещения не более 5 см, при вертикально-подвижных сопрягаемых частях:
1 - битумная мастика; 2 - скользяще-качающиеся съемные и закрепленные плиты; 3 - соединительная планка; 4 - скошенная планка
В водонепроницаемом шве, допускающем вертикальное смещение одной из сопрягаемых частей, закрепление скользящей плиты 5 болтом находится в слое смазки (рис. 11). Поэтому выемка плиты 5 из конструкции не должна вызывать затруднений. Соединение плит 5 и 8 с помощью болтов-шурупов делается заранее в мастерских. Компенсатор закрепляется между опорными плитами и окаймляющими уголками. Закрепление скользящего элемента 5 болтом надо располагать на вертикально неподвижной части, например, устое, В остальном эта конструкция сходни с описанным выше водонепроницаемым швом (рис. 6).
Съемные плиты, закрепленные болтами-шурупами, можно применять при условии, что болты-шурупы находятся в слое смазки (рис. 12). Этот шов может воспринимать относительно большие вертикальные перемещения.
С помощью болта и пружины 4 обеспечивается постоянное прижатие скользящего элемента к опорной плите, что его выгодно отличает от многих применяемых конструкций, в которых вследствие искривления жестко закрепленных элементов возникают зазоры между скользящей и опорной плитами и проходящие нагрузки вызывают удары и шум.

Рис. 11. Водонепроницаемый шов расширения при сопряжении вертикально подвижной части с вертикально неподвижной (устоем):
1 - битумная мастика; 2 - слой из цементного раствора; 3 - компенсатор 1,5-2,0 мм; 4 - консистентная смазка; 5 - скользящая съемная плита; 6 - пружинная шайба; 7 - отверстие для нагнетания смазки; 5 - опорная плита
Монтаж шва не вызывает затруднений - всегда возможно смещение гайки 2 относительно планки 6, а также болта в прорези планки 7. Эта конструкция должна подлежать, по нашему мнению, массовому заводскому изготовлению в виде элементов длиною 0,5 и 1,0 м, свариваемых между собой на месте. В таком случае она может быть применена при любом габарите, соответствующем ТУ.
Зазор между сопрягаемыми частями в этом шве (см. рис. 12) доведен до минимума благодаря наличию компенсатора. В местах закрепления следует поверхности компенсатора промазывать цементным раствором.

Рис. 12. Шов расширения для перемещений не более 5 см при сопряжении вертикально подвижных частей сооружения:
1 - битумная мастика; 2 - гайка; 3 - солидол; 4 - пружинная шайба; 5 - компенсатор d = 1,5-2,0 мм; 6 и 7 - упорные планки
В качестве варианта можно рекомендовать закрепление компенсатора в П-образных формах зачеканкой щелей свинцом или расширяющимся цементом. Закрепление в формах производится заранее в мастерских, после чего формы привариваются к конструкции шва.
При жестких лотках можно обеспечивать плотное и постоянное прижатие скользящего элемента к опорной плите, используя собственный вес лотков (рис. 13).

Рис. 13. Швы расширения с подвешенным жестким лотком
При этом создается наиболее простое закрепление скользящего элемента, при вертикальном смещении в шве. Лоток подвешен с помощью простого соединения в виде крючьев, позволяющих при необходимости снять его. Возможность очистки лотка обеспечена. При затруднительности очистки лотка снизу надо делать съемные плиты и очищать лоток сверху. Предлагаемая конструкция, на наш взгляд, тоже должна найти широкое применение. Целесообразно заводское изготовление ее.
Для перемещений более 5 см предлагаемые швы расширения основаны также на применении скользящих качающихся плит. Они более просты в изготовлении и сборке по сравнению с пальчатыми конструкциями. Так как при перемещениях более 4-5 см приходится иметь дело с большими пролетными строениями, имеющими большую строительную высоту, в предлагаемых конструкциях везде учтена возможность вертикального смещения сопрягаемых частей сооружения.
Идея увеличения восприятия перемещений этими конструкциями (со скользяще-качающимися плитами) сводится к разделению зазора между скользящей и встречной плитами на две или четыре равные части величиной каждая не более 5 см.

Рис. 14. Шов расширения с жестким лотком для перемещений не более 10 см:
1 - битумная мастика; 2 - слой из цементного раствора; 3 - скользяще-качающийся элемент из съемных и закрепленных плит; 4 - опорные планки для опирания съемных плит и ограничения смещения скользящего элемента свыше допустимого; 5 - соединительные планки, прикрепляемые только к закрепленным плитам
В конструкциях для перемещений до 10 см скользящие элементы могут быть закреплены болтами (рис. 14); Пружины болтов обеспечивают постоянное прижатие скользящего элемента к опорным площадкам, противодействуют отвинчиванию закрепляющих болт гаек и вместе с этим дают возможность болту свободно поворачиваться при прогибе сопрягаемых частей.

Рис. 15. Шов расширения с подвешенным лотком
Болты, снабженные пружинами, входят в соответствующие прорези в опорном элементе. Ширина прорезей равна диаметру d болта + допуск 3-5 мм. Длина прорезей, должна быть равна допускаемому перемещению Δ + d.

Рис. 16. Шов расширения для больших перемещений (10-20 см)
Болты крепятся с плитой жестко. С этой целью головка болта срезается, а верх стержня его втапливается в соответствующее отверстие плиты на половину ее толщины. Затем в верхнюю часть рассверленного отверстия плиты наваривается металл заподлицо с верхом ее.
Съемные плиты уложены на ограничительные планки 4. В качестве варианта при наличии сопрягаемых элементов разной строительной высоты в этом шве показан лоток жесткого типа.
При жестких лотках проще и целесообразнее использовать для прижатия скользящих плит собственный вес лотка (рис. 15), так же как в описанной выше конструкции (см. рис. 13). Ограничительные планки не дают возможности одному зазору в шве увеличиться за счет другого.
При больших перемещениях рациональна конструкция шва расширения со скошенным скользящим листом (рис. 16). Она проста в изготовлении и сборке. Благодаря принятому закреплению скользящий лист хорошо прижимается к опорному листу.
Такая конструкция может заменить более сложные пальчатые конструкции, которые неизбежно надо было бы применять при столь больших перемещениях.
1. Учитывая сложность изготовления пальчатых конструкций, следует ограничивать область их применения, заменяя более простыми и экономичными конструкциями, например швами расширения со скользящими и скользяще-качающимися плитами.
2. При вертикальном смещении величиной более 2-3 мм необходимо применять в швах расширения скользяще-качающиеся плиты.
Вертикальное смещение при повороте опорного сечения (рис. 17) определяется по формуле
Δв = a (х - 0,5 a·h),
где: a - угол поворота опорного сечения;
h - расстояние по вертикали от оси опорных частей до верхней кромки шва;
х - длина консольного выступа на опоре, т. е. расстояние по горизонтали от оси опорных частей до шва расширения. Горизонтальное смещение в этом случае равно аh.
При расчете по эквивалентным нагрузкам угол поворота опорного сечения можно определять по формуле:
,
где: у - прогиб от расчетной временной нагрузки;
l - расчетный пролет.

Рис. 17. Схема к определению вертикального смещения
3. Зазоры между скользящими и встречными листами в конструкциях швов не должны превышать 5 см.
Края листов, образующие зазоры, надо делать скошенными.
4. При сопряжении пролетных строений с разной строительной высотой или пролетного строения с устоем проще применять лотки жесткого типа, располагая их под одной из сопрягаемых частей пролетного строения или в специальном проеме верхней части устоя.
В иных случаях более целесообразны лотки с применением компенсаторов, дающих возможность сократить зазор между сопрягаемыми частями до минимума.
5. Для увеличения долговечности конструкции шва расширения следует применять для компенсаторов медные, латунные или алюминиевые листы толщиною 1-2 мм (или в крайнем случае оцинкованное железо), а другие металлические части защищать от коррозии окраской.
6. Лотки должны быть водонепроницаемыми и легко доступными для очистки и поддержания их в хорошем состоянии при эксплуатации.
7. Для обеспечения водонепроницаемости необходимо: производить спайку листов компенсатора; укладывать битумную мастику в местах закрепления в бетоне компенсаторов и в местах сопряжения конструкции шва с ездовым полотном; сопрягать металлические элементы шва расширения с бетоном через прослойку жирного цементного раствора; надежно закреплять или заделывать в цементном растворе подводимую к шву изоляцию; не допускать, во избежание повреждений изоляции, устройства острых углов и пропуска стержней через изоляцию при закреплении ими элементов конструкции шва.
8. Для возможности производства очистки лотков необходимо предусматривать съемные плиты.
9. Сообразуясь с конструкцией сопрягаемых частей, лоткам необходимо придавать максимально возможный уклон для отвода воды и попадающей в шов грязи.
10. В общем случае полное горизонтальное смещение в шве складывается из следующих величин:
Δ = Δ1 + Δ2 + Δгор + Δу,
где: Δ1 - перемещение от нагрузки;
Δ2- перемещение от температуры = a0lt;
Δгор - перемещение от поворота опорного сечения (см. п. 2);
Δу - перемещение от усадки = a0lt1; t1 = 15°С (при секционном бетонировании t1 = 10°С).
Для приближенного вычисления перемещения от нагрузки можно пользоваться формулой:
![]()
где s - расчетное напряжение в нижнем поясе балок от подвижной расчетной нагрузки в середине пролета.
Коэффициент линейного расширения принимается для бетона и металла a0 = 0,000012 на 1°С.
Расчетное колебание температур принимается в соответствие с местными условиями, но не более ± 40°С (по нормам МПС).

Рис. 18. Схема к определению величины зазора в шве на момент установки скользящих плит
При подсчете полного перемещения необходимо Δгор учитывать в следующих случаях: а) при сопряжении неподвижных концов балок, б) при сопряжении подвижного конца с неподвижным.
При сопряжении двух подвижных концов или подвижного конца с устоем учитывается одно из больших значений - или Δ1 или Δгор, ибо эти перемещения вызываются одним и тем же воздействием и прямо противоположны по направлению.
11. На момент установки скользящих плит зазор (рис. 18) должен иметь величину, определяемую следующей формулой:
![]()
где: а - коэффициент линейного расширения;
L - длина деформируемого участка моста (один или несколько расчетных пролетов);
t1 - принятая в проекте максимальная (положительная) температура;
t0 - температура воздуха на момент установки скользящих плит;
-
алгебраическая сумма перемещений в шве, не зависящих от влияния температуры
(влияние нагрузки, усадки, поворота опорного сечения).
12. Плиты должны быть уложены примерно на 5 мм ниже уровня ездового полотна, учитывая его уплотнение в дальнейшем.
По данным обследования и опыта эксплуатации применяемые в автодорожных мостах швы расширения имеют ряд конструктивных и эксплуатационных недостатков. Они не допускают (без повреждения) вертикального смещения, сопрягаемых частей и в большинстве своем очень неудобны для надзора. Очистка лотков во многих конструкциях почти невозможна. Неудовлетворительное состояние и преждевременное разрушение отдельных швов расширения и сопрягаемых частей необходимо отнести за счет плохого качества выполнения работ. Особенно некачественно выполняются противокоррозийные мероприятия и водоотводные устройства.
Иногда и того и другого вообще не делают, что наносит большой ущерб сооружениям.
Рекомендуемые для применения швы расширения в проезжей части автодорожных мостов для перемещения свыше 2,5 см разработаны в соответствии с предъявленными к ним техническими требованиями и с учетом недостатков, выявленных специальным освидетельствованием и при периодических осмотрах, производившихся ЭМБ Союздорнии при обследовании мостов.
Эти конструкции более просты в изготовлении и монтаже, чем «гребенки», дают возможность восприятия вертикальных перемещений и удобны для надзора и очистки лотков.
Предлагаемые конструкции могут быть усовершенствованы в последующем на основе учета их работы.
Проектирование и осуществление швов расширения рекомендуется производить с учетом приведенных в настоящем информационном сообщении технических требований и указаний.
|
|
|
|