//
ТехЛит.ру
- крупнейшая бесплатная электронная интернет библиотека для "технически умных" людей.
WWW.TEHLIT.RU - ТЕХНИЧЕСКАЯ ЛИТЕРАТУРА

:: Алготрейдинг::


АЛГОТРЕЙДИНГ
шаг за шагом
с нуля по урокам!

Торговые роботы на PYTHON, BackTrader,
Pandas, Pine Script для TradingView. Связка с брокерами, телеграм и легкими приложениями.


МЕЖГОСУДАРСТВЕННЫЙ СОВЕТ ПО СТАНДАРТИЗАЦИИ, МЕТРОЛОГИИ И СЕРТИФИКАЦИИ
(МГС)

INTERSTATE COUNCIL FOR STANDARDIZATION, METROLOGY AND CERTIFICATION
(ISC)

межгосударственный
СТАНДАРТ

ГОСТ
30873.11-
2006
(ИСО 8662-11:1999)

Ручные машины

ИЗМЕРЕНИЯ ВИБРАЦИИ НА РУКОЯТКЕ

Часть 11

Машины для забивания крепежных средств

ISO 8662-11:1999
Hand-held portable power tools - Measurement of vibrations at the
handle - Part 11: Fastener driving tools
(MOD)

Москва
Стандартинформ
2008

Предисловие

Цели, основные принципы и основной порядок проведения работ по межгосударственной стандартизации установлены ГОСТ 1.0-92 «Межгосударственная система стандартизации. Основные положения» и ГОСТ 1.2-97 «Межгосударственная система стандартизации. Стандарты межгосударственные, правила и рекомендации по межгосударственной стандартизации. Порядок разработки, принятия, применения, обновления и отмены»

Сведения о стандарте

1. ПОДГОТОВЛЕН Открытым акционерным обществом «Научно-исследовательский центр контроля и диагностики технических систем» на основе собственного аутентичного перевода стандарта, указанного в пункте 4

2. ВНЕСЕН Межгосударственным техническим комитетом по стандартизации МТК 183 «Вибрация и удар»

3. ПРИНЯТ Межгосударственным советом по стандартизации, метрологии и сертификации (протокол 29 от 24 июня 2006 г.)

За принятие проголосовали:

Краткое наименование страны
по
МК (ИСО 3166) 004-97

Код страны по
МК (ИСО 3166) 004-97

Сокращенное наименование национального органа по стандартизации

Беларусь

BY

Госстандарт Республики Беларусь

Казахстан

KZ

Госстандарт Республики Казахстан

Кыргызстан

KG

Кыргызстандарт

Молдова

MD

Молдова-Стандарт

Российская Федерация

RU

Федеральное агентство по техническому регулированию и метрологии

Таджикистан

TJ

Таджикстандарт

Узбекистан

UZ

Агентство «Узстандарт»

4. Настоящий стандарт является модифицированным по отношению к международному стандарту ИСО 8662-11:1999 «Ручные машины. Измерения вибрации на рукоятке. Часть 11. Машины для забивки крепежных средств» (ISO 8662-11:1999 «Hand-held portable power tools - Measurement of vibrations at the handle - Part 11: Fastener driving tools») путем внесения технических отклонений, объяснение которых приведено во введении к настоящему стандарту, и изменения его структуры.

Сравнение структуры настоящего стандарта со структурой указанного международного стандарта приведено в дополнительном приложении B.

5. Приказом Федерального агентства по техническому регулированию и метрологии от 12 декабря 2007 г. № 358-ст межгосударственный стандарт ГОСТ 30873.11-2006 (ИСО 8662-11:1999) введен в действие в качестве национального стандарта Российской Федерации с 1 июля 2008 г.

6. ВВЕДЕН ВПЕРВЫЕ

Информация о введении в действие (прекращении действия) настоящего стандарта публикуется в указателе «Национальные стандарты».

Информация об изменениях к настоящему стандарту публикуется в указателе «Национальные стандарты», а текст изменений - в информационных указателях «Национальные стандарты». В случае пересмотра или отмены настоящего стандарта соответствующая информация будет опубликована в информационном указателе «Национальные стандарты»

Содержание

Введение

Настоящий стандарт является испытательным кодом по вибрации и устанавливает правила проведения испытаний для измерения вибрации на рукоятках машин для забивания крепежных средств (гвоздей, скоб, скрепок, кнопок, заклепок и т.п.). Общие требования к испытаниям данного вида для ручных машин установлены ГОСТ 16519.

Настоящий стандарт устанавливает метод, которым (в отличие от других стандартов серии ГОСТ 30873) оценивают вибрационную активность ручной машины, производящей одиночные удары. Машины для забивания крепежных средств применяют только в режиме создания кратковременных воздействий, поэтому задачей проводимых измерений является определение параметра, характеризующего энергию одиночного удара. Это достигается интегрированием корректированного виброускорения для заданного числа операций за установленный период времени. После этого результат представляют как вибрацию, приведенную к одному удару длительностью 3 с.

Локальная вибрация, воздействующая на оператора при использовании ручных машин данного вида, определяется конструкцией и массой этих машин, скоростью движения крепежного элемента, особенностями работы оператора, прикладываемыми им силами сжатия и нажатия, плотностью и жесткостью объекта обработки и его опоры.

По сравнению с примененным международным стандартом ИСО 8662-11:1999 в текст настоящего стандарта внесены следующие изменения:

- раздел 1 дополнен ссылками на ГОСТ 12.1.012 и ГОСТ 16519, чтобы показать место стандарта в комплексе стандартов по вибрационной безопасности;

- в разделе 2 международные стандарты заменены на аналогичные межгосударственные и, кроме того, добавлены ГОСТ 12.1.012 и ГОСТ 24346, где установлены используемые в стандарте термины, а также ГОСТ 31192.2 (см. раздел 4, пункты 5.3 и 5.4);

- исключены нормативные ссылки на невведенные ИСО 2787:1984 и ЕН 792-13:2000 (см. библиографию);

- стандарт дополнен разделом 3 «Термины и определения»;

- пункт 5.3 дополнен ссылкой на ГОСТ 31192.2;

- стандарт дополнен пунктом 8.6, в котором установлено правило заявления вибрационной характеристики ручных машин данного вида;

- стандарт дополнен элементом «Библиография», куда перенесена ссылка, использованная в ИСО 8662-11:1999 как нормативная.

МЕЖГОСУДАРСТВЕННЫЙ СТАНДАРТ

Ручные машины

ИЗМЕРЕНИЯ ВИБРАЦИИ НА РУКОЯТКЕ

Часть 11

Машины для забивания крепежных средств

Hand-held portable power tools. Measurement of vibrations at the handle.
Part 11. Fastener driving tools

Дата введения - 2008-07-01

1. Область применения

Настоящий стандарт относится к стандартам безопасности типа С (испытательный код по вибрации) согласно классификации ГОСТ 12.1.012 и устанавливает лабораторный метод измерения вибрации на рукоятках машин для забивания крепежных средств (далее - ручные машины) в целях заявления и подтверждения вибрационной характеристики ручной машины1). Общие требования к методу испытаний ручных машин в целях заявления и подтверждения вибрационной характеристики приведены в ГОСТ 16519.

Полученные в ходе испытаний результаты могут быть использованы для сравнения разных образцов или моделей ручной машины.

К ручным машинам, рассматриваемым в настоящем стандарте, относят, в частности, машины для забивания гвоздей, скоб, скрепок, кнопок, гофрированных скрепок, шурупов (используемых в качестве гвоздей), дюбелей, втулок, колец для прокладки кабелей, производящих одиночные удары с периодом повторения не менее 0,2 с.

Настоящий стандарт распространяется на ручные машины с пневматическим или гидравлическим приводом, с приводом от двигателя внутреннего сгорания, а также на машины, принцип действия которых состоит в высвобождении энергии натянутой пружины.

1) При необходимости данный метод может быть использован в других целях, например при входном, периодическом или послеремонтном контроле продукции (см. ГОСТ 12.1.012, пункт 4.2).

2. Нормативные ссылки

В настоящем стандарте использованы нормативные ссылки на следующие межгосударственные стандарты:

ГОСТ 12.1.012-2004 Система стандартов безопасности труда. Вибрационная безопасность. Общие требования

ГОСТ 16519-2006 (ИСО 20643:2005) Вибрация. Определение параметров вибрационной характеристики ручных машин и машин с ручным управлением. Общие требования (ИСО 20643:2005 «Вибрация. Машины ручные и машины с ручным управлением. Принципы определения параметров виброактивности», MOD)

ГОСТ 24346-80 Вибрация. Термины и определения

ГОСТ 31192.2-2005 (ИСО 5349-2:2001) Вибрация. Измерение локальной вибрации и оценка ее воздействия на человека. Часть 2. Требования к проведению измерений на рабочих местах (ИСО 5349-2:2001 «Вибрация. Измерение локальной вибрации и оценка ее воздействия на человека. Часть 2. Практическое руководство по проведению измерений на рабочих местах», MOD)

Примечание - При пользовании настоящим стандартом целесообразно проверить действие ссылочных стандартов на территории государства по соответствующему указателю стандартов, составленному по состоянию на 1 января текущего года, и по соответствующим информационным указателям, опубликованным в текущем году. Если ссылочный стандарт заменен (изменен), то при пользовании настоящим стандартом следует руководствоваться заменяющим (измененным) стандартом. Если ссылочный стандарт отменен без замены, то положение, в котором дана ссылка на него, применяется в части, не затрагивающей эту ссылку.

3. Термины и определения

В настоящем стандарте применены термины по ГОСТ 12.1.012, ГОСТ 16519 и ГОСТ 24346.

4. Измеряемые величины

В процессе испытаний измеряют:

- среднеквадратичное значение корректированного виброускорения по ГОСТ 16519, приведенное к одной операции (удару) длительностью 3 с;

- давление воздуха или жидкости в системе питания или силу натяжения пружины.

Работа ручных машин данного вида может сопровождаться высокими значениями ускорения, которые способны привести к появлению паразитного низкочастотного сигнала на выходе датчика вибрации (см., например ГОСТ 31192.2). Для того, чтобы убедиться в отсутствии низкочастотного сдвига, рекомендуется в процессе испытаний проводить частотный анализ вибрации.

5. Средства измерений

5.1. Общие положения

Требования к средствам измерений - по ГОСТ 16519.

5.2. Датчики вибрации

Требования к датчикам вибрации - по ГОСТ 16519.

Применяемые датчики должны быть однокомпонентными. Легкие рукоятки, например изготовленные из пластика, не следует нагружать датчиками и устройствами их крепления большой массы. Если рукоятка работает как механический фильтр, легкий датчик может быть приклеен непосредственно к поверхности рукоятки; в этом случае масса датчика вместе с соединительным кабелем не должна превышать 5 г.

5.3. Механические фильтры

Для измерения вибрации применяют механические фильтры по ГОСТ 16519 (см. также ГОСТ 31192.2), за исключением случаев, указанных в 5.2.

5.4. Крепление датчиков вибрации

Крепление датчика вибрации должно соответствовать требованиям ГОСТ 16519. Единственным применяемым способом крепления является клеевое крепление (см. рисунок 1).

5.5. Вспомогательное оборудование

Давление подачи воздуха или жидкости, а также силу натяжения пружины измеряют прецизионными средствами измерения (см. например [1]).

Рисунок 1 - Клеевое крепление датчика вибрации

5.6. Калибровка

Калибровку выполняют в соответствии с ГОСТ 16519.

6. Точки и направления измерений

6.1. Направление измерений

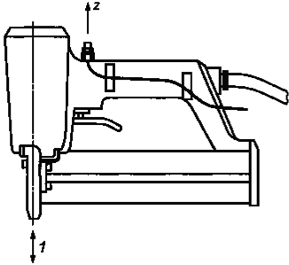
Измерения проводят в направлении нанесения ударов (обычно это направление оси z), см. рисунок 2.

1 - Направление нанесения ударов

Рисунок 2 - Точка и направление измерений

6.2. Точки измерений

Измерения проводят на рукоятке, где находится устройство пуска и за которую оператор удерживает ручную машину при ее нормальной работе.

Датчик вибрации устанавливают как можно ближе к зоне обхвата рукоятки рукой оператора параллельно оси нанесения ударов (см. рисунок 2).

7. Условия испытаний

7.1. Общие положения

Для испытаний используют новую смазанную машину, обеспеченную соответствующим техническим уходом.

Ручную машину испытывают при номинальном давлении в системе питания в соответствии с инструкцией изготовителя. Для ручных машин с пневматическим приводом сжатый воздух подают по шлангу длиной не менее 2 м, присоединенному к ручной машине через устройство быстрого крепления.

Крепежные элементы забивают перпендикулярно к поверхности обрабатываемого объекта.

Прикладываемая к ручной машине сила нажатия должна обеспечивать стабильную и ровную работу ручной машины с характеристиками, заданными в спецификации изготовителя.

В процессе испытаний ручную машину удерживают так, чтобы оператор мог работать в комфортных условиях, выпрямившись или почти выпрямившись, а угол сгиба локтевого сустава был от 100° до 160° (см. рисунок 3).

В процессе измерений используют режим многократного пуска ручной машины (см. [2])1).

Примечание - Согласно [2] режимом многократного пуска называют такой, при котором после нажатия спускового устройства производится только один выстрел.

1) Условия испытаний совпадают с теми, что установлены для ручных машин данного вида испытательным кодом по шуму [3].

Рисунок 3 - Рабочая поза оператора

7.2. Объект обработки

В процессе измерений ручная машина должна работать с крепежными средствами максимального размера, допустимыми для данной машины.

Объект обработки представляет собой сосновый брус без сучков с прямым расположением волокон. Средняя плотность материала должна быть (0,45 ± 3) г/см3, средняя влажность - (12 ± 3) %.

Толщина бруса должна превышать не менее чем в 1,2 раза длину самого большого крепежного элемента, используемого при испытаниях. Место вбивания крепежного элемента должно находиться на расстоянии не менее 50 мм от края бруса.

Объект обработки располагают на испытательном стенде, который представляет собой ящик, наполненный сухим речным песком, так, чтобы волокна бруса были расположены горизонтально, а его поверхность - заподлицо с поверхностью песка. Размеры ящика с песком должны быть не менее 600×600×400 мм. Сосновый брус должен быть со всех сторон окружен слоем песка толщиной не менее 120 мм. Поверхность бруса должна располагаться так, чтобы геометрический центр испытуемой ручной машины находился на высоте приблизительно 1 м от пола (см. рисунок 4).

Рисунок 4 - Испытательный стенд

7.3. Режим работы ручной машины

Давление в системе питания ручной машины, работающей на сжатом воздухе, должно быть отрегулировано так, чтобы крепежные элементы при выстреле полностью входили в объект обработки. Если данное условие невыполнимо - это должно быть отмечено в протоколе испытаний. Используемое давление воздуха должно обеспечивать нормальную работу ручной машины.

Ручные машины, в которых не используют сжатый воздух, снабженные устройством регулировки силы удара, должны быть отрегулированы так, чтобы:

- скобы (скрепки) входили в сосновый брус заподлицо с его поверхностью;

- гвозди (кнопки) входили в сосновый брус заподлицо с его поверхностью или были утоплены на глубину до 1 мм.

8. Метод измерений и оценка достоверности полученных результатов

8.1. Система питания

Давление и другие характеристики системы питания должны быть определены и поддерживаться постоянными в процессе испытаний.

8.2. Метод испытаний

В испытании участвуют три опытных оператора, для каждого из которых проводят серию измерений с испытуемой ручной машиной. Серия должна состоять не менее чем из пяти измерений. Во время каждого измерения поддерживают стабильную работу ручной машины.

Исполнительный элемент ручной машины упирают в поверхность обрабатываемого объекта.

В период измерений Т, равный 30 с, производят 10 пусков. Каждый пуск должен сопровождаться одним выстрелом; при этом не допускается движение отдачи ручной машины.

Измеряют среднеквадратичное значение корректированного виброускорения ah,w в течение времени Т. Полученный результат измерений эквивалентен усредненному по 10 измерениям среднеквадратичному значению виброускорения для одиночного удара, приведенного к длительности 3 с, ah,w,3s.

Если в процессе измерений используют большее число пусков п или большее время интегрирования Т, значение ah,w,3s рассчитывают по формуле

,

где ah,w - измеренное среднеквадратичное значение корректированного виброускорения;

ah,w,3s - среднеквадратичное значение корректированного виброускорения для одиночного удара, приведенное к периоду измерений 3 с;

п - число пусков;

Т - время интегрирования.

8.3. Достоверность результатов испытаний

Для каждого оператора измерения продолжают до тех пор, пока не будет получена достоверная серия измерений, т.е. пока коэффициент вариации (см. 8.4), полученный для среднеквадратичного значения корректированного виброускорения в пяти последовательных измерениях с участием одного оператора, не будет менее 0,15 или пока стандартное отклонение для этой серии не будет менее 0,30 м/с2.

8.4. Коэффициент вариации

Коэффициент вариации Cv для серии испытаний определяют как отношение стандартного отклонения sn-1 для результатов измерений в этой серии к их среднеарифметическому :

,

где  - стандартное отклонение результатов измерений;

 - среднеарифметическое значение результатов измерений;

хi - результат i-го измерения;

n - число измерений.

8.5. Оценка результатов

Вычисляют среднеарифметическое значение и коэффициент вариации по результатам измерений для каждого оператора. После этого определяют общее среднеарифметическое значение по трем операторам. Полученное общее среднеарифметическое значение служит основой для заявления вибрационной характеристики ручной машины.

8.6. Заявляемая вибрационная характеристика

В качестве вибрационной характеристики ручной машины указывают общее среднеарифметическое значение среднеквадратичного значения корректированного виброускорения по 8.5 и неопределенность измерений К по ГОСТ 16519, пункт 8.2.

9. Протокол испытаний

Протокол испытаний - по ГОСТ 16519. Кроме того, в протоколе испытаний указывают:

a) тип и размеры крепежных элементов;

b) давление в системе питания или установленную силу удара.

Форма протокола испытаний приведена в приложении А.

Приложение А
(рекомендуемое)
Форма протокола испытаний

Испытания проведены в соответствии с ГОСТ 16519-2006 Вибрация. Определение параметров вибрационной характеристики ручных машин и машин с ручным управлением. Общие требования» и ГОСТ 30873.11-2006 «Ручные машины. Измерения вибрации на рукоятке. Часть 11. Машины для забивания крепежных средств.

Общие сведения

Испытания провел:

Дата:

 

Протокол составил:

Испытуемая ручная машина

Тип

Модель

Масса с полным магазином, кг:

 

Изготовитель:

Серийный

Исполнительное устройство:

Крепежные элементы

Скобы:

Сечение проволоки, мм2

Длина ножки, мм:

Длина гребня, мм:

Другие:

Гвозди:

Диаметр, мм:

Длина, мм:

Тип (гладкие, с кольцом, нарезные):

Нагрузка

Размеры соснового бруса, мм:

Размеры ящика с песком, мм:

Влажность дерева, %:

Режим работы

Давление, кПа:

Положение регулятора силы ударов:

 

Сила нанесения ударов, Н:

Средства измерений

Акселерометр (изготовитель, тип):

Акселерометр (масса, г):

Механический фильтр (изготовитель, тип):

Механический фильтр (масса, г):

Усилитель (изготовитель, тип):

Анализатор (изготовитель, тип):

Устройство записи (изготовитель, тип):

Крепление датчика и механического фильтра

(Описать метод крепления датчика и механического фильтра, если используется)

Обработка сигнала

(Указать тип интегратора в анализаторе спектра и метод определения среднеквадратичного значения корректированного ускорения)

Дополнительные сведения

(Описать устройство записи, если используется, корректирующие множители для центральных частот октавных или третьоктавных полос).

(Указать любые детали, способные повлиять на результат измерений).

Результаты испытаний

(Результаты представляют в форме среднеквадратичного значения корректированного виброускорения в виде таблиц)

Среднеквадратичные значения корректированного виброускорения - Оператор А

Измерения

Среднеквадратичные значения корректированного виброускорения, м/с2

1

 

 

2

 

 

3

 

 

4

 

 

5

 

 

Среднеарифметическое

 

 

Коэффициент вариации

 

 

Среднеквадратичные значения корректированного виброускорения - Оператор В

Измерения

Среднеквадратичные значения корректированного виброускорения, м/с2

1

 

 

2

 

 

3

 

 

4

 

 

5

 

 

Среднеарифметическое

 

 

Коэффициент вариации

 

 

Среднеквадратичные значения корректированного виброускорения - Оператор С

Измерения

Среднеквадратичные значения корректированного виброускорения, м/с2

1

 

 

2

 

 

3

 

 

4

 

 

5

 

 

Среднеарифметическое

 

 

Коэффициент вариации

 

 

 

Итоговый результат

Среднеквадратичное значение корректированного виброускорения, м/с2

Общее среднеарифметическое значение для трех операторов

 

Приложение В
(справочное)
Изменение структуры настоящего стандарта по отношению к ИСО 8662-11:1999

Указанное в таблице В.1 изменение структуры межгосударственного стандарта относительно структуры примененного международного стандарта обусловлено приведением в соответствие с требованиями ГОСТ 1.5.

Таблица В.1

Структура международного стандарта
ИСО
8662-11:1999

Структура настоящего стандарта

Разделы

Пункты

Разделы

Пункты

-

 

3

 

3

 

4

 

4

 

5

 

5

 

6

 

6

 

7

 

7

7.1

8

8.1

7.2

8.2

7.3

8.3

7.4

8.4

-

8.5

-

8.6

8

 

9

 

Примечание - Структурные элементы настоящего стандарта и международного стандарта ИСО 8662-11:1999, не указанные в данной таблице, идентичны.

Библиография

[1]

ИСО 2787:1984

Инструменты пневматические ротационные и ударные - Эксплуатационные испытания

 

(ISO 2787:1984)

(Rotary and percussive pneumatic tools - Performance tests)

[2]

EH 792-13:2000

Машины ручные неэлектрические - Требования безопасности - Часть 13: Машины для забивания крепежных средств

 

(EN 792-13:2000)

(Hand-held non-electric power tools - Safety requirements - Part 13: Fastener driving tools)

[3]

EH 12549:1999

Акустика - Испытательный код по шуму для машин для забивания крепежных средств - Технический метод

 

(EN 12549:1999)

(Acoustics - Noise test code for fastener driving tools - Engineering method)

Ключевые слова: ручные машины, вибрационная характеристика, испытания, испытательный код по вибрации, машины гвоздезабивные, машины скобозабивные, измерения, воспроизводимость, заявление, подтверждение

 




Яндекс цитирования