//
|
|
Вибрация ВЕНТИЛЯТОРЫ ПРОМЫШЛЕННЫЕ Измерения вибрации ISO 14695:2003
Предисловие Цели, основные принципы и основной порядок проведения работ по межгосударственной стандартизации установлены ГОСТ 1.0-92 «Межгосударственная система стандартизации. Основные положения» и ГОСТ 1.2-97 «Межгосударственная система стандартизации. Стандарты межгосударственные, правила и рекомендации по межгосударственной стандартизации. Порядок разработки, принятия, применения, обновления и отмены» Сведения о стандарте 1 ПОДГОТОВЛЕН Открытым акционерным обществом «Научно-исследовательский центр контроля и диагностики технических систем» на основе собственного аутентичного перевода стандарта, указанного в пункте 4 2 ВНЕСЕН Межгосударственным техническим комитетом по стандартизации МТК 183 «Вибрация и удар» 3
ПРИНЯТ Межгосударственным советом по стандартизации, метрологии и сертификации (протокол № 32 от 24 октября За принятие проголосовали:
4 Настоящий стандарт является модифицированным по отношению к международному стандарту ИСО 14695:2003 «Вентиляторы промышленные. Метод измерения вибрации вентиляторов» (IS014695:2003 «Industrial fans - Method of measurement of fan vibration») путем изменения содержания положений, объяснение которого приведено во введении к настоящему стандарту. Наименование настоящего стандарта изменено относительно наименования международного стандарта с целью приведения к единому виду для комплекса стандартов по вибрации. Международный стандарт разработан ИСО/ТК 23/ПК 17 «Ручные машины для лесного хозяйства». Перевод с английского языка (en). Официальные экземпляры международных стандартов, на основе которых подготовлен настоящий межгосударственный стандарт и на которые даны ссылки, имеются в Федеральном информационном фонде технических регламентов и стандартов. Степень соответствия - модифицированная (MOD) 5
Приказом Федерального агентства по техническому регулированию и метрологии от 25 января
6 ВЗАМЕН ГОСТ 5976-90 и ГОСТ 11442-90 в части проверки вибрационных характеристик вентиляторов Информация о введении в действие (прекращении действия) настоящего стандарта публикуется в указателе «Национальных стандарты». Информация об изменениях к настоящему стандарту публикуется в указателе «Национальные стандарты», а текст изменений - в информационных указателях «Национальные стандарты». В случае пересмотра или отмены настоящего стандарта соответствующая информация будет опубликована в информационном указателе «Национальные стандарты» Введение Вибрация, производимая вентилятором, является одной из его важнейших технических характеристик. Она позволяет судить о качестве конструирования и изготовления изделия. Повышенная вибрация может свидетельствовать о неправильной установке вентилятора, ухудшении его технического состояния и т.п. Результаты измерений вибрации используют в целях: - оценки качества конструкции вентилятора; - проверки правильности его установки на месте эксплуатации; - предоставления информации для программы контроля состояния машин (некоторые рекомендации по выбору точек измерений для оценки вибрационного состояния вентиляторов даны в ГОСТ 31350-2007 и приложении С настоящего стандарта); - предоставления конструктору механических систем, связанных с вентилятором (опор, основания, воздуховода и т.д.), данных о вибрации, которая будет передана на эти системы; - оценки качества изготовления вентилятора на стадии его приемки; - проверки приемлемости работы вентилятора в конкретном режиме нагружения. Результаты испытаний, проведенных в соответствии с настоящим стандартом, не могут быть использованы в целях определения категории вентилятора по допустимым значениям дисбаланса и уровням вибрации. Этим целям посвящен ГОСТ 31350-2007. Вибрацию, обусловленную дисбалансом, измеряют на подшипниковых опорах вентилятора, следуя рекомендациям ГОСТ ИСО 1940-1-2007. Метод измерений, установленный настоящим стандартом, позволяет сравнивать разные образцы вентиляторов по их вибрационным характеристикам. Объем предоставляемой информации и предпочтительные единицы измерений установлены в ГОСТ 31350-2007. Эта информация зависит от целей испытаний, типа вентилятора, условий его применения, а также метода установки на месте эксплуатации. По сравнению с примененным международным стандартом ИСО 14695:2003 в текст настоящего стандарта внесены следующие изменения: - для приведения в соответствие с требованиями ГОСТ 1.5-2001 стандарты, на которые даны нормативные ссылки, перенесены из структурного элемента «Библиография» в раздел 2; - невведенные международные стандарты перенесены из раздела 2 в структурный элемент «Библиография»; - координаты на рисунке 3 изменены таким образом, чтобы соответствовать координатам на рисунках приложения А; - исправлены ошибки в формулах приложения А. Содержание МЕЖГОСУДАРСТВЕННЫЙ СТАНДАРТ
Дата введения - 2008-07-01 1 Область примененияНастоящий стандарт устанавливает метод измерения вибрационных характеристик вентиляторов всех видов, кроме бытовых вентиляторов, предназначенных исключительно для создания воздушных потоков в помещении (например, потолочных или настольных). Установленный метод распространяется на вентиляторы мощностью двигателя менее 300 кВт. Для вентиляторов большей мощности следует использовать метод, установленный в ГОСТ ИСО 10816-1, и пределы допустимой вибрации, установленные в ГОСТ ИСО 10816-3. Настоящий стандарт не устанавливает способы интерпретации результатов измерений (см. ГОСТ 31350). Измеряемым параметром вибрации может быть среднеквадратичное значение широкополосного сигнала скорости, ускорения или перемещения, а также спектральная плотность мощности сигнала скорости, ускорения или перемещения в пределах заданного частотного диапазона. Испытания проводят для вентиляторов, вывешенных на упругих жгутах или установленных на упругие опоры. Примечание - При оценке воздействия вентилятора на опорную конструкцию полезно также знать силы, действующие в точках крепления. Однако настоящий стандарт на измерения сил не распространяется. Альтернативный метод измерений приведен в приложении В. Этот метод не обеспечивает высокую точность измерений, но может быть использован для оценки дисбалансов серийно выпускаемых вентиляторов или для анализа изменения вибрации на месте установки вентилятора. 2 Нормативные ссылкиВ настоящем стандарте использованы нормативные ссылки на следующие стандарты: ГОСТ ИСО 1940-1-2007 Вибрация. Требования к качеству балансировки жестких роторов. Часть 1. Определение допустимого дисбаланса ГОСТ ИСО 2954-97 Вибрация машин с возвратно-поступательным и вращательным движением. Требования к средствам измерений ГОСТ ИСО 5348-2002 Вибрация и удар. Механическое крепление акселерометров ГОСТ ИСО 7919-1-2002 Вибрация. Контроль состояния машин по результатам измерений вибрации на вращающихся валах. Общие требования ГОСТ ИСО 10816-1-97 Вибрация. Контроль состояния машин по результатам измерений вибрации на невращающихся частях. Часть 1. Общие требования ГОСТ ИСО 10816-3-2002 Вибрация. Контроль состояния машин по результатам измерений вибрации на невращающихся частях. Часть 3. Промышленные машины номинальной мощностью более 15 кВт и номинальной скоростью от 120 до 15000 мин-1 ГОСТ 10921-90 Вентиляторы радиальные и осевые. Методы аэродинамических испытаний ГОСТ 17168-82 Фильтры электронные октавные и третьоктавные. Общие технические требования и методы испытаний ГОСТ 17187-81 Шумомеры. Общие технические требования и методы испытаний ГОСТ 20815-93 (МЭК 34-14-82) Машины электрические вращающиеся. Механическая вибрация некоторых видов машин с высотой оси вращения ГОСТ 24346-80 Вибрация. Термины и определения ГОСТ 31350-2007 (ИСО 14694:2003) Вибрация. Вентиляторы промышленные. Требования к производимой вибрации и качеству балансировки Примечание - При пользовании настоящим стандартом целесообразно проверить действие ссылочных стандартов на территории государства по соответствующему указателю стандартов, составленному по состоянию на 1 января текущего года, и по соответствующим информационным указателям, опубликованным в текущем году. Если ссылочный стандарт заменен (изменен), то при пользовании настоящим стандартом следует руководствоваться заменяющим (измененным) стандартом. Если ссылочный стандарт отменен без замены, то положение, в котором дана ссылка на него, применяют в части, не затрагивающей эту ссылку 3 Термины и определенияВ настоящем стандарте применены термины по ГОСТ 24346, а также следующие термины с соответствующими определениями: 3.1 фоновая вибрация: Вибрация от иных источников, помимо рассматриваемого. 3.2 рабочая точка: Точка на рабочей характеристике вентилятора, соответствующая режиму его работы при заданной нагрузке. 3.3 рабочая (аэродинамическая) характеристика вентилятора: График зависимости перепада давления воздуха, создаваемого вентилятором, от его производительности. 3.4 радиус инерции: Мера распределения массы вокруг оси, определяемая как отношение квадратного корня из момента инерции массы относительно этой оси к данной массе. 3.5 упругая опора: Опора, обладающая упругими свойствами и испытывающая в условиях нормального нагружения значительный прогиб, но без остаточной деформации. 4 ОбозначенияВ настоящем стандарте применены следующие обозначения величин.
5 Установка вентилятора при испытаниях5.1 Общие положенияВентилятор должен быть установлен одним из способов, описанных в 5.2, 5.3 или 5.4. Опоры должны быть выбраны таким образом, чтобы под массой вентилятора иметь равномерный
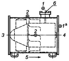
постоянный прогиб в пределах Примечания 1 Устройство опоры вентилятора может существенно повлиять на производимую им вибрацию. В общем случае все опоры можно разделить на две группы: упругие и жесткие. Чтобы минимизировать влияние опоры на измеряемую вибрацию и тем самым обеспечить сопоставимость результатов разных испытаний, рекомендуется использовать упругие опоры (мягкий подвес). Если жесткость опоры такова, что частота собственных колебаний опоры fn близка к частоте, соответствующей рабочей скорости вентилятора, это может привести к появлению колебаний высокой амплитуды. Поэтому для измерений в соответствии с настоящим стандартом предполагают, что собственная частота колебаний жесткой опоры fn более чем в 1,5 раза превышает частоту вращения ротора вентилятора, а собственная частота колебаний упругой опоры fn составляет менее чем 0,25 частоты вращения ротора вентилятора. 2 Испытания с использованием резиновых жгутов в качестве подвеса рекомендуется проводить в процессе конструирования и изготовления вентиляторов, в том числе для определения его BV-категории (см. ГОСТ 31350). Конструкция испытательной установки зависит от вида и места проведения испытаний. Испытания при конструировании и изготовлении вентилятора допускают использование более сложных установок. Однако в любом случае должна быть предусмотрена возможность контролировать аэродинамическую нагрузку, которая влияет на производимую вентилятором вибрацию. Для этих целей рекомендуется использовать стандартные воздуховоды по ГОСТ 10921 или [1]. Примечание - Две типичные установки для испытаний вентилятора на вибрацию показаны на рисунках 1 и 2. 1 - гибкая вставка; 2 - упругая опора; 3 - вентилятор а Угол расширения переходного конуса. Примечание - На данном рисунке [см. [1], рисунок 74 а)] изображена установка, которая может быть использована для радиального или осевого вентилятора, с дросселирующим устройством во всасывающем воздуховоде. Допускается использование с нагнетательной стороны поглощающего устройства. К стандартной схеме установки типа С по ГОСТ 10921 добавлены упругая опора и гибкая вставка между вентилятором и всасывающим воздуховодом. Рисунок 1 - Пример установки вентилятора на упругие опоры
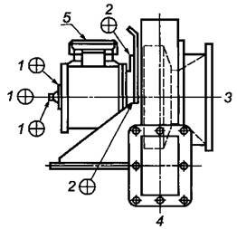
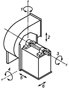
1 - гибкая вставка для испытаний; 2 - упруго закрепленный бордюр; 3 - упругая опора; 4 - вспомогательный вентилятор Примечание - На данном рисунке (см. [1], рисунок В.2) изображена установка для испытаний крышного вытяжного вентилятора. Вентилятор установлен на бордюре, имеющем упругую опору. Масса бордюра и собственная частота установленного вентилятора должны удовлетворять требованиям 5.2. Рисунок соответствует рисунку В.2 [1] с добавлением упругой опоры и гибкой вставки между вентилятором и дефлектором. Рисунок 2 - Пример установки крышного вытяжного вентилятора 5.2 Установка вентилятора на упругое основаниеСобственная частота колебаний вентилятора на опорах в направлениях каждой из шести степеней свободы (см. рисунок 3) не должна превышать 0,25 наименьшей рабочей частоты вращения вентилятора в процессе испытаний. Примечание - Руководство по определению собственных частот приведено в приложении А. 1 - колебания вокруг вертикальной оси z, 2 - движение под действием вертикальных сил; 3 - крутильные колебания вокруг оси у; 4 - колебания вокруг оси х; 5 - движение под действием продольных сил; 6 - движение под действием поперечных сил Рисунок 3 - Степени свободы колебаний вентилятора Масса всех элементов, присоединяемых к испытуемому вентилятору, не должна превышать 10 % его номинальной массы, чтобы не вносить существенных изменений в производимую вибрацию. Примечание - Если вентилятор в соответствии со своей конструкцией не предназначен для установки на упругие опоры, то чтобы установить его на такие опоры, могут быть использованы специальные переходные приспособления. Ни один из основных резонансов изгибных колебаний опоры не должен совпадать ни с частотой вращения ротора вентилятора при испытаниях, ни с собственными частотами колебаний опорной системы (когда опору рассматривают как жесткое тело), за исключением случаев, когда проводят исследования совместного поведения вентилятора и опоры. Примечание - При установке вентилятора на упругие опоры реактивный вращающий момент вентилятора может быть значительным (см. рекомендации А.3.2 приложения А в отношении инерционности основания). 5.3 Вывешивание вентилятора на упругих жгутахЕсли вентилятор с двигателем составляют единый узел, поставляемый без опорной рамы, то вентилятор испытывают, вывешивая его на упругих жгутах (примеры показаны на рисунке 4). Примечание - Крепление к опоре с низкой частотой собственных колебаний позволяет получить сопоставимые результаты только для условий свободного воздушного пространства. 1 - вертлюг
или аналогичное устройство;
2 - переплетенные резиновые
стропы; 3 - коуш
стандартной формы; 4 - нейлоновый
канат (для строповки
вентилятора); 5 - подъемный
механизм; 6 - круглый
стержень (диаметр Примечание - Данную установку применяют для вентиляторов с частотой вращения более 10 Гц (600 об/мин) Рисунок 4 - Примеры вывешивания вентилятора на эластичных жгутах Если для получения вибрационной характеристики в заданной точке нагружения требуется подсоединение к воздуховоду, это соединение выполняют гибким с применением, при необходимости, упругих ограничителей движения в горизонтальном направлении. Вентилятор поддерживается нейлоновыми стропами, соединенными с необходимым числом резиновых жгутов требуемой длины и диаметра, которые симметрично располагают относительно центра
тяжести вывешиваемой системы. Общее растяжение жгутов под действием массы вентилятора должно
составлять от 200 до Примечание - Резиновые жгуты иногда удобно прикреплять к рамной конструкции в форме буквы «А». 5.4 Жесткая установка вентилятораПеред проведением измерений необходимо убедиться в надежности болтового крепления вентилятора к основанию. Примечание - Для вентиляторов, особенности конструкции которых не позволяют осуществить их установку непосредственно на упругие опоры (например, имеющих собственные лапы или предназначенных для установки на фланец трубопровода), а также тех, которые устанавливаются на относительно жесткое основание в процессе эксплуатации, может представлять трудности выполнение требований 5.5. В этом случае сопоставление вибрации, производимой вентиляторами одного вида, имеет смысл, только если используемое при испытаниях основание имеет схожие динамические характеристики. Это означает, что динамическая жесткость, коэффициент демпфирования и масса (приведенная) основания, а также, где необходимо, грунта, на который опирается основание, должны быть приблизительно одинаковыми. 5.5 Гибкие соединительные вставкиЖесткость вставок в местах соединения вентилятора с воздуховодом или любым вспомогательным трубопроводом должна составлять менее 10 % динамической жесткости основания. Гибкие вставки должны удовлетворять требованиям 5.2 в отношении максимального значения собственной частоты при испытании вентилятора в режиме максимального давления. Перед испытанием необходимо тщательно проверить соосность отверстия вентилятора и воздуховода, чтобы гибкие вставки не испытывали деформации. Если на месте эксплуатации вентилятора предусмотрено использование относительно более жестких гибких вставок, выполняющих функции шумопоглощения, характеристики этих вставок должны быть описаны в протоколе испытаний [см. раздел 11, перечисление е)]. Вентилятор испытывают в нормальном рабочем положении. Все соединения испытуемого вентилятора должны быть достаточно гибкими, чтобы не допускать значительного увеличения общей динамической жесткости системы крепления. При испытаниях для определения BV-категории вентилятора общего назначения впускное и нагнетательное отверстия могут быть оставлены открытыми (без применения воздуховодов). При этом необходимо учитывать, что измеренные параметры вибрации могут отличаться от тех, что будут иметь место в условиях эксплуатации. Условия проведения испытаний должны быть зарегистрированы (см. раздел 11). 6 Измерительное оборудование6.1 Общие положенияРасширенная неопределенность измерений, которая зависит от вида вентилятора и используемого измерительного оборудования, обычно не должна превышать 25 % или 2 дБ. Примечание - Одним из факторов, который может существенно ухудшить точность измерений, является установка датчика вибрации с отступлением от рекомендаций изготовителя. Особенно важно следовать рекомендациям изготовителя при измерениях на частотах более 5 кГц. Использование измерительных щупов, магнитов и других приспособлений для установки датчика, не соответствующих требованиям 7.2, может привести к увеличению неопределенности измерений, которое трудно оценить. Неопределенность, обусловленную установкой и креплением вентилятора, настоящий стандарт не рассматривает (см. ГОСТ 31350). 6.2 КалибровкаВсе средства измерений должны быть поверены, и срок последней поверки не должен превышать 12 мес. Свидетельство о поверке должно содержать сведения о передаточной функции измерительного тракта в пределах рабочего диапазона частот датчика вибрации, как указано в 10.2. 6.3 Измерительная система6.3.1 Измерение среднеквадратичного значения скорости Для вентиляторов с частотой вращения ротора от 10 до 200 Гц измерительная система должна соответствовать требованиям ГОСТ ИСО 2954. Для вентиляторов с более низкой частотой вращения ротора (до 3 Гц) измерительная система также должна соответствовать требованиям ГОСТ ИСО 2954, но частотная характеристика измерительного тракта должна быть такой, как показано на рисунке 5. Опорная частота - 80 Гц (как установлено в ГОСТ ИСО 2954) или 160 Гц.
Рисунок 5 - График зависимости номинального значения и допусков на значение коэффициента преобразования от частоты 6.3.2 Измерение среднеквадратичного значения ускорения Частотная характеристика средства измерений, предназначенного для измерения среднеквадратичного значения ускорения, должна быть такой же, что указана в 6.3.1, с допусками по рисунку 5. Примечание - Для сигналов со значением пик-фактора менее трех погрешность измерения среднеквадратичного значения ускорения должна составить менее 5 % или 0,5 дБ. 6.4 Датчики вибрацииС целью обеспечить линейность частотной характеристики во всем диапазоне частот измерений и
исключить попадание в этот диапазон резонансной частоты датчика измерения следует проводить с
помощью малогабаритных акселерометров (массой менее Примечания 1 Для крупных вентиляторов масса акселерометра может быть увеличена. 2
Диапазон частот измерений определяет выбор датчика вибрации. Если верхняя граница диапазона значительно ниже 10 кГц, могут быть использованы более массивные акселерометры (до 6.5 ПьезоакселерометрыВыходной сигнал пьезоакселерометра должен поступать на высокоомный вход предусилителя (например, усилитель заряда), частотная характеристика которого линейна в пределах ± 1 дБ в диапазоне от 3 Гц до 10 кГц. Примечание - Рекомендуется, чтобы в состав предусилителя входил низкочастотный фильтр с крутизной спада 12 дБ на октаву и более, чтобы ослабление сигнала на частоте 20 кГц составило не менее 6 дБ. 6.6 ПредусилителиЛинейность встроенного фильтра предусилителя должна быть в пределах ± 1 дБ на частоте 5 Гц и в пределах ± 0,5 дБ на частотах до 10 кГц. Примечание - При измерении скорости предусилитель может выполнять функции интегратора. Предусилитель может быть изготовлен в виде единого блока с датчиком вибрации при условии выполнения всех требований к размеру, массе и собственной частоте датчика вибрации, установленных в 6.4. 6.7 Анализаторы6.7.1 Общие положения Анализаторы должны обеспечивать обработку в реальном масштабе времени сигнала в диапазоне частот не менее 1 кГц. При работе не в реальном масштабе времени сбор и обработка данных должны быть осуществлены во всем диапазоне частот анализа. 6.7.2 Анализ в узкой полосе частот Обработку данных в узкой полосе частот постоянной ширины применяют для выявления гармоник и боковых полос сигнала. При этом для анализа сигнала в диапазоне до 1 кГц разрешение по частоте должно быть не более 2 Гц, если частота вращения вентилятора лежит в диапазоне от 10 до 50 с-1, и не более 5 Гц, если скорость вращения вентилятора превышает 50 с-1. При анализе в диапазоне от 1 до 10 кГц достаточно использовать разрешение по частоте 10 Гц. Для низкоскоростных машин (частота вращения от 2 до 10 с-1) разрешение по частоте должно составлять не более 0,5 Гц в диапазоне ниже 100 Гц и не более 2 дБ в диапазоне до 400 Гц. При обработке данных с помощью анализатора, реализующего быстрое преобразование Фурье, для наилучшего разрешения частотных составляющих сигнала целесообразно использовать временное окно Хана (хэннинг), а для наилучшего сохранения амплитудных соотношений между гармоническими составляющими вибрации - плосковершинное окно. 6.7.3 Анализ в третьоктавных полосах Используемые для анализа третьоктавные фильтры должны соответствовать ГОСТ 17168. Характеристики детектора среднеквадратичного значения, в том числе его линейность, должны удовлетворять требованиям к шумомерам класса 1 по ГОСТ 17187. Примечание - Если анализ в третьоктавных полосах проводят с использованием быстрого преобразования Фурье, то с увеличением номера полосы в нее попадают большее число частотных составляющих и, соответственно, увеличивается время усреднения. При анализе в полосах частот постоянной относительной ширины следует учитывать изменения в расстояниях между гармониками и боковыми полосами частот сигнала. 6.7.4 Анализ в узких полосах постоянной относительной ширины Требования к фильтрам с полосой ширины в доли октавы - в соответствии с [2]. 6.8 Показывающие устройстваПоказывающие устройства (аналоговые или цифровые) должны отображать среднеквадратичное значение сигнала при измерении скорости или ускорения и значение размаха при измерении перемещения. 6.9 Выходные устройстваПри наличии у средства измерений выходного устройства его импеданс, по возможности, должен быть менее 50 Ом. 7 Крепление датчиков вибрации7.1 Общие положения7.1.1 Резонансная частота установленного датчика вибрации должна лежать вне диапазона анализа. Выбранный метод крепления должен обеспечивать достоверность данных во всем диапазоне измерений. Следует иметь в виду, что все элементы крепления, расположенные между датчиком и вибрирующей поверхностью, могут изменять коэффициент преобразования датчика и, следовательно, приводить к неправильным результатам (см. также ГОСТ ИСО 5348). Примечание - Наиболее надежным и рекомендуемым методом установки датчика является крепление на шпильку. Для этого в месте установки датчика высверливают и нарезают отверстие (см. также 7.2 и приложение В). 7.1.2 При установке датчика должно быть выполнено одно из следующих требований: a) поверхность, на которую устанавливают датчик вибрации, должна быть плоской по всей области контакта; b) к поверхности машины прикрепляют с помощью болтового соединения или приваривают (припаивают) металлический блок, одна из поверхностей которого плотно прилегает к поверхности машины, на который затем устанавливают датчик вибрации согласно 7.1.1. При особенно высоких требованиях к точности измерений рекомендуется на резьбу и область контакта датчика нанести тонкий слой силиконовой смазки, что улучшит передаточную характеристику измерительного тракта. 7.1.3 Для измерений вибрации в трех направлениях акселерометр можно устанавливать на приваренный металлический блок, причем масса и размеры акселерометра не должны превышать массу и размеры этого блока. Примечания 1 Вместо трех ортогонально устанавливаемых акселерометров можно использовать трехкомпонентный акселерометр. 2 При установке датчика вибрации обычно принимают во внимание также следующие факторы: a) налагаемые креплением датчика ограничения на диапазон частот измерения вибрации; b) наличие паразитных контуров заземления; c) наличие вредных (взрывоопасных) веществ. 3 Иногда при установке датчика вибрации в совокупности с устройством заземления может возникнуть контур заземления датчика на сетевой частоте. Обычно это проявляется присутствием мощной частотной составляющей около 50 Гц, не изменяющей своего положения при изменении скорости вращения вентилятора. Этого можно избежать, изолируя датчик вибрации от поверхности, на которую его устанавливают. 7.2 Способы крепленияДатчик вибрации должен быть установлен одним из следующих способов: a) непосредственным ввертыванием в отверстие, вырезанное в вентиляторе, при соответствующем качестве обработки поверхности в области контакта; b) ввертыванием в блок, приваренный или припаянный к вентилятору; c) установкой с помощью крепежного приспособления на обработанную поверхность стального блока, который, в свою очередь, прикреплен к вентилятору с помощью болтового соединения; d) ввертыванием в стальной блок, прикрепленный к вентилятору с помощью клея (см. рисунок 6); e) ввертыванием на шпильку, приклеенную к поверхности вентилятора; f) непосредственным приклеиванием к поверхности малогабаритного вентилятора. Примечания 1 Способы крепления перечислены в порядке убывания предпочтения. 2 Если измерения проводят с целью оценить BV-категорию вентилятора, постоянное крепление датчика вибрации, как правило, нежелательно. В этом случае можно использовать ручной щуп или установку на магнит при условии, что верхняя граница диапазона частот измерений не превышает указанную в таблице В.1 (приложение В).
а Высверлить и нарезать резьбу для установки датчика вибрации. b Для всех кромок. с Пять пазов. Примечания 1 Датчик скорости устанавливают на блок больших размеров. 2 При креплении блока к поверхности вентилятора с помощью клеящего состава следует обращать внимание на то, чтобы толщина слоя клея, по возможности, была минимальна, а направления осей измерения не отклонялись от вертикального (горизонтального) направления более чем на 2°. Измерения проводят после того, как клей схватится. В качестве клеящего состава обычно используют: - эпоксидную смолу; - кузовную шпатлевку; - цианоакрилатный клей; - диметакрилатэтилуретандиол; - воск. Рисунок 6 - Типичный блок для установки датчика вибрации 8 Выбор точек измерений8.1 Общие положенияДатчики вибрации устанавливают в точках, которые удовлетворяют следующим требованиям: a) позволяют получить достоверную информацию о вибрационных характеристиках вентилятора с учетом его опоры; b) позволяют характеризовать: - вибрацию, передаваемую в присоединенные конструкции (всасывающий и нагнетательный воздуховоды); - вибрацию, передаваемую на опорную конструкцию (лапы вентилятора); - состояние вентилятора (см. ГОСТ 31350 и приложение С), т.е. на подшипниковых опорах вентилятора и двигателя; с) доступны после установки вентилятора. Следует избегать измерений в точках, где жесткость конструкции невысока. Точки измерений должны быть выбраны таким образом, чтобы в них можно было провести измерения всех трех составляющих поступательной вибрации: в продольном (осевом), поперечном (горизонтальном) и вертикальном направлениях. Примечания 1 Поверхность в выбранных точках измерений может быть специально обработана, чтобы обеспечить: a) непосредственную установку датчиков для измерения вибрации в трех основных направлениях; b) крепление металлического блока, на который устанавливают три датчика вибрации. 2 Рекомендуемые точки измерений для оценки вибрации, передаваемой на присоединенные конструкции, показаны на рисунках 7 и 8.
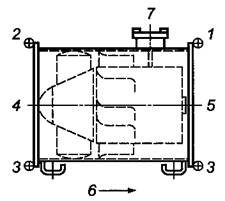
1 - фланец со стороны двигателя; 2- фланец со стороны крыльчатки; 3 - поддерживающий кронштейн (при наличии); 4 - всасывающее отверстие; 5 - нагнетательное отверстие; 6 - направление воздушного потока; 7- кабельный ввод Рисунок 7 - Рекомендуемые точки измерений для осевого вентилятора
1 - фланец всасывающего отверстия; 2 - фланец нагнетательного отверстия; 3 - поддерживающий кронштейн; 4 - кабельный ввод Рисунок 8 - Рекомендуемые точки измерений для радиального вентилятора 8.2 Установка на несущей рамеЕсли ротор вентилятора не является продолжением вала двигателя, а приводится во вращение через ременную или цепную передачу, и при этом двигатель и вентилятор должны быть установлены на единой несущей раме, то измерение вибрации следует выполнять также в непосредственной близости от упругих опор, на которые установлена эта рама (см. рисунок 9).
1 - радиальный вентилятор; 2 - двигатель; 3 - несущая рама; 4 - упругие опоры Рисунок 9 - Пример установки радиального вентилятора с ременным приводом на упругих опорах 8.3 Другие точки установкиВ ГОСТ 31350, рисунки 1 - 4 показаны дополнительные точки установки датчиков вибрации, используемые преимущественно в целях определения класса точности балансировки. 9 Условия проведения испытаний и режим работы вентилятораУсловия проведения испытаний и параметры режима работы вентилятора - скорость потока воздуха, давление нагнетания, скорость вращения, вид установки, температура окружающей среды, устройства управления воздушным потоком, а также методы измерения параметров - по ГОСТ 10921 или [1]. В выбранных точках (раздел 8) измеряют наведенную вибрацию при неработающем вентиляторе. Она не должна превышать 30 % (10 дБ) вибрации, наблюдаемой для работающего вентилятора во время испытаний. 10 Метод испытаний10.1 Общие положенияПеред проведением измерений вентилятор должен работать в течение достаточно большого периода времени, необходимого для прогрева двигателя до его рабочей температуры и достижения нормального режима функционирования на рабочей частоте вращения. Для вентиляторов с регулируемой частотой вращения оценивают амплитуду вибрации на разных частотах вращения во всем диапазоне их изменения и определяют ту из них, на которой вибрация вентилятора максимальна. Во время испытаний измерения проводят на этой частоте вращения. В процессе испытаний поддерживают стабильные значения напряжения, частоты и фазы электрической сети. Если испытательная установка (см. 5.1) оборудована стандартным воздуховодом по ГОСТ 10921 или [1], измерения вибрации проводят, по крайней мере, в трех точках аэродинамической характеристики в пределах рабочего диапазона, среди которых должны быть: a) точка, соответствующая максимальной скорости потока воздуха, которая может быть получена на данной испытательной установке; b) рабочая точка (в которой может быть получена максимальная производительность вентилятора); c) точка, соответствующая максимальному рабочему давлению. При испытаниях на месте установки вентилятора измерения вибрации проводят для минимальной и максимальной возможной нагрузки и при номинальной производительности вентилятора. При испытаниях как на стенде, так и на месте эксплуатации наблюдают за изменением вибрации при непрерывном изменении рабочих условий (от максимального объема до максимального давления подаваемого воздуха) в поисках точек рабочей характеристики, где вибрация особенно значительна. Если такие точки обнаруживают, их включают в число точек, где должны быть проведены измерения вибрации. При выполнении программ мониторинга технического состояния машин измерения, как правило, проводят в нормальных рабочих условиях, которые, по возможности, следует регистрировать вместе с результатами измерений. Примечание - Если испытания на стенде проводят без использования стандартного воздуховода, трудно дать универсальные рекомендации по выбору точек рабочей характеристики, в которых следует проводить измерения. В этом случае данный выбор должен быть предметом соглашения между изготовителем и заказчиком. 10.2 Измеряемые параметрыВ процессе измерений широкополосной вибрации определяют один или несколько из следующих параметров: a) среднеквадратичное значение скорости [в миллиметрах в секунду (мм/с)] в диапазоне частот от 10 Гц до 1 кГц (см. ГОСТ ИСО 10816-3), за исключением вентиляторов с частотой вращения менее 10 с-1, - для таких вентиляторов нижний предел диапазона частот измерений должен быть равен 3 Гц; b) среднеквадратичное значение ускорения [в метрах в секунду в квадрате (м/с2)] в диапазоне частот от 10 Гц до 10 кГц; c) размах перемещения [в миллиметрах (мм)] в диапазоне частот от 3 Гц до 1 кГц. Примечания 1 Вибрацию характеризуют через значения амплитуд и частот (частотных диапазонов). 2 Скорость и ускорение вибрации могут быть выражены в логарифмическом масштабе в децибелах (дБ). При этом в качестве опорных значений используют 10-9 м/с и 10-6 м/с2 соответственно (см. приложение D). 3 Широкополосную вибрацию машин предпочтительно описывать в единицах скорости, однако если доминирующие составляющие вибрации расположены в области высоких или низких частот, более подходящим может оказаться измерение, соответственно, ускорения или перемещения. Соотношения, связывающие эти три параметра для случая синусоидальной вибрации, а также некоторые полезные соотношения для широкополосной вибрации, состоящей из наборов гармоник, приведены в приложении Е. Чтобы исключить неправильную интерпретацию полученных результатов, важно четко указывать, какой параметр в каких единицах был измерен. В случаях, когда измерение широкополосной вибрации должно быть дополнено анализом частотных составляющих, его проводят в том же диапазоне частот, который используют при определении параметров широкополосной вибрации, как определено в настоящем подразделе. 10.3 Частотный анализПри необходимости получить информацию о спектре вибрации проводят частотный анализ [быстрое преобразование Фурье (БПФ)] в полосах частот постоянной ширины не более чем 1 Гц в диапазоне до 100 Гц, 4 Гц в диапазоне до 1 кГц и 40 Гц в диапазоне свыше 1 кГц с использованием анализатора БПФ или в полосах частот шириной не более чем треть октавы с использованием анализатора с постоянной относительной шириной полосы частот. При необходимости измерения дискретных частотных составляющих их измеряют для такого положения датчика вибрации, при котором измеренное значение параметра широкополосной вибрации будет наибольшим. Используемое при получении спектра вибрации усреднение должно соответствовать особенностям измеряемого сигнала. При использовании анализатора со следящим фильтром скорость перестройки, время усреднения и скорость движения пера самописца должны быть выбраны в соответствии с рекомендациями изготовителя. 11 Протокол испытанийПомимо результатов измерений необходимо регистрировать всю существенную информацию, относящуюся к самой машине и используемым средствам измерений. В том числе рекомендуется указывать следующие данные (см. ГОСТ 31350): а) наименование фирмы-изготовителя вентилятора, тип и характеристики исследуемого образца, в том числе его производительность, мощность, электрическое напряжение, ориентацию при установке, серийный номер, число лопастей, первую критическую скорость продольных колебаний вала, класс точности балансировки (см. ГОСТ ИСО 1940-1); b) привод вентилятора, его тип, нагрузку, установленную мощность, скорость, серийный номер, класс вибрации (при использовании электродвигателя - по ГОСТ 20815); c) общую массу машины и массу ротора в сборе; d) дату и место проведения испытаний, фамилии и инициалы лиц, проводивших испытания; e) описание вентилятора в сборе, используемые упругие опоры, их тип, расположение, статическое смещение каждой опоры, частоту собственных колебаний в вертикальном направлении (расчетную или определенную экспериментально), вид основания, описание основания и грунта (см. раздел 5); f) описание испытательной установки (желателен чертеж с указанием размеров), включая расположение упругих опор (см. раздел 5); g) используемые средства измерений, в том числе модель, тип, серийный номер (см. раздел 6); h) данные результатов поверки средств измерений (см. 6.2); i) способ крепления датчиков вибрации (см. раздел 7); j) условия работы вентилятора в процессе испытаний (см. раздел 9); к) верхнюю и нижнюю границы диапазона измерений широкополосной вибрации, точки, направления и результаты измерений (см. раздел 8); l) описание и результаты измерений внешних воздействующих факторов, таких как фоновая вибрация, температура окружающего воздуха и т.д. (см. раздел 9); m) ссылку на настоящий стандарт, а также любые отклонения от требований настоящего стандарта, которые имели место в процессе испытаний; n) максимально допустимые значения вибрации в процессе испытаний; o) заключение об удовлетворительных или неудовлетворительных результатах испытаний. Приложение А
| ||||||||||||||||||||||||||||||||||||||||||||||||||||||||||||||||||||||||||||||||||||||||||||||||||||||||||||||||||||||||||||||||||||||||||||||||||||||||||||||||||||||||||||||||||||||||||||||||||||||||||||||||||||||||||||||||||||||||||||||||||||||||||||||||||||||||
|
Способ крепления |
Максимальная частота, Гц |
|
Ручной щуп длиной |
200 |
|
Датчик удерживается вручную (без щупа) |
600 |
|
На магните |
1500 |
|
Примечания 2 При проведении измерений для определения класса точности балансировки вентилятора постоянное крепление датчика вибрации может быть нежелательно. В таких случаях целесообразно удерживать датчик вибрации вручную или с помощью магнита при условии соблюдения требований к максимальной частоте диапазона 4 Значения, приведенные в настоящей таблице, получены на основе анализа рекомендаций изготовителей датчиков вибрации. |
|
В.3 Измерения вибрации вала
Часто в состав высокоскоростных машин входит легкий ротор, установленный в тяжелом корпусе с жесткими опорами. В таком случае измерения на неподвижных частях машины могут показать отсутствие значительной вибрации, хотя ротор при этом может совершать колебания с большим размахом в пределах зазора в подшипнике. Для таких машин необходимо измерять вибрацию вала, чтобы оценить, насколько эта вибрация может быть опасна для подшипниковых опор. С этой целью могут быть использованы:
a) бесконтактные датчики вибрации;
b) датчики, у которых подпружиненный щуп находится в постоянном контакте с движущейся поверхностью вала.
При проведении измерений вибрации вала необходимо воспользоваться рекомендациями изготовителя в отношении выбора датчика вибрации, его установки, процедуры измерений и безопасности.
Известно, что иногда для измерения вибрации используют удерживаемый вручную щуп в форме «ласточкиного хвоста», к свободному концу которого присоединен датчик скорости инерционного типа, однако использование данного метода нежелательно по соображениям безопасности.
Общие требования к измерениям колебаний вала - по ГОСТ ИСО 7919-1.
С.1 Техническое состояние машин
Различные части машины в процессе работы совершают вращательное движение, ограниченное подшипниковыми опорами. При этом имеющиеся в машине дефекты, такие как дисбаланс, могут вызвать появление вибрации, которая через подшипники передается на корпус машины. Например, износ подшипника или изменение уравновешенности крыльчатки вызовет повышение уровня вибрации. Изменение уровня вибрации во времени можно рассматривать как индикатор технического состояния машины. Дополнительная информация может быть получена в результате контроля колебаний вала (см. приложение В и ГОСТ ИСО 7919-1).
С.2 Выбор точек измерений
В отсутствие рекомендаций изготовителя о точках крепления датчиков вибрации для контроля состояния машин в процессе их эксплуатации целесообразно провести предварительное обследование вибрации вблизи предполагаемых точек измерений с помощью датчиков с магнитным (или аналогичным по скорости установки) креплением. Результаты обследования помогут убедиться в том, что выбранные точки измерений позволят наилучшим образом охарактеризовать вибрационное состояние машины, например совпадают с точками пучностей колебаний (в произвольном направлении или в том, где они наиболее нежелательны). В процессе работы вентилятора возможно появление паразитных сигналов на сетевых частотах 50, 60, 100 или 120 Гц, которые необходимо обнаружить и устранить. Рекомендуемые положения датчиков вибрации показаны на рисунках С.1 и С.2.

1 - двигатель (со стороны свободного конца вала); 2- опоры двигателя со стороны вентилятора; 3 - всасывающее отверстие; 4 - нагнетательное отверстие; 5 - направление потока воздуха; 6- кабельный ввод
а После установки вентилятора точки измерений в осевом направлении могут быть недоступны.
Рисунок С.1 - Рекомендуемые точки измерений для осевых вентиляторов

1-двигатель (со стороны свободного конца вала); 2 - двигатель (со стороны вентилятора); 3 - всасывающее отверстие; 4 - выпускное отверстие; 5 - кабельный ввод
Рисунок С.2 - Рекомендуемые точки измерений для радиальных вентиляторов
С.3 Проведение измерений
При выполнении процедур контроля технического состояния машин важно, чтобы измерения всегда были проведены в одних и тех же точках. Идеальным местом расположения датчика, в котором наиболее удобно прослеживать изменение уровня вибрации и, соответственно, технического состояния машины, является корпус подшипника. Однако после установки вентилятора эти точки не всегда могут быть доступны для измерений. Например, для осевых вентиляторов единственно доступными точками, непосредственно связанными с корпусом, могут оказаться опора системы «статор - ротор», место ввода кабеля и маслопровод для смазки подшипника.
Для обеспечения сопоставимости результатов измерений рекомендуется пометить точки измерений, что будет служить гарантией проведения измерений вибрации (и ее последующего анализа) в одних и тех же точках. Желательно, чтобы область контакта датчика с машиной была зачищена.
Рекомендуется точки измерений выбирать таким образом, чтобы они допускали проведение измерений в трех взаимно ортогональных направлениях:
a) вертикальном, продольном и поперечном, если ось вала горизонтальна;
b) вертикальном и двух поперечных, если ось вала вертикальна.
После того как точки измерений определены, они должны быть указаны на технических чертежах для дальнейшего использования при последующих измерениях.
Иногда для графического представления параметров вибрации, таких как перемещение, скорость или ускорение, используют шкалы в логарифмическом масштабе. Это особенно удобно, когда диапазон изменений параметров велик.
Значение какого-либо параметра в децибелах (дБ) представляет собой отношение этого параметра к некоторому опорному значению. Для восстановления абсолютного значения параметра необходимо знать использованное опорное значение.
Например, утверждение, что в одном случае уровень вибрации на 10 дБ выше, чем в другом, не требует никаких дополнительных пояснений. Однако утверждение, что уровень вибрации составляет, например, 85 дБ, подразумевает знание опорного значения (например, 10-9 м/с, если измеряемым параметром является скорость).
На рисунке D.1 приведена номограмма, позволяющая преобразовать абсолютные значения амплитуд синусоидальной вибрации в логарифмические и наоборот.

1 - перемещение (размах); 2 - среднеквадратичное значение скорости; 3 - среднеквадратичное значение ускорения; 4 - частота
Примечания
1 1 мкм = 10-
2 При использовании для ускорения опорного значения 10-5 м/с2 следует вычесть 20 дБ.
Пример - Пусть для скорости вращения вентилятора 1780 об/мин (30 Гц) размах перемещения составляет 7,62 мкм. Прямая, проведенная через эти две точки, позволяет получить на соответствующих шкалах:
- среднеквадратичное значение скорости 0,5 мм/с (114 дБ);
- среднеквадратичное значение ускорения 0,095 мм/с2 (99,5 дБ).
Рисунок D.1 - Номограмма преобразования абсолютных значений в логарифмические (для синусоидальной вибрации)
Таблица D.1 - Опорные значения
|
Параметр |
Определение |
Опорное значение |
|
Уровень ускорения La, дБ |
La = 20lg(a/a0) |
а0 = 10-6 м/с2 |
|
Уровень скорости Lv, дБ |
Lv = 20lg(v/v0) |
v0 = 10-9м/c |
|
Примечание - В настоящей таблице использованы следующие обозначения: а - амплитуда ускорения, м/с2; а0 - опорное значение ускорения, м/с2; v - амплитуда скорости, м/с; v0 - опорное значение скорости, м/с. |
||
При представлении результатов в графическом виде значения частоты также нередко откладывают в логарифмическом масштабе. Это позволяет подчеркнуть низкочастотный участок диапазона, где обычно сосредоточены важные составляющие сигнала, например оборотной частоты, и сжать высокочастотную область, куда обычно входят составляющие, связанные с износом подшипников и т.д. При этом на графике сохраняется постоянное относительное разрешение в пределах всего диапазона частот.
Примечание - При отображении уровня ускорения некоторыми средствами измерений используется опорное значение 10-5 м/с2. Получаемый при этом результат на 20 дБ ниже результата, который был бы получен при использовании опорного значения в соответствии с таблицей D.1.
Синусоидальная составляющая вибрации на данной частоте может быть определена через перемещение, скорость или ускорение. Скорость представляет собой первую производную по времени от перемещения, а ускорение - первую производную от скорости или, соответственно, вторую производную от перемещения. Например, для синусоидального сигнала перемещения d, м, d = Dsin ωt имеют место следующие соотношения:
v = ω D cos ωt = V cos ωt,
a = - ω2Dsin ωt = Asin ωt,
где D - амплитуда перемещения, м;
ω - угловая частота, рад/с;
t - время, с;
v - мгновенная скорость, м/с;
V - амплитуда скорости, м/с;
а - мгновенное ускорение, м/с2;
А - амплитуда ускорения, м/с2.
Среднеквадратичное значение для каждой величины можно получить, разделив ее амплитуду на
.
Если сигнал содержит n синусоидальных составляющих, для каждой из которых известны амплитуды перемещения, скорости и ускорения (Dj, Vj, Аj соответственно, j = 1, 2, 3, ... , n), то для среднеквадратичного значения скорости Vr,m,s. справедливы следующие формулы:
![]()
![]()

При наличии непрерывного сигнала вибрации среднеквадратичное значение может быть получено выполнением процедур возведения в квадрат и последующего интегрирования по времени, например, для среднеквадратичного значения скорости имеет место формула

где T - период вибрации, с.
Непосредственное преобразование одних величин (скорости, перемещения, ускорения) в другие можно осуществить только для синусоидальной вибрации. Так, по известному среднеквадратичному значению скорости Vr,m,s. можно получить размах перемещения Dp-p:

где f - частота, Гц, f = ω/2π.
Таблица F.1
|
Обозначение ссылочного межгосударственного стандарта |
Обозначение и наименование ссылочного международного стандарта и условное обозначение степени его соответствия ссылочному межгосударственному стандарту |
|
ИСО 1940-1:1986 «Вибрация. Требования к качеству балансировки жестких роторов. Часть 1. Определение допустимого дисбаланса» (IDT) |
|
|
ГОСТ ИСО 2954-97 |
ИСО 2954:1975 «Вибрация машин с вращательным и возвратно-поступательным движением. Требования к средствам измерений для контроля вибрационного состояния» (IDT) |
|
ГОСТ ИСО 5348-2002 |
ИСО 5348:1999 «Вибрация и удар. Механическое крепление акселерометров» (IDT) |
|
ГОСТ ИСО 7919-1-2002 |
ИСО 7919-1:1996 «Вибрация машин без возвратно-поступательного движения. Измерения на вращающихся валах и критерии оценки. Часть 1. Общее руководство» (IDT) |
|
ГОСТ ИСО 10816-1-97 |
ИСО 10816-1:1995 «Вибрация. Оценка состояния машин по измерениям вибрации на невращающихся частях. Часть 1. Общее руководство» (IDT) |
|
ГОСТ ИСО 10816-3-2002 |
ИСО 10816-3:1998 «Вибрация. Оценка состояния машин по измерениям вибрации на невращающихся частях. Часть 3. Промышленные машины номинальной мощностью более 15 кВт и номинальной скоростью от 120 до 15000 мин-1 на месте эксплуатации» (IDT) |
|
ГОСТ 10921-90 |
ИСО 5801:1997 «Вентиляторы промышленные. Определение рабочих характеристик с использованием стандартных воздуховодов» (NEQ) |
|
ГОСТ 17168-82 |
МЭК 61260:1995 «Электроакустика. Фильтры с шириной полосы в одну октаву и доли октавы» (NEQ) |
|
МЭК 61672:2003 «Электроакустика. Шумомеры. Технические характеристики» (NEQ) |
|
|
ГОСТ 20815-93 |
МЭК
60034-14:2003 «Машины электрические вращающиеся. Механическая вибрация некоторых видов машин с высотой оси вращения |
|
ИСО 2041:1990 «Вибрация и удар. Словарь» (NEQ) |
|
|
ГОСТ 31350-2007 (ИСО 14694:2003) |
ИСО 14694:2003 «Вентиляторы промышленные. Требования к качеству балансировки и производимой вибрации» (MOD) |
|
Примечание - В настоящей таблице использованы следующие условные обозначения степени соответствия стандартов: - IDT - идентичные стандарты; - MOD - модифицированные стандарты; - NEQ - неэквивалентные стандарты. |
|
[1] ИСО 5801:1997 Вентиляторы промышленные. Определение рабочих характеристик с использованием стандартных воздуховодов
(ISO 5801:1997) (Industrial fans - Performance testing using standardized airways)
[2] МЭК 61260:1995 Электроакустика. Фильтры с шириной полосы в октаву и доли октавы
(IEC 61260:1995) (Electroacoustics - Octave-band and fractional-octave-band filters)
Ключевые слова: вентиляторы, вибрация, измерения
|
|
|
|