//
ТехЛит.ру
- крупнейшая бесплатная электронная интернет библиотека для "технически умных" людей.
WWW.TEHLIT.RU - ТЕХНИЧЕСКАЯ ЛИТЕРАТУРА

:: Алготрейдинг::


АЛГОТРЕЙДИНГ
шаг за шагом
с нуля по урокам!

Торговые роботы на PYTHON, BackTrader,
Pandas, Pine Script для TradingView. Связка с брокерами, телеграм и легкими приложениями.


ФЕДЕРАЛЬНОЕ АГЕНТСТВО
ПО ТЕХНИЧЕСКОМУ РЕГУЛИРОВАНИЮ И МЕТРОЛОГИИ

НАЦИОНАЛЬНЫЙ
СТАНДАРТ
РОССИЙСКОЙ
ФЕДЕРАЦИИ

ГОСТ Р МЭК
60745-2-6-
2007

Машины ручные электрические

БЕЗОПАСНОСТЬ И МЕТОДЫ ИСПЫТАНИЙ

Часть 2-6

Частные требования к молоткам и перфораторам

IEC 60745-2-6:2003

Hand-held motor-operated electric tools - Safety -
Part 2-6: Particular requirements for hammers

(IDT)

Москва
Стандартинформ
2008

Предисловие

Цели и принципы стандартизации в Российской Федерации установлены Федеральным законом от 27 декабря 2002 г. № 184-ФЗ «О техническом регулировании», а правила применения национальных стандартов Российской Федерации - ГОСТ Р 1.0-2004 «Стандартизация в Российской Федерации. Основные положения»

Сведения о стандарте

1 ПОДГОТОВЛЕН Открытым акционерным обществом «Институт механизированного инструмента» (ОАО «ВНИИСМИ») и научно-техническим центром (НТЦ) «ИНТЕРСКОЛ» на основе собственного аутентичного перевода стандарта, указанного в пункте 4

2 ВНЕСЕН Техническим комитетом по стандартизации ТК 262 «Инструмент механизированный и ручной»

3 УТВЕРЖДЕН И ВВЕДЕН В ДЕЙСТВИЕ Приказом Федерального агентства по техническому регулированию и метрологии от 27 декабря 2007 г. № 416-ст

4 Настоящий стандарт идентичен международному стандарту МЭК 60745-2-6:2003 «Ручные электрические инструменты с приводом от электродвигателя. Безопасность. Часть 2-6. Частные требования к молоткам» (IEC 60745-2-6:2003 «Hand-held motor-operated electric tools - Safety - Part 2-6: Particular requirements for hammers»).

Наименование настоящего стандарта изменено относительно наименования указанного международного стандарта для приведения в соответствие с ГОСТ Р 1.5-2004 (подраздел 3.5).

При применении настоящего стандарта рекомендуется использовать вместо ссылочных международных стандартов соответствующие им национальные стандарты Российской Федерации, сведения о которых приведены в дополнительном приложении 1

5 ВВЕДЕН ВПЕРВЫЕ

Информация об изменениях к настоящему стандарту публикуется в ежегодно издаваемом информационном указателе «Национальные стандарты», а текст изменений и поправок - в ежемесячно издаваемых информационных указателях «Национальные стандарты». В случае пересмотра или отмены настоящего стандарта соответствующее уведомление будет опубликовано в ежемесячно издаваемом информационном указателе «Национальные стандарты». Соответствующая информация, уведомление и тексты размещаются также в информационной системе общего пользования - на официальном сайте Федерального агентства по техническому регулированию и метрологии в сети Интернет

Содержание

Предисловие

Введение

1 Область применения

2 Нормативные ссылки

3 Термины и определения

4 Общие требования

5 Общие условия испытаний

6 В стадии рассмотрения

7 Классификация

8 Маркировка и инструкции

9 Защита от контакта с токоведущими частями

10 Пуск

11 Потребляемая мощность и ток

12 Нагрев

13 Ток утечки

14 Влагостойкость

15 Электрическая прочность

16 Защита от перегрузки трансформаторов и соединенных с ними цепей

17 Надежность

18 Ненормальный режим работы

19 Механическая безопасность

20 Механическая прочность

21 Конструкция

22 Внутренняя проводка

23 Комплектующие изделия

24 Присоединение к источнику питания и внешние гибкие шнуры

25 Зажимы для внешних проводов

26 Заземление

27 Винты и соединения

28 Пути утечки тока, воздушные зазоры и расстояния по изоляции

29 Теплостойкость, огнестойкость и стойкость к образованию токопроводящих мостиков

30 Коррозионная стойкость

31 Радиация, токсичность и подобные опасности

Приложения

Приложение К (обязательное) Батарейные машины и аккумуляторы

Приложение L (обязательное) Батарейные машины и аккумуляторы, предусмотренные для подсоединения к сети или неизолированным источникам питания

Приложение 1 (справочное) Сведения о соответствии национальных стандартов Российской Федерации ссылочным международным стандартам

Библиография

Введение

Настоящий стандарт входит в комплекс стандартов, устанавливающих требования безопасности ручных электрических машин и методы их испытаний.

Настоящий стандарт применяют совместно с ГОСТ Р МЭК 60745-1-2005 «Машины ручные электрические. Безопасность и методы испытаний. Часть 1. Общие требования», идентичным международному стандарту МЭК 60745-1:2003 «Ручные электрические инструменты с приводом от электродвигателя. Безопасность. Часть 1. Общие требования».

Настоящий стандарт устанавливает частные требования безопасности и методы испытаний ручных электрических молотков и перфораторов, которые дополняют, изменяют или заменяют соответствующие разделы, подразделы, пункты, таблицы и рисунки МЭК 60745-1:2003.

Номера разделов, пунктов, таблиц и рисунков соответствуют приведенным в МЭК 60745-2-6:2003. Пункты, дополняющие МЭК 60745-1:2003, имеют нумерацию, начиная со 101.

В настоящем стандарте методы испытаний молотков и перфораторов выделены курсивом.

Изменение наименования раздела 3 вызвано необходимостью приведения в соответствие с ГОСТ Р 1.5-2004.

ГОСТ Р МЭК 60745-2-6-2007

НАЦИОНАЛЬНЫЙ СТАНДАРТ РОССИЙСКОЙ ФЕДЕРАЦИИ

Машины ручные электрические

БЕЗОПАСНОСТЬ И МЕТОДЫ ИСПЫТАНИЙ

Часть 2-6

Частные требования к молоткам и перфораторам

Hand-held motor-operated electric tools. Safety and test methods.
Part 2-6. Particular requirements for hammers and rotary hammers

Дата введения - 2009-01-01

1 Область применения

По МЭК 60745-1 со следующим изменением:

1.1 Дополнение

Настоящий стандарт распространяется на молотки и перфораторы (далее - машины, если требование не относится к конкретному типу).

Перечень машин, на которые распространяется настоящий стандарт, не ограничивается молотками и перфораторами.

2 Нормативные ссылки

МЭК 60745-1:2003 Ручные электрические инструменты с приводом от электродвигателя. Безопасность. Часть 1. Общие требования

3 Термины и определения

По МЭК 60745-1 со следующим изменением:

Дополнение

3.101 молоток (hammer): Машина, оборудованная встроенным ударным механизмом, эффективность работы которого не зависит от действий оператора.

3.102 перфоратор (rotary hammer): Машина, оборудованная встроенным ударным механизмом, эффективность работы которого не зависит от действий оператора, и рабочий шпиндель которой может совершать также вращательное движение.

3.103 перфораторе «режимом сверления» (rotary hammer with «drill only mode»): Перфоратор, рабочий шпиндель которого может вращаться при выключенном ударном механизме.

4 Общие требования

По МЭК 60745-1.

5 Общие условия испытаний

По МЭК 60745-1.

6 В стадии рассмотрения

7 Классификация

По МЭК 60745-1.

8 Маркировка и инструкции

По МЭК 60745-1 со следующим изменением:

8.12.1 Дополнение

- при работе пользуйтесь средствами защиты органов слуха. Воздействие шума может привести к потере слуха;

- при работе пользуйтесь вспомогательными рукоятками, входящими в комплект поставки машины. Потеря контроля над работой машины может привести к травме.

9 Защита от контакта с токоведущими частями

По МЭК 60745-1.

10 Пуск

По МЭК 60745-1.

11 Потребляемая мощность и ток

По МЭК 60745-1.

12 Нагрев

По МЭК 60745-1 со следующим изменением:

12.4 Замена

Машина работает в повторно-кратковременном режиме либо до установившегося состояния, либо в течение 30 циклов в зависимости от того, что наступит быстрее, причем каждый цикл состоит из периода работы длительностью 30 с и паузы длительностью 90 с, в течение которой машина находится в выключенном состоянии. В течение периода работы машина нагружается с помощью тормоза так, чтобы потребляемая мощность или потребляемый ток имели номинальные значения, при этом ударный механизм отключается или удаляется. По выбору изготовителя машина может работать непрерывно до установившегося температурного состояния. Допустимое превышение температуры, указанное для внешнего кожуха, не относится к корпусу ударного механизма.

13 Ток утечки

По МЭК 60745-1.

14 Влагостойкость

По МЭК 60745-1.

15 Электрическая прочность

По МЭК 60745-1.

16 Защита от перегрузки трансформаторов и соединенных с ними цепей

По МЭК 60745-1.

17 Надежность

По МЭК 60745-1 со следующим изменением:

17.2 Замена

Перфоратор с «режимом сверления» по 3.103 работает на холостом ходу с отключенным ударным механизмом в течение 12 ч при напряжении, равном 1,1 номинального значения, а затем - 12 ч при напряжении, равном 0,9 номинального значения.

Каждый рабочий цикл состоит из периода «включено» длительностью 100 с и периода «выключено» длительностью 20 с, причем время периода «выключено» входит в установленное время наработки.

В процессе испытаний перфоратор устанавливают в три различные положения, время работы в каждом из которых примерно равно 4 ч (при каждом значении рабочего напряжения).

Примечание - Положение перфоратора изменяют для предотвращения чрезмерного накопления угольной пыли в его отдельных частях. Примеры положений: горизонтальное, вертикальное вверх и вертикальное вниз.

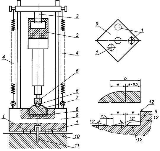
Все машины, включая перфораторы с «режимом сверления», устанавливают вертикально в испытательное устройство в соответствии с рисунком 103, и они работают при номинальном напряжении или при среднем значении диапазона номинальных напряжений в течение четырех периодов по 6ч с перерывами между периодами работы не менее 30 мин.

Во время испытаний машины должны работать в повторно-кратковременном режиме, при этом каждый цикл состоит из работы продолжительностью 30 с и паузы продолжительностью 90 с, в течение которой машина выключена.

В процессе испытаний к машине через эластичную прокладку прикладывают осевое усилие, достаточное для обеспечения стабильной работы ударного механизма.

Если температура любой части машины превышает значение, определенное во время испытаний по 12.1, то следует проводить принудительное охлаждение или перерывы, длительность которых не включают в установленное время наработки.

В процессе испытаний устройства защиты от перегрузок не должны срабатывать.

Машина может включаться и выключаться с помощью другого (дополнительного) выключателя, не встроенного в машину.

В процессе испытаний допускается заменять угольные щетки, а смазку машины следует проводить так, как предусмотрено для условий нормальной эксплуатации.

Если ударный механизм во время испытаний выйдет из строя, но при этом доступные для прикосновения части не будут находиться под напряжением, ударный механизм допускается заменить на новый.

18 Ненормальный режим работы

По МЭК 60745-1.

19 Механическая безопасность

По МЭК 60745-1 со следующим изменением:

Дополнение

19.101 Конструкция ключей должна обеспечивать их легкое выпадение из зажимного патрона при отпускании.

Это требование не исключает наличия скоб для удерживания ключа в каком-либо месте, когда он не используется. Не допускается наличие металлических скоб, закрепленных на внешнем гибком кабеле (шнуре).

Проверку проводят внешним осмотром и ручным опробованием. Ключ вставляют в сверлильный патрон. Затем, не затягивая сверлильный патрон, машину поворачивают так, чтобы ключ оказался внизу. Ключ должен выпасть из патрона.

19.102 Сила, действующая на руку оператора, вызванная статическим моментом остановки (блокировки) шпинделя машины, не должна быть недопустимо большой.

Испытание проводят следующим образом.

Статический момент остановки или момент срабатывания муфты MR измеряют на заблокированном шпинделе машины, находящейся в холодном состоянии.

Машину включают при номинальном напряжении питания. Механические ступени передачи устанавливают на самую низкую частоту вращения, а электронные регуляторы частоты вращения - на наибольшую частоту вращения, т. е. выключатель машины должен быть полностью включен. Среднее значение измеренного крутящего момента не должно превышать соответствующего максимального значения MRmax, указанного на рисунках 101 и 102.

20 Механическая прочность

По МЭК 60745-1 со следующим изменением:

20.3 Замена

Машину массой более 10 кг три раза опрокидывают, подвергая ее ударам о бетонную поверхность. Машину испытывают с самым длинным рабочим инструментом, рекомендованным изготовителем, кроме случая, когда длина рабочего инструмента превышает 1 м. В этом случае машину испытывают с рабочим инструментом длиной 1 м.

21 Конструкция

По МЭК 60745-1 со следующим изменением:

21.18 Дополнение

При наличии кнопки блокировки включенного положения выключателя она должна находиться либо вне зоны охвата рукоятки, либо быть выполнена так, чтобы отсутствовала вероятность непреднамеренной разблокировки выключателя (путем нажатия на кнопку) при удерживании машины как левой, так и правой рукой.

Соответствие машины этому требованию проверяют осмотром и ручным опробованием.

Для выключателей с кнопкой блокировки включенного положения, находящейся в углублении в пределах зоны охвата рукоятки, кнопка не должна срабатывать при перемещении плоской линейки в любом возможном направлении в зоне расположения кнопки. Линейка может быть любой подходящей длины, достаточной для перекрытия кнопки и любой граничащей с ней поверхности.

22 Внутренняя проводка

По МЭК 60745-1.

23 Комплектующие изделия

По МЭК 60745-1.

24 Присоединение к источнику питания и внешние гибкие шнуры

По МЭК 60745-1 со следующим изменением:

24.4 Замена первого абзаца

Масса гибкого кабеля (шнура) питания должна быть не менее массы кабеля в усиленной полихлоропреновой оболочке (кодовое обозначение - 60245IEC 66 по МЭК60245-1) или быть эквивалентна ей.

25 Зажимы для внешних проводов

По МЭК 60745-1.

26 Заземление

По МЭК 60745-1.

27 Винты и соединения

По МЭК 60745-1.

28 Пути утечки тока, воздушные зазоры и расстояния по изоляции

По МЭК 60745-1.

29 Теплостойкость, огнестойкость и стойкость к образованию токопроводящих мостиков

По МЭК 60745-1.

30 Коррозионная стойкость

По МЭК 60745-1.

31 Радиация, токсичность и подобные опасности

По МЭК 60745-1.

Рисунок 101 - Машины, удерживаемые одной рукой

Рисунок 102 - Машины, удерживаемые двумя руками

1 - диски из синтетической резины или из материала с аналогичными свойствами с твердостью по Шору А от 70 до 80, толщиной 10 мм и диаметром 75 мм; 2 - облицованная полиамидом скоба, пригнанная к рукоятке машины; 3 - машина; 4 - механический пружинный или пневматический механизм, создающий осевое усилие; 5 - пуансон; 6 - шар из закаленной стали диаметром 38 мм; 7 - промежуточная плита из закаленной стали массой М2 и диаметром D, имеющая с нижней стороны пазы; 8 - диск из синтетической резины или материала с аналогичными свойствами с твердостью по Шору А от 70 до 80, толщиной от 6 до 7 мм, плотно пригнанный к стенкам; 9 - стальное основание массой с цилиндрической выемкой, диаметр которой на 1 мм больше диаметра промежуточной плиты, а дно выемки снабжено пазами; 10- бетонный блок, установленный на устойчивой поверхности; 11 - стальной стержень, препятствующий горизонтальному смещению; 12 - шлифованные поверхности и кромки

Номинальная потребляемая мощность машины, Вт

Диаметр промежуточной плиты D, мм

Расстояние между центрами пазов а, мм

Масса стального фундамента М1, кг

Масса промежуточной плиты М2, кг

Общая масса пуансона и хвостовика М3, кг

До 700

100

6,5

90

1,0

0,7

Св. 700 до 1200

140

5,75

180

2,25

1.4

Св. 1200 до 1800

180

5,0

270

3,8

2,3

Св. 1800 до 2500

220

4,5

360

6,0

3,4

Рисунок 103 - Испытательная установка

Примечание - Вместе с машиной допускается представлять на испытание пуансон и хвостовик, если это необходимо для обеспечения работы ударного механизма. Общая масса пуансона и хвостовика не должна превышать значений, указанных в таблице.

Приложения

По МЭК 60745-1 со следующими изменениями:

Приложение К
(обязательное)

Батарейные машины и аккумуляторы

К.1.1 Дополнение

Все пункты настоящего стандарта относятся к приложению, если нет других указаний.

Приложение L
(обязательное)

Батарейные машины и аккумуляторы, предусмотренные для подсоединения к сети или неизолированным источникам питания

L.1.1 Дополнение

Все пункты настоящего стандарта относятся к приложению, если нет других указаний.

Приложение 1
(справочное)

Сведения о соответствии национальных стандартов Российской Федерации ссылочным международным стандартам

Таблица 1.1

Обозначение ссылочного международного стандарта

Обозначение и наименование соответствующего национального стандарта

МЭК 60745-1:2003

ГОСТ Р МЭК 60745-1-2005 Машины ручные электрические. Безопасность и методы испытаний. Часть 1. Общие требования

МЭК 60245-1:1994

ГОСТ Р МЭК 60245-1-97 Кабели с резиновой изоляцией на номинальное напряжение до 450/750 В включительно. Общие требования

Библиография

По МЭК 60745-1.

Ключевые слова: машины ручные электрические, молотки, перфораторы, безопасность, испытания

 




Яндекс цитирования



   Copyright © 2007-2026,  www.tehlit.ru.

[ ѓосты, стандарты, нормативы, инструкции, правила, строительные нормы ]