//
|
|
Ручные машины ИЗМЕРЕНИЯ ВИБРАЦИИ НА РУКОЯТКЕ Машины для лесного хозяйства бензиномоторные ISO 22867:2004 Forestry machinery - Vibration test code for portable hand-held machines with internal combustion engine - Vibration at the handles (MOD)
Предисловие Цели, основные принципы и основной порядок проведения работ по межгосударственной стандартизации установлены ГОСТ 1.0-92 «Межгосударственная система стандартизации. Основные положения» и ГОСТ 1.2-97 «Межгосударственная система стандартизации. Стандарты межгосударственные, правила и рекомендации по межгосударственной стандартизации. Порядок разработки, принятия, применения, обновления и отмены» Сведения о стандарте 1 ПОДГОТОВЛЕН Открытым акционерным обществом «Научно-исследовательский центр контроля и диагностики технических систем» на основе собственного аутентичного перевода стандарта, указанного в пункте 4 2 ВНЕСЕН Межгосударственным техническим комитетом по стандартизации МТК 183 «Вибрация и удар» 3 ПРИНЯТ Межгосударственным советом по стандартизации, метрологии и сертификации (протокол № 32 от 24 октября 2007 г.) За принятие проголосовали:
4 Настоящий стандарт является модифицированным по отношению к международному стандарту ИСО 22867:2004 «Машины для лесного хозяйства. Испытательный код по вибрации для ручных машин с двигателями внутреннего сгорания. Вибрация на рукоятках» (ISO 22867:2004 «Forestry machinery - Vibration test code for portable hand-held machines with internal combustion engine - Vibration at the handles») путем изменения содержания положений, объяснение которого приведено во введении к настоящему стандарту. Содержание измененных положений приведено в приложении С. Измененные фразы, слова, показатели и их значения выделены в тексте курсивом. Международный стандарт разработан ИСО/ТК 23/ПК 17 «Ручные машины для лесного хозяйства». Перевод с английского языка (en). Официальные экземпляры международных стандартов, на основе которых подготовлен настоящий межгосударственный стандарт и на которые даны ссылки, имеются в Федеральном информационном фонде технических регламентов и стандартов. Степень соответствия - модифицированная (MOD) 5 Приказом Федерального агентства по техническому регулированию и метрологии от 25 января 2008 г. № 4-ст межгосударственный стандарт ГОСТ 31348-2007 (ИСО 22867:2004) введен в действие в качестве национального стандарта Российской Федерации с 1 июля 2008 г. 6 ВЗАМЕН ГОСТ ИСО 7916-2002 Информация о введении в действие (прекращении действия) настоящего стандарта публикуется в указателе «Национальные стандарты». Информация об изменениях к настоящему стандарту публикуется в указателе «Национальные стандарты», а текст изменений - в информационных указателях «Национальные стандарты». В случае пересмотра или отмены настоящего стандарта соответствующая информация будет опубликована в информационном указателе «Национальные стандарты» Содержание Введение Настоящий стандарт, представляющий собой испытательный код по вибрации (согласно классификации ГОСТ 12.1.012), устанавливает правила проведения испытаний для измерения вибрации на рукоятках управления бензиномоторного инструмента. Общие требования к испытаниям данного вида для ручных машин установлены ГОСТ 16519. Результаты испытаний служат основой для заявления вибрационной характеристики ручной машины в соответствии с ГОСТ 12.1.012. Помимо этого полученные результаты могут быть использованы в целях: - сравнения с другими машинами того же семейства; - совершенствования конструкции ручной машины; - оценки риска от воздействия вибрации в определенных условиях применения ручной машины. Применение настоящего испытательного кода позволяет обеспечить хорошую воспроизводимость получаемых результатов. Режимы работы при испытаниях выбраны таким образом, чтобы обеспечить оценку вибрационного воздействия в условиях типичного рабочего дня. Рабочий цикл, воспроизводимый в процессе испытаний, выбран с учетом следующих обстоятельств: a) цепные пилы с двигателем объемом менее 80 см3 применяют для выполнения разнообразных рабочих операций, включая валку, раскряжевку и обрезку сучьев; b) цепные пилы с двигателем объемом 80 см3 и более применяют, как правило, для валки деревьев и раскряжевки бревен. Для пил с объемом двигателя менее 80 см3 в процессе выполнения операции обрезки сучьев двигатель может работать в режиме разгона, поэтому такой режим включен в рабочий цикл испытаний. Для кусторезов и мотокос режим полной нагрузки в испытаниях не воспроизводят. В процессе применения этих ручных машин режим резания (полной нагрузки) занимает только незначительную часть времени. Кроме того, режим резания отличается большой нестабильностью, поэтому его применение в испытаниях не позволяет добиться хорошей повторяемости результатов. Для мотокос режимы полной нагрузки и разгона объединены вследствие схожести создаваемой нагрузки на гибкий вал двигателя. Для кусторезов не существует простого способа имитировать режим полной нагрузки, так как в отличие от цепных пил в условиях постоянной нагрузки эти машины не работают. Поэтому в качестве представительного режима для испытаний также выбран режим разгона, который является наихудшим с точки зрения создаваемой вибрации. Режим холостого хода характерен для любого бензиномоторного инструмента, поэтому его воспроизводят для всех машин, на которые распространяется настоящий стандарт. Исследования показали, что хорошим приближением к реальным рабочим условиям с точки зрения воспроизведения представительного вибрационного воздействия является работа машины равное время в каждом из режимов, выбранных для целей испытаний. По сравнению с примененным международным стандартом ИСО 22867:2004 в текст настоящего стандарта внесены следующие изменения, выделенные курсивом: - раздел 1 дополнен ссылками на ГОСТ 12.1.012-2004 и ГОСТ 16519-2006, чтобы показать место стандарта в комплексе стандартов по вибрационной безопасности; - из области применения стандарта (раздел 1) исключены цепные пилы с высокорасположенными рукоятками, для которых невозможно обеспечить соблюдение режима пиления по ИСО 22867:2004 (см. подраздел А.3.3 ); - в разделе 2 международные стандарты заменены аналогичными межгосударственными, добавлены ГОСТ 12.1.012-2004, ГОСТ 16519-2006 и ГОСТ 24346-80, а также ГОСТ 31192.2-2005, аналогичный международному стандарту из структурного элемента «Библиография», на который даны нормативные ссылки; - в раздел 2 включен ГОСТ 31192.1-2004, по которому определяют частотную коррекцию для измерений локальной вибрации; - из раздела 2 исключены не введенные в качестве межгосударственных терминологические стандарты ИСО 6531:1999 и ИСО 7112:1999; - из раздела 2 в структурный элемент «Библиография» перенесены международные стандарты, устанавливающие методы определения внешней скоростной характеристики двигателей внутреннего сгорания цепных пил (ИСО 7293:1997) и мотокос и кусторезов (ИСО 8893:1997); - в раздел 4 в качестве дополнительного измеряемого параметра включена скорость двигателя, а в качестве дополнительного расчетного параметра - значение эквивалентной полной вибрации, усредненной по трем операторам, принимающим участие в испытании; - раздел 5 дополнен ссылками на ГОСТ 16519-2006, являющийся стандартом безопасности типа В и устанавливающий требования к испытательным кодам по вибрации ручных машин; - из подраздела 5.3 исключена ссылка на ГОСТ 31192.2-2005, который допускает удержание адаптера рукой оператора, и добавлено требование жесткой фиксации адаптера в целях улучшения повторяемости результатов испытаний; - в подраздел 5.3 включена ссылка на ГОСТ ИСО 8041-2006, устанавливающий метод проверки влияния адаптера на измеряемую вибрацию; - в раздел 7 добавлено требование об участии в испытаниях не менее трех операторов; - изменено содержание разделов 8, 9 и 10. Оригинальный текст аутентичного перевода этих структурных элементов примененного международного стандарта и объяснение причин внесения технических отклонений приведены в дополнительном приложении С; - в приложениях А и В таблицы А.2 и В.2, представляющие собой форму для записи результатов измерений, приведены, соответственно, как рисунки А.4 и В.4. МЕЖГОСУДАРСТВЕННЫЙ СТАНДАРТ Ручные машины ИЗМЕРЕНИЯ ВИБРАЦИИ НА РУКОЯТКЕ Машины для лесного хозяйства бензиномоторные Hand-held portable power tools. Measurement of vibration at the handle. Forestry machinery with gasoline engine Дата введения - 2008-07-01 1 Область примененияНастоящий стандарт, относящийся к стандартам безопасности типа С (испытательный код по вибрации) согласно классификации ГОСТ 12.1.012, устанавливает лабораторный метод измерений вибрации на рукоятках ручных машин для лесного хозяйства с приводом от двигателя внутреннего сгорания: цепных пил, кусторезов, мотокос (далее - машины) - в целях заявления и подтверждения вибрационной характеристики машины 1). Общие требования к методу испытаний ручных машин в целях заявления и подтверждения вибрационной характеристики приведены в ГОСТ 16519. 1) При необходимости данный метод может быть использован в других целях, например при входном, периодическом или послеремонтном контроле продукции (см. ГОСТ 12.1.012, подраздел 4.2). Полученные в соответствии с настоящим стандартом результаты могут быть использованы для сравнения разных машин или разных моделей одной машины по характеристикам вибрации. Хотя эти результаты получены в искусственных условиях испытаний, они, тем не менее, могут дать ориентировочное представление о том, какая вибрация будет иметь место в реальных рабочих условиях применения машин. Настоящий стандарт не распространяется на цепные пилы с параллельными высокорасположенными рукоятками, для которых невозможно обеспечить режим пиления по А.3.3 (приложение А). 2 Нормативные ссылкиВ настоящем стандарте использованы нормативные ссылки на следующие стандарты: ГОСТ 12.1.012-2004 Система стандартов безопасности труда. Вибрационная безопасность. Общие требования ГОСТ ИСО 8041-2006 Вибрация. Воздействие вибрации на человека. Средства измерений ГОСТ 16519-2006 (ИСО 20643:2005) Вибрация. Определение параметров вибрационной характеристики ручных машин и машин с ручным управлением. Общие требования ГОСТ 24346-80 Вибрация. Термины и определения ГОСТ 31192.1-2004 (ИСО 5349-1:2001) Вибрация. Измерение локальной вибрации и оценка ее воздействия на человека. Часть 1. Общие требования ГОСТ 31192.2-2005 (ИСО 5349-2:2001) Вибрация. Измерение локальной вибрации и оценка ее воздействия на человека. Часть 2. Требования к проведению измерений на рабочих местах Примечание - При пользовании настоящим стандартом целесообразно проверить действие ссылочных стандартов на территории государства по соответствующему указателю стандартов, составленному по состоянию на 1 января текущего года, и по соответствующим информационным указателям, опубликованным в текущем году. Если ссылочный стандарт заменен (изменен), то при пользовании настоящим стандартом следует руководствоваться заменяющим (измененным) стандартом. Если ссылочный стандарт отменен без замены, то положение, в котором дана ссылка на него, применяется в части, не затрагивающей эту ссылку. 3 Термины и определенияВ настоящем стандарте применены термины по ГОСТ 12.1.012, ГОСТ 16519 и ГОСТ 24346. 4 Измеряемые и рассчитываемые величиныИзмерению подлежит корректированное ускорение (см. ГОСТ 31192.1) в трех взаимно перпендикулярных направлениях: ahwx, ahwy и ahwz. По результатам измерении для каждой
рукоятки управления рассчитывают полную вибрацию ahv, значение
эквивалентной полной вибрации ahv,eq (см. приложения А и В) и среднее
(по трем операторам) значение эквивалентной полной вибрации Примечание - Математически ahv представляет собой квадратный корень из суммы квадратов трех среднеквадратичных значений корректированного ускорения ahwx, ahwy и ahwz. Дополнительным измеряемым параметром является скорость двигателя. 5 Средства измерений5.1 Общие положения Требования к средствам измерений - по ГОСТ 16519. 5.2 Датчик вибрации В качестве датчиков вибрации используют акселерометры. Общие требования к акселерометрам - по ГОСТ 16519. При использовании трехкомпонентного акселерометра для одновременного измерения вибрации в направлениях х, у и z его масса вместе с крепежными приспособлениями не должна превышать 25 г. Дополнительные требования установлены в ГОСТ 31192.2, пункт 6.1.5. 5.3 Крепление датчика вибрации Акселерометр вместе с механическим фильтром (если его используют для измерений) жестко устанавливают на рукоятке машины с помощью крепежных приспособлений согласно ГОСТ 16519. Если рукоятка имеет упругое покрытие, то для крепления датчика допускается использовать подходящий адаптер - легкую жесткую пластину нужной формы с приспособлением для установки акселерометра, - который жестко фиксируют на рукоятке ручной машины, например с помощью хомута или пластиковой ленты. Необходимо убедиться, что применяемый адаптер не оказывает существенного влияния на сигнал акселерометра в анализируемом диапазоне частот (см. ГОСТ ИСО 8041). 5.4 Калибровка Калибровку измерительной цепи выполняют в соответствии с ГОСТ 16519. 5.5 Тахометр Скорость двигателя необходимо измерять с точностью до ± 1,5 %. Тахометр должен быть соединен с машиной таким образом, чтобы не мешать работе оператора во время испытаний. 6 Точки и направления измеренийИзмерения проводят на каждой рукоятке управления в трех направлениях: х, у и z. Центр тяжести акселерометра должен находиться на расстоянии не более 20 мм от поверхности рукоятки. Одна из измерительных осей акселерометра должна быть направлена параллельно оси рукоятки. Примечание - Конкретные указания для машин разных видов, на которые распространяется действие настоящего стандарта, даны в приложениях А и В. 7 Рабочие условия, метод испытаний и представление результатовИзмерения проводят для новой машины, оснащенной стандартным оборудованием от изготовителя, с топливным баком, заполненным не менее чем наполовину. Примечание - Конкретные указания для машин разных видов, на которые распространяется действие настоящего стандарта, даны в приложениях Аи В. Поскольку динамические характеристики тела оператора и его способ работы с ручной машиной оказывают влияние на создаваемую вибрацию, к испытаниям привлекают только квалифицированных операторов, имеющих опыт работы с машиной данной модели, в испытаниях участвуют не менее трех операторов. Измерения продолжают до тех пор, пока не будут получены достоверные результаты испытаний согласно требованиям раздела 8. Для каждой рукоятки вычисляют полную вибрацию согласно соответствующему приложению (А или В). 8 Оценка достоверности результатов измеренийДля каждого оператора, каждой рукоятки и каждого режима работы измерения продолжают до тех пор, пока не будет получена достоверная серия измерений, т.е. пока коэффициент вариации Cv для полной вибрации ahv для пяти последовательных измерений не будет менее 0,15 или пока стандартное отклонение sn-1 для этой серии измерений не будет менее 0,40 м/с2. Коэффициент
вариации Cv для серии измерений
определяют как отношение стандартного отклонения sn-1 для результатов измерений в
этой серии к их среднеарифметическому значению
где
xi - результат i-го измерения, м/с2; n - число измерений. 9 Последовательность проведения измерений и вычисленийИзмерения и вычисления проводят в последовательности: a) для произвольно выбранного режима работы на обеих рукоятках управления измеряют корректированное ускорение в трех направлениях: ahwx, J, ahwy, J, ahwz, J, где J - режим работы: холостой ход (Id), полная нагрузка 1) (Fl) или разгон 2) (Ra); 1) Не применяют для кусторезов и мотокос. 2) Не применяют для цепных пил с двигателем объемом не менее 80 см3. b) вычисляют квадратный корень суммы квадратов ускорений по всем трем направлениям (х, у и z) ahv, Jдля данного режима работы и данной рукоятки; c) повторяют этапы а) и b) не менее пяти раз; d) для каждой рукоятки
вычисляют среднеарифметическое значение для данного режима работы e) повторяют этапы a), b) и d) до тех пор, пока для каждой рукоятки не будет выполнено требование раздела 8 в отношении коэффициента вариации Cv или стандартного отклонения sn-1; f) выполняют этапы а) - е) для других режимов работы; g) вычисляют эквивалентную полную вибрацию ahv, eq для каждой рукоятки управления согласно А.4.2 (приложение А) и В.4.2 (приложение В); h) выполняют этапы а) - g) с участием двух других операторов; i) вычисляют среднюю по трем операторам
эквивалентную полную вибрацию j) определяют заявляемую вибрационную характеристику машины. Примечание - Данные, включаемые в протокол испытаний, - согласно приложениям А и В. 10 Неопределенность измерений и заявляемая
вибрационная
| ||||||||||||||||||||||||||||||||||||||||||||||||||||||||||||||||||||||||||||||||||||||||||||||||||||||||||||||||||||||||||||||||||||||||||||||||||||||||||||||||||||||||||||||||||||||||||||||||||||||||||||||||||||||||||||||||||||||||||||||||||||||||||||||||||||||||||||||||||||||||
|
Объем двигателя С, |
Рабочая длина пильного аппарата |
Толщина бруса |
|
Менее 45 |
От 0,25 до 0,35 |
(75 ± 5) % L |
|
От 45 до 70 |
От 0,30 до 0,40 |
(75 ± 5) % L |
|
От 70 до 90 |
От 0,40 до 0,50 |
(75 ± 5) % L |
|
Более 90 |
Более 0,50 |
L - 0,1 |

Рисунок А.2 - Форма деревянного бруса
А.2.3 Условия выполнения рабочей операции
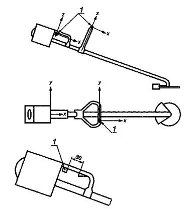
В процессе пиления машину располагают вертикально (см. рисунок А.3).

1 - ось бруса; 2 - уровень пола
Рисунок А.3 - Положение пилы в процессе испытаний
Брус должен быть жестко закреплен в горизонтальном положении на твердой опоре таким образом, чтобы его ось была расположена на высоте (800 ± 100) мм над уровнем пола.
Оператор удерживает машину способом, обычным для применения данной машины на рабочем месте.
Примечание - Результаты измерений вибрации могут зависеть от силы обхвата рукояток оператором.
А.3 Метод испытаний
А.3.1 Общие положения
Испытания проводят для следующих режимов работы машины:
a) машины с двигателем объемом менее 80 см3: холостой ход, полная нагрузка, разгон;
b) машины с двигателем объемом 80 см3 и более: холостой ход и полная нагрузка.
Для каждого режима работы машины проводят не менее пяти измерений; перерыв между измерениями должен быть достаточным для достижения стабильного состояния машины на холостом ходу.
Общая длительность измерения сигнала вибрации (как сумма не менее пяти интервалов измерений) должна составлять не менее 20 с.
Длительность каждого интервала измерений должна быть не менее 2 с; на всем интервале измерений скорость двигателя поддерживают постоянной в пределах ± 3,5 с-1.
Примечание - Измерения для разных режимов работы (холостого хода, полной нагрузки, разгона) проводят в произвольной последовательности.
А.3.2 Режим холостого хода
При работе машины в режиме холостого хода ее удерживают двумя руками в горизонтальном положении.
Измерения проводят на скорости холостого хода, как указано изготовителем. Пильный аппарат должен быть отключен.
При работе машины в режиме полной нагрузки выполняют пиление бруса с полностью открытой дроссельной заслонкой. В процессе пиления сохраняют горизонтальное положение шины, перпендикулярное к оси бруса, и постоянную скорость, при которой двигатель развивает максимальную мощность 1).
1) Эту скорость определяют по внешней скоростной характеристике двигателя - см., например, [1].
Измерения начинают, когда глубина пропила превышает треть толщины бруса. Скоростью двигателя управляют приложением необходимого усилия к пильной цепи. Следует избегать возможных контактов между брусом и частями двигателя или зубчатым упором пилы (при его наличии).
А.3.4 Режим разгона
При работе в режиме разгона машину удерживают двумя руками в горизонтальном положении. Измерения проводят на скорости двигателя, составляющей 133 % скорости, при которой двигатель развивает максимальную мощность.
Если двигатель имеет ограничитель скорости ниже указанного значения, то измерения выполняют при максимально достижимой скорости двигателя. В случае невозможности поддерживать данную скорость стабильной, испытания проводят при максимальной стабильной скорости двигателя, но не более чем на 8 с-1 ниже скорости, обусловленной изготовителем. Скорость двигателя регулируют положением дроссельной заслонки.
А.4 Регистрируемая информация
А.4.1 Общие положения
В отчет об испытаниях, проведенных в соответствии с настоящим стандартом, включают следующую информацию.
a) Испытуемая машина:
1) описание пилы, включая объем двигателя, наименование изготовителя, тип, серийный номер, тип используемой цепи, длина шины;
2) условия выполнения рабочей операции в соответствии с формой, показанной на рисунке А.4;
3) толщина деревянного бруса, служащего объектом обработки.
b) Измерительный инструмент:
1) используемые средства измерений, включая их наименование, тип, серийный номер, наименование изготовителя;
2) использованные способы крепления акселерометров;
3) данные о калибровке измерительной системы;
4) место и время последней калибровки калибратора датчиков вибрации.
c) Измеряемая вибрация и другие данные:
1) места установки акселерометров (с приложением, при необходимости, чертежа);
2) результаты измерений и среднеарифметические значения в соответствии с формой, показанной на рисунке А.4;
3) заявляемая вибрационная характеристика;
4) дополнительные замечания (при необходимости);
5) температура окружающего воздуха;
6) дата и место проведения измерений.
А.4.2 Эквивалентная полная вибрация
А.4.2.1 Общие положения
Значение эквивалентной полной вибрации определяют для рабочего цикла из нескольких режимов работы. Рабочий цикл состоит из периодов равной длительности, где каждый период соответствует своему режиму работы: для машин с объемом двигателя менее 80 см3 это режимы холостого хода, полной нагрузки и разгона, а для машин с объемом двигателя 80 см3 и более - холостого хода и полной нагрузки.
А.4.2.2 Цепные пилы с объемом двигателя менее 80 см3
Эквивалентную полную вибрацию ahv, eq определяют по формуле
![]()
A.4.2.3 Цепные пилы с объемом двигателя 80 см3 и более
Эквивалентную полную вибрацию ahv, eq определяют по формуле
![]()
|
Режим работы |
Расчетные значения |
Номинальная скорость двигателя, об/с |
Передняя рукоятка/Задняя рукоятка |
||||
|
1 |
2 |
3 |
4 |
n |
|||
|
Холостой ход (Id) |
|
|
|
|
|
|
|
|
|
|
- |
- |
- |
|
|
|
|
sn-1, м/с2 |
|
- |
- |
- |
|
|
|
|
Cv |
|
- |
- |
- |
|
|
|
|
Полная нагрузка (FI) |
|
|
|
|
|
|
|
|
|
|
- |
- |
- |
|
|
|
|
sn-1, м/с2 |
|
- |
- |
- |
|
|
|
|
Cv |
|
- |
- |
- |
|
|
|
|
Разгон (Ra)a |
|
|
|
|
|
|
|
|
|
|
- |
- |
- |
|
|
|
|
sn-1, м/с2 |
|
- |
- |
- |
|
|
|
|
Cv |
|
- |
- |
- |
|
|
|
|
Значения полной вибрации ahv вычисляют и записывают до тех пор, пока коэффициент вариации Cv не станет менее 0,15 или стандартное отклонение sn-1 не станет менее 0,4 (в соответствующих единицах измерения). Среднеарифметическое
значение Рассчитанные
значения |
|||||||
|
а Не применяют для пил с двигателем объемом 80 см3 и более. |
|||||||
Рисунок А.4 - Форма представления результатов измерений вибрации (для каждого оператора отдельно)
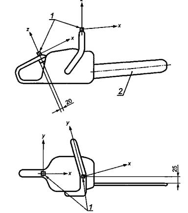
B.1 Точки и направления измерений
Место установки и ориентация измерительных осей акселерометра - в соответствии с рисунком В.1 или В.2 в зависимости от конструкции рукояток.
Акселерометр устанавливают как можно ближе к кисти оператора таким образом, чтобы это не мешало нормальному обхвату рукоятки машины.
Для машин с левой и правой рукоятками (см. рисунок В.1) датчик должен быть установлен напротив большого пальца кисти руки (на внутренней стороне рукоятки) с учетом его положения при нормальном управлении машиной.
Для машин с передней и задней рукоятками (см. рисунок В.2) датчик на задней рукоятке должен быть установлен на расстоянии 80 см от рычага управления дросселем. Если такое расстояние выдержать невозможно, акселерометр устанавливают на заднем конце зоны обхвата рукоятки. На передней рукоятке акселерометр устанавливают с той же стороны, где находится большой палец кисти руки с учетом его положения при нормальном управлении машиной.
B.2 Регулировка машины перед испытаниями
Измерения проводят на машине с режущей насадкой, предоставленной изготовителем.
Перед проведением измерений двигатель должен быть прогрет, а режущая насадка приработана согласно рекомендациям изготовителя. При этом температура машины должна достичь стабильного рабочего значения.
Карбюратор регулируют по инструкции изготовителя.
Режущая насадка должна быть отрегулирована для достижения наилучших характеристик резания согласно инструкции изготовителя.
В процессе испытания скорость двигателя поддерживают постоянной в пределах 3,5 с-1 для каждого режима работы. После начала испытаний внесение каких-либо регулировок в работу машины не допускается.
Для мотокос с гибким валом длина вала должна быть отрегулирована до его максимального размера с установленным защитным устройством.
Машина должна работать в вертикальном положении, как показано на рисунке 3. Если машина снабжена ремнем подвески, он должен быть надет. Машину удерживают двумя руками таким способом, который характерен для ее долговременной работы в течение рабочего дня. Если не установлено иное, условия выполнения рабочей операции должны соответствовать В.3.2 и В.3.3.
Примечание - Результаты измерений вибрации могут зависеть от силы обхвата рукояток оператором.

1 - акселерометры
Рисунок В.1 - Направления измерений и точки крепления акселерометров на машинах с левой и правой рукоятками (велосипедного типа)

1 - акселерометры
Рисунок В.2 - Направления измерений и точки крепления акселерометров на машинах с передней и задней рукоятками (лучкового типа)

1 - линия взгляда оператора на режущую насадку; 2 - центр тяжести машины (в сборе)
а Значение H равно (300 ± 25) мм для кусторезов и (50 ± 25) мм для мотокос.
Рисунок В.3 - Положение машины в процессе испытаний
B.3 Метод испытаний
B.3.1 Общие положения
Испытания проводят для двух режимов работы машины: холостого хода и разгона. Для каждого режима работы машины проводят не менее четырех измерений; перерыв между измерениями должен быть достаточным для достижения стабильного состояния машины в условиях холостого хода.
Общая длительность измерения сигнала вибрации (как сумма не менее пяти интервалов измерений) должна составлять не менее 20 с.
Длительность каждого интервала измерений должна быть не менее 2 с; на всем интервале измерений скорость двигателя поддерживают постоянной в пределах ± 3,5 с-1.
Измерения для разных режимов работы (холостого хода и разгона) проводят в произвольной последовательности.
B.3.2 Режим холостого хода
Измерения проводят на скорости холостого хода, как указано изготовителем. Режущий инструмент должен оставаться неподвижным.
B.3.3 Режим разгона
Для кусторезов измерения проводят на скорости двигателя, составляющей 133 % скорости, при которой двигатель развивает максимальную мощность 1).
1) Эту скорость определяют по внешней скоростной характеристике двигателя - см., например, [2].
Для мотокос измерения проводят с гибким валом, отрегулированным на всю длину при полностью открытой дроссельной заслонке. Если при этом скорость превысит 133 % скорости, при которой развивается максимальная мощность двигателя, ее снижают до указанного значения и поддерживают постоянной в процессе измерений.
Если двигатель имеет ограничитель скорости ниже указанного значения, то измерения выполняют на максимально достижимой скорости двигателя. При невозможности поддерживать данную скорость стабильной испытания проводят на максимальной стабильной скорости двигателя, но не более чем на 8 с-1 ниже скорости, обусловленной изготовителем.
Скорость двигателя регулируют положением дроссельной заслонки.
B.4 Регистрируемая информация
В.4.1 Общие положения
В отчет об испытаниях, проведенных в соответствии с настоящим стандартом, включают следующую информацию.
а) Испытуемая машина:
1) описание пилы, включая объем двигателя, наименование изготовителя, тип, серийный номер, тип режущей насадки;
2) условия выполнения рабочей операции в соответствии с формой, показанной на рисунке В.4.
|
Режим работы |
Расчетные значения |
Номинальная скорость двигателя, об/с |
Передняя (левая) рукоятка/Задняя (правая) рукоятка |
||||
|
1 |
2 |
3 |
4 |
n |
|||
|
Холостой ход (Id) |
|
|
|
|
|
|
|
|
|
|
- |
- |
- |
|
|
|
|
sn-1, м/с2 |
|
- |
- |
- |
|
|
|
|
Сv |
|
- |
- |
- |
|
|
|
|
Разгон (Ra) |
|
|
|
|
|
|
|
|
|
|
- |
- |
- |
|
|
|
|
sn-1, м/с2 |
|
- |
- |
- |
|
|
|
|
Сv |
|
- |
- |
- |
|
|
|
|
Значения полной вибрации ahv вычисляют и записывают до тех пор, пока коэффициент вариации Cv или стандартное отклонение sn-1 не станет менее 0,4 (в соответствующих единицах измерения). Среднеарифметическое
значение Рассчитанные значения |
|||||||
Рисунок В.4 – Форма представления результатов измерений вибрации (для каждого оператора отдельно)
b) Измерительный инструмент:
1) используемые средства измерений, включая их наименование, тип, серийный номер, наименование изготовителя;
2) использованные способы крепления акселерометров;
3) данные о калибровке измерительной системы;
4) место и время последней калибровки калибратора датчиков вибрации.
с) Измеряемая вибрация и другие данные:
1) места установки акселерометров (с приложением, при необходимости, чертежа);
2) результаты измерений и среднеарифметические значения в соответствии с формой, показанной на рисунке В.4;
3) заявляемая вибрационная характеристика;
4) дополнительные замечания (при необходимости);
5) температура окружающего воздуха;
6) дата и место проведения измерений.
В.4.2 Эквивалентная полная вибрация
Значение эквивалентной полной вибрации ahv, eq определяют для рабочего цикла, состоящего из двух периодов равной длительности, где каждый период соответствует своему режиму работы: холостого хода или разгона.
Эквивалентную полную вибрацию ahv, eq определяют по формуле
![]()
С.1 Причины модификации содержания разделов международного стандарта
Международный стандарт ИСО 22867:2004 разработан до опубликования основополагающего стандарта ИСО 20643:2005 (введен как ГОСТ 16519-2006), устанавливающего требования к составлению испытательных кодов по вибрации для ручных машин, и содержит ряд отступлений от последнего, отдельные из которых носят принципиальный характер.
Основное отличие состоит в способах обеспечения точности заявляемой вибрационной характеристики и оценки достоверности результатов измерений.
Несмотря на то, что ИСО 22867:2004 указывает на существенное влияние оператора на результат измерений, в этом международном стандарте установлен метод испытаний с участием только одного оператора, что противоречит требованию ГОСТ 16519 использовать в испытаниях не менее трех операторов для повышения объективности заявляемой вибрационной характеристики.
Предлагаемый ИСО 22867:2004 способ оценки достоверности результатов измерений по достижении Сv значения 0,40 (см. раздел С.3) несовместим с рекомендацией рассчитывать неопределенность по ЕН 12096:1997 (см. раздел С.5). Как указано в ГОСТ 16519, использовать рекомендации по оценке неопределенности (которые идентичны приведенным в ЕН 12096:1997) можно только в случае, когда значение Cv не превосходит 0,15.
Предлагаемый ИСО 22867:2004 метод последовательного увеличения числа измерений до выполнения требований к достоверности их результатов (см. раздел С.4) чувствителен к выбросам (ошибкам), что может неоправданно удлинить испытания. Поэтому в ГОСТ 16519 установлен другой способ оценки достоверности результатов измерений - по пяти последовательным измерениям.
С.2 Нормативные ссылки
Ссылки на международные стандарты, которые приняты в качестве межгосударственных, заменены ссылками на соответствующие идентичные и модифицированные межгосударственные стандарты. Полный перечень изменений нормативных ссылок приведен в таблице С.1
Таблица С.1
|
Раздел, подраздел, пункт, подпункт, таблица, приложение |
Модификация |
|
2 Нормативные ссылки |
Дополнен ссылками на ГОСТ 12.1.012-2004 «Система стандартов безопасности труда. Вибрационная безопасность. Общие требования», ГОСТ 16519-2006 «Вибрация. Определение параметров вибрационной характеристики ручных машин и машин с ручным управлением. Общие требования», ГОСТ 24346-80 «Вибрация. Термины и определения», ГОСТ 31192.1-2004 «Вибрация. Измерение локальной вибрации и оценка ее воздействия на человека. Часть 1. Общие требования», ГОСТ 31192.2-2005 «Вибрация. Измерение локальной вибрации и оценка ее воздействия на человека. Часть 2. Требования к проведению измерений на рабочих местах». Ссылка на ИСО 8041:2005 «Воздействие вибрации на человека. Средства измерений» заменена ссылкой на ГОСТ ИСО 8041-2006 «Вибрация. Воздействие вибрации на человека. Средства измерений». Ссылки на ИСО 5347 (все части) «Методы калибровки датчиков вибрации и удара», ИСО 6531 «Машины для лесного хозяйства. Портативные цепные пилы. Термины и определения», ИСО 7112 «Машины для лесного хозяйства. Портативные кусторезы и машины для подрезки травы. Термины и определения», ИСО 7293 «Машины для лесного хозяйства. Портативные цепные пилы. Характеристики двигателя и потребления топлива», ИСО 8893 «Машины для лесного хозяйства. Портативные кусторезы и машины для подрезки травы. Характеристики двигателя и потребления топлива», ИСО 16063 (все части) «Методы калибровки датчиков вибрации и удара» исключены. |
С.3 Оценка достоверности результатов измерений (ИСО 22867:2004, раздел 8)
Достоверность результатов измерений для каждого сочетания рукоятки и режима работы машины можно считать подтвержденной, если коэффициент вариации Сv для серии последовательных измерений будет менее 0,40 или стандартное отклонение sn-1 для этой серии будет менее 0,40 м/с2.
Если для какого-то сочетания рукоятки и режима работы ни одно из этих условий не выполнено, измерения на данной рукоятке при данном режиме работы продолжают до тех пор, пока не будет выполнено какое-либо из этих условий.
Коэффициент вариации Сv для серии
измерений определяют как отношение стандартного отклонения sn-1 для результатов измерений в этой серии к их среднеарифметическому
значению
:
![]()
где

![]()
xi - результат i-го измерения, м/с2;
n - число измерений.
С.4 Последовательность проведения измерений и вычислений (ИСО 22867:2004, раздел 9)
Измерения и вычисления обычно проводят в последовательности (см. блок-схему на рисунке С.1 1)):
a) измеряют корректированное ускорение для данного режима работы в трех направлениях: ahwx, J, ahwy, J, ahwz, J, где J - режим работы: холостой ход (Id), полная нагрузка (FI) или разгон (Ra);
b) вычисляют квадратный корень суммы квадратов ускорений по всем трем направлениям (х, у и z) ahv, J для данного режима работы;
1) Соответствует рисунку 1 ИСО 22867:2004.

а - полосовой фильтр; b - весовой фильтр; с - измерение среднеквадратичного значения; d - вычисление полной вибрации; е - усреднение по всем измерениям для данного режима работы, f - вычисление эквивалентной полной вибрации
Рисунок С.1 - Последовательность измерений и вычислений
c) повторяют этапы а) и b) не менее трех раз;
d) вычисляют среднеарифметическое значение для
данного режима работы
;
e) повторяют этапы а), b) и d) столько раз, сколько необходимо до достижения требуемых значений коэффициента вариации Сv и стандартного отклонения sn-1 (см. С.3);
f) выполняют этапы а) - е) для других режимов работы;
g) вычисляют эквивалентную полную вибрацию ahv, eq для каждой рукоятки согласно А.4.2 (приложение А) и В.4.2 (приложение В);
h) определяют заявляемую вибрационную характеристику машины.
Примечание - Данные, включаемые в протокол испытаний, - согласно приложениям А и В.
С.5 Неопределенность измерений и заявляемая вибрационная характеристика (ИСО 22867:2004, раздел 10)
На изготовителе лежит ответственность за заявление вибрационной характеристики машины. Процедура заявления должна предусматривать возможность подтверждения заявленной характеристики.
Заявление вибрационной характеристики включает в себя ссылку на настоящий испытательный код и используемые основополагающие стандарты. Если метод испытаний отличается от установленного настоящим испытательным кодом или основополагающим стандартом, все отличия должны быть указаны.
Заявлению подлежат рассчитанные эквивалентные значения для рабочего цикла применения машины (см. А.4.2 и В.4.2). По запросу изготовитель обязан также представить соответствующие значения для каждого режима по отдельности: холостого хода, полной нагрузки и разгона (если он предусмотрен методом испытаний).
Помимо параметров вибрации приводят также параметры неопределенности измерений.
Примечание - Неопределенность измерений определяется методом измерений (точностью получаемых с помощью данного метода результатов) и процессом производства (разбросом значений вибрационной характеристики от машины к машине для одной и той же модели одного и того же изготовителя). Один из методов расчета неопределенности приведен в EH 12096 1).
1) Расчет неопределенности, приведенный в европейском стандарте ЕН 12096:1997 «Вибрация. Заявление вибрационных характеристик машин и их подтверждение», аналогичен указанному в ГОСТ 16519-2006 (подраздел 8.2).
(ISO 7293:1997) (Forestry machinery - Portable chain saws - Engine performance and fuel consumption)
(ISO 8893:1997) (Forestry machinery- Portable brush-cutters and grass-trimmers - Engine performance and fuel consumption)
Ключевые слова: бензиномоторный инструмент, цепные пилы, кусторезы, мотокосы, вибрация, испытательный код, заявление вибрационной характеристики
|
|
|
|