//
ТехЛит.ру
- крупнейшая бесплатная электронная интернет библиотека для "технически умных" людей.
WWW.TEHLIT.RU - ТЕХНИЧЕСКАЯ ЛИТЕРАТУРА

:: Алготрейдинг::


АЛГОТРЕЙДИНГ
шаг за шагом
с нуля по урокам!

Торговые роботы на PYTHON, BackTrader,
Pandas, Pine Script для TradingView. Связка с брокерами, телеграм и легкими приложениями.


2.1.7. ПОЧВА. ОЧИСТКА НАСЕЛЕННЫХ МЕСТ. БЫТОВЫЕ И ПРОМЫШЛЕННЫЕ ОТХОДЫ. САНИТАРНАЯ ОХРАНА ПОЧВЫ

Обоснование класса опасности
отходов производства и потребления
по фитотоксичности

Методические рекомендации
MP 2.1.7.2297-07

1. Разработаны ГУ НИИ экологии человека и гигиены окружающей среды им. А.Н. Сысина РАМН (Н.В. Русаков, И.А. Крятов, Н.В. Пиртахия, Н.И. Тонкопий, Н.Ю. Карцева, А.Г. Стародубов).

2. Рекомендованы к утверждению Комиссией по государственному санитарно-эпидемиологическому нормированию при Федеральной службе по надзору в сфере защиты прав потребителей и благополучия человека (протокол от 27.03.2007 № 1).

3. Утверждены Руководителем Федеральной службы по надзору в сфере защиты прав потребителей и благополучия человека, Главным государственным санитарным врачом Российской Федерации Г.Г. Онищенко 10 октября 2007 г.

4. Введены в действие с 28 декабря 2007 г.

5. Введены впервые.

Содержание

1. Область применения

2. Термины и определения

3. Принцип метода

4. Тест-объект

5. Способ воздействия отхода на тест-объект

6. Материалы и оборудование

7. Подготовка образца отхода для исследования

8. Постановка эксперимента

9. Статистическая обработка экспериментальных данных

10. Расчет параметров фитотоксичности и оценка опасности отхода

11. Пример расчета степени опасности и уровня безвредности отхода автозавода

Список литературы

Приложение 1 Длина корней проростков контрольных и опытных семян, мм (усредненные из трех повторностей данные по фитотестированию экстракта отхода автозавода)*

Приложение 2 Характеристика влияния экстракта отхода на семена овса

 

 

УТВЕРЖДАЮ

Руководитель Федеральной службы по надзору в сфере защиты прав потребителей и благополучия человека,

Главный государственный санитарный врач Российской Федерации

Г.Г. Онищенко

10 октября 2007 г.

Дата введения: 28 декабря 2007 г.

2.1.7. ПОЧВА. ОЧИСТКА НАСЕЛЕННЫХ МЕСТ. БЫТОВЫЕ И ПРОМЫШЛЕННЫЕ ОТХОДЫ. САНИТАРНАЯ ОХРАНА ПОЧВЫ

Обоснование класса опасности отходов производства и потребления по фитотоксичности

Методические рекомендации
MP 2.1.7.2297-07

Введение

При использовании экспериментального метода определения класса опасности отходов производства и потребления в соответствии с СП 2.1.7.1386-03, фитотестирование отходов на семенах высших растений является обязательным.

Настоящий метод (далее именуемый как «Фитотест») является модификацией «Биотеста на проращивание семян», рекомендованного для оценки фитотоксического действия химических веществ при обосновании их ПДК в почве.

Рекомендуемая модификация разработана на основании обобщения результатов экспериментальных исследований по изучению фитотоксической активности отходов производства и потребления различного химического состава, которые по характеру приоритетных компонентов условно могут быть разделены на металлосодержащие, органические и смешанные.

«Фитотест» является унифицированным методом и предполагает использование единого модельного тест-растения и единого способа воздействия отходов на семена, что позволяет повысить достоверность результатов при сравнении степени опасности отходов с учетом их разнообразия и вариабельности химического состава.

В соответствии с данной методикой установление класса опасности и уровня безвредности отхода по фитотоксическому действию осуществляется по параметрам фитотоксичности: средне-эффективному и пороговому разведениям экстракта.

Алгоритм прогнозирования параметров фитотоксичности включает использование математической модели, описывающей взаимосвязь разведения экстракта отхода с величиной фитоэффекта в виде регрессионного уравнения типа:

LgR = -mET + b, где

ET - фитоэффект;

R - разведение;

m - коэффициент, соответствующий каждому значению 7 фитоэффекта;

b - коэффициент регрессии.

1. Область применения

Данная методика предназначена для установления суммарной токсичности и класса опасности отходов производства и потребления по фитотоксическому действию независимо от характера и степени идентификации компонентов.

2. Термины и определения

Термин

Определение

Экстракт

Модельная среда, характеризующая содержа­ние химических компонентов в отходе

R

Кратность разведения экстракта

Тест-объект

Семена высших растений

Тест-функция

Интенсивность роста корней проростков семян

Показатель тест-функции - Lcp

Средняя длина корней проростков

Фитоэффект (эффект торможения) – ЕT

Ингибирование роста корней семян на 20 % и более от контроля

Биологически эффективные разведения

Все значения R, при которых зарегистрирован фитоэффект

Средне-эффективное разведение - ER50

Разведение экстракта, вызывающее фитоэффект = 50 %

Минимально действующее (пороговое) разведение - LimR

Разведение экстракта, вызывающее фитоэффект = 20 %

3. Принцип метода

«Фитотест» основан на способности семян адекватно реагировать на экзогенное химическое воздействие путем изменения интенсивности прорастания корней, что позволяет длину последних принять за показатель тест-функции. Критерием вредного действия считается ингибирование роста корней семян.

Принцип оценки степени опасности и уровня безвредности отхода базируется на экспериментально установленной зависимости величины фитотоксического эффекта от разведения водного экстракта в соответствии с уравнением прямой общего вида: y = mx + b.

Учитывая прямолинейный характер данной зависимости, принимая за «x» величину фотоэффекта, а за «y» логарифм разведения экстракта, определение параметров фитотоксичности (LimR и ER50) осуществляется с использованием регрессионной модели:

LgR = -mET + b, где

ET - фитоэффект, установленный в эксперименте;

R - разведение экстракта отхода;

m - коэффициент, соответствующий каждому значению фитоэффекта;

b - коэффициент регрессии*.

* Коэффициенты уравнения m и b рассчитываются для каждого отхода индивидуально по данным эксперимента.

Опасность отхода в отношении фитотоксической активности оценивается по показателю ER50.

4. Тест-объект

Настоящая методика рекомендует проводить фитотестирование отходов, используя в качестве модельного тест-растения семена овса, которые по итогам предварительных исследований по эколого-гигиенической оценке отходов производства и потребления различного химического состава давали наиболее стабильные и воспроизводимые данные по сравнению с семенами других культур (горох, огурцы, пшеница, морковь и др.).

В эксперимент отбираются неповрежденные (недеформированные) семена овса, всхожесть которых составляет не менее 95 %.

5. Способ воздействия отхода на тест-объект

Фитотоксичность отхода оценивается по биологическому действию его водного экстракта. Исходя из принципа экстремальности, исследования проводятся в условиях прямого контакта тест-растения с экстрактом отхода или его разведениями. А именно, проращивание семян осуществляется в чашках Петри с фильтровальной бумагой, куда вносится водный экстракт исследуемого отхода. Данный способ воздействия является наиболее удобным и простым в техническом отношении.

6. Материалы и оборудование

Шутель - аппарат для встряхивания.

Термостат на 20-23°С.

Термостат для стерилизации чашек Петри.

Весы для навески отхода.

Колбы для приготовления экстрактов на ≥ 100 мл (в зависимости от необходимого объема экстракта).

Колбочки с притертыми пробками для рабочих растворов.

Чашки Петри.

Фильтровальная бумага для проращивания семян.

Пипетки на 5 мл.

Стеклянные палочки с загнутым концом.

Пинцет для извлечения проросших семян.

Линейка для измерения длины корней проростков.

7. Подготовка образца отхода для исследования

7.1. Модельной средой (экстрагентом) для экстракции химических веществ из отходов является дистиллированная вода с начальным уровнем рН = 6,1-6,3.

7.2. Оптимальное соотношение фаз «отход/экстрагент» 1:10. Исходя из этого, навеску отхода 10 г помещают в мерную колбу объемом 100 мл и дистиллированной водой доводят до метки.

7.3. После интенсивного размешивания колбы с экстрактом отхода отстаиваются при комнатной температуре в течение суток. Затем подвергаются 2-часовому встряхиванию на аппарате «Шутель» и фильтрованию через фильтр «синяя лента».

7.4. Рабочие растворы готовятся путем последовательного разведения исходного (нативного) экстракта.

7.5. Для удобства при последующем статистическом анализе результатов значение R нативного экстракта условно принимается за 1, его разведение в 10 раз соответствует R = 10 и т.д.

8. Постановка эксперимента

8.1. Экспериментальные исследования проводятся в 3 этапа.

• Проверка семян на всхожесть.

• Рекогносцировочный опыт проводится с целью выяснения диапазона фитотоксического действия. В рекогносцировочном опыте испытываются нативный экстракт (R = 1) и его разведения, кратные 10 (R = 10, 100, 1000 и т.д.).

• Основной опыт имеет целью установление параметров фитотоксичности. В основном опыте тестируются разведения, кратные 2-3 в интервале биологически эффективных разведений, установленном на первом этапе.

На каждом этапе пробы дублируются не менее чем в трех повторностях. В экспериментах тестируется 3 и более разведений.

8.2. Последовательность выполнения исследований.

Рис. 1. Последовательность выполнения исследований

• Чашки Петри с вложенными в них кружочками фильтровальной бумаги стерилизуются и охлаждаются. На внешней стороне крышек ставится маркировка, включающая наименование пробы (контроль, название отхода) и значение R (рис. 1).

• В каждую чашку помещается по 25 сухих здоровых семян, всхожесть которых составляет не менее 95 %.

• При определении процента всхожести субстратом для проращивания семян служит дистиллированная вода, которая вносится на фильтр в объеме 5 мл. Закрытые чашки термостатируются при 20-23°С в течение 3 суток, после чего подсчитывается процентная доля проросших семян.

• В опытные чашки вносят по 5 мл экстракта или его разведений, контрольные семена обрабатываются адекватным количеством дистиллированной воды. Все образцы помещаются в термостат на 7 суток.

• По истечении срока экспозиции измеряют длину корней проростков в контрольных и опытных пробах, причем объектом измерения у каждого семени является корень максимальной длины.

• Результаты измерения оформляются в виде таблицы (прилож. 1).

9. Статистическая обработка экспериментальных данных

9.1. Определение фитотоксического эффекта проводится путем сопоставления показателей тест-функции (Lcp) контрольных и опытных семян.

• Величина показателя Lср контрольных и опытных семян вычисляется как среднее арифметическое из совокупности данных о длине корней проростков полученных в трех повторностях эксперимента (формула 1).

 где                                                               (1)

Li - длина максимального корня каждого семени, мм;

 - сумма;

n - общее количество семян, взятых в опыт.

• При Lср(оп) > или = Lcp(K) - отсутствие неблагоприятного действия отхода.

• Величина эффекта торможения определяется по формуле 2.

                                                   (2)

ЕT - эффект торможения, %;

LОП  - средняя длина корней в опыте, мм;

LK- средняя длина корней в контроле, мм.

• Фитотоксическое действие считается доказанным, если фитоэффект (ЕT) составляет 20 % и более.

• Результаты данного этапа работы заносятся в таблицу (прилож. 2).

9.2. Регрессионный анализ экспериментальных данных проводится при условии, что биологически эффективными являются не менее 3 значений R.

• Вычисление уравнения регрессии lgR = -m ЕT + b, наиболее адекватно описывающего прямолинейный характер зависимости lgR = f(ЕT), проводится методом «Наименьших квадратов», который достаточно подробно описан в статистической литературе [3]. Однако наиболее целесообразно для этих целей использование компьютерных программ, в частности «Microsoft Excel 1997», что значительно упрощает процесс расчета параметров уравнения (m и b).

• Оценка достоверности полученного регрессионного уравнения по величине коэффициента корреляции (r), характеризующего степень линейного приближения экспериментальных и эмпирически вычисленных (по уравнению) значений фитоэффектов.

Коэффициент r, нормированный от 0 до 1. Если он равен 1, то имеет место полная корреляция с моделью, если - 0, то уравнение регрессии неудачно описывает зависимость lgR = f(ЕT)

10. Расчет параметров фитотоксичности и оценка опасности отхода

10.1. Определение значений пороговых (LimR) и среднеэффективных (ER50) разведений осуществляется путем решения полученного уравнения: lgR = -m ЕT + b относительно R при заданных величинах фитоэффекта (ЕT ), который при определении порога фитотоксичности принимается за 20 %, а при определении среднеэффективного разведения ЕT  = 50 %.

10.2. Класс опасности отхода устанавливается по величине ER50 в соответствии с критериями, представленными в табл. 1.

Таблица 1

Критерии опасности отходов по фитотоксическому действию

Классы

1

2

3

4

Категории опасности

Чрезвычайно опасные

Высоко-
опасные

Умеренно опасные

Мало-
опасные

Величина
ER50

> 102

> 10-102

> 1-10

≤ 1

Примечание: Если токсический эффект зафиксирован только при действии нативного экстракта, а его разведения проявляют индифферентность относительно семян, то отходу автоматически присваивается 4 класс опасности.

10.3. Порог фитотоксичности означает, что разведения водного экстракта отхода, превышающие его величину, будут безопасны для роста и развития высших растений. При этом условии негативное воздействие отхода на среду обитания человека маловероятно.

11. Пример расчета степени опасности и уровня безвредности отхода автозавода

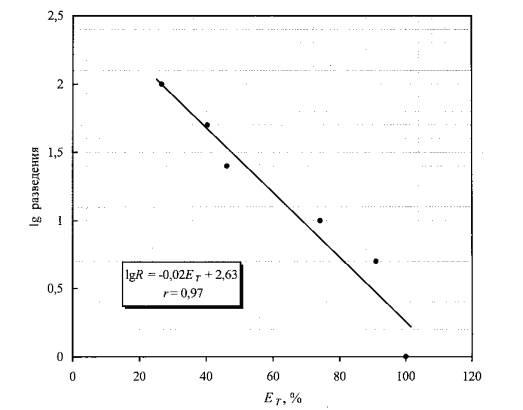
На рис. 2 изображена динамика фитоэффекта, развивающегося при воздействии на семена овса водного экстракта отхода автозавода (экспериментальные данные приведены в прилож. 1 и 2). Характерным является последовательное возрастание эффекта торможения развития семян по мере снижения разбавления, т.е. имеет место зависимость «разведение-эффект».

Регрессионный анализ экспериментальных данных позволил получить графическое изображение взаимозависимости разведения и фитоэффекта в виде прямой и эмпирическое в виде уравнения (рис. 3). Высокий коэффициент корреляции (r = 0,97) свидетельствует об адекватности данной математической модели для прогнозирования разведений экстракта отхода автозавода по величине фитоэффектов.

Рис. 2. Динамика фитоэффекта в зависимости от разведения экстракта отхода

Рис. 3. Зависимость lgR = f(ЕT) по влиянию отхода автозавода на семена растений (маркерами помечены экспериментальные данные)

Напомним, что LimR - это разведение, вызывающее фитоэффект на уровне 20 %, a ER50 - разведение, при котором фитоэффект равен 50 %. Подставляем указанные значения фитоэффектов в полученное уравнение (lgR = -0,024 ЕT  + 2,63) и вычисляем пороговое (1) и среднеэффективное разведения (2):

(1) lgR = -0,024·20 + 2,63

lgR = 2

LimR=100

(2) lgR = -0,024·50 + 2,63

lgR = l,48

ER50 = 30

В соответствии с критериями ER50, представленными в табл. 1, степень опасности отхода автозавода по фитотоксичности может быть оценена как высокая, т. е. на уровне 2 класса.

При разведениях экстракта более 100 (LimR) может быть обеспечена безвредность данного отхода для растений.

Список литературы

1. Методические рекомендации по гигиеническому обоснованию ПДК химических веществ в почве. Москва, 1982.

2. Плохинский Н.А. «Биометрия», 1970.

3. Пиртахия Н.В. Биоиндикация химического загрязнения в системе гигиенического мониторинга почвы //Мат. Пленума Научного Совета по экологии человека и гигиене окружающей среды РАМН и МЗ Российской Федерации. 17-19 декабря 2003.

4. Русаков Н.В., Пиртахия Н.В. Определение параметров фитотоксичности отходов с целью их классификации //Тез. докл. 3-го Международного конгресса по управлению отходами. Вэйст Тэк-2003. 5-8 июня 2003 г., Москва.

5. Санитарные правила СП 2.1.7.1386-03 «Определение класса опасности токсичных отходов производства и потребления». Москва, 2003.

Приложение 1
Длина корней проростков контрольных и опытных семян, мм
(усредненные из трех повторностей данные
по фитотестированию экстракта отхода автозавода)*

семян

Контроль

Разведения экстракта

1000

100

50

25

10

5

1

1

88

123

100

45

65

64

25

0

2

148

135

95

20

45

79

87

0

3

46

105

88

52

104

88

35

0

4

118

75

93

65

90

55

21

0

5

95

100

73

68

60

46

31

0

6

140

105

76

94

65

61

0

0

7

110

125

101

71

64

52

0

0

8

115

90

98

72

63

73

0

0

9

110

125

58

30

61

12

0

0

10

135

123

19

70

56

9

0

0

11

96

145

104

45

100

0

0

0

12

80

55

116

90

90

0

0

0

13

110

90

89

45

72

0

0

0

14

100

121

118

15

70

0

0

0

15

105

135

96

52

35

0

0

0

16

120

124

70

75

63

0

0

0

17

93

63

50

50

0

0

0

0

18

61

32

29

43

0

0

0

0

19

78

36

32

18

0

0

0

0

20

65

50

0

20

0

0

0

0

21

45

15

0

60

0

0

0

0

22

20

0

0

28

0

0

0

0

23

0

0

0

62

0

0

0

0

24

0

0

0

33

0

0

0

0

25

0

0

0

0

0

0

0

0

* Нулевые значения в таблице означают, что данные семена не проросли, т.е. погибли.

Приложение 2
Характеристика влияния экстракта отхода на семена овса

Разведение
экстракта
(
R)

Средняя
длина корней
(
Lcp) мм

Средняя длина
корней (
Lcp),
% к контр.

Фитоэффект, %

Тест-реакция

Контроль

81,92

100

0

Норма

1000

78,89

96,3

3,7

Норма

100

60,18

73,46

26,54

Эффект торможения

50

48,92

59,72

40,28

25

44,12

53,86

46,14

10

21,55

26,31

74,0

5

7,95

9,7

91,0

1
(нативный)

0

0

100

Гибель семян

 




Яндекс цитирования



   Copyright © 2007-2026,  www.tehlit.ru.

[ ѓосты, стандарты, нормативы, инструкции, правила, строительные нормы ]