//
|
|
СОЮЗ «КОНЦЕРН «СТЕПС» РЕКОМЕНДАЦИИ
| ||||||||||||||||||||||||||||||||||||||||||||||||||||||||||||||||||||||||||||||||||||||||||||||||||||||||||||||||||||||||||||||||||||||||||||||||||||||||||||||||||||||||||||||||||||||||||||||||||||||||||||||||||||||||||||||||||||||||||||||||||||||||||||||||||||||||||||||||||||||||||||||||||||||||||||||||||||||||||||||||||||||||||||||||||||||||||||||||||||||||||||||||||||||||||||||||||||||||||||||||||||||||||||||||||||||||||||||||||||||||||||||||||||||||||||||||||||||||||||||||||||||||||||||||||||||||||||||||||||||||||||||||||||||||||||||||||||||||||||||||||||||||||||||||||||||||||||||||||||||||||||||||||||||||||||||||||||||||||||||||||||||||||||||||||||||||||||||||||||||||||||||||||||||||||||||||||||||||||||||||||||||||||||||||||||||||||||||||||||||||||||||||||||||||||||||||||||||||||||||||||||||||||||||||||||||||||||||||||||||||||||||||||||
|
«Утверждаю» Президент Союза «Концерн «СТЕПС» ____________Н.В. Руденко |
Утверждаю»Заместитель Министра Министерства ЖКХ, топлива и энергетики Московской области ______________В.И. Гавриленко |
|
|
«Согласовано» Директор Базового экспертного центра МИКСИХ ____________Е.М. Авдолимов
|
|
Рекомендации по эксплуатации мягких кровель 1-еиздание |
|
СогласованоОт ОАО «Завод Филикровля»Генеральный директор ______________Л.С. Краснов |
РазработчикиОт СЭЦ «Спецтеплохимзащита»Директор ________________В.П. Протасов |
|
|
От ЦНИИОМТПЗав. лабораторией кровельных работ, к.т.н. __________В.Б. Белевич
|
|
|
Технический редактор:к.т.н. ___________ Н.Н. Щербак |
2001 г |
|
Предлагаемые «Рекомендации...» (1-е издание) разработаны по Договору с Министерством жилищно-коммунального хозяйства и Министерством строительства Московской области.
В разработке документа, кроме специалистов АНО «Специализированный экспертный центр «Спецтеплохимзащита», принимали участие: зав. лабораторией кровельных работ ЦНИИОМТП к.т.н. заслуженный строитель РФ В.Б. Белевич, сотрудники Союза «Концерн «СТЕПС» и ОАО «Завод Филикровля». Техническая редакция осуществлена к.т.н. Н.Н. Щербаком.
Поводом для данной разработки послужила сложившаяся на сегодняшний день недостаточно благополучная ситуация с нормативно-технической базой в области ремонта и эксплуатации кровли, а именно:
1) в основополагающем документе Системы нормативных документов в строительстве СНиП 10-01-94 «Основные положения», где изложены требования к нормативным документам, их содержанию, построению, в том числе, указана необходимость включения в состав нормативных документов положений, определяющих показатели: надежность, качество, долговечность, эксплуатационные характеристики составных частей зданий и сооружений, строительных изделий и материалов.
Однако действующая в сфере ремонта и эксплуатации кровли нормативно-техническая документация или не содержит вообще информации по упомянутым вопросам или дает ее в сжатом, зачастую, неприемлемом для применения в работе виде;
2) действующая нормативно-техническая документация в основном предназначена для использования при устройстве новых кровель и только очень незначительная информация посвящена вопросам их ремонта;
3) практика показала недостаточную осведомленность работников разных уровней ремонтно-кровельных фирм; эксплуатационных организаций; учебных заведений, проводящих переподготовку специалистов и обучение рабочих кровельщиков в вопросах, касающихся ремонта и эксплуатации кровель на современном уровне.
Проблемы, затронутые в данных «Рекомендациях...», касаются эксплуатации мягких кровель и их ремонта рулонными битуминозными наплавляемыми материалами, при работе с которыми авторы накопили определенный научный и практический опыт.
К сожалению, ввиду разобщенности организаций и увлечения межкорпоративной конкуренцией, нам не удалось к данной разработке привлечь специалистов, работающих с другими видами кровельных материалов.
Однако мы надеемся, что наша первая попытка обобщить опыт, как собственный, так и специалистов других организаций по ремонту и эксплуатации кровель, послужит положительным примером для специалистов по другим видам кровель и 2-е издание данного документа будет содержать материалы по ремонту и эксплуатации кровель различного типа.
В связи с тем, что разработчикам документа в силу объективных причин не представилось возможным до его выпуска произвести согласование с широким кругом компетентных организаций, мы будем благодарны всем, кто к данной разработке отнесется не с узко корпоративных позиций, а по существу затронутой проблемы и выскажет конструктивные замечания, предложения, пожелания, которые мы обязательно учтем при подготовке 2-ого издания документа.
На данный момент нами разработано 5 «Рекомендаций...» (включая предлагаемые):
1. «Рекомендации по эксплуатации и обследованию кровель»;
2. «Рекомендации по выявлению дефектов кровель и причин их возникновения. Способы устранения дефектов»;
3. «Рекомендации по эксплуатации мягких кровель и их ремонту рулонными битуминозными наплавляемыми материалами»;
4. «Рекомендации по охране труда при производстве кровельных работ»;
5. «Рекомендации по обеспечению безопасности при производстве кровельных работ с применением мастичных, рулонных наплавляемых материалов и листовой стали».
В настоящее время нашими специалистами ведется разработка следующей документации:
1. «Свод правил по эксплуатации и ремонту кровель»;
2. «Альбом технических рекомендаций по ремонту узлов крыш полносборных жилых домов»;
3. «Методика проведения визуально-инструментального обследования кровель»;
4. «Инструкция по теплотехническому обследованию кровель»;
5. «Методика экспертной оценки технологии устройства и ремонта кровель из различных материалов»;
6. «Технологическая карта на ремонт кровли» с учетом поэлементного деления кровли;
7. «Единичные расценки» в соответствии с разрабатываемой «Технологической картой».
Разработанные «Рекомендации...» являются началом работы, как нам кажется очень значимой, по дополнению существующей в настоящее время нормативно-технической базы в сфере ремонта и эксплуатации кровли.
Мы считаем, что современная нормативно-техническая база должна быть построена таким образом, чтобы она позволяла работникам всех уровней различных организаций (Заказчикам, Подрядчикам, Эксплуатационникам), задействованных в процессе ремонта и эксплуатации кровли, оперативно найти ответы на все (в идеале) возникающие у них профессиональные вопросы при выполнении конкретных работ.
Для реализации такой концепции нами предлагается следующая схема работ:
1) составление Перечня вопросов, возникающих у Заказчика, Подрядчика, Эксплуатационника в процессе ремонта и эксплуатации кровли;
2) определение наличия (с анализом степени полноты) или отсутствия ответов на вопросы Перечня в действующей НТД, а также в разработанной и в разрабатываемой СЭЦ документации;
3) составление списка имеющейся или требующей разработки документации, в которой должны содержаться ответы на приведенные в Перечне вопросы, с указанием адреса (документа) размещения ответа на каждый вопрос. При этом возможны варианты:
а) дополнение имеющейся или внесение отсутствующей информации в действующий нормативный документ;
б) принятие в состав нормативно-технической базы разработанного СЭЦ документа с приданием ему соответствующего статуса;
в) разработка нового документа, отвечающего на определенный (ые) вопрос(ы).
Принимаемые и вновь разрабатываемые документы согласовываются и утверждаются в установленном для НТД порядке.
Для практического выполнения работ по представленной схеме нами разработаны формы двух таблиц, позволяющих, по нашему мнению, наиболее эффективно и корректно провести работы по модернизации нормативно-технической базы в области ремонта и эксплуатации кровли.
Мы приглашаем все организации, которые имеют желание и возможность участвовать в перечисленных выше работах, к сотрудничеству. Наши контактные телефоны: 145-42-44; 256-03-49.
Настоящими Рекомендациями следует руководствоваться при эксплуатации и ремонте мягких кровель рулонными битуминозными наплавляемыми материалами на зданиях и сооружениях различного назначения.
При разработке настоящих Рекомендаций учтены требования СНиП II-26-76 «Кровли. Нормы проектирования», СНиП 3.04.01-87 «Изоляционные и отделочные покрытия», ТСН КР-97 МО «Кровли. Технические требования и правила приемки. Проектирование и строительство кровель».
Рекомендации содержат основные правила эксплуатации крыш (покрытий зданий), приемы их технического обследования, описание наиболее часто встречающихся дефектов и повреждений кровель, выявленных при обследовании в процессе эксплуатации. Предлагаются конструктивные решения рядового кровельного ковра, водоприемных воронок, мест примыкания кровель к стенам, шахтам и к другим выступающим над кровлей элементам при полной или частичной замене кровельного ковра.
Даны основные технологические приемы, применяемые при ремонте кровельного ковра, а также правила эксплуатации крыш.
Рекомендации также устанавливают необходимый объем и перечень технической документации по ремонту и эксплуатации рулонных мягких кровель, в том числе паспортные данные.
Рекомендации предназначены для руководителей эксплуатационных служб, инженерно-технических работников, мастеров строительного производства, мастеров производственного обучения и рабочих-кровельщиков.
Основные термины и определения (по СНиП II-26-76)
Крыша, покрытие здания - верхнее ограждение здания для защиты помещений от внешних климатических факторов и воздействий.
Кровля - верхний элемент крыши (покрытия здания), предохраняющий здание от проникновения атмосферных осадков.
Основание под кровлю - в кровлях из рулонных материалов - поверхность теплоизоляции, несущих плит, стяжек, а также существующей (при ремонте) рулонной или мастичной кровли, по которой укладывают слои нового водоизоляционного ковра.
Основной водоизоляционный ковер (в составе рулонных кровель) - слои рулонных материалов, последовательно выполняемые по основанию под кровлю.
Дополнительный водоизоляционный ковер - слои из рулонных материалов, выполняемые для усиления основного водоизоляционного ковра в ендовах, на карнизных участках, в местах примыкания к стенам, шахтам и другим конструктивным элементам.
Защитный слой - элемент кровли, предохраняющий основной водоизоляционный ковер от механических повреждений, непосредственного воздействия атмосферных факторов, солнечной радиации и распространения огня по поверхности кровли.
Техническое состояние крыши (покрытия здания), ее эксплуатационные качества оказывают большое воздействие на находящиеся ниже помещения. Сама же крыша и ее верхний слой - кровля - подвергаются воздействию атмосферных факторов: осадков, резких колебаний наружной температуры, воздействию солнца и ветра, а также механических нагрузок (снег, лед, деформация конструктивных элементов здания).
Все требования к крышам можно свести к следующему:
- крыша должна быть прочной, выдерживать нагрузки от снега, льда, ветра, собственной массы, деформация конструктивных элементов здания;
крыша должна быть водонепроницаемой и способной защищать здание от атмосферных воздействий;
- крыша должна предохранять нижележащие помещения от холода зимой и перегрева солнечными лучами летом.
Поэтому большое значение при устройстве и ремонте кровельного покрытия стали уделять применяемым материалам.
За последние годы в нашей стране и за рубежом увеличилось производство наплавляемых битумно-полимерных материалов. По сравнению с традиционным рубероидом они более надежны и технологичны, что дает возможность уменьшить слойность кровли и повысить ее долговечность. При применении наплавляемых рулонных материалов расширяется сезонность выполнения кровельных работ, в два-три раза увеличивается их производительность. Эти преимущества наплавляемых рулонных материалов позволяют именно их рекомендовать для использования при ремонте кровель.
Для обеспечения расчетного срока службы необходимо правильно эксплуатировать и своевременно проводить осмотр и восстановительный ремонт кровель.
При ремонте необходимо учитывать уклоны кровель и тип используемых материалов. Наплавляемые материалы следует применять преимущественно на кровлях с уклоном скатов 1,5-25%.
Особого внимания требует устройство внутренних водостоков, а также мест примыкания изоляционных слоев к стенам, парапетам и другим выступающим над кровлей элементам и конструкциям. Пример конструктивного решения кровли из наплавляемых рулонных материалов представлен на рис. 1.
Работы по ремонту кровель должны выполняться специализированными бригадами под техническим руководством и контролем строительного мастера [3, 4].

Рис. 1. Пример конструктивного решения кровли из наплавляемых материалов
1 - несущая железобетонная плита; 2 - пароизоляция; 3 - утеплитель; 4 - выравнивающая стяжка; 5 - грунтовка; 6 - наплавляемый рулонный материал; 7 - защитный слой - крупнозернистая посыпка на верхнем слое рулонного материала.
К производству кровельных работ допускаются рабочие, прошедшие медосмотр, обучение технике безопасности и методам ведения этих работ.
При ремонте кровель с применением наплавляемых рулонных материалов должны выполняться требования по технике безопасности в строительстве, а также действующие правила по охране труда и противопожарной безопасности.
2.1. В соответствии с «Правилами и нормами технической эксплуатации жилищного фонда» контроль за техническим состоянием крыши и, в частности, кровельного ковра осуществляется проведением плановых и внеочередных осмотров [4].
2.2. К началу обследования необходимо иметь проектную документацию: план крыши, план верхнего этажа, разрез крыши, конструкции отдельных узлов, а также технический паспорт эксплуатируемой крыши (Приложение 1).
2.3. В плановом порядке кровли обследуются весной, летом, осенью и зимой [1, 5, 6].
Внеочередные осмотры кровли следует проводить после сильных ливней, ветров и обильных снегопадов.
2.4. При весенних обследованиях необходимо обратить внимание на сохранность кровли на основной площади покрытия здания, определить характер и размер вздутий; в это же время следует убрать с кровли пыль, ил; проверить: состояние защитного слоя, состояние изоляции у мест примыкания к выступающим над кровлей конструкциям или инженерному оборудованию, нарушение герметичности примыкания кровельного ковра к водоотводящим устройствам, правильность закрепления защитных металлических фартуков и свесов.
2.5. При летних обследованиях выявляют изменения вида поверхностного слоя материала, появление признаков его перерождения под влиянием факторов атмосферной агрессии, наличие и характер разрушения покровного слоя материала - появление пузырей, трещин, каверн и т.д.; губчатость и оплывание материала на вертикальных поверхностях; определяют места протечек на кровле, отмечают биологическое разрушение кровельного ковра.
При необходимости отбирают пробы кровельного материала для лабораторных исследований его физических свойств.
2.6. При осенних обследованиях в первую очередь проверяют работу внутренних водостоков. На плане крыши отмечаются зоны застоя воды, степень загрязнения воронок внутреннего водостока, а при неорганизованном наружном водостоке - места и степень замачивания фасадных стен и цоколей водой, стекающей с крыши, затекание дождевой воды через балконы в помещения верхнего этажа и приямки подвальных этажей.
Кровли и водоприемные устройства необходимо очистить от листьев и мусора. При этом запрещается сметать листья и мусор в водостоки. Для очистки кровель должны применяться деревянные лопаты, метлы, полимерные скребковые устройства.
Кроме того, при подготовке зданий к зимней эксплуатации необходимо проверить в чердачных помещениях качество и достаточность утепления чердачных перекрытий; изоляцию трубопроводов, воздухосборников, расширительных баков, вентиляционных и канализационных стояков; отсутствие прикарнизных щелей и состояние приконьковых продухов, дверей и люков чердачных помещений.
Осеннее обследование проводят с целью своевременного ремонта и подготовки кровель к зиме.
2.7. При зимних обследованиях проверяют зоны и глубину отложения снега на поверхности крыши, обледенение крыши, особенно в прикарнизной части, наличие и размер сосулек на карнизе при наружном водостоке, степень обледенения вентиляционных шахт и зонтов над ними, приточных отверстий в наружных стенах; степень подтаивания снега на крыше при разной его толщине и плотности, образование ледяных пробок в водосточных трубах и наземных выпусках водосточных труб при организованном наружном водостоке, наличие неисправности водоприемных воронок при внутреннем отводе воды.
При очистки кровель от снега следует оставлять на кровле слой снега толщиной 5 - 10 см.
2.8. Результаты осмотра дополняются сообщениями жильцов об увлажнении, промерзании потолка в местах сопряжения перекрытия с наружными стенами; о протечках кровли; перегреве помещений и других недостатках, ухудшающих условия проживания.
Потолки бесчердачных крыш следует дополнительно осматривать в период продолжительных и устойчивых морозов с температурой наружного воздуха ниже расчетной в данном климатическом районе для выявления промерзающих и отсыревающих участков.
2.9. Результаты обследования записывают в «Журнале по эксплуатации и ремонту крыши» (Приложение 2), составляют дефектную ведомость кровельного ковра (Приложение 3), определяют объем и вид ремонтных работ.
В процессе эксплуатации крыш может возникнуть необходимость в непредвиденном текущем ремонте. Его выполняют при обнаружении: пробоин в кровельном ковре; отслоении кромок водоизоляционного ковра; расслоении полотнищ в стыках водоотводящих устройств и оборудования; разрушения теплоизоляции трубопроводов отопления и горячего водоснабжения, размещенных в чердачном помещении; разбитых стекол в слуховых окнах; трещин; выбоин; сколов в бетонных поверхностях.
3.1.1. Дефекты на поверхности кровли:
а) полное или частичное отсутствие защитного слоя кровельного ковра;
б) повреждение поверхности материала, в том числе:
- мелкая сетка трещин;
- растрескивание (важна ширина раскрытия трещин, направление, протяженность и характер);
- чешуйчатость, шелушение, пористость, мелкие пузыри размером ~ 3×3 мм и более;
- крупные пузыри размером 150×200 мм и более, лопнувшие пузыри;
бугристость, морщинистость, складчатость, оплывание;
в) размеры и характер вздутий (водяные, воздушные);
г) образование пазух в местах нахлестки полотнищ материала;
д) местные просадки кровельного ковра;
е) наличие заплат от ранее произведенных ремонтов;
ж) несоответствие величины уклона проектному значению, впадины и просадки на кровле, приводящие к застою воды.
3.1.2. Дефекты в местах примыканий кровельного ковра к вертикальным плоскостям, в ендовах и на карнизах:
а) отслаивание края ковра;
б) бугристость покровного слоя материала;
в) оплывание материала на вертикальных плоскостях.
3.1.3. Механические повреждения кровельного ковра в местах установки стоек и растяжек, разрушение мест сопряжения стоек и растяжек с основным кровельным ковром.
3.1.4. Биологическое разрушение кровельного ковра (наличие грибков, растений, мха в результате действий микроорганизмов).
Обнаружив дефекты, следует определить примерный процент по каждому виду дефекта от всей площади с целью принятия последующего решения о виде ремонта.
Наиболее часто встречающиеся дефекты кровель - это дефекты, приводящие к протечкам.
Протечки могут быть трех типов:
1) регулярные, появляющиеся непосредственно после дождя;
2) регулярные, появляющиеся через определённое время после каждого дождя или после начала таяния снега на кровле;
(этот промежуток времени может быть от нескольких часов до нескольких дней);
3) нерегулярные (мерцающие), появляющиеся не каждый раз после дождя.
Причины протечек:
I-го типа: нарушение сплошности кровельного ковра, допущенное при устройстве кровли; наличие сквозных трещин в кровельном покрытии из-за деформации основания кровли в процессе эксплуатации и механических повреждений кровли.
Наиболее уязвимыми местами для повреждений в таких случаях становятся пересечения кровли инженерными конструкциями, места уплотнения стыков в кровельных панелях.
II-го типа: образование трещин в местах примыканий к торцевым и продольным парапетам, вентиляционным шахтам, блокам выхода на кровлю; образование трещин в местах стыков плит покрытия, микротрещин в покровном слое рулонного материала; нарушение герметичного примыкания кровельного ковра к водоприёмной воронке и недостаточной герметичности в местах прохода через кровлю стоек ограждения покрытия.
III-го типа: наличие микротрещин в отдельных слоях кровельного ковра; недостаточная ширина фартуков и зонтов над строительными конструкциями, некачественное заполнение швов в кирпичной кладке парапетов и стыках парапетных панелей.
Часто встречающийся дефект - разгерметизация кровельного ковра вследствие повышенной влажности утеплителя, в результате чего возникает высокое давление паров на кровельный ковер со стороны основания при интенсивном нагревании поверхности в летнее время.
К другим характерным причинам, вызывающим появление дефектов, относятся:
- воздействие атмосферных факторов (солнце, вода и др.);
- повреждение при производстве кровельных работ;
- отступление от требований СНиПа, проекта при устройстве и ремонте кровель, в частности, при устройстве температурно-усадочных швов, укладке теплоизоляционных плит;
- отсутствие или повреждение наклонного переходного бортика;
- попадание влаги между слоями рулонного ковра или в полость покрытия в процессе строительства или эксплуатации кровли;
- приклейка материала по мокрым или запыленным поверхностям и в местах механических повреждений, вызывающих попадание влаги в утеплитель;
- приклейка рулонных материалов к неподготовленной поверхности;
- отсутствие надежного закрепления верхнего края кровельного ковра и фартука;
- применение кровельных материалов с недостаточной теплостойкостью.
4.1.1. На основании дефектной ведомости осмотра кровли, измерения уклонов ее поверхности, определения состояния конструкций и оборудования, выступающих над кровлей, помещений верхнего этажа здания составляется план кровли с нанесением на него результатов осмотра (рис. 2).

Рис. 2. Пример оформления плана дефектов кровли
УСЛОВНЫЕ ОБОЗНАЧЕНИЯ ОБОРУДОВАНИЯ НА КРОВЛЕ
|
|
- трубостойка типа ТТС-1 для телеантенны; |
|
|
- гильза типа ГРСС-1 с радиостойкой РС-1; |
|
|
- воронка водостока; |
|
|
- канализационный стояк; |
|
|
- опорная гильза для радиостойки типа МГРС-1; |
|
|
- вентиляционная труба; |
|
|
- ограждение крыши; |
|
|
- анкера для крепления оттяжек трубостоек; |
|
|
- шина заземления - арматурная сталь. |
УСЛОВНЫЕ ОБОЗНАЧЕНИЯ ДЕФЕКТОВ КРОВЛИ
|
|
- протечки; |
|
|
- контруклон кровли; |
|
|
- вздутия кровельного ковра; |
|
|
- застойные зоны; |
|
|
- складки на поверхности ковра из наплавляемого материала; |
|
|
- отслоение ковра; |
|
|
- разрушение стяжки или железобетонной плиты. |
4.1.2. По выявленным дефектам определяется объем ремонта:
- устанавливается необходимость полного съема существующего кровельного ковра, ремонта основания утеплителя кровли, а также водосточных устройств, выполнение жестяных работ и укладка нового ковра;
- устанавливается возможность устранения дефектов кровли в отдельных местах, включая места примыканий кровельного ковра вертикальным поверхностям, конструкциям и оборудованию с жестяными работами, ремонт водосточных устройств, частичный ремонт утеплителя и основания (стяжки, кровельной несущей плиты и т.д.) при сохранении, в основном, существующего покрытия, с укладкой по нему 1-го или 2-х слоев наплавляемого материала.
4.1.3. При работах по ремонту кровель с применением наплавляемых рулонных материалов кроме настоящих указаний должны выполняться требования норм по проектированию кровель, по технике безопасности в строительстве, действующих правил по охране труда и противопожарной безопасности.
4.1.4. Особое внимание при ремонте необходимо обратить на гидроизоляцию водостоков и мест примыканий изоляционных слоев к стенам, парапетам, трубам, антеннам и другим выступающим над кровлей конструкциям и инженерным сооружениям.
Ранее всего дефекты кровельного ковра появляются в местах примыканий к вертикальным поверхностям у выступающих над крышей конструкций. Это вызвано более сложными условиями работы материала в этих узлах кровли. Материал фактически все время находится в напряженном, деформированном состоянии, а особенно при переходах температуры через 0°С и в зимний период. Здесь чаще всего ковер растрескивается, увлажняются основание и утеплитель, наблюдаются механические повреждения ковра.
В результате оказывается, что в разных местах кровли внешние воздействия и недостатки технологии концентрируются в большей или меньшей степени. И при среднем межремонтном сроке 3-5 лет отдельные узлы и элементы кровли имеют значительную разницу в сроках службы:
- примыкания - 0,5 - 2,0 года;
- воронки, ендовы - 1 - 3 года;
- рядовое покрытие - 3 - 7 лет.
Если сделать в первую очередь ремонт примыканий, ендов и воронок, то приостановится процесс разрушения из-за протечек рядовой кровли и она сможет прослужить дольше (5-10 лет).
Таким образом, целесообразно рассмотреть особенности работы отдельных элементов, возникающие в этих местах дефекты и соответственно адаптировать технологию ремонта кровельного ковра конкретно к каждому элементу.
4.1.5. Работы по ремонту кровли допускается производить при температуре наружного воздуха не ниже морозостойкости материала и при отсутствии снегопада, гололеда, дождя.
Если материалы в хранении подвергаются длительному воздействию температуры ниже минус 15°С, то перед применением их необходимо выдержать в течении ~ 4-х часов при температуре 15 - 20°С.
4.1.6. Работы по ремонту кровель должны выполняться специализированными бригадами под техническим руководством и контролем строительного мастера.
4.1.7. К производству кровельных работ допускаются рабочие, прошедшие медицинский осмотр, обученные технике безопасности и методам ведения этих работ.
4.1.8. При ремонте выбор конструкции нового кровельного ковра из наплавляемых материалов производится в зависимости от уклона кровли, вида кровельного материала, прогнозируемой долговечности и стоимости покрытия.
Ниже приведены физико-механические показатели наплавляемых рулонных материалов, модифицированных различными полимерами (табл. 1).
Таблица 1.
|
Наименование показателей |
Виды материалов |
|||
|
Битумный |
Битумный с добавками полимера |
Битумно-полимерный с АПП |
Битумно-полимерный с СБС |
|
|
Теплостойкость, °С |
75-80 |
80-90 |
120 |
100 |
|
Морозостойкость (гибкость при тем-ре наружного воздуха), °С |
от 5 до 0 |
минус 5 |
минус 15 |
минус 20 |
|
|
минус 10 |
|
минус 30 |
|
4.1.9. Данные по конструкции кровельного покрытия в зависимости от уклона и морозостойкости применяемого материала приведены в ТСН КР-97 МО «Кровли. Технические требования и правила приемки. Проектирование и строительство кровель».
4.1.10. После выявления дефектов кровли, определения видов и объемов работ составляется смета и договор на производство ремонта.
4.1.11. До начала работ на объект завозятся и размещаются во временных складских помещениях материалы, инструменты, инвентарь, устанавливаются машины и механизмы. Осуществляются мероприятия по технике безопасности и пожарной безопасности.
В числе материалов должны быть выбранные в соответствии с конструкцией рулонные наплавляемые кровельные материалы, битум, битумно-полимерные мастики, герметики, готовые закладные элементы, холодная асфальтовая смесь и т.д.
4.1.12. Перечень рекомендуемых машин, механизмов и оборудования приведен в Приложении 4.
4.1.13. До начала работ проводятся мероприятия, обеспечивающие безопасное ведение ремонта для людей и окружающей среды (раздел 8).
Работы по ремонту кровель с полным съемом старого кровельного ковра выполняются по захваткам в следующей последовательности:
а) съем металлических фартуков у примыканий кровли к вертикальным конструкциям и остальной обделки верха парапетов;
б) подготовка основания:
- очистка кровли от мусора;
- съем старого ковра с основания кровли, складирование, удаление с кровли;
- зачистка основания от остатков старого ковра, битума, мусора, пыли;
- выявление мест контруклонов и местных неровностей поверхности основания;
- выявление дефектов утеплителя;
- ремонт основания (при необходимости работы по текущему ремонту утеплителя и пароизоляции);
- просушка и обеспыливание основания;
- грунтовка основания;
в) приемка скрытых работ;
г) устройство кровельного ковра из наплавляемых рулонных материалов методом поэлементного ремонта:
- подъем на крышу рулонов кровельного материала, кровельной стали;
- укладка рулонного ковра на воронках внутреннего водостока и в ендовах;
- устройство рядового кровельного ковра;
- устройство примыканий рулонной кровли к вертикальным поверхностям.
Перед началом работ по снятию старого рулонного ковра необходимо демонтировать все металлические фартуки у примыканий кровли к вертикальным конструкциям; антеннам; стойкам и др. конструкциям, выступающим поверх кровли. При снятии металлических покрытий следует обеспечить их сохранность для повторной установки.
В случае повреждения металлической обделки (пробоины, ржавчина и др. разрушения), после завершения ремонта кровли устанавливаются новые металлические элементы.
5.2.1. Очистка кровли от мусора.
Мусор и листву с покрытия необходимо собрать метлами в кучи, погрузить подборочными лопатами не тележку и отвезти к контейнеру, а затем удалить с кровли с помощью подъемника (крана) или инвентарного мусоропровода.
5.2.2. Съем старой кровли.
После очистки кровли от мусора должна быть сделана разметка кровли на картины и произведена нарезка швов в кровельном ковре вручную (лопатами, ломами, топорами) или с помощью специальных машин.
Затем вручную или с использованием механизмов необходимо снять рулонный ковер. Снятый материал следует складировать в зоне подъемника в контейнере или в специально отведенном на кровле месте, спустить вниз (краном, подъемником, по мусоропроводу) и вывезти.
5.2.3. Очистка основания.
Основанием под кровлю согласно требованиям, приведенным в табл. 2, могут служить:
- ровные поверхности железобетонных несущих плит;
- стяжка из цементно-песчаного раствора или асфальтобетона;
- теплоизоляция.
После снятия старого ковра производят зачистку основания от его остатков, битума, мусора, пыли.
При обнаружении на поверхности основания из железобетонных плит или стяжки выступов из раствора или битума их требуется удалить с помощью скребка, щетки металлической, лопаты, топора.
Таблица 2
|
Наименование показателей |
Вид основания |
|||||
|
Теплоизоляционные слои монолитной укладки на |
Стяжка из цементно-песчаного раствора |
Стяжка из песчаного асфальтобетона |
Теплоизоляционные плиты |
|||
|
цементном вяжущем |
битумном вяжущем |
по засыпной теплоизоляции |
по теплоизоляционным плитам |
|||
|
Ровность |
Плавно нарастающие неровности вдоль уклона - не более ±5 мм, а поперек уклона - не более 10 мм, в ендове не более ± 5 мм; количество, неровностей должно быть не более одной на 1м длины |
Перепад между смежными плитами не более 3 мм |
||||
|
Прочность на сжатие, МПа, не менее |
0,6 |
0,15 |
10 |
5 |
0,8 |
0,06 |
|
Влажность, %, не более |
15 |
2,5 |
5 |
5 |
2,5 |
По ГОСТ или ТУ на плиты |
|
Толщина, мм. не менее |
* |
* |
40 ± 10% с армированием |
30 ± 10 % |
15 ± 10 % |
* |
|
* Толщина теплоизоляции по расчету. |
||||||
В местах незначительных разрушений железобетонной плиты, цементной стяжки необходимо зачистить поверхность до прочного ненарушенного основания, а затем удалить имеющиеся крошки и пыль.
Очистку следует проводить с помощью компрессора СО-62 (СО-7А) или вручную метлами, щетками.
5.2.4. Осмотр основания.
Очищенное основание необходимо тщательно осмотреть для определения объема ремонтных работ, при этом проверить уклон основания с помощью нивелира и рейки; выявить места контруклонов.
Ровность поверхности основания проверить трехметровой рейкой. Допуски по ровности основания приведены в табл. 2.
При осмотре основания возможно выявление дефектов утеплителя, к которым относятся: большие зазоры и швы между плитами утеплителя, высокая влажность теплоизоляции, разрушение теплоизоляции.
5.2.5. Ремонт основания.
Впадины, стыки, зазоры между плитами перекрытий, щели и трещины в плитном и монолитном основании следует заделать холодной асфальтовой смесью, разогрев ее с помощью газовой горелки, заполнить битумно-полимерной мастикой, полимерцементным или цементно-песчаным раствором.
При вспучивании асфальтобетонной стяжки из-за воздействия солнечных лучей нужно вырубить и удалить вздувшуюся стяжку; уложить на очищенное место холодную асфальтовую смесь, разогреть ее и уплотнить заподлицо с поверхностью стяжки.
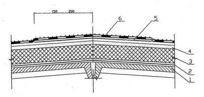
В стяжках, при необходимости, с помощью пилы типа «Болгарки» выполняют температурно-усадочные швы шириной до 10 мм, разделяющие стяжку из цементно-песчаного раствора на участки не более 6×6 м, а из асфальтобетона - не более 4×4 м (в покрытиях с несущими плитами длиной 6 м эти участки из асфальтобетона должны иметь размеры 3×3 м). Швы должны располагаться над торцевыми швами несущих плит и над температурно-усадочными швами в монолитной теплоизоляции. По ним должны быть уложены и точечно приклеены с одной стороны шва (рис. 3) полоски шириной 150-200 мм из наплавляемого материала с крупнозернистой посыпкой.
Если при проверке уклонов на соответствие их требованиям проекта выявлено наличие контруклонов, то необходимо произвести корректировку поверхности. Для этого могут быть использованы утеплитель или асфальтовая смесь, при условии наличия запаса прочности несущих плит и конструкций для дополнительной нагрузки.

Рис. 3. Устройство температурно-усадочных швов в стяжке
1 - стяжка; 2 - полосы материала посыпкой вниз; 3 - точечная приклейка; 4 - нижний слой водоизоляционного ковра; 5 - верхний слой водоизоляционного ковра.
5.2.6. Ремонт теплоизоляции и пароизоляции.
Устранение дефектов, в том числе выравнивание уклонов в монолитной теплоизоляции, следует производить аналогично тому, как это делается для стяжки из цементно-песчаного раствора или асфальтобетонной стяжки.
Теплоизоляционные работы совмещают с работами по ремонту пароизоляции (если это требуется), выполняя их «на себя». Это повышает сохранность теплоизоляции при транспортировке материалов.
Если при обследовании утеплителя обнаружены большие зазоры - швы между плитами утеплителя превышают 5 мм; скошенные углы, то следует такие зазоры и швы заполнить полосками из плитного утеплителя, а скошенные углы заделать засыпным утеплителем или теплым раствором.
При устройстве теплоизоляции из двух слоев плит швы второго слоя не должны совпадать со швами первого слоя.
Замоченная во время монтажа теплоизоляция должна быть удалена и заменена сухой.
При увлажнении и (или) промерзании теплоизоляционного слоя в отдельных местах необходимо снять стяжку и теплоизоляционный слой, поврежденное место и теплоизоляцию просушить, исправить пароизоляцию и восстановить теплоизоляционный слой. По нему на место удаленной стяжки уложить холодную асфальтовую смесь.
При увлажнении теплоизоляционного слоя на значительной площади для его просушки в процессе эксплуатации следует вырубить «окна» и установить осушающие устройства, так называемые «флюгарки», через которые будет происходить испарение влаги.
В случае разрушения теплоизоляционного слоя его необходимо заменить и затем в этом месте восстановить стяжку.
Теплоизоляционные работы не должны опережать работы по устройству нижнего слоя кровли.
Как правило, их последовательность должна обеспечить устройство нижнего слоя кровельного ковра в ту же смену, что и ремонт теплоизоляции.
В местах сопряжения кровли с вертикальными конструкциями, выступающими над кровлей, должны быть выполнены переходные наклонные бортики (под углом 45°С) высотой не менее 100 мм. При их отсутствии или разрушении они должны быть сделаны вновь из цементного раствора М-100.
Раствор следует готовить в растворомешалке внизу и подавать к мету укладки по трубопроводам при помощи растворонасосов или в емкости на колесном ходу. Разравнивать раствор необходимо правилом, пневмогладилкой или металлическим уголком.
Заделка стыков в основании и переходном бортике может быть выполнена из холодной асфальтовой смеси.
5.2.7. Обеспыливание и грунтовка основания
Работу следует начинать после выравнивания основания и устранения отдельных дефектов поверхности. Обеспыливание поверхности основания производят сжатым воздухом, метлой, щеткой.
Жировые пятна следует удалять ветошью, смоченной растворителем; протирать загрязнения необходимо до полного удаления пятен.
Влажное основание должно быть просушено или воздушной струей с помощью компрессора, или горелкой.
Все поверхности оснований из железобетона, бетона, стяжка из цементно-песчаного (полимерцементного) раствора должны быть огрунтованы составом из битума с температурой размягчения (80 - 90°С) или битумно-полимерной мастики и бензина (керосина), приготовленного в соотношении (по весу) 1:3. Расход грунтовки составляет 0,8 - 1,0 кг/м2.
Грунтовку следует наносить краскораспылителем или агрегатом высокого давления «Финиш» в 2 слоя. Причем 2-ой слой нужно наносить после высыхания и прекращения прилипания 1-го слоя.
Наклеивать наплавляемые рулонные материалы допускается только после полного высыхания грунтовочного состава.
5.3.1. Приемка «скрытых» работ
До начала укладки наплавляемого рулонного материала должны был выполнены и приняты по Акту на скрытые работы (Приложение 6):
- все строительно-монтажные работы, включая: замоноличивание швов между сборными железобетонными плитами; установку и закрепление к несущим плитам (профнастилу) водосточных воронок, компенсаторов деформационных швов, патрубков (стаканов) для пропуска инженерного оборудования, анкерных болтов, антисептированных деревянных брусков (реек для закрепления изоляционных слоев и защитных фартуков;
- слои паро- и теплоизоляции;
- основание под кровлю на всех поверхностях, включая карнизные участки кровель и места примыканий к выступающим над кровлей конструктивным элементам.
5.3.2. Укладка рулонного ковра на воронках внутренних водостоков и в ендовах.
Устройство кровельного ковра в пределах рабочих захваток должно начинаться с пониженных участков - мест расположения водосточных воронок, в ендовах (рис. 4).

Рис. 4. Гидроизоляция водоприемной воронки
1 - сборная ж/б плита перекрытия; 2 - пароизоляция; 3 - теплоизоляция; 4 - выравнивающая стяжка; 5 - основной слой водоизоляционнного ковра; 6 - дополнительные слои водоизоляционнного ковра; 7 - защитный колпак; 8 - опора из легкого бетона; 9 - стекловата; 10 - водоприемная воронка; 11 - уплотнитель.
Приклейка наплавляемого рулонного материала к изолируемой поверхности осуществляется путем разогрева нижнего слоя материала горелками, которые работают на сжиженном газе пропане или жидком топливе.
При наклейке полотнищ материалов следует предусмотреть нахлестку их между собой в продольном и поперечном направлении на 100 мм.
Наплавляемый рулонный материал у водостоков укладывают, в основном, двумя способами. В одном случае примыкание рядового (основного) кровельного ковра к водоприемной воронке выполняют с применением резинового закладного элемента и 1-2 дополнительных слоев материала, а в другом - послойным приклеиванием вокруг водоприемной воронки двух листов наплавляемого кровельного материала, с заведением внутрь чаши воронки лепестков материала, полученных в результате крестообразных разрезов материала по центру воронки (рис. 5).

Рис. 5. Раскрой двух слоев рулонного материала для наклейки их вокруг воронки внутреннего водостока
Причем лепестки материала необходимо приклеить в чаше воронки так, чтобы они не уменьшали диаметр сливного патрубка.
При любом способе сначала кровельщик должен снять колпак водоприемной воронки, прижимное кольцо и тщательно очистить стенки водоприемной воронки от старых герметиков, мастики, после чего с использованием холодной асфальтовой смеси сделать выкружку (переходный бортик) с соблюдением уклона в сторону воронки, т.е. восстановить уклон основания в сторону воронки.
Далее при использовании резинового закладного элемента кровельщик должен тщательно протереть очищенное место вокруг воронки в диаметре 1000 мм ветошью, смоченной растворителем; отрезать от рулонного материала 1-2 листа размером 1000×1000 мм; нанести крестообразные разрезы по его центру. Примерить правильность разрезов, уложив 1 лист насухо на воронку. Согнуть пополам примеренный лист материала. Расплавить с помощью горелки до полного сгорания защитной полимерной пленки нижний слой половины листа и, прогрев основание, тщательно притереть лист к основанию. Затем, таким же образом, приклеить вторую половину листа. Загнуть в чашу воронки лепестки разреза, тщательно их притереть к поверхности, не уменьшая диаметра сливного патрубка.
Далее один кровельщик должен примерить готовый резиновый элемент с пробной укладкой на воронку, а другой кровельщик - обезжирить наружную поверхность элемента.
Затем кровельщик подплавляет верхний слой уложенной листовой заготовки, устанавливает закладной элемент и плотно его притирает.
Далее накладывает второй лист на воронку, вырезает отверстие по диаметру воронки, подплавляет нижний слой и укладывает его на резиновый элемент, тщательно притирая к поверхности. После этого оплавляет края материала у воронки.
При использовании 2-х листов из наплавляемого рулонного материала размером 1000×1000 мм их крестообразно разрезают, как показано на рис. 5. Причем центры листов и воронки должны совпадать. Листы примеряют на воронку. После примерки, при необходимости, делают дополнительный надрез в листах материала для обеспечения плотного прилегания лепестков к стенкам воронки.
Согнув пополам лист материала кровельщик с помощью ручной горелки должен расплавить нижний слой мастики сначала на одной, затем на другой половине листа материала; потом также поочередно уложить их на основание, загнуть в чашу воронки лепестки материала и притереть их; затем сразу же, прогреть основание горелкой и тщательно притереть материал к поверхности основания.
Второй лист материала кровельщик должен уложить аналогично, расплавляя горелкой нижнюю поверхность второго листа и притирая его руками к внутренней поверхности чаши воронки и к подплавленной поверхности первого листа. При этом второй лист необходимо сдвинуть по отношению к первому таким образом, чтобы не совпадали крестообразные разрезы.
После установки косынок кровельщик должен очистить от старых гидроизоляционных материалов прижимное кольцо и окрасить его и колпак мастикой.
Затем следует установить прижимное кольцо в устье воронки с плотным прижимом и поставить на место водоприемный колпак.
Ендову необходимо покрывать отдельными кусками рулонного материала. Узкие ендовы следует оклеивать длинными кусками материала (1,5-2,5 м). При широких ендовах куски полотнищ материала нужно расстилать поперек ендов. Длину куска определяют, примеряя по месту. Затем кусок материала складывают пополам. Нижнюю сторону одной половины один кровельщик должен подплавить ручной горелкой и совместно с другим кровельщиком, прогревая основание горелкой, уложить и тщательно прижать материал к основанию, притирая материал от середины к краю, разглаживая полотно и удаляя воздушные мешки. Таким же образом следует приклеить кусок с другой стороны.
Ендовы должны быть усилены на ширину 500 - 750 мм (от линии перегиба) одним слоем рулонного материала, приклеиваемого к основанию под кровельный ковер по продольным кромкам (рис. 6).

Рис. 6. Устройство ендовы
1 - железобетонная плита; 2 - цементно-песчаная стяжка; 3 - пароизоляция; 4 - теплоизоляция; 5 - дополнительный слой водоизоляционного ковра; 6 - основной слой водоизоляционного ковра; 7 - водоприемная воронка внутреннего водостока.
На конек кровли (при уклоне 3% и более) необходимо наклеить с каждой стороны на ширину 150 - 250 мм от линии перегиба один дополнительный слой рулонного материала, по которому затем уложить основной кровельный ковер (рис. 7).

Рис. 7. Устройство конька
1 - сборная ж/б плита; 2 - пароизоляция; 3 - теплоизоляция; 4 - выравнивающая стяжка; 5 - дополнительный слой водоизоляционного ковра; 6 - основной слой водоизоляционного ковра.
5.3.3. Устройство рядовой кровли
При наклейке изоляционных кровельных слоев из рулонных материалов следует предусмотреть нахлестку смежных полотнищ в продольном направлении 100-150 мм, а в поперечном - 85 - 100 мм.
Наклейку наплавляемого рулонного материала на основание или нижележащий кровельный материал требуется выполнять нижеописанным способом (рис. 8).

Рис. 8. Рядовой участок кровли
1 - основание под водоизоляционный ковер; 2 - нижний слой водоизоляционного ковра; 3 - верхний слой водоизоляционного ковра.
Наклейку рулонов на скатах кровли следует производить параллельно ендовам (карнизным свесам, конькам) при уклонах до 15% и перпендикулярно при уклонах свыше 15%.
На подготовленное основание (железобетонные плиты, стяжка) необходимо раскатать 5-7 рулонов материала, примерить один рулон по отношению к другому, обеспечивая нахлестку требуемой величины. Затем следует приклеить концы всех рулонов по 50 см с одной стороны, тщательно притирая материал к основанию и шпаклюя кромки приклеенного куска мастикой, выступающей из-под подплавленной нижней стороны. Остальные части полотнищ рулонного материала надо скатать обратно в рулоны. В зимний период при значительном охлаждении полотнищ эти операции следует производить при легком подогреве ручной горелкой наружной поверхности рулона.
Кровельщик может выполнять работу, раскатывая рулон на себя и от себя. Первый вариант предпочтительнее, так как кровельщик может контролировать образование валика мастики при расплавлении нижнего слоя рулонного материала.
При наклейке рулонного материала применяют приспособление - захват-раскатчик, который имеет Г-образную форму с размерами плеч по 1000 мм. При этом кровельщик должен оплавлять скатанный рулон маятниковыми движениями горелки вдоль рулона. Одновременно для удаления поверхностной влаги и обеспечения адгезии материала к основанию следует горелкой прогревать и основание.
После расплавления мастики с нижней стороны рулона кровельщик захват-раскатчиком цепляет и, отступая назад, раскатывает и приклеивает рулон. При этом второй кровельщик должен тщательно притирать подплавленную часть рулона к основанию и прикатывать цилиндрическим ручным катком массой до 80 кг с мягкой обкладкой.
Притирка уложенного рулона к основанию может производиться при помощи гребка с резиновой вставкой.
Кромки приклеиваемого рулона требуется тщательно шпаклевать выступающей из-под рулона наплавленной мастикой.
5.3.4. Устройство примыканий кровельного ковра к вертикальным поверхностям и местам пропуска через кровлю труб и вводов.
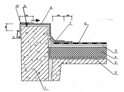
Гидроизоляция мест примыкания кровли к вертикальным поверхностям (машинные отделения лифтов, выходы на крышу, вентшахты, парапеты и др.) производятся с укладкой двух дополнительных слоев материала нижеописанным способом. (Рис. 9).

Рис. 9. Примыкание кровли к вертикальной стене (кирпич)
1 - сборная ж/б плита; 2 - пароизоляция; 3 - теплоизоляция; 4 - выравнивающая стяжка; 5 - основной водоизоляционный ковер; 6 - дополнительный слой на примыкании; 7 - верхний дополнительный слой водоизоляционного ковра на примыкании; 8 - защитный фартук из оцинкованной стали; 9 - крепление защитного фартука из оцинкованной стали; 10 - герметик;11 - штукатурка с огрунтовкой; 12 - кирпичная стена.
Основной кровельный ковер следует наклеивать полотнищами 2-2,5 м. Наклейку полотнищ на вертикальные поверхности необходимо производить снизу вверх, тщательно притирая их к поверхности, не допуская складок, вздутий, непроклеенных мест.
Кровельщик должен по месту определить размер кусков рулонного материала, необходимых для наклейки двух дополнительных слоев, и нарезать материал.
Затем с помощью горелки кровельщик должен наклеить один слой материала сначала на вертикальную, потом на горизонтальную поверхность, начиная снизу вверх, на 350 - 500 мм в обе стороны, не допуская пропусков и пузырей. Таким же образом он должен уложить второй верхний дополнительный слой, который на горизонтальной поверхности перекрывает первый дополнительный слой на 100 - 150 мм.
Рулонный ковер на примыканиях и фартук из оцинкованной кровельной стали закрепляются пристрелкой дюбелями.
В местах примыкания кровли к парапетам высотой до 450 мм дополнительные слои водоизоляционного ковра следует заводить на верхнюю грань парапета с опусканием вниз по сливу до наружного среза стены здания. При раскрое материала необходимо фиксировать расстояние между стойками парапетного ограждения.
При высоте парапета не более 200 мм переходный наклонный бортик следует устраивать до верха панелей.
Уложенный кровельный материал в месте примыкания к парапету должен быть закрыт сверху защитным фартуком из оцинкованной кровельной стали, закрепленным с помощью костылей.
Каждая следующая картина фартука должна перекрывать предыдущую на 70 - 100 мм (рис. 10).

Рис 10. Примыкание кровли к парапету
1 - стена; 2 - сборная ж/б плита перекрытая; 3 - пароизоляция; 4 - теплоизоляция; 5 - выравнивающая стяжка; 6 - основной водоизоляционный ковер; 7 - дополнительный слой на примыкании к парапету; 8 - верхний дополнительный слой водоизоляционного ковра на примыкании; 9 - крепление защитного фартука из оцинкованной стали; 10 - герметик; 11 - защитный фартук из оцинкованной стали.
Если высота парапета более 450 мм, то защитный стальной фартук с кровельным ковром следует закреплять пристрелкой дюбелями, а верхнюю часть парапета закрыть другим фартуком, надеваемым на костыли, которые крепятся к парапету пристрелкой дюбелями. Обделка верхней Части парапета может быть выполнена из парапетных плит, швы между которыми герметизируют, например, мастикой (рис. 11).

Рис. 11. Примыкание кровли к парапету с парапетной плитой
1 - сборная ж/б плита перекрытия; 2 - пароизоляция; 3 - теплоизоляция; 4 - выравнивающая стяжка; 5 - основной водоизоляционный ковер; 6 - верхний дополнительный слой на примыкании; 7 - дополнительный слой водоизоляционного ковра на примыкании; 8 - переходной бортик; 9 - парапетная плита.
Внутренние и внешние углы примыканий при высоте последних до 450 мм, должны быть выполнены с использованием трех дополнительных слоев в виде полотнищ, выкроенных из кровельного материала и приклеенных с двух сторон угла.
Работы выполняют в следующем порядке.
После снятия старого кровельного ковра, изолирующего угол и прилегающее основание, и зачистки поверхности необходимо произвести ее грунтовку.
Кровельщик должен обмерить угол и нарезать полотнища материала по определенным размерам с учетом того, что на горизонтальной поверхности угла полотнища укладывают с нахлестом 85 - 100 мм.
Работы по гидроизоляции углов примыканий необходимо начинать с укладки основного кровельного ковра, заводя один (верхний) слой ковра на вертикальную поверхность угла на 100 - 150 мм.
Тщательно притерев полотно материала так, чтобы была приклеена вся поверхность без пропусков, складок и пузырей, следует начать послойно укладывать предварительно раскроенные, согнутые и разрезанные по соответствующим линиям полотнища. Их необходимо притирать особенно в местах сгибов так, чтобы они плотно прилегали к изолируемой поверхности. А все торцы материала (верхние, нижние кромки, вертикальные швы) нужно прошпаклевать мастикой, выступающей из-под кромки, или дополнительно герметизировать мастикой.
Гидроизоляция внутренних и внешних углов примыканий при высоте последних свыше 450 мм отличается тем, что необходимо дополнительно установить защитный фартук из оцинкованной кровельной стали, который закрепляют дюбелями.
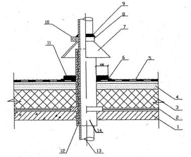
Примыкания кровли в местах пропуска вентиляционных труб, телерадиоточек и т.д. следует выполнять с применением дополнительных слоев кровельного материала нижеописанным способом.
Кровельщик должен полностью удалить старое покрытие (битум или мастику) в месте пропуска выступающих конструкций в радиусе не менее 250 мм и на высоту 150 - 200 мм и тщательно протереть основание ветошью, смоченной в растворителе.
В случае повреждения или разрушения, необходимо восстановить вокруг трубы бортик из холодной асфальтовой смеси; обработать поверхности, подлежащие изоляции, грунтовкой или мастикой.
Далее следует произвести нарезку полотнищ материала нужных размеров для дополнительных слоев, надрезав их с одного края для более плотного прилегания в нижней части к основанию кровли, и с помощью ручной горелки тщательно уложить основной кровельный ковер, а поверх него - дополнительные слои.
Следующую операцию удобнее выполнять вдвоем.
Один кровельщик должен подплавлять с помощью горелки нижнюю поверхность материала, а второй придерживать и притирать по периметру трубы кусок рулонного материала в верхней части примыкания. Полотнище второго дополнительного слоя следует наклеить по поверхности первого слоя с перекрытием кромок первого на 100 -150 мм. Причем, второй слой материала необходимо сдвинуть по отношению к первому таким образом, чтобы не совпадали продольные разрезы в нижней части.
Верх наклеиваемых слоев по окружности трубы должен заходить под зонт из кровельной стали. Вверху зонт крепится к трубе обжимным кольцом на болтах. Верхний торец зонта и обжимного кольца следует покрыть мастикой (герметикой) с помощью шпателя (рис. 12).

Рис. 12. Пропуск трубы через водоизоляционный ковер
1 - сборная ж/б плита; 2 - пароизоляция; 3 - теплоизоляция; 4 - выравнивающая стяжка; 5 - основной водоизоляционный ковер; 6 - дополнительный слой водоизоляционного ковра; 7 - верхний дополнительный слой водоизоляционного ковра; 8 - зонт из оцинкованной стали; 9 - хомут; 10 - герметизирующая мастика; 11 - крепление хомута; 12 - легкий бетон; 13 - минеральная вата; 14 - труба; 15 - патрубок с фланцем.
Гидроизоляция антенного ввода устраивается следующим образом.
Кровельщик, после удаления старого покрытия в месте антенного ввода, должен снять металлическую гильзу, очистить ее от битума и старого герметика, затем очистить и отремонтировать, при необходимости, поверхность основания, а гильзы протереть ветошью, смоченной в растворителе.
Поверхности, подлежащие изоляции, следует обработать грунтовкой или мастикой.
Вокруг ввода кровельщик должен уложить по месту основной слой кровельного ковра, расплавить поверхность его верхнего слоя и установить на нее металлическую гильзу.
Далее он должен отрезать от рулона материала лист 500×500 мм для дополнительного слоя и нанести крестообразные разрезы по центру листа. Примерить правильность разрезов, уложив лист насухо на гильзу, и вырезать круглое отверстие по диаметру гильзы; Согнуть пополам примеренный лист материала, расплавить нижний слой половины листа и, прогрев поверхность гильзы, тщательно притиреть лист к гильзе. Торец гильзы и торец материала у гильзы необходимо изолировать герметиком.
Вокруг трубы следует установить зонт из кровельной оцинкованной стали. Вверху зонт крепится к трубе обжимным кольцом на болтах. Верхний торец зонта и обжимного кольца требуется покрыть герметиком (рис. 13).

Рис. 13. Пропуск трубы инженерного оборудования, антенного ввода через водоизоляционный ковер
1 - сборная ж/б плита перекрытия; 2 - пароизоляция; 3 - теплоизоляция; 4 - выравнивающая стяжка; 5 - основной слой водоизоляционного ковра; 6 - рамка из уголка; 7 - зонт из оцинкованной стали; 8 - хомут; 9 - герметизирующая мастика; 10 - крепление хомута; 11 - герметизирующая мастика; 12 - минеральная вата; 13 - труба; 14 - патрубок с фланцем.
6.1. Известно, что на кровле срок службы водоизоляционного ковра в отдельных узлах различен.
Раньше всего выходит из строя кровельный ковер у водоприемных воронок, в ендовах, у примыканий к вертикальным стенам (парапетам, шахтам лифтов, выходам на кровлю) и различным инженерным конструкциям, выступающим над кровлей.
Рядовой кровельный ковер, испытывая меньшие деформационные нагрузки, дольше сохраняет свою работоспособность.
Поэтому при текущем ремонте, если осмотр кровли подтверждает возможность выборочного ремонта отдельных мест рядового кровельного ковра, то его в основном сохраняют.
А в перечисленных выше узлах, как правило, имеющих многочисленные дефекты водоизоляционного ковра, производится полное его удаление и устройство нового ковра.
В этих узлах, как показывает практика, дольше служат битумно-полимерные материалы, модифицированные АПП или СБС.
6.2. Работы по ремонту кровли при сохранении существующего водоизоляционного ковра осуществляются с укладкой 1-го или 2-х слоев материала в основном слое ковра плюс дополнительные слои, в указанных выше узлах, по захваткам в следующей последовательности:
1. Подготовка основания:
- очистка кровли от мусора;
- выявление дефектов существующего рулонного ковра (вздутий, пробоин, разрывов, просадок, мест расслоений ковра и износа материала);
- установление мест повреждений основания, контруклонов, выравнивание основания.
2. Устранение дефектов существующего кровельного ковра:
- съем кровельного ковра, имеющего отслоения и повреждения у водоприемных воронок, в местах примыканий к вертикальным поверхностям и выступающим над кровлей конструкциям;
- обеспыливание поверхности основания под новый кровельный ковер.
3. Устройство кровельного ковра из наплавляемых материалов:
- укладка рулонного кровельного материала у воронок внутреннего водостока и в ендовах;
- устройство рядового кровельного ковра из 1-го слоя наплавляемого рулонного материала;
- устройство примыканий рулонной кровли к вертикальным поверхностям.
6.2.1. Подготовка основания.
Мусор с покрытия сметают метлами в кучи, погружают лопатами на тележку и отвозят в место накопления, откуда его удаляют с кровли с помощью инвентарного мусоропровода.
Выявление дефектов существующего рулонного ковра производится таким же образом, как при текущем ремонте (раздел 3).
Установление мест повреждения основания, контруклонов; выравнивание основания делается аналогично тому, как изложено в разделе 5.
6.2.2. Устранение дефектов.
Устранение дефектов существующего кровельного ковра производится следующим образом:
1) Места вздутий между нижним слоем кровельного ковра и основанием под кровлю -разрезать конвертом до основания, углы отвернуть и просушить. Основание смазать мастикой. Углы приклеить и притереть гребком. Сверху наклеить заплату, перекрывая места надрезов на 100 мм.
2) Там, где обнаружены разрезы ковра и пробоины - вскрыть рулонный ковер, очистить поврежденное место, если необходимо замонолитить швы между кровельными плитами согласно проекту. Трещины разделать зубилом, очистить от осколков бетона и заделать до уровня основания холодной асфальтовой смесью. Восстановить рулонный ковер, а затем наложить 2 заплаты из наплавляемого битумно-полимерного материала так, что вторая заплата должна быть больше первой (нижней) на 100 мм во все стороны. Все оклеенные места тщательно прогладить.
3) На участках расслоения швов между полотнищами рулонного материала или отслоения полотнищ от основания - отставший от основания рулонный ковер или отслоившиеся полотнища очистить от грязи и старой мастики и просушить. Огрунтовать основание. Затем отвернуть ковер, отдельные полотнища приклеить к основанию и один к другому, используя мастику или методом наплавления. Ковер или полотнище притереть к основанию и один к другому. Кромки прошпаклевать выступившей мастикой.
4) При растрескивании верхнего покровного слоя рулонного материала (ковра) - поверхность кровельного ковра очистить от грязи и пыли, просушить, промазать мастикой и в не застывшем состоянии посыпать сухим крупным песком или наклеить заплату на поврежденное место и тщательно приклеить кромки. При значительной площади растрескивания старый кровельный ковер удалить, зачистить основание, просушить, уложить новый ковер (число слоев по проекту), перекрывая им старый кровельный ковер на 100 мм на каждую сторону.
5) Просадки ковра глубиной до 15 мм заделывают наклейкой в несколько слоев рулонного материала с последовательным увеличением размеров заплат.
6) Просадки ковра глубиной до 25 мм следует выравнивать асфальтовой смесью с наклейкой сверху 2-х слоев рулонного материала, обеспечивая при этом один уровень и уклон поверхности со смежными участками и согласовывая направления полотнищ с ремонтируемым ковром.
7) Съем кровельного ковра у водоприемных воронок производится в радиусе 500 мм.
8) В местах примыканий к вертикальным поверхностям и выступающим над кровлей конструкциям снимают старую обделку примыканий из кровельной стали.
9) Удаление старого ковра производят полностью, кроме того, рядовой кровельный ковер снимается и на расстоянии 500 мм от места примыкания.
10) Зачищенное основание протирают ветошью, смоченной растворителем и грунтуют его на расстояние 500 мм.
6.2.3. Устройство кровельного ковра из наплавляемых материалов
Устройство кровельного ковра из наплавляемых материалов начинают с укладки рулонного кровельного ковра у воронки внутреннего водостока и в ендовах, как показано в подразделе 5.3. и на рис. 4, 5.
Затем производят:
Обеспыливание поверхности основания под новый кровельный ковер.
Основанием в данном случае будет служить частично отремонтированный старый кровельный ковер. Его обеспыливание производят с помощью метлы, щетки, сжатым воздухом.
Существующий кровельный ковер из битуминозных материалов нагревают до расплавления верхнего покровного (битумного) слоя. Полученное основание из битуминозной мастики обеспечивает хорошее склеивание нового кровельного ковра с существующим ковром.
При укладке нового материала с помощью газовой горелки подплавляют нижнюю сторону нового материала и вновь созданную поверхность мастичного основания.
Правила укладки нового рулонного ковра такие же, как изложены в подразделе 5.3.
Устройство примыкания рулонной кровли к вертикальным поверхностям делается теми же приемами, которые даны в подразделе 5.3.
В случае, если нет возможности произвести полное удаление влаги из утеплителя и основания кровли наиболее рациональным способом становится устройство «дышашей» кровли.
Такая кровля состоит, как минимум, из двух слоев.
Причем, первый (нижний) слой укладывают таким образом, чтобы между ним и основанием образовалось пространство из сообщающихся пазух-щелей, из которых собирающиеся под ковром водяные пары вместе с теплым воздухом удаляются через продухи или «флюгарки», которые устанавливают по расчету.
Для этого в качестве нижнего слоя используют перфорированный материал, который укладывают крупнозернистой посыпкой вниз. При наклейке второго полотнища расплавленная мастика верхнего нижнего слоев затекает в отверстия и таким образом нижний слой оказывается точечно приклеенным к основанию и образуются пазухи-щели.
Первый слой может быть неперфорированным. В этом случае подплавление его нижней стороны должно производиться не по всей поверхности, а лишь частично (точечно), но места нахлестки полотна должны быть тщательно проклеены.
Второй и последующие слои укладывают как обычно. Возможен вариант устройства нижнего слоя для «дышашей» кровли из двух слоев полос, которые образуют структуру клеток. Первый (нижний) слой полос шириной 200 мм укладывают крупнозернистой посыпкой вниз без приклейки. Расстояние между полосами 70-100 мм. Второй слой полос шириной 200 мм укладывают с приклейкой по всей площади перпендикулярно полосам первого слоя также через 70 -100 мм. Последующие слои кровельного ковра наклеивают как обычно.
Вариантом «дышащей» кровли может быть кровля, выполненная методом свободной укладки нижнего слоя с механическим закреплением. Этот же технологический прием может быть использован при укладке нового кровельного ковра по теплоизоляции.
Работы выполняют в такой последовательности.
На подготовленное основание раскатывают рулоны наплавляемого материала, примеряют один рулон по отношению к другому так, чтобы продольная и поперечная нахлестка полотен была 85 -100 мм.
Все эти полотна скатывают обратно в рулон за исключением того, который раскатан вдоль линии водораздела. При зимней укладке во избежание повреждения материала его наружную поверхность слегка подогревают ручной горелкой.
Полотно материала, раскатанного вдоль линии водораздела, закрепляют шайбами с дюбелями. Затем, разогревая нижний покровный слой в месте нахлестки раскатывают второй соседний рулон, прижимают и тщательно притирают к ранее закрепленному полотнищу. После этого свободную кромку раскатанного полотнища закрепляют шайбами с дюбелями и т.д.
Последующие верхние слои наплавляемого рулонного материала приклеивают целиком, при этом полотнища раскатывают так, чтобы они перекрывали швы нижележащего слоя (рис. 14).

Рис. 14. Пример раскладки рулонных материалов при устройстве кровельного ковра с механическим закреплением нижнего слоя
1 - переходный наклонный бортик; 2 - линия водораздела; 3 - основание под кровлю; 4 - нижний слой кровли; 5 - шайбы с дюбелями; 6 - наклейка швов в местах нахлесток; 7 - верхний (второй) слой кровли
У мест примыкания к стенам, парапетам и т.п., наклейку нижнего полотнища дополнительного ковра производят только в местах сопряжения с основным кровельным ковром.
Для удаления влаги из основания устанавливают «флюгарки» или она выводится через продухи.
8.1. Производство работ по ремонту и устройству кровли с применением пламенных горелок (с использованием газа пропан-бутан) осуществляется в соответствии с требованиями СНиП 111-4-80* «Техника безопасности в строительстве», «Правил пожарной безопасности РФ (ППБ-01-93, ППБ-09-86), Государственного стандарта ГОСТ 12.3.040-86 ССБТ. «Работы кровельные и гидроизоляционные. Требования безопасности».
8.2. К производству кровельных работ с применением пламенных горелок допускаются мужчины не моложе 18 лет, прошедшие медицинское освидетельствование, получившие знания по безопасности труда и пожарной безопасности, имеющие соответствующее квалификационное удостоверение. Кровельщик должен быть обучен правилам оказания первой помощи пострадавшим при электротравмах. Проверка знаний по безопасности труда должна проводиться ежегодно.
8.3. Вновь поступающий на работу кровельщик должен пройти вводный инструктаж для ознакомления с общими положениями по охране труда, производственной обстановкой и правилами внутреннего трудового распорядка.
8.4. Получив вводный инструктаж, кровельщик должен расписаться в журнале регистрации вводного инструктажа и в личной карточке инструктажа после того, как лицо, проводившее инструктаж, сделает запись о его проведении и распишется.
8.5. Независимо от квалификации и стажа предыдущей работы в первый день выхода на работу кровельщик должен получить первичный инструктаж по безопасности труда у руководителя работ непосредственно на рабочем месте.
8.6. Допуск кровельщика к самостоятельной работе осуществляется после его обучения у мастера или прораба и стажировки под руководством бригадира в течении 5-6 смен и оформляется записью в журнале инструктажа на рабочем месте.
8.7. Не реже одного раза в три месяца кровельщик должен проходить повторный инструктаж, который проводит руководитель работ (мастер).
8.8. Перед выполнение работ в условиях повышенной опасности кровельщик должен пройти проверку усвоенных им при инструктаже знаний, которую осуществляет руководитель или мастер.
8.9. Кровельщик должен иметь вторую группу по электробезопасности.
8.10. Кровельщик должен знать и соблюдать правила внутреннего трудового распорядка и правила пожарной безопасности. Курение на строительной площадке разрешается в специально отведенных и оборудованных местах. Появление на территории стройплощадки в нетрезвом состоянии, распитие спиртных напитков недопустимо и является нарушением правил внутреннего трудового распорядка.
8.11. Кровельщик должен быть ознакомлен с опасными и вредными производственными факторами, действующими на рабочего. Это опасность получения травм, пыление, выделение вредных паров, возможность поражения электрическим током или получение ожогов от открытого пламени.
8.12. Кровельщик обязан пользоваться индивидуальными средствами защиты. При работе на высоте, если нет защитных ограждений, кровельщик должен использовать предохранительный пояс, крепление которого следует осуществлять за элементы конструкции в местах, указанных мастером, прорабом, или за страховочный канат. В случае расположения каната вдоль ската крыши (поверхности) крепление карабина предохранительного пояса должно производиться к специальным ловителям, устанавливаемым на канате. Для защиты головы от падающих предметов используется защитная каска с подшлемником.
8.13. При очистке оснований от пыли и мусора необходимы защитные очки, респиратор «Лепесток», при наличии аэрозолей, паров органических растворителей, приготовлении холодных мастик, огрунтовке оснований с помощью распылителей - респиратор РУ-60М, при работе с расплавленными мастиками - руковицы брезентовые.
8.14. Кровельные работы выполняются при наличии проекта производства работ или технической карты.
8.15. Нарушение кровельщиком требований нормативных документов, указанных в п. 8.1., влечет за собой ответственность в установленном порядке.
8.16. Перед началом работ кровельщик должен надеть спецодежду и убедиться в ее исправности. Обувь должна быть нескользящей. Предохранительные приспособления (пояс, веревка, ходовые мостики, переносные стремянки и т.п.) должны быть своевременно испытаны и иметь бирки.
8.17. Необходимо получить у мастера, руководителя работ инструктаж о безопасных методах, приемах и последовательности выполнения предстоящей работы.
8.18. Перед началом работы кровельщику необходимо подготовить рабочее место, убрать ненужные материалы, очистить все проходы от мусора и грязи.
8.19. Убедиться в надежности подмостей и лесов, а на плоской кровле временного ограждения, проверить исправность и прочность стропил, сборных кровельных щитов, парапетных решеток. Проверить, ограждено ли место работы внизу здания, укрепить все материалы на крыше.
8.20. Внешним осмотром проверить исправность баллонов, горелок, шлангов, надежность их крепления (крепить шланги только металлическими хомутами), исправность редукторов, манометров.
8.21. При работе с газовыми баллонами (рабочий газ - пропан) необходимо руководствоваться «Временной инструкцией по безопасной эксплуатации постов, хранению и транспортировке баллонов сжиженных газов пропан-бутановой смеси при гидроизоляционных работах».
8.22. Подъем любых материалов на кровлю вручную запрещается. Поднимать материалы следует только средствами механизации. Кровельные материалы при их подъеме надо укладывать в специальную тару для предохранения их от падения.
8.23. Приемная площадка на верху по периметру должна иметь прочное ограждение высотой 0,8-1 м и бортовую доску не менее 150 мм.
8.24. При работе с пламенной горелкой необходимо пользоваться защитными очками.
При зажигании ручной пламенной горелки (рабочий газ - пропан) следует приоткрыть вентиль на j - S оборота и после кратковременной продувки зажечь горючую смесь, после чего можно регулировать пламя.
8.25. Зажигание горелки производить спичкой или зажигалкой, запрещается зажигать горелку от случайно горящих предметов.
8.26. С зажженной горелкой не перемещаться за пределы рабочего места, не подниматься по трапам и лесам, не делать резких движений.
8.27. Тушение горелки производится перекрыванием вентиля подачи газа, а потом опусканием блокировочного рычага.
8.28. При перерывах в работе пламя горелки должно быть потушено, а вентиля на ней плотно закрыты.
8.29. При длительных перерывах в работе (обед и т.п.) должны быть закрыты вентили на газовых баллонах, редукторах.
8.30. При перегреве горелки работа должна быть приостановлена, а горелки потушены и охлаждены до температуры окружающего воздуха в емкости с чистой водой.
8.31. Не производить работы при загрязненных входных каналах мундштуков во избежание возникновения хлопков и обратных ударов.
8.32. При обратном ударе пламени немедленно закрыть вентиль на горелке, на баллонах, а затем охладить горелку в воде до полного остывания мундштука.
8.33. Газопламенные работы должны производиться на расстоянии не менее 10 метров от групп баллонов (более 2-х), предназначенных для ведения газопламенных работ, 5 метров от отдельных баллонов с горючим газом, 3 метров от газопроводов горючих газов.
8.34. При зажигании ручной пламенной горелки (рабочее топливо - солярка), вначале включают компрессор, подают небольшое количество воздуха на горелку (регулировка вентиля), а затем открывают вентиль подачи топлива и после кратковременной продувки шлангов нужно зажечь горючую смесь, после чего можно регулировать пламя. Перемещать компрессор можно только в отключенном состоянии.
8.35. Работы по вертикальной оклеечной гидроизоляции проводить с испытанных подмостей или строительных лесов.
8.36. Не допускается работать с неисправной горелкой, шлангами, редукторами, вентилями и т.д.
8.37. При обнаружении утечки газа из баллонов, работу следует немедленно прекратить. Ремонт баллонов или другой аппаратуры на рабочем месте газопламенных работ не допускается.
8.38. В случае замерзания редуктора или запорного вентиля, отогревать их только чистой горячей водой.
8.39. Не прочищать мундштук наконечника стальной проволокой; для этих целей должна быть латунная или медная игла соответствующего размера.
8.40. Баллоны с газом должны находиться на расстоянии не менее 1 метра от нагревательных приборов и 5 метров от нагревательных печей и других сильных источников тепла. Не снимать колпак с баллона ударами молотка, зубила или другим инструментом, могущим вызвать искру. Колпак с баллона следует снимать специальным ключом.
8.41. Шланги необходимо предохранять от различных повреждений: при укладке не допускать их сплющивания, скручивания, перегибания; не пользоваться масляными шлангами, не допускать попадания на шланги искр, тяжелых предметов, а также избегать воздействия на них высоких температур; длина шлангов не должна превышать 20 метров; не допускать использования пропановых шлангов для работы с соляркой.
8.42. Для подачи рабочего топлива (пропан, солярка) и сжатого воздуха применяют пневмошланги.
8.43. Баллоны при работе в непостоянных местах должны быть закреплены в специальной стойке или тележке и в летнее время защищены от нагрева солнечными лучами.
8.44. Баллоны с газом следует перемещать только на специально оборудованных тележках.
8.45. Рабочее место кровельщика должно быть обеспечено следующими средствами пожаротушения и медицинской помощи:
- пенные огнетушители марок ОУ-5 ГОСТ 7276-77 из расчета на одну секцию кровли не менее двух штук;
- ящик с песком емкостью 0,005 куб. м;
- лопаты - 20 шт.;
- асбестовое полотно - 1 кв. м;
- аптечка с набором медикаментов.
8.46. Во время производства кровельных работ могут возникнуть аварийные ситуации, как например:
- в случае возникновения пожара на месте производства кровельных работ пламенными горелками;
- при несчастном случае.
8.47. При возникновении на рабочих местах пожара необходимо потушить его с применением огнетушителей, сухим песком, накрывая очаг загорания асбестовой или брезентовой тканью.
8.48. При несчастных случаях, произошедших в результате аварии, все операции по эвакуации пострадавших, оказанию первой медицинской помощи, доставке в лечебное учреждение кровельщик выполняет под руководством бригадира или мастера (прораба), а в случае его отсутствия - бригадира и настоящей инструкции.
8.49. По окончании кровельных работ с применением пламенной горелки, кровельщик должен закрыть вентиль подачи топлива на горелке, перекрыть вентиль на баллоне, выключить компрессор.
8.50. Снять шланги с редукторами с баллонов, смотать их и убрать в отведенное место для хранения.
8.51. Вентили баллонов закрыть защитными колпаками и поставить баллоны в помещение для их хранения.
8.52. Очистить рабочее место, убрать инструмент и приспособления, кисти, материалы, очки, горелки, баллоны, сообщить мастеру (прорабу) о всех неполадках, замеченных во время работы; опустить люльки вниз и снять рукоятки с лебедок; отключить электроинструмент и механизмы от электросети; сдать на хранение ручной инструмент и предохранительный пояс; принять теплый душ или тщательно вымыть водой с мылом лицо и руки.
1. Техническая эксплуатация жилых зданий. - М.: Высшая школа, 2000.
2. Примеры расчетов по организации и управлению эксплуатацией зданий. - М., 1999.
3. Техническое обслуживание и ремонт зданий и сооружений: Справочное пособие. - М., 1993.
4. Правила и нормы технической эксплуатации жилищного фонда / Государственный комитет РФ по жилищной и строительной политике; ГУП Академия коммунального хозяйства им. К.Д. Памфилова. - М., 1998.
5. Руководство по проведению натурных обследований промышленных зданий и сооружений / ЦНИИПромзданий. - М., 1975.
6. Методика выявления дефектов и оценки эксплуатационных свойств кровель железобетонных крыш жилых зданий / ЦНИИЭП жилища. - М., 1985.
Район:
город/поселок:
улица:
Дом №: Корпус:
1. Характеристика крыши:
а) тип чердака:
Чердачная с холодным чердаком
Бесчердачная (совмещенная)
Чердачная с теплым чердаком
б) тип водостока:
Организованный наружный
Неорганизованный
Организованный внутренний
в) детали крыши:
Парапеты
Желоба подвесные
Вентиляционные шахты
Антиобледенительные устройства
Лифтовые шахты
Системы инженерных коммуникаций
Выходы на кровлю
Ограждения
Ендовы
Деформационные швы
Желоба настенные
г) элементы осушающей вентиляции крыши (при ее наличии):
Слуховые окна
Вентиляционные каналы
Кровельные аэраторы
Коньковые продухи
Прикарнизные продухи
2. Общая характеристика здания:
а) функциональное назначение здания:
Жилое
Общественное
Производственное
б) этажность:
Малоэтажное (1-3 этажа)
Многоэтажное (3-9 этажей)
Повышенной этажности (свыше 9 этажей)
в) серия здания:
г) дата:
Постройки здания: ..
Последнего обследования кровли: ..
Последнего ремонта кровли: ..
Заполнения паспорта ..
3. Приложения:
Дефектная ведомость
Разрез кровли
Правила заполнения паспорта:
1) Все параграфы обязательны для заполнения.
2) Паспорт заполнять разборчиво, печатными заглавными буквами.
3) Выбранные пункты отмечать
знаком
или ![]()
4) В случае, если данные по параграфу 2в отсутствуют, вписать в него «НЕ УСТАНОВЛЕНА».
5) Система инженерных коммуникаций включает в себя антенны, анкера, санитарно-технические вытяжки, системные вводы.
СХЕМА КРОВЛИ С МЕСТАМИ ВЬяВЛЕННых проТЕЧЕК
|
Осмотр и выявление дефектов кровли и потолков помещений верхнего этажа |
Плановые и внеочередные работы по эксплуатации, устранению дефектов и ремонту крыши |
|||||||||||
|
Дата |
Назначение* |
Наименование объекта осмотра (с указанием места, участка)** |
Выявленные дефекты, их объем |
№ дефектной ведомости |
Должность и подпись лица, делавшего осмотр |
Дата |
Где устранен дефект |
Что сделано |
Примененные материалы |
Способ производства работ |
Объем работ |
Производитель работ |
|
|
|
|
|
|
|
|
|
|
|
|
|
|
|
|
|
|
|
|
|
|
|
|
|
|
|
|
|
|
|
|
|
|
|
|
|
|
|
|
|
|
|
|
|
|
|
|
|
|
|
|
|
|
|
|
|
|
|
|
|
|
|
|
|
|
|
|
|
|
|
|
|
|
|
|
|
|
|
|
|
|
|
|
|
|
|
|
|
|
|
|
|
|
|
|
|
|
|
|
|
|
|
|
|
|
|
|
|
|
|
|
|
|
|
|
|
|
|
|
|
|
|
|
|
|
|
|
|
|
|
|
|
|
|
|
|
|
|
|
|
|
|
|
|
|
|
|
|
|
|
|
|
|
|
|
|
|
|
|
|
|
|
|
|
|
|
|
|
|
|
|
|
|
|
|
|
|
|
|
|
|
|
|
|
|
|
|
|
|
|
|
|
|
|
|
* - очередной, внеочередной, в том числе по жалобам жильцов
** - при большом количестве выявленных дефектов оформляют план дефектов кровли
Адрес объекта ________________________________________
Обследование проведено «___» _____________________200 г.
Места основных протечек:_______________________________
|
Обследуемые элементы кровли |
Наименование дефекта |
Номер фотоснимка или эскиза |
Количественная характеристика разрушений кровельного ковра |
|
I. Примыкания: 1. Парапеты |
|
|
|
|
|
|
|
|
|
|
|
|
|
|
|
|
|
|
|
|
|
|
|
|
|
|
|
|
|
2. Вентиляционные шахты, выходы на кровлю, лифтовые шахты и т.д. |
|
|
|
|
|
|
|
|
|
|
|
|
|
|
|
|
|
|
|
|
|
|
|
|
|
|
|
|
|
II. Инженерное оборудование (антенны, анкера и т.д.) |
|
|
|
|
|
|
|
|
|
|
|
|
|
|
|
|
|
|
|
|
|
|
|
|
|
|
|
|
|
Ш. Воронки Ендовы |
|
|
|
|
|
|
|
|
|
|
|
|
|
|
|
|
|
|
|
|
|
|
|
|
|
|
|
|
|
|
|
|
|
|
|
|
|
|
|
IV. Рядовая кровля |
|
|
|
|
|
|
|
|
|
|
|
|
|
|
|
|
|
|
|
|
|
|
|
|
|
|
|
|
|
|
|
|
|
|
|
|
|
|
|
|
|
|
|
|
IVa. Рядовая кровля на выходах на кровлю, лифтовых и вент, шахтах и т.д. |
|
|
|
|
|
|
|
|
|
|
|
|
|
|
|
|
|
|
|
|
|
|
|
|
|
|
|
|
|
|
|
|
|
|
|
|
|
|
|
|
|
|
|
|
V. Оцинковка |
|
|
|
|
|
|
|
|
|
|
|
|
|
|
|
|
|
|
|
|
|
|
|
|
|
|
|
|
|
|
|
|
|
|
|
|
|
|
|
|
|
|
|
|
|
|
|
|
|
|
|
|
|
|
|
|
|
|
|
|
|
|
Осмотр кровли выполнил _________________ / ____________/
Представитель Заказчика _________________ / ____________/
|
№ п/п |
Наименование машин, механизмов и оборудования |
Тип, марка |
Техническая характеристика |
Назначение |
Количество на звено (бригаду) |
|
1. |
Баллоны для газа |
Масса - 22 кг Объем - 50 л |
Хранение газа |
2 шт. |
|
|
2. |
Горелки газовые |
ГВ-1-02П ЦНИИОМТП |
Масса-1,25 га- |
Расплавление мастики |
1 шт. |
|
3. |
Редуктор для газа |
БПО-5-2 |
Масса- 1,6 кг |
Регулирование давления |
2 шт. |
|
4. |
Рукава резиновые |
Внутренний диаметр - 9 мм Ø 12 мм |
Подача газа Подача сжатого воздуха |
30 м |
|
|
5. |
Горелки жидкостные |
ПВ-1 |
Масса- 1,3 га |
Расплавление мастики |
1 шт. |
|
6. |
Установка компрессорная |
СО-243-1 или СО-62, СО-7А |
Масса-132 кг, Расход воздуха - 0,5 м3/мин |
Подача сжатого воздуха. Очистка основания от пыли и мусора |
1 шт. |
|
7. |
Кран крышевой или универсальный подъемник |
К-1 или КБК-2 и др. анал. |
Грузоподъемность К-1 - 300 кг Грузоподъемность КБК-2 - 250 кг |
Подъем и спуск материалов |
1 шт. |
|
УКП-150 |
Грузоподъемность УКП-150 - 150 кг, высота подъема - 30 м |
-«- |
1 шт. |
||
|
8. |
Строп 4-х ветвевой |
Мосгорстрой |
Грузоподъемность - 10 т |
Подъем кровельных материалов на крышу |
1 шт. |
|
9. |
Тележка для подвозки материалов |
РУ 1688.00.000 |
Масса - 17 кг |
Подвозка материалов |
1 шт. |
|
10. |
Агрегат высокого давления |
Финиш-211-1 |
Масса - 75 кг |
Нанесение грунтовки |
1 шт. |
|
11. |
Электронагревательное устройство |
ЭВП-1 |
Теплопроизводительность -12,1 кВт Производительность - 550 м2/ч |
Сушка поверхности основания |
1 шт. |
|
12. |
Машина для удаления влаги |
СО-106А |
Производительность - 50 м2/ч |
Удаление влаги с поверхности основания |
1 шт. |
|
13. |
Электросверлилка |
ИЭ-1017А и др. |
|
Сверление отверстий |
1 шт. |
|
14. |
Машина для нарезки швов в рулонном ковре |
Конструкции ЛНИИ АКХ |
Производительность - 4 м/мин |
Механизированная нарезка швов в рулонном ковре |
1 шт. |
|
15. |
Нивелир |
|
|
|
|
|
16. |
Рейка |
|
|
|
|
|
№ п/п |
Наименование оснастки, инструмента, инвентаря и приспособлений |
Марка, ГОСТ, ТУ или организация-разработчик, номер рабочего чертежа |
Техническая характеристика |
Назначение |
Количество на звено (бригаду), шт. |
|
1. |
Носилки для баллона |
цнииомтп РЧ 1329-3.02.000 |
Масса - 7,5 кг |
Переноска баллонов |
1 |
|
2. |
Тележка-стойка для баллонов с газом (на 2 баллона) |
ЦНИИОМТП РЧ 1329-3.01.000 |
Масса - 23 кг |
Перевозка баллонов и установка |
1 |
|
3. |
Тележка-стойка для баллонов с газом (на 1 баллон) |
ЦНИИОМТП РЧ 1329-3.03.000 |
Масса- 13,2 кг |
Перевозка баллонов и установка |
1 |
|
4. |
Каток дифференциальный |
ИР-830 (СО-108А) |
Масса - 42,6 кг |
Прикатка |
1 |
|
5. |
Захват-раскатчик |
|
Масса - 0,3 кг |
Раскатка рулона |
|
|
6. |
Каток ручной |
ИР-735 ЦНИИОМТП РЧ 735.00.000 |
Масса - 5 кг |
Приклейка в местах нахлесток |
1 |
|
7. |
Гребок с резиновой вставкой |
|
|
Уплотнение полотна |
1 |
|
8. |
Нож кровельный |
18975-73 |
|
Резка материалов |
1 |
|
9. |
Шпатель-скребок |
ТУ 22-3059-74 |
|
Соскребание с поверхности основания цементного раствора. Разравнивание мастики |
2 |
|
10. |
Поддон для рулонных кровельных материалов |
ПС-0,5И |
Масса - 76 кг |
Размещение рулонов для подачи на крышу |
1 |
|
11. |
Пояс предохранительный |
5718-77 |
|
Защита рабочего от падения |
4 |
|
12. |
Защитная каска |
9820-61 |
|
|
6 |
|
13. |
Рулетка |
7502-69 |
|
Замеры |
1 |
|
14. |
Метр складной металлический |
7253-54 |
|
Замеры |
1 |
|
15. |
Уровень строительный с рейкой |
|
Проверка уклонов основания кровли |
1 |
|
|
16. |
Бачок с крышкой |
|
Вместимость - 40 л или 15 л |
Приготовление и транспортирование мастики и грунтовки |
1 |
|
17. |
Ножницы ручные |
ГОСТ 7210-75 |
|
Резка кровельного материала |
1 |
|
18. |
Щетка стальная прямоугольная |
ТУ 494-01-104-76 |
|
Очистка основания кровли |
1 |
|
19. |
Кельма |
КМ ГОСТ 9535-71 |
|
Ремонт стяжки, основания кровли |
1 |
|
20. |
Лопата подборочная |
типа ЛП-1 ГОСТ 3620-76 |
|
Уборка мусора, нанесение и разравнивание холодной асфальтовой смеси |
1 |
|
21. |
Шпатель деревянный |
По эскизу |
|
Выравнивание поверхности основания, мастики |
1 |
|
22. |
Мерные емкости |
|
|
Дозировка составляющих для приготовления грунтовки |
1 |
|
23. |
Клещи строительные |
типа КС-255 |
|
Снятие стальных фартуков в местах примыканий |
1 |
|
24. |
Топор строительный |
типа А-2, В-1 ГОСТ 18578-73 |
|
Очистка старого кровельного ковра |
1 |
|
25. |
Ящик металлический |
|
Вместимость - 0,25 м3 |
Приготовление, хранение раствора |
1 |
|
26. |
Ларь металлический |
|
Вместимость - 3,6 м3 |
Хранение цемента, песка |
1 |
|
27. |
Метла с ручкой |
|
Длина- 1 м |
Очистка поверхности от пыли и грязи |
1 |
|
28. |
Щетка половая |
|
|
- « - |
1 |
|
29. |
Веник хозяйственный |
|
|
- « - |
1 |
|
30. |
Молоток |
ГОСТ 11042-72 |
|
Забивание кровельных гвоздей |
1 |
|
31. |
Направляющий деревянный уголок |
|
|
Нарезка швов в старом кровельном ковре |
- |
|
32. |
Лом обдирочный |
|
|
Снятие старого ковра |
- |
АКТ НА СКРЫТЫЕ РАБОТЫПредставитель (указать организацию, должность, фамилию) авторского надзора, технического надзора заказчика, подрядной организации, заказчика) ______________________________________________________________________________ ______________________________________________________________________________ 1. Произведен осмотр выполненных работ на объекте (наименование объекта и адрес) ______________________________________________________________________________ ______________________________________________________________________________ 2. Произведен осмотр выполненных работ по ремонту и устройству: а) строительно-монтажных работ, в том числе: - замоноличивание швов между сборными железобетонными плитами; - штукатурка, окраска инженерного оборудования; - установка и закрепление водосточных воронок; - компенсаторов деформационных швов; - патрубков (стаканов) для пропуска инженерного оборудования; - анкерных болтов; - антисептированных деревянных брусков для закрепления изоляционных слоев и защитных фартуков. б) слоев паро- и теплоизоляции (материалы, число слоев, толщина) ______________________________________________________________________________ в) основание под кровлю (материалы, толщина, уклоны) ______________________________________________________________________________ 3. Выполненные работы соответствуют рабочим чертежам ______________________________________________________________________________ 4. Оценка качества выполненных работ ______________________________________________________________________________ 5. Производство последующих работ (разрешается, не разрешается) Представители: Авторского надзора __________________________________________________________ Технического надзора заказчика _______________________________________________ Подрядной организации ______________________________________________________ Заказчика ___________________________________________________________________
|
|
______________________________________ ______________________________________ Наименование исполнителя и его реквизиты |
______________________________________ ______________________________________ Наименование заказчика и его реквизиты |
АКТ СДАЧИ-ПРИЕМКИ ВЫПОЛНЕННЫХ РАБОТ ПО РЕМОНТУ КРОВЛИ«__» ________________г. 1. Наименование объекта, адрес ________________________________________________ 2. Наименование договора, сроки исполнения ____________________________________ 3. Стоимость работ по договору ________________________________________________ 4. Объем выполненных работ (площадь кровли, сопутствующие работы) _____________ 5. Конструкция кровли: уклон ______________________________________________________________________ несущие конструкции ________________________________________________________ пароизоляция _______________________________________________________________ теплоизоляция _______________________________________________________________ гидроизоляция (материалы, число слоев, способ укладки) __________________________ 6. Сертификаты на гидроизоляционные материалы ________________________________ 7. Характеристика качества выполненных работ __________________________________ 8. Выводы __________________________________________________________________ 9. Особые замечания _________________________________________________________ ИТОГО на сумму ____________________________________________________________ Ранее опроцентовано _________________________________________________________ Следует к получению по настоящему акту__________________________________________
|
|
|
От исполнителя: ____________________________________ (руководитель, фамилия, должность) ____________________________________________ (старший исполнитель работ, фамилия, должность) _____________________________________ (гл. бухгалтер, фамилия) М. П.
|
От заказчика: ____________________________________ (руководитель, фамилия, должность) ____________________________________________ (старший исполнитель работ, фамилия, должность) _____________________________________ (гл. бухгалтер, фамилия) М. П.
|
содержание
|
|
|
|