//
ТехЛит.ру
- крупнейшая бесплатная электронная интернет библиотека для "технически умных" людей.
WWW.TEHLIT.RU - ТЕХНИЧЕСКАЯ ЛИТЕРАТУРА

:: Алготрейдинг::


АЛГОТРЕЙДИНГ
шаг за шагом
с нуля по урокам!

Торговые роботы на PYTHON, BackTrader,
Pandas, Pine Script для TradingView. Связка с брокерами, телеграм и легкими приложениями.


Государственная служба дорожного хозяйства
Министерства транспорта Российской Федерации

Информационный
центр

по автомобильным
дорогам

Б.Ф. Перевозников, В.Л. Селиверстов

ДОРОЖНО-МОСТОВЫЕ ГАБИОННЫЕ
КОНСТРУКЦИИ И СООРУЖЕНИЯ

Обзорная информация

2-2001

Выходит с 1971 г.                                                                                        7 выпусков в год

В обзорной информации обобщен обширный и малоизвестный многолетний опыт Союздорпроекта, Гипротрансмоста и других отечественных и зарубежных организаций по применению габионных конструкций и сооружений в дорожно-мостовом строительстве.

Эти конструкции и сооружения универсальны и имеют широкую область применения, в частности, при укреплении откосов, склонов, подмостовых конусов и русл; при устройстве удерживающих, подпорных, стабилизирующих, водоотводных, водопропускных и локальных дорожно-мостовых очистных сооружений.

Обзорная информация является первой наиболее полной работой по данной теме. В ее основу положены результаты обобщения отечественного и зарубежного опыта устройства габионных конструкций и сооружений, а также научно-методических разработок, выполненных авторами по обоснованию и сопровождению проектно-строительных решений с применением этих конструкций и сооружений.

Обзор подготовили засл. деятель науки РФ,
д-р техн. наук, профессор,
академик Академии транспорта России
Б.Ф. Перевозчиков (Союздорнроект) и
инж. В.А. Селиверстов (Гипротрансмост)

СОДЕРЖАНИЕ

1. ВВЕДЕНИЕ

2. ОБЩИЕ ПОЛОЖЕНИЯ И ТРЕБОВАНИЯ К ГАБИОННЫМ КОНСТРУКЦИЯМ

3. ТИПЫ И РАЗНОВИДНОСТИ ГАБИОННЫХ КОНСТРУКЦИЙ

3.1. Габионы конструкций Мосгипротранса и их предназначение

3.2. Габионные и сопрягаемые с ними конструкции фирмы . "Офичине Маккаферри" и ОАО "Череповецкий сталепрокатный завод"

3.3. Нетрадиционные и сопрягаемые с ними габионные конструкции

3.4. Габионы из пластмассовых сеток

4. УКРЕПЛЕНИЕ ОТКОСОВ ЗЕМЛЯНОГО ПОЛОТНА И СКЛОНОВ

4.1. Откосы неподтопляемых сооружений

4.2. Откосы подтопляемых сооружений

5. УКРЕПЛЕНИЕ ПОДМОСТОВЫХ КОНУСОВ, РУСЛ, РЕГУЛЯЦИОННЫХ И ВПОЛЬБЕРЕГОВЫХ СООРУЖЕНИЙ

5.1. Исходные положения проектирования

5.2. Подмостовые конуса

5.3. Укрепляемые опоры мостов и подмостовые русла

5.4. Вдольбереговые укрепительные сооружения

5.5. Регуляционные сооружения

6. ПОДПОРНО-УДЕРЖИВАЮЩИЕ, ЗАЩИТНЫЕ, УСИЛИВАЮЩИЕ, СТАБИЛИЗИРУЮЩИЕ И ПРОТИВОФИЛЬТРАЦИОННЫЕ ГАБИОННЫЕ КОНСТРУКЦИИ И СООРУЖЕНИЯ

7. ГАБИОННЫЕ КОНСТРУКЦИИ И СООРУЖЕНИЯ ДЛЯ ЦЕПЕЙ ВОДОПЕРЕПУСКА, ВОПООТВЕДЕНИЯ И ОЧИСТКИ СТОЧНЫХ ВОД

7.1. Водопропускные, водоотводные и сопрягающие сооружения

7.2. Очистные сооружения

8. ПЕРИОДИЧЕСКИ ЗАТОПЛЯЕМЫЕ, СЕЛЕЗАЩИТНЫЕ И ФИЛЬТРУЮЩИЕ ВОДОПРОПУСКНЫЕ СООРУЖЕНИЯ С ПРИМЕНЕНИЕМ ГАБИОННЫХ КОНСТРУКЦИЙ

ЗАКЛЮЧЕНИЕ

СПИСОК ЛИТЕРАТУРЫ

1. ВВЕДЕНИЕ

В мировой практике габионные конструкции применяются более 100 лет. Их используют для укрепления откосов насыпей и выемок, косогоров, берегов пересекаемых водотоков, оврагов и логов, водоотводных, регуляционных и других дорожно-мостовых сооружений.

В отечественной практике эти конструкции имели ограниченное использование и предусматривались типовыми решениями [1] прежних лет исключительно для укрепления подтопляемых откосов земляного полотна. В ныне действующих типовых решениях по укреплению откосов земляного полотна [2], водоотводных [3] и других сооружений, применение габионных конструкций не было предусмотрено.

К настоящему времени Союздорпроектом и некоторыми другими организациями накоплен весьма значительный отечественный и зарубежный опыт использования габионных конструкций. Среди наиболее крупных и ответственных объектов - автомобильная дорога Симра-Джанакпур в Непале и реконструкция МКАД. Только на МКАД габионные конструкции были построены на 70-и сооружениях различного предназначения (мостовых переходах, путепроводах, малых водоотводных, фильтрующих сооружениях и др.).

К настоящему времени разработаны и реализуются строительством проектные решения по применению габионных конструкций и сооружений на мостовых переходах через pp. Упу, Меру, Елнать, Клязьму, Сочинской эстакаде, пяти путепроводах На автомобильной дороге Москва-Воронеж и других объектах.

Многолетний опыт показывает, что использование габионных конструкций является одним из высокоэффективных и универсальных способов не только укрепления откосов, но и усиления, стабилизации и защиты эксплуатируемого земляного полотна, а также устройства подмостовых конусов, опор мостов, регуляционных дамб, береговых и других сооружений.

Выполняя защитно-укрепительные функции, габионные конструкции способны выполнять роль обратного фильтра, а в некоторых случаях они могут быть использованы для обеспечения противофильтрационных мероприятий.

Габионные конструкции представляют собой естественные строительные блоки, которые аккумулируют в себе частицы грунта, способствуют росту растительности, со временем приобретают еще большую прочность, становятся частью природного ландшафта и украшают его, безопасны для миграции животных.

Эти особенности и характеристики габионных конструкций, а также многолетний опыт их использования во многом предопределяют возможность их более широкого применения на различных объектах дорожно-мостового строительства.

Однако применение габионных конструкций во многом сдерживалось отсутствием в дорожно-мостовом строительстве нормативно-методических основ и документов на проектирование и устройство этих конструкций, в которых были бы отработаны, систематизированы и сформулированы технические требования, конструктивные решения, условия и область использования габионных конструкций.

Настоящий обзор направлен на устранение этого пробела. Он подготовлен на основе теоретических исследований, анализа и обобщения ранее реализованных индивидуальных проектно-строительных решений научно-методических разработок, а также результатов обследования эксплуатируемых сооружений на ряде дорожно-мостовых объектов.

2. ОБЩИЕ ПОЛОЖЕНИЯ И ТРЕБОВАНИЯ К ГАБИОННЫМ КОНСТРУКЦИЯМ

Многолетним опытом зарубежного и отечественного проектирования предусматривается возможность применения габионных конструкций по устройству и укреплению:

откосов земляного полотна, подмостовых конусов, дамб обвалований и регуляционных сооружений;

берегов водоемов, пересекаемых, вдоль расположенных, спрямляемых и канализируемых русл рек и малых водотоков;

неразмываемых подмостовых русл;

руслорегулирующих сооружений и регуляционных сооружений в бассейнах рек с неустойчивым характером русловых процессов;

входных и выходных русл малых водопропускных сооружений;

кюветов, водоотводных канав, водовыпусков из откосных лотков и рассеивающих трамплинов и других водоотводных и водогасящих сооружений;

периодически затопляемых участков дорог и переходов через водотоки;

водоотводных и водопропускных фильтрующих и очистных сооружений;

оврагозащитных и противоэрозионных сооружений;

сооружений для усиления и стабилизации эксплуатируемых насыпей земляного полотна;

неотложной защиты подтопляемых насыпей, подмостовых конусов, опор мостов и регуляционных сооружений в период проявления опасных разрушающих воздействий паводков.

Для дифференцированного учета восприятия расчетных нагрузок и воздействий и повышения экономической эффективности и надежности функционирования укрепительных, защитных, поддерживающих и других сооружений (устройств) может предусматриваться диверсификация возможностей габионных конструкций в сочетании с другими традиционными типами укреплений и устройствами.

Габионные конструкции, предназначаемые для защиты земляного полотна от опасных геологических процессов (эрозии, осыпей, наводнений, селей, лавин, оползней и т.п.), относятся к поддерживающим и защитным геотехническим и гидротехническим устройствам и конструкциям. Согласно классификации СНиП 2.05.02-85 [4], габионные конструкции такого предназначения следует рассматривать и классифицировать как один из основных элементов земляного полотна.

В соответствии с требованиями СНиП 2.05.02-85, а также в связи с отсутствием соответствующих типовых решений, габионные сооружения и сооружения, сопрягаемые с габионными конструкциями, подлежат индивидуальному проектированию с соответствующими обоснованиями условий их функционирования и проработками всех конструктивно-технологических решений.

Проектирование защитных, усиливающих, подпорных и удерживающих габионных конструкций, сооружений и устройств на оползневых и оползнеопасных участках, а также в районах распространения селей, осыпей, камнепадов, лавин, карста, слабых грунтов, просадочных и набухающих грунтов и на участках влияния абразии и речной эрозии следует осуществлять на основе специальных нормативных документов.

Основные положения и требования по защите автомобильных дорог от селевых потоков и определению расчетных нагрузок и воздействий на селезащитные сооружения, типы и конструкции этих сооружений, а также методы нахождения расчетных характеристик селевых потоков и их воздействий регламентированы рекомендациями [5].

При расположении автомобильных дорог на орошаемой территории габионные конструкции, сооружения и устройства следует проектировать с учетом воздействия оросительной системы на водно-тепловой режим земляного полотна, водопропускных, водоотводных и других дорожно-мостовых сооружений.

Дорожно-мостовые сооружения, проектируемые с применением габионов, не должны ухудшать режим функционирования оросительной системы. Недопустимо использование кюветов, водоотводных и нагорных канав в качестве распределителей воды. Расстояние между бровками водосборных и водосбросных каналов оросительной сети и водоотводных дорожных канав (кюветов) должно быть не менее 4,5 м.

Расположение и конструкции дорожных водоотводящих фильтрующих габионных сооружений должны учитывать особенности гидрографии и условия функционирования оросительной системы, состав и качество воды и согласовываться с соответствующими органами и организациями.

При разработке проектно-строительных решений по возведению земляного полотна с применением габионных конструкций, сооружений и устройств на косогорах, участках залегания и образования вечномерзлых грунтов и наледей, в районах распространения засоленных грунтов и подвижных песков, на болотах и слабых основаниях следует руководствоваться нормативными требованиями и рекомендациями СНиП 2.05.02-85 с учетом несущих, защитных, дренирующих и других особенностей и возможностей габионов и их сопряжений с земляным полотном. Типы применяемых габионных конструкций, сооружений и устройств должны отвечать конструктивным особенностям и условиям работы сопряженных в едином комплексе с ними дорожно-мостовых сооружений; учитывать свойства грунтов и возможности использования местных каменных материалов, особенности погодно-климатических и гидрологических факторов; обеспечивать устойчивость всего комплекса возводимых сооружений, возможность механизации работ и минимум затрат на строительство и эксплуатацию.

При применении габионных конструкций и сооружений следует разрабатывать альтернативные им варианты традиционных конструкций (сооружений) с учетом инженерно-экономической необходимости, экологических требований, условий и времени производства, строительных работ по всему комплексу возводимых сооружений на конкретном объекте, а также условий и срока эксплуатации данного объекта.

Для повышения эффективности и конкурентной способности вариантов проектно-строительных решений, разрабатываемых с применением габионов, необходимо изучение наличия, условий поставки, дальности возки, состава и свойств местных и привозных каменных материалов, пригодных для использования в габионных конструкциях, сооружениях и устройствах в тех или иных условиях их применения.

К местным каменным материалам, пригодным к использованию в этих конструкциях, сооружениях и устройствах, могут быть отнесены валунные и гравийно-галечные отложения в руслах рек и на пойменных массивах.

В габионных конструкциях, сооружениях и устройствах, располагаемых в особо опасных и неблагоприятных условиях их функционирования, в сложных и ответственных узлах сопряжения с постоянными дорожно-мостовыми сооружениями, а также на объектах (сооружениях) повышенной степени ответственности, наиболее предпочтительно использовать каменные материалы твердых пород (базальт, гранит, диабаз, диорит и т.п.), прочные во времени и под нагрузкой, морозостойкие, устойчивые к истиранию, выщелачиванию и воздействию других факторов.

К этим случаям применения каменных материалов твердых пород могут быть отнесены конструкции, сооружения и устройства, которые, кроме своего прямого предназначения, должны обеспечивать дренирование, гашение энергии водных потоков, восприятие нагрузок, а также цветовую гамму лицевых сторон возводимых откосных сооружений.

Сопоставление и выбор оптимальных конструкций, устройств и сооружений должны сопровождаться соответствующими технико-экономическими обоснованиями, при разработке которых следует учитывать степень природоохранной целесообразности и эффективности проектно-строительных решений применения габионов и других альтернативных материалов и конструкций.

При оценке природоохранной целесообразности и эффективности использования габионных конструкций, устройств и сооружений, а также альтернативных им вариантов следует руководствоваться нормативными требованиями и положениями СНиП 2.05.02-85, а также рекомендациями [6].

При определении критериев вероятности превышения расчетных расходов и уровней воды на участках местности, периодически затапливаемых паводками; длительности подтопления территорий; волновых, ледовых, подпорных и других воздействий; развития эрозионных, русловых и других опасных процессов; а также других условий применения габионных конструкций, сооружений и устройств следует руководствоваться документами [7, 8], соответствующими классу (уровню) ответственности сооружений.

В качестве расчетного горизонта грунтовых вод необходимо принимать их наивысший многолетний уровень, а на вновь осваиваемых орошаемых или осушаемых территориях - по перспективным данным органов водного хозяйства, данным других территориальных органов или проектно-изыскательских организаций.

Проектирование габионных конструкций и сооружений должно основываться на материалах инженерных изысканий и результатах гидравлико-гидрологических расчетов, а также на использовании проектных материалов и решений по тем конструктивным элементам дорожного полотна, мостов, регуляционных, малых водопропускных, водоотводных и других дорожно-мостовых сооружений, которые подлежат укреплению, усилению, стабилизации, защите и совместному сопряжению с габионными конструкциями и устройствами.

Гидравлико-гидрологические расчеты при использовании габионов на малых водопропускных и водоотводных сооружениях, а также на фильтрующих и переливных насыпях и лотковых сооружениях следует выполнять в соответствии с требованиями и методами, регламентированными пособием [9].

Проектирование берегозащитных, подпорных, защитных, усиливающих, стабилизирующих габионных конструкций, сооружений и устройств, а также тех из них и других, которые комплексно или индивидуально входят в состав наиболее сложных объектов (включая мостовые переходы), должно осуществляться на основе технических заданий и условий Заказчика или Генпроектировщика.

В технических заданиях на проектирование мостовых переходов с применением габионных конструкций, сооружений и устройств должно быть предусмотрено требование по необходимости их сопряжения и взаимной увязке с проектно-строительными решениями очистных, водоотводных, водосбросных, коммуникационных, дорожно-мостовых и других сооружений, а также по рекультивации нарушенных земель и другим природоохранным мероприятиям.

Аналоговый перенос ранее разработанных на других объектах индивидуальных проектно-строительных решений по габионным конструкциям, сооружениям и устройствам с одного объекта на другой без выполнения поверочных расчетов, привязки и обоснования применимости этих решений к конкретным местным условиям недопустим, так как это не гарантирует качество проектирования и надежное функционирование возводимых объектов.

Разработка проектно-строительных решений по применению габионных конструкций должна выполняться в соответствии с методическими рекомендациями [10] с учетом типов и разновидностей сетчатых изделий и устраиваемых из них сетчато-арматурных каркасов.

Отечественные и зарубежные габионные конструкции по форме сетчато-арматурных каркасов и формируемых из них единичных строительных блоков подразделяются на три типа: коробчатые, матрасно-тюфячные и цилиндрические.

При сопрягаемом объединении друг с другом единичных блоков могут создаваться однотипные конструкции, состоящие только из коробчатых или матрасно-тюфячных, или цилиндрических габионов.

Одной из отличительных особенностей применения этих трех типов габионных строительных блоков является возможность создания из них комбинированных конструкций, состоящих из различного взаимного сочетания друг с другом коробчатых, матрасно-тюфячных и цилиндрических габионов.

3. ТИПЫ И РАЗНОВИДНОСТИ ГАБИОННЫХ КОНСТРУКЦИЙ

3.1. Габионы конструкций Мосгипротранса и их предназначение

Габионы этих конструкций представлены в виде габионных ящиков (коробчатых), тюфяков и цилиндров. Они предназначены для защиты откосов насыпей и берегов рек от опасного воздействия речных потоков и рекомендованы к применению в любых климатических условиях при скоростях течения воды от 4 до 6 м/с.

Габионные ящики (коробки) предназначены для устройства защитных стенок в подводной части откоса. Размеры ящиков габионного укрепления и взаимное расположение их в габионной кладке устанавливаются проектом.

Габионные тюфяки предусмотрены трех размеров: 3×1×0,5 м, 4×2×0,5 м и 2×1×0,25 м. Они применяются в качестве укрепления откосов, а также в качестве основания стенок из габионных ящиков. Покрытие откосов из габионных тюфяков должно иметь надежный упор из габионных ящиков или продолжаться в пологой части откоса.

Габионы цилиндрической формы применяются главным образом в тех случаях, когда высокое положение уровней воды или слишком быстрое ее течение не позволяют вести откосно-береговую укладку тюфячных и коробчатых габионов. В этих условиях, а также во время водоборьбы (защиты от размывов) габионы сбрасываются (скатываются) в воду после заполнения их камнем на краю откоса или на обочине дороги.

Материалом для изготовления арматурных каркасов габионов служат оцинкованная гибкая проволока диаметром от 2,0 до 4,2 мм для плетения сетки и прутковое железо диаметром от 6 до 8 мм для устройства каркаса. Иногда габионы устраиваются без каркаса в виде проволочного мешка.

Прочность габиона определяется прочностью проволочной сетки. Срок службы габиона (в неагрессивной среде) из оцинкованной проволоки от 8 до 12 лет, из простой - от 3 до 5 лет.

За этот период габионная кладка обычно настолько уплотняется и кальматируется, что более не нуждается в этой сетке. Выбор между оцинкованной и простой проволокой производится в зависимости от ожидаемой интенсивности кальматажа габионной кладки и интенсивности коррозии проволоки в данной среде.

Габионные каркасы заполняются камнем твердых, преимущественно тяжелых и слабовыветривающихся водостойких пород, размерами не менее размеров ячейки габионной сетки, но не менее 0,04 м. Лицевые камни должны быть наиболее крупными и выступать из ячеек. Внутрь габиона укладываются мелкие камни. Габионы соединяются между собой вязальной отожженной проволокой диаметром 3 мм, длиной от 0,30 до 0,35 м на расстоянии 0,15-0,20 м один от другого. Нижние габионы закрепляются в земле забитыми по углам стержнями (жезлами) диаметром от 16 до 19 мм. Под габионами укладывается щебеночная или гравийная подготовка слоем толщиной 0,2-0,4 м. Верхний слой подготовки устраивается из наиболее крупных камней.

Конструктивные особенности и изначальное предназначение габионов данного типа позволяют их использовать исключительно для укрепления подтопляемых откосов земляного полотна, регуляционных дамб, а также берегов рек, находящихся в особо сложных и опасных гидрологических условиях функционирования.

Габионные укрепления, предусмотренные решениями Мосгипротранса [1], не доведены до практического применения в качестве типовых решений, а их использование в индивидуальном проектировании сопряжено с необходимостью более детальных дополнительных проектных проработок с учетом рекомендаций [10].

3.2. Габионные и сопрягаемые с ними конструкции фирмы "Офичине Маккаферри" и ОАО "Череповецкий сталепрокатный завод"

Габионы, изготавливаемые из металлической сетки двойного кручения фирмы "Офичине Маккаферри", представлены тремя основными формами арматурных каркасов, из которых создаются единичные габионные строительные блоки: коробчатые, матрасно-тюфячные и цилиндрические (рис. 1). Наибольшее применение находят габионы коробчатые размерами 2×1×1 м, 1,5×1×1 м, 2×1×0,5 м, 3×1×0,5 м и 3×2×0,5 м; матрасно-тюфячные толщиной 0,17 м, 0,23 м, 0,3 м и размером 3×2 м; цилиндрические длиной от 2 до 3 м и диаметром 0,3 м.

Арматурные каркасы этих коробчатых и матрасно-тюфячных габионов представляют собой готовые сетчатые ящики. Они поставляются в виде пакетов, которые состоят из плоских, сложенных разверток сетчатых ящиков (рис. 2). На месте строительства эти развертки формируются в каркасные сетчатые ящики путем перевязки проволокой по их угловым ребрам [11].

Рис. 1. Типы арматурно-сетчатых каркасов:

а - коробчатые; б - матрасно-тюфячные; в - цилиндрические

Рис. 2. Сетчатая развертка коробчатого габиона с диафрагмой:

а - до сборки; б - схема сборки

Арматурные каркасы всех форм габионов изготавливаются из стальной оцинкованной сетки двойного кручения с шестигранными ячейками размерами 10×12 см, 8×10 см, 6×8 см или 5×7 см.

Оцинкованная сетка двойного кручения с шестигранными ячейками обладает следующими свойствами:

• изготавливается индустриально и поставляется в виде рулонов или в виде сложенных разверток металлических каркасов габионов;

не расплетается при механическом повреждении одной, двух, трех проволочек сетка за счет двойной скрутки в узлах;

имеет плоскую фиксированную поверхность, что позволяет создавать конструкции необходимых очертаний;

устойчива к истиранию;

воспринимает большие нагрузки без повреждений, поскольку эти нагрузки через двойную скрутку равномерно распределяются по всей площади сетки;

• обладает весьма значительной антикоррозионной устойчивостью и сроком службы.

Существуют и другие типы покрытий проволоки, такие как эмали или покраска. Некоторые из них выдерживают скручивание и эластичны. Однако покрытие цинком в настоящее время является самым устойчивым к коррозии и механическим повреждениям.

Диаметр проволоки сетки габионных оцинкованных каркасов составляет от 2 до 4 мм, предел прочности проволоки - 38-50 кг/мм, удлинение не превышает 12%. В зависимости от диаметра проволоки и размера ячеек предел прочности сетки на разрыв составляет от 3000 до 5300 кг/м. Плотность цинкового покрытия составляет 240-290 г/м2. Основные показатели плотности цинкового покрытия проволоки сетки и другие ее характеристики более детально отражены в работах [10, 11, 12, 13, 14, 15, 16, 17, 18, 19].

Каркасы габионов, выполненные из стальной оцинкованной сетки двойного кручения, можно классифицировать как оцинкованные.

Для применения в агрессивной среде оцинкованная проволока сетки может дополнительно покрываться пластиковой оболочкой толщиной от 0,4 до 0,6 мм из поливинилхлорида (ПВХ). Эта оболочка отличается повышенной прочностью и морозоустойчивостью.

Стандартная комбинация размеров ячейки сетки и диаметр проволоки сетки с покрытием из ПВХ более подробно характеризуются данными работы [10]. Каркасы габионов, выполненные из стальной оцинкованной сетки двойного кручения с покрытием их ПВХ, можно классифицировать как пластифицированные.

Вместо цинкового покрытия стальной проволоки сетки может применяться покрытие из гальфана, представляющего собой сплав цинка и алюминия (содержание алюминия 5%). От цинкового покрытия гальфан отличается плотной тонкозернистой микроструктурой, замедляющей скорость коррозии.

Другим свойством гальфана является его прочность, а в случае изгибания или кручения проволоки гальфановое покрытие не подвергается растрескиванию. Такого типа каркасы можно классифицировать как гальфановые.

Все края коробчатых и тюфячных габионов армируются проволокой большего диаметра, чем проволока сетки. Габионы этих типов могут быть разделены на секции посредством диафрагм, располагаемых через 1 м. Это упрочняет конструкцию габионов, облегчает работы по их установке и удобству эксплуатационных работ. При возможных механических повреждениях нарушается только одна или несколько ячеек. Основная часть сооружения работает дальше без уменьшения прочности. Эти диафрагмы имеют такие же характеристики, что и сетка, из которой состоит габион, а крепятся они непосредственно к раме основания габионов во время их изготовления.

Заполнение арматурно-сетчатых каркасов производится различным каменным материалом (щебнем, галькой, валунами, рваным камнем карьерных разработок и другие). Размер камней должен превышать размер ячейки сетки в 1,5-2 раза. Каменный материал должен обладать высокой плотностью, прочностью, морозостойкостью, в особенности при использовании в ответственных габионных сооружениях, подверженных динамическому воздействию воды. Наиболее предпочтительны магматические горные породы. Каменный материал, пригодный к заполнению, характеризуется данными работы [10].

При заполнении каркасов коробчатых габионов более крупные камни должны находиться у края сетки, а более мелкие - в середине корзины. Заполнение матрасно-тюфячных каркасов производится одномерным камнем.

Крышка матрасно-тюфячных габионов (рис. 3) может быть выполнена из сетки, имеющей те же размеры, что и сетка основная (рис. 4, а), либо из сетки в рулонах (рис. 4, б). Цилиндрические каркасы выполняются из единого рулона сетки, открытого с одной стороны или вдоль одного бока. Увязку габионов можно осуществлять как вручную, так и с помощью специальных автоматов типа "степлер".

Рис. 3. Схема матрасно-тюфячного арматурного каркаса и его элементов в сборке:

1 - диафрагма; 2 - крышка; 3 - боковая панель; 4 - торцевая панель

Расход проволоки для завязки арматурных каркасов коробчатых, матрасно-тюфячных и цилиндрических габионов составляет 3-5% от общей массы этих каркасов.

Стандартные размеры и масса арматурных каркасов коробчатых, матрасно-тюфячных и цилиндрических габионов могут быть изменены на месте строительства путем весьма несложных технологических операций в зависимости от конкретных условий применения этих габионов.

Рис. 4. Схемы вариантов укладки сеток крышек матрасно-тюфячных габионов:

а - поперечная укладка; б - продольная укладка

При использовании продукции фирмы "Офичине Маккаферри" период приобретения наибольшей прочности построенных габионных сооружений составляет 1-5 лет [13, 14, 15] в зависимости от интенсивности и объема аккумуляции частиц грунта в тело габионов, консолидации грунта в основании этих сооружений и бортах их соприкосновения с укрепляемой поверхностью откосов (берегов) и других факторов.

Срок службы цинкового покрытия проволоки, из которой изготавливаются сетки каркасов этих габионов, определяется антикоррозионной устойчивостью этого покрытия. При плотном оцинковании (260 г/м2) фактический срок службы цинкового покрытия, определенный по ряду ранее построенных габионных сооружений на 13-ти эксплуатируемых зарубежных объектах, может быть установлен по данным рис. 5 [13, 14].

Рис. 5. Зависимость срока службы цинкового покрытия от плотности его оцинкования

Лабораторно-экспериментальные испытания показывают [13, 14], что при плотном оцинковании (260 г/м2) срок службы цинкового покрытия составляет 17-55 лет (рис. 6).

Рис. 6. Экспериментальные значения срока службы цинкового покрытия в обычных условиях

Для условий морской (агрессивной) среды этот показатель составляет 6-25 лет. При плотности цинка 50 г/м2 продолжительность жизни цинкового покрытия в обычных условиях составляет 4 года, а в морских - 1-2 года. Согласно данным [13, 14], покрытие цинка под ПВХ не разрушается до 120 лет.

В настоящее время ОАО "Череповецкий сталепрокатный завод" (ОАО "ЧСПЗ") освоило выпуск отечественных металлических проволочных сеток двойного кручения с шестиугольными ячейками и сетчатых металлических конструкций для изготовления коробчатых арматурных каркасов.

Металлические сетки и сетчатые конструкции ОАО "ЧСПЗ" получили достаточную апробацию, применяются в строительстве габионных сооружений и рекомендуются для использования в дорожно-мостовом строительстве.

Металлическая сетка изготавливается из проволоки оцинкованной третьей группы покрытия (03)(260-275 г/м3) с размером ячеек 80×100 мм, диаметром 2,2-2,7 мм и шириной 2000-3000 мм. Изготовление этих сеток производится в соответствии с Техническими условиями (ТУ 14-178-351-98), разработанными впервые ОАО "ЧСПЗ" и согласованными с мэрией г. Череповца.

Ассортимент и конструктивные особенности сетчатых конструкций ОАО "ЧСПЗ" обусловлены Техническими условиями (ТУ 14-178-350-98), разработанными впервые этим предприятием в 1998 г. и согласованными с мэрией г. Череповца.

Особенности этих Технических условий и предусматриваемых ими сеток и сетчатых конструкций более подробно отражены в работах [20, 21].

Металлические сетки и сетчатые конструкции, изготовляемые ОАО "ЧСПЗ", являются альтернативными зарубежными аналогами, а устраиваемые из них габионные конструкции и дорожно-мостовые сооружения обладают такими же преимуществами габионных структур.

Условиями применения габионных структур, рассматриваемых в: настоящем разделе, предусмотрено в основании габионных сооружений взамен подстилающего слоя из традиционных гравийно-песчаных, щебеночных и других материалов использовать геотекстиль Террам. Могут быть применены геотекстильные конструктивные материалы (дорнит), регламентированные ТУ 186788-90 ОП-2.

Принятие решения о замене подстилающего слоя из традиционных материалов на геотекстильные или об их совместном использовании в условиях значительных волновых воздействий должно быть обосновано индивидуальными расчетами с учетом конструктивных особенностей габионного сооружения и его устойчивости от этих воздействий. Для устранения вымывания из габионов мелкого или измельченного (разрушенного) в процессе эксплуатации каменного материала геотекстильный материал укладывается в днище каркасов габионов.

Габионные конструкции могут быть использованы в качестве противофильтрационных устройств как при проектировании нового строительства, так и при защите существующих дорожно-мостовых объектов (сооружений).

При использовании этих габионных конструкций для предотвращения фильтрации воды через сооружение (в теле, откосах и по подошве земляного полотна и плотин, а также в днищах и откосах карьеров и других искусственных водоемов) необходимо обеспечить водонепроницаемость этого сооружения.

Обеспечение водонепроницаемости габионных структур, применяемых в качестве противофильтрационного мероприятия в проектируемых или эксплуатируемых сооружениях, следует производить с помощью укладки под габионы водонепроницаемой полимерной пленки (защищенной с обеих сторон слоями геотекстиля) либо с помощью пропитки габионов горячей песчано-битумной мастикой (рис. 7).

Рис. 7. Противофильтрационные и водонепроницаемые габионные строительные блоки:

а - с применением мембран; б - с применением битумной мастики; 1 - геотекстиль; 2 - водонепроницаемая мембрана; 3 - битумная мастика

В качестве альтернативы этой мастике может быть использована битумная или синтетическая оболочка, укладываемая под габионом. Она должна быть защищена от возможного повреждения при наложении двойного слоя геотекстиля. Мастика наносится в горячем виде. Среднее количество и состав мастики характеризуются данными, более подробно рассматриваемыми в работах [10, 11, 13, 14].

Коробчатые габионы используются для возведения массивных сооружений: подпорных стен, дамб, берегоукреплений, водосливных плотин и т.д. Лицевая грань таких сооружений (вертикальная или наклонная) может быть как гладкой, так и ступенчатой. Высота конструкций, сооружаемых из коробчатых габионов, не должна превышать 7-8 м. В случае, если необходимо построить более высокие сооружения, используют системы армирования грунта, комбинированные с габионными конструкциями (прежде всего систему Террамеш).

Матрасно-тюфячные габионы, а в ряде случаев и коробчатые габионы, применяются для площадочных покрытий, предназначенных чаще всего для защиты от различных видов эрозии и склоновых процессов. Матрасно-тюфячные габионы используют в качестве основания для сооружений из коробчатых габионов. В этом случае они выполняют функции защитного фартука, предохраняющего основание конструкции от размыва.

Цилиндрические габионы используются обычно при создании подводных фундаментов сооружений из коробчатых габионов, а также для выполнения работ, требующих незамедлительного вмешательства при ликвидации аварий сооружений, расположенных на реках.

Простые панели сетки двойного кручения часто применяются для защиты автомобильных дорог от камнепадов, а также используются для восстановления или инициирования зарастания растительностью крутых скалистых склонов.

Раскрытие и реализация всех возможностей габионных конструкций могут быть осуществлены лишь на основе вариантных проработок и сопоставления с другими альтернативными вариантами применения традиционных или нетрадиционных конструкций на конкретных объектах проектирования.

3.3. Нетрадиционные и сопрягаемые с ними габионные конструкции

К этим конструкциям относятся: система Террамеш, система зеленый Террамеш, матрасы Геомак, маты Сармак, система Флексмак, геокомпозитная сетка Макмат, сетка Родмеш, биоматы, биотекстили. Все они являются запатентованной продукцией фирмы "Офичине Маккаферри" и относятся к современным конструкциям и технологии ландшафтной архитектуры [10, 11, 12, 13, 14, 15].

Система Террамеш представляет сооружения удерживающего типа. Она состоит из коробчатых габионных конструкций, сопряженных с армирующими панелями, выполненными из сетки двойного кручения с шестигранными ячейками (рис. 8). Сетки плотного оцинкования с ПВХ - покрытием или гальфановым покрытием.

Рис. 8. Конструктивные элементы системы Террамеш:

L - длина; В - ширина; Н - высота габиона; 1 - проволока армирования каркаса габиона; 2 - диафрагма; 3 - сетчатая армирующая панель

Коробчатые габионы, заполненные камнем, составляют лицевую сторону системы Террамеш. К нижним граням габионов присоединяются горизонтально располагаемые сетчатые армирующие панели. Края панелей укрепляются проволокой диаметром 3,4-4,4 мм, оцинкованной и покрытой ПВХ или гальфаном. Между панелями насыпаются и утрамбовываются слои насыпного грунта, армируемые сеткой.

Лицевая сторона системы Террамеш может быть выполнена в виде вертикальной или наклонной стены гладкого или ступенчатого очертания (рис. 9). Эту сторону составляют коробчатые габионы, которые заполняются камнем полностью или с частичным заполнением растительным грунтом в левой верхней части габионов.

Рис. 9. Конструкции системы Террамеш в виде стен:

а - вертикальных; б - наклонных; 1 - сетчатая армирующая панель; 2 - геотекстиль; 3 - грунт обратной засыпки

Заполнение габионов камнем или с частичным заполнением грунтом может улучшить внешний вид откосов за счет посадки саженцев кустарника, вьющихся растений и другого растительного материала.

Система Террамеш сочетает в себе свойства и предназначение габионных конструкций и систем армирования грунта металлическими сетками.

Система зеленый Террамеш отличается от системы Террамеш тем, что ее лицевая сторона выполнена не из габионов, а из панелей оцинкованной сетки двойного кручения (рис. 10). Эта система может иметь наклонную и вертикальную лицевую сторону. К панелям сетки лицевой грани прикрепляется биополотно, инициирующее рост травяного покрова (для сухих откосов), или полипропиленовое полотно для структур, подвергающихся воздействию воды.

Рис. 10. Конструктивные элементы системы зеленый Террамеш:

L - длина; В - ширина; Н- высота габиона; 1 - проволока армирования; 2 - биополотно (или геотекстиль); 3 - сетчатая армирующая панель; 4 - фиксирующие кольца плотного оцинкования; 5 - лицевая панель; 6 – арматура треугольной формы

Лицевая сторона системы зеленый Террамеш чаще всего возводится под углом 60-70°. Использование растительного грунта, обогащенного различными видами трав, а также обработка лицевой поверхности системы гидропосевом (с использованием метода экстремального озеленения) позволяют в сжатые сроки осуществить полное озеленение поверхности откосов (рис. 11).

Рис. 11. Конструкция системы зеленый Террамеш:

1 - грунт обратной засыпки; 2 - сетчатая армирующая панель; 3 - гидропосев; 4 - биополотно; 5 - геотекстиль; L = (0,6-0,7)Н

В зависимости от типа лицевой стороны системы Террамеш и системы зеленый Террамеш (с использованием коробчатых габионов или без них) возможны два способа их сборки, которые наряду с массой и типоразмерами элементов этих двух систем более подробно рассматриваются в работах [10, 13, 14, 15].

Для обеспечения необходимого сцепления и гарантии надежной работы армогрунтовой системы с использованием металлических сеток, следует, в качестве материала обратной засыпки, укладываемого позади лицевой грани конструкции, применять зернистый, свободнодренирующий материал, который должен отвечать следующим требованиям:

не более, чем 15% от общей массы материала должно быть мельче 0,075 мм;

не менее, чем 90% от общей массы материала должно быть мельче, чем 100 мм;

• максимальный размер частиц грунта засыпки не должен быть больше, чем 150 мм.

При соблюдении этих требований угол внутреннего трения обратной засыпки будет равен 36°. Нижний предел зернового состава засыпки может быть увеличен до 20% от общей массы с размером частиц мельче 0,075 мм. При этом обеспечивается необходимая величина угла внутреннего трения.

Поведение материалов обратной засыпки, не отвечающих адекватно этим требованиям, менее предсказуемо, главным образом из-за содержания влаги в засыпке и ее изменения в течение срока службы сооружения. В качестве обратной засыпки возможно использование смешанных материалов (смеси песка и гравия и т.п.), в том числе полученных с помощью химических методов стабилизации. При этом необходимо обеспечить, чтобы величина угла внутреннего трения грунта обратной засыпки была не меньше 28-30°.

Во избежание повреждения металлической сетки армогрунта грунтоуплотняющими машинами отсортированный материал засыпки укладывается и уплотняется слоями толщиной не более 0,5 м. При использовании габионной лицевой грани грунтоуплотняющие машины не должны подходить ближе 1,0 м к тыльной стороне коробчатого габиона. Уплотнение засыпки у габионов завершают с помощью ручных вибраторов. Рекомендуется обеспечить уплотнение засыпки до плотности материала 1,8 т/м3.

Системы Террамеш и зеленый Террамеш предназначены для защиты берегов, склонов и откосов от размыва, эрозии и оползания. Матрасы Геомак представляют собой габионную структуру, заполненную грунтом, защищенным геотекстилем от вымывания (рис. 12). В качестве основы этой структуры используется арматурно-сетчатый каркас матрасно-тюфячного габиона. Каркас устилается внутри полотном геотекстиля, заполняется грунтом и закрывается крышкой из обычного полотна сетки двойного кручения с биотекстилем или из сетки Макмат (рис. 13).

Рис. 12. Конструкция матрасов Геомак:

1 - арматурно-сетчатый каркас; 2 - геотекстиль; 3 - сетчатая крышка

Матрасы Геомак предназначаются для противоэрозионной защиты сухих склонов и откосов насыпей, а также для рекультивации территорий. Они способствуют росту травяного покрова и восстановлению плодородного слоя на свалках и местах, загрязненных синтетическими пленками.

Рис. 13. Геокомпозитная сетка Макмат

Маты Сармак разработаны для обеспечения закрепления и защиты подводных трубопроводов и кабелей от повреждения. Арматурные каркасы этих матов относятся к матрасно-тюфячному типу.

Маты Сармак в заполненном виде представляют собой многослойные структуры из камня, геотекстиля, металлических сеток и битума. Они укладываются как сверху трубопровода для пригрузки, так и под ним. Маты такого типа способны уменьшать горизонтальное и вертикальное движение трубопроводов. Их высокая степень гибкости защищает грунт под трубой от эрозии и саму трубу от оседаний, которые могут происходить под действием волн и течений.

Геокомпозитная сетка Макмат - это трехмерная панель из волокон ПВХ, армированная сеткой двойного кручения. Сетка двойного кручения находится внутри панели из ПВХ. Лицевая сторона панели представляет собой ворсистый коврик из ПВХ-нитей диаметром 1-2 мм.

Сетка Макмат применяется для восстановления плодородного слоя откосов и защиты их от эрозионных процессов. Она также используется для защиты склонов и берегов водотоков с низкой эрозионной активностью. Благодаря ворсистой лицевой поверхности сетка Макмат способна аккумулировать на себе частички грунта и.препятствовать эрозии поверхностного слоя почвы. Сетки Макмат могут использоваться как самостоятельный тип укрепления склонов и откосов, так и в комбинации с другими конструкциями (габионами, матрасами, матрасами Геомак).

Сетки Родмеш отличаются от обычных сеток двойного кручения дополнительными поперечными армирующими проволочками. При этом увеличиваются воспринимаемые растягивающие усилия до 13000 кг/м. Эти сетки применяются в дорожном строительстве для укрепления основания асфальтобетонного и чернощебеночного покрытия или армирования самого асфальтобетонного покрытия.

Биоматы представляют собой многослойное полотно, состоящее из разных видов естественных биоразлагающихся волокон, наложенных на тонкий слой целлюлозы и укрепленных двумя слоями полипропиленовой светочувствительной сетки или двумя слоями джутовой сетки. Это полотно прошито с обеих сторон полипропиленовой или джутовой нитью.

Биоматы могут при необходимости предварительно засеиваться семенами трав, что позволяет дополнительно и более быстро инициировать произрастание (восстановление) травяного покрова. Выбор смеси семян и сортов трав должен осуществляться в зависимости от географических и климатических условий, а также от характеристик грунта откосов (склонов).

Биоматы являются хорошим средством первоначальной защиты грунтовых откосов (склонов) от дождей и ветра. Они способны:

создать оптимальные условия для быстрого прорастания семян, которые попадают естественным путем или искусственно засеиваются в полотно;

предохранить семена от солнечного воздействия, колебаний температуры воздуха, расклевывания птицами, смыва и выдувания;

удобрить грунт при разложении волокон, поглощать и сохранять влагу, а также закрепить корни растений.

По составу биоразлагающихся волокон биоматы подразделяются на три основных типа: биоматы из соломы, биоматы из кокосовых волокон, биоматы смешанного типа из соломы и кокосовых волокон. По составу биоразлагающихся волокон, строению, предназначению, массе и сроку службы биоматы имеют пять модификаций, более подробно рассматриваемых в работах [10, 11, 12, 13, 14, 15].

Биотекстили представляют собой сплетенные из натурального волокна (чаще всего кокосового) сетки различных типов с размерами ячеек от 0,5-1,0 см до 5-6 см. Сетки не препятствуют прорастанию травы, при этом они гасят энергию стекающей по склону воды, одновременно повышая влагоемкость почвы.

Как и биоматы, биотекстили способствуют быстрому укоренению растительности. За 5-8 лет, необходимых для полного разложения кокосового волокна, растительность, как правило, успевает развиться настолько, чтобы полностью взять на себя осуществление защитных функций. Характеристики наиболее часто применяемых типов биотекстилей и условий их применения более подробно отражены в работах [10, 11, 12, 13, 14, 15].

3.4. Габионы из пластмассовых сеток

Эти габионы изготавливаются фирмой Netlon [22] из высокоплотной полиэтиленовой сетки черного цвета с ячейками номинального размера 60×60 мм. В них используются полиэтиленовые стержни эллипсоидного сечения 7×4 или 5×3 мм. Предел текучести ширины сетчатого материала в поперечном направлении составляет 533 кг/м, в продольном - 482 кг/м. Модуль пластичности составляет 11,2×103 кг/м3. Масса материала 550 г/м2.

Сетчатые каркасы этих габионов представлены шестью типами их форм и поперечных сечений: коробчатые стандартные и нестандартные (рис. 14); матрасные в виде матов; кругло-цилиндрические, квадратного и прямоугольного сечений (рис. 15).

Стандартные коробчатые каркасы габионов (см. рис. 14) имеют три размера: 2×1×0,5 м, 3×1×0,5 м и 4×1×0,5 м (длина, ширина и высота). Они выполняются с одной, двумя и тремя перегородками (диафрагмами).

Нестандартные коробчатые габионы (см. рис. 15) имеют размеры 2×1×1 м, 3×1×1 м и 4×1×1 м (длина, ширина и высота) с большим количеством секций по высоте. Панели боковых и торцевых сторон каркасных блоков коробчатых габионов соединены с панелью дна спиральными петлями из поливинилхлорида.

Двойные стержни усиливают боковые и торцевые панели, дно и крышку каркаса. Расстояние между этими стержнями в стандартных каркасах 250 мм, в нестандартных - 330 мм (см. рис. 15).

Поливинилхлоридные спиральные петли устанавливаются до заполнения габиона камнем.

Каркасы матрасных габионов, выполняемые в виде матов, имеют размеры 6×1×0,17 м, 6×1×0,25 м и 6×1×0,33 м (длина, ширина и высота) и пять промежуточных диафрагм. Вертикальные швы этих каркасов образованы полиэтиленовыми стержнями или полихлорвиниловыми спиралями (см. рис. 15).

Рис. 14. Коробчатые каркасы габионов:

а - стандартный, готовый к сборке; б - стандартный, в собранном виде; в - нестандартный, готовый к сборке; г - нестандартный, в собранном виде; 1 - боковая панель; 2 - спиральная петля; 3 - крышка; 4 - торцевая панель; 5 - панель основания; 6 - перегородка; 7 - двойные стержни усиления; 8 - поливинилхлоридные спиральные петли

Рис. 15. Каркасы габионов:

а - мат, готовый к сборке; б - мат в собранном состоянии; в - мат круглого, квадратного и прямоугольного сечения

Каркасы габионов кругло-цилиндрической формы, а также каркасы габионов с квадратным и прямоугольным поперечным сечением имеют длину от 5 до 7 м. Размеры их поперечных сечений характеризуются данными, приведенными на рис. 15.

Применение габионных конструкций этого типа в отечественной практике дорожно-мостового строительства ограничено из-за недостаточной изученности их конструктивных особенностей, технологии возведения, поведения в инженерных сооружениях, условий применения и поставок, экологичности и ряда других вопросов. Возможность использования этих конструкций и разработка практических рекомендаций по их устройству могут быть осуществлены только после проведения соответствующих научно-методических работ, опытно-экспериментального строительства и обобщения их результатов.

4. УКРЕПЛЕНИЕ ОТКОСОВ ЗЕМЛЯНОГО ПОЛОТНА И СКЛОНОВ

4.1. Откосы неподтопляемых сооружений

Для защиты откосов неподтопляемых насыпей и склонов от возможности всех форм нарушения их местной и общей устойчивости принято использовать в определенных условиях конструкции укреплений трех групп: биологические, несущие и защитно-изолирующие. В зависимости от погодно-климатических и инженерно-геологических условий строительства конструкции укреплений этих трех групп применяют, комбинируя их между собой.

Наибольшими возможностями в условиях преимущественного использования традиционных биологических укреплений обладают следующие конструкции и технологии:

• биоинженерные конструкции и технологии [10, 11, 12, 18] в виде системы экстремального озеленения, биотекстилей и биоматов (рис. 16);

Рис. 16. Схемы защиты откосов с помощью биоматов:

а - по растительному грунту, поверхность которого обработана гидропосевом; б - с укладкой растительного грунта; в - с укладкой двух слоев биоматов между слоями растительного грунта; 1 - биоматы; 2 - колышки; 3 - верховое крепление с дреной; 4 - грунт откоса; 5 - растительный грунт; 6 - биоматы соломенные; 7 - кокосовые биоматы; 8 - металлические (деревянные) колышки; 9 - грунт откоса, обработанный гидропосевом; 10 - подсыпка откоса (склона)

Рис. 17. Схемы укрепления откосов и склонов:

а - системой зеленый Террамеш; б - системой зеленый Террамеш с биоматами; в - комбинированная конструкция; 1 - лицевая грань системы зеленый Террамеш, выполненная из стальной сетки двойного кручения с гальфановым покрытием; 2 - кокосовые биоматы; 3 - армирующая панель; 4 - грунт засыпки, уплотненный до 1,6-1,7 т/м3; 5 - колышки; 6 - растительный грунт; 7 - система Террамеш; 8 - система зеленый Террамеш; 9 - защита откоса с помощью биоматов

• система зеленый Террамеш, система Террамеш и комбинированные с биоматами конструкции (рис. 17);

сетка Макмат в сочетании с упорными конструкциями в виде цилиндрических или матрасно-тюфячных габионов;

матрасы Геомак, а также их сочетания с сеткой Макмат, матрасно-тюфячными и другими конструкциями Габионов (см. рис. 12).

Наиболее целесообразными типами габионных конструкций для использования в сложных условиях проектирования, а также в условиях ограниченных возможностей традиционных защитно-изолирующих, несущих и сопрягаемых друг с другом этих конструкций являются:

системы Террамеш и зеленый Террамеш с использованием дренирующего грунта обратных засыпок и озеленением (см. рис. 17);

матрасно-тюфячные с минимальными стандартными размерами высот, равными 15, 17, 23 см, с заполнением каменными материалами и с коробчатыми конструкциями упоров;

матрасно-тюфячные и коробчатые противофильтрационные с заполнением битумной мастикой или водопроницаемой мембраной (см. рис. 7).

Габионные конструкции целесообразны к использованию и находят применение при усилении, стабилизации неподтопляемых насыпей и подпорно-удерживающих сооружений. Конструктивные особенности этих конструкций и сооружений, а также рекомендации по их применению рассматриваются в последующих разделах обзорной информации.

4.2. Откосы подтопляемых сооружений

Откосные подтопляемые конструкции укреплений предназначены для противодействия ударно-сдвигающим усилиям, возникающим в поверхностных слоях грунта откосов земляного полотна, подмостовых конусов, регуляционных сооружений, на входе и выходе из малых водопропускных сооружений от различных видов силовых и размывающих воздействий паводковых и меженных вод, ледохода, лесосплава, карчехода, водных объектов временного и постоянного функционирования, стекания поверхностных и инфильтрационных вод, ветровых и судовых волн.

Наибольшими возможностями для применения взамен традиционных несущих биологических укреплений (одерновки сплошной и в клетку, сплошной посадки кустарника, лесопосадки), а также присыпных берм из глинистых грунтов, растительного грунта с полимерной сеткой или геотекстилем и посадкой ивовых черенков, цементогрунтовых решеток с различными видами материалов заполнения ячеек, сплошного цементогрунтового и усиленного пневмо-набрызгного укреплений в средней части подтопляемых сооружений, при отсутствии размывов у подошвы укрепляемого сооружения и при малоопасных проявлениях гидрометеорологических процессов и явлений, обладают следующие конструкции:

система зеленый Террамеш с наклонно-откосной лицевой гранью на основании из матрасно-тюфячных габионов (рис. 18, а);

система Террамеш со ступенчатой лицевой гранью на естественном основании и на матрасных габионах (см. рис. 18, б, в);

матрасно-тюфячные габионы размерами 3×2×0,23 м и 2×1×0,25 м, устраиваемые по типу конструкции, представленной на рис. 19;

комбинации матрасно-тюфячных габионов, располагаемых в шахматном порядке с заполнением ячеек камнем, посадкой кустарника, сплошной одерновкой или матрасами Геомак (см. рис. 19, б, в).

В целях обеспечения единой технологии производства строительных работ, единообразия ландшафтного восприятия откосного укрепления, а также в стесненных условиях эксплуатации этого укрепления на подмостовых конусах рекомендуется использовать габионные конструкции и их шахматные комбинации с другими материалами на всем протяжении и высоте верхней и нижней частей подтопляемого сооружения.

При наиболее опасных проявлениях паводочных процессов и явлений, отсутствии меженных вод и размывов у подошвы подтопляемых сооружений наибольшими возможностями для применения в средней части этих сооружений могут обладать следующие габионные конструкции:

матрасно-тюфячные размерами 3×2×0,3 м, 3×1×0,5 м и 4×2×0,5 м с упорами в виде коробчатых габионов размерами 1,5×1×1 м, 3×1×1 м, устраиваемые по типу конструкции, представленной на рис. 19, а;

коробчатые размерами 3×2×0,5 м, 3×1×0,5 м, 2×1×1 м, 3×2×1 м с упорами из одиночных или двух спаренных коробчатых габионов размерами 2×1×0,5 м, 2×1×0,5 м, 1,5×1×1 м, устраиваемые по типу конструкции, представленной на рис. 19, а.

Рис. 18. Схемы укрепления подтопляемых откосов при отсутствии меженных вод:

а - система зеленый Террамеш; б - система Террамеш; в - система Террамеш на основании из габионов; 1 - матрасно-тюфячные габионы; 2 - геотекстиль; 3 - элемент нормирования

Рис. 19. Схемы укрепления подтопляемых откосов матрасно-тюфячными габионами при отсутствии меженных вод и размывов у их подошвы:

а - сплошное; б - комбинированное в шахматном расположении; в - фасад; 1 - положение габиона в верхней части откоса; 2 - ячейки, заполняемые другим материалом; 3 - габионы; 4 - бровка земляного полотна; 5 - два нижних ряда сплошного укрепления габионами; 6 - упорные коробчатые габионы

В условиях периодического, постоянного и меженного подтопления нижней части откосов, возможного возникновения размывов у подошвы подтопляемого сооружения рекомендуется применять различные габионные конструкции и их сочетания друг с другом, а также сочетания габионных конструкций с традиционными.

Схемы возможных конструктивных решений, рекомендуемых к детальным проработкам, отражены на рис. 20 и более подробно рассмотрены в работах [10, 23]. Они могут быть предназначены для использования при отсутствии меженных вод и подтопления откосов в период строительства для защиты нижней части подтопляемого сооружения от подмыва, а также для использования при наличии меженных вод и подтопления откосов в период строительства для защиты нижней части подтопляемого сооружения от подмыва.

Каменная наброска, используемая в этих конструктивных решениях, может быть выполнена из несортированной горной массы, отдельных камней заданной крупности или глыбового навала. Необходимые размеры камня и объемы каменной наброски должны определяться в зависимости от скоростей течения и требуемой массы каменной пригрузки для обеспечения устойчивости габионного укрепления в период проявления наибольших глубин размыва.

Рис. 20. Схемы возможных габионных укреплений для защиты нижней части подтопляемых откосов от подмыва при наличии меженных вод с применением матрасных, коробчатых и цилиндрических габионов:

1 - коробчатые габионы (1,50×1×1 м); 2 - геотекстиль; 3 - матрасы (h = 0,30 м); 4 - цилиндрические габионы (L = 2,00 м; Ø = 0,30 м); 5 - матрасы (h = 0,23 м)

Конструктивные решения, представленные на рис. 20, и аналогичные, им решения, должны прорабатываться индивидуально с учетом наиболее рациональных типов, размеров и областей применения габионных конструкций, неразмывающих скоростей течения, расчетно-прогнозных глубин размывов, необходимых запасов заглубления, технологичности и других условий производства строительных работ, более подробно рассматриваемых в работе [10].

При проектировании габионных и сопрягаемых с ними конструкций в средней и нижней частях подтопляемого сооружения следует учитывать возможное воздействие примерзающего ледяного покрова к откосным сооружениям. Воздействие от примерзшего к откосным конструкциям укреплений ледяного покрова при изменении уровня воды предопределяет необходимость выполнения специальных расчетов.

При недостаточной изученности факторов гидрометеорологических воздействий в отдаленных и необжитых районах и отсутствии должной уверенности в надежности вычисленных расчетных гидрометеорологических критериев следует предусматривать более капитальные укрепления, в том числе индивидуальные, или те, которые обладают большими возможностями при относительно одинаковых затратах на их устройство.

Постоянному, периодическому и меженному подтоплению способны подвергаться подмостовые конуса, регуляционные сооружения, береговые линии русл, а также автомобильные дороги, расположенные вдоль пойменных массивов и русл.

Условия функционирования этих сооружений, как и конструктивные решения по их укреплению, отличаются специфическими особенностями по сравнению с укреплениями откосов подтопляемого земляного полотна. Особенности конструктивных решений по укреплению этих объектов и сооружений более подробно рассматриваются в главе 5 настоящего обзора.

5. УКРЕПЛЕНИЕ ПОДМОСТОВЫХ КОНУСОВ, РУСЛ, РЕГУЛЯЦИОННЫХ И ВПОЛЬБЕРЕГОВЫХ СООРУЖЕНИЙ

5.1. Исходные положения проектирования

Подмостовые конуса и укрепляемые русла, регуляционные и вдольбереговые сооружения следует рассматривать как наиболее ответственные сооружения, предназначенные для восприятия нагрузок и воздействий паводочных и сопряженных с ними процессов и явлений. От их устойчивости во многом зависит сохранность основных конструктивов мостов и дорожного полотна, а также их надежное функционирование в период эксплуатации.

Капитальность этих сооружений и их укреплений должна соответствовать капитальности возводимых и реконструируемых дорожно-мостовых объектов.

Капитальность вдольбереговых и регуляционных сооружений, от устойчивости которых зависит надежное функционирование других объектов, а также экологическое равновесие природно-техногенной среды, следует определять индивидуально с учетом уровня (степени) ответственности возводимых (реконструируемых) объектов и сопряженных с ними других объектов.

Критерии вероятности превышения максимальных расходов и уровней воды, а также запасы возвышения верха укреплений подтопляемых откосов должны приниматься такими же, как и для защищаемых автомобильных дорог и мостовых переходов.

Длины матрасов, используемых в нижней части габионных укреплений для защиты подмостовых конусов, укрепляемых русл, вдольбереговых и регуляционных сооружений от подмыва, следует устанавливать по формуле

L 2,5(Z+0,5),

а глубину заглублений габионных стенок, устраиваемых без матрасов, по формуле

H Z+0,5,

где Z - расчетно-прогнозная глубина воронки размыва, определяемая для характерных участков месторасположения этих и других подтопляемых сооружений с учетом степени стеснения русловых потоков этими сооружениями.

Все приводимые в данном разделе укрепительные сооружения могут сопрягаться в едином комплексе сооружений мостового перехода или в комплексе сооружений вдольберегового расположения автомобильных дорог и должны рассматриваться как неотъемлемые составляющие данных разновидностей дорожно-мостовых объектов.

Исходные положения проектирования и выбора наиболее оптимального типа того или другого конструктивного решения во многом предопределяются расположением, конструктивными особенностями, задаваемыми или фактическими условиями функционирования мостовых переходов или вдольбереговых дорог.

Для оценки исходных положений проектирования и выбора оптимальной конструкции укрепления следует работы по проектированию укрепляемых сооружений выполнять параллельно с проектированием и вариантными проработками всего комплекса того или иного дорожно-мостового объекта.

При проектировании подмостовых конусов, укрепляемых русл, регуляционных и вдольбереговых сооружений необходимо различать следующие наиболее характерные случаи их предназначения и использования:

подчиненное расположению, схеме компоновки, конструктивным элементам и размерам комплекса сооружений конкретных объектов и их разновидностей;

определяющее расположение, схему компоновки, конструктивные элементы и размеры комплекса сооружений конкретных объектов и их разновидностей.

Подчиненное значение подмостовых конусов, укрепляемых русл, регуляционных и вдольбереговых сооружений может иметь место в случаях:

вынужденного расположения мостовых переходов и вдольбереговых дорог в стесненных условиях;

проложения дорог и расположенных на них мостовых переходов, когда предпочтение отдается кратчайшему их направлению, близкому к воздушной линии;

реконструкции дорог и мостовых переходов, когда их расположение и конструктивные решения не подлежат улучшению по восприятию нагрузок и воздействий паводочных и сопряженных с ними процессов и явлений или когда условия реконструкции диктуют необходимость принятия вынужденных решений по изменению гидравлико-гидрологического режима и условий пересечения водных объектов;

защиты дорожно-мостовых объектов и сооружений от опасного проявления паводочных и сопряженных с ними процессов и явлений и ликвидации аварийных ситуаций;

• недостаточной проработки проектно-строительных решений и защитно-восстановительных мероприятий.

Определяющее значение подмостовых конусов, укрепляемых русл, регуляционных и вдольбереговых сооружений может иметь место в случаях:

расположения дорог нового направления в предгорной местности с развитой сетью рек и водотоков с блуждающими руслами и нечетко выраженными водоразделами;

расположения дорог нового направления или подлежащих коренной реконструкции, в районах особой водоопасности и частоты проявления опасных паводочных и сопряженных с ними процессов и явлений, включая селевые, приливно-отливные, сгонно-нагонные и др.;

проработки вариантов расположения дорог и мостовых переходов вдоль узких речных долин;

• во всех вышеназванных случаях и других, когда вариантные проектно-строительные решения и защитно-восстановительные мероприятия, параллельно выполняемые в комплексе всего объекта, предопределяют весьма значительную стоимость строительства и эксплуатации подмостовых конусов, укрепляемых русл, регуляционных и вдольбереговых сооружений.

Выполняя подчиненное значение и использование, все эти укрепительные сооружения вынуждены функционировать в наиболее невыгодных и неблагоприятных условиях воздействий опасных паводочных и сопряженных с ними процессов и явлений.

Для оптимального функционирования в этих условиях следует отдавать предпочтение тем конструкциям, которые позволяли бы обеспечить как сохранность защищаемых объектов (сооружений), так и экологическое равновесие в районе расположения этих объектов (сооружений).

Одними из основных исходных положений проектирования конструкций подмостовых конусов, укрепляемых русл, регуляционных и вдольбереговых сооружений являются:

определение условий подтопления этих сооружений к началу строительства и на период функционирования (постоянное, периодическое, меженное) и возможности возникновения подмыва их оснований;

определение расчетно-прогнозных величин размывов и построение планово-высотных положений линий (очертаний) этих размывов в поперечном сечении подмостового русла и вдоль укрепляемых сооружений.

5.2. Подмостовые конуса

При проектировании и выборе конструкций укреплений подмостовых конусов следует учитывать следующие наиболее характерные случаи их функционирования в условиях:

расположения вне зоны постоянного, периодического и меженного подтопления и отсутствия возможности возникновения подмыва подошвы конусов;

постоянного, периодического и меженного подтопления и отсутствия возможности возникновения подмыва подошвы конусов;

периодического и меженного подтопления и возможности возникновения подмыва подошвы конусов и размывов подмостовых русл в результате пропуска паводков через отверстие моста;

периодического подтопления, отсутствия меженных вод и возможности возникновения подмыва подошвы конусов и размывов подмостовых русл в результате пропуска паводков через отверстие моста;

периодического и меженного подтопления и возможности возникновения подмыва подошвы конусов при сливе паводочных вод с пойменных массивов в подмостовое пространство;

периодического и меженного подтопления и возможности возникновения подмыва подошвы конусов и размывов подмостовых русл в результате проявления и развития попятного размыва или других деформаций подмостового русла, обусловленных иными техногенными факторами.

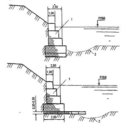
При отсутствии меженных вод или периодического подтопления в период строительства, а также при возможности возникновения размывов под мостами возможные схемы конструктивных решений по укреплению подмостовых конусов отражены на рис. 21.

При наличии меженных вод или периодического подтопления в период строительства, а также при возможности возникновения размывов под мостами возможно использовать схемы конструктивных решений по аналогии с теми, которые более подробно отражены в работах [10, 23]. Эти схемы целесообразны при реконструкции мостов с неизменяемыми высотами подмостовых конусов, длинами пролетов и при необходимости увеличения подмостового пространства за счет сокращения длины укрепляемых откосов.

Рис. 21. Схемы возможных конструктивных решений по укреплению габионами подмостовых конусов при отсутствии меженных вод и подтопления в период строительства:

1 - матрасы; 2 - коробчатый габион; 3 - вариант защиты упора матрасами; 4 - опора мелкого заложения; 5 - упорно-защитная конструкция из коробчатых габионов; 6 - линия размыва

К числу схем укрепления подмостовых конусов в условиях возможного размыва под мостами относится схема, представленная на рис. 22. Она целесообразна при больших пролетах мостов со свободно размещаемыми в них подмостовыми конусами, не стесняющими подмостовое пространство. Подмостовые конуса не совмещены с регуляционными сооружениями и могут устраиваться плавного (см. рис. 22) или ступенчатого в плане очертания.

Рис. 22. Схема габионного укрепления подмостовых конусов, свободно размещаемых в пролетах мостов с размываемыми руслами:

1 - матрасы; 2 - линия размыва

При небольших пролетах мостов, в которых подмостовые конуса и их укрепления трудно размещаемы, целесообразны конструктивные решения, представленные на рис. 23. В этих решениях подмостовые конуса не совмещены с регуляционными сооружениями. Они позволяют увеличить подмостовое пространство, отодвинуться от воронки местного размыва, возникающей у промежуточной опоры моста, и обеспечить защиту подмостового конуса при достаточности низа укрепления. Подмостовые конуса в этих решениях могут быть в виде плавного (см. рис. 23) или ступенчатого в плане очертания.

Рис. 23. Схема габионного укрепления подмостовых конусов, стесняемых пропеты мостов с размываемыми руслами:

1 - матрасы; 2 - коробчатые габионы; 3 - линия размыва

Схемы конструктивных решений, представленные на рис. 22 и рис. 23, могут быть использованы при небольших глубинах размыва подмостовых русл, при отсутствии меженных вод и периодического подтопления в период строительства.

При больших размывах этих русл, наличия меженных вод или периодического подтопления в период строительства эти конструктивные решения должны подлежать корректировке в нижней части укрепления подмостовых конусов. При этой корректировке могут быть использованы конструктивные решения, представленные на рис. 21, б, или другие индивидуальные решения.

Конструктивные решения, представленные на рекомендуемых схемах укрепления подмостовых конусов (см. рис. 21, 22, 23), апробированы практикой строительства и эксплуатацией построенных сооружений. Они могут иметь повторное применение, но не исчерпывают всех возможных и весьма многообразных случаев проектирования и подлежат детальным проработкам на конкретных объектах с учетом расчетно-прогнозных глубин размывов подмостовых русл и условий подтопления в период производства строительных работ укрепляемых сооружений.

5.3. Укрепляемые опоры мостов и подмостовые русла

Необходимость укрепления опор мостов и подмостовых русл является весьма распространенным и специфическим случаем проектирования, строительства и эксплуатации мостовых переходов. Такая необходимость, как правило, может быть предопределена следующими тремя случаями:

условиями проектирования по выбору наиболее оптимального проектно-строительного решения на конкретных объектах строительства;

условиями строительства при невозможности осуществления глубокого заложения опор мостов, предусмотренного проектными решениями;

• условиями возникновения размывов у опор мостов, угрожающих потере их устойчивости.

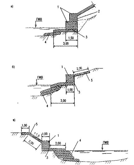
Укрепление одиночных опор моста от возможного возникновения их подмыва и при отсутствии меженных вод, а также подтопления в период производства укрепительных работ может быть выполнено с применением матрасно-тюфячных габионов совместно с коробчатыми, соединенными с бетонным ростверком или основанием опоры моста. В случае возможности подмыва нескольких опор моста возникает необходимость укрепления каждой из них. Наиболее целесообразные укрепления этих опор более подробно отражены в работах [10, 23].

Длины матрасно-тюфячных укреплений, устраиваемых выше и ниже укрепляемых опор моста по направлению течения, а также вдоль моста, должны определяться индивидуально в зависимости от расчетно-прогнозного планово-высотного очертания размыва подмостового русла и его глубины. Высотное положение (заглубление) матрасно-тюфячного укрепления и конструкция его концевых частей относительно поверхности дна русла (или поймы) у защищаемых опор должны определяться индивидуально.

В условиях возможного возникновения размывов по всему подмостовому сечению и угрозы подмыва всех опор мостов одним из наиболее оптимальных решений может быть устройство сплошного укрепления подмостового русла. Одним из таких решений может быть габионное укрепление по типу конструкции, представленной на рис. 24. Оно позволяет совместить укрепление подмостовых конусов с укреплением всех промежуточных опор и тем самым создать условия пропуска паводков по неразмываемому подмостовому пространству.

При двух близкорасположенных друг от друга мостах в условиях возможного возникновения размывов между ними, а также при неглубоком заложении опор, одним из оптимальных решений по их защите может быть одновременное устройство укрепляемых подмостовых пространств обоих этих мостов и участка реки между ними. В основу такого решения могут быть положены конструктивная схема габионного укрепления подмостового пространства, отраженная на рис. 24, а также индивидуальные проработки конструкции габионного укрепления между двумя мостами с укрепляемыми руслами.

Рис. 24. Схема габионного укрепления подмостового пространства и устройство подмостовых конусов ступенчатого очертания

Объективные предпосылки для укрепления подмостовых русл возникают при необходимости устройства мостовых сооружений с небольшими высотами, размерами пролетов и отверстий: мостов лотков с многосекционными прямоугольными коробчатыми отверстиями; однопролетных мостов с массивными береговыми опорами (устоями) и бетонными открылками; двух- или трех - пролетных мостов с опорами неглубокого заложения на устойчивом гравийно-галечниковом (или другом) основании; однопролетных мостов с близко сходящимися подмостовыми конусами.

Конструктивные решения этих габионных укреплений должны прорабатываться индивидуально для каждого типа мостовых сооружений. Для решений применительно к мостовым сооружениям могут быть использованы схемы габионных укреплений, отраженные на рис. 24 и рис. 25.

Рис. 25. План расположения габионного укрепления русла у многосекционного моста-лотка, возводимого из коробчатых элементов прямоугольного сечения:

1 - контур упорно-защитных устройств; 2, 3 - укрепления соответственно на входе и выходе

При проектировании укреплений опор мостов и подмостовых русл следует учитывать, что наиболее ответственными конструктивами этих укреплений являются упорно-защитные, располагаемые в их концевых частях (см. рис. 25). Конструкции этих упорно-защитных конструктивов рекомендуется прорабатывать индивидуально с учетом схем, рассматриваемых в работах [10, 23] более подробно.

При назначении высотного положения (заглубления) матрасно-тюфячного укреплениями его концевых упорно-защитных конструктивов следует учитывать величину перемываемых слоев аллювиальных отложений и необходимость их минимального стеснения.

5.4. Вдольбереговые укрепительные сооружения

Вдольбереговые и регуляционные сооружения по своему расположению относительно русл и речных долин вынуждены на большей части своего протяжения испытывать параллельно и косоструйно направленные воздействия скоростей течения, волн, ледохода, русловых процессов и других факторов в условиях различного искусственного стеснения поименно-русловых массивов.

Исходными для проектирования этих сооружений должны быть расчетно-прогнозные характеристики всех факторов природно-техногенных воздействий, способных к проявлению вдоль всего продольного положения этих сооружений в пределах зон постоянного, периодического и меженного подтопления.

В классификации вдольбереговых укреплений следует различать два основных типа их конструкций, предназначаемых для защиты: речных откосов автомобильных дорог, располагаемых вдоль речных долин; береговых линий русл рек. Конструкции укреплений этих двух типов имеют специфические особенности по условиям расположения и областям применения.

Разнообразие условий расположения автомобильных дорог вдоль речных долин, их конструкций, а также условий подтопления (постоянного, периодического и меженного) и других факторов гидрологических воздействий предопределяет весьма большое разнообразие конструктивных решений по укреплению речных откосов вдольберегового расположения дорог. Для габионного укрепления этих откосов рекомендуется использовать схемы возможных конструктивных решений, отраженных на рис. 26, 27, 28.

Рис. 26. Схемы габионных укреплений вдольбереговых сооружений:

а - с применением матрасов; б, в - комбинированные откосно-ступенчатые; 1 - облицовка матрасами; 2 - линия размыва

Рис. 27. Схемы откосно-ступенчатых габионных укреплений вдольбереговых сооружений:

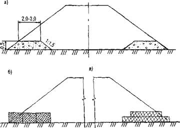
а - матрасно-тюфячные; б - цилиндрические совместно с матрасно-тюфячными; в - коробчатые совместно с матрасно-тюфячными; 1 - матрасы; 2 – коробчатые габионы; 3 - цилиндрические габионы

При относительно небольшой крутизне нижней части берегового откоса и небольшом стеснении поименно-русловых массивов могут быть применены конструкции откосно-матрасного габионного укрепления (см. рис. 26, а) или комбинированные конструкции, состоящие из габионных матрасов и коробчатых габионов, сопрягаемых в откосно-ступенчатую конструкцию (см. рис. 26, б, в). К числу откосно-ступенчатых конструкций относятся конструкции матрасных габионов (см. рис. 27, а) или цилиндрических габионов (см. рис. 27, б), ступенчато укладываемые на пологий береговой откос. Конструкции габионных укреплений (см. рис. 26, б, в и рис. 27, а, б) по сравнению с откосно-матрасным укреплением (см. рис. 26, а) способны выдерживать большие скорости течения воды и волновых воздействий.

Наиболее значительные гидрологические воздействия способны выдержать ступенчато располагаемые на береговом откосе конструкции, состоящие из коробчатых габионов больших размеров (см. рис. 27, в). Эти конструкции могут применяться в любых климатических условиях при скоростях течения воды 4-6 м/с.

При относительно большой крутизне нижней части берегового откоса и вынужденной необходимости стеснения поименно-русловых массивов могут быть применены габионные конструкции в виде подпорно-защитных стен ступенчатой формы, устраиваемых из коробчатых габионов (см. рис. 28). В случае значительных глубин размывов наиболее предпочтительны конструкции, в нижней части которых предусматривается матрасно-тюфячный габион (см. рис. 28). Подпорно-защитные габионные конструкции должны быть рассчитаны на устойчивость против их опрокидывания. Расчеты устойчивости должны производиться на момент развития наибольшей глубины размыва.

По своему функциональному предназначению береговые укрепления являются природно-техногенными фиксирующими границами между руслом и пойменными массивами. Они должны органично вписываться в ландшафт и экологическую среду местности и устойчиво функционировать в период эксплуатации. Конструктивные решения по защите береговых линий не подлежали ранее типизации. Индивидуальные решения по ним не прорабатывались, а методические основы их проектирования отсутствовали.

Рис. 28. Подпорно-защитные габионные укрепления вдольбереговых сооружений:

1 - конструкция из габионов; 2 - линия размыва

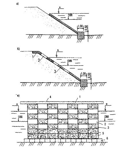
Рис. 29. Схемы возможных габионных укреплений берегов при пологих поверхностях поймы и берегов:

1 - коробчатые габионы; 2 - матрасы; 3 – цилиндрические габионы; 4 - геотекстиль

При пологих поверхностях прибрежных пойменных массивов, относительно высоких берегах и значительных глубинах меженных вод могут быть целесообразны габионные конструктивные решения береговых укреплений, представленные на рис. 29.

При значительной протяженности и пологости берегов и крутизне прибрежно-пойменных массивов габионные конструктивные решения могут быть устроены по одной из схем этих решений, более подробно рассматриваемых в работах [10, 23].

Габионные укрепления берегов (см. рис. 29) предусматривают компоновочные конструкции, состоящие из матрасов, коробчатых и цилиндрических габионов. Отметки верха габионных стенок, состоящих из коробчатых габионов, должны определяться проектным профилем укрепления по каждому берегу в пределах границ укрепления. Количество рядов цилиндрических габионов должно определяться индивидуально в зависимости от глубины меженных вод. Низовое укрепление у дна русла должно устраиваться с учетом невозможности размывов этого укрепления.

5.5. Регуляционные сооружения

В практике дорожно-мостового строительства регуляционные сооружения используются как при проектировании вдольбереговых автомобильных дорог, так и при проектировании мостовых переходов. Выбор и назначение оптимальных типов габионных укреплений регуляционных сооружений должны определяться в соответствии со схемами регулирования речных потоков, разновидностями и конструктивными особенностями этих сооружений, а также в соответствии со схемами их компоновки на конкретных объектах мостовых переходов или вдольберегового расположения автомобильных дорог.

Габионные укрепления речных откосов и голов регуляционных дамб должны быть сопряжены с габионными конструкциями укреплений подмостовых конусов в виде плавного их совместного очертания.

Конструкции габионных укреплений речных откосов и голов регуляционных дамб должны быть решены применительно к конструкциям подмостовых конусов и предусматривать возможность применения: сплошного укрепления откосов матрасами; комбинированных - с применением матрасов и коробчатых габионов; коробчатых - на дамбах небольших радиусов с замкнутым очертанием (грушевидных); комбинированных - с применением матрасов и цилиндрических габионов или сочетаний цилиндрических габионов с другими габионами.

Конструкции габионных укреплений откосов внутренних сторон регуляционных сооружений следует назначать в зависимости от условий их подтопления и обтекания речным потоком, а также от других факторов гидрологических воздействий.

При разработке конструкций и габионных укреплений шпор (траверс) могут быть применены матрасы, коробчатые габионы, а также их сочетания друг с другом. Рекомендуемые схемы возможных габионных конструкций и укреплений шпор и траверс более подробно отражены в работах [10, 23].

Габионные конструкции и укрепления могут быть применены при устройстве полузапруд и при использовании укрепляемых берм на подходах к мостам. При разработке схем регулирования речных потоков с помощью полузапруд и укрепляемых берм могут быть использованы схемы возможных конструктивных решений, рассматриваемые в работах [10, 23].

Для увеличения водопропускной способности мостов и одновременной защиты их береговых опор от подмыва одним из наиболее рациональных решений является изменение традиционной конструкции подмостовых конусов, совмещенных в небольших пролетах мостов с регуляционными дамбами (рис. 30, а). К числу рекомендуемых решений по изменению традиционных конструкций подмостовых конусов, совмещенных в небольших пролетах мостов с регуляционными сооружениями, могут быть отнесены схемы габионных укреплений, представленные на рис. 30, б, в.

При сливе пойменных вод в подмостовое пространство вдоль регуляционных дамб замкнутого по контуру очертания (грушевидного типа) или вдоль подходов к мосту, у которого роль регуляционных дамб выполняют подмостовые конуса, возникает размыв берегового вала (или берега), попятное развитие которого может вызвать подмыв речного откоса дамб и примыкающих к ним подходов.

Рис. 30. Схемы конструктивных решений по увеличению водопропускной способности мостов и одновременной защите береговых опор:

а - традиционное совмещение подмостовых конусов и регуляционных дамб; б - частичное изменение конструкции и укрепления дамбы; в - коренное изменение конструкции подмостового конуса и дамбы; 1 - подмостовой откос; 2 - регуляционная дамба в подмостовом пространстве; 3 - коробчатые габионы; 4 - контур речного откоса дамбы после изменения ее конструкции; 5 - матрасно-тюфячные габионы

Нередко это явление носит угрожающий характер не только возводимым сооружениям, но и пойменным массивам, на которых начинает наблюдаться оврагообразование. Для своевременного учета или устранения последствий этого явления целесообразно устройство противоэрозионного водослива в наиболее низком месте береговой линии. Рекомендуемые схемы возможных габионных конструкций противоэрозионных водосливов, устраиваемых в теле регуляционных дамб и через укрепляемые габионами береговые линии, представлены на рис. 31.

Рис. 31. Противоэрозионные габионные водосливы:

а - в теле регуляционных дамб; б - в берегоукрепительных сооружениях; 1 - положение водослива; 2 - верх дамбы; 3 - коробчатые габионы; 4 - матрасы; 5 – цилиндрические габионы

6. ПОДПОРНО-УДЕРЖИВАЮЩИЕ, ЗАЩИТНЫЕ, УСИЛИВАЮЩИЕ, СТАБИЛИЗИРУЮЩИЕ И ПРОТИВОФИЛЬТРАЦИОННЫЕ ГАБИОННЫЕ КОНСТРУКЦИИ И СООРУЖЕНИЯ

Использование габионных конструкций позволяет значительно расширить возможности и диапазон инженерных и природоохранных решений по устройству подпорно-защитных, подпорно-удерживающих, усиливающих, стабилизирующих и противофильтрационных сооружений и конструкций.

Подпорно-удерживающие и подпорно-защитные габионные конструкции и сооружения могут находить применение в следующих наиболее характерных случаях:

при укреплении откосов земляного полотна и склонов;

при устройстве и укреплении подмостовых конусов, регуляционных и вдольбереговых сооружений;

при устройстве земляного полотна, съездов с транспортных развязок и других дорожных сооружений в стесненных условиях и близкорасположенных подземных коммуникаций;

при усилении и стабилизации эксплуатируемых деформирующихся насыпей, а также укреплении крутых и высоких склонов (откосов);

при устройстве водоотводных, водопропускных, водобойных и очистных сооружений, а также подводящих, отводящих и канализируемых русл.

Для устройства подпорно-удерживающих и подпорно-защитных сооружений могут быть использованы: системы Террамеш и зеленый Террамеш; коробчатые габионы; комбинированные системы, выполняемые с использованием сопрягаемых друг с другом коробчатых, цилиндрических и матрасно-тюфячных габионов.

Рис. 32. Схемы подпорно-удерживающих габионных сооружений:

а - с применением системы зеленый Террамеш; б, в - с применением системны Террамеш; 1 - элемент системы зеленый Террамеш; 2 - засыпка грунтом с уплотнением; 3 - сетчатая панель; 4 - элемент армирования; 5 - геотекстиль

При расположении автомобильных дорог вдоль склонов могут быть целесообразны схемы конструктивных решений, представленные на рис. 32. Эти схемы предусматривают возможность применения габионных конструкций по типу систем Террамеш и зеленый Террамеш и конструкций, состоящих из коробчатых габионов.

Рис. 33. Схемы возможных устройств габионных конструкций в местах близкого расположения подземных коммуникаций:

1 - засыпка грунтом; 2 - армирующие элементы; 3 - грунт земляного полотна; 4 - геотекстиль

В стесненных условиях расположения автомобильных дорог откосные части земляного полотна могут быть заменены на подпорно-удерживающие габионные конструкции, располагаемые с одной или двух сторон автомобильной дороги. Конструктивные решения таких сооружений могут быть приняты с учетом рекомендаций работ [10, 23].

При реконструкции автомобильных дорог и их расположении вблизи подземных коммуникаций откосная часть земляного полотна может быть устроена в виде габионной подпорно-удерживающей стенки применительно к одной из схем, представленных на рис. 33.

Необходимость размещения съездов транспортных развязок движения, а также дорог в подмостовых пространствах мостовых сооружений с небольшими пролетами предопределяет в качестве возможных решений применение разновысотных габионных подпорно-удерживающих сооружений. В качестве одного из таких решений может быть использована конструктивная схема, представленная на рис. 34.

Рис. 34. Схема устройства габионных конструкций при расположении съездов и дорог в стесненных пространствах мостовых сооружений:

1 - коробчатые габионы; 2 - бордюр; 3 - геотекстиль

Для обеспечения дренирования и осушения грунтов нижней части земляного полотна находят применение традиционные конструкции [24] в виде: подошвенных слоев из дренирующего грунта под откосами насыпей, дренажных шпор в откосе, горизонтальных дрен из трубофильтров и обсыпки откосов дренирующим грунтом. Однако эти конструкции не всегда эффективны и долговечны. Их недостатки способны устранить габионные конструкции с использованием коробчатых, цилиндрических и матрасно-тюфячных габионов. Такие конструкции более устойчивы по времени функционирования. Схемы возможных конструктивных решений по применению габионных конструкций для обеспечения дренирования и осушения грунтов нижней части земляного полотна представлены на рис. 35, 36, 37 и отражены в работе [23].

Рис. 35. Подошвенные слои:

а - традиционные - из дренирующего грунта под откосами насыпей; б - из коробчатых габионов; в - из матрасно-тюфячных габионов

Рис. 36. Дренажные шпоры в откосе:

а - традиционные; б- из коробчатых и матрасно-тюфячных габионов

Рис. 37. Дренирование откоса:

а - дренирующим грунтом; б - габионными конструкциями

Взамен традиционной конструкции, состоящей из подошвенных дрен (с применением перфорированных дренажных трубок), откосной обсыпки дренирующим грунтом (слоем толщиной 50 см) и защитной бермы с откосной засыпкой дренирующего грунта растительным грунтом (слоем 10 см) с засевом трав, целесообразно использовать сплошное покрытие откоса нижней части земляного полотна матрасно-тюфячными габионами.

Для усиления и стабилизации эксплуатируемых насыпей автомобильных дорог, а также для устройства земляного полотна с высотой откоса более 8-12 м рекомендуется использование габионных конструкций в виде подпорно-удерживающих и подпорно-защитных стен. Применение габионных подпорно-удерживающих и подпорно-защитных стен для усиления и стабилизации эксплуатируемых насыпей является в ряде случаев более надежным мероприятием, чем традиционная отсыпка контрбанкетов из дренирующего грунта.

Устройство таких габионных стен не требует больших объемов дефицитных дренирующих грунтов, отвода дополнительных площадей культурных земель под основания контрбанкетов, сноса строений и переноса существующих коммуникаций.

Применение габионных подпорно-удерживающих и подпорно-защитных стен при реконструкции и новом строительстве участков автомобильных дорог с высотой насыпи более 8-12 м является в ряде случаев более экономичным мероприятием, чем устройство бетонных и железобетонных подпорных стен.

Являясь альтернативным вариантом по устройству подпорно-удерживающих и подпорно-защитных сооружений, габионные конструкции позволяют расширить диапазон индивидуальных решений, а также восполнить пробел в соответствующих типовых решениях по конструкциям земляного полотна и укреплению его откосов.

К рекомендуемым типам габионных стен, используемым в качестве подпорно-удерживающих и подпорно-защитных сооружений, следует прежде всего относить следующие их разновидности (рис. 38): массивно-объемные (гравитационные); полумассивные (полугравитационные); тонкостенные. Габионные стены этих разновидностей принято подразделять на низкие (при Н/Вф < 1,5) и высокие (при Н/Вф > 1,5),

где Н - видимая высота стены, м;

Вф - эффективная ширина стены, м.

Рис. 38. Схемы основных разновидностей габионных стен:

а - массивно-объемные; б - полумассивные; в - тонкостенные

Лицевые грани габионных стен могут быть ступенчатыми (вертикальными или наклонными) или гладкими (вертикальными или наклонными).

При устройстве габионных подпорных стен могут быть использованы некоторые наиболее характерные и специфические схемы возможных конструктивных решений, рассматриваемые в работах [10, 23]. Расчеты устойчивости и проектирование габионных подпорных стен всех разновидностей рекомендуется выполнять в соответствии с указаниями МПС [25, 26] и работой [17], учитывая схемы возможных разрушений этих стен.

7. ГАБИОННЫЕ КОНСТРУКЦИИ И СООРУЖЕНИЯ ДЛЯ ЦЕПЕЙ ВОДОПЕРЕПУСКА, ВОПООТВЕДЕНИЯ И ОЧИСТКИ СТОЧНЫХ ВОД

7.1. Водопропускные, водоотводные и сопрягающие сооружения

Габионные конструкции и сооружения целесообразны к применению при устройстве и укреплении следующих сооружений и конструктивов, предназначенных для целей водоперепуска и водоотведения: подходных и выходных участков водопропускных труб; дамб обвалования и ограждающих дамб; многоочковых и многоярусных водопропускных труб; косогорных водопропускных и водоотводных сооружений; водоотводных каналов и канав; комплекса овражно-противоэрозионных сооружений; выпусков воды через береговые укрепления.

Разнообразие и индивидуальные особенности режимов регулирования максимальных расходов воды, режимов ее протекания в трубах, типоразмеров труб и их оголовков, а также других исходных условий проектирования предопределяют необходимость многовариантных проработок габионных конструктивных решений как по укреплению подходных и выходных участков труб, расположенных в равнинной местности, так и откосов земляного полотна в границах подтопления верхнего и нижнего бьефов водопропускных труб.

При вариантных проработках конструктивных решений укрепления подходных и выходных участков труб, расположенных в равнинной местности, а также откосов земляного полотна в границах подтопления верхнего и нижнего бьефов водопропускных труб целесообразно использовать матрасные и коробчатые габионы, их сочетания друг с другом, а также в сочетании с традиционными материалами и конструкциями.

Длины, размеры и конструктивные решения укреплений, а также необходимое заглубление их концевых частей на подходных и выходных участках водопропускных труб должны устанавливаться на основе гидравлических расчетов.

При расположении автомобильных дорог в непосредственной близости друг от друга или при раздельном устройстве земляного полотна для одностороннего движения транспортных средств происходит заполнение паводочными водами искусственно создаваемых в этих условиях пазух с последующим их сливом в нижеследующую водопропускную трубу.

Слив таких вод в ряде случаев способен вызвать образование линейной эрозии и ее развитие в овражную систему, угрожающую устойчивости дорожным откосам, примыкающим к этим пазухам.

Для устранения такой угрозы, а также образования воронки размыва в нижнем бьефе вышележащей трубы целесообразно устройство противоэрозионного габионного сопряжения на участке между вышележащей и нижележащей трубами. Такое сопряжение должно учитывать дополнительное укрепление в пониженной части обоих пазух, которое сможет предотвратить начало развития линейной эрозии.

К числу косогорных водопропускных и водоотводных сооружений, при устройстве которых могут быть применены габионные конструкции, относятся: быстротоки; перепады; консольные водосбросы; шахтные водосбросы; дюкеры; рассеивающие трамплины; водопропускные трубы.

Низовые участки укреплений на выходе из этих сооружений в своих концевых частях могут иметь упорные, водогасящие или противоразмывные устройства. При разработке конструктивных решений по применению габионных конструкций в этих сооружениях следует руководствоваться рекомендациями [10].

Конструктивные решения многоступенчатых перепадов во многом определяются типами габионов, их размерами и возможными сочетаниями друг с другом. Эти решения индивидуальны. Некоторые из возможных схем конструктивных решений по устройству габионных многоступенчатых перепадов отражены в работах [10, 23].

Формы и размеры поперечных сечений водоотводных канав и резервов, а также конструкции их укрепления габионами индивидуальны и во многом определяются требуемой или фактической водопропускной способностью этих канав. Схемы возможных конструктивных решений по устройству и укреплению водоотводных канав и резервов представлены на рис. 39.

Рис. 39. Схемы возможных габионных укреплений водоотводных канав, резервов и кюветов:

1 - матрасы; 2 - геотекстиль; 3 - коробчатый габион

При устройстве комплекса овражно-противоэрозионных сооружений габионные укрепления целесообразны для укрепления откосов оврагов, водозадерживающих валов-террас, водоотводных канав с водосливами, распылителей поверхностного стока, головных овражных водопропускных и других донных сооружений (запруд, донных перепадов, порогов и плотин). Конструкции габионных укреплений всех этих сооружений разнообразны и индивидуальны.

Схемы возможных конструктивных решений габионных конструкций и сооружений, предназначенных для целей водоперепуска и водоотведения с учетом работ [27, 28], наиболее полно отражены в обобщающих работах [10, 23, 29].

7.2. Очистные сооружения

Практикой современного дорожно-мостового строительства апробировано использование габионных структур и ряда габионных конструктивных решений для очистки поверхностных вод, стекающих с проезжей части автомобильных дорог и мостовых сооружений. Однако этот опыт неоднозначен по эффективности очистки сточных вод и предопределяет необходимость более обоснованного подхода к выбору оптимального типа очистного сооружения и оценки его очистительной способности.

Концептуальную основу возможного применения габионных конструкций для очистки сточных вод предопределяют следующие возможности габионных структур: высокая проницаемость воды и воздуха; большая внутренняя поглощаемость мелких частиц твердого стока и нефтепродуктов; долговечность и химическая нейтральность; пригодность для прорастания растений, способных усваивать некоторые загрязняющие компоненты сточных вод.

С учетом этих возможностей габионных структур к числу сооружений, применяемых для совместного и комплексного водоотведения и очистки сточных поверхностных вод и возводимых с использованием биоинженерных элементов, сорбентов и габионных конструкций, принято относить: водоотводные и водоподводящие канавы и лотки; сопрягающие сооружения; фильтрующие запруды и дамбы; водоемы-отстойники; фильтрующие накопители; мелководные биоплато и площадки; глубоководные ванны; ступенчатые фильтрационные бассейны с высокоэффективными природными сорбентами.

Конструктивные особенности некоторых типов этих сооружений, рекомендации по их эксплуатации и мониторингу отражены в общих чертах в работах [11, 30, 31]. Наиболее подробный анализ этих сооружений и рекомендаций по выбору оптимальных конструкций очистных сооружений дан в работах [10, 23, 29].

При выборе того или другого типа очистных сооружений, возводимых с использованием биоинженерных элементов, сорбентов и габионных конструкций, следует учитывать: фоновые, фактические и прогнозные показатели загрязненности поверхностного стока; очистные способности этих сооружений; конструктивные схемы организации водоотвода на конкретном объекте, водопропускную способность проектируемых сооружений, эксплуатационные преимущества, а также требования природоохранных органов.

Эти требования во многом должны соотноситься к выбору и обоснованию габионных сооружений (конструкций), обладающих большими очистными способностями, чем традиционные сооружения (конструкции).

К таким сооружениям (конструкциям) следует прежде всего относить укрепленные и устраиваемые из габионов кюветы, водоотводные канавы, откосы насыпей и выемок, откосные лотки, укрепления за водосбойными колодцами, откосы притрассовых резервов и карьеров-водоемов, многоступенчатые перепады и другие аналогичные им сооружения.

Эти сооружения (конструкции), устраиваемые с применением габионных структур, следует считать более эффективными по возможности водоочищения, чем традиционные (типовые), сооружаемые с. использованием бетона, асфальтобетона, пневмонабрызга, сборных решеток с бетонным или асфальтобетонным заполнением ячеек и из других материалов (изделий).

Обязательным условием применения сооружений, укрепляемых или устраиваемых с использованием габионов, является необходимость тщательного обоснования их водоочистительной способности, долговечности водоочистительного функционирования, регламента и технологии содержания в период эксплуатации, а также проведения мониторинга. Эти обоснования на каждом объекте должны иметь индивидуальное научно-методическое сопровождение.

Для организации водоотведения и очистки сточных вод с проезжей части мостовых переходов, путепроводов и эстакад одним из наиболее эффективных и рациональных локальных очистных сооружений, апробированных на ряде объектов Союздорпроекта и других организаций, следует считать сооружение в виде габионного ступенчатого фильтрационного бассейна с использованием природных высоко поглощающих сорбентов в виде шунгита или цеолита. Конструкция этого фильтрационного бассейна разработана ЗАО ТПО "Ландшафтная архитектура" [30, 31] применительно к малогабаритному его размещению на подмостовых и предмостовых конусах, на откосах и у подошвы насыпей подходов в полосе постоянного отвода земель под строительство дорожно-мостовых объектов (рис. 40). Сооружение позволяет осуществить глубокую очистку сточных вод, имеет положительное заключение государственной экологической экспертизы Госкомэкологии России, Московской государственной геологической академии, а также экспертное заключение института геоэкологии Российской академии наук, рекомендующее это очистное сооружение для широкого использования при решении природоохранных задач в дорожно-мостовом строительстве.

Работы по устройству и очистке этого фильтрационного сооружения предусматривается выполнять по техническим условиям, разработанным ЗАО ТПО "Ландшафтная архитектура".

Способ очистки поверхностного стока с применением фильтрационного сооружения (см. рис. 40) основан на движении загрязненной воды через природный заполнитель - сорбент в фильтрационном бассейне. Процесс очистки сточной воды при фильтрации в природном сорбенте (измельченные горные породы, песок) аналогичен процессу фильтрации воды в подземных водоносных горизонтах, т.е. в предлагаемом бассейне создаются условия, моделирующие процесс самоочистки воды в природе.

Рис. 40. Габионное очистное сооружение:

1 - габионы; 2 - дренажный слой - щебень; 3 - заполнитель - шунгит; 4 - заполнитель - цеолит; 5 - геотекстиль; 6 - оклеенная гидроизоляция – два слоя стеклорубероида на нефтебитуме

Достаточно высокая эффективность и экономичность строительства и эксплуатации фильтрационного сооружения предопределяют возможность его более широкого применения.

Использование этого фильтрационного сооружения на конкретных объектах должно производиться с учетом объема притока в него загрязненных поверхностных вод, пропускной способности сооружения по очистке этих вод, а также необходимого количества таких сооружений и их размещения на откосно-пойменных массивах. Конструктивные особенности этого сооружения, условия применения и эксплуатации, объемные показатели строительства и мониторинг его функционирования более подробно рассматриваются в работах [10, 23, 29].

8. ПЕРИОДИЧЕСКИ ЗАТОПЛЯЕМЫЕ, СЕЛЕЗАЩИТНЫЕ И ФИЛЬТРУЮЩИЕ ВОДОПРОПУСКНЫЕ СООРУЖЕНИЯ С ПРИМЕНЕНИЕМ ГАБИОННЫХ КОНСТРУКЦИЙ

Периодически затопляемые сооружения являются одной из разновидностей дорожно-мостовых водопропускных сооружений. Они весьма распространены не только в отечественной, но и зарубежной практике дорожно-мостового строительства. Применяются на автомобильных дорогах пионерного и временного предназначения, а также на дорогах с относительно небольшой интенсивностью движения транспортных средств.

Периодически затопляемые сооружения подразделяются на три основные группы: затопляемые участки автомобильных дорог, низко водные мосты и переливные лотковые сооружения.

Конструктивные решения по применению габионных строительных блоков должны определяться особенностями каждого из трех групп периодически затопляемых сооружений, положением их на местности и относительно речных долин, условиями подтопления (меженного, паводочного, подпорного), а также условиями их транспортно-эксплуатационного и гидротехнического функционирования (заданного или фактического), пропуска паводка и транспортных средств и восприятия паводочных воздействий.

Область применения габионных конструкций при строительстве периодически затопляемых дорожно-мостовых сооружений определяется необходимостью устройства и укрепления: верховых и низовых подтопляемых (затопляемых) откосов; подходных и выходных участков русл; сопрягающих и отводящих сооружений; регуляционных сооружений и дамб обвалований; подмостовых русл низководных мостов и их пригрузки в период затопления.

При проложении автомобильных дорог в нулевых отметках в относительно равнинной местности конструктивные решения по устройству периодически затопляемых их участков рекомендуется прорабатывать применительно к одной из конструктивных схем, представленных на рис. 41. Для уменьшения возможного истирания твердым стоком крышки матрасных габионов следует усилить дополнительными крышками из металлических сеток двойного кручения.

Рис. 41. Схемы возможных конструктивных решений по устройству переливных сооружений с применением габионов:

1 - матрасы; 2 - проезжая часть; 3 - коробчатые габионы; 4 - дополнительная металлическая сетка двойного кручения; 5 - геотекстиль

При устройстве переливных насыпей в относительно равнинной местности укрепление верховых и низовых откосов рекомендуется производить матрасными габионами. Для защиты концевых частей этих габионных откосов с верховой и низовой сторон целесообразно их заглубление или устройство упорно-защитных устройств из коробчатых габионов в сочетании с матрасными габионами или каменной наброской.

При устройстве периодически затопляемых участков автомобильных дорог на косогорах низовой откос может быть устроен с помощью подпорных водосливных стен, защищаемых от подмыва габионными конструкциями с применением коробчатых и матрасных габионов. В ряде случаев низовой откос может быть выполнен по типу многоступенчатого перепада с использованием коробчатых габионов и укреплением низовой водобойной части матрасными габионами.

При устройстве периодически затопляемых участков дорог и переливных лотковых сооружений с отверстиями и без них взамен их откосных частей могут быть применены вертикальные или ступенчатые габионные стены.

К числу периодически затопляемых сооружений относятся сооружения плотинно-пороговой габионной конструкции, которые рекомендуются для защиты опор мостов неглубокого заложения, а также опор мостов, находящихся под угрозой разрушения из-за развития и продвижения попятного размыва в подмостовое пространство с низовой стороны русла реки.

К периодически затопляемым и переливным дорожно-мостовым сооружениям относятся комбинированные сооружения с частичной фильтрацией поверхностных вод сквозь тело их дорожного полотна, а также селеперепускные лотковые сооружения. Фильтрующие водопропускные сооружения являются издавна известными и применяемыми дорожно-мостовыми сооружениями не только в зарубежной, но и отечественной практике дорожного строительства. Они могут использоваться как для пропуска паводочных и меженных вод, так и для осушения местности, прилегающей к автомобильным дорогам с длительным (более 30 сут) внутригодовым подтоплением поверхностными и грунтовыми водами.

При разработке конструктивных решений по применению фильтрующих водопропускных сооружений следует учитывать, что по исходным условиям проектирования эти сооружения могут быть устроены в виде: высоководных фильтрующих незатопляемых насыпей; фильтрующих прослоек в теле незатопляемого земляного полотна; комбинированного незатопляемого сооружения с устройством водопропускных труб в теле фильтрующих незатопляемых насыпей; низководных фильтрующих периодически затопляемых и переливных насыпей; комбинированного низководного сооружения с устройством водопропускных труб в теле периодически затопляемых и переливных насыпей.

Выбор наиболее целесообразного типа фильтрующего водопропускного сооружения и его сопоставление с традиционными типами водопропускных сооружений в виде труб, малых мостов и переливных лотковых сооружений, а также обоснование возможности применения фильтрующих сооружений на автомобильных дорогах различных категорий и предназначений следует производить на основе технико-экономических расчетов с учетом как наиболее благоприятных исходных условий их использования, так и ограничений.

Применение габионных конструкций позволяет в значительной степени расширить возможности использования фильтрующих водопропускных сооружений в дорожном строительстве. Возможности и свойства габионных структур и изготовляемых из них габионных строительных блоков целесообразно применять в следующих конструктивных решениях:

при устройстве фильтрующих частей и прослоек в теле земляного полотна высоководных незатопляемых насыпей с помощью коробчатых габионов;

при устройстве комбинированных незатопляемых сооружений, состоящих из фильтрующей насыпи и водопропускных труб (или мостов) с применением коробчатых и матрасных габионов в фильтрующей части этих насыпей;

при устройстве фильтрующих прослоек в нижней части низководных периодически затопляемых насыпей и переливных водопропускных сооружений с применением матрасных или коробчатых габионов;

в качестве выравнивающих и изоляционных слоев, устраиваемых между фильтрующими и нефильтрующими частями земляного полотна с применением матрасных габионов, сваренных в горячую с песчано-битумной мастикой;

для устройства узких щелевых отверстий между коробчатыми или матрасными габионами, используемыми в фильтрующих частях и прослойках высоководных незатопляемых и низководных затопляемых насыпей;

для укрепления основания насыпей и обеспечения возможности дренирования или пропуска фильтрационных вод с пониженных участков водонасыщенной местности с применением матрасных или коробчатых габионов;

при устройстве заградительных валов и откосных ограждений, предназначаемых для предохранения от заиливания и замусоривания входных участков фильтрующих насыпей, прослоек и сооружений с использованием коробчатых и матрасных габионов.

Область целесообразного применения габионных конструкций при разработке противоселевых защитных мероприятий распространяется на следующие сооружения:

• террасы и террасы-канавы (траншейные и ступенчатые) на горных склонах селеобразующих водосборных бассейнов;

нагорные и водосбросные канавы;

селепропускные сооружения, включая селепереливные лотки, канализированные и отводные русла;

селенаправляющие и ограждающие сооружения в виде различных типов регуляционных и берегоукрепительных сооружений;

селезадерживающие сооружения руслового расположения в виде запруд, барражей, плотин и котлованов накопителей.

При устройстве противоселевых защитных сооружений с применением габионных конструкций следует учитывать их целевое предназначение, условия функционирования, а также расчетные гидравлико-гидрологические характеристики формирования и проявления водных и селевых потоков.

Террасы, террасы-канавы, нагорные и водосбросные канавы, располагаемые на горных склонах селеобразующих водосборных бассейнов, предназначены для сбора, отвода и рассредоточения поверхностных вод, способных активизировать проявление и развитие склоновых эрозионно-селевых процессов. В комплексе противоселевых мероприятий эти сооружения следует рассматривать как первоочередные и профилактические, предназначаемые для снижения вероятности возникновения селевых потоков.

Особенности расположения террас, террас-канав, нагорных и водосбросных канав, их отдаленность и труднодоступность для ведения строительных работ предопределяют основные преимущества и целесообразность использования габионных конструкций и устройств при строительстве этих сооружений.

Русловые селезащитные, селепропускные, селенаправляющие и ограждающие сооружения предназначаются для снижения и частичного задержания объемов селевой массы, способной перемещаться в виде селевых потоков, а также для безаварийного пропуска этих потоков через отверстия дорожно-мостовых сооружений или в их обход. Эти сооружения вынуждены воспринимать воздействия селевых потоков и должны обеспечивать наиболее оптимальные условия транспортно-гидротехнического функционирования дорожно-мостовых объектов, располагаемых на селеносных и селеопасных склонах и руслах водосборных бассейнов.

При устройстве селепропускных сооружений габионные конструкции наиболее целесообразны в следующих конструктивных элементах укрепления или защиты этих сооружений: подмостовых русл и откосов; откосов регуляционных сооружений; опор мостов от подмыва; концевых участков выходных русл; селепереливных лотков.

Наиболее целесообразными типами габионов для защитно-укрепительных конструкций селепропускных сооружений являются матрасные и коробчатые габионы и их сопряжения друг с другом, а также с каменными набросками.

Для повышения устойчивости габионных поверхностей от возможности их истирания и повреждений каменными составляющими селевых потоков следует предусматривать защиту этих поверхностей дополнительными крышками или металлическими сетками двойного кручения.

Канализированные селепропускные русла (каналы) с использованием габионов находят применение для спрямления отдельных криволинейных участков входных и отводных предмостовых и мостовых русл, а также для пропуска водных и селевых потоков через населенные пункты, промышленные предприятия и другие народнохозяйственные объекты или в их обход.

В условиях пропуска селевых потоков с относительно небольшим расходом водно-селевой массы, а также ударно-динамических, размывных и истирающих воздействий канализированные селепро-пускные русла могут быть устроены с габионным укреплением всего очертания их расчетного поперечного сечения. Береговые части канализированных селепропускных русл могут быть устроены в виде коробчатых габионных подпорных стен е вертикальной, наклонной или ступенчатой лицевой гранью. Укрепление дна этих русл может быть выполнено с применением матрасных или коробчатых габионов.

Селезащитные габионные сооружения могут устраиваться для задержания части твердого стока и его накопления в верхнем бьефе, а также для частичного или полного гашения энергии селевых потоков единичными или каскадно расположенными селезадерживающими сооружениями.

Схемы возможных конструктивных решений по устройству периодически затопляемых, селезащитных и фильтрующих водопропускных сооружений с применением габионов, а также условия использования этих конструктивных схем более подробно рассматриваются в работах [10, 17, 18, 23, 32].

ЗАКЛЮЧЕНИЕ

Многолетний опыт дорожно-мостового строительства ряда стран, включая и отечественный опыт последних лет, показывает, что габионные конструкции обладают весьма широкими возможностями их применения как для укрепления откосов, склонов, подмостовых конусов, береговых линий и русл, так и для устройства подпорных, водопропускных, водоотводных, противофильтрационных очистных и ряда других сооружений, рассматриваемых в данном обзоре.

Габионные структуры и изготовляемые из них строительные блоки обладают рядом специфических особенностей и преимуществами по сравнению с традиционными конструкциями и материалами: антикоррозионной устойчивостью и длительным сроком службы; возможностью комбинирования из них разных типов конструкций при создании сооружений различного предназначения; возможностью сопряжения с традиционными и нетрадиционными конструкциями и сооружениями; гибкостью конструкций, способных воспринимать возможные осадки грунта и размывы дна русл, реагируя на это прогнозируемыми прогибами; повышенными экологическими свойствами для восстановления и оздоровления прилегающей местности, а также рядом других особенностей.

Раскрытие и реализация всех потенциальных возможностей габионных конструкций могут быть осуществлены лишь на основе вариантных проработок и сопоставления с другими альтернативными вариантами применения традиционных или нетрадиционных конструкций на конкретных объектах проектирования.

Более широкое освоение габионных конструкций в отечественной практике дорожно-мостового строительства и обеспечение разработки наиболее оптимальных проектно-строительных решений сопряжено с необходимостью дальнейшего совершенствования и научно-методического развития изначальных сопровождающих материалов и документов, а также с необходимостью разработки типовых решений по отдельным разновидностям сооружений, возводимых с применением габионных структур.

СПИСОК ЛИТЕРАТУРЫ

1. Альбом конструкций крепления откосов земляного полотна железных и автомобильных дорог общей сети Союза ССР. - Введ. в действие Мосгипротрансом (приказ № 134 от 17.09.70). - М., 1970. - 197 с. (Инв. № 750).

2. Конструкции укрепления откосов земляного полотна автомобильных дорог общего пользования: Сер. 3.503.9-78. Вып. 0. Материалы для проектированиям / Союздорпроект: Утв. Минтрансстроем СССР 06.05.88 (протокол № АВ-299). - Введ. 07.05.88 (приказ № 144пр). - М: ЦИТП Госстроя СССР, 1988. - 110 с.

3. Водоотводные сооружения на автомобильных дорогах общей сети Союза ССР: 503-09-7.84. Типовые материалы для проектирования / Союздорпроект: Утв. и введ. Минтрансстроем СССР (распоряжение № АВ-80 от 28.03.84). - М.: ЦИТП Госстроя СССР, 1985. - 74 с.

4. СНиП 2.05.02-85. Автомобильные дороги / Госстрой СССР - Введ. 01.01.87. - М.: ЦИТП Госстроя СССР, 1986. - 56 с.

5. Руководство по защите дорожно-мостовых сооружений от селевых потоков / Союздорпроект. - М., 1993. - 394 с.

6. Рекомендации по учету требований по охране окружающей среды при проектировании автомобильных дорог и мостовых переходов /ФДЦ Минтранса РФ. - М., 1995. - 124 с.

7. СНиП 2.05.03-84.* Мосты и трубы / Госстрой СССР. - Введ. 01.01.86. - М.: ГП ЦПП Минстроя России, 1996. - 214 с.

8. Пособие к СНиП 2.05.03-84* (Мосты и трубы) по изысканиям и проектированию железнодорожных и автодорожных мостовых переходов через водотоки (ПМП-91) / Корпорация "Трансстрой", ПКТИТрансстрой. - М.: ЦНИИС, 1992. - 411 с.

9. Пособие по гидравлическим расчетам малых водопропускных сооружений / ЦНИИС, ГУПиКС Минтрансстроя СССР. - М.: Транспорт, 1992. - 408 с.

10. Методические рекомендации по применению габионных конструкций в дорожно-мостовом строительстве / ООО "Организатор", Союздорпроект. - М., 2000. - 267 с.

11. Переводников Б.Ф. Новые прогрессивные решения по применению габионных конструкций в дорожно-мостовом строительстве // Автомоб. дороги: Информ. сб. / Информавтодор. - 1999. - Вып. 6. - С. 22-31.

12. Метод "Эколандшафт" // Строит, эксперт. - 1998. - № 16(35). - С. 25-30.

13. Шевченко К.И. Технико-экономическое обоснование применения габионных структур для целей инженерной защиты территорий / Моск. представительство итальян. фирмы "Офичине Маккаферри". - М., 1996. - 64 с.

14. Шевченко К.И. Габионы - надежная защита грунтов от эрозии //Гидротехн. стр-во. - 1996. - № 11. - С. 33-37.

15. Flexible gabion and Reno mattress structures in river and stream training work: Section two. Labanti e Nanni / Officine Maccaferri S.p.A., R.Agostini;, F.Ferrario, A.Papetti. - Bologna, Italy, 1989.

16. Flexible lining in Reno mattresse and gabions for canals and canalized water courses. Labanti e Nanni / Officine Maccaferri S.p.A., R.Agostini, A.Conte, G.Malaguti, APapetti. - Bologna, Italy, 1985.

17. Officine Maccaferri S.p.A., Papetti A. Flexible gabion structures in earth retaining works. - Bologna, Italy, 1987.

18. Flexible gabion and Reno mattress structures in river and stream training: Part two / Officine Maccaferri S.p.A., R.Agostini, A.Bizzarri, M.Mazetti, APapetti. - Bologna, Italy, 1987.

19. Применение металлических сеток и геотекстильных материалов в практике строительства объектов водохозяйственного комплекса / ВодНИИпроект. - М.: ВодНИИинформпроект, 1993. - 109 с.

20. Перевозников Б.Ф. Основные параметры и размеры отечественных [Проволочных сеток двойного кручения для изготовления сетчатых габионных конструкций и ограждений. - М., 2000. - С. 164-168. - (Сб. науч.-метод, работ по повышению уровня обоснованности проектов автомоб. дорог и сооружений на них / Союздорпроект; Вып. 4).

21. Перевозников Б.Ф. Основные параметры и размеры отечественных сетчатых конструкций для изготовления габионных структур. - М., 2000. - С. 169-174. - (Сб. науч.-метод, работ по повышению уровня обоснованности проектов автомоб. дорог и сооружений на них / Союздорпроект; Вып. 4).

22. Габионы из пластмассовых сеток фирмы Netlon (Великобритания) // Трансп. стр-во за рубежом: Экспресс-информ. / ВПТИТрансстрой. - 1990. - № 21. - С. 8-10.

23. Перевозников Б.Ф. Научно-технический обзор методов расчета и проектирования дорожно-мостовых габионных конструкций и сооружений: Рукопись / Союздорпроект. - М., 2000. - 120 с.

24. Методические указания по оценке местной устойчивости откосов и выбору способов их укрепления в различных природных условиях / ЦНИИС Госстроя СССР. - М.: ЦНИИС, 1970. - 60 с.

25. Временные технические указания по применению габионов для усиления насыпей на скоростной линии Санкт-Петербург-Москва / МПС. - М., 1997. - 65 с.

26. Технические указания по применению габионов для усиления земляного полотна / МПС, МИИТ (ТУ) - М.: ПТКБ ЦП МПС, 1998.-140 с.

27. Технические решения габионных конструкций: Сборник типовых решений / ЗАО "Габионы Маккаферри СНГ". - М., 1996. - 32 с.

28. Крепление оголовков водопропускных сооружений: Сборник типовых решений / ЗАО "Габионы Маккаферри СНГ". - М., 1996. - 15 с.

29. Перевозников Б.Ф. Анализ проектных решений по использованию водоочистительной способности габионных структур и конструкций при устройстве водоотводных и очистных сооружений на автомобильных дорогах.-М., 2000. - С. 150-161. - (Сб. науч.-метод, работ по повышению уровня обоснованности проектов автомоб. дорог и сооружений на них / Союздорпроект; Вып. 4).

30. Комплекс сооружений для инженерной защиты склонов и очистки поверхностных вод / ЗАО ТПО "Ландшафтная архитектура". - М., 1999. - 9 с.

31. Новый способ очистки поверхностных вод - фильтрационный бассейн / ЗАО ТПО "Ландшафтная архитектура". - М, 1999. - 85 с.

32. Перевозников Б.Ф. Периодически затопляемые, селезащитные и фильтрующие водопропускные сооружения с применением габионных конструкций. - М, 2000. - С. 25-35. -(Сб. науч.-метод. работ по повышению уровня обоснованности проектов автомоб. дорог и сооружений на них / Союздорпроект; Вып. 4).

 




Яндекс цитирования



   Copyright © 2007-2026,  www.tehlit.ru.

[ ѓосты, стандарты, нормативы, инструкции, правила, строительные нормы ]