//
ТехЛит.ру
- крупнейшая бесплатная электронная интернет библиотека для "технически умных" людей.
WWW.TEHLIT.RU - ТЕХНИЧЕСКАЯ ЛИТЕРАТУРА

:: Алготрейдинг::


АЛГОТРЕЙДИНГ
шаг за шагом
с нуля по урокам!

Торговые роботы на PYTHON, BackTrader,
Pandas, Pine Script для TradingView. Связка с брокерами, телеграм и легкими приложениями.


РУКОВОДСТВО

ПО ЛИКВИДАЦИИ АВАРИЙ
НА ОБЪЕКТАХ ПРОИЗВОДСТВА, ХРАНЕНИЯ,
ТРАНСПОРТИРОВАНИЯ И ПРИМЕНЕНИЯ ХЛОРА

Москва 1997

МИНИСТЕРСТВО ПО ДЕЛАМ ГРАЖДАНСКОЙ ОБОРОНЫ,
ЧРЕЗВЫЧАЙНЫМ СИТУАЦИЯМ И ЛИКВИДАЦИИ
ПОСЛЕДСТВИЙ СТИХИЙНЫХ БЕДСТВИЙ

РОССИЙСКИЙ ЦЕНТР "ХЛОРБЕЗОПАСНОСТЬ"

"СОГЛАСОВАНО"
Заместитель Председатели
Комитета Российской Федерации
по химической и нефтехимической
промышленности

Рябенко Е.А.

12 июля 1996 г.

"УТВЕРЖДАЮ"
Заместитель министра
по делам гражданской обороны,
чрезвычайным ситуациям
и ликвидации последствий
стихийных бедствий

Владимиров В.А

8 августа 1996 г.

РУКОВОДСТВО

ПО ЛИКВИДАЦИИ АВАРИЙ
НА ОБЪЕКТАХ ПРОИЗВОДСТВА, ХРАНЕНИЯ,
ТРАНСПОРТИРОВАНИЯ И ПРИМЕНЕНИЯ ХЛОРА

Москва - 1997

В настоящем руководстве рассмотрен порядок действий спецподразделений и производственного персонала по локализации и ликвидации аварийных ситуаций при производстве, хранении, применении и транспортировке хлора.

Изложены основные функции предприятий, служб, должностных лиц и их задачи при возникновении аварий, сопровождающихся выбросом хлора в окружающую среду, локализации и ликвидации аварийных ситуаций.

В руководстве рассмотрены вопросы взаимодействия привлекаемых для ликвидации аварии спецчастей, предприятий и организаций, мероприятия по эвакуации и спасению людей.

Использование рекомендаций "Руководства..." позволит повысить уровень профессиональной подготовки аварийно-спасательных формирований и производственного персонала, обеспечит оперативность и эффективность их действий при возникновении аварий, сопровождающихся выбросом хлора.

СОДЕРЖАНИЕ

ВВЕДЕНИЕ

1. СВОЙСТВА ХЛОРА

2. ОСНОВНЫЕ ПРИЧИНЫ ВОЗНИКНОВЕНИЯ АВАРИЙНЫХ СИТУАЦИЙ

3. ЛОКАЛИЗАЦИЯ И ЛИКВИДАЦИЯ АВАРИЙ, СОПРОВОЖДАЮЩИХСЯ УТЕЧКАМИ ХЛОРА В ОКРУЖАЮЩУЮ СРЕДУ

3.1. ОБЩИЙ ПОРЯДОК ПЕРВООЧЕРЕДНЫХ ДЕЙСТВИЙ ПРИ ВОЗНИКНОВЕНИИ АВАРИЙНЫХ УТЕЧЕК ПРИ ПРОИЗВОДСТВЕ, ПРИМЕНЕНИИ И ХРАНЕНИИ ХЛОРА В СОСУДАХ (ТАНКИ, ЖЕЛЕЗНОДОРОЖНЫЕ ЦИСТЕРНЫ, КОНТЕЙНЕРЫ, БАЛЛОНЫ)

3.2. АВАРИЙНЫЕ СИТУАЦИИ НА ПРОИЗВОДСТВЕ ЖИДКОГО ХЛОРА И ПОРЯДОК ДЕЙСТВИЙ ПО ИХ УСТРАНЕНИЮ

3.3. АВАРИЙНЫЕ СИТУАЦИИ ПРИ ПРИМЕНЕНИИ И ХРАНЕНИИ ХЛОРА В СОСУДАХ БОЛЬШОЙ ЕДИНИЧНОЙ ЕМКОСТИ (БОЛЕЕ 25 ТОНН) И ПОРЯДОК ДЕЙСТВИЙ ПО ИХ УСТРАНЕНИЮ

3.4. АВАРИЙНЫЕ СИТУАЦИИ У ПОТРЕБИТЕЛЕЙ ХЛОРА В СОСУДАХ МАЛОЙ ЕДИНИЧНОЙ ЕМКОСТИ (КОНТЕЙНЕРЫ, БАЛЛОНЫ) И ПОРЯДОК ДЕЙСТВИЙ ПО ИХ УСТРАНЕНИЮ

3.5. ЛОКАЛИЗАЦИЯ И ЛИКВИДАЦИЯ АВАРИЙНЫХ СИТУАЦИЙ ПРИ ТРАНСПОРТИРОВКЕ ХЛОРА

Приложение 1 ОСНОВНЫЕ ЗАДАЧИ И ФУНКЦИИ ДОЛЖНОСТНЫХ ЛИЦ, АВАРИЙНО-СПАСАТЕЛЬНЫХ ФОРМИРОВАНИЙ И ВСПОМОГАТЕЛЬНЫХ СЛУЖБ ПРИ ВОЗНИКНОВЕНИИ АВАРИЙ, СОПРОВОЖДАЮЩИХСЯ ВЫБРОСАМИ ХЛОРА В ОКРУЖАЮЩУЮ СРЕДУ

Приложение 2 СРЕДСТВА ЗАЩИТЫ И ИНДИКАЦИИ ХЛОРА, ИНСТРУМЕНТЫ И ПРИСПОСОБЛЕНИЯ, НЕОБХОДИМЫЕ ПРИ ПРОВЕДЕНИИ АВАРИЙНЫХ РАБОТ

Приложение 3 УСТРОЙСТВА ДЛЯ УСТРАНЕНИЯ И ЛОКАЛИЗАЦИИ УТЕЧЕК ХЛОРА ИЗ АВАРИЙНОГО ОБОРУДОВАНИЯ И ТРУБОПРОВОДОВ

Приложение 4 МАГНИТНЫЙ ЗАХВАТ ГЕРМЕТИЗИРУЮЩИЙ ТИПА "КОНСОЛЬ"

Приложение 5 РЕКОМЕНДАЦИИ ПО ЛОКАЛИЗАЦИИ ХЛОРНОЙ ВОЛНЫ С ПОМОЩЬЮ ЗАЩИТНОЙ ВОДЯНОЙ ЗАВЕСЫ

Приложение 6 ПЕРЕДВИЖНАЯ УСТАНОВКА ДЛЯ ЛОКАЛЬНОГО ОТСОСА И ПОГЛОЩЕНИЯ ХЛОРА ППХ-1

Приложение 7 УСТРОЙСТВО ДЛЯ УСТРАНЕНИЯ УТЕЧКИ ХЛОРА ИЗ ПРЕДОХРАНИТЕЛЬНОГО КЛАПАНА

Приложение 8 КОЛЛЕКТОРНО-ШЛАНГОВЫЕ СИСТЕМЫ (КШС) ДЛЯ ЛОКАЛЬНОГО ОТСОСА ХЛОРА

Приложение 9 УСТРОЙСТВО ДЛЯ ИЗОЛЯЦИИ АВАРИЙНОГО КОНТЕЙНЕРА

Приложение 10 УСТРОЙСТВО ДЛЯ ИЗОЛЯЦИИ АВАРИЙНОГО БАЛЛОНА

Приложение 11 КАНТОВАТЕЛЬ КОНТЕЙНЕРА

Приложение 12 УСТРОЙСТВО ДЛЯ АВАРИЙНОЙ ЭВАКУАЦИИ ХЛОРА ИЗ ДЕФЕКТНЫХ КОНТЕЙНЕРОВ

Приложение 13 УСТРОЙСТВО ДЛЯ ЭВАКУАЦИИ ХЛОРА ИЗ АВАРИЙНЫХ БАЛЛОНОВ

Приложение 14 ЭКСПРЕСС-ОЦЕНКА РАЗМЕРОВ ЗОНЫ ОПАСНОГО ХИМИЧЕСКОГО ЗАРАЖЕНИЯ ХЛОРОМ

Приложение 15 ХАРАКТЕРИСТИКИ РАСТВОРОВ ДЛЯ НЕЙТРАЛИЗАЦИИ ХЛОРА И СПОСОБЫ ИХ ПРИГОТОВЛЕНИЯ

ВВЕДЕНИЕ

Хлор по объему производства и области применения является одним из важнейших продуктов химической промышленности. В 1996 году в России было произведено около 2 млн. т хлора. Широкое использование и большие объемы производства хлора определяют высокую потенциальную опасность возникновения чрезвычайных ситуаций, обусловленных его аварийными выбросами в окружающую среду. Эти обстоятельства усугубляются физико-химическими и токсикологическими свойствами хлора, являющегося сильнодействующим ядовитым веществом удушающего характера. Токсикологические и физико-химические свойства хлора являются основными поражающими факторами при его аварийных выбросах.

Широкомасштабное применение хлора и несовершенство используемого основного и вспомогательного технологического оборудования привели к высокому уровню аварийности на предприятиях, использующих хлор. Очевидно, что в сочетании с имеющим место низким уровнем профессиональной подготовки производственного персонала по действиям в аварийных ситуациях это может привести к цепному характеру развития аварии и неконтролируемому возрастанию ее масштабов.

В связи с изложенным, решение вопросов организации действий производственного персонала и спецподразделений в аварийных ситуациях и повышения их оперативности и эффективности является чрезвычайно важной задачей.

1. СВОЙСТВА ХЛОРА

Хлор относится к группе галогенов. Молекулярная масса хлора - 70,9.

При нормальных условиях хлор представляет собой газ зеленовато-желтого цвета с резким раздражающим запахом. В сжиженном состоянии хлор может находиться только при избыточном давлении или при температуре ниже минус 34 °С. Хранится и транспортируется жидкий хлор в сосудах, выдерживающих избыточное давление. Давление насыщенных паров хлора в сосуде зависит от температуры и с ее повышением увеличивается. Зависимость давления насыщенных паров хлора в сосуде от температуры приведена в таблице 1.

Таблица 1

Температура хлора, °С

-40

-30

-20

-10

0

10

20

30

40

50

Давление, ата

0,79

1,24

1,85

2,68

3,76

5,14

6,86

8,97

11,52

14,55

Плотность жидкого хлора при температуре кипения (-34 °С) составляет 1560 кг/м3.

При испарении одного объема жидкого хлора при 0 °С образуется 457 объемов газообразного хлора. Газообразный хлор тяжелее воздуха в 2,5 раза, поэтому при аварийных утечках он стелется по низу, создавая устойчивое газовое облако. Плотность хлоргаза при 0 °С и давлении 101,3 кПа равна 3,21 кг/м3.

Хлор, полученный в электролизерах, может содержать крайне опасную примесь - трихлорид азота (NCl3). Последний представляет собой тяжелую маслянистую жидкость с неприятным запахом, напоминающим запах хлора. Плотность NCl3 – 1,65 кг/л; температура кипения 71 °С. Трихлорид азота является взрывчатым веществом, обладающим чрезвычайно высокой чувствительностью к удару, трению и нагреванию. Наличие в хлоре трихлорида азота может послужить причиной хлопков и взрывов трубопроводов, ресиверов, испарителей и тары для хранения и транспортирования жидкого хлора.

Хлопки и взрывы на ряде предприятий химической промышленности, цветной металлургии, в хлорном хозяйстве станций водоподготовки сопровождались, как правило, выбросом больших количеств хлора в окружающую среду. Учитывая взрывоопасные свойства трихлорида азота, ГОСТ 6718-93 допускает его содержание в жидком хлоре первого сорта не более 0,004% (по массе).

Хлор является сильным окислителем. Не горюч. Реагирует с большинством органических соединений, в ряде случаев со взрывом. Смесь хлора с водородом под действием света взрывается.

Хлор оказывает различное коррозионное воздействие на конструкционные материалы в зависимости оттого, "влажный" он или "сухой". В присутствии влаги протекает обратимая реакция гидролиза хлора с образованием соляной и хлорноватистой кислот:

Сl2 + Н2O « НСl + НсlO

Кроме этой реакции, в определенных условиях протекают одновременно реакции с образованием хлорноватой кислоты (НСlO3), хлоридов железа, водорода и кислорода. Поэтому во "влажном хлоре" (содержание воды > 0,04% масс.) углеродистые и низколегированные стали подвергаются точечной и язвенной коррозии, а в герметичных сосудах (например, в хлорных контейнерах) повышается вероятность образования взрывоопасных смесей водорода с кислородом и хлором.

Для изготовления технологического и трубопроводного оборудования, эксплуатируемого во "влажном хлоре" (теплообменники, насосы, трубопроводы, арматура и др.) используют титан, который не взаимодействует с "влажным хлором" даже при повышенной температуре (100 °С). Однако следует иметь в виду, что с "сухим" газообразным и жидким хлором (содержание воды менее 0,04% масс.) титан реагирует очень бурно, вплоть до самовозгорания и взрыва.

С углеродистыми и низколегированными сталями "сухой хлор" практически не взаимодействует до температуры 100 °С.

Воздействие хлора на человека

Хлор обладает сильным токсическим и раздражающим действием. Оказывает раздражающее воздействие на глаза и органы дыхания. При вдыхании вызывает судорожный, мучительный кашель. В тяжелых случаях происходит спазм голосовых связок, отек легких. Оказывает сковывающее воздействие на центральную нервную систему.

Газообразный хлор раздражающе действует на влажную кожу, вызывая ее покраснение. При попадании на кожу жидкого хлора могут иметь место химические ожоги, обморожение.

Предельно-допустимая концентрация хлора в воздухе рабочих помещений 1 мг/м3, в атмосферном воздухе населенных мест максимально разовая - 0,1 мг/ м3, среднесуточная - 0,03 мг/ м3.

Характер действия хлора на организм человека в зависимости от его концентрации в воздухе приведен в таблице 2.

Таблица 2

Концентрация хлора в воздухе, мг/м3

Действие на организм человека

3,0

Наименьшая концентрация, вызывающая слабые симптомы раздражения после нескольких часов пребывания человека в загазованном хлором воздухе.

10,3

Предел восприятия - самая низкая концентрация, воспринимаемая обонянием.

45,3

Минимальная концентрация, вызывающая раздражение гортани.

90,6

Минимальная концентрация, вызывающая приступы кашля.

1800

Потеря сознания при вдыхании.

3000

Смертельная концентрация при нескольких глубоких вдохах

Оказание первой помощи

Как можно быстрее удалить пострадавшего из опасной зоны. Снять пропитанную хлором одежду. Уложить пострадавшего в горизонтальное положение. Обеспечить покой, тепло, приток свежего воздуха. Дать теплое питье (боржоми, молоко с содой, чай, кофе).

При кашле, першении в горле необходимо обильное полоскание носоглотки 2%-ным раствором бикарбоната натрия или физиологическим раствором, тепло-влажные ингаляции 2%-ным раствором бикарбоната натрия, противокашлевые препараты (кодеин, либексин, дионин), вдыхание кислорода.

При слезотечении, жжении в глазах - промывание глаз водой или 2%-ным раствором бикарбоната натрия. Закапывание в глаза 0,5%-ного раствора дикаина или 1%-ного раствора новокаина, 30%-ного раствора сульфацила натрия (альбуцида).

При затруднении дыхания, осиплости голоса (что может зависеть от спазма голосовой щели - "режим молчания") - подкожно 1 мл 0,1%-ного раствора атропина.

При обмороке дать понюхать нашатырный спирт. При отсутствии дыхания немедленно приступить к его восстановлению (способом "рот в рот").

Пострадавшие должны быть доставлены в медицинское учреждение для обследования и дальнейшего лечения.

2. ОСНОВНЫЕ ПРИЧИНЫ ВОЗНИКНОВЕНИЯ АВАРИЙНЫХ СИТУАЦИЙ

Хлор относится к сильнодействующим ядовитым веществам, что определяет потенциальную опасность аварии, возникающих при его производстве, хранении, транспортировании и применении.

Основными причинами возникновения аварий, сопровождающихся утечками хлора являются:

- разгерметизация запорной арматуры, фланцевых и сварных соединений;

- механические повреждения емкостного и трубопроводного оборудования, коррозионное и тепловое воздействие на него;

- взрыв трихлорида азота;

- попадание в сосуды с жидким хлором посторонних веществ (водород, углеводороды, вода и др.);

- гидравлический разрыв или разгерметизация сосудов (железнодорожные цистерны, танки, контейнеры, баллоны) при их переполнении жидким хлором;

- дефекты и усталостные явления в металле и сварных элементах сосудов и трубопроводов;

- ошибки, допущенные при проектировании, изготовлении, монтаже, ремонте и выполнении технологических операций в процессе производства, хранения и потребления хлора.

Уровень опасности аварийной утечки хлора зависит от многих факторов, в частности от геометрических размеров сквозного отверстия в сосуде или трубопроводе, давления в них, температуры окружающей среды, а также агрегатного состояния выделяющегося хлора.

Наиболее опасны утечки жидкого хлора, т.к. при испарении 1 л жидкого хлора образуется около 450 л газообразного Сl2.

Утечки хлора из трубопровода, через арматуру, места ее соединения с корпусом сосуда или непосредственно через отверстия в корпусе железнодорожной цистерны, танка, контейнера или баллона чаще всего появляются в результате характерной для жидкого хлора и хлорсодержащих сред точечной (питтинговой) коррозии стали, из которой они изготовлены. Внешняя атмосферная коррозия протекает тем более интенсивно, чем выше относительная влажность воздуха, больше "загазованность" атмосферы хлором или иными коррозионно-активными веществами, выше температура или имеют место резкие перепады температуры во времени.

Проникновение влаги по штоку или через штуцер вентиля контейнера или баллона приводит к "заклиниванию" штока в месте винтового его соединения с корпусом вентиля продуктами коррозии (гидратами гидрооксихлоридов железа). В результате вентиль заполненного жидким хлором контейнера или баллона не открывается. Такие аварийные сосуды потенциально опасны, так как их дальнейший коррозионный износ может привести к появлению утечек или разрушению сосуда.

Разрыв корпуса железнодорожной цистерны, танка, контейнера или баллона может произойти как в результате их переполнения жидким хлором, так и вследствие попадания в сосуд с хлором посторонних веществ (вода, органические вещества и др.).

Процесс выброса хлоргаза в окружающую среду при разгерметизации оборудования может быть представлен в виде трех последовательных стадий:

- мгновенного испарения хлора;

- интенсивного кипения;

- квазистационарного кипения.

Мгновенное испарение хлора происходит за счет накопленной в нем теплоты перегрева, зависящей от температуры хранения, и характеризуется быстрым, в течение десятых долей секунды, переходом в газообразное состояние до 18 % жидкого хлора, содержащегося в сосуде (в условиях хранения жидкого хлора при температуре 293 °К). Мгновенно испарившимся хлором будет диспергирована и унесена в виде мелких капель жидкая фаза, которая войдет в состав газоаэрозольного хлорного облака.

Количество диспергированной фазы может быть сравнимо с количеством образовавшегося хлоргаза и увеличивает массу первичного облака до ~36 % от общей массы хлора, содержащегося в разгерметизированном оборудовании.

Оставшаяся часть жидкого хлора, охлажденная до температуры его кипения при атмосферном давлении, продолжает кипеть вследствие теплопритока от поверхности контакта. Этот процесс, по мере охлаждения поверхности контакта замедляется в течение 15-20 мин и переходит в режим квазистационарного испарения, характеризующийся достаточно низкой интенсивностью образования хлоргаза.

На стадии кипения в условиях ограниченного пролива (в поддон, обвалование и т.п.) испаряется в среднем от 1 до 1,5% общей массы хлора, содержащегося в сосуде.

Из сказанного очевидно, что наибольшую опасность представляет стадия мгновенного испарения хлора. Образующееся на этой стадии паро-аэрозольное облако ввиду высокой плотности хорошо растекается и относительно слабо рассеивается. Процесс растекания, как правило не превышает минуты, а скорость растекания может достигать 10 м/с. Растекающееся облако хлора за короткий промежуток времени способно охватить большую площадь с находящимися на ней производственными и административными объектами и привести к гибели людей. Это подтверждается статистикой крупномасштабных выбросов хлора как в нашей стране, так и за рубежом. Массовая гибель людей в таких случаях отмечалась в радиусе 50-200 м от места выброса хлора.

При этом необходимо учитывать, что находиться с подветренной стороны от места аварии также небезопасно, т.к. растекание облака происходит и против ветра.

3. ЛОКАЛИЗАЦИЯ И ЛИКВИДАЦИЯ АВАРИЙ, СОПРОВОЖДАЮЩИХСЯ УТЕЧКАМИ ХЛОРА В ОКРУЖАЮЩУЮ СРЕДУ

Организация и осуществление мероприятий по предупреждению и ликвидации последствий аварий и катастроф должны проводиться в соответствии с постановлением Правительства Российской Федерации от 5 ноября 1995 г., № 1113 "О единой государственной системе предупреждения и ликвидации чрезвычайных ситуаций" - РСЧС.

РСЧС состоит из территориальных и функциональных подсистем и имеет пять уровней:

- федеральный;

- региональный;

- территориальный;

- местный;

- объектовый.

Каждый уровень РСЧС имеет координирующие органы, постоянно действующие органы управления, специально уполномоченные на решение задач в области защиты населения и территорий об чрезвычайных ситуациях.

В соответствии с указанным постановлением Правительства Российской Федерации при возникновении аварий, последствия которых не выходят за пределы территории предприятия (объекта), координирующим органом по предупреждению и ликвидации чрезвычайных ситуаций является объектовая комиссия по чрезвычайным ситуациям (КЧС), возглавляемая руководителем объекта. Рабочим аппаратом комиссии (КЧС) являются диспетчерские и инженерно-технические службы предприятия (объекта), основные задачи и функции, которых при возникновении аварии на объекте представлены в Приложении 1.

При возникновении аварий, сопровождающихся выбросом в окружающую среду больших объемов хлора и образованием хлорной волны, распространяющейся за пределами территории предприятия, координирующим органам РСЧС по предупреждению и ликвидации чрезвычайных ситуаций на местном уровне, охватывающем территорию района, города (района в городе), является комиссия по чрезвычайным ситуациям органов местного самоуправления, основные задачи которой определены "Положением о единой государственной системе предупреждения и ликвидации чрезвычайных ситуаций", утвержденным указанным выше постановлением Правительства Российской Федерации от 5 ноября 1995 г. № 1113.

3.1. ОБЩИЙ ПОРЯДОК ПЕРВООЧЕРЕДНЫХ ДЕЙСТВИЙ ПРИ ВОЗНИКНОВЕНИИ АВАРИЙНЫХ УТЕЧЕК ПРИ ПРОИЗВОДСТВЕ, ПРИМЕНЕНИИ И ХРАНЕНИИ ХЛОРА В СОСУДАХ (ТАНКИ, ЖЕЛЕЗНОДОРОЖНЫЕ ЦИСТЕРНЫ, КОНТЕЙНЕРЫ, БАЛЛОНЫ)

При аварийной утечке хлора диспетчер предприятия, установивший по системе контрольно-измерительных приборов, автоматики и телемеханики факт возникновения аварии или, получив сообщение о ней от производственного персонала, оценивает обстановку, объявляет химическую тревогу на территории предприятия и оповещает объекты, попадающие в опасную зону, о движении на них хлорного облака. Затем диспетчер оповещает аварийно-спасательные формирования, руководителя и членов объектовой КЧС, инженерно-технические службы, территориальные органы управления по делам гражданской обороны и чрезвычайных ситуаций (ГО и ЧС), территориальные органы внутренних дел, органы исполнительной власти, медицинские учреждения.

Производственный персонал, члены аварийно-спасательных формирований и члены добровольной газоспасательной дружины (ДГСД) по сигналу химической тревоги одевают изолирующие средства защиты органов дыхания и кожи в соответствии с рекомендациями Приложения 2.

Члены ДГСД по указанию начальника смены (мастера) выставляют дежурные посты и предупредительные знаки для ограждения загазованной хлором зоны. Границы этой зоны могут быть определены с помощью переносных газоанализаторов (см. Приложение 2, п. 2).

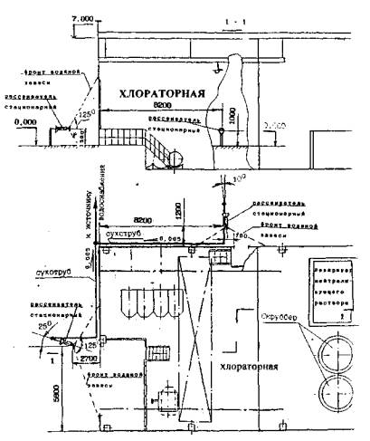
По прибытии к месту аварии члены аварийно-спасательных формирований совместно с членами ДГСД проверяют отсутствие людей в загазованной хлором зоне и в помещениях, принимают меры по эвакуации и оказанию первой помощи пострадавшим, проверяют включение автоматизированных систем аварийной вентиляции, нейтрализации хлора и стационарной системы локализации хлорной волны с помощью защитной водяной завесы.*)

_________________________

*) Принципиальные схемы и рекомендации по локализации хлорной волны с помощью защитной водяной завесы представлены в Приложении 5.

При отказе систем автоматического включения аварийной вентиляции, системы нейтрализации хлора и локализации хлорной волны их включают вручную.

Порядок действий аварийно-спасательных формирований и ДГСД при устранении аварийных утечек хлора изложен ниже в разделах 3.2.-3.5.

Общие правила, которые необходимо соблюдать при ликвидации аварийных утечек хлора

1. Не допускать орошения водой или нейтрализующим раствором щелочи аварийных сосудов и трубопроводов с жидким хлором.

2. Не допускать погружения газящего контейнера или баллона с жидким хлором в приямки с водой или нейтрализующим раствором щелочи.

Эти требования объясняются следующими причинами.

В связи с тем, что теплопроводность воды и нейтрализующего раствора щелочи существенно выше теплопроводности воздуха подвод тепла к стенкам сосуда или трубопровода с жидким хлором значительно возрастает при орошении их водой или раствором щелочи. Это приведет к резкому повышению скорости испарения хлора.

Продукты взаимодействия хлора с нейтрализующим раствором обладают высокой коррозионной активностью, что может привести к увеличению размера отверстия в погруженном в приямок с нейтрализующим раствором сосуде и возрастанию утечки хлора.

Процесс взаимодействия хлора с нейтрализующим раствором сопровождается выделением тепла, разогревом контейнера (баллона), побуженного в приямок, и, как следствие, ростом производительности аварийного источника выброса хлора.

3.2. АВАРИЙНЫЕ СИТУАЦИИ НА ПРОИЗВОДСТВЕ ЖИДКОГО ХЛОРА И ПОРЯДОК ДЕЙСТВИЙ ПО ИХ УСТРАНЕНИЮ

№ п/п

Вид аварийной ситуации

Порядок действий по устранению аварийной ситуации

1

2

3

1.

Взрыв электролизера

1.1. Отключить подачу хлора и водорода всем потребителям.

1.2. Отключить питание цеха постоянным током.

1.3. Проверить автоматическое отключение хлорных и водородных компрессоров, при необходимости выключить их вручную.

1.4. Закрыть задвижку на нагнетании хлорного компрессора.

1.5. Отключить поврежденный электролизер стационарным выключателем или передвижным шунтирующим устройством.

1.6. Отглушить от коллекторов хлора и водорода поврежденный электролизер и приступить к его ремонту.

2.

Взрыв в системе осушки хлора в отделении сушки и перекачки хлора

2.1. Отключить с помощью запорной арматуры подачу хлора и водорода всем цехам-потребителям.

2.2. Аварийными кнопками отключить питание цеха постоянным током.

2.3. Проверить автоматическое отключение хлорных, водородных компрессоров и при необходимости выключить их вручную.

2.4. Закрыть задвижку на линии нагнетания хлорного компрессора.

2.5. Закрыть задвижку на линии нагнетания водородного компрессора.

2.6. Продуть систему охлаждения водорода и сушки хлора азотом со сбросом абгазов на санитарную колонну.

2.7. Заменить разрушенные предохранительные мембраны и поврежденные участки хлоропровода.

2.8. При повреждении колонны осушки хлора отключить ее и подключить резервную.

3.

3. Разгерметизация тепломассообменной аппаратуры (холодильники хлора, башни его осушки).

3.1. Отключить подачу хлора в аварийный аппарат.

3.2. Перевести процесс на резервную технологическую линию.

3.3. Определить место утечки хлора*).

3.4. Загерметизировать место утечки с помощью "Магнитного герметизирующего захвата типа "Консоль" в соответствии с рекомендациями Приложения 4. При его отсутствии наложить резиновый пластырь на место утечки хлора и стянуть бандажом, как показано в Приложении 3

3.5. Аварийный аппарат продуть воздухом со сбросом абгазов на санитарную колонну и подготовить к ремонту.

4.

Разгерметизация трубопроводных коммуникаций хлора

4.1. Определить место утечки хлора.

4.2. Принять меры для устранения утечки хлора из трубопровода: наложить резиновый пластырь на место утечки и стянуть специальным быстромонтируемым хомутом или проволокой, как это показано в Приложении 3.

4.3. Если устранить разгерметизацию не удается, перевести процесс на резервную технологическую линию.

4.4. При отсутствии резервного трубопровода отключить питание цеха постоянным током.

4.5. Отключить аварийный участок трубопровода от источника подачи хлора.

4.6. Продуть поврежденный трубопровод воздухом со сбросом абгазов на санитарную колонну и отремонтировать его.

5.

Разгерметизация запорной арматуры

5.1. Определить место утечки хлора.

5.2. Сильнее закрыть вентиль, поворачивая его штурвал по часовой стрелке.

5.3. Если утечка хлора происходит из-под сальника вентиля, необходимо подтянуть гайки крепления грундбуксы сальника.

5.4. Если пропуск хлора через сальник не прекратится, ослабить крепление сальника, добавить набивки (прографиченный асбест, фторопластовая крошка) и подтянуть сальниковое уплотнение.

5.5. При утечке хлора из-под заглушки вентиля провести затяжку болтовых резьбовых соединений заглушки вентиля.

Если предыдущие действия не дали результата, заменить прокладку заглушки вентиля.

Для этого:

- соблюдая осторожность, поочередно ослабить гайки крепления заглушки;

- вынуть минимально необходимое количество болтов (1-2 шт.) и заменить прокладку;

- затянуть болтовые соединения крепления заглушки.

*) Здесь и в дальнейшем при определении места утечки необходимо пользоваться индикаторами хлора, рекомендуемыми Приложением 2, п. 2.

3.3. АВАРИЙНЫЕ СИТУАЦИИ ПРИ ПРИМЕНЕНИИ И ХРАНЕНИИ ХЛОРА В СОСУДАХ БОЛЬШОЙ ЕДИНИЧНОЙ ЕМКОСТИ (БОЛЕЕ 25 ТОНН) И ПОРЯДОК ДЕЙСТВИЙ ПО ИХ УСТРАНЕНИЮ

п/п

Вид аварийной ситуации

Порядок действий по устранению аварийной ситуации*)

1

2

3

1.

Утечка хлора из корпуса железнодорожной цистерны

1.1. Если цистерна находится под сливом (наливом), перекрыть подачу в нее сжатого воздуха (хлора), а если цистерна находится на отстое, подать ее под слив с помощью электрической лебедки, тепловоза и т.п.

1.2. Определить место утечки хлора.

1.3. При утечке жидкого хлора открыть вентиль на абгазной линии цистерны и сбросить газообразный хлор на санитарную колонну или на потребление в цех для снижения давления в сосуде и уменьшения утечки жидкого хлора. Ограничить площадь разлива жидкого хлора путем обваловывания грунтом, песком и т.п. Поверхность образовавшейся "лужи" теплоизолировать полиэтиленовой пленкой или пенополистироловой крошкой с размером частиц 3-10 мм.

1.4. Принять меры для устранения утечки хлора из цистерны, используя, в соответствии с рекомендациями Приложения 4, специальное устройство - магнитный герметизирующий захват типа

"Консоль". При его отсутствии наложить резиновый пластырь на место утечки и стянуть бандажем, как это показано в Приложении 3. При герметизации отверстий в корпусе цистерны, имеющих округлую форму, можно использовать приспособление, представленное на рис. 4 в Приложении 3.

1.5. После устранения утечки хлора переключить аварийную цистерну на освобождение от жидкого хлора в резервный танк.

1.6. После освобождения продуть цистерну сухим сжатым воздухом на санитарную колонну.

2.

Утечка хлора из корпуса танка

2.1. Перекрыть подачу жидкого хлора в танк (если аварийный танк был на приеме хлора).

2.2. Определить место утечки хлора.

2.3. При утечке жидкого хлора открыть вентиль на абгазной линии аварийного танка и сбросить газообразный хлор на санитарную колонну или на потребление в цех (для снижения давления в сосуде и уменьшения утечки жидкого хлора).

2.4. При образовании "лужи" жидкого хлора в поддоне танкового отсека теплоизолировать поверхность разлива жидкого хлора устойчивой пеной, полиэтиленовой пленкой или пенополистироловой крошкой с размером частиц 3-10 мм.

2.5. Принять меры для устранения утечки хлора из корпуса танка, используя, в соответствии с рекомендациями Приложения 4, магнитный герметизирующий захват типа "Консоль". При его отсутствии наложить резиновый пластырь на место утечки и стянуть бандажем, как показано в Приложении 3.

2.6. После устранения утечки хлора переключить аварийный танк на слив жидкого хлора в резервный танк.

2.7. После опорожнения аварийного танка продуть его сухим сжатым воздухом со сбросом абгазов на санитарную колонну.

3.

Утечка жидкого хлора из трубопровода слива хлора из железнодорожной цистерны или трубопровода подачи хлора из танка в испаритель

3.1. Перекрыть вентиль на продуктовом сифоне железнодорожной цистерны для отключения от нее аварийного трубопровода (если в момент аварии производился слив жидкого хлора из цистерны).

3.2. Перекрыть вентиль для отключения аварийного трубопровода от танка (если в момент аварии производилась подача жидкого хлора из танка к испарителю).

3.3. Открыть вентиль на линии сброса хлора из аварийного трубопровода на санитарную колонну.

3.4. Принять меры для устранения течи жидкого хлора из трубопровода (наложить резиновую накладку и стянуть специальным быстромонтируемым хомутом или проволокой, как это показано в Приложении 3).

3.5. Продуть поврежденный участок трубопровода осушенным воздухом со сбросом абгазов на санитарную колонну.

3.6. Заменить поврежденный трубопровод или использовать резервную линию.

4.

Утечка газообразного хлора из трубопровода

4.1. Определить место утечки хлора и отключить поврежденный участок трубопровода.

4.2. Принять меры для устранения течи газообразного хлора из трубопровода. Наложить на место утечки хлора резиновый пластырь и стянуть специальным быстромонтируемым хомутом или проволокой, как это показано в Приложении 3.

4.3. Продуть поврежденный участок осушенным воздухом со сбросом абгазов на санитарную колонну.

4.4. Заменить поврежденный трубопровод или подключить в работу резервную линию.

5.

Разрушение, образование свища в теплообменном элементе испарителя хлора

5.1. Отключить вентиль подачи жидкого хлора в испаритель.

5.2. Отключить теплообменный элемент аварийного испарителя от ресивера, перекрыв вентиль на линии испаритель-ресивер.

5.3. Отключить подачу теплоносителя на аварийный испаритель.

5.4. Продуть теплообменный элемент испарителя воздухом со сбросом абгазов на санитарную колонну и отправить испаритель в ремонт.

5.5. Подключить к технологической схеме исправный резервный испаритель хлора.

6.

Разгерметизация узла предохранительного клапана цистерны, танка

6.1. Распломбировать и снять предохранительный колпак (для цистерны). Определить место утечки хлора.

6.2. Если утечка хлора происходит в соединениях до разрывной защитной мембраны, необходимо провести обтяжку гаек крепления клапана к цистерне (танку) или, если сорвана резьба крепежного соединения, заменить гайку (шпильку).

6.3. Если разгерметизация произошла в соединениях вентиля, служащего для проверки целостности защитной разрывной мембраны, необходимо:

- сильнее закрыть вентиль, поворачивая его штурвал по часовой стрелке;

- подтянуть грундбуксу;

- затянуть заглушку вентиля (при необходимости заменить уплотнительную прокладку).

6.4. При обнаружении утечки из выхлопа предохранительного клапана, что свидетельствует о неисправности мембраны и клапана, необходимо уточнить причину утечки хлора для чего необходимо:

- снять заглушку с вентиля, предназначенного для проверки целостности мембраны, и осторожно его приоткрыть (наличие утечки хлора свидетельствует о разрушении защитной разрывной мембраны);

- присоединить к вентилю через манометрическую трубку манометр и замерить давление в цистерне;

- если давление в цистерне (танке) соответствует значению давления насыщенных паров хлора при температуре окружающей среды, закрыть выхлоп клапана при помощи вспомогательного устройства (см. Приложение 7);

- если давление в цистерне (танке) превышает значение давления насыщенных паров хлора, соответствующее температуре окружающей среды, необходимо сбросить газообразный хлор на санитарную колонну или на потребление в цех (для снижения давления в сосуде до значения, соответствующего давлению насыщенных паров хлора при температуре окружающей среды), контролируя давление в емкости по показаниям манометра;

- цистерну с неисправным клапаном переключить на слив жидкого хлора в резервный танк, продуть сухим сжатым воздухом со сбросом абгазов на санитарную колонну, после чего отремонтировать предохранительный клапан;

- с помощью переключающего устройства подключить к танку резервный и отключить неисправный клапан, затем неисправный клапан отремонтировать.

7.

Разгерметизация фланцевого соединения крепления крышки люка к корпусу цистерны (танка)

7.1. Провести обтяжку гаек фланцевого соединения.

7.2. Если сорвана резьба на гайке или шпильке крепежного соединения - заменить их.

7.3. Если устранить утечку хлора действиями п. 7.2. не удается, необходимо переключить аварийную цистерну (танк) на слив жидкого хлора в резервный танк, после чего продуть ее (его) сухим сжатым воздухом со сбросом абгазов на санитарную колонну и отремонтировать фланцевое соединение.

8.

Разгерметизация запорной арматуры

8.1. Сильнее закрыть вентиль, поворачивая его штурвал по часовой стрелке.

8.2. Если не держит сальниковое уплотнение - подтянуть гайки крепления грундбуксы сальника. Если пропуск хлора через сальник не прекращается, ослабить крепление сальника, добавить набивки (прографиченный асбест) и подтянуть сальник.

8.3. В случае утечки хлора из-под прокладки заглушки вентиля провести затяжку болтовых соединений заглушки вентиля. Если предыдущие действия не дали результата, заменить прокладку.

Для этого:

- соблюдая осторожность, поочередно ослабить гайки крепления заглушки;

- вынуть один болт и заменить прокладку;

- затянуть болтовые соединения крепления заглушки вентиля.

*) При проведении операций по устранению утечек газообразного хлора из технологического и трубопроводного оборудования необходимо использовать, в соответствии с рекомендациями Приложения 8, коллекторно-шланговые системы для локального отсоса хлора от места разгерметизации и подачи его на нейтрализацию в санитарную колонну.

3.4. АВАРИЙНЫЕ СИТУАЦИИ У ПОТРЕБИТЕЛЕЙ ХЛОРА В СОСУДАХ МАЛОЙ ЕДИНИЧНОЙ ЕМКОСТИ (КОНТЕЙНЕРЫ, БАЛЛОНЫ) И ПОРЯДОК ДЕЙСТВИЙ ПО ИХ УСТРАНЕНИЮ

№ п/п

Вид аварийной ситуации

Порядок действий по устранению аварийной ситуации*)

1

2

3

1.

Утечка хлора из корпуса контейнера (баллона)

1.1. Определить место утечки хлора.

1.2. Принять первоочередные меры по исключению утечки жидкого хлора из корпуса контейнера (баллона). Для этого необходимо установить аварийный сосуд таким образом, чтобы место утечки сообщалось с газовой фазой, т.е. место утечки должно быть расположено в верхней части сосуда. В связи со значительной массой аварийного контейнера с жидким хлором (до 1500 кг) для придания ему требуемого положения необходимо использовать специальное устройство - кантователь (см. Приложение 11).

1.3. Принять меры для устранения утечки хлора из аварийного контейнера (баллона) с помощью магнитного захвата типа "Консоль" в соответствии с рекомендациями и требованиями Приложения 4. При его отсутствии наложить на место утечки хлора резиновый пластырь и стянуть быстромонтируемым хомутом или проволокой, как это показано в Приложении 3.

1.4. После устранения утечки провести опорожнение контейнера (баллона) с подачей хлора на потребление в цех или на санитарную колонну.

1.5. При возникновении неустранимой утечки хлора из контейнера (например, из-под его бандажа) или баллона (по конической резьбе крепления вентиля к корпусу баллона), для организованного сброса хлоргаза в систему его нейтрализации (абсорбер, адсорбер), допускается применение устройства для изоляции аварийного контейнера или баллона в соответствии с требованиями Приложений 9-10, или использование полимерных хлорстойких покрывал, оболочек с системой реконденсации газообразного хлора (см. Приложение 3).

1.6. После освобождения от хлора продуть аварийный сосуд сухим сжатым воздухом (азотом) со сбросом абгазов на санитарную колонну.

2.

Разгерметизация запорной "арматуры контейнера или баллона с жидким хлором

2.1. Определить место утечки хлора.

2.2. Принять первоочередные меры по исключению течи жидкого хлора из вентиля контейнера (баллона).

Для этого необходимо:

- баллон установить в вертикальное или наклонное положение - вентилем верх (угол наклона баллона к вертикали не должен превышать 15°);

-контейнер установить с помощью кантователя (см. Приложение 11) в горизонтальное положение с расположением вентилей в вертикальной плоскости (друг над другом); аварийный (негерметичный) вентиль должен находиться в верхнем положении (через сифонную трубку он сообщается с газовой фазой сосуда).

2.3. Сильнее закрыть вентиль, поворачивая его штурвал по часовой стрелке.

2.4. Если утечка хлора происходит из-под сальника штатного вентиля, необходимо подтянуть грундбуксу сальника. Если пропуск хлора через сальник не прекращается; ослабить его крепление, добавить набивки (прографиченный асбест) и подтянуть сальник.

2.5. Если утечка хлора происходит из-под заглушки вентиля, необходимо провести затяжку заглушки вентиля. В случае продолжения утечки, заменить прокладку заглушки вентиля.

2.6. При утечке хлора из-под фланца крепления вентиля к контейнеру необходимо подтянуть крепежные детали соединения фланца с корпусом контейнера.

2.7. Если устранить утечку хлора вышеперечисленными приемами не удается необходимо использовать "Устройство для эвакуации хлора из дефектных контейнеров" и действовать в соответствии с указаниями раздела 5.1.2. Приложения 12.

3.

Утечка хлора из трубопровода

3.1. Перекрыть вентиль подачи хлора к трубопроводу

3.2. Определить место утечки хлора.

3.3. Принять меры для устранения утечки хлора из трубопровода: наложить на место утечки хлора резиновый пластырь и стянуть быстромонтируемым хомутом или проволокой, как это показано в Приложении 3.

3.4. Провести продувку неисправного трубопровода осушенным воздухом со сбросом абгазов на санитарную колонну.

3.5. Отремонтировать или заменить неисправный трубопровод.

4.

Утечка хлора из теплообменного элемента испарителя

4.1. Отключить подачу хлора в испаритель, перекрыв продуктовый вентиль на контейнере (баллоне).

4.2. Отключить теплообменный элемент от ресивера.

4.3. Отключить подачу теплоносителя на аварийный испаритель.

4.4. Подключить теплообменный элемент испарителя к линии сброса хлора в резервуар с нейтрализующим раствором.

4.5. Продуть теплообменный элемент осушенным воздухом (азотом) со сбросом абгазов в резервуар с нейтрализующим раствором и отправить его в ремонт.

4.6. Подключить к технологической схеме резервный испаритель хлора.

5.

Выброс хлора при разрыве корпуса контейнера или баллона

5.1. Аварийный контейнер или баллон с разорванной обечайкой оставить на месте аварий без каких-либо попыток их переворачивания и перемещения.

5.2. При разрушении контейнера или баллона в производственном помещении склада хлора необходимо включить стационарную систему локализации хлорной волны с помощью защитной водяной завесы.

Обезвреживание остатка хлора в сосуде должно проводиться путем поглощения испаряющегося из аварийного сосуда хлора в системе нейтрализации. Система нейтрализации, сблокированная с аварийной вентиляцией и системой индикации хлора, включается автоматически по сигналу датчика при повышении концентрации хлоргаза в воздухе производственного помещения более 1 мг/м3.

При отказе систем автоматического управления необходимо включить вручную насосы орошения санитарной колонны (абсорбера) нейтрализующим раствором щелочи, а затем - аварийную вентиляцию.

5.3. При разрушении контейнера или баллона вне производственного помещения необходимо:

5.3.1. При помощи пожарных машин, расположенных с подветренной стороны, поставить водяную завесу вокруг разрушенного сосуда (с использованием переносных рассеивателей) в соответствии с рекомендациями Приложения 5.

5.3.2. Использовать полимерные хлорстойкие покрывала или оболочки с системой ре-конденсации газообразного хлора (см. Приложение 3).

5.3.3. После испарения остатков хлора из разрушенного сосуда промыть последней водой и отправить на исследование причин разрушения.

6.

Не открываются оба вентиля контейнера или обломан шток у двух вентилей

В этой аварийной ситуации необходимо проведение операции по выворачиванию одного из вентилей и эвакуация хлора из сосуда с помощью "Устройства для эвакуации хлора из дефектных контейнеров". Эта операция должна проводиться в соответствии с указаниями раздела 5.2. Приложения 12.

7.

Не открывается вентиль баллона или обломан шток вентиля

Эвакуация хлора из баллона может проводиться с помощью "Устройства для эвакуации хлора из аварийных баллонов". При проведении работ по эвакуации хлора с помощью указанного устройства необходимо действовать в соответствии с указаниями Приложения 13.

*) При проведении операций по устранению утечек газообразного хлора из технологического н трубопроводного оборудования необходимо использовать, в соответствии с рекомендациями Приложений 6 и 8, передвижную установку или коллекторно-шланговую систему для локального отсоса хлора от места его утечки и подачи в систему поглощения.

3.5. ЛОКАЛИЗАЦИЯ И ЛИКВИДАЦИЯ АВАРИЙНЫХ СИТУАЦИЙ ПРИ ТРАНСПОРТИРОВКЕ ХЛОРА

Для перевозки жидкого хлора используются железнодорожные цистерны, контейнеры и баллоны. Железнодорожные цистерны являются транспортной тарой и у потребителя в качестве расходных емкостей не используются. Баллоны и контейнеры являются фасовочной тарой и включаются потребителем жидкого хлора в технологический процесс в качестве расходных емкостей с непрерывным или периодическим отбором хлора.

При перевозке жидкого хлора железнодорожным и автомобильным транспортом, а также при возникновении аварийных ситуации в пути следования необходимо руководствоваться требованиями "Правил безопасности при производству, хранении, транспортировании и применении хлора" (ПБХ-93), "Правил безопасности при перевозке опасных грузов железнодорожным транспортом" (Москва, 1995 г.), "Правил перевозки опасных грузов автомобильным транспортом" (Москва, 1995 г.), инструкцией проводника по сопровождению железнодорожных цистерн с жидким хлором, инструкцией по перевозке жидкого хлора автомобильным транспортом, разработанными или согласованными со специализированной организацией.

3.5.1. Аварийные ситуации, связанные с утечкой хлора из контейнера или баллона при их транспортировке автомобильным транспортом, и способы их устранения

При транспортировке хлора автомобильным транспортом возможны следующие виды аварийной разгерметизации контейнеров и баллонов:

- утечки хлора через не плотности в арматуре или свищи и микротрещины в корпусе сосуда;

- утечки хлора через не плотности в соединениях фланца с корпусом или вентилем контейнера;

- выбросы хлора через разрыв корпуса контейнера или баллона.

Общий порядок первоочередных действий водителя и сопровождающего лица (ответственного за перевозку жидкого хлора) при обнаружении утечки хлора.

1. Проинформировать об аварийной ситуации подразделение ГАИ МВД, а через них региональные органы МЧС России и Госгортехнадзора РФ.

2. На место аварии необходимо вызвать:

- аварийно-спасательные формирования для оказания первой помощи пострадавшим и принятия мер по локализации и ликвидации аварии (аварийно-спасательные формирования помимо средств индивидуальной защиты, приборов индикации хлора, вспомогательных устройств и приспособлений для локализации и ликвидации аварийных утечек хлора, указанных в Приложении 2, должны быть оснащены средствами защиты органов дыхания для оказания помощи людям, оказавшимся в загазованной зоне (см. Приложение 2), аппаратом искусственной вентиляции легких (ГС-10), носилками, средствами радиосвязи);

- пожарную команду с машинами для создания защитной водяной завесы на пути движения хлорной волны (рекомендации по ее организации см. в Приложении 5);

- автокран для извлечения аварийного контейнера из кузова автомобиля и придания контейнеру с помощью специального устройства - "кантователя" (см. Приложение 11) положения, исключающего утечку жидкого хлора из корпуса сосуда;

- сотрудников милиции - для проведения мероприятий по ограничению доступа посторонних лиц в опасную зону (радиус опасной зоны при утечке хлора из контейнера - 500 м, из баллона - 150 м);

- медицинскую службу для оказания помощи пострадавшим.

3. Надеть изолирующие средства защиты органов дыхания и кожи в соответствии с рекомендациями Приложения 2.

4. Отвести транспортное средство в безопасное для окружающих людей место.

5. Расположить транспортное средство по возможности в затененном месте таким образом, чтобы забор воздуха в двигатель происходил с наветренной стороны и выключить двигатель.

6. Определить место утечки хлора.

7. Принять первоочередные меры по исключению утечки жидкого хлора из сосуда. При этом необходимо:

7.1. При течи жидкого хлора из корпуса сосуда - установить сосуд таким образом, чтобы место утечки сообщалось с газовой фазой. В связи со значительной массой контейнера с жидким хлором (до 1500 кг) для придания ему требуемого положения необходимо использовать автокран и специальное устройство - "кантователь" (см. Приложение 11).

При течи хлора из вентиля необходимо:

- баллон установить в вертикальное или наклонное положение - вентилем "вверх" (угол наклона баллона к вертикали не более 15°);

- контейнер оставить в горизонтальном положении, расположив вентили в вертикальной плоскости (друг над другом), при этом аварийный вентиль должен находиться в верхнем положении (через сифон он сообщается с газовой фазой контейнера); эта операция должна проводиться с помощью устройства для кантования контейнера в соответствии с требованиями Приложения 11.

ВОЗМОЖНЫЕ АВАРИЙНЫЕ СИТУАЦИИ ПРИ ПЕРЕВОЗКЕ КОНТЕЙНЕРОВ (БАЛЛОНОВ) И СПОСОБЫ ИХ УСТРАНЕНИЯ

№ п/п

Вид аварийной ситуации

Порядок действий по устранению аварийной ситуации

1

2

3

1.

Разгерметизация запорной арматуры, контейнера или баллона с жидким хлором

При разгерметизации запорной арматуры контейнера или баллона порядок действий по ликвидации аварии аналогичен порядку действий, указанному в п.п. 2.1.-2.7. раздела 3.4.

2.

Утечка хлора из корпуса контейнера или баллона

2.1. Принять меры для устранения утечки хлора из аварийного сосуда с помощью магнитного герметизирующего захвата типа "Консоль", в соответствии с рекомендациями и требованиями Приложения 4, или наложить на место утечки хлора резиновый пластырь и стянуть быстромонтируемым хомутом, бандажем и др., как это показано в Приложении 3.

2.2. При невозможности устранения утечки хлора:

2.2.1. С помощью пожарных машин, расположенных с подветренной стороны, поставить водяную завесу по фронту движения хлорной волны в соответствии с рекомендациями Приложения 5.

2.2.2. Подключить при помощи штуцера с накидной гайкой соединительный шланг к верхнему вентилю контейнера или вентилю вертикально установленного баллона (предварительно отвернув заглушку вентиля).

2.2.3. Расположить выхлоп шланга с учетом направления ветра, таким образом, чтобы выброс хлоргаза не мешал проведению аварийных работ.

2.2.4. Приоткрыть, повернув на 1-2 оборота вентиль баллона или верхний вентиль контейнера, и сбрасывать хлоргаз (для снижения давления в сосуде) в течение 10-20 минут до начала обмерзания стенок сосуда.

2.2.5. После сброса давления загерметизировать место утечки с помощью свинцовой или деревянной конической пробки, быстросхватывающего герметика и др. Продолжить транспортировку груза в сопровождении работников ГАИ и аварийно-спасательной бригады по маршруту

следования, до ближайшего предприятия-потребителя хлора, где провести эвакуацию и нейтрализацию хлора из аварийного сосуда в соответствии с рекомендациями п. 1.5. и 1.6. раздела 3.4.

3.

Выброс хлора через разрыв корпуса контейнера или баллона

При разрыве корпуса контейнера или баллона с жидким хлором порядок действий по ликвидации аварии аналогичен порядку действии, указанному в п.п. 5.1. и 5.3. раздела 3.4.

3.5.2. Аварийные ситуации, связанные с утечкой хлора из железнодорожной цистерны, контейнера, баллона при их перевозке железнодорожным транспортом, и порядок действий по их устранению

При транспортировке цистерн с хлором наиболее характерны утечки хлоргаза через арматуру и предохранительный клапан. Утечки из корпуса цистерны наименее вероятны.

При транспортировке контейнеров и баллонов железнодорожным транспортом возможны следующие виды аварийной разгерметизации контейнеров и баллонов:

- утечки хлора через не плотности в арматуре или свищи и микротрещины в корпусе сосуда;

- утечки хлора через не плотности в соединениях фланца с корпусом или вентилем контейнера;

- выбросы хлора через разрыв корпуса контейнера или баллона.

Общий порядок первоочередных действий администрации железной дороги при получении информации об утечке хлора из вагона-цистерны, контейнера или баллона

1. При получении информации об утечке хлора из вагона-цистерны (от членов бригады сопровождения), контейнера или баллона (от железнодорожного персонала, населения и др.) администрация железной дороги должна организовать оповещение людей об опасности поражения хлором, сообщить об аварийной ситуации в региональные органы МЧС России и Госгортехнадзора России, организовать отцепление аварийной цистерны, полувагона с контейнерами или вагона с баллонами от состава, их транспортировку в наиболее удаленный от жилых и производственных объектов тупик и вызван, к месту аварии:

- аварийно-спасательную службу с предприятия-грузоотправителя грузополучателя или ближайшего предприятия, расположенного вблизи места аварии для ее локализации и ликвидации последствий;

- пожарный поезд для создания защитной водяной завесы на пути движения хлорной волны (рекомендации по ее организации и постановке см. в Приложении 5);

- железнодорожную платформу с грузоподъемным краном для извлечения аварийного контейнера из полувагона и придания контейнеру с помощью специального устройства - "кантователя" (см. Приложение 11) положения, исключающего утечку жидкого хлора из корпуса сосуда;

- сотрудников милиции - для организации оцепления опасной зоны (радиус опасной зоны принимается: при разгерметизации цистерны -6000 м, контейнера - 500 м и баллона - 150 м);

- медицинскую службу для оказания помощи пострадавшим.

2. Члены бригады сопровождения вагонов-цистерн с жидким хлором после сообщения дежурному по отделению железной дороги об аварийной ситуации должны надеть изолирующие средства защиты органов дыхания и кожи в соответствии с рекомендациями Приложения 2 и приступить к локализации и устранению аварийной ситуации.

АВАРИЙНЫЕ СИТУАЦИИ, СВЯЗАННЫЕ С УТЕЧКОЙ ХЛОРА ИЗ ЖЕЛЕЗНОДОРОЖНОЙ ЦИСТЕРНЫ, И ПОРЯДОК ДЕЙСТВИЙ ПО ИХ УСТРАНЕНИЮ

№ п/п

Вид аварийной ситуации

Порядок действий по устранению аварийной ситуации

1

2

3

1.

Утечка из-под колпака предохранительного клапана

1.1. Распломбировать и снять предохранительный колпак.

1.2. Определить место утечки хлора.

1.1.

Утечка в соединениях до разрывной мембраны

1.1.1. Провести обтяжку гаек крепления клапана к цистерне или, если сорвана резьба крепежного соединения клапана с цистерной, заменить дефектную гайку или шпильку.

1.2.

Утечка в соединениях вентиля, служащего для проверки целостности мембраны

1.2.1. Сильнее закрыть вентиль, поворачивая штурвал по часовой стрелке.

1.2.2. Подтянуть грундбуксу.

1.2.3. Затянуть заглушки вентиля. При необходимости заменить прокладку заглушки вентиля.

1.2.4. Сильнее привернуть вентиль (при течи через резьбовое соединение).

1.3.

Утечка из выхлопа предохранительного клапана

1.3.1. Уточнить причину утечки, для чего:

а) снять заглушку с вентиля, предназначенного для проверки целостности мембраны;

б) осторожно приоткрыть вентиль и убедиться в утечке хлора с помощью индикатора (см. Приложение 2, п. 2.); наличие утечки хлора свидетельствует о разрушении мембраны.

1.3.2. Присоединить к вентилю через манометрическую трубку манометр и замерить давление в цистерне.

Примечание:

В случае затруднений с присоединением манометра в указанном месте установить его на люке цистерны, для чего снять с люка цистерны колпак и присоединить манометр к специально предназначенному вентилю.

1.3.3. Если давление в цистерне соответствует значению давления насыщенных паров хлора при температуре окружающей среды, закрыть выхлоп клапана при помощи вспомогательного устройства в соответствии с указаниями Приложения 7.

Если давление в цистерне превышает значение давления насыщенных паров хлора, соответствующее температуре окружающей среды, необходимо открыть вентиль, сообщающийся с газовой фазой, сбросить газообразный хлор в емкость с нейтрализующим раствором щелочи, а при ее отсутствии - в атмосферу (для снижения давления в цистерне до значения, соответствующего давлению насыщенных паров хлора при температуре окружающей среды), контролируя давление в цистерне по показаниям манометра.

1.3.4. Периодически проверять давление в цистерне с записью результатов. При повышении температуры окружающего воздуха замеры проводить ежечасно, при понижении - каждые три часа.

2.

Утечка из-под колпака люка цистерны

1.3.5. После падения давления в цистерне до значения, соответствующего давлению насыщенных паров хлора при температуры окружающей среды, действовать в соответствии с п. 1.3.3. данного вида аварийной ситуации.

2.1. Распломбировать и снять колпак с люка цистерны.

2.2. Определить место утечки хлора.

2.1.

Утечка во фланцевом соединении крепления крыши люка к корпусу цистерны

2.1.1. Провести обтяжку гаек фланцевого соединения.

2.1.2. Если сорвана резьба на гайке или шпильке крепежного соединения - заменить их.

2.2.

Утечка в месте крепления вентиля (углового) к крышке люка (до запорного органа) цистерны

2.2.1. Провести обтяжку гаек фланцевого соединения.

2.2.2. Если сорвана резьба на гайке или шпильке крепежного соединения - заменить их.

2.3.

Утечка в угловом вентиле (после запорного органа).

2.3.1. Сильнее закрыть вентиль, поворачивая его штурвал по часовой стрелке.

2.3.2. Если утечка хлора происходит из-под сальника вентиля необходимо подтянуть гайки крепления грундбуксы (сальника). Если пропуск газа через сальник не прекращается, ослабить крепление сальника, добавить набивки (прографиченный асбест) и подтянуть сальник.

2.3.3. При утечке хлора из-под заглушки вентиля, провести затяжку болтовых соединений заглушки вентиля.

2.3.4. Если предыдущие действия не дали результата, заменить прокладку. Для этого:

а) соблюдая осторожность, поочередно ослабить гайки крепления заглушки;

б) вынуть один болт и заменить прокладку;

в) затянуть болтовые соединения крепления заглушки.

2.4.

Утечка через узел крепления манометра.

Способы устранения неполадок аналогичны п. 1.2.

3.

Утечка хлора из корпуса котла цистерны

3.1. Определить место утечки хлора.

3.2. Принять меры для устранения утечки хлора из цистерны, используя в соответствии с рекомендациями Приложения 4 специальное устройство - магнитный герметизирующий захват типа "Консоль". При его отсутствии наложить резиновый пластырь на место утечки и стянуть бандажом, как показано в Приложении 3.

3.3. При невозможности устранения утечки из сосуда, находящегося под давлением насыщенных паров хлора, необходимо открыть вентиль на абгазной линии цистерны и сбросить газообразный хлор в емкость с нейтрализующим раствором щелочи, а при ее отсутствии - в атмосферу (для снижения давления в сосуде). После снижения давления в цистерне принять меры для герметизации места утечки в соответствии с рекомендациями п.п. 3.2.

3.4. При утечке жидкого хлора ограничить площадь разлива хлора путем обвалования грунтом, песком и т.п. Поверхность образовавшейся "лужи" теплоизолировать пеной, полиэтиленовой пленкой или пенополиуретановой крошкой с размером частиц 3-10 мм.

Аварийные ситуации, связанные с утечкой хлора из контейнеров и баллонов при их транспортировке железнодорожным транспортом, аналогичны аварийным ситуациям, указанным и перечисленным в разделе 3.5.1.

При возникновении аварийных ситуаций, сопровождающихся утечками хлора из контейнеров или баллонов необходимо извлечь аварийный контейнер грузоподъемным краном с помощью "Кантователя" (см. Приложение 11) из полувагона, предварительно освободив его от проволочной связки с помощью секатора для резки арматурной проволоки; аварийный баллон извлекается из крытого вагона вручную двумя бойцами аварийно-спасательного формирования. Операции по извлечению аварийных сосудов из полувагонов и крытых вагонов должны проводиться в изолирующих средствах защиты органов дыхания и кожи в соответствии с рекомендациями Приложения 2. После извлечения аварийных сосудов порядок действий по устранению утечки хлора аналогичен порядку действий, указанному в разделе 3.5.1.

Приложение 1

ОСНОВНЫЕ ЗАДАЧИ И ФУНКЦИИ ДОЛЖНОСТНЫХ ЛИЦ, АВАРИЙНО-СПАСАТЕЛЬНЫХ ФОРМИРОВАНИЙ И ВСПОМОГАТЕЛЬНЫХ СЛУЖБ ПРИ ВОЗНИКНОВЕНИИ АВАРИЙ, СОПРОВОЖДАЮЩИХСЯ ВЫБРОСАМИ ХЛОРА В ОКРУЖАЮЩУЮ СРЕДУ

1. ОСНОВНЫЕ ЗАДАЧИ РУКОВОДИТЕЛЯ ОБЪЕКТА И ОБЪЕКТОВОЙ КОМИССИИ ПО ЧРЕЗВЫЧАЙНЫМ СИТУАЦИЯМ

Успешное выполнение задач и мероприятий при ведении спасательных и других неотложных работ в значительной степени определяется быстротой выполнения мероприятий по локализации и ликвидации аварии, четко организованным взаимодействием привлекаемых для этого всех сил и средств.

Основным организующим и координирующим органом по предупреждению и ликвидации чрезвычайных ситуаций на предприятии является объектовая комиссия по чрезвычайным ситуациям (КЧС), возглавляемая руководителем объекта, который уточняет и принимает окончательное решение по вопросам проведения всех необходимых мероприятий для спасения рабочих, служащих, населения и действиям аварийно-спасательных формирований объекта.

Комиссией по чрезвычайным ситуациям определяются

- время, место и последовательность ввода сил разведки в район аварии;

- объекты и способы их разведки (пешим порядком, на автотранспорте, на вертолетах, визуально, с помощью приборов и т.д.);

- порядок обмена информацией между разведывательными подразделениями (посыльный, по радио, по проводным средствам связи, радиосвязи, сигналами и т.д.);

- порядок оказания взаимопомощи (кто, кому, когда, чем);

- кто осуществляет контроль за действиями разведывательных формирований;

- круг исполнителей и их конкретные обязанности по ведению спасательных и других неотложных работ (СДНР);

- порядок сосредоточения усилий (действий) сил и средств по способам выполнения задач, месту и времени;

- головные исполнители мероприятий СДНР, отвечающие за непосредственные действия привлекаемых сил и средств;

- сигналы управления и порядок взаимного обмена информацией между исполнителями;

- связь и взаимодействие, порядок осуществления контроля за практическим поддержанием взаимодействия в ходе ведения СДНР.

При постановке задач аварийно-спасательным формированиям на ведение СДНР в порядке взаимодействия определяются:

- маршруты,

- последовательность,

- время и порядок обеспечения ввода в очаг поражения первого, второго эшелона и резерва аварийно-спасательных сил;

- последовательность и способы преодоления зараженных участков;

- участки, районы, объекты совместных работ и ответственный исполнитель;

- пункты (районы) вывода (выноса) пораженных из очага поражения;

- порядок смены аварийно-спасательных формирований при длительной работе в очаге поражения;

- порядок оказания взаимопомощи и обмена информацией между аварийно-спасательными формированиями.

При осуществлении вывода и эвакуации рабочих, служащих и населения в порядке осуществления взаимодействия всех участвующих сил должны указываться:

- пункты посадки на автотранспорт и районы высадки эвакуируемых;

- районы формирования пеших колонн и маршруты движения;

- количество автотранспорта на пунктах эвакуации;

- время начала и окончания эвакуации;

- способ эвакуации;

- старшие пеших и автомобильных колонн;

- ответственный исполнитель за осуществление вывода и эвакуации;

- распределение эвакуируемых по жилым и административным зданиям в районе эвакуации;

- порядок медицинского обеспечения и другие вопросы.

Осуществление взаимодействия в ходе ведения спасательных и других неотложных работ не является одноразовым мероприятием. Фактически складывающаяся и постоянно меняющаяся обстановка потребует уточнения взаимодействия в ходе СДНР, а в ряде случаев осуществления его заново.

2. ЗАДАЧИ ДИСПЕТЧЕРА ПРЕДПРИЯТИЯ

Успешное выполнение мероприятий по защите персонала предприятия и населения, близлежащих жилых районов при разгерметизации (разрушении) сосудов с хлором зависит от быстроты их оповещения о химической опасности*), о масштабах этой опасности, от быстроты задействования всех требующихся служб и подразделений. В связи с этим особая ответственность лежит на диспетчере предприятия, так как пост дежурного диспетчера предприятия является первичным центром сбора информации об аварийной ситуации, либо возможности ее возникновения.

_______________

*) Система оповещения предприятии и населения о возникновении аварии, сопровождающейся выбросом хлора в окружающую среду, должна быть выполнена в соответствии с "Типовыми техническими решениями по системе оповещения персонала предприятии и жителей близлежащих жилых районов об утечке хлора" (ТПР-1-79).

Возможны следующие основные каналы поступления информации об аварийной ситуации:

- по системе контрольно-измерительных приборов, автоматики и телемеханики, имеющейся на предприятии (объекте) и связанной с системой информации на пульте дежурного диспетчера;

- получение прямой информации от начальника смены (мастера) по системе телефонной или радиосвязи;

- получение информации от лаборатории охраны окружающей среды (ЛОСС) или санитарной лаборатории предприятия по системе технологической телефонной или радиосвязи;

- получение информации от местных административных органов, либо непосредственно от населения;

- получение информации от санитарно-эпидемиологических служб;

- получение информации от дежурного аварийно-спасательного формирования по системе технологической связи предприятия.

Дублирующим первичным центром сбора информации, обеспечивающим прием и оперативный обмен информации с постом дежурного диспетчера предприятия, является пост дежурного аварийно-спасательного формирования.

Дублирующий первичный центр обладает теми же, что и основной, каналами получения информации за исключением каналов КИПиА производственного объекта.

С учетом изложенного организационные решения в области систем связи предприятия должны обеспечить возможность незамедлительной передачи информации по всем указанным каналам как на основной, так и дублирующий центры сбора первичной информации.

В задачи диспетчера входят:

- объявление по системе диспетчерской связи (общезаводскому селектору) и средствам оповещения химической тревоги на предприятии (объекте);

- оповещение руководителя объектовой КЧС, аварийно-спасательных формирований, специально уполномоченного лица по делам гражданской обороны и чрезвычайных ситуаций (ГО и ЧС) объекта, инженерно-технических служб, территориальных местных органов управления по делам ГО и ЧС, территориального управления внутренних дел, местных исполнительных органов власти, пунктов скорой медицинской помощи ближайших населенных пунктов об аварии на предприятии;

- сбор данных о характере и классификации аварии;

- прогнозирование возможной зоны поражения*) и оповещение объектов, попадающих в эту зону, о движении на них опасного облака и о категории аварии (прогнозирование можно осуществлять по крупномасштабной карте- (плану) предприятия с помощью изготовленных из цветной прозрачной пластмассы шаблонов, соответствующих величинам следов облаков газов при различных категориях аварии, силе и направлениях ветра, или после ввода исходных данных, с помощью быстродействующей ПЭВМ).

До начала работы объектовой КЧС во главе с руководителем объекта диспетчер осуществляет руководство ликвидацией аварии в соответствии с имеющимся ПЛАС, а после начала ее работы оповещает задействованные подразделения, бригады и службы о распоряжениях объектовой КЧС, осуществляет связь с ними;

- осуществляет оповещение по всем имеющимся на предприятии каналам связи действующие в зоне заражения хлором аварийно- спасательные подразделения и разведгруппы, а также остающийся на территории и в укрытиях персонал об изменениях обстановки, пунктах сбора эвакуируемых и др.

______________________

*) Масштабы опасного химического заражения хлором должны определяться по "Методикам", рекомендованным МЧС России и Госгортехнадзором РФ. Для ориентировочной оценки глубины зоны опасного химического заражения хлором допускается использование СНиП 2.01.51-90 "Инженерно-технические мероприятия ГО" и Приложения 1 к нему.

На каждом предприятии должны быть разработаны схемы развития аварийных ситуации с учетом конкретных особенностей производственных объектов (условии и объемов хранения и потребления хлора, действующих систем противоаварийной защиты, метеорологических условии и др.).

Для экспресс оценки масштабов опасного химического заражения хлором можно воспользоваться графиками, представленными в Приложении 14.

3. ЗАДАЧИ РУКОВОДИТЕЛЕЙ ЦЕХОВ И ПОДРАЗДЕЛЕНИЙ

При получении сигнала о возникновении аварийной ситуации руководители цехов и подразделений должны немедленно подключиться к общезаводскому селектору и одновременно по нескольким каналам (по селектору, телефону, радиотелефону, от наблюдателей и др.) получить информацию о направлении движения облака хлора.

Руководители подразделений, первые получившие информацию об аварии передают ее диспетчеру предприятия.

При возникновении опасности попадания объекта в зону поражения его руководство подает команду о необходимости применения средств индивидуальной защиты от поражения хлором, об аварийной остановке оборудования, эвакуации персонала из опасной зоны или укрытии его в убежище и руководит этими операциями.

4. ЗАДАЧИ ПРОИЗВОДСТВЕННОГО ПЕРСОНАЛА ПРЕДПРИЯТИЯ

Для уменьшения масштабов поражения людей при разгерметизации сосудов или трубопроводов с хлором для принятия правильных решений по защите людей, локализации аварии, а при необходимости и безаварийной остановки цехов предприятия, большое значение имеют:

- как можно более раннее обнаружение повреждения;

- оценка тяжести аварийной ситуации до распространения загазованности и невозможности находиться в зоне заражения и принятие экстренных мер по задействованию противоаварийных средств.

В связи с этим большая ответственность лежит на производственном персонале, в задачи которого входят:

- немедленное оповещение диспетчера предприятия (в первую очередь) и начальника цеха о произошедшей аварии;

- оценка вида, места, масштабов разгерметизации и ориентировочного объема выброшенного при этом хлора и сообщение уточненных данных диспетчеру предприятия;

- включение в работу имеющихся систем локализации и нейтрализации аварийных выбросов, а при необходимости - эвакуационного насоса.

- принятие мер по предотвращению попадания выбрасываемого хлора на другие объекты, в водоемы и канализацию.

Объем действий персонала при ликвидации аварии диктуется создавшейся обстановкой и определяется необходимостью обеспечения при этом его безопасности. В связи с этим персонал, прежде всего, должен воспользоваться индивидуальными средствами защиты, соответствующими степени загазованности окружающей среды, и все действия должны выполняться только в этих средствах защиты.

При возникновении аварии жизненно важную роль играет место расположения пункта управления технологическими процессами (ПУ) - операторной.

Роль ПУ состоит в том, чтобы средствами управления свести к минимуму последствия аварии. Поэтому недопустимо располагал ПУ в уязвимом здании. Его необходимо удалить, насколько возможно, от места вероятного возникновения аварии расположив вблизи места въезда автомобилей пожарных подразделений на площадку предприятия. Помещение ПУ должно быть сделано газонепроницаемым (быстро герметизирующимся в момент аварии). В нем должен иметься аварийный запас средств защиты необходимых без обеспечения жизнедеятельности персонала.

Персонал других действующих цехов и объектов предприятия по сигналу химической тревоги выполняет команды начальника цеха (заместителя начальника, диспетчера цеха) и, в зависимости от масштабов аварии и направления ветра, продолжает ведение технологического процесса (при расположении объекта с наветренной стороны по отношению к месту аварии) или производит временную аварийную остановку оборудования цеха и укрывается в газозащитных убежищах на время прохождения облака хлора (при расположении цеха с подветренной стороны по отношению к месту аварии).

При невозможности эвакуироваться - укрывается в газозащитных убежищах и герметизированных помещениях.

5. ЗАДАЧИ АВАРИЙНО-СПАСАТЕЛЬНЫХ ФОРМИРОВАНИЙ ОБЪЕКТА

Основными задачами аварийно-спасательных формирований являются:

- поиск местонахождения пострадавших, их жизнеобеспечение, эвакуация из загазованной хлором зоны и оказание доврачебной помощи;

- разведка очага аварии и чрезвычайной ситуации, а также места ведения газоспасательных работ;

- производство работ по ликвидации аварий, требующих применения специальных средств защиты органов дыхания и кожи, специального оснащения и снаряжения (см. Приложения 2÷13).

Организация и ведение спасательных работ аварийно-спасательными формированиями должны проводиться в соответствии с требованиями закона "Об аварийно-спасательных службах и статусе спасателей" от 22.08.95 г. № 151-93 и "Наставлением по организации и ведению газоспасательных работ газоспасательными подразделениями на предприятиях химической и нефтехимической промышленности", разработанным "Центром аварийно-спасательных формирований" (Новомосковск, 1996 г.) во исполнение указанного закона.

По сигналу химической тревоги и получении сообщения диспетчера предприятия об аварии аварийно-спасательные формирования всем наличным составом выезжают в район аварии для выполнения спасательных работ и ведения химической разведки в соответствии с ПЛАС. Аварийно-спасательные формирования размещаются по границам зараженной зоны (разрешается проезд на автомобилях по границам этой зоны).

Аварийно-спасательные формирования по их прибытии к месту аварии принимают все возможные меры по спасению пострадавших.

Пострадавшие, обнаруженные в загазованном помещении (зоне), должны быть немедленно включены в изолирующие кислородные противогазы. После этого их выводят или выносят на чистый воздух по кратчайшим, свободным и безопасным путям. В летнее время пострадавших выносят на свежий воздух, а в зимнее время - в теплое помещение.

Если в загазованном помещении (зоне) находятся несколько пострадавших, то в первую очередь выносятся пострадавшие, имеющие явные признаки жизни. Если пострадавшие находятся на чистом воздухе, то оказание первой помощи производится в первую очередь пострадавшим, находящимся в тяжелом состоянии.

Все пострадавшие в возможно более короткий срок передаются медицинскому персоналу.

До прибытия медицинских работников первая медицинская помощь пострадавшим оказывается бойцами аварийно-спасательных формирований и членами добровольных газоспасательных дружин (ДГСД).

Подразделение, направляемое в загазованное помещение (зону) для оказания помощи людям должно иметь запасные средства защиты органов дыхания (например, кислородно-изолирующие самоспасатели типа ШСС-Т, ШС-20м, СПИ-20 и др.), обеспечивающие спасение всех застигнутых аварией людей.

При ведении газоспасательных работ по ликвидации последствий выбросов хлора в помещении с сильной загазованностью и представляющих повышенную опасность для работающих бойцов отделения, а также во всех случаях при разведке аварий и спасении людей, пост в составе двух человек не выставляется и отделение в загазованное помещение (зону) следует в полном составе, т.е. не менее четырех человек, включая командира отделения.

Газоспасательные работы, проводимые вблизи от чистого воздуха (до 15 м) и хорошей видимости, могут выполняться двумя бойцами при обязательном выставлении поста на чистом воздухе из двух бойцов.

Для бойцов, ушедших в загазованную зону для выполнения работ по ликвидации аварии или ее последствий, командиром отделения устанавливается определенное время. Если по истечении установленного времени работающие два бойца не вышли на чистый воздух, то другие два человека, находящиеся на посту на чистом воздухе, немедленно одевают изолирующие средства индивидуальной защиты и направляются к месту нахождения бойцов для выяснения обстановки и оказания возможной помощи, предварительно поставив в известность руководителя газоспасательных работ, а в его отсутствие - руководителя работ по ликвидации аварии.

По окончании работ по спасению и выводу людей из загазованной зоны аварийно-спасательные подразделения приступают к ликвидации аварии и ее последствии в соответствии с "Планом локализации аварийных ситуаций" (ПЛАС) на объекте.

6. ЗАДАЧИ ПОЖАРНОЙ ЧАСТИ ПРЕДПРИЯТИЯ

Пожарная часть предприятия по сигналу химической тревоги после уточнения диспетчера предприятия об аварии выезжает к месту ее возникновения, располагает свою технику с наветренной стороны по отношению к аварийному объекту и ожидает результатов химической разведки.

В задачи пожарной части входят:

- подавление выявленных очагов загорания на объектах предприятия, образовавшихся в результате аварии, включая ее вторичные проявления (например, при потере контроля за опасными технологическими процессами);

- устройство водяных завес на пути движения облака хлора с целью уменьшения глубины его распространения;

- участие в аварийно-спасательных работах в зоне поражения;

- руководство подразделениями добровольной пожарной дружины (ДПД), участвующими в тушении очагов загорания, обеспечение их из своего запаса средствами пожаротушения, инструментами и материалами;

- систематическая информация объектовой КЧС о ходе работ по тушению выявленных очагов загорания, постановке водяных завес, ведении аварийно-спасательных работ.

7. ЗАДАЧИ МЕДИЦИНСКОЙ СЛУЖБЫ

Медицинская служба предприятия по сигналу химической тревоги и получении от диспетчера предприятия уточненной информации об аварии всеми наличными транспортными средствами выезжает к месту аварии и организует пункты первой медицинской помощи пострадавшим на границе зоны опасного химического заражения с наветренной стороны по отношению к месту возникновения аварии.

В задачи медицинской службы входят:

- регистрация всех выходящих из зоны заражения хлором;

- оказание первой медицинской помощи пострадавшим, выходящим, выводимым и выносимым из зоны заражения службами ВГСО и ВПЧ;

- эвакуация пострадавших, получивших отравление и ожоги, в стационарные медицинские учреждения;

- осуществление руководства действиями санитарных дружин предприятия, оказывающих помощь медицинской службе;

- информация объектовой КЧС и медицинских учреждений о числе пострадавших и тяжести травм.

8. ЗАДАЧИ ВЕДОМСТВЕННОЙ ОХРАНЫ ПРЕДПРИЯТИЯ (ВОХР)

Служба ведомственной охраны предприятия по сигналу химической тревоги и информации диспетчера предприятия об аварии прекращает допуск людей на предприятие, за исключением лиц, круг которых определен ПЛАС, и всеми свободными от смены людьми выезжает в район аварии.

В задачи службы ведомственной охраны предприятия входят:

- участие в организации оцепления района аварии;

- помощь медслужбе в регистрации всех пострадавших, эвакуируемых (выходящих, выводимых и выносимых) из района аварии;

- охрана производственных объектов предприятия, находящихся вне зоны опасного химического заражения, после их остановки и эвакуации производственного персонала;

- информация объективной КЧС о сохранности объектов предприятия.

9. ЗАДАЧИ ГРУППЫ АВАРИЙНО-ТЕХНИЧЕСКОЙ СЛУЖБЫ

Аварийно-техническая служба предприятия (объекта) по сигналу химической тревоги и указанию руководителя объектовой КЧС, диспетчера предприятия об аварии собирается в определенном ПЛАС месте и после уточнения через разведывательные группы, руководителей подразделений и диспетчера предприятия химической обстановки, состояния объектов энергоснабжения, коммуникаций, оборудования выдвигается на место аварии с наветренной стороны.

В задачи группы аварийно-технической службы входят:

- уточнение на месте характера аварийных повреждений;

- совместно с аварийно-спасательными формированиями и персоналом смены принятие мер по локализации выброса или растекания хлора;

- систематическая информация руководителя объектовой КЧС о ходе аварийно-восстановительных работ.

10. ЗАДАЧИ СЛУЖБЫ СВЯЗИ

Служба связи объекта начинает свою работу по сигналу химической тревоги и уточнении диспетчером предприятия информации об аварии.

В задачи службы связи входят организация и поддержание связи руководителя и объектовой комиссии с:

- аварийно-спасательными формированиями, действующими в районе проведения аварийных работ;

- пунктами вывода производственного персонала в незараженные районы;

- руководителем КЧС органов местного самоуправления.

Для этого используется проводная связь, радиосвязь и связь посыльными.

11. ЗАДАЧИ СЛУЖБЫ МАТЕРИАЛЬНО-ТЕХНИЧЕСКОГО СНАБЖЕНИЯ

Служба материально-технического снабжения предприятия начинает свою работу по сигналу химической тревоги и указанию руководителя объектовой КЧС или диспетчера предприятия.

Задачами службы материально-технического снабжения предприятия являются:

- бесперебойное обеспечение аварийно-спасательных формирований средствами защиты, в том числе из НЗ, техникой, инструментами и горюче-смазочными материалами;

- при длительном нахождении рабочих, служащих и населения в районах эвакуации организация и осуществление их питания и снабжения водой.

12. ЗАДАЧИ ТРАНСПОРТНОЙ СЛУЖБЫ

Транспортная служба предприятия начинает свою работу по сигналу тревоги и в соответствии с указаниями диспетчера предприятия об аварии.

Задачами транспортной службы предприятия являются:

- выделение транспорта для эвакуации рабочих и служащих из района аварии;

- выделение транспорта для доставки пострадавших при аварии в медицинские учреждения;

- выделение транспорта для доставки личного состава аварийно-спасательных формировании к месту аварии;

- обеспечение перевозок материалов и оборудования для выполнения спасательных и других неотложных работ (СДНР);

- при необходимости обеспечение СДНР землеройной техникой.

13. ЗАДАЧИ ПРИВЛЕКАЕМЫХ ДЛЯ ЛИКВИДАЦИИ АВАРИЙ АВАРИЙНО-СПАСАТЕЛЬНЫХ ФОРМИРОВАНИЙ

В задачи привлекаемых по запросу руководителя объектовой КЧС для ликвидации аварий территориальных формирований входят, как правило, действия за пределами территории предприятия, включая:

- обеспечение транспортными средствами для эвакуации людей с территории предприятия;

- проведение химической разведки зоны заражения хлором с помощью полевой химической лаборатории "ПХЛ" или переносных газоанализаторов;

- эвакуация пострадавших, находящихся вне территории предприятия;

- организация оповещения жителей населенных пунктов и соседних с предприятием объектов о движении на них облака хлора, о величине опасности и действиях, которые должны быть предприняты для соответствующей защиты;

- эвакуация населения из жилых районов, попавших в зону опасного химического заражения;

- организация оцепления зоны опасного химического заражения, выставление постов на всех дорогах, ведущих в нее.

Территориальные формирования вводятся в действие по указанию руководителя комиссии по ЧС органов местного самоуправления (города, района).

При возникновении необходимости проведения СДНР, выходящих за возможности аварийно-спасательных формирований предприятия из-за отсутствия необходимых специалистов, техники, оборудования и материалов, специализированные подразделения территориальных формирований со своей техникой и оборудованием по запросу руководителя объекта могут принимать участие в аварийно-спасательных работах и на территории предприятия.

В их задачи входят:

- проведение химической разведки эпицентра аварии и зоны заражения по следу облака хлора, в том числе с использованием вертолетов;

- участие в локализации места разлива хлора;

- участие в работах по уменьшению масштабов аварии, включая мероприятия направленные на сокращение площади пролива и уменьшение теплопритока к выброшенному в результате разгерметизации сосуда (оборудования) хлору из окружающей среды (от подстилающей поверхности, на которую он выливается; от солнечной радиации и др.).

В числе таких мероприятий может быть засыпка поверхности в огражденном пространстве резервуара пенополистироловыми шариками (крошкой) с размером частиц 3-10 мм в количестве, необходимом для образования слоя толщиной 10-20 см, покрытие этой поверхности связанными между собой матами из такого же материала или пеной. Шарики, крошка или маты будут всплывать, покрывая поверхность жидкости и значительно сокращая теплоприток от окружающей среды.

При этом должна предусматриваться перекачка разлившегося хлора из-под защитного слоя с помощью эвакуационного насоса в железнодорожные цистерны, свободные емкости, в цеха переработки и т.п.

Сокращение масштабов опасного химического заражения при распространении облака хлора может быть достигнуто с помощью водяных завес, создаваемых вокруг источника аварийного выброса хлора веерными распылителями РВ-12, рассеивателями конструкции Центра "Хлорбезопасность" (см. Приложение 5) или другими аналогичными устройствами, а также организацией на пути следования парогазового облака воздушных завес, создаваемых с помощью турбореактивных двигателей, используемых для очистки поля и посадочных полос аэродромов от снега и льда.

Приложение 2

СРЕДСТВА ЗАЩИТЫ И ИНДИКАЦИИ ХЛОРА, ИНСТРУМЕНТЫ И ПРИСПОСОБЛЕНИЯ, НЕОБХОДИМЫЕ ПРИ ПРОВЕДЕНИИ АВАРИЙНЫХ РАБОТ

1. Средства защиты для проведения аварийных работ*)

1.1. Средства индивидуальной защиты изолирующего типа для проведения работ непосредственно в зоне аварии.

__________________________

*) Нижеперечисленные средства индивидуальной защиты (СИЗ) соответствуют требованиям ГОСТ Р22.9.05-95 "Комплексы средств индивидуальной защиты спасателей".

1.1.1. Костюмы химзащитные:

- КИХ-4 (ХИМНИ, Казань, Россия);

- РИНБА 180 ГВС (Баку Интерсейф, Голландия);

- TSE/TS, ТВЕ/ТВ, TLE/TL, HPS, VPS (Треллеборг, Швеция);

- CSA 710 PF, Work Master/pro (Дрегер, Германия).

Вхождение спасателя в костюм осуществляется через специальный лаз, который в импортных костюмах герметизируется от окружающей среды газонепроницаемой застежкой- молнией. В костюме КИХ-4 вход-лаз герметизируется с помощью специальной закрутки. Отсутствие в костюме КИХ-4 застежки-молнии является недостатком его конструкции, т.к. при вхождении спасателя в костюм требуется помощник.

Наибольшей стойкостью к жидкому хлору обладают костюмы TSE, TS, РИНБА 180 ГВС, CSA 710 PF.

1.1.2. Дыхательные аппараты на сжатом воздухе на основе базовых моделей типа Спироматик-90 (Интерспиро, Швеция), РА (Дрегер, Германия), ДАСВ (Баку Интерсейф, Голландия).

1.2. Средства индивидуальной защиты изолирующего типа для проведения работ в радиусе 50-500 м от аварийного источника выброса хлора.

1.2.1. Химзащитные костюмы по п. 1.1.1. (допускается использование химзащитных изолирующих костюмов типа Chem Master (Дрегер, Германия).

1.2.2. Дыхательные аппараты по п. 1.1.2. (допускается использование изолирующих аппаратов на сжатом и химически связанном кислороде типа КИП-8 и ИП-4 (НИХИ, Тамбов).

1.3. Средства индивидуальной защиты для проведения работ на расстоянии более 500 м от источника заражения.

1.3.1. В случае отсутствия контроля степени загазованности атмосферного воздуха используются средства защиты по п. 1.2.1. и 1.2.2.

1.3.2. При объемной концентрации газообразного хлора в воздухе не более 0,5% допускается использование следующих средств индивидуальной защиты: противогазы фильтрующего типа с маской ПФМ-1 и поглощающими коробками БКФ или В (НПО "Неорганика", г. Электросталь), защитные костюмы и комбинезоны из натуральных и синтетических волокон или полимерных пленочных материалов, сапоги резиновые или из ПВХ, резиновые перчатки.

1.4. Средства защиты одноразового пользования для эвакуации помперсонала из зоны химического заражения: самоспасатели изолирующего типа СПИ-20, ПДУ-3 (НИХИ, Тамбов).

2. Средства индикации хлора

При возникновении аварийных ситуаций, сопровождающихся утечками хлора в окружающую среду, границы зоны опасного химического заражения хлором (с поражающей концентрацией 10 мг/м3, время экспозиции 60 мин.) могут быть определены с помощью переносных газоанализаторов, аттестованных Госстандартом России:

- электрохимический сигнализатор хлора "Хоббит", диапазон измерения 0-20 мг/м3 (ВИЧП "Информ-аналитика", Санкт-Петербург);

- электрохимический газоанализатор Politron-2 фирмы "Drager", диапазон измерения 0-30 мг/м3;

- фотоколориметрический ленточный детектор ЛТД, диапазон измерения 1-10 мг/м3 (НПО "Химавтоматика", Москва).

- электрохимический газоанализатор Грант-3-01, диапазон измерений 0,5-20 мг/м3 (АОЗТ "Грант", Москва);

- карманный монитор "Neotox-XL", диапазон измерений 0,5-30 мг/м3 ("Neotronics Limited", Англия).

Перечисленные переносные приборы могут быть использованы и при определении места утечки хлора из аварийного оборудования.

При отсутствии переносных газоанализаторов хлора место его утечки из аварийного оборудования можно определить с помощью тампона, смоченного 15%-ным водным раствором аммиака. При его поднесении к месту утечки хлора образуется белый, хорошо видимый туман.

3. Инструменты и приспособления

3.1. Комплект гаечных ключей (под все размеры крепежных соединений).

3.2. Ключи газовые.

3.3. Слесарный инструмент (молоток, зубило, ножовка с запасом полотен, дрель с набором сверл, напильники, нож монтажный).

3.4. Бандажное устройство (для устранения течи из танка, цистерны).

3.5. Заглушки стальные (с паронитовыми прокладками) под все диаметры фланцевых соединений трубопроводов.

3.6. Лист паронита толщиной 3-5 мм размером 500×500 мм.

3.7. Деревянные или свинцовые пробки конусной формы (диаметром от 5 до 20 мм).

3.8. Лист свинца толщиной 5 мм размером 200×200 мм.

3.9. Набор болтов и гаек под все виды крепежный соединений.

3.10. Хомуты с прокладками и крепежными соединениями под все диаметры трубопроводов хлора.

3.11. Резина листовая толщиной 3-5 мм размером 300×400 мм.

3.12. Проволока стальная (отожженная) диаметром 3-5 мм (15 м).

3.13. Секатор для резки арматурной проволоки.

3.14. Сальниковая набивка (асбест прографиченный) для вентилей.

3.15. Фонарь аккумуляторный типа "Кузбасс", "Украина", СГВ-2 или других типов во взрывобезопасном исполнении.

3.16. Устройства для создания защитной водяной завесы (см. Приложение 5).

3.17. Передвижные установки для отсоса и поглощения хлора (см. Приложение 7).

3.18. Магнитный захват герметизирующий типа "Консоль" (см. Приложение 4).

3.19. Полимерные хлоростойкие покрывала, оболочки с системой реконденсации газообразного хлора (см. Приложение 3).

Объекты", где производится работа с жидким хлором в контейнерах или баллонах, должны быть оснащены также техническими средствами для локализации аварийных выбросов, в том числе:

- устройством для изоляции аварийного контейнера (см. Приложение 9);

- устройством для изоляции аварийного баллона (см. Приложение 10);

- кантователями контейнера (см. Приложение 11);

- устройствами для аварийной эвакуации хлора из дефектных контейнеров (см. Приложение 12).

- устройством для эвакуации хлора из аварийных баллонов (см. Приложение 13).

Приложение 3

УСТРОЙСТВА ДЛЯ УСТРАНЕНИЯ И ЛОКАЛИЗАЦИИ УТЕЧЕК ХЛОРА ИЗ АВАРИЙНОГО ОБОРУДОВАНИЯ И ТРУБОПРОВОДОВ

В зависимости от характера, размеров и места утечки хлора применяют различные способы ее устранения. Если место утечки находится на цилиндрической стенке сосуда (танка, цистерны, контейнера, баллона и др.) или трубопровода, то на него необходимо наложить лист толстой резины, закрепить его с помощью специального устройства для устранения течи из аварийного оборудования - магнитного герметизирующего захвата типа "Консоль" (см. Приложение 4), а при его отсутствии-с помощью вспомогательных приспособлений, показанных на рис. 1-3.

Для сосудов или трубопроводов небольшого диаметра (до 1 метра) для закрепления резиновой накладки можно использовать проволоку, как показано на рис. 1, а.

Для герметизации свищей на трубопроводах с наружным диаметром 22, 32 и 48 мм необходимо использовать "быстромонтируемые герметизирующие хомуты" (см. рис. 3) - разработчик ПО "Химическая безопасность".

Хомут состоит из двух полухомутов 1 и 2, соединенных с одной стороны через ось 11. С другого конца полухомуты соединяются и стягиваются откидывающимся стяжным болтом 8. Этот болт шарнирно закреплен па одном из полухомутов, а в другом полухомуте имеется вилочкообразная прорезь, в которую входит стягивающий болт 8. На этом болте навернута резьбовая втулка-гайка 3 с рукояткой 4, с помощью которой производится стягивание полухомутов.

На внутренней цилиндрической поверхности обоих полухомутов имеются проточки, в которые вставляются и приклеиваются уплотнители из фторкаучука (хлоростойкой резины).

Для раскрытия хомута достаточно отвернуть на 2-3 оборота резьбовую втулку и откинуть стяжной бот 8, при этом полухомуты развернутся на оси 11. В таком развернутом виде хомут накладывается на трубопровод так, чтобы резиновый уплотнитель одного из полухомутов лег на место утечки хлора. Затем полухомуты путем поворота на оси 11 складываются, накидывается стяжной болт 8 и закручивается втулка 3.

Экспериментально определено, что время, необходимое для накладки и стягивания хомута до полной герметизации, не превышает 4-60 секунд. Герметизация обеспечивается полная, и даже в том случае, если хомут накладывается на "свищ", расположенный на сварном шве.

Рис. 1. Устройство для устранения утечек хлора

Рис. 2. Устройство для устранения утечек хлора

Рис. 3. Хомут. Сборочный чертеж.
Техническая характеристика.
1. Рабочая Среда - хлор газообразный, жидкий.
2. Рабочее давление в герметизируемом трубопроводе - 1.6 МПа

Если отверстие, через которое происходит утечка, имеет округлую форму и небольшой диаметр (до 10-15 мм) его можно заделать с помощью устройства для заделки овальных (пулевых) отверстий (см. рис. 4). При его отсутствии отверстие можно заделать пробками из твердых пород древесины, меди или свинца. Эта работа требует большой осторожности. При ее проведении необходимо следить чтобы утечка не увеличивалась в результате дальнейшего разрушения стенки.

При возникновении утечек хлора из емкостного или трубопроводного оборудования можно использовать полимерные хлоростойкие покрывала или оболочки (см. рис. 5-6) с системой реконденсации газообразного хлора фирмы "Треллеборг" (Швеция), "HYDRO CARE" (Норвегия).

Аварийная бригада для проведения работ по устранению утечек хлора и емкостного оборудования или трубопроводов должна быть оснащена изолирующими средствами индивидуальной защиты органов дыхания и кожи, указанными в Приложении 3.

Рис. 4. Устройство для заделки отверстий

Рис. 5. Полимерные хлоростойкие покрывала фирмы "HYDRO CARE" (Норвегия)

Рис. 6. Устранение утечки хлора с помощью полимерных хлоростойких покрывал

Приложение 4

МАГНИТНЫЙ ЗАХВАТ ГЕРМЕТИЗИРУЮЩИЙ ТИПА "КОНСОЛЬ"

Магнитный захват предназначен для герметизации мест утечки жидких и газообразных сред, в том числе хлора, из сосудов и трубопроводов диаметром не менее 400 мм.

1. Технические параметры.

1.1.

Материал стенки сосуда (трубопровода)

- ст. углеродистая

1.2.

Диаметр отверстия повреждения

 

 

в стенке сосуда (трубопровода):

 

 

- на гладкой цилиндрической поверхности

- до 7 мм;

 

- на сварном шве

- до 5 мм

1.3.

Максимальное давление газа, при котором

 

 

проводится герметизация

- до 2,0 МПа (20 ати)

1.4.

Рабочая температура:

 

 

- окружающей среды

- от минус 40 до +40 °С;

 

- рабочей среды

- от минус 40 до +40 °С.

1.5.

Максимальное усилие притягивания магнита

 

 

к стенке сосуда (трубопровода)

- до 250 кГ

1.6.

Габаритные размеры

- 210×115×60 мм

1.7.

Масса

- 2,8 кГ

2. Материал основных деталей

2.1.

Уплотнитель

- резина фторкаучуковая СКФ-26 или 32 (ТМКЩ-10 ГОСТ 7338-90)

2.2.

Магниты

- специальный магнитный порошок спрессованый

2.3.

Рабочая рамка

-ст.12Х18Н10Т

2.4.

Центральная корпусная часть

- БрАЖ-9-4

3. Конструкция

Устройство и основные узлы захвата показаны на рис. 7. Нижняя часть магнита 4 является неподвижной, а верхняя часть 5 имеет возможность вращаться вокруг центральной оси (стяжного болта), при этом одна половина верхней части и одна половина нижней части окрашены в серый цвет; другие половины окрашены в красный цвет. При повороте (вращении) верхней части магнита в положение, когда на одной стороне окажутся верхняя и нижняя части его, окрашенные в разные цвета, происходит "обнуление" магнита, т.е. усилие прилипания магнита к стенке сосуда (трубопровода) близко к нулевому значению. При повороте верхней части магнита 5 до совмещения одинаково окрашенных верхней и нижней частей магнита, возникает притягивающая сила до 250 кГ к стенке сосуда (трубопровода). В этом положении вращением винта 1 проводится прижатие резинового уплотнителя 2 к отверстию повреждения (свищу) до полной герметизации.

Изготовитель: совместное производство фирмы "ТЭМП" и ПО "Химическая безопасность".

Рис. 7. Магнитный захват герметизирующий типа "Консоль".

1. Нажимной болт. 2. Резиновый уплотнитель. 3. Рабочая рамка. 4. Нижняя часть магнита. 5. Верхняя (поворотная) часть магнита. 6. Опорный подшипник. 7. Центральная корпусная часть 8. Рукоятка. 9. Стенка сосуда с повреждением (свищем).

Приложение 5

РЕКОМЕНДАЦИИ ПО ЛОКАЛИЗАЦИИ ХЛОРНОЙ ВОЛНЫ С ПОМОЩЬЮ ЗАЩИТНОЙ ВОДЯНОЙ ЗАВЕСЫ

В аварийных ситуациях, связанных с выбросом хлора, необходимо оперативно организовать мероприятия, ограничивающие распространение хлорной волны. Одним из наиболее эффективных средств ее локализации является защитная водяная завеса, которая создается с помощью распылителей воды.

Создание защитных водяных завес должно быть предусмотрено у следующих объектов:

- склады жидкого хлора;

- пункты слива-налива жидкого хлора;

- испарительные;

- отстойные железнодорожные тупики;

- пункты перевалки затаренного жидкого хлора с одного вида транспорта на другой;

- системы трубопроводной транспортировки хлора.

При рассмотрении вопроса практической реализации системы локализации хлорной волны с помощью защитной водяной завесы можно выделить три основных варианта ее применения:

- на открытой площадке (местности);

- на складах хлора в танках и закрытых пунктах слива-налива жидкого хлора из железнодорожных цистерн;

- на складах хлора в контейнерах и баллонах.

В первом случае речь идет о создании защитной водяной завесы вокруг находящихся на открытой местности железнодорожных цистерн с жидким хлором, полувагона с контейнерами или вагона с баллонами, а также по периметру площадок разгрузки хлорной тары и др.

Второй случай касается создания замкнутого контура защитной водяной завесы по периметру здания склада хлора в танках или закрытого пункта слива-налива жидкого хлора из железнодорожных цистерн. Необходимость создания замкнутого контура защитной водяной завесы объясняется потенциальной возможностью разрушения здания склада хлора в танках или бокса слива-налива железнодорожных цистерн при аварийной разгерметизации (разрушении) сосуда с жидким хлором (танка, железнодорожной цистерны), находящегося внутри здания.

Что касается закрытых складов хлора в контейнерах или баллонах, то на этих объектах защитная водяная завеса создается не по всему периметру здания, а только в местах возможного выхода хлора за его пределы, т.е. у дверных проемов и ворот для въезда автомобилей с хлорной тарой. Это объясняется тем, что при аварийных выбросах хлора из контейнера или баллона разрушение здания склада не может иметь места.

Водяная завеса выполняет две функции. Во-первых, она является механической преградой, удерживающей распространение хлорного облака в пределах ограниченного пространства. Во-вторых, движущиеся вверх с достаточно большой скоростью струи воды захватывают приграничные слои воздуха (смесь воздуха с парами хлора), турбулизируют их, что позволяет ускорить рассеивание и диспергирование хлора в воздухе и снизить опасность поражения людей. Поэтому водяные струи рекомендуется направлять в хлорное облако, это вызывает его турбулизацию и дополнительный приток воздуха, способствующий понижению концентрации хлора в "облаке" и его подъему вверх от поверхности земли.

При локализации распространения хлорной волны водяной завесой важно, чтобы пода не попадала на вытекающий сжиженный хлор, так как это приведет к усилению выделения газообразного хлора вследствие нагрева жидкой фазы хлора водой. Не следует подавать воду в место утечки хлора из аварийного сосуда, так как это может привести к увеличению сечения отверстия в аварийном сосуде вследствие интенсивно протекающей в этом случае коррозии, что, в свою очередь, вызовет возрастание масштабов поражения хлором.

Сточные воды, образующиеся при работе распылителей в случае возникновения хлорных выбросов, в нейтрализации не нуждаются, так как концентрация в них хлора не превышает 1 мг/л. В связи с этим сточная вода может направляться в систему ливневой канализации без предварительной очистки.

Технические средства для создания защитной водяной завесы

Для создания защитной водяной завесы используются стационарно устанавливаемые и переносные распылительные устройства - рассеиватели (см. рис. 8 и 9), разработанные ПО "Химическая безопасность".

Основными деталями распылителя являются ствол и отражательный диск. Вода, поступающая с большой скоростью из ствола рассеивателя, ударяется об отражательный диск и расходится от него веером, создавая тонко распыленное облако, диаметр распыла которого, в зависимости от напора воды, составляет 8-12 метров.

Минимально допустимое давление воды в сети стационарной системы защитной водяной завесы зависит от конкретных характеристик защищаемого объекта и может составлять 0,3÷0,6 Мпа, а соответствующий расход воды через один распылитель - 4÷8 л/с.

Рис. 8. Стационарное распылительное устройство

Рис. 9. Переносное распылительное устройство

Стационарно устанавливаемые распылители могут комплектоваться отражательными дисками трех типов: конусными или в форме полукубического параболоида (с углом раскрытия водяной струи 125°) и в форме полукубического параболоида (с углом раскрытия водяной струи близким к 180°). Выбор отражательного диска и рабочих параметров системы локализации хлорной волны определяются специализированной организацией в зависимости от конкретных условий на защищаемом объекте.

Стационарные распылители устанавливаются по периметру защищаемого объекта, в местах, где возможен выход хлорного облака. Распылители с углом раскрытия водяной струи 180° устанавливаются на прямолинейных участках защитной завесы, а с углом раскрытия водяной струи 125° - на углах контура или для защиты локального участка: ворот, дверей и т.п.

С целью точной фокусировки факела распыла на защищаемое место, отражательный конусный диск 1 (см. рис. 8) имеет три степени свободы относительно среза сопла 3: смещение вверх-вниз (за счет осевого перемещения вала 7 в направляющей 8), вперед-назад (за счет осевого перемещения вала 5 в направляющей 6) и угловое перемещение (за счет поворота вала 7 в направляющей 8).

Присоединение распылителя к водопроводу осуществляется через резьбовую муфту (2" труб).

Переносные распылители (см. рис. 9) применяются для создания защитной водяной завесы на локальных участках, например, на площадках перегрузки затаренного жидкого хлора, на межцеховых трубопроводах, для локализации выбросов хлора на транспорте и на других хлорных объектах, не оборудованных стационарной системой. Кроме того, переносные рапылители используются также для создания второго фронта водяной завесы в тех местах, где наблюдается прорыв хлорной волны через первый фронт защиты, образуемый с помощью стационарно установленных распылителей.

Переносные распылители могут присоединяться как к наружным сетям водопровода, так и к пожарным машинам, которые выезжают с запасом воды. Ствол переносного распылителя имеет пожарный байонетный затвор для присоединения к рукаву от пожарного гидранта или автомобиля (напор воды не менее 0,3 МПа, расход воды через 1 распылитель - 4 л/с).

При создании защитной водяной завесы на открытой площадке распылители устанавливаются на расстоянии (8-10) м друг от друга для создания единого фронта водяного заслона и на расстоянии 5-8 м от объекта.

Рекомендуемые схемы организации защитной водяной завесы на различных объектах представлены на рис. 10-12.

Рис. 10. Принципиальная схема установки водяных завес на складе жидкого хлора в танках.

1. Насосная. 2. Резервуар. 3. Напорный трубопровод. 4. Стационарный рассеиватель.

Рис. 11. Схема локализации хлорной волны на участке отстоя железнодорожных цистерн с жидким хлором

Рис. 12. Схема установки стационарных рассеивателей на контейнерном складе хлора

Приложение 6

ПЕРЕДВИЖНАЯ УСТАНОВКА ДЛЯ ЛОКАЛЬНОГО ОТСОСА И ПОГЛОЩЕНИЯ ХЛОРА ППХ-1

Передвижная установка ППХ-1 (см. рис. 13) предназначена для локального отсоса и поглощения аварийных выбросов хлора при разгерметизации аппаратов, трубопроводов и арматуры на объектах, производящих либо использующих хлор.

Установка обеспечивает улавливание газообразного хлора в течение нормируемого времени 300 секунд. При превышении этого времени установка должна быть подключена к стационарной аварийной системе поглощения хлора для исключения проскока и выброса хлора в рабочее помещение.

Установка снабжена четырьмя обрезиненными колесами и легко управляется одним аппаратчиком с помощью ручки, расположенной на корпусе. Фиксирование положения установки в рабочем режиме достигается при помощи упоров на малых колесах.

Гибкий местный отсос свободно фиксируется у места разгерметизации с помощью ручки. Вентилятор отсасывает загрязненный хлором воздух, который направляется на очистку в кассету, заполненную активированным углем марки СКТ-3. Очищенный от хлора воздух поступает в помещение цеха. После каждого включения адсорбера насадку из активированного угля необходимо регенерировать раствором кальцинированной соды. Регенерация проводится до 10 раз, после чего насадка заменяется.

Рис. 13. Передвижная установка для локального отсоса и поглощения хлора (ППХ-1).

1. Корпус с колесами. 2. Гибкий местный отсос. 3. Сменная кассета. 4. Вентилятор. 5. Магнитный пускатель. 6. Кабель с вилкой. 7. Выходной штуцер.

Технические характеристики

Производительность по отсасываемой хлоро-воздушной смеси, м3/час

до 460

Концентрация хлора в воздухе:

 

на входе, мг/м3(% об)

не ограничена

на выходе, мг/м3

< 1

Насыпной вес насадки (уголь марки СКТ-3), г/см3

0,5-0,55

Средний размер частиц насадки, мм

~ 2

Количество поглощаемого хлора до начала проскока, кг

~ 5

Радиус зоны обслуживания, м

2

Диаметр гибкого местного отсоса, мм

160

Угол поворота гибкого местного отсоса, град

360

Напор вентилятора, мм в.ст

до 250

Мощность однофазового электродвигателя, Квт

0,4-1,5

Напряжение, вольт

220

Габариты установки (без гибкого отсоса):

 

высота, мм

1165

длина, мм

1340

ширина, мм

900

Вес установки, кг

до 150

Длина электрокабеля, м

15

Приложение 7

УСТРОЙСТВО ДЛЯ УСТРАНЕНИЯ УТЕЧКИ ХЛОРА ИЗ ПРЕДОХРАНИТЕЛЬНОГО КЛАПАНА

Устройство (см. рис. 14) предназначено для устранения утечки хлора из выходного патрубка предохранительного клапана.

Оно содержит узел герметизации и узел поджатия.

Узел герметизации включает в себя заглушающий металлический фланец и уплотнительную прокладку выполненную из паронита, фторопласта или другого хлоростойкого материала.

Узел поджатия состоит из рукоятки и винтового штока с прижимной бобышкой.

Устранение утечки хлора достигается прижатием заглушающего фланца с уплотнительной прокладкой к выходному патрубку предохранительного клапана при вращении с помощью рукоятки винтового штока по часовой стрелке.

После установки и поджатия заглушающего фланца с прокладкой к выходному патрубку предохранительного клапана необходимо, с помощью тампона смоченного аммиачной водой убедиться в отсутствии утечки хлора.

Работы по устранению утечки хлора из предохранительного клапана необходимо проводить в изолирующих средствах индивидуальной защиты (см. Приложение 2).

Рис. 14. Устройство для устранения утечки хлора из предохранительного клапана

Приложение 8

КОЛЛЕКТОРНО-ШЛАНГОВЫЕ СИСТЕМЫ (КШС) ДЛЯ ЛОКАЛЬНОГО ОТСОСА ХЛОРА

Коллекторно-шланговые системы (КШС) предназначены для локального отсоса хлора при аварийных разгерметизациях технологических емкостей и трубопроводов (через прокладки, сальники, свищи и т.п.), узлов слива-налива хлора в железнодорожные цистерны, налива хлора в контейнеры и на танковых складах. Поглощение хлора после КШС предусмотрено в существующих на производствах санитарных колоннах, к которым и подсоединяются коллекторно-шланговые системы.

Системы (см. рис. 15) отличаются друг от друга по конструктивным элементам, зоне обслуживания и состоят из воздухоприемника для отсоса хлора, гибких шлангов, коллектора и вентилятора.

Воздухоприемная воронка поворачивается на угол 110 °С от оси воздуховода в любой плоскости и снабжена защитной сеткой, кольцевой ручкой и заслонкой для регулирования расхода воздуха.

Система снабжается высококачественными гибкими армированными шлангами на основе полихлорвинила и стеклопластика диаметром 60-160 мм. Уникальную гибкость конструкции обеспечивают используемые шарикоподшипниковые и фрикционные соединения.

КШС работает следующим образом.

Отсасываемая хлоровоздушная смесь через воздухоприемник, гибкие шланги и коллектор забирается вентилятором и направляется на очистку в существующую санитарную колонну, оттуда - на выхлоп.

Технические характеристики КШС

Количество отсасываемой хлоровоздушной смеси, м3/час

1000÷5000

Концетрация хлора в воздухе

не регламентируется

Температура хлоровоздушной смеси, °С

≤50

Обслуживаемая зона, м

2÷7

В качестве воздухоприемнпка и гибких шлангов используются различные варианты вытяжных устройств (см. рис. 14).

Коллекторно-шланговые системы КШС проектируются и изготавливаются по индивидуальным заказам ПО "Химическая безопасность".

Рис. 15. Образцы вытяжных устройств

1. Гибкий местный отсос; Rmax = 2÷4 м 2. Консольно-поворотный кран с телескопическим гибким шлангом; имеет пульт управления; Rmax = 3÷8 м 3. Сверхгибкий местный отсос с консольно-поворотным механизмом; Rmax = 4÷8,8 м

Приложение 9

УСТРОЙСТВО ДЛЯ ИЗОЛЯЦИИ АВАРИЙНОГО КОНТЕЙНЕРА

1. Устройство предназначено для организованного сброса хлоргаза в систему его нейтрализации (абсорбер, адсорбер) при размещении в нем аварийного контейнера с жидким хлором (в случае появления не устраняемой утечки хлора из его корпуса или вентиля).

2. Применение устройства допускается при утечке газообразного или жидкого хлора через отверстие в корпусе контейнера (в т.ч. из-под бандажного обруча), из неисправного вентиля или в случае отрыва запорного вентиля.

Применение устройства при разрушении или возникновении угрозы разрушения контейнера не допускается.

Использование устройства для хранения аварийного контейнера не допускается.

3. Устройство (см. рис. 16) представляет собой герметичную цилиндрическую камеру (футляр) с плоской крышкой, снабженную штуцерами для отведения газообразного хлора и продувки камеры сжатым воздухом. Высота цилиндрической обечайки камеры - 2400 мм, внутренний диаметр - 1300 мм. Для удобства загрузки аварийного контейнера в камеру и обслуживания устройства оно заглубляется при монтаже на 1700 мм ниже уровня пола. Крышка камеры закреплена на обечайке с помощью осевого крепления и свободно перемещается в вертикальной плоскости.

Рис. 16. Устройство для изоляции аварийного контейнера

4. Герметичность камеры достигается за счет прижимного усилия во фланцевом соединении крышки и обечайки, снабженном кольцевой прокладкой. Прижимное усилие создается тремя расположенными по окружности верхней части обечайки поворотными рычагами с эксцентриковыми кулачками; со стороны осевого крепления крышки прижимное усилие создается весом помещенного на штанге груза-противовеса.

5. Открывание и закрывание крышки камеры производится вручную. С целью ускорения и облегчения процесса предусмотрено использование закрепленного на высокой штанге груза, уравновешивающего вес крышки относительно осп вращения. Груз закрепляется па штанге болтом в таком положении, при котором крышку можно поднимать и перемещать не прилагая значительных усилий. При открывании камеры поворотные рычаги поднимаются и освобождают выступающие детали крышки от действия прижимных механизмов. Крышку поднимают, взявшись за скобы-рукоятки.

При закрывании камеры действия производятся в обратном порядке.

6. Устройство находится в помещении склада контейнеров с жидким хлором в положении "закрыто", с подключенными линиями сжатого воздуха и газообразного хлора с закрытыми вентилями.

Для транспортировки и помещения аварийного контейнера в камеру над ней устанавливается кран-балка с электроталью или другое подъемное устройство.

7. При обнаружении выделения хлора из контейнера проводятся следующие операции:

7.1. Открывается крышка устройства и запорный вентиль на сбросной хлорной линии.

7.2. Контейнер закрепляется на подъемном устройстве, транспортируется к отверстию рабочей камеры и опускается внутрь.

7.3. Крышка устройства опускается и запирается поворотными рычагами.

8. В устройстве диаметр отборного штуцера составляет 150 мм.

Избыточное давление в футляре при истечении хлора на должно превышать 0,05 МПа. Давление в камере контролируется по манометру, установленному на крышке в резьбовом штуцере.

При удалении хлора из газящего аварийного контейнера, помещенного в камеру (футляр) устройства, установка вентилей или иных запирающих устройств на линии сброса хлоргаза не допускается.

9. Операции по обезвреживанию аварийного контейнера ведутся при включенной аварийной вентиляции.

При проведении аварийных работ производственный персонал должен использовать изолирующие средства индивидуальной защиты (см. Приложение 2).

После завершения выделения хлора из аварийного контейнера устройство продувается сжатым воздухом с направлением отходящего воздуха в систему очистки. Затем камера открывается и извлекается контейнер. Камера промывается водой и сушится воздухом, после чего проверяется исправность механизмов и герметичность фланцевого соединения. Затем устройство приводится в исходное положение.

Обслуживание устройства может быть поручено лицам, достигшим 18-летнего возраста, прошедшим инструктаж по настоящей инструкции, имеющим на руках не просроченное удостоверение на право работы с хлорным контейнером.

Приложение 10

УСТРОЙСТВО ДЛЯ ИЗОЛЯЦИИ АВАРИЙНОГО БАЛЛОНА

1. Футляр предназначен только для организованного сброса хлора из баллона в систему нейтрализации в случае появления неустранимой утечки хлора из его вентиля, горловины или корпуса.

2. Футляр (см. рис. 17) представляет собой герметичную цилиндрическую камеру со съемной крышкой, приспособленную для переноски вручную. В крышке футляра имеется резьбовой штуцер, к которому подсоединяется ниппель для подсоединения резинового шланга (можно использовать резиновую трубку типа "кислородный рукав").

Применение "футляра" при разрушении или возникновении угрозы разрушения баллона не допускается.

Использование устройства для хранения аварийного баллона не допускается.

Рис. 17. Устройство для изоляции аварийного баллона

3. Аварийный футляр должен постоянно находиться в производственном помещении по месту использования хлорных баллонов с открытой крышкой.

4. Ликвидация загазованности хлором в производственном помещении, возникающая вследствие разгерметизации хлорного баллона, производится путем помещения этого баллона в футляр с последующей герметизацией футляра завинчиванием болтовых соединений на крышке до уплотнения прокладки между фланцами крышки и корпуса футляра.

5. Операция по обезвреживанию аварийного хлорного баллона производится при включенной аварийной вентиляции и ее системы очистки вентиляционных выбросов от хлора. Общеобменная и приточная вентиляции должны быть отключены.

6. При изоляции баллонов в футляре, в случае полной разгерметизации баллона с жидким хлором (повреждение вентиля или корпуса баллона), персонал, проводящий эти операции, должен использовать изолирующие средства защиты (см. Приложение 2).

7. Аварийный баллон остается в футляре до полного стравливания хлора в систему его нейтрализации.

При удалении хлора из газящего аварийного баллона, помещенного в "футляр", не допускается установка на сбросной хлорной линии вентилей или иных запирающих устройств.

8. После завершения сброса хлора в систему нейтрализации футляр вскрывается и баллон извлекается для возврата поставщику с приложением акта о разгерметизации. Футляр промывается водой, просушивается и возвращается на рабочее место.

9. Обслуживание данного устройства может быть поручено лицам, достигшим 18-летнего возраста, прошедшим инструктаж по настоящей инструкции, имеющим на руках непросроченное удостоверение на право работы с хлорными баллонами.

Приложение 11

КАНТОВАТЕЛЬ КОНТЕЙНЕРА

1. ВВЕДЕНИЕ

1.1. Техническое описание и инструкция по эксплуатации предназначены для изучения устройства и принципа действия кантователя, правильной его эксплуатации и поддержания в рабочем состоянии.

1.2. При изучении и эксплуатации кантователя необходимо дополнительно руководствоваться технической документацией ОБ 9512.000, "Правилами устройства и безопасной эксплуатации грузоподъемных кранов", а также сведениями об условиях безопасности при обращении с контейнерами для транспортировки жидкого хлора.

2. НАЗНАЧЕНИЕ

2.1. Съемное грузозахватное приспособление - "Кантователь контейнера" предназначено для перевода контейнера в требуемое положение при проведении погрузочно-разгрузочных операций и при возникновении аварийных ситуаций, сопровождающихся его разгерметизацией.

2.2. Кантователь применяется при погрузке, разгрузке и перемещении контейнеров производства Рузаевского завода или польского производства с использованием автокрана или кран-балки грузоподъемностью не менее трех тонн.

2.3. Условия эксплуатации кантователя должны соответствовать климатическому исполнению УХЛ1 ГОСТ 15150-69.

3. ТЕХНИЧЕСКИЕ ДАННЫЕ

3.1. Грузоподъемность 1600 кГ

3.2. Диаметр блока 230 мм

3.3. Момент опрокидывания контейнера, максимальный ~ 600 кГм

3.4 Момент торможения блока кантователя 0-38 кГм

3.5. Канат гибкий стальной 11-ЛК-Р-160 ГОСТ 2688-80 (диаметр 11 мм, разрывное усилие 64,15 КН)

3.6. Масса кантователя 95 кГ

Примечание: Допускается применение каната 11-ТЛК-О по ГОСТ 3079-80 или 11-ЛК-РО по ГОСТ 7668-80.

4. СОСТАВ И УСТРОЙСТВО КАНТОВАТЕЛЯ

4.1. В состав " кантователя контейнера" входят:

- блок;

- канат;

- подвеска крюка;

- канат вспомогательный.

4.2. Блок представляет собой сборочную конструкцию из двух параллельных щек, между которыми располагается: канатный блок на валу; тормозное устройство, состоящее из колодки, упора, рессоры. Усилие поджатия колодки регулируется затяжкой болта М20.

Верхняя часть блока заканчивается проушиной для подвески его на крюке подъемного крана.

4.3. Канат с одной стороны заделан на коуш, второй конец, свободный, охватывает втулку подвески крюка и удерживается стандартными зажимами.

После окончательной подгонки длины каната зажимы могут быть заменены на коуш.

Канат имеет регулируемый упор, ограничивающий угол поворота контейнера в процессе кантовки его из вертикального положения в горизонтальное.

Канат состоит из двух параллельно смонтированных строп, каждая из которых рассчитана на полную нагрузку от веса контейнера.

4.4. Подвеска крюка состоит из крюка-карабина, вилки, серьги и деталей, соединяющих их в одну сборочную единицу.

4.5. Канат вспомогательный предназначен для фиксации контейнера с блоком при переводе контейнера из горизонтального положения в вертикальное, а также при переносе изделия на вертикальной подвеске (см. рис. 18).

Рис. 18. Схема строповки контейнера при вертикальном положении изделия.

1 - блок; 2 - канат; 3 - канат вспомогательный; 4 - подвеска крюка; 5 - контейнер

Канат с одной стороны заделан на коуш, второй конец - свободный - соединяется с подвеской крюка и удерживается стандартными зажимами. После окончательной подтопки длины каната зажимы могут быть заменены на коуш.

5. ИСПЫТАНИЯ КАНТОВАТЕЛЯ ПОСЛЕ ИЗГОТОВЛЕНИЯ

5.1. Испытания кантователя после изготовления должно производиться в соответствии с "Правилами устройства и безопасной эксплуатации грузоподъемных кранов" в части требований к съемным грузозахватным приспособлениям.

5.2. Статические испытания осуществляются подъемом груза, рапного 1,25Gmax = 2000 кГ на высоту 200-300 мм с выдержкой в течение 10 мин. Не допускаются остаточные деформации, вытяжки каналов, трещины и другие повреждения. Испытания проводятся дважды: в вертикальном положении контейнера (рис. 18) и горизонтальном (рис. 19).

В качестве груза при испытании может быть использован типовой контейнер Рузаевского завода или польского производства (вес порожнего контейнера 540-560 кГ), который заливается полностью водой (1000 л). Дополнительно на контейнер монтируется приспособление для испытаний (вес приспособления 355 кГ), а также груз весом около 100 кГ.

Рис. 19. Схема строповки контейнера при горизонтальном положении изделия.

1 - блок; 2 - упор; 3 - канат; 4 - подвеска крюка;

5.3. Динамические испытания грузом, равным 1,1 Gmax = 1760 кГ.

Контейнер заливается водой примерно на 85% (850 л) от объема и на него монтируется приспособление для испытаний. В итоге вес контейнера с водой и приспособлением составляет около 1760 кГ.

На вертикально установленный контейнер монтируется кантователь и осуществляется подъем контейнера с переводом его в горизонтальное положение, после чего контейнер опускается на опору.

Поворот контейнера из вертикального положения в горизонтальное должен быть плавным, без заеданий и рывков. Проверяется действие механизмов и тормоза. Испытания проводятся три раза.

6. ПОДГОТОВКА И ПОРЯДОК РАБОТЫ

6.1. Ответственный за производство работ должен убедиться в исправном состоянии кантователя, в наличии и сохранности контровки в местах сочленении, исправном состоянии стропов.

6.2. Кантователь подвешивается на крюк автокрана или кран-балки за проушину блока.

6.3. При производстве работ должны соблюдаться две схемы строповки груза вертикальная и горизонтальная.

6.4. Вертикальная строповка применяется при исходном положении контейнера "Стоя" с обязательным использованием вспомогательного каната (см. рис. 18). В таком положении производится подъем (опускание) и перемещение груза. При этом перевод контейнера (в случае необходимости) из положения "Стоя" в положение "Лежа" производится в следующей последовательности.

6.4.1. Контейнер ставится на подготовленную разгрузочную площадку в положении "Стоя".

6.4.2. Ослабив натяжение канатов кантователя, отсоединяют вспомогательный канат от контейнера.

6.4.3. Осторожно поднимают груз над площадкой до 0,3-0,5 м. При подъеме контейнер из-за несимметричной подвески за счет опрокидывающего момента paзвернется вокруг оси блока и примет устойчивое горизонтальное или несколько наклонное (~20°) положение. В таком положении груз переносят к месту хранения или укладывают на транспортное средство.

6.5. Горизонтальная строповка применяется для перемещения контейнера при его исходном положении "Лежа". В этом случае вспомогательный канат не используется, если нет необходимости кантовки контейнера (см. рис. 19).

6.5.1. При переводе контейнера из горизонтального положения в вертикальное строповка производится в положении изделия "Лежа" по схеме рис. 18.

6.5.2. Подъем контейнера осуществляется за проушину блока (поз. 1, рис. 18) с использованием вспомогательного каната.

Не отрывая нижнюю часть изделия от опорной площадки и поднимая его верхнюю часть, медленно, перемещением стрелы крана переводят контейнер в вертикальное положение.

Не отсоединяя вспомогательный канат (поз. 3, рис. 18) изделие поднимают и переносят к месту погрузки (разгрузки), устанавливая его вертикально.

7. ОБЩИЕ УКАЗАНИЯ И УКАЗАНИЯ МЕР БЕЗОПАСНОСТИ

7.1. При проведении погрузочно-разгрузочных работ кроме документов, упомянутых в п. 1.2, руководствоваться инструкцией по технике безопасности предприятия-владельца автокрана или кран-балки и кантователя на проведение подобных работ.

7.2. Кантователю должен быть присвоен индивидуальный номер (или используется заводской номер), который и заносится в журнал учета съемных грузозахватных приспособлений предприятия или цеха-владельца.

7.3. Предприятием-владельцем должны быть назначены ответственные лица за содержание кантователя в исправном состоянии, а также за проведением надзора и периодических осмотров.

7.4. Руководство предприятия-владельца должно обеспечить содержание кантователя в исправном состоянии и безопасные условия его работы (применения) путем организации надлежащих осмотров, ремонта и обслуживания.

7.5. Запрещается использовать кантователь при нагрузках, превышающих паспортные.

8. ТЕХНИЧЕСКОЕ ОБСЛУЖИВАНИЕ

8.1. Техническое обслуживание кантователя должно производиться в соответствии с "Правилами устройства и безопасной эксплуатации грузоподъемных кранов" в части требований к съемным грузозахватным приспособлениям, а также с учетом специфических условий, имеющих место при работе с хлорным оборудованием, а именно периодическое наличие в воздухе помещений некоторой концентрации хлоргаза, вызывающего интенсивную коррозию металла.

8.2. Периодически, по мере необходимости, но не реже 1 раза в квартал следует производить очистку от грязи и последующую смазку стропов и резьбовых соединений кантователя.

8.3. После работы с кантователем вне помещения в условиях мокрой погоды (дождь, снег, туман) необходимо тщательно просушить кантователь и произвести внеочередную смазку стропов и резьбовых соединений.

8.4. В процессе эксплуатации кантователя владелец должен проводить его осмотры в следующие сроки:

- блока, крюков и деталей их подвески,

- резьбовых соединений - каждый месяц;

- стропов и мест их заделки - каждые 10 дней.

8.5. Методы контроля и оценки при осмотре кантователя должны соответствовать Приложениям 10 и 13 "Правил устройства и безопасной эксплуатации грузоподъемных кранов" (издание НПО ОБТ, Москва, 1993). Результаты осмотра кантователя должны заноситься в журнал.

9. ХАРАКТЕРНЫЕ НЕИСПРАВНОСТИ И МЕТОДЫ ИХ УСТРАНЕНИЯ ПЕРЕЧЕНЬ ВОЗМОЖНЫХ НЕИСПРАВНОСТЕЙ

№ п/п

Наименование неисправности, внешнее проявление и дополнительные признаки

Вероятная причина

Метод устранения

Примечание

1

2

3

4

5

1.

Заедание блока. Поворот груза вокруг оси блока осуществляется туго, с рывками и даже остановкой.

1. Перетянут тормоз, заедает или заклинивает. Возможно попадание грязи, наличие ржавчины или задиров.

Освободить тормоз и проверить вращение блока. При положительном - результате снять тормозную колодку, осмотреть трущиеся поверхности в блоке и колодке, и, в зависимости от характера повреждения, их промыть или зачистить.

Загрязнение и ржавчина возможны при неблагоприятных условиях длительного хранения.

 

2. Наличие грязнили ржавчины во вращающейся паре самого блока.

Если при расторможенном блоке неисправность сохранилась, то осмотреть блок, проверить наличие боковых зазоров, снять ось, промыть, прочистить и смазать места сочленения.

 

2.

Плохо держит упор на канате: "съезжает" по канату во время удара при вращении груза вокруг оси блока.

1. Ослаблено крепление упора на канате.

Проверить крепеж и, в случае необходимости, подтянуть.

 

 

2. Слишком большая динамика.

Уменьшить динамику, увеличить тормозной момент поджатием тормозной колодки, т.е. отрегулировать тормоз.

 

10. ПРАВИЛА ХРАНЕНИЯ

Условия хранения кантователя должны соответствовать гр. 4 (Ж2) ГОСТ 15150-69.

Приложение 12

УСТРОЙСТВО ДЛЯ АВАРИЙНОЙ ЭВАКУАЦИИ ХЛОРА ИЗ ДЕФЕКТНЫХ КОНТЕЙНЕРОВ

1. НАЗНАЧЕНИЕ, ПРИНЦИП ДЕЙСТВИЯ, ОБЛАСТЬ ПРИМЕНЕНИЯ

1.1. Устройство для аварийной эвакуации хлора из дефектных контейнеров (далее - устройство или "колпак") предназначено для эвакуации хлора в газообразном состоянии из контейнеров емкостью по 1000 кг жидкого хлора, имеющих неисправные вентили или не плотности в соединениях его частей (фланца с корпусом, вентиля с фланцем, сальника вентиля).

Разработаны два типоразмера устройства: одно применительно к контейнеру Рузаевского завода (И61 0565.000 СБ), другое - применительно к контейнеру польского производства (И61 0564.000.СБ). Конструктивно оба устройства абсолютно идентичны и отличаются только присоединительными размерами.

1.2. Устройство (см. рис. 20) представляет собой герметичный цилиндр 4 с днищем 6 на одном торце и фланцем 3 на другом, одеваемый на верхнюю (вентильную) часть контейнера и прижимаемый с помощью трех анкерных тяг 11 и гаек 10 к корпусу контейнера 1 через резиновую прокладку 2. Ключ 8 с воротком служит для вывертывания неисправного вентиля из фланца контейнера (в этом случае ключ одевается на корпус вентиля) или для открытия вентиля (в этом случае ключ одевается на маховик вентиля). Анкерные тяги закрепляются за вырезы (окна) в защитной юбке контейнера. Выделяющийся из контейнера хлоргаз попадает во внутреннее пространство устройства и через отводящий патрубок 5 эвакуируется либо в систему подачи хлора потребителям, либо направляется на поглощение в санитарную колонну. Патрубок 7 служит для подсоединения манометра.

1.3. Условия эксплуатации устройства:

- температура окружающей среды - от минус 20 до + 40°С;

- относительная влажность воздуха - до 90% при температуре 25°С;

- максимальное рабочее давление во внутренней полости устройства - не более 0,45 МПа.

1.4. Область применения

Контейнеры емкостью на 1000 кг жидкого хлора производства Рузаевского завода и польского производства.

2. ТЕХНИЧЕСКИЕ ДАННЫЕ

2.1. Рабочая среда - газообразный хлор.

2.2. Температура рабочей среды - от минус 30 до + 25°С.

2.3. Рабочее давление во внутренней полости - 0,45 МПа.

2.4. Габаритные размеры - 535×440×385 мм - Рузаевский

- 500×440×390 мм - польский

2.5. Масса устройства - 30 кг.

Рис. 20. Устройство для эвакуации хлора из дефектных контейнеров

И61-0564.000 H = 390 mm D = 306 mm

И61-0565.000 H = 385 mm D = 340 mm

1. Корпус контейнера 2. Уплотнительная прокладка 3. Фланец 4. Обечайка 5. Отводящий патрубок 6. Днище 7. Патрубок для манометра 8. Ключ 9. Сальниковая камера 10. Гайка 11. Анкерная тяга

3. СОСТАВ КОМПЛЕКТА УСТРОЙСТВА

Устройство включает в себя (см. рис. 20):

- корпус с днищем и фланцем;

- анкерные тяги с гайками (3 шт.);

- ключ (два типоразмера);

- вороток;

- прокладка уплотнительная;

- техническое описание и инструкцию по эксплуатации;

- паспорт.

4. МАТЕРИАЛЫ

Материалы основных деталей устройства приведены в таблице.

Наименование деталей

Материал

Обечайка, днище

ст. 3 ГОСТ 14637-79

Анкерные тяги, фланец

ст. 20 ГОСТ 1050-88

Ключ

ст. 20X13 ГОСТ 4543-71, ст. 20

Патрубки

ст. 20 ГОСТ 8733-87

Сальник

АФТ ГОСТ 5152-84

5. РАБОТА С УСТРОЙСТВОМ

На предприятиях, использующих жидкий хлор в контейнерах, нередко возникают аварийные ситуации, связанные с обнаружением контейнеров, у которых имеется утечка хлора через неплотности в соединениях его частей, либо не поддаются открытию оба запорных вентиля.

Таким образом, с точки зрения действий персонала и условий применения устройства, следует различать две группы неисправностей контейнеров.

1-я группа - неисправности, не требующие замены вентиля контейнера. Это, как правило, утечка хлора через неплотности между фланцем и корпусом контейнера, в резьбовом соединении вентиля с фланцем, утечка через сальник вентиля контейнера, которую не удается устранить при полной затяжке накидной гайки сальника.

2-я группа - неисправности, требующие замены вентиля контейнера. Например, когда не вращаются штоки обоих вентилей или они обломаны, отсутствует выход хлора при открытом вентиле или, наоборот, имеется сильный выход хлора при снятии заглушки с вентиля при его закрытом положении.

В обоих случаях, с целью эвакуации хлора из неисправного контейнера следует использовать устройство (колпак), позволяющее выполнить эту операцию более безопасно технологически и экологически.

Во всех случаях применения устройства эвакуация хлора из неисправного контейнера должна производиться только из газовой фазы, при этом должны быть приняты меры, обеспечивающие проведение этой операции в возможно более короткие сроки.

5.1. Эвакуация хлора из контейнеров при разгерметизации фланцевых и резьбовых соединений

5.1.1 Порядок действий при обнаружении аварийной утечки хлора.

5.1.1.1. При обнаружении неисправного контейнера немедленно сообщить руководству станции или начальнику смены.

5.1.1.2. Начальник станции или его заместитель (начальник смены) при получении сообщения об обнаружении контейнера, имеющего утечку хлора, немедленно организует:

- подготовку рабочего места для подключения неисправного контейнера на сработку;

- включение на складе хлора аварийной вентиляции и насосов орошения санколонны (с предварительным отключением общеобменной вентиляции);

- оформление наряда-допуска на проведение газоопасных работ.

5.1.1.3. Одеть на отводящий патрубок "колпака" шланг длиной до 5 метров, на патрубок для подсоединения манометра навернуть заглушку.

5.1.1.4. Два работника одевают изолирующие противогазы и закрепляют "колпак" на контейнере, предварительно тщательно зачистив место укладки прокладки на контейнер.

5.1.1.5. Погрузить дефектный контейнер на автомашину, конец шланга опустить в бочку (объем бочки не менее 150 л, бочка находится в кузове автомашины) с нейтрализующим раствором и немедленно вывезти контейнер на склад хлора.

Характеристики растворов для нейтрализации хлора и способы их приготовления представлены в Приложении 15.

5.1.1.6. После доставки дефектного контейнера на склад хлора (здесь уже работает аварийная вентиляция) и разгрузки его из автомашины, демонтировать "колпак" с контейнера.

5.1.1.7. Не снимая заглушек с вентилей, проверить на открытие запорный вентиль, затем вентиль закрыть; демонтировать заглушку и снова одеть "колпак". Перед закреплением "колпака" проверить правильность установки ключа на маховике вентиля и закрепить "колпак" на контейнере. Установить на "колпаке" манометр и подсоединить выходной патрубок колпака к вентилю системы сработки.

Вентиль, на котором закреплен ключ, должен находиться наверху, а оба вентиля - в вертикальной плоскости!

К моменту подключения контейнера в систему сработки необходимо создать в ней возможно более низкое давление (за счет подключения дополнительных потребителей или уменьшения отбора хлора из другого контейнера).

5.1.1.8. Открыть вентиль системы сработки, к которому подключен дефектный контейнер.

Промежуток времени между подключением патрубка "колпака" к системе сработки и открытием вентиля на системе сработки должен быть минимальным, чтобы в "колпаке" не создавалось давление выше 2-3 ати за счет натекания хлора через неплотность в соединении.

5.1.1.9. Проверить отсутствие утечки хлора из-под фланца "колпака", при обнаружении - устранить подтяжкой гаек анкерных тяг.

5.1.2. Порядок действий при обнаружении дефектного контейнера (утечка хлора в соединении), хранящегося на складе.

Порядок действий аналогичен описанному в разделе 5.1.1. (п.п. 5.1.1.1., 5.1.1.2. и 5.1.1.7.-5.1.1.9).

5.2. Эвакуация хлора из контейнеров с неисправными вентилями

Прежде, чем вывинчивать вентиль...

Прежде, чем организовывать работы по вывертыванию вентиля из контейнера, у которого не открываются оба вентиля, но хотя бы у одного вентиля шток не обломан, следует предпринять попытку открыть вентиль с предварительным прогревом корпуса вентиля. Заклинивание ("прикипание") вентиля происходит в результате отложения на седло вентиля пли винтовую резьбу его штока продуктов коррозии, в частности, солей железа. Иногда бывают случаи, когда шток вентиля вращается, но выхода хлора нет, так как произошла забивка проходного отверстия вентиля вязкой нелетучей примесью, содержащейся в жидком хлоре - так называемого "хлорного сыра". В обоих случаях указанные примеси разжижаются, если их прогреть до температуры выше 60-80°С. Поэтому следует прогреть корпус вентиля и попытаться его открыть.

Прогревать необходимо только корпус вентиля с помощью горячей воды или струи пара, не допуская нагрева корпуса контейнера.

Категорически запрещается производить нагрев вентиля открытым пламенем или электроспиралью.

Перед прогревом целесообразно полностью ослабить накидную гайку сальника. После нагрева вращать шток вентиля против часовой стрелки, при этом контейнер должен быть в горизонтальном положении, а открываемый вентиль - в верхней его части.

Следует иметь в виду, что если вентиль после его прогрева открылся, то нередко его не удается закрыть герметично. Поэтому указанные работы следует производить с принятием необходимых мер предосторожности, в частности, работать с противогазом в положении "на готове". Бригада, выполняющая эти работы (не менее 3-х человек), должна заранее подготовить все необходимые технические средства для быстрого подключения контейнера в схему сработки.

Организация и проведение работ по вывертыванию вентиля из фланца аварийного контейнера

Контейнер с жидким хлором является сосудом, работающим под давлением, и, естественно, операцию по вывертыванию вентиля необходимо проводить при возможно более низком давлении в нем. Давление паров хлора в контейнере, заполненном жидким хлором, зависит от температуры жидкого хлора (см. график в Приложении 4 правил ПБХ-93). Так, при +10°С это давление составляет 4,2 ати, при минус 5°С - 2 ати и при минус 34°С давление паров хлора в контейнере практически равно атмосферному.

Важно также и то, что при снижении температуры значительно снижается и скорость истечения паров хлора. Через отверстие диаметром 15 мм (отверстие такого сечения образуется при полном разрушении вентиля или его отделении от крышки контейнера расход хлоргаза из контейнера составит: при +10°С - 8 кг/мин, при минус 5°С -2 кг/мин и при минус 30°С около 0,1 кг/мин.

Существенно также и то, что при температуре жидкого хлора ниже +10°С не происходит кавитационного выброса парожидкостной смеси хлора через сифонную трубку при снятии вентиля.

По вышеуказанным причинам демонтаж неисправных вентилей из контейнеров, заполненных жидким хлором, проводят, как правило, при температуре наружного воздуха ниже +10°С. При более высокой температуре необходимо производить захолаживание контейнера, например, путем непрерывного обливания обечайки контейнера водой из шланга, имеющей температуру около +5°С в течение 10-12 часов. Более эффективно захолаживание с помощью "сухого льда". Для этого контейнер заключают в короб из досок и обшивают изнутри рубероидом. Целесообразно также изнутри положить теплоизоляцию из поролона или стекломатов. Контейнер обкладывают кусками "сухого льда" и закрывают дощатой крышкой, периодически добавляя "сухой лед". Возможно также захолаживание производить, с помощью жидкой углекислоты из баллонов. Для этого достаточно 80-100 кг углекислоты (2 баллона). Захолаживание длится около 5-6 часов.

Общие организационные подготовительные мероприятия

5.2.1. Работы по эвакуации хлора из дефектных контейнеров с заменой вентиля являются газоопасными и должны проводиться с оформлением наряда-допуска, под руководством ИТР бригадой в составе не менее 3-х человек (см. Типовую инструкцию по ведению газоопасных работ ГОСГОРТЕХНАДЗОРа). Эта бригада и ее бригадир назначаются приказом руководителя предприятия из числа газоспасательной дружины, давших письменное согласие на выполнение этих работ.

5.2.2. Экспертная комиссия предприятия (также назначаемая приказом руководителя предприятия), в состав которой должен входить ответственный руководитель хлорного хозяйства предприятия, с участием бригадира работ проводит тщательный внешний осмотр неисправных контейнеров и разрабатывает план действий, который затем утверждается главным инженером предприятия. В частности, в плане действий должно быть отражено:

- способ демонтажа вентиля из контейнера: с "колпаком" или без него;

- место проведения работ;

- куда будет направляться хлор, эвакуируемый из аварийного контейнера: в санколонну или в систему хлорирования воды;

- перечень необходимого оборудования, технических средств и инструментов, средств индивидуальной защиты и т.п.;

- способ оповещения людей и ограничения доступа в зону работ персонала, не участвующего в операции.

5.2.3. Оснащение аварийной бригады

5.2.3.1. Средства индивидуальной защиты для каждого члена бригады:

- изолирующий дыхательный аппарат типа ИП-4, ИП-5, АДИ-ГС или иной модификации (более подробный перечень изолирующих средств защиты представлен в Приложении 12);

- изолирующий костюм типа КИХ-4 или КИХ-5, или иной модификации, пригодный для защиты от 100%-ного газообразного хлора и облива жидким хлором, включая резиновые сапоги и перчатки из ПВХ или бутилкаучука;

- утепленная спецодежда, включая шлеммаску, при работе на открытом воздухе в зимних условиях.

5.2.3.2. Материалы:

- новые или отревизованные и испытанные вентили запорные по ТУ 26-07-253-79 или иной нормализованной модификации для хлорного баллона или контейнера в количестве 2 шт. (один - резервный) - на каждый аварийный контейнер;

- хлоростойкая, антикоррозионная жидкость "Б-1" или "М-1" по ОСТ 95.419-76 - по 10 см3 на контейнер;

- краска масляная MA-15 или МА-25 по ГОСТ 1053-71, или аналогичная - по 20 см3 на контейнер;

- тампон с аммиачной водой (15% NH3);

- необходимые материалы для захолаживания контейнера, если температура наружного воздуха выше +10°С: доски, рубероид, теплоизоляционные материалы, "сухой лед" (до 120 кг) или жидкая углекислота - 2 баллона Е-40 на каждый контейнер.

5.2.4. Последовательность работ при демонтаже (вывинчивании) вентиля из контейнера с жидким хлором с использованием устройства

5.2.4.1. Эти работы должны проводиться в здании склада жидкого хлора, оборудованном аварийной вентиляцией и санколонной. Эвакуация хлора из контейнера производится только из газовой фазы, при этом должны быть приняты меры для обеспечения эвакуации хлора в возможно более короткое время.

5.2.4.2. Если принято решение поставить контейнер (после монтажа на него "колпака") на сработку, необходимо обеспечить максимально возможный отбор хлора на хлорирование (до 15-20 кг/час). С целью исключения обмерзания обечайки контейнера во время сработки подготовить обдув его с помощью вентилятора воздухом помещения; при этом температура в складе должна быть не ниже +5°С.

5.2.4.3. Произвести захолаживание контейнера до температуры не выше +10°С.

5.2.4.4. Проверить и подготовить устройство ("колпак") для эвакуации хлора из дефектного контейнера, включая рабочую и запасную резиновые уплотнительные прокладки из фторкаучуковой резины. В виде исключения допускается применение прокладок из кислото-щелочностойкой резины, работоспособной при низких, до минус 40°С, температурах (напр., резина ТМКЩ-10 ГОСТ 7338-90 марки "С"). Проверить наличие манометра с разделительной мембраной, прокладок для подсоединения запорной арматуры, сальниковой набивки в уплотнении штока ключа.

5.2.4.5. Подготовить средства индивидуальной защиты для каждого члена аварийной бригады (см. п. 5.2.3.1.), проверить работоспособность системы аварийной вентиляции, системы нейтрализации выбросов через санколонну, системы водяной завесы.

5.2.4.6. Подготовить инструменты и приспособления: ключи, кантователь контейнера.

5.2.4.7. Подготовить необходимые материалы (см. п. 5.2.3.2.).

5.2.4.8. За несколько часов до начала работ (до суток) установить контейнер в вертикальное положение, тщательно очистить коническую резьбу обоих вентилей и крышек контейнера (особенно в месте выхода резьбы из крышки) и смазать коническую резьбу и гнезда фланцев под ними жидкостью Б-1 или М-1. Повторять эту операцию 2-3 раза через 3-4 часа.

Возможно также использовать специальные средства в аэрозольной упаковке, предназначенные для облегчения отвертывания застарелых резьбовых соединений (например, "Унисма", "ЗВВС" или импортные "W-40", "STP-AGA" и др.).

5.2.4.9. Провести оповещение и удалить от здания склада работников, не участвующих в аварийных работах.

5.2.4.10. За 10-15 минут до начала работ выключить вытяжную вентиляцию.

5.2.4.11. У выворачиваемого вентиля демонтировать маховичок ("барашек") и накидную гайку сальника (при отсутствии выхода хлора через сальник). При необходимости, срезать шток вентиля, чтобы не мешал одеванию захвата ключа на корпус вентиля.

5.2.4.12. На контейнер наложить уплотнительную резиновую прокладку (предварительно тщательно зачистив место, куда будет укладываться прокладка) и установить "колпак". При установке совместить прорезь захвата ключа с штуцером выворачиваемого вентиля. Проверить соосность захвата ключа с вентилем по свободному вращению штока (захвата) в приподнятом состоянии (выше штуцера вентиля) на корпусе вентиля.

5.2.4.13. Закрепить колпак на защитной юбке контейнера.

5.2.4.14. Вставить захват ключа до упора так, чтобы штуцер вентиля попал в прорезь захвата, и подтянуть сальник штока ключа.

5.2.4.15. Установить контейнер в горизонтальное положение выворачиваемым вентилем вверх для отбора газообразной фазы.

5.2.4.16. К выходному патрубку "колпака" подсоединить трубопровод сжатого воздуха или азота с целью проверки герметичности прижатия "колпака" к корпусу контейнера.

5.2.4.17. Подать внутрь "колпака" сжатый (осушенный!) воздух давлением 4 ати и проверить герметичность посадки колпака на контейнер. При необходимости произвести подтяжку крепления колпака на юбке до полного устранения неплотностей.

5.2.4.18. Закрыть подачу воздуха и полностью сбросить давление опрессовочного воздуха.

5.2.4.19. Подложить под обечайку контейнера с обеих сторон конусные подкладки для предотвращения проворачивания контейнера при вывертывании вентиля.

5.2.4.20. Включить аварийную вентиляцию и насосы санколонны, предварительно отключив общеобменную вентиляцию.

5.2.4.21. Двое членов аварийной бригады одевают защитные костюмы и изолирующие противогазы в рабочем состоянии. Третий член бригады одевает костюм и противогаз в положение "на готове". Он оказывает помощь или заменяет одного из проводящих операцию при необходимости.

5.2.4.22. Одеть вороток на ключ и вдвоем за рукоятки воротка (при необходимости на концы воротка одеть удлинители) проворачивать шток ключа по направлению против часовой стрелки, прикладывая импульсные усилия.

5.2.4.23. После страгивания вентиля с мертвой точки, т.е. повернув вороток на 60-90°, но не более 180°, и без создания утечки хлоргаза из-под резьбы вентиля, снова завернуть вентиль, не прикладывая больших усилий на затяжку резьбы.

5.2.5. Эвакуация хлора из контейнера со сбросом на санколонну

Все работы по эвакуации хлора из контейнера со сбросом на санколоннy производятся в изолирующих противогазах!

5.2.5.1. Еще раз проверить возможность быстрой подачи, при необходимости (т.е. в случае большого выброса хлора), воды в систему водяной завесы. (Подача нейтрализующего раствора на санколонну уже производится!)

5.2.5.2. Вывернуть вентиль из фланца контейнера на 1-1,5 оборота до появления выхода хлоргаза из патрубка "колпака", что будет видно по показанию манометра, установленному на "колпаке". При необходимости, вывернуть вентиль еще на 0,5-1 оборот, следя за тем, чтобы давление во внутренней полости колпака не поднималось более 0,5-0,6 ати.

Сброс хлора из контейнера производить до полного прекращения его выхода, при необходимости, периодически выворачивая вентиль на 0,5 оборота.

5.2.5.3. После прекращения выхода хлора вентиль ввернуть в фланец контейнера на 2-3 оборота и снять "колпак" с контейнера.

5.2.5.4. Вывернуть дефектный вентиль из фланца контейнера и на его место вручную ввернуть новый вентиль, предварительно смазав его коническую резьбу краской, и затянуть резьбу с усилием ("до отказа"). Затяжку вентиля осуществлять специальным торцевым ключом (или использовать газовый ключ).

Внимание: вворачивание вентиля во фланец контейнера следует производить с особой тщательностью, не допуская перекоса резьб вентиля и фланца!

5.2.6. Эвакуация хлора из контейнера на сработку

5.2.6.1. К моменту выполнения операции по п. 5.2.4.23. необходимо подготовить систему сработай к подключению аварийного контейнера (помня, что на выходном патрубке "колпака" нет запорного устройства):

- наиболее целесообразно для подключения на сработку аварийного контейнера иметь отдельную линию с отдельным потребителем (отдельной группой потребителей), В этом случае необходимо создать во всей этой линии пониженное давление (вакуум), вплоть до вентиля, через который будет подключаться аварийный контейнер на сработку;

- если аварийный контейнер подключается в параллель с другим контейнером, из которого ведется отбор хлора через эту же систему сработай, то необходимо максимально возможно понизить давление в коллекторе газообразного хлора перед хлораторами (за счет подключения максимального количества потребителей, или прикрытия вентиля, через который подключается контейнер к коллектору газообразного хлора) до величины не более 1,2-1,5 ати.

5.2.6.2. Подсоединить выходной патрубок аварийного контейнера к запорному вентилю системы сработки, через который хлор из аварийного контейнера будет подаваться в коллектор газообразного хлора (вентиль пока закрыт!).

5.2.6.3. Медленно и плавно поворачивать ключ на открытие, т.е. выворачивая вентиль из фланца аварийного контейнера, до появления выхода хлора из-под резьбы вентиля, что будет видно по показанию манометра, установленному на "колпаке".

5.2.6.4. При достижении давления во внутренней полости "колпака" 1,2-1,5 ати - быстро открыть вентиль, соединяющий аварийный контейнер с системой сработки.

Эту работу следует производить не менее, чем двум работникам: один выворачивает вентиль из контейнера, другой открывает (по команде первого) вентиль на системе сработки.

5.2.6.5. После стабилизации давления внутри "колпака" вывернуть вентиль, при необходимости, еще на 1-1,5 оборота, но не допуская повышения давления внутри колпака более 1,5-2 ати.

5.2.6.6. Проверить нашатырным спиртом отсутствие утечки хлора из-под прокладки "колпака", при наличии - устранить.

5.2.6.7. Сработку хлора производить до полного падения давления по показанию манометра на "колпаке" и хлораторах. Степень сработки проверить по показанию весов и по дополнительному выворачиванию вентиля на контейнере еще на 0,5-1 оборот.

5.2.6.8. Ввернуть вентиль на 2,5-3 оборота, закрыть запорный вентиль в системе сработки, через который подключался контейнер.

5.2.6.9. Одеть противогаз, отсоединить колпак от системы сработки и демонтировать его с контейнера.

5.2.6.10. Вывернуть дефектный вентиль из фланца контейнера и на его место ввернуть новый вентиль, предварительно смазав его коническую резьбу краской, и затянуть резьбу с усилием ("до отказа"). Затяжку вентиля осуществлять специальным торцевым ключом (или использован, газовый ключ).

5.2.6.11. На весь период сработки аварийного контейнера необходимо обеспечить круглосуточный контроль (бригадой в составе не менее 2-х человек) за работой системы сработки, особенно за безотказностью работы эжекторов.

5.2.7. По окончанию работ с аварийным контейнером составить рекламационный акт о неисправности контейнера, в котором указываются заводские данные контейнера (номер, год изготовления, дата освидетельствования) и примененный метод по устранению неисправности. Акт направляется заводу-наполнителю.

6. УКАЗАНИЯ МЕР БЕЗОПАСНОСТИ

6.1. При эксплуатации и испытаниях устройств должны соблюдаться требования "Правил безопасности при производстве, применении, хранении и транспортировании хлора" (ПБХ-93).

6.2. Для обеспечения безопасности НЕДОПУСТИМО:

- производить работы по устранению неисправности устройства при наличии давления рабочей среды в нем;

- использовать устройство при значениях рабочих параметров, превышающих указанные в настоящей инструкции.

6.3. К обслуживанию устройства допускается персонал, изучивший инструкцию и правила по технике безопасности и прошедший аттестацию.

7. ПЕРЕЧЕНЬ ВОЗМОЖНЫХ НЕИСПРАВНОСТЕЙ

Возможные неисправности и методы их устранения приведены в таблице.

неисправность

причина

способ устранения

Не достигается полная герметичность между фланцем колпака и контейнером

повреждена резьба тяг, забоины на фланце

заменить анкерную тягу устранить забоины напильником или произвести проточку рабочей поверхности фланца

8. ТЕХНИЧЕСКОЕ ОБСЛУЖИВАНИЕ УСТРОЙСТВА

8.1. Во время эксплуатации следует производить периодические осмотры и испытания на прочность в сроки, установленные графиком, в зависимости от режима использования устройства, но не реже:

- внешний осмотр, особенно состояния резьб - перед каждым использованием устройства;

- испытания на прочность - один раз через каждые 12 месяцев;

- контроль толщины обечайки и днища - один раз в 2 года.

Контроль толщины производится любым неразрушающим методом контроля. Допускается производить этот контроль с помощью прямого измерения штангельциркулем и нутромером.

8.2. После каждого использования производить смазку резьбовых соединений, ключей и рабочей поверхности фланца смазкой ЦИАТИМ 221 ГОСТ 9533-80.

8.3. Периодически по мере необходимости производить окраску устройства краской масляной МА-15 или МА-25 по ГОСТ 1053-71 или аналогичной.

8.4. Общий срок службы изделия не должен превышать 1000 циклов нагружения давлением, включая периодические испытания.

Приложение 13

УСТРОЙСТВО ДЛЯ ЭВАКУАЦИИ ХЛОРА ИЗ АВАРИЙНЫХ БАЛЛОНОВ

1. Эвакуация хлора из аварийных баллонов проводится с помощью специального устройства (см. рис. 21), обеспечивающего безопасность персонала.

2. Устройство используется для сверления корпусов аварийных баллонов с неисправной арматурой (не выкручивается вентиль или обломан шток вентиля) в условиях, предупреждающих выброс хлора в атмосферу и обеспечивающих отвод хлора в поглотительную емкость.

3. Обслуживание данного устройства может быть поручено лицам, достигшим 18-летнего возраста, прошедшим инструктаж и имеющим на руках не просроченное удостоверение на право работы с хлорными баллонами.

4. Установка представляет собой металлическую камеру, которая с помощью прокладки и специального хомута герметично крепится на цилиндрической обечайке баллона. Камера имеет отверстие для сверления с сальниковым уплотнением и штуцер для отвода хлора из баллона.

герметичность установки при работе обеспечивается подтяжкой сальникового уплотнения с помощью накидной гайки.

5. Сверление баллона осуществляется ручной электрической дрелью. Работающие должны иметь изолирующие средства индивидуальной защиты органов дыхания и кожи от поражения хлором, одеты в резиновые перчатки и стоять во время сверления на резиновом коврике. По окончанию сверления с помощью накидной гайки осуществляется окончательная подтяжка сальникового уплотнения и герметизация камеры, после чего дрель снимается со сверла.

6. Отвод хлора из баллона осуществляется через боковой штуцер камеры установки, который соединен с емкостью, содержащей щелочной раствор (конц. NaOH = 200 г/л) в количестве, достаточном для нейтрализации содержимого одного или более баллонов с хлором. Реакция проходит по следующему уравнению:

Сl2 + 2NaOH = NaCl + NaOCl + Н2O

Сверло 2300-2453 ГОСТ 10902-77

Рис. 21. Устройство для эвакуации хлора из аварийных баллонов

Подача хлора в емкость с поглотительным раствором осуществляется через барботер, позволяющий равномерно распределить хлор по всему объему щелочного раствора.

7. Стравливание хлора из баллона продолжается до полного прекращения его выделения, после чего устройство демонтируется.

8. При эвакуации хлора из баллона не допускается установка на сбросной хлорной линии вентилей или иных запирающих устройств.

Разработчик техдокументации ПО "Химическая безопасность".

Приложение 14

ЭКСПРЕСС-ОЦЕНКА РАЗМЕРОВ ЗОНЫ ОПАСНОГО ХИМИЧЕСКОГО ЗАРАЖЕНИЯ ХЛОРОМ

При отсутствии на предприятии компьютерной программы для прогнозирования распространения хлорной Волны, возникающей при аварийных выбросах хлора, ориентировочное значение радиуса зоны опасного химического заражения хлором "R" можно определить по графикам, характеризующим зависимость "R" от количества хлора "М", выбрасываемого в окружающую среду (см. рис. 22, 23).

Пример 1. Определить радиус зоны опасного химического заражения при разрушении контейнера с жидким хлором емкостью 0,8 м3.

Примем, что в этой экстремальной аварийной ситуации в окружающую среду выбрасывается все содержимое контейнера - 1 т хлора.

По графику (рис. 22) находим, что при выбросе 1 т хлора (точка "А" на кривой R = f(M) радиус опасного химического заражения R = 0,57 км.

Пример 2. Определить радиус зоны опасного химического заражения при разрушении железнодорожной цистерны с жидким хлором емкостью 46 м3.

В экстремальном случае в окружающую среду будет выброшено все содержимое железнодорожной цистерны М=57 т хлора.

По графику (рис. 23) находим, что при выбросе 57 т хлора (точка "Б" на кривой R = f(M) радиус опасного химического заражения R = 6,4 км.

В зависимости от скорости ветра зона возможного заражения хлором на картах (схемах) ограничена окружностью, полуокружностью или сектором, имеющим угловые размеры φ и радиус, равный глубине зоны заражения R*). Центр окружности, полуокружности или сектора совпадает с источником заражения.

____________________

*) Значение R определяется по графикам, представленным на рис. 22, 23

Рис. 22. Зависимость радиуса R зоны опасного химического заражения от количества хлора, выбрасываемого в окружающую среду

Рис. 23. Зависимость радиуса R зоны опасного химического заражения от количества хлора, выбрасываемого в окружающую среду

1. При скорости ветра по прогнозу меньше 0,5 м/с зона заражения имеет вид окружности

Точка "О" соответствует источнику заражения; угол φ = 360°; радиус окружности равен R.

2. При скорости ветра по прогнозу меньше 0,6-1 м/с зона заражения имеет вид полуокружности

Точка "О" соответствует источнику заражения; угол φ = 180°; радиус полуокружности равен R; биссектриса угла совпадает с осью следа облака и ориентирована по направлению ветра.

3. При скорости ветра по прогнозу больше 1 м/с зона заражения имеет вид сектора

Точка "О" соответствует источнику заражения;

радиус сектора равен R; биссектриса угла совпадает с осью следа облака и ориентирована по направлению ветра.

Приложение 15

ХАРАКТЕРИСТИКИ РАСТВОРОВ ДЛЯ НЕЙТРАЛИЗАЦИИ ХЛОРА И СПОСОБЫ ИХ ПРИГОТОВЛЕНИЯ

Для приготовления нейтрализующих растворов могут быть использованы:

- гидроокись натрия или калия;

- гидроокись кальция ("известковое молоко");

- карбонат натрия (сода кальцинированная).

В смеси с последней может применяться тиосульфат натрия.

Раствор соды каустической, используемой для нейтрализации хлора, должен содержать 200÷250 г/л (18-20% масс.) NaOH. Концентрация каустической соды в отработанном растворе должна быть не менее 5-10 г/л. Расход соды каустической (NaOH) на нейтрализацию 1 т хлора составляет 1150 кг.

Температура хранения раствора NaOH по условиям кристаллизации не должна быть ниже минус 25°С. Емкость с раствором едкого натрия и абсорбционная колонна могут располагаться вне помещения.

В случае использования соды кальцинированной (Na22) ее концентрация в растворе определяется температурой хранения последнего.

При температуре хранения >18°С концентрация кальцинированной соды в растворе составляет 150-180 г/л (14-15% масс). При температуре хранения >0°С ее концентрация не должна превышать 7 % масс.

Количество Na23, необходимое для нейтрализации 1 т хлора, составляет 1500 кг. Три весовые части соды можно заменить 1 весовой частью гипосульфита (Na2S2О3).

Следует соблюдать следующие правила приготовления содового раствора:

Кальцинированную соду можно высыпать только в интенсивно перемешиваемую воду.

Вода перемешивается либо с помощью циркуляционного насоса (можно использовать установленный насос подачи раствора на орошение скрубберов), либо с помощью воздуха, подаваемого через барботер к днищу резервуара из компрессора производительностью не менее 500 м3/ч.

При соблюдении указанных правил приготовления раствора кальцинированной соды, отложений (комков) гидрата на дне и стенках резервуара не образуется. Если раствор хранится в открытом резервуаре, то необходимо периодически доливать в него воду для компенсации испарения.

В поглотительном растворе на основе гидроокиси кальция ("известковое молоко") концентрация Са(ОН)2 должна составлять 100-120 г/л. Норма расхода Са(ОН)2 на нейтрализацию 1 т хлора - 950 кг. Раствор "известкового молока" необходимо постоянно перемешивать с помощью циркуляционного насоса, мешалки или барботера. Температура раствора "известкового молока" не должна быть ниже 0°С.

 




Яндекс цитирования



   Copyright © 2007-2026,  www.tehlit.ru.

[ ѓосты, стандарты, нормативы, инструкции, правила, строительные нормы ]