//
ТехЛит.ру
- крупнейшая бесплатная электронная интернет библиотека для "технически умных" людей.
WWW.TEHLIT.RU - ТЕХНИЧЕСКАЯ ЛИТЕРАТУРА

:: Алготрейдинг::


АЛГОТРЕЙДИНГ
шаг за шагом
с нуля по урокам!

Торговые роботы на PYTHON, BackTrader,
Pandas, Pine Script для TradingView. Связка с брокерами, телеграм и легкими приложениями.


Федеральное государственное унитарное предприятие
«Научно-исследовательский центр «Строительство»

ФГУП «НИЦ «Строительство»

СТАНДАРТ ОРГАНИЗАЦИИ

ПРИМЕНЕНИЕ ТЕПЛОИЗОЛЯЦИИ
ИЗ ПЛИТ ПОЛИСТИРОЛЬНЫХ ВСПЕНЕННЫХ
ЭКСТРУЗИОННЫХ ПЕНОПЛЭКС®
ПРИ ПРОЕКТИРОВАНИИ И УСТРОЙСТВЕ
МАЛОЗАГЛУБЛЕННЫХ ФУНДАМЕНТОВ
НА ПУЧИНИСТЫХ ГРУНТАХ

СТО 36554501-012-2008

2008

Предисловие

Цели и задачи разработки, а также использования стандартов организаций в РФ установлены Федеральным законом от 27 декабря 2002 г. № 184-ФЗ «О техническом регулировании», а правила разработки и оформления - ГОСТ Р 1.0-2004 «Стандартизация в Российской Федерации. Основные положения» и ГОСТ Р 1.4-2004 «Стандартизация в Российской Федерации. Стандарты организаций. Общие положения».

Сведения о стандарте

1 РАЗРАБОТАН И ВНЕСЕН Научно-исследовательским, проектно-изыскательским и конструкторско-технологическим институтом оснований и подземных сооружений (НИИОСП) им. Н.М. Герсеванова - филиалом ФГУП «НИЦ «Строительство» (кандидаты техн. наук В.Е. Конаш, Г.И. Бондаренко, А.Г. Алексеев), МГУ им. М.В. Ломоносова (д-р техн. наук Л.Н. Хрусталев) и ООО «Пеноплэкс СПб» (канд. техн. наук А.И. Бек-Булатов).

2 РЕКОМЕНДОВАН К ИЗДАНИЮ РЕШЕНИЕМ Секции ученого совета НИИОСП им. Н.М. Герсеванова - филиала ФГУП «НИЦ «Строительство» 14 мая 2007 г.

3 УТВЕРЖДЕН И ВВЕДЕН В ДЕЙСТВИЕ приказом и.о. генерального директора ФГУП «НИЦ «Строительство» от 9.04.08 № 86.

4 Стандарт гармонизирован с основными требованиями международных норм, в частности со стандартами SEI, RIL, а также ISO 13793:2001.

5 ВВЕДЕН ВПЕРВЫЕ

Содержание

Введение

Обеспечение эксплутационной надежности при одновременном снижении материальных затрат и экономии трудовых ресурсов при строительстве является важной частью программы малоэтажного и коттеджного строительства. Применение новых строительных технологий и материалов при строительстве различных сооружений позволяет добиться значительной экономии ресурсов, снизить трудоемкость и продолжительность строительства.

Сложные грунтовые условия широко распространены в Российской Федерации. При возведении малоэтажных зданий строителям приходится сталкиваться с решением вопросов, обусловленных наличием пучинистых грунтов в основании фундаментов. Значительную долю общей стоимости зданий составляют затраты на устройство фундаментов.

Стандарт разработан в развитие пункта 12.2.5 СП 50-101-2004, допускающего назначать глубину заложения наружных фундаментов независимо от расчетной глубины промерзания, если «предусмотрены специальные теплотехнические мероприятия, исключающие промерзание грунтов».

При устройстве фундаментов на пучинистых грунтах с целью уменьшения глубины промерзания грунта в территориальных строительных нормах ТСН МФ-97 МО при проектировании и устройстве мелкозаглубленных фундаментов малоэтажных зданий в Московской области рекомендуется «применение утеплителей, укладываемых под отмостку» с обязательной защитой их гидроизоляцией.

С освоением промышленного выпуска экструдированного пенополистирола в Скандинавских странах, Канаде и США разработаны стандарты для проектирования и строительства фундаментов мелкого заложения с использованием экструдированного пенополистирола в качестве теплоизолирующего слоя, уменьшающего глубину сезонного промерзания грунта в основании зданий.

Настоящий стандарт разработан с учетом опыта использования теплоизолированных фундаментов мелкого заложения (ТФМЗ) в Америке и Европе, а также особенностей инженерно-геологических, гидрогеологических, климатических условий и опыта строительства малоэтажных зданий в Российской Федерации.

Рецензент - канд. техн. наук Н.Б. Кутвицкая (ФГУП «Фундаментпроект»)

СТО 36554501-012-2008

ПРИМЕНЕНИЕ ТЕПЛОИЗОЛЯЦИИ ИЗ ПЛИТ ПОЛИСТИРОЛЬНЫХ
ВСПЕНЕННЫХ ЭКСТРУЗИОННЫХ ПЕНОПЛЭКС® ПРИ ПРОЕКТИРОВАНИИ
И УСТРОЙСТВЕ МАЛОЗАГЛУБЛЕННЫХ ФУНДАМЕНТОВ
НА ПУЧИНИСТЫХ ГРУНТАХ

DESIGN AND CONSTRUCTION OF THE FROST-PROTECTED SHALLOW
FOUNDATIONS ON THE FROST-SUSCEPTIBLE SOILS
WITH XPS BOARDS «PENOPLEX»

Дата введения 2008-04-09

1 Область применения

Данный стандарт предназначен для проектирования и строительства теплоизолированных фундаментов мелкого заложения на естественном основании, использующих теплоизоляцию из плит полистирольных вспененных экструзионных ПЕНОПЛЭКС® для предотвращения пучения фундаментов при сооружении их на сезонно-промерзающих грунтах. Стандарт применяется к отапливаемым и неотапливаемым одно- и двухэтажным жилым, коммерческим, сельскохозяйственным зданиям и отдельно стоящим опорам с условием, что конструктивные требования, не касающиеся вопросов защиты от пучения, соответствуют строительным нормам и правилам или принятым методам проектирования.

Размещение подошвы фундаментов на малой глубине (0,3-0,4 м) от дневной поверхности значительно сокращает трудоемкость и стоимость работ по возведению малоэтажных зданий и отдельно стоящих опор.

Стандарт не распространяется на проектирование и строительство зданий и опор на вечномерзлых грунтах и в районах со средней годовой температурой наружного воздуха (СГТВ) ниже 0 °С или с величиной индекса мороза (ИМ) более 90 000 градусо-часов.

2 Нормативные ссылки

В настоящем стандарте приведены ссылки на следующие нормативные и рекомендательные документы:

СНиП 2.01.07-85* Нагрузки и воздействия

СНиП 2.02.01-83* Основания зданий и сооружений

СНиП 2.03.11-85 Защита строительных конструкций от коррозии

СНиП 3.02.01-87 Земляные сооружения, основания и фундаменты

СНиП 3.04.01-87 Изоляционные и отделочные покрытия

СНиП 12-01-2004 Организация строительства

СНиП 23-01-99* Строительная климатология

СНиП 31-02-2001 Дома жилые одноквартирные

СНиП 52-01-2003 Бетонные и железобетонные конструкции. Основные положения

СП 11-102-97 Инженерно-экологические изыскания для строительства

СП 11-105-97 Инженерно-геологические изыскания для строительства (ч. I-III)

СП 31-105-2002 Проектирование и строительство энергоэффективных одноквартирных жилых домов с деревянным каркасом

СП 50-101-2004 Проектирование и устройство оснований и фундаментов зданий и сооружений

ГОСТ 25100-95 Грунты. Классификация

Руководство по проектированию оснований и фундаментов на пучинистых грунтах. - М.: Стройиздат, 1979

Рекомендации по учету и предупреждению деформаций и сил морозного пучения грунтов. - М: Стройиздат, 1986

Рекомендации по проектированию и расчету малозаглубленных фундаментов на пучинистых грунтах. - М: НИИОСП, 1985

Пособие по проектированию основания зданий и сооружений (к СНиП 2.02.01-83*). - М.: Стройиздат, 1986

ТСН МФ-97 МО Проектирование и устройство мелкозаглубленных фундаментов малоэтажных жилых зданий в Московской области. - М, 1998

ТУ 5767-006-56925804-2007 Плиты полистирольные вспененные экструзионные ПЕНО-ПЛЭКС®

SEI/ASCE 32-01 Design and Construction of Frost-Protected Shallow Foundations

RIL 193-1992 Routavauriot ja routasuojaus

Canadian Foundation Engineering Manual, 3rd edition, 1992

ISO 13793:2001 Thermal performance of buildings. Thermal design of foundations to avoid frost heave.

3 Термины и определения

Теплоизолированный фундамент мелкого заложения (ТФМЗ) - фундамент на естественном основании (столбчатый, ленточный, фундаментная плита), подошва которого находится в слое сезонного промерзания, а сам фундамент защищен от выпучивания с помощью плит ПЕНОПЛЭКС® и устройства в его основании подушки из непучинистого грунта, которым также засыпаются пазухи котлованов.

ПЕНОПЛЭКС® - теплоизоляционные плиты из вспененного экструзионного пенополистирола, отвечающие требованиям ТУ 5767-006-56925804-2007.

Неотапливаемые здания - здания с температурой воздуха в помещениях зимой, равной или ниже 5 °С.

Пучинистые грунты - грунты, которые изменяют свой объем и свойства при промерзании - оттаивании. К ним относятся глины, суглинки, супеси, пылеватые и мелкие пески, а также крупнообломочные грунты с включением выше перечисленных грунтов более 35 % объема. При замерзании грунта развиваются силы нормального и касательного пучения, которые, воздействуя на фундамент, могут вызвать его перемещение и деформации надфундаментных конструкций. Практически непучинистыми грунтами могут быть: мелкие и пылеватые пески и глинистые грунты твердой консистенции при глубоком залегании уровня грунтовых вод, а именно мелкие пески при z > 0,5 м, пылеватые пески при z >1,0 м, супеси при z >1,5 м, суглинки при z > 2,5 м и глины при z > 3,0 м (z - глубина залегания уровня грунтовых вод, считая от подошвы слоя сезонного промерзания).

Непучинистые грунты - грунты, которые не изменяют свой объем и свойства при промерзании-оттаивании. К ним относятся галька, гравий, щебень, крупно- и среднезернистые пески, а также их смеси. Кроме того, к непучинистым грунтам относятся промышленные шлаки, не подверженные химическому разложению, и горелые породы шахтных терриконов.

Сезонно-мерзлые грунты - грунты, находящиеся в мерзлом состоянии периодически в течение холодного сезона.

Вертикальная теплоизоляция - плиты ПЕНОПЛЭКС®, размещенные вертикально по внешнему периметру поверхности фундамента и цоколя отапливаемого здания.

Горизонтальная теплоизоляция - плиты ПЕНОПЛЭКС®, размещенные горизонтально в отапливаемых зданиях по их наружному периметру на уровне заложения подошвы фундаментов, в неотапливаемых зданиях и отдельно стоящих колоннах - под подошвой фундаментов, выходя за периметр здания или отдельно стоящего фундамента.

Теплоизоляционная юбка - для неотапливаемых зданий и отдельно стоящих опор - часть горизонтальной изоляции, выходящая за контур здания или контур фундамента опоры. Для отапливаемого здания - горизонтальная теплоизоляция за контуром здания, расположенная на глубине заложения подошвы фундамента и граничащая с вертикальной изоляцией.

Отдельно стоящая опора - элемент конструкции, воспринимающий вертикальную осевую нагрузку.

«Мостики холода» - разрывы в теплоизоляции, которые создают термически проводимые пути и увеличивают возможность выпучивания фундаментов.

Среднегодовая температура воздуха (СГТВ) - сумма отрицательных и положительных градусо-часов наружного воздуха за год, деленная на продолжительность года. Обеспеченность СГТВ принимается 50 %. Определяется по СНиП 23-01.

Индекс мороза (ИМ) - абсолютное значение отрицательных градусо-часов наружного воздуха с обеспеченностью 1 % или наступлением события с вероятностью один раз в 100 лет. Индекс мороза с такой обеспеченностью не применяется в строительной практике на территории РФ. Необходимые значения ИМ получаются путем специальных вычислений. Такая обеспеченность обусловлена высокими требованиями к долговечности фундаментов. При пониженных требованиях к долговечности фундамента можно принимать значение обеспеченности ИМ 2 % (наступление события с вероятностью один раз в 50 лет).

Для ориентировочных расчетов величина ИМ может быть принята по схематической карте, приведенной в приложении А.

4 Общие положения по проектированию

4.1 Теплоизолированные фундаменты мелкого заложения должны проектироваться на основе нормативных документов и с учетом:

результатов инженерно-геологических и гидрогеологических изысканий для площадки строительства;

прогноза изменения инженерно-геологических и гидрогеологических условий площадки в период строительства и эксплуатации;

климатических условий района строительства;

данных, характеризующих назначение, конструктивные и технологические особенности здания и условия его эксплуатации;

нагрузок, действующих на фундаменты;

наличия существующей застройки и влияния на нее нового строительства;

экологических требований;

технико-экономического сравнения возможных вариантов проектных решений.

4.2 При проектировании должны быть предусмотрены решения, обеспечивающие надежность, долговечность и экономичность сооружений на всех стадиях строительства и эксплуатации.

4.3 Используемые при устройстве ТФМЗ грунты, материалы, изделия и конструкции должны удовлетворять требованиям проектов, соответствующих стандартов и технических условий. Замена предусмотренных проектом грунтов, материалов, изделий и конструкций, входящих в состав возводимого здания или его основания, допускается только по согласованию с проектной организацией и заказчиком.

4.4 При проектировании и возведении ТФМЗ из монолитного и сборного бетона или железобетона следует руководствоваться СНиП 52-01, СНиП 2.03.11 и СНиП 3.04.01, а также соблюдать требования нормативных документов по организации строительного производства, технике безопасности и охране окружающей среды, правил пожарной безопасности при производстве строительно-монтажных работ.

При производстве земляных работ следует выполнять приемочный контроль, руководствуясь СНиП 12-01 и СНиП 3.02.01. Приемку ТФМЗ следует выполнять с составлением актов на скрытые работы. При необходимости в проекте допускается указывать другие элементы, подлежащие промежуточной приемке, с составлением актов на скрытые работы.

4.5 При проектировании должна быть предусмотрена срезка экологически чистого плодородного слоя почвы для последующего использования его в целях восстановления (рекультивации) нарушенных или малопродуктивных сельскохозяйственных земель, озеленения района застройки и т.п.

5 Конструирование фундаментов с применением плит ПЕНОПЛЭКС®

5.1 В качестве ТФМЗ используются фундаменты на грунтовой подушке (столбчатые, ленточные или фундаментные плиты), подошва которых закладывается на глубину 0,4 м в отапливаемых зданиях и на глубину 0,3 м в неотапливаемых зданиях и под отдельно стоящие опоры. Размеры фундамента определяют расчетом согласно СНиП 2.02.01.

5.2 Во избежание выпучивания фундаментов при сезонном промерзании фунта ТФМЗ включают в себя специальным образом уложенную теплоизоляцию из плит ПЕНОПЛЭКС®, позволяющую уменьшить глубину сезонного промерзания под подошвой фундамента и удержать границу промерзания в слое непучинистого грунта (грунтовой подушке), устраиваемого в отапливаемых зданиях непосредственно под подошвой фундаментов толщиной Н, в неотапливаемых зданиях и отдельно стоящих опорах - под слоем теплоизоляции, на который опирается сам фундамент.

5.3 Во избежание деформаций фундамента от действия касательных сил пучения пазухи котлованов засыпаются непучинистым грунтом.

5.4 В качестве материала для устройства подушки может быть использован песок гравелистый, крупный и средней крупности, мелкий щебень, котельный шлак. В случае необходимости увеличения несущей способности основания целесообразно применять песчано-щебеночную подушку, состоящую из смеси песка крупного, средней крупности (40 %), щебня или гравия (60 %).

5.5 Устройство подушек и засыпку пазух и траншей следует выполнять с послойным трамбованием или уплотнением площадочными вибраторами. При применении щебеночных подушек для сохранения плит ПЕНОПЛЭКС® от продавливания следует применять выравнивающий слой песка, превышающий по толщине фракцию щебня в два раза.

5.6 Для защиты грунтов основания от обводнения поверхностными и грунтовыми водами на дневной поверхности по периметру здания по песчаной подготовке толщиной 5 см на ширину теплоизоляционной юбки устраивается асфальтовая или бетонная отмостка толщиной 2-3 см. Отмостке придается уклон от здания 3 %. Кроме того, в грунтовой подушке вблизи ее подошвы по всему периметру теплоизоляционной юбки устраивается трубчатый дренаж с выпуском в ливневую канализацию или в пониженные места за пределами здания.

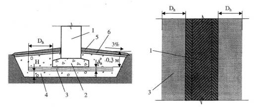
5.7. В отапливаемых зданиях плиты ПЕНОПЛЭКС® толщиной δv укладываются вертикально по внешней поверхности фундамента и цоколя здания на высоту не менее 1,0 м (рис.1) от подошвы фундамента и горизонтально за контуром здания на глубине заложения подошвы фундамента на ширину Dh, с образованием теплоизоляционной юбки толщиной δh по всему наружному периметру фундамента (кроме углов) и толщиной δс на углах и длиной участков Lc по углам здания.

Схема укладки и параметры теплоизоляционного слоя в фундаментах отапливаемых зданий с теплоизоляцией пола и без показаны соответственно на рис. 1 и 1 а.

Рис. 1. Схема укладки и параметры теплоизоляции ПЕНОПЛЭКС® в фундаментах отапливаемых зданий с теплоизоляцией пола

1 - фундамент; 2 - стена здания; 3 - пол здания; 4 - горизонтальная теплоизоляция ПЕНОПЛЭКС®; 5 - вертикальная теплоизоляция ПЕНОПЛЭКС®; 6 - защитное покрытие; 7 - песчаная подготовка под отмостку; 8 - асфальтовая или бетонная отмостка; 9 - непучинистый грунт; 10 - дренаж; 11 - теплоизоляция пола

Рис. 1 а. Схема укладки и параметры теплоизоляции ПЕНОПЛЗКС® в фундаментах отапливаемых зданий без теплоизоляции пола

1 - фундамент; 2 - стена здания; 3 - пол здания; 4 - горизонтальная теплоизоляция ПЕНОПЛЭКС®; 5 - вертикальная теплоизоляция ПЕНОПЛЭКС®; 6 - защитное покрытие; 7 - песчаная подготовка под отмостку; 8 - асфальтовая или бетонная отмостка; 9 - непучинистый грунт; 10 - дренаж

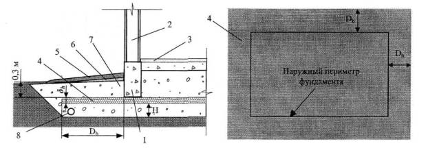
5.8 В неотапливаемых зданиях ПЕНОПЛЭКС® укладывается только горизонтально под подошвой фундамента в пределах всего здания и изоляционной юбки, которая выступает за контур здания на ширину Dh. Толщина слоя ПЕНОПЛЭКС® принимается постоянной и равной δh (рис. 2, 3 и 3 а).

Рис. 2. Схема укладки и параметры теплоизоляции ПЕНОПЛЭКС® в фундаментах неотапливаемых зданий

1 - фундамент; 2 - стена здания; 3 - пол здания; 4 - горизонтальная теплоизоляция ПЕНОПЛЭКС®; 5 - асфальтовая или бетонная отмостка; 6 - песчаная подготовка под отмостку; 7 - непучинистый грунт; 8 - дренаж

Рис. 3. Схема укладки и параметры теплоизоляции ПЕНОПЛЭКС® в фундаментах зданий с переменным режимом эксплуатации (отапливаемое - неотапливаемое)

1 - фундамент; 2 - стена здания; 3 - пол здания; 4 - горизонтальная теплоизоляция ПЕНОПЛЭКС®; 5 - вертикальная теплоизоляция ПЕНОПЛЭКС®; 6 - защитный слой; 7 - песчаная подготовка под отмостку; 8 - асфальтовая или бетонная отмостка; 9 - непучинистый грунт; 10 - дренаж

Рис. 3 а. Схема укладки и параметры теплоизоляции ПЕНОПЛЭКС® в фундаментах зданий с невентилируемым подпольем и переменным режимом эксплуатации (отапливаемое - неотапливаемое)

1 - фундамент; 2 - стена здания; 3 - пол здания; 4 - невентилируемое подполье; 5 - вертикальная теплоизоляция ПЕНОПЛЭКС®; 6 - защитный слой; 7 - песчаная подготовка под отмостку; 8 - асфальтовая или бетонная отмостка; 9 - горизонтальная теплоизоляция ПЕНОПЛЭКС®; 10 - дренаж; 11 - непучинистый грунт; 12 - парозащитный слой

5.9 Под отдельно стоящей или ленточной опорой ПЕНОПЛЭКС® укладывается горизонтально непосредственно под подошвой фундамента, выступая за его контуры на ширину Dh, и имеет толщину δh (рис. 4 и 4 а).

Рис. 4. Схема укладки и параметры теплоизоляции ПЕНОПЛЭКС® в фундаментах отдельно стоящих опор

1 - опора; 2 - фундамент; 3 - теплоизоляционный слой ПЕНОПЛЭКС®; 4 - песчано-гравийная смесь; 5 - водоупорный слой

Рис. 4 а. Схема укладки и параметры теплоизоляции ПЕНОПЛЭКС® при устройстве ленточной опоры

1 - ленточная опора; 2 - фундамент; 3 - теплоизоляционный слой ПЕНОПЛЭКС®; 4 - песчано-гравийная смесь; 5 - отмостка; 6 - песчаная подготовка под отмостку

5.10 Если у отапливаемых зданий имеются холодные пристройки, например, террасы, крыльца, то теплоизоляционной юбке придается форма, показанная на рис. 5, а ширина юбки увеличивается на ширину пристройки. При этом ее параметры Dh и δh принимаются как для неотапливаемого здания.

Рис. 5. Сопряжение отапливаемого здания с холодной пристройкой

1 - фундамент существующего здания; 2 - фундамент пристройки; 3 - стена существующего отапливаемого здания; 4 - теплоизоляционные плиты ПЕНОПЛЭКС®; 5 - дренаж; 6 - песчано-гравийная смесь; 7 - стена пристройки; 8 - отмостка

5.11 Для защиты вертикальной изоляции, расположенной на внешней поверхности фундамента и цоколя здания, от механических повреждений, атмосферных воздействий, ультрафиолетового излучения и обеспечения долговечности конструкции необходимо предусмотреть светонепроницаемое и стойкое к атмосферным воздействиям защитное покрытие, которое совместимо с материалом изоляции. Защитное покрытие заглубляется в грунт на 15 см (рис. 1).

5.12 Для защиты горизонтальной теплоизоляционной юбки от механических повреждений, возникающих в результате воздействия колесной или точечной нагрузки на асфальтовое покрытие или тротуарную плитку в процессе эксплуатации, должна быть предусмотрена защита теплоизоляционных плит ПЕНОПЛЭКС® листовым материалом. Защитный листовой материал может быть изготовлен на основе цементно-волокнистых плит либо другого материала и предназначен для использования в грунте. Защитный слой располагается на верхней поверхности теплоизоляционных плит ПЕНОПЛЭКС®.

6. Расчеты теплоизоляции фундаментов и оснований

6.1 Расчеты ТФМЗ заключаются в определении:

размеров теплоизоляции Dh, Lc, δv, δh, δс;

толщины грунтовой подушки Н.

6.2 Размеры теплоизоляции и толщина грунтовой подушки определены методом математического моделирования теплового взаимодействия здания или отдельно стоящей опоры с грунтами основания. Результаты моделирования помещены в табл. 1-4. Входными параметрами в таблицы являются средняя годовая температура наружного воздуха (СГТВ), определяется согласно СНиП 23-01, и индекс мороза (ИМ). Если расчетные значения СГТВ и ИМ не совпадают с табличными, то принимается ближайшее табличное значение СГТВ в меньшую сторону, а ИМ - в большую сторону.

6.3 Параметры теплоизоляции отапливаемых зданий с теплоизоляцией пола (рис. 1) приведены в табл. 1.

6.4 Параметры теплоизоляции ПЕНОПЛЭКС® отапливаемых зданий без теплоизоляции пола (рис. 1 а) приведены в табл. 2.

Толщина теплоизоляции принимается по ближайшему типоразмеру в большую сторону.

6.5 Параметры теплоизоляции неотапливаемых зданий (рис. 2) приведены в табл. 3. Для жилого здания с переменным режимом эксплуатации (отапливаемое - неотапливаемое) рекомендуется конструкция, которая имеет общие элементы, присущие отапливаемому и неотапливаемому зданию (рис. 3 и 3 а) с дополнительным утеплением стен здания.

6.6 Параметры теплоизоляции ПЕНОПЛЭКС® под отдельно стоящими опорами (рис. 4) приведены в табл. 4.

Таблица 1

Расчетные параметры плит ПЕНОПЛЭКС® для проектирования ТФМЗ отапливаемых зданий с теплоизоляцией пола

ИМ, град.-ч

δv, см

Горизонтальная теплоизоляция вдоль стен

Горизонтальная теплоизоляция на углах

Dh, м

δh, см

Lc, м

δс, см

1

2

3

4

5

6

20000

7,0

0,0

0,0

0,0

0,0

25000

7,7

0,0

0,0

0,0

0,0

30000

8,4

0,0

0,0

0,0

0,0

0,0

0,0

0,0

35000

9,1

0,3

1,8

1,2

2,5

40000

9,8

0,3

3,9

1,2

5,4

0,6

3,2

4,4

45000

10,5

0,3

5,3

1,2

7,4

0,6

4,6

6,4

50000

11,2

0,6

5,6

1,5

7,8

0,9

4,9

6,9

55000

11,9

0,6

7,0

1,5

9,8

0,9

6,0

8,3

60000

12,6

0,9

7,4

2,0

11,0

1,2

6,3

9,5

65000

13,3

0,9

8,8

2,0

13,1

1,2

7,7

11,6

70000

14,0

1,2

9,1

2,5

13,7

1,5

8,1

12,1

75000

14,7

1,2

10,9

2,5

16,3

1,5

9,8

14,7

80000

15,4

1,5

11,2

3,0

16,8

1,8

10,2

15,2

85000

16,1

1,5

12,6

3,0

18,9

1,8

11,6

17,3

90000

16,8

1,8

13,3

3,5

20,0

Условные обозначения:

Dh - ширина юбки из горизонтальной теплоизоляции, уложенной по периметру здания;

Lc - длина участков по углам здания с толщиной теплоизоляции δс;

δv - толщина вертикальной теплоизоляции;

δh - толщина горизонтальной изоляции, уложенной по периметру здания (кроме углов);

δс - толщина горизонтальной изоляции на углах.

Толщина теплоизоляции принимается по ближайшему типоразмеру в большую сторону.

Примечание. Для удобства в графе 3 табл. 1 приведены по два значения Dh и δh, соответствующие ИМ. Одно из двух значений Dh и δh выбирается по согласованию с заказчиком или в зависимости от конкретных условий.

Таблица 2

Расчетные параметры плит ПЕНОПЛЭКС® для проектирования ТФМЗ отапливаемых зданий без теплоизоляции пола

ИМ, град.-ч

δv, см

Горизонтальная теплоизоляция вдоль стен

Горизонтальная теплоизоляция на углах

Dh, м

δh, см

δс, см

Lc, м

1

2

3

4

5

6

20000

2,8

0,0

0,0

0,0

0,0

30000

3,9

0,3

0,9

2,5

1,2

40000

4,8

0,3

4,0

5,3

1,2

50000

6,0

0,6

6,1

7,5

1,5

60000

7,4

0,9

7,6

9,2

2,0

70000

8,6

1,2

9,1

10,7

2,5

80000

10,2

1,5

10,5

12,1

3,0

90000

11,6

1,8

11,9

13,5

3,5

Условные обозначения:

Dh - ширина юбки из горизонтальной теплоизоляции, уложенной по периметру здания;

Lc - длина участков по углам здания с толщиной теплоизоляции δv;

δv - толщина вертикальной теплоизоляции;

δh - толщина горизонтальной изоляции, уложенной по периметру здания (кроме углов);

δс - толщина горизонтальной изоляции на углах.

Толщина теплоизоляции принимается по ближайшему типоразмеру в большую сторону.

Таблица 3

Расчетные параметры плит ПЕНОПЛЭКС® и условная глубина промерзания непучинистого грунта для проектирования ТФМЗ неотапливаемых зданий

ИМ, град.-ч

сгтв, °с

δh, см

Dh, м

dу, м

1

2

3

4

5

10000

4,5

3,5

1,00

0,37

6,0

3,5

0,37

20000

3,0

4,9

1,41

0,54

4,5

4,6

0,52

6,0

4,2

0,46

30000

1,5

10,2

1,73

0,63

3,0

8,1

0,58

4,5

6,7

0,55

6,0

5,3

0,47

40000

0,0

15,8

2,00

0,62

1,5

13,7

0,74

3,0

11,6

0,62

4,5

9,1

0,56

6,0

7,0

0,58

50000

0,0

19,6

2,23

0,72

1,5

17,5

0,74

3,0

14,7

0,66

4,5

11,6

0,68

6,0

9,1

0,68

60000

0,0

23,5

2,45

0,78

1,5

21,4

0,88

3,0

17,9

0,72

4,5

14,4

0,50

70000

0,0

27,7

2,64

0,84

1,5

25,2

0,78

3,0

21,4

0,82

4,5

17,5

0,70

80000

0,0

32,2

2,83

0,88

1,5

29,1

0,85

90000

0,0

36,8

3.00

0,96

Условные обозначения:

dу - условная глубина промерзания непучинистого фунта, расположенного под и над теплоизоляцией; остальные обозначения те же, что и в табл. 1.

Таблица 4

Расчетные параметры плит ПЕНОПЛЭКС® и условная глубина промерзания непучинистого грунта для проектирования ТФМЗ отдельно стоящих опор

ИМ град.-ч

сгтв, °с

Толщина горизонтальной теплоизоляции δh, см

Ширина горизонтальной теплоизоляции Dh, м

Условная глубина промерзания непучинистого грунта dу, м

1

2

3

4

5

10000

4,5

3,5

1,00

0,33

6,0

3,5

0,33

20000

3,0

4,9

1,41

0,53

4,5

4,6

0,52

6,0

4,2

0,45

30000

1,5

10,2

1,73

0,58

3,0

8,1

0,55

4,5

6,7

0,57

6,0

5,3

0,63

40000

0,0

15,8

2,00

0,87

1,5

13,7

0,74

3,0

11,6

0,60

4,5

9,1

0,56

6,0

7,0

0,66

50000

0,0

19,6

2,23

0,92

1,5

17,5

0,72

3,0

14,7

0,63

4,5

11,6

0,65

6,0

9,1

0,70

60000

0,0

23,5

2,45

0,96

1,5

21,4

0,83

3,0

17,9

0,68

4,5

14,4

0,58

70000

0,0

27,7

2,64

1,01

1,5

25,2

0,69

3,0

21,4

0,78

4,5

17,5

0,69

80000

0,0

32,2

2,83

1,04

1,5

29,1

0,76

90000

0,0

36,8

3,00

1,08

6.7 Толщина грунтовой подушки для отапливаемых зданий с температурой воздуха в помещениях зимой не ниже 17 °С принимается равной 0,2 м, с температурой воздуха ниже 17 °С, но выше 5 °С - 0,4 м.

6.8 Толщина грунтовой подушки Н под неотапливаемыми зданиями и отдельно стоящими опорами вычисляется по формуле

Н = df - (d + δh),                                                                                                          (1)

где d - глубина заложения подошвы фундамента, м;

δh - толщина горизонтальной теплоизоляции, определяется по табл. 3 или 4, см;

df - глубина сезонного промерзания грунта в месте расположения фундамента, определяется по формуле (2), м;

                                                                                                 (2)

где k - эмпирический коэффициент численно равный 10,

dy - условная глубина промерзания, для неотапливаемого здания принимается по табл. 3, для отдельно стоящей опоры - по табл. 4, м;

λf - коэффициент теплопроводности непучинистого грунта в мерзлом состоянии, применяемого для устройства грунтовой подушки и засыпки пазух котлована, Вт/(м·°С);

ρf - плотность грунтовой подушки непучинистого грунта, кг/м3;

Wc - суммарная влажность грунтовой подушки непучинистого грунта, д.е.

Физико-механические характеристики грунтов, используемых для создания грунтовых подушек и засыпки пазух котлованов, приведены в приложении В.

Если в результате расчета величина H окажется менее 0,2 м, то она принимается равной 0,2 м.

7 Технология производства работ

7.1 При устройстве ТФМЗ следует руководствоваться требованиями СНиП 12-01, а также соблюдать требования нормативных документов по организации строительного производства, геодезическим работам, технике безопасности, правилам пожарной безопасности при производстве строительно-монтажных работ и охране окружающей среды.

7.2 Устройству ТФМЗ должны предшествовать следующие подготовительные работы: вырубка кустарника и корчевка пней; осушение площадки путем устройства водоотводных и нагорных канав, кюветов, лотков и т.п., с отводом воды в пониженные места; устройство подъездных путей и ЛЭП; строительство инженерных сетей до колодцев ввода и заглубленных конструкций, предусмотренных проектом.

7.3 К технологии производства работ по устройству ТФМЗ предъявляются следующие требования: избегать избыточного водонасыщения фунтов в основании фундаментов, предохранять их от промерзания в период строительства.

7.4 Строительство ТФМЗ начинают с устройства котлована, размер которого по дну принимается не менее размеров в плане горизонтальной изоляции, а в отапливаемых зданиях - плюс ширина фундамента. Для отапливаемых зданий котлован устраивается на глубину 0,6 м, для неотапливаемых зданий и под отдельно стоящими опорами - на глубину сезонного промерзания непучинистого грунта df которая определяется расчетом по формуле (2). Крутизна откосов котлована принимается 1:1.

7.5 В готовый котлован до уровня подошвы фундаментов в отапливаемых зданиях и подошвы теплоизоляции в неотапливаемых зданиях и под отдельно стоящими опорами слоями отсыпается непучинистый грунт и послойно уплотняется до плотности скелета грунта не менее 1600 кг/м3. При этом толщина слоя назначается в зависимости от применяемых для уплотнения механизмов. В грунтовой подушке устраивается трубчатый дренаж.

7.6 На поверхность грунтовой подушки укладываются плиты ПЕНОПЛЭКС® и устанавливаются фундаменты отапливаемых зданий. В неотапливаемых зданиях и под отдельно стоящими опорами фундаменты устанавливаются непосредственно на поверхность плиты ПЕНОПЛЭКС®.

7.7 При производстве фундаментных работ следует руководствоваться нормативными документами на производство бетонных и железобетонных работ, а также местным опытом строительства. После монтажа сборных фундаментов или устройства монолитного фундамента следует произвести обратную засыпку пазух котлована непучинистым грунтом с его тщательным уплотнением.

7.8 После окончания фундаментных работ и засыпки пазух котлована надлежит закончить планировку площадки вокруг дома с обеспечением стока воды от здания.

7.9 Работы нулевого цикла подлежат приемке представителем авторского и технического надзора на всех стадиях их выполнения с составлением актов скрытых работ на перечисленные ниже конструктивные элементы и технологические процессы:

а) работы по устройству системы водоотлива и осушения, а также другие подготовительные работы; к акту следует прикладывать исполнительные планы, продольные и поперечные профили дренажных канав;

б) работы по устройству предусмотренных проектом инженерных сетей;

в) освидетельствование грунтов котлованов, осмотр в натуре следует сопоставить с данными изысканий и в случае их несовпадения внести коррективы в проект;

г) работы по устройству грунтовой подушки, осмотр в натуре надо подкреплять данными лабораторных испытаний по определению плотности материала грунтовой подушки; только в том случае если она соответствует проектной, можно приступать к укладке плит ПЕНОПЛЭКС® и устройству фундаментов;

д) работы по устройству горизонтальной теплоизоляции;

е) работы по устройству фундаментов, гидроизоляции, вертикальной теплоизоляции и засыпке пазух котлована.

8 Мостики холода

8.1 В отапливаемых зданиях, в случае когда плоскость стены здания не совпадает с плоскостью внешней вертикальной поверхности фундамента, вертикальной изоляции в месте сопряжения плоскостей придается излом во избежание образования мостика холода (рис. 6).

8.2 В процессе проектирования и строительства ТФМЗ необходимо предусмотреть мероприятия по недопущению возникновения «мостиков холода» (см. рис. 6).

Рис. 6. Схема укладки плит ПЕНОПЛЭКС® для устранения «мостиков холода»

Приложение А

Схематическая карта распределения ИМ на территории западной части РФ

Приложение Б

Примеры расчета

Пример 1

Двухэтажное кирпичное отапливаемое здание без теплоизоляции пола на ленточном железобетонном фундаменте возводится в г. Ржеве Тверской обл. Нагрузка на 1 п.м фундаментной ленты определяется согласно СНиП 2.01.07. Требуется определить:

- размеры вертикальной и горизонтальной теплоизоляции;

- толщину грунтовой подушки.

Исходные данные. В качестве теплоизолятора принимаем плиты ПЕНОПЛЭКС® типа 35; в качестве материала для устройства грунтовой подушки и засыпки пазух котлована - щебень плотностью 2040 кг/м3 и модулем деформации 65000 кПа. Грунты основания представлены пылеватыми песками плотностью 1800 кг/м3 и модулем деформации 18000 кПа.

Последовательность расчета

1. Определение ИМ. Указанный параметр находим по схематической карте, помещенной в приложении А. ИМ = 50000 градусо-часов.

2. Определение параметров вертикальной и горизонтальной теплоизоляции. В таблице 2 индексу мороза ИМ = 50000 градусо-часов соответствуют следующие параметры теплоизоляции:

- толщина вертикальной теплоизоляции δv = 0,06 м;

- толщина горизонтальной теплоизоляции по периметру здания δh = 0,061 м;

- толщина горизонтальной теплоизоляции на углах здания δc = 0,075 м;

- ширина теплоизоляционной юбки Dh = 0,6 м;

- длина участков возле углов здания Lc = 1,5 м.

3. Расчет толщины грунтовой подушки. Толщина фунтовой подушки для отапливаемых зданий с температурой воздуха в помещениях зимой не ниже 17 °С принимается 0,2 м.

Ответ. На основе проведенного расчета окончательно принимаем:

- толщину вертикальной теплоизоляции из плит ПЕНОПЛЭКС® - 0,06 м;

- толщину горизонтальной теплоизоляции по периметру здания из плит ПЕНОПЛЭКС® - 0,061 м;

- толщину горизонтальной изоляции на углах здания из плит ПЕНОПЛЭКС® - 0,075 м;

- ширину теплоизоляционной юбки - 0,6 м;

- длину участков возле углов здания с усиленной теплоизоляцией - 1,5 м;

- толщину грунтовой подушки - 0,2 м.

При этом глубина котлована под ТФМЗ составит: 0,4 м +0,2 м = 0,6 м.

Пример 2

Одноэтажное кирпичное неотапливаемое здание на ленточном железобетонном фундаменте возводится в г. Дмитрове Московской обл. Нагрузка на 1 п.м фундаментной ленты определяется согласно СНиП 2.01.07. Требуется определить:

- размеры горизонтальной теплоизоляции;

- толщину грунтовой подушки.

Исходные данные. В качестве теплоизолятора принимаем плиты ПЕНОПЛЭКС® типа 45 с модулем деформации Е = 18000 кПа; в качестве материала для устройства грунтовой подушки и засыпки пазух котлована - гравийно-песчаную смесь плотностью ρ = 1988 кг/м3, суммарной влажностью Wc = 0,06, коэффициентом теплопроводности в мерзлом состоянии λf = 1,17 Вт/(м·°С) и модулем деформации Е = 35000 кПа. Грунты основания представлены суглинком плотностью ρ = 1820 кг/м3 и модулем деформации 6000 кПа.

Последовательность расчета:

1. Определение СГТВ и ИМ. Среднегодовую температуру наружного воздуха определяем по СНиП 23-01 СГТВ = 3,4 °С; индекс мороза - по схематической карте, помещенной в приложении А. ИМ = 55800 градусо-часов.

2. Определение параметров горизонтальной теплоизоляции и условной глубины промерзания. Указанные параметры находим по табл. 4. Для пользования таблицей принимаем СГТВ = 3 °С, ИМ = 60 тыс. градусо-часов. Этим значениям входных параметров соответствуют следующие значения: толщина горизонтальной теплоизоляции δh = 18,0 см (0,18 м), ширина теплоизоляционной юбки Dh = 2,45 м, условная глубина промерзания dy = 0,72 м, для неотапливаемых зданий d = 0,30 м.

3. Расчет толщины фунтовой подушки. Вначале по формуле (2) рассчитываем глубину сезонного промерзания в месте расположения ТФМЗ:

а затем по формуле (2) - толщину грунтовой подушки: Н = 0,734 - (0,3 + 0,18) = 0,254 м, принимаем Н = 0,26 м.

Ответ. На основе проведенного расчета окончательно принимаем:

- толщину горизонтальной теплоизоляции из плит ПЕНОПЛЭКС® - 0,18 м;

- ширину теплоизоляционной юбки - 2,45 м;

- толщину грунтовой подушки - 0,26 м.

При этом глубина котлована под ТФМЗ составит: 0,30 + 0,18 + 0,26 = 0,74 м.

Приложение В

Свойства материалов

Технические характеристики плит полистирольных вспененных экструзионных ПЕНОПЛЭКС®

Физико-механические свойства

Ед. измер.

Тип 31С

Тип 35

Тип 45

Плотность

кг/м3

28,0-30,5

28,0-38,0

38,1-45,0

Прочность на сжатие при 2 %-ной линейной деформации

кПа

66

83

167

Модуль упругости

кПа

14000

15000

18000

Предел прочности при статическом изгибе

кПа

400-700

400-700

400-700

Водопоглощение за 30 суток, не более

% по объему

0,4

0,4

0,4

Категория стойкости к огню

группа

Г4

Г1

Г4

Коэф. теплопроводности при усл. эксплуатации «А»

Вт/(м·°К)

0,031

0,031

0,031

Коэф. теплопроводности при усл. эксплуатации «Б»

Вт/(м·°К)

0,032

0,032

0,032

Удельная теплоемкость

кДж/(кг·°С)

1,65

1,65

1,53

Коэффициент паропроницаемости

мг/(м·ч·Па)

0,018

0,018

0,015

Температурный диапазон эксплуатации

°С

-50...+75

Долговечность

лет

Более 50

Типовые размеры плит:

мм

 

 

длина

1200

2400

ширина

600

толщина

30; 40; 50; 60; 80; 100; 120

Физико-механические характеристики некоторых грунтов, используемых для создания грунтовых подушек и засыпки пазух котлованов

Вид грунта

Характеристики грунта

Плотность, кг/м3

Влажность, %

Модуль деформации, кПа

Коэффициент теплопроводности мерзлого грунта, Вт/м·°С

Щебень и гравий

2040

7

65000

2,25

Дресва изверженных пород

2040

10

35000

2,3

Песок крупный и средний

1470

5

35000

1,62

1680

5

35000

1,10

1980

10

35000

2,20

1890

5

35000

1,51

2200

10

35000

2,90

Гравийно-песчаная и щебеночно-песчаная смесь

2264

11

35000

1,98

1988

6

35000

1,17

Песчано-гравийная и песчано-щебеночная смесь

2100

12

35000

2,32

Ключевые слова: теплоизолированный фундамент мелкого заложения, полистирольные вспененные экструзионные плиты ПЕНОПЛЭКС®, вертикальная и горизонтальная теплоизоляция, индекс мороза, среднегодовая температура воздуха

 




Яндекс цитирования



   Copyright © 2007-2026,  www.tehlit.ru.

[ ѓосты, стандарты, нормативы, инструкции, правила, строительные нормы ]