//
ТехЛит.ру
- крупнейшая бесплатная электронная интернет библиотека для "технически умных" людей.
WWW.TEHLIT.RU - ТЕХНИЧЕСКАЯ ЛИТЕРАТУРА

:: Алготрейдинг::


АЛГОТРЕЙДИНГ
шаг за шагом
с нуля по урокам!

Торговые роботы на PYTHON, BackTrader,
Pandas, Pine Script для TradingView. Связка с брокерами, телеграм и легкими приложениями.


ФЕДЕРАЛЬНОЕ АГЕНТСТВО

ПО ТЕХНИЧЕСКОМУ РЕГУЛИРОВАНИЮ И МЕТРОЛОГИИ

НАЦИОНАЛЬНЫЙ

СТАНДАРТ

российской

ФЕДЕРАЦИИ

ГОСТ Р

52908-

2008

(ЕН 13820:2003)

ИЗДЕЛИЯ ТЕПЛОИЗОЛЯЦИОННЫЕ, ПРИМЕНЯЕМЫЕ В СТРОИТЕЛЬСТВЕ

Метод определения содержания органических веществ

EN 13820:2003
Thermal insulating products for building applications
-
Determination of organic content
(MOD)

Москва

Стандартинформ

2007

Предисловие

Цели и принципы стандартизации в Российской Федерации установлены Федеральным законом от 27 декабря 2002 г. 184-ФЗ «О техническом регулировании», а правила применения национальных стандартов Российской Федерации - ГОСТ Р 1.0-2004 «Стандартизация в Российской Федерации. Основные положения»

Сведения о стандарте

1 ПОДГОТОВЛЕН Некоммерческим партнерством «Производители современной минеральной изоляции «Росизол» на основе выполненного Открытым акционерным обществом «Центр методологии нормирования и стандартизации в строительстве» (ОАО «ЦНС») аутентичного перевода европейского стандарта, указанного в пункте 4

2 ВНЕСЕН Техническим комитетом по стандартизации ТК 465 «Строительство»

3 УТВЕРЖДЕН И ВВЕДЕН В ДЕЙСТВИЕ Приказом Федерального агентства по техническому регулированию и метрологии от 13 марта 2008 г. 47-ст

4 Настоящий стандарт является модифицированным по отношению к европейскому стандарту ЕН 13820:2003 «Теплоизоляционные изделия, применяемые в строительстве - Определение содержания органических веществ» (EN 13820:2003 «Thermal insulating products for building applications - Determination of organic content») путем изменения и внесения отдельных положений указанного стандарта, выделенных в тексте стандарта курсивом, объяснение которых приведено во введении.

Наименование настоящего стандарта изменено по отношению к европейскому стандарту для приведения в соответствие с ГОСТ Р 1.5-2004 (подраздел 3.5), уточнены наименования раздела 6, подразделов 6.1 - 6.4

5 ВВЕДЕН ВПЕРВЫЕ

Информация об изменениях к настоящему стандарту публикуется в ежегодно издаваемом информационном указателе «Национальные стандарты», а текст изменений и поправок - в ежемесячно издаваемых информационных указателях «Национальные стандарты». В случае пересмотра (замены) или отмены настоящего стандарта соответствующее уведомление будет опубликовано в ежемесячно издаваемом информационном указателе «Национальные стандарты». Соответствующая информация, уведомление и тексты размещаются также в информационной системе общего пользования - на официальном сайте Федерального агентства по техническому регулированию и метрологии в сети Интернет

Содержание

1 Область применения

2 Нормативные ссылки

3 Термины и определения

4 Сущность метода

5 Средства испытания

6 Образцы для испытания

7 Методика проведения испытания

7.1 Условия испытания

7.2 Проведение испытания

8 Обработка и представление результатов испытания

9 Точность метода

10 Отчет об испытании

Приложение А (справочное) Упрощенный метод определения содержания органических веществ

А.1 Общее положение

А.2 Средства испытания

А.3 Пробы для испытания

А.4 Методика проведения испытания

А.4.1 Условия испытания

А.4.2 Проведение испытания

А.4.3 Обработка и представление результатов испытания

 

Введение

Применение настоящего стандарта, устанавливающего метод определения содержания органических веществ, позволяет получить адекватную оценку качества теплоизоляционных материалов, производимых в Российской Федерации и странах ЕС, обеспечить конкурентоспособность российской продукции на международном рынке, активизировать участие Российской Федерации в работе по международной стандартизации.

Настоящий стандарт не отменяет метод определения содержания органических веществ, установленный ГОСТ 17177-94, который применяют, когда это технически и экономически целесообразно и обосновано.

В настоящий модифицированный стандарт внесены следующие изменения:

1 Исключена ссылка на пр. ЕН 13501-1 «Классификация строительных изделий и элементов зданий по огнестойкости - Часть 1: Классификация с учетом результатов испытания по пожарной опасности строительных изделий и элементов зданий, подлежащих включению в Еврокласс А1 без проведения испытаний», так как национальный стандарт, гармонизированный с указанным европейским стандартом, отсутствует.

2 Раздел 2 дополнен ссылкой на ГОСТ 8.417-2002 в связи с включением примечания к пункту 3.1 о соответствии термина «содержание органических веществ» (в процентах по массе) приведенному в ГОСТ 8.417 термину «массовая доля компонента».

НАЦИОНАЛЬНЫЙ СТАНДАРТ РОССИЙСКОЙ ФЕДЕРАЦИИ

ИЗДЕЛИЯ ТЕПЛОИЗОЛЯЦИОННЫЕ, ПРИМЕНЯЕМЫЕ В СТРОИТЕЛЬСТВЕ

Метод определения содержания органических веществ

Thermal insulating products for building applications.
Method for determination of organic content

Дата введения - 2009-01-01

1 Область применения

Настоящий стандарт распространяется на теплоизоляционные изделия, применяемые в строительстве (далее - изделия), и устанавливает требования к средствам и методике определения содержания органических веществ в неорганических изделиях с низким содержанием органических веществ в необлицованных изделиях или теплоизоляционном слое облицованных изделий.

Примечания

1 Метод, установленный настоящим стандартом, может быть применен для определения содержания органических веществ в строительных изделиях с целью установления их классификации по горючести с учетом результатов испытания на пожарную опасность.

Данное положение заменяет ссылку на пр. ЕН 13501-1 «Классификация строительных изделий и элементов зданий по огнестойкости - Часть 1: Классификация с учетом результатов испытания по пожарной опасности строительных изделий и элементов зданий, подлежащих включению в Еврокласс А1 без проведения испытаний».

2 Метод, установленный настоящим стандартом, не допускается применять для определения содержания органических веществ при наличии в изделиях гидратной воды и/или связанных карбонатов, сульфатов и т.д.

3 Метод, установленный настоящим стандартом, не допускается применять для определения содержания органических веществ в клеях, облицовках и/или покрытиях.

2 Нормативные ссылки

В настоящем стандарте использована ссылка на следующий стандарт:

ГОСТ 8.417-2002 Государственная система единства измерений. Единицы величин

3 Термины и определения

В настоящем стандарте применен следующий термин с соответствующим определением:

3.1 содержание органических веществ (organic content) Moc: Общее содержание соединений углерода в материале или изделии. Содержание органических веществ выражают в процентах по массе.

Примечание - Термин соответствует приведенному в ГОСТ 8.417 термину «массовая доля компонента».

4 Сущность метода

Содержание органических веществ определяют как потерю массы предварительно высушенной пробы изделия после ее выдержки при заданной повышенной температуре в течение заданного интервала времени.

5 Средства испытания

5.1 Весы для взвешивания проб с погрешностью не более 0,001 г.

5.2 Вентилируемый сушильный шкаф с регулируемой температурой (105 ± 5)°С или другой, указанной в стандарте на конкретное изделие.

5.3 Вентилируемая печь с регулируемой температурой (500 ± 20)°С или другой, указанной в стандарте на конкретное изделие.

5.4 Контейнер для проб, изготовленный из инертных материалов и не меняющий массу во время испытания, например фарфоровый тигель или алюминиевый поддон, который перед применением прокаливают не менее одного раза при температуре 500°С в течение 2 ч.

5.5 Эксикатор, поддерживающий пробы в сухом состоянии в процессе их охлаждения.

Примечание - Допускается применять другие средства испытания, обеспечивающие получение результата с указанной погрешностью.

6 Образцы для испытания

6.1 Размеры образцов

Образцы отбирают от изделия по всей его толщине. Перед испытанием образцов с облицованных изделий и/или изделий с покрытиями удаляют облицовку и/или покрытие, включая клеящее вещество. Образцы должны состоять не менее чем из восьми точечных проб, отобранных из разных мест изделия, равномерно распределенных по всей поверхности изделия. Отбор точечных проб осуществляют при помощи полого сверла диаметром, например 21 или 25 мм, позволяющего отбирать пробы по всей толщине изделия.

Масса одной точечной пробы должна быть от 10 до 200 г.

6.2 Число изделий для испытания

Число изделий для испытания должно быть указано в стандарте на конкретное изделие. Если число изделий не установлено, то испытывают не менее пяти изделий.

Примечание - При отсутствии стандарта на конкретное изделие число изделий может быть согласовано между заинтересованными сторонами.

6.3 Подготовка проб к испытанию

Пробы не следует отбирать вблизи боковых граней изделия. Каждую пробу помещают в отдельный контейнер известной массы.

6.4 Условия кондиционирования проб

Пробы перед испытанием высушивают до постоянной массы в течение 2 ч в сушильном шкафу при температуре (105 ± 5)°С или указанной в стандарте на конкретное изделие, и охлаждают в эксикаторе до температуры (23 ± 5)°С.

Массу пробы считают постоянной, если ее изменение между двумя последовательными взвешиваниями в интервал времени, равный, по крайней мере, 1 ч, составляет менее 0,05 % массы пробы. Если установлено конкретное время сушки проб, то последовательные взвешивания проб допускается не проводить.

7 Методика проведения испытания

7.1 Условия испытания

Перед проведением испытания пробу помещают в пустой, предварительно взвешенный контейнер массой m1, высушивают и охлаждают в соответствии с 6.4.

7.2 Проведение испытания

Контейнер с пробой извлекают из эксикатора и взвешивают в течение 1 мин, определяя общую массу контейнера с пробой m2.

Помещают контейнер с пробой в печь при температуре (500 ± 20)°С или указанной в стандарте или технических условиях на конкретное изделие и выдерживают в течение не менее 2 ч, после чего контейнер с пробой помещают в эксикатор и охлаждают до температуры (23 ± 5)°С.

После охлаждения контейнер с пробой взвешивают в течение 1 мин.

Контейнер с пробой вновь помещают в печь не менее чем на 30 мин при температуре (500 ± 20)°С или указанной в стандарте на конкретное изделие, после чего контейнер с пробой охлаждают в эксикаторе до температуры (23 ± 5)°С.

Процедуру, описанную выше, повторяют до тех пор, пока не будет достигнута постоянная масса m3, как указано в 6.4. Между взвешиваниями контейнер с пробой выдерживают в эксикаторе.

Повторяют описанную выше процедуру для всех проб.

8 Обработка и представление результатов испытания

Содержание органических веществ Мос, % по массе, вычисляют для каждой пробы по формуле

                                                               (1)

где m1, - масса контейнера, мг;

m2 - масса контейнера с пробой после сушки, мг;

m3 - масса контейнера с пробой после прокаливания, мг.

За результат испытания принимают среднеарифметическое значение результатов отдельных испытаний. Результат испытания округляют до 0,01 % по массе.

9 Точность метода

Примечание - Настоящий стандарт не содержит данных о точности метода, однако при его последующем пересмотре такие данные будут в него включены.

10 Отчет об испытании

Отчет об испытании должен содержать:

a) ссылку на настоящий стандарт;

b) идентификацию изделия:

1) наименование изделия, предприятия-изготовителя или поставщика,

2) код маркировки,

3) вид изделия,

4) вид упаковки,

5) форму поставки изделия в испытательную лабораторию,

6) дополнительную информацию (если необходимо), например номинальную толщину, номинальную плотность;

c) методику проведения испытания:

1) процедуру отбора проб, например, кто и где проводил отбор проб,

2) условия кондиционирования проб,

3) любое отклонение от требований, приведенных в разделах 6 и 7,

4) дату проведения испытания,

5) число проб для испытания,

6) общую информацию об испытании, включая информацию о времени и температуре сушки, температуре и времени проб выдержки в печи, а также о покрытии и/или облицовке,

7) обстоятельства, которые могли бы повлиять на результаты испытания.

Примечание - Сведения об оборудовании и о лаборанте, проводившем испытание, должны находиться в испытательной лаборатории, однако в отчете их не указывают;

d) результаты: указывают результаты каждого отдельного испытания и среднеарифметическое значение содержания органических веществ.

Приложение А
(справочное)
Упрощенный метод определения содержания органических веществ

А.1 Общее положение

При контроле производственного процесса непосредственно на предприятии может быть применен следующий упрощенный метод определения содержания органических веществ.

А.2 Средства испытания

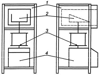
Средства испытания устанавливают в соответствии со схемой, приведенной на рисунке А. 1.

1 - печь; 2 - контейнер для взвешивания внутри печи; 3 - платформа для взвешивания вне печи, соединенная с весами (комнатная температура); 4 - весы

Рисунок А.1 - Схема размещения оборудования для определения содержания органических веществ

Весы 4 должны обеспечивать определение массы с погрешностью не более 0,01 г.

А.3 Пробы для испытания

Пробы не подвергают кондиционированию перед испытанием, если их отбор проводят непосредственно с производственной линии при контроле производственного процесса.

Примечание - Если пробы не отбирают непосредственно с производственной линии, то их подвергают кондиционированию согласно 6.4.

А.4 Методика проведения испытания

А.4.1 Условия испытания

Пробу помещают в предварительно взвешенный контейнер массой m1.

А.4.2 Проведение испытания

Контейнер с пробой помещают на платформу для взвешивания, соединенную с весами, и взвешивают его (при комнатной температуре) в течение 1 мин для определения общей массы контейнера с пробой m2.

Контейнер с пробой помещают в печь при температуре (500 ± 20)°С или другой, указанной в стандарте или технических условиях на конкретное изделие. Непрерывно взвешивают контейнер с пробой (с погрешностью ± 0,10 %) до достижения постоянной массы m3.

Описанную выше процедуру испытания повторяют для всех проб.

А.4.3 Обработка и представление результатов испытания

За результат испытания принимают среднеарифметическое значение результатов отдельных испытаний всех проб. Результат испытания округляют до 0,1 % по массе.

Ключевые слова: здания, теплоизоляция, теплоизоляционные материалы, изделия, содержание органических веществ, определение

 




Яндекс цитирования