//
|
|
ЦНИИСК им. Кучеренко РЕКОМЕНДАЦИИ ПО ПРОЕКТИРОВАНИЮ СТРУКТУРНЫХ КОНСТРУКЦИЙ Москва 1984 Рекомендовано к изданию решением секции новых форм металлических конструкций Ученого совета ЦНИИСК им. Кучеренко. Содержат положения по проектированию структурных конструкций, в том числе возводимых в сейсмических районах и районах с низкими температурами, а также при наличии вибрационных нагрузок. Даны рекомендации по выбору стержневых схем, узловых сопряжений и назначению оптимальных параметров структурных плит. Изложены способы приближенных расчетов стержневой системы, а также расчетов с применением ЭВМ. Приведены наиболее характерные конструктивные решения структур массового и индивидуального применения. Освещены основные способы изготовления и монтажа, а также оценки экономической эффективности структурных конструкций. Даны примеры расчетов, методика моделирования и натурного эксперимента, проводимых на стадии проектирования, а также сведения в области развития конструктивных форм и методов расчета за рубежом. Для инженерно-технических работников проектных и научно-исследовательских организаций. Содержание ПРЕДИСЛОВИЕСтруктурные конструкции в силу ряда положительных качеств и в том числе универсальности, возможности изготовления на поточных высокопроизводительных технологических линиях, простоты транспортирования и удобства монтажа уже давно завоевали место в строительстве промышленных и гражданских зданий. Начало бурному развитию структурных конструкций положило постановление ЦК КПСС и Совета Министров СССР от 29 мая 1972 г. «Об организации производства и комплектной поставки легких металлических конструкций промышленных зданий». В период 1972 - 1975 гг. была проделана большая работа в области проектирования, исследования и создания производственных мощностей по изготовлению легких структурных конструкций. В настоящее время эти конструкции выпускаются массово в общей сложности около 2,5 млн. м2 перекрываемой площади в год и по плану Госстроя СССР к концу одиннадцатой пятилетки объем выпуска структур 1 увеличится более чем в полтора раза. 1 Здесь и далее для краткости структурные конструкции называются структуры. При столь быстрых темпах развития этих конструкций возникла необходимость выпуска рекомендаций по проектированию структурных конструкций, отвечающих требованиям современного уровня промышленного и гражданского строительства. Настоящие Рекомендации разработаны Отделением новых форм металлических конструкций ЦНИИСК им. Кучеренко Госстроя СССР при участии ряда научно-исследовательских организаций, учебных институтов и отдельных специалистов на основе последних экспериментально-теоретических исследований структурных конструкций, опыта их проектирования, изготовления и монтажа. Отдельные разделы (главы) и подразделы настоящих Рекомендаций составили: главы 1, 2 и 3 - д-р техн. наук, проф. В.И. Трофимов (ЦНИИСК), в том числе п.п. 1.28 - 1.31 и п.п. 3.33 - 3.41; канд. техн. наук Р.И. Хисамов (КИСИ); п.п. 1.32 - 1.37 - М.Л. Гринберг (ГПИ Укрпроектстальконструкция); п.п. 2.32 - 2.39 и 2.59 - 2.67 - канд. техн. наук В.К. Файбишенко (MApхИ); п.п. 2.73 - 2.89 - инж. Ю. А. Чернов (ЦНИИСК); п.п. 3.17 - 3.22 - инж. О.И. Ефимов (КИСИ); п.п. 3.50 - 3.52 - канд. техн. наук Л. Ш. Килимник (ЦНИИСК). При составлении п.п. 1.18 - 1.21 использованы материалы канд. техн. наук Р.И. Хисамова; п.п. 2.1 - 2.31, 2.117 - 2.121 и 2.157 - 2.162 - канд. техн. наук В.К. Файбишенко; п.п. 2.46 - 2.52 - канд. техн. наук В.Н. Диденко (ЦНИИСК); п.п. 2.53 - 2.58 и 2.157 - 2.162 - инж. А.Н. Усанова и Н.Н. Тарасовой (Гипроспецлегконструкция); п.п. 2.90 - 2.103 -инж. Ю. А. Чернова; п.п. 3.9 - 3.11 и 3.27 - 3.32 - канд. техн. наук Г.Б. Бегуна (Харьковское отделение Теплоэлектропроект). Глава 4 - канд. техн. наук Э.В. Третьякова (ЦНИИСК), в том числе п.п. 4.22 - 4.23 - канд. техн. наук Л.Н. Лубо (ЛенЗНИИЭП); п.п. 4.30 - 4.31 -канд. техн. наук Н.Н. Демидов (МИСИ). Глава 5 - канд. техн. наук Л.Ш. Килимник и канд. техн. наук К.Б. Абдурашидов (Инст. механики и сейсмостойкости АН Уз. ССР) при использовании материалов инж. Е.И. Наклоновой (ЦНИИСК) и инж. К.И. Исобекова (МАрхИ) - п.п. 5.1 - 5.29; д-р техн. наук А.И. Цейтлин, канд. техн. наук М.Н. Иванов (ЦНИИСК) п.п. 5.30 - 5.42; канд. техн. наук В.Д. Насонкин (ЦНИИСК) - п.п. 5.43 - 5.57; канд. техн. наук Э. В. Третьякова - п.п. 5.58 - 5.67. Глава 6 - инж; Ю.А. Чернов с использованием материалов кандидата техн. наук В.К. Файбишенко. Оптимизация параметров конвейерной сборки и крупноблочного монтажа структурных конструкций - написана проф. Трофимовым В. И. по материалам канд. техн. наук Федоренко П.П. (НИИСП Госстроя УССР). Глава 7 - канд. техн. наук Р.И. Хисамов и инж. Л.А. Исаева (КИСИ) - п.п. 7.1 - 7.6 и инж. М.Л. Гринберг п.п. 7.7 - 7.17. Приложение 1 - инж. М.Л. Гринберг; прил. 2 - инж. С.И. Аванесов (ЦНИИСК); прил. 3 - канд. техн. наук Е.Р. Мацелинский (ЦНИИСК); прил. 4 - канд. техн. наук Л. Ш. Килимник; прил. 5 - д-р техн. наук, проф. В.И. Трофимов и инж. С. И. Аванесов - Вопросы моделирования И статические исследования в лабораторных условиях; д-р техн. наук И.Г. Рамоненко, канд. техн. наук В.С. Сорокин (ЦНИИСК) - Методика проведения огневых испытаний структурных конструкций на моделях; канд. техн. наук В.Н. Диденко - Основные положения и задачи статических испытаний в условиях строительной площадки; д-р техн. наук К.С. Абдурашидов - Методы экспериментальных исследований натурных конструкций на динамические воздействия типа сейсмических; прил. 6 - д-р техн. наук, проф. В. И. Трофимов и инж. С. А. Аванесов. При составлении Рекомендаций были использованы материалы проектных институтов «Гипроспецлегконструкция», ЦНИИпромзданий, ЛенЗНИИЭПа, Московского архитектурного института, ГПИ Укрпроектстальконструкция, НИИСК Госстроя СССР, ЦНИИпроектстальконструкция, Моспроект-2, ПИ Промстальконструкция, ЦНИИЭП торговых зданий Главкрасноярскстроя, Свердловского политехнического института, Харьковского Промстройниипроекта, институтов ГлавАПУ г. Москвы и др. Работа осуществлялась под руководством заслуженного деятеля науки и техники РСФСР, д-ра техн. наук, проф. В. И. Трофимова. Рекомендации рецензировались комиссией в составе: заслуженного деятеля науки и техники РСФСР, д-ра техн. наук, проф. Е.И. Беленя (председатель МИСИ им. Куйбышева), д-ра техн. наук, проф. В.Н. Шимановского и канд. техн. наук А.Я. Прицкера (ГПИ Укрпроектстальконструкция), Почетного строителя РСФСР, лауреата Государственной премии СССР А.П. Морозова и канд. техн. наук Б.А. Миронкова (ЛенЗНИИЭП), канд. техн. наук И.Л. Пименова (ЦНИИСК), канд. техн. наук Е.Ю. Давыдова (Белорусский политехнический институт), инженеров Ю.А. Маршева, А.Н. Усанова, Н.Н. Тарасовой (Гипроспецлегконструкция), инж. А.П. Козленковой (ВНИПИ Промстальконструкция). Замечания и предложения просьба направлять по адресу: 109389, Москва, 2-я Институтская ул., д. 6. 1. СТЕРЖНЕВЫЕ СХЕМЫ СТРУКТУР, ИХ УЗЛОВЫЕ СОПРЯЖЕНИЯ, РЕКОМЕНДАЦИИ ПО НАЗНАЧЕНИЮ ОПТИМАЛЬНЫХ ПАРАМЕТРОВХАРАКТЕРИСТИКА СТРУКТУР1.1. Поиски современных архитектурных форм большой выразительности и универсальности, образуемых на основе многократно повторяющихся элементов, привели к созданию стержневых систем нового типа, к так называемым структурам. Эти системы, имея в своей основе «кристаллическое» строение, сходны с некоторыми весьма прочными образованиями органической природы. Практика отечественного и зарубежного строительства имеет немало примеров применения структурных конструкций в виде оболочек, складок, куполов. Однако в подавляющем большинстве структурные конструкции применяются в виде стержневых плит. Эти конструкции изготавливаются из стали, алюминия, дерева, в некоторых случаях из пластмасс. В отечественном гражданском строительстве нашли также применение плиты регулярного строения из армоцементных элементов. Однако массовое распространение в отечественном строительстве получили стальные структурные плиты. Учитывая это, настоящее издание содержит рекомендации по проектированию стальных структурных плит, работающих совместно с каркасом производственных или гражданских зданий с несущими стальными или железобетонными колоннами, возводимых как в обычных, так и сейсмических районах. Помимо статической нагрузки в ряде случаев предусматривается вибрационное воздействие на структуры от работы крышных вентиляторов. 1.2. Структуры обладают рядом преимуществ, правильное использование которых позволяет повысить экономическую эффективность конструкции по сравнению с традиционными решениями [1]. К преимуществам относятся: пространственность работы системы; повышенная надежность от внезапных разрушений; снижение строительной высоты покрытия (перекрытия); возможность перекрытия больших пролетов; удобство проектирования линий подвесного транспорта и подвесных потолков; возможность свободной расстановки оборудования (на перекрытиях); облегчение ограждающих конструкций кровли благодаря частой сетке узлов; максимальная унификация узлов и стержневых элементов; поточное изготовление металлических конструкций на высокопроизводительных технологических линиях; снижение затрат на транспорт и возможность доставки в отдаленные и труднодоступные места; возможность использования совершенных методов монтажа-сборки на земле и подъема покрытия крупными блоками; сборно-разборность (при необходимости); архитектурная Выразительность и возможность применения для зданий различного назначения. При этом экономическая целесообразность использования структур в полной мере достигается при их серийном изготовлении на специализированных заводах. 1.3. Структурные конструкции, сходные по своему геометрическому строению с кристаллическими решетками металла, являются типичным примером пространственной системы. Сила, приложенная к любому узлу структуры и произвольно направленная, вызывает усилие в первую очередь в примыкающих к узлу пространственно расположенных стержнях, т.е. пространственную реакцию, сходную с сопротивлением сплошной системы (плиты или оболочки). Структурная система не имеет традиционных для металлических конструкций связей и в ряде случаев прогонов. Их функции выполняют несущие стержни поясных сеток и наклонной решетки. Легко убедиться, что даже структурная плита (рис. 1.1. a), поясные сетки которой образуют квадратные ячейки и сами по себе геометрически изменяемы, в целом является геометрически неизменяемой системой без каких-либо связей; роль связей выполняют наклонные раскосы. 1.4. Пространственная работа структур ярче проявляется при действии неравномерных нагрузок. При этом перегрузка большинства стержней, исключая стержни, выход которых из работы превращает систему в механизм, не нарушает нормальной работы конструкции в целом благодаря способности системы к перераспределению усилий. 1.5. Системы с геометрически неизменяемыми поясными сетками (треугольные ячейки сеток) (рис. 1.1, б), могут воспринимать крутящие моменты. В меньшей степени жесткостью на кручение обладают структуры, в которых одна сетка поясов геометрически изменяема, например, одна из шестиугольников, другая из треугольников (рис. 1.1, в). В случае когда обе поясные сетки являются геометрически изменяемыми, система не воспринимает крутящие моменты. 1.6. Работа структурных плит на кручение приводит к уменьшению усилий в поясах от действия изгибающих моментов. Распределение усилий на диагональные направления вследствие кручения увеличивает общую жесткость системы, работа которой обычно соответствует расчетным моделям в интервале от изотропной пластинки с нулевой жесткостью на кручение до изотропной пластинки. 1.7. Помимо структурных систем с регулярной решеткой в практике строительства нашли применение структурные системы с так называемой разреженной решеткой, когда определенные ячейки не заполняются поясами или раскосами. Подобные решения с точки зрения производства имеют достаточные обоснования, однако в статическом отношении разрежение решетки способствует снижению как общей жесткости системы, так и работы системы на кручение.
Рис. 1.1. Некоторые схемы структурных плит а - ортогональная поясная сетка; б - поясная сетка с треугольными ячейками; поясная сетка с треугольными и шестиугольными ячейками 1.8. Структурные плиты обладают повышенной жесткостью, обычно для них рекомендуется отношение высоты к пролету h/l = 1/16 - 1/25 (против 1/8 - 1/10 в традиционных плоских фермах). В одноэтажных промышленных зданиях это позволяет значительно уменьшить объем здания и связанные с ним эксплуатационные расходы. 1.9. Как конструкции большепролетного назначения структурные плиты целесообразно применять с укрупненной сеткой колонн, переход к которой в большинстве случаев прогрессивен. Преимущества таких схем известны - свободная планировка, гибкость при изменении технологии, а также экономия площади. 1.10. Проблема подвесного транспорта при структурах решается намного проще, чем в обычных покрытиях. Частая сетка узлов допускает подвеску путей кранов, тельферов и конвейеров с минимальными дополнительными затратами в любой зоне конструкции. Сокращение пролета между несущими элементами с 6 или 12 м до 2 - 3 м в структурах создает условия для применения беспрогонных решений кровли. 1.11. В многоэтажных зданиях, когда помещения должны удовлетворять требованиям произвольной установки оборудования, а также при необходимости применять большепролетную сетку колонн, структуры являются весьма удачной конструкцией и для перекрытий. 1.12. Свойственная структурам однотипность узлов и стержневых элементов позволяет перейти к поточному механизированному производству металлических конструкции применительно к зданиям различного назначения, значительно удешевив заводское изготовление. Поточное производство, как известно, позволяет резко повысить производительность и качество изготовления конструкций. 1.13. Структурные конструкции в большинстве случаев доставляют на место строительства в виде отдельных элементов или вкладываемых одна в другую стержневых пирамид, образующих в процессе транспортировки плотный штабель. Такие перевозки экономят транспортные средства. Структуры являются почти единственно возможной конструкцией заводского изготовления для труднодоступных районов, куда строительные элементы можно доставлять лишь авиацией. 1.14. При конвейерно-блочном методе монтажа, несмотря на большое количество элементов, из которых на месте собирается конструкция, монтаж ее в ряде случаев оказывается более быстрым и экономичным, чем при обычных конструкциях. 1.15. Структуры имеют ряд недостатков, зачастую неразрывно связанных с достоинствами. Являясь по своему внутреннему строению конструктивной схемой, заимствованной из природы, структуры уступают своим природным аналогам в том, что одновременно с пространственностью приобретают черты жесткой унификации, что ведет к некоторому увеличению расхода материала. 1.16. В наиболее развитых капиталистических странах, а также в странах народной демократии имеются достаточно мощные производственные базы по изготовлению структурных конструкций. При этом структуры изготавливаются «на склад» под наиболее распространенные сетки колонн и полезные нагрузки. Наряду с этим большую часть структур выполняют по индивидуальным заказам на здания больших пролетов и часто сложной конфигурации. 1.17. В Советском Союзе, как уже отмечалось, бурное развитие структур положено постановлением ЦК КПСС и Совета Министров СССР от 29 мая 1972 г. № 381 «Об организации производства и комплектной поставки легких металлических конструкции промышленных зданий». В системе Минмонтажспецстроя СССР, Мосгорисполкома, Минтяжстроя СССР и других министерств и ведомств введены в эксплуатацию заводы по изготовлению структурных конструкций в общей сложности более чем на 2,5 млн. м2 перекрываемой площади в год. Серийно изготовляются структурные конструкции из прокатных профилей системы «ЦНИИСК» и труб системы «МАрхИ» и «Кисловодск» под наиболее распространенные для промышленных зданий сетки колонн 12×18, 12×24, 18×18, 24×24 м. Из унифицированных элементов структурных плит с включением в систему дополнительных элементов (шпренгелей, затяжек, тросов, капителей и пр.) или сочлененных двухъярусных по высоте конструкций представляется возможным перекрывать пролеты порядка 80 м. Помимо типовых решений в Советском Союзе разработан ряд оригинальных структурных конструкций и узловых сопряжений, позволяющих перекрывать весьма большие пролеты и нашедших применение в индивидуальных зданиях и сооружениях. СХЕМЫ СТРУКТУРНЫХ КОНСТРУКЦИЙ И ИХ ЧЛЕНЕНИЕ НА ОТПРАВОЧНЫЕ МАРКИ1.18. Формирование структур на строительной площадке в большинстве случаев осуществляется из отдельных отправочных марок заводского изготовления. При этом в практике строительства нашли применение следующие способы формирования конструктивной схемы: из стержней размером на одну ячейку; из короткоразмерных элементов решетки и длинноразмерных поясов; из плоскостных ферм; из пространственных стержневых пирамид и доборных линейных элементов. В последнее время находят применение складные структуры, которые изготавливаются в заводских условиях целиком на определенную секцию здания. В табл. 1 приводятся стержневые схемы структурных плит, нашедшие применение в отечественном и зарубежном строительстве, а также даются рекомендации в части членения их на отправочные марки [2]. КЛАССИФИКАЦИЯ УЗЛОВ СТРУКТУРНЫХ КОНСТРУКЦИЙ1.19. На рис 1.2 приводятся наиболее характерные узловые сопряжения элементов структурных плит. При этом в зависимости от способа соединения элементов они подразделены на три основные группы. I группа - болтовые соединения. К ним относятся узловые соединения, исключающие сварку как в заводских, так и монтажных условиях и позволяющие собирать структуры только на болтах либо других сборочных деталях (рис. 1.2, а, б, в, г): а) соединение уголковых стержней на болтах внахлест. Применяется в нижних узлах структурных конструкций системы «ЦНИИСК», работающих преимущественно в одном направлении (рис. 1.2, а); б) соединение типа «Юнистрат». Разработано фирмой «Unistrul Corporation» совместно с лабораторией стальных конструкций Мичиганского университета (США). Узловая фасонка выполнена штамповкой с отверстиями и шпонками для соединения на болтах стержней гнутого профиля (рис. 1.2, б). Подобное узловое соединение в отечественном строительстве не нашло применения в повторяющихся объектах. Однако ввиду большой простоты рекомендуется его освоить для использования в конструкциях серийного изготовления; в) соединение системы «Сокол», состоящее из шести тонкостенных пирамидальных деталей, изготовленных из листов с помощью штамповки. Эти детали между собой и с элементами составного гнутого профиля соединяются с помощью болтов нормальной точности. Для обеспечения необходимой жесткости детали узла имеют вокруг отверстия выштампованные выступы; Таблица 1
Продолжение табл. 1
Продолжение табл. 1
Продолжение табл. 1
Примечание. Сплошная линия - верхние пояса и решетка, пунктирная - нижние пояса; ms - верхний пояс, mi- нижний пояс, mm - средний пояс, d-раскосы, с - стойки, dg - диагонали в плоскости поясов Рис. 1.2. Наиболее характерные узловые сопряжения стержней структурных плит I группа - болтовые (а, б, в, г); II группа - комбинированные (д, е, ж, и); III группа - сварные (к, л) г) узловое соединение «Триодетик». Разработано фирмой «Fentiman» (Канада). Узловой элемент представляет собой цилиндр, вдоль образующих которого имеются пазы с рифлеными стенками. Концы стержней опрессовываются по профилю пазов, вставляются в цилиндр и фиксируются в прорезях узла двумя крышками, соединенных болтом (рис. 1.2, г). Сборка структурной конструкции с применением данных узлов существенно упрощается, поскольку для завершения требуется постановка только одного болта. Рекомендуется подобное узловое соединение освоить промышленностью для использования в серийно изготавливаемых конструкциях. II группа - комбинированные соединения. К этой группе относятся соединения, в которых применяется заводская сварка, а сборка узла осуществляется на болтах. Характерным для этой группы является расчленение узлового соединения на две группы деталей: детали первой группы привариваются в заводских условиях к концам соединяемых стержней (болтовые наконечники, листовые фасонки и т.д.), а детали второй группы в виде шайб, болтов, коннекторов объединяют концы стержней в узел (рис. 1.2, д, е, ж, и): д) узловые соединения системы «МЕРО», разработанные в 1938 г. в Германии; системы «Веймар», разработанные в ГДР, «МАрхИ» и «Кисловодск», разработанные в СССР Московским архитектурным институтом и Гипроспецлегконструкция. Во всех этих системах основным элементом является сферическое или полусферическое тело с резьбовыми отверстиями, в которые ввинчиваются вращающиеся на концах стержней болты. В системах «МЕРО» и «Веймар» болты к стержням присоединяются с помощью конических наконечников, в системах «МАрхИ» и «Кисловодск» - плоских цилиндрических шайб, приваренных к концам трубчатых стержней, а также поводковых втулок и штифтовых фиксаторов (рис. 1.2, д). В отличие от системы типа «МЕРО» в Японии большое распространение получили узловые соединения трубчатых стержней на полых шарах (система NS), в которых соединительные болты через отверстие в шаре завинчиваются с внутренней его стороны. е) соединение на фланцах. Разработано ЦНИИПСК для трубчатых стержней и ЛенЗНИИЭП для прокатных применительно к структурным конструкциям, собираемым из пирамид. Основания стержневых пирамид образуют сжатую поясную сетку, узловое соединение которой состоит из двух фланцев с приваренными стержнями поясов и раскосов. Фланцы на монтаже объединяются с помощью болтов (рис. 1.2, е) ж) соединение уголковых профилей на болтах при помощи листовых фасонок, приваренных в заводских условиях к длинноразмерным поясам. Соединение применяется в верхних узлах конструкций системы «ЦНИИСК», работающих преимущественно в одном направлении (рис. 1.2, ж); и) соединение на болтах при помощи пространственных фасонок, свариваемых в заводских условиях из отдельных листов (рис. 1.2, и). III группа - соединения, осуществляемые с применением монтажной сварки (рис. 1.2, к, л): к) соединение конструкции «Октаплатт». Разработано в ФРГ фирмой «Маннесман». К шару привариваются по периметру трубчатые стержни (рис. 1.2, к); л) соединение системы «ЦНИИСК». Концы трубчатых стержней сплющиваются и собираются в пространственном узле; образовавшееся между концами стержней пространство заполняется расплавленным металлом (рис. 1.2, л). 1.20. В соответствии с п. 1.19 конструирование узловых соединений может выполняться по трем схемам: а) объединение стержней без дополнительных элементов (ванная сварка, соединение стержней внахлест и т.д.); б) объединение стержней с помощью одной узловой детали («Октаплатт», Юнистрат», «Триодетик» и т.д.); в) объединение стержней с помощью узловых деталей, прикреплённых к стержням, и соединительного элемента («МЕРО», «МАрхИ», «Кисловодск» и т.д.). 1.21. Соединение стержней по схеме а требует обеспечения прочности узла структурной конструкции в одном сечении, по схеме б - в двух сечениях и по схеме в - в трех или четырех сечениях. Чем больше в узловом соединении сечений, требующих обеспечения его прочности, тем более дорогим при всех других равных условиях и трудоемким в изготовлении получается узловое соединение. Рекомендации по применению тех или иных узловых соединений в различных компоновочных схемах структурных плит приводятся в гл. 2. РЕГУЛИРОВАНИЕ УСИЛИЙ В СТРУКТУРНЫХ ПЛИТАХ1.22. Регулирование усилий в элементах конструкции производится с целью их уравнивания, что позволяет существенно уменьшить количество типов стержней и улучшить показатели массы конструкции. Регулирование достигается созданием взаимно уравновешенных внутри конструкции усилий, которые в наиболее нагруженных стержнях обратны по знаку усилиям от эксплуатационной нагрузки, а в менее нагруженных - могут совпадать по знаку с усилиями от эксплуатационной нагрузки. 1.23. К основным способам регулирования усилий в структурных плитах относятся: напряжение их затяжками; осадка опор; установка стержней с отклонением от заданной геометрии. 1.24. Отыскание оптимального решения, обеспечивающего максимальный эффект от регулирования усилий, рекомендуется осуществлять либо вариантным проектированием, либо с использованием методов линейного программирования. 1.25. Для регулирования усилий в структурных плитах с помощью затяжек рекомендуется использовать канаты из высокопрочной проволоки или круглые стержни из стали повышенной и высокой прочности.
Рис. 1.3. Схемы регулирования усилий с помощью затяжек а, б - оси напрягающих затяжек и поясных стержней совпадают
Рис. 1.4. Выравнивание усилий в поясных сетках путем осадки опор
Рис. 1.5. Основная система при регулировании усилий путем
постановки На рис. 1.3 показаны схемы регулирования усилий в структурных плитах с помощью затяжек. Для квадратных структурных плит затяжки рекомендуется располагать крестообразно; для прямоугольных плит, опертых по углам, рекомендуется расположение нескольких параллельных друг другу затяжек вдоль большого пролета плиты, при этом напрягающие затяжки и стержни могут быть параллельны или совпадать (см. рис. 1.3, а, б). С помощью каждой из затяжек одновременно напрягаются несколько стержней, расположенных друг за другом. При подобном способе напряжения регулирование усилий достигается в основном в растянутых поясах. Когда затяжки частично или полностью проходят вне структуры (см. рис. 1.3, в, г, д), то при их натяжении происходит выравнивание усилий во всех или в большинстве стержней структурной плиты. 1.26. В прямоугольных или квадратных в плане структурных плитах с ортогональным расположением поясов, шарнирно опертых на несколько колонн по каждой стороне контура, возникает большая разница усилий в поясах, что приводит к увеличенному расходу стали. Получить малоизменяющиеся усилия в поясах можно принудительным выравниванием кривизн вдоль изогнутых осей, что достигается осадкой опор (рис. 1.4) [3, 4, 5]. Рекомендуется путем изменения отметок опирания уменьшить изгибающий момент в геометрическом центре за счет некоторого увеличения изгибающего момента вблизи мест опирания. Экономия металла, получаемая за счет осадок опор, зависит от характера опирания, пролета, высоты структурной плиты, топологии стержневой схемы и т.п. Чаще всего экономия составляет 10 - 15 %. Больший экономический эффект соответствует конструкции с большими пролетами и нагрузками. Методика определения оптимальных осадок опор приведена в п. 4.31. Следует иметь в виду, что выравнивание усилий, осуществляемое за счет разностей отметок опирания, можно эффективно применять лишь в структурах с неподатливыми соединениями. 1.27. Регулирование усилий может осуществляться также путем намеренного изготовления отдельных стержней с отклонением от геометрических размеров. В качестве таких стержней следует выбирать те, исключение которых из конструкции не превращает ее в механизм. При принудительном сопряжении этих стержней в узлах структуры, которое достигается приложением определенных усилий или нагревом, в ряде стержней конструкции возникают усилия, обратные по знаку усилиям от эксплуатационной нагрузки. На рис. 1.5 приведен пример выбора стержней в структурной плите системы «ЦНИИСК», изготовление которых с отклонением от заданной геометрии обеспечивает предварительное напряжение конструкции. Ввиду наличия в этой плите двух осей симметрии рассматривается ее 1/4 часть. Неизвестными являются полные усилия Х1, Х2, Х3, X4, которые складываются из усилий преднапряжения (начальных усилий) и усилий от внешней нагрузки. В данном случае необходимо найти такое распределение внутренних усилий, которое позволит получить максимально полезную нагрузку. Поиск оптимальных усилий преднапряжения можно производить симплекс-методом линейного программирования, осуществляя максимизацию целевой функции Z = KP, где К параметр нагрузки. Система ограничений составляется из условий прочности и устойчивости отдельных элементов. Установлено, что в результате создания предварительного напряжения в структурной плите, в ряде случаев, полезную нагрузку можно увеличить до 20 % [6]. ГРАНИЦЫ НАЗНАЧЕНИЯ ОПТИМАЛЬНОЙ ПО РАСХОДУ
| ||||||||||||||||||||||||||||||||||||||||||||||||||||||||||||||||||||||||||||||||||||||||||||||||||||||||||||||||||||||||||||||||||||||||||||||||||||||||||||||||||||||||||||||||||||||||||||||||||||||||||||||||||||||||||||||||||||||||||||||||||||||||||||||||||||||||||||||||||||||||||||||||||||||||||||||||||||||||||||||||||||||||||||||||||||||||||||||||||||||||||||||||||||||||||||||||||||||||||||||||||||||||||||||||||||||||||||||||||||||||||||||||||||||||||||||||||||||||||||||||||||||||||||||||||||||||||||||||||||||||||||||||||||||||||||||||||||||||||||||||||||||||||||||||||||||||||||||||||||||||||||||||||||||||||||||||||||||||||||||||||||||||||||||||||||||||||||||||||||||||||||||||||||||||||||||||||||||||||||||||||||||||||||||||||||||||||||||||||||||||||||||||||||||||||||||||||||||||||||||||||||||||||||||||||||||||||||||||||||||||||||||||||||||||||||||||||||||||||||||||||||||||||||||||||||||||||||||||||||||||||||||||||||||||||||||||||||||||||||||||||||||||||||||||||||||||||||||||||||||
|
|
(1.1) |
где am и aw - численные коэффициенты в выражениях момента и прогибов, аналогичных по форме, опиранию и загружению пластинок или перекрестных ферм; qd, qn - расчетная и нормативная нагрузка на покрытие; h - высота структурного покрытия; l - пролет покрытия; li - меньший пролет при прямоугольной в плане структурной плите и диаметр вписанной окружности при других очертаниях в плане; [f] - допустимый прогиб покрытия; Ry,mi; Ry,ms - расчетные сопротивления материала стержней нижней и верхней поясных сеток; β = 0,77 для структурных плит, работающих на кручение, и 1 для плит, не работающих на кручение; φm - осредненное значение коэффициента продольного изгиба для стержней сжатой поясной сетки
|
|
(1.2) |
здесь Ai - площадь i-го поясного стержня; φi = коэффициент продольного изгиба i-го поясного стержня,
В качестве примера определим минимальное значение h для треугольной в плане опертой по контуру структурной плиты с поясными сетками, образующими треугольные ячейки (табл. 1E), пролетом l = 100 м. Нормативная нагрузка равна 4000 Па (400 кгс/м2) и расчетная 5000 Па (500 кгс/м2). Верхняя поясная сетка структуры выполнена из стали класса С 38/23 (Ry,ms = 210 МПа, или 2100 кгс/см2, нижняя - из стали С 46/33 (Ry.mi = 290 МПа, или 2900 кгс/см2). Допускаемый прогиб покрытия [f] = 1/400.
Принимаем h = li/15 где
. Используя справочные данные по расчету пластинок [7],
находим значения коэффициентов am = = 0,0182 и аw = 0,000603. Значение коэффициента φm продольного изгиба сжатых стержней верхней поясной
сетки принимаем осредненным при гибкости стержня λ = 70 - 120, осредненное
значение φm ≈ 0,7.
Подставив численные значения исходных параметров в формулу, находим, что высота структурной конструкции не должна быть менее
![]()
После вторичного определения hmin
при
получим уточненное значение hmin
= 1,84 м. Для квадратного в плане опертого по контуру структурного покрытия со
стороной, равной 100 м, при той же схеме решетки будем иметь αm = 0,0464 и αw = 0,00406 [7].
После проведения аналогичных вычислений получим минимальную высоту плиты при [f] = l/400,
равную 5,2 м, а при [f] = l/250, равную 3,25 м.
1.32. При выборе конструктивной схемы структурной плиты рекомендуется, располагая характеристиками объекта (габариты, условия опирания, нагрузки и пр.), осуществить так называемое оптимальное проектирование, в котором на основе приведенных затрат установить основные параметры конструкции, обеспечивающие наивысшие технико-экономические ее показатели [8].
1.33. Исходными данными для оптимального проектирования являются тип конструктивной схемы и конкретные характеристики объекта.
1.34. Конструктивная схема структурной плиты характеризуется: формой регулярной ячейки; видом применяемых профилей; конструкцией узловых соединений и членением на отправочные марки; способом опирания и типом кровельных конструкций (узловое, внеузловое, прогоны, настил, плиты).
1.35. Характеристики объекта должны включать: генеральные размеры покрытия (секции, плиты) в плане; схему опирания плиты (по контуру, в отдельных точках); расчетную нагрузку в виде эквивалентной равномерно распределенной; характеристики материала и сортамента профилей для стержневых элементов структуры; данные по удельной стоимости кровельных и стеновых ограждений; параметры перекрываемых помещений, определяющие эксплуатационные расходы.
1.36. Результатами оптимизационного проектирования являются: размеры ячейки поясной сетки и высота плиты, обеспечивающие наилучшее по принятому критерию качество проекта; экономические показатели конструкции, соответствующие оптимуму; оценки потерь затрат, возникающих в реальном проекте при отклонении от оптимальных размеров.
1.37. Критерием качества проектного решения или критерием оптимальности искомых размеров следует принимать приведенные затраты.
Методика оптимизационного расчета приведена в п.п. 7.7 - 7.15. Пример определения качества проектного решения приведен в прил. 1.
ЛИТЕРАТУРА
1. Трофимов В.И., Бегун Г.Б. Структурные конструкции. - М., Стройиздат, 1972.
2. Хисамов Р.И. Расчет и конструирование структурных покрытий.- Киев, Будивельник, 1981.
3. Беленя Е.И. Предварительно напряженные несущие металлические конструкции. - М., Стройиздат, 1975.
4. Калинин А.А. Предварительное напряжение опертых по контуру перекрестных систем при помощи осадки опор. Труды III международной конференции по предварительно напряженным металлическим конструкциям. - М., ЦИНИС Госстроя СССР, 1971.
7. Калманок А.С. Расчет пластинок (справочное пособие). - М., Госстройиздат, 1959.
2.1. В настоящей главе приводятся рекомендации по конструированию и применению структурных плит покрытий, в том числе типовых, а также каркасов отапливаемых и неотапливаемых зданий, возводимых в различных районах страны, в том числе сейсмических (до 9 баллов включительно) и с расчетной температурой минус 65°С и выше.
Примечание. Типовые конструкции, а также ряд конструкций, чертежи которых не утверждены Госстроем СССР в качестве типовых, но выпускаемых серийно, изготавливаются на специализированных заводах с применением поточных технологических линий. Вследствие этого какие-либо изменения в эти конструкции не могут быть внесены без согласования с заводом-изготовителем и разработчиком конструкции.
2.2. В Рекомендациях не рассматриваются вопросы проектирования структур для зданий на просадочных и вечномерзлых грунтах, горных выработках, в условиях воздействия высоких температур, среднеагрессивной и агрессивной среды и повышенной влажности.
2.3. При проектировании зданий и сооружений с применением структур надлежит учитывать требования главы СНиП II-23-81 «Стальные конструкции», главы СНиП II-6-74 «Нагрузки и воздействия», а также положения ТП 101-81 «Технические, правила по экономному расходованию основных строительных материалов», главы СНиП II-90-81 и главы СНиП II-2-80 с изменениями и дополнениями. При применении структур, выпускаемых серийно, следует также пользоваться материалами [1]-[7].
2.4. При выборе структурной конструкции рекомендуется отдавать предпочтение конструкциям, серийно выполняемым по каталогам и типовым чертежам. Применительно к структурам индивидуального назначения, изготавливаемым на неспециализированных заводах, рекомендуется соблюдать требования по технологичности конструкции, унификации отдельных элементов и пр.
2.5. Головной образец структур серийного изготовления рекомендуется испытать на статические и, при необходимости, динамические нагрузки в соответствии с методикой, изложенной в прил. 5. Конструкции индивидуального проектирования могут быть испытаны по аналогичной методике, а целесообразность проведения таких испытаний оговаривается в каждом конкретном случае.
2.6. Выбор новых конструктивных форм структур, их очертание в плане, условия опирания, наличие мостовых и подвесных кранов и прочее должны быть обоснованы технико-экономическим расчетом и согласованы с заводами-изготовителями и монтажными организациями.
2.7. При проектировании зданий большой протяженности с применением структурных плит следует предусматривать температурные швы, разделяющие покрытие и в ряде случаев каркас здания на отдельные отсеки. Размеры температурных отсеков и конструкция температурного шва определяются в соответствии с требованиями СНиП для зданий с металлическим и смешанным каркасом, а также с указаниями соответствующих типовых проектов.
2.8. Жесткость каркаса одноэтажных промышленных зданий в границах температурного отсека должна обеспечиваться в поперечном направлении защемлением колонн в фундаментах (при шарнирном сопряжении структурной плиты с колоннами) и в продольном - постановкой вертикальных связей между колоннами.
Жесткость каркасов одноэтажных промышленных и гражданских зданий, представляющих собой отдельные секции в ряде случаев может обеспечиваться только защемлением колонн или защемлением колонн и связями в плоскости стен.
2.9. В каркасных зданиях с неразрезными многопролетными структурными плитами покрытия (без наличия мостового кранового оборудования), а также в большепролетных гражданских зданиях рекомендуется жесткость каркаса обеспечивать защемлением колонн в фундаментах и вертикальными связями, поставленными только в плоскости стен.
2.10. В двух- и многоэтажных зданиях, перекрытиями и покрытием которых являются структурные плиты, рекомендуется проектировать жесткое защемление колонн в уровнях перекрытий, превращая каркас в пространственную раму. В этом случае сопряжение опорных стоек с фундаментами может быть как жестким, так и шарнирным.
2.11. Рекомендуется при проектировании структурных плит промышленных зданий предусматривать возможность передачи поясными сетками горизонтальных воздействий от ветра, торможения кранов и сейсмических воздействий на все колонны каркаса.
2.12. При проектировании одноэтажных промышленных зданий с применением структурных плит покрытия возможно использование стальных или железобетонных колонн. Выбор материала колонн рекомендуется производить в соответствии с действующими нормами.
2.13. Для отдельно стоящих небольших зданий структурные плиты рекомендуется проектировать с разгружающими консолями, что предопределяет экономию металла (например, типа «Кисловодск»). При невозможности осуществления такого опирания рекомендуется в отдельных плитах опирание осуществлять по контуру. Для производственных зданий, где требуется регулярная сетка колонн, структурные плиты рекомендуется проектировать в виде отдельных блоков с опиранием по углам и возможностью их сборки на земле с последующей установкой в проектное положение вместе с кровлей.
2.14. При объединении отдельных структурных плит в неразрезную систему улучшается статическая работа конструкции, достигается определённая экономия металла. В то же время при проектировании неразрезных плит следует также учитывать, что наряду со статическими преимуществами при их применении усложняется монтаж.
2.15. К неразрезным структурным плитам должно предъявляться дополнительное требование по более строгому соблюдению условий, исключающих неравномерную просадку опор
.
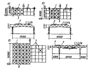
Рис. 2.1. Схемы подстропильных конструкций
а, б - плоские фермы; в, г, д -
пространственные конструкции;
1 - структурная плита; 2 - подстропильная
конструкция; 3 - связи; 4 - стержневая капитель
Структурные плиты с ортогональным расположением поясов, образующие в плане квадратные ячейки (табл. 1 Б), без диагоналей в поясных сетках менее чувствительны к неравномерной осадке опор, нежели структурные плиты, в которых пояса идут в трех направлениях и система воспринимает крутящие моменты (табл. 1 E).
2.16. С целью снижения трудозатрат и в ряде случаев экономии материала рекомендуется структурные плиты проектировать с разреженной решеткой и поясами (табл. 1 В, Г, Ж, 3).
Кроме того, при наличии разреженной решетки понижается влияние на напряженное состояние конструкции неравномерной осадки опор.
2.17. При перекрытии вытянутых планов с соотношением сторон более 1:2 рекомендуется: применять комбинированную систему с опиранием структурной плиты на подстропильную конструкцию; превратить структурную плиту в систему пространственных ферм или складок, работающих в основном в одном направлении.
Использование того или иного конструктивного решения должно быть определено экономическим сопоставлением.
2.18. Подстропильные конструкции выполняются в виде плоских ферм или ригелей рамы, а также в виде пространственной конструкции, работающей совместно со структурной плитой (рис. 2.1). Рекомендуется подстропильную конструкцию выполнять пространственной, используя номенклатуру стержней, входящих в структурную плиту.
С целью обеспечения необходимой жесткости подстропильной конструкции рекомендуется ее высоту принимать больше высоты структурной плиты, при этом подстропильные конструкции в зависимости от типа и назначения здания могут располагаться по отношению к структурной плите в одном уровне с верхними или нижними поясами. Для обеспечения чистоты внутреннего пространства, возможности подвески кран-балок и уменьшения объема здания рекомендуется пояса структурной плиты и подстропильной конструкции располагать в одном уровне. Выступающая над покрытием конструкция подстропильных ферм может быть использована в качестве аэрационного и светового фонаря.
2.19. Перекрытие больших пролетов рекомендуется также осуществлять преимущественно структурными конструкциями серийного изготовления, создавая двух-, а в ряде случаев и трехъярусную стержневую плиту (табл. И - Н).
При этом дополнительные ярусы в ряде случаев достаточно располагать в отдельных местах покрытия, например по сетке колонн, при тяжелых условиях работы структуры - сплошь по всей плите (например, решения в системе «МАрхИ»).
Использовать типовые структуры для перекрытия больших пролетов можно также, если усилить их дополнительными элементами, например, введя в систему шпренгеля, затяжки или осуществляя подвеску плит к колоннам, выпущенным выше кровли, а также расчленяя структурные плиты подстропильными элементами (см. п. 2.18).
2.20. При соответствующем технико-экономическом обосновании для перекрытия больших пролетов можно применять нетиповые конструкции, узлы которых обладают высокой несущей способностью и достаточно технологичны (см. рис. 1.2, е, и, к, л).
2.21. В зависимости от пролета здания, нагрузки условий эксплуатации и в ряде случаев из эстетических соображений структурные конструкции выполняются из круглых, прямоугольных или квадратных труб, тонкостенных элементов гнутого открытого профиля, прокатных профилей, при этом верхние пояса - из швеллеров, двутавров обычных и широкополочных, нижние пояса, раскосы и распорки - из равнобоких уголков. В ряде случаев стержневые элементы имеют составное сечение, например из двух швеллеров или двух уголков.
Целесообразно пояса, особенно растянутые, выполнять из низколегированных сталей повышенной прочности, а решетку - из обычной малоуглеродистой стали.
Учитывая определенную дефицитность круглых труб, рекомендуется разработки новых конструктивных решений, особенно для промышленного строительства, производить без использования круглых труб. В связи с дефицитностью труб при проектировании промышленных зданий с серийно изготавливаемыми структурными конструкциями Госстрой СССР рекомендует преимущественно применять конструкции из прокатных профилей.
2.22. При проектировании конструкций покрытия рекомендуется применять легкую кровлю по профилированному стальному настилу с утеплением фенольным пенопластом и рулонным ковром. В ряде случаев требуется гравийная защита. Эта конструкция может применяться как при послойном монтаже, так и с использованием комплексных панелей (профилированный настил с приформованным утеплителем). С точки зрения трудозатрат на монтаже последний вариант предпочтительней.
Рекомендуется также применять асбоцементные плиты и пустотелые панели, утепленные минераловатными плитами.
При выполнении малоуклонных холодных кровель с применением профилированного настила гофры настила заполняются несгораемым сыпучим материалом, по которому устраивается стяжка с последующей наклейкой рубероида.
2.23. Кровли в зависимости от формы поперечного сечения верхних поясов конструкции узла и характера работы покрытия могут располагаться по верхним поясам структуры, по прогонам или опираться непосредственно в узлы структурной плиты.
При выполнении верхних поясов из швеллеров, обычных или широкополочных двутавров, тонкостенных стержней гнутого профиля при значительном превышении одного главного момента инерции над вторым рекомендуется осуществлять опирание настила и плит на пояса конструкции.
При выполнении верхних поясов из круглых или квадратных труб при настилах и плитах, работающих в одном направлении, рекомендуется применять прогонное решение. Когда верхние пояса выполняются из короткоразмерных элементов длиной на одну ячейку и соединяются при помощи высокопрочных болтов (например, системы «МАрхИ» или «Кисловодск»), независимо от профиля пояса с целью предотвращения изгиба болта не допускается опирание кровли на пояса структуры.
В случае применения кровельных каркасных плит, работающих в двух направлениях, и поясах структуры из круглых труб, рекомендуется их опирание осуществлять непосредственно в узлы на специальные столики.
2.24. Учитывая наличие при структурах относительно легких кровель, при определении снеговой нагрузки на покрытие в ряде случаев следует принимать повышенный коэффициент перегрузки в соответствии с указаниями главы СНиП II 6-74 в зависимости от соотношения нормативной постоянной нагрузки g и снеговой s0.
При расчете конструкций на все временные нагрузки необходимо принимать во внимание возможность их неравномерного распределения по площади покрытия.
При отсутствии плана расположения временных нагрузок, в частности от технологического оборудования, неравномерность их распределения допускается учитывать приложением заданной распределенной нагрузки на продольных и поперечных половинах структурных плит и на одной четвертой части и консолях, принимая полученные наибольшие усилия в элементах одинаковыми для симметричных элементов во всех четвертях структурной плиты.
2.25. В местах примыкания покрытия к стенам и у температурных швов, устраиваемых на парных колоннах с метровыми вставками, следует учитывать приложение постоянных и временных нагрузок на консоли и консольные свесы настила, перекрывающие стык со стеной и температурный шов. Нагрузка от них прикладывается к контурным поясам структурных блоков. Не допускается распределять эту нагрузку по всему покрытию.
2.26. Высота парапета стенового ограждения применяется с учетом возможности устройства деформационных компенсаторов между покрытием и стеной и с учетом исключения снеговых мешков у парапетов. В противном случае нагрузка от снеговых мешков должна прикладываться аналогично нагрузке от консолей и консольных свесов настила, (см. п. 2.25).
2.27. При проектировании верхнего света рекомендуется руководствоваться требованиями к конструктивным решениям зенитных фонарей, разработанными ЦНИИпромзданий и Гидроспецлегконструкцией для производственных зданий из легких конструкций.
Применение светоаэрационных фонарей вызывает возникновение повышенной нагрузки от снеговых мешков, и поэтому их можно рекомендовать при технико-экономическом обосновании.
2.28. Стеновые ограждения при структурных покрытиях могут быть: а) навесными по фахверку в виде панелей, а также металлических стен полистовой сборки с использованием профилированного листа; б) самонесущими из стеклопрофилита; в) несущими из кирпича и бетонных блоков.
При наличии консольных свесов предпочтение следует отдать применению навесных стен, поскольку при подвеске стен к консолям не только облегчаются фундаменты по периметру здания, но и разгружается средняя часть структурной плиты.
2.29. Стены из кирпича и бетонных блоков рекомендуется проектировать в местах устройства ворот, входов и ввоза в здание технологических и инженерных коммуникаций.
2.30. В зоне примыкания несущей стены к структурной плите необходимо предусматривать компенсационные зазоры, обеспечивающие свободную деформацию пространственной конструкции. Не допускается заделывать элементы конструкции структурной плиты в жесткие стены.
2.31. При проектировании стен и перегородок промышленных зданий рекомендуется использовать проекты, разработанные ЦНИИпромзданий и рекомендованные Госстроем СССР для внедрения в промышленных зданиях с легкими металлическими конструкциями. Рациональный вариант решения стены для конкретного здания должен выбираться в соответствии с «Техническими правилами по экономному расходованию основных строительных материалов» ТП 101-81.
2.32. Сосредоточенная сила, приложенная к узлу структурной конструкции и в том числе опорная реакция, как уже отмечалось, вызывает усилие в первую очередь в примыкающих к узлу стержнях, что позволяет в отличие от иных конструктивных решений осуществлять опирание структур в любых ее узлах. Удачный выбор схемы опирания и правильное проектирование опорной зоны позволяют повысить технико-экономические показатели конструкции с учетом технологических и планировочных параметров проектируемого здания. Экономичные по расходу материалов решения могут быть получены как при определенном расположении опор по контуру, так и внутри его за счет разгружающего эффекта консольных свесов или регулирования нагрузки на консоли, а также за счет использования опор с развитыми опорными капителями.
Рис. 2.2. Варианты опирания структурных плит
а, б, в - контурные; г, д, е - внутриконтурные; ж, и, к - смешанные; л - произвольные
2.33. Расположение опор структурных плит по отношению к контуру конструкции подразделяется на четыре основных класса: контурное опирание, при котором опоры, поддерживающие конструкцию, расположены по периметру (рис. 2.2, а, б, в); внутриконтурное опирание с консолями (рис. 2.2, г, д, е); смешанное опирание при котором опоры расположены частично по контуру и частично внутри контура конструкции, образуя регулярную (рис. 2.2, ж, и) или нерегулярную сетку колонн (рис. 2.2, к); свободное опирание, при котором внутренние опоры, а в некоторых случаях и наружные ставятся произвольно в соответствии с технологическими особенностями проектируемого здания (рис. 2.2, л).
2.34 Опирание структурных плит на колонны осуществляется через выступающую опорную капитель в узлы верхнего или нижнего пояса и через встроенную в структурную плиту капитель в виде пирамиды или крестовины.
При необходимости более полного использования внутреннего габарита, а также наличии подвесных кран-балок рекомендуется безкапительный вариант опирания непосредственно в узел.
В гражданском строительстве, а также строительстве специальных промышленных сооружений можно для опирания структурных плит использовать имеющиеся внутренние стены или опоры технологического оборудования в ряде случаев и при произвольном их расположении (рис. 2.2, л). Этот прием может быть рекомендован при одинаковой податливости этих опор и основных колонн сооружения.
2.35. При наличии специальных опор, обеспечивающих шарнирность опорного узла, его анкеровка, необходимая для восприятия горизонтальных усилий, не должна способствовать защемлению опорного узла и возникновению в примыкающих стержнях изгибающих моментов. В тех случаях, когда опорный узел структурной плиты осуществлен с применением опорной плиты с целью снижения неоднородности напряженного состояния под плитой, возникающего при изгибе конструкции, а также изгибающих моментов, рекомендуется максимально уменьшить площадь опорной части плиты.
При опирании структурных плит на стены рекомендуется предусматривать свободное перемещение (скольжение) некоторых опорных узлов с целью исключения воздействия распора на опорные конструкции.
2.36. При больших пролетах и квадратных планах при опирании по внешнему контуру рекомендуется разрежать опоры до равенства максимального момента в центре и по опорной линии. При наличии угловых опор и одной промежуточной опоры посередине стороны опорного контура дополнительное увеличение количества колонн (по периметру) не приводит к существенному снижению максимального изгибающего момента.
2.37. Наиболее рациональным опиранием квадратной в плане плиты по контуру является опирание каждой стороны на две колонны, расположенные от углов плиты на 1/4 пролета [8].
2.38. При внутриконтурном опирании с образованием консольных свесов рекомендуется отношение вылета консоли к пролету назначать в пределах 0,1 - 0,3.
Максимальный эффект при действии равномерно распределенной по площади нагрузки достигается при отношении вылета консоли к пролету равному 0,25.
При учете неравномерного распределения снеговой нагрузки (снег в центральной части пли снег на консоли) оптимальные вылеты консоли определяются соотношением постоянной и временной нагрузок.
2.39. В неразрезных многопролетных покрытиях, проектируемых на постоянной квадратной или прямоугольной сетке колонн, эффект от неразрезности конструкции усиливается с увеличением числа ячеек и достигает максимального значения при шестнадцати ячейках в секции (рис. 2.2, и).
Минимальный эффект от неразрезности получается при четырех ячейках в секции (рис. 2.2, ж), так как в этом случае возникают значительные изгибающие моменты над средней опорой по осям установки внутренних колонн. Величины этих моментов могут быть несколько уменьшены путем применения развитых опорных капителей, снижающих расчетный пролет и включающих в работу несколько полос поясных стержней. Существенное уменьшение изгибающего момента над средней опорой достигается путем некоторого укорочения средней опоры, при этом путем варьирования этого укорочения выравниваются изгибающие моменты по площади структуры (п. 1.26).
В одноэтажных производственных зданиях, рассчитанных на блочный монтаж, при сетке колонн. 12×18, 12×24 и 18×18 м рекомендуется осуществлять опирание пространственных блоков на четыре точки по углам.
2.40. Для зданий различных конфигураций в плане и форм пролетной части покрытия, с регулярной и нерегулярной сеткой колонн при равномерном и неравномерном распределении нагрузок рекомендуется применять структурные конструкции из стержневых элементов размером на одну ячейку.
К достоинствам таких конструкций следует отнести большую их универсальность, возможность осуществления унификаций составных элементов с большой степенью повторяемости и автоматизации их изготовления.
Короткоразмерные элементы конструкции позволяют наилучшим образом использовать транспортные средства и соответственно снижать транспортные расходы, а также распространять применение данных конструкции в труднодоступных районах страны.
Помимо одноярусных плит представляется возможным осуществлять из стандартных модульных элементов двух- и в некоторых случаях трехъярусные структурные плиты и производить те или иные надстройки, необходимые для ожесточения конструкции, способствующие увеличению как несущей способности системы, так и жесткости перекрываемых пролетов.
К недостаткам следует отнести большой объем монтажных работ по сборке системы с весьма большим количеством узлов. Вследствие этого рекомендуется в первую очередь применять конструкции с узловыми сопряжениями, обеспечивающими минимальные трудозатраты на монтаже. Большое количество узловых соединений, особенно в растянутых стержнях, требует соблюдения повышенных требований к несущей способности соединений.
2.41. Стержневые элементы изготавливаются из замкнутых профилей (круглые или "прямоугольные трубы) и открытых прокатных или гнутых профилей. При узловом приложении нагрузки (покрытия с прогонами) в статическом отношении наиболее оптимальным решением являются круглые трубы, с применением которых разработаны серийно изготавливаемые конструкции. Однако, учитывая, как уже отмечалось, дефицитность круглых труб при разработке новых конструкций, рекомендуется отдавать предпочтение квадратным трубам, открытым профилям или составным сечениям с примерно равными моментами инерции, которые так же, как и круглые трубы, близки в статическом отношении к оптимальным.
При внеузловом приложении нагрузки (беспрогонные покрытия) рекомендуется применять для поясов прямоугольные трубы, открытые профили и составные сечения с большим моментом инерции в плоскости приложения нагрузки.
Использование в структурах с короткоразмерными поясами прокатных двутавров или швеллеров не рекомендуется, поскольку их применение более целесообразно в конструкциях с длинноразмерными поясами.
2.42. Конструкция узловых соединений отдельных стержней зависит от их профиля, расчетных усилий, конфигурации решетки, а также примыкающих к узлам элементов кровли или подвесок. Для стержней замкнутого профиля рекомендуется узловые сопряжения осуществлять с помощью коннекторов (рис. 1.2, д), а стержни из открытых профилей - соединять непосредственно друг с другом или при помощи листовых пространственных фасонок (рис. 1.2, ж, и).
2.43. При выборе узлового сопряжения рекомендуется отдавать предпочтение узлам, освоенным отечественной промышленностью и выпускаемым серийно (система «МАрхИ» и «Кисловодск», рис. 1.2, д). В этих узлах резьбовые отверстия для болтов в плоскости поясов расположены в двух взаимно перпендикулярных направлениях, а для соединения раскосов - под углом 45° к горизонту, что позволяет осуществлять конструкции только с ортогонально расположенными поясами и регулярной или разреженной решеткой, идущей под одинаковым углом, равным 45°.
В этом случае на прямоугольном плане рекомендуется пояса располагать параллельно сторонам, а при планах, имеющих две оси симметрии, пояса можно располагать так, как это показано на рис. 2.3.
При согласовании с заводом-изготовителем возможно изготовление узловых элементов с расположением отверстий для поясных элементов под углом 60° и проектирование структурных плит с поясами, идущими в трех направлениях, которые целесообразно применять при треугольных и плане зданиях, и иных, изображенных на рис. 2.3, е - к.
Здесь также можно осуществлять регулярное или разреженное строение решетки. Эти схемы можно компоновать из типовых элементов унифицированного сортамента системы «МАрхИ».
2.44. В ряде случаев серийно изготавливаемые узловые элементы целесообразно использовать и при стержнях из квадратных труб или гнутых профилей. Так, например, в системе «Кристалл», представляющей собой стержневую плиту размером в плане 30×30 м со стержнями из гнутых профилей, узловое сопряжение принято таким же, как в системах «МАрхИ» и «Кисловодск».
При подобном решении концы швеллеров обжимаются с круглым вкладышем и привариваются к нему.
2.45. При выполнении структурных плит из гнутых профилей на небольших предприятиях и невозможности кооперации со специализированными заводами по изготовлению типовых узлов рекомендуется сопряжение стержней осуществлять на листовых фасонках (рис. 1.2, б, в).
Структурные конструкции с узлами этого типа рекомендуются для покрытий производственных безкрановых зданий небольших пролетов (12 - 18 м) при сравнительно небольших нагрузках и эксплуатации в неагрессивной среде. Возможно их применение также в небольших зданиях общественного назначения, в том числе для сборно-разборных.
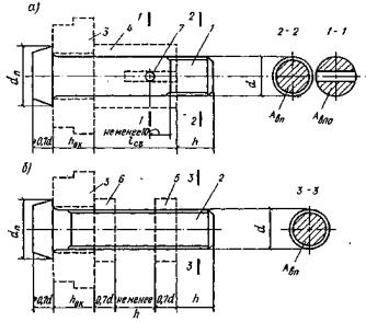
2.46. При перекрытии больших пролетов гражданских зданий, когда узловые соединения, применяемые в конструкциях серийного изготовления, не способны воспринимать приходящиеся на них усилия, и при возможности в каждом конкретном случае на строительстве организовать монтажную сварку, рекомендуется соединения трубчатых стержней осуществлять на переходных элементах в виде шаров с применением шовной сварки и более предпочтительной с применением ванного или электрошлакового способа сварки, минуя какие-либо переходные элементы. При этих соединениях представляется возможным осуществление различных видов структурных схем (с ортогональным расположением поясов, с поясами, идущими в трех направлениях, при регулярном заполнении раскосами всех ячеек и при разреженном и пр.). Узел также не имеет каких-либо ограничений по углам примыкания стержневых элементов.
2.47. В первом решении узловой элемент представляет собой шар, свариваемый из двух штампованных половин па подкладном кольце (рис. 1.2, к), к которому подходят стержневые трубчатые элементы, обрезанные под прямым углом, без специальной обработки концов. Однотипность узлов допускает монтажную сварку производить полуавтоматическими методами. Недостатками подобных соединении являются малые допуски в длинах труб и большой объем монтажной сварки [9].
При больших усилиях, воспринимаемых шаром, необходимо между двумя штампованными половинами прокладывать диафрагмы, увеличивающие жесткость шара. Когда сквозь шар пропускается труба одного из поясов структуры, она придает необходимую жесткость узловому сопряжению и установка диафрагмы не требуется.
2.48. Во втором решении трубчатые стержни со сплющенными концами с помощью специальных фиксирующих приспособлений собираются в узел таким образом, что между их торцами образуется пространство, которое заполняется расплавленным металлом, соединяющим одновременно торцы всех сопрягаемых элементов (рис. 1.2, л). Такой узел обеспечивает равнопрочное с основным стержнем соединение [10, 11].
Расход наплавленного в узлах металла составляет порядка l,5 % массы конструкции.
2.49. Структурные конструкции этого типа рекомендуется (с применением ванной сварки) выполнять из стальных труб диаметром от 50 до 209 мм с толщиной стенки от 3 до 12 мм из малоуглеродистой стали.
2.50. Сплющенные концы трубчатых стержней должны быть одинаковой высоты. Это определяет одинаковый диаметр поясных стержней по всему покрытию и меньший в 1/cos α раз диаметр раскосных стержней (α - угол наклона раскосов к плоскости поясов). Несовпадение высот плоских концов стержней может быть допущено для нерабочих и малогруженых стержней.
2.51. Поперечный размер плавильного пространства в плоскости поясов определяется из следующих выражений:
при ортогональном
расположении поясов, образующих квадратные ячейки, 2δm + 2,83δd + 4; то же, при одном направлении рабочих
поясов: по оси рабочих поясов 2,81δd + 2 δM + 7; по оси нерабочих поясов 2δБ +
2,81δd + 3; в структурах, поясные сетки которых образуют треугольные
равносторонние ячейки -4δm + 3,46δd + 6; то же, при расцентрованных узлах
, где δm и δd - толщина стенок поясных и раскосных
труб; δБ и δм - толщина стенок поясных труб
соответственно рабочего и нерабочего поясов; ∑δ1 -
двойная толщина стенок, стыкуемых в узле труб.
Разновидности узловых сопряжений, выполненных с применением ванной сварки, приведены на рис. 2.4.
2.52. При узлах на ванной сварке и трубчатых элементах для организации кровельного ограждения следует использовать прогонное решение. Опорные пластины под прогонами привариваются ванной сваркой одновременно со сваркой узла через отверстие, заранее просверленное по центру пластины.

Рис. 2.3. Форма плана структурных плит и ориентация поясных сеток
а - квадратный с ортогональным расположением поясных сеток; б - то же, с диагональным расположением поясных сеток; в - звездчатый; г - восьмигранный; д - вписанный в круг с ортогональными поясными сетками; е - то же, с поясными сетками трех направлений; ж -.треугольный; и - шестиугольный; к - трапециевидный
Рис. 2.4. Разновидности сопряжений стержнем при их соединении с помощью ванной сварки
а, б, в - соответственно рядовой, контурный
и угловой узлы структурной плиты с ортогональной сеткой поясов; г - рядовой узел при расположении
поясов в трех направлениях;
1 - пояса; 2 - раскосы; 3 - наплавленный металл; 4 - вспомогательные пластины на высоту
ванны
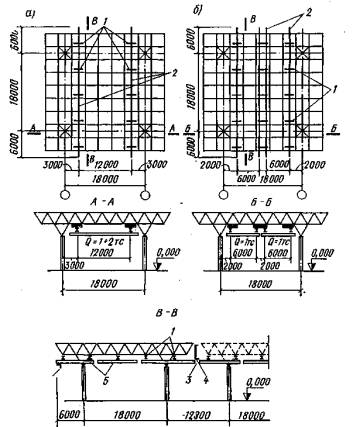
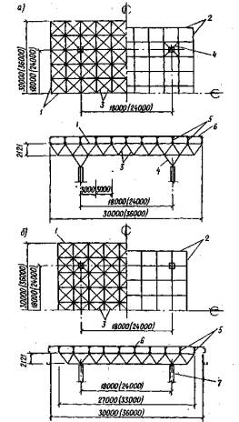
2.53. Структурные плиты типа «Кисловодск» изготавливаются из круглых труб, имеют высоту 2,12 м и соединения стержней, показанные на рис. 1.2, д. Они предназначены для перекрытия секции здании размерами в плане 30×30 м и 36×36 м при внутриконтурном опирании на четыре колонны, расположенные для секции 30×30 м, с шагом 18×18 м и для секции 36×36 м с шагом 24×24 м (рис. 2.5)
Рис. 2.5. Схемы структурных плит типа «Кисловодск»
а - с капительным опиранием; б
- с опиранием в нижние узлы;
1 - верхние пояса; 2 - нижние пояса; 3 - раскосы; 4 - выносная капитель; 5 - прогоны; 6 - профилированный настил; 7 - колонна
Изготовление этих конструкции осуществляется серийно на специализированных заводах, поставка при изготовлении их в системе Минмонтажспецстроя СССР осуществляется комплектно на одну секцию, т.е. вместе со структурной плитой поставляется профилированный настил, колонны, фахверк, стеновое ограждение и в ряде случаев специальное оборудование.
Примечание. Структурная плита размером 30×30 м с капитальным опиранием (рис. 2.5, а) утверждена Госстроем СССР в качестве типовой.
Первая плита, у которой расстояние между опорами 18 м, запроектирована под расчетную нагрузку 3000 Па (300 кгс/м2) и 4000 Па (400 кгс/м2). Вторая плита, имеющая пролет 24 м, запроектирована под расчетную нагрузку 2600 Па (260 кгс/м2) и 3200 Па (320 кгс/м2).
Номинальная длина поясного элемента 3 м и соответственно размер поясных ячеек 3×3 м. По узлам верхнего пояса предусматриваются прогоны и по ним профилированный настил.
2.54. Конструкции рекомендуется применять в зданиях павильонного типа, однопролетных промышленных зданиях на одну секцию (30×30 м или 36×36 м) без светоаэрационных фонарей (допускается применение только зенитных фонарей);
бескрановых с подвесными кран-балками грузоподъемностью до 2 т в пролетах 18 м;
с неагрессивной и слабоагрессивной степенью воздействия газовой среды;
с расчетной сейсмичностью до 9 баллов, возводимых в I-IV ветровых и снеговых районах с расчетной температурой наружного воздуха минус 40°С и выше для отапливаемых зданий и минус 30°С и выше для неотапливаемых зданий.
При использовании типовых структурных плит в многопролетных производственных зданиях не допускаются перепады высот кровли и применение светоаэрационных фонарей (допускается применение только зенитных фонарей).
Структурные плиты запроектированы в двух вариантах. В первом варианте опирание. плиты на колонны осуществляется посредством внутренних капителей (рис. 2.5, а), во втором - через нижние узлы, при этом размеры структурных плит оказываются несколько меньше секции зданий и составляют 27×27 м и 33×33 м.
Пристенные зоны во втором варианте перекрываются за счет консольных свесов прогонов и профилированного настила (рис. 2.5, б).
Учитывая, что во втором варианте количество узловых и стержневых элементов примерно на 25 % меньше, чем в первом, а также и то, что при безкапительном решении представляется возможным в ряде случаев понизить высоту здания, рекомендуется при проектировании отдавать предпочтение структурным плитам с непосредственным опиранием в узлы нижних поясов.

Рис. 2.6. Схемы подвесных путей в структурных плитах типа «Кисловодск»
а - при одном кране на секцию; б - при двух кранах на секцию; 1 - распределительные балки; 2-балки пути; 3 - замок; 4 - пята; 5 - балки пути крана; пунктиром показана схема при блокировке секции
2.56. В многопролетных покрытиях каждая структурная плита устанавливается на расстоянии 300 мм друг от друга с устройством компенсатора в уровне кровли. Такая компоновка покрытия дает возможность из ограничивать количество структурных плит в одном покрытии. Однако с учетом этого промежутка пролеты в здании имеют два размера 18 и 12,3 м или 24 и 12,3 м.
Рекомендованные схемы путей подвесного транспорта при одном и двух кранах на одной секции, а также при блокировке секций приводятся на рис. 2.6.
2.57. В конструкцию фахверка для здании со структурными плитами II внутриконтурным опиранием рекомендуется включать элементы, обеспечивающие устойчивость стоек фахверка в плоскости стены. Для структурных плит 30×30 и 36×36 м таким элементом являются угловые стойки фахверка. Для структурных плит 27×27 и 33×33 м - специальные распорки и фермы (см. альбом рабочих чертежей, разработанных Гипроспецлегконструкцией).
2.58. Принятая высота структурной плиты типа «Кисловодск», равная 2,12 м, и размер ячейки поясной сетки 3×3 м обеспечивают минимальный расход стали на несущую конструкцию и ее стоимость. Однако принятая высота структурной плиты не является оптимальной с точки зрения приведенных затрат, подсчитанных с учетом площади стенового ограждения, эксплуатационных затрат на отопление и пр. Рекомендуется при дальнейшем совершенствовании указанной конструкции рассмотреть вопрос понижения угла примыкания раскосов, что позволит при той же поясной сетке 3×3 м получить оптимальную для данного пролета высоту стержневой плиты порядка 1,5 м (см, прил. 1).
Справочные материалы па типовые структуры по каталогу Минмонтажспецстроя СССР (1983)
Разработчиком является ВГПКТИ «Гипроспецлегконструкция, конструкция изготавливается в системе Минмонтажспецстроя на Выксунском заводе легких металлоконструкций, Ташкентском экспериментальном заводе легких металлоконструкций, Киреевском заводе ограждающих конструкций, Бакинском заводе легких металлоконструкций. Масса металла в комплекте от 18,552 до 20,687 т, расход металла на структурную плиту (включая прогоны) от 19,1 до .21,88 кг/м2.
По прейскуранту цен на металлические конструкции № 01-22, 1982 г., оптовая цена за один комплект структурной плиты СП-30-350, включая стержневую систему с опорными плитами, комплект прогонов и метизов, но без профилированного настила составляет 13410 руб., или 14,90 руб. за 1 м2 покрытия при нормативе чистой продукции 5960 руб. за комплект, или 6,62 руб. за 1 м2 покрытия.
2.59. Предприятия, изготавливающие конструкции «МАрхИ» помимо структурных плит, утвержденных Госстроем СССР как типовые (рис. 2.5, а), поставляют отдельные элементы конструкций по унифицированному сортаменту, разработанному Московским архитектурным институтом, что позволяет проектировщику более широких пределах использовать структурные системы при различных конфигурациях плана и характера опирания. Составные отправочные марки унифицированного сортамента включают трубчатые стержни длиной 1,5; 2 и 3 м с различным диаметром и толщиной стенки и узловые элементы различных размеров, отличающиеся диаметром резьбовых отверстий и назначением (рис. 2.7) [12]. Минимальный расход стали и трудозатраты при изготовлении и монтаже представляется возможным получить при длине стержня 3 м. Меньшие высоты структурной плиты при длине 2 м и тем более 1 5 м приводят к перерасходу стали и трудозатрат при изготовлении и монтаже, при этом не способствуют снижению приведенных затрат (см. прил. 1). Вследствие этого рекомендуется уменьшенные длины стержней применять только в особых случаях, оправданных архитектурным требованиями или производственной необходимостью.
Рис. 2.7. Элементы унифицированного сортамента
а - модульная привязка; б - общий вид стержня; в - полусферический элемент для конструкций с квадратной ячейкой поясных сеток; г - то же сферический элемент; д - сферический элемент для конструкций с треугольной ячейкой поясных сеток (могут использоваться только по согласованию с заводом-изготовителем); 1 -узловой элемент; 2 - трубчатый элемент; 3 - специальная втулка; 4 - цилиндрический вкладыш; 5 - специальный болт; 6 - штифт

Рис. 2.8. См. стр. 47
2.60. В соответствии с унифицированным сортаментом к освоенным на производствах относятся помимо структурной плиты, изображенной на рис. 2.5, а, плиты размерами в плане 12×18, 18×18 и 18×24 м высотой 2,12 м, опертые по углам; плиты размерами в плане 30×36, и 36×36 м высотой 2,12, м, опертые на четыре колонны, при консольных свесах соответственно по 6 и 7,5 м; плиты размерами в плане 30×30 и 36×36 м высотой 1,41 м, опертые соответственно на 4 и 8 колонн, при консольных свесах по 6 м; неразрезные многопролетные плиты с сеткой колонн 18×18 м и 18×24 м и высотой 2,12 м, перекрывающие площади от 72×72 до 90×120 м (рис. 2.8).
Опирание плит на колонны осуществляется через выступающие капители, непосредственно в узлы нижнего пояса и в узлы верхнего пояса через встроенные в плиту капители (рис. 2.8). Эти конструкции предназначены для покрытия одноэтажных зданий, возводимых в I-IV ветровых и снеговых районах с максимальной расчетной нагрузкой на покрытие 4000 Па (400 кгс/мг) с подвесным транспортом грузоподъемностью 2 - 3,2 т, в некоторых схемах до 5 т и могут применяться в районах с сейсмичностью до 9 баллов включительно.
2.61. Конструкции системы «МАрхИ» рекомендуется применять: в покрытиях общественных здании - крытых рынков и универсамов, спортивных залов и манежей, выставочных павильонов, вокзальных зданий, больниц, санаториев, гостиниц и т. п.;

Рис. 2.8. См. стр. 47
в покрытиях промышленных зданий, включая покрытия машинных залов, стационарных и передвижных фахверковых торцов зданий и сооружений ГЭС, ТЭЦ, а также сооружений специального назначения;
в зданиях и сооружениях временного назначения, строящихся в районах нефтедобычи, геологических поселениях, при прокладке железнодорожных магистралей, в труднодоступных и сейсмических районах строительства;
при реконструкции зданий и сооружений промышленного и гражданского назначения, особенно в случаях перекрытия сложных планов, требующих свободного расположения опор.

Рис. 2.8. См. стр. 47
2.62. При проектировании конструкций с применением унифицированного сортамента необходимо руководствоваться п. 2.1. При этом рекомендуется применять в первую очередь конструкции, прошедшие испытания и принятые к серийному производству. Проектирование новых конструктивных форм должно быть обосновано технико-экономическим расчетом и производиться с учетом действующих технических условий на изготовление.
2.63. При длине поясного стержня 3 м и двухпоясном (однослойном) строении структурной плиты максимальный пролет между опорами исходя из несущей способности элементов унифицированного сортамента, по данным Московского архитектурного института, составляет 36 м.

Рис. 2.8. См. стр. 47
С целью увеличения пролета в конструкциях с унифицированным каркасом рекомендуется проектировать двух- и в некоторых случаях трехъярусные стержневые плиты (табл. 1 И - Н). При этом, по данным того же института, пролет может быть увеличен до 72 м, а при пролетах, превышающих 72 м, рекомендуется двухъярусную плиту подкреплять шпренгелем, выполненным из труб или прокатных профилей (рис. 2.9),

Рис. 2.8. Схемы структурных плит, освоенных производством и изготавливаемых по унифицированному сортаменту
а, б - высота плиты 2,12 м (размеры в плане соответственно 12×18 и 18×18 м, опирание по углам плиты, размеры ячейки поясной сетки 3×3 м); в - высота плиты 2.12 м (размеры в плане 30×36 м, внутриконтурное опирание при помощи выносной капители на четыре колонны, шаг колонн 18×24 м консольные свесы по 6 м, размеры ячейки поясной сетки 3×3 м); г - высота плиты 1,4) м размеры в плане 36×36 м, опирание внутриконтурное на 8 колонн при помощи выносной капители, консольные свесы по 6 м, размеры ячейки поясной сетки 2×2 м); д - высота плиты 1,4,1 м (размеры в плане 30×30 м, опирание внутриконтурное на 4 колонны непосредственно в нижние узлы, консольные свесы по 6 м, размеры ячейки поясной сетки 2×2 м); е - высота плиты 2,12 м (размеры в плане 36×36 м, опирание внутриконтурное на 8 колонн в верхние узлы посредством внутренних капителей); ж - высота плиты 2,12 м (размеры в плане 36×36 м, опирание внутриконтурное на 4 колонны непосредственно в нижние узлы; консольные свесы по 7.5 м пролет между колоннами 21×21 м); з - высота плиты 2,12 м (размеры в плане 48×48 м, опирание внутриконтурное на 8 колонн посредством выносных капителей, консольные свесы 6 м, размеры ячейки поясной сетки 3×3 м); и - неразрезная многопролетная плита на сетку колонн 18×18 м с опиранием в нижние узлы, размер ячейки поясных сеток 3×3 м; к - неразрезная многопролетная плита на сетку колонн 18×24 м с опиранием в нижние узлы, размер поясных сеток 3×3 м; 1 - верхние пояса; 2 - нижние пояса; 3 - раскосы; 4 - капитель; 5 - профилированный настил
2.64. Сопряжение структурных плит из унифицированных элементов в многопролетных зданиях друг с другом рекомендуется осуществлять по нижеследующим схемам (рис 2.10):
а) жесткое - через общие узловые и стержневые элементы, превращающие отдельные структурные плиты в многопролетную неразрезную плиту;
б) шарнирное - через стыковую пластину, обеспечивающую независимую работу смежных секций в вертикальной плоскости и передающую горизонтальные усилия с одной плиты на другую;
в) шарнирное - через горизонтальный стержень произвольного или модульного размера, обеспечивающий передачу с одной плиты на другую горизонтальных усилий;
г) шарнирное - через треугольную или трапецеидальную пространственную ферму из элементов унифицированного сортамента.
2.65. Кровля проектируется согласно п. 2.23. При этом температурные швы рекомендуется перекрывать вспарушенной арочкой из оцинкованной стали толщиной 1,6 мм (рис. 2.11, а).

Рис. 2.10. Варианты сопряжения структурных плит из унифицированных элементов в многопролетных зданиях
а - неразрезной; б - со стыковой пластиной; в - с промежуточным стержнем;
г - с фонарной надстройкой; 1 и 2 - узловые элементы; 3 - промежуточный стержневой элемент; 4 - стыковая пластина; 5 - опорный столик

Рис. 2.11. Конструкции отдельных узлов кровли
а - в зоне температурного шва; б - в месте установки водосливной воронки; 1 - фартук из оцинкованной стали; 2 - самонарезающие винты М6, l = 20; 3 - болты M12
Внутренние водоотводы следует располагать вблизи опорных зон конструкции на расстоянии не более 400 мм от узла верхнего пояса для обеспечения их нормальной эксплуатации при прогибах конструкции (рис. 2.11, б).
2.66. При проектировании верхнего света следует руководствоваться п. 2.27, при этом для конструкций из унифицированных элементов рекомендуется применять зенитные фонари с номинальными размерами световых проемов 1,5×1,5; 2×2 и 3×3 м, равными модульной поясной ячейке. Для обеспечения максимальной освещенности в местах устройства зенитных фонарей рекомендуется предусматривать разрежение решетки.
Стеновое ограждение следует проектировать, руководствуясь положениями п.п. 2.28 - 2.31.
2.67. При подвесном транспорте и пролетах структурной плиты до 18 м следует проектировать двухопорную кран-балку, а при больших пролетах - трехопорную.
Если в отдельно стоящих секциях есть консольные свесы, располагать кран-балки в зоне консолей не рекомендуется. Если же в сооружении применяются спаренные секции, то расположение кран-балок под консолями смежных сторон допускается.
Крепление балки подвесного пути к структурным плитам из унифицированных элементов следует осуществлять через распределительную балку, выполненную из двух швеллеров или одного двутавра. Крепление распределительной балки к узлам нижнего пояса должно осуществляться посредством специальных болтов диаметром не меньше 22 мм, выполненных из стали 40Х.
Под распределительные балки необходимо устанавливать стальные шайбы, компенсирующие прогиб пространственной конструкции покрытия от нормативной постоянной нагрузки.
Справочные данные
Разработчиком унифицированного сортамента и конструктивных решений структурных плит является Московский архитектурный институт (кафедра инженерных конструкций). Эти конструкции изготовляются Московским заводом Мосремстроймаш Главмосмонтажспецстроя, Черногорским опытно-экспериментальным заводом Минтяжстроя СССР, Краснодарским заводом им. Калинина Минстанкопрома СССР, Каширским заводом металлоконструкций Минэнерго СССР.
По прейскуранту цен на металлические конструкции № 01-22, 1982, г., оптовая цена за один комплект типовой структурной плиты размером 30×30 м принимается аналогично вышеприведенным данным по системе «Кисловодск». Стоимость конструкции системы «МАрхИ», предназначенная для комплектования, подсчитывается по тому же прейскуранту как за отдельные стержни и узлы.
2.68. Структурные конструкции с длинноразмерными поясами, длина которых соответствует предельно допустимой длине для перевозки железнодорожным транспортом, рекомендуется применять преимущественно для прямоугольных в плане зданий с регулярной сеткой колонн при равномерном и неравномерном распределении нагрузок. Эти конструкции по сравнению с аналогичными конструкциями из короткоразмерных элементов позволяют: исключить резку получаемого с металлургических заводов проката длиной до 12 м на более мелкие элементы, а также обработку концов отрезанных стержней; исключить изготовление узловых деталей структуры, предназначенных для соединения отрезанных стержней в длинные, а также сборку на строительной площадке мелких элементов поясов в длинноразмерные, уменьшить количество отправочных марок.
Все это способствует повышению надежности конструкции, сокращению трудозатрат на изготовление и монтаж и в целом способствует снижению ее стоимости.
Вместе с этим конструкции, собираемые с применением длинноразмерных поясов, в значительной мере утрачивают ту универсальность, которой обладают системы, собираемые из короткоразмерных поясов. Кроме того, доставка конструкции в отдаленные районы при наличии длинноразмерных элементов осуществляется с большими трудностями, чем при короткоразмерных элементах.
2.69. Прямоугольные в плане структурные плиты с соотношением сторон от 1,6 и более при опирании по контуру в основном работают в поперечном направлении подобно складчатой системе. При опирании по углам наоборот плита в основном работает в продольном направлении, а в поперечном сильно напряжены только контурные пояса. В соответствии с этим рекомендуется при проектировании структурных плит с соотношением сторон от 1,5 и более при их опирании по контуру длинноразмерные пояса располагать в поперечном направлении, пояса продольного направления, которые в основном выполняют роль распорок, изготавливать из короткоразмерных элементов и размещать в одном уровне с длинноразмерными поясами. При опирании аналогичных плит по углам рекомендуется длинноразмерные пояса располагать в продольном направлении, а также по торцам плиты, внутренние поперечные пояса, которые здесь также выполняют роль распорок, изготавливать из короткоразмерных элементов и располагать в одном уровне с длинноразмерными поясами.
2.70. При проектировании структурных плит с длинноразмерными поясами целесообразно кровельный настил располагать непосредственно по поясам. Когда в качестве кровли используется стальной профилированный настил, то он при соответствующем скреплении с поясами обеспечивает их устойчивость в горизонтальной плоскости, в этом случае пояса целесообразно изготавливать из обычных или широкополочных двутавров; при асбоцементных и деревянных покрытиях или любых легко сбрасываемых кровлях пояса должны развиваться в плоскости наименьшей жесткости, в этом случае вместо двутавров рекомендуется применять прямоугольные трубы или гнутые профили, обладающие необходимой жесткостью в горизонтальной плоскости.
Нижние пояса структурных плит рекомендуется выполнять из равнобоких уголков, используя низколегированную сталь повышенной прочности. Раскосы и распорки для структур производственных зданий рекомендуется выполнять из равнобоких уголков малоуглеродистой стали. В ряде случаев для раскосов целесообразно использование гнутых профилей с примерно одинаковыми моментами инерции относительно главных осей инерции поперечного сечения. В общественных зданиях, к которым предъявляются повышенные архитектурные требования, для изготовления раскосов могут быть рекомендованы круглые или квадратные трубы.
2.71. При выполнении поясов и решетки из прокатных или гнутых профилей рекомендуется соединения элементов осуществлять на болтах нормальной точности (рис. 1.2, а, ж, и). При соединении раскосов с поясами расстояние между болтами может быть уменьшено в соответствии с данными главы СНиП II-23-81.
2.72. Болты нормальной точности для соединений раскосов с поясами рекомендуется применять класса прочности 5.6 и 5.8. Разница диаметров болтов и отверстий не должна приниматься более 1,5 мм.
В одной структурной плите все болты рекомендуется давать одного диаметра u одного класса прочности. Между ганками и соединительными элементами должны прокладываться пружинные шайбы, нарезная часть болта не должна заходить в толщу соединительного пакета,
2.73. К типовым конструкциям из прокатных профилей относятся структурные плиты системы «ЦНИИСК» размерами в плане 12×18 м и 12×24 м, опирающиеся по углам в уровне верхних поясов. Оптимизационный расчет, проведенный на основе приведенных затрат (с учетом стоимости структурной плиты кровельного и стенового ограждения, эксплуатационных расходов и пр.), позволил установить оптимальную высоту плиты, которая при принятых пролетах составила порядка 1,5 м, а также профили элементов в виде проката и расстояние между поясами - 3 м [13, 14, 15].
Конструкции разработаны ЦНИИСК и ЦНИИпромзданий Госстроя СССР применительно к современным способам изготовления на поточных технологических линиях и крупноблочному монтажу.
2.74. Конструкции системы «ЦНИИСК» рекомендуется применять: в однопролетных и многопролетных производственных зданиях без перепада и с перепадом высот, при наличии как зенитных, так и светоаэрационных фонарей, высотой до низа конструкции до 18 м; при этом возможно: установка крышных вентиляторов № 12 и меньше на виброизоляторах; применение трехопорных подвесных кранов грузоподъемностью до 3 т и двухопорных до 5 т; мостовых кранов грузоподъемностью до 50 т с суммарной равномерной и неравномерной расчетной нагрузкой на покрытие до 6000 Па (600 кгс/м2) при возведении зданий в I-V снеговых и I-IV ветровых районах; проектировать здания с применением данных конструкций в районах с расчетной температурой 65°С и выше, с сейсмичностью до 9 баллов включительно.
2.75. Конструкции представляют собой складчатую систему с длинноразмерными поясами, расположенными вдоль блока.
Верхние продольные пояса запроектированы из двутавров и выполняют также функции прогонов, остальные элементы - из равнобоких уголков.
Все элементы структуры, кроме расположенных по торцам, соединяются на монтажной площадке болтами (рис. 2.12) [1, 13, 16].
С целью сокращения монтажных узлов элементы, расположенные по торцам, свариваются в ферму в заводских условиях и доставляются на строительную площадку в виде ферм из одиночных уголков.
2.76. Пространственная жесткость верхних поясов и структурного блока в целом обеспечивается профилированным настилом, скрепленным с поясами, и поперечными элементами в уровне верхних и нижних поясов. При использовании в качестве покрытия асбоцементных панелей жесткость верхних поясов обеспечивается приваркой к верхней полке двух уголков или другими способами.
Рис. 2.12. Схемы структурных плит с длинноразмерными поясами, утвержденные Госстроем СССР в качестве типовых
а - размеры в плане 12×18 м; б - размеры в плане 12×24 м;
1 - верхние пояса; 2 - нижние пояса; 3 - раскосы; 4 - распорки; 5 - профилированный настил
Рис.
2.13. Схемы подвесных путей в структурных плитах системы «ЦНИИСК»
грузоподъемностью
а - 1 - 5 т, один и лип крапа на колос; б - 0.25-3,2 т, один край на колее; в - 2 т, одни кран на колее, дна крана в пролете; г - 0,25-1 т, одни кран на колее, три крана в пролете: д - 0,25-3,2 г, один и два крана на колее; е - 1,0-3,2 т, одни крап на колее
2.77. При проектировании зданий с применением данных структур в районах с расчетной температурой минус 40°С и выше элементы ферм, располагаемых по торцам блока, соединяются сваркой, все монтажные соединения - болтами нормальной точности по ГОСТ 7798-70*. а также ГОСТ 7805-70* и ГОСТ 7808-70*. Класс прочности болтов 4.6 или 5.6 по ГОСТ 1759-70*. При температуре от минус 65°С до минус 40°С все элементы структуры, включая и торцевые фермы, соединяются на болтах класса 5.6 и 8,8 с дополнительными испытаниями по ГОСТ 1759-70*, а также 4.8 и 5.8 в соединениях, работающих на срез.
2.78. В типовых плитах применяются болты диаметром 20 мм. Однако при изготовлении только одних легких блоков (под нагрузку до 3000 Па, или 300 кгс/м2) или одних тяжелых (под нагрузку более 5000 Па, или 500 кгс/м2) рекомендуется применять болты соответственно диаметром 16-18 и 24 мм.
2.79. Температурные швы при наличии структур «ЦНИИСК» вдоль здания осуществляются на парных колоннах. Поперек здания - на одиночных колоннах с применением не менее двух фторопластовых прокладок толщиной 3-5 мм каждая. Расстояние между швами следует принимать согласно п. 2.7.
Для обеспечения жесткости температурного отсека крайние продольные и поперечные пояса соседних плит соединяются друг с другом через 6 м. Жесткость каркаса здания в целом обеспечивается в соответствии с п. 2.8.
2.80. Опирание структурных плит возможно осуществлять на стальные или железобетонные колонны, выбор материала колонн следует производить с учетом п. 2.12. Каждая плита с колонной соединяется одним анкерным болтом. При опирании плит на железобетонные или другие неметаллические опоры последние снабжаются специальными закладными деталями, которые должны быть рассчитаны на действие опорных реакций, при этом заделка анкерующих устройств должна обеспечивать восприятие усилия, равного несущей способности анкерного болта на растяжение (болт dmin = 30 мм).
2.81. По структурным покрытиям допускается установка продольных светоаэрационных фонарей при условии симметричного их расположения относительно поперечной оси плиты и наибольшей длине фонарной надстройки - 72 м. Не допускается установка фонарей на плитах, примыкающих к торцевым стенам и температурным швам на парных колоннах и не рекомендуется располагать торцевую стену фонаря на средних поясах.
Рекомендуется применять фонари шириной 6 м с однорядным размещением переплетов по чертежам, разработанным ЦНИИпромзданий совместно с ЦНИИСК им. Кучеренко (шифр 220-76).
2.82. Крепление подвесных путей рекомендуется делать непосредственно к конструкции без вспомогательных балок при шаге крепления 3 м.
Подобное решение позволяет упростить конструкцию подкрановых путей и отказаться от горизонтальных связей. Номенклатура подвесных кран-балок и схема подвески их приведены на рис. 2.13. Ввиду повышенной деформативности структурного блока кран-балки проектируются вдоль пролета здания. Расположение крановых путей поперек здания возможно только после проведения соответствующего деформационного расчета и согласования с ЦНИИСК Госстроя СССР.
2.83. Расчетную схему колонн каркаса однопролетного здания рекомендуется принимать в виде стоек, защемленных в основании и со свободным оголовком, а в многопролетных зданиях - в виде стоек, защемленных в основании и шарнирно связанных с диском покрытия. Расстояние от низа несущих конструкций до оголовка колонны следует принимать равным 1350 мм.
Размеры температурных отсеков определяются расчетом с учетом всех горизонтальных нагрузок, при этом реакция оголовка колонны, передаваемая на структуру, должна быть не более допускаемого горизонтального усилия, указанного в чертежах серии 1.460-6/81.
При температурном отсеке размером 72×72 м и менее специальный расчет каркаса на температурные воздействия можно не производить.
2.84. Для покрытия здания рекомендуется принимать структурные плиты одного или двух типов. При покрытии из плит одного типа рекомендуется для плит, примыкающих длинной стороной к степе или к температурному шву на парных колоннах, расчетную нагрузку увеличивать на 500-700 Па (50-70 кгс/м2) в зависимости от снеговой нагрузки для района строительства.
2.85. При проектировании стоек фахверка и перегородок следует предусматривать свободное пространство между структурной плитой и упомянутыми неподвижными конструкциями порядка 150 - 170 мм по длинной стороне плиты и 60 - 70 мм по короткой.
2.86. Применение типовых структурных плит в местах перепада высот светоаэрационных фонарей, подвесного транспорта, крышных вентиляторов следует производить с учетом эквивалентных нагрузок, приведенных в соответствующих типовых чертежах.
2.87. Подвеску коммуникаций рекомендуется производить в узлы верхних поясов, допуская на одну подвеску не более 10 кН, при этом эквивалентную нагрузку от подвесок принимать равной максимальной сосредоточенной нагрузке, деленной на грузовую площадь для этого узла (площадь ячейки для средних узлов и половины ячейки для узлов крайних поясов).
Подвеска коммуникаций к нижним поясам не рекомендуется. При необходимости такой подвески она должна осуществляться только в узлах на хомутах (без применения сварки), при этом усилие, передаваемое па узел, ограничивается 1 кН.
На стыке плит коммуникации следует крепить к обеим плитам. В местах, где имеются консоли пли консольные свесы настила, коммуникации рекомендуется крепить на колоннах и стоиках фахверка. При такой комбинированной подвеске минимум три тяжа ближайших к переходу коммуникаций на неподвижную конструкцию рекомендуется выполнять гибкими.
2.88. При наличии в кровле больших отверстий или зенитных фонарей необходимо, чтобы к каждому поясу хотя бы с одной стороны подходил и крепился профилированный настил. В противном случае должна быть обеспечена устойчивость пояса в горизонтальном направлении другими мероприятиями.
2.89. Изменение сечений элементов структурных плит и количества болтов в соединениях допускается только после согласования с ЦНИИСК им. Кучеренко и заводами-изготовителями. Не допускается также без согласования с ЦНИИСК выборочная приварка отдельных элементов плиты на монтаже, что может привести к значительному перераспределению усилий в элементах.
Справочные материалы по каталогу Минмонтажспецстроя СССР (1983)
Разработчиком конструкции является ЦНИИСК им. Кучеренко и ЦНИИпромзданий - чертежи КМ серии 1.460-6/81 и ЦНИИСК им. Кучеренко и ПКБ РПО Укрпроектстальконструкция - чертежи " КМД.
Конструкции изготавливаются в системе Минмонтажспецстроя СССР на Канском заводе легких металлоконструкций, Минмонтажспецстроя УССР на Житомирском заводе ограждающих конструкций, Минтяжстроя СССР на Красноярском опытном ремонтно-механическом заводе Минлесбумпрома СССР, на Билимбаевском экспериментальном заводе строительных конструкций и деталей.
Масса металла в комплекте для блока 12×18 м от 5044 до 7614 кг; для блока 12×24 м от 7985 до 9260 кг.
По прейскуранту цен на металлические конструкции № 01-22, 1982 г., оптовая цена за один комплект структурной плиты размером 12×18 м, включая метизы, но без профилированного настила составляет от 2040 до 2170 руб., или от 9 руб. 44 коп. до 10 руб. 05 коп. за 1 м2 покрытия при нормативе чистой продукции от 514 до 563 руб. за комплект, или от 2 руб. 38 коп. до 2 руб. 60 коп. за 1 м2 покрытия. Для плиты размером 12×24 м от 2380 до 3310 руб. за комплект, или от 8 руб. 26 коп. до 11 руб. 49 коп. за 1 м2 покрытия при нормативе чистой продукции от 597 руб. до 776 руб. за комплект, или от 2 руб. 07 коп. до 2 руб. 69 коп. за 1 м2 покрытия.
2.90. Для перекрытий больших пролетов рекомендуется типовые плиты системы «ЦНИИСК» сдвоить по длине и, объединив их затяжками, образовать двускатную складчатую конструкцию (рис. 2.14, а). При образовании такой системы рекомендуется стрелку подъема принимать в пределах 1/5 - 1/8 l и этом случае перекрываемый пролет будет на 1 - 2 м меньше удвоенной длины типовых плит.
2.91. Эти конструкции рекомендуется применять для покрытий однопролетных одноэтажных зданий складского назначения, производственных зданий с напольным внутрицеховым транспортом или с мостовыми кранами небольшой грузоподъемности, а также для зданий гражданского и сельского строительства, при высоте здания до 10,8 м.
Плиты с затяжками могут применяться также в многопролетных зданиях с зенитными фонарями, при расчетной температуре наружного воздуха минус 40°С и выше и расчетной сейсмичности 7 баллов.
2.92. На структурную плиту, ширина которой 12 м, рекомендуется давать две затяжки с креплением по крайним узлам нижнего пояса и выполнять их из профильного проката, арматуры или из тросов с высокопрочной проволокой. В коньке нижние пояса для участия их в восприятии нормальных сил рекомендуется объединять дополнительными стержневыми элементами.
2.93. При проектировании структурных плит с затяжками особое внимание следует обращать на нагрузки от действия ветра вдоль ската покрытия, приводящие к неравномерному распределению вертикальной нагрузки. Необходимо также учитывать действие отрицательного вертикального давления изнутри и отсоса снаружи при монтаже здания или при наличии стеновых проемов большой площади.
2.94. В зданиях, испытывающих действие повышенных нагрузок, в частности от снеговых мешков, при перепадах кровли или наличии светоаэрационных фонарей, крышных вентиляторов, подвесного кранового оборудования грузоподъемностью порядка 5 т, а также в производственных зданиях, требующих размещения в уровне решетки большого количества коммуникаций, а также наличия подвесных потолков, рекомендуется высоту типовой плиты увеличить до 2 м и нижние пояса принимать из двутавров. При таком решении представляется возможным подвесные потолки размещать непосредственно по нижним поясам и воспринимать приведенную расчетную нагрузку порядка 8000 Па (800 кгс/м2) (рис. 2.14, б, в).
2.95. В таких усиленных плитах рекомендуется так же, как и в типовых, все элементы, кроме расположенных по торцам, доставлять на строительную площадку в россыпи, а торцевые элементы - объединять в фермы в заводских условиях. Нижние узлы изготавливаются аналогично верхним (рис. 1.2, ж), соединения основных элементов и крепление пастила осуществляются такими же, как и в типовых плитах. Крепление подвесных потолков к нижним поясам рекомендуется осуществлять на болтах, дюбелях или хомутах. Применение монтажной сварки не допускается.

Рис. 2.14. Схемы модифицированных типовых конструкций из прокатных профилей
а -
структурная плита с затяжками; б - структурная плита повышенной жесткости
размером 12×18 м; в - то же, 12×24 м; г - то же.
12×30 м; д - структурная плита с разреженной решеткой и поясами; е
- то же, с перекрестной решеткой; ж - то же, размером в плане
30×30 м;
1 - типовой блок 12×18 или
12×24 м; 2 - две затяжки на блок; 3 - профилированный
настил; 4 - дополнительные стержневые элементы, объединяющие все нижние
пояса; 5 - распорки; 6 - верхние пояса; 7 - нижние пояса; 8 -
раскосы
2.96. С целью уменьшения количества раскосов и снижения трудозатрат на монтаже для покрытий без подвесных грузоподъемных механизмов рекомендуется в средней части плиты осуществить разрежение решетки (рис. 2.14, б, в).

Рис 2.14 См. стр. 58
2.97. Аналогичную конструкцию можно рекомендовать для перекрытия пролетов 30 м при шаге колонн 6 и 12 м (рис. 2.14, г).
Однако в этом случае не допускаются светоаэрационные фонари перепады кровли н подвесные кран-балки (при возможном применении монорельсовых путей с их расположением поперек блока, грузоподъемностью до 2 т), а также не рекомендуется разрежение решетки. Расчетную нагрузку на покрытие при данном решении рекомендуется принимать не больше 6000 Па (600 кгс/м2).
2.98. С целью максимальной экономии стали, снижения количества элементов и упрощения монтажа в структурных плитах из прокатных профилей, предназначенных для покрытий производственных зданий с сеткой колонн 12×18 и 12×24 м, рекомендуется верхние пояса располагать с шагом 4 м, нижние пояса - разредить до двух на одну плиту и также осуществить разрежение решетки (рис. 2.14, д). Это приводит по сравнению с типовыми решениями к уменьшению сборочных элементов примерно в 1,6 раза, снижает трудоемкость изготовления и монтажа примерно на 24-30 %, а также расход материала на блок на 8-14 % и на покрытие в целом (с учетом того, что здесь применяется профилированный настил высотой 80 мм на 5-8 %). Кроме того, в межпоясном пространстве представляется возможным размещать трубопроводы диаметром до 1,2 м коммуникации, вписывающиеся в два прямоугольника 3×4 м в блоке 12×18 и 4×6 м в блоке 12×24 м.
2.99. При проектировании конструкций (рис. 2.14, д), несмотря на увеличение до 2 м их строительной высоты, все элементы, кроме верхних двутавровых поясов, на которые опирается профилированный настил, рекомендуется выполнять из одиночных равнобоких уголков, что целесообразно с технологической и экономической точек зрения. Профилированный настил, работающий по трехпролетной схеме рекомендуется применять с высотой волны 60 мм, а при работе по однопролетной схеме в IV снеговом районе - 80 мм.
2.100. Структурные блоки (рис. 2.14, д) рекомендуется применять для зданий промышленного назначения, в которых необходимо разместить в пределах блока большое количество технологического оборудования крупного габарита, а также для зданий гражданского и сельскохозяйственного строительства, возводимых в I-IV снеговых и I-IV ветровых районах, в районах с сейсмичностью 7 баллов и расчетной температурой минус 40°С и выше.
Здания могут быть отапливаемые и неотапливаемые, в том числе: однопролетные и многопролетные с пролетами 18 и 24 м, шагом колонн 12 м по крайним и средним рядам и высотой до низа конструкций 12,6 м;
бескрановые и крановые с мостовыми кранами до 20 т и подвесными кран-балками грузоподъемностью 3,2 т пролетом 15 м для блоков 18×12 м (одни кран на колее) и трехопорными грузоподъемностью 2 т пролетом по 10,5 м для блоков 24×12 м (один край на колее);
бесфонарные или с зенитными фонарями, без перепадов высот и при расчетной равномерно распределенной но площади блока или близкой к пен нагрузке: 2750, 3500 и 4500 Па или 275, 350 и 450 кгс/м2 (в том числе от одной кран-балки грузоподъемностью 3,2 т, мостового крана грузоподъемностью 20 т и ветровой нагрузке IV района).
Зенитные фонари и проемы в кровле рекомендуется располагать в средней части блока над ячейками без раскосов. Подвеску коммуникаций следует осуществлять в узлы верхнего пояса.
2.101. Применение структурных конструкций на предприятиях легкой промышленности с большой площадью перекрываемых производственных помещений при сетке колонн 12×18, 12×24 и 12×36 м весьма целесообразно. Характерной особенностью этих предприятий является необходимость пропуска между поясами пролетной конструкции воздуховодов диаметром до 1,8 м, наличия других коммуникаций и подвесных потолков.
В соответствии с технологическими требованиями данных предприятий рекомендуется их покрытия осуществлять структурными плитами из прокатных профилей размером в плане на ячейку сетки колонн и высотой 3 м, при этом с целью повышения устойчивости сжатых раскосов - применять перекрестную решетку из одиночных уголков, при которой растянутый раскос, соединенный в середине длины со сжатым, препятствует его выходу из плоскости (рис. 2.14, е). Нижние пояса рекомендуется проектировать из двутавров и к ним подвешивать потолок.
2.102. Все элементы плиты (рис. 2.14, е), кроме торцевых, рекомендуется доставлять на строительство в россыпи, торцевые элементы- в виде фермы заводской готовности, сборку элементов на строительной площадке следует осуществлять на болтах нормальной точности аналогично сборке типовых структур.
2.103. Для промышленного строительства в ряде случаев целесообразно структурную плиту из круглых труб системы «Кисловодск» (рис. 2.5, б) выполнять из прокатных профилей и при той же поясной сетке 3X3 м ее высоту принимать равной 1,5 м. В этом случае рекомендуется верхние и нижние поясные сетки располагать в двух уровнях, используя в двух направлениях длинноразмерные элементы.
2.104. Опыт проектирования, проведенный в ЦНИИСКе, показал, что в верхней поясной сетке (см. рис. 2.5, б) более целесообразно пояса одного направления принимать из двутавров и по ним укладывать профилированный настил, пояса другого направления - выполнять из равнобоких уголков перьями вниз под углом 45° к вертикали.
Нижнюю поясную сетку рекомендуется выполнять целиком из равнобоких уголков обушками друг к другу и полками по 45° к вертикали. При такой ориентации поясов представляется возможным уголковые раскосы и уголковые пояса соединять болтами по их полкам, в ряде случаев минуя фасонки (рис. 2.14, ж).
2.105. Структурные плиты, собираемые из плоских ферм, рекомендуется использовать в качестве несущей части кровли и в ряде случаев перекрытий при прямоугольных или треугольных планах. Их применение целесообразно в зданиях со средними и большими пролетами, без подвесных и с подвесными потолками, испытывающих действие средних и тяжелых нагрузок.
В многопролетных зданиях применение данных конструкций может быть оправданным при регулярной сетке колонн.
Практика строительства, особенно в годы, предшествующие созданию специализированных баз по производству структурных конструкций, имела достаточное количество примеров применения пространственных систем, собираемых из плоских ферм, изготавливаемых из тех же профилей, что и обычные фермы. Применение структур из ферм высокой заводской готовности позволяет уменьшить объем монтажных работ, изготавливать их на неспециализированных заводах металлоконструкций без изменения существующей технологии, а также использовать недефицитный прокатный сортамент.
Вместе с тем структурные конструкции из плоских ферм лишены той универсальности, которой обладают структуры из короткоразмерных элементов, их доставка в отдаленные районы затруднена, изготовление не автоматизировано.
2.106. На прямоугольных вытянутых планах фермы рекомендуется устанавливать наклонно под углом 30-45° к горизонту, образовывая складчатую систему (табл. 1 Д). Когда отношение сторон плана составляет 1,5-1,2, рекомендуется по узлам складчатой системы в ортогональном направлении давать доборные линейные элементы, обеспечивающие работу конструкции в двух направлениях.
При квадратных или близких к квадрату планах, а также при треугольных планах рекомендуется фермы устанавливать вертикально в двух или трех направлениях, образуя перекрестную систему (табл. 1 А). Перекрестные фермы обычно располагаются параллельно стороне плана, однако при прямоугольных планах возможна их установка под углом 45° к стороне здания.
2.107. При больших пролетах и тяжелых нагрузках рекомендуется фермы изготавливать с применением широкополочных двутавров, тавров или швеллеров, при сравнительно небольших пролетах - из одиночных уголков, прямоугольных труб или гнутых профилей.
2.108. Пересечение поясов в перекрестных фермах при больших пролетах и работе системы на сравнительно тяжелые нагрузки рекомендуется осуществлять в одном уровне, при этом в одних случаях в узле можно соединять пояса ферм всех направлений, в других (при ортогональной сетке поясов) - одного направления, примыкая в середине длины пояса другого направления. Осуществить последний вариант проще, чем первый, и при ортогональном расположении поясных сеток ему следует отдавать предпочтение.

Рис. 2.15. Нижний узел структурной конструкции с применением высокопрочных болтов

Рис. 2.16. Узел сопряжения шести ферм, идущих в трех
направлениях,
осуществляемый с применением электрошлаковой сварки
Рекомендуется узел сопряжения систем с ортогональной сеткой поясов, выполненных из широкополочных двутавров (когда два пояса одного направления примыкают к цельному поясу другого направления), осуществлять па высокопрочных болтах (рис. 2.15).
2.109. При расположении перекрестных ферм в трех направлениях выполнить узел сопряжения способом, указанным на рис. 2.15, не представляется возможным, в этом случае пояса всех шести ферм следует соединять в одном узле.
При больших перекрываемых пролетах соединение ферм рекомендуется осуществлять на высокопрочных болтах с применением пространственных листовых фасонок по типу, изображенному на рис. 1.2, и. Однако в ряде случаев может оказаться более целесообразно на монтаже использовать полуавтоматический метод электрошлаковой сварки (рис. 1.2, л).
Примером подобного решения может явиться покрытие демонстрационного зала станции технического обслуживания легковых машин «Автосервис» в г. Москве (рис. 2.16). В плане зал имеет форму равнобедренного треугольника с основанием 104 м и двумя боковыми гранями по 116,2 м. Стержневая плита опирается на колонны, идущие с шагом 12 и 13,45 м по треугольнику, который подобен контурному и имеет стороны 84 и 94 м. Перекрытие представляет собой систему плоских вертикально поставленных ферм высотой 3,2 м, идущих параллельно сторонам в трех направлениях, которыми образовываются ячейки со сторонами 12 и 13,45 м.
2.110. При перекрытии сравнительно небольших пролетов пересечение ферм рекомендуется производить в двух уровнях, при этом раскосы в пересекающихся фермах давать вразбежку, т.е. когда раскосы одного направления ферм подходят к верхнему узлу пересечения, а раскосы другого направления ферм - к нижнему узлу пересечения.
Соединение верхнего и нижнего узлов стойкой обеспечивает передачу нагрузки на взаимно перпендикулярные фермы. Благодаря пересечению поясов в двух уровнях отпадает необходимость в пространственных узловых фасонках.
2.111. Структурные плиты из стержневых пирамид рекомендуется применять для покрытия зданий различной конфигурации в плане с регулярной и нерегулярной сеткой колонн, проектируемых в любых по отдаленности районах.
К достоинствам таких конструкций следует отнести большую заводскую готовность и соответственно снижение количества монтажных соединений, а также возможность быстрой организации их изготовления на базе неспециализированных производств металлоконструкций.
С точки зрения универсальности и возможности поставки в труднодоступные районы эти конструкции уступают конструкциям, собираемым из короткоразмерных линейных элементов.
2.112. При сборке пирамиды располагают основаниями вверх, которые после соединения пирамид а углах образуют верхние поясные сетки. Нижние поясные сетки образовываются линейными доборными элементами, соединяющими вершины пирамид.

Рис. 2.17. Узлы сопряжений смежных пирамид
а, б - варианты фланцевых соединений при поясах из швеллеров; в - петлевое соединение при трубчатых стержнях
2.113. Набор пирамид с трехгранным основанием образовывает поясные сетки, идущие в трех направлениях, при этом нижние и верхние пояса параллельны. Набор четырехгранных пирамид образовывает ортогональную сетку поясов, в этом случае нижняя сетка поясов может быть параллельна верхней сетке и под углом 45°.
2.114. Система, образованная из пирамид, имеет разреженную решетку и в ряде случаев сетку поясов, от чего количество элементов существенно сокращается.
В практике строительства сечения элементов пирамид принимают из прокатных и гнутых профилей. Рекомендуется основание пирамид выполнять из швеллеров, используя их также и в качестве прогонов.
2.115. Соединения всех элементов в пирамиде, как правило, следует осуществлять на сварке. Монтажные соединения рекомендуется выполнять на болтах. Передачу усилий по сетке верхних поясов рекомендуется осуществлять посредством приварных фланцев при квадратном основании пирамиды по типу, изображенному на рис. 1.2, е и 2.17, а, б.
2.116. Наиболее целесообразно подобные конструкции применять на планах, близких к квадрату, при частом расположении колонн по периметру здания. В этом случае количество типов пирамид, отличающихся друг от друга составными элементами, минимально.
При опирании на редко расположенные колонны приопорные пирамиды существенно отличаются от остальной массы пирамид ввиду больших поперечных усилий, возникающих в районе опирания, что приводит к необходимости увеличивать количество типов отправочных марок.
Справочный материал
Конструкция плиты с квадратным основанием пирамид из труб нашла применение в промышленном строительстве для создания неразрезных плит с сеткой колонн 24×24 м (завод ограждающих конструкций в г. Киреевске при размере плиты 72×144 м, разработка ЦНИИпроектстальконструкция), из прокатных профилей - на ряде объектов гражданского строительства (разработано ЛенЗНИИЭП) [17].
Конструкция стержневой плиты с использованием прокатных профилен рекомендована к применению в системе Госгражданстроя для общественных зданий с квадратными и близкими к квадрату планами, пролетами от 24 до 60 м [9].
В качестве примера перекрытий небольших сооружений павильонного типа можно привести разработки Уральского политехнического института, в которых структурная плита, собираемая из пирамид с квадратным основанием, изготавливается из прокатных уголков, а нижние доборные элементы - из полосовой стали (см. табл. 1 Г). Конструкция структурной плиты на шестиугольном плане с нижней поясной сеткой сотового строения (см. табл. 1 З) разработана Уральским электромеханическим институтом инженеров железнодорожного транспорта. Помимо соединений оснований пирамид друг с другом на фланцах для сооружений павильонного типа нашли применение петлевые соединения, разработанные Московским архитектурным институтом (рис. 2.17, в).
2.117. В сборно-разборных сооружениях обычного и специального назначения, выставочных павильонах, сезонных помещениях, а также промышленных небольших зданиях, расположенных в труднодоступных районах, рекомендуется применять складываемые структурные плиты покрытия. Такие плиты в отличие от стационарных почти целиком собираются в заводских условиях, при этом в сборке они геометрически изменяемы, что позволяет при транспортировании складывать их в компактный объем, а на монтажной площадке после развертывания и постановки дополнительных связей, придающих системе геометрическую неизменяемость, быстро устанавливать в проектное положение.
Практически полная заводская готовность конструкции, исключение монтажной сборки и всех кондукторных приспособлений, перевозка в сравнительно компактном виде и возможность повторных применений являются достоинствами конструкции.
К недостаткам следует отнести более сложные и металлоемкие узловые сопряжения, в ряде случаев не поддающиеся автоматизации изготовления.
2.118. Рекомендуется складные структурные плиты проектировать в виде системы перекрестных ферм на квадратном или близком к квадрату плане, образующих квадратные поясные ячейки, при этом опирание кровли следует осуществлять непосредственно на пояса плиты.
2.119. В практике отечественного строительства нашли применение системы складывания плиты в одном направлении со сдвижкой на одну поясную ячейку и в двух направлениях. В первом случае фермы одного направления являются сквозными, а фермы другого направления состоят из звеньев размером на одну поясную ячейку, прикрепляемых к узлам основных ферм при помощи шарниров. Геометрическая неизменяемость системы достигается за счет постановки диагональных стержней в контурных ячейках (рис. 2.18, а). Во втором случае (рис. 2.18, б) основной каркас состоит из системы попарно пересекающихся раскосов, шарнирно соединенных между собой в точке пересечения и имеющих шарниры в двух направлениях по верхним и нижним узлам (рис. 2.18, в). При этом узловое соединение, изображенное на рис. 2.18, в, чередуется с узлом, разъемным по вертикали, верхняя его часть шарнирно соединяет пояса, а нижняя - раскосы. При складывании две части разъемных узлов отсоединяются друг от друга и вся система по принципу «гармошки» собирается в компактный объем.
2.120. Ограничение размеров собранной в пакет структурной плиты транспортными габаритами определяет основные размеры конструкции. В связи с этим рекомендуется размеры плит в плане, складывающихся в одном направлении, назначать в пределах 12 м, а плит, складывающихся в двух направлениях, до 15-20 м.
2.121. Элементы структурной плиты рекомендуется изготавливать из прямоугольных труб или гнутых швеллеров (пояса), решетка может выполняться из уголкового гнутого или прокатного профиля. Расчетную нагрузку рекомендуется ограничивать 3000 Па (300 кгс/м2). При расчетном обосновании и экспериментальной проверке возможно применение легкого подвесного транспорта. Складывающаяся структурная плита может опираться как по углам, так и по периметру.
Справочный материал
Универсальная складываемая плита размером в плане 12×12 м и высотой 0,6 м, опирающаяся по углам, разработана в Московском архитектурном институте, ее складывание осуществляется в одном направлении (рис. 2.18, а). В сложенном виде имеет габариты 13,6×1,2×0.6 м. Конструкция рассчитана на нагрузку 3000 Па (300 кгс/м2). Линейная масса стали без учета профилированного настила составляет 20,8 кг/м2 [18]. Складываемая плита в двух направлениях размерами 15×15 и 12×18 м, опирающаяся по углам, разработана ЦНИИпроектстальконструкция. В сложенном виде имеет габариты 1,4×1,4×6,7 м. Конструкция рассчитана на действие равномерно распределенной нагрузки 2600 Па (260 кгс/м2) и нагрузку от подвесного крана грузоподъемностью 3,2 т. Масса металла с учетом профилированного стального настила составила 31 кг/м2 [16].

Рис. 2.18. Схемы складывания структурных плит
а - в одном направлении со сдвижкой на одну поясную ячейку; б, в, г - в двух направлениях (б - развернутая плита; в и г -в процессе складывания); 1 - сквозные фермы; 2 - звено фермы на одну поясную ячейку; 3 - доборные элементы, придающие геометрическую неизменяемость системе; 4 - раскосы; 5-неразъемный узел; 6 - разъемный узел
2.122. Отдельную группу структурных конструкций составляют пространственные решетчатые системы, в которых с целью экономии металла часть элементов изготавливается из неметаллических материалов и в первую очередь из легкого железобетона, конструктивного керамзитобетона и дерева.
Включение неметаллических материалов в ряде случаев позволяет также расширить область применения структур на здания со среднеагрессивной средой, при условии соответствующей защиты металлической части структуры в соответствии с требованиями главы СНиП II-28-73*. Целесообразность применения таких конструкций должна определяться экономическим расчетом с учетом конкретных условий, наличия производственных баз и местных материалов.
Учитывая недостаточный опыт в области исследований, изготовления и практики эксплуатации подобных конструкций индивидуальных разработок, ограничимся рекомендациями по проектированию при условии их выполнения на базе серийно выпускаемых металлических конструкций, в которых отдельные металлические элементы заменены на неметаллические.
2.123. В структурных плитах системы «ЦНИИСК» при соответствующем технико-экономическом обосновании рекомендуется вместо верхних двутавровых поясов, работающих на сжатие и изгиб, применять клееные деревянные брусы, а в конструкциях системы «МАрхИ» не только верхние пояса, но и сжатые раскосы, а в некоторых случаях и все стержневые элементы изготавливать из деревянных стержней, оставив узловые элементы по унифицированному сортаменту, при этом геометрические размеры плит следует принимать такими же, как и при цельнометаллических конструкциях.
2.124. При проектировании зданий со структурными плитами данного типа кровля может выполняться с применением стального профилированного настила, однако с целью экономии металла и расширения области применения на здания химической промышленности рекомендуется использовать деревянные или асбоцементные плиты с рулонной кровлей.
2.125. Область применения данных конструкций аналогична области применения серийно изготавливаемых стальных структур при ограничении районов сейсмичности 7 баллами, грузоподъемностью мостовых кранов до 10 т, подвесных - 3,2 т, исключением светоаэрационных фонарей и перепадов высот кровли, при расчетных нагрузках на покрытие для системы «ЦНИИСК» не более 4650 Па (465 кгс/м2), а для системы «МАрхИ» - 3000 Па (300 кгс/м2) с учетом собственной массы покрытия.
Наиболее целесообразно эти конструкции применять на объектах деревообрабатывающей промышленности в качестве покрытий производственных предприятий, в сельском строительстве и складских Помещений лесного хозяйства, а при выполнении рекомендаций п.п. 2.122 и 2.124 - на предприятиях химической промышленности.
Примечание. В структурных конструкциях с деревянными верхними поясами и неметаллической кровлей при крановом оборудовании кровельные плиты укладываются в уровне верхних поясов. Для обеспечения необходимой жесткости структурной конструкции в горизонтальной плоскости кровельные плиты должны расклиниваться и прикрепляться к поясам или в плоскости верхних поясов должны быть предусмотрены дополнительные связи.
2.126. Прикрепление стальных раскосов к верхним деревянным поясам в системе «ЦНИИСК» рекомендуется осуществлять посредством специальных листовых фасонок, болтов и шпонок (рис. 2.19, а), а прикрепление стальных узловых элементов к деревянным стержням в системе «МАрхИ»- при помощи торцевых шайб и специальных прутковых стержней из круглой стали (рис. 2.19, б, в).
2.127. В сжатых стержнях системы «МАрхИ» усилия воспринимаются полностью сечением деревянного бруса, вследствие чего прутковые стержни рекомендуется принимать минимального сечения, необходимого для восприятия монтажных усилий. В растянутых элементах только одни прутковые стержни воспринимают растягивающее усилие, поэтому их сечения следует принимать не менее сечения трубчатых элементов по номенклатуре унифицированного сортамента из стали примерно такой же прочности. В этом случае замена растянутых трубчатых стержней деревянными не приводит к снижению массы металла. Учитывая это, замена растянутых трубчатых элементов на деревянные может быть оправдана при выполнении прутковых стержней из высокопрочных сталей или необходимостью в конкретных условиях исключения дефицитных труб.
2.128. По сравнению с цельнометаллической структурной плитой системы «ЦНИИСК» за счет замены верхних стальных поясов на деревянные расход стали снижается примерно на 30 %, а при замене также профилированного настила на металлический - примерно на 50 %.
В системах «МАрхИ» замена сжатых элементов на деревянные приводит к снижению металлоемкости до 40-45 %. Замена растянутых стальных элементов на деревянные, усиленные прутковыми стержнями из высокопрочной стали, приводит к снижению общей массы металла до 55-60 %.

Рис. 2.19. Узловые сопряжения в металлодеревянных структурных плитах
а - в системе «ЦНИИСК»; б и в
- в системе «МАрхИ»;
1 - деревянный брус; 2 -листовая пространственная фасонка; 3 - шпонка; 4 - стяжной болт; 5 - металлические раскосы; 6 -- узловой элемент; 7
- трубчатый металлический стержень; 8 - втулка; 9 - вкладыш;
10 - высокопрочный болт;
11 - штифт; 12 - шайба; 13 - шурупы; 14 - паз; 15 - пруток; 16 - скоба; 17- продольные
2.129. В структурных плитах при соответствующем технико-экономическом обосновании возможно профилированный настил и верхние пояса заменить на железобетонные плиты, включив их в статическую работу конструкции. В этом случае снижается металлоемкость конструкции примерно на 30 %, но наряду с этим увеличивается масса конструкции, что в определенной мере осложняет доставку изделии и монтаж конструкций.
2.130. Учитывая, что при квадратных в плане структурах железобетонные плиты воспринимают сжатие и изгиб в двух направлениях, рекомендуется их размеры принимать на одну поясную ячейку, а стержневые и узловые элементы принимать по унифицированному сортаменту (см. п.п. 2.59 - 2.64) (рис. 2.20, а) [16]

Рис. 2.20. Схемы плитно-стержневых структурных конструкций
а - при железобетонных плитах на одну
ячейку; б - при
длинноразмерных керамзитобетонных плитах;
1 - железобетонные плиты
на одну ячейку; 2- длинноразмерные плиты; 3 - нижние пояса структуры; 4 - раскосы

Рис. 2. 21. Узлы сопряжения короткоразмерных плит настила с элементами решетки
а - сборка структуры из пирамидальных элементов, снабженных плитами; б - при начальной сборке металлической части конструкции; 1 - ребристая железобетонная плита; 2 - закладные детали; 3 - вкладыш; 4 - раскосы; 5 - косвенная арматура; 6 - бетон замоноличивания; 7-железобетонная капитель
Когда структура в плане - прямоугольник с соотношением сторон 1,5 и более, железобетонные плиты на сжатие и изгиб работают преимущественно в одном направлении, в этом случае рекомендуется применять ребристые железобетонные плиты размером 3×9 или 3×12 м, а стержневые элементы решетки и нижних поясов - в соответствии с номенклатурой стержней системы «ЦНИИСК» (см. п.п. 2.73 - 2.75) (рис. 2.20, б).
2.131. Подобные покрытия рекомендуется применять в однопролетных и многопролетных одноэтажных зданиях, возводимых в I-IV снеговых и ветровых районах, в районах с расчетной сейсмичностью 6 баллов и расчетной температурой минус 40°С и выше, пролетом 18 и 24 м, шагом колонн 18×18, 12×18 и 12×24 м„ высотой до 10,8 м; бескрановых и крановых с мостовыми кранами до 30 т или с подвесными кран-балками по одной на колее грузоподъемностью до 3,2 т или две на колее грузоподъемностью до 2 т; бесфонарных и с зенитными фонарями размером 3×3 м; с крышными вентиляторами; под расчетную нагрузку 3700 Па (370 кгс/м2) без учета нагрузки от подвесного транспорта и с учетом собственной массы конструкции.
При квадратных в плане структурных конструкциях и железобетонных плитах на одну ячейку могут быть рекомендованы два конструктивных решения, разработанных Красноярским политехническим институтом и трестом Оргтехстрой Главкрасноярскстроя.
В первом решении конструкция собирается из пирамидальных элементов, включающих в себя железобетонную плиту и раскосы, присоединенные к ней в углах с помощью болтов и замоноличенных в вуты специальных вкладышей. В вершине пирамиды раскосы объединяются унифицированным узловым элементом. При сборке плиты скрепляются между собой сваркой закладных деталей, а в вершинах пирамид - объединяются стержневыми элементами, образующими нижнюю поясную сетку (рис. 2.21, а).
Во втором решении вначале собирается металлическая часть системы, т.е. нижние пояса и раскосы. Верхние концы раскосов объединяются железобетонной капителью с помощью болтов, пропускаемых через замоноличенные трубки. На эту капитель укладываются сборные плиты с усеченными углами, соединяются с ней сваркой и замоноличиваются (рис. 2.21, б).
При прямоугольных в плане структурных конструкциях, разработанных ЛатНИИСтроительства и ЦНИИСК, рекомендуется плиты принимать аналогичными типовым плитам, изготавливаемым из керамзитобетона с мелкой фракцией. Толщина плиты между ребрами принимается в зависимости от технологических характеристик материала и производственного оборудования, но не более 35 мм. Раскосы с верхним строением плиты рекомендуется соединять на болтах нормальной точности, для чего в плитах следует предусматривать соответствующие закладные детали. Стержневые элементы между собой соединяются также на болтах аналогично соединениям элементов в типовых структурах (см. п.п. 2.73 - 2.78). Соединять железобетонные плиты между собой рекомендуется при помощи сварки закладных деталей, заанкеренных в ребрах.
2.132. При использовании как квадратных плит, так и прямоугольных швы между плитами заполняются цементно-песчаным раствором. Утеплитель рекомендуется выполнять из жестких минераловатных плит, а кровлю - рулонной многослойной.
2.133. Размеры температурных отсеков при плитно-стержневых покрытиях принимаются в соответствии с требованиями, предъявляемыми к зданиям с железобетонным каркасом. Температурные швы устраиваются только на парных колоннах.
2.134. Проектирование зданий с применением структурных плит при расчетной сейсмичности зданий 7, 8 и 9 баллов выполняется с учетом требований главы СНиП II-7-81 «Строительство в сейсмических районах».
Рекомендации по проектированию вертикальных несущих конструкций зданий содержатся в «Руководстве по проектированию одноэтажных и многоэтажных зданий со стальным каркасом в сейсмических районах».
Ниже приводятся дополнительные рекомендации, отражающие особенности проектирования структурных конструкций для сейсмических районов.
2.135. Здания с покрытиями из структурных конструкций рекомендуется проектировать симметричной формы в плане (прямоугольной, квадратной, многоугольной, круглой, овальной), как правило, без перепада смежных участков, с симметричным и равномерным распределением масс и жесткостей конструкций.
При сложных очертаниях в плане или при существенно отличающихся несущих конструкциях здания должны разделяться антисейсмическими швами на отдельные отсеки симметричной формы.
2.136. При проектировании каркасных зданий с неразрезными покрытиями в виде структурных конструкций размеры зданий (отсеков) в плане принимаются по требованиям для несейсмических районов, но не более 150 м.
2.137. Антисейсмические швы должны разделять смежные отсеки зданий по всей высоте. Допускается не устраивать шов в фундаменте, за исключением случаев, когда антисейсмический шов совпадает с осадочным.
Температурные и осадочные швы допускается выполнять как антисейсмические.
Антисейсмические швы выполняются или на парных колоннах или на одинарной колонне с обеспечением требуемой подвижки участков покрытий.
Минимальная ширина антисейсмического шва а, см, назначается в зависимости от высоты здания и определяется расчетом по формуле
|
a = ∆1 + ∆2 + ∆0 + 2, |
(2.1) |
где ∆1 и ∆2 - максимальные перемещения в уровне покрытия, см, двух смежных отсеков здания, разделенных антисейсмическим швом, при действии нагрузок, определяемых согласно п. 5.17; ∆0 - взаимное смещение смежных отсеков, возникающее при их кренах от эксплуатационных нагрузок, ∆0 определяются по главе СНиП II-15-74 «Основания зданий и сооружений».
При высоте здания до 5 м ширина шва должна быть не менее 3 см. Для зданий большей высоты минимальную ширину шва следует увеличивать на 2 см. на каждые 5 м высоты.
Заполнение антисейсмических швов не должно препятствовать взаимным смещениям отсеков.
2.138. При проектировании зданий с применением структурных плит рекомендуется принимать типовые решения, разработанные для строительства в сейсмических районах.
Применение нетиповых конструктивных решений допускается только после проведения экспериментальных исследований и по согласованию с госстроями союзных республик и соответствующими заводами металлоконструкций.
2.139. При выборе конструктивных решений структурных покрытий, колонн, элементов кровли, стенового ограждения, фахверка и т.п. необходимо обеспечивать снижение сейсмических нагрузок за счет уменьшения массы несущих и ограждающих конструкций, применением легких эффективных материалов.
2.140. Особое внимание при проектировании структурных конструкций для сейсмических районов следует уделять обеспечению четкой передачи инерционных нагрузок (с покрытия на колонны и фундаменты), надежности работы узлов структурных конструкций и их сопряжений с вертикальными несущими конструкциями, обеспечению жесткости диска покрытия в горизонтальной плоскости.
2.141. При привязке структурных плит к условиям конкретной строительной площадки необходимо проводить проверочные расчеты с учетом категории грунтов по сейсмическим свойствам, категории - повторяемости землетрясений, расчетной температуры наружного воздуха и т.п.
2.142. Для структурных плит с консолями предельный вылет консольных свесов не должен превышать 6 м.
2.143. Предельные гибкости элементов структурных конструкций, проектируемых для сейсмических районов, приведены в главе СНнП II-23-81.
2.144. При проверке прочности узлов необходимо учитывать знакопеременность сейсмических нагрузок, при этом влияние концентрации напряжений рекомендуется в максимальной степени снижать конструктивными мероприятиями.
2.145. Узлы сопряжения структурных плит одноэтажных зданий должны обеспечивать, с одной стороны, восприятие передаваемых горизонтальных и вертикальных сейсмических нагрузок и, с другой, - шарнирность сопряжения конструкций.
2.146. Узлы крепления стоек продольного и поперечного фахверка к структурным плитам должны обеспечивать создание шарнирно-неподвижной опоры и передавать местные сейсмические нагрузки со стоек фахверка на верхние пояса структурных плит (рис. 2.22) [7].
2.147. При устройстве неразрезных покрытий сопряжения структурных плит в пределах отсека здания должны обеспечивать совместность работы отдельных блоков и жесткость диска покрытия в горизонтальной плоскости, а также должны быть рассчитаны на усилия взаимодействия между плитами.
2.148. Крепление конструкций подвесных кранов должно обеспечивать возможность некоторой подвижки относительно нижних поясов структурных плит.
2.149. При проектировании структурных конструкций для сейсмических районов рекомендуется предусматривать повышенные методы контроля качества сварных и других соединений элементов конструкций.
2.150. При установке на структурные покрытия оборудования с динамическими нагрузками в виде крышных вентиляторов должен быть обеспечен качественный монтаж этого оборудования и виброизоляции, а также контроль за его состоянием в процессе эксплуатации. Существенные отклонения от норм эксплуатационных характеристик оборудования или виброизоляции могут повлечь за собой резкое возрастание динамических нагрузок, что может привести к повреждению несущих конструкций покрытия.
2.151. Учитывая, что с возрастанием статической нагрузки на покрытие частоты его собственных колебаний снижаются, наиболее неблагоприятным динамическим воздействием является низкочастотное, которое характерно для более мощных вентиляторов. Эффективность виброизоляции при низкочастотных воздействиях снижается. В связи с этим рекомендуется, когда это возможно, вместо мощных вентиляторов применять вентиляторы менее мощные, но в большем количестве.
2.152. Крышные вентиляторы устанавливаются, как правило, на специальные площадки, опирающиеся на верхние пояса структуры, которые рассчитываются на динамические и статические нагрузки. Размещение и крепление опорных площадок необходимо производить с таким расчетом, чтобы схема работы конструкции в целом осталась неизменной. Рекомендуемые места размещения вентиляторов, а также узлы крепления приводятся на рис. 2.23.
2.153. Узловые соединения как при наличии крышных вентиляторов, так и для зданий с расчетной сейсмичностью 8 и 9 баллов должны иметь специальные мероприятия, препятствующие самооткручиванию гаек.
2.154. Определение усилий в отдельных элементах структурных конструкций следует производить из их расчета на сочетания нагрузок и воздействий в соответствии с главой СНиП II-6-74 с учетом возможного неравномерного распределения нагрузок по площади покрытия.
При определении нагрузок на структурные плиты, примыкающие к стенам и температурным швам на спаренных колоннах, следует учитывать нагрузку на консоли или консольный вылет настила, а также нагрузку от снеговых мешков у парапетов в соответствии с главой СНиП II-6-74.
При прогонном и беспрогонном решении нагрузку с кровли, передаваемую в узлы структурной плиты или непосредственно на пояса, рекомендуется подсчитывать по соответствующей грузовой площадке, с учетом неразрезности настила и возможной неразрезности прогонов.
При внеузловом приложении внешних сосредоточенных нагрузок, в том числе опорных реакций, необходимо учитывать наличие изгибающих моментов.
2.155. Расчет элементов структурных конструкций по прочности и устойчивости производится в соответствии с указаниями разд. 5 главы СНиП II-23-81 «Стальные конструкции». При этом в зоне ослабления растянутых стержней отверстиями под болты допускается развитие пластических деформаций.
2.156. Расчет болтов нормальной точности, работающих в узловых сопряжениях структур на срез и смятие, производится в соответствии с указаниями разд. 11 главы СНиП II-23-81, их размещение следует производить в соответствии с табл. 39 главы СНиП II-23-81.
2.157. Несущая способность высокопрочных болтов в системе «МАрхИ» - «Кисловодск», работающих в узловых соединениях нa центральное растяжение, определяется в зависимости от механических свойств болтов после их термической обработки по формуле
|
P = γb Rbh Abn, |
(2.2) |
где Rbh - расчетное сопротивление растяжению высокопрочных болтов, принимаемое равным
|
Rbh = 0,7Rbun, |
(2.3) |
где Rbun - наименьшее временное сопротивление болта разрыву, принимаемое по табл. 61 СНиП II-23-81; γb = 0,8 для болтов с поперечным отверстием (рис. 2.24, а); γb = 0,9 для болтов с односторонней продольной выточкой на толщину резьбы; при отсутствии поперечного отверстия и продольной выточки понижающий коэффициент не вводится (рис. 2.24,6); Abn - площадь сечения болта нетто, определяемая при наличии ослабления резьбой по табл. 62 СНиП II-23-81, а при наличии ослабления отверстием под штифт диаметром 4 мм - площадь сечения болта нетто Аbh0 - по табл. 2.
Таблица 2
|
d, мм |
20 |
22 |
24 |
27 |
30 |
36 |
42 |
48 |
|
Abh0, см2 |
2,34 |
2,92 |
3,56 |
4,64 |
5,86 |
8,73 |
12,17 |
16,17 |
2.158. Диаметр опорной поверхности головки болта по типу 1 и 2 определяется из условия смятия материала цилиндрического вкладыша или конус-вставки под головкой болта силой, равной несущей способности болта.
2.159. Глубина завинчивания высокопрочного болта в узловой элемент (рис. 2.24) определяется по несущей способности резьбы по формуле
|
|
(2.4) |
где k2 = 0,87 - коэффициент полноты метрической резьбы; km = 5s/d - коэффициент, учитывающий неравномерность распределения нагрузки по виткам резьбы; τ2β - расчетное сопротивление резьбы, равное 0,65Run (Run - временное сопротивление разрыву материала узлового элемента; s - шаг резьбы, см.).
2.160. Элементы узловых соединений, работающие на сжатие в системе «МАрхИ» - «Кисловодск», рассчитываются по типу соединений с фрезерованными торцами согласно указаниям п. 11.15 главы СНиП II-23-81. При этом несущую способность шестигранной спецвтулки (рис. 2.25) следует принимать минимальной из двух условий: сжатия по торцу 1-1; смятия материала вкладыша или конус-вставки по торцу 2-2.
2.161. Длина спецвтулки Lcb задается по конструктивным соображениям не менее 0,6dt, где dt - наружный диаметр трубчатого стержня, в котором она применяется.
2.162. Определение расчетной толщины цилиндрического вкладыша следует производить как круглой пластины, шарнирно-опертой по периметру на трубу, с круглым центрально симметричным отверстием, загруженной равномерно распределенной по кольцу нагрузкой [16].

Рис. 2.24. Варианты высокопрочных болтов, применяемых в конструкциях системы «МАрхИ» - «Кисловодск»
а - тип
1 со спецвтулкой и
штифтом; б - тип 2 с двумя
гайками;
1 - болт, ослабленный отверстием под
штифт; 2 - болт без ослабления; 3 - цилиндрический вкладыш; 4 -
спецвтулка; 5 - неподвижная гайка; 6-подвижная
гайка; 7 - штифт

Рис. 2.25. К расчету втулки
При толщине трубы более 0,5 см расчетная толщина цилиндрического вкладыша, полученная по справочнику, может быть понижена коэффициентом 0,8, учитывающим влияние опорного защемления.
2.163. Структурные плиты при наиболее часто встречающихся в практике отношениях высоты к пролету 1/15-1/22 обладают повышенной жесткостью и не нуждаются в проверке общей устойчивости.
2.164. При непосредственной укладке кровли по верхним поясам структурной плиты устойчивость последних в вертикальной плоскости определяется по главе СНиП II-23-81 как для элементов, подверженных действию осевой силы с изгибом; при неразрезных длинноразмерных поясах изгибающий момент определяется из расчета многопролетной неразрезной балки. Когда кровлей является стальной профилированный настил, соединенный с поясом в каждой волне, проверка устойчивости пояса из плоскости не требуется.
2.165. Расчетная длина стержней из труб, одиночных и парных уголков, объединенных в тавровое или крестовое сечение, определяется по табл. 17 главы СНиП II-23-81. При этом l - расстояние между узлами, закрепленными от смещения в двух плоскостях элементами конструкции (раскосами, прогонами, распорками или прочими связями).
2.166. В структурных конструкциях из труб, когда стержни имеют сплющенные концы, необходимо производить проверку местной устойчивости стенки в переходной части трубы по формуле
|
|
(2.5) |
Значения φ при рекомендованных отношениях угла переходной части трубы ¼ - 1/5 приводятся в табл. 3.
Таблица 3
|
dt/t |
20 |
25 |
30 |
35 |
40 |
45 |
|
φ |
1 |
0,95 |
0,89 |
0,81 |
0,72 |
0,6 |
Примечание. dt - диаметр трубы; t - толщина трубы.
2.167. Предельные гибкости сжатых и растянутых элементов структур при статических и динамических нагрузках принимаются согласно п.п. 6.15 и 6.16 главы СНиП II-23-81.
2.168. При определении прогиба структурной плиты жесткости стержней на действие продольных сил определяются в соответствии с указаниями п.п. 4.12 - 4.14 настоящих Рекомендаций.
2.169. В структурных конструкциях, элементы которых сочленяются на болтах нормальной точности, следует учитывать податливость болтовых сопряжений, что приводит к увеличению прогиба конструкции. В этом случае общий прогиб, полученный для системы с неподвижными соединениями, рекомендуется увеличивать на коэффициент 1,2.
2.170. Допускаемые прогибы структурной плиты и отдельных элементов принимаются согласно п. 13.1 главы СНиП II-23-81.
ЛИТЕРАТУРА
1. Каталог легких несущих и ограждающих металлических конструкций и комплектующих металлоизделий для промышленных зданий. Минмонтажспецлегконструкция. - М., Внешторгиздат, 1983.
2. Технические условия ТУ 36-1658-77. Секции с пространственной решетчатой конструкцией типа «Кисловодск». - Главспецлегконструкция Минмонтажспецстроя СССР.
3. Технические условия ТУ 400-28-101-75. Стержни и узловые элементы пространственных конструкций покрытия типа «МАрхИ».
4. Рекомендации по проектированию зданий и сооружений с применением перекрестно-стержневых пространственных конструкций типа «МАрхИ». - М., 1973.
5. Каталог рекомендуемых типов пространственных конструкций для общественных зданий с большими пролетами. - ЛенЗНИИЭП, Л., Стройиздат, 1977.
6. Хромец Ю.Н. Промышленные здания из легких конструкций. - М., Стройиздат, 1978.
7. Легкие металлические конструкции одноэтажных производственных зданий. Справочник проектировщика. Под ред. И.И. Ищенко. - М., Стройиздат, 1979.
8. Файбишенко В.К. Экспериментальные исследования квадратных в плане перекрестных систем при различных вариантах опирания. - В кн: Строительная механика, расчет и конструирование сооружений. Сб. трудов МАрхИ, вып. 1. - М., 1969.
9. Лубо Л.Н., Миронков Б.А. Плиты регулярной пространственной структуры - М., Стройиздат, 1976.
10. Диденко В.Н. Рекомендации по проектированию стальных решетчатых пространственных трубчатых конструкций с узловыми соединениями на ванной сварке. - «Реферативная информация. Строительные конструкции. Строительная физика». ЦИНИС Госстроя СССР, сер. VIII, вып. 12. - М., 1978.
11. Трофимов В.И., Диденко В.Н. и др. Пространственные структурные покрытия. - Энергетическое строительство, 1977, № 1.
12. Файбишенко В. К., Симонов В. И. и др. Строительство промышленного здания с пространственной стержневой конструкцией покрытия.- Промышленное строительство, 1970, № 11.
13. Трофимов В.И., Чернов Ю.А. Структуры из прокатных профилей для одноэтажных производственных зданий. Реф. сб. ЦБНТИ Минтяжстроя СССР, серия «Организация и технология строительства», вып. 4, 1976.
14. Трофимов В.И., Мкрчанц Ю.С, Третьякова Э.В. и др. Структурные конструкции из прокатных профилей. - Промышленное строительство, 1974, № 8.
15. Эстрин Г.Я., Чернов Ю.А. Конструктивные решения структурных покрытий из прокатных профилей. Реф. сб. «Строительное проектирование промышленных предприятии», ЦИНИС Госстроя СССР, вып. 10, 1976.
16. Пространственные конструкции в Красноярском крае. Межвузовский сборник, вып. IX, 1976.
17. Опыт проектирования и строительства зданий и сооружений с применением пространственных конструкций, Госгражданстрой. - М., 1980.
18. Файбишенко В.К., Попов А.А., Стрункин Н.П. Эффективность применения складной перекрестно-ребристой конструкции. - В сб.: Строительная механика, расчет и конструирование сооружений, вып. 2, МАрхИ. - М., 1970.
3.1. Приближенные методы расчета рекомендуется использовать на стадии вариантного проектирования, а также при определении внутренних усилий, необходимых для проведения расчетов на сейсмические и вибрационные воздействия.
На основе приближенных расчетов представляется возможным также оценивать устойчивость элементов структуры и влияния на работу системы ряда несовершенств конструкции, например, расцентровки узлов, их податливость и пр. С привлечением приближенных методов также представляется возможным относительно просто вскрыть дополнительные резервы несущей способности при развитии пластических деформаций.
3.2. Ввиду частого членения структурной плиты на составные однотипные ячейки в приближенных расчетах дискретную структуру рекомендуется заменять однородной расчетной моделью в общем случае ортотропной пластинкой с упругими характеристиками и граничными условиями, соответствующими действительной конструкции. Пластина обычно считается тонкой (не учитываются сдвиги в вертикальных плоскостях и напряжения σя принимаются равными нулю). Ее напряженное состояние описывается известным дифференциальным уравнением
|
|
(3.1) |
где Dxy = Dx vxy + 2 Dкp. Здесь Dx и Dy, vxy и vyx - цилиндрические жесткости на изгиб и коэффициенты Пуассона в направлениях главных осей упругой симметрии структуры х и у; Dкр - жесткость на кручение.

Рис. 3.1. Объемная эквивалентность системы «Кристалл» и элементарного параллелепипеда модели
а - при квадратных ячейках поясных сеток; б - при равносторонних треугольных ячейках поясных сеток

Рис. 3.2. Переход от усилий в модели к узловым нагрузкам на «Кристалл»
а - при квадратных ячейках поясных сеток; б - при равносторонних треугольных ячейках поясных сеток
При Dxy = 0 - частный случай ортотропии, соответствующий структурам, не воспринимающим кручение. Если Dxy = Dx = Dy, модель становится изотропной.
3.3. Упругие характеристики расчетной модели - жесткости пластинки на изгиб и кручение и коэффициенты Пуассона рекомендуется определять путем анализа упругих свойств составляющего структуру повторяющегося элемента - «кристалла» и распространением их на расчетную модель в целом [1]. Объему структуры, занимаемому кристаллом в модели, соответствует элементарный параллелепипед высотой h и размерами в плане dx и dy (рис. 3.1). Полученные усилия прикладывают к граням параллелепипеда и при обратном переходе к структуре концентрируют в узлах кристалла, принимаемых шарнирными (рис. 3.2). Рассчитывая кристалл на эти нагрузки, находим усилия в стержнях.
3.4. Единым принципом, на котором основаны все имеющиеся способы построения сплошных моделей стержневых систем, а также стержневых моделей сплошных тел, является энергетическая эквивалентность. В рассматриваемом случае этот принцип выражается в том, что при равных деформациях стержневого кристалла и элементарного параллелепипеда моменты усредненных напряжений изгиба и сдвига в сетках кристалла и моменты соответствующих напряжений в сплошной модели должны быть одинаковыми. Внутренняя энергия стержневой структуры и расчетной модели количественно равна.
3.5. Для определения упругих характеристик расчетной модели можно применить метод перемещения и метод сил. Удобной является также матричная форма определения упругих характеристик.
При определении упругих характеристик плоских структурных плит методами сил и перемещений должны быть применены зависимости, относящиеся к плоскому напряженному состоянию теории упругости. Эти методы могут быть применены как для прямого определения изгибных и крутильных жесткостей и коэффициентов Пуассона структуры из анализа упругих свойств кристалла, так и для определения упругих характеристик отдельных ее слоев (сеток и наклонных раскосов) с последующим переходом к расчетной модели в виде пластинки, учитывающей сдвиги в вертикальных плоскостях.
Матричная форма метода перемещений может быть применена для определения упругих свойств поясных сеток, каждая из которых рассматривается как частный случай бесконечной стержневой системы с расположением всех стержней в одной плоскости. Расчетная модель структуры в целом строится переходом от сеток к заменяемой пластине.
3.6. В табл. 4 приводятся формулы упругих характеристик структур с шарнирными узлами, используемые при переходе к расчетной модели. Для систем с сетками одинакового строения устанавливается зависимость жесткости на изгиб D и кручение Dкр от геометрических параметров m (отношение площади сечения поясов и диагоналей), n (отношение площади сечения верхних и нижних поясов) и α (угол наклона раскосов).
Для структур с неодинаковым строением поясных сеток формулы перехода к расчетной модели учитывают также и работу раскосов, т.е. их жесткостные характеристики.
3.7. В табл. 5 приводятся формулы обратного перехода от расчетной модели к продольным усилиям в стержнях структуры.
При наличии вспомогательных материалов, составленных для пластинок [2], статический расчет структур легко осуществляется по формулам табл. 4 и 5.
3.8. В ряде случаев целесообразно не прибегать к аппроксимации стержневой системы ортотропной плитой, а производить непосредственное интегрирование (3.1), которое удобно осуществлять методом конечных разностей (методом сеток) [3, 4]. Для структурных плит с ортогональной сеткой поясов и размерами квадратной ячейки а×а (рис. 3.3, а) уравнение (3.1). в конечно-разностной форме для i-той точки запишется в виде
|
4 (3 + 2 ξ) wi - 4 (1 + ξ) (wl + wk + wn + wm) + + 2 ξ (wq -+ wr + w0 + wp) + wt + wu + ws + wv = q a4/D, |
(3.2) |
где q - равномерно распределенная нагрузка;
![]()
Dxy и D - принимаются по табл. 4.
Обозначения буквенных индексов приводятся на рис. 3.3, б.
Изгибающие моменты и поперечные силы определяются по формулам:



Рис. 3.3. К определению усилий в структурной плите с ортогональной сеткой поясов методом конечных разностей
а - обозначения узлов поясной сетки; б - обозначения усилий в раскосах одной поясной ячейки
Таблица 4
|
Упругие характеристики |
Тип структуры |
||
|
с одинаковым строением поясных сеток |
|||
|
1 |
2 |
3 |
|
|
|
|
|
|
|
Цилиндрическая жесткость на изгиб D = E Amsb tg2 α K1 |
|
|
|
|
Жесткость на кручение Dкр = E Amsb tg2 α K2 |
|
0 |
|
|
Коэффициент Пуассона v |
|
0 |
1 |
|
Параметр дифференциального уравнения ξ |
3v |
0 |
3 |
Продолжение табл. 4
|
Упругие характеристики |
Тип структуры |
|||
|
с одинаковым строением поясных сеток |
||||
|
4 |
5 |
6 |
7 |
|
|
|
|
|
|
|
|
Цилиндрическая жесткость на изгиб D = E Amsb tg2 α K1 |
|
|
|
|
|
Жесткость на кручение Dкр = E Amsb tg2 α K2 |
|
|
|
|
|
Коэффициент Пуассона v |
1/3 |
|
1 |
|
|
Параметр дифференциального уравнения ξ |
1 |
|
|
|
Примечание.
где Ams, Ami - площади сечений поясов
в верхней и нижней сетках; Adgs, Adgi - площади сечений
диагоналей в верхней и нижней сетках; Ad - площадь сечения раскосов;
α - угол наклона раскосов к горизонтальной плоскости. В первой и второй
строках даны значения коэффициентов соответственно K1 и K2 для структур 1-7.
|
Тип структуры |
||||||
|
с одинаковым строением поясных сеток |
||||||
|
усилия |
элементы |
1 |
2 |
3 |
элементы |
4 |
|
|
|
|
|
|
||
|
В поясных сетках |
N1 = -N5 |
|
|
|
N1 = -N4 |
|
|
N2 = -N6 |
|
|
|
N2 = -N5 |
|
|
|
N3 = -N7 |
|
- |
- |
N3 = -N6 |
|
|
|
N4 = -Ns |
|
- |
- |
- |
- |
|
Продолжение табл. 5
|
Тип структуры |
||||||
|
с одинаковым строением поясных сеток |
||||||
|
усилия |
элементы |
1 |
2 |
3 |
элементы |
4 |
|
|
|
|
|
|||
|
В раскосах |
N12 = -N10 |
|
- |
|
N7 = N10 |
|
|
N9 |
|
- |
|
N8 = N11 |
|
|
|
N11 |
|
- |
|
N9 = N12 |
|
|
Продолжение табл. 5
|
Тип структуры |
||||||
|
с одинаковым строением поясных сеток |
||||||
|
усилия |
элементы |
5 |
элементы |
6 |
элементы |
7 |
|
|
|
|
||||
|
В поясных сетках |
N1 |
|
- |
- |
N1 |
|
|
N2 |
|
- |
- |
N2 |
|
|
|
N3 |
|
N3 |
|
N3 |
|
|
|
N4 |
|
N4 |
|
N4 |
|
|
|
N5 |
|
N5 |
|
N5 |
|
|
|
N6 |
|
N6 |
|
N6 |
|
|
|
В раскосах |
N9 |
|
N7 = N10 = N14 |
|
|
N10 |
|
N8 = N11 = N13 |
|
|
|
N11 |
|
N9 = N12 = N15 |
|
|
|
N12 |
|
Примечания: 1. Для структур 3 и 6 учтено присущее им соотношение Мх = 5.
2. Для структуры 7 при записи знаков в виде «±» нижнее значение принимается для N13, N14, N15
3. При выводе формул усилия приняты положительными (см. правило знаков). В случае обратного направления они подставляются со знаком минус.
4. На эскизах кристаллов верхняя сетка обозначена полужирной линией, нижняя - тонкой, раскосы - штрихпунктирной.
5. Правило знаков (показаны положительные направления усилий)

|
|
(3.3) |
|
|
|
|
|
(3.4) |
Значения функций прогибов для внеконтурных точек сетки определяются из граничных условий, записанных для точек, находящихся на контуре. Граничные условия в конечно-разностной форме для различных схем опирания плиты приведены в табл. 6.
Прогибы получаем как решение системы линейных алгебраических уравнений (3.2), записанных для всех точек сетки, в том числе и контурных. По известным прогибам определяются погонные изгибающие моменты и поперечные силы с использованием формул (3.3) и (3.4). Переход от погонных моментов и поперечных сил к усилиям в поясах и раскосах для различных систем структурных плит осуществляется по формулам, приведенным в табл. 5.
В качестве примера рассмотрим структурную плиту с ортогональной сеткой поясов без диагоналей.
В этом случае ξ = 0; v = 0; угол наклона раскоса к плоскости сетки α. Сечения верхнего и нижнего поясов равны
n = Ams/Ami = 1.
Цилиндрическая жесткость
![]()
где b - длина панели пояса; h - высота структуры; α = 45°; tgα = 1;
/.
Изгибающие моменты:
![]()
![]()
Поперечные силы:
![]()
![]()
Таблица 6
|
Схема опирания |
Дифференциальная форма записи граничных условий |
Конечно-разностная форма для точки i |
|
|
w = 0
|
|
|
|
w = 0
|
|
|
|
|
|
|
|
|
|
Усилия в поясах:
![]()

![]()

Усилия в раскосах:
![]()
![]()
![]()
![]()
Если в точке i есть опора, то опорная реакция равняется
|
Ri = Mxk + Mxl + Myn + Myrn - 2Mxi - 2Myl + Fi, |
(3.7) |
где Fi - сосредоточенная сила в точке i от внешней нагрузки.
3.9. Если рассматриваемая стержневая система обладает граничными условиями, при которых пластины имеют решения с учетом сдвигов в вертикальной плоскости, то рекомендуется принимать для расчета структуры более совершенную расчетную модель, учитывающую работу раскосов. Этой моделью будет пластинка толщиной, равной высоте конструкции, имеющая приведенные упругие характеристики среднего слоя (раскосов) Ered и Gred [5]. Здесь Ered - приведенный модуль упругости в главных направлениях х и у для плоскости, параллельной сеткам.
3.10. Цилиндрическая жесткость на изгиб и приведенный модуль упругости для заменяющей структуру пластинки имеют вид:
|
|
(3.8) |
|
(3.9) |
где v - коэффициент Пуассона в направлениях х и у для сеток структуры.
Пример. Определим влияние сдвигов на прогиб регулярной
системы с ортогональной сеткой поясов, усиленных перекрестно расположенными
диагоналями в обеих сетках. Структура имеет квадратный план с размерами l×l при
шарнирном опирании по контуру и равномерно распределенной нагрузке. Угол
наклона раскосов α = 45°.
Отношение площадей сечений поясов и диагоналей в верхних и нижних поясных
сетках
, что характеризует изотропные свойства в плоскости сеток.
Отношение приведенных модулей упругости для верхних и нижних сеток n = 1.
Цилиндрическая жесткость на изгиб
рассматриваемой структурной плиты запишется следующей формулой:
|
|
(3.10) |
Вычислим приведенный модуль упругости по формуле (3.9), подставляя в нее выражение (3.10),
где b - длина панели пояса.
При единичном относительном сдвиге в вертикальной плоскости в раскосах возникают усилия:
![]()
Сила, сдвигающая вершину пирамиды среднего слоя, равна
Т = 2 Е Ad sin α cos2α.
Имея в виду, что при единичном сдвиге Gred = τ, получим
![]()
При α = 45° модуль сдвига окажется равным
![]()
Прогиб с учетом сдвигов определяется по формуле для трансверсально-изотропных пластинок, приведенной в монографии С.А. Амбарцумяна [6]
|
|
(3.11) |
Подставляя в (3.11) значения Ered, Gred, h, v, получим
|
|
(3.12) |
где
- прогиб по классической теории
пластинок.
3.11. Формула (3.12) может быть получена для любой структуры; различие будет состоять в коэффициенте при соотношении Ams/Ad, величину которого следует принимать по опорной зоне, являющейся областью наибольших сдвигов. Если задаться Ams/Ad ≈ 1, то из (3.12) следует, что прогибы структуры с изотропными свойствами сеток увеличатся примерно на 25 % по сравнению с результатами расчета заменяющей пластинки по классической теории.
3.12. Для оценки влияния жесткости узлов на распределение внутренних усилий рекомендуется упругие характеристики элементарного параллелепипеда расчетной модели (см. п.п. 3.3 - 3.5) определять из рассмотрения стержневого элемента («кристалла») с жесткими узлами (рис. 3.4), при этом возможно пренебрегать жесткостью стержней на кручение.
3.13. В
структурной плите с ортогональной сеткой поясов, усиленной диагоналями
(системы, воспринимающие крутящие моменты), изгиб стержневого элемента, при
котором верхние и нижние поясные сетки получат единичные деформации, вызовет
смещение диагоналей на
и наклонных раскосов
на 2δd = sin φ(p, где φ -
угол между раскосом и поясом.
При такой деформации величина поперечной силы в изгибаемых стержнях определяется выражением
|
|
(3.13) |
где Iс и lc - момент инерции и длина стержня; δ - взаимное поперечное смещение концов стержня.
3.14. Напряжения от изгиба в диагоналях и раскосах определим по формулам:
|
|
(3.14) |
|
|
(3.15) |

Рис. 3.4. К вопросу влияния жесткости узловых сопряжений на величины упругих характеристик
При наклоне раскосов к горизонтальной плоскости α = 45° суммарное напряжение в сетках от изгиба стержней запишется в виде
|
|
(3.16) |
где rdg и гd - радиусы инерции диагоналей и раскосов.
3.15. При шарнирных узлах от единичных деформаций стержневого элемента возникают в верхних и нижних поясных сетках усредненные напряжения, вычисляемые по формулам:
|
|
(3.17) |
где m - отношение площади сечения поясов и диагоналей.
3.16. Относительное увеличение изгибной жесткости системы и усилий в поясных сетках вследствие учета жесткости узлов рекомендуется определить по формуле
|
|
(3.18) |
Полагая b/r ≈
100, Ad/Adg
= l и
, получим η = 0,001, т.е. при принятых условиях
погрешность при определении жесткости системы на изгиб составляет 0,1 %, что не
окажет существенное влияние на распределение продольных усилий в стержнях
системы, что же касается изгибных напряжений в узлах, то они при малой гибкости
стержней могут достигать значительной величины.
3.17. Наличие эксцентриситетов в узлах конструкции отражается па ее напряженно-деформированном состоянии. Оценку влияния этих факторов рекомендуется производить путем выполнения расчета заменяющей реальную конструкцию модели с измененными жесткостями стержней в зависимости от характера и величин эксцентриситетов.
При обозначенных на рис. 3.5 величин поясных эксцентриситетов εx и ey в прямоугольных в плане структурных плитах с ортогональными поясными сетками приведенные модули упругости, заменяющей конструкцию модели, учитывающей эксцентриситеты в узлах в направлениях соответственно ох и оу, найдем но формулам:
|
|
(3.19) |
где Dx и Dy - цилиндрические жесткости в направлениях соответственно ох и оу, значения которых определяем по формулам:

Рис. 3.5. К расчету структур с узловыми эксцентриситетами
|
|
(3.20) |
|
|
(3.21) |
Здесь Е - модуль упругости материала; Аsх, Aix, Аs.у и Ai.y - площади поперечных сечений верхних и нижних поясов, расположенных соответственно параллельно осям oy и ox; Is.xy, Ii xy - моменты инерции поясов, расположенных параллельно оси ох, относительно собственных осей, параллельных оси oy, Is.yx, Ii yx - моменты инерции поясов, расположенных параллельно оси оу, относительно собственных осей, параллельных оси ох; a - размер ячейки сетки.
3.18. Приведенные модули сдвига в направлениях соответственно х и у при учете эксцентриситетов в узлах определяются по формулам:
|
|
(3.22) |
где
|
h1 = hx + esx + eix = hy + esy + eiy;
|
ηsx, ηix - безразмерные коэффициенты, зависящие только от формы сечения стержней верхнего и нижнего поясок; G - модуль сдвига материала стержней; Ad - площадь поперечного сечения раскосов.
Формулы, по которым определяются приведенные модули сдвига для случая отсутствия узловых эксцентриситетов в направлении ох и оу, имеют вид:
|
|
(3.23) |
3.19. Значения Dx, Dy, Ered,x, Ered,y рекомендуется подсчитывать для зоны действия максимальных изгибающих моментов, а Gred,x, Gred,y, G'red,x, G'red,y - для зоны действия максимальных перерезывающих сил.
3.20. Коэффициенты снижения жесткости поясов kx в направлении ox и ky - в направлении оу при учете эксцентриситетов в узлах определим по формулам:
|
|
|
|
|
3.24 |
3.21. Расчет конструкции при учете влияния эксцентриситетов в узлах следует производить с измененными жесткостями стержней, величины которых нижеследующие:
|
A's,xi = As,xi/kx; A'i,xi = Ai,xi/kx; I's,xyi = Is,xyi/kx; I'i,xyi = Ii,xyi/kx; A's,yi = As,yi/ky; A'i,yi = Ai,yi/ky; I's,yxi = Is,yxi/ky; I'i,yxi = Ii,yxi/ky;
|
3.25 |
|
|
(3.26) |
3.22. Для случая цилиндрического изгиба в направлении ох или оу формула (3.26) имеет соответственно вид
|
A'di = Adi/kx или :A'di = Adi/ky. |
(3.27) |
3.23. К структурным конструкциям с податливыми узловыми соединениями в первую очередь относятся конструкции, сочленение элементов которых осуществляется на болтах нормальной точности, работающих в условиях среза и смятия.
При нагрузках, составляющих от 0,3 до 0,4 от расчетных, происходят сдвиговые деформации в узлах, которые полностью прорабатываются, когда нагрузка достигает примерно 0,5 - 0,6 от расчетной.
3.24. Величина сдвига раскосов в узловых сопряжениях зависит от величины зазора между отверстием и болтом ∆.
Учитывая это, при определении прогиба подобных систем слагаемые в формуле Мора, учитывающие деформации решетки, рекомендуется определять следующим образом:
|
|
(3.28) |
3.25. При выполнении подобных конструкций на специализированных заводах согласно техническим условиям зазор между отверстием и болтом принят 1,5 мм. При таком зазоре дополнительный прогиб от сдвига раскосов в типовых структурах составляет от 15 до 20 % по отношению к прогибу, определенному без учета сдвигов. Рекомендуется этот дополнительный прогиб устранять за счет строительного подъема.
3.26. Структурные конструкции с податливыми узлами, осуществляемые в отечественном строительстве, не по всей площади оказываются внутренне статически неопределимыми. На этих участках сдвиговые деформации раскосов не оказывают влияния на распределение внутренних усилий. На участках, где система обладает внутренней статической неопределимостью, неравномерные сдвиги раскосов приводят к перераспределению внутренних усилий, что наблюдается в экспериментах до нагрузки, составляющей 0,3 - 0,4 от расчетной.
При нагрузке, равной 0,5 от расчетной и выше, когда прорабатываются все сдвиговые деформации, происходит выравнивание усилий, т.е. действительные усилия оказываются близкими к усилиям, определенным из условия неподатливых узлов. Таким образом, при гарантированном одинаковом зазоре между болтом и отверстием при определении внутренних усилий можно не учитывать сдвиг раскосов.
3.27. Для наиболее часто встречающихся в практике структурных конструкций указания по расчету сжатых стержней на устойчивость приведены в главе СНиП II-23-81. Однако в ряде случаев бывает необходимо производить дополнительные расчеты на устойчивость, при выполнении которых следует учитывать, что условия работы сжатых стержней структуры более благоприятны, чем в обычных фермах, так как повороту одного из стержней при потере устойчивости в определенной мере препятствует большая группа стержней, сопряженных с ним в узлах.
3.28. Для упрощения расчета при равномерно распределенной нагрузке можно допустить, что сжатые стержни поясов в центральной зоне пролета одновременно теряют устойчивость, так как усилия в них близки по величине, при этом повороту узла сопротивляются только примыкающие к нему раскосы. Такое допущение идет в запас устойчивости.
3.29. За расчетную схему в этом случае рекомендуется принимать сложную основную систему метода перемещений (рис. 3.6) с одинаковыми усилиями в поясах. Наименьшее значение критической нагрузки будет определять кососимметричное деформирование панелей поясов, при которой поворот верхних узлов обозначен на рис. 3.6.
Узлы нижней сетки поясов при принятой форме потере устойчивости верхних поясов останутся неподвижными. При учете того, что усилия в решетке каждой пирамиды мало отличаются друг от друга (в двух раскосах они имеют положительный знак, а в двух других - отрицательный), то ее сопротивление повороту узла практически будет равноценно сопротивляемости нулевых раскосов [7].
3.30. При принятых в п. 3.28 предпосылках и пренебрегая жесткостью стержней на кручение, уравнение устойчивости запишем в виде
|
|
(3.29) |
где φ2(u) и φ3 (u) - трансцендентные функции, учитывающие сжатоизогнутость стержня, определяются в зависимости от

Если принять id/im = 0,5 и угол наклона раскосов α = 45°, то критическое значение параметра внешней нагрузки uкр = 3,675 и коэффициент приведения длины пояса μ = π/3,675 = 0,855.

Рис.
3.6. Основная система метода перемещений (к вопросу устойчивости
сжатых поясов: полужирная линия - верхние пояса, тонкая - нижние; пунктирная -
раскосы)
3.31. При действии сосредоточенной нагрузки устойчивость наиболее сжатых поясов дополнительно увеличивается благодаря соседним поясным стержням, усилия в которых N не достигло критической величины Nкp. Отношение N/Nкр для примыкающих стержней является показателем возможного снижения коэффициента расчетной длины рассматриваемого стержня. Оно зависит от отношения равномерно распределенной нагрузки на покрытие к сосредоточенной нагрузке в узле, а также от частоты членения структуры на ячейки. Так, например, для структурной плиты с ортогональной сеткой поясов с количеством ячеек 6×6, приложением сосредоточенной силы в уровне нижней сетки и с учетом ранее принятых предпосылок (п. 3.29) по форме потере устойчивости, уравнение устойчивости примет вид
|
|
(3.30) |
которое удовлетворяется при u = 4,67 и коэффициенте приведенной длины пояса μ = 0,672.
3.32. Критическое состояние раскосов рекомендуется определять из наиболее невыгодного расположения (для раскоса) внешней нагрузки, т. е. когда к верхнему узлу приложена большая сосредоточенная нагрузка и во всех примыкающих к узлу стержнях имеет место сжатие, а в примыкающих стержнях нижнего узла - растяжение. При таком распределении усилий верхний узел при потере устойчивости следует принимать шарнирным, а нижний - упруго-защемленным.
При потере устойчивости раскоса в вертикальной плоскости уравнение устойчивости имеет вид
|
3 id φ1 (u) + 3 [2 im + id (1 + 2 sin2α)] = 0. |
(3.31) |
При id/im = 0,5 и α = 45°, μ = 4,271 и μ = 0,735. μ ≈ 0,7 соответствует полному защемлению в нижнем узле при неподвижном шарнирном опирании раскоса в верхней сетке. Аналогичным путем можно получить коэффициенты приведения длины для опорных восходящих (сжатых) раскосов.
3.33. Приближенный расчет структурных конструкций может быть выполнен как расчет перекрестных ферм (балок), при этом с целью упрощения расчета рекомендуется принимать, что пересекающиеся в узлах фермы имеют между собой только вертикальную связь [8].
3.34. Дифференциальное уравнение изгиба перекрестных систем с постоянными по длине изгибными жесткостями имеет вид
|
|
(3.32) |
где EIi - жесткость ферм i-го направления; g - интенсивность нагрузки на покрытие; i - количество пересекающихся в узле ферм.
При переменном значении погонной жесткости фермы дифференциальное уравнение запишется в виде
|
|
(3.33) |
3.35. Напряженное состояние структурных плит с ортогональными сетками поясов, не работающих на кручение, может быть описано дифференциальным уравнением изгиба перекрестных ферм двух направлений
|
|
(3.34) |
где EI - изгибная жесткость ферм направлений х и у.
3.36. Напряженное состояние структурных плит с поясами, идущими в трех направлениях, воспринимающими кручение, при равносторонней ячейке поясных сеток и постоянстве сечения поясов описывается уравнением
|
|
(3.35) |
где EI - изгибная жесткость ферм; а - расстояние между смежными узлами поясной сетки; α, β, γ - направления ферм.
3.37. Наиболее удобным методом для решения уравнений (3.34), (3.35) является метод конечных разностей с заменой частной производной от прогибов структуры по i-ому направлению соответствующей производной в конечных разностях
|
|
(3.36) |
где обозначения параметров приняты согласно рис. 3.7.

Рис. 3.7. Правила,
обозначения законтурных точек
(к расчету структурной конструкции как перекрестной системы)
а - схема обозначения узлов при поясных сетках, образующих квадратные и треугольные ячейки; б - свободное опирание в точках 0; в - защемление в точках 0; г - контур, свободный от опор

Рис. 3.8. Корректировка системы линейных уравнений (к расчету структур в упругопластической стадии работы материала)
Уравнение (3.34) в конечно-разностной форме для структур с поясными сетками из квадратных ячеек принимает вид
|
|
(3.37) |
и уравнение (3.35) для структур с поясными сетками из треугольных ячеек записывается в аналогичной форме
|
|
(3.38) |
где E I = E Amh2/2 - изгибная жесткость ферм с сечением поясов Аm и высотой структуры h.
3.38. Расчет структурных конструкций как перекрестно-балочных систем сводится к составлению n числа линейных уравнений типа (3.37) и (3.38) и их решению относительно прогибов узлов поясных сеток. При составлении уравнений для приконтурных узлов вводятся условные обозначения законтурных точек, принимаемые согласно правилам, приведенным на рис. 3.7. Число линейных уравнений, необходимое для нахождения прогибов структурной конструкции, определяется числом поясных узлов в покрытии (за исключением опорных). После решения системы уравнений моменты в точках пересечения ферм и перерезывающие силы в пределах панели фермы подсчитываются по формулам:
|
|
(3.39) |
а усилия в колоннах находят как сумму перерезывающих сил опорных ферм
|
|
(3.40) |
3.39. Структурные покрытия, имея большую степень внутренней статической неопределимости, обладают в ряде случаев существенным резервом несущей способности, которая зависит от схемы структуры и условий опирания покрытия.
При наличии резерва покрытия по жесткости, в нем становится возможным использование упруго-пластической стадии работы материала.
3.40. Определение резерва несущей способности структурного покрытия, а также раскрытие механизма последовательного развития пластических деформаций рекомендуется выполнять приближенно при помощи расчета структурного покрытия как перекрестно-балочной системы.
3.41. Расчет структурных конструкций в упруго-пластической стадии их работы состоит из следующих этапов:
а) составления и решения для покрытия системы линейных уравнений (3.32) или (3.33);
б) определения места текучести в покрытии по максимальному значению второй производной от прогибов по условию (3.41)
|
|
(3.41) |
где h - высота покрытия и Nyn - постоянная величина силы, воспринимаемая поясным стержнем фермы, вошедшим в пластичность;
в) корректировки предыдущей системы линейных уравнений условиями, обеспечивающими постоянство воспринимаемого изгибающего момента фермой, вошедшей в пластическую стадию (например, панели «в - δ» рис. 3.8). Для этого в предыдущую систему для двух точек слева от панели «в - δ» и двух справа вводят фиктивные точки в1, в2 и δ1, δ2 (рис. 3.8). Положения фиктивных точек определяются следующими уравнениями:
|
|
(3.42) |
где Ryn - напряжение текучести материала;
г) после решения скорректированной системы линейных уравнений на нагрузку g +∆g вновь согласно (3.41) определяют место распространения пластичности в покрытии и т.д. При расчетах величину ∆g рекомендуется принимать в пределах 5-10 % g. Расчет покрытия достаточно выполнить до достижения покрытием условия второй группы предельных состояний по жесткости. Прогиб, полученный на последнем этапе расчета, не должен превышать допускаемый.
3.42. В качестве расчетной схемы многопролетного покрытия может быть принята квадратная в плане система, состоящая из девяти секций-полей (рис. 3.9), и система с бесконечным числом полей, каждое из которых имеет членение плана 6×6 ячеек. Такое членение можно рекомендовать для изучения работы действительной структуры с большим числом ячеек в поле.
Данные расчета схем, указанных на рис. 3.9, при различных граничных условиях и способах опирания приводятся в [1].
3.43. Принятая схема с ограниченным числом полей дает возможность достаточно точно представить работу полей действительного покрытия, примыкающих к контуру. Напряженно-деформированное состояние остальной части покрытия в гораздо большей степени зависит от числа полей, нежели от контурных условий и может быть оценено сопоставлением результатов расчета схемы с девятью полями и схемы покрытия с бесконечным в обоих направлениях числом полей.
3.44. Расчет по этим схемам дает наименьшие и наибольшие возможные значения усилий и прогибов в центральных полях действительного покрытия. Этот интервал имеет близкие крайние значения, что позволяет на основе анализа результатов расчета двух указанных схем достаточно точно оценивать напряженно-деформированное состояние центральных полей неразрезной структуры, число полей которой в обоих направлениях составляет от трех до бесконечности.
3.45. Основные функциональные элементы неразрезного структурного покрытия показаны на рис. 3.9. К. ним относятся внутренние опоры (капительные или точечные), контурные опоры, межколонные полосы, контурные полосы (в случае податливого контура или разреженного опирания). Среди секций-полей структуры будем различать угловое, среднее контурное и центральное поля.
По характеру опирания рассматриваемые варианты можно разделить на две группы. В первую группу входят конструкции, имеющие внутренние опоры в виде выступающих стержневых капителей. Ко второй группе относятся варианты неразрезного покрытия, в которых нет выступающих стержневых капителей - структура опирается непосредственно на колонны.
3.46. Эффективность капительного опирания заключается в сокращении свободного пролета межколонных полос, являющихся наиболее напряженными зонами неразрезной схемы. Влияние капителей в большей мере сказывается на средних пролетах межколонных полос, поскольку здесь пролет уменьшается с двух сторон.
Для предварительного изучения работы капительной зоны рекомендуется рассмотреть неразрезную структурную плиту с неограниченным числом пролетов под действием равномерно распределенной нагрузки [9]. Упругие свойства сеток рекомендуется принимать изотропными.
На рис. 3.10 показана секция покрытия, где для наглядности на части плана сняты верхние диагонали. Стержни верхней сетки показаны полужирной линией, стержни нижней сетки - тонкой, а раскосы - пунктиром. Распределение усилий в зоне внутренних опор неразрезного структурного покрытия имеет особенность по сравнению со сплошной плитой, состоящую в появлении в одной из сеток капительной зоны дополнительных воздействий от горизонтальных составляющих усилий в раскосах капители (распора). При выступающей вниз капители усилия распора передаются на нижнюю сетку и приводят к уменьшению сжатия в стержнях 1, являющихся основанием капители и к некоторому дополнительному сжатию окружающих стержней 2.
Чтобы рассчитать опорную зону, надлежит
вырезать ее из конструкции и приложить внешнюю нагрузку, а также внутренние
усилия, заменяющие действие отброшенной части. Внутренние усилия рекомендуется
определять по таблицам для безбалочных перекрытий или, пользуясь аналогией между
работой секции бесконечного неразрезного покрытия и равновеликой ей круглой
защемленной по контуру пластинки с приведенным радиусом
[10].

Рис. 3.9. Элементы неразрезного покрытия
1 - внутренняя опора; 2 - опоры по контуру; 3 - межколонная полоса; 4 - контурная полоса; 5 - угловое поле; 6 - среднее контурное поле; 7 - центральное поле

Рис. 3.10. Схема секции покрытия (полужирная линия - верхняя поясная сетка, тонкая - нижняя пунктирная - раскосы)

Рис. 3.11. Зона внутренней опоры при точечном опирании
Опорные реакции считаем равномерно
распределенными по окружности радиусом
, проведенным
через узлы стержневой капители. Определение радиальных и тангенциальных
моментов и поперечных сил, действующих по контуру опорной зоны, рекомендуется
вести согласно указаниям [9].
Усилия в декартовой системе координат находим затем по известным формулам [11].
3.47. В ряде случаев наружная капитель может оказаться неудобной по технологическим условиям благодаря наличию выступающей части конструкции. В этом случае применима схема с точечным опиранием на внутренние опоры.
Существует полное единство в схеме работы неразрезных структур в случае точечного и капительного опирания. При точечном опирании структуры опорная капитель не выступает из структурной плиты, а является ее внутренней органической частью (рис. 3.11), которая так же, как и наружная капитель, сокращает пролет межколонных полос.
3.48. При капительном опирании возникающий распор (горизонтальные составляющие усилий в раскосах капители) разгружает наиболее сжатые пояса основания капители, что приводит к уменьшению прогибов и усилий а стержнях покрытия. Обратная картина получается при точечном опирании независимо от того, по нижним или верхним узлам оно осуществляется. Так, в случае верхнего опирания структура оказывается подвешенной к колонне на раскосах внутренней капители, при этом образовавшийся в нижней сетке распор увеличивает сжатие поясов капители. В случае нижнего опирания сжатые стержни внутренней капители вызовут в верхнем поясе растяжение, что также суммируется с основными усилиями в этих поясах. Таким образом, при точечном опирании образовавшийся распор не разгружает структуру, как при капительном опирании, а догружает ее, вызывая дополнительные прогибы и усилия в стержнях соответствующих сеток.
3.49. При проектировании неразрезных структур значительную роль играет учет влияния фактической жесткости межколонных полос на распределение усилий, а также степень целесообразности подкрепления этих полос специальными фермами.
При всех равных условиях усиление межколонных полос приводит к большему снижению усилий в поясах межколонных полос структуры и меньшему в центральных полях.
3.50. При определении периодов и форм собственных колебаний в вертикальной плоскости покрытий с применением структурных конструкций рекомендуется структурные плиты рассматривать как ортотропные пластинки с приведенной цилиндрической жесткостью и жесткостью на кручение, выражения для которых приведены в табл. 4.
3.51. Периоды и формы собственных колебаний пластинок с эквивалентными жесткостными характеристиками определяются с помощью таблиц для прямоугольных пластинок с различными краевыми условиями [12]
|
|
(3.43) |
где La - длина пластины (пролет структурной плиты) в рассматриваемом направлении; k2mn - коэффициент, определяемый по таблицам справочника [12]; т - равномерно распределенная масса структуры с учетом нагрузок на покрытие; Dx - приведенная цилиндрическая жесткость.
Для квадратной шарнирно опертой пластинки k211 = 19,73.
Формы собственных колебаний пластинок можно определять по таблицам справочника [13].
3.52. При определении периодов и форм собственных колебаний стержневая плита системы «Кисловодск», опертая на четыре колонны (рис. 3.12), может рассматриваться как пластина без консолей, упруго замещенная на контуре [14].
Период основного тона колебаний такой пластины равен
|
|
(3.44) |
где
- коэффициент
упругого замещения;
η1 - приведенный коэффициент упругого замещения; при одинаковой схеме конструкций покрытия в консольной и пролетной частях η1 =3 Lc/La (см. рис. 3.12); k1 - коэффициент, зависящий от типа структурной плиты (см. табл. 4); Е - модуль упругости; Ams - площадь сечения верхнего пояса; а - размер ячейки структуры; α - угол наклона раскосов к горизонтальной плоскости.

Рис. 3.12. Схема покрытия с консольными участками
а - заданная схема, б - расчетная схема, 1 - условное шарнирное опирание

Рис. 3.13. Схемы нагрузок на покрытие при проверке напряженно-деформированного состояния
а - для покрытий без консолей; б - с консолями
При расчете покрытий в виде структурных конструкций, периоды основного тона колебаний которых меньше 0,4 с, допускается не учитывать высшие формы колебаний.
При этом проверку напряженно-деформированного состояния структурных конструкций рекомендуется выполнять следующим образом [14]. Определяется равномерно распределенная нагрузка goc на покрытие (см. п. 5.1). По формулам, аналогичным (5.1) и (5.2); находится распределенная вертикальная сейсмическая нагрузка
|
gc = K1 K2 goc A β1 Kφ, |
(3.45) |
здесь βi - коэффициент динамичности, соответствующий основной форме собственных колебаний и коэффициент формы η1 = 1.
Ввиду распределения инерционных сейсмических нагрузок пропорционально ординатам формы колебаний величина qc относится к центральной зоне структурной плиты. Если распределение инерционных нагрузок принять близким к синусоидальному, то эквивалентная равномерно распределенная нагрузка равна qэкв = qc 2/π.
Расчетную проверку конструкций покрытия рекомендуется выполнять для следующих схем (рис. 3.13): при равномерно распределенной нагрузке qoc ± qэкв по площади плиты; при равномерно распределенной нагрузке qoc ± qэкв по площади плиты, за исключением центральной части длиной 0,4 La, где суммарная нагрузка равна qoc ± qc; при наличии консольных частей при нагрузке qa ± qэкв на пролетную часть плиты и qoc (1 ± 5 К1 К2 А) - на ее консольные участки. Здесь βη = 5 отражает требования п. 5.13.
ЛИТЕРАТУРА
2. Калманок А.С. Пластинки. Справочное пособие: - М: Госстройиздат, 1959.
3. Варвак П.М. Развитие и применение метода сеток к расчету плит. - Киев, изд-во АН УССР, 1959.
4. Муханов К.Н. Металлические конструкции. - М., Стройиздат, 1978.
5. Лехницкий С.Г. Теория упругости анизотропного тела. - М., Физматгиз, 1959.
6. Амбарцумян С.А. Теория анизотропных пластин. - М., Наука, 1967;.
7. Смирнов А.Ф. Устойчивость и колебания сооружений. - М., Трансжелдориздат, 1958.
8. Хисамов Р.И. Расчет и конструирование структурных покрытий. - Киев, Будiвельник, 1981.
10. Леве Д. Безбалочные перекрытия (пер. с нем.).- М., Макиз, 1927.
11. Тимошенко С.П., Войновский-Кригер С. Пластинки и оболочки. - М., Физматгиз, 1966.
12. Справочник по динамике сооружений.- М., Стройиздат, 1972.
13. Болотин В.В., Москаленко В.Н. Колебания пластинок. - В кн.: Прочность, устойчивость, колебания, т. 3. - М., Машиностроение, 1968.
14. Килимник Л.Ш., Тихонов М.А. Расчет на сейсмические воздействия зданий павильонного типа с покрытием и виде структурной плиты. - В кн.: Сейсмостойкое строительство (реферативный сборник). ЦИНИС Госстроя СССР, М, 1974, вып. 2.
4.1. Проблема экономии стали при проектировании структур в большой мере зависит от степени достоверности определения внутренних усилий в элементах конструкции. Приближенные методы расчета допускают неточности, которые при проектировании приводят к завышенному расходу материалов. Более точные решения могут быть получены с применением ЭВМ.
К расчету структурных плит на ЭВМ могут быть применимы самые различные подходы в зависимости от их конструктивных особенностей, регулярности и нерегулярности структуры решетки и условий опирания, характера очертания в плане, мощности применяемой ЭВМ и т.п.
Одним из таких подходов является использование хорошо разработанного в настоящее время метода конечных элементов (МКЭ) [1, 2, 3, 4].
Сущность метода конечных элементов заключается в том, что сплошное тело условно разделяется линиями или поверхностями на некоторое количество конечных элементов, которые соединяются между собой в узловых точках, расположенных на их границах. После того, как найдены жесткостные характеристики конечных элементов, расчет модели осуществляется либо методом сил, либо методом перемещений. Наиболее удобен метод перемещений, в котором основная система образуется наложением фиктивных связей па все узлы соединения элементов между собой.
Разработанные применительно к приближенным способам расчета методы определения жесткостных характеристик сплошной среды, имитирующей регулярную шарнирно-стержневую систему, могут быть успешно использованы при расчете структурных плит на ЭВМ по имеющимся программам расчета, основанным на методе конечных элементов.
Конечный элемент в этом случае может состоять из одной или нескольких ячеек структуры, а размеры конечных элементов и их жесткостные характеристики могут быть различны. Все это позволяет эффективно использовать МКЭ при расчете структур с большим количеством узлов и стержней и существенными отклонениями от регулярности, когда приближенные методы не обеспечивают достаточной точности, а мощность применяемой ЭВМ недостаточна для расчета по действительной дискретной расчетной схеме.
При наличии ЭВМ достаточной мощности, в особенности в связи с освоением и внедрением программно-совместимых машин 3-го поколения (ЕС ЭВМ), наиболее логичным и точным является не переход от структур к сплошной заменяющей среде, а расчет их как дискретных систем. В этом случае в качестве конечного элемента принимается отдельный стержень.
В настоящее время большинство научно-исследовательских и проектных организации обладает обширной библиотекой программ расчета строительных конструкций на ЭВМ. В частности программы, разработанные на основе МКЭ, имеются в КиевЗНИИЭП, ГПИ УкрПСК, НИИАСС (Киев), КИСИ, ЦНИИСК, ЦНИИПСК, МИИТ, МИСИ, ЛенЗНИИЭП, Ленпроект и других организациях.
Это большей частью универсальные программы, позволяющие рассчитывать широкий класс конструкций, включающий как стержневые системы, так и сплошные тела. Вследствие своей универсальности они обладают достаточной сложностью алгоритмов, в ряде случаев не учитывая специфики работы структурных плит.
Материал, изложенный в настоящей главе, предназначен для составления алгоритмов и программ расчета на ЭВМ структурных плит с учетом особенностей нх работы.
4.2. Характерной чертой структурных плит является малая жесткость стержней на изгиб, что позволяет допустить при их расчете гипотезу о шарнирном соединении узлов и значительно упростить построение алгоритма расчета. С другой стороны, ввиду высокой степени статической неопределимости напряженно-деформированное состояние данных систем зависит от жесткостей составляющих элементов па действие продольных сил и характера их изменения в процессе нагружения. Увеличение прогибов элементов, связанное с начальными несовершенствами и эксцентриситетами приложения продольных сил, приводит к снижению их жесткостей. Следствием этого является перераспределение внутренних усилий и нарастание общих прогибов конструкции. Указанные факторы рекомендуется учитывать при расчете (см. п.п. 4.6 - 4.17).
4.3. При исследовании работы структурных плит в составе более сложных систем, например, в составе каркаса здания с учетом податливости основания с предварительным напряжением, рекомендуется применение смешанных методов (см. п.п. 4.19 - 4.21, 4.24 - 4.31). В этом случае используется сложная основная система, отдельными элементами которой могут быть структурные плиты, колонны каркаса, упругое основание и т.п.
4.4. При расчете структурных плит с большим количеством узлов и стержней рекомендуется использование методов, позволяющих сводить расчет конструкции в целом к анализу ограниченного числа секций и ячеек (см. п.п. 4.22, 4.23). В этом случае стержневая система подразделяется на отдельные конструктивные элементы произвольной формы. Жесткость каждого элемента сводится к его контурным узлам, которые и рассматриваются в окончательной системе уравнений. Данный метод по своей идее похож на метод конечного элемента, но в этом случае не происходит изменения характера соединении элементов по контуру: никакие связи в системе не искажаются и не нарушаются.
4.5. В структурных плитах возможно использование в отдельных случаях упруго-пластической стадии работы. Это позволяет уменьшить число типоразмеров стержней и снизить расход металла за счет использования имеющихся резервов несущей способности.
Учет упруго-пластической стадии работы необходим также при исследовании предельных состоянии структурных плит при статических нагрузках и температурных воздействиях в условиях пожара.
Расчет структур в упруго-пластической стадии рекомендуется проводить при учете физической и геометрической нелинейности (см. п.п. 4.32 - 4.39).
4.6. Матрицей жесткости определяется связь между узловыми перемещениями и узловыми усилиями элемента, т. е. определяются его упругие свойства. Для каждого узлового перемещения вводится соответствующее узловое усилие. Совокупность этих усилий характеризует влияние смежных элементов конструкции на рассматриваемый элемент.
Между узловыми усилиями и узловыми перемещениями элемента существует определенная связь
|
|
(4.1) |
где
- вектор-столбец узловых усилий; r - матрица
жесткости стержня;
- вектор-столбец узловых перемещений.

Рис. 4.1. К построению матрицы жесткости стержня по недеформированной схеме
Ниже приводится определение матрицы жесткости для стержня с шарнирным присоединением к узлам конструкции по недеформированной схеме. Стержень ab ориентирован относительно неподвижной прямоугольной системы координат (рис. 4.1). Соотношение (4.1) для данного стержня может быть записано в следующей форме:
|
|
(4.2) |
где
|
|
- векторы обобщенных усилий в узлах а и b по направлениям координатных осей;
|
|
|
- соответственно векторы обобщенных перемещений узлов а и b направлениям координатных осей; |
rаа, rаb и т.д. - квадратные подматрицы размерностью 3×3 реакций в узле с номером, помеченным первым индексом от единичных перемещений узла с номером, помеченным вторым индексом.
|
|
(4.3) |
|
raa = rbb = -rab, |
(4.4) |
где nх, ny, nz - направляющие косинусы стержня; l - длина стержня; Dn - жесткость стержня на действие продольной силы.
При центральном приложении продольные силы в упругой стадии работы Dn = EA.
4.8. Общая матрица жесткости выражается через матрицы жесткости отдельных элементов и устанавливает связь между узловыми перемещениями конструкции в целом и внешней нагрузкой.
Нагрузка на конструкцию прикладывается в узловых точках

Каждая из сил
имеет столько же компонент, сколько и
рассматриваемые реакции элемента. При шарнирном соединении узлов конструкции

Для удовлетворения условиям равновесия в
произвольной узловой точке i каждая из
компонент
должна быть
приравнена сумме компонент сил от всех элементов, соединяющихся в этом узле.
При количестве узлов конструкции, равном k
|
|
(4.5) |
В правой части уравнения (4.5) отличные от нуля силы будут давать только элементы, содержащие точку i.
Согласно соотношению (4.2) вектор обобщенных усилий в узле i для элемента с номерами узлов i j равен
|
|
(4.6) |
С учетом (4.6) соотношение (4.5) запишется в форме
|
|
(4.7) |
И здесь вклад в сумму дают только элементы, соединяющиеся в узле i.
Объединяя эти уравнения, получаем матричное уравнение равновесия метода перемещений в общей системе координат
|
|
(4.8) |
где R - общая матрица жесткости для всей конструкции:
|
|
(4.9) |
Элементы этой матрицы представляют собой квадратные подматрицы и, за исключением диагональных, определяются зависимостью (4.3). Диагональные элементы при учете соотношения (4.4) определяются зависимостью
|
|
(4.10) |
4.9. Решение системы уравнений равновесия (4.8) возможно лишь при наложении па конструкцию необходимого числа связей, исключающих ее перемещение в пространстве. В этом случае решение может быть получено путем вычеркивания соответствующих строк и столбцов матрицы.
По найденным из решения системы уравнений равновесия (4.8) перемещениям определяются усилия в элементах по формуле
|
|
(4.11) |
4.10. При нагреве структурных конструкций с несмещаемыми опорами, а также при неравномерном нагреве структур с любым вариантом опирания возможно возникновение усилий в стержнях даже в условиях обычных температур.
Между узловыми усилиями и узловыми перемещениями элемента ab (см. рис. 4.1) при воздействии температуры существует связь
|
|
(4.12) |
где rаb - матрица жесткости элемента
конструкции;
- силы в узлах а и b, которые возникают при нагреве стержня без перемещения
его концов:
|
|
(4.13) |
Каждая из сил
имеет столько же компонентов, сколько
и рассматриваемые реакции элемента и при коэффициенте линейного расширения α определяется зависимостью
|
|
(4.14) |
Если к узлу примыкает несколько стержней, то реакции в нем определяются суммированием сил от примыкающих стержней. При количестве узлов конструкции k
|
|
(4.15) |
Здесь вклад в сумму будут давать только элементы, содержащие точку а. Объединяя все такие уравнения и учитывая условия равновесия узлов, получаем матричное уравнение равновесия метода перемещений при температурных воздействиях
|
|
(4.16) |
4.11. Уравнения (4.16) и (4.8) отличаются только правыми частями, поэтому рекомендуется в основной алгоритм расчета стержневых систем методом перемещений включить процедуру формирования правых частей матрицы при температурных воздействиях, и тем самым сделать данный алгоритм более универсальным и обеспечивающим расчет конструкции как на статические нагрузки, так и на температурные воздействия.
В качестве примера на рис. 4.2 представлено распределение внутренних усилии в структурной плите системы «Кисловодск», запроектированной под нагрузку 3000 - 4000 Па (300-400 кгс/м2), вызванное перепадом температур между областью консолей и внутренней частью структуры, заключенной между колоннами. Опирание плиты на колонны - шарнирно-подвижное, температура внутренней части структуры на 30°С выше температуры консолей.
4.12. При наличии эксцентриситетов в узлах рекомендуется учитывать изменение жесткостей стержней на действие продольных сил в процессе нагружения, вызванное дополнительным сближением их концов за счет изгиба. Изменение жесткостей элементов в процессе нагружения приводит к перераспределению усилий в элементах и нарастанию общих прогибов конструкции.
4.13. Для внецентренно сжатых элементов снижение жесткости на действие продольной силы происходит с момента нагружения.
Прогиб стержня в середине пролета при шарнирном присоединении его к узлам определяется зависимостью
|
|
(4.17) |
где
e = эксцентриситет приложения
продольной силы N.
Величина сближения концов стержня по линии действия продольной силы равна
|
∆l = ∆ln + ∆lf |
(4.18) |
где ∆ln - укорочение стержня от сжатия по линии действия продольной силы с учетом деформаций, вызванных напряжениями изгиба; ∆lf - величина сближения концов стержня, вызванная искривлением его оси и равная разности между длиной стержня и длиной проекции упругой кривой на направление первоначальной прямолинейной оси.
Зависимость между относительным сближением концов стержня и величиной сжимающей силы до момента наступления пластических деформаций с точностью до малых величин имеет вид

Рис. 4.2. Распределение внутренних усилий в структурной плите системы «Кисловодск», вызванное перепадом температуры между областью консолей и внутренней частью структуры
а - усилия в верхних поясах и раскосах (кН); б - усилия в нижних поясах (кП) (сплошная линия - пояса, пунктирная - раскосы)

Рис. 4.3. К построению матрицы жесткости стержня по деформированной схеме
При расчете конструкции в целом жесткости внецентренно сжатых элементов на действие продольных сил должны назначаться в зависимости от расчетных усилий таким образом, чтобы окончательные сближения концов каждого стержня (точек приложения продольной силы) с учетом развития прогибов под действием расчетной нагрузки соответствовали действительным. С этой целью расчет рекомендуется производить в 2 - 3 этапа с последующим корректированием жесткостей по формуле
|
|
(4.20) |
где прогиб f определяется по формуле (4.17) и зависимости от расчетного усилия.
4.14. Жесткости центрально сжатых и растянутых элементов принимаются равными
|
Dn = E A; |
(4.21) |
внецентренно растянутых
4.15. Геометрическую нелинейность рекомендуется учитывать тогда, когда перемещения конструкции под нагрузкой вызывают значительные изменения ее геометрии. Уравнения равновесия составляются в этом случае для деформированного состояния, а для их решения рекомендуется использовать шаговый метод нагружения. При использовании этого метода конструкция на каждом этапе расчета рассматривается как линейно деформируемая, но при жесткостях, соответствующих приращению нагрузки. По мере роста внешней нагрузки происходит изменение матриц жесткости отдельных стержней, при этом значения их зависят не только от геометрических параметров конструкции на каждом этапе расчета, но и от ее напряженно-деформированного состояния. Такие матрицы в дальнейшем называются «мгновенными».
Ниже приводится определение мгновенной матрицы жесткости стержня по деформированной схеме.
На рис. 4.3 изображен стержень,
произвольно ориентированной относительно неподвижной прямоугольной системы
координат и воспринимающий только продольную силу. В положении ab стержень находится в недеформированном состоянии.
Положение аb' примем исходным. Усилие и
стержне в этом положении определяется узловыми перемещениями
и равно N. Допустим,
что узел b получил дополнительные смещения du, dv, dw. Для
получения мгновенной матрицы жесткости, которая могла бы связать между собой
приращения узловых усилий
и узловых перемещений
матрица узловых усилий
раскладывается в ряд Тейлора
относительно исходного положения [2]
|
|
(4.23) |
Отсюда приращение вектора усилий dN равно
|
|
|
|
|
(4.24) |
или
где rins - мгновенная матрица жесткости стержня
|
|
(4.25) |
В недеформированном и деформированном состояниях длина стержня соответственно равна
![]()
![]()
Внутреннее усилие в стержне в деформированном состоянии определяется по формуле

Проекция усилия N на ось х равна
.
Аналогично Ny = N ny, Nz = N nz.
Внутренние усилия Nx, Ny, Nz являются нелинейными функциями от компонентов перемещений u, v, w.
Коэффициенты мгновенной матрицы жесткости определяются с помощью зависимостей
![]()
Значение rxx, например, равно
![]()
Аналогично могут быть получены восемь оставшихся коэффициентов мгновенной матрицы жесткости.
Окончательное выражение для мгновенной матрицы жесткости стержня rins имеет вид
|
|
(4.26) |
где l - единичная матрица.
4.16. Основное уравнение для шагового метода нагружения имеет вид
|
|
(4.27) |
где Rins - мгновенная матрица жесткости конструкции в целом; λ - параметр нагрузки, изменяющийся в пределах от 0 до 1, т.е. весь интервал изменения нагрузки разбит на ряд отдельных участков:
|
0, λ1, λ2, λ3, , λk = 1. |
|
Для увеличения точности результатов внутри каждого шага по нагрузке рекомендуется выполнять итерационный процесс по уточнению значений мгновенных жесткостей. При этом значения Rins для каждого интервала изменения нагрузки (например, для λi+1 - λi) следует определять по среднему значению вектора узловых перемещений в этом интервале
|
|
(4.28) |
4.17. При наличии в структурах элементов с внецентренным приложением продольных сил и учете геометрической нелинейности работы конструкции в целом рекомендуется учитывать также геометрическую нелинейность работы этих элементов. В этом случае мгновенная матрица жесткости стержня имеет вид
где Dn,ins - мгновенная жесткость стержня на действие продольной силы.
Для внецентренно сжатых стержней Dn,ins определяется на каждом этапе нагружения конечно-разностным методом с использованием зависимостей сжимающей силы от относительного сближения концов стержня N(ε)
|
|
(4.30) |
где N - усилие в стержне, полученное на предыдущем этапе расчета; ∆N - приближенное значение приращения усилия на данном этапе расчета, полученное на основании результатов предыдущего этапа расчета или с помощью итераций; ε (N) и ε (N + ∆N) - относительное сближение концов стержня соответственно при усилии в нем N и N + ∆N.
Зависимости N (ε) для внецентренно-сжатых стержней в упругой стадии работы определяются выражением (4.19), а в упруго-пластической в соответствии с указаниями п.п. 4.35, 4.36.
Для внецентренно-растянутых стержней Dn,ins определяется по формуле (4.22), при этом при упругопластической работе материала площадь сечения и момент инерции стержня вычисляются только для упругой части стержня.
4.18. При построении алгоритма расчета структурных конструкций произвольной формы первостепенное значение имеют способы задания и переработки исходной информации.
Сведения о связи между элементами в стержневой системе и количестве неизвестных задаются нумерацией узлов и описанием условий опирания. От принятого порядка нумерации узлов зависит характер структуры матрицы жесткости. Для метода перемещений всегда можно получить ленточную структуру, правильно выбирая порядок нумерации узлов. Размер ширины ленты определяется стержнем с максимальной разницей между номерами соединяемых узлов, поэтому для обеспечения наименьшей ширины ленты системы канонических уравнений рекомендуется нумерация, при которой разница между номерами узлов, соединенных стержнями, будет наименьшей. Па рис. 4.4 показан пример нумерации узлов для простейшей стержневой системы.
Форма записи условии опирания может быть выбрана индивидуально в зависимости от особенностей построения алгоритма. Алгоритм формирования матрицы жесткости должен быть построен с учетом вычеркивания строк и столбцов, соответствующих заданным закреплениям. Однако, несмотря на то, что указанная операция, позволяющая уменьшить общее число уравнений равновесия, является относительно простой и может быть легко запрограммирована, часто оказывается удобным непосредственно решить первоначальную систему уравнений с тем, чтобы избежать реорганизации машинной памяти. Это рекомендуется осуществлять с помощью искусственного приема, при использовании которого вместо исключения уравнения равновесия диагональному элементу в нем присваивается значение 1, а остальным элементам, включая элементы правых частей, а также элементам соответствующего столбца присваивается значение 0. Вычеркиваются лишь те блочные строки и столбцы, которые соответствуют узлам, закрепленным по всем трем направлениям координатных осей. В этом случае размеры всех подматриц сохраняются, что значительно упрощает построение алгоритма.

Рис. 4.4. Пример нумерации узлов (сплошная линия - пояса, пунктирная - раскосы)

Рис. 4.5. Система уравнений равновесия для конструкции, изображенной на рис. 4.4
Помимо информации об основной системе и неизвестных должны быть заданы геометрия системы (координаты узлов относительно неподвижной прямоугольной системы координат), жесткостные характеристики элементов и нагрузки.
Матрица системы уравнений равновесия метода перемещений обладает ленточной структурой и симметрией относительно главной диагонали. В связи с этим в памяти ЭВМ целесообразно хранить лишь часть матрицы, расположенную по одну сторону от диагонали, шириной равной половине ширины ленты.
На рис. 4.5 в левой части матричного уравнения представлена матрица жесткости стержневой системы, изображенной на рис. 4.4. Элементы этой матрицы, за исключением диагональных, представляют собой матрицы жесткости соответствующих стержней конструкции. Диагональные элементы определяются суммированием с обратным знаком матриц жесткости стержней, примыкающих к узлу, соответствующему номеру диагонального элемента. Матрица построена с учетом вычеркивания блочной строки, соответствующей 3-му узлу, закрепленному по всем трем направлениям координатных осей. В блочных строках, соответствующих опорным узлам 1, 11 и 13 вместо исключения уравнения равновесия диагональному элементу в нем присваивается значение 1, а остальным элементам, включая элементы правых частей, а также элементам соответствующего столбца присваивается значение 0. Например, элементы первой блочной строки равны


при этом
rxx (11) = -rxx (12) - rxx (13) - rxx (14) - rxx (16),

Для решения системы уравнений равновесия рекомендуется использовать метод исключения Гаусса. Для симметричных систем уравнений ленточной структуры вычисления выполняются над числами, расположенными выше главной диагонали и только в пределах ширины ленты. Наиболее трудоемкая часть расчета (прямой ход) выполняется сразу для матрицы и произвольного числа свободных членов. Для каждой графы свободных членов дополнительные вычисления невелики.
По найденным перемещениям определяются усилия в элементах и производится проверка условий равновесия узлов.
Основной блок программы расчета методом перемещений должен включать в себя следующие этапы:
1. Переработка исходной информации из внешней формы, удобной для инженера, но внутреннюю, удобную для последующих вычислений в машине, и распределение ее в памяти ЭВМ.
2. Формирование системы уравнении равновесия и распределение ее в памяти ЭВМ.
3. Решение системы уравнений равновесия.
4. Вычисление усилий в элементах конструкции.
5. Проверка условий равновесия узлов.
При составлении универсальных программ рекомендуется предусмотреть обращение к некоторым процедурам, для которых определено назначение, но не содержание. Разработка содержания процедуры приспосабливает общий алгоритм к определенному более узкому классу задач, а замена процедуры качественно меняет алгоритм. Данный алгоритм, в свою очередь, может входить в качестве процедуры в другой более общий алгоритм.
При расчете стержневых систем методом перемещений единицей, несущей информацию, является некоторый элемент системы. Поэтому в основном блоке программы в который входят процедуры формирования и решения системы уравнений равновесия, определение усилий в элементах н проверка условий равновесия узлов, рекомендуется предусмотреть обращение к процедуре определения коэффициентов матрицы жесткости элемента. Содержание этой процедуры может, быть различным в зависимости от решения задачи с учетом или без учета геометрической нелинейности, пластической работы материала и других факторов.
С другой стороны, универсальная программа метода перемещений и все ее варианты могут входить в состав более сложных программ, управляющих, например, процессом линеаризации в нелинейных системах или процессом вариации при оптимальном проектировании конструкции. Она может быть использована также при расчете непрерывных систем, если для них разработан и обоснован метод дискретной аппроксимации.
4.19. Результаты расчета стержневых систем методом перемещений включают в себя перемещения всех узлов конструкции и реакции в опорных узлах от любого вида нагружения. Это позволяет расширить класс решаемых задач, используя расчет структурных плит по разработанным программам и включая их в состав более сложных систем как элементы с известными жесткостыми характеристиками. В этом случае системы в целом могут рассчитываться либо методом сил, либо методом перемещений.
4.20. Условием применимости метода сил является геометрическая неизменяемость каждого из блоков, входящих в состав основной системы.

или
|
|
(4.31) |
где В - матрица податливости. Элементы этой матрицы - перемещения от
единичных сил. Так, i-тым столбцом являются перемещения в точках 1, 2, …, n от
единичного неизвестного, приложенного в точке i;
- вектор-столбец
неизвестных метода сил, приложенных в точках 1, 2,..., n;
- вектор-столбец перемещений в данных точках
от заданных нагрузок.
Коэффициенты матрицы податливости В и элементы правого столбца определяются расчетом основной системы на действие единичных и грузовых сил. Структурные плиты, входящие в состав основной системы, рассчитываются на ЭВМ по существующим программам, другие элементы - соответствующими методами строительной механики и теории упругости.
Неизвестные, полученные в результате решения системы канонических уравнений (4.31) и приложенные к основной системе метода сил, обеспечивают при заданной нагрузке выполнение условий неразрывности деформаций. Усилия в элементах конструкции определяются расчетом основной системы на совместное действие нагрузки и найденных неизвестных.
В п.п. 4.25 - 4.30 показано применение метода сил при расчете предварительно напряженных структурных конструкций.
4.21. Основная система метода перемещений образуется наложением фиктивных связей в узлах соединения блоков между собой.
Система канонических уравнений метода перемещений для сложной основной системы имеет вид
|
|
(4.32) |
или
.
где R - матрица реакций в фиктивных связях в узлах
соединения блоков между собой от единичных перемещений по направлениям
отброшенных связей;
- вектор-столбец
неизвестных перемещений
узлов соединения блоков между собой; F - вектор-столбец реакций в фиктивных связях от внешней нагрузки. При шарнирном соединении блоков между собой элементы этой матрицы представляют собой квадратные подматрицы размером 3×3

Элементы этой подматрицы - реакции в узле i по направлениям координатных осей х, у и z от единичных перемещений узла j по тем же направлениям.
Коэффициенты матрицы реакций R и элементы правого столбца определяются расчетом каждого из блоков па действие единичных перемещений по направлениям отброшенных связей и на действие внешней нагрузки либо на ЭВМ по существующим программам, либо соответствующими методами теории упругости и строительной механики.
Решая полученную систему уравнений равновесия, получаем перемещения узлов соединения блоков между собой. Окончательно напряженное состояние каждого из блоков определяется расчетом на совместное действие внешней нагрузки, приложенной к данному блоку и найденных перемещений его узлов.
Ниже приводится пример использования этого метода при расчете каркаса здания, изображенного на рис. 4.6, покрытие которого состоит из 4 структурных плит, опертых на колонны в уровне верхних поясов. Опирание структур на колонны шарнирно-неподвижное. В общем случае размеры структурных плит и жесткости колонн могут быть различны. Система в целом находится под воздействием горизонтальных и вертикальных нагрузок, неравномерно распределенных между элементами каркаса.
На рис. 4.6 показана нумерация узлов соединения элементов каркаса между собой, обеспечивающая минимальную ширину ленты системы канонических уравнений. Основная система образуется наложением фиктивных связей в этих узлах по направлениям координатных осей в выбранной системе отсчета. Для удобства введем также нумерацию структурных плит (па рис. 4.6 она показана римскими цифрами). Номерам колонн присвоим номера узлов опирания на них структурных плит. На рис. 4.7 представлено матричное уравнение метода перемещений для данной системы. Рассмотрим процесс формирования матрицы реакций и правых частей этого уравнения.

Рис. 4.6. К примеру расчета каркаса здания

Рис. 4.7. Система уравнений равновесия для каркаса здания, изображенного на рис. 4.6
Поскольку матрица симметрична, находим значение коэффициентов, расположенных по одну сторону от главной диагонали. Производится расчет структурных плит на ЭВМ и расчет колонн обычными методами строительной механики на внешние нагрузки при наложении фиктивных связей и на единичные перемещения по направлениям отброшенных связей.
Расчетом структурной плиты I при несменяемых опорных узлах 1, 4 и 5 на единичные перемещения узла 1 по направлениям координатных осей х, у и z определяются коэффициенты подматриц первой блочной строки, за исключением диагональных: r12, r14, r15.
Расчетом данной плиты при несмещаемых узлах 1, 4, и 5 на единичные смещения узла 2 определяются коэффициенты подматриц rI24 и rI25.
Расчетом структурной плиты II при несмещаемых узлах 3, 5 и 6 на единичные перемещения узла 2 определяются коэффициенты подматриц r23, rII25 и r26.
Коэффициенты подматриц с номерами узлов, расположенных на гранях двух смежных плит, определяются суммированием подматриц, полученных на ЭВМ для каждого из блоков в отдельности, например
r25 = rI25 + rII25.
Таким образом найдены коэффициенты второй блочной строки, за исключением диагональных. Аналогично находятся остальные коэффициенты матрицы реакций.
Расчетом колонн на единичные перемещения верхнего узла по направлениям координатных осей получаем реакции колонн в заделке. Матрица реакций в заделке i-той колонны имеет вид

Диагональные элементы матрицы реакций R с учетом значения матриц Rкi равны
|
|
(4.33) |
В выражении (4.33) вклад в сумму будут давать только элементы с номерами узлов блоков, примыкающих к узлу n, например
r11 = -r12 - r14 - r15 - Rk1;
r22 = -r21 - r23 - r24 - r25 - r26 - Rk2.
Элементы правых частей представляют собой реакции в фиктивных связях от внешней нагрузки, например,

где q1, A1, q11, A11 - равномерное распределенная нагрузка и площадь соответственно для блоков I и II.
В результате решения полученной системы уравнений равновесия определяем перемещения узлов соединения элементов каркаса между собой. Окончательно напряженно-деформированное состояние элементов каркаса получаем расчетом на заданные внешние нагрузки и найденные перемещения опорных узлов структурных блоков - на ЭВМ по существующим программам расчета, колони - обычными методами строительной механики.
4.22. Для сложных структурных плит при большом количестве узлов и стержней рекомендуется производить разделение конструкции на подсистемы произвольной формы, что соответствует подразделению матрицы системы уравнений равновесия узлов конструкции на блоки [5].
Из всего множества узлов структурной плиты выделяются узлы связи, по которым сочленяются подсистемы и к которым сводится жесткость каждой подсистемы путем исключения внутренних узлов. Уравнения равновесия узлов связи составляют окончательную систему уравнений равновесия конструкции. Ниже приводится описание процедуры исключения внутренних узлов каждой подсистемы.
Система уравнений для одной подсистемы имеет вид
|
|
(4.34) |
где
- столбец (1×3 у0) трехкомпонентных векторов перемещений всех узлов подсистемы;
- столбец (1×3у0) трехкомпонентных векторов нагрузки, приложенной в уздах
подсистемы; R0 - матрица (3у0×3у0) жесткостных коэффициентов; y0 - число узлов подсистемы.
Подразделив узлы на внутренние и узлы связи, можно записать (4.34) в виде
|
|
(4.35) |
После исключения первой строки получим
|
|
(4.36) |
Окончательная система уравнений равновесия составляется после определения для всех подсистем выражений типа (4.36) и поэлементного суммирования одноименных клеток (3×3) матриц жесткости для контурных узлов. Она имеет вид
|
|
(4.37) |
где
- столбец (1×3 ус) трехкомпонентных векторов перемещений узлов связи;
- столбец (1×3 уc) трехкомпонентных векторов узловых нагрузок в узлах
связи; Rc - матрица (3уc ×3уc) жесткостных
коэффициентов узлов связи; ус - число узлов связи.
Перемещения всех внутренних узлов каждой подсистемы находятся после решения системы уравнений (4.37) по найденным перемещениям узлов связи обратным ходом
|
|
(4.38) |
где
-
перемещения узлов связи, соответствующих данному элементу, выбранные из столбца
. По
найденным перемещениям узлов находятся усилия во всех стержнях.
Описанную методику исключения неизвестных можно представить, истолковав полную матрицу системы уравнений как квазидиагональную с окаймлением. Запишем матрицу Rn полной системы уравнений, которая фактически не составляется, в виде
|
|
(4.39) |
где через 0 обозначены блоки, все элементы которых тождественно равны нулю. В конструкции выделены подсистемы, все узлы связи объединены в блок с. Блоки R11, R22,.., Rсс квадратные и невырожденные, поэтому для решения системы уравнений с матрицей Rn можно применить методы исключения Гаусса в блочной форме. После исключения блоков составляется окончательная система уравнений типа (4.37).
Процедура блочного исключения внутренних узлов каждой подсистемы графически представлена на рис. 4.8.
4.23. Для расчета сложных структурных плит с выделением подсистем с учетом геометрической нелинейности рекомендуется использовать итерационный процесс, который начинается с решения задачи в линейной постановке по уравнениям (4.34) и (4.37) и идет по следующей схеме:
|
|
(4.40) |
где F(i)E
- вектор нагрузки, которая находится в равновесии с внутренними усилиями
системы на каждом i-том шаге итерационной процедуры; R(i)E - матрица жесткости системы, составленная на i-том шагe итерационной процедуры по измененной геометрии узлов;
- вектор перемещений
и вектор приращений перемещений соответственно для i-го шага.
Процесс завершается, когда
достигает
пренебрежимо малого наперед заданного значения.
Качественный анализ устойчивости сложных структурных систем производится в процессе расчета по формулам (4.40) с помощью рядов устойчивости, членами которых на каждом шаге i итерационной процедуры являются ведущие диагональные элементы гауссовой формы матриц R.

Рис. 4.8. Схема жесткостной матрицы при решении системы линейных уравнений равновесия узлов с выделением подсистем
а - полная матрица; б - матрица после исключения внутренних узлов; в - запись матрицы в компактной форме (цифрами указаны номера подсистем)
4.24. Расчет предварительно напряженных структурных плит принципиально не отличается от расчета ненапряженных плит. Влияние предварительного напряжения заменяется соответствующими силами и конструкция рассчитывается как ненапряженная по имеющимся программам расчета на ЭВМ.
Эти силы включают в себя усилия предварительного напряжения, потерь предварительного напряжения и самонапряжения в процессе нагружения. Определение усилий самонапряжения осуществляется расчетом конструкции методом сил, при этом за основную систему принимается ненапряженная конструкция, которая рассчитывается на действие внешней нагрузки и единичных сил с помощью существующих программ расчета на ЭВМ.
При расчете предварительно напряженных структурных плит рекомендуется учитывать наиболее неблагоприятные комбинации внешних нагрузок и других воздействий для характерных состояний, возникающих в процессе изготовления, транспортирования и монтажа конструкции с учетом выполнения предварительного напряжения.
Оптимальные решения рекомендуется находить либо вариантным проектированием, либо с использованием методов линейного программирования [6, 7, 8, 9].
4.25. Применение предварительного напряжения с помощью затяжек позволяет увеличить перекрываемый пролет, выровнять усилия в элементах и снизить расход металла на конструкцию (см. п. 1.25).
Выбор конструктивных схем структурных плит с затяжками и сил предварительного напряжения рекомендуется осуществлять с учетом максимального эффекта от предварительного напряжения.
Задача отыскания оптимальной по расходу материалов структурной плиты с затяжками при заданной конфигурации сводится к следующим двум этапам:
1) нахождению усилий в затяжках, при которых расход материалов на конструкцию будет минимальным;
2) выбору материала затяжек сечении и сил предварительного напряжения, при которых будет обеспечиваться условие неразрывности деформаций при заданных усилиях в затяжках.
4.26. Определение усилий самонапряжения затяжек рекомендуется осуществлять методом сил. Для структуры, имеющей n затяжек, система канонических уравнений метода сил записывается в форме
|
|
(4.41) |
где δij, δiF - перемещения в структурной плите по направлению i-той затяжки соответственно от j-той единичной силы и внешней нагрузки; li, Ei, Ai - соответственно длина, модуль упругости материала и сечение i-той затяжки; Xi - усилие самонапряжения в i-той затяжке.
4.27. Расчетное усилие в затяжке от предварительного напряжения равно
Pi = Ni - Xi,
где Ni - расчетное усилие в i-той затяжке, Xi - усилие в затяжке от самонапряжения под действием расчетной нагрузки за вычетом нормативной нагрузки при монтаже.
4.28. Величина контролируемого усилия в затяжке в процессе предварительного напряжения определяется в соответствии с «Инструкцией по проектированию предварительно напряженных стальных конструкций» [10].
Под контролируемым усилием понимается усилие предварительного напряжения, определяемое по приборам или каким-либо другим способом в процессе натяжения затяжки.
С учетом потерь напряжения вследствие релаксации материала затяжки и податливости анкеров величина контролируемого усилия определяется по формуле
|
|
(4.42) |
где 0,95 - коэффициент релаксации, который принимается только для затяжек из пучков высокопрочной проволоки и стальных тросов; ∆i - суммарная величина податливости анкеров, принимаемая равной: а) при применении анкеров в виде плотно завинчиваемых гаек или клиновидных пробок - 0,1 см; б) при применении анкеров с прокладками - 0,2 см.
4.29. В структурных плитах из-за большой гибкости сжатых стержней часто нельзя дать значительное однократное предварительное напряжение, поэтому рекомендуется многоступенчатое предварительное напряжение. Оно возможно при следующих условиях:
большие постоянные нагрузки, которые могут быть переданы на структуру по частям;
стержни структуры приблизительно одинаково сопротивляются растяжению и сжатию;
конструктивная схема и способы крепления затяжек позволяют осуществить многоступенчатое предварительное напряжение.
4.30. Разность отметок опирания по контуру структурных плит должна назначаться из условия максимального выравнивания усилии в элементах (см. п. 1.26).
Система канонических уравнений метода сил для структур, напряженных осадкой опор, имеет вид
|
|
(4.43) |
где δij - перемещение точки i от единичной реакции отброшенной связи в точке j; Xi - реакция отброшенной связи; δiF - перемещение i-той точки от внешней нагрузки в основной системе; ∆i - разность отметок опирания в точке.
4.31. Система уравнений (4.43) имеет бесчисленное множество решений.
Из имеющегося множества рекомендуется находить одно решение, при котором расходуется минимум металла. При атом осуществляется минимизация целевой аут-функции [11]
|
|
(4.44) |
Здесь
|
|
j -
текущая нумерация типоразмеров; m -
количество типоразмеров; i - текущая
нумерация отметок опирания; k - количество
отметок опирания; n(j) - количество стержней, принадлежащих j-ому
типоразмеру; R - расчетное сопротивление;
- усилие в n-ом стержне
j-ого
типоразмера от единичного воздействия k-ой связи; N(j)ng - усилие в этом же стержне от внешней нагрузки в
основной системе; l(j)- длина стержня j-ого типоразмера; A(j)0
- минимальная площадь поперечного сечения
стержня, определяемая по предельной гибкости; А(j)φ - дополнительная площадь приближенно учитывающая
влияние коэффициента продольного изгиба на площадь сжатых стержней (для
растянутых β(j)max = 0); β(j)max - коэффициент принимаемый по [8].
Основная система представляет собой конструкцию с отброшенными связями, за счет высот которых производится варьирование отметок опирания. Изменение отметок опирания достигается, например, постановкой прокладок различной толщины на оголовки колонн.
Методы решения оптимизационной задачи (4.44) указаны в (11, 12). В результате решения отыскивается вектор оптимальных величин реакций отброшенных колонн и после подстановки их в систему (4.43) определяется искомая разность отметок опирания ∆i.
Расчет рекомендуется производить с учетом монтажных стадий, поскольку расчетная схема конструкции может изменяться в процессе создания предварительного напряжения.
Задача решается при наперед заданном соотношении жесткостей между стержнями и числе типоразмеров. При ином соотношении жесткостей и ином числе типоразмеров будет иным и результат расчета.
Во всех случаях прогибы от нормативных нагрузок не должны превышать предельных.
Выравнивание усилий осадкой опор возможно не только в прямоугольных структурах, шарнирно-опертых по контуру, но и в более общем случае - при неразрезных структурных плитах [9]
4.32. В структурных плитах из-за высокой степени их статической неопределимости, а также унификации элементов недоиспользуется несущая способность. В тех случаях, когда прогибы данных систем под действием расчетных нагрузок меньше допустимых, рекомендуется использовать резервы несущей способности конструкций за счет работы отдельных стержней в упругопластической стадии. Это позволяет снизить расход металла на конструкцию, выровнять усилия в элементах и уменьшить число типоразмеров стержней.
4.33. Развитие пластических деформаций в структурных плитах целесообразно допускать в случае, когда имеется запас по прогибам не менее 20 % допустимых величин. В этом случае можно уменьшить количество типоразмеров стержней при незначительном (до 7 %) снижении общей массы покрытия. В случае когда имеется большой запас по прогибам (30 - 40 %), можно одновременно с уменьшением количества типоразмеров стержней добиться большей экономии металла.
Экономическая эффективность использования пластической области работы стержней тем выше, чем больше степень статической неопределимости (с учетом внешних связей). Например, при контурном опирании целесообразно предусмотреть большие запасы по прогибам с тем, чтобы в упругопластической стадии уменьшить количество типоразмеров и сократить расход материала.
4.34. Развитие пластических деформаций допускается лишь в тех стержнях, исключение которых из работы конструкции не превращает ее в геометрически изменяемую систему. В растянутых стержнях в упругопластической стадии возможно некоторое увеличение усилий в соответствии с действительной диаграммой работы материала. В сжатых стержнях возможен переход в запредельную область работы при некотором уменьшении в них усилий.
Как показывают экспериментально-теоретические исследования, внецентренно-сжатые стержни после достижения предельных усилий способны выдерживать значительную часть от этих усилии, если сближение их концов ограничены перемещениями узлов конструкции в целом [13].
4.35. Расчет структурных плит при упругопластической работе материала рекомендуется проводить при одновременном учете физической и геометрической нелинейности, используя шаговый метод нагружения (см. п.п. 4.15 - 4.17). В этом случае мгновенная матрица жесткости конструкции в целом должна определяться с учетом изменения жесткостей элементов в процессе нагружения в упругой и упругопластической стадиях.
Мгновенные матрицы жесткости стержней определяются по формуле (4.29) в соответствии с указаниями п. 4.17.
Зависимости N(ε) рекомендуется определять для типовых элементов на ЭВМ, с помощью программы, алгоритм которой' изложен в п. 4.36, пли экспериментальным путем и задавать в качестве исходных данных к программе расчета структур с учетом физической и геометрической нелинейности.
4.36. Алгоритм расчета внецентренно сжатых стержней с учетом развития пластических деформаций рекомендуется строить на основе аппроксимации стержня дискретной моделью, учитывающей развитие пластических деформаций как по длине стержня, так и по глубине упругого ядра, а также соответствующее деформациям смещение нейтральной оси. Расчет рекомендуется проводить по деформированной схеме в соответствии с методикой, изложенной в п.п. 4.15, 4.16, шаговым методом па заданные сближения концов стержня. Это позволяет исследовать его поведение до полного разрушения, включая стадию работы после достижения предельного усилия.
Ниже приводится построение алгоритма расчета стержня, симметричного относительно плоскости изгиба.
Сплошной стержень заменяется шарнирно-стержневой моделью, образуемой верхним и нижним поясами, распорками и крестовой решеткой (рис. 4.9). Количество панелей по длине стержня рекомендуется задавать в пределах от 10 до 20. Эксцентриситет приложения продольной силы и возможные начальные несовершенства задаются соответствующими координатами узлов модели. Концевые участки стержня аппроксимируются стержнями, сходящимися в точках приложения продольной силы. Размеры этих участков е рекомендуется принимать существенно меньшими размера панели lm, а сечения аппроксимирующих стержней Аs и Ai назначать в зависимости от площади сечения и момента инерции упругой части сплошного стержня в пределах крайних панелей.
Формулы перехода от сплошного стержня к стержневой модели в пределах каждого участка, полученные из уравнений соответствия их деформаций при внецентренном сжатии [14], имеют вид
![]()
![]()
![]()
![]()

Рис. 4.9. Схема аппроксимации сплошного стержня дискретной моделью
Рис. 4.10. Обозначения геометрических характеристик
а - стержневой модели; б - сечения сплошного стержня

Рис. 4.11. Диаграммы работы стержня Ø 76×5 мм и длиной 3 м в упруго-пластической стадии
а - зависимости продольной силы N от относительного сближения концов стержня ε при эксцентриситетах приложения продольной силы ε = 0,01; 0,3 и 1 см (соответственно кривые 1, 2, 3); б - зависимости мгновенной жесткости стержня Dn от относительного сближения его концов при тех же значениях эксцентриситетов (точками показан момент наступления пластических деформаций)
где Аms, Ami, Ad, As и Ai - соответственно сечения верхнего и нижнего поясов, диагоналей и крайних стержней; А, I - площадь сечения и момент инерции упругой части сплошного стержня в пределах соответствующего участка.
Обозначения геометрических характеристик для стержневой модели и сечения сплошного стержня указаны соответственно на рис. 4.10, а и 4.10, б.
Сечения крайних распорок стержневой' модели принимаются равными Аk = 2Аd, где Аd - сечения диагоналей в крайних панелях.
Сечения остальных распорок принимаются равными Ak = Adl + Adr, где Adl и Adr - сечения диагоналей в смежных панелях.
Сечение сплошного стержня разбивается на площадки, как это показано на рис. 4.10, б, и задается в исходных данных в виде массивов их сечений' и расстояний центров тяжести до крайних волокон. Количество площадок по высоте сечения может быть произвольным. Диаграмма работы материала задается в исходных данных в виде кусочно-ломаной функции в табличной форме. Очертание ее может соответствовать действительной диаграмме работы материала.
Расчет рекомендуется вести по деформированной схеме шаговым методом на заданные сближения концов стержня. В этом случае на каждом этапе расчета приращение нагрузки, вызывающее сближение концов стержня, будет искомой величиной. Процедуру шагового метода рекомендуется строить таким образом, чтобы на каждом этапе расчета производился анализ сближения узлов модели в пределах каждой панели. При возникновении деформаций текучести материала должен производиться пересчет сечений соответствующих элементов модели в зависимости от глубины упругого ядра. В этом случае сечение каждой из площадок по высоте стержня h должно заменяться на величину Аj = Аj исх Е(ε)j/Ej в соответствии с заданной диаграммой работы материала. Затем должны определяться приведенные значения А и I стержня в пределах каждой панели, участвующие в упругой стадии работы и по формулам (4.45) производиться пересчет сечений элементов модели.
В качестве примера на рис. 4.11, а, б представлены зависимости продольной силы N и мгновенной жесткости Dn стержня трубчатого сечения Ø 76×5 и длиной 3 м от относительного сближения его концов при эксцентриситетах приложения продольной' силы 0,01; 0,3 и 1 см (соответственно кривые 1, 2 и 3). Материал стержня - сталь марки С 38/23 с пределом текучести σт = 230 МПа. В расчетах принята идеализированная диаграмма работы материала. Крестиками показан момент наступления пластических деформаций.
Как видно из рисунка, мгновенная жесткость внецентренно сжатого стержня на действие продольной силы существенно снижается уже в упругой стадии работы. После достижения предельного усилия жесткость принимает отрицательные значения. Продольное усилие при этом начинает падать. С увеличением эксцентриситета эти зависимости имеют более плавный характер. Для центрально-сжатого стержня момент потерн устойчивости характеризуется резким его искривлением и падением сжимающего усилия.
ЛИТЕРАТУРА
1. Зенкевич О. Метод конечных элементов в технике. - М., Мир, 1975.
3. Розни Л.А. Метод конечных элементов в применении к упругим системам. - М., Стройиздат, 1977.
5. Лубо Л.Н., Миронков Б.А. Плиты регулярной пространственной структуры. - Л., Стройиздат, 1976.
9. Муханов К.К., Демидов Н.Н. Метод расчета структурных конструкций, рациональных по весу. - Строительная механика и расчет сооружений, 1975, № 1.
12. Радциг Ю.А., Колупаев А.Н. Зеркальные функции и их применение при решении задач строительной механики. - М., Стройиздат, 1980.
14. Третьякова Э.В. О расчете на ЭВМ стержневых плит и оболочек с учетом особенностей деформирования элементов при упругой II упругопластической работе материала - Строительная механика и расчет сооружений, 1981, № 3.
5.1. Конструкции зданий, проектируемых для строительства в сейсмических районах, должны удовлетворять расчетам:
на основные и особые сочетания нагрузок без учета сейсмического воздействия в соответствии с требованиями главы СНиП II-6-74 «Нагрузки и воздействия»;
на особое сочетание нагрузок с учетом сейсмических воздействий. При расчете на особое сочетание нагрузок с учетом сейсмических воздействий к величинам расчетных нагрузок вводятся коэффициенты сочетания nс, значения которых принимаются согласно табл. 7
Таблица 7
|
Виды, нагрузок |
Значения |
|
nс |
|
|
Постоянные |
0,9 |
|
Временные длительные |
0,8 |
|
Кратковременные (в том числе снеговые) на покрытия |
0,5 |
При расчете конструкций на сейсмические воздействия горизонтальные; сейсмические силы гибких подвесов, динамическое воздействие от оборудования и транспорта, тормозные и боковые усилия от движения кранов не учитываются. Грузоподъемность крана и масса тележки учитывается только при определении вертикальной сейсмической силы, при этом грузоподъемность учитывается с коэффициентом 0,3.
5.2. Расчет здании с учетом сейсмических воздействий производится:
а) на условные статические нагрузки, определяемые согласно п. 5.9. При этом усилия в элементах конструкций не должны превышать предельных значений, определяемых главами СНиП по проектированию стальных и железобетонных конструкций, с учетом п. 5.28. На условные статические воздействия рассчитываются все здания, проектируемые для сейсмических районов;
б) на набор расчетных сейсмических - воздействий, который определяется с учетом характера сейсмического режима в районе строительства, а также данных детального и микросейсмического районирования.
При выборе расчетных сейсмических воздействий необходимо использовать инструментальные записи, полученные в районе строительства или в аналогичных по сейсмическим условиям местностях, а также записи, синтезированные применительно к местным условиям.
Максимальные амплитуды ускорений расчетных акселерограмм должны быть не менее 100, 200, 400 см/с2 при сейсмичности площадок строительства соответственно 7, 8, 9 баллов.
При расчете по подпункту «б» рекомендуется учитывать возможность развития неупругих деформаций и локальных повреждений конструкций, а также пространственный характер деформирования зданий. При этом состояние сооружения после землетрясения не должно достигать предельного, указанного в п. 1.9.
Расчет по подпункту «б» является дополнительным и рекомендуется для особо ответственных зданий (по п. 1 табл. 2.8) и зданий с пролетами структурных конструкций более 36 м [1].
5.3. Сейсмические воздействия могут иметь любое направление в пространстве.
При расчете зданий простой геометрической формы с покрытиями из структурных конструкций по п. 5.2 «а» сейсмические нагрузки принимают, как правило, действующими горизонтально в направлениях продольной и поперечной осей. Действие сейсмических нагрузок в указанных направлениях допускается учитывать раздельно.
При расчете зданий сложной геометрической) формы необходимо учитывать направления сейсмических нагрузок, наиболее опасные для вертикальных несущих конструкций и структурных конструкций покрытия, а также их элементов.
5.4. Вертикальную составляющую сейсмического воздействия необходимо учитывать при расчете:
структурных конструкций покрытий, включая их горизонтальные консольные участки;
капительных участков колонн;
узлов сопряжения структурных конструкций с вертикальными несущими конструкциями;
крановых консолей колонн;
зданий на устойчивость против опрокидывания или против скольжения.
5.5. Расчет зданий с покрытиями из структурных конструкций по п. 5.2 «а» производится [1]:
структурных конструкций покрытия при изгибе из их плоскости - па вертикальные сейсмические нагрузки;
вертикальных несущих конструкций - на горизонтальные сейсмические нагрузки;
горизонтальных поясов структурных конструкций - па горизонтальные нагрузки в плоскости покрытия;
узлов сопряжений структурных конструкций с вертикальными несущими конструкциями - па совместное действие усилий от горизонтальных и вертикальных сейсмических нагрузок.
5.6. Расчет зданий с покрытиями из структурных конструкций по п. 5.2 «б» рекомендуется выполнять:
структурных конструкций покрытия - на вертикальную составляющую сейсмического воздействия;
здания в целом - на совместное действие горизонтальной (или двух горизонтальных) и вертикальной составляющих сейсмического воздействия.
5.7. При расчете структурных конструкций по п. 5.2 «а» и «б» па вертикальные сейсмические воздействия расчетные модели покрытии рекомендуется принимать в виде дискретных систем с шарнирными узлами и массами, сосредоточенными в узлах стержней структурного блока в уровне только верхнего пояса или верхнего и нижнего поясов (рис. 5.1). Краевые условия для дискретных систем принимаются в зависимости от расположения блока в системе покрытия. Связи между сосредоточенными массами считаются упругими, невесомыми и воспринимающими осевые усилия.
Периоды (частоты) и формы собственных колебаний для моделей определяются по разработанным алгоритмам и программам с помощью ЭВМ как для систем со многими степенями свободы.
В связи с близостью величии собственных частот структурных блоков рекомендуется определять не менее 5 - 7 низших частот и форм собственных колебаний.
5.8. При определении вертикальных сейсмических нагрузок по п. 5.2 «а» для структурных конструкций пролетом не более 24 м допускается структурный блок рассматривать как ортотропную пластинку с приведенной цилиндрической жесткостью и жесткостью на кручение. Периоды колебаний таких пластинок с разными краевыми условиями определяются с помощью справочников по динамике сооружений. Формулы для приведенных жесткостей даны в прил. 8.4.
После определения сейсмических (условных статических) нагрузок расчет структурных конструкций на особое сочетание нагрузок с учетом сейсмических должен выполняться как для дискретных систем по специально разработанным алгоритмам и программам (см. гл. 4).

Рис. 5.1. Дискретные системы при расчете структур на вертикальные сейсмические воздействия а - с массами в узлах верхнего и нижнего поясов; б - с массами в узлах верхнего пояса
5.9. При расчете по п. 5.2 «а» расчетная вертикальная нагрузка Sik, приложенная в точке k и соответствующая i-му тону собственных колебаний структурного блока, определяется по формуле
|
Sik = K1 K2 S0ik, |
где K1 - коэффициент, учитывающий1 допускаемые повреждения конструкций зданий, принимаемый по п. 5.10;
K2 - коэффициент, учитывающий особенности конструктивного решения здания; K2 = 0,8 для зданий, высота колонн которых не более 8 м и пролеты не более 18 м, и К2 = 1 для зданий с другими размерами объемно-планировочного решения (значения K2 допускается уточнять по результатам экспериментальных исследований по согласованию с Госстроем СССР, при этом значения K2 не должны превышать 1,5); S0ik - значение сейсмической нагрузки для i-гo тона собственных колебаний структурной плиты, определяемой в предположении упругого деформирования конструкций по формуле
|
S0ik = Qk A βi Kψ ηik. |
Здесь Qk = m g, где m - масса структурной плиты, отнесенная к точке k, определяемая с учетом нагрузок на покрытие по п. 5.1; q - ускорение силы тяжести; при предварительных расчетах нагрузку от собственной массы структурного блока допускается принимать равной 250-300 Па (25 - 30 кгс/м2); А - амплитуда ускорений основания (в долях g, соответствующая расчетной сейсмичности принимается равной 0,1, 0,2 и 0,4 для расчетной сейсмичности 7, 8 и 9 баллов соответственно; βi - коэффициент динамичности, соответствующий i-ой форме собственных колебаний структурной плиты и принимаемый по п. 5.11; Кψ, - коэффициент, учитывающий диссипативные свойства конструкции и зависящий от вида материала, конструктивного решения, характера узловых соединений и стыков; при определении расчетных вертикальных сейсмических нагрузок па структурные плиты в связи с их пониженной способностью к затуханию колебаний (логарифмический декремент δ = 0,03 - 0,05) коэффициент Kψ рекомендуется принимать равным 1,5 (значение Кψ допускается уточнять на основании результатов экспериментальных исследований по согласованию с госстроями союзных республик); ηik - коэффициент, зависящий от формы деформаций структурного блока при его собственных колебаниях по i-той форме и от места расположения точки k, определяется по п. 5.12.
5.10. Расчетная сейсмичность здания определяется по табл. 5 СНиП II-7-81, коэффициент K1 в зависимости от назначения сооружения и его эксплуатационных особенностей - согласно табл. 8 настоящего Руководства по согласованию с утверждающей проект организацией. При расчете на сейсмические воздействия по п. 5.2 «б» значение К1 принимается равным единице.
5.11. Коэффициент динамичности βi определяется по формулам (5.3), (5.4), (5.5) или по графикам на рис. 5.2 в зависимости от периодов Ti собственных колебаний структурного блока по i-му тону и категории грунтов по сейсмическим свойствам:
для грунтов I категории
βi = 1/Ti, но не более 3; (5.3)
для грунтов II категории
βi = 1,1/Ti, но не более 2,7; (5.4)
для грунтов III категории
βi = 1.5/ Ti, но не более 2. (5.5)

Рис. 5.2. Графики βi - (Тi- ) для грунтов I (a), II -(б) и III категории (в)
Во всех случаях значения βi, должны приниматься не менее 0,8.
5.12. Определение периодов собственных колебаний Ti и коэффициентов ηik производится в результате анализа расчетных моделей структурных конструкций, указанных в п.п. 5.7 и 5.8. При этом следует учитывать особенности узловых сопряжений элементов структурных конструкций, условия сопряжения отдельных блоков между собой и с вертикальными несущими конструкциями.
При расчете нетиповых конструктивных решений рекомендуется использовать результаты их экспериментальных исследований.
В связи с небольшой собственной массой для структурных плит характерна повышенная чувствительность периодов и форм собственных колебаний к изменениям величин постоянных и кратковременных нагрузок и схем их приложения. Поэтому в расчетах целесообразно по возможности более точно учитывать все схемы и вариации нагрузок.
Таблица 8
|
Допускаемые повреждения зданий |
Значения /с. |
|
1. Здания, в конструкциях которых могут быть допущены остаточные деформации, трещины, повреждения отдельных элементов, их сдвиг и т. п. затрудняющие нормальную эксплуатацию, при обеспечении безопасности людей и сохранности оборудования (общественные и производственные здания, не относящиеся к поз. 2; здания, функционирование которых необходимо при ликвидации последствий землетрясений и др.) |
0,25 |
|
2. Здания, в конструкциях которых могут быть допущены значительные остаточные деформации, трещины, повреждения отдельных элементов, их смещения и т.п., временно приостанавливающие нормальную эксплуатацию (производственные здания вспомогательных производств, некоторые складские здания, не содержащие ценного оборудования, и т.п.) |
0,12 |
5.13. Консольные конструкции с незначительными массами по сравнению со зданием (козырьки, консоли для навесных стен и т.п.) и их крепления допускается рассчитывать на вертикальную сейсмическую нагрузку при значении βη = 5.
5.14. При расчете зданий с покрытиями из структурных конструкций по п. 5.2 «а» на горизонтальные сейсмические воздействия расчетные модели зданий в продольном и поперечном направлениях принимаются, как правило, в виде одномассового осциллятора (рис. 5.3). При этом жесткость структурного блока в горизонтальной плоскости принимается бесконечной, а колонны - жестко заделанными в фундаментах и шарнирно-присоединенными к структурному блоку. Высота расчетной модели принимается равной высоте колонн, а в случае структурных конструкций с капителями - расстоянию от уровня защемления колонн до центра масс от нагрузок на покрытие с учетом собственной массы (рис. 5.3, б). Указания по сбору нагрузок, определению жесткостей и периодов собственных колебаний зданий приведены в руководстве [2].
5.15. При расчете зданий длиной более 30 м, кроме горизонтальной сейсмической нагрузки, необходимо учитывать крутящий момент относительно вертикальной оси здания, проходящей через центр жесткостей. Величина расчетного эксцентриситета между центрами масс и жесткостей в уровне покрытия здания принимается не менее 0,02В, где В - размер здания в направлении, перпендикулярном действию силы S.
В зданиях большой протяженности в плане (более 50-60 м) усилия в элементах конструкций допускается определять с учетом скорости распространения сейсмических волн в грунте, параметры которых выбираются на основании анализа сейсмологических условий местности.

Рис. б.З. Расчетная схема здания с покрытием из структурных конструкций при расчете на горизонтальные сейсмические воздействия
а - безкапительный вариант; б - капительный вариант
5.16. При наличии экспериментальных данных о жесткостных характеристиках структурных плит в горизонтальной плоскости, а также для многопролетных покрытий из структурных конструкций расчет рекомендуется выполнять с помощью ЭВМ с учетом пространственной работы здании и фактических эксцентриситетов между центрами масс и жесткостей.
Некоторые указания о выборе расчетных моделей приведены в руководстве [2].
5.17. Горизонтальная статическая нагрузка для здания (отсека) в целом после определения периода собственных колебаний здания (отсека) по п. 5.14 вычисляется по формулам (5.1) и (5.2). При этом Sik = S1, ηik = l. Значения всех коэффициентов, за исключением Кψ принимаются в соответствии с рекомендациями п.п. 5.9 - 5.11.
Значения коэффициента Кψ при определении расчетных горизонтальных сейсмических нагрузок для зданий, в которых стеновое заполнение не оказывает существенного влияния на деформативность здания, рекомендуется принимать: К =1,5 при отношении высоты стоек hc к размеру поперечного сечения b в направлении действия сейсмической нагрузки hc ≥ 25 для железобетонных колонн или при относительной гибкости h0/i ≥ 80 для стальных колонн; Kψ = 1 при hc/b ≤ 15 для железобетонных колонн или при h0/i ≤ 40 для стальных колонн; для промежуточных значений hc/b и h0/i величина Кψ принимается по интерполяции. Здесь i - радиус инерции сечения, h0 - расчетная свободная длина колонны, принимается в плоскости рамы равной 2hc - для колонн бескрановых зданий и зданий с подвесными кранами; 1,5hc - для колонн однопролетных зданий с мостовыми кранами; 0,7hc-для колонн многопролетных зданий с мостовыми кранами.
Расчетные свободные длины колонн из плоскости рамы равны: hc для бескрановых здании и зданий с подвесными кранами и расстоянию от низа опорной плиты базы до верха подкрановой консоли для зданий с мостовыми кранами.
5.18. В колоннах зданий, несущих крановую нагрузку, необходимо учитывать местные горизонтальные сейсмические нагрузка: от собственной массы подкрановых балок и тормозных конструкций и от собственной массы мостовых кранов.
При этом сейсмическая сила прикладывается к колонне на уровне низа подкрановых балок и определяется как для системы с одной степенью свободы. Нагрузка, сосредоточенная на уровне низа подкрановых балок, принимается равной максимальному давлению на колонну от собственной массы мостов кранов, от массы подкрановых балок и тормозных конструкций (с коэффициентами перегрузки и коэффициентами сочетания согласно п. 5.1), а произведение βη = 3. При определении максимального давления иа коллонну от собственной массы мостов кранов в каждом пролете здания учитывается по одному крану. Расчетная схема колонны принимается в виде стойки, защемленной внизу и с несмещаемой верхней опорой (рис. 5.4) [2].

Рис. 5.4. Схема расчета колонн на местную сейсмическую нагрузку
5.19. Стойки продольного и поперечного фахверка должны быть проверены расчетом на изгиб от действия местных сейсмических нагрузок от собственной массы навесных стен. Стойки считаются шарнирно опертыми на структурный блок вверху и шарнирно соединенными с фундаментами внизу. Стойки продольного фахверка в зданиях с мостовыми кранами принимаются неразрезными двухпролетными с дополнительным опиранием на тормозные конструкции подкрановых балок.
Величина местной сейсмической нагрузки от собственной массы навесных стен определяется при значении произведения βη, соответствующем рассматриваемому уровню каркаса здания, но не меньше 2.
5.20. Крепление тяжелого оборудования к несущим конструкциям зданий должно проверяться расчетом. Необходимо также учитывать возникающие от этого дополнительные усилия в несущих конструкциях.
5.21. При учете высших форм колебаний расчетные усилия (продольные и поперечные силы, изгибающие и крутящие моменты, нормальные и касательные напряжения) в элементах конструкций от действия сейсмических нагрузок определяются по формуле

где Ni - - значения усилий или напряжений в рассматриваемом сечении от сейсмических сил, соответствующих i-oй форме колебаний; n - число учитываемых в расчете форм (тонов) колебаний.
5.22. Горизонтальную сейсмическую нагрузку S1, вычисленную в соответствии с п. 5.17, рекомендуется распределять:
а) равномерно между четырьмя колоннами каркаса для отдельно стоящих структурных плит;
б) пропорционально жесткостям колонн (связевых панелей) в продольном и поперечном направлениях здания - для многопролетных зданий и при объединении структурных плит по длине здания;
в) в соответствии с фактическими жесткостями участков покрытия из структурных конструкций в горизонтальной плоскости при наличии экспериментальных данных.
5.23. С учетом принятого распределения горизонтальных сейсмических нагрузок между колоннами (связевыми панелями) здания необходимо выполнить проверку несущей способности и устойчивости продольных и поперечных поясов структурных плит. Для типовых решений структурных плит такая проверка может быть выполнена сравнением максимальных горизонтальных усилий с допускаемым суммарным усилием, указанным в ключе для выбора марки блока.
5.24. При проектировании структурных конструкций с капителями элементы капителей должны быть проверены на дополнительные усилия от момента горизонтальной сейсмической нагрузки S1(h2 + h3) (см. рис. 5.3, б).
5.25. Узлы сопряжения структурных конструкций с колоннами здания должны быть рассчитаны на усилия от совместного действия горизонтальных и вертикальных сейсмических нагрузок.
5.26. Горизонтальное перемещение здания (отсека) на уровне верха колони от действия расчетных горизонтальных сейсмических нагрузок S1 определяется по формуле
|
∆ = S1/C, |
(5.7) |
Где
- жесткость каркаса здания (отсека) на уровне
верха колонн; n1 - число
колонн или связевых панелей в каркасе здания (отсека); δkk - перемещение отдельной колонны (связевой панели) на
уровне ее верха от действия горизонтальной единичной силы в том же уровне.
5.27. Предельное относительное перемещение ∆/hc от горизонтальных сейсмических нагрузок согласно п. 5.2 а для зданий без кранов и с подвесными кранами не должно превышать 1/200, а при расчетах по п. 5.2 б - соответственно 1/100.
Предельный относительный прогиб структурных конструкций w/La (где w - вертикальный прогиб, La - пролет) от вертикальных сейсмических нагрузок согласно п. 5.2 а для бескрановых зданий не должен превышать 1/250, а при расчетах по п. 5.2 б - соответственно 1/150. Для зданий с подвесными кранами предельный относительный прогиб не должен превышать величин 1/400 и 1/250 соответственно при расчетах по п. 5.2 а и п. 5.2 б.
Примечание. Значения предельных относительных перемещений и прогибов по согласованию с госстроями союзных республик допускается уточнять на основании результатов специальных исследований.
5.28. При расчете на прочность и устойчивость элементов конструкций, помимо коэффициентов условий работы, принимаемых в соответствии с главами СНиП по проектированию стальных и железобетонных конструкций, необходимо дополнительно вводить коэффициент условий работы mкр, учитывающий особенности сейсмического воздействия (кратковременность сейсмической нагрузки и повторяемость землетрясений). Коэффициент mкр принимается по табл. 9.
Таблица 9
|
Конструкции |
Значения mкр в зависимости от категории повторяемости землетрясений (см. главу СНиП II-7-81) «Строительство в сейсмических районах») |
|
||
|
1 |
2 |
3 |
|
|
|
При расчетах на прочность |
|
|
|
|
|
Стальные и алюминиевые |
1,2 |
1,4 |
1,6 |
|
|
Железобетонные
колонны с арматурой |
1,1 |
1,3 |
1,5 |
|
|
Железобетонные
колонны со стержневой и |
||||
|
|
|
|
|
|
|
а) из тяжелого бетона с
арматурой |
1,0 |
1,2 |
1,4 |
|
|
б) то же, с арматурой других классов |
0,95 |
1,1 |
1,25 |
|
|
в) из бетона на пористых заполнителях |
0,95 |
1,1 |
1.25 |
|
|
г) из ячеистого бетона с арматурой всех классов |
0,85 |
1,0 |
11,15 |
|
|
Железобетонные колонны зданий, при проверке прочности наклонных сечений |
0,75 |
0,9 |
1,05 |
|
|
Сварные соединения |
0,9. |
1,0 |
1,0 |
|
|
Болтовые соединения (в том числе соединяемые на высокопрочных болтах) |
1,05, |
1,1 |
1,16 |
|
|
При расчете на устойчивость |
|
|
|
|
|
Стальные и алюминиевые элементы гибкостью более 100 |
1,0 |
1,0 |
1,0 |
|
|
То же, гибкостью до 20 |
1,2 |
1,2 |
.1,2 |
|
|
То же, гибкостью от 20 до 100 |
от 1,2 до 1,0 (по интерполяции) |
|
||
Примечание. При расчете стальных и железобетонных несущих конструкций, подлежащих эксплуатации в неотапливаемых помещениях или на открытом воздухе при расчетной температуре минус 40°С и ниже, следует принимать mкр = 1, за исключением случаев проверки прочности наклонных сечений колонн.
5.29. При определении расчетных вертикальных сейсмических нагрузок приближенными методами в соответствии с п. 5.8 (с учетом только основной формы собственных колебаний структурного блока) проверку напряженно-деформированного состояния конструкций допускается проводить в соответствии с рекомендациями п. 3.52.
5.30. Настоящий раздел разработан в соответствии с инструкциями [3, 4] для расчета и конструирования структурных плит покрытий при динамических воздействиях от крышных вентиляторов и содержит дополнительные рекомендации, связанные с функциональными и конструктивными особенностями таких покрытий.
5.31. При установке крышных вентиляторов на структурные плиты необходимо производить проверку несущей способности этих конструкций на совместное действие статической и динамической нагрузок.
Уровень колебаний плиты, характеризуемый амплитудами динамических перемещений узлов конструкции и напряжений в стержневых элементах структур, не должен превышать допустимого как по условиям прочности и устойчивости конструкции в целом или отдельных ее элементов, так и по условиям физиологического воздействия на людей и влияния на технологические процессы производства.
В случае превышения допустимых значений уровня колебаний должны быть проведены мероприятия, снижающие динамическую нагрузку на конструкцию.
5.32. При расчете структурных плит на динамические воздействия целесообразно пользоваться методом разложения по формам собственных колебаний, поскольку определение спектра частот и форм собственных колебаний позволяет установить возможность возникновения резонансных режимов колебаний, вычислить возникающие при этом перемещения узлов конструкции и напряжения в элементах.
5.33. Поскольку в структурных плитах влияние отдельных стержневых элементов на колебания конструкции в целом мало, так как масса и размеры этих элементов существенно меньше массы и размеров всей конструкции, общие колебания плиты и ее местные колебания (колебания отдельных стержней) могут рассматриваться раздельно.
5.34. При определении уровня общих колебании конструкции (динамических перемещений узлов) расчет рекомендуется проводить по дискретной расчетной схеме (см. п. 5.7).
5.35. Построение расчетной модели для динамического расчета - определение количества и величин дискретных масс, их размещение и определение компонентов смещении (реакций) каждой массы, включаемых в расчет, - производится с учетом характера распределения статической нагрузки на покрытие и способа закрепления краев плиты.
Точечные массы обычно могут размещаться только в верхних узлах конструкции, поскольку в плоскости этих узлов сосредоточена большая часть всех нагрузок.
Минимальное число степеней свободы расчетной модели обусловливается необходимостью попадания частоты воздействия в пределы спектра частот, соответствующего расчетной нагрузке.
Компоненты смещений точечных масс, включаемые в расчет, определяются в зависимости от расположения плиты в покрытии; при наличии горизонтальных связей между блоками могут учитываться лишь вертикальные составляющие смещений.
5.36. Частоты спектра рi1 и pi2 (i - номер частоты спектра), соответствующие уровням загружения равномерно распределенной статической нагрузкой q1 и q2. связаны соотношением
![]()
Учитывая плотность спектра собственных частот структурных плит и изменение спектра при изменении нагрузки на покрытие, проверку уровня колебаний плиты рекомендуется производить по каждой из частот спектра, которая в процессе изменения статической нагрузки до расчетного значения может совпадать с частотой воздействия.
На рис. 5.5, а в качестве примера показано изменение спектра частот собственных колебаний структурной плиты типа «ЦНИИСК» размером 24×12 м под расчетную нагрузку 3300 Па (330 кгс/м2), соответствующее изменению статической нагрузки от 1000 Па (100 кгс/м2) до расчетного значения (по вертикали отложена равномерно распределенная нагрузка, по горизонтали - частоты колебаний).
На рис. 5.5, б представлены аналогичные графики для блока 24×12 м под расчетную нагрузку 4450 Па (445 кгс/м2).
На этих же иллюстрациях пунктирными линиями нанесены частоты воздействия крышных вентиляторов КЦ4-84В № 12 (обозначена цифрой I), КЦ4-84В № 10 (обозначена II) и КЦ4-84В № 8 (обозначена III). Пересечения пунктирных линий с частотными кривыми показывают те уровни нагрузки, при которых будут возникать общие резонансные колебания плиты. В соответствии с [3] (п. 4.5) следует учитывать нормируемую погрешность определения частот.
5.37. Проверка прочности стержней при совместном действии статической и динамической нагрузок производится для каждого

Рис. 5.5.. Спектр частот собственных колебаний
структурной плиты типа «ЦНИИСК»
С 24-330 (а) и С 24-445 (б)
уровня равномерно распределенной нагрузки qh при которой возникают общие или местные резонансные колебания плиты (k - номер частоты спектра, при которой возникают резонансные колебания). Стержневые элементы структуры рассматриваются при этом как элементы, подверженные действию осевой статической силы и динамическому изгибу, вызванному кинематическим возбуждением - колебаниями концов стержня (т.е. узлов конструкции при ее общих колебаниях).
5.38. Значение коэффициента потерь [3] при определении динамических перемещений структурных плит принимается равным γ = 0,007, а при определении напряжений -γ = 0,015.
5.39. Динамическая нагрузка от крышных вентиляторов может быть охарактеризована как гармоническая, имеющая вертикальную и горизонтальную составляющие, и сведена к системе гармонических сил, приложенных в узлах плиты и имеющих сдвиг по фазе.
Амплитуда динамической нагрузки и характер передачи ее на покрытие зависят от типа вентилятора, его номера, способа установки и степени балансировки. Будучи номинально уравновешенными машинами, крышные вентиляторы в процессе эксплуатации вследствие износа подшипников, неравномерной коррозии или налипания пылевидных фракций могут стать источником значительных динамических воздействий. Эти воздействия многократно снижаются виброизоляцией при условии ее квалифицированного монтажа и эксплуатации.
5.40. Динамические нагрузки от крышных вентиляторов определяются на основе паспортных данных вентиляторов либо расчетным путем в соответствии с [5].
5.41. Для приближенной оценки уровня напряжений, возникающих в элементах структурной плиты при работе вентиляторов (в случае установки их в соответствии со схемой рис. 2.23), динамическая нагрузка может быть условно заменена эквивалентной равномерно распределенной статической нагрузкой, величина которой устанавливается в зависимости от номера вентилятора.
Для структурных плит типа «ЦНИИСК» эквивалентная статическая нагрузка может быть принята: при работе одного виброизолированного вентилятора КЦ4-84В № 8 - 400 Па (40 кгс/м2), КЦ4-84В № 10-500 Па (50 кгс/м2), КЦ4-84В № 12 - 600 Па (60 кгс/м2).
В соответствии со схемой рис. 2.23 допускается установка па структурную плиту двух вентиляторов до № 10 включительно.
При установке двух вентиляторов эквивалентная нагрузка от их совместной работы определяется путем умножения нагрузки от одного вентилятора на коэффициент 1,6.
5.42. Установка на структурные покрытия вентиляторов выше № 6 допускается только на виброизоляторы. Вентиляторы ниже № 6 также рекомендуется устанавливать на виброизоляторы. В противном случае необходимо производить дополнительную проверку прочности элементов структуры на динамические воздействия от этих вентиляторов.
5.43. Расчет структурных конструкций, подвергнутых огненному воздействию, имеет целью установить предел их огнестойкости - время от момента возникновения стандартного пожара до появления признаков потери несущей способности (обрушения) конструкции. Под стандартным пожаром понимается такой источник тепловыделений, который изменяет температуру воздуха (окружающей газовой среды) по закону t° = 345 lg (8τ + 1), где τ - время, мин [6].
При установлении пределов огнестойкости структурных конструкций следует руководствоваться положениями главы СНиП II-2-80.
5.44. Расчет на огнестойкость предполагает:
а) установление критической температуры конструкции или ее элементов - температуры стали, при которой происходит исчерпание несущей способности при заданных нагрузках;
б) определение времени прогрева элементов до критической температуры, т. е. предела огнестойкости.
5.45. При определении критической температуры следует учитывать изменение механических характеристик стали при нагревании. В табл. 10 приведены значения параметров, характеризующих изменение модуля упругости γE = Et/E, предела текучести γy = σTi /σT в зависимости от температуры, принятые но данным ВНИИПО для строительных сталей. Здесь обозначено: Et, σTi, E, σT - модуль упругости и предел текучести при повышенной и нормальной (+20°С) температурах соответственно.
5.46. При определении пределов огнестойкости следует принимать коэффициент надежности по материалу и коэффициент надежности по назначению равными единице, т. е. γm = γn = l. Коэффициент условий работы должен приниматься как при обычном расчете. С учетом этих замечаний расчетное сопротивление стали следует принимать равным нормативному значению предела текучести σT с учетом его изменения в соответствии с табл. 10.
Таблица 10
|
t°C |
γy |
γE |
t°C |
γy |
γE |
|
20 |
1 |
1 |
400 |
0,7 |
0,86 |
|
100 |
0,99 |
0,96 |
450 |
0,65 |
0,84 |
|
150 |
0,93 |
0,95, |
500 |
0,58 |
0,80 |
|
200 |
0,85 |
0,94 |
550 |
0,45 |
0,77 |
|
250 |
0,81 |
0,92 |
600 |
0,34 |
0,72 |
|
300 |
0,77 |
0,90 |
650 |
0,22 |
0,68 |
|
350 |
0,74 |
0,88 |
700 |
0,11 |
0,59 |
5.47. При расчете структурных конструкций на огнестойкость игнорируется явление ползучести стали при повышенных температурах; распределение температуры по объему конструктивного элемента считается равномерным; коэффициент линейного расширения принимается не зависящим от температуры нагревания и равным его значению, соответствующему температуре +20°С.
5.48. При установлении расчетных нагрузок в условиях пожара разрешается принимать длительно действующую долю временных нагрузок: вертикальную составляющую от собственной массы кранов без грузов с коэффициентом перегрузки равным единице; половину нормативного значения снеговой нагрузки. Ветровая нагрузка исключается.. При учете нагрузки от собственной массы конструкций коэффициент перегрузки допускается принимать равным единице. Кратковременные нагрузки в расчетах на огнестойкость учитывать не следует.
5.49. Критическая температура центрально-растянутых стержней определяется по формуле
|
N = σT γy A, |
(5.8) |
где N - расчетное усилие в стержне; σT - предел текучести стали при температуре +20°C; А - площадь поперечного сечения стержня.
Критическая температура находится по табл. 10 соответственно вычисленному по (5.8) значению параметра γy.
5.50. Критическая температура центрально-сжатых стержней находится из условия
|
N = φ A γy σT, |
(5.9) |
где φ - коэффициент продольного изгиба, определяемый по табл. 72 главы СНиП II-23-81 в функции наибольшей гибкости
|
|
l - расчетная длина стержня, i- минимальный радиус инерции сечения.
5.51. При внецентренном растяжении (или сжатии) элементов следует пользоваться условием прочности в виде
|
|
(5.10) |
где Wxp, Wyp - моменты сопротивления ослабленного сечения относительно осей х, у.
При использовании формулы (5.10) необходимо учитывать требования главы СНиП II-23-81.
5.52. Исчерпание несущей способности при потере устойчивости внецентренно-сжатых элементов определяется условием
|
N = φe A γy σT, |
(5.11) |
где φе - коэффициент, определяемый в соответствии с рекомендациями п. 5.27 главы СНиП II-23-81.
5.53. При определении критической температуры сжато-изогнутых неразрезных верхних поясов следует исходить из условия образования кинематической цепи шарниров пластичности в наиболее нагруженных сечениях поясов. При этом должно учитываться, что предельное значение момента Ми в шарнирах пластичности в каждом пролете пояса определяется величиной действующего продольного усилия на данном пролете и зависит от температуры прогревания. С учетом этого обстоятельства предельная величина момента в шарнирах пластичности для неразрезных поясов, изготовленных из двутавров, может быть определена по табл. 11 в зависимости от величины относительного усилия
|
|
(5.12) |
Таблица 11
|
|
0 |
0,1 |
0,2 |
0,3 |
0,4 |
0,7 |
0,8 |
|
|
0,370 |
0,363 |
0,345 |
0,320 |
0,280 |
0,143 |
0,100 |
Величина предельного момента в шарнире пластичности находится по формуле
|
|
(5.13) |
где A, h - площадь и высота поперечного сечения двутавра.
В отличие от обычных расчетов, когда на
балку действует лишь поперечная нагрузка, предельное равенство для пролетных
сечений балки с учетом действия продольного усилия" должно иметь вид: Mu
= Mg
+ Mn,
где Mg,
Mn - моменты от действия
соответственно поперечной и продольной нагрузок. При расчетах следует принимать
Mg
= kMu,
где k = 1 -
.
В случаях, когда верхние пояса имеют на всех пролетах одинаковую равномерно распределенную нагрузку q, критическую температуру следует находить для наиболее сжатого пролета. Расчетная схема на этом пролете будет иметь вид, показанный на рис. 5.6.
5.54. Предел огнестойкости элементов структурных конструкций определяется с помощью кривых прогрева ВНИИПО (рис. 5.7) в зависимости от приведенной толщины сечения δred = A/U, где А - площадь поперечного сечения элемента, U - обогреваемая часть периметра сечения.
5.55. За предел огнестойкости структурной конструкции принимается наименьшее значение предела огнестойкости ее элементов, определяющих несущую способность всей конструкции.

Рис. 5.6. Расчетная эпюра изгибающих моментов в пролете неразрезного верхнего пояса

Рис. 5.7. Кривые прогрева незащищенных стальных конструкция
5.56. Методика расчета предела огнестойкости, изложенная в п.п. 5.49 - 5.53, позволяет определить пределы огнестойкости статически определимых элементов структурной конструкции, т.е. элементов, напряженное состояние которых не зависит от состояния всей конструкции. Кроме того, она может применяться при приближенной, оценке предела огнестойкости структурной конструкции, выполненной из стержней с мало отличающимися толщинами. При расчете подобной конструкции можно пренебречь перераспределением внутренних усилий, вызванным несколько неравномерным прогревом стержней, поскольку за время достаточно близкое к пределу огнестойкости температура прогрева ее стержней выравнивается. Кроме того, уменьшение эффекта перераспределения внутренних усилий происходит также вследствие снижения модуля упругости стали и развития пластических деформаций.
Для более точного исследования работы структурных конструкций при пожаре и определения пределов их огнестойкости расчет рекомендуется осуществлять на ЭВМ, используя методику, изложенную в п.п. 5.58-5.67.
5.57. При необходимости увеличения предела огнестойкости конструкции или ее элементов следует применять средства огнезащиты в соответствии с ГОСТ 25131-82.
5.58. Стержневые конструкции выполняются обычно из нескольких типоразмеров стержней разной толщины, поэтому время прогрева отдельных стержней, а соответственно их линейное расширение и снижение в них модуля упругости материала различно. Для статически определимых конструкций это не приводит к изменению характера распределения внутренних усилий в процессе пожара, поэтому предел их огнестойкости определяется достижением критической температуры в каком-либо одном, наиболее слабом с точки зрения огнестойкости элементе при заданном значении усилия в нем.
В структурных конструкциях вследствие высокой степени их статической неопределимости неравномерный прогрев элементов при пожаре приводит к существенному перераспределению внутренних усилий, при этом развитие пластических деформаций в ряде стержней не всегда характеризует предельное состояние конструкции в целом. При дальнейшем нагреве в этих стержнях с ростом пластических деформаций возможно постепенное снижение усилий за счет передачи части усилий на соседние элементы.
Развитие пластических деформаций и закритическая стадия работы при сохранении общей несущей способности конструкции при пожаре возможны лишь в тех стержнях, исключение которых из работы не превращает ее в геометрически изменяемую систему.
5.59. Расчет структурных конструкций на огнестойкость рекомендуется осуществлять на ЭВМ, используя метод перемещений в нелинейной постановке. При расчете допускается гипотеза о шарнирном соединении узлов.
В расчете необходимо учитывать последовательность нагружения и прогрева. Прогрев рекомендуется осуществлять шаговым методом по времени развития пожара.
Матричное уравнение метода перемещений в нелинейной постановке для условий повышенных температур
5.60. Для составления уравнений равновесия в нелинейной постановке вводятся понятия мгновений жесткости стержня па действие продольной силы Dn t и мгновенной матрицы жесткости стержня Rnt,ab. Индексы а и b указывают номера узлов, которые соединяет стержень, и характеризуют его положение в конструкции.
Значения Dnt и Rnt,ab. определяют упругие свойства стержня при температуре t°C и продольном усилии в нем, равном N.
5.61. Мгновенная матрица жесткости стержня Rnt,ab при учете физической и геометрической нелинейности определяется выражением
|
|
(5.14) |
где l - длина стержня; nх, ny, nz - направляющие косинусы стержня в прямоугольной системе координат; I - единичная матрица.
5.62. Между приращением узловых усилий в стержне, соединяющем узлы а и b конструкции, находящейся под нагрузкой и перемещениями узлов при прогреве стержня на ∆t° в условиях высоких температур существует зависимость
|
|
(5.15) |
где
- векторы приращений обобщенных усилий
в узлах а и b по
направлениям координатных осей;
- соответственно векторы обобщенных
перемещений узлов а и b по направлениям координатных осей;
-реакции в узле а от линейного расширения стержня при
его нагреве на ∆t° без перемещений концов; R∆E,а
- реакции в узле а от изменения модуля упругости материала, которые возникают при
наличии в стержне усилия без перемещений концов.
Значения
и
определяются соответственно по формулам:
|
|
(5.16) |
|
|
(5.17) |
где α - коэффициент линейного
расширения;
- приращение
относительного сближения концов стержня нагруженного силой N, вызванное изменением модуля упругости материала; n - строка
направляющих косинусов стержня.
Если к узлу примыкает несколько стержней, то реакции в нем определяются суммированием сил от примыкающих стержней. При количестве узлов конструкции, равном m, имеем
|
|
(5.18) |
В выражении (5.18) вклад в сумму будут давать только стержни, содержащие точку а.
Объединяя уравнения (5.15) для всех узлов и стержней системы, получаем матричное уравнение равновесия метода перемещении для условии повышенных температур
|
|
(5.19) |
где Rnτ - общая матрица жесткости для всей конструкции в определенный момент времени развития пожара
|
|
(5.20) |
Элементы этой матрицы представляют собой квадратные подматрицы размерностью 3×3 и за исключением диагональных, определяются по формуле (5.14) в зависимости от температуры прогрева стержней. Симметричные элементы равны между собой. Диагональные элементы определяются зависимостью
|
|
(5.21) |
Элементам матрицы с номерами узлов, не соединенных стержнями, присваивается значение 0. При правильном выборе нумерации узлов матрица имеет ленточную структуру.
5.63. По найденным из решения системы уравнений равновесия (5.19) перемещениям определяются приращения усилий в элементах по формуле
|
|
(5.22) |
Определение мгновенной жесткости стержня
5.64. Мгновенная жесткость стержня Dnt характеризует связь между приращением продольного усилия и сближением концов стержня при определенной температуре.
Выражение для мгновенной жесткости внецентренно-сжатого стержня, включая стадию работы после достижения критической температуры, имеет вид
где i - номер шага расчета; ∆Ni - и ∆εi - соответственно ориентировочные значения приращения продольного усилия и сближения концов стержня без учета линейного расширения на данном шаге расчета.
В упругой стадии работы значение ∆Ni - определяется на основании результатов предыдущего шага расчета пли с помощью итераций, значение ∆εi определяется в зависимости от ∆Ni и Et,1 по формуле (5.26), как разность
|
∆εi = εi (Ni, Et,i) - εi-1 (Ni-1, Et, i-1). |
В упругопластической стадии работы значения ∆Ni и ∆εi рекомендуется определять с помощью зависимостей N (ε, Et, σTi), полученных на ЭВМ и соответствии с методикой, изложенной в п. 5.66.
Центрально-сжатые стержни рекомендуется рассчитывать как внецентренно-сжатые с эксцентриситетами приложения продольных сил в пределах начальных несовершенств.
После достижения критической температуры мгновенные жесткости стержней принимают отрицательные значения.
Мгновенная жесткость внецентренно-растянутого стержня в упругой стадии работы принимается равной
В упругопластической стадии работы внецентренно-растянутые стержни допускается рассчитывать как центрально-растянутые, вследствие того, что изгибающие моменты в них невелики.
В центрально-растянутом стержне в упругопластической стадии на i-том этапе прогрева при увеличении температуры на ∆t° произойдет изменение усилия на величину
|
∆Ni = (σT,i - σT,i-1) A, |
не зависящую от величины деформаций растяжения, где σT,i, σT,i-1 - предел текучести стали в зависимости от температуры прогрева стержня соответственно на i-том и i-1-ом шаге расчета, определяемый в соответствии с табл. 10. В этом случае мгновенная жесткость стержня принимается равной нулю, а снижение в нем усилия и влияние этого фактора на работу конструкции в целом учитываются приложением соответствующих сил, определяемых по формуле (5.25), к узлам присоединения стержня к конструкции.
5.65. Выражение, определяющее зависимость между относительным сближением концов внецентренно-сжатого стержня без учета линейного расширения, величиной продольной силы, модулем упругости материала при определенной температуре и геометрическими характеристиками сечения в упругой стадии работы, имеет вид
|
|
(5.26) |
где
|
|
Et - модуль упругости материала при температуре t°С, определяемый в соответствии с табл. 10.
5.66. Определение зависимостей N (ε, Et, σT,i) для внецентренно-сжатых стержней при их прогреве до температур, превышающих критические значения, рекомендуется осуществлять на ЭВМ, используя методику, основанную на аппроксимации стержня дискретной моделью (см. п. 4.36).
Алгоритм расчета внецентренно-сжатых стержней- с учетом развития пластических деформаций строится следующим образом. Сечение сплошного стержня разбивается на площадки, как это показано на рис. 4.10, б, н задается в исходных данных в виде массивов их сечения и расстояний центров тяжести до крайних волокон. Количество площадок по высоте сечения может быть произвольным. Эксцентриситеты приложения продольной силы и возможные начальные несовершенства задаются соответствующими координатами узлов стержневой модели.
Расчет ведется шаговым методом на заданные сближения концов стержня и приращение температуры прогрева без учета линейного расширения. Процедура шагового метода строится таким образом, что на каждом шаге расчета производится анализ сближения узлов " модели в пределах каждой панели. При возникновении деформаций текучести материала производится перерасчет сечений соответствующих элементов модели в зависимости от глубины развития пластических деформаций.
Поскольку предел текучести стали с повышением температуры снижается, происходит перераспределение части напряжений с пластической зоны на упругую, что должно учитываться расчетом. Если сближение концов стержня на каждом шаге расчета задавать равными по величине, то относительные деформации в пределах каждого участка на данном и на предыдущих шагах будут близки между собой. В этом случае сечения площадок в зонах развития пластических деформаций заменяются на условные величины, имеющие отрицательные значения, которые определяются для i-гo шага расчета по формуле
|
|
(5.27) |
где Aj- площадь сечения площадки; ∆ε-1 - относительная деформация рассматриваемого участка стержня на предыдущем шаге расчета.
Затем определяются приведенные значения А и I стержня в пределах каждой панели, участвующие в работе и учитывающие развитие пластических деформаций как по длине стержня, так и по глубине упругого ядра, соответствующее деформациям смещения нейтральной оси, а также увеличение деформативности участков за счет падения напряжении в зоне развития пластических деформаций с увеличением температуры прогрева и перераспределения их на упругую часть стержня. По этим значениям производится перерасчет сечении элементов модели в соответствии с формулами (4.45) на каждом шаге расчета.
Алгоритм может обеспечивать расчет стержня при совместном действии нагружения и прогрева в любых соотношениях и позволяет исследовать его поведение как до, так и после достижения критической температуры.
Последовательность расчета
5.67. Расчет структурных конструкций па огнестойкость ведется в следующей последовательности:
1) нагружение при нормальной температуре до расчетного значения нагрузки при пожаре;
2) прогрев по условиям пожара до наступления предельного состояния.
Расчет на температурные воздействия рекомендуется осуществлять в 2 - 3 этапа методом последовательного приближения. На каждом из этапов решение ведется шаговым методом прогрева до момента образования изменяемой системы. Процесс развития пожара задается небольшими промежутками времени, температура прогрева стержней определяется по условиям стандартного пожара для случая однородного температурного поля окружающей среды (см. рис. 5.7). В случае если имеются данные для реальных условий пожара с неоднородным температурным полем, в расчете рекомендуется учитывать также неравномерность прогрева стержней в зависимости от их расположения в конструкции.
Каждый шаг включает в себя: определение температуры прогрева стержней; определение мгновенных жесткостей стержней в зависимости от действующих в них усилий и механических характеристик стали при данной температуре; формирование и решение системы канонических уравнений для полученных условий распределения температуры между стержнями; определение перемещений узлов и усилий в стержнях; проверку равновесия узлов.
Критерием наступления предельного состояния является резкое нарастание прогибов за небольшой промежуток времени.
В первом приближении на каждом шаге расчета мгновенные жесткости внецентренно-сжатых стержней, работающих в упругой стадии, определяются по формуле (5.23) в зависимости от приближенных значений ∆N в этих стержнях, полученных по результатам предыдущего шага, а растянутых - по формуле (5.24). С момента развития пластических деформаций мгновенные жесткости стержней принимаются равными нулю. На данном этапе в упругопластической стадии учитывается снижение усилий только в растянутых стержнях.
Это осуществляется приложением соответствующих сил, определяемых. По формуле (5.25), к узлам присоединения стержней к конструкции.
В результате расчета получаем перемещения узлов, температуру прогрева и усилия в стержнях на всем процессе развития пожара. По этим данным для внецентренно-сжатых стержней, работающих в упругопластической стадии, определяются зависимости N (ε, Et, σT,i) с помощью ЭВМ в соответствии с методикой, изложенной в п. 5.66. Полученные зависимости задаются для последующего этапа расчет в качестве исходных данных. На следующем этапе мгновенные жесткости внецентренно-сжатых стержней определяются по формуле, (5.23), но по уточненным значениям усилий в стержнях в упругой стадии и с помощью полученных зависимостей N (ε, Et, σT,i) для стержней, работающих в упругопластической стадии.
При возникновении деформаций обратного знака стержни считаются работающими упруго.
Расчет ведется до совпадения результатов на данном и предыдущем этапах.
ЛИТЕРАТУРА
7. СНиП II-2-80 «Противопожарные нормы проектирования зданий и сооружений». - М., Стройиздат, 1981.
6.1. Разработка структурных конструкций покрытий и проектирование зданий и сооружений с этими покрытиями должны производиться с учетом способов их изготовления и монтажа. В связи с конструктивными и технологическими особенностями структур (многоэлементность, повышенная точность, в ряде случаев сложность узловых элементов и т.д.) применение этих конструкций эффективно лишь при прогрессивных способах изготовления и монтажа.
Особенно важно учитывать технологичность изготовления и монтажа при проектировании конструкций массового изготовления. Поэтому в настоящих рекомендациях приводятся те основные требования по изготовлению и монтажу, которые необходимо учитывать при проектировании структурных конструкций и которые позволят проектировщикам более квалифицированно осуществлять технический контроль при возведении и приемке конструкций.
6.2. Изготовление структурных конструкций покрытий производится по деталировочным рабочим чертежам (КМД) в соответствии с требованиями главы СНиП III-18-75 «Металлические конструкции» и «Инструкции по изготовлению стальных конструкций из углеродистой и низколегированной сталей» и технических условий на каждый вид структур [1-5].
6.3. Деталировочные рабочие чертежи КМД структурных конструкций должны соответствовать рабочим чертежам КМ.
Все отступления от чертежей КМ, при комплектовании заказов металлопрокатом или вызванные технологическими особенностями имеющегося на заводе оборудования и т.д., должны быть согласованы с организацией, разработавшей структурную конструкцию.
6.4. Структурные конструкции могут изготавливаться как на заводах, производящих строительные металлические конструкции, так и на механических заводах, имеющих оборудование для обработки фасонного металлопроката.
Хорошая транспортабельность конструкции с высоким коэффициентом использования транспортных средств позволяет сосредоточивать производство каждой структурной системы на 3-5 заводах, способных обеспечить строящиеся объекты на всей территории страны.
При организации изготовления структур на специализированных заводах рекомендуется их максимально приближать к металлургическим предприятиям, выпускающим основной1 прокатный профиль для изготовляемой структурной конструкции.
6.5. Технология изготовления структурных конструкций по способам обработки проката, сборки и сварки элементов, малярно-погрузочным работам аналогична технологии изготовления металлических конструкций в условиях заводов строительных металлических конструкций. По требованиям точности и допускам на готовую продукцию технология изготовления структурных конструкций приближается к технологии машиностроительного производства.
6.6. Учитывая сравнительно малую металлоемкость и многоэлементность структурных конструкций, а также многократную повторяемость элементов и детален структур, производство структур рекомендуется организовывать в специализированных цехах и на специализированных заводах. Изготовление деталей и элементов рекомендуется производить на высокопроизводительных поточных технологических линиях, многооперационных станках и агрегатах-автоматах.
6.7. Организация технологического процесса и способы изготовления структурных конструкций зависят от конструктивных особенностей структурной системы, членения ее на отправочные элементы, профиля стержневых элементов, конструкции узлового соединения, комплектности поставки и т.д.
Для структурных конструкций различают: технологию изготовления структур, поставляемых на площадку отдельными стержневыми и узловыми элементами; технологию изготовления структур, поставляемых на площадку длинноразмерными стержнями и укрупненными элементами в виде пирамид, плоских или пространственных ферм или пространственных блоков.
6.8. Структурные конструкции, поставляемые на монтажную площадку отдельными стержневыми и узловыми элементами, для возможности сборки должны иметь высокую точность размеров. Такую точность, как правило, можно достичь лишь при механической обработке как отдельных деталей, так и элементов на токарном, фрезерном н сверлильном оборудовании. Сборочно-сварочные операции на заводе при изготовлении таких структур имеют незначительный объем или отсутствуют совсем.
При разработке таких конструктивных систем рекомендуется учитывать как повышенную точность изготовления деталей и элементов, так и возможность их изготовления преимущественно на механических или специализированных заводах по производству структур, оснащенных парком токарного, фрезерного и т.п. оборудования.
6.9. Структурные конструкции, поставляемые на площадку укрупненными элементами в виде длинноразмерных стержневых и укрупненных плоских или пространственных элементов, имеют менее жесткие требования к точности изготовления, чем структуры из отдельных стержневых и узловых элементов, а требования к точности изготовления отдельных деталей практически не отличаются от требований, предъявляемым к сварным строительным металлоконструкциям.
Изготовление таких структурных конструкций мало отличается от изготовления других сварных строительных конструкций. Механическая обработка металлопроката ограничивается правкой и резкой и практически все детали подвергаются операциям сборки и сварки, при которых компенсируется подавляющее большинство отклонений в размерах деталей.
6.10. При изготовлении структур из длинноразмерных и пространственных элементов необходимо сборку и сварку элементов, поставляемых на площадку осуществлять в специальных кондукторах, обеспечивающих повышенную по сравнению с традиционными сварными конструкциями точность размеров.
Это вызвано тем, что структурная конструкция на монтаже собирается из большего количества элементов, чем любая другая конструкция, и ошибки, связанные с допусками, могут накапливаться до значительных величин. По этой причине при изготовлении структур из пространственных или плоских элементов, собираемых па монтаже на болтах, сверление монтажных отверстий рекомендуется также выполнять после сборки и сварки в специальных кондукторах, обеспечивающих точность их взаимного расположения в пространстве.
6.11. Разрабатывая структурные конструкции или совершенствуя их, необходимо учитывать особенности технологии их изготовления, возможности серийно выпускаемого или имеющегося оборудования, а также технические возможности завода, на котором предполагается серийно выпускать конструкции, его универсальность или специализацию.
Нетехнологичность структурной конструкции отражается на трудоемкости ее изготовления и стоимости в большей степени, нежели на традиционных строительных сварных конструкциях. В то же время структура, разработанная с учетом технологических требований, может иметь технико-экономические показатели значительно лучшие, чем другие конструкции.
6.12. При разработке структурных конструкций необходимо стремиться к возможно большему числу однородных деталей, обрабатываемых без переналадки оборудования. Элементы и детали изготавливаются партиями и могут отличаться друг от друга только несущественными конструктивными особенностями (толщиной, размерами прокатных профилей, числом сборочных деталей и т.п.).
6.13. Исходя из особенностей специализированного поточного производства к разрабатываемым структурным конструкциям предъявляются следующие требования:
детали и элементы конструкции должны быть унифицированы при минимальном числе типоразмеров;
конструкции должны члениться на последовательно укрупняемые сборочные элементы;
кромки фасонок, прокладок и других деталей не должны выступать за пределы базовой детали для свободного перемещения конструкции по рольгангам и траспортерам.
6.14. До начала серийного изготовления структур рекомендуется производить технологическую проверку конструкции с учетом местных условий изготовления и имеющегося оборудования. В связи с этим, в ряде случаев необходимо внесение некоторых изменений в конструкцию, что возможно осуществить только после согласования с проектной организацией.
6.15. Первый образец выпускаемой конструкции проходит контрольную сборку, оформленную актом с участием представителей указанных организаций. При этом проверяются размеры конструкции, качество соединений сборочных деталей друг с другом, монтажных сопряжении отдельных отправочных элементов и т.п. В дальнейшем контроль качества продукции производится по соответствующим техническим условиям.
6.16. Перед началом серийного производства структур и при внесении заводом в конструкцию изменений, связанных с имеющимся технологическим оборудованием, завод-изготовитель по требованию разработчиков проводит натурные испытания головного (опытного) образца структурной конструкции или ее элементов. Схема и программа испытаний согласовываются с организацией-разработчиком конструкции.
6.17. Конструкции прогонов, фонарей, подвесных путей и т.д., связанные с узлами или элементами структурной конструкции рекомендуется изготавливать с теми же допусками, с какими изготавливаются элементы структуры.
Изготовление этих конструкций целесообразно организовать на тех же заводах, на которых осуществляется производство структур.
6.18. При проектировании и разработке технических условий на структурные конструкции необходимо предусматривать поставку их на монтажную площадку полностью окрашенными.
Перед окраской наружная поверхность очищается от ржавчины, окалины, грязи, защитной смазки и жировых загрязнений. Сварные швы тщательно зачищаются.
Очистка поверхности от ржавчины и окалины производится на стадии подготовки металлопроката и после механической обработки.
6.19. Транспортирование элементов структурных конструкций может производиться любым видом транспорта, исключающим механическое повреждение элементов, при этом членение конструкций на отправочные марки рекомендуется производить в зависимости от вида транспорта и с учетом наибольшей, загрузки транспортных средств в соответствии с действующими техническими условиями транспортных министерств и ведомств. С увеличением расстояния размеры заводской отправочной марки рекомендуется уменьшать.
На большие расстояния целесообразно перевозить структуры отдельными стержнями, обеспечивающими максимальную загрузку транспортных средств. При сборке структурной конструкции из плоскостных и пространственных элементов размеры и состав последних рекомендуется определять с учетом вида транспорта и наибольшей его загрузки.
6.20. Структурные конструкции рекомендуется поставлять на строительную площадку комплексно на предусмотренную ППР монтажную единицу: блок, секцию, покрытие и т.д.
Транспортировку структурных конструкций, поставляемых отдельными стержневыми и узловыми элементами, рекомендуется производить пакет-комплектами на секцию.
При больших объемах строительства с целью максимальной загрузки транспортных средств структурные конструкции рекомендуется транспортировать пакетами, включающими в себя элементы только одной марки.
6.21. В состав комплекта структурного покрытия рекомендуется включать; структурную конструкцию с комплектующими деталями, метизами и т.д.; ограждающие конструкции покрытия с профилированным настилом и метизами; конструкции прогонов, фонарей, подвесных путей и т.д., связанных с узлами или элементами конструкции и изготавливаемых с теми же допусками, что и элементы структуры.
При изготовлении конструкций зданий комплектной поставки со структурным покрытием в комплект включаются также: конструкции каркаса здания; конструкции стенового ограждения; переплеты оконные; ворота стальные; лестничные марки и переходные площадки и т.д.
6.22. Монтаж структурных покрытий может осуществляться следующими способами: навесной» сборкой; сборкой на проектной отметке на подмостях; полностью собранными на земле покрытиями или отдельными крупными их частями; укрупненными блоками [1; 6-11].
6.23. Навесным способом рекомендуется собирать структурные плиты регулярного строения из стержневых элементов размером на одну ячейку небольшой массы с болтовыми или замковыми узловыми соединениями, при этом необходима проверка устойчивости и деформативности на всех стадиях сборки.
Сборка покрытия и подача элементов к месту установки производится вручную без подмостей, сборочных линий и стендов, а также грузоподъемных механизмов.
Навесной монтаж структурных покрытий рекомендуется применять при строительстве небольших зданий индивидуального назначения в гражданском и сельском строительстве, а также при отсутствии монтажных механизмов достаточной грузоподъемности или стесненных строительных площадках.
При необходимости перекрывать большие пролеты и наличии свободного пространства в перекрываемом пролете рекомендуется применять полунавесную сборку структурной плиты с опиранием на временные дополнительные опоры внутри здания или на передвижные подмости (рис. 6.1). При использовании передвижных подмостей рекомендуется собирать также структурные плиты с узловыми соединениями па сварке.

Рис. 6.1. Схема монтажа пространственной конструкции покрытия на проектной отметке с передвижных подмостей
1 - возводимая конструкция покрытия; 2 - настил по подмостям; 3 - винтовые опоры; 4 - монтажный автокран; 5 - передвижные подмости; 6 - колонны
Сборка покрытия производится вручную. Подачу элементов на передвижные подмости рекомендуется осуществлять подъемниками, лебедками или, если позволяет площадка, легкими мобильными или башенными кранами.
6.24. Сборка структурных плит на проектной отметке предполагает дополнительные расходы на сооружение подмостей и исключает выполнение под покрытием других строительных работ до разборки подмостей. Поэтому этот способ может быть рекомендован только в исключительных случаях, когда другие более прогрессивные способы по каким-либо причинам не могут быть использованы.
Сборка плит на подмостях производится вручную и может осуществляться при любых узловых сопряжениях при условии членения системы на короткоразмерные элементы. Подъемные средства применяются такие же, как и при навесных способах монтажа.
6.25. Монтаж структурного покрытия, целиком собранного на земле или крупными частями, рекомендуется применять для зданий павильонного типа, а также индивидуального строительства большепролетных зданий при свободной площади под перекрываемым пролетом. Этот способ может быть применен для структурных плит любой конструкции и членения на отправочные марки, в том числе для многопролетных неразрезных покрытий Сборка структурной плиты в зависимости от массы отправочных марок производится вручную или с использованием кранов малой и средней грузоподъемности.
6.26. При размере здания в плане до 36×36 м и свободной площадке вокруг него рекомендуется для подъема плиты использовать один или два монтажных крана большой грузоподъемности (рис. 6.2). Степень строительной готовности собранного покрытия определяется грузоподъемностью крана. При сборке только металлических конструкций и наличии механизмов достаточной грузоподъемности таким способом могут возводиться покрытия зданий размером до 48×48 м.
Применение кранового оборудования большой' грузоподъемности для подъема собранной на земле структурной плиты способствует

Рис 6.2. Схема монтажа структурного блока размером 30×30 м с консольными свесами и выступающими капителями
1 - место складирования элементов конструкции; 2 - монтируемый блок; 3-профилированный настил; 4 - монтажный кран; 5 - блок на временных опорах при сборке капителей; 6 - блок в проектном положении; 7 - колонны; 8 - временные опоры; 9 - траверса для строповки


Рис. 6.3. Схема подъема собранного покрытия на проектную отметку электромеханическими подъемниками
а - подготовка площадки, установка колонн и встроенных опорных капителей; б - сборка конструкции и устройство кровли: в, г - последовательные положения конструкции во время подъема; 1 - колонна; 2 - конструкция покрытия; 3 - встроенная капитель; 4 - кран; 5 - кровля; 6 - подъемник
сокращению сроков монтажных работ, в то же время применение этого способа для монтажа покрытия одного здания не всегда целесообразно в виду значительной стоимости транспортировки, монтажа и демонтажа кранов большой грузоподъемности.
6.27. Подъем собранного покрытия большой площади осуществляется специальными приспособлениями и гидравлическими подъемниками большой грузоподъемности (рис. 6.3). Покрытие рекомендуется собирать до полной' строительной готовности, а при значительной массе его и отсутствии подъемников требуемой мощности - собирать только металлоконструкции с включением профилированного настила или собирать крупными частями, что предпочтительно при наличии постоянных или временных промежуточных опор.
При проектировании монтажа этим методом следует учитывать длительность процесса установки и наладки подъемных приспособлений и невозможность одновременного выполнения в перекрываемом пролете других работ в течение всего периода. От подготовки к сборке до закрепления конструкции на проектной отметке, а также в ряде случаев увеличение стоимости монтажа по сравнению со способами, выполняемыми с применением кранов.
6.28. При возведении покрытий однопролетных и многопролетных одноэтажных зданий большой площади рекомендуется применять монтаж структурных плит укрупненными блоками, при котором собранный на земле блок поднимается самоходными стреловыми пли башенными кранами.
С учетом применения этого метода монтажа рекомендуется проектировать покрытие, в котором несущие структурные плиты расчленяются па отдельные блоки размером на ячейку сетки колонн (или с консольными свесами). При этом соединение блоков между собой рекомендуется проектировать максимально простой конструкции, обеспечивающей передачу только горизонтальных усилий по одной поясной сетке. Разнопрочные соединения отдельных блоков по всем поясам, обеспечивающие восприятие изгибающих моментов и работу плиты по неразрезной схеме, приводят к существенному увеличению трудозатрат на монтаже.
6.29. Монтаж структурных плит укрупненными блоками является наиболее быстрым и универсальным способом. Поэтому при проектировании структурных покрытий для одноэтажных здании с наиболее распространенной сеткой колонн 12×18; 12×24, 18×18, 18×24 м и др. рекомендуется конструкцию плиты разрабатывать с учетом применения, в основном, этого способа монтажа.
Остальные способы применяются либо при отсутствии необходимых грузоподъемных механизмов, либо при возведении сооружений с пролетами, требующими укрупнительной сборки на проектной отметке. Трудоемкость работ по монтажу таких покрытий зависит от конструктивной схемы и количества монтажных соединений, осуществляемых на стройплощадке. Наиболее рациональной по трудоемкости монтажа оказывается конструкция, собираемая из элементов, укрупненных в заводских условиях.
6.30. Способ монтажа конструкций зависит от многих факторов и определяется в процессе разработки проекта производства монтажных работ (ППР), который может быть типовым или на конкретный объект.
Проект производства монтажных работ составляется специализированной проектной организацией либо монтажной организацией на основании чертежей КМ или КМД в соответствии с указаниями главы СНиП III-18-75. В проекте рекомендуется подробно разрабатывать технологию укрупнительной сборки, подъема и конкретные технические решения по технике безопасности.
Для небольших объектов допускается составление проекта производства работ в сокращенном объеме или привязка проекта, разработанного для аналогичного объекта, что определяется ведомственными инструкциями.
Проект производства монтажных работ согласовывается с генподрядной строительной организацией и утверждается в порядке, установленном соответствующими инструкциями (СН 202-76 и ВСН 33-77).
6.31. При составлении проекта монтажных работ на индивидуальные объекты рекомендуется с согласия проектной организации корректировать конструктивные решения узловых соединений и членение на отправочные марки и монтажные блоки с учетом принятых способов монтажа, дающих дополнительный экономический эффект или снижающих трудоемкость возведения покрытия.
6.32. К монтажу структурных конструкций покрытий рекомендуется приступать после выполнения комплекса строительных подготовительных и монтажных работ, предусмотренных проектом производства работ и обеспечивающих начало и бесперебойное производство монтажа конструкций. К этому времени должны быть закончены работы нулевого цикла с устройством бетонной подготовки под полы (при сборке конструкций в зоне подъема), приняты фундаменты для всего сооружения или его части, смонтированы или возведены постоянные и предусмотренные ППР временные опоры, оборудованы места укрупнительной сборки конструкций.
6.33. При сборке конструкций вне зоны подъема доставку их под монтажный механизм рекомендуется осуществлять по специальным рельсовым путям пли на приспособленных для итой цели транспортных средствах. Пути следования собранной конструкции и транспортные средства должны исключать разрушение или появление остаточных деформаций в конструкции, а также в отдельных ее элементах и соединениях.
Перемещение элементов конструкции или собранного структурного блока волоком категорически запрещается.
6.34. Установку собранной конструкции на транспортное оборудование рекомендуется осуществлять крапами или иными стационарными грузоподъемниками.
Места строповки и временного опирания рекомендуется устанавливать с учетом указаний чертежей КМ, соответствующих инструкций или расчетом.
6.35. Подъем собранной конструкции осуществляется грузоподъемными механизмами и монтажными приспособлениями, предусмотренными ППР. Монтажные приспособления рекомендуется разрабатывать с учетом передачи на конструкцию преимущественно вертикальной нагрузки. При передаче на конструкцию от стропов горизонтальной составляющей структурная плита должна быть проверена расчетом на совместное действие вертикальной и горизонтальной нагрузок в соответствии с настоящими рекомендациями.
6.36. Устойчивость конструкций при действии ветра и монтажных нагрузок обеспечивается определенной последовательностью установки элементов структурной плиты и укрупненных блоков, установкой постоянных и временных связей и другими мероприятиями, которые рекомендуется предусматривать в проекте производства работ. При этом структурную конструкцию следует проверять на двухстороннее действие ветра в соответствии с указаниями главы СНнП II-6-74.
6.37. Установленные в проектное положение структурные конструкции до их освобождения от крюка монтажного механизма рекомендуется надежно закреплять к постоянным или временным опорам.
Последующие работы на смонтированных конструкциях рекомендуется производить только после окончания работ по их проектному закреплению.
6.38. При разработке структурной конструкции рекомендуется принимать монтажные соединения, исключающие все виды кислородной резки на всех стадиях производства монтажных работ, а также максимально и монтажную электросварку как вспомогательную операцию при сборке, подъеме н закреплении конструкции. Разрешается только предусмотренная проектом сварка на монтажной площадке элементов в структурных конструкциях со сварными узловыми соединениями.
Применение резки и не предусмотренной проектом сварки при монтаже типовых структурных конструкций не допускается.
6.39. Контроль качества и соблюдение технологических процессов рекомендуется осуществлять на всех стадиях изготовления и монтажа структурных конструкций и их отдельных элементов.
6.40. Технология производства структурных конструкций, собираемых из короткоразмерных стержневых элементов, определяется профилем стержней (замкнутые: круглые или прямоугольные трубы, составные сечения из гнутых профилей и открытые: прокатные и гнутые уголки, швеллеры, С-образные и т.д.), наличием и конструкцией узловых элементов (литые или точеные в виде многогранных пли круглых деталей, сварные в виде листовых плоских или объемных фасонок). При этом изготовление замкнутых профилей составного сечения, а также гнутье профиля из листа является дополнительной операцией. Ее рекомендуется передавать металлургическим предприятиям или выделять на заводе металлоконструкций в отдельный технологический процесс.
6.41. Изготовление структур со стержнями, соединяемыми в узлах без дополнительных деталей, например, с узлами на ванной сварке (см. на рис. 2.4) производится по одному технологическому процессу.
Технология изготовления структур с узловыми деталями делится на два самостоятельных процесса: изготовление стержневых и изготовление узловых элементов, что вызвано значительным отличием операций и оборудования. По такой технологической схеме изготавливаются, например, структурные конструкции типа «МАРХИ» и «Кисловодск» с элементами из труб, а также типа «Кристалл» с элементами из открытых профилей и узловыми деталями в виде многогранников, имеющих отверстия с резьбой (см.. рис. 2.7), структурные конструкции из труб с узловыми элементами в виде полых шаров (см. рис. 1.2), структурные конструкции типа «Сокол» с элементами из открытых холодногнутых профилей с узловыми элементами, сваренными из листовых фасонок, и т.д.
6.42. Изготовление стержневых элементов во всех этих конструкциях весьма близко по технологии и заключается в резке профиля на элементы определенной длины и, в зависимости от конструкции узлового соединения, обработке концов, сборке и при наличии узловых деталей в их приварке.
Изготовление узловых деталей включает в себя операции резки проката, сборки и сварки, или штамповки и обработки деталей на токарно-плиторезных, сверлильных и фрезерных станках или ковки, горячей штамповки с последующей сборкой и сваркой.
6.43. Резку труб на мерные заготовки рекомендуется производить по упору труборезными стайками, зубчатыми, дисковыми, ленточными пилами или термопилами, а также при помощи автоматов и полуавтоматов для кислородной резки или другими способами огневой резки при условии соблюдения чистоты реза, обеспечивающей качественную приварку узловых элементов.
6.44. Основным элементом заводского изготовления структурных конструкций из труб с узловыми сопряжениями, выполненными с помощью ванной сварки без применения специальных узловых деталей, является трубчатый стержень со сплющенными концами (см. рис. 2.4). Технологический процесс изготовления таких элементов включает: резку труб на мерные заготовки, нагревание их концов, сплющивание концов и формирование переходной части трубы, резку сплющенных концов, выборочный контроль качества выполнения обработки сплющенных концов и размеров элементов, покрытие стержней защитными составами и подготовку их к отправке на место монтажа (маркировка и упаковка).
6.45. Нагревание концов труб перед сплющиванием может быть осуществлено газовыми кольцевыми горелками, в газовых и мазутных печах, с помощью индукционного электронагрева, а также в кузнечном горне. Нагревать рекомендуется участок трубы, равный по длине трем диаметрам трубы (в пределах переходной части стержня), по всей окружности трубы или в местах наибольшего перегиба, доводя температуру нагревания до 900 - 1100°С.
Холодное сплющивание рекомендуется применять для тонкостенных (3 - 4 мм) труб из стали класса С38/23, если не происходит разрыв стенок в местах наибольшего перегиба или технически осуществима заварка продольных трещин на полную их глубину. При появлении трещин в направлении, отличном от продольного, стержни рекомендуется отбраковывать.
6.46. Формирование переходной и сплющенной частей трубчатых стержней рекомендуется производить при помощи специальных матриц и пуассона, обеспечивающих уклон переходном части поясных и раскосных стержней 1:6.
Формирование осуществляется с использованием стандартного кузнечно-прессового оборудования мощностью 50 тс для труб размером до 89×4 мм и менее, 100 тс для труб до 114×12 мм и 200 тс для труб до 219×12 мм.
Концы заготовок должны быть сплющены до полного соприкосновения стенок.
Сплющивание поясных стержней производится под прямым углом к оси стержня, раскосных - под косым. Ошибку в угле сплющивания его концов рекомендуется исправлять при резке стержня по размеру и оформлении его концов.
Резку, сплющенных частей трубчатых элементов по размеру рекомендуется выполнять в один прием без дополнительной подгонки. Наиболее производительным механизмом для этих работ являются гильотинные ножницы при условии обеспечения чистоты реза (без задира и изгиба кромок). При изготовлении элементов рекомендуется соблюдать допуски на основные размеры, приведенные в табл. 12.
6.47. Внешние поверхности трубчатых стержней с узловыми соединениями на ванной сварке рекомендуется подвергать двойной грунтовке. Концы труб на длине 30 - 40 мм, подлежащие сварке, не грунтуются.
6.48. Структурные конструкции, собираемые из отдельных стержней и узловых элементов, аналогичные системам «МАРХИ» и «Кисловодск», рекомендуется изготавливать серийно на специализированных заводах в объеме сортамента унифицированных элементов, оговоренного техническими условиями на конструкцию.
При изготовлении стержневых элементов сборку, включающую сопряжение укомплектованного наконечника из вкладыша, болта, поводковой втулки и штифта, и сварку рекомендуется производить в специальном кондукторе, обеспечивающем суммарный допуск по длине элемента в пределах +0,5 мм¸0,9 мм. При этом отклонение от прямолинейности оси стержня не должно превышать 1,5 мм па 1 м длины.
Таблица 12
|
Параметр |
Допускаемые |
|
Длина стержневых элементов |
±2 мм |
|
Длина сплющенной части |
±3 мм |
|
Пропеллерность сплющенных концов |
2° |
|
Угол реза и сплющивания |
±1° |
|
Глубина вмятин плоских зон переходных частей в зависимости от диаметра труб |
3-5 мм |
|
Зазор между стенками |
0,1 мм |
Вкладыши с трубкой рекомендуется сваривать в среде углекислого газа одновременно с обоих концов сварочными тракторами с автоматической подачей сварочной проволоки. При небольших объемах работ допускается ручная сварка высококачественными электродами, производимая только аттестованными сварщиками.
Свариваемые кромки и прилегающие к ним зоны металла трубы и вкладыша шириной не менее 10 мм должны быть очищены от ржавчины, грязи, масла, влаги и т.п.
6.49. Высокопрочные болты в этих конструкциях изготавливаются из калиброванной стали с последующим термоупрочнением в готовом изделии для обеспечения класса прочности болтов 12.9.
Болты рекомендуется изготавливать на поточно-механизированной линии, включающей резку заготовок из прутка, высадку головки, нарезку резьбы, сверление отверстий под штифт и технический контроль.
На резьбе специальных болтов не допускаются рванины и выкрашивания ниток резьбы, если они по глубине выходят за пределы среднего диаметра резьбы или их длина превышает 8 % обшей длины резьбы по винтовой линии, а в одном витке - 1/3 длины.
Термическая обработка болтов должна производиться в электрических печах с учетом особенностей и качества применяемых марок сталей. Исправление некачественной термической обработки допускается не более одного раза. Отклонение от прямолинейности стержня специальных болтов допускается не более 0,6 мм.
6.50. Специальные втулки рекомендуется изготавливать методами точного литья. В этом случае в цехе производится только фрезерование опорных поверхностей под рабочий размер. При изготовлении втулок отливкой на их поверхности не допускается более двух раковин размером и глубиной более 3 мм на необрабатываемых поверхностях и более 1,5 мм - на обрабатываемых. Специальные втулки могут также изготавливаться из шестигранной трубы или из сплошного шестигранника путем обработки шестигранного профиля на токарных и фрезерных станках. Однако такой метод может быть рекомендован только при изготовлении нетиповых элементов.
6.51. Цилиндрические вкладыши рекомендуется изготавливать горячей поковкой с последующей обработкой на сверлильном, фрезерном и токарном станках. При этом рекомендуется контролировать точность диаметра отверстия (класс А7) и диаметра посадочной фаски на трубу (В7); параллельность опорных поверхностей вкладыша со стороны головки болта и специальной втулки (в пределах допуска па толщину вкладыша по классу точности - С5).
6.52. Заготовку узлового элемента рекомендуется изготавливать горячей штамповкой с плюсовыми допусками не более 2 мм. Заготовка обрабатывается на фрезерном станке с минимальным отходом материала, и на шестишпиндельном автомате, на котором производится сверление отверстий и нарезка резьбы. В качестве исходного проката для горячей штамповки рекомендуется применять круглую сталь диаметром 70 и 100 мм.
6.53. Все готовые изделия рекомендуется подвергать приемосдаточным испытаниям, при которых проверяется качество материалов, сварки, качество резьбы, прочность, твердость, геометрические размеры, качество поверхности, внешний вид, комплектность и т.д. Состав и объем испытаний и допуски определяются техническими условиями на конструкцию [3, 4].
В конструкциях типа «МАрхИ» и «Кисловодск» наиболее ответственными являются сварные швы вкладыша с трубой, высокопрочный болт и узловые элементы. К их контролю рекомендуется предъявлять повышенные требования.
Специальные болты и узловые элементы рекомендуется испытывать на разрушающую растягивающую нагрузку, равную 1,35 расчетной несущей способности болтов и на ударную вязкость, стержни - на растяжение расчетной нагрузкой.
При неудовлетворительных результатах испытания на прочность хотя бы одного стержня, болта или узлового элемента, отобранных при выборочном контроле, рекомендуется производить повторную приемку удвоенного количества образцов, взятых из той же партии.
Результаты испытаний считаются удовлетворительными, если при повторных испытаниях не окажется ни одного стержня, болта или узлового элемента, не выдержавшего испытаний на прочность.
6.54. Серийно выпускаемые стержневые и узловые элементы конструкции «МАрхИ» и «Кисловодск» на заводе подвергаются антикоррозионной защите. Стержни грунтуются глифталиевыми или фенолформальдегидными грунтами и окрашиваются декоративными эмалями, болты, спецвтулки и узловые элементы - оцинковываются. Допускается узловые элементы и спецвтулки защищать грунтами и эмалями аналогично стержням.
6.55. Структурные конструкции типа «МАрхИ» и «Кисловодск» поставляются комплектно. В комплект входят стержневые и узловые элементы и другие металлоконструкции, определяемые соглашением между заказчиком и заводом-изготовителем или каталогом [5]. Конструкции сопровождаются паспортом, составленным по ГОСТ 2.601-68*.
6.56. Холодногнутый профиль для изготовления стержневых элементов структурных конструкций целесообразно получать с металлургических заводов, где он прокатывается из полосы. На заводе же металлоконструкций он подвергается лишь резке и обработке концов нарезанных элементов. В связи с этим при разработке структурных конструкций с элементами из холодногнутых профилей рекомендуется принимать сечения из сортаментов профилей, выпускаемых металлургическими заводами. При этом, учитывая величину монтажной партии проката, рекомендуется стремиться к применению минимального количества типов профилей.
При небольших объектах изготовления гнутых профилей экономически целесообразно организовать производство их на прессовом оборудовании завода металлоконструкций.
В этом случае имеется возможность применять более широкую номенклатуру профилей, проектировать более рациональные сече пня, что позволяет лучше использовать материал и разрабатывать более экономичные конструкции.
6.57. Концы стержневых элементов из холодногнутых профилей обрабатываются в зависимости от принятых узловых соединений. При решении узлов на базе серийно выпускаемых узловых элементов типа «МАрхИ» или «Кисловодск» для соединения элементов с круглыми вкладышами концы гнутого профиля рекомендуется сплющивать и формировать по окружности. Это позволяет при соединении с круглыми вкладышами применять сварку автоматами.
При конструкции узловой детали в виде пространственного элемента, собираемого из штампованных фигурных фасонок или сваренного из плоских листовых фасонок (см. рис. 1.2), обработку концов стержневых элементов рекомендуется ограничивать образованием отверстий под болты.
Резку гнутых элементов и образование отверстий, а также резку и штамповку фасонок рекомендуется делать на высокопроизводительном прессовом оборудовании. При небольших объемах производства конструкций сверлить отверстия можно по плоскому или пространственному кондуктору.
6.57. В структурных конструкциях из труб с шаровыми сварными узлами отправочными элементами являются трубчатые стержни и узловые детали в виде полых шаров.
Стержневые элементы изготавливаются за одну операцию: резка труб перпендикулярно продольной оси. При шаровых узловых деталях не требуется снятия фаски. Вместе с тем для стержневых элементов этой конструкции рекомендуется допуски на длину и перпендикулярность плоскости реза к продольной оси принимать более жесткие, чем для элементов при узлах на ванной сварке или на болтах. Изготовление шаровых узловых деталей рекомендуется выполнять горячей штамповкой полусфер с последующей обрезкой кромок и сваркой полусфер в шар на подкладном кольце.
6.59. В некоторых конструктивных решениях, где стержневые элементы пропускаются сквозь шар, в стенках шара прорезаются отверстия, оси которых на противоположных стенках должны быть совмещены с большой точностью. В этом случае резку рекомендуется выполнять электроэрозионными способами.
6.60. При разработке структурных конструкций рекомендуется учитывать, что трудоемкость изготовления конструкции с шаровыми узлами несколько меньше, чем с точеными узловыми элементами (система «МАрхИ»), однако значительно повышается трудоемкость сборки и сварки конструкции на монтаже.
6.61. Структурные конструкции с длинноразмерными поясными элементами рекомендуется членить на монтажные элементы, проходящие на заводе только операции механической обработки, и элементы, проходящие полный технологический процесс изготовлении металлических конструкций, т.е. обработку, сборку и сварку.
Примером конструкций этой группы являются структуры из прокатных профилей системы «ЦНИИСК» с монтажными соединениями на болтах нормальной точности (см. рис. 2.12). Более 65 % массы элементов структуры изготавливаются при выполнении двух операций: резка проката на элементы определенной длины и образование отверстий. Остальные элементы в виде длинноразмерных стержней с приваренными листовыми фасонками проходят операции сборки в кондукторах и сварки.
Исключение операций по сборке и сварке для ряда элементов позволяет значительно сократить трудозатраты на изготовление конструкций и организовать изготовление деталей на поточных линиях с механизацией и автоматизацией процессов.
6.62. Структурные конструкции с длинноразмерными поясами рекомендуется производить на специализированных заводах металлоконструкций с применением прогрессивного крупносерийного производства на поточных линиях, механизированных способов обработки деталей, сборки и сварки конструкций, обеспечивающих высокую производительность и требуемое качество продукции.
Для крупносерийного изготовления на таких заводах разработаны типовые структурные конструкции системы «ЦНИИСК» из прокатных профилей.
При небольших объемах производства конструкции могут изготавливаться на обычных заводах металлоконструкций средней и малой мощности.
Унифицированные элементы структурной конструкции на специализированных заводах рекомендуется изготавливать «на склад» с последующей комплектацией и отправкой потребителям.
6.63. При изготовлении структурных конструкций из прокатных профилей с длинноразмерными элементами рекомендуется выделять две технологические линии: изготовление длинноразмерных верхних поясов с приваренными фасонками и изготовление длинноразмерных нижних поясов, раскосов и распорок, подвергающихся только операциям механической обработки.
На первой линии технология изготовления близка к технологии изготовления сварных металлоконструкций и структурных конструкций размером на ячейку. Отлитие от первых заключается в меньших габаритах отправочных элементов, в допусках на геометрические размеры и в требовании изготовления элементов только в кондукторах, от вторых - в больших габаритах, кондукторной оснастке и менее жестких требованиях по допускам.
6.64. При изготовлении верхних поясов резку двутавров, оба конца которых встык присоединяются к другим деталям, рекомендуется производить механическими пилами пли наиболее производительным способом - штампом по упору. Уголок рекомендуется резать только штампом по упору. При небольших объемах производства допускается кислородная резка профилей по шаблону.
Резку деталей из листа рекомендуется выполнять штампами с одновременным проколом отверстий. При небольших объемах производства листовые детали вырезаются на гильотинных ножницах, а отверстия рекомендуется сверлить по накладным кондукторам с впрессованными втулками.
Сборку и сварку поясов рекомендуется выполнять в кондукторах. Сварку заводских соединений рекомендуется производить полуавтоматами в среде углекислого газа. Допускается при отсутствии оборудования выполнять ручную дуговую сварку.
6.65. Длинноразмерные нижние пояса и раскосы рекомендуется изготавливать на специализированном участке, оборудованном спаренными прессами пли сверлильными станками для одновременного образования групп отверстий в обеих полках по длине пояса.
При серийном изготовлении конструкций операции резки уголка и образование отверстий продавливанием рекомендуется объединять в одном штампе. При небольших объемах производства допускается раскосы и нижние пояса изготавливать раздельными операциями: резка и образование отверстий.
6.66. В элементах структурных конструкций покрытий, предназначенных для эксплуатации в районах с расчетной температурой ниже минус 40ºС, все отверстия рекомендуется сверлить по кондуктору.
6.67. Контроль качества изготовленных элементов структурных конструкций осуществляется службой ОТК на всех этапах изготовления. Контролю должны подвергаться все детали и узлы на соответствие требованиям чертежей и технических условий.
6.68. Размеры стержневых деталей структурных блоков, отправляемых на монтаж без заводской сборки, не должны отличаться от проектных больше, чем на 3 мм [2].
Учитывая, что разницу между диаметрами болта и отверстия в таких конструкциях рекомендуется принимать 1 мм с допускаемым отклонением 0; +0,6 мм, отклонения расстояний между группами отверстий не должны превышать 1 мм в раскосах и 2 - 2,5 мм - в поясах, а между отверстиями в грунтах - 0,7 мм.
6.69. В структурных конструкциях, изготавливаемых из открытых профилей с непосредственным соединением элементов в узлах из-за ограниченных размеров полок уголков необходимо соблюдать точные размеры расстояния от центра крайнего отверстия до скоса и обрезов. Эти параметры, а также расположение рисок па поясных и раскосных уголках рекомендуется подвергать наиболее строгому контролю. Допускаемое отклонение расстояния от центра крайнего отверстия до края скоса по перпендикуляру к нему не должно превышать 0; +2 мм. При этом линией скоса рекомендуется пересекать риску на торце или за пределами стержня.
6.70. При серийном изготовлении структурных конструкций каждый первый и в последующем каждый сотый экземпляр однотипных структурных блоков рекомендуется подвергать контрольной сборке, при которой производится проверка правильности размеров конструкций, подгонка сборных деталей друг к другу, монтажных сопряжений отдельных отправочных элементов, а также проверка правильности изготовленных кондукторов, отсутствия изменений в кондукторах после их эксплуатации.
Необходимость в контрольной сборке других структурных блоков определяется заводом-изготовителем.
6.71. Перед началом серийного производства структурных блоков и при внесении заводом в выпускаемые конструкции каких-либо изменений, связанных с технологическим оборудованием или предусмотренных в чертежах КМ на индивидуальные объекты, заводу-изготовителю рекомендуется проводить натурные испытания головного (опытного) образца структурного блока пли его элементов. Блоки проходят испытания до разрушения с определением несущей способности и деформативности конструкций.
6.72. Изготовление укрупненных элементов может производиться как на специализированных, так и на неспециализированных заводах.
Технология изготовления укрупненных элементов аналогична изготовлению сварных металлических конструкций на заводах металлоконструкций универсального профиля [1; 2]. Однако сосредоточивать изготовление пространственных конструкций укрупненными блоками на заводах средней и большой мощности нерентабельно из-за значительного недоиспользования грузоподъемности транспортных средств и удорожания перевозок.
6.73. Изготовление бесфасоночных плоских ферм рекомендуется производить в кондукторах-кантователях до полной готовности без промежуточных прихваток.
Фермы с раскосами, присоединяемыми через фасонки, рекомендуется изготавливать по раздельной технологии:
а) собираются и свариваются пояса со всеми вспомогательными элементами (фасонкамн, опорными башмаками и т.д.) с помощью малых кондукторов и других приспособлений;
б) элементы выправляются, и места примыкания раскосов зачищаются от наплывов, брызг, выступающих сварных швов и т.д.;
в) в стационарном кондукторе-кантователе собирается вся ферма из укрупненных поясов и раскосов и сваривается.
Допускается при неспециализированном производстве элементы фермы соединять прихваткой с последующей сваркой на стеллажах.
Технология изготовления доборных элементов аналогична технологии изготовления структур с длинноразмерными поясами. С целью повышения заводской производительности доборные элементы рекомендуется проектировать в виде стержней, изготавливаемых из прокатных или гнутых профилей за одну-две операции механической обработки без применения сборки и сварки.
6.74. Монтаж структурных плит крупными блоками рекомендуется как основной метод производства работ при возведении покрытий одноэтажных однопролетных и многопролетных производственных и гражданских зданий большой площади.
Применение способа монтажа укрупненными блоками при строительстве зданий с небольшой площадью структурного покрытия (из 3 - 5 блоков) необходимо обосновывать технико-экономическими расчетами.
Укрупненными блоками монтируются все структурные системы, разработанные для массового строительства, в том числе конструкции «Кисловодск», «МАрхИ», «ЦНИИСК» и др.
6.75. В состав укрупненного блока, кроме металлических конструкций покрытия, рекомендуется включать конструкции кровли, технологические коммуникации, трубопроводы, оборудование и т.д., прокладываемые внутри блочного пространства, а также пути подвесного транспорта, конструкции подвесного потолка и т.п., располагаемые под элементами нижнего пояса структурной плиты.
6.76. При монтаже структурного покрытия крупными блоками поставку конструкций рекомендуется осуществлять комплектами на блок. В этом случае их следует принимать непосредственно на участок укрупнительной сборки или в зону монтажа.
Конструкции, поступающие раньше срока начала монтажа при неподготовленных площадках укрупнительной сборки, рекомендуется принимать на приобъектный склад с последующей подачей в зону сборки.
Рис. 6.4. Схема монтажа структурного покрытия из блоков размерами 24×12 м со сборкой их у места подъема
1 - склад металлоконструкции; 2 - смонтированные блоки; 3 - монтируемый блок; 4 - монтажные крапы; 5 - участок блока без профилированного настила; 6 - сборочные приспособления; 7 - профилированный настил; 8 - траверса для подъема блока

Рис. 6.5. Схема монтажа структурного покрытия из блоков размером 24×12 м с укрупнением их на сборочной линии
1 - склад металлоконструкций; 2 - сборочная линия (I, II, III - стоянки блоков); 3 - кран для сборки конструкций; 4 - лебедка для перемещения блоков на линии и в зону монтажных кранов; 5 - пути для подачи блоков в зону монтажа; 6 - монтажные краны; 7 - блок, поданный для подъема; 8 - тележка для сборки в транспортировки блока
При большом объеме стальных конструкций и поставке элементов структурных блоков россыпью с максимальной загрузкой вагонов приемку их целесообразно организовывать на центральном складе-базе, где и производить комплектацию блоков и подготовку элементов к сборке. Скомплектованные конструкции подаются непосредственно на место укрупнения в соответствии с очередностью сборки и монтажа блоков.
6.77. Разгрузку и храпение конструкции до начала монтажа, а также транспортирование их в пределах монтажной площадки рекомендуется производить способами, исключающими повреждение конструкций, грунтовки и окраски. Расконсервацию элементов рекомендуется производить непосредственно перед установкой их в блок. Положение элементов при подаче должно обеспечивать безопасность и наименьшую трудоемкость работ, исключать необходимость в перегрузке, кантовке и т.п.
6.78.Укрупнительная сборка структурных блоков производится в зоне монтажного механизма у места подъема или на специально отведенных для этой цели площадках, оборудованных сборочными механизмами, стендами, кондукторами и другими приспособлениями, предусмотренными проектом производства работ.
6.79. При площади зданий до 5 тыс. м рекомендуется укрупнять в блоки только металлические конструкции покрытия и производить работы по укрупнению непосредственно у места подъема, используя для этого монтажные механизмы.
Непосредственно у места подъема рекомендуется также укрупнять конструкции в блоки размером от 18×24 до 36×36 м при площади зданий до 15-20 тыс. м2 (рис. 6.4).
Монтаж блоков, собираемых у места подъема, рекомендуется производить одним или двумя мобильными кранами небольшой грузоподъемности или сравнительно дешевыми в эксплуатации монтажными механизмами (подъемниками, мачтами и т.д.).
6.80. При площади зданий до 15-20 тыс. м2 пли при больших площадях, по небольшой интенсивности монтажа н размерах блоков до 18×18 и 12×36 м рационально организовывать сборочную линию с небольшим (3÷5) количеством стоянок и укрупнять блоки не до полной строительной готовности (рис. 6.5). Степень строительной готовности определяется технико-экономическим расчетом. Подъем блоков производится одним краном большой грузоподъемности (63 - 100 т) или специальными установщиками с подачей блоков на них двумя мобильными кранами или стационарными монтажными механизмами.
6.81. При монтаже покрытий площадью более 15-20 тыс. м2 и размерах блоков до 18×18 и 12×24 м, а также при площади покрытий более 20-25 тыс. м2 и размерах блоков до 18×24 и 12×36 м, интенсивности монтажа 1-2 блока в сутки рекомендуется организовывать укрупнительную сборку блоков до полной строительной готовности на конвейерной линии (рис. 6.6). Состав конвейера и оборудование его определяется в ППР.

Рис. 6.6. Схема монтажа
структурного покрытия
из пространственных блоков размером на ячейку сетки колонны со сборкой их до полной
строительной готовности на
конвейере
1 - место для складирования конструкций и материалов; 2 - сборочный конвейер (1-Х - стоянки блоков); 3 - лебедка для перемещения блока на конвейере; 4 - подъемник для погрузки готового блока на транспортное средство; 5 - транспортировка блока под монтажный механизм; 6 - кран для погрузоразгрузочных работ на складе металлоконструкций; 7 -кран для сборки металлоконструкций блока на конвейере; 8 - монтажный кран
Рис. 6.7. Схема монтажа блоков покрытия установщиком, двигающимся по путям мостового крана
1 - смонтированные блоки; 2 - пути мостового крана; 3 - пути башенного крана; 4 - башенный кран; 5 - трактор; 6 - собранный блок покрытия; 7 - установщик
При покрытиях меньшей площади, а также при укрупнении блоков не до полной строительной готовности применение конвейерной сборки должно быть обосновано технико-экономическим рас четом.
6.82. Конвейерную линию на строительной площадке рекомендуется располагать в зависимости от конструктивно-планировочного решения объекта, очередности его возведения, наличия свободных площадей и т.д.
Конвейер в общем случае включает в себя сборочную, раздаточную и транспортную линии. Их расположение должно обеспечивать удобную подачу блока покрытия от места сборки к монтажному крану.
Сборочная линия может располагаться параллельно пролетам строящегося здания, в одном из пролетов, на продолжении или параллельно раздаточной линии. Раздаточная линия размещается в торце задания, транспортная - в пролетах.
6.83. При значительном удалении сборочной линии от объекта раздаточную линию целесообразно не устраивать. Транспортировку собранных блоков в этом случае рекомендуется осуществлять тягачом на специальных прицепах.
При подаче блоков в зону монтажа специальным установщиком транспортная линия может не устраиваться. Для подачи блоков рекомендуется использовать подкрановые балки и постоянные подкрановые пути строящегося объекта (рис. 6.7). Раздаточная же линия в этом случае обязательна.
6.84. Количество стоянок на сборочной линии определяется особенностями конструкции структурной плиты, размерами укрупняемого блока, степенью строительной готовности, интенсивностью монтажа и т. д. Оно может быть определено по формуле [9]
|
m = my + mk + mc, |
(6.1) |
где my = qy/(Ky·2) - количество стоянок укрупнительной сборки металлоконструкций; mk = qk/(Kk·2) - количество стоянок для установки коммуникаций; mc = qc/(Kc·2) - количество стоянок для производства строительных работ; qy; qk; qc - трудоемкость сборки металлоконструкций блока, специальных монтажных работ и строительных работ на одном блоке, чел.-смен/блок; Ky, Kk, Kc - количество рабочих, занятых укрупнением металлоконструкций, монтажом коммуникаций и строительными работами в смену.
Ритм конвейера - продолжительность работы специализированного звена на стоянке - определяется по формуле
r = 1/ip,
где ip-расчетная интенсивность конвейерной линии, блок/смена;
![]()
n - общее количество блоков; А - планируемое количество рабочих смен в сутки; TB - заданная продолжительность возведении покрытия, дней.
Технологическая продолжительность возведения покрытия в днях равна
![]()
6.85. Укрупнение структурных конструкций в блоки производится в последовательности, определенной проектом производства работ пли соответствующими инструктивными материалами.
Выбор способа сборки блоков при крупноблочном монтаже структурных покрытий рекомендуется производить из условия минимума приведенных затрат строительно-монтажных организаций на 1 м2 готового покрытия. При этом должны максимально учитываться организационно-технологические особенности крупноблочного монтажа и фактическая оснащенность строительно-монтажной организации.
6.86. Приведенные затраты на сборку и монтаж блоков снижаются с увеличением площади покрытия независимо от организации сборки и еще больше снижаются при выборе оптимальных методов сборки. Эффект в значительной степени зависит от конструктивного решения, интенсивности сборки и монтажа блоков, комплекта кранового оборудования, количества стоянок на сборочных линиях, количества рабочих на них и т. д.
При возведении, например, покрытий из структурных конструкций с короткоразмерными стержнями (системы, аналогичные «МАрхИ») или с пространственными элементами в виде пирамид сборку блоков размером от 12×18 до 18×24 м до полной строительной готовности рекомендуется применять при площади зданий более 25-30 тыс. м2, а из структурных конструкций с длинноразмерными стержнями (структуры, аналогичные «ЦНИИСК») для зданий площадью более 15 тыс. м2 при одинаковой интенсивности сборки и монтажа не менее 1,5 - 2 блока в сутки.
6.87. Эффективность применения конвейерной сборки резко снижается из-за различных перерывов в работе конвейера, в частности из-за несвоевременной или некомплектной поставки конструкций. Во избежание этого рекомендуется создавать на складе производственный запас элементов конструкций, объем которого определяется интенсивностью работы конвейера и составляет от 35 до 50 % общего объема конструкций.
6.88. При любом способе сборки рекомендуется особое внимание уделять соблюдению геометрических размеров блока и его элементов на промежуточных этапах сборки: отметки опор перед раскладкой нижнего и верхнего поясов, продольные, поперечные и диагональные размеры в горизонтальной плоскости, уклон поясов, разность отметок опор между собой и с коньком и т.д.
При сборке рекомендуется не допускать отклонения размеров больше указанных в инструкциях и ТУ [2, 6, 7, 9, 11].
6.89. Укрупнительную сборку блоков при внутреннем расположении колонн (системы «МАрхИ» и «Кисловодск») рекомендуется производить у места подъема в двух вариантах последовательности.
При первом - сборку начинают от любой, установленной в проектное положение колонны. Собирают первую пирамиду и устанавливают горизонтально на инвентарных подкладках или винтовых, регулируемых по высоте, опорах с закреплением в вертикальных резьбовых отверстиях узловых элементов основания пирамиды. Присоединяют к собранной пирамиде элементы основания и наклонных ребер следующей пирамиды и соединяют вершины пирамид стержневым элементом верхнего пояса. При этом колонну рекомендуется разместить в центре треугольника, образованного стержневыми элементами нижних поясов и наклонных ребер первой пирамиды и проекцией стержневого элемента, объединяющего вершины пирамид на основание.
Последующую сборку конструкции производят в направлении ближайшей колонны, наблюдая за тем, чтобы оси нижних элементов были параллельны оси колонн. При достижении второй колонны производят корректировку собранной пространственной фермы относительно колонн и в дальнейшем ведут сборку в направлении третьей колонны, обеспечивая равномерный зазор между стержневыми элементами и колоннами.
Дальнейшую сборку конструкции покрытия можно производить в любом направлении от двух взаимно перпендикулярных пространственных ферм.
При втором способе собирают центральную часть блока размером 9×9 м на восьми опорах, выверенных по высоте и относительно осей колонн. Затем укрупняется описанным выше способом блок до 21×21 м с перестановкой внутренних опор. После этого блок доукрупняют до блока размером 30×30 м и т.д.
6.90. При сборке конструкции покрытия узловые элементы нижнего пояса рекомендуется устанавливать в одной горизонтальной плоскости при помощи домкратов или регулируемых по высоте винтовых опор, которые по мере сборки блока переставляются d зону работы. Кроме основных опор, рекомендуется под каждый узел нижнего пояса устанавливать временные прокладки, исключающие провисание узлов.
Отклонение верха опор в местах опирания узловых элементов нижнего пояса не должно превышать ±5 мм.
6.91. Установку и крепление профилированного настила рекомендуется производить после полного закрепления элементов и выверки геометрических параметров всей конструкции. Настил устанавливается отдельными листами или предварительно укрупненными картами размером 6×6, 6×9, 6×12 или 12×12 м.
Сборку карт рекомендуется производить на горизонтальных металлических стендах, имеющих специальные выверенные по размерам карт упоры.
При кранах недостаточной грузоподъемности допускается подъем блоков с частичной укладкой настила при проектном закреплении его, пли без уложенного настила. Частичная укладка настила производится на блоке симметрично его оси.
6.92. Блоки структурных конструкций системы «ЦНИИСК» рекомендуется поднимать только с уложенным и закрепленным настилом. Допускается в блоках размером 18×12 и 24×12 м с верхними поясами из двутавра № 18 и более настил укладывать на площади не менее 12×12 м симметрично оси блока. В этом случае на смонтированный блок рекомендуется настил подавать пачками массой не более 1 т с раскладкой каждой пачки непосредственно после подачи.
Листы профилированного настила рекомендуется соединять между собой комбинированными заклепками с шагом 300 мм, а к элементам верхнего пояса - прикреплять самонарезающими болтами в каждой волне вдоль каждого пояса из двутавров.
6.93. В структурных блоках а верхними поясами из прокатных двутавров, устойчивость которых обеспечивается настилом, крепление листов настила к верхним поясам и между собой является ответственным местом в конструкции: от качества и надежности соединения на протяжении всего периода эксплуатации зависит несущая способность структурного покрытия.
6.94. В конструкции кровли из панелей с утеплителем но стальному настилу (монопанели) в утеплителе в местах размещения самонарезающих болтов рекомендуется вставлять пробки, которые удаляются перед установкой болтов и вновь устанавливаются на битумной мастике после крепления пастила.
Крепление пастила с утеплителем электрозаклепками по требованию пожарной безопасности не допускается.
6.95. До начала монтажа блоков покрытия рекомендуется смонтировать колонны, связи, подкрановые балки на всей длине пролета здания или на определенной части его. К монтажу блоков рекомендуется приступать после выверки и закрепления опорных конструкций каркаса. Отклонение отметки верха колонн от проектной не должно превышать ±10 мм, а отклонение оси колонны от вертикали в верхнем сечении - ±10 мм.
6.96. При снятии со сборных приспособлений, погрузке на транспорт и установке в проектное положение укрупненный блок рекомендуется поднимать за узлы, предусмотренные в ППР. Подъем блока осуществляется с помощью специальных приспособлений (траверс), уменьшающих или позволяющих исключить передачу горизонтальных усилий от наклонных стропов на элементы блока и настил.
6.97. Для сборки опорных капителей, выступающих из плоскости нижнего пояса, конструкцию устанавливают на четыре временные опоры, располагаемые вблизи контура блока или в других местах, определенных расчетом блока на монтажные нагрузки при новых схемах опирания.
6.98. Подъем конструкции покрытия на рабочую отметку рекомендуется производить только после проверки правильности выполнения всех соединений и соответствия собранной конструкции монтажной схеме КМД.
6.99. Монтаж блоков покрытия рекомендуется производить в зависимости от размеров блоков и площади застройки двумя кранами средней грузоподъемности, одним краном большой грузоподъемности или специальным установщиком (см. рис. 6.4 - 6.7).
6.100. Повышение организационно-технологической надежности и экономической эффективности конвейерной сборки и крупноблочного монтажа структурных конструкций можно достичь путем расчета параметров процессов и выбора оптимальных решений конвейера как взаимосвязанной системы, включающей поставку конструкций и материалов, строительную готовность зданий, сборку и монтаж блоков покрытия [12, 13].
6.101. На ритм сборки и монтажа структурных блоков действуют такие дестабилизирующие факторы, как отсутствие в заданном промежутке времени комплектов конструкции, фронта готовности здания к монтажу блоков покрытия и др. Рекомендуется использовать результаты исследований закономерности поставки и комплектования структурных конструкций, проведенных в НИИСП Госстроя УССР, которые позволили установить для структур системы ЦНИИСК вероятностные распределения промежутка времени между очередной и предыдущей разовыми поставками, числом марок и типа комплекта в разовой поставке, а также числа элементов марок.
6.102. Рекомендуется использовать данные, устанавливающие влияния конструктивных и технологических решений на производительность сборочно-монтажного конвейера, полученные на основе обобщения опыта строительства 46 крупных объектов различных отраслей промышленности общей площадью 5 млн. м2, реализованные в виде корреляционной связи между рядом факторов, с одной стороны, и разностью между проектной и достигнутой производительностью с другой, в виде полинома первой степени: ΔG = 37,94 - 57,37X1 - 34,2X2 - 97,42X3 - 59,65X4 - 149,89X5 - 165,9X6 + 15,08X7 - 51,82X8 + 117,28X9, где X1 - площадь здания; X2 - типы несущих конструкций; X3 - типоразмер блока покрытия; X4 - масса блока покрытия; X5 - метод возведения здания; X6 - способ сборки блоков покрытия; X7 - способ монтажа блоков покрытия; X8 - степень строительной готовности блоков; X9 - проектная мощность сборочно-монтажного конвейера [12, 13].
6.103. При разработке методики расчета параметров технологических процессов и выбора оптимальных решений конвейерной сборки и крупноблочного монтажа структурных покрытий рекомендуется использовать алгоритмы, моделирующие процессы поставки и комплектования конструкций, процессы сборки и монтажа блоков покрытия, разработанные в НИИСП Госстроя УССР.
В результате расчетов определяются количество комплектных блоков в данный момент времени, продолжительность их комплектования, ритм сборки, количество стоянок в каждой зоне конвейера, продолжительность процессов сборки блоков и производительность конвейера, ритм монтажа, продолжительность монтажа и производительность при монтаже блоков, а также необходимая мощность сборочно-монтажного конвейера. Полученные параметры позволяют установить начальный запас конструкций и материалов, емкости сборочных и монтажного накоплений, режима работы конвейера, т.е. скомпоновать конвейерную линию.
6.104. При выборе способа сборки блоков и степени их строительной готовности в качестве критерия следует принимать приведенные затраты строительно-монтажных организаций на 1 м2 готового покрытия. Решение этой задачи рекомендуется выполнять разработанным в НИИСП Госстроя УССР имитационно-графическим методом в следующей последовательности:
устанавливается информация о плановых заданиях заводу-изготовителю по поставкам конструкций;
устанавливается информация о предоставлении фронта монтажных работ;
моделируются процессы поставок и комплектация конструкций;
моделируются процессы сборки и монтажа блоков покрытия при поточно-стендовом и конвейерном способах;
рассчитываются удельные приведенные затраты и строятся графики, точки пересечения которых определяют область рационального применения данного способа.
ЛИТЕРАТУРА
1. Строительные нормы и правила. СНиП III-18-75 «Металлические конструкции».
8. Чернов Ю.А., Гуцков В.Е., Петренко Т.А. Эффективность применения прогрессивных структурных конструкций - Обзорная информация ЦНИИТЭИ, Госкомсельхозтехника СССР. - М., 1979.
10. Нищев В.Н. Монтаж структурных металлических конструкций покрытий и облегченных стен. - М., Высшая школа, 1979.
Эффективность применения структурной конструкции определяется системой технико-экономических показателей.
Действующая система укрупненных нормативов для оценки экономической эффективности структурной конструкции на стадии вариантного проектирования не позволяет учесть влияния конструктивных особенностей на стоимость и трудоемкость. Между тем многообразие стержневых схем и узловых соединений структурных конструкций приводит к тому, что определенное влияние на технико-экономические показатели оказывают конструктивное оформление и компоновочное решение. Вследствие этого на стадии вариантного проектирования рекомендуется использовать методику оценки экономической эффективности с учетом конкретных компоновочных схем и узловых соединений.
7.1. При вариантном проектировании массу структурной конструкции m рекомендуется определять с помощью строительного коэффициента по методике [1]
|
m = ψm ms, |
(7.1) |
где ψm = l + mu/ms - строительный коэффициент массы; ms - масса стержневых элементов; mu - масса вспомогательных элементов (узлы, опорные детали, болты и т.д.). Масса структурного покрытия определяется выражением
|
m = f mf, |
(7.2) |
где f - количество ячеек в структурном покрытии (табл. 13); mf - масса повторяющейся ячейки, определяемая по формуле
|
|
(7.3) |
где а
- размер панели поясной сетки структуры; γ- плотность металла; αw,
αQ
- коэффициенты, зависящие от схемы структуры, условий опирания и характера
нагружения (см. пункт 1.18
настоящих рекомендаций); kb, kp - коэффициенты, зависящие от формы ячейки
поясных сеток (при квадратной ячейке kb, = kp = 1, при треугольной kb =
0,866,
/гр ; q - расчетная нагрузка на покрытие; ssf, sif, ddf -
количество элементов верхнего, нижнего поясов и раскосов в ячейке; n - число панелей в одной стороне плана (см.
табл. 13); kn = h/a; h - высота структуры; ld - длина раскоса; α - угол наклона раскосов; nd = l для систем типа В, Г, Ж, 3 (табл. 1 настоящих рекомендаций); nd = 2 для систем типа Б, К; nn = 3 для .
систем типа Л; nd = 4 для систем типа И; ks kd - коэффициенты, учитывающие увеличение массы сжатых поясных и раскосных
элементов.
Таблица 13
Показатели |
План структурного покрытия |
|||
|
|
|
|
|
|
|
Число элементов в верхней сетке ss |
(3n + 1) 3n |
|
2 n1 n2 + n1 + n2 |
|
|
Число элементов в нижней сетке |
(3n - 2) 3n |
|
2n1 n2 - n1 - n2 |
|
|
Число раскосов sd |
9n2 |
|
4n1 n2 |
|
|
Общее число стержневых элементов s |
(9n - 1) 3n |
|
8n1 n2 |
|
|
Число узлов в верхней сетке us |
3 (n2 + n + 1) - 2 |
|
(n1 + 1) (n2 + 1) |
|
|
Число узлов в нижней сетке ui |
3n2 |
|
n1 n2 |
|
|
Общее число узлов u |
6n2 + 3n + 1 |
(n + 1)2 |
2n1 n2 + n1 + n2 +1 |
2n1 n2 + n1 + 1 |
|
Число ячеек f |
6n2 |
n2 |
n1 n2 |
|
Таблица 14
|
Трубчатые и прокатные профили |
|||||
|
Форма поперечного сечения |
|
|
|
|
|
|
η |
|
0,5522 |
0,3832 |
0,6672 |
0,442 |
|
Холодногнутые профили |
|||||
|
Форма поперечного сечения |
|
|
|
|
|
|
η |
|
|
|
|
n < 220 0,051 b2/h t h > 220 0,043 b2/h t |
При гибкостях λ ≤ 1000
|
ks = kd = 1,9·10-3 R μ2/η; |
(7.4) |
а при λ > 100
|
ks = αw kb q n2 (1/φ - 1)/khkpR; |
(7.5) |
|
kd = αQ q n kb (1/φ - 1)/ndR, |
(7.6) |
здесь φ - коэффициент продольного изгиба; μ - коэффициент расчетной длины; R - расчетное сопротивление; η - коэффициент, зависящий от формы поперечного сечения (табл. 14).
7.2. Значения строительного коэффициента массы для структур вычисляются по формуле
|
|
(7.7) |
где ui - количество узлов в ячейке структурной конструкции; muf - масса узлов в ячейке; msf - масса стержневых элементов ячейки.
Строительные коэффициенты ψm для некоторых, наиболее распространенных типов структурных конструкций приведены в табл. 15.
Таблица 15
|
Тип узлового соединения по рис. 1.2. |
ψm |
|
л - на ванной сварке |
1 + 0,6·10-3 αW, q n2 1 + 1,6·10-3 αW, q n2 |
|
а, ж - структуры из прокатных .профилей |
1,18 |
|
д - «МЭРО» - «МАРХИ» |
|
|
к - на шаровых фасонках |
1,052 1,121 |
|
б - на штампованных фасонках |
|
7.3. Большая степень повторяемости основных элементов структурных конструкций создает условия для изготовления их на высокомеханизированных поточных линиях.
Процесс изготовления структурных конструкций характеризуется основными производственными участками (табл. 16).
Таблица 16
|
Участок основного производства |
Операция |
|
Подготовка |
Правка металла. Чистка. Резка-наметка. Резка механическая. Резка газовая. Штамповка. Прокол отверстия. Сверление отверстий. Фрезеровка. Вальцовка и правка. Кузнечная гибка |
|
Обработка стержневых элементов |
|
|
Обработка узловых элементов |
Штамповка. Прокол отверстий. Механослесарные работы (токарные, фрезерные, шлифовальные). Кузнечная гибка. Литье |
|
Сборка |
Сборка (прихватка). Электросварка. Счистка сварных швов. Запрессовка |
|
Маляропогрузочный |
Грунтовка. Окраска. Погрузка |
Общий технологический процесс изготовления может быть представлен схемой на рис. 7.1, где цифрами обозначены возможные технологические схемы изготовления структурных конструкций. Последовательность обозначения технологических схем соответствует классу структурной конструкции.
Класс структурной конструкции на изготовлении устанавливается по количеству соединений в узле, требующих обеспечения его прочности при перепаде усилий с одного стержня на другой, и определяется по табл. 17. Деление структурных конструкций на два повторяющихся элемента - узел и стержень - требует отдельного рассмотрения трудоемкости их изготовления.
Таблица 17

Рис. 7.1. Общий технологический процесс изготовления структурных конструкций
7.4. Трудоемкость изготовления стержней зависит от величины и количества параметров, характеризующих конструктивное решение структуры, технологические особенности ее изготовления, и определяется по формуле вида
|
t3 = 0,73 + 0,0104 X1 + 0,071 Х2 + 0,0024 Х3 - 0,067 Х4 + + 0,013 X5 - 1,54 Х6 - 0,38 X7 + 0,00054 Х8 |
(7.8) |
где X1 - расчетное сопротивление стали, кН/м2; Х2 - расчетная нагрузка, кН/м2; Х3 - масса элемента, кг; Х4 - длина элемента, м; X5 - характерный геометрический размер сечения элемента, мм; Х6 - форма поперечного сечения (уголок, швеллер - 0,75; труба - 0,5); X7 - характер технологической обработки (резка абразивом - 0,1); раскрой-сплющивание - 0,2; сборка-сварка - 0,4; прокол отверстий - 0,25); Х8 - длина сварных швов, мм.
7.5. Трудоемкость изготовления узловых деталей, требующих механической обработки, рекомендуемся определять по формуле
|
|
(7.9) |
где kf - коэффициент, учитывающий сложность формы детали, принимаемый по табл. 18; mu - масса узловой детали.
Затраты труда на изготовление узлов, не требующих механической обработки, определяются по методике [2].
7.6. Типизация элементов структурных конструкций приводит к укрупнению партий одновременно выпускаемых конструкций и к сокращению трудозатрат. Влияние типизации на общую трудоемкость в зависимости от величины обрабатываемой партии учитывается коэффициентом серийности [1]
|
Ts = ks T, |
где ks - коэффициент серийности; T - время, затрачиваемое на основных расчетных операциях.
Снижая общую трудоемкость за счет серийности, типизация, с другой стороны, приводит к утяжелению конструктивных элементов и в связи с этим к увеличению трудоемкости изготовления. Поэтому при выборе решения на стадии вариантного проектирования рекомендуется назначать количество типов t из условия
|
ΔC = ΔC0m + ΔCt = min, |
(7.11) |
где ΔC0m - перерасход материала [2]; при изменении количества типов сечений с t до t0; ΔCt - экономия трудозатрат на изготовление за счет типизации.
Таблица 18
|
Класс конструкции |
I |
II |
III |
IV |
|
kf |
0 |
0,125 |
0,228 |
0,341 |
7.7. Размеры регулярной ячейки поясной сетки структурной плиты и ее высота являются одними из главных параметров, влияющих на экономичность проектного решении. Их следует выбирать с помощью оптимизационного расчета.
Исходные данные для такого расчета определяются типом конструктивной системы и конкретными условиями проектирования.
Конструктивная система (типа «ЦНИИСК», «МАРХИ» и т.д.) характеризуется: формой кристалла структурной плиты (полуоктаэдр, тетраэдр + октаэдр); видом применяемых профилей (прокат, трубы); конструкцией узловых соединений и членением на отправочные марки; способом опирания и типом кровельных конструкций (узловое, внеузловое; прогоны, настил, плиты, мембрана).
Заданные условия проектирования должны включать: генеральные размеры покрытия (секции, блока) в плане; схему опирания плиты (по контуру, в отдельных точках); расчетную нагрузку в виде эквивалентной равномерно распределенной; характеристики материала и сортамента профилей для стержневых элементов структуры; данные по удельной стоимости кровельных и стеновых ограждений; параметры перекрываемых помещений, определяющие эксплуатационные расходы.
7.9. Результатами оптимизационного расчета являются: размеры ячейки поясной сетки и высота плиты (размеры кристалла структуры), обеспечивающие наилучшее качество проекта; экономические показатели конструкции, соответствующие оптимуму; оценки потерь затрат, возникающих в реальном проекте при отклонении от оптимальных размеров.
7.10. Критерием качества проектного решения, или критерием оптимальности искомых размеров, следует считать приведенные затраты, которые в соответствии с СН 423-71 [3] складываются из единовременных расходов и текущих издержек за нормативный срок окупаемости капитальных вложений. В их состав необходимо включать те элементы затрат, которые существенно зависят от изменения геометрических параметров (размеров кристалла структуры).
Удельные приведенные затраты, руб./год, допускается определять по формуле
|
Z = T + EnC, |
где T - эксплуатационные расходы (текущие издержки), руб./год; En - коэффициент эффективности капитальных вложений, год-1;
С - стоимость покрытия «в деле», сметная или сметно-расчетная (единовременные затраты), руб.
7.11. Стоимость эксплуатации покрытий, как конструктивного элемента зданий, определяется на основе положений [4], [5] и других инструктивных материалов с учетом фактического задания на проектирование.
Расчетные годовые эксплуатационные расходы могут быть выражены суммой
|
Т = Таm + Ttr + Tot + Tven, |
(7.13) |
где Таm - амортизационные отчисления на реновацию и частичное восстановление первоначальной стоимости; Ttr - расходы на текущие ремонты, включая антикоррозионную защитную окраску; Tot, Tven - расходы на отопление и вентиляцию.
Первые слагаемые формулы (7.13) можно представить в долях от сметной стоимости конструкций покрытия С
|
Тc = Таm + Ttr = 0,01 (Hren + Hkr + Htr) C, |
(7.14) |
причем нормы отчислений на полное восстановление Hren и капитальный ремонт Hkr, а также показатели годового объема текущих ремонтов Ttr задаются в зависимости от характеристики здания таблицей 1 [4] или по аналогии с ней. Остальные слагаемые (7.13) вычисляются в функции объема V, занимаемого конструкциями покрытия
|
Тv = Tot + Tven = 0,1 (Pot + Pven) V, |
(7.15) |
где Pot, Pven - удельные нормативы, регламентируемые для промышленных зданий табл. 2-6 (отопление) и 12-16 (вентиляция) руководства [4] в зависимости от исходных данных по объекту и району строительства; для зданий иного назначения устанавливаются сантехнической частью проекта.
7.12. Коэффициент эффективности капитальных вложений в строительстве согласно СН 423-71 [3] принимается равным 0,12 год-1, кроме районов Крайнего Севера и приравненных к нему местностей, где Еn - 0,08 год-1.
7.13. Стоимость покрытия «в деле» состоит из двух частей
|
C = Cok + Csk, |
(7.16) |
где Cok - стоимость основных несущих конструкций структурной плиты с учетом различия единичных показателей для стержневых и узловых элементов; Сsk - стоимость смежных конструкций (кровли, потолков, участков стен), зависящая от искомых геометрических параметров.
Для определения первой из этих частей рекомендуется использовать формулу
|
Cok = Cmm + Cuu + Css, |
(7.17) |
где Cm - удельный показатель части стоимости стержней, пропорциональной их массе m, руб./т; Cu - усредненная стоимость одного узлового соединения структуры с учетом изготовления и сборку руб./узел; u - число узлов в конструкции; Сs - удельный коэффициент стоимости стержней с учетом их изготовления и монтажа в части, пропорциональной их числу s, руб./стержень.
Второй член формулы (7.16) может быть вычислен следующим образом:
|
Csk = Ck P l + Cst L h, |
где Сk, - единичный показатель стоимости конструкций кровли и подвесного потолка, пропорциональной пролету l, обусловленному размерами (а, b) ячейки поясных сеток, руб./м3; Р - площадь покрытия; Сst - стоимость 1 м2 стенового ограждения, расположенного в пределах искомой высоты h стержневой плиты, руб./м2; L - периметр участков стен, приходящихся на оптимизируемое покрытие или его часть, м.
Примечание. Заводскую стоимость стальных структурных покрытий на стадии проектирования рекомендуется определять по прейскуранту 01-09 оптовых цен франко-станция назначения. При отсутствии оптовых цен на новые типы конструкций она исчисляется с помощью калькуляций, учитывающих расход основных материалов, трудоемкость передела и внезаводские расходы.
Стоимость транспортирования до строительной площадки и разгрузки может устанавливаться по ценнику № 3 сметных цен на перевозку грузов для строительства, а стоимость сборки, установки и окраски - по Сборникам ЕРЕР.
Используя указанные источники, а также методики технико-экономического анализа, изложенные в [1, 2, 6], следует подсчитать стоимость «в деле» для конкретного проекта-аналога заданной конструктивной системы с фиксированными значениями геометрических параметров, после чего распределить единичные показатели между коэффициентами Сm, Сu и Сs. Так, стоимость основных материалов для стержневых элементов должна быть представлена в Сm стоимость их изготовления - отдельными долями в Сs и Сm стоимость материала н изготовления узловых соединений - в Сu, стоимость сборки - в составе Сu и Сs или в одном из них, стоимость подъема - в Сm.
Аналогичным образом формируются показатели Сk, Cst для смежных конструкций (кровельных элементов, подвесных потолков, стен). Если применяется настил стандартного типа, несущая способность которого полностью не используется, то его стоимость в Сk можно не учитывать.
7.14. В соответствии с (7.17) стоимость основных несущих конструкций структурной плиты выражается с помощью их характеристик u, s, m, которые должны быть функционально связаны с искомыми геометрическими параметрами а, b и h.
Количество элементов I в структуре (узлов - u стержней - s) при заданной схеме покрытия с генеральными размерами в плане La, Lb (рис. 7.2) зависит от оптимизируемых размеров а и b (сторон ячейки поясной сетки) следующим образом:
Значения коэффициентов, соответствующие схемам а, б, в, г рис. 7.2, приведены в табл. 19.
Таблица 19
|
Схема по рис. 7.2 |
I = U |
I = S |
Примечание |
||||||
|
rab |
ra |
rb |
r |
rab |
ra |
rb |
r |
||
|
а |
2 LaLb |
La |
Lb |
1 |
8 LaLb |
0 |
0 |
0 |
|
|
б |
2 LaLb |
La |
Lb |
1 |
6 LaLb |
3 La |
3 Lb |
-4 |
|
|
в |
L |
2 La |
- |
1 |
4 L2a |
1,5 La |
- |
0 |
b = a,
|
|
г |
A2/2 |
A/2 |
- |
-2 |
2 L2a |
-5 La |
- |
2 |
b = a, Lb = La/2 |
7.15. При определении расчетной массы необходимо учитывать требование унификации поперечных сечений стержней. С этой целью рекомендуется для каждого типа стержней (верхние и нижние пояса различных направлений, раскосы) назначать зоны постоянства сечений. Поэтому массу будем искать в виде
где γ - плотность материала; lt - длина стержня типа t (пример нумерации типов элементов показан на рис. 7.2); z - номер зоны унификации; Zt - число зон для стержня типа t; Stz - число стержней типа t, попавших в данную зону унификации z; Atz - площадь поперечного сечения расчетного элемента типа t в зоне z.
Рис. 7 2. Обозначения элементов в схемах характерных типов структур
Длина стержня в общем случае выражается так:
|
|
(7.21) |
Для схем рис. 7.2 коэффициенты α, β, v и длина l приведены в табл. 20.
Таблица 20
|
Схема по рис. 7.2 |
t |
α |
β |
v |
l |
|
а |
1,5 |
1 |
0 |
0 |
а |
|
2,6 |
0 |
1 |
0 |
b |
|
|
9÷12 |
1/2 |
1/2 |
1 |
|
|
|
б |
1,5 |
1 |
0 |
0 |
a |
|
13÷15 |
0 |
1 |
0 |
b |
|
|
9÷12 |
1/2 |
1/2 |
1 |
|
|
|
в |
1, 2, 4, 5, 6, 8 |
1 |
- |
0 |
а |
|
10÷12 |
|
- |
1 |
|
|
|
г |
1, 2, 5, 6 |
1. |
- |
0 |
а |
|
9÷12 |
1/2 |
- |
1 |
|
Количество стержней и зонах унификации допускается подсчитывать по формуле
Здесь обозначены: kit (i = 0, 1, 2....,8) - постоянные коэффициенты, зависящие от схемы покрытия и типа стержней (табл. 21);
(i = 0, 1, 2,...,8) - заданные числовые характеристики зон унификации,
которые имеют следующий смысл:
- площадь зоны
(области) z;
,
,
,
- длины участков
сторон плана покрытия, принадлежащих области z;
,
,
- признаки (0 или 1)
попадания в зону угловых точек i.
Таблица 21
|
Схема по рис. 7,2 |
Значения коэффициентов kit в формуле (7.22) |
|||||||||
|
t |
i |
|||||||||
|
0 |
1 |
2 |
3 |
4 |
5 |
6 |
7 |
8 |
||
|
а |
1 |
1 |
1/2 |
0 |
1/2 |
0 |
0 |
0 |
0 |
0 |
|
2 |
1 |
0 |
1/2 |
0 |
1/2 |
0 |
0 |
0 |
0 |
|
|
5 |
1 |
0 |
-1/2 |
0 |
-1/2 |
0 |
0 |
0 |
0 |
|
|
6 |
1 |
-1/2 |
0 |
-1/2 |
0 |
0 |
0 |
0 |
0 |
|
|
9÷12 |
4 |
0 |
0 |
0 |
0 |
0 |
0 |
0 |
0 |
|
|
б |
1 |
1 |
1/2 |
0 |
1/2 |
0 |
0 |
0 |
0 |
0 |
|
5 |
1 |
0 |
-1/2 |
0 |
-1/2 |
0 |
0 |
0 |
0 |
|
|
9÷12 |
4 |
0 |
0 |
0 |
0 |
0 |
0 |
0 |
0 |
|
|
13 |
0 |
0 |
1 |
0 |
1 |
0 |
0 |
0 |
0 |
|
|
14 |
0 |
1 |
0 |
1 |
0 |
-1/2 |
-1/2 |
-1/2 |
-1/2 |
|
|
15 |
0 |
0 |
1 |
0 |
1 |
-1/2 |
-1/2 |
-1/2 |
-1/2 |
|
|
в |
1 |
|
1/2 |
0 |
0 |
- |
1/12 |
-1/6 |
1/12 |
- |
|
2 |
|
0 |
1/2 |
0 |
- |
1/12 |
1/12 |
-1/6 |
- |
|
|
4 |
|
0 |
0 |
1/2 |
- |
-1/6 |
1/12 |
1/12 |
- |
|
|
5 |
|
1/6 |
-1/3 |
-1/3 |
- |
0 |
0 |
0 |
- |
|
|
6 |
|
-1/3 |
1/6 |
-1/3 |
- |
0 |
0 |
0 |
- |
|
|
8 |
|
-1/3 |
-1/3 |
1/6 |
- |
0 |
0 |
0 |
- |
|
|
10÷12 |
|
1/2 |
1/2 |
1/2 |
- |
0 |
0 |
0 |
- |
|
|
г |
1 |
1 |
0 |
|
|
- |
0 |
0 |
1 |
- |
|
2 |
1 |
-1/2 |
|
|
- |
1/2 |
1/2 |
1 |
- |
|
|
5 |
1 |
0 |
|
|
- |
0 |
0 |
0 |
- |
|
|
6 |
1 |
0 |
0 |
0 |
- |
0 |
0 |
-1 |
- |
|
|
9÷12 |
4 |
0 |
|
|
- |
0 |
0 |
0 |
- |
|
При треугольном плане принято b = a, k4 = k8 = d4 = d8 = 0. Примеры нумерации сторон и угловых точек контура и использования приведенных обозначений показаны на рис. 7.3.
Приняв в качестве зоны все покрытие, можно вместо (7.22) использовать (7.19).

Рис. 7.3. Примеры нумерации сторон и угловых точек контура структурных плит
Для подбора площади сечений сжатых стержней в оптимизационном расчете разрешается использовать прямые приближенные формулы:
а) при центральном сжатии
б) при внецентренном сжатии
где N, М - абсолютные значения расчетных осевой силы и изгибающего момента; R - расчетное сопротивление стали; lef - расчетная длина стержня; k - коэффициент, зависящий от класса стали (усредненные для различных структурных плит значения k приведены в табл. 22); ρ, vp - удельный радиус инерции и удельный пластический момент сопротивления.
Таблица 22
|
Класс стали |
С38/23 |
С44/29 |
С46/33 |
С52/40 |
С60/45 |
C70/80 |
С85/75 |
|
k·104 |
0,42 |
0,47 |
0,50 |
0,54 |
0,58 |
0,64 |
0,70 |
Последние величины представляют собой константы серии геометрически подобных профилей и определены так:
|
|
(7.25) |
где i - радиус инерции сечения; wp - пластический момент сопротивления.
Меньшие значения удельных величин характеризуют тонкостенные профили. Для различных типов стержней и зон унификации могут быть выбраны разные ρ и w.
В случае растяжения допускается применять формулы (7.23) и (7.24), положив k = 0.
Для подбора сечения по предельной гибкости λpr служит точное выражение
|
|
(7.27) |
Примечание. Значения коэффициентов k могут уточняться для различных конструктивных систем на основе статистических данных по формуле
где р (λ) - плотность распределении
массы стержней по их гибкостям λ; φ (λ)-коэффициент продольного
изгиба;
- верхняя граница диапазона λ такая, что 
Усилия N в стержнях структурной конструкции рекомендуется определять одним из двух приближенных способов. Первый связан с использованием непрерывной расчетной модели - ортотропной плиты и подробно описай в [7].
Второй способ заключается в нахождении величин N0t как результатов однократного расчета структуры при фиксированных значениях параметров а°, b°, h° с последующим переходом к Nt (a, b, h). Предполагается, что осевые силы в стержнях, распределенные на полосу единичной ширины, так же, как и распределенные усилия в ортотропной плите, остаются практически постоянными при изменении размеров a, b, h. Формулы перехода к Nt применительно к системам, изображенным на рис. 7.2, следующие:
Для схемы «а»
|
Nt = N0t b h0/(b0 h), t = 1, 5; Nt = N0t a h0/(a0 h), t = 2, 6; Nt = [(N0t + N0t+1) b/b0 + (N0t - N0t+1) a/a0] h0 lr/(2 h l0r), t = 9, 11; Nt = [(N0t-1 + N0t) b/b0 - (N0t-1 - N0t) a/a0] h0 lr/(2 h l0r), t = 10, 12, |
(7.29) |
Для схемы «б»
|
Nt = N0t b h0/(b0 h), t = 1, 5; Nt = N0t h0, t = 13, 15; Nt = N0t b h0 lr/(b0 h l0r, t = 9÷12, кроме торцов, где Nt = [(N0t + N0t+1) b/b0 + (N0t - N0t+1)] h0 lr/(2 h l0r), t = 9, 11; Nt = [(N0t-1 + N0t) b/b0 - (N0t-1 - N0t)] h0 lr/(2 h l0r), t = 10, 12, |
Для схемы «в»
|
Nt = N0t a h0/(a0 h), t = 1, 2, 4÷6, 8; Nt = N0t a h0 lr /(a0 h l0r), t = 10÷12. |
(7.31) |
Для схемы «г»
|
Nt = N0t a h0/(a0 h), t = 1, 2, 5, 6; Nt = N0t a h0 lr /(a0 h l0r), t = 9÷12. |
(7.32) |
В формулах (7.29) - (7.32) lr означает длину раскоса - см. (7.21). В случае пропорционального изменения параметров a, b и h для поясов и раскосов соответственно будет
|
Np = N0p; Nr = N0r h/h0. |
Примечание. Определение внутренних распределенных усилии в ортотропной плите и статический расчет структуры с фиксированными параметрами могут выполняться как по готовым табличным решениям и эмпирическим формулам, так и с помощью типовых и специализированных программ для ЭВМ.
7.16. С помощью формул (7.12) - (7.18) приведенные затраты можно выразить следующим образом:
|
Z = HnC + PnP h + En (Cmm + Cuu + Css + CkP l + CstL h), |
где Hn, Рn - постоянные коэффициенты соотношений (7.14)
и (7.15) как сумма удельных нормативов в указанном масштабе (0,01 и 0,1
соответственно); Р - поверхность покрытия, равная La·Lb
- для схем а и b (см. рис. 7.2)
- для схемы в
и L2a/4 - для схемы г.
Зависимость величин u и s от искомых параметров a, b, h дана формулой (7.19), пролет опиранпя кровельных конструкций l равен а или b. Выражение для m устанавливается последовательно из (7.20) - (7.24). Например, для схемы а (см. рис. 7.2) получаем
где
- погонные,
внутренние усилия в плите (изгибающие моменты и перерезывающие силы), причем
величины с одним штрихом соответствуют изгибу по пролету La,
а с двумя - пролету Lb. Для стержней верхней поясной сетки (t = 1,2) в (7.35) предусмотрена возможность
внеузлового опирания кровельных конструкций, создающих изгибающие моменты в
стержнях, как разрезных балках
|
|
(7.36) |
Для других схем по рис. 7.2 формулы конкретизуются аналогично (7.35).
В соответствии с п.п. 7.9. и 7.10. оптимальными геометрическими параметрами следует считать такие их значения a*, b*, h*, которые соответствуют Минимуму приведенных затрат Z*.
Для поиска оптимума рекомендуется варьировать параметры а, b и h свободно, не формулируя в явном виде ограничения, связанные с требованиями целочисленности, Модульности размеров. Их можно учесть после решения задачи безусловной минимизации переходом к дискретным значениям на основе анализа потерь, возникающих при отклонении от оптимальных a*, b*, h* - см. п. 7.17.
В этом случае приведенные затраты представляются непрерывной функцией искомых параметров Z (а, b и h). После разделения переменных и постоянных величин (7.34) преобразуется так:
Функции fi (i = 0, 1, 2...,22) даны в табл. 23.
Коэффициенты Ki формируются при подобных членах (7.35). Константы Сi составляются аналогично.
Функция приведенных затрат в виде (7.37) является алгебраической, а значит, гладкой и имеет минимум в области положительных значений параметров. Для безусловной минимизации Z в зависимости от особенностей конкретной задачи проектирования или исследования рекомендуются два основных подхода:
Таблица 23
|
Схема |
Функции f2 (а, b, h) |
||||||||||
|
0 |
1 |
2 |
3 |
4 |
5 |
6 |
7 |
8 |
9 |
10 |
|
|
а |
h |
h-1 |
a/h |
b/h |
h/a |
h/b |
a2/bh |
b2/ah |
a2/b |
b2/a |
a2 |
|
б |
h |
h-1 |
a/h |
b/h |
h/a |
h/b |
a2/bh |
b2/ah |
a2/b |
- |
a2 |
|
в |
h |
h-1 |
a/h |
a2/h |
h/a |
a |
a2 |
a3 |
l3p/a2 |
l3p/a |
h |
|
г |
h |
h-1 |
a/h |
- |
h/a |
- |
a2/h |
- |
a |
h |
a2 |
а) В сравнительно простых случаях (1-2 варьируемых параметра, малое число различных типов стержней, сокращенное количество компонентов критерия качества) целесообразно применять процедуру классического анализа, т.е. приравнивать нулю частные производные функции Z по искомым параметрам. Это условие приводит к системе нелинейных алгебраических уравнений. Ее решение следует находить численно в процессе последовательных приближений. Быструю сходимость имеют методы второго порядка, например, метод Ньютона, использованный в работе [8]. Число итераций незначительно, время счета по специальным программам, разработанным в ГПИ «Укрпроектстальконструкция» для ЭВМ «Минск-22» и «ЕС-1022», не превышает 1 мин.
Примечание. Число искомых параметров сокращается до 2 при
переходе от прямоугольной ячейки к квадратной. Некоторые конструктивные системы
оперируют стержнем одной длины и остается лишь один варьируемый параметр а,
так как
. Выражение для Z упрощается и в таких частных
случаях, как неотапливаемые здания, применение стандартного настила и т.п.
б) Второй подход реализован в задаче «Экстремум» подсистемы оптимального проектирования САПР-ЦНИИПСК [9]. Он состоит в сочетании нескольких методов поиска оптимума. Начальное приближение к решению находится с помощью случайных пробных вычислений значений функции Z. Для его уточнения применяется поиск по симплексному многограннику [10], как бы перекатывающемуся по уклону к минимуму. На третьем этапе может работать метод, использующий квадратичную аппроксимацию функции Z на стягивающемся симплексе.
Продолжение таблица 23
|
Схема |
Функции f2 (а, b, h) |
|||||||||||
|
11 |
12 |
13 |
14 |
15 |
16 |
17 |
18 |
19 |
20 |
21 |
22 |
|
|
а |
b2 |
l3r/ab |
|
|
|
|
1/ab |
a-1 |
b-1 |
1 |
a |
h |
|
б |
b2 |
l3r/ab |
|
|
b2/a |
b3 |
1/ab |
a-1 |
b-1 |
1 |
b |
h |
|
в |
- |
- |
- |
- |
- |
- |
1/a2 |
a-1 |
- |
1 |
a |
h |
|
г |
l3r/a |
l3r/a2 |
|
|
|
a3 |
1/a2 |
a-1 |
- |
1 |
a |
h |
В этом случае не требуется аналитического представления производных, к численным процедурам можно переходить непосредственно после составления выражения для приведенных затрат. Процесс вычислений может быть ограничен двумя или даже одним этапом в зависимости от изученности конкретных задач. Специалист активно участвует в оптимизационном поиске ЭВМ благодаря интерактивному режиму работы [11]. Информационный дисплей показывает текущее состояние массива параметров, позволяет фиксировать отдельные из них, уточнять критерий качества, оперативно вносить поправки к исходным данным.
Примечание. Минимизация функции 2 может быть выполнена с помощью универсальных программных и технических средств, имеющихся на вычислительных центрах проектных и научно-исследовательских организаций. В некоторых случаях оказываются эффективными прямые методы поиска, в том числе координатный спуск, перебор по сетке.
7.17. Полученные в соответствии с п. 7.16 значения параметров
a*k(a*1 = а*. a*2 = b*, a*3 = h*) должны быть скорректированы с учетом того, что La/a и Lb/b - это целые числа. Необходимо выдерживать также требование модульности и унификации размеров a, b, h. При переходе к проектным размерам следует руководствоваться допустимым уровнем потерь приведенных затрат. Максимальное уклонение параметра аk, от оптимального а*k , при котором потерн (Z - Z*) еще не превышают заданного уровня U, можно определить по формуле
|
|
(7.38) |
а соответствующие уклонения остальных параметров - по формуле
|
|
(7.39) |
где δ - элементы матрицы, обратной матрице вторых частных производных функции 2, вычисляемых в точке оптимума.
Значения δ имеются при минимизации по Ньютону либо конструируются автоматически переходом от задачи «Экстремум» к задаче «Окрестность» [12].
При двух переменных параметрах рекомендуется использовать графическое представление окрестности оптимального решения в виде эллипса потерь - рис. 7.4.
7.18. Выбор оптимальных размеров ячейки и высоты структурного покрытия рекомендуется производить в следующей последовательности.
1. С учетом особенностей исследуемой или проектируемой конструктивной системы необходимо выполнить пробный расчет и предверительный анализ технико-экономических показателей при фиксированных значениях искомых параметров. При этом должны использоваться литературные данные и проекты-аналоги.

Рис. 7.4. Графическое представление окрестности оптимального решения
На данном
этапе в результате статического расчета эквивалентной плиты или стержневой
системы согласно п. 7.15
определяются погонные внутренние усилия
в плите или осевые
силы N0tz. Кроме того, уточняются необходимая
разбивка на зоны унификации, характеристики применяемых сортаментов ρ, wp
и материала.
По результатам экономического анализа принимаются коэффициенты Сm, Сu, Сs, Ck, Cst согласно указаниям п. 7.13.
Используя зависимости п. 7.16 для функции приведенных затрат или (в нестандартном случае) составив аналогичные выражения на основе п.п. 7.10-7.15, следует из условия минимума этой функции найти оптимальные параметры, как указано в п. 7.16, и соответствующие экономические показатели - по формулам (7.12) - (7.18).
В соответствии с п. 7.17 необходимо вычислить характерные габариты а эллипса (эллипсоида) потерь при заданном их уровне. Желательно не превышать 2-3 %-ный уровень потерь приведенных затрат.
На заключительном этапе выбираются размеры ячейки поясной сетки, соответствующие целому числу панелей в пролетах структуры, и высота стержневой плиты, удовлетворяющие требованию модульности и унификации, а также другим ограничениям. Определяемая этими параметрами точка должна лежать внутри эллипсоида потерь.
Полученная таким образом оптимальная геометрическая схема служит далее для нормативного поверочного расчета структуры. Использовать усилия и сечения элементов, получаемые как промежуточные результаты оптимизационного расчета, для реального проектирования не разрешается,
ЛИТЕРАТУРА
3. Инструкция по определению экономической эффективности капитальных вложений в строительство (СН 423-71). - М., Стройиздат, 1972.
10. Химмельблау Д.М. Прикладное нелинейное программирование. Пер. с англ. - М., Мир, 1975.
11. И. Гордеев В.Н., Возгрина Ж.Д., Калинина Л.Г. и др. Интерактивный режим оптимизации в системе автоматизированного проектирования металлоконструкций САПР ЦНИИПСК. Тезисы докладов Всесоюзной конференции «Современные методы и алгоритмы расчета и проектирования строительных конструкций с использованием ЭВМ», т. 2. - Таллин, 1979.
12. Нахождение множества решений, близких к оптимальному (Окрестность). Система автоматизированного проектирования строительных металлоконструкций в ЦНИИпроектстальконструкции, вып. КНИС-209-1. - М., ЦНИИПСК, 1980.
Пример 1. Требуется определить оптимальные по приведенным затратам размеры ячейки а, b и высоту h структурной плиты из прокатных профилей (система «ЦНИИСК»).
Исходные данные
Конструкцию структурной плиты см. в п.п. 2.73 - 2.89. Размеры - La = 24 м, Lb = 12 м. Расчетная равномерно распределенная вертикальная нагрузка q = 4450 Па (445 кгс/м2).
Материал поясов и сильно нагруженных раскосов - низколегированная сталь класса С46/33 с расчетным сопротивлением R = 290 МПа (2900 кгс/см2), а для остальных стержней и узловых фасонок - малоуглеродистая сталь класса С38/23, R = 210 МПа (2100 кгс/см2) .
Усредненные характеристики применяемых сортаментов: двутавров по ГОСТ 8239-72 в диапазоне № 10 - 24 - удельный радиус инерции ρx ≈ l,5, удельный пластический момент сопротивления wp = 1.4; уголков равнобоких по ГОСТ 8509-72 при d/b = 1/12÷1/16 ρmin ≈ 0,54÷0,55 - cм. формулы (7.25), (7.26), п. 4.15 [1].
Показатели стоимости ограждающих конструкций: стальной профилированный настил - по 300 руб. за 1 т, стеновые легкобетонные панели - по 10 руб. за 1 м2.
Параметры перекрываемого здания, необходимые для расчета эксплуатационных расходов: здание одноэтажное бесфонарное с сеткой колонн 24×12 м размерами в плане 144×144 м; высота до низа покрытия 10,2 м; производственные помещения характеризуются незначительными избытками явного тепла; режим работы внутри здания - двухсменный; условия внутренней среды по агрессивности нормальные; стоимость тепловой энергии - 5 руб/Гкал; расчетная температура наружного воздуха - минус 20°С.
Оптимизационный расчет размеров ячейки и высоты структурного блока
1. Статический и технико-экономический анализ структуры с фиксированными параметрами.
В качестве проектного прототипа (аналога) принимаем рабочие чертежи КМ, где а° = b° = 3 м, h° = l,5 м. Для назначения усилий N°tz , необходимых при работе с формулами (7.30) (см. п. 7.15), используем расчетные усилия по листу КМ-9; t = 1 (стержни типа 1 - верхние продольные пояса из двутавров, имеющие постоянное сечение для всего блока, т. е. число зон Z1 = 1), N°1,1 = -579 кН (-57,9 тс); t = 5 (тип 5 - нижние продольные пояса характеризуются двумя типоразмерами, так что Z5 = 2. Зоны, унификации I и II показаны на рис. 1), N°5,1 = 728 кН (72,8 тс), N°5,2 = 597 кН (59,7 тс); t = 13 (верхние пояса торцевых ферм, Z13 = 1), N°13,1 = -629 кН (-62,9 тс); t = 15 (нижние пояса торцевых ферм, Z15 = l), N°15,1 = 631 кН (63,1 тс); t = 14 (связи, обеспечивающие геометрическую неизменяемость системы, Z14 = l. Сечения подбираются по предельной гибкости λpr = 250); t = 9 - 12 (раскосы, их сечения очень дифференцированы: принято 9 зон унификации по рис. 1, т.е. Zr = 9), в том числе для растянутых раскосов, кроме торцевых ферм, т.е. в зоне I N°11,1 = N°12,1, = 111 кH (11,1 тс); то же, для сжатых, зоны II-V N°9,2 = N°10,2= -163 кН (-16,3 тс), N°9,3 = N°10,3 = -111 кН (-11,1 тс), N°9,4 = N°10,4 = -61,1 кН (-6,11 тс), N°9,2 = N°10,5 = -32,9 кН (3,29 тс); для растянутых раскосов торцевых ферм, зоны № VI, VII N°11,6 = 538 кН (53,8 тс), N°11,7 = 236 кН (23,6 тс); то же, для сжатых, зоны № VIII, IX N°9,8 = -271 кН (-27,1 тс), N°9,9 = -30,6 кН (-3,06 тс).

Рис. 1. Зоны унификации
Все усилия и другие данные, характеризующие принятые зоны унификации, сведены в табл. 1. Это величины ditz - по (7.22), ktz, ptz, Rtz - по (7.23) - (7.28) и N°t, N°t + 1 - по (7.30). При назначении площади и длин границ зон для раскосов предполагается, что количества растянутых н сжатых раскосов одинаковы.
Знаки усилий N° установлены с учетом использования формул (7.23), (7.24) и (7.30).
Технико-экономические показатели проекта-аналога определяются следующим образом. Стоимость изготовления конструкции, руб/т, с учетом транспортных расходов по доставке ее на монтаж [2, 3, 4].
|
Сi = 1,15 (Com + 3,65 Ti + 3,54) + Ctr, |
(1) |
где Com - стоимость основных материалов на 1 т стальных конструкций - табл. 1 по [4]; Ti - трудоемкость изготовления, чел.-ч/т, принимаемая по данным [5]; Ctr - стоимость транспортирования в зависимости от территориального расположения строек; составляет 3 - 8 руб/т [6] и может уточняться по формулам из [7, 8].
Стоимость монтажа (руб/т) по [2]
|
Cms = 0,9 Tms (1 + 0,8) + Сmm, |
(2) |
Таблица 1
|
Элементы |
t |
z |
d0, м2 |
d1, м2 |
d2, м2 |
d3, м2 |
d4, м2 |
d5, м2 |
d6, м2 |
d7, м2 |
d8, м2 |
N0t, |
N0t+1, |
k·104 |
ρ |
R, кгс/мм2 |
Примечание |
|
|
По- |
в пролете |
1 |
1 |
288 |
24 |
- |
24 |
- |
- |
- |
- |
- |
57,9 |
- |
0,5 |
1,5 |
29 |
Сжато-изогнуты, wP = 1.4; z1 = 1 |
|
5 |
1 |
144 |
- |
6 |
- |
6 |
- |
- |
- |
- |
72,8 |
- |
0 |
0,5* |
29 |
Растянуты |
||
|
2 |
144 |
- |
6 |
- |
6 |
- |
- |
- |
- |
59,7 |
- |
0 |
0,5* |
29 |
||||
|
в торцевых фермах |
13 |
1 |
- |
- |
12 |
- |
12 |
- |
- |
- |
- |
62,9 |
- |
0,5 |
0,55 |
29 |
Сжаты, z13 = l |
|
|
15 |
1 |
- |
- |
12 |
- |
12 |
1 |
1 |
1 |
1 |
63,1 |
- |
0 |
0,5 |
29 |
Растянуты, |
||
|
Связи |
14 |
1 |
- |
24 |
- |
24 |
- |
1 |
1 |
1 |
1 |
- |
- |
0,16 |
0,5 |
21 |
Подбираются по λрг = 250, zl4 = l |
|
|
Ра- |
в пролете |
11 |
1 |
108 |
- |
0 |
- |
0 |
0 |
0 |
0 |
0 |
11,1 |
11,1 |
0 |
0,5* |
21 |
Растянуты |
|
9 |
2 |
36 |
- |
0 |
- |
0 |
0 |
0 |
0 |
0 |
16,3 |
16,3 |
0,5 |
0,5 |
29 |
Сжаты |
||
|
3 |
36 |
- |
0 |
- |
0 |
0 |
0 |
0 |
0 |
11,1 |
11,1 |
0,5 |
0,5 |
29 |
||||
|
4 |
36 |
- |
0 |
- |
0 |
0 |
0 |
0 |
0 |
6,11 |
6,11 |
0,42 |
0,5 |
21 |
||||
|
5 |
36 |
- |
0 |
- |
0 |
0 |
0 |
0 |
0 |
3,29 |
3,29 |
0,42 |
0,5 |
21 |
||||
|
в торцевых фермах |
11 |
6 |
9 |
- |
3 |
- |
3 |
1 |
1 |
1 |
1 |
53,8 |
-27,1 |
0 |
0,5* |
29 |
Растянуты (левая торцевая ферма) |
|
|
7 |
9 |
- |
3 |
- |
3 |
0 |
0 |
0 |
0 |
23,6 |
-3,06 |
0 |
0,5* |
29 |
||||
|
9 |
8 |
9 |
- |
3 |
- |
1 |
1 |
1 |
1 |
1 |
27,1 |
-53,8 |
0,42 |
0,55 |
21 |
Сжаты (правая торцевая ферма), zr = 9 |
||
|
9 |
9 |
- |
3 |
- |
3 |
0 |
0 |
0 |
0 |
3,06 |
-23,6 |
0,42 |
0,5 |
21 |
||||
Где Тms - трудоемкость монтажа (чел.-ч/т) по [9]; Сmm - стоимость эксплуатации монтажных механизмов, колеблющаяся в пределах 5 -15 руб/т [2], может быть уточнена также с помощью формул из [7, 8].
Стоимость «в деле» (руб/т) по [2, 3, 8]
|
Cd = 1,18 (1,01 Ci + Cms) |
(3) |
где Ci и Cms даются выражениями (1) и (2).
Переходя к распределению стоимости Сd по коэффициентам Сm, Сu и Сs, примем во внимание следующие данные по проекту-аналогу:
а) площадь покрытия (блока) - 288 м2; общая масса блока - 9,26 т, в том числе стержней - 7,76 т, фасонок - 1,2 т, метизов - 0,3 т; число узлов - 77, число стержней - 224;
б) материал стержней - сталь марки 14Г2 или 10Г2С1 (всего 6,15 т) по 146 руб/т и марки Вст3пс6 (1,61 т)-по 125 руб/т, для фасонок - сталь марки Вст3сп5 по 145 руб/т, болты и гайки - нормальной точности, по 320 руб/т (указанные цены в качестве Соm взяты усредненно из табл. 1 по [4] и прейскуранту № 01-05).
в) большинство элементов структурных блоков (90 % по количеству и 70 % по массе) проходят на заводе только операции по обработке (резка и образование отверстий) [5], поэтому часть стоимости Ci, зависящую от трудоемкости Ti, можно считать пропорциональной числу стержней;
г) па монтаже, по данным [9], доли стоимости сборки и подъема составляют примерно 60 % и 40 % Сms. Часть стоимости, зависящую от трудоемкости сборки, т.е. 0,6Сms, приближенно будем считать пропорциональной числу узлов, а остальную часть - пропорциональной массе.
Учитывая сказанное, в Сm включаем:
стоимость основных материалов стержней по (1) и (3)
![]()
условно-постоянную часть стоимости изготовления, не зависящую от трудоемкости Ti - по (1) и (3) - 3,54·1,15·1,01·1,18 = 5;
стоимость транспортирования (из расчета Сtr = 5 руб/т по (1) и (3)-5·1,01·1,18 = 6;
стоимость подъема конструкции (исходя из Сmm = 10 руб/т и Tms = 0,43 чел.-ч/м2 или
), по (2) и (3) - 0,4 (0,9·13,4·1,8 + 10) 1,18 = 15.
Итого: Сm = 220 руб/т.
К коэффициенту Сu относим:
стоимость основных материалов по узловым фасонкам из (1) и (3) - 145·1,2·1,15·1,01·1,18·1/77 = 3,10;
то же, по болтовым соединениям из (1) и (3) - 320·0,3·1,15× 1,01·1,18·1/77 = 1.71;
стоимость сборки блока по (2) и (3) - 0,6 (0,9·13,4·1,8 + 10) 1,18·9,26/77 = 2,70.
Итого: Сu = 7,51 руб/узел.
Коэффициент Сs находим из расчета части стоимости изготовления, пропорциональной трудоемкости Ti которая на поточных линиях составляет не более 0,16 чел.-ч/м2; Ti = 0,16·288/9,26 = 4,98 чел.-ч/т; Сs = 3,65·4,98·1,15·1,01·1,18·9.26/224 = 1,03 руб./стер.
Удельные показатели стоимости ограждающих конструкций в соответствии с формулой (7.18) и исходными данными по профилированному настилу массой 3,73 т при t = b° = 3,0 м; Сk = 300 руб/т
или
![]()
и стеновым панелям Сst = 10 руб/м2.
2. Определение оптимальных параметров и соответствующих экономических показателей.
Выражение для приведенных затрат принимаем по формуле (7.34). Используя указания п.п. 7.11, 7.16 и исходные данные для расчета эксплуатационных расходов, определяем коэффициенты Hn и Рn. По нормативам табл. 1 из [10] (как для одноэтажного каркасного здания с площадью пола св. 5000 м2) доля амортизационных отчислений и текущих ремонтов от первоначальной стоимости составляет: Hn = 0,01 (1,0 + 1,4 + 2,3) = 0,047 год-1.
По табл. 3 и 13 [10] находим удельные расходы на отопление и вентиляцию в здании со строительным объемом более 200 тыс. м3 Рn = 0.1 (1,14 + 0,89) = 0,203 руб/(м3·год).
Остальные коэффициенты в (7.34) - Р и L: P = LaLb = 24·12 = = 288 м2; L - длина стенового ограждения, приходящаяся на блок, как частное от деления периметра (4·144) на число блоков (144×144/288), т.е. L = 8 м.
Стоимость покрытия С как функция искомых параметров а, b и h определяется выражением в круглых скобках формулы (7.34), где l = b, u и s даются в виде (7.19) с коэффициентами по строке «б» табл. 19. Масса стержней m (а, b, h) аналогично (7.35) получается следующим образом:
|
|
(4) |
где
![]()
Нагрузка q1z на неразрезные стержни верхнего пояса состоит из расчетной за вычетом собственного веса структуры:
![]()
Остальные константы приведены выше в табл. 1.
С учетом (4) функция приведенных затрат имеет вид (7.37) с компонентами fi по строке «б» табл. 23. Коэффициенты формируются при подобных членах (4). Они так же, как и Сi, вычисляются с помощью специальной программы для ЭВМ, которая затем минимизирует функцию Z (a, b, h) по Ньютону.
Полученные оптимальные размеры: а* = 3,92 м, b* = 2,33 м, h* = 1,43 м; соответствующие показатели: приведенные затраты Z* = 2,43 руб/мг год; масса стержней m* = 30,1 кг/м2; стоимость металлоконструкций блока С*ok =9,38 руб/м2.
Задача решена также и при квадратной ячейке, т.е. b = а. В этом случае результаты: а* = 2,93 м, h* = l,45 м; Z* = 2,53 руб/м2·год, m* = 28,5 кг/м2, C*ok = 9,22 руб/м2.
3. Оценка потерь приведенных затрат при переходе к модульным размерам.
В соответствии с п. 7.17 по программе также вычислены характерные точки эллипса потерь с центром в точке оптимума (а* = 2,93 м, h* = 1,45 м) при U/Z* = 0,01, α11 ≈ 0,375 м; α12 = 0,0505 м; α21 = 0,0719 м; α22 - 0,264 м.

Рис. 2. Графическое представление приведенных затрат
Область, ограниченная этим эллипсом (рис. 2), включает решения, уклоняющиеся от оптимального при уровне потерь приведенных затрат менее 1 %.
Таким образом, размеры приведенных затрат серийного блока а° = 3 м, h° = = 1,5 м весьма близки к оптимальным: a° - a* = 3,0 - 2,93 = 0,07 м << α11; h° - h*= 1,5 - 1,45 = 0,05 м << α22.
Пример 2. Требуется определить оптимальную по приведенным затратам длину стержня а, высоту h в пространственной решетчатой конструкции из труб (система «МАРХИ»).
Исходные данные
1. Краткая характеристика конструктивной системы. Схема - по типу рис. 7.2, а, кристалл - полуоктаэдр, ячейка - квадратная, все ребра кристалла - одной длины. Стержневые элементы структурной плиты - из горячедеформированных и электросварных труб. Узловые соединения - типа «МАРХИ», сборка осуществляется на монтажной площадке из отдельных стержневых и узловых деталей. Кровельная конструкция - стальной профилированный настил по прогонам из швеллеров, опирающихся в узлах верхней поясной сетки.
2. Конкретные условия проектирования. Размеры блока покрытия: La = Lb = 18 м. Опирание - в угловых точках. Расчетная равномерно распределенная вертикальная нагрузка: q = 3750 Па (375 кгс/м2).
Материал для поясов и раскосов - малоуглеродистая сталь класса С38/23 с расчетным сопротивлением R = 210 МПа (2100 кгс/см2). Сокращенный (унифицированный) сортамент труб по ГОСТ 8732-78 характеризуется диапазоном удельного радиуса инерции ρ = 0,6÷1,0.
Показатели стоимости смежных конструкций: стальной профилированный настил по 300 руб. за 1 т; прогоны по 200 руб/т; стеновые ячеистобетонные панели - по 15 руб. за 1 м2.
Параметры перекрываемого здания, влияющие на эксплуатационные расходы: здание одноэтажное с сеткой колонн 18×18 м, размерами в плане 360×144 м; периметр стеновых ограждении - 504 м; высота помещений до низа конструкций - 7,2 м; фонари - световые(зенитные); производство характеризуется незначительными избытками явного тепла; режим работы - двухсменный; условия внутренней среды по агрессивности - нормальные; стоимость тепловой энергии 4 руб/Гкал; расчетная температура наружного воздуха - минус 45°С.

Рис. 3. Распределение усилий в стержневой плите и соответствующие им зоны унификации
Оптимизационный расчет размера ячейки структурного блока
Настоящий
расчет выполняется исходя из единой длины стержней как поясов, так и раскосов,
при этом высота блока связана с размером ячейки соотношением
.
1.
Статический и технико-экономический анализ структуры с фиксированными
параметрами. В качестве прототипа принимаем блок покрытия главного корпуса
комбината индустриальных строительных конструкций в Красноярске [11],
где а0 = b0 = 3,0 м, ![]()
Статический расчет выполняем с помощью формул, предложенных в работе [12]. Распределение усилий в стержневой плите и соответствующие зоны унификации представлены на рис. 3. Расчетные усилия по типам стержней: t = 1 (верхние пояса вдоль пролета L1„ Z1 = 3)
![]()

N01,3 = 0.
t = 2 (верхние пояса вдоль пролета Lb, Z2 = 3)
N02,1 = N01,1 = 39,1 тс; N02,2 = N01,2 = 23 тс; N02,3 = N01,3 = 0.
t = 5 (нижние пояса вдоль пролета La, Z5 = 3)
N05,1 = 1,2 Nb = 1,2·39,1 = 46,9 тс; N05,2 = 1,2·23,0 = 27,6 тс; N05,3 = 0.
t = 6 (нижние пояса вдоль пролета Lb, Z6 = 3)
N06,1 = N05,1 = 46,9 тс; N06,2 = N05,2 = 27,6 тс; N06,3 = N05,3 = 0.
t = 9 - 12 (раскосы, Zr = 5, α - угол наклона раскоса к горизонту).
![]()
![]()
Таблица 2
|
Элементы |
Тип стержня |
Номер зоны |
Площадь зоны |
Границы зон |
Расчетное усилие |
Коэффи- |
Удельный радиус инерции |
Примечание |
||||
|
t |
z |
d°, м2 |
d1, м |
d2, м |
d3, м |
d4, м |
N0t, тс |
k·104 |
ρ |
|||
|
Поя- |
верхние |
1 |
1 |
32,4 |
10,8 |
- |
10,8 |
- |
39,1 |
0,42 |
0,8 |
Сжаты |
|
2 |
97,2 |
7,2 |
- |
7,2 |
- |
22,8 |
0,42 |
0,8 |
|
|||
|
3 |
194,4 |
0 |
- |
0- |
- |
0 |
0,42 |
0,75 |
|
|||
|
2 |
1 |
32,4 |
- |
10,8 |
- |
10,8 |
39,1 |
0,42 |
0,8 |
|
||
|
2 |
97,2 |
- |
7,2 |
- |
7,2 |
23,0 |
0,42 |
0,8 |
|
|||
|
3 |
194,4 |
- |
0 |
- |
0 |
0 |
0,42 |
0,75 |
|
|||
|
нижние |
5 |
1 |
32,4 |
- |
0 |
|
0 |
46,9 |
0 |
0,8* |
Растянуты ρ* = 0 |
|
|
2 |
97,2 |
- |
0 |
- |
0 |
27,6 |
0 |
0,8* |
||||
|
3 |
194,4 |
- |
18 |
- |
18 |
0 |
0,25 |
0,75 |
Подбираются по λpr = 200 |
|||
|
|
|
6 |
1 |
32,4 |
0 |
- |
0 |
- |
46,9 |
0 |
0,8* |
Растянуты |
|
2 |
97,2 |
0 |
- |
0 |
- |
27,6 |
0 |
0,8* |
||||
|
3 |
194,4 |
18 |
- |
18 |
- |
0 |
0,25 |
0,75 |
Подбираются по λpr = 200 |
|||
|
Рас- |
9-12 |
|
1 |
9 |
- |
- |
- |
- |
43,0 |
0 |
0,8* |
Опорный раскос растянут |
|
2 |
74,6 |
- |
- |
- |
- |
14,2 |
0,42 |
1,0 |
Сжаты |
|||
|
3 |
74,4 |
- |
- |
- |
- |
7,1 |
0 |
0,8* |
Растянуты (условно) |
|||
|
4 |
74,4 |
- |
- |
- |
- |
7,1 |
0,42 |
0,9 |
Сжаты (условно) |
|||
|
5 |
91,6 |
- |
- |
- |
- |
0 |
0,25 |
0,75 |
Подбираются по λpr = 200 |
N0r,3 = N0r,4 4 = 0,5 Np2 = 0,5·14·2 = 7,1 тс; N0r,5 = 0.
Все усилия и остальные данные, характеризующие принятые зоны унификации, сведены в табл. 2. По сравнению с табл. 1 она несколько сокращена за счет d5 - d8 (см. табл. 21), R, везде равного 210 МПа (2100 кгс/см2), и N0t+1, так как предполагается использование формул (7.33). Зоны III и IV (для раскосов) топографически совпадают, но к III условно отнесены растянутые стержни, а к IV - сжатые. Значения удельных радиусов инерции для трубчатых сечений конкретизированы применительно к унифицированному сортаменту «МАРХИ».
Технико-экономические показатели прототипа определяются с помощью формул (1) - (3) из примера 1, а также следующей [4]
|
Сom = 1,035 (Кrm Срr·Кd + 1,5), |
(5) |
где Com - стоимость материалов конструкций, не охваченных прейскурантом № 01-09, руб/т; Кгm - коэффициент расхода металла на 1 т конструкций, принимаемый по табл. 2 [4]; Срг - оптовая цена набора профилей проката в конструкции по прейскуранту № 01-02, руб/т; Кd - общий коэффициент приплат к оптовым ценам за качество и условия поставок проката, принимаемый по табл. 3 [4].
Для возможности использования указанных зависимостей следует уточнить данные по рассматриваемому аналогу (прототипу):
а) площадь блока покрытия - 324 м2; общая масса блока: 0,0223·324 = 7,23 т, в том числе стержней - труб (~80 %): 0,8·7,23 = 5,78 т; деталей с механической обработкой: 0,2·7,23 = 1,45 т.
Масса основных деталей: узловые элементы (85 шт.): 0,0045 × 85 = 0,38 т; высокопрочные болты (576 шт.): 0,00089·576 = 0,51 т; шайбы, муфты и прочее - 0,56 т; число узлов - 85, число стержней - 288;
б) стоимость основных материалов для трубчатых стержней из стали марки Вст3пс6 (или Ст20) по табл. 1 [4] - 170 руб/т. Стоимость горячештампованных заготовок узловых деталей из стали 45, принимаемая по прейскуранту № 25-01 усредненно в качестве Сom - 260 руб/т. Стоимость высокопрочных термически обработанных болтов из стали 40Х, принятая аналогично предыдущему применительно к прейскуранту № 01-05, ч. 3 - 500 руб/т. Оптовая цена Срг набора профилей проката, идущего на изготовление шестигранных муфт из стали 35 и плоских шайб из стали Вст3пс2, по прейскуранту № 01-02 (ч. 1 и 2) в среднем- 105 руб/т (при krm = 1,08 и kd = 1);
в) трудоемкость изготовления стержневых элементов определяется операциями обработки (резки), сборки и сварки и может быть оценена с помощью номограммы рис. 4.9 [8] при усредненных входных параметрах (диаметр трубы ds ≈ 90 мм, масса 1 стержня mss ≈ 5780/288 = 20 кг) - 0,35 чел.-ч/стержень.
Трудоемкость изготовления узловых соединений определяется операциями механической обработки деталей (собственно узлового элемента, муфт, шайб и болтов) и может быть вычислена по формуле [8]:

(msu - средняя масса детален в узле, кг);
г) общая трудоемкость монтажа конструкции типа «Кисловодск», подобных рассматриваемым, по данным [9], составляет 0,47 чел.-ч/м2. Трудоемкость сборки структурной плиты типа «МАРХИ», существенно зависящую от количества стержней при фиксированном плане, оценивают в 0,2 чел.-ч/м2. На этом этапе практически не требуется механизмов.
Часть стоимости монтажа, относящуюся к стоимости подъема блока в проектное положение, как и ранее, считаем пропорциональной его массе.
Учитывая изложенное в п.п. a - г, можно распределить стоимость конструкций «в деле» между коэффициентами Сm, Сu и Сs. В показатель Сm включаем: стоимость основных материалов стержней по формулам (1) и (3) 170·1,15·1,01·1,18 = 233; условно-постоянную часть стоимости изготовления по (1) и (3) 3,54·1,15·1,01·1,18 = 5; стоимость транспортирования из расчета Сtr = 5 руб/т [6], по (1) и (3) 5·1,01·1,18 = 6; стоимость подъема блока исходя из Сmm ≈ 10 руб/т [2] и Тms = (0,47 - 0,2)·324/7,23 = 12,1 чел.-ч/т, по (2) и (3) (0,9·12,1·1,8 + 10) 1,18 = 35. Итого - Сm = 279 руб/т.
К коэффициенту Сu относим: стоимость заготовки узлового элемента по (1) и (3) 260·1,15·1,01·1,18·0,0045 = 1,6; стоимость изготовления узловых соединений по (1) и (3) 3,65·2,26·1,15·1,01·1,18 = 11,3. Итого - Сu = 12,9 руб/узел.
Коэффициент Сs составляется так: стоимость высокопрочных болтов по (1) и (3) 500·1,15·1,01·1,18·0,00089·2 = 1,22; стоимость материалов для муфт и шайб по (5), (1) и (3) 1,035 (1,08·105·1 + 1,5)·1,15·1,01·1,18·0,56/288 = 0,32; стоимость изготовления стержневых элементов по (1) и (3) 3,65·0,35·1,15·1,01·1,18 = 1,75; стоимость сборки структуры по (2) и (3) 0.90·2·324·1,8·1,18:288 = 0,43. Итого - Cs = 3,72 руб/стержень.
Удельные показатели стоимости ограждающих конструкций подсчитываются в соответствии с формулой (7.18) и исходными данными. При расходе материала на настил 0,0135 т/м2 и прогоны 0,0035 т/м2 получаем: Сk = (0,0135·300 + 0,0035·200) : 3,0 = 1,58 руб/м3. Для стеновых панелей Cst = 15 руб/м2.
2. Определение оптимальной длины стержня и соответствующих экономических показателей.
Выражение для приведенных затрат принимаем в виде (7.34). Используя указания п.п. 7.16, 7.11 и исходные данные для расчета эксплуатационных расходов, определяем коэффициенты Нп и Рп. По нормативам табл. 1 [10] для одноэтажного каркасного здания с площадью пола свыше 5000 м2: Нп = 0,01 × (1,0 + 1,4 + 2,3) = 0,047 год-1.
По табл. 5, 6, 15, 16 и 17 [10] находим удельные расходы па отопление н вентиляцию в бесфонарном здании со строительным объемом более 200 тыс. м3 с учетом поправки на стоимость тепловой энергии: Рп = 0,5·0,1·(2,42 + 3,49 + 1,26 + 1,53)·0,93 = 0,405 руб/м год.
Остальные коэффициенты в (7.34), P = La·Lb = 18·18 = 324 м2; L = (504·324)/(360·144) =3,15 м.
Стоимость
покрытия как функция искомого параметра а определяется выражением в
круглых скобках формулы (7.34), где
l = a, u и s даются в виде (7.10)
при b = а и
коэффициентах по табл. 19 (см. п. 7.14). Масса стержней m (а) аналогично (7.35) получается так:
|
|
(6) |
где константы d, N0, k, ρ даны в табл. 2.
С учетом (6)
функция Z (а) имеет вид (7.37)
с компонентами fi, по табл. 23 главы 7 при b = а,
. Коэффициенты Ki и Сi вычисляются специальной программой для ЭВМ, которая затем минимизирует
функцию приведенных затрат.
Полученный ответ: а* = 2,98 м, h* = 2,11 м. Соответствующие оптимуму показатели: приведенные затраты Z* = 3,71 руб/м2-год; масса стержней m*=19,0 кг/м2; стоимость металлоконструкций С = 12,1 руб/м2.
3. Оценка потерь приведенных затрат при переходе к модульному размеру.
В соответствии с п. 7.17 с помощью ЭВМ также вычислено максимальное уклонение оси α11 от размера a*, при котором потерн (Z - Z*) не превышают одного процента Z*: α11 = 0,31 м. Таким образом, можно принять для проекта размер стержня а = 3 м.
Далее был выполнен оптимизационный расчет, в котором размер поясной ячейки и высота плиты варьировались независимо. Последовательность расчета - аналогична предыдущему.
Получены следующие результаты: размер поясной ячейки а* = 3,57 м; высота плиты h* = 1,36 м; стоимость металлоконструкций C*ok=11,7 руб/м2; приведенные затраты Z* = 3,18 руб/(м2·год).
Переходя к модульному размеру стержней поясной сетки - 3 м и назначая длину раскоса 2,5 м, получим высоту покрытия 1,32 м, что по сравнению с принятой в настоящее время высотой плиты 2,12 м дает экономию приведенных затрат порядка 5%.
В унифицированном сортаменте системы «МАРХИ» имеется также стержень длиной 2,0 м. Используя его для поясов и раскосов, получаем поясную ячейку 2 × 2 м и высоту плиты 1,41 м. В этом случае по сравнению с оптимальным решением приведенные затраты увеличиваются на 21 %•
ЛИТЕРАТУРА
1. Строительные нормы и правила. СНиП II-В.3-72. Стальные конструкции.
Влияние начальных несовершенств
Расчет структурных конструкций при упругопластической работе материала проводим на ЭВМ в соответствии с методикой, изложенной в п. 4.36, при учете физической и геометрической нелинейности.
Согласно этой методике на первом этапе расчета для каждого типоразмера структуры определяются зависимости мгновенных жесткостей стержней от относительного сближения их концов по направлению действия сил. При этом имеющиеся несовершенства конструкций в виде начальных искривлений отдельных элементов и расцентровок узлов задаются в исходных данных в виде эксцентриситетов приложения продольных сил.
В упругой стадии работы мгновенные жесткости стержней определяются в соответствии с рекомендациями п.п. 4.13 и 4.14. При развитии пластических деформаций мгновенные жесткости растянутых элементов принимаем независимыми от значений эксцентриситетов и равными Dn = EкA, где Ек - касательный модуль упругости, полученный из диаграммы работы материала в зависимости от относительного сближения концов стержня; А - площадь сечения стержня. Мгновенные жесткости внецентренно сжатых стержней при упругопластической работе материала определяем на ЭВМ по программе, составленной в соответствии с методикой, изложенной в п. 4.36.
На втором этапе расчета полученные диаграммы задаются в качестве исходных данных к программе расчета структур на ЭВМ с учетом физической и геометрической нелинейности.
Составление исходных данных к программе расчета стержней на ЭВМ рассмотрим на примере трубчатого стержня сечением 76×5.
Учитывая симметрию стержня при изгибе относительно середины пролета, в расчет вводится половина стержня, расположенная по одну сторону от плоскости симметрии. Производится замена сплошного стержня дискретной моделью, как это показано на рис. 1, а. Половина стержня разбивается по длине на 10 панелей и производится нумерация узлов дискретной модели в соответствии с рис. 1, а.
Сечение трубы разбивается на элементарные площадки по высоте, как это показано на рис. 1, б. Вычисляются площадь и центр тяжести каждой площадки относительно линии mn. Массивы площадей и центров тяжести задаются в исходных данных в табличной форме (табл. 1).
Таблица 1
|
№ площадки |
Размер площадки, см2 |
Центр тяжести площадки, см |
№ площадки |
Размер площадки, см2 |
Центр тяжести площадки, см |
|
1 |
0,2017 |
7,513 |
13 |
0,3258 |
3,612 |
|
2 |
0,3656 |
7,373 |
14 |
0,3295 |
3,238 |
|
3 |
0,4688 |
7,235 |
15 |
0,3372 |
2,864 |
|
4 |
0,7733 |
6,987 |
16 |
0,3498 |
2,49 |
|
5 |
0,5308 |
6,611 |
17 |
0,3691 |
2,115 |
|
6 |
0,4454 |
6,234 |
18 |
0,3984 |
1,74 |
|
7 |
0,3984 |
5,859 |
19 |
0,4454 |
1,365 |
|
8 |
0,3691 |
5,484 |
20 |
0,5308 |
0,9888 |
|
9 |
0,3498 |
5,11 |
21 |
0,7733 |
0,6024 |
|
10 |
0,3372 |
4,735 |
22 |
0,4688 |
0,3648 |
|
11 |
0,3295 |
4,361 |
23 |
0,3656 |
0,2214 |
|
12 |
0,3258 |
3,987 |
24 |
0,2017 |
0,0869 |
На рис 1, в приведена диаграмма работы материала стержня, на которой верхнее число означает напряжение, а нижнее - деформацию в соответствующей точке. Диаграмма работы материала стержня задается в табличной форме в виде двух массивов: в первом массиве задаются деформации, во втором - соответствующие касательные модули.
Составляется массив задаваемых шагов величин сближений концов стержня. Расчет ведется по деформированной схеме шаговым методом на заданные сближения концов стержня по программе, составленной в соответствии с методикой, изложенной в п. 4.36.
В качестве примеров рассмотрим результаты исследований стержней трубчатого сечения длиной 3 м диаметром 60×4, 76×5 и 103×4 с λ = 80 ÷ 160 и значениями эксцентриситетов приложения продольных сил е = 2 и 10 мм. Выбор длин и гибкостей определялся параметрами стержней, наиболее часто применяемых в структурных конструкциях. Принималось, что стержни имеют шарниры на концах. Результаты расчетов стержней показаны на рис. 2, 3 сплошными линиями.
На рис. 2 и 3 приведены соответственно зависимости «внешняя сжимающая сила N - прогиб по середине длины стержня в плоскости изгиба f» и «внешняя сжимающая сила N - сближение концов Δl».
После потери устойчивости стержень переходит в закритическую область работы, характеризующуюся нарастанием прогибов f и сближением концов Δl при уменьшающейся сжимающей силе N. Прогибы стержней появляются с начала нагружения даже при малых эксцентриситетах. Пластические деформации на сжатой стороне стержня возникают до достижения критической нагрузки (точка А на рис. 3) и стержень теряет устойчивость в упругопластической области. Переход в закритическую стадию происходит динамично в стержнях с

Рис. 1. Составление исходных данных к расчету стержней при учете закритической стадии работы
а - схема аппроксимации сплошного стержня дискретной моделью; б - схема разбиения сечения стержня на площадки; в - диаграмма работы материала стержня (над чертой показаны напряжения, МПа, под чертой - относительные деформации)

Рис. 2. График зависимостей «сила - прогиб» (сплошная линия - теоретические, пунктирная - экспериментальные)
1а, 2а, 3а - для стержней диаметром Ø 60×4, Ø 76×6, Ø 103×4 (λ .= 85,8; 118,3; 151,9) при абсолютном эксцентриситете приложения продольной силы е = 2 мм (относительные эксцентриситеты соответственно равны m = 0,084; 0,118; 0,164); 1б, 2б, 3б - для тех же стержней при абсолютном эксцентриситете приложения продольной силы е = 10 мм (относительные эксцентриситеты соответственно равны m = 0,422; 0,591; 0,769); А - начало текучести на сжатой стороне стержня; В - начало текучести на растянутой стороне стержня

Рис. 3. Графики зависимостей "сила-сближение концов" (обозначения - те же, что на рис. 2)

Рис. 4. Графики теоретических зависимостей «мгновенная жесткость - сближение концов стержня» (обозначения те же, что на рис. 2)
малыми эксцентриситетами приложения продольной силы. С увеличением эксцентриситетов потеря устойчивости и переход в закритическую стадию носит более плавный характер, уменьшается величина сбрасываемой сжимающей силы. Максимальная величина сбрасываемой силы уменьшается с увеличением гибкости. В стержнях одной гибкости, но при разных эксцентриситетах приложения продольной силы при значительном развитии деформаций в закритической области графики сближаются.
На рис. 4 показано изменение мгновенной жесткости стержня па действие продольной силы дN/дε, где дN - приращение продольной силы, дε - приращение деформаций в зависимости от величины сближения концов стержня. Жесткость центрально-сжатого стержня EA = N/ε, где Е-модуль упругости. При малых эксцентриситетах приложения продольной силы зависимость дN/дε ÷ Δl имеет на графике начальную прямую, почти параллельную оси абсцисс, т.е. вначале жесткость стержня уменьшается незначительно. В дальнейшем с развитием пластических деформаций жесткость стержня резко падает. С увеличением эксцентриситета приложения продольной силы и сближения концов уменьшается мгновенная жесткость стержня и кривая имеет более плавный характер. Точке дN/дε = 0 соответствует величина сближения концов стержня, при которой продольное усилие достигает максимального значения (см. рис. 3). При переходе в закритическую область величина дN/дε < 0. С увеличением эксцентриситета уменьшается максимум дN/дε. При значительном развитии деформации в закритической области работы для стержней одной гибкости графики сближаются.
Для подтверждения полученных зависимостей были проведены экспериментальные исследования [13]. Испытывались стержни трубчатого сечения тех же длин, гибкостей и эксцентриситетов приложения продольных сил, что и при теоретическом исследовании.
Механические характеристики материала каждого стержня устанавливали, испытывая на растяжение строганые образцы, вырезанные из стержней. Диаграмма работы одного из образцов приведена на рис. 1, в. Экспериментальные зависимости для стержней длиной 3 м и Ø 60×4, 76×5 и 103×4 показаны пунктирной линией на рис. 2 и 3.
Сопоставляя экспериментальные и теоретические зависимости, представленные на рис. 2 и 3, видим, что в докритической области работы стержней они практически совпадают, а в закритической области отклонения не превышают 5-6 %.
Результаты экспериментально-теоретических исследований показали, что мгновенные жесткости внецентренно сжатых стержней на действие продольных сил начинают снижаться уже в упругой стадии работы, в закритической области они принимают отрицательные значения. Предложенная в п. 4.36 методика расчета с достаточной точностью описывает поведение стержней на всем процессе их деформирования.
Для правильной оценки работы структурных конструкций за пределом упругости важен учет, характера изменения жесткостей элементов в процессе нагружения. Особенности построения алгоритма расчета структур с учетом особенностей деформирования отдельных стержней изложены в п. 4.36.
На втором этапе расчета ранее полученные характеристики стержней используются для расчета системы в целом с учетом геометрической и физической нелинейности. Рассмотрим последовательность расчета на реальной конструкции структурной плиты размером в плане 18X18 м высотой 2,12 м с ортогональной сеткой поясов образующих ячейки 3×3 м. Как видно, используемые стержни близки к исследованным выше. Опирание плиты осуществляется в углах в уровне верхних поясов. Материал стержней - Ст3 с расчетным сопротивлением R = 210 МПа.
На рис. 5, а, б в кружках приведены перемещения узлов в мм, рядом с кружками указаны номера узлов. В верхней части стержней показаны типоразмеры стержней в соответствии с табл. 2. В нижней части стержней даны усилия в стержнях в кН.
Таблица 2
|
№ |
Сечение стержня |
Площадь сечения, см2 |
Гибкость стержня |
Масса стержня, кг |
Расчетное усилие на сжатие, |
Расчетное усилие на
растяжение, |
|
1 |
Ø 108·9 |
28,0 |
85,35 |
65,92 |
403 (40,3) |
588 (58,8) |
|
2 |
Ø 102·8 |
23,63 |
89,96 |
55,64 |
325 (32,5) |
496,2 (49,6) |
|
3 |
Ø 95·5 |
14,13 |
95,04 |
33,29 |
184 (18,4) |
296,7 (29,67) |
|
4 |
Ø 68·5 |
9,9 |
134,24 |
23,31 |
78 (7,8) |
207,9 (20,79) |
|
5 |
Ø 60·3,5 |
6,21 |
150 |
14,63 |
40 (4,0) |
130,4 (13,04) |
|
6 |
Ø 108·10 |
30,77 |
86 |
72,51 |
446,5 (44,65) |
646,2 (64,62) |
|
7 |
Ø 95·9 |
24,31 |
98 |
57,3 |
304,6 (30,46) |
510,5 (51,05) |
|
8 |
Ø 95·4 |
11,44 |
92,9 |
26,9 |
152,1 (15,2) |
240,2 (24,02) |
|
9 |
Ø 57·2,5 |
4,28 |
155,4 |
10,08 |
25,71 (2,57) |
89,88 (8,99) |
На рис. 5, а показано распределение усилий и перемещения узлов при действии равномерно распределенной нагрузки q = 4000 Па (400 кгс/м2). Рассматриваемый вариант в дальнейшем называется основным. Стержни приняты из труб в соответствии с табл. 2. Во всех стержнях задавались начальные несовершенства в пределах 1/750-1/1000) l, где l - длина стержня, причем большие начальные несовершенства задавались для более гибких стержней. Допускаемый прогиб для рассматриваемой конструкции составляет 1/250 от пролета.

![]()
![]()
Рис. 5. Распределение усилий (кН) и
перемещения узлов (мм) при нагрузке q = 4000 Па (400 кгс/м2)
а - при основном варианте распределения жесткостей; б - при уменьшении жесткости стержня 15-16; в - при рациональном распределении жесткостей; сплошная линия - пояса, пунктирная - раскосы, стержень 15-16 с начальным искривлением, цифры с подчеркиванием - номера узлов, цифры в кружках - перемещения узлов, мм, для всех элементов верхняя цифра - типоразмер стержня в соответствии с табл. 2, нижняя - усилие в стержне, кН
Из условия симметрии показана 1/8 часть конструкции, заключенная между узлами 1-4-43. Как видно из рис. 5, а и из табл. 2, лишь в семи стержнях (3-4, 3-9, 8-14, 9-16, 10-11, 16-17; 16-29) усилии близки к допускаемым, тогда как в остальных существует резерв по прочности для растянутых и устойчивости для сжатых. Максимальное перемещение узла 43 составило 57,8 мм или 1/311 от пролета. Конструкция имеет запас по деформативности.
Исследования показали, что при q = 4900 Па (490 кгс/м2) максимальный прогиб конструкции достиг 7250 от пролета. При дальнейшем нагруженип до q = 5 кН/м2 перемещения конструкции нараста от линейно. При q = 5 кН/м2 начинаются пластические деформации в стержне 10-11 и перемещения конструкции начинают нарастать нелннейно. При q = 5,35 кН/м2 конструкция характеризуется резким нарастанием перемещений.
Рассмотрим поведение конструкции при изменении жесткости стержней верхнего пояса. При анализе различных вариантов сравнение будем проводить с основным вариантом. На рис. 5, б показано распределение усилий в стержнях и перемещение узлов при уменьшении жесткости части исправленных стержней верхнего пояса.
На рис. 5, б показано также распределение усилий и перемещения узлов при уменьшении жесткости сжатого стержня 15-16. В результате заложенных начальных несовершенств и искривлений величина критической силы, воспринимаемой стержнем, уменьшилась более чем в 2,5 раза. Из рис. 5, б видно, что в результате уменьшения жесткости усилие в стержне 15-16 уменьшилось (10,7 %), а усилия в стержнях 2-3, 16-29 возросли. Перемещение узла № 43 составило 58,8 мм или 1/306 от пролета. Максимальные перемещения и усилия изменились незначительно (1,7 %).
Расчеты показали, что при q = 3800 и 4100 Па (380 и 410 кгс/м2) в стержне 15-16 соответственно возникли пластические деформации и произошло достижение критических сил, что незначительно отразилось на деформативности конструкции. При q = 4750 Па (475 кгс/м2) максимальный прогиб конструкции достиг 1/250 от пролета. При q = 4950 Па (495 кгс/м2) возникли пластические деформации в стержне 10-11. Дальнейшее нагружение характеризовалось резким увеличением деформативности конструкции. При q = 5000 Па (500 кгс/м2) усилия в стержнях 2-3 н 3-4 увеличились на 6,4 % по отношению к основному варианту.
Несколько аналогичных примеров показали, что большие величины начальных несовершенств, ведущие к резкому снижению жесткостей стержней, могут вызывать преждевременное возникновение пластических деформаций в стержнях и переход отдельных сжатых стержней в закритическую область работы. Однако несущая способность конструкций в целом незначительно снижается вследствие повышенной жесткости статически неопределимых систем.
Выявление резервов несущей способности структурных конструкций
Структуры характерны максимальной унификацией элементов, и количество типоразмеров в них подбирается в зависимости от значений максимальных растягивающих или сжимающих усилий в группах стержней. В связи с этим обычно в конструкции не во всех стержнях возникают предельно допустимые усилия и ряд стержней является недогруженным. За счет этого образуется резерв несущей способности, который определяется индивидуально для каждой конкретной конструкции.
При работе конструкции в упругопластнческой стадии появляется возможность использования резерва несущей способности при некотором увеличении деформативности покрытия. При превышении допускаемых прогибов требуемая деформативность может быть обеспечена специальными мерами, например, путем задания строительного подъема конструкции.
В конструкции имеются основные стержни, жесткость которых существенно влияет на эффективность покрытия. При опирании структурных плит по углам такими стержнями являются контурные пояса и опорные раскосы. Изменение жесткости в остальных стержнях не столь существенно влияет на деформативность покрытия. Поэтому упругопластнческую и закритнческую стадию работы рекомендуется допускать лишь в этих стержнях при условии, что выход их из работы не превращает систему в механизм. В основных сжатых и растянутых стержнях упругопластическая стадия работы не допускается и подбор их сечений осуществляется в соответствии с рекомендациями главы СНнП II-23-81.
При исследовании поведения конструкции с частью сжатых стержней, находящихся в закритической области работы, допускаемая гибкость для сжатых стержней может быть увеличена, так как исследования, приведенные в главе 2, подтвердили возможность эксплуатации стержней большой гибкости в закритической области.
При анализе предельных состояний определяющим является достижение предельных состояний не отдельных элементов, а конструкции в целом, причем при расчете по первому предельному состоянию - превращение системы в механизм, при расчете по второму предельному состоянию - достижение максимально допустимых прогибов, значения которых регламентируются требованиями специальных норм.
Выбор рационального распределения жесткостей и оптимального количества типоразмеров для выявления резервов при работе конструкции в упругопластической области проведен на примере структурного покрытия при основном варианте распределения жесткостей (см. рис. 5, а).
Максимально допускаемая гибкость для сжатых стержней увеличивалась до 160, за счет этого появлялась возможность использования резервов несущей способности сжатых стержней, подобранных по максимальной гибкости, и слабонагруженных растянутых стержней. Допускалась закритическая область работы сжатых и развитие пластических деформаций в растянутых неосновных стержнях, причем предел текучести σT = 260 МПа.
В структуре с регулярной сеткой раскосы занимают значительную часть в общем количестве стержней. Например, в рассматриваемой конструкции раскосы составляют 50 % общего количества. Очевидно, что для рационального варианта распределения жесткостей наряду с изменением жесткости поясных стержней необходимо предусмотреть изменение жесткости раскосов. При этом использовались особенности перераспределения усилий, полученные выше.
В предлагаемых вариантах почти все элементы, находящиеся вне контурной линии, принимались меньшего сечения, а пояса - большего сечения по сравнению с основным вариантом. При этом общая масса металла была понижена и количество типоразмеров уменьшено с пяти до четырех и трех.
Расчеты структурной плиты 4 типоразмерами стержней показали, что при q = 3800 Па (380 кгс/м2) достигались критические сжимающие силы в стержне 29-30. При дальнейшем увеличении нагрузки до q = 4000 Па (400 кгс/м2) эти стержни переходили в закритическую область работы. Из рис. 5, в видно, что почти во всех остальных стержнях в этом случае усилия не превышали расчетных величин по СНиП. Наблюдалось перераспределение усилий, которое привело к их выравниванию. При дальнейшем нагружении несмотря на работу стержня 29-30 в запредельной области до q = 4400 Па (440 кгс/м2) зависимость имела почти линейный характер. При q = 4400 Па (440 кгс/м2) возникли пластические деформации в стержне 23-24 и зависимость приняла нелинейный характер. При q = 5100 Па (510 кгс/м2) возникли пластические деформации в стержнях 36-37, 22-23, 23-36 и зависимость стала резко нелинейной.
При применении трех типоразмеров растянутые контурные стержни и раскос 1-8 принимались одного типоразмера с контурными сжатыми стержнями (Ø 108×10). Распределение усилий не приведено, так как по сравнению с вариантом при использовании 4 типоразмеров усилия практически не изменились, тогда как максимальные перемещения при нагрузке q = 4000 Па (400 кгс/м2) уменьшились на 5,4 %.
Результаты проведенных расчетов показывают, что при опирании структур по углам целесообразно допускать развитие пластических деформаций в средней части конструкции, обеспечивая необходимую прочность основных контурных поясов и раскосов в упругой области работы материала. При опирании конструкции по контуру практически нет ограничений на развитие пластических деформаций в стержнях. Пластика допускается в любом стержне системы.
При расчете конструкций с учетом пластических деформаций рекомендуется назначать начальные несовершенства в стержнях в виде эксцентриситетов приложения внешних сил в пределах (1/750 ÷ 1/1000)
Здание, в плане представляет собой прямоугольник с размерами 290×193 м, с сеткой колонн 24×12 м. Отметка верха покрытия - 9,6 м. У оси 27 проектируемый корпус примыкает к существующему блоку цехов, имеющему высоту на 3 м больше (рис. 1). Между осями 9-10, 18-19 и рядами Д-Е расположены температурные швы. Шаг фахверковых стоек вдоль внешних стен - 6 м. На покрытии располагаются зенитные фонари и крышные вентиляторы. В рядах А-Д здание оборудовано мостовыми кранами, в рядах Ж-К - подвесными кран-балками. Объект расположен в III снеговом и I ветровом районе. На покрытие действуют следующие расчетные нагрузки: 1) постоянные нагрузки от собственной массы структурных плит и кровли-1330-1450 Па (133-145 кгс/м2); 2) кратковременные - снег - 1400 Па (140 кгс/м2), ветер - 320 Па (32 кгс/м2); 3) длительные временные - ливневая канализация, вентиляционные короба, система пожаротушения, светильники и электроразводка - 500 Па (50 кгс/м2), 250 Па (25 кго/м2) (в осях 26-27); 4) крановые: 2 мостовых крана на колее грузоподъемностью - 200 кН.- 1 подвесной трехопорный кран в пролете грузоподъемностью - 20 кН.
Исходя из заданной сетки колонн и действующих нагрузок для покрытия, принимаются структурные плиты из прокатных профилей типа «ЦНИИСК».
Подбор требуемых типов плит производится на основании данных альбома «Структурные конструкции покрытий одноэтажных производственных зданий пролетом 18 и 24 м из прокатных профилей типа «ЦНИИСК» серия 1.460-6/81. В альбоме выделено 4 основных вида структурной плиты, имеющей размеры 24×12×1,5 м: 1) «универсальные торцевые» (с обозначением «УТ») - располагаются длинной стороной у температурных швов на парных колоннах и у стен здания; имеют специальные консоли, длина которых принимается в зависимости от привязки колонн и от профиля ригеля стенового ограждения. Универсальные торцевые плиты могут применяться при действии на покрытие нагрузок от подвесного транспорта, крышных вентиляторов, при наличии перепадов высот, светоаэрационных фонарей; 2) «универсальные рядовые» (с обозначением «У») - имеют то же назначение, что и «универсальные торцевые», но не могут располагаться у температурных Швов и у стен здания;

Рис. 1. Схема компоновки структурного покрытия производственного здания
I-VI - типы структурных плит
3) «обычные торцевые» (с обозначением «Т») - могут располагаться у температурных швов и у стен здания, но не предназначены для восприятия специальных нагрузок, как У или УТ; 4) «обычные рядовые» без консолей, для восприятия специальных нагрузок не предназначены.
При рассмотрении схемы компоновки структурного покрытия в зависимости от расположения плит и действующих нагрузок можно выделить шесть типов структурных плит.
Тип I. Структурные плиты расположены в средней части покрытия или примыкают короткой стороной к стене или температурному шву. Нагрузки: 1330 Па (133 кгс/м2) - постоянные (собственная масса структуры с кровлей); 500 Па (50 кгс/м2) -длительные временные (коммуникации); 1400 Па (140 кгс/м2) - снеговая. Всего 3230 Па (323 кгс/м2). По «ключу», приведенному в альбоме для подбора обычных рядовых структурных плит, принимаем для данного типа плиту марки С24-380.
Тип II. Дополнительно к нагрузкам, действующим на плиту типа I на данной плите расположен крышный вентилятор № 10. Величина эквивалентной нагрузки от крышного вентилятора определена согласно указаниям альбома.
Нагрузки: 3250 Па (325 кгс/м2) - постоянные, длительные временные и снеговая (собственная масса структуры с кровлей 1350 Па (135 кгс/м2); 600 Па (60 кгс/м2) от крышного вентилятора № 10. Всего: 3850 Па (385 кгс/м2), из них технологических 1100 Па (110 кгс/м2). По альбому согласно «ключу» подбора рядовых структурных плит принимаем плиту марки С24-460.
Тип III. Структурные плиты расположены длинной или длинной и короткой сторонами вдоль стен или у температурных швов. Нагрузки те же, что и в типе II. Принимаем обычную торцевую структурную плиту С24-460 Т.
Тип IV. К структурным плитам данного типа крепятся подвесные кран-балки грузоподъемностью 20 кН. Величину эквивалентной равномерно распределенной нагрузки определяем по соответствующей таблице альбома.
Нагрузки: 3250 Па (325 кгс/м2) - постоянные, длительные временные, снеговая - те же, что для типа I; 1100 Па (110 кгс/м2) - от подвесной кран-балки. Всего: 4350 Па (435 кгс/м2), из них технологических 1600 Па (160 кгс/м2). По «ключу» альбома принимаем плиту С24-445 У.
Тип V. Расположения плит и нагрузки такие же, что и в плитах типа IV. На покрытии дополнительно располагается крышный вентилятор.
Нагрузки: 4450 Па (445 кгс/м2) - те же, что в плитах IV (собственная масса структуры с кровлей 1450 Па (145 кгс/м2); 600 Па (60 кгс/м2) - крышный вентилятор. Всего: 5050 Па (505 кгс/м2), из mix технологических 2200 Па (220 кгс/м2). Принимаем плиту марки С24-600 У.
Тип VI. Структурное плиты примыкают к температурным швам. Нагрузки - те же, что и в плитах V. Принимаем плиту марки С24-600 УТ.
Тип VIa. Структурные плиты примыкают длинными сторонами к существующему зданию, имеющему высоту на 3,0 м больше. Консолей по коротким сторонам не имеют. В соответствии с указаниями главы СПиП II-6-74 «Нагрузки и воздействия» определяем величину коэффициента перехода от массы снегового покрова земли к снеговой нагрузке на покрытие с и длину снегового мешка s. По таблице альбома определяем величину расчетной эквивалентной равномерной нагрузки на универсальные структурные плиты при расположении снегового мешка вдоль длинной стороны.
Нагрузки: 1450 (145 кгс/м2) - постоянные (собственная масса структуры с кровлей): 250 Па (25 кгс/м2) - длительные временные (коммуникации); 1400 Па (140 кгс/м2)-снеговая; 2830 Па (283 кгс/м2) - эквивалентная от снегового мешка при с = 4 и s = 6 м. Всего: 5930 Па (593 кгс/м2), из них технологических 3080 Па (308 кгс/м2). Принимаем плиту марки С24-600 УТ.
После подбора для покрытия требуемых типов структурных плит необходимо произвести проверку несущей способности верхних поясов на действие горизонтальной нагрузки. Горизонтальная нагрузка определяется нз расчета рам на действие внецентренно приложенной нагрузки от покрытия и стен, вертикальной и горизонтальной нагрузок от мостового крана, горизонтальной ветровой и нагрузки от температурных воздействий. При опирании на колонну двух, трех и четырех структурных плит величина определенной горизонтальной нагрузки, действующей на каждую, уменьшается соответственно в 2, 3 или 4 раза.
В табл. 3 альбома приведены предельные величины горизонтальных усилий, воспринимаемых крайними поясами структурных плит. В случае если полученные из расчета рам значения превышают данные для соответствующего типа плиты, необходимо произвести корректировку сечений.
Для рассматриваемых и настоящем примере ветрового района и высоты здания горизонтальная нагрузка от ветра, передаваемая через фахверковые стойки на длинные стороны структурных плит, учтена при составлении альбома для «торцевых» и «торцевых универсальных» плит, а на короткие стороны (12 м) также и для «обычных рядовых» и «универсальных рядовых».
Тип VI6. Структурные плиты примыкают к существующему зданию, имеющему большую высоту, и одновременно короткой стороной с консолью к внешней степе проектируемого корпуса или температурному шву. Такой случай не предусмотрен в таблице альбома для определения расчетной эквивалентной равномерно распределенной нагрузки на структурные плиты от снегового мешка, так как снеговой мешок действует одновременно на консоли по длинной и короткой стороне плиты.
В связи с этим требуется произвести расчет структурной плиты на ЭВМ на фактически действующие нагрузки, включая горизонтальные. При этом нагрузку от снеговых мешков нужно привести к сосредоточенным усилиям, приложенным в соответствующие верхние узлы структуры, с учетом расположения снега па консолях по коротким сторонам. После определения усилий, действующих в элементах структурной плиты, их сравнивают с усилиями, действующими на соответствующие элементы плиты с маркой С24-600 УТ. Для элементов, где определенные расчетом усилия превышают приведенные в альбоме, производится сравнение их с величинами, определяющими фактическую несущую способность стержней. В случаях когда несущая способность стержней оказывается недостаточной, возникает необходимость их усиления. Также необходимо произвести проверку несущей способности узловых соединений структур-нон плиты. После этого выполняется проверочный расчет структурной плиты с учетом фактических (измененных) жесткостных характеристик стержней.
Полученная в результате корректировки структурная плита будет отличаться от типовой, приведенной в альбоме. В связи с этим изготовление ее может производиться, в соответствии с действующим положением только после согласования с Всесоюзным объединением Спецлегконструкция Минмонтажспецстроя СССР.
Поскольку применение индивидуального блока сопряжено с определенными трудностями как на стадии проектирования, так и при изготовлении, рекомендуется компоновать покрытие и размещать технологическое оборудование таким образом, чтобы суммарные действующие нагрузки не превышали величин, предусмотренных в альбоме. В частности, при действии значительных нагрузок на консоли структурных плит, примыкающих к стенам существующих зданий, для уменьшения общей нагрузки, действующей на плиту, может быть рекомендована замена этих консолей козырьками, прикрепленными к стенам.
Требуется определить сейсмические нагрузки для трехпролетного здания шириною 72 и длиною 168 м, оборудованного мостовыми кранами среднего режима работы, грузоподъемностью 10 т (по два в каждом пролете) при расчетной сейсмичности здания 9 баллов

Рис. 1. Схема одноэтажного здания с покрытием из структурных плит системы «ЦНИИСК»
а - план; б - разрез; по осям 5 и 11 -температурные швы
(рис. 1). Отметка головки подкранного рельса 8,15 м. Колонна высотой 12,55, марки 190 Ш I по серии КК 108с-7. Отметка верха колонны 11,95. Стойки фахверка расположены с шагом 6,0 м, сечение стоек торцевого фахверка I № 36, продольного I № 30. Стены навесные из трехслойных панелей типа «сэндвич» с массой 1 м2 40 кг. Здание покрывается структурными плитами системы «ЦНИИСК» размером в плане 12×24 м. Основанием здания служат грунты II категории. Вертикальные расчетные нагрузки (статические) приведены в табл. 1.
Расчет выполняется по п. 5.2 а на условные статические нагрузки. Значение коэффициентов в формулах (5.1) и (5.2) K1 = 0,25, K2 = 1, KΨ = 1,5 (при определении вертикальных сейсмических нагрузок на покрытие) и KΨ = 1 (при определении горизонтальных нагрузок на каркас, так как h0/i < 40 (см. п. 5.17).
Вертикальные сейсмические нагрузки на покрытие здания
Периоды собственных колебаний покрытия определяются приближенно как для ортотропной пластинки. Приведенная цилиндрическая жесткость такой пластинки равна
Таблица 1
|
Нагрузка от массы |
Единица измерения |
Расчетная нагрузка |
Коэффициент сочетания |
Расчетные нагрузки для особого сочетания |
Конструкций покрытия с кровлей |
Па |
1503 |
0,9 |
1353 |
Технологических коммуникаций |
« |
480 |
0,8 |
384 |
|
|
|
|
Итого |
1737 |
Снега |
« |
980 |
0,5 |
490 |
Одной колонны |
кН |
30,62 |
0,9 |
27,56 |
Подкранной балки |
« |
17,00 |
0,9 |
15,30 |
Одного мостового крана |
« |
23,00 |
0,9 |
20,70 |
Стеновых панелей |
|
400 |
0,9 |
360 |
Стоек фахверков |
|
55 |
0,9 |
49 |
Dx = kl·E·Amsα tga α = 0,22·2,1·108·0,00306·3,0·1 = 42,4·104 kH·м,
Где
![]()
n = Ams/Am = 30,6/24,7 = 1,24;
Ams = 30,6 см2 = 0,00306 м2 - площадь сечения верхнего пояса;
Am = 24,7 м2 - то же, нижнего пояса; E = 2,1·105 МПа - модуль упругости стали; а = 3м - размер ячейки в плане; α = 45°, tgα = 1.
Если покрытие рассматривается как система разрезных пластинок с шарнирным опиранием, то период основного тона колебаний покрытия в вертикальной плоскости равен

где La = 24 м - наибольший пролет пластинки; k211 = 7,374 - при отношении размеров пластинки; La/Lв = 2 (см. табл. 8.3 Справочника по динамике сооружений, М., Стройиздат, 1972); m = qoc/q = (1,737+0,49)/q = 227,2 кг/м2.
Тогда коэффициент динамичности β1 = 1,1 T1 = 1,1·0,359 = 3,06 > 2,7. Принимаем для расчета β1 = 2,7.
В случае, когда покрытие рассматривается как неразрезная пластинка на жестких опорах, шарнирно-опертая по внешнему контуру, по формулам (8.99) и (8.102) из вышеупомянутого справочника можно оценить наименьшее и наибольшее значения частот собственных колебаний для первой и второй зон сгущения. Для первой зоны сгущения коэффициенты φ01 и φ*1, при частотах (периодах) собственных колебаний равны
φ01 = 1,57 (1 + η2) = 1,57 (1 + 22) = 7,85;
![]()
где
η = La/Lb = 2.
Откуда верхняя и нижняя граница периодов собственных колебаний соответственно равны:


Сопоставление результатов расчета покрытия в виде системы разрезных пластинок (без учета их взаимного сопряжения) и как неразрезной пластинки показывает, что максимальные значения периода основного тона колебаний близки и не превышают 0,4 с. Следовательно, при использовании приближенного метода определения вертикальных сейсмических нагрузок влиянием высших форм колебаний можно пренебречь.

Рис. 2. Расчетные схемы нагрузок
Равномерно распределенная вертикальная сейсмическая нагрузка на покрытие равна
gc = К1·К2 goc·A·β1·KΨ = 0,25·1·2,227·0,4·2,7·1,5 = 909 Па (90,9 кгс/м2).
Проверка напряженно-деформированного состояния элементов структуры производится при нагрузке qoc ± qэкв = qoc ± qc 2/π (см. рис. 2, а) и при нагрузке qoc ± qc 2/π по площади структурной плиты за исключением центральной ее части, где нагрузка составляет qoc ± qc (см. рис. 2, b).
Горизонтальные сейсмические нагрузки на каркас здания в целом
1. Вертикальные нагрузки на каркас приведены в табл. 2.
2. Горизонтальная сейсмическая нагрузка на каркас в уровне верха покрытия рассчитывается как системы с одной степенью свободы (рис. 5.3, а), нагрузки и жесткость конструкций определяются для здания в целом. Покрытие рассматривается как жесткий диск.
Жесткость каркаса здания
![]()
где E =
2,1·105 МПа (2,1·106 кгс/см2), Ix = 40,216
·10-4 м2, hс = 12,55 м, n =
60 - число колонн.
Таблица 2
|
Нагрузка |
Вычисление |
Нагрузка, кН |
|
От массы: |
|
|
|
конструкций покрытия с кровлей и технологических коммуникаций |
1,737·72·168 |
21010,7 |
|
|
|
|
|
|
|
|
|
снега |
0,49·72·168 |
5927,0 |
|
От 1/4 массы: |
|
|
|
колонн |
0,25·27,56·60 |
413,4 |
|
подкрановых конструкций |
0,25·15,30·56 |
214,2 |
|
стеновых панелей |
0,25·36 (72·12,5 × 2 + 168·12,5 × 2) 0,5* |
270 |
|
мостовых кранов |
0,25·20,70·3 |
15,5 |
|
|
Итого |
27850,8 |
* 0,5 - коэффициент проемности стен.
Период собственных колебаний каркаса здания в поперечном направлении
![]()
Коэффициент динамичности (см. п. 5.11) - β1 = 1,1/1,21 = 0,909.
Горизонтальная сейсмическая нагрузка - S1 = K1·K2·S01 = 0,25 × 1·10126 = 2532 кН (253,2 тс), где S01 = Qh·A·β1·Kψ·η1 =27850,8 × 0,4·0,909·1·1 = 10126 кН (1012,6 тс).
Горизонтальная сейсмическая нагрузка S'i распределяется между вертикальными несущими элементами (колоннами) пропорционально их жесткостям, поскольку покрытие рассматривается как жесткий диск.
Горизонтальное перемещение верха покрытия в поперечном направлении составляет Δ = S1/K = 2532/76,906·103 = 0,0329 м = 3,29 см; Δ/hс = 3,29/1255= 1/381.
Горизонтальная сейсмическая нагрузка на каркас в продольном направлении здания определяется аналогично с учетом жесткости колонн и связевых блоков.
1. Вопросы моделирования и статические исследования в лабораторных условиях
Основы моделирования.
Результаты испытаний моделей в лабораторных условиях, осуществленных на основе метода моделирования, в ряде случаев позволяют получить не только качественную, но и количественную картину напряженно-деформированного состояния конструкции; оцепить достоверность методов ее расчета; распространить результаты единичных опытов на целый класс подобных конструкций.
Под понятием «моделирование» понимается метод изучения какого-либо явления путем сравнения его с другим явлением, подобным данному, т.е. обладающим рядом признаков, позволяющих объединить оба явления в одну группу. Таким образом, моделирование есть воспроизведение свойств объекта («оригинала») на специально построенном по определенным правилам его аналоге-модели.
Для изучения свойств исследуемого объекта могут быть применены различные способы моделирования [1]: математический, физический, па механических моделях.
Моделирование выполняется на основе определенных принципов, согласно которым между, геометрическими размерами, механическими свойствами материалов, нагрузками и другими факторами, от которых зависит напряженно-деформированное состояние модели, есть определенные соотношения. Характер этих соотношений и будет тем критерием, при котором отдельные явления могут быть объединены в группу подобных. Изучением этих вопросов занимается теория подобия, являющаяся теоретической основой моделирования [2, 3].
При моделировании сложных пространственных систем часто не удается записать уравнения их напряженно-деформированного состояния. В этом случае можно пользоваться теорией размерностей, дающей рациональные формы построения зависимости между величинам, характеризующими изучаемое явление.
При моделировании структурных конструкций с большим количеством тонкостенных стержней возникают трудности, связанные с моделированием стенок труб, так "как при уменьшении геометрического масштаба толщина стенок стержней в модели становится весьма малой. В этом случае полезно прибегнуть к применению геометрически подобных моделей, у которых масштабы линейных размеров могут быть неодинаковы, в данном случае иной масштаб выбирается для толщины стенок стержней.
При моделировании структурных конструкций удобно использовать линейную и нелинейную теорию подобия [4]. Линейная теория подобия предполагает, что связь между значениями каждой из рассматриваемых величин в модели и в натуре является линейной, т. е. значения интересующих нас в натуре величин могут быть получены простым умножением соответствующих величин в модели на постоянное число - масштаб этих величин.
Нелинейная теория подобия позволяет преодолеть ряд трудностей, возникающих при осуществлении полного подобия между моделью и натурой и увеличивает круг задач, решаемых средствами моделирования.
Отметим, что наиболее часто используется линейная теория подобия. При ее применении модель должна быть геометрически подобна натуре.
Цель испытаний и выбор соответствующих моделей
Изучение работы сложной натурной конструкции. Несмотря на большое развитие машинной техники расчета в практике строительства часто встречаются весьма сложные в статическом представлении структурные конструкции, расчет которых с применением ЭВМ весьма затруднителен. В этом случае прибегают к упрощенным расчетным моделям, при использовании которых достоверность расчета нуждается в экспериментальной проверке.
При подтверждении экспериментом данных приближенного расчета он может быть заложен в основу проектирования реальной конструкции.
Для получения падежных экспериментальных данных модель должна проектироваться не только с соблюдением законов подобия, но и таким образом, чтобы в ней нашли отражение основные особенности натурной конструкции и силового на нее воздействия.
Проверка новых методов расчета. Для этой цели модель может не отвечать точному подобию тех или иных натурных конструкций. Но модели должны повторять основные параметры структур. Так, например, иметь реальные соотношения пролета к высоте, отношения площади поперечного сечения поясов к раскосам, характер опирания и пр.
Модели этого типа должны проектироваться таким образом, чтобы они в большей мере отвечали принятой расчетной схеме, метод расчета которой проверяется экспериментом.
Подобные модели при экспериментировании снабжаются большим количеством измерительной аппаратуры и в ряде случаев призваны оценить достоверность новых наиболее современных методов расчета, например, с учетом развития пластических деформаций, закритической стадией работы отдельных стержней и пр.
В этом случае применение низкомодульных материалов подобно полистиролу не допустимо. Рекомендуется изготавливать модель из того же материала, что и натурная конструкция. Тогда при составлении индикаторов подобия Се = 1. Остальные индикаторы подобия составляются в соответствии с теорией подобия
![]()
![]()
где из теории размерностей Сl, Сe, Са, Сi, Cq - индикаторы подобия соответственно длины стержня, модуля упругости материала, площади и момента инерции сечения стержня, нагрузки на конструкцию. Выходные данные: w - перемещения, N - усилия. Отметим, что до потерн устойчивости одного или ряда стержней условие (4) является основным. После потери устойчивости ряда стержней и перехода их в закритическую область должны выполняться условия (4) и (5). Предварительно моделирование начинают с выбора индикаторов подобия. В соответствии с составленными индикаторами подобия (1) - (5) назначают размеры модели.
Оценка прочности узловых сопряжений. В этом случае необходимо при экспериментировании изучить не только распределение продольных усилий сопрягаемых в узле элементов, но и устанавливать напряженное состояние по площади или поверхности узловых сопряжений с учетом тех несовершенств, которые имеют место в практике. При этом условии исследования узлов па малых моделях не приводят к надежным результатам.
Здесь требуются исследования узлов, изготовленных в масштабе 1/2 ли 1/3, а еще лучше в натуральную величину.
Исследования устойчивости элементов структуры. Устойчивость сжатых стержней структуры также не всегда удается оценить на малых моделях, поскольку трудно в малой модели имитировать те несовершенства натурной конструкции, которые оказывают в ряде случаев существенное влияние на величины критических усилий. Более надежные результаты дают лабораторные испытания фрагментов, состоящих не менее чем из четырех пирамид, нагружаемых или балластом или при помощи домкратов на силовом полу. Испытания обычно производят до разрушения при измерении напряженно-деформированного состояния элементов системы.
Изготовление моделей и специальных установок
Модели изготавливаются из стали, алюминия, меди, оргстекла и полистирола. Стержни принимают сплошного, круглого, прямоугольного сечения, а также трубчатого сечения и сечения из гнутых профилей. Например, в ЧССР исследованию подвергалась модель структурной плиты из оргстекла размерами в плане 325×425 см, высотой 18 см с ячейками 25×25 см. В качестве стержней применялись трубы диаметром 10/2 мм и 13/1,4 мм, сопрягаемые на шарах при помощи клея. Шары имели диаметр 44/3 мм и выдувались также из оргстекла. Модуль упругости оргстекла составлял 3250 МПа.
При обработке экспериментальных данных учитывалась нелинейная работа материала. Во избежание погрешностей, связанных с релаксацией материала, отсчеты с измерительных приборов снимались достаточно быстро и выдерживалась одинаковая температура.
В МИСИ им. Куйбышева, КИСИ и ЦНИИСКе была применена методика изучения напряженного состояния структур на моделях из полистирола, являющегося низкомодульным и плавящимся при сравнительно небольшом нагреве материалом. Стержни подобных моделей имели прямоугольное сплошное сечение и соединялись друг с другом при помощи расплавления концов паяльником. Наряду с положительными качествами полистирола, заключающимися в весьма простом сопряжении сходящихся в узел элементов, этот материал имеет ряд недостатков, в том числе ползучесть, низкую теплопроводность, не постоянные механические характеристики. Все это потребовало исследования совместной работы тензодатчиков сопротивления, которыми замеряли деформации и материала модели, выбора соответствующего клея для тензодатчиков и наконец достаточно точно установить механические характеристики материала.
Исследования показали, что наиболее приемлемым является клей на дихлорэтане. Полистирольные стержни начинают заметно течь во времени при нагружениях, превышающих 4 МПа. В этих случаях деформации под нагрузкой за 15-20 мин увеличиваются до 7 %, а при 6-8 МПа - на 5 %. Учитывая это, в стержнях подобных моделей напряжения не должны превышать 4 МПа, а время отсчета на приборах - 15 мин.
В металлических моделях соединения трубчатых стержней осуществляются на шарах, куда ввинчиваются специальные наконечники стержней или стержни непосредственно припаиваются (медью или оловом) к шарам.
При стержнях из гнутых профилей их соединения осуществляются на пространственных листовых фасонках. Оригинальным сопряжением круглых сплошностенчатых и трубчатых стержней являются сопряжения на ванной сварке, позволяющие собирать структурные конструкции любой формы в плане. Такой узел при сборке требует малых трудозатрат. Сборку удобно производить в кондукторах, фиксирующих положение примыкающих к узлу стержней.
Соединение на ванной сварке требует предварительного обмятия концов стержней, что приближает работу узловых сопряжений к шарнирам.
Лабораторные испытания узловых сопряжений осуществляются в специальных установках, позволяющих создавать усилия в разных направлениях. Известны исследования, проводимые в ФРГ, США и ЧССР, в которых испытывался узел в виде шара с шестью примыкающими к нему в одной плоскости стержнями, что имитировало поясную сетку с треугольными ячейками. Эта установка представляла собой систему шести рычагов, которые при сжатий вызывали в стержнях одинаковые растягивающие усилия вплоть до разрушения узла. На подобных установках представилось возможным установить несущую способность узловых сопряжений и установить оптимальные соотношения отдельных толщин и диаметров сопрягаемых элементов. С целью более детального обследования действительной работы узловых сопряжений в ЦНИИСК была создана установка, позволяющая исследовать натурные узлы со всеми входящими в них стержнями при различных по величине силовых воздействиях. Установка представляла собой две замкнутые квадратные рамы размером 3×3 м, расположенные горизонтально на расстоянии 1,5 м друг от друга и жёстко соединённые между собой. Испытываемый узел располагался внутри рамы с таким расчетом, чтобы его пояса находились в плоскости верхней рамы по ее диагонали, в этом случае раскосы попадали на нижнюю раму и жестко к ней крепились. Нагружали пояса четырьмя домкратами, расположенными в углах верхней рамы. При приложении различных усилий к поясам представляется возможным включить в работу не только пояса, но и раскосы, создавая в них разнообразные комбинации усилий.
Стенд для испытания моделей
Модели испытываются на стенде, обеспечивающем безопасное и удобное проведение эксперимента. Стенд представляет собой жесткую раму, на которую опирается модель, обнесенная специальными мостиками для загрузки модели и наблюдения за приборами.
Стенд должен быть снабжен специальной страховочной платформой (под моделью), на которую после исчерпания несущей способности садится испытуемая конструкция.
Механические измерительные приборы, как правило, должны устанавливаться или над моделью или под страховочной площадкой. Нагрузка к модели может прикладываться сверху или подвешиваться снизу к узлам структуры, при этом так же, как и приборы, нагрузка подвешивается ниже страховочной платформы. Нагружение осуществляется отдельными грузами, водой, заполняющей подвешенные снизу баки или сверху сыпучими материалами, а также при помощи домкратов и системы рычажных установок.
Нагрузка, как правило, прикладывается небольшими порциями, при этом после каждого этапа нагружения осуществляется измерение деформаций и перемещений. Если модель испытывается на кратковременное приложение нагрузки, то нагружение можно осуществлять гидравлическими силовозбудителями. Давление в силовозбудителях создается масляными насосами через пульт редуцирования давления (например, ПРД-500). Измерение нагрузок осуществляется включенными в силовые цепи тензодинамометрами. В этом случае можно осуществлять непрерывную запись нагрузок на многоканальных диаграммных регистраторах.
Измерение деформаций и перемещений
Основой экспериментальной оценки поведения конструкций при испытаниях или в условиях эксплуатации является измерение и исследование механических характеристик, определяющих устойчивость, прочность и надежность материала или конструкции. Наиболее часто экспериментатора интересуют следующие механические величины, непосредственно связанные с предельными состояниями: напряжения и деформации в наиболее характерных точках модели; общие перемещения и деформации конструкции и ее отдельных частей.
Измерение деформаций не представляет принципиальных затруднении, допускает многообразие методик и получило наибольшее распространение. Для перехода к напряжениям обычно используют известные зависимости σ = E (ε); εy = -vεx.
Для упругих материалов эти зависимости имеют практически линейный характер, причем модуль упругости Е и коэффициент Пуассона v с достаточной точностью могут быть определены экспериментальным путем.
Для измерения деформаций применяют рычажные тензометры с базой до 20 мм, индикаторы с ценой деления 0,001 мм и тензорезисторы с базой от 5-10 мм с пределом измерений до 4 %. Установка приборов на противоположных гранях элементов выявляет осевые и изгибные деформации. Чаще всего для измерения деформаций используют метод тензометрии, применяя различные тензометры: электрические, механические, оптические, гидравлические, пневматические и др.
Измерения перемещений осуществляют индикаторами с ценой делений 0,01 мм, прогибомерами системы Аистова с ценой деления 0,01 мм, системы Максимова с ценой деления 0,1 мм. Наиболее удобны и точны для измерения перемещений тензорезисторные индикаторы, позволяющие осуществлять дистанционное измерение. Приборы устанавливают при помощи специальных кронштейнов, прикрепленных к жестким рамам.
При испытаниях целесообразно показания преобразователей перемещений и тензорезисторов регистрировать измерительно-вычислительными комплексами с обработкой информации на малых ЭВМ, например, ЕС-1020. Эти комплексы предназначены для сбора, регистрации, храпения и выдачи информации на ЭВМ во время статических испытаний конструкций.
При испытаниях приборы необходимо располагать в наиболее напряженных зонах, выявляемых предварительным расчетом. Количество приборов должно быть достаточным для выявления напряженно-деформированного состояния. По возможности необходимо дублировать измерения напряжений и перемещений для стержней и узлов структуры, имеющей оси симметрии.
Обработку результатов экспериментальных исследований рекомендуется проводить методами математической статистики [5].
Статистическая обработка экспериментальных данных
В процессе экспериментальных исследований прямыми измерениями получают: относительные деформации в сечениях элементов модели; модули упругости материала; геометрические характеристики элементов модели по проектным данным и путем ее обмера.
При определении величин напряжений в элементах модели по опытным данным применяют методы математической статистики.
С учетом многократности регистрирования отсчетов число измерении относительных деформации для каждого тензодатчика принимается равным минимум 10 с учетом симметрии и многократности нагружения.
По работе [5] принимается следующий порядок вычисления:
1. Определяется среднее значение из т измерений ai
|
|
(6) |
2. Находятся погрешности отдельных измерений
|
|
(7) |
3. Вычисляются квадраты погрешностей отдельных измерении (Δa2i)
4. Определяется эмпирический стандарт (оценка дисперсии)
|
|
(8) |
5. По табл. 40 [24] определяется t - критерий Стьюдента при надежности 95 % и числе проведенных измерений n:
n-10n…………………………………………………t-2,23
n-20…………………………………………………..t-2,09
n-30…………………………………………………..t-2,04
6. Находится граница доверительного интервала
|
|
(9) |
С вероятностью
95 % среднее значение а находится в интервале (
).
Границы доверительного интервала оцениваются формулой
|
|
(10) |
Где Δа, Δb,
Δс - границы доверительного интервала для каждой из величин а,
b, с, надежность α = 95 %. Производные дf/да, дf/дb, дf/дс, вычисляются при
, b = const, с
= const.
Для вычисления нормальных сил в стержнях модели используется закон Гука
|
N = ½ (εi + εs) E A, |
(11) |
где N - нормальная сила в стержне; εi, εs - относительные деформации нижних и верхних волокон сечений.
Тогда границы доверительных интервалов для усилий в стержнях:
|
|
(12) |
при E = const, A = const.
7. Относительная погрешность результата серии измерении определяется
|
ΔN/N 100 %. |
(13) |
2. Методика проведения огневых испытаний структурных конструкций на моделях
Общие положения
Тонкостенность элементов структурных конструкции вызывает необходимость изучении их огнестойкости, особенно в зданиях и сооружениях, связанных с массовым пребыванием людей. Для обеспечения требуемых пределов огнестойкости в ряде случаев используются дополнительные огнезащитные мероприятия. Например, окраска элементов огнезащитными красками или устройство установок автоматического пожаротушения, что ведет к дополнительному расходованию средств. В этой связи определение фактического предела огнестойкости структурных конструкций приобретает большое значение.
Огневые испытания блоков покрытий в натуральную величину, как показывает опыт, при их высокой стоимости и технической сложности, как правило, неэффективны из-за ограниченности получаемой информации. Положение также осложняется разнообразием видов и типоразмеров структурных конструкций с различными типами сечений элементов и конструкций решетки. В этой связи перспективно изучение огнестойкости структурных конструкций с некоторых общих позиций, посредством огневых испытаний моделей этих конструкций и разработка на этой основе расчетно-экспериментальных методов оценки их огнестойкости. В случае невозможности проведения огневых испытаний на полноразмерных конструкциях такие испытания следует проводить па образна* уменьшенных размеров (моделях) [6].
Цели изучения огнестойкости структурных конструкций на моделях
При проведении огневых испытаний моделей устанавливаются основные закономерности поведения структурных конструкций при огневом воздействии, в частности, последовательность выхода из строя отдельных стержней, характер потери несущей способности конструкции; проверяется способность элементов структурных конструкций противостоять одновременному действию расчетной, (на огнестойкость) нагрузки и длительному высокотемпературному нагреву.
Посредством огневых испытаний моделей устанавливается степень достоверности расчетных методов оценки огнестойкости структурных конструкций, а в случае, если модель геометрически и по напряженному состоянию элементов полностью подобна конкретной реальной конструкции, в результате испытания модели может быть установлен предел огнестойкости соответствующей натурной конструкции. Установление в процессе испытания слабых (в отношении огнестойкости) элементов позволяет предложить мероприятия по повышению предела огнестойкости структурных конструкций.
Особенности проектирования моделей структурных конструкций
Габариты модели определяются размерами соответствующей огневой камеры. Учитывая, что минимальный размер в плане существующих огневых камер (печей) примерно равен 3 м, а средний размер натурного структурного блока составляет 30 м, принципиально возможно моделирование в масштабе 1:n (1:10). Если масштаб подобия линейных размеров одинаков, то площадь сечения элементов модели должна быть в n2 (100) раз меньше площади сечения соответствующих элементов реальной конструкции. Отметим, однако, что в ряде случаев целесообразно применить разные масштабы для линейных размеров модели и площади сечения элементов модели. Это объясняется тем, что при оценке результатов огневого испытания модели с очень тонкими элементами трудно установить, является ли то или иное отклонение от расчетного значения предела огнестойкости результатом перераспределения усилий или оно вызвано сопутствующими явлениями (погрешностями температурного режима, условий нагружения и т.д.). Поэтому при проектировании структурной модели для огневых испытаний при сохранении основных параметров моделируемой конструкции (конфигурации и размеров ячеек, соотношения линейных размеров, гибкостей и жесткостей элементов, отношения высоты к пролету) площади сечения элементов иногда увеличивают в 1,5-2 раза (пропорционально).
В зависимости от вида конструкции и целей испытания модели могут конструироваться различной формы, схемы опирания, типа узлов и сечений элементов. Элементы моделей могут быть из тонких труб со сплющенными концами, соединяемых в узлы (в форме втулки с прорезями) посредством ванной сварки, или из элементов сплошного сечения с нарезанной по концам резьбой и узлами в форме сферы или усеченного конуса с резьбовыми отверстиями для соединения стержней.
Особенностью проектирования структурной модели для огневых испытаний является сохранение подобия условий нагревания элементов модели и реальной структурной конструкции. Такое подобие может быть соблюдено в случае равенства коэффициентов δred (приведенных толщин), определяющих скорость прогрева сечений элементов модели и натурной структурной конструкции δred = A/u, где А - площадь поперечного сечения элемента; и - обогреваемая длина периметра сечения. Кроме этого, для сохранения условий теплообмена желательно, чтобы соотношение теплоемкостей узловых элементов и стержней модели соответствовало бы соотношению аналогичных величин реальной конструкции.
Проведение огневого испытания структурной модели
Огневые испытания структурных моделей проводятся в соответствии с требованиями главы СНиП II-2-80 и стандарта СЭВ 1000-78. Испытания проводятся в специальных огневых камерах с обогревом по стандартному режиму «температура - время», который характеризуется следующей зависимостью:
|
T - T0 = 345 log10 (8 τ + 1), |
(14) |
где τ - время от начала испытания, мин; Т - температура в печи, ºС за время τ; T0 - температура до теплового воздействия (принимается 20°С). Температура в огневой камере и в элементах модели измеряется хромель-алюмелевыми термопарами и регистрируется на электронных самопишущих потенциометрах. Нагрузка на модель устанавливается из условия создания в элементах модели напряженного состояния, аналогичного тому, какое возникает в элементах натурной структурной конструкции от действия расчетной (на огнестойкость) нагрузки. Расчетную (на огнестойкость) нагрузку следует определять в соответствии с указаниями п.п. 5.43-5.53.
За предел огнестойкости принимается время (в часах или минутах) от начала теплового испытания до возникновения предельного состояния [6] Структурная конструкция достигает своего предельного состояния по огнестойкости тогда, когда при потерявших несущую способность элементах под действием высокой температуры и расчетной (на огнестойкость) нагрузки конструкция становится геометрически изменяемой.
Перед проведением огневых испытаний должны быть определены критические температуры стержней модели в соответствии с указаниями п.п. 5.43-5.53.
Опирание модели в огневой камере и распределение нагрузки должно соответствовать расчетным схемам, принятым в проекте действительной конструкции. Нагрузка может быть приложена как сверху, так и подвешена снизу. Если нагрузка приложена К верхнему поясу, то вначале укладывается металлический лист δ = 1 мм, затем располагаются плоские грузы (желательно на размер ячеек), по которым симметрично устанавливают в необходимом количестве штучные грузы. После приложения расчетной нагрузки открытые участки конструкции термоизолируются (минеральной ватой), чтобы обеспечить безопасность наблюдения.
Наблюдение за поведением конструкции во время испытаний осуществляется через смотровые окна огневой камеры. Во время наблюдения фиксируются (во времени от начала испытаний) моменты выхода из строя отдельных стержней и момент полного обрушения модели.
В процессе огневых испытаний измеряют: температуру в огневой камере (в пяти точках); температуру в стержнях модели (согласно "схеме расстановки термопар); прогибы в контрольных точках (узлах) модели (согласно схеме расстановки прогибомеров).
При необходимости могут быть измерены напряжения в стержнях модели при помощи высокотемпературных тензорезисторов на металлической подложке, которые привариваются посредством точечной сварки. Регистрирующей аппаратурой при этом может являться шлейфовый осциллограф с усилителем (например, марки «Топаз»). Однако, эти измерения требуют от исполнителя высокой профессиональной квалификации.
Анализ и обработка результатов огневых испытаний структурных моделей
После проведения огневых испытаний результаты показаний приборов и измерительной аппаратуры обрабатываются и записываются в виде графиков и термограмм. Расшифровка линий потенциометров дает графики (термограммы) возрастания температуры в контрольных Стержнях модели за время испытания. Сочетание визуальных наблюдений во время испытаний (в частности, фиксирование момента выхода из строя отдельных стержней) с анализом получаемых термограмм позволяет установить фактическую критическую температуру контрольных стержней, которая является основным критерием при оценке достоверности применяемой расчетной методики.
Превышение фактической критической температуры элемента модели над критической температурой, полученной в соответствии с указаниями п.п. 5.43-5.53 из условия постоянства нагрузки в процессе испытания, свидетельствует о перераспределении усилий в элементах конструкции и о необходимости применять для расчета предела огнестойкости конструкции более точную методику.
По результатам показаний прогибомеров строятся графики нарастания прогибов в контрольных узлах модели. Анализ этих графиков позволяет выявить причину превращения испытуемой конструкции в геометрически изменяемую систему.
Анализ результатов огневых испытании моделей позволяет выявить качественный характер поведения структурной конструкции при огневом воздействии, установить вид потерн ее несущей способности. Кроме того, анализ результатов огневых испытаний структурных моделей позволяет определить огнестойкость элементов конструкций, а следовательно, и наметить рекомендации по повышению огнестойкости конструкции в целом.
В целях определения возможностей повышения предела огнестойкости структурной конструкции огневые испытания соответствующей модели могут быть проведены или с подвесным потолком или с защитой отдельных элементов огнезащитной вспучивающей краской (например, покрытием марки ВПМ-2).
Изучение огнестойкости элементов структурных конструкций в натуральную величину
В соответствии с [6] испытание образцов конструкций с огнезащитными покрытиями допускается проводить и без нагрузки. В этом случае предельным состоянием является достижение критической температуры материала конструкции. Цель подобных испытаний заключается в изучении скорости прогрева сечений элементов структурных конструкций (в натуральную величину) в условиях стандартного температурного режима пожара, определения влияния па скорость прогрева огнезащитного покрытия. В этом случае вначале устанавливаются термопары, а затем наносится слой огнезащитного покрытия. По нескольким контрольным точкам строится усредненная кривая прогрева исследуемого элемента. Время достижения (по этой кривой) критической температуры элемента (определенной заранее решением статической задачи) определяет предел огнестойкости данного элемента конструкции.
Оценка результатов огневых испытаний
При определении предела огнестойкости следует учитывать результаты огневых испытании двух одинаковых образцов конструкции. Предел огнестойкости конструкции определяется как среднее арифметическое результатов испытаний не менее, чем двух образцов, при этом показатели наиболее высокого и наиболее низкого пределов огнестойкости двух испытанных образцов не должны отличаться более чем на 20 % (от большего значения).
Если результаты отличаются друг от друга более чем на 20 %, должны быть проведены дополнительные испытания. При испытании одного образца для установления предела огнестойкости конструкции результат испытания необходимо умножить на коэффициент 0,8.
3. Основные положения и задачи статических испытаний в условиях строительной площадки
Общие положения
Настоящие положения рекомендуется использовать при проектировании типовых и вновь возводимых структурных конструкций и определяют методику их натурных испытаний и способы оценки пригодности конструкции к эксплуатации.
Эти испытания носят в основном приемочный характер и могут преследовать следующие цели:
- проверку статической работы, несущей способности и прочих характеристик новых конструкций, применяемых впервые или еще не нашедших широкого применения, надежность которых еще не подтверждена практикой;
- оценку несущей способности крупных сооружений перед передачей в эксплуатацию;
- оценку влияния дефектов, отступлений от проекта и типовой технологии, вызванных какими-либо особыми причинами, когда это влияние невозможно оценить расчетом;
- выявление действительной несущей способности конструкции при увеличении эксплуатационной нагрузки, выяснившейся в процессе строительства, когда конструкции обладают дополнительным запасом прочности, учесть которые расчетом не представляется возможным.
Кроме этих задач, являющихся основными, целесообразно по возможности:
- изучить действительную работу отдельных узлов, соединений, мест концентрации напряжений и пр.;
- установить степень участия в пространственной работе конструкции прогонов и кровли;
- изучить фактическое поведение конструкций в упругопластической области работы материала и установить резервы ее несущей способности;
- предложить пути усовершенствования узлов и конструкции в целом.
Испытания структурных конструкций могут проводиться на уровне земли или в проектном положении. Более предпочтительным является их проведение на уровне земли.
Эксперименту предшествует выбор объекта для испытаний, составление рабочей программы испытаний, при необходимости перерасчет конструкции на опытную нагрузку.
В комплекс исследований входит: освидетельствование элементов и конструкции в целом; нагружение и разгрузка (разрушение) конструкции; обработка экспериментальных данных и оценка конструкции по данным эксперимента.
Программа испытаний
В программе испытаний должны быть сформулированы цели и задачи исследовании, подробно описана методика решения поставленных задач. Особое внимание при разработке программы испытаний должно быть уделено технике безопасности.
Программа определяет число опытных образцов, схему нагружения конструкции и ее подстраховки, места установки датчиков и размещения измерительных приборов, а также количество обслуживающего персонала и организации, ответственные за выполнение работ.
Программа разрабатывается организацией, руководящей проведением испытаний, подписывается руководителем испытаний и утверждается руководителем подразделения (лаборатории, отдела и т.п.).
Освидетельствование конструкций
Освидетельствование конструкций включает изучение технической документации, составление истории нагружения, если конструкции уже нагружены постоянной нагрузкой, осмотр и выявление дефектов, а также установление фактических механических характеристик материала испытываемой конструкции и ее опорных частей. Особое внимание при этом следует уделить выявлению нарушений правил изготовления, монтажа и эксплуатации, а также ошибкам, допущенным при проектировании конструкций.
Все замеченные дефекты и отступления от проекта необходимо оценить с точки зрения их влияния на несущую способность конструкции.
Перерасчет опытной конструкции на испытательную Нагрузку необходимо выполнить с учетом фактических сечений стержней и других отступлениях от проекта, установленных результатами освидетельствования, которые оформляются соответствующей актами.
При статических испытаниях структурных конструкций обычно измеряются следующие параметры:, нагрузки на конструкцию - мессдозами, датчиками силы, динамометрами, путем взвешивания или измерения объема грузов и пр.; перемещения (прогибы) элементов и узлов-прогибомерами, мессурами [8], геодезической съемкой и пр.; относительные деформации в элементах и напряжения в стержнях - электротензорезисторами [8], механическими тензометрами, деформометрами, мессурами и пр.
При измерений относительных деформаций тензорезисторами с целью обеспечения достаточной точности измерений рекомендуется, чтобы уровень напряжений в исследуемых элементах стальных конструкции был не менее 20-30 МПа.
Загружение статическими нагрузками
Техника безопасности
Для создания испытательной нагрузки могут быть применены домкраты, лебедки, всевозможные грузы, а также вода. При этом грузы не должны менять свою массу при увлажнении. При использовании в качестве нагрузок воды "должны быть исключены ее Неравномерное распределение из-за прогибов конструкции и утечки через стенки и дно резервуаров.
Нагружение необходимо выполнять путем плавного приложения нагрузок ступенями не более 25 % нормативной при нагружении конструкции до нормативной ее величины и ступенями не более 10 % нормативной при нагружении конструкции сверх нормативной нагрузки.
Время выдержки каждой ступени нагрузки па металлических конструкциях - 15 мин, а при наличии в системе железобетонных элементов в соответствии с работой [9].
При испытании конструкций нагрузкой выше нормативной необходимо считаться с возможностью повреждения отдельных элементов конструкции и даже полного ее обрушения. В связи с этим в процессе нагружения конструкции должно быть исключено расположение обслуживающего персонала и случайное появление людей на испытываемой конструкции и под ней. Во избежание развития значительных повреждений и обрушения испытываемой конструкции и ее элементов, особенно при испытании конструкций, находящихся в в проектном положении, необходимо применять страховочные подмости.
Проводящий испытания персонал должен располагаться на безопасном расстоянии от объекта, наблюдения за сооружением необходимо осуществлять с помощью дистанционных приборов.
Испытания до разрушения обычно производят при основном сочетании нагрузок. Поведение конструкций при дополнительных сочетаниях нагрузок исследуется в пределах упругих деформаций. Экспериментальные схемы загружения должны предусматривать симметричное расположение нагрузок и несимметричное, когда переменная нагрузка располагается на части поверхности.
Остаточный прогиб металлической конструкции определяется после разгрузки и ее выдержки без нагрузки в течение 15 мин, при наличии железобетонных элементов остаточный прогиб определяется в соответствии с работой [9].
В процессе проведения испытаний необходимо следить за правильностью работы приборов и состоянием конструкции, производя предварительную обработку результатов измерений, сопровождающихся построением графиков, выражающих зависимость между нагрузкой и деформациями в характерных сечениях, элементах или узлах. На каждой ступени нагружения, в том числе и после разгрузки конструкция должна подвергаться освидетельствованию с фиксацией обнаруженных изменений.
Оценка состояния конструкции по результатам испытаний
Оценка состояния конструкций на основании полученных результатов испытаний производится по: деформированному состоянию; несущей способности; пригодности конструкции к эксплуатации. Прогиб от полной» испытательной нагрузки (собственная масса + пробная нагрузка), необходимый для сопоставления с величиной теоретического и нормативно допустимого прогиба, может быть определен путем экстраполяции. Отношение прогиба, полученного; при испытании, к прогибу, определенному расчетом, называется конструктивной поправкой, которая может быть использована для определения ожидаемого прогиба аналогичных конструкций. Величина фактического прогиба должна укладываться в нормативные требования.
Рекомендуется также определить отношение величины остаточного прогиба к полному прогибу. Относительный остаточный прогиб является одной из важнейших характеристик испытанной конструкции.
При повторных нагружениях стальных конструкций нормативной нагрузкой приращения остаточного прогиба не должно быть.
Оценка состояния испытаний конструкции по соответствию расчетной схеме, несущей способности и пригодности к эксплуатации производится на основании результатов ее полного освидетельствования (до и после испытаний), расчетов, выполненных с учетом данных освидетельствований, и испытаний.
Оценить влияние дефектов на несущую способность конструкции путем испытаний можно в полной мере только при испытании до разрушения. В противном случае основным средством оценки несущей способности конструкции является расчет, выполненный с учетом результатов освидетельствования и испытаний.
Оценка несущей способности конструкции по данным испытаний и независимо от того, закончилось испытание разрушением конструкции или нет, производится с помощью приведенного коэффициента: дополнительного запаса по отношению к расчетной нагрузке
|
|
(15) |
где Kф - фактический коэффициент дополнительного запаса несущей способности конструкции по данному виду нагрузки по отношению к ее расчетному значению при определенных значениях других видов нагрузок; R и σф - расчетное и фактическое значения сопротивления стали; φR и φф - коэффициент продольного изгиба сжатого стального стержня соответственно при расчетной и фактической характеристике сопротивления (учитываются, если разрушение произошло по сжатым стержням); Fd и Fф - расчетная« фактическая площади поперечного сечения разрушенного стержня.
Формула учитывает далеко не все параметры конструкции и материала и условия испытаний, изменение которых может сказаться на результатах испытаний. Так не все расчетные коэффициенты могут проявиться в испытываемой конструкции. Условия испытаний часто определяют силовую схему испытаний, отличную от проектной или фактической. На все обнаруженные несоответствия между расчетными и нормативными положениями, с одной стороны, и экспериментальными условиями, с другой стороны, при обработке данных должны быть внесены коррективы. Может случиться так, что к моменту испытаний некоторые проектные положения не отвечают реальным условиям работы сооружения, что может потребовать не только корректировки данных испытаний, но изменения условия их проведения.
Оценка несущей способности конструкции по результатам испытаний, когда конструкция при испытании не разрушилась и испытывалась в пределах нормативной или расчетной нагрузок, производится с помощью ожидаемых коэффициентов дополнительного запаса
|
|
(16) |
где Kq - достигнутый коэффициент перегрузки конструкции нагрузкой данного типа; Nq - фактическое усилие в стержне при достигнутой экспериментальной нагрузке данного типа; Nu - предельное расчетное усилие в стержне.
Величина приведенного и ожидаемого коэффициента дополнительного запаса должна быть скорректирована с учетом расчетных и экспериментальных схем загружения и должна быть больше 1.
Для каждой конструкции по формулам (15) и (16) может быть определено несколько значений приведенных и ожидаемых коэффициентов дополнительного запаса, установленных исходя из возможностей несущих способности различных стержней конструкции, в том числе и тех, что не разрушились при исчерпании несущей способности конструкции.
Конструкция считается успешно выдержавшей испытания и пригодной для дальнейшей эксплуатации или применения в указанных в проекте условиях, если удовлетворяются все изложенные выше требования.
Конструкции, не выдержавшие испытания, могут быть использованы при меньших нагрузках. Возможность использования конструкций, не выдержавших испытания, должна быть обоснована проектной организацией с указанием величины допускаемой расчетной нагрузки.
Окончательная оценка конструкции по результатам испытаний и необходимые рекомендации по эксплуатации даются после обработки всех полученных результатов и оформляются соответствующим документом (основные результаты, рекомендации, отсчет и пр.), выпускаемым организациями, руководившими проведением испытаний.
Испытания структурных конструкций статическими нагрузками должны проводиться перед началом их массового изготовления и в дальнейшем при их существенном изменении.
4. Методы экспериментальных исследований натурных конструкций на динамические воздействия типа сейсмических
В нашей стране и за рубежом проведены многочисленные натурные испытания сооружений с помощью различных вибрационных машин инерционного воздействия. Как правило, при этих испытаниях инерционные нагрузки на зданиях возбуждались в горизонтальной плоскости, так как при сейсмических воздействиях более опасными для обычных зданий являются горизонтальные нагрузки.
Для пространственных структурных конструкций при сейсмических воздействиях более опасной может оказаться вертикальная составляющая воздействия. В связи с этим была разработана специальная методика натурных испытаний структурных конструкций на динамические воздействия. В ИМиСС АН Узбекской ССР создана специальная вибрационная машина для возбуждения колебаний в вертикальной плоскости; разработана методика испытаний с одновременным возбуждением двух составляющих колебаний (в горизонтальной и вертикальной плоскостях); проведены натурные испытания структурных конструкций при разных уровнях нагрузок.
Исходя из опыта проведенных работ предлагается, следующий порядок проведения экспериментальных исследований структурных конструкций на динамические воздействия.
Вибрационная машина для создания вертикальных колебаний покрытий зданий
Анализ вибромашин, создающих направленную вертикальную возмущающую силу, показывает, что они не в полной мере отвечают задачам натурных испытаний структурных конструкций из-за невозможности дистанционного управления (машина ЦНИИЭП жилища) и большой собственной массы (машина Донпромстройниипроекта). Кроме того, в существующих схемах электроприводов «асинхронный генератор - двигатель - лобовой вибратор» имеются следующие недостатки: наблюдается повышенное скольжение двигателя вследствие неравномерного натяжения пружины и недостаточного прижатия диска-сателлита к роликам, что приводит к проскальзыванию диска; нагревается и выходит из строя фибровая прокладка; невозможно устойчивое фиксирование скорости двигателя; недостаточна плавность регулирования частоты вращения в системе асинхронный двигатель - вибратор; велики занимаемая машинами площадь и стоимость агрегата; низкий коэффициент полезного действия при неполных нагрузках; неустойчивая работа двигателей в зоне низких скоростей.
Это ограничивает применение существующих вибромашин для динамических испытаний пространственных сооружений.
При экспериментальном исследовании структурных систем к вибромашине предъявляются следующие требования: общая масса не должна превышать 1 т; необходима достаточно высокая плавность регулирования частоты возмущающего воздействия; возмущающая сила вибратора должна быть более 30 кН; при работе в натурных условиях требуется создание полной безопасности для операторов и обслуживающего персонала, а также сохранности управляющей и регистрирующей аппаратуры; привод должен обеспечить широкий диапазон частоты вращения при низших и высших формах колебаний; необходимо обеспечить устойчивое и плавное прохождение амплитудно-частотной кривой колебательного процесса и возможность фиксирования частот вращения в исследуемом диапазоне. Вертикальную вибромашину, удовлетворяющую поставленным требованиям, удалось спроектировать на базе одной секции вибромашины В-2."Все размеры се сохранены, кроме дебалансов и дебалансодержателя.
Для максимального использования площади дебалансов их форма принята в виде кольцевого ректора. Кроме того, этот сектор с углом α = 96°48' имеет минимальный момент инерции при заданном статическом моменте массы; величина угла не зависит от соотношения наружного и внутреннего радиусов сектора.
Частота вращения дебалансов регулируется системой тиристорный преобразователь - двигатель постоянного тока (ТП-Д), преимущества которой состоят в следующем: в высоком быстродействии, сравнительно большом диапазоне регулирования частоты вращения приводного двигателя при достаточно высокой плавности регулирования; в высоких энергетических показателях благодаря незначительным падениям напряжения в вентилях и отсутствию системы собственных нужд; в мгновенной готовности к работе; малых массах и габаритных показателях, работоспособности при значительных вибрациях.
В качестве приводного используется двигатель постоянного тока с номинальной мощностью Рн = 11 кВт, поминальной частотой вращения n17 = 3000 об/мин и массой m = 115 кг.
Максимальная частота вращения дебалансов при максимальном грузе ограничена прочностными возможностями машины. Поэтому максимальное возмущающее усилие не должно превышать 120 кН.
Показатели усовершенствованной вибромашины вертикального действия: габариты 2×1×0,685 м; масса (без дебаланса) - 600 кг; диапазон рабочих частот - 0,2-10 Гц; вибратор - двухвальный с горизонтальными осями; кинематический момент изменяется ступенчато до 0,7 кН м, максимальная инерционная сила 120 кН; мощность двигателя 11 кВт; масса дебалансов 300 кг; направление силы - вертикальное; коэффициент эффективности (момент на валу, на 1 кг максимальной массы машины) - 133 Н; регулирование - дистанционное с помощью тиристорного преобразователя с датчиком ускорения.
С поворотом одного из валов вибратора относительно другого на ; угол 90° при указанных его показателях можно создать горизонтальные возмущающие усилия.
Электрическая схема экспериментальной установки дает возможность раздельного управления вертикальным и горизонтальным вибраторами. Схема состоит из тиристорного преобразователя, выпрямителя для питания цепей возбуждения двигателей, приборов для измерения и контроля электрических параметров, переключения двигателей и обмоток возбуждения двигателей горизонтальной и вертикальной вибромашин.
Амплитуда колебаний системы зависит, кроме основных параметров (масса, коэффициент демпфирования, жесткость), от поведения источника энергии, вызывающего эти колебания, и от ускорения электропривода при прохождении резонансной зоны. При исследовании колебаний сооружения экспериментальным путем может быть выявлено оптимальное ускорение, при котором сооружение получает максимальную амплитуду, и источник энергии практически не влияет на этот процесс.
Особенности динамических испытаний структурных конструкций и требования к электроприводу вибромашин
Как отмечалось, натурные испытания структурных конструкций имеют ряд особенностей, из которых вытекают требования к электроприводу вибромашин. Исходя из специфики спектров собственных частот структурных конструкций и для унификации методики испытаний необходимо заранее оценить: предполагаемое количество ступеней загружения, шаг изменения величины дебалансов на вибраторах, темп прохождения, предрезонансных, резонансных и зарезонансных зон, длительность работы в резонансном режиме. Для изучения влияния возможных изменений этих факторов на соответствующие вариации получаемой информации привод вибромашины должен обеспечить достаточный диапазон и плавность регулирования дебалансов.
В процессе подготовки к испытаниям вибрационную машину необходимо закрепить на специальной металлической раме для создания жесткой передачи инерционных сил от вибратора на конструкцию. Инерционные силы от машины необходимо распределить па возможно большее количество узлов покрытия.
При проведении натурных испытаний пульт управления вибромашины, блок питания должны быть удалены от испытываемой конструкции на безопасное расстояние, т.е. управление вибромашиной должно осуществляться дистанционно.
На основании проведенных испытаний рекомендуется предъявлять следующие основные требования к электроприводу вибрационных машин:
- для рассредоточения статической нагрузки в месте крепления вибромашины общая масса вибромашины не должна превышать 1 т;
- по расчетным данным значения собственных частот колебаний покрытий близки друг к другу; поэтому для изучения работы конструкций при большем числе форм колебаний требуется" высокая плавность регулирования частоты вращения дебалансов;
- возмущающая сила вибратора должна быть более 30 кН;
- диапазон регулирования частот должен лежать в пределах 1 - 10 Гц, что соответствует диапазону плавного регулирования частоты вращения приводного двигателя от 300 до 3000 об/мин или частоты вращения дебалансов от 60 до 600 об/мин.
Примерный комплект аппаратуры; для записи параметров колебаний приведен в табл. 1, а перечень оборудования и приборов для испытаний покрытий из структурных конструкций на' динамические воздействия - в табл. 2.
Последовательность натурных испытаний
1. После окончательной сборки конструкции производится ее освидетельствование с целью установления соответствия проекту.
2. В центральной части структурной плиты устанавливается жесткая металлическая рама. Крепление рамы осуществляется к узловым элементам с помощью специальных накладок и шпилек. Рама должна иметь восемь опор: по четыре по верхнему и по нижнему поясам. На рис. 1 представлен чертеж рамы под вибраторы, выполненной из двутавров № 22, а на рис. 2-план и схема установки рамы на плиту покрытия.

Рис. 1. Рама под вибромашину

Рис. 2. Схема установки и крепления рамы к узлам покрытия
а - план установки рамы на узловые элементы; б - верхний опорный узел; в - нижний опорный узел; 1 - рама; 2 - верхний пояс структурной плиты; 3 - верхний опорный элемент; 4 - опора (труба); 5 - нижний пояс структурной плиты; 6 - нижний опорный элемент
3. В центральной части рамы жестко крепятся два блока вибрационных машин (один горизонтальный, второй вертикальный). Оба блока имеют свои приводы вращения.
4. Производится установка площадок на конструкцию под сейсмометрическую аппаратуру, монтаж и подключение регистрирующей аппаратуры к осциллографам.
5. Регистрируются колебания сооружения от горизонтальных и вертикальных нагрузок, создаваемых с помощью вибромашин или через систему полиспастов, производится проверка записей колебаний, регулировка загрубления.
6. Источники питания подключаются к вибромашине.
7. Осуществляется выбор элементов структурного покрытия, подлежащих тензометрированию и наклеиваются тензорезисторы. Производится их подключение к осциллографам через усилители.
8. Показания датчиков снимаются: а) до стабилизации отсчетов от статических нагрузок, по ступеням 0,1 расчетной нагрузки; б) при вертикальных и горизонтальных инерционных воздействиях. Определяются динамические характеристики (периоды и формы собственных колебаний, декременты колебаний). Производится одновременная запись напряжений в характерных сечениях наиболее ответственных элементов с помощью тензорезисторов.
9. Нагрузка от вибраторов изменяется ступенчато, в зависимости от создания необходимой инерционной силы в конструкции. При этом скорость вращения вибраторов изменяется плавно и регулируется автоматически.
Таблица 1
|
Оборудование, приборы и материалы |
Тип, |
Назначение и краткая |
Коли- |
|
Осциллограф с блоком гальванометров ГБ-Ш-3 с комплектом кассет |
Н-700 |
Одновременная запись со всех вибрографов |
8 |
|
Универсальный виброграф малых колебаний |
ВЭГИК |
Регистрация параметров колебаний в определенной точке конструкций |
6 |
|
Универсальный виброграф больших колебаний |
ВБП-Ш-3 |
- |
30 |
|
Универсальный акселерограф |
ОСП |
- |
9 |
|
Универсальный виброграф для регистрации больших поворотов вокруг горизонтальной оси сооружения |
СБГБПП |
- |
6 |
|
Универсальный выпрямитель-блок для питания осциллографов |
- |
Одновременное или раздельное включение осциллографов' Н-700 |
1 |
|
28-канальная шунтовая коробка - регулятор увеличений масштабов записи |
- |
Регулирование размаха колебаний на экране осциллографа |
1 |
|
Секундомер двухстрелочный |
- |
Для устранения рабочих параметров вибрографов |
2 |
|
Катушки с коммутирующим проводом длиной 100 м |
- |
Связь между вибрографом и коммутационной коробкой |
30 |
|
Коммутационная коробка на 28 каналов |
- |
Оперативная коммутация вибрографов с регистрирующими осциллографами |
1 |
Конструкция загружается железобетонными плитами (полезная нагрузка) до суммарной нагрузки на покрытие, равной 0,4 расчетной. Производятся измерения при резонансном режиме работы вибрационных машин по первой и более высоким формам колебаний.
Нагрузка на покрытие доводится до 0,675 расчетной, что соответствует расчетной статической нагрузке при сейсмическом воздействии 9 баллов.
Производятся измерения при создании в конструкции инерционных сил от вертикальной и горизонтальной вибромашин, равных расчетным сейсмическим и выше (в зависимости от постановки задач, например, если конструкция испытывается до разрушения).
После проведения всех необходимых динамических испытаний производится обработка полученных данных (периоды и формы свободных колебаний, параметры вынужденных колебаний; декременты колебаний конструкции, инерционные силы; по данным тензорезисторов определяются напряжения и усилия в ответственных элементах и др.).
Таблица 2
|
Оборудование |
Тип, марка |
Назначение и краткая техническая характеристика |
Коли- |
|
|
Вибромашина: |
В-2 |
Создание вынужденных колебаний в требуемом диапазоне частот и амплитуд |
2 |
|
|
а) для создания вертикальных колебаний |
||||
|
б) то же, для создания горизонтальных колебаний |
||||
|
Пульт управления на основе тиристорных преобразователей, смонтированных в специальной машине |
ПУ-2 |
Включение и выключение основных силовых двигателей |
1 |
|
|
Комплект приборов визуального контроля |
АЧ6, |
Визуальный контроль параметров колебаний (частота, амплитуда) в процессе работы вибромашины и во время записи на регистрирующих осциллографах |
1 |
|
|
Силовой кабель |
Трехфазный |
Для подключения пульта управления и вибромашины к источнику тока |
2 по 50 м |
|
|
Электрический тахометр |
- |
Контроль числа оборотов на валах вибратора |
1 |
|
ЛИТЕРАТУРА
1. Питлюк Д.А. Испытание строительных конструкций на моделях. Л. 1971.
2. Кирпичев М.В. Теория подобия. - М. Высшая школа, 1966.
3. Веников В.А. Теория подобия и моделирование. - М., Высшая школа, 1966.
4. Геронимус В.Б. Нелинейное подобие и eгo применение к моделированию. Труды НИИЖТа, вып. 24. - Новосибирск, 1961.
5. Кассандрова О.Н., Лебедев В.В. Отработка результатов наблюдений. - М., Наука, 1970.
6. Стандарт СТ СЭВ 1000-78. «Испытание строительных конструкций на огнестойкость». - М., 1978.
7. Строительные нормы и правила. СНиП П-2-80. «Противопожарные нормы проектирования зданий и сооружений». - М., Стройиздат 1980.
Конструктивным решениям, методам расчета и исследованию структурных конструкций за рубежом уделяется большое внимание и им посвящена обширная литература.
Работы в этом направлении, проводимые примерно до 1974-1975 гг. получили достаточное отражение в отечественной литературе [1, 2, 3, 4], что касается более поздних работ, проведенных в ближайшие годы, то они отражены недостаточно. В то же время в ближайшие годы были проведены весьма представительные съезды и конференции, на которых обсуждались последние достижения в области пространственных и в том числе структурных конструкций. К ним относятся: II международная конференция по пространственным конструкциям в Англии [5], Международная конференция по облегченным пространственным конструкциям покрытий для строительства в обычных и сейсмических районах в Алма-Ате [6], Международный конгресс по оболочкам и пространственным конструкциям в Мадриде [7]. Следует также упомянуть подготовленный в Японии проект «Руководства по анализу, расчету и. конструированию пространственных ферм» [8].
Настоящий обзор преследует цель ознакомить специалистов с конструктивными решениями структур, которые в настоящее время получили наибольшее распространение, а также с наметившейся тенденцией развития структур, как в области конструирования и расчета, так и в области исследований.
Современное состояние в области проектирования структур
В практике зарубежного строительства нашли определенное место сетчатые оболочки на сравнительно небольшие пролеты и двухслойные структурные оболочки на большие пролеты. Широкое распространение получили структурные плиты для покрытия зданий и реже для междуэтажных перекрытий. Структурные плиты применяются для зданий различного назначения и разной конфигурации в плане, больших, средних и малых пролетов, осуществляемых с применением различных материалов при большом разнообразии конструктивных решений узловых сопряжений. Так, например, нашло применение свыше 50 различных конструкций узлов, позволяющих сопрягать под различными углами большое количество стержней разнообразных сечений.
Вместе с тем далеко не все стержневые схемы плит и узловые сопряжения получили широкое распространение. Большая масса структурных конструкций реализована на перекрытиях средних и сравнительно небольших пролетов прямоугольных в плане зданий и гораздо меньшая - на более сложных планах (треугольных, шестиугольных и прочих). Для покрытия прямоугольных в плане зданий обычно используются системы с ортогональным расположением поясов, а для треугольных, шестиугольных и прочих пояса располагаются а трех направлениях.
Структуры применяются в гражданском, промышленном и сельскохозяйственном строительстве при легкой в большинстве случаев кровле, располагаемой по прогонам. Наиболее распространенные типы структур изготавливаются на высокомеханизированных технологических линиях и поставляются в виде пирамид или отдельных стержней и узловых элементов различной несущей способности, из которых компонуется конкретная конструкция.
Структуры в основном изготавливаются из малоуглеродистой стали. В Канаде получили распространение структуры из алюминия. Стержни в большинстве принимаются из круглых труб.
Применявшиеся ранее в массовом строительстве за рубежом узловые сопряжения описаны в работах [4, 9]. Это конструкции типа «Триодетик» в Канаде, «Меро» и «Октаплатте» в ФРГ, «дю Шато» во Франции, «Нодус», «Спес дек», «Ненк» в Великобритании, «Юнистрат» в США, «Берлин» и «Веймар» в ГДР, «Кинсер» в ВНР, система NS в Японии (рис. 1) и др.
Многие из названных узловых сопряжений, как, например, системы «Меро», «Триодетик», «Веймар» система NS, с успехом применяется по настоящее время [10, 11, 12]. В проекте Руководства, разработанного проф. Цубои, система «Меро» названа одной из лучших.
Направления развития структурных конструкций
Вместе с использованием в современном строительстве ранее разработанных узловых сопряжений и конструктивных схем стержневых плит прослеживается тенденция, направленная на изыскание путей снижения массы и стоимости конструкции, а также трудозатрат на изготовление и главным образом на монтаж, что достигается: снижением количества элементов, укрупнением отправочных марок, применением длинноразмерных поясов, изысканием более эффективных узловых сопряжении.

Рис. 1. Узловое сопряжение системы NS, применяющееся в Японии


Рис. 2. Покрытие спортзала «Остзеехале» (г. Киль)
а - общий вид; б - узловой элемент
Если на ранних этапах развития структур предпочтение отдавалось регулярной основе, т.е. все ячейки заполнялись раскосами, то за последнее время наметилась тенденция разряжения стержневых схем, т.е. ряд стержней удаляется, причем в некоторых случаях до превращения системы в статически определимую.
Во многих странах прослеживается тенденция на укрупнение отправочных марок. Так, например, в ряде случаев отправочная марка представляет собой длинноразмерный пространственный блок, состоящий из двух наклонных ферм [13]. На монтаже данные блоки устанавливаются рядом и объединяются линейными элементами. При подобной сборке верхние пояса состоят из одного, а нижние из двух элементов (рис. 2, а).
Примером конструкций такого типа являются складчатое покрытие для подвески аппаратуры спортзала «Остзеехалле» в г. Киль и покрытие в г. Дармштадт (ФРГ). Обе конструкции проектировались так, чтобы использование стандартных элементов позволило производить монтаж различных вариантов покрытий, причем блоки могут быть транспортированы на строительную площадку в пакетах. Вспомогательное покрытие спортзала «Остзеехалле» с размерами в плане 40×40 м выполнялось из алюминиевых труб. Представляют интерес узловые элементы конструкции, выполненные в виде многогранников, имеющих 26 граней, из которых шесть - в виде восьмиугольников, восемь - в виде шестиугольников и двенадцать - в виде квадратов (рис. 2, б). Грани имеют отверстия с резьбой, а элементы решетки - полости, в которых располагаются соединительные винты. Стыковые элементы, предназначенные для пропуска неразрезного пояса, имеют сквозное отверстие, в котором пояс зажимается высокопрочными болтами. Пояса могут также стыковаться в самом узле.
По такому же принципу, с теми же конструктивными решениями элементов решетки и узлов возведено прямоугольное покрытие, имеющее меньшую сторону 22,5 м, одного из зданий технического факультета в г. Дармштадт. Для снижения трудоемкости возведения отдельные элементы монтировались на заводе в плоские фермы, которые при возведении покрытия объединялись в укрупненные пространственные монтажные элементы.
По мнению авторов, такие легкие конструкции складчатого типа с различными решениями узловых элементов, которые позволяют основной процесс изготовления покрытия перенести в заводские условия, весьма перспективны и находят применение во многих странах мира.

Рис. 3. Укрупнение элементов в пирамиды (Бельгия)
а - общий вид; б - узловой элемент
В настоящее время в Бельгии наметилась тенденция укрупнения стержней в пространственные элементы, чаще всего в пирамиды (рис. 3, a) [14]. В Брюсселе конструкциями такого типа перекрыты два прямоугольных здания с размерами в плане 27×40 м и 18×29 м. Структурные плиты имели ортогональное расположение поясов образующих квадратные ячейки со стороной. 1,2 м. Стержни в узлах соединялись на болтах с помощью сферического элемента (рис. 3, б). При опирании системы по контуру расход металла составил 16- 25 кг/м2.
В ряде сооружений в Дании применены конструкции системы «К. Т.» [15]. Решетчатая двухпоясная плита с квадратными ячейками собирается из пирамидальных решетчатых элементов [16]. Стержни решетки выполняются из стальных круглых труб с вставными болтами и заглушками на концах. Узловые элементы решетки имеют сферическую форму. Стержневые элементы ввинчиваются в гнезда узловых элементов и закрепляются в них с помощью инструмента, пропускаемого сквозь отверстие в узловом элементе. Такие покрытия использованы при строительстве рынка в г. Слагельске размерами в плане 65×101 м и бассейна в г. Марибо (19×43 м).
Укрупнению элементов в плоские отправочные марки уделяется значительное внимание в Румынии [16], Там разработаны две оригинальные системы типа «Кросс» и «Диск» для структурных плит с ортогональной сеткой поясов, развернутой на 45° относительно друг друга, с разряженной раскосной решеткой (табл. 1 Г).
Система «Кросс» компонуется из четырех отправочных марок. При этом три отправочные марки представляют собой плоские рамы, из которых образуются верхние и нижние поясные сетки, а одна марка в виде линейного раскосного элемента (рис. 4, a). Конструкция изготавливается из парных швеллеров, при этом в верхних поясах и раскосах полки швеллеров развернуты наружу, а в нижних поясах - развернуты внутрь и сварены между собой в трубчатое сечение. Нижний узел соединяется на болтах с помощью пространственных фасонок крестового сечения (рис. 4, б), а верхний пояс - на болтах с помощью плоских фасонок (рис. 4, в). Фрагмент структурной плиты системы «Кросс» показан на рис. 5.

Рис. 4. Система «Кросс»
а - схема отправочных марок; б - конструкция нижнего узла; в - то же верхнего; 1 - ячейка нижнего пояса; 2 - то же, верхнего; 3 - контурная ячейка верхнего пояса; 4 - раскос; 5 - узел нижнего пояса; 6 - листовая фасонка верхнего пояса

Рис. 5. Фрагмент структурной плиты системы «Кросс»
Система «Диск» компонуется также из четырех отправочных марок (рис. 6, а). При этом две отправочные марки представляют плоские рамы, из которых собирается верхняя сетка поясов. Две другие марки представляют линейные элементы, из которых собирается нижняя сетка поясов и раскосы. Все стержневые элементы конструкций выполняются из круглых труб, при этом линейные элементы снабжены приваренными кулачковыми деталями.
Верхний узел осуществляется на болтах с помощью листовых фасонок (рис. 6, б), которые в заводских условиях объединяют в раму.
Нижний узел (рис. 6, в) представляет собой стальную восьмиугольную пластину с четырьмя гнездами, куда входят кулачковые детали стержней нижнего пояса. Сверху крепится на болтах другая пластина, к которой приварены фасонки с гнездами для примыкания раскосов.
Как известно, одним из существенных вопросов в строительстве структур, определяющим трудозатраты при их изготовлении и монтаже, является необходимость сопряжения в одном узле значительного количества пространственно расположенных стержней при поэлементной их сборке. Развитие конструктивных форм узловых сопряжений состоит в совершенствовании старых и создании новых узловых сопряжений. Ранее широко применявшийся при поэлементной сборке конструкций узел «Октаплатте», осуществляемый с применением монтажной сварки, усовершенствован фирмой «Маннесман» в узел «Окта-S» [17] (рис. 7).
«Окта-S» состоит из следующих основных элементов - предварительно изготовленных сферических узлов и стержней круглого пологого сечения. Полая стальная сфера состоит из двух горячепрессованных полусфер и внутренней диагональной полосы, обеспечивающей достаточную жесткость. Используя специальную матрицу, выступающий цоколь сваривают со стальной сферой после соединения его с муфтовой гайкой. В процессе сборки муфтовая гайка насаживается на цапфу до тех пор, пока между выступающим цоколем и цапфой не получится плотного соединения. Система «Окта-S» (на болтах), по мнению специалистов фирмы «Маннесман», технически и эстетически равноценна «Меро». Начавшаяся внедряться с осени 1974 г., она получила достаточное распространение в ФРГ.
Дальнейшее развитие поэлементной сборки структур пошло в направлении упрощения технологического процесса изготовления за счет применения штампованных фасонок. В качестве примера на рис. 8 приведен разработанный в Швейцарии узел «Варитет-систем» [17].

Рис. 6. Система «Диск»
а - схема отправочных марок; б - конструкция верхнего узла; в - то же нижнего; 1, 2 - ячейки верхнего пояса; 3 - элемент нижнего пояса; 4 - раскос
Новым направлением, приводящим к существенному сокращению общих трудозатрат и стоимости конструкции, является разработка структур, элементы которых в узлах соединяются непосредственно друг с другом, минуя какие-либо переходные элементы (коннекторы, фасонки, диски и пр.).
На основе новой технологии для сварки и компьютерно-контролируемого процесса резки труб в Дании изготовляются структуры из прямоугольных труб, концы которых режутся под соответствующими углами и свариваются друг с другом без переходных элементов (рис. 9, а, б) [14]. По приведенным данным предложенные узлы получаются проще, легче и дешевле соответствующих узлов системы «Меро» и «Юнистрат». Из построенных объектов отметим выставочный павильон в г. Копенгагене с размерами в плане 25×25 м с консолями 2,5 м.
Следует также обратить внимание, что наряду с применением структур в зданиях сравнительно небольших площадей имеет место применение структур для перекрытия больших площадей. Например,

Рис. 7. Узловой элемент системы «Окта - S»
1 - стальная полая сфера; 2 - выступающий цоколь; 3-муфтовая гайка; 4 - цапфа; 5 - круглое полое сечение

Рис. 8. Узловой элемент «Варитек-систем»

Рис. 9. Узловые элементы без промежуточных деталей
а - соединение стержней круглого сечения; б - то же коробчатого сечения
здание рынка в г. Торрелавсга (Испания) [18], где перекрыта производственная площадь более 20 000 м2, и рынок для продажи цветов в г. Нью-Ковенте (Англия) [19], где была использована двухпоясная структурная плита для перекрытия площади более 10 000 м2.
Методы расчета и направленность теоретических исследований
На первых этапах развития структурных конструкций их расчет производился приближенными методами, в которых дискретная стержневая система заменялась расчетной моделью в виде ортотропной пластины с упругими характеристиками и граничными условиями, соответствующими действительной конструкции. Использование такой расчетной модели позволяло достаточно правильно оценивать общую жесткость конструкции и находить прогибы системы, но не позволяло с достаточной точностью выявить картину напряженного состояния по отдельным стержням.
В настоящее время при наличии достаточно мощных вычислительных машин расчет структурных конструкций осуществляется методами строительной механики по дискретной расчетной схеме при написании алгоритма в матричных обозначениях. Из работ по применению матричного аппарата в строительной механике особого внимания заслуживают исследования Дж. Аргириса [20]. На базе матричного аппарата проведены многочисленные исследования по реализации на ЭВМ алгоритмов, основанных как на классических методах сил, перемещений и смешанном, так и на их модификациях [21, 22].
Методам исследования конструкций на ЭВМ на основе дискретных расчетных схем посвящены работы [23, 24, 25].
К числу наиболее эффективных методов исследования конструкций на ЭВМ на основе дискретных расчетных схем относится метод конечных элементов (МКЭ), получивший распространение с развитием вычислительной техники. Сущность МКЭ заключается в том, что конструкция условно разделяется па некоторое число конечных элементов, которые соединяются между собой в узловых точках, расположенных на их границах.
После того, как найдены жесткостные характеристики элементов, расчет модели осуществляется методами строительной механики (методом сил, перемещений или смешанным). МКЭ позволяет исследовать конструкции любой формы и с любыми отклонениями от регулярности структуры [26, 22]. Использование МКЭ в конечном счете приводит к решению большого числа алгебраических уравнений со множеством неизвестных с помощью ЭВМ. Из программ, посвященных расчету пространственных конструкций с использованием МКЭ, отметим STARDYNE, EASE-2, ADINA, SAP-IV, NONSAP [27, 28, 29).
Большое внимание за рубежом, особенно в последнее время уделяют выявлению предельных состояний структурных конструкций и резервов несущей способности. Подобные исследования проводятся с учетом геометрической и физической нелинейности.
При исследовании предельных состояний конструкции с учетом пластических деформаций материала с успехом применяется математическое программирование. По всей видимости, Чарнес и Гринберг [30] были первыми, кто сформулировал задачу пластичности как задачу математического программирования. Из работ, посвященных определению предельных состояний элементов с конечными размерами с помощью математического программирования, отметим [31]. В этой работе также приводится краткий обзор литературы, содержащей методы, используемые при решении задач по определению предельных состояний с использованием математического программирования. Компьютерный анализ конструкций с применением аппарата математического программирования описывается в [32]. Приводится блок-схема: программы STRUPL и рассматриваются примеры расчета пространственных стержневых конструкций.
Достижение предельных состояний в структурных, конструкциях связано с развитием пластических деформаций в отдельных стержнях и потерей несущей способности системы. За последние годы появился ряд работ, в которых, проводя аналогию между работой отдельного, стержня и стержня в конструкции, определяются предельные состояния и выявляются резервы несущей способности системы в целом. Определению предельных состояний структурных конструкций и выявлению резервов несущей способности структуры RFW посвящена диссертация [33]. Приводится блок-схема расчета структурных конструкций с учетом пластических деформаций материала.
Процедура анализа, в которой используются графики, характеризующие работу сжатых стержней, полученные с использованием метода начальных напряжений, приведена в [34]. Создана программа STRIP, позволяющая определять предельную несущую способность
структур с использованием шагового метода нагружения.
Большие экспериментально-теоретические исследования по выявлению резервов несущей способности структур с шарнирными узлами проведены за последние десять лет в Департаменте Гражданского строительства Мельбурнского университета (Австралия) [35, 36, 37]. Для анализа конструкций на ЭВМ использовались как экспериментальные, так и теоретические графики, характеризующие работу сжатых стержней.
Интересные теоретические исследования по рассматриваемому вопросу проведены в [38]. В методе анализа упругопластической работы структурных конструкций с шарнирными узлами использовалась теоретическая модель работы отдельного стержня с нагрузкой, приложенной по его оси. Было уточнено определение предельных состояний стержневых конструкций и критерии их появления. Рассматривалась возможность низкоциклической усталости металла и приспособления конструкции, несмотря на разрушение некоторых ее элементов. Для проведения анализа согласно предложенному методу была разработана программа SPAS на языке АЛГОЛ для ЭВМ «Одра-1204» и CYBER 72, позволяющая выявлять предельные состояния стержневых конструкций.
Основные направления в развитии экспериментальных исследований
На ранних этапах при проведении экспериментальных исследований достаточно было получить качественную картину напряженно-деформированного состояния и значения максимальных перемещений конструкции. Для таких целей использовались механические измерительные приборы с визуальным наблюдением за показаниями. С развитием ЭВМ и методов теоретических исследований структурных конструкций появилась необходимость в "получении не только качественной, но и количественной картины напряженно-деформированного состояния, в установлении особенности поведения и характера разрушения, которые сложно получить при теоретическом исследовании. Для решения этих, а также целого ряда других задач экспериментального исследования за рубежом применяют измерительно-вычислительные установки (ИВУ), основанные на тензометрическом методе.
Наибольшее распространение получили электротензометрические; методы, где деформации замеряются тензорезисторами, а перемещения - тензоиндикаторами.
Современные зарубежные измерительно-вычислительные установки предназначены для сбора, регистрации, хранения и выдачи информации на ЭВМ во время статических и динамических испытаний конструкций. Они включают, как правило, одну или несколько ЭВМ разных мощностей. Малые ЭВМ предназначены для промежуточного хранения данных. Более мощные ЭВМ производят статистическую обработку, анализ работы конструкции. Основные данные о напряженно-деформированном состоянии выводятся на печать.
Измерительно-вычислительные комплексы отличаются: высокой помехозащитой; быстродействием; малой погрешностью измерений.
Наибольшую известность ИВУ массового изготовления получили в ФРГ (фирма MEL SYSTEME, фирма PHILIPS), в Голландии (фирма PEEKL), в Японии (фирма SANYO).
При исследовании структурных конструкций применяются менее мощные ИВУ, имеющие, как правило, микро ЭВМ. Эти установки позволяют осуществлять непрерывный опрос 100-150 каналов.
Использование этой аппаратуру позволило провести ряд интересных исследований предельных состояний структур. Исследование стальной двухпоясной модели структуры ортогонального строения с квадратными 1,5 м ячейками в плане, опертой в четырех точках по углам, описано в [39]. Это исследование явилось продолжением работ по изучению поведения структурных конструкций в упругой области. Модель имитировала реальное покрытие в г. Бари (Италия), имела размеры в плане 9×9 и 1,5-метровые консоли по всем четырем сторонам. В качестве стержней использовались стальные трубы с Ø 60,3×2,9 мм. Соединение стержней в узлах осуществлялось на сварке.
Исследования проводились при трех вариантах загружения симметрично расположенной по верхнему поясу внешней нагрузкой. Для одного из случаев нагружения (сосредоточенная сила в верхнем поясе модели) разрушающая нагрузка превысила предельную упругую нагрузку в 1,5 раза, причем в конструкции имелись растянутые стержни с пластическими деформациями и потерявшие устойчивость сжатые стержни.
Наиболее полные исследования предельных состояний структур проведены в Департаменте Гражданского строительства Мельбурнского университета. Экспериментальные исследования были проведены на трех одинаковых моделях структурного покрытия с ортогональным расположением стержней в поясных сетках [36, 37]. Размеры моделей в плане составляли 1,83×1,83 м и высота 0,22 м, опирание осуществлялось в четырех точках по углам. В качестве стержней одной из моделей применялись алюминиевые трубы круглого сечения с Ø 12×1,5 мм одного типоразмера. Соединение стержней производилось по типу «Триодетик». Нагрузка прикладывалась в четырех симметрично расположенных узлах по нижнему поясу. Испытания показали, что достижение предельной несущей способности отдельных сжатых стержней характеризовалась мгновенной потерей их устойчивости, что предопределило исчерпание несущей способности системы в целом. Авторы приходят к выводу, что при дальнейших исследованиях по выявлению работы системы при развитии пластических деформаций в стержнях необходимо применять материалы с более высоким, чем алюминий, модулями упругости, например сталь.
Исследования предельных состояний структурных конструкций с растянутыми элементами, работающими за пределом упругости, проводились на двух одинаковых моделях структурного покрытия с ортогональной сеткой поясов и размерами в плане 1,83×1,83 м, высотой 0,216 м с размерами ячейки 0,305×0,305 м [37]. В отличие от вышеописанной модели растянутый пояс изготовлялся из стальной высокопрочной проволоки диаметром 1,63 мм. Стержни сжатого пояса и раскосы изготовлялись из алюминиевых трубок Ø 12×1,5 мм. Из аналогичных стержней изготовлялись контурные стержни растянутого пояса для удобства производства подготовительных работ на плите. Было установлено, что отношение значения критической нагрузки к предельной упругой нагрузке составило 5,2. Исчерпание несущей способности модели определялось предельной несущей способностью одного сжатого алюминиевого стержня, при этом прогиб составил 1/60 от пролета. Делается вывод, что будущее структурных конструкций заключается в проектировании стержней растянутого пояса гораздо меньшего сечения, чем стержней сжатого. Далее предполагается, что при стальных стержнях достижение предельной несущей способности и отдельных сжатых элементах не будет определять исчерпание несущей способности конструкции и целом.
Таким образом, из приведенного обзора следует, что развитию структур за рубежом как в области конструирования, так и исследования уделяется значительное внимание.
ЛИТЕРАТУРА
1. Трофимов В.И., Бегун Г.Б. Структурные конструкции. - М., 1972.
2. Пространственные конструкции покрытий типа структур. Библиографический указатель. - М., 1977.
5. 2nd International conference on space structures. Guilford, England, 1975.
7. World congress on shell and spatial structures. Madrid, Spain, 1979.
8. Analysis, design and construction of space frames (draft). IASS Working group. Spatiial space structures, 1979.
9. Современное состояние и тенденции развития строительства из легких металлических конструкций (Обзор). Опыт отечественного и зарубежного строительства. ЦИНИС. - М., 1974.
10. Fentiman H.G. Triodetic connection in space frame structures. «IASS Pasific Symposium - Part II on Tension Structures and Space Frames». Tokyo and Kyoto, 1971.
11. Walker H.B. The Nodus Space Frame System. 2nd Intern. Conf. on Space Struct., Guilf., England, 1975.
12. Hsiao S.C., Dygert G.С. The «Moduspan» space-frame system. 2nd International conference on space structures, Guilf., England, 1975.
13. Polonyi S. Folded space structures in Kiel and Darmstadt. «World congress on shell and spatial structures», vol. 4. Madrid, 1979.
14. M. Van Binst. Three - dimensional structures for roofs of buildings. Achier - Stahl - Steel», 1/1980, v. 45,
15. Эффективность применения прогрессивных структурных конструкций. Обзорная информация. - М., 1979.
16. Parvu A. Achievents and prospects in the field of twolayer grid space structures in Romania. «World congress on shell and spatial structures», vol. 4. Madrid, 1979.
17. Lacher G. Ein neues Raumtragwerk zur Uberbriickung grosser Spannweiten in Hochbau. «Der Stahlbau», 46, N 7, 1977.
18. Cabrillo F., Calavera L., Gonzalez V.E. Mercado nacional de ganados. Informes Construction, 1979, N 308.
19. Hodgson F.Т.. Arch B. The design and construction of the New Covent garden flower market. «2nd International conference on space struct,», Guilf., England, 1975.
20. Аргирис Дж. Современные достижения в методах расчета конструкций с применением матриц (Пер. с англ. под ред. Смирнова А. Ф). - М., Стройиздат, 1968.
21. Avent R.R., Rouniree E.G. Field Analysis of Saw - Tooth Folded Plates. «Developments in Theoretical and Applied Mechanics», v. II, Proceed, of the Seventh Southeastern Conf. on Theoret. and Applied Mech. The Catholic Univ., 1974.
22. Bathe K.J., Wilson E.L. Numerical methods in finite element' analysis. PrenlRce- Hall, 1976.
23. Dean D.L. Discrete Field Analysis of Structural Systerr (CISM Courses and Lectures, No. 203, Udine. Italy), Springer - Verlag. Wien, 1976.
24. Wah Т., Calcote L.R. Stryctural Analysis by Finite Difference Calculus. Von Nostrand Reinhold Co, N. Y., 1970.
25. Gutkowski W., Ugarte C.P. A Generalized Micro Approach of Two Dimensional Latticed Structures. «Proceed. ASCE Engin. Mech. Div. Speciality confer, on Discrete and Continuum Concepts in Micro and Macro Mechanics», N. С State Univ., Raleigh. 1967.
26. Зенкевич О.Ф. Метод конечных элементов в технике. - М., «Мир», 1975.
27. EAC/EASE 2 - User Information Manual/Theoretical, Control Data Corporation Publication No. 84002700, Minneapolis. Minn., 1973.
30. Charnes A., Greenberg H.J. Plastic Collapse and Linear Programming. «Bull. Amer. Math. Soc», S7, Abstract No. 506, 1951.
31. Ama D. Fonseca, Munro J. Finite element plastic limit analysis and synthesis of plates and shells by mathematical programming. «World congr. on shell and spatial structures». AAadrid, Spain, v. 2. 1979.
32. Franchi A., Cohn M.Z. Stralri-softening and large-displacement analysis in structural plasticity. «Computers and Structures», Air International Journal, v. 11, No. 5, 1980.
33. Klimke H. Berechnung der Traglast statisch unbestimniter raumlicTier Gelenkfachwerke unler Beriicksichtigung der iiberkriti-schen Reserve der Druckstabe, «Zur Erlang. des akadem. Grades seines Doktor-Ingen., der Univers. Karlsruhe, Dissert», Berlin, 1976.
35. Schmidt L.C, Hanaor A. Force limiting devices in space trusses. «Journal of struct, div.», Proceed, of the ASCE, ST5, 1979.
36. Schmidt L.C, Morgan P.R., Clarkson J.A. Space Trusses with Brittle-Type Strut Buckling. «Journ. of the Struct. Div.», Proceed, of he ASCE, v. 102, No. ST7, 1976.
37. Schmidt L.C, Morgan P.R., Clarkson J.A. A. space trusses with yielding tensflle chords. «Civil Eng. Trans. Inst. Eng. Austral.» CE20, No. 2, 1978.
38. Carczewskl J.A. The method of evaluation of space trusses maximum load carrying capacity. «The world congress on shell and spatial structures», Madrid, Spain, v. 3, 1979.
39. Mezzina M., Prete G., Tosto A. Automatic and experimental analysis for a model of space grid in elasto-plastic behaviour. «2nd International conference on space structures», Guilford, England, 1975.
|
|
|
|