//
ТехЛит.ру
- крупнейшая бесплатная электронная интернет библиотека для "технически умных" людей.
WWW.TEHLIT.RU - ТЕХНИЧЕСКАЯ ЛИТЕРАТУРА

:: Алготрейдинг::


АЛГОТРЕЙДИНГ
шаг за шагом
с нуля по урокам!

Торговые роботы на PYTHON, BackTrader,
Pandas, Pine Script для TradingView. Связка с брокерами, телеграм и легкими приложениями.


РОССИЙСКАЯ АКАДЕМИЯ НАУК

КОЛЬСКИЙ НАУЧНЫЙ ЦЕНТР

ГОРНЫЙ ИНСТИТУТ

МЕТОДИЧЕСКИЕ УКАЗАНИЯ

ПО ПРОЕКТИРОВАНИЮ И ПРОИЗВОДСТВУ ВЗРЫВНОЙ ОТБОЙКИ
ПРИ ЛИКВИДАЦИИ СКАЛЬНЫХ ГИДРОТЕХНИЧЕСКИХ ПЕРЕМЫЧЕК

Апатиты 1992

СОДЕРЖАНИЕ

ВВЕДЕНИЕ

Одним из наиболее сложных технологических процессов,  выполняемых на завершающей стадии строительства подземного гидротехнического сооружения, является ликвидация охранной перемычки, отделяющей сооружение от водоема. Сложность этой операции заключается в специфических условиях производства работ: наличие водного зажима существенно снижает эффективность разрушения породы, препятствует свободному ее перемещению энергией взрыва, повышает интенсивность сейсмического воздействия. Эта специфика в определенной мере затрудняет использование традиционных методов расчета параметров уступной отбойки, приводит к необходимости анализа и учета дополнительных факторов, обуславливает поиск технических решений, направленных на повышение качества и безопасности взрывных работ.

В настоящих методических указаниях рассмотрены основные вопросы проектирования и производства взрывной отбойки породы при ликвидации скальных гидротехнических перемычек, представлены расчетные зависимости для определения параметров размещения и взрывания зарядов различной конструкции, показаны особенности применения подводных накладных зарядов для кратковременного устранения водного зажима.

Методические указания разработаны коллективом специалистов Горного института Кольского научного центра АН СССР Североморского специализированного управления ВДСМО "Союзгидроспецстрой", института "Гидроспецпроект" и других заинтересованных организаций. Авторы разработки: Фокин В.А., Сиротюк Г.Н., Конухин В.П., Епимахов Ю.А., Руссков В.П., Пчелов В.И., Жалейко В.Ф., Петухов В.Ф., Блинов В.Д., Капранов А.П., Евдокимов М.Р.

1. ОБЩИЕ ПОЛОЖЕНИЯ

1.1. Эффективное строительство подземных гидротехнических сооружений, сопряженных с открытий  водоемом, невозможно без создания нормальных условий работы в них людей и механизмов. Под нормальными условиями в первую очередь следует понимать отсутствие в рабочей зоне воды или ее незначительный приток в пределах режима работы средств водоотлива.

1.2. Основным мероприятием, обеспечивающим отсутствие водопритока в рабочую зону, является оставление породного целика в качестве охранной перемычки, отделяющей рабочее пространство от водоема. По окончании ведения горностроительных работ охранную перемычку ликвидируют буровзрывным способом.

1.3. По своему местоположению относительно подземного сооружения перемычки можно разделить на отдельно стоящие и припортальные. В отличие от отдельно стоящих перемычек припортальные перемычки характеризуются рядом особенностей, наиболее существенная из которых являются следующие:

- наличие близко расположенных конструктивных элементов портала требует обеспечения безопасности как с точки зрения сейсмики, так и по фактору разлета породы;

- стесненные условия припорталъной зоны не позволяют с максимальной эффективностью использовать средства механизированной уборки породы;

- вероятность размещения значительного объема взорванной породы непосредственно в пределах портальной части сооружения.

1.4. Перечисленные особенности накладывают определенные требования к порядку производства работ по ликвидации припортальных перемычек: во-первых, с целью снижения объемов подводной уборки, технология ликвидации перемычки должна предусматривать удаление максимально возможного объема породы за пределы проектного контура выемки уже в процессе ее взрывания; во-вторых, должны быть предусмотрены такие сейсмозащитные мероприятия, которые бы обеспечивали высокую эффективность экранирования в условиях повышенной обводненности пород.

1.5. Исходя из условий безопасности производства взрывных работ вблизи портальной части сооружения ликвидацию припортальных перемычек рекомендуется осуществлять скважинными зарядами рыхления или направленного выброса.

1.6. В общем случае способ взрывания перемычки на рыхление отличается более низким  уровнем сейсмического воздействия по сравнению с взрывом на выброс, поскольку последний характеризуется большей энергонасыщенностью разрушаемого объема. Вместе с тем, этот способ предусматривает использование механизированной подводной выемки, что в силу "слепого" метода черпания является трудоемким и дорогостоящим процессом, приводящим к увеличению сроков производства работ и соответствующему их удорожанию.

1.7. Способ взрывания перемычки на выброс предполагает использование энергии взрыва не только на дробление породы, но и на ее перемещение за пределы проектного контура выемки в заданном направлении (в этом случае отпадает необходимость в дорогостоящих подводно-выемочных работах). Однако данный способ может быть реализован только в определенных условиях, гарантирующих обеспечение необходимых требований безопасности.

1.8. Отдельно стоящие перемычки ввиду их достаточной удаленности от сооружения могут быть ликвидированы путем взрывания мощных сосредоточенных или линейных зарядов выброса при одной-двух ступенях замедления. Это позволяет исключить необходимость механизированной уборки породы, снизить продолжительность и трудоемкость выполнения работ.

1.9. При ликвидации как отдельно стоящих, так и припортальных перемычек целесообразно применение подводных зарядов ВВ, опережающее взрывание которых позволяет полностью или частично устранить влияние водного зажима на эффективность взрывного разрушения перемычки.

2. МЕРОПРИЯТИЯ ПО УСТРАНЕНИЮ ВОДНОГО ЗАЖИМА

2.1. Основным мероприятием по устранению водного зажима боковой поверхности перемычки с целью обеспечения нормальных условий работы скважинных зарядов рыхления или выброса является использование компенсационной газовой полости, образованной опережающим взрыванием подводных накладных зарядов ВВ (рис. 1).

2.2. Основными параметрами, определяющими эффективность использования газовой полости, является ее максимальный размер в направлении выброса породы (Rm, м) и время полного расширения (tm ,c).

2.3. Для образования газовой полости могут быть использованы как сосредоточенные, так и линейные заряды ВВ, размещаемые на боковой поверхности перемычки на определенной глубине (как правило, ниже проектной отметки выемки).

2.4. Одиночные сосредоточенные заряды ВВ могут быть использованы при ликвидации коротких перемычек, то есть в том случае, когда образуемая газовая полость обеспечивает отжим водной массы от всей подводной части перемычки.

2.5. Вес подводного сосредоточенного заряда ВВ (G, кг) определяют по формуле:

,                                                                    (2.1)

где λ

- угол, образуемый боковой поверхностью Перемычки и дном водоема в месте установки подводного заряда; град;

Н

- глубина размещений подводного заряда, м;

ηгп

- коэффициент использования начальной энергии взрыва подводного заряда на расширение газовой полости, ед.;

Uуд

- удельная энергия ВВ подводного заряда, кгм/кг.

2.6. Численное значение коэффициента ηгп определяют в зависимости от объемной энергоемкости ВВ по формуле:

,                                                                                (2.2)

где  - объемный вес ВВ подводного заряда, кг/м3.

Для упрощения расчетов с достаточной для практики точностью могут быть использованы данные таблицы 1.

2.7. Время полного расширения газовой полости в направлении выброса основного объема породы определяют по формуле (с):

                                                     (2.3)

Таблица 1

Численные значения коэффициента ηгп

Объемный вес ВВ, кг/м3(γВВ)

Удельная теплота: ВВ Uуд/427, ккал/кг

850

900

950

11000

1050

1100

1150

1200

800

0.537

0.529

0.522

0.515

0.509

0,503

0.497

0.492

850

0.529

0.521

0.514

0,507

0.501

0.495

0.490

0.484

900

0.521

0.514

0.507

0.500

0.494

0.488

0.483

0.477

950

0.514

0.507

0.500

0.493

0.487

0.481

0.476

0.471

1000

0.507

0.500

0.493

0.487

0.481

0.475

0.470

0.465

1050

0,501

0.494

0,487

0.481

0.475

0.469

0.464

0.459

1100

0.495

0.488

0.481

0.475

0.469

0.464

0.459

0.454

1150

0.490

0.483

0.476

0.470

0.464

0.459

0,453

0.448

1200

0.484

0.477

0.471

0.465

0.459

0 .454

0.448

0.444

2.8. Следует иметь в виду, что при взрывании достаточно мощных подводных накладных зарядов при небольшой глубине их размещения существует верхний предел параметров Rm и tm, что обусловлено влиянием свободной поверхности. Предельные значения указанных параметров определяют по формулам:

Rm* = 2.525·H                                                                                           (2.4)

                                                                              (2.5)

Этим значениям соответствует определенный вес подводного заряда, при дальнейшем увеличении которого максимальный размер газовой полости возрастает; а время ее полного расширения сокращается.

2.9. Линейные заряды ВВ используются при ликвидации протяженных перемычек, когда газовая полость, образованная одним сосредоточенным зарядом, не может обеспечить отжим водной массы от боковой поверхности перемычки по всей ее длине.

2.10. Линейную плотность таких зарядов (ρ, кг/м) определяют по формуле:

                                                                      (2.6)

2.11. Необходимо учитывать некоторые особенности расчета параметров газовой полости при использовании линейных зарядов. Прежде всего, следует определить эффективную длину заряда по формуле:

                                                                      (2.7)

Линейный заряд фактической длины l3lэф образует газовую полость, параметры которой рассчитывают по формулам, предназначенным для сосредоточенного заряда, при этом его вес равен G = ρ·l3.

Если же l3 > lэф то увеличивается только длина газовой полости на величину Δl = l3 - lэф, а параметры Rm и tm остаются постоянными и определяются по тем же формулам, но при G = ρ·lэф.

2.12. Вторым вариантом устранения водного зажима при ликвидации протяжённых перемычек является использование нескольких одновременно взрываемых подводных сосредоточенных зарядов ВВ, размещаемых вдоль тела перемычки с интервалом, обеспечивающим возможность слияния отдельных газовых полостей в одну, размеры которой достаточны для эффективного выброса породы всего объема перемычки.

2.13. Расстояние (α, м) между соседними сосредоточенными зарядами одинакового веса определяют по формуле:

                                                                  (2.8)

2.14. При взрывании перемычки на рыхление с целью частичного отжима водной массы могут быть использованы нисходящие линейные заряды ВВ малого диаметра, размещенные на подводной части боковой поверхности уступа параллельно друг другу с определением интервалом, обеспечивающим получение единой плоской газовой полости.

2.15. Линейная плотность зарядов в этом случаев определяемся исходя из условия обеспечения нормальных условий для взрывания первого ряда скважинных зарядов рыхления:

                                                               (2.9)

где W

- величина линии сопротивления по подошве первого ряда скважинных зарядов рыхления, м;

hhk

- глубина размещения нижних концов линейных подводных зарядов, м.

2.16. Расстояние (м) между соседними линейными зарядами, при котором обеспечивается получение единой плоскости газовой полости, определяют по формуле:

                                                                       (2.10)

2.17. Интервал опережающего инициирования (мс) плоской системы подводных линейных зарядов по отношению к первому ряду скважинных зарядов рыхления определяют по формуле:

                                                                         (2.11)

3. РАСЧЕТ ПАРАМЕТРОВ СОСРЕДОТОЧЕННЫХ И ЛИНЕЙНЫХ ЗАРЯДОВ ВЫБРОСА

3.1. Для взрывного разрушения отдельно стоящих перемычек могут быть использованы одиночные сосредоточенные заряды, линейно распределенные сосредоточенные заряды и линейные заряды выброса из водоустойчивых типов ВВ. В отличие от скважинных зарядов направленного выброса в данном случае реализуется метод неуправляемого выброса, основной задачей которого является удаление породы перемычки из пределов проектного контура выемки.

3.2. Размещение зарядов выброса производят в одной или нескольких (в зависимости от конструкции числа зарядов) штольнях, которые проходят в теле перемычки мелкошпуровой отбойкой. Параметры размещения и взрывания шпуров могут быть рассчитаны по методике /1/.

При использовании одиночных и линейно распределенных сосредоточенных зарядов их вес (кг) определяют по формуле:

                                                                 (3.1)

где qвыбр

- удельный расход ВВ на выброс, кг/м3;

Wρ

- расчетное значение линии наименьшего сопротивления, м;

ηρ

- расчетное значение показателя выброса, ед.;

f(ηρ)

- функция показателя выброса, ед.;

φ

- коэффициент, зависящий от условий взрывания, ед.

3.4. При использовании линейных зарядов их линейный вес (кг/м) определяют по формуле:

                                                                            (3.2)

3.5. Численное значение функции показателя выброса определяют по формуле:

                                                      (3.3)

3.6. Численные значения коэффициента φ и рекомендуемые величины удельного расхода qвыбр для некоторых типов ВВ приведены в табл. 2.

Таблица 2

Численные значения φ/qвыбр

Коэффи-
циент крепости породы

Алюмотол

Гранулотол

Акванал АР3-8Н

Граммонит
79/21

Гранулит
AC-4, AC-4B

Гранулит
AC-8

Гранулит
AC-8B

Гранулит
M

Гранулит
C-2

Гранулит
AC

1

2

3

4

5

6

7

8

9

10

11

6

0.255

1.785

0.254

1.879

0.235

1.818

0.250

1.866

0.244

1.850

0.232

1.809

0.231

1.806

0.261

1.898

0.258

1.891

0.234

1.816

7

0.245

1.789

0.278

1.880

0.256

1.821

0.273

1.867

0.267

1.852

0.253

1.812

0.252

1.809

0.285

1.898

0.283

1.892

0.255

1.819

8

0.265

1.793

0.301

1.881

0.277

1.824

0.295

1.869

0,289

1.854

0.273

1.815

0.272

1.812

0.309

1.899

0.306

1.893

0,276

1.822

9

0.283

1.796

0.323

1.882

0.296

1.827

0,317

1.870

0.310

1.856

0.292

1.818

0.291

1.815

0.332

1.900

0.329

1.894

0.295

1.824

10

0.301

1.800

0,344

1.883

0.315

1.829

0.338

1.872

0.330

1,858

0.311

1.820

0.310

1.818

0.354

1.900

0.350

1.894

0,314

1.827

11

0.318

1.802

0.365

1.884

0.334

1.832

0.358

1.873

0.349

1.859

0.329

1.823

0.328

1.821

0.376

1.901

0.372

1.895

0.332

1.829

12

0.335

1.805

0.395

1.885

0.351

1.834

0.378

1.874

0.368

1.860

0,346

1.825

0.345

1.823

0.397

1.901

0.393

1.895

0.350

1.831

13

0.351

1.808

0.405

1.885

0,369

1.835

1.397

1.874

0.387

1.861

0.363

1.827

0.362

1.825

0.417

1.900

0.413

1.895

0.368

1.833

14

0.367

1.810.

0.425

1.885

0.386

1.837

0.416

1.875

0.406

1.862

0.380

1.829

0.379

1.827

0.436

1.906

0.433

1.896

0.365

1.835

15

0.383

1.811

0.442

1.893

0.403

1.838

0.435

1.875

0.424

1.863

0.397

1.830

0.395

1.828

0.451

1.922

0.448

1.912

0.401

1.836

16

0.398

1.813

0.456

1.908

0.420

1.839

0.449

1.888

0.442

1.863

0.413

1.831

0.411

1.829

0.466

1.936

0.462

1,926

0.418

1.837

17

0.413

1.814

0.470

1.921

0.436

1.839

0.463

1.901

0.455

1.877

0.429

1.832

0.427

1.830

0.481

1.949

0.477

1,939

0.434

1.837

18

0.429

1.815

0.484

1.933

0.451

1.843

0.477

1.914

0.468

1.890

0.445

1.833

0.443

1.831

0.496

1.960

0.491

1.950

0.450

1.839

19

0.443

1.816

0.498

1.943

0.463

1.855

0.490

1.925

0,481

1.902

0.456

1.841

0.457

1.837

0.510

1.969

0.506

1.960

0.462

1.652

20

0.456

1.818

0.512

1.952

0.475

1.867

0.504

1.934

0,494

1.912

0.470

1.853

0.469

1.849

0.525

1.978

0.521

1.969

0.474

1.864

3.7. Параметры размещения в теле перемычки зарядов выброса определяют следующим образом.

3.7.1. На поперечном разрезе перемычки (рис. 2), выполненном в масштабе, соединяют диагонально противоположные точки A1 и B1. Из середины полученного отрезка A1B1 восстанавливают перпендикуляр до пересечения с линией проектной отметки выемки. Полученный отрезок С1О1 соответствует расчетной величине W1 первого (условно) заряда, работающего на выброс породы в сторону водоема. Место его размещения - точка O1. Расчетное значение показателя выброса η1 определяют делением длины отрезка A1B1 на длину W1.

3.7.2. Аналогично определяют место размещения второго (условно) заряда (точка О2), его л.н.с. W2 и показатель выброса η2.

3.7.3. В зависимости от конструкции зарядов выброса (сосредоточенные или линейные) определяют вес (линейный вес) каждого из условных зарядов по формулам (3.1) или (3.2). При использовании линейно распределенных сосредоточенных зарядов дополнительно определяют расстояние (м) между соседними зарядами в ряду:

αi = ηi·Wi.                                                                                                  (3.4)

3.7.4. При достаточно близком размещении точек О1 и О2 (рис. 2), сопоставимом с шириной штольни, два условных заряда на практике реализуют в виде одного суммарным весом Q1 + Q2 (для сосредоточенных зарядов) или ρ1 + ρ2 (для линейных зарядов). При этом для линейно распределенных сосредоточенных зарядов расстояние между соседними зарядами в ряду принимают равным меньшему из рассчитанных по (3.4) значений.

3.7.5. При размещении точек О1 и О2 на большем расстоянии, сопоставимом с W1 (рис. 3), на практике реализуют каждый из условных зарядов, при этом возможно их одновременное (рис. 3, а) или поочередное (рис. 3, б), взрывание.

3.7.6. При одновременном взрывании заряды размещают в полученных по предыдущему пункту точках О1 и О2. При поочередном взрывании место расположения тоуки О2 уточняют графическим методом таким образом, чтобы выполнялось условие W2 = W3, где W2 -л.н.с. второго (условно) заряда в сторону образованной первым зарядом поверхности обнажения (отрезок ОВ), м; W3 - л.н.с. третьего (условно) заряда в тыльную сторону перемычки, м. После этого делением длины отрезка B1D2 на W2 и B1D3 на W3 определяют расчетные показатели выброса η2 и η3, по формулам (3.1) или (3.2) определяют значения Q2 и Q3 или ρ2 и ρ3 , а на практике реализуют заряд суммарного веса Q2 + Q3 или ρ2 + ρ3.

3.7.7. Интервал замедления (мс) для зарядов второго ряда определяют по формуле:

                                                                       (3.5)

где W*

- линия наименьшего сопротивления, преодолеваемая зарядами первого ряда, м;

γп

- объемный вес породы, кг/м3;

еВВ

- переводной коэффициент, учитывающий тип применяемого ВВ (таблица 3), ед.

4. РАСЧЕТ ПАРАМЕТРОВ СКВАЖИННЫХ ЗАРЯДОВ РЫХЛЕНИЯ

4.1. Параметры расположения и заряжания отбойных скважин определяют из условия равномерного размещения в разрушаемом породном объеме необходимого количества ВВ, достаточного для обеспечения заданной эффективности взрыва.

4.2. Основным показателем, определяющим эффективность взрыва, является расчетный удельный расход ВВ, величина которого зависит от прочностных свойств и структурных особенностей породы, а также (исходя из емкости ковша подводно-выемочного оборудования) определяется размером кондиционного куска и заданным выходом негабарита.

4.3. Отличительной особенностью применения скважинных зарядов рыхления в условиях водного зажима является необходимость увеличения удельного расхода ВВ по сравнению с "сухими" условиями в полтора-два раза, что неизбежно приводит к усилению сейсмического эффекта взрыва. Поэтому в рассматриваемых условиях взрыв на рыхление целесообразно осуществлять в сочетании с мероприятиями, устраняющими влияние водного зажима (см. раздел 2). Это позволяет использовать расчетную методику, разработанную с учетом качества дробления породы скважинными зарядами ВВ в нормальных ("сухих") условиях взрывания /2/.

4.4. Численное значение удельного расхода ВВ (кг/м3) с учетом выше перечисленных факторов и условий определяют по формуле:

                  (4.1)

где f

- коэффициент крепости породы по шкале проф. М.М. Протодьяконова;

dотд

- размер максимальной естественной породной отдельности в отбиваемом объеме до взрыва, м;

dк

- размер кондиционного куска породы, м;

- содержание в отбиваемом объеме естественных породных отдельностей с размером dк di dотд до взрыва, %;

фН

- заданный выход негабарита после взрыва, %.

4.5. При отсутствии фактических данных по структуре пород (dотд и ) удельный расход ВВ определяют по упрощенной расчетной формуле:

                                                                                 (4.2)

4.6. Величину переводного коэффициента eнв определяют по таблице 3. При этом в качестве эталонного ВВ принят граммонит 79/21.

Таблица 3

Численные значения переводного коэффициента

Наименование ВВ

евв

Акванал АРЗ-8Н

0.76-0.79

Граммонит 79/21*)

1.0

Гранулит АС-4

0,90-0.95

Гранулит АС-4В

0.90-0.95

Гранулит АС-8

0.74-0.81

Гранулит АС-8В

0.82-0.87

Гранулит М

1.15-1.21

Гранулит АС-М

0.83-0.88

Гранулит С-2

0.99-1.06

*) Принят в качестве эталонного ВВ.

4.7. Как правило, проект массового взрыва предлагает точное соблюдение параметров сетки размещения скважин в процессе их бурения, что по вполне понятным причинам не всегда может быть обеспечено. Поэтому при расчете удельного расхода ВВ по формуле (4.1) целесообразно принимать значение Фн = 0, что с учетом фактических отклонений при забуривании скважин даст выход негабарита не более 10÷12 %.

4.8. Разрушение породы перемычки производят путем короткозамедленного взрывания нескольких групп (рядов) скважинных зарядов, при этом величину коэффициента их сближения определяют по формуле:

                                                                                               (4.3)

где ρ - линейная плотность скважинных зарядов, кг/м;

Численные значения показателя степени λ в зависимости от коэффициента крепости породы приведены в таблице 4.

Таблица 4

Численные значения показателя степени λ

Коэффициент крепости, f

λ

Коэффициент крепости, f

λ

1

2

3

4

1

0.041

11

0.151

2

0.061

12

0.159

3

0.077

13

0.165

4

0.090

14

0.172

5

0.101

15

0.178

6

0.111

16

0.183

7

0.120

17

0.188

8

0.129

18

0.192

9

0.136

19

0.196

10

0.144

20

0.201

4.9. Наиболее рациональным с точки зрения эффективности разрушения породы является размещение скважин рыхления в плоскости, параллельной боковой поверхности отбиваемого объема (рис. 4, а). В этом случае величину линии наименьшего сопротивления по подошве (м) определяют по формуле:

                                                                        (4.4)

Численные значения коэффициентов C1 и C2 рассчитывают следующим образом:

                                                                                        (4.5)

                                                                             (4.6)

                                                                             (4.7)

где Hу

- проектная высота уступа, м;

φ

-угол между вертикалью и продольной осью скважины, град.;

lзаб

- длина забойки скважин, м.

4.10. Наличие качественной забойки имеет существенное значение, поскольку она должна обеспечить не только эффективное дробление породы, но и способствовать снижению объема и начальной скорости неуправляемого выброса породы в сторону портальной части сооружения. С учетом этого длину забойки следует определять по формуле:

,                                                             (4.8)

где φ - угол наклона скважины к вертикали, град.

4.11. Качественная проработка породы на уровне подошвы отбиваемого уступа обеспечивается путем размещения части скважинного заряда ниже проектной отметки выемки. При этом длину скважины в зоне перебура (м) определяют по формуле:

lпер = fт·Wспп                                                                                               (4.9)

4.12. Количество БВ (кг), размещаемое в одной скважине, определяют по формуле:

Qcкв = ρ(lcкв - lзаб)                                                                                      (4.10)

где lcкв - полная длина скважины, м.

4.13. Расстояние между соседними скважинами в ряду (м) определяют по формуле:

α = m·Wспн                                                                                                 (4.11)

4.14. При ликвидации перемычек, имеющих трапециевидную форму поперечного сечения, когда устья скважин соседних рядов расположены на близком расстоянии, допускается рассредоточение верхней части заряда таким образом, чтобы вес дополнительного заряда, размещенного в пределах забойки обеспечивая качественное дробление приустьевой части породы.

4.15. Границы диапазона допустимого изменения интервала короткозамедленного взрывания соседних рядов скважинных зарядов определяют по следующим формулам (мс):

- минимально допустимое значение:

                                                                 (4.12)

- максимальное допустимое значение:

                                                              (4.13)

где γп - объемный вес породы, кг/м3.

4.16. В случае применения вертикальных скважин (рис. 4, б) вначале необходимо определить минимальную линейную плотность скважинного заряда по формуле:

                                                 (4.14)

где λ

- угол наклона боковой поверхности уступа к вертикали, град.;

Δmin

- минимальное безопасное расстояние от устья скважин до бровки уступа по фактору размещения бурового оборудования, м.

4.17. В качестве численного значения длины забойки lзаб при расчетах по формуле (4.14) принимают произвольное значение, которое затем при известной величине линейной плотности ρ проверяют по формуле:

                                                                       (4.15)

При значительном расхождении первоначально выбранного и рассчитанного по (4.15) значений расчет линейной плотности ρ по формуле (4.14) повторяют при новом значении lзаб с его последующей проверкой по формуле (4.15).

4.18. Для второго и последующего рядов вертикальных скважинных зарядов преодолеваемое сопротивление по подошве определяют по формулам (4.4)÷(4.7) при φ = 0. Длину скважин в зоне перебура определяют по формуле (4.9).

4.19. Полную длину вертикальных скважин (м), количество ВВ в одной скважине (кг), расстояние между скважинами в ряду (м) и расстояние между рядами (м) определяют по формулам:

lскв = Ну + lпер                                                                                            (4.16)

Qскв = ρ(lскв - lзаб)                                                                                      (4.17)

α = m·Wспп                                                                                                 (4.18)

в = Wспп                                                                                                     (4.19)

5. РАСЧЕТ ПАРАМЕТРОВ СКВАЖИННЫХ ЗАРЯДОВ НАПРАВЛЕННОГО ВЫБРОСА

5.1. Параметры размещения и заряжания скважин направленного выброса необходимо определять е учетом следующих требований:

- обеспечение выброса максимально возможного объема породы за пределы проектного контура выемки в заданном направлении;

- качественная проработка подошвы уступа на уровне проектной отметки выемки;

- уменьшение объема и интенсивности неуправляемого разлета породы приустьевой части скважин;

- согласование общей продолжительности взрывания перемычки со временем, в течение которого обеспечивается отсутствие водного зажима в направлении выброса основного объема породы.

5.2. Выполнение первого требования может быть обеспечено путем применения плоских систем скважинных зарядов, одновременно инициирование, которых позволяет целенаправленно и с максимальной эффективностью использовать метательное действие продуктов детонации всей системы зарядов.

5.3. Выполнение второго требования может быть обеспечено путем правильного выбора длины скважин в зоне перебура и использованием обратного инициирования или размещением одного из боевиков в нижней части заряда.

5.4. Выполнение третьего требования может быть обеспечено путем правильного выбора длины забойки скважины, при которой сохраняется общая эффективность направленного выброса основного объема порода.

5.5. Выполнение четвертого требования может быть обеспечено путем правильного выбора диаметра скважинных зарядов и числа их рядов по фактору максимального времени, в течение которого водный зажим отбиваемого уступа будет отсутствовать.

5.6. Наиболее существенным фактором, определяющим эффективность, удаления породы за пределы проектного контура перемычки, является начальная скорость выброса (м/с), численное значение которой для плоской системы одновременно взрываемых скважинных зарядов определяют по формуле:

,                                                          (5.1)

где Uуд

- удельная энергия ВВ скважинных зарядов, кгм/кг;

ηвыбр

- коэффициент использования начальной энергии взрыва ВВ скважинных зарядов на выброс породы, ед.;

γуп

- объемный вес породы, кг/м3;

ρ

- линейная плотность скважинных зарядов, кг/м;

W

- линия наименьшего сопротивления скважинных зарядов, м;

КВЗ

- численный коэффициент, характеризующий взаимодействие соседних скважинных зарядов при их одновременном взрывании, ед.

При этом в качестве W принимают численное значение, полученное по формулам раздела 4 при удельном расходе ВВ, равном qвыбр = qρ + 1, что отвечает условию выброса породы в "сухих" условиях.

5.7. Численное значение коэффициента ηвыбр, которое зависит от прочностных свойств взрываемой породы (коэффициента крепости f) и объемной энергоемкости (γBB, Uуд кгм/м3) применяемого ВВ, может быть получено из графика на рис. 5,где верхняя граница расчетной области соответствует объемной энергоемкости 3,74 108 кгм/м3, а нижняя - 6.62 108 кгм/м3.

5.8. Численное значение коэффициента взаимодействия определяют с учетом коэффициента сближения скважин по формулам:

- при:

                                                                                           (5.2)

- при:

                                                                                           (5.3)

5.9. Полученное по формуле (5.1) значение начальной скорости выброса должно обеспечивать возможность удаления последнего дородного слой до начала схлопывания компенсационной газовой полости. Для проверки выполнимости этого условия необходимо определить суммарное время взрывания перемычки.

5.10. Вначале определяют время (с) гарантированного перемещения последнего породного слоя за пределы проектного контура выемки:

                                                                                      (5.4)

где В - ширина поперечного сечения перемычки на уровне проектной отметки выемки, м;

lОбн - длина обнажаемой части поперечного сечения перемычки, (рис. 1), м.

5.11. Затем определяют ориентировочное число рядов скважинных зарядов (ед.) и суммарное время замедлений (с):

                                                                                              (5.5)

Δtзам() = 103(Nρ-1)·Δtзам                                                                           (5.6)

5.12. Зная полученные величины, определяют ориентировочную продолжительность взрывания перемычки с полным удалением дробленой породы за пределы проектного контура выемки (с):

Tвзр = Δtп.сл. + tзам()                                                                                   (5.7.)

5.13. Качественный взрыв направленного выброса может быть реализован только в том случае, когда общая продолжительность взрывания Tвзр не будет превышать некоторое эффективное время Δtэф в течение которого обеспечивается кратковременное отсутствие водного зажима без обратного гидропотока. В противном случае при схлопывании газовой полости часть взорванной породы будет занесена водной массой обратно в пределы проектного контура выемки, что приведет к необходимости применения подводно-выемочных работ.

5.14. Численное значение эффективного времени (с) определяют по формуле:

,                                           (5.8.)

где Н

- глубина размещения подводного заряда BB, мм;

Rт

- радиус компенсационной газовой полости в направлении выброса основного объема породы (см. раздел 2), м

Это значение соответствует промежутку времени от момента полного обнажения подводной части боковой поверхности перемычки до начала схлопывания газовой полости и образования обратного гидропотока.

5.15. Задаваясь произвольными значениями параметра Rт, не превышающими предельной величины, определяемой формулой (2.4), рассчитывают значение эффективного времени и сопоставляют с продолжительностью взрывания перемычки при ранее заданном значении W. Если выполняется условие Твзр < Δtэф, по формулам раздела 2 определяют вес подводного заряда в зависимости от его формулы и условий размещения. Если же условие не выполняется, то целесообразно при том же значении увеличить диаметр скважин (или применить парносближенные скважины того же диаметра), что приведет к возрастанию начальной скорости выброса и соответствующему сокращению продолжительности взрывания.

5.16. Для обеспечения гарантированного выброса породы на уровне проектной отметки выемки длину скважинных зарядов в зоне перебура рекомендуется принимать равной линии наименьшего сопротивления.

5.17. Для снижения скорости и объема неуправляемого выброса породы в верхней части перемычки длину забойки, рассчитанную по формуле (4.15), рекомендуется увеличивать в 2 раза с размещением в ее средней части промежуточного (запирающего) заряда ВВ, вес которого определяют по формуле:

Qдоп = (qρ + 1)·                                                                                    (5.9)

где qρ

- удельный расход ВВ на рыхление породы, кг/м3;

lзаб

- длина забойки, рассчитанная по формуле (3.14).

5.18. Интервал замедления между опережающим взрыванием подводного заряда и последующим взрыванием первого ряда скважинных зарядов направленного выброса определяют по формуле:

Δtоп = tm - Δtэф                                                                                          (5.10)

где tm - время полного расширения компенсационной газовой полости (см. раздел 2), с.

5.19. Полученные параметры подводного и скважинных зарядов необходимо проверять на выполнение требований сейсмобезопасности (при наличии охраняемых наземных или подземных объектов), воздушной и подводной ударных волн.

6. РАСЧЕТ ПАРАМЕТРОВ КОНТУРНОГО ВЗРЫВАНИЯ

6.1. Контурное взрывание в условиях ликвидации скальных перемычек представляет собой метод управления действием взрыва с целью обеспечения сохранности породных обнажений* оставляемых по бокам перемычки после ее удаления, а также с целью снижения сейсмического действия взрыва в ближней зоне.

6.2. Метод контурного взрывания реализуется путем использования технических средств и приемов, обеспечивающих получение заданного эффекта при минимальном уровне дробящего и сейсмического действия контурных зарядов на окружающий породный массив. Это достигается за счет применения ВВ пониженной мощности с образованием контурного заряда определенной линейной плотности (кг/м), которую рассчитывают по формуле /2/:

                                                                                  (6.1)

6.3. В качестве изготовляемых на месте контурных зарядов могут быть использованы рассредоточенные по длине скважины и закрепленные на двойной нити детонирующего шнура штатные натренированные ВВ диаметром 32-36 мм. При этом длину воздушных промежутков (м) между патронами определяют по формуле:

                                                                                              (6.2)

где Qп - вес одного патрона, кг;

lп - его длина, м.

6.4. В качестве контурных зарядов промышленного изготовления могут быть использованы допущенные к постоянному применению гирляндовые заряды ЗКВГ-40 и ЗКВГ-60 диаметром соответственно 40 и 60 мм и длиной 10 м. В конструктивном отношении они представляют собой заполненный порошкообразным аммонитом № 6ЖВ полиэтиленовый шланг, пережатый через 400÷600 мм металлическими клипсами и снабжённый несущим капроновым шнуром.

6.5. В условиях ликвидации перемычки в зависимости от ее высоты и структурных особенностей контурные строчки могут быть выполнены вертикальными или слабонаклонными (в пределах 10-15 градусов от вертикали). Вертикальные строчки применяются при высоте отбиваемой части перемычки до 9÷11 м и слаботрещиноватых или монолитных породах, наклонные - при высоте более 11 м и трещиноватых породах.

6.6. Существует два метода контурного взрывания: предварительное щелеобразование и последующее оконтуривание. При отбойке основного объема перемычки скважинными зарядами ВВ, когда окружающий породный массив и близко расположенные конструктивные элементы тоннеля подвергаются достаточно мощному сейсмическому воздействию, целесообразно использовать метод предварительного щелеобразования, при котором контурные строчки взрывают первыми в серии отбойных скважинных зарядов.

6.7. Расстояние (м) между контурными скважинами в строчке определяют по формуле:

                                                                                  (6.3)

где qк - расчетный удельный расход ВВ, кг/м3;

lЗК -длина забойки контурного заряда, м;

lК - полная длина контурной скважины, м.

6.8. Расчетный удельный расход ВБ (кг/м3) и длину забойки (м) контурного заряда определяют по формуле:

                                                                              (6.4)

                                                                                           (6.5)

6.9. Для снижения интенсивности взрывного воздействия отбойных скважин, расположенных в непосредственной близости от контурных строчек, Длину контурных скважин рекомендуется увеличить по сравнению с длиной указанных отбойных скважин на величину lЗК.

6.10. Для улучшения качества щелеобразования концов контурных скважин в забой последних следует помещать дополнительный заряд ВВ, вес которого (кг) определяют по формуле:

ΔQк = 0.4·αк·ρmax                                                                                      (6.6)

где ρmax

-максимальная линейная плотность насыпного заряжания скважины данного диаметра, кг/м.

6.11. Суммарный вес ВВ в одной контурной скважине (кг) определяют по формуле:

Qскв = ρк(lк - lзк) + ΔQк                                                                              (6.7)

6.12. Применение метода последующего оконтуривания в условиях ликвидации перемычек не рекомендуется, поскольку в этом случае из-за малой мощности контурных зарядов возрастает выход негабарита в предконтурной зоны, увеличивается интенсивность взрывного воздействия отбойных зарядов на законтурный породный массив, что в свою очередь приводит к снижению устойчивости незакрепленных бортов.

6.13. Взрывание контурных, строчек рекомендуется осуществлять с помощью ДШ, соединяющего все скважины каждой строчки. Инициирование ДШ осуществляют с помощью электродетонаторов в соответствии с очередностью взрывания контурных строчек.

7. ТЕХНОЛОГИЯ ВЗРЫВАНИЯ ЗАРЯДОВ

7.1. Технология взрывания зарядов предусматривает выполнение следующих операций:

- изготовление промежуточных детонаторов;

- заряжание;

- монтаж взрывной сети;

- контроль качества работ;

- производство взрыва.

7.2. Для надежного взрывания отбойных зарядов необходимо применять промежуточные детонаторы (ПД) в виде патронов-боевиков из связки патронированных ВВ, обязанных детонирующим шпуром (ДО) или специальных шашек промышленного изготовления: ТП-200, ТП-400, Т-400Г (тротил прессованный, шашки весом соответственно 200, 400, 400 Г) или ТГ-500 (сплав тротила с гексогеном, шашки весом 500 г). Скорость их детонации - от 6.5 до 7.8 км/с/3/.

7.3. При взрывании сосредоточенных и линейных зарядов выброса, размещаемых в штольнях, ОД устанавливают в дополнительных инициаторах повышенной мощности (гранулированные или патронированные ВВ в заводской таре). Дополнительные инициаторы размещают в зарядах, которые формируют путем укладки ВВ в заводской таре, навалом или механизированным способом,

7.4. При скважинной отбойке ПД устанавливают в нижней части зарядов на уровне проектной отметки выемки (подошвы уступа). При длине скважин более 9-12 м рекомендуется устанавливать второй ПД в верхней части скважинного заряда. Кроме того, при пользовании дополнительного "запирающего" заряда в устьевой части скважин должен быть предусмотрен соответствующий дополнительный ПД.

7.5. Условия гидротехнических перемычек характеризуются значительной обводнённостью, поэтому, заряжание должно производиться водоустойчивыми типами ВВ, Обеспечивающими гарантированную детонацию зарядов спустя продолжительное время, которое может понадобиться для завершения зарядных работ.

7.6. Порядок монтажа взрывной сети при скважинной отбойке зависит от вида применяемых средств инициирования и особенностей их распределения в общей схеме взрывания. Для практического использования могут быть рекомендованы следующие схемы распределения средств инициирования:

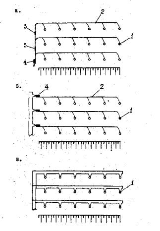
- использование участковых линий ДШ для обеспечения одновременного взрывания скважинных зарядов в пределах одной группы в сочетании с пиротехническими реле КЭДЩ для обеспечения поочередного взрывания соседних групп (рис. 6, а);

- использование участковых линий ДШ для обеспечения одновременного взрывания скважинных зарядов в пределах одной группы в сочетании с электродетонаторами короткозамедленного действия для обеспечения поочередного взрывания соседних групп (рис. 6, в);

использование электродетонаторов различных ступеней замедления, размещаемых в каждой скважине в необходимом для заданной очередности взрывания порядке (рис. 6,   в).

7.7. Первая схема инициирования значительно упрощает процесс монтажа, позволяет использовать пиротехнические реле с достаточно широким диапазоном интервалов замедления (10, 20, 35, 90, 75, 100 и 125 мс с разбросом от ± 4 до ± 7 мс). Надежность срабатывания такой схемы определяется учетом условий взрывания при подборе типа ДШ, а также проверкой его качества. При сгущенной сетке бурения скважин не исключена вероятность подбоя открытых нитей ДШ, поэтому в этом случае требуются дополнительные мероприятия по его защите.

7.8. При монтаже взрывной сети могут быть использованы следующие типы ДШ /3/:

- ДША (диаметр 4,8-5.8 мм, линейная плотность. 12-13 г/и, оболочка нитяная с водоизолирующей мастикой, водостойкость - 12 час при глубине погружения 0.5 м);

- ДЖВ (диаметр 5.5-6.1 мм, линейная плотность 13.5-14.5 г/м, полихлорвиниловая оболочка, водостойкость - 24 час при глубине погружения 1м);

- ДШЭ-6 (диаметр 3.7-4.7 мм, линейная плотность 5;5-6.5 г/м, полиэтиленовая оболочка, водоустойчивый);

- ДЩЭ-12 (диаметр 4.5-5.5 мм, линейная плотность 12-13 г/м, полиэтиленовая оболочка, водостойкость 30 час при глубине погружения 30 м).

7.9. Вторая схема инициирования может быть реализована при сгущенной сетке бурения скважин или отсутствии пиротехнических реле. В этом случае короткозамедленное взрывание может быть обеспечено путем применения электродетонаторов соответствующих ступеней замедления (табл.5).

Таблица 5

Краткая характеристика электродетонаторов короткозамедленного действия

Тип ЭД

Номер ступени

Интервал замедления, мс

Время замедления, мс

1

2

3

4

Отечественного производства

ЭД-8-Ж

-

0

0

ЭД-1-8-Т

-

0

0

ЭД-КЗ

1-4

25

25-100

 

5

50

150

 

6

100

250

ЭД-Э-Н

1-10

20

20-200

 

11-14

25

225-300

 

15-18

50

350-500

 

19-23

100

600-1000

ЭД-1-3-Т

1-10

20

20-200

 

11-14

25

225-300

 

15-18

50

350-500

 

19-23

100

600-1000

 

24

-

1.5с

 

25-29

2.0-10 с

Производства ЧСФР:

DeM-СuO

-

0

0

DeM-AlO

-

0

0

DeM-Cu

0-19

23

0-437

 

20,21

-

482,527

DeM-Al

0-18

23

0-414

DeR

0-4

40

0-160

 

5-10

80

240-640

DeM-15

0-11

15

0-165

DeM-ZB

0-11

23

0-253

DeM (ZВ) И

0-16

23

0-368

DeM(Cu) И

0-18

23

0-414

DeM(Al) И

0-18

23

0-414

DeM Siccp

0-11

23

0-253

DeM(Al)S HИ

0-18

23

0-414

DeM (ZB)HI

0-11

23

0-253

7.10. Третья схема более сложна в исполнении, однако позволяет обеспечить Гарантированное инициирование отбойных скважинных зарядов при любой очередности взрывания, что достигается дублированием электродетонаторов. При этом ЭД могут быть размещены как непосредственно в верхних промежуточных детонаторах, имеющих соединение из ДШ с нижними, так и в материале забойки при их присоединении к нитям ДШ, идущим на промежуточные детонаторы. Вместе с тем следует иметь в виду, что эффективность применения такой схемы инициирования может быть снижена в результате фактического разброса времени срабатывания ЭД относительно своего номинала.

7.11. При производстве массовых взрывов с большим количеством необходимых степеней замедления в индивидуальном порядке (по согласованию с органами надзора) могут быть использованы многоканальные взрывные приборы повышенной точности инициирования, например, типа ИВП-30 /3/.

7.12. Инициирование системы контурных зарядов рекомендуется осуществлять с помощью ДШ, что обеспечивает одновременность их взрывания и соответствующую эффективность оконтуривания.

7.13. Порядок монтажа взрывной сети при устройстве штольневых зарядов не представляет особых трудностей в силу небольшого числа требуемых ступеней замедления к простоты схемы взрывания. Монтаж взрывной сети может осуществляться как с применением электровзрывания, так и с применением ДШ.

7.14. Устья скважин, а также оставшиеся свободными части штолен должны быть заполнены забоечным материалом. Качественно дополненная забойка существенно снижает интенсивность воздушной ударной волны и значительно повышает эффективность дробления и выброса породы;

7.15. При электровзрывании зарядов любой конструкции возможно применение всех известных схем соединения электрических сопротивлений в цепь. Выбор конкретной схемы соединения ЭД зависит от их количества, необходимого для производства качественного взрыва, и однородности электрических характеристик.

7.16. При использовании автономных взрывных приборов (машинок) определяют сопротивление взрывной цепи и сравнивают полученный результат с предельным значением, указанным в паспорте прибора. При использовании силовых и осветительных линий после определения сопротивления взрывной цепи рассчитываю величину тока, протекающего через один ЭД, и сравнивают эту величину тока, протекающего через один ЭД, и сравнивают эту величину со значением гарантийного тока, равного 1.0 А для постоянного тока при количестве ЭД по 100 шт., 1.3 А для постоянного тока и 2.5 А для переменного тока при количестве ЭД до 300 шт.

7.17. Наиболее практикуемыми являются следующие схемы соединения ЭД в группе:

- последовательное

- последовательно-параллельное

- параллельно-пучковое

- параллельно-последовательное.

7.18. При последовательном соединении (рис. 7, а) концы проводов соседних ЭД соединяют последовательно, а крайние провода первого и последнего ЭД присоединяют к магистральным проводам. Преимущества последовательного соединения: через все ЭД протекает ток одинаковой силы; требуется источник тока минимальной мощности: простота монтажа и контроля исправности цепи. Недостаток этого вида соединения возможность группового отказа при попадании в цепь хотя бы одного неисправного ЭД.

7.19. Общее сопротивление взрывной цепи при последовательном соединении определяют по формуле:

Rобщ = Rмаг + Rмонт + η1·Rэд                                                                         (7.1)

где Rмаг

- сопротивление магистрального провода на участке от взрывного прибора до выводов взрывной цепи, Ом;

Rмонт

- сопротивление дополнительных монтажных проводов, соединяющих концевые провода ЭД между собой и с магистральными проводами, Oм;

η1

- число последовательно соединенных ЭД, шт.;

Rэд

- сопротивление одного ЭД с концввими проьодами, Ом.

Сипу тока, протекающего через один ЭД, определяют по формуле:

.                                                                                                  (7.2)

где U - напряжение источника тока, В.

7.20. При последовательно-параллельном соединении (рис. 7, б) все ЭД разбивает на равные по количеству ЭД группы, внутри которых ЭД соединяют последовательно, а группу между собой параллельно. Такое соединение применяют, тогда, когда нужно взорвать большое количество ЭД от источника тока с напряжением, недостаточным для взрывания того же количества ЭД, соединенных последовательно.

7.21. Общее сопротивление при последовательно-параллельном соединении ЭД определяют по формуле:

                                                                  (7.3)

где т1 - количество параллельно соединенных групп ЭД, шт.

7.22. Силу тока, протекающего через один ЭД, определяют по формуле:

                                                                                             (7.4)

7.23. При параллельно-пучковом соединении (рис. 7, в) концевые провода всех ЭД с помощью дополнительных тоннажных проводов соединяют между собой параллельно с образованием одной пары выводов, к которым присоединяют концы магистральных проводов. Такая схема требует повышенного расхода монтажных проводов и применяется при небольшом количестве ЭД. Преимущества данной схемы: при дублировании ЭД в патронах-боевиках отказы практически исключены. Недостатки: требуется мощный источник тока, невозможность приборного определения неисправности смонтированной цепи.

7.24. Общее сопротивление взрывной цепи при параллельно-пучковом соединении определяют по формуле:

                                                                         (7.5)

где η2 - количество параллельно соединенных ЭД, шт.

7.25. Силу тока, протекающего через один ЭД, определяют по формуле:

                                                                                              (7.6)

7.26. При параллельно-последовательном соединении (рис. 7, г) все ЭД разбивают на равные по количеству ЭД группы, внутри которых ЭД соединяют параллельно, а группу между собой - последовательно.

7.27. Общее сопротивление взрывной цепи при параллельно-последовательном соединения определяют по формуле:

.                                            (7.7)

где Rсоед - сопротивление соединительного провода между соседними группами ЭД, Ом;

т2 - количество последовательно соединенных групп ЭД, шт.

7.28. Силу тока, протекающего через один ЭД, определяют по формуле:

                                                                                             (7.8)

7.29. Общее сопротивление взрывной цепи после ее монтажа проверяют измерительными приборами, при этом расхождение между расчетным значением и фактическими показаниями прибора не должно превышать 10 %. Продолжительность контакта прибора и проверяемой цепи не должна превышать 4 с.

8. ОЦЕНКА СОПУТСТВУЮЩИХ ЭФФЕКТОВ ВЗРЫВА.

8.1. Как взрыв на рыхление, так и взрыв на выброс сопровождается такими сопутствующими эффектами как сейсмическое и воздушно-ударное воздействие, а также неуправляемый разлет отдельных кусков породы. Кроме того, при использовании подводных накладных зарядов ВВ образуется гидроударная волна, которая, распространяясь по воде на значительные расстояния, может стать причиной повреждения причальных конструкций и плавсредств.

8.2. Основным источником сейсмического воздействия на охраняемые объекты является взрыв зарядов ВВ, размещаемых в теле перемычки.

8.3. В качестве общепринятой характеристики интенсивности сейсмического воздействия используется величина скорости колебаний (см/с).

Оценку интенсивности сейсмовоздействия производят с учетом особенностей размещения охраняемого объекта по отношению к взрываемой группе зарядов.

8.4. Если при скважинной отбойке охраняемый объект расположен от места взрыва на расстоянии, превышающем максимальный линейный размер ряда (его длину или высоту), то величину ожидаемой скорости колебаний определяют по формуле:

                                                                         (8.1)

где Кс - коэффициент сейсмичности массива;

η - расчетный показатель выброса, ед.;

Qгр - вес ВВ в одной ступени замедления, кг.;

R - расстояние от места взрыва до охраняемого объекта, м.

8.5. Численное значение коэффициента сейсмичности определяют по формуле:

Кс = 576.6f0,157                                                                                          (8.2)

где f - коэффициент крепости пород по шкале проф. М.М. Протодъяконова, ед.

8.6. Численное значение расчетного показателя выброса определяют по формуле:

η = (463,7 + 553,2·х - 38,36·x2·1,08·x3)·10-3                                            (8.3)

,                                                                                                 (8.4)

где ρ - линейная плотность заряжания скважин, кг/м;

q - расчетный удельный расход ВВ, кг/м3;

W - линия наименьшего сопротивления, м.

8.7. Если охраняемый объект расположен на меньшем расстоянии от места взрыва, то оценку ожидаемой скорости колебаний производят по формуле:

                                                                 (8.5)

где Qэi

- вес эквивалентного сосредоточенного заряда, сейсмическое воздействие которого сданной точке соответствует i-му скважинному заряду, кг.;

Ri

 -расстояние (по нормали) от точки наблюдения до оси i -го скважинного заряда, м;

λ

- показатель степени затухания, ед.;

Nскв

- число скважин в ряду, ед.

8.8. Вес эквивалентного сосредоточенного заряда определяют по формуле:

                                                       (8.6)

Qф = ρ·L3                                                                                                   (8.7)

                                                                              (8.8)

                                                                                           (8.9)

где  = у/L3

- приведенная ордината точки наблюдения (по схеме на рис. 8);

r = R/L3

 - приведенное расстояние (по нормали) от точки наблюдения до t -го скважинного заряда, ед.;

L3

- длина скважинного заряда, м.

8.9. Для характерных точек могут быть использованы упрощенные расчетные формулы:

- на уровне середины скважинного заряда (R ≤ 0.402·L3);

                                                                   (8.10)

- на уровне нижнего конца скважинного заряда (R ≤ 0.402·L3);

                                                                          (8.11)

8.10. Расчеты по формуле (8.5) выполняют следующим образом. По плану размещения скважинных зарядов определяют расстояния от каждого скважинного заряда до охраняемого объекта (R, м). Затем, зная приведенную ординату точки наблюдения, по формулам (8.8) и (8.9) определяют коэффициенты K1 и К2. Затем по формуле (8.6) определяют для каждого скважинного заряда соответствующее значение веса Q3, контролируя при этом условие QэQф. Затем определяют частные значения величин . Численное значение показателя степени λ принимают равным 1.5 при R Rкр или 2.0 при R Rкр, где Rкр - расстояние, при котором происходит схема показателя степени:

                                                                        (8.12)

где Uуд - удельная энергия ВВ скважинных зарядов, кгм/кг.

8.11. Если при взрывании штольневых зарядов (сосредоточенных или линейных) охраняемый объект расположен от места взрыва на расстоянии, превышающем длину линейного или ряда сосредоточенных зарядов, величину ожидаемой скорости колебаний определяют по формуле (8.1), при этом в качестве показателя выброса принимают меньшее из расчетных (см. п.3.8) значений.

8.12. Если охраняемый объект расположен от места взрыва на меньшем расстоянии, оценку ожидаемой скорости производят с учетом конструкции штольневых зарядов.

Для системы линейно распределенных сосредоточенных зарядов ожидаемую скорость колебаний определяют по формуле:

                                                                  (8.13)

где Qi - вес i-го заряда, кг.;

Ri - расстояние от точки наблюдения до i -го заряда, м.;

N3 - число одновременно взрываемых зарядов, ед.

Для линейных зарядов ожидаемую скорость определяют по формуле:

                                                                          (8.14)

При этом вес Qэ эквивалентного заряда определяют в соответствии с рекомендациями п.8.6.

8.13. Дополнительном источником сейсмического воздействия является взрыв подводных накладных зарядов ВВ, для которых расчет ожидаемой скорости колебаний должен производиться отдельно, с учетом формы и количества подводных зарядов.

8.14. Для одиночного сосредоточенного накладного заряда величину ожидаемой скорости колебаний определяют по формуле:

                                                                                   (8.15)

где Q3 - вес подводного заряда, кг;

КСН - коэффициент снижения сейсмичности, ед.

8.15. Коэффициент КСН учитывает снижения энергозатрат на образование сейсмоволны при взрыве подводного накладного сосредоточенного заряда по сравнению с таким же зарядом, но размещенным в породе. Численное значение этого коэффициента определяют по формуле:

,                                                                    (8.16)

где γп - объемный вес породы, кг/м;

Н - глубина размещения подводного заряда, м.

8.16. Если для устранения водного зажима используется несколько одновременно взрываемых накладных сосредоточенных зарядов, ожидаемую скорость колебаний определяют по формуле:

                                                                           (8.17)

где N3 -количество подводных зарядов, ед.

8.17. При использовании линейного подводного заряда, размещенного вдоль тела перемычки, оценку ожидаемой скорости колебаний производят по формуле (8.15), подставляя в качестве параметра Q3 вес эквивалентного сосредоточенного заряда Qэ который определяют по формулам (8.6-8.9).

8.18. Расчетное значение ожидаемой скорости колебаний сравнивают с допустимыми значениями, характерней для того или иного охраняемого объекта (см. приложение). Если расчетное значение превышает допустимую величину, необходимо предусмотреть соответствующие технические мероприятия, например, уменьшить количество ВВ на ступень замедления, изменить направление отбойки, при невозможности использовать сейсмозащитные экраны.

8.19. В качестве сейсмозащитного экрана, размещаемого на пути движения сейсмоволны, может быть использована щель предварительного откола или тонкий слой мелко дробленой породы. Параметры заряжания и размещения скважин для образования щели предварительного откола рассчитывают по формулам раздела 6. Слой мелко дробленой породы образуют путем одновременного взрывания скважинных зарядов диаметром не более 150 мм нормальной линейной плотности (без оставления воздушных промежутков и зазоров), которые чередуют один с холостыми (компенсационными) скважинами того же или большего диаметра. Расстояние (м) между соседними скважинами в ряду определяют по формуле:

,                                                           (8.18)

где dскв - диаметр заряжаемых скважин, мм;

DK - диаметр компенсационных скважин, мм.

8.20. Во избежание неуправляемого выброса породы при взрывании экранообразущих скважин длину их забойки принимают не менее 20 диаметров. Кроме того, в обводненных породах для улучшения качества дробления породы экрана в забой компенсационных скважин помещают заряды из водоустойчивого ВВ весом 200-400 г (один-два патрона диаметром 32-36 мм), которые инициируют с опережением по отношению к дробящим зарядам, Это позволяет освободить компенсационные скважины от воды и повысить эффективность экранообразования. Интервал опережения определяют по формуле:

                                                                              (8.19)

8.21. Основным источником ударной воздушной волны служит взрыв зарядов, размещаемых в теле перемычки. Поскольку наиболее восприимчивым к этому фактору является остекленение близко расположенных зданий и строений, безопасное расстояние следует определять исходя из условия обеспечения его сохранности по формулам /5, 6/:

- при взрыве сосредоточенных зарядов выброса:

                                                                   (8.20)

- при взрыве линейных зарядов выброса:

                                                                 (8.21)

- при скважинной отбойке:

Rбез = 200·кп2/3·Qэ1/3                                                                    при Qэ 1000 кг     (8.22)

Rбез = 65·кп·Qэ1/2                                                                       при Qэ = 2÷1000 кг   (8.23)

Rбез = 63·кп·Qэ2/3                                                                            при Qэ > 2 кг        (8.24)

где Q -суммарный вес сосредоточенных зарядов, кг;

ρ - суммарный линейный вес линейных зарядов, кг/м;

Qэ - веc эквивалентного открытого сосредоточенного заряда, кг;

Кзаб - коэффициент, учитывающий влияние забойки (табл. 6),ед.

КМ - коэффициент, учитывающий влияние метеоусловий (табл. 7),

кп - коэффициент, учитывающий прочностные свойства породы (табл. 8), ед.

Таблица 6

Численные значения коэффициента Кзаб

Вид забойки

Величина Кзаб при lзаб/dскв , равном:

0

5

1

10

20

25

Грунтовая

1.00

0.35

0.13

0.05

0.04

0.03

Воздушная

1.00

0,50

0.25

0.12

0,06

0.04

Примечание: Для зарядов выброса, размещаемых в штольнях сочетаем Sшт2) эквивалентный диаметр равен

Таблица 7

Численные значения коэффициента КМ

Сезон

Величина КМ при скорости ветра в направлении охраняемого объекта:

Более 5 м/с

Менее 6 м/с

в 7 час

в 13 час

в 7 час

в 13 час

Зима

20

30

7

20 "

Весна-осень

3.5

2.5

3

116

Лето

3.5

1.6

3

1.4

Таблица 8

Численные значения коэффициента Кп

Коэффициент крепости пород, f

Коэффициент Кп

4÷8

1.0

9÷14

1.2

15÷20

1.6

8.22. Вес эквивалентного сосредоточенного заряда определяют по формуле:

                                                                          (8.25)

где ρ - линейная плотность скважинных зарядов, кг/м;

 - их диаметр, м;

N - число одновременно взрываемых скважинных зарядов, ед.;

8.23. Основной причиной неуправляемого разлета отдельных кусков породы является поршневое действие продуктов детонации зарядов, размещаемых в теле перемычки. Учитывая повышенную опасность последствий разброса породы дальность разлета (м) следует определять без учета сопротивления воздуха по формуле:

                                                                                           (8.26)

где Vо - начальная скорость выброса породы, м/с.

8.24. Численное значение начальной скорости выброса определяют по формуле:

- для сосредоточенных зарядов выброса:

                                                                               (8.26)

- для линейных зарядов выброса:

                                                                                       (8.27)

- при скважинной отбойке на рыхление:

                                                                                        (8.28)

При взрывании скважинных зарядов направленного выброса для определения начальной скорости выброса в направлении перемещения основного объема породы используют формулу (5.1), в тыльном и боковых направлениях - формулу (8.28).

8.25. Основным источником гидродинамического воздействия является взрыв подводных накладных зарядов, предназначенных для кратковременного устранения водного зажима боковой поверхности перемычки. На расстояниях, соизмеримых с безопасными, независимо от реальной формы все заряды принимаются к расчету как сосредоточенные.

8.26. Безопасное расстояние (м) определяют по следующей формуле /7/:

,                                                                    (8.29)

где Рдоп

-предельно допустимое явление на подводную часть охраняемого объекта, кг/см2;

К

- численный коэффициент, зависящий от энергетических показателей применяемого типа ВВ, ед.;

λ

- показатель степени, характеризующий интенсивность изменения давления на фронте гидроударной волны в зависимости от пройденного расстояния, ед.

Для упрощения практических расчетов численные значения параметров К и λ применительно к промышленным ВВ представлены в табл. 9.

Таблица 9

Численные значения параметров К и λ

Наименование ВВ

Значения при К и λ, равном (кг/м3)

900

1000

1100

1200

1

2

3

4

5

Алюмотол

1.152

544

1.153

554

1.53

562

1.153

570

Гранулотол,
Граммониты 30/70, 30/70-В

1.096

459

1.100

470

1.103

480

1.106

489

Граммонал А-45

1.166

568

1.166

577

1.165

584

1.164

591

Граммонал А-8

1.155

549

1.156

559

1.156

567

1.155

573

Гранулит АС-8В

1.151

543

1.152

552

1.152

560

1.152

568

Граммониты 79/2I-B, 79/2I-B, аммонит 6ЖВ

1.122

497

1.125

508

1.127

518

1.128

525

Аммонал

1.143

529

1.144

539

1.145

548

1.145

555

Гранулит АС-8

1.151

543

1.152

552

1.152

560

1.152

568

Аммонит скальный № 1

1.155

550

1.156

560

1.157

569

1.156

575

ЗАКЛЮЧЕНИЕ

Методические указания разработаны с учетом наиболее существенных факторов, характеризующих начальные условия ликвидации перемычек и основные требования к безопасности буровзрывных работ. Расчетные положения содержат исходные параметры, которые всегда могут быть получены в производственных условиях. Следует, однако, иметь в виду, что степень надежности расчетных оценок в существенной мере определяется уровнем достоверности исходной информации. Поэтому, принимая во внимание вероятностный характер распределения начальных параметров, вычисления необходимо выполнять с учетом возможного диапазона их изменения, а окончательное техническое решение следует принимать после обобщения и анализа различных расчетных вариантов.

ЛИТЕРАТУРА

1. Методические указания по расчету параметров буровзрывных работ при проходке горных выработок сплошным забоем /В.А. Фокин, Ю.А. Епимахов, В.В. Гущин и др.; Апатиты: Изд. КНЦ АН СССР, 1990.

2. Методические указания по проектированию и производству массовых взрывов при возведении подземных сооружений /Ю.А. Епимахов, В.В. Гущин, Г.Н. Сиротюк и др.; Апатиты; Изд. КНЦ АН СССР, 1990.

3. Справочник взрывника /Б.Н. Кутузов, В.М. Скоробогатов, И.Е. Ерофеев и др.; Под общей редакцией Б.Н. Кутузова. М.: "Недра", 1988.

4. Гущин В.В., Абрамчук B.П., Сиротюк Г.Н., Фокин В.А. Испытания импульсного взрывного прибора ИВП-30 // Цв. металлургия, 1990, № 7.

5. Азаркович А.Е., Шуйфер М.И., Тихомиров А.П. Взрывные работы вблизи охраняемых объектов. М.: "Недра", 1984.

6. Цейтлин Я.И., Смолий Н.И. Сейсмические и ударные воздушные волны промышленных взрывов. М.: "Недра", 1981.

7. Фекин В.А. Совершенствование методики расчета безопасных расстояний при подводных взрывах // Гидротехническое строительство. 19867, № 11.

ПРИЛОЖЕНИЯ

ОРИЕНТИРОВОЧНЫЕ ЗНАЧЕНИЯ ПРЕДЕЛЬНО ДОПУСТИМЫХ СКОРОСТЕЙ КОЛЕБАНИЯ ПО ДАННЫМ РАЗЛИЧНЫХ ЛИТЕРАТУРНЫХ ИСТОЧНИКОВ

Таблица 1

Предельно допустимая скорость колебания при многократном (однократном) воздействии / /

Тип сооружения (объекта)

Vдоп,см/с

Промышленные здания, транспортные эстакады, большие и средние мосты средней и высокой капитальности

5 (10)

Одноэтажные каркасные промышленные здания, малосвязные породы в основании сооружений

10 (20)

Массив трещиноватых скальных пород; железобетонная обделка наполненных напорных туннелей М 200, М 300

20 (50)

Массив скальных малотрещиноватых с благоприятной ориентацией трещин пород; массивный гидротехнический бетон, набравший не менее 70 % проектной прочности (М 200 , М 300 ) железобетонная отделка туннелей

50 (100)

Массив прочных скальных пород

100 (150)

Гидротехнический бетон, набравший менее 70 % проектной прочности

V = σсж /15

Таблица 2

Допустимые значения скорости колебаний для подземных сооружений различных классов /2.П/

Характеристика пород

Коэффициент крепости, f

Допустимая скорость Vдоп колебаний (см/с) с учётом коэффициента надежности

I

II

III

IV

Сильнотрещиноватые с глиной и высокой пористостью

1-3

4,5

9,4

14,9

26,2

Скальные со значительной естественной трещиноватостью

3-5

6,3

13,2

20,9

36,5

Относительно монолитные с отдельными трещинами и пустотами

5-9

8,0

16,9

27,0

46,2

Монолитные слаботрещиноватые

9-14

9,8

20,7

32.8

57,3

Очень крепкие и монолитные, практически без трещин

14-20

11,7

24,7

39,2

68,5

Таблица 3

Классификация подземных сооружений /2.П/

Характеристика сооружения

Класс сооружений

Особо ответственные сооружения со сроком эксплуатации более 10÷15 лет

I

Ответственные сооружения со сроком эксплуатации более 5÷10 лет

II

Кратковременно эксплуатируемые сооружения (от 1 до 5 лет)

III

Неответственные сооружения со сроком эксплуатации до 1 года

IV

Таблица 4

Значения поправочных коэффициентов при различной надежности прогнозирования /3.П/

Показатели

Класс сооружений

I

II

III

IV

Уровень надежности

0,99

0,94

0,89

0.84

Коэффициент КН

1,52

1,44

1,36

1,30

Таблица 5

Характер разрушений при различных скоростях колебаний массива /2.П/

Характер разрушений

V, см/с

Повреждений нет

до 20

Незначительное развитие имеющихся трещин, отдельные вывалы пород с участков, ранее ослабленных взрывными работами

20÷50

Интенсивное развитие трещин и заколов, сопровождающееся вывалами кусков породы размером 0.2 × 0.2 × 0.2 м

50÷100

Развитие притертых тектонических трещин, заколы и вывалы кусков породы размерами 0.5 × 0.5 × 0.5 м по плоскостям ослаблений

100÷150

Обрушение стенок и кровли выработок по тектоническим трещинам, образование трещин и заколов в ненарушенном массиве

150÷300

Сплошное обрушение стенок и кровли выработок, образование крупных вывалов размером 1,0 × 1,0 × 1,0 м, завал выработок до половины первоначального сечения

300÷400

Полное нарушение сплошности массива, обрушение крупных породных блоков, завал более половины первоначального сечения выработок

более 400

Таблица 6

Допустимые скорости колебаний промышленных зданий и сооружений /4.П/

Характеристика зданий и сооружений

Допустимая скорость колебаний грунта по классам сооружений, см/с

I

II

III

Здания и сооружения промышленного или гражданского назначения с железобетонным или металлическим каркасом с навесными панелями или легким заполнителем, имеющие антисейсмические усиления. Качество строительных работ хорошее, без отклонений от расчетной схемы. Остаточных деформаций в несущих элементах, конструкциях и заполнителе не имеется

5.0

7.0

10.0

Здания и сооружения с железобетонным или металлическим каркасом с заполнителем без антисейсмических усилений. Остаточных деформаций не имеется.

2.0

5.0

7.0

Каркасные здания, заполнитель кирпичная или каменная кладка, трещины в заполнителе. Новое или старое крупноблочное или кирпичное здание без антисейсмических усилителей. Качество строительных работ хорошее. Остаточных деформаций не имеется.

1,5

3.0

5.0

Каркасные здания, имеющие значительные нарушения в заполнителе и трещины в каркасе. Новое или старое здание из кирпича или крупных блоков, имеющие отдельные небольшие трещины в несущих стенах и перегородках.

1.0

2.0

3.0

Старое или новое здание каркасного типа, имеющее трещины в каркасе, нарушения связей между отдельными элементами. Кирпичное или крупноблочное здание с несущими стенами , имеющими значительные нарушения в виде косых трещин, трещин в углах и т.п.

0.5

1.0

2.6

Нарушения железобетонного каркаса, коррозия арматуры каркаса, крупные трещины в заполнителе. Здания с несущими стенами, имеющие значительное количество трещин, нарушения связей между наружными и внутренними стенами и т.п. Крупнопанельные здания, не усиленные антисейсмически.

0.3

0.5

1.0

Таблица 7

Классификация промышленных зданий и сооружений /4.П/

Тип сооружений

Класс

Особо ответственные здания  и сооружения общесоюзного, и республиканского значений, исторические и архитектурные памятники,  ведение взрывных работ вблизи которых возможно лишь в исключительных случаях.

I

Сооружения промышленного назначения большой важности: трубы, здания цехов больших размеров, копры шахт, водонапорные башни и т.п. со сроком службы более 20-30 лет; здания к сооружения гражданского назначения с большим скоплением людей, жилые дома, кинотеатры, дома культуры и т.п.

II

Сооружения промышленного и служебного назначения сравнительно небольших размеров в плане и не выше трех этажей по высоте; механические мастерские, компрессорные, бытовые комбинаты и т.п.; здания гражданского назначения с небольшим скоплением людей, жилые дома, магазины, служебные помещения и т.п.

III

Здания промышленного и гражданского назначения с ценными и дорогостоящими машинами и приборами, нарушения которых не угрожают жизни и здоровью людей; складские помещения, экипировочные пункты для транспорта, здания автоматизированных холодильников, компрессорных установок и т.п.

IV

ЛИТЕРАТУРА

1.П. Технические правила ведения взрывных работ в энергетическом строительстве. М.: "Энергия". 1972.

2.П. Мосинец В.Н. Дробящее и сейсмическое действие взрыва в горных породах. М.: "Недра". 1976.

3.П. Богацкий В.Ф., Пергамент В.Х. Сейсмическая безопасность при взрывных работах. М. : "Недра". 1978.

4.П. Справочник взрывника /Б.Н. Кутузов, В.М. Скоробогатов, И.Е. Ерофеев и др.; Под общей ред. В.Н. Кутузова. - М. : "Недра" 1988.

Рис. 1. Общая схема размещения зарядов при ликвидации перемычки
1 - скважинные заряды; 2 - подводный заряд; 3 - положение границы газовой полости в момент взрывания первого ряда скважинных зарядов; 4 - положение границы газовой полости в момент ее полного расширения.

Рис. 2. Расчетная схема для определения места размещения зарядов выброса.

Рис. 3. Расчетная схема для определения мест размещения зарядов выброса.

Рис. 4. Схемы размещения скважинных зарядов в теле перемычки.

Рис. 5. График для определения коэффициента использования начальной энергии взрыва на выброс.

Рис. 6. Схемы распределения средств инициирования
1 - скважинный заряд; 2 - ДШ; 3 - КЗДШ; 4 - ЭД.

Рис. 7. Принципиальные схемы соединения ЭД
1 - магистральные провода; 2 - монтажные провода; 3- электродетонаторы; 4-соединительные провода.

Рис. 8. Расчетная схема для определения веса эквивалентного сосредоточенного заряда ВВ.

 




Яндекс цитирования