//
ТехЛит.ру
- крупнейшая бесплатная электронная интернет библиотека для "технически умных" людей.
WWW.TEHLIT.RU - ТЕХНИЧЕСКАЯ ЛИТЕРАТУРА

:: Алготрейдинг::


АЛГОТРЕЙДИНГ
шаг за шагом
с нуля по урокам!

Торговые роботы на PYTHON, BackTrader,
Pandas, Pine Script для TradingView. Связка с брокерами, телеграм и легкими приложениями.


РОССИЙСКАЯ АКАДЕМИЯ СЕЛЬСКОХОЗЯЙСТВЕННЫХ НАУК

ВСЕРОССИЙСКИЙ НАУЧНО-ИССЛЕДОВАТЕЛЬСКИЙ ИНСТИТУТ ЭЛЕКТРИФИКАЦИИ СЕЛЬСКОГО ХОЗЯЙСТВА

НАУЧНО-ПРОИЗВОДСТВЕННОЕ ВНЕДРЕНЧЕСКОЕ ПРЕДПРИЯТИЕ «ПАВЛЕНА»

МЕТОДИЧЕСКИЕ РЕКОМЕНДАЦИИ

ПО РАСЧЕТУ И ВЫБОРУ СИСТЕМ ОТОПЛЕНИЯ И ГОРЯЧЕГО ВОДОСНАБЖЕНИЯ СЕЛЬСКИХ ЖИЛЫХ ДОМОВ

Москва 1994

В рекомендациях проанализировано водяное, паровое и воздушное отопление сельских жилых домов, приведены требования, характеристики и методики теплового и гидравлического расчетов систем водяного отопления и горячего водоснабжения с естественной и насосной циркуляцией теплоносителя, технические данные строительных материалов, теплоизоляции, отопительных котлов, тепловых приборов, насосов и других технических средств, а также пример расчета двухтрубной системы отопления современного усадебного сельского дома.

Предназначены для использования специалистами проектных и строительных организаций и сельских индивидуальных застройщиков.

Рекомендации разработаны канд. техн. наук A.M. Зайцевым и Н.В. Артамоновой.

Рекомендации одобрены секцией электрификации сельского хозяйства Ученого совета ВИЭСХ 26.11.1992 г.

Ответственный за выпуск - Королев Ю.П.

Содержание

ВВЕДЕНИЕ

1. ОБЩИЕ СВЕДЕНИЯ ОБ ОТОПЛЕНИИ

1.1. Цель и назначение отопления.

1.2. Характеристика систем водяного отопления

1.3. Схемы отопления

2. ТРЕБОВАНИЯ ДЛЯ ТЕПЛОТЕХНИЧЕСКИХ РАСЧЕТОВ СИСТЕМ ОТОПЛЕНИЯ

3. РАСЧЕТ ТЕПЛОВОЙ НАГРУЗКИ СИСТЕМЫ ОТОПЛЕНИЯ ЖИЛОГО ДОМА

4. РАСЧЕТ ДВУХТРУБНОЙ СИСТЕМЫ ОТОПЛЕНИЯ И ГОРЯЧЕГО ВОДОСНАБЖЕНИЯ ЖИЛОГО ДОМА ПРИ ЕСТЕСТВЕННОЙ И НАСОСНОЙ ЦИРКУЛЯЦИИ

4.1. Расчет поверхности нагрева и выбор нагревательных приборов.

4.2. Расчет поверхности нагревательных приборов с учетом теплоотдачи трубопроводов

4.3. Определение потерь, теряемых обратным трубопроводом

4.4. Трубопроводы и арматура

4.5. Расширительный бак в системе отопления

4.6. Прокладка трубопроводов

4.7. Гидравлический расчет системы отопления с естественной циркуляцией воды

4.8. Гидравлический расчет системы отопления с насосной циркуляцией воды

4.9. Расчет теплопроизводительности котла

4.10. Расчет установок горячего водоснабжения

5. ПРИМЕР РАСЧЕТА СИСТЕМЫ ОТОПЛЕНИЯ И ГОРЯЧЕГО ВОДОСНАБЖЕНИЯ ОДНОКВАРТИРНОГО 4-КОМНАТНОГО КИРПИЧНОГО ЖИЛОГО ДОМА С МАНСАРДОЙ

5.1. Архитектурно-планировочные и конструктивные показатели

5.2. Теплотехнический расчет

5.3. Расчет поверхности нагрева и подбор приборов

5.4. Гидравлический расчет системы отопления при естественной циркуляции

5.5. Расчет горячего водоснабжения

5.6. Пример гидравлического расчета системы отопления при насосной циркуляции

5.7. Выбор циркуляционного насоса и электродвигателя

СПИСОК ЛИТЕРАТУРЫ

Основные единицы системы СИ и соотношение их с единицами системы МКГСС

Система СИ

Система МКГСС

единицы давления

1 Па = 0,101972 кгс/м2

1 Па = 0,98692∙10-5 атм = 7,5∙10-3 мм рт. ст. = 10-5 бар

1 бар = 1,01972 кгс/м2 = 750,06 мм рт. ст. = 1,01972∙104 мм вод. ст. = 105 Па

1 мм вод. ст. = 9,807 Па

1 кгс/м2 = 9,807 Па = 9,807∙10-5 бар

1 кгс/см2 = 98066,5 Па = 0,98 МПа

едиНИЦЫ мощности

1 Вт = 0,101972 кгс∙м/с

1 Вт = 0,859845 ккал/ч

1 кгс∙м/с = 9,80665 Вт

1 ккал/ч = 1,163 Вт

единицы теплоты

Тепловой поток

1 Вт = 0,23885 кал/с = 0,859845 ккал/ч

1 кал/с = 4,1868 Вт

Плотность теплового потока

1 Вт/м2 = 0,23885∙10-4 кал/(см2∙с) = 0,859845 ккал/(м2∙ч)

1 кал/(см2∙с) = 4,1868 Вт/м2

1 ккал/(м2∙ч) = 1,163 Вт/м2

Коэффициент тепловосприятия теплоотдачи

1 Вт/(м2∙°С) = 0,859845 ккал/(м2∙ч∙°С)

1 ккал/(м2∙ч∙°С) = 1,163 Вт/м2∙°С

ВВЕДЕНИЕ

Улучшение условий жизни сельского населения связано, в частности, с созданием теплового комфорта, который в холодное время года во многом определяется совершенствованием отопления помещений. Состояние отопительной техники, как и любой другой, определяется уровнем развития производительных сил и характером производственных отношений общества.

На развитие отопительной техники оказывает влияние вид применяемого топлива. В течение многих столетий использовалось только твердое топливо (дрова, уголь) и отопительные установки приспосабливали к его сжиганию.

С применением природного газа, нефти созданы отопительные установки для их сжигания с нагреванием промежуточной среды, переносящей теплоту в помещения. Однако их дефицит заставил искать новые источники тепловой энергии: солнечной, атомной и др.

В последнее десятилетие для отопления помещений используют также электрическую энергию, в особенности аккумулируемую в ночное время. Дальнейшее развитие атомной и термоядерной энергетики создаст избыток энергии, что позволит широко применять ее для отопления.

Анализ нормативно-технической документации и выпускаемых отопительных водяных установок показывает, что широко применяют в сельских жилых домах следующие котлы или аппараты, работающие:

на твердом топливе

АОТ-7; АОТ-9; АТ-10; AОTB-I7; АТ-20, АБТ-22; АОТВ-23,2; АОТВ-29;

на жидком топливе

АОЖ-8,7; АОЖВ-11,6; АОЖВ-23,2;

на газообразном топлива

АОГВ-11,6; АОГВ-12,5; АОГВ-17,5; AOГB-23,2; AКГB-23,2; АОГВ-29;

на твердом и газообразном топливе

КС-ТГ-10; КС-ТГ-16; КС-ТГВ-16; КСГВМ-16; КС-ТГВ-20; КОВ-20; АТГВ-20; АОТГВ-20; АТГВ-23,2;

на электрической энергии

ЭВО-Ф-15; САОС-400; САОС-800.

Как видим, совершенно отсутствуют комбинированные отопительные установки с применением электрической энергии, хотя такие установки за рубежом применяют широко, особенно в комбинации с электроаккумуляторами.

Отечественные системы отопления по сравнению с лучшими зарубежными заметно уступают в металлоемкости и энергоемкости в 1,5, а в долговечности в 2 раза и более.

Избежать эти недостатки позволит применение насоса с маломощным электроприводом, термосмесителем и регуляторами температуры воды и воздуха.

1. ОБЩИЕ СВЕДЕНИЯ ОБ ОТОПЛЕНИИ

1.1. Цель и назначение отопления.

Основная цель отопления - создание тепловых условий в помещениях, благоприятных для жизни и деятельности человека. Комфортные условия в холодное время года обеспечиваются, если поддерживать определенную температуру воздуха в помещении.

Отопление начинают при устойчивом в течение 5 сут. понижении температуры наружного воздуха до 8°С и ниже, когда теплопоступлений в помещение уже недостаточно для поддержания нормальной температуры. Заканчивают отопление при устойчивом повышении температуры наружного воздуха выше 8°С также в течение 5 сут. Продолжительность отопления домов в холодное время года называют отопительным сезоном. На большей территории России, характеризующейся суровой и длительной зимой, отопительный сезон 6-8, а на севере страны 9-11 мес. Длительность отопительного сезона устанавливают на основании многолетних наблюдений как среднее количество дней в году с устойчивой среднесуточной температурой воздуха 8°С и ниже. Так, в Московской обл. продолжительность отопительного сезона 213 сут.

Суровость или мягкость зимы выражают количеством градусо-суток, т.е. произведением количества суток действия отопления на разность внутренней и наружной температур, средней для этого периода времени. Если количество градусо-суток для Московской обл. равно 4600, то на севере Красноярского края доходит до 12800.

Под влиянием разности между температурой внутреннего tв и наружного tн воздуха возникают теплопотери через наружные ограждения и для поддержания необходимой tв требуется подача теплоты в помещения, т.е. отопление. Теплозатраты на отопление домов и сооружений очень велики, поэтому для этой цели приходится расходовать до 1/3 добываемого топлива.

Отопление предназначено для подачи в помещения дома тепловой энергии в количестве, равном теплопотерям. Следовательно, при понижении температуры наружного воздуха, а также при усилении ветра подача теплоты в помещения должна увеличиваться, а при повышении наружной температуры - уменьшаться.

Кроме внешних метеорологических условий на температуру отапливаемых помещений влияют теплопоступления от бытовых источников, что требует изменения теплоподачи отопительных установок. Поэтому отопительные установки должны регулировать количество теплоты, изменяющееся в соответствии с теплопотерями.

К отопительным установкам предъявляют следующие требования:

- санитарно-гигиенические (поддержание равномерной температуры помещений, ограничение температуры нагревательной поверхности и возможность ее очистки);

- архитектурно-строительные (соответствие планировки помещений, компактность, эстетичность);

- экономические (невысокие капитальные вложения и небольшой расход металла и энергии);

- эксплуатационные (безотказность и долговечность, простота и удобство управления, бесшумность и безопасность действия).

Отопительная установка - одно из основных конструктивных элементов системы отопления, которая представляет собой совокупность отдельных элементов, предназначенных для получения, переноса и передачи необходимого количества тепловой энергии во все обогреваемые помещения.

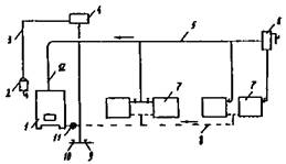
Система отопления (рис. 1) состоит из отопительной установки 1 (котла или генератора теплоты) для получения тепловой энергии при сжигании топлива или от другого источника, отопительных приборов 3 для теплопередачи в помещения, теплопроводов подающего 2 и обратного 4, сети труб или каналов для теплопереноса от котла к отопительным приборам. Теплоперенос осуществляется теплоносителем жидким (вода, антифриз) или газообразным (пар, воздух). В зависимости от вида теплоносителя системы отопления могут быть водяными, паровыми или воздушными.

Рис. 1. Принципиальная схема системы отопления

В системах отопления сельских односемейных жилых домов получение, перенос и передача теплоты происходят непосредственно в отопительной установке. Теплопереносящая среда может нагреваться горячей водой или горячим газом, образующимся при сжигании какого-либо топлива (например; природного газа).

В системах отопления с использованием электрической энергии теплоперенос осуществляется жидким или газообразным теплоносителем, либо без него - непосредственно через твердую среду. В сельской местности в основном применяются водяные системы отопления. Системы парового и воздушного отопления менее надежны и применяются крайне редко.

Надежность систем отопления, т.е. свойство обеспечивать заданную теплоотдачу в помещения в течение требуемого периода времени (ряда отопительных сезонов), различна. Наибольшую надежность, которая обусловлена прежде всего безотказностью (непрерывным сохранением работоспособности), а также сравнительную долговечность имеют системы водяного отопления (срок службы 30-35 лет), управляемые и безотказные в эксплуатации. Менее надежны системы парового отопления, более сложные по конструкции и в обслуживании, недолговечные (срок службы паропроводов примерно 10 лет, конденсатопроводов около 4 лет). Невысокую надежность имеют также системы воздушного отопления из-за возможности нарушения распределения воздуха по помещениям, поскольку воздуховоды из кровельной и тонколистовой стали недолговечны, а из кирпича, блоков, плит и других материалов недостаточно плотны.

Учитывая существенные преимущества водяных систем отопления и их широкое применение в сельской местности, рассмотрим эти системы более подробно.

1.2. Характеристика систем водяного отопления

В системах водяного отопления циркулирующая нагретая вода охлаждается в отопительных приборах и возвращается в отопительную установку для последующего нагревания. Системы водяного отопления подразделяют на низкотемпературные с предельной температурой горячей воды tг < 100°С и высокотемпературные с tг > 100°С. Максимальное значение температуры воды ограничено в настоящее время 150°С и применяется в системе централизованного теплоснабжения.

По способу создания циркуляции теплоносителя различают системы с естественной циркуляцией воды (гравитационные системы) и с механическим побуждением воды насосами (насосные системы). В гравитационной системе используют различие в плотности воды, нагретой до разной температуры. В вертикальной системе с неоднородной плотностью воды возникает естественное движение под влиянием гравитационного поля Земли. В системе с механическим побуждением циркуляции воды применяют насос с электродвигателем для повышения гидравлического давления, вызывающего циркуляцию, и в системе создается вынужденное движение воды. Причем сечение теплопроводов в этом случае в несколько раз меньше, чем в гравитационной системе.

Системы водяного отопления по положению труб, объединяющих отопительные приборы по вертикали или горизонтали, делят на вертикальные и горизонтальные.

Теплопроводы вертикальных систем подразделяют на магистрали, стояки и подводки: подающие - для подачи горячей воды к отопительным приборам и обратные - для отведения охлажденной воды к теплообменникам.

Теплопроводы горизонтальных систем, кроме магистральных, стояков и подводок, имеют горизонтальные ветви, объединяющие отопительные приборы, расположенные на одном уровне.

В зависимости от схемы соединения труб с отопительными приборами системы отопления подразделяют на однотрубные, двухтрубные и бифилярные. В каждом стояке или горизонтальной ветви однотрубной системы приборы соединяют одной трубой и вода протекает последовательно через все приборы. Если приборы разделяют пополам и соединяют трубами таким образом, чтобы вода последовательно протекала через все первые половины, а потом в обратном направлении через вторые половины приборов, то такую систему называют бифилярной (двухпроточной).

В двухтрубной системе отопительные приборы присоединяют отдельными трубами к двум стоякам - подающему и обратному, при этом вода протекает через каждый прибор независимо от других приборов.

1.3. Схемы отопления

1.3.1. Рассмотрим водяное отопление с естественной циркуляцией. Наибольшее распространение в сельских жилых домах получило отопление с естественной циркуляцией жидкости (рис. 2). В этой системе так же, как во всех других системах отопления сельских одноквартирных жилых домов, работающих с естественным побуждением, желательно котел располагать ниже отопительных приборов, так как при этом увеличивается циркуляционное давление в системе и уменьшается сечение трубопроводов.

Рис. 2. Схема отопления с прокладкой горячего теплопровода сверху, а обратного - снизу отопительных приборов:

1 - раковина на кухне; 2 - переливной и воздушный трубопроводы от расширителя диаметром 20 мм; 3 - расширительный сосуд; 4 - горячий разводящий теплопровод; 5 - обратный теплопровод; 6 - патрубок с вентилем для слива воды из системы; 7 - водопровод для питания системы холодной водой; 8 - отопительные приборы; 9 - отопительная установка; 10 - главный стояк

Если котел нельзя установить ниже отопительных приборов, то его можно поместить на одном уровне с ними и даже несколько выше. В этом случае вода в системе будет циркулировать вследствие охлаждения ее в трубопроводах. При расположении отопительных приборов выше котла появится дополнительное циркуляционное давление, зависящее от высоты их расположения. Таким образом, охлаждение воды в трубопроводах системы отопления, находящихся выше котла, способствует улучшению циркуляции воды.

Горячий и обратный трубопроводы прокладывают о уклоном не менее 0,003-0,005 по движению воды в нем (для подающих трубопроводов - от источника теплоты к отопительным приборам, а для обратных - от отопительных приборов к источнику теплоты). Это обеспечивает свободный выход воздуха через расширительный сосуд и слив воды из системы через сливной патрубок, расположенный в нижней точке системы. Вода может сливаться в канализацию или в специальный дренажный колодец.

Расширительный сосуд во избежание замерзания и для удобства обслуживания системы следует располагать в отапливаемом помещении.

Для удобства обслуживания котел, расширительный сосуд и питающий вентиль водопровода холодной воды рекомендуется устанавливать в одном помещении. При отсутствии водопровода систему отопления можно заполнять с помощью ручного насоса или через расширительный сосуд, в крышке которого предусматривается закрывающее отверстие. Следовательно, отсутствие водопровода в доме не должно препятствовать устройству отопления, тем более что воду из системы сливают очень редко.

Прокладка обратного трубопровода (рис. 2) над полом помещения особенно при расположении отопительных приборов у наружных стен, не всегда возможна. Для обхода трубопроводом дверей приходится заглублять его под пол и устраивать подпольные каналы, что особенно нежелательно, когда система оборудуется в готовом доме. Поэтому, как правило, применяют другую схему - с прокладкой обратного трубопровода рядом с горячим под потолком помещения (рис. 3). Горячая вода в отопительные приборы поступает, как и по ранее рассмотренной системе. Охлажденная вода от приборов поднимается по обратному стояку в сборный обратный трубопровод под потолком и по нему возвращается в котел. Однако, такую схему нельзя рекомендовать к широкому применению во вновь строящихся домах из-за неустойчивости циркуляции в ней воды. Эта система имеет несколько циркуляционных колец, в которых обратная вода поднимается и сливается в верхнем обратном трубопроводе.

Рис. 3. Прокладка обратного трубопровода рядом с горячим под потолком:

1 - генератор теплоты; 2 - главный стояк; 3 - переливная и воздушная линии; 4 - расширительный сосуд; 5 - воздушная петля, 6 - горячая разводящая линия; 7 - обратная линия; 8 - нагревательные приборы; 9 - питательный патрубок; 10 - спускной патрубок

Особенность более совершенной, хотя и более сложной системы (рис. 4) состоит в том, что обратная охлажденная вода направляется не в котел, а вниз, где смешивается с охлажденной водой от других приборов, и затем по общему трубопроводу движется к котлу. Слияние более холодной воды от удаленных от котла отопительных приборов происходит в нижних, а не верхних точках циркуляционных колец. Поэтому понижение температуры в обратном трубопроводе одного из колец приведет к ускоренному движению этой воды, а следовательно, к улучшению циркуляции в кольце. Недостатками этой схемы являются увеличенный расход труб и осложненный слив воды (для полного опорожнения системы необходимо отвинчивать нижние пробки у каждого отопительного прибора или предусматривать в них специальные спускные краны). Однако, если обратный трубопровод необходимо прокладывать около дверей, особенно в уже благоустроенных домах, то следует предпочесть эту систему, поскольку отпадает необходимость переделки строительных конструкций и устройства подпольных каналов.

Рис. 4. Схемa отопления с прокладкой горячего и обратного трубопроводов над отопительными приборами (со смешением потоков внизу):

1 - отопительная установка; 2 - отопительные приборы; 3 - расширительный сосуд

В простершей проточной системе водяного отопления расширительный сосуд устанавливают непосредственно на котле (рис. 5). Горячая вода поступает в систему отопления из расширительного сосуда по трубопроводу, расположенному на высоте первого по ходу воды отопительного прибора. Далее вода последовательно проходит все отопительные приборы, выполненные из гладких труб и установленные с постепенным понижением, обеспечивающим необходимый уклон трубопровода в сторону движения воды, и возвращается обратно в котел. Для увеличения циркуляционного давления отопительные приборы рекомендуют располагать возможно выше. Можно выполнять в виде одной гладкой или ребристой трубы. Однако, несмотря на простое устройство проточная система также имеет недостатки: невозможность свободного регулирования и выключения отдельных отопительных приборов, а также неудовлетворительный внешний вид вследствие прокладки горизонтального трубопровода между приборами на видном месте жилого помещения.

Рис. 5. Схема проточной системы отопления:

1 - расширительный сосуд; 2 - отопительные приборы (гладкие трубы); 3 - запорно-регулирующая арматура; 4 - обводка двери; 5 - слив воды из системы; 6 - отопительная установка

Рассмотренные выше схемы отопления в основном применяют в одноэтажных одноквартирных домах. Отопление двухэтажных домов или одноэтажных с мансардой мало отличается от обычного водяного отопления с естественной циркуляцией.

Правда, предпочтение отдают однотрубной проточной системе и однотрубной регулируемой системе с замыкающими участками и верхней раздачей, увеличивающей циркуляционное давление вследствие охлаждения воды в трубопроводе (рис. 6).

Рис. 6. Схема однотрубной регулируемой системы отопления с замыкающими участками (для двухэтажного дома).

1 - отопительные приборы; 2 - трехходовые краны; 3 - разводящий трубопровод горячей воды; 4 - расширительный сосуд: 5 - замыкающие участки; 6 - обратный трубопровод; 7 - патрубок для слива воды из системы; 8 - патрубок для наполнения системы водой; 9 - котел; 10 - переливной и воздушный трубопровод

В этих системах расчетное циркуляционное давление значительно больше, чем в двухтрубных, расчет трубопроводов, которых производится по давлению для приборов, расположенных в первом этаже. Кроме того, приборы первого и второго этажей в однотрубных системах имеют одинаковое циркуляционное давление, тогда как в двухтрубных системах в приборах второго этажа оно значительно больше, чем в приборах первого этажа, что усложняет регулирование. Вместе с этим однотрубные и бифилярные системы имеют экономические заготовительно-монтажные и некоторые эксплуатационные преимущества. При использовании их вместо двухтрубных уменьшается длина и масса труб, устраняются измерения в строящемся здании, отдельные узлы и детали могут быть унифицированы, что позволяет применять предварительную сборку и комплектацию узлов, сохранить затраты труда на монтаж. Повышенное гидравлическое сопротивление стояков и ветвей придает этим системам сравнительно устойчивый гидравлический режим, что позволяет отказаться от пусконаладочного регулирования теплоподачи приборов при вводе систем в эксплуатацию.

1.3.2. Рассмотрим водяное отопление с механическим побуждением (насосом). В системах водяного отопления с естественной циркуляцией вследствие малого циркуляционного давления принимаются низкие скорости движения воды в трубах иногда в пределах 0,03-0,06 м/с. При этом трубопроводы имеют диаметр 50 мм и более. Открытая прокладка труб такого диаметра ухудшает интерьер помещений, а их монтаж значительно сложнее, чем труб малого диаметра.

Если скорость движения воды повысить с помощью насоса до 0,5-0,8 м/с, что вполне допустимо по условиям бесшумности и правильности распределения потоков в фасонных частях трубопроводов, то диаметры последнего можно уменьшить до 8-20 мм в зависимости от теплопотерь жилого дома.

Количество циркулирующей воды в системе при расчетной разности температур 20-25°С составляет 800-1000 кг/ч, гидравлические потери - не более 10-15 кПа, а потребляемая мощность электродвигателя - не более 30 Вт.

Схемы отопления (рис. 2, 3, 5) можно применять и с насосом, однако расширительный сосуд в них нужно присоединять к обратной линии перед насосом. Для надежного воздухоотделения уклон в горячем разводящем трубопроводе следует осуществлять против движения воды, устанавливая в верхней точке трубопровода ручной или автоматический воздухоотводчик. Простейшая и наиболее распространенная схема отопления с верхней разводкой изображена на рис. 7.

Насосную систему отопления выполняют горизонтальной однотрубной или двухтрубной с нижней прокладкой магистралей и устанавливают воздушные краны для удаления воздуха в атмосферу.

В горизонтальной однотрубной системе сокращается по сравнению с вертикальной системой протяженность теплопроводов, особенно стояков и магистралей. Укрупненные стояки для горизонтальных однотрубных ветвей прокладывают во вспомогательных помещениях дома.

Рис. 7. Схема отопления с насосом и верхней разводкой:

1 - котел; 2 - раковина на кухне; 3 - переливной и воздушный трубопроводы; 4 - расширительный сосуд; 5 - разводящий трубопровод горячей воды; 6 - воздухоотводчик; 7 - отопительные приборы; 8 - обратный трубопровод; 9 - водопровод холодной воды; 10 - патрубок с вентилей для слива воды из системы; 11 - насос; 12 - главный стояк

В горизонтальных однотрубных ветвях применяют проточные нерегулируемые приборные узлы и регулируемые узлы с замыкающими и обходными участками. При проточных ветвях регулируют теплоотдачу в помещения воздушными клапанами в конвекторах с кожухом или с общим (для всех приборов в одном этаже) регулирующим краном.

Горизонтальная однотрубная система пригодна также для прерывистого отопления помещений на разных этажах. Для системы отопления с трубопроводами малых диаметров и механическим побуждением целесообразно применять схемы с нижней раздачей и в частности однотрубные (рис. 8). Разводящий трубопровод в этой схеме прокладываются над полом. Трубопровод малого диаметра (до 10-12 мм) может пересекать дверные проемы без заглубления при высоте порога 50-70 мм. Воздух в этой системе отопления удаляется из верхней части отопительных приборов через воздушные краны. Если отопительные приборы трубчатые, например конвекторы, и скорость воды в трубках превышает 0,2 м/с, то воздух из всей системы можно удалять в одном месте - через воздухоотводчик.

Рис. 8. Однотрубная система отоплений с механическим побуждением и нижней разводкой:

1 - котел; 2 - раковина; 3 - воздушный и переливной трубопроводы от расширительного сосуда; 4 - расширительный сосуд; 5 - водопровод для обезвоздушивания циркуляционного трубопровода; 6 - отопительные приборы; 7 - воздушники; 8 - трехходовые краны; 9 - циркуляционный трубопровод; 10 - патрубок для спуска воды из системы; 11 - патрубок для наполнения системы; 12 - насос

Двухтрубная насосная система отопления двухэтажного дома должна иметь нижнюю разводку (верхняя используется для естественной циркуляции воды) с удалением воздуха через воздушные краны на отопительных приборах на верхнем этаже. Эта система обладает большей вертикальной гидравлической и тепловой устойчивостью по сравнению с системой, выполненной с верхней разводкой.

2. ТРЕБОВАНИЯ ДЛЯ ТЕПЛОТЕХНИЧЕСКИХ РАСЧЕТОВ СИСТЕМ ОТОПЛЕНИЯ

2.1. Строительные конструкции внешних ограждений отапливаемых индивидуальных домов в сельской местности, кроме требований прочности и устойчивости, огнестойкости и долговечности, архитектурного оформления и экономичности, должны отвечать теплотехническим нормам. Ограждающие конструкции выбирают в зависимости от физических свойств материалов, конструктивного решения, температурно-влажностного режимов воздуха в здании, климатологических характеристик района строительства в соответствии с нормами сопротивления теплопередачи и необходимой теплоустойчивостью. Для получения наиболее экономического конструктивного решения теплозащитные качества наружных ограждений определяются расчетом.

2.2. Основные физические свойства строительных материалов характеризуются объемным весом γ (кг/м3), удельной теплоемкостью С (кДж/(кг∙°С) и коэффициентами теплопроводности λ, (Вт/(м∙°С), теплоусвоения материала S , Вт/(м2∙С), паропроницаемости μ , мг/(м∙ч∙Па), воздухопроницаемости i, мг/(м∙ч∙Па).

Для теплотехнических расчетов физических показателей основных строительных материалов и некоторых конструктивных элементов ограждений принимают по таблицам СНиП II-3-79**. «Строительная теплотехника».

2.3. При расчете теплозащитных качеств и выборе конструкций наружных ограждений принимают расчетную зимнюю температуру наружного воздуха tн. Для перекрытий над подвалами и подпольями соответственно среднюю t холодного периода. Расчетную температуру наружного воздуха и скорости ветра принимают на основании СНиП 2.01.01-82. «Строительная климатология и геофизика. Основные положения проектирования». Расчетные температуры внутреннего воздуха tв, относительную влажность воздуха φ и кратности вентиляционных обменов в жилых домах находят по табл. 1.

2.4. Систему отопления и параметры теплоносителя выбирают на основании технико-экономического обоснования, в соответствии с требованиями санитарных и противопожарных норм, в зависимости от назначения здания и режима его эксплуатации. При этом предельные значения допустимых температур на поверхности нагревательных приборов любых типов и конструкций tнн принимают, руководствуясь правилами СНиП 2.04.05-86. «Отопление, вентиляция и кондиционирование воздуха».

Таблица 1. Температура и воздухообмен в помещениях жилых здании (СНиП 2.04.05-86)

Помещение

Расчетная
температура,
tв∙°С

Кратность обмена воздуха, за
1 ч

вытяжка

приток

Жилая комната квартиры

18

3 на 1 м2

-

Кухня квартиры (негазифицированная)

15

-

-

Ванная индивидуальная

25

25 на 1 помещение

-

Уборная индивидуальная

16

25 на 1 помещение

-

Объединенный санитарный узел

25

50 на 1 помещение

-

Кухня квартиры с газовыми конфорочными плитами:

 

 

 

2-х

15

60

-

3-х

15

75

-

4-х

15

90

-

Вестибюль, передняя, тамбур

16

-

-

2.5. В малоэтажных жилых домах применяют квартирную систему водяного отопления с верхней и нижней разводками и естественной циркуляцией. Система отопления состоит из нагревательных приборов, трубопроводов, предназначенных для транспортирования теплоносителя и отключающей арматуры. Двухтрубные системы отопления применяют, как правило, в зданиях до двух этажей (рис. 9).

Для обеспечения нужной температуры в отапливаемых помещениях необходимо, чтобы теплоотдача установленных в них отопительных приборов и труб системы отопления соответствовала теплопотерям помещения, а теплопроизводительность генератора теплоты была бы не меньше теплопотерь.

Рис. 9. Принципиальная двухтрубная схема водяного отопления с естественной циркуляцией воды и верхней разводкой:

1 - котел; 2 - главный стояк; 3 - соединительная труба; 4 - расширительный бак; 5 - стояк; 6 - нагревательный прибор; 7 - тройник; 8 - кран; 9 - подающая магистраль; 10 - вентиль; 11 - обратный стояк; 12 - тройник с пробками для выпуска воздуха и спуска воды; 13 - обратная отводка; 14 - обратная магистраль

2.6. Для отопления индивидуальных домов в зависимости от конструкции наружных стен применяют различные нагревательные приборы: радиаторы, ребристые трубы, отопительные панели, конвекторы, змеевики и регистры. Следует отметить, что в радиаторах конвективная теплоотдача больше, чем в других отопительных приборах.

Характеристика батареи отопительной биметаллической БОБ-3 приведена ниже.

Максимальное рабочее избыточное давление, МПа (испытания проводились при избыточном давлении 1,5 МПа)

1

Номинальный тепловой поток (при температуре 70°С, расходе теплоносителя через прибор 0,1 кг/с и барометрическом давлении 1013,3 ГПа, кВт

0,165

Теплоотдача комплекта из пяти секций, кВт

0,85

Масса одной секции, кг

3

Масса радиатора из шести секций с ниппелями, пробками и прокладками, кг

19,6

Промышленностью нашей страны выпускаются различные типы отопительных батарей, чугунных и стальных - штампованных радиаторов. Характеристики некоторых приведены в табл. 2-5.

Таблица 2. Чугунные радиаторы

Тип

Размеры одной секции

Поверхность нагрева
одной секции

Показатели на
1 экм

Диаметр
ниппеля, мм

h

h1

b

l

м2

экм

коэффи-
циент пе-
ревода с

м2, экм

масса,
кг

ем-
кость,
л

M-I40

388

300

140

96

0,165

0,200

1,22

27,1

5,45

32

M-I40

582

500

140

96

0,254

0,310

1,22

24,5

4,60

32

М-1000

1090

1000

185

86

0,460

0,492

1,07

-

-

32

РД-90

582

500

90

96

0,203

0,275

1,35

25,3

5,22

32

РД-26

582

500

90

100

0,205

0,275

1,34

25,0

4,95

32

Таблица 3. Теплоотдача 1 экм чугунных радиаторов в 2-трубных системах водяного отопления при подаче воды по схеме сверху-вниз, Вт

Температура помещения,
tв, °С

Температура теплоносителя, °С

85-65

90-70

95-70

115-70

130-70

150-70

5

558

605

628

698

744

814

10

512

558

582

645

698

766

12

492

541

564

628

680

744

14

477

523

547

605

663

727

15

465

512

535

592

651

723

16

453

505

523

587

632

709

18

436

483

506

569

616

689

20

419

465

488

547

599

668

25

366

419

436

500

547

622

Таблица 4. Теплоотдача радиаторов М-140, Вт

Температура,
tв, °С

kпр

Количество секций

3

4

5

6

7

8

9

10

11

Fпр, м2

0,762

1,016

1,270

1,524

1,778

2,032

2,286

2,540

2,794

Fпр, экм

0.93

1,24

1,55

1,86

2,17

2,48

2,79

3,10

3,41

Строительная ширина, м

0,288

0,384

0,48

0,576

0,672

0,768

0,864

0,96

1,056

5

9,95

668

843

1035

1209

1389

1570

1744

1930

2192

14

9,79

582

733

895

1052

1209

1361

1512

1663

1814

15

9,79

569

727

884

1040

1186

1337

1488

1639

1785

16

9,79

552

709

866

1023

1163

1320

1471

1611

1762

18

9,71

540

686

832

983

1128

1267

1419

1558

1692

20

9,71

523

663

814

954

1093

1233

1372

1512

1639

25

9,59

477

605

738

866

994

1122

1244

1372

1488

30

9,59

436

552

674

791

907

1023

1139

1256

1361

Окончание табл. 4

Температура,
tв, °С

kпр

Количество секций

12

13

14

15

16

17

18

19

20

Fпр, м2

3,048

3,302

3,556

3,81

4,064

4,318

4,572

4,826

5,08

Fпр, экм

3,72

4,03

4,34

4,65

4,96

5,27

5,58

5,89

6,20

Строительная ширина, м

1,152

1,248

1.344

1,44

1,536

1,63

1,728

1,824

1,92

5

9,95

2262

2454

2640

2803

2989

3175

3361

3547

3733

14

9,95

1965

2122

2291

2430

2593

2756

2907

3070

3233

15

9,79

1931

2087

2250

2395

2559

2709

2872

3023

3187

16

9,79

1901

2058

2215

2349

2512

2663

2814

2977

3140

18

9,71

1837

1983

2139

2268

2419

2570

2709

2861

3024

20

9,71

1779

1930

2082

2198

2349

2500

2640

2791

2930

25

9,59

1617

1750

1884

2000

2134

2262

2395

2524

2663

30

9,59

1477

1599

1721

1820

1942

2064

2181

2302

2349

Таблица 5. Коэффициенты теплопередачи kпр и теплоотдачи одной секции qс для радиаторов M-I40

Обозначение коэффициентов

tт =(tпp - tв) ,°С

60

64,5

70

80

90

100

110

120

140

qс, Вт

kпр, Вт/(м2/°С

144,2

9,59

157,0

9,7

172,1

9,8

201,1

10,05

230,3

10,2

259,3

10,3

288,9

10,4

316,3

10,6

374,4

10,7

Нагревательные приборы следует размерить так, чтобы их удобно было осмотреть и очистить. Располагают их преимущественно под окнами в соответствии с правилами СНиП 2.04.05-86.

Для правильной технико-экономической оценки, дающей максимальный тепловой эффект и экономию металла, принят за единицу исчисления поверхности нагревательных приборов эквивалентный квадратный метр (экм). В качестве его принимают поверхность нагревательного прибора, отдающую 0,5 кВт теплоты в 1 час при разности средних температур 64,5°С, параметрах теплоносителя 95-70°С, расходе на 1 экм 17,4 кг/ч и подаче теплоносителя по схеме сверху-вниз. Поверхность испытываемых нагревательных приборов должна быть 2 экм. Схема установки, диаметры труб и тепловые нагрузки даны на рис. 10.

Рис. 10. Стояк двухтрубной системы отопления о радиаторами (этажный узел):

d1, d2 - диаметр труб стояка магистрали и обратной отводки, мм;qрасч - тепловая нагрузка нагревательного прибора, Вт; l - расстояние от перегородки до нагревательного прибора, мм; h - расстояние от пола до потолка, мм

2.7. В системах водяного отопления и горячего водоснабжения индивидуальных домов (рис. 11) применяют стальные водогазопроводные трубы диаметром 15-50 мм. При прокладке трубопроводов уклон должен быть не менее 0,003-0,005; для подающих трубопроводов - от источника теплоты к нагревательным приборам, а для обратных - от нагревательных приборов к источнику теплоты. Трубы водогазопроводные соединяют на резьбе с помощью муфт и фасонных элементов: тройников угольников, переходных муфт, крестовин, а также имеют запорно-регулирующую арматуру - вентили, задвижки и проходные краны.

Рис. 11. Аксинометрическая схема трубопроводов квартирной системы отопления, совмещенная с горячим водоснабжением:

1 - подающий трубопровод системы отоплении; 2 - обратный трубопровод системы отоплении; 3 - трубопровод горячего водоснабжения; 4 - источник теплоты; 5 - расширительный бак; 6 - нагревательные приборы

2.8. Расширительный бак в системе водяного отопления служит для создания статического давления и выпуска воздуха. Расширительный бак изготавливают цилиндрической или прямоугольной формы из листовой стали толщиной 3-4 мм. Соединение листов стали делается с помощью сварки. Как правило, расширительный бак устанавливают в утепленной будке на чердаке отапливаемого здания в наивысшей точке системы и закрывают тепловой изоляцией.

2.9. В качестве источника теплоты в зоне застройки сельских населенных мест для повышения санитарно-гигиенических условий в помещениях отапливаемого здания с горячим водоснабжением применяют водяные стальные и чугунные котлы.

2.9.1. Наиболее высокие технические свойства имеют двухфункциональные генераторы теплоты, обеспечивающие одновременно тепловые нагрузки отопления и горячего водоснабжения (табл. 6-8).

Таблица 6. Технические характеристики водогрейных чугунных котлов КЧМ-2 (рис. 12)

Площадь поверхности нагрева котла, м2

Тепловая мощность, кВт

Количество секций

Длина котла L, м

Необходимое разряжение за котлом, Па

Масса, кг

1,67

2,11

2,51

19,8

24,4

29,0

4

5

6

345

435

593

12

12

15

278

322

365

Примечания: 1. Тепловая мощность указана при сжигании измельченных до определенного размера каменных углей, антрацита АО, брикетов малозольного топлива, природного газа, легкого жидкого топлива.

2. Братский завод отопительного оборудования выпускает .такие же котлы, но шириной 470, высотой 1100 и длиной соответственно 390, 480, 570, 660, 750, 840 и 930 мм.

3. Котлы рассчитаны на рабочее давление до 0,2 МПа и температуру нагреваемой воды до 90°С, предназначены для работы на естественной (через дымовую трубу) тяге.

Таблица 7. Технические характеристики стальных водогрейных котлов КВ (ТС).

Площадь поверхности нагрева, м2

Тепловая мощность, кВт

КПД, %, не менее

Объем, м3, не менее

Габаритные размеры котла, мм

Масса, кг, не более

0,87

1,06

1.2

11,6

14,0

17,5

75

75

75

26

30

45

580×370×780

675×410×850

695×420×1070

100

130

175

Рис. 12. Отопительный котел КЧМ-2:

а - общий вид; б - разрез; 1, 2 - трубопровод соответственно подводящий d = 50 мм и отводящий d = 60 мм; 3 - отверстие для термометра

Таблица 8. Технические характеристики чугунных водогрейных малометражных котлов КЧМ-3

Показатели

Площадь поверхности нагрева котла, м2

1,39

1,84

2,33

Тепловая мощность, кВт при сжигании:

 

 

 

грохоченых каменных углей, антрацитов, брикетов малозольного топлива

16,2

21,4

27,2

легкого жидкого топлива

15,1

19,7

25,5

природного газа

15,1

19,7

26,6

Количество секций

3

4

5

Габаритные размеры котла, мм

350×480×1150

460×480×1150

560×480×1150

Масса, кг

207

249

292

Отопительный водогрейный чугунный котел (табл. 9) КЧМ-ЗДГ-М и КЧМ-ЗДГ-А предназначены для теплоснабжения индивидуальных домов, оборудованных водяными системами отопления с естественной и принудительной циркуляцией теплоносителя с рабочим давлением до 0,5 МПа.

Таблица 9. Технические характеристики котлов КЧМ-ЗДГ-М, КЧМ-ЗДГ-А

Давление,
МПа

Габаритные размеры, мм1

Количество
сек
ций

Мощность,
кВт

Масса котла,
к
г, не более1

длина

ширина

высота

до 0,5

450/415

460/460

1070/1070

3

16,5

224/215

555/520

460/460

1070/1070

4

23,0

270/261

660/625

460/460

1070/1070

5

29,0

319/306

765/730

460/460

1070/1070

6

35,0

365/354

1 В числителе - КЧМ-ЗДГ-М, в знаменателе - КЧМ-ЗДГ-А.

Котел КС-ТГ-16 (табл. 10) предназначен для теплоснабжения жилых зданий строительным объемом 260 м3 по наружному обмеру, оборудованных системами отопления непрерывного действия, с естественной или принудительной циркуляцией теплоносителя. Котел комплектуется газогорелочными устройствами АГУК-2 или Пламя-1.

Таблица 10. Технические данные котлов KC-T-I6, КС-ТГ-16

Параметры

Газогорелочное устройство

АГУК-2

Пламя-1

Номинальная мощность, кВт

 

16

КПД, % при сжигании природного газа

 

84

Давление природного раза перед котлом Па, номинальное

1300

1270

Параметры теплоносителя

 

 

абсолютное давление, МПа

0,2

температура, °С, не более

95

разряжение за котлом, Па не более

25

Габаритные размеры, мм

KC-T-I6

745×455×1000

745×455×1000

КС-ТГ-16

760×560×1000

715×480×1000

Масса, кг

148

148

KC-T-I6

КС-ТГ-16

160

160

Отопительный котел КС-Т-12,5; KC-T-I2.5K «Крым» (г. Севастополь) - стальной водогрейный предназначен для теплоснабжения индивидуальных жилых домов строительным объемом до 210 м3. Котел предназначен для работы на твердом топливе и может быть переоборудован для работы на газообразном топливе с использованием автоматики АПОК-1-1 с газогорелочным устройством. Котлы отличаются между собой комплектующими деталями. При эксплуатационной мощности (13,1 кВт) котла температура горячей воды не должна превышать 95°С, абсолютное давление воды 0,2 МПа. Габаритные размеры 442×596×1066 мм.

2.9.2. Аппараты бытовые используют в качестве отопительных и водонагревательных устройств в малометражных домах и квартирах.

Аппараты АГВ используют либо только для отопления либо для горячего водоснабжения ввиду разных режимов теплоотопления. Номинальная тепловая мощность 7 и 13,9 кВт.

Аппараты АОГВ-10-1-V снабжены дилатометрической системой автоматики регулирования температуры воды. Они предназначены для работы на природном газе давлением перед аппаратом 6.8-18 Па. Аппараты АОГВ-10-3-V отличаются конструкцией теплообменника, выполненного в виде двух концентрических встроенных обечаек, образующих заполненную водой полость - котел.

Аппараты АОГВ-15-1-V - система автоматики представляет собой блок, сочетающий ЭМК с регулятором температуры воды.

Аппараты АОГВ-20-3-V - система автоматики, которой основана на принципе пневматического устройства мембранного типа, включает блок безопасности и блок регулирования, соединенные с датчиками контроля пламени, тяги и температуры воды.

Аппарат АКГВ комбинированный, служит для отопления и горячего водоснабжения. Габаритные размеры его, мм: высота 1470; ширина 550; глубина 685. Масса 200 кг; номинальная мощность Рн = 23,2 кВт.

Аппараты АОГВ-11,6-IV применяются для теплоснабжения квартирных систем водяного отопления с теплопотерями до 9300 кВт. Работает на природное газе, Рн = 11,6 кВт.

2.9.3. Аппараты отопления с температурой нагреваемой воды до 90°С в негазифицированных районах страны работают на жидком топливе, так как оно доступнее, дешевле и удобнее твердого топлива.

Процессы сжигания жидкого топлива можно автоматизировать, что облегчает обслуживание отопительных аппаратов в бытовых условиях. В настоящее время выпускается несколько типов аппаратов на жидком топливе.

Аппараты АОЖБ-20 конструктивно отличаются в зависимости от исполнения аппарата (АОЖБ-20,-20Т,-20А) и установленного дозатора (ДТ-1; 2; 3). Могут быть одна-две ручки управления дозатором и настройки терморегулятора. Дозаторы предназначены для регулирования тепловой мощности аппарата (расхода топлива), обеспечения постоянства установленного расхода и автоматического прекращения подачи топлива в случае перенаполнения, Рн = 23,2 кВт.

2.9.4. Там, где твердое топливо (уголь, торф, дрова) доступнее других видов топлива, применяют его в бытовых целях достаточно широко. КПД аппаратов, работающих на твердом топливе, не превышает 65 %. Для них нельзя применять автоматические устройства управления и регулирования по теплопроизводительности, используемые для аппаратов, работающих на газовом и жидком топливах.

Аппараты AОTB-15 отопительный, КС-2, КС-3 - отопительный и водогрейный, тепловая мощность которых соответственно 23,5; 14; 17,5 кВт.

Техническая характеристика аппарата АКТВ-Д-17,5 отопительного с горячим водоснабжением приведена ниже.

Тепловая мощность, кВт

17,5

Расход твердого топлива, кг/ч:

 

антрацит

3,1

каменный уголь

3,35

бурый уголь

4,15

КПД аппарата, %

70

Количество воды в теплообменнике, л:

 

отопления

65

горячего водоснабжения

35

Количество топлива в бункере, л

60

Длительность работы аппарата в номинальном режиме, ч

12-20

Масса, кг

220

2.9.5 Фирма «Яспи и Мякинен» (Финляндия) выпускает более 50 % котлов для отопительных систем односемейных домов, предназначенных для использования таких видов топлива, как масло, газ, горючие сланцы, дрова, уголь. Фирма «Ясин и Мякинен» сотрудничает в области исследований с ВИЭСХом.

Котел ЯМЯ ПУУ 141 работает на твердом топливе по принципу верхнего сгорания. Котел с верхним сгоранием следует всегда подключать к тепловому аккумулятору, причем обеспечивается высокий общий КПД и умеренный объем работ по уходу, тепловая мощность которого от 20 до 40 кВт.

Площадь отапливаемого здания, м

Емкость резервуара, ПУУ 141, л

80-120

1150

120-160

1800

Котел ЯМЯ-КАКСИКК0 оборудован двумя отдельными топками для сжигания дров и при работе на мазуте и двумя соединительными муфтами для установки электросопротивлений для отопления электроэнергией.

Котел ЮНИОР является комбинированным и работает на твердом и жидком топливе с высоким КПД.

В котле ЮНИОР Е термически комбинированы электрический котел и традиционный комбинированный. При работе на электроэнергии обогревается только верхняя его часть. На электрочасти предусмотрена автоматическая система регулирования, обеспечивающая отопление с помощью выбора мощности, при которой поддерживается постоянная температура воды в котле. Тепловой эффект при работе на мазуте высокий (табл. 11).

Таблица 11

Котел

Габаритные размеры, мм (ширина, глубина, высота)

Размеры камеры сгорания, мм (ширина, глубина, высота)

Верхнее пространство, м3

Масса, кг

Мощность, кВт

мазут

Твердое топливо

элект-
роэнер-
гия

ЮНИОР-125
ЮНИОР-146

630×650×1500

640×830×1500

290×390×650

360×620×660

20,7

25,5

250

320

15-25

25-40

10-20

15-30

0-13

0-13

Тепловые аккумуляторы Энергиакантти и Энергаипакки - это резервуары с небольшими габаритными размерами, которые могут быть доставлены в помещение через дверной проем шириной 70-80 см.

По способности накопления энергии тепловые аккумуляторы спроектированы в соответствии с требованиями передовой технологии, и они могут быть применены для различных целей. Конструкция, оборудованная двумя теплообменниками расходной воды, позволяет эффективное пользование емкости аккумулятора. Благодаря переборке и расположению соединений электросопротивлений может быть обогрета только часть резервуара. Вода, применяемая для отопления, постоянно циркулирует, т.е. она не содержит свободного кислорода, и таким образом, не вызывает коррозии металла. Вода для бытовых нужд, как правило, подается через медный теплообменник, который антикоррозионен. Вода для хозяйственно-бытовых нужд при проходе через теплообменник из медной трубы нагревается от +5 до 60°С.

Тепловая энергия накапливается в дневное время в тепловом аккумуляторе емкостью 1800 л. Для обеспечения постоянной комнатной температуры требуется автоматическая система, поддерживающая во внутренних помещениях температуру от +20 до +22°С независимо от колебаний температуры наружного воздуха. При этом экономится энергия и обеспечивается удобство проживания. Вода циркулирует в системе с помощью небольшого насоса, причем уменьшаются затраты на трубопровод, так как диаметр трубопровода может быть значительно меньше, чем при системе естественной циркуляции. Кроме того, температура воды регулируется с высокой точностью. В системе водяного отопления предусмотрен расширительный бачок, расположенный выше уровня расположения самого верхнего радиатора. Таким образом обеспечивается заполнение системы водой до полной емкости и исключаются перебои в циркуляции. Для отвода дымовых газов требуется дымовая труба, которая изготовлена из кислотостойкой стали.

2.10. Для надежной работы системы отопления рекомендуется, чтобы центр нагрева воды в источнике теплоты был ниже центра охлаждения - центра нагрева приборов. Центр нагрева воды в котле принимают на высоте 250 мм от уровня колосниковой решетки. Поэтому котлы устанавливают в подвальных помещениях или в приямках минимальной глубины 250-300 мм в соответствии со СНиП II-35-76.

2.11. Площадь сечения дымовой трубы (см2) генератора теплоты квартирного отопления (принимается не менее 1/2×1/2 кирпича) находят по формуле

где qсист - максимальная теплопроизводительность генератора теплоты, Вт;

h - высота дымовой трубы (расстояние по вертикали от уровня колосниковой решетки до устья трубы), м.

Генераторы теплоты рекомендуется размещать так, чтобы перед его фронтом было расстояние не менее 1 м, а с боков - не менее 30 см. Расстояние между верхом генератора теплоты и перекрытием должно быть не менее 20 см.

Помещение, где установлен генератор теплоты, обязательно должно быть оборудовано вытяжной вентиляцией с естественным побуждением, обеспечивающей не менее чем трехкратный обмен воздуха в 1 ч.

2.12. В водяной системе отопления надо производить периодическую подпитку для того, чтобы в расширительном баке всегда была вода.

Летом квартирная система отопления должна быть заполнена водой, а иначе трубопроводы и нагревательные приборе будут подвержены интенсивной коррозии, что вызовет нарушение работы системы отопления в зимний период и удлинит сроки ее эксплуатации.

Если система отопления совмещена с горячим водоснабжением, на летний период, когда отоплением не пользуются, а горячее водоснабжение работает, трубопроводы отопления отключаются с помощью имеющихся на них кранов.

3. РАСЧЕТ ТЕПЛОВОЙ НАГРУЗКИ СИСТЕМЫ ОТОПЛЕНИЯ ЖИЛОГО ДОМА

3.1. В теплотехнические расчеты наружных ограждений отапливаемого дома входит определение сопротивления теплопередаче ограждений. Общее сопротивление теплопередаче (м2∙°С/Вт) многослойного ограждения R0 определяют по формуле

R0 = Rв + R1 + R2 + Rвп + R3 +...+ Rн,                                     (1)

где Rв, Rн - сопротивление тепловосприятию и теплоотдаче соответственно у внутренней и наружной поверхностей, м2∙°С/Вт (табл. 12);

R1, R2, R3 - термическое сопротивление отдельных слоев ограждения м2∙°С/Вт;

Rвп - термическое сопротивление замкнутой воздушной прослойки, м2∙°С/Вт (табл. 13).

Таблица 12. Коэффициенты тепловосприятия αв, теплоотдачи αн и сопротивления тепловосприятию Rв, Rн у внутренней и наружной поверхностей ограждения

Характеристика поверхностей

α, Вт/м2°C

R, м2°С/Вт

Внутренняя поверхность

 

Внутренние поверхности стен, полов, а также потолков, гладких или со слабо выступающими и редко расположенными ребрами, отношение высоты h, которых к расстоянию «a» между гранями соседних ребер h/a £ 0,3

0,7

0,I5

Потолки с выступающими ребрам при h/a > 0,3

7,6

0,18

Наружная поверхность

 

 

Поверхности, соприкасающиеся непосредственно с наружным воздухом - наружные стены, бесчердачные покрытия (совмещенные крыши) и пр.

20

0,06

Поверхности, непосредственно не соприкасающиеся с наружным воздухом: выходящие на чердак

над холодными подвалами и подпольями

12

5

0,116

0,23

Таблица 13. Термическое сопротивление замкнутых воздушных прослоек Rвп

Толщина прослойки, мм

Rвп, м2∙°С/Вт

для горизонтальных прослоек при потоке теплоты:

снизу-вверх, для вертикальных прослоек

сверху-вниз

летом

зимой

летом

зимой

10

0,13

0,15

0,14

0,15

20

0,14

0,15

0,15

0,19

30

0,14

0,16

0,16

0,21

50

0,14

0,17

0,17

0,22

100

0,15

0,18

0,18

0,23

150

0,15

0,18

0,19

0,24

200-300

0,15

0,19

0,19

0,24

При определении сопротивления теплопередаче ограждения R0 воздушной прослойкой, сообщающейся с наружным воздухом, в расчет вводят только ту часть конструкции, которая расположена между прослойкой и помещением. Значение Rвп учитывается в расчетах при ее толщине от 10 до 300 мм.

3.2. Термическое сопротивление отдельных однородных слоев ограждения м2∙°С/Вт определяют по формуле

RN = δ/в λ,                                                                              (2)

где δ - толщина слоя материала, мм;

в - коэффициент качества теплоизоляции наружного ограждения (для наружных ограждений, утепленных материалов, подверженных уплотнению, деформации или усадке, например, стиропор, минераловатные плиты, войлок и другое независимо от объемной массы принимают в = 1,2; для ограждений, утепленных теплоизоляционными материалами с объемной массой менее 400 кг/м3, за исключением материалов, указанных выше, в = 1,1, а для всех прочих наружных ограждений в = 1);

λ - коэффициент теплопроводности Вт/(м∙°С);

γ - объемная масса материала с учетом пустот, кг/м3.

Обозначения приняты по СНиП II-3-79**.

3.3. Найденное общее сопротивление теплопередаче (м2∙°С/Вт) наружного ограждения R0 должно быть не менее требуемых  по теплотехническим нормам, вычисленных по формуле

                                                                (3)

где tв , tн - температура воздуха соответственно в помещении и наружного, °С;

tн - нормируемый температурный перепад между температурой воздуха в помещении и температурой внутренней поверхности ограждения (в жилом помещении для наружных стен он равен 6°С, для бесчердачных покрытий и чердачных перекрытий 4°С);

n -коэффициент, зависящий от положения наружной поверхности ограждения по отношению к наружному воздуху, дан ниже.

Наружные стены, бесчердачные покрытия и перекрытия над проездами - 1

Чердачные перекрытия и бесчердачные покрытия с вентилируемыми продувками - 0,9

Перекрытия над холодными подпольями, расположенными выше уровня земли - 0,75

Перекрытия над неотапливаемыми подвалами при наличии окон в наружных стенах подвала - 0,6

То же, при отсутствии окон - 0,4

3.4. Принятые строительные конструкции наружных ограждений всегда должны иметь небольшой запас сопротивления теплопередаче. Наиболее экономичное решение получается при R0 = Rтр0. При массовом строительстве с применением крупнопанельных элементов с дешевыми и эффективными теплоизоляционными материалами иногда экономичнее проектировать наружные ограждения с сопротивлением теплопередаче R0 > Rтр0. При этом сопротивление теплопередаче конструкции повышается благодаря увеличению толщины более дешевого теплоизоляционного слоя. При расчете сопротивления теплопередаче многослойных стеновых панелей учитывается возможное ухудшение теплотехнических качеств утеплителей, а также повышенное воздухопроницание через стыковые соединения панелей. Для слоистых панелей наружных стен и бесчердачных покрытий жилых домов сопротивление теплопередаче R0 ≥ 1,1Rтр0. Если строительные конструкции наружных ограждений выбраны при R0 > Rтр0, конденсация водяных паров не проверяется.

3.5. Основные потери теплоты (Вт) через ограждающие конструкции здания

Q = Fkhtt,                                                                         (4)

где F - площадь ограждения, м2;

k - коэффициент теплопередачи ограждающих конструкций, Вт/(м2∙°С), k = 1/R0,

t - разность температур (tв - tн ), °С;

ht - поправочный коэффициент на разность температур приведен ниже.

Характеристика ограждений

Полы на грунте и на лагах - 1

Чердачные перекрытия при стальной, черепичной или асбоцементной кровлях по разреженной обрешетке и бесчердачные покрытия с вентилируемыми продувами - 0,9

То же, по сплошному настилу - 0,8

Чердачные перекрытия при кровлях из рулонных материалов - 0,75

Ограждения, отделяющие отапливаемые помещения от неотапливаемых, сообщающихся с наружным воздухом, за исключением неотапливаемых подвалов - 0,7

То же, для отделяющих отапливаемые помещения от неотапливаемых, не сообщающихся с наружным воздухом - 0,4

Перекрытия над подпольями, расположенными ниже уровня земли, при непрерывной конструкции цоколя с R0 > 0,86 м2∙ч∙°С/Вт - 0,4

То же, с R0 £ 0,86 м2∙ч∙°С/Вт и для перекрытий над холодными подпольями, расположенными выше уровня земли - 0,75

Перекрытия над неотапливаемыми подвалами, расположенными ниже уровня земли или имеющими наружные стены, выступающие над уровнем земли на высоту до 1 м, при наличии окон в этих стенах - 0,6

То же, при отсутствии окон - 0,4

3.6. Для сельских жилых домов площадь измеряют следующим образом:

1). площадь наружных стен измеряют в плане по внешнему периметру между углами стен; измерения высоты зависят от конструкции пола и производят их от внешней поверхности пола по грунту, от поверхности подготовки под конструкцию пола на лагах, от нижней поверхности перекрытия над подпольями или неотапливаемыми подвалами до верха конструкции чердачного перекрытия;

2). площадь окон, остекленных дверей и фонарей, измеряют по наименьшему строительному проему.

Для удобства выбора наружных ограждений с последующим расчетом теплопотерь по (4) в табл. 14-15 приведены необходимые теплотехнические и конструктивные данные для наружных ограждений.

Таблица 14. Значение R0 и 1/R0 для оконных и дверных проемов в деревянных переплетах

Конструкция

Расстояние между стеклами, мм

R0, м2°С/Вт

1/R0, Вт/м2∙°С

Одинарный переплет:

 

 

 

одинарное остекление

 

0,18

5,8

двойное остекление

35-25

0,39

2,9

Двойной переплет:

 

 

 

раздельный с двойным остеклением

150-75

0,37

2,7

спаренный с двойным остеклением

60-30

0,39

2,9

Двери из стекла одинарные

-

0,15

6,4

То же, двойные

-

0,27

3,7

Наружные двери и ворота деревянные одинарные

-

0,21

4,6

То же, двойные

-

0,43

2,3

Таблица 15. Добавочные теплопотери

Помещения и здания

Виды ограждений, через которые происходят добавочные теплопотери

Добавочные теплопотери, %, к основным

Помещения в зданиях любого назначения

Вертикальные и наклонные наружные ограждения (стены, двери и светопроемы), обращенные на: север, восток, северо-восток и северо-запад

10

юго-восток и запад

5

Вертикальные и наружные ограждения зданий, в местностях со средней скоростью ветра до 5 м/с включительно:

 

защищенные от ветра

5

не защищенные от ветра (в зданиях расположенных на возвышенностях, у рек, озер, на берегу моря или на открытой местности;

10

То же, при двух и более наружных стенax (угловые)

Наружные стены и окна

5

3.7. Теплопотери (Вт) через отдельные зоны пола

                                                               (5)

где Fn - площадь данной зоны, м2;

Rn - сопротивление теплопередаче конструкции пола данной зоны, м2∙°С/Вт. Сопротивление теплопередаче конструкции пола:

а) для неутепленных полов (табл. 16).

Таблица 16. Сопротивление теплопередаче конструкции пола для неутепленных полов

Номер зоны

Rн.п, м2∙°С /Вт

1/Rн.п, Bт/(м2∙°C)

Первая

Вторая

Третья

Четвертая

2,15

4,3

8,6

14,2

0,46

0,23

0,12

0,069

б) для утепленных полов (м2∙°С/Вт)

                                                             (6)

где σу.с - толщина утепляющего слоя, м;

λу.с - коэффициент теплопроводности утепляющего слоя, Вт/(м2∙°С)

в) для полов на лагах (м2∙°С/Вт)

                                                                       (7)

Неутепленными полами считаются поли, конструкция которых независимо от толщины состоит из слоев материалов, имеющих коэффициент теплопроводности λ0 ³ 1 Вт/(м2∙°С), утепленными полами - полы с утепляющими слоями из материалов, имеющих коэффициент теплопроводности λ0 < 1 Вт/(м2∙°С).

3.8. Полученные результаты расчета теплопотерь сводят в бланк по форме, приведенной в табл. 17.

Таблица 17


п.п.

Наименование помещения

Наименование ограждения

Ориентация сторон света

Размер ограждения
а×в

Площадь ограждения F,
м2

1

2

3

4

5

6

Окончание табл. 17

Разность температур

Поправочный коэффициент разности температур

Коэффициент теплопередачи k,
Вт/(м2∙°С)

Теплопотери
Q , Вт

Надбавки добавочных теплопотерь, Вт

Общие теплопотери ,Вт

7

8

9

10

11

12

4. РАСЧЕТ ДВУХТРУБНОЙ СИСТЕМЫ ОТОПЛЕНИЯ И ГОРЯЧЕГО ВОДОСНАБЖЕНИЯ ЖИЛОГО ДОМА ПРИ ЕСТЕСТВЕННОЙ И НАСОСНОЙ ЦИРКУЛЯЦИИ

Каждая отопительная установка, предназначенная для поддержания в помещениях сельского дома заданной температуры воздуха, состоит из трех основных элементов: генератора теплоты, в котором теплоносителю передается необходимое количество теплоты, системы трубопроводов для перемещения по ним теплоносителя, нагревательных приборов, передающих теплоту от теплоносителя воздуху и ограждениям помещения.

Наибольшее распространение получила 2-трубная система водяного отопления. Основное требование этой системы - бесперебойная подача теплового потока ко всем присоединенным нагревательным приборам. Для этого она должна обладать тепловой устойчивостью, т.е. способностью при регулировании пропорционально изменять теплоотдачу всех присоединенных приборов, К условиям тепловой устойчивости системы относится ее гидравлическая устойчивость или способность изменять расход теплоносителя во всех присоединенных приборах пропорционально изменению общего расхода в системе либо сохранять его постоянным при постоянстве общего расхода. Для этих же целей должно быть обеспечено самостоятельное регулирование теплоотдачи приборов, установленных в разных помещениях.

Система отопления должна отвечать архитектурно-планировочным и конструктивным особенностям здания: нагревательные приборы и трубопроводы не должны портить вида помещения и в то же время должны быть доступны для осмотра, ремонта и замены.

Система должна быть проста в эксплуатации: выпуск из нее воздуха, промывка, спуск воды из отдельных ее частей при ремонте должны предусматриваться в удобных и доступных местах. При прочих равных условиях капитальные затраты и расход металла на сооружение системы должны быть наименьшими. Любая система водяного отопления с местными нагревательными приборами - это замкнутая сеть трубопроводов с присоединенными нагревательными приборами, по которой циркулирует горячая вода от узла подготовки теплоносителя к нагревательным приборам и охлажденная в них - обратно к узлу подготовки теплоносителя. В односемейных домах, как правило, применяют системы с естественной и насосной циркуляцией.

Система отопления с естественной циркуляцией воды по сравнению с насосной системой имеет недостатки:

- сокращен радиус действия (до 20 м по горизонтали) из-за небольшого циркуляционного давления;

- повышена первоначальная стоимость (до 5-7 % стоимости здания) в связи с применением труб увеличенного диаметра;

- увеличены расходы металла;

- замедленно включение системы в действие;

- повышена опасность замерзания воды в трубах, проложенных в неотапливаемом помещении.

Вместе с тем имеются преимущества, предопределяющие в отдельных случаях ее выбор:

простота устройства и эксплуатации;

- независимость действия от снабжения электрической энергией;

- долговечность (35-40 лет и более без капитального ремонта;

- саморегулирование, обусловливающее ровною температуру помещений;

- тепловая устойчивость.

Расчет систем водяного отопления слагается из гидравлического и теплового. Расчет систем с местными нагревательными приборами предусматривает выбор диаметров отопительной сети, обеспечивающих требуемый расход теплоносителя в каждом приборе, и определение поверхности нагрева приборов из условия их теплоотдачи, заданной расчетом тепловой потребности помещений. Правильно выполненный гидравлический расчет исключает необходимость пускового регулирования системы кранами на стояках и у нагревательных приборов а также установку в отопительной сети диафрагм либо иных искусственных сопротивлений.

Точность гидравлического расчета определяется точностью подбора нагревательных приборов по заданной тепловой нагрузке с учетом их номенклатурного шага. Это позволит без ущерба для точности конечных результатов расчета исключить из рассмотрения второстепенные факторы, а также принять для многих исходных величин их усредненные значения,

4.1. Расчет поверхности нагрева и выбор нагревательных приборов.

4.1.1. Поверхность нагревательных приборов (м2)

                                               (8)

где qпр - теплоотдача нагревательных приборов для компенсации теплопотерь помещения, Вт;

tпр - средняя температура теплоносителя в приборе при водяной системе отопления, °С

                                                                          (9)

где tn, t0 - температура воды, поступающей, в прибор и выходящей из прибора;

tв - температура воздуха в помещении;

β1, β2, β3 - поправочные коэффициенты соответственно на количество секций радиаторов (только для водяной системы отопления), на остывание воды в трубах в зависимости от вида системы, на способ установки прибора;

а - поправка на изменение коэффициента теплопередачи в зависимости от относительного расхода воды, протекающей через прибор (табл. 18);

kпр - коэффициент теплопередачи нагревательного прибора (табл. 5), Вт/(м2∙°С).

Таблица 18. Коэффициент а, учитывающий изменение относительного расхода воды, протекающей через радиатор

а

а

а

0,3

0,86

0,8

0,97

5

1,05

04

0,89

0,9

0,99

6

1,05

0,5

0,91

1

1

7

1,06

0,6

0,93

3

1,03

7

1,07

0,7

0,95

4

1,04

 

 

Найденная по формуле (8) поверхность нагрева Fпр , в зависимости от типа отопительного прибора умножается на переводной коэффициент (табл. 2).

4.1.2. Поверхность нагревательных приборов водяного отопления (экм)

                                      (10)

где t - разность между средней температурой теплоносителя в приборе и температурой воздуха в помещении, °С;

z - поправка, учитывающая различные способы подачи воды в приборы по экспериментальным данным (для схемы подачи воды сверху-вниз z = 1).

4.1.3. Количество (шт.) секций приборов

                                                                               (11)

где fc - поверхность нагрева одной секции радиатора или ребристой трубы, экм.

4.1.4. Относительный расход воды  через прибор - отношение расхода воды через 1 экм прибора к нормальному расходу, равному 17,4 кг/(ч∙экм). Относительный расход воды вычисляют по формуле

                                           (12)

где tпр - перепад температур теплоносителя в нагревательном приборе, °С;

qэ - теплоотдача прибора, Вт∙экм.

4.1.5. Зная теплопотери и температуру помещения, легко найдем требуемое к установке количество секций, поверхность нагрева и теплоотдачу радиаторов (без надбавок на охлаждение воды в трубах).

В табл. 19-2I для радиаторов теплоотдача указана с поправкой на количество секций, результаты даны с точностью до 5,8 Вт. Возможна замена одних приборов другими при разных теплоносителях и внутренних температурах отапливаемых помещений, но при условии одинакового способа установки приборов.

Таблица 19. Коэффициент β1 в зависимости от количества секций радиатора

Количество секций

β1

Количество секций

β1

Количество секций

β1

2

3

4

5

0,96

0,96

0,97

0,98

6

7

8

9

0,99

1,00

1,00

1,00

10-11

12-14

15-16

19-25

1,01

1,01

1,02

1,03

Таблица 20. Коэффициент β2, учитывающий остывание воды в трубах систем водяного отопления с насосной циркуляцией, двухтрубной системы

Количество этажей

Рассчитываемый этаж при прокладке трубопроводов

скрытой

открытой

С верхней разводкой

2

1,05

-

1,05

-

С нижней разводкой

2

-

1,03

-

1,05

Таблица 21. Коэффициент β3, учитывающий способ установки нагревательного прибора

Эскизы

A, мм

β3

40

80

100

1,05

1,03

1,02

4.2. Расчет поверхности нагревательных приборов с учетом теплоотдачи трубопроводов

При подборе количества секций радиаторов необходимо учитывать полезное тепловыделение в помещениях открыто проложенными стояками и подводками к приборам, что дает экономию в поверхности нагрева радиаторов до 8-15 %.

4.2.1. Количество теплоты Вт, дополнительно поступающее в помещение от открыто проложенного трубопровода системы отопления

qт = π d l kпр вт (tт-tв),                                                            (13)

где d - диаметр условного прохода трубопровода, мм;

l - длина трубопровода, м;

вт - коэффициент, зависящий от месторасположения трубопровода в помещении (табл. 22).

Таблица 22. Коэффициент вт , зависящий от месторасположения трубопровода в помещении

Положение трубы в помещении

вт

Поверхность нагрева гладких стальных труб, экм

диаметр условного прохода трубы d , мм

15

20

25

32

40

50

Подводки и сцепки к приборам

1,00

0,12

0,15

0,19

0,24

-

-

Обратные трубопроводы у пола

0,75

0,06

0,11

0,14

0,18

0,22

0,28

Стояки

0,50

0,06

0,08

0,10

0,12

0,15

0,19

Подающие трубы под полом

0,25

0,03

0,04

0,05

0,06

0,07

0,09

Зная длину и диаметр трубы, а также tт = tпр - tв , вычисляют по (3) полезную теплоотдачу элементами открыто проложенных в помещении труб.

4.2.2. Расчетная теплоотдача прибора, Вт, принимается как разность между номинальной и полезной теплоотдачей труб

qпр = qн - qт.                                                                           (14)

4.2.3. Установочная поверхность нагревательных приборов уменьшается на значение поверхности нагрева открыто проложенных труб в отапливаемом помещении

Fуст = Fпр - Fт.                                                                        (15)

Дополнительная полезная поверхность нагрева стальных труб при расчете отопительных приборов учитывается по табл. 22.

Для более точного определения полезной теплоотдачи открыто проложенных труб в помещении в зависимости от их месторасположения и температуры можно пользоваться номограммой [1].

4.3. Определение потерь, теряемых обратным трубопроводом

Аналогичными расчетами определяем потери, теряемые обратными трубопроводами, проложенными под полом помещений qб по формуле (12).

4.4. Трубопроводы и арматура

4.4.1. Прокладку трубопроводов водяных квартирных систем отопления следует предусматривать открытой, за исключением трубопроводов систем водяного отопления со встроенными в конструкции зданий нагревательными элементами и стояками. Трубопроводы водяных квартирных систем отопления с естественной циркуляцией из-за малых циркуляционных давлений должны иметь минимальные местные сопротивления. В остальном они аналогичны трубопроводам, применяемым в центральных системах отопления.

4.4.2. Скорости движения теплоносителя в трубопроводах систем отопления с нагревательными приборами рассчитываются с учетом требований гидравлической и тепловой устойчивости систем по СНиП 2.04.05-86.

Скорости движения теплоносителя не должны превышать для водяных систем отопления и теплоснабжения:

а) в трубопроводах, прокладываемых в основных жилых помещениях, при условных проходах труб 10 мм - 1,5 м/с; 15 - 1,2; 20 и более - 1;

б) в трубопроводах, прокладываемых во вспомогательных жилых помещениях, - 1,5 м/с.

4.4.3. Для трубопроводов систем отопления следует применять трубы, приведенные в табл. 23, 24.

Таблица 23. Трубы для трубопроводов систем отопления (СНиП 2.04.05-86)

Теплоноситель

Трубы с наружным диаметром, мм

до 60

более 60

Горячая вода

Электросварные

По ГОСТ 10704-76

Насыщенный пар

Электросварные по ГОСТ 10704-76

Стальные обыкновенные по ГОСТ 3262-75

 

Примечания: 1. Для трубопроводов при скрытой прокладке, а также для элементов систем отопления, встроенных в строительные конструкции зданий и сооружений, следует применять стальные обыкновенные трубы по ГОСТ 3262-75.

2. Для арматуры и отопительных приборов допускается применять трубы, отвечающие требованиям ГОСТ 3262-75 и гнутых участков ГОСТ 10704-76.

Таблица 24. Технические и гидравлические характеристики 1 м труб систем водяного отопления

ГОСТ

Диаметр трубы, мм

Масса 1 м
трубы, кг

Удельные характеристики

Приведенный
коэффициент
λ/
d, 1/м

Характе-
ристика

гидрав-
лического
сопротив-
ления
Sг,
Па/(кг/ч)2

условный dу

наружный dн

внутренний dв

расхода G,
кг/ч/м/с

динамического
давления,
Па
/(кг/ч)2

3262-75

(легкие)

15

21,3

16,6

1,10

766

838∙10-6

2,49

209∙I0-5

20

26,6

22,1

1,42

1360

267∙10-6

1,70

453∙10-6

32

42,3

36,7

2,73

3740

351∙10-7

0,87

305∙10-7

40

48,0

42,0

3,33

4900

204∙10-7

0,729

149∙10-7

50

60,0

54,0

4,22

8110

748∙10-8

0,527

394∙10-8

3262-75
(обыкновенные)

15

21,3

15,7

1,28

685

105∙10-5

2,69

281∙10-5

20

26,8

21,2

1,66

1250

315∙10-6

1,79

565∙10-6

32

42,3

35,9

3,09

3580

383∙10-7

0,895

343∙10-7

40

48,0

41,0

3,84

4670

225∙10-7

0,753

169∙10-7

50

60,0

53,0

4,38

7810

806∙10-8

0,54

435∙10-8

10704-76
(электросварные)

50

57,0

51,0

-

7150

940∙10-8

0,60

5,6∙10-6

70

57,0

51,0

-

13600

265∙10-8

0,377

1,06∙10-6

80

89,0

83,0

6,36

19200

134∙10-8

0,304

407∙10-9

4.4.4. Запорная арматура в квартирных системах отопления состоит из вентилей на трубопроводе, через которые производятся питание системы и спуск воды из нее . В качестве такой арматуры диаметром 15-20 мм можно применять обычный проходной вентиль или вентиль «Косва» для горячей воды (с фибровыми прокладками). Линейная арматура на стояках трубопроводов и у котлов в квартирных системах отопления, как правило, не устанавливается. Эти системы обслуживаются одним котлом и имеют небольшое циркуляционное давление, поэтому местные сопротивления, в частности создаваемые линейной арматурой, по возможности уменьшают.

В качестве регулирующей арматуры для отопительных приборов могут применяться все ее разновидности.

4.5. Расширительный бак в системе отопления

В системах водяного отопления (имеющих свои расширительные сосуды) отопительные приборы работают при малых статических напорах до 7-8 м - в двухэтажных помещениях.

4.5.1. Расширительный бак в системе водяного квартирного отопления рекомендуется устанавливать в отапливаемом помещении, поэтому теплоизоляция его наружной поверхности не обязательна. Из-за отсутствия в расширительном сосуде (рис. 13) заливочного отверстия систему заполняют водой из водопровода с помощью ручного насоса. Уровень воды в сосуде определяют по водомерной трубке, верхний конец которой затянут тканью для предохранения от засорения, сообщается с атмосферой, а нижний через тройник соединен с водяным пространством. Для ручного залива системы водой расширительный сосуд должен иметь вверху заливочное отверстие. При установке расширительного сосуда за пределами квартиры, например на чердаке, его конструкция и присоединение к трубопроводу такие же, как при центральном отоплении.

Рис. 13. Расширительный сосуд:

1 - патрубок для присоединения воздушной и переливной линии; 2 - водомерное стекло (трубка); 3 - патрубок для присоединения горячей разводящей линии; 4 - патрубок для присоединения главного стояка

4.5.2. Емкость расширительного бака, л V определяют

VР.Б = 0,0017 qсист,                                                                 (16)

где qсист - максимальная теплопроизводительность генератора теплоты, Вт.

По найденной емкости подбирают размеры расширительных баков (табл. 25).

Таблица 25. Размеры сварных цилиндрических расширительных баков из листовой (3 мм) стали

Марка бака

Емкость, л

Размеры бака, мм

Диаметры подводящих труб, мм

Масса, кг

Размеры будки, см

до пере-
ливной
трубы

полезная

Д

Н

d1
циркуля-

ционной

d2
переливной

d3
соедини-
тельной

l

h

1E010

100

67

465

710

20

32

25

35,9

105

125

2E010

150

101

570

710

20

32

25

45,9

115

125

3E010

200

134

660

710

20

40

25

55,3

125

125

4E010

300

212

815

710

20

40

25

73,5

140

125

5E010

400

283

940

710

20

40

25

88,5

155

125

6E010

500

397

850

1000

25

50

32

97,0

145

155

4.5.3. В зарубежной практике, например, применяют чешский расширительный автоклав «Экспанзонат». Расширительный автоклав предназначен для систем центрального отопления частных домов и применяют его в качестве предохранительного устройства, позволяющего осуществлять тепловое изменение объема воды в закрытой системе, имеющей рабочую температуру до 110°С. Отопительная система должна быть защищена не только от теплового расширения воды, но еще и возможного превышения допустимого значения давления с помощью предохранительного клапана низкого давления. Существенно уменьшается коррозия системы отопления, так как закрытая система отопления предотвращает обогащение циркуляционной воды кислородом, не происходит потерь циркуляционной воды из-за выпаривания, вода в системе не меняется. Это увеличивает срок службы отопительной системы.

Расширительные автоклавы «Экспанзонат» размещают вблизи котла, т.е. нет необходимости монтировать их под потолком здания. Расширительный автоклав и соединительный трубопровод не замерзают. Изготавливают их из металлических листов, обработанных по технологии глубокой вытяжки, для всех типов исполнений объемами от 25 до 280 л, при статическом напоре воды в системе 15 м, максимальном избыточном рабочем давлении 250 кПа и температуре до 100°С. Первая часть автоклава предназначена для воды из отопительной системы, а вторая заполнена газом, находящимся под избыточным давлением, которое отмечается на табличке автоклава.

Рис. 14. Прокладка разводящих магистралей водяного отопления:

а - с естественной циркуляцией воды;
1 -
в одну нитку; 2 - в две;

б - подпольные каналы;
1 -
съемная железобетонная плита: 2 - лаги; 3 - кирпичная стенка; 4 - бетонная подготовка; 5 - толь; 6 - изоляция; 7 - кронштейн L 75×6; 8 - цементный раствор М300;

в - ручные воздухоотводчики;
1 -
игольчатый клапан; 2 - выпуск воздуха; 3 - деталь клапана; 4 - радиаторная пробка; 5 - резина; 6 - трубная резьба; 7 -пружина для спуска воздуха; 8 - спуск воды

4.6. Прокладка трубопроводов

4.6.1. Для водяной системы отопления рекомендуют принимать следующие схемы разводки магистральных трубопроводов: в системах с естественной циркуляцией, как правило, верхнюю разводку с прокладкой разводящих трубопроводов по чердаку - по тупиковой схеме; при ширине здания до 10 м - в одну нитку, более 10 м - в две с разводкой магистралей от наружных стен не менее чем на 1 м для удобства монтажа и ремонта труб (рис. 14, а).

4.6.2. Обратные магистрали водяного отопления можно прокладывать над полом по периметру наружных стен или в подпольных каналах. При прокладке трубопроводов в непроходных подпольных каналах необходимо обеспечить доступ к трубам на случай их ремонта, для чего перекрытие каналов делается съемным (рис. 14, б). Габаритные размеры каналов позволяют прокладку изолированных труб с наружным уклоном и установкой арматуры на стояках (табл. 26, 27).

Таблица 26. Ширина каналов ви (см) для изолированных трубопроводов

Схема расположения труб в канале

dн, мм, не более

40

50

40

45

-

55

Таблица 27. Высота подпольных каналов hи (см) для изолированных трубопроводов, проложенных с уклоном 0,003

Схема расположения труб в
канале

dн
мм
не более

длина канала, м

10

20

30

40

50

60

80

100

40

50

46

54

54

54

54

54

62

62

54

54

62

62

69

69

77

77

Окончание табл. 27

Схема расположения труб в
канале

dн
мм
не более

Длина канала, м

10

20

30

40

50

60

80

100

50

75

62

69

69

69

69

77

77

77

77

77

77

85

85

85

92

92

Примечания: 1. В табл. 26 dн - наружные диаметры труб (без изоляции); габаритные размеры каналов для заданных условий указаны минимальные. При диаметре стояков 40 мм высота канала увеличивается на 8 см. При высоте канала hи < 50 см толщина кирпичной стенки δ = 12 см, при hи >50 см, δ = 25 см (рис. 14, б),

2. При прокладке неизолированных труб размеры каналов уменьшаются: по горизонтали - на половину толщины изоляции; по вертикали - на толщину изоляции.

В низких точках обратных разводящих магистралей водяных систем отопления, в местах обводов лестничных клеток и отдельных циркуляционных колец предусматривается установка спускных кранов или тройников с пробками для удаления отдельных участков системы от воды и удаления грязи при прокладке (рис. 14, в).

4.6.3. Все трубы отопления, прокладываемые в подпольных каналах, на чердаке и других местах, где возможно замерзание воды, а также главные стояки тщательно изолируют.

4.7. Гидравлический расчет системы отопления с естественной циркуляцией воды

4.7.1. Задача гидравлического расчета трубопроводов системы отопления - выбор таких сечений трубопроводов для наиболее протяженного и нагруженного циркуляционного кольца или ветви системы, по которым при располагаемом перепаде давлений в системе обеспечивается пропуск заданных расходов теплоносителя. Располагаемый перепад давлений выражает ту энергию, которая при движении жидкости по трубам может быть израсходована на преодоление сопротивления трения и местных сопротивлений.

4.7.2. Чтобы обеспечить надежную циркуляцию теплоносителя в системе отопления, выполняют гидравлический расчет, в результате которого определяют диаметры трубопроводов. Для этого вычерчивают схему прокладки горячей линии системы отопления, где показаны стояки, приборы. Уклоны графически не указывают, а обозначают стрелками, направленными в соответствующую сторону. После того как схема вычерчена, устанавливают центр нагрева воды в котле (на 150 мм выше колосниковой решетки) и центр охлаждения воды в отопительных приборах (посередине прибора). Затем определяют, находится ли центр воды ниже центра ее охлаждения или наоборот, и измеряют расстояние по вертикали между указанными центрами, а также от центра нагрева воды в котле и отопительных приборах до горячего разводящего трубопровода, считая его условно проходящим на одном уровне.

Кроме того, на схему наносят перегородки между комнатами, пересекаемые трубопроводами, с указанием длины трубопровода между перегородками в каждой комнате.

4.7.3. Расчет системы начинают, как правило, с нумерации участков и определения их длины и тепловой загрузки. При нумерации участков надо иметь в виду, что стояки и горячие подводки к отопительным приборам следует выделять как отдельные участки.

При расчете следует учитывать следующее:

тепловую нагрузку на нагревательные приборы принимают с учетом расчетной теплоотдачи открыто проложенными трубопроводами

qпр = qн = qт;

расчетную теплоотдачу открыто проложенными трубопроводами от их общей теплоотдачи принимают с учетом коэффициента (табл. 22);

поверхность нагревательных приборов определяют по фактической средней температуре воды, проходящей через прибор, т.е. с учетом охлаждения воды в трубах;

расчетный перепад температур в системе tс = 90 - 70 = 20°С.

4.7.4. Предварительное расчетное давление, Па

                                           (17)

где  - безразмерный коэффициент (для всех неизолированных трубопроводов или одного изолированного главного стояка равен 0,4 и для всех изолированных трубопроводов - 0,16;

hг - высота расположения горячего разводящего трубопровода над центром нагрева воды в котле, м;

 - горизонтальное расстояние от данного вертикального стояка до главного, м;

h1 - расстояние по вертикали от центра нагрева воды в котле до середины нагревательного прибора, м (со знаком плюс, если середина прибора выше центра нагрева воды в котле, и со знаком минус, если середина прибора ниже центра нагрева);

γ0 - γг - разность плотностей воды (кг/м3), соответствующих расчетным температурам горячей tг и охлажденной t0 воды в системе отопления (табл. 28);

g - ускорение свободного падения.

Первое произведение в формуле (17) отражает циркуляционное давление, получающееся вследствие охлаждения воды в трубопроводах, второе - давление, обусловленное разницей в высоте расположения котла и прибора. Каждое циркуляционное кольцо в системе имеет свое давление.

Таблица 28. Плотность воды γ, кг/м3 при температуре 70-95°С через каждые 0,1°С и давлении 101, 3 кПа

t

0,0

0,1

0,2

0,3

0,4

0,5

0,6

0,7

0,8

0,9

40

992,24

992,20

992,17

992,13

992,09

992,05

992,01

991,97

991,94

991,90

41

991,85

991,82

991,78

991,74

991,70

991,66

991,62

991,58

991,55

991,51

42

991.47

991,43

991,39

991,35

991,31

991,27

991,23

991,19

991,15

991,11

43

991,07

991,03

990,99

990,94

990,90

990,86

990,62

990,78

990,74

990,70

44

990,65

990,52

990,58

990,54

990,50

990,46

990,42

990,38

990,33

990,29

45

990,25

990,21

990,16

990,12

990,07

990,03

969,99

989,95

939,90

989,85

46

959,82

989,78

989,74

989,69

989,65

989,61

989,57

989,53

989,48

989,44

47

989,40

989,35

989,31

989,27

989,22

989,18

989,15

939,09

989,05

989,00

48

988,98

988,92

988,87

988,83

988,78

988,71

988,70

988,65

988,61

988,56

49

988,52

988,47

988,43

988,38

988,34

988,29

988,25

988,20

988,16

988,11

50

958,07

988,02

987,97

987,92

937,89

987,84

987,80

937,75

987,71

987,66

51

987,52

987,57

987,52

987,48

987,43

987,38

937,33

987,29

987,23

987,19

52

987,15

987,10

987,06

987,01

986,97

936,92

986,87

986,83

986,79

986,74

53

936,59

986,64

986,59

986,55

986,50

986,45

986,40

986,35

986,35

986,31

54

985,21

986,16

986,11

986,07

985,02

985,97

985,92

985,87

985,83

985,78

55

985,73

985,68

985,63

985,59

985,54

985,49

985,44

985,39

985,35

985,30

56

985,25

985,20

985,15

985,10

985,05

985,00

984,95

984,90

984,85

984,80

57

984,75

984,70

984,65

984,60

984,55

984,50

984,45

964,40

984,35

984,30

58

934,25

984,20

984,15

984,10

984,05

984,00

983,95

983,90

983,85

983,80

59

933,75

963,70

983,65

983,60

983,55

983,50

983,45

983,40

982,34

963,29

60

953,24

983,19

933,14

983,08

983,03

982,98

982,93

982,88

982,83

982,77

61

982,72

982,67

982,62

982,57

982,51

982,46

982,41

982,36

982,31

982,26

62

982,20

982,15

982,10

982,05

981,99

981,94

981,89

981,83

961,78

981,72

63

981,67

981,62

981,57

981,5l

981,46

981,40

981,35

981,29

981,24

961,18

64

951,13

961,07

961,02

980,97

980,91

980,86

980,81

980,76

960,71

980,65

65

950,59

980,53

980,48

980,42

980,37

980,32

980,26

980,21

980,16

980,10

66

980,05

979,99

979,93

979,87

979,82

979,77

979,72

979,67

979,61

979,56

67

979,50

979,44

979,39

979,33

979,28

979,22

979,16

979,11

979,06

979,00

68

978,94

978,88

978,82

978,77

978,71

978,66

978,61

978,55

978,50

978,44

69

978,38

978,32

978,27

978,21

978,16

978,10

978,04

977,98

977,93

977,87

70

977,81

977,75

977,70

977,64

977,58

977,52

977,46

977,40

977,35

977,29

71

977,23

977,17

977,12

977,08

977,01

976,95

976,90

976,84

976,78

976,72

72

976,66

976,60

976,54

976,48

976,42

976,36

976,30

976,25

976,19

976,13

Окончание таблицы 28.

t

0,0

0,1

0,2

0,3

0,4

0,5

0,6

0,7

0,8

0,9

73

976,07

976,01

975,05

975,89

975,83

975,77

975,71

975,66

975,60

975,54

74

975,48

975,42

975,36

975,30

975,24

975,18

975,13

975,07

975,01

974,95

75

974,89

974,83

974,77

974,71

974,33

974,59

974,53

974,47

974,41

974,35

76

974,29

974,23

974,16

974,10

974,04

973,98

973,92

973,86

973,80

973,74

77

973,68

973,62

973,55

973,49

973,43

973,37

973,31

973,25

973,19

973,13

78

973,77

973,01

972,95

972,88

972,82

972,76

972,70

972,63

972,57

972,51

79

972,45

972,39

972,33

972,26

972,20

972,14

972,08

972,02

971,96

971,89

80

971,83

971,77

971,71

971,65

971,58

971,52

971,46

971,40

971,33

971,27

81

971,21

971,14

971,08

971,02

970,96

970,89

970,83

970,77

970,70

970,63

82

970,57

970,30

970,44

970,38

970,62

970,25

970,19

970,13

970,06

970,00

83

969,94

969,87

969,81

969,75

969,68

969,62

969,50

969,50

969,48

969,37

84

969,30

969,24

969,18

959,11

969,06

968,98

968,91

968,34

968,77

968,71

85

968,65

968,58

968,52

968,46

968,39

968,33

968,27

968,20

968,14

968,07

86

963,00

967,93

967,86

967,80

967,74

967,67

967,61

967,54

967,48

967,41

87

967,34

967,28

967,21

967,14

967,08

967,01

966,95

966,88

966,81

966,75

88

966,68

966,62

966,55

966,48

966,41

966,35

966,28

966,21

966,14

966,08

89

966,01

965,95

965,88

965,82

965,75

965,68

965,61

965,54

965,48

965,41

90

965,34

965,28

965,21

965,15

965,08

905,01

964,94

964,88

064,81

964,74

91

964,67

964,61

964,54

964,47

964,40

964,33

964,26

964,19

964,13

964,06

92

963,99

963,92

963,85

963,78

963,71

963,65

963,58

963,51

963,44

963,37

93

963,30

963,23

963,16

963,10

963,03

962,96

962,89

962,82

963,75

362,68

94

962,61

962,54

962,47

962,40

962,34

962,27

962,13

962,06

961,99

961,99

95

961,92

961,85

961,78

961,71

961,62

961,57

961,50

961,43

961,36

961,29

96

961,22

961,15

961,08

961,01

960,94

960,87

960,80

960,73

960,66

960,59

97

960,51

960,44

960,37

960,30

960,23

960,16

960,16

960,02

959,95

959,88

98

959,81

959,74

959,67

959,60

959,53

959,46

959,39

959,32

959,24

959,17

99

959,09

959,02

958,95

958,88

958,81

958,74

958,67

958,60

958,52

958,45

100

958,38

-

-

-

-

-

-

-

-

-

4.7.5. Средние удельные потери давления (Па) на трение

                                                                    (18)

где (1 - k) - коэффициент, учитывающий долю потерь давления на трение (табл. 29);

 - длина циркуляционного кольца, м.

Таблица 29. Потери на местное сопротивление и трение в долях от общего сопротивления трубопровода

Система

Потери в долях

на местные сопротивления k

на трение 1 - k

Водяного отопления:

с естественной циркуляцией воды (независимо от протяженности по вертикали и горизонтали)

0,5

0,5

с насосной циркуляцией воды

0,35

0,65

По найденному значению Rср обычным методом предварительно рассчитывают диаметры трубопровода циркуляционного кольца нагревательного прибора.

4.7.6. Результаты расчета сводят в табл. 30.

Количество циркуляционной воды для каждого участка определяют по формуле

                                                                               (18 а)

где qi - - тепловая нагрузка на участке трубопровода, Вт;

tc - перепад температур воды в системе, °С.

Таблицу 30. Гидравлический расчет системы отопления

Номер
участка

Нагрузка на участке

Длина
участка
Li, м

Диаметр d, м

Расчетные данные

тепловые нагрузки
qi, Вт

Количество циркулируемой воды qi,
кг/ч

предварительные

скорость
v, м/с

Потери
давления
на
трение
Ri,
Па

потери давления на трение на всем участке
Ri Li, Па

1

2

3

4

5

6

7

8

 

 

 

 

По ориентировочному среднему значению табл. 34

По ориентировочному среднему значению табл. 34

Окончание табл. 30

Расчетные данные

предварительные

измененные

сумма коэффи-
циентов мест-
ных
сопротив-
лений
åξ

потери давле-
ния
на мест-
ные
сопротив-
ления
zi, Па

общие потери давления на участке Rili + zi,
Па

v

Ri

RiLi

åξ

zi

Rili + zi

9

10

11

12

13

14

15

16

17

Табл. 31-32

Табл. 33

 

См. графу 6

См. графу 7

См. графу 8

См. графу 9

См. графу 10

См. графу 11

4.7.7. Устанавливают действительное циркуляционное давление, значение которого сравнивают с потерями в системе при принятых диаметрах трубопровода. Если действительное давление отличается от потерь на 0-15 %, то трубопровод оставляют без изменения согласно предварительному расчету. Если расхождение от 0 до 15 % и от 15 до 30 %, то ограничиваются изменением диаметров с тем, чтобы потери в трубопроводе составляли от 85 до 100 % циркуляционного давления, определенного по тепловому расчету. В этом случае повторного теплового расчета не требуется. При больших расхождениях между действительным давлением и потерями в системе проводят полный перерасчет системы.

Таблица 31. Коэффициенты местного сопротивления

Наименование

Условный диаметр,
мм

Значение ξ при скорости м/с

0,025

0,05

0,075

0,1

0,2 и
более

Нагревательные приборы

радиаторы двухколонные (вход и выход) при диаметре подводки

15

20

3,8

2

2,2

1,4

1,7

1,3

1,6

1,2

1,6

1,2

змеевик из труб плоский (длина I500 мм, высота 500 мм)

15

20

48

40

28

22

28

22

28

22

28

22

Арматура

краны пробковые проходные

15

20

25

5,7

3,7

3,2

3,8

2

1,8

3,5

1,6

1,5

3,4

1,4

1,3

3

1,2

1

краны с двойной регулировкой с цилиндрической пробкой

15

20

-

-

-

-

-

-

-

-

4

2

Вентили

с вертикальными цилиндрическими (15ч18бр)

15

20

25

32

40

50

-

-

-

-

-

-

-

-

-

-

-

-

-

-

-

-

-

-

-

-

-

-

-

-

16

10

9

9

8

7

прямоточные с косыми шпинделями (15е58)

15

20

25

32

40

50

-

-

-

-

-

-

-

-

-

-

-

-

-

-

-

-

-

-

-

-

-

-

-

-

3

3

3

2,5

2,5

2

задвижки параллельные

25

32

40

50

-

-

-

-

-

-

-

-

-

-

-

-

-

-

-

-

0,5

0,5

0,5

0,5

Гнутые детали из труб утки под углом 45° с радиусом закругления R = 3d

15

20

25

3,2

1,7

1,6

1,5

1,0

0,8

0,9

0,7

0,65

0,7

0,65

0,65

0,6

0,6

0,6

скобы с радиусом закругления R = 3d

15

20

25

32

6

4

2,3

1,4

2,2

1,3

1,1

0,8

2,1

1,0

0,7

0,6

2,1

1,0

0,7

0, 5

2,0

1,2

0,6

0,4

отводы под углом 90° с радиусом закругления R = 3d

15

20

25

32

5

3,7

3

1

1,6

1,5

1,2

0,3

1,4

1,2

0,8

0,2

1,3

1,1

0,6

0,2

1,3

1,1

0,6

0,2

Таблица 32. Коэффициенты местного сопротивления ξ (приближенные значения)

Местное сопротивление

ξ

Примечание

Для всех диаметров

1. Радиаторы двухколонные

2

 

2. Котлы:

 

чугунные

2,5

стальные

2

3. Внезапное расширение (относится к большей скорости)

1

4. Внезапное сужение (относится к большей скорости)

0,5

Отступы

0,5

5. Тройники:

 

проходные (эскиз 1)

1

поворотные на ответвление (эскиз 2)

1,5

на противотоке (эскиз 3)

3

6. Крестовины:

 

проходные (эскиз 4)

2

поворотные (эскиз 5)

3

Для значений ξ при условном проходе труб, мм

 

15

20

25

32

40

50

7. Вентили:

 

 

 

 

 

 

обыкновенные

16

10

9

9

8

7

прямоточные

3

3

3

2,5

2,5

2

8. Краны:

 

 

 

 

 

 

проходные

4

2

2

2

-

-

двойной регулировки

4

2

2

2

-

-

9. Отводы:

 

 

 

 

 

 

90° и утка

1,5

1,5

1

1

0,5

0,5

двойные узкие

2

2

2

2

2

2

двойные широкие

1

1

1

1

1

1

10. Скобы

3

2

2

2

2

2

Таблица 33. Потери давления zi (кг/м2) в местных сопротивлениях при расчете трубопроводов водяных систем отопления (при γ = 983,2 кг/м3; tn = 95°С)

Скорость воды, м/с

Суммарные коэффициенты местных сопротивлений åξ

1

2

3

4

5

6

7

8

9

10

0,025

0,031

0,063

0,094

0,125

0,157

0,188

0,219

0,251

0,282

0,313

30

0,045

0,090

0,135

0,180

0,226

0,271

0,316

0,361

0,406

0,451

35

0,061

0,123

0,184

0,246

0,307

0,368

0,430

0,491

0,553

0,614

0,040

0,080

0,160

0,241

0,321

0,40I

0,481

0,561

0,642

0,722

0,802

45

0,102

0,203

0,304

0,406

0,507

0,609

0,710

0,812

0,913

1,015

0

0,125

0,251

0,376

0,501

0,626

0,752

0,877

1,002

1,128

1,253

0,055

0,15

0,30

0,45

0,61

0,76

0,91

1,06

1,21

1,36

1,52

60

0,18

0,36

0,54

0,72

0,90

1,08

1,26

1,44

1,62

1,80

65

0,21

0,42

0,64

0,85

1,06

1,27

1,48

1,69

1,91

2,12

0,070

0,25

0,49

0,74

0,98

1,23

1,47

1,72

1,96

2,21

2,46

75

0,28

0,56

0,85

1,13

1,41

1,69

1,97

2,26

2,54

2,82

80

0,32

0,64

0,96

1,28

1,60

1,92

2,25

2,57

2,89

3,21

0,085

0,36

0,72

1,09

1,45

1,81

2,17

2,53

2,90

3,26

3,62

90

0,41

0,81

1,22

1,62

2,03

2,44

2,84

3,25

3,65

4,06

95

0,45

0,90

1,36

1,81

2,26

2,71

3,17

3,62

4,07

4,52

0,100

0,50

1,00

1,50

2,00

2,51

3,01

3,51

4,01

4,51

5,01

105

0,55

1,11

1,66

2,21

2,76

3,32

3,87

4,42

4,97

5,53

110

0,61

1,2I

1,82

2,43

3,03

3,64

4,24

4,85

5,46

6,06

0,115

0,66

1,33

1,99

2,65

3,31

3,98

4,64

5,30

5,96

6,63

120

0,72

1,44

2,16

2,89

3,51

4,33

5,05

5,77

6,49

7,22

125

0,78

1,57

2,35

3,13

3,92

4,70

5,48

6,26

7,05

7,84

0,130

0,85

1,69

2,54

3,39

4,23

5,08

5,93

6,78

7,62

8,47

135

0,91

1,83

2,74

3,65

4,57

5,48

6,39

7,31

8,22

9,13

140

0,98

1,96

2,95

3,93

4,91

5,89

6,88

7,86

8,84

9,82

0,145

1,05

2,11

3,16

4,21

5,27

6,32

7,38

8,43

9,48

10,54

150

1,13

2,26

3,38

4,51

5,64

6,77

7,89

9,02

10,15

11,20

155

1,20

2,41

3,61

4,82

6,02

7,22

8,43

9,63

10,84

12,04

0,160

1,28

2,57

3,58

5,13

6,41

7,70

8,98

10,26

11,55

12,83

163

1,36

2,73

1,09

5,46

6,82

8,19

9,55

10,92

12,28

13,64

170

1,45

2,90

4,34

5,79

7,24

8,69

10,14

11,59

13,03

14,48

0,175

1,53

3,07

4,60

6,14

7.67

9,21

10,7

12,3

13,8

15,3

180

1,62

3,25

4,87

6,49

8,12

9,74

11,4

13,0

14,6

16,2

185

1,72

3,43

5,15

6,86

8,58

10,3

12,0

13,7

15,4

17,2

0,190

1,81

3,62

5,43

7,24

9,05

10,9

12,7

14,5

16,3

18,1

195

1,91

3,81

5,72

7,62

9,53

11,4

13,3

15,2

17,2

19,1

200

2,00

4,01

6,01

8,02

10,0

12,0

14,0

16,0

18,0

20,0

0,205

2,1

4,2

6,3

8,4

10,5

12,6

14,7

16,8

19,0

21,1

210

2,2

4,4

6,6

8,8

11,1

13,3

15,5

17,7

19,9

22,1

215

2,3

4,6

6,9

9,3

11,6

13,9

16,2

18,5

20,8

23,2

0,220

2,4

4,9

7,3

9,7

12,1

14,6

17,0

19,4

21,8

24,3

225

2,5

5,1

7,6

10,1

12,7

15,2

17,8

20,3

22,8

25,4

230

2,7

5,3

8,0

10,6

13,3

15,9

18,6

21,2

23,9

26,5

0,235

2,8

5,5

8,3

11,1

13,8

16,6

19,4

22,1

24,9

27,7

240

2,9

5,8

8,7

11,5

14,4

17,3

20,2

23,1

26,0

28,9

245

3,0

6,0

9,0

12,0

15,0

18,0

21,1

24,1

27,1

30,1

0,250

3,1

6,3

9,4

12,5

15,7

18,8

21,9

25,1

28,2

31,3

255

3,3

6,5

9,8

13,0

16,3

19,6

22,8

26,1

29,3

32,6

260

3,4

6,8

10,2

13,6

16,9

20,3

23,7

27,1

30,5

33,9

0,265

3,5

7,0

10,6

14,1

17,6

21,1

24,6

28,2

31,7

35,2

270

3,7

7,3

11,0

14,6

18,3

21,9

26,6

29,2

32,9

36,5

275

3,8

7,6

11,4

15,2

18,9

22,7

26,5

30,3

34,1

37,9

0,280

3,9

7,9

11,8

15,7

19,6

23,6

27,5

31,4

35,4

39,3

285

4,1

8,1

12,2

16,3

20,4

24,4

28,5

32,6

36,6

40,7

290

4,2

8,4

I2,6

16,9

21,1

25,3

29,5

33,7

37,9

42,1

Продолжение таблицы 33.

Скорость воды, м/с

Суммарные коэффициенты местных сопротивлений åξ

1

2

3

4

5

6

7

8

9

10

0,295

4,4

8,7

13,1,

17,4

21,8

26,2

30,5

34,9

39,3

43,6

300

4,5

9,0

13,5

18,0

22,6

27,1

31,6

36,1

40,6

45,1

305

4,7

9,3

14,0

18,6

23,3

28,0

32,6

37,3

42,0

46,6

0,310

4,8

9,6

14,4

19,3

24,1

28,9

33,7

38,5

43,3

48,2

315

5,0

9,9

14,9

19,9

24,9

29,8

34,8

39,8

44,8

49,7

320

5,1

10,3

15,4

20,5

25,7

30,8

35,9

41,1

46,2

51,3

0,325

5,3

10,6

15,9

21,2

26,5

31,8

37,1

42,3

47,6

52,9

330

5,5

10,9

16,4

21,8

27,3

32,7

38,2

43,7

49,1

54,6

335

5,6

11,2

16,9

22,5

28,1

33,7

39,4

45,0

50,6

56,2

0.340

5,8

11,6

17,4

23,2

29,0

34,8

40,6

46,3

52,1

57,9

345

6,0

11,9

17,9

23,9

29,8

35,8

41,8

47,7

53,7

59,6

350

6,1

12,3

18,4

24,6

30,7

36,8

43,0

49,1

55,3

61,4

0,355

6,3

12,6

18,9

25,3

31,6

37,9

44,2

50,5

56,8

63,2

360

6,5

13,0

19,5

26,0

32,5

39,0

45,5

52,0

58,5

65,0

365

6,7

13,4

20,0

26,7

33,4

40,1

46,7

53,4

60,1

66,8

0,370

6,9

13,7

20,6

27,4

34,3

41,2

48,0

54,9

61,7

68,6

375

7,0

14,1

21,1

28,2

35,2

42,3

49,3

56,4

63,4

70,5

380

7,2

14,5

21,7

28,9

36,2

43,4

50,7

57,9

65,1

72,4

0,385

7,4

14,9

22,3

29,7

37,1

44,6

52,0

59,4

66,9

74,3

390

7,6

15,2

22,9

30,5

38,1

45,7

53,4

61,0

68,6

76,2

395

7,8

15,6

23,5

31,3

39,1

46,9

54,4

62,6

70,4

78,2

0.400

8,0

16,0

24,1

32,1

40,1

48,1

56,1

64,1

72,2

80,2

405

8,2

16,4

24,7

32,9

41,1

49,3

57,5

65,8

74,0

82,2

410

8,4

16,8

25,3

33,7

42,1

50,5

59,0

67,4

75,8

84,2

0,415

8,6

17,3

25,9

34,5

43,2

51,8

60,4

69,0

77,7

86,3

420

8,8

17,7

26,5

35,4

44,2

53,0

61,9

70,7

79,6

88,4

425

9,1

18,1

27,2

36,2

45,3

54,3

63,4

72,4

81,5

90,5

0,430

9,3

18,5

27,8

37,1

46,3

55,6

64,9

74,1

83,4

92,7

435

9,5

19,0

28,4

37,9

47,4

56,9

66,4

75,6

85,3

94,8

440

9,7

19,4

29,1

38,8

48,5

58,2

67,9

77,9

87,3

97,0

0,445

9,9

19,8

29,8

39,7

49,6

59,5

69,5

79,4

89,3

99,2

450

10,1

20,3

30,4

40,6

50,7

60,9

71,0

81,2

92,3

101,5

455

10,4

20,8

31,1

41,5

51,9

62,3

72,6

83,0

93,4

103,8

0,460

10,6

21,2

32,2

42,4

53,0

63,6

74,2

84,8

95,4

106,0

465

10,8

21,7

32,5

43,3

54,2

65,0

75,9

86,7

97,5

108,4

470

11,1

22,1

33,2

44,3

55,4

66,4

77,5

88,6

99,6

110,7

0,475

11,3

22,6

33,9

45,2

56,2

67,8

79,1

90,5

101,8

113,1

480

11,5

23,1

34,6

46,2

57,7

69,3

80,8

92,4

103,9

115,5

485

11,8

23,6

35,4

47,2

58,9

70,7

82,5

94,3

106,1

117,9

0,490

12,0

24,1

36,1

48,1

60,2

72,2

84,2

96,2

108,3

120,3

495

12,3

24,6

36,8

49,1

61,4

73,7

86,0

98,2

110,5

122,8

500

12,5

25,1

37,6

50,1

62,6

75,2

87,7

100,2

112,8

125,3

0,51

13,0

26,1

39,1

52,1

65,2

78,2

91,2

104,3

117,3

130,4

52

13,6

27,1

40,7

54,2

67,8

81,3

94,9

108,4

122,0

135,5

53

14,1

28,2

42,2

56,3

70,4

84,5

98,5

112,6

126,7

140,8

0,54

14,6

29,2

43,8

58,5

73,1

87,7

102,3

116,9

131,5

I46,1

55

15,2

30,3

45,5

60,6

75,8

91,0

106,1

121,3

136,4

151,6

56

15,7

31,4

47,1

62,9

78,6

94,3

110,0

125,7

141,4

157,2

0,57

16,3

32,6

48,8

65,1

81,4

97,7

114,0

130,3

146,5

162,8

56

16,9

33,7

50,6

67,4

84,3

101,2

118,0

134,9

151,7

168,6

59

17,4

34,9

52,3

69,8

87,2

104,7

122,1

139,6

157,0

174,4

Окончание таблицы 33.

Скорость воды, м/с

Суммарные коэффициенты местных сопротивлений åξ

1

2

3

4

5

6

7

8

9

10

0,60

18,0

36,1

54,1

72,2

90,2

108,2

126,3

144,3

162,3

180,4

61

18,7

37,3

56,0

74,6

93,3

111,9

130,6

149,2

167,9

186,5

62

19,3

38,5

57,8

77,1

96,3

115,6

134,8

154,1

173,4

192,6

0,63

19,9

39,8

59,7

79,6

99,5

119,3

139,2

159,1

176,6

198,9

64

20,5

41,1

61,6

82,1

102,6

123,2

143,7

164,2

184,7

205,3

65

21,2

43,2

63,5

84,7

105,9

127,0

148,2

169,4

190,6

211,7

0,66

21,8

43,7

65,5

87,3

109,2

131,0

152,8

174,6

196,5

218,3

67

22,5

45,0

67,5

90,0

112,5

135,0

157,5

180,0

202,5

225,0

68

23,2

46,3

69,5

92,7

115,9

139,0

162,2

185,4

208,6

231,7

0,69

23,9

47,7

71,6

95,4

119,3

143,2

167,0

190,9

214,7

238,6

70

24,6

49,1

73,7

98,2

122,8

147.3

171,9

196,4

221,0

245,6

71

25,3

50,5

75,8

101,1

126,3

151,6

176,8

202,1

227,4

252,6

0,72

26,0

52,0

77,9

103,9

129,9

155,9

181,9

207,8

233,8

259,8

73

26,7

53,3

80,1

106,8

133,5

160,2

186,9

213,6

240,4

267,1

74

27,4

54,9

82,3

109,8

137,2

164,7

192,1

219,5

247,0

274,4

0,75

28,2

56,4

84,6

112,8

141,0

169,1

197,3

225,5

253,7

281,9

76

28,9

57,9

86,8

115,8

144,7

173,7

202,6

231,6

260,5

289,5

77

29,7

59,4

89,1

118,9

148,6

173,3

208,0

237,7

267,4

297,1

0,78

30,5

61,0

91,5

122,0

152,5

172,9

213,4

243,9

274,4

304,9

79

31,3

62,6

93,8

125,1

156,4

187,7

218,9

250,2

281,5

312,8

80

32,1

64,1

96,2

128,8

160,4

192,4

224,5

256,6

288,7

320,7

0,85

36,2

72,4

108,6

144,8

181,0

217,2

253,5

289,7

325,9

362,1

90

40,6

81,2

121,8

162,4

203,6

243,6

284,1

324,7

365,3

405,9

95

45,2

90,5

135,7

180,9

226,1

271,4

316,6

361,8

407,1

452,3

1,00

50

100

150

200

251

301

351

401

451

501

05

55

111

166

221

276

332

387

442

497

553

10

61

121

182

243

303

364

424

485

546

606

1,15

66

133

199

265

331

398

464

530

596

663

20

72

144

216

289

361

433

505

577

649

722

25

78

157

235

313

392

470

548

626

705

783

1,30

85

169

254

339

423

508

593

678

762

847

35

91

183

274

365

457

548

639

731

822

913

40

98

196

295

393

491

589

688

786

884

982

1,45

105

211

316

421

527

632

738

843

948

1054

50

113

226

338

451

564

677

789

902

1015

1128

55

120

241

361

482

602

722

843

963

1084

1204

1,60

128

257

385

513

641

770

898

1026

1155

1283

65

136

273

409

546

682

819

955

1091

1228

1364

70

145

290

434

579

724

869

1014

1159

1303

1448

1,75

153

307

460

614

767

921

1074

1228

1381

1535

80

162

325

487

649

812

974

1187

1299

1461

1624

85

172

343

515

686

858

1029

1201

1372

1544

1715

1,90

181

362

543

724

905

1085

1266

1447

1628

1809

95

191

381

572

762

953

1143

1334

1525

1715

1907

2,00

200

401

601

802

1002

1203

1403

1604

1804

2005

Таблица 34. Расчет стальных трубопроводов водяного отопления, при t = 1°C, tводы = 95°C и k¢ = 0,2 мм

Потери от трения,
кг/м2

на 1 м

Диаметр условного проxoда труб водогазопроводных, мм (ГОСТ 3262-75)

10

15

20

25

32

40

50

70

Количество теплоты, проходящей по трубе, ккал/ч

(первая срока)

Скорость воды в трубе, м/с

(вторая строка)

0,06

8

12,5

27

52

110

160

307

589

0,015

0,017

0,021

0,025

0,031

0,034

0,039

0,045

0,065

8,2

13

28

54

116

172

321

616

0,016

0,018

0,022

0,026

0,032

0,036

0,041

0,047

0,07

8,5

13,5

30

56

121

183

335

643

0,017

0,019

0,023

0,027

0,033

0,038

0,043

0,049

0,075

8,8

14

31

59

126

188

349

669

0,0174

0,019

0,024

0,028

0,035

0,040

0,044

0,051

0,08

9,1

14,5

32

61

130

192

363

695

0,018

0,020

0,025

0,029

0,036

0,041

0,046

0,053

0,085

9,5

15

33

63

135

196

374

718

0,019

0,021

0,026

0,031

0,037

0,042

0,048

0,055

0,09

9,8

15,5

34

65

139

202

385

742

0,0194

0,021

0,027

0,032

0,039

0,043

0,049

0,057

0,095

10,1

16

35

67

144

206

398

761

0,020

0,022

0,0275

0,033

0,040

0,044

0,051

0,058

0,1

10,4

16,5

36

69

148

210

409

788

0,021

0,023

0,028

0,034

0,041

0,045

0,052

0,060

0,11

10,7

17

38

73

157

219

432

830

0,022

0,024

0,030

0,035

0,044

0,046

0,055

0.063

0,12

11,1

17,5

40

76

164

229

454

872

0,023

0,025

0,031

0,037

0,045

0,018

0,059

0,067

0,13

11,4

18

42

80

172

239

475

910

0,0234

0,026

0,033

0,039

0,047

0,050

0,061

0,070

0,14

12,0

19

44

84

180

249

496

948

0,024

0,027

0,034

0,041

0,049

0,052

0,064

0,073

0,15

12,6

20

45

87

188

259

516

982

0,026

0,029

0,035

0,042

0,052

0,054

0,067

0,075

0,16

13,2

21

47

96

191

269

535

1016

0.027

0,030

0,037

0,45

0,053

0,057

0,069

0,078

0,17

13,6

21,5

49

103

193

279

553

1046

0,027

0,030

0,038

0,048

0,053

0,059

0,071

0,080

0,18

13,9

22

50

108

197

287

571

1077

0,028

0,031

0,039

0,051

0,054

0,060

0,073

0,082

0,19

14,5

23

52

110

201

296

589

1106

0,029

0,032

0,040

0,053

0,056

0,062

0,076

0,085

0,20

15,1

24

53

111

203

304

606

1137

0,030

0,033

0,042

0,054

0,057

0,064

0,078

0,087

0,22

15,8

25

56

115

213

321

638

1197

0,032

0,035

0,044

0,055

0,059

0,067

0,082

0,092

0,24

16,4

26

59

120

223

338

671

1258

0,034

0,037

0,046

0,057

0,062

0,071

0,087

0,096

0,26

17,0

27

62

126

234

353

700

1317

0,035

0,039

0,048

0,059

0,064

0,074

0,091

0,101

Продолжение табл. 34

Потери от трения, кг/м2
на 1 м

Диаметр условного проxoда труб водогазопроводных, мм (ГОСТ 3262-75)

10

15

20

25

32

40

50

70

Количество теплоты, проходящей по трубе, ккал/ч

(первая срока)

Скорость воды в трубе, м/с

(вторая строка)

0,28

17,7

28

64

130

244

368

729

1377

 

0,037

0,041

0,050

0,064

0,068

0,077

0,096

0,106

0,30

19,0

30

67

135

554

383

752

1438

0,038

0,042

0,052

0,067

0,070

0.081

0,099

0,110

0,32

19,6

31

72

140

263

396

774

1488

0,040

0,044

0,058

0,068

0,073

0,083

0,102

0,114

0,34

20.2

32

75

142

272

409

796

I530

0,041

0,045

0,060

0,070

0,075

0,086

0,106

0,117

0,36

20,8

33

80

143

281

422

818

1576

0,042

0,047

0,062

0,071

0,078

0,089

0,108

0,121

0,38

21,5

34

82

145

290

435

839

1622

0,043

0,048

0,064

0,073

0,080

0,092

0,111

0,124

0,40

22,1

35

85

146

299

448

861

1667

0,045

0,050

0,066

0,073

0,082

0,094

0,115

0,128

0,45

23,4

37

91

152

317

478

916

1783

0,049

0,054

0,071

0,074

0,088

0,101

0,122

0,136

0,50

25,2

40

95

157

336

507

971

1898

0,051

0,057

0,073

0,074

0,093

0,107

0,130

0,145

0,55

26,5

42

100

163

356

533

1026

1999

0,054

0,060

0,077

0,078

0,098

0,112

0,137

0,153

0,60

27,8

44

103

169

373

559

1081

2090

0,057

0,063

0,080

0,082

0,103

0,118

0,144

0,160

0,65

29,7

47

107

176

389

580

1127

2180

0,059

0,066

0,083

0,086

0,108

0,122

0,150

0,167

0,70

30,3

48

111

184

406

601

1172

2269

0,062

0,069

0,086

0,089

0,112

0,126

0,149

0,174

0,75

31,6

50

112

191

420

622

1218

2359

0,065

0,072

0,087

0,093

0,116

0,131

0,155

0,181

0,80

33,4

52

113

199

434

642

1263

2450

0,074

0,082

0,088

0,097

0,120

0,135

0,161

0,187

0,85

35,3

56

115

205

450

663

1309

2523

0,075

0,083

0,089

0,100

0,124

0,140

0,165

0,193

0,90

36,5

57

119

212

463

684

1354

2598

0,076

0,084

0,092

0,103

0,128

0,144

0,171

0,199

0,95

36,8

58

122

218

477

705

1399

2671

0,077

0,085

0,095

0,106

0,132

0,148

0,177

0,204

1,00

37,2

59

126

225

490

726

1445

2744

0,078

0,087

0,097

0,109

0,136

0,151

0,182

0,210

1,10

38,5

61

133

237

516

767

1514

2892

0,081

0,090

0,103

0,115

0,143

0,162

0,192

0,221

1,20

39,8

63

140

248

537

809

1583

3011

0,084

0,093

0,108

0,120

0,149

0,170

0,201

0,230

1,30

41,0

65

146

259

557

846

1652

3128

0,086

0,095

0,113

0,126

0,154

0,178

0,210

0,239

1,40

42,3

67

151

269

579

876

1720

3246

0,088

0,098

0,11

0,131

0,160

0,184

0,218

0,248

1,50

42,9

68

157

280

600

906

1790

3364

0,091

0,101

0,121

0,136

0,166

0,191

0,227

0,257

Продолжение табл. 34

Потери от трения,
кг/м2

на 1 м

Диаметр условного прохода труб водогазопроводных (ГОСТ 3262-75), мм

10

15

20

25

32

40

50

70

Количество теплоты, проходящей по трубе, ккал/ч

(первая срока)

Скорость воды в трубе, м/с

(вторая строка)

1,60

44,2

70

163

289

621

937

1858

3482

0.693

0,103

0,126

0,141

0,172

0,197

0,236

0,266

1,70

45,5

72

169

299

642

967

1917

3600

0,096

0,106

0,130

0,145

0,178

0,203

0,243

0,275

1,80

46,7

74

174

309

663

997

1974

3718

0,098

0,108

0,135

0,150

0,184

0,210

0.251

0,284

1,90

47,4

75

179

318

684

1027

2632

3835

0,100

0,111

0,138

0,154

0,189

0,216

0,258

0,293

2,00

46,6

77

184

332

705

1058

2090

3953

0,102

0,114

0,142

0,161

0,195

0,222

0,265

0,302

2,20

51,1

81

194

346

747

1118

2204

4141

0,107

0,119

0,150

0,168

0,207

0,235

0,280

0,317

2,40

53,0

84

204

360

778

1166

2291

4327

0,112

0,124

0,157

0,175

0,215

0,245

0,291

0,331

2,60

55,6

88

212

376

809

1214

2378

4513

0,117

0,130

0,164

0,182

0,224

0,255

0,302

0,345

2,80

57,5

91

221

398

840

1261

2465

4702

0,122

0,135

0,171

0,190

0,233

0,265

0,312

0,350

3,00

60,0

95

229

404

871

1309

2552

4889

0,126

0,140

0,177

0,196

0,241

0,276

0,323

0,374

3,20

61,9

98

237

416

902

1357

2640

5643

0,131

0,145

0,183

0,202

0,250

0,284

0,334

0,386

3,40

64,3

102

245

428

933

1405

2727

5196

0,135

0,150

0,189

0,208

0,258

0,296

0,345

0,397

3,60

67,0

106

256

441

964

1444

2814

5350

0,140

0,156

0,195

0,214

0,267

0,304

0,356

0,409

3,80

68,8

109

260

454

995

1484

2900

5503

0,144

0,160

0,201

0,220

0,276

0,312

0,367

0,421

4,00

70,7

112

267

467

1026

1524

2973

5657

0,148

0,164

0,206

0,226

0,284

0,321

0,376

0,433

4,50

75,1

119

284

498

1090

1623

3155

6015

0,156

0,175

0,219

0,242

0,301

0,342

0,399

0,460

5,00

79,6

126

297

530

1149

1710

3336

6339

0,167

0,186

0,230

0,257

0,318

0,360

0,422

0,485

5,50

84,0

133

311

561

1210

1788

3517

6666

0,176

0,196

0,240

0,272

0,335

0,376

0,445

0,510

6,00

88,0

139

324

593

1270

1866

3699

697I

0,185

0,205

0,250

0,288

0,352

0,393

0,468

0,533

6,50

92,0

146

337

614

1320

1944

3844

7253

0,194

0,215

0,261

0,298

0,365

0,409

0,486

0,555

7,00

95,3

151

351

635

1369

2022

3988

7534

0,201

0,223

0,271

0,308

0,379

0,426

0,504

0,576

7,50

99,0

157

361

656

1418

2100

4131

7790

0,208

0,231

0,281

0,318

0,393

0,442

0,522

0,598

8,00

102,3

162

377

677

1467

2178

4276

8066

0,215

0,239

0,291

0,328

0,406

0,458

0,540

0,618

Продолжение табл. 34

Потери от трения,
кг/м2

на 1 м

Диаметр условного прохода труб водогазопроводных (ГОСТ 3262-75), мм

10

15

20

25

32

40

50

70

Количество теплоты, проходящей по трубе, ккал/ч

(первая строка)

Скорость воды в трубе, м/с

(вторая строка)

8,50

106,0

168

390

698

1517

2249

4420

8317

0,223

0,248

0,302

0,338

0,420

0,473

0,559

0.636

9,00

109,2

173

404

719

1554

2309

4543

8567

0,230

0,255

0,312

0,348

0,430

0,486

0,574

0,655

9,50

112,4

178

417

739

1593

2370

4665

8819

0,236

0,262

0,322

0,359

0,441

0,499

0,589

0,675

10

115,6

183

430

759

1632

2431

4788

9035

0,242

0,269

0,332

0,369

0,452

0,512

0,605

0,691

11

121,2

192

450

801

1709

2553

5033

9467

0,255

0,283

0,347

0,389

0,473

0,537

0,637

0,724

12

127

201

469

825

1786

2674

5250

9899

0,266

0,295

0,362

0,405

0,494

0,563

0,664

0,757

13

132

209

488

870

1863

2796

5468

10241

0,277

0,308

0,377

0,422

0,516

0,588

0,692

0,783

14

136

216

507

904

1939

2895

5686

10584

0,286

0,318

0,392

0,438

0,537

0,609

0,719

0,810

15

141

223

527

938

2017

2995

5903

10927

0,295

0,328

0,407

0,455

0,558

0,630

0,746

0,836

16

145

229

546

972

2079

3095

6093

11269

0,304

0,338

0,422

0,471

0,575

0,651

0,770

0,862

17

149

236

565

1000

2140

3149

6283

11611

0,313

0,348

0,436

0,485

0,592

0,672

0,794

0,888

18

154

243

584

1028

2201

3291

6473

11953

0,322

0,358

0,451

0,499

0,609

0,693

0,818

0,914

19

157

249

599

1056

2263

3427

6654

12296

0,330

0,367

0,463

0,512

0,626

0,721

0,841

0,941

20

162

256

614

1084

2325

3513

6823

12638

0,339

0,377

0,474

0,526

0,643

0,739

0,862

0,957

22

171

270

643

1141

2448

3684

7159

13323

0,357

0,397

0,497

0,553

0,678

0,775

0,904

1,019

24

179

283

673

1197

2572

3808

7476

14008

0,375

0,417

0,520

0,581

0,712

0,801

0,944

1,071

26

186

296

702

1240

2671

3965

7782

14693

0,392

0,436

0,542

0,602

0,739

0,834

0,983

1,124

28

195

310

732

1284

2770

4113

8076

15215

0,410

0,456

0,565

0,623

0,767

0,865

1,020

1,164

30

200

319

756

1327

2869

4260

8359

15749

0,423

0,470

0,584

0,644

0,794

0,896

1,056

1,205

32

207

329

780

1372

2969

4406

8634

16266

0,436

0,484

0,602

0,655

0,821

0,928

1,008

1,244

34

212

338

804

1415

3067

4546

8900

16768

0,449

0,499

0,621

0,686

0,849

0,957

1,124

1,283

36

219

348

828

1458

3153

4684

9157

17252

0,462

0,513

0,640

0,708

0,873

0,986

1,156

1,320

38

225

358

852

1502

3239

4822

9409

17726

0,474

0,527

0,658

0,729

0,896

1,015

1,188

1,356

40

232

367

876

1545

3325

4960

9652

18186

0,487

0,541

0,677

0,754

0,920

1,044

1,219

0,391

45

246

391

924

1588

3539

5092

10239

19285

0,519

0,577

0,714

0,800

0,978

1,073

1,293

1,476

50

261

415

972

1730

3707

5541

10791

20333

0,551

0,612

0,751

0,843

1,031

1,166

1,362

1,555

4.7.8. После предварительного подбора диаметров трубопровода переходят к его тепловому расчету, определяя последовательно по участкам от котла по ходу воды тепловыделения трубопроводом и температуры воды, данные сводят в табл. 35.

Таблица 35. Тепловой расчет трубопровода

Номер участка

qi,
кг/ч

Li,

м

d,
мм

tнач i
°C

tв
°
C

tнач i-tв
°С

q¢,
Вт/м

qтр,
Вт

ti,
°С

tкон i,
°С

1

2

 

 

 

 

 

 

См. табл.

49

I.

 

 

Подсчет начинают с участка, температура которого известна (90°С) графа 5 табл. 35.

Для заполнения графы 10 - формула остывания воды на участке трубопровода

                                                                             (19)

где qтр - теплоотдача трубопроводом, Вт;

qi - количество воды, которое проходит по участку, кг/ч.

Для заполнения графы 11 - формула определения температуры воды в конце участка

tk i = tнач i - ti,                                                                        (20)

где tнач i - температура воды в начале участка.

4.7.9. Действительное значение гравитационного давления, Па определяем по формуле при средних значениях плотности воды

                   (21)

где hст, hпр - высота соответственно стояка, по которому вода движется вниз и отопительного прибора, м;

γст, γп - плотность воды соответственно в этом стояке и выходящей из котла, кг/м3;

γп,пр, γо,пр - плотность воды, соответственно входящей в отопительный прибор и выходящей из него;

h - вертикальное расстояние между центрами нагрева воды в котле и охлаждения в приборе (принимается посередине прибора).

Получив действительное циркуляционное давление, сравниваем его с потерями давления в данном кольце трубопровода. Полученное расхождение должно находиться в допустимых пределах в соответствии с п. 4.7.7, и поэтому расчет можно считать законченным. Таким же образом в соответствии с общей методикой гидравлического расчета трубопроводов производят расчет через другие циркуляционные кольца.

4.8. Гидравлический расчет системы отопления с насосной циркуляцией воды

Двухтрубную систему с верхней разводкой при насосной циркуляции воды применяют в малоэтажных зданиях во избежание значительного вертикального теплового разрегулирования.

Циркуляционные насосы эффективны для малых и средних систем, так как они создают малые давления при большом расходе воды.

Вода циркулирует в системе с помощью малогабаритного моноблочного насоса с встроенным асинхронным электродвигателем короткозамкнутого типа. Насос устанавливают на трубопроводе в обратную магистраль системы отопления и горячего водоснабжения для увеличения срока службы деталей, взаимодействующих с горячей водой и, при необходимости в подающую магистраль, что уменьшает затраты на трубопровод, так как диаметр трубопровода может быть меньше, чем при естественной конвекции, кроме того, при механической циркуляции вода не содержит свободного кислорода и не оказывает разъедающего действия. Укрепляют насос с помощью ниппельных и фланцевых соединений (в зависимости от типоразмера насоса). Уровень шума работающих насосов 40-50 дБ. Насосы служат для перекачивания воды с температурой до 100°С в системах отопления и горячего водоснабжения.

4.8.1. Циркуляционный насос можно выбирать по заводским характеристикам (табл. 36), исходя из общего расхода воды в системе отопления, тогда давление, развиваемое насосом в рабочей точке характеристики, принимать за исходное при гидравлическом расчете системы.

Таблица 36. Технические данные электронасосов типа ЦВЦ

Марка насоса ЦВЦ

Диаметр рабочего колеса, мм

Подача, м3

Напор, м

КПД насоса, %

Потребляемая мощность,
кВт

Размеры, мм

Масса,

Ду

А

Б

В

Г

кг

2,5-2

4-2,8

6,3-3,5

10-4,7

16-6,7

25-9,2

52

57

67

74

88

104

2,5

4

6,3

10

16

25

2

2,8

3,5

4,7

6,7

9,2

17

20

25

36

41

45

0,11

0,18

0,24

0,43

0,85

1,62

25

32

40

40

50

70

281

305

360

360

402

457

252

285

287

301

373

395

136

153

173

173

196

226

203

232

231

238

299

322

8

10

12

34

38

43

Примечание: Частота вращения колеса насоса 3 тыс. об/мин, напряжение в электросети 380/220 В.

4.8.2. При расчете трубопроводов с насосом неблагоприятным циркуляционным кольцом следует считать:

при искусственной циркуляции и тупиковой разводке магистралей - кольцо через наиболее отдаленный стояк;

при искусственной циркуляции и попутном движении воды - кольцо через наиболее нагруженный стояк.

Разница в давлениях, расходуемых в отдельных кольцах системы при расчете трубопроводов, не должна превышать: в двухтрубной насосной с попутным движением 15 %, с тупиковой разводкой – 20 %

Характеристика насосов позволяет построить зависимость между количеством оборотов, производительностью и развиваемым давлением. Насосы для систем отопления следует выбирать по заданной производительности в м3/ч (л/с), при этом давление насоса должно быть приближено к максимальному. Из циркуляционных насосов зарубежного производства применяют 3-скоростные типа UPS, GHN. Переключение скорости ручное или автоматическое.

4.8.3. Расчетное циркуляционное давление (Па) для системы с искусственной циркуляцией

Hрасч = Hн + БH0,                                                                    (22)

где Нн - циркуляционное давление, развиваемое насосом, Па;

Н0 - естественное давление, возникающее в расчетном кольце от охлаждения воды в трубопроводах и от охлаждения воды в нагревательных приборах, Па;

Б = 1 - поправочный коэффициент, учитывающий значение естественного циркуляционного давления в период поддержания расчетного гидравлического режима в системе.

Для вертикальных двухтрубных насосных систем отопления расчетный гидравлический режим относят к периоду наиболее длительного стояния одной и той же температуры наружного воздуха. При такой температуре наружного воздуха в системе отопления возникав естественное циркуляционное давление (Па), составляющее около 40 % максимального значения, поэтому примем Б = 0,4 и формула примет вид:

Hрасч = Hн + 0,4H0

Для выборе Hн в практических расчетах используют Hн = 100×åLi, Па (где åLi - длина циркуляционного кольца, м).

Расчетная производительность циркуляционного насоса

                                                                   (23)

                                                                   (23а)

где qсист - расчетная теплопроизводительность котла в системе отопления, Вт;

tn - t0 - температурный перепад воды в системе, °С;

 - средняя плотность воды, кг/м3.

Мощность привода Вт, вал которого непосредственно соединен с валом рабочего колеса насоса

                                                                        (24)

где Нн - давление, которое должен развить насос, Па;

ηн - КПД насоса.

4.9. Расчет теплопроизводительности котла

Требуемую теплопроизводительность котла qсист определяют как сумму полезных и бесполезных потерь теплоты. Полезными потерями считаются теплота, идущая на покрытие теплопотерь помещения и тепловыделения трубами, а к бесполезным относят теплоту, теряемую обратными трубопроводами, проложенными под полом помещения.

Для возмещения теплопотерь, учитывая, что в котел поступает обратная вода с температурой tki последнего участка, а уходит при tr = 90°С, количество циркулирующей в системе воды, (кг/ч)

                                                                   (25)

где β2 - поправочный коэффициент, учитывающий дополнительные теплопотери вследствие размещения отопительных приборов у наружных ограждений; при установке у наружных стен секционного радиатора или конвектора типа КН и КО β2 = 1,02, конвектора КА β2 = 1,03, панельного радиатора β2 = 1,04;

β1 - поправочной коэффициент, учитывающий теплопередачу через дополнительную площадь (сверх расчетной) приборов, принятых к установке; для радиаторов и конвекторов β1 = 1,03-1,06; для ребристых труб β1 = 1,13.

В технике отопления объемную подачу насосом горячей воды заменяют массовым расходом Gн, кг/ч, не зависящим от температуры воды Gн = γLн (где ∆γ - средняя плотность воды в системе отопления, кг/м3; Lн - подача насоса, м3/ч).

Для циркуляционного насоса, включенного в общую магистраль, расход перемещаемой воды Gн равен общему расходу воды в системе отопления Gн = Gс.

Допускается расхождение от +5 до –15 %  (где gi - количество циркулирующей воды, принятое при гидравлическом расчете трубопроводов).

Если количество циркулирующей воды превышает эти пределы, то следует перепад температуры воды в системе принять большим или меньшим и соответственно, откорректировать все расчеты,

4.10. Расчет установок горячего водоснабжения

Нормы расхода и температуру горячей воды в период наибольшего водоразбора при tr * 65°С принимают с учетом степени благоустройства зданий, климатических условий и др., нормы расхода горячей воды для жилого дома - по табл. 37. (в соответствии со СНиП 2.04.01-85).

Таблица 37. Норма расхода горячей воды

Потребители

Единица потребления

Норма аг  расхода воды
на 1 л при
tг = 65°С

Жилые дома квартирного типа, оборудованные умывальниками, мойками, душами

На 1 чел/сут.

80-100

То же, с сидячими ванными, оборудованными душами

То же

100-110

То же с ваннами длиной от 1500 до 1700 мм, оборудованными душами

То же

110-130

4.10.1. Расход теплоты (Вт) на нужды горячего водоснабжения для жилых домов

                                                             (26)

где k¢ = 2,1 - коэффициент часовой неравномерности потребления горячей воды;

n1 - количество потребителей;

a1 - норма горячей воды на одного потребителя (табл. 37);

tx - температура воды в сети холодного водопровода.

4.10.2. Расход горячей воды (л/ч) в зависимости от заданной температуры горячей воды до смешения tг

                                                                   (27)

где Gсм - расход горячей (смешанной) воды у потребителя при tсм, л/ч;

tcм - температура потребляемой (смешанном) воды, °С (табл. 38, 39);

tx - температура холодной воды.

Таблица 38. Нормы расхода воды в жилых зданиях на процедуру или 1 прибор

Прибор или процедура

Расход
воды, л

Температура потребляемой воды, tсм, °С

Ванна длиной:

 

 

1200 мм с душем

250

37

1500 мм

275

37

1700 мм

300

37

Умывальник

3-5

25

Мойка кухонная

8-10

15

Таблица 39. Расходы воды и стоков санитарными приборами

Санитарные приборы

Расход воды, с

Расход воды, ч

Сво-
бод-
ный
напор

Hf

Расход стоков от при-
бора

Мини-
мальный
диаметр
условного прохода, мм

общий

холодной

горячей

общий

холодной

горячей

под-
вод-
ки

от-
во-

да

Умывальник, рукомойник
со смесителем

0,12

0,09

0,09

60

40

40

2

0,15

10

32

Ванна со смесителем,
в том числе общим
для
ванн и умывальника

0,25

0,18

0,18

300

200

200

3

0,8

10

40

Унитаз со сливным
бачком

0,1

0,1

-

83

83

-

2

1,6

8

85

4.10.3. Расход теплоты (Вт) на приготовление горячей воды для ванной

                                                         (28)

где vв - расход воды на одну ванну (табл. 37); - плотность воды, соответствующая температуре γг.в , кг/м3 (табл. 28).

4.10.4. Продолжительность нагревания (ч) воды τ до требуемой температуры зависит от теплопроизводительности котла и определяется по выражению τ = qван/qсист..

4.10.5. Диаметр главного стояка системы отопления определяют при расчете системы. Этот стояк является составной частью циркуляционного кольца горячего водоснабжения, и его диаметр определяют вторично при расчете этого кольца. Если при сопоставлении обоих расчетов диаметр главного стояка получит разные значения, то принимают больший диаметр.

Внутридомовые разводящие сети и проводки к приборам холодной и горячей воды монтируют в соответствии с тепловым проектом принятого к строительству жилого дома. Согласно СНиП 2.04.01-85 «Внутренний водопровод и канализация», материал внутренних трубопроводов, подающих холодную воду, следует принимать для подачи воды питьевого качества из стальных оцинкованных труб диаметром до I50 мм - не оцинкованных - при больших диаметрах или из других материалов, в том числе пластмасс, разрешенных для этих целей Главным санитарно-эпидемиологическим управлением Минздрава РСФСР.

Трубопроводы системы горячего водоснабжения следует выполнять из стальных оцинкованных труб с минимально допустимой толщиной стенки по условной прочности и способа их соединения. Для трубопроводов системы горячего водоснабжения допускается применять неоцинкованные стальные трубы при диаметре свыше 150 мм и в открытых системах теплоснабжения. В системе горячего водоснабжения для подачи воды следует предусматривать установку смесителей с раздельной подводкой к ним горячей и холодной воды.

Расход воды и температуру в вентильных смесителях регулируют двумя вентильными головками, при конструкции с одной рукояткой - движением вправо-влево. Водоразборную арматуру различают в зависимости от вида санитарного прибора: умывальника, мойки, ванны и др.

Из трубопроводной арматуры, как правило, применяют запорную (задвижки и вентили).

Для сбора загрязненной воды, образующейся при подготовке пищевых продуктов к приготовлению, мытья посуды и другого, устанавливают мойки, имеющие одно или два отделения. Мойки изготавливают из чугуна, листовой стали с покрытием из эмали или нержавеющей стали. Мойка оборудуется смесителем, излив которого устанавливается на высоте 0,15-0,2 м от борта, что удобно для наполнения чайников, кастрюль и других бытовых емкостей. В центре или в углу чаши устанавливают латунный или пластмассовый выпуск (d = 40 мм), к которому устанавливают гидрозатвор с воздушным разрывом 20-30 мм, что исключает проникновение загрязненной воды из канализационной сети в чашу. Мойку на два отделения оборудуют двумя выпусками и одним гидрозатвором. Умывальники (прямоугольные, полукруглые, овальные и др.) укрепляют на кронштейнах или устанавливают на постаменте, который закрывает гидрозатвор и трубы. Умывальники комплектуют разными видами кранов и смесителей.

Термосмеситель прямого действия ТСВБ-50-1 (табл. 40) для смешения холодной и горячей воды предназначают для установки в душевых кабинах.

Таблица 40. Термосмеситель ТСВБ-50-1

Параметры

Количество

Диапазон настройки, °С

От 10 до 50

Допустимый перепад давления между холодной и горячей водой, кПа

245

Допустимые колебания температуры в сетях, °С:

холодной

горячей

5-20

50-90

Отклонение от заданной температуры смешанной воды при колебаниях давления и температуры в сетях горячей и холодной воды, °С

±2

Расход воды при свободном изливе и давлении холодной и горячей воды, равном 0,08 МПа, м3/ч

1

Диаметр условный подводящей и отводящей труб, мм

15

Масса, кг

2,5

Примечания: 1. Термосмеситель автоматически поддерживает заданную температуру смешанной воды независимо от колебания давления и температуры воды, подводимой к нему. Применение термосмесителя обеспечивает подачу воды необходимой температуры при пользовании душем.

2. Количество проходящей воды предварительно регулируют вентилем, находящимся под колпачком.

4.10.6. Диаметр условного прохода счетчика воды следует выбирать исходя из среднечасового расхода воды за период потребления (сутки, смену), который не должен превышать эксплуатационный (табл. 41).

Таблица 41. Диаметр условного прохода счетчика

Диаметр условного прохода счетчика,
мм

Расход воды, м3

Порог чувстви-
тельности, м3

Макси-
мальный объем воды за сутки,
м3

S

минимальный

эксплуатационный

максимальный

15

0,03

1,2

3

0,015

45

1,11

20

0,05

2,0

5

0,025

70

0,4

30

0,1

4

10

0,05

140

0,1

40

0,16

6,4

16

0,08

230

0,039

50

0,3

12

30

0,15

450

0,011

65

1,5

17

70

0,6

610

0,0063

4.10.7. Потери давления в счетчиках h¢, м, при расчетном расходе воды Gг (Gtot; Gгс; G2г)

                                                                            (30)

где S - гидравлическое сопротивление счетчика (табл. 41).

4.10.8. Прокладку вводов водопровода и трубопроводов под полом внутри здания следует предусматривать в водонепроницаемых колодцах. Длину водонепроницаемых каналов на вводах в здания от наружного обреза фундамента здания до контрольного колодца принимают в зависимости от толщины слоя просадочных грунтов и диаметров трубопроводов (табл. 42.)

Таблица 42. Прокладка трубопроводов и водопровода под полом

Толщина слоя проселочного грунта, м

Длина канала, м, при диаметре труб, мм

до 100

от 100 до 300

свыше 300

До 5

Принимается как для непросадочных грунтов

От 5 до 12

5

7,5

10

Свыше 12

7,5

10

15

4.10.9. Гидравлический расчет трубопроводов производят после решения принципиальной схемы и трассировки разводящих магистралей системы горячего водоснабжения.

Порядок расчета циркуляционной системы горячего водоснабжения с естественным побуждением следующий.

1. В зависимости от геометрических размеров системы задаются располагаемым напором, пользуясь эмпирическими формулами, предложенными Л.В. Хлудовым:

для верхней разводки

 Па                                    (31)

для нижней разводки

 Па                                  (32)

где ,  - расстояние по вертикали от центра водонагревателя до разводящего горизонтального трубопровода и до наивысшей точки водозабора, м;

 - расстояние по горизонтали от водонагревателя до самой дальней точки водоразбора при изолированном трубопроводе, м;

,  - начальная температура горячей воды при выходе из водонагревателя и конечная при выходе из дальней точки водоразбора, °С.

2. При наличии аккумулятора теплоты, высоко расположенного над водонагревателем, значение Нр определяют по формуле

                                                                  (33)

где β - удельное гравитационное давление, принимаемое равным 6,27 Па на 1 м высоты;

 - расстояние по вертикали от центра водонагревателя до низа аккумулятора или равное до 1 м выхода горячей воды, м;

 = 80-85 - температура воды при выходе из аккумулятора в обратный стояк, °С;

tа = 95-98 - то же при выходе из водонагревателя в восходящий стояк и затем в аккумулятор, °С.

3. По табл. 43 определяют потери напора H1 при пропуске по водоразборной (подающей) сети только циркуляционного расхода.

Зная значения  и H1 , находим напор, оставшийся на преодоление сопротивления циркуляционного трубопровода Нц =  - Н1, на основании чего выбираем диаметры сети при средней удельной потери на трение.

 Па/м                                                        (34)

где  - общая длина циркуляционного трубопровода, м;

0,6 - доля потерь давления на трение.

Циркуляционный напор Нц должен быть на 25-30 % больше потерь напора Н1.

Таблица 43. Параметры для гидравлического расчета стальных водогазопроводных труб (H1 - потери напора на 1 м трубы, мм; v - скорость воды в трубе, м/с)

Расход воды, л/с

Диаметр труб (по ГОСТ 3262-75), мм

15

20

25

32

v

H1

v

H1

v

H1

v

H1

0,05

0,29

28

-

-

-

-

-

-

0,1

0,58

99

0,31

20,8

-

-

-

-

0,15

0,88

208

0,46

43

0,28

12,7

-

-

0,2

1,17

354

0,62

72,7

0,38

21,3

0,21

5,2

0,25

1,46

551

0,78

109

0,47

31,8

0,26

7,7

0,3

1,76

793

0,93

153

0,56

44,2

0,32

10,7

0,35

2,05

1079

1,09

204

0,66

58,6

0,37

14,1

0,4

2,34

1409

1,24

263

0,75

74,8

0,42

17,9

0,45

2,63

1784

1,40

333

0,85

93,2

0,47

22,1

0,5

2,93

2202

1,55

411

0,94

113

0,53

26,7

0,6

-

-

1,86

591

1,13

159

0,63

37,3

0,7

-

-

2,17

805

1,32

214

0,74

49,5

0,8

-

-

2,48

1051

1,51

279

0,84

63,2

0,9

-

-

2,79

1330

1,69

35

0,95

78,7

1

-

-

-

-

1,88

437

1,05

95,7

1,25

-

-

-

-

2,35

682

1,32

147

1,5

-

-

-

-

2,82

983

1,58

211

1,75

-

-

-

-

-

-

1,85

287

2

-

-

-

-

-

-

2,11

375

2,25

-

-

-

-

-

-

2,38

475

2,5

-

-

-

-

-

-

2,64

587

2,75

-

-

-

-

-

-

2,9

710

Окончание табл. 43

Расход воды, л/с

Диаметр труб (по ГОСТ 3262-75), мм

40

50

70

80

100

v

H1

v

H1

v

H1

v

H1

v

H1

0,25

0,20

3,9

-

-

 

-

 

-

-

-

0,3

0,24

5,4

-

-

-

-

-

-

-

-

0,35

0,28

7,1

-

-

-

-

-

-

-

-

0,4

0,32

9

-

-

-

-

-

-

-

-

0,45

0,36

11,1

0,21

3,1

-

-

-

-

-

-

0,5

0,4

13,4

0,23

3,7

-

-

-

-

-

-

0,6

0,48

18,4

0,28

5,2

-

-

-

-

-

-

0,7

0,56

24,6

0,33

6,2

0,2

2

-

-

-

-

0,8

0,64

31,4

0,38

8,5

0,23

2,5

-

-

-

-

0,9

0,72

39

0,42

10,7

0,25

3,1

-

-

-

-

1

0,8

47,3

0,47

12,9

0,28

3,8

0,20

1,6

-

-

1,25

0,99

71,6

0,59

19,4

0,35

5,6

0,25

2,4

-

-

1,5

1,19

101

0,71

27

0,42

7,7

0,3

3,4

-

-

1,75

1,39

136

0,82

35,9

0,5

10,2

0,35

4,4

0,2

1,2

2

1,59

178

0,94

46

0,57

13

0,4

5,6

0,23

1,5

2,25

1,79

226

1,06

58

0,64

16,2

0,45

7

0,26

1,9

2,5

1,99

273

1,18

69,6

0,71

19,6

0,5

8,4

0,29

2,2

4. В необходимых случаях уточняют значение . Вычислив потери теплоты в циркуляционной сети Qтр, находят для каждого участка температурные перепады tг = Qтр/Gцг. Зная начальную температуру  и перепад tг, определяют среднеарифметическое этих температур  и плотность воды по табл. 88* после чего окончательно уточняют расчетный располагаемый напор.

5. Если значение Н отличается от суммы потерь в замкнутых расчетных кольцах по водоразборной и циркуляционной сети не более чем на 10 %, гидравлический расчет можно считать законченным. В противном случае требуется соответственно изменить диаметр труб.

6. В циркуляционных системах горячего водоснабжения с насосным побуждением мощность насоса должна обеспечить подача воды (м) с напором Hн при таких условиях:

                                            (35)

где gp - расчетный расход горячей воды, л/ч, определяемый по формуле

                                                                          (36)

На напорной линии у насоса устанавливаются задвижка и обратный клапан, а на всасывающей линии - задвижка.

5. ПРИМЕР РАСЧЕТА СИСТЕМЫ ОТОПЛЕНИЯ И ГОРЯЧЕГО ВОДОСНАБЖЕНИЯ ОДНОКВАРТИРНОГО 4-КОМНАТНОГО КИРПИЧНОГО ЖИЛОГО ДОМА С МАНСАРДОЙ

Расчет приведен в системе единиц МКГСС и в единицах СИ в соответствии с техническим паспортом оборудования.

5.1. Архитектурно-планировочные и конструктивные показатели

В доме запроектировано поквартирное отопление, водопровод, канализация, газификация, электроосвещение, радиофикация и телевидение. Высота этажа от пола 1-го до пола 2-го этажа 2,8 м; внутренняя лестница открытая, деревянная.

Климатические и технические показатели следующие.

Район постройки с обычными геологическими условиями. Расчетная температура наружного воздуха -30°С.

Перегородки между комнатами кирпичные, в санузле с ванной кирпич отштукатуренный толщиной 120 мм, на 1-2 этажах: с облицовкой глазурованной керамической плиткой H-I60.

Крыша чердачная, стропильная из древесных хвойных пород.

Утеплитель - минераловатные плиты толщиной 100 мм, γ = 300 кг/м3.

Полы дощатые, паркетные, из керамической плитки по цементному слою и из линолеума, цементные бетонные.

Фундамент из сборные бетонных блоков.

При расчете приняты следующие нормативные нагрузки, кг/м2: снег 100, перегородки 100, пол 90, полезная нагрузка 150.

Цоколь - кирпич глиняный, обыкновенный, пластический прессованный марки 50 с γ = 1800 кг/м3.

Наружные стены из красного эффективного кирпича с γ = 1600 кг/м3 с облицовкой лицевым керамическим кирпичом толщиной 380 мм с γ = 1600 кг/м3.

Внутренние стены из кирпича глиняного обыкновенного на цементно-песчаном растворе марки 75 и 50 с γ = 1800 кг/м3 толщиной 250 мм.

Стены жилых комнат и коридора отштукатурены и оклеены бумажными обоями. Стены кухни отштукатурены и окрашены водоэмульсионной краской. Перегородки обыкновенный кирпич толщиной 120 мм. Стены ванной на высоту 1,6 м покрыты глазурованной плиткой, а выше отштукатурены и окрашены водоэмульсионной краской. Потолки - дерево, покрытое краской.

Перекрытия - железобетонные плиты с γ = 2500 кг/м3; лестница с утеплителем с γ = 300 кг/м3. Лестницы - деревянные, сборные бетонные.

Крыша - с чердаком, стропила дощатые, настил дощатый. Кровля шиферная (цветная) с одним слоем рубероида.

Площади помещений одноквартирного дома приведены в табл. 44.

Таблица 44. Характеристика помещений одноквартирного дома (типа III-А (угловой)

Наименование

Площадь, объем

1. Жилая площадь дома, м2

59,22

2. Общая площадь, м2

134,89

3. Общая приведенная площадь, м2

170,95

4. Площадь застройки без гаража, м2

148,46

5. Площадь застройки гаража, м2

22,49

6. Строительный объем без гаража, м3

622,21

7. Строительный объем гаража, м3

69,33

8. Тамбур на плане 1-го этажа, м2

1,6

9. Прихожая (2), м2

5,8

10. Общая комната (3), м2

22,19

11. Спальная комната (4), м2

9,70

12. Кухня (5), м2

13,4

13. Санузел с ванной (6), м2

3,5

14. Веранда (7), м2

16,8

15. Гараж (8), м2

19,26

16. Кладовая (9), м2

1,8

17. Встроенные шкафы (10), м2

0,15

18. Спальная комната (11), м

10,33

19. Спальная комната (12), м2

17,00

20. Встроенные шкафы (13), м2

1,5

21. Холл (14), м2

15,47

22. Коридор (15), м2

1,45

23. Подвал (16), м2

31,00

5.2. Теплотехнический расчет

Приступая к теплотехническому расчету наружных ограждений отапливаемого дома в соответствии с главой 3, следует указать на чертеже ориентацию здания по отношению к сторонам света, нумерацию помещений, размеры ограждающих конструкций, как показано на рис. 15. Все показатели и данные при расчете сводят в табл. 17.

Теплопотери лестничной клетки определяют как для одного помещения. При измерении наружных стен площадь окон не вычитают. Таким образом, фактически площадь окон учитывают дважды, поэтому в графе 9 табл. 45 проставляют только разность между коэффициентами теплопередачи окон и стен.

С учетом изложенного определяем теплопотери наружных ограждений. Подробно рассмотрим на примере общей комнаты 1-го этажа, площадь которой составляет 22,19 м2 (рис. 15).

Используя формулу Rн = δ/вλ находим термическое сопротивление отдельных однородных слоев ограждения м∙°С /Вт (м2∙ч∙°С/ккал).

А. Восток:

1) кирпич глиняный обыкновенный на цементно-перлитовом растворе:

δ = 380 мм, λ = 0,7 Вт/(м∙°С) = 0,6 ккал/(м2∙ч∙°С), γ = 1600 кг/м3, R1 = 0,38/0,6;

2) облицовка - керамический пустотный кирпич, на цементно-песчаном растворе:

δ = 120 мм, λ = 0,64 Вт/(м∙°С) = 0,55 ккал/(м2∙ч∙°С), γ = 1600 кг/м3, R2 = 0,12/0,55;

Рис. 15. Поэтажный план:

а - 1-го этажа; б - 2-го

Таблица 45. Расчет теплопотерь наружных ограждений

Помещение

Наиме-
нование ограж-
дения

Ориен-
тация сторон света

Размер ограждения
а×в, м

Площадь ограждения
F, м2

Раз-
ность
тем-
пера-
тур
tв-tн,
°С

Попра-
вочный коэф-
фициент
разности
температур
ht

Коэффициент теплопередачи
k,

Вт/м2°С

Тепло-
потери
Q, Вт

Надбавки до-
бавоч-
ных
тепло-
потерь,
Вт

Общие тепло-
потери
помещения
åQ, Вт

1

2

3

4

5

6

7

8

9

10

11

1-й этаж

 

Общая
комната (3)
tв = 18°С

Нст

Ю

5,6×2,8

18,3

48

0,4

0,97

343,0

51,45

394,4

Нст

В

4,15×2,8

11,6

48

-

1,09

608,7

121,7

730,4

Д.О.

В

1(1,3×1,6)

2,08

48

-

2,7-1,09

160,7

32,15

192,8

Дв.О.

Ю

1(2×0,9)

1,8

48

-

4,6-0,97

313,6

47,0

360,5

П

-

3,65×6,1

22,19

48

0,6

0,73

465,5

-

466,5

 

2144,7

Спальная
комната (4)
tв = 18°С

Нст

Ю

3,2×2,8

8,96

48

-

1,09

468,7

70,3

539

Нст

З

4,15×2,8

11,6

48

-

1,09

606,9

91,0

697,9

Д.О.

З

1(1,3×1,6)

2,08

48

-

2,7-1,09

160,7

24,1

184,8

П

-

2,66×3,65

9,7

48

0,6

0,73

203,9

-

203,9

 

1625,6

Кухня (5)
tв = 18°С

Нст

З

4,135×2,8

11,6

45

-

1,09

568,9

85,3

654,2

Нст

С

3,95×2,8

11,05

45

0,4

0,97

193,1

38,6

231,7

Д.О.

З

(1,2×1,6)

1,92

45

-

2,7-1,09

139,1

28,8

167,9

Дв.О
стекл.

З

1(2×0,95)

1,8

45

-

3,7-1,09

211,4

31,7

243,1

П

-

3,696×3,63

13,4

45

0,6

0,85

307,5

-

307,5

 

1604,4

Ванная (6)
tв = 25°С

Нст

С

2,04×2,8

5

55

0,4

1,07

117,7

23,5

141,2

П

-

2,0×1,73

3,5

55

0,6

0,68

78,5

-

78,5

 

219,7

Окончание табл. 45

Помещение

Наиме-
нование
ограж-
дения

Ориен-
тация сторон света

Размер ограждения
а×в, м

Площадь ограждения
F, м2

Раз-
ность
тем-
пера-
тур
tв-tн,
°С

Попра-
вочный
коэф-
фици-
ент
раз-
ности
темпе-
ратур
ht

Коэффициент теплопередачи k,

Вт/м2°С

Теплопотери
Q, Вт

Надбавки до-
бавоч-
ных
тепло-
потерь,
Вт

Общие
тепло-
потери
помеще-
ния
åQ, Вт

1

2

3

4

5

6

7

8

9

10

11

Коридор (2)
tв = 18°С

П

-

3,2×1,8

5,8

48

0,6

0,73

121,9

-

121,9

Тамбур (1)
tв = 16°С

Нст

В

2,02×2,8

5,6

46

-

1,09

280,8

56,2

337

Дв.О

В

1(2×0,9)

1,8

46

-

4,6-1,09

290,6

58,12

348,7

П

-

1,77×0,9

1,6

46

0,6

0,73

32,2

-

32,2

 

717,9

Лестница

1, 2-го
этажей
tв = 18°С

Нст

С

2,8×5,6

15,7

48

-

1,04

783,7

156,7

940,4

Нст

В

2,66×5,6

14,9

48

0,4

1,09

311,8

62,4

374,2

Пр.
(чердак)

-

(2,3×2,15-0,29)

4,61

48

0,75

0,62

102,8

-

102,8

 

1417,4

 

Итого по 1-му этажу

7851,6

2-й этаж

 

Спальная
комната (12)
tв = 18°С

Нст

З

4,135×2,8

11,5

48

-

1,09

601,7

90,2

691,9

Нст

С

3,95×2,8

11,05

48

-

1,09

578,1

115,6

693,7

Д.О.

З

1(1,3×1,6)

2,08

48

-

2,7-1,09

160,7

24,1

184,8

Пр.

-

3,69×2,79

10,33

48

0,75

0,62

230,5

-

230,5

 

1800,9

Спальная
комната (13)
tв = 18°С

Нст

Ю

5,36×2,8

15,0

48

-

1,04

748,8

112,3

861,1

Нст

З

4,15×2,8

11,62

48

-

1,09

607,9

91,2

699,1

Д.О.

З

1(1,3×1,6)

2,08

48

-

2,7-1,09

160,7

24,1

184,8

Дв.O.

Ю

1(2×0,9)

1,8

48

-

4,6-1,04

307,6

46,1

353,7

Пр.

-

3,49×4,86

17,0

48

0,75

0,62

379,4

-

379,4

 

2478,1

Коридор (11)
tв = 18°С

Пр.

-

0,84×1,73

1,45

48

0,75

0,62

32,3

-

32,3

Ванная
tв = 25°С

Нст

С

2,25×2,8

6,3

55

-

1,09

377,7

75,5

453,2

 

Пр

-

1,53×2,0

3,06

55

0,75

0,62

78,2

-

78,2

 

531,4

Холл (14)
tв = 18°С

Нст

Ю

3,42×2,8

9,6

48

-

1,04

479,2

71,9

551,1

Нст

В

5,9×2,8

16,5

48

-

1,09

863,3

172,6

1035,9

Д.О

В

2(1,3×1,6)

4,16

48

-

2,7-1,09

321,5

64,3

385,8

Дв.О

Ю

1(2×0,9)

1,8

48

-

4,6-1,04

307,6

46,1

353,7

Пр

-

5,3×2,92

I5,47

48

0,75

0,62

345,3

-

345,3

 

2671,8

 

Итого по 2-му этажу

7514,5

Примечания: 1. Результаты теплотехнического расчета показали, что общие потери теплоты в жилых помещениях 4-комнатного кирпичного жилого дома с мансардой составили 15373,6 Вт.

2. Условные обозначения: Нст - наружная стена; Д.О. - дверь одинарная; Дв. О. - окно с двойным остеклением; П - пол; Пр - перекрытие.

3) штукатурка - цементно-шлаковый раствор: δ = 0,015; λ = 0,64 Вт/(м∙°С) = 0,55 ккал/(м2∙ч∙°С); γ = 1400 кг/м3;

R3 = 0,015/0,55

Б. Юг - строительные материалы те же.

Определяем сопротивление теплопередаче ограждений по формуле (1):

Найденное значение общего сопротивления теплопередаче наружного ограждения всегда должно иметь небольшой запас, т.е. R0 Rтр в соответствии с п. 3.3. По формуле (3) вычисляем Rтр

Находим коэффициент теплопередачи ограждающих конструкций по формуле K = 1/R0 ;

k Восток = 1/1,063 = 0,94 ккал/(м2∙ч∙°С) = 1,09 Вт/(м2∙°С);

k Юг = 1/1,2 = 0,83 ккал/(м2∙ч∙°С) = 0,97 Вт/(м2∙°C).

Основные потери теплоты через ограждающие конструкции рассчитываем во формуле (4):

Q Юг = 18,50,830,448 = 294,8 ккал/ч = 343 Вт;

Q Восток = 11,60,9448 = 523,4 ккал/ч = 608,7 Вт,

Расчет сводим в табл. 45, где в графе 8 - значения из вывода (стр. 34), 10 - из табл. 15, для Нст Юг - I5 %; Нст Восток - 20 %; Нст Запад - 15 %; Нст Север - 20 %; ДоВ - 20 %; ДвоЮ - 15 %; П - 0; ДоЗ - 15 %; ДвоЗ - 15 %.

Определяем теплопотери для пола по формуле (7).

Для этого сопротивление теплопередаче конструкции пола для утепленных полов Rу.п - по формуле (6), где

а) утеплитель - жесткие минеральные плиты: δ = 100 мм; γ = 300 кг/м3; λ = 0,093 Вт/(м∙°С) = 0,08 ккал/м2∙ч∙°С);

б) асфальтобетон: δ = 50 мм; γ = 2100 кг/м3; λ = 1,046 Вт/(м∙°С) = 0,9 ккал/(м2∙ч∙°С);

в) фанера клееная: δ = 4 мм; γ = 600 кг/м3; λ = 0,15 Br/(м∙°С) = 0,13 ккал/(м2∙ч∙°С);

г) сосна и ель (поперек волокон): δ = 16 мм; γ = 550 кг/м3; λ = 0,14 Вт/(м∙°С) = 0,12 ккал/(м2∙ч∙°С).

Коэффициент теплопередачи пола определяем по формуле К = 1/Rл

Кп = 1/1,59 = 0,73 Вт/(м2∙°С) = 0,63 ккал/(м2∙ч∙°С).

Аналогично расчету общей комнаты рассчитываем теплопотери других помещений жилого дома. Результаты расчета сводим в табл. 45

5.3. Расчет поверхности нагрева и подбор приборов

Найти требуемую поверхность нагрева и разместить радиаторы M-140 (характеристика которых дана в табл. 4) на примере общей комнаты площадью 22,19 кв.м на первом этаже 2-этажного дома согласит плану: Qкон = 2144,7 Вт; tв = 18°C (табл. 1).

Система отопления водяная двухтрубная с верхней разводкой. Параметры теплоносителя tп = 90°С, t0 = 70°С.

Прокладка труб открытая. Высота от верха прибора до подоконника 80 мм (табл. 21). Подводки к радиаторам выполнены «напрямую».

Определяем разность между средней температурой воды в приборе и температурой воздуха в помещении (табл. 5).

Определяем поверхность нагревательных приборов по формуле (10)

Количество секций приборов М-140 определяем по формуле (11) и табл. 2.

На основании полученного общего количества секций радиаторов и разбивки отопительных стояков в помещении находим фактическую теплоотдачу приборов с учетом поправок β1 на количество секций (табл. 3, 19). Возможное количество секций к установке для каждого прибора:

qпр1 = 10∙0,31∙415:1,01 = 1481,3 Вт;

qпр2 = 5∙0,31∙415:0,98 = 763,3 Вт;

qпр1,2 = 1273,7 + 656,3 = 2444 Вт.

Относительный расход воды через прибор вычисляем по формуле (12) и табл. 18


Расчет фактической теплоотдачи приборов на количество секций находим по формулам (10-12) для других помещений в жилом доме. Данные сводим в табл. 46.

Таблица 46. Теплоотдача отопительных приборов

Жилые помещения

Теплопотери в помещении,
Q, Вт

Поверхность нагревательных приборов
Fпр, экм

Количество секций к установке для каждого прибора

Теплоотдача каждого прибора с учетом секций,
Вт

nc1

nc2

qпр1

qпр2

 

1-й этаж

 

1.

Общая комната

tв = 18°С

2144,7

4,74

10

5

1481,3

763,3

2.

Спальная комната

tв = 18°С

1625,6

3,5

12

-

1813*4

-

3.

Кухня

tв = 15°С

1604,4

3,26

11

-

1629,5

-

4.

Ванная

tв = 25°С

531,4

1,34

5

-

763,4

-

5.

Коридор, тамбур

tв.к = 18°С;

tв.т = 16°С

846,2

1,63

5

-

763J4

-

 

2-й этаж

 

6.

Спальная комната

tв = 18°С

1700,9

3,92

13

-

1964,5

-

7.

Спальная комната

tв = 18°С

2478,1

5,4

16

-

2441,8

-

8.

Холл

tв = 18°С

Коридор

tв = 18°С

Лестница

4130,2

8,98

15

15

1892

1892

Таким образом, в результате подбора нагревательных приборов установили, что количество секций для 4-комнатного жилого дома с мансардой составило 106 шт. с суммарной фактической теплоотдачей принятых к установке приборов с учетом поправок 15404,6 Вт, что примерно на 7% больше теплопотерь помещения. Полученное расхождение находится в допустимых пределах, поэтому расчет нагревательных приборов можно считать законченным.

5.4. Гидравлический расчет системы отопления при естественной циркуляции

На плане двухэтажного дома (рис. 15, 16) показаны расположения стояков, приборов системы отопления и схема прокладки горячей линии.

На рис. 17 представлены схемы отопления того же дома с разбивкой на циркуляционные кольца.

Уклоны графически не показаны, а лишь обозначены стрелками, направленными в соответствующую сторону.

Принято, что центр нагрева воды в котле (на 150 мм выше колосниковой решетки) и центр охлаждения воды в отопительных приборах (посередине прибора).

Определены длины участков трубопровода и тепловые нагрузки.

Расчетный перепад температур в системе tс = 90° - 70°С.

К установке в помещениях приняты радиаторы M-140-A.

Расчет трубопроводов следует начать с наиболее неблагоприятного циркуляционного кольца.

Рис. 16. Схемa холодного и горячего водоснабжения:

В1 - трубопровод холодной воды; Т3 - горячей;  - задвижка;  - вентиль

Рис. 17. Схема для расчета гидравлического кольца системы отопления:

а - 1-го; б - 2; в - 3-го

Наиболее неблагоприятным циркуляционным кольцом следует считать: при естественной циркуляции - кольцо, у которого в зависимости от располагаемого давления значение Rср будет наименьшим.

5.4.1. Определить предварительный расчетный перепад давления по формуле (17). По условиям прокладки труб принимаем коэффициент в = 0,4.

Рассматриваем 1-е циркуляционное кольцо с приборами 1; 2-3; 4; 5.

Ориентировочное предварительное давление для кольца составит:

через приборы 2-3

Н0 = [0,46,5(10,9 +6,5) + 0,1(977,81 - 965,34)]9,81 = 455,6 Па;

через прибор 4

Н0 = [0,46,5(9,55 + 6,5) + 0,1(977,81 - 965,34)]9,81 = 421 Па;

через прибор 5

Н0 = [0,46,5(4,88 + 6,5) +0,1(977,81 - 965,34)]9,81 = 303,0 Па.

Рассматриваем 2-е циркуляционное кольцо с приборами 6, 7-8,

Ориентировочное предварительное давление для кольца составит:

через прибор 6

Н0 = [0,46,5(6,93 - 6,5) + 0,1(977,81 - 965,34)]9,81 = 402 Па;

через приборы 7-8

Н0 = [0,46,5(2,70 + 6,5) + 0,1(977,81-965,34)]9,81 = 246,4 Па,

Рассматриваем 3-е циркуляционное кольцо с приборами 9-10.

Ориентировочное предварительное давление для кольца составит:

через приборы 9-10

Н0 =[0,46,5(4,94 + 6,5) + 0,1(977,81-965,34)]9,81 = 303,5 Па.

Первое произведение - циркуляционное давление, получаемое вследствие охлаждения воды в трубопроводах, второе - давление, обусловленное разницей в высоте расположения котла и прибора.

Проведенные расчеты показывают, что давление, получаемое вследствие охлаждения воды в трубопроводе значительно больше дополнительного давления, которое получается в результате превышения центра охлаждения воды в приборе над центром нагрева воды в котле (для нашего случая 0,1 м).

5.4.2. Средние удельные потери давления и трение определяем по формуле (18):

через приборы 1; 2-3

через прибор № 4

через прибор 5

через прибор 6

через приборы 7-8

через прибор 9-10

5.4.3. По найденным значениям Rср рассчитываем диаметры трубопровода самого длинного циркуляционного кольца (в примере 2-е циркуляционное кольцо с нагревательными приборами 6-8).

Результаты расчета сводим в табл. 47.

5.4.4. Подводя итог гидравлического расчета циркуляционного кольца с нагревательными приборами 6-8 делаем вывод, что запас по сравнению с определенным ориентировочно циркуляционным давлением (648,4 - 559,0)/648,4∙100 % = 13,8 % является допустимым.

Согласно п. 4.7.7 расчет трубопровода оставляют без изменения.

5.4.5. После предварительного подбора трубопроводов, который для гидравлических колец 1, 3 производится так же, как для кольца 2, переходим к его тепловому расчету, определяя последовательно по участкам от котла по ходу воды тепловыделения трубопроводом и температуру воды в начале и конце расчетных участков, а результаты сводим в таб. 48.

Таблица 47. Результаты гидравлического расчета системы отопления при естественной циркуляции

Номер
участка,
прибора

Нагрузка на участке

Длина
Li, м

Диаметр
d, мм

Расчетные данные

Из-
ме-
не-
ния

qi, Вт

qi, кг/ч

предварительные

v, м/c

Ri/μ, Па

Ri Li, Па

åξ, Па

Zi, Па

Ri Li + Zi, Па

Циркуляционное кольцо приборов №6 Н0 = 402 Па

 

1

15404,6

662

6,5

40

0,14

8,3

54,1

7,0

67,4

121,4

 

16

8612,5

370

2,2

32

0,103

5,8

12,9

1,5

6,4

18,6

 

17

5018,5

216

0,5

32

0,059

2,2

1,08

1,0

1,8

2,8

 

18 с при-
бором № 6

763,3

33

12,1

15

0,047

3,5

42,7

13,5

14,7

56,8

 

19

763,3

33

5,6

15

0,047

3,5

19,6

4,5

5,4

25,0

 

21

2576,7

111

1,4

20

0,086

6,8

9,6

1,0

3,5

13,1

 

24

5018,5

216

0,5

25

0,106

9,3

4,6

1,5

5,9

10,5

 

31

8612,5

370

3,94

32

0,103

5,9

232

1,5

6,4

28,9

 

14

14641

649

1,42

40

0,135

7,8

11,1

1,5

14,7

25,5

 

15

15404,6

662

1,0

40

0,14

83

54,1

0,5

8,8

62,7

 

 

 

 

 

 

 

 

 

 

 

å = 365 Па

Циркуляционное кольцо приборов № 7, 8 Н0 = 246,4 Па

 

22

4255,2

183

2,8

25

0,089

6,86

19,2

1,5

4,02

23,2

 

Прибор № 8

2441,1

105

1,95

20

0,083

6,37

12,42

12,5

47,7

60,1

 

23

2441,8

105

4,3

20

0,083

6,37

27,4

3,0

10,5

37,9

 

Прибор № 7

1813,4

78

4,3

20

0,062

3,53

15,17

12,5

25,7

408

 

20

1813,4

78

0,5

15

0,119

21,5

10,7

3,0

21,1

31,8

 

 

Общий итог для приборов № 6-8

å = 559,0 Па

Таблица 48. Результаты теплового расчета трубопроводов системы

Номер участка, прибора

Количество воды проходя-
щей по

участку
qi, кг/ч

Длина участка
Li, м

Диаметр трубы
d, мм

Темпера-
тура

воды в
начале
участка
tнач i, °С

Темпера-
тура в помеще-
нии

tв, °С

tнач i - tв,
°С

 

Теплопо-
тери в окружа-

ющую
среду
q¢, Вт/м

Тепловы-
деления трубо-

проводом

qтр i, Вт

Пониже-
ние темпе-
ратуры воды

ti, °С

Темпера-
тура

воды в конце
участка
tкон

1

662

5,5

40

90

16

74

157,0

1020,5

1,3

88,7

16

370

2,2

32

88,7

16

72,7

143,0

314,7

0,73

87,9

17

216

0,5

32

87,9

16

71,9

139,5

69,7

0,27

87,6

18

33

3,65

15

87,6

16

71,6

143,0

522,2

13,6

74,0

 

 

3,02

 

74,0

 

58

51,2

154,6

4,0

70,0

 

 

2,66

 

70,0

 

54

47,7

126,7

3,3

66,7

 

 

2,4

 

66,7

 

50,7

46,5

111,6

2,9

63,8

 

 

0,5

 

63,8

 

47,8

43,0

21,5

0,56

63,2

Прибор № 6

-

-

-

63,2

-

20

-

-

-

43,2

19

33

5,5

15

43,2

16

27,2

25,5

143,3

3,7

39,5

22

183

2,8

25

87,6

16

71,6

110,5

309,3

1,45

86,1

 

1,05

1,95

20

86,1

16

70,1

86,1

167,8

1,37

84,7

Прибор № 8

-

-

-

84,7

-

20

-

-

-

64,7

23

105

4,3

20

64,7

16

48,7

56,9

245,0

2,0

62,7

22а

78

2,4

20

86,1

16

70,1

86,1

370,1

4,1

82,1

Прибор № 7

-

-

-

82,1

-

20

-

-

-

62,1

20

78

0,5

15

62,1

16

42,1

36,05

18,03

0,2

61,9

21

111

1,4

20

55,2

16

39,2

43,0

60,2

0,46

54,7

24

216

0,5

25

58,6

16

42,6

58,2

29,1

0,115

58,5

31 изол.

370

3,94

32

58,5

16

42,5

72,2

57,7

0,13

58,37

14 изол.

549

1,42

40

58,37

16

42,37

77,9

22,1

0,029

58,34

15

662

1,0

40

58,34

16

42,34

77,9

77,9

0,1

58,24

а) перепад температуры воды в начале главного стояка (уч. 1) и воздуха в помещении - tп - tв = 90 - 16 = 74°С и т.д. (графа 7);

б) для заполнения графы 8 используем вспомогательную табл. 49;

Таблица 49. Теплопотери в окружающую среду (Вт) на 1 м q' неизолированных труб, наполненных водой при разности температур теплоносителя и окружающего воздуха

Разность температуры
tнач i - tв, °С

Условный проход (диаметр) труб стальных водогазопроводных (газовых) ГОСТ 3262-75, мм

15

20

25

32

40

50

42

36,0

45,3

57,0

72,1

76,8

88,4

46

39,5

50,0

62,8

79,1

83,7

96,5

50

44,2

57,0

70,9

89,6

96,5

110,5

54

47,7

61,6

75,6

97,7

104,7

118,6

58

51,2

65,1

82,6

104,7

112,8

126,8

62

57,0

73,3

91,9

116,3

124,4

143,0

66

61,6

77,9

96,5

123,8

133,7

152,4

70

67,5

86,1

108,2

137,2

147,7

161,7

74

72,1

90,7

114,0

145,4

157,0

170,9

78

75,6

95,4

121,0

152,4

165,1

180,3

82

79,1

101,2

126,8

160,5

170,9

189,6

86

83,7

105,8

132,8

169,8

182,6

198,9

90

96,5

123,3

155,8

197,7

207,0

234,9

в) теплоотдачу изолированной трубы в нашем примере это уч. 14, 31, рассчитываем по формуле

qтр = q¢Li(1 - ηи),

где ηи = 0,8 - КПД изоляции (для открыто проложенных в помещении участков трубопроводов ηи = 0);

qтр1 = I57,0∙6,5∙1 = 1020,5 Вт

qтр31 = 72,2∙3,94(1 - 0,8) = 57,7 Вт

и т.д. (графа 9);

г) при расходе воды gi = 602 кг/ч на участке получим понижение температуры воды

t1 = 1020,5/1,163662 = 1,3°С (графа 10),

а конечную температуру воды

tкон1 = 90-1,3 = 88,7°С и т.д. (графа 11);

д) для обратного трубопровода участка после смешивания воды получим температуру обратной воды tоб.

Температуру воды в начале участка 24 найдем из теплового баланса по участку 23, в котором перемещается 105 кг/ч воды с конечной температурой tкон23 = 62,7°С и по участку 21 - 111 кг/ч с tкон 21 = 54,7°С.

После смешивания в начале участка 24 получим температуру воды

е) в результате всего расчета получим конечную температуру воды последнего участка tкон15 = 58,24°С;

ж) находим действительное давление для наиболее отдаленного прибора 6:

средняя температура и плотность воды в стояке

tср.ст = (63,2 + 63,8):2 = 63,5°С; γ63,5 = 981,4 кг/м3;.

температура воды и плотность воды, входящей в прибор № 6

tпр6 = 63,2°С; γ63,2 = 981,57 кг/м3;

температура и плотность воды, выходящей из котла

tг = 90°С; γ90 = 965,34 кг/м3.

Тогда, пользуясь формулой (21), определяем

Hg = [0,924(981,4 - 965,34) + 0,50,5(981,57 - 965,34) + 0,1(990,99 - 965,34)]∙9,81 = 404,7 Па.

Получив действительное циркуляционное давление, сравниваем его с потерями давления в данном кольце трубопровода. Полученное расхождение(404,7 - 365)/404,7∙100% = 9,7% находится в допустимых пределах.

Таким же образом производится расчет через 2-е и 3-е циркуляционные кольца.

5.4.6. По общей теплопотребности дома определяют расход воды в системе отопления по формуле (25)

Gc = 15404,6/(90 - 70) = 770,23 кг/ч.

Принятое в расчете количество циркулирующей воды (табл. 48) равно 662 кг/ч. По условиям подразд. 4.9. расхождение составит (662 - 770,23)/770,23∙100% = -14%, что находится в допустимых пределах.

5.5. Расчет горячего водоснабжения

5.5.1. Определяем нормы расхода и температуру горячей воды (табл. 37, 38):

а) норма расхода на 1 чел. горячей воды при tг = 65°С составляет 110-130 л;

б) норма расхода воды на одну процедуру в ванной длиной 1700 мм при tсм = 37°С составляет 300 л;

в) температура холодной воды равна 5°С;

г) расчетный часовой расход теплоты на нужды горячего водоснабжения определяют по формуле (26)

Расход горячей воды в зависимости от температур tг и tсм определяют по формуле (27)

Расход теплоты на приготовление горячей воды для ванной определяют по формуле (28)

qван = 1,160,13980,59(65-5) = 8900 Вт = 8,9 кВт.

Определяем максимальную теплопроизводительность котла с учетом горячего водоснабжения

Продолжительность τ нагревания воды определяют по формуле (29)

Для данного примера при малой протяженности трубопроводов горячего водоснабжения гидравлический расчет не проводят.

Количество воды, которое должно циркулировать в системе горячего водоснабжения при отсутствии водоразбора, зависит от теплопотерь подающих трубопроводов, необходимо определить их диаметры, выбрать способ прокладки трубопроводов и тип изоляции. В жилых зданиях теплопотери подающих трубопроводов ориентировочно определяют по формуле

где Qг.в - расчетный часовой расход теплоты на нужды горячего водоснабжения, кВт.

В данном примере теплопотери подающих трубопроводов будут равны  = 0,050,79 = 0,04 кВт.

На приготовление горячей воды для ванной теплопотери подающих трубопроводов  = 0,058,9 = 0,45 кВт.

Емкость расширительного бака определяем по формуле (16)

Vр.б = 0,001724,3 = 400 л.

По табл. 25 выбираем марку бака - 5E010.

5.6. Пример гидравлического расчета системы отопления при насосной циркуляции

Рассчитываем наиболее протяженное гидравлическое кольцо. В данном случае - это кольцо 2, проходящее через прибор 6 1-го этажа, имеющего тепловую мощность qпр = 763,3 Вт (рис. 18).

Рис. 18. Схема для расчета гидравлического кольца системы отопления с насосной циркуляцией

Длина главного циркуляционного кольца L составляет 38,8 м. Среднюю потерю давления на трение Ri на 1 пог. м трубопровода принимаем Rср = 1,3 кгс/м2 (9,8...29,4 Па);

Результаты расчета сводим в табл. 50.

Общая потеря давления в циркуляционном кольце составит å(RiLi+Zi) = 848,8 Па.

Таблица 50. Результаты расчета системы отопления при насосной циркуляции

Номер участка

qi, Вт

Gi, кг/ч

d, мм

Li, м .

v, м/с

Ri, Па

Ri Li,
Па

åξ

Zi, Па

Ri Li, + Zi
Па

1

15404,6

662

32

7,5

0,184

17,6

132

7,0

11,7

243,7

16

8612,5

370

25

2,2

0,182

25,5

56,1

1,5

15,8

71,9

17

5018,5

216

25

0,5

0,106

9,3

4,6

1,0

5,6

10,2

18
с прибором № 6

763,3

33

10

12,1

0,074

7,8

94,4

13,5

35,3

129,7

 

19

763,0

33

10

5,6

0,074

7,8

43,7

4,5

11,1

54,8

21

2576,7

111

15

1,4

0,164

39,2

54,9

1,0

18,0

72,9

24

5018,5

216

20

0,5

0,171

27,4

13,7

1,5

28,4

42,1

31

8612,5

370

25

3,94

0,182

25,5

100,5

1,5

16,8

117,3

14

14641

649

32

1,42

0,184

17,6

24,9

1,5

17,1

42

15

15404,6

662

32

2,7

0,184

17,6

47,5

1,5

16,7

64,2

В насосных системах естественное давление остывания воды в приборах 1-го этажа не учитывают.

По табл. 51 находим добавочное давление от остывания воды в трубопроводе к приборам 1-го этажа Н0 = 0,4109,8 = 39,2 Па.

Таблица 51. Добавочные давления в кгс/м2 от охлаждения воды в трубопроводах двухтрубных систем водяного отопления при верхней разводке и естественной циркуляции

Горизон-
тальное протяжение системы, м

Высота нагре-
вательного прибора над
котлом,
м

Горизонтальное расстояние от подающей трубы до стояка, м

до 10

10-20

20-30

30-50

50-75

75-100

Открытые стояки без изоляции (здание 1-го или 2-го этажа)

До 25

До 7

10

10

15

-

-

-

25-50

10

10

15

20

-

-

50-75

10

10

15

15

20

-

75-100

10

10

10

15

20

25

Примечание. Для систем с насосной циркуляцией добавочные значения принимать в размере 40% от соответствующих значений, указанных в табл. 51.

Следовательно, согласно СНиП 2.04.05-86 для преодоления сопротивлений трубопроводов, неучтенных расчетом, следует предусматривать запас в размере до 10 %. Поэтому, необходимое давление, развиваемое насосом для кольца №2 составит Hн = 1,1(86,09 - 4) = 890,5 Па.

Таким же образом последовательно рассчитываем следующее циркуляционное кольцо.

При расчетах трубопроводов для приборов 2-го этажа с естественной и насосной циркуляцией отмечается наличие примерно одинаковых диаметров обратных стояков от приборов верхних этажей. Это обусловлено тем, что и в насосных системах вода в стояках через приборы верхних этажей циркулирует главным образом в результате большого естественного давления от остывания воды в приборах.

5.7. Выбор циркуляционного насоса и электродвигателя

Общие теплопотери здания составляют åQ = 15,4 кВт.

Количество циркулирующей воды в системе (в соответствии с подразд. 4.9) равно Gн = Gc = 770,23 кг/ч.

Производительность циркуляционного насоса рассчитывают по формуле (23а)

Выбирают насос ЦВЦ 0,5-0,4 (рис. 19) и находят его характеристику Q - Нн (рис. 20).

Расходу насоса Qн = 0,58 м3/ч соответствует давление Hн = 3,7 кПа (рис. 20, точка А) при n = 2600 об/мин. Это идеальный случай, когда насос действует с максимальным КПД.

По формуле (24) определяют мощность электродвигателя насоса

Таким образом, насос ЦВЦ 0,5-0,4 по мощности перегружен. При η = 0,53 мощность электродвигателя насоса равна Nн = 117 Вт, поэтому принимаем следующий типоразмер насоса ЦВЦ 2,5-2 (табл. 36).

Рис. 19. Внешний вид насоса ЦВЦ 0,5-0,4:

1 - шнур; 2, 7 - крышки; 3, 9 - подшипниковые щиты, 4 - отвод, 5 - ротор, 6 - статор, 8 - гильза, 10 - вилка

Рис. 20. Характеристика электронасоса ЦВЦ 0,5-0,4

Рис. 21. Характеристика насоса URS-25-60-180

Рис. 22. Характеристика насоса GHN 20B-R

Однако наиболее эффективные циркуляционные насосы типа URS (рис. 21 Н) группы GRUNDFOS и GHN 20В-R(рис 22), которые имеют 3 режима работы, каждому режиму соответствует степень количества оборотов (об/мин), номинальный ток (А) и мощность (Вт):

1 - 1900; 0,19-0,13; 44-30;

2 - 2400; 0,27-0,18; 62-42;

3 - 2750; 0,36-0,28; 80-64.

Для данного примера можно выбрать 3-скоростной насос URS 25-60 180, имеющий три режима работы.

СПИСОК ЛИТЕРАТУРЫ

1. Справочник по теплоснабжению и вентиляции /Под ред. Р. В. Щекина. Киев: Будивельник, 1968.

2. Журавлёв Б. А. Справочник мастера-сантехника, М.: Стройиздат, 1974.

3. Справочник проектировщика. Отопление, водопровод, канализация /Под ред. И. Г. Староверова. М.: Стройиздат, 1975.

4. Справочник по теплотехнике в сельском хозяйстве /В. И. Панин. М.: Россельхозиздат, 1979.

5. Справочное пособие. Энергосбережение в системах теплоснабжения, вентиляции и кондиционирования воздуха /Под ред. Л.Д. Богуславского, В.И. Ливчака. 11.: Стройиздат, 1990.

6. Чернов М. М. Справочное пособие. Изделия и материалы для индивидуального строительства. М.: Стройиздат, 1990.

7. Сканави А. И. Отопление. М.: Стройиздат, 1968.

8. Эффективные системы отопления зданий/ Под ред. В.Е. Минина Л.: Стройиздат, 1968.

9. Ливчак И.Ф. Квартирное отопление. М.: Стройиздат, 1982.

 




Яндекс цитирования