//
ТехЛит.ру
- крупнейшая бесплатная электронная интернет библиотека для "технически умных" людей.
WWW.TEHLIT.RU - ТЕХНИЧЕСКАЯ ЛИТЕРАТУРА

:: Алготрейдинг::


АЛГОТРЕЙДИНГ
шаг за шагом
с нуля по урокам!

Торговые роботы на PYTHON, BackTrader,
Pandas, Pine Script для TradingView. Связка с брокерами, телеграм и легкими приложениями.


ФЕДЕРАЛЬНОЕ АГЕНТСТВО
ПО
ТЕХНИЧЕСКОМУ РЕГУЛИРОВАНИЮ И МЕТРОЛОГИИ

НАЦИОНАЛЬНЫЙ
СТАНДАРТ
РОССИЙСКОЙ
ФЕДЕРАЦИИ

ГОСТ Р ИСО
16000-3-
2007

ВОЗДУХ ЗАМКНУТЫХ ПОМЕЩЕНИЙ

Часть 3

Определение содержания формальдегида и других карбонильных соединений.

Метод активного отбора проб

ISO 16000-3:2001
Indoor air -
Part 3: Determination of formaldehyde and other carbonyl compounds - Active
sampling method
(IDT)

Москва
Стандартинформ
2008

Предисловие

Цели и принципы стандартизации в Российской Федерации установлены Федеральным законом от 27 декабря 2002 г. 184-ФЗ «О техническом регулировании», а правила применения национальных стандартов Российской Федерации - ГОСТ Р 1.0 - 2004 «Стандартизация в Российской Федерации. Основные положения»

Сведения о стандарте

1. ПОДГОТОВЛЕН Открытым акционерным обществом «Научно-исследовательский центр контроля и диагностики технических систем» (ОАО «НИЦ КД») на основе собственного аутентичного перевода стандарта, указанного в пункте 4

2. ВНЕСЕН Техническим комитетом по стандартизации ТК 457 «Качество воздуха»

3. УТВЕРЖДЕН И ВВЕДЕН В ДЕЙСТВИЕ Приказом Федерального агентства по техническому регулированию и метрологии от 27 декабря 2007 г. № 590-ст

4. Настоящий стандарт идентичен международному стандарту ИСО 16000-3:2001 «Воздух замкнутых помещений. Часть 3. Определение содержания формальдегида и других карбонильных соединений. Метод активного отбора проб» (ISO 16000-3:2001 «Indoorair - Part 3 : Determination of formaldehyde and other carbonyl compounds - Active sampling method»).

При применении настоящего стандарта рекомендуется использовать вместо ссылочных международных стандартов соответствующие им национальные стандарты, сведения о которых приведены в дополнительном приложении С

5. ВВЕДЕН ВПЕРВЫЕ

Информация об изменениях к настоящему стандарту публикуется в ежегодно издаваемом информационном указателе «Национальные стандарты», а текст изменений и поправок - в ежемесячно издаваемых информационных указателях «Национальные стандарты». В случае пересмотра (замены) или отмены настоящего стандарта соответствующее уведомление будет опубликовано в ежемесячно издаваемом информационном указателе «Национальные стандарты». Соответствующая информация, уведомление и тексты размещаются также в информационной системе общего пользования - на официальном сайте Федерального агентства по техническому регулированию и метрологии в сети Интернет

Содержание

1. Область применения

2. Нормативные ссылки

3. Сущность метода

4. Ограничения и мешающие вещества

4.1. Общие положения

4.2. Мешающее влияние озона

5. Требования безопасности

6. Аппаратура

7. Реактивы

8. Подготовка реактивов и картриджей

8.1. Очистка 2,4-динитрофенилгидразина

8.2. Приготовление ДНФГ-производного формальдегида

8.3. Приготовление исходных растворов ДНФГ-производного формальдегида

8.4. Подготовка картриджей с нанесенным на силикагель ДНФГ

9. Методика

9.1. Отбор проб

9.2. Холостые пробы

9.3. Анализ проб

10. Вычисление результатов измерений

11. Критерии эффективности и контроль качества результатов измерений

11.1. Общие положения

11.2. Стандартные рабочие процедуры

11.3. Эффективность системы ВЭЖХ

11.4. Потеря пробы

12. Прецизионность и неопределенность

Приложение А (справочное) Прецизионность и неопределенность

Приложение В (справочное) Точки плавления ДНФГ-производных карбонильных соединений

Приложение С (справочное) Сведения о соответствии национальных стандартов Российской Федерации ссылочным международным стандартам

Библиография

 

Введение

Настоящий стандарт применяют при анализе воздуха замкнутых помещений при отборе проб согласно ИСО 16000-2. Стандарт применяют при определении содержания формальдегида и других карбонильных соединений. Стандарт был проверен в отношении 14 альдегидов и кетонов. Формальдегид представляет собой простейшее карбонильное соединение, состоящее из одного атома углерода, одного атома кислорода и двух атомов водорода. В чистом виде в мономолекулярном состоянии это бесцветный, с резким запахом, химически активный газ. Формальдегид применяют при производстве карбамидоформальдегидных полимеров, клеев и изоляционных пеноматериалов. Основным источником формальдегида в воздухе замкнутых помещений является его выделение древесно-стружечными плитами и изоляционными материалами, применяемыми при строительстве.

Отбор проб для определения содержания формальдегида проводят путем прокачки воздуха через химически активную среду, что приводит к образованию производного соединения с более низким давлением пара, которое более эффективно удерживается в пробоотборном устройстве и может быть легче проанализировано. В настоящем стандарте установлена методика определения формальдегида и других карбонильных соединений, в основе которой лежит реакция этих соединений с 2,4-динитрофенил-гидразином, нанесенным на сорбент, для превращения их в соответствующие гидразоны, которые могут быть извлечены, а их содержание измерено с высокой чувствительностью, прецизионностью и точностью. Методику, приведенную в настоящем стандарте, также применяют для определения других карбонильных соединений, выделяемых в воздух растворителями, связующими материалами, косметическими средствами и другими источниками.

В основе методики отбора проб, приведенной в настоящем стандарте, лежит метод ТО-11А [1].

При применении методики, установленной в настоящем стандарте, следует учитывать, что формальдегид и некоторые другие карбонильные соединения являются высокотоксичными веществами [2].

НАЦИОНАЛЬНЫЙ СТАНДАРТ РОССИЙСКОЙ ФЕДЕРАЦИИ

ВОЗДУХ ЗАМКНУТЫХ ПОМЕЩЕНИЙ

Часть 3

Определение содержания формальдегида и других карбонильных соединений.
Метод активного отбора проб

Indoor air. Part 3. Determination of formaldehyde and other carbonyl compounds. Active sampling method

Дата введения - 2008-10-01

1. Область применения

Настоящий стандарт устанавливает метод определения формальдегида (НСНО) и других карбонильных соединений 1) (альдегидов и кетонов) в воздухе. Метод, применяемый для определения формальдегида, после соответствующей модификации используют для детектирования и количественного определения других карбонильных соединений (не менее 13 соединений). Метод применяют для определения формальдегида и других карбонильных соединений в диапазоне значений массовой концентрации приблизительно от 1 мкг/м3 до 1 мг/м3. С помощью метода, приведенного в стандарте, получают усредненную по времени пробу. Метод может быть использован как при долгосрочном (от 1 до 24 ч), так и при краткосрочном (от 5 до 60 мин) отборе проб воздуха для определения содержания в нем формальдегида.

Настоящий стандарт устанавливает методику отбора и анализа проб воздуха для определения содержания в нем формальдегида и других карбонильных соединений путем улавливания их из воздуха с помощью картриджей с нанесенным 2,4-динитрофенилгидразином (ДНФГ) и последующим анализе методом высокоэффективной жидкостной хроматографии (ВЭЖХ) с ультрафиолетовым (УФ) детектором [1], [3].

Приведенный в стандарте метод разработан специально для отбора и анализа проб для определения содержания в воздухе формальдегида с применением картриджа, заполненного адсорбентом, и последующей ВЭЖХ. Метод также применим для определения содержания в воздухе других альдегидов и кетонов.

1) В настоящем стандарте приведены распространенные названия соединений вместо наименований по номенклатуре ID РАС, приведенных в скобках:

формальдегид (метаналь);

ацетальдегид (этаналь);

ацетон (пропан-2-он);

масляный альдегид (бутаналь);

кротоновый альдегид (2-бутеналь);

изовалериановый альдегид (3-метилбутаналь);

пропионовый альдегид (пропаналь);

м-толуиловый альдегид (3-метилбензальдегид);

о-толуиловый альдегид (2-метилбензальдегид);

п-толуиловый альдегид (4-метилбензальдегид);

валеральдегид пентаналь.

Метод, приведенный в настоящем стандарте, применяют для определения следующих карбонильных соединений:

формальдегид;

ацетальдегид;

ацетон;

бензальдегид;

масляный альдегид;

валеральдегид;

2,5-Диметилбензальдегид;

 

кротоновый альдегид;

изовалериановый альдегид;

пропионовый альдегид;

гексаналь;

о-Толуиловый альдегид;

n-Толуиловый альдегид;

м-Толуиловый альдегид.

2. Нормативные ссылки

В настоящем стандарте использованы нормативные ссылки на следующие стандарты:

ИСО 9001:2000 Системы менеджмента качества. Требования

ИСО 16000-1 Воздух замкнутых помещений. Часть 1. Отбор проб. Общие положения

ИСО 16000-2 Воздух замкнутых помещений. Часть 2. Методология отбора проб формальдегида

ИСО 16000-4 Воздух замкнутых помещений. Часть 4. Определение формальдегида. Метод диффузионного отбора проб

ИСО 17025:2005 Общие требования к компетентности испытательных и калибровочных лабораторий

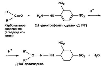
3. Сущность метода

В настоящем стандарте установлен метод прокачивания воздуха через картридж, содержащий силикагель с нанесенным ДНФГ. Метод основан на специфической реакции карбонильной группы анализируемого соединения с ДНФГ в присутствии кислоты с образованием стабильных производных (рисунок 1). Исходные альдегиды и кетоны определяют по их ДНФГ-производным методом ВЭЖХ с использованием УФ детектора или детектора на основе диодной матрицы. Другие карбонильные соединения могут быть определены указанными методами детектирования согласно 9.3.5.

Настоящий стандарт содержит указания по подготовке картриджей для отбора проб на основе серийно выпускаемых картриджей для хроматографии, содержащих силикагель, путем введения в каждый картридж подкисленного ДНФГ. Рекомендуется применять серийно выпускаемые картриджи, содержащие силикагель с нанесенным ДНФГ, поскольку они более унифицированы и имеют низкий уровень холостых показаний. Однако серийно выпускаемые картриджи перед использованием необходимо проверить на соответствие требованиям настоящего стандарта. Другим преимуществом серийно выпускаемых картриджей является то, что они содержат силикагель с большим размером частиц, что приводит к меньшему падению давления воздуха в картридже. Такие картриджи с небольшим падением давления могут оказаться полезными для отбора проб воздуха в зоне дыхания с помощью насосов, работающих от элемента питания.

R - алкил или ароматическая группа для кетонов, или Н для альдегидов; R'- алкил или ароматическая группа для кетонов.

Рисунок 1 - Схема реакции карбонильных соединений с ДНФГ

4. Ограничения и мешающие вещества

4.1. Общие положения

Требования настоящего стандарта были подтверждены при отборе проб воздуха для расхода не более 1,5 л/мин. Данное ограничение расхода объясняется высоким падением давления (более 8 кПа при расходе 1,0 л/мин) через подготовленный пользователем картридж с силикагелем, размер частиц которого от 55 до 105 мкм. Такие картриджи не совместимы с насосами, работающими от элемента питания и используемыми для отбора проб воздуха в зоне дыхания (например, для целей обеспечения промышленной гигиены).

Для отбора и анализа проб воздуха для определения в нем содержания формальдегида применяют специфическую методику отбора на твердый сорбент. Могут возникнуть трудности при реализации метода из-за присутствия некоторых изомеров альдегидов или кетонов, которые невозможно разделить с помощью ВЭЖХ при анализе других альдегидов и кетонов. Мешающими веществами также являются органические соединения, имеющие такое же время удерживания и значимое поглощение на длине волны 360 нм, как и ДНФГ-производное формальдегида. Влияние мешающих веществ можно устранить путем изменения условий разделения (например, с использованием других колонок ВЭЖХ или изменения состава подвижной фазы).

Часто возникает проблема загрязнения ДНФГ формальдегидом. В таких случаях ДНФГ очищают путем многократной перекристаллизации из ацетонитрила, чистого в УФ области спектра. Перекристаллизацию проводят при температуре от 40°С до 60°С путем медленного выпаривания растворителя для получения кристаллов максимального размера. Содержание примесей карбонильных соединений в ДНФГ предварительно определяют методом ВЭЖХ, и оно должно быть не более 0,15 мкг на картридж.

Картриджи для отбора проб с нанесенным ДНФГ не следует подвергать воздействию прямых солнечных лучей во избежание появления побочных пиков [4].

Данную методику не используют для точного количественного определения акролеина в воздухе. Неточные результаты количественного определения акролеина могут быть обусловлены появлением нескольких пиков его производных и нестабильностью отношений пиков [5].

NO2 вступает в реакцию с ДНФГ. Высокое содержание МО2 (например, при использовании газовых плит) может привести к появлению проблем, так как время удерживания его ДНФГ-производного может совпасть с временем удерживания ДНФГ-производного формальдегида в зависимости от колонки ВЭЖХ и параметров анализа [6], [7], [8].

4.2. Мешающее влияние озона

Следует предпринимать специальные меры, если в зоне отбора проб ожидается высокий уровень содержания озона в воздухе (например, от офисной копировальной техники). Наличие озона приводит к занижению результата определения содержания анализируемых веществ, так как в картридже он вступает в реакцию как с ДНФГ, так и с его производными (гидразонами) [9]. Степень мешающего влияния зависит от изменений содержания озона и карбонильных соединений во времени, а также от продолжительности отбора проб. Значительное занижение результата определения (отрицательное мешающее влияние озона) наблюдалось даже при значениях массовой концентрации формальдегида и озона, соответствующих чистому атмосферному воздуху (2 и 80 мкг/м3 соответственно) [10]. В ходе анализа о присутствии озона в пробе можно судить по появлению новых соединений, время удерживания которых меньше времени удерживания гидразона формальдегида. На рисунке 2 приведены хроматограммы воздуха, обогащенного формальдегидом, с озоном и без озона.

Наиболее простым решением для уменьшения мешающего влияния озона является его удаление до того, как отбираемый воздух достигнет картриджа. Это может быть обеспечено с помощью озоновой ловушки или скруббера для удаления озона, установленного перед картриджем. Используют серийно выпускаемые озоновые ловушки и скрубберы. Также озоновую ловушку можно изготовить из медной трубки длиной 1 м, внешним диаметром 0,64 см и внутренним диаметром 0,46 см, которую заполняют насыщенным водным раствором иодида калия, оставляют на несколько минут (например, 5 мин), затем раствор сливают и трубку высушивают в потоке чистого воздуха или азота в течение приблизительно 1 ч. Пропускная способность такого устройства для удаления озона составляет приблизительно 200 мкг/м3 в час. Анализируемые альдегиды (формальдегид, ацетальдегид, пропионовый альдегид, бензальдегид и n-толуиловый альдегид), введенные в поток отбираемого воздуха в динамическом режиме, проходили через озоновую ловушку практически без потерь [11]. Серийно выпускаемые озоновые скрубберы, представляющие собой картридж, заполненный гранулированным иодидом калия массой от 300 до 500 мг, также являются эффективными для удаления озона [12].

X- неизвестное соединение; 0 - ДНФГ; 1 - формальдегид; 2 - ацетальдегид; а - с озоном; b - без озона

Рисунок 2 - Примеры хроматограмм для формальдегида в потоке воздуха с озоном и без озона

5. Требования безопасности

5.1. Настоящий стандарт не устанавливает все требования безопасности, которые следует соблюдать при его применении. Пользователь стандарта должен разработать соответствующие меры безопасности и охраны здоровья с учетом требований законодательных актов.

5.2. ДНФГ является взрывоопасным в сухом состоянии, поэтому с ним следует обращаться с особой осторожностью. Он также является токсичным веществом [LD50, rat (полулетальная доза при проверке на крысах) = 654 мг/кг], проявляет мутагенное действие при проведении некоторых опытов и является раздражителем для глаз и кожи.

5.3. Хлорная кислота массовой долей менее 68 % является стабильной и не окисляется при комнатной температуре. Однако она легко подвергается дегидратации при температуре более 160°С, что может привести к взрыву при ее контакте со спиртами, древесиной, целлюлозой и другими окисляемыми материалами. Ее следует хранить в прохладном сухом месте и использовать с особой осторожностью только в вытяжном шкафу.

6. Аппаратура

Кроме обычного лабораторного оборудования, используют следующую аппаратуру.

6.1. Отбор проб

6.1.1. Картридж для отбора проб, заполненный силикагелем, с нанесенным ДНФГ, подготовленный в соответствии с разделом 8 или серийно выпускаемый.

Картридж должен содержать не менее 350 мг силикагеля, а массовая доля нанесенного на него ДНФГ должна быть не менее 0,29 %. Отношение диаметра слоя силикагеля к его толщине должно быть не более 1:1. Допустимая нагрузка картриджа для определения формальдегида должна быть не менее 75 мкг, а эффективность улавливания - не менее 95 % при расходе воздуха 1,5 л/мин. Серийно выпускаются картриджи для отбора проб с низкими уровнями холостых показаний и высокими характеристиками.

Примечание - При расходе воздуха 1,5 л/мин наблюдалось, что падение давления в подготовленном пользователем картридже приблизительно равно 19 кПа. Некоторые серийно выпускаемые картриджи с предварительно нанесенным ДНФГ характеризуются меньшим падением давления, что позволяет использовать насосы, работающие от элемента питания, для отбора проб в зоне дыхания.

6.1.2. Насос для отбора проб воздуха, обеспечивающий точный и прецизионный расход в диапазоне 1,0-1,5 л/мин.

6.1.3. Регулятор потока, расходомер, регулятор расхода или аналогичное устройство для измерения и регулирования расхода воздуха через картридж для отбора проб в диапазоне 0,50 - 1,20 л/мин.

6.1.4. Калибратор расхода, например ротаметр, мыльно-пенный пузырьковый расходомер или барабанный газовый счетчик с жидкостным затвором.

6.2. Подготовка проб

6.2.1. Контейнеры для картриджей, трубки из боросиликатного стекла (длиной от 20 до 125 мм) с навинчивающимися крышками из полипропилена или другие контейнеры, подходящие для транспортирования загруженных картриджей.

6.2.2. Полиэтиленовые перчатки для переноса картриджей с силикагелем.

6.2.3. Контейнеры для транспортирования, металлические коробки (вместимостью 4 л) с герметичной крышкой или другие подходящие контейнеры с воздушно-пузырчатой полиэтиленовой пленкой или другим пригодным заполнителем для фиксации и смягчения удара запечатанных контейнеров с картриджами.

Примечание - Для хранения картриджей с пробами используют термосклеенный пластиковый мешок с прослойками из фольги, поставляемый в комплекте с серийно выпускаемыми картриджами с нанесенным ДНФГ.

6.2.4. Устройство для нанесения ДНФГ на картриджи

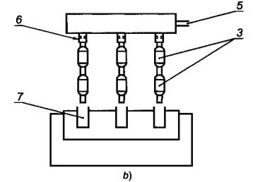
Стойка для шприцев представляет собой пластину из алюминия (размерами 0,16 × 36 × 53 см) с четырьмя регулируемыми ножками. Пластина с круглыми отверстиями (число отверстий - 5 × 9), диаметр которых немного больше диаметра шприцев вместимостью 10 мл, симметрично расположенными от центра пластины, позволяет провести очистку, нанесение ДНФГ и (или) элюирование пробы для 45 картриджей (см. рисунок 3).

а - устройство для нанесения ДНФГ; b - устройство для сушки картриджей; 1_ стеклянный шприц вместимостью 10 мл; 2-стойка для шприцев;3 - картриджи; 4 - сливной стакан; 5 - поток N2;6 - штуцер для шприцев; 7 - стаканчик для отходов

Рисунок 3 - Устройства для нанесения ДНФГ и сушки картриджей для отбора проб

6.2.5. Устройство для сушки картриджей с устройствами для ввода газа и многочисленными штуцерами для стандартных шприцев (см. рисунок 3).

Примечание - Аппаратура, указанная в 6.2.4 и 6.2.5, необходима только в том случае, если пользователь самостоятельно изготавливает картриджи с нанесенным ДНФГ

6.3. Анализ проб

6.3.1. Система ВЭЖХ состоит из емкости с подвижной фазой, насоса высокого давления, инжекторного крана (автоматического дозирующего устройства с объемом петли 25 мкл или другим подходящим объемом петли), колонки с обращенной фазой С-18 (например, длиной 25 см, внутренним диаметром 4,6 мм, размером частиц наполнителя 5 мкм), УФ детектора или детектора на основе диодной матрицы, работающего на длине волны 360 нм, системы обработки данных или электроизмерительного самопишущего прибора.

ДНФГ-производное формальдегида определяют методом ВЭЖХ с обращенной фазой в изократическом режиме подачи элюента на основе показаний УФ детектора поглощения, работающего на длине волны 360 нм. Картриджи с холостой пробой десорбируют и анализируют аналогичным образом. Формальдегид и другие карбонильные соединения в пробе идентифицируют и определяют количественно путем сравнения их времени удерживания и высоты или площади пиков, полученных при анализе пробы и анализе градуировочных растворов.

Примечание - Для этих целей подходит большинство серийно выпускаемых аналитических систем ВЭЖХ.

6.3.2 Шприцы и пипетки

6.3.2.1. Инжекторные шприцы ВЭЖХ вместимостью не менее чем в четыре раза превышающей объем петли (см. 6.3.1).

6.3.2.2. Шприцы вместимостью 10 мл, используемые для нанесения ДНФГ на картриджи (допускается использовать шприцы из полипропилена).

6.3.2.3. Штуцеры и заглушки, используемые для соединения картриджей с системой отбора проб и закрывания подготовленных картриджей.

6.3.2.4. Автоматический пипеточный дозатор, работающий по принципу положительного вытеснения, многократного дозирования с переменным объемом в диапазоне от 0 - до 10 мл (далее - пипеточный дозатор).

7. Реактивы

7.1. ДНФГ, перед использованием перекристаллизованный по крайней мере два раза из ацетонитрила, чистого в УФ области спектра.

7.2. Ацетонитрил, чистый в УФ области спектра (каждая порция растворителя должна быть проверена перед использованием).

7.3. Хлорная кислота, раствор с массовой долей 60 %, ρ = 1,51 кг/л.

7.4. Соляная кислота, раствор с массовой долей от 36,5 % до 38 %, ρ = 1,19 кг/л.

7.5. Формальдегид (формалин), раствор с массовой долей 37 %.

7.6. Альдегиды и кетоны, высокой степени чистоты, используемые для приготовления градуировочных образцов ДНФГ-производных (не обязательно).

7.7. Этанол или метанол для хроматографии.

7.8. Азот высокой степени чистоты.

7.9. Древесный гранулированный уголь (высшего качества).

7.10. Гелий высокой степени чистоты (высшего качества).

8. Подготовка реактивов и картриджей

8.1. Очистка 2,4-динитрофенилгидразина

С проблемой загрязнения ДНФГ формальдегидом сталкиваются довольно часто. Очистку ДНФГ проводят путем многократной перекристаллизации из ацетонитрила, чистого в УФ области спектра. Перекристаллизацию проводят при температуре от 40°С до 60°С путем медленного выпаривания растворителя для получения кристаллов максимального размера. Содержание примесей карбонильных соединений в ДНФГ, которое определяют до анализа методом ВЭЖХ, не должно превышать 0,15 мкг на картридж и на индивидуальное соединение.

Пересыщенный раствор ДНФГ приготавливают путем кипячения раствора, содержащего избыток ДНФГ в 200 мл ацетонитрила, в течение приблизительно 1 ч. Затем отделяют и сливают надосадочную жидкость в химический стакан с крышкой, стоящий на горячей плитке, и постепенно охлаждают до 40°С-60°С. Выдерживают раствор при этой температуре (40°С) до тех пор, пока не испарится 95 % объема растворителя. Раствор фильтруют, а оставшиеся кристаллы дважды промывают ацетонитрилом объемом, превышающим видимый объем кристаллов в три раза. Кристаллы переносят в другой чистый химический стакан, добавляют 200 мл ацетонитрила, нагревают до кипения, и снова дают кристаллам вырасти при охлаждении до температуры 40°С-60°С, пока не испарится 95 % объема растворителя. Повторяют процесс промывания кристаллов. Берут аликвоту раствора и разбавляют в десятикратном объеме ацетонитрилом, затем подкисляют 1 мл хлорной кислоты (3,8 моль/л) на 100 мл раствора ДНФГ и проводят анализ методом ВЭЖХ в соответствии с 9.3.4.

Предупреждение - Очистку ДНФГ необходимо проводить при включенной вентиляции с обязательным использованием средств защиты от взрыва (экран).

Примечание - Кислота необходима для катализации реакции карбонильных соединений с ДНФГ. Для этих целей используют наиболее сильные неорганические кислоты, такие как хлорная, серная, фосфорная или соляная. В редких случаях использование соляной и серной кислот может привести к неблагоприятным последствиям.

Приемлемым считают уровень содержания примесей гидразона формальдегида в перекристаллизованном ДНФГ, если значение массовой концентрации менее 0,025 мкг/мл или массовая доля примесей в ДНФГ менее 0,02 %.

Если уровень содержания примесей является неприемлемым для конкретных условий отбора проб, то перекристаллизацию проводят повторно. Очищенные кристаллы переносят в стеклянную колбу, добавляют 200 мл ацетонитрила, закрывают пробкой, слегка встряхивают и дают отстояться в течение 12ч. Проводят анализ надосадочной жидкости на хроматографе методом ВЭЖХ в соответствии с 9.3.4. Если уровень содержания примесей является неприемлемым, то забирают пипеткой весь надосадочный раствор, затем к оставшимся очищенным кристаллам добавляют 25 мл ацетонитрила. Повторяют промывание кристаллов ацетонитрилом порциями по 20 мл; после каждого добавления порции ацетонитрила образующуюся надосадочную жидкость анализируют методом ВЭЖХ до тех пор, пока не будет подтвержден приемлемый уровень содержания примесей в надосадочной жидкости.

Если уровень содержания примесей является приемлемым, добавляют 25 мл ацетонитрила, закрывают колбу пробкой, встряхивают и оставляют для дальнейшего использования. Полученный насыщенный раствор над очищенными кристаллами является основным исходным раствором ДНФГ. Сохраняют минимальный объем насыщенного раствора, необходимый для ежедневного использования, что позволяет свести к минимуму потери очищенного реактива при необходимости повторного промывания кристаллов для уменьшения уровня содержания примесей в случае предъявления более жестких требований к степени чистоты. Необходимый для проведения анализа объем основного исходного насыщенного раствора ДНФГ отбирают чистой пипеткой. Не следует выливать исходный раствор непосредственно из колбы.

8.2. Приготовление ДНФГ-производного формальдегида

К части перекристаллизованного ДНФГ добавляют достаточное количество соляной кислоты (2 моль/л) для получения почти насыщенного раствора. Добавляют к этому раствору формальдегид (формалин) в мольном избытке по отношению к ДНФГ. Фильтруют осадок ДНФГ-производного формальдегида, промывают его соляной кислотой (2 моль/л) и водой и оставляют на воздухе до высыхания.

Проверяют степень чистоты ДНФГ-производного формальдегида путем определения его точки плавления (от 165°С до 166°С) или анализа методом ВЭЖХ. Если уровень содержания примесей является неприемлемым, производное перекристаллизовывают из этанола. Повторяют проверку степени чистоты и перекристаллизацию до тех пор, пока не будет достигнут приемлемый уровень чистоты (например, массовая доля основного компонента 99 %).

ДНФГ-производное формальдегида хранят охлажденным (при температуре 4°С) в защищенном от света месте. Оно должно быть стабильным в течение, по крайней мере, 6 мес. Хранение в атмосфере азота или аргона продлевает срок годности ДНФГ-производного.

Температуры точек плавления ДНФГ-производных некоторых карбонильных соединений приведены в приложении В.

ДНФГ-производные формальдегида и других карбонильных соединений, используемые в качестве стандартных образцов, выпускаются серийно как в виде чистых кристаллов, так и в виде индивидуальных или смешанных исходных растворов в ацетонитриле.

8.3. Приготовление исходных растворов ДНФГ-производного формальдегида

Исходный раствор ДНФГ-производного формальдегида приготавливают путем растворения точно известного количества производного в ацетонитриле. Из исходного раствора готовят рабочий градуиро-вочный раствор. Содержание ДНФГ-производного формальдегида в градуировочных растворах должно соответствовать ожидаемому диапазону значений его массовой концентрации в реальных пробах.

Исходные растворы с массовой концентрацией приблизительно 100 мг/л могут быть приготовлены путем растворения 10 мг твердого производного в 100 мл ацетонитрила. Эти растворы используют для приготовления градуировочных растворов содержащих соответствующие производные в диапазоне значений массовой концентрации от 0,5 до 20 мкг/мл.

Все стандартные растворы хранят защищенными от света в герметично закрытых сосудах в холодильнике. Перед использованием растворы выдерживают при комнатной температуре до достижения теплового равновесия. По истечении четырех недель растворы должны быть заменены на свежие.

8.4. Подготовка картриджей с нанесенным на силикагель ДНФГ

8.4.1. Общие положения

Процедуру проводят в лаборатории с очень низким содержанием альдегидов в воздухе. Всю стеклянную и пластиковую лабораторную посуду тщательно очищают и промывают в деионизированной воде и ацетонитриле, не содержащем альдегиды. Контакт реактивов с воздухом в лаборатории должен быть минимальным. При работе с картриджами следует надевать полиэтиленовые перчатки.

8.4.2. Раствор для нанесения ДНФГ

С помощью пипетки вносят 30 мл насыщенного исходного раствора ДНФГ в мерную колбу вместимостью 1000 мл, добавляют 500 мл ацетонитрила и подкисляют 1,0 мл концентрированной соляной кислоты.

Воздух над подкисленным раствором фильтруют через картридж с силикагелем с нанесенным ДНФГ для сведения к минимуму внесения в раствор загрязнения из воздуха лаборатории. Колбу встряхивают, затем раствор доводят до метки ацетонитрилом. Колбу закрывают, переворачивают, встряхивают несколько раз до тех пор, пока раствор не станет однородным. Переносят подкисленный раствор в пипеточный дозатор со шкалой от 0 до 10 мл.

Из дозатора медленно сливают от 10 до 20 мл раствора в сливной стакан. Вводят аликвоту раствора в виалу и проверяют уровень содержания примесей в подкисленном растворе методом ВЭЖХ в соответствии с 9.3.4. Массовая концентрация формальдегида в растворе должна быть не более 0,025 мкг/мл.

8.4.3. Нанесение ДНФГ на силикагель в картридже

Картридж вынимают из упаковки, подсоединяют короткий конец картриджа к шприцу вместимостью 10 мл, который помещают в устройство для нанесения ДНФГ как показано на рисунке 3а). При помощи пипеточного дозатора в каждый шприц вводят 10 мл ацетонитрила. Жидкость должна стечь самотеком.

Пузырьки воздуха, появившиеся между шприцем и картриджем с силикагелем, удаляют с помощью ацетонитрила из шприца.

Настраивают пипеточный дозатор, содержащий подкисленный раствор для нанесения ДНФГ, для введения по 7 мл в каждый картридж. Как только на выходе картриджа прекратится поток ацетонитрила, добавляют в каждый шприц по 7 мл раствора для нанесения ДНФГ. Раствор для нанесения ДНФГ стекает через картридж самотеком до тех пор, пока не прекратится поток на другом конце картриджа. Избыток жидкости на выходном отверстии каждого картриджа удаляют с помощью фильтровальной бумаги.

Проводят сборку устройства для сушки картриджей (см. рисунок 3b). На каждом выходе устанавливают предварительно подготовленный картридж с нанесенным ДНФГ (например, скруббер или «защитный» картридж). Такие «защитные» картриджи предназначены для удаления следов формальдегида, который может присутствовать в подаваемом азоте. Их подготавливают путем сушки нескольких заново пропитанных картриджей в соответствии с инструкциями, приведенными ниже, и используют для обеспечения чистоты остальных картриджей.

Устанавливают переходник для картриджей (расширенный на конус с обоих концов, с внешним диаметром от 0,64 до 2,5 см, выполненный из фторуглеродной трубки, внутренним диаметром немного меньше внешнего диаметра входного отверстия картриджа) на длинный конец «защитного» картриджа.

Отсоединяют картриджи от шприцев и подсоединяют короткие концы картриджей к свободным концам переходников, уже присоединенных к «защитным» картриджам.

Через каждый картридж пропускают азот с расходом 300 - 400 мл/мин. Промывают внешние поверхности и выходные концы картриджей ацетонитрилом с помощью пипетки Пастера. По истечении 15 мин подачу азота прекращают, удаляют остатки ацетонитрила с внешних поверхностей картриджей и отсоединяют просушенные картриджи. Оба конца загруженных картриджей закрывают стандартными полипропиленовыми заглушками от шприцев и помещают закрытые картриджи в трубки из боросиликатного стекла с навинчивающимися крышками из полипропилена.

На каждый индивидуальный стеклянный контейнер для хранения картриджа наносят номер серии и партии и хранят всю партию в холодильнике до момента использования.

Установлено, что содержимое загруженных картриджей остается стабильным в течение не менее 6 мес. при хранении при температуре 4°С в защищенном от света месте.

9. Методика

9.1. Отбор проб

Проводят сборку системы отбора проб и убеждаются в том, что насос обеспечивает постоянный расход в течение всего периода отбора проб. Загруженные картриджи могут сохранять свои характеристики при отборе проб, если температура окружающей среды выше 10°С. При необходимости устанавливают скруббер или ловушку для озона (см. 4.2).

Перед началом отбора проб проверяют герметичность системы. Закрывают входной (короткий) конец картриджа так, чтобы на выходе насоса не было потока воздуха. При этом расходомер не должен фиксировать поток воздуха через систему отбора проб.

Во время необслуживаемых или продолжительных периодов отбора проб для поддерживания постоянного потока воздуха рекомендуется использовать регулятор потока или насос с функцией компенсации расхода при отборе проб в зоне дыхания. Регулятор потока настраивают таким образом, чтобы значение потока было не менее чем на 20 % ниже установленного максимального значения расхода воздуха через картридж.

Примечание - Силикагель в картридже удерживается между двумя мелкопористыми фильтрами. Поток воздуха в ходе отбора проб может изменяться из-за оседания аэрозольных частиц на переднем фильтре. Изменение потока может быть значительным при отборе проб воздуха с большим содержанием взвешенных частиц.

Устанавливают систему отбора проб (включая картридж для холостой пробы) и проверяют расход воздуха при значении, близком к ожидаемому. Обычно расход воздуха устанавливают в диапазоне 0,5 - 1,2 л/мин. Общее число молей карбонильных соединений в объеме отобранного воздуха не должно превышать количество ДНФГ в картридже (2 мг или 0,01 моль; от 1 до 2 мг в случае применения серийно выпускаемых предварительно загруженных картриджей). Обычно ориентировочная оценка массы аналита в пробе должна составлять менее 75 % массы ДНФГ, загруженного в картридж [от 100 до 200 мкг в случае НСНО с учетом мешающих веществ (см. раздел 4)]. Градуировку проводят с использованием мыльно-пенного пузырькового расходомера или барабанного газового счетчика с жидкостным затвором, подсоединенного к выходу потока, при условии герметичности системы.

Примечание - Метод градуировки, не требующий герметичности системы после насоса, приведен в [13].

Для определения объема пробы фиксируют и записывают значение расхода в начале и в конце периода отбора пробы. Если период отбора пробы более 2 ч, то расход измеряют несколько раз в течение отбора пробы. Для наблюдения за расходом без вмешательства в процесс отбора проб в систему устанавливают ротаметр. Также допускается использовать насос для отбора проб с прямым измерением и непрерывной регистрацией значений расхода.

Перед началом отбора проб загруженный картридж достают из герметичного металлического или другого подходящего контейнера для транспортирования. Перед подсоединением к побудителю расхода (аспиратору, насосу) картридж выдерживают при комнатной температуре до достижения теплового равновесия, не вынимая его из стеклянного контейнера.

Этой же процедуре подвергают серийно выпускаемые предварительно загруженные картриджи.

Надев полиэтиленовые перчатки, вынимают заглушку картриджа и подсоединяют его к побудителю расхода при помощи переходника. Картридж подсоединяют таким образом, чтобы его короткий конец оказался входным концом для пробы.

Подсоединение серийно выпускаемых картриджей с предварительно нанесенным ДНФГ проводят в соответствии с инструкциями изготовителя. Некоторые серийно выпускаемые картриджи представляют собой герметичные стеклянные трубки. В этом случае необходимо отломить концы трубки с предварительным использованием стеклореза. Подсоединяют конец картриджа с меньшим количеством сорбента к линии отбора проб так, чтобы большее количество сорбента находилось на входе пробы воздуха. Соблюдают осторожность при обращении с отломанными концами трубки.

Включают насос и устанавливают требуемое значение расхода. Обычно расход через один картридж составляет 1,0 л/мин, а в случае двух картриджей, соединенных последовательно, - 0,8 л/мин. Проводят отбор проб в течение установленного периода времени, при этом периодически фиксируют значения параметров отбора проб.

Если при отборе проб температура окружающей среды ниже 10°С, то обеспечивают, чтобы картридж для отбора проб находился при более высокой температуре. При проведении отбора проб в разных погодных условиях - в холодные, влажные и сухие зимние месяцы, в жаркие и влажные летние месяцы - не было отмечено значительного влияния относительной влажности воздуха на результаты отбора проб.

По окончании отбора проб выключают насос. Непосредственно перед его выключением проверяют расход воздуха. Если значения расхода воздуха в начале и конце периода отбора проб отличаются более чем на 15 %, то пробу маркируют как сомнительную.

Сразу же после отбора проб картридж отсоединяют от системы отбора проб (надев полиэтиленовые перчатки), закрывают его пробками и помещают обратно в маркированный контейнер. Заклеивают контейнер фторопластовой лентой и помещают в металлический контейнер, содержащий слой гранулированного древесного угля толщиной от 2 до 5 см, или в другой подходящий контейнер с поглотителем. При необходимости для хранения картриджа с пробой используют термосклеенный пластиковый мешок с прослойками из фольги. До проведения анализа картридж c пробой хранят в холодильнике. Время хранения картриджа в холодильнике не должно превышать 30 дней.

Если для проведения анализа пробу необходимо транспортировать в аналитическую лабораторию, то время хранения картриджа с пробой без холодильника должно быть сведено к минимуму и не превышать двух дней.

Средний расход отбора проб qА, мл/мин, вычисляют по формуле

qA = [q1 + q2 + ... + qn]/n,                                                                         (1)

где q1, q2, … qn - значения расхода в начале, промежуточных точках и конце отбора проб;

n - число точек усреднения.

Общий объем воздуха Vm, л, отобранного при известных температуре и давлении в процессе отбора пробы, вычисляют по формуле

Vm = (T2 - T1) qА/1000,                                                                             (2)

где Т2 - время конца отбора проб;

T1 - время начала отбора проб;

Т2 - T1 - продолжительность отбора проб, мин;

qA - средний расход, мл/мин.

9.2. Холостые пробы

Для каждой серии проб необходимо провести анализ не менее одной холостой пробы, полученной в условиях отбора проб. Если серия включает в себя 10 - 20 проб, то число холостых проб должно быть не менее 10 % общего числа проб. Для определения необходимого числа холостых проб следует фиксировать общее число проб внутри серии или временного интервала. На месте отбора с картриджами для отбора холостых проб обращаются так же, как с картриджами для отбора реальных проб, за исключением самого процесса отбора проб. Отбор холостых проб должен соответствовать требованиям, приведенным в 9.1. Желательно также провести анализ оставленных в лаборатории картриджей с холостыми пробами для установления различий между загрязнением, которое может быть внесено в месте отбора проб и в лаборатории.

9.3. Анализ проб

9.3.1. Подготовка проб

Пробы транспортируют в лабораторию в подходящем контейнере, содержащем слой гранулированного древесного угля толщиной от 2 до 5 см, и хранят их до проведения анализа в холодильнике. Пробы также можно хранить в индивидуальных контейнерах. Промежуток времени между отбором и анализом проб должен быть не более 30 дней.

9.3.2. Десорбция проб

Картридж с пробой коротким концом (входным отверстием) подсоединяют к чистому шприцу.

Для предотвращения попадания нерастворимых частиц в элюат направление потока жидкости во время десорбции должно совпадать с направлением потока воздуха во время отбора проб. Если элюат фильтруется перед проведением анализа методом ВЭЖХ, то можно проводить обратную десорбцию. Для каждой серии проб проводят анализ отфильтрованного чистого экстракта для подтверждения того, что на фильтре нет загрязнений.

Шприц с подсоединенным картриджем помещают на стойку для шприцев. Проводят десорбцию ДНФГ-производных карбонильных соединений и не вступившего в реакцию ДНФГ, давая стечь 5 мл ацетонитрила из шприца самотеком через картридж в градуированную пробирку или мерную колбу вместимостью 5 мл. В зависимости от используемого для отбора проб картриджа возможен ввод других объемов ацетонитрила.

Примечание - Свободный объем сухого картриджа с силикагелем составляет немного более 1 мл. Поток элюата может прекратиться до того, как весь ацетонитрил вытечет из шприца в картридж из-за присутствия пузырьков воздуха между фильтром картриджа и шприцем. В этом случае пузырьки воздуха удаляют посредством ввода ацетонитрила в шприц с помощью длинной пипетки Пастера.

Раствор доводят ацетонитрилом до метки 5 мл. Колбу маркируют так же, как и пробу. Аликвоту вводят пипеткой в виалу с фторуглеродной мембраной. Аликвоту анализируют на содержание ДНФГ-производных карбонильных соединений методом ВЭЖХ. В качестве резервной возможен отбор второй аликвоты, которую хранят в холодильнике до тех пор, пока не будет завершен анализ и получены пригодные результаты анализа первой аликвоты. При необходимости вторую аликвоту используют для проведения подтверждающего анализа.

При использовании для отбора проб стеклянных герметичных трубок, содержащих два слоя сорбента с нанесенным ДНФГ, отламывают конец трубки, находящийся ближе ко второму слою сорбента (выходной конец). Осторожно удаляют пружину и пробку из стекловаты, удерживающие слой сорбента. Высыпают сорбент в чистую стеклянную виалу вместимостью 4 мл с фторуглеродной мембраной или крышкой. Виалу маркируют как резервную часть пробы. Осторожно вынимают вторую пробку из стекловаты и высыпают оставшийся сорбент в другую виалу вместимостью 4 мл. Виалу маркируют как основную часть пробы. В каждую виалу пипеткой добавляют 3 мл ацетонитрила, закрывают виалы и оставляют на 30 мин, в течение которых виалы периодически встряхивают.

9.3.3. Градуировка ВЭЖХ

Градуировочные растворы готовят путем растворения ДНФГ-производного формальдегида (см. 8.3) в ацетонитриле. Готовят индивидуальные исходные растворы массовой концентрацией 100 мг/л путем растворения 10 мг твердого производного в 100 мл подвижной фазы.

По два раза проводят анализ каждого градуировочного раствора (не менее пяти различных значений массовой концентрации) и составляют таблицу зависимости значений выходных сигналов, соответствующих площади хроматографических пиков, от введенной массы соответствующего вещества (либо, что более удобно, от введенной массы ДНФГ-производного формальдегида при фиксированном объеме петли (см. рисунки 4 и 5)). В процессе градуировки выполняют операции, соответствующие операциям, проводимым при анализе пробы и установленным в 9.3.4. Во избежание эффекта памяти хроматографа анализ начинают с раствора с наименьшей массовой концентрацией. При использовании УФ детектора или детектора на основе диодной матрицы должна быть получена линейная зависимость выходного сигнала при введении растворов массовой концентрацией в диапазоне 0,05 - 20 мкг/мл при вводимом объеме 25 мкл. Полученные результаты используют для построения градуировочного графика (см. рисунок 6). Градуировочную характеристику (зависимость выходного сигнала, соответствующего площади пика, от значения массовой концентрации), полученную методом наименьших квадратов, считают линейной, если коэффициент корреляции не менее 0,999. Значения времени удерживания для каждого аналита не должны отличаться друг от друга более чем на 2 %.

После установления линейной градуировочной характеристики проводят ежедневную проверку ее стабильности с помощью градуировочного раствора со значением массовой концентрации, близким к ожидаемому значению каждого компонента, но не менее чем в 10 раз превышающим предел обнаружения. Определяемое при ежедневной проверке относительное изменение выходного сигнала не должно превышать 10 % для аналитов массовой концентрацией не менее 1 мкг/мл и 20 % - для аналитов массовой концентрацией приблизительно 0,5 мкг/мл. Если наблюдается большее изменение, необходимо провести повторную градуировку или построение нового градуировочного графика на основе свежеприготовленных градуировочных растворов.

Условия хроматографирования:

колонка: С-18 с обращенной фазой;

подвижная фаза: с объемным отношением 60 % ацетонитрила/40 % воды;

детектор: УФ детектор, работающий на длине волны 360 нм;

расход: 1 мл/мин;

время удерживания: для ДНФГ-производного формальдегида приблизительно 7 мин;

объем введенной пробы: 25 мкл.

Рисунок 4 - Пример хроматограммы ДНФГ-производного формальдегида

Условия хроматографирования:

колонка: С-18 с обращенной фазой;

подвижная фаза: с объемным отношением 60 % ацетонитрила/40 % воды;

детектор: УФ детектор, работающий на длине волны 360 нм;

расход: 1 мл/мин;

время удерживания: для ДНФГ-производного формальдегида приблизительно 7 мин;

объем введенной пробы: 25 мкл.

Массовая концентрация, мкг/мл

Площадь пика, единица счета

0,61

226541

1,23

452166

6,16

2257271

12,32

4711408

18,4

6953812

Рисунок 5 - Примеры хроматограмм ДНФГ-производного формальдегида при его различных массовых концентрациях

Условия хроматографирования:

коэффициент корреляции: 0,9999;

колонка: С-18 с обращенной фазой;

подвижная фаза: с объемным отношением 60 % ацетонитри-ла/40 % воды;

детектор: УФ детектор, работающий на длине волны 360 нм;

расход: 1 мл/мин;

время удерживания: для ДНФГ-производного формальдегида приблизительно 7 мин;

объем введенной пробы: 25 мкл;

Рисунок 6 - Пример градуировочного графика для формальдегида

9.3.4. Анализ на содержание формальдегида методом ВЭЖХ

Проводят сборку и градуировку системы ВЭЖХ в соответствии с 9.3.3, при этом типичными для системы будут:

колонка: С-18, внутренним диаметром 4,6 мм, длиной 25 см, или эквивалентная; контролировать температуру колонки не обязательно;

подвижная фаза: 60 % ацетонитрила/40 % воды (объемное отношение), изократическая;

детектор: УФ детектор, работающий на длине волны 360 нм;

расход: 1,0 мл/мин;

время удерживания: для ДНФГ-производного формальдегида 7 мин - с использованием одной колонки С-18, 3 мин - с использованием двух колонок С-18;

объем вводимой пробы: 25 мкл.

Перед каждым анализом проверяют базовую линию детектора для обеспечения стабильных условий.

Приготавливают подвижную фазу для ВЭЖХ путем смешивания 600 мл ацетонитрила и 400 мл воды, либо устанавливают соответствующие параметры для градиентного элюирования. Полученную смесь фильтруют через мембранный фильтр из полиэфира с размером пор 0,22 мкм в устройстве фильтрования под вакуумом, изготовленным только из стекла или фторопласта. Дегазируют отфильтрованную подвижную фазу путем продувки с использованием гелия от 10 до 15 мин (100 мл/мин) или путем нагревания до 60°С от 5 до 10 мин в лабораторной конической колбе, накрытой часовым стеклом. Для предотвращения образования пузырьков газа в ячейке детектора после него устанавливают постоянный ограничитель сопротивления (350 кПа) или короткую (15 - 30 см) трубку из фторопласта внутренним диаметром 0,25 мм.

Подвижную фазу наливают в емкость для растворителя и устанавливают расход 1,0 мл/мин. Перед первым анализом насос должен проработать 20 - 30 мин. Детектор включают, по крайней мере, за 30 мин до начала проведения первого анализа. Выходной сигнал детектора регистрируют с помощью электроизмерительных самопишущих приборов или аналогичного устройства вывода.

Для систем с ручным вводом проб набирают в чистый инжекционный шприц для ввода в хроматограф не менее 100 мкл пробы. Заполняют петлю крана-дозатора подвижной фазой (кран-дозатор должен быть установлен в положение «загрузка»), добавляя излишек пробы с помощью шприца. Чтобы начать хроматографирование, кран-дозатор переводят в положение «ввод пробы». Одновременно с вводом активируют систему обработки данных, включают и отмечают точку ввода на диаграммной ленте электроизмерительного самопишущего прибора. Приблизительно через 1 мин переводят кран-дозатор из положения «ввод пробы» в положение «загрузка», ополаскивают или промывают шприц и дозирующую петлю смесью ацетонитрил - вода для подготовки к анализу следующей пробы.

Не допускается вводить растворитель в петлю крана-дозатора, когда кран находится в положении «ввод пробы».

После элюирования ДНФГ-производного формальдегида (см. рисунок 4) прекращают регистрацию данных и вычисляют массовую концентрацию компонентов в соответствии с разделом 10. Система может быть использована для дальнейшего анализа проб после того, как будет достигнуто устойчивое положение базовой линии.

Примечание - После нескольких анализов загрязнение колонки (о чем свидетельствует, например, увеличение давления при каждом последующем вводе пробы при заданном значении расхода и составе растворителя) может быть устранено промыванием ее 100 %-ным ацетонитрилом объемом, превосходящим объем колонки в несколько раз. Подобную защиту можно обеспечить, используя форколонки.

Если значение массовой концентрации аналита выходит за пределы линейного участка градуировочной характеристики системы, пробу разбавляют подвижной фазой или вводят в хроматограф меньший объем пробы. Если время удерживания, полученное при предыдущих вводах пробы, не воспроизводится (предельно допустимое отклонение ± 10 %), то соотношение ацетонитрил-вода может быть увеличено или уменьшено для получения соответствующего времени удерживания. Если время удерживания слишком велико, то соотношение увеличивают; если слишком мало - соотношение уменьшают. При необходимости замены растворителя проводят повторную градуировку перед вводом пробы (см. 9.3.3).

Примечание - Приведенные условия хроматографирования должны быть оптимизированы для определения формальдегида. Аналитику рекомендуется провести исследования с имеющейся системой ВЭЖХ для оптимизации условий хроматографирования для решения конкретной аналитической задачи. Также могут быть использованы ВЭЖХ системы с автоматическим вводом пробы и сбором данных.

Полученную хроматограмму исследуют на предмет мешающего влияния озона в соответствии с 4.2 и рисунком 2.

9.3.5 Анализ других альдегидов и кетонов методом ВЭЖХ

9.3.5.1. Общие положения

Оптимизация условий хроматографирования посредством использования двух колонок С-18, соединенных последовательно, и градиентного режима подачи элюента позволяет проводить анализ других альдегидов и кетонов, отобранных из воздуха. В частности, условия хроматографирования оптимизируют для разделения ацетона, пропионового альдегида и некоторых других альдегидов с более высокой молекулярной массой при продолжительности анализа приблизительно 1 ч.

Состав подвижной фазы периодически изменяют по линейной градиентной программе для получения максимального разделения С3, С4 и бензальдегида в соответствующей области хроматограммы. Для этой цели разработана следующая градиентная программа: в момент ввода пробы изменяют объемное отношение растворов с 60 % ацетонитрила/40 % воды до 75 % ацетонитрила/25 % воды в течение 36 мин; до 100 % ацетонитрила - в течение 20 мин; 100 % ацетонитрила - в течение 5 мин; меняют направление линейного градиентного программирования со 100 % ацетонитрила до 60 % ацетонитрила/40 % воды в течение 1 мин; поддерживают объемное отношение 60 % ацетонитрила/40 % воды в течение 15 мин.

9.3.5.2. Анализ проб на другие карбонильные соединения

Проводят сборку и градуировку системы ВЭЖХ в соответствии с 9.3.3. Типичными для системы будут:

колонка: две колонки С-18, соединенные последовательно;

подвижная фаза: ацетонитрил/вода; линейный градиентный режим;

детектор: УФ детектор, работающий на длине волны 360 нм;

расход: 1,0 мл/мин;

градиентная программа: по 9.3.4.

Условия хроматографирования, приведенные выше, были оптимизированы для градиентных систем ВЭЖХ с УФ детектором или детектором на основе диодной матрицы, автоматическим пробоотборным устройством с объемом дозирующей петли 25 мкл, двумя колонками С-18 (4,6 × 250 мм) и электроизмерительным самопишущим прибором или электронным интегратором. Аналитику рекомендуется провести исследования на имеющейся системе ВЭЖХ с целью оптимизации условий хроматографирования для решения конкретной аналитической задачи. Оптимизация необходима, по крайней мере, для разделения акролеина, ацетона и пропионового альдегида.

Примечание - Изготовители колонок обычно приводят рекомендации по оптимальным условиям разделения ДНФГ-производных для колонок с обращенной фазой. Эти рекомендации могут исключать необходимость использования двух колонок без ухудшения разделения карбонильных соединений.

Карбонильные соединения в пробе определяют качественно и количественно путем сравнения их времени удерживания и площади пиков с аналогичными показателями для образцов сравнения ДНФГ-производных. Формальдегид, ацетальдегид, ацетон, пропионовый альдегид, кретоновый альдегид, бензальдегид и о-, м-, п-толуиловые альдегиды определяют с высокой степенью достоверности. Определение масляного альдегида является менее надежным из-за его совместного элюирования с изобутиральдегидом и метилэтилкетоном при установленных выше условиях хроматографирования. Типичная хроматограмма, полученная с ВЭЖХ системой с градиентным элюированием, приведена на рисунке 7.

Массовую концентрацию индивидуальных карбонильных соединений определяют по 9.3.4.

Идентификация пиков

Номер

Соединение

Массовая концентрация, мкг/мл

1

Формальдегид

1,140

2

Ацетальдегид

1,000

3

Акролеин

1,000

4

Ацетон

1,000

5

Пропионовый альдегид

1,000

6

Кротоновый альдегид

1,000

7

Масляный альдегид

1,000

8

Бензальдегид

1,000

9

Изовалеральдегид

0,450

10

Валеральдегид

0,450

11

о-Толуиловый альдегид

0,515

12

м-Толуиловый альдегид

0,505

13

л-Толуиловый альдегид

0,510

14

Гексаналь

1,000

15

2 , 5-Д и мети л бензальдегид

0,510

Рисунок 7 - Пример хроматографического разделения ДНФГ-производных 15 карбонильных соединений

10. Вычисление результатов измерений

Общую массу аналита (ДНФГ-производного) для каждой пробы вычисляют по формуле

md = ms - mb,                                                                                            (3)

где md - скорректированная масса ДНФГ-производного, извлеченного из картриджа, мкг;

ms - нескорректированная масса картриджа с пробой, мкг:

ms = As(cstd/Astd)Vsds;                                                                               (4)

mb - масса аналита в картридже с холостой пробой, мкг:

mb = Ab(cstd/Astd)Vbdb;                                                                              (5)

As - площадь пика аналита, элюированного из картриджа с пробой, условные единицы;

Аb - площадь пика аналита, элюированного из картриджа с холостой пробой, условные единицы;

Astd - площадь пика аналита в градуировочном растворе для ежедневной градуировки, условные единицы;

cstd - массовая концентрация аналита в градуировочном растворе для ежедневной градуировки, м кг/мл;

Vs - общий объем элюата, полученного для картриджа с пробой, мл;

Vb - общий объем элюата, полученного для картриджа с холостой пробой, мл;

ds - коэффициент разбавления элюата пробы:

1, если пробу не разбавляли повторно;

Vd/Va, если пробу разбавляли для того, чтобы выходной сигнал находился в области линейности детектора, где Vd - объем после разбавления, мл; Va - аликвота, используемая при разбавлении, мл;

db- коэффициент разбавления холостой пробы, равный 1,0.

Массовую концентрацию карбонильного соединения сA, нг/л, в пробе вычисляют по формуле

cА = md(Mc/Mder)1000/Vm,                                                                       (6)

где Мс - молекулярная масса карбонильного соединения (для формальдегида равна 30);

Mder - молекулярная масса ДНФГ-производного (для формальдегида равна 210);

Vm - общий объем пробы воздуха замкнутого помещения, отобранной по 9.1, л.

Примечание - Не рекомендуется использовать миллиардные и миллионные доли. Однако для удобства некоторых пользователей объемное отношение карбонильного соединения са в миллиардных долях (ppb) вычисляют по формуле

cA = cAs24,4/Mc,                                                                                      (7)

где cAs

- массовая концентрация карбонильного соединения в пробе, вычисленная с использованием объема воздуха Vs, приведенного к температуре 25°С и давлению 101,3 кПа, нг/л; 24,4 - молярный объем идеального газа, приведенный к температуре 25°С, нл/нмоль.

Общий объем пробы воздуха Vs, л, приведенный к температуре 25°С и давлению 101,3 кПа, вычисляют по формуле

Vs = {(VmρA)/101,3}{298/(273 + ТА)},                                                   (8)

где ρA - среднее атмосферное давление внутри замкнутого помещения, кПа;

ТА - средняя температура окружающей среды в замкнутом помещении, °С.

Если необходимо выразить содержание аналита в миллионных долях (млн-1) при стандартных условиях окружающей среды (температуре 25°С и давлении 101,3 кПа) для сопоставления с образцами сравнения, состав которых установлен в тех же величинах, отобранный объем не следует приводить к стандартным условиям.

11. Критерии эффективности и контроль качества результатов измерений

11.1. Общие положения

В настоящем разделе установлены меры, необходимые для обеспечения контроля качества результатов измерений, и руководство по соответствию критериям эффективности, которые должны быть выполнены.

Пользователь стандарта должен выполнять требования ИСО 9001, ИСО 17025.

11.2. Стандартные рабочие процедуры

Пользователь стандарта должен разработать стандартные рабочие процедуры для следующих видов деятельности в лаборатории: сборка, градуировка и применение системы отбора проб с указанием изготовителя и модели используемого оборудования; подготовка, очистка, хранение и обработка реактивов, используемых при отборе проб, и самих проб; сборка, градуировка и применение системы ВЭЖХ с указанием марки и модели используемого оборудования; способ регистрации и обработки данных с указанием используемых аппаратных и программных средств ЭВМ.

Описание стандартных рабочих процедур должно включать в себя поэтапные инструкции и быть доступными и понятными для персонала, работающего в лаборатории. Стандартные рабочие процедуры должны соответствовать требованиям настоящего стандарта.

11.3. Эффективность системы ВЭЖХ

Эффективность системы ВЭЖХ определяется эффективностью колонки η (число теоретических тарелок), которую вычисляют по формуле

η = 5,54(tr/w1/2)2,                                                                                      (9)

где tr- время удерживания аналита, с;

w1/2 - ширина пика по одному компоненту на половине высоты, с.

Эффективность колонки должна быть не менее 5000 теоретических тарелок.

Относительное стандартное отклонение выходного сигнала при повторных каждодневных вводах проб в систему ВЭЖХ не должно быть более ±10% для градуировочных растворов с массовой концентрацией аналита не менее 1 мкг/мл. При массовой концентрации некоторых карбонильных соединений не более 0,5 мкг/мл прецизионность повторных анализов может увеличиться до 20 %. Прецизионность времени удерживания должна быть в пределах ± 7 % в любой день проведения анализа.

11.4. Потеря пробы

Потеря пробы наблюдается при превышении допустимой нагрузки сорбента или если объемный расход превышает максимально допустимый для используемой системы отбора проб. Потерю пробы можно предотвратить путем установки двух картриджей для отбора проб, соединенных последовательно, с последующим анализом содержимого каждого из них, либо путем установки двухсекционного картриджа с сорбентом с последующим анализом обеих секций. Если количество аналита в резервной секции более 15 % количества аналита в основной секции, делают предположение о «проскоке» и точность полученных результатов подвергают сомнению.

12. Прецизионность и неопределенность

Так же, как и при анализе других соединений, на прецизионность и неопределенность результата определения содержания формальдегида в воздухе замкнутых помещений влияют два фактора: воспроизводимость аналитической процедуры и изменение во времени содержания аналита в воздухе. Считается, что последний фактор имеет гораздо большее влияние, чем первый, хотя трудно количественно оценить влияние изменения интенсивности источника и условий вентиляции.

Общая информация о значениях погрешностей, относящихся к аналитической процедуре, приведена в приложении А.

Приложение А
(справочное)
Прецизионность и неопределенность

Была проведена оценка методики, аналогичной методике анализа, приведенной в настоящем стандарте. Прецизионность, относящаяся к аналитической процедуре, должна быть в пределах ± 10 % при массовой концентрации аналита не менее 1 мкг/мл. При массовой концентрации не более 0,5 мкг/мл прецизионность при повторных анализах некоторых карбонильных соединений может увеличиться до 25 %.

В ходе круговых испытаний [14] - [16] была проведена оценка метода с использованием картриджей с силикагелем (с размером частиц от 55 до 105 мкм) с нанесенным ДНФГ, аналогичного методу, установленному в настоящем стандарте. Результаты проведенной оценки, приведенные ниже, могут быть использованы для оценивания эффективности использования данного метода для анализа воздуха замкнутых помещений.

Две различные лаборатории использовали картриджи для проведения более 1500 измерений содержания формальдегида и других карбонильных соединений в атмосферном воздухе в рамках программы исследований, проводимой в 14 городах США [15], [16]. Прецизионность 45 повторных вводов градуировочного раствора ДНФГ-производного формальдегида в систему ВЭЖХ в течение 2 мес, выраженная как относительное стандартное отклонение, составила 0,85 %. По результатам трехкратного анализа каждой из 12 идентичных проб с картриджей с нанесенным ДНФГ был и получены значения содержания формальдегида, которые согласуются в пределах относительного стандартного отклонения 10,9 %.

В круговых испытаниях принимал и участие 16 лабораторий США, Канады и Европы. При этих испытаниях был проведен анализ 250 картриджей с холостыми пробами, трех наборов по 30 картриджей стремя значениями содержания вводимых ДНФГ-производных и 13 серий картриджей, экспонированных в среде с выхлопными газами автомобилей [14] - [16]. Картриджи, соответствующие требованиям 4.2, были подготовлены одной лабораторией. Все пробы были случайным образом распределены между лабораториями, участвующими в круговых испытаниях. Результаты круговых испытаний обобщены и приведены в таблице А.1.

Примечание - В ходе круговых испытаний не применялась стандартизованная методика анализа методом ВЭЖХ. Участники испытаний использовали те методики, основанные на ВЭЖХ, которые они используют на практике в своих лабораториях.

Абсолютная величина разности, выраженной в процентах, между результатами двух серий измерений (отбор проб из одного и того же места), проведенных по исследовательской программе США в 1988 г., составила для формальдегида 11,8 % (n = 405), ацетальдегида - 14,5 % (n = 386) и ацетона - 16,7 % (n = 346) [15], [16]. В результате анализа двух проб, отобранных практически в одной точке в рамках данной программы на содержание формальдегида другой лабораторией, относительное стандартное отклонение составило 0,07, коэффициент корреляции - 0,98, неопределенность - минус 0,05 для формальдегида [15]. Соответствующие значения для ацетальдегида составили 0,12; 0,95 и минус 0,50, а для ацетона- 0,15; 0,95 и минус 0,54 [16]. Анализ картриджей после введения в них ДНФГ, проводимый одной лабораторией в течение года, показал, что средняя неопределенность составила 6,2 % для формальдегида (n = 14) и 13,8% для ацетальдегида (n = 13). Анализ 30 картриджей после введения в них ДНФГ, проводимый одной лабораторией в рамках данной программы, показал, что средняя неопределенность составила 1,0 % (в диапазоне от минус 49 % до плюс 28 %) для формальдегида и 5,1 % (в диапазоне от минус 38 % до минус 39 %) для ацетальдегида.

Таблица А.1 - Результаты круговых испытаний

Тип пробы

Формальдегид

Ацетальдегид

Пропионовый альдегид

Бензальдегид

Картриджи с холостой пробой:

 

 

 

 

альдегид, мкг

0,13

0,18

0,12

0,06

rsd, %

46

70

47

44

n

33

33

23

8

Картридж с пробой3):

 

 

 

 

степень извлечения, % (rsd, %)

 

 

 

 

низкий

89,0 (6,02)

92,6(13,8)

106,7(32,6)

114,7(36,1)

средний

97,2 (3,56)

97,8 (7,98)

100,9(13,2)

123,5(10,4)

высокий

97,5(2,15)

102,2(6,93)

100,1 (6,77)

120,0(8,21)

n

12

13

12

14

Пробы в окружающей среде с выхлопными газами автомобилей:

 

 

 

 

альдегид, мг

5,93

7,99

0,52

0,29

rsd, %

12,6

16,5

26,4

19,4

n

31

32

32

17

а) Низкий, средний и высокий уровни содержания введенного в картридж альдегида составляли приблизительно 0,5; 5 и 10 мкг соответственно.

Примечание - В исследованиях принимали участие 16 лабораторий. Значения были получены на основе ряда данных после удаления из него резко отличающихся значений.

Обозначения, принятые в таблице:

rsd - относительное стандартное отклонение;

n - число измерений.

Приложение В
(справочное)
Точки плавления ДНФГ-производных карбонильных соединений

Таблица В.1 - Точки плавления ДНФГ-производных карбонильных соединений

Наименование карбонильного соединения

Точка плавления ДНФГ-производного [17], °С

Ацетальдегид

От 152 до 153 (168,5 [18], 168[19])

Ацетон

От 125 до 127 (128 [18], 128[19])

Бензальдегид

От 240 до 242 (235 [19])

Масляный альдегид

От 119 до 120 (122 [19])

Кретоновый альдегид

От 191 до 192 (190 [19])

2,5-диметилбензальдегид

От 216,5 до 219,5

Формальдегид

166 (167 [18], 166 [19])

Гексанальдегид

От 106 до 107

Изовалеральдегид

От 121, 5 до 123,5

Пропионовый альдегид

От 144 до 145 (155 [19])

о-Толуиловый альдегид

От 193 до 194 (от 193 до 194 [19])

м-Толуиловый альдегид

212 (212 [19])

n-Толуиловый альдегид

От 234 до 236 (234 [19])

Валеральдегид

От 108 до 108,5 (98 [19])

Приложение С
(справочное)
Сведения о соответствии национальных стандартов Российской Федерации ссылочным международным стандартам

Таблица С.1

Обозначение ссылочного международного стандарта

Обозначение и наименование соответствующего национального стандарта

ИСО 9001:2000

ГОСТ Р ИСО 9001-2001 Системы менеджмента качества. Требования

ИСО 16000-1:2004

ГОСТ Р ИСО 16000-1-2007 Воздух замкнутых помещений. Часть 1. Отбор проб. Общие положения

ИСО 16000-2:2004

ГОСТ Р ИСО 16000-2-2007 Воздух замкнутых помещений. Часть 2. Отбор проб на содержание формальдегида. Основные положения

ИСО 16000-4:2004

ГОСТ Р ИСО: 16000-4-2007 Воздух замкнутых помещений. Часть 4. Определение формальдегида. Метод диффузионного отбора проб

ИСО/МЭК 17025:2005

ГОСТ Р ИСО/МЭК 17025-2006 Общие требования к компетентности испытательных и калибровочных лабораторий

* Соответствующий национальный стандарт отсутствует. До его утверждения рекомендуется использовать перевод на русский язык данного международного стандарта. Перевод данного международного стандарта находится в Федеральном информационном фонде технических регламентов и стандартов.

Библиография

[1]

 

Method TO-11A, EPA-625/R-96-010b, Compendium of Methods for the Determination of Toxic Organic Compounds in Ambient Air, U.S. Environmental Protection Agency, Cincinnati, OH, 1996

[2]

 

Air Quality Guidelines for Europe. Copenhagen: WHO Regional Office for Europe. WHO Regional Publications. European series No. 23/1987

 

 

Revised values see webpages:

 

 

www.who.int.peh, www.who.dk/envhlth/pdf/airqual.pdf

[3]

 

Tejada, S.В., Evaluation pf silica gel cartridges coated in situ with acidified 2,4-dinitrophenylhydrazine for sampling aldehydes and ketones in air, Int. J. Environ. Anal. Chem., 26, 1986, pp. 167-185

[4]

 

Grosjean, D., Ambient levels of formaldehyde, acetaldehyde, and formic acid in southern California: Results of a one-year baseline study, Environ. Sci. Technol., 25, 1991, pp. 710 - 715

[5]

 

J.-O. Levin and R. Lindahl, Aldehyde measuring methods using DNPH-coated filters - Summary and conclusions, Proc. Workshop «Sampling Project», 27 - 28 June, 1996, Mol, Belgium

[6]

VDI 3862 Part 2

Gaseous Emission Measurement - Measurement of Aliphatic and Aromatic Aldehydes and Ketones - DNPH Method - Impinger Method

[7]

VDI 3862 Part 3

Gaseous Emission Measurement - Measurement of Aliphatic and Aromatic Aldehydes and Ketones - DNPH Method - Cartridges Method

[8]

 

A. Sirju and P.B. Shepson, Laboratory and field investigation of the DNPH cartridge technique for the measurement of atmospheric carbonyl compounds, Environ. Sci. Technol., 29, 1995, pp. 384 - 392

[9]

 

Arnts, R.R., and Tejada, S.В., 2,4-Dinitrophenylhydrazine-coated silica gel cartridge method for determination of formaldehyde in air: Identification of an ozone interference, Environ. Sci. Technol., 23, 1989, pp. 1428-1430

[10]

 

Sirju, A., and Shepson, P.B. Laboratory and field evaluation of the DNPH cartridge technique for the measurement of atmospheric carbonyl compounds, Environ. Sci. Technol., 29, 1995, pp. 384 - 392

[11]

 

R.G. Merrill, Jr., D-P. Dayton, P.L. O'Hara, and R.F. Jongleux, Effects of ozone removal on the measurement of carbonyl compounds in ambient air: Field experience using Method TO-11, in Measurement of Toxic and Related Air Pollutants, Vol. 1, Air & Waste Management Association Publication VIP-21, Pittsburgh, PA, U.S.A., 1991, pp. 51-60

[12]

 

T.E. Kleindienst, E.W. Corse, F.T. Blanchard, and W.A. Lonneman, Evaluation of the performance of DNPH-coated silica gel and C1 8 cartridges in the measurement of formaldehyde in the presence and absence of ozone, Environ. Sci. Technol., 32, 1998, pp. 124 - 130

[13]

EN 1232:1997

Workplace atmospheres - Pumps for personal sampling of chemical agents - Requirements and test methods

[14]

 

ASTM D51 97-97 Standard Test Method for Determination of Formaldehyde and Other Carbonyl Compounds in Air (Active Sampler Methodology), Annual Book of ASTM Standards, 11.03, American Society for Testing and Materials, West Conshohoken, PA, U.S.A., pp. 472 - 482

[15]

 

USEPA, 1 989 Urban airtoxics monitoring program: Formaldehyde results, Report No. 450/4-91/006. U.S. Environmental Protection Agency, Research Triangle Park, NC, U.S.A., January 1991

[16]

 

USEPA, 1990 Urban Air Toxics Monitoring Program: Carbonyl Results, Report No. 450/4-91/025, U.S. Environmental Protection Agency, Research Triangle Park, NC, U.S.A., July 1991

[17]

 

Certificate of Analysis, Radian International, Austin, TX, U.S.A

[18]

 

Handbook of Chemistry and Physics, CRC, 18901 Cranwood Parkway, Cleveland, OH, U.S.A

[19]

 

Organikum, Organisch-chemisches Grundpraktikum, Wiley-VCH, Weinheim, Germany

Ключевые слова: воздух, качество, замкнутое помещение, формальдегид, карбонильные соединения, отбор проб, анализ проб, метод высокоэффективной жидкостной хроматографии, ультрафиолетовый детектор

 




Яндекс цитирования