//
ТехЛит.ру
- крупнейшая бесплатная электронная интернет библиотека для "технически умных" людей.
WWW.TEHLIT.RU - ТЕХНИЧЕСКАЯ ЛИТЕРАТУРА

:: Алготрейдинг::


АЛГОТРЕЙДИНГ
шаг за шагом
с нуля по урокам!

Торговые роботы на PYTHON, BackTrader,
Pandas, Pine Script для TradingView. Связка с брокерами, телеграм и легкими приложениями.


Открытое акционерное общество

«Инжиниринговая компания по теплотехническому строительству
«ТЕПЛОПРОЕКТ»

Утверждаю

Генеральный директор

ОАО «Теплопроект»

______________ 2005 г.

ОАО «ТИЗОЛ»

ТЕПЛОИЗОЛЯЦИОННЫЕ ИЗДЕЛИЯ ОАО «ТИЗОЛ» В КОНСТРУКЦИЯХ ТЕПЛОВОЙ ИЗОЛЯЦИИ ОБОРУДОВАНИЯ И ТРУБОПРОВОДОВ

Рекомендации по применению с альбомом технических решений

ТР 12297-ТИ.2005

Москва
2005 г.

Содержание

ВВЕДЕНИЕ

1. НОМЕНКЛАТУРА И ФИЗИКО-ТЕХНИЧЕСКИЕ СВОЙСТВА ТЕПЛОИЗОЛЯЦИОННЫХ ИЗДЕЛИЙ ПРОИЗВОДСТВА ОАО «ТИЗОЛ»

1.1. Холсты из базальтовых супертонких волокон ТУ 5761-001-08621635-98.

1.2. Материал базальтоволокнистый теплоизоляционный ТУ 95.2691-98.

1.3. Маты прошивные теплоизоляционные из базальтового холста ТУ 5769-002-08621635-98.

1.4. Материалы базальтовые огнезащитные рулонные ТУ 5769-003-48588528-00.

2. ОБЛАСТЬ ПРИМЕНЕНИЯ ТЕПЛОИЗОЛЯЦИОННЫХ ИЗДЕЛИЙ ПРОИЗВОДСТВА ОАО «ТИЗОЛ» В КОНСТРУКЦИЯХ ПРОМЫШЛЕННОЙ ТЕПЛОВОЙ ИЗОЛЯЦИИ

3. ТЕХНИЧЕСКИЕ ТРЕБОВАНИЯ К ТЕПЛОИЗОЛЯЦИОННЫМ МАТЕРИАЛАМ В КОНСТРУКЦИЯХ ТЕПЛОВОЙ ИЗОЛЯЦИИ ОБОРУДОВАНИЯ И ТРУБОПРОВОДОВ.

4. КОНСТРУКТИВНЫЕ РЕШЕНИЯ ТЕПЛОВОЙ ИЗОЛЯЦИИ ОБОРУДОВАНИЯ, ТРУБОПРОВОДОВ, АРМАТУРЫ И ФЛАНЦЕВЫХ СОЕДИНЕНИЙ НА ОСНОВЕ ТЕПЛОИЗОЛЯЦИОННЫХ ИЗДЕЛИЙ ИЗ СУПЕРТОНКОГО БАЗАЛЬТОВОГО ВОЛОКНА ПРОИЗВОДСТВА ОАО «ТИЗОЛ»

4.1. Конструкции тепловой изоляции для трубопроводов.

4.2. Конструкции тепловой изоляции арматуры и фланцевых соединений трубопроводов.

4.3. Конструкции тепловой изоляции промышленного оборудования.

4.4. Тепловая изоляция газоходов и воздуховодов прямоугольного сечения.

4.5. Тепловая изоляция стальных вертикальных цилиндрических резервуаров для хранения нефти и нефтепродуктов.

4.6. Тепловая изоляция резервуаров для хранения холодной питьевой воды в системах водоснабжения.

5. РАСЧЕТ ТОЛЩИНЫ ТЕПЛОИЗОЛЯЦИОННОГО СЛОЯ КОНСТРУКЦИЙ НА ОСНОВЕ ТЕПЛОИЗОЛЯЦИОННЫХ ИЗДЕЛИЙ ИЗ СУПЕРТОНКОГО БАЗАЛЬТОВОГО ВОЛОКНА ПРОИЗВОДСТВА ОАО «ТИЗОЛ»

5.1. Тепловая изоляция с целью обеспечения заданной плотности теплового потока с поверхности изолированного объекта.

5.2. Тепловая изоляция с целью обеспечения заданной температуры на поверхности изоляции.

5.3. Тепловая изоляция оборудования и трубопроводов с целью предотвращения конденсации влаги на поверхности изоляции.

5.4. Тепловая изоляция трубопроводов с целью предотвращения замерзания содержащейся в них жидкости.

5.5. Тепловая изоляция трубопроводов водяных тепловых сетей двухтрубной подземной канальной прокладки.

ПРИЛОЖЕНИЕ 1. РАСЧЕТНЫЕ КОЭФФИЦИЕНТЫ ТЕПЛООТДАЧИ.

ПРИЛОЖЕНИЕ 2. РАСХОД ПОКРОВНЫХ И ТЕПЛОИЗОЛЯЦИОННЫХ МАТЕРИАЛОВ ПРОИЗВОДСТВА ОАО «ТИЗОЛ» ПРИ ИЗОЛЯЦИИ ТРУБОПРОВОДОВ И ОБОРУДОВАНИЯ.

Таблица П 2.1. Объем теплоизоляционного слоя из теплоизоляционных материалов производства ОАО «ТИЗОЛ» в конструкции в зависимости от толщины тепловой изоляции на 10 метров трубопровода.

Таблица П 2.2. Поверхность теплоизоляционной конструкции на 10 метров длины трубопровода в зависимости от толщины теплоизоляционного слоя из материалов производства ОАО «ТИЗОЛ»

Таблица П 2.3. Расход материалов на 1 м2 покрытия металлическими листами для конструкций тепловой изоляции трубопроводов

Таблица П 2.4. Расход материалов на 1 м2 покрытия металлическими листами для конструкций тепловой изоляции оборудования.

ВВЕДЕНИЕ

Изделия из базальтового супертонкого волокна, получаемые из горных пород габбро-базальтового типа, прочно завоевали рынок теплоизоляционных материалов, применяемых для изоляции оборудования и трубопроводов. Теплоизоляционные изделия из базальтового супертонкого волокна, выпускаемые ОАО «ТИЗОЛ», являются современными высокоэффективными теплоизоляционными материалами для промышленной и строительной тепловой изоляции, соответствующими мировому уровню по теплофизическим и эксплуатационным характеристикам.

Материалы из базальтового волокна обладают более высокой теплостойкостью по сравнению с минераловатными и стекловолокнистыми изделиями, более устойчивы к воздействию влаги и агрессивных сред (кислотам, щелочам, органическим растворителям и т.п.); обладают отличной вибростойкостью, способны работать без разрушений при высоких температурах и одновременно при сильных вибрационных нагрузках и имеют высокую долговечность в готовых изделиях.

Изделия из супертонкого базальтового волокна не накапливают радиацию и широко используются при теплоизоляции на атомных станциях.

Для производства базальтового супертонкого волокна применяются базальтовые порфириты, базаниты и другие близкие по химическому составу горные породы. Сырьевые материалы отвечают требованиям радиационной безопасности, не выделяют в процессе эксплуатации вредных и неприятно пахнущих веществ, являются негорючим и невзрывоопасным материалом. Эффективная удельная активность естественных радионуклидов соответствует требованиям СП 2.6.11.758-99 «НРБ-99. Нормы радиационной безопасности».

Высокий уровень качества базальтового супертонкого волокна производства ОАО «ТИЗОЛ» обеспечивает высокое качество теплоизоляционных изделий на его основе и позволяет получить стабильные показатели по плотности, теплопроводности, сжимаемости и водостойкости.

Для тепловой изоляции оборудования и трубопроводов могут применяться следующие теплоизоляционные материалы из природного камня, выпускаемые ОАО «ТИЗОЛ» по техническим условиям:

1. Изделия из природного и искусственного камня. Холсты из базальтовых супертонких волокон ТУ 5761-001-08621635-98.

2. Изделия из природного и искусственного камня. Маты прошивные теплоизоляционные из базальтового холста ТУ 5769-002-08621635-98.

3. Изделия из природного и искусственного камня. Материал базальтоволокнистый теплоизоляционный ТУ 95.2691-98.

4. Изделия из природного и искусственного камня. Материалы базальтовые огнезащитные рулонные ТУ 5769-003-48588528-00.

1. НОМЕНКЛАТУРА И ФИЗИКО-ТЕХНИЧЕСКИЕ СВОЙСТВА ТЕПЛОИЗОЛЯЦИОННЫХ ИЗДЕЛИЙ ПРОИЗВОДСТВА ОАО «ТИЗОЛ»

1.1. Холсты из базальтовых супертонких волокон ТУ 5761-001-08621635-98.

1.1.1. Производство холстов из базальтовых супертонких волокон осуществляется из магматических горных пород основного состава: базальтовых порфиритов, базанитов и других горных пород, прошедших радиологический контроль.

Холсты представляют собой слой перепутанных волокон, скрепленных между собой силами естественного сцепления без связующего, и выпускаются двух марок в зависимости от вида волокна: холст БСТВ-ст (для строительных целей) и холст БСТВ-сп (специального назначения).

Холсты предназначены для изготовления теплозвукоизоляционных, звукопоглощающих материалов и изделий, фильтров для очистки газовоздушных и жидких сред, а также в качестве теплоизоляционного материала в конструкциях тепловой изоляции оборудования и трубопроводов всех отраслей промышленности, энергетике, жилищно-коммунальном хозяйстве и строительстве.

1.1.2. Холсты относятся к группе негорючих материалов (НГ) по ГОСТ 30244.

1.1.3. Размеры холстов: длина - от 1100 до 2100 мм, ширина - от 500 до 1500 мм, толщина (при давлении 98 Па) - от 50 до 300 с интервалом 50 мм.

1.1.4. Основные технические характеристики холстов с учетом результатов испытаний по п. 3.6. приведены в таблице 1.1.

Таблица 1.1.

Наименование показателя

Норма для холстов марок

БСТВ-ст

БСТВ-сп

Средний диаметр волокна, мкм, не более

3,0

2,0

Массовая доля неволокнистых включений размером свыше 0,25 мм, %, не более

8,0

4,8

Водостойкость (рН), не более

4

4

Плотность, кг/м3, не более

23,0

20,0

Теплопроводность, Вт/(м∙К), не более, при температуре,

°С:

(25 ± 5)

(125 ± 5)

(300 ± 5)

0,034

0,054

0,098

0,036

0,058

0,098

Температура применения, °С

-200 до +700

Влажность по массе, %, не более

2,0

1,0

Выщелачиваемость в пересчете на Na2O на 5000 см2, %, не более

5,0

Массовая доля ионов хлора на 10.000 см2, %, не более

0,03

1.1.5. Условное обозначение холстов при составлении спецификаций и заказе должно состоять из наименования, марки изделия (буквенное обозначение базальтового супертонкого волокна БСТВ и сокращенное назначение изделия: ст - для строительных целей, сп - специального назначения) и обозначения технических условий.

Пример условного обозначения холстов из базальтовых супертонких волокон специального назначения:

Холст БСТВ-сп ТУ 5761-001-08621635-98.

1.2. Материал базальтоволокнистый теплоизоляционный ТУ 95.2691-98.

1.2.1. Базальтоволокнистый теплоизоляционный материал изготавливают на основе базальтовых супертонких волокон (ТУ 5761-001-08621635) с добавлением связующего и гидрофобизатора.

Базальтоволокнистый теплоизоляционный материал выпускается двух марок: плита мягкая (БВТМ-ПМ), картон (БВТМ-К), без обкладочного материала или в обкладке алюминиевой фольгой с одной стороны.

В качестве обкладочного материала применяется фольга алюминиевая марки ДПРХМ по ГОСТ 618. Может быть использована фольга других марок, не снижающих качество изделия.

Плиты и картон предназначены для тепловой изоляции трубопроводов и оборудования промышленных установок, включая энергетическое оборудование, а также строительных конструкций. Плиты могут применяться для изоляции крупноразмерного оборудования (резервуаров для хранения нефти и нефтепродуктов, баков и резервуаров питьевой и технической воды, и т.д.).

Базальтоволокнистые материалы могут использоваться для изоляции электробытовых приборов, бытовых отопительных устройств (печи, сауны и т.д.). Материалы с обкладкой фольгой могут использоваться для изоляции систем приточной вентиляции, в том числе коробов прямоугольного сечения, и трубопроводов холодного и горячего водоснабжения.

Картон в конструкциях тепловой изоляции может применяться также в качестве прокладок для ликвидации тепловых мостиков (опорные кольца, разгружающие устройства, под покровный слой в местах контакта с нагретыми поверхностями).

1.2.2. Плита БВТМ-ПМ относится к группе негорючих материалов (НГ), картон БВТМ-К - к группе слабогорючих материалов (Г1).

1.2.3. Размеры плит: длина - до 3000, ширина - до 1250 мм, толщина: плита мягкая - 10-30 мм, с интервалом 5 мм; картон - 5 мм. Предельные отклонения размеров по длине ±10 мм (БВТМ-ПМ), ±5 мм (БВТМ-К); ширине ±10 мм (БВТМ-ПМ), ±5 мм (БВТМ-К), толщине ±3-2 мм (БВТМ-ПМ), ±2-1 мм (БВТМ-К).

1.2.4. Основные технические характеристики материалов базальтоволокнистых теплоизоляционных с учетом результатов испытаний по п. 3.6. приведены в таблице 1.2.

Таблица 1.2.

Наименование показателя

БВТМ-ПМ

БВТМ-К

Плотность, кг/м3

18-40

44-80

Теплопроводность, Вт/(м∙К), не более, при температуре:

(25 ± 5)

(125 ± 5)

(300 ± 5)

0,035

0,055

0,100

0,035

0,05

0,093

Влажность, % по объему, не более

0,03

0,05

Содержание органических веществ, % по массе, не более

3,0

15,0

Сорбционная влажность (за 24 ч.), % по объему, не более

0,14

0,22

Сжимаемость, %, не более

40

15

Температура применения, °С

от-180 до +700

1.2.5. Условное обозначение базальтоволокнистых теплоизоляционных материалов при составлении спецификаций и заказе должно состоять из наименования (БВТМ), обозначения марки: для картона (К), для плиты мягкой (ПМ), символа «Ф1» если изделия оклеены с одной стороны фольгой, размеров плит по длине, ширине, толщине в миллиметрах и обозначения технических условий.

Примеры условного обозначения:

- плиты мягкой с обкладкой фольгой с одной стороны длиной 1250, шириной 460, толщиной 30 мм:

БВТМ-ПМ/Ф1-1250.460.30 ТУ 95.2691-98.

- картона длиной 1250, шириной 600 и толщиной 5 мм:

БВТМ-К-1250.600.5 ТУ 95.2691-98.

1.3. Маты прошивные теплоизоляционные из базальтового холста ТУ 5769-002-08621635-98.

1.3.1. Маты теплоизоляционные прошивные выпускаются на основе базальтового холста без обкладок и с обкладочным материалом из ткани стеклянной, кремнеземной или базальтовой, фольги алюминиевой или стеклосеток. В зависимости от плотности выпускаются маты двух марок МПБ-30 и МПБ-50. Маты марки МПБ-30 могут быть в обкладке с одной стороны и без обкладок, маты марки МПБ-50 - только в обкладках тканями со всех сторон.

Для облицовки матов могут применяться: ткани стеклянные (Т-13, Т-14 по ГОСТ 19170, Т-23 по ТУ 6-48-53, Э1-Э4 по ГОСТ 19907); ткань кремнеземная (КТ-11, КТ-11-ТО по ТУ 6-48-64);ткань базальтовая марки ТБК-100 по ТУ 5952-027-00204949; фольга алюминиевая по ГОСТ 618; сетки стеклянные (ССД по ТУ 2296-001-02068048; СДА по ТУ 2296-057-00204949; ССНП по ТУ 2296-041-00204949).

Маты прошиваются строчками в продольном направлении с шагом шва не более 150 мм, при этом расстояние между кромкой и крайним швом должно быть не более 110, а между швами 160 мм.

В качестве прошивочного материала могут применяться нити стеклянные крученые комплексные марок ЕС-6, ЕС-9 номинальной линейной плотностью не ниже 100 текс. по ГОСТ 8325 или ТУ 6-48-0205002-71 или нити кремнеземистые марки К-11С-180 по ТУ 5952-153-05786904, а также ровинг базальтовый.

Допускается применение других обкладочных и прошивочных материалов, не снижающих качество матов.

Маты теплоизоляционные прошивные из базальтового холста применяются в конструкциях тепловой изоляции промышленного и энергетического оборудования и трубопроводов, в том числе атомных станций, при температуре изолируемой поверхности от минус 180° до плюс 700°С. Маты также могут быть использованы для теплозвукоизоляции строительных конструкций, приборов и бытового оборудования.

1.3.2. Маты МПБ относятся к группе негорючих материалов (НГ).

1.3.3. Выпускаются маты с размерами: длиной от 1000 до 6000 с интервалом 500 мм, ширина 500 мм, толщина: МПБ-30 - от 30 до 80 с интервалом 10 мм; МПБ-50 - от 30 до 120 с интервалом 10 мм. По согласованию с потребителем предусмотрен выпуск матов других размеров. Предельные отклонения размеров по длине ±50 мм, ширине ±20 мм, толщине ±5-4 мм.

1.3.4. Основные технические характеристики матов прошивных из базальтового холста с учетом результатов испытаний по п. 3.6. приведены в таблице 1.3.

Таблица 1.3.

Наименование показателей

МПБ-30

МПБ-50

Плотность, кг/м3

25-40

41-60

Теплопроводность, Вт/(м∙К), не более, при температуре:

(25 ±5)

(125 ±5)

(300 ±5)

0,033

0,050

0,093

0,031

0,044

0,081

Влажность, % по массе, не более

2,0

Массовая доля ионов хлора, %, не более

0,03

Сжимаемость, %, не более

25

Температура применения, °С:

от-180 до +700

от-180 до +450

1.3.5. Условное обозначение матов прошивных теплоизоляционных из базальтового холста при составлении спецификаций и заказе должно состоять: из марки (буквенное обозначение матов прошивных из базальтового холста - МПБ и цифровое обозначение номинальной плотности изделия); обозначения обкладочного материала и количество обкладок, размеров по длине, ширине, толщине в миллиметрах и обозначения технических условий. Обозначение и количество обкладок: ткани (стеклянная - СТ, кремнеземистая - КТ, базальтовая - БТ); фольга алюминиевая - Ф; сетка стеклянная - СС; цифра 1 - для матов с обкладочным материалом с одной стороны; цифра 2 - для матов с обкладочным материалом со всех сторон. Пример условного обозначения при заказе и в технической документации матов прошивных из базальтового холста номинальной плотностью 30 кг/м3 в обкладке фольгой с одной стороны длиной 1000, шириной 470, толщиной 60 мм:

МПБ-30/Ф1-1000.470.60 ТУ 5769-002-08621635-98.

1.4. Материалы базальтовые огнезащитные рулонные ТУ 5769-003-48588528-00.

1.4.1. Основой для производства материалов базальтовых огнезащитных рулонных служит волокно базальтовое огнезащитное по ТУ 5760-001-48588528. Материалы базальтовые огнезащитные рулонные (МБОР) получают прошивкой (вязально-прошивным способом переплетением «трико») базальтового огнезащитного волокна без связующего. Материалы базальтовые огнезащитные рулонные в зависимости от вида прошивочного и облицовочного материалов подразделяются на марки: МБОР-5 (без обкладочного материала), МБОР-С-5 (на стеклоткани с одной стороны), МБОР-С2-5 (на стеклоткани с двух сторон), МБОР-Б-5 (на базальтовой ткани с одной стороны).

В качестве обкладочного материала применяют: ткань стеклянную из крученых комплексных нитей марок Э1-100, Э1-125, Э2-100, Э3-100, Э3-125 по ГОСТ 19907 или ГОСТ 8481; стеклосетку марки ССА 5×5×(115) по ТУ 6-48-00205009-135; ткань кремнеземную марки КТ-11 по ТУ 6-48-64; ткань базальтовую марки БТ-8 по ТУ 5952-031-00204949 или ТБК-100 по ТУ 5952-02-00204949. В качестве прошивочного материала применяют: нить стеклянную с линейной плотностью не менее 50 текс. и номинальным диаметром элементарной нити не более 7 мкм марок EC6-28×l×2 Z80 EC6-28×l×3 Z80 EC6-34×l×2 Z80 EC6-34×l×3 Z80 EC6-34×l×4 Z80 по ГОСТ 8325-93 или EC9-104×l Z80. ТУ 6-48-0205002-71; нить кремнеземную марок К-11С6-180 по ТУ 5952-153-05786904 или К-ПС6-170-БА по ТУ 6-11-444. Могут быть использованы другие марки перечисленных обкладочных и прошивочных материалов не снижающие огнезащитных свойств материала.

Материалы предназначены для использования в качестве огнезащитного материала, повышающего огнестойкость строительных и инженерных конструкций, а также для применения в конструкциях тепло- и звукоизоляции промышленного оборудования, аппаратуры и транспортных средств. Материалы марки МБОР могут применяться в качестве фильтрующего элемента в системах сухой очистки коксовой пыли на коксохимических предприятиях.

1.4.2. Материалы базальтовые огнезащитные рулонные относятся к группе негорючих материалов (НГ).

1.4.3. Материалы МБОР выпускаются в рулонах длиной до 30 000 мм, шириной 1500, 1700 мм, толщиной 5 мм. Предельные отклонения размеров по длине ±200 мм, ширине ±30 мм, толщине ±1 мм.

1.4.4. Технические характеристики материалов марки МБОР с учетом результатов испытаний по п. 3.6. приведены в таблице 1.4.

Таблица 1.4.

Наименование показателя

Норма для марки

МБОР-5

МБОР-С-5

МБОР-С2-5

МБОР-Б-5

Поверхностная плотность, г/м2, не более

500

625

750

650

Плотность, кг/м3, не более

100

125

150

130

Влажность, % по массе, не более

2

2

2

2

Теплопроводность, Вт/(м∙К), не более, при температуре:

(25 ± 5)°С

(125 ± 5)°С

(300 ± 5)°С

0,038

0,051

0,090

Температура применения, °С

-200 + 700

-200 + 450

-200 + 700

Коэффициент фильтрации, м/с, не более 0,05 - 0,09 в зависимости от марки материала.

1.4.5. Условное обозначение материала базальтового огнезащитного рулонного при составлении спецификаций и заказе должно состоять: из марки изделия (материал базальтовый огнезащитный рулонный - МБОР), обозначения обкладочного материала, цифры 2, если обкладочный материал с двух сторон, толщины в миллиметрах и обозначения технических условий. Обозначение и количество обкладок: С - стеклоткань, Б - базальтовая ткань. Пример условного обозначения при заказе изделия без обкладочного материала толщиной 5 мм:

МБОР-5 ТУ 5769-003-48588528-00;

То же, с обкладочным материалом из стеклоткани с двух сторон:

МБОР-С2-5 ТУ 5769-003-48588528-00.

и обозначения технических условий.

2. ОБЛАСТЬ ПРИМЕНЕНИЯ ТЕПЛОИЗОЛЯЦИОННЫХ ИЗДЕЛИЙ ПРОИЗВОДСТВА ОАО «ТИЗОЛ» В КОНСТРУКЦИЯХ ПРОМЫШЛЕННОЙ ТЕПЛОВОЙ ИЗОЛЯЦИИ

2.1. Теплоизоляционные изделия производства ОАО «ТИЗОЛ» на основе базальтовых волокон обладают высокими конструкционными, теплозвукоизоляционными, диэлектрическими и другими свойствами, позволяющими широко использовать их в конструкциях тепловой изоляции оборудования и трубопроводов в различных отраслях промышленности: химической, нефтеперерабатывающей и газовой, радиоэлектронной и электротехнической, металлургии, энергетике, включая атомные станции и тепловые сети, в судостроении, в сельском и коммунальном хозяйстве при температуре изолируемых поверхностей от минус 180°С до плюс 700°С. Эти изделия могут использоваться в авиа-, автомобилестроении, транспорте, объектах пищевой промышленности и прочих объектах.

Применение тепловой изоляции на основе базальтовых супертонких волокон повышает огнестойкость и пожарную безопасность объектов.

2.2. Маты прошивные теплоизоляционные из базальтового холста МПБ-30 и МПБ-50, холсты из базальтовых супертонких волокон марок БСТВ-сп и БСТВ-ст, плиты мягкие БВТМ-ПМ рекомендуется применять для тепловой изоляции промышленного оборудования и трубопроводов всех отраслей промышленности и ЖКХ, включая:

- вертикальные и горизонтальные цилиндрические технологические аппараты предприятий химической, нефтеперерабатывающей, газовой, металлургической и др. отраслей промышленности;

- энергетическое оборудование тепловых и атомных станций, котельных (котлы, теплообменники, парогенераторы, турбины, газотурбинные установки, газоходы и т.д.);

- металлические стволы дымовых труб и подводящие газоходы;

- электрофильтры, печи, сушила;

- резервуары для хранения горячей воды (баки-аккумуляторы) на тепловых электростанциях и котельных;

- резервуары для хранения нефти и нефтепродуктов, химических веществ;

- резервуары для хранения холодной воды в системах водоснабжения;

- резервуары для хранения противопожарного запаса воды в системах пожаротушения;

- воздуховоды круглого и прямоугольного сечения;

- криогенное оборудование;

- трубопроводы, в том числе магистральные нефте- и газопроводы, магистральные трубопроводы тепловых сетей.

- технологические трубопроводы с положительными и отрицательными температурами всех отраслей промышленности и на тепловых и атомных электростанциях;

- трубопроводы тепловых сетей при надземной (на открытом воздухе, помещениях чердаках, подвалах зданий,) и подземной (в каналах, тоннелях) прокладках;

- трубопроводы горячего и холодного водоснабжения в жилищном и гражданском строительстве, а также на промышленных предприятиях;

- нефте- газопроводы;

- трубопроводы со спутниками.

2.3. Материалы рулонные огнезащитные марки МБОР рекомендуется применять в конструкциях тепловой изоляции трубопроводов наружным диаметром до 159 мм вкл. и в качестве огнезащиты воздуховодов с учетом максимально допустимой температуры в соответствии с п. 1.4.4. При изоляции трубопроводов наружным диаметром более 159 мм и оборудования материал марки МБОР рекомендуется применять в виде пакетов.

В целях тепловой изоляции рулонный огнезащитный материал может быть использован при необходимости добора теплоизоляционного слоя из других материалов до нужной толщины или дополнительного теплоизоляционного слоя по старой изоляции при ремонтных работах.

Рулонный материал марки МБОР может быть применен для предохранения пароизоляционного слоя от повреждения в качестве подкладочного слоя под металлическое покрытие при изоляции холодных поверхностей, а также в качестве прокладок по металлическим опорным кольцам для ликвидации мостиков тепла или холода.

2.4. Материл базальтоволокнистый теплоизоляционный марки БВТМ-К (картон) в теплоизоляционных конструкциях рекомендуется применять в качестве прокладок для ликвидации мостиков тепла или холода, изоляции трубопроводов и плоских поверхностей, бытовых отопительных установок, а также в целях огнезащиты.

Картон может применяться для изоляции объектов транспорта, в судостроении и авиастроении.

2.5. Плиты мягкие марки БВТМ-ПМ рекомендуется применять для изоляции трубопроводов, воздуховодов круглого и прямоугольного сечения, промышленного оборудования поверхностей с большим радиусом кривизны и плоских с температурой от минус 180 до 700°С.

При необходимости изоляции более чем в три слоя, из плит следует набирать пакеты. Пакеты также должны устанавливаться не более чем в три слоя.

Рекомендуемая плотность теплоизоляционного слоя из плит марки БВТМ-ПМ в конструкции - 60 кг/м3, допускаемая - не менее 45.

2.6. Плиты мягкие марки БВТМ-ПМ и картон БВТМ-К в обкладке с фольгой с одной стороны может применяться для изоляции трубопроводов холодной воды и с отрицательными температурами, трубопроводов, расположенных на чердаках, в подвалах, тоннелях и технических подпольях, воздуховодов приточной вентиляции круглого и прямоугольного сечения. При изоляции трубопроводов, расположенных на чердаках, в подвалах, тоннелях и технических подпольях покровный слой может не устанавливаться.

При необходимости установки плит в несколько слоев, плита или картон с обкладкой фольгой устанавливается сверху.

Плиты и картон с обкладкой фольгой могут применяться для изоляции трубопроводов с электрообогревом, при этом теплоизоляционные изделия устанавливаются фольгой внутрь конструкции. При этом следует учитывать температуру электрообогревателя. Температура электрообогрева не должна превышать 100°С (температуростойкость клеевого состава).

2.7. Маты теплоизоляционные прошивные из базальтового холста марок МПБ-30 и МПБ-50 и холсты из базальтового супертонкого волокна БСТВ-сп и БСТВ-ст могут применяться для изоляции трубопроводов и оборудования всех диаметров, в том числе подверженных вибрации, с учетом температуростойкости обкладочного материала в соответствии с данными, приведенными в п. 1.1.3. табл. 1.3.

Рекомендуемая плотность материалов в конструкции - 60 кг/м3 . На объектах, подверженных вибрации (газотурбинные установки, турбины, насосы, дымососы и т.д.), теплоизоляционные изделия рекомендуется уплотнять до 80 кг/м3. Допускаемая плотность матов марки МПБ-30 и холстов марок БСТВ-сп и БСТВ-ст в конструкции - 45 кг/м3. Снижение плотности материалов в конструкции приведет к увеличению коэффициента теплопроводности и снижению теплозащитных свойств конструкции.

2.8. Маты теплоизоляционные прошивные из базальтового холста марки МПБ с обкладкой из алюминиевой фольги применяются, как указано в п. 2.6.

2.9. Маты теплоизоляционные прошивные из базальтового холста марки МПБ-30 и МПБ-50, холсты из базальтовых супертонких волокон марок БСТВ-сп и БСТВ-ст и плиты мягкие БВТМ-ПМ могут применяться в конструкциях тепловой изоляции фланцевых соединений трубопроводов, муфтовой и фланцевой арматуры, а также для изоляции люков и фланцевых соединений аппаратов в соответствии с п. 4.2.

2.10. Маты прошивные марки МПБ в обкладках из стеклоткани или стеклосетки и плиты марки БВТМ-ПМ могут быть использованы в качестве теплоизоляционного слоя в полносборных и комплектных конструкциях, применяемых для изоляции трубопроводов и оборудования, изготавливаемых по ТУ 36-1180-85 «Индустриальные конструкции для промышленной тепловой изоляции трубопроводов, аппаратов и резервуаров».

2.11. При проектировании теплоизоляционных конструкций на основе теплоизоляционных изделий из базальтового супертонкого волокна производства ОАО «ТИЗОЛ» следует соблюдать требования СНиП 41-03-2003 «Тепловая изоляция оборудования и трубопроводов», СП 41-103-2000 «Проектирование тепловой изоляции оборудования и трубопроводов» с учетом требований норм технологического проектирования соответствующих отраслей промышленности, пожарной безопасности и охраны окружающей среды.

При проектировании тепловой изоляции объектов, расположенных на территории г. Екатеринбурга и Свердловской области, следует учитывать требования ТСН 23-337-2002 Свердловской области «Тепловая изоляция оборудования и трубопроводов».

При проектировании тепловой изоляции объектов, расположенных на территории Ямало-Ненецкого автономного округа, следует учитывать требования ТСН 41-309-2004 Ямало-Ненецкого автономного округа «Тепловая изоляция оборудования и трубопроводов».

2.12. Конструктивные решения тепловой изоляции на основе теплоизоляционных материалов из базальтового супертонкого волокна, производства ОАО «ТИЗОЛ» определяются параметрами изолируемого объекта, назначением тепловой изоляции, условиями эксплуатации теплоизоляционных конструкций и видом защитно-покровных материалов и с настоящими рекомендациями.

3. ТЕХНИЧЕСКИЕ ТРЕБОВАНИЯ К ТЕПЛОИЗОЛЯЦИОННЫМ МАТЕРИАЛАМ В КОНСТРУКЦИЯХ ТЕПЛОВОЙ ИЗОЛЯЦИИ ОБОРУДОВАНИЯ И ТРУБОПРОВОДОВ.

3.1. При монтаже и в процессе эксплуатации теплоизоляционные материалы в конструкции подвергаются температурным, влажностным, механическим, в том числе вибрационным, воздействиям, что определяет перечень предъявляемых к ним требований.

Физико-технические свойства теплоизоляционных материалов оказывают определяющее влияние на энергоэффективность, эксплуатационную надежность и долговечность конструкций промышленной тепловой изоляции, трудоемкость их монтажа, возможность ремонта в процессе эксплуатации.

Основными показателями, характеризующими физико-технические и эксплуатационные свойства теплоизоляционных материалов являются: плотность, теплопроводность, температуростойкость, сжимаемость и упругость (для мягких материалов), прочность на сжатие при 10 % деформации (для жестких и полужестких материалов), вибростойкость, формостабильность, горючесть, водостойкость и стойкость к воздействию химически агрессивных сред, содержание органических веществ и биостойкость.

3.2. Теплопроводность теплоизоляционного материала при прочих равных условиях определяет необходимую толщину теплоизоляционного слоя, а, следовательно, и нагрузки на изолируемый объект, конструктивные и монтажные характеристики теплоизоляционной конструкции. Теплопроводность возрастает с повышением температуры.

Расчетное значение коэффициента теплопроводности волокнистых теплоизоляционных материалов в конструкции определяются с учетом условий эксплуатации, степени их монтажного уплотнения, шовности конструкции, наличия крепежных деталей.

3.3. При выборе теплоизоляционного материала учитывают прочностные и деформационные характеристики изолируемого объекта, расчетные допустимые нагрузки на опоры и другие элементы изолируемой поверхности.

3.4. Долговечность теплоизоляционного материала зависит от особенностей конструкции, месторасположения изолируемого объекта, режима работы оборудования, агрессивности окружающей среды, механических нагрузок, наличия вибраций. Долговечность теплоизоляционного материала и теплоизоляционной конструкции в целом, в значительной степени определяется долговечностью покровного слоя.

3.5. Санитарно-гигиенические требования особенно важны при проектировании объектов с технологическими процессами, требующими высокой чистоты, например, в микробиологии, радиоэлектронике, фармацевтической промышленности. В этих условиях применяются материалы или конструкции, не допускающие загрязнения воздуха в помещениях. Следует предусматривать изделия в обкладках из стеклоткани, герметизацию швов покровного слоя или другие конструктивные решения.

3.6. Расчетная теплопроводность теплоизоляционных материалов основе базальтового супертонкого волокна производства ОАО «ТИЗОЛ» в условиях эксплуатации принята на основании обработки результатов испытаний, проведенных ИЦ «Стройтеплоизоляция-Тест» (протокол № 2Б/33 от 28 февраля 2005 г.), с учетом требований п. 3.2., данных сертификационных испытаний «УралНИИАС», показателей, приведенных в ТСН 64-301-2002 Свердловской области, и технических условиях на материалы.

Сводная таблица результатов измерения теплопроводности теплоизоляционных изделий из базальтового супертонкого волокна по протоколу № 2Б/33 от 28.02.05 г. приведена в таблице 3.1.

Таблица 3.1.

Марка изделия

Плотность образца, кг/м3

Средняя температура слоя, °С

25

125

300

Коэффициент теплопроводности, Вт/(м∙°С),

λ0

λ125

λ300

Маты МПБ

20

0,034

0,054

-

40

0,031

0,045

0,087

60

0,030

0,042

0,075

Плита БВТМ-ПМ

30

0,031

0,051

0,0106

Картон БВТМ-К

45

0,031

0,043

0,093

Материал МБОР-5

84

0,033

0,045

0,080

Холст БСТВ-сп

18

0,036

0,054

-

3.7. Наибольшую эффективность конструкции тепловой изоляции с теплоизоляционным слоем из материалов на основе базальтового супертонкого волокна производства ОАО «ТИЗОЛ» имеют при коэффициенте уплотнения и плотности в конструкции, приведенными в таблице 3.2.

Таблица 3.2.

Наименование материала

Характеристики в конструкции

плотность, кг/м3,

коэффициент уплотнения

Маты марки МПБ-30

60

1,5

Маты марки МПБ-50

60

1,3-1,5

Плиты марки БВТМ-ПМ

45-60

1,5

Холсты марки БСТВ-ст

45-60

2,0-3,0

Холсты марки БСТВ-сп

40-60

2,0-3,0

Материал МБОР-5, МБОР-10

До 100

-

Картон марки БВТМ-К

До 85

-

4. КОНСТРУКТИВНЫЕ РЕШЕНИЯ ТЕПЛОВОЙ ИЗОЛЯЦИИ ОБОРУДОВАНИЯ, ТРУБОПРОВОДОВ, АРМАТУРЫ И ФЛАНЦЕВЫХ СОЕДИНЕНИЙ НА ОСНОВЕ ТЕПЛОИЗОЛЯЦИОННЫХ ИЗДЕЛИЙ ИЗ СУПЕРТОНКОГО БАЗАЛЬТОВОГО ВОЛОКНА ПРОИЗВОДСТВА ОАО «ТИЗОЛ»

4.1. Конструкции тепловой изоляции для трубопроводов.

4.1.1. Теплоизоляционный слой из материалов на основе супертонкого базальтового волокна производства ОАО «ТИЗОЛ» укладывается на изолируемую поверхность с уплотнением по толщине.

Коэффициент уплотнения материалов следует принимать в соответствии с таблицей 3.2.

Плиты мягкие марки БВТМ-ПМ и маты прошивные из базальтового холста марки МПБ-30 с покрытием фольгой одной стороны в качестве верхнего теплоизоляционного слоя в конструкциях тепловой изоляции трубопроводов холодной воды, воздуховодов приточной вентиляции или поверхностей с отрицательными температурами, а также в конструкциях без покровного слоя, устанавливаются без уплотнения по толщине.

4.1.2. Для теплоизоляционного слоя из холстов из супертонкого базальтового волокна марки БСТВ-сп или БСТВ-ст, матов прошивных из базальтового холста марки МПБ-30 без обкладок или в обкладках, матов МПБ-50, плит мягких марки БВТМ-ПМ без покрытия фольгой, материалов марок МБОР с облицовочным материалом или без него предусматривается крепление:

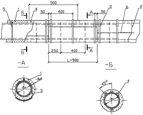
при укладке на трубопроводы с наружным диаметром теплоизоляционного слоя не более 200 мм - крепление проволокой диаметром 1,2 - 2 мм по спирали вокруг теплоизоляционного слоя РИС 1-1, РИС 1-2, при этом спираль закрепляется на проволочных кольцах по краям изделий.

Материал марки МБОР может укладываться намоткой или в виде пакетов.

Для материалов в обкладках (маты МПБ или материал МБОР) предусматривается сшивка стеклонитью, кремнеземной нитью или проволокой диаметром 0,8 мм;

при укладке на трубопроводы наружным диаметром до 219 мм вкл. РИС 1-3, РИС 1-5:

- при укладке плит марки БВТМ-ПМ, матов марки МПБ-30 и МПБ-50, холстов из супертонкого базальтового волокна марки БСТВ-сп или БСТВ-ст в один слой - бандажами из ленты 0,7 × 20 мм

Бандажи рекомендуется устанавливать:

- при изоляции холстами марки БСТВ - с шагом 200 мм;

- при укладке плит марки БВТМ ПМ длинной стороной вдоль трубопровода и матов марки МПБ шириной 900 мм - с отступом от края изделия 100 мм и шагом бандажей 350 мм; при изоляции матами другой ширины устанавливать 2 бандажа при ширине мата 500 и 600 мм и 3 при ширине 700 и 800 мм;

- при изоляции пакетами из материала марки МБОР - с шагом 200 мм;

- при укладке плит или пакетов из плит, матов или холстов в два слоя - кольцами из проволоки диаметром 2 мм для внутреннего слоя двухслойных конструкций, бандажами - для наружного слоя двухслойных теплоизоляционных конструкций. Бандажи из ленты 0,7 × 20 мм устанавливаются по наружному слою так же, как и в однослойной конструкции. Проволочные кольца устанавливаются аналогично. Внутренний теплоизоляционный слой из матов диаметром не более 200 мм может быть закреплен, аналогично указанному на РИС 1-1. Наружный теплоизоляционный слой устанавливается со смещением швов относительно внутреннего слоя.

Края обкладок сшиваются, как указано выше. При двухслойной изоляции сшивка краев обкладок внутреннего слоя не производится РИС 1-4.

Бандажи из углеродистой стальной ленты должны быть окрашены с целью предотвращения коррозии.

При изоляции трубопроводов с отрицательными температурами для крепления следует применять оцинкованную проволоку.

4.1.3. Для трубопроводов наружным диаметром 273 и более для теплоизоляционного слоя из теплоизоляционных изделий на основе базальтового супертонкого волокна производства ОАО «ТИЗОЛ» предусматривается крепление:

- при укладке изделий в один слой РИС 1-6, РИС 1-7 - бандажами из ленты 0,7×20 мм и подвесками из проволоки 1,2 мм. Подвески располагаются равномерно между бандажами и крепятся к трубопроводу. Под подвески устанавливаются подкладки из стеклопластика при применении безобкладочных материалов РИС 1-6.

При применении матов в обкладках подкладки не устанавливаются. Обкладки из стеклоткани, базальтовой или кремнеземной ткани и стеклосетки сшиваются, как указано выше РИС 1-7;

- при укладке изделий в два РИС. 1-8, РИС 1-9 и три слоя РИС. 1-10, РИС.1-11 - кольцами из проволоки диаметром 2 мм и подвесками из проволоки диаметром 1,2 мм для внутренних слоев двух или трехслойных конструкций. Подвески второго или третьего слоя крепятся к подвеске первого или второго слоя снизу. Бандажи из ленты 0,7 × 20 мм устанавливаются по наружному слою так же, как и в однослойной конструкции.

В многослойных конструкциях теплоизоляционные изделия каждого последующего слоя должны перекрывать швы внутреннего слоя.

Плиты мягкие базальтоволокнистые рекомендуется укладывать длинной стороной вдоль трубопровода.

4.1.4. На вертикальных трубопроводах наружным диаметром до 476 мм вкл. крепление теплоизоляционного слоя производится бандажами или проволочными кольцами. Для предупреждения сползания колец и бандажей следует устанавливать струны из проволоки диаметром 1,2 или 2 мм РИС. 1-12.

Струны могут крепиться к разгружающим устройствам или к кольцам из проволоки диаметром 5 мм, приваренным к поверхности трубопровода.

Для вертикальных трубопроводов наружным диаметром более 530 мм может быть предусмотрено крепление теплоизоляционного слоя с помощью проволочного каркаса, устанавливаемого по неизолированной поверхности трубопровода РИС. 1-13.

Кольца из проволоки диаметром 2-3 мм устанавливаются на поверхность трубопровода с шагом 500 мм по длине. К кольцам прикрепляются пучки стяжек из проволоки 1,2 мм с шагом 500 мм (600 - для плит) по дуге кольца.

Предусматривается четыре стяжки в пучке при изоляции в один слой и шесть - при изоляции в два слоя. Стяжки, скрученные в пучки, располагают в стыках матов, холстов или плит и прокалывают их посередине, затем стяжки закрепляются крест-накрест.

Бандажи из ленты 0,7 × 20 мм с пряжками устанавливаются с шагом, регламентируемым размерами применяемых изделий. При изоляции вертикальных участков матами шириной 900 мм и плитами длиной 1250 мм - шаг установки бандажей - 350 мм. Вместо бандажей по внутреннему слою двухслойной изоляции предусматриваются кольца из проволоки диаметром 2 мм.

Для предупреждения сползания бандажей или колец, установленных по теплоизоляционному слою, применяются струны из проволоки 2 мм.

4.1.5. Разгружающие устройства на вертикальных участках трубопроводов устанавливаются с шагом 2,7 - 4,0 метров по высоте в зависимости от размеров теплоизоляционных изделий.

4.1.6. При необходимости устройства съемной изоляции для изоляции трубопровода, из теплоизоляционных изделий на основе базальтового супертонкого волокна следует использовать маты МПБ-50 в обкладке тканями со всех сторон РИС. 1-15.

Безобкладочные изделия покрывают со всех сторон стеклотканью (базальтовой или кремнеземной) и прошивают стеклянной или кремнеземной нитями или проволокой диаметром 0,8 мм РИС. 1-14.

Крепление матрацев на трубопроводах производят бандажами с пряжками. Края матрацев не сшивают. Если на матраце предусмотрены крючки, производят перевязку краев матрацев по крючкам проволокой диаметром 0,8 мм РИС. 1-16.

Как правило, такие конструкции предусматриваются для изоляции трубопроводов, отводов и сварных швов первого контура атомных станций.

4.1.7. В теплоизоляционных конструкциях толщиной менее 100 мм при применении металлического защитного покрытия на горизонтальные трубопроводы следует устанавливать опорные скобы.

Скобы устанавливаются на горизонтальные трубопроводы диаметром от 108 мм с шагом 500 мм по длине трубопровода.

На трубопроводы наружным диаметром 530 мм и более устанавливается три скобы по диаметру в верхней части конструкции и одна снизу.

Опорные скобы изготавливают из алюминия или оцинкованной стали (в зависимости от материала защитного покрытия) с высотой, соответствующей толщине изоляции.

4.1.8. В горизонтальных теплоизоляционных конструкциях трубопроводов с положительными температурами толщиной 100 мм и более устанавливаются опорные кольца из ленты стальной горячекатаной 2 × 30 мм с прокладками из асбестового картона. Опорные кольца устанавливаются на трубопроводы диаметром от 219 мм и более. Опорные кольца для трубопроводов диаметром от 530 мм и выше изготавливаются из двух-четырех элементов, которые, как правило, стягиваются болтами 8 × 50 и гайками.

Для снижения температуры поверхности опорных колец может быть предусмотрена дополнительная установка прокладок из картона марки БВТМ-К под покровный слой.

Для трубопроводов с отрицательными температурами опорные конструкции должны иметь прокладки из стеклотекстолита, дерева или других малотеплопроводных материалов для ликвидации «мостиков холода».

Шаг установки опорных колец определяется размерами теплоизоляционных изделий и может быть в пределах 2,5 - 3,0 метра.

4.1.9. При применении неметаллического покровного слоя опорные скобы и опорные кольца на горизонтальные участки трубопровода не устанавливаются.

4.1.10. Как правило, для предотвращения коррозии элементы разгружающих устройств и опорных колец из черной стали должны быть окрашены лаком БТ-577 или кремнийорганическим лаком в зависимости от температуры изолируемой поверхности.

4.1.11. При изоляции трубопроводов холодной воды, трубопроводов, транспортирующих вещества с отрицательными температурами, а также трубопроводов тепловых сетей подземной прокладки для крепления элементов конструкций следует применять оцинкованную проволоку, бандажи из оцинкованной стали или с окраской.

4.1.12. Покровный слой в конструкциях тепловой изоляции трубопроводов может выполняться из тонколистовой оцинкованной стали толщиной 0,5 - 0,8 мм, листов и лент из алюминия и алюминиевых сплавов толщиной 0,3 - 0,8 мм, стеклопластика рулонного РСТ, штукатурки и других материалов.

Листы и ленты из алюминия и алюминиевых сплавов толщиной 0,3 мм гофрируют для придания жесткости конструкции.

Элементы металлического покровного слоя с целью придания жесткости рекомендуется прозиговать по краям по горизонтали и по окружности. Радиус зига 3 - 5 мм.

Элементы металлического покрытия выполняются в виде цилиндров с одним разъемом по образующей или полуцилиндров с двумя разъемами в зависимости от диаметра теплоизоляционной конструкции. При расчете размеров элемента покрытия необходимо учитывать припуски на перекрытие швов, как горизонтальных, так и по окружности. Как правило, величина нахлеста должна быть не менее 40 мм.

Применение в качестве покровного слоя готовых изделий в виде цилиндров и полуцилиндров позволяет выполнять на монтаже только их сборку.

Крепление покрытия тепловой изоляции трубопроводов может производиться бандажами, устанавливаемыми с шагом 500 мм РИС. 1.17. или винтами, которые устанавливаются с шагом 150-200 мм по горизонтали и 250-300 мм по окружности РИС. 1-18, РИС 1-19.

Если необходимо применение съемных элементов покрытия рекомендуется применять бандажи с замками. Замки и крючки могут быть установлены на элементах покрытия РИС. 1-16.

Монтаж металлического покрытия на горизонтальных участках трубопровода начинают от фланцевого соединения или фасонных частей (например, отвода) в сторону противоположную уклону, на вертикальных - снизу вверх.

4.1.13. При креплении металлического покровного слоя винтами следует предусматривать температурные швы. Шаг швов зависит от температуры изолируемого объекта. Для трубопроводов может быть рекомендован шаг в соответствии с таблицей 4.1.

Таблица 4.1.

Температура изолируемой поверхности, °С

Шаг между температурными швами, м

до 200

5

200-300

4

300-400

2,7

более 400

2

Компенсация температурных деформаций может быть достигнута дополнительной зиговкой элементов покрытия.

4.1.14. При изоляции трубопроводов с отрицательными температурами по теплоизоляционному слою следует предусматривать пароизоляционный слой, который может выполняться из полиэтиленовой пленки, алюминиевой фольги, рубероида и других материалов с низкой паропроницаемостью или паронепроницаемых. Пароизоляционный слой должен быть герметичным. Для предотвращения повреждения пароизоляционного слоя под металлическое покрытие устанавливается предохранительный слой, выполняемый из рулонных материалов РИС. 1.20.

При применении в качестве пароизоляционного слоя алюминиевой фольги или полиэтиленовой пленки под металлический покровный слой рекомендуется устанавливать предохранительный слой из стеклоткани или стеклохолста. Крепление покрытия при этом рекомендуется осуществлять бандажами.

При креплении винтами предохранительный слой из рулонных волокнистых материалов должен быть толщиной не менее длины винта.

В качестве предохранительного слоя могут быть использованы плиты марки БВТМ-ПМ и материал марки МБОР. Материал марки МБОР в этих случаях особо рекомендуется для применения на пожаро-взрывоопасных объектах.

При необходимости в качестве предохранительного слоя может применяться полотно холстопрошивное из стеклянного штапельного волокна или полотно иглопробивное.

4.1.15. При изоляции трубопроводов холодной воды или воздуховодов приточной вентиляции при применении в качестве теплоизоляционного слоя плиты мягкой с покрытием фольгой с одной стороны или матов МПБ-30 в обкладке из фольги дополнительный пароизоляционный слой может не устанавливаться РИС. 1.21. При этом необходима тщательная герметизация швов изделий и проклейка фольги в местах её повреждения. Проклейку швов лучше всего осуществлять алюминиевой липкой лентой. Эту же ленту можно применять для крепления теплоизоляционного слоя на трубопроводах с диаметром теплоизоляционной конструкции до 200 мм вместо бандажей.

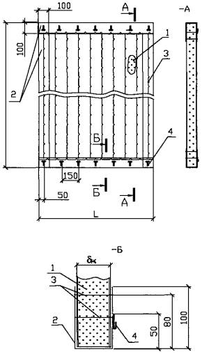
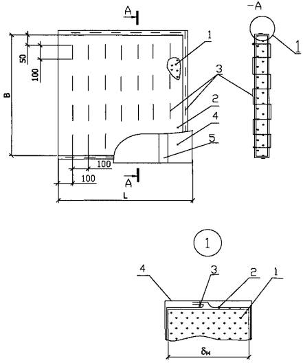
1. Материалы марки МБОР; 2. Плита мягкая БВТМ-ПМ, холсты марок БСТВ-ст, БСТВ-сп, маты марок МПБ-30, МПБ-50; 3. Покрытие (рис. 1.18); 4. Кольцо из проволоки диаметром 1,2-2,0 мм; 5. Спиральное крепление из проволоки диаметром 1,2-2,0 мм; 6. Сшивка (для материалов в обкладке стеклотканью).

L - ширина изделия.

Рис. 1.1. Изоляция горизонтальных трубопроводов с наружным диаметром теплоизоляционной конструкции не более 200 мм теплоизоляционными материалами на основе супертонкого базальтового волокна

Рис. 1.2. Изоляция вертикальных трубопроводов с наружным диаметром теплоизоляционной конструкции не более 200 мм материалами на основе супертонкого базальтового волокна

1. Маты МПБ-30, плиты БВТМ-ПМ, холсты БСТВ-ст, БСТВ-сп; 2. Покрытие (рис 1.18-1.19); 3. Бандаж с пряжкой; 4. Кольцо из проволоки диаметром 1,2-2,00 мм.

1.* Размеры в скобках даны для теплоизоляционного слоя из плит БВТМ-ПМ

2. При изоляции холстом БСТВ шаг бандажей и колец - 200 мм.

Рис. 1.3. Изоляция горизонтальных трубопроводов наружным диаметром до 219 мм теплоизоляционными материалами на основе супертонкого волокна

Рис. 1.4. Изоляция горизонтальных трубопроводов наружным диаметром до 219 мм матами в обкладках марок МПБ-30 или МПБ-50

1.* Размеры в скобках даны для теплоизоляционного слоя из плит БВТМ-ПМ

2. При изоляции холстом БСТВ шаг бандажей и колец - 200 мм,

3. Крепление изоляции в два слоя см. рис 1.3.

Рис. 1.5. Изоляция вертикальных трубопроводов наружным диаметром до 219 мм холстами БСТВ, безобкладочными матами МПБ-30, матами в обкладке стеклотканью МПБ-50, плитами БВТМ-ПМ

1. Маты безобкладочные МПБ-30, холсты БСТВ-ст, БСТВ-сп, плиты БВТМ-ПМ; 2. Покрытие; 3. Бандаж с пряжкой; 4. Опорная скоба; 5. Подвеска; 6. Подкладка; 7. Опорное кольцо.

Примечание - размеры со звездочками в скобках даны для:

* - холстов БСТВ, ** - для плит БВТМ-ПМ.

Рис. 1.6. Изоляция трубопроводов наружным диаметром 273 мм и более холстами БСТВ, матами МПБ-30 (безобкладочными), плитами БВТМ-ПМ в один слой с креплением бандажами и подвесками

1. Маты МПБ-30 или МПБ-50; 2. Покрытие; 3. Бандаж с пряжкой; 4. Опорная скоба; 5. Подвеска; 6. Сшивка

Рис. 1.7. Изоляция трубопроводов наружным диаметром 273 мм и более матами в обкладках МПБ-30, МПБ-50 в один слой с креплением бандажами и подвесками

Рис. 1.8. Изоляция трубопроводов наружным диаметром 273 мм и более холстами БСТВ, матами МПБ-30 (безобкладочными), плитами БВТМ-ПМ в два слоя с креплением бандажами и подвесками

Рис. 1.9. Изоляция трубопроводов наружным диаметром 273 мм и более матами в обкладках МПБ-30 , МПБ-50 в два слоя с креплением бандажами и подвесками

Рис. 1.10. Изоляция трубопроводов наружным диаметром 273 мм и более матами МПБ-30, плитами БВТМ-ПМ, холстами БСТВ в три слоя с креплением бандажами и подвесками

Рис. 1.11. Изоляция трубопроводов наружным диаметром 273 мм и более матами в обкладках МПБ-30, МПБ-50 в три слоя с креплением бандажами и подвесками

Рис. 1.12. Изоляция вертикальных трубопроводов наружным диаметром от 273 до 476 мм включительно матами в обкладках МП с креплением бандажами

Рис. 1.13. Изоляция вертикальных трубопроводов наружным диаметром 530 мм и более матами МПБ, плитами БВТМ холстами БСТВ с креплением стяжками и бандажами

1. Маты МП-50; 2. Обшивка (стеклоткань); 3. Сшивка (проволока 0,8-0-4)

Рис. 1.14. Съемная изоляция трубопроводов матами МПБ-50

1. Маты МПБ-50 в обкладках из тканей (ст, кт, бт); 2. Обшивка торцев (ткань ст, кт, бт); 3. Сшивка (проволока 0,8-0-4); 4. Крючок (проволока 2-0-4)

Рис. 1.15. Съемная изоляция из матов МПБ-50 с крючками

1. Маты МП-50 с крючками (рис. 1.15); 2. Элементы покрытия; 3. Бандаж с пряжкой; 4. Струна из проволоки 0,8-0-4

Рис. 1.16. Съемная изоляция из матов МПБ-50 с крючками и элементами покрытия с креплением на замках

Рис. 1.17. Крепление покрытия изоляции трубопроводов бандажами

1. Слой теплоизоляционный; 2. Металлическое покрытие; 3. Винт самонарезающий

Рис. 1.18. Крепление металлического покровного слоя изоляции трубопроводов винтами

1. Маты МПБ; 2. Металлическое защитное покрытие; 3. Винт

Рис. 1.19. Изоляция отвода матами МПБ с креплением металлического защитного покрытия винтами

Рис. 1.20. Изоляция трубопроводов с отрицательными температурами теплоизоляционными изделиями на основе супертонкого базальтового волокна с креплением металлического покрытия бандажами

Примечание: Предохранительный слой (поз. 8) и покрытие (поз. 3) могут не устанавливаться.

Рис. 1.21. Изоляция трубопроводов матами МПБ-30/Ф1 (в обкладке фольгой с одной стороны)

1. Маты марки МПБ-30/Ф1; 2. Самоклеящаяся алюминиевая лента шириной 50 мм; 3. Самоклеящаяся алюминиевая лента шириной 75-100 мм.

Рис. 1.22. Изоляция воздуховодов систем вентиляции и кондиционирования матами МПБ с покрытием алюминиевой фольгой (обертка по периметру воздуховода)

1. Плита БВТМ-ПМ/Ф1; 2. Самоклеящая лента

Рис. 1.23. Изоляция воздуховодов систем вентиляции и  кондиционирования мягкими плитами БВТМ-ПМ/Ф1

При диаметрах изоляции более 200 мм крепление теплоизоляционного слоя осуществляется бандажами. Под металлические бандажи следует устанавливать прокладки из рулонных материалов для предотвращения повреждения фольги.

При установке покровного слоя под покрытие по фольге следует предусматривать предохранительный слой из стеклоткани, стеклохолста или другого рулонного материала, не повреждающего фольгу.

4.1.16. При изоляции воздуховодов систем приточной вентиляции матами марки МПБ-30/Ф1 или плитами марки БВТМ-ПМ/Ф1 покровный слой может не устанавливаться. Швы теплоизоляционных изделий должны быть проклеены герметизирующими материалами или клеями. Рекомендуется проклейку производить алюминиевой лентой с липким слоем. Эта же лента может быть использована в качестве бандажей РИС. 1.22, РИС. 1-23.

4.2. Конструкции тепловой изоляции арматуры и фланцевых соединений трубопроводов.

4.2.1. Маты прошивные теплоизоляционные из базальтового холста марок МПБ-30 и МПБ-50 рекомендуется использовать для тепловой изоляции:

- фланцевых соединений трубопроводов;

- приварной и фланцевой арматуры (задвижек, вентилей, клапанов).

4.2.2. При изоляции арматуры и фланцевых соединений трубопроводов при температуре изолируемой поверхности до 450°С могут применяться маты МПБ-30, с обкладкой стеклотканью с одной стороны, и маты МПБ-50, с обкладками из стеклоткани со всех сторон. При температуре выше 450°С следует применять маты МПБ-50 с обкладкой со всех сторон кремнеземной или базальтовой тканями.

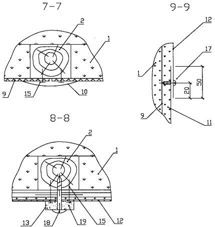
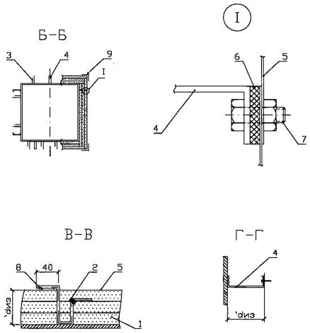
Поверх матов устанавливается съемный металлический кожух, крепление которого может осуществляться замками, приваренными непосредственно к кожуху, или бандажами с замками, устанавливаемыми поверх кожуха РИС. 2-1.

Маты МПБ к изолируемой поверхности крепятся бандажами с пряжками. При изоляции арматуры условным проходом Ду ≥ 500 мм при применении матов с крючками кроме крепления матов бандажами, производится перевязка проволокой по крючкам РИС. 2-2.

4.2.3. В зависимости от вида и размеров арматуры маты могут быть с пришитыми крючками или без них РИС. 1-14, РИС. 1-15.

Общая ширина матов прошивных при изоляции фланцевой арматуры и фланцевых соединений трубопроводов должна быть равна длине фланцевого соединения или арматуры, включая присоединительные фланцы, плюс две длины болта, соединяющего фланцевый разъем, плюс не менее, чем 200 мм для установки на изоляцию трубопровода или аппарата.

4.2.4. При изоляции приварной арматуры маты МПБ устанавливаются встык с изоляцией трубопровода РИС. 2-3. Съёмный кожух, состоящий из одного или двух элементов покрытия, крепится замками, расположенными непосредственно на кожухе, или бандажами с замком.

4.2.5. Маты прошивные из базальтового холста в обкладках из стеклянной, кремнеземной или базальтовой ткани или стеклосетки с одной стороны рекомендуется применять в качестве теплоизоляционного слоя в составе полносборных теплоизоляционных конструкций (футляров или полуфутляров) для изоляции арматуры и фланцевых соединений трубопроводов.

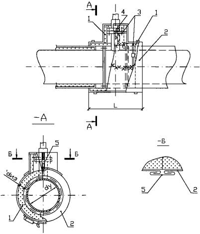
1. Маты МПБ-50 (рис. 1.14); 2. Металлический кожух; 3. Бандаж с замком; 4. Бандаж с пряжкой

Рис. 2.1. Изоляция фланцевой соосной арматуры диаметром (dу) до 100 мм включительно матами МПБ-50 со съемным металлическим кожухом

1. Маты МПБ (рис. 1.15); 2. Металлический кожух с замками; 3. Бандаж с пряжкой; 4. Сшивка матрацев по крючкам; 5. Герметизирующая планка

Рис. 2.2. Изоляция фланцевой арматуры матами МПБ-50 с покрытием металлическим съемным кожухом

1. Маты МПБ или холсты БСТВ; 2. Металлический кожух; 3. Бандаж с пряжкой; 4. Бандаж с замком; 5. Кольцо из проволоки 2-0-4; 6. Струна из проволоки 1,2-0-4

Рис. 2.3. Изоляция сильфонной несоосной арматуры диаметром (dy) до 100 мм включительно матами МПБ или холстами БСТВ и съемным металлическим кожухом

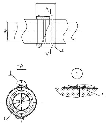
1. Маты МПБ-30/СТ1; 2. Стенка боковая металлического кожуха; 3. Стенка торцевая; 4. Крючок; 5. замок; 6. Шплинт; 7. Заклепка; 8. Проволока

Примечание: при изготовлении полуфутляров для изоляции фланцевых соединений вырез не выполняют

Рис. 2.4. Полуфутляр с вкладышем из матов МПБ в обкладках из стеклоткани или стеклосетки

1. Полуфутляр (рис. 2.4); 2. Отделка торца изоляции трубопровода

Рис. 2.5. Изоляция арматуры съемной конструкцией с теплоизоляционным слоем из матов МПБ (полуфутляры)

1. Полуфутляр (рис. 2.4)

Рис. 2.6. Изоляция фланцевого соединения полуфутлярами с теплоизоляционным слоем из матов марки МПБ в обкладках из стеклоткани или стеклосетки

1. Маты МПБ-50; 2. Стеклоткань; 3. Нить стеклянная; 4. Пленка полиэтиленовая; 5. Лента полиэтиленовая с липким слоем

Рис. 2.7. Маты МПБ-50 в стеклоткани и полиэтиленовой пленке для изоляции арматуры и фланцевых соединении трубопроводов с отрицательными температурами

При этом маты устанавливаются в футляр (полуфутляр), накалываются на шплинты или крепятся с помощью клеев. Футляр оснащается бандажами или замками РИС. 2-4.

Футляры крепятся на фланцевых соединениях или фланцевой арматуре. РИС. 2-5, РИС.2-6. Температура применения таких конструкций определяется температурой применения материала обкладок.

4.2.6. Для изоляции фланцевых соединений и арматуры могут быть применены мягкие плиты марки БВТМ-ПМ или холсты марки БСТВ-сп (БСТВ-ст), как указано на РИС. 1-14, РИС. 1-15. Теплоизоляционный материал при этом должен быть уплотнен до нужной толщины прошивкой с помощью различных прошивочных материалов. Материал чехла выбирается в зависимости от температуры изолируемого объекта.

4.2.6. Торцы изоляции трубопроводов у фланцевых соединений и арматуры закрываются диафрагмами из материала покровного слоя.

4.2.7. При изоляции фланцевых соединений и арматуры с отрицательными температурами поверхности применяются маты МПБ-50 в стеклоткани и полиэтиленовой пленке РИС. 2-7. Крепление матов может производиться бандажами из стеклопластика, ровингом, киперной лентой. Швы между матами и местами сопряжений матов с конструкцией изоляции трубопровода должны быть проклеены полиэтиленовой лентой с липким слоем. Также должны быть проклеены (загерметизированы) швы и места сопряжения элементов покрытия арматуры и трубопровода. Для герметизации швов покрытия могут быть использованы нетвердеющие мастики или ленты типа Герлен или алюминиевые с липким слоем.

4.2.8. Уплотнение теплоизоляционных материалов на основе супертонкого базальтового волокна до рекомендуемой плотности в конструкции производится при изготовлении матов или вкладышей для футляров и полуфутляров.

4.3. Конструкции тепловой изоляции промышленного оборудования.

4.3.1. Маты прошивные из базальтового холста марки МПБ-30 без обкладок или в обкладках, маты МПБ-50, холсты из супертонкого базальтового волокна марки БСТВ-сп или БСТВ-ст, и плиты мягкие марки БВТМ-ПМ без покрытия фольгой могут применяться для изоляции горизонтального и вертикального оборудования промышленных объектов всех отраслей промышленности, энергетики и сельского хозяйства.

Для изоляции оборудования рекомендуется преимущественно применять маты в обкладках.

Из плит марки БВТМ следует формировать пакеты. При изготовлении пакетов изделия могут быть уплотнены до проектной толщины, при этом плотность пакетов из плит должна соответствовать требованиям п. 2.5. Пакеты рекомендуется устанавливать не более, чем в два слоя.

4.3.2. Теплоизоляционные материалы на основе супертонкого базальтового волокна в конструкциях тепловой изоляции оборудования следует устанавливать с уплотнением в соответствии с указаниями п. 4.1.1.

4.3.3. На поверхности аппаратов наружным диаметром более 530 мм, как правило, должны быть приварены скобы или втулки для крепления теплоизоляционного слоя. Скобы и втулки приваривают к поверхности сосудов и аппаратов на предприятии-изготовителе оборудования. Расположение скоб устанавливается требованиями ГОСТ 17314-81 «Устройства для крепления тепловой изоляции стальных сосудов и аппаратов. Конструкции и размеры. Технические требования». Съемные детали устанавливают во время монтажа тепловой изоляции.

Как правило, приварные детали на сосудах и аппаратах размещают:

а) на вертикальных объектах: в вертикальном и горизонтальном направлениях с шагом 500 мм. Расстояние приварки элементов крепления от анкерных болтов фланцевых соединений или сварных соединений либо сварных швов, соединяющих днища (крышки) и корпуса сосудов и аппаратов может быть 70 - 250 мм.

На поверхностях (днищах, крышках), обращенных вниз, скобы или втулки привариваются с шагом 250 × 250 мм;

б) на горизонтальных объектах:

- в горизонтальном направлении с шагом 500 мм, отступив от фланцевых соединений или сварных швов, соединяющих днища (крышки) и корпуса сосудов и аппаратов, на расстояние 70 - 250 мм;

- в вертикальном направлении: на верхней половине объекта с шагом 500 мм; на нижней половине объекта с шагом 250 мм. Отсчет шага ведут от плоскости горизонтального диаметра.

Способ крепления теплоизоляционного слоя из материалов на основе базальтового супертонкого волокна производства ОАО «ТИЗОЛ» зависит от геометрии изолируемого объекта.

4.3.4. Крепление теплоизоляционного слоя на цилиндрических горизонтальных аппаратах наружным диаметром до 1020 мм вкл. может быть предусмотрено бандажами и подвесками РИС. 3-1 аналогично креплению изоляции трубопроводов п. 4.1.3.

Опорные конструкции под металлическое защитное покрытие следует устанавливать с шагом 2,0 - 3,0 м в зависимости от размеров применяемых изделий и элементов покрытия, а также у фланцевых соединений и днищ аппаратов. Элементы опорных конструкций в виде колец, уголков, скоб или планок могут быть приварными или крепиться с помощью болтов.

Между покровным слоем и опорными конструкциями может быть предусмотрена установка прокладок из картона марки БВТМ-К.

Опорные конструкции, изготовленные из углеродистой стали, должны быть защищены от коррозии.

4.3.5. Для вертикальных аппаратов наружным диаметром менее 530 мм крепление теплоизоляционного слоя осуществляется бандажами из ленты 0,7 × 20 мм при изоляции в один слой. При изоляции в два слоя и более слоев внутренние теплоизоляционные слои крепятся кольцами из проволоки диаметром 2 мм. Конструкция изоляции аналогична изоляции трубопроводов диаметром менее 530 мм.

Для предотвращения сползания колец и бандажей следует предусматривать струны также из проволоки диаметром 2 мм. Струны могут крепиться к разгружающим устройствам или приварным кольцам из проволоки диаметром 5 мм, если приварка допускается.

4.3.6. Для вертикальных аппаратов, диаметром 530 - 1020 мм (теплообменников, колонн, емкостей и т.д.) при наличии приваренных на заводе-изготовителе скоб или втулок, крепление теплоизоляционных материалов производства ОАО «ТИЗОЛ» осуществляется с помощью пучков стяжек из проволоки 1,2 - 2,0 мм, которые закрепляются крест-накрест на поверхности теплоизоляционного слоя РИС 3-2. Стяжки располагаются в стыках швов или прокалывают изделия. При двухслойной изоляции изделия укладывают с перекрытием швов.

Дополнительно теплоизоляционный слой закрепляется бандажами по наружному слою и при однослойной изоляции и кольцами из проволоки диаметром 2 мм - по внутреннему теплоизоляционному слою с шагом 500 мм при изоляции матами прошивными и плитами мягкими.

Если в качестве теплоизоляционного слоя предусмотрены холсты из супертонкого базальтового волокна, бандажи следует устанавливать с шагом 250 мм.

Для предотвращения сползания бандажей или проволочных колец предусматривается их фиксация вертикальными струнами из проволоки диаметром 2 мм. Струны, в зависимости от конструкции аппарата, могут прикрепляться к фланцам, патрубкам, разгружающим устройствам, скобам или втулкам, предусмотренным для теплоизоляционных конструкций или к приваренным к аппарату кольцам из проволоки 5 мм, если дополнительная приварка на месте монтажа допускается.

При изоляции матами из базальтового волокна в обкладках бандажи могут устанавливаться по штырям, в этом случае струны не предусматриваются.

При наличии приварных крепежных деталей в качестве теплоизоляционного слоя рекомендуется использовать маты прошивные из базальтового холста шириной 500 мм или холсты из супертонкого базальтового волокна марок БСТВ-сп или БСТВ-ст шириной, кратной 500 мм.

Обкладки матов наружного слоя сшиваются проволокой диаметром 0,8 мм или стеклонитью (стеклоровингом). Обкладки матов внутреннего слоя допускается не сшивать.

В качестве внутреннего слоя могут применяться безобкладочные маты.

Аналогично (стяжками и бандажами) может выполняться изоляция горизонтальных аппаратов, при этом струны не устанавливаются.

4.3.7. Для изоляции вертикальных аппаратов наружным диаметром от 530 до 1420 мм, если на заводе изготовители скобы не были приварены и не допускается приварка к аппарату на месте монтажа, для крепления тепловой изоляции по поверхности аппарата может устанавливаться проволочный каркас.

4.3.7.1. При изоляции базальтоволокнистым теплоизоляционным материалом БВТМ-ПМ или пакетами из плит кольца из проволоки диаметром 3 мм устанавливаются по длине (высоте) аппарата на его поверхность с шагом 625 мм при их расположении длинной стороной вдоль аппарата и с шагом 600 мм при расположении плит короткой стороной вдоль аппарата.

К кольцам прикрепляются пучки стяжек из проволоки 1,2 мм с шагом по дуге кольца 600 или 625 мм в зависимости от расположения плит. Пучки стяжек должны проходить в месте стыков плит. Стяжки закрепляются крест на крест. Предусматривается четыре стяжки в пучке при изоляции в один слой и шесть - при изоляции в два слоя. Первый слой крепится двумя стяжками, второй - четырьмя.

Дополнительно плиты (пакеты из плит) закрепляются бандажами из ленты 0,7 × 20 мм с пряжками. При расположении плит длинной стороной вдоль аппарата устанавливают 4 бандажа на изделие, при расположении плит короткой стороной - 2. Вместо бандажей по внутреннему слою двухслойной изоляции предусматриваются кольца из проволоки диаметром 2 мм.

Для вертикальных аппаратов для предотвращения сползания бандажей и колец предусматриваются струны из проволоки 2 мм. Струны предусматриваются также для закрепления колец, расположенных на поверхности аппарата. Количество струн зависит от наружного диаметра аппарата и может быть от 2 до 4-х.

4.3.7.2. При изоляции матами прошивными из базальтового холста или холстами из супертонкого базальтового волокна марок БСТВ-сп или БСТВ-ст шириной 500 мм кольца из проволоки диаметром 3 мм располагаются с шагом 500 мм по длине аппарата. К кольцам прикрепляются пучки стяжек из проволоки 1,2 мм с шагом по дуге кольца 500 мм.

Количество стяжек в пучке и их крепление - аналогично указанному выше.

При применении матов шириной более 500 мм расположение колец и пучков стяжек решается в каждом конкретном случае в зависимости от размеров матов.

Обкладки матов наружного слоя сшиваются проволокой диаметром 0,8 мм или стеклонитью (стеклоровингом). Обкладки матов внутреннего слоя допускается не сшивать.

Бандажи из ленты 0,7 × 20 мм с пряжками по наружному слою устанавливают с шагом 500 мм при однослойной изоляции и по наружному слою при двухслойной изоляции. Вместо бандажей по внутреннему слою двухслойной изоляции предусматриваются кольца из проволоки диаметром 2 мм.

При применении матов шириной 500 мм следует устанавливать два бандажа (или кольца) на изделие.

Края матов в обкладках сшиваются проволокой 0,8 мм или стеклонитью в зависимости от вида обкладки.

4.3.8. Для вертикальных и горизонтальных аппаратов наружным диаметром более 1020 мм крепление теплоизоляционного слоя следует осуществлять штырями из проволоки диаметром 4 - 5 мм, которые вставляются в скобы или втулки, приваренные на заводе-изготовителе.

Теплоизоляционные изделия накалывают на штыри, которые затем загибают. Дальнейшая фиксация теплоизоляционного слоя может осуществляться осуществляется перевязкой по загнутым штырям струнами из проволоки диаметром 1,2 - 2,0 мм и бандажами, устанавливаемыми, как правило, с шагом 500 мм РИС. 3-3, РИС 3-4, РИС. 3-5, РИС. 3-6. Может быть предусмотрен другой шаг установки бандажей.

При двухслойной изоляции может быть предусмотрено крепление бандажами (без перевязки струнами) и бандажами и кольцами. При этом на горизонтальных аппаратах кольца и бандажи устанавливаются в промежутках между штырями с шагом 500 мм при изоляции матами прошивными и плитами мягкими. При изоляции холстами из супертонкого базальтового волокна бандажи рекомендуется устанавливать с шагом 250 мм.

При изоляции вертикальных аппаратов при расположении бандажей и колец в промежутках между штырями для их фиксации предусматриваются струны из проволоки диаметром 2 мм РИС. 3-6. Если бандажи устанавливаются по штырям, струны не предусматриваются РИС. 3-7.

4.3.9. Для однослойной изоляции применяют одинарные штыри.

При изоляции в два слоя следует использовать двойные штыри. Маты и плиты внутреннего слоя (или пакеты из них), или холсты накалываются на штыри, один конец которых загибается. Затем внутренний слой крепится кольцами из проволоки диаметром 2 мм. Наружный теплоизоляционный слой закрепляется штырями и бандажами из ленты 0,7 × 20 мм РИС. 3-9.

Длина штыря рассчитывается исходя из толщины тепловой изоляции с учетом добавки на ширину скобы или втулки для крепления штыря и на загиб штыря на теплоизоляционный слой. Величина загиба штыря - 40 или 50 мм.

Размеры приварных скоб, одинарных и двойных штырей регламентируются ГОСТ 17314.

4.3.10. В конструкциях тепловой изоляции днищ вертикальных и горизонтальных аппаратов в зависимости от их диаметра и конфигурации, крепление теплоизоляционного слоя из теплоизоляционных материалов на основе супертонкого базальтового волокна может осуществляться с помощью проволочных стяжек и бандажей или струн из проволоки диаметром 2 мм или штырями, бандажами или струнами.

Крепление теплоизоляционного слоя на днищах аппаратов диаметром более 1020 мм производится штырями, устанавливаемыми в скобы или втулки и бандажами или струнами.

Как правило, одним концом бандажи и струны крепятся к проволочному кольцу, привариваемому или завязанному вокруг патрубка, другим - к проволочному или опорному кольцу (разгружающему устройству), которые устанавливаются у днищ РИС. 3-3, РИС 3-4, РИС. 3-5.

4.3.11. Если необходимо предусмотреть съемные конструкции тепловой изоляции по всей поверхности аппаратов РИС. 3-10. (например, на атомных станциях), в качестве теплоизоляционного слоя следует использовать маты прошивные из базальтового холста МПБ-50 в обкладках тканями со всех сторон, которые крепятся на аппаратах бандажами.

По матам устанавливается съемное покрытие, крепление которого осуществляется бандажами с замками. Замки могут быть приварены к элементам покрытия.

Для изоляции фланцевых соединений и днищ в этих случаях могут быть предусмотрены полносборные конструкции в виде футляров с вкладышами из прошивных матов в обкладках. Вкладыши крепятся к стенке металлического футляра шплинтами.

Днища и фланцевые соединения аппаратов могут быть изолированы матами и кожухами.

Теплоизоляционный материал уплотняется до расчетной толщины при изготовлении матов или вкладышей в полносборную конструкцию.

4.3.12. Люки и фланцевые соединения аппаратов подлежат периодическому осмотру и поэтому для них применяются съемные теплоизоляционные конструкции.

Фланцевые соединения аппаратов следует изолировать съемными конструкциями. Съемные конструкции могут быть полносборные - в виде полуфутляров или футляров, и комплектные - в виде матов и кожухов.

4.3.13. В качестве теплоизоляционного слоя в составе полносборных конструкций (полуфутляров) рекомендуется применять маты прошивные марки МПБ-30 или МПБ-50 в обкладках из стеклосетки или стеклоткани при температуре изолируемой поверхности не более 450°С. При температуре изолируемой поверхности более 450°С следует применять маты в обкладке из базальтовой или кремнеземной ткани.

Вкладыши из матов прикрепляются шплинтами к металлической поверхности кожуха. Края сетки или стеклоткани заделываются внутрь металлического кожуха и пришиваются проволокой диаметром 0,8 мм.

Полуфутляр оснащается замками или бандажами. Полуфутляры устанавливаются на фланцы поверх тепловой изоляции аппарата и скрепляются между собой РИС. 3-11. Размеры и количество полуфутляров определяется размерами фланцевого соединения.

4.3.14. При диаметре фланцев более 1,5 м предпочтительно применение комплектной конструкции тепловой изоляции в виде матов и съемных кожухов.

4.3.15. В составе комплектных конструкций рекомендуется применять маты МПБ-50 с обкладкой тканями со всех сторон. Маты в кремнеземной ткани с прошивкой кремнеземной нитью или проволокой могут использоваться при температуре изолируемой поверхности до 750°С. Маты к изолируемой поверхности крепятся бандажами с пряжками.

При изоляции фланцевых соединений аппаратов большого диаметра к матам пришиваются крючки. Для фланцевых соединений большого диаметра может быть предусмотрено 2 и более матов по периметру фланца. При установке матов на фланцевое соединение крючки соединяются проволокой (шнуровкой), поверх матов затем устанавливаются бандажи.

Теплоизоляционный слой закрывается съемным металлическим кожухом, крепление которого может осуществляться замками, приваренными непосредственно к кожуху, или бандажами с замками, устанавливаемыми поверх кожуха.

Общая ширина матов в обкладках при изоляции фланцевых соединений аппаратов должна быть равна ширине фланцевого соединения плюс две длины болта, соединяющего фланцевый разъем, плюс не менее, чем 200 мм, для установки на поверхность теплоизоляционной конструкции аппарата, длина - наружному периметру теплоизоляционной конструкции фланцевого соединения (с учетом толщины тепловой изоляции фланца). Если толщина тепловой изоляции корпуса аппарата больше, чем высота фланца, длина мата определяется диаметром теплоизоляционной конструкции корпуса аппарата и толщиной теплоизоляционной конструкции фланцевого соединения.

Могут быть использованы холсты из базальтового супертонкого волокна марки БСТВ. Уплотнение холстов по толщине также производится при изготовлении за счет их прошивки.

4.3.16. Разгружающие устройства на поверхности вертикальных аппаратов (кольца, кронштейны) с диафрагмами устанавливают у фланцевых соединений и днищ аппаратов с шагом 3-4 метра по высоте аппарата. Шаг установки разгружающих устройств определяется размерами теплоизоляционных изделий и элементов металлического покровного слоя.

Разгружающие устройства могут быть приварными или с креплением элементов конструкций на болтах. Диафрагмы, устанавливаемые на разгружающие устройства, не должны касаться защитного покрытия.

4.3.17. При изоляции оборудования с отрицательными температурами следует руководствоваться требованиями п. 4.1.14.

Элементы опорных конструкций из углеродистой стали, устанавливаемые на оборудование, должны быть окрашены лаком БТ-577 или другим, предохраняющим от коррозии. Для крепления тепловой изоляции следует использовать оцинкованную проволоку, бандажи должны быть окрашены. Конструкция крепления покровного слоя не должна иметь мостиков холода.

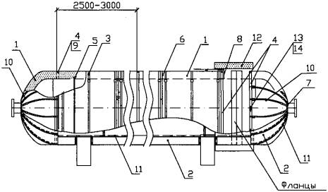
4.3.18. Конструкция покровного слоя горизонтального аппарата РИС. 3-12.

Для аппаратов, как правило, в качестве покровного слоя предусматриваются металлические покрытия. Для изготовления элементов покрытия (покровного слоя) предусматриваются листы или ленты из алюминия и алюминиевых сплавов, тонколистовая оцинкованная или кровельная (с окраской), или тонколистовая нержавеющая сталь, металлопласт. Толщина листов покрытия от 0,8 до 1,2 мм.

Крепление покровного слоя тепловой изоляции горизонтальных аппаратов осуществляется самонарезающими винтами 4 × 12 с антикоррозионным покрытием или заклепками. Шаг установки винтов (заклепок): по горизонтали 150 - 200 мм, по окружности-300 мм РИС. 3-7.

Для ускорения монтажа элементы защитного покрытия могут быть соединены лежачими фальцами шириной 8 - 10 мм (разрез Г-Г) в крупноразмерные картины.

Для придания конструкции покрытия тепловой изоляции жесткости, элементы покрытия зигуются по торцам по горизонтали и по окружности с радиусом зига примерно 5 мм.

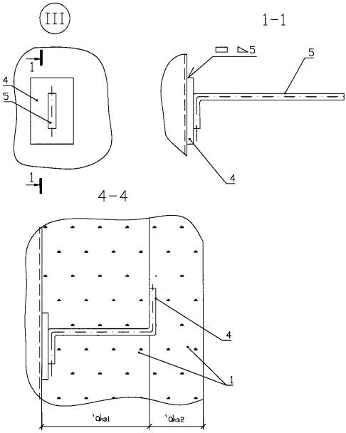
1. Маты марок МПБ, холсты марок БСТВ, плиты БВТМ-ПМ (пакеты); 2. Покрытие (рис. 3.12); 3. Бандаж с пряжкой; 4. Опорное кольцо; 5. Подвеска; 6. Сшивка (для материалов в обкладках); 7. Проволочное кольцо; 8. Элемент диафрагмы; 9. Прокладка из картона марки БВТМ-К; 10. Бандаж с двумя пряжками; 11. Винт самонарезающий; 12. Полуфутляр (см. рис. 2.4); 13. Болт; 14. Гайка

Примечание: подробное крепление теплоизоляционного слоя на горизонтальной части аппарата см. рис. 1.3, 1.4, 1.6, 1.7, 1.8.

Рис. 3.1. Изоляция горизонтальных аппаратов диаметром до 1020 мм с креплением бандажами и подвесками в конструкции с металлическим покрытием

Рис. 3.2. Изоляция вертикальных аппаратов диаметром от 530 до 1420 мм матами МПБ, плитами БВТМ-ПМ, холстами БСТВ с креплением стяжками

Примечание: подробное крепление теплоизоляционного слоя на вертикальной части аппарата см. рис. 3.12, 3.13

Рис. 3.3. Изоляция вертикальных аппаратов диаметром более 1020 мм с креплением штырями и стяжками в конструкции с металлическим покрытием

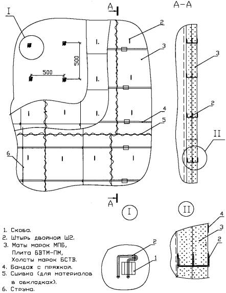
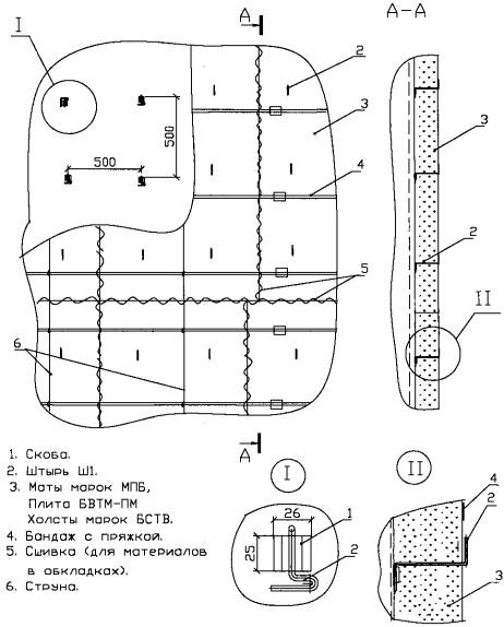
1. Маты марок МПБ, плиты БВТМ-ПМ (пакеты), холсты марок БСТВ; 2. Покрытие; 3. Скоба или втулка; 4. Штырь одинарный Ш1; 5. Штырь двойной Ш2; 6. Бандаж с пряжкой; 7. Бандаж с двумя пряжками; 8. Проволочное кольцо; 9. Опорное кольцо; 10. Стяжка; 11. Сшивка; 12. Болт; 13. Гайка; 14. Бинт самонарезающий

Рис. 3.4. Изоляция горизонтальных аппаратов диаметром более 1020 мм с креплениями штырями в конструкции с металлическим покрытием

Рис. 3.5. Разрезы -, - и узел II к рис. 3.3.

Рис. 3.6. Узел 3. Конструкция тепловой изоляции с креплением на штырях Ш2 и стяжках для вертикальных аппаратов

Примечание: Бандажи расположены в промежутках между штырями

Рис. 3.7. Конструкция тепловой изоляции в один слой с креплением на штырях для вертикальных аппаратов (расположение штырей по ГОСТ 17314)

Примечание: Бандажи установлены по штырям

Рис. 3.8. Конструкция тепловой изоляции в один слой с креплением на штырях для вертикальных аппаратов (расположение штырей по ГОСТ 17314)

Рис. 3.9. Конструкция тепловой изоляции в два слоя с креплением на штырях для вертикальных аппаратов (расположение штырей по ГОСТ 17314)

Рис. 3.10. Съемная конструкция изоляции вертикальных аппаратов

1. Маты МПБ-50 в обкладке стеклотканью со всех сторон; 2. Металлический кожух; 3. Бандаж с замком; 4. Опорное кольцо

Рис. 3.11. Изоляции для фланцевого соединения горизонтального аппарата матами МПБ-50 и съемным металлическим кожухом

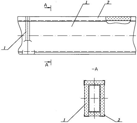
1. Металлическое покрытие; 2. Опорное кольцо; 3. Винт самонарезающий; 4. Теплоизоляционные изделия на основе супертонкого базальтового волокна

Рис. 3.12. Конструкция металлического покрытия тепловой изоляции горизонтального аппарата

1. Металлическое защитное покрытие; 2. Винт самонарезающий; 3. Разгружающее устройство; 4. Кляммеры; 5. Теплоизоляционные изделия на основе супертонкого базальтового волокна

Рис. 3.13. Конструкция покрытия тепловой изоляции для вертикальных аппаратов и резервуаров

Сопряжение элементов покрытия из металлических листов

Позиции указаны на рис. 3.13

Рис. 3.14. Разрезы А-А - В-В к рис. 3.13

Покрытие должно опираться на опорные кольца или другие приварные опорные элементы.

4.3.19. Опорные кольца разрез А-А РИС. 3-12. выполняются из ленты 2 × 30, 3 × 30, 2 × 40 или 3 × 40 мм. Металлические опорные конструкции при тепловой изоляции объектов с положительными температурами поверхности должны иметь малотеплопроводные элементы для снижения температуры на поверхности защитного покрытия, соприкасающегося с ними. Как правило, используются опоры или прокладки из асбестового картона. По поверхности опорных колец, как указано выше, могут устанавливаться прокладки из картона марки БВТМ-К.

При изоляции поверхностей с отрицательными температурами для ликвидации «мостиков холода» используются элементы из стеклотекстолита или древесины.

4.3.20. В покровном слое по длине аппарата устраиваются температурные швы с шагом, определяемым температурой изолируемой поверхности. Температурный шов может выполняется без крепления винтами по окружности. Для компенсации температурных деформаций может быть применена зиговка элементов покрытия или другие конструктивные решения.

4.3.21. Конструкция покровного слоя вертикального аппарата приведена на РИС. 3-13, РИС. 3-14. Для вертикальных аппаратов, как и для горизонтальных, применяются металлические покрытия из материалов, указанных в п. 4.3.17. Металлические листы могут быть собраны в картины. Как правило, применяется соединение листов лежачим фальцем.

Крепление покровного слоя вертикальных аппаратов так же осуществляется самонарезающими винтами 4 × 12 с антикоррозионным покрытием или заклепками. Шаг установки винтов (заклепок): по вертикали 150 - 200 мм, по горизонтали - не более 300 мм.

4.3.22. В покрытии тепловой изоляции аппарата по высоте должны быть предусмотрены температурные швы, в которых элементы покрытия опираются на разгружающие устройства или кляммеры и не крепятся по горизонтали (окружности).

Разгружающие устройства устанавливаются у верхнего и нижнего днищ аппаратов и по высоте аппарата с шагом, указанным в п. 4.3.16.

Кляммеры также могут быть установлены на листы покрытия предыдущего ряда.

Для придания конструкции покровного слоя жесткости элементы покрытия могут быть прозигованы, как и для горизонтальных аппаратов.

4.4. Тепловая изоляция газоходов и воздуховодов прямоугольного сечения.

4.4.1. Маты теплоизоляционные прошивные из базальтового холста марки МПБ-30 и МПБ-50 безобкладочные и в обкладках из стеклоткани, холсты из базальтовых супертонких волокон марок БСТВ-сп и БСТВ-ст и плиты мягкие БВТМ-ПМ рекомендуется применять для изоляции газоходов тепловых электростанций, объектов черной и цветной металлургии и др. и воздуховодов прямоугольного сечения.

Вариант конструкции тепловой изоляции газохода прямоугольного сечения с использованием теплоизоляционных материалов на основе супертонкого базальтового волокна производства ОАО «ТИЗОЛ» приведен на РИС. 4-1, РИС. 4-2.

Крепление теплоизоляционного слоя предусмотрено с помощью штырей (приварных, вставных) и бандажей. На углах тепловой изоляции газоходов прямоугольного сечения под бандажи или заменяющие их проволочные кольца устанавливают металлические подкладки из материала покрытия.

Для крепления покровного слоя к изолируемой поверхности привариваются скобы из ленты стальной горячекатаной 3 × 30 (могут быть использованы другие виды металлопроката). Элементы металлического покрытия устанавливаются на поверхность изоляции и крепятся к скобам болтами и гайками. Между собой элементы покрытия соединяются самонарезающими винтами или заклепками. Под покрытие на скобы устанавливаются прокладки из картона БВТМ-К или асбестового картона.

Расположение приварных скоб определяется размерами и конфигурацией газохода. При значительных размерах газохода шаг приварки скоб может быть принят 500 × 500 или 1000 × 500 мм (размер 1000 - по горизонтали). Шаг приварки штырей (или скоб под штыри) принимается в соответствии с указаниями п. 4.3.3.

Если высота ребер жесткости больше толщины тепловой изоляции, их следует изолировать. Конструкция изоляции зависит от конфигурации ребер. К ребрам могут быть приварены штыри, шпильки, скобы и другие элементы крепления тепловой изоляции и покрытия.

4.4.2. При изоляции воздуховодов приточной вентиляции крепление теплоизоляционного слоя из материалов производства ОАО «ТИЗОЛ» может осуществляться штырями, проволочными кольцами и струнами РИС. 4-3. В качестве опорных элементов под покрытием могут быть использованы деревянные бруски или элементы из стеклотекстолита конструкционного, которые крепятся к металлическим скобам.

Вместо металлических скоб может применяться каркас из деревянных брусков, устанавливаемых на поверхности воздуховода. В этом случае металлический покровный слой крепится к каркасу шурупами.

По теплоизоляционному слою устанавливается пароизоляционный слой. Стыки пароизоляционного слоя также рекомендуется располагать на брусках (элементах) каркаса.

При применении в качестве теплоизоляционного слоя из плит или матов с покрытием фольгой с одной стороны, стыки теплоизоляционных изделий должны быть проклеены алюминиевыми лентами с липким слоем. Эти ленты также могут быть использованы в качестве бандажей для крепления теплоизоляционного слоя из плит и матов с покрытием фольгой.

Если приварка штырей к воздуховоду не допускается, может быть применена проволочная каркасная конструкция, как при изоляции трубопроводов. Могут быть применены металлические бандажи из ленты 2 × 30 или 3 × 30 мм с приваренными к ним штырями. Такие бандажи устанавливаются на поверхность воздуховода и скрепляются между собой болтами и гайками.

4.4.3. При изоляции воздуховодов приточной вентиляции следует предусматривать пароизоляционный слой. Количество пароизоляционных слоев определяется СНиП 41-03-2003 «Тепловая изоляция оборудования и трубопроводов».

Для предотвращения повреждения пароизоляционного слоя из полиэтиленовой пленки или алюминиевой фольги при применении металлического покрытия с креплением винтами рекомендуется установка предохранительного слоя толщиной 15 - 20 мм из волокнистых материалов. Могут быть использованы плиты марки БВТМ-ПМ, материал марки МБОР или полотно из стекловолокна (холстопрошивное или иглопробивное). Могут быть использованы другие конструктивные решения, например, крепление покрытия планками.

1. Маты марок МПБ, холсты марок БСТВ, плиты БВТМ-ПМ; 2. Проволочные струны по периметру с перевязкой по штырям; 3. Штырь; 4. Опорная скоба; 5. Покрытие; 6. Прокладка; 7. Болтовое крепление; 8. Бандаж с пряжкой; 9. Подкладка

Узел I и разрезы - - - см. на рис. 4.2.

L - ширина изделия

Рис. 4.1. Изоляция горизонтальных газоходов прямоугольного сечения с положительными температурами изделиями производства ОАО «Тизол» в конструкции с металлическим покрытием

Позиции см. на рис. 4.1.

Рис. 4.2. Узел I и разрезы - - - к рис. 4.1.

1. Маты МПБ, плиты БВТМ-ПМ, холсты БСТВ; 2. Проволочные кольца; 3. Штырь; 4. Опорная скоба; 5. Покрытие; 6. Брусок; 7. Шуруп; 8. Бандаж с пряжкой; 9. Пароизоляционный слой; 10. Проклейка герметизирующей лентой; 11. Предохранительный слой; 12. Защитное покрытие; 13. Подкладка

Рис. 4.3. Изоляция воздуховодов приточной вентиляции прямоугольного сечения матами МПБ, плитами БВТМ-ПМ, холстами БСТВ

1. Навесная конструкция тепловой изоляции (рис. 5.3); 2. Покрытие; 3. Кольцо из проволоки диаметром 2 мм; 4. Приварной бандаж; 5. Кляммер; 6. Заклепка; 7. Маты марок МПБ

Рис. 5.1. Изоляция резервуаров для нефти и нефтепродуктов навесными матами с металлическим покрытием

4.5. Тепловая изоляция стальных вертикальных цилиндрических резервуаров для хранения нефти и нефтепродуктов.

4.5.1. Для тепловой изоляции резервуаров для хранения нефти и нефтепродуктов без наружного обогрева рекомендуется, в первую очередь, применять маты прошивные из базальтового холста марки МПБ-50 в обкладках из стеклоткани со всех сторон.

4.5.2. Если к поверхности резервуара приварены бандажи с шагом 3 метра, рекомендуется применять навесную конструкцию из матов МПБ-50 в обкладках со всех сторон из стеклоткани или стеклосетки. РИС. 5-1, РИС. 5-2.

На конструкции должны быть предусмотрены крюки для крепления к бандажам. Маты подвешиваются к бандажам и притягиваются к поверхности резервуара кольцами из проволоки диаметром 2 мм. Шаг установки колец следует принимать 500 мм по длине мата (по высоте резервуара).

Стыки матов рекомендуется сшивать проволокой диаметром 0,8 мм.

Крыша резервуара при этом должна изолироваться матами, которые укладываются между привариваемыми к крыше направляющими из стального уголка. Вместо уголка могут быть предусмотрены струны из проволоки диаметром 5 мм, при этом крепление матов к струнам осуществляется проволокой диаметром 2 мм, а покровного слоя - кляммерами.

В качестве покрытия тепловой изоляции предусматриваются листы из алюминия и алюминиевых сплавов или оцинкованной стали. Для покровного слоя цилиндрической части могут применяться профилированные листы, при этом горизонтальные температурные швы не предусматриваются.

4.5.3. Для придания матам МПБ-50 прочности и крепления элемента для навески мата с одной стороны пришивается обкладка из металлической сварной сетки. Крепежное устройство, состоящее из металлического прутка диаметром 8 - 10 мм и двух металлических крючков из прутка 8 мм закрепляется поверх мата под сеткой РИС. 5-3.

При применении в данной конструкции матов безобкладочных марки МПБ-30, маты оборачиваются стеклотканью и прошиваются стеклонитью. Шаг прошивки - не более 100 мм. При прошивке маты должны быть уплотнены с коэффициентом уплотнения не менее, чем 1,5. Затем к мату проволокой диаметром 0,8 мм пришивается сварная металлическая сетка и крепится крепежное устройство. Шаг прошивки также 100 мм.

4.5.4. Если резервуар не имеет заранее приваренных бандажей и допускается приварка к стенке резервуара, в качестве тепловой изоляции резервуаров для хранения нефти и нефтепродуктов могут быть применены плиты мягкие марки БВТМ-ПМ в виде пакетов, маты марки МПБ в обкладках из стеклоткани или стеклосетки с одной или двух сторон.

Применение в качестве теплоизоляционного слоя холстов из супертонкого базальтового волокна марки БСТВ не рекомендуется в связи с необходимостью уплотнения материала в 2-3 раза, что трудно добиться на плоской поверхности (или с большим радиусом кривизны).

Плиты крепятся к стенке резервуара штырями. Штыри следует располагать с учетом типоразмера применяемого материала.

Позиции указаны на рис. 5.1

Рис. 5.2. Разрезы А-А - В-В к рис. 5.1

Рис. 5.3. Навесная конструкция тепловой изоляции к рис. 5.1

1. Пакеты из плит марки БВТМ-ПМ (маты марок МПБ); 2. Металлическое покрытие; 3. Штырь; 4. скоба; 5. Стойка; 6. Диафрагма; 7. Кольцо; 8. Кляммер; 9. Шуруп; 10. Конструкция изоляции люков; 11. Сшивка по наружному слою

Рис. 5.4. Изоляция резервуара для хранения нефти и нефтепродуктов пакетами из плит БВТМ-ПМ.

12. Опорное кольцо из досок; 13. Направляющая; 14. Кляммеры 2; 15. Гвоздь

Остальные позиции на рис. 5.4.

Рис. 5.5. Разрезы 1-1, 4-4, 7-7 к рис. 5.4.

16. Винт самонарезающий

Остальные позиции на рис. 5.4 и 5.5

Рис. 5.6. Разрезы 2-2, 3-3, 5-5 и 6-6 к рис. 5.4

1. Маты марок МПБ; 2. Покрытие; 3. Приварной каркас из металлоконструкции (кронштейны, уголки, планки со штырями); 4. Сшивка; 5. Кляммер; 6. Заклепка вытяжная; 7. Кольцо из проволоки диаметром 2 мм

Рис. 5.7. Изоляция резервуаров с наружным обогревом для нефти и нефтепродуктов матами МПБ в конструкции с металлическим покрытием

Рис. 5.8. Разрезы А-А - Г-Г к рис. 5.7

Может быть предусмотрено дополнительное крепление плит перевязкой по штырям проволокой (в виде колец или крест-накрест)

По высоте резервуара для предотвращения сползания теплоизоляционного слоя должны быть предусмотрены опорные полки. В месте установки опорных полок предусматриваются и температурные швы в покрытии.

Крыша резервуара изолируется теми же теплоизоляционными материалами, что и цилиндрическая часть. Теплоизоляционный материал на крыше укладывается между элементами каркаса и крепится струнами.

4.5.5. В качестве покровного слоя применяются листы из алюминия и алюминиевых сплавов толщиной 1 мм или листы из оцинкованной стали, толщиной 0,8 - 1,0 мм, в том числе профилированные.

Для крепления металлического покрытия могут быть предусмотрены опорные конструкции из вертикально расположенных стальных уголков или планок. Элементы покрытия при этом крепятся винтами. Элементы покрытия могут быть соединены в картины.

Для крепления покрытия тепловой изоляции может быть предусмотрен также каркас из деревянных брусков. Покровный слой при этом крепится шурупами к каркасу из деревянных брусков по вертикали и винтами по горизонтали РИС. 5-4, РИС. 5-5, РИС. 5-6.

Шаг установки опорных конструкций определяется размерами элементов покровного слоя.

4.5.6. При наличии приваренных к резервуару бандажей с шагом 3 м цилиндрическая часть резервуара может быть изолирована полносборными панельными конструкциями с теплоизоляционным слоем из матов из базальтового холста марки МПБ в обкладках из стеклоткани или стеклосетки. Крепление матов к покрытию осуществляется шплинтами и струнами (стяжками) из проволоки диаметром 1,2 - 2,0 мм.

4.5.7. Если резервуар имеет систему наружного обогрева цилиндрической части, следует создать воздушный зазор шириной не менее 180 мм по высоте резервуара. Для создания воздушного зазора к поверхности резервуара приваривают каркас из стальных уголков и планок. Крепление теплоизоляционного слоя осуществляется штырями, приваренными к вертикально расположенным элементам каркаса РИС. 5-7, РИС. 5-8.

В качестве теплоизоляционного слоя рекомендуется применять маты марки МПБ-50 в обкладках со всех сторон. Могут быть применены маты с односторонней обкладкой.

Могут быть применены также полносборные конструкции на основе матов из базальтового холста в обкладках.

4.6. Тепловая изоляция резервуаров для хранения холодной питьевой воды в системах водоснабжения.

Для тепловой изоляции резервуаров для хранения холодной воды в системах водоснабжения рекомендуется, в первую очередь, применять маты прошивные из базальтового холста марки МПБ-50 в обкладках из стеклоткани с двух сторон. Конструкция тепловой изоляции аналогична приведенной в п. 4.5.4. - 4.5.5. с каркасом из деревянных брусков и отличается наличием пароизоляционного слоя. РИС. 6-1, РИС. 6-2, РИС. 6-3, РИС. 6-4, РИС. 6-5, РИС. 6-6.

Теплоизоляционные изделия на основе супертонкого базальтового волокна производства ОАО «ТИЗОЛ» (или пакеты из них) устанавливаются в один или два слоя, в зависимости от расчетной толщины изоляции, между стойками деревянного каркаса, крепятся штырями с перевязкой оцинкованной проволокой по штырям. РИС. 6-1, РИС. 6-2, РИС. 6-3, РИС. 6-4, РИС. 6-5, РИС. 6-6.

Поверх плит устанавливается пароизоляционный слой с герметизацией швов и мест возможных проколов. Для предотвращения повреждения пароизоляционного слоя устанавливается предохранительный слой из плит мягких марки БВТМ-ПМ или материала МБОР, могут применяться стекловолокнистые материалы, например, полотно иглопробивное или холстопрошивное.

Металлическое покрытие крепится шурупами к деревянным конструкциям. Швы покрытия герметизируются накладками из металлического профиля и герметиком. Приварные крепежные элементы должны быть окрашены лаком БТ-577 или другим антикоррозионным составом. Элементы деревянного каркаса должны быть обработаны антипиреном и антисептическим составом.

По поверхности изоляции крыши под покровный слой также следует устанавливать пароизоляционный слой.

1. Пакеты из плиты БВТМ-ПМ

Поз. 9-12 указаны на рис. 6.2.

H1 - высота резервуара, Н2 - высота цилиндрической стенки, Dвн. - внутренний диаметр резервуара

Рис. 6.1. Изоляция резервуара для хранения холодной воды пакетами из плит БВТМ-ПМ, матами МПБ, холстами БСТВ с металлическим покровным слоем

1. Пакеты из плит БВТМ-ПМ (маты МПБ); 2. Стойка (брусок); 3. Скоба; 4. Накладка; 5. Штырь; 6. Полка (доска); 7. Струна; 8. Кольцо; 9. Пароизоляционный слой; 10. Герметизирующая лента; 11. Предохранительный слой; 12. Покрытие; 13. Герметизирующий профиль

Рис. 6.2. Узел I к рис. 6.1. Конструкция тепловой изоляции цилиндрической стенки резервуара

1. Пакеты из плиты мягкой БВТМ-ПМ (маты марок МПБ); 4. Накладка, приваренная к стенке резервуара; 5. Штырь для крепления первого слоя изоляции

Рис. 6.3. Узел III и разрез 4-4 к рис. 6.2.

2. Стойка из бруса 50×60 мм; 3. Скоба из ленты стальной 3×30 мм

Размеры на рисунке указаны для толщины изоляции 150 мм,

Рис. 6.4. Разрезы 2-2 и 3-3 к рис. 6.2.

1. Пакеты из плит мягких марки БВТМ-ПМ (маты морок МПБ); 5. Штырь; 6. Полка (из доски толщиной 20 мм); 7. Струна из проволоки 2 мм; 9. Пароизоляционный слой; 10. Герметизирующая лента; 11. Предохранительный слой; 12. Защитное покрытие; 14. Брусок; 15. Гвоздь; 16. Отмостка

Рис. 6.5. Узел IV и разрезы 5-5 и 6-6 к рис. 6.2.

17. Винт самонарезающий; 18. Шуруп; 19. Герметик

Остальные позиции на рис. 6.2-6.5.

Рис. 6.6. Разрезы 7-7 и 9-9 к рис. 6.2.

5. РАСЧЕТ ТОЛЩИНЫ ТЕПЛОИЗОЛЯЦИОННОГО СЛОЯ КОНСТРУКЦИЙ НА ОСНОВЕ ТЕПЛОИЗОЛЯЦИОННЫХ ИЗДЕЛИЙ ИЗ СУПЕРТОНКОГО БАЗАЛЬТОВОГО ВОЛОКНА ПРОИЗВОДСТВА ОАО «ТИЗОЛ»

Методика расчета толщины теплоизоляционного слоя на основе теплоизоляционных изделий на основе супертонкого базальтового волокна производства ОАО «ТИЗОЛ» в конструкциях тепловой изоляции оборудования и трубопроводов определяется в зависимости от назначения теплоизоляционной конструкции.

5.1. Тепловая изоляция с целью обеспечения заданной плотности теплового потока с поверхности изолированного объекта.

5.1.1. Допустимое значение плотности теплового потока с поверхности изолированного объекта определяется требованиями технологического процесса, общим тепловым балансом предприятия или нормативными значениями плотности теплового потока в соответствии со СНиП 41-03-2003 «Тепловая изоляция оборудования и трубопроводов».

Для объектов, расположенных в Свердловской области и Екатеринбурге, нормативное значение плотности теплового потока может приниматься по ТСН 23-337-2002 Свердловской области.

Для объектов, расположенных на территории Ямало-Ненецкого автономного округа, нормативное значение плотности теплового потока может приниматься по ТСН 41-309-2004 Ямало-Ненецкого автономного округа.

5.1.2. Для плоских поверхностей и поверхностей с большим радиусом кривизны (R 1,0 м) толщина теплоизоляционного слоя определяется по допустимой плотности теплового потока с единицы поверхности изолированного объекта.

Расчет выполняется по формуле:

                                                                            (1)

где: λиз - коэффициент теплопроводности теплоизоляционного слоя, Вт/(м∙°С);

tm - температура теплоносителя, °С;

t0 - среднегодовая температура окружающего воздуха - для оборудования, расположенного на открытом воздухе, или расчетная температура в помещении, °С;

q - плотность теплового потока с единицы поверхности, Вт/м2;

αн - коэффициент теплоотдачи с поверхности теплоизоляционной конструкции, Вт/(м2∙°С).

5.1.3. Для трубопроводов и аппаратов наружным диаметром более 1420 мм толщина теплоизоляционного слоя по нормированной плотности теплового потока, приведенного в СНиП 41-03-2003, определяется по формуле (1) и нормам плотности теплового потока для плоской поверхности.

При расчетах по нормам плотности теплового потока, приведенных в ТСН 23-337-2002, для цилиндрических поверхностей диаметром более 1020 мм толщина теплоизоляционного слоя также рассчитывается по формуле (1).

При заданной линейной плотности теплового потока, отличной от нормированной, для цилиндрических аппаратов наружным диаметром 1620 - 1820 мм толщина тепловой изоляции определяется по формуле (2).

5.1.4. При расчетах толщины тепловой изоляции по нормированной плотности теплового потока, приведенной в СНиП 41-03-2003, для трубопроводов и оборудования наружным диаметром до 1420 мм вкл. толщина тепловой изоляции определяется по формуле (2).

                                                (2)

где: dиз - наружный диаметр изоляционной конструкции, м;

dн - наружный диаметр изолируемого объекта, м;

tm - температура теплоносителя, °С;

t0 - среднегодовая температура окружающего воздуха - для объектов, расположенных на открытом воздухе, или расчетная температура в помещении, °С,

ql - расчетная линейная плотность теплового потока, Вт/м,

αн - коэффициент теплоотдачи от поверхности изоляции к окружающему воздуху, Вт/(м2∙°С).

При расчетах толщины тепловой изоляции по нормированной плотности теплового потока, приведенной в ТСН 23-337-2002, для трубопроводов и оборудования наружным диаметром до 1020 мм вкл. толщина тепловой изоляции также определяется по формуле (2).

После определения комплекса ln dиз/dн толщину изоляции вычисляют по формуле:

                                                                                 (3)

где δиз - толщина изоляции, м.

5.1.5. Коэффициент теплопроводности теплоизоляционных материалов в конструкции принимается при средней температуре теплоизоляционного слоя с учетом коэффициента уплотнения, шовности, влияния крепежных деталей и условий эксплуатации на основании показателей, приведенных в технических условиях на эти материалы с учетом результатов исследований, проведенных ИЦ «Стройтеплоизоляция-тест».

5.1.6. Коэффициент теплоотдачи от изолируемой поверхности к окружающему воздуху следует принимать по приложению 1.

5.1.7. В таблицах 5.1.1. - 5.1.16. приведены рекомендуемые значения толщины теплоизоляционного слоя из матов прошивных теплоизоляционных из базальтового холста марок МПБ-30 и МПБ-50, плит мягких марки БВТМ-ПМ, холстов из базальтовых супертонких волокон марок БСТВ-ст и БСТВ-сп, и материала базальтового огнезащитного рулонного МБОР, отвечающие нормам плотности теплового потока по СНиП 41-03-2003. Толщина теплоизоляционного слоя рассчитана для трубопроводов и оборудования промышленных объектов, расположенных на открытом воздухе и в помещении, для Европейского региона России при числе часов работы более 5000 и 5000 и менее.

5.1.8. В таблицах 5.1.17. - 5.1.4. приведены рекомендуемые значения толщины теплоизоляционного слоя из матов прошивных теплоизоляционных из базальтового холста марок МПБ-30 и МПБ-50, плит мягких марки БВТМ-ПМ, холстов из базальтовых супертонких волокон марок БСТВ-ст и БСТВ-сп и материала базальтового огнезащитного рулонного МБОР, отвечающие нормам плотности теплового потока по ТСН 23-337-2002 Свердловской области, в конструкциях тепловой изоляции трубопроводов и оборудования, расположенных на открытом воздухе на промышленных объектах г. Екатеринбурга и Свердловской области.

5.1.9. В таблицах 5.1.24. - 5.1.32. приведены рекомендуемые значения толщины теплоизоляционного слоя из матов прошивных теплоизоляционных из базальтового холста марок МПБ-30 и МПБ-50, плит мягких марки БВТМ-ПМ, холстов из базальтовых супертонких волокон марок БСТВ-ст и БСТВ-сп и материала базальтового огнезащитного рулонного МБОР, отвечающие нормам плотности теплового потока по ТСН 23-337-2002 Свердловской области, в конструкциях тепловой изоляции трубопроводов и оборудования, расположенных в помещениях промышленных объектов на территории г. Екатеринбурга и Свердловской области.

5.1.10. Коэффициент теплопроводности теплоизоляционных материалов принят при средней температуре теплоизоляционного слоя в соответствии с указаниями п. 5.1.5.

Таблица 5.1.1. Толщина теплоизоляционного слоя из плит марки БВТМ-ПМ, отвечающая нормам плотности теплового потока для Европейского региона России по СНиП 41-03-2003, в конструкции изоляции оборудования и трубопроводов, расположенных на открытом воздухе. Число часов работы 5000 и более.

Наружный диаметр, мм

Температура теплоносителя, °С

20

50

100

150

200

250

300

350

400

450

500

550

600

Толщина теплоизоляционного слоя, мм

57

20

30

40

60

60

70

100

100

110

120

130

150

150

76

25

30

50

60

70

80

100

110

120

130

150

160

160

89

25

35

50

60

70

86

100

110

130

140

150

170

170

108

25

40

60

70

80

90

110

120

130

150

160

180

180

133

25

40

60

70

90

100

110

130

140

150

160

180

190

159

30

40

60

80

90

100

110

130

140

150

160

180

190

219

30

50

70

80

100

110

120

130

150

170

180

200

210

273

30

50

70

90

100

120

130

140

160

170

190

210

220

325

30

50

70

90

100

120

130

150

170

180

200

220

230

377

30

50

70

90

100

120

140

150

170

190

210

220

240

426

30

50

70

90

110

120

140

160

180

190

210

230

250

473

30

50

70

90

110

120

140

160

180

200

220

240

250

530

30

50

70

90

110

130

150

170

190

200

220

240

260

630

30

50

80

90

110

130

150

170

190

210

230

250

270

720

30

50

80

90

120

140

160

180

200

220

240

260

280

820

30

50

80

90

120

140

160

180

200

220

240

270

290

920

35

50

80

100

120

140

160

190

210

230

250

270

290

1020

35

50

80

100

120

140

170

190

210

230

250

280

300

1420

35

60

80

110

130

150

170

200

220

250

270

290

300

Более
1420*

35

60

90

120

150

170

200

230

260

260

280

290

300

*- в том числе поверхности с большим радиусом кривизны и плоские поверхности.

Таблица 5.1.2. Толщина теплоизоляционного слоя из матов марки МПБ-30 или холстов марки БСТВ-ст, БСТВ-сп, отвечающая нормам плотности теплового потока для Европейского региона России по СНиП 41-03-2003, в конструкции изоляции оборудования и трубопроводов, расположенных на открытом воздухе. Число часов работы 5000 и более.

Наружный диаметр, мм

Температура теплоносителя, °С

20

50

100

150

200

250

300

350

400

450

500

550

600

Толщина теплоизоляционного слоя, мм

18

30

30

30

40

40

50

60

70

80

100

100

100

100

25

30

30

30

40

40

50

60

70

80

90

100

110

120

32

30

30

40

40

50

50

60

70

90

100

110

120

140

38

30

30

40

40

50

60

70

80

90

100

110

130

140

45

30

30

40

50

50

60

70

80

100

110

120

140

140

57

30

30

40

50

60

60

80

90

100

120

130

150

150

76

30

30

50

60

60

70

90

100

120

130

140

160

160

89

30

30

50

60

70

80

90

110

120

140

150

170

170

108

30

30

50

60

70

80

100

110

130

140

160

180

180

133

30

30

60

70

80

90

100

110

130

150

160

180

200

159

30

30

60

70

80

90

100

110

130

150

160

180

200

219

30

50

70

80

90

100

110

130

140

160

180

190

210

273

30

50

70

80

100

110

120

130

150

170

190

200

220

325

30

50

70

80

100

110

120

140

160

180

200

210

230

377

30

50

70

80

100

110

130

150

160

180

200

220

240

426

30

50

70

80

100

110

130

150

170

190

210

230

250

473

30

50

70

90

100

110

130

150

170

190

210

230

250

530

30

50

70

90

100

120

140

160

180

200

220

240

260

630

30

50

70

90

110

120

140

160

190

210

230

250

270

720

30

50

70

90

110

120

150

170

190

210

230

260

280

820

30

50

80

90

110

130

150

170

200

220

240

260

290

920

40

50

80

100

110

130

150

180

200

220

250

270

290

1020

40

50

80

100

120

130

160

180

200

230

250

270

300

1420

40

60

80

100

120

140

160

190

210

240

260

290

300

Более
1420*

40

60

90

120

140

160

190

220

250

260

270

290

300

*- в том числе поверхности с большим радиусом кривизны и плоские поверхности.

Таблица 5.1.3. Толщина теплоизоляционного слоя из матов марки МПБ-50, отвечающая нормам плотности теплового потока для Европейского региона России по СНиП 41-03-2003, в конструкции изоляции оборудования и трубопроводов, расположенных на открытом воздухе. Число часов работы 5000 и более.

Наружный диаметр, мм

Температура теплоносителя, °С

20

50

100

150

200

250

300

350

400

450

500

550

600

Толщина теплоизоляционного слоя, мм

18

30

30

30

40

40

40

50

60

60

70

80

80

90

25

30

30

30

40

40

40

50

60

60

70

80

80

90

32

30

30

40

40

40

50

50

60

70

70

80

90

90

38

30

30

40

40

50

50

60

60

70

80

80

90

100

45

30

30

40

40

50

50

60

70

80

80

90

100

110

57

30

30

40

50

50

60

70

70

80

90

100

110

110

76

30

30

50

50

60

60

80

80

90

100

109

120

130

89

30

40

50

60

60

70

80

90

100

110

120

130

140

108

30

40

50

60

70

70

80

100

100

120

120

130

140

133

30

40

60

70

70

80

90

100

110

120

130

140

150

159

30

40

60

70

80

90

90

100

110

120

130

140

150

219

30

50

60

80

90

90

100

110

120

130

140

150

160

273

30

50

70

80

90

100

100

120

130

140

150

160

180

325

30

50

70

80

90

100

110

120

140

150

160

170

190

377

30

50

70

80

90

100

110

130

140

160

170

180

190

426

30

50

70

80

90

100

120

130

150

160

170

190

200

473

30

50

70

80

90

110

120

130

150

160

180

190

210

530

30

50

70

80

100

110

120

140

150

170

180

200

210

630

30

50

70

90

100

110

130

150

160

180

190

210

220

720

30

50

70

90

100

120

130

150

170

180

200

210

230

820

30

50

70

90

110

120

140

150

170

190

200

20

240

920

30

50

80

90

110

120

140

160

170

190

210

230

240

1020

40

50

80

90

110

120

140

160

180

200

210

230

250

1420

40

60

80

100

120

130

150

170

190

210

230

240

250

Более
1420*

40

60

90

110

130

150

180

200

230

230

240

250

260

* - в том числе поверхности с большим радиусом кривизны и плоские поверхности

Таблица 5.1.4. Толщина теплоизоляционного слоя из материала МБОР, отвечающая нормам плотности теплового потока для Европейского региона России по СНиП 41-03-2003, в конструкции изоляции оборудования и трубопроводов, расположенных на открытом воздухе. Число часов работы 5000 и более.

Наружный диаметр, мм

Температура теплоносителя, °С

20

50

100

150

200

250

300

350

400

450

500

550

600

Толщина теплоизоляционного слоя, мм

18

15

25

35

40

50

50

60

60

70

80

90

90

100

25

20

25

35

40

50

50

60

60

70

80

90

90

100

32

20

25

40

40

50

50

60

70

80

90

90

100

110

38

20

30

40

50

50

55

60

70

80

90

100

110

120

45

25

35

40

50

60

60

70

80

90

100

100

110

120

57

25

35

40

50

60

60

70

80

90

100

110

120

130

76

25

35

50

60

70

70

80

90

100

120

120

140

150

89

25

40

50

60

70

80

90

100

110

120

130

140

150

108

25

40

60

70

70

80

90

110

120

130

140

150

160

133

30

50

60

70

80

90

100

110

120

130

150

160

170

159

30

50

70

70

90

90

100

110

120

130

150

160

170

219

30

50

70

80

90

100

110

120

130

150

160

170

180

273

35

50

70

90

100

110

110

130

140

160

170

180

200

325

35

50

70

90

100

110

120

130

150

160

180

190

210

377

35

50

70

90

100

110

120

140

150

170

180

200

210

426

35

50

70

90

100

110

130

140

160

170

190

200

220

473

35

50

70

90

100

110

130

150

160

180

200

210

230

530

35

50

80

90

100

120

130

150

170

180

200

220

230

630

35

60

80

90

110

120

140

160

170

190

210

230

240

720

35

60

80

100

110

120

140

160

180

200

210

230

250

820

35

60

80

100

110

130

150

170

180

200

220

240

260

920

35

60

80

100

120

130

150

170

190

210

230

240

260

1020

35

60

80

100

120

130

150

170

190

210

230

220

270

1420

40

60

90

110

120

140

160

180

200

220

240

260

270

Более
1420*

40

60

100

120

140

160

190

210

240

240

260

270

280

*- в том числе поверхности с большим радиусом кривизны и плоские поверхности.

Таблица 5.1.5. Толщина теплоизоляционного слоя из плит марки БВТМ-ПМ, отвечающая нормам плотности теплового потока для Европейского региона России по СНиП 41-03-2003, в конструкции изоляции оборудования и трубопроводов, расположенных на открытом воздухе. Число часов работы менее 5000.

Наружный диаметр, мм

Температура теплоносителя, °С

20

50

100

150

200

250

300

350

400

450

500

550

600

Толщина теплоизоляционного слоя, мм

57

20

25

40

40

60

60

70

80

90

100

110

120

130

76

20

30

40

50

60

70

80

90

100

110

120

130

140

89

20

30

40

50

60

70

80

90

110

120

130

140

150

108

20

30

50

60

70

80

90

100

110

120

130

140

150

133

20

35

50

60

70

80

90

100

110

120

130

140

150

159

25

35

50

60

70

80

90

100

110

130

140

150

160

219

25

40

50

70

80

90

100

110

120

140

150

160

170

273

25

40

60

70

90

90

100

120

130

150

160

170

180

325

25

40

60

70

90

90

110

120

140

150

170

180

190

377

25

40

60

70

90

100

110

130

140

160

170

190

200

426

25

40

60

70

90

100

120

130

150

160

180

190

200

473

25

40

60

70

90

100

120

130

150

160

180

190

210

530

25

40

60

80

90

100

120

140

150

170

180

200

210

630

25

40

60

80

90

110

120

140

160

170

190

210

220

720

25

40

60

80

100

110

130

150

160

180

200

210

230

820

25

40

60

80

100

110

130

150

170

180

200

220

230

920

25

40

60

80

100

120

130

150

170

190

200

220

240

1020

25

40

70

80

100

120

140

150

170

190

210

230

240

1420

30

50

70

90

100

120

140

160

180

200

220

240

260

Более
1420*

30

50

70

90

110

140

160

190

210

220

240

260

290

*- в том числе поверхности с большим радиусом кривизны и плоские поверхности.

Таблица 5.1.6. Толщина теплоизоляционного слоя из матов марки МПБ-30 или холстов марки БСТВ-ст, БСТВ-сп, отвечающая нормам плотности теплового потока для Европейского региона России по СНиП 41-03-2003, в конструкции изоляции оборудования и трубопроводов, расположенных на открытом воздухе. Число часов работы менее 5000.

Наружный диаметр, мм

Температура теплоносителя, °С

20

50

100

150

200

250

300

350

400

450

500

550

600

Толщина теплоизоляционного слоя, мм

18

30

30

30

30

40

40

50

60

70

80

90

100

100

25

30

30

30

30

40

40

50

60

70

80

90

100

100

32

30

30

30

40

40

40

50

60

70

80

90

100

110

38

30

30

30

40

40

50

60

60

70

90

100

110

120

45

30

30

30

40

40

50

60

70

80

90

100

110

120

57

30

30

40

40

49

50

60

80

90

100

110

120

130

76

30

30

40

50

50

60

70

80

90

110

120

130

140

89

30

30

40

50

60

60

80

90

100

110

120

140

150

108

30

30

40

50

60

70

80

90

100

120

130

140

150

133

30

30

50

60

60

70

80

90

100

120

130

140

150

159

30

40

50

60

70

70

80

100

110

120

140

150

160

219

30

40

50

70

80

80

90

100

120

130

150

160

170

273

30

40

60

70

80

80

100

110

130

140

160

170

180

325

30

40

60

70

80

90

100

120

130

150

160

180

190

377

30

40

60

70

80

90

100

120

140

150

170

180

200

426

30

40

60

70

80

90

110

120

140

160

170

190

210

473

30

40

60

70

80

90

110

130

140

160

180

190

210

530

30

40

60

70

80

100

110

130

150

160

180

200

210

630

30

40

60

70

90

100

120

130

150

170

190

210

220

720

30

40

60

80

90

100

120

140

160

170

190

210

230

820

30

40

60

80

90

100

120

140

160

180

200

220

230

920

30

40

60

80

90

110

130

140

160

180

200

220

240

1020

30

40

60

80

90

110

130

150

170

190

200

220

240

1420

30

50

70

80

100

110

130

150

170

190

220

240

260

Более
1420*

30

50

70

90

110

130

150

180

200

220

240

260

290

*- в том числе поверхности с большим радиусом кривизны и плоские поверхности

Таблица 5.1.7. Толщина теплоизоляционного слоя из матов марки МПБ-50, отвечающая нормам плотности теплового потока для Европейского региона России по СНиП 41-03-2003, в конструкции изоляции оборудования и трубопроводов, расположенных на открытом воздухе. Число часов работы менее 5000.

Наружный диаметр, мм

Температура теплоносителя, °С

20

50

100

150

200

250

300

350

400

450

500

550

600

Толщина теплоизоляционного слоя, мм

18

30

30

30

30

30

40

40

40

50

60

60

70

70

25

30

30

30

30

30

40

40

40

50

60

60

70

70

32

30

30

30

30

40

40

50

50

60

60

70

70

80

38

30

30

30

40

40

40

50

50

60

70

70

80

80

45

30

30

30

40

40

50

50

50

60

70

80

80

90

57

30

30

40

40

50

50

60

60

70

80

80

90

100

76

30

30

40

50

50

50

60

70

80

90

90

100

110

89

30

30

40

50

50

60

70

70

80

90

100

110

110

108

30

30

40

50

60

60

70

80

90

90

100

110

120

133

30

30

50

50

60

60

70

80

90

90

100

110

120

159

30

40

50

60

60

60

70

80

90

100

110

120

130

219

30

40

50

60

70

70

80

90

101

110

110

130

140

273

30

40

60

70

80

80

90

100

110

120

130

140

150

325

30

40

60

70

80

80

90

100

110

120

130

150

160

377

30

40

60

70

80

80

90

110

120

130

140

150

160

426

30

40

60

70

80

80

100

110

120

130

140

160

170

473

30

40

60

70

80

90

100

110

120

140

150

160

170

530

30

40

60

70

80

90

100

110

130

140

150

160

180

630

30

40

60

70

80

90

110

120

130

150

160

170

180

720

30

40

60

70

80

90

110

120

140

150

160

180

190

820

30

40

60

70

90

100

110

120

140

150

170

180

190

920

30

40

60

80

90

100

110

130

140

160

170

190

200

1020

30

40

60

80

90

100

120

130

150

160

170

190

200

1420

30

40

70

80

90

110

120

140

150

170

180

200

210

Более
1420*

30

50

70

90

100

120

140

160

180

190

210

230

240

*- в том числе поверхности с большим радиусом кривизны и плоские поверхности.

Таблица 5.1.8. Толщина теплоизоляционного слоя из материала марки МБОР, отвечающая нормам плотности теплового потока для Европейского региона России по СНиП 41-03-2003, в конструкции изоляции оборудования и трубопроводов, расположенных на открытом воздухе. Число часов работы менее 5000.

Наружный диаметр, мм

Температура теплоносителя, °С

20

50

100

150

200

250

300

350

400

450

500

550

600

Толщина теплоизоляционного слоя, мм

18

15

20

30

35

40

40

50

50

60

70

70

80

90

25

15

20

30

35

40

40

50

50

60

70

70

80

90

32

15

25

30

35

40

40

50

60

60

70

80

80

90

38

20

25

35

40

40

50

50

60

70

80

80

90

100

45

20

25

35

40

50

50

60

60

70

80

90

100

100

57

20

30

40

40

50

50

60

70

80

90

100

100

110

76

20

30

40

50

50

60

70

80

90

100

100

110

120

89

20

30

40

50

60

60

70

80

90

100

110

120

130

108

25

35

50

60

60

70

80

90

90

100

110

120

130

133

25

35

50

60

70

70

80

90

90

100

110

120

130

159

25

40

50

60

70

70

80

90

100

110

120

130

140

219

30

40

60

70

80

90

90

100

110

120

130

140

150

273

30

40

60

70

80

90

90

110

120

130

140

150

160

325

30

40

60

70

80

90

100

110

120

140

150

160

170

377

30

40

60

70

80

90

100

110

130

140

150

170

180

426

30

40

60

70

80

90

110

120

130

140

160

170

180

473

30

40

60

70

80

90

110

120

130

150

160

170

190

530

30

40

60

80

90

100

110

120

140

150

170

180

190

630

30

50

60

80

90

100

110

130

140

160

170

190

200

720

30

50

70

80

90

100

120

130

150

160

180

190

200

820

30

50

70

80

90

100

120

140

150

170

180

200

210

920

30

50

70

80

90

110

120

140

150

170

190

200

220

1020

30

50

70

80

100

110

120

140

160

170

190

200

220

1420

30

50

70

90

100

110

130

150

160

180

200

220

230

Более
1420*

30

50

70

90

110

130

150

170

190

210

220

240

260

* - в том числе поверхности с большим радиусом кривизны и плоские поверхности.

Таблица 5.1.9. Толщина теплоизоляционного слоя из плит марки БВТМ-ПМ, отвечающая нормам плотности теплового потока для Европейского региона России по СНиП 41-03-2003, в конструкции изоляции оборудования и трубопроводов, расположенных в помещении. Число часов работы 5000 и более.

Наружный диаметр, мм

Температура теплоносителя, °С

50

100

150

200

250

300

350

400

450

500

550

600

Толщина теплоизоляционного слоя, мм

57

30

40

50

60

70

80

100

110

120

130

140

150

76

30

40

60

70

80

90

110

120

130

140

150

160

89

30

50

60

70

80

100

110

120

140

150

160

170

108

30

50

60

80

90

100

120

130

140

160

170

180

133

30

50

70

80

100

110

120

140

150

170

180

190

159

40

60

70

80

100

120

130

150

160

180

190

200

219

40

60

80

90

110

130

140

160

170

190

210

220

273

40

60

80

100

110

130

150

170

180

200

220

230

325

40

70

90

100

120

110

160

170

190

210

230

240

377

40

70

90

110

130

140

160

180

200

220

230

250

426

40

70

90

110

130

150

170

190

200

220

240

260

473

40

70

90

110

130

150

170

190

210

230

250

260

530

40

70

90

110

130

150

180

190

210

230

250

270

630

50

80

100

120

140

160

180

200

220

240

260

280

720

50

80

100

120

140

160

190

210

230

250

270

290

820

50

80

100

120

150

170

190

210

230

250

280

300

920

50

80

100

130

150

170

190

220

240

260

280

300

1020

50

80

110

130

150

170

200

220

240

260

290

310

1420

50

80

110

130

160

180

210

230

260

280

300

320

Более
1420*

50

80

110

130

160

190

210

240

270

300

320

320

* - в том числе поверхности с большим радиусом кривизны и плоские поверхности

Таблица 5.1.10. Толщина теплоизоляционного слоя из матов марки МПБ-30 или холстов марки БСТВ-ст, БСТВ-сп, отвечающая нормам плотности теплового потока для Европейского региона России по СНиП 41-03-2003, в конструкции изоляции оборудования и трубопроводов, расположенных в помещении. Число часов работы 5000 и более.

Наружный диаметр, мм

Температура теплоносителя, °С

50

100

150

200

250

300

350

400

450

500

550

600

Толщина теплоизоляционного слоя, мм

18

30

30

30

40

50

60

70

80

90

100

100

100

25

30

30

30

40

50

60

70

80

90

100

110

120

32

30

30

40

40

50

60

70

80

100

110

120

130

38

30

30

40

50

50

70

80

90

100

110

130

140

45

30

32

40

50

60

70

80

90

110

120

130

140

57

30

40

50

50

60

80

90

100

110

130

140

150

76

30

40

50

60

70

80

100

110

130

140

150

160

89

30

40

50

60

70

90

100

120

130

150

160

170

108

30

50

60

70

80

90

110

120

140

150

170

180

133

30

50

60

70

90

100

120

130

150

160

190

200

159

40

50

70

80

90

110

120

140

150

170

190

210

219

40

60

70

80

100

120

130

150

170

190

210

220

273

40

60

80

90

110

120

140

160

180

200

220

230

325

40

60

80

90

110

130

150

170

190

210

230

250

377

40

60

80

100

120

140

160

170

190

210

230

250

426

40

70

80

100

120

140

160

180

200

220

240

260

473

40

70

90

100

120

140

160

180

200

220

250

270

530

40

70

90

100

120

150

170

190

210

230

250

270

630

40

70

90

110

130

150

170

200

220

240

260

280

720

40

70

90

110

130

160

180

200

220

250

270

280

820

50

70

100

110

140

160

180

210

230

250

280

300

920

50

70

100

120

140

160

190

210

230

260

280

300

1020

50

80

100

120

140

170

190

210

240

260

290

310

1420

50

80

100

120

150

170

200

220

250

280

300

320

Более
1420*

50

80

100

120

150

180

210

240

260

290

320

320

* - в том числе поверхности с большим радиусом кривизны и плоские поверхности

Таблица 5.1.11. Толщина теплоизоляционного слоя из матов марки МПБ-50, отвечающая нормам плотности теплового потока для Европейского региона России по СНиП 41-03-2003, в конструкции изоляции оборудования и трубопроводов, расположенных в помещении. Число часов работы 5000 и более.

Наружный диаметр, мм

Температура теплоносителя, °С

50

100

150

200

250

300

350

400

450

500

550

600

Толщина теплоизоляционного слоя, мм

18

30

30

30

30

40

50

50

60

60

70

70

80

25

30

30

30

30

40

50

50

60

60

70

70

80

32

30

30

40

40

40

50

60

60

70

80

80

90

38

30

30

40

40

50

50

60

70

70

80

90

90

45

30

30

40

40

50

60

70

70

80

90

90

100

57

30

40

40

50

60

60

70

80

90

90

100

110

76

30

40

50

50

60

70

80

90

100

100

110

120

89

30

40

50

60

70

80

80

90

100

110

120

130

108

30

50

50

60

70

80

90

100

110

120

130

140

133

30

50

60

70

80

90

100

110

120

130

140

150

159

30

50

60

70

80

90

100

110

120

130

140

150

219

40

60

70

80

90

100

110

130

140

150

160

170

273

40

60

70

80

90

110

120

130

150

160

170

180

325

40

60

80

90

100

110

130

140

150

170

180

190

377

40

60

80

90

100

120

130

150

160

170

190

200

426

40

60

80

90

110

120

140

150

170

180

190

210

473

40

60

80

90

110

130

140

160

170

180

200

210

530

40

70

80

100

110

130

150

160

180

190

200

220

630

40

70

90

100

120

130

150

170

180

200

210

230

720

40

70

90

100

120

140

160

170

190

200

220

240

820

40

70

90

110

120

140

160

180

190

210

230

240

920

50

70

90

110

130

150

160

180

200

220

230

250

1020

50

70

90

110

130

150

170

180

200

220

240

250

1420

50

80

100

110

130

150

180

200

210

230

250

270

Более
1420*

50

80

100

120

140

160

190

210

230

250

280

300

* - в том числе поверхности с большим радиусом кривизны и плоские поверхности

Таблица 5.1.12. Толщина теплоизоляционного слоя из материала марки МБОР, отвечающая нормам плотности теплового потока для Европейского региона России по СНиП 41-03-2003, в конструкции изоляции оборудования и трубопроводов, расположенных в помещении. Число часов работы 5000 и более.

Наружный диаметр, мм

Температура теплоносителя, °С

50

100

150

200

250

300

350

400

450

500

550

600

Толщина теплоизоляционного слоя, мм

18

20

30

40

40

50

50

60

70

70

80

90

100

25

20

30

40

40

50

50

60

70

70

80

90

100

32

20

30

40

40

50

60

70

70

80

90

100

100

38

20

30

40

50

50

60

70

80

90

90

100

110

45

20

35

40

50

60

70

70

80

90

100

110

120

57

20

40

50

50

60

70

80

90

100

110

120

130

76

30

40

50

60

70

80

90

100

110

120

130

140

89

30

50

50

60

70

80

90

100

120

130

140

150

108

30

50

60

70

80

90

100

110

120

130

140

160

133

30

50

60

70

80

100

110

120

130

140

150

170

159

35

60

70

80

90

100

110

130

140

150

160

170

219

40

60

70

80

100

100

130

140

150

170

180

190

273

40

60

80

90

100

120

130

150

160

180

190

200

325

40

70

80

90

110

120

140

150

170

180

200

210

377

40

70

80

100

110

130

150

160

180

190

210

220

426

50

70

90

100

120

130

150

170

180

200

210

230

473

50

70

90

100

120

140

150

170

190

200

220

230

530

50

70

90

100

120

140

160

170

190

210

220

240

630

50

70

90

110

130

150

160

180

200

220

230

250

720

50

80

100

110

130

150

170

190

200

220

240

260

820

50

80

100

110

130

150

170

190

210

230

250

260

920

50

80

100

120

140

160

180

200

210

230

250

270

1020

50

80

100

120

140

160

180

200

220

240

260

280

1420

50

80

100

120

140

170

190

210

230

250

270

290

Более
1420*

50

80

100

120

150

170

200

220

250

270

300

320

* - в том числе поверхности с большим радиусом кривизны и плоские поверхности.

Таблица 5.1.13. Толщина теплоизоляционного слоя из плит марки БВТМ-ПМ, отвечающая нормам плотности теплового потока для Европейского региона России по СНиП 41-03-2003, в конструкции изоляции оборудования и трубопроводов, расположенных в помещении. Число часов работы менее 5000.

Наружный диаметр, мм

Температура теплоносителя, °С

50

100

150

200

250

300

350

400

450

500

550

600

Толщина теплоизоляционного слоя, мм

57

20

40

40

50

60

70

80

90

100

110

120

130

76

25

40

50

50

70

80

90

100

110

120

130

140

89

25

40

50

60

70

80

90

100

110

120

130

140

108

25

40

50

60

70

80

100

110

120

130

140

150

133

30

40

60

70

80

90

100

110

130

130

150

160

159

30

50

60

70

80

90

110

120

130

130

160

170

219

30

50

60

80

90

100

120

130

140

160

170

180

273

30

50

70

80

90

110

120

140

150

170

180

190

325

35

50

70

80

100

110

130

140

160

170

190

200

377

35

60

70

90

100

110

130

150

160

180

190

210

426

35

60

70

90

110

120

140

150

170

180

200

210

473

35

60

70

90

110

120

140

160

170

190

200

220

530

35

60

80

90

110

130

140

160

180

190

210

220

630

35

60

80

90

110

130

150

170

180

200

210

230

720

40

60

80

90

120

130

150

170

190

200

220

240

820

40

60

80

90

120

140

160

170

190

210

230

240

920

40

60

80

90

120

140

160

180

190

210

230

250

1020

40

60

80

90

120

140

160

180

200

220

230

250

1420

40

70

90

110

130

150

170

190

210

230

250

260

Более
1420*

40

70

90

120

140

170

190

210

240

260

290

300

* - в том числе поверхности с большим радиусом кривизны и плоские поверхности

Таблица 5.1.14. Толщина теплоизоляционного слоя из матов марки МПБ-30 или холстов марки БСТВ-ст, БСТВ-сп, отвечающая нормам плотности теплового потока для Европейского региона России по СНиП 41-03-2003, в конструкции изоляции оборудования и трубопроводов, расположенных в помещении. Число часов работы менее 5000.

Наружный диаметр, мм

Температура теплоносителя, °С

50

100

150

200

250

300

350

400

450

500

550

600

Толщина теплоизоляционного слоя, мм

18

30

30

30

30

40

50

50

60

70

80

90

100

25

30

30

30

30

40

50

50

60

70

80

90

100

32

30

30

30

40

40

50

60

70

80

90

100

110

38

30

30

30

40

50

50

60

70

80

90

100

110

45

30

30

40

40

50

60

70

80

90

100

110

120

57

30

30

40

40

50

60

70

80

90

110

120

130

76

30

40

40

50

60

70

80

90

100

110

130

140

89

30

40

40

50

60

70

80

100

110

120

130

150

108

30

40

50

60

70

80

90

100

110

130

140

150

133

30

40

50

60

70

80

100

110

120

140

150

160

159

30

40

50

60

80

90

100

110

130

140

160

170

219

30

50

60

70

80

100

110

130

140

160

170

180

273

30

50

60

70

90

100

120

130

150

160

180

190

325

30

50

60

80

90

110

120

140

150

170

190

200

377

40

50

70

80

90

110

130

140

160

180

190

210

426

40

50

70

80

100

110

130

150

160

180

200

210

473

40

50

70

80

100

120

130

150

170

180

200

220

530

40

60

70

80

100

120

140

160

170

190

210

220

630

40

60

70

90

110

120

140

160

180

200

210

230

720

40

60

80

90

110

130

150

160

180

200

220

240

820

40

60

80

90

110

130

150

168

190

210

230

240

920

40

60

80

90

110

130

150

170

190

210

230

250

1020

40

60

80

90

110

130

150

170

190

210

230

250

1420

40

60

80

100

120

140

160

180

200

220

250

270

Более
1420*

40

70

90

110

130

140

180

210

240

260

290

300

* - в том числе поверхности с большим радиусом кривизны и плоские поверхности

Таблица 5.1.15. Толщина теплоизоляционного слоя из матов марки МПБ-50, отвечающая нормам плотности теплового потока для Европейского региона России по СНиП 41-03-2003, в конструкции изоляции оборудования и трубопроводов, расположенных в помещении. Число часов работы менее 5000.

Наружный диаметр, мм

Температура теплоносителя, °С

50

100

150

200

250

300

350

400

450

500

550

600

Толщина теплоизоляционного слоя, мм

18

30

30

30

30

30

30

40

50

50

60

60

70

25

30

30

30

30

30

40

40

50

50

60

60

70

32

30

30

30

30

40

40

50

50

60

60

70

70

38

30

30

30

40

40

40

50

60

60

70

70

80

45

30

30

30

40

40

50

50

60

70

70

80

80

57

30

30

40

40

50

50

60

70

70

80

80

90

76

30

30

40

40

50

60

70

70

80

90

90

100

89

30

40

40

50

60

60

70

80

90

90

100

110

108

30

40

50

50

60

70

80

80

90

100

110

110

133

30

40

50

50

60

70

90

90

100

110

110

120

159

30

40

50

60

70

80

90

90

100

110

120

130

219

30

50

60

60

70

80

90

100

110

120

130

140

273

30

50

60

70

80

90

100

110

120

130

140

150

325

30

50

60

70

80

90

110

120

130

140

150

160

377

30

50

60

70

90

100

110

120

130

140

160

170

426

40

50

70

80

90

100

110

130

140

150

160

170

473

40

50

70

80

90

100

120

130

140

150

160

180

530

40

50

70

80

90

110

120

130

150

160

170

180

630

40

60

70

80

100

110

120

140

150

160

180

190

720

40

60

70

80

100

110

130

140

160

170

180

190

820

40

60

70

90

100

120

130

150

160

170

190

200

920

40

60

70

90

100

120

130

150

160

180

190

200

1020

40

60

80

90

100

120

140

150

170

180

190

210

1420

40

60

80

90

110

130

140

160

170

190

210

220

Более
1420*

40

60

80

100

120

140

160

190

200

230

250

260

* - в том числе поверхности с большим радиусом кривизны и плоские поверхности.

Таблица 5.1.16. Толщина теплоизоляционного слоя из материала марки МБОР, отвечающая нормам плотности теплового потока для Европейского региона России по СНиП 41-03-2003, в конструкции изоляции оборудования и трубопроводов, расположенных в помещении. Число часов работы менее 5000.

Наружный диаметр, мм

Температура теплоносителя, °С

50

100

150

200

250

300

350

400

450

500

550

600

Толщина теплоизоляционного слоя, мм

18

20

25

30

30

40

40

50

60

60

70

70

80

25

20

25

30

30

40

40

50

60

60

70

70

80

32

20

25

30

35

40

48

50

60

70

70

80

90

38

20

30

35

40

40

50

60

60

70

77

80

90

45

20

30

35

40

50

50

60

70

80

80

90

100

57

20

35

40

40

50

60

70

70

80

90

100

100

76

20

35

40

50

60

70

70

80

90

100

110

120

89

25

35

50

50

60

70

80

90

100

100

110

120

108

25

40

50

60

60

70

80

90

100

110

120

130

133

30

40

50

60

70

80

90

100

110

120

130

150

159

30

40

60

60

70

80

90

100

110

120

140

150

219

30

50

60

70

80

90

100

120

130

140

150

160

273

35

50

60

70

90

100

110

120

130

150

160

170

325

35

50

70

80

90

100

120

130

140

150

160

180

377

35

60

70

80

90

110

120

130

140

160

170

180

426

35

60

70

80

100

110

120

140

150

160

180

190

473

35

60

70

80

100

110

130

140

150

170

180

190

530

40

60

70

90

100

120

130

140

160

170

190

200

630

40

60

80

90

100

120

130

150

160

180

190

210

720

40

60

80

90

110

120

140

150

170

180

200

210

820

40

60

80

90

110

130

140

160

170

190

200

220

920

40

60

80

90

110

130

140

160

180

190

210

220

1020

40

60

80

100

110

130

150

160

180

200

210

230

1420

40

70

80

100

120

140

150

170

190

200

220

240

Более
1420*

40

70

90

110

130

150

180

200

220

240

260

280

* - в том числе поверхности с большим радиусом кривизны и плоские поверхности

Таблица 5.1.17. Толщина теплоизоляционного слоя из плит марки БВТМ-ПМ в конструкции тепловой изоляции оборудования и трубопроводов, отвечающая нормам плотности теплового потока для г. Екатеринбурга по ТСН 23-337-2002 при расположении на открытом воздухе.

Наружный диаметр, мм

Температура теплоносителя, °С

20

50

100

150

200

250

300

350

400

450

Толщина теплоизоляционного слоя из плит БВТМ-ПМ, мм

57

25

40

50

70

80

100

110

130

150

150

76

30

40

60

80

90

110

120

140

160

160

89

30

45

66

80

100

110

130

150

170

170

108

30

50

70

90

100

120

140

160

180

180

133

40

50

80

100

110

130

150

170

190

200

159

40

60

80

100

120

140

160

180

200

220

219

40

60

90

110

130

150

180

200

230

230

273

40

70

100

120

140

160

190

220

230

230

325

50

70

100

130

150

170

200

230

240

240

377

50

70

100

130

160

180

210

240

240

240

426

50

80

110

140

160

190

220

240

250

250

473

50

80

110

140

170

190

220

250

250

250

530

50

80

120

140

170

200

230

260

260

260

630

50

80

120

150

180

210

240

270

280

280

720

60

80

120

160

190

210

250

280

280

280

820

60

90

130

160

190

220

255

290

300

300

920

60

90

130

160

200

230

263

300

300

300

1020

60

90

130

170

200

230

269

305

320

320

Более
1420*

60

100

140

190

240

270

320

320

320

320

* - в том числе поверхности с большим радиусом кривизны и плоские поверхности.

Таблица 5.1.18. Толщина теплоизоляционного слоя из матов марки МПБ-30 или холстов марки БСТВ-ст, БСТВ-сп в конструкции тепловой изоляции оборудования и трубопроводов, отвечающая нормам плотности теплового потока для г. Екатеринбурга по ТСН 23-337-2002 при расположении на открытом воздухе.

Наружный диаметр, мм

Температура теплоносителя, °С

20

50

100

150

200

250

300

350

400

450

Толщина теплоизоляционного слоя из матов марки МПБ-30 или холстов БСТВ-ст, БСТВ-сп, мм

18

30

30

30

40

50

50

60

80

90

100

25

30

30

40

50

50

60

70

90

100

120

32

30

30

40

50

60

60

80

90

110

130

38

30

40

50

60

60

70

80

100

120

140

45

30

40

50

60

70

70

90

110

130

140

57

30

40

50

60

70

80

100

120

140

150

76

30

50

60

70

80

90

110

130

150

160

89

40

50

70

80

90

100

120

140

160

170

108

40

50

70

80

90

100

130

150

170

180

133

40

60

80

90

100

110

140

160

180

200

159

40

60

80

100

110

120

140

170

190

220

219

40

70

90

110

120

140

160

190

220

230

273

50

70

100

120

130

150

170

200

230

230

325

50

70

100

120

140

150

180

210

240

240

377

50

80

100

130

150

160

190

220

240

240

426

50

80

110

130

150

170

200

230

250

250

473

50

80

110

130

160

170

200

240

250

250

530

50

80

120

140

160

180

210

240

260

260

630

50

80

120

140

170

190

220

260

280

280

720

60

90

120

150

170

190

230

270

280

280

820

60

90

130

150

180

200

240

270

300

300

920

60

90

130

160

180

210

240

280

300

300

1020

60

90

130

160

190

210

250

290

320

320

Более
1420*

60

100

140

180

220

250

300

320

320

320

* - в том числе поверхности с большим радиусом кривизны и плоские поверхности.

Таблица 5.1.19. Толщина теплоизоляционного слоя из матов марки МПБ-50 в конструкции тепловой изоляции оборудования и трубопроводов, отвечающая нормам плотности теплового потока для г. Екатеринбурга по ТСН 23-337-2002 при расположении на открытом воздухе.

Наружный диаметр, мм

Температура теплоносителя, °С

20

50

100

150

200

250

300

350

400

450

500

550

600

Толщина теплоизоляционного слоя из матов марки МПБ-50, мм

18

30

30

30

40

40

40

50

60

70

80

80

90

100

25

30

30

40

40

50

50

60

70

80

90

100

100

110

32

30

30

40

50

50

60

70

80

90

90

100

110

120

38

30

30

40

50

60

60

70

80

90

100

110

120

130

45

30

40

50

60

60

70

80

90

100

110

120

130

140

57

30

40

50

60

70

70

80

100

110

120

130

140

150

76

30

40

60

70

80

80

100

110

120

130

150

160

160

89

30

50

60

70

80

90

100

110

130

140

160

170

170

108

40

50

70

80

90

100

110

120

140

150

170

180

180

133

40

50

70

80

90

100

120

140

150

160

180

190

200

159

40

60

80

90

100

110

130

140

160

170

190

210

220

219

40

60

90

100

110

120

140

160

180

200

210

230

230

273

40

70

90

110

120

140

160

170

190

210

230

230

230

325

50

70

100

120

130

140

160

180

200

230

240

240

240

377

50

70

100

120

140

150

170

190

210

230

240

240

240

426

50

80

100

120

140

160

180

200

220

240

250

250

250

473

50

80

100

130

150

160

180

210

230

250

250

250

250

530

50

80

110

130

150

170

190

210

240

260

260

260

260

630

50

80

110

140

160

170

200

230

250

280

280

280

280

720

60

80

120

140

160

180

210

230

260

280

280

280

280

820

60

90

120

150

170

190

220

240

270

300

300

300

300

920

60

90

120

150

170

190

220

250

280

300

300

300

300

1020

60

90

120

150

180

200

230

260

280

310

320

320

320

Более
1420*

60

100

140

180

210

240

280

320

320

320

320

320

320

* - в том числе поверхности с большим радиусом кривизны и плоские поверхности.

Таблица 5.1.20. Толщина теплоизоляционного слоя из материала огнезащитного марки МБОР в конструкции тепловой изоляции оборудования и трубопроводов, отвечающая нормам плотности теплового потока для г. Екатеринбурга по ТСН 23-337-2002 при расположении на открытом воздухе.

Наружный диаметр, мм

Температура теплоносителя, °С

20

50

100

150

200

250

300

350

400

450

500

550

Толщина теплоизоляционного слоя из материала огнезащитного МБОР, мм

18

20

30

30

40

50

50

60

71

79

90

100

100

25

20

30

40

50

60

60

70

80

90

100

110

120

32

20

35

40

50

60

60

80

90

100

110

120

140

38

25

40

50

60

60

70

80

90

100

120

130

140

45

30

40

50

60

70

70

90

100

110

130

140

140

57

30

50

60

70

70

80

100

110

120

140

150

150

76

30

50

60

70

90

90

110

120

140

150

160

160

89

40

50

70

80

90

100

110

130

150

160

170

170

108

40

60

80

90

100

100

120

140

160

170

180

180

133

40

60

80

90

100

110

130

150

170

186

200

200

159

40

60

80

100

110

120

140

160

180

197

220

220

219

50

70

90

110

120

140

160

180

200

219

230

230

273

50

80

100

120

130

150

170

190

210

230

230

230

325

50

80

100

130

140

160

180

200

230

240

240

240

377

50

80

110

130

150

160

190

210

240

240

240

240

426

60

80

110

140

150

170

190

220

240

250

250

250

473

60

80

120

140

160

170

200

230

250

250

250

250

530

60

90

120

140

160

180

210

230

260

260

260

260

630

60

90

120

150

170

190

220

250

270

280

280

280

720

60

90

130

150

180

200

230

250

280

280

280

280

820

60

90

130

160

180

200

230

260

290

300

300

300

920

60

100

130

160

190

210

240

270

300

300

300

300

1020

60

100

140

170

190

210

250

280

310

320

320

320

Более
1420*

70

110

150

190

220

250

300

320

380

320

320

320

* - в том числе поверхности с большим радиусом кривизны и плоские поверхности.

Таблица 5.1.21. Толщина теплоизоляционного слоя из плит марки БВТМ-ПМ в конструкции тепловой изоляции оборудования и трубопроводов, отвечающая нормам плотности теплового потока для Свердловской области по ТСН 23-337-2002 при расположении на открытом воздухе.

Наружный диаметр, мм

Температура теплоносителя, °С

20

50

100

150

200

250

300

350

400

450

500

550

600

Толщина теплоизоляционного слоя из плит марки БВТМ-ПМ, мм

57

20

30

40

50

60

70

80

100

110

120

140

150

150

76

20

30

50

60

70

80

90

110

120

130

150

160

160

89

25

35

50

60

70

80

100

110

130

140

160

170

170

108

25

40

50

70

80

90

100

120

140

150

170

180

180

133

30

40

60

70

80

100

110

130

140

160

180

190

200

159

30

40

60

80

80

100

120

140

150

170

190

200

220

219

30

50

70

80

100

110

130

150

170

190

200

220

230

273

30

50

70

90

100

120

140

160

180

200

220

240

230

325

30

50

70

90

110

130

150

170

190

210

230

240

240

377

30

50

80

100

120

130

150

180

200

220

240

240

240

426

35

50

80

100

120

140

160

180

200

220

250

250

250

473

35

60

80

100

120

140

160

190

210

230

250

250

250

530

35

60

80

100

130

150

170

190

210

240

260

260

260

630

40

60

90

110

130

150

180

200

220

250

270

280

280

720

40

60

90

110

130

160

180

200

230

250

280

280

280

820

40

60

90

120

140

160

190

210

240

260

290

300

300

920

40

60

90

120

140

160

190

220

240

270

290

300

300

1020

40

60

90

120

140

170

190

220

240

270

300

320

320

Более
1420*

50

70

110

150

180

210

250

290

320

320

320

320

320

* - в том числе поверхности с большим радиусом кривизны и плоские поверхности.

Таблица 5.1.22. Толщина теплоизоляционного слоя из матов марки МПБ-30 или холстов марки БСТВ-ст, БСТВ-сп в конструкции тепловой изоляции оборудования и трубопроводов, отвечающая нормам плотности теплового потока для Свердловской области по ТСН 23-337-2002 при расположении на открытом воздухе.

Наружный диаметр, мм

Температура теплоносителя, °С

20

50

100

150

200

250

300

350

400

450

500

550

600

Толщина теплоизоляционного слоя из матов марки МПБ-30 или холстов БСТВ-ст, БСТВ-сп, мм

18

30

30

30

30

40

40

50

60

70

80

90

100

100

25

30

30

30

40

40

40

50

60

80

90

100

110

120

32

30

30

30

40

40

50

60

70

80

100

110

120

140

38

30

30

33

40

50

50

60

80

90

100

120

130

140

45

30

30

35

50

50

60

70

80

90

110

120

140

140

57

30

30

40

50

60

60

80

90

100

120

130

150

150

76

30

30

50

60

60

70

80

100

110

130

140

160

160

89

30

40

50

60

70

70

90

100

120

140

150

170

170

108

30

40

50

60

70

80

100

110

130

150

160

180

180

133

30

40

50

70

80

90

100

120

140

160

170

190

200

159

30

40

60

70

80

90

110

130

150

160

180

200

220

219

30

50

60

80

90

100

120

140

160

180

200

220

230

273

30

50

70

80

100

110

130

150

170

190

210

230

230

325

30

50

70

90

100

120

140

160

180

200

220

240

240

377

40

50

70

90

110

120

140

170

190

210

230

240

240

426

40

50

80

100

110

130

150

170

190

220

240

250

250

473

40

50

80

100

110

130

150

180

200

220

250

250

250

530

40

60

80

100

120

130

160

180

210

230

250

260

260

630

40

60

80

100

120

140

160

190

210

240

270

280

280

720

40

60

90

110

130

140

170

200

220

250

270

280

280

820

40

60

90

110

130

150

170

200

230

260

280

300

300

920

40

60

90

110

130

150

180

210

230

260

290

300

300

1020

40

60

90

110

130

150

180

210

240

270

290

320

320

Более
1420*

50

70

110

140

170

200

240

280

310

320

320

320

320

* - в том числе поверхности с большим радиусом кривизны и плоские поверхности.

Таблица 5.1.23. Толщина теплоизоляционного слоя из матов марки МПБ-50 в конструкции тепловой изоляции оборудования и трубопроводов, отвечающая нормам плотности теплового потока для Свердловской области по ТСН 23-337-2002 при расположении на открытом воздухе.

Наружный диаметр, мм

Температура теплоносителя, °С

20

50

100

150

200

250

300

350

400

450

500

550

600

Толщина теплоизоляционного слоя из матов марки МПБ-50, мм

18

30

30

30

30

30

40

40

50

50

60

60

70

70

25

30

30

30

30

40

40

50

50

60

70

70

80

90

32

30

30

30

40

40

40

50

60

70

70

80

90

90

38

30

30

30

40

50

50

50

60

70

80

90

90

100

45

30

30

40

40

50

50

60

70

70

80

90

100

110

57

30

30

40

50

50

60

70

70

80

90

100

110

120

76

30

30

40

50

60

60

70

80

90

100

110

120

130

89

30

40

50

60

60

70

80

90

100

110

120

130

140

108

30

40

50

60

70

70

80

100

100

120

130

140

150

133

30

40

50

60

70

80

90

100

110

130

140

150

160

159

30

40

60

70

70

80

100

110

120

130

150

160

170

219

30

50

60

80

90

100

110

120

140

150

160

180

190

273

30

50

70

80

90

100

120

130

150

160

170

190

200

325

30

50

70

80

100

110

120

140

150

170

180

200

210

377

40

50

70

90

100

110

130

150

160

180

190

210

220

426

40

50

70

90

100

120

130

150

170

180

200

210

230

473

40

50

80

90

110

120

140

150

170

190

200

220

240

530

40

60

80

100

110

120

140

160

180

190

210

230

250

630

40

60

80

100

120

130

150

170

190

200

220

240

260

720

40

60

80

100

120

130

150

170

190

210

230

250

270

820

40

60

90

110

120

140

160

180

200

220

240

260

280

920

40

60

90

110

120

140

160

180

200

230

240

260

280

1020

40

60

90

110

130

140

170

190

210

230

250

270

290

Более
1420*

50

70

110

140

160

190

220

250

280

310

320

320

320

* - в том числе поверхности с большим радиусом кривизны и плоские поверхности.

Таблица 5.1.24. Толщина теплоизоляционного слоя из материала огнезащитного МБОР в конструкции тепловой изоляции оборудования и трубопроводов, отвечающая нормам плотности теплового потока для Свердловской области по ТСН 23-337-2002 при расположении на открытом воздухе.

Наружный диаметр, мм

Температура теплоносителя, °С

20

50

100

150

200

250

300

350

400

450

500

550

600

Толщина теплоизоляционного слоя из материала огнезащитного МБОР, мм

18

15

25

30

30

40

40

50

50

60

70

80

80

90

25

15

25

30

36

40

50

50

60

70

80

90

90

100

32

15

25

35

40

50

50

60

70

80

80

90

100

110

38

20

30

35

50

50

50

60

70

80

90

100

110

120

45

20

30

40

50

50

60

70

80

80

90

110

110

120

57

25

30

50

50

60

60

70

80

90

100

110

130

140

76

25

35

50

60

60

70

80

90

100

110

130

140

150

89

25

40

50

60

70

70

90

100

110

120

130

150

160

108

30

40

60

70

70

80

90

110

120

130

140

160

170

133

30

40

60

70

80

90

100

110

130

140

150

170

180

159

35

50

60

70

80

90

110

120

130

150

160

180

190

219

35

50

70

80

90

100

120

130

150

160

180

200

210

273

35

50

70

90

100

110

130

140

160

180

190

210

220

325

35

60

80

90

100

120

130

150

170

190

200

220

240

377

40

60

80

100

110

120

140

160

180

190

210

230

240

426

40

60

80

100

110

130

140

160

180

200

220

240

250

473

40

60

80

100

120

130

150

170

190

210

220

240

250

530

40

60

90

100

120

130

150

170

190

210

230

250

260

630

40

60

90

110

120

140

160

180

200

220

240

260

280

720

40

70

90

110

130

140

160

190

210

230

250

270

280

820

40

70

90

110

130

150

170

190

210

240

260

280

300

920

40

70

100

120

130

150

170

200

220

240

260

290

300

1020

40

70

100

120

140

150

180

200

220

250

270

290

320

Более
1420*

50

80

120

150

170

200

230

270

300

320

320

320

320

* - в том числе поверхности с большим радиусом кривизны и плоские поверхности.

Таблица 5.1.25. Толщина теплоизоляционного слоя из плит марки БВТМ-ПМ в конструкции тепловой изоляции оборудования и трубопроводов, отвечающая нормам плотности теплового потока для г. Екатеринбурга по ТСН 23-337-2002 при расположении в помещении.

Наружный диаметр, мм

Температура теплоносителя, °С

50

100

150

200

250

300

350

400

Толщина теплоизоляционного слоя из плит БВТМ-ПМ, мм

57

40

60

70

80

100

120

140

150

76

40

60

80

90

110

130

150

160

89

40

60

80

100

120

140

160

170

108

50

70

90

110

130

150

170

180

133

50

70

90

120

140

160

180

200

159

50

80

100

120

150

170

190

210

219

50

90

110

130

160

190

210

230

273

60

90

120

140

170

200

230

230

325

60

100

130

150

180

210

240

240

377

60

100

130

160

190

220

240

240

426

70

100

140

170

190

230

250

250

473

70

110

140

170

200

230

250

250

530

70

110

150

170

210

240

260

260

630

70

120

150

180

220

250

280

280

720

70

120

160

190

220

260

280

280

820

70

120

160

190

230

270

300

300

920

80

130

160

200

230

270

300

300

1020

80

130

170

200

240

280

320

320

Более
1420*

80

150

190

230

280

320

320

320

* - в том числе поверхности с большим радиусом кривизны и плоские поверхности.

Таблица 5.1.26. Толщина теплоизоляционного слоя из матов марки МПБ-30 или холстов марки БСТВ-ст, БСТВ-сп в конструкции тепловой изоляции оборудования и трубопроводов, отвечающая нормам плотности теплового потока для г. Екатеринбурга по ТСН 23-337-2002 при расположении в помещении.

Наружный диаметр, мм

Температура теплоносителя, °С

50

100

150

200

250

300

350

400

Толщина теплоизоляционного слоя из матов марки МПБ-30 или холстов БСТВ-ст, БСТВ-сп, мм

18

30

40

40

50

60

70

90

100

25

30

30

40

50

60

80

90

110

32

30

40

50

60

70

90

100

120

38

30

40

50

60

70

90

110

120

45

30

50

60

70

80

100

110

130

57

40

50

70

70

90

110

130

150

76

40

60

70

80

100

120

140

160

89

40

60

80

90

110

130

150

170

108

50

70

80

100

110

140

160

180

133

50

70

90

100

120

150

170

190

159

50

80

90

110

130

160

180

210

219

50

90

100

120

140

170

200

230

273

60

90

110

130

160

190

210

230

325

60

90

120

140

170

200

230

240

377

60

100

120

140

170

200

230

240

426

70

100

130

150

180

210

240

250

473

70

110

130

150

180

220

250

250

530

70

110

140

160

190

230

260

260

630

70

110

140

170

200

240

270

2800

720

70

120

150

170

210

240

280

280

820

70

120

150

180

210

250

290

300

920

80

120

150

180

220

260

200

300

1020

80

120

160

190

220

260

300

300

Более
1420*

80

140

180

220

260

310

320

320

* - в том числе поверхности с большим радиусом кривизны и плоские поверхности.

Таблица 5.1.27. Толщина теплоизоляционного слоя из матов марки МПБ-50 в конструкции тепловой изоляции оборудования и трубопроводов, отвечающая нормам плотности теплового потока для г. Екатеринбурга по ТСН 23-337-2002 при расположении в помещении.

Наружный диаметр, мм

Температура теплоносителя, °С

50

100

150

200

250

300

350

400

450

500

550

600

Толщина теплоизоляционного слоя из матов марки МПБ-50, мм

18

30

30

40

40

40

50

60

70

80

80

90

100

25

30

30

40

40

50

60

70

80

90

100

110

110

32

30

40

50

50

60

70

80

90

100

110

130

130

38

30

40

50

50

60

70

80

90

100

110

130

130

45

30

40

50

60

70

80

90

100

110

120

130

140

57

40

50

60

70

80

90

100

110

120

130

140

150

76

40

50

60

70

90

100

110

120

140

150

160

160

89

40

60

70

80

90

110

120

130

150

160

170

170

108

40

60

70

90

100

110

130

140

160

170

180

180

133

50

70

80

90

110

120

140

150

170

180

200

200

159

50

70

90

100

120

130

150

170

180

200

210

220

219

50

80

100

110

130

150

170

190

200

220

230

230

273

60

90

100

120

140

160

180

200

220

230

230

230

325

60

90

110

130

150

170

190

210

230

240

240

240

377

60

90

120

130

150

180

200

220

240

240

240

240

426

60

100

120

140

160

190

210

230

250

250

250

250

473

70

100

120

140

170

190

210

240

250

250

250

250

530

70

100

130

150

170

200

220

250

260

260

260

260

630

70

110

130

150

180

210

230

260

280

280

280

280

720

70

110

140

160

190

220

240

270

280

280

280

280

820

70

110

140

170

190

220

250

280

300

300

300

300

920

70

120

150

170

200

230

260

290

300

300

300

300

1020

70

120

150

170

200

230

260

290

320

320

320

320

Более
1420*

80

140

170

220

240

280

320

320

320

320

320

320

* - в том числе поверхности с большим радиусом кривизны и плоские поверхности.

Таблица 5.1.28. Толщина теплоизоляционного слоя из материала огнезащитного МБОР в конструкции тепловой изоляции оборудования и трубопроводов, отвечающая нормам плотности теплового потока для г. Екатеринбурга по ТСН 23-337-2002 при расположении в помещении.

Наружный диаметр, мм

Температура теплоносителя, °С

50

100

150

200

250

300

350

400

450

500

Толщина теплоизоляционного слоя из материала огнезащитного МБОР, мм

18

25

30

40

40

50

60

70

80

90

100

25

25

35

50

50

60

70

80

90

100

120

32

25

40

50

60

70

80

90

100

120

130

38

25

40

50

60

70

90

100

110

120

130

45

30

50

60

70

80

90

100

120

130

140

57

40

60

70

80

90

100

120

130

140

150

76

40

60

70

80

100

110

130

140

160

160

89

40

70

80

90

100

120

130

150

170

170

108

50

70

80

100

110

130

150

160

180

180

133

50

70

90

100

120

140

160

170

190

200

159

50

80

100

110

130

150

170

190

200

220

219

60

90

110

120

140

160

190

210

230

230

273

60

90

120

130

150

180

200

220

230

230

325

70

100

120

140

160

190

210

230

240

240

377

70

100

130

140

170

190

220

240

240

240

426

70

100

130

150

180

200

230

250

250

250

473

70

110

130

150

180

210

230

250

250

250

530

70

110

140

160

190

220

240

260

260

260

630

70

120

140

170

200

230

250

280

280

280

720

80

120

150

170

200

230

260

280

280

280

820

80

120

150

180

210

240

270

300

300

300

920

80

130

160

180

210

250

280

300

300

300

1020

80

130

160

190

220

250

290

320

320

320

Более
1420*

90

140

180

220

260

300

320

320

320

320

* - в том числе поверхности с большим радиусом кривизны и плоские поверхности.

Таблица 5.1.29. Толщина теплоизоляционного слоя из плит марки БВТМ-ПМ в конструкции тепловой изоляции оборудования и трубопроводов, отвечающая нормам плотности теплового потока для Свердловской области по ТСН 23-337-2002 при расположении в помещении.

Наружный диаметр, мм

Температура теплоносителя, °С

50

100

150

200

250

300

350

400

450

500

550

600

Толщина теплоизоляционного слоя из плит марки БВТМ-ПМ, мм

57

25

40

50

60

70

90

100

110

130

140

150

150

76

30

40

60

70

80

100

110

120

140

150

160

160

89

30

50

60

70

90

100

120

130

150

160

170

170

108

30

50

60

80

90

110

130

140

160

170

180

180

133

35

50

70

80

100

120

130

150

170

180

200

200

159

35

60

80

90

110

120

140

160

180

190

220

220

219

40

60

80

100

120

140

160

170

190

210

230

230

273

40

70

90

110

130

150

170

180

210

220

230

230

325

50

70

90

110

130

150

170

190

220

240

240

240

377

50

80

100

120

140

160

180

200

220

240

240

240

426

50

80

100

120

140

160

190

210

230

250

250

250

473

50

80

100

120

150

170

190

210

240

250

250

250

530

50

80

100

130

150

170

200

220

240

260

260

260

630

50

80

110

130

160

180

210

230

250

280

280

280

720

50

90

110

140

160

190

210

240

260

280

280

280

820

50

90

110

140

170

190

220

240

270

290

300

300

920

50

90

120

140

170

200

220

250

280

300

300

300

1020

50

90

120

150

170

200

230

250

280

310

320

320

Более
1420*

60

110

140

180

220

260

300

320

320

320

320

320

* - в том числе поверхности с большим радиусом кривизны и плоские поверхности.

Таблица 5.1.30. Толщина теплоизоляционного слоя из матов марки МПБ-30 или холстов марки БСТВ-ст, БСТВ-сп в конструкции тепловой изоляции оборудования и трубопроводов, отвечающая нормам плотности теплового потока для Свердловской области по ТСН 23-337-2002 при расположении в помещении.

Наружный диаметр, мм

Температура теплоносителя, °С

50

100

150

200

250

300

350

400

450

500

550

600

Толщина теплоизоляционного слоя из матов марки МПБ-30 или холстов БСТВ-ст, БСТВ-сп, мм

18

30

30

30

30

40

50

60

70

80

90

100

100

25

30

30

40

40

50

70

70

80

90

100

120

120

32

30

30

40

40

50

60

80

90

100

110

130

140

38

30

30

40

50

60

70

80

90

100

120

140

140

43

30

30

40

50

60

70

90

100

110

130

140

140

57

30

40

50

60

70

80

90

110

120

140

150

150

76

30

40

50

60

70

90

100

120

140

150

160

160

89

30

50

60

70

80

90

110

130

140

160

170

170

108

30

50

60

70

80

100

120

130

150

170

180

180

133

40

50

70

80

90

110

130

140

160

180

200

200

159

40

60

70

80

100

110

130

150

170

190

220

220

219

40

60

80

90

110

130

150

170

190

210

230

230

273

40

70

80

100

120

140

160

180

200

220

230

230

325

50

70

90

100

120

140

170

190

210

230

240

240

377

50

70

90

110

130

150

170

200

220

240

240

240

426

50

70

90

110

130

160

180

200

230

250

250

250

473

50

80

100

110

130

160

180

210

230

250

250

250

530

50

80

100

120

140

160

190

210

240

260

260

260

630

50

80

100

120

150

170

200

220

250

270

280

280

720

50

80

100

120

150

180

200

230

260

280

280

280

820

50

80

110

130

150

180

210

240

260

290

300

300

920

50

90

110

130

160

190

210

240

270

300

300

300

1020

50

90

110

130

160

190

220

250

280

300

320

320

Более
1420*

60

100

140

170

200

250

280

320

320

320

320

320

* - в том числе поверхности с большим радиусом кривизны и плоские поверхности.

Таблица 5.1.31. Толщина теплоизоляционного слоя из матов марки МПБ-50 в конструкции тепловой изоляции оборудования и трубопроводов, отвечающая нормам плотности теплового потока для Свердловской области по ТСН 23-337-2002 при расположении в помещении.

Наружный диаметр, мм

Температура теплоносителя, °С

50

100

150

200

250

300

350

400

450

500

550

600

Толщина теплоизоляционного слоя из матов марки МПБ-50, мм

18

30

30

30

30

30

40

40

50

60

60

70

70

25

30

30

30

30

40

50

50

60

60

70

80

80

32

30

30

30

40

40

50

60

70

70

80

90

90

38

30

30

30

40

50

60

60

70

80

80

90

100

43

30

30

40

40

50

60

70

80

80

90

100

110

57

30

40

50

50

60

70

80

80

90

100

110

120

76

30

40

50

50

70

70

80

90

100

110

120

130

89

30

40

50

60

70

80

90

100

110

120

130

140

108

30

50

60

70

80

90

100

110

120

130

140

150

133

30

50

60

70

80

90

100

120

130

140

150

160

159

40

50

60

70

90

100

110

120

140

150

160

170

219

40

60

70

80

100

110

120

140

150

160

180

190

273

40

60

80

90

100

120

130

150

160

180

190

200

325

40

70

80

90

110

130

140

160

170

190

200

220

377

40

70

80

100

110

130

150

160

180

200

210

230

426

50

70

90

100

120

140

150

170

190

200

220

240

473

50

70

90

100

120

140

160

180

190

210

220

240

530

50

70

90

110

130

150

160

180

200

220

230

250

630

50

80

100

110

130

150

170

190

210

230

240

260

720

50

80

100

120

140

160

180

200

220

230

250

270

820

50

80

100

120

140

160

180

200

220

240

260

280

920

50

80

100

120

140

170

190

210

230

250

270

280

1020

50

80

110

120

150

170

190

210

230

250

280

300

Более
1420*

60

100

130

160

190

220

250

290

320

320

320

320

* - в том числе поверхности с большим радиусом кривизны и плоские поверхности.

Таблица 5.1.32. Толщина теплоизоляционного слоя из материала огнезащитного МБОР в конструкции тепловой изоляции оборудования и трубопроводов, отвечающая нормам плотности теплового потока для Свердловской области по ТСН 23-337-2002 при расположении в помещении.

Наружный диаметр, мм

Температура теплоносителя, °С

50

100

150

200

250

300

350

400

450

500

550

600

Толщина теплоизоляционного слоя из материала огнезащитного МБОР, мм

18

15

25

30

35

40

50

50

60

70

70

80

90

25

20

25

35

40

40

50

60

70

80

80

90

100

32

20

35

35

40

50

60

70

80

80

90

100

110

38

20

35

40

50

50

60

70

80

90

100

110

120

45

25

35

50

50

60

70

80

90

100

110

120

130

57

25

40

50

50

60

70

90

100

110

120

130

140

76

35

40

50

60

70

80

100

110

120

130

140

150

89

35

50

60

70

80

90

100

110

130

140

150

160

108

35

50

60

70

80

90

110

120

130

150

160

170

133

35

50

70

80

90

100

120

130

140

160

170

180

159

40

60

70

80

90

100

120

140

150

170

180

190

219

40

60

80

90

110

120

140

150

170

180

200

210

273

50

70

80

100

110

130

150

160

180

200

210

230

325

50

70

90

100

120

140

150

170

190

210

220

240

377

50

80

90

110

120

140

160

180

200

220

230

240

426

50

80

90

110

130

150

170

190

200

220

240

250

473

50

80

100

110

130

150

170

190

210

230

250

250

530

50

80

100

120

140

160

180

200

220

240

260

260

630

50

80

100

120

140

160

190

210

230

250

270

280

720

50

80

110

130

150

170

190

210

230

260

280

280

820

50

80

110

130

150

170

200

220

240

260

290

300

920

60

90

110

130

150

180

200

230

250

270

290

300

1020

60

90

110

130

160

180

210

230

250

280

300

320

Более
1420*

60

110

140

170

200

240

270

310

320

320

320

320

* - в том числе поверхности с большим радиусом кривизны и плоские поверхности.

5.2. Тепловая изоляция с целью обеспечения заданной температуры на поверхности изоляции.

5.2.1. Тепловую изоляцию оборудования и трубопроводов по заданной температуре на поверхности изоляции выполняют в случае, когда тепловые потери не регламентированы, но, в соответствии с требованиями безопасности при эксплуатации, необходимо защитить обслуживающий персонал от ожогов или снизить тепловыделения в помещении.

5.2.2. В соответствии с санитарными нормами и требованиями СНиП 41-03-2003 температура поверхности расположенных в помещении изолируемых объектов при температуре теплоносителя ниже 100°С не должна превышать 35°С, а при температуре теплоносителя 100°С и более не должна превышать 45°С.

В обслуживаемой зоне на открытом воздухе температура поверхности изоляции с металлическим защитным покрытием должна быть не выше 55°С, а для других видов покрытий не должна превышать 60°С.

Температура на поверхности тепловой изоляции трубопроводов, расположенных за пределами рабочей или обслуживаемой зоны, не должна превышать температурных пределов применения материалов защитного покрытая, но не выше 75°С.

5.2.3. Толщина тепловой изоляции, определяемая по заданной температуре на её поверхности, зависит от расположения изолируемого объекта (на открытом воздухе или в помещении), температуры окружающего воздуха, (t0), температуры теплоносителя, (tm), наружного диаметра, (dн) и коэффициента теплоотдачи от поверхности к окружающему воздуху (αн), Вт/(м2∙К).

Расчет толщины тепловой изоляции для плоских и цилиндрических поверхностей с наружным диаметром 2 м и более выполняется по формуле:

                                                                                    (4)

Расчет толщины тепловой изоляции для цилиндрических поверхностей с наружным диаметром менее 2 м выполняется по формуле:

                                                                   (5)

где: tк - температура на поверхности изоляционной конструкции, °С;

tm t0, dиз, dн - те же, что и формулах (1) и (2).

Коэффициент теплоотдачи, (αн) принимают в соответствии с приложением 1.

5.2.4. При выборе покровного слоя тепловой изоляции оборудования и трубопроводов, расположенных в помещении, учитываются радиационные свойства его поверхности. Для снижения толщины теплоизоляционного слоя для покрытия рекомендуется применять материалы с коэффициентом излучения более 2,33 Вт/(м2∙°С) (неметаллическое или с окраской различными красками, кроме алюминиевой). Для тех же расчетных условий при металлическом покрытии расчетная толщина изоляции существенно выше.

5.2.7. В таблицах 5.2.1 - 5.2.8. приведены рекомендуемые значения толщины теплоизоляционного слоя из матов прошивных теплоизоляционных из базальтового холста марок МПБ-30 и МПБ-50, плит мягких БВТМ-ПМ, холстов из базальтовых супертонких волокон марок БСТВ-ст и БСТВ-сп, и материала базальтового огнезащитного рулонного МБОР конструкциях изоляции трубопроводов и оборудования с металлическим покровным слоем, расположенных в помещении с температурой 20°С или в рабочей или обслуживаемой зоне на открытом воздухе со средней максимальной температурой самого жаркого месяца не более 25°С.

5.2.8. В таблицах 5.2.9 - 5.2.16. приведены рекомендуемые значения толщины теплоизоляционного слоя из матов прошивных теплоизоляционных из базальтового холста марок МПБ-30 и МПБ-50, плит мягких БВТМ-ПМ, холстов из базальтовых супертонких волокон марок БСТВ-ст и БСТВ-сп, и материала базальтового огнезащитного рулонного МБОР в конструкциях изоляции трубопроводов и оборудования с неметаллическим покровным слоем, расположенных в помещении с температурой 20°С или в рабочей или обслуживаемой зоне на открытом воздухе со средней максимальной температурой самого жаркого месяца не более 25°С.

Таблица 5.2.1. Толщина теплоизоляционного слоя из плит марки БВТМ-ПМ, отвечающая требованиям безопасности, в конструкции тепловой изоляции с металлическим покровным слоем для оборудования и трубопроводов, расположенных на открытом воздухе

Наружный диаметр, мм

Температура теплоносителя, °С

100

150

200

250

300

350

400

450

500

550

600

Толщина теплоизоляционного слоя из плит БВТМ-ПМ, мм

57

20

20

30

40

50

70

80

100

110

130

140

76

20

20

30

50

60

70

90

100

120

140

150

89

20

20

35

50

60

70

90

110

120

140

150

108

20

25

35

50

60

80

90

110

130

150

160

133

20

25

35

50

60

80

100

120

130

150

170

159

20

25

35

50

70

80

100

120

140

160

170

219

20

25

40

50

70

90

110

130

150

170

180

273

20

25

40

50

70

90

110

130

160

180

190

325

20

25

40

60

70

90

120

140

160

180

200

377

20

25

40

60

80

100

120

140

160

190

200

426

20

25

40

60

80

100

120

140

170

190

210

473

20

25

40

60

80

100

120

150

170

200

210

530

20

25

40

60

80

100

120

150

170

200

220

630

20

25

40

60

80

100

130

150

180

210

220

720

20

25

40

60

80

100

130

150

180

210

230

820

20

25

40

60

80

100

130

160

180

210

230

920

20

25

40

60

80

110

130

160

190

220

240

1020

20

25

40

60

80

110

130

160

190

220

240

1420

20

25

40

60

80

110

140

170

200

230

250

Более
1420*

20

35

60

80

110

140

170

210

240

280

320

* - в том числе поверхности с большим радиусом кривизны и плоские поверхности.

Таблица 5.2.2. Толщина теплоизоляционного слоя из матов марки МПБ-30 или холстов БСТВ-ст, БСТВ-сп, отвечающая требованиям безопасности, в конструкции тепловой изоляции с металлическим покровным слоем для оборудования и трубопроводов, расположенных на открытом воздухе.

Наружный диаметр, мм

Температура теплоносителя, °С

до
150

200

250

300

350

400

450

500

550

600

Толщина теплоизоляционного слоя из матов марки МПБ-30 или холстов БСТВ-ст, БСТВ-сп, мм

18

30

30

30

40

50

60

70

90

100

100

25

30

30

40

40

60

70

80

90

110

110

32

30

30

40

50

60

70

80

100

110

120

38

30

30

40

50

60

70

90

100

115

120

45

30

30

40

50

60

80

90

100

120

130

57

30

30

40

50

70

80

100

110

130

140

76

30

30

40

60

70

90

100

120

140

150

89

30

30

40

60

70

90

110

120

140

150

108

30

30

50

60

80

90

110

130

150

160

133

30

30

50

60

80

100

110

130

150

170

159

30

40

50

60

80

100

120

140

160

170

219

30

40

50

70

90

110

130

150

170

180

273

30

40

50

70

90

110

130

150

180

190

325

30

40

50

70

90

110

140

160

180

200

377

30

40

50

70

90

120

140

160

190

200

426

30

40

50

70

100

120

140

170

190

210

473

30

40

60

70

100

120

140

170

200

210

530

30

40

60

80

100

120

150

170

200

220

630

30

40

60

80

100

120

150

180

210

220

720

30

40

60

80

100

130

150

180

210

230

820

30

40

60

80

100

130

150

180

210

230

920

30

40

60

80

100

130

160

190

220

240

1020

30

40

60

80

100

130

160

190

220

240

1420

30

40

60

80

110

130

160

200

230

250

Более
1420*

30

40

60

90

110

150

180

220

260

290

* - в том числе поверхности с большим радиусом кривизны и плоские поверхности.

Таблица 5.2.3. Толщина теплоизоляционного слоя из матов марки МПБ-50 отвечающая требованиям безопасности, в конструкции тепловой изоляции с металлическим покровным слоем для оборудования и трубопроводов, расположенных на открытом воздухе

Наружный диаметр, мм

Температура теплоносителя, °С

до
150

200

250

300

350

400

450

500

550

600

Толщина теплоизоляционного слоя из матов марки МПБ-50, мм

18

30

30

30

40

50

60

70

80

90

90

25

30

30

30

40

50

60

70

80

90

100

32

30

30

40

40

50

60

80

90

100

110

38

30

30

40

50

60

70

80

90

100

110

45

30

30

40

50

60

70

80

90

110

110

57

30

30

40

50

60

70

90

100

110

120

76

30

30

40

50

60

80

90

110

120

130

89

30

30

40

50

70

80

90

110

120

130

108

30

30

40

60

70

80

100

110

130

140

133

30

30

40

60

70

90

100

120

140

150

159

30

30

50

60

70

90

110

120

140

150

219

30

30

50

60

80

90

110

130

150

160

273

30

40

50

60

80

100

120

140

160

170

325

30

40

50

70

80

100

120

140

160

180

377

30

40

50

70

80

100

120

150

170

180

426

30

40

50

70

90

110

130

150

170

180

473

30

40

50

70

90

110

130

150

170

190

530

30

40

50

70

90

110

130

150

180

190

630

30

40

50

70

90

110

130

160

180

200

720

30

40

50

70

90

110

140

160

180

200

820

30

40

50

70

90

110

140

160

190

200

920

30

40

50

70

90

110

140

160

190

210

1020

30

40

50

70

90

120

140

170

190

210

1420

30

40

50

70

100

120

140

170

200

220

Более
1420*

30

40

60

80

100

130

160

190

230

250

* - в том числе поверхности с большим радиусом кривизны и плоские поверхности.

Таблица 5.2.4. Толщина теплоизоляционного слоя из материала огнезащитного МБОР, отвечающая требованиям безопасности, в конструкции тепловой изоляции с металлическим покровным слоем для оборудования и трубопроводов, расположенных на открытом воздухе

Наружный диаметр, мм

Температура теплоносителя, °С

до
100

150

200

250

300

350

400

450

500

550

600

Толщина теплоизоляционного слоя из материала огнезащитного МБОР, мм

18

15

15

25

35

40

50

60

70

80

90

100

25

15

15

25

35

40

50

60

70

90

100

105

32

15

20

25

35

50

60

70

80

90

100

110

38

15

20

25

35

50

60

70

80

90

110

120

45

15

20

30

40

50

60

70

90

98

110

120

57

15

20

30

40

50

60

80

90

100

120

130

76

15

20

30

40

50

70

80

100

110

130

140

89

15

20

30

40

60

70

80

100

120

130

140

108

15

20

30

50

60

70

90

100

120

140

150

133

15

20

30

50

60

80

90

110

130

140

150

159

15

25

30

50

60

80

100

110

130

150

160

219

15

25

35

50

70

80

100

120

140

160

170

273

15

25

35

50

70

90

100

120

140

170

10

325

15

25

35

50

70

90

110

130

150

170

190

377

15

25

35

50

70

90

110

130

150

180

190

426

15

25

35

50

70

90

110

130

160

180

200

473

15

25

35

50

70

90

110

140

160

180

200

530

15

25

35

50

70

90

120

140

160

190

200

630

15

25

40

60

70

100

120

140

170

190

210

720

15

25

40

60

80

100

120

140

170

200

210

820

15

25

40

60

80

100

120

150

170

200

220

920

15

25

40

60

80

100

120

150

170

200

220

1020

15

25

40

60

80

100

120

150

180

200

220

1420

15

25

40

60

80

100

130

150

180

210

230

Более
1420*

15

25

40

60

80

110

140

170

200

240

270

* - в том числе поверхности с большим радиусом кривизны и плоские поверхности.

Таблица 5.2.5. Толщина теплоизоляционного слоя из плит марки БВТМ-ПМ, отвечающая требованиям безопасности, в конструкции тепловой изоляции с неметаллическим покровным слоем для оборудования и трубопроводов, расположенных на открытом воздухе

Наружный диаметр, мм

Температура теплоносителя, °С

200

250

300

350

400

450

500

550

600

Толщина теплоизоляционного слоя из плит БВТМ-ПМ, мм

57

20

25

30

40

50

50

60

70

80

76

20

25

30

40

50

60

70

80

80

89

20

25

35

40

50

60

70

80

80

108

20

25

35

40

50

60

70

80

90

133

20

25

35

40

50

60

70

80

90

159

20

25

35

40

50

60

80

90

100

219

20

30

35

50

60

70

80

90

100

273

20

30

40

50

60

70

80

100

103

325

20

30

40

50

60

70

80

100

110

377

20

30

40

50

60

70

90

100

110

426

20

30

40

50

60

70

90

100

110

473

20

30

40

50

60

80

90

100

110

530

20

30

40

50

60

80

90

100

110

630

20

30

40

50

60

80

90

110

120

720

20

30

40

50

60

80

90

110

120

820

20

30

40

50

60

80

90

110

120

920

20

30

40

50

70

80

90

110

120

1020

20

30

40

50

70

80

100

110

120

1420

20

30

40

50

70

80

100

110

130

Более
1420*

20

30

40

50

70

90

100

120

140

* - в том числе поверхности с большим радиусом кривизны и плоские поверхности.

Таблица 5.2.6. Толщина теплоизоляционного слоя из матов марки МПБ-30 или холстов БСТВ-ст, БСТВ-сп, отвечающая требованиям безопасности, в конструкции тепловой изоляции с неметаллическим покровным слоем для оборудования и трубопроводов, расположенных на открытом воздухе

Наружный диаметр, мм

Температура теплоносителя, °С

250

300

350

400

450

500

550

600

Толщина теплоизоляционного слоя из матов марки МПБ-30 или холстов БСТВ-ст, БСТВ-сп, мм

18

30

30

30

40

40

50

50

60

25

30

30

30

40

40

50

60

60

32

30

30

40

40

50

60

60

70

38

30

30

40

40

50

60

60

70

45

30

30

40

40

50

60

70

70

57

30

30

40

40

50

60

70

80

76

30

30

40

50

60

70

80

80

89

30

30

40

50

60

70

80

80

108

30

30

40

50

60

70

80

90

133

30

40

40

50

60

70

80

90

159

30

40

40

50

60

80

90

90

219

30

40

50

60

70

80

90

100

273

30

40

50

60

70

80

100

100

325

30

40

50

60

70

80

100

110

377

30

40

50

60

70

90

100

110

426

30

40

50

60

70

90

100

110

473

30

40

50

60

70

90

100

110

530

30

40

50

60

80

90

110

110

630

30

40

50

60

80

90

110

120

720

30

40

50

60

80

90

110

120

820

30

40

50

60

80

90

110

120

920

30

40

50

60

80

90

110

120

1020

30

40

50

60

80

100

110

120

1420

30

40

50

70

80

100

110

130

Более
1420*

30

40

50

70

80

100

120

140

* - в том числе поверхности с большим радиусом кривизны и плоские поверхности.

Таблица 5.2.7. Толщина теплоизоляционного слоя из матов марки МПБ-50 отвечающая требованиям безопасности, в конструкции тепловой изоляции с неметаллическим покровным слоем для оборудования и трубопроводов, расположенных на открытом воздухе.

Наружный диаметр, мм

Температура теплоносителя, °С

250

300

350

400

450

500

550

600

Толщина теплоизоляционного слоя из матов марки МПБ-50, мм

18

30

30

30

30

40

40

50

50

25

30

30

30

40

40

50

50

60

32

30

30

30

40

40

50

60

60

38

30

30

30

40

40

50

60

60

45

30

30

30

40

50

50

60

60

57

30

30

40

40

50

60

60

70

76

30

30

40

40

50

60

70

70

89

30

30

40

40

50

60

70

70

108

30

30

40

50

50

60

70

80

133

30

30

40

50

60

60

70

80

159

30

30

40

50

60

70

80

80

219

30

30

40

50

60

70

80

90

273

30

30

40

50

60

70

80

90

325

30

40

40

50

60

70

90

90

377

30

40

40

50

60

80

90

100

426

30

40

40

50

70

80

90

100

473

30

40

40

50

70

80

90

100

530

30

40

40

50

70

80

90

100

630

30

40

40

60

70

80

90

100

720

30

40

40

60

70

80

90

100

820

30

40

50

60

70

80

100

100

920

30

40

50

60

70

80

100

110

1020

30

40

50

60

70

80

100

110

1420

30

40

50

60

70

80

100

110

Более
1420*

30

40

50

60

70

90

110

120

*- в том числе поверхности с большим радиусом кривизны и плоские поверхности

Таблица 5.2.8. Толщина теплоизоляционного слоя из материала огнезащитного МБОР, отвечающая требованиям безопасности, в конструкции тепловой изоляции с неметаллическим покровным слоем для оборудования и трубопроводов, расположенных на открытом воздухе.

Наружный диаметр, мм

Температура теплоносителя, °С

до
150

200

250

300

350

400

450

500

550

600

Толщина теплоизоляционного слоя из материала огнезащитного МБОР, мм

18

15

15

20

25

30

35

40

50

50

60

25

15

15

20

25

30

35

40

50

60

60

32

15

15

20

25

30

40

40

50

60

60

38

15

15

20

25

30

40

40

50

60

70

45

15

15

20

30

35

40

50

60

60

70

57

15

15

20

30

35

40

50

60

70

70

76

15

15

25

30

40

40

50

60

70

76

89

15

15

25

30

40

50

50

60

70

80

108

15

15

25

30

40

50

60

70

80

80

133

15

15

25

35

40

50

60

70

80

90

159

15

15

25

35

40

50

60

70

80

90

219

15

15

25

35

40

50

60

70

90

90

273

15

15

25

35

40

50

70

80

90

100

325

15

20

25

35

50

60

70

80

90

100

377

15

20

25

35

50

60

70

80

90

100

426

15

20

25

35

50

60

70

80

90

100

473

15

20

25

35

50

60

70

80

100

100

530

15

20

25

35

50

60

70

80

100

110

630

15

20

25

35

50

60

70

90

100

110

720

15

20

30

35

50

60

70

90

100

110

820

15

20

30

40

50

60

70

90

100

110

920

15

20

30

40

50

60

70

90

100

110

1020

15

20

30

40

50

60

70

90

100

110

1420

15

20

30

40

50

60

80

90

110

120

Более
1420*

15

20

30

40

50

60

80

100

110

120

* - в том числе поверхности с большим радиусом кривизны и плоские поверхности.

Таблица 5.2.9. Толщина теплоизоляционного слоя из плит марки БВТМ-ПМ, отвечающая требованиям безопасности, в конструкции тепловой изоляции с металлическим покровным слоем дня оборудования и трубопроводов, расположенных в помещении.

Наружный диаметр, мм

Температура теплоносителя, С

100

150

200

250

300

350

400

450

500

550

600

Толщина теплоизоляционного слоя из плит БВТМ-ПМ, мм

57

20

25

40

50

70

80

100

120

130

150

170

76

20

30

40

60

70

90

100

120

140

160

160

89

20

30

40

60

70

90

110

130

150

170

170

108

20

30

40

60

80

90

110

130

150

180

180

133

20

30

50

60

80

100

120

140

160

180

200

159

20

30

50

60

80

100

120

140

170

190

220

219

20

30

50

70

90

110

130

150

180

210

230

273

20

30

50

70

90

110

140

160

190

210

230

325

20

30

50

70

90

120

140

170

190

220

240

377

20

30

50

70

90

120

140

170

200

230

240

426

20

30

50

70

100

120

150

170

200

230

250

473

20

35

50

70

100

120

150

180

210

240

250

530

20

35

50

70

100

120

150

180

210

240

260

630

20

35

50

80

100

130

160

190

220

250

280

720

20

35

50

80

100

130

160

190

220

260

280

820

20

35

50

80

100

130

160

190

230

260

300

920

20

35

60

80

100

130

160

200

230

270

300

1020

20

35

60

80

100

130

160

200

230

270

310

1420

20

35

60

80

110

140

170

210

240

280

320

Более
1420*

20

35

60

80

110

150

190

230

280

320

320

* - в том числе поверхности с большим радиусом кривизны и плоские поверхности.

Таблица 5.2.10. Толщина теплоизоляционного слоя из матов марки МПБ-30 или холстов БСТВ-ст, БСТВ-сп, отвечающая требованиям безопасности, в конструкции тепловой изоляции с металлическим покровным слоем для оборудования и трубопроводов, расположенных в помещении.

Наружный диаметр, мм

Температура теплоносителя, °С

100

150

200

250

300

350

400

450

500

550

600

Толщина теплоизоляционного слоя из матов марки МПБ-30 или холстов БСТВ-ст, БСТВ-сп, мм

18

30

30

30

40

50

60

80

90

100

100

100

25

30

30

30

40

50

70

80

90

110

120

120

32

30

30

30

40

60

70

80

100

120

130

140

38

30

30

40

50

60

70

90

100

120

140

140

45

30

30

40

50

60

80

90

110

130

140

140

57

30

30

40

50

60

80

100

110

130

150

170

76

30

30

40

50

70

90

100

120

140

160

160

89

30

30

40

50

70

90

110

130

150

170

170

108

30

30

40

60

70

90

110

130

150

180

180

133

30

30

40

60

80

100

110

130

160

180

200

159

30

30

40

60

80

100

120

140

160

190

220

219

30

30

50

60

80

100

130

150

180

210

230

273

30

30

50

70

90

110

130

160

190

210

230

325

30

30

50

70

90

110

140

160

190

220

240

377

30

30

50

70

90

120

140

170

200

230

240

426

30

30

50

70

90

120

140

170

200

230

250

473

30

30

50

70

90

120

150

180

210

240

250

530

30

30

50

70

90

120

150

180

210

240

260

630

30

30

50

70

100

120

150

180

220

250

280

720

30

30

50

70

100

130

160

190

220

260

280

820

30

30

50

70

100

130

160

190

230

260

300

920

30

30

50

70

100

130

160

190

230

270

300

1020

30

30

50

70

100

130

160

200

230

270

310

1420

30

30

50

70

100

130

170

200

240

280

320

Более
1420*

30

40

50

80

110

140

180

230

280

320

320

* - в том числе поверхности с большим радиусом кривизны и плоские поверхности.

Таблица 5.2.11. Толщина теплоизоляционного слоя из матов марки МПБ-50 отвечающая требованиям безопасности, в конструкции тепловой изоляции с металлическим покровным слоем для оборудования и трубопроводов, расположенных в помещении.

Наружный диаметр, мм

Температура теплоносителя, °С

до
150

200

250

300

350

400

450

500

550

600

Толщина теплоизоляционного слоя из матов марки МПБ-50, мм

18

30

30

40

50

60

70

80

90

100

100

25

30

30

40

50

60

70

90

100

110

120

32

30

30

40

50

60

80

90

100

120

130

38

30

30

40

50

70

80

90

110

120

140

45

30

40

40

60

70

80

100

110

130

140

57

30

40

50

60

70

90

100

120

140

150

76

30

40

50

60

80

90

110

130

140

160

89

30

40

50

70

80

100

110

130

150

170

108

30

40

50

70

80

100

120

140

160

180

133

30

40

50

70

90

110

120

140

160

180

159

30

40

60

80

90

110

130

150

170

190

219

30

40

60

80

100

120

140

160

180

210

273

30

40

60

80

100

120

140

170

190

210

325

30

50

60

80

100

120

150

170

200

220

377

30

50

60

80

100

130

150

180

200

230

426

30

50

60

80

110

130

150

180

210

230

473

30

50

60

90

110

130

160

180

210

240

530

30

50

70

90

110

130

160

190

220

240

630

30

50

70

90

110

140

160

190

220

250

720

30

50

70

90

110

140

170

200

230

260

820

30

50

70

90

110

140

170

200

230

260

920

30

50

70

90

120

140

170

200

230

270

1020

30

50

70

90

120

140

170

200

240

270

1420

30

50

70

90

120

150

180

210

250

280

Более
1420*

30

50

70

100

130

160

200

240

280

310

* - в том числе поверхности с большим радиусом кривизны и плоские поверхности.

Таблица 5.2.12. Толщина теплоизоляционного слоя из материала огнезащитного МБОР, отвечающая требованиям безопасности, в конструкции тепловой изоляции с металлическим покровным слоем для оборудования и трубопроводов, расположенных в помещении

Наружный диаметр, мм

Температура теплоносителя, °С

100

150

200

250

300

350

400

450

500

550

600

Толщина теплоизоляционного слоя из материала огнезащитного МБОР, мм

18

15

20

30

40

50

60

70

80

100

100

100

25

15

20

30

40

50

60

80

90

100

120

120

32

15

25

35

40

60

70

80

90

110

120

140

38

15

25

35

50

60

70

80

100

110

130

140

45

15

25

35

50

60

70

90

100

120

130

140

57

15

25

35

50

60

80

90

110

120

140

150

76

15

25

40

50

70

80

100

120

130

150

160

89

15

30

40

50

70

90

100

120

150

160

170

108

15

30

40

60

70

90

110

120

150

160

180

133

15

30

40

60

70

90

110

130

150

170

190

159

15

30

40

60

80

100

120

140

160

180

200

219

15

30

50

60

80

100

120

140

170

190

220

273

15

30

50

60

80

110

130

150

180

200

230

325

15

30

50

70

90

110

130

160

180

210

240

377

15

30

50

70

90

110

130

160

190

210

240

426

15

30

50

70

90

110

140

160

190

220

250

473

15

30

50

70

90

110

140

170

190

220

250

530

15

30

50

70

90

120

140

170

200

230

260

630

15

35

50

70

90

120

140

170

200

230

270

720

15

35

50

70

90

120

150

180

210

240

270

820

15

35

50

70

100

120

150

180

210

240

280

920

15

35

50

70

100

120

150

180

210

250

280

1020

15

35

50

70

100

120

150

180

220

250

290

1420

15

35

50

70

100

130

160

190

230

260

300

Более
1420*

15

35

50

80

110

140

170

210

260

300

320

* - в том числе поверхности с большим радиусом кривизны и плоские поверхности.

Таблица 5.2.13. Толщина теплоизоляционного слоя из плит марки БВТМ-ПМ, отвечающая требованиям безопасности, в конструкции тепловой изоляции с неметаллическим покровным слоем для оборудования и трубопроводов, расположенных в помещении.

Наружный диаметр, мм

Температура теплоносителя, °С

150

200

250

300

350

400

450

500

550

600

Толщина теплоизоляционного слоя из плит БВТМ-ПМ, мм

57

20

25

30

40

50

60

70

80

100

100

76

20

25

35

40

50

70

80

90

100

110

89

20

25

35

50

60

70

80

90

110

120

108

20

25

35

50

60

70

80

100

110

120

133

20

30

40

50

60

70

90

100

110

130

159

20

30

40

50

60

80

90

100

120

130

219

20

30

40

50

70

80

90

110

130

140

273

20

30

40

50

70

80

100

110

130

150

325

20

30

40

50

70

80

100

120

140

150

377

20

30

40

60

70

90

100

120

140

160

426

20

30

40

60

70

90

100

120

140

160

473

20

30

40

60

70

90

106

120

140

160

530

20

30

40

60

70

90

110

130

150

160

630

20

30

40

60

70

90

110

130

150

170

720

20

30

40

60

70

90

110

130

150

170

820

20

30

40

60

80

90

110

130

160

180

920

20

30

40

60

80

90

110

130

160

180

1020

20

30

40

60

80

90

110

140

160

180

1420

20

30

40

60

80

100

120

140

160

190

Более
1420*

20

30

50

60

80

100

130

150

180

200

*- в том числе поверхности с большим радиусом кривизны и плоские поверхности.

Таблица 5.2.14. Толщина теплоизоляционного слоя из матов марки МПБ-30 или холстов БСТВ-ст, БСТВ-сп, отвечающая требованиям безопасности, в конструкции тепловой изоляции с неметаллическим покровным слоем для оборудования и трубопроводов, расположенных в помещении

Наружный диаметр, мм

Температура теплоносителя, °С

200

250

300

350

400

450

500

550

600

Толщина теплоизоляционного слоя из матов марки МПБ-30 или холстов БСТВ-ст, БСТВ-сп, мм

18

30

30

30

40

50

60

60

70

80

25

30

30

40

40

50

60

70

80

90

32

30

30

40

40

50

60

70

80

90

38

30

30

40

50

60

70

80

90

100

45

30

30

40

50

60

70

80

90

100

57

30

30

40

50

60

70

80

90

110

76

30

30

40

50

60

80

90

100

110

89

30

40

40

50

70

80

90

110

120

108

30

40

50

60

70

80

100

110

120

133

30

40

50

60

70

90

100

110

130

159

30

40

50

60

70

90

100

120

140

219

30

40

50

60

80

90

110

130

140

273

30

40

50

70

80

100

110

130

150

325

30

40

50

70

80

100

120

140

160

377

30

40

50

70

80

100

120

140

160

426

30

40

50

70

90

100

120

140

160

473

30

40

50

70

90

100

120

140

170

530

30

40

50

70

90

110

130

150

170

630

30

40

60

70

90

110

130

150

170

720

30

40

60

70

90

110

130

150

180

820

30

40

60

70

90

110

130

160

180

920

30

40

60

70

90

110

130

160

180

1020

30

40

60

70

90

110

140

160

180

1420

30

40

60

80

90

120

140

160

190

Более
1420*

30

40

60

80

100

130

150

180

200

* - в том числе поверхности с большим радиусом кривизны и плоские поверхности.

Таблица 5.2.15. Толщина теплоизоляционного слоя из матов марки МПБ-50 отвечающая требованиям безопасности, в конструкции тепловой изоляции с неметаллическим покровным слоем для оборудования и трубопроводов, расположенных в помещении.

Наружный диаметр, мм

Температура теплоносителя, °С

200

250

300

350

400

450

500

550

600

Толщина теплоизоляционного слоя из матов марки МПБ-50, мм

18

30

30

30

35

40

50

60

70

70

25

30

30

30

40

50

50

60

70

80

32

30

30

40

40

50

60

70

70

80

38

30

30

40

40

50

60

70

80

90

45

30

30

40

40

50

60

70

80

90

57

30

30

40

50

50

60

70

80

100

76

30

30

40

50

60

70

80

90

100

89

30

30

40

50

60

70

80

90

110

108

30

30

40

50

60

70

90

100

110

133

30

30

40

50

60

80

90

100

110

159

30

40

40

60

70

80

90

110

120

219

30

40

50

60

70

80

100

110

130

273

30

40

50

60

70

90

100

120

130

325

30

40

50

60

70

90

100

120

140

377

30

40

50

60

80

90

110

120

140

426

30

40

50

60

80

90

110

120

140

473

30

40

50

60

80

90

110

130

140

530

30

40

50

60

80

90

110

130

150

630

30

40

50

60

80

100

110

130

150

720

30

40

50

70

80

100

110

130

150

820

30

40

50

70

80

100

120

140

160

920

30

40

50

70

80

100

120

140

160

1020

30

40

50

70

80

100

120

140

160

1420

30

40

50

70

80

100

120

140

160

Более
1420*

30

40

50

70

90

110

130

160

170

* - в том числе поверхности с большим радиусом кривизны и плоские поверхности.

Таблица 5.2.16. Толщина теплоизоляционного слоя из материала огнезащитного МБОР, отвечающая требованиям безопасности, в конструкции тепловой изоляции с неметаллическим покровным слоем для оборудования и трубопроводов, расположенных в помещении

Наружный диаметр, мм

Температура теплоносителя, °С

100

150

200

250

300

350

400

450

500

550

600

Толщина теплоизоляционного слоя из материала огнезащитного МБОР, мм

18

15

15

20

25

30

40

40

50

60

70

80

25

15

15

20

30

35

40

50

60

70

70

80

32

15

15

20

30

35

40

50

60

70

80

90

38

15

15

20

30

35

40

50

60

70

80

90

45

15

15

20

30

40

50

50

60

70

80

100

57

15

15

25

30

40

50

60

70

80

90

100

76

15

15

25

30

40

50

60

70

80

100

110

89

15

15

25

35

40

50

60

70

90

100

110

108

15

15

25

35

40

50

70

80

90

100

120

133

15

15

25

35

50

60

70

80

90

110

120

159

15

20

25

35

50

60

70

80

100

110

130

219

15

20

25

35

50

60

70

90

100

120

130

273

15

20

30

40

50

60

80

90

110

120

140

325

15

20

30

40

50

60

80

90

110

130

140

377

15

20

30

40

50

70

80

100

110

130

150

426

15

20

30

40

50

70

80

100

110

130

150

473

15

20

30

40

50

70

80

100

120

130

150

530

15

20

30

40

50

70

80

100

120

140

160

630

15

20

30

40

50

70

80

100

120

140

160

720

15

20

30

40

50

70

90

100

120

140

160

820

15

20

30

40

50

70

90

100

120

140

170

920

15

20

30

40

50

70

90

100

130

150

170

1020

15

20

30

40

60

70

90

110

130

150

170

1420

15

20

30

40

60

70

90

110

130

150

170

Более
1420*

15

20

30

40

60

80

100

120

140

170

180

* - в том числе поверхности с большим радиусом кривизны и плоские

5.3. Тепловая изоляция оборудования и трубопроводов с целью предотвращения конденсации влаги на поверхности изоляции.

5.3.1. Тепловую изоляцию с целью предотвращения конденсации влаги из воздуха на поверхности изоляции рассчитывают для оборудования (аппаратов) и трубопроводов, расположенных в помещении и содержащих вещества с температурой ниже температуры окружающего воздуха, в том числе холодную воду.

Для объектов, расположенных на открытом воздухе, такой расчет не выполняют.

5.3.2. На величину толщины теплоизоляционного слоя для предотвращения конденсации влаги из воздуха на поверхности теплоизоляционной конструкции влияют относительная влажность окружающего воздуха (φ), температура воздуха в помещении (t0) и материал покровного слоя.

При использовании покрытия с коэффициентом излучения > 2,33 (неметаллического), расчетная толщина изоляции существенно ниже.

Расчет толщины тепловой изоляции для плоских и цилиндрических поверхностей с наружным диаметром 2 м и более выполняется по формуле

                                                                             (8)

Расчетную толщину тепловой изоляции для оборудования с наружным диаметром менее 2 м определяют по формуле:

                                                            (9)

после определения dиз/dн толщину изоляции определяют по формуле (3).

5.3.3. Для определения толщины изоляции следует задать температуру на поверхности изоляции, (tк), выше «точки росы» при температуре и относительной влажности окружающего воздуха (φ) в помещении.

Допустимый перепад температур (t0 - tк) рекомендуется принимать по таблице 5.3.1.

Таблица 5.3.1.

Допустимый перепад температур (t0 - tк).

Температура
воздух
a, t0, °C

Относительная влажность воздуха, φ, %

50

60

70

80

90

Расчетный перепад, (t0 - tкC

10

9,8

7,3

5,1

3,1

1,5

12

9,9

7,3

5,1

3,1

1,5

14

10,1

7,4

5,2

3,2

1,5

16

10,2

7,6

5,3

3,3

1,5

18

10,4

7,7

5,4

3,3

1,5

20

10,5

7,8

5,4

3,4

1,5

22

10,7

7,9

5,5

3,4

1,5

24

10,9

8,0

5,6

3,5

1,6

26

11,0

8,2

5,7

3,5

1,6

28

11,2

8,3

5,8

3,6

1,6

30

11,4

8,4

5,9

3,6

1,6

5.3.4. Коэффициент теплоотдачи, н), следует принимать в соответствии с приложением 1.

5.3.5. При проектировании следует принимать толщину тепловой изоляции в конструкции с учетом действующей номенклатуры холстов из базальтовых супертонких волокон, плит мягких базальтоволокнистых теплоизоляционных, матов прошивных теплоизоляционных из базальтового холста и материалов базальтовых огнезащитных рулонных, при этом округлять расчетные значения следует только в большую сторону.

5.3.6. Рекомендуемая толщина тепловой изоляции из теплоизоляционных изделий из супертонкого базальтового волокна производства ОАО «ТИЗОЛ», предотвращающая конденсацию влаги из воздуха в конструкциях тепловой изоляции для трубопроводов и оборудования, расположенных в помещении с относительной влажностью воздуха не более 60 %, приведена в таблицах 5.3.2 - 5.3.4.

5.3.7. Рекомендуемая толщина тепловой изоляции из теплоизоляционных изделий из супертонкого базальтового волокна производства ОАО «ТИЗОЛ», предотвращающая конденсацию влаги из воздуха в конструкциях тепловой изоляции с металлическим покровным слоем для трубопроводов и оборудования, расположенных в помещении с относительной влажностью воздуха свыше 60 до 75 % вкл., приведена в таблицах 5.3.5 - 5.3.7.

5.3.8. Рекомендуемая толщина тепловой изоляции из теплоизоляционных изделий из супертонкого базальтового волокна производства ОАО «ТИЗОЛ», предотвращающая конденсацию влаги из воздуха в конструкциях тепловой изоляции с неметаллическим покровным слоем для трубопроводов и оборудования, расположенных в помещении с относительной влажностью воздуха свыше 60 до 75 % вкл., приведена в таблицах 5.3.8 - 5.3.10.

5.3.9. При температуре и влажности воздуха в помещении, отличающихся от указанных, толщину изоляции следует определять по формулам (8) или (9), так как с повышением относительной влажности воздуха при отсутствии вентиляции толщина изоляции значительно возрастает.

Таблица 5.3.2. Рекомендуемая толщина теплоизоляционного слоя из матов прошивных из базальтового холста МПБ-30, МПБ-50 или плит мягких БВТМ-ПМ в конструкции тепловой изоляции, предотвращающая конденсацию влаги из воздуха на поверхности изоляции трубопроводов и оборудования, расположенных в помещении с относительной влажностью воздуха не более 60 %.

Наружный диаметр, мм

Вид покрытия

металлическое

неметаллическое

Температура теплоносителя, °С

от 10
до 0

-10

-20

-30

-40

-50

-60

-10 и
выше

-20

-30

-40

-50

-60

Толщина теплоизоляционного слоя из матов МПБ-30, МПБ-50 или плит мягких БВТМ-ПМ, мм

18

20

20

20

25

30

35

40

20

20

20

25

25

30

25

20

20

20

30

30

35

40

20

20

20

25

30

30

32

20

20

25

30

35

40

50

20

20

25

25

30

35

38

20

20

25

30

35

40

50

20

20

25

25

30

35

45

20

20

25

30

35

40

50

20

20

25

30

30

35

57

20

20

25

30

40

50

50

20

20

25

30

35

40

76

20

20

30

35

40

50

50

20

20

25

30

35

40

89

20

20

30

35

40

50

60

20

20

25

30

35

40

108

20

20

30

35

40

50

60

20

20

25

35

40

40

133

20

20

30

35

50

50

60

20

20

30

35

40

50

159

20

20

30

40

50

50

60

20

25

30

35

40

50

219

20

25

30

40

50

60

60

20

25

30

35

40

50

273

20

25

30

40

50

60

70

20

25

30

35

40

50

325

20

25

30

40

50

60

70

20

25

30

35

40

50

377

20

25

30

40

50

60

70

20

25

30

35

50

50

426

20

25

35

40

50

60

70

20

25

30

35

50

50

473

20

25

35

40

50

60

70

20

25

30

35

50

50

530

20

25

35

40

50

60

70

20

25

30

35

50

50

630

20

25

35

40

50

60

70

20

25

30

40

50

50

720

20

25

35

50

50

60

70

20

25

30

40

50

50

820

20

25

35

50

50

60

70

20

25

30

40

50

50

920

20

25

35

50

50

60

70

20

25

30

40

50

50

1020

20

25

35

50

60

60

70

20

25

30

40

50

50

1420

20

25

35

50

60

70

70

20

25

30

40

50

60

Более
1420*

20

25

35

50

60

70

80

20

25

30

40

50

60

* - в том числе поверхности с большим радиусом кривизны и плоские поверхности.

Таблица 5.3.3. Рекомендуемая толщина теплоизоляционного слоя из холста из супертонких базальтовых волокон БСТВ-ст или БСТВ-сп в конструкции тепловой, предотвращающая конденсацию влаги из воздуха на поверхности изоляции трубопроводов и оборудования, расположенных в помещении с относительной влажностью окружающего воздуха не более 60 %.

Наружный диаметр, мм

Вид покрытия

металлическое

неметаллическое

Температура теплоносителя, °С

-10 и
выше

-20

-30

-40

-50

-60

-20 и
выше

-30

-40

-50

-60

Толщина теплоизоляционного слоя из холстов БСТВ-ст или БСТВ-сп, мм

18

30

30

30

30

40

40

30

30

30

30

30

25

30

30

30

40

40

40

30

30

30

30

40

32

30

30

30

40

40

50

30

30

30

30

40

38

30

30

30

40

40

50

30

30

30

30

40

45

30

30

30

40

50

50

30

30

30

40

40

57

30

30

40

40

50

50

30

30

30

40

40

76

30

30

40

40

50

60

30

30

40

40

40

89

30

30

40

50

50

60

30

30

40

40

50

108

30

30

40

50

50

60

30

30

40

40

50

133

30

30

40

50

60

60

30

30

40

40

50

159

30

30

40

50

60

60

30

30

40

40

50

219

30

30

40

50

60

70

30

30

40

50

50

273

30

40

40

50

60

70

30

30

40

50

50

325

30

40

40

50

60

70

30

30

40

50

50

377

30

40

50

50

60

70

30

30

40

50

50

426

30

40

50

50

60

70

30

30

40

50

50

473

30

40

50

60

60

70

30

30

40

50

50

530

30

40

50

60

60

70

30

30

40

50

50

630

30

40

50

60

70

80

30

40

40

50

60

720

30

40

50

60

70

80

30

40

40

50

60

820

30

40

50

60

70

80

30

40

40

50

60

920

30

40

50

60

70

80

30

40

40

50

60

1020

30

40

50

60

70

80

30

40

40

50

60

1420

30

40

50

60

70

80

30

40

40

50

60

Более
1420*

30

40

50

60

70

80

30

40

40

50

60

* - в том числе поверхности с большим радиусом кривизны и плоские поверхности.

Таблица 5.3.4. Рекомендуемая толщина теплоизоляционного слоя из материала базальтового огнезащитного МБОР в конструкции тепловой изоляции, предотвращающая конденсацию влаги из воздуха на поверхности изоляции трубопроводов и оборудования, расположенных в помещении с относительной влажностью окружающего воздуха не более 60 %.

Наружный диаметр, мм

Вид покрытия

металлическое

неметаллическое

Температура теплоносителя, °С

от 10
до 0

-10

-20

-30

-40

-50

-60

от 10
до 0

-10

-20

-30

-40

-50

-60

Толщина теплоизоляционного слоя из материала МБОР, мм

18

15

20

25

30

35

35

40

15

15

20

20

25

30

30

25

15

20

25

30

35

40

50

15

15

20

25

25

30

35

32

15

20

25

30

35

40

50

15

15

20

25

25

30

35

38

15

20

25

30

35

40

50

15

15

20

25

30

35

35

45

15

20

25

35

40

50

50

15

15

20

25

30

35

40

57

15

20

30

35

40

50

60

15

15

20

25

30

35

40

76

15

20

30

35

50

50

60

15

15

25

30

35

40

50

89

15

25

30

40

50

50

60

15

20

25

30

35

40

50

108

15

25

30

40

50

60

60

15

20

25

30

35

40

50

133

15

25

30

40

50

60

60

15

20

25

30

35

40

50

159

15

25

35

40

50

60

70

15

20

25

30

35

50

60

219

15

25

35

40

50

60

70

15

20

25

30

40

50

60

273

15

25

35

50

50

60

70

15

20

25

35

40

50

60

325

15

25

35

50

60

60

70

15

20

25

35

40

50

60

377

15

25

35

50

60

70

70

15

20

25

35

40

50

60

426

15

25

35

50

60

70

70

15

20

25

35

40

50

60

473

15

25

35

50

60

70

80

15

20

25

35

40

50

60

530

15

25

35

50

60

70

80

15

20

25

35

40

50

60

630

15

25

35

50

60

70

80

15

20

25

35

40

50

60

720

15

25

35

50

60

70

80

15

20

25

35

40

50

60

820

15

25

35

50

60

70

80

15

20

25

35

40

50

60

920

15

25

35

50

60

70

80

15

20

25

35

40

50

60

1020

15

25

35

50

60

70

80

15

20

25

35

40

50

60

1420

15

25

35

50

60

70

80

15

20

30

35

50

50

60

Более
1420*

15

25

40

50

60

70

90

15

20

30

35

50

50

60

* - в том числе поверхности с большим радиусом кривизны и плоские поверхности.

Таблица 5.3.5. Рекомендуемая толщина теплоизоляционного слоя из матов прошивных из базальтового холста МПБ-30, МПБ-50 или плит мягких БВТМ-ПМ в конструкции тепловой изоляции с металлическим покровным слоем, предотвращающая конденсацию влаги из воздуха на поверхности изоляции трубопроводов и оборудования, расположенных в помещении с относительной влажностью воздуха св. 60 до 75 % вкл.

Наружный диаметр, мм

Температура теплоносителя, °С

от 10
до 5

0

-10

-20

-30

-40

-50

-60

Толщина теплоизоляционного слоя из матов МПБ-30, МПБ-50 или плит мягких БВТМ-ПМ, мм

18

20

20

30

40

40

50

60

60

25

20

20

30

40

50

50

60

70

32

20

20

30

40

50

60

60

70

38

20

20

30

40

50

60

70

70

45

20

25

35

40

50

60

70

80

57

20

25

35

50

60

60

70

80

76

20

25

35

50

60

70

80

90

89

20

25

35

50

60

70

80

90

108

20

25

40

50

60

70

80

90

133

20

25

40

50

70

80

90

100

159

20

25

40

60

70

80

90

100

219

20

25

40

60

70

80

90

100

273

20

30

40

60

70

80

100

110

325

20

30

50

60

70

90

100

110

377

20

30

50

60

80

90

100

110

426

20

30

50

60

80

90

100

120

473

20

30

50

60

80

90

100

120

530

20

30

50

60

80

90

110

120

630

20

30

50

60

80

90

110

120

720

20

30

50

60

80

90

110

120

820

20

30

50

60

80

100

110

130

920

20

30

50

60

80

100

110

130

1020

20

30

50

70

80

100

110

130

1420

20

30

50

70

80

100

120

130

Более
1420*

20

30

50

70

90

110

120

140

* - в том числе поверхности с большим радиусом кривизны и плоские поверхности.

Таблица 5.3.6. Рекомендуемая толщина теплоизоляционного слоя из холста из базальтовых супертонких волокон БСТВ ст или БСТВ-сп в конструкции тепловой изоляции с металлическим покровным слоем, предотвращающая конденсацию влаги из воздуха на поверхности изоляции трубопроводов и оборудования, расположенных в помещении с относительной влажностью воздуха св. 60 до 75 % вкл.

Наружный диаметр, мм

Температура теплоносителя, °С

от 10
до 0

-10

-20

-30

-40

-50

-60

Толщина теплоизоляционного слоя из холстов БСТВ-ст или БСТВ-сп, мм

18

30

30

40

50

50

60

70

25

30

30

40

50

60

60

70

32

30

30

40

50

60

70

70

38

30

40

40

50

60

70

80

45

30

40

50

60

60

70

80

57

30

40

50

60

70

80

80

76

30

40

50

60

70

80

90

89

30

40

50

60

70

80

90

108

30

40

50

70

80

90

100

133

30

40

60

70

80

90

100

159

30

40

60

70

80

90

100

219

30

50

60

70

90

100

110

273

30

50

60

80

90

100

110

325

30

50

60

80

90

100

120

377

30

50

60

80

90

110

120

426

30

50

60

80

90

110

120

473

30

50

60

80

90

110

120

530

30

50

70

80

100

110

120

630

30

50

70

80

100

110

130

720

30

50

70

80

100

110

130

820

30

50

70

80

100

120

130

920

30

50

70

80

100

120

130

1020

30

50

70

80

100

120

130

1420

30

50

70

90

100

120

140

Более
1420*

30

50

70

90

110

130

150

*- в том числе поверхности с большим радиусом кривизны и плоские поверхности.

Таблица 5.3.7. Рекомендуемая толщина теплоизоляционного слоя из материала базальтового огнезащитного МБОР в конструкции тепловой изоляции с металлическим покровным слоем, предотвращающая конденсацию влаги из воздуха на поверхности изоляции трубопроводов и оборудования, расположенных в помещении с относительной влажностью воздуха св. 60 до 75 % вкл.

Наружный диаметр, мм

Температура теплоносителя, °С

10

5

0

-10

-20

-30

-40

-50

60

Толщина теплоизоляционного слоя из материала МБОР, мм

18

15

15

20

30

35

50

50

60

70

25

15

15

20

30

40

50

60

60

70

32

15

15

20

30

40

50

60

70

70

38

15

15

25

35

40

50

60

70

80

45

15

20

25

35

50

60

60

70

80

57

15

20

25

35

50

60

70

80

90

76

15

20

25

40

50

60

70

80

90

89

15

20

25

40

50

70

80

90

100

108

15

20

30

40

60

70

80

90

100

133

15

20

30

50

60

70

80

90

100

159

15

20

30

50

60

70

80

100

110

219

15

20

30

50

60

80

90

100

110

273

15

20

30

50

60

80

90

100

120

325

15

20

30

50

60

80

90

110

120

377

15

20

30

50

60

80

100

110

120

426

15

20

30

50

70

80

100

110

130

473

15

20

30

50

70

80

100

110

130

530

15

20

30

50

70

80

100

110

130

630

15

25

30

50

70

90

100

120

130

720

15

25

30

50

70

90

100

120

130

820

15

25

30

50

70

90

100

120

140

920

15

25

30

50

70

90

100

120

140

1020

15

25

30

50

70

90

110

120

140

1420

15

25

30

50

70

90

110

130

140

Более
1420*

15

25

35

60

80

100

120

140

150

* - в том числе поверхности с большим радиусом кривизны и плоские поверхности.

Таблица 5.3.8. Рекомендуемая толщина теплоизоляционного слоя из матов прошивных из базальтового холста МПБ-30, МПБ-50 или плит мягких БВТМ-ПМ в конструкции тепловой изоляции с неметаллическим покровным слоем, предотвращающая конденсацию влаги из воздуха на поверхности изоляции трубопроводов и оборудования, расположенных в помещении с относительной влажностью воздуха св. 60 до 75 % вкл.

Наружный диаметр, мм

Температура теплоносителя, °С

от 10
до 0

-10

-20

-30

-40

-50

-60

Толщина теплоизоляционного слоя из матов МПБ-30, МПБ-50 или плит мягких БВТМ-ПМ, мм

18

20

20

25

35

40

40

50

25

20

25

30

35

40

50

50

32

20

25

30

35

50

50

60

38

20

25

30

40

50

50

60

45

20

25

40

40

50

50

60

57

20

25

35

40

50

60

60

76

20

30

35

50

50

60

70

89

20

30

35

50

60

60

70

108

20

30

40

50

60

60

70

133

20

30

40

50

60

70

70

159

20

30

40

50

60

70

80

219

20

30

40

50

60

70

80

273

20

30

40

50

60

70

80

325

20

30

50

60

70

80

80

377

20

35

50

60

70

80

90

426

20

35

50

60

70

80

90

473

20

35

50

60

70

80

90

530

20

35

50

60

70

80

90

630

20

35

50

60

70

80

90

720

20

35

50

60

70

80

90

820

20

35

50

60

70

80

90

920

20

35

50

60

70

80

90

1020

20

35

50

60

70

80

90

1420

20

35

50

60

70

80

100

Более
1420*

20

35

50

60

80

90

100

* - в том числе поверхности с большим радиусом кривизны и плоские поверхности.

Таблица 5.3.9. Рекомендуемая толщина теплоизоляционного слоя из холста из базальтовых супертонких волокон БСТВ-ст или БСТВ-сп в конструкции тепловой изоляции с неметаллическим покровным слоем, предотвращающая конденсацию влаги из воздуха на поверхности изоляции трубопроводов и оборудования, расположенных в помещении с относительной влажностью воздуха св. 60 до 75 % вкл.

Наружный диаметр, мм

Температура теплоносителя, °С

от 10
до 0

-10

-20

-30

-40

-50

-60

Толщина теплоизоляционного слоя из холстов БСТВ-ст или БСТВ-сп, мм

18

30

30

30

40

40

50

50

25

30

30

30

40

40

50

50

32

30

30

30

40

40

50

60

38

30

30

30

40

50

50

60

45

30

30

30

40

50

50

60

57

30

30

30

50

50

60

70

76

30

30

30

50

60

60

70

89

30

30

30

50

60

60

70

108

30

30

40

50

60

70

70

133

30

30

40

50

60

70

80

159

30

30

40

50

60

70

80

219

30

30

50

60

70

70

80

273

30

40

50

60

70

80

90

325

30

40

50

60

70

80

90

377

30

40

50

60

70

80

90

426

30

40

50

60

70

80

90

473

30

40

50

60

70

80

90

530

30

40

50

60

70

80

90

630

30

40

50

60

70

80

100

720

30

40

50

60

70

90

100

820

30

40

50

60

70

90

100

920

30

40

50

60

70

90

100

1020

30

40

50

60

80

90

100

1420

30

40

50

60

80

90

100

Более
1420*

30

40

50

70

80

90

110

* - в том числе поверхности с большим радиусом кривизны и плоские поверхности.

Таблица 5.3.10. Рекомендуемая толщина теплоизоляционного слоя из материала базальтового огнезащитного МБОР в конструкции тепловой изоляции с неметаллическим покровным слоем, предотвращающая конденсацию влаги из воздуха на поверхности изоляции трубопроводов и оборудования, расположенных в помещении с относительной влажностью воздуха св. 60 до 75 % вкл.

Наружный диаметр, м

Температура теплоносителя, °С

До 5

0

-10

-20

-30

-40

-50

-60

Толщина теплоизоляционного слоя из материала МБОР, мм

18

15

15

25

30

35

40

50

50

25

15

15

25

30

35

40

50

60

32

15

15

25

30

40

50

50

60

38

15

20

25

35

40

50

50

60

45

15

20

25

35

40

50

60

60

57

15

20

30

35

50

50

60

70

76

15

20

30

40

50

60

60

70

89

15

20

30

40

50

60

70

70

108

15

20

30

40

50

60

70

80

133

15

20

30

40

50

60

70

80

159

15

20

35

50

60

60

70

80

219

15

20

35

50

60

70

80

90

273

15

25

35

50

60

70

80

90

325

15

25

35

50

60

70

80

90

377

15

25

35

50

60

70

80

90

426

15

25

35

50

60

70

80

100

473

15

25

35

50

60

70

90

100

530

15

25

35

50

60

70

90

100

630

15

25

35

50

60

80

90

100

720

15

25

35

50

60

80

90

100

820

15

25

35

50

70

80

90

100

920

15

25

40

50

70

80

90

100

1020

15

25

40

50

70

80

90

100

1420

15

25

40

50

70

80

90

110

Более
1420*

15

25

40

60

70

80

100

110

*- в том числе поверхности с большим радиусом кривизны и плоские поверхности.

5.4. Тепловая изоляция трубопроводов с целью предотвращения замерзания содержащейся в них жидкости.

5.4.1. Тепловую изоляцию с целью предотвращения замерзания жидкости при прекращении её движения предусматривают для трубопроводов, расположенных на открытом воздухе или в неотапливаемых помещениях. Как правило, это актуально для трубопроводов малого диаметра, имеющих малый запас аккумулированного тепла.

5.4.2. Время, на которое тепловая изоляция может предохранить транспортируемую жидкость от замерзания при остановке её движения, зависит от температуры жидкости и окружающего воздуха, скорости ветра, внутреннего диаметра, толщины и материала стенки трубопровода; параметров транспортируемой жидкости. К параметрам, влияющим на длительность периода до начала замерзания относятся: плотность, температура замерзания, удельная теплоёмкость, скрытая теплота замерзания.

Чем больше диаметр трубопровода и выше температура жидкости, тем меньше вероятность замерзания.

Чем больше скорость ветра и ниже температура жидкости (холодной воды) и окружающего воздуха, меньше диаметр трубопровода, тем больше вероятность замерзания жидкости. Уменьшает вероятность замерзания холодной воды применение изолированных неметаллических трубопроводов.

5.4.3. Толщину тепловой изоляции рассчитывают по формуле (10)

(10)

где: vm - объём жидкости на метр длины трубопровода, м3;

ρm - плотность жидкости, кг/м3;

сm - удельная теплоемкость жидкости, кДж/(кг∙К);

vcm - объём стенки на метр длины трубопровода, м3;

ρcm - плотность кг/м3;

ccm - удельная теплоемкость материала стенки, кДж/(кг∙К);

rm - скрытая теплота замерзания (плавления), кДж/кг;

z - время предполагаемой приостановки движения жидкости, час;

К - коэффициент, учитывающий дополнительные потери на опорах трубопроводов.

В частном случае для стального водопровода формула имеет вид:

(11)

5.4.4. Температуру окружающего воздуха следует принимать как среднюю наиболее холодной пятидневки с обеспечением 0,98 для региона, где расположен трубопровод.

5.4.5. Коэффициент К, учитывающий дополнительные потери на опорах, следует принимать:

- для стальных трубопроводов на подвижных опорах, условным проходом до 150 мм - 1,2;

- для неметаллических трубопроводов на подвижных и подвесных опорах - 1,05.

5.4.7. Расчетное время, в течение которого тепловая изоляция на основе теплоизоляционных изделий производства ОАО «ТИЗОЛ» позволит предохранить от замерзания холодную воду с начальной температурой 5 и 10°С при аварийной остановке её движения в трубопроводах в зимнее время при расчетной температуре окружающего воздуха до минус 30°С, приведено в таблицах 5.4.1. - 5.4.3.

Примечание: При расчетах толщины изоляции трубопроводов коэффициент К, учитывающий дополнительные потери на опорах, принят - 1,2 (стальные трубопроводы с условным проходом до 150 мм на подвижных опорах).

5.4.8. При расчетной температуре окружающего воздуха ниже минус 30°С или для других жидких вязких веществ необходимо проведение расчетов по формулам (10) или (11).

Таблица 5.4.1. Время до начала замерзания воды при остановке ее движения в трубопроводах холодного водоснабжения с температурой +5°С и +10°С, теплоизолированных матами прошивными марок МПБ-30 и МПБ-50 или плитами мягкими марки БВТМ-ПМ.

Наружный диаметр, мм

Температура холодной воды, °С

+5

+10

Толщина теплоизоляционного слоя из матов прошивных марки МПБ-50, мм

40

50

60

80

100

120

40

50

60

80

100

120

Время до начала замерзания воды в трубопроводе, час

18

1,1

1,2

1,3

1,4

1,6

-

1,3

1,4

1,5

1,7

1,9

-

25

1,3

1,5

1,7

1,9

2,0

2,2

1,7

1,9

2,1

2,4

2,5

2,7

32

2,0

2,1

2,4

2,8

3,0

3,2

2,5

2,8

3,5

3,4

3,7

4,0

45

3,8

4,3

4,8

5,5

6

6

4,5

5,2

5,7

6

7

8

57

6

7

7

9

10

11

7

8

9

10

11

12

76

8

9

10

12

14

16

10

11

12

15

17

19

89

10

12

14

17

19

21

12

14

16

20

23

25

108

14

17

19

23

26

30

16

19

22

27

31

34

133

19

22

25

31

36

41

22

26

29

36

42

47

159

23

28

32

40

46

52

27

32

37

46

53

60

Таблица 5.4.2. Время до начала замерзания воды при остановке ее движения в трубопроводах холодного водоснабжения с температурой +5°С и +10°С, теплоизолированных матами теплоизоляционными прошивными из базальтового холста МПБ-30 или МПБ-50, холстами из базальтового супертонкого волокна БСТВ ст или БСТВ-сп.

Наружный диаметр, мм

Температура холодной воды, °С

+5

+10

Толщина теплоизоляционного слоя из матов прошивных марки МПБ-50, мм

40

50

60

80

100

120

40

50

60

80

100

120

Время до начала замерзания воды в трубопроводе, час

18

1,0

1,1

1,2

1,4

1,5

1,6

1,2

1,4

1,5

1,6

1,8

1,9

25

1,3

1,5

1,6

1,8

1,9

2,1

1,6

1,9

2,0

2,2

2,4

2,6

32

1,9

2,1

2,3

2,6

2,9

3,1

2,4

2,6

2,9

3,2

3,6

3,8

45

3,6

4,0

4,6

5,2

5,9

6

4,3

5,0

5,4

6

7

7

57

5,8

6

7

8

9

10

6

7

8

9

11

12

76

7

9

10

12

13

15

9

10

12

14

16

18

89

10

12

13

16

18

20

12

14

16

19

21

24

108

13

16

18

22

25

28

16

18

21

26

29

33

133

18

21

24

30

34

39

21

25

28

34

40

45

159

22

27

31

38

44

50

26

31

35

44

51

57

Таблица 5.4.3. Время до начала замерзания воды при остановке ее движения в трубопроводах холодного водоснабжения с температурой +5°С и +10°С, теплоизолированных матами теплоизоляционными прошивными из базальтового холста МПБ-30 и МПБ-50.

Наружный диаметр, мм

Температура холодной воды, °С

+5

+10

Толщина теплоизоляционного слоя из матов прошивных марки М-50, мм

40

50

60

80

100

120

40

50

60

80

100

120

Время до начала замерзания воды в трубопроводе, час

18

1,0

1,1

1,2

1,3

1,4

1,5

1,2

1,3

1,4

1,6

1,7

1,8

25

1,2

1,4

1,5

1,7

1,9

2,0

1,6

1,7

1,9

2,1

2,3

2,5

32

1,8

2,0

2,2

2,5

2,7

3,0

2,2

2,5

2,8

3,1

3,4

3,6

45

3,5

3,9

4,3

5,0

5,6

6

4,2

4,7

5,2

6

6

7

57

5,5

6

7

8

9

10

6

7

8

9

10

11

76

7

8

9,8

11

13

14

9

10

11

13

15

17

89

10

11

13

15

17

19

11

13

15

18

20

23

108

13

15

17

21

24

27

15

18

20

24

28

31

133

17

20

23

28

33

37

20

23

27

33

38

43

159

21

25

29

36

42

47

25

29

34

42

49

55

5.5. Тепловая изоляция трубопроводов водяных тепловых сетей двухтрубной подземной канальной прокладки.

5.5.1. Для двухтрубной прокладки в одноячейковом непроходном канале линейная плотность теплового потока по заданным теплоизоляционным конструкциям и конструкции непроходного канала определяют по формулам:

для подающего трубопровода:

(12)

где: t1m - температура теплоносителя в подающем трубопроводе, °С;

tгр - температура грунта на глубине заложения трубопровода, °С.

R1 - полное термическое сопротивление подающего трубопровода, м2∙°С/Вт;

для обратного трубопровода:

(13)

где: t2m - температура теплоносителя в обратном трубопроводе, °С;

R2 - полное термическое сопротивление обратного трубопровода, м2∙°С/Вт.

Rl = R1mp + Rкан + R1доп,

(14)

R2 = R2mp + Rкан + R2доп,

(15)

где: R1mp и R2mp - термические сопротивления соответственно для подающего и обратного трубопроводов, м2∙°С/Вт;

R1доп, R2доп - дополнительные термические сопротивления взаимного влияния для подающего и обратного трубопроводов, м2∙°С/Вт;

Rкан - термическое сопротивление канала, м2∙°С/Вт.

R1доп = Ψ1канRкан;

(16)

R2доп = Ψ2канRкан;

(17)

где: Ψ1кан , Ψ2кан - коэффициенты, определяющие дополнительное термическое сопротивление соответственно для подающего и обратного трубопроводов в канале.

(18)

(19)

5.5.2. При расчетах тепловой изоляции трубопроводов подземной двухтрубной канальной прокладки тепловых сетей следует принимать:

а) расчетную среднегодовую температуру теплоносителя подающего и обратного трубопроводов - по таблице 5.5.1;

Таблица 5.5.1.

Температурные режимы водяных тепловых сетей, °С

95-70

150-70

180-70

Трубопровод

Расчетная температура теплоносителя, (tm) °C

Подающий

65

90

110

Обратный

50

50

50

б) расчетную температуру наружной среды, t0, при глубине заложения до верха канала 0,7 м и менее:

- при круглогодичной работе тепловой сети - среднегодовую температуру наружного воздуха;

- при работе только в отопительный период - среднюю за отопительный период;

в) при глубине заложения верха канала более 0,7 м - среднюю за год температуру грунта на глубине заложения оси трубопроводов.

5.5.3. Рекомендуемая толщина изоляции из теплоизоляционных изделий из супертонкого базальтового волокна производства ОАО «ТИЗОЛ», отвечающая нормам плотности теплового потока, для трубопроводов тепловых сетей двухтрубной подземной канальной прокладки, расположенных в Европейском регионе России, приведена в таблицах 5.5.2. - 5.5.4.

Расчет выполнен для трубопроводов, расположенных на глубине 1,8 м в грунте средней влажности с расчетной теплопроводностью 1,8 Вт/(м∙°С), в лотковых одноячейковых каналах (марки МКЛ) с размерами, приведенными в таблице 5.5.5.

Толщины изоляции подающего и обратного трубопровода приняты одинаковыми.

Таблица 5.5.2. Рекомендуемая толщина тепловой изоляции из плит мягких марки БВТМ-ПМ в конструкциях тепловой изоляции трубопроводов тепловых сетей двухтрубной канальной прокладки для Европейского региона России.

Наружный диаметр трубопро-
вода, мм

Число часов работы

более 5000

5000 и менее

Средняя температура теплоносителя в трубопроводе (прямой/обратный), °С

65/50

90/50

110/50

65/50

90/50

110/50

Толщина теплоизоляционного слоя плит БВТМ-ПМ, мм

57

35

40

50

30

35

35

76

40

50

50

35

35

40

89

40

50

50

35

35

40

108

40

50

50

35

40

40

133

50

50

60

35

40

50

159

50

50

60

35

40

50

219

50

60

60

40

40

50

273

50

60

70

40

50

50

325

50

60

70

40

50

50

377

50

60

70

40

50

50

426

50

60

70

40

50

50

478

50

60

70

40

50

50

530

50

60

70

40

50

50

630

50

60

70

40

50

50

720

50

60

70

40

50

50

820

50

60

70

40

50

50

920

60

60

70

40

50

50

1020

60

60

80

40

50

50

1220

60

70

80

40

50

60

1420

60

70

80

40

50

60

Таблица 5.5.3. Рекомендуемая толщина тепловой изоляции из матов прошивных марки МПБ-30 или холстов марки БСТВ-ст (БСТВ-сп) в конструкциях тепловой изоляции трубопроводов тепловых сетей двухтрубной канальной прокладки для Европейского региона России.

Наружный диаметр трубопро-
вода, мм

Число часов работы

более 5000

5000 и менее

Средняя температура теплоносителя в трубопроводе (прямой/обратный), °С

65/50

90/50

110/50

65/50

90/50

110/50

Толщина теплоизоляционного слоя из матов МПБ-30 или холстов БСТВ-ст (БСТВ-сп), мм

57

40

40

50

30

30

40

76

40

40

50

40

40

40

89

40

50

50

40

40

40

108

50

50

60

40

40

40

133

50

50

60

40

40

40

159

50

60

60

40

40

40

219

50

60

60

40

40

50

273

50

60

60

40

50

50

325

50

60

60

40

50

50

377

50

60

60

40

50

50

426

50

60

60

40

50

50

478

50

60

60

40

50

50

530

60

60

70

40

50

50

630

60

60

70

40

50

50

720

60

60

70

40

50

50

820

60

60

70

40

50

50

920

60

60

70

40

50

50

1020

60

60

70

40

50

50

1220

60

60

70

40

50

50

1420

60

60

70

40

50

50

Таблица 5.5.4. Рекомендуемая толщина тепловой изоляции из матов прошивных марки МПБ-50 в конструкциях тепловой изоляции трубопроводов тепловых сетей двухтрубной канальной прокладки для Европейского региона России.

Наружный диаметр трубопро-
вода, мм

Число часов работы

более 5000

5000 и менее

Средняя температура теплоносителя в трубопроводе (прямой/обратный), °С

65/50

90/50

110/50

65/50

90/50

110/50

Толщина теплоизоляционного слоя из матов МПБ-50, мм

57

40

40

40

30

30

40

76

40

40

40

30

40

40

89

40

40

50

30

40

40

108

40

50

50

40

40

40

133

40

50

50

40

40

40

159

50

50

50

40

40

40

219

50

50

50

40

40

40

273

50

60

60

40

40

50

325

50

60

60

40

40

50

377

50

60

60

40

40

50

426

50

60

60

40

40

50

478

50

60

60

40

40

50

530

50

60

60

40

40

50

630

50

60

60

40

40

50

720

50

60

70

40

40

50

820

50

60

70

40

40

50

920

50

60

70

40

40

50

1020

50

60

70

40

40

50

1220

50

60

70

40

50

50

1420

60

60

70

40

50

50

Таблица 5.5.5. Размеры каналов марки МКЛ

Диаметр условного прохода трубопровода, мм

Внутренние размеры канала, м

высота

ширина

50-100

0,55

0,97

125-200

0,705

1,32

250-400

0,905

1,92

500-600

1,105

2,41

700-800

1,38

2,77

900-1000

1,58

3,19

1000-1200

1,785

3,60

1200-1400

2,08

4,16

ПРИЛОЖЕНИЕ 1.
РАСЧЕТНЫЕ КОЭФФИЦИЕНТЫ ТЕПЛООТДАЧИ.

Температура изолируемой поверхности

Изолируемая поверхность

Вид расчета тепловой изоляции

Коэффициент теплоотдачи, αе, Вт/(м2∙°С), при расположении изолируемых поверхностей

в помещениях, тоннелях, для покрытий с коэффициентом излучения,
С, Вт/(м2∙К4)

на открытом воздухе, для покрытий с коэффициентом излучения,
С, Вт/(м2∙К4)

≤ 2,33

> 2,33

≤ 2,33

> 2,33

20 и более

плоская поверхность, оборудование, вертикальные трубопроводы

по заданной температуре на поверхности покрытия

6

11

6

11

остальные виды расчетов

7

12

35

35

горизонтальные трубопроводы

по заданной температуре на поверхности покрытия

6

10

6

10

остальные виды расчетов

6

11

29

29

19 и менее

все виды изолируемых объектов

предотвращение конденсации влаги из окружающего воздуха на поверхности покрытия

5

7

-

-

остальные виды расчетов

6

11

29

29

Примечания:

1. Для трубопроводов, прокладываемых в каналах, коэффициент теплоотдачи от поверхности покровного слоя к воздуху в канале допускается принимать αе = 8 Вт/(м2∙°С).

2. Коэффициент теплоотдачи от воздуха к стенке канала допускается принимать равным 8 Вт/(м2∙°С).

3. К материалам для покровного слоя с коэффициентом излучения С ≤ 2,33 Вт/(м2∙К4) относятся нержавеющая и тонколистовая оцинкованная сталь, листы и ленты из алюминия и алюминиевых сплавов, алюминиевая фольга, а также другие материалы, окрашенные алюминиевой краской. К материалам для покровного слоя с коэффициентом излучения С > 2,33 Вт/(м2∙К4) относятся стеклопластики рулонные и прочие материалы на основе синтетических и природных полимеров, асбестоцементные листы, штукатурки, другие материалы, окрашенные различными красками, кроме алюминиевой.

ПРИЛОЖЕНИЕ 2.
РАСХОД ПОКРОВНЫХ И ТЕПЛОИЗОЛЯЦИОННЫХ МАТЕРИАЛОВ ПРОИЗВОДСТВА ОАО «ТИЗОЛ» ПРИ ИЗОЛЯЦИИ ТРУБОПРОВОДОВ И ОБОРУДОВАНИЯ.

1. Расход уплотняющихся материалов производства ОАО «ТИЗОЛ: матов марок МПБ-30, МПБ-50, холстов БСТВ-сп, БСТВ-ст и плит марки БВТМ-ПМ на изоляцию трубопроводов различных диаметров в зависимости от наружного диаметра трубопровода и толщины теплоизоляционного слоя следует определять с учетом коэффициента уплотнения, приведенных в таблице 3.2.

Коэффициент уплотнения учитывает монтажное уплотнение теплоизоляционного материла по толщине и геометрическое уплотнение - за счет разницы внутреннего и наружного периметров теплоизоляционного слоя.

2. Заказной объем уплотняющихся теплоизоляционных изделий для теплоизоляционного слоя без учета трудноустранимых потерь на монтаже определяется с учетом коэффициента уплотнения по формуле:

Vиз = Vк Kу,

(П.1)

где:

Vиз - заказной объем (расход) матов, плит и холстов на основе супертонкого базальтового волокна до установки их на трубопровод, м3;

Vк - объем теплоизоляционного слоя матов, плит и холстов на основе супертонкого базальтового волокна в конструкции тепловой изоляции трубопровода, принимаемый по таблице П 2.1., м3;

Ку - коэффициент уплотнения.

Требуемую толщину из теплоизоляционных материалов на основе супертонкого базальтового волокна производства ОАО «ТИЗОЛ» до установки на поверхность изолируемого трубопровода (без уплотнения) следует определять с учетом коэффициента уплотнения по формуле

(П.2)

где:

δз - толщина теплоизоляционных изделий до установки на изолируемую поверхность трубопровода, м;

δк - толщина теплоизоляционного слоя из матов, плит и холстов на основе супертонкого базальтового волокна в конструкции, м;

dн - наружный диаметр изолируемого трубопровода, м.

При двухслойной изоляции толщину каждого слоя из теплоизоляционных материалов определяют отдельно. При определении толщины наружного (второго) теплоизоляционного слоя за dн принимают диаметр изоляции первого слоя.

3. Теплоизоляционные материалы марки МБОР при изоляции оборудования и трубопроводов не уплотняются по толщине.

Объем теплоизоляционного слоя из теплоизоляционных материалов в конструкции в зависимости от толщины тепловой изоляции на 10 метров трубопровода приведены в таблице П 2.1.

4. Расход теплоизоляционных материалов на трудноустранимые потери принимают в размере 3 % от заказного объема тепловой изоляции.

5. Поверхность теплоизоляционной конструкции трубопроводов в зависимости от диаметра трубопровода и толщины тепловой изоляции приведена в таблице П 2.2.

Расход материала покровного слоя теплоизоляционной конструкции горизонтальных трубопроводов следует принимать с учетом перекрытия швов покрытия. Величину перекрытия швов (нахлеста) принимают в зависимости от вида материала защитного покрытия.

Для металлического покрытия горизонтальных участков трубопроводов величина нахлеста составляет 30-40 мм. Для неметаллических рулонных материалов - 50-100 мм.

Расход материала металлического покрытия отводов следует принимать с учетом потерь при изготовлении (раскрое) и перекрытия швов.

Расход элементов (деталей) покрытия в м2 и необходимое количество крепежных деталей на 1 м2 покрытия изоляции трубопроводов и оборудования предварительно может быть принят по таблицам П 2.3. и П 2.4.


Таблица П 2.1. Объем теплоизоляционного слоя из теплоизоляционных материалов производства ОАО «ТИЗОЛ» в конструкции в зависимости от толщины тепловой изоляции на 10 метров трубопровода.

На-
руж-
ный
диа-
метр,
мм

Толщина теплоизоляционного слоя в конструкции, мм

20

30

40

50

60

70

80

90

100

110

120

130

140

150

160

170

180

190

200

210

220

230

240

250

260

280

300

320

Объем теплоизоляционного слоя в конструкции с учетом уплотнения на 10 метров трубопровода, м3

18

0,024

0,05

0,07

0,11

0,15

0,19

0,25

0,31

0,37

-

-

-

-

-

-

-

-

-

-

-

-

-

-

-

-

-

-

-

25

0,03

0,05

0,08

0,12

0,16

0,20

0,26

0,32

0,39

0,47

0,55

0,63

0,73

-

-

-

-

-

-

-

-

-

-

-

-

-

-

-

32

0,03

0,06

0,09

0,13

0,17

0,22

0,28

0,34

0,41

0,49

0,57

0,66

0,76

-

-

-

-

-

-

-

-

-

-

-

-

-

-

-

38

0,04

0,07

0,10

0,14

0,18

0,24

0,30

0,36

0,43

0,51

0,59

0,69

0,79

-

-

-

-

-

-

-

-

-

-

-

-

-

-

-

45

0,04

0,07

0,11

0,15

0,20

0,26

0,32

0,38

0,46

0,54

0,62

0,72

0,81

-

-

-

-

-

-

-

-

-

-

-

-

-

-

-

57

0,05

0,08

0,12

0,17

0,22

0,28

0,34

0,42

0,5

0,58

0,67

0,76

0,87

0,97

-

-

-

-

-

-

-

-

-

-

-

-

-

-

76

0,06

0,10

0,15

0,20

0,26

0,32

0,39

0,47

0,55

0,64

0,74

0,84

0,95

1,06

1,20

-

-

-

-

-

-

-

-

-

-

-

-

-

89

0,07

0,11

0,16

0,22

0,28

0,35

0,43

0,51

0,6

0,69

0,79

0,89

1,01

1,13

1,25

1,38

-

-

-

-

-

-

-

-

-

-

-

-

108

0,08

0,13

0,19

0,25

0,35

0,39

0,47

0,56

0,65

0,75

0,87

0,97

1,09

1,22

1,35

1,48

1,63

-

-

-

-

-

-

-

-

-

-

-

133

0,10

0,15

0,22

0,29

0,36

0,45

0,54

0,63

0,73

0,84

0,95

1,07

1,20

1,39

1,47

1,62

1,77

1,93

2,09

-

-

-

-

-

-

-

-

-

159

0,11

0,18

0,25

0,33

0,41

0,50

0,60

0,70

0,81

0,93

1,05

1,18

1,31

1,46

1,60

1,76

1,92

2,08

2,25

2,32

2,62

-

-

-

-

-

-

-

219

0,15

0,24

0,33

0,42

0,53

0,64

0,75

0,87

0,87

1,14

1,28

1,43

1,58

1,74

1,90

2,08

2,26

2,44

2,63

2,83

3,03

3,24

-

-

-

-

-

-

273

0,19

0,29

0,39

0,51

0,63

0,75

0,88

1,03

1,17

1,32

1,32

1,65

1,82

1,99

2,18

2,36

2,56

2,76

2,97

3,18

3,41

3,63

-

-

-

-

-

-

325

0,22

0,33

0,46

0,59

0,73

0,87

1,02

1,17

1,34

1,50

1,68

0,86

2,04

2,24

2,44

2,64

2,86

3,07

3,30

3,53

3,76

4,00

4,26

-

-

-

-

-

377

0,25

0,38

0,52

0,67

0,82

0,98

1,15

1,32

1,50

1,68

1,87

2,07

2,27

2,48

2,70

2,92

3,15

3,38

3,62

3,87

4,12

4,38

4,65

-

-

-

-

-

426

0,28

0,43

0,59

0,75

0,92

1,09

1,27

1,46

1,63

1,83

2,06

2,27

2,48

2,71

2,94

3,18

3,43

3,68

3,93

4,19

4,46

4,74

5,02

5,31

-

-

-

-

476

0,31

0,51

0,65

0,83

1,01

1,20

1,40

1,60

1,81

2,02

2,25

2,47

2,71

2,95

3,2

3,45

3,71

3,98

4,25

4,53

4,81

5,10

5,40

5,70

-

-

-

-

530

0,35

0,56

0,72

0,91

1,11

1,32

1,53

1,76

1,98

2,22

2,45

2,7

2,94

3,2

3,46

3,74

4,01

4,26

4,58

4,88

5,17

5,48

5,80

6,13

6,45

-

-

-

630

0,41

0,65

0,84

1,07

1,30

1,55

1,79

2,05

2,30

2,65

2,83

3,10

3,39

3,67

3,97

4,27

4,58

4,89

5,21

5,54

5,87

6,22

6,56

6,92

7,27

8,00

-

-

720

0,47

0,73

0,95

1,21

1,47

1,76

2,04

2,31

2,58

2,88

3,17

3,47

3,78

4,1

4,42

4,75

5,09

5,43

5,78

6,14

6,49

6,86

7,23

7,62

8,00

8,79

-

-

820

0,53

0,83

1,08

1,37

1,65

1,96

2,26

2,58

2,89

3,22

3,54

3,88

4,22

4,57

4,92

5,28

5,65

6,03

6,41

6,79

7,16

7,58

7,99

8,41

8,82

9,67

10,55

-

920

0,59

0,92

1,21

1,58

1,95

2,23

2,51

2,86

3,20

3,56

3,92

4,29

4,66

5,03

5,43

5,82

6,22

6,62

7,03

7,46

7,88

8,31

8,74

9,18

9,63

10,55

11,49

-

1020

0,65

1,02

1,33

1,67

2,04

2,40

2,76

3,14

3,52

3,91

4,30

4,70

5,10

5,51

5,93

6,35

6,78

7,22

7,66

8,12

8,57

9,03

9,50

9,87

10,45

11,43

12,43

13,46

1220

0,77

1,18

1,58

2,00

2,41

2,84

3,26

3,70

4,14

4,60

5,05

5,52

5,98

6,45

6,93

7,42

7,91

8,41

8,92

9,44

9,95

10,47

11,0

11,54

12,08

12,25

14,32

15,47

1420

0,91

1,37

1,80

2,30

2,80

3,30

3,80

4,30

4,80

5,30

5,80

6,3

6,70

7,40

7,94

8,49

9,04

9,61

10,17

10,75

11,33

11,91

12,51

13,11

13,72

14,95

16,20

17,48

Таблица П 2.2. Поверхность теплоизоляционной конструкции на 10 метров длины трубопровода в зависимости от толщины теплоизоляционного слоя из материалов производства ОАО «ТИЗОЛ»

На-
руж-
ный
диа-
метр,

мм

Толщина теплоизоляционного слоя в конструкции, мм

20

30

40

50

60

70

80

90

100

110

120

130

140

150

160

170

180

190

200

210

220

230

240

250

260

280

 

 

Поверхность покровного слоя на 10 метров трубопровода, м3

18

1,8

2,4

3,1

3,7

4,3

5,0

5,6

6,2

6,8

-

-

-

 

 

-

-

-

-

-

-

-

-

-

-

-

-

-

-

25

2,1

2,7

3,3

3,9

4,6

5,2

5,8

6,4

7,1

7,7

8,3

9,0

9,6

-

-

-

-

-

-

-

-

-

-

-

-

-

-

-

32

2,3

2,9

3,5

4,1

4,8

5,4

6,0

6,7

7,3

7,9

8,5

9,2

9,8

 

-

 

-

-

-

-

-

-

-

-

-

-

-

-

38

2,5

3,1

3,7

4,3

5,0

5,6

6,2

6,8

7,5

8,1

8,7

9,4

10,0

-

-

-

-

-

-

-

-

-

-

-

-

-

-

-

45

3,7

3,3

3,9

4,6

5,2

5,8

6,4

7,1

7,7

8,3

9,0

9,6

10,2

-

-

-

-

-

-

-

-

-

-

-

-

-

-

-

57

3,1

3,7

4,3

4,9

5,6

6,2

6,8

7,4

8,1

8,7

9,3

9,95

10,6

11,2

-

-

-

-

-

-

-

-

-

-

-

-

-

-

76

3,7

4,3

4,9

5,5

6,2

6,8

7,4

8,0

8,7

9,3

9,9

10,5

11,2

11,8

12,4

-

-

-

-

-

-

-

-

-

-

-

-

-

89

4,1

4,7

5,3

5,9

6,6

7,2

7,8

8,4

9,1

9,7

10,4

11,0

11,6

12,2

12,8

13,5

-

-

-

-

-

-

-

-

-

-

-

-

108

4,7

5,3

5,9

6,5

7,2

7,8

8,4

9,1

9,7

10,3

10,9

11,7

12,2

12,8

13,4

14,1

14,7

-

-

-

-

-

-

-

-

-

-

-

133

5,5

6,1

6,7

7,3

8,0

8,6

9,2

9,9

10,5

11,1

11,7

12,3

13

13,6

14,2

14,9

15,5

16,1

16,7

-

-

-

-

-

-

-

-

-

159

6,3

6,9

7,5

8,1

8,8

9,4

10,0

10,6

11,3

11,9

12,5

13,2

13,8

14

15,1

15,7

16,3

17,0

17,6

18,2

18,8

-

-

-

-

-

-

-

219

8,1

8,8

9,4

10,0

10,6

11,3

11,9

12,5

13,2

13,8

14,5

15,0

15,7

16,3

16,9

17,6

18,2

18,8

19,4

20,1

20,7

21,3

-

-

-

-

-

-

273

9,8

10,5

11,1

11,7

12,3

13,0

13,6

14,6

14,9

15,5

16,1

16,7

17,4

18,0

18,6

19,2

19,9

20,5

21,1

21,8

22,4

23,0

-

-

-

-

-

-

325

11,5

12,1

12,6

13,3

14,0

14,6

15,2

15,9

16,5

17,1

17,7

18,4

19,0

19,6

20,3

20,9

21,5

22,2

22,8

23,4

24,0

24,6

25,3

-

-

-

-

-

377

13,1

13,7

14,4

15,0

15,6

16,2

16,9

17,5

18,1

18,8

19,4

20

20,6

21,3

21,9

22,5

23,1

23,8

24,4

25,1

25,7

26,3

26,9

-

-

-

-

-

426

14,6

15,3

15,9

16,5

17,2

17,8

18,4

19,0

19,7

20,3

20,9

21,6

22,2

22,8

23,4

24,1

24,7

25,3

25,9

26,6

27,2

27,9

28,5

29,1

-

-

-

-

476

16,2

17,0

17,5

18,1

18,7

19,3

20,0

20,6

21,2

21,9

22,5

23,1

23,7

24,4

25,0

25,5

26,3

26,9

27,5

28,1

28,8

29,4

30,0

30,6

-

-

-

-

530

17,9

17,6

19,1

19,8

20,4

21,0

21,6

22,3

22,9

23,5

24,1

24

25,4

26,1

26,7

27,3

28,0

28,6

29,2

29,8

30,5

31,1

31,7

32,3

33,0

-

-

-

630

21,0

21,7

22,3

22,9

23,6

24,2

24,8

25,4

26,1

26,7

27,3

27,9

28,6

29,3

29,8

30,5

31,1

31,7

32,3

32,9

33,6

34,2

34,9

35,5

36,1

37,4

-

-

720

23,9

23,5

25,1

25,7

26,4

27,0

27,6

28,3

28,9

29,5

30,1

30,8

31,4

32

32,7

33,3

33,9

34,6

35,2

35,8

36,4

37,1

37,7

38,3

38,9

40,2

-

-

820

27,0

27,2

28,3

28,4

29,5

30,1

30,8

31,4

32,0

32,7

33,3

33,9

34,5

35,1

35,8

36,5

37,1

37,7

38,3

38,9

39,6

40,2

40,9

41,5

42,1

43,3

44,6

-

920

30,2

30,8

31,4

32,0

32,8

33,3

33,9

34,5

35,2

35,9

36,4

37,1

37,7

38,3

38,9

39,6

41,2

41,9

41,5

42,1

42,7

43,3

44,0

44,6

45,2

46,5

47,7

-

1020

33,3

33,9

34,5

35,2

35,8

36,4

37,1

37,7

38,3

38,9

39,6

40,2

40,8

41,5

42,1

42,7

43,3

44,0

44,6

45,2

45,8

46,5

47,1

47,7

48,4

49,6

50,9

52,1

1220

39,6

39,3

40,8

41,4

42,1

42,7

43,3

44,0

44,6

45,2

45,8

46,5

47,1

47,7

48,4

49,0

49,6

50,3

50,9

51,5

52,1

52,8

53,4

54,0

54,7

55,9

57,1

58,4

1420

45,9

45,5

47,1

47,7

48,4

49,0

49,6

50,2

50,9

51,5

52,1

52,8

53,4

54,0

54,6

55,3

55,9

56,6

57,2

57,8

58,4

59,0

59,7

60,3

60,9

62,2

63,4

64,7


Таблица П 2.3. Расход материалов на 1 м2 покрытия металлическими листами для конструкций тепловой изоляции трубопроводов

Элементы конструкции

Единица изме-
рения

Трубопроводы диаметром изоляции

прямолинейные участки

криволинейные участки

200

400

600

800

1000

1200

200

400

600

800

1000

1200

Элементы металлического покрытия

м2

1,17

1,13

1,11

1,09

1,09

1,08

1,94

1,23

1,21

1,21

1,15

1,13

Крепление винтами:
винты самонарезающие

кг

0,017

0,014

0,01

0,009

0,009

0,008

0,017

0,014

0,01

0,009

0,009

0,008

Крепление бандажами:
Лента стальная упаковочная 0,7 × 20

кг

0,43

0,39

0,37

0,36

0,35

0,35

0,43

0,39

-

-

-

-

Пряжка из оцинкованной стали

кг

0,05

0,023

0,014

0,01

0,008

0,006

0,05

0,023

-

-

-

-

Примечание: При применении бандажей из алюминиевой ленты 0,8 × 20 мм и алюминиевых пряжек применять коэффициент 0,4; при применении бандажей из алюминиевой ленты 0,8 × 30 мм - 0,6.

Таблица П 2.4. Расход материалов на 1 м2 покрытия металлическими листами для конструкций тепловой изоляции оборудования.

Материалы и изделия

Еди-
ница
изме-
рения

Поверхности

Цилиндрические диаметром более 1000 мм и плоские

конические

сферические

Элементы покрытия

Картинами и обечайками

лепестками

секциями

лепестками

Элементы металлического покрытия

м2

1,07

1,07

1,18

1,1

1,12

Крепление винтами:
винты самонарезающие

кг

0,012

0,012

0,012

0,012

0,012

 




Яндекс цитирования