//
|
|
ГОССТРОЙ СССР цнииомтп МИНТРАНССТРОЙ ВПТИТРАНССТРОЙ
ТЕХНОЛОГИЧЕСКАЯ КАРТА Москва 1983 Содержание Типовая технологическая карта разработана отделом проектирования и внедрения технологии строительства инженерных сооружений ВПТИтрансстроя Министерства транспортного строительства под методическим руководством отдела возведения зданий и сооружений и монтажа конструкций ЦНИИОМТП Госстроя СССР. Редактор К.М. Шаровская 1. Область примененияТехнологическая карта разработана на основе методов научной организации труда. Она предназначена для
составления проектов организации и производства работ по сооружению тоннеля
внешним диаметром 1.1. Агрегат блокоукладчика, предназначенный для монтажа обделки тоннеля, изготавливается двух типов: с рычагом для установки блоков в проектное положение в кольце и кольцевом (конвейерным) шарнирно-складывающимся. Укладчики постоянной обделки тоннеля применяются в механизированных технологических комплексах, либо самостоятельно при сооружении тоннеля в крепких устойчивых грунтах, когда отпадает необходимость в применении передвижной крепи, какой является щит, 1.2. Кольцевой (конвейерный) блокоукладчик обладает рядом преимуществ перед рычажным. Применяемый в механизированном комплексе, включающем и головную часть - щит, он позволяет одновременно и параллельно выполнять отгрузку грунта и монтаж обделки. 1.2.1. Конструкция
кольцевого блокоукладчика позволяет освободить центральную часть тоннеля,
значительно сокращает время на монтаж обделки, чем обеспечивает повышение
скорости проходки тоннеля. Так, на сооружении метрополитена в г. Ленинграде в Кольцевым блокоукладчиком монтировалось до 48 пог. м обделки в сутки и до 20 пог. м в смену. Кольцевой блокоукладчик применим в любых геологических условиях самостоятельно либо в составе комплекса. Технологическая карта разработана на монтаж сборной железобетонной обделки кольцевым (конвейерным) блокоукладчиком при сооружении перегонного тоннеля метрополитена. 2. Организация и технология строительного процессаКольцевой (конвейерный) укладчик блоков (рис. 1) состоит из шарнирно-складывающегося несущего кольца-кондуктора, разомкнутого в лотковой части. В верхней половине кондуктора расположены направляющие роликовые опоры, по которым перемещаются верхние блоки кольца обделки при монтаже. В нижней части кольца-кондуктора размешаются откидные упоры, удерживающие блоки, а в боковых ветвях размещены проталкивающие механизмы. 2.1. Указания по подготовке объекта и требования к готовности предшествующих работ и строительных конструкций.2.1.1. До производства основных работ по сооружению тоннеля должны быть выполнены следующие работы: пройден и оснащен ствол шахты клетьевыми подъемниками (на две клети) и специализированной третьей клетью с противовесом для спуска, элементов обделки и материалов; пройдены подходные штольни; обустроен подземный транспорт с электровозной тягой; проложены трубопроводы вентиляции, сжатого воздуха, водопровода и кабельные прокладки силовые и осветительные; оснащена поверхность у ствола эстакадой, бункерными емкостями, опрокидывателями, козловым краном для разгрузки доставляемой с завода обделки и погрузки ее на блоковозки для доставки к месту укладки.
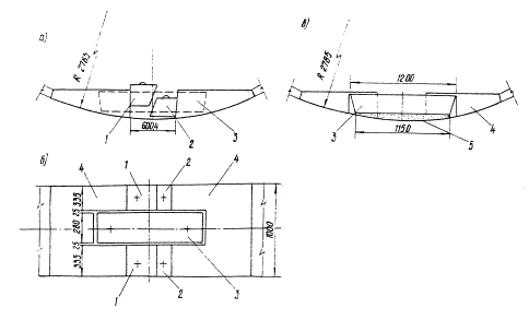
Рис. 1. Кольцевой (конвейерный) блокоукладчик: 1 - тележка проталкивания блоков; 2 - тележка промежуточная; 3 - тумба распорная; 4 - кронштейн распорный; 5 - кронштейн, поддерживающий блоки; 6 - гидроцилиндр шарнирно-складывающегося механизма; 7 – гидроцилиндр боковой; Вместо козлового крана могут быть установлены тельферные эстакады. Должна быть обеспечена надежная связь подземных и наземных работ. 2.2. Указания по технологии работ2.2.1. Технологическим процессом сооружения тоннеля (рис. 2) предусматривается цикличная организация работ из расчета проходки 1 пог. м в час при продолжительности смены 7 ч 20 мин. Работы производятся в 3 смены при пятидневной рабочей неделе. Средний объем месячной проходки тоннеля 450 пог. м (паспортная скорость). По завершению проходки забоя на 1 пог. м монтируют очередное кольцо. Кольцо сборной
железобетонной обделки (рис. 3) состоит
из гладких блоков (наружный диаметр 5570, внутренний Нормальные блоки
сплошного сечения прямоугольной формы имеют толщину Каждый блок имеет по две
заглубленные петли (рымы), приваренные к основному каркасу блока и облегчающие
их монтаж, а также по два сквозных отверстия специальной конфигурации для
закрепления штыря, необходимого при транспортировке и монтаже. Сквозные
отверстия в блоке используются для контрольного нагнетания- при
выполнении гидроизоляции тоннеля. В
поперечных торцах блоков предусмотрены по два отверстия диаметром
Рис. 2. Проходческий комплекс со щитом КТ-1-5,6 и с кольцевым (конвейерным) укладчиком блоков; 1 - щит; 2 - передняя опора моста; 3 - кольцевой (конвейерный) укладчик блоков; 4 - транспортный мост; 5 - задняя опора моста; 6 - троллейные барабаны; 7 - состав вагонеток; 8 - технологическая платформа; 9 - тельфер
Рис. 3. Общий вид кольца обделки 2.2.2. Описание методов работ 2,2.2.1. Блоки 5БЛ-2 устанавливаются по два в лоток, образуя единый блок с горизонтальной поверхностью, служащей жестким основанием для верхнего строения путей метрополитена. Лотковые блоки по торцам имеют такие же, как и нормальные блоки углубления для установки конических шпилек, с помощью которых соединяются с нормальными блоками кольца. Конфигурация лотковых
блоков (рис. 4) предусматривает разжатие
кольца после завершения монтажа с помощью гидравлического домкрата. Совмещенные
лотковые блоки образуют нишу для установки распорного гидравлического домкрата.
На внутренних торцах образованной ниши предусмотрены упругопластичные прокладки
толщиной В каждом блоке есть по
две выступающие арматурные петли, облегчающие установку их в лоток. Они
используются для приварки к ним металлических планок откаточных путей узкой
колеи. Масса каждого из лотковых
блоков составляет Нормальные блоки обделки подаются в лоток в разомкнутую часть кольцевого (конвейерного) блокоукладчика, затем проталкивающими механизмами поочередно справа и слева направляются по кондуктору вверх до смыкания в шелыге свода. Упорами блоки удерживаются в напряженном состоянии до завершения сборки кольца. Кольцевой кондуктор блокоукладчика также участвует в прижатии собранного кольца к готовой обделке тоннеля.
Рис. 4. Конструкция распорного замка: а) вид блока спереди с вставленными, распорными клиньями; б) вид блока сверху с вложенным вкладышем; в) вид блока спереди с вложенным вкладышем. 1 - клиновидный вкладыш К-1; 2 - клиновидный вкладыш К-1а; 3 - центральный вкладыш C-1; 4 - блок обделки 5БЛ-2; 5 - цементнопесчаный раствор Когда кольцевой блокоукладчик находится в составе механизированного комплекса со щитом, разрабатывающим лоб забоя, и когда кольцо монтируют под защитой оболочки щита, его разжимают в два приема. При первом приеме кольцо разжимают с целью погашения строительного зазора между внешней поверхностью кольца и оболочкой щита, при втором приеме - окончательном - опускают кольцо на грунт выработки. При сооружении тоннеля комплексом без щита для разработки грунта забоя в устойчивых грунтах собираемое кольцо обжимается в один прием Гидравлический домкрат, устанавливаемый в нишу сочлененных лотковых блоков, развивает усилие 30 тс. По окончании обжатия кольца обделки в окружающий грунт в стык лотковых блоков вставляют клиновидные вкладыши марки К1, К-1а, а вслед за удалением гидравлического домкрата в нишу вставляют центральный вкладыш на цементно-песчаном растворе C-1. Конструкция заполнения стыка лотковых блоков обеспечивает надежную фиксацию разжатого кольца обделки. Разжатое кольцо обделки плотно прилегает к контуру выработки без наличия строительного зазора. После завершения обжатия кольца кондуктор укладчика складывается, выходит из контакта с блоками собранного кольца обделки и передвигается вперед на забой для монтажа последующего кольца. После завершения цикла работ и передвижки комплекса откаточные пути наращиваются путем раздвижки телескопического звена между рельсами, постоянно закрепленными на технологической платформе и уложенными сварными путями в готовой части тоннеля. При увеличении забоя на 7 пог. м в конце каждой смены телескопическое звено рельсов снимается и вместо него укладывается сварное звено на металлических планках и соединяется накладками с болтами с основными путями. Телескопическое звено укладывается внутри последнего постоянного звена рельсов. Профилактический осмотр блокоукладчика и состава комплекса, а также мелкие ремонтные работы выполняются самой бригадой в периоды, предусмотренные циклограммой работ, а более объемные работы - в нерабочие дни недели специализированной бригадой ремонтников, не входящей в состав проходческой бригады. Плановый ремонт механизмов должен обеспечивать бесперебойную проходку тоннеля. Зона забоя тоннеля
проветривается нагнетанием вентилятором свежего воздуха с поверхности по
трубопроводу диаметром Наращивание трубопроводов всех назначений (вентиляции, сжатого воздуха, воды) и прокладка кабельных магистралей (силовой, осветительной, сигнализации, связи и троллейного провода) осуществляются по мере продвижения забоя. Кабельные линии прокладываются путем разматывания запасов кабеля с барабанов, установленных на устройствах, размещенных на платформе комплекса. Гидроизоляционные работы в пройденной зоне тоннеля, состоящие из контрольного нагнетания и расчеканки швов, выполняются бригадой с отставанием на 30-40 м от забоя после окончания деформации обделки. 2.2.3. Наименование и перечень нормативно-технической документации 2.2.3.1. Работы по монтажу сборной железобетонной обделки с применением кольцевого (конвейерного) блокоукладчика при сооружении перегонного тоннеля метрополитена должны выполняться в строгом соответствии со СНиП III-44-77 "Правила производства и приемки работ", глава 44 "Тоннели железнодорожные, автодорожные и гидротехнические. Метрополитены" (М., Стройиздат, 1977), "Правилами техники безопасности и производственной санитарии при строительстве метрополитенов и тоннелей" (М., Оргтрансстрой, 1975), СНиП III-44-80 "Техника безопасности в строительстве", "Типовой инструкцией по охране труда для машиниста укладчика сборной обделки тоннелей" (М., Оргтрансстрой, 1973) и "Типовой инструкцией по охране труда проходчика" (М., Оргтрансстрой, 1974). 2.3. Указания по организации труда2.3.1. Операционный контроль качества работ осуществляет начальник смены в соответствии с требованиями СНиП III-44-77 и карты операционного контроля качества (КОКК) настоящей технологической карты (раздел 5). Работы по сооружению перегонного тоннели производятся круглосуточно в 3 смены в рабочие дни недели с продолжительностью 7,2 ч. 2.3.2. Численно-квалификационный состав. Сооружение тоннеля ведется сквозной бригадой (комплексной) по подрядному договору, состоящей из трех звеньев. Состав звена: Машинист щита 6 разр. - 1 Проходчик 5 разр. - 1 Проходчики 4 разр. - 4 2.3.3. Распределение операций между исполнителями. Проходчик 4 разр. владеет смежной профессией машиниста блокоукладчика, имеет права и удостоверение на управление укладчиком. Проходчик 5 разр. - 1 и 4 разр. - 1 после окончания разработки грунта передвигают блокоукладчик к забою. Проходчик-машинист 4 разр. на пульте управления выполняет указания по включению механизмов. Обделку монтирует звено в составе 3 проходчиков. Проходчики 5 и 4 разр. подкатывают блоки к месту разъема кольцевого кондуктора. Они же устанавливают лотковые блоки и по окончании сборки всего кольца предварительно разжимают его с погашением зазора между кольцом и оболочкой щита, а после схода кольца с оболочки - разжимают окончательно. При проходке тоннеля без щита производят одно разжатие - окончательное. Два проходчика 4 разр. подкатывают к месту монтажа заполненные блоковозки и откатывают порожние. Один проходчик 4 разр. выполняет подсобные работы по установке связующих штырей. При монтаже кольца сначала набирают в кольцевом кондукторе нормальные блоки, которые удерживаются стопорами, а потом устанавливают два лотковых блока. При разжатии гидродомкратом лотковых блоков и кольца с ликвидацией всех зазоров омоноличивают узел разжатия. Устанавливают клиновидные вкладыши, а после извлечения домкрата на его место устанавливают на цементно-песчаном растворе блок C-1. Цементно-песчаный раствор подготовляет два проходчика 4 разр. Работа бригады проходчиков по сооружению тоннеля организуется по подрядному договору, предусматривающему объем заданной работы, сроки исполнения, обязательства администрации по материально-техническому обеспечению и выполнению соответствующих работ, не входящих в обязанности бригады. К подрядному договору прилагается расчет экономических показателей. Взаимозаинтересованность членов бригады обеспечивает наиболее слаженную работу всех трех звеньев. Строгое соблюдение технологии работ по графику обеспечивает высокую производительность труда, заданные скорости проходки при высоком качестве работ. Циклограмма работ, калькуляция затрат труда и расчет экономической эффективности составлены на вариант работы кольцевого (конвейерного) блокоукладчика в составе технологического комплекса в среднеустойчивых грунтах, включающего щитовую разработку забоя.
2.4. Циклограмма
| |||||||||||||||||||||||||||||||||||||||||||||||||||||||||||||||||||||||||||||||||||||||||||||||||||||||||||||||||||||||||||||||||||||||||||||||||||||||||||||||||||||||||||||||||||||||||||||||||||||||||||||||||||||||||||||||||||||||||||||||||||||||||||||||||||||||||||||||||||||||||||||||||||||||||||||||||||||||||||||||||||||||||||||||||||||||||||||||||||||||||||||||||||||||||||||||||||||||||||||||||||||||||||||||||||||||||||||
|
Наименование работ |
Единица измерения |
Объем работ |
Трудоемкость на единицу измерения, чел-ч |
Трудоемкость на весь объем работ, чел-ч |
Состав звеньев и используемых механизмов |
Время производственного процесса |
|||||||
|
машины |
|||||||||||||
|
10 |
20 |
30 |
40 |
50 |
60 |
||||||||
|
Разработка грунта режущим органом щита |
м |
1 |
0,7 |
0,7 |
Машинист щита 6 разр. - 1 |
|
1 |
|
|
1 |
|
||
|
|
2 |
|
2 |
||||||||||
|
Погрузка грунта в вагонетки |
-"- |
1 |
1,4 |
1,4 |
Проходчики 4 разр. - 2 |
|
2 |
|
|
2 |
|
||
|
|
2 |
|
2 |
||||||||||
|
Подборка грунта в лотках между режущим грунтом и диафрагмой |
-"- |
1 |
0,4 |
0,4 |
То же |
|
|
2 |
|
|
2 |
||
|
6 |
6 |
||||||||||||
|
Профилактический осмотр механизмов |
-"- |
1 |
0,2 |
0,2 |
Машинист 6 разр. - 1 |
|
|
|
|
|
|
||
|
|
|
||||||||||||
|
Передвижка щита |
-"- |
1 |
0,6 |
0,6 |
Машинист щита 6 раза. - 1 Проходчики 5 разр. - 1 4 разр. - 2 |
|
|
|
6 |
|
|
|
6 |
|
3 |
3 |
||||||||||||
|
Наращивание откаточных путей |
-"- |
1 |
0,15 |
0,3 |
Проходчики 5 разр. - 1 4 разр. - 2 |
|
|
|
|
|
3 |
|
|
|
6 |
|||||||||||||
|
Разгрузка блоков обделки |
кольцо |
1 |
1,05 |
1,05 |
То же |
|
|
|
3 |
|
|
||
|
2 |
|
||||||||||||
|
Монтаж кольца обделки и первичного обжатия |
-"- |
1 |
0,95 |
0,95 |
-"- |
|
3 |
|
|
|
|
||
|
10 |
|
||||||||||||
|
Окончательное обжатие с установкой клиньев, вкладышей и с омоноличиванием |
-"- |
1 |
0,4 |
0,4 |
-"- |
3 |
|
|
|
|
|
||
|
6 |
|||||||||||||
|
На 1 пог. м |
|
|
|
6,0 |
|
|
|
|
|
|
|
||
Таблица 2
|
Обоснование (ЕНиР и др.) |
Наименование работ |
Единица измерения |
Объем работ |
Норма времени на единицу измерения, чел-ч |
Затраты труда на объем работ, чел-ч |
Расценка на единицу измерения, руб.-коп. |
Стоимость затрат труда на объем работ, руб.-коп. |
|
Т127-2-1, п. 2 б |
Резание грунта |
пог. м |
1 |
1,3 |
1,3 |
1-82 |
1-82 |
|
То же, п. 4 б |
Погрузка грунта с транспортера в вагон |
-"- |
1 |
1,4 |
1,4 |
1-45 |
1-45 |
|
ЕНиР, 36-2-75, п. 1 |
Передвижка технологического комплекса за щитом |
-"- |
1 |
2,16 |
2,16 |
2-41 |
2-41 |
|
Повременно |
Работа машиниста блокоукладчика |
-"- |
1 |
1,57 |
1,57 |
1-62 |
1-62 |
|
TI27-2-2 |
Монтаж кольцевым блокоукладчиком железобетонной обделки тоннеля диаметром 5,57, обжатой в породу. |
-"- |
1 |
4,7 |
4,7 |
5-67 |
5-67 |
|
ЕНиР 36-2-127, Примечание 4, 5 |
Укладка узкоколейного пути по блокам |
-"- |
2 |
0,35 |
0,7 |
0-34 |
0,68 |
|
|
Итого на 1 пог. м |
чел-ч чел-дн |
|
|
11,83 1,64 |
|
13-65 |
2.6.1. До начала работ по проходке подземных выработок все представители технического надзора должны быть ознакомлены под расписку с геологическими и гидрогеологическими условиями участка. Сведения по геологии и гидрогеологии проходимого участка должны быть также сообщены рабочим.
2.6.2. Выполнять подъемные работы при отсутствии или недостаточном количестве аварийного запаса материалов, инструмента и инвентаря, противопожарных средств запрещается.
2.6.3. Начальник смены и бригадир, закончившие работу, обязаны лично сообщить заступающим начальнику смены и бригадиру сведения о состоянии забоя.
2.6.4. Запрещается нахождение людей под поднятым тюбингом или блоком, а также в зоне вращения рычага укладчика во время его работы.
Тюбинги или блоки выше горизонтального диаметра должны скрепляться только со специальных выдвижных площадок блокоукладчика.
До установки болтовых соединений каждый тюбинг должен быть взят не менее чем на три оправки.
Оставлять тюбинг (блок) в поднятом состоянии по окончании работ или во время перерыва в работе запрещается.
Запрещается подвешивать тюбинг (блок) к руке укладчика при неисправном захвате.
2.6.5. До начала работ по монтажу сборной обделки тоннеля укладчик должен быть тщательно осмотрен машинистом укладчика и дежурным слесарем. Результаты осмотра должны быть занесены в журнал приема и сдачи смен.
Подавать сигналы машинисту укладчика разрешается только одному рабочему, назначенному службой технического надзора. Включение механизмов разрешается только после подачи сигнала этим рабочим, который должен убедиться в том, что работе механизмов ничего не мешает. До включения механизмов машинист должен дать ответный сигнал. Каждый непонятный сигнал должен быть воспринят машинистом укладчика как сигнал "стоп".
2.6.6. При внезапном прекращении подачи электроэнергии машинист обязан немедленно выключить все электродвигатели и оставаться на своем рабочем месте до подачи электроэнергии или до получения особого распоряжения.
2.6.7. В случае остановки щита оставлять кольцо обделки в необжатом состоянии за пределами оболочки запрещается.
2.6.8. В процессе обжатия кольца обделки в породу нахождение лиц в пределах обжимаемого кольца запрещается.
Таблица 3
|
Наименование |
Количество |
|
Затраты труда на 1 пог. м тоннеля, чел-дн |
0,83 |
|
Выработка на одного рабочего в смену, м |
1,20 |
|
Затраты времени машины
(блокоукладчика) на |
0,55 |
|
Стоимость затрат трудя на 1 пог. м тоннеля, руб.-коп. |
13-65 |
|
Эффективность от внедрения карты в сравнении с нормами на сооружение 1 пог. м перегонного тоннеля метрополитена |
|
|
экономический эффект, руб.-коп. |
33-27 |
|
снижение трудоемкости работ, чел-дн |
0,81 |
|
экономия лесоматериалов, м3 |
0,01 |
|
экономия топлива, кг усл. |
6,00 |
|
Годовая объективность от внедрения сооружения перегонного тоннеля метрополитена механизированным комплексом со щитом КТ-1-5,6 и конвейерным блокоукладчиком вместо комплекса со щитом Ленинградского типа и рычажным блокоукладчиком с полым валом, руб. |
91400 |
Таблица 4
|
Наименование |
Марка, ГОСТ |
Количество |
|
1 |
2 |
3 |
|
Железобетонные блоки, шт. |
5БН-2 черт. |
8 |
|
Железобетонные блоки, шт. |
5БЛ-2 черт. |
2 |
|
Замковые вкладыши, шт. |
K-1, К-1а и-С-1 черт. |
5 |
|
Шпилька металлическая, шт. |
10 |
|
|
Бетонная смесь М200, м3 |
0,082 |
|
|
Рельсы узкой колеи, кг |
Р24 |
72,4 |
|
Накладки с болтами для скрепления звеньев рельсов узкой колеи, шт. |
- |
4 |
Таблица 5
|
Наименование |
Марка и номера ГОСТ чертежа |
Количество, шт. |
|
Механизированной комплекс с кольцевым (конвейерным) блокоукладчиком |
КГ-1-5,6 |
1 |
|
Блоковозки |
БЛ-7А |
27 |
|
Вагонетки глухие емкостью |
ГОСТ 15174-70 |
120 |
|
Электровозы |
7КР-600 |
4 |
|
|
Контролируемые параметры |
Предельные отклонения, мм |
|
1 |
Положение оси щита |
Δ1 = ±10 |
|
2 |
Положение первых лотковых блоков |
Δ2 = ±10 |
|
3 |
Диаметр кольца |
Δ3 = ±50 |
|
4 |
Положение оси обделки тоннеля |
Δ4 = ±50 |
Примечания: 1. Усилия разжатия кольца должно быть не менее 30 тс.
2. Боковые стороны блоков должны быть очищены от грязи, снега и т.д.
3. Величина подачи ротора
режущего механизма должна быть не более
РТУ-14-55 Минтрансстроя; СНиП II-44-77

Схема кольца обделки с предельными отклонениями
|
1 |
Основные операции, подлежащие контролю |
Резание породы |
Передвижка щита |
Монтаж и обжатие обделки |
|
2 |
Состав контроля |
Подача режущего механизма |
Фактическое положение оси щита |
Чистота обделки, усилие разжатия, диаметр кольца, положение оси обделки |
|
3 |
Метод и средства контроля |
Визуальный, измерительный, щитовыми приборами |
Измерительный, теодолит, отвес, стальной метр |
Визуальный, измерительный, манометр, нивелир, рулетка стальная |
|
4 |
Режим и средства контроля |
Периодически, два раза в смену |
Каждая передвижка щита |
Каждое кольцо |
|
5 |
Должность лица, контролирующего операцию |
Механик участка |
Начальник смены, сменный маркшейдер |
Начальник смены, сменный маркшейдер |
|
6 |
Наименование привлекаемых для контроля служб |
- |
Маркшейдерская служба |
|
|
7 |
Должность лица, ответственного за организацию и осуществления контроля |
Начальник участка, главный механик |
Начальник участка |
|
|
8 |
Документ, в котором регистрируются результаты контроля |
Журнал горных работ |
||
|
|
Перечень скрытых работ, на которые составляются акты |
не составляются |
||
|
|
|
|