//
ТехЛит.ру
- крупнейшая бесплатная электронная интернет библиотека для "технически умных" людей.
WWW.TEHLIT.RU - ТЕХНИЧЕСКАЯ ЛИТЕРАТУРА

:: Алготрейдинг::


АЛГОТРЕЙДИНГ
шаг за шагом
с нуля по урокам!

Торговые роботы на PYTHON, BackTrader,
Pandas, Pine Script для TradingView. Связка с брокерами, телеграм и легкими приложениями.


ФЕДЕРАЛЬНОЕ АГЕНТСТВО
ПО
ТЕХНИЧЕСКОМУ РЕГУЛИРОВАНИЮ И МЕТРОЛОГИИ

НАЦИОНАЛЬНЫЙ
стандарт
россиЙскоЙ
федерации

ГОСТ Р МЭК
62259-
2007

АККУМУЛЯТОРЫ И АККУМУЛЯТОРНЫЕ БАТАРЕИ, СОДЕРЖАЩИЕ ЩЕЛОЧНОЙ И ДРУГИЕ НЕКИСЛОТНЫЕ ЭЛЕКТРОЛИТЫ

Аккумуляторы никель-кадмиевые призматические с газовой рекомбинацией

IEC 62259:2003
Secondary cells and batteries containing alkaline or other non-acid electrolytes
- Nickel-cadmium prismatic secondary single cells with partial recombination
(IDT)

Москва
Стандартинформ
2008

Предисловие

Цели и принципы стандартизации в Российской Федерации установлены Федеральным законом от 27 декабря 2002 г. 184-ФЗ «О техническом регулировании», а правила применения национальных стандартов Российской Федерации - ГОСТ Р 1.0-2004 «Стандартизация в Российской Федерации. Основные положения»

Сведения о стандарте

1. ПОДГОТОВЛЕН Автономной некоммерческой организацией НТЦСЭ «ИСЭП» на основе собственного аутентичного перевода стандарта, указанного в пункте 4

2. ВНЕСЕН Техническим комитетом по стандартизации ТК 44 «Аккумуляторы и батареи»

3. УТВЕРЖДЕН И ВВЕДЕН В ДЕЙСТВИЕ Приказом Федерального агентства по техническому регулированию и метрологии от 22 декабря 2007 г. № 484-ст

4. Настоящий стандарт идентичен международному стандарту МЭК 62259:2003 «Аккумуляторы и аккумуляторные батареи, содержащие щелочной и другие некислотные электролиты. Аккумуляторы никель-кадмиевые призматические с газовой рекомбинацией» (IEC 62259:2003 «Secondary cells and batteries containing alkaline or other non-acid electrolytes - Nickel-cadmium prismatic secondary single cells with partial recombination»).

При применении настоящего стандарта рекомендуется использовать вместо ссылочных международных стандартов соответствующие им национальные стандарты Российской Федерации, сведения о которых приведены в дополнительном приложении А

5. ВВЕДЕН ВПЕРВЫЕ

Информация об изменениях к национальному стандарту публикуется в ежегодно издаваемом информационном указателе «Национальные стандарты», а текст изменений и поправок - ежемесячно издаваемых информационных указателях «Национальные стандарты». В случае пересмотра (замены) или отмены настоящего стандарта соответствующее уведомление будет опубликовано в ежемесячно издаваемом информационном указателе «Национальные стандарты».

Соответствующая информация, уведомление и тексты размещаются также в информационной системе общего пользования - на официальном сайте Федерального агентства по техническому регулированию и метрологии в сети Интернет

Содержание

1. Область применения

2. Нормативные ссылки

3. Термины и определения

4. Допустимые погрешности измерений параметров

5. Обозначение и маркировка

5.1. Обозначение аккумулятора

5.2. Выводы аккумулятора

5.3. Маркировка

5.4. Рекомендации по безопасности

6. Размеры

7. Электрические испытания

7.1. Метод заряда при проведении испытаний

7.2. Разрядные характеристики

7.3. Сохранность заряда

7.4. Устойчивость

7.5. Эффективность заряда при постоянном напряжении

7.6. Перезаряд

7.7. Работоспособность предохранительного клапана

7.8. Сохранность электролита

7.9. Определение эффективности газовой рекомбинации

7.10. Хранение

8. Механические испытания

9. Внешний вид

10. Условия утверждения опытного образца (одобрения типа) и приемки

10.1. Утверждение опытного образца (одобрение типа)

10.2. Приемка партии

Приложение А (справочное) Сведения о соответствии ссылочных международных стандартов национальным стандартам Российской Федерации

 

Введение

Изготовители и потребители щелочных аккумуляторов и батарей традиционно выражают токи заряда и разряда, используемые для этих аккумуляторов и батарей, как величины, кратные их емкости. Например, ток 20 А, используемый для заряда аккумулятора с гарантированной емкостью С 100 А·ч может быть выражен, как С/5 А или 0,2 СА. Этот метод обозначения токов применяется во всех стандартах, относящихся к щелочным аккумуляторам и батареям.

Было замечено, что такой метод обозначения тока некорректен с точки зрения размерности, так как кратность емкости выражается в ампер часах (А·ч), а не в амперах, как это требуется для единиц измерения тока.

Для исключения некорректности в размерностях в настоящем стандарте используется метод обозначения токов по МЭК 61434. Метод устанавливает, что ток, рекомендованный для испытаний It, A, выражают в соответствии с формулой

It, А = Сn, А·ч/1 ч,

где Сn, А·ч - номинальная емкость в ампер-часах, установленная изготовителем;

n - основное (базовое) время, ч, для которого установлена номинальная емкость.

НАЦИОНАЛЬНЫЙ СТАНДАРТ РОССИЙСКОЙ ФЕДЕРАЦИИ

АККУМУЛЯТОРЫ И АККУМУЛЯТОРНЫЕ БАТАРЕИ, СОДЕРЖАЩИЕ
ЩЕЛОЧНОЙ И ДРУГИЕ НЕКИСЛОТНЫЕ ЭЛЕКТРОЛИТЫ

Аккумуляторы никель-кадмиевые призматические с газовой рекомбинацией

Secondary cells and batteries containing alkaline or other non-acid electrolytes.
Nickel-cadmium prismatic secondary single cells with partial recombination

Дата введения - 2008-07-01

1. Область применения

Настоящий стандарт устанавливает технические требования и методы испытаний, а также требования к маркировке, обозначению, размерам для открытых никель-кадмиевых призматических аккумуляторов, в которых специально предусмотрена частичная или (в особых случаях) полная газовая рекомбинация.

Примечание - Термин «призматический» относится к аккумуляторам, имеющим прямоугольные стороны и основание.

В случае, если установленные в настоящем стандарте условия испытаний и требования противоречат требованиям, предъявляемым к аккумуляторам, используемым в специальных областях применения, приоритетными являются требования настоящего стандарта.

2. Нормативные ссылки

В настоящем стандарте использованы ссылки на следующие международные стандарты:

МЭК 60050-486-1991 Международный электротехнический словарь. Часть 486: Аккумуляторы и батареи

МЭК 60051 (все части) Приборы аналоговые показывающие электроизмерительные прямого действия и вспомогательные части к ним

МЭК 60410-1973 Планы отбора и процедуры контроля

МЭК 60417-2002 Графические символы для использования на оборудовании

МЭК 60485-1974 Цифровые электронные вольтметры постоянного тока и аналого-цифровые электронные преобразователи постоянного тока

МЭК 61434-1996 Аккумуляторы и батареи, содержащие щелочной и другие некислотные электролиты. - Требования по обозначению токов в стандартах на щелочные аккумуляторы и батареи

МЭК 61438-1996 Возможная опасность и наносимый вред здоровью при использовании щелочных аккумуляторов и батарей. - Рекомендации для изготовителей оборудования и пользователей.

3. Термины и определения

В настоящем стандарте применяют термины по МЭК 60050-486, а также следующие термины с соответствующими определениями:

3.1. открытый аккумулятор (vented cell): Аккумулятор, имеющий крышку, с отверстием, через которое могут удаляться газообразные продукты.

Примечание - Отверстие может быть снабжено системой вентиляции, которая может включать в себя клапан высокого давления.

3.2. номинальное напряжение (nominal voltage): Номинальное напряжение открытого никель-кадмиевого аккумулятора с газовой рекомбинацией, равное 1,2 В.

3.3. номинальная емкость (rated capacity): Количество электричества С5, А·ч, указанное изготовителем, которое может отдать аккумулятор после 5 ч заряда, хранения и разряда в условиях, установленных в 7.2.1.

3.4. частичная газовая рекомбинация (partial gas recombination): Способность аккумулятора рекомбинировать большее количество газов, образующееся в процессе заряда в условиях, установленных 7.9.

4. Допустимые погрешности измерений параметров

Общая погрешность контролируемых или измеряемых значений относительно заданных или фактических значений должна находиться в следующих пределах:

a) ± 1 % - для напряжения;

b) ± 1 % - для тока;

c) ± 1 % - для емкости;

d) ± 2°C - для температуры;

е) ± 0,1 %- для времени;

f) ±5 % - для объема газа.

Данные пределы отклонений включают в себя комбинированную погрешность измерительных приборов, погрешность используемых технологий измерения и все другие источники погрешностей, возникающие в процессе испытаний.

Выбор измерительных приборов - в соответствии с МЭК 60051 для аналоговых приборов и МЭК 60485 - для цифровых приборов. Сведения об использованных приборах следует указывать в каждом отчете с результатами испытаний.

5. Обозначение и маркировка

5.1. Обозначение аккумулятора

Открытые никель-кадмиевые призматические аккумуляторы с газовой рекомбинацией должны обозначаться буквой К, обозначающей кадмий, а также следующей за ней буквой G, которая обозначает наличие газовой рекомбинации и следующими за ними буквами L, М, Н или X, обозначающими тип аккумуляторов в зависимости от их основного режима разряда постоянным током:

- длительный режим разряда (L);

- средний режим разряда (М);

- короткий режим разряда (Н);

- сверхкороткий режим разряда (X).

Примечание - Для указанных выше типов аккумуляторов рекомендованы следующие режимы разряда:

- L - ток разряда не более 0,5 It, A;

- М - ток разряда не более 3,5 It, A;

- Н - ток разряда не более 7,0 It, A;

- X - ток разряда 7 It, А, и более.

За группой из трех букв следует группа цифр, означающих номинальную емкость аккумулятора в ампер-часах. Аккумуляторы, которые подвергаются испытаниям при температуре окружающей среды плюс 20° и плюс 5°С, но не подвергаются испытаниям при минус 18°С, должны иметь маркировку Т5.

Пример. KGH185 или KGH185 75.

Для обозначения аккумуляторов в корпусе из полимерного материала после группы цифр, обозначающих номинальную емкость, следует буква Р.

Пример. KGH 185 Р или KGH 185 Р 75.

5.2. Выводы аккумулятора

Настоящий стандарт не устанавливает требований к выводам аккумуляторов.

5.3. Маркировка

Каждый аккумулятор или моноблок должен иметь прочную маркировку, содержащую следующую минимальную информацию:

- обозначение аккумулятора согласно 5.1 (допускается использовать иное обозначение типа, установленное изготовителем);

- наименование или обозначение изготовителя или поставщика;

- обозначение положительного вывода (в виде шайбы красного цвета или вдавленное, или рельефное) (см. МЭК 60417-5005)

5.4. Рекомендации по безопасности

Производитель должен обеспечить рекомендации для безопасного обслуживания аккумулятора. Рекомендации по безопасности - по МЭК 61438.

6. Размеры

Настоящий стандарт не устанавливает предпочтительных размеров аккумуляторов.

7. Электрические испытания

Токи заряда и разряда при испытаниях согласно 7.1 - 7.10 должны быть установлены на основе номинальной емкости аккумулятора С5, А·ч. Эти токи выражаются как единицы, кратные It, А, где It, А = С5/1 ч.

7.1. Метод заряда при проведении испытаний

Аккумуляторы перед зарядом должны быть разряжены при температуре окружающей среды (20 ± 5)°С постоянным током 0,2 It, А, до конечного напряжения 1,0 В.

Заряд, предшествующий различным режимам разряда, если иное не установлено в настоящем стандарте, проводят при температуре окружающей среды (20 ± 5)°С постоянным током 0,1 It, А. Продолжительность заряда должна быть 14 - 16 ч.

7.2. Разрядные характеристики

Испытания на проверку разрядных характеристик должны проводиться в следующей последовательности.

Все аккумуляторы должны быть испытаны при температуре окружающей среды плюс 20°С, а также при плюс 5°С и/или минус 18°С.

7.2.1. Разрядная характеристика при плюс 20°С

7.2.1.1. Процедура проведения испытаний

Аккумулятор должен быть заряжен согласно 7.1. После заряда аккумулятор должен быть выдержан при температуре окружающей среды (20 ± 5)°С не менее 1 ч , но не более 4 ч.

Затем аккумулятор должен быть разряжен постоянным током при температуре окружающей среды (20 + 5)°С согласно таблице 1.

Испытания при разряде током 0,2 It, А, проводятся для проверки номинальной емкости аккумулятора.

Таблица 1 - Разрядная характеристика при 20°С

Режим разряда

Минимальная продолжительность разряда для аккумуляторов типа

Ток, А

Конечное напряжение, В

L

М

Н

X

0,2 It

1,0

5 чa)

5 ча)

5 ча)

5 ча)

1,0 It

-

38 мин

48 мин

54 мин

5,0 It

0,8

-

2 мин 30 с

6 мин 30 с

10 It

-

1 мин 30 с

а) Допускается проведение пяти заряд-разрядных циклов. Испытание может быть закончено на любом из циклов, на котором будет достигнута требуемая продолжительность разряда.

b) Перед проведением испытаний на разряд токами 5,0 It, А, и 10,0 It, А, в случае необходимости может быть проведен тренировочный цикл. Он должен проводиться при температуре (20 ± 5)°С и состоять из заряда током 0,1 It, А, согласно 7.1 и разряда током 0,2 It, А, согласно 7.2.1.

7.2.1.2. Критерии приемки

Продолжительность разряда должна быть не менее установленной в таблице 1.

7.2.2. Разрядная характеристика при 5°С

7.2.2.1. Процедура проведения испытаний

Аккумулятор должен быть заряжен согласно 7.1. После заряда аккумулятор выдерживают при температуре окружающей среды (5 ± 2)°С в течении 24 ч.

Должны быть применены технические средства, которые гарантируют поддержание температуры электролита (5 ± 2)°С в течение 24 ч. Затем аккумулятор должен быть разряжен постоянным током при температуре окружающей среды согласно таблице 2.

Таблица 2 - Разрядная характеристика при 5°С

Режим разряда

Минимальная продолжительность разряда для аккумуляторов типа

Ток, А

Конечное напряжение, В

L

М

Н

X

0,2 It

1,0

3 ч 24 мин

3 ч 42 мин

3 ч 54 мин

4 ч 18 мин

1,0 It

-

25 мин

36 мин

44 мин

2,0 It

-

10 мин

18 мин 30с

3,0 It а)

0,8

-

10 мин 30с

а) Перед проведением испытаний на разряд токами 2,0 It, А, и 3,0 It, А, в случае необходимости может быть проведен тренировочный цикл. Он должен проводиться при температуре (20 ± 5)°С и состоять из заряда током 0,1 It, А, согласно 7.1 и разряда током 0,2 It, А, согласно 7.2.1.

7.2.2.2. Критерии приемки

Продолжительность разряда должна быть не менее установленной в таблице 2.

7.2.3. Разрядная характеристика при минус 18°С

7.2.3.1. Процедура проведения испытаний

Аккумулятор должен быть заряжен согласно 7.1. После заряда аккумулятор должен быть выдержан при температуре окружающей среды минус (18 ± 2)°С в течение 24 ч.

Должны быть применены технические средства, которые гарантируют поддержание температуры электролита минус (18 ± 2)°С в течение 24 ч. Затем аккумулятор должен быть разряжен постоянным током при температуре окружающей среды согласно таблице 3.

Таблица 3 - Разрядная характеристика при минус 18 °С

Режим разряда

Минимальная продолжительность разряда для аккумуляторов типа

Ток, А

Конечное напряжение, В

L

М

Н

X

0,2 It

1,0

2 ч 08 мин

2 ч 24 мин

2 ч 39 мин

2 ч 54 мин

1,0 It

0,9

-

12 мин

21 мин

27 мин

2,0 It

0,9

 

6 мин

9 мин

3,0 It

0,8

 

-

4 мин

а) Перед проведением испытаний на разряд токами 2,0 It, А, и 3,0 It, А, в случае необходимости может быть проведен тренировочный цикл. Он должен проводиться при температуре (20 ± 5)°С и состоять из заряда током 0,1 It, А, согласно 7.1 и разряда током 0,2 It, А, согласно 7.2.1.

7.2.3.2. Критерии приемки

Продолжительность разряда должна быть не менее установленной в таблице 3.

7.2.4. Испытания током короткого режима разряда

При помощи этого испытания оценивают устойчивость аккумулятора к разряду большими токами.

7.2.4.1. Процедура проведения испытаний

Аккумулятор должен быть заряжен согласно 7.1. После заряда аккумулятор должен быть выдержан при температуре окружающей среды (20 ± 5)°С не менее 1 ч, но не более 4 ч.

Затем аккумулятор должен быть разряжен в течение 5 с постоянным током согласно таблице 4. Должна быть зарегистрирована продолжительность разряда.

Таблица 4 - Значения токов, используемых при разряде током короткого режима

Типы аккумуляторов

Режим разряда постоянным током, А

L

6,0 It

М

10,0 It

Н

15,0 /,а>

X

20,0 /fa>

7.2.4.2. Критерии приемки

Напряжение аккумулятора, регистрируемое при разряде, не должно прерываться. Не должно быть оплавления и деформации корпуса аккумулятора, не должна также наблюдаться деформация внутренних составных частей аккумулятора.

7.3. Сохранность заряда

7.3.1. Процедура проведения испытаний

После заряда согласно 7.1 аккумулятор должен храниться при разомкнутой цепи в течение 28 сут. Среднее значение температуры окружающей среды должно быть (20 ± 2)°С, однако во время хранения допускается кратковременное отклонение температуры в пределах (20 ± 5)°С.

По окончании хранения аккумулятор должен быть разряжен в условиях, установленных 7.2.1, постоянным током 0,2 It, A.

7.3.2. Критерии приемки

Продолжительность разряда должна быть не менее 4 ч.

7.4. Устойчивость

7.4.1 Устойчивость при циклировании (наработка в циклах)

7.4.1.1. Испытание должны проводиться при температуре окружающей среды (20 ± 5)°С.

При необходимости во время проведения испытания должно применяться принудительное воздушное охлаждение аккумулятора для предотвращения повышения температуры электролита свыше 40°С.

Во время испытания, если необходимо, в электролит может быть добавлена деионизированная или дистиллированная вода до уровня, рекомендуемого изготовителем.

Аккумулятор перед испытанием на устойчивость при циклировании (наработку в циклах) должен быть подготовлен согласно 7.1.

7.4.1.2. Циклы с 1-го по 50-й

Циклирование должно проводиться в условиях, установленных в таблице 5. Заряд и разряд должны проводиться постоянным током. Циклирование должно быть непрерывным, за исключением коротких перерывов в конце каждого 49-го и 50-го цикла разряда для того, чтобы начать следующую серию из 50 циклов в удобное время.

Таблица 5 - Устойчивость при циклировании

Номер цикла

Режим заряда

Режим разряда

Ток, А

Продолжительность, ч

Ток, А

Продолжительность

1-й

0,1 It

14-16

0,25 It

2 ч 30 мин

со 2-го по 48-й

8 ч 45 мин

49-й

8 ч 45 мин

0,2 It

До конечного напряжения 1,0 В

50-й

14-16

7.4.1.3. Критерии приемки

Циклы с 1-го по 50-й следует продолжать до тех пор, пока продолжительность разряда на любом цикле, кратном 50-му, будет менее 3 ч 30 мин. Последующее испытание должно быть проведено в соответствии с 7.2.1 в режиме разряда постоянным током 0,2 It, A.

Испытание на наработку считают законченным, если на двух последовательных циклах продолжительность разряда будет менее 3 ч 30 мин.

Число циклов по окончании испытаний должно быть не менее 500.

7.4.2. Устойчивость при длительном заряде

7.4.2.1. Процедура проведения испытаний

Перед началом испытаний должен быть установлен максимальный уровень электролита в соответствии с инструкциями производителя.

Аккумулятор перед испытанием на устойчивость при длительном заряде должен быть подготовлен согласно 7.1.

Сразу после подготовки аккумулятор должен заряжаться постоянным током 0,02 It, А, в течение 91 сут. Затем аккумулятор должен быть разряжен постоянным током 0,2 It А, в соответствии с 7.2.1. Этот цикл проводят три раза.

Допускается короткий перерыв между циклами для того, чтобы новый цикл начинать в удобное время.

При необходимости во время испытаний должно применяться принудительное воздушное охлаждение аккумуляторов или их пространственное разделение для предотвращения повышения температуры их корпусов свыше 30°С. При проведении этого испытания допускается корректировка уровня электролита. Количество доливаемой воды должно быть зарегистрировано.

7.4.2.2. Критерии приемки

Продолжительность разряда после окончания четырех циклов должна быть не менее 4 ч 30 мин. Не должно наблюдаться течи электролита при проведении этого испытания.

7.5. Эффективность заряда при постоянном напряжении

7.5.1. Процедура проведения испытаний

Аккумуляторы должны быть подготовлены согласно 7.1.

Затем аккумуляторы должны быть заряжены при постоянном напряжении в соответствии с условиями таблицы 6.

Таблица 6 - Условия заряда при постоянном напряжении

Тип аккумулятора

Напряжение заряда, В

X

1,425 ± 0,005

М и Н

1,455 ± 0,005

L

1,495 ± 0,005

Ток заряда должен быть ограничен значением 0,1 It А, и температура окружающей среды должна быть (20 ± 5)°С. Продолжительность заряда должна быть 24 ч. После заряда аккумулятор выдерживают не менее 1 ч и не более 4 ч при температуре окружающей среды (20 ± 5) °С. Затем аккумулятор должен быть разряжен в соответствии с 7.2.1 постоянным током 0,2 It A.

7.5.2. Критерии приемки

Продолжительность разряда по окончании испытаний должна быть не менее 4 ч.

7.6. Перезаряд

Настоящий стандарт не устанавливает требований к испытаниям на перезаряд.

7.7. Работоспособность предохранительного клапана

Предупреждение - При проведении данного испытания необходимо соблюдать повышенные меры предосторожности! Аккумуляторы должны испытываться индивидуально, при этом следует учитывать, что аккумуляторы не соответствующие требованиям настоящего стандарта, могут взрываться даже после отключения тока заряда.

По этой причине испытание должно проводиться в защитной камере.

7.7.1. Процедура проведения испытаний

В случае если аккумулятор снабжен клапаном для сброса повышенного давления, проводят следующие испытания для проверки способности клапана обеспечить выход газа, если внутреннее давление в аккумуляторе превышает критическое значение, при котором должен открываться клапан.

Аккумулятор должен быть подвергнут принудительному разряду постоянным током 0,2 It, А, до конечного напряжения 0,0 В при температуре окружающей среды (20 ± 5)°С.

Затем ток должен быть увеличен до значения 1,0 It, А, и принудительный разряд должен быть продолжен при той же температуре окружающей среды (20 ± 5)°С в течение 30 мин.

7.7.2. Критерии приемки

В процессе и в конце разряда аккумулятор не должен взрываться или разрушаться. Допускается течь электролита и деформация аккумулятора.

7.8. Сохранность электролита

В процессе заряда в аккумуляторе выделяются газы, и электролит переносится в виде аэрозолей с выделяющимся газовым потоком, что приводит к потере электролита в атмосферу. Для предотвращения этих потерь может быть установлена съемная отражательная перегородка, встроенная в аккумулятор или в систему вентиляции, закрывающую аккумулятор.

При помощи этого испытания оценивают способность аккумулятора предотвращать потери электролита.

7.8.1. Процедура проведения испытаний

Перед началом испытаний должен быть установлен максимальный уровень электролита в соответствии с инструкциями производителя.

Аккумулятор перед испытанием должен быть заряжен согласно 7.1.

Заряд должен быть продолжен постоянным током 0,05 It, А, в течение 2 ч.

Газ, выделяющийся через клапан аккумулятора в течение 2 ч перезаряда, должен быть пропущен через три последовательно соединенные емкости с серной кислотой концентрацией раствора 1/200 моль/л.

По окончании перезаряда должно быть подсчитано количество гидроксида калия, абсорбированное в трех емкостях с сернокислым раствором.

7.8.2. Критерии приемки

Общее количество вынесенного гидроксида калия должно быть менее 0,05 мг/А·ч перезаряда.

7.9. Определение эффективности газовой рекомбинации

7.9.1. Проведение испытаний

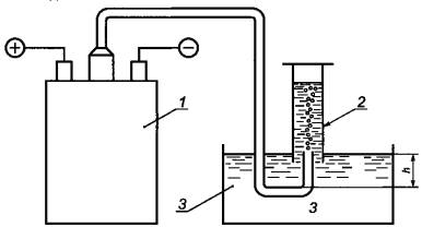
Эффективность газовой рекомбинации должна быть определена через количество выделившегося газа при испытаниях в соответствии с условиями, установленными в таблице 7. Метод измерения объема газа приведен на рисунке 1, но может быть применен иной метод (например, как вариант может быть использован расходомер).

Примечание - h 20 мм.

7 - аккумулятор; 2 - мерная колба; 3 - емкость с водой
Рисунок 1 - Метод сбора газа

Количество собранного газа v, см3/А·ч, должно быть пересчитано по отношению к величине перезаряда, А·ч, при температуре окружающей среды 20°С и давлении 101,3 кПа по формуле

,                                                                                           (1)

где v - количество выделившегося газа на 1 А-ч, приведенного к температуре 20°С и давлению 101,3 кПа;

р - значение атмосферного давления при проведении измерения, кПА;

p0 - значение 101,3 кПа;

t - температура окружающей среды, °С;

V - объем собранного выделившегося газа, мл;

Q - количество электричества, принятого аккумулятором во время сбора газа, А·ч.

Эффективность газовой рекомбинации η, %, используя значение, полученное при расчете по формуле (1), рассчитывают по формуле

,                                                                                            (2)

где 673 мл - теоретическое значение объема выделившегося газа при температуре 20°С и давлении 101,3 кПа.

7.9.2 Критерии приемки

Эффективность газовой рекомбинации должна быть не менее 70 %.

Таблица 7 - Условия определения эффективности газовой рекомбинации

Условие

Требование

Сбор выделившегося газа

После окончания заряда согласно 7.1 должен быть продолжен заряд постоянным током 0,005 It, А. Продолжительность заряда, напряжение при заряде и зарядный ток должны регистрироваться. Сбор газа должен начинаться с момента стабилизации напряжения

Продолжительность сбора газа

2 ч при постоянном токе 0,005 It, А

Температура окружающей среды при испытаниях

(20 ± 5)°С

7.10. Хранение

7.10.1. Процедура проведения испытаний

Аккумуляторы должны быть подготовлены для хранения в соответствии с рекомендациями изготовителя.

Затем аккумулятор должен храниться при разомкнутой цепи, средней температуре окружающей среды (20 ± 5)°С и относительной влажности (65 ± 20) % в течение 12 мес.

Во время хранения допускается кратковременное отклонение температуры окружающей среды в пределах(20 ± 10)°С.

По окончании периода хранения аккумуляторы должны быть подготовлены к использованию в соответствии с рекомендациями изготовителя.

Затем аккумуляторы должны быть подвергнуты испытаниям согласно 7.2.1.

7.10.2. Критерии приемки

Аккумуляторы должны соответствовать требованиям, установленным 7.2.1.

8. Механические испытания

Механические испытания аккумуляторов проводят в зависимости от их функционального назначения и области применения. Настоящий стандарт не устанавливает требований к механическим испытаниям. Эти требования должны быть установлены в нормативных документах на аккумулятор конкретного вида по согласованию между изготовителем и потребителем.

9. Внешний вид

Должен быть проведен визуальный осмотр аккумуляторов. На поверхности аккумуляторов не должно быть трещин, дефектов и следов коррозии. Любое отклонение должно быть в пределах допуска на размер, приведенный в чертежах изготовителя.

10. Условия утверждения опытного образца (одобрения типа) и приемки

10.1. Утверждение опытного образца (одобрение типа)

Для утверждения опытного образца (одобрения типа) проводят испытания в последовательности и с использованием числа образцов, указанных в таблице 8. Общее число испытуемых образцов, требующихся для утверждения опытного образца (одобрения типа), - 26. Аккумуляторы, используемые для проведения испытаний, должны быть свежеизготовленными и поставленными изготовителем.

Все аккумуляторы подвергают испытаниям, установленным для группы А, после чего их произвольно делят на пять групп, обозначенных В, С, D, Е и F соответственно. В это число включен дополнительный аккумулятор, допускающий возможность повторного испытания в случае отказа, произошедшего по причинам, не зависящим от поставщика. Испытания должны быть проведены в последовательности, установленной для аккумуляторов каждой группы.

Число дефектных аккумуляторов, допускаемых в отдельных группах и в целом, указано в таблице 8. Аккумулятор считают дефектным, если он не соответствует всем или части требований по результатам испытаний группы.

Таблица 8 - Последовательность испытаний в целях утверждения опытного образца (одобрения типа)

Группа

Число образцов

Номер раздела, пункта, подпункта настоящего стандарта

Испытание

Допускаемое число дефектных аккумуляторов

в группе

в целом

А

26

5.3

Маркировка

0

3

6

Размеры

7.2.1

Разряд при плюс 20°С

В

5

7.2.2 и/или 7.2.3

Разряд при плюс 5°С и/или минус 18°С

1

7.2.4

Разряд током короткого режима

С

5

7.4.1

Устойчивость при циклировании (наработка в циклах)

1

D

5

7.5

Эффективность заряда при постоянном напряжении

1

7.3

Сохранность заряда

7.8

Сохранность электролита

7.9

Определение эффективности газовой рекомбинации

Е

5

7.4.2

Устойчивость при длительном заряде

1

F

5

7.10

Хранение

1

10.2. Приемка партии

Эти испытания применяются для единичных поставок аккумуляторов.

Если иное не установлено соглашением между поставщиком и потребителем, проверки и испытания должны быть проведены с учетом уровня контроля и приемочного уровня дефектности AQL (приёмочного уровня дефектности), в соответствии с таблицей 9. Процедура отбора образцов должна соответствовать МЭК 60410.

Таблица 9 - Рекомендуемая последовательность испытаний для приемки партии

Группа

Номер раздела, пункта, подпункта настоящего стандарта

Проверка/испытание

Рекомендации

Уровень контроля

AQL, %

А

9

Внешний осмотр

II

4

В

6

Проверка физических параметров:

 

 

5.3

- размеров

S3

1

- массы

S3

1

- маркировки

S3

1

С

7.2.1

Проверка электрических параметров:

 

 

- напряжение разомкнутой цепи и полярность

II

0,65

- разряд при плюс 20°С

S3

1

Примечание - Два или более отказа одного и того же аккумулятора не суммируют. Принимается во внимание только отказ, соответствующий наименьшему приемочному уровню дефектности AQL.

Приложение А
(справочное)
Сведения о соответствии ссылочных международных стандартов национальным стандартам Российской Федерации

Таблица А.1

Обозначение ссылочного международного стандарта

Обозначение и наименование соответствующего национального стандарта Российской Федерации и межгосударственного стандарта

МЭК 60050-486:1991

*

МЭК 60051-1:1997

ГОСТ 30012.1-2002 (МЭК 60051-1-97) Приборы аналоговые показывающие электроизмерительные прямого действия и вспомогательные части к ним. Часть 1. Определения и основные требования, общие для всех частей

МЭК 60051-2:1984

ГОСТ 8711-93 Приборы аналоговые показывающие электроизмерительные прямого действия и вспомогательные части к ним. Часть 2. Особые требования к амперметрам и вольтметрам

МЭК 60051-3:1984

ГОСТ 8476-93 Приборы аналоговые показывающие и электроизмерительные прямого действия и вспомогательные части к ним. Часть 3. Особые требования к ваттметрам и варметрам

МЭК 60051-4:1984

ГОСТ 7590-93 Приборы аналоговые показывающие электроизмерительные прямого действия и вспомогательные части к ним. Часть 4. Особые требования к частотомерам

МЭК 60051-5:1985

ГОСТ 8039-93 Приборы аналоговые показывающие электроизмерительные прямого действия и вспомогательные части к ним. Часть 5. Особые требования к фазометрам, измерителям коэффициента мощности и синхроноскопам

МЭК 60051-6:1984

ГОСТ 23706-93 Приборы аналоговые показывающие электроизмерительные прямого действия и вспомогательные части к ним. Часть 6. Особые требования к омметрам (приборам для измерения полного сопротивления) и приборам для измерения активной проводимости

МЭК 60051-7:1984

ГОСТ 10374-93 Приборы аналоговые показывающие электроизмерительные прямого действия и вспомогательные части к ним. Часть 7. Особые требования к многофункциональным приборам

МЭК 60051-8:1984

ГОСТ 8042-93 Приборы аналоговые показывающие электроизмерительные прямого действия и вспомогательные части к ним. Часть 8. Особые требования к вспомогательным частям

МЭК 60410:1973

ГОСТ Р ИСО 2859-1-2007 Статистические методы. Процедуры выборочного контроля по альтернативному признаку. Часть 1. Планы выборочного контроля последовательных партий на основе приемлемого уровня качества

МЭК 60417:2002

ГОСТ 28312-89 (МЭК 417-73) Аппаратура радиоэлектронная профессиональная. Условные графические обозначения

МЭК 61434:1996

*

МЭК 61438:1996

*

МЭК 60485:1974

*

* Соответствующий национальный стандарт отсутствует. До его утверждения рекомендуется использовать перевод на русский язык данного международного стандарта. Перевод данного международного стандарта находится в Федеральном информационном фонде технических регламентов и стандартов.

Ключевые слова: призматические никель-кадмиевые аккумуляторы с газовой рекомбинацией, электрические испытания, приемка

 




Яндекс цитирования