//
|
|
Утверждаю Генеральный директор ЗАО «ТехноНИКОЛЬ» ___________/Колесников С.А./ 23 апреля 2003 г. РУКОВОДСТВО по проектированию и устройству кровель из рулонных наплавляемых битумных материалов Компании «ТехноНИКОЛЬ»
Москва 2003 г. Все имущественные права на «Руководство по проектированию и устройству кровель из битумных материалов Кровельной Компании «ТехноНИКОЛЬ»» принадлежат ЗАО «ТехноНИКОЛЬ». Цитирование документа допускается только со ссылкой на настоящее Руководство. Руководство не может быть полностью или частично воспроизведено, тиражировано и распространено без разрешения Кровельной Компании «ТехноНИКОЛЬ». При разработке нормативной и проектной документации рекомендуются использовать учтенные ЗАО «ТехноНИКОЛЬ» экземпляры документа. Учтенные экземпляры могут быть получены в отделе технической поддержки дирекции по продажам Кровельной Компании «ТехноНИКОЛЬ» (129110 Москва, ул. Гиляровского, д.47/5, тел. (095)105-100-5, факс (095) 281-0038, e-mail: tehno@tn.ru). Владельцам учтенного экземпляра Руководства высылаются издаваемые Кровельной Компанией «ТехноНИКОЛЬ» изменения и дополнения к Руководству. Полный список изменений и дополнений к руководству находится на официальном сайте компании «ТехноНИКОЛЬ» http://www.tn.ru «Руководство по проектированию и устройству кровель из битумных материалов Компании «ТехноНИКОЛЬ»» разработано ЗАО ТехноНИКОЛЬ (Фисюренко Д.А. технический специалист Кровельной Компании «ТехноНИКОЛЬ», Горелов Ю.А. заместитель директора по продажам Кровельной Компании «ТехноНИКОЛЬ», Колдашев С.Н. специалист отдела технической поддержки Кровельной Компании «ТехноНИКОЛЬ»). В руководстве учтены замечания и дополнения Воронина А.М. (кандидат техн. наук, руководитель отдела кровель ЦНИИПРОМЗДАНИЙ). СОДЕРЖАНИЕ. 1. ОБЩИЕ ПОЛОЖЕНИЯ.1.1. Настоящие Руководство предназначено для использования при проектировании, устройстве и ремонте кровель из битумных материалов, выпускаемых Компанией «ТехноНИКОЛЬ». 1.2. Руководство разработано в дополнение к главе 2 СНиП II-26-76* «Кровли. Нормы проектирования» СНиП 3.04.01-87 “Изоляционные и отделочные покрытия» и «Кровли. Руководство по проектированию, устройству, правилам приемки и методы оценки качества». 1.3. Уклоны кровель принимают в соответствии с нормами проектирования зданий и сооружений. Для обеспечения максимального срока службы кровельного покрытия уклон основания должен составлять 2-10%. При таком уклоне с поверхности кровельного ковра осуществляется полный отвод воды по наружным или внутренним водостокам. 1.4. Устройство и ремонт кровель должен выполняться специализированными организациями на основе рабочих чертежей или заключения экспертной организации, проекта производства работ, настоящего Руководства и типовых технологических карт на устройство кровельных покрытий.* * В случаях разночтения настоящего Руководства и заключения экспертной комиссии следует руководствоваться заключением. 2. ТРЕБОВАНИЯ К МАТЕРИАЛАМ.2.1. Материалы, применяемые для устройства покрытий, должны соответствовать требованиям технических условий. Для этого проводится выборочная проверка (входной контроль) каждой поступившей на стройку партии материалов. В случае выявления несоответствия материалов требованиям нормативных документов, партия бракуется и возвращается поставщику. 2.2. Для устройства пароизоляции применяют следующие битумные материалы:
2.3. Для устройства теплоизоляции рекомендуется применять высокоэффективные утеплители: пенополистирол, экструзионный пенополистирол, минераловатные плиты. Другие виды теплоизоляционных материалов применяются с учётом местных условий. 2.4. В инверсионных кровлях в качестве теплоизоляции используют экструзионный пенополистирол. 2.5. Для устройства монолитных стяжек рекомендуется применять цементно-песчаные смеси или растворы с прочностью на сжатие не менее 15 МПа и асфальтобетонные смеси с прочностью на сжатие не менее 0,8 МПа. 2.6. Для устройства разного рода примыканий, рекомендуется применять следующие материалы:
2.7. Для герметизации мест примыкания кровельного ковра к вертикальным поверхностям используют битумные герметики. Для герметизации стыков бетонных панелей или фартуков из оцинкованной стали рекомендуем применять однокомпонентные полиуретановые или полисульфидные (тиоколовые) кровельные герметики. Использовать силиконовые герметики для герметизации кровельных конструкций и сопряжений не рекомендуется из-за их неремонтопригодности. 2.8. В сопряжениях кровельного ковра с трубами рекомендуется использовать готовые переходные элементы из резины (фитинги). 3. КОНСТРУКТИВНЫЕ РЕШЕНИЯ ЭЛЕМЕНТОВ ПОКРЫТИЯ.3.1. Пароизоляция.3.1.1. Требуемое сопротивление паропроницанию пароизоляционного слоя определяется исходя из условия недопустимости накопления влаги в ограждающей конструкции при расчете за годовой период эксплуатации. Материал для пароизоляционного слоя и количество слоев определяют с учетом температурно-влажностного режима в ограждаемых помещениях и климатических условий в районе строительства, расчет производят в соответствии с требованиями СНиП II-3-79* «Строительная теплотехника». 3.1.2. Битумные материалы (Линокром ХПП, Бикрост ХПП), рекомендуется применять для устройства пароизоляционного слоя только по монолитнобетонным основаниям. 3.1.3. По основаниям из сборных железобетонных плит пароизоляцию предусматривают из битумных материалов (Бикрост ТПП (СПП), Линокром ТПП (СПП)) с основой из стеклоткани. 3.1.4. При уклонах более 10 % следует предусмотреть приклейку пароизоляционного материала к основанию. При меньших уклонах пароизоляция может выполняться из рулонного материала укладываемого насухо без приклейки к основанию. 3.1.5. Битумный материал, применяемый для пароизоляции, укладывают с перехлестом в боковых швах 80-100 мм и в торцевых 150 мм. Нахлесты полотнищ пароизоляционного материала должны быть сварены пламенем пропановой горелки или горячим воздухом. 3.1.6. На вертикальных поверхностях обязательна приклейка пароизоляции к основанию. 3.1.7. В местах примыкания к стенам, стенкам фонарей, шахтам и оборудованию, проходящему через кровлю, пароизоляция должна быть поднята выше теплоизоляционного слоя (см. рис. 3). 3.1.8. В местах деформационных швов пароизоляция должна перекрывать металлический компенсатор. Место перекрытия рекомендуется выполнить из битумно-полимерного материала (Техноэласт, Унифлекс), армированного нетканным полиэфирным полотном (полиэстером). 3.2. Теплоизоляция.3.2.1. Выбор вида теплоизоляционного материала проводится с учётом класса функциональной пожарной опасности здания, степени огнестойкости и класса конструктивной пожарной опасности, в соответствии с требованиями раздела 5 СНиП 21-01-97*, «Пожарная опасность зданий и сооружений». 3.2.2. Толщина теплоизоляционного слоя принимается на основании теплотехнического расчёта в соответствии с требованиями СНиП II-3-79* «Строительная теплотехника». Расчетные параметры окружающей среды для различных регионов принимаются по СНиП 23-01-99 «Строительная климатология». Расчетные параметры внутреннего воздуха принимаются по ГОСТ 12.1.005-88 «ССБТ. Общие санитарно-гигиенические требования к воздуху рабочей зоны с учетом требований СНиП 2.08.01-89 «Жилые здания», СНиП 2.09.02-85 «Производственные здания», СНиП 2.09.04-87 «Административные и бытовые здания», СНиП 2.08.02-89 Общественные здания и сооружения». 3.2.3. При устройстве кровель с основанием из ж/б плит с укладкой поверху утеплителя ц/п стяжки стяжки применяют минераловатный утеплитель с прочностью на сжатие при 10 % деформации не менее 0,4 МПа и плотностью не менее 150 кг/м3. 3.3. Основания под водоизоляционный ковер.3.3.1. Основанием под водоизоляционный ковер могут служить ровные поверхности: · железобетонных несущих плит, швы между которыми заделаны цементно-песчаным раствором марки не ниже 150; · монолитной теплоизоляции с прочностью на сжатие не менее 0,15 МПа из легких бетонов, а также материалов на основе цементного или битумного вяжущего с эффективным заполнителем - перлита, вермикулита и т.д.; · выравнивающих монолитных стяжек из цементно-песчаного раствора и асфальтобетона с прочностью на сжатие соответственно не менее 15 (М150) и 0,8 Мпа. 3.3.2. Стяжки из песчаного асфальтобетона применяют в осенне-зимний период по монолитному и плитному утеплителям. Не допускается применять стяжки из асфальтобетона по сжимаемым (минераловатным и т.д.) и засыпным (керамзитовому гравию, перлитовому песку и т.д.) утеплителям, а также при наклейке рулонных материалов на холодных кровельных мастиках. 3.3.3. Не допускается устройство выравнивающих стяжек из цементно-песчаного раствора в кровельных конструкциях с несущим основанием из профилированного листа. 3.3.4. По засыпным утеплителям (керамзитовому гравию, перлитовому песку и т.д.) устраивают цементно-песчаные стяжки толщиной 50 мм с обязательным армированием дорожной сеткой. 3.3.5. В местах примыкания к стенам, парапетам, вентиляционным шахтам и другим кровельным конструкциям должны быть выполнены наклонные бортики (галтели) под углом 45º из цементно-песчаного раствора или асфальтобетона, высотой 100 мм. 3.3.6. Вертикальные поверхности конструкций, выступающих над кровлей и выполненных из штучных материалов (кирпича, пенобетонных блоков и т.д.), должны быть оштукатурены цементно-песчаным раствором М150 на высоту заведения края кровельного ковра, но не менее чем на 300 мм. Аналогично должны быть оштукатурены парапетные стены из штучных материалов. 3.4. Водоизоляционный ковер.3.4.1. При капитальном ремонте или устройстве новой кровли кровельный ковер предусматривают из 2-х слоев. Для верхнего слоя применяют кровельный материал с крупнозернистой посыпкой (см. рис. 1).
Рис. 1. Материал с крупнозернистой посыпкой. 3.4.2. Варианты кровельных ковров из материалов Бикрост и Линокром с основанием кровли из пустотных, ребристых бетонных плит или монолитного железобетона (см. рис. 2):
Рис. 2. Покрытие с применением несущих плит или монолитного железобетона.
3.4.3. Материалы Линокром ХПП (ХКП), Линокром ЭКП, Бикрост ХПП (ХКП) и Бикрост ЭКП применяются при ремонтах кровель из наплавляемых материалов без удаления старого кровельного ковра, в случаях, если старый кровельный ковер не имеет разрывов. При наличии небольших повреждений (проколов, порезов) необходимо усилить кровельный ковер установкой заплаты (см. п. 4.9). 3.4.4. В местах перепада высот и резких изломов цементно-песчаного или бетонного основания необходимо предусмотреть укладку дополнительного слоя кровельного материала. Дополнительный слой устраивают из материалов с основой из стеклоткани или полиэстера. 3.5. Сопряжение кровельного ковра с выступающими кровельными конструкциями и парапетными стенами.3.5.1. В местах примыканий к вертикальным поверхностям основной кровельный ковер, укладываемый на основной плоскости кровли, усиливают дополнительными слоями (см. рис. 3).
Рис. 3 Основные слои кровельного ковра и дополнительные слои усиления. 3.5.2. Материалы для дополнительных слоев усиления кровельного ковра:
3.5.3. Высота заведения на вертикальную поверхность дополнительных слоев усиления кровельного ковра на примыканиях должна составлять не менее 300 мм. 3.5.4. На вертикальных поверхностях дополнительные слои усиления механически фиксируют к основанию с помощью краевой рейки или шайбами Æ 50 мм. Крепление осуществляют с помощью дюбелей или саморезами по бетону с шагом 200 мм. 3.5.5. В случаях заведения дополнительных слоев усиления на парапетную стену, край верхнего слоя усиления должен заводится на фасадную часть парапетной стены. 3.6. Примыкание кровельного ковра к трубам.3.6.1. Примыкания к круглым трубам. Стальные трубы диаметром не менее 100 мм могут обклеиваться наплавляемым материалом, а герметизация труб малого диаметра может осуществляться с помощью стального стакана и двухкомпонентного герметика. 3.6.2. Стальной стакан с герметиком. Стальной стакан, заполненный двухкомпонентным герметиком, применяется для герметизации: · жестких труб малого диаметра; · пучков труб; · гибких труб; · опор необычной формы (конструктивные балки, каналы и т.д.); · анкеров.
Рис. 4 Примыкание кровельного ковра к трубам (пучкам труб) малого диаметра. Стенки металлического стакана ограничивают растекание герметизирующей мастики, а металлический горизонтальный фланец необходим для сопряжения с кровельным ковром (см. рис. 4). После укладки кровельного ковра, в месте установки металлического стакана на основание наносится слой горячей битумной или битумно-полимерной мастики. Металлический стакан с фланцем устанавливается на мастику и дополнительно крепится к основанию крепежными элементами. Расстояние между трубками или расстояние от трубки до края стакана должно быть не менее 25 мм. При укладке двух дополнительных слоев усиления, материал заводится на фланец вплотную к стенкам металлического стакана. Нижняя часть стакана заполняется монтажной пеной, а сверху (на глубину не менее 4 см) заполняется двухкомпонентным полисульфидным (тиоколовым) или полиуретановым герметиком. 3.6.2. При пропуске через кровлю горячих труб вокруг них ставится короб, заполняемый минераловатным утеплителем, а кровельный ковер примыкает к коробу. 3.6.3. Для сопряжения кровельного ковра с пучком горячих труб, вокруг места выхода из основания также устанавливается утепленный короб. Вывод трубок осуществляется через боковую сторону. 3.7. Температурно-деформационные швы зданий.Устройство деформационных швов в кровле определяется геометрией здания и конструкцией. 3.7.1. Деформационные швы устраиваются в кровле всегда если: · в этом месте проходит деформационный шов здания; · если длина здания или ширина более 60м; · в местах стыка кровельных оснований с разными коэффициентами линейного расширения (бетонные плиты перекрытия, примыкающие к основанию из оцинкованного профлиста); · кровля примыкает к стене соседнего здания; · в местах изменения направления укладки элементов каркаса здания, прогонов, балок и элементов основания кровли; · в местах изменения температурного режима внутри помещений. · Чтобы снизить вероятность протечки кровли через деформационный шов необходимо уклоны на кровле сформировать таким образом, чтобы вода уходила в разные стороны от деформационного шва. При устройстве деформационных швов кровельный ковер лучше всего разорвать (см. рис. 5). В качестве пароизоляционной мембраны в конструкции деформационного шва может использоваться рулонная резина.
Рис. 5. Деформационный шов. 3.7.2. ТДШ со стенками из легкого бетона или штучных материалов может устанавливаться в кровлях с бетонным основанием или с основанием из ж/б плит. 3.7.3. Стенки ТДШ устанавливается на несущие конструкции. Край стенки ТДШ должен быть выше поверхности кровельного ковра на 300 мм. Шов между стенками должен быть не меньше 30 мм. 3.7.4. Металлический компенсатор, устанавливаемый в ТДШ, не может служить пароизоляцией. Необходима укладка дополнительных слоев пароизоляционного материала на компенсатор. 3.8. Воронки внутреннего водостока.3.8.1. Площадь кровли, приходящаяся на одну воронку, и диаметр воронки должны устанавливаться из расчета с учетом норм проектирования соответствующих зданий и требований строительных норм по проектированию канализации и водостоков зданий. 3.8.2. Водоприемные воронки внутреннего водостока должны располагаться равномерно по площади кровли на пониженных участках преимущественно вдоль каждого ряда разбивочных осей здания. 3.8.3. На каждом участке кровли, ограниченном стенами, парапетом или деформационными швами, должно быть не менее двух воронок. 3.8.4. Местное понижение кровли в местах установки воронок внутреннего водоотвода должно составлять 20 - 30 мм в радиусе 500 мм за счет уменьшения толщины слоя утеплителя или за счет основания под водоизоляционный ковер. 3.8.5. Водоприемные воронки, расположенные вдоль парапетов, других выступающих частей зданий должны находиться от них на расстоянии не менее 450 мм. Не допускается установка водосточных стояков внутри стен. 3.8.6. Водоотводящее устройство не должно менять своего положения при деформации основания кровельного ковра или прогибе несущего основания кровли. Чаши водосточных воронок должны быть прикреплены к несущему основанию кровли и соединены со стояками через компенсаторы.
Рис. 6 Пластиковая воронка с прижимным кольцом. 3.8.7. В чердачных покрытиях и в покрытиях с вентилируемыми воздушными прослойками приемные патрубки водосточных воронок и охлаждаемые участки водостоков должны иметь теплоизоляцию. Допускается предусмотреть обогрев патрубков водосточных воронок и стояков в пределах охлаждаемых участков. 3.8.8. Места приклейки водоизоляционного ковра к фланцам водоприемной чаши водоприемной воронки должны быть усилены дополнительным слоем наплавляемого материала. 4. УСТРОЙСТВО КРОВЛИ.4.1. Подготовка основания под укладку пароизоляции.4.1.1. Стыки несущих железобетонных плит замоноличиваются, поверхность неровных плит или монолитного основания затирается цементно-песчаным раствором марки не ниже М150. 4.2. Устройство пароизоляции.4.2.1. Пароизоляцию рекомендуется укладывать непосредственно перед устройством теплоизоляционного слоя. 4.2.2. До начала укладки пароизоляционного слоя необходимо: · закончить все виды строительных работ на покрытии; · установить металлические компенсаторы в местах устройства деформационных швов. 4.2.3. Укладку битумных материалов (Линокром, Бикрост) можно производить при температуре наружного воздуха выше +5ºС. 4.2.4. На все вертикальные поверхности пароизоляционный материал необходимо наклеить, сплошной приклейкой, заводя выше теплоизоляционного слоя. 4.2.5. На всей горизонтальной плоскости рулоны битумного материала склеивают в швах, обеспечив нахлестку полотнищ 80-100мм в боковых швах и 150 мм в торцевых. 4.3. Укладка теплоизоляции.4.3.1. Укладка теплоизоляционных плит и устройство стяжки рекомендуется производить в одну и ту же смену. Плиты следует укладывать в направлении «на себя». Это уменьшит повреждения плит в процессе их укладки. 4.3.2. Перед выполнением монолитной теплоизоляции на цементном вяжущем следует провести нивелировку поверхности несущих плит для установки маяков, определяющих толщину укладки теплоизоляции. 4.3.3. При устройстве теплоизоляции из двух и более слоев плитного утеплителя, швы между плитами располагать «вразбежку» (см. рис. 7), обеспечивая плотное прилегание плит друг к другу. Швы между плитами утеплителя более 5 мм должны заполняться теплоизоляционным материалом.
Рис. 7. Смещение плит верхнего и нижнего слоев при укладке. 4.3.4. Укладку утеплителя проще всего начинать с угла кровли. При укладке теплоизоляционные плиты дополнительно режут так чтобы стыки плит 1-го и 2-го слоев не совпали (см. рис. 8). Такая разрезка утеплителя подходит для утеплителей размером 500×1000 мм или 600×1200 мм.
Рис. 8 Раскладка теплоизоляционных плит при двухслойной укладке. Раскладка утеплителя 1 слоя.
Раскладка утеплителя 2 слоя.
При такой разрезке теплоизоляционных плит швы плит первого и второго слоя не совпадают и количество отходов от распила практически нулевое. Для упрощения укладки плитного утеплителя в непрямых углах рекомендуем применить следующий способ разрезки плит (см. рис. 9).
Рис. 9. Раскрой и расположение теплоизоляционных плит в непрямых углах кровли. 4.3.5. Плиты утеплителя могут быть склеены между собой горячим битумом или битумной мастикой. Склеивание должно быть равномерным и составлять не менее 30% от площади склеиваемых поверхностей. 4.3.6. Промокший во время монтажа минераловатный утеплитель должен быть удален и заменен сухим. 4.4. Устройство основания под водоизоляционный ковер.4.4.1. Во вновь устраиваемых цементно-песчаных стяжках выполняют температурно-усадочные швы шириной около 5 мм, разделяющие стяжку на участки не более чем 6×6 м, стяжки из асфальтобетона делят на карты 4×4 м. Швы должны совпадать с торцевыми швами несущих плит и располагаться над швами в монолитной теплоизоляции. 4.4.2. Свежеуложенные цементно-песчаные стяжки могут быть огрунтованы битумным праймером. Огрунтовку производят через 3-4 часа после укладки цементно-песчаной стяжки. Праймер готовят, вливая горячий битум в керосин в соотношениях 1:2-1:3. 4.4.3. Допускается наличие на основании под укладку кровельного ковра плавно нарастающих неровностей не более 10 мм поперек уклона и не более 5 мм вдоль уклона. Количество неровностей должно быть не более двух на 4 м2 площади основания. Проверка ровности основания осуществляется контрольной 2-х метровой рейкой. Для оснований из штучных материалов неровности поперек и вдоль уклона не должны превышать 10 мм. 4.4.4. Воронки внутренних водостоков должны быть установлены согласно проекту в пониженных местах кровли с механическим креплением их к конструкциям здания. 4.4.5. В местах примыкания к стенам, парапетам, вентиляционным шахтам и другим кровельным конструкциям выполнить наклонные бортики под углом 45º и высотой 100 мм из цементно-песчаного раствора или асфальтобетона. 4.4.6. Вертикальные поверхности конструкций, выступающих над кровлей и выполненных из штучных материалов (кирпича, пенобетонных блоков и т.д.), необходимо оштукатурить цементно-песчаным раствором М150 на высоту подъема дополнительного водоизоляционного ковра, не менее чем на 350 мм. 4.5. Подготовительные работы перед укладкой кровельного ковра.4.5.1. Качественная укладка битумных материалов при температуре ниже +5ºC может быть обеспечена только при работе в “тепляках”. После хранения или транспортировки материалов при отрицательной температуре, битумные рулонные материалы необходимо отогреть до температуры не менее +15ºС. Это позволит избежать потери посыпки при разворачивании рулона материала. Вода, попавшая между слоями кровельного материала и замерзшая там, при разворачивании рулона может содрать посыпку. 4.5.2. Перед устройством водоизоляционного ковра произвести подготовительные работы: · основание очистить от пыли, мусора, посторонних предметов (в зимнее время - от наледи и снега); · удалить кровельный ковер (при капитальном ремонте); · заделать раствором раковины, трещины, неровности. 4.5.3. После получения кровельных материалов необходимо провести проверку качества применяемых материалов на соответствие ТУ. 4.5.4. Проверить влажность основания. Влажность цементно-песчаных стяжек не должна превышать 4% по массе, а стяжек из асфальтобетона - 2,5%. 4.5.5. К устройству водоизоляционного ковра приступают после составления и подписания акта на скрытые работы. 4.5.6. Водоизоляционный ковер выполняется по проекту, где указывается наименование материалов, их марки и количество слоёв, а также способ крепления ковра к основанию. 4.5.7. Для обеспечения необходимого сцепления наплавляемых рулонных материалов с основанием кровли, все поверхности основания из цементно-песчаного раствора и бетона, должны быть огрунтованы грунтовочными холодными составами (праймерами). Грунтовка, наносимая на высохшие цементно-песчаные поверхности, может приготовляться из битума (марок БН 70/30, БН 90/10 БНК 90/30) и быстроиспаряющегося растворителя (бензин, нефрас) разбавленного в соотношении 1:3 - 1:4 по весу или битумных мастик с теплостойкостью выше 80ºС, разбавляемых до нужной консистенции. 4.5.8. Грунтовку наносят с помощью кистей или щеток (см. рис. 10).
Рис. 10. Нанесение грунтовки. 4.5.9. Кровельные материалы наплавляются только после полного высыхания огрунтованой поверхности (на приложенном к высохшей грунтовке тампоне не должно оставаться следов битума). 4.5.10. Не допускается выполнение работ по нанесению грунтовочного состава одновременно с работами по наплавлению кровельного ковра. 4.5.11. Температурно-усадочные швы в стяжках необходимо перекрывать полосами рулонного материала шириной 100-150мм. Для полос используют материал с крупнозернистой посыпкой, укладывая его посыпкой к основанию. 4.5.12. Устройство водоизоляционного ковра выполняют путём подплавления нижнего слоя материала пламенем от газовых или соляровых горелок, или с применением оборудования с инфракрасным излучением. 4.5.13. До начала укладки кровельного ковра основной плоскости кровли в зоне водоприёмных воронок наклеивается один слой материала размером 700х700 мм. Слои основного кровельного ковра и слой усиления должны заходить на водоприемную чашу, прижимной фланец которой притягивают к чаше воронки гайками, а чашу воронки крепят к плитам покрытия хомутами. 4.6. Укладка наплавляемого рулонного кровельного материала.4.6.1. При уклонах более 15% раскатка рулонов на скате кровли осуществляется параллельно направлению уклона, при меньших - параллельно или перпендикулярно уклону (см. рис. 11).
Рис. 11. Укладка материала на скате кровли. 4.6.2. Перекрестная наклейка полотнищ рулонов не допускается. 4.6.3. Укладку рулонного материала начинают с нижележащих участков. 4.6.4. В процессе производства кровельных работ должен быть обеспечен нахлест смежных полотнищ не менее 80 мм (боковой нахлест). Торцевой нахлест рулонов должен составлять 150 мм (см. рис. 12).
Рис. 12. Нахлесты полотнищ рулонного материала. 4.6.5. Расстояние между боковыми стыками кровельных полотнищ в смежных слоях должно быть не менее 300 мм. Торцевые нахлесты соседних полотнищ кровельного материала должны быть смещены относительно друг друга на 500 мм (см. рис. 13)
Рис. 13. Смещение полотнищ кровельного материала в смежных слоях. 4.6.6. Технологические приемы наклейки наплавляемого рулонного материала выполняют в следующей последовательности: · на подготовленное основание раскатывают рулон, примеряют по отношению к соседним, обеспечивая необходимый нахлест полотнищ; · скатывают к середине, намотку лучше производить на трубу или картонную шпулю; · разогревают нижний приклеивающий слой рулона с одновременным нагревом основания или поверхности ранее наклеенного слоя. Рулон постепенно раскатывают, дополнительно прикатывая катком. Особенно тщательно прикатывают места нахлестов; · аналогично наклеивают вторую половину рулона. При наплавлении кровельного материала кровельщик раскатывает рулон «на себя» (см. рис. 14).
Рис. 14. Положение рабочего при укладке. Рулон необходимо раскатывать на разогретый нижний слой материала. Нагрев производят плавными движениями горелки так, чтобы обеспечивался равномерный нагрев материала и поверхности основания. Хорошей практикой является движение горелки буквой «Г» с дополнительным нагревом той области материала, которая идет внахлест. Нежелательно ходить по только что уложенному материалу, это приводит к ухудшению внешнего вида кровли: посыпка утапливается в слой битумного вяжущего, и на поверхности материала остаются темные следы. Для качественного наплавления материала на основание или на ранее уложенный слой необходимо добиваться небольшого валика (см. рис. 15).
Рис. 15. Валик расплавленного битумного вяжущего. Признаком хорошего, правильного прогрева материала является вытекание битумного вяжущего из-под боковой кромки материала, примерно на 3-15 мм (см. рис. 16). Валик битума, вытекший из бокового нахлеста, шириной более 5 мм рекомендуется сверху присыпать посыпкой. Этот валик также является гарантией герметичности нахлеста.
Рис. 16. Битумное вяжущее, вытекшее из-под кромки материала. (для сравнения монета 10 коп.) Наклеиваемые полотнища не должны иметь складок, морщин, волнистости. Для качественной приклейки материала по всей поверхности и недопущения вышеуказанных дефектов полотнища прикатывают мягкими щетками и валиками, движения которых должны быть от оси рулона по диагонали к его краям. Особенно тщательно приглаживают кромки материала. 4.6.9. Одновременно с укладкой первого слоя основного кровельного ковра оклеивают первым слоем выступающие кровельные конструкции и парапетные стены. Такая укладка препятствует попаданию воды под кровельный ковер в местах примыканий. 4.7. Устройство примыканий кровельного ковра к вертикальным поверхностям.4.7.1. Основной кровельный ковер в местах примыкания к вертикальным поверхностям, должен заводиться на вертикальную часть выше переходного бортика. В местах примыкания к вертикальным поверхностям наклеиваются два дополнительных слоя усиления с основой из стеклоткани, с заведением до проектной отметки на вертикальную поверхность (см. рис. 17).
Рис. 17. Примыкание кровельного ковра к вертикальной поверхности. Первый слой усиления кровельного ковра должен заходить на вертикальную поверхность не менее чем на 250 мм. Второй слой, из материала с посыпкой, должен перекрывать на вертикальной поверхности первый минимум на 50 мм. Примыкания к вертикальным поверхностям при работе с использованием газовых или соляровых горелок, выполняют в следующей последовательности: · после укладки 1-го слоя основного кровельного ковра, от рулона отрезают кусок материала длиной, равной проектной высоте заводки на вертикальную поверхность, плюс 150 мм для заводки на горизонтальную поверхность; · cкладывают материал поперек полотна на расстоянии 150 мм от края и прикладывают к примыканию; · придерживая нижний конец полотна, начинают подплавление покровного слоя и приклеивание к вертикальной поверхности; · затем нижний конец приклеивается к горизонтальной поверхности; · после укладки верхнего слоя основного кровельного ковра, аналогично выполняется наклейка верхнего слоя с напуском на горизонтальную поверхность 250 мм (на 100 мм перекрывая первый слой усиления кровельного ковра на примыкании) Если рулоны кровельного материала основных слоев кровельного ковра укладывают параллельно парапетной стене, то расположение слоев меняется (см. рис. 18).
Рис. 18. Примыкание кровельного ковра к вертикальной поверхности (альтернативный вариант). Основные слои кровельного материала укладывают вплотную к переходному бортику. Дополнительно на переходной бортик укладывают еще один слой кровельного материала, заходящий на горизонтальную поверхность на 100 мм. 4.7.2. Варианты закрепления края кровельного ковра на вертикальных поверхностях в примыканих кровельного ковра к парапетным стенам, лифтовым шахтам: 4.7.2.1. Примыкание кровли к стене с механическим креплением краевой рейкой края кровельного ковра (см. рис. 19, 20).
В краевой рейке пробиты отверстия с шагом 100 мм. Верхняя кромка рейки имеет отгиб, обеспечивающий герметизацию шва между металлической рейкой и плоскостью стены. Рейка монтируется на гладкие вертикальные поверхности (оштукатуренные кирпичные стены, монолитный бетон, бетонные плиты). Краевая рейка не может устанавливаться на деревянные поверхности и металлические фартуки. В местах внутренних или внешних углов краевая рейка режется. Изгибать рейку в углах нельзя. Край краевой рейки должен крепиться на расстоянии не более 50 мм от угла кровли (см. рис. 21). В местах углов расстояние между первым и вторым саморезами (считая от угла) 100 мм, все последующие саморезы устанавливаются с шагом 200 мм.
При монтаже необходимо выдерживать расстояние в 5-10мм между краевыми рейками. Во всех местах, где дополнительные слои усиления кровельного ковра заканчиваются, установите краевую рейку вертикально. После установки краевой рейки уложите битумный герметик в зазор между верхним отгибом и стеной. Вертикально установленную краевую рейку обрабатывают битумным герметиком с двух сторон (см. рис. 22). В кровлях с парапетной стеной из бетонных панелей, в местах стыка бетонных панелей рейка разрезается. Сверху устанавливается фартук из оцинкованной стали, перекрывающий место разрыва. Фартук крепится саморезами с одной из сторон и промазывается полиуретановым или тиоколовым герметиком для межпанельных швов (см. рис. 23).
Рис. 23. Краевая рейка на стене из бетонных плит. 4.7.2.2. Примыкание с подведением края кровельного ковра под «выдру» (см. рис. 24).
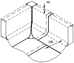
Рис. 24 Заведение края кровельного ковра под выдру в парапетной стене. Дополнительные слои фиксируются к основанию краевой рейкой или саморезами с шайбой Æ 50 мм. Шаг установки крепежных элементов 200 мм. 4.7.2.3. Примыкание кровельного ковра к кирпичной стене (см. рис. 25).
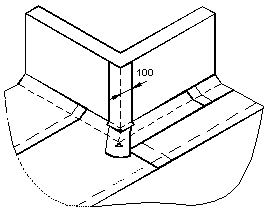
Рис. 25 Закрепление края кровельного ковра на кирпичной стене. При невозможности оштукатурить кирпичную стену целиком и отсутствии «выдры» в примыкании кровельного ковра к кирпичной стене, в стене прорезают штрабу под установку отлива. Ниже штрабы стену оштукатуривают цементно-песчаным раствором М150. Дополнительные слои усиления кровельного ковра на примыкании заводят на высоту не менее 300 мм и край фиксируют краевой рейкой. Отлив из оцинкованной стали должен заходить в штрабу не менее чем на 50 мм и сверху промазан полиуретановым или полисульфидным (тиоколовым) герметиком. 4.7.2.4. Примыкание к парапетной стене высотой менее 500 мм. При высоте парапетной стены менее 500 мм, дополнительные слои кровельного ковра заводят на парапетную стену (см. рис. 26, 27). Верхний дополнительный слой должен заходить на фасадную часть здания на 50-100мм (см. рис. 26).
Рис. 26 Примыкание кровельного ковра к парапетной стене высотой менее 500 мм. При креплении парапетного фартука расстояние между точками крепления определяется жесткостью профиля, но не должно превышать 600 мм. Не рекомендуется жестко скреплять все листы стальных фартуков между собой. Листы можно скреплять в секции длинной не более 4 м.
Рис. 27 Примыкание кровельного ковра к парапетной стене с парапетным камнем. Стыки парапетных плит необходимо герметизировать тиоколовым (полисульфидным) или полиуретановым герметиком.
Рис. 28. Раскладка полотнищ рулонного материала на примыканиях к парапету. Заводить материал на парапетные стены, высотой до 1 м можно, дополнительно фиксируя полотнища кровельного материала к парапетной стене через 500 мм (см. рис. 29). Сверху парапетная стена должна также закрываться фартуком из оцинкованной стали или парапетной плитой.
Рис. 29. Примыкание кровельного ковра к парапетной стене с парапетным камнем. 4.7.3. Вариант раскроя и укладки материала во внутреннем угле кровли.
4.7.4. Вариант раскроя и укладки материала на наружной поверхности угла кровли.
4.8. Сопряжение кровельного ковра с выступающими кровельными конструкциями.4.8.1. Сопряжение кровельного ковра с трубами квадратного сечения.
4.8.2. Сопряжение кровельного ковра с круглыми стальными трубами диаметром от 100 мм. Данный способ изготовления примыкания кровельного ковра не применим к пластиковым трубам, пучкам трубок и для горячих труб.
4.9. Ремонт кровельного ковра.Если поверхность кровельного ковра имеет механические повреждения, она может быть легко отремонтирована. Небольшие повреждения кровельного ковра, такие как проколы, порезы заделываются установкой заплатки на поверхность кровельного ковра. Заплата должна иметь закругленные края и перекрывать поврежденную поверхность не менее чем на 100 мм. Во всех направлениях.
Порядок установки заплаты: · Очистить место повреждения от мусора и пыли. · Вырезать заплатку на 100 мм перекрывающую место повреждения кровельного ковра и скруглить углы на заплатке. · Разогреть место установки заплаты пламенем пропановой горелки и утопить посыпку шпателем в верхний слой битумного вяжущего. · Наплавить заплатку на место повреждения. 5. КОНТРОЛЬ КАЧЕСТВА И ПРИЁМКА РАБОТ.5.1. Контроль качества используемых рулонных материалов возлагается на строительную лабораторию; производства работ - на мастера или бригадира. 5.2. В процессе производства работ устанавливается постоянный контроль за соблюдением технологии выполнения отдельных этапов работ. 5.3. На объекте заводится «Журнал производства работ», в котором ежедневно фиксируются: · дата выполнения работы; · условия производства работ на отдельных захватках; · результаты систематического контроля за качеством работ. 5.4. Качество устройства отдельных слоёв покрытия устанавливается путём осмотра их поверхности с составлением акта на скрытые работы после каждого слоя. Прочность сцепления водоизоляционного ковра с основанием должна быть не менее 1 кгс/см2. 5.5. Обнаруженные при осмотре слоёв приёмочной комиссией дефекты или отклонения от проекта должны быть исправлены до начала работ по укладке вышележащих слоев кровли. 5.6. Приёмка законченной кровли сопровождается тщательным осмотром её поверхности, особенно у воронок, в лотках и местах примыканий к выступающим конструкциям. В отдельных случаях готовую плоскую кровлю с внутренним водостоком проверяют путём заливки её водой. Испытание можно производить при температуре окружающего воздуха не менее +5ºС. 5.7. В ходе окончательной приемки кровли предъявляются следующие документы: · паспорта на примененные материалы; · данные о результатах лабораторных испытаний материалов; · журналы производства работ по устройству кровли; · исполнительные чертежи покрытия и кровли; · акты промежуточной приёмки выполненных работ. 6. ОХРАНА ТРУДА И ТЕХНИКА БЕЗОПАСНОСТИ.6.1. Производство работ по устройству кровельных покрытий с водоизоляционным ковром из битумных и битумно-полимерных материалов ЗАО «ТехноНИКОЛЬ» и ремонту рулонных кровель должны проводиться в соответствии с требованиями СНиП 12-03-01 «Безопасность труда в строительстве»; «Правилами пожарной безопасности в Российской Федерации» (ППБ-01-93). 6.2. К работам по устройству и ремонту кровель допускаются мужчины не моложе 21 лет, прошедшие предварительный и периодический медицинские осмотры в соответствии с требованиями Минздрава РФ; профессиональную подготовку; вводный инструктаж по безопасности труда, пожарной и электробезопасности, имеющие наряд-допуск. 6.3. При работе с оборудованием для наклейки рулонных материалов наплавляемым способом с применением инфракрасного метода необходимо соблюдать требования ГОСТ 12.1.013-78 «Строительство. Электробезопасность. Общие требования», ГОСТ 12.1.019-79 «Электробезопасность. Общие требования и номенклатура видов защиты», ГОСТ 12.1.030-81 «Электробезопасность. Защитное заземление. Зануление». 6.4. Работы по укладке всех слоёв покрытия должны производиться только при использовании средств индивидуальной защиты (СИЗ) в соответствии с «Типовыми отраслевыми нормами бесплатной выдачи специальной одежды, специальной обуви и других средств индивидуальной защиты работникам, занятым на строительных, строительно-монтажных и ремонтно-строительных работах», п.26. Рабочая и домашняя одежда должны храниться в отдельных шкафах. 6.5. Допуск рабочих к выполнению кровельных работ разрешается после осмотра прорабом или мастером совместно с бригадиром основания, парапета и определения, при необходимости, мест и способов надёжного закрепления страховочных приспособлений кровельщиков. 6.6. Рабочие места должны быть свободными от посторонних предметов, строительного мусора и лишних строительных материалов. 6.7. Зона возможного падения сверху материалов, инструментов и мусора со здания, на котором производятся кровельные работы, должна быть ограждена. На ограждении опасной зоны вывешивают предупредительные надписи. 6.8. Работы, выполняемые на расстоянии менее 2 м от границы перепада высот равного или более 3 м, следует производить после установки временных или постоянных защитных ограждений. 6.9. При отсутствии этих ограждений работы следует выполнять с применением предохранительного пояса, при этом места закрепления карабина предохранительного пояса должны быть указаны в проекте производства работ. 6.10. Размещать на крыше материалы допускается только в местах, предусмотренных проектом производства работ, с принятием мер против их падения, в том числе от воздействия ветра. 6.11. На рабочих местах запас материалов не должен превышать сменной потребности. 6.12. Применение материалов, не имеющих указаний и инструкции по технике безопасности и пожарной безопасности, не допускается. 6.13. Инструменты должны убираться с кровли по окончанию каждой смены. 6.14. По окончании работ переносной пульт отключается от источников питания, убирается в закрытое помещение или накрывается чехлом из водонепроницаемого материала. 6.15. Выполнение работ на кровле во время гололеда, тумана, исключающего видимость в пределах фронта работ, грозы, ветра со скоростью 15 м/с и более не допускаются (ГОСТ 12.2.037-78 ССБТ «Работы кровельные и гидроизоляционные. Требования безопасности.»). 6.16. Место производства работ должно быть обеспечено следующими средствами пожаротушения и медицинской помощи: · огнетушитель из расчёта на 500 кв. м. · кровли, не менее - 2 шт. · ящик с песком ёмкостью 0,5 м3 - 1 шт. · лопата - 2 шт. · асбестовое полотно - 3 кв. м. · аптечка с набором медикаментов - 1 шт. Подбор огнетушителей производится по п. 5 Норм пожарной безопасности НПБ 166-97 «Пожарная техника. Огнетушители. Требования к эксплуатации». Использование огнетушителей при использовании оборудования с инфракрасным излучением должно производиться в соответствии с «Тактикой тушения электроустановок, находящихся под напряжением. Рекомендации» (ВНИИПО, 1986 г.) 6.17. Рабочие, занятые на устройстве и ремонте рулонных кровель, должны быть обеспечены санитарно-бытовыми помещениями в соответствии с СН 276-74 «Инструкция по проектированию бытовых зданий и помещений строительно-монтажных организаций». 6.18. Первая медицинская помощь при ожогах горячим битумом. При сильных ожогах битумом следует выполнять следующие правила: · Охладите битум водой (лучше холодной) для того, чтобы предотвратить глубокое поражение тканей. · Охлаждение водой необходимо производить немедленно до тех пор, пока битум не затвердеет и не охладится, не рекомендуется охлаждать более 5 минут во избежание переохлаждения. · Нельзя удалять битум с обожженного участка, необходимо как можно скорее оказать квалифицированную медицинскую помощь. · Рекомендации медицинским работникам по оказанию медицинской помощи при сильных ожогах битумом. · Битум на послеожоговых пузырях удаляется вместе с кожей одновременно с первоначальным промыванием и удалением омертвевших тканей. · Битум, находящийся на неотслоившейся коже, не удаляется, обработка производится вазелином или препаратами на животных жирах, аналогичных вазелину, ланолину, антибактериальными мазями. · Последующие обработки мазями и перевязки должны производится до тех пор, пока битум полностью не растворится и не будет удален - обычно от 24 до 72 часов. · После удаления битума производится обычное лечение ожога. · Использование растворителей для удаления битума не допускается, поскольку они могут усилить поражение тканей. 7. Содержание и обслуживание кровель. Дефекты рулонных кровель из наплавляемых материалов и способы их устранения.Дефекты на кровлях возникают в процессе эксплуатации не только из-за ошибок, связанных с нарушениями технологии устройства кровли, несоблюдением правил эксплуатации, а также в связи с изменением свойств кровельных материалов под воздействием климатических факторов. 7.1. Кровельный ковер из битумных материалов Кровельной Компании «ТехноНИКОЛЬ» не требует дополнительной защиты от погодных воздействий и ультрафиолета. 7.2. Уложенный кровельный ковер должен быть защищен от проливов следующих веществ: · бензин; · жиры, масла минеральные и растительные; · различные органические растворители. 7.3. Недопустим прямой контакт битумного материала с паром или источниками тепла с постоянной температурой поверхности выше 45ºС. 7.4. Берегите кровельный ковер от механических повреждений. Острые грани и края посторонних материалов (болты, обрезки проволоки, арматура, гвозди) могут стать причиной повреждения кровельного материала. Посторонние предметы и мусор должны удалятся с кровли во время профилактических обследований. 7.5. Не допускайте скопление мусора и пыли на кровельном покрытии. Скопления мусора и пыли способствуют развитию растительности на кровельном покрытии, что может привести к нарушению целостности кровельного ковра. 7.6. Пользуйтесь деревянными подкладками в местах временной установки лестниц. 7.7. Кровельный ковер из битумных материалов компании “ТехноНИКОЛЬ” выдерживает ограниченное движение по нему связанное с осмотром состояния кровельного ковра и периодическим обслуживанием оборудования установленного на кровле, но не регулярное движение. В местах, где осуществляется проход людей (чаще 2 раз в месяц) должны быть уложены пешеходные дорожки. 7.8. По кровлям с механической фиксацией кровельного ковра или утеплителя к основанию с помощью пластикового крепежа запрещено любое движение при температуре ниже минус 5ºС. 7.9. Водосточные воронки, лотки и желоба должны осматриваться весной во время (таяния снега) и осенью (во время листопада) не менее 2 раз в месяц. Во время таких осмотров должна проводится очистка фильтров для листьев в водосточных воронках и удаление мусора и пыли в ендовах, желобах. 7.10. Плановые осмотры кровель. В целях увеличения сроков службы кровель без капитального ремонта необходимы постоянные и периодические наблюдения за состоянием кровельного покрытия. Важно не только выявить мелкие дефекты, но и вовремя их устранить. Сезонные обследования предназначены для выявления характерных дефектов. Визуальные плановые обследования проводят 4 раза в год (весной, летом, осенью и зимой), при необходимости проводят внеочередные осмотры. Особое внимание при этом обращают на места сопряжения кровельного ковра с различными конструкциями кровли: · выходами на кровлю; · примыканиям к стенам, парапетам, оголовкам вентиляционных блоков; · к стойкам и оттяжкам телеантенн; · к вытяжным и канализационным стоякам; · воронкам внутреннего водостока, свесам и желобам. 7.10.1. При весенних обследованиях следует: · определять характер и размер вздутий; · выявлять появление сырых пятен в квартирах верхнего этажа; · проверять состояние верхнего слоя кровельного ковра с защитным покрытием, состояние ковра в местах примыкания к выступающим конструкциям или инженерному оборудованию; · правильность закрепления защитных металлических фартуков и свесов; · состояние изоляции в местах пропуска через кровлю водосточных воронок, стяжек, ограждений, мачт и т.п. 7.10.2. При летних обследованиях определяют: · места растрескивания верхнего слоя кровельного ковра; · сползание полотен рулонных материалов с вертикальных поверхностей; · характер разрушения покровного слоя рулонного материала: появление трещин, пузырей, сплошных каверн. 7.10.3. При осенних обследованиях проверяется работа внутренних и наружных водостоков: · при внутренних водостоках на плане крыши отмечаются зоны застоя воды, степень загрязнения воронок; · при неорганизованном наружном водостоке - места и степень замачивания фасадных стен и цоколей водой, стекающей с крыши, затекание дождевой воды через балконы в помещения верхнего этажа и приямки подвальных этажей. Все эти обследования проводятся с целью своевременно провести и закончить все работы по ремонту кровель и подготовить их к зиме. Кровли и водоприемные устройства необходимо очистить от листьев, хвои и пыли. При этом запрещается сметать листья и мусор в водостоки. Для очистки кровель должны применяться деревянные лопаты, метлы или полимерные скребковые устройства. 7.10.4. При зимних обследованиях проверяют: · зону и глубину отложения снега на поверхности крыши, обледенение крыши, особенно в прикарнизной части; · наличие и размер сосулек на карнизе при наружном водостоке; · степень обледенения вентиляционных шахт и зонтов над ними, приточных отверстий в наружных стенах; · образование ледяных пробок в водосточных трубах при наружном организованном отводе воды, наличие или отсутствие ледяных пробок в наземных выпусках водосточных труб; · наличие неисправности водоприемных воронок при внутреннем отводе воды. 7.10.5. Одновременно с проверкой состояния кровельного ковра проводится эксплутационная проверка водонепроницаемости кровли путем тщательного осмотра потолков помещений расположенных под кровлей, и регистрация на плане мест, где имеются пятна сырости. Сопоставляя места увлажнения перекрытий с планом кровли, определяют причины, вызывающие появление пятен сырости: · дефекты в сопряжении кровельного ковра с различными кровельными конструкциями; · конденсация влаги на нижней поверхности потолка из-за промерзания кровли. 7.11. Типичные дефекты кровельного ковра и способы их устранения. Дефекты поверхности кровельного ковра. · полное или частичное отсутствие защитного слоя; · трещины (ширина их раскрытия, направление, протяженность и характер трещин); · размеры и характер вздутий (с водой или воздушных); · наличие пазух в результате отслаивания полотнищ в местах нахлесток, состояние заплат от ранее произведенных ремонтов. Дефекты в местах примыканий к вертикальным плоскостям и на карнизах: · отслаивание края ковра; · бугристость полотен в местах перехода на горизонтальную поверхность. Механические повреждения кровельного ковра стойками и растяжками: · разрушение мест сопряжения стоек и растяжек с основным кровельным ковром. Биологическое разрушение кровельного ковра: · наличие грибков, растений, мха в результате действий микроорганизмов. Причины возникновения дефектов и простейшие способы их устранения.
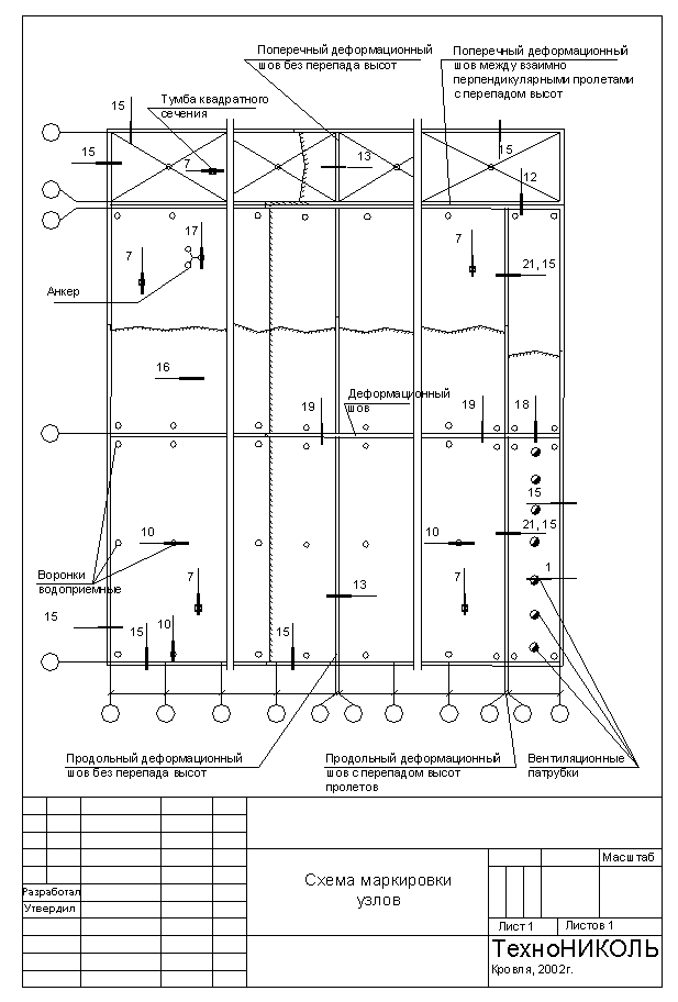
Приложение № 3
| ||||||||||||||||||||||||||||||||||||||||||||||||||||||||||||||||||||||||||||||||||||||||||||||||||||||||||||||||||||||||||||||||||||||||||||||||||||||||||||||||||||||||||||||||||||||||||||||||||||||||||||||||||||||||||||||||||||||||||||||||||||||||||||||||||||||||||||||||||||||||||||||||||||||||||||||||||||||||||||||||||||||||||||||||||||||||||||||||||||||||||||||||||||||||||
|
№ |
Название узла |
Лист |
|
1 |
Примыкание кровельного ковра к трубе |
1 |
|
Примыкание кровельного ковра к трубе (проекция) |
2 |
|
|
2 |
Примыкание кровельного ковра к горячей трубе |
1 |
|
Примыкание кровельного ковра к горячей трубе (проекция) |
2 |
|
|
3 |
Устройство кровельного окончания для кровель без парапетной стены |
1 |
|
Устройство кровельного окончания для кровель без парапетной стены (проекция) |
2 |
|
|
4 |
Сопряжение кровельного ковра с внешним водостоком |
1 |
|
Сопряжение кровельного ковра с внешним водостоком (проекция) |
2 |
|
|
5 |
Устройство свеса |
1 |
|
Устройство свеса (проекция) |
2 |
|
|
6 |
Сопряжение кровельного ковра с колонной оборудования |
1 |
|
Сопряжение кровельного ковра с колонной оборудования (проекция) |
2 |
|
|
7 |
Примыкания к зенитному фонарю |
1 |
|
Примыкания к зенитному фонарю (проекция) |
2 |
|
|
8 |
Колонна, проходящая через кровлю |
1 |
|
Колонна, проходящая через кровлю (проекция) |
2 |
|
|
9 |
Пропуск через кровлю пучка горячих трубок |
1 |
|
Пропуск через кровлю пучка горячих трубок (проекция) |
2 |
|
|
10 |
Водосточная воронка |
1 |
|
Водосточная воронка (проекция) |
2 |
|
|
11 |
Пропуск пучка трубок через кровельный ковер |
1 |
|
Пропуск пучка трубок через кровельный ковер (проекция) |
2 |
|
|
12 |
Деформационный шов в примыкании кровли к стене |
1 |
|
Деформационный шов в примыкании кровли к стене (проекция) |
2 |
|
|
13 |
Деформационный разделитель |
1 |
|
Деформационный разделитель (проекция) |
2 |
|
|
14 |
Примыкание к кирпичной стене |
1 |
|
Примыкание к кирпичной стене (проекция) |
2 |
|
|
15 |
Примыкание к парапетной стене высотой менее 500 мм |
1 |
|
Примыкание к парапетной стене высотой менее 500 мм (проекция) |
2 |
|
|
16 |
Конек кровли (проекция) |
1 |
|
17 |
Пропуск анкера через ковер (проекция) |
1 |
|
18 |
Деформационный шов из теплоизоляции |
1 |
|
Деформационный шов из теплоизоляции (проекция) |
2 |
|
|
19 |
Деформационный шов из кирпича |
1 |
|
Деформационный шов из кирпича (проекция) |
2 |
|
|
20 |
Установка аэратора (флюгарки) |
1 |
|
Установка аэратора (флюгарки) (проекция) |
2 |
|
|
21 |
Примыкание кровли к оштукатуренной стене |
1 |
|
Примыкание кровли к оштукатуренной стене (проекция) |
2 |









































Перечень эскизов и технических решений для устройства кровель по профилированному настилу.
|
№ |
Название узла |
Лист |
|
1 |
Примыкание кровельного ковра к трубе |
1 |
|
Примыкание кровельного ковра к трубе (проекция) |
2 |
|
|
2 |
Примыкание кровельного ковра к горячей трубе |
1 |
|
Примыкание кровельного ковра к горячей трубе (проекция) |
2 |
|
|
3 |
Устройство кровельного окончания для кровель без парапетной стены |
1 |
|
Устройство кровельного окончания для кровель без парапетной стены (проекция) |
2 |
|
|
4 |
Сопряжение кровельного ковра с внешним водостоком |
1 |
|
Сопряжение кровельного ковра с внешним водостоком (проекция) |
2 |
|
|
5 |
Устройство свеса |
1 |
|
Устройство свеса (проекция) |
2 |
|
|
6 |
Сопряжение кровельного ковра с колонной оборудования |
1 |
|
Сопряжение кровельного ковра с колонной оборудования (проекция) |
2 |
|
|
7 |
Примыкания к зенитному фонарю |
1 |
|
Примыкания к зенитному фонарю (проекция) |
2 |
|
|
8 |
Колонна, проходящая через кровлю |
1 |
|
Колонна, проходящая через кровлю (проекция) |
2 |
|
|
9 |
Пропуск через кровлю пучка горячих трубок |
1 |
|
Пропуск через кровлю пучка горячих трубок (проекция) |
2 |
|
|
10 |
Водосточная воронка |
1 |
|
Водосточная воронка (проекция) |
2 |
|
|
11 |
Пропуск пучка трубок через кровельный ковер |
1 |
|
Пропуск пучка трубок через кровельный ковер (проекция) |
2 |
|
|
12 |
Деформационный шов в примыкании кровли к стене |
1 |
|
Деформационный шов в примыкании кровли к стене (проекция) |
2 |
|
|
13 |
Деформационный разделитель |
1 |
|
Деформационный разделитель (проекция) |
2 |
|
|
14 |
Деформационный шов из теплоизоляции |
1 |
|
Деформационный шов из теплоизоляции (проекция) |
2 |
|
|
15 |
Примыкание к парапетной стене высотой менее 500мм |
1 |
|
Примыкание к парапетной стене высотой менее 500мм (проекция) |
2 |
|
|
16 |
Установка аэратора (флюгарки) |
1 |
|
Установка аэратора (флюгарки) (проекция) |
2 |
Примечания:
Узлы изображены на эскизах схематично, эскизы для улучшения восприятия могут содержать непропорциональные элементы или детали.
В чертежах упрощен пароизоляционный слой, который должен быть указан в готовом проекте (выполнен при изготовлении узла) в соответствии с действующими строительными нормами.
Решения могут быть использованы при проектировании и устройстве кровель из рулонных кровельных наплавляемых битумно-полимерных материалов, производимых заводами, входящими в Кровельную Компанию "ТехноНИКОЛЬ". Ссылка в проектной документации на источник обязательна.
Служба технической поддержки Кровельной Компании "ТехноНИКОЛЬ"
тел. +7(095)105-100-5
факс. +7(095)281-00-38
e-mail: tehno@tn.ru
WEB: www.tn.ru

































|
|
|
|