//
ТехЛит.ру
- крупнейшая бесплатная электронная интернет библиотека для "технически умных" людей.
WWW.TEHLIT.RU - ТЕХНИЧЕСКАЯ ЛИТЕРАТУРА

:: Алготрейдинг::


АЛГОТРЕЙДИНГ
шаг за шагом
с нуля по урокам!

Торговые роботы на PYTHON, BackTrader,
Pandas, Pine Script для TradingView. Связка с брокерами, телеграм и легкими приложениями.


ФЕДЕРАЛЬНОЕ АГЕНТСТВО
ПО ТЕХНИЧЕСКОМУ РЕГУЛИРОВАНИЮ И МЕТРОЛОГИИ

НАЦИОНАЛЬНЫЙ
СТАНДАРТ
РОССИЙСКОЙ
ФЕДЕРАЦИИ

ГОСТ Р
53007-
2008
(ИСО 6272-1:2002,
ИСО 6272-2:2002)

Материалы лакокрасочные

МЕТОД ИСПЫТАНИЯ НА БЫСТРУЮ
ДЕФОРМАЦИЮ (ПРОЧНОСТЬ ПРИ УДАРЕ)

Москва
Стандартинформ
2009

Предисловие

Цели и принципы стандартизации в Российской Федерации установлены Федеральным законом от 27 декабря 2002 г. № 184-ФЗ «О техническом регулировании», а правила применения национальных стандартов Российской Федерации - ГОСТ Р 1.0-2004 «Стандартизация в Российской Федерации. Основные положения»

Сведения о стандарте

1. ПОДГОТОВЛЕН ОАО «Научно-производственная фирма «Спектр-ЛК» на основе аутентичного перевода стандартов, указанных в пункте 4, выполненного ФГУП «СТАНДАРТИНФОРМ», рег. № 3404/ISO, 30.05.2008 и рег. № 3405/ISO, 30.05.2008

2. ВНЕСЕН Техническим комитетом по стандартизации ТК 195 «Материалы лакокрасочные»

3. УТВЕРЖДЕН И ВВЕДЕН В ДЕЙСТВИЕ Приказом Федерального агентства по техническому регулированию и метрологии от 18 ноября 2008 г. № 316-ст

4. Настоящий стандарт является модифицированным по отношению к международным стандартам:

ИСО 6272-1:2002 «Краски и лаки. Испытания на быструю деформацию (прочность при ударе). Часть 1. Испытание методом падающего груза, боек большой площади» ISO 6272-1:2002 «Paints and varnishes - Rapid deformation (impact resistance) tests - Part 1: Falling-weight test, small-area indenter»

ИСО 6272-2:2002 «Краски и лаки. Испытания на быструю деформацию (прочность при ударе). Часть 2. Испытание методом падающего груза, боек малой площади» ISO 6272-2:2002 «Paints and varnishes - Rapid deformation (impact resistance) tests - Part 2: Falling-weight test, small-area indenter» путем изменения его структуры.

Сравнение структуры настоящего стандарта со структурой указанных международных стандартов приведено в дополнительном приложении В.

Дополнения и изменения, включенные в текст настоящего стандарта для учета потребностей национальной экономики Российской Федерации и особенностей российской национальной стандартизации, выделены курсивом.

Наименование настоящего стандарта изменено относительно наименования указанных международных стандартов для приведения в соответствие с ГОСТ Р 1.5-2004 (подраздел 3.5)

5. ВВЕДЕН ВПЕРВЫЕ

Информация об изменениях к настоящему стандарту публикуется в ежегодно издаваемом информационном указателе «Национальные стандарты», а текст изменений и поправок - в ежемесячно издаваемых информационных указателях «Национальные стандарты». В случае пересмотра (замены) или отмены настоящего стандарта соответствующее уведомление будет опубликовано в ежемесячно издаваемом информационном указателе «Национальные стандарты». Соответствующая информация, уведомление и тексты размещаются также в информационной системе общего пользования - на официальном сайте Федерального агентства по техническому регулированию и метрологии в сети Интернет

СОДЕРЖАНИЕ

1. Область применения

2. Нормативные ссылки

3. Термины и определения

4. Необходимая дополнительная информация

5. Аппаратура

6. Реактивы

7. Отбор проб

8. Пластинки для испытаний

9. Выдержка

10. Проведение испытаний

11. Обработка результатов

12. Точность

13 Протокол испытаний

Приложение А (обязательное) Необходимая дополнительная информация

Приложение В (справочное) Сопоставление структуры настоящего стандарта со структурой примененных в нем международных стандартов

НАЦИОНАЛЬНЫЙ СТАНДАРТ РОССИЙСКОЙ ФЕДЕРАЦИИ

Материалы лакокрасочные

МЕТОД ИСПЫТАНИЯ НА БЫСТРУЮ ДЕФОРМАЦИЮ (ПРОЧНОСТЬ ПРИ УДАРЕ)

Paints materials.
Rapid deformation (impact resistance) fest method

Дата введения - 2009-09-01

1. Область применения

Настоящий стандарт устанавливает метод испытания на быструю деформацию покрытий и оценку прочности покрытий лакокрасочного материала к растрескиванию и/или отслаиванию от окрашиваемой поверхности, когда они подвергаются деформации под воздействием падающего груза со сферическим бойком диаметром 20 мм (боек большой площади) или 12,7 мм и 15,9 мм (бойки малой площади) в стандартных условиях

Примечание - Боек диаметром 20 мм используют для хрупких покрытий, прочность которых при ударе на приборе типа У-1 ниже 15 см (ГОСТ 4765)

Испытания по настоящему методу можно проводить двумя способами

- по схеме не разрушилось/разрушилось, когда испытание проводят при определенной высоте падения и определенной массе груза, т е испытывают покрытие на соответствие конкретным требованиям;

- как испытание, в ходе которого определяют минимальную высоту падения при постепенном увеличении высоты падения и минимальную массу или массы груза, при которых покрытие растрескалось или произошло его отслаивание от окрашиваемой поверхности.

2. Нормативные ссылки

В настоящем стандарте использованы нормативные ссылки на следующие стандарты:

ГОСТ Р 51694-2000 Материалы лакокрасочные. Определение толщины покрытия (ИСО 2808 1997 «Краски и лаки Определение толщины покрытия», MOD)

ГОСТ 4765-73 Материалы лакокрасочные Метод определения прочности при ударе.

ГОСТ 8832-76 (ИСО 1514-84) Материалы лакокрасочные Методы получения лакокрасочного покрытия для испытаний (ИСО 1514 2004 «Краски и лаки Стандартные пластины для испытаний», MOD)

ГОСТ 9980.2-86 (ИСО 842-84, ИСО 1512-74, ИСО 1513-80) Материалы лакокрасочные. Отбор проб для испытаний (ИСО 1513 1992 «Краски и лаки Контроль и подготовка образцов для испытаний», MOD, ИСО 15528 2000 «Краски, лаки и сырье для них Отбор проб»,NEQ)

ГОСТ 29317-92 Материалы лакокрасочные и сырье для них Температуры и влажности для кондиционирования и испытания (ИСО 3270 1984 «Краски, паки и сырье для них Температуры и влажности для кондиционирования и испытания», MOD)

Примечание - При пользовании настоящим стандартом целесообразно проверить действие ссылочных стандартов в информационной системе общего пользования - на официальном сайте Федерального агентства по техническому регулированию и метрологии в сети Интернет или по ежегодно издаваемому информационному указателю «Национальные стандарты», который опубликован по состоянию на 1 января текущего года, и по соответствующим ежемесячно издаваемым информационным указателям, опубликованным в текущем году. Если ссылочный стандарт заменен (изменен), то при пользовании настоящим стандартом следует руководствоваться заменяющим (измененным) стандартом. Если ссылочный стандарт отменен без замены, то положение, в котором дана ссылка на него, применяется в части, не затрагивающей эту ссылку.

3. Термины и определения

В настоящем стандарте применен следующий термин с соответствующим определением:

3.1 прочность лакокрасочного покрытия при испытании методом падающего груза (прочность при ударе): Способность покрытия противостоять разрушению под действием механической нагрузки, характеризующаяся минимальной высотой свободного падения груза и минимальной массой груза при определенном размере бойка, при котором произошло растрескивание и/или отслаивание покрытия от окрашиваемой поверхности.

4. Необходимая дополнительная информация

Для метода, установленного в настоящем стандарте, необходима дополнительная информация, которая приведена в приложении А.

5. Аппаратура

Обычное лабораторное оборудование, а также:

5.1 Прибор для испытания на прочность при ударе, состоящий из элементов, описанных в 5.1.1-5.1.6.

5.1.1. Подставка массой, достаточной для устойчивости прибора при испытании.

5.1.2. Груз, представляющий собой металлический цилиндр. Для того чтобы груз удерживался в направляющей трубе, с одной стороны к нему прикреплен штифт таким образом, чтобы он мог свободно скользить по прорези направляющей трубы и служить рукояткой, с помощью которой груз может быть поднят и сброшен, а также служить для определения высоты, с которой он сброшен.

Первичный падающий груз с бойком (рисунок 1), имеющий вид сферического сегмента диаметром (20,0±0,3) или (12,7 ±0,3), или (15,9± 0,3) мм, массой (1000 ±10) г.

В случае использования стального бойка со сферической головкой диаметром (12,7±0,3) или (15,9±0,3) мм, головка которого неподвижно установлена на испытуемой пластинке и боек поддерживается вертикально направляющим кольцом, используют груз, состоящий из металлического цилиндра с прикрепленным к нему штифтом массой (1000 ± 10) г.

Дополнительный груз(ы), который(ые) может(могут) быть добавлен(ы) к первичному грузу для ужесточения условий испытаний. Масса каждого груза может быть (1000±10) или (2000±20) г, а общая масса груза - 1,2,3 или 4 кг.

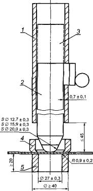
1 - направляющая труба; 2 - первичный падающий груз, 3 - дополнительный груз, 4 - прижимная муфта, 5 - наковальня

Рисунок 1 - Прибор для испытания на прочность при ударе с указанием размеров

5.1.3. Вертикальная направляющая труба (рисунки 1 и 2), предназначенная для удерживания и направления первичного падающего груза (5.1.2) перпендикулярно к испытуемой пластинке длиной до 1,2 м. С одной стороны направляющей трубы по всей длине сделана прорезь. Градуировка должна быть нанесена вдоль всей прорези от 0 до 1000 мм.

Для устранения избыточного трения и для соблюдения перпендикулярности зазор между внутренним радиусом направляющей трубы и внешним радиусом падающего груза должен быть (0,7±0,1) мм, а расстояние между нижним концом направляющей трубы и верхом испытуемой пластинки - 45-50 мм.

5.1.4. Наковальня (рисунок 1) в виде кольца внутренним диаметром (27,0±0,3) мм. Внутренний верхний край кольца должен быть закруглен; радиус закругления - (0,9±0,2) мм. Минимальная высота кольца - 20 мм.

При использовании бойка диаметром 12,7 или 15,9 мм внутренний диаметр наковальни равен (16,3±0,3) мм.

5.1.5. Прижимная муфта (рисунки 1 и 2) для фиксации испытуемой пластинки. Внутренний диаметр низа муфты должен быть таким же, как у наковальни, - (27,0 ± 0,3) или (16,3 ± 0,3) мм, чтобы боек первичного груза мог легко проходить через прижимную муфту.

5.1.6. Ограничители (рисунок 2) различной толщины, ограничивающие глубину вдавливания падающего груза.

5.2. Лупа для осмотра ручная с 10-кратным увеличением.

5.3. Детектор трещин.

1 - направляющая труба; 2 - падающий груз; 3 - ограничитель; 4 - прижимная муфта; 5 - наковальня;

6 - испытуемая пластинка

Рисунок 2 - Прибор для испытания на прочность при ударе (вид сбоку)

6. Реактивы

Для выявления трещин может применяться раствор сульфата меди.

6.1 Подкисленный раствор сульфата меди (CuSO4), приготовленный растворением 10 г CuSO4×5H2O в 90 г раствора соляной кислоты молярной концентрации с (HCI) = 0,1 моль/дм3.

7. Отбор проб

Отбирают среднюю пробу лакокрасочного материала (либо каждого материала в случае многослойного покрытия) в соответствии с ГОСТ 9980.2.

Контроль и подготовка каждой пробы для испытания - в соответствии с требованиями ГОСТ 9980.2.

8. Пластинки для испытаний

8.1. Материал

Если другие условия не оговорены или не согласованы, то пластинки для испытания должны быть металлическими в соответствии с ГОСТ 8832.

Пластинки для испытания должны быть плоскими и недеформированными толщиной не менее 0,25 мм.

При использовании бойков диаметрами 12,7 и 15,9 мм пластинки для испытания должны быть толщиной 0,63 мм.

Размеры должны быть такими, чтобы можно было провести не менее пяти испытаний в различных точках пластинки, расположенных на расстоянии не менее 40 мм от центров других участков, ранее подвергавшихся удару, и не менее 20 мм от края пластинки.

Измеряют толщину пластинки с точностью 0,01 мм.

8.2. Подготовка пластинок к окрашиванию и окрашивание

Если нет других указаний, пластинку для испытания подготавливают в соответствии с ГОСТ 8832 и окрашивают в соответствии с указаниями для данного лакокрасочного материала или системы покрытия.

8.3. Сушка пластинок

Окрашенные пластинки высушивают в естественных условиях (или подвергают горячей сушке с последующей выдержкой) в течение установленного времени и условиях в соответствии с указаниями для испытуемого лакокрасочного материала или системы покрытия.

8.4. Толщина покрытия

Толщину высушенного покрытия в микрометрах определяют любым методом по ГОСТ Р 51694. Измеряют толщину покрытия как можно ближе к месту, на котором будет проводиться испытание. Используют пластинки для испытаний, толщина покрытия которых по всей поверхности отличается от заданной или согласованной не более чем на 10 %.

9. Выдержка

Если другие условия не согласованы, то испытуемые пластинки выдерживают не менее 16 ч при температуре (23±2) "С и относительной влажности (50±5) % в соответствии с ГОСТ 29317. Проводят испытания в тех же условиях, если другие условия не согласованы.

Примечание - Время выдержки включено, как часть необходимой информации [приложение А, перечисление d)].

10. Проведение испытаний

10.1. Испытание на удар - не разрушилось/разрушилось (использование груза определенной массы)

Необходимо убедиться, что направляющая труба (5.1.3) установлена вертикально.

При необходимости к первичному грузу добавляют дополнительный(е) груз(ы).

Устанавливают груз на требуемой высоте (используя градуировку направляющей трубы). При необходимости используют подходящий (е) ограничитель(и) (5.1.6) общей толщиной, необходимой для ограничения глубины вдавливания, согласованной между заинтересованными сторонами или заданной. Помещают испытуемую пластинку на наковальню (5.1.4) покрытием наружу (прямой удар) или внутрь (обратный удар), как указано в приложении А, перечисление д). Удерживают испытуемую пластинку в этом положении с помощью прижимной муфты. Освобождают груз (5.1.2) и позволяют ему упасть на испытуемую пластинку или боек, который передает удар на пластинку, лежащую на наковальне.

Осматривают покрытие при помощи лупы (5.2).

Отмечают, растрескалось ли покрытие на испытуемой пластинке и/или отслоилось от окрашиваемой поверхности или разрушения покрытия не произошло.

Повторяют испытание еще четыре раза в различных точках; общее число падений - пять.

Испытания проводят в случайном порядке так, чтобы все удары не располагались на одной прямой, на пластинке.

10.2. Испытание на удар - определение минимальной высоты падения и массы груза, при водящих к растрескиванию и/или отслаиванию

10.2.1 Необходимо убедиться, что направляющая труба (5.1.3) установлена вертикально. Устанавливают первичный груз (5.1.2) на высоте, при которой не ожидается разрушение покрытия. Помещают испытуемую пластинку (раздел 8) на наковальню (5.1.4) покрытием наружу или внутрь, как указано в приложении А, перечисление д). Удерживают испытуемую пластинку в этом положении с помощью прижимной муфты. Освобождают груз (5.1.2) и позволяют ему упасть на испытуемую пластинку или на боек, лежащий на пластинке.

10.2.2. Вынимают испытуемую пластинку из прибора и осматривают поверхность, подвергнутую удару, с помощью лупы (5.2) для выявления трещин и/или отслаивания от окрашенной поверхности. Если нет трещин и/или не произошло отслаивание, повторяют испытание, постепенно увеличивая высоту на 25 мм или кратно 25 мм, пока не появятся трещины и/или отслаивание. Отмечают высоту, при которой впервые появились трещины и/или произошло отслаивание.

Если трещины и/или отслаивание не обнаружены, когда груз падает с максимальной высоты прибора, повторяют испытание (начиная с наименьшей высоты) с дополнительным грузом, общая масса груза - 2 кг.

Если образование трещин и отслаивание не наблюдаются при проведении испытания с добавленным дополнительным грузом, повторяют испытание (начиная с наименьшей высоты) с дополнительным грузом, общая масса груза - 3 кг. При необходимости проводят испытания с дополнительным грузом, максимальная общая масса груза равна 4 кг.

10.2.3. После первого обнаружения трещин и/или отслаивания, используя груз, при котором произошло образование трещин и/или отслаивание, повторяют испытание пять раз при каждой из трех следующих высот: высоте, при которой впервые обнаружены трещины, на 25 мм ниже и на 25 мм выше, это гарантирует, что результат испытания находится в диапазоне высот испытания.

Испытания проводят в случайном порядке так, чтобы все удары с одной высоты не были непрерывной цепью на одной пластинке.

10.2.4. Осматривают поверхность, подвергнутую удару, для обнаружения трещин одним из следующих способов:

а) используют лупу для обнаружения трещин;

b) накладывают кусок белой ткани (типа фланели), смоченный раствором сульфата меди (6.1), на поверхность, подвергнутую удару, на время не менее 15 мин. Удаляют ткань и осматривают как испытуемую поверхность, так и ткань для обнаружения следов меди или следов ржавчины соответственно.

Примечание - Применение раствора сульфата меди не имеет смысла на металлических пластинках, обработанных фосфатом цинка;

с) определяют разрушения в покрытии с помощью детектора трещин, для этого свинцовый провод прибора подсоединяют к окрашиваемой поверхности без покрытия и соединяют прибор с источником тока. Увлажняют губку водой и медленно проводят по поверхности, подвергнутой удару. Наличие трещин обнаруживают по звуковому сигналу.

Записывают в виде таблицы все 15 результатов (по 5 результатов испытаний для каждой высоты) по принципу не разрушилось/разрушилось.

11. Обработка результатов

11.1. Испытание на удар - не разрушилось/разрушилось (использование груза определенной массы)

Покрытие не разрушено, если в ходе четырех испытаний покрытие не нарушено (нет трещин и/или не произошло отслоение от окрашиваемой поверхности).

11.2. Испытание на удар - определение минимальной высоты падения и массы груза, приводящей к растрескиванию или отслаиванию

За результат испытания прочности при ударе принимают комбинацию минимальных значений высоты (см), с которой падает груз, и массы груза (кг), при которых произошло большее количество разрушений (не менее трех из пяти).

Примечание - В нормативном или техническом документе на лакокрасочный материал должны быть указаны высота, с которой падает груз, масса груза, диаметр бойка и при необходимости дополнительная информация в соответствии с приложением А.

12. Точность

Отсутствуют данные, относящиеся к точности.

13 Протокол испытаний

Протокол испытаний должен содержать:

а) информацию, необходимую для полной идентификации лакокрасочного материала, подлежащего испытанию;

b) ссылку на настоящий стандарт;

с) необходимую дополнительную информацию, представленную в приложении А;

d) ссылку на межгосударственный или национальный стандарт, технический документ на продукцию или другой документ, содержащий информацию, требуемую в перечислении с);

е) массу падающего груза(ов);

f) диаметр использованного бойка;

g) высоту, с которой падает груз;

h) результат испытания, как указано в 11.1 или 11.2, включая информацию, использовались ли ограничители (общая толщина) для ограничения глубины вдавливания падающего груза;

i) любые отклонения от указанного метода;

j) дату испытания.

Приложение А
(обязательное)

Необходимая дополнительная информация

Должна быть представлена дополнительная информация, приведенная в настоящем приложении, перечисления а) - h).

Необходимая дополнительная информация может быть предметом согласования между заинтересованными сторонами или может быть получена частично или полностью из настоящего стандарта или других документов, относящихся к материалу, подвергаемому испытанию.

а) Толщина и подготовка окрашиваемой поверхности;

b) Метод окрашивания, включая продолжительность и условия сушки слоев покрытия в случае многослойного покрытия;

с) Продолжительность и условия естественной или горячей сушки лакокрасочного покрытия перед испытанием (или выдержка перед испытанием, если использовалась);

d) Условия выдержки (температура и влажность), время выдержки и температура и влажность, при которых проводились испытания;

е) Толщина (мкм) высушенного покрытия и метод определения по ГОСТ Р 51694 с указанием, является ли покрытие однослойным или многослойным;

f) Способ испытания покрытия: «не разрушилось/разрушилось» или определение минимальной высоты падения и массы груза, приводящих к растрескиванию и/или отслаиванию от окрашиваемой поверхности;

g) Падает груз на сторону пластинки с покрытием (прямой удар) или на обратную сторону пластинки (обратный удар), или на обе стороны;

h) Использовались ли ограничители глубины вдавливания падающего груза.

Приложение В
(справочное)

Сопоставление структуры настоящего стандарта со структурой
примененных в нем международных стандартов

Таблица В.1

Структура международного стандарта ИСО 6272-1:2002

Структура международного стандарта ИСО 6272-2:2002

Структура настоящего стандарта

Разделы

Подразделы

Пункты

Разделы

Подразделы

Пункты

Разделы

Подразделы

Пункты

1

 

 

1

 

 

1

 

 

2

 

 

2

 

 

2

 

 

-

 

 

3

 

 

3

 

 

3

 

 

4

 

 

4

 

 

-

 

 

5

 

 

-

 

 

-

 

 

6

 

 

-

 

 

 

 

4.1.1

 

 

-

 

 

5.1.1

 

 

-

 

 

7.1.2

 

 

5.1.2

 

 

4.1.2

 

 

-

 

 

5.1.3

 

 

4.1.3

 

 

-

 

 

5.1.4

 

4.1

4.1.4

 

7.1

7.1.1

 

5.1

5.1.5

4

 

4.1.5

7

 

7.1.4

5

 

5.1.6

 

 

4.1.6

 

 

-

 

 

-

 

 

4.1.7

 

 

-

 

 

-

 

 

-

 

 

7.1.3

 

 

-

 

4.2

 

 

7.2

 

 

5.2

 

 

-

 

 

7.3

 

 

5.3

 

-

 

 

 

8

 

6

 

 

5

 

 

 

9

 

7

 

 

 

6.1

 

 

10.1

 

 

8.1

 

6

6.2

 

10

10.2

 

8

8.2

 

 

6.3

 

 

10.3

 

 

8.3

 

 

6.4

 

 

10.4

 

 

8.4

 

 

7.1

 

11

 

 

9

 

 

7

7.2

 

12

-

 

10

10.1

 

 

7.3

 

 

 

10.2

 

 

7.2

 

 

 

 

11

11.1

 

 

7.3

7.3.4

12

 

 

11.2

 

8

 

 

13

13.1

 

12

 

 

-

 

 

13.2

 

-

 

 

-

 

 

13.3

 

-

 

 

9

 

 

14

 

 

13

 

 

Приложение

А

 

А

 

 

А

 

 

Примечания

1 Раздел 5 ИСО 6272-2:2002 не включен в стандарт, т.к. он дублирует область применения, изложенную в разделе 1.

2 Раздел 6 ИСО 6272-2:2002 не включен в стандарт, т.к. он носит общий характер.

Ключевые слова: лакокрасочные материалы, быстрая деформация, прочность при ударе, приборы для испытания на прочность при ударе

 




Яндекс цитирования



   Copyright © 2007-2026,  www.tehlit.ru.

[ ѓосты, стандарты, нормативы, инструкции, правила, строительные нормы ]