//
ТехЛит.ру
- крупнейшая бесплатная электронная интернет библиотека для "технически умных" людей.
WWW.TEHLIT.RU - ТЕХНИЧЕСКАЯ ЛИТЕРАТУРА

:: Алготрейдинг::


АЛГОТРЕЙДИНГ
шаг за шагом
с нуля по урокам!

Торговые роботы на PYTHON, BackTrader,
Pandas, Pine Script для TradingView. Связка с брокерами, телеграм и легкими приложениями.


АО «ЦНИИпромзданий»

Акционерное общество

«Центральный научно-исследовательский и проектно-экспериментальный институт промышленных зданий и сооружений»

РЕКОМЕНДАЦИИ

по проектированию полов

(в развитие СНиП 2.03.13-88 «Полы»)

МДС 31-1.98

Москва 1998

Рекомендации содержат общие понятия о полах, применяемых материалах, конструктивных слоях пола, а также классификацию эксплуатационных требований, классификацию и характеристики эксплуатационных воздействий, рекомендации по выбору и назначению конструкции пола (покрытия, прослойки, гидроизоляции, стяжки, подстилающего слоя, основания) в зависимости от воздействий на пол и эксплуатационных требований к нему.

Табличные формы, приведенные в Рекомендациях, существенно облегчают процесс выбора типа, материала и толщины покрытия и других слоев пола.

В Рекомендациях учтены предложения и замечания ведущих институтов: ЦНИИЭПжилища, Промстройпроект (Москва) и др.

Для специалистов, занимающихся проектированием и строительством производственных, жилых, общественных и административно-бытовых зданий.

Ответственный исполнитель - Г.Ф. Мацнева (АО «ЦНИИпромзданий»).

С замечаниями и предложениями следует обращаться в АО «ЦНИИпромзданий», тел 482-07-63.

1. ОБЩИЕ ПОНЯТИЯ О ПОЛАХ И ПРИМЕНЯЕМЫХ МАТЕРИАЛАХ

Полом называется строительная конструкция, на которой осуществляется весь производственный процесс и жизнедеятельность людей и от состояния которой зависит качество производимой продукции или здоровье людей.

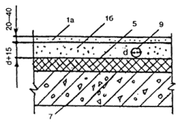
Приняты следующие наименования слоев пола:

покрытие - верхний слой пола, непосредственно подвергающийся эксплуатационным воздействиям;

прослойка - промежуточный слой пола, связывающий покрытие с нижележащим слоем пола или служащий для покрытия упругой частью;

гидроизоляция - слой (слои) пола, препятствующий прониканию через пол сточных вод и других жидкостей, а также защищающий всю конструкцию пола от грунтовых вод;

стяжка - слой пола, служащий для выравнивания поверхности нижележащего слоя пола или перекрытия, придания заданного уклона покрытию пола на перекрытии, для укрытия различных трубопроводов, распределения нагрузок по нежестким нижележащим слоям пола на перекрытии;

теплоизоляция - слой пола, уменьшающий общую теплопроводность пола;

звукоизоляция - слой пола, предотвращающий проникание ударного шума в помещение или из него;

подстилающий слой (подготовка) - слой пола, распределяющий нагрузки на грунтовое основание;

грунтовое основание - естественная или искусственная опора пола, воспринимающая все нагрузки, передающиеся от пола.

При эксплуатации полов к ним предъявляются следующие требования:

общетехнические - пол должен обладать соответствующей прочностью и износостойкостью, чтобы оказывать сопротивление усилиям растяжения, сжатия и изгиба, ударам и истиранию. Пол должен противостоять физическим и химическим агрессивным факторам (воде, высоким либо низким температурам, маслам, растворам кислот, щелочам и т.п.);

технологические - пол должен быть гладким, но не скользким и обеспечивать безопасное и удобное передвижение людей и транспортных средств;

санитарно-гигиенические - пол не должен в процессе эксплуатации оказывать вредного влияния на здоровье людей, т.е. выделять пыль, опасные газы, запах, а в ряде случаев обеспечивать и комфортные теплотехнические условия. На поверхности пола не должны скапливаться заряды статического электричества, а в некоторых случаях пол должен быть диэлектриком;

эксплуатационные - пол должен допускать возможность быстрого и удобного ремонта и поддаваться легкой и быстрой очистке.

Общее наименование полов принимают по наименованию их покрытий.

Они подразделяются на полы:

производственных зданий;

жилых зданий;

общественных зданий;

животноводческих помещений.

Полы производственных зданий подразделяются на полы собственно производственного назначения, а также на полы помещений, приравниваемых к производственным.

К производственным помещениям приравнивают помещения зданий, в которых воздействия на полы носят производственный характер.

Полы производственного назначения подразделяют на следующие группы:

общего назначения;

со специальными требованиями по чистоте и пылеотделению;

со специальными требованиями по безыскровости, электропроводности, антистатичности;

со специальными теплотехническими требованиями;

для условий с особо жесткими механическими воздействиями;

специального назначения с требованиями стойкости к воздействию высоких температур;

декоративные, износостойкие;

специального назначения с требованиями химической стойкости к влиянию:

сред преимущественно щелочного характера;

сред преимущественно кислотного характера;

переменных кислотно-щелочных сред;

химически агрессивных сред при одновременном требовании по безыскровости.

2. КЛАССИФИКАЦИЯ И ХАРАКТЕРИСТИКА ЭКСПЛУАТАЦИОННЫХ ВОЗДЕЙСТВИЙ

Среди эксплуатационных воздействий на полы можно выделить:

1. Механические;

2. Тепловые;

3. Жидкостные.

К механическим воздействиям относятся:

а) движение пешеходов на 1 м ширины прохода - число людей, проходящих в сутки;

б) движение безрельсовых транспортных средств (количество проездов в сутки на одной полосе движения), включающих:

ручные тележки на резиновых шинах;

тяжелые транспортные средства на резиновых шинах (автомобили, электрокары, автопогрузчики, электроштабелеры и др.) с указанием наименования, типа и грузоподъемности каждого транспортного средства;

тележки на металлических колесах с указанием диаметра и ширины колеса и нагрузки на каждое колесо;

транспорт на гусеничном ходу (тракторы и др.) с указанием площади опирания и общего давления на гусеницы;

в) перекатывание круглых металлических предметов (бочек, барабанов с кабелем, тросом и т.п.) - количество перекатываний в сутки с указанием диаметра предмета, ширины обода и давления на один обод;

г) ударные воздействия при производственных процессах, ремонте, демонтаже, перемещении и монтаже оборудования с указанием высоты падения и веса падающих твердых (металлических, каменных) предметов:

действующих на различные места пола (сбрасывание грузов с автомобилей и тележек, перекидывание деталей, случайное падение предметов, инструмента и пр.);

действующих на одно и то же место пола (падение предметов из отверстий, с желобов, установочных гнезд, скатывание на пол круглых предметов по направляющим и др.);

при производстве работ на полу с применением кувалд и ломов (обработка изделий, разбивание кусков материала и пр.);

при волочении твердых предметов с острыми углами, кантовке грузов, а также при работе острым металлическим инструментом (сгребание материала лопатами и др.);

д) нагрузки, сосредоточенные на ограниченной площади: стационарные (от оборудования, стеллажей и пр.) и временные (от отдельных изделий, штабелей материалов, подставок и подкладок под изделия и пр.), с указанием:

величины общей и удельной нагрузки на пол;

формы и размеров следа опирания предметов;

возможного наибольшего сближения мест приложения нагрузок при монтаже, эксплуатации и ремонтных работах;

е) распределение нагрузок на пол (от сыпучих материалов, штабелей изделий и др.) с указанием:

удельной нагрузки в разных местах загруженной площади;

возможности расположения нагрузки на всей или части площади пола, границ зоны действия нагрузки;

ж) нагрузки от самоходных кранов (автомобильных, на гусеничном ходу), применяемых для монтажа сборных конструкций зданий, сооружений и оборудования, выполняемого с подстилающего слоя пола в строительный период, с указанием зоны движения самоходных кранов, их грузоподъемности и марок; наибольшего давления на пол от колес и опор или гусениц.

ТЕПЛОВЫЕ ВОЗДЕЙСТВИЯ

В качестве температуры пола принимают наибольшую температуру:

а) нагретого воздуха на уровне пола;

б) горячих предметов (раскаленные и нагретые детали, проливы расплавленного металла, горячие днища ковшей и др.) при их соприкосновении с полом. Температуру горячих предметов следует указывать по следующей условной шкале, °С, до: 50, 70, 100, 600, 1400, свыше 1400;

в) горячих жидкостей при воздействии на пол.

Температуру пола, нагреваемого теплоизлучением от технологического оборудования, определяют теплотехническим расчетом.

ВОЗДЕЙСТВИЯ ЖИДКОСТЕЙ

При проектировании следует учитывать влияние на пол следующих жидкостей:

а) воды и растворов нейтральной реакции с указанием температур;

б) минеральных масел и масляных эмульсий;

в) органических растворителей (бензина, бензола, ацетона и др.);

г) веществ животного и растительного происхождения (жиров, крови, молока, растительного масла и др.);

д) кислот (серной, соляной, азотной, уксусной и др.) и растворов кислой реакции с указанием концентрации и температуры;

е) щелочей (едких, углекислых и др.) и растворов щелочной реакции с указанием концентраций и температуры.

Смывные воды с незначительным количеством кислых или щелочных примесей относят соответственно к растворам кислоты или щелочи.

Зона воздействия жидкостей вследствие их переноса на подошвах обуви и шинах транспорта распространяется во все стороны (включая смежные помещения) от места смачивания пола:

водой и водными растворами - на 20м;

минеральными маслами и эмульсиями - на 100 м.

Интенсивность воздействия жидкостей на пол следует считать:

малой - при незначительном воздействии жидкостей на пол, когда поверхность пола остается сухой или слегка влажной; покрытие пола жидкостями не пропитывается. При уборке помещений не следует разливать воду из шлангов;

средней - при периодическом увлажнении пола, вызывающем пропитывание покрытия жидкостями. В этом случае поверхность пола обычно влажная или мокрая, жидкости по поверхности пола стекают периодически;

большой - при постоянном или часто повторяющемся отекании жидкостей по поверхности пола.

Мытье пола (без разливания воды) и случайные редкие попадания на него брызг, капель и т.п. не считаются воздействием на пол жидкостей.

3. СПЕЦИАЛЬНЫЕ ТРЕБОВАНИЯ К ПОЛАМ

К специальным требованиям относят:

а) пылеотделение;

б) безыскровость (невозможность искрообразования при ударах металлическими или каменными предметами);

в) электропроводность, антистатичность.

Требования к полам по пылеотделению предъявляют в помещениях, где пыль от пола приводит к нарушению нормального режима работы технологического оборудования и автоматизированного транспорта с числовым программным устройством, а также к снижению качества выпускаемой продукции.

Требования к полам по безыскровости и электропроводности предъявляют, когда в помещениях возможно образование горючих и взрывоопасных смесей, газов, пыли, жидкостей и других веществ в таких концентрациях, при которых искры, образующиеся на поверхности пола при ударах металлическими или другими предметами, а также от разрядов статического электричества, могут вызвать взрыв или возгорание.

Требования к полам по антистатичности и электропроводности необходимы в помещениях, где недостаточная электропроводность пола может привести к выходу из строя технологического оборудования или к травматизму.

4. ОБЩИЕ РЕКОМЕНДАЦИИ ПО ПРОЕКТИРОВАНИЮ

4.1 Выбор конструктивного решения пола осуществляют исходя из технико-экономической целесообразности принятого решения в конкретных условиях строительства с учетом обеспечения:

надежности и долговечности принятой конструкции;

экономного расходования цемента, металла, дерева и других строительных материалов;

наиболее полного использования физико-механических свойств примененных материалов;

минимума трудозатрат на устройство и эксплуатацию;

максимальной механизации процесса устройства;

широкого использования местных строительных материалов и отходов промышленного производства;

отсутствия влияния вредных факторов примененных в конструкции полов материалов; оптимальных гигиенических условий для людей;

пожаровзрывобезопасности.

4.2. Проектирование полов следует осуществлять в зависимости от заданных воздействий на полы и специальных требований к ним с учетом климатических условий строительства.

4.3 В помещениях со средней и большой интенсивностью воздействия на пол жидкостей предусматривают уклоны полов. Величину уклонов полов следует принимать равной, %:

0,5-1 - при бесшовных покрытиях и покрытиях из плит (кроме бетонных покрытий всех видов);

1,5-2 - при покрытиях из брусчатки, кирпича и бетонов всех видов.

Уклоны лотков и каналов в зависимости от применяемых материалов должны быть соответственно не менее указанных. Направление уклонов рекомендуется проектировать так, чтобы сточные воды стекали в лотки, каналы и трапы, не пересекая проездов и проходов.

4.4. Уклоны полов на перекрытиях достигают применением стяжки переменной толщины, а полов на грунте - соответствующей планировкой грунтового основания.

4.5. В помещениях для хранения и переработки пищевых продуктов применяют полы без пустот (воздушного пространства под покрытием).

4.6. Материалы для химически стойких покрытий полов в помещениях с агрессивными средами следует принимать с учетом требований СНиП 2.03.11-85.

4.7. В местах примыкания полов к стенам, перегородкам, колоннам, фундаментам под оборудование, трубопроводам и другим конструкциям, выступающим над полом, следует устанавливать плинтусы высотой не менее 300 мм.

4.8. Для облицовки лотков, каналов и трапов в химически стойких полах применяют материалы, предназначенные для покрытий этих полов.

4.9. В зданиях всех степеней огнестойкости полы независимо от нормируемых пределов распространения огня по ним допускается выполнять из горючих материалов, кроме особо оговоренных случаев.

4.10. В помещениях, где производятся, применяются или хранятся горючие жидкости, полы следует выполнять из негорючих материалов.

4.11. В зданиях всех степеней огнестойкости, кроме V, не допускается применение полов из горючих материалов в вестибюлях, лестничных клетках и лифтовых холлах.

4.12. Запрещается применение всех видов ковровых покрытий на путях эвакуации из здания.

5. ПРОЕКТИРОВАНИЕ ПОКРЫТИЙ ПОЛОВ

5.1. Производственные помещения

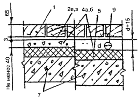
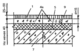
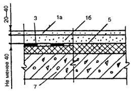
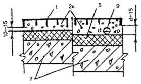
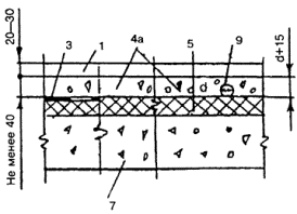
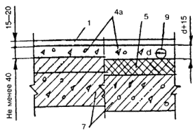
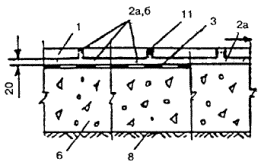
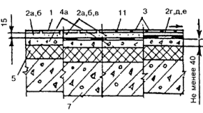
5.1.1. Типы покрытий полов в производственных помещениях применяют в зависимости от вида и интенсивности механических, тепловых и жидкостных воздействий с учетом специальных требований табл. 1 - 3. Соответствующие конструктивные схемы полов приведены в прил. 1.

5.1.2. Полы общего назначения без специальных требований по чистоте и беспыльности.

К таким решениям относят полы с покрытиями: бетонными, в том числе из бетонных плит, мозаично-бетонными, в том числе из плит, асфальтобетонными, а также из плит.

Указанные полы до определенного уровня механических воздействий и эстетических требований практически взаимозаменяемы.

В условиях ударных воздействий или движения тележек на металлических колесах предпочтение следует отдавать бетонным монолитным полам.

Для удовлетворения определенных требований по эстетичности лучше подходят мозаично-бетонные полы. Если необходимо срочно ввести пол в эксплуатацию, то предпочтение отдают полам из плит. В этом же случае рекомендуется асфальтобетонное покрытие, которое практически готово к эксплуатации непосредственно после укатки и остывания асфальтобетонной смеси. Асфальтобетонное покрытие проектируется и при производстве работ при температурах, близких к нулю.

5.1.3. Полы общего назначения со специальными требованиями по чистоте и пылеотделению выполняются в чистых помещениях, классифицируемых в соответствии с ОСТ 1114.3308-87 и стандартом СЭВ 3783-82:

класс чистоты - 0 - максимальное количество частиц 0,5 мкм, равное 0,035

класс чистоты - 10 - максимальное количество частиц 0,5 мкм, равное 0,350

класс чистоты - 100 - максимальное количество частиц 0,5 мкм, равное 3,500

класс чистоты - 1000 - максимальное количество частиц 0,5 мкм, равное 35,000

класс чистоты - 10 000 - максимальное количество частиц 0,5 мкм, равное 350,000

класс чистоты - 100 000 - максимальное количество частиц 0,5 мкм, равное 3500,000.

Полы в помещениях 0-100 классов чистоты рекомендуется выполнять с перфорированным фальшполом, а в чистых помещениях с классами чистоты 1000-100 000 - из рулонных или бесшовных полимерных материалов с заделкой и заваркой швов.

Традиционные покрытия из всех видов бетонов со специальной отделкой поверхности (пропиткой) не соответствуют ни одному из перечисленных выше классов чистоты, хотя и имеют значительно лучшие показатели, чем все остальные виды покрытий.

5.1.4. Полы общего назначения со специальными требованиями по электропроводности подразделяют на:

электропроводные - материал пола в сухом состоянии имеет величину электросопротивления менее 1004 Ом×см;

условно электропроводные - 104-106 Ом×см;

неэлектропроводные - более 106 Ом×см.

Величина электросопротивления определяется по ГОСТ 6433.2-71. Кроме того, при проектировании полов следует учитывать способность материала покрытия пола накапливать на поверхности заряды статического электричества. Материалы, обладающие электрическим сопротивлением менее 104 Ом×см, следует считать не накапливающими заряды статического электричества.

5.1.5. Полы общего назначения безыскровые.

К безыскровым покрытиям полов относятся бетонные покрытия всех видов (мозаично-бетонные, ПВА-бетонные, асфальтобетонные и пр.) на неискрящих наполнителях (заполнителях), а также полы из древесных и полимерных материалов.

5.1.6. Полам общего назначения со специальными теплотехническими требованиями отвечают ксилолитовые, поливинилацетатцементно-опилочные, торцовые, дощатые, паркетные, из линолеума на теплозвукоизолирующей подоснове и др. Такие полы применяют там, где работы выполняют стоя или сидя на одном месте, где требуется теплый пол для создания оптимальных условий для людей.

5.1.7. Полы общего назначения с особыми механическими воздействиями.

Таким условиям в наиболее полной мере отвечают полы с металлоцементным покрытием, бетонные с упрочненным верхним слоем, из стальных или чугунных дырчатых плит, а также из брусчатки.

При наличии движения транспорта следует учитывать, что покрытия из брусчатки создают значительную тряску, поэтому на практике они применяются сравнительно редко, лишь при одновременном наличии значительного нагрева пола (до 500 °С) либо при движении транспорта на гусеничном ходу. Кроме того, эти покрытия весьма трудоемки в изготовлении.

Покрытия из чугунных дырчатых плит целесообразны лишь в условиях весьма значительных изнашивающих воздействий от волочения тяжелых металлических предметов с острыми углами, ребрами, где остальные типы покрытий сравнительно недолговечны.

5.1.8. Полы специального назначения по восприятию высоких температур. Таким требованиям удовлетворяют полы с покрытием из жаростойких бетонов (в том числе из плит), из брусчатки по песку и из чугунных плит с опорными выступами по песку.

Полы с покрытием из брусчатки нежелательно применять в условиях движения транспортных средств с металлическими и обрезиненными колесами.

5.1.9. Декоративные, износостойкие полы.

Полы с покрытием из мраморных (всех видов) плит и плит природного камня изверженных пород (гранита, диорита, габбро и т.п.) отвечают этим требованиям. Плиты укладывают по цементно-песчаному раствору прочностью не менее 30 МПа (300 кгс/см2).

Такие полы применяются, как правило, при строительстве уникальных сооружений (метрополитен, машзалы, электростанции, выставочные залы, аэровокзалы и прочие общественные здания).

5.1.10. Полы специального назначения с требованиями химической стойкости. Они подразделяются на:

а) щелочестойкие полы с покрытием: бетонным, мозаично-бетонным, асфальтобетонным (в том числе из плит указанных видов бетона), из шлакоситалловых, природного камня и керамических (в том числе кислотоупорных плиток и кирпича), каменных литых плит и плиток, а также из поливинилхлоридного пластиката.

Преимущественное применение имеют покрытия из шлакоситалловых, керамических кислотоупорных и обычных (метлахских) каменных литых плит и плиток.

Покрытия из поливинилхлоридного пластиката применяют только при наличии дополнительного специального требования по беспыльности.

Бетонные покрытия всех видов применяют обычно при отсутствии каких-либо требований по чистоте пола и легкости уборки его от производственных загрязнений;

б) кислотостойкие полы с покрытием: асфальтобетонным (на кислотостойких заполнителях), из кислотостойкого бетона на жидком стекле с уплотняющей добавкой, из плит асфальтобетонных (на кислотостойких заполнителях), керамических, керамических кислотоупорных, шлакоситалловых, каменных литых, кислотоупорного кирпича и поливинилхлоридного пластиката.

Покрытие из поливинилхлоридного пластиката применяют только при обязательном одновременном требовании по беспыльности и легкости очистки пола от вредных производственных загрязнений. Покрытие из кислотостойкого асфальтобетона применяют при отсутствии требований к чистоте пола;

в) кислотно-щелочестойкие полы с покрытием: из асфальтобетона, асфальтобетонных плит на битумной мастике, керамических и керамических кислотоупорных плиток, шлакоситалловых плит и каменных литых плиток, а также из кислотоупорного кирпича и поливинилхлоридного пластиката.

Асфальтобетон и поливинилхлоридный пластикат по отмеченным причинам применяются сравнительно редко.

5.1.11. Прочность материала сплошных покрытий и плит покрытия пола принимают в соответствии с указаниями проекта.

5.1.12. Толщину полов: земляных, шлаковых, гравийных, щебеночных, глинобитных, бетонных и из жаростойкого бетона назначают по расчету в зависимости от нагрузок на пол, применяемых материалов и свойств грунта основания и принимают не менее, мм:

земляного ................................................................................ 60

шлакового, гравийного, щебеночного и глинобитного …..... 80

бетонного из жаростойкого бетона ...................................... 120

5.1.13. Толщину и армирование плит из жаростойкого бетона следует принимать по расчету как конструкций, лежащих на упругом основании, при действии наиболее неблагоприятных нагрузок на пол.

5.1.14. При предъявлении к полам повышенных требований по пылеотделению следует предусматривать отделку поверхности покрытия пола в соответствии с прил. 2.

5.2. Жилые и общественные здания

5.2.1. Конкретные указания для рабочего проектирования полов жилых и общественных зданий предусмотрены в альбомах типовых деталей полов, утверждаемых в установленном порядке.

Тип покрытия пола для рассматриваемых зданий следует принимать в зависимости от функционального назначения помещений согласно табл. 4.

5.2.2. В этих зданиях предусматриваются как акустически однородные полы беспустотного типа, так и полы раздельного типа, характеризуемые наличием полости под покрытием или сборной стяжкой (в полости могут быть размещены тепло- и звукоизолирующие элементы).

5.2.3. Изоляцию междуэтажных перекрытий от воздушного и ударного шумов рассчитывают по методике, приведенной в СНиП II-12-77 «Защита от шума», а также в соответствии с «Рекомендациями по обеспечению требуемой звукоизоляции при конструировании жилых зданий».

5.2.4. Поверхность пола жилых и общественных зданий должна иметь показатель теплоусвоения в пределах 12-14 Вт/(м2×°С) в зависимости от вида здания или помещения.

5.2.5. Отметка пола помещений при входе в жилые здания должна быть выше отметки тротуара перед входом не менее чем на 0,15 м.

5.2.6. В общественных зданиях допускается принимать отметку у входа в здание менее 0,15 м (в том числе и заглубление ниже отметки тротуара) при условии предохранения помещений от попадания осадков.

5.2.7. По конструктивному решению полы жилых зданий подразделяются на следующие три основные группы:

а) однослойные - материал покрытия которых (например, теплозвукоизолирующий линолеум) предназначен для поглощения ударных акустических воздействий и соответствует нормируемым требованиям по теплоусвоению;

б) раздельные - состоящие из сплошного звукоизоляционного слоя сыпучих или упругомягких материалов, стяжки и покрытия из штучных, плитных или рулонных материалов;

в) пустотные - состоящие из покрытия, лаг и звукоизоляционных прокладок под ними.

5.2.8. Все три группы полов должны обеспечивать (вместе с несущими плитами перекрытия) изоляцию ударного звука.

Кроме того, две последние группы существенно (на 3-6 дБ) дополнительно увеличивают изоляцию от воздушного шума (по сравнению с достигаемой несущей частью перекрытий они снижают звуковое давление проникающего шума в 1,4-2 раза). Поэтому для перекрытий с полами этих двух групп поверхностная плотность (масса) перекрытия на 1 м2 не имеет решающего значения при изоляции воздушного шума (она может быть в пределах 320-400 кг/м2).

5.2.9. Полы первой группы за счет резонансных явлений снижают достигаемый несущей частью индекс изоляции воздушного звука на 1,5-2 дБ. В данном варианте поверхностная плотность требуется не менее 475 кг/м2.

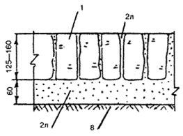
5.2.10. Полы на лагах наиболее эффективно снижают поверхностную плотность и обеспечивают существенную экономию бетона и цемента.

Толщина воздушной полости под покрытием пола при этом должна быть не менее 30 мм.

5.2.11. При проектировании полов рекомендуется руководствоваться данными таблицы, содержащей характеристики и области применения междуэтажных перекрытий с несущими плитами и полами различных типов.

5.2.12. В жилых крупнопанельных зданиях рекомендуется принимать конструкции междуэтажных перекрытий в соответствии со следующими положениями:

малый шаг несущих поперечных стен (до 3,6 м) - по п.п. 2 и 11 табл. 4;

широкий и смешанный шаг несущих поперечных стен - по п. 11 табл. 4.

5.2.13. В зданиях с малым шагом несущих поперечных стен при толщине сплошных плит перекрытий 160 и 140 мм и полах из линолеума на теплозвукоизолирующей подоснове рекомендуется устраивать под ним цементно-песчаную стяжку. По поверхности плит вертикального формования под стяжку предусматривают грунтовку, обеспечивающую сцепление стяжки с плитой.

5.2.14. Панельные основания раздельного пола - сборные стяжки из бетона на гипсоцементно-пуццолановом вяжущем (ГЦПВ) допускается применять в соответствии с директивным письмом Госгражданстроя № ЮР-3-2442 от 1 сентября 1980 г. «О полах на основании из гипсоцементно-бетонных прокатных панелей». Данная регламентация обеспечивает достаточную долговечность полов при следующих условиях:

применении сплошных звукоизоляционных засыпок из минеральных материалов;

надежном антисептировании каркаса стяжек в условиях контакта гипсобетона с антисептиком;

устройстве покрытий исключительно из древесины или древесных плит;

устройстве вентиляции подпольного пространства (эти мероприятия подробно изложены в «Предложениях по конструктивным решениям полов на гипсобетонных панелях оснований и мероприятиям по повышению их надежности и эксплуатационных качеств».

Наиболее надежно и рационально армировать эти стяжки ровнингом из стекловолокна или твердыми ДВП (в нижней зоне стяжки).

5.2.15. Панельные основания раздельного пола - сборные стяжки из керамзитобетона на цементном вяжущем, предназначенные в основном подлинолеумные покрытия, требуют строгого выполнения всего комплекса мер в соответствии с требованиями «Рекомендаций по проектированию, производству и применению легкобетонных панелей основания пола кассетного формования».

5.2.16. При проектировании и устройстве полов рекомендуется ускоренное удаление водяных паров и капельножидкой влаги из воздушной полости под покрытием пола и из всех его элементов.

В подавляющем большинстве вариантов конструкций и эксплуатационных режимов наличие эффективной вентиляции пола предотвращает его загнивание.

5.2.17. Все виды покрытий из линолеума допускаются только по стяжкам из минеральных материалов. В домах-новостройках по стяжкам из древесных материалов применяют покрытия полов только из древесных материалов (древесно-волокнистые плиты, паркет, доски и подобные изделия), обладающих небольшой величиной сопротивления паропроницанию. При этом будет обеспечено интенсивное удаление водяных паров из подпольного пространства и осушение нижележащих слоев пола (оснований и теплозвукоизоляционных слоев).

5.2.18. Проекты должны содержать узлы примыкания полов к стенам (перегородкам), в которых должна быть предусмотрена контурная зона без сплошного клеевого слоя между покрытием пола и стяжкой, а также вентиляция полов в зонах установки плинтусов.

Снижение влажности элементов пола, в частности легкобетонных стяжек (монолитных и сборных), до 2,5-3 % позволяет обеспечить биостойкость полов и их теплоусвоение в пределах нормативных требований.

5.2.19. Для обеспечения вентиляции подпольного пространства применяют плинтусы с отверстиями или предусматривают установку плинтусов с зазором между ними и строительными конструкциями.

Эти мероприятия должны сочетаться с антисептированием древесных материалов в покрытии полов.

5.2.20. По применяемым материалам полы жилых, общественных и административных зданий подразделяют на следующие две основные группы:

а) из древесных материалов;

б) из синтетических материалов.

5.2.21. В стяжках-панелях из гипсобетона следует применять в качестве антисептиков боросодержащие или заменяющие их составы.

Ввиду недостаточной надежности антисептирования подосновы теплоизолирующего линолеума гипсобетонные стяжки под это покрытие не допускаются.

5.2.22. Полы из древесных материалов включают покрытия из шпунтованных и паркетных досок, паркетных и реечных щитов (соответственно под прозрачную или укрывистую отделку), реек, штучного и мозаичного паркета, а также полы с покрытием из прессованных древесных плит (волокнистых, стружечных и т.п.).

Все эти полы могут быть применены на междуэтажных перекрытиях, где требуется обеспечить звукоизоляцию, и на перекрытиях над техподпольем, где необходимо соблюдение теплотехнических требований.

Несущая часть перекрытий с этими полами может быть выполнена из сплошных плоских или ребристых плит, а также из многопустотных настилов. С экономических позиций (минимальный расход трудовых и материальных ресурсов) эти полы на междуэтажных перекрытиях и подавляющее большинство их вариантов в перекрытиях над техподпольем целесообразно устраивать с использованием воздушной полости под покрытием, то есть полы на лагах. Исключение составляют варианты с минимальным расходом древесины (толщина покрытия 15 мм и менее), когда может быть оправдано применение бетонных стяжек по сплошным теплозвукоизоляционным слоям или древесных стяжек по лагам.

Деревянное покрытие пола эстрады в зрелищных и спортивно-зрелищных залах должно быть подвергнуто глубокой пропитке антипиренами:

а) древесно-волокнистые плиты покрытия применяют только по сплошным стяжкам из гвоздимых материалов: легкий бетон, ДСП, древесные отходы (обрезки досок и прочие пиломатериалы, не пригодные для изготовления покрытий).

Для обеспечения требуемой ровности покрытия пола из ДВП их приклеивают полосами по контуру и в средней части плит с прижимом гвоздями или шурупами без последующего их удаления.

Технологические построечные процессы изложены в «Рекомендациях по применению сверхтвердых древесно-волокнистых плит для покрытия полов»;

б) полы с покрытием из плоских однослойных паркетных и реечных щитов, а также щитов ребристой конструкции позволяют рационально использовать короткомерные пиломатериалы (в том числе отходы лесопиления и производства столярно-строительных изделий) хвойных пород, а также лиственной древесины. При толщине покрытия 20 мм эти щиты укладывают на лаги или балки с интервалом 400 мм. Их применение позволяет предотвратить дефекты, характерные для полов из паркетных досок и щитов слоистой конструкции, так как исключается чрезмерное коробление покрытия и ускорено отслоение его лицевого слоя, что часто происходит из-за отрицательных технологических и конструктивных факторов (в частности, ненадежной конструкции основания слоистых изделий, малой толщины лицевого слоя - 4-6 мм и т.д.);

в) полы с покрытием из плоских однослойных щитов толщиной 17 мм по стяжке из древесно-стружечных плит на лагах предназначены под лаковую или укрывистую отделку. Древесно-стружечные плиты должны удовлетворять требованиям ГОСТ 10632-77 к плитам марки П-3, а также санитарно-гигиеническим требованиям, что должно быть подтверждено местными органами здравоохранения по результатам испытаний полов в установленном порядке;

г) полы с покрытием из шпунтованных досок толщиной 18 мм допускаются по стяжке из бетонов различного типа, отходов досок или из древесно-стружечных плит, удовлетворяющих указанным требованиям. Во избежание существенного поперечного коробления ширина досок марки ДП-1-18 ограничивается 78 мм;

д) полы из шпунтованных досок толщиной 21 мм укладывают на лаги, интервал между которыми не должен превышать 350 мм. Во избежание существенного коробления досок их ширина ограничивается 98 мм.

Применение дощатых покрытий уменьшенной толщины позволяет использовать имеющийся большой ресурс боковых досок толщиной до 27 мм (то есть досок «попутного распила») и снизить удельный расход леса, ушедшего на производство дощатых покрытий толщиной 27 - 29 мм даже при сближении лаг (при условии применения эффективных лаг со специальным профильным сечением);

е) полы с покрытием из штучного березового паркета, черновые заготовки которого обработаны гидрофобным составом (например, петролатумом), отличаются повышенной формостабильностью даже при экстремальных колебаниях влажности древесины при устройстве и эксплуатации полов.

По износостойкости березовая древесина, обработанная петролатумом, приближается к твердолиственным породам (дуб, бук, граб и т. п.).

С целью экономии древесины рекомендуется применение лаг со специальным профильным сечением: П- или Т-образным, трапециевидным и др. Вследствие сравнительно меньшей площади поперечного сечения и акустической эффективности данных лаг сокращается расход звукоизолирующих прокладок из мягких ДВП соответственно до 40 и 60 %. Взамен специального напила досок толщиной 40 мм для лаг могут широко использоваться тонкие боковые доски, подтоварник и т.п.

В конструкциях полов по грунту следует применять только цельные лаги прямоугольного сечения.

5.2.23. Толщину досок, паркетных досок, паркетных и реечных щитов, сверхтвердых древесно-волокнистых и древесно-стружечных плит принимают по действующим стандартам на изделия и указаниям альбомов типовых деталей полов жилых и общественных зданий.

5.2.24. В спортивных залах толщину досок покрытия следует принимать по расчету с учетом динамических нагрузок на полы и необходимости обеспечения надежного крепления к полу спортивных снарядов и оборудования.

5.2.25. Воздушное пространство под покрытием полов из досок, реек, паркетных досок и щитов не должно сообщаться с вентиляционными и дымовыми каналами, а в помещениях площадью более 25 м2 его дополнительно разделяют перегородками из досок на замкнутые отсеки размером (4-5) ´ (5-6) м.

5.2.26. Полы из синтетических материалов включают покрытия из линолеума поливинилхлоридного многослойного и однослойного без подосновы, резинового (релина) многослойного линолеума, алкидного линолеума, нитролинолеума марки «Линопласт», линолеума поливинилхлоридного на теплозвукоизолирующей подоснове, линолеума поливинилхлоридного вспененного на тканевой подоснове, линолеума вспененного поливинилхлоридного с печатным рисунком, а также других подобных видов линолеумов из числа разрешенных к применению органами здравоохранения.

5.2.27. Все виды линолеумов без тепло звукоизолирующей подосновы обязательно укладывают на мастике по стяжке из легких бетонов.

5.2.28. Линолеум с тепло звукоизолирующей подосновой (в том числе вспененной) допускается укладывать на клей (мастику) непосредственно по плитам междуэтажного перекрытия, если это перекрытие без пола обеспечивает изоляцию воздушного шума не менее чем на 1 дБ больше требуемого нормативного.

5.2.29. Полы по сборным стяжкам из древесностружечных, цементно-стружечных и гипсоволокнистых плит, а также из прокатных гипсобетонных панелей допускается применять только как нетиповые конструкции в установленном порядке.

5.2.30. При применении искусственных ковровых покрытий, не распространяющих огонь по поверхности и не выделяющих при горении токсических веществ, под ними следует предусматривать основание (стяжки) из негорючих материалов.

Таблица 1


Покрытие

Предельные значения

Волочение

твердых

предметов с острыми

углами и ребрами; работа

на полу с лопатами, ломами и другим острым инструментом

интенсивности движения, ед/сут, на 1 полосу движения

массы

предметов,

кг, падающих с высоты 1 м

удельного

давления от сосредоточенных

нагрузок, Н/см2

(кгс/см2

нагревания пола до

температуры,

°С

пешеходов и теле­жек на резиновых

шинах

тележек на металлических шинах и перекатывания круглых металлических

предметов (бочек и др.)

транспортных средств

на резиновом ходу

на гусеничном ходу

более 500

менее 500

коэффи­циент С

более 50

30-50

менее 30

более 200

100- 200

менее 100

более 10

менее 10

1. Цементно-песчаное

Допускается

60

Не допускается

Допуска­ется

Не допускается

Допуска­ется

Не допускается

3

500(50)

100

Не допуска­ется

2. Цементно-бетонное

 

 

 

 

 

 

 

 

 

 

 

а) толщиной 25 мм, класса В22,5

»

100

То же

»

То же

»

То же

5

1000 (100)

100

То же

б) толщиной 30 мм, класса В30

»

100

Не допус­кается

Допуска­ется

»

Не допус­кается

Допуска­ется

»

Не допус­кается

Допуска­ется

10

1000 (100)

100

Допускается

в) толщиной 50 мм, класса В40

»

100

Допускается

»

Допускается

»

Допускается

10

1000 (100)

100

»

3. Асфальтобе­тонное

 

 

 

 

 

 

 

 

 

 

 

а) толщиной 25 мм

»

-

Не допускается

Не допус­кается

Не допускается

Не допус­кается

Не допускается

2

20(2)

50

Не допуска­ется

б) » 40 »

»

50

То же

Допуска­ется

То же

Допуска­ется

То же

5

20(2)

50

То же

в) » 50 »

»

50

Не допус­кается

Допуска­ется

»

Не допус­кается

Допуска­ется

»

Не допус­кается

Допуска­ется

10

20(2)

50

Допускается

4. Мозаично-бетонное (терраццо)

 

 

 

 

 

 

 

 

 

 

 

а) толщиной 20 мм, прочностью 20 МПа (200 кгс/см2)

»

-

Не допускается

Не допус­кается

Не допускается

Не допус­кается

Не допускается

2

500(50)

100

Не допус­кается

б) толщиной 25 мм, прочностью 30 МПа (300 кгс/см2)

»

60

То же

Допуска­ется

То же

Допуска­ется

То же

5

500(50)

100

То же

в) толщиной 25 мм, прочностью 40 МПа (400 кгс/см2)

»

60

Не допус­кается

Допуска­ется

»

Не допус­кается

Допуска­ется

»

Не допус­кается

Допуска­ется

10

500(50)

100

Допускается

5. Поливинил­ацетат-цементно-бетонное

 

 

 

 

 

 

 

 

 

 

 

а) толщиной 20 мм, прочностью 20 МПа (200 кгс/см2)

»

-

Не допускается

Не допус­кается

Не допускается

Не допус­кается

Не допускается

2

1000 (100)

50

Не допускается

б) толщиной 20 мм, прочностью 30 МПа (300 кгс/см2)

Допускается

60

То же

Допуска­ется

То же

Допуска­ется

То же

5

1000 (100)

50

То же

в) толщиной 30 мм, прочностью 40 МПа (400 кгс/см2)

»

60

Не допус­кается

Допуска­ется

»

Не допус­кается

Допуска­ется

»

Не допус­кается

Допуска­ется

10

1000 (100)

50

Допускается

6. Латексцемент­но-бетонное

 

 

 

 

 

 

 

 

 

 

 

а) толщиной 20 мм, прочностью 20 МПа (200 кгс/см2)

»

-

Не допускается

Не допус­кается

Не допускается

Не допус­кается

Не допускается

2

1000 (100)

50

Не допускается

б) толщиной 20 мм, прочностью 30 МПа (3ОО кгс/см2)

»

60

То же

Допуска­ется

То же

Допуска­ется

То же

5

1000 (100)

50

То же

в) толщиной 30 мм, прочностью 40 МПа (400 кгс/см2)

»

60

Не допус­кается

Допуска­ется.

»

Не допус­кается

Допускается

Не допус­кается

Допуска­ется

10

1000 (100)

50

Допускается

7. Кислотостой­кий бетон на жидком стекле с уплотняющей добавкой

 

 

 

 

 

 

 

 

 

 

 

 

 

 

а) толщиной 20 мм, прочностью 20 МПа (200 кгс/см2)

»

-

Не допускается

Не допус­кается

Не допускается

Не допус­кается

Не допускается

2

500 (50)

100

Не допускается

б) толщиной 30 мм, прочностью 20 МПа (200 кгс/см2)

»

60

То же

Допуска­ется

То же

Допуска­ется

То же

5

500 (50)

100

Допускается

в) толщиной 40 мм, прочностью 25 МПа (250 кгс/см2)

»

60

Не допус­кается

Допуска­ется

»

Не допус­кается

Допуска­ется

»

Не допус­кается

Допуска­ется

10

500 (50)

100

»

8. Жаростойкий бетон на портландцементе с хромитом и заполнителем из шлака

»

100

Не допускается

»

Допускается

»

То же

»

10

500(50)

600

»

9. Бетонное с упрочненным верхним слоем

»

500

Допускается

»

»

»

Допускается

20

1000 (100)

100

»

10. Плиты из жаростойкого бетона на портландцементе с хромитом и заполнителем из шлака по прослойке из песка

Допускается

100

Не допускается

Допуска­ется

Допускается

Допуска­ется

Не допус­кается

Допуска­ется

10

500 (50)

600

Допускается

11. Металлоце­ментное по прослойке из це­ментно-песчано­го раствора

»

500

Допускается

»

»

»

Допускается

15

1000 (100)

100

»

12. Ксилолитовое

»

60

Не допускается

»

Не допускается

»

Не допускается

3

200 (20)

50

Не допус­кается

13. Поливинил­ацетатцементно-опилочное

»

60

То же

»

То же

»

То же

3

200 (20)

50

То же

14. Поливинил­ацетатное мастичное

»

-

»

Не допус­кается

»

Не допускается

Не до­пуска­ется

50 (5)

50

»

15. Эпоксидное мастичное наливное

»

-

»

То же

»

Допуска­ется

Не допускается

2

500(50)

50

»

16. Брусчатка по прослойке из песка

»

100

»

Допуска­ется

Допускается

»

Допускается

50

500 (50)

500

Допускается

17. Брусчатка по прослойке из це­ментно-песчано­го раствора

»

100

»

»

»

»

»

50

500 (50)

100

»

18. Стальные плиты по про­слойке из мелкозернистого бетона

»

500

Допускается

»

»

»

»

50

500 (50)

100

Допускается условно с ог­раничением интенсивнос­ти

19. Чугунные дырчатые плиты по прослойке из мелкозернистого бетона

Допускается

500

Допускается

Допуска­ется

Допускается

Допуска­ется

Не допускается

10

500 (50)

100

Допускается

20. Чугунные плиты с опор­ными выступами по прослойке из песка

»

300

»

»

»

»

То же

10

3 т на плиту

1400

»

21. Торцовое на битумной или дегтевой мастике

»

100

»

»

»

»

»

50

50 (5)

50

Не допуска­ется

22. Асфальтобе­тонные плиты по прослойке из битумной мастики

»

60

Не допус­кается

Допуска­ется

»

Не допуска­ется

Допуска­ется

»

»

5

30(3)

50

Допускается

23. Цементно-бетонные плиты по прослойке из цементно-песча­ного раствора

»

60

То же

»

»

То же

»

»

»

7

500 (50)

100

Не допуска­ется

24. Мозаично-бетонные плиты по прослойке из цементно-песча­ного раствора

»

60

Не допускается

Допуска­ется

Не допускается

Допуска­ется

»

5

500 (50)

100

То же

25. Мраморные плиты (в том числе колотые) по прослойке из цементно-песча­ного раствора

»

-

То же

Не допус­кается

То же

»

»

2

500 (50)

100

»

26. Плиты при­родного камня изверженных пород (гранита и др.) по прослой­ке из цементно-песчаного раствора

»

60

Не допус­кается

Допускается

Допускается

»

10

500 (50)

100

Допускается

27. Керамичес­кие плитки толщиной 10-13 мм по прослойке из:

 

 

 

 

 

 

 

 

 

 

 

растворов всех видов

Допускается

-

Не допускается

Не допус­кается

Не допускается

Не допус­кается

Не допускается

2

200 (20)

100

Не допускается

мастик типа битумной

»

-

То же

То же

То же

То же

То же

Не до­пуска­ется

100 (10)

50

То же

28. Керамичес­кие плитки, в том числе кислото­упорные, толщи­ной 15-20 мм по прослойке из:

 

 

 

 

 

 

 

 

 

 

 

растворов всех видов

»

-

»

»

Не допус­кается

Не допускается

»

3

200 (20)

100

»

мастик типа битумной

»

-

»

»

То же

То же

»

Не до­пуска­ется

100 (10)

50

»

29. Керамичес­кие кислото­упорные плитки толщиной 30-35 мм по прослойке из:

 

 

 

 

 

 

 

 

 

 

 

 

растворов всех видов;

»

60

»

Допуска­ется

»

Не допус­кается

Допуска­ется

»

5

200 (20)

100

»

мастик типа битумной

»

-

»

Не допус­кается

»

То же

Не допус­кается

»

2

100 (10)

50

»

30. Керамичес­кие кислотоупор­ные плитки толщиной 50 мм по прослойке из:

 

 

 

 

 

 

 

 

 

 

 

растворов всех видов

Допускается

60

Не допус­кается

Допуска­ется

Допуска­ется

Не допус­кается

Допускается

Не допус­кается

Допуска­ется

7

300 (30)

100

Допускается

мастик типа битумной

»

60

Не допускается

»

Не допускается

Допуска­ется

Не допускается

3

200 (20)

50

Не допускается

31. Шлакоситал­ловые плиты толщиной 10-12 мм по прослойке из:

 

 

 

 

 

 

 

 

 

 

 

растворов всех видов

»

-

То же

Не допус­кается

Не допус­кается

Не допускается

То же

2

200 (20)

100

То же

мастик типа битумной

»

-

»

То же

То же

То же

»

Не до­пуска­ется

100 (10)

50

»

32. Шлакоситал­ловые плиты толщиной 15-20 мм по прослойке из:

 

 

 

 

 

 

 

 

 

 

 

растворов всех видов

»

60

»

Допуска­ется

»

Допускается

»

5

300 (30)

100

»

мастик типа битумной

»

-

»

Не допус­кается

»

Не допускается

»

2

100 (10)

50

»

33. Каменные литые плитки типа диабазовых толщиной 18-20 мм по прослойке из:

 

 

 

 

 

 

 

 

 

 

 

растворов всех видов

»

60

»

Допуска­ется

Не допус­кается

Допускается

»

2

300 (30)

100

»

мастик типа битумной

»

 

»

Не допус­кается

То же

Не допускается

»

Не до­пуска­ется

100 (10)

50

»

34. Каменные литые плиты типа светлого каменного литья толщиной 25-30 мм по прослойке из растворов всех видов

»

60

Не допус­кается

Допуска­ется

Допуска­ется

Допуска­ется

Допускается

Не допус­кается

Допуска­ется

10

300 (30)

100

Допускается

35. Каменные литые плиты типа светлого каменного литья толщиной 40 мм по прослойке из растворов всех видов

Допускается

60

Допускается

Допуска­ется

Допуска­ется

Допускается

Допускается

15

300 (30)

100

Допускается

36. Кислотоупор­ный кирпич плашмя по прослойке из:

 

 

 

 

 

 

 

 

 

 

 

 

растворов всех видов

»

60

Не допус­кается

Допуска­ется

»

»

»

Не допус­кается

Допуска­ется

7

300 (30)

100

»

мастик типа битумной

»

 

То же

Допускается

Не допус­кается

»

Не допускается

3

200 (20)

50

»

37. Кислотоупор­ный кирпич на ребро по прослойке из:

 

 

 

 

 

 

 

 

 

 

 

растворов всех видов

»

60

Не допус­кается

»

Допускается

Не допус­кается

Допуска­ется

10

300 (30)

100

»

мастик типа битумной

»

-

То же

»

»

То же

»

5

200 (20)

50

»

38. Поливинил­хлоридный пластикат

»

-

Не допускается

Не допускается

Не допускается

2

100( 10)

50

Не допус­кается

39. Дощатое

»

-

То же

То же

То же

2

200 кг на точку

50

То же

40. Паркетные доски и щиты

»

-

»

»

»

Не до­пуска­ется

То же

50

»

41. Сверхтвер­дые древесно-волокнистые плиты

Допускается

-

Не допускается

Не допускается

Не допускается

Не до­пуска­ется

200 кг на точку

50

»

42. Штучный и наборный паркет

»

-

То же

То же

То же

То же

То же

50

»

43. Линолеум

Не допу­скается

Допуска­ется

-

»

»

»

»

500 (50)

50

»

44. Рулонное на основе химичес­ких волокон

То же

»

-

»

»

»

»

100 (10)

50

»

45. Глинобетон­ное, глинобитное

»

»

-

»

»

»

5

50 (5)

500

Допускается

46. Щебеночное, пропитанное битумом

»

»

40

Не допускается

Допуска­ется

Не допус­кается

Допускается

»

10

100 (10)

50

»

47. Щебеночное, гравийное

»

»

-

То же

Не допус­кается

Не допускается

Допуска­ется

»

10

100 (10)

500

»

48. Шлаковое, земляное

»

»

-

»

То же

Тоже

»

Не допус­кается

Допуска­ется

Не ог­рани­чива­ется

30 (3)

Не ог­раничи­вается

»

Примечание. Коэффициент давления С на пол металлических шин и круглых предметов определяют по формуле 

 

где Р - наибольшее давление колеса или обода на пол , кг;

Д - диаметр колеса или обода, м;

в - ширина шины колеса или обода, см.

Таблица 2

Покрытие

Предельные значения интенсивности воздействия на пол

воды и раство-

ров ней­тральной реакции

мине­ральных

масел и эмульсий из них

органических растворителей

веществ животно-

го про­исхож­дения

растворов кислот, щелочей

сырой нефти и нефте­продук-

тов (сер­нистый мазут, дизтоп­ливо, керосин, бензин)

на аро­мати­ческих углево-

дородах

кетонов

фтористо-водородной, кремнефтористо-водородной и т.п.

окисляющих (азотная, хлорноватистая, хромовая и др.)

неокисляющих неорганических (серная, соляная и др.)

органических

концент­рация, %

интен­сивность

концент­рация, %

интен­сивность

концент­рация, %

интен­сивность

концент­рация, %

интен­сивность

концент­рация, %

интен­сивность

1. Цементно-песчаное

Большая

Большая

Средняя

Большая

Средняя

Малая

Не до­пускает­ся

Не до­пускает­ся

Не до­пускает­ся

Не до­пускает­ся

Не до­пускает­ся

Не до­пускает­ся

 

 

8(12*)

Малая

2. Цементно-бетонное

»

»

»

»

»

»

То же

То же

То же

То же

Тоже

То же

 

 

8(12*)

Средняя

3. Асфальтобетонное

»

Не до­пускает­ся

Не до­пускает­ся

Не до­пускает­ся

Не до­пускает­ся

 

»

»

»

»

10

Средняя

20

Средняя

8

»

4. Мозаично-бетонное (терраццо)

»

Большая

Средняя

Большая

Средняя

Малая

»

»

»

»

Не до­пускает­ся

Не до­пускает­ся

 

 

8

»

5. Поливинилацетат­ноцементно-бетонное

Малая

Малая

Большая

»

Большая

»

»

»

»

»

То же

То же

 

 

8

Малая

6. Латексцементно-бетонное

Большая

»

Малая

Средняя

Средняя

»

»

»

»

»

»

»

10

Малая

8

»

7. Кислотостойкий бетон на жидком стекле с уплотняющей добавкой

Средняя

Большая

Большая

Большая

Большая

»

»

»

100

Большая

100

Большая

100

Большая

 

Не до­пускает­ся

8. Жаростойкий бетон на портландцементе с хромитом и заполни­телем из шлака

Малая

»

Средняя

»

Средняя

Не до­пускает­ся

»

»

Не до­пускает­ся

Не до­пускает­ся

Не до­пускает­ся

Не до­пускает­ся

 

 

8

Малая

9. Бетонное с упрочненным верхним слоем

»

»

»

»

»

Малая

»

»

»

»

»

»

 

 

8

»

10. Плита из жаростойкого бетона на портландцементе с хромитом и заполнителем из шлака по прослойке из песка

»

Средняя

»

Средняя

»

Не до­пускает­ся

»

»

»

»

»

»

 

 

8

»

11. Металлоцементное по прослойке из цементно-песчаного раствора

»

Большая

»

Большая

»

Малая

»

»

»

»

»

»

 

 

8

»

12. Ксилолитовое

Не до­пускает­ся

Малая

Малая

Малая

Малая

Не до­пускает­ся

»

»

»

»

»

»

 

 

-

Не до­пускает­ся

13. Поливинилацетат­ноцементно-опилоч­ное

То же

»

»

»

»

То же

»

»

»

»

»

»

 

 

-

То же

14. Поливинилацетат­ное мастичное

»

»

»

»

»

»

»

»

»

»

»

»

 

 

-

»

15. Эпоксидное мастичное наливное

Средняя

Средняя

Средняя

Средняя

»

Малая

»

»

»

»

15

Малая

30

Малая

15

Малая

16. Брусчатка по прослойке из песка

Большая

Большая

Большая

Большая

Большая

Не до­пускает­ся

»

»

»

»

»

»

 

 

-

Не до­пускает­ся

17. Брусчатка по прослойке из цементно-песчаного раствора

»

»

Средняя

»

»

Малая

»

»

»

»

»

»

 

 

8(12*)

Средняя

18. Стальные плиты по прослойке из мелко­зернистого бетона

Малая

»

»

»

Средняя

»

»

»

»

»

»

»

 

 

8(12*)

»

19-Чугунные дырча­тые плиты по прослойке из мелкозернистого бетона

Большая

»

»

»

»

»

»

»

»

»

»

»

 

 

8(12*)

»

20. Чугунные плиты с опорными выступами по прослойке из песка

Малая

Малая

Малая

Малая

Малая

Не до­пускает­ся

Не до­пускает­ся

Не до­пускает­ся

Не до­пускает­ся

Не до­пускает­ся

Не до­пускает­ся

Не до­пуска­ется

 

 

-

Не до­пускает­ся

21 .Торцовое на битумной или дегтевой мастике

Не до­пускает­ся

Большая

Не до­пускает­ся

»

Не до­пускает­ся

То же

То же

То же

То же

То же

То же

То же

 

Не до­пускает­ся

Не до­пускает­ся

То же

22. Асфальтобетон­ные плиты по прослойке из битумной мастики

Большая

Не до­пускает­ся

То же

Не до­пускает­ся

То же

»

»

»

»

»

10

Средняя

20

Средняя

8

Средняя

23. Цементно-бетонные плиты по прослойке из цементно-песчаного раствора

»

Большая

Средняя

Большая

Средняя

Малая

»

»

»

»

Не до­пускает­ся

Не до­пускает­ся

 

 

8

»

24. Мозаично-бетон­ные плиты по про­слойке из цементно-песчаного раствора

»

»

»

»

»

»

»

»

»

»

То же

То же

 

 

 

»

25. Мраморные плиты (в том числе колотые)

»

»

»

»

»

Средняя

»

»

»

»

»

»

 

 

8(12*)

»

26. Плиты из природного камня изверженных пород (гранита и др.) по прослойке из цементно-песчаного раствора

»

»

»

»

»

»

»

»

»

»

»

»

 

 

8(12*)

»

27. Плитки керами­ческие толщиной 10-13 мм

 

28. Плитки керами­ческие кислотоупор­ные толщиной 15-20 мм

 

29-Плитки кислото­упорные толщиной 30-35 мм

 

30. Плитки кислото­упорные толщиной 50 мм

В зависимости от типа прослойки (см. подл. а-е)

31. Плитки шлакоси­талловые толщиной 10-12 мм

 

32. Плитки шлакоси­талловые толщиной 15-20 мм;

 

33. Плитки каменные литые типа диабазо­вых толщиной 18-20 мм

 

34. Кислотоупорный кирпич плашмя и на ребро

 

По прослойке из:

 

 

 

 

 

 

 

 

 

 

 

 

 

 

 

 

а) цементно-песчаного раствора

»

»

»

»

»

Малая

»

»

»

»

»

»

Не до­пуска­ется

 

8(12*)

Малая

б) цементно-песчаного раствора с добавкой латекса

»

Малая

Малая

Средняя

Малая

Средняя

»

»

»

»

»

»

10

Малая

8(12*)

Средняя

цементно-песчаного раствора с добавкой латекса, с заполнением швов эпоксидной мастикой

Большая

Средняя

Средняя

Большая

Средняя

Большая

Не до­пуска­ется

Не до­пуска­ется

Не до­пуска­ется

Не до­пуска­ется

5

Малая

20

Большая

15

Средняя

в) раствора на жидком стекле с уплотняющей добавкой

»

Большая

Большая

»

Большая

Средняя

То же

То же

100

Большая

100

Большая

100

Средняя

Не до­пуска­ется

Не до­пуска­ется

то же, с заполнением швов арзамит-замаз­кой

»

»

Средняя

Средняя

Средняя

Большая

»

»

5

»

15

»

30

Большая

15

Средняя

то же, с заполнением швов эпоксидной мастикой

»

»

Большая

»

»

»

»

»

5

»

15

»

30

»

15

»

г) мастики на основе эпоксидных смол

»

»

»

»

»

»

»

»

5

»

15

»

30

»

15

Большая

д) арзамит-замазки

»

»

»

»

»

»

»

»

5

»

15

»

30

»

15

»

е) битумной мастики

»

Не до­пуска­ется

Не до­пуска­ется

Не до­пуска­ется

Не до­пуска­ется

Не до­пуска­ется

»

»

Не до­пуска­ется

Не до­пуска­ется

10

»

20

»

8

Средняя

35. Каменные литые плиты типа светлого каменного литья по прослойке из:

 

 

 

 

 

 

 

 

 

 

 

 

 

 

 

 

а) цементно-песчаного раствора

»

Большая

Средняя

Большая

Средняя

Малая

То же

То же

То же

То же

Не до­пуска­ется

Не до­пуска­ется

 

 

8(12*)

»

б) цементно-песчаного раствора с добавкой латекса

»

Малая

Малая

Средняя

Малая

Средняя

»

»

»

»

»

»

10

Средняя

8(12*)

»

то же, с заполнением швов эпоксидной мастикой

»

Средняя

Средняя

Большая

Средняя

Большая

»

»

»

»

»

»

20

Большая

15

»

36. Поливинилхло­ридный пластикат

Средняя

Малая

Малая

Малая

Малая

Средняя

»

»

5

Средняя

20

Средняя

20

Средняя

20

»

37. Дощатое (окрашенное)

 

38. Паркетные доски и щиты

 

39. Сверхтвердые древесноолокнистые плиты

Не допускается

40. Штучный и наборный паркет

 

41. Линолеум

 

42. Рулонное на основе химических волокон

 

43. Глинобетонное, глинобитное

Не до­пуска­ется

Малая

Малая

Малая

Малая

 

 

 

 

 

 

 

44. Щебеночное, пропитанное битумом

Средняя

Не до­пуска­ется

Не до­пуска­ется

Не до­пуска­ется

Не до­пуска­ется

Не допускается

10

Малая

20

Малая

8

Малая

45, Щебеночное, гра­46. вийное, шлаковое, земляное

Малая

Малая

Малая

Малая

Малая

То же

Не до­пуска­ется

Не до­пуска­ется

Не до­пуска­ется

Не до­пуска­ется

Не до­пуска­ется

Не до­пуска­ется

* При использовании в качестве заполнителей вместо песка и щебня дроби (чугунной, стальной) или порфирита.

Таблица 3

Покрытие

Характеристика покрытия пола по специальным требованиям

беспыльности (пылеотделения)

визуальной оценке

Электропровод- ности в сухом

состоянии

способности накапливать на

поверхности заряды стати­-

ческого элект­ричества в су­хом состоянии

безыскровости

легкости очистки от производственных загрязнений

соответствие количественным показателям по классам беспыльности помещений

пылевидных

жидкостных

1000

10000

100 000

1. Цементно-песчаное

Не соответствует

Большое

Условно элект­ропроводное

Не накапливает

Безыскровое1

Практически неочищаемое

Трудно-очищаемое

2. Цементно-бетонное

То же

Среднее

То же

То же

»

То же

»

3. Асфальтобетонное

»

»

Неэлектропро­водное

»

»

Трудно-очищаемое

»

4. Мозаично-бетонное (терраццо)

»

Малое

Условно элект­ропроводное

»

»

Средне-очищаемое

»

5. Поливинилацетатцемент­но-бетонное

»

»

То же

»

»

»

Средне-очищаемое

6. Латексцементно-бетонное

»

»

»

»

»

»

»

7. Кислотостойкий бетон на жидком стекле с уплотняющей добавкой

»

Среднее

Электропро­водное

»

Искрящее

»

»

8. Жаростойкий бетон на портландцементе с хромитом и заполнителем из шлака

»

»

То же

»

»

Трудно-очищаемое

Трудно-очищаемое

9. Бетонное с упрочненным верхним слоем

»

»

»

»

Безыскровое1

»

Средне-очищаемое

10. Плиты из жаростойкого бетона на портландцементе с хромитом и заполнителем из шлака по прослойке из песка

»

»

»

»

Искрящее

»

Трудно-очищаемое

11. Металлоцементное по прослойке из цементно-песчаного раствора

»

»

»

»

»

»

Средне-очищаемое

12. Ксилолитовое

»

»

Условно элект­ропроводное

»

Безыскровое1

»

Трудно-очищаемое

13. Поливинилацетатце­ментно-опилочное

Не соответствует

Среднее

Условно элект­ропроводное

Не накапливает

Безыскровое1

Трудно-очищаемое

Трудно-очищаемое

14, Поливинилацетатное мастичное

Не соответствует

Соответствует

Беспыльное

То же »

То же

Искрящее

Легко-очищаемое

Средне-очищаемое

15. Эпоксидное мастичное наливное

То же

Соответствует

»

Неэлектропро­водное

Накапливает

»

»

Легко-очищаемое

16. Брусчатка по прослойке из песка

Не соответствует

Среднее

Электропро­водное

Не накапливает

»

Трудно-очищаемое

Трудно-очищаемое

17. Брусчатка по прослойке из цементно-песчаного раствора

То же

»

»

То же

»

»

»

18. Стальные плиты по прослойке из мелкозернистого бетона

»

»

»

»

»

»

Средне-очищаемое

19. Чугунные дырчатые плиты по прослойке из мелкозернистого бетона

»

»

»

»

»

»

»

20. Чугунные плиты с опорными выступами по прослойке из песка

»

»

»

»

»

»

Трудно-очищаемое

21. Торцовое на битумной или дегтевой мастике

»

Большое

Неэлектропро­водное

»

Безыскровое1

Практически неочищаемое

Практически неочищаемое

22. Асфальтобетонные плиты по прослойке из битумной мастики

»

Среднее

»

»

»

Трудно-очищаемое

Трудно-очищаемое

23. Цементно-бетонные плиты по прослойке из цементно-песчаного раствора

»

»

Условно элект­ропроводное

»

»

Практически неочищаемое

»

24. Мозаично-бетонные плиты по прослойке из цементно-песчаного раствора

»

Малое

То же

»

»

Средне-очищаемое

»

25. Мраморные плиты (в том числе колотые) по прослойке из цементно-песчаного раствора

»

»

Неэлектропро­водное

»

Искрящее

Легко-очищаемое

Средне-очищаемое

26. Плиты природного камня изверженных пород (гранита и др.) по прослойке из цементно-песчаного раствора

»

»

Электропро­водное

»

Искрящее

»

»

27. Керамические плитки

»

»

Условно элект­ропроводное

»

»

»

»

28. Керамические кислотоупорные плитки

Не соответствует

Малое

Условно элект­ропроводное

Не накапливает

Искрящее

Легко-очищаемое

Средне-очищаемое

29. Шлакоситалловые плиты

То же

Беспыльное

То же

То же

»

»

Легко-очищаемое

30. Каменные литые плитки

»

»

»

»

»

»

»

31. Кислотоупорный кирпич плашмя

»

Малое

»

»

»

»

Средне-очищаемое

32. Кислотоупорный кирпич на ребро

»

»

»

»

»

»

»

33. Поливинилхлоридный пластикат

Не соот­ветствует

Соответствует

Беспыльное

Неэлектропро­водное

Накапливает

Безыскровое1

»

Легко-очищаемое

34. Дощатое (окрашенное)

Не соответствует

Малое

»

Не накапливает

»

»

Средне-очищаемое

35. Паркетные доски и щиты

То же

»

»

То же

»

»

»

36. Сверхтвердые древесно-волокнистые плиты

»

»

»

»

»

»

»

37. Штучный и наборный паркет

»

»

»

»

»

»

»

38, а Линолеум антиста­тичный

Соответствует

Беспыльное

»

»

»

»

Легко-очищаемое

38, б Линолеум

Не соот­ветствует

Соответствует

»

»

Накапливает

»

»

»

38, в Плитки поливинил­хлоридные

Не соответствует

Соответствует

»

»

»

»

»

»

39. Рулонное на основе химических волокон

Не соответствует

Среднее

»

»

»

Средне-очищаемое

Трудно-очищаемое

40. Глинобетонное, глинобитное

То же

Большое

Электропро­водное

Не накапливает

»

Неочищаемое

Неочищаемое

41. Щебеночное, пропитанное битумом

Не соответствует

Большое

Условно элект­ропроводное

Не накапливает

Безыскровое1

Трудно-очищаемое

Неочищаемое

42. Щебеночное, гравийное

То же

»

Электропро­водное

То же

Искрящее

Неочищаемое

»

43. Шлаковое, земляное

»

»

»

»

»

»

»

1 При применении безыскровых наполнителей (заполнителей).

 

Таблица 4

Характеристика и области применения перекрытий и полов жилых зданий

Толщина многопус-

тотных плит пе­рекрытий, мм

Средняя плотность

бетона, кг/м3

Справочные значения индекса, дБ

Область применения

изоляция воздуш­ного шу­ма пли­той без пола

приведен­ный уро­вень ударного шума под плитой без пола

максималь­ный шаг поперечных несущих стен, м

конструкция пола, с которой могут применяться в жилых домах плиты указанного типа

1.100

1600-2500

44-45

91-86

3,3

Деревянный пол по лагам, покрытие из древесноволокнистых плит, без основного линолеума, штучного паркета по стяжке и звукоизоля­ционному слою, покрытие из лино­леума на тепло звукоизолирующей подоснове по стяжке

2. 120

1600-2500

45-47

88-84

3,6

То же

3. 140

1600-2500

46-48

87-82

4,2

»

4.

1600-2500

48-50

86-81

4,5

»

5. 160

1800-1900

49

84

 

»

6.

2200-2500

50

81

6,6

 (в том числе для варианта смешанно­го шага от 2,6 до 6,6 м)

То же, а также линолеум на теплоизолирующей подоснове без стяжки

7. 180

1800-1900

50

83

 

То же

8. 200

1500-1900

50-52

84-82

 

Деревянным пол по лагам, покрытие из древесно-волокнис­тых плит, без основ­ного линолеума, штучного паркета по стяжке и звукоизо­ляционному слою, покрытие из лино­леума на теплозвуко­изолирующей подоснове по стяжке

9. 220 (диаметр пустот - 159 мм, приведен­ная тол­щина - 120 мм)

1600-2000

47-49

7-86

Без огра­ничения

То же

10.

2200-2500

50-51

85-84

 

»

11. 220 (диаметр пустот - 140 мм, приведен­ная тол­щина - 160 мм)

2200-2500

51-52

82-81

 

»

То же, а также линолеум на теплозвукоизолирующей подоснове без стяжки

Примечание. Параметры пола (масса пола, материалы звукоизоляционной прослойки и др.) принимают по расчету согласно СНиП II-12-77  из условия обеспечения нормативных значений индексов изоляции воздушного шума и приведенного уровня ударного шума.

Таблица 5

Помещения

Показатель теплоусво­ения, Вт/м2 × °С, не более

Покрытие

1. Жилые комнаты в квартирах, общежитиях; спальные комнаты в интернатах, номера в гостиницах, домах отдыха и т.п.

122)

Линолеум на теплозвуко­изоляционной подоснове1)

Дощатое

Пористые доски

Реечное

Сверхтвердые древесно-волокнистые плиты

Паркетное

Паркетные и реечные щиты

2. Коридоры в квартирах, общежитиях, интернатах, гостиницах, домах отдыха, конторах, конструкторских бюро, вспомогательных зданиях, удаленных от наружных дверей зданий более чем на 20 м

14

Линолеум на теплозвукоизоляционной подоснове

Реечное

Дощатое

Паркетные доски

Сверхтвердые древесно-волокнистые плиты

Паркетное

Паркетные и реечные щиты

3. Помещения общественных зданий, эксплуатация которых не связана с постоянным пребыванием людей в них (музеи, выставки, вестибюли, вокзалы, фойе зрелищных предприятий и т.п.)

-

Эпоксидное наливное

Мозаично-бетонное шлифованное

Цементно-бетонное шлифованное

Поливинилацетатцементно-бетонное шлифованное

Плиты из природного камня

Мраморные плиты, в том числе колотые

4. Детские помещения домов ребенка, садов, яслей, яслей-садов, в том числе коридоры в садах-яслях

12

Паркетное

Реечное и реечные паркетные щиты

Дощатое

Паркетные доски

5. Кабинеты врачей, процедурные, палаты в больницах, поликлиниках, амбулаториях, диспансерах, в санаториях, домах отдыха, домах-интернатах

12

Линолеум

Реечное

Паркетное

Паркетные и реечные щиты

Дощатое паркетные доски

6. Детские туалетные в садах-яслях и больницах, перевязочные в больницах

14

Линолеум

7. Рабочие комнаты, кабинеты, комнаты персонала в конторах, конструкторских бюро, вспомогательных зданиях

14

Линолеум

Паркетные доски

Паркетное

Паркетные и реечные щиты

Реечное

Дощатое

Сверхтвердые древесноволокнистые плиты (только в помещениях, расположенных на перекрытии)

8. Аудитории, классы, преподавательские и другие комнаты в учебных заведениях, залы спортивные, актовые, зрительные, читальные и др., зоны хранения уличной одежды в гардеробных

14

Линолеум

Дощатое

Паркетное

Паркетные и реечные щиты

Реечное

Паркетные доски

9. Ванные, душевые, умывальные, уборные в зданиях различного назначения; помещения подготовки продовольственных товаров в магазинах; кухни, лотки и заготовительные помещения предприятий общественного питания; раздевальные, мыльные, парильные в банях: стиральные цехи в прачечных

-

Цементно-бетонное шлифованное

Мозаично-бетонное шлифованное

Бетонное

Керамические плитки

Шлакоситалловые плиты

10. Торговые залы магазинов и предприятий общественного питания, удаленные от наружных дверей более чем на 20 м, а также расположенные на втором и последующих этажах

-

Мозаично-бетонное шлифованное

Керамические плитки

Шлакоситалловые плиты

Латексцементно-бетонное Поливинилацетатцементно-бетонное

Плиты из природного камня, в том числе колотые

Дощатое

Паркетное и из паркетных досок и щитов

11. Кухни жилых помещений

12

Линолеум

Дощатое

Сверхтвердые древесноволокнистые плиты

Реечное

1) Требуемый показатель теплоусвоения должен быть обеспечен совместно линолеумом и соответствующей «теплой» стяжкой.

2) Показатель теплоусвоения не нормируется, если поверхность пола имеет температуру выше 23 °С.

6. ПРОЕКТИРОВАНИЕ ПРОСЛОЕК

6.1. Тип прослойки выбирают в зависимости от воздействий на полы согласно табл. 1  - 5.

6.2 . Прочность на сжатие и класс материалов прослойки должна быть не менее:

от 15 до 30 МПа - для цементно-песчаного раствора;

20 МПа -для раствора на основе жидкого стекла;

В30 - для мелкозернистого бетона.

Другие виды материалов прослоек по прочности на сжатие не нормируются.

6.3. Материалы прослоек и их минимальные толщины следует принимать в соответствии с табл. 6.

Таблица 6

Прослойки

Материал прослойки

Тип прос­лойки

Толщина, мм

Прочность на сжатие, МПа, не нормиру­ется

Материал покрытия пола

1. Цементно-пес­чаный раствор

10-15

(20 по гид­роизоляции)

15-30

Плиты цементно-песчаные, мозаично-бетонные, мрамор­ные, из природного камня

То же

15

(20 по гидроизоляции

15-30

Плитки керамические, кис­лотоупорные, шлакоситал­ловые, каменные литые

2. Цементно-пес­чаный раствор с добавкой латекса

26

15

(20 по гидроизоляции

15-30

Плитки керамические, кисло­тоупорные, шлакоситалло­вые, каменные литые, кислотоупорный кирпич

3. Раствор на основе жидкого стекла с упло­тняющей добав­кой

15 (20 по гидроизоляции)

20

То же

4. Мастика на основе эпоксид­ной смолы

3

-

»

5. Арзамит-замазка

3

-

»

6. Битумная мастика

2

-

Плитки керамические, кисло­тоупорные, шлакоситал­ловые, каменные литые, кислотоупорный кирпич, асфальтобетонные плиты, торцовая шашка

7. Холодная мас­тика на водо­стойких вяжущих

1

-

Поливинилхлоридный пластикат, сверхтвердые ДВП, линолеум, рулонное на основе химических волокон, штучный и наборный паркет

8. Дегтевая мастика

3

-

Торцовая шашка

9. Мелкозернис­тый бетон

30

В30

Стальные и чугунные плиты

10. Песок

 

 

Плиты из жаростойкого бетона, брусчатка, чугунные плиты в условиях нагрева пола, °С:

 

 

60

 

менее 200

 

 

100

 

200-600

 

 

150

 

600-1000

 

 

220

 

1000-1400

11. Теплоизоля­ционные матери­алы, каменно­угольные шлаки,

 

-

Плиты из жаростойкого бетона, брусчатка, чугунные плиты в условиях нагрева пола, °С:

молотые отходы

 

60

 

менее 200

из кирпича или

 

70

 

200-600

другие жаростойкие матери­алы с объемной массой в уплот­ненном состоя­нии 1-1,2 т/м3

 

100

 

600-1000

 

150

 

1000-1400

7. ПРОЕКТИРОВАНИЕ СТЯЖЕК

7,1 Стяжки необходимы при:

выравнивании поверхности нижележащего слоя; укрытии трубопроводов; создании уклона в полах на перекрытиях;

создании жесткой корки под покрытие, укладываемое по тепло- или звукоизоляционному слою;

распределении нагрузок по тепло- или звукоизоляционному слою; обеспечении нормируемого теплоусвоения пола.

7.2 Толщина и марка материала стяжек, укладываемых по подстилающему слою, плитам перекрытий и тепло- или звукоизоляционным слоям, принимаются по табл. 7.

7.3 При сосредоточенных нагрузках на пол, превышающих 2 кН (200 кгс), по тепло- или звукоизоляционному слою следует применять бетонную стяжку (бетонный подстилающий слой), толщину которой определяют расчетом.

7.4. Показатель теплоусвоения поверхности стяжки (пола) рассчитывают в соответствии со СНиП II-3-97** «Строительная теплотехника».

7.5 По стяжкам из минеральных материалов допускается применение любых видов покрытий, кроме древесных. По стяжкам из древесных материалов (ДВП- и ДСП-плиты, пиломатериалы, не пригодные для изготовления покрытий) следует применять покрытия полов только из древесных материалов (сверхтвердые ДВП-плиты, паркет, доски и т.п.), обладающие небольшой величиной паропроницания. Только в отдельных случаях допускается под покрытие из сверхтвердого ДВП-плит применение стяжки из легкого бетона.

Стяжки, не включенные в альбом рабочих чертежей серии 2.144-1/88 «Узлы полов жилых зданий», допускается применять как нетиповые конструкции в установленном порядке (сборные стяжки из ДСП, ЦСП, ГВП, а также прокатные гипсобетонные панели).

Таблица 7

Стяжки

Материал стяжки

Тип

Толщина стяжки, мм

Прочность на сжатие, МПа, класс бетона

Схема

Слои пола

по бетонному подстилаю­щему слою или плите перекрытия

в многослой­ной конструкции пола

под наливные полимерные

под все остальные

Сплошные стяжки

Цементно-песчаный раствор

Цементный бетон

Гипсовый

раствор

Легкий бетон

Асфальтобетон

46

 

20

 

30

20

30

30

20

40

 

40

40

40

40

40

20 МПа

 

В15

-

20 МПа

-

-

15 МПа

 

В12,5

15 МПа

-

В5

1 - покрытие;

3 - гидроизоляция;

4 - стяжка;

5 - тепло или звукоизоляционный слой;

6 - бетонный подстилающий слой;

7 - плита перекрытия;

8 - грунт основания;

9 - трубопроводы, закрываемые стяжкой.

Цементно-песчаный раствор

Цементный бетон

Гипсовый

раствор

Легкий бетон

Асфальтобетон

46

 

 

d + 15

 

d + 15

d + 15

d + 20

d + 15

d + 15

d + 15

 

d + 15

d + 15

d + 20

d + 15

d + 15

20 МПа

 

В15

20 МПа

20 МПа

-

-

15 МПа

 

В12,5

15 МПа

15 МПа

В5

 

Примечание. Стяжка из асфальтобетона применяется только под штучный и наборный паркет;

Цементно-песчаный раствор

Цементный бетон

Легкий бетон

 

20

 

30

30

40

 

40

40

20 МПа

 

В15

-

10 МПа

 

В7,5

В5

12 - звукоизоляционные прокладки;

15 - лага;

d - диаметр трубопровода, укладываемого в полу.

Древесностружечные и  древесноволокнистые плиты

Армированные плиты размером на комнату

 

 

 

 

 

 

 

 

 

 

 

 

 

Примечание. Конкретные указания для проектирования приведены в альбомах рабочих чертежей серии 2.144-1/88 «Узлы полов жилых зданий».

8. ПРОЕКТИРОВАНИЕ ГИДРОИЗОЛЯЦИОННЫХ СЛОЕВ

8.1. Гидроизоляцию от проникания сточных вод и других жидкостей предусматривают только при средней и большой интенсивности воздействия их на пол (см. табл. 2):

воды и нейтральных растворов - в полах на перекрытии, на просадочных и набухающих грунтах основания, а также в полах на пучинистых грунтах основания пола в неотапливаемых помещениях;

органических растворителей, минеральных масел и эмульсий из них - только в полах на перекрытии;

кислот, щелочей и их растворов, а также веществ животного происхождения - в полах на грунте и на перекрытии.

8.2. Для защиты от проникания сточных вод, нейтральных и химически агрессивных жидкостей применяют оклеечную гидроизоляцию из материалов: гидроизола, гидростеклоизола, бризола на битумной мастике и полиизобутилена, ПВХ-пленки, стеклоткани и т.п. на химически стойком полимерном клее (мастике).

При средней интенсивности воздействия на пол перечисленных жидкостей оклеечную гидроизоляцию из материалов на основе битума следует применять в два слоя, а из полимерных материалов - в один слой.

При большой интенсивности воздействия жидкостей на пол, а также под сточными лотками, каналами, трапами и в радиусе одного метра число слоев гидроизоляции удваивается.

8.3. При устройстве по битумной гидроизоляции покрытий (прослоек, стяжек), в состав которых входит цемент или жидкое стекло, сверху гидроизоляции наносят битумную мастику с втапливанием в нее песка крупностью 1,5-5 мм.

8.4. При средней и большей интенсивности воздействия на пол минеральных масел, эмульсий из них, органических растворителей следует применять гидроизоляцию из полимерных материалов и не допускать применения оклеечной гидроизоляции из материалов на основе битума и дегтя.

8.5. При средней и большой интенсивности воздействия на пол растворов серной, соляной, азотной, уксусной, фосфорной, хлорноватистой и хромовой кислот, кроме гидроизоляции под покрытием пола, применяют гидроизоляцию под подстилающим слоем - наливную или асфальтовую (защита грунта).

8.6. Гидроизоляция от проникания сточных вод и других жидкостей должна быть непрерывной в конструкции пола, стенах и днищах лотков и каналов, над фундаментами под оборудованием, а также в местах перехода пола к этим конструкциям. В местах примыкания пола к стенам, колоннам, фундаментам под оборудование, трубопроводам и другим конструкциям, выступающим над полом, гидроизоляцию непрерывно продолжают на высоту не менее 300 мм от уровня покрытия пола.

8.7. Гидроизоляцию от грунтовых вод наливную и асфальтовую следует назначать при расположении низа подстилающего слоя в зоне опасного капиллярного поднятия грунтовых вод. Гидроизоляция необходима как в случаях отсутствия воздействия на пол сточных жидкостей средней и большой интенсивности, так и в случаях их наличия.

При проектировании гидроизоляции высоту опасного капиллярного поднятия грунтовых вод принимают от горизонта, м:

0,3 - для грунтового основания из крупного песка;

0,5 - для грунтового основания из мелкого и средней крупности песка;

1,5 - для грунтового основания из пылеватого песка;

2 - для грунтового основания из супеси, суглинка, пылеватого суглинка или глины.

8.8. Гидроизоляцию от грунтовых вод оклеечную битумную назначают при расположении бетонного подстилающего слоя ниже уровня отмостки здания или при наличии подпорных грунтовых вод даже в случае отсутствия воздействия на пол сточных жидкостей средней и большой интенсивности.

Оклеечную битумную гидроизоляцию из наплавленного рубероида допускается применять только в условиях, исключающих возможность его интенсивного загнивания (при отсутствии воздействия веществ животного происхождения и других биологически активных сред).

8.9. При расположении бетонного подстилающего слоя ниже уровня отмостки здания в помещениях, где отсутствуют какие-либо воздействия на пол сточных жидкостей и опасное капиллярное поднятие грунтовых вод, оклеечную битумную гидроизоляцию применяют при:

устройстве заглубленных стен подвальных помещений, в которых располагается подсобное техническое оборудование (насосы для подкачки воды, компрессорные и холодильные установки, системы кондиционирования воздуха и пр.);

вероятном во время эксплуатации здания постепенном поднятии общего уровня грунтовых вод на застраиваемой территории, например, ввиду заключения в трубы протекающих по данной территории малых рек, речек и др.

8.10. Материал гидроизоляции и схемы приведены в табл. 8.

Таблица 8

Гидроизоляция


Наименование гидроизоляции

Тип

Материал

Количество слоев

Схема

Слои пола

Гидроизоляция от сточных вод и других жидкостей

Оклеечная:

битумная или дегтевая

Гидростеклоизол, гидроизол, бризол на битумной мастике, наплавленный рубероид

2-4

1 - покрытие;

2 - прослойка;

3 - гидроизоляция;

4 - стяжка;

6 - подстилающий слой;

7 - плита перекрытия;

8 - грунт основания (уплотненный);

11 - заполнение швов мастикой

полимерная

36

Полиизобутилен, ПВХ-пленка, стеклоткань на химически-стойком полимерном клее (мастике)

1-2

 

Гидроизоляция от капиллярного поднятия грунтовых вод

Наливная

Уплотненный черный щебень с пропиткой битумом

1

 

Асфальтовая

Асфальтобетон

1

 

Оклеечная битумная

Гидростеклоизол, изол, гидроизол, бризол на битумной мастике

 

 


9. ПРОЕКТИРОВАНИЕ ТЕПЛОЗВУКОИЗОЛЯЦИИ

9.1. Толщину слоя теплоизоляции следует назначать по расчету, производимому в соответствии со СНиП II-3-79 «Строительная теплотехника».

9.2. Толщину слоя звукоизоляции следует назначать по расчету, производимому в соответствии со СНиП II-12-77.

9.3. При сосредоточенных нагрузках на пол более 2 кН (200 кгс) для устройства теплоизоляции следует применять несжимающиеся под расчетной нагрузкой материалы (легкий бетон, ячеистый бетон и т.п.).

9.4. В отапливаемых помещениях с температурой воздуха до 23 °С при расположении покрытия пола, основанного на грунте, выше отмостки здания или ниже ее до 0,5 м необходимо предусматривать утепление пола в зонах его примыкания к наружным стенам и стенам, отделяющим отапливаемые помещения от неотапливаемых, в следующих случаях:

а) в производственных помещениях при работах, выполняемых сидя или стоя и не требующих систематического физического напряжения или поднятия и переноски тяжестей (легкие работы);

6) в помещениях жилых, общественных и административно-бытовых зданий с долговременным пребыванием людей.

Для утепления пола следует предусматривать укладку в соответствующие заглубления в грунтовом основании на ширину 1,5-2 м от стен минеральных несжимаемых материалов (шлака, керамзита и т.п.) слоем толщиной 0,15-0,25 м или размещение вдоль стен каналов с трубами отопления.

9.5. При устройстве покрытия пола из древесно-волокнистых плит и из всех видов линолеума без теплозвукоизолирующей подосновы, выполняемых по сплошным стяжкам, под этими стяжками необходимо предусматривать выполнение теплозвукоизоляции из материалов, указанных в табл. 9.

Таблица 9

Материал теплозвукоизоляции

Толщина слоя, мм

Сопротивление теплопередаче, м2 °С/Вт

Щебень из шлаковой пемзы с объемной массой не более 800 кг/м3

70

0,551

Гравий керамзитовый с объемной массой не более 600 кг/м3

60

0,532

Щебень и песок из вспученного перлита или верликалита с объемной массой не более 200 кг/м3

40

0,646

Плиты фибролитовые на портландцементе марки Ф-300 с объемной массой не более 350 кг/м3

50

0,615

Плиты древесно-волокнистые марки М-2 или М-3 с объемной массой не более 250 кг/м3 (только под покрытия из линолеума)

24

-

Размер гранул из сыпучих материалов - не более 15 мм.

9.6. В качестве звукоизоляционных ленточных прокладок и засыпок применяют материалы, указанные в табл. 10.

Материалы группы А следует применять только под сплошные сборные стяжки из различного вида бетонов и твердых древесно-волокнистых плит.

Таблица 10

Группа

матери­алов

Материал

Объемная

масса, кг/м3

Толщина прокладки, мм

в необжатом состоянии

в обжатом состоянии

А

Минераловатные плиты, прошитые в бумаге

100-150

40-50

15-20

 

То же, на синтетической связке

100-150

30-40

15-20

 

Стекловолокнистые маты

100-150

30-40

15-20

 

Минеральные и стекловолок­нистые плиты на синтетической связке

50-150

40-50

15-20

Б

Древесно-волокнистые плиты изоляционные

125-250

16-20

16-20

В

Засыпка из шлака или песка

-

-

60

9.7. При проектировании перекрытий с полом, укладываемым по звукоизоляционному слою в виде ленточных или штучных (отдельных) прокладок, следует:

а) ширину прокладок принимать на 5 см больше ширины лаги;

б) площадь или длину прокладок принимать такой, чтобы напряжение в прокладке при эксплуатационной нагрузке не превышало 1000 кг/м2.

9.8. При проектировании перекрытий с полом, укладываемым по звукоизоляционному слою, следует предусматривать зазор шириной не менее 2 см между полом (стяжкой или плитой пола) и примыкающими стенами и перегородками, заполненный звукоизоляционным материалом.

Крепление плинтусов или галтелей следует предусматривать только к полу или только к стене (перегородке).

9.9. Древесно-волокнистые плиты, применяемые для теплозвукоизоляции, должны быть антисептированы в массе при их заводском изготовлении, что должно быть отражено в паспорте на изделия (плиты) при их поставке.

9.10. В зданиях с перекрытиями из различной толщины плоских плит кассетного формования, а также у плит с ребрами по контуру размером на комнату наряду со звукоизоляционными прокладками из древесноволокнистых плит допускается использовать картон толщиной 3-4 мм.

9.11. По несущим плитам перекрытий с поверхностной плотностью не менее 280 кг/м3 (сплошные плиты из тяжелого бетона толщиной 120 мм и более, многопустотные плиты толщиной 220 мм с круглыми пустотами) толщину прокладок из мягких древесно-волокнистых плит под лаги допускается принимать 12 мм, а по плитам толщиной 100 мм - прокладки толщиной 24 мм.

9.12. При необходимости устройства тепло звукоизоляции под сборными стяжками из бетона на гипсоцементно-пуццолановом вяжущем и из керамзитобетона на цементном вяжущем предусматривают обязательно сплошной слой.

10. ПРОЕКТИРОВАНИЕ ПОДСТИЛАЮЩИХ СЛОЕВ

10.1. Нежесткий подстилающий слой (песчаный, гравийный, щебеночный и др.) допускается проектировать в производственных зданиях под такие виды покрытий, как крупноразмерные жаростойкие плиты, брусчатка, чугунные плиты с опорными выступами (см. в табл. 1 тип покрытия в пп. 10, 16, 17, 19, 20). Толщину такого слоя следует устанавливать расчетом в зависимости от действующей на пол нагрузки, применяемых материалов и свойств грунта основания. Толщина подстилающего слоя должна быть при сосредоточенных нагрузках на пол менее 5 кН (500 кгс) не менее, мм:

песчаного.......................................................... 60

шлакового, гравийного и щебеночного .…..... 80

10.2. Глинобетонный подстилающий слой (глинобетонное покрытие № 45) допускается применять только при сухих грунтах основания.

10.3. Жесткий подстилающий слой из бетона применяется под все виды покрытий в любых видах зданий.

Вопросы армирования бетонного подстилающего слоя должны решаться в каждом конкретном случае исходя из технико-экономической целесообразности.

Марка бетона и толщина подстилающего слоя устанавливаются расчетом.

Исходя из обеспечения несущей способности подстилающего слоя следует применять класс бетона по прочности на сжатие не ниже В22.5.

В случаях когда по расчету напряжение растяжения в подстилающем слое толщиной 100 мм из бетона класса В22.5 получается меньше расчетного, следует применять бетон более низкого класса, но не ниже В7,5. При сосредоточенных нагрузках на пол с бетонным подстилающим слоем менее 10 кН (1000 кгс) толщина указанного слоя должна быть не менее, мм:

в жилых и общественных зданиях .............. 80

в производственных помещениях ............. 100

В этом случае следует применять бетон класса В7,5.

10.4. При использовании бетонного подстилающего слоя в качестве покрытия (приложения 1, 2, 4, 8) его толщину по сравнению с установленной расчетом увеличивают на 20-30 мм. Класс бетона такого подстилающего слоя должен быть не менее В22.5.

10.5. В бетонных подстилающих слоях полов помещений, при эксплуатации которых возможны резкие перепады температур, предусматривают устройство деформационных швов, располагаемых между собой во взаимно перпендикулярных направлениях на расстоянии 8-12 м.

Деформационные швы в полах должны совпадать с деформационными швами зданий, а в полах с уклонами для стока жидкостей - с водоразделом полов.

11. ПРОЕКТИРОВАНИЕ ГРУНТОВ ОСНОВАНИЯ

11.1. Пол следует устраивать на грунтах, исключающих возможность деформации конструкции от просадки грунта.

Торф, чернозем и другие растительные грунты в качестве оснований под полы не допускаются.

11.2. Естественные грунты с нарушенной структурой или насыпные рекомендуется уплотнять.

11.3. При расположении низа подстилающего слоя в зоне опасного капиллярного поднятия многолетних или сезонных грунтовых вод в помещениях, где отсутствует воздействие на пол сточных вод и других жидкостей средней и большей интенсивности, предусматривают одну из следующих мер:

понижение горизонта грунтовых вод: повышение уровня пола: при бетонном подстилающем слое применяют гидроизоляцию для защиты от грунтовых вод в соответствии с п. 8.7.

11.4. При пучинистых грунтах в основании пола помещений, где возможно промерзание этих грунтов, предусматривают одну из следующих мер:

понижение уровня грунтовых вод ниже глубины промерзания основания не менее чем на 0,8 м;

выполнение по основанию теплоизоляционного слоя толщиной по расчету из неорганических влагостойких материалов средней плотностью не более 1,2 т/м;

замену пучинистого грунта при засыпке котлованов в зоне промерзания основания практически непучинистым грунтом.

11.5. В поверхность основания из нескального грунта перед укладкой по нему бетонного подстилающего слоя предусматривают вдавливание щебня или гравия на глубину не менее 40 мм.

ПРИЛОЖЕНИЕ 1

КОНСТРУКТИВНЫЕ СХЕМЫ ПОЛОВ

Покрытие

Схема

Слои пола

Цементно-песчаное по подстилающему слою

1 - покрытие из цементного раствора;

3 - гидроизоляция;

5 - тепло- или звукоизоляционный слой из легкого или ячеистого бетона и дру­гих материалов, не сжимающихся под расчетной нагрузкой (в том числе из блоков и плит);

6 - бетонный подстилающий слой;

7 - плита перекрытия;

8 - грунт основания;

9 - трубопровод;

d - диаметр трубопровода, укладываемого в полу.

Цементно-песчаное по плите перекрытия

Цементно-песчаное в многослой­ной конструкции пола

 

Цементно-бетонное в однослойной конструкции пола

1 - покрытие из цементного бетона (традиционное);

1а - покрытие из цементного бетона (вибровакуумированное);

3 - гидроизоляция;

5 - тепло- или звукоизоляционный слой из легкого или ячеистого бетона и других материалов, не сжимающихся под расчетной нагрузкой (в том числе из

блоков и плит);

6 - бетонный подстилающий слой;

7 - плита перекрытия;

8 - грунт основания;

9 - трубопровод

Цементно-бетонное по подстилаю­щему слою

Цементно-бетонное по плите перекрытия

 

Цементно-бетонное в многослой­ной конструкции пола

 

Асфальтобе­тонное:

по подстилающему слою

1 - покрытие из асфальтобетона;

4а - стяжка бетонная;

5 - тепло- или звукоизоляционный слой из легкого или ячеистого бетона и дру­гих материалов, не сжимающихся под расчетной нагрузкой (в том числе из блоков и плит);

6 - бетонный подстилающий слой;

7 - плита перекрытия;

8 - грунт основания;

9 - трубопровод

по плите перекрытия

 

в много­слойной конструкции пола

 

Мозаично-бетонное (изготовлен­ное методом вибровтапли­вания) в однослойной конструкции пола

1а - верхний слой покрытия из мозаичного бетона (терраццо);

1б - нижний слой покрытия из цементно-песчаного раствора;

1в - покрытие из мозаичного бетона (изготовление методом вибровтапливания);

3 - гидроизоляция;

Мозаично-бетонное (терраццо):

по подстила­ющему слою

5 - тепло- или звукоизоляционный слой из легкого или ячеистого бетона и других материалов, не сжимающихся под расчетной нагрузкой (в том числе из блоков и плит);

6 - бетонный подстилающий слой;

7 - плита перекрытия;

8 - грунт основания;

9 - трубопровод

по плите перекрытия

 

в многослой­ной конструкции пола

 

Поливинил­ацетатце­ментно-бетонное:

по подсти­лающему слою

1 - покрытие;

4а - стяжка из цементного бетона класса В 15;

5 - тепло- или звукоизоляционный слой из легкого или ячеистого бетона и других материалов, не сжимающихся под расчетной нагрузкой (в том числе из блоков и плит);

6 - бетонный подстилающий слой;

7 - плита перекрытия;

8 - грунт основания;

9 - трубопровод

по плите перекрытия

 

в много­слойной конструкции пола

 

Латексце­ментно-бетонное:

по подстила­ющему слою

1 - покрытие;

3 - гидроизоляция;

4а - стяжка из цементного бетона класса В 15;

5 - тепло- или звукоизоляционный слой из легкого или ячеистого бетона и других материалов, не сжимающихся под расчетной нагрузкой (в том числе из блоков и плит);

6 - бетонный подстилающий слой;

7 - плита перекрытия;

8 - грунт основания;

9 - трубопровод

по плите перекрытия

 

в многослой­ной конструкции пола

 

Кислото­стойкий бетон на жидком стекле с уплотняющей добавкой:

по подстила­ющему слою

1 - покрытие из кислотостойкого бетона;

3 - гидроизоляция;

4а - стяжка из бетона;

5 - тепло- или звукоизоляционный слой из легкого или ячеистого бетона и других материалов, не сжимающихся под расчетной нагрузкой (в том числе из блоков и плит);

6 - бетонный подстилающий слой;

7 - плита перекрытия;

8 - грунт основания

по плите перекрытия

 

в многослой­ной конструкции пола

 

Жаростойкий бетон на портландцементе с хромитом и заполнителем из шлака:

в однослой­ной конст­рукции пола

1 - покрытие из жаростойкого бетона;

5 - тепло- или звукоизоляционный слой из легкого или ячеистого бетона и других материалов, не сжимающихся под расчетной нагрузкой (в том числе из блоков и плит);

7 - плита перекрытия;

8 - грунт основания;

10 - пластинчатая арматура

в многослой­ной конст­рукции пола

 

Бетонное с упрочненным верхним слоем:

в однослой­ной конст­рукции пола

1 - покрытие с упрочненным верхним слоем;

1а - покрытие с упрочненным верхним слоем (вибровакуумированное);

1* - покрытие из плит жаростойкого бетона (рабочие чертежи ЦИТП, шифр 2175- 82);

2л - прослойка из песка;

3 - гидроизоляция;

по подсти­лающему слою

5 - тепло- или звукоизоляционный слой из легкого или ячеистого бетона и других материалов, не сжимающихся под расчетной нагрузкой (в том числе из блоков и плит);

6 - бетонный подстилающий слой;

7 - плита перекрытия;

8 - грунт основания

по плите перекрытия

*Толщина плит принимается по расчету конструкций, лежащих на упругом основании.

в многослой­ной конст­рукции пола

 

Плиты из жаростойкого бетона на портландцементе с хромитом и заполнителем из шлака по прослойке из песка

 

Металлоце­ментное:

по подстила­ющему слою

1 - покрытие из металлоцементного раствора;

1а - верхний слой покрытия из металлоцементного раствора;

1б - нижний слой покрытия из цементно-песчаного раствора;

3 - гидроизоляция;

5 - тепло- или звукоизоляционный слой из легкого бетона и других материалов, не сжимающихся под расчетной нагрузкой (в том числе из блоков и плит);

по плите перекрытия

6 - бетонный подстилающий слой;

7 - плита перекрытия;

8 - грунт основания;

9 - трубопровод

в многослой­ной конст­рукции пола

 

 

 

Ксилолито­вое:

по подстила­ющему слою

1 - покрытие;

4а - стяжка бетонная;

5 - тепло- или звукоизоляционный слой из легкого или ячеистого бетона и других материалов, не сжимающихся под расчетной нагрузкой (в том числе из блоков и плит);

6 - бетонный подстилающий слой;

7 - плита перекрытия;

8 - грунт основания;

9 - трубопровод

по плите перекрытия

 

в многослой­ной конст­рукции пола

 

Поливинил­ацетатце­ментно-опилочное:

по подстила­ющему слою

1 - покрытие;

4а - стяжка бетонная;

5 - тепло- или звукоизоляционный слой из легкого или ячеистого бетона и других материалов, не сжимающихся под расчетной нагрузкой (в том числе из блоков и плит);

6 - бетонный подстилающий слой;

7 - плита перекрытия;

8 - грунт основания;

9 - трубопровод

по плите перекрытия

 

в многослой­ной конст­рукции пола

 

Поливинил­ацетатное мастичное:

по подстил­ающему слою

1 - покрытие из поливинилацетатной мастики;

4а - стяжка бетонная или из легкого бетона;

4в - стяжка из гипса прочностью не ниже 15 МПа;

5 - тепло- или звукоизоляционный слой из легкого или ячеистого бетона и других материалов, не сжимающихся под расчетной нагрузкой (в том числе из блоков и плит);

по плите перекрытия

6 - бетонный подстилающий спой;

7 - плита перекрытия;

8 - грунт основания;

9 - трубопровод

в многослой­ной конст­рукции пола

 

Эпоксидное мастичное наливное:

по подстила­ющему слою

1 - покрытие из эпоксидной мастики;

3 - гидроизоляция;

4а - стяжка из бетона класса В15; 4в - стяжка из гипса прочностью не менее 20 МПа;

5 - тепло- или звукоизоляционный слой из легкого бетона и других материалов, не сжимающихся под расчетной нагрузкой (в том числе из блоков и плит);

6 - бетонный подстилающий слой;

7 - плита перекрытия;

8 - грунт основания;

9 - трубопровод

по плите перекрытия

 

в многослой­ной конст­рукции пола

 

Брусчатка: по грунту

1 - покрытие из брусчатки;

2а - прослойка из цементно-песчаного раствора;

2л - прослойка из песка, выполняющая функции подстилающего слоя;

6а - подстилающий слой из бетона;

6б - подстилающий слой из гравия, шлака, щебня;

8 - грунт основания

по подстила­ющему слою

 

Стальные плиты:

по подстила­ющему слою

1 - покрытие из стальных плит;

2к - прослойка из мелкозернистого бетона класса В30;

4а, б - стяжка из бетона или цементно-песчаного раствора;

5 - тепло- или звукоизоляционный слой из легкого или ячеистого бетона и других материалов, не сжимающихся под расчетной нагрузкой в том числе из блоков и плит);

по плите перекрытия

6 - бетонный подстилающий слой;

7 - плита перекрытия;

8 - грунт основания;

9 - трубопровод

в многослой­ной конст­рукции пола

 

Чугунные дырчатые плиты:

по подстила­ющему слою

1 - покрытие из чугунных дырчатых плит;

2к - прослойка из мелкозернистого бетона;

5 - тепло- или звукоизоляционный слой из легкого или ячеистого бетона и других материалов, не сжимающихся под расчетной нагрузкой (в том числе из блоков и плит);

6 - бетонный подстилающий слой;

7 - плита перекрытия;

8 - грунт основания;

9 - трубопровод

по плите перекрытия

 

в многослой­ной конст­рукции пола

 

Чугунные плиты с опорными выступами:

по подстила­ющему слою

1 - покрытие из чугунных плит с опорными выступами;

2и - прослойка из теплозвукоизоляционных материалов (дробленый каменноугольный шлак, молотые отходы шамотного кирпича или другие жаростойкие сыпучие материалы объемной массой в уплотненном состоянии 1-1,2 г/см);

2л - прослойка из песка;

6а - нежесткий подстилающий слой из гравия;

6б - бетонный подстилающий слой;

7 - плита перекрытия;

8 - грунт основания

 

 

по плите перекрытия

 

Торцовое:

по подстила­ющему слою

1 - покрытие из торцовой шашки;

2е, з - прослойка из битумной или дегтевой мастики;

4а, б - стяжка из бетона или из цементно-песчаного раствора;

5 - тепло- или звукоизоляционный слой из легкого или ячеистого бетона и других материалов, не сжимающихся под расчетной нагрузкой (в том числе из блоков и плит);

6 - бетонный подстилающий слой;

7 - плита перекрытия;

8 - грунт основания;

9 - трубопровод

по плите перекрытия

в многослой­ной конст­рукции пола

 

Асфальтобе­тонные плиты:

по подстила­ющему слою

1 - покрытие из плит асфальтобетонных;

2е - прослойка из битумной мастики толщиной 2-3 мм;

3 - гидроизоляция;

4а, г - стяжка из бетона или легкого бетона;

5 - тепло- или звукоизоляционный слой из легкого или ячеистого бетона и других материалов, не сжимающихся под расчетной нагрузкой (в том числе из блоков и плит);

6 - бетонный подстилающий слой;

7 - плита перекрытия;

8 - грунт основания

по плите перекрытия

в многослой­ной конст­рукции пола

 

Цементно-бетонные плиты; моза­ично-бетон­ные плиты; мраморные плиты; плиты природного камня извер­женных пород:

по подстила­ющему слою

1 - покрытие из плит;

2а - прослойка из цементно-песчаного раствора;

3 - гидроизоляция;

4а, г - стяжка из бетона или легкого бетона;

5 - тепло- или звукоизоляционный слой из легкого или ячеистого бетона и других материалов, не сжимающихся под расчетной нагрузкой (в том числе из блоков и плит);

6 - бетонный подстилающий слой;

по плите перекрытия

7 - плита перекрытия;

8 - грунт основания;

9 - трубопровод

 

 

в многослой­ной конст­рукции пола

 

Керамичес­кие плитки

Кислото­упорные плитки

Шлакоситал­ловые плиты

Каменные литые плитки типа диаба­зовых

Кислото­упорный кир­пич плашмя и на ребро:

по подстила­ющему слою

1 - покрытие из плиток, плит, кирпича;

2а - прослойка из цементно-песчаного раствора;

2б - прослойка из латексцементно-песчаного раствора;

2в - прослойка из раствора на основе жидкого стекла с уплотняющей добавкой;

2г - прослойка из мастики на основе эпоксидной смолы; 2д- прослойка из арзамит-замазки-

по плите перекрытия

2е - прослойка из битумной мастики;

3 - гидроизоляция;

4а - стяжка из бетона;

5 - тепло- или звукоизоляционный слой из легкого или ячеистого бетона и других материалов, не сжимающихся под расчетной нагрузкой (в том числе из блоков и плит);

6 - бетонный подстилающий слой;

7 - плита перекрытия;

8 - грунт основания;

11 - заполнение швов мастикой

в многослой­ной конст­рукции пола

 

Каменные литые плиты типа светло­го каменного литья:

по подстила­ющему слою

1 - покрытие из плит;

2а - прослойка из цементно-песчаного раствора;

2б - прослойка из латексцементно-песчаного раствора;

3 - гидроизоляция;

4а - стяжка из бетона;

5 - тепло- или звукоизоляционный слой из легкого или ячеистого бетона и других материалов, не сжимающихся под расчетной нагрузкой (в том числе из блоков и плит);

6 - бетонный подстилающий слой;

7 - плита перекрытия;

8 - грунт основания;

11 - заполнение швов мастикой

по плите перекрытия

 

в многослой­ной конст­рукции пола

 

Поливинил­хлоридный пластикат:

по подстила­ющему слою

1 - покрытие;

2ж - прослойка из холодной мастики на водостойких вяжущих;

3 - гидроизоляционный слой;

4а, г - стяжка из бетона или легкого бетона класса В15;

4б, в - стяжка из цементно-песчаного раствора или из гипса не менее 20 МПа;

4е - стяжка из армированных плит размером на комнату;

5 - тепло- или звукоизоляционный слой из материалов;

6 - бетонный подстилающий слой;

7 - плита перекрытия;

8 - грунт основания

по плите перекрытия

 

в многослой­ной конст­рукции пола

 

Дощатое (окрашен­ное);

паркетные доски и щиты:

по грунту

1 - покрытие;

3 - гидроизоляция (в два слоя рубероида);

4б - стяжка из цементно-песчаного раствора;

6 - бетонный подстилающий слой;

7 - плита перекрытия;

8 - грунт основания;

13 - бетонный или кирпичный столбик (подкладка на цементно-песчаном растворе М25);

14 - прокладка длиной 200- 250 мм;

15- лага

по подстила­ющему слою

Примечания:

1. При покрытиях из паркетных досок толщиной 25 мм или шпунтованных досок толщиной 28 мм интервал между лагами принимается 400-500 мм; при покрытиях из паркетных щитов интервал принимается 300-400 мм; при покрытиях из шпунтованных досок толщиной 25 мм интервал принимается 350-400 мм;

2. Интервал между первой от стены и следующей лагой - не более 300 мм.

по плите перекрытия

 

 

1 - покрытие;

4б - стяжка из цементно-песчаного раствора;

5 - тепло- или звукоизоляционный слой из материалов;

7 - плита перекрытия;

12 - звукоизоляционная прокладка из мягкой ДВП длиной 500-800 мм с интервалом 150-200 мм;

 

14 - прокладка выравнивающая из ДВП длиной 400-500 с интервалом 300-400 мм; 15 - лага

Примечания:

1. При покрытиях из паркетных досок толщиной 25 мм или шпунтованных досок толщиной 28 мм интервал между лагами принимается 400-500 мм; при покрытиях из паркетных щитов интервал принимается 300-400 мм; при

В многослой­ной конст­рукции пола:

дощатое (окрашен­ное);

паркетные доски и щиты

покрытиях из досок толщиной 21-23 мм интервал принимается 350-400 мм;

2. Интервал между первой от стены и следующей лагой не более 300 мм.

 

 

Сверхтвер­дые ДВП:

по подстила­ющему слою

1 - покрытие;

4ж - стяжка сборная;

6 - бетонный подстилающий слой;

7 - плита перекрытия;

8 - грунт основания;

12 - лаги деревянные;

15 - звукоизоляционные прокладки

по плите перекрытия

 

Штучный и наборный паркет:

по подстила­ющему слою

1 - покрытие из штучного и наборного паркета;

2ж - прослойка из холодной мастики на водостойких вяжущих толщиной 0,8-1,5 мм;

4б - стяжка из цементно-песчаного раствора;

4д - стяжка из литого асфальтобетона;

5 - тепло- или звукоизоляционный слой из материалов;

6 - бетонный подстилающий слой;

7 - плита перекрытия;

8 - грунт основания

по плите перекрытия

 

в многослой­ной конст­рукции пола

 

Линолеум, рулонное на основе химических волокон (в том числе на ТЗИ-подоснове):

по подстила­ющему слою

1 - покрытие;

2ж - прослойка из холодной мастики на водостойких вяжущих;

4а, г - стяжка из бетона или легкого бетона;

4б, в - стяжка из цементно-песчаного раствора или из гипсобетона;

4е - стяжка из армированных плит размером на комнату;

5 - тепло- или звукоизоляционный слой из материалов;

6 - бетонный подстилающий слой;

по плите перекрытия

7 - плита перекрытия;

8 - грунт основания;

Примечание. Применение стяжки из гипсобетона под покрытие на ТЗИ-подоснове не допускается.

в многослой­ной конст­рукции пола

 

Глинобетон­ное; глинобитное

1 - покрытие;

8 - грунт основания

Щебеночное:

пропитанное битумом

 

гравийное

 

Шлаковое; земляное

 


ПРИЛОЖЕНИЕ 2

РЕКОМЕНДУЕМЫЕ ВИДЫ ОТДЕЛКИ ПОВЕРХНОСТИ ПОКРЫТИЙ ПОЛОВ ДЛЯ СНИЖЕНИЯ ПЫЛЕОТДЕЛЕНИЯ

Покрытие

Способ отделки поверхности покрытия пола при требовании

 

малого пылеотделения

беспыльности

Цементно-бетонное Цементно-песчаное Мозаично-бетонное

Шлифование, пропитка уплотняющими составами

Шлифование с последу­ющим нанесением полимерных красок, лаков или эмалей, в том числе антистатиками

Поливинилацетатцемент­но-бетонное

 

 

Латексцементно-бетонное

Шлифование

 

Ксилолитовое

 

 

Поливинилацетатцемент­но-опилочное

 

 

СОДЕРЖАНИЕ

1. ОБЩИЕ ПОНЯТИЯ О ПОЛАХ И ПРИМЕНЯЕМЫХ МАТЕРИАЛАХ.. 1

2. КЛАССИФИКАЦИЯ И ХАРАКТЕРИСТИКА ЭКСПЛУАТАЦИОННЫХ ВОЗДЕЙСТВИЙ.. 2

3. СПЕЦИАЛЬНЫЕ ТРЕБОВАНИЯ К ПОЛАМ... 3

4. ОБЩИЕ РЕКОМЕНДАЦИИ ПО ПРОЕКТИРОВАНИЮ... 4

5. ПРОЕКТИРОВАНИЕ ПОКРЫТИЙ ПОЛОВ.. 4

5.1. Производственные помещения. 4

5.2. Жилые и общественные здания. 6

6. ПРОЕКТИРОВАНИЕ ПРОСЛОЕК.. 21

7. ПРОЕКТИРОВАНИЕ СТЯЖЕК.. 22

8. ПРОЕКТИРОВАНИЕ ГИДРОИЗОЛЯЦИОННЫХ СЛОЕВ.. 23

9. ПРОЕКТИРОВАНИЕ ТЕПЛОЗВУКОИЗОЛЯЦИИ.. 26

10. ПРОЕКТИРОВАНИЕ ПОДСТИЛАЮЩИХ СЛОЕВ.. 27

11. ПРОЕКТИРОВАНИЕ ГРУНТОВ ОСНОВАНИЯ.. 27

ПРИЛОЖЕНИЕ 1. 28

КОНСТРУКТИВНЫЕ СХЕМЫ ПОЛОВ.. 28

ПРИЛОЖЕНИЕ 2. 43

РЕКОМЕНДУЕМЫЕ ВИДЫ ОТДЕЛКИ ПОВЕРХНОСТИ ПОКРЫТИЙ ПОЛОВ ДЛЯ СНИЖЕНИЯ ПЫЛЕОТДЕЛЕНИЯ.. 43

 




Яндекс цитирования



   Copyright © 2007-2026,  www.tehlit.ru.

[ ѓосты, стандарты, нормативы, инструкции, правила, строительные нормы ]