//
|
|
ГОСУДАРСТВЕННЫЙ СТАНДАРТ СОЮЗА ССР ПОРОДЫ ГОРНЫЕ МЕТОДЫ ОПРЕДЕЛЕНИЯ КОЛЛЕКТОРСКИХ СВОЙСТВ Метод определения коэффициента абсолютной газопроницаемости при стационарной и нестационарной фильтрации ГОСТ 26450.2-85 ГОСУДАРСТВЕННЫЙ КОМИТЕТ СССР ПО СТАНДАРТАМ Москва РАЗРАБОТАНЫ Министерством геологии СССР, Министерством нефтяной промышленности, Министерством газовой промышленности ИСПОЛНИТЕЛИ В. И. Петерсилье, канд. г.-м. наук; Э. Г. Рабиц, канд. г.-м. наук; Л. А. Коцеруба, канд. г.-м. наук; А. Г. Ковалев, канд. г.-м. наук; Я. Р. Морозович, канд. г.-м. наук ВНЕСЕНЫ Министерством геологии СССР Зам. министра В. Ф. Рогов УТВЕРЖДЕНЫ И ВВЕДЕНЫ В ДЕЙСТВИЕ Постановлением Государственного комитета СССР по стандартам от 27 февраля 1985 r. № 424 ГОСУДАРСТВЕННЫЙ СТАНДАРТ СОЮЗА ССР
Постановлением Государственного комитета СССР по стандартам от 27 февраля 1985 г. №424 срок действия установлен с 01.07.86 до 01.07.91 Несоблюдение стандарта преследуется по закону Настоящий стандарт распространяется на горные породы, насыщенные в природных условиях нефтью, газом или водой и устанавливает метод лабораторного определения коэффициента абсолютной газопроницаемости при стационарной и нестационарной фильтрации с линейным и радиальным направлением потока газа для получения информации о фильтрационных свойствах изучаемых пород. Стандарт не распространяется на рыхлые горные породы. Сущность метода заключается в определении постоянной (стационарной) или переменной (нестационарной) скорости фильтрации газа через образец горной породы в линейном или радиальном направлении под действием разности давлений. При стационарной фильтрации скорость определяется известным объемом газа, прошедшим через образец за фиксированный отрезок времени при постоянной разности давлений; при нестационарной фильтрации скорость также определяется известным объемом газа, прошедшим через образец за фиксированный отрезок времени, но при переменной разности давлений на входе и выходе из образца. 1. МЕТОД ОТБОРА ОБРАЗЦОВ1.1. Метод отбора образцов - по ГОСТ 26450.0-85. 2. ОБОРУДОВАНИЕ, ИНСТРУМЕНТЫ И РЕАКТИВЫ2.1. Оборудование, инструменты и реактивы - по ГОСТ 26450.0-85 «Породы горные. Отбор и подготовка образцов для определения коллекторских свойств. Общие требования» со следующим дополнением: установка для определения абсолютной газопроницаемости при стационарной и нестационарной фильтрации (чертеж), конструкция которой предусматривает наличие источника давления или разрежения, регулятора давления, кернодержателя и измерителей давления и расхода газа и удовлетворяет следующим требованиям: Принципиальная схема установки для определения газопроницаемости 1 - источник давления; 2 - редуктор высокого давления; 3 - редуктор низкого давления; 4 - осушитель газа; 5 - фильтр; 6 - трехходовой кран; 7 - манометр; 8 - кернодержатель; 9 - расходомер; 10 - пьезометр; 11 - вакуумный насос при стационарной фильтрации источником давления служит баллон с газообразным азотом или воздухом или компрессор сжатого воздуха. Газ очищают от паров воды и загрязняющей пыли с помощью фильтра и хлористого кальция; измерителями давления служат технические или образцовые пружинные манометры, мановакуумметры двухтрубные с ртутным или водяным заполнением с длиной шкалы 800 мм, микроманометры; в качестве измерителей расхода газа используют газомеры любых конструкций; при нестационарной фильтрации источником разрежения служит вакуум-насос, источником давления (для пневмообжима) - баллон с газообразным азотом или воздухом или компрессор сжатого воздуха; в качестве измерителя объема и изменения перепада давления используют однотрубный или двухтрубный пьезометр с известными характеристиками, расчет которых в виде таблицы коэффициентов представлен в обязательном приложении 3; в кернодержателе для линейной фильтрации боковая поверхность образца зачехляется в тонкостенную резиновую манжету, прижимаемую к боковой поверхности образца под действием давления газа или жидкости, допускается использовать толстостенные резиновые конические муфты с внутренним цилиндрическим или квадратным отверстием для образца; в кернодержателе для радиальной фильтрации уплотнению подлежат торцевые поверхности цилиндрического образца с осевым отверстием и плоскопараллельными торцами. Уплотняющими прокладками служат диски из мягкой листовой резины; в одной из прокладок предусмотрено отверстие для сообщения осевой полости образца с источником давления или разрежения. 3. ПОДГОТОВКА К АНАЛИЗУ3.1. Образцы изготавливают из куска керна в лабораторных условиях путем его выбуривания, обрезания, обточки и шлифовки кернов. 3.2. Образцы высушивают в сушильном шкафу при температуре (105±2) °С. Для сильноглинистых пород сушку проводят в термовакуумных шкафах при температуре (70±2)°С. 3.3. Определяют размеры образцов штангенциркулем как среднее из 3-5 определений в каждом направлении с погрешностью до 0,1 мм. Расхождение между определениями не должно превышать 0,5 мм. 4. ПРОВЕДЕНИЕ АНАЛИЗА4.1. Определение газопроницаемости при стационарной фильтрации проводят при линейном или радиальном направлении потока газа. 4.1.2. При радиальном потоке образец помещают в кернодержатель радиальной фильтрации и уплотняют торцевые поверхности с помощью струбцинного зажима, устанавливая осевое давление, обеспечивающее отсутствие проскальзывания газа между образцом и торцевыми уплотнениями, не выше 2,5 МПа. Давление уплотнения указывают в таблице результатов. Измерение проницаемости выполняют в соответствии с п. 4.1.1. 4.2. Определение газопроницаемости при нестационарной фильтрации проводят при линейном или радиальном направлении потока газа. 4.2.1. При линейном потоке образец устанавливают в кернодержатель в соответствии с п. 4.1.1. Подключают к кернодержателю пьезометр и краном соединяют вход с малой трубкой. Выключают источник разрежения и, осторожно открывая вентиль, поднимают уровень воды в пьезометре на 15-20 мм выше верхнего репера. Проводят 3-кратное измерение времени изменения положения уровня жидкости в пьезометре от верхнего репера до выбранного промежуточного репера. Время изменения положения уровня жидкости устанавливают не менее 50 с. Если время до выбранного репера меньше указанного, переключают пьезометр на большую трубку и повторяют операции по п. 4.2.1. 4.2.2. При радиальном потоке образец помещают в кернодержатель для радиальной фильтрации в соответствии с п. 4.1.2. Измерение проницаемости выполняют в соответствии с п. 4.2.1. 5. ОБРАБОТКА РЕЗУЛЬТАТОВ5.1. При стационарной фильтрации результаты обмера образца, перепады давлений, расход газа, а также вязкость газа при температуре проведения опыта и барометрическое давление записывают в рабочий журнал или специальную перфокарту в соответствии с рекомендуемым приложением 1.
где Кг - коэффициент газопроницаемости, измеренный при заданном среднем давлении в образце, 10-3 мкм2 (миллидарси);
V - объем газа, прошедший через образец, см3; t - время фильтрации, с; μ - вязкость газа при условиях фильтрации (Pср, t°C), МПа·с (миллипаскаль-секунда), численные значения μ, в зависимости от температуры приведены в таблице; ΔP - перепад давления на образце между входом и выходом, 0,1 МПа; Pбар - барометрическое давление, 0,1 МПа; L - длина образца, см; F - площадь поперечного сечения образца, см2. Вязкость азота и воздуха в зависимости от температуры
Соотношения между единицами измерений в системе СИ и используемыми в практике при определении проницаемости приведены в справочном приложении 2. 5.1.2. При радиальном потоке коэффициент проницаемости вычисляют по формуле
где D - внешний диаметр образца керна, см; d - внутренний диаметр центрального отверстия, см; Н - высота исследуемого образца керна, см. Остальные обозначения в соответствии с п. 5.1.1. 5.2. При нестационарной фильтрации результаты обмера образца, вязкость воздуха при температуре проведения опыта, величину барометрического давления, а также используемые в процессе опыта размеры между реперами пьезометра и время фильтрации при изменении перепада давления между выбранными реперами записывают в рабочий журнал или специальную перфокарту в соответствии с рекомендуемым приложением 1.
где С - постоянный коэффициент, зависящий от геометрических размеров прибора и условий проведения опыта. Методика вычисления коэффициента С изложена в обязательном приложении 3; t - время фильтрации в заданных пределах (выбранных реперах), с; L, F - размеры образца в соответствии с п. 5.1.1. 5.2.2. При радиальном потоке коэффициент проницаемости вычисляют по формуле
где D, d, Н - размеры образца в соответствии с п. 5.1.2. Остальные обозначения - в соответствии с п. 5.2.1. 5.3. При измерении газопроницаемости возможны отклонения от закона Дарси, влияющие на величину Кг, с целью исключения влияния отклонения выполняют специальные измерения по методике, изложенной в рекомендуемом приложении 4. 5.4. Допустимые погрешности измерения газопроницаемости не должны превышать максимальных погрешностей, расчет которых приведен в справочном приложении 5. ПРИЛОЖЕНИЕ 1
| ||||||||||||||||||||||||||||||||||||||||||||||||||||||||||||||||||||||||||||||||||||||||||||||||||||||||||||||||||||||||||||||||||||||||||||||||||||||||||||||||||||||||||||||||||||||||||||||||||||||||||||||||||||||||||||||||||||||||||||||||||||||||||||||||||||||||||||||||||||||||||||||||||||||||||||||||||||||||||||||||||||||||||||||||||||||||||||||||||||||||||||||||||||||||||||||||
|
Лабораторный номер образца |
Диаметр керна, диаметр цилиндрического образца, D, d, см |
Высота керна, высота цилиндрического образца, длина ребра кубика, Н, h, L, см |
Площадь поперечного сечения цилиндрического образца, F, см2 |
Диаметр осевого отверстия керна, dс, см |
Время прохождения газа через образец t1, t2 t3, с |
Среднее время прохождения газа через образец t, с |
Объем газа, прошедшего через образец, V, см3 |
Расход газа, |
Перепад давления, ΔP, 0,1 МПа |
Барометрическое давление, Рб, 0,1 МПа |
Приведенный перепад давления, ΔР/2+Рб, 0,1 МПа |
Давление обжима, Р0, 0,1 МПа |
Температура, Т, °С |
Вязкость газа, пропускаемого через образец, μ, МПа·с |
Коэффициент абсолютной газопроницаемости, Кг, 10-3 мкм2 |
|
104 |
2,65 |
3,05 |
5,70 |
- |
51,7 |
|
5 |
0,09 |
6·10-3 |
0,08 |
0,10 |
1,2 |
21 |
1,768·10-2 |
14,2 |
|
|
|
|
|
|
54,3 |
54,5 |
|
|
|
|
|
|
|
|
|
|
|
|
|
|
|
54,5 |
|
|
|
|
|
|
|
|
|
|
Таблица 2
Форма записи результатов при определении коэффициента абсолютной газопроницаемости с примером записи результатов (нестационарная фильтрация)
|
Лабораторный номер образца |
Диаметр керна, диаметр цилиндрического образца, D, d, см |
Высота керна, высота цилиндрического образца, длина ребра кубика, Н, h, L, см |
Площадь поперечного сечения цилиндрического образца, F, см2 |
Диаметр осевого отверстия керна, dс, см |
Время прохождения мениска, t1, t2 t3, с |
Среднее время
прохождения мениска, |
Температура, Т, °С |
Вязкость воздуха, μ, МПа·с |
Коэффициент, С |
Давление обжима, Р0, 0,1 МПа |
Коэффициент абсолютной газопроницаемости, Кг, 10-3 мкм2 |
|
1001 |
- |
2,3 |
- |
- |
68,1 |
|
20 |
1,812·10-4 |
1,54·105 |
1,2 |
982 |
|
|
|
|
|
|
68,2 |
68,1 |
|
|
|
|
|
|
|
|
|
|
|
68,0 |
|
|
|
|
|
|
Размерность коэффициента проницаемости в системе единиц СИ выражается в м2. В практике используют за основную единицу проницаемости 1 дарси, а также более мелкую единицу 1 миллидарси.
Для перевода используемых в практике единиц измерения при определении проницаемости в единицы системы СИ используют приведенные ниже соотношения:
|
Измеряемая величина |
Обозначения |
Единицы, применяемые на практике при определении проницаемости |
Единицы системы СИ |
|
Проницаемость |
Кпр |
1 дарси |
0,9869·10-12м2≈ 1 мкм2 (микрометр квадратный) |
|
|
|
1 миллидарси |
10-3 мкм2 |
|
Расход |
Q |
1 см3/с |
1 см3/с=10-6 м3/с |
|
Площадь |
F |
1 см2 |
1 см2=10-4 м2 |
|
Длина |
L |
1 см |
1 см=10-2 м |
|
Давление* |
Р |
1 атм. физ. |
1,01325·105 МПа≈10-1 МПа (мегапаскалъ) |
|
Вязкость (динамическая) |
μ |
1 пуаз |
10-3 Па∙с=1дПа∙с (деципаскаль-секунда) |
|
|
|
1 сантипуаз |
10-1 Па∙с=1 мПа∙с (миллипаскаль-секунда) |
* На практике давление измеряют пружинными, ртутными или водяным» манометрами. Для перевода в физические атмосферы пользуются следующими соотношениями:
1 кгс/см2= 0,967841 [атм. физ.]
1 мм рт. ст.= 13,1579∙10-4 [атм. физ.]
1 мм вод. ст.=0,967841∙10-4 [атм. физ.].
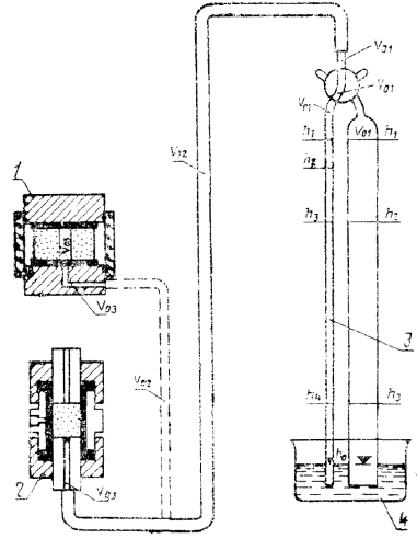
Величина С является комбинированным коэффициентом пьезометра, зависящим от геометрических размеров аппарата (чертеж), барометрического давления и температуры.
Принципиальная схема устройства двухтрубного пьезометра
1 - кернодержатель радиальный; 2 - кернодержатель линейный; 3 - двухтрубный пьезометр; 4 - сосуд для жидкости
Значения коэффициента С вычисляют для всех интервалов измерения по формуле:
,
где ![]()
![]()
- коэффициент, учитывающий
опускание уровня в сосуде, в который погружен пьезометр;
S - площадь сечения сосуда, см2;
f - площадь сечения пьезометрической трубки, см2;
Hбар - высота столба воды, соответствующая барометрическому давлению, см вод. ст. Изменение величины Hбар практически не влияет на точность определения проницаемости, ввиду чего в расчетах можно принять Hбар==const (в общем случае Hбар=1000 см);
h1 - отметка верхнего (начального) отсчетного репера пьезометрической трубки над уровнем воды, см;
hi - отметка текущего (конечного) отсчетного репера пьезометрической трубки над уровнем воды, см;
h0 - отметка нулевого отсчетного репера пьезометрической трубки (уровень воды);
и - высота капиллярного поднятия в пьезометрической трубке, см.
При малых
радиусах трубки
, где а2 - капиллярная постоянная,
равная, для воды при комнатной температуре ~15·10-2 см2,
а r - внутренний радиус трубки, см;
V0 - объем между нижним торцом образца и верхним отсчетным репером (мертвый объем), см3;
μ - вязкость воздуха в зависимости от температуры, дПа·с.
Оптимальной является конструкция аппарата со следующими размерами пьезометрических трубок:
диаметр малой трубки - 0,25-0,30 см;
диаметр большой трубки - 2,50 см:
малая трубка - h1=70 см, h2=65 см, h3=53 см, h4=5 см;
большая трубка h1=70 cm, h2=53 см, h3=5 см.
Вычисления производят следующим образом.
1. Определяют отметки реперов каждой трубки пьезометра - h1, h2, h3, h4 относительно h0 - путем измерения расстояния между репером h0 и соответствующим отсчетным репером с точностью - 0,05 см.
2. Измеряют объемы трубок между реперами h0 и h1 и мертвый объем трубок V0,1 репера h1 до обреза свободного отвода крана путем взвешивания воды с известной плотностью, заполняющей измеряемый объем с точностью 0,01 см3.
3. Мертвый объем аппарата V0 слагается из:
мертвого объема пьезометрических трубок - V0,1;
объема соединительного трубопровода от пьезометра до кернодержателя - V0,2;
мертвого объема кернодержателя - V0,3.
Объем V0,1 известен из данных измерения. Объем V0,2 вычисляется по длине и внутреннему диаметру соединительного трубопровода с погрешностью - 0,5 см3. Объем V0,3 вычисляют по результатам измерения длины и диаметра сверлений в кернодержателе и оценки объема полости под нижним торцом образца с точностью 0,5 см3.
При определении коэффициентов для измерения проницаемости при радиальной фильтрации в объем V0,3 включают объем центрального осевого отверстия в образце, исходя из средних значений диаметра и высоты сверления (наиболее принятые значения d=l,0 см; H=5,0 см).
Определение мертвого объема не требует высокой точности ввиду малого влияния этой величины на точность измерения проницаемости.
4. Вычисляют площадь сечения трубок f по определенным ранее объемам и расстоянию между реперами h1 и h4 (малая трубка) и h1 и h3 (большая трубка) с погрешностью - 0,02 см2.
5. Вычисляют диаметр трубки с погрешностью - 0,01 см:
Æ
.
6. Площадь сечения сосуда S вычисляют по размерам с погрешностью - 0,1 см2.
7. Вычисляют коэффициент С для каждого интервала большой и малой трубок последовательно по формулам, представленным в приложении 3.
8. Таблицу значений коэффициентов С составляют для каждого предела измерения в зависимости от температуры, как это показано в таблице.
Таблица составлена по результатам градуировки реального пьезометра; при близких геометрических размерах используемого пьезометра к рекомендуемым, величины вычисленных коэффициентов С должны иметь тот же порядок.
Таблица 1
Коэффициенты С в зависимости от температуры воздуха
|
Трубка пьезометра |
Реперы |
Множитель |
Температура, °С |
||||||||||||
|
20 |
21 |
22 |
23 |
24 |
25 |
26 |
14 |
15 |
16 |
17 |
18 |
19 |
|||
|
Малая |
h1-h2 |
102 |
1,87 |
1,87 |
1,88 |
1,88 |
1,90 |
1,90 |
1,90 |
1,83 |
1,84 |
1,84 |
1,85 |
1,85 |
1,85 |
|
h1-h3 |
102 |
6,79 |
6,82 |
6,83 |
6,83 |
6,88 |
6,90 |
6,90 |
6,67 |
6,69 |
6,70 |
6,72 |
6,74 |
6,76 |
|
|
h1-h4 |
103 |
6,90 |
6,92 |
6,94 |
6,97 |
6,99 |
7,01 |
7,00 |
6,77 |
6,79 |
6,81 |
6,83 |
6,83 |
6,83 |
|
|
Большая |
h1-h2 |
104 |
2,03 |
2,07 |
2,08 |
2,08 |
2,09 |
2,10 |
2,10 |
2,02 |
2,03 |
2,01 |
2,04 |
2,05 |
2,05 |
|
h1-h3 |
105 |
2,21 |
2,22 |
2,23 |
2,24 |
2,25 |
2,25 |
2,25 |
2,17 |
2,17 |
1,18 |
1,19 |
2,19 |
2,20 |
|
1. При измерении газопроницаемости возникают отклонения от закона Дарси. Основными источниками этих отклонений являются скольжение газа, особенно заметное в области низких давлений и малых проницаемостей, и потеря давления, пропорциональные квадрату фильтрации, несущественные лишь в области малых перепадов давления.
Величина абсолютной газопроницаемости Кабс связана с величиной проницаемости, измеренной при заданном среднем давлении, соотношением
,
где Кабс - абсолютная проницаемость;
Кг - значение газопроницаемости, определенное при данном среднем давлении (Рср);
B - коэффициент скольжения (Клинкенберга), зависящий от типа породы и фильтруемого газа.
Значение Кабс может быть получено непосредственными измерениями при различных средних давлениях или путем введения поправки на скольжение в величину Кг.
4. Непосредственное измерение Кабс выполняется путем определения проницаемости при трех-четырех различных Рср и построения зависимости Кг=f(1/Рср); величину Кабс находят экстраполяцией зависимости на (1/Рср)=0.
Максимально допустимые величины перепада давления в процессе определения следует устанавливать из условий сохранения линейного закона фильтрации (см. п. 2).
5. Введение поправки на скольжение в величину Кг выполняется следующим образом:
на коллекции образцов, являющейся представительной по отношению к исследуемому массиву, определяют Кг при различных средних давлениях и строят зависимости Кг=f(l/Рср) согласно п. 4;
для каждого образца вычисляют величину коэффициента скольжения, как
;
строят зависимость b=f(Кабс);
на основании полученной зависимости строят номограмму в координатах Кг - Кабс/Кг с шифром кривых Рср, являющуюся графическим решение уравнения п. 3. В качестве примера на чертеже приведена обобщенная номограмма для определения Кабс.
При отсутствии специальных исследований по обоснованию значения поправки на скольжение, изложенных выше, для определения приближенных значений Кабс может быть использована номограмма, приведенная на чертеже.
Номограмма для вычисления поправки к газопроницаемости за счет скольжения газа

1. Стационарная фильтрация
Погрешность измерения коэффициента абсолютной газопроницаемости в соответствии с расчетной формулой определяют как:
,
где знак ∆ перед величиной придает последней значение частной погрешности, V и t - объем газомера и время измерения соответственно, Р – величина рабочего перепада давлений, ∆Kр - погрешность условий уплотнения образца.
1.1. Погрешность измерения барометрического давления
В случае измерения барометром-анероидом можно принять ∆Pбар=3∙10-4 МПа. Тогда, положив Pбар=0,1 МПа, получим
.
1.2. Погрешность измерения рабочего перепада давлений
1.2.1. Манометр с водяным заполнением.
∆P=0,2 см водяного столба, тогда при Pmin=10 см и Pmax=80 см
.
1.2.2. Образцовый пружинный манометр класса 0,5, предел измерения 0,4 МПа.
∆P=0,005∙0,4=2∙10-3 МПа, тогда при Pmin=6∙10-2 МПа и Pmax=3,2∙10-1 МПа.
.
1.3. Погрешность члена
.
1.3.1. Манометр с водяным заполнением
.
1.3.2. Пружинный манометр
.
1.4. Погрешность измерения объема
V=500 см3, ∆V=2 см3 и
.
1.5. Погрешность оценки вязкости
Величина вязкости принимается в зависимости от температуры. Возможна погрешность, вызванная неточностью оценки температуры. Примем ∆T=2°С. Для азота при T=20 °С μ=1,766∙10-5 Па·с, а при T=18°С μ=1,756∙10-5 Па-с, тогда ∆μ=1-10-7 Па×с и
![]()
Для воздуха μ20=1,812∙10-5 Па·с, μ18= 1,798∙10-5 Па·с и ∆μ=1,4∙10-7 Па·с. Тогда
.
1.6. Погрешность измерения времени
Цена деления секундомера составляет 0,2 с. Тогда при tmin=50 с и tmax=500 с
.
1.7. Погрешность определения размеров образца
Погрешность определения размеров образца зависит от способа его изготовления. Наибольшая точность обеспечивается при изготовлении образцов алмазными инструментами. Тогда ∆L=∆D=0,2 мм.
Суммарная погрешность измерения
размеров, поскольку
, составит, принимая D=L и ∆D=∆L
.
Примем D=L=2,5 см. Тогда для образца, изготовленного алмазным инструментом
.
1.8. Погрешность члена ![]()
Последний член представляет
погрешность, обусловленную неединообразием условий зачехления образца.
Имеющиеся данные позволяют заключить, что при муфтах из твердой резины величина
достигает 15 и более процентов. При применении муфт из мягкой резины расхождения
результатов. параллельных определений при перезакладке не превосходят 5 %. При
измерении проницаемости с применением гидро- или пневмообжима погрешность члена
равна нулю.
1.9. Суммарная погрешность измерения проницаемости при применении гидро- или пневмообжима
1.9.1. При измерении давления пружинным манометром
![]()
и ![]()
1.9.2. При измерении давления водяным манометром
![]()
и ![]()
1.10. Суммарная погрешность измерения проницаемости при применении обжима с помощью резиновых муфт
![]()
и
.
2. Нестационарная фильтрация газа
Погрешность измерения коэффициента абсолютной газопроницаемости в соответствии с расчетными формулами определяется как:
.
Сумма последних пяти членов
уравнения погрешности входит и в уравнение погрешности измерения при способе
стационарной фильтрации. Величины компонентов погрешности
и
не превышают величины
погрешности измерения давления и объемов газа, используемых при вычислении
значений проницаемости, определенной при стационарной фильтрации газа. Таким
образом, погрешности измерения по схеме нестационарной фильтрации не
превосходят погрешностей для стационарной фильтрации.
СОДЕРЖАНИЕ
|
|
|
|