//
ТехЛит.ру
- крупнейшая бесплатная электронная интернет библиотека для "технически умных" людей.
WWW.TEHLIT.RU - ТЕХНИЧЕСКАЯ ЛИТЕРАТУРА

:: Алготрейдинг::


АЛГОТРЕЙДИНГ
шаг за шагом
с нуля по урокам!

Торговые роботы на PYTHON, BackTrader,
Pandas, Pine Script для TradingView. Связка с брокерами, телеграм и легкими приложениями.


ГОСУДАРСТВЕННЫЙ СТАНДАРТ СОЮЗА ССР

ГАЙКИ ШЕСТИГРАННЫЕ
С УМЕНЬШЕННЫМ РАЗМЕРОМ «ПОД КЛЮЧ»
КЛАССА ТОЧНОСТИ А

Конструкция и размеры

Hexagon nuts with reduced width across
flats, product grade A.
Construction and dimensions

ГОСТ
2524-70

Дата введения 01.01.72

1. Настоящий стандарт распространяется на шестигранные гайки с уменьшенным размером «под ключ» класса точности А с диаметром резьбы от 8 до 48 мм.

(Измененная редакция, Изм. № 4).

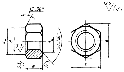
2. Конструкция и размеры гаек должны соответствовать указанным на чертеже и в таблице.

(Измененная редакция, Изм. № 2-7).

3. Резьба - по ГОСТ 24705.

(Измененная редакция, Изм. № 2, 4).

3а. Не установленные настоящим стандартом допуски размеров, отклонений формы и расположения поверхностей и методы контроля - по ГОСТ 1759.1.

3б. Допустимые дефекты поверхностей гаек и методы контроля - по ГОСТ 1759.3.

3а, 3б. (Введены дополнительно, Изм. № 5).

4. (Исключен, Изм. № 5).

5. Технические требования - по ГОСТ 1759.0.

6. (Исключен, Изм. № 2).

7. Масса гаек указана в приложении 1.

8. (Исключен, Изм. № 4).

мм

Номинальный диаметр резьбы d

8

10

12

(14)

16

(18)

20

(22)

24

(27)

30

36

42

48

 

Шаг резьбы

крупный

1,25

1,5

1,75

2

2,5

3

3,5

4

4,5

5

 

мелкий

1

1,25

1,5

2

3

Размер «под ключ» S

12

14

17

19

22

24

27

30

32

36

41

50

60

70

 

Диаметр описанной окружности е, не менее

13,3

15,5

18,9

21,1

24,5

26,8

30,1

33,5

35,7

40,0

45,6

55,8

67,0

78,3

 

dа

не менее

8

10

12

14

16

18

20

22

24

27

30

36

42

48

 

не более

8,75

10,8

13,0

15,1

17,3

19,4

21,6

23,8

25,9

29,2

32,4

38,9

45,4

51,8

 

dw, не менее

10,6

12,6

15,6

17,4

20,6

22,5

25,3

28,2

30,0

33,6

38,4

46,9

56,3

65,8

 

Высота т

6,5

8,0

10

11

13

15

16

18

19

22

24

29

34

38

 

Примечание. Размеры гаек, заключенные в скобки, применять не рекомендуется.

Пример условного обозначения гайки с диаметром резьбы d = 12 мм, с крупным шагом резьбы с полем допуска 6Н, класса прочности 5, без покрытия:

Гайка М12-6Н.5 ГОСТ 2524-70

То же, с крупным шагом резьбы с полем допуска 6Н, класса прочности 6, из стали марки А12, без покрытия:

Гайка М12-6Н.6А ГОСТ 2524-70

То же, с мелким шагом резьбы с полем допуска 6Н, класса прочности 12, из стали марки 40Х, с покрытием 01 толщиной 6 мкм:

Гайка М12´1,25-6Н.12.40Х.016 ГОСТ 2524-70

ПРИЛОЖЕНИЕ 1

Справочное

Масса стальных гаек с крупным шагом резьбы

Номинальный диаметр резьбы d, мм

Теоретическая масса 1000 шт. гаек, кг »

Номинальный диаметр резьбы d, мм

Теоретическая масса 1000 шт. гаек, кг »

Номинальный диаметр резьбы d, мм

Теоретическая масса 1000 шт. гаек, кг »

8

4,070

18

31,980

30

151,400

10

6,256

20

43,330

36

277,300

12

10,350

22

60,480

42

502,250

14

15,100

24

71,170

48

764,500

16

24,020

27

102,500

 

 

Для определения массы гаек из других материалов значения массы, указанные в таблице, следует умножить на коэффициенты: 0,356 - для алюминиевого сплава; 1,080 - для латуни.

ПРИЛОЖЕНИЕ 1. (Измененная редакция, Изм. № 6, 7).

ПРИЛОЖЕНИЕ 2. (Исключено, Изм. № 7).

ИНФОРМАЦИОННЫЕ ДАННЫЕ

1. РАЗРАБОТАН И ВНЕСЕН Министерством черной металлургии СССР

РАЗРАБОТЧИКИ

И.Н. Недовизий, канд. техн. наук; Б.М. Ригмант; В.И. Мокринский, канд. техн. наук

2. УТВЕРЖДЕН И ВВЕДЕН В ДЕЙСТВИЕ Постановлением Комитета стандартов, мер и измерительных приборов при Совете Министров СССР от 18.02.70 № 178

3. ВЗАМЕН ГОСТ 2524-70

4. ССЫЛОЧНЫЕ НОРМАТИВНО-ТЕХНИЧЕСКИЕ ДОКУМЕНТЫ

Обозначение НТД, на который дана ссылка

Номер пункта

Обозначение НТД, на который дана ссылка

Номер пункта

ГОСТ 1759.0-87

5

ГОСТ 1759.3-83

3б

ГОСТ 1759.1-82

3а

ГОСТ 24705-81

3

5. Ограничение срока действия снято по протоколу № 5-94 Межгосударственного Совета по стандартизации, метрологии и сертификации (ИУС 11-12-94)

6. ПЕРЕИЗДАНИЕ (сентябрь 1998 г.) с Изменениями № 2, 3, 4, 5, 6, 7, утвержденными в феврале 1974 г., марте 1981 г., июне 1983 г., мае 1985 г., марте 1989 г., июле 1995 г. (ИУС 3-74, 6-81, 11-83, 8-85, 6-89, 9-95)




Яндекс цитирования



   Copyright © 2007-2026,  www.tehlit.ru.

[ ѓосты, стандарты, нормативы, инструкции, правила, строительные нормы ]