//
ТехЛит.ру
- крупнейшая бесплатная электронная интернет библиотека для "технически умных" людей.
WWW.TEHLIT.RU - ТЕХНИЧЕСКАЯ ЛИТЕРАТУРА

:: Алготрейдинг::


АЛГОТРЕЙДИНГ
шаг за шагом
с нуля по урокам!

Торговые роботы на PYTHON, BackTrader,
Pandas, Pine Script для TradingView. Связка с брокерами, телеграм и легкими приложениями.


ГОСУДАРСТВЕННЫЙ СТАНДАРТ СОЮЗА ССР

ГАЙКИ ШЕСТИГРАННЫЕ
КЛАССА ТОЧНОСТИ А

Конструкция и размеры

Hexagon nuts, product grade A.
Construction and dimensions

ГОСТ
5927-70

(СТ СЭВ 3680-82)

Дата введения 01.01.72

в части размера «под ключ» S = 13 мм                                                                                                                                         01.01.73

1. Настоящий стандарт распространяется на шестигранные гайки класса точности А с диаметром резьбы от 1 до 48 мм.

Стандарт полностью соответствует СТ СЭВ 3680-82.

(Измененная редакция, Изм. № 4).

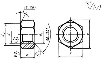
2. Конструкция и размеры гаек должны соответствовать указанным на чертеже и в таблице.

(Измененная редакция, Изм. № 3, 4, 6, 7).

3. Резьба - по ГОСТ 24705.

(Измененная редакция, Изм. № 2, 4, 5).

3а. Не установленные настоящим стандартом допуски размеров, отклонений формы и расположения поверхностей и методы контроля - по ГОСТ 1759.1.

3б. Допустимые дефекты поверхности гаек и методы контроля - по ГОСТ 1759.3.

3а, 3б. (Введены дополнительно, Изм. № 5).

4. Допускается по соглашению между изготовителем и потребителем изготавливать гайки с номинальным диаметром резьбы от 36 до 48 мм с шагом резьбы 2 мм.

(Измененная редакция, Изм. № 2, 5).

5. Технические требования - по ГОСТ 1759.0.

6. (Исключен, Изм. № 2).

7. Масса гаек указана в приложении 1.

8. (Исключен, Изм. № 4).


мм

Номинальный диаметр резьбы d

(1)

(1,4)

1,6

2

2,5

3

(3,5)

4

5

6

8

10

12

(14)

16

(18)

20

(22)

24

(27)

30

36

42

48

Шаг резьбы

крупный

0,25

0,30

0,35

0,40

0,45

0,5

0,6

0,7

0,8

1

1,25

1,5

1,75

2

2,5

3

3,5

4

4,5

5

мелкий

-

1

1,25

1,5

2

3

Размер «под ключ» S

3,2

4

5

5,5

6

7

8

10

13

16

18

21

24

27

30

34

36

41

46

55

65

75

Диаметр описанной окружности е, не менее

3,4

4,3

5,5

6

6,6

7,7

8,8

11,1

14,4

17,8

20,0

23,4

26,8

30,1

33,5

37,7

40,0

45,6

51,3

61,3

72,6

83,9

dа

не менее

1,0

1,4

1,6

2,0

2,5

3

3,5

4,0

5,0

6,0

8,0

10

12

14

16

18

20

22

24

27

30

36

42

48

не более

1,15

1,61

1,84

2,30

2,9

3,45

4,00

4,60

5,75

6,75

8,75

10,8

13,0

15,1

17,3

19,4

21,6

23,8

25,9

29,2

32,4

38,9

45,40

51,80

dw, не менее

2,90

3,60

4,50

5,00

5,40

6,30

7,20

9,00

11,7

14,6

16,6

19,6

22,5

25,3

28,2

31,7

33,6

38,4

43,1

51,5

61,0

70,5

Высота т

1,0

1,3

1,6

2,0

2,4

2,8

3,2

4,7

5,2

6,8

8,4

10,8

12,8

14,8

16,4

18,0

19,8

21,5

23,6

25,6

31,0

34,0

38,0

Примечания:

1. Размеры гаек, заключенные в скобки, применять не рекомендуется.

2. Допускается изготавливать гайки с размерами, указанными в приложении 2.

3. Допускается изготавливать гайки с номинальной высотой т не менее 0,8d и предельными отклонениями по ГОСТ 1759.1 при условии соблюдения требований ГОСТ 1759.5.


Пример условного обозначения гайки с диаметром резьбы d = 12 мм, с размером «под ключ» S = 18 мм, с крупным шагом резьбы с полем допуска 6Н, класса прочности 5, без покрытия:

Гайка М12-6Н.5 (S18) ГОСТ 5927-70

То же, с крупным шагом резьбы с полем допуска 6Н, класса прочности 6, из стали марки А12, без покрытия:

Гайка М12-6Н.6.А (S18) ГОСТ 5927-70

То же, с размером «под ключ» S = 19 мм, с мелким шагом резьбы с полем допуска 6Н, класса прочности 12, из стали марки 40Х, с покрытием 01 толщиной 6 мкм:

Гайка М12´1,25-6Н.12.40Х.016 ГОСТ 5927-70

ПРИЛОЖЕНИЕ 1

Справочное

Масса стальных гаек с крупным шагом резьбы

Номинальный диаметр резьбы d, мм

Теоретическая масса 1000 шт. гаек, кг »

Номинальный диаметр резьбы d, мм

Теоретическая масса 1000 шт. гаек, кг »

Номинальный диаметр резьбы d, мм

Теоретическая масса 1000 шт. гаек, кг »

1

0,062

5

1,440

20

71,44

1,4

0,057

6

2,573

22

103,15

1,6

0,074

8

5,548

24

122,87

2

0,141

10

10,220

27

175,28

2,5

0,272

12

15,670

30

242,54

3

0,377

14

25,33

36

416,78

3,6

0,497

16

37,61

42

623,88

4

0,800

18

53,27

48

956,20

Для определения массы гаек из других материалов значения массы, указанные в таблице, следует умножить на коэффициенты: 0,356 - для алюминиевого сплава; 1,080 - для латуни.

ПРИЛОЖЕНИЕ 1. (Измененная редакция, Изм. № 3, 6).

ПРИЛОЖЕНИЕ 2

Справочное

Размеры в мм

Номинальный диаметр резьбы d

10

12

14

22

Размер «под ключ» S

17

19

22

32

Диаметр описанной окружности е, не менее

18,9

21,1

24,5

35,7

dw, не менее

15,6

17,4

20,6

30,0

Теоретическая масса 1000 шт. гаек с крупным шагом резьбы, кг »

12,06

18,40

28,91

85,67

ПРИЛОЖЕНИЕ 2. (Введено дополнительно, Изм. № 6; измененная редакция, Изм. № 7).

ИНФОРМАЦИОННЫЕ ДАННЫЕ

1. РАЗРАБОТАН И ВНЕСЕН Министерством черной металлургии СССР

РАЗРАБОТЧИКИ

И.Н. Недовизий, канд. техн. наук; Б.М. Ригмант; В.И. Мокринский, канд. техн. наук

2. УТВЕРЖДЕН И ВВЕДЕН В ДЕЙСТВИЕ Постановлением Комитета стандартов, мер и измерительных приборов при Совете Министров СССР от 12.08.70 № 178

3. Стандарт полностью соответствует СТ СЭВ 3680-82

4. ВЗАМЕН ГОСТ 5927-62

5. ССЫЛОЧНЫЕ НОРМАТИВНО-ТЕХНИЧЕСКИЕ ДОКУМЕНТЫ

Обозначение НТД, на который дана ссылка

Номер пункта

Обозначение НТД, на который дана ссылка

Номер пункта

ГОСТ 1759.0-87

5

ГОСТ 1759.5-87

2

ГОСТ 1759.1-82

2, 3а

ГОСТ 24705-81

3

ГОСТ 1759.3-83

3б

 

 

6. Ограничение срока действия снято по протоколу № 5-94 Межгосударственного Совета по стандартизации, метрологии и сертификации (ИУС 11-12-94)

7. ПЕРЕИЗДАНИЕ (сентябрь 1998 г.) с Изменениями № 2, 3, 4, 5, 6, 7, утвержденными в феврале 1974 г., марте 1981 г., июне 1983 г., мае 1985 г., марте 1989 г., июле 1995 г. (ИУС 3-74, 6-81, 11-83, 8-85, 6-89, 9-95)




Яндекс цитирования



   Copyright © 2007-2026,  www.tehlit.ru.

[ ѓосты, стандарты, нормативы, инструкции, правила, строительные нормы ]