|
| |

ГОСУДАРСТВЕННЫЙ
СТАНДАРТ СОЮЗА ССР
|
Детали крепления трубопроводов
СКОБЫ
Конструкция и размеры
Pipe-line fastening parts.
Cramps.
Design and dimensions
|
ГОСТ
24132-80
Взамен
ГОСТ 16684-71
|
Постановлением
Государственного комитета СССР по стандартам от 25 апреля 1980 г. № 1891 срок
введения установлен
с 01.01.81
Ограничение
срока действия отменено, ИУС II-12-94
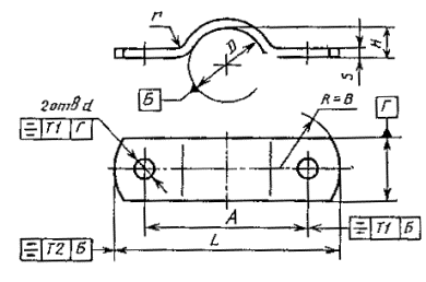
1. Настоящий стандарт
распространяется на скобы диаметром D от 6 до 430 мм.
2. Конструкция и размеры
скоб должны соответствовать указанным на чертеже и в таблице.

Примечания:
1. Все размеры, кроме размеров В и s, обеспечиваются инструментом.
2.
Отклонение от центра радиуса R относительно оси поверхностей Г не должно быть более 1 мм.
Размеры, мм
|
D
|
A
|
B ´ s
|
H
|
L
|
d H14
|
r
|
Масса 1000 шт., кг
|
Применяемость
|
|
Номин.
|
Пред. откл.
|
|
6
|
26
|
±0,5
|
16 ´
2
|
2
|
42
|
5,8
|
4,5
|
9,8
|
|
|
8
|
28
|
2
|
44
|
10,2
|
|
10
|
30
|
3
|
46
|
10,9
|
|
12
|
32
|
4
|
48
|
11,6
|
|
14
|
40
|
22 ´
3
|
5
|
62
|
7,0
|
32,1
|
|
16
|
42
|
6
|
64
|
34,1
|
|
18
|
44
|
7
|
66
|
36,1
|
|
20
|
46
|
8
|
68
|
38,1
|
|
22
|
50
|
9
|
72
|
9,0
|
39,2
|
|
25
|
55
|
10
|
77
|
41,2
|
|
28
|
55
|
30 ´
3
|
11
|
85
|
63,4
|
|
32
|
60
|
12
|
90
|
67,4
|
|
36
|
65
|
14
|
95
|
72,4
|
|
40
|
70
|
16
|
100
|
77,4
|
|
45
|
75
|
18
|
105
|
82,4
|
|
50
|
80
|
20
|
110
|
87,4
|
|
55
|
90
|
30 ´
4
|
23
|
120
|
11,0
|
6,0
|
126,2
|
|
60
|
95
|
25
|
125
|
134,2
|
|
65
|
100
|
28
|
130
|
141,2
|
|
70
|
105
|
30
|
135
|
149,2
|
|
75
|
110
|
33
|
140
|
157,2
|
|
80
|
120
|
±0,5
|
30 ´
4
|
35
|
150
|
13,0
|
6,0
|
166,2
|
|
|
85
|
125
|
38
|
155
|
178,2
|
|
90
|
130
|
40
|
160
|
181,2
|
|
95
|
135
|
43
|
165
|
189,2
|
|
100
|
140
|
45
|
170
|
197,2
|
|
105
|
145
|
48
|
175
|
204,2
|
|
110
|
150
|
50
|
180
|
211,2
|
|
115
|
160
|
40 ´
4
|
53
|
200
|
17,0
|
299,3
|
|
120
|
165
|
55
|
205
|
313,3
|
|
125
|
170
|
58
|
210
|
325,3
|
|
130
|
175
|
60
|
215
|
335,3
|
|
135
|
180
|
63
|
220
|
345,3
|
|
140
|
185
|
65
|
225
|
355,3
|
|
145
|
190
|
68
|
230
|
365,3
|
|
150
|
195
|
70
|
235
|
376,6
|
|
155
|
205
|
40 ´
5
|
73
|
245
|
7,5
|
488,6
|
|
160
|
210
|
75
|
250
|
501,6
|
|
165
|
215
|
78
|
255
|
513,6
|
|
170
|
220
|
80
|
260
|
525,6
|
|
175
|
225
|
83
|
265
|
537,6
|
|
180
|
230
|
85
|
270
|
549,6
|
|
185
|
235
|
88
|
275
|
561,6
|
|
190
|
240
|
90
|
280
|
573,6
|
|
195
|
245
|
93
|
285
|
585,6
|
|
200
|
250
|
95
|
290
|
596,6
|
|
210
|
260
|
97
|
300
|
621,6
|
|
225
|
275
|
105
|
315
|
661,6
|
|
245
|
310
|
±1,0
|
50 ´
6
|
115
|
360
|
22,0
|
9,0
|
1107,0
|
|
260
|
325
|
122
|
375
|
1167,0
|
|
275
|
340
|
130
|
390
|
1232,0
|
|
300
|
365
|
140
|
415
|
1317,0
|
|
330
|
395
|
155
|
445
|
1437,0
|
|
360
|
425
|
170
|
475
|
1532,0
|
|
380
|
445
|
180
|
495
|
1612,0
|
|
430
|
495
|
205
|
545
|
1792,0
|
Пример условного
обозначения скобы
D = 25 мм из стали марки 08 кп с покрытием Ц9.хр:
Скоба 25-08кп-Ц9.хр
ГОСТ 24132-80
3.
Технические требования - по ГОСТ
24140-80.
| |
|