//
ТехЛит.ру
- крупнейшая бесплатная электронная интернет библиотека для "технически умных" людей.
WWW.TEHLIT.RU - ТЕХНИЧЕСКАЯ ЛИТЕРАТУРА

:: Алготрейдинг::


АЛГОТРЕЙДИНГ
шаг за шагом
с нуля по урокам!

Торговые роботы на PYTHON, BackTrader,
Pandas, Pine Script для TradingView. Связка с брокерами, телеграм и легкими приложениями.


ГОСУДАРСТВЕННЫЙ СТАНДАРТ СОЮЗА ССР

МАТЕРИАЛЫ ЛАКОКРАСОЧНЫЕ

МЕТОД ОПРЕДЕЛЕНИЯ ВРЕМЕНИ
И СТЕПЕНИ ВЫСЫХАНИЯ

ГОСТ 19007-73

ГОССТАНДАРТ РОССИИ

Москва

ГОСУДАРСТВЕННЫЙ СТАНДАРТ СОЮЗА ССР

МАТЕРИАЛЫ ЛАКОКРАСОЧНЫЕ

Метод определения времени
и степени высыхания

Paintwork materials.
Method for determination of
drying tine and degree

ГОСТ
19007-73

Дата введения с 01.07.74

Настоящий стандарт распространяется на лакокрасочные материалы и устанавливает метод определения времени и степени высыхания лакокрасочных пленок.

Степень высыхания характеризует состояние поверхности лакокрасочного материала, нанесенного на пластину, при определенных времени и температуре сушки.

Время высыхания - промежуток времени, в течение которого достигается определенная степень высыхания при заданной толщине лакокрасочного слоя и при определенных условиях сушки.

(Измененная редакция, Изм. № 1, 2).

1. АППАРАТУРА И МАТЕРИАЛЫ

1.1. Пластинки из стекла для фотографических пластинок размером 9 ´ 12 ТУ 6-43-0205133-03-91.

Пластинки из стали по ГОСТ 16523-89, размером 70 ´ 150 мм.

Пластинки из черной жести по ТУ-14-1-3433-82, размером 70 ´ 150 мм.

Допускается применять пластинки из других материалов и размеров, если это предусмотрено нормативно-технической документацией на испытуемый лакокрасочный материал.

Чистые сухие стеклянные шарики (Баллотини) с фракцией просеивания от 100 до 355 мкм.

Листки типографской бумаги квадратной формы со стороной 24 - 25 мм, не содержащей древесных волокон, гладкостью от 20 до 80 с, массой, отнесенной к единице площади, от 60 до 70 г/м2 по ГОСТ 9095-89.

Пластинки из резины диаметром 22 мм, толщиной 4 - 6 мм и твердость (по Шору А) (35 ± 5) условных единиц по ГОСТ 263-75.

Секундомер или часы с секундной стрелкой.

Плоская, мягкая, волосяная кисть шириной 25 мм и длиной волоса 30 мм.

Гири в соответствии с табл. 1.

Таблица 1

Степень высыхания

Масса гири

2

20 г

3

200 г

4 и 5

2 кг

6 и 7

20 кг

Допускается применение гирь с наклеенными резиновыми пластинками.

Для определения степени высыхания от 4 до 7 допускается использовать специальные приспособления для создания нагрузки (см. справочное приложение).

Прибор для измерения толщины пленки с погрешностью измерения не более 5 мкм в диапазоне до 100 мкм, не более 10 мкм в диапазоне свыше 100 мкм.

Термометр ртутный стеклянный лабораторный по ГОСТ 28498-90 с пределами измерения от 0 до 100 °С и ценой деления шкалы 1 °С.

Прибор для измерения влажности воздуха.

(Измененная редакция, Изм. № 1, 2).

2. ПОДГОТОВКА К ИСПЫТАНИЮ

2.1. Пластинки для нанесения лакокрасочного материала подготавливают по ГОСТ 8832-76, если нет других указаний в стандарте или нормативно-технической документации на испытуемый лакокрасочный материал.

(Измененная редакция, Изм. № 1, 2).

2.2. Материал пластинок, метод нанесения и вязкость лакокрасочного материала, режим сушки, а также толщина покрытия должны быть указаны в стандарте или другой нормативно-технической документации на испытуемый лакокрасочный материал.

(Измененная редакция, Изм. № 1).

2.3. Пробу испытуемого материала отбирают по ГОСТ 9980.2-86.

(Измененная редакция, Изм. № 1, 2).

3. ПРОВЕДЕНИЕ ИСПЫТАНИЙ

3.1. Испытание заключается в определении времени высыхания лакокрасочного материала, необходимого для достижения им степени высыхания, указанной в табл. 2.

Время и степень высыхания определяют при (20 ± 2) °С и относительной влажности воздуха (65 ± 5) % на трех образцах на расстоянии не менее 20 мм от края образца после естественной или горячей сушки нанесенного слоя лакокрасочного материала.

(Измененная редакция, Изм. № 1, 2).

3.2. Пластинки со слоем лакокрасочного материала естественной сушки выдерживают в горизонтальном положении в помещении, защищенном от пыли, сквозняка и прямого попадания солнечных лучей, при (20 ± 2) °С и относительной влажности воздуха (65 ± 5) %, в течение времени, указанного в нормативно-технической документации на испытуемый материал, а затем проводят испытание.

(Измененная редакция, Изм. № 2).

3.3. Пластинки со слоем лакокрасочного материала горячей сушки выдерживают в горизонтальном положении при режиме сушки, указанном в стандарте или другой нормативно-технической документации на испытуемый лакокрасочный материал, а затем после выдержки покрытия в течение 3 ч при (20 ± 2) °С и относительной влажности воздуха (65 ± 5) % проводят испытание.

3.4. При естественной и горячей сушке допускается вертикальное или под углом 45° положение пластин с нанесенным лакокрасочным материалом, если это указано в стандарте или другой нормативно-технической документации на испытуемый лакокрасочный материал.

3.5. Для установления степени и времени высыхания испытание проводят последовательно, как указано в табл. 2.

Если по нормативно-технической документации требуется установить определенную степень высыхания, то другие степени высыхания не определяют. Каждое испытание проводят на новом месте пленки.

Степени высыхания, подлежащие определению при контроле качества, указывают в нормативно-технической документации на испытуемый лакокрасочный материал.

(Измененная редакция, Изм. № 1).

3.6. Определение времени высыхания до степени 1

Таблица 2

Степень высыхания

Условия испытания

Результаты испытания

1

Насыпание стеклянных шариков

Стеклянные шарики полностью удаляются мягкой волосяной нитью, не повреждая поверхности пленки

2

Нагрузка 20 г

Бумага не прилипает к покрытию

3

Нагрузка 200 г

То же

4

Нагрузка 2 кг

Бумага не прилипает к покрытию, на поверхности покрытия образуется след от нагрузки

5

Нагрузка 2 кг

Бумага не прилипает к покрытию и не оставляет след от нагрузки

6

Нагрузка 20 кг

Бумага не прилипает к покрытию. На поверхности покрытия остается след от нагрузки

7

Нагрузка 20 кг

Бумага не прилипает к покрытию и не оставляет след от нагрузки

3.6.1. Испытание начинают после исчезновения липкости лакокрасочной пленки, которую устанавливают легким прикосновением пальцев к поверхности пленки. Затем с высоты от 30 до 50 мм на горизонтально расположенную поверхность лакокрасочной пленки насыпают около 0,5 г стеклянных шариков. В качестве вспомогательного средства для насыпания шариков допускается использовать разбрасывающее устройство. Шарики насыпают на площадь диаметром 18 - 22 мм так, чтобы они лежали в один слой. Допускается насыпать шарики, на площадь в виде полосы. Остальную поверхность лакокрасочной пленки рекомендуется защитить от перескакивающих шариков, чтобы использовать ее для дальнейших испытаний или для сравнения с испытуемым участком.

Через (60 ± 2) с пластинку наклоняют под углом примерно 20° относительно горизонтали, стеклянные шарики легко сметают мягкой кистью. Степень высыхания 1 достигнута, если все шарики удаляются, не вызывая повреждения поверхностного слоя. Фиксируют время, соответствующее достижению степени высыхания 1.

(Измененная редакция, Изм. № 1, 2).

3.7. Определение времени высыхания до степени 2

3.7.1. При испытании на окрашенную пластинку помещают чистыми руками или пинцетом листок бумаги, взяв его за один из свободных уголков. На листок бумаги накладывают резиновую пластинку, на середину которой устанавливают гирю массой 20 г; через (60 ± 2) с снимают гирю и резиновую пластинку, а окрашенную пластинку с листком бумаги ребром свободно бросают с высоты 28 - 32 мм на деревянную поверхность. Если при этом листок бумаги не прилипает к пленке, то степень высыхания 2 достигнута. Допускается удаление бумаги любым способом, не приводящим к видимым повреждениям пленки, при удержании бумаги на поверхности (например, за счет статического электричества), если это указано в нормативно-технической документации на лакокрасочный материал.

3.7, 3.7.1. (Измененная редакция, Изм. № 1, 2).

3.8. Определение времени высыхания до степеней от 3 до 7

3.8.1. Испытание проводят, как указано в п. 3.7, применяя нагрузки и фиксируя состояние поверхности по табл. 2. Оценку степени высыхания от 3 до 7 проводят через 30 с после снятия нагрузки.

Если бумага не прилипает к пленке, а поверхность под ней соответствует характеристикам, указанным в табл. 2, то фиксируют время, требуемое для достижения степени высыхания от 3 до 7.

Если степень высыхания 6 достигается раньше степени высыхания 5, то решающей является более высокая степень высыхания.

3.9. После определения времени или степени высыхания непосредственно вблизи места испытания на всех трех окрашенных пластинках определяют толщину пленки.

Если в нормативно-технической документации не указана допустимая разность толщин, то допускается максимальное отклонение толщины пленки от среднего арифметического значения ± 15 %. При разногласиях в определении толщины пленки максимальное отклонение толщины пленки от среднего арифметического не должно превышать ± 10 %.

3.8, 3.8.1, 3.9. (Введены дополнительно, Изм. № 1).

4. ОБРАБОТКА РЕЗУЛЬТАТОВ

4.1. За результат испытания принимают время в минутах, часах или сутках, необходимое для достижения определенной степени высыхания нанесенного на пластинку лакокрасочного материала при толщине и условиях сушки, установленных стандартом или другой нормативно-технической документацией на испытуемый лакокрасочный материал. При этом необходимая степень высыхания считается достигнутой, если из трех параллельных определений не менее двух соответствуют характеристике данной степени высыхания.

4.2. Время высыхания вычисляют как среднее арифметическое трех параллельных определений, допускаемые расхождения между которыми не превышают ± 15 %.

(Введен дополнительно, Изм. № 1).

4.3. (Исключен, Изм. № 2).

ПРИЛОЖЕНИЕ

Справочное

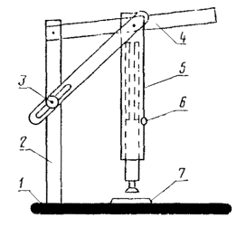
Приспособление для создания нагрузки

1 - основание; 2 - стойка; 3 - установочный винт; 4 - рычаг; 5 - гильза с винтовой пружиной; 6 - контрольная отметка; 7 - пластинка для испытания

Давление на испытуемую окрашенную пластинку создает направленная в цилиндре пружина с погрешностью не более 5 %. Периодически необходимо контролировать тарировку пружины. Допускается применять приспособления другой конструкции, обеспечивающей указанную точность.

(Измененная редакция, Изм. № 1, 2).

Приложение 2. (Исключено, Изм. № 1).

ИНФОРМАЦИОННЫЕ ДАННЫЕ

1. РАЗРАБОТАН И ВНЕСЕН Министерством химической промышленности СССР

РАЗРАБОТЧИКИ

В. А. Березин, канд. экон. наук; М. И. Карякина, док. хим. наук (руководители темы); Р. Е. Шмайн

2. УТВЕРЖДЕН И ВВЕДЕН В ДЕЙСТВИЕ Постановлением Государственного комитета стандартов Совета Министров СССР от 20 июля 1973 г. № 1789

3. Периодичность проверки - 5 лет

4. Стандарт полностью соответствует СТ СЭВ 1442-78

В стандарт введен международный стандарт ИСО 1517-73

5. ВЗАМЕН ОСТ 10086-39 (в части М. И. 17)

6. ССЫЛОЧНЫЕ НОРМАТИВНО-ТЕХНИЧЕСКИЕ ДОКУМЕНТЫ

Обозначение НТД, на который дана ссылка

Номер пункта, подпункта, перечисления, приложения

ГОСТ 263-75

1.1

ГОСТ 8832-76

2.1

ГОСТ 9095-89

1.1

ГОСТ 9980.2-86

2.3

ГОСТ 16523-89

1.1

ГОСТ 28498-90

1.1

ТУ 14-1-3433-82

1.1

ТУ 6-43-0205133-03-91

1.1

7. Снято ограничение срока действия Постановлением Госстандарта СССР от 21.07.87 № 3129

8. ПЕРЕИЗДАНИЕ (январь 1992 г.) с Изменениями № 1, 2, утвержденными в июне 1980 г., июле 1987 г. (ИУС 8-80, 12-87)

СОДЕРЖАНИЕ

 




Яндекс цитирования



   Copyright © 2007-2026,  www.tehlit.ru.

[ ѓосты, стандарты, нормативы, инструкции, правила, строительные нормы ]