//
ТехЛит.ру
- крупнейшая бесплатная электронная интернет библиотека для "технически умных" людей.
WWW.TEHLIT.RU - ТЕХНИЧЕСКАЯ ЛИТЕРАТУРА

:: Алготрейдинг::


АЛГОТРЕЙДИНГ
шаг за шагом
с нуля по урокам!

Торговые роботы на PYTHON, BackTrader,
Pandas, Pine Script для TradingView. Связка с брокерами, телеграм и легкими приложениями.


ГОСТ 14192-96

МЕЖГОСУДАРСТВЕННЫЙ СТАНДАРТ

МАРКИРОВКА ГРУЗОВ

МЕЖГОСУДАРСТВЕННЫЙ СОВЕТ
ПО СТАНДАРТИЗАЦИИ, МЕТРОЛОГИИ И СЕРТИФИКАЦИИ

Минск

Предисловие

1 РАЗРАБОТАН Научно-исследовательским экспериментально-конструкторским институтом тары и упаковки (НИЭКИТУ), МТК 223 «Упаковка»

ВНЕСЕН Госстандартом России

2 ПРИНЯТ Межгосударственным Советом по стандартизации, метрологии и сертификации (протокол № 10 от 4 октября 1996 г.)

За принятие проголосовали:

Наименование государства

Наименование национального органа по сертификации

Азербайджанская Республика

Азгосстандарт

Республика Армения

Армгосстандарт

Республика Белоруссия

Госстандарт Белоруссии

Республика Казахстан

Госстандарт Республики Казахстан

Киргизская Республика

Киргизстандарт

Республика Молдова

Молдовастандарт

Российская Федерация

Госстандарт России

Республика Таджикистан

Такжикгосстандарт

Туркменистан

Главная государственная инспекция Туркменистана

Республика Узбекистан

Узгосстандарт

Украина

Госстандарт Украины

(Поправка. ИУС 2-2008)

3 Постановлением Государственного комитета Российской Федерации по стандартизации, метрологии и сертификации от 18 июня 1997 г. № 219 межгосударственный стандарт ГОСТ 14192-96 введен непосредственно в качестве государственного стандарта Российской Федерации с 1 января 1998 г.

4 ВЗАМЕН ГОСТ 14192-77

Содержание

1 ОБЛАСТЬ ПРИМЕНЕНИЯ

2 НОРМАТИВНЫЕ ССЫЛКИ

3 СОДЕРЖАНИЕ МАРКИРОВКИ

4 МАНИПУЛЯЦИОННЫЕ ЗНАКИ

5 МЕСТО И СПОСОБ НАНЕСЕНИЯ ТРАНСПОРТНОЙ МАРКИРОВКИ

6 РАЗМЕРЫ МАРКИРОВОЧНЫХ ЯРЛЫКОВ, МАНИПУЛЯЦИОННЫХ ЗНАКОВ И НАДПИСЕЙ

7 ДОПОЛНИТЕЛЬНЫЕ ТРЕБОВАНИЯ К МАРКИРОВКЕ ГРУЗОВ, ПОСТАВЛЯЕМЫХ НА ЭКСПОРТ

8 МАРКИРОВКА, ХАРАКТЕРИЗУЮЩАЯ ТРАНСПОРТНУЮ ТАРУ

ПРИЛОЖЕНИЕ А ПОРЯДОК РАСПОЛОЖЕНИЯ ТРАНСПОРТНОЙ МАРКИРОВКИ

ПРИЛОЖЕНИЕ Б РАСПОЛОЖЕНИЕ МАРКИРОВОЧНЫХ ЯРЛЫКОВ

ПРИЛОЖЕНИЕ В РАЗМЕРЫ МАНИПУЛЯЦИОННЫХ ЗНАКОВ И ИХ ДЕТАЛЕЙ

ПРИЛОЖЕНИЕ Г РЕКОМЕНДУЕМЫЕ ОЧЕРТАНИЯ ШРИФТА ДЛЯ НАНЕСЕНИЯ МАРКИРОВКИ

ПРИЛОЖЕНИЕ Д ПРИМЕРЫ РАСПОЛОЖЕНИЯ МАРКИРОВКИ НА ГРУЗАХ,  ПОСТАВЛЯЕМЫХ НА ЭКСПОРТ

Приложение Е Примеры изображения знака - «ленты Мебиуса»

Приложение Ж Экологические знаки

ГОСТ 14192-96

МЕЖГОСУДАРСТВЕННЫЙ СТАНДАРТ

МАРКИРОВКА ГРУЗОВ

Marking of cargoes

Дата введения 1998-01-01

1 ОБЛАСТЬ ПРИМЕНЕНИЯ

Настоящий стандарт устанавливает общие правила маркировки грузов, в том числе поставляемых на экспорт, и предназначен для разработки нормативного документа на конкретные виды продукции.

Маркировка опасных грузов должна соответствовать требованиям ГОСТ 19433.

Стандарт не распространяется на маркировку, содержащую данные об упакованной продукции, требования к которой должны устанавливаться в нормативном документе на конкретные виды продукции, а также не распространяется на маркировку грузов, отправляемых специализированными транспортными средствами, почтовыми посылками, насыпью или навалом в транспортных средствах.

(Измененная редакция. Изм. № 1)

2 НОРМАТИВНЫЕ ССЫЛКИ

В настоящем стандарте использованы ссылки на следующие стандарты:

ГОСТ 9481-76 Ящики из гофрированного картона для химических нитей. Технические условия

ГОСТ 19433-88 Грузы опасные. Классификация и маркировка

ГОСТ 26319-84 Грузы опасные. Упаковка

ГОСТ ИСО/МЭК 16390-2005 Автоматическая идентификация. Кодирование штриховое. Спецификации символики Interleaved 2 of 5 (2 из 5 чередующийся)

ГОСТ 30742-2001 (ИСО/МЭК 16388-99) Автоматическая идентификация. Кодирование штриховое. Спецификация символики Code 39 (Код 39)

ГОСТ 30743-2001 (ИСО/МЭК 15417-2000) Автоматическая идентификация. Кодирование штриховое. Спецификация символики Code 128 (Код 128)

ГОСТ 30819-2002 (ИСО/МЭК 15459-1-99)/ГОСТ Р 51294.4-2000 (ИСО/МЭК 15459-1-99) Автоматическая идентификация. Международная уникальная идентификация транспортируемых единиц. Общие положения

ГОСТ 30820-2002 (ИСО/МЭК 15459-2-99)/ГОСТ Р 51294.5-2000 (ИСО/МЭК 15459-2-99) Автоматическая идентификация. Международная уникальная идентификация транспортируемых единиц. Порядок регистрации

ГОСТ 31016-2003 (ИСО/МЭК 15438:2001) Автоматическая идентификация. Кодирование штриховое. Спецификации символики PDF417 (ПДФ417)

(Измененная редакция. Изм. № 1, 2).

3 СОДЕРЖАНИЕ МАРКИРОВКИ

3.1 Транспортная маркировка должна содержать манипуляционные знаки, основные, дополнительные и информационные надписи.

3.2 Манипуляционные знаки - изображения, указывающие на способы обращения с грузом,

3.3 Основные надписи должны содержать:

полное или условное зарегистрированное в установленном порядке наименование грузополучателя;

наименование пункта назначения с указанием, при необходимости, станции или порта перегрузки. Если пунктом назначения является железнодорожная станция (порт), должно быть указано полное наименование станции (порта) и сокращенное наименование дороги (пароходства) назначения;

количество грузовых мест в партии и порядковый номер места внутри партии указывают дробью: в числителе - порядковый номер места в партии, в знаменателе - количество мест в партии.

Количество грузовых мест и порядковый номер места следует указывать при перевозке следующих грузов:

разнородных или разносортных грузов в однотипной таре (например, разные сорта хлопка в кипах);

однородных грузов в разнотипной таре;

однородных грузов, когда недопустимо смешение сортов в партии;

комплектов оборудования;

грузов в одном вагоне мелкими отправками.

(Измененная редакция. Изм. № 1)

3.4 Дополнительные надписи должны содержать:

полное или условное зарегистрированное в установленном порядке наименование грузоотправителя;

наименование пункта отправления с указанием железнодорожной станции отправления и сокращенное наименование дороги отправления;

надписи транспортных организаций (содержание надписей и порядок нанесения устанавливаются правилами транспортных министерств).

3.5 Информационные надписи должны содержать:

массы брутто и нетто грузового места в килограммах. Допускается вместо массы нетто указывать количество изделий в штуках, а также не наносить массу брутто и нетто или количество изделий в штуках, если они указаны в маркировке, характеризующей упакованную продукцию;

габаритные размеры грузового места в сантиметрах (длина, ширина и высока или диаметр и высота).

Габаритные размеры не указывают, если ни один из габаритных размеров не превышает 1 м при транспортировании груза па открытом подвижном составе, 1,2 м - в крытом и 0,7 м при транспортировании воздушным транспортом.

3.6 При перевозке грузов транспортными пакетами на каждом из них должны быть нанесены основные, дополнительные и информационные надписи. При этом вместо порядкового номера места и количества грузовых мест в партии наносят:

в числителе - общее количество пакетов в партии;

в знаменателе - количество грузовых мест в пакете, в скобках порядковый номер пакета, например:  (2).

Основные, дополнительные и информационные надписи (кроме массы брутто и нетто) не наносят на отдельные грузовые места, из которых сформирован пакет.

На пакетах, сформированных из грузов, перевозимых без упаковки, необходимость нанесения общего количества пакетов в партии, количества грузовых мест в пакете и порядкового номера пакета устанавливают в нормативном документе на конкретные виды продукции.

(Измененная редакция. Изм. № 1).

3.7 По согласованию между торговыми партнерами и транспортными организациями на упаковку (транспортный пакет), груз может быть нанесена дополнительная маркировка с использованием машиночитаемых носителей данных (символов линейного штрихового кода, двумерных символов, а также радиочастотных меток).

Примечание - Указанная маркировка предназначена для автоматизации управленческих операций, связанных с процессами отгрузки, транспортирования и приемки грузов. Информация на машиночитаемом носителе данных служит ключом для доступа к соответствующей базе данных, содержащей детальную информацию о транспортируемой единице, включая информацию, передаваемую путем электронного обмена данными.

Каждой транспортируемой единице рекомендуется присваивать уникальный идентификатор транспортируемых единиц по ГОСТ 30819. Порядок присвоения идентификатора должен соответствовать ГОСТ 30820.

(Введен дополнительно. Изм. № 2).

3.7.1 Общие требования к оформлению ярлыка (этикетки) для отправки, транспортирования и приемки грузов с линейными символами штрихового кода и двумерными символами устанавливают в национальной технической документации*

(Введен дополнительно. Изм. № 2).

4 МАНИПУЛЯЦИОННЫЕ ЗНАКИ

4.1 Изображение, наименование и назначение манипуляционных знаков должны соответствовать указанным в таблице 1.

4.2 Допускается применять предупредительные надписи, если невозможно выразить манипуляционными знаками способ обращения с грузом.

Таблица 1

Номер и наименование знака

Изображение знака

Назначение знака

1 Хрупкое.
Осторожно

Пример расположения

Хрупкость груза.
Осторожное обращение с грузом

2 Беречь от солнечных лучей

Груз следует защищать от солнечных лучей*

3 Беречь от влаги

Необходимость защиты груза от воздействия влаги

4 Беречь от излучения

Любой из видов излучения может влиять на свойства груза или изменять их (например, непроявленные пленки)

5 Ограничение температуры

Примеры расположения…С

Диапазон температур, при которых следует хранить груз или манипулировать им

6 Скоропортящийся груз

Груз при транспортировании и хранении не может находиться под влиянием высокой или низкой температуры и для защиты груза требуются соответствующие мероприятия (искусственное охлаждение или нагревание, проветривание и др.). Знак наносят на грузы, которые транспортируют в соответствии с правилами перевозки скоропортящихся грузов, установленными транспортными министерствами

7 Герметичная упаковка

При транспортировании. перегрузке и хранении открывать упаковку запрещается

8 Крюками не брать

Запрещение применения крюков при поднятии груза

9 Место строповки

Пример расположения

Указывает место расположения канатов или цепей для подъема груза

10 Здесь поднимать тележкой запрещается

Указывает места, где нельзя применять тележку при подъеме груза

11 Верх

Пример расположения

Указывает правильное вертикальное положение груза

12 Центр тяжести

Пример расположения

Место центра тяжести груза
Примечание - Пример расположения знака указывает место тяжести груза.
Знак наносят, если центр тяжести не совпадает с геометрическим центром тяжести

13 Тропическая упаковка

Знак наносят на груз, когда повреждения упаковки при погрузочно-разгрузочных работах, транспортировании или хранении могут принести к порче груза вследствие неблагоприятного воздействии тропического климата.
Обозначения:
Т - знак тропической упаковки;
00-00 - месяц и год упаковывания

14 Штабелировать запрещается

Не допускается штабелировать груз.
На груз с этим знаком при транспортировании и хранении не допускается класть другие грузы

15 Поднимать непосредственно за груз

Подъем осуществляется только непосредственно за груз, т.е. поднимать груз за упаковку запрещается

16 Открывать здесь

Упаковку открывают только в указанном месте

17 Защищать от радиоактивных источников

Проникание излучения может снизить или уничтожить ценность груза

18 Не катить

Груз не следует подвергать качению

19 Штабелирование ограничено

Ограничена возможность штабелирования груза

20 Зажимать здесь

Указывает места, где следует брать груз зажимами

21 Не зажимать

Упаковка не должна зажиматься по указанным сторонам груза

22 Предел по количеству ярусов в штабеле

Максимальное количество одинаковых грузов, которые можно штабелировать один на другой, где n - предельное количество

23 Вилочные погрузчики не использовать

Запрещено применение вилочных погрузчиков

(Измененная редакция. Изм. № 1)

4.3 В рекомендуемое обозначение манипуляционного знака входит номер (номера) знака или наименование знака по таблице I и обозначение настоящего стандарта. Пример: 2 ГОСТ 14192; «Беречь от солнечных лучей» ГОСТ 14192.

(Измененная редакция. Изм. № 1)

5 МЕСТО И СПОСОБ НАНЕСЕНИЯ ТРАНСПОРТНОЙ МАРКИРОВКИ

5.1 Порядок расположения транспортной маркировки приведен в приложении А.

Транспортная маркировка (основные, дополнительные, информационные надписи и манипуляционные знаки) должна быть нанесена на бумажные, картонные, фанерные, металлические и другие ярлыки, или непосредственно на тару.

(Измененная редакция. Изм. № 1)

5.2 При транспортировании грузов на открытом подвижном составе, в смешанном железнодорожно-водном сообщении или водным транспортом, а также мелкими и малотоннажными отправками при хранении груза более одного года маркировка должна быть нанесена непосредственно на тару или ярлыки, которые должны быть прочно прикреплены и защищены или изготовлены из материалов, обеспечивающих сохранность маркировки.

5.3 Основные, дополнительные и информационные надписи располагают:

на ящиках - на одной из боковых сторон. Для решетчатых ящиков и ящиков, имеющих наружные планки, должна быть обеспечена возможность размещения маркировки (прикрепление планок, закрытие просветов между дощечками и др.). При транспортировании в открытом железнодорожном подвижном составе малотоннажными и мелкими отправками грузов, на которые нанесен знак, имеющий значение «Верх», транспортная маркировка (кроме наименования грузоотправителя и пункта отправления) должна быть нанесена дополнительно на верхней стороне (крышке) упаковки;

на бочках и барабанах - на одном из днищ. Допускается наносить маркировку на корпусе;

на мешках - в верхней части у шва;

на тюках - на одной из боковых поверхностей;

на кипах - на торцовой поверхности. Допускается наносить маркировку на боковую поверхность;

на других видах тары и грузах, не упакованных в транспортную тару, - в наиболее удобных хорошо просматриваемых местах.

При нанесении маркировки непосредственно на тару (5.2), если размеры и конструкция тары не позволяют разместить необходимую маркировку на боковой стенке, допускается располагать маркировку на боковой, торцовой стенках и (или) на крышке.

Примеры расположения маркировки приведены в приложении Б.

5.4 Допускается на неупакованные изделия наносить маркировку непосредственно на изделие.

5.5 Манипуляционные знаки (предупредительные надписи) наносят на каждое грузовое место в левом верхнем углу на двух соседних стенках тары (см. приложении Б и Д).

На бочках и барабанах знаки располагают на одном из днищ или на корпусах; на мешках - на одной из сторон.

5.5.1 Знак № 9 наносят непосредственно на тару с двух противоположных сторон. Допускается на неупакованные грузы наносить знак № 9 на ярлыки или непосредственно на груз.

5.5.2 Знак № 12 наносят на соседние боковую и торцовую поверхности упаковки на месте проекции фактического центра тяжести груза на эти поверхности.

На грузы, транспортируемые на открытом подвижном составе, знак № 12 дополнительно наносят на верхней и нижней сторонах упаковки.

(Измененная редакция. Изм. № 1)

5.6 На пакеты, сформированные без поддонов или на четырехзаходных поддонах, маркировку наносят на соседние боковую и торцовую поверхности.

На пакеты, сформированные на двухзаходных поддонах, маркировку наносят на двух захватных сторонах.

5.7 Маркировку наносят типографским, литографским, электролитическим способами, окраской по трафарету, штемпелеванием, штампованием, выжиганием, продавливанием, печатанием на машинке, маркировочными машинами.

Допускается на ярлыках четко и разборчиво наносить наименование грузополучателя и пункта назначения, а также на ярлыках и непосредственно на таре - количество грузовых мест и порядковый номер места в партии от руки при условии обеспечения сохранности надписей до получателя.

5.8 Ярлыки прикрепляют к упаковке (грузу) клеем, болтами, шурупами, проволокой, шпагатом и другими материалами, обеспечивающими сохранность груза и маркировки.

5.9 Краска, применяемая для маркировки, не должна быть липкой и стираемой, при необходимости краска должна быть водостойкой, светостойкой, солестойкой и стойкой к воздействию тропического климата, высоких и низких температур.

5.10 Манипуляционные знаки, надписи, экологические знаки должны быть черного цвета. Если цвет поверхности тары (упаковки) такой, что черный цвет не виден, целесообразно применять светлый фон, предпочтительно белый.

Не рекомендуется при маркировании использовать цвета, которые совпадают с цветами маркировки опасных грузов.

Не рекомендуется применять красный, оранжевый и желтый цвета, кроме случаев, если их применение предусмотрено национальными нормативными или техническими документами

Знак № 1 допускается выполнять красного цвета на светлом фоне при транспортировании груза по железной дороге.

Знак № 6 выполняют голубым цветом на светлом фоне.

Знак № 13 выполняют красным цветом.

Допускается на знаке № 3 не указывать символ дождевых капель.

Допускается наносить манипуляционные знаки с просветами.

(Измененная редакция. Изм. № 2).

5.11 Необходимость нанесения манипуляционных знаков должна быть установлена в стандартах или других нормативных документах на продукцию.

(Измененная редакция. Изм. № 1).

5.12 Транспортная маркировка (основные, дополнительные и информационные надписи и манипуляционные знаки) должна быть нанесена на каждое грузовое место.

Допускается наносить основные, дополнительные и информационные надписи (кроме массы брутто и нетто) не на всех грузовых местах, но не менее чем на четырех при перевозке однородных грузов в прямом железнодорожном сообщении повагонными отправками.

Допускается не наносить основные, дополнительные и информационные надписи (кроме массы брутто и нетто) при перевозке грузов автомобильным транспортом и в универсальных контейнерах, кроме автомобилей и контейнеров, загружаемых мелкими отправками.

(Измененная редакция. Изм. № 1)

6 РАЗМЕРЫ МАРКИРОВОЧНЫХ ЯРЛЫКОВ, МАНИПУЛЯЦИОННЫХ ЗНАКОВ И НАДПИСЕЙ

6.1 Площадь маркировочного ярлыка должна быть достаточной для нанесения основных, дополнительных и информационных надписей. Рекомендуемое соотношение сторон 2:3.

(Измененная редакция. Изм. № 2).

6.2 Рекомендуемые размеры ярлыков для нанесения манипуляционных знаков указаны в таблице 2.

Таблица 2

В миллиметрах

Номер ярлыка

Размеры ярлыка (пред.

Размер грузового места (груза)

 

откл. + 10 мм)

Длина или ширина

Высота

1

52 ´ 74

До 1000 включ.

До 190 включ.

2

74 ´ 105

1000

Св.190

3

105 ´ 148

Св.1000

-

4

148 ´ 210

1500

-

Примечание. Рекомендуется применять ярлыки размерами 37 ´ 52 мм, 26 ´ 37 мм, если размеры грузового места не позволяют применять размеры ярлыков, указанные в таблице 2, при этом размеры манипуляционных знаков выбирают произвольно при условии соблюдения изображения знака

6.3 Допускается увеличивать размеры ярлыка при совмещении на одном ярлыке нескольких манипуляционных знаков или надписей транспортной маркировки и манипуляционных знаков.

6.4 На ярлыках, изготовленных типографским способом, знак должен быть на расстоянии не менее 5 мм от края ярлыка.

6.5 Рекомендуемые размеры манипуляционных знаков и их деталей, наносимых на ярлыки, непосредственно на тару или изделие, приведены в приложении В.

6.6 Рекомендуемые высоты шрифта для нанесения маркировочных надписей: 3, 6, 8, 10, 15, 30, 50 и 100 мм.

Шрифты высотой 3 и 6 мм не допускается применять при нанесении надписей непосредственно на тару.

6.7 Рекомендуемая высота шрифта для основных надписей, а также надписей транспортных организаций, наносимых непосредственно на тару:

30 мм - при длине или ширине грузового места до 0,5 м включ.;

50 мм - при длине или ширине грузового места свыше 0,5 до 1,5 м включ.;

100 мм - при длине или ширине грузового места свыше 1,5 м.

6.8 Рекомендуемая высота шрифта для дополнительных и информационных надписей, наносимых непосредственно на тару:

10 мм - при длине или ширине грузового места до 0,5 м включ.;

15 мм - при длине или ширине грузового места свыше 0,5 до 1,5 м включ.;

30 мм - при длине или ширине грузового места свыше 1,5 м.

6.9 При невозможности размещения транспортной маркировки непосредственно на упаковке допускается уменьшать высоту надписей и размеры знака на 1-2 градации.

6.10 Шрифт для нанесения маркировки указан в приложении Г.

(Измененная редакция. Изм. № 1).

7 ДОПОЛНИТЕЛЬНЫЕ ТРЕБОВАНИЯ К МАРКИРОВКЕ ГРУЗОВ, ПОСТАВЛЯЕМЫХ НА ЭКСПОРТ

7.1 Транспортная маркировка грузов, поставляемых на экспорт, должна соответствовать указанной в 7.2-7.4 с дополнениями или изменениями, установленными в заказе-наряде внешнеторгового объединения.

(Измененная редакция. Изм. № 1).

7.2 Основные надписи:

номер контракта и (или) номер заказа иностранного покупателя;

номер заказа-наряда;

номер грузового места - указывается дробью, в числителе - порядковый номер места в партии; в знаменателе - количество мест в партии;

полное наименование или условное обозначение иностранного грузополучателя;

наименование пункта назначения с указанием станции или порта перегрузки;

страна назначения груза *;

станция и дорога назначения груза *;

товарные знаки и марки грузоотправителя *.

7.3 Дополнительные надписи:

наименование экспортирующей организации - полное или условное;

пункт отправления груза;

станция и дорога отправления.

7.4 Информационные надписи:

габаритные размеры грузового места в сантиметрах;

массы нетто и брутто в килограммах;

объем грузового места в кубических метрах;

надписи «Экспорт», «Страна-изготовитель и (или) поставщик». Не указывают габаритные размеры и объем грузового места при длине, ширине или диаметре до 1 м.

7.4.1 По согласованию с торговыми партнерами и транспортными организациями на каждое грузовое место (упаковку, груз) может быть нанесена машиночитаемая маркировка в соответствии с требованиями ГОСТ 30819.

(Введен дополнительно. Изм. № 2).

7.4.2 Если машиночитаемая маркировка содержит символы линейного штрихового кода, то при разработке нормативного документа, устанавливающего требования к указанной маркировке, следует учитывать требования ГОСТ 30742, ГОСТ 30743, ГОСТ 31016 и ГОСТ ИСО/МЭК 16390

(Введен дополнительно. Изм. № 2).

7.5 При транспортировании грузов па открытом подвижном составе, в смешанном железнодорожно-водном сообщении или водным транспортом, а также при мелких отправках грузов маркировку наносят непосредственно на упаковку (тару), изделие или ярлыки, которые должны быть прочно прикреплены и защищены или изготовлены из материалов, обеспечивающих сохранность надписей при транспортировании и хранении.

(Измененная редакция. Изм. № 1).

7.6 Транспортную маркировку наносят на каждое грузовое место.

При транспортировании грузов в прямом железнодорожном сообщении повагонными отправками основные и дополнительные надписи наносят не на каждое грузовое место, но не менее чем на десять мест.

При транспортировании грузов автомобильным транспортом и в универсальных контейнерах, кроме автомобилей и контейнеров, загружаемых мелкими отправками, основные и дополнительные надписи не наносят.

7.7 При транспортировании водным транспортом грузов массой свыше 1000 кг дополнительно наносят массу брутто груза в верхнем правом углу на всех четырех сторонах ящика на расстоянии не более 10 см от верхней кромки.

7.8 Знаки № 1 и 11 наносят в левом верхнем углу с четырех сторон.

_________

* Необходимость нанесения этих надписей предусматривается в заказе-наряде или других нормативных актах внешнеторгового объединения.

 

7.9 Знак № 12 наносят на шесть сторон упаковки на месте проекции фактического центра тяжести груза.

Если форма и размеры упаковки не позволяют нанести знак № 12 на шесть сторон упаковки, допускается наносить знак на меньшее количество сторон, но не менее двух.

7.10 Транспортную маркировку наносят на русском языке и иностранном, указанном в заказе-наряде внешнеторгового объединения (см. пример в приложении Д). При длине или ширине тары до 1 м допускается маркировку наносить на одной из сторон на языке, указанном в заказе-наряде.

7.11 На ящиках или другой таре, имеющей форму параллелепипеда, маркировку наносят на торцовую и боковую стенки.

На грузовых местах, имеющих форму цилиндра, маркировку наносят на основаниях.

Если размеры и конструкция тары не позволяют разместить необходимую маркировку на боковой и торцовой стенках, то маркировку располагают на торцовой и боковой стенках и на крышке.

8 МАРКИРОВКА, ХАРАКТЕРИЗУЮЩАЯ ТРАНСПОРТНУЮ ТАРУ

8.1 Содержание маркировки, характеризующей тару:

товарный знак и (или) наименование предприятия-изготовителя;

номер тары по нормативному документу;

обозначение нормативного документа;

экологический знак» по национальному нормативному или техническому документу.

На многооборотную тару должна быть нанесена надпись «Многооборотная».

Пример -

 

42 ГОСТ 9481-76

(Измененная редакция. Изм. № 1, 2).

8.2 Маркировка, характеризующая тару, кроме мешков, наносится на тару ее изготовителем. Маркировку, характеризующую мешки, указывают на кипах или пачках, в которые упакованы мешки.

Допускается наносить маркировку, характеризующую тару, на ярлыки.

8.3 Маркировку, характеризующую тару, наносят:

на ящики - в левом верхнем углу торцовой стенки, свободной от маркировки, характеризующей груз;

на ящиках с обечайкой - на боковой стенке ящика;

на бочках и барабанах - на одном из днищ, свободном от маркировки, характеризующей груз; допускается наносить маркировку на корпусе;

на баллонах - на дне.

Место нанесения на канистрах, флягах и других видах транспортной тары устанавливают в нормативном документе на эти виды тары.

(Измененная редакция. Изм. № 1).

8.4 Способы нанесения маркировки тары:

деревянной - окраской по трафарету, штемпелеванием, выжиганием;

картонной - типографским способом, штемпелеванием;

металлической - окраской по трафарету, выдавливанием;

пластмассовой - маркировка выполняется на пресс-форме.

Маркировка, характеризующая тару, может наноситься специальными маркировочными машинами.

8.5 Высоту шрифта для нанесения маркировки, характеризующей тару, выбирают по 6.6.

8.6. На транспортную тару, предназначенную для упаковывания, транспортирования и хранения опасных грузов, должна быть нанесена маркировка по ГОСТ 26319.

(Измененная редакция. Изм. № 1).

ПРИЛОЖЕНИЕ А

(Обязательное)

ПОРЯДОК РАСПОЛОЖЕНИЯ ТРАНСПОРТНОЙ МАРКИРОВКИ

 - обязательные надписи;

 - допускаемые надписи

1 - манипуляционные знаки (предупредительные надписи); 2 - допускаемые предупредительные надписи (см. 4.2); 3 - количество мест в партии, порядковый номер внутри партии; 4 - наименование грузополучателя и пункта назначения; 5 - наименование пункта перегрузки; 6- надписи транспортных организаций; 7 - объем грузового места *; 8 - габаритные размеры грузового места; 9 - масса брутто; 10 - масса нетто: 11 - страна-изготовитель и (или) поставщик; 12 - наименование пункта отправления; 13 - наименование грузоотправителя

(Измененная редакция. Изм. № 1).

8.7 На тару и упаковку, которые после использования могут быть подвергнуты вторичной переработке, наносят маркировку с применением знака - «лента Мебиуса» в соответствии с требованиями национального нормативного документа*.

Примеры изображения знака приведены в приложении Е.

(Введен дополнительно. Изм. № 2).

8.8 Допускается наносить на тару экологическую маркировку с применением знаков в соответствии с приложением Ж

(Введен дополнительно. Изм. № 2).

ПРИЛОЖЕНИЕ Б

(Справочное)

РАСПОЛОЖЕНИЕ МАРКИРОВОЧНЫХ ЯРЛЫКОВ

Рисунок Б. 1

____________

* Для грузов, предназначенных для экспорта.

Рисунок Б.2

РАСПОЛОЖЕНИЕ МАРКИРОВКИ ПА ТРАНСПОРТНОМ ПАКЕТЕ

Рисунок Б.3

 

ПРИЛОЖЕНИЕ В

(рекомендуемое)

РАЗМЕРЫ МАНИПУЛЯЦИОННЫХ ЗНАКОВ И ИХ ДЕТАЛЕЙ

Размеры знаков и их деталей, приведенные в таблицах В.1-В.23 и рисунках В.1-В.23, установлены в соответствии с размерами ярлыков, указанными в таблице 2 настоящего стандарта.

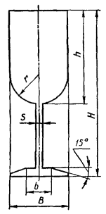
Хрупкое. Осторожно

Рисунок В.1

Таблица В.1

В миллиметрах

Размеры знака и его деталей

В

b

Н

h

r

S

24

10

64

38

12

3

36

15

95

54

18

5

52

20

138

80

26

7

76

25

200

115

38

10

(Измененная редакция. Изм. № 1).

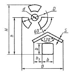
Беречь от солнечных лучей

Рисунок В.2

Таблица В.2

В миллиметрах

Размеры знака и его деталей

В

Н

h

h1

h2

b

b1

d

S

b2

40

56

42

16

11

16

16

8

2

8

60

80

60

20

15

20

20

12

3

10

92

115

85

28

21

28

28

16

4

14

135

165

120

40

30

40

40

24

6

20

(Измененная редакция. Изм. № 1).

Беречь от влаги

Рисунок В.3

Таблица В.3

В миллиметрах

Размеры знака и его деталей

В

H

h1

h2

h3

R

r

S

33

64

32

42

44

21

4

2

50

95

40

50

53

28

6

3

80

138

58

73

77

45

9

4

113

200

84

110

115

66

13

5

Ограничение температуры

Рисунок В.4

Таблица В.4

В миллиметрах

Размеры знака и его деталей

C

H

С1

b

b1

b2

b3

b4

b5

b6

S

10

64

2,0

18

3,0

24

10

2,0

4,0

8,0

2,0

14

95

3,0

27

4,0

34

14

2,0

6,0

10,0

3,0

20

136

4,0

38

6,0

48

20

3,0

8,0

14,0

4,0

(Измененная редакция. Изм. № 1).

Беречь от излучения

Рисунок В.5

Таблица В.5

В миллиметрах

Размеры знака и его деталей

В

H

h

h1

S

31

64

15

8

3

43

95

21

11

4

59

138

29

15

5

82

200

40

21

7

Скоропортящийся груз

Рисунок В.6

Таблица В.6

В миллиметрах

Размеры знака и его деталей

В

b

b1

H

h

a

42

18

3

64

19

3

64

28

4

95

29

4

95

42

5

138

43

5

138

63

8

200

64

6

Герметичная упаковка

Рисунок В.7

Таблица В.7

В миллиметрах

Размеры знака и его деталей

D

b

b1

h

S

S1

42

10

2

12

3

1,0

64

20

2

28

4

1,5

94

28

3

40

5

2,0

138

38

4

54

8

2,0

Крюками не брать

Рисунок В.8

Таблица В.8

В миллиметрах

Размеры знака и его деталей

В

H

А

r

r1

S

40

64

16

6

5

3

59

95

26

8

9

4

88

138

40

13

14

6

138

200

56

20

18

10

Место строповки

Рисунок В.9

Таблица В.9

В миллиметрах

Размеры знака и его деталей

Н

A

A1

D

R

b

b1

b2

R1

B

60

12

12

21

3,0

2,0

2,0

3,0

4,0

18

95

18

16

30

4,0

2,0

3,0

4,0

6,0

26

125

26

24

44

6,0

2,0

5,0

6,0

9,0

36

200

38

36

62

9,0

3,0

7,0

8,0

13,0

50

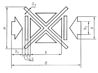
Здесь поднимать тележкой запрещается

Рисунок В.10

Таблица В.10

В миллиметрах

Размеры знака и его деталей

Длина или ширина груза

В

b

b1

b2

H

h

d

S

S1

A

 

74

60

21

17

125

5

8

2

6

31

До 1000,0

105

84

28

24

175

7

16

3

7

43

Св.1000,0

(Измененная редакция. Изм. № 1).

Верх

Рисунок В.11

Таблица В.11

В миллиметрах

Размеры знака и его деталей

В

b

Н

h

h1

h2

S

38

19

64

13

7

4

5

56

27

95

19

9

5

7

80

38

138

28

12

6

10

112

55

200

40

17

7

15

Центр тяжести

Рисунок В.12

Таблица В.12

В миллиметрах

Размеры знака и его деталей

В

D

d

S

42

20

12

4

64

28

16

6

94

36

20

8

138

54

30

12

Тропическая упаковка

Рисунок В.13

Таблица В.13

В миллиметрах

Размеры знака и его деталей

D

D1

S

b

b1

h

42

38

2

9

3

9

64

56

3

13

4

13

94

82

4

23

5

23

138

122

6

33

8

33

(Измененная редакция. Изм. № 1).

Штабелирование запрещается

Рисунок В.14

Таблица В.14

В миллиметрах

Размеры знака и его деталей

B

b

H

S

S1

42

30

64

2

4

64

43

95

3

6

95

63

138

4

8

138

92

200

6

10

(Измененная редакция. Изм. № 1).

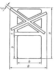
Поднимать непосредственно за груз

Рисунок В.15

Таблица В.15

В миллиметрах

Размеры знака и его деталей

Н

В

h

h1

h2

h3

b

b1

b2

a

a1

a2

a3

S

S1

c

c1

33

60

25

21

17

4

42

8

13

10

3

9

7

2

1

5

1

51

92

39

33

26

6

64

12

20

15

5

14

11

3

11

8

2

77

134

57

48

39

9

94

18

29

22

7

20

16

5

2

11

3

112

198

88

73

56

14

138

25

42

33

12

30

24

6

2

17

4

Открывать здесь

Рисунок В.16

Таблица В.16

В миллиметрах

Размеры знака и его деталей

Н

В

h

64

42

14

95

64

21

138

95

30

200

138

43

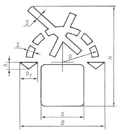
Защищать от радиоактивных источников

Рисунок В.17

Таблица В.17

В миллиметрах

Размеры знака и его деталей

В

H

h

D

b

b1

d

S

42

64

49

21

14

14

8

3

64

95

75

33

20

21

10

5

95

138

108

47

35

30

15

7

138

200

155

69

50

44

22

10

(Измененная редакция. Изм. № 1).

Не катить

Рисунок В.18

Таблица В.18

В миллиметрах

Размеры знака и его деталей

В

b

b1

H

h

S

R

42

20

10

64

5

3

18

64

30

15

85

10

5

27

95

40

20

125

15

8

40

138

50

30

170

20

10

60

(Измененная редакция. Изм. № 1).

Штабелирование ограничено

Рисунок В.19

Таблица В.19

В миллиметрах

Размеры знака и его деталей

В

b

b1

b2

Н

h

h1

S

32

24

12

6

64

10

10

4

47

40

20

10

95

18

15

5

68

52

26

13

138

26

20

8

100

80

40

20

200

40

30

10

(Измененная редакция. Изм. № 1).

Зажимать здесь

Рисунок В.20

Таблица В.20

В миллиметрах

Размеры знака и его деталей

В

b

b1

H

h

h1

S

64

32

10

42

25

14

2

95

39

16

57

35

20

4

140

60

22

95

50

25

6

200

90

31

138

70

40

8

(Измененная редакция. Изм. № 1).

Не зажимать

Рисунок В.21

Таблица В.21

В миллиметрах

Размеры знака и его деталей

В

b

b1

H

h

h1

S

S1

64

26

10

42

25

14

3

4

95

39

16

64

35

20

4

5

138

50

23

95

50

25

7

9

200

68

33

138

70

40

11

11

(Введен дополнительно. Изм. № 1).

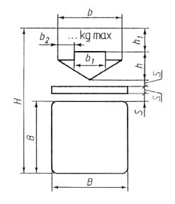
Предел по количеству ярусов в штабеле

Рисунок В.22

Таблица В.22

В миллиметрах

Размеры знака и его деталей

В

b

H

S

S1

35

19

64

2

4

50

28

96

3

5

60

36

138

6

9

100

55

200

10

11

(Введен дополнительно. Изм. № 1).

Вилочные погрузчики не использовать

Рисунок В.23

Таблица В.23

В миллиметрах

Размеры знака и его деталей

В

b

b1

b2

H

h

S

S1

d

d1

C

100

15

15

45

75

40

7

4

15

20

4

130

20

20

60

100

50

10

5

20

30

5

(Введен дополнительно. Изм. № 1).

 

ПРИЛОЖЕНИЕ Г

(рекомендуемое)

РЕКОМЕНДУЕМЫЕ ОЧЕРТАНИЯ ШРИФТА ДЛЯ НАНЕСЕНИЯ МАРКИРОВКИ

Рисунок Г.1

Рисунок Г.2

Рисунок Г.3

ПРИЛОЖЕНИЕ Д

(справочное)

ПРИМЕРЫ РАСПОЛОЖЕНИЯ МАРКИРОВКИ НА ГРУЗАХ,
ПОСТАВЛЯЕМЫХ НА ЭКСПОРТ

__________

* Товарный знак объединения и место его расположения на таре или ярлыке.

Приложение Е

(рекомендуемое)

Примеры изображения знака - «ленты Мебиуса»

* В Российской Федерации действует ГОСТ Р ИСО 14021-2000.

Приложение Ж

(рекомендуемое)

Экологические знаки

Наименование знака

Изображение знака

Назначение знака

1 Подлежит утилизации (подлежит вторичной переработке)

Идентифицирует тару и упаковочные материалы, подвергающиеся утилизации (вторичной переработке)

2 То же

То же

3 Беречь от загрязнений окружающую среду

Указывает на необходимость защиты окружающей среды - не сорить, поддерживать чистоту и сдавать использованную тару для переработки».

 

 

 

Ключевые слова: маркировка, знаки манипуляционные, ярлыки, размеры, надписи, содержание




Яндекс цитирования



   Copyright © 2007-2026,  www.tehlit.ru.

[ ѓосты, стандарты, нормативы, инструкции, правила, строительные нормы ]