//
ТехЛит.ру
- крупнейшая бесплатная электронная интернет библиотека для "технически умных" людей.
WWW.TEHLIT.RU - ТЕХНИЧЕСКАЯ ЛИТЕРАТУРА

:: Алготрейдинг::


АЛГОТРЕЙДИНГ
шаг за шагом
с нуля по урокам!

Торговые роботы на PYTHON, BackTrader,
Pandas, Pine Script для TradingView. Связка с брокерами, телеграм и легкими приложениями.


ГОСТ Р МЭК 60335-2-21-99

ГОСУДАРСТВЕННЫЙ СТАНДАРТ РОССИЙСКОЙ ФЕДЕРАЦИИ

БЕЗОПАСНОСТЬ БЫТОВЫХ
И АНАЛОГИЧНЫХ ЭЛЕКТРИЧЕСКИХ
ПРИБОРОВ

ДОПОЛНИТЕЛЬНЫЕ ТРЕБОВАНИЯ К АККУМУЛЯЦИОННЫМ
ВОДОНАГРЕВАТЕЛЯМ И МЕТОДЫ ИСПЫТАНИЙ

ГОССТАНДАРТ РОССИИ

Москва

Предисловие

1 РАЗРАБОТАН И ВНЕСЕН Техническим комитетом по стандартизации ТК 19 «Электрические приборы бытового назначения»

2 ПРИНЯТ И ВВЕДЕН В ДЕЙСТВИЕ Постановлением Госстандарта России от 27 июля 1999 г. № 212-ст

3 Настоящий стандарт представляет собой полный аутентичный текст международного стандарта МЭК 60335-2-21-97 «Безопасность бытовых и аналогичных электрических приборов. Часть 2. Дополнительные требования к аккумуляционным водонагревателям» с поправкой, утвержденной в марте 1998 г.

4 ВВЕДЕН ВПЕРВЫЕ

СОДЕРЖАНИЕ

1 Область применения. 2

2 Определения. 3

3 Общие требования. 4

4 Общие условия испытаний. 4

5 В стадии рассмотрения. 4

6 Классификация. 4

7 Маркировка и инструкции. 4

8 Защита от контакта с токоведущими частями. 5

10 Потребляемая мощность и ток. 5

11 Нагрев. 5

12 В стадии рассмотрения. 5

13 Ток утечки и электрическая прочность при рабочей температуре. 5

14 В стадии рассмотрения. 5

15 Влагостойкость. 5

16 Ток утечки и электрическая прочность. 6

17 Защита от перегрузки трансформаторов и соединенных с ними цепей. 6

19 Ненормальная работа. 6

20 Устойчивость и механические опасности. 7

21 Механическая прочность. 7

22 Конструкция. 7

23 Внутренняя проводка. 9

24 Комплектующие изделия. 9

25 Присоединение к источнику питания и внешние гибкие шнуры.. 10

26 Зажимы для внешних проводов. 10

27 Заземление. 10

28 Винты и соединения. 10

29 Пути утечки тока, воздушные зазоры и расстояния по изоляции. 10

30 Теплостойкость, огнестойкость и стойкость к образованию токоведущих мостиков. 10

31 Стойкость к коррозии. 10

32 Радиация, токсичность и подобные опасности. 10

Приложение А Нормативные ссылки. 10

Приложение В Приборы, питающиеся от перезаряжаемых батарей. 11

Приложение С Испытание двигателей на старение. 11

Приложение D Варианты требований для двигателей с защитными устройствами. 11

Приложение Е Измерение путей утечки тока и воздушных зазоров. 11

Приложение F Двигатели, не изолированные от сети питания и имеющие основную изоляцию, которая не рассчитана на номинальное напряжение прибора. 11

Приложение G Схема цепи для измерения тока утечки. 11

Приложение Н Порядок проведения испытаний по разделу 30. 11

Приложение I Испытание горением 11

Приложение К Испытание раскаленной проволокой 11

Приложение L Испытание дефектных соединений с помощью нагревателей. 11

Приложение М Испытание игольчатым пламенем 11

Приложение N Испытание на образование токоведущих мостиков 11

Приложение Р Жесткость условий эксплуатации изоляционных материалов относительно опасности трекинга 12

Приложение 1 Пружинное устройство для испытаний на удар и его калибровка 12

ГОСТ Р МЭК 60335-2-21-99

ГОСУДАРСТВЕННЫЙ СТАНДАРТ РОССИЙСКОЙ ФЕДЕРАЦИИ

БЕЗОПАСНОСТЬ БЫТОВЫХ И АНАЛОГИЧНЫХ ЭЛЕКТРИЧЕСКИХ ПРИБОРОВ

Дополнительные требования к аккумуляционным водонагревателям и методы испытаний

Safety of household and similar electrical appliances. Particular requirements for storage water heaters and test methods

Дата введения 2000-07-01

Настоящий стандарт содержит нормы, правила и методы испытаний, которые дополняют, заменяют или исключают соответствующие разделы и (или) пункты ГОСТ Р МЭК 335-1.

Номера пунктов настоящего стандарта, которые дополняют пункты ГОСТ Р МЭК 335-1, начинаются с цифры 101.

Настоящий стандарт применяют совместно с ГОСТ Р МЭК 335-1, кроме разделов 9 и 18.

Требования настоящего стандарта являются обязательными.

Требования к методам испытаний выделены курсивом.

Нормативные ссылки приведены в приложении А.

1 Область применения

1.1 Замена пункта

Настоящий стандарт устанавливает требования безопасности электрических аккумуляционных водонагревателей бытового и аналогичного применения, предназначенных для нагревания воды ниже точки кипения, номинальным напряжением не более 250 В для однофазных приборов и 480 В - для других приборов.

1.2 Замена пункта

Приборы, не предназначенные для бытового применения, но которые могут быть источником опасности для людей, например приборы, используемые неспециалистами в магазинах, в легкой промышленности и на фермах, входят в область распространения настоящего стандарта.

Настоящий стандарт устанавливает основные виды опасности прибора, с которыми люди сталкиваются внутри и вне дома.

Примечание 1 - Настоящий стандарт не учитывает опасностей, возникающих в случае:

- безнадзорного использования приборов детьми или немощными лицами;

- игр детей с приборами.

1.3 Замена пункта

Настоящий стандарт не распространяется на:

- приборы для кипячения воды (ГОСТ Р МЭК 60335-2-15);

- проточные водонагреватели (ГОСТ 27570.23);

- электрические водяные бойлеры и нагреватели для жидкости, применяемые для коммерческих целей;

- коммерческие распределительные приборы и машины для торговли;

- приборы, предназначенные исключительно для промышленных целей;

- приборы, предназначенные для применения в местах, где преобладают особые условия, например коррозионная или взрывоопасная среда (пыль, пар или газ).

Примечания

1 Для приборов, предназначенных для использования на больших высотах над уровнем моря, могут быть необходимы дополнительные требования.

2 Для приборов, предназначенных для использования в транспортных средствах, на борту кораблей, самолетов, могут быть необходимы дополнительные требования.

3 Для приборов, предназначенных для использования в тропических странах, могут быть необходимы специальные требования.

4 Во многих странах национальные органы здравоохранения, охраны труда и др., ответственные за качество водоснабжения, предъявляют к приборам дополнительные требования.

5 Во многих странах существуют правила по установке оборудования, подсоединяемого к водопроводной сети.

2 Определения

В настоящем стандарте применяют термины с соответствующими определениями по ГОСТ Р МЭК 335-1, а также приведенные ниже.

2.2.9 Замена пункта

Нормальная работа - прибор работает после установки в соответствии с инструкцией по эксплуатации, заполненный холодной водой.

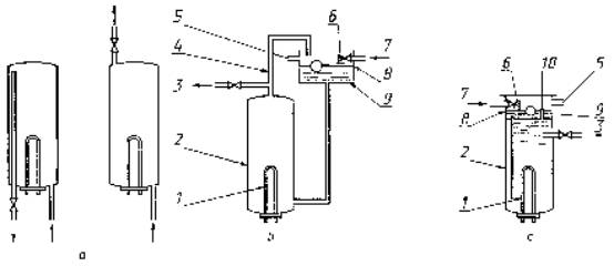
2.101 Аккумуляционный водонагреватель - стационарный прибор для нагревания и сохранения воды в резервуаре, снабженный устройством для контроля температуры воды.

Примечание - Резервуар может быть с термоизоляцией или без нее.

2.102 Закрытый водонагреватель - аккумуляционный водонагреватель, не соединенный с атмосферой и предназначенный для работы под давлением водопроводной сети; поток воды регулируют одним или несколькими вентилями на сливной системе воды.

Примечания

1 Закрытый водонагреватель показан на рисунке 101 а.

2 Рабочее давление может быть равно выходному давлению понижающего или повышающего устройства.

2.103 Водонагреватель, питаемый от отдельного резервуара, - аккумуляционный водонагреватель, открытый в атмосферу, в который подается вода из отдельного резервуара под атмосферным давлением; поток воды регулируют одним или несколькими вентилями на сливной системе воды.

Примечания

1 Водонагреватель, питаемый от отдельного резервуара, показан на рисунке 101 b.

2 Водонагреватель может быть установлен таким образом, что расширяющаяся вода может возвращаться в резервуар.

3 В водонагревателе, питаемом от отдельного резервуара, давление в баке создается столбом воды, поступающей из резервуара.

2.104 Водонагреватель со встроенным резервуаром - аккумуляционный водонагреватель, имеющий бак, в который подается вода под атмосферным давлением из резервуара, который встроен в прибор. Расширенная вода может вернуться в резервуар. Поток воды регулируется одним или несколькими вентилями на сливной системе воды.

Примечания

1 Водонагреватель со встроенным резервуаром показан на рисунке 101 с.

2 В водонагревателе со встроенным резервуаром поверхность воды всегда находится под атмосферным давлением.

2.105 Водонагреватель со свободным сливом - аккумуляционный водонагреватель, в котором поток воды только контролируется вентилем на входной трубе и в котором при расширении или перемещении вода вытекает через выходную трубу.

Примечания

1 Водонагреватель со свободным сливом показан на рисунке 101 d.

2 В водонагревателе со свободным сливом статическое давление всегда равно атмосферному.

2.106 Номинальное давление - давление воды, установленное изготовителем для прибора.

1 - нагревательный элемент; 2 - бак; 3 - выходная труба; 4 - труба расширения; 5 - перелив; 6 - шаровой клапан; 7 - входное отверстие; 8 - уровень воды; 9 - резервуар; 10 - вентиляционное отверстие

а - закрытый водонагреватель; b - водонагреватель, питаемый от отдельного резервуара; с - водонагреватель со встроенным резервуаром; d - водонагреватель со свободным сливом

Рисунок 101 - Примеры аккумуляционных водонагревателей

3 Общие требования

Общие требования - по ГОСТ Р МЭК 335-1.

4 Общие условия испытаний

Общие условия испытаний - по ГОСТ Р МЭК 335-1 со следующими дополнениями.

4.2 Дополнение к пункту

Могут потребоваться дополнительные приборы в случае повреждения образца при испытаниях по 19.2, 19.3 или 19.102.

Примечание - Испытания по 22.102 и 22.103 могут проводиться на отдельных баках или теплообменниках.

4.3 Дополнение к пункту

При выполнении испытаний на одном приборе испытания по 22.102 и 22.103 выполняются до испытаний по разделу 19. Испытания по 22.104 и 24.102 также проводятся до испытания по разделу 19.

5 В стадии рассмотрения

6 Классификация

Классификация - по ГОСТ Р МЭК 335-1 со следующими дополнениями.

6.1 Дополнение к пункту

Водонагреватели должны быть I, II или III классов защиты от поражения электрическим током.

6.2 Первый абзац заменить следующим:

«Водонагреватели, предназначенные для установки вне помещения, должны иметь степень защиты не менее IPX4 по ГОСТ 14254. Другие водонагреватели должны иметь степень защиты не менее IPX1».

7 Маркировка и инструкции

Маркировка и инструкции - по ГОСТ Р МЭК 335-1 со следующими дополнениями.

7.1 Дополнение к пункту

На приборах, отличных от приборов со встроенным резервуаром, должна быть нанесена маркировка, содержащая номинальное давление в паскалях (барах).

На всех приборах должна быть нанесена маркировка, содержащая номинальную емкость в литрах.

На закрытых водонагревателях должно быть указано, что устройство для сброса давления должно быть вмонтировано при установке прибора, если оно не встроено в прибор.

На закрытых водонагревателях, имеющих номинальное давление менее 0,6 МПа, должна быть нанесена маркировка о том, что клапан сброса давления должен быть установлен при установке прибора.

Водонагреватели со свободным сливом должны иметь маркировку, расположенную вблизи подсоединения выходной трубы со следующим предупреждением:

ПРЕДУПРЕЖДЕНИЕ - Эта выходная труба действует как вентиляционное отверстие и не должна подсоединяться к крану или любой арматуре, не рекомендованной изготовителем.

Примечание - Это предупреждение может быть выполнено на бирке, прикрепленной к прибору.

7.12.1 Дополнение к пункту

В инструкции по эксплуатации закрытых водонагревателей должны быть приведены следующие сведения:

- что вода может просачиваться из выпускной трубы устройства для сброса давления и что эта труба должна оставаться открытой для атмосферы;

- что устройство для сброса давления должно срабатывать регулярно для удаления известковых осадков и для проверки, что оно не заблокировано;

- как можно опорожнить водонагреватель;

- тип или характеристики устройства для сброса давления и как его подсоединять, если оно не встроено в прибор;

- что выпускная труба, подсоединенная к устройству для сброса давления, должна быть установлена постоянно вниз и в незамерзающей окружающей среде;

- тип или характеристики клапана уменьшения давления и расположение деталей для приборов, имеющих номинальное давление менее 0,6 МПа.

В инструкции по эксплуатации для нагревателей закрытого типа с теплообменником должны быть указаны детали установки контролирующих устройств и их температурные уставки, предотвращающие срабатывание термовыключателя, вызванное теплом от теплообменника.

В инструкции по эксплуатации водонагревателей со свободным сливом должно быть указано, что выходное отверстие действует как вентиляционное и должно быть подсоединено к крану или арматуре, указанным в инструкции по эксплуатации.

В инструкции по эксплуатации водонагревателей, питаемых от отдельного резервуара, должно содержаться следующее предупреждение:

ПРЕДУПРЕЖДЕНИЕ - Не подсоединять никакое устройство сброса давления к вентиляционной трубе этого водонагревателя.

7.101 Места подвода и слива воды должны быть обозначены. Это обозначение не должно быть расположено на съемных деталях. Если используются цвета, то голубой цвет должен означать подвод воды, красный - слив воды.

Примечание - Подвод и слив воды могут быть обозначены стрелками, указывающими направление потока воды.

Соответствие требованию проверяют осмотром.

8 Защита от контакта с токоведущими частями

Защита от контакта с токоведущими частями - по ГОСТ Р МЭК 335-1.

10 Потребляемая мощность и ток

Потребляемая мощность и ток - по ГОСТ Р МЭК 335-1.

11 Нагрев

Нагрев - по ГОСТ Р МЭК 335-1 со следующими дополнениями.

11.7 Замена пункта

Прибор работает до достижения установившегося состояния или до прерывания тока термоограничителем первый раз через 16 ч, в зависимости от того, что короче.

12 В стадии рассмотрения

13 Ток утечки и электрическая прочность при рабочей температуре

Ток утечки и электрическая прочность при рабочей температуре - по ГОСТ Р МЭК 335-1.

14 В стадии рассмотрения

15 Влагостойкость

Влагостойкость - по ГОСТ Р МЭК 335-1 со следующими дополнениями.

15.2 Дополнение к пункту

Для водонагревателей со встроенным резервуаром испытание проводят с закрытым сливным клапаном.

Примечание - Другие приборы не подвергают указанному испытанию.

15.3 Дополнение к пункту

Примечание - Если прибор слишком велик для камеры влажности, испытанию подвергают только части, содержащие электрические компоненты.

16 Ток утечки и электрическая прочность

Ток утечки и электрическая прочность - по ГОСТ Р МЭК 335-1.

17 Защита от перегрузки трансформаторов и соединенных с ними цепей

Защита от перегрузки трансформаторов и соединенных с ними цепей - по ГОСТ Р МЭК 335-1.

19 Ненормальная работа

Ненормальная работа - по ГОСТ Р МЭК 335-1 со следующими дополнениями.

19.1 Изменение в пункте

Вместо испытаний для приборов с нагревательными элементами, применяется следующее:

Для закрытых водонагревателей и водонагревателей со свободным сливом соответствие требованию проверяют испытаниями по 19.2, 19.3 и 19.4, если применимо. Однако вместо указанных, пунктов применяют испытание по 19.101 для приборов, которые не могут быть опорожненными при нормальной эксплуатации и которые имеют все четыре следующие характеристики:

- внешняя оболочка изготовлена из металла.

Примечание 1 - Неметаллические крышки могут использоваться для зажимов питания и контрольных устройств;

- теплоизоляция невоспламеняющаяся.

Примечание 2 - Теплоизоляция, выдерживающая испытание игольчатым пламенем по приложению М ГОСТ Р МЭК 335-1, считается невоспламеняющейся;

- емкость превышает 30 дм3;

- номинальная потребляемая мощность не превышает 6 кВт.

Примечания

3 Приборы не считаются подлежащими опорожнению при нормальной эксплуатации, если опорожнение через впуск невозможно посредством запорного клапана, трубчатого прерывателя или воздушного зазора. Эти устройства могут быть вмонтированы в подводящую трубу, если их установка требуется в инструкции по эксплуатации. Слив воды через отверстие для ремонта не считается нормальной эксплуатацией.

4 Водонагреватели, питаемые от отдельного резервуара, и водонагреватели со встроенным резервуаром не подвергают испытаниям.

19.2 Дополнение к пункту

Прибор работает без воды, при этом все терморегуляторы, работающие при испытании по разделу 11, замыкают накоротко.

Примечание - Если прибор снабжен несколькими ограничителями температуры, то их по очереди замыкают накоротко.

19.3 Дополнение к пункту

Примечание - Если прибор был поврежден при предыдущем испытании, используют другой прибор.

19.4 Замена пункта

Для водонагревателей со свободным сливом испытание по 19.2 повторяют, но бак наполняют водой до уровня на 10 мм выше наивысшей точки нагревательного элемента. Прибор работает при 1,15 номинальной потребляемой мощности в условиях нормальной работы.

Примечание - Если водонагреватель был поврежден при предыдущем испытании, используют другой прибор.

19.13 Дополнение к пункту

Не должно быть утечки из бака при испытаниях.

19.101 Прибор испытывают в течение 24 ч при условиях, указанных в разделе 11, но с пустым баком.

19.102. Результатом блокировки выходного отверстия водонагревателей со свободным сливом не должно стать повышение давления.

Соответствие требованию проверяют следующим испытанием.

Прибор работает в условиях, указанных в разделе 11, но терморегулятор замыкают накоротко. Когда вода кипит, выходное отверстие блокируют.

Устройство сброса давления или термовыключатель должны срабатывать до того, как давление возрастет до 0,15 МПа.

Бак не должен протекать.

Поправка. ИУС 3-2003.

20 Устойчивость и механические опасности

Устойчивость и механические опасности - по ГОСТ Р МЭК 335-1.

21 Механическая прочность

Механическая прочность - по ГОСТ Р МЭК 335-1.

22 Конструкция

Конструкция - по ГОСТ Р МЭК 335-1 со следующими дополнениями.

22.6 Дополнение к пункту

Оболочка должна иметь дренажное отверстие, расположенное так, что вода может сливаться без повреждения электрической изоляции при условии, что конденсат воды может аккумулироваться внутри оболочки при нормальном использовании. Отверстие должно быть диаметром не менее 5 мм или в виде прямоугольника площадью 20 мм2; ширина - не менее 3 мм.

Соответствие требованию проверяют измерением.

22.20 Дополнение к пункту

Термоизоляция не должна использоваться для внутренней проводки.

22.101 Номинальное давление закрытых водонагревателей, предназначенных для непосредственного подсоединения к водопроводной сети, должно быть не менее 0,6 МПа.

Номинальное давление закрытых водонагревателей, предназначенных для питания от клапана снижения давления, который не встроен в прибор, должно быть не менее 0,1 МПа.

Номинальное давление водонагревателей, питаемых от отдельного резервуара, не должно превышать 0,2 МПа.

Примечание - Номинальное давление в Паскалях водонагревателей со свободным сливом равно нулю.

Соответствие требованию проверяют осмотром.

22.102 Приборы должны выдерживать давление воды, возможное при нормальной эксплуатации.

Соответствие требованию проверяют, подвергая прибор давлению воды, равному:

- двойному номинальному давлению - для закрытых водонагревателей. Если водонагреватель питается через клапан снижения давления, бак подвергают двойному рабочему давлению.

Примечания

1 Клапан снижения давления может быть встроен в водонагреватель.

2 Рабочее давление является максимальным давлением в баке, измеренным при испытании по разделу 11;

- 1,5 номинального давления - для водонагревателей, питаемых от отдельного резервуара;

- 0,15 МПа - для водонагревателей со свободным сливом;

- 0,03 МПа - для водонагревателей со встроенным резервуаром.

Давление возрастает со скоростью 0,13 МПа/с по отношению к установленному значению, которое сохраняется в течение 15 мин.

Вода не должна вытекать из прибора и не должна иметь место остаточная деформация, нарушающая соответствие требованиям настоящего стандарта.

Примечания

3 Теплообменники, встроенные в прибор, подвергают испытанию давлением воды, равным рабочему давлению теплообменника.

4 Повреждение защитной оболочки на внутренней стороне баков опасным не считают.

5 Устройство сброса давления выключают.

22.103 Устройство сброса давления закрытых водонагревателей должно предотвращать повышение давления в баке выше номинального более чем на 0,1 МПа.

Соответствие требованию проверяют, подвергая бак медленному увеличению давления воды.

Примечание - Устройство сброса давления может быть установлено во время монтажа водонагревателя.

22.104 Выходное отверстие водонагревателя со свободным сливом должно быть сконструировано так, чтобы поток воды не ограничивался до такой степени, при которой в баке создавалось бы значительное давление.

Соответствие требованию проверяют осмотром.

Примечание - Требование считают выполненным, если площадь поперечного сечения отверстия слива не меньше отверстия входа воды.

Водонагреватели со встроенным резервуаром должны быть сконструированы таким образом, чтобы бак всегда имел атмосферное давление, обеспечиваемое вентиляционным отверстием площадью не менее 30 мм2 при минимальном размере не менее 3 мм.

Соответствие требованию проверяют осмотром и измерением.

22.105 Закрытые водонагреватели должны иметь встроенный термовыключатель, обеспечивающий отсоединение всех полюсов и работающий независимо от терморегулятора. Однако для приборов, предназначенных для подсоединения к стационарной проводке, провод нейтрали не должен быть отсоединен.

Соответствие требованию проверяют осмотром.

22.106 Нагревательные элементы и сенсорные терморегуляторы, находящиеся в контакте с внешней поверхностью бака, должны быть надежно закреплены.

Соответствие требованию проверяют осмотром.

22.107 Приборы, закрепляемые на стене, должны иметь надежное устройство крепления к стене, не связанное с устройством присоединения к водопроводной сети.

Соответствие требованию проверяют осмотром.

22.108 Приборы емкостью более 15 дм3, опорожнение которых невозможно через дренаж, установленный в водопроводной трубе, должны быть снабжены сливным устройством, открывание которого возможно только при помощи инструмента.

Соответствие требованию проверяют осмотром и испытанием вручную.

Примечания

1 Небольшое количество воды, оставшееся после спуска воды под спускным краном, не учитывают.

2 Сливной кран может быть объединен с предохранительным клапаном.

22.109 Конструкция водонагревателей со свободным сливом с пластиковыми баками должна гарантировать, что прибор будет установлен только в заданном положении.

Примечание - Приборы, на которых указано, что их установку производят рядом с подсоединением к водопроводной сети, считаются отвечающими этому требованию.

Соответствие требованию проверяют осмотром.

22.110 Закрытые водонагреватели со встроенным теплообменником должны быть сконструированы так, чтобы при нормальном использовании термовыключателъ не срабатывал от тепла теплообменника.

Терморегулирующие клапаны, перепускные клапаны или аналогичные контролирующие устройства, используемые для этой цели, должны поставляться с прибором.

Соответствие требованию проверяют осмотром.

22.111 Закрытые водонагреватели должны быть сконструированы так, чтобы повторное выливание не вызывало кипения воды.

Соответствие требованию проверяют следующим испытанием.

Прибор работает, как указано в разделе 11.

Когда терморегулятор срабатывает первый раз, вода выливается со скоростью приблизительно 2 дм3 в мин или 10 % емкости прибора в минуту, в зависимости оттого, что меньше, до тех пор, пока терморегулятор не включится вновь.

Когда терморегулятор срабатывает во второй раз, вода выливается опять с той же скоростью, пока терморегулятор не выключится. Эта последовательность повторяется до достижения установившегося состояния.

Температура воды, измеренная с помощью термопары на выходе, не должна превышать 98 °С.

23 Внутренняя проводка

Внутренняя проводка - по ГОСТ Р МЭК 335-1.

24 Комплектующие изделия

Комплектующие изделия - по ГОСТ Р МЭК 335-1 со следующими дополнениями.

24.101 Термовыключатели должны быть без самовозврата. Они должны иметь механизм свободного выключения или должны быть расположены так, что их можно повторно включить только после удаления несъемной крышки.

Соответствие требованию проверяют осмотром.

Примечание - Механизмы свободного выключения не допускают удерживания контактов вручную в положении ВКЛЮЧЕНО после срабатывания термовыключателя.

24.102 Рабочая температура термовыключателя закрытого водонагревателя должна гарантировать, что температура воды не может превысить 99 °С или 130 °С.

Соответствие требованию проверяют испытанием по 24.102.1 для температур воды, не превышающих 99 °С, или по 24.102.2 - для температур, не превышающих 130 °С.

24.102.1 Прибор работает в условиях, указанных в разделе 11, до срабатывания терморегулятора в первый раз. Количество воды, равное 25 % емкости бака, выливают и заменяют холодной водой.

Сразу после срабатывания терморегулятора во второй раз его замыкают накоротко. Испытание продолжают до срабатывания термовыключателя. Выходной клапан затем открывают и измеряют температуру воды на выходе.

Температура воды не должна превышать 99 °С.

24.102.2 Для приборов с вертикально установленными металлическими баками термопару крепят к внешней поверхности верхнего колпака. Если бак установлен горизонтально, две термопары крепят к внешней поверхности. Положение термопары показано на рисунке 102а.

Для приборов с неметаллическими баками термопару располагают на 5 см ниже верхней внутренней поверхности бака, как показано на одной из схем рисунка 102 b.

а - металлические баки; b - неметаллические баки

1 - термопара; 2 - термопары; 3 - термопара в соответствующей трубке; 4 - выходная труба; 5 - входная труба; 6 - винтовое уплотнение; 7 - термопара в трубке, проходящая через специальную герметизированную пластину; 8 - герметизированная пластина; 9 - прокладки; 10 - термопары, прикрепленные к выходной трубе и проходящие через прокладку

Рисунок 102 - Положение термопар для измерения максимальной температуры воды закрытых водонагревателей

Прибор работает в условиях нормальной работы при 1,15 номинальной потребляемой мощности с закрытым выходным клапаном и с замкнутым накоротко терморегулятором. Испытание продолжают до срабатывания термовыключателя. Температура не должна превышать 130 °С.

25 Присоединение к источнику питания и внешние гибкие шнуры

Присоединение к источнику питания и внешние гибкие шнуры - по ГОСТ Р МЭК 335-1 со следующими дополнениями.

25.1 Третий абзац заменить следующим:

«Прибор не должен быть снабжен приборным вводом».

26 Зажимы для внешних проводов

Зажимы для внешних проводов - по ГОСТ Р МЭК 335-1.

27 Заземление

Заземление - по ГОСТ Р МЭК 335-1 со следующими дополнениями.

27.1 Дополнение к пункту

Для водонагревателей класса I оболочка нагревательного элемента должна быть постоянно и надежно подсоединена к заземляющему зажиму, если:

- бак не снабжен металлическими трубами подвода и слива воды, которые постоянно и надежно подсоединены к заземляющему зажиму и

- другие доступные металлические части бака, контактирующие с водой, постоянно и надежно подсоединены к заземляющему зажиму.

28 Винты и соединения

Винты и соединения - по ГОСТ Р МЭК 335-1.

29 Пути утечки тока, воздушные зазоры и расстояния по изоляции

Пути утечки тока, воздушные зазоры и расстояния по изоляции - по ГОСТ Р МЭК 335-1.

30 Теплостойкость, огнестойкость и стойкость к образованию токоведущих мостиков

Теплостойкость, огнестойкость и стойкость к образованию токоведущих мостиков - по ГОСТ Р МЭК 335-1 со следующими дополнениями.

30.1 Дополнение к пункту

Превышение температуры, возникающее при испытаниях по 19.2, 19.3 и 19.101, не принимают во внимание.

30.2.2 Не применяют

30.3 Дополнение к пункту

Примечание - Части из изоляционного материала считают работающими при нормальных условиях эксплуатации.

31 Стойкость к коррозии

Стойкость к коррозии - по ГОСТ Р МЭК 335-1.

32 Радиация, токсичность и подобные опасности

Радиация, токсичность и подобные опасности - по ГОСТ Р МЭК 335-1.

ПРИЛОЖЕНИЕ А

(справочное)

Нормативные ссылки

В настоящем стандарте использованы ссылки на следующие стандарты:

ГОСТ 14254-96 (МЭК 529-89) Степени защиты, обеспечиваемые оболочками (Код IP)

ГОСТ Р МЭК 60335-2-15-98 Безопасность бытовых и аналогичных электрических приборов. Дополнительные требования к приборам для нагревания жидкостей и методы испытаний

ГОСТ 27570.23-92 Безопасность бытовых и аналогичных электрических приборов. Дополнительные требования к проточным водонагревателям и методы испытаний

ГОСТ Р МЭК 335-1-94 Безопасность бытовых и аналогичных электрических приборов. Общие требования и методы испытаний

ПРИЛОЖЕНИЕ В

(обязательное)

Приборы, питающиеся от перезаряжаемых батарей, - по ГОСТ Р МЭК 335-1.

ПРИЛОЖЕНИЕ С

(обязательное)

Испытание двигателей на старение - по ГОСТ Р МЭК 335-1.

ПРИЛОЖЕНИЕ D

(обязательное)

Варианты требований для двигателей с защитными устройствами - по ГОСТ Р МЭК 335-1.

ПРИЛОЖЕНИЕ Е

(обязательное)

Измерение путей утечки тока и воздушных зазоров - по ГОСТ Р МЭК 335-1.

ПРИЛОЖЕНИЕ F

(обязательное)

Двигатели, не изолированные от сети питания и имеющие основную изоляцию, которая не рассчитана на номинальное напряжение прибора, - по ГОСТ Р МЭК 335-1.

ПРИЛОЖЕНИЕ G

(обязательное)

Схема цепи для измерения тока утечки - по ГОСТ Р МЭК 335-1.

ПРИЛОЖЕНИЕ Н

(обязательное)

Порядок проведения испытаний по разделу 30 - по ГОСТ Р МЭК 335-1.

ПРИЛОЖЕНИЕ I

(обязательное)

Испытание горением - по ГОСТ Р МЭК 335-1.

ПРИЛОЖЕНИЕ К

(обязательное)

Испытание раскаленной проволокой - по ГОСТ Р МЭК 335-1.

ПРИЛОЖЕНИЕ L

(обязательное)

Испытание дефектных соединений с помощью нагревателей - по ГОСТ Р МЭК 335-1.

ПРИЛОЖЕНИЕ М

(обязательное)

Испытание игольчатым пламенем - по ГОСТ Р МЭК 335-1.

ПРИЛОЖЕНИЕ N

(обязательное)

Испытание на образование токоведущих мостиков - по ГОСТ Р МЭК 335-1.

ПРИЛОЖЕНИЕ Р

(обязательное)

Жесткость условий эксплуатации изоляционных материалов относительно опасности трекинга - по ГОСТ Р МЭК 335-1.

ПРИЛОЖЕНИЕ 1

(обязательное)

Пружинное устройство для испытаний на удар и его калибровка - по ГОСТ Р МЭК 335-1.

Ключевые слова: аккумуляционные водонагреватели, требования безопасности, методы испытаний




Яндекс цитирования



   Copyright © 2007-2026,  www.tehlit.ru.

[ ѓосты, стандарты, нормативы, инструкции, правила, строительные нормы ]