//
ТехЛит.ру
- крупнейшая бесплатная электронная интернет библиотека для "технически умных" людей.
WWW.TEHLIT.RU - ТЕХНИЧЕСКАЯ ЛИТЕРАТУРА

:: Алготрейдинг::


АЛГОТРЕЙДИНГ
шаг за шагом
с нуля по урокам!

Торговые роботы на PYTHON, BackTrader,
Pandas, Pine Script для TradingView. Связка с брокерами, телеграм и легкими приложениями.


ДЕПАРТАМЕНТ СТРОИТЕЛЬСТВА

НАУЧНО-ТЕХНИЧЕСКОЕ УПРАВЛЕНИЕ
МОССТРОЙЛИЦЕНЗИЯ

ВЕДОМСТВЕННЫЕ СТРОИТЕЛЬНЫЕ НОРМЫ

ИНСТРУКЦИЯ
ПО ТЕХНОЛОГИИ ПРИМЕНЕНИЯ ПОЛИМЕРНЫХ ФИЛЬТРУЮЩИХ ОБОЛОЧЕК ДЛЯ ЗАЩИТЫ ПОДЗЕМНЫХ ЧАСТЕЙ ЗДАНИЙ И СООРУЖЕНИЙ ОТ ПОДТОПЛЕНИЯ ГРУНТОВЫМИ ВОДАМИ

ВСН 35-95

Москва-1996

Инструкция по технологии применения полимерных фильтрующих оболочек для защиты подземных частей зданий и сооружений от подтопления грунтовыми водами разработана НИИМосстроем (к.т.н. Б.В. Ляпидевский, к.т.н. А.Ф. Ландер, инж. А.Г. Зорич) с участием Мосстройлицензии (Ю.Н. Столяров и к.т.н. В.Д. Фельдман).

Инструкция согласована с ТУ ХК "Главмосстрой", ТО Ассоциация "Мосинжстрой", АО "Моспроект", институтом "Мосинжпроект".

При пользовании настоящей инструкцией следует учитывать утвержденные изменения, внесенные в стандарты и технические условия на материалы, применяемые при проектировании и строительстве пристенных дренажей.

Департамент строительства

Ведомственные строительные нормы

ВСН 35-95
ДС

Научно-техническое управление

Инструкция по технологии применения полимерных фильтрующих оболочек для защиты подземных частей зданий и сооружений от подтопления грунтовыми водами

Взамен
ВСН 239-88 ПСО "Мосстрой"

Содержание

1. ОБЩИЕ ПОЛОЖЕНИЯ

1.1. Настоящие ведомственные строительные нормы предназначены для проектирования и строительства пристенных дренажей подвальных помещений зданий и подземных сооружений с использованием полимерных фильтрующих дреноизолирующих оболочек типа "Дрениз" (далее по тексту - оболочка "Дрениз").

1.2. Оболочка "Дрениз" дополняет, а в отдельных случаях способна заменить оклеечную гидроизоляцию.

1.3. Предельная глубина заложения пристенного дренажа из оболочки "Дрениз" составляет 8 м.

1.4. Оболочка "Дрениз" может применяться при всех типах грунтовых вод.

1.5. Оболочка "Дрениз" должна удовлетворять техническим требованиям, приведенным в разделе 2 настоящей "Инструкции".

1.6. При проектировании пристенных дренажей с применением оболочки "Дрениз" следует руководствоваться типовыми схемами, приведенными в разделе 3 настоящей "Инструкции".

Внесены НИИМосстроем

Утверждены:
Научно-техническим управлением Департамента строительства
"15" декабря 1995 г.

Дата введения в действие
"1" января 1996г.

1.7. Строительно-монтажные работы по устройству пристенного дренажа с применением оболочки "Дрениз" должны выполняться в соответствии с проектом, общими правилами производства и приемки работ и требованиями настоящей "Инструкции".

2. ТЕХНИЧЕСКИЕ ТРЕБОВАНИЯ

2.1. Оболочка "Дрениз" представляет собой двухслойную конструкцию, изготавливаемую из поливинилхлоридного, полиэтиленового, полипропиленового и т.п. листа специального профиля и нетканого геотекстильного фильтрующего материала, скрепленного между собой с помощью сварки или водостойкого клея.

2.2. Материалы, применяемые для изготовления оболочки "Дрениз", должны удовлетворять требованиям следующих документов:

а) полимерный изолирующий лист:

- полиэтилен высокого давления - ГОСТ 16337-77Е*;

- пленка винипластовая каландрированная - ГОСТ 16398-81*;

б) нетканый геотекстильный фильтрующий материал:

- иглопробивной волнистый материал из полиамидных нитей (ТУ 6-06-0105-84), поверхностной плотностью 400-500 г/м3;

- иглопробивной полиакрил нитрильный материал (ТУ 17-14-101-79), поверхностной плотностью 400-500 г/м2;

- термоскрепленный полипропиленовый материал типа "Тайпар", поверхностной плотностью 100-150 г/м2.

в) водостойкий клей:

- "Феникс" - ТУ 6-15-1129-78

- "Уникум" - ТУ 6-15-1087-92.

Допускается применять другие материалы, удовлетворяющие физико-механическим требованиям, приведенным в настоящем разделе "Инструкции".

2.3. Листы оболочек "Дрениз-1,2" должны иметь геометрические размеры, приведенные в табл. 1. Конструктивные схемы оболочек приведены на рис. 1 и 2.

2.4. Допускаемые отклонения от размеров листов "Дрениз" не должны превышать (мм) по длине:

листовой - ± 10 мм

рулонный - не ограничены

по ширине - 10 мм

по высоте профиля - ± 1,0 мм.

Рис. 1. Конструктивная схема оболочки "Дрениз-1":

1 - фильтрующий геотекстильный материал; 2 - профилированный полимерный лист

Рис. 2. Конструктивная схема оболочки "Дрениз-2":

1 - фильтрующий геотекстильный материал; 2 - гофрированный полимерный лист

Таблица 1

№ п/п

Материал

Начальная толщина листа, мм

Размеры профиля и гофр, мм

Поверхностная плотность геотекстиля, г/м2

Размеры листов оболочки «Дрениз», мм

а

b

с

h

длина

ширина

1.

Профилированный поливинил-хлоридный (винипластовый) лист ("Дрениз-1")

0,4-1,0 ± 0,05

25

10

5

10-13

 

1660

900

2.

Профилированный полиэтиленовый лист ("Дрениз-2")

2,0 ± 0,3

5

3

3

10

 

2000*

1100

3.

Полимерный фильтрующий геотекстильный материал:

 

 

 

 

 

 

 

 

 

- иглопробивной

 

 

 

 

 

450 ± 50

 

 

 

- термоскрепленный

 

 

 

 

 

100-150

 

 

* - при изготовлении рулонной оболочки.

Примечания:

1. Допускается изготовление листов оболочки "Дрениз" других типоразмеров с учетом возможностей технологического оборудования.

2. При изготовлении профилированных листов из пленок другой толщины и из других полимерных материалов, при применении иного профиля, а также при применении других геотекстильных материалов область применения оболочек "Дрениз" (глубина заложения, состав грунтов, химическая активность среды, гидрогеологические условия и т.д.) должна быть уточнена путем проведения дополнительных исследований.

2.5. Водоотводящая способность оболочки "Дрениз" должна быть не менее 1 л/с на 1 м.

2.6. Прочность гофрированного полимерного листа на сжатие (до момента смятия гофр) должна быть не менее 0,15 МПа.

2.7. Водопроницаемость нетканого геотекстильного материала должна быть не менее 100 м/сут.

2.8. Прочность на разрыв фильтрующего геотекстильного материала должна быть не менее 4500 Н/м.

3. ПРАВИЛА УКЛАДКИ ОБОЛОЧКИ "ДРЕНИЗ"

3.1. Оболочка "Дрениз" должна укладываться одновременно с трубчатыми дренами, отводящими воду с участка зданий и сооружений.

3.2. Листы оболочки "Дрениз" крепятся к стене здания (сооружения) в виде горизонтальных рядов, которые обращены полимерным профилированным листом (изолирующий слой) к поверхности стены, геотекстильным материалом (фильтрующий слой) - к грунту засыпки. Монтаж рядов оболочки ведется снизу вверх. В случае применения оболочки "Дрениз", выполненной по рис. 2, водоотводящие каналы должны располагаться вертикально. Пример раскладки листов на вертикальной поверхности показан на рис. 3.

Рис. 3. Схема раскладки и крепления оболочки "Дрениз" к вертикальной поверхности:

1 - нижний горизонтальный ряд оболочки; 2 - верхний горизонтальный ряд оболочки; 3 - листы оболочки "Дрениз"; 4 - дюбели

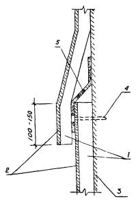
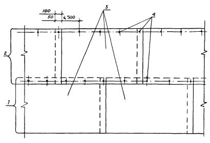
3.3. Листы оболочки "Дрениз" соединяются друг с другом внахлест. В горизонтальных рядах (вертикальный стык рис. 4) величина нахлёста составляет до 100 мм. Для устройства такого стыка вдоль кромки одного из смежных листов вручную отрывается геотекстильный материал от профилированного листа на ширину до 150 мм, листы стыкуются профиль в профиль с нахлестом оторванного края геотекстильного материала. С целью избежания попадания грунта во внутренние полости материала, вышерасположенный ряд перекрывает нижний ряд оболочки не менее чем на 100-150 мм (см. рис. 5).

Рис. 4. Вертикальный шов дренажной оболочки "Дрениз":

1 - профилированный полимерный лист; 2 - фильтрующий геотекстильный материал; 3 - стена здания

Рис. 5. Горизонтальный шов оболочки "Дрениз":

1 - профилированный полимерный лист; 2 - фильтрующий геотекстильный материал; 3 - стена здания; 4 - дюбель; 5 - полоса из наплавленного гидростеклоизола

3.4. Крепление листов оболочки "Дрениз" к стене здания осуществляется по верхней кромке листов с помощью горизонтальных полос гидростеклоизола, приклеиваемых наплавляемым способом. Возможно крепление листов к стене при помощи дюбелей с последующим перекрытием их полосой гидростеклоизола.

3.5. Во избежание механических повреждений оболочки "Дрениз" в процессе монтажа и от воздействия ветра, нижнюю кромку вышерасположенных рядов скрепляют с нижним рядом при помощи сшивания или проволочного скрепления геотекстиля соседних листов. Возможно склеивание соседних листов кусками гидростеклоизола размерами 100´100 мм.

3.6. Верхний ряд оболочки "Дрениз" крепится к стене здания сплошной полосой гидростеклоизола для предотвращения попадания грунта во внутренние полости "Дрениз" при засыпке (см. рис. 6).

Рис. 6. Заделка верхней кромки оболочки "Дрениз":

1 - оболочка "Дрениз"; 2 - стена здания (сооружения); 3 - дюбель; 4 - полоса наплавленного гидростеклоизола

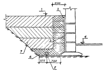
3.7. При глубине заложения кольцевого дренажа до 5 м (рис. 7) и от 5 до 8 м (рис. 8) совместная работа оболочки "Дрениз" и дренажной трубы обеспечивается засыпкой песка с коэффициентом фильтрации более 5 м/сут. Высота засыпки песком над верхом трубы должна составлять не менее 300 мм.

Рис. 7. Конструкция пристенного дренажа глубиной заложения до 5 м:

1 - планировочная отметка; 2 - местный грунт; 3 - дренажная оболочка "Дрениз"; 4 - пол подвала; 5 - трубофильтр; 6 - песок с коэффициентом фильтрации 5 м/сут

Рис. 8. Конструкция пристенного дренажа глубиной заложения от 5 до 8 м:

1 - планировочная отметка; 2 - местный фунт; 3 - дренажная оболочка "Дрениз"; 4 - песок с коэффициентом фильтрации 5 м/сут; 5 - пол подвала; 6 - асбестоцементная труба; 7 - гранитный щебень = 3 ¸ 15 мм; 8-песок = 0,3 ¸1,5 мм; 9 - бетон марки 100

3.8. Оболочка "Дрениз" должна быть заведена в песчаную отсыпку дренажной трубы на глубину не менее 200 мм.

3.9. Верх оболочки "Дрениз" должен быть ниже планировочных отметок на 150-200 мм.

3.10. Не допускается монтаж элементов пристенного дренажа в траншее, заполненной водой.

4. ОБРАТНАЯ ЗАСЫПКА ПАЗУХ И УПЛОТНЕНИЕ ГРУНТА

4.1. Обратная засыпка пазух котлованов или траншей производится после окончания работ по устройству пристенного дренажа с оболочкой "Дрениз" и сопутствующего трубчатого дренажа с фильтрующей песчаной отсыпкой, составления акта на скрытые работы и получения разрешения на засыпку.

4.2. Засыпка и уплотнение грунта ведется в соответствии со СНиП 3.02.01-87, "Технологическими указаниями по уплотнению грунта при обратной засыпке котлованов, траншей и пазух, строительству внутриквартальных дорог", разработанными НИИМосстроем и трестом Мосоргстрой в 1987 г. (арх. № 10759) и "Технологическими указаниями по уплотнению грунтов и обратной засыпке котлованов, траншей и пазух в зимнее время", разработанными трестом Мосоргстрой и НИИМосстроем в 1987 г. (арх. № 10901).

4.3. Обратная засыпка выполняется местным грунтом, не содержащим строительного мусора. Не допускается засыпка пазух разжиженным или несвязным илистым грунтом.

4.4. Обратная засыпка пазух производится послойно экскаваторами и бульдозерами с соблюдением мер предосторожности против повреждения или смещения оболочки "Дрениз". При этом толщина слоя отсыпаемого грунта вблизи оболочки "Дрениз" с учетом последующего уплотнения должна быть не более 25 см (см. рис. 9).

4.5. В зимнее время обратная засыпка осуществляется только талым грунтом.

4.6. Грунт при обратной засыпке на расстоянии не менее 400 мм от вертикально уложенной оболочки "Дрениз" уплотняется ручными электротрамбовками типа ИЭ-4505 и ИЭ-4502 с соблюдением мер предосторожности против повреждения оболочки, а в зонах, примыкающих к краям откоса - гидромолотами типа СП-62, СП-71, виброплитами И-16, И-315, И-50 или другими машинами и механизмами, мощность удара рабочего органа которых не более 8800 Дж (900 кгс.×м).

4.7. Коэффициент уплотнения грунта засыпки пазух должен быть не менее 0,95. Степень уплотнения определяют и контролируют лабораторным путем.

5. ТЕХНИЧЕСКИЙ КОНТРОЛЬ, ПРИЕМКА, ХРАНЕНИЕ И ТРАНСПОРТИРОВАНИЕ ОБОЛОЧКИ "ДРЕНИЗ"

5.1. Приёмка дренажа с использованием оболочки "Дрениз" в эксплуатацию производится в соответствии со СНиП 3.01.01-85*.

5.2. При хранении листов оболочки "Дрениз" в штабелях количество стоп в штабеле не должно превышать 3, а высота штабеля 2 м.

Рис. 9. Уплотнение грунта при обратной засыпке пазух котлована или траншей:

1 - планировочная отметка, 2 - послойное уплотнение грунта ручными электротрамбовками, 3 - дренажная оболочка "Дрениз", 4 - пол подвала; 5 - трубофильтр, 6 - песок с коэффициентом фильтрации 5 м/сут., 7 - послойное уплотнение грунта машинами и механизмами

5.3. Погрузку и разгрузку листов оболочки "Дрениз" производят вручную или подъемными кранами с соблюдением мер, исключающих возможность их повреждения.

5.4. Листы оболочки "Дрениз" транспортируют всеми видами крытого транспорта в соответствии с правилами перевозки грузов, действующими на каждом виде транспорта.

6. ТРЕБОВАНИЯ БЕЗОПАСНОСТИ

6.1. Производство работ по устройству пристенного дренажа с использованием оболочки "Дрениз" должно осуществляться в соответствии с утвержденным проектом производства работ; требованиями СНиП III-4-80* "Правила техники безопасности в строительстве", включая изменения от 23.04.84 г. № 56 "Инструкция по технике безопасности для рабочих, выполняющих работы нулевого цикла"; "Правилами пожарной безопасности при производстве строительно-монтажных работ" (утверждены ГУПО МВД СССР 4 ноября 1977 г. по согласованию с Отделом технического нормирования и стандартизации Госстроя СССР 24 февраля 1977 г. № 1-711. М.; Стройиздат 1978 г.); требованиями настоящих Указаний.

6.2. К работам по устройству пристенного дренажа из оболочки "Дрениз" допускаются мужчины не моложе 18 лет, прошедшие в соответствии с приказом Министерства здравоохранения СССР № 700 медицинские осмотры при поступлении на работу и периодические, имеющие наряд-допуск.

6.3. Для спуска людей в котлован на откосах должны быть установлены стремянки с боковыми ограждениями.

6.4. При монтаже листов оболочки "Дрениз" на высоте более 2 м от поверхности земли следует пользоваться передвижными подмостями или подвесными люльками.

6.5. Работы с гидростеклоизолом должны производиться только с использованием средств индивидуальной защиты кожного покрова.

6.6. Рабочие, занятые на устройстве пристенного дренажа из оболочки "Дрениз", должны быть обеспечены санитарно-бытовыми помещениями.




Яндекс цитирования



   Copyright © 2007-2026,  www.tehlit.ru.

[ ѓосты, стандарты, нормативы, инструкции, правила, строительные нормы ]