//
ТехЛит.ру
- крупнейшая бесплатная электронная интернет библиотека для "технически умных" людей.
WWW.TEHLIT.RU - ТЕХНИЧЕСКАЯ ЛИТЕРАТУРА

:: Алготрейдинг::


АЛГОТРЕЙДИНГ
шаг за шагом
с нуля по урокам!

Торговые роботы на PYTHON, BackTrader,
Pandas, Pine Script для TradingView. Связка с брокерами, телеграм и легкими приложениями.


11. ИСКУССТВЕННОЕ ПОПОЛНЕНИЕ ЗАПАСОВ ПОДЗЕМНЫХ ВОД (ИППВ)

Общие положения

11.1. В качестве источника искусственного пополнения запасов подземных вод могут быть использованы поверхностные воды рек, водохранилищ, озер, каналов, а в отдельных случаях также шахтные и дренажные воды, используемые на установках кондиционирования воздуха или на системах охлаждения производственного оборудования и аппаратуры, и некоторые другие виды незагрязненных сточных вод. Источником пополнения водоносного горизонта может служить также другой водоносный горизонт.

11.2. Использование метода искусственного пополнения позволяет увеличивать производительность водозаборов подземных вод, обеспечивать более равномерную их эксплуатацию, улучшить качество подаваемой потребителю воды, предохранять эксплуатируемый водоносный горизонт от загрязнения и засоления, предотвращать, нежелательное понижение уровня подземных вод, приводящее к гибели растительности, высыханию водоемов и т.д.

Наиболее благоприятные условия для искусственного пополнения создаются в районах с теплым и умеренным климатом, при использовании в качестве источника пополнения озер и рек, обладающих достаточным стоком в течение всего года и требуемым качеством воды, при эксплуатации сложенного хорошо проницаемыми породами безнапорного водоносного горизонта (если исключена возможность его загрязнения), при малых мощностях покровных слабопроницаемых отложений и отсутствии в водоносном горизонте выдержанных прослоев слабопроницаемых грунтов, препятствующих или сильно затрудняющих фильтрацию воды.

Целесообразность применения метода искусственного пополнения подземных вод с учетом перечисленных факторов устанавливается на основании технико-экономических расчетов.

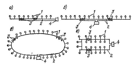
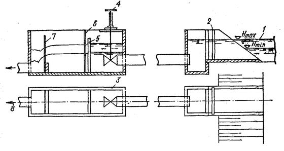
11.3. Для осуществления искусственного пополнения запасов подземных вод предусматриваются сооружения для забора воды из источника пополнения, предварительной ее подготовки и собственно инфильтрационные сооружения, через которые производится подача (инфильтрация) воды в водоносный пласт. Указанные сооружения вместе с водозаборными (каптажными) сооружениями, резервуарами чистой воды, насосными станциями второго подъема и т. д. составляют систему искусственного пополнения (СИП). Некоторые возможные схемы СИП показаны на рис. 46 и 47.

Рис. 46. Компоновочная схема СИП ври однорядном расположении каптажных и инфильтрационных сооружений

1 - поверхностный источник; 2 - водозабор; 3 - насосная станция 1-го подъема; 4 - сооружения предварительной подготовки; 5 - скважины; 6 - нефильтрационные сооружения; 7 - сооружения последующей обработки воды; 8 - насосная станция 2-го подъема; 9 - резервуар чистой воды; 10 - установка для обеззараживания.

Рис. 47. Компоновочная схема СИП при двухрядном расположении бассейнов и контурном размещении скважин

1 - поверхностный источник; 2 - водозабор; 3 - насосная станция 1-го подъема; 4 - сооружения предварительной подготовки; 5 - скважины; 6 - инфильтрационные бассейны; 7 - сооружения последующей обработки; 8 - насосная станция 2-го подъема; 9 - резервуар чистой воды; 10 - установка для обеззараживания

11.4. Инфильтрационные сооружения систем искусственного пополнения разделяются на два основных типа: открытые и закрытые.

Открытые инфильтрационные сооружения

11.5. Открытые инфильтрационные сооружения (бассейны, каналы, площадки, канавы, борозды и т. д.) применяются для пополнения запасов подземных вод первого от поверхности земли водоносного горизонта при отсутствии или малой мощности покровных слабопроницаемых отложений.

Открытые инфильтрационные сооружения являются наиболее подходящими для районов, характеризующихся короткими периодами отрицательных температур или их отсутствием.

В отдельных случаях может, однако, оказаться целесообразным использование открытых инфильтрационных сооружений и в районах - с суровым климатом, особенно при наличии в водоносном пласте большой регулирующей емкости.

Наибольшее применение в СИП получили инфильтрационные бассейны, реже - каналы.

В качестве открытых инфильтрационных сооружений могут также использоваться естественные и искусственные понижения рельефа (овраги, балки, староречья, высохшие озера, карьеры, пруды), а также русла временных и постоянных водотоков, которые расчищаются,

перегораживаются валами, земляными перемычками или каменными набросками.

11.6. При проектировании открытых инфильтрационных сооружений решаются следующие основные задачи:

а) выбор типа инфильтрационных сооружений;

б) назначение их габаритов и конструкций;

в) установление режима эксплуатации;

г) прогноз производительности отдельных инфильтрационных сооружений;

д) определение способа регенерации сооружений и соответствующих технических средств.

11.7. Инфильтрационные бассейны имеют, как правило, прямоугольную форму в плане и трапецеидальное (реже прямоугольное) поперечное и продольное сечения.

На крупных установках искусственного пополнения применяются бассейны шириной по дну 15-30 м, длиной 200-400 м. Глубина бассейна обычно не превышает 3-4 м (чаще до 2,5 м). При наличии слабопроницаемых покровных отложений днища бассейнов должны врезаться в хорошо фильтрующие породы на глубину не менее 0,5 м. Общая глубина бассейна от днища до верха откоса должна превышать глубину его наполнения не менее чем на 0,5 м.

Заложение откосов бассейнов принимается в пределах от 1 :1 до 1 :3,5. Один из торцевых откосов бассейна может быть более пологим, чем остальные. Заложение его определяется возможностью съездов и въездов машин и механизмов, используемых для чистки бассейна. Иногда съезды и въезды предусматриваются на продольных откосах бассейна.

11.8. Инфильтрационные бассейны могут устраиваться:

а) без загрузки дна (рис. 48, а);

б) с песчаной загрузкой дна (рис. 48, б);

в) с гравийной загрузкой дна (рис. 48, а);

г) с укладкой под днищем бассейна дренажных труб и последующей обсыпки слоями гравия и песка (рис. 48, г).

Рис. 48. Схемы инфильтрационных бассейнов

а - без загрузки дна; б - с песчаной загрузкой дна; в - с гравийной загрузкой; г - с дренами под днищем бассейна; 1 - крепление; 2 - песчаная загрузка; 3 - гравийная загрузка; 4 - дрены

Песчаная и гравийная загрузка дна предусматривается при устройстве бассейнов в гравийно-галечниковых отложениях. Толщина загрузки составляет 0,5-0,8 м. Крупность зерен песчаной загрузки 0,5-2 мм, гравийной 3-8 мм.

Подача воды в Инфильтрационные бассейны может производиться с помощью (рис. 49):

а) одного или двух водовыпусков, размещенных в середине продольного откоса бассейна или в его торцевых откосах (рис. 49, а);

б) аэрационных каскадов, устраиваемых на одном или обоих продольных откосах бассейна (рис. 49, б);

в) разбрызгивающих сопел (рис. 49, в).

Рис. 49. Типовые схемы подачи воды на инфильтрацию

а - сосредоточенная подача; б - аэрационный каскад; в - равномерное распределение воды (разбрызгивающие сопла); 1 - подводящая труба; 2 - лоток; 3 - каскад; 4 - крепление; 5 - распределитель

Во втором и третьем случаях достигается хорошее насыщение воды, поступающей на инфильтрацию, воздухом.

11.9. На инфильтрационных бассейнах должны устраиваться входные узлы для регулирования и измерения подаваемых в бассейны расходов воды, предупреждения их переполнения, а при необходимости - для предотвращения размыва днищ бассейнов.

Возможные схемы оборудованных регуляционно-измерительными устройствами входных узлов инфильтрационных бассейнов, получающих воду из закрытой и открытой распределительных сетей, показаны на рис. 50 и 51.

Рис. 50. Схема входного узла (закрытая распределительная сеть)

1 - водовыпускное устройство; 2 - водослив; 3 - труба, связывающая “мокрый колодец с бассейном”; 4 - ограничитель уровня дроссельно-поплавкового типа; 5 - люки; 6 - водомер; 7 - задвижка; 8 - распределительный трубопровод

Рис. 51. Схема входного узла с водосливом

1 - канал; 2 - паз для шандро (или щитовой затвор); 3 - задвижка (засыпка); 4 - механизм управления; 5 - дырчатая стенка; 6 - рейка: 7 - водослив; 8 - к бассейну

В первом варианте регулирование расходов осуществляют задвижкой, а измерение - турбинным водомером и диафрагмой. Во втором варианте в качестве регулирующего устройства предусматривается заслонка (задвижка), в качестве измерительного - прямоугольный водослив.

Рабочие чертежи типовых конструкций входных узлов разработаны Союзводоканалпроектом.

Во многих случаях, однако, специальных входных узлов на бассейнах можно не делать, подачу и уровень регулировать задвижками, а величину расхода определять по замерным трубкам диафрагм, установленных у концевого сечения трубопроводов, подводящих воду к бассейнам, или по сработке уровня воды в бассейнах в период их кратковременного отключения.

Режим работы бассейнов

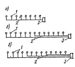
11.10. Инфильтрационные бассейны эксплуатируются на режиме qo = const (постоянной подачи), Hм = const (быстрого наполнения) или смешанном.

При первом режиме в течение всего рабочего периода подается постоянный расход воды qо (рис. 52, а). Работа на таком режиме сопровождается медленным и равномерным подъемом уровня воды в бассейне. К концу рабочего периода этот уровень достигает допустимого для бассейна максимума Hм.

Второй режим (рис. 52, б) характеризуется подачей в бассейн сразу после пуска его в работу повышенных расходов воды, что приводит к быстрому достижению предельно возможных уровней Hм.

Рис. 52. Режимы работы инфильтрационных бассейнов

а - упрощенный, q = const, б - упрощенный, H = const; в - сложный

Работа на режиме быстрого наполнения может оказаться целесообразной при наличии на дне бассейна мелкозернистых песков или супесей (грунтов, заведомо не способных кольматироваться на значительную глубину) в тех случаях, когда пуск бассейна в работу приурочен ко времени наступления отрицательных температур, а также тогда, когда имеется возможность последовательной, растянутой на значительное время чистки бассейна.

Эксплуатация бассейнов на смешанном (сложном) режиме производится обычно на крупных системах искусственного пополнения. Рабочий цикл бассейна, эксплуатируемого на смешанном режиме, состоит из трех периодов: t1 - затопления дна бассейна тонким слоем; t2 - наполнения его до предельного уровня Нм (q0 = const); t3-поддержания этого уровня постоянным.

При первом режиме (qo = const) отсутствует период t3 при втором режиме периоды t1 и t2 очень кратковременны. По истечении paбочего цикла, когда при постоянной подаче уровень воды в бассейне достигнет максимальной величины Нм (первый режим) или фильтрационный расход из бассейна при постоянном уровне Нм снижается до таких величин, при которых дальнейшая эксплуатация бассейна становится нецелесообразной (второй и третий режимы), подача воды - в бассейн прекращается и за время t4 уровень в бассейне и расход из него падают практически до нуля, после чего производится чистка бассейна (длительность периода чистки - t5).

В совокупности весь период эксплуатации бассейна называется фильтроциклом (T)

                                             T = t1+ t2+ t3+ t4+ t5.                                                     (91)

Определение производительности бассейнов

11.11. При проектировании прогноз производительности бассейнов может осуществляться следующими способами:

по аналогии с сооружениями уже действующих СИП;

расчетами.

Первый способ требует использования за длительное время данных по эксплуатируемой установке, сходной по факторам, влияющим на величину производительности бассейна (по качеству воды источника пополнения, по общей схеме предварительной подготовки воды; по загрузке днища сооружения, по свойствам подстилающего его грунта и т. д.) с вновь проектируемой.

Этот путь может оказаться наиболее рациональным тогда, когда вновь проектируемая установка находится в районе действующей или проектируется расширение уже эксплуатируемой СИП.

Для применения расчетного метода необходимо иметь данные о свойствах намечаемой к использованию воды (мутность, гранулометрический состав взвеси и т. д.), составе и проницаемости грунтов основания инфильтрационных бассейнов, конструктивных особенностях бассейнов и заданном режиме их эксплуатации.

11.12. Основной задачей расчета инфильтрационных бассейнов является определение скорости инфильтрации или с учетом площади бассейнов фильтрационного расхода, который будет поступать в водоносный пласт в каждый период их работы, длительности каждого периода и общего количества воды за фильтроцикл W (отдача бассейна). При этом следует исходить из следующего, справедливого для каждого периода соотношения

                                                         qo = q+qe,                                                           (92)

где qо - расход воды, подаваемой в бассейн; q - фильтрационный расход из бассейна; qe - расход на заполнение (опорожнение) емкости бассейна.

Все эти величины здесь и далее относятся к единице площади бассейна и имеют размерность скорости.

Очевидно, что в первый и третий периоды (t1, t2) qо = q (qе = 0). Во второй период qо>q. Однако расчеты и опыт эксплуатации бассейнов показывают, что, как правило, q>>qе, и расходом, идущим на наполнение бассейна, можно поэтому пренебречь, и считать q = q0. Такой подход приводит к некоторому завышению расчетной скорости инфильтрации и отдачи (на величину емкости бассейна) во второй период. Оно может быть, однако, компенсировано, если не учитывать фильтрационный расход в период сработки уровня воды в бассейне (q = - qе) и его отдачу в этот период, полностью совпадающую с емкостью бассейна.

Такой подход целесообразен, так как при этом не изменяется общая отдача и средняя скорость инфильтрации за фильтроцикл, а техника расчета значительно упрощается.

Время опорожнения бассейна может быть задано. Обычно оно не превышает 5-10 сут.

Если сработка уровня воды в бассейне идет недопустимо медленно, то целесообразно принудительное его опорожнение.

11.13. При расчетах производительности инфильтрационных бассейнов необходимо учитывать рост сопротивления грунтов вследствие выпадения из воды содержащихся в ней взвешенных частиц механического и органического происхождения.

В связи с тем, что грунты основания бассейнов в большинстве случаев представлены песками, а в гравийно-галечниковых отложениях устраивается песчаная загрузка, рост сопротивления их обусловливается в основном образованием на поверхности дна бассейна (или загрузки) слоя илистой пленки (осадка). Процессы собственно кальматажа, т. е. отложения взвешенных частиц в порах грунта песчаного основания, обычно происходят лишь в первый, сравнительно короткий период, продолжительность которого оценивается по так называемой грязеемкости грунта N. Допустимо принять, что период кольматации песков основания бассейнов совпадает с периодом растекания воды по его дну тонким слоем (t1).

Только в отдельных случаях (например, в гравелисто-галечниковых грунтах с крупным заполнителем и при гравийной загрузке дна) кольматаж может иметь место в течение более или менее длительного времени.

В соответствии со сказанным расчеты фильтрации из бассейнов в основные периоды его работы (второй и третий) в системах хозяйственно-питьевого водоснабжения, как правило, производятся по схеме пленочной фильтрации.

Динамику формирования илистой пленки на дне бассейнов можно выразить следующей зависимостью:

                                                    ,                                                            (93)

где  - толщина пленки; М - содержание взвешенных частиц (ее мутность); - объемная масса скелета пленки; t - время.

Уравнение (93), а также соотношения

                                                      q = kп                                                             (94)

или

                                                      q = kп                                                               (95)

соответственно для режимов q = const и H = const,

где kn - коэффициент фильтрации пленки; Н - напор, под которым происходит инфильтрация, явились основополагающими для получения расчетных зависимостей (табл. 34).

Таблица 34

Периоды эксплуатации

Расчетные формулы

№ формул

Обозначения

I. 0<t<ti

q = const; Н = 0

(96)

F - площадь дна бассейна

 

W1 = q1Ft1

(97)

 

II. t1£t£ t1+ t2

q2 = q1 = const; Н = f(t)

(98)

 

W2 = q2Ft2

(99)

 

III. t1+t2£ t£ t1+t2+ t3

q3 = f(t)

Н = Hм = const

(100)

-

 

(101)

 

Примечание. Инфильтрация через откосы бассейна не учитывается, что дает определенный запас в результатах расчетов (несколько уменьшается эффективность пополнения).

Поскольку коэффициент фильтрации естественного грунта основания k намного превосходит коэффициент фильтрации осадка-пленки (k>>kп), можно считать, что движение воды в грунте основания происходит с неполным насыщением пор. В этом случае напор Н равен глубине воды в бассейне.

Принято также, что илистая пленка несжимаема, и ее фильтрационные свойства остаются неизменными во времени.

11.14. Общая продолжительность фильтроцикла Т назначается в зависимости от числа намечаемых чисток бассейна в году, которая в свою очередь, определяется климатическими условиями района, качеством сырой воды, подаваемой на пополнение, режимом работы бассейна, требуемой средней за фильтроцикл скоростью инфильтрации и т. д. и может уточняться в процессе проведения расчетов.

Обычно для бассейнов в песчаных грунтах, а также в гравийно-галечниковых отложениях с песчаной загрузкой дна предусматриваются одна-две чистки в течение года; в соответствии с этим продолжительность фильтроцикла Т составляет 180-365 сут. Продолжительность опорожнения бассейна t4, как уже отмечалось, не должна превышать 10 сут. Продолжительность периода чистки t5 допустимо принимать: 15 сут при чистке вручную и 5 сут при чистке механизмами.

Восстановление фильтрующей способности инфильтрационных сооружений во многих случаях производится лишь раз в год в период весеннего паводка, во время которого подача воды на инфильтрацию прекращается из-за большого содержания в ней взвеси. Общая продолжительность периода t¢, в течение которого вода на инфильтрацию не подается, должна определяться при этом продолжительностью паводка, устанавливаемой по данным гидрогеологических ежегодников. В большинстве случаев этот период значительно превышает продолжительность четвертого и пятого периодов (t4 t5) эксплуатации бассейнов.

Именно эта величина должна вводиться в расчетные формулы вместо t4 + t5. Расчетное значение мутности М устанавливается по данным гидрогеологических ежегодников как среднее за рабочий цикл его эксплуатации. При необходимости проводятся специальные исследования по определению мутности.

Если проектом предусматривается предварительная подготовка воды, подаваемой на инфильтрацию, то расчетная мутность назначается с учетом уменьшения мутности речной воды на очистных сооружениях.

При расчете бассейнов, работающих на режиме H = const или смешанном, за исходную должна быть назначена величина qо = q1 = q2.

Для бассейнов в среднезернистых и крупнозернистых песках, характеризующихся коэффициентами фильтрации 10-60 м/сут и эксплуатирующихся на смешанном режиме, расход о воды колеблется обычно в пределах 1-3 м/сут. Для бассейнов в мелкозернистых песках и супесях величина этого расхода может быть уменьшена до 0,25-0,5 м/сут.

При эксплуатации бассейна на режиме H = const величина первоначального расхода является максимальной и может достигать 5 м/сут и более.

Предельная глубина воды в бассейне определяется его конструкцией.

По формулам таблицы вычисляются t1, W1, t2, W2. Затем по зависимости (91) определяется продолжительность третьего периода t3, по формуле (100) -значения расходов в различные моменты времени, а по формуле (101) -величина отдачи в этот период.

Для бассейнов, работающих на режиме q = const (см. рис. 52), задача сводится в решению системы из трех уравнений. Одним из них является зависимость (91), вторым-формула (96) и третьим - выражение (98).

Формула для определения qy, имеет при этом следующий вид:

                                      .                                   (102)

Далее по формулам таблицы вычисляются t1, W1, t2, W2. В результате расчетов инфильтрационных бассейнов должны быть составлены графики q = f(t), охватывающие все периоды работы бассейна.

Рис. 53. График зависимости грязеемкости песков от эффективного диаметра их частиц dэф

Средняя скорость инфильтрации за фильтроцикл определяется из соотношения

                                                           ,                                                         (103)

где W =  - общая отдача бассейна за фильтроцикл.

11.15. Практическое пользование приведенными в табл. 34 формулами и соотношениями невозможно, если отсутствуют фактические значения входящих в них параметров N, kп, ск (последние два параметра заменяются обычно их произведением А). Грязеемкость N зависит от состава и свойства песка грунта основания и взвеси (в частности, от их механического состава), величины мутности воды, подаваемой на инфильтрацию, и скорости последней. Эта величина наиболее надежно устанавливается экспериментально. При отсутствии экспериментальных данных допустимо воспользоваться кривой рис. 53, устанавливающей связь грязеемкости с эффективным диаметром подстилающего дно бассейна грунта.

Рис. 54. График зависимости обобщенного параметра A = К от процентного (по весу) содержания в воде, подаваемой на инфильтрацию, мелкопылеватых и глинистых фракций Р

Наиболее надежное определение параметра A производится посредством проведения исследований на опытном бассейне, инфильтрометре или фильтрационном, приборе с использованием зависимостей для A, полученных из формул табл. 34 или путем непосредственного определения величин kп и ск при обследовании экспериментального бассейна после его опорожнения.

Допустимо также оценивать A по графику (рис. 54), устанавливающему зависимость этого параметра от процентного, весового содержания в воде, подаваемой на инфильтрацию, глинистых и мелкопылеватых фракций Р.

11.16. Восстановление производительности открытых инфильтрационных сооружений осуществляется обычно путем съема вручную или механизмами пленки и наиболее загрязненного слоя песка толщиной 1,5-3 см.

Значительно реже применяются гидравлические способы регенерации.

Закрытые инфильтрационные сооружения

11.17. В зависимости от характера размещения в водоносном пласте закрытые инфильтрационные сооружения подразделяются на горизонтальные и вертикальные.

Горизонтальные закрытые инфильтрационные сооружения - трубчатые дрены, галереи и штольни - не нашли широкого применения в практике пополнения запасов подземных вод, что объясняется отсутствием эффективных методов восстановления их производительности и несовершенством самих конструкций.

Наибольшее распространение получили вертикальные закрытые инфильтрационные сооружения-главным образом буровые скважины и сравнительно редко шурфы и шахтные колодцы.

11.18. Буровые скважины по назначению и условиям эксплуатации можно подразделить на следующие типы:

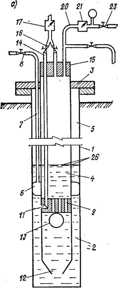
поглощающие скважины (рис. 55);

дренажно-поглощающие скважины (см. рис. 55).

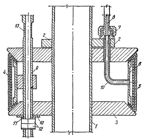
Рис. 55. Конструкции поглощающих и дренажно-поглощающих скважин

а - поглощающая скважина; б - дренажно-поглощающая скважина; 1 - фильтровый каркас; 2 - обсадка; 3 - отстойник; 4 - пробка; 5 - эксплуатационная колонна; 6 - кондуктор; 7 - затрубная цементировка; 8 - сальник; 9 - наблюдательная скважина; 10 - затрубный пьезометр

Поглощающие скважины подают воду непосредственно в эксплуатируемый пласт. Они эксплуатируются как в режиме (налива) при самотечной подаче воды, так и в режиме принудительной закачки под давлением.

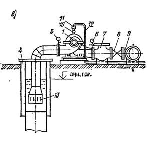
Поглощающие скважины, как правило, сооружаются большим диаметром с установкой фильтров из антикоррозионных материалов и устройством гравийной обсыпки. Схема компоновки входного узла поглощающей скважины показана на рис. 56.

Рис. 56. Схема входного узла поглощающей скважины (план и разрез I-I)

1 - поглощающая скважина; 2 - наблюдательная скважина; 3 - пьезометр; 4 - водомер; 5 - задвижка; 6 - манометр; 7 - вантуз

Дренажно-поглощающие скважины предназначены для дренирования верхнего водоносного горизонта с подачей воды в нижний пласт. Эти скважины оборудуются фильтрами на оба горизонта. Для улучшения условий дренирования или перетока гравийная обсыпка может устраиваться не только в интервале установки фильтров, но и в пределах слабопроницаемой прослойки.

Помимо указанных выше типов скважин в ряде случаев используются установки двойного назначения, работающие попеременно в режиме закачка-откачка. Такие установки используются, например, для обогащения подмерзлотного водоносного горизонта.

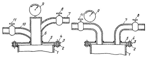
Схема входного узла установки показана на рис. 57.

Рис. 57. Схема входного узла скважины двойного назначения (план и разрез I-I)

1 - скважина двойного назначения; 2 - наблюдательные скважины; 3 - затрубный пьезометр; 4 - водомер; 5 - задвижки; 6 - манометр; 7 - вантуз; 8 - подводящая линия; 9 - напорная линия; 10 - сборная линия

11.19. Для контроля за работой скважин необходимо предусмотреть соответствующее оборудование для:

а) измерения расхода и количества воды, поступившей в пласт за время эксплуатации скважин;

б) регулирования подачи воды в скважину и полного отключения скважины от питающего водовода;

в) измерения динамических уровней воды в скважине на контуре обсыпки и вблизи скважины.

Оценка производительности закрытых инфильтрационных сооружений

11.20. На начальном этапе эксплуатации поглощающих скважин, как правило, осуществляется с постоянным расходом (Q = const). За счет кольматажа возрастает напор Н на устье скважины, и к некоторому моменту времени ti он становится равным допустимому значению Hдоп. В частном случае, если скважина работает в режиме самопоглощения (т. е. осуществляется свободный налив в нее воды), величина Hдоп принимается равной отметке устья. С момента времени t2 скважина может эксплуатироваться как при H = Hдоп = const, так и при Q = const. В последнем случае устье скважины герметизируется, и подача воды производится насосом. На практике целесообразнее осуществлять эксплуатацию скважин в режиме Q = const.

11.21. Для поглощающих скважин, работающих в режиме Q = const, повышение напора составит

                                                    ,                                                    (104)

где  - повышение напора в пласте над первоначальным уровнем, обусловленное так называемым внешним сопротивлением;  - потери напора, связанные с внутренним сопротивлением в скважине и прискважинной зоне.

Первая из указанных составляющих формулы (104) () определяется по обычным формулам подземной гидравлики и может быть представлена в виде

                                                      ,                                                      (105)

где k и m - коэффициент фильтрации и мощность пласта (в безнапорных пластах m0,8he, где he - первоначальная глубина воды до водоупора); R - функция внешнего гидравлического сопротивления, определяемая в зависимости от размеров и геометрической формы водоносного пласта, условий на его границах, а также размеров скважины.

Теоретически процесс закачки воды в скважину и откачки из нее описывается одними и теми же исходными уравнениями (изменяется лишь знак перед величиной дебита Q: при откачках Q<0, а при закачках и наливах Q>0). В связи с этим применительно к наиболее распространенным схемам фильтрации в системах искусственного пополнения запасов подземных вод величина может рассчитываться по формулам, приведенным в гл. 5.

11.22. Вторая составляющая формулы (104) (скв) определяется следующим образом:

                                                                       ; ,                                   (106)

где  - величина внутреннего сопротивления, а индексами “н.с” и “к” обозначены величины, обусловленные неполнотой вскрытия пласта и кольматажем.

По существу, в процессе эксплуатации поглощающих скважин необходимо прогнозировать изменение величины к. Сопротивление же н.с, как правило, во времени не изменяется; оно определяется на начальном периоде эксплуатации скважин по формулам, приведенным в гл. 5.

11.23. Закономерности роста дополнительного сопротивления в значительной степени обусловливаются конструктивными особенностями водоприемной части скважин, литологическим строением водоносного пласта и качеством закачиваемой воды.

Можно предполагать, как это было сделано при рассмотрении фильтрации из открытых бассейнов, что в водоносных пластах, представленных мелкими и среднезернистыми более или менее однородными песками, дополнительное сопротивление скважин к обусловлено в основном образованием пленки на внутренней поверхности фильтра.

В водоносных пластах, представленных крупнозернистыми песками или гравийными отложениями, происходит проникновение частиц взвеси в поры грунта, сопровождающееся кольматажем призабойной зоны скважин. В этом случае величина к определяется сопротивлением закольматированного слоя пород и фильтра

11.24. Динамика роста пленки на стенке скважины определяется следующим выражением:

                                                  ,                                                      (107)

где М - мутность закачиваемой воды; ск - объемный вес частиц взвеси; т - мощность пласта; r - радиальная координата; t - время.

Интегрируя (107) от (0, rо) до (), где rо - радиус фильтра скважины;  - толщина слоя образующегося осадка-пленки, получим:

;

                                                  .                                                     (108)

Фильтрационный эффект пленки, образующейся на внутренней поверхности фильтра, можно учесть, рассматривая пласт, состоящий в плане из двух концентрических зон с различной проницаемостью: первая зона водоносного пласта с коэффициентом фильтрации k; вторая зона толщиной  с коэффициентом фильтрации kn. В этом случае дополнительное сопротивление, вызванное образованием пленки, определяется по следующей формуле:

                                      .                                  (109)

Учитывая, что а<<1, для практических расчетов можно ограничиться разложением ln(l-a1) = -a1, и последнюю формулу записать в виде

                                                    ,                                                         (110)

где A1 = .

11.25. При кольматации грунтов в прискважинной зоне наблюдается постепенное накопление осадка и уменьшение во времени коэффициента фильтрации.

Изменение коэффициента фильтрации пород связано с количеством отложившегося кольматанта уравнением вида

                                                  ,                                                       (111)

где k1 - коэффициент фильтрации пород, изменяющийся в процессе кольматажа, и k - его начальное значение; b - удельный объем отложений; nо - пористость пород; z - показатель степени (z = 2,83,3).

График зависимости kl/k = f(b/no) представлен на рис. 58. В диапазоне изменения b/nо<<0,7 уравнение (111) приводится к виду

                                                  k1 = k.(1-2b/no).                                                        (112)

Рис. 58. Графики изменения k/k в функции В/n0

Для поглощающих скважин, работающих с постоянным расходом закачки, динамика роста потерь напора в зоне кольматажа дается выражением

                                             ,                                                  (113)

где k(r,t), - принимается согласно (111) или (112), а величина b(r, t), входящая в эти формулы, определяется из решения задачи динамики осаждения взвеси.

Когда задержание взвеси подчиняется линейному уравнению кинетики 1-го порядка, распределение кольматанта в прифильтровой зоне описывается уравнением

                                                  b(r,t) = ,                                                     (114)

где                                     ,                            .

Здесь a - коэффициент, характеризующий скорость отложения кольматанта; N - грязеемкость пород (в природных условиях величина обычно не превышает (0,4-0,5) nо и лишь при специальных видах обработки воды реагентами может увеличиваться до (0,8-0,85) nо.

Для практических расчетов можно ограничиться случаем, когда N0<<0,4nо. Тогда, интегрируя (113) с учетом (112) и (114), будем иметь следующее приближенное выражение:

                                       /                  (115)

Размеры зоны кольматажа определяются из условия, что на границе при r = r(t) значение k1/k не превышает некоторой наперед заданной величины. Тогда, принимая k1/k = 0,95, из (112) находим b[r(t), t] = 0,025 по, а из (114) следует, что

                                        .                                       (116)

Закономерности изменения дополнительного сопротивления во времени, соответствующие рассмотренным выше случаях, приведены на рис. 59.

Рис. 59. Графики роста сопротивления скважин

а - в результате образования пленки; б - обусловленный кольматацией - накоплением взвеси в порах пород прискважинной зоны (в равновесных условиях)

Для прогноза величины к необходимо располагать данными: а) при пленочном кольматаже величинами kn, М, ск,  и б) при кольматаже пород величинами N, , М, ск. Эти данные могут быть получены на основе наблюдений за работой поглощающих скважин на начальном этапе их эксплуатации.

По этим данным уточняются и корректируются намеченные в проектах режимы эксплуатации поглощающих скважин и сроки их регенерации.

Проектирование и расчет водозаборов в системах искусственного пополнения подземных вод

11.26. При проектировании водозаборов подземных вод в системах ИППВ решаются следующие основные задачи:

а) выбор рациональных типов, конструкций, схем размещения водозаборов с учетом гидрогеологических условий, а также намечаемых инфильтрационных сооружений и режима их работы;

б) оценка производительности водозаборов в условиях их взаимодействия с инфильтрационными сооружениями;

в) оценка расходов сырой воды, которую необходимо подать на пополнение подземных вод для достижения заданной производительности водозаборов;

г) определение .коэффициента полезного действия инфильтрационных сооружений и общей гидродинамической эффективности проектируемой системы ИППВ;

д) оценка возможного влияния проектируемых водозаборов на существующие водозаборы, а также на поверхностные водные источники.

11.27. Объем мероприятий по искусственному пополнению запасов подземных вод намечается исходя из необходимого дополнительного количества воды Qбв, которое должно обеспечиваться фильтрацией Qб из искусственных сооружений (бассейнов, каналов и т.д).

При этом                                         Qбв = .                                                              (117)

Параметр  представляет собой КПД инфильтрационных сооружений.

Тип инфильтрационных сооружений, необходимых для обеспечения требуемого дебита водозабора, назначается исходя из гидрогеологической обстановки участка, глубин залегания водоносного пласта, положения уровней подземных вод, мощности и строения зоны аэрации, качества и, особенно, мутности воды в источнике пополнения.

11.28. Наиболее часто применяемыми типами водозаборных или собственно каптажных сооружений в системах ИППВ являются различным образом расположенные взаимодействующие скважины.

В отдельных случаях, как правило, при малой мощности намечаемого к использованию водоносного горизонта устраиваются шахтные колодцы, лучевые водозаборы или горизонтальные водозаборы Конструкции скважин и Других названных типов водозаборов в системах ИППВ не отличаются от таковых в обычных водозаборах подземных вод, эксплуатируемых без искусственного пополнения запасов.

11.29. Расположение водозаборов в плане принимается исходя из условия обеспечения наиболее эффективного их взаимодействия с инфильтрационными бассейнами и каналами (или другими искусственными сооружениями для инфильтрационного питания водоносного горизонта), а в береговых водозаборах - и с поверхностными водотоками и водоемами. Обычно водозаборы размещаются по линиям, параллельным инфильтрационным сооружениям и руслам поверхностных водотоков и водоемов. Водозаборные сооружения могут располагаться как ниже инфильтрационных бассейнов по потоку подземных вод, так и выше бассейнов.

В первом случае водозабором наиболее полно используются инфильтрационные воды и лишь частично-естественный расход подземного потока Во втором случае естественный расход потока перехватывается водозабором почти полностью, а инфильтрационные воды - частично

Расстояния между водозаборными скважинами и инфильтрационными бассейнами устанавливаются по возможности минимальными, но так, чтобы длительность фильтрации сырой воды из бассейна до водозаборных скважин была достаточной для очистки воды от бактериального и Других видов загрязнения и обеспечения требуемого качества воды в водозаборах с учетом возможного смешения инфильтрационной воды с природными водами эксплуатационного пласта. Обычно на практике указанные расстояния принимаются равными 50-200 м.

Часто в качестве инфильтрационных сооружений в долинах рек могут быть использованы высохшие озера, староречья, протоки и т. д.

Местоположение водозаборных скважин в этом случае должно устанавливаться с учетом конфигурации указанных естественных понижений, а водозаборы подземных вод могут включать в себя, как и в системах с искусственными инфильтрационными сооружениями, группы взаимодействующих скважин, линейный ряд или систему рядов эксплуатационных скважин.

11.30. Дебит водозаборного сооружения в условиях пополнения подземных вод или расход воды из инфильтрационных сооружений может быть найден по следующим соотношениям:

                                                        ,                           (118)

где  - гидродинамический коэффициент полезного действия инфильтрационных сооружений;  - гидродинамический коэффициент эффективности пополнения подземных вод.

Методика расчета понижения уровня S под влиянием водозаборных (каптажных) сооружений, работающих без искусственного пополнения подземных вод, изложена в гл. 6. В п. 11.31 приводятся указания по определению величины - повышение уровня в результате инфильтрации сырой воды из бассейнов, каналов и т. п.

11.31. Как уже отмечалось, при работе инфильтрационных сооружений выделяются несколько стадий режима свободной инфильтрации, в совокупности составляющих один рабочий фильтроцикл. Указанные стадии систематически повторяются в течение всего периода эксплуатации водозабора и, таким образом, работа бассейна носит периодический характер. Вследствие этого величину подъема уровня подземных вод при работе инфильтрационного сооружения можно представить в виде:

для безнапорного пласта

                                                    ;                                              (119)

;

для напорного пласта

                                                      .                                                   (120)

Первый член в формулах (119) и (120) -  - характеризует основную часть общего повышения уровня и определяет среднее положение уровня подземных вод в результате пополнения. Относительно этого среднего положения в пределах каждого цикла продолжительностью T происходят колебания уровня h, которые при достаточно большом количестве фильтроциклов приобретают квазиустановившийся характер, т. е. повторяются на каждом цикле.

Среднее повышение уровня подземных вод за счет работы инфильтрационных сооружений находится по формулам:

для безнапорного пласта

                                               ;                                            (121)

для напорного пласта

                                                  ,                                                  (122)

где Rб - гидравлическое сопротивление, определяющее среднее повышение уровня.

Некоторые выражения для определения функции Rб, а также Rбo, характеризующей максимальное повышение уровня грунтовых вод под центром сооружения, приводятся в табл. 35. Все расчетные зависимости справедливы для относительно больших промежутков времени.

В табл. 35 рассматриваются инфильтрационные сооружения в виде бассейнов и каналов, а также круговые инфильтрационные площадки. Решения для круговых площадок могут быть использованы также для расчета инфильтрационных бассейнов, в плане имеющих вид прямоугольника.

Расчетные зависимости приведены для условий стационарной фильтрации, характерной для береговых инфильтрационных сооружений, расположенных у реки [формулы (123)-(138)], и неустановившейся фильтрации, когда инфильтрационные сооружения расположены в удалении от реки.


Таблица 35

Тип сооружения

Зависимости для расчета водозаборов в долинах рек

 

Схема расположения

Береговые сооружения

№ формулы

Водораздельные сооружения

№ формулы

Дополнительные данные

Бассейны

круговой

(123)

(125)

 

 

 

(124)

(126)

 

Полосообразный

(127)

(129)

-

 

 

 

(128)

(130)

 

Каналы

Ограниченной длины

(131)

(133)

;

 

 

 

(132)

(134)

;

Значения  и  см табл. 22

 

Большой протяженности

(135)

(137)

m - мощность пласта

 

 

 

(136)

(138)

 


При наличии нескольких бассейнов одного или различных типов общая величина гидравлического сопротивления Рб находится суммированием сопротивлений каждого бассейна в отдельности. В этом случае

                                                      ,                                                     (139)

где Рбl - гидравлические сопротивления, обусловленные фильтрацией из каждого i-го бассейна: i = Q бi /Qб; Qб =  - суммарный расход из всех бассейнов, i = 1, 2, ... n - число бассейнов.

Поправка, учитывающая несовершенство водотоков, вблизи которых располагаются бассейны, каналы и другие сооружения, определяется аналогично тому, как это рекомендовано для водозаборов (см. гл. 6).

11.32. При относительно большом числе инфильтрационных сооружений и разновременной чистке их суммарный расход поверхностных вод на пополнение слабо изменяется во времени. Для расчета эффективности пополнения подземных вод в этом случае можно ограничиться определением лишь среднего уровня,  принимая  = 0.

В случае резко выраженной неравномерности искусственного питания, поступающего на поверхность подземных вод из инфильтрационных сооружений (при малом числе бассейнов, длительной их остановке на чистку, небольших допустимых понижениях уровня), в расчетах необходимо учитывать величину , представляющую собой периодическое отклонение уровня подземных вод от среднего положения Численная величина  может быть найдена по формулам:

для безнапорного потока

                                      ,                                      (140)

для напорного потока

                                             .                                                   (141)

Приближенная оценка гидравлического сопротивления  может быть сделана с учетом изменения величины инфильтрационного питания только на последних двух фильтроциклах из общего их количества. Эти циклы схематически представляются в виде двух прямоугольников (рис. 60).

                                             ,                                                    (142)

где  - превышение инфильтрационного расхода в период (t1+ t2) работы бассейна (от начала фильтроцикла до начала чистки бассейна) над средним расходом Qб; W - общий объем воды, фильтрующийся из бассейна за один фильтроцикл.

Представляя изменение уровня  как результат двукратной закачки расхода  в течение времени (t1+ t2) и откачки расхода Qб за период t3 = T-t1- t2 , получим следующий вид общей расчетной формулы для определения гидравлического сопротивления :

                          ,                            (143)

где .

В выражении (143) Rб - гидравлическое сопротивление инфильтрационного бассейна, учитывающее неустановившийся характер фильтрации и определяемое по табл. 35 для водораздельных сооружений.

Формула (143) справедлива при t*>t1+t2. Если t*<t1+t2, в формуле (143) следует отбросить последний член.

Рис. 60. Схема к расчету

В случае, если размеры инфильтрационных сооружений малы, для приближенной оценки величины  инфильтрационные площадки (каналы) следует заменять источниками-скважинами, располагаемыми в середине канала или в центре бассейна.

Изложенная методика расчета водозаборов в системах искусственного пополнения с открытыми инфильтрационными сооружениями применима также для поглощающих и дренажно-поглощающих скважин. При определении величины , которая обусловлена средним расходом Qб закрытых инфильтрационных сооружений, следует принимать значения Rб и Rбo как для водозаборов (см. гл. 5), так как в этом случае Rб R и Rбо = Rо.

11.33. Одним из основных показателей гидродинамической эффективности работы водозаборных и инфильтрационных сооружений в системах ИППВ является коэффициент полезного действия инфильтрационных сооружений h. Параметр h представляет собой отношение расхода воды, дополнительно поступающей к водозабору при работе инфильтрационных сооружений, к общему среднему расходу подаваемой на пополнение воды, т. е.

                                                  ,                                                             (144)

где Qбв - расход воды, дополнительно привлекаемый водозабором в условиях пополнения.

Величина коэффициента  определяется не только параметрами и расположением инфильтрационных сооружений, но также типом и расположением водозаборных скважин.

Кроме того, эффективность инфильтрационных сооружений зависит также от режима их эксплуатации. Коэффициент полезного действия бассейнов оказывается наиболее высоким при равномерном поступлении инфильтрационной воды в водоносный пласт. Неравномерность инфильтрации из бассейнов приводит к снижению эффективности ИППВ (при постоянном расходе водозаборного сооружения). Чтобы избежать этого, при проектировании инфильтрационных сооружений следует предусмотреть возможность разновременной их чистки. Уменьшить влияние неравномерности работы инфильтрационных сооружений на величину коэффициента полезного действия  можно также, если продолжительность фильтроцикла, характер изменения инфильтрационного расхода при искусственном пополнении и периоды чистки бассейнов назначать таким образом, чтобы наименьшие повышения уровня при пополнении (периоды остановки бассейнов) приходились на периоды высокого положения бытового уровня грунтовых вод (периоды паводков и интенсивных осадков).

При осуществлении указанных мероприятий дополнительные колебания уровня будут малы по абсолютной величине и коэффициент полезного действия достигает максимального для данной системы ИППВ значения, равного:

                                                      ,                                                              (145)

где Rб - по-прежнему гидравлическое сопротивление бассейна (см. табл. 35), Rо - гидравлическое сопротивление водозабора (см. гл. 5).

Величина коэффициента  в соотношении (145) изменяется от нуля до единицы. При значениях , близких к нулю, инфильтрационные бассейны не оказывают существенного влияния на производительность водозаборного сооружения. Значения же коэффициента , близкие к единице, свидетельствуют о весьма высокой эффективности инфильтрационных сооружений. При этом следует иметь в виду, что ввод в действие инфильтрационных сооружений приводит к перераспределению источников питания водозабора. Количество воды, поступающей в водозабор, например, из бытового потока или из реки, в результате фильтрации из бассейнов и других типов инфильтрационных сооружений может как уменьшаться, так и увеличиваться, поэтому коэффициент  нельзя рассматривать как показатель использования только инфильтрационных вод. В более полном виде коэффициент полезного действия может быть выражен следующим образом:

                                                  ,                                                     (146)

где  - коэффициент использования инфильтрационных вод, показывающий долю используемых водозабором инфильтрационных вод; Qe - количество воды из естественных источников питания, имеющее различный знак: оно может возрастать или убывать при поступлении инфильтрационных вод и изменении в связи с этим уровня подземных вод.

11.34. Коэффициент эффективности  определяет гидродинамическую эффективность мероприятий по искусственному пополнению подземных вод на участке проектируемого водозабора в целом. Он представляет собой отношение расхода воды, дополнительно поступающей к водозабору при работе инфильтрационных бассейнов Qбв, к общему расходу водозабора, т. е.

                                                             .                                                       (147)

Численно коэффициент эффективности может быть определен по следующей формуле:

                                   или         ,                 (148)

где .

Коэффициент , как и коэффициент , изменяется от нуля, когда влияние инфильтрационных бассейнов на производительность водозабора невелико, до единицы.

В последнем случае мероприятия по искусственному пополнению полностью обеспечивают водоотбор.

В формулах (148) не учитываются периодические колебания уровня , т. е. эти соотношения справедливы при относительно малых колебаниях средней величины искусственного инфильтрационного питания.

11.35. Предварительные гидродинамические расчеты систем ИППВ и сравнительная оценка различных вариантов водозаборов и сооружений по искусственному пополнению подземных вод могут быть сделаны без учета неравномерности работы инфильтрационных бассейнов (т. е., принимая Dh = 0), а также пренебрегая поправками на фильтрационнное несовершенство сооружений и поверхностных водотоков. Эти факторы должны учитываться на последующих стадиях расчетов, уточняющих выбранные схемы водозабора и инфильтрационного сооружения.

В табл. 36 приводятся некоторые схемы водозаборов в комплексе с инфильтрационными сооружениями и соответствующие расчетные зависимости для численного определения гидродинамического коэффициента полезного действия  и гидродинамического коэффициента эффективности пополнения . Эти зависимости могут быть использованы для расчета дебита водозабора в условиях искусственного пополнения Qв, или расходов воды Qб, подаваемой на пополнение для обеспечения требуемого дебита водозабора, по формулам 118.

11.36. В схеме 1 табл. 36 даются выражения для численного определения параметров гидродинамической эффективности  и для случая работы линейного ряда водозаборных скважин относительно большой протяженности вблизи инфильтрационного канала или системы инфильтрационных бассейнов также значительной длины. Как видно из табл. 36, величина коэффициента полезного действия  в рассматриваемой схеме определяется параметром , характеризующим относительное удаление скважин водозабора друг от друга.

При больших значениях этого параметра (>2) пополнение подземных вод неэффективно: большая часть инфильтрационных вод не перехватывается скважинами водозабора и стекает в реку или вызывает существенное уменьшение расхода из реки к водозабору.

11.37. В схеме 2 табл. 36 рассматривается действие одиночной скважины вблизи канала ограниченной длины Приведенные здесь зависимости могут быть использованы для расчета взаимодействующих скважин вблизи канала (бассейна), ограниченной длины. Для этого в приведенных соотношениях вместо величины 0 необходимо подставить

                                             ,                                           (149)

где о, 1... i - расстояния от зеркального отображения относительно линии реки всех взаимодействующих скважин до скважин с наибольшим понижением уровня

                                           ,                                        (150)

xi, yi - координаты скважин; x0, y0 - координаты скважины с максимальным понижением уровня;  - отношение дебита i-й скважины к суммарному расходу водозабора, а вместо величины rо

                                               ,                                               (151)

где ri - расстояние от скважины с наибольшим понижением уровня до всех остальных скважин.

11.38. Формулы для определения коэффициентов  и  при совместной работе линейного ряда водозаборных скважин и инфильтрационного канала (бассейна) ограниченной длины даны в табл. 36 (схема 3).

При исследовании коэффициента полезного действия инфильтрационного сооружения и эффективности пополнения следует иметь в виду, что в выражениях для указанных коэффициентов должны быть подставлены координаты точки в пределах водозабора, имеющей максимальное понижение уровня. Если не учитывать этого обстоятельства, то расчеты коэффициента  могут привести к ошибочному результату.

11.39. Работа одиночной водозаборной скважины вблизи круговой (прямоугольной) инфильтрационной площадки рассматривается в схеме 4 табл. 36.

Из приведенных соотношений видно, что наиболее выгодно располагать водозаборную скважину в створе, проходящем через середину бассейна, нормально к реке (у = 0). Однако и в этом случае из-за малости величины r0 эффективность пополнения будет невелика, поэтому целесообразно отбор подземных вод осуществлять водозабором в виде группы скважин. Расчет их можно проводить по тем же формулам заменой взаимодействующих скважин “большим колодцем”.


Таблица 36

Схема расположения

Зависимости для расчета показателей гидродинамической эффективности пополнения  и

п/п

 

h

Дополнительные данные

1

;

;

; ;

; qб - расход инфильтрации из канала на единицу его длины

2

;

;

;

;

 

3

 Qб - средний расход воды на пополнение

n - количество скважин

4

 

 

 

5


Инфильтрационные бассейны прямоугольной формы для расчета приводятся к круговым бассейнам равновеликой площади, причем приведенный радиус кругового бассейна определяется следующим образом:

                                                      .                                               (152)

где bб и lб - соответственно половина ширины и длины прямоугольного бассейна.

11.40. Взаимодействие водозаборного ряда скважин конечной длины и круговой инфильтрационной площадки рассмотрено в схеме 5 табл. 36. В приведенных соотношениях предполагается, что максимальное понижение уровня наблюдается в центре водозаборного сооружения.

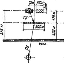
Пример расчета. Проектируется линейный ряд скважин, расположенных параллельно реке на расстоянии xо = 400 м от нее (рис. 61). Длина ряда 2l = 300 м, количество скважин n = 12, радиус скважин rо = 0,2 м (скважины совершенные). Водопроводимость пласта km = 600 м2/сут. Максимально допустимое понижение на водозаборе Sдоп = 10 м. Требуемая производительность водозабора 20 тыс. м/сут.

Рис. 61. Схема к примеру расчета

По опытным данным, средняя скорость инфильтрации при пополнении может быть принята равной 1 м/сут.

Учитывая близость проектируемого водозабора к реке, расчет проводится по формулам стационарной фильтрации.

Прежде всего определим производительность линейного ряда скважин по формуле (15) табл. 21 (см. гл. 5).

R0 = l/2ln[(4.4002 +1502)/1502]+[(2-400)/150][arctg(150/(2.400))+

+(l/12)ln(150/(3,14.0,2.12))] = 2,74.

Таким образом, расход водозабора без пополнения составит

Q = (2.3,14.600.10)/2,74 = 13,8 тыс. м3/сут.

В связи с тем, что производительность линейного ряда будет ниже заданной, необходимо предусмотреть искусственное пополнение запасов подземных вод. С этой целью на расстоянии 150 м от водозабора расположим два инфильтрационных бассейна размером 100x150 м и произведем предварительный расчет величины инфильтрационного расхода.

Для упрощения расчета инфильтрационные бассейны прямоугольной формы приведем к круговым бассейнам равновеликой площади

Rбас = 2 = 40 м.

Величина Rб в случае работы двух бассейнов определяется по формуле (139) при  и n = 2, т. е.

.

Значения гидравлических сопротивлений  находятся по формуле (123) табл. 35

.

В данном случае:

 =  = 980 м;

rб =  = 190 м.

При этом

Rб = ln (980/190) = 1,64.

Коэффициент полезного действия т) находим по формуле (145).

 = 1,64/2,74 = 0,6.

Коэффициент гидродинамической эффективности  может быть найден по формуле (148)

 = l,64/(1,64+3,62) = 0,31,

Отсюда следует, что инфильтрационные сооружения будут обеспечивать примерно 1/3 дебита водозабора.

По формуле (118) находим расход сырой воды Qб, которую требуется подать на пополнение

Qб = (0,31/0,6) 20000 = 10,4 м3/cyт.

Следовательно, расход из каждого бассейна составит 5,2 тыс. м3/cyт.

При скорости инфильтрации Vинф = 1 м/сут необходимая площадь инфильтрационного бассейна

F = 0,5/Vинф = 5200м2,

т. е. принятый размер бассейна 50x100 м будет примерно удовлетворять требуемым условиям.

12.КАЧЕСТВО ВОДЫ

12.1. В хозяйственно-питьевом и промышленном водоснабжении используются пресные подземные воды (сухой остаток до 1000 мг/дм3), а также солоноватые подземные воды (сухой остаток 1000- 5000 мг/дм3).

12.2. Для целей производственного водоснабжения и орошения использование пресных подземных вод допускается с разрешения органов по регулированию использования и охране вод только в районах, где отсутствуют необходимые поверхностные водные источники и имеются запасы подземных вод питьевого качества в количестве, достаточном для удовлетворения потребности в хозяйственно-питьевой воде.

Требования к качеству подземных вод для производственного водоснабжения и орошения устанавливаются водопотребляющими или проектными организациями для каждого конкретного случая с учетом специфических особенностей использования вод по данному назначению.

12.3. Для целей хозяйственно-питьевого водоснабжения используются пресные подземные воды, в отдельных случаях допускается использование подземных вод с сухим остатком до 1500 мг/дм3.

Требования к качеству питьевой подземной воды, подаваемой централизованными хозяйственно-питьевыми системами водоснабжения, а также используемой одновременно для питьевых, хозяйственных, технических и коммунально-бытовых целей, регламентируются ГОСТ 2874-82.

В случае несоответствия качества подземной воды требованиям ГОСТ 2874-82 должны быть применены мероприятия по улучшению ее качества согласно СНиП 2.04.02-84 (умягчение, обезжелезивание, обеззараживание, обесфторивание и др.).

12.4. Качество воды хозяйственно-питьевого назначения должно удовлетворять гигиеническим нормам, предусматривающим безопасность воды в эпидемическом отношении, безвредность химического состава и благоприятные органолептические свойства. Соответственно этому государственным стандартом установлены следующие показатели качества воды: микробиологические; содержание токсических химических веществ; органолептические.

12.5. Безопасная в эпидемическом отношении вода не должна содержать болезнетворных бактерий и вирусов. Обычно используются косвенные микробиологические показатели безвредности воды, характеризующие степень общего загрязнения воды микроорганизмами и содержание микроорганизмов группы кишечной палочки. Общее число микроорганизмов в 1 см3 неразбавленной воды не должно превышать 100; количество микроорганизмов группы кишечной палочки не должно превышать 3 в 1 дм3 воды (“коли-индекс” 3 или “коли-титр” не менее 333).

В отдельных случаях, когда имеются опасения бактериального загрязнения подземных вод, кроме указанных выше косвенных микробиологических показателей определяют дополнительно содержание болезнетворных бактерий, кишечных вирусов, яиц гельминтов

12.6. Токсические химические вещества и вещества, ухудшающие органолептические свойства воды (запах, привкус, цветность), встречаются в природных подземных водах, но, кроме того, могут появиться в воде при обработке ее реагентами или могут поступить в водоносный горизонт в результате загрязнения сточными водами и отходами.

12.7. Допустимые концентрации токсических химических веществ, преимущественно встречающихся в природных водах или добавляемых к воде в процессе ее обработки, не должны превышать нормативов, приведенных в табл. 37. Радиоактивные вещества в питьевой воде нормируются в соответствии с нормами радиационной безопасности НРБ-76.

Таблица 37

Химические вещества

Допустимая концентрация (не более), мг/дм3

Алюминий остаточный (Al)

0,5

Бериллий (Be)

0,0002

Молибден (Мо)

0,25

Мышьяк (As As)

0,05

Нитраты (по NO)

45

Полиакриламид остаточный

2

Свинец (Pb)

0,03

Селен (Se)

0,01

Стронций (Sr)

7

Фтор (F), для климатических районов

 

I и II

1,5

III

1,2

IV

0,7

Примечание. Климатические районы принимаются в соответствии со СНиП.

12.8. Допустимые концентрации химических веществ, влияющих на органолептические свойства воды, не должны превышать нормативов, приведенных в табл. 38.

Таблица 38

Химические вещества

Допустимые концентрации (не более), мг/дм3

Сухой остаток

1000

Хлориды (С1)

350

Сульфаты (SO)

500

Железо (Fе)

0,3

Марганец (Мп)

0,1

Медь (Сu)

1

Цинк (Zn)

5

Полифосфаты остаточные (PO)

3,5

Общая жесткость, мг.экв/дм3

7

Водородный показатель рН

от 6 до 9

В отдельных случаях для водопроводов, подающих воду без специальной обработки, по согласованию с органами санитарно-эпидемиологической службы допускается увеличение содержания сухого остатка до 1,5 г/дм3, общей жесткости-до 10 мг.экв/дм3, железа- до 1 мг/дм3, марганца - до 0,5 мг/дм3.

12.9. Кроме содержания химических веществ, указанных в табл. 37, 38, обязательному определению при оценке качества подземных вод подлежат показатели органолептических свойств. Требования по органолептическим показателям указаны в табл. 38а.

Таблица 38а

Показатель

Допустимые нормы, не более

Запах при 20 °С и при подогревании воды до 60 °С, баллы

2

Привкус при 20 °С, баллы

2

Цветность, град

20

Мутность, мг/дм3

1,5

В отдельных случаях по согласованию с органами санитарно< эпидемиологической службы допускается увеличение цветности воды до 35°, мутности (в паводковый период) до 2 мг/дм3.

12.10. В районах, где имеется опасность загрязнения подземных вод, в их составе, дополнительно к указанным выше веществам (см. пп 127, 128), необходимо определять специфические химические вещества, характерные для технологических и сточных вод промышленных предприятий, а также вещества, входящие в состав загрязненных поверхностных и хозяйственно-бытовых сточных вод, сельскохозяйственных удобрений, ядохимикатов и т. п. Концентрации в воде химических веществ, не указанных в табл. 37 и 38, не должны превышать предельно допустимых концентраций (ПДК), утвержденных Министерством здравоохранения СССР для воды водоемов хозяйственно-питьевого и культурно-бытового водопользования по органолептическому и санитарно-токсикологическому признаку, а также норм радиационной безопасности НРБ-76.

Перечень значений ПДК и классы опасности веществ приведены в документе “Предельно допустимые концентрации (ПДК) и ориентировочные безопасные уровни воздействия (ОБУВ) вредных веществ в воде водных объектов хозяйственно-питьевого и культурно-бытового водопользования”. Класс опасности вещества учитывается при изучении химического состава подземных вод для выбора компонентов-индикаторов загрязнения воды. При обнаружении в воде нескольких химических веществ 1-2 класса с одинаковым лимитирующим признаком вредности (санитарно-токсикологический, органолептический) сумма отношений обнаруженных концентраций в воде к их ПДК не должна быть более 1.

12.11. Предельно допустимые концентрации некоторых наиболее часто встречающихся химических веществ, связанных с промышленным, сельскохозяйственным и хозяйственно-бытовым загрязнением, приведены в табл. 39.

Таблица 39

п/п.

Вещества химические

Лимитирующий признак вредности*

ПДК, мг/дм

Класс опасности

1

2

3

4

5

1

Аммиак (по азоту)

о.с.

2

3

2

Анилин

с.т.

0,1

2

3

Барий (Ва)

с.т.

0,1

2

4

Бенз(а)пирен

с.т.

0,000005

1

5

Бензин

о.л.

0,1

3

6

Бензол

с.т.

0,5

2

7

Бор

с.т.

0,5

2

8

Бром

с.т.

0,2

2

9

Ванадий (V)

с.т.

0,1

3

10

Висмут (Bi)

с.т.

0,1

2

11

Вольфрам (W)

с.т.

0,05

2

12

Гидразин

с.т.

0,01

2

13

ДДТ

с.т.

0,1

2

14

Кадмий (Cd)

с.т.

0,001

2

15

Карбофос

о.л.

0,05

4

 

Керосин:

 

 

 

16

технический

о.л.

0,01

4

17

тракторный

о.л.

0,01

4

18

окисленный

о.л.

0,01

4

19

осветительный

о.л.

0,05

4

20

сульфированный

о.л.

0,1

4

21

Кобальт (Со)

с.т.

0,1

2

22

Кремний

с.т.

10

2

23

Литий

с.т.

0,03

2

24

Некаль

о.л.

0,5

3

 

Нефть:

 

 

 

25

многосернистая

о.л.

0,1

4

26

прочая

о.л.

0,3

4

27

Никель

с.т.

0,1

3

28

Нитриты (по NО2)

с.т.

3,3

2

29

Пиридин

с.т.

0,2

2

30

Роданиды

с.т.

0,1

2

31

Ртуть (Hg) (для неорганических соединений)

с.т.

0,0005

1

32

Севин

о.л.

0,1

4

33

Сульфиды

о.с.

Отсутствие

3

34

Сурьма (Sb)

с.т.

0,05

2

35

Тетраэтилолово

с.т.

0,0002

1

36

Тетраэтилсвинец

с.т.

Отсутствие

1

37

Тиофос

о.л.

0,003

4

38

Фенол**

о.л.

0,001

4

 

флотореагенты

 

 

 

39

ИР-70

о.л.

Отсутствие

4

40

ААР-1

о.л.

0,001

4

41

ААР-2

о.л.

0,005

4

42

Ферроцианиды

с.т.

1,25

2

43

Фосфор элементарный

с.т.

0,0001

1

44

Хром (Сг)

о.л.

0,05

3

45

Хром (Сr)

о.л.

0,5

3

* с. т. - санитарно-токсикологический, о. л. - органолептический, о. с. - общесанитарный.

** ПДК в размере 0,001 учитывается при применении хлора для обеззараживания воды; в иных случаях допускается содержание суммы летучих фенолов в воде в концентрации 0,1 мг/дм3.

12.12. Требования к качеству подземных вод на стадии выбора источника водоснабжения определены по ГОСТ 2761-84,

Одновременно с требованием благоприятной санитарной оценки условий залегания и формирования подземных вод, места размещения водозаборных сооружений необходимо, чтобы сухой остаток был не более 1-1,5 г/дм3, концентрация хлоридов - не более 350 мг/дм3, концентрация сульфатов - не более 500 мг/дм3; общая жесткость не более 7 мг.экв/дм3 (по согласованию с органами санитарно-эпидемиологической службы допускается до 10 мг.экв/дм3). Остальные требуемые показатели состава воды и концентрации химических веществ указаны в табл. 40; концентрации химических веществ промышленных и сельскохозяйственных загрязнителей воды не должны превышать предельно допустимые концентрации для воды хозяйственно-питьевого и культурно-бытового водопользования, а также нормы НРБ-76.

Таблица 40

Показатель

Показатель качества воды по классам

 

1

2

3

Мутность, мг/дм3, не более

1,5

1,5

10,0

Цветность, градусы, не более

20

20

50

Водородный показатель, рН

6-9

6-9

6-9

Железо (Fe), мг/дм3, не более

0,3

10

20

Марганец (Мп), мг/дм3, не более

0,1

1

2

Сероводород (H2S), мг/дм3, не более

Отсутствие

3

10

фтор (F), мг/дм3, не более

1,5-0,7*

1,5-0,7*

5

Окисляемость перманганатная, мгО2/дм3, не более

2

5

15

Число бактерий группы кишечных палочек (БГКП) в 1 дм3, не более

3

100

1000

* В зависимости от климатического района.

В табл. 40 к 1 классу отнесены воды, качество которых по всем показателям удовлетворяет требованиям ГОСТ 2874-82; ко 2 классу воды, качество которых по отдельным показателям имеет отклонения от требований ГОСТ 2874-82; они могут быть устранены аэрированием, фильтрованием, обеззараживанием; для воды 3-го класса для доведения качества воды до требований ГОСТ 2874-82 необходимы, кроме вышеупомянутых методов обработки, дополнительные методы - фильтрование с предварительным отстаиванием, использование реагентов и др. Если качество подземных вод выходят за пределы норм табл. 40 (соленые воды, воды с высоким содержанием фтора и т. п.), подземные воды могут быть использованы по согласованию с органами санитарно-эпидемиологической службы при наличии методов обработки, надежность которых подтверждена специальными технологическими и гигиеническими исследованиями.

12.13. Качество воды в водозаборах систем искусственного пополнения запасов подземных вод зависит от состава и свойств “сырой” воды источника пополнения и подземных вод (“естественной” подземной воды).

В отдельности качество “сырой” и “естественной” подземной воды по составу и свойствам может отличаться от требований ГОСТ 2874-82, но при обязательном условии, что после их полного или частичного смешения в водоносном пласте и водозаборном сооружении, а также в результате процессов физико-химического взаимодействия “сырой” воды с подземными водами и породами эксплуатируемого водоносного горизонта отбираемая вода для подачи потребителю приобретает качества, отвечающие требованиям ГОСТа,

Если это не достигается, должна выполняться соответствующая очистка “сырой” воды (до подачи ее на инфильтрацию) или последующая очистка смешанной воды после откачки ее из водозабора (перед подачей потребителю). Методы производства очистки воды указаны в СНиП 2.04.02-84.

12.14. При разведке подземных вод отбор проб для изучения качества воды выполняется из разведочных и эксплуатационных скважин при проведении из них откачек, при наблюдениях за режимом подземных вод намеченного к использованию и смежных с ним водоносных горизонтов. Отбор проб выполняется также из всех источников, поверхностных водотоков и водоемов, дренажных сооружений, горных выработок, шахтного водоотлива и других водных объектов, находящихся в зоне влияния водозабора.

Частота, количество и методы отбора проб воды, количество и виды анализов устанавливаются в зависимости от гидрогеологических, гидрохимических, санитарных условий участка с учетом целевого назначения подземных вод в соответствии с ГОСТ 18963-73*, а также ГОСТ 2874-82 и требованиями водопотребителя к качеству воды для производственного водоснабжения.

12.15. При наличии в подземных водах повышенной концентрации железа для выбора метода обезжелезивания воды при анализах необходимо обратить внимание на следующие показателя: содержание железа (общего и в том числе двухвалентного); содержание сероводорода, свободной углекислоты; рН воды; щелочность воды; перманганатную окисляемость. Для обоснования выбора метода удаления из воды марганца существенное значение имеют следующие показатели: содержание марганца, сульфатов, бикарбонатов, рН воды.

12.16. При проектировании водозаборов подземных вод необходимо ориентироваться не только на показатели качества воды, определенные на участке водозабора в период изысканий, но и на данные прогноза возможного изменения качества воды во времени, так как в условиях эксплуатации водозабора нередко наблюдается ухудшение состава отбираемой воды. Это особенно важно для районов с неоднородным химическим составом подземных вод, а также для районов, где наиболее вероятно загрязнение подземных вод (интенсивно используемые густозаселенные промышленные и сельскохозяйственные территории).

Прогноз качества воды во времени необходим для определения рационального режима эксплуатации и срока действия водозабора, а также размеров зон санитарной охраны.

12.17. Прогноз качества подземных вод выполняется на основе закономерностей движения растворенных и эмульгированных веществ в водоносных пластах, которые следуют из рассмотрения теории миграции. Определяющее влияние на скорость и дальность распространения загрязнений имеет непосредственный перенос загрязняющих веществ фильтрационным потоком; кроме того, сказывается влияние конвективной дисперсии, сорбции и других физико-химических процессов, для количественной оценки которых необходимы соответствующие экспериментальные данные.

При приближенном прогнозе качества подземных вод исходят, во-первых, из предпосылки о преобладающем поршневом характере вытеснения природных подземных вод загрязненными водами, поступающими на том или ином участке в водоносный горизонт; во-вторых, учитывается смешение подземных вод различного состава, поступающих в водоносный горизонт из отдельных источников питания как в естественных условиях, так и при действии водозаборов, фильтрации из накопителей сточных вод и т. д.

В результате прогноза должны быть определены: время tв продвижения загрязнений к водозабору от участка их поступления в горизонт; концентрация загрязняющих веществ в водозаборе Cв. Для простых схем фильтрационных потоков значения tв, и Св могут быть определены аналитическими расчетами; часть из них приведена ниже при “внутренних” источниках загрязнения, находящихся в изолированном пласте, а также при “внешних” источниках загрязнения (переток загрязненных вод в эксплуатируемый горизонт из смежного по разрезу горизонта).

В одномерном плоскопараллельном потоке подземных вод в водоносном горизонте, изолированном непроницаемыми кровлей и подошвой, время движения загрязнений по полосе тока на участке длиной L определяется по зависимости

                                                    tв = mnL/qe,                                                           (153)

где т - мощность горизонта, м; п - активная пористость; qe - погонный расход потока подземных вод, м2/сут.

Концентрация загрязняющего компонента Св в конце расчетного участка L равна концентрации в начале участка (предполагается, что в изолированном пласте смешение отсутствует и что в начале участка загрязнением охвачена вся мощность горизонта). Если одновременно с фильтрацией происходит равновесная сорбция загрязняющего вещества, то

                                                      tв = AmnL/qe,                                                       (154)

где A = (1+)/,  - коэффициент распределения вещества между жидкой и твердой фазами. При известных значениях  аналогичный сомножитель А вводится в формулу (158).

При работе линейного водозабора инфильтрационного типа, расположенного вблизи реки или водоема, когда концентрации компонента в речной воде Ср и в подземных водах на берегу Сб отличаются друг от друга, результирующая концентрация на линии водозабора Св составит

                                           Св = (qр Ср + qб Сб)/(qр + qб),                                       (155)

где qр и qб - расходы, поступающие в водозабор со стороны реки и со стороны берега;

                                                  qр = km(Hр-Hв)/x0;                                                   (156)

                                          qб = km(Hк-Hв)/(xк-x0).                                              (157)

Здесь xо - расстояние от водозабора до реки; km - водопроводимость горизонта, Hв и Hр - уровни воды в водозаборе и в реке; Hк и xк - естественный уровень подземных вод на берегу на расстоянии xк от водозабора.

При работе одиночного или группового водозабора в изолированном пласте в удалении от реки при отсутствии естественного потока подземных вод (qe = 0) время движения загрязнений к водозабору от участка, находящегося на расстоянии rф, составит

                                                  ,                                             (158)

где Qв - расход водозабора; r0 - радиус водозабора.

Концентрация загрязняющего компонента в водозаборе Св определяется по формуле смешения

                                               Св = (СчQч+СзQз)/Qв.                                               (159)

где Сч, и Сз - концентрации загрязняющего компонента в чистых и загрязненных подземных водах; Qч и Qa - расходы воды, поступающие к водозабору с чистого и загрязненного участка. Значения Qч и Q3 определяются аналитическим и графоаналитическим методом с учетом размера очага загрязнения и гидрогеологических параметров пласта.

Если эксплуатируемый напорный водоносный горизонт, содержащий подземные воды хорошего качества, получает питание из вышележащего загрязненного покровного безнапорного горизонта и атмосферных осадков (двухслойный пласт), то концентрация загрязняющего компонента на одиночном или групповом водозаборе Св, определится из выражений:

                        (160)

                      a** = km/**;              ** = п+н;        (161)

Здесь Сп и Сн - концентрации загрязняющего компонента в верхнем питающем безнапорном и в нижнем напорном эксплуатируемом горизонтах; п и *н, - водоотдача верхнего питающего и нижнего эксплуатируемого слоев, km-водопроводимость эксплуатируемого напорного горизонта, Qв - расход водозабора, ro-радиус водозабора, [-Ei(-о)] -интегральная показательная функция.

При использовании подземных вод слоистой водоносной толщи, в которой напорные водоносные горизонты в хорошо проницаемых отложениях гидравлически связаны друг с другом через слабопроницаемые слои, качество воды в эксплуатируемом горизонте может со временем измениться вследствие перетекания воды из загрязненного смежного питающего слоя через слабопроницаемый слой. При достижении максимального расхода перетока концентрация загрязняющего компонента в водозаборе Се составит

                               Св = Сп + (Сэ - Сп) (km)э/[(km)э + (km)п],                                (162)

где Сэ, и Сп - концентрации загрязняющего компонента в эксплуатируемом и питающем водоносных горизонтах; (km)э и (km)n - водопроводимости этих горизонтов соответственно.

Для сложных фильтрационных потоков в неоднородных многослойных водоносных толщах, при сложных граничных условиях и других случаях для прогноза качества воды используются графоаналитические, численные методы и моделирование.

12.18. По составу и виду загрязнения подземных вод подразделяются на химические (органические и неорганические), биологические, радиоактивные и тепловые.

Наиболее крупная по масштабам инфильтрация загрязненных вод может происходить на промышленных площадках, из шламо- и хвостохранилищ, из накопителей и испарителей сточных вод, на полях орошения и полях фильтрации.

Ухудшение качества подземных вод может быть связано также с привлечением некондиционных или загрязненных подземных вод из удаленных от водозабора участков эксплуатируемого водоносного горизонта; подтягиванием высокоминерализованных подземных вод к водозабору из более глубоких частей горизонта; привлечением воды из водотоков и водоемов, загрязненных промышленными, хозяйственно-бытовыми, сельскохозяйственными стоками; инфильтрацией загрязненных сточных и атмосферных вод с застроенных промышленных и городских территорий и др.

В отдельных случаях загрязнение водоносного горизонта происходит через неисправные водозаборные, разведочные, газовые, нефтяные скважины и другие горные выработки.

12.19. В проекте водозабора должны быть освещены источники питания подземных вод, а также существующие и возможные источники загрязнения Основной эксплуатируемый водоносный пласт, смежные (по разрезу и в плане) водоносные горизонты, связанные с ними ближайшие реки, водоемы, а также хранилища бытовых и промышленных сточных вод должны быть охарактеризованы в отношении химического состава воды как по основным показателям, нормируемым ГОСТ 2874-82, так и по специфическим показателям, характеризующим сточные воды и промышленные отходы данного района, дренажный и поверхностный сток с сельскохозяйственных площадей и т. п.

12.20. Контроль за качеством подземных вод на действующих водозаборах осуществляется учреждениями и организациями, в ведении которых находятся централизованные системы хозяйственно-питьевого водоснабжения я водопроводы, используемые одновременно для хозяйственно-питьевых и технических целей. Перечень контролируемых показателей качества воды определяется с учетом местных и санитарных условий и должен быть согласован с санитарно-эпидемиологической службой.

12.21. Качество подземных вод, используемых при децентрализованном водоснабжении, регламентируют “Санитарные правила по устройству и содержанию колодцев и каптажей родников, используемых для децентрализованного и хозяйственно-питьевого водоснабжения”.

13. ЗОНЫ САНИТАРНОЙ ОХРАНЫ ВОДОЗАБОРОВ ПОДЗЕМНЫХ ВОД

13.1. Для сохранения питьевого качества воды водозаборы подземных вод должны располагаться, как правило, вне территории промышленных предприятий и населенных пунктов. Кроме того, для предотвращения загрязнения водозабора в соответствии с “Положением о порядке проектирования и эксплуатации зон санитарной охраны источников водоснабжения и водопроводов хозяйственно-питьевого назначения” в окрестности водозабора устанавливается зона санитарной охраны (ЗСО), в которой осуществляются специальные мероприятия, исключающие возможность поступления загрязнений в водозабор и в водоносный пласт в районе водозабора.

13.2. При организации ЗСО учитывается вид загрязнений (микробное, химическое), определяющий их устойчивость (стабильность) и в связи с этим возможную длину пути продвижения в водоносном пласте.

Длина пути продвижения болезнетворных микроорганизмов в водоносном горизонте зависит от их вида и количества, а также от гидрогеологических факторов, но при этом ограничивается временем выживаемости и сохранения вирулентности микроорганизмов в специфических условиях водоносного пласта; таким образом, микробные загрязнения в подземных водах неустойчивы, нестабильны. Время выживаемости болезнетворных организмов в подземных водах является важным параметром при определении размеров ЗСО; по данным специальных исследований, оно достигает 100-400 сут.

При обосновании ЗСО водозаборов подземных вод адсорбция и другие факторы (кроме выживаемости), ограничивающие возможность распространения микроорганизмов, обычно не учитываются. Учет этих факторов допускается только в случаях, если их влияние резко выражено и закономерности проявления достаточно изучены.

В отношении химических загрязнений при проектировании ЗСО водозаборов подземных вод условно принимают, что в водоносном горизонте эти вещества не изменяют свой состав и концентрацию в результате взаимодействия с подземными водами и породами, т. е. являются стабильными и поэтому могут переноситься потоком в водоносном горизонте на большие расстояния. Хотя некоторые химические вещества могут активно взаимодействовать с подземными водами и породами, что приводит к сокращению скорости движения химических загрязнений и ограничению дальности их распространения, однако, как и для микробных загрязнений, физико-химические превращения химических веществ в водоносных пластах могут учитываться при проектировании ЗСО только в случаях, если эти процессы резко выражены и их закономерности достаточно изучены.

13.3. При определении размеров ЗСО водозаборов подземных вод, а также состава санитарно-оздоровительных и защитных мероприятий в пределах ЗСО должны учитываться производительность, тип водозабора и гидрогеологические условия, в частности естественная защищенность подземных вод от поверхностного загрязнения. Защищенность эксплуатируемого водоносного горизонта зависит от возможности и интенсивности поступления в него загрязненных вод с поверхности земли или из рек, озер и других водоемов.

К защищенным подземным водам относятся напорные и безнапорные межпластовые воды, которые имеют в пределах всех поясов в ЗСО сплошную водоупорную кровлю, исключающую возможность местного питания из вышележащих недостаточно защищенных водоносных горизонтов или с поверхности земли; должна также отсутствовать непосредственная связь с поверхностными водами.

К недостаточно защищенным подземным водам относятся:

а) грунтовые воды, т. е. подземные воды первого от поверхности земли безнапорного водоносного горизонта, получающего питание на площади его распространения;

б) напорные и безнапорные межпластовые воды, которые в естественных условиях или в результате снижения напора (уровня) при эксплуатации водозабора получают питание на площади ЗСО из вышележащих недостаточно защищенных водоносных горизонтов через литологические окна или проницаемые породы кровли, а также из водотоков и водоемов путем непосредственной гидравлической связи.

В количественном отношении степень защищенности водоносного горизонта оценивается по времени нисходящего движения загрязнений от поверхности земли до кровли эксплуатируемого водоносного горизонта через толщу перекрывающих пород (см. п. 13.19). При оценке степени защищенности необходимо учитывать мощность, пористость, фильтрационные свойства перекрывающих пород, градиент напора при вертикальной фильтрации, и, кроме того, вид загрязнений.

Если время нисходящего движения загрязнений меньше 400 сут, водоносный горизонт является не защищенным от микробных загрязнений, фильтрующихся через перекрывающую толщу пород. Если время движения меньше 25-50 лет (обычно принимаемый проектный срок работы водозабора), то водоносный горизонт не защищен от нейтральных химических загрязнений.

В случаях, когда залегающая над водоносным горизонтом толща пород не обеспечивает естественную защищенность подземных вод от поверхностного загрязнения, защита водозабора в пределах ЗСО реализуется специальными мероприятиями так, чтобы возможные источники загрязнения были удалены от границ ЗСО на расстояние, при котором длительность движения загрязнений по пласту к водозабору будет не менее заданной (100-400 сут для микробных, 25-50 лет для химических загрязнений).

На участках расположения водозаборов, где запасы подземных вод позволяют неограниченную во времени длительность их эксплуатации, водоносный горизонт также должен быть защищен от любого вида загрязнения на неограниченный срок.

13.4. Возможность организации ЗСО определяется на стадии выбора источников централизованного хозяйственно-питьевого водоснабжения; проектирование ЗСО основывается на материалах гидрогеологических, гидрологических, санитарных, микробиологических исследований.

Проект ЗСО входит в состав проекта хозяйственно-питьевого водоснабжения и разрабатывается вместе с ним. Проект ЗСО и план санитарных мероприятий, предназначенных для обеспечения требуемого качества подземных вод, должны быть согласованы с исполкомами местных Советов депутатов, с землепользователями, с органами санитарно-эпидемиологической службы, органами по регулированию использования и охране вод, органами коммунального хозяйства, органами геологии.

13.5. В состав ЗСО входят три пояса: первый - строгого режима, второй и третий - ограничений. Первый пояс ЗСО включает территорию расположения водозаборов, площадок расположения всех водопроводных сооружений, при искусственном пополнении - инфильтрационные сооружения и водоподводящий канал. Он устанавливается в целях устранения возможности случайного или умышленного загрязнения воды источника в месте расположения водозаборных и водопроводных сооружений.

Граница первого пояса ЗСО устанавливается в зависимости от защищенности подземных вод в пределах первого и второго поясов ЗСО: на расстоянии не менее 30 м от водозабора - при использовании защищенных подземных вод, и на расстоянии не менее 50 м - при использовании недостаточно защищенных вод. При использовании группы подземных водозаборов граница первого пояса должна быть удалена на те же расстояния (не менее 30 или 50 м) от крайних скважин (шахтных колодцев) водозаборных групп.

Если расстояние между водозаборными скважинами превышает 100 м, первый пояс ЗСО допустимо устанавливать отдельно для каждой скважины.

В отдельных случаях для водозаборов, расположенных на территории объекта, исключающего возможность загрязнения почвы и подземных вод, а также для водозаборов, расположенных в благоприятных санитарно-технических и гидрогеологических условиях, границу первого пояса ЗСО допускается приблизить к водозабору по согласованию с местными органами санитарно-эпидемиологической службы на расстояние до 15 или 25 м соответственно для защищенных или недостаточно защищенных водоносных пластов.

При искусственном пополнении запасов подземных вод граница первого пояса должна устанавливаться на расстоянии не менее 50 м от водозабора и на расстоянии не менее 100 м от инфильтрационных сооружений (бассейнов, каналов и др.). Для береговых (инфильтрационных) водозаборов подземных вод в границы первого пояса необходимо включать территорию между водозабором и поверхностным водоемом, если расстояние между ними менее 150 м. Для подрусловых водозаборов первый пояс ЗСО следует предусматривать как для водозаборов из поверхностных источников водоснабжения.

13.6. Второй пояс ЗСО предназначен для защиты водоносного горизонта от микробных загрязнений; поскольку второй пояс расположен внутри третьего пояса, он предназначен также для защиты и от химического загрязнения.

Основным параметром, определяющим расстояние от границы второго пояса ЗСО до водозабора, является расчетное время 7 м продвижения микробного загрязнения с потоком подземных вод к водозабору, которое должно быть достаточным для утраты жизнеспособности и вирулентности патогенных микроорганизмов, т. е. для эффективного самоочищения воды.

Граница второго пояса ЗСО определяется гидродинамическими расчетами исходя из условий, что если за ее пределами через зону аэрации или непосредственно в водоносный горизонт поступят микробные загрязнения, то они не достигнут водозабора. Расчетное время Тм выбирается в соответствии с рекомендациями табл. 41.

Таблица 41

 

Tм. сут

Гидрогеологические условия

в пределах I и 11 климатических районов

в пределах III и IV климатических районов

1. Грунтовые воды:

 

 

а) при наличии гидравлической связи с открытым водоемом

400

400

б) при отсутствии гидравлической связи с открытым водоемом

400

200

2. Напорные и безнапорные межпластовые воды:

 

 

а) при наличии непосредственной гидравлической связи с открытым водоемом

200

200

б) при отсутствии непосредственной гидравлической связи с открытым водоемом

200

100

13.7. Третий пояс ЗСО предназначен для защиты подземных вод от химических загрязнений Расположение границы третьего пояса ЗСО также определяется гидродинамическими расчетами исходя из условия, что, если за ее пределами в водоносный пласт поступят химические загрязнения, они или не достигнут водозабора, перемещаясь с подземными водами вне области питания, или достигнут водозабора, но не ранее расчетного времени Тх Время продвижения загрязненной воды от границы третьего пояса ЗСО до водозабора должно быть больше проектного срока эксплуатации водозабора (25-50 лет) Если запасы подземных вод обеспечивают неограниченный срок эксплуатации водозабора, третий пояс должен обеспечить соответственно длительное сохранение качества подземных вод.

Учет нестабильности химического загрязнения, позволяющий сократить размеры третьего пояса ЗСО, возможен только при наличии соответствующих экспериментальных данных.

Методы гидрогеологических расчетов для определения границ второго и третьего поясов ЗСО при различных гидрогеологических условиях и различных схемах водозаборов приведены в п. 13 15- 1322.

13.8. При особо трудных местных условиях при установлении надлежащих границ второго и третьего поясов их размеры в порядке исключения могут быть уменьшены или эти пояса могут быть объединены при условии, что качество подземных вод от этого не ухудшится. В этом случае следует представить обоснование возможности уменьшения размеров второго или третьего поясов (или их объединения), предусмотреть при необходимости специальные защитные мероприятия и получить на указанные изменения согласование санитарно-эпидемиологической службы и других организаций (см. п. 134).

13.9. Если участок реки (или поверхностного водоема) входит по гидрогеологическому расчету в пределы первого, второго и третьего поясов ЗСО берегового (инфильтрационного) водозабора подземных вод, имеющего гидравлическую связь с названными поверхностными водоемами, то и для последних необходимо устанавливать первый, второй и третий пояса ЗСО как для поверхностного водоема в соответствии с пп. 4 1-4 3 Положения о ЗСО. Границы поясов ЗСО для поверхностных водоисточников (рек, озер, водоемов) устанавливаются в направлениях вверх и вниз по течению, а также в глубь берега.

Границы первого пояса ЗСО вверх и вниз по течению (т. е. вдоль водотока или водоема) устанавливаются на расстоянии 100- 200 м от крайних скважин берегового водозабора в зависимости от проточности, ширины акватории и др. По прилегающему к водозабору берегу граница первого пояса ЗСО водозабора устанавливается на расстоянии не ближе 100 м от линии уреза воды при летне-осенней межени; по противоположному берегу-см. Положение о ЗСО, п. 41.

Границы второго пояса ЗСО вверх по течению вдоль водотока (или водоема) и его боковых притоков определяются с учетом времени пробега воды от водозабора, необходимого для ее микробного самоочищения, что, в свою очередь, зависит от скорости течения и климатических условий. Вниз по течению от водозабора граница второго пояса должна быть на расстоянии, обеспечивающем водозабор от загрязнения при обратных ветровых течениях, что устанавливается с учетом характера водотока, скорости течения воды в нем и силы ветра. Боковые границы второго пояса ЗСО определяются шириной береговой полосы, которая при отсчете от уреза воды летне-осенней межени должна составлять не менее 500 м при равнинном рельефе местности; при гористом рельефе местности-750-1000 м (для пологого и крутого склонов соответственно). Границы третьего пояса ЗСО водотоков (водоемов) вверх и вниз по течению совпадают с границей второго пояса, боковые границы проводятся по линии водораздела в пределах 3-5 км, включая притоки реки (см. пп. 4.2.2-4.2.6 Положения). Если в районе берегового инфильтрационного водозабора расположение границ второго и третьего поясов ЗСО в глубь берегов, определенное по указаниям п. 13.9, не совпадает с расположением этих же границ, определенных по гидрогеологическим расчетам (см. пп. 13.15-13.22), следует принимать расположение, при котором границы удалены от водозабора на большее расстояние.

13.10. Санитарно-оздоровительные и защитные водоохранные мероприятия устанавливаются отдельно для каждого пояса ЗСО в соответствии с его назначением и выполняются либо как единовременные меры, осуществляемые до начала эксплуатации водозабора (например, снос некоторых строений, устройство ограды и др.), либо как постоянные мероприятия режимного характера (запрещение нового строительства, запрещение использования ядохимикатов и др.).

13.11. По второму и третьему поясам ЗСО предусматриваются следующие общие мероприятия:

1) выявление, ликвидация (или восстановление) всех бездействующих, старых, дефектных или неправильно эксплуатируемых скважин, представляющих опасность в отношении возможности загрязнения водоносного горизонта;

2) регулирование любого нового строительства и бурение новых скважин при обязательном согласовании с местными органами санитарно-эпидемиологической службы, органами геологического контроля и органами по регулированию использования и охране вод;

3) запрещение закачки отработанных вод в подземные горизонты, подземного складирования твердых отходов и разработки недр земли, которая может привести к загрязнению водоносного горизонта;

4) своевременное выполнение необходимых мероприятий по санитарной охране поверхностных водотоков и водоемов, имеющих непосредственную гидравлическую связь с используемым водоносным горизонтом;

5) запрещение размещения накопителей промстоков, шламохранилищ, складов горючесмазочных материалов, складов ядохимикатов и минеральных удобрений, крупных птицефабрик и животноводческих комплексов-источников химического нитратного загрязнения, а также других объектов, обусловливающих опасность химического загрязнения подземных вод; размещение таких объектов допускается в пределах третьего пояса ЗСО только при использовании защищенных подземных вод, а также при условии выполнения специальных мероприятий по защите водоносного горизонта от загрязнения и по согласованию с вышеназванными органами санитарного, геологического и водного контроля.

При размещении в пределах третьего пояса ЗСО объектов, являющихся источниками микробного загрязнения (поля фильтрации, навозохранилища, животноводческие и птицеводческие предприятия и т. п.), должна быть исключена возможность поступления поверхностного и дренажного стока на территорию второго пояса ЗСО.

13.12. По второму поясу ЗСО, кроме мероприятий, общих для второго и третьего поясов, указанных в п. 13.11, подлежат выполнению следующие дополнительные мероприятия:

1) запрещение:

размещения кладбищ, скотомогильников, полей ассенизации, полей фильтрации, земледельческих полей орошения, силосных траншей, животноводческих и птицеводческих предприятий, а также других сельскохозяйственных объектов, обусловливающих опасность микробного загрязнения подземных вод;

применения удобрений и ядохимикатов;

промышленной рубки леса;

2) выполнение мероприятий по санитарному благоустройству территории населенных пунктов и Других объектов (канализование, устройство водонепроницаемых выгребов) и др.

13.13. По первому поясу ЗСО дополнительно к мероприятиям, указанным в пп. 13.11 и 13.12 для второго и третьего поясов, предусматриваются следующие меры:

1) территория первого пояса должна быть спланирована для отвода поверхностного стока за ее пределы, озеленена, ограждена и обеспечена постоянной охраной;

2) запрещаются все виды строительства, не имеющие непосредственного отношения к эксплуатации водозабора и водопроводных сооружений, в том числе жилых и хозяйственных зданий, прокладка трубопроводов различного назначения, проживание людей (в том числе работающих на водопроводе), а также применение ядохимикатов и удобрений;

3) здания должны быть канализованы с отведением сточных вод в систему канализации или на местные очистные сооружения, расположенные за пределами первого пояса ЗСО с учетом санитарного режима на территории второго пояса ЗСО. В исключительных случаях при отсутствии канализации устраиваются водонепроницаемые приемники для бытовых отходов и нечистот, расположенные в местах, исключающих при их вывозе загрязнение территории первого и второго поясов;

4) предусматривается строгое выполнение санитарно-технических требований к конструкции водозаборных и наблюдательных скважин (оголовки, устья, затрубные пространства скважин и др.);

5) водозаборные скважины должны быть оборудованы аппаратурой для систематического контроля соответствия фактического дебита при эксплуатации и проектной производительности, предусмотренной при проектировании водозабора и обосновании границ ЗСО.

13.14. Состав указанных в пп. 13.11-13.13 основных санитарно-оздоровительных и защитных мероприятий на территории ЗСО при наличии соответствующего обоснования может быть уточнен и дополнен применительно к конкретным гидрогеологическим условиям с учетом естественной защищенности подземных вод, а также современного и перспективного народнохозяйственного использования территории в районе ЗСО.

Водоохранные мероприятия на реках и водоемах, входящих в ЗСО водозаборов подземных вод, устанавливаются в соответствии с Положением о ЗСО.

13.15. Гидрогеологическими расчетами для обоснования проекта ЗСО должна быть определена область захвата, в пределах которой подземные воды в течение расчетного времени захватываются водозабором. Область захвата составляет часть более обширной области питания водозабора, в которой подземные воды движутся к водозабору.

Размеры и конфигурация области захвата находятся в зависимости от типа водозабора, схемы его размещения и режима эксплуатации, а также от гидрогеологических условий (степени неоднородности водоносного пласта, наличия внешних источников питания и разгрузки и т. д.).

Как правило, вследствие сложности гидрогеологических условий область захвата водозабора имеет неправильные геометрические очертания, выявление которых возможно только на основе графоаналитических построений с использованием карт гидроизопьез (гидроизогипс), составленных по данным полевых наблюдений или моделирования фильтрации подземных вод к водозабору.

13.15. Если реальная гидрогеологическая обстановка может быть схематизирована и осреднена по основным расчетным параметрам (обычно это оказывается возможным в относительно простых гидрогеологических условиях, а также в сложных условиях, но на ранних стадиях проектирования водозабора и ЗСО), область захвата водозабора и другие искомые величины для обоснования проекта ЗСО Водозаборов подземных вод можно определять путем аналитических гидродинамических расчетов. При этом, если в водозаборе количество скважин более одной или используется горизонтальная дрена, схематизируются и сами водозаборы: обычно их представляют в виде единых групповых водозаборов - компактной сосредоточенной группы скважин или линейного ряда скважин. В системах искусственного пополнения подземных вод весь комплекс сооружений (водозабор, инфильтрационные сооружения) можно приближенно представить в обобщенном виде как одиночный укрупненный водозабор с дебитом

                                                    Q = Qв-Qб,                                                             (163)

где Qв - общий расход водозаборных скважин; Qб - средний расход воды, поступающей в пласт из инфильтрационных сооружений.

Такой расчет возможен при относительно большом расходе водозабора в сравнении с общей подачей на инфильтрацию и размерах ЗСО, превосходящих расстояние между водозаборными скважинами и инфильтрационными сооружениями.

13.17. Обобщенная схема фильтрации подземных вод к водозабору с дебитом Q в однородном неограниченном водоносном пласте при наличии одномерного естественного бытового потока с единичным расходом q представлена на рис. 62.

62. Схема фильтрации подземных вод к водозабору

Область захвата водозабора увеличивается в процессе эксплуатации водозабора и соответственно положение границ ЗСО изменяется вместе с увеличением длительности работы водозабора Т; для расчета ЗСО этот период в зависимости от вида загрязнений, гидрогеологических и климатических условий принимается равным: для микробного загрязнения T = Tм = 100-400 сут. (см. п. 13.6), для химического загрязнения T = Tx25 лет (см. п. 13.1). В предельном случае при весьма длительной эксплуатации водозабора границы области захвата устанавливаются по нейтральной (раздельной) линии тока в условиях установившегося движения.

13.18. Для практических расчетов ЗСО область захвата водозаборных сооружений схематизируется в виде прямоугольника шириной и общей протяженностью L, причем (см. рис. 62)

                                                      L = r+R.                                                              (164)

Величина 2d принимается равной максимальной ширине области захвата водозабора.

Протяженность ЗСО вверх по потоку должна быть такой, чтобы частицы воды, удаленные от водозабора на расстояние R, достигли водозабора лишь к концу расчетного времени Т, отсчитываемого от начала включения водозабора (T = Tм при расчете границы второго пояса ЗСО, Т = Тх при расчете третьего пояса ЗСО).

Расстояние R целесообразно представить в виде

                                                  R = Rq+R,                                                            (165)

где Rq - расстояние, преодолеваемое частицами воды при движении со скоростью естественного потока, удельный расход которого q; R - дополнительное расстояние, которое проходит частица воды при эксплуатации водозабора.

Вниз по потоку подземных вод граница ЗСО, как правило, проводится через раздельную точку N. Но в тех случаях, когда расстояние от водозабора до точки N велико и время движения частиц воды от нее к водозабору больше расчетного времени Т, положение границы ЗСО смещается ближе к водозабору на расстояние r от водозабора.

13.19. В безнапорных водоносных горизонтах, а также в неглубоко залегающих напорных пластах, перекрытых сверху слабопроницаемыми отложениями (двухслойные системы), при определении положения границы второго пояса ЗСО для защиты от микробного загрязнения в отдельных случаях, как отмечено в п. 13.3, целесообразно учитывать время to просачивания загрязненных вод по вертикали до основного эксплуатационного пласта, т. е. принимать T = Тм-to. Если toм, водоносный горизонт защищен от микробных загрязнений.

Величина to приближенно может быть определена по следующим формулам:

а) при малой интенсивности инфильтрации загрязненных вод  (<ko, ko - коэффициент фильтрации пород зоны аэрации), т. е. когда инфильтрация происходит с неполным насыщением пор водой,

                                               to.                                                       (166)

б) при значительной интенсивности инфильтрации  (>ko), т. е. при инфильтрации с полным насыщением пор,

                                                  to;                                                           (167)

в) при двух-трехслойном строении водоносной толщи

                                             to.                                                      (168)

В формулах (166)-(168) mо и n0 - мощность и активная пористость пород над эксплуатируемым горизонтом (в случаях “а” и “б - это породы зоны аэрации, в случае “в - породы верхнего слабопроницаемого слоя),  - разность уровней воды основного эксплуатируемого и вышележащего питающего слоев.

Параметры k0, mо и n0. следует определять при разведке подземных вод. На ранних стадиях изысканий (выбор водоносного горизонта, участка расположения водозабора) при отсутствии экспериментально определенных значений указанных параметров последние принимаются по литературным данным с учетом повышенной водопроницаемости покровных отложений и пород зоны аэрации.

13.20. Методы определения размеров ЗСО аналитическим способом разработаны для следующих расчетных схем фильтрации в однородных пластах1:

1 Рекомендации по гидрогеологическим расчетам для определения границ второго н третьего поясов зон санитарной охраны подземных источников хозяйственно-питьевого водоснабжения. - М.: ВНИИ ВОДГЕО, 1983.

Орадовская А. Е., Лапшин Н. Н. Санитарная охрана водозаборов подземных вод. - М.: Недра, 1987.

1) одиночная скважина или компактная группа взаимодействующих скважин (сосредоточенный водозабор) вблизи совершенного или несовершенного водотока (водоема) при отсутствии естественного потока или при наличии естественного потока, направленного к реке, от реки, параллельно реке;

2) линейный ряд водозаборных скважин вблизи совершенного или несовершенного водотока (водоема) при отсутствии естественного потока или при наличии естественного потока, направленного к реке, от реки, параллельно реке;

3) одиночная скважина или компактная группа взаимодействующих скважин (сосредоточенный водозабор) в изолированном водоносном горизонте в удалении от поверхностных водотоков (водоемов) при наличии или отсутствии естественного потока;

4) линейный ряд водозаборных скважин в изолированном водоносном горизонте в удалении от поверхностных водотоков (водоемов) при наличии естественного потока, нормального к линии ряда скважин, и при отсутствии естественного потока;

5) сосредоточенный водозабор в водоносном горизонте, получающем дополнительное питание путем перетока из соседних водоносных горизонтов.

Соответствующие расчетные зависимости содержатся в “Рекомендациях по гидрогеологическим расчетам для определения границ II и III поясов зон санитарной охраны подземных источников хозяйственно-питьевого водоснабжения”.

В сложных случаях (сложная схема водозабора, несколько взаимодействующих водозаборов, дрен, участков интенсивной инфильтрации из каналов, накопителей промстоков и т. п.; неоднородность водоносного горизонта в плане или в разрезе; сложная конфигурация реки; различные условия на границах водоносного горизонта, сложные гидрохимические условия и т. п.) вместо аналитических методов расчета ЗСО следует использовать графоаналитические методы расчета, моделирование фильтрации на аналоговых приборах, численное моделирование с применением ЭВМ.

13.21. Применительно к некоторым наиболее простым схемам фильтрации в районе водоотбора расчетные зависимости для определения границ ЗСО приведены в табл. 42, 43 и на рис. 63-86, где Q - общая производительность водозабора, m и n - мощность и активная пористость водоносного горизонта; Qe - расход естественного потока подземных вод к береговому водозабору; Qo - расход одной скважины линейного водозабора; р - количество скважин в линейном водозаборе; l - половина длины линейного ряда скважин; 2-расстояние между скважинами в линейном ряду скважин; х0 - расстояние от реки до берегового водозабора; xр - для береговых водозаборов - расстояние от реки до водораздельной точки; для водозаборов в удалении от рек - расстояние от водозабора до водораздельной точки.


Таблица 42

Схема

Расчетные зависимости для определения границ ЗСО водозаборов подземных вод

Дополнительные данные

 

R

r

d

 

63,а

R = Rq+R

r - по графику рис. 65

d2QT/mnL

Q

 

Rq = qT/mn R- по графику рис 64

rmax = x0-xр

dmax = Q/(2q)

L = R+r

63, б

R = Rq+R; R- по графику рис. 67

r - по графику рис. 66

rmax = x0

d - по графику рис. 68

Qд

69

R - по графику рис. 66, 70

r - по графику рис. 66

d-по графику рис. 71; 74

q = 0

72

R - по графику рис. 66

r - по графику рис. 73

d - по графику рис. 74

-

75

R - по графику рис. 76

rmax р

dmax = Qe/(2q)

77,а

R - по графику рис. 78

rmax = x0

d2QT/mnL

-

77, 6

R - по графику рис. 79

r2QT/mnL

rmax = x0

d2QT/mnL

-

77, в

Rmax = x0

r- по графику рис. 81

yр - по графику рис. 80

dmax = yр

-

77,г

R - по графику рис. 82

yp- по графику рис. 80

d - по графику рис. 79 (при R = 2d-xo)

-

83

R -по графику рис. 83

r- по графику рис 83

d = 2QT/mnL

-

84

R - по графику рис. 85

r- по графику рис. 85

d = 2QT/mnL

-

86

R - по табл. 43

(при q)

d = R = r

(при q = 0)

Таблица 43

 

Значения R/B в зависимости от

R/B

Значения  при v, равном

 

0,01

0,05

0,1

0,2

0,5

1

2

5

10

100

0,1

0

0

0,001

0,002

0,003

0,005

0,007

0,008

0,009

0,01

0,5

0,003

0,013

0,025

0,046

0,089

0,132

0,172

0,212

0,229

0,248

1,0

0,013

0,064

0,119

0,213

0,403

0,573

0,728

0,87

0,93

0,992

2,0

0,088

0.405

0,73

1,223

2,074

2,715

3,226

3,645

3,833

3,981

3,0

0,36

1,508

2,531

3,857

5,74

6,943

7,805

8,467

8,723

8,971

4,0

1,19

4,294

6,499

6,909

11,8

13,43

14,54

15,36

15,67

15,96

5,0

3,4

9,815

13,32

16,67

20,25

22,15

23,4

24,3

24,64

24,96

10,0

63,56

80,38

85,94

90,42

94,74

96,9

98,26

99,24

99,62

99,96

20,0

394,1

396,8

398,2

398,5

399,2

399,5

399,7

399,8

399,9

400

50,0

2491

2495

2497

2498

2499

2500

2500

2500

2500

2500

Примечание: .


Рис. 63. Схемы фильтрации к сосредоточенному береговому водозабору при естественном потоке, направленном к реке

а - относительно малый расход водозабора (Q<); б - большой расход водозабора (Q)

Рис. 64. График для определения протяженности ЗСО R (к схеме рис. 63,а)

Рис. 65. График для определения протяженности ЗСО r ( схеме рис. 63, а)

Рис. 66. График для определения протяженности ЗСОr (к схемам рис. 63, б, 69) и R (к схеме рис. 72)

Рис. 67. График для определения протяженности 3COR (к схеме рис. 63, б)

Рис. 68. График для определения ширины ЗСО d (к схеме рис. 63, б)

Рис. 69. Схема фильтрации к береговому сосредоточенному водозабору при отсутствии бытового потока (q = 0)

Рис. 70. График для определения протяженности ЗСО R (к схеме рис. 69)

Рис. 71. График для определения ширины ЗСО d (к схеме рис. 69)

Рис. 72. Схема фильтрации к береговому сосредоточенному водозабору при естественном потоке, направленном от реки

Рис. 73. График для определения протяженности ЗСО r (к схеме рис. 72)

Рис. 74. График для определения ширины ЗСО d (к схемам рис. 69 и 72)

Рис. 75. Схема фильтрационного течения и береговому сосредоточенному водозабору при естественном потоке, параллельном реке

a - относительно малый расход водозабора; б - большой расход водозабора

Рис. 76. График для определения протяженности ЗСО R (к схеме рис. 75)

Рис. 77. Схемы фильтрации к линейному береговому водозабору

а - естественный поток направлен к реке; б - естественный поток отсутствует; в - естественный поток направлен от реки; г - естественный потов параллелен реке

Рис. 78. График для определения протяженности ЗСО R (к схеме рис. 77, а)

; ; ; ;

Рис. 79. График для определения протяженности ЗСО R (к схеме рис. 77, б)

Рис. 80. График для определения ширины области питания линейного берегового водозабора y р (к схеме рис. 77, в)

Рис. 81. График для определения протяженности ЗСО r (к схеме рис. 77, в)

Рис. 82. График для определения протяженности ЗСО R (к схеме рис. 77,г)

Рис. 83. График для определения протяженности ЗСО (r и R) при действии сосредоточенного водозабора в изолированном неограниченном пласте

Рис. 84. Схема фильтрации к линейному водозабору в неограниченном пласте

Рис. 85. График для определения протяженности ЗСО (R и r) при действии линейного водозабора в изолированном неограниченном пласте

Рис. 89. Схемы фильтрации в водозабору в условиях дополнительного питания пласта

a - план; б - схема с дополнительным питанием путем перетекания из соседних пластов; в - схема с дополнительным питанием за счет уменьшения испарения

13.22. При расчетах ЗСО береговых водозаборов необходимо учитывать несовершенство речных русел, обусловленных неполнотой их врезки в водоносный пласт, а также наличием в ложе слабопроницаемых включений, затрудняющих гидравлическую связь подземных и поверхностных вод.

Практически несовершенство речных русел можно учесть с помощью метода дополнительного слоя L, в соответствии с которым все расчеты ведутся для совершенных русел, но урез реки отодвигается при этом на величину ,

где b - ширина реки; ; km - водопроводимость пласта; ko и mо - коэффициент фильтрации и мощность слабопроницаемого экранирующего слоя под руслом реки.

Таким образом, чтобы при расчетах ЗСО учесть несовершенство русел рек и водоемов, в соответствующих формулах и графиках к табл. 42 вместо расстояния x0 между рекой и водозабором следует брать величину .

14. НАСОСНЫЕ СТАНЦИИ

Классификация насосных станций

14.1. Насосные станции на водозаборах подземных вод по условиям забора воды можно условно разделить на:

насосные станции для забора воды из скважин;

насосные станции на лучевых и горизонтальных водозаборах;

насосные станции на каптажах источников.

Различают также наземные, заглубленные и подземные насосные станции.

14.2. В зависимости от степени обеспечения подачи воды объекту водопроводные насосные станции, как элемент общей системы водопровода, подразделяются на три категории в соответствии с указаниями СНиП 2.04.02-84.

На системах искусственного пополнения запасов подземных вод для подачи воды на инфильтрационные сооружения или сооружения предварительной очистки используются конструкции водозаборов и насосных станций, применяемые для поверхностных источников, и в настоящем Пособии не рассматриваются.

Водоподъемное оборудование на водозаборах подземных вод

14.3. Для подъема воды используются:

насосы с погружными электродвигателями ЭЦВ;

насосы с трансмиссионным валом АТН и НА (насосы - в скважине или шахте, электродвигатели - над устьем скважины или полом насосной станции);

насосы горизонтальные центробежные.

Эрлифты из-за низкого коэффициента полезного действия, необходимости дополнительного углубления скважин для создания в них столба воды соответствующей высоты, обеспечения их компрессорами или постоянно сжатым воздухом со стороны в настоящее время в системах водоснабжения практически не применяются.

При эксплуатации высоконапорных водоносных горизонтов скважины могут самоизливаться, и поэтому оборудование их водоподъемными устройствами нередко не требуется на период сработки напора водоносного горизонта в допустимых пределах.

Насосы ЭЦВ

14.4. Насосы ЭЦВ могут применяться для оборудования скважин глубиной 10-300 м; их расходная характеристика имеет широкие пределы 4-375 м3/ч.

Насосные установки ЭЦВ предназначены для подачи воды с общей минерализацией (по сухому остатку) не более 1500 мг/л, содержащей не более 100 мг/л твердых механических примесей

В отдельных случаях допускается использование насосов для подачи воды с общей минерализацией до 2000 мг/л

Насосы ЭЦВ - одно - или многоступенчатые с вертикальным расположением вала работают с подпором (1-6 м), величина которого указывается в технической характеристике насоса каждой марки. Работа насоса без постоянного подпора (“всухую”) не допускается, так как при этом происходит сгорание обмотки двигателя.

Насосы ЭЦВ могут работать в искривленных скважинах, в разнообразных гидрогеологических условиях, для них требуются минимальные размеры зданий (павильонов), в которых размещаются арматура напорных трубопроводов и станции управления.

Насосы АТН и НА

14.5. Насосы с трансмиссионным валом АТН и НА - многоступенчатые, применяются при глубинах до 100 м.

Производительность их 30-200 м3/ч.

Насосы АТН и НА устанавливаются в основном в наземных павильонах. Все типы насосных установок с трансмиссионным валом могут нормально работать в строго вертикальных скважинах, в которых отклонения от вертикали исключают прикасание насоса к стенам обсадных труб.

Указанные насосы предназначены для подачи воды общей минерализацией не более 2000 мг/л с температурой до 35 0С. Содержание твердых механических примесей должно быть не более 1000 мг/л для установки НА и не более 5000 мг/л для установки АТН.

Наличие трансмиссионного вала большой длины и принудительной системы смазки подшипников вала усложняет условия эксплуатации этих насосов, поэтому наиболее целесообразно их применять для скважин небольшой глубины (30-40 м), в шахтных колодцах и водосборных колодцах горизонтальных и лучевых водозаборов.

Долголетняя практика эксплуатации этих насосов показала их надежность, но одновременно были установлены их недостатки.

Отклонения вала от центрального положения при длинной трансмиссионной передаче приводят к снижению КПД насосного агрегата до 20-25 %, хотя сам насосный узел обладает высоким КПД (88 %).

Горизонтальные центробежные насосы

14.6. На водозаборах подземных вод горизонтальные центробежные насосы применяются на каптажах, когда насосные станции расположены непосредственно у каптажной камеры или сборного резервуара, на горизонтальных и лучевых водозаборах и довольно редко для подъема воды из скважин в случаях, когда динамический уровень подземных вод находится в пределах высоты всасывания насосов (3-6 м) с учетом гидравлических потерь во всасывающем трубопроводе, или в случаях, когда обеспечена работа насосов “под заливом”.

Заводом-изготовителем обычно гарантируется допустимая вакуумметрическая высота всасывания при определенной подаче и числе оборотов насоса, температуре воды до 20 "С и барометрическом давлении, равном 10 м вод. ст. Если насос предполагается использовать при условиях, отличающихся от паспортных данных, то новая допустимая для него высота всасывания должна быть пересчитана.

Диапазон производительности выпускаемых в СССР горизонтальных насосов очень широк - от 2 до 12500 м3/ч, напор насосов разных марок, с разным числом оборотов - от 15 до 700 м; на водозаборах применяют обычно насосы с напором 15-60 м.

Горизонтальные центробежные насосы позволяют изменять производительность, напор, мощность двигателей путем обточки колес в пределах 5-15 % (в зависимости от коэффициента быстроходности колеса) или изменения числа оборотов насосов.

Насосы, как правило, устанавливаются из расчета их работы “под заливом”, что упрощает автоматизацию их управления при эксплуатации. В случае установки насосов не “под залив”, в станции для запуска насосов устанавливаются вакуум-насосы и вакуум-котлы. В насосных станциях III категории допускается установка приемных клапанов на всасывающем трубопроводе диаметром до 200 мм,

Определение производительности и подбор насосов

14.7. При конкретном подборе насосов следует руководствоваться номенклатурой, фактически выпускаемой промышленностью на год проектирования.

14.8. Общая производительность насосных станций на водозаборах подземных вод зависит от потребности в воде, схемы водоснабжения объекта, возможностей водоисточника.

14.9. В случаях, когда водоснабжение является и противопожарным, производительность насосных станций должна учитывать возможность восстановления пожарного объема воды в резервуарах и во всех случаях восстановления дополнительного аварийного объема, предусматриваемого на время ликвидации аварии при подаче воды в резервуары по одному водоводу, с учетом указаний п. 14.15.

14.10. При подаче воды из водоисточника непосредственно в сеть потребителя при отсутствии других источников питания сети общая

рабочая производительность насосных станций на скважинах (или каптажах) должна обеспечивать наибольший часовой расход в дни максимального водопотребления (рассчитывается по СНиП 2.04.02- 84), а также расход воды на пожаротушение.

14.11. При подаче воды в емкость производительность определяется исходя из принятого режима работы насосов и величины регулирующего объема емкости. В этом случае группа насосных станций над скважинами рассматривается как единая насосная станция с числом насосов, равным количеству рабочих скважин на водозаборе. При наличии в емкости регулирующего объема подача из водозабора наибольшего часового расхода воды не требуется.

14.12. В большинстве случаев, особенно при значительном удалении водозабора от потребителя, выгодна равномерная работа насосов, однако режим работы насосов следует уточнять на основании технико-экономического сопоставления вариантов.

14.13. Наряду с рабочими насосными станциями на скважинах должны быть резервные станции по числу резервных скважин.

14.14. В насосных станциях на каптажах, горизонтальных и лучевых водозаборах должны быть резервные насосы. Число их устанавливается в зависимости от категории обеспечения подачи воды потребителю согласно разд. 7 СНиП 2.04.02-84.

14.15. Учитывая, что на период восстановления пожарного объема воды в резервуарах допускается по СНиП 2.04.02-84 снижение подачи воды на хозяйственно-питьевые нужды до 70 % расчетного расхода и на производственные нужды по аварийному графику, возможно на это время предусматривать использование на водозаборах резервных скважин.

14.16. Насосное оборудование выбирается на основе гидравлического расчета, учитывающего совместно гидрогеологические условия, характеристику насосов и работу трубопроводов. В результате расчета должны быть также установлены условия работы насосов:

положение рабочих точек, необходимость дросселирования напора затвором или целесообразность снятия рабочих колес погружных насосов по согласованию с заводом-изготовителем.

14.17. Необходимый напор у насосов определяется обычным путем. Он слагается из геометрической высоты подъема воды, гидравлических потерь в водоподъемной трубе насосной станции и напорном сборном трубопроводе.

Высота геометрического подъема воды исчисляется от динамического уровня воды в скважине до максимального уровня воды в сборном резервуаре или в месте подачи воды на станцию очистки или в резервуар башни. При подаче воды в промежуточный участок сборного напорного трубопровода - от динамического уровня воды в скважине до пьезометрической отметки в точке примыкания к водоводу. При непосредственной подаче воды из скважины в сеть потребителя высота геометрического подъема определяется от динамического уровня воды в скважине до отметки в месте примыкания к сети плюс необходимый свободный напор в этом месте. При подаче воды в самотечные сборные водоводы высота подъема определяется от динамического уровня в скважине до места излива в водовод.

Гидравлические потери в водоподъемной трубе и насосной станции определяются расчетом.

14.18. При подборе насосов для группы скважин следует всегда стремиться к их однотипности, что значительно облегчает условия эксплуатации и комплектацию оборудования.

14.19. В сложных гидрогеологических условиях, когда при одинаковых понижениях уровня воды в скважинах дебиты их различные или, когда при одинаковых дебитах различны понижения, насосы следует подбирать индивидуально по каждой скважине.

14.20. При оборудовании скважин горизонтальными центробежными насосами помимо напорно-расходной характеристики следует учитывать и высоту всасывания насосов.

14.21. При оборудовании скважин на самоизлив в условиях постепенной сработки напора в водоносном горизонте следует предусматривать в дальнейшем возможность установки в скважинах центробежных насосов (ЭЦВ и др.).

14.22. Насосное оборудование на горизонтальных и лучевых водозаборах и каптажах водоисточников выбирается исходя из производительности водозабора, категории обеспечения подачи воды потребителю, условий компоновки и заглубления станции.

Насосные станции для забора воды из скважин

14.23. Над устьем водозаборных скважин устраиваются павильоны, предназначающиеся для размещения оголовка скважины, электродвигателя погружного насоса с трансмиссионным валом или горизонтального центробежного насоса, если скважины оборудуются этими типами насосов, приборов отопления, пусковой, контрольно-измерительной аппаратуры и приборов автоматики, а также части напорного трубопровода, на котором устанавливаются задвижки, обратный клапан, вантуз, пробно-спускной кран для отбора проб и трубопровод промывной воды с задвижкой, необходимой для сброса воды при пуске и промывке скважины.

14.24. Павильоны над скважинами могут быть наземными или подземными и приниматься, как правило, по типовым проектам института Союзгипроводхоз, редко - по индивидуальным проектам.

14.25. Подземные павильоны строятся обычно в сухих грунтах

при оборудовании скважин насосами ЭЦВ. При установке насосов АТН и НА с двигателями над устьем скважины применяют, как правило, наземные павильоны. В тех случаях, когда водозаборные скважины располагаются на затапливаемых паводковыми водами поймах рек, павильоны строятся на подсыпке или под защитой дамб обвалования высотой, превышающей расчетный паводковый горизонт. Поверхность защитного обвалования укрепляется от размыва.

14.28. При оборудовании скважин горизонтальными насосами павильоны могут быть наземными или, при необходимости сокращения высоты всасывания, заглубленными при условии технико-экономического сравнения с насосными станциями, предусматривающими применение насосов ЭЦВ.

14.27. Напорные линии насосных станций оборудуются устройствами по замеру расходов воды, а также, если требуется, устройствами по защите водоводов от гидравлических ударов.

Схемы оборудования арматурой насосов и установки их в скважинах показаны на рис. 87.

Рис. 87. Схемы оборудования скважин насосами и арматурой

a - насосная установка с погружным электродвигателем; б - насосная установка с трансмиссионным валом; в - насосная установка с горизонтальным центробежным насосом; 1 - насос; 2 - электродвигатель; 3 - водоподъемная труба; 4 - оголовок скважины; 5 - вакуумметр; 7 - обратный клапан, 8 - задвижка; 9 - напорный трубопровод, 10 - вентиль; 11 - указатель движения воздуха; 12 - воздухопровод вакуум-установки, 13 - приемный клапан

14.28. Насосные станции должны проектироваться без постоянного обслуживающего персонала. Виды управления, объем автоматизации и технологического контроля принимаются в зависимости от категории обеспечения водоснабжения объекта в соответствии с разд. 13 СНиП 2.04.02-84.

Каждая насосная станция должна быть обеспечена связью (телефонной или радио). Для насосных станций над скважинами допускается предусматривать связь с помощью переносных телефонных аппаратов.

14.29. В качестве расходомеров применяются диафрагмы в комплекте с показывающим дифманометром или турбинные водомеры. Для продления срока службы турбинного водомера замеры расходов производят периодически, поэтому его следует устанавливать на обводных линиях в пределах павильона.

Для привода насоса ЭЦВ комплектно с ним поставляется станция управления с электродными датчиками уровней. Заводская схема станции управления обеспечивает работу погружного насоса в режиме автоматического или телемеханического управления. В соответствии с выбранной схемой насосная станция может работать одиночно или в группе в режиме автоматического управления с использованием различных командных датчиков.

Реле давления используется при работе насосных станций на водопроводную сеть или в регулирующую емкость.

Регулятор уровня используется в качестве командного датчика при работе насосной станции на подземный резервуар.

Насосные станции на горизонтальных и лучевых водозаборах и каптажах источников

14.30. На горизонтальных и лучевых водозаборах в зависимости от их производительности, условий залегания грунтовых вод и принятой схемы водозабора находят применение заглубленные насосные станции, реже наземные.

Заглубление подземной части насосной станции определяется условиями водозабора, типом и допустимой вакуумметрической высотой всасывания устанавливаемого насосного оборудования.

На горизонтальных и лучевых водозаборах насосные станции, как правило, совмещаются с водосборным колодцем.

При соответствующем обосновании допускается раздельная компоновка водосборного колодца и насосной станции.

Заглубленные насосные станции могут быть круглыми или прямоугольными в плане. Круглая форма более удобна при производстве работ опускным способом. Для оборудования насосных станций, совмещенных с водосборным колодцем, рекомендуется применять насосные установки ЭЦВ, АТН, НА.

14.31. Насосные станции на каптажах устраиваются непосредственно у каптажной камеры или у сборного резервуара.

Применяются в этих случаях наземные или заглубленные насосные станции по типовым проектам, разработанным институтом Харьковский Водоканалпроект, Мосгипротрансом и др., с горизонтальными центробежными насосами.

15. СБОРНЫЕ ВОДОВОДЫ И ЕМКОСТИ НА ВОДОЗАБОРАХ ПОДЗЕМНЫХ ВОД

Схемы сборных водоводов

15.1. Сборные водоводы на водозаборах подземных вод предназначаются для транспортирования воды от водозаборных (каптажных) сооружений до сборных узлов (резервуаров или станций подготовки воды).

В отдельных случаях сборные водоводы присоединяются к магистральным водоводам или к внутриплощадочным сетям объектов водоснабжения.

Сборные водоводы могут быть напорными, самотечными, напорно-самотечными и сифонными (при применении сифонного водозабора).

15.2. Схемы сборных водоводов в плане весьма разнообразны и зависят от расположения водозаборных (каптажных) устройств и их оборудования, от расположения сборных узлов, морфологических, геологических и гидрогеологических условий, схемы подачи воды потребителю, категории обеспеченности подачи воды, общей емкости резервуаров в системе водоснабжения, материала применяемых труб и др.

Схемы сборных водоводов могут быть линейными (тупиковыми), кольцевыми и парными.

Линейные водоводы наиболее распространены и применяются как при линейных (рис. 88, 89), так и при площадных или кольцевых схемах расположения водозаборных сооружений (рис. 90).

Рис. 88. Схемы линейных (тупиковых) сборных водоводов при линейном расположении водозаборных сооружений и концевом расположении сборного узла

a - в одну нитку; б - в две нитки; в - в три нитки; 1 - водозаборы; 2 - сборные водоводы; 3 - сборный узел

Рис. 89. Схемы линейных (тупиковых) сборных водоводов при линейном расположении водозаборных сооружений и центральном расположении сборного узла

а - в две нитки; б - в три нитки; в - в четыре нитки 1 - водозаборы; 2 - сборные водоводы; 3 - сборный узел

Рис. 90. Схемы линейных (тупиковых) сборных водоводов при площадном (а) и кольцевом (б) расположении водозаборов

1 - водозаборы; 2 - сборные водоводы; 3 - сборный узел

Линейная схема в одну нитку (см. рис. 88) применяется только при концевом расположении сборного узла в случае, если допускаются перерывы в подаче воды потребителю или на узел емкостей хранения воды.

Наиболее часто проектируются линейные схемы в две и три нитки (см. рис. 88, 89, 90). При этих схемах в случае выхода из работы одной нитки на ремонт или при аварии обеспечивается подача воды на сборный узел по другим ниткам в размере 70 % расчетного расхода воды. Линейная схема в четыре нитки может быть целесообразной при центральном расположении сборного узла на линейных (рис. 89) и площадных (рис. 90) водозаборах.

Для уменьшения взаимного влияния на производительность параллельно работающих насосов в скважинах количество их присоединяемых к одной нитке напорных сборных водоводов ограничивается, что определяется расчетом (см. п. 15.6).

Для сифонных сборных водоводов применяются обычно схемы с центральным или близким к нему расположением сборного узла и линейными схемами водоводов в две - три - четыре нитки.

Кольцевые сборные водоводы могут применяться как при линейном, так и при кольцевых или площадных схемах расположения водозаборных сооружений (рис. 91).

Рис. 91. Схемы кольцевых сборных водоводов

а - при линейном расположении водозаборных сооружений и концевом расположении сборного узла; б - при линейном расположении водозаборных сооружений и центральном расположении сборного узла; в - при кольцевом расположении водозаборных сооружений; г - при площадном расположении водозаборных сооружений; 1 - водозаборы; 2 - сборные водоводы; 3 - задвижки; 4 - сборный узел

Парные сборные водоводы проектируются при большой производительности водозаборов и относительно коротких сборных водоводах (рис. 92).

Рис. 92. Схемы парных сборных водоводов

a - при концевом расположении сборного узла; б - при центральном расположении сборного узла; 1 - водозаборы; 2 - сборные водоводы; 3 - сборный узел

Сборные водоводы при их большой длине и большом количестве водозаборных сооружений целесообразно в ряде случаев подключать не к одному, а к двум и более сборным узлам, от которых по сборным водоводам насосной станцией второго подъема вода подается на центральный сборный узел и далее к потребителю. Такое решение применяется также при расширении водозаборов и проектировании сифонных водозаборов.

15.3. При выборе схемы сборных водоводов устанавливается положение сборного узла, который может быть концевым, центральным или близким к этим положениям. Расположение сборного узла зависит от местоположения потребителя по отношению к створу водозабора, а при самотечных сборных водоводах - также от рельефа местности по трассе. В зависимости от расположения сборного узла меняется в одном и том же случае длина сборных водоводов и водоводов от насосной станции второго подъема. Оптимальное решение находят технико-экономическим сравнением вариантов расположения сборного узла. Подсчетами определяют наименьшую протяженность и стоимость сборных водоводов и водоводов от насосной станции второго подъема, а также затраты энергии на подачу воды. Принимается вариант с меньшими приведенными затратами.

При значительном количестве скважин чаще применяется центральное или близкое к этому расположение сборного узла, при 3-8 скважинах - концевое.

Напорные сборные водоводы

15.4. Напорные сборные водоводы проектируются чаще, чем самотечные. Для устройства напорных водоводов применяются асбестоцементные, пластмассовые, напорные железобетонные, чугунные и стальные трубы. При выборе материала труб следует учитывать требования экономии металлических труб и коррозионные свойства воды.

Гидравлический расчет напорных сборных водоводов должен выполняться, как правило, с учетом характеристик насосов и скважин (дебита и понижения).

15.5. Выбор диаметров труб сборных водоводов надлежит производить на основании технико-экономических расчетов с учетом насосного оборудования на водозаборных скважинах.

Диаметры напорных водоводов во избежание большой разницы в напорах у водозаборных скважин, подключаемых к сборным водоводам в начале и конце сборной линии, ориентировочно можно принимать исходя из скорости движения воды в них 0,4-0,7 м/с для диаметров 100-400 мм и 0,7-1 м/с - для диаметров 500-1000 мм.

15.6. Линейные (тупиковые) сборные водоводы должны проектироваться по телескопической схеме с постепенным увеличением диаметров по мере подключения скважин.

Максимальное количество скважин, присоединяемых к одной нитке сборного водовода, определяется из условия, чтобы рабочие точки характеристики насосов не выходили за пределы области оптимальных КПД насосов, указанных в заводских характеристиках.

Кольцевые сборные водоводы, как правило, проектируются одного диаметра по всей длине кольца, обеспечивающего подачу 70 % расхода воды,

15.7. При гидравлическом расчете напорных водоводов в качестве рабочих принимаются скважины, наиболее удаленные от сборного узла.

Самотечные сборные водоводы

15.8. Самотечная система сборных водоводов применяется при сборе воды от каптажей или самоизливающихся скважин, в отдельных случаях от скважин, оборудованных насосными установками. Самотечные водоводы укладываются из безнапорных бетонных и железобетонных труб; водоводы малого диаметра (150-400 мм) допускается укладывать из асбестоцементных напорных и пластмассовых труб. При насосной подаче воды из водозаборных сооружений в самотечную сборную сеть работа каждой насосной станции не зависит от работы других насосных станций и может быть отрегулирована в зависимости от производительности скважины и насосного оборудования,

Такая система позволяет не ограничивать количество скважин, присоединяемых к одной нитке сборной сети. Практически это количество предопределяется рельефом местности, условиями трассировки и оптимальной длиной трубопроводов от скважин.

Недостатком безнапорных сборных водоводов является возможность проникания в них загрязненных вод через неплотности в стыках труб и у колодцев,

15.9. Самотечные сборные водоводы, как и напорные, следует принимать телескопического вида с соединением труб различного диаметра при переходе от малого диаметра к большому по способу “шелыга в шелыгу”, а от большего диаметра к меньшему (в случае изменения уклонов с малого на большой) - “лоток в лоток”.

Смотровые колодцы следует устраивать в начале и в конце самотечного сборного водовода и в местах изменения диаметра труб и направления трассы.

На прямолинейных участках смотровые колодцы в зависимости от диаметра труб допускается устраивать на расстоянии 100-500 м.

15.10. Гидравлический расчет самотечных сборных водоводов имеет целью определить для заданных расходов воды и уклонов водоводов минимальный диаметр труб или размеры каналов при их максимально допустимом наполнении.

Гидравлический расчет производится по таблицам для расчета самотечных канализационных трубопроводов и каналов. В случае если сечение сборного трубопровода или канала отсутствует в таблицах, расчет производится по формулам, приведенным в гидравлических справочниках, с учетом указанных в них коэффициентов шероховатости.

Расчеты выполняются методом подбора: имея, как правило, заданный расход, по таблицам подбирают диаметр водовода, его уклон и наполнение.

15.11. В условиях пересеченной местности, когда трассировка самотечных водоводов на всем протяжении может оказаться экономически невыгодной из-за больших заглублений, применяются самотечно-напорные водоводы.

Схема самотечно-напорного водовода показана на рис. 93. Длина напорного участка водовода определяется путем построения пьезометрической линии от перевальной точки до сборного резервуара. При построении пьезометрической линии учитываются также потери напора на излив в резервуар или концевой колодец, принимаемые равными 1-2 м. Головной и концевой колодцы напорного участка оборудуются вентиляционными трубами (в необходимых случаях - с фильтрами).

Рис. 93. Схема самотечно-напорного водовода

1 - участки самотечного водовода; 2 - участки напорного водовода; 3 - участки с переменным режимом; 4 - пьезометрическая линия при расчетном расходе воды; 5 - пьезометрическая линия при отсутствии расхода воды; 6 - головной колодец напорного участка; 7 - головной колодец самотечного участка; 8 - сборный резервуар

Сифонные сборные водоводы

15.12. Сифонные сборные водоводы обычно применяются на водозаборах с уровнем подземных вод не глубже 5-8 м от поверхности земли и часто проектируются в системах береговых (инфильтрационных) водозаборов.

15.13. Работа сифонного водовода обеспечивается за счет разности уровней воды Н, находящейся под атмосферным давлением, в головной и концевой части сифона (рис. 94).

Рис. 94. Схема сифонного водовода

1 - скважины; 2 - приемный или сборный резервуар; 3 - сборный сифонный трубопровод; 4 - пьезометрическая линия

Практически допустимый вакуум hвак в сифонном водоводе не должен превышать 7-7,5 м вод. ст. с учетом положения сифона над уровнем моря.

Величина вакуума в любом сечении сифона определяется по формуле

,

где z - высота центра сечения сифона над уровнем воды в наиболее удаленной скважине, м; n - скорость движения воды в сечении п-п, м/с; g - ускорение силы тяжести, м/с2;  - сумма потерь напора по длине сифона и на местные сопротивления, м.

При известном расходе воды и действующем напоре Н гидравлический расчет сифонного водовода ведут подбором, задаваясь диаметрами труб.

15.14. Сифонные сборные водоводы устраиваются, как правило, из стальных или пластмассовых труб, обеспечивающих наибольшую герметичность водоводов.

15.15. Зарядку сифонных водоводов обычно производят вакуум-насосами.

В сифонных водоводах выделяется примерно 40-60 % растворенных газов. Кроме того, в сифонный водовод попадает воздух через неплотности стыковых соединений труб и арматуры, и в нем могут выделяться пары воды.

Общее количество выделившегося воздуха или газов, которое нужно удалять из сифона во время его работы, можно принимать около 0,3-0,4 л/с на каждые 1000 м воды/сут (при атмосферном давлении).

Производительность вакуум-насосов определяется также по времени начальной зарядки сифонной системы, которое должно быть от нескольких минут до получаса.

15.16. Сифонные водоводы прокладываются обычно с небольшим подъемом к сборному узлу с уклоном 0,005-0,002. При сифонах длиной в несколько километров (известны сифоны длиной до 7 км) допускается уменьшать подъем до 0,001-0,00025. Для уменьшения потерь напора по длине сифонного водовода скорости воды в нем при прокладке с подъемом можно снижать до 0,3 м/с. При прокладке с понижением по течению воды скорости не должны быть менее 0,6-0,7 м/с (при работе сифона полным сечением).

В точках отсоса воздуха с помощью вакуум-насосов целесообразно иметь воздушные колпаки или вакуум-котел. Объем воздушного колпака принимается на 3-5 мин работы вакуум-насоса.

15.17. Регулирование расхода воды в сифонной системе осуществляется регулированием работы насосов, забирающих воду, или при дальнейшем самотечном отводе воды - с помощью задвижек.

15.18. В некоторых случаях применяются сифонно-напорные системы водоводов (рис. 95).

Рис. 95. Схема сифонно-напорного водовода

1 - скважины; 2 - сифонные участки водовода; 3-напорный участок водовода; 4 - сборный резервуар; .5-вакуум-насосные станции; 6- пьезометрическая линия; 7-горизонтальная плоскость отсчета

Для водозаборов, расположенных на небольшом расстоянии, применяют иногда системы всасывающих водоводов, подключаемых к всасывающим патрубкам насосов.

Сборные емкости

15.19. На сборных узлах водозаборов подземных вод предусматриваются, как правило, сборные емкости, которые в необходимых случаях могут служить также для хранения пожарных и аварийных объемов воды.

Емкости могут быть напорными (нагорные резервуары, водонапорные башни) и безнапорными (резервуары), из которых вода должна перекачиваться насосами.

Открытые водоемы на водозаборах подземных вод не применяются во избежание загрязнения воды.

В некоторых случаях, например при подаче воды из скважин непосредственно в сеть населенного пункта или промышленного предприятия и при самотечных сборных водоводах, подающих воду в самотечные или самотечно-напорные магистральные водоводы, сборные емкости не предусматриваются.

15.20. Оборудование емкостей, а также расчет пожарных, регулирующих, аварийных объемов воды выполняется в соответствии с указаниями разд. 9 СНиП 2.04.02-84,

16. ОПРОБОВАНИЕ ВОДОЗАБОРОВ. НАБЛЮДЕНИЕ ЗА РАБОТОЙ ВОДОЗАБОРОВ И РЕЖИМОМ ПОДЗЕМНЫХ ВОД ПРИ ЭКСПЛУАТАЦИИ

16.1. В проектах сооружений по забору подземных вод должны быть даны специальные указания об опробовании водозаборов.

16.2. При опробовании водозаборов предусматривается:

опробование в процессе строительства водозабора каждого его водозахватного сооружения в отдельности (скважины, шахтного колодца, ветви-дрены горизонтального водозабора, скважины-луча лучевого водозабора) по мере окончания его строительства;

опробование водозабора в целом или первой его очереди после полного окончания строительства всего комплекса сооружений (полного состава водозахватных устройств, сборных и транспортных водоводов, водоподъемного оборудования, насосных станций, контрольно-измерительной аппаратуры, сети пунктов наблюдении за режимом подземных вод) для сдачи-приема его в постоянную эксплуатацию.

16.3. Опробование водозаборов в целом или первой их очереди производится, как правило, на крупных водозаборах подземных вод. Опробование и сдачу-прием водозабора в эксплуатацию производят организация, построившая водозабор (подрядчик), и организация, принимающая водозабор в эксплуатацию (заказчик), с участием проектной организации.

Опробование водозахватных сооружений

16.4. При сооружении водозабора подземных вод из скважин каждая скважина по окончании ее бурения и оборудования фильтром подлежит опробованию откачкой воды из нее. Вначале с целью очистки скважины и проверки надежности фильтра производится прокачка скважины.

Если длина рабочей части фильтра достигает 12-15 м, прокачку следует проводить отдельно из нижнего и верхнего интервалов рабочей части фильтра; если длина рабочей части фильтра более 15 м, прокачку выполняют из каждого 5-7-метрового интервала. Откачиваемая вода должна отводиться от скважины на расстояние, исключающее фильтрацию в водоносный горизонт, в районе скважины.

Продолжительность прокачки - до полного осветления поступающей из скважины воды. После этого производится опытная откачка с замерами дебита скважины, уровня воды в ней и отбором проб на бактериологический и химический анализы.

Цель опытной откачки - проверка соответствия фактических величин дебита и понижения уровня проектным, оценка качества воды.

16.5. Опытная откачка производится на два понижения - на одном с дебитом, равным принятому в проекте, на другом - на 25--30 % больше принятого в проекте. Продолжительность опытной откачки с заданными дебитами (при непрерывности откачки) составляет 1-2 сут при установившемся неизменном динамическом уровне воды в скважине.

В условиях неустановившегося режима фильтрации продолжительность опытных откачек должна быть достаточной для установления закономерности снижения уровня при постоянном дебите или дебита при постоянном уровне воды в скважине. Пробы воды на анализы следует отбирать перед окончанием откачки на каждое понижение.

В трещиноватых скальных и гравийно-галечниковых водоносных породах откачку следует начинать с максимального понижения, в песчаных породах - с минимального понижения, постепенно увеличивая дебит.

При откачке из скважин, оборудованных фильтром с обсыпкой, один раз в сутки следует замерять величину усадки материала обсыпки.

Измерение температуры воды, отбор проб воды и их доставка в лабораторию для последующего анализа выполняются силами организации, проводящей бурение водозаборных скважин, в соответствии с ГОСТ 2761-84, ГОСТ 4979-49** и по согласованию с органами санитарно-эпидемиологической службы. В соответствии с указанием Госстроя СССР эти работы, а также стоимость анализов воды, оплачиваются буровой организацией.

16.6. Если при откачке из карбонатных пород проектный дебит не был достигнут, целесообразно провести обработку скважины соляной кислотой или применить другие методы увеличения производительности скважины (торпедирование и т. п.).

16.7. При сооружении водозабора из шахтных колодцев опробование каждого колодца производится так же, как и скважины.

16.8. На горизонтальных водозаборах с одной или несколькими ветвями-дренами производится опробование каждой ветви по мере ее готовности и готовности водосборного колодца, монтажа насосного оборудования в нем и водоводов. При неготовности последних опробование можно вести со сбросом воды в водоток, водоем. Цель опробования - проверка надежности фильтра, отсутствия осаждения частиц породы в водозахватной или водопроводящей частях дрены (что контролируется по смотровым колодцам), определение производительности дрен и качества воды. Опробование ведется непрерывно, начиная с минимального понижения воды в водосборном колодце, с постоянным, медленным по мере осветления воды, доведением его до максимального, которому соответствует незатопленный излив воды из дрены в колодец.

Продолжительность опробования дрены при максимальном понижении - не менее одной рабочей смены.

16.9. При сооружении лучевых водозаборов необходимо вести опробование каждой скважины-луча отдельно с той же целью и так же, как и отдельных дрен на горизонтальных водозаборах.

16.10. Результаты опробования каждого водозахватного сооружения должны быть оформлены в виде паспорта с указанием в нем глубины заложения сооружения, геолого-технического разреза, конструкции фильтра и его водоприемной поверхности, данных о дебите, понижениях уровня при опытных откачках, содержании в воде минеральных частиц, химическом и бактериологическом составе воды.

Паспорт должен быть подписан подрядчиком и заказчиком.

Опробование водозаборов в целом

16.11. Опробование водозабора в целом (или первой его очереди) производится перед вводом водозабора в постоянную эксплуатацию и имеет целью проверку работы всей системы водопровода от совместной работы всех (или группы первой очереди) водозахватных устройств до конечных сооружений на линии подачи воды потребителю.

16.12. При необходимости для опробования водозабора и ввода его в эксплуатацию привлекается наладочная организация.

16.13. Опробование и сдача водозабора (или первой его очереди) в эксплуатацию должны быть предусмотрены в проекте и выполняться по специальной программе, составляемой проектной организацией.

В программе должны быть указаны (исходя из гидрогеологических условий участка размещения водозабора, типа водозабора и конструктивных его особенностей) состав наблюдений при опробовании, частота наблюдений, продолжительность опробования.

16.14. Результаты опробования водозабора должны быть представлены в виде отчета, содержащего краткую гидрогеологическую характеристику участка водозабора, план водозабора, краткое описание его сооружений, фактические данные опробования и наблюдений, рекомендации по режиму эксплуатации водозабора.

16.15. В процессе откачки буровая организация должна замерять температуру воды и по согласованию с органами санитарно-эпидемиологической службы в соответствии с ГОСТ 2761-84 и 4979-49** организовать отбор проб и доставку их в лабораторию для определения микробиологических, токсикологических, органолептических показателей и химического состава воды, определяемых требованиями ГОСТ 2874-82.

Согласно разъяснению Госстроя СССР, указанные работы оплачиваются буровой организацией за счет ее накладных расходов.

При стабильном составе воды эксплуатируемого водоносного горизонта по согласованию с республиканскими, краевыми или областными организациями санитарно-эпидемиологической службы допускается сокращение количества отбираемых проб и определяемых компонентов.

При наличии в воде компонентов, содержание которых превышает или приближается к предельно допустимой концентрации (ПДК), в процессе откачки следует предусмотреть отбор дополнительного количества проб воды для определения этих компонентов.

Наблюдения за работой водозаборов и режимом подземных вод при эксплуатации

16.16. На водозаборах подземных вод в течение всего периода их эксплуатации должны проводиться наблюдения за режимом уровней, температуры, химического состава подземных вод и за дебитом водозабора.

Целью режимных наблюдений являются:

а) выявление характера изменения естественного режима подземных вод под влиянием водоотбора;

б) определение оптимального режима эксплуатации водозабора;

в) своевременное предупреждение возможного ухудшения качества подземных вод на участке водозабора;

г) оценка влияния эксплуатации водозабора на существующие водозаборы подземных вод, а также на поверхностные водные источники и экономические условия данного района;

д) накопление опыта эксплуатации сооружений по забору подземных вод в различных гидрогеологических условиях и решение вопросов, связанных с расширением водоснабжения в данном районе и сооружением новых водозаборов в аналогичных гидрогеологических условиях.

16.17. В соответствии с Водными кодексами союзных республик, “Положением об охране подземных вод” и СНиП 2.04.02-84 водозаборные скважины должны быть оборудованы устройствами для систематических наблюдений за уровнем и дебитом воды в каждой скважине, должна быть также создана сеть наблюдательных скважин на прилегающей территории, водомерные посты на выходах подземных вод на поверхность, на водотоках и водоемах, связанных с эксплуатируемым водоносным горизонтом.

Строительство режимной сети и наблюдения по ней ведутся за счет средств владельца водозабора.

16.18. Наблюдения должны быть начаты до ввода водозабора в эксплуатацию, с тем чтобы иметь данные о режиме уровней воды, не нарушенном работой водозабора. Они ведутся по программе, согласованной с территориальной гидрорежимной партией Министерства геологии СССР и под ее методическим руководством и. контролем. При проектировании наблюдательной сети следует максимально использовать выработки, пройденные при разведке подземных вод, а также аварийные скважины при бурении водозаборных скважин.

16.19. Схема расположения наблюдательных пунктов, их количество, конструкция и частота наблюдений определяются типом подземных вод, условиями питания водоносного горизонта, санитарным состоянием участка, схемой и конструкцией водозабора и режимом его эксплуатации.

16.20. На водозаборах, состоящих из ряда скважин, шахтных колодцев, и на горизонтальных водозаборах (дрены, галереи) наблюдательные скважины в пределах водозабора и в зоне его влияния целесообразно располагать по поперечникам перпендикулярно линии водозабора из расчета 1-2 поперечника на 1 км фронта водозабора. При значительной длине водозабора (более 5 км) расстояние между поперечниками может быть увеличено до 2-3 км. Одна из наблюдательных скважин на каждом поперечнике должна приходиться на линию водозабора и располагаться между эксплуатационными скважинами. Шаг между наблюдательными скважинами на поперечнике назначается в зависимости от морфологии участка водозабора, мощности эксплуатируемого водоносного горизонта, производительности водозабора, ширины зоны его влияния.

16.21. В долинах рек наблюдательные скважины вблизи русла реки располагаются более часто. При ширине русла реки до 100 м, а также при невысокой водопроницаемости ее донных отложений и при большей его ширине наблюдательные скважины размещаются и на противоположном берегу реки.

16.22. На водозаборах, состоящих из группы любым образом расположенных взаимодействующих скважин, наблюдательные скважины следует размещать между эксплуатационными скважинами и в зоне влияния водозабора. На лучевых водозаборах наблюдательные скважины следует располагать вдоль отдельных лучей водозабора и на площади в зоне влияния водозабора.

16.23. При наличии в районе водозабора очагов возможного загрязнения подземных вод наблюдательные скважины располагаются по линиям от очага к водозабору.

16.24. Для выявления взаимосвязи эксплуатируемого водоносного горизонта с верхним или нижним водоносными горизонтами последние также включаются в режимные наблюдения по специальным скважинам как на участке водозабора, так и в зоне его влияния.

16.25. Конструкции скважин для наблюдений за режимом того или иного водоносного горизонта должны надежно исключать влияние на результаты наблюдений других водоносных горизонтов, а также дождевых и талых вод.

16.26. Диаметры фильтров должны быть не менее 89-110 мм из расчета производства в них измерений уровня, температуры, отбора проб воды и чистки скважин.

16.27. Глубину наблюдательных скважин режимной сети следует принимать:

в водоносном горизонте со свободной поверхностью (безнапорном) при глубине эксплуатационных скважин до 15 м-той же глубины, что и глубина эксплуатационных скважин;

в водоносном горизонте со свободной поверхностью при глубине эксплуатационных скважин более 15 м глубина наблюдательной скважины ограничивается положением верха рабочей части ее фильтра на 2/3 м ниже возможного наинизшего динамического уровня воды в водоносном горизонте с учетом длины рабочей части фильтра и отстойника;

в напорных водоносных горизонтах при динамическом уровне выше их кровли рабочая часть фильтра наблюдательных скважин должна располагаться в верхней части водоносного горизонта; при частичном осушении пласта верх фильтра наблюдательной скважины должен быть на 2-3 м ниже динамического уровня воды в водоносном горизонте;

в водоносных безнапорных пластах, эксплуатация которых рассчитана на сработку статических запасов, верх рабочей части фильтра должен быть на 2-3 м ниже положения динамического уровня воды в водоносном пласте к концу расчетного срока эксплуатации водозабора; при значительной величине сработки уровня, медленном и длительном его снижении, измеряемом десятками лет, глубину скважин сети режимных наблюдений можно назначить соответственно глубине сработки уровня за определенный период времени, с последующим углублением скважин или бурением новых.

16.28. На участках размещения водозаборов из шахтных колодцев, горизонтальных и лучевых водозаборов, глубину скважин сети режимных наблюдений следует принимать равной глубине заложения водоприемных частей этих водозаборов, а верх фильтра наблюдательных скважин должен быть на 2-3 м ниже динамического уровня воды в водоносном горизонте.

16.29. Для предохранения наблюдательных скважин от засорения верх фильтровой колонны или обсадной трубы должен быть закрыт крышкой на специальном замке.

16.30. Все пункты сети наблюдений за режимом подземных и поверхностных вод на участках водозабора должны быть привязаны инструментально в плановом и высотном отношении и нанесены на топографический план. Точки, от которых производятся замеры уровня воды, должны быть занивелированы; высотное положение их должно периодически проверяться.

16.31. Проект сета пунктов наблюдений за режимом подземных вод и связанных с ними поверхностных вод на участках водозаборов при их эксплуатации составляется одновременно с проектом водозабора, является составной его частью и осуществляется одновременно со строительством водозабора.

16.32. Проект сети пунктов наблюдений с учетом общих положений, изложенных в пп. 16.13-16.27, должен содержать в каждом конкретном случае:

план размещения пунктов сети наблюдений (на общем плане водозаборных сооружений);

конструкции каждого пункта (или каждой одинаковой по назначению группы пунктов) наблюдений;

краткую инструкцию по производству наблюдений (объекты наблюдений, частота, методика);

форму журнала наблюдений;

форму ежегодного отчета о результатах наблюдений за эксплуатацией водозабора, режимом эксплуатируемого водоносного горизонта и других объектов наблюдений;

указания о представлении ежегодных отчетов территориальным организациям Мингео СССР.

17. СРАВНЕНИЕ ВАРИАНТОВ И ТЕХНИКО-ЭКОНОМИЧЕСКОЕ ОБОСНОВАНИЕ ВОДОЗАБОРНЫХ СООРУЖЕНИЙ

Общие положения

17.1. Проектирование водозаборных сооружений при использовании в качестве источника водоснабжения подземных вод должно сопровождаться технико-экономическими расчетами и обоснованием намечаемого к строительству водозабора по технико-экономическим показателям. Такие расчеты выполняются на разных этапах проектирования:

а) при выборе источника водоснабжения в результате технико-экономического сопоставления устанавливаются целесообразность использования подземных вод и их преимущества в технико-экономическом отношении перед открытыми водными источниками (реками, водохранилищами и т. д.).

Подземные воды по сравнению с поверхностными обычно обладают лучшим и более устойчивым качеством. Однако при значительном водопотреблении и особенно в сложных гидрогеологических условиях, когда для добычи подземных вод необходимы громоздкие дорогостоящие сооружения, а иногда и проведение специальных мероприятий (например, искусственное восполнение запасов подземных вод), выбор источника не может быть сделан без соответствующих технико-экономических расчетов и обоснования;

б) технико-экономические расчеты при сравнительной оценке целесообразности использования подземных вод на разных участках одного водоносного горизонта или разных горизонтов. Необходимость рассмотрения нескольких участков одного водоносного горизонта или разных горизонтов может возникнуть в связи с различными гидрогеологическими их параметрами. Например, участок с лучшими параметрами, (более водообильный горизонт) может оказаться на значительном удалении от потребителя. Определяющим фактором может также явиться наличие источников загрязнения подземных" вод на тех или иных участках и необходимость проведения в связи с этим специальных мероприятий по защите подземных вод и водозаборов от загрязнения или мероприятий по очистке воды.

Хотя общие запасы подземных вод на рассматриваемых участках и в каждом горизонте достаточны, решение вопроса о размещении водозабора в этих случаях требует технико-экономического обоснования.

Для каждого участка подземных вод возникают задачи выбора типа водозабора, расположения скважин, схем сборных водоводов, дорог, электролиний, линий связи, установления размера отчуждении земельных площадей, ценности сельскохозяйственных культур, объемов сноса и переноса сооружений и др.;

в) выбор рационального варианта водозабора на принятом и установленном предыдущими проектными проработками участка. На данном этапе решается вопрос о типе водозабора (вертикальные скважины, лучевые водозаборы, горизонтальные сооружения и т. п.). Для выбора рационального типа водозабора нужны технико-экономические сопоставления. Применительно к выбранному типу рассматриваются различные схемы расположения отдельных водозаборов, расстояние между ними, режим откачки и т. д.

17.2. В соответствии с “Инструкцией по определению экономической эффективности капитальных вложений в строительство” (СН 423-71) сравнительная экономическая эффективность при сопоставлении вариантов тех или иных технических решений устанавливается по минимуму так называемых приведенных затрат.

Приведенные затраты П представляют собой сумму текущих издержек (эксплуатационных расходов) и единовременных затрат (капитальных вложений), приведенных к годовой размерности в соответствии с установленным нормативным коэффициентом эффективности

                                                  П = C+EнK = min,                                                  (169)

где С - текущие издержки или эксплуатационные расходы; К - единовременные затраты или капитальные вложения; Ен - нормативный коэффициент эффективности капитальных вложений, принимаемый равным 0,15.

Указанные величины П, С, К относятся к i-му варианту (i = 1, 2,..., п - общее число рассматриваемых вариантов), причем они могут рассчитываться как полная сумма капитальных вложений и годовых эксплуатационных расходов, так и в виде удельных показателей, отнесенных к 1 м3 воды.

Разность приведенных затрат по двум вариантам характеризует годовой экономический эффект Э, получаемый в результате замены одного варианта другим:

                                                    Э = П12.                                                             (170)

При исчислении приведенных затрат по удельным показателям годовой экономический эффект

                                                  Э = (П12)А,                                                          (171)

где А - годовой объем воды (при исчислении П1 и П2 в удельных показателях).

17.3. В случаях когда по сравниваемым вариантам капитальные вложения производятся в разные сроки или текущие затраты со временем изменяются, сравнение вариантов следует выполнять с приведением затрат более поздних лет к некоторому выбранному базисному году Ппр по формуле

                                                  Ппр = Пt l/(lнп)t,                                                    (172)

где Пt - затраты в t-м году; Ен.п - норматив для приведения разновременных затрат, обычно принимаемый равным 0,08; t - период времени приведения, годы.

Общие капитальные затраты за ряд лет строительства Кт при различных вложениях по годам определяются по формуле

                                             ,                                                (173)

где Кt - капитальные затраты в году t после базисного; Т - период капитальных вложений.

17.4. При сравнении вариантов, различающихся продолжительностью строительства или вводом мощностей в различные периоды, определяется также одновременный экономический эффект в виде дополнительной прибыли, полученной за период досрочного ввода объектов.

Величина эффекта Эв, реализуемого в соответствующей отрасли народного хозяйства, получаемого за период досрочного ввода объекта, определяется по формуле

                                                  Эв = Пр12),                                                        (174)

где Пр - среднегодовая прибыль за период досрочного ввода в действие; Т1 и Т2 - продолжительность строительства по сравниваемым вариантам в годах.

В случае отсутствия данных, необходимых для расчета прибыли, допускается определение экономического эффекта по формуле

                                                  Эв = ЕнФ(Т12),                                                      (175)

где Ен - нормативный коэффициент эффективности капитальных вложений; Ф - стоимость производственных фондов, досрочно введенных в эксплуатацию.

Исходные уравнения и зависимости для технико-экономического расчета водозаборов подземных вод

17.5. Детальность технико-экономических расчетов зависит от стадии проектирования. При этом технико-экономические показатели определяются на основе сметно-финансовых расчетов, выполняемых при проектных проработках, а при схематическом представлении вариантов - по справочным данным с использованием инструктивно-нормативных материалов. При технико-экономической оценке и сравнении вариантов водозаборных сооружений на подземных источниках следует учитывать лишь те затраты, которые существенно изменяются в зависимости от принимаемой схемы водозабора.

17.6. К числу таких затрат прежде всего относятся капитальные вложения К, включающие в себя следующие расходы:

на строительство и оборудование водозаборных узлов (скважин) К1,

на строительство отводящих и сборных водоводов К2;

на сооружение коммуникаций, линий электроснабжения, зон санитарной охраны, снос строений и т. д. - К3.

При этом:

                                                    К = К123;                                                     (176)

К1 = пК°; К2 =  К3 = КДlk,

где п - количество водозаборных узлов (скважин); К0 - стоимость сооружения и оборудования одной скважины; no - количество участков водовода с различными характеристиками (диаметром, расходом, материалом); К - стоимость прокладки 1 м водовода на j-м участке длиной lj, и диаметром Dj; приближенно она может быть рассчитана по формуле

                                               К = ,                                                         (177)

где bо, b, - некоторые коэффициенты, численные значения которых приведены в табл. 44 (здесь К измеряется в рублях, а диаметр - в м); КД - затраты по сооружению коммуникаций, дорог и т. д., приходящиеся на 1 м протяженности водозабора; lк - протяженность коммуникаций в пределах водозаборного участка.

Почти совершенно не влияют на выбор рациональной схемы водозаборного сооружения капитальные затраты по строительству магистральных трубопроводов, соединяющих водозабор с потребителем, внешней подводящей электролинии, насосных станций второго подъема, сборных и резервных резервуаров, хлораторных, станций обезжелезивания и т. п.

17.7. Эксплуатационные расходы Э по водозабору слагаются из:

расходов на оплату электроэнергии Ээ;

затрат на техническое обслуживание и ремонт системы Эа.

Затраты на оплату электроэнергии складываются из расходов на подъем воды Эп, транспортировку ее по водоподъемным трубам Эв и транспортировку до сборного резервуара Эт, т. е.

                                                    Ээ = Эпвт.                                                    (178)

Стоимость электроэнергии, приведенной к 1 году, затрачиваемой на подъем воды из скважин водозабора на заданную отметку, составляет

                                             ,                                        (179)

где  = 365/(102.3,6) (в дальнейшем принято, что 1; - стоимость, руб/кВт.ч электроэнергии;  - КПД водоподъемного оборудования (ориентировочно  0,60,7); z - средняя геометрическая высота подъема, определяемая как разность отметок воды в резервуаре и статического уровня подземных вод в скважинах водозабора, м; Q - расход водозабора, м3/сут; So - понижение уровня в скважинах, м; Т - продолжительность работы водозабора в режиме нестационарной фильтрации, сут.

В формуле (179) и далее предполагается, что понижение уровня в скважине, а также дебиты скважин примерно одинаковы. Кроме того, расход водозаборных скважин принимается постоянным во времени.

Стоимость электроэнергии на транспортировку воды в водоподъемных трубах оценивается следующим образом:

                                               Эв = (),                                                       (180)

где - потери напора в водоподъемных трубах:

                                                                        = A(Q/п)2lвд/(86400)2,                                             (181)

А - коэффициент сопротивления водоподъемных труб, определяемый в зависимости от их диаметра по формуле

                                                    A = ,                                                         (182)

k* и т* - коэффициенты, значения которых даны в табл. 44; lвд - длина водоподъемных труб.

Величина Эт, которой оцениваются затраты электроэнергии на транспортировку воды по сборному водоводу, в общем случае находится по формуле

                                                  .                                                  (183)

Здесь qj - расходы, м3/сут, транспортируемые по j-му участку водовода длиной lj; - потери напора на этом участке

                                              = /(86400)2.                                               (184)

Коэффициент А определяется по зависимости (182) и табл. 44 с учетом диаметра и материала труб сборного водовода.

Таблица 44

Материал труб

Значения b0, b, k*, , т* в формулах (177) и (182)

 

B0

b

k*

т*

Стальные

6,9

53

0,001736

1,4

15,3

Чугунные

8,4

107

0,001736

1,6

15,3

Асбестоцементные

11

78

0,001180

1,95

14,89

Пластмассовые

9

150

0,001052

1,95

14,77

17.8. Амортизационные отчисления и отчисления на ремонт принимаются пропорциональными строительной стоимости сооружений

                                           ,                                            (185)

где p1,2,3 - коэффициенты, соответствующие годовым нормам отчислений на амортизацию и ремонт скважин, водоводов, резервуаров и т. п. (ориентировочно p10,1; p20,04; p30,03).

17.9. С учетом вышеизложенного общее выражение для определения приведенных затрат на сооружение и эксплуатацию водозабора можно записать в следующем виде:

                                   П = По + ПS Scp + Пc п + Пв iв + Эо/п2.                                  (186)

Здесь По - часть приведенных затрат, которые практически не зависят от выбора того или иного варианта и, следовательно, в дальнейшем могут не учитываться. В данном случае

                                                    П0 = Q.                                                         (187)

Величина Пs представляет собой приведенные затраты, необходимые для подъема извлекаемой водозабором воды на 1 м понижения уровня воды:

                                                    Пs = Q/.                                                           (188)

Средняя величина понижения уровня воды Sср в равенстве (186), как следует из (179), равна:

                                                  .                                                      (189)

При установившейся фильтрации в случае, когда понижение уровня воды по всем сопоставляемым вариантам есть величина постоянная, второй член в выражении (186) можно не учитывать.

В уравнении (186) Пс - приведенные затраты на сооружение и эксплуатацию 1 водозаборного узла (скважины):

                                                    Пс = (р1+Eн)Kо,                                                     (190)

а Пв - средняя величина приведенных затрат на сооружение и эксплуатацию 1 м водовода:

                          Пв = 2 + Ен)/lB К2 + Эт/lв + (p3 + Ен)KД/lk/lв.                            (191)

Для линейных водозаборов подземных вод с равномерным размещением эксплуатационных скважин и переменным диаметром водовода величина Пв определяется следующим образом:

                 Пв = (p2 + E0)/(n - 1) ст + 1/864002,               (192)

где                           ;                        .

для схем с размещением резервуара в конце линейного ряда (рис. 96,а):

                     ;                         .                              (193)

При прокладке сборного водовода с постоянным диаметром выражение (191) приводится к виду (К)

                            Пв = (p2 + E0)K2+( A/864002),                        (194)

где К и А определяются по формулам (177) и (182), а величина D, входящая в эти формулы, принимается для схемы рис. 96, а по расходу

                                             q = (0,63Q/86400)/[(n - 1)/n]1/3,                                 (195)

а для схемы рис. 96,б по q = 0,5рp.

При размещении равнодебитных водозаборных скважин равномерно по периметру круга (кольцевая батарея) (рис. 96, в)

                     Пв = [n/(n-1)(p2 + Eн)KB +(Q3 /n3)A+(p3 + Eн) KД.                (196)

Рис. 96. Схемы подключения скважин к сборный водоводам

а - линейный ряд скважин с резервуаром в конце сети, б - линейный ряд скважин с резервуаром в центре водозабора; в - кольцевая батарея скважин с резервуаром в центре водозабора

Величина Эо в равенстве (186) характеризует приведенные затраты на транспортировку воды в водоподъемных трубах

                                           .                                                         (197)

17.10. При проектирования водозаборов в качестве исходной величины задается суммарный расход Q, соответствующий величине водопотребления на расчетный период времени. Этот расход должен быть обеспечен системой скважин, размещенных на заданной площади участка. При этом понижения динамических уровней в каждой из скважин, сформировавшиеся на расчетный срок их эксплуатации, не должны превышать некоторой допустимой величины Sдоп.

Исходя из этого, можно сформулировать условия, которые должны выполняться в процессе решения оптимизационной задачи проектирования водозаборов подземных вод:

                                       или                        nQo = Q;                             (198)

                        Sj (Т) < Sдоп              или                           So = Sдоп.                          (199)

Помимо этих условий необходимо учитывать ограниченность площади участка, где должен размещаться проектируемый водозабор. Это условие записывается в виде:

для линейного ряда скважин

                                                                2l  Lmax;                                                   (200)

для площадного размещения скважин

                                                                  FFmax.                                                   (201)

Здесь 2l и F - расчетная длина или площадь водозабора, a Lmax и Fтах - ограничения на эти величины.

Обоснование оптимальных схем береговых (инфильтрационных) водозаборов подземных вод

17.11. При проектировании водозаборных сооружений в речных долинах следует исходить из того, что их производительность в основном будет обеспечиваться за счет фильтрационного потока из реки. Поэтому здесь скважины целесообразнее всего размещать в виде линейного ряда параллельно берегу реки на небольших расстояниях друг от друга.

Именно такая схема береговых водозаборов является наиболее распространенной и применительно к ней ниже будет излагаться методика выполнения технико-экономического расчета.

В пп. 17.12 и 17.13 рассмотрены два случая: понижение уровня воды в различных вариантах водозабора может изменяться (Sо = const); понижение уровня воды в скважинах водозабора при различном их расположении остается постоянным (So = const).

17.12. При изменяющемся понижении уровня основная расчетная формула для определения оптимального варианта расположения водозаборных скважин lо имеет вид:

                                               ;                                           (202)

.

Формула (202) определяет оптимальное расстояние между скважинами водозабора lо, которое зависит от принятого числа скважин схемы подключения скважин к сборному водоводу, а также гидравлических и стоимостных параметров системы транспорта воды. Последовательность расчетов при выборе оптимального варианта в данном случае должна быть следующей:

шаг 1 - положить п = п1, где п1 - начальное (произвольное) число скважин водозабора, и вычислить Qo = Q/п1 - расход одной скважины линейного водозабора;

шаг 2 - в соответствии с выбранным количеством скважин выделить участки водовода, определить расходы q и диаметры Dj в пределах каждого участка; затем по формулам (177) и (182) рассчитать К, A, CT и э;

шаг 3 - по формулам (188) и (192) найти величины ПS и ПВ. Вычислить оптимальное расстояние между скважинами lо [формула (202)] и общую длину водозабора 2l = lo(n-1);

шаг 4 - найти понижение уровня подземных вод So. В данном случае для этого может быть использована формула Маскета-Лейбензона

                                      ,                                (203)

где km - водопроводимость пласта; xо - расстояние от реки до водозабора; r0 - радиус скважин водозабора;

шаг 5 - по формуле (186) рассчитать приведенные затраты Пi, связанные с сооружением и эксплуатацией рассматриваемого варианта водозабора;

шаг 6 - увеличить (уменьшить) количество водозаборных скважин и выполнить заново все расчеты.

Указанные операции повторяются до тех пор, пока не будет выявлено количество водозаборных скважин п, при котором величина приведенных затрат минимальна: Пi = тiп.

Пример расчета. Требуется запроектировать береговой водозабор производительностью Q = 34560 м3/сут в долине реки Зеравшан. Мощность водоносного горизонта от m = 34 м, коэффициент фильтрации k = l00 м/сут. Скважины размещаются на расстоянии xо = 100 м от уреза реки.

Ввиду ограниченности поперечных размеров участка сбор воды от скважин предполагается осуществлять в соответствии со схемой на рис. 96, а при прокладке водовода постоянным диаметром (D = 500 мм) вдоль всего ряда скважин.

Дальнейшие расчеты сводятся к определению оптимальных значений lр, sp, Q и П по каждому анализируемому варианту при заданном п.

На рис. 97 представлены графики зависимости перечисленных искомых величин от числа задействованных скважин п. Графики построены по результатам расчетов с использованием формул (202) для определения lр и формулы (203) для определения Sp. Величины П рассчитывались по формуле (186).

Как видно из графиков, при заданной производительности водозабора Q с увеличением числа скважин п величины lр и S уменьшаются, а общие затраты на единицу производительности, приведенные к одному году, в данном примере возрастают. Поэтому, если исходить лишь из условия минимизации целевой функции, то следует принять вариант с наименьшим числом скважин. В более общем случае, помимо условия П = min, необходимо учесть ряд дополнительных ограничений.

Рис. 97. Графики для определения оптимальных значений So, l0, Q, п и П

При проектировании водозаборов в долинах горных рек, где водовмещающие породы представлены гравийно-галечными отложениями с хорошими фильтрационными свойствами, несмотря на высокие дебиты, действительные понижения уровня воды в скважинах оказываются незначительными и существенно меньшими Sдоп. Вместе с тем производительность водозаборных сооружений лимитируется как ограниченной пропускной способностью скважин (с увеличением нагрузки скважины начинают песковать), так и возможностями подбора водоподъемного оборудования при работе его в области оптимальных значений КПД. Таким образом, вместо условия  в таких условиях может потребоваться учет ограничения вида

Q = Q/n,

где - максимально возможный дебит скважин, определяемый либо по результатам специальных откачек, либо по опыту эксплуатации водозаборов в данных условиях.

Для выбора варианта будем исходить из минимальной производительности скважин, считая ее известной по опыту эксплуатации водозаборов в подобных условиях. Так, например, для водозаборов, расположенных в долине реки Зеравшан, производительность скважин в течение года изменяется от 240 до 300 м3/ч. Принимая за расчетный дебит Qo = 240 м3/сут, имеем п = 6, lо = 60 м, So = 5,5 м и общая стоимость водозабора составит 52704 руб. (П = 0,00418 руб. м3/год).

В долинах равнинных рек фильтрационные параметры водоносных пластов намного ниже, чем в рассмотренном примере. Это приводит к тому, что уже при небольших расходах скважин образуются значительные понижения уровня воды. Для таких условий в силу вступает ограничение вида S<Sдоп.

17.13. Выбор оптимального варианта при условии одинаковых понижений уровня упрощается, так как из числа варьируемых параметров исключается величина понижения уровней So. Оптимальный вариант подбирается по двум параметрам: количество водозаборных узлов (скважин) и расстояния между узлами l0. Известными считаются все конструктивные элементы водозабора (средний диаметр сборного водовода, водоподъемных труб, схема трассировки водовода и т. д.) и суммарный расход скважин водозабора Q.

Расчет оптимального варианта в рассматриваемом случае может быть выполнен по формулам:

                            ;                         (204)

                                        ,                                             (205)

где                                    = l0/xo;  = Q/2kmS0,  = ro/rо;

с = Псв xо;  = Эов xо;

х0 - по-прежнему расстояние от реки до водозабора; rо - радиус скважин водозабора.

Величина Пс в равенстве (204) определяется по формуле (190), численное значение единичной стоимости водовода приближенно находится по соотношению (194), а параметр Эо - по уравнению (197) для условий установившейся фильтрации подземных вод.

Практическое использование формулы (204) осуществляется следующим образом. Сначала следует задаться произвольным значением параметра lо и по формуле (205) найти соответствующее ему значение п (с округлением до большего целого числа). Затем найденные значения lо и п подставляются в соотношение (204). Если при этом равенство (204) будет выполнено, то данные значения lо и п являются оптимальными. В противном случае следует повторить расчет с иным значением величины lо.

Пример расчета. Расход берегового водозабора, располагающегося на расстоянии xо = 100 м от уреза реки, проектируется в размере 35 тыс. м3/сут. Водопроводимость водоносного горизонта равна 500 м3/сут. Статический уровень располагается на отметке Hc = 5 м от поверхности земли. Понижение уровня подземных вод в процессе эксплуатации водозабора должно составить So = 15 м. Конечный диаметр водовода из стальных труб, укладываемого в одну линию по схеме рис. 96, а, равен D = 500 мм. Диаметр водоподъемных труб принимается D = 150 мм. Радиус водозаборных скважин rо = 0,2 м. Стоимость сооружения и оборудования 1 скважины K0 = 5000 руб., стоимость электроэнергии  = 0,02 руб.,  = 0,8.

Находим приведенные затраты на сооружение и оборудование одной водозаборной скважины. Принимая p1 = 0,1 и Ен = 0,15, по формуле (190) получим

Пс = (0,1+0,15).5000 = 1250 руб.

Величину Пв определяем по соотношению (194). Предварительно найдем средний диаметр водовода

Dcр = (2/3)0,5 = 0,33 м.

Следовательно, по формуле (177) и табл. 44

КB = 6,9+5,3.0,33 = 8,6 руб/м;

А = 0,001736/0,335,3 = 0,62;

Принимая ра = 0,04, Eн = 0,15 и полагая К° = 0, найдем:

Пв = (0,04 +0,15) 8,6+0,25 [0,2.(35000)3]/[0,8 (86 400)2].0,62 = 1,63+22,26 = 23,9 руб.

Величина Эо по формуле (197) равна в этом случае А = 0,001736/0,155,3 = 40,3):

Эо = (0,02/0,8)(35000/86400)40,32 (5 + 15) = 8,2 руб.

Таким образом:

с = 1250/(23,9.100) = 0,5 м;  = 8,2/(23,9-100) = 0,003 0.

Кроме того:

 = 0,2/100 = 2.10-3;  = 35000/(2.15.500) = 0,74.

Положим для начала  = 0,8; по формуле (195) найдем п = 9; подставив эти значения в формулу (204), получим, что это равенство почти выполняется; невязка составляет 0,04. Повторив те же расчеты  = 0,9, получим п = 8, а невязка равна 0,02. Таким образом, в оптимальном варианте:

                             = 0,9;              lо = 90 м;         n = 8;            2l = 90.7 = 630 м.

Водозаборы в удалении от поверхностных водотоков и водоемов (водораздельные водозаборы)

17.14. При проектировании водозаборов в неограниченных пластах наиболее эффективными являются схемы в виде группы кольцевых или линейных рядов скважин.

При условии Soconst формула для расчета оптимального варианта водозаборов имеет вид

                                           .                                           (206)

Здесь R0 и l0 - оптимальные радиус кольцевого и расстояние между скважинами линейного водозабора; ПS - определяется по соотношению (188), а Пв - по формуле (192) для линейного и по соотношению (194) для кольцевого водозабора. Величины А и КB определяются в данном случае в соответствии с диаметром водовода.

17.15. Последовательность расчетов по выбору оптимального варианта по соотношению (206) следующая:

шаг 1 - задавшись первоначально произвольным значением п, вычислить дебит одной скважины Q0 = Q/n;

шаг 2 - по величине Qo найти диаметр водоводов D, а затем величины КB и А;

шаг 3 - по формуле (206) найти оптимальные значения R0 или l0;

шаг 4 - найти понижение уровня воды в скважинах водозабора по формуле

                                           Sо = (Q/4km).ln(2,25аt/r).                                       (207)

Величина rпр находится по соотношениям:

кольцевой водозабор

;

линейный водозабор

;

шаг 5 - для данного варианта рассчитать приведенные затраты Пi;

шаг 6 - выполнить тот же расчет с иным значением п и выявить таким образом вариант с наименьшим значением приведенных расходов Пi.

Пример расчета. Рассмотрим пример расчета кольцевой батареи скважин при действии их в неограниченном напорном водоносном горизонте. Водоносный пласт характеризуется следующими показателями: km = 600 м2/сут, а = 105 м2/сут. Площадь, отведенная под водозабор, составляет 760.1000 м2.

Требуется запроектировать водозабор производительностью Q = 40000 м3/сут, выбрав необходимое число скважин п, при котором расчетное понижение уровня воды при сроке эксплуатации сооружений Т = 25 лет не превысит допустимого значения Sдоп = 90 м.

Предположим, что все скважины равнодебитные, т. е. Q0 = Q/n. В этом случае, как отмечалось выше, их целесообразнее размещать по периметру круга (кольцевая батарея скважин) на одинаковых расстояниях друг от друга.

Результаты расчета величин Q, D, А и КB приведены в табл. 45, а вычисленные значения Rо, Sо(rо, Т) и П/365Q - на графиках рис. 98.

Таблица 45

варианта

Число скважин, п

Q, м3/сут

D, мм

А

КВ, руб/м

1

2

20000

450

0,09928

24,2

2

 

 

500

0,05784

27

3

3

1333,3

350

0,3731

19,96

4

 

 

400

0,1859

23,85

5

4

10000

300

0,8466

16,77

6

 

 

350

0,3731

19,96

7

5

8000

250

2,187

14,36

8

 

 

300

0,8466

16,77

9

6

6666,6

250

2,187

14,36

10

 

 

300

0,8466

16,77

11

7

5714,2

250

2,187

14,36

12

 

 

300

0,8466

16,77

13

8

5000

200

6,959

12,65

14

 

 

250

2,187

14,36

15

9

4444,4

200

6,959

12,65

16

 

 

250

2,197

14,36

17

10

4000

200

6,959

12,65

18

 

 

250

2,187

14,36

Рис. 98. Графики для выбора оптимальных параметров водозабора, представленного кольцевой батареей скважин

При проведении расчетов использованы два значения D, соответствующих нижней Dн и верхней Dв границам предельных расходов.

Анализ полученных результатов приводит к выводу о том, что при любом заданном числе скважин принятие значения Dн по нижней границе предельных расходов приводит к увеличению расстояния между скважинами (растет величина Ro), уменьшению понижения динамического уровня So(rо, Т) и снижению приведенных затрат П.

Принимая во внимание ограничение, накладываемое на понижение уровня воды в скважинах, из расчетов следует исключить те варианты, где это условие не выполняется. Тогда из серии расчетов с Dв выпадают варианты с числом скважин п = 5, 8, 9, 10.

Помимо этого, учитывая ограничение на величину R0, из серии расчетов при Dв следует исключить варианты с п = 2 и 3, а при Dн - варианты с числом скважин 2-7.

Оставшиеся после учета ограничений варианты сведены в табл. 46. Из них выбирается один оптимальный вариант 5.

Таблица 46

варианта

Число скважин,

Q, м3/сут

D, мм

R0, м

S0, (r0, T), м

101, руб.м3/сут

Серия расчетов при Dн

5

4

10000

300

370,88

88,52

246,58

9

6

6666,6

250

339,89

89,448

252,64

11

7

5714,2

250

367,81

88,61

252,42

Серия расчетов при Dв

14

8

5000

250

376,64

88,355

253,33

16

9

4444,4

250

373,12

88,455

254,92

18

10

4000

250

362,51

88,765

256,91

17.16. При фиксированном понижении уровня подземных вод в эксплуатационных скважинах водораздельного водозабора соответствующие зависимости для расчета оптимального варианта принимают вид:

кольцевой водозабор

                          ,                         (208)

где                  с = Псв Romin;                  = Эо/ПвRотiп;          

; Romin = 1,5  ;

                                           ;                                          (209)

линейный водозабор

                                   ;                                          (210)

 ; ; ;

                                           .                                        (211)

17.17. В представленных соотношениях  = Q/2nkmSo; So - понижение уровня воды в водозаборных скважинах на конец расчетного периода продолжительностью Т.

Параметры n, Rо и tо находятся по формулам (208)-(210) подбором. Сначала задается произвольное число n и определяются соответствующие ему величины Ro или. Затем указанные параметры подставляются в соотношение (208) или (210). Если при этом уравнения (208) и (210) оказываются выполненными, то найденные значения параметров водозабора являются оптимальными. В противном случае расчет повторяется при новом значении n. Эти операции полезно произвести при нескольких значениях среднего диаметра водовода.

Пример расчета. Линейным водозабором производительностью 35 тыс. м3/сут проектируется эксплуатировать водоносный пласт с водопроводимостью km = 1000 м2/сут при понижении на конец расчетного срока Т = 25 лет (104 сут), равном 19 м; коэффициент пьезо-проводности а = 104 м2/сут, rо = 0,2 м. Примерные стоимостные показатели выражаются величинами Пс = 1250 руб., Пв = 23,9 руб., Эо0. Требуется найти оптимальные протяженность водозабора и количество водозаборных скважин.

Параметр  в данном случае равен: o = 35000/(2.1000.19) = 0,3. Задаемся сначала п25. По формуле (211) найдем:

 = 116 м;

;

Пс = 1250/(23,9.116) = 0,45; rо = 0,2/116 = 1,7.10-3.

Полученные величины подставляем в соотношение (210)

0,45-1,2.ln (1,2/2. 1,7.10-3) = 0,220.

Выполним те же вычисления при n = 20:

tоmin =  = 140 м;

Пс = 1250/(23,9.190) = 0,32; r0 = 0,2/190 = 1,1.10-3;

Таким образом, оптимальное количество скважин водозабора равно 20, дебит каждой скважины при этом составит Qo = 35000/20 = 1760 м3/cyт, расстояния между скважинами будут равны: lо = l0l0min = 1,28.140 = 180 м, общая длина водозабора составит 2l = 19.180 = 3400 м.

18. КОМПЛЕКСНЫЕ РАСЧЕТЫ ВОДОЗАБОРОВ ПОДЗЕМНЫХ ВОД

18.1. Водозаборные скважины, объединенные между собой сборными водоводами, представляют единую гидравлическую систему. При эксплуатации таких систем четко прослеживается связь между изменением производительности скважин (и водозабора в целом) при изменении гидродинамического режима подземных вод, а также при изменении гидравлических параметров отдельных сооружений. Поэтому уже на стадии разработки проекта следует производить оценку работоспособности системы. Такая оценка производится на основе комплексных расчетов водозаборов подземных вод.

18.2. Основной задачей комплексного расчета водозаборов подземных вод является определение истинных значений расходов скважин и понижений в них уровня воды, а также расходов и потерь напора в сборных водоводах и параметров работы водоподъемного оборудования. Поэтому такие расчеты следует проводить при различных расчетных режимах и на различные периоды эксплуатации водозаборов (т. е. с учетом сезонных колебаний уровней и сработки запасов подземных вод, кольматажа и выхода скважин из строя, отключения отдельных линий сборных водоводов и т. п.) и на основе этого намечать сроки проведения мероприятий, направленных на поддержание стабильной работы систем. Для этой цели во ВНИИ ВОДГЕО разработаны пакет прикладных программ и “Рекомендации по применению ЭВМ для выполнения комплексных расчетов водозаборов подземных вод”.

18.3. Исходными материалами для выполнения таких расчетов являются:

а) гидрогеологическая расчетная схема расположения водозаборных и инфильтрационных сооружений;

б) запроектированная схема сбора воды от скважин;

в) принятая в проекте высотная схема подачи воды потребителю.

Расчеты режимов работы одиночных скважин

18.4. При отборе воды из скважины (рис. 99) напор насоса Н затрачивается на преодоление геометрической высоты подъема воды z, понижения уровня S и потерь напора в водоводе от скважины до точки подачи воды.

Рис. 99. Схема подачи воды от скважин

В схеме рис. 99 насос, установленный в скважине, развивает напор, равный:

                                             H = (р-ст.гор)+S+в,                                            (212)

где Н - полная высота подъема воды из скважины; р - отметка уровня воды в резервуаре; ст.гор - отметка статического уровня грунтовых вод; S - понижение уровня в скважине; в - потери напора в водоводе от скважины до резервуара, включая потери напора в водоподъемных трубах.

Разность отметок (p-ст.гор) - это геометрическая высота подъема воды из скважины. Если эти отметки не изменяются, то (p-ст.гор) = const.

С другой стороны, насос развивает напор в соответствии с его рабочей характеристикой Q-Н, которая в диапазоне оптимальных значений КПД может быть аппроксимирована уравнением

                                                         Н = А-ВQ2,                                                       (213)

где А и В - параметры характеристики Q-Н насоса.

Подстановка (213) в (212) и учет зависимости S = f(Q) и в = f(Q) дает

                               z+(Q/2kт)(R+)+lnBQ2) = А-ВO2.                                  (214)

Применительно к одиночным скважинам уравнение (214) может быть решено графически. Для этого координаты Q следует расположить таким образом, чтобы точка H = 0 находилась на отметке ст.гор. Тогда линия p = const на графике (рис. 100) определит геометрическую высоту подъема воды из скважины, а линия I - характеристику скважины Q-S (характеристика скважины может быть построена как по опытным данным, так и на основе расчетов). Наконец, задаваясь гидравлическим сопротивлением, строится характеристика водовода Q-в (кривая II).

При сложении характеристик Q-S и Q-в на линии p = const находится совмещенная характеристика (кривая III) скважины, водовода и резервуара, представляющая собой график зависимости полной высоты подъема воды от производительности скважины.

На графике (рис. 100) показана также характеристика Q-Н насоса, который предполагается установить в скважине. Пересечение ее с кривой III дает рабочую точку насоса с координатами Qp и Нр (где Qp - действительная производительность насоса и Нp - напор, развиваемый насосом при такой подаче воды). Одновременно с этим определены также величины Sp в скважине и в в водоводе.

Рис. 100 Графоаналитический метод расчета системы “скважина - насос - водовод - резервуар”

Зачастую из имеющегося сортамента не удается подобрать насос, рабочая точка которого точно бы соответствовала требуемым значениям Qт или Hт скважины. Поэтому на практике насосы подбирают с некоторым запасом по напору и производят регулирование их производительности. Такое регулирование, как правило, осуществляется с помощью задвижек, установленных на напорной линии, реже - изменением числа рабочих колес насоса.

В случае когда производительность насосов регулируется установкой дросселя на напорной линии присоединения скважины к водоводу, КПД установки резко снижается и составляет

 = у(1-zн/Hн),

здесь  - КПД установки, снятый с графика Q-H при заданном Q насоса; Нв - напор насоса, соответствующий подаче Q за вычетом потерь напора в в водоводе; zн - величина дросселя. Поэтому такой способ регулирования ввиду неэкономичности не может быть рекомендован на длительный период времени, особенно в том случае, когда величины zн велики (zн>, где  - напор, развиваемый одним рабочим колесом насоса).

При zн>регулирование производительности насосных установок следует производить изменением числа рабочих колес. Число колес, которые необходимо снять с насоса, определяется выражением  = zн/ с округлением  до ближайшего наименьшего целого значения.

В случае если zн>, то одновременно с изменением числа рабочих колес для обеспечения заданной производительности насоса производится установка дросселя на напорной линии.

Величина дросселируемого напора при этом составляет

(zн) = zн -.

Пусть по условию требуется обеспечить подачу воды в резервуар в количестве Qт, причем Qт<Qр. Этому расходу на совмещенном графике соответствует точка В с координатами Qт и НТ. Напор же насоса при подаче воды в количестве Qт равен Нттт). Следовательно, величина дросселируемого напора составляет НТ (НТ ’> НТ). На пересечении перпендикуляра, восстановленного из точки В на ось абсцисс, с линиями I и II лежат искомые значения всех переменных (zн), в и S при подаче воды в количестве Qт.

18.5. При изменении какой-либо из составляющих формулы (213) происходит смещение рабочей точки насоса по характеристике Q-Н. Так, например, сработка запасов подземных вод приводит к увеличению геометрической высоты подъема воды из скважин, т. е. к увеличению Н насоса и соответственно уменьшению Q. Аналогичная картина наблюдается и при увеличении гидравлического сопротивления фильтра скважин, обусловленного кольматажем.

Время ТS, в течение которого не происходит нарушения условий

SpSдoп или Qp Qт,

можно считать периодом устойчивой работы скважины. Однако на практике это время, как правило, оказывается меньше расчетного срока действия скважин.

Допустим, что характеристика скважины (кривая I) была определена на период ее сооружения, а в процессе эксплуатации скважины гидравлическое сопротивление фильтра возросло и характеристика стала определяться кривой II. В результате этих изменений рабочая точка насоса сместится из точки В в точку В. При этом, как видно из графика (рис. 101), понижение уровня воды в скважине составит S’>S, а производительность ее уменьшится на величину Q. На рис. 101, чтобы графические построения были более наглядными, характеристика Q-Н насоса заменена на так называемую дроссельную характеристику, полученную вычитанием из ординат Н потерь напора в водоводе в.

Рис. 101. Графоаналитический метод решения задачи регулирования производительности скважины

Для обеспечения требуемой производительности установки в количестве QT следует уменьшить потери напора на дросселе на величину (S - S) и они должны составить

(zн) = (zн)- (S - S).

При этом, как видно из рис. 100, понижение уровня воды в скважине увеличивается. Поэтому такой способ регулирования производительности может применяться лишь в течение определенного срока эксплуатации, пока понижение в скважине будет меньше, чем Sдоп [или пока величина (zн)>0].

На рис. 101 точка Д соответствует условию, когда при Q = QT (zн>0), а S = Sдоп. При неизменном (zн) дальнейший рост сопротивления вызовет снижение производительности установки. Вместе с тем, если уменьшить (zн) до значений, при которых подача воды от скважины составила бы Qт, то произойдет увеличение понижения уровня воды в скважине и S превысит Sдоп. Следовательно, характеристика скважины, представленная кривой II, соответствует условиям, когда фильтр предельно закольматирован и дальнейшая эксплуатация установки без осуществления комплекса мероприятий по восстановлению производительности скважины оказывается невозможной.

Регенерацией фильтра скважины удается добиться уменьшения гидравлического сопротивления до значений, близких к начальному. Тогда при дросселируемом напоре (zн) производительность установки составит Qн>Qт, а по мере роста сопротивления подача воды будет снижаться и лишь при достижении предельной закольматированности фильтра скважины окажется равной Qт.

18.6. Введение в действие систем ИППВ вызывает повышение уровня грунтовых вод, а это в свою очередь приводит к уменьшению производительности насоса, установленного в скважине. Вместе с тем для обеспечения заданного прироста производительности также необходимо осуществлять регулирование работы насоса или производить его замену.

Допустим, что установка ИППВ введена в действие в момент времени t = Ts (когда фильтр скважины предельно закольматирован) и обеспечила повышение уровня на величину . Тогда, основываясь на гидрогеологических расчетах, оказывается возможным пойти на увеличение отбора воды с доведением его до величины Qr, равной:

                                      ,                                            (215)

где R0 - фильтрационное сопротивление водоносного пласта при действии водозаборной скважины;  - дополнительное сопротивление на несовершенство скважины в момент времени ТS,

На рис. 102 величина Qr является абсциссой точки С, лежащей на пересечении характеристики скважины (линия II) линии а - б (Sдоп+S). Учитывая, что  (где Rб - фильтрационное сопротивление водоносного пласта при действии установки ИППВ), можно найти г:

                                           ,                                                          (216)

где г - КПД установки ИППВ, который может быть достигнут в данных условиях.

Рассмотрим, какой же будет получен , если в скважине оставить насос, подобранный без учета работы установки ИППВ (см. рис. 101). В этом случае для нахождения новой рабочей точки насоса необходимо от линии zp = (zp-S) заново восстановить характеристику скважины до пересечения ее с дроссельной характеристикой насоса. Эти построения показаны на рис. 102. Абсциссой точки Д определяется расход скважины Q" с учетом дросселирования напора насоса на величину (zн), а абсциссой точки В" - расход скважины Q" при (zн) = 0. Как видно из графиков (рис. 102), введение в действие установок ИППВ без замены водоподъемного оборудования скважин будет всегда приводить к занижению .

Рис. 102. Графоаналитический метод расчета прироста производительности скважин при ИППВ

18.7. В артезианских бассейнах уровни подземных вод могут находиться на отметках, превышающих отметки подачи воды потребителю. Это позволяет на начальном этапе осуществлять эксплуатацию скважин в режиме самоизлива и лишь по истечении определенного времени переходить на откачку воды насосами.

При расчете таких систем определению подлежат время, в течение которого скважина может эксплуатироваться в режиме самоизлива с заданной подачей воды потребителю, а также продолжительности периодов ее работы с теми или иными насосами.

Характерный график изменения во времени напора при действии артезианской скважины в режиме самоизлива с постоянным расходом QT представлен на рис. 103 [график рис. 103 построен на основе расчетов по формуле (33)].

Из данных рис. 103 видно, что в течение первых t1 лет эксплуатации напор на устье скважины находится на отметках выше поверхности земли. Поэтому, если подача воды от скважины производится в резервуар, расположенный на отметке земли, то временем t = t1 определяется продолжительность работы скважины в режиме самоизлива.

Рис. 103. Графоаналитический метод расчета и подбора водоподъемного оборудования для артезианских скважин

Для обеспечения заданной подачи воды потребителю при t>t1 в скважине следует установить насос; выбор марки насоса должен производиться с учетом дальнейшей сработки запасов подземных вод. Методика подбора насосных установок на различные периоды времени иллюстрируется рис. 103, где в координатах Н - t представлен график изменения во времени напора подземных вод, а в координатах Q-Н - дроссельные характеристики насосов с учетом напора в водоподъемных трубах.

18.8. Аналогичным образом выполняются расчеты и при сифонном отборе воды из скважин. Так, например, для рис. 104, когда имеется одиночная скважина, от которой вода по сифонному водоводу подается в сборный резервуар, графоаналитические расчеты сводятся к выполнению следующих построений. В координатах Q-Н строится характеристика скважины, т. е. зависимость S = f(Q). На рис. 104 эта характеристика показана линией 1. Далее к ординатам характеристики скважины прибавляются значения в (где в - потери напора в водоводе) и проводится линия 3, отражающая отметку наполнения воды в резервуаре, отсчитанную от статического горизонта. На перпендикуляре, опущенном из точки А пересечения линий 2 и 3, лежат расчетные значения Sp и р, соответствующие расходу Qp.

Рис. 104. Схема к расчету скважин при сифонном водоотборе

Qp - координаты точки A на оси Q; Sp - расчетное понижение уровня воды: в скважине; р - расчетные потери напора в водоводе; z - разность между уровнем грунтовых вод и отметкой воды в резервуаре; 1 - характеристика Q-H скважины; 2 - характеристика Q-H скважины и водовода; 3 - линия отметки воды в резервуаре.

Расчет систем подачи воды от скважин. Подбор и регулирование режимов работы водоподъемного оборудования

18.9. На рис. 105 показана простейшая схема водозабора в виде линейного ряда скважин, работающих на один сборный водовод.

Рис. 105. Схема подсоединения скважин линейного ряда к сборному водоводу

В схеме рис. 105 напор, требуемый для подачи воды в количестве Qn из любой n-й скважины на заданную отметку, составляет

Нп = z+Sn+,

где Sn - понижение уровня воды в любой п-й скважине, определяемое с учетом действия остальных скважин;  - потери напора в водоводе от n-й скважины до точки сбора воды.

.                              (217)

В скважинах могут быть установлены насосы разных марок. Поэтому исходная система уравнений для расчета N неизвестных величин Qn принимает вид

                                                                                                 (218)

для n = 1, 2, 3, .... N.

Решение нелинейной системы уравнений (218) отыскивается методом последовательных приближений.

В качестве первого приближения можно принять Qn = Q/N (где Q - проектная производительность водозабора) и, подставив эти значения в уравнение (218), найти значения n (где n - невязки потерь напора по каждому из N уравнений, возникающие из-за того, что принятые значения Qn не удовлетворяют системе уравнений). Если условие

                                                         ,                                                           (219)

не выполняется, то значение Qn следует изменить на величину . Величина поправочного расхода  для каждого п-го уравнения может быть приближенно рассчитана по формуле

 (220)

и принимается со знаком (+) или (-), соответствующим знаку невязки n.

Система уравнений (218) считается разрешенной, когда в процессе последовательных приближений найдены такие значения Qn, при которых выполняются условия (219). После этого производится вычисление Sn:

                          Sn = ,                           (221)

где индекс  указывает на то, что из суммы исключен член j = n. Помимо этого определяются величины напоров насосов

                                                    Hп = z+Sn+,                                                    (222)

а также расчетные значения расходов и потерь напора в линиях сети.

18.10. Найденные в результате проверочного расчета значения Qj, и Sj могут не удовлетворить ограничениям вида:

                                 ; ; ,                               (223)

где Qmin, Qmax - соответственно минимальный и максимальный расходы установленных в скважинах насосов.

В этом случае необходимо либо произвести замену насосов по скважинам, где не выполняются второе или третье условие (23), либо отрегулировать их работу на требуемый режим эксплуатации.

18.11. Для этого расчеты водозаборов проводятся в следующем порядке.

Сначала выполняются гидрогеологические расчеты водозаборных сооружений. При этом в зависимости от того, какая ставится задача (обеспечить максимальную или заданную производительность водозабора), такие расчеты проводятся:

а) при действии водозаборных скважин в режиме ;

б) при действии водозаборных скважин в режиме Qj = const и соблюдении условия ;

в) при комбинированном использовании условий по подпунктам а, б, когда требуется по ряду скважин обеспечить выполнение условия , а по остальным Qj = const.

В результате гидрогеологических расчетов определяются величины Qj по скважинам, действующим в режиме , и Sj, в скважинах, которые действуют в режиме Qj = const.

По завершении гидрогеологических расчетов проводится гидравлический расчет системы сбора воды от скважин, в результате которого устанавливаются расходы и потери напора в линиях сети, а также свободные напоры в точках присоединения скважин к сборным водоводам.

По известным значениям понижений уровня воды в скважинах и свободных напоров рассчитываются требуемые напоры и производится подбор насосов (а при необходимости осуществляется и их регулирование на заданную подачу воды из каждой скважины).

При выполнении расчетов в такой последовательности производительность водоподъемного оборудования будет в точности соответствовать намеченному режиму работы скважин.

При решении подобных задач следует ориентироваться на использование ЭВМ (см. п. 18.2).

Пример расчета. Водозабор размещается в пойме реки и представлен шестью водозаборными скважинами (рис. 106) и инфильтрационным бассейном.

Рис. 106. Расчетная схема сбора и подачи воды от скважин

Скважины отбирают подземные воды из однородных песков четвертичного возраста. Мощность обводненной толщи песков m = 20 м. В основании водоносного горизонта залегают глины, служащие водоупором. Сверху пласт перекрыт песчано-суглинистым слоем 2,5-3 м. Коэффициент фильтрации пород водоносного горизонта k = 20 м/сут. Подземные воды залегают на глубине 2 м от поверхности земли. По своему химическому составу они относятся к гидрокарбонатнокальциевому типу с повышенным содержанием железа до 0,5-1 мг/л и являются склонными к осадкообразованию.

Скважины располагаются вдоль берега реки на расстоянии 25 м от уреза воды в реке. Расстояние между скважинами в ряду также равно 25 м. Все скважины имеют одинаковую конструкцию; радиус бурения rc = 0,4 м; радиус фильтра r0 = 0,2 м; длина фильтра lф = 20 м; коэффициент фильтрации пород призабойной зоны kф = 4,069 м/сут.

Инфильтрационный бассейн размещается в центре водозабора на расстоянии 40 м от уреза воды в реке. Длина инфильтрационного бассейна составляет 125 м, а производительность принята равной Qб = 0,052 м3/с.

Предусмотрено, что вода от скважин должна подаваться в резервуар, расположенный за пределами водозабора. Расчетная отметка наполнения воды в резервуаре находится на 70 м выше статического горизонта.

Рассматриваемая система водоснабжения должна обеспечить подачу воды потребителю Q не менее 100 м3 (2400 м3/сут), при этом понижения уровня воды в скважинах не должны в течение расчетного срока ее эксплуатации превысить заданной величины Sдоп = 5 м.

Требуется на основе комплексных расчетов проанализировать режим эксплуатации водозабора с учетом возможного кольматажа скважин (определить период устойчивой их работы, т. е. время Тs) и осуществить подбор водоподъемного оборудования с его регулировкой на заданную подачу воды.

Сопротивление к, обусловленное кольматажем водозаборных скважин, рассчитывается по формуле

                                                                                     (224)

                                      ,                                     (225)

где N0/n0 - безразмерный параметр (No - предельная емкость фильтра и по - его начальная пористость); - параметр характеризующий интенсивность кольматажа скважин (Со - концентрация в откачиваемой воде кольматирующих соединений и  - константа скорости выпадения кольматанта из воды и осаждения его на фильтре скважин).

Для выявления закономерностей изменения производительности отдельных скважин и водозабора в целом гидрогеологические расчеты следует проводить с заданием на скважинах условия . В этом случае найденные значения Qj скважин соответствуют их максимальной производительности. При выполнении таких расчетов с учетом роста к производительность снижается и может оказаться, что к некоторому моменту времени она станет равной или даже меньшей, чем Qs требуемая.

Для определения периода устойчивой работы скважин гидрогеологические расчеты должны проводиться на различные моменты времени с определением на каждом шаге по времени значений Qs скважин и проверкой выполнения условия . Результаты таких расчетов по 1(6), 2(5) и 3(4) скважинам представлены на рис. 107.

Рис. 107. Расчетные графики изменения во времени (t), Qj (t) и  при действии скважин в режиме Sj = const

Там же приведены графики изменения к(t) и . Расчеты выполнялись при условии Sj = 5 м; (N0/n0)j = 1 и о)j = 0,0368 мес-1.

Из данных рис. 107 видно, что период устойчивой работы системы скважин Ts составляет 18 мес. При t>TS суммарная подача воды от скважин оказывается меньше требуемой (Q = 100 м3/ч) и, следовательно, производительность водозабора не обеспечивается.

Согласно п. 18.11, следующим этапом комплексных расчетов являются проведение гидравлических расчетов системы сбора воды от скважин и выбор соответствующего водоподъемного оборудования. Такие расчеты следует проводить с использованием в качестве исходных данных вычисленных значений qj и Sj по скважинам на момент времени t = Ts.

Результаты гидравлических расчетов сборных водоводов представлены на рис. 108, а данные по выбранному водоподъемному оборудованию сведены в табл. 47.

Рис. 108. Результаты гидравлического расчета сборных водоводов на момент времени j = Ts

Таблица 47

№. скважины

Q, м/ч

S, м

Полная высота подъема воды, м

Марка насоса

Напор насоса, м

Дросселируемый напор, м

1

16,79

5

81,09

1ЭЦВ-25-100

110,81

29,72

2

16,38

6

81,06

1ЭЦВ-25-100

111,22

30,16

3

16,23

5

80,66

1ЭЦВ-25-100

111,34

30,68

4

16,23

5

80,66

1ЭЦВ-25-100

111,34

30,68

5

16,38

5

81,06

1ЭЦВ-25-100

111,22

30,16

6

16,79

5

81,09

1ЭЦВ-25-100

110,81

29,72

Теперь необходимо проанализировать, насколько правильно подобраны погружные скважинные насосы и установлена степень их регулирования (т. е. в состоянии ли обеспечить эти насосы стабильную работу водозабора в течение времени ТS). Для этого следует выполнить проверочные расчеты системы сбора и подачи воды от скважин.

Результаты проверочных расчетов при использовании данных табл. 47 представлены на рис. 109.

Рис. 109. Расчетные значения изменения Sj(t), Qj (t) и  при насосной эксплуатации скважин

Из данных рис. 109 видно, что вначале производительность скважин (и их суммарная подача) несколько выше требуемой, а понижения уровней меньше, чем Sдоп. С ростом к(t) производительность скважин Qj, снижается, a Sj возрастает, и к моменту времени t = TS во всех скважинах Sj, оказываются равными Sдоп и  = Qs.

19. ВОССТАНОВЛЕНИЕ ПРОИЗВОДИТЕЛЬНОСТИ ВОДОЗАБОРНЫХ СКВАЖИН

19.1. Опыт эксплуатации водозаборов подземных вод показывает, что их проектная производительность может существенно снижаться во времени. Одной из причин этого явления могут быть различные виды кольматажа фильтров и прифильтровых зон скважин. Для увеличения срока их службы возникает необходимость проведения мероприятий по декольматации и восстановлению производительности водозаборов. Такие мероприятия должны проводиться систематически и предусматриваться в проекте водозабора.

19.2. Для выявления целесообразности восстановительных работ и периодичности их проведения на водозаборных скважинах необходимо в процессе эксплуатации выполнить опробование скважин для оценки роста их сопротивления и снижения удельной производительности в результате кольматации и сопоставления полученных текущих величин с первоначальными.

Для декольматации и восстановления производительности скважин используются импульсные, реагентные и комбинированные методы. Технология этих методов восстановления производительности скважин регламентируется специальными руководствами и инструкциями.

19.3. Среди импульсных методов наибольшее распространение получили взрывная, электрогидравлическая и пневмоимпульсная обработки. В скважинах с пластмассовыми фильтрами из ПВХ и полиэтилена, а также в скважинах с фильтрами блочного типа импульсные методы использовать не рекомендуется.

19.4. Для взрывной обработки применяют торпеды ТДШ (ТДШ-50, ТДШ-25, ТДШ-В), снабженные детонирующим шнуром ДШ-В или ДШУ-В, и фугасные торпеды ТШ или Ф-2 различных конструкций.

Скважины, каптирующие рыхлые отложения, обрабатывают взрывом детонирующего шнура в одну нитку при следующих видах водоприемной поверхности: проволочная намотка диаметром каркаса 168-299 мм и штампованный лист диаметром каркаса 245- 299 мм. Обработка скважин производится через 2-5 лет их эксплуатации, но не более 3-4 раз за весь период службы скважины.

Для увеличения производительности скважин, каптирующих трещиноватые полускальные породы и оборудованных перфорированным трубчатым или каркасно-стержневым фильтром, используют фугасные торпеды различной конструкции или торпеду, состоящую из двух-трех ниток детонирующего шнура. Ориентировочная продолжительность межремонтного периода скважин изменяется от 4 до 6 лет.

19.5. Для электрогидравлической обработки скважин применяют специализированные установки ЭГУ, СЭУ и др., которые последовательно по всей длине фильтра создают ударные волны высоковольтными электрическими разрядами в жидкости.

Общее время электрогидравлической обработки скважин определяется конструкцией скважины. На 1 м фильтра с проволочной обмоткой или штампованным листом достаточно 300-500 импульсов, для сетчатых-100-200 импульсов. Для фильтровых каркасов, установленных в полускальных породах, количество импульсов на 1 м фильтра должно быть не менее 500.

Рациональным межремонтным периодом при обработке скважин, каптирующих рыхлые отложения, следует считать срок, равный 7 месяцам, а при обработке скважин, каптирующих трещиноватые полускальные породы и оборудованных каркасными фильтрами, ориентировочная продолжительность межремонтного периода находится в пределах двух-трех лет.

19.6. Для пневмоимпульсной обработки скважин применяют специализированную установку АСП-Т, которая последовательно по всей длине фильтра возбуждает при помощи сжатого воздуха упругие колебания жидкости.

Пневмоимпульсную обработку скважин в рыхлых отложениях проводят в зависимости от диаметра фильтра и водоприемной поверхности в соответствии с табл. 48.

Таблица 48

Фильтр

Технологические характеристики

Диаметр фильтра, мм

 

пневмоимпульсной обработки скважин

168

219

245

Сетчатый

Объем пневмокамеры, л

0,3

0.5

1

 

Давление в воздухосборнике, МПа/см2

4-6

6-8

8-10

 

Количество импульсов на 1 м фильтра, шт.

2-3

3-5

5-8

Каркасный с проволочной

Объем пневмокамеры, л

0,3

0,5

1

обмоткой или с

Давление в воздухосборнике, МПа/см2

10-15

10-15

10-15

штампованным листом

Количество импульсов на 1 м фильтра, шт.

4-5

5-8

8-12

При обработке скважин, каптирующих водонасыщенные полускальные породы и оборудованных трубчатыми или каркасными фильтрами, рекомендуются следующие технологические характеристики обработки: объем пневмокамеры 1 л, давление в воздухосборнике 10-15 МПа/см2, количество импульсов на 1 м фильтра не менее 10.

Рациональная продолжительность межремонтного периода при пневмоимпульсной обработке скважин в рыхлых отложениях не превышает 6 мес, а при обработке скважин, каптирующих трещиноватые полускальные породы и оборудованных каркасными фильтрами, ориентировочная продолжительность межремонтного периода находится в пределах двух-трех лет.

19.7. Реагентная обработка скважин включает следующие технологические операции: выбор необходимого количества реагента, подбор его количества, монтаж необходимого оборудования, подачу раствора в фильтр скважины, создание возвратно-поступательного движения реагента в закольматированной прифильтровой зоне, определение времени окончания обработки скважины и ее прокачки для удаления остаточного количества реагента и продуктов реакции.

Реагент выбирают в зависимости от состава кольматанта и устойчивости конструкционных элементов скважин против агрессивного воздействия реагента (табл. 49).

Химический состав кольматанта оценивается по пробе осадка, отобранного с водоподъемного оборудования, обсадной трубы или непосредственно с поверхности фильтра, извлеченного на данном водозаборе.

Таблица 49

Реагент

Состав кольматанта

Устойчивость фильтра

композиция

Концентрация, %

 

и обсыпки к кислотам

HCl+Na5P3O10

(2025)+0,1

2O3, Fе(ОН)3, FеСО3, FeS СаСО3, МgСО3

Фильтр и обсыпка кислотоустойчивы

N2H4-2HCl+Na5P3O10

(810)+0,1

 

 

NH2SO3H + Na5P3O10

(810)+0,1

 

 

NaHS04-H2O + …+ Na5P3O10

(57)+0,1

2O3, Fе(ОН)3, FеСО3, FeS

То же

Na2S2O4 +… + Na5P3O10

(68)+1

Преобладают Fе2O3, Fе(ОН)3

Фильтр неустойчив к кислоте

Na5P3O10 или (NaPO3)6,

(5-8)

2O3, Fе(ОН)3, FеСО3, СаСО3, МgСО3

Обсыпка содержит известковистые соединения

HC1 + Na5P3O10

(510)+ +(3-2,5)

2O3, Fе(ОН)3, FеСО3, FeS СаСО3, МgСО3

Фильтр и обсыпка устойчивы к разбавленной кислоте

В кислотных растворах применяют ингибиторы коррозии каталин-А и каталин-Б в концентрациях соответственно 0,5 и 0,05 %. При реагентных обработках скважин следует учитывать, что из всех рекомендуемых реагентов наиболее эффективна соляная кислота, близок к ней по растворяющей способности раствор дитионита натрия, достигающий около 90 % растворяющей способности соляной кислоты. Соответственно растворяющая способность раствора гидразина солянокислого составляет 60 %, раствора бисульфата натрия водного - 40%, раствора сульфаминовой кислоты - 10%. Применение фосфатных растворов возможно лишь на скважинах, срок эксплуатации которых не более трех лет.

19.8. При отборе железосодержащих вод гидрокарбонатно-кальциевого типа в песчаных отложениях и соблюдении межремонтного периода требуемое количество реагента приближенно может быть определено по табл. 50.

Таблица 50

Диаметр фильтра

 

Количество, кг

длиной 10 м, мм

Объем раствора, л

соляной кислоты 25 %-ной концентрации

порошкообразных реагентов

168

219

245

299

Примечание. Над чертой - для гравийно-проволочных фильтров; под чертой - для сетчатых и блочных фильтров.

При приготовлении растворов из порошкообразных реагентов в заливочной емкости концентрация раствора в ней, необходимая для создания в фильтре скважины оптимальной концентрации, определяется по формуле

                                           Ceмк = Coпт(Veмк+Vф)/Veмк,                                             (226)

где Vф - объем воды в фильтре скважины, л; Vемк - объем раствора в заливочной емкости, л; Семк - концентрация реагента в заливочной емкости, %; Сопт - оптимальная концентрация реагента, %.

При подаче раствора непосредственно в ствол скважины необходимо учитывать весь объем воды, заключенный в нем.

Для восстановления производительности скважин, каптирующих трещиноватые карбонатные породы, необходимое количество соляной кислоты составляет 6-8 т, что позволяет не только растворить кольматирующие образования, но и существенным образом увеличить производительность скважины за счет увеличения проницаемости призабойной зоны. Добавка к соляной кислоте уксусной кислоты с концентрацией 1-3 % позволяет снизить скорость реакции соляной кислоты с карбонатами, что увеличивает дальность ее проникания в пласт.

19.9. Для восстановления производительности скважин реагентными методами необходимо следующее оборудование: передвижная емкость или баллоны в кислотостойком исполнении для доставки кислоты к скважине; заливочная емкость для приготовления раствора; насос в кислотостойком исполнении для закачки раствора в фильтр скважины; оголовок для герметизации устья скважины; пакер для герметизации фильтра; шланги для подачи реагента и отвода продуктов реакции; манометр; эрлифтная система; компрессор производительностью 3-6 м3/мин. В основном все оборудование для обработки скважин является стандартным; определенную специфику представляет оголовок для герметизации устья скважины. Основные типы оголовков представлены на рис. 110, а пневматический пакер для герметизации фильтра - на рис. 111. Для герметизации фильтра, установленного впотай, эффективно применение конического резинового уплотнительного элемента, герметизирующего фильтр под действием силы тяжести несущих труб.

Рис. 110. Конструкция оголовков скважины при реагентной обработке фильтра и прискважинной зоны

1 - обсадная колонна; 2 - нижний фланец; 3 - резиновая прокладка; 4 - отверстия под стягивающие болты; 5 - верхний фланец; 6 - корпус оголовка; 7 - патрубок для заливки реагента; 8 - вентили, 9 - манометр; 10 - патрубок для выпуска продуктов реакции.

Рис. 111. Пневматический пакер

1 - труба для подачи сжатого воздуха; 2 - фланец; 3 - опорный фланец; 4 - уплотнительный элемент; 5 - защитная покрышка; 6 - обечайка; 7 - ниппель; 8 - воздухопровод; 9 - труба для подачи реагента; 10 - резиновая прокладка; 11 - шайба; 12 - гайка; 13 - фаска для соединения хомутного типа

В условиях близкого залегания уровня подземных вод к верхней части фильтра, при установке фильтров большей длины и негерметичности эксплуатационной колонны труб используют специальное устройство (рис. 112), обеспечивающее непрерывное возвратно-поступательное движение реагента в закольматированной зоне и исключающее проникание сжатого воздуха в прифильтровую зону. Коническое седло с плавающим клапаном этого устройства представлено на рис. 113.

Рис. 112. Устройство для циклической реагентной обработки

а - после монтажа устройства; б - при задавливании реагента; 1 - скважина; 2 - фильтр; 3 - опора; 4 - труба; 5 - межтрубное пространство; 6 - пакер; 7, 18, 24 - трубопроводы; 8, 16, 19, 23, 25 - вентили; 9 - муфта; 10 - перфорированное отверстие; 11 - угловой клапан; 12 - коническое седло; 13 - шаровой клапан; 14 - реагентопровод; 15 - крышка; 17, 21 - обратные клапаны; 20 - воздуховод; 22 - манометр; 23 - уровень подземных вод; 27 - реагент.

Рис. 113. Коническое седло с плавающим шаровым клапаном и перфорированной перегородкой

19.10. При глубоком залегании уровня подземных вод (более 60 м) для восстановления производительности скважин на воду может использоваться способ “реагентной ванны”. При восстановлении производительности скважин, каптирующих песчаные отложения, рекомендуемая длительность “реагентной ванны” 10-12 ч. При обработке скважин, каптирующих водонасыщенные трещиноватые карбонатные породы, целесообразно после закачки 6-8 т кислоты в герметизированную скважину продавить ее в пласт водой. Объем продавливаемой воды составляет 3-5 м3 при расходе воды не менее расхода поданной ранее кислоты. Кислота в герметизированной скважине выдерживается до окончания реакции кислоты с породами, что контролируют по окончанию газовых выделений из скважины.

19.11. Наиболее эффективная регенерация герметизированных скважин, каптирующих песчаные породы, обеспечивается созданием пульсирующего возвратно-поступательного движения реагента в прифильтровой зоне, осуществляемого путем повышения и снятия давления или путем вакуумирования скважины с последующей ее разгерметизацией. Количество задавливаемого реагента должно быть достаточным для заполнения пор гравийной обсыпки или закольматированной прифильтровой зоны, поэтому время задавливания и снятия давления определяется положением уровня жидкости в стволе скважины, что может контролироваться с помощью уровнемера. Ориентировочно в каждом цикле повышения - снятия давления должно обеспечиваться давление 0,15-0,2 МПа/см2 в течение 5 мин для гравийных фильтров и 10 мин для фильтров сетчатого и блочного типа с последующим сбросом давления в течение 3 и 5 мин соответственно. При обработке скважины с применением специального . устройства (см. рис. 112) время окончания задавливания реагента контролируется по моменту постановки плавающего шарового клапана на коническое седло, что фиксируется скачком давления на манометре, а время сброса давления и выпуска продуктов реакции принимается не менее времени задавливания реагента.

Время окончания циклической реагентной обработки при режиме задавливания реагента сжатым воздухом может определяться по стабилизации времени восстановления уровня, или времени задавливания реагента в скважине, или по стабилизации электрического сопротивления реагента, измеряемого в фильтре скважины. Общая продолжительность обработки может также приниматься не более трех часов.

После окончания обработки производят демонтаж оборудования, монтаж эрлифта или другого водоподъемного оборудования и прокачивают скважину. При прокачке из скважины удаляются остаточное количество реагента и продукты реакции. Во всех случаях при прокачке скважин всасывающая система водоподъемного оборудования должна располагаться в нижней части фильтра. Прокачка скважины прекращается, когда электрическое сопротивление откачиваемой жидкости становится равным электрическому сопротивлению чистой воды, зафиксированному перед обработкой в скважине.

19.12. С целью интенсификации обработки и достижения высоких показателей восстановления производительности скважин целесообразно применять комбинированный виброреагентный метод, разработанный ВНИИГС и ВОДГЕО, при котором воздействие на кольматант реагентом сочетается с его гидродинамической обработкой вибрирующим рабочим органом, осуществляемой виброустановками ВУР, применяемыми для разглиниэации скважин (см. разд. 3 настоящего Пособия). Вибрирование ускоряет реакцию растворения кольматирующих веществ, способствует разрушению их структурных связей, улучшает условия массообмена на контакте реагент-кольматант.

Виброреагентная обработка скважины включает в себя серию последовательных циклов, в каждом из которых чередуют вибрирование в течение 5-10 мин и выпуск продуктов реакции 3-5 мин. Общее время вибрирования составляет 40-60 мин, после чего осуществляют прокачку скважины. Время окончания обработки может контролироваться по стабилизации электрического сопротивления реагента или по достижению стабилизации наименьших по ходу обработки амплитуд гидродинамического давления, создаваемого в фильтре вибрационным рабочим органом. Для комплексной механизации работ виброреагентную обработку рационально осуществлять с использованием самоходных агрегатов АВО-2 и АВР-1 (см, разд. 3 настоящего Пособия).

19.13. В скважинах, значительное время находившихся в эксплуатации, для эффективного восстановления их производительности рекомендуется производить предварительное разрушение кольматирующих образований с использованием импульсных методов (взрыв детонирующего шнура, электрогидравлическая и пневмоимпульсная обработка) и последующую реагентную обработку.

19.14. Межремонтный период скважин водозабора Tмр в условиях сложного взаимодействия системы скважин и их кольматации определяется по времени стабильной работы скважин как сооружения, обеспечивающего производительность водозабора в целом с обеспечением допустимого понижения уровня.

При оценке действия одиночной скважины, а также отдельных скважин в водозаборе или дренажной системе состояние скважины и необходимость ее регенерации определяются на основе построения графиков зависимости к = f(t) и q = f(t), где к - показатель сопротивления, обусловленный кольматационными процессами, q - удельный дебит скважины. Восстановительные мероприятия приурочиваются к началу интенсивного изменения этих параметров до значений меньших, чем заданная удельная производительность.

При оценке действия системы скважин необходимо принимать во внимание, что зачастую отсутствует период стабильной работы системы tстаб, и межремонтный период будет определяться темпами снижения удельной производительности системы в целом (рис. 114).

Рис. 114. Изменение во времени суммарной удельной производительности самоизливающихся скважин дренажной системы

1 - по данным наблюдений; 2 - после реагентной обработки; 3 - прогнозные снижения; 4 - требуемая производительность системы; 5 - предельный срок межремонтного периода

При уточнении начала ремонтного периода системы скважин необходимо учитывать общее количество скважин, время, затрачиваемое на их обработку, степень восстановления производительности относительно первоначальной. Это определяется способностью кольматирующих соединений растворяться в выбранном реагенте, гидродинамическими и термическими условиями обработки, эффективностью используемого способа и др.

Ориентировочно межремонтный период при эксплуатации водоносных песчаных горизонтов с железосодержащими подземными водами гидрокарбонатно-кальциевого типа составит для импульсных методов до одного года, для реагентных и комбинированвых методов два - четыре года.




Яндекс цитирования



   Copyright © 2007-2026,  www.tehlit.ru.

[ ѓосты, стандарты, нормативы, инструкции, правила, строительные нормы ]