//
ТехЛит.ру
- крупнейшая бесплатная электронная интернет библиотека для "технически умных" людей.
WWW.TEHLIT.RU - ТЕХНИЧЕСКАЯ ЛИТЕРАТУРА

:: Алготрейдинг::


АЛГОТРЕЙДИНГ
шаг за шагом
с нуля по урокам!

Торговые роботы на PYTHON, BackTrader,
Pandas, Pine Script для TradingView. Связка с брокерами, телеграм и легкими приложениями.


ГОСУДАРСТВЕННЫЙ СТАНДАРТ СОЮЗА ССР

АППАРАТУРА ЭЛЕКТРОСВЯЗИ

НАПРЯЖЕНИЯ ПИТАНИЯ И МЕТОДЫ ИЗМЕРЕНИЙ

ГОСТ 5237-83

(СТ СЭВ 3893-82)

ГОСУДАРСТВЕННЫЙ КОМИТЕТ СССР ПО СТАНДАРТАМ

Москва

ГОСУДАРСТВЕННЫЙ СТАНДАРТ СОЮЗА ССР

АППАРАТУРА ЭЛЕКТРОСВЯЗИ

Напряжения питания и методы измерений

Electric communication equipment. Supply voltages and methods of measurement

ГОСТ
5237-83

(СТ СЭВ 3893-82)

Взамен
ГОСТ 5237-69

Постановлением Государственного комитета СССР по стандартам от 7 декабря 1983 г. № 5751 срок действия установлен

с 01.01.85

до 01.01.90

Несоблюдение стандарта преследуется по закону

Настоящий стандарт распространяется на стационарную аппаратуру электросвязи (далее - аппаратура) и устанавливает значения постоянного и переменного напряжений на ее входе, а также методы их измерений.

Стандарт не устанавливает значения выходных напряжений источников вторичного питания, входящих в аппаратуру.

Термины, применяемые в стандарте, и Пояснения приведены в приложении 1. Стандарт содержит все требования стандарта СТ СЭВ 3893-82. Степень соответствия настоящего стандарта СТ СЭВ 3893-82 приведена в справочном приложении 2.

(Измененная редакция, Изм. № 1).

1. НОРМЫ НАПРЯЖЕНИЯ ПИТАНИЯ

1.1. Постоянные напряжения, на которые должна быть рассчитана аппаратура, должны соответствовать значениям, указанным в табл. 1.

Таблица 1

Номинальное напряжение питания, В

Рабочее напряжение, В, для группы по допускаемым аппаратурой рабочим напряжениям

1

2

24

От 21 до 28 включ.

От 21,6 до 26,4 включ.

 

От 20,4 до 28* включ.

 

60

От 54 до 72 включ.

От 54 до 66 включ.

 

От 48 до 72* включ.

 

* Для аппаратуры, ТЗ на разработку которой утверждено после 01.01.91.

Примечания:

1. Номинальное напряжение 60 В - предпочтительное.

2. Как правило, заземляют положительный полюс источника питания,

3. Для питания линейных и местных цепей телеграфной аппаратуры используют два источника плюс 60 В и минус 60 В, при этом несимметричность по отношению к заземленной средней точке не должна превышать 1,8 В.

(Измененная редакция, Изм. № 1).

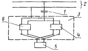
1.2. Невзвешенное (действующее) значение допускаемого напряжения пульсации должно быть не более значений, указанных в табл. 2. Значения напряжения пульсаций определяют с учетом фактического затухания фильтра ДК (см. чертеж).

Таблица 2

Диапазон частот, Гц

Невзвешенное (действующее) значение напряжения пульсации, не более, при номинальном напряжении питания

24 В

60 В

До 300

0,10

0,250

От 300 до 20000

0,01

0,015

1.3. Псофометрическое значение допускаемого напряжения пульсации, создаваемого установкой питания, должно быть не более 0,002Впсоф.

1.4. Аппаратура должна быть рассчитана на воздействие одиночного импульса прямоугольной формы с амплитудой ±20 % от Uном в течение 0,4 с и плюс 40 % от Uном в течение 0,005 с. Кроме того, аппаратура не должна повреждаться при понижении напряжения ниже пределов, указанных в табл. 1, и восстанавливать автоматически свою работоспособность при восстановлении напряжения.

1.5. Однофазные переменные напряжения и фазные напряжения трехфазного напряжения, на которые должна быть рассчитана аппаратура, должны соответствовать следующим значениям:

напряжение:

номинальное 220 В;

рабочее: от 187 до 242 В включительно для питания аппаратуры от электросети общего назначения; от 213 до 227 В включительно для питания аппаратуры от электросети общего назначения через устройства стабилизации;

частота напряжения 50 Гц;

пределы изменения частоты от 47,5 до 52,5 Гц включительно;

допускаемый коэффициент нелинейных искажений не более 10 %.

(Измененная редакция, Изм. № 1).

2. МЕТОДЫ ИЗМЕРЕНИЙ

2.1. Измерительные приборы

2.1.1. Для измерения напряжений и частоты переменного напряжения (в режиме измерения периода) следует применять соответствующие приборы, погрешность которых должна быть на порядок ниже допускаемых предельных отклонений измеряемого значения. При арбитражных испытаниях погрешность приборов не должна превышать 0,5 %.

2.1.2. Для измерения коэффициентов нелинейных искажений переменного напряжения следует применять измерители нелинейных искажений с погрешностью не более 5 %.

2.1.3. Для измерения псофометрического значения напряжения пульсации следует применять псофометр с фильтром, основные данные которого приведены в приложении 3.

2.1.4. Для измерения невзвешенного значения напряжения пульсации следует применять электронный вольтметр с квадратичной характеристикой и частотным диапазоном от 20 до 20000 Гц.

2.2. Проведение измерений

2.2.1. Значения напряжений, а также значения напряжения пульсации измеряют на входных зажимах групповых устройств токораспределения и защиты, входящих в комплект аппаратуры, или при их отсутствии на местах, предназначенных для подключения питания аппаратуры. Если значения напряжения пульсации превышают максимально допустимые, то аппаратуру заменяют эквивалентной резистивной нагрузкой, на которой измеряют пульсации.

2.2.2. Частоту измеряют в любых точках сети, питающей аппаратуру.

2.2.3. Напряжение пульсации в цепях питания аппаратуры, для которой предусматривается псофометрическое значение норм допускаемой пульсации, измеряют псофометром.

2.2.4. Невзвешенное значение напряжения пульсации в цепях питания аппаратуры в полосе частот до 300 Гц и полосе от 300 Гц и выше измеряют электронным вольтметром, который подключают к входным зажимам групповых устройств токораспределения и защиты, входящих в комплект аппаратуры, или при их отсутствии к местам, предназначенным для подключения аппаратуры, через фильтр ДК (см. чертеж) и разделительный конденсатор общей емкостью 80 мкФ по схеме, приведенной на чертеже.

Фильтр ДК, состоящий из фильтра нижних частот Д, и фильтра верхних частот К, должен иметь входное и выходное сопротивления, равные по 600 Ом.

Полоса пропускания фильтра Д - от 20 до 250 Гц, фильтра К - от 300 Гц и выше.

Для фильтра Д на частотах от 20 до 250 Гц затухание должно быть менее 3,5 дБ, а на частоте 300 Гц - от 64 дБ и выше.

Для фильтра К на частотах от 300 Гц и выше затухание должно быть до 4,3 дБ, а на частоте 250 Гц и ниже - не менее 60 дБ. В качестве разделительных конденсаторов рекомендуются неполярные конденсаторы с сопротивлением изоляции не менее 1000 мОм и с рабочим напряжением не менее удвоенного напряжения источника питания.

1 - разделительный конденсатор; 2 - цепь постоянного тока; 3 - фильтр ДК; 4 - фильтр нижних частот Д; 5 - электронный вольтметр; 6 - фильтр верхних частот К.

ПРИЛОЖЕНИЕ 1

Справочное

ТЕРМИНЫ, ПРИМЕНЯЕМЫЕ В СТАНДАРТЕ, И ПОЯСНЕНИЯ

Термин

Пояснение

1. Напряжение питания

Постоянное или переменное напряжение на входе аппаратуры, на которое она должна быть рассчитана

2. Номинальное напряжение питания

Условное значение напряжения, относительно которого устанавливают допускаемые отклонения

3. Рабочее напряжение питания

Напряжение, находящееся в пределах допускаемых отклонений от номинального напряжения, в которых обеспечивается работа аппаратуры с заданными параметрами

ПРИЛОЖЕНИЕ 2

Справочное

ИНФОРМАЦИОННЫЕ ДАННЫЕ О СООТВЕТСТВИИ ГОСТ 5237-83 СТ СЭВ 3893-82

Требования

ГОСТ 5237-83

СТ СЭВ 3893-82

Регламентирование воздействия на аппаратуру одиночных импульсов напряжения

Установлено время воздействующего импульса 0,005 с

Принята норма воздействующего импульса 0,002 с

Рабочее напряжение, В, для группы 1 при номинальном напряжении питания:

 

 

24

От 21 до 28 включ.

От 21 до 28 включ.

 

От 20,4 до 28 включ.

 

60

От 54 до 72 включ.

От 54 до 72 включ.

 

От 48 до 72 включ.

 

(Измененная редакция, Изм. № 1).

ПРИЛОЖЕНИЕ 3

Рекомендуемое

Основные данные псофометрического фильтра и значения псофометрических коэффициентов

Частота, Гц

Относительные уровни, дБ

Псофометрические коэффициенты

50

-63,0

0,00071

100

-41,0

0,00892

150

-29,0

0,0354

200

-21,0

0,0889

300

-10,6

0,2952

400

-6,3

0,4819

500

-3,6

0,6637

600

-2,0

0,7945

800

0,0

1,0000

1000

+1,0

1,1250

1200

0,0

1,0000

1500

-1,3

0,8607

2000

-3,0

0,7082

2500

-4,2

0,6163

3000

-5,6

0,5296

4000

-15,0

0,1773

5000

-36,0

0,0159

Допускаемые предельные отклонения относительных уровней

Частота, Гц

Предельное отклонение, дБ

От 50 до 300 включ.

±2

Св. 300 до 800 включ.

±1

800

0

От 801 до 3000 включ.

±1

Св. 3000 до 3500 включ.

±2

Св. 3500 до 5000 включ.

±3

СОДЕРЖАНИЕ

 




Яндекс цитирования



   Copyright © 2007-2026,  www.tehlit.ru.

[ ѓосты, стандарты, нормативы, инструкции, правила, строительные нормы ]