//
ТехЛит.ру
- крупнейшая бесплатная электронная интернет библиотека для "технически умных" людей.
WWW.TEHLIT.RU - ТЕХНИЧЕСКАЯ ЛИТЕРАТУРА

:: Алготрейдинг::


АЛГОТРЕЙДИНГ
шаг за шагом
с нуля по урокам!

Торговые роботы на PYTHON, BackTrader,
Pandas, Pine Script для TradingView. Связка с брокерами, телеграм и легкими приложениями.


ГОСТ 30673-99

МЕЖГОСУДАРСТВЕННЫЙ СТАНДАРТ

ПРОФИЛИ ПОЛИВИНИЛХЛОРИДНЫЕ
ДЛЯ ОКОННЫХ И ДВЕРНЫХ БЛОКОВ

Технические условия

МЕЖГОСУДАРСТВЕННАЯ НАУЧНО-ТЕХНИЧЕСКАЯ КОМИССИЯ
ПО СТАНДАРТИЗАЦИИ, ТЕХНИЧЕСКОМУ НОРМИРОВАНИЮ
И СЕРТИФИКАЦИИ В СТРОИТЕЛЬСТВЕ
(МНТКС)

Предисловие

1 РАЗРАБОТАН Управлением стандартизации, технического нормирования и сертификации Госстроя России при участии фирмы ЗАО «КВЕ Оконные технологии», ОАО «Полимерстройматериалы», НИУПЦ «Межрегиональный институт окна».

ВНЕСЕН Госстроем России

2 ПРИНЯТ Межгосударственной научно-технической комиссией по стандартизации, техническому нормированию и сертификации в строительстве (МНТКС) 2 декабря 1999 г.

За принятие проголосовали

Наименование государства

Наименование органа государственного управления строительством

Республика Армения

Министерство градостроительства Республики Армения

Республика Казахстан

Комитет по делам строительства Министерства энергетики, индустрии и торговли Республики Казахстан

Кыргызская Республика

Государственная инспекция по архитектуре и строительству при Правительстве Кыргызской Республики

Республика Молдова

Министерство развития территорий, строительства и коммунального хозяйства Республики Молдова

Российская Федерация

Госстрой России

Республика Таджикистан

Комитет по делам архитектуры и строительства Республики Таджикистан

Республика Узбекистан

Государственный комитет строительства, архитектуры и жилищной политики Узбекистана

3 ВВЕДЕН ВПЕРВЫЕ

4 ВВЕДЕН В ДЕЙСТВИЕ с 1 января 2001 г. в качестве государственного стандарта Российской Федерации постановлением Госстроя России от 06.05.2000 г. № 38.

СОДЕРЖАНИЕ

ГОСТ 30673-99

МЕЖГОСУДАРСТВЕННЫЙ СТАНДАРТ

ПРОФИЛИ ПОЛИВИНИЛХЛОРИДНЫЕ ДЛЯ ОКОННЫХ И ДВЕРНЫХ БЛОКОВ

Технические условия

POLYVINYLCHLORIDE PROFILES FOR WINDOWS AND DOORS

Specifications

Дата введения 2001-01-01

1 Область применения

Настоящий стандарт распространяется на профили поливинилхлоридные белого цвета, окрашенные в массе, для оконных и дверных блоков (далее - профили), изготавливаемые способом экструзии из композиции на основе непластифицированного поливинилхлорида повышенной ударной вязкости и стойкости к климатическим воздействиям.

Требования настоящего стандарта распространяются также на поливинилхлоридные профили, изготавливаемые способом экструзии и предназначенные для комплектации оконных и дверных блоков (наличники, нащельники, подоконные доски, соединители, расширители и др.).

Требования настоящего стандарта являются обязательными (кроме оговоренных в тексте стандарта как рекомендуемые или справочные).

Настоящий стандарт может быть использован для целей сертификации.

2 Нормативные ссылки

В настоящем стандарте использованы ссылки на следующие стандарты:

ГОСТ 166-89 Штангенциркули. Технические условия

ГОСТ 427-75 Линейки измерительные металлические. Технические условия

ГОСТ 3749-77 Угольники поверочные 90°. Технические условия

ГОСТ 4647-80 Пластмассы. Метод определения ударной вязкости по Шарпи

ГОСТ 5378-88 Угломеры с нониусом. Технические условия

ГОСТ 7502-98 Рулетки измерительные металлические. Технические условия

ГОСТ 9416-83 Уровни строительные. Технические условия

ГОСТ 9550-81 Пластмассы. Методы определения модуля упругости при растяжении, сжатии и изгибе

ГОСТ 10354-82 Пленка полиэтиленовая. Технические условия

ГОСТ 11262-80 Пластмассы. Метод испытания на растяжение

ГОСТ 11529-86 Материалы поливинилхлоридные для полов. Методы контроля

ГОСТ 12020-72 Пластмассы. Методы определения стойкости к действию химических сред

ГОСТ 15088-83 Пластмассы. Метод определения температуры размягчения термопластов по Вика

ГОСТ 17308-88 Шпагаты. Технические условия

ГОСТ 24643-81 Основные нормы взаимозаменяемости. Допуски формы и расположения поверхностей. Числовые значения

ГОСТ 26433.0-85 Система обеспечения точности геометрических параметров в строительстве. Правила выполнения измерений. Общие положения

ГОСТ 26433.1-89 Система обеспечения точности геометрических параметров в строительстве. Правила выполнения измерений. Элементы заводского изготовления

ГОСТ 26602.1-99 Блоки оконные и дверные. Методы определения сопротивления теплопередаче

ГОСТ 30674-99 Блоки оконные из поливинилхлоридных профилей. Технические условия

3 Термины и определения

В настоящем стандарте применяют следующие термины с соответствующими определениями.

Профиль (допускается - брусок) - мерный отрезок изделия, произведенного способом экструзии, с заданными формой и размерами сечения.

Главный профиль - профиль, который выполняет прочностную функцию в качестве составной части оконных, балконных и дверных конструкций (профили коробок, створок, импостов и, в отдельных случаях, штульповые, соединительные и расширительные профили).

Примечание - Штульповой профиль (штульп) - накладной профиль, жестко закрепляемый на створку и обеспечивающий безимпостный притвор.

Доборный профиль - профиль, который не выполняет прочностную функцию в качестве составной части оконных, балконных и дверных конструкций (соединительные, расширительные и штульповые профили, штапики, отливы, наличники, декоративные накладки, детали декоративных переплетов и др.).

Внешняя лицевая стенка профиля - стенка профиля, которая видна в смонтированном и закрытом оконном или дверном блоке.

Внешняя нелицевая стенка профиля - наружная стенка профиля, которая не видна в смонтированном и закрытом оконном или дверном блоке.

Внутренняя стенка профиля - стенка (перегородка) профиля, расположенная внутри пространства, ограниченного внешними стенками профиля.

Отклонение от прямолинейности - отклонение продольной оси или любой кромки профиля от прямой линии.

Ширина профиля - наибольший размер поперечного сечения профиля между лицевыми поверхностями (наружными поверхностями внешних лицевых стенок).

Высота профиля - наибольший размер поперечного сечения профиля в направлении, перпендикулярном ширине профиля.

Камера - полость профиля, образованная его стенками. Камеры располагают последовательно по ширине профиля. Камера может состоять из ряда подкамер, разделенных перегородками, как правило, по ее высоте.

Основная камера - камера, предназначенная для установки усилительного вкладыша.

Морозостойкий профиль - профиль, предназначенный для применения в районах со средней месячной температурой воздуха в январе ниже минус 20 °С (контрольная нагрузка при испытаниях на долговечность - минус 55 °С).

Повреждения, дефекты - раковины, вздутия, трещины, риски и царапины на любой поверхности, а также расслаивание в области поперечного сечения профиля.

Формоустойчивость - свойство профилей сохранять форму под воздействием эксплуатационных и других нагрузок.

Долговечность профилей - характеристика (параметр) профилей, определяющая их способность сохранять эксплуатационные свойства в течение заданного срока, подтвержденная результатами лабораторных испытаний и выражаемая в условных годах эксплуатации (срока службы).

Профильная система - набор (комплект) главных и доборных профилей, образующих законченную конструктивную систему оконных (дверных) блоков, отраженную в технической документации на ее изготовление, монтаж и эксплуатацию.

а- поперечное сечение профиля коробки; б- то же, створки

1 - лицевая внешняя стенка; 2 - нелицевая внешняя стенка; 3 - внутренняя стенка; 4 - первая камера; 5 - вторая (основная) камера; 6 - третья камера; 7 - паз для установки уплотняющей прокладки; 8 - паз для установки штапика; 9 - паз под запирающий прибор; 10- монтажные зацепы; С1-С5 - функциональные размеры пазов

Рисунок 1 - Конструктивные элементы профилей

Комбинация профилей - узлы соединения сопрягаемых профилей (например, профиль коробки - профиль створки со штапиком), определяющие основные технические параметры профильной системы.

Артикул профиля - буквенно-цифровое обозначение конкретной конструкции профиля, входящего в профильную систему, устанавливаемое в технической документации.

Определения конструктивных элементов профилей приведены в ГОСТ 30674 и на рисунке 1.

4 Классификация и условные обозначения

4.1 В зависимости от функционального назначения (по восприятию нагрузок в качестве составной части конструкции оконных и дверных блоков) профили подразделяют на главные и доборные. Примеры сечений профилей различных типов приведены в приложении А.

4.2 По конструктивному исполнению в зависимости от числа рядов внутренних камер по ширине сечения, влияющих на теплотехнические характеристики, главные профили подразделяют на: одно-, двух-, трех-, четырехкамерные и более.

4.3 В зависимости от стойкости к климатическим воздействиям изделия подразделяют по видам исполнения:

- нормального исполнения - для районов со средней месячной температурой воздуха в январе минус 20 °С и выше (контрольная нагрузка при испытаниях - минус 45 °С) в соответствии с действующими строительными нормами;

- морозостойкого исполнения (М) - для районов со средней месячной температурой воздуха в январе ниже минус 20 °С (контрольная нагрузка при испытаниях - минус 55 °С ) в соответствии с действующими строительными нормами.

4.4 В зависимости от толщины лицевых и нелицевых внешних стенок главные профили подразделяют на три класса, указанные в таблице 1.

Таблица 1

Внешняя стенка

Толщина внешних стенок, мм, не менее для классов

А

В

С

Лицевая

3,0

2,5

Не нормируется

Нелицевая

2,5

2,0

То же

Толщину внутренних стенок профилей не нормируют.

Примечание - Классификация профилей по толщине стенок не вносит различия в требования к качеству профилей или оконных конструкций из них. Толщина стенок является косвенной характеристикой формоустойчивости и прочности профилей.

4.5 По виду отделки лицевых поверхностей профили подразделяют на:

- белого цвета, окрашенные в массе;

- отделанные декоративной пленкой (ламинированные);

- с коэкструдированным лицевым покрытием.

4.6 По приведенному сопротивлению теплопередаче профили (комбинация профилей без усилительных вкладышей с установленными уплотняющими прокладками) подразделяют на классы:

класс 1 - приведенное сопротивление теплопередаче св. 0,80 м2×°С/Вт;

класс 2 -            »                         »                     »           0,70-0,79 м2×°С/Вт;

класс 3 -            »                         »                     »           0,60-0,69 м2×°С/Вт;

класс 4 -            »                        »                      »           0,50-0,59 м2×°С/Вт;

класс 5 -            »                        »                      »           0,40-0,49 м2×°С/Вт.

4.7 Условное обозначение профилей должно включать в себя обозначение материала изделий, наименование предприятия-изготовителя (или его торговую марку) или наименование системы профилей по технической документации, артикул профиля согласно технической документации, обозначение настоящего стандарта.

Пример условного обозначения:

Профиль ПВХ «Пласт» 3067 ГОСТ 30673-99.

Профиль поливинилхлоридный, выпускаемый фирмой «Пласт», артикул по технической документации - номер 3067.

При обозначении морозостойкого исполнения профилей к артикулу добавляют букву «М», например:

Профиль ПВХ «Пласт» 3067 М ГОСТ 30673-99.

В случае изготовления профилей, отделанных декоративной пленкой или с коэкструдированным покрытием, к обозначению профилей в сопроводительной документации и паспорте на изделия добавляют соответственно слова «декор» или «коэкструдированный» вместе с номером образца-эталона. При нанесении пленки или покрытия с одной стороны добавляют слово «односторонний».

Допускается вводить в обозначение профилей дополнительную информацию, устанавливаемую в технической документации на системы профилей.

В случае проведения экспортно-импортных операций условное обозначение профилей допускается уточнять в договоре на поставку продукции (в том числе вводить буквенно-цифровую или другую информацию).

5 Технические требования

5.1 Общие требования

Профили должны соответствовать требованиям настоящего стандарта и изготавливаться по конструкторской и технологической документации, утвержденной в установленном порядке.

Состав рабочей документации на системы ПВХ профилей приведен в приложении Б.

5.2 Основные размеры, требования к допускам размеров и формы

5.2.1 Профили должны поставляться в мерных отрезках длиной (6000 + 35) мм.

По согласованию с потребителем допускается поставка профилей иной длины.

5.2.2 Номинальные размеры и форма поперечного сечения профилей должны быть указаны в технической документации предприятия-изготовителя.

5.2.3 Предельные отклонения номинальных размеров высоты, ширины, а также функциональных размеров пазов для уплотняющих прокладок, штапиков, запирающих приборов и других размеров главных профилей приведены в таблице 2.

Таблица 2

Наименование размера

Предельное отклонение, мм

Ширина

±0,3

Высота

±0,5

Функциональные размеры пазов

±0,3

Другие размеры

±0,5

Требования к размерам доборных профилей и к предельным отклонениям от них устанавливают в технической документации.

5.2.4 Предельные отклонения номинальной толщины внешних стенок главных профилей устанавливают в технической документации предприятия-изготовителя

                         + 0,1

но не более - 0,3 мм (значение верхнего допуска является рекомендуемым).

5.2.5 Предельные отклонения от формы профилей (дефекты формы профилей приведены на рисунке 2) не должны быть более:

- от прямолинейности лицевых стенок по поперечному сечению - ±0,3 мм на 100 мм (рисунок 2, а);

- от перпендикулярности внешних стенок профилей коробок - 1 мм на 50 мм высоты профиля (рисунок 2, б);

- от параллельности лицевых стенок по поперечному сечению профиля - 1 мм на 100 мм (рисунок 2, в);

- от прямолинейности сторон профиля по длине - 1 мм на 1000 мм длины (рисунок 2, г).

5.2.6 Толщина декоративного ламинированного, а также коэкструдированного покрытия - свыше 50 мкм (справочный показатель).

5.3 Характеристики (свойства)

5.3.1 Показатели физико-механических свойств профилей должны соответствовать требованиям, указанным в таблице 3.

5.3.2 Масса 1 м длины профиля должна соответствовать величине, указанной в технической документации предприятия-изготовителя. Отклонение от массы не должно превышать 7 % указанной величины.

Таблица 3

Наименование показателя

Значение

Прочность при растяжении, МПа, не менее*

37,0

Модуль упругости при растяжении, МПа, не менее*

2100

Ударная вязкость по Шарпи, кДж/м2, не менее*

15

Температура размягчения по Вика, °С, не менее*

75

Изменение линейных размеров после теплового воздействия, %, не более:

 

для главных профилей

2,0

разность в изменении линейных размеров по лицевым сторонам

0,4

для доборных профилей

3,0

Термостойкость при 150 °С в течение 30 мин

Не должно быть вздутий, трещин, расслоений

Стойкость к удару при отрицательной температуре

Разрушение не более одного образца из десяти

Изменение цвета белых профилей после облучения в аппарате «Ксенотест», порог серой шкалы, не более

4

Изменение ударной вязкости после облучения в аппарате «Ксенотест», %, не более

20

Примечания

1 Номинальные значения показателей, отмеченных знаком *, указывают в технической документации изготовителя.

2 Предельные отклонения значения температуры размягчения по Вика от установленной в технической документации не должны превышать (± 3) °С.

3 Термостойкость профилей с декоративным ламинированным и коэкструдированным покрытием испытывают при 120 °С.

4 Стойкость к удару подоконных досок испытывают при положительной температуре.

5.3.3 Цвет изделий должен быть однотонным, без цветовых пятен и включений. Дефекты поверхности (риски, усадочные раковины, вздутия, царапины, пузырьки и т.д.) и разнотонность цвета не допускаются.

На нелицевых поверхностях изделий допускаются незначительные дефекты экструзии: полосы, риски и т.д.

Показатели внешнего вида профилей: цвет, глянец, качество лицевых и нелицевых поверхностей (дефекты поверхности) - должны соответствовать цвету, глянцу и качеству поверхностей образцов-эталонов, согласованных в установленном порядке.

5.3.4 Лицевые поверхности главных профилей должны быть покрыты защитной пленкой, предохраняющей их от повреждений при транспортировании, а также при производстве и монтаже оконных и дверных блоков.

После удаления защитной пленки внешний вид изделий должен соответствовать требованиям настоящего стандарта.

5.3.5 Торцы мерных отрезков профиля должны быть ровно обрезаны под прямым углом (90±5)° к их оси и не иметь дефектов механической обработки (порядок контроля этого показателя устанавливают в технологическом регламенте).

5.3.6 Цветовая (колориметрическая) характеристика профилей должна лежать в диапазоне: L³90; -3,0<а<3,0; -1,0<b<5,0.

При этом отклонения от номинальных значений цветовых характеристик профилей, установленных в технической документации изготовителя (или образцами-эталонами), не должны превышать: L< 1,0; a£0,5; b£1,0; Eab£1,3.

Предельные отклонения номинальных цветовых характеристик доборных профилей, невидимых при эксплуатации изделий, допускается устанавливать по согласованию изготовителя с потребителем.

Примечание - Требования настоящего пункта являются обязательными с 1.07.2001 г.

5.3.7 Профили должны быть долговечными (стойкими к длительным климатическим воздействиям).

Долговечность профилей должна быть не менее 40 условных лет эксплуатации. До 01.07.2002 г. значение показателя долговечности - 20 условных лет эксплуатации.

5.3.8 Прочность сварных соединений на растяжение должна быть не ниже 70 % прочности целых профилей (коэффициент прочности сварки - 0,7).

5.3.9 Сварные угловые соединения профилей класса А должны выдерживать действие нагрузок, приложенных:

по схеме А рисунка 4, не менее:

1200 Н - для створок (в том числе для обвязок полотен балконных дверных блоков), 2500 Н - для обвязок полотен дверных блоков, 1000 Н - для коробок;

по схеме Б рисунка 4, не менее:

2400 Н - для створок (в том числе для обвязок полотен балконных дверных блоков), 5000 Н - для обвязок полотен дверных блоков, 2000 Н - для коробок.

Расчетные значения прочности угловых соединений для профилей конкретных сечений устанавливают в технической документации изготовителя.

Примечание - Требования к прочности сварных соединений профилей классов В и С устанавливают в нормативной и технической документации на конкретные виды изделий этих классов.

5.3.10 Значения показателя приведенного сопротивления теплопередаче комбинации профилей, предназначенных для эксплуатации в отапливаемых помещениях, составляют (0,40-0,90) м2×°С/Вт в зависимости от числа, расположения и размера камер.

5.3.11 Профили должны быть стойкими к слабоагрессивному кислотному, щелочному и соляному воздействию.

5.3.12 Прочность сцепления декоративного ламинированного отделочного покрытия с профилем-основой должна быть не менее 2,5 Н/мм.

5.3.13 Профили должны иметь гигиеническое заключение органов Госсанэпиднадзора, оформленное в установленном порядке. При изменении рецептуры экструдируемой смеси следует проводить повторную гигиеническую оценку изделий.

Профили при эксплуатации и хранении не должны оказывать вредного влияния на организм человека.

5.4 Требования к сырью и материалам

Сырье и материалы, применяемые для изготовления профилей, должны отвечать требованиям стандартов, технических условий, технических свидетельств и контрактов на поставку.

Контролируемые требования к сырью и материалам, а также к технологической композиции устанавливают в технологическом регламенте. Допускается использование вторичного поливинилхлорида при условии соответствия физико-механических характеристик профилей требованиям настоящего стандарта.

5.5 Маркировка

5.5.1 На каждый главный профиль должна быть нанесена разборчивая маркировка не менее чем через каждые 1000 мм по всей длине профиля. Маркировку следует наносить на поверхности профилей таким образом, чтобы обеспечивалась возможность ее визуального контроля после изготовления и монтажа изделия (указанное требование является обязательным с 01.01.2002 г.). Допускается нанесение маркировки в зонах профиля, доступных визуальному контролю после демонтажа стеклопакета.

Маркировка должна содержать:

- номер экструдера, партии и (или) смены;

- дату изготовления;

- условное обозначение профилей по 4.7 (кроме слова «Профиль»).

Допускается включать в маркировку дополнительные сведения согласно требованиям технической документации предприятия-изготовителя или условий потребителя.

5.5.2 На каждую упаковку (пачку, палетту, поддон) главных и доборных профилей прикрепляют этикетку с маркировкой, которая должна включать:

- условное обозначение профиля;

- число профилей (шт.);

- длину профилей (м);

- дату упаковки;

- номер упаковщика (приемщика).

6 Правила приемки

6.1 Профили должны быть приняты техническим контролем предприятия-изготовителя. Профили принимают партиями.

Партией считают число профилей одного артикула, изготовленных на одной технологической линии в объеме сменной выработки. Допускается принимать за партию меньшее число профилей, при этом объем партии устанавливают в технологической документации.

Подтверждением приемки партии изделий техническим контролем предприятия-изготовителя является оформление документов о приемке и качестве.

6.2 При приемке изделий потребителем за партию изделий принимают число профилей одной марки, доставленных одним транспортным средством и оформленных одним документом о качестве (если в договоре на поставку не оговорены другие условия).

6.3 Качество профилей контролируют путем проведения приемосдаточных и периодических испытаний в соответствии с требованиями таблицы 4.

6.4 Приемосдаточные испытания проводят для каждой партии профилей. Приемосдаточные испытания в пределах одной сменной выработки профилей повторяют в том случае, если в состав композиции для экструзии введены новые партии хотя бы одного составляющего компонента.

6.5 Приемосдаточные испытания проводит служба качества (лаборатория) предприятия-изготовителя профилей.

Для проверки соответствия профилей требованиям настоящего стандарта от каждой партии методом случайного отбора отбирают не менее 5 шт. профилей, на которых проверяют маркировку, длину, качество реза торцов.

Допускается отбирать мерные отрезки профиля непосредственно с технологической линии.

Из мерных профилей вырезают отрезки (образцы) длиной (1000±5) мм для проверки предельных отклонений от формы, массы и показателей внешнего вида.

Число образцов для всех видов испытаний устанавливают согласно требованиям раздела 7.

После проверки указанных показателей из метровых отрезков главного профиля выпиливают образцы для определения физико-механических показателей и проверки предельных отклонений геометрических размеров сечения и проводят испытания согласно таблице 4.

При получении неудовлетворительных результатов испытаний хотя бы по одному из проверяемых показателей проводят повторные испытания удвоенного числа образцов, отобранных от других мерных профилей той же партии.

Таблица 4

Наименование показателя

Вид испытания

Пункт стандарта

приемосдаточное

периодическое

требование

метод испытания

Маркировка профиля, наличие защитной пленки

+

-

5.5, 5.3.4

7.2

Допуски формы и предельные отклонения номинальных размеров

+

 

5.2, 5.3.5

7.4- 7.7

Масса 1 м

+

-

5.3.2

7.8

Показатели внешнего вида, включая цвет (по образцам-эталонам)

+

-

5.3.3

7.9

Изменение линейных размеров после теплового воздействия

+

+

5.3.1

7.12

Стойкость к удару

+

+

5.3.1

7.14

Прочность сварных угловых соединений

+

+

5.3.9

7.17

Термостойкость

+

+

5.3.1

7.15

Цвет (по координатному методу)

-

+

5.3.6

7.20

Температура размягчения по Вика

 

+

5.3.1

7.10

Прочность и модуль упругости при растяжении

-

+

5.3.1

7.11

Коэффициент прочности сварки

-

+

5.3.8

7.16

Ударная вязкость по Шарпи

-

+

5.3.1

7.13

Изменение цвета и ударной вязкости после облучения в аппарате «Ксенотест»

 

+

5.3.1

7.18, 7.19

Долговечность

-

+

5.3.7

7.20

Стойкость к химическому воздействию

-

+

5.3.11

7.21

Прочность сцепления ламинированного покрытия

-

+

5.3.12

7.20

Примечания

1 Приемосдаточные испытания по показателям стойкости к удару, термостойкости, изменению линейных размеров после теплового воздействия и прочности сварных угловых соединений допускается проводить один раз в трое суток.

2 Главные профили принимают по всем показателям, предусмотренным настоящим стандартом, доборные - по геометрическим размерам, внешнему виду и массе, подоконные доски - по геометрическим размерам, внешнему виду, массе, стойкости к химическому воздействию и стойкости к удару.

При получении неудовлетворительных результатов повторных испытаний партия профилей приемке не подлежит.

6.6 Периодические испытания по показателям, указанным в таблице 4, проводят при изменении технологии (рецептуры), но не реже чем один раз в три года.

Приведенное сопротивление теплопередаче комбинации профилей определяют при внесении изменений в конструкцию профилей.

Долговечность и стойкость к химическому воздействию определяют при изменении технологии (рецептуры).

При постановке профилей на производство проводят их квалификационные испытания на соответствие всем требованиям настоящего стандарта. В обоснованных случаях допускается совмещать квалификационные и сертификационные испытания.

Испытания проводят в независимых испытательных центрах, аккредитованных на право их проведения.

6.7 Потребитель имеет право проводить контрольную проверку качества профилей, соблюдая при этом установленный порядок отбора образцов и методы испытаний, указанные в настоящем стандарте.

6.8 По договоренности сторон приемка изделий потребителем может производиться на складе изготовителя, на складе потребителя или в ином, оговоренном в договоре на поставку, месте.

6.9 Приемка изделий потребителем не освобождает изготовителя от ответственности при обнаружении скрытых дефектов, приведших к нарушению эксплуатационных характеристик изделий в течение гарантийного срока службы.

6.10 Каждая партия профилей должна сопровождаться документом о качестве (паспортом), в котором указывают:

- наименование и адрес предприятия-изготовителя или его товарный знак;

- условное обозначение профилей;

- сведения о сертификации изделия;

- номер партии и (или) смены изготовления;

- дату отгрузки;

- количество профилей в штуках и (или) в метрах; пачек (палетт, поддонов);

- номер настоящего стандарта;

- другие требования (по усмотрению предприятия-изготовителя).

Документ о качестве должен иметь знак (штамп), подтверждающий приемку партии изделий техническим контролем предприятия-изготовителя.

Допускается сопровождать одно транспортное средство, включающее в себя несколько марок профилей, одним документом о качестве.

Документ о качестве по согласованию изготовителя с потребителем может включать в себя технические характеристики изделий или другую информацию.

При экспортно-импортных операциях содержание сопроводительного документа о качестве уточняют в договоре на поставку изделий.

7 Методы испытаний

7.1 Профили после изготовления и до проведения приемосдаточных испытаний должны быть выдержаны при температуре (21±3) °С не менее 1 ч (контроль маркировки и наличия защитной пленки допускается проводить в процессе производства).

При проведении периодических испытаний, а также в случае, если профили хранились (транспортировались) при температуре, отличной от указанной, перед испытанием их кондиционируют при температуре (21±3) °С в течение суток.

Испытания, если нет других указаний, проводят при температуре (21±3) °С.

7.2 Маркировку и наличие защитной пленки проверяют визуально.

7.3 При выполнении измерений линейных размеров, а также отклонений от формы изделий руководствуются требованиями ГОСТ 26433.0, ГОСТ 26433.1.

7.4 Длину профилей измеряют на пяти мерных отрезках металлической рулеткой 2-го класса точности по ГОСТ 7502.

Результат испытаний считают удовлетворительным, если четыре из пяти (при повторном испытании девять из десяти) измерений отвечают установленным требованиям, а результат пятого (десятого) измерения отличается от установленных требований к допускаемым отклонениям не более чем на 50 %.

7.5 Порядок определения качества реза профилей по длине устанавливают в технологическом регламенте.

7.6 Отклонения формы профиля определяют согласно рисунку 2 на трех метровых отрезках (образцах).

За результат измерения каждого параметра принимают среднее арифметическое значение результатов измерений трех образцов. При этом значение каждого результата должно находиться в пределах допусков, установленных в 5.2.5.

7.6.1 Отклонения от прямолинейности лицевых стенок профиля по поперечному сечению и от перпендикулярности внешних стенок профилей коробок измеряют щупом, определяя наибольший зазор между поверхностью профиля и стороной угольника по ГОСТ 3749 (рисунки 2,а, 2,б).

Для определения отклонений от параллельности лицевых стенок профиля по поперечному сечению используют две металлические линейки по ГОСТ 427, которые прижимают ребрами одну над другой перпендикулярно продольной оси образца (рисунок 2, в).

Измеряют расстояния между ребрами линеек штангенциркулем на 100 мм длины. Величину отклонения от параллельности лицевых стенок определяют как разность между наибольшим и наименьшим размерами.

Измерения проводят в трех точках по длине образца. За результат измерения по каждому образцу принимают значение наибольшего отклонения.

7.6.2 Для определения отклонений от прямолинейности сторон профиля по длине образец прикладывают поочередно всеми наружными поверхностями к поверочной плите и с помощью щупа замеряют расстояние между профилем и поверхностью поверочной плиты. За величину отклонения от прямолинейности принимают максимальное значение этого расстояния (рисунок 2, г).

Примечание - Для испытаний допускается использовать поверхность любого средства измерения (например, строительного уровня по ГОСТ 9416) с допуском плоскостности не менее девятой степени точности по ГОСТ 24643.

7.7 Отклонение номинальных размеров поперечного сечения определяют на пяти отрезках профиля длиной 50-100 мм.

Размеры замеряют на каждом торце отрезка штангенциркулем по ГОСТ 166.

Допускается проводить контроль отклонений номинальных размеров поперечных сечений профилей при помощи оптических и других приборов, обеспечивающих точность измерения 0,1 мм. В этом случае длину отрезков устанавливают в соответствии с техническими характеристиками испытательного оборудования.

За результат испытания по каждому параметру измерения принимают среднеарифметическое значение результатов замеров, при этом каждый результат измерения не должен превышать допускаемых предельных отклонений.

7.8 Определение массы 1 м профиля

7.8.1 Средства испытаний и вспомогательные устройства Весы лабораторные, обеспечивающие погрешность взвешивания не более 1 г.

Линейка металлическая по ГОСТ 427 или другой измерительный инструмент, обеспечивающий точность измерения 1 мм.

7.8.2 Порядок подготовки и проведения испытания Испытание проводят на трех отрезках, отобранных по 6.5 настоящего стандарта.

Измеряют фактическую длину L1, и массу образца т.

а - Dа - отклонение от прямолинейности лицевой стенки по поперечному сечению профиля; б - Dб - отклонение от перпендикулярности внешних стенок профиля коробок по поперечному сечению; в - Dh - отклонение от параллельности лицевых стенок профиля по поперечному сечению (Dh = h1 - h2); г - Dc - отклонение от прямолинейности сторон профиля по длине

Рисунок 2 - Определение дефектов формы профиля

7.8.3 Обработка результатов

Массу 1 м профиля. М, г, вычисляют по формуле

М=,                                                                 (1)

где т - масса образца, г;

L - длина образца, равная 1 м;

L1 - длина образца, м.

Результат округляют до 1 г.

За результат испытания принимают среднеарифметическое значение результатов испытаний трех образцов, при этом значение каждого результата должно соответствовать требованиям 5.3.2.

7.9 Соответствие профилей показателям внешнего вида (5.3.3) определяют визуально путем сравнения с образцами-эталонами отрезков профиля длиной не менее 250 мм при равномерной освещенности не менее 300 лк с расстояния 0,6-0,8 м.

Испытания проводят на трех образцах. Результат испытания признают удовлетворительным, если каждый образец отвечает требованиям 5.3.3.

7.10 Температуру размягчения по Вика определяют на трех образцах, вырезанных из лицевых внешних стенок профиля, по ГОСТ 15088 (способ В, вариант нагревания - 1, теплопередающая среда - силиконовое масло и жидкий парафин).

За результат испытания принимают среднеарифметическое значение результатов испытаний трех образцов. Испытания признают удовлетворительным, если это значение не отличается более чем на 3 °С от номинального значения, установленного в технической документации, а результат испытания каждого образца - не ниже 75 °С.

7.11 Прочность и модуль упругости при растяжении определяют соответственно по ГОСТ 11262 и ГОСТ 9550 на пяти образцах со следующими дополнениями:

- тип образца - 3, ширина образца - (15,0±0,5) мм. Образцы вырезают из лицевой внешней стенки профиля в направлении его продольной оси; толщина равна толщине профиля в месте вырезки образца;

- расчетная длина - (100±1) мм;

- скорость перемещения испытательной машины при определении прочности при растяжении - (50±5) мм/мин и (2±0,2) мм/мин - при определении модуля упругости.

За результат испытания принимают среднеарифметическое значение результатов испытаний пяти образцов, при этом значение каждого результата испытаний не должно быть ниже установленного в 5.3.1 более чем на 20 %.

7.12 Изменение линейных размеров после теплового воздействия определяют по ГОСТ 11529 методом «по рискам» на трех образцах длиной (220±5) мм в продольном направлении со следующими дополнениями:

- линейка измерительная по ГОСТ 427;

- расстояние между иглами разметочного шаблона - (200±0,1) мм;

- риски наносят на лицевые поверхности образца;

- образец укладывают на пластинку, покрытую тальком;

- температура теплового воздействия - (100±2) °С;

- время теплового воздействия - (60±2) мин.

Профили считают выдержавшими испытания, если изменения линейных размеров не превышают значений, установленных в таблице 3.

7.13 Ударную вязкость по Шарпи определяют по ГОСТ 4647 на пяти образцах типа ЗА со следующими дополнениями:

образцы вырезают из лицевой внешней стенки профиля в направлении его продольной оси;

надрез производят на лицевой поверхности;

толщина под надрезом должна составлять не менее 2/3 толщины стенки.

За результат испытания принимают среднеарифметическое значение результатов испытаний пяти образцов. При этом каждый результат испытаний должен быть не менее 10 кДж/м2.

7.14 Определение стойкости к удару при отрицательной и положительной температурах

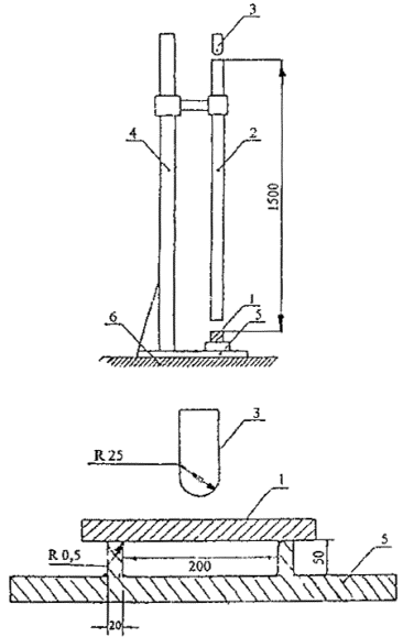
7.14.1 Средства испытаний и вспомогательные устройства Устройство для определения стойкости к удару (рисунок 3) должно отвечать следующим требованиям:

- радиус сферической поверхности бойка - (25±0,5) мм;

- масса бойка - (1000±5) г;

- высота падения бойка (1500±10) мм;

- расстояние между опорами - (200±1) мм;

7.14.2 Испытание проводят на десяти образцах длиной (300±2) мм.

Испытания подоконных досок проводят на образцах профиля доски длиной (100±2) мм.

7.14.3 До испытаний образцы профилей обычного исполнения выдерживают в холодильной камере при температуре минус (10±1) °С, а образцы профилей морозостойкого исполнения - минус (20±1) °С в течение не менее 1 ч.

Образцы профилей подоконных досок выдерживают при температуре (6±3) °С.

Остальные условия испытаний подоконных досок аналогичны условиям испытаний главных профилей.

7.14.4 Порядок проведения испытания

Образец извлекают из холодильной камеры и укладывают на опоры таким образом, чтобы испытанию подверглась поверхность профиля, работающая в эксплуатационных условиях снаружи здания.

Профиль должен быть расположен таким образом, чтобы удар бойка приходился в середину камеры.

Испытания проводят не позже чем через 10 с после извлечения образца из холодильной камеры.

Поднимают боек и с помощью стопорного винта устанавливают на высоте 1500 мм. Затем освобождают боек, который по трубе свободно падает на образец. После удара боек поднимают, вынимают образец и визуально осматривают его.

При испытаниях подоконных досок высоту падения бойка допускается устанавливать 700 мм.

7.14.5 Обработка результатов

Образец считают выдержавшим испытание, если при визуальном контроле на его поверхности не обнаружено трещин, разрушений, отслоений отделочного покрытия. В месте удара допускаются вмятины на поверхности образца.

Результат испытаний считают удовлетворительным, если испытания выдержали не менее девяти из десяти испытанных образцов.

7.15 Определение термостойкости

7.15.1 Средства испытаний и вспомогательные устройства

1 - образец; 2 - труба с внутренним диаметром (50+1) мм; 3 - боек; 4 - штатив; 5 - опора; 6 - фундамент

Рисунок 3 - Схема устройства для определения стойкости профилей к удару

Камера температурная (сушильный шкаф), обеспечивающая поддержание температуры до 200 °С.

Термометр для измерения температуры воздуха до 200 °С с ценой деления 1°С.

Линейка металлическая по ГОСТ 427;

Секундомер.

Пластинка стеклянная.

Тальк.

7.15.2 Испытание проводят на трех образцах длиной (220±5) мм.

7.15.3 До испытаний температурную камеру нагревают до (150±3) °С.

7.15.4 Порядок проведения испытания

Образец располагают горизонтально на стеклянную пластинку, предварительно посыпанную тальком, и помещают в камеру, в которой выдерживают в течение (30±1) мин. Затем образец извлекают, охлаждают на воздухе до комнатной температуры и осматривают.

7.15.5 Обработка результатов

Образец считают выдержавшим испытание, если на его внешних поверхностях нет повреждений, а на торцевой поверхности - расслоений и раковин.

Результат испытания признают удовлетворительным, если все три образца выдержали испытания.

7.16 Прочность сварных соединений при растяжении (коэффициент прочности сварки) определяют по ГОСТ 11262 со следующими дополнениями.

Средства испытаний и вспомогательные устройства - по 7.11.

Из лицевых стенок, сваренных по технологическому регламенту не менее чем за сутки до проведения испытания профилей, вырезают шесть образцов по 7.11, из них - три образца целых и три образца со сварным швом посередине, перпендикулярным продольной оси образца (сварные наплавы удаляют).

Результат испытаний получают путем сравнения среднеарифметических значений прочности целых и сваренных образцов.

7.17 Определение прочности (несущей способности) угловых сварных соединений производят согласно схемам А или Б рисунка 4.

Величину нагрузок принимают согласно расчетным значениям прочности угловых соединений для профилей конкретных сечений, установленных в конструкторской документации изготовителя.

Рисунок 4 - Определение прочности угловых сварных соединений (для углового соединения под 90° и Т-образного соединения)

Образцы профилей сваривают на оборудовании и по режимам, установленным в технологическом регламенте. Для испытаний изготавливают по три образца угловых соединений створок, обвязок дверных полотен или коробок. Концы двух отрезков профиля, вырезанные под углом (45±1)° сваривают под углом (90±1)°, наплавы, образовавшиеся в месте сварки, не удаляют.

Свободные концы образцов обрезают под углом (90±1)° или под углом (45±1)° к их продольной оси в зависимости от схемы испытания.

Размеры образцов и схемы приложения нагрузки приведены на рисунке 4.

7.17.1 Порядок проведения испытания по схеме А

При испытаниях по схеме А образец одной из сторон жестко закрепляется к вертикальной или горизонтальной опоре. К другой стороне в плоскости образца прикладывают нагрузку (например, при помощи винтового приспособления). Величину нагрузки измеряют динамометром. Образцы нагружают до разрушения.

7.17.2 Средства испытаний и вспомогательные устройства

Установка, включающая приспособление для крепления образца (хомуты, болтовой зажим), механизм для приложения нагрузки, динамометр с погрешностью измерений ±10 Н.

Машина для сварки профиля.

Линейка металлическая по ГОСТ 427.

Угломер с нониусом по ГОСТ 5378.

7.17.3 Порядок проведения испытания по схеме Б

Образец устанавливают на приспособление таким образом, чтобы свободные концы образца располагались на каретках, а продольная ось нагружающего пуансона и вершина образца углового соединения совпали между собой.

В случае испытания профилей с асимметричным боковым профилем для достижения равномерного нагружения поперечного сечения образца используют контрпрофильные вставки и прокладки.

Образец нагружают до разрушения.

7.17.4 Средства испытаний и вспомогательные устройства

Машина испытательная, обеспечивающая измерение нагрузки с погрешностью не более 3 % измеряемой величины. Скорость движения пуансона - (50±5) мм/мин.

Машина для сварки профиля.

Пуансон нажимной.

Приспособление, состоящее из опорной траверсы и двух передвижных опорных кареток с шарнирным креплением к траверсе (рисунок 4).

Вставки и прокладки.

Линейка металлическая по ГОСТ 427.

Угломер с нониусом по ГОСТ 5378.

7.17.5 Обработка результатов (по схемам А и Б)

Результаты испытаний признают положительными, если значения разрушающей нагрузки при испытании каждого образца превышают значения контрольной нагрузки, установленные в конструкторской документации.

7.17.6 До 01.01.2002 г. допускается контролировать прочность сварных соединений неразрушающим методом по схеме А: при вертикальном расположении образца прикладывают контрольный свободный груз (нагрузка - по 5.3.9, допускаемые отклонения нагрузки - ±5 %, скорость нагружения не регламентируют) на горизонтальную сторону образца (например, вручную на тросе или проволоке). При этом заданное значение нагрузки получают путем последовательного приложения грузов массой не более 25,0 кг. Образцы выдерживают под нагрузкой не менее 3 мин. Результат испытаний признают положительным, если каждый образец выдержал нагрузку без разрушения и образования трещин.

7.18 Определение изменения цвета белых профилей после облучения в аппарате «Ксенотест»

7.18.1 Средства испытания и вспомогательные устройства

Аппарат «Ксенотест».

Секундомер.

Черная бумага.

Эталон серой шкалы.

7.18.2 Порядок подготовки, проведения испытаний и обработки результатов

Испытания проводят на десяти образцах, вырезанных из лицевых стенок профилей размером [(50´80) ±2] мм. Пять образцов (контрольные) заворачивают в черную бумагу и хранят на воздухе. Пять образцов помещают в аппарат «Ксенотест» и испытывают по следующему циклу:

- увлажнение (18±0,5) мин;

- сухое облучение (102±1) мин (длина волны от 240 до 400 нм). Облучению подвергают поверхность профиля, работающую в условиях эксплуатации снаружи здания. Образец выдерживают в аппарате до достижения суммарной дозы облучения не менее 8 ГДж/м2. Образец вынимают из аппарата, выдерживают на воздухе не менее 24 ч при температуре (21±3) °С и визуально сравнивают с контрольными образцами и серой шкалой.

Результат испытания признают удовлетворительным, если все образцы выдержали испытание.

7.19 Определение изменения ударной вязкости после облучения в аппарате «Ксеиотест»

Испытания проводят на десяти образцах.

Средства испытания, вспомогательные устройства, порядок подготовки и проведения испытаний на ударную вязкость по Шарпи - по 7.13.

Средства испытания, порядок подготовки и проведения испытания образцов в аппарате «Ксенотест» - по 7.18.

Оценку результата испытаний пяти контрольных образцов производят по 7.13.

За результат испытаний пяти образцов, прошедших облучение в аппарате «Ксенотест», принимают среднее значение результатов испытаний, которое должно быть не менее 12 кДж/м2, при этом каждый результат испытаний должен быть не менее 8 кДж/м2.

7.20 Долговечность, цветовые характеристики (по координатному методу), прочность сцепления декоративного покрытия с профилем-основой определяют по методикам, утвержденным в установленном порядке.

При определении показателя долговечности значения низкотемпературных нагрузок при испытаниях должны быть не выше:

минус 45 °С - для профилей нормального исполнения;

минус 55 °С - для профилей морозостойкого исполнения.

7.21 Стойкость к действию химических сред определяют по ГОСТ 12020 и методикам, утвержденным в установленном порядке.

7.22 Приведенное сопротивление теплопередаче комбинаций профилей определяют по ГОСТ 26602.1.

8 Упаковка, транспортирование и хранение

8.1 Условия упаковки, транспортирования и хранения должны обеспечивать предохранение профилей от загрязнения, деформаций и механических повреждений.

8.2 Профили укладывают в пачки. При укладке профилей сложного сечения рекомендуется применение специальных транспортных прокладок. Пачки упаковывают в полиэтиленовую пленку по ГОСТ 10354 и при необходимости перевязывают шпагатом по ГОСТ 17308 или другими перевязочными материалами. Количество профилей в пачках устанавливают в технической документации.

8.3 Профили перевозят всеми видами транспорта на палеттах или поддонах в крытых транспортных средствах в соответствии с правилами перевозки грузов, действующими на каждом виде транспорта.

8.4 Профили следует хранить в крытых складских помещениях вне зоны действия отопительных приборов и прямых солнечных лучей.

8.5 При хранении профили укладывают на поверхность по всей длине, расстояние между опорными подкладками не должно превышать 1 м. Длина свободно свисающих концов профиля не должна превышать 0,5 м. Максимальная высота штабеля при хранении россыпью – не более 0,8 мм.

9 Гарантии изготовителя

9.1 Предприятие-изготовитель гарантирует соответствие профилей требованиям настоящего стандарта при условии соблюдения потребителем правил их транспортирования и хранения, а также изготовления, монтажа и эксплуатации изделий из них.

9.2 Гарантийный срок хранения изделий у потребителя - 1 год со дня отгрузки изделий со склада изготовителя.

9.3 Гарантийный срок службы профилей в готовых оконных и дверных блоках (отсутствие скрытых дефектов профилей) - не менее пяти лет со дня выпуска изделий.

ПРИЛОЖЕНИЕ А

(справочное)

Примеры сечений профилей

Сечения профилей коробок

Сечения профилей импостов

Сечения профилей штульпов

Сечения профилей створок

Сечения соединительных и расширительных профилей

Сечения штапиков

Сечение профиля подоконной доски

Сечения декоративных профилей

ПРИЛОЖЕНИЕ Б

(обязательное)

Состав рабочей документации на системы ПВХ профилей

Рабочая документация на системы ПВХ профилей для оконных и дверных блоков должна включать следующие данные:

Б.1 Требования и характеристики ПВХ профилей:

- чертежи сечений профилей с указаниями их функций и делением на главные и доборные профили, артикулы профилей;

- основные и функциональные размеры профилей с допусками;

- чертежи сечений узлов профилей с допусками размеров;

- физико-механические характеристики и долговечность ПВХ профилей;

- сведения о декоративно-отделочном покрытии профилей, включая каталог образцов-эталонов;

- расчетная прочность сварных соединений.

Б.2 Требования и характеристики усилительных вкладышей:

- материал вкладышей, тип и толщина антикоррозионного покрытия;

- сечения с основными размерами и расчетными моментами инерции.

Б.3 Требования к уплотняющим прокладкам:

материал, размеры, формы сечения, характеристики.

Б.4 Требования к оконным и дверным блокам:

- способы и схемы открывания оконных и дверных блоков;

- таблицы (диаграммы) максимально допустимых размеров (пропорции) створок;

- типы усилительных вкладышей в зависимости от размеров створок, коробок, импостов, ригелей;

- требования к креплению усилительных вкладышей

- конструкции механических Т-образных соединений: описание соединительных деталей, усилителей, средств крепежа, уплотняющих прокладок и герметиков;

- чертежи расположения отверстий для отвода воды, осушения фальцев остекления, компенсации давления ветра, с указанием их размеров;

- сведения о применяемых запирающих приборах и петлях их количество и расположение;

- схемы монтажа стеклопакетов и установки подкладок под остекление;

- указания по изготовлению окон, включая основные технологические режимы;

- указания по монтажу и инструкция по эксплуатации.

ПРИЛОЖЕНИЕ В

(справочное)

Сведения о разработчиках стандарта

Настоящий стандарт разработан рабочей группой специалистов в составе:

Н.В. Шведов (руководитель разработки), Госстрой России;

В.А. Тарасов, ЗАО «КВЕ Оконные технологии»;

X. Шайтлер, «КВЕ GmbH»;

Э.С. Гузова, ОАО «Полимерстройматериалы»;

В.И. Третьяков, ОАО «Полимерстройматериалы»;

В.Г. Мильков, НИУТЩ «Межрегиональный институт окна».

 




Яндекс цитирования



   Copyright © 2007-2026,  www.tehlit.ru.

[ ѓосты, стандарты, нормативы, инструкции, правила, строительные нормы ]