//
ТехЛит.ру
- крупнейшая бесплатная электронная интернет библиотека для "технически умных" людей.
WWW.TEHLIT.RU - ТЕХНИЧЕСКАЯ ЛИТЕРАТУРА

:: Алготрейдинг::


АЛГОТРЕЙДИНГ
шаг за шагом
с нуля по урокам!

Торговые роботы на PYTHON, BackTrader,
Pandas, Pine Script для TradingView. Связка с брокерами, телеграм и легкими приложениями.


ГОСУДАРСТВЕННЫЙ КОМИТЕТ СССР ПО ДЕЛАМ СТРОИТЕЛЬСТВА
(ГОССТРОЙ СССР)

СНиП IV-15-84

СТРОИТЕЛЬНЫЕ НОРМЫ И ПРАВИЛА

Часть IV
СМЕТНЫЕ НОРМЫ И ПРАВИЛА

Глава 15
Правила разработки и применения Прейскурантов на строительство зданий и сооружений

Приложение
Прейскуранты на строительство зданий и сооружений общесоюзного применения

Прейскурант на строительство зданий и сооружений водоснабжения и канализации

ВЫПУСК 5

МОСКВА 1987

ГОСУДАРСТВЕННЫЙ КОМИТЕТ СССР

ПО ДЕЛАМ СТРОИТЕЛЬСТВА

(ГОССТРОЙ СССР)

СНиП IV-15-84

СТРОИТЕЛЬНЫЕ НОРМЫ И ПРАВИЛА

Часть IV

СМЕТНЫЕ НОРМЫ И ПРАВИЛА

Глава 15

Правила разработки и применения Прейскурантов на строительство зданий и сооружений

Приложение

Прейскуранты на строительство зданий и сооружений общесоюзного применения

Прейскурант на строительство зданий и сооружений водоснабжения и канализации

ВЫПУСК 5

Утвержден постановлением Государственного комитета СССР по делам строительства от 12 февраля 1986 г. № 17

СНиП IV-15-84 Приложение. Прейскуранты на строительство зданий и сооружений общесоюзного применения. Прейскурант на строительство зданий и сооружений водоснабжения и канализации. Вып. 5/Госстрой СССР.- М.: Стройиздат, 1987.

Разработан проектным институтом «Гипропромтрансстрой» и рассмотрен Отделом сметных норм и ценообразования в строительстве Госстроя СССР.

Редакторы - инженеры Л.Д. Бобров, В.В. Мазуровская (Госстрой СССР), В.Г. Еремеев, Т.А. Голубева (Гипропромтрансстрой).

Государственный комитет СССР по делам строительства
(Госстрой СССР)

Сметные нормы и правила

СНиП IV-15-84

Прейскурант на строительство зданий и сооружений водоснабжения и канализации

-

Выпуск 5

ТЕХНИЧЕСКАЯ ЧАСТЬ

1. ОСНОВНЫЕ ПОЛОЖЕНИЯ

1.1. Прейскурант на строительство зданий и сооружений водоснабжения и канализации предназначен для определения сметной стоимости при проектировании зданий и сооружений на стадиях проекта, рабочего проекта и рабочей документации и является обязательным для применения всеми организациями независимо от их ведомственной принадлежности при проектировании строительства в территориальных районах, подрайонах и местностях, указанных в прил. 1 (кроме строительства объектов Байкало-Амурской железнодорожной магистрали).

1.2. Цены Прейскуранта составлены на основе:

методических указаний по разработке прейскурантов на строительство зданий и сооружений;

смет к действующим типовым проектам на здания и сооружения;

сметных норм, цен, тарифов, единых районных единичных расценок на строительные конструкции и работы и расценок на монтаж оборудования, введенных в действие с 1 января 1984 г., и дополнений к ним, действующих по состоянию на 1 января 1986 г.;

сметных цен на местные строительные материалы и конструкции из сборного бетона и железобетона франко-приобъектный склад, утвержденных в установленном порядке.

Внесен
Отделом сметных норм и ценообразования в строительстве
Госстроя СССР

Утвержден постановлением Государственного комитета СССР по делам строительства
от 12 февраля 1986 г.
№ 17

Срок введения
в действие
1 сентября
1986 г.

1.3. Цены Прейскуранта не применяются при составлении смет на здания и сооружения, строящиеся в условиях вечной мерзлоты, на просадочных грунтах, горных выработках и в местностях, в которых проектами предусмотрены специальные антисейсмические мероприятия, (кроме цен № 280 - 303).

1.4. Цены Прейскуранта учитывают сметные прямые затраты полного комплекса строительно-монтажных работ, предусмотренных типовыми проектами и необходимых для осуществления строительства зданий и сооружений с учетом местных условий, а именно:

общестроительные и специально-строительные работы, включая устройство отмосток вокруг здания или сооружения, разработку, погрузку и перемещение на 1 км излишнего грунта и отвозку остального грунта во временный отвал с последующей его доставкой для засыпки пазух котлованов;

Примечания: 1. Если по местным условиям конкретной стройки отвозка грунта во временный отвал по каким-либо ценам не требуется, из подраздела «Транспортирование грунта» этих цен следует исключать затраты, учтенные на выполнение указанной работы.

2. При перемещении излишнего грунта и грунта, отвозимого во временный отвал на расстояние более 1 км, разница в стоимости транспортирования учитывается дополнительно по тарифам Сборника сметных цен на перевозки грузов для строительства (объемы транспортируемого грунта приводятся в прил. 11).

3. Стоимость разработки, погрузки, доставки и разгрузки недостающего грунта определяется отдельным расчетом и учитывается дополнительно при составлении смет (объем недостающего грунта приведен в прил. 11).

4. При составлении баланса земляных работ по площадке в целом объемы излишнего, недостающего и отвозимого во временный отвал грунта (с последующей подвозкой его для засыпки пазух котлованов) принимаются по данным прил. 11.

работы по внутренним санитарно-техническим устройствам (отоплению, вентиляции, водопроводу, горячему водоснабжению, канализации и водостокам), силовым и осветительным сетям и другим аналогичным работам, предусмотренным типовыми проектами;

Примечания: 1. Точками раздела внешних и внутренних трубопроводов и кабелей, учтенных в Прейскуранте, являются для:

канализации, водопровода, теплоснабжения и водостоков с закрытым выпуском - внешняя поверхность наружной стены здания;

внешних и внутренних водостоков с открытым выпуском - места слива в лоток отмостки;

силовых, осветительных и других устройств - кабельные концевые вводы и проходные изоляторы (муфты относятся к наружным сетям, а проходные изоляторы - к внутренним). В случае, когда кабельная линия непосредственно у здания переходит в воздушную линию, точкой раздела является столбовая концевая муфта, которая в этом случае относится к внутренним сетям.

2. Ценами Прейскуранта учтены затраты на индивидуальное испытание систем вентиляции и по сдаче в эксплуатацию систем отопления.

работы по монтажу технологического, энергетического оборудования, систем автоматики и др.;

стоимость санитарно-технического оборудования, включаемого в объем строительно-монтажных работ, которая учитывается в разделах «Внутренние санитарно-технические устройства».

1.5. Ценами Прейскуранта не учтено следующее:

подготовка и освоение территории строительства (снос и перенос существующих зданий и сооружений, осушение участка застройки, вертикальная планировка и др.);

прокладка наружных инженерных сетей;

благоустройство участка застройки (устройство дорог, тротуаров, озеленение и др.);

косвенные расходы в разделах Прейскуранта, предусмотренные в п. 2.7 «Указаний по применению расценок на монтаж оборудования»;

затраты на приобретение оборудования, не учитываемые в объемах строительно-монтажных работ;

накладные расходы и плановые накопления;

затраты на временные здания и сооружения;

работы и затраты, включаемые в главу «Прочие работы и затраты» сводных сметных расчетов стоимости строительства;

затраты на содержание дирекции (технический надзор) строящегося предприятия и авторский надзор;

подготовка эксплуатационных кадров;

проектные и изыскательские работы;

непредвиденные работы и затраты и другие.

1.6. Заработная плата рабочих исчислена в Прейскуранте на основе элементных сметных норм и расценок на монтаж оборудования, введенных в действие с 1 января 1984 г., и тарифных ставок по оплате труда рабочих в строительстве по состоянию на 1 января 1980 г. с применением коэффициентов по территориальным районам, приведенным в табл.1.

Таблица 1

Территориальные районы

Коэффициенты

1, 3 - 6

1

2а, 2в, 8в, 8д, 8е, 9, 12г - 12е

1,2

2б, 7, 8а, 8б, 8г, 11, 12а - 12в

1,15

1,4

10

1,3

По стройкам, расположенным в отдельных районах, областях, краях и республиках, для которых установлены районные коэффициенты, отличающиеся от принятых в Прейскуранте, а также при применении льготных и других коэффициентов, установленных соответствующими решениями директивных органов и коэффициентов, приведенных в прил. 3 «Указаний по применению единых районных единичных расценок на строительные конструкции и работы» (ЕРЕР-84) и табл.1 «Указаний по применению расценок на монтаж оборудования», к заработной плате и эксплуатации машин, предусмотренным в ценах и поправках Прейскуранта, должны применяться соответствующие коэффициенты (порядок применения коэффициентов приводится в пп. 2.2б и 2.2в настоящей Технической части).

1.7. Стоимость эксплуатации строительных машин начислена в Прейскуранте в соответствии с п. 1.7 «Указаний по применению единых районных единичных расценок на строительные конструкции и работы» (ЕРЕР-84), причем заработная плата рабочих, обслуживающих машины, во всех территориальных районах учтена с коэффициентами, приведенными в табл. 1 Технической части.

1.8. Стоимость привозных материалов, изделий и конструкций принята в Прейскуранте по Сборнику средних районных сметных цен на материалы, изделия и конструкции.

В случаях, когда по местным условиям строительства транспортная схема по доставке на строящийся объект привозных материалов, изделий и конструкций отличается от принятой в указанном Сборнике, разница в стоимости их транспортирования определяется с учетом положений, изложенных в «Указаниях по применению единых районных единичных расценок на строительные конструкции и работы» (ЕРЕР-84).

1.9. Стоимость местных строительных материалов и сборных бетонных и железобетонных конструкций учтена по усредненным ценам франко-приобъектный склад.

Цены Прейскуранта могут корректироваться по затратам на транспортирование кирпича строительного и сборных бетонных и железобетонных конструкций (порядок корректировки приведен в п. 2.2д настоящей Технической части). При этом транспортные расходы на 1 т кирпича строительного и сборных бетонных и железобетонных конструкций, учтенные в Прейскуранте, должны приниматься по табл. 2, а их масса по табл. 3.

Кроме того, при составлении смет с применением цен Прейскуранта применяются поправки (прил. 9), учитывающие разницу в оптовых ценах на кирпич строительный и сборные бетонные и железобетонные конструкции, а также разницу в сметных ценах на остальные местные строительные материалы при поступлении их на строительство из отдельных областей, краев и республик, в которых эти цены отличаются от принятых в Прейскуранте.

Таблица 2

Районы

Усредненные транспортные расходы, учтенные в Прейскуранте, руб. за 1 т

Кирпич строительный

Блоки и плиты фундаментные, перемычки, карнизные плиты, плиты покрытий и перекрытий и другие конструкции длиной до 3 м, шириной до 2,3 м

Балки, колонны, ригели, перемычки, панели стеновые, панели водосборного бассейна, панели каркаса, плиты покрытий и другие конструкции длиной 3 - 6,5 м, шириной до 2,3 м, кольца, плиты диаметром 600 - 2500 мм

Колонны, ригели, панели стеновые, панели каркаса, плиты покрытий и перекрытий и другие конструкции длиной 6,5 - 12 м или шириной 2,3 - 3 м

4,3

7,3

7,7

8,67

4,28

8,2

8,33

9

4,3

8

8,88

9,77

4,83

8,7

9,52

10,6

5,61

8,4

8,64

9,4

12,16

8,8

10

11,3

3,15

7,8

8

8,63

6,81

10,7

10,8

12

6,46

9,4

10,8

12,1

6,9

12

12,3

14

8,1

11,7

11,9

13,1

3а - 3в

4,27

7,4

7,45

8,07

10,98

7,4

7,45

8,07

4,01

7,9

8

8,6

5,88

7,9

8

8,6

5,14

7,6

8,88

9,77

6,51

8,8

8,91

9,67

4,64

7,2

7,79

8,37

4,97

7,2

7,79

8,37

3,07

11,8

15,1

18

5,16

9,1

9,79

10,8

5,13

8,6

8,88

9,6

5,31

8,7

8,91

9,57

3,66

8,3

9,12

10,1

5

8,5

9,64

10,6

6,14

5

4,73

4,83

4,07

10,4

10,72

12

5,44

9,3

9,52

10,4

2,84

8,9

9,09

9,8

6,81

8,9

9,09

9,8

6,81

10,7

10,8

12,1

4,48

4,9

6

6,27

3,46

5,8

6,7

7,3

10а

3,85

7,2

8,52

8,97

10б

5,34

8

14,2

16,4

10в

5,64

8,5

8,82

9,33

11а

7,14

8,5

9,55

10,3

11б

4,71

9,6

8,76

9,63

11в

7,07

8,7

9,4

10,3

11г

5,01

8,8

8,88

9,6

11д

5,49

7,8

8,03

8,5

11е

5,54

9

9,03

9,8

12а

4,68

7

7,94

8,6

12б

5,26

10

10,19

11,4

12в

7,15

9,8

10,24

11,4

12г

4,93

9

8,79

9,67

12д

5,62

10,1

11,19

12,7

12е

7,96

9,8

10,24

11,4

Таблица 3

Номера цен

Конструктивные элементы зданий и сооружений

Материалы и конструкции

Масса кирпича строительного и сборных бетонных и железобетонных конструкций, т, по территориальным районам (на измеритель цен)

1ж, 3а, 3б, 3г, 4, 5а, 6, 11а, 12

1а - 1в, 1д, 1е, 2б, 2г, 3в, 5б, 10а, 11б - 11г

1г, 2а, 2в, 7 - 9, 10б, 10в, 11д, 11е

1

2

3

4

5

6

278

Фундаменты

Блоки и плиты фундаментные

69,9

79,4

124

 

Стены наружные

Перемычки, карнизные плиты и другие конструкции длиной до 3 м, шириной до 2,3 м

4,4

5,3

6,6

 

 

Кирпич строительный

93,2

127

162

 

Остальные части здания

Плиты покрытия и перекрытия длиной 3 - 6,5 м, шириной до 2,3 м

25,6

26,8

27,4

 

 

Перемычки, плиты перекрытия и другие конструкции длиной до 3 м, шириной до 2,3 м

2,7

2,7

2,7

 

 

Кирпич строительный

19,5

19,5

19,5

279

В целом на сооружение

Плиты покрытия длиной до 3 м, шириной до 2,3 м

5

5

5

 

 

Кольца, плиты диаметром 600 - 2500 мм

6,6

6,6

6,6

280, 284, 288

В целом на сооружение

Балки, колонны, панели водосборного бассейна, панели каркаса длиной 3 - 6,5 м, шириной до 2,3 м

60

60

60

 

 

Колонны, ригели, панели каркаса длиной 12 м, шириной 2,3 - 3 м

85

85

85

281, 285, 289

В целом на сооружение

Балки, колонны, панели водосборного бассейна, панели каркаса длиной 3 - 6,5 м, шириной до 2,3 м

86

86

86

 

 

Колонны, ригели, панели каркаса длиной 6,5 - 12 м, шириной 2,3 - 3 м

123

123

123

282, 286, 290

В целом на сооружение

Балки, колонны, панели водосборного бассейна, панели каркаса длиной 3 - 6,5 м, шириной до 2,3м

116

116

116

 

 

Колонны, ригели, панели каркаса длиной 6,5 - 12 м шириной 2,3 - 3 м

161

161

161

283, 287, 291

В целом на сооружение

Балки, колонны, панели водосборного бассейна, панели каркаса длиной 3 - 6,5 м, шириной до 2,3 м

142

142

142

 

 

Колонны, ригели, панели каркаса длиной 6,5 - 12м, шириной 2,3 - 3 м

199

199

199

300

В целом на сооружение

Балки, ригели, панели водосборного бассейна длиной 3 - 6,5 м, шириной до 2,3 м

30,5

30,5

30,5

 

 

Колонны, ригели, длиной 6,5 - 12 м

20,8

20,8

20,8

301

В целом на сооружение

Балки, ригели, панели водосборного бассейна длиной 3 - 6,5 м, шириной до 2,3 м

48,6

48,6

48,6

 

 

Колонны, ригели длиной 6,5 - 12 м

23

23

23

302

В целом на сооружение

Балки, ригели, панели водосборного бассейна длиной 3 - 6,5 м, шириной до 2,3 м

57

57

57

 

 

Колонны, ригели длиной 6,5 - 12 м

37,1

37,1

37,1

303

В целом на сооружение

Балки, ригели, панели водосборного бассейна длиной 3 - 6,5 м, шириной до 2,3м

69

69

69

 

 

Колонны, ригели длиной 6,5 - 12 м

45,5

45,5

45,5

304, 305

В целом на сооружение

Кольца, плиты диаметром 600 - 2500 мм

5,5

5,5

5,5

306

В целом на сооружение

Кольца, плиты диаметром 600 - 2500 мм

14,6

14,6

14,6

307

Стены наружные

Перемычки и другие конструкции длиной до 3 м, шириной до 2,3 м

2,9

2,9

3,6

 

 

Кирпич строительный

46,5

46,5

61,5

Остальные части здания

Плиты покрытия каналов и другие конструкции длиной до 3 м, шириной до 2,3 м

0,7

0,7

0,7

 

 

Плиты покрытия и другие конструкции длиной 3 - 6,5 м, шириной до 2,3 м

7,2

7,6

7,9

312

В целом на сооружение

Блоки фундаментные, плиты перекрытия и другие конструкции длиной до 3 м, шириной до 2,3 м

111

111

111

 

 

Панели стеновые длиной 3 - 6,5 м, шириной до 2,3 м

82

82

82

 

 

Плиты перекрытия толщиной 2,3 - 3 м

5,8

5,8

5,8

313

То же

Блоки фундаментные, плиты перекрытия и другие конструкции длиной до 3 м, шириной до 2,3 м

129

129

129

 

 

Панели стеновые длиной 3 - 6,5 м, шириной до 2,3 м

126

126

126

 

 

Плиты перекрытия шириной 2,3 - 3 м

46

46

46

314

»

Блоки фундаментные, плиты перекрытия и другие конструкции длиной до 3 м, шириной до 2,3 м

140

140

140

 

 

Панели стеновые длиной 3 - 6,5 м, шириной до 2,3 м

177

177

177

 

 

Плиты перекрытия шириной 2,3 - 3 м

46

46

46

316

»

Плиты перекрытия и другие конструкции длиной до 3 м, шириной до 2,3 м

10,3

10,3

10,3

 

 

Панели стеновые длиной 3 - 6,5 м, шириной до 2,3 м

109

109

109

 

 

Плиты перекрытия шириной 2,3 - 3 м

23

23

23

317

»

Плиты перекрытия и другие конструкции длиной до 3 м, шириной до 2,3 м

30,1

30,1

30,1

 

 

Панели стеновые длиной 3 - 6,5 м, шириной до 2,3 м

155

155

155

 

 

Плиты перекрытия шириной 2,3 - 3 м

17,3

17,3

17,3

318

»

Плиты перекрытия и другие конструкции длиной до 3 м, шириной до 2,3 м

38,9

38,9

38,9

 

 

Панели стеновые длиной 3 - 6,5 м, шириной до 2,3м

210

210

210

 

 

Плиты перекрытия шириной 2,3 - 3 м

40,3

40,3

40,3

319

»

Плиты покрытия, перемычки и другие конструкции длиной до 3 м, шириной до 2,3 м

17,9

17,9

17,9

 

 

Панели стеновые, плиты покрытия длиной 3 - 6,5 м, шириной до 2,3 м

101

101

101

 

 

Плиты покрытия шириной 2,3 - 3 м

17,2

17,2

17,2

 

 

Кирпич строительный

92

92

92

320

»

Плиты покрытия, перемычки и другие конструкции длиной до 3 м, шириной до 2,3 м

18,6

18,6

18,6

 

 

Панели стеновые, плиты покрытия длиной 3 - 6,5 м, шириной до 2,3 м

168

168

168

 

 

Плиты покрытия шириной 2,3 - 3 м

34,5

34,5

34,5

 

 

Кирпич строительный

98

98

98

321

»

Плиты покрытия, перемычки и другие конструкции длиной до 3 м, шириной до 2,3 м

37,7

37,7

37,7

 

 

Панели стеновые, плиты покрытия длиной 3 - 6,5 м, шириной до 2,3 м

203

203

203

 

 

Плиты покрытия шириной 2,3 - 3 м

34,5

34,5

34,5

 

 

Кирпич строительный

104

104

104

322

»

Перемычки, плиты покрытия длиной до 3 м, шириной до 2,3 м

2,5

2,5

2,5

 

 

Панели стеновые шириной 2,3 - 3 м

16

16

16

323

»

Перемычки, плиты покрытия длиной до 3 м, шириной до 2,3 м

2,5

2,5

2,5

 

 

Панели стеновые шириной 2,3 - 3 м

25,8

25,8

25,8

324

»

Перемычки, плиты покрытия длиной до 3 м, шириной до 2,3 м

4,7

4,7

4,7

 

 

Панели стеновые шириной 2,3 - 3 м

24

24

24

325

»

Перемычки, плиты покрытия длиной до 3 м, шириной до 2,3 м

4,7

4,7

4,7

 

 

Панели стеновые шириной 2,3 - 3 м

38,5

38,5

38,5

326

»

Плиты покрытия длиной до 3 м, шириной до 2,3 м

2,9

2,9

2,9

 

 

Перемычки длиной 3 - 6,5 м

2,9

2,9

2,9

 

 

Панели стеновые шириной 2,3 - 3 м

39,8

39,8

39,8

327

»

Плиты покрытия длиной до 3 м, шириной до 2,3 м

2,9

2,9

2,9

 

 

Перемычки длиной 3 - 6,5 м

2,9

2,9

2,9

 

 

Панели стеновые шириной 2,3 - 3 м

64

64

64

328

»

Плиты покрытия длиной до 3 м, шириной до 2,3 м

2,9

2,9

2,9

 

 

Перемычки длиной 3 - 6,5 м

4,5

4,5

4,5

 

 

Панели стеновые шириной 2,3 - 3 м

56

56

56

329

»

Плиты покрытия длиной до 3 м, шириной до 2,3 м

2,9

2,9

2,9

 

 

Перемычки длиной до 3 - 6, 5 м

4,5

4,5

4,5

 

 

Панели стеновые шириной 2,3 - 3 м

90

90

90

330

»

Плиты покрытия длиной до 3 м, шириной до 2,3 м

2,9

2,9

2,9

 

 

Перемычки длиной 3 - 6,5 м

6,2

6,2

6,2

 

 

Панели стеновые шириной 2,3 - 3 м

72

72

72

331

»

Плиты покрытия длиной до 3 м, шириной до 2,3 м

2,9

2,9

2,9

 

 

Перемычки длиной 3 - 6,5 м

6,2

6,2

6,2

 

 

Панели стеновые шириной 2,3 - 3 м

116

116

116

1.10. Цены Прейскуранта разработаны исходя из следующих условий строительства:

а) разработка грунтов II группы плотностью 1,75 т/м3 и характеристиками, приведенными в табл. 4.

Таблица 4

№ п. п.

Гидрологическое состояние грунтов

Номера цен

1

Сухие грунты

278 - 318, 322 - 331

2

Мокрые

319 - 321

б) устройства фундаментов под здания в открытых котлованах без шпунтового ограждения, с обмазочной гидроизоляцией, в непучинистых и непросадочных грунтах с нормативной характеристикой, предусмотренной «Инструкцией по типовому проектированию» (СН 227-82), и глубиной заложения, принятой из условия промерзания грунтов, а по отдельным зданиям и сооружениям принятой по условиям, предусмотренным в типовых проектах (табл. 5).

Таблица 5

Номера цен

Глубина заложения фундаментов, м, по территориальным районам

1ж, 3а, 3б, 3г, 4, 5а, 6, 11а, 12

1а - 1в, 1д, 1е, 2б, 2г, 3в, 5б, 10а, 11б - 11г

1г, 2а, 2в, 7, 8, 9, 10б, 10в, 11д, 11е

1

2

3

4

278

1,6

1,6

2,2

307

В соответствии с принятой в типовом проекте

в) устройства подземной части сооружений в открытых котлованах без шпунтового ограждения, в непучинистых и непросадочных грунтах с глубиной заложения, предусмотренной в типовых проектах, причем в ценах № 278 - 318, 322 - 331 принята обмазочная гидроизоляция, а в ценах № 319 - 321 усиленная гидроизоляция в соответствии с типовыми проектами;

г) толщина ограждающих конструкций и другие проектные решения в отдельных территориальных районах и подрайонах учтены по типовым проектам исходя из расчетных зимних температур наружного воздуха, приведенных в табл. 6.

Таблица 6

Территориальные районы

Зимняя расчетная температура наружного воздуха, °С

1ж, 3а, 3б, 3г, 4, 5а, 6, 11а, 12

-20

1а - 1в, 1д, 1е, 2б, 2г, 3в, 5б, 10а, 11б - 11г

-30

1г, 2а, 2в, 7, 8, 9, 10б, 10в, 11д, 11е

-40

д) цены Прейскуранта учитывают материалы, конструкции и виды работ, предусмотренные основными вариантами типовых проектов. Краткая характеристика сооружений, конструктивных элементов и видов работ зданий и сооружений приведена в табл. 7.

Таблица 7

Номера цен

Конструктивные элементы и виды работ зданий и сооружений

Краткая характеристика элементов и видов работ

А. Здания

278

Фундаменты

Сборные бетонные ленточные

307

 

Ленточные бутобетонные

278

Стены наружные надземной части

Из полнотелого кирпича толщиной 38 см при t = -20 °С, 51 см при t = -30 °С, 64 см при t = -40 °С

307

Из полнотелого кирпича толщиной 38 см при t = -20° и -30 °С, 51 см при t = -40 °С

278, 307

Покрытия и перекрытия

Сборные железобетонные

278, 307

Кровля

Плоская рулонная

278, 307

Остальные конструктивные элементы и виды работ

Предусмотренные основными вариантами типовых проектов

Б. Сооружения

279

Бак-хранилище реагентов

Монолитный железобетонный

 

Каналы

Стенки канала - монолитные бетонные, покрытие - сборное железобетонное

 

Колодцы

Сборные железобетонные

304 - 306, 315

Фундаменты

Монолитные бетонные

304 - 306

Стеновые кольца камер

Сборные железобетонные

308 - 314, 316 - 331

Днище

Монолитное железобетонное

308 - 311, 312 - 314, 316 - 331

Стены

Монолитные железобетонные

Сборные железобетонные панели и отдельные монолитные железобетонные участки

315

Деревянные щиты

304 - 306, 312 - 314, 316 - 331, 308 - 311, 315

Покрытие и перекрытие

Сборные железобетонные плиты

Деревянные щиты

Примечания: 1. При разработке цен Прейскуранта глубина заложения фундаментов по ценам № 278, 307 принята от планировочной отметки земли у здания, указанной в типовых проектах.

2. В ценах Прейскуранта на здания глубина заложения фундаментов, указанная в настоящей таблице, принята только под наружными стенами, а под внутренними принята в соответствии с типовыми проектами.

3. При устройстве фундаментов зданий и подземной части сооружений (цены № 278 - 318, 322 - 331) в водонасыщенных грунтах затраты по устройству оклеечной гидроизоляции конструкций фундаментов, прижимных стенок, железобетонных плит против напора грунтовых вод, искусственного понижения уровня грунтовых вод, шпунтового ограждения и других подобных работ учитываются в сметах дополнительно.

4. В случае, когда типовым проектом, привязанным к местным условиям, предусматривается толщина или материал наружных стен здания, отличающиеся от принятых в Прейскуранте, сметная стоимость строительства определяется с учетом корректировки стоимости наружных стен по ЕРЕР-84.

5. В ценах № 308 - 314, 316 - 318 учтено утепление стен керамзитовым гравием по районам на глубину промерзания грунтов.

1.11. В таблицах цен Прейскуранта содержатся следующие показатели, приведенные на принятый измеритель:

прямые затраты - в рублях (гр. 2) по всем территориальным районам и подрайонам, включающие стоимость работ и затрат, перечисленных в п. 1.4 Технической части;

нормативная условно-чистая продукция - в рублях (гр. 3) по всем территориальным районам и подрайонам, содержащаяся в прямых затратах;

основная заработная плата и стоимость эксплуатации машин - в рублях (гр. 4 - 6) по всем территориальным районам и подрайонам, определенная с учетом коэффициентов на заработную плату (включая заработную плату рабочих, обслуживающих машины), приведенных в табл. 1 Технической части;

затраты труда рабочих, не занятых обслуживанием машин, - в чел.-ч (гр. 7) по работам и затратам, перечисленных в п. 1.4 Технической части.

2. ПОРЯДОК СОСТАВЛЕНИЯ СМЕТ НА СТРОИТЕЛЬСТВО ЗДАНИЙ И СООРУЖЕНИЙ С ПРИМЕНЕНИЕМ ЦЕН ПРЕЙСКУРАНТА

2.1. Составление смет на строительство зданий и сооружений по показателям, приведенным в основных ценах и поправках Прейскуранта, производится по формам, установленным СНиП 1.02.01-85 «Инструкция о составе, порядке разработки, согласования и утверждения проектов и смет на строительство предприятий, зданий и сооружений». Нормативная трудоемкость и сметная заработная плата выделяются в сметах в порядке, предусмотренном Методическими указаниями, утвержденными Постановлением Госстроя СССР от 30 декабря .1985 г, № 273.

Накладные расходы и плановые накопления начисляются непосредственно в сметах по нормам, установленным для конкретного строительства. Пример составления локальных смет на строительство зданий и сооружений с применением цен Прейскуранта приводится в прил. 12. Составление объектных смет и сводных сметных расчетов производится в порядке, установленном Госстроем СССР.

2.2. При составлении локальных смет на строительство зданий и сооружений по конкретной стройке необходимо учитывать следующие поправки и коэффициенты, отражающие местные условия строительства:

а) поправки и коэффициенты, учитывающие возможные отклонения гидрогеологических и климатических условий строительства от принятых при разработке цен Прейскуранта, а также поправки, учитывающие применение вариантов проектных решений (табл. 8).

Таблица 8

№ п.п.

Поправки и коэффициенты к ценам Прейскуранта

Номера цен, для которых разработаны поправки и коэффициенты

Номера приложений

1

2

3

4

1

При производстве земляных работ в грунтах, отличающихся от принятых в Прейскуранте

278 - 331

2

2

При заложении фундаментов на глубину, отличающуюся от принятой в Прейскуранте

278

4

3

При дозировании гипохлорита натрия эжекторами

278

5

4

При строительстве градирен в районах с сейсмичностью 7 - 8 баллов

280 - 291

6

5

При применении насоса, отличающегося от учтенного в Прейскуранте

306

7

6

При строительстве отапливаемых зданий и сооружений в местностях с зимней расчетной температурой наружного воздуха, отличающейся от принятой в Прейскуранте

278, 292 - 303, 307 - 314, 316 - 321

8

б) поправки к основной заработной плате и заработной плате рабочих, обслуживающих машины, учитывающие районный коэффициент к заработной плате рабочих, отличающийся от принятого в Прейскуранте, или коэффициент, установленный решением директивных органов для отдельных строек (или районов), для высокогорных, безводных и пустынных местностей и других сложных условий, определяются по формуле

Пр = З (Ксп-1),

где З - основная заработная плата или заработная плата рабочих, обслуживающих машины, принятая для района строительства, приведенная в гр. 4 и 6 таблиц основных цен Прейскуранта, откорректированная с учетом поправок, указанных в п. 2.2а Технической части; Кс - районный коэффициент к заработной плате рабочих по отдельным районам, областям, краям и республикам, отличающийся от принятого в Прейскуранте, или коэффициент, установленный директивными органами для отдельных строек (или районов), для высокогорных, безводных и пустынных местностей и других сложных условий, или коэффициент, учитывающий строительство зданий и сооружений в особых условиях (стесненные и вредные условия и др.), в соответствии с «Указаниями по применению единых районных единичных расценок на строительные конструкции и работы» (ЕРЕР-84) и «Указаниями по применению расценок на монтаж оборудования»; Кп - коэффициент к заработной плате рабочих, учтенных в Прейскуранте (приведен в табл. 1 Технической части);

в) коэффициенты к затратам на эксплуатацию машин по строительным и внутренним санитарно-техническим работам и монтажу металлоконструкций при строительстве здания или сооружения в районах Крайнего Севера, расположенного в границах действия ЕРЕР-84, -1,1, а в местностях, приравненных к ним, -1,05. Указанные коэффициенты должны применяться к итоговым затратам по эксплуатации машин, определенным на строительство здания или сооружения по Прейскуранту с поправками для обычных условий территориального района, в который входит соответствующий район Крайнего Севера или местность, приравненная к нему;

г) поправку к затратам на транспортирование грунта при строительстве зданий и сооружений в городах, районах, областях, краях и республиках, в которых тарифы на автомобильные перевозки отличаются от принятых в Прейскуранте, определяемую по формуле

П = Тга-1),

где Тг - затраты на транспортирование грунта (прямые затраты и эксплуатация машин), приведенные в подразделе «Транспортирование грунта» соответствующей цены Прейскуранта; Ка - коэффициент, учитывающий разницу в тарифе на автоперевозки между действующими в отдельных городах, районах, областях, краях и республиках и принятыми в Прейскуранте (приведен в прил. 3);

д) поправку, учитывающую изменение стоимости перевозки кирпича строительного и сборных бетонных и железобетонных конструкций П в связи с отклонением условий их транспортирования от принятых в Прейскуранте.

Величина поправки определяется по формуле

П = (Тмп) Q,

где Тм - транспортные расходы, руб. за 1 т кирпича строительного и сборных бетонных и железобетонных конструкций, приведенные в зональных каталогах или определенные расчетом по местным условиям строительства; Тп - транспортные расходы, руб. за 1 т кирпича строительного и сборных бетонных и железобетонных конструкций, учтенные в настоящем Прейскуранте и приведенные в табл. 2 Технической части; Q - масса кирпича строительного и сборных бетонных и железобетонных конструкций, приведенная в табл. 3 Технической части;

е) поправки, учитывающие разницу в оптовых ценах на кирпич строительный и сборные бетонные и железобетонные конструкции, а также разницу сметных цен на остальные местные строительные материалы между действующими в отдельных областях, краях и республиках и принятыми в ценах Прейскуранта (поправка приведена в прил. 9).

Примечание. Все поправки разработаны в сметных прямых затратах, поэтому накладные расходы, плановые накопления и другие лимитированные затраты начисляются непосредственно в сметах.

Последовательность внесения поправок в смету и применения коэффициентов аналогична порядку их записи в настоящем пункте.

2.3. Сметная стоимость зданий и сооружений, строящихся в особо сложных гидрогеологических условиях, не нашедших отражения в прейскурантах, определяется в следующем порядке:

при строительстве в особо сложных условиях, не вызывающих необходимости пересмотра основных решений по устройству фундаментов, учтенных Прейскурантом, - по Прейскуранту с добавлением стоимости дополнительных работ, определенной по смете, составленной по данным привязки проекта к местным условиям;

при выполнении работ в особых условиях, вызывающих необходимость пересмотра основных проектных решений по устройству фундаментов, учтенных Прейскурантом, - по Прейскуранту на работы, выполняемые выше нулевой отметки, и по отдельной смете на работы, выполняемые ниже нулевой отметки.

2.4. В тех случаях, когда для строительства, осуществляемого силами межколхозных строительных организаций, материалы, изделия и конструкции поставляются по ценам, отличающимся от установленных для государственного строительства, сметная стоимость определяется по прейскурантам, а разница в ценах (между учтенной в Прейскуранте и заготовительной стоимостью) учитывается в сметах в порядке, установленном Госстроем СССР.

Стоимость материалов, учтенных Прейскурантом, определяется как разность между прямыми затратами и нормативной условно-чистой продукцией основных цен Прейскуранта и поправок. При этом потребность материалов, изделий и конструкций, необходимых для строительства здания или сооружения, принимается в составе рабочей документации.

2.5. При составлении смет с применением цен Прейскуранта следует иметь в виду, что:

а) затраты на транспортирование излишнего и отвозимого во временный отвал грунта учтены в ценах Прейскуранта и полностью отнесены к эксплуатации машин. Эти затраты приведены в составе таблиц цен Прейскуранта;

б) ценой № 278 учтено дозирование гипохлорита натрия насосами-дозаторами. При дозировании гипохлорита натрия эжекторами следует применять поправки, приведенные в прил. 5;

в) ценами № 312 - 314, 316 - 318 учтены трубы электросварные длиной 30 м диаметром 150 мм, проходящие в земле от очистных сооружений до бункерной;

г) ценами № 319 - 321 не учтены затраты на производство водоотливных работ, которые учитываются дополнительно на основании проектных данных о силе притока воды, продолжительности производства водоотливных работ и применяемых водоотливных средствах;

д) в составе строительных работ подземной и надземной частей здания или сооружения выделяются затраты только по конструктивным элементам, имеющим значительный удельный вес или являющимся необходимыми по технологии составления смет (земляные работы, фундаменты), поэтому в отдельных случаях сумма затрат по приведенным в Прейскуранте конструктивным элементам не будет равна суммарной их величине по подземной и надземной частям здания или сооружения.

2.6. Вносить в цены Прейскуранта изменения, не предусмотренные Технической частью, поправками и коэффициентами, приведенными в приложениях, не разрешается.

2.7. Настоящий выпуск является продолжением 4 выпуска Прейскуранта на строительство зданий и сооружений водоснабжения и канализации. Нумерация районных цен во всех выпусках сквозная.

2.8. При составлении смет следует применять сокращенное название настоящего Прейскуранта - ПРЗС вк.

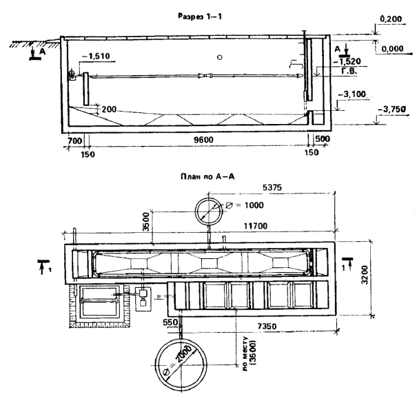
Рис. 1. Электролизная установка с графитовыми электролизерами типа «ЭН-25» производительностью 1 - 2 кг активного хлора в час

Типовой проект 901-3-76 (к ценам № 278, 279).

1. ЦЕНЫ ПРЕЙСКУРАНТА НА ЗДАНИЯ И СООРУЖЕНИЯ ВОДОСНАБЖЕНИЯ

1. Электролизная установка

Районная цена № 278

Электролизная установка с графитовыми электролизерами типа «ЭН-25» производительностью 1 - 2кг активного хлора в час стены кирпичные, отопление центральное от теплосети (типовой проект 901-3-76)

Измеритель - 1 установка

Районы

Прямые затраты, руб.

Нормативная условно-чистая продукция, руб.

В том числе, руб.

Затраты труда рабочих, чел.-ч

основная заработная плата рабочих

эксплуатация машин

всего

в том числе заработная плата рабочих, обслуживающих машины

1

2

3

4

5

6

7

РАЗДЕЛ I. СТРОИТЕЛЬНЫЕ РАБОТЫ

1. Подземная часть

1а, 3в

2440

472

142

330

66,4

260

1б, 1д

2800

472

142

330

66,4

260

2570

472

142

330

66,4

260

3880

533

159

374

79,6

290

2930

472

142

330

66,4

260

2090

421

134

287

60

247

2а, 9а, 9в

4680

627

190

437

95,6

290

3130

544

163

381

76,3

260

5660

627

190

437

95,6

290

3760

636

198

438

92,9

260

3а, 3б, 6б

2200

411

134

277

60

247

2230

446

134

312

60

247

2350

421

134

287

60

247

2370

446

134

312

60

247

5а, 6в

2300

446

134

312

60

247

3080

513

142

371

66,4

260

2590

446

134

312

60

247

7а, 11е

4090

573

182

391

91,6

290

7б, 8а

3820

573

182

391

91,6

290

4440

594

182

412

91,6

290

3680

573

182

391

91,6

290

8б, 11д

3960

573

182

391

91,6

290

4250

606

190

416

95,6

290

5030

594

182

412

91,6

290

4140

606

190

416

95,6

290

4510

627

190

437

95,6

290

3700

606

190

416

95,6

290

10а

3030

565

184

381

86,3

260

10б

4420

635

206

429

104

290

10в

5120

635

206

429

104

290

11а

3270

515

154

361

69

247

11б

3110

509

163

346

76,3

260

11в, 11г

2960

509

163

346

76,3

260

12а

1970

455

154

301

69

247

12б

2580

480

154

326

69

247

12в

2560

455

154

301

69

247

12г

2550

474

160

314

72

247

12д

2730

474

160

314

72

247

12е

2720

529

160

369

72

247

В том числе:

а) земляные работы

1а - 1в, 1д - 1ж, 3 - 6

80

80

27,8

52,2

21,5

56,2

87

87

32

55

22,9

64,7

2а, 2в, 8в, 8д - 9в

98

98

38,4

59,6

27,4

64,7

2б, 11а -11г, 12а - 12в

87

87

31,9

55,1

24,7

56,2

100

100

38,9

61,1

30,1

56,2

7а - 8б, 8г, 11д, 11в

96

96

36,8

59,2

26,3

64,7

10а

95

95

36,1

58,9

27,9

56,2

10г, 10в

104

104

41,6

62,4

29,7

64,7

12г - 12е

90

90

33,3

56,7

25,8

56,2

б) транспортирование грунта

1а - 1в, 1д, 1е, 3в, 3г, 4б, 5а, 6а, 6в

151

151

-

151

-

-

158

158

-

158

-

-

1ж, 3б, 4а, 6б

126

126

-

126

-

-

2а, 2в, 8е, 9а, 9в

205

205

-

205

-

-

2б, 11а

192

192

-

192

-

-

232

232

-

232

-

-

106

106

-

106

-

-

192

192

-

192

-

-

7а, 7б, 7г - 8б, 11д, 11е

163

163

-

163

-

-

7в, 8в - 8д, 9б

184

184

-

184

-

-

10а

181

181

-

181

-

-

10б, 10в

189

189

-

189

-

-

11б - 11г, 12б

156

156

-

156

-

-

12а, 12в

131

131

-

131

-

-

12г, 12д

141

141

-

141

-

-

12е

197

197

-

197

-

-

в) фундаменты

1а, 3в

2120

228

103

125

44,1

186

1б, 1д

2480

228

103

125

44,1

186

2240

228

103

125

44,1

186

3540

274

116

158

56

207

2600

228

103

125

44,1

186

1790

201,1

95,1

106

37,7

172

2а, 9а, 9в

4260

309

139

170

67,2

207

2б, 11б

2750

249

118

131

50,7

186

5230

309

139

170

67,2

207

3310

286

144

142

61,7

186

3а, 3б, 3г, 6б

1900

201,1

95,1

106

37,7

172

4

2040

201,1

95,1

106

37,7

172

5а, 6в

1960

201,1

95,1

106

37,7

172

2720

228

103

125

44,1

186

2260

201,1

95,1

106

37,7

172

7а, 11е

3740

300

133

167

64,4

207

7б, 8а

3470

300

133

167

64,4

207

4050

300

133

167

64,4

207

3330

300

133

167

64,4

207

8б, 11д

3600

300

133

167

64,4

207

3860

309

139

170

67,2

207

4620

300

133

167

64,4

207

3760

309

139

170

67,2

207

4070

309

139

170

67,2

207

3320

309

139

170

67,2

207

10а

2640

272

134

138

57,3

186

10б

4010

325

150

175

72,8

207

10в

4720

325

150

175

72,8

207

11а

2870

221

109

112

43,4

172

11в, 11г

2610

249

118

131

50,7

186

12а

1660

221

109

112

43,4

172

12б, 12в

2240

221

109

112

43,4

172

12г

2210

228

114

114

45,3

172

12д

2400

228

114

114

45,3

172

12е

2310

228

114

114

45,3

172

2. Надземная часть

8220

1027

800

227

77,6

1380

1б, 1в

8660

1027

800

227

77,6

1380

9600

1117

861

256

86,9

1500

8880

1027

800

227

77,6

1380

1е, 5б

10100

1027

800

227

77,6

1380

1ж, 3а

7000

938

740

198

68,4

1280

2а, 9а

11700

1304

1030

274

104

1500

10800

1159

920

239

89,3

1380

13000

1304

1030

274

104

1500

10300

1378

1120

258

109

1380

7190

938

740

198

68,4

1280

8400

1027

800

227

77,6

1380

3г, 4б, 6

7980

938

740

198

68,4

1280

7420

938

740

198

68,4

1280

7620

938

740

198

68,4

1280

10100

1259

990

269

100

1280

9590

1259

990

269

100

1500

7в, 11д, 11е

11100

1259

990

269

100

1500

9800

1259

990

269

100

1500

8а, 8б

10600

1259

990

269

100

1500

10800

1304

1030

274

104

1500

12100

1259

990

269

100

1500

9320

1304

1030

274

104

1500

8е, 9в

11200

1304

1030

274

104

1500

9980

1304

1030

274

104

1500

10а

10800

1290

1040

250

101

1380

10б

12100

1402

1120

282

113

1500

10в

12600

1402

1120

282

113

1500

11а

10100

1061

852

209

78,6

1280

11б, 11в

9890

1159

920

239

89,3

1380

11г

9500

1159

920

239

89,3

1380

12а

7880

1061

852

209

78,6

1280

12б

8380

1061

852

209

78,6

1280

12в

8570

1061

852

209

78,6

1280

12г

8190

1101

889

212

82

1280

12д

8810

1101

889

212

82

1280

12е

9300

1101

889

212

82

1280

В том числе:

а) стены наружные

3400

385

271

114

37,4

488

3590

385

271

114

37,4

488

1в, 3в

3700

385

271

114

37,4

488

4530

473

330

143

46,6

595

3810

385

271

114

37,4

488

4840

385

271

114

37,4

488

1ж, 3б, 4а

2560

300,3

214

86,3

28,3

383

5780

548

396

152

55,9

595

5330

432

312

120

43

488

6440

548

396

152

55,9

595

4280

509

380

129

52,4

488

2480

300,3

214

86,3

28,3

383

3280

300,3

214

86,3

28,3

383

3030

300,3

214

86,3

28,3

383

2700

300,3

214

86,3

28,3

383

4380

385

271

114

37,4

488

6а, 6б

2900

300,3

214

86,3

28,3

383

2770

300,3

214

86,3

28,3

383

4950

530

380

150

53,6

595

7б, 7г

4550

530

380

150

53,6

595

5580

530

380

150

53,6

595

8а, 8б, 11д

5180

530

380

150

53,6

595

5140

548

396

152

55,9

595

5990

530

380

150

53,6

595

4040

548

396

152

55,9

595

8е, 9в

4840

548

396

152

55,9

595

5930

548

396

152

55,9

595

4460

548

396

152

55,9

595

10а

4670

478

352

126

48,6

488

10б

5570

586

429

157

60,6

595

10в

5870

586

429

157

60,6

595

11а

3460

336,5

246

90,5

32,5

383

11б

4020

432

312

120

43

488

11в

4220

432

312

120

43

488

11г

3930

432

312

120

43

488

11е

5360

530

380

150

53,6

595

12а, 12б

2670

336,5

246

90,5

32,5

383

12в

3100

336,5

246

90,5

32,5

383

12г

2870

347,9

256

91,9

34

383

12д

3290

347,9

256

91,9

34

383

12е

3100

347,9

256

91,9

34

383

б) перекрытие и покрытие

1120

53.8

29,3

24,5

9

49,7

1б, 1в, 5а

1160

53,8

29,3

24,5

9

49,7

1220

53,8

29,3

24,5

9

49,7

1180

53,8

29,3

24,5

9

49,7

1250

53,8

29,3

24,5

9

49,7

1050

53,8

29,3

24,5

9

49,7

1410

61,5

35,2

26,3

10,8

49,7

2б, 7а, 7г, 11в, 11г, 12в

1240

59,6

33,7

25,9

10,3

49,7

2в, 9в

1700

61,5

35,2

26,3

10,8

49,7

1300

69,1

41

28,1

12,6

49,7

3

1020

53,8

29,3

24,5

9

49,7

4, 6а, 6б

1090

53,8

29,3

24,5

9

49,7

1450

53,8

29,3

24,5

9

49,7

1320

53,8

29,3

24,5

9

49,7

7б, 7в, 8в, 12а

1160

59,6

33,7

25,9

10,3

49,7

8а, 8г, 11д, 11е

1290

59,6

33,7

25,9

10,3

49,7

1330

61,5

35,2

26,3

10,8

49,7

8д, 8е, 12г

1220

61,5

35,2

26,3

10,8

49,7

9а, 9б, 12д, 12е

1260

61,5

35,2

26,3

10,8

49,7

10а

1390

65,3

38,1

27,2

11,7

49,7

10б

1600

65,3

38,1

27,2

11,7

49,7

10в

1730

65,3

38,1

27,2

11,7

49,7

11а

1880

59,6

33,7

25,9

10,3

49,7

11б

1360

59,6

33,7

25,9

10,3

49,7

12б

1330

59,6

33,7

25,9

10,3

49,7

в) кровля

1а, 4

942

92,5

74,5

18

5,4

136

1040

93,6

75,4

18,2

5,4

138

968

93,6

75,4

18,2

5,4

138

1г, 1е, 5б

1080

94,8

76,4

18,4

5,5

140

992

93,6

75,4

18,2

5,4

138

769

91,4

73,6

17,8

5,3

135

1280

112,7

92,9

19,8

6,7

142

2б, 7б, 11в, 12б

1040

105,8

86,8

19

6,2

138

1520

112,7

92,9

19,8

6,7

142

1150

126,4

106

20,4

7,6

138

3а, 3б, 3г

748

91,4

73,6

17,8

5,3

135

3в, 5а

859

92,5

74,5

18

5,4

136

6

818

91,4

73,6

17,8

5,3

135

7а, 7г, 11г

1080

107,1

87,8

19,3

6,3

140

7в, 8б

1150

108,5

89

19,5

6,4

142

1110

108,5

89

19,5

6,4

142

1250

112,7

92,9

19,8

6,7

142

1430

108,5

89

19,5

6,4

142

1130

112,7

92,9

19,8

6,7

142

1370

112,7

92,9

19,8

6,7

142

9а, 9б

1190

112,7

92,9

19,8

6,7

142

1450

112,7

92,9

19,8

6,7

142

10а

1260

117,9

98,1

19,8

7

138

10б

1400

121,3

101

20,3

7,2

142

10в

1500

121,3

101

20,3

7,2

142

11а

1370

103,1

84,6

18,5

6,1

135

11б, 11д, 11е

1220

107,1

87,8

19,3

6,3

140

12а

847

103,1

84,6

18,5

6,1

135

12в

888

103,1

84,6

18,5

6,1

135

12г

916

107,1

88,3

18,8

6,3

135

12д

859

107,1

88,3

18,8

6,3

135

12е

1140

107,1

88,3

18,8

6,3

135

г) отделочные работы

1а - 1в, 1д, 1ж, 3, 5б

702

256,5

237

19,5

10,2

396

1г, 1е, 4а, 5а

727

256,5

237

19,5

10,2

396

771

305,6

284

21,6

12,3

396

2б, 7в

779

294,1

273

21,1

11,8

396

2в, 8в, 9а, 9в

814

305,6

284

21,6

12,3

396

890

355,6

332

23.6

14,3

396

46, 6а, 6б

739

256,5

237

19,5

10,2

396

757

256,5

237

19,5

10,2

396

7а, 76, 7г, 8б

748

294,1

273

21,1

11,8

396

761

294,1

273

21,1

11,8

396

801

294,1

273

21,1

11,8

396

8д, 9б

795

305,6

284

21,6

12,3

396

909

305,6

284

21,6

12,3

396

10а

928

330,6

308

22,6

13,3

396

10б

861

330,6

308

22,6

13,3

396

10в

832

330,6

308

22,6

13,3

396

11

856

294,1

273

21,1

11,8

396

12а

934

294,1

273

21,1

11,8

396

12б

1040

294,1

273

21,1

11,8

396

12в

987

294,1

273

21,1

11,8

396

12г, 12д

959

305,6

284

21,6

12,3

396

12е

1180

305,6

284

21,6

12,3

396

РАЗДЕЛ II. МОНТАЖ МЕТАЛЛОКОНСТРУКЦИЙ

1, 3 - 5

420

42,4

17,4

25

8,7

27,8

2а, 2в, 8в, 8д, 8е, 12г - 12е

431

47,7

20,9

26,8

10,4

27,8

2б, 7а - 8б, 8г, 11а - 12в

428

46,3

20

26,3

10

27,8

441

52,8

24,3

28,5

12,1

27,8

6

429

42,4

17,4

25

8,7

27,8

9

444

47,7

20,9

26,8

10,4

27,8

10

486

50,2

22,6

27,6

11,3

27,8

РАЗДЕЛ III. ВНУТРЕННИЕ САНИТАРНО-ТЕХНИЧЕСКИЕ УСТРОЙСТВА

1. Санитарно-технические работы

1а - 1е, 3а - 5а, 6

1780

196,2

180

16,2

3,7

298

1730

191,9

176

15,9

3,6

291

2а, 2в, 8в, 8д, 9

1900

238,3

221

17,3

4,5

304

2г, 7а - 8б, 8г, 11б - 11е

1880

227

210

17

4,3

302

1970

272,8

255

17,8

5,2

300

1830

198,4

182

16,4

3,7

300

2040

238,3

221

17,3

4,5

304

10

2120

255,6

238

17,6

4,8

302

11а, 12а - 12в

1820

219,4

203

16,4

4,1

291

12г - 12е

1840

228,6

212

16,6

4,3

291

В том числе:

а) холодное водоснабжение и канализация

1, 3, 4

212

20,8

18,6

2,2

0,5

31

2а, 2в, 8в, 8д, 9, 12г, 12д

224

24,6

22,3

2,3

0,7

31

2б, 8а, 8б, 8г, 11а-12в

221

23,7

21,4

2,3

0,6

31

232

28,5

26,1

2,4

0,8

31

5, 6

216

20,8

18,6

2,2

0,5

31

7

216

23,7

21,4

2,3

0,6

31

237

24,6

22,3

2,3

0,7

31

10

229

26,5

24,2

2,3

0,7

31

12е

229

24,6

22,3

2,3

0,7

31

б) центральное отопление

1а - 1в, 1д, 1е, 3а, 3б, 3г - 5а, 6

846

94,1

86,6

7,5

1,7

141

1г, 3в, 5б

874

96,9

89,2

7.7

1.7

145

819

92,6

85,2

7,4

1.6

138

2а, 2в, 8в, 8д, 9

929

116,2

108

8,2

2,1

147

2б, 7, 11б - 11г

901

110

102

8

2

145

948

131,3

123

8,3

2,4

143

8а, 8б, 8г, 11д, 11е

924

112,1

104

8,1

2

147

977

116,2

108

8,2

2,1

147

10а

1110

122 1

114

8,1

2,2

143

10б, 10в

1140

126,3

118

8,3

2,3

147

11а, 12а - 12в

871

105,6

98

7,6

1,9

138

12г, 12д

875

109,7

102

7,7

2

138

12е

904

109,7

102

7,7

2

138

в) вентиляция

1а - 1е, 3в, 5б

731

81,9

75,3

6,6

1,5

126

1ж, 3а, 3б, 3г - 5а, 6

704

78,8

72,5

6,3

1,4

122

2а, 2в, 8в, 8д, 9

754

97,3

90,4

6,9

1,8

126

2б, 7а - 8б, 8г, 11б - 11е

750

93,4

86,6

6,8

1,7

126

791

112,2

105

7,2

2

126

827

97,3

90,4

6,9

1,8

126

10

769

104,9

97,9

7

1,9

126

11а, 12а - 12в

722

89,9

83,4

6,5

1,6

122

12г - 12е

726

93,6

87

6,6

1,7

122

2. Сопутствующие строительные работы

1а - 1в, 1д, 1е, 3в, 5б

49

25,8

25,5

0,3

0,1

45,2

51

26,9

26,6

0,3

0,1

47,2

1ж, 3а, 3б, 3г - 5а, 6

47

24,6

24,3

0,3

0,1

43,1

2а, 2в, 8в, 8д, 9

56

32,4

32

0,4

0,1

47.2

2б, 7а - 8б, 8г, 11б - 11г

54

30,4

30

0,4

0,1

46,2

61

36,1

35,7

0,4

0,1

45,2

60

32,4

32

0,4

0,1

47,2

10а

59

33,5

33,1

0,4

0,1

45,2

10б, 10в

61

35

34,6

0,4

0,1

47,2

11а, 12а - 12в

52

28,4

28

0,4

0,1

43,1

11д, 11е

56

31

30,6

0,4

0,1

47,2

12г - 12е

53

29,6

29,2

0,4

0,1

43,1

РАЗДЕЛ IV. ЭЛЕКТРОМОНТАЖНЫЕ РАБОТЫ

А. ДЛЯ ЭЛЕКТРОЛИЗНОЙ УСТАНОВКИ ПРОИЗВОДИТЕЛЬНОСТЬЮ 1 кг АКТИВНОГО ХЛОРА В ЧАС

1. Монтажные работы

1, 3 - 6

1580

654

525

129

46,1

923

2а, 2в, 8в, 8д, 9, 12г, 12д

1720

768

630

138

55,3

923

2б, 7а - 8б, 8г, 11а - 12в

1680

740

604

136

53

923

1870

882

735

147

64,5

923

1800

768

630

138

55,3

923

10

1820

825

683

143

59,9

923

12е

1760

768

630

138

55,3

923

В том числе:

а) электроосвещение

1, 3 - 6

425

97,8

66,3

31,5

9,8

115

2а, 2в, 8в, 8д, 9, 12г, 12д

443

113,1

79,6

33,5

11,8

115

2б, 7а - 8б, 8г, 11а - 12в

438

109,3

76,3

33

11,3

115

473

128,1

92,8

35,3

13,7

115

482

113,1

79,6

33,5

11,8

115

10

468

120,6

86,2

34,4

12,7

115

12е

463

113,1

79,6

33,5

11,8

115

б) монтаж электросилового оборудования и автоматики

1, 3 - 6

1160

556,8

459

97,8

36,4

808

2а, 2в, 8в, 8д, 9, 12г - 12е

1280

656

551

105

43,7

808

2б, 7а - 8б, 8г, 11а - 12в

1240

630

528

102

41,9

808

1400

754

642

112

51

808

1320

656

551

105

43,7

808

10

1350

705

597

108

47,3

808

2. Сопутствующие строительные работы

1, 3 - 6

41

41

41

-

-

86,1

2а, 2в, 8в, 8д - 9в, 12г - 12е

49

49

49

-

-

86,1

2б, 7а - 8б, 8г, 11а - 12в

47

47

47

-

-

86,1

57

57

57

-

-

86,1

10

53

53

53

-

-

86,1

Б. ДЛЯ ЭЛЕКТРОЛИЗНОЙ УСТАНОВКИ ПРОИЗВОДИТЕЛЬНОСТЬЮ 2 кг АКТИВНОГО ХЛОРА В ЧАС

Монтажные работы

1, 3 - 6

1700

713

573

140

49,9

1010

2а, 2в, 8в, 8д, 9, 12г - 12е

1860

838

688

150

59,9

1010

2б, 7а - 8б, 8г, 11а - 12в

1810

806

659

147

57,4

1010

2020

962

802

160

69,9

1010

1940

838

688

150

59,9

1010

10

1960

899

745

154

64,9

1010

В том числе монтаж электросилового оборудования и автоматики

1, 3 - 6

1280

615

507

108

40,2

892

2а, 2в, 8в, 8д, 9, 12г - 12е

1420

724

608

116

48,2

892

2б, 7а - 8б, 8г, 11а - 12в

1380

697

583

114

46,2

892

1540

834

710

124

56,3

892

1450

724

608

116

48,2

892

10

1490

779

659

120

52,2

892

Примечание. Затраты по электроосвещению и сопутствующим строительным работам следует принимать по п. А разд. IV.

РАЗДЕЛ V. МОНТАЖ ТЕХНОЛОГИЧЕСКОГО ОБОРУДОВАНИЯ И ТРУБОПРОВОДОВ

А. ДЛЯ ЭЛЕКТРОЛИЗНОЙ УСТАНОВКИ ПРОИЗВОДИТЕЛЬНОСТЬЮ 1 кг АКТИВНОГО ХЛОРА В ЧАС

1. Монтажные работы

1, 3 - 6

1460

447,9

366

81,9

21,9

610

2а, 2в, 8в, 8д - 9в, 12г, 12д

1570

525

439

86

26,3

610

2б, 7а - 8б, 8г, 11а - 12в

1540

505,2

420

85,2

25,2

610

1700

602,7

512

90,7

30,7

610

10

1670

563,5

475

88,5

28,5

610

12е

1630

525,2

439

86,2

26,3

610

2. Сопутствующие строительные работы

1, 3 - 6

2

0,5

0,5

-

-

0,9

2а - 2в, 7 - 8д, 9, 11, 12

2

0,6

0,6

-

-

0,9

3

0,8

0,8

-

-

0,9

3

0,6

0,6

-

-

0,9

10

2

0,7

0,7

-

-

0,9

3. Монтаж металлоконструкций, сопутствующий монтажу оборудования

1, 3 - 5

58

5,1

2,8

2,3

0,7

4,6

2а, 2в, 8в, 8д, 8е, 12г - 12е

59

5,8

3,4

2,4

0,8

4,6

2б, 7а - 8б, 8г, 11а - 12в

59

5,6

3,2

2,4

0,8

4,6

61

6,5

3,9

2,6

1

4,6

6

60

5,1

2,8

2,3

0,7

4,6

9

62

5,8

3,4

2,4

0,8

4,6

10

68

6,2

3,7

2,5

0,9

4,6

Б. ДЛЯ ЭЛЕКТРОЛИЗНОЙ УСТАНОВКИ ПРОИЗВОДИТЕЛЬНОСТЬЮ 2 кг АКТИВНОГО ХЛОРА В ЧАС

Монтажные работы

1, 3 - 6

1480

453

370

83

22,2

618

2а, 2в, 8в, 8д - 9в, 12г, 12д

1590

531,4

444

87,4

26,6

618

2б, 7а - 8б, 8г, 11а - 12в

1560

512,2

426

86,2

25,5

618

1720

610,8

519

91,8

31,1

618

10

1690

571,6

482

89,6

28,9

618

12е

1650

531,4

444

87,4

26,6

618

Примечание. Затраты по сопутствующим строительным работам и по монтажу металлоконструкций, сопутствующему монтажу оборудования, следует принимать по п. А разд. V.

Районная цена № 279

Бак-хранилище реагентов электролизной установки с устройством каналов и колодцев (типовой проект 901-3-76)

Измеритель - 1 сооружение

Районы

Прямые затраты, руб.

Нормативная условно-чистая продукция, руб.

В том числе, руб.

Затраты труда рабочих, чел.-ч

основная заработная плата рабочих

эксплуатация машин

всего

в том числе заработная плата рабочих, обслуживающих машины

1

2

3

4

5

6

7

РАЗДЕЛ I. СТРОИТЕЛЬНЫЕ РАБОТЫ

1а, 1ж, 3а, 3б, 3г, 4а

4070

666

390

276

64

682

1б, 5б, 6в

4360

696

390

306

64

682

1в, 4б, 5а, 6а, 6б

4190

673

390

283

64

682

1г, 1д, 3в

4260

682

390

292

64

682

4510

682

390

292

64

682

2а, 8в, 9а, 9в

4860

797

467

330

76,8

682

26, 8а

4420

766

448

318

73,6

682

5340

804

467

337

76,8

682

5540

920

545

375

89,6

682

7а, 7б, 7г, 12а, 12б

4260

744

448

296

73,6

682

7в, 8б, 11б, 11в, 11д, 11е

4700

760

448

312

73,6

682

5500

768

448

320

73,6

682

4490

790

467

323

76,8

682

8е, 12е

5520

804

467

337

76,8

682

4730

790

467

323

76,8

682

10, 10в

5040

839

506

333

83,2

682

10б

5120

839

506

333

83,2

682

11а

5350

778

448

330

73,6

682

11г

4600

753

448

305

73,6

682

12в

4130

735

448

287

73,6

682

12г

4370

765

467

298

76,8

682

12д

4600

765

467

298

76,8

682

В том числе:

а) земляные работы

1а - 1г, 1е, 3, 4

80

68,2

28,2

40

16,9

56,4

75

68,2

28,2

40

16,9

56,4

1ж, 5, 6в

85

68,2

28,2

40

16,9

56,4

2а, 12г

94

77,3

33,9

43,4

20,2

56,4

26, 7а, 8б

95

75,1

32,5

42,6

19,4

56,4

2в, 8е, 9а, 12д

103

77,3

33,9

43,4

20,2

56,4

113

86,3

39,5

46,8

23,6

56,4

6а, 6б

83

68,2

28,2

40

16,9

56,4

7б, 8г, 12а - 12в

93

75,1

32,5

42,6

19,4

56,4

105

75,1

32,5

42,6

19,4

56,4

7г, 8а

90

75,1

32,5

42,6

19,4

56,4

8в, 8д, 9в, 12е

98

77,3

33,9

43,4

20,2

56,4

110

77,3

33,9

43,4

20,2

56,4

10а

112

81,8

36,7

45,1

21,9

56,4

10б

109

81,8

36,7

45,1

21,9

56,4

10в

101

81,8

36,7

45,1

21,9

56,4

11

101

75,1

32,5

42,6

19,4

56,4

б) транспортирование грунта

1а - 1е, 3в, 3г, 4б, 5а, 6а, 6в

108

108

-

108

-

-

1ж, 3б, 4а, 6б

90

90

-

90

-

-

2а, 2в, 8е, 9а, 9в, 12е

140

140

-

140

-

-

2б, 5б, 11а

137

137

-

137

-

-

166

166

-

166

-

-

76

75,6

-

75,6

-

-

7а, 7б, 7г - 8б, 11б - 11е, 12б

112

112

-

112

-

-

7в, 8в - 8д, 9б

126

126

-

126

-

-

10

130

130

-

130

-

-

12а, 12в

94

93,6

-

93,6

-

-

12г, 12д

101

101

-

101

-

-

в) бак-хранилище

1а, 3г

2410

336,8

248

88,8

30,2

424

1б, 1д, 1ж, 3б, 4а - 5а, 6в

2560

336,8

248

88,8

30,2

424

1в, 1г, 3а, 5б - 6б

2500

336,8

248

88,8

30,2

424

1е, 3в

2660

336,8

248

88,8

30,2

424

2а, 8в, 9а, 9в

2860

392,9

298

94,9

36,2

424

2б, 8а, 12б

2660

379,4

286

93,4

34,7

424

3030

392,9

298

94,9

36,2

424

3480

449

348

101

42,2

424

7а, 7б, 7г, 12а

2560

379,4

286

93,4

34,7

424

7в, 8б, 11б -11е

2800

379,4

286

93,4

34,7

424

3320

379,4

286

93,4

34,7

424

8д, 12г, 12д

2720

392,9

298

94,9

36,2

424

3400

392,9

298

94,9

36,2

424

2760

392,9

298

94,9

36,2

424

10

2990

420,9

323

97,9

39,2

424

11а

3080

379,4

286

93,4

34,7

424

12в

2420

379,4

286

93,4

34,7

424

12е

3510

392,9

298

94,9

36,2

424

г) каналы и колодцы

1а, 1в, 4, 6а, 6б

943

106,4

72,8

33,6

10,4

132

1б, 1е, 6в

1030

106,4

72,8

33,6

10,4

132

994

106,4

72,8

33,6

10.4

132

1д, 5а

968

106,4

72,8

33,6

10,4

132

869

106,4

72,8

33,6

10,4

132

2а, 8е, 12е

1150

123

87,3

35,7

12,5

132

2б, 8а, 11г

1020

118,9

83,7

35,2

12

132

1340

123

87,3

35,7

12,5

132

1150

139,8

102

37,8

14,6

132

3

899

106,4

72,8

33,6

10,4

132

1070

106,4

72,8

33,6

10,4

132

7а, 7б

963

118,9

83,7

35,2

12

132

7в, 8б, 11б, 11д, 11е

1060

118,9

83,7

35,2

12

132

7г, 12а

942

118,9

83,7

35,2

12

132

8в, 9а, 9б

1100

123

87,3

35,7

12,5

132

1220

118,9

83,7

35,2

12

132

1030

123

87,3

35,7

12,5

132

1220

123

87,3

35,7

12,5

132

10а

1150

131,3

94,6

36,7

13,5

132

10б

1260

131,3

94,6

36,7

13,5

132

10в

1290

131,3

94,6

36,7

13,5

132

11а

1370

118,9

83,7

35,2

12

132

11в

1100

118,9

83,7

35,2

12

132

12б, 12в

995

118,9

83,7

35,2

12

132

12г

983

123

87,3

35,7

12,5

132

12д

1070

123

87,3

35,7

12,5

132

РАЗДЕЛ II. МОНТАЖ МЕТАЛЛОКОНСТРУКЦИЙ

1, 3 - 6

17

1,9

0,8

1,1

0,4

1,4

2а - 2в, 7, 8, 11, 12

17

2,1

1

1,1

0,5

1,4

18

2,4

1,2

1,2

0,6

1,4

9

18

2,1

1

1,1

0,5

1,4

10

19

2,3

1,1

1,2

0,5

1,4

РАЗДЕЛ III. МОНТАЖ ТРУБОПРОВОДОВ

1. Монтажные работы

1, 3 - 6

536

120

112

8

1,6

173

2а, 2в, 8в, 8д, 9, 12г, 12д

564

142,3

134

8,3

1,9

173

2б, 7а - 8б, 8г, 11а - 12в

557

136,3

128

8,3

1,8

173

599

164,6

156

8,6

2,2

173

8е, 12е

585

142,3

134

8,3

1,9

173

10

591

153,5

145

8,5

2,1

173

2. Монтаж металлоконструкций, сопутствующий монтажу трубопроводов

1, 3 - 5

21

3

2,1

0,9

0,3

3,6

2а, 2в, 8в, 8д, 8е, 12г - 12е

22

3,5

2,6

0,9

0,3

3,6

2б, 7а - 8б, 8г, 11а - 12в

22

3,4

2,5

0,9

0,3

3,6

23

4

3

1

0,4

3,6

6

22

3

2,1

0,9

0,3

3,6

9

23

3,5

2,6

0,9

0,3

3,6

10

25

3,7

2,8

0,9

0,3

3,6

Рис. 2. Градирни с вентиляторами 2ВГ50 пленочные, капельные и брызгальные с секциями площадью 64 м2 с каркасом из железобетонных элементов.

Типовой проект 901-6-51 (к ценам № 280 - 291)

1 - вентилятор 2ВГ50; 2 - водоуловительные решетки; 3 - водораспределительная система; 4 - ороситель; 5 - переливная труба; 6 - отводящая труба; 7 - водоподающий стояк; 8 - люк.

2. Градирни с вентиляторами 2ВГ50 с секциями площадью 64 м2

ПЛЕНОЧНЫЕ

Районная цена № 280

Градирня пленочная с двумя секциями. Каркас из сборных железобетонных элементов, обшивка асбестоцементными листами, ороситель и водоуловительные решетки деревянные, водосборный бассейн сборно-монолитный (типовой проект 901-6-51)

Измеритель - 1 градирня

Районы

Прямые затраты, руб.

Нормативная условно-чистая продукция, руб.

В том числе, руб.

Затраты труда рабочих, чел.-ч

основная заработная плата рабочих

эксплуатация машин

всего

в том числе заработная плата рабочих, обслуживающих машины

1

2

3

3

5

6

7

РАЗДЕЛ I. СТРОИТЕЛЬНЫЕ РАБОТЫ

1. Подземная часть

1а, 1в

7690

860

326

534

87

598

1б, 1е

8340

860

326

534

87

598

1г, 1а, 5а

7900

860

326

534

87

598

7010

813

326

487

87

598

9280

1029

391

638

104

598

8470

999

375

624

100

598

2в, 8е

10500

1029

391

638

104

598

10600

1179

456

723

121

598

7380

860

326

534

87

598

8330

937

326

611

87

598

7а, 7б, 7г

8020

932

375

557

100

598

8000

970

375

595

100

598

8280

932

375

557

100

598

8630

932

375

557

100

598

8в, 9а

8910

1010

391

619

104

598

10700

970

375

595

100

598

8390

991

391

600

104

598

8700

991

391

600

104

598

9830

1029

391

638

104

598

10а

9530

1042

424

618

112

598

10б, 10в

9900

1042

424

618

112

598

В том числе:

а) земляные работы

1, 3г, 5

164

164

54

110

42

112

2а, 2в, 8в, 8д - 9в

183

183

64

119

50

112

2б,7а - 8б,8г

179

179

62

117

48

112

202

202

75

127

58

112

10

193

193

70

123

54

112

б) транспортирование грунта

1а - 1е, 3г, 5а

288

288

-

288

-

-

240

240

-

240

-

-

2а, 2в, 8е, 9а, 9в

374

374

-

374

-

-

2б, 5б

364

364

-

364

-

-

441

441

-

441

-

-

7а, 7б , 7г - 8б

297

297

-

297

-

-

7в, 8в - 8д, 9б

336

336

-

336

-

-

10

345

345

-

345

-

-

в) монолитные бетонные и железобетонные конструкции

1а, 1в, 3г,5б

5020

290

217

73

22

390

1б, 1е

5590

290

217

73

22

390

1г, 1д, 5а

5230

290

217

73

22

390

4620

290

217

73

22

390

2а, 8в, 9в

6040

338

261

77

26

390

5570

326

250

76

25

390

6880

338

261

77

26

390

7560

386

304

82

31

390

7а, 7б, 8а

5320

326

250

76

25

390

6250

326

250

76

25

390

5190

326

250

76

25

390

5890

326

250

76

25

390

7730

326

250

76

25

390

8д, 9б

5640

338

261

77

26

390

7480

338

261

77

26

390

5920

338

261

77

26

390

10

6280

362

282

80

28

390

г) сборные железобетонные конструкции

1890

91

32

59

22

52

1б, 1в, 1д, 5а

1960

91

32

59

22

52

2020

91

32

59

22

52

2070

91

32

59

22

52

1ж, 3г

1740

91

32

59

22

52

2340

101

38

63

26

52

2б, 7а, 7г, 8б

2040

98

36

62

25

52

2850

101

38

63

26

52

2120

112

44

68

31

52

2460

91

32

59

22

52

7б, 7в

1950

98

36

62

25

52

2150

98

36

62

25

52

8в, 9б

2210

101

38

63

26

52

2210

98

36

62

25

52

2030

101

38

63

26

52

8е, 9а

2080

101

38

63

26

52

2920

101

38

63

26

52

10а

2350

106

41

65

28

52

10б

2580

106

41

65

28

52

10в

2990

106

41

65

28

52

2. Надземная часть

1а, 1б; 1г, 1ж

25400

1514

782

732

239

1370

1в, 1д, 1е, 3г, 5а

27700

1514

782

732

239

1370

2а, 2в, 8д, 9а, 9б

29300

1718

938

780

287

1370

2б, 7а, 7в

26000

1667

899

768

275

1370

33500

1927

1100

827

335

1370

30500

1514

782

732

239

1370

25500

1667

899

768

275

1370

28100

1667

899

768

275

1370

8а, 8б

29000

1667

899

768

275

1370

27300

1718

938

780

287

1370

32800

1667

899

768

275

1370

43200

1718

938

780

287

1370

36000

1718

938

780

287

1370

10а

31000

1823

1020

803

311

1370

10б, 10в

36100

1823

1020

803

311

1370

В том числе

сборные железобетонные конструкции

7850

539

259

280

103

423

1б - 1д, 5а

8150

539

259

280

103

423

8720

539

259

280

103

423

1ж, 3г

7340

539

259

280

103

423

9810

612

311

301

124

423

2б, 7б - 7г

8440

594

298

296

118

423

11800

612

311

301

124

423

8930

684

363

321

144

423

10300

539

259

280

103

423

7а, 8а, 8б

8960

594

298

296

118

423

8в, 9б

9360

612

311

301

124

423

9310

594

298

296

118

423

8д - 9а

8830

612

311

301

124

423

12200

612

311

301

124

423

10а

10100

648

337

311

134

423

10б

10900

648

337

311

134

423

10в

12300

648

337

311

134

423

РАЗДЕЛ II. МОНТАЖ МЕТАЛЛОКОНСТРУКЦИЙ

1, 3г, 5

4960

670

221

449

164

354

2а, 2в, 8в, 8д, 8е

5080

748

266

482

197

354

2б,7а - 8б, 8г

5040

729

255

474

188

354

5210

825

310

515

229

354

9

5230

748

266

482

197

354

10

5710

786

288

498

213

354

РАЗДЕЛ III. ЭЛЕКТРОМОНТАЖНЫЕ РАБОТЫ

1, 3г, 5

343

189

122

67

27

210

2а, 2в, 8в, 8д - 9в

374

218

146

72

32

210

2б, 7а - 8б, 8г

366

211

140

71

31

210

406

248

170

78

38

210

10

391

233

158

75

35

210

В том числе:

а) монтаж электросилового оборудования

1, 3г, 5

293

164

108

56

23

186

2а, 2в, 8в, 8д - 9в

320

191

130

61

28

186

2б, 7а - 8б, 8г

313

183

124

59

26

186

348

216

151

65

32

186

10

834

203

140

63

30

186

б) электроосвещение

1, 3г, 5

50

25

14

11

5

25

2а, 2в, 8в, 8д - 9в

54

29

16

13

6

25

2б, 7а - 8б, 8г

53

28

16

12

6

25

59

33

19

14

7

25

10

56

31

18

13

7

25

РАЗДЕЛ IV. МОНТАЖ ОБОРУДОВАНИЯ

1. Монтаж вентиляторного оборудования

1, 3г, 5

705

661

538

123

49

917

2а, 2в, 8в, 8д - 9в

830

780

646

134

59

917

2б, 7а - 8б, 8г

798

750

619

131

56

917

953

898

754

144

69

917

10

893

839

700

139

64

917

2. Монтаж трубопроводов водосборного бассейна

1, 3г, 5

386

82

43

39

12

68

2а, 2в, 8в, 8д, 9

403

91

51

40

14

68

2б, 8а, 8б, 8г

400

89

49

40

14

68

427

103

60

43

17

68

7

391

89

49

40

14

68

445

91

51

40

14

68

10

424

98

56

42

16

68

3. Монтаж водораспределительной системы

а) при гидравлической нагрузке 300 м3

1, 3г

1650

83

35

48

25

117

2а, 2в, 8в, 8д, 9

1720

95

42

53

30

117

2б, 8а, 8б, 8г

1720

92

40

52

29

117

1820

107

49

58

35

117

5

1690

83

35

48

25

117

7

1660

92

40

52

29

117

2070

95

42

53

30

117

10

1820

101

45

56

33

117

б) при гидравлической нагрузке 500 м3

1, 3г

1840

93

39

54

28

131

2а, 2в, 8в, 8д, 9

1920

106

46

60

34

131

2б, 8а, 8б, 8г

1920

103

45

58

32

131

2040

119

54

65

39

131

5

1890

93

39

54

28

131

7

1850

103

45

58

32

131

2310

106

46

60

34

131

10

2030

112

50

62

36

131

в) при гидравлической нагрузке 750 м3

1, 3г

2610

131

55

76

39

185

2а, 2в, 8в, 8д, 9

2720

150

66

84

47

185

2б, 8а, 8б, 8г

2720

145

63

82

45

185

2880

168

77

91

55

185

5

2670

131

55

76

39

185

7

2620

145

63

82

45

185

3270

150

66

84

47

185

10

2870

158

71

87

51

185

4. Сопутствующие строительные работы

а) при гидравлической нагрузке 300 м3

1, 3г, 5

34

17

17

-

-

30

2а, 2в, 8в, 8д, 9

38

20

20

-

-

30

2б,7а - 8б, 8г

37

19

19

-

-

30

42

23

23

-

-

30

40

20

20

-

-

30

10

40

22

22

-

-

30

б) при гидравлической нагрузке 500 м3

1, 3г, 5

38

19

19

-

-

34

2а, 2в, 8в, 8д, 9

42

22

22

-

-

34

2б, 7а - 8б, 8г

41

21

21

-

-

34

47

26

26

-

-

34

44

22

22

-

-

34

10

45

24

24

-

-

34

 

 

 

 

 

 

34

в) при гидравлической нагрузке 750 м3

1, 3г, 5

56

28

28

-

-

50

2а, 2в, 8в, 8д, 9

62

33

33

-

-

50

2б,7а - 8б, 8г

61

32

32

-

-

50

70

39

39

-

-

50

66

33

33

-

-

50

10

67

36

36

-

-

50

5. МОНТАЖ МЕТАЛЛОКОНСТРУКЦИЙ, СОПУТСТВУЮЩИЙ МОНТАЖУ ОБОРУДОВАНИЯ

1 - 2в, 3г, 5, 7, 8

29

2

2

-

-

2

2г, 9

30

2

2

-

-

2

10

32

2

2

-

-

2

Районная цена №281

Градирня пленочная с тремя секциями. Каркас из сборных железобетонных элементов, обшивка асбестоцементными листами, ороситель и водоуловительные решетки деревянные, водосборный бассейн сборно-монолитный (типовой проект 901-6-51)

Измеритель - 1 градирня

Районы

Прямые затраты, руб.

Нормативная условно-чистая продукция, руб.

В том числе, руб.

Затраты труда рабочих, чел.-ч

основная заработная плата рабочих

эксплуатация машин

всего

в том числе заработная плата рабочих, обслуживающих машины

1

2

3

4

5

6

7

РАЗДЕЛ I. СТРОИТЕЛЬНЫЕ РАБОТЫ

1. Подземная часть

1а, 1в, 5а

10700

1187

444

743

119

813

1б, 1е

11600

1187

444

743

119

813

1г, 1д

11000

1187

444

743

119

813

9710

1120

444

676

119

813

12800

1420

532

888

143

813

11700

1378

510

868

137

813

2в, 8е

14600

1420

532

888

143

813

14800

1621

621

1000

167

813

10200

1187

444

743

119

813

11500

1294

444

850

119

813

7а, 7б, 7г

11 100

1284

510

774

137

813

12500

1338

510

828

137

813

11500

1284

510

774

137

813

12000

1284

510

774

137

813

8в, 9а

12400

1393

532

861

143

813

14900

1338

510

828

137

813

11600

1366

532

834

143

813

12000

1366

532

834

143

813

13600

1420

532

888

143

813

10а

13200

1436

577

859

155

813

10б

13600

1436

577

859

155

813

10в

13900

1436

577

859

155

813

В том числе:

а) земляные работы

1, 3г, 5

222

222

68

154

58

143

2а, 2в, 8в, 8д - 9в

248

248

82

166

70

143

2б, 7а - 8б, 8г

241

241

78

163

67

143

272

272

96

177

81

143

10

260

260

89

171

75

143

б) транспортирование грунта

1а - 1е, 3г, 5а

403

403

-

403

-

-

336

336

-

336

-

-

2а, 2в, 8е, 9а, 9в

524

524

-

524

-

-

2б, 5б

510

510

-

510

-

-

618

618

-

618

-

-

7а, 7б, 7г - 8б

416

416

-

416

-

-

7в, 8в - 8д, 9б

470

470

-

470

-

-

10

483

483

-

483

-

-

в) монолитные бетонные и железобетонные конструкции

1а, 1в, 3г, 5б

7080

404

302

102

30

543

1б, 1е

7880

404

302

102

30

543

1г, 1д, 5а

7360

404

302

102

30

543

6500

404

302

102

30

543

2а, 8в, 9в

8500

471

363

108

36

543

7850

454

348

106

35

543

9700

471

363

108

36

543

10600

537

423

114

43

543

7а, 7б, 8а

7500

454

348

106

35

543

8800

454

348

106

35

543

7310

454

348

106

35

543

8300

454

348

106

35

543

10900

454

348

106

35

543

8д, 9б

7940

471

363

108

36

543

10500

471

363

108

36

543

8340

471

363

108

36

543

10

8840

504

393

111

39

543

г) сборные железобетонные конструкции

2520

121

42

79

29

70

1б, 1в, 1д, 5а

2620

121

42

79

29

70

2690

121

42

79

29

70

2760

121

42

79

29

70

1ж, 3г

2320

121

42

79

29

70

3120

135

51

84

35

70

2б, 7а, 7г, 8б

2710

132

49

83

33

70

3790

135

51

84

35

70

2820

149

59

90

41

70

3280

121

42

79

29

70

7б, 7в

2600

132

49

83

33

70

2870

132

49

83

33

70

8в, 9б

2940

135

51

84

35

70

2940

132

49

83

33

70

8д, 9а

2740

135

51

84

35

70

2770

135

51

84

35

70

3890

135

51

84

35

70

10а

3140

142

55

87

38

70

10б

3440

142

55

87

38

70

10в

3990

142

55

87

38

70

2. Надземная часть

1а, 1б, 1г, 1ж

37200

2180

1120

1060

347

1970

1в, 1д, 1е, 3г, 5а

40700

2180

1120

1060

347

1970

2а, 2в, 8д, 9а, 9б

43000

2480

1350

1130

416

1970

2б, 7в

38400

2400

1290

1110

399

1970

49300

2770

1570

1200

486

1970

44800

2180

1120

1060

347

1970

7а, 7б

37600

2400

1290

1110

399

1970

41300

2400

1290

1110

399

1970

8а, 8б

42600

2400

1290

1110

399

1970

40000

2480

1350

1130

416

1970

48 300

2400

1290

1110

399

1970

63600

2480

1350

1130

416

1970

52800

2480

1350

1130

451

1970

10а

45500

2630

1460

1170

451

1970

10б, 10в

53100

2630

1460

1170

451

1970

В том числе сборные железобетонные конструкции

11500

790

380

410

151

620

1б - 1д, 5а

11900

790

380

410

151

620

12700

790

380

410

151

620

1ж, 3г

10700

790

380

410

151

620

14300

897

456

441

181

620

2б, 7б

12400

870

437

433

173

620

17300

897

456

441

181

620

13100

1002

531

471

211

620

15000

790

380

410

151

620

7а, 8а, 8б

13100

870

437

433

173

620

7в, 7г

12100

870

437

433

173

620

8в, 9б

13600

897

456

441

181

620

13600

870

437

433

173

620

8д - 9а

12900

897

456

441

181

620

17900

897

456

441

181

620

10а

14800

950

494

456

196

620

10б

16000

950

494

456

196

620

10в

18000

950

494

456

196

620

РАЗДЕЛ II. МОНТАЖ МЕТАЛЛОКОНСТРУКЦИЙ

1, 3г, 5

6750

918

302

616

225

484

2а, 2в, 8е, 8д, 8е

6920

1024

363

661

270

484

2б, 7а - 8б, 8г

6860

998

348

650

259

484

7100

1129

423

706

315

484

9

7110

1024

363

661

270

484

10

7760

1077

393

684

292

484

РАЗДЕЛ III. ЭЛЕКТРОМОНТАЖНЫЕ РАБОТЫ

1, 3г, 5

411

226

145

81

33

251

2а, 2в, 8в, 8д - 9в

448

262

174

88

40

251

2б, 7а - 8б, 8г

438

253

167

86

38

251

487

299

203

96

46

251

10

468

280

189

91

43

251

В том числе:

а) монтаж электросилового оборудования

1, 3г, 5

342

191

126

65

27

217

2а, 2в, 8в, 8д - 9в

374

222

151

71

32

217

2б, 7а - 8б, 8г

366

215

145

70

31

217

406

253

177

76

38

217

10

391

238

164

74

35

217

б) электроосвещение

1, 3г, 5

69

35

19

16

6

34

2а, 2в, 8в, 8д - 9в

74

40

23

17

7

34

2б, 7а - 8б, 8г

73

38

22

16

7

34

81

43

26

17

8

34

10

78

42

25

17

8

34

РАЗДЕЛ IV. МОНТАЖ ОБОРУДОВАНИЯ

1. Монтаж вентиляторного оборудования

1, 3г, 5

1050

989

805

184

73

1370

2а, 2в, 8в, 8д - 9в

1240

1166

966

200

88

1370

2б, 7а - 8б, 8г

1200

1122

926

196

84

1370

1430

1344

1130

214

102

1370

10

1340

1257

1050

207

95

1370

2. Монтаж трубопроводов водосборного бассейна

1, 3г, 5

386

82

43

39

12

68

2а, 2в, 8в, 8д, 9

403

91

51

40

14

68

2б, 8а, 8б, 8г

400

89

49

40

14

68

427

103

60

43

17

68

7

391

89

49

40

14

68

445

91

51

40

14

68

10

424

98

56

42

16

68

3. Монтаж водораспределительной системы

а) при гидравлической нагрузке 300 м3

1, 3г

2480

124

52

72

37

176

2а, 2в, 8в, 8д, 9

2590

140

62

78

44

176

2б, 8а, 8б, 8г

2580

138

60

78

43

176

2740

162

73

89

52

176

5

2540

124

52

72

37

176

7

2490

138

60

78

43

176

3110

140

62

78

44

176

10

2730

150

68

82

48

176

б) при гидравлической нагрузке 500 м3

1, 3г

2770

138

58

80

42

197

2а, 2в, 8в, 8д, 9

2900

159

70

89

50

197

2б, 8а, 8б, 8г

2890

154

67

87

48

197

3060

179

81

98

59

197

5

2840

138

58

80

42

197

7

2780

156

67

87

48

197

3470

159

70

89

50

197

10

3050

170

76

94

55

197

в) при гидравлической нагрузке 750 м3

1, 3г

3910

195

82

113

59

278

2а, 2в, 8в, 8д, 9

4080

225

99

126

71

278

2б, 8а, 8б, 8г

4080

217

94

123

68

278

4320

253

115

138

83

278

5

4010

195

82

113

59

278

7

3930

217

94

123

68

278

4900

225

99

126

71

278

10

4300

240

107

133

71

278

4. Сопутствующие строительные работы

а) при гидравлической нагрузке 300 м3

1, 3г, 5

50

25

25

-

-

45

2а, 2в, 8в, 8д, 9

55

30

30

-

-

45

2б, 7а - 8б, 8г

54

28

28

-

-

45

62

44

34

-

-

45

59

30

30

-

-

45

10

60

32

32

-

-

45

б) при гидравлической нагрузке 500 м3

1, 3г, 5

55

27

27

-

-

49

2а, 2в, 8в, 8д, 9

61

32

32

-

-

49

2б, 7а - 8б, 8г

59

31

31

-

-

49

68

38

38

 

 

49

64

32

32

-

-

49

10

65

35

35

-

-

49

в) при гидравлической нагрузке 750 м3

1, 3г, 5

82

40

40

-

-

73

2а, 2в, 8в, 8д, 9

90

48

48

-

-

73

2б, 7а - 8б, 8г

88

46

46

-

-

73

101

56

56

-

-

73

96

48

48

-

-

73

10

97

52

52

-

-

73

5. Монтаж металлоконструкций, сопутствующий монтажу оборудования

1 - 2в, 3г, 5, 7, 8

29

2

2

-

-

2

2г, 9

30

2

2

-

-

2

10

32

2

2

-

-

2

Районная цена №282

Градирня пленочная с четырьмя секциями. Каркас из сборных железобетонных элементов, обшивка асбестоцементными листами, ороситель и водоуловительные решетки деревянные, водосборный бассейн сборно-монолитный (типовой проект 901-6-51)

Измеритель - 1 градирня

Районы

Прямые затраты, руб.

Нормативная условно-чистая продукция, руб.

В том числе, руб.

Затраты труда рабочих, чел.-ч

основная заработная плата рабочих

эксплуатация машин

всего

в том числе заработная плата рабочих, обслуживающих машины

1

2

3

4

5

6

7

РАЗДЕЛ I. СТРОИТЕЛЬНЫЕ РАБОТЫ

1. Подземная часть

1а, 1в

14200

1557

586

971

157

1070

1б, 1е

15400

1557

586

971

157

1070

1г, 1д, 5а

14600

1557

586

971

157

1070

12900

1470

586

884

157

1070

17100

1863

703

1160

189

1070

15600

1804

674

1130

181

1070

2в, 8е

19400

1863

703

1160

189

1070

19600

2130

820

1310

220

1070

13600

1557

586

971

157

1070

15300

1696

586

1110

157

1070

7а, 7б, 7г

14800

1684

674

1010

181

1070

16600

1754

674

1080

181

1070

15200

1684

674

1010

181

1070

15900

1684

674

1010

181

1070

8в, 9а

16400

1823

703

1120

189

1070

19900

1754

674

1080

181

1070

15500

1793

703

1090

189

1070

16000

1793

703

1090

189

1070

18100

1863

703

1160

189

1070

10а

17600

1882

762

1120

205

1070

10б

18100

1882

762

1120

205

1070

10в

18500

1882

762

1120

205

1070

В том числе:

а) земляные работы

1, 3г, 5

286

286

86

200

75

179

2а, 2в, 8в, 8д - 9в

318

318

103

215

90

179

2б, 7а - 8б, 8г

309

309

98

211

86

179

350

350

120

230

105

179

10

333

333

111

222

98

179

б) транспортирование грунта

1а - 1е, 3г, 5а

521

521

-

521

-

-

434

434

-

434

-

-

2а, 2в, 8е, 9а, 9в

678

678

-

678

-

-

2б, 5б

660

660

-

660

-

-

799

799

-

799

-

-

7а, 7б, 7г - 8б

539

539

-

539

-

-

7в, 8в - 8д, 9б

608

608

-

608

-

-

10

626

626

-

626

-

-

в) монолитные бетонные и железобетонные конструкции

1а, 1в, 3г, 5б

9360

538

403

135

40

724

1б, 1е

10400

538

403

135

40

724

1г, 1д, 5а

9760

538

403

135

40

724

8600

538

403

135

40

724

2а, 8в, 9в

11200

627

484

143

48

724

10400

605

464

141

46

724

12900

627

484

143

48

724

14100

715

564

151

56

724

7а, 7б, 8а

9900

605

464

141

46

724

11700

605

464

141

46

724

9660

605

464

141

46

724

11000

605

464

141

46

724

14500

605

464

141

46

724

8д, 9б

10500

627

484

143

48

724

14000

627

484

143

48

724

11000

627

484

143

48

724

10

11800

671

524

147

52

724

г) сборные железобетонные конструкции

3460

166

58

108

40

96

1б, 1в, 1д, 5а

3600

166

58

108

40

96

3690

166

58

108

40

96

3800

166

58

108

40

96

1ж, 3г

3180

166

58

108

40

96

4290

186

70

116

48

96

2б, 7а, 7г, 8б

3720

181

67

114

46

96

5210

186

70

116

48

96

3880

205

81

124

56

96

4500

166

58

108

40

96

7б, 7в

3570

181

67

114

46

96

3940

181

67

114

46

96

8в, 9б

4040

186

70

116

48

96

4040

181

67

114

46

96

3720

186

70

116

48

96

8е, 9а

3800

186

70

116

48

96

5350

186

70

116

48

96

10а

4310

196

76

120

52

96

10б

4740

196

76

120

52

96

10в

5480

196

76

120

52

96

2. Надземная часть

1а, 1б, 1г, 1ж

19000

2850

1460

1390

453

2560

1в, 1д, 1е, 3г, 5а

53600

2850

1460

1390

453

2560

2а, 2в, 8д, 9а, 9б

56600

3230

1750

1480

544

2560

2б, 7а, 7в

56300

3140

1680

1460

521

2560

65000

3610

2040

1570

634

2560

59000

2850

1460

1390

453

2560

49200

3140

1680

1460

521

2560

54400

3140

1680

1460

521

2560

8а, 8б

56200

3140

1680

1460

521

2560

52700

3230

1750

1480

544

2560

63600

3140

1680

1460

521

2560

83900

3230

1750

1480

544

2560

69600

3230

1750

1480

544

2560

10а

59900

3420

1900

1520

589

2560

10б, 10в

70000

3420

1900

1520

589

2560

В том числе сборные железобетонные конструкции

15000

1034

498

536

197

813

1б - 1д, 5а

15600

1034

498

536

197

813

16700

1034

498

536

197

813

14200

1034

498

536

197

813

18800

1172

597

575

236

813

2б, 7б, 7в

16200

1137

572

565

226

813

22600

1172

597

575

236

813

17100

1312

697

615

276

813

13900

1031

498

536

197

813

19600

1034

498

536

197

813

7а, 8а, 8б

17200

1137

572

565

226

813

15800

1137

572

565

226

813

8в, 9б

17900

1172

597

575

236

813

17800

1137

572

565

226

813

8д - 9а

16900

1172

597

575

236

813

23400

1172

597

575

236

813

10а

19300

1242

647

595

256

813

10б

20900

1242

647

595

256

813

10в

23500

1242

647

595

256

813

РАЗДЕЛ II. МОНТАЖ МЕТАЛЛОКОНСТРУКЦИЙ

1, 3г, 5

8680

1184

390

794

290

623

2а, 2в, 8в, 8д, 8е

8900

1319

467

852

348

623

2б, 7а - 8б, 8г

8820

1286

448

838

333

623

9130

1455

545

910

406

623

9

9150

1319

467

852

348

623

10

9980

1387

506

881

377

623

РАЗДЕЛ III. ЭЛЕКТРОМОНТАЖНЫЕ РАБОТЫ

1, 3г, 5

500

276

177

99

40

306

2а, 2в, 8в, 8д - 9в

546

318

212

106

48

306

2б, 7а - 8б, 8г

534

307

203

104

46

306

593

361

247

114

56

306

10

570

341

230

111

52

306

В том числе:

а) монтаж электросилового оборудования

1, 3г, 5

417

234

154

80

33

264

2а, 2в, 8в, 8д - 9в

456

272

185

87

40

264

2б, 7а - 8б, 8г

446

262

177

85

38

264

496

308

215

93

46

264

10

476

290

200

90

43

264

б) электроосвещение

1, 3г, 5

83

42

23

19

8

41

2а, 2в, 8в, 8д - 9в

90

48

27

21

10

41

2б, 7а - 8б, 8г

88

47

26

21

9

41

98

54

32

22

11

41

10

94

51

30

21

10

41

РАЗДЕЛ IV. МОНТАЖ ОБОРУДОВАНИЯ

1. Монтаж вентиляторного оборудования

1, 3г, 5

1410

1316

1070

246

97

1830

2а, 2в, 8в, 8д - 9в

1660

1555

1290

265

116

1830

2б, 7а - 8б, 8г

1590

1501

1240

261

112

1830

1900

1785

1500

285

136

1830

10

1780

1675

1400

275

126

1830

2. Монтаж трубопроводов водосборного бассейна

1, 3г, 5

772

163

86

77

25

137

2а, 2в, 8в, 8д, 9

808

185

103

82

30

137

2б, 8а, 8б, 8г

801

180

99

81

29

137

854

207

120

87

35

137

7

783

180

99

81

29

137

892

185

103

82

30

137

10

849

197

111

86

33

137

3. Монтаж водораспределительной системы

а) при гидравлической нагрузке 300 м3

1, 3г

3260

164

69

95

49

232

2а, 2в, 8в, 8д, 9

3400

186

82

104

59

232

2б, 8а, 8б, 8г

3400

181

79

102

56

232

3600

211

96

115

69

232

5

3340

164

69

95

49

232

7

3280

182

79

103

56

232

4090

186

82

104

59

232

10

3590

198

89

109

64

232

б) при гидравлической нагрузке 500м3

1, 3г

3700

185

78

107

55

262

2а, 2в, 8в, 8д, 9

3860

211

93

118

66

262

2б, 8а, 8б, 8г

3860

204

89

115

63

262

4080

237

109

128

77

262

5

3790

185

78

107

55

262

7

3710

204

89

115

63

262

4630

211

93

118

66

262

10

4070

225

101

124

72

262

в) при гидравлической нагрузке 750 м3

1, 3г

5180

259

109

150

78

367

2а, 2в, 8в, 8д, 9

5400

297

130

167

94

367

2б, 8а, 8б, 8г

5400

287

125

162

90

367

5710

334

152

182

109

367

5

5300

259

109

150

78

367

7

5200

287

125

162

90

367

6490

297

130

167

94

367

10

5700

315

141

174

10-1

367

4. Сопутствующие строительные работы

а) при гидравлической нагрузке 300 м3

1, 3г, 5

69

34

34

-

-

62

2а, 2в, 8в, 8д, 9

76

41

41

-

-

62

2б, 7а - 8б, 8г

75

39

39

-

-

62

86

48

48

-

-

62

81

41

41

-

-

62

10

82

44

44

-

-

62

б) при гидравлической нагрузке 500 м3

1, 3г, 5

76

37

37

-

-

68

2а, 2в, 8в, 8д, 9

84

45

45

-

-

68

2б, 7а - 8б, 8г

82

43

43

-

-

68

94

52

52

-

-

68

89

45

45

-

-

68

10

91

49

49

-

-

68

в) при гидравлической нагрузке 750 м3

1, 3г, 5

112

55

55

-

-

100

2а, 2в, 8в, 8д, 9

124

66

66

-

-

100

2б, 7а - 8б, 8г

121

63

63

-

-

100

139

77

77

-

-

100

131

66

66

-

-

100

10

133

71

71

-

-

100

5. МОНТАЖ МЕТАЛЛОКОНСТРУКЦИЙ, СОПУТСТВУЮЩИЙ МОНТАЖУ ОБОРУДОВАНИЯ

1, 3г, 5

57

4

3

1

-

5

2а - 2в, 7, 8

58

5

4

1

-

5

59

6

5

1

-

5

9

60

5

4

1

-

5

10

64

5

4

1

-

5

Районная цена № 283

Градирня пленочная с пятью секциями. Каркас из сборных железобетонных элементов, обшивка асбестоцементными листами, ороситель и водоуловительные решетки деревянные, водосборный бассейн сборно-монолитный (типовой проект 901-6-51)

Измеритель - 1 градирня

Районы

Прямые затраты, руб.

Нормативная условно-чистая продукция, руб.

В том числе, руб.

Затраты труда рабочих, чел.-ч

основная заработная плата рабочих

эксплуатация машин

всего

в том числе заработная плата рабочих, обслуживающих машины

1

2

3

4

5

6

7

РАЗДЕЛ I. СТРОИТЕЛЬНЫЕ РАБОТЫ

1. Подземная часть

1а, 1в

17200

1882

702

1180

190

1290

1б, 1е

18600

1882

702

1180

190

1290

1г, 1д, 5а

17600

1882

702

1180

190

1290

15600

1772

702

1070

190

1290

20700

2253

843

1410

228

1290

18900

2188

808

1380

218

1290

23700

2253

843

1410

228

1290

23800

2573

983

1590

266

1290

16500

1882

702

1180

190

1290

18500

2052

702

1350

190

1290

7а, 7б, 7г

17900

2038

808

1230

218

1290

20100

2118

808

1310

218

1290

18500

2038

808

1230

218

1290

19300

2038

808

1230

218

1290

8в, 9а

19900

2203

843

1360

228

1290

24100

2118

808

1310

218

1290

18700

2163

843

1320

228

1290

23200

2253

843

1410

228

1290

19400

2163

843

1320

228

1290

21900

2253

843

1410

228

1290

10а

21300

2273

913

1360

247

1290

10б

21900

2273

913

1360

247

1290

10в

22400

2273

913

1360

247

1290

В том числе:

а) земляные работы

1, 3г, 5

346

346

102

244

92

213

2а, 2в, 8в, 8д - 9в

384

384

122

262

110

213

2б, 7а - 8б, 8г

375

375

117

258

105

213

422

422

142

280

128

213

10

403

403

132

271

119

213

б) транспортирование грунта

1а - 1е, 3г, 5а

636

636

-

636

-

-

530

530

-

530

-

-

2а, 2в, 8е, 9а, 9в

827

827

-

827

-

-

2б, 5б

806

806

-

806

-

-

976

976

-

976

-

-

7а, 7б, 7г - 8б

658

658

-

658

-

-

7а, 8в - 8д, 9б

742

742

-

742

-

-

10

764

764

-

764

-

-

в) монолитные бетонные и железобетонные конструкции

1а, 1в, 3г, 56

11400

646

484

162

48

870

1б, 1е

12700

646

484

162

48

870

1г, 1д, 5а

11900

646

484

162

48

870

10500

646

484

162

48

870

2а, 8в, 9в

13800

752

581

171

58

870

12700

726

557

169

56

870

15700

752

581

171

58

870

17200

859

678

181

68

870

7а, 7б, 8а

12100

726

557

169

56

870

14200

726

557

169

56

870

11800

726

557

169

56

870

13400

726

557

169

56

870

17600

726

557

169

56

870

8д, 9б

12800

752

581

171

58

870

17000

752

581

171

58

870

13500

752

581

171

58

870

10

14300

806

630

176

63

870

г) сборные железобетонные конструкции

4090

197

69

128

47

113

1б, 1в, 1д, 5а

4240

197

69

128

47

113

4360

197

69

128

47

113

4480

197

69

128

47

113

1ж, 3г

3760

197

69

128

47

113

5070

219

82

137

57

113

2б, 7а, 7г, 8б

4400

214

79

135

54

113

6160

219

82

137

57

113

4580

243

96

147

66

113

5320

197

69

128

47

113

7б, 7в

4220

214

79

135

54

113

4660

214

79

135

54

113

8в, 9б

4770

219

82

137

57

113

4770

214

79

135

54

113

8д - 9а

4440

219

82

137

57

113

6320

219

82

137

57

113

10а

5090

231

89

142

62

113

10б

5590

231

89

142

62

113

10в

6480

231

89

142

62

113

2. Надземная часть

1а, 1б, 1г, 1ж

60900

3520

1800

1720

561

3160

1в, 1д, 1е, 3г, 5а

66600

3520

1800

1720

561

3160

2а, 2в, 8д, 9а, 9б

70400

3990

2160

1830

674

3160

2б, 7в

62900

3870

2070

1800

646

3160

80800

4460

2520

1940

786

3160

73300

3520

1800

1720

561

3160

7а, 7б

61400

3870

2070

1800

646

3160

67700

3870

2070

1800

646

3160

8а, 8б

69800

3870

2070

1800

646

3160

65400

3990

2160

1830

674

3160

79100

3870

2070

1800

646

3160

104400

3990

2160

1830

674

3160

86500

3990

2160

1830

674

3160

10а

74400

4230

2340

1890

730

3160

10б, 10в

87000

4230

2340

1890

730

3160

В том числе сборные железобетонные конструкции

18600

1284

618

666

245

1010

1б - 1д, 5а

19400

1284

618

666

245

1010

20700

1284

618

666

245

1010

17600

1284

618

666

245

1010

23300

1457

742

715

294

1010

2б, 7б - 7г

20000

1414

711

703

281

1010

28100

1457

742

715

294

1010

21200

1630

866

764

343

1010

17200

1884

618

666

245

1010

24400

1284

618

666

245

1010

7а, 8а, 8б

21300

1414

711

703

281

1010

8в, 9б

22200

1457

742

715

294

1010

22100

1414

711

703

281

1010

8д - 9а

21000

1457

742

715

294

1010

29000

1457

742

715

294

1010

10а

24000

1543

804

739

318

1010

10б

26000

1543

804

739

318

1010

10в

29200

1543

804

739

318

1010

РАЗДЕЛ II. МОНТАЖ МЕТАЛЛОКОНСТРУКЦИЙ

1, 3г, 5

10400

1423

468

955

349

749

2а, 2в, 8в, 8д, 8е

10600

1581

561

1020

418

749

2б, 7а - 8б, 8г

10600

1548

538

1010

401

749

10900

1745

655

1090

488

749

9

11000

1581

561

1020

418

749

10

12000

1668

608

1060

453

749

РАЗДЕЛ III. ЭЛЕКТРОМОНТАЖНЫЕ РАБОТЫ

1, 3г, 5

595

327

210

117

48

363

2а, 2в, 8в, 8д - 9в

649

380

252

128

58

363

2б, 7а - 8б, 8г

635

366

242

124

55

363

705

430

294

136

67

363

10

678

407

273

134

62

363

В том числе:

а) монтаж электросилового оборудования

1, 3г, 5

495

278

183

95

39

314

2а, 2в, 8в, 8д - 9в

541

322

219

103

47

314

2б, 7а - 8б, 8г

529

311

210

101

45

314

588

367

256

111

55

314

10

565

344

237

107

51

314

б) электроосвещение

1, 3г, 5

100

50

27

23

9

50

2а, 2в, 8в, 8д - 9в

108

57

33

24

11

50

2б, 7а - 8б,8г

106

56

32

24

10

50

117

65

38

27

13

50

10

113

62

36

26

12

50

РАЗДЕЛ IV. МОНТАЖ ОБОРУДОВАНИЯ

1. Монтаж вентиляторного оборудования

1, 3г, 5

1760

1648

1340

308

121

2290

2а, 2в, 8в, 8д - 9в

2070

1942

1610

332

145

2290

2б, 7а - 8б, 8г

1990

1865

1540

325

139

2290

2380

2236

1880

356

169

2290

10

2230

2094

1750

344

157

2290

2. Монтаж трубопроводов водосборного бассейна

1, 3г, 5

772

163

86

77

25

137

2а, 2в, 8в, 8д, 9

808

185

103

82

30

137

2б, 8а, 8б, 8г

801

180

99

81

29

137

854

207

120

87

35

137

7

783

180

99

81

29

137

892

185

103

82

30

137

10

849

197

111

86

33

137

3. Монтаж водораспределительной системы

а) при гидравлической нагрузке 300 м3

1, 3г

4140

207

87

120

62

294

2а, 2в, 8в, 8д, 9

4320

236

104

132

74

294

2б, 8а, 8б, 8г

4320

229

100

129

71

294

4570

267

122

145

87

294

5

4250

207

87

120

62

294

7

4160

229

100

129

71

294

5190

236

104

132

74

294

10

4560

252

113

139

81

294

б) при гидравлической нагрузке 500 м3

1, 3г

4620

231

97

134

69

328

2а, 2в, 8в, 8д, 9

4820

263

116

147

83

328

2б, 8а, 8б, 8г

4820

255

112

143

79

328

5100

298

136

162

97

328

5

4730

231

97

134

69

328

7

4640

255

112

143

79

328

5790

263

116

147

83

328

10

5080

281

126

155

90

328

в) при гидравлической нагрузке 750 м3

1, 3г

6500

326

137

189

98

462

2а, 2в, 8в, 8д, 9

6800

373

164

209

118

462

2б, 8а, 8б, 8г

6790

361

157

204

113

462

7180

419

191

228

137

462

5

6670

326

137

189

98

462

7

6530

361

157

204

113

462

8150

373

164

209

118

462

10

7160

393

178

215

124

462

4. Сопутствующие строительные работы

а) при гидравлической нагрузке 300 м3

1, 3г, 5

85

42

42

-

-

76

2а, 2в, 8в, 8д, 9

94

50

50

-

-

76

2б, 7а - 8б, 8г

92

48

48

-

-

76

105

58

58

-

-

76

99

50

50

-

-

76

10

101

54

54

-

-

76

б) при гидравлической нагрузке 500 м3

1, 3г, 5

93

46

46

-

-

83

2а, 2в, 8в, 8д, 9

103

55

55

-

-

83

2б, 7а - 8б, 8г

101

53

53

-

-

83

115

64

64

-

-

83

109

55

55

-

-

83

10

111

60

60

-

-

83

в) при гидравлической нагрузке 750 м3

1, 3г, 5

138

68

68

-

-

123

2а, 2в, 8в, 8д, 9

153

81

81

-

-

123

2б, 7а - 8б, 8г

149

78

78

-

-

123

171

95

95

-

-

123

162

81

81

-

-

123

10

164

88

88

-

-

123

5 МОНТАЖ МЕТАЛЛОКОНСТРУКЦИЙ, СОПУТСТВУЮЩИЙ МОНТАЖУ ОБОРУДОВАНИЯ

1, 3г, 5

57

4

3

1

-

5

2а - 2в, 7, 8

58

5

4

1

-

5

59

6

5

1

-

5

9

60

5

4

1

-

5

10

64

5

4

1

-

5

КАПЕЛЬНЫЕ

Районная цена № 284

Градирня капельная с двумя секциями. Каркас из сборных железобетонных элементов, обшивка асбестоцементными листами, ороситель и водоуловительные решетки деревянные, водосборный бассейн сборно-монолитный (типовой проект 901-6-51)

Измеритель - 1 градирня

Районы

Прямые затраты, руб.

Нормативная условно-чистая продукция, руб.

В том числе, руб.

Затраты труда рабочих, чел.-ч

основная заработная плата рабочих

эксплуатация машин

всего

в том числе заработная плата рабочих, обслуживающих машины

1

2

3

4

5

6

7

РАЗДЕЛ I. СТРОИТЕЛЬНЫЕ РАБОТЫ

1. Подземная часть

1а, 1в

7690

860

326

534

87

598

1б, 1е

8340

860

326

534

87

598

1г, 1д, 5а

7900

860

326

534

87

598

7010

813

326

487

87

598

9280

1029

391

638

104

598

8470

999

375

624

100

598

2в, 8е

10500

1029

391

638

104

598

10600

1179

456

723

121

598

7380

860

326

534

87

598

8330

937

326

611

87

598

7а, 7б, 7г

8020

932

375

557

100

598

9000

970

375

595

100

598

8280

932

375

557

100

598

8630

932

375

557

100

598

8в, 9а

8910

1010

391

619

104

598

10700

970

375

595

100

598

8390

991

391

600

104

598

8700

991

391

600

104

598

9830

1029

391

638

104

598

10а

9530

1042

424

618

112

598

10б, 10в

9900

1042

424

618

112

598

2. Надземная часть

1а, 1б, 1г, 3г

15600

1344

737

607

201

1270

1в, 1д, 5а

16200

1344

737

607

201

1270

16700

1344

737

607

201

1270

15000

1344

737

607

201

1270

2а, 9б

18000

1531

884

647

242

1270

2б, 7

16200

1484

847

637

232

1270

19700

1531

884

647

242

1270

18900

1718

1030

688

282

1270

18600

1344

737

607

201

1270

8а, 8б

17400

1484

847

637

232

1270

8в, 8д, 9а

17300

1531

884

647

242

1270

18700

1484

847

637

232

1270

8е, 9в

22000

1531

884

647

242

1270

10а

19000

1625

958

667

262

1270

10б

21000

1625

958

667

262

1270

10в

22100

1625

958

667

262

1270

Примечание. Затраты по конструктивным элементам строительных работ подземной части, сборным железобетонным конструкциям надземной части, монтажу металлоконструкций, видам электромонтажных и монтажных работ следует принимать по цене № 280.

Районная цена № 285

Градирня капельная с тремя секциями. Каркас из сборных железобетонных элементов, обшивка асбестоцементными листами, ороситель и водоуловительные решетки деревянные, водосборный бассейн сборно-монолитный (типовой проект 901-6-51)

Измеритель - 1 градирня

Районы

Прямые затраты, руб.

Нормативная условно-чистая продукция, руб.

В том числе, руб.

Затраты труда рабочих, чел.-ч

основная заработная плата рабочих

эксплуатация машин

всего

в том числе заработная плата рабочих, обслуживающих машины

1

2

3

4

5

6

7

СТРОИТЕЛЬНЫЕ РАБОТЫ

1. Подземная часть

1а, 1в, 5а

10700

1187

444

743

119

813

1б, 1е

11600

1187

444

743

119

813

1г, 1д

11000

1187

444

743

119

813

9710

1120

444

676

119

813

12800

1420

532

888

143

813

11700

1378

510

868

137

813

2в, 8е

14600

1420

532

888

143

813

14800

1621

621

1000

167

813

10200

1187

444

743

119

813

11500

1294

444

850

119

813

7а, 7б, 7г

11100

1284

510

774

137

813

12500

1338

510

828

137

813

11500

1284

510

774

137

813

12000

1284

510

774

137

813

8в, 9а

12400

1393

532

861

143

813

14900

1338

510

828

137

813

11600

1366

532

834

143

813

12000

1366

532

834

143

813

13600

1420

532

888

143

813

10а

13200

1436

577

859

155

813

10б

13600

1436

577

859

155

813

10в

13900

1436

577

859

155

813

2. Надземная часть

1а, 1б, 1г, 3г

22600

1936

1060

876

291

1820

1в, 1д, 5а

23600

1936

1060

876

291

1820

24300

1936

1060

876

291

1820

21800

1936

1060

876

291

1820

2а, 9б

26200

2204

1270

934

349

1820

2б, 7

23600

2140

1220

920

335

1820

28600

2204

1270

934

349

1820

27600

2473

1480

993

408

1820

27000

1936

1060

876

291

1820

8а, 8б

25400

2140

1220

920

335

1820

8в, 8д, 9а

25200

2204

1270

934

349

1820

27200

2140

1220

920

335

1820

8е, 9в

32100

2204

1270

934

349

1820

10а

27700

2333

1370

963

378

1820

10б

30600

2333

1370

963

378

1820

10в

32100

2333

1370

963

378

1820

Примечание. Затраты по конструктивным элементам строительных работ подземной части, сборным железобетонным конструкциям надземной части, монтажу металлоконструкций, видам электромонтажных и монтажных работ следует принимать по цене № 281.

Районная цена № 286

Градирня капельная с четырьмя секциями. Каркас из сборных железобетонных элементов, обшивка асбестоцементными листами, ороситель и водоуловительные решетки деревянные, водосборный бассейн сборно-монолитный (типовой проект 901-6-51)

Измеритель - 1 градирня

Районы

Прямые затраты, руб.

Нормативная условно-чистая продукция, руб.

В том числе, руб.

Затраты труда рабочих, чел.-ч

основная заработная плата рабочих

эксплуатация машин

всего

в том числе заработная плата рабочих, обслуживающих машины

1

2

3

4

5

6

7

СТРОИТЕЛЬНЫЕ РАБОТЫ

1. Подземная часть

1а, 1в

14200

1557

586

971

157

1070

1б, 1е

15400

1557

586

971

157

1070

1г, 1д, 5а

14600

1557

586

971

157

1070

12900

1470

586

884

157

1070

17100

1863

703

1160

189

1070

15600

1804

674

1130

181

1070

2в, 8е

19400

1863

703

1160

189

1070

19600

2130

820

1310

220

1070

13600

1557

586

971

157

1070

15300

1696

586

1110

157

1070

7а, 7б, 7г

14800

1684

674

1010

181

1070

16600

1754

674

1080

181

1070

15200

1684

674

1010

181

1070

15900

1684

674

1010

181

1070

8в, 9а

16400

1823

703

1120

189

1070

1990

1754

674

1080

181

1070

15500

1793

703

1090

189

1070

16000

1793

703

1090

189

1070

18100

1863

703

1160

189

1070

10а

17600

1882

762

1120

205

1070

10б

18100

1882

762

1120

205

1070

10в

18500

1882

762

1120

205

1070

2. Надземная часть

1а, 1б, 1г, 3г

29600

2510

1370

1140

379

2360

1в, 1д, 5а

30800

2510

1370

1140

379

2360

31900

2510

1370

1140

379

2360

28600

2510

1370

1140

379

2360

2а, 9б

34400

2860

1640

1220

455

2360

2б, 7

31000

2780

1580

1200

436

2360

37500

2860

1640

1220

455

2360

36200

3210

1920

1290

530

2360

35400

2510

1370

1140

379

2360

8а, 8б

33200

2780

1580

1200

436

2360

8в, 8д, 9а

33000

2860

1640

1220

455

2360

35700

2780

1580

1200

436

2360

42500

2860

1640

1220

455

2360

41600

2860

1640

1220

455

2360

10а

36300

3030

1780

1250

492

2360

10б

40100

3030

1780

1250

492

2360

10в

42100

3030

1780

1250

492

2360

Примечание. Затраты по конструктивным элементам строительных работ подземной части, сборным железобетонным конструкциям надземной части, монтажу металлоконструкций, видам электромонтажных и монтажных работ следует принимать по цене № 282.

Районная цена № 287

Градирня капельная с пятью секциями. Каркас из сборных железобетонных элементов, обшивка асбестоцементными листами, ороситель и водоуловительные решетки деревянные, водосборный бассейн сборно-монолитный (типовой проект 901-6-51)

Измеритель - 1 градирня

Районы

Прямые затраты, руб.

Нормативная условно-чистая продукция, руб.

В том числе, руб.

Затраты труда рабочих, чел.-ч

основная заработная плата рабочих

эксплуатация машин

всего

в том числе заработная плата рабочих. обслуживающих машины

1

2

3

4

5

6

7

СТРОИТЕЛЬНЫЕ РАБОТЫ

1. Подземная часть

1а, 1в

17200

1882

702

1180

190

1290

1б, 1е

18600

1882

702

1180

190

1290

1г, 1д, 5а

17600

1882

702

1180

190

1290

15600

1772

702

1070

190

1290

20700

2253

843

1410

228

1390

18900

2188

803

1380

218

1290

23700

2253

843

1410

228

1290

23800

2573

983

1590

266

1290

16500

1882

702

1180

190

1290

18500

2052

702

1350

190

1290

7а, 7б, 7г

17900

2038

808

1230

218

1290

20100

2118

808

1310

218

1290

18500

2038

808

1230

218

1290

19300

2038

808

1230

218

1290

8в, 9а

19900

2203

843

1360

228

1290

24100

2118

808

1310

218

1290

18700

2163

843

1320

228

1290

23200

2253

843

1410

228

1290

19400

2163

843

1320

228

1290

21900

2253

843

1410

228

1290

10а

21300

2273

913

1360

247

1290

10б

21900

2273

913

1360

247

1290

10в

22400

2273

913

1360

247

1290

2. Надземная часть

1а, 1б, 1г, 3г

36600

3100

1690

1410

469

2910

1в, 1д, 5а

38200

3100

1690

1410

469

2910

39500

3100

1690

1410

469

2910

35400

3100

1690

1410

469

2910

2а, 9б

42600

3520

2020

1500

563

2910

2б, 7

38400

3420

1940

1480

539

2910

46400

3520

2020

1500

563

2910

44800

3960

2360

1600

656

2910

43900

3100

1690

1410

469

2910

8а, 8б

41200

3420

1940

1480

539

2910

8в, 8д, 9а

40900

3520

2020

1500

563

2910

44200

3420

1940

1480

539

2910

52700

3520

2020

1500

563

2910

51600

3520

2020

1500

563

2910

10а

44900

3740

2190

1550

609

2910

10б

49700

3740

2190

1550

609

2910

10в

52200

3740

2190

1550

609

2910

Примечание. Затраты по конструктивным элементам строительных работ подземной части, сборным железобетонным конструкциям надземной части, монтажу металлоконструкций, видам электромонтажных и монтажных работ следует принимать по цене № 283.

БРЫЗГАЛЬНЫЕ

Районная цена № 288

Градирня брызгальная с двумя секциями. Каркас из сборных железобетонных элементов, обшивка асбестоцементными листами, ороситель и водоуловительные решетки деревянные, водосборный бассейн сборно-монолитный (типовой проект 901-6-51)

Измеритель - 1 градирня

Районы

Прямые затраты, руб.

Нормативная условно-чистая продукция, руб.

В том числе, руб.

Затраты труда рабочих, чел.-ч

основная заработная плата рабочих

эксплуатация машин

всего

в том числе заработная плата рабочих, обслуживающих машины

1

2

3

4

0

6

7

СТРОИТЕЛЬНЫЕ РАБОТЫ

1. Подземная часть

1а, 1в

7690

860

326

534

87

598

1б, 1е

8340

860

326

534

87

598

1г, 1д, 5а

7900

860

326

534

87

598

7010

813

326

487

87

598

9280

1029

391

638

104

598

8470

999

375

624

100

598

2в, 8е

10500

1029

391

638

104

598

10600

1179

456

723

121

598

7380

860

326

534

87

598

8330

937

326

611

87

598

7а, 7б, 7г

8020

932

375

557

100

598

9000

970

375

595

100

598

8280

932

375

557

100

598

8630

932

375

557

100

598

8в, 9а

8910

1010

391

619

104

598

10700

970

375

595

100

598

8390

991

391

600

104

598

8700

991

391

600

104

598

9830

1029

391

638

104

598

10а

9530

1042

424

618

112

598

10б, 10а

9900

1042

424

618

112

598

2. Надземная часть

1а, 1б, 1г, 3г

15000

1337

735

602

200

1260

1в, 1д, 5а

15600

1337

735

602

200

1260

16200

1337

735

602

200

1260

14500

1337

735

602

200

1260

2б, 9б

17500

1524

882

642

240

1260

2б, 7

15800

1477

845

632

230

1260

19200

1524

882

642

240

1260

18200

1712

1030

682

280

1260

18000

1337

735

602

200

1260

8а, 8б

16800

1477

845

632

230

1260

8в, 8д, 9а

16800

1524

882

642

240

1260

18000

1477

845

632

230

1260

8е, 9в

21200

1524

882

642

240

1260

10а

18500

1617

955

662

260

1260

10б

20300

1617

955

662

260

1260

10в

21400

1617

955

662

260

1260

Примечание. Затраты по конструктивным элементам строительных работ подземной части, сборным железобетонным конструкциям надземной части, монтажу металлоконструкций, видам электромонтажных и монтажных работ следует принимать по цене № 280.

Районная цена № 289

Градирня брызгальная с тремя секциями. Каркас из сборных железобетонных элементов, обшивка асбестоцементными листами, ороситель и водоуловительные решетки деревянные, водосборный бассейн сборно-монолитный (типовой проект 901-6-51)

Измеритель - 1 градирня

Районы

Прямые затраты, руб.

Нормативная условно-чистая продукция, руб.

В том числе, руб.

Затраты труда рабочих, чел.-ч

основная заработная плата рабочих

эксплуатация машин

всего

в том числе заработная плата рабочих, обслуживающих машины

1

2

3

4

5

6

7

СТРОИТЕЛЬНЫЕ РАБОТЫ

1. Подземная часть

1а, 1в, 5а

10700

1187

444

743

119

813

1б, 1е

11600

1187

444

743

119

813

1г, 1д

11000

1187

444

743

119

813

9710

1120

444

676

119

813

12800

1420

532

888

143

813

11700

1378

510

868

137

813

2в, 8е

14600

1420

532

888

143

813

14800

1621

621

1000

167

813

10200

1187

444

743

119

813

11500

1294

444

850

119

813

7а, 7б, 7г

11100

1284

510

774

137

813

12500

1338

510

828

137

813

11500

1284

510

774

137

813

12000

1284

510

774

137

813

8в, 9а

12400

1393

532

861

143

813

14900

1338

510

828

137

813

11600

1366

532

834

143

813

12000

1366

532

834

143

813

13600

1420

532

888

143

813

10а

13200

1436

577

859

155

813

10б

13 600

1436

577

859

155

813

10в

13900

1436

577

859

155

813

2. Надземная часть

1а, 1г, 3г

21800

1919

1050

869

289

1820

1б, 1д

22400

1919

1050

869

289

1820

1в, 5а

22800

1919

1050

869

289

1820

23600

1919

1050

869

289

1820

21100

1919

1050

869

289

1820

2а, 9б

25500

2187

1260

927

347

1820

2б, 7

23000

2123

1210

913

332

1820

28000

2187

1260

927

347

1820

26600

2465

1480

985

405

1820

26200

1919

1050

869

289

1820

8а, 8б

24600

2123

1210

913

332

1820

8в, 8д, 9а

24500

2187

1260

927

347

1820

26300

2123

1210

913

332

1820

8е, 9в

30900

2187

1260

927

347

1820

10а

26900

2326

1370

956

376

1820

10б

29600

2326

1370

956

376

1820

10в

31200

2326

1370

956

376

1820

Примечание. Затраты по конструктивным элементам строительных работ подземной части, сборным железобетонным конструкциям надземной части, монтажу металлоконструкций, видам электромонтажных и монтажных работ следует принимать по цене № 281.

Районная цена № 290

Градирня брызгальная с четырьмя секциями. Каркас из сборных железобетонных элементов, обшивка асбестоцементными листами, ороситель и водоуловительные решетки деревянные, водосборный бассейн сборно-монолитный (типовой проект 901-6-51)

Измеритель - 1 градирня

Районы

Прямые затраты, руб.

Нормативная условно-чистая продукция, руб.

В том числе, руб.

Затраты труда рабочих, чел.-ч

основная заработная плата рабочих

эксплуатация машин

всего

в том числе заработная плата рабочих, обслуживающих машины

1

2

3

4

5

6

7

СТРОИТЕЛЬНЫЕ РАБОТЫ

1. Подземная часть

1а, 1в

14200

1557

586

971

157

1070

1б, 1е

15400

1557

586

971

157

1070

1г, 1д, 5а

14600

1557

586

971

157

1070

12900

1470

586

884

157

1070

17100

1863

703

1160

189

1070

15600

1804

674

1130

181

1070

2в, 8е

19400

1863

703

1160

189

1070

19600

2130

820

1310

220

1070

13600

1557

586

971

157

1070

15300

1696

586

1110

157

1070

7а, 7б, 7г

14800

1684

674

1010

181

1070

16600

1754

674

1080

181

1070

15200

1684

674

1010

181

1070

15900

1684

674

1010

181

1070

8в, 9а

16400

1823

703

1120

189

1070

19900

1754

674

1080

181

1070

15500

1793

703

1090

189

1070

16000

1793

703

1090

189

1070

18100

1863

703

1160

189

1070

10а

17600

1882

762

1120

205

1070

10б

18100

1882

762

1120

205

1070

10в

18500

1882

762

1120

205

1070

2. Надземная часть

1а, 1г, 3г

28600

2500

1370

1130

376

2360

1б, 1д

29300

2500

1370

1130

376

2360

1в, 5а

29900

2500

1370

1130

376

2360

30900

2500

1370

1130

376

2360

27700

2500

1370

1130

376

2360

2а, 9б

33400

2850

1640

1210

451

2360

2б, 7

30000

2760

1570

1190

432

2360

36600

2850

1640

1210

451

2360

34900

3200

1920

1280

526

2360

34400

2500

1370

1130

376

2360

8а, 8б

32200

2760

1570

1190

432

2360

8в, 8д, 9а

32000

2850

1640

1210

451

2360

34400

2760

1570

1190

432

2360

8е, 9в

40600

2850

1640

1210

451

2360

10а

35200

3020

1780

1240

489

2360

10б

38800

3020

1780

1240

489

2360

10в

40900

3020

1780

1240

489

2360

Примечание. Затраты по конструктивным элементам строительных работ подземной части, сборным железобетонным конструкциям надземной части, монтажу металлоконструкций, видам электромонтажных и монтажных работ следует принимать по цене № 282.

Районная цена № 291

Градирня брызгальная с пятью секциями. Каркас из сборных железобетонных элементов, обшивка асбестоцементными листами, ороситель и водоуловительные решетки деревянные, водосборный бассейн сборно-монолитный (типовой проект 901-6-51)

Измеритель - 1 градирня

Районы

Прямые затраты, руб.

Нормативная условно-чистая продукция, руб.

В том числе, руб.

Затраты труда рабочих, чел.-ч

основная заработная плата рабочих

эксплуатация машин

всего

в том числе заработная плата рабочих, обслуживающих машины

1

2

3

4

5

6

7

СТРОИТЕЛЬНЫЕ РАБОТЫ

1. Подземная часть

1а, 1в

17200

1882

702

1180

190

1290

1б, 1е

18600

1882

702

1180

190

1290

1г, 1д, 5а

17600

1882

702

1180

190

1290

15600

1772

702

1070

190

1290

20700

2253

843

1410

228

1290

18900

2188

808

1380

218

1290

23700

2253

843

1410

228

1290

23800

2573

983

1590

266

1290

16500

1882

702

1180

190

1290

18500

2052

702

1350

190

1290

7а, 7б, 7г

17900

2038

808

1230

218

1290

20100

2118

808

1310

218

1290

18500

2038

808

1230

218

1290

19300

2038

808

1230

218

1290

8в, 9а

19900

2203

843

1360

228

1290

24100

2118

808

1310

218

1290

18700

2163

843

1320

228

1290

23200

2253

843

1410

228

1290

19400

2163

843

1320

228

1290

21 900

2253

843

1410

228

1290

10а

21300

2273

913

1360

247

1290

10б

21 900

2273

913

1360

247

1290

10в

22400

2273

913

1360

247

1290

2. Надземная часть

1а, 1г, 3г

35400

3080

1680

1400

465

2900

35900

3080

1680

1400

465

2900

1в, 1д, 5а

37000

3080

1680

1400

465

2900

38200

3080

1680

1400

465

2900

34200

3080

1680

1400

465

2900

2а, 9б

41300

3510

2020

1490

558

2900

2б, 7

37200

3410

1940

1470

535

2900

45300

3510

2020

1490

558

2900

43100

3940

2360

1580

651

2900

56

42600

3080

1680

1400

465

2900

8а, 8б

39800

3410

1940

1470

535

2900

8в, 8д, 9а

39700

3510

2020

1490

558

2900

42600

3410

1940

1470

535

2900

8е, 9в

50200

3510

2020

1490

558

2900

10а

43600

3730

2190

1540

605

2900

10б

48000

3730

2190

1540

605

2900

10в

50600

3730

2190

1540

605

2900

Примечание. Затраты по конструктивным элементам строительных работ подземной части, сборным железобетонным конструкциям надземной части, монтажу металлоконструкций, видам электромонтажных и монтажных работ следует принимать по цене № 283.

Рис. 3. Градирни с вентиляторами 2ВГ70 капельные и брызгальные с секциями площадью 192 м2 со стальным каркасом. Типовой проект 901-6-46 (к ценам № 292 - 299)

1 - вентилятор 2ВГ70; 2 - водоуловительные решетки; 3 - водораспределительная система; 4 - ороситель; 5 - грязевая труба Dу = 200; 6 - переливная труба Dу = 250; 7 - отводящая труба Dу = 600; 8 - водоподающий трубопровод.

3. Градирни с вентиляторами 2ВГ70 с секциями площадью 192 м2

КАПЕЛЬНЫЕ

Районная цена № 292

Градирня капельная с двумя секциями. Каркас стальной, обшивка асбестоцементными листами, ороситель и водоуловительные решетки деревянные, водосборный бассейн из монолитного железобетона (типовой проект 901-6-46)

Измеритель - 1 градирня

Районы

Прямые затраты, руб.

Нормативная условно-чистая продукция, руб.

В том числе, руб.

Затраты труда рабочих, чел.-ч

основная заработная плата рабочих

эксплуатация машин

всего

в том числе заработная плата рабочих, обслуживающих машины

1

2

3

4

5

6

7

РАЗДЕЛ I. СТРОИТЕЛЬНЫЕ РАБОТЫ

1. Подземная часть

1а, 1в, 3г

15200

2090

900

1190

164

1650

1б, 1е

16800

2090

900

1190

164

1650

1г, 1д

16200

2090

900

1190

164

1650

14000

1970

900

1070

164

1650

2а, 9в

19000

2530

1080

1450

196

1650

17100

2460

1040

1420

188

1650

21400

2530

1080

1450

196

1650

22500

2920

1260

1660

229

1650

15700

2090

900

1190

164

1650

15600

2290

900

1390

164

1650

7а, 7б, 7г, 8а

16400

2280

1040

1240

188

1650

19400

2380

1040

1340

188

1650

18100

2280

1040

1240

188

1650

8в, 9а

18600

2480

1080

1400

196

1650

23900

2380

1040

1340

188

1650

8д, 9б

17600

2430

1080

1350

196

1650

23200

2530

1080

1450

196

1650

10а, 10в

19200

2560

1170

1390

213

1650

10б

19800

2560

1170

1390

213

1650

В том числе:

а) земляные работы

1, 3г, 5

343

343

82

261

106

172

2а, 2в, 8в, 8д - 9в

380

380

98

282

127

172

2б, 7а - 8б, 8г

371

371

94

277

122

172

419

419

115

304

148

172

10

399

399

106

293

138

172

б) транспортирование грунта

1а - 1е, 3г, 5а

742

742

-

742

-

-

619

619

-

619

-

-

2а, 2в, 8е, 9а, 9в

965

965

-

965

-

-

26, 5б

940

940

-

940

-

-

1140

1140

-

1140

-

-

7а, 7б, 7г - 8б

767

767

-

767

-

-

7в, 8в - 8д, 9б

866

866

-

866

-

-

10

891

891

-

891

-

-

в) монолитные бетонные и железобетонные конструкции

1а, 1в, 3г, 56

13600

940

759

181

55

1360

1б, 1е

15200

940

759

181

55

1360

14700

940

759

181

55

1360

1д, 5а

14200

940

759

181

55

1360

12500

940

759

181

55

1360

2а, 8в, 9в

16900

1103

911

192

66

1360

2б, 7а, 8а

15000

1063

873

190

63

1380

19400

1103

911

192

66

1360

20200

1263

1060

203

77

1360

7б, 7г

14500

1063

873

190

63

1360

17500

1063

873

190

63

1360

16500

1063

873

190

63

1360

22100

1063

873

190

63

1360

8д, 9б

15700

1103

911

192

66

1360

21 400

1103

911

192

66

1360

16600

1103

911

192

66

1360

10а, 10в

17200

1184

986

198

72

1360

10б

17900

1184

986

198

72

1360

2. Надземная часть

1а, 1б, 1ж

21300

1869

1080

789

238

2010

1в, 1д, 1е, 5а

23200

1869

1080

789

238

2010

20400

1869

1080

789

238

2010

23500

2136

1300

836

285

2010

2б, 7в

21500

2064

1240

824

273

2010

2в, 8в

21800

2136

1300

836

285

2010

28600

2404

1520

884

333

2010

3г, 5б

24000

1869

1080

789

238

2010

7а, 7б

20600

2064

1240

824

273

2010

7г - 8б

23800

2064

1240

824

273

2010

27500

2064

1240

824

273

2010

8д, 9б

24100

2136

1300

836

285

2010

39500

2136

1300

836

285

2010

24700

2136

1300

836

285

2010

27900

2136

1300

836

285

2010

10а

25100

2270

1410

860

309

2010

10б

29500

2270

1410

860

309

2010

10в

28300

2270

1410

860

309

2010

РАЗДЕЛ II. МОНТАЖ МЕТАЛЛОКОНСТРУКЦИЙ

1, 3г, 5

19800

3000

1200

1800

646

1830

2а, 2в, 8в, 8д, 8е

20400

3370

1440

1930

775

1830

2б, 7а - 8б, 8г

20200

3280

1380

1900

743

1830

21 000

3740

1680

2060

904

1830

9

21200

3370

1440

1930

775

1830

10

23100

3560

1560

2000

840

1830

РАЗДЕЛ III. ЭЛЕКТРОМОНТАЖНЫЕ РАБОТЫ

1, 3г,5

486

264

176

88

36

302

2а, 2в, 8в, 8д - 9в

532

306

211

95

43

302

2б, 7а - 8б, 8г

519

296

202

94

41

302

578

348

246

102

50

302

10

556

328

229

99

47

302

В том числе:

а) электроосвещение

1, 3г, 5

71

35

19

16

7

35

2а, 2в, 8в, 8д - 9в

76

41

23

18

8

35

2б, 7а - 8б, 8г

75

40

22

18

8

35

83

47

27

20

10

35

10

80

44

25

19

9

35

б) монтаж электросилового оборудования

1, 3г, 5

372

208

137

71

29

236

2а, 2в, 8в, 8д - 9в

407

242

165

77

35

236

2б, 7а - 8б, 8г

398

233

158

75

33

236

443

275

192

83

41

236

10

425

259

179

80

38

236

в) монтаж оборудования автоматики и КИП

1, 3г

43

20

19

1

-

31

2а, 2в, 8в, 8д, 9

47

24

23

1

-

31

2б, 7а - 8б, 8г

46

23

22

1

-

31

53

28

27

1

-

31

5

44

20

19

1

-

31

8е, 12е

48

24

23

1

-

31

10

50

26

25

1

-

31

РАЗДЕЛ IV. МОНТАЖ ОБОРУДОВАНИЯ

1. Монтаж вентиляторного оборудования

1, 3г, 5

1180

1004

818

186

75

1550

2а, 2в, 8в, 8д - 9в

1390

1308

1077

231

90

1550

2б, 7а - 8б, 8г

1340

1258

1033

225

86

1550

1600

1508

1257

251

105

1550

10

1490

1407

1166

241

98

1550

2. Монтаж технологических трубопроводов систем охлаждения электродвигателя

1, 3г, 5

174

31

28

3

2

54

2а, 2в, 8в, 8д, 9

182

38

34

4

2

54

2б, 8а, 8б, 8г

181

36

32

4

2

54

194

43

39

4

2

54

7

176

36

32

4

2

54

207

38

34

4

2

54

10

191

41

37

4

2

54

3. Монтаж технологических трубопроводов бассейна

1, 3г, 5

666

121

108

13

6

207

2а, 2в, 8в, 8д, 9

698

143

129

14

7

207

2б, 8а, 8б, 8г

692

138

124

14

7

207

743

167

151

16

8

207

7

675

138

124

14

7

207

794

143

129

14

7

207

10

732

156

140

16

8

207

4. Монтаж технологического оборудования и трубопроводов водораспределительной системы

а) при гидравлической нагрузке 750 м3

1, 3г

3740

188

79

109

56

266

2а, 2в, 8в, 8д, 9

3900

213

94

119

67

266

2б, 8а, 8б, 8г

3900

206

90

116

64

266

4130

240

110

130

78

266

5

3840

188

79

109

66

266

7

3760

206

90

116

64

266

4690

213

94

119

67

266

10

4120

227

102

125

73

266

б) при гидравлической нагрузке 1000 м3

1, 3г

4330

217

91

126

65

307

2а, 2в, 8в, 8д, 9

4520

248

109

139

78

307

2б, 8а, 8б, 8г

4520

240

105

135

75

307

4780

279

127

152

91

307

5

4440

217

91

126

65

307

7

4350

240

105

135

75

307

5430

248

109

139

78

307

10

4770

264

118

146

85

307

в) при гидравлической нагрузке 1500 м3

1, 3г

5630

281

118

163

84

400

2а, 2в, 8в, 8д, 9

5880

322

142

180

101

400

2б, 8а, 8б, 8г

5880

312

136

176

97

400

6220

363

166

197

118

400

5

5770

281

118

163

84

400

7

5660

312

136

176

97

400

7060

322

142

180

101

400

10

6200

342

154

188

109

400

5. Сопутствующие строительные работы

а) при гидравлической нагрузке 750 м3

1, 3г, 5

70

34

34

-

-

62

2а, 2в, 8в, 8д, 9

77

41

41

-

-

62

2б, 7а - 8б, 8г

76

40

40

-

-

62

87

48

48

-

-

62

82

41

41

-

-

62

10

83

45

45

-

-

62

в) при гидравлической нагрузке 1000 м3

1, 3г, 5

83

41

41

-

-

74

2а, 2в, 8в, 8д, 9

92

49

49

-

-

74

2б, 7а - 8б, 8г

90

47

47

-

-

74

103

57

57

-

-

74

97

49

49

-

-

74

10

99

53

53

-

-

74

в) при гидравлической нагрузке 1500 м3

1, 3г, 5

113

56

56

-

-

101

2а, 2в, 8в, 8д, 9

125

67

67

-

-

101

2б, 7а - 8б, 8г

122

64

64

-

-

101

140

78

78

-

-

101

133

67

67

-

-

101

10

135

72

72

-

-

101

Районная цена № 293

Градирня капельная с двумя секциями. Каркас стальной, обшивка деревянными щитами, ороситель и водоуловительные решетки деревянные, водосборный бассейн из монолитного железобетона (типовой проект 901-6-46)

Измеритель - 1 градирня

Районы

Прямые затраты, руб.

Нормативная условно-чистая продукция, руб.

В том числе, руб.

Затраты труда рабочих, чел.-ч

основная заработная плата рабочих

эксплуатация машин

всего

в том числе заработная плата рабочих, обслуживающих машины

1

2

3

4

5

6

7

СТРОИТЕЛЬНЫЕ РАБОТЫ

1. Подземная часть

1а, 1в, 3г

15200

2090

900

1190

164

1650

1б, 1е

16800

2090

900

1190

164

1650

1г, 1д

16200

2090

900

1190

164

1650

14000

1970

900

1070

164

1650

2а, 9в

19000

2530

1080

1450

196

1650

17100

2460

1040

1420

188

1650

21400

2530

1080

1450

196

1650

22500

2920

1260

1660

229

1650

15700

2090

900

1190

164

1850

15600

2290

900

1390

164

1650

7а, 7б, 7г, 8а

16400

2280

1040

1240

188

1650

19400

2380

1040

1340

188

1650

18100

2280

1040

1240

188

1650

8в, 9а

18600

2480

1080

1400

196

1650

23900

2380

1040

1340

188

1650

8д, 9б

17600

2430

1080

1350

196

1650

23200

2530

1080

1450

196

1650

10а, 10в

19200

2560

1170

1390

213

1650

10б

19800

2560

1170

1390

213

1650

2. Надземная часть

1а, 1б, 1ж

24600

1532

893

639

190

1660

1в, 1д, 1е

26800

1532

893

639

190

1660

23100

1532

893

639

190

1660

27000

1747

1070

677

228

1660

2б, 7в

24600

1697

1030

667

218

1660

2в, 8в

24600

1747

1070

677

228

1660

34000

1964

1250

714

266

1660

3г, 5б

28400

1532

893

639

190

1660

27400

1532

893

639

190

1660

7а, 7б

23300

1697

1030

667

218

1660

7г - 8б

27500

1697

1030

667

218

1660

32700

1697

1030

667

218

1660

8д, 9б

27600

1747

1070

677

228

1660

46600

1747

1070

677

228

1660

28400

1747

1070

677

228

1660

32900

1747

1070

677

228

1660

10а

28500

1855

1160

695

247

1660

10б

34800

1855

1160

695

247

1660

10в

33000

1855

1160

695

247

1660

Примечание. Затраты по конструктивным элементам строительных работ подземной части, монтажу металлоконструкций, видам электромонтажных и монтажных работ следует принимать по цене № 292.

Районная цена № 294

Градирня капельная с тремя секциями. Каркас стальной, обшивка асбестоцементными листами, ороситель и водоуловительные решетки деревянные, водосборный бассейн из монолитного железобетона (типовой проект 901-6-46)

Измеритель - 1 градирня

Районы

Прямые затраты, руб.

Нормативная условно-чистая продукция, руб.

В том числе, руб.

Затраты труда рабочих, чел.-ч

основная заработная плата рабочих

эксплуатация машин

всего

в том числе заработная плата рабочих, обслуживающих машины

1

2

3

4

5

6

7

РАЗДЕЛ I. СТРОИТЕЛЬНЫЕ РАБОТЫ

1. Подземная часть

1а, 1в, 3г

21900

2990

1300

1690

233

2370

1б, 1е

24200

2990

1300

1690

233

2370

23400

2990

1300

1690

233

2370

1д, 5а

22600

2990

1300

1690

233

2370

20000

2820

1300

1520

233

2370

2а, 9в

27200

3620

1560

2060

280

2370

24400

3500

1490

2010

268

2370

30800

3620

1560

2060

280

2370

32100

4170

1820

2350

326

2370

22300

3270

1300

1970

233

2370

7а, 7б, 7г, 8а

23500

3250

1490

1760

268

2370

27800

3390

1490

1900

268

2370

25900

3250

1490

1760

268

2370

8в, 9а

26600

3550

1560

1990

280

2370

34400

3390

1490

1900

268

2370

8д, 9б

25200

3480

1560

1920

280

2370

33400

3620

1560

2060

280

2370

10а, 10в

27600

3650

1680

1970

303

2370

10б

28400

3650

1680

1970

303

2370

В том числе:

а) земляные работы

1, 3г, 5

481

481

112

369

149

235

2а, 2в, 8в, 8д - 9в

533

533

134

399

179

235

2б, 7а - 8б, 8г

521

521

129

392

172

235

585

585

156

429

209

235

10

559

559

145

414

194

235

б) транспортирование грунта

1а - 1е, 3г, 5а

1050

1050

-

1050

-

-

875

875

-

875

-

-

2а, 2в, 8е, 9а, 9в

1360

1360

-

1360

-

-

2б, 5б

1330

1330

-

1330

-

-

1610

1610

-

1610

-

-

7а, 76, 7г - 8б

1080

1080

-

1080

-

-

7в, 8в - 8д, 9б

1220

1220

-

1220

-

-

10

1260

1260

-

1260

-

-

в) монолитные бетонные и железобетонные конструкции

1а, 1в, 3г, 5б

19600

1363

1100

263

80

1980

1б, 1е

21 800

1363

1100

263

80

1980

21200

1363

1100

263

80

1980

1д, 5а

20400

1363

1100

263

80

1980

18000

1363

1100

263

80

1980

2а, 8в, 9в

24400

1599

1320

279

96

1980

2б 8а

21600

1545

1270

275

92

1980

28000

1599

1320

279

96

1980

29000

1835

1540

295

112

1980

7а, 7б

21 100

1545

1270

275

92

1980

25200

1545

1270

275

92

1980

20600

1545

1270

275

92

1980

23700

1545

1270

275

92

1980

31 900

1545

1270

275

92

1980

8д, 9б

22600

1599

1320

279

96

1980

30800

1599

1320

279

96

1980

23800

1599

1320

279

96

1980

10а, 10в

24800

1727

1440

287

104

1980

10б

25700

1727

1440

287

104

1980

2. Надземная часть

1а, 1б, 1ж

31600

2620

1580

1040

312

2970

1в, 1д, 1е, 5а

34600

2620

1580

1040

312

2970

30200

2620

1580

1040

312

2970

2а, 8д

35200

3000

1900

1100

375

2970

2б, 7в

32000

2900

1820

1080

359

2970

2в, 8в

32200

3000

1900

1100

375

2970

42700

3380

2220

1160

437

2970

3г, 5б

35800

2620

1580

1040

312

2970

7а, 7б

30400

2900

1820

1080

359

2970

7г - 8б

35300

2900

1820

1080

359

2970

41100

2900

1820

1080

359

2970

59000

3000

1900

1100

375

2970

9а, 9б

36400

3000

1900

1100

375

2970

41600

3000

1900

1100

375

2970

10а

37200

3190

2060

1130

406

2970

10б

44100

3190

2060

1130

406

2970

10в

42200

3190

2060

1130

406

2970

РАЗДЕЛ II. МОНТАЖ МЕТАЛЛОКОНСТРУКЦИЙ

1, 3г, 5

27600

4180

1670

2510

898

2550

2а, 2в, 8в, 8д, 8е

28400

4690

2000

2690

1080

2550

2б, 7а - 8б, 8г

28000

4560

1920

2640

1030

2550

29200

5200

2330

2870

1260

2550

9

29500

4690

2000

2690

1080

2550

10

32100

4950

2170

2780

1170

2550

РАЗДЕЛ III. ЭЛЕКТРОМОНТАЖНЫЕ РАБОТЫ

1, 3г, 5

700

382

253

129

52

435

2а, 2в, 8в, 8д - 9в

766

443

304

139

62

435

2б, 7а - 8б, 8г

748

428

291

137

60

435

833

503

354

149

73

435

10

800

474

329

145

68

435

В том числе:

а) электроосвещение

1, 3г, 5

98

49

27

22

9

48

2а, 2в, 8в, 8д - 9в

105

56

32

24

11

48

2б, 7а - 8б, 8г

103

54

31

23

10

48

115

64

38

26

13

48

10

110

60

35

25

12

48

б) монтаж электросилового оборудования

1, 3г, 5

552

309

204

105

43

350

2а, 2в, 8в, 8д - 9в

604

358

244

114

52

350

2б, 7а - 8б, 8г

590

345

234

111

49

350

656

398

285

113

60

350

10

631

384

265

119

56

350

в) монтаж оборудования автоматики и КИП

1, 3г, 5

50

23

22

1

-

37

2а, 2в, 8в, 8д, 9

55

28

27

1

-

37

2б, 7а - 8б, 8г

54

27

26

1

-

37

62

32

31

1

-

37

5

52

23

22

1

-

37

57

28

27

1

-

37

10

59

30

29

1

-

37

РАЗДЕЛ IV. МОНТАЖ ОБОРУДОВАНИЯ

1. Монтаж вентиляторного оборудования

1, 3г, 5

1760

1666

1348

318

115

2330

2а, 2в, 8в, 8д - 9в

2090

1972

1622

350

138

2330

2б, 7а - 8б, 8г

2000

1985

1553

342

132

2330

2400

2266

1885

381

161

2330

10

2250

2114

1748

366

150

2330

2. Монтаж трубопроводов систем охлаждения электродвигателя

1, 3г, 5

238

44

39

5

2

74

2а, 2в, 8в, 8д, 9

250

50

46

4

2

74

2б, 8а, 8б, 8г

248

48

44

4

2

74

266

60

54

6

3

74

7

242

48

44

4

2

74

285

50

46

4

2

74

10

262

55

50

5

2

74

3. Монтаж технологических трубопроводов бассейна

1, 3г, 5

996

182

162

20

9

310

2а, 2в, 8в, 8д, 9

1050

216

194

22

11

310

2б, 8а, 8б, 8г

1040

207

186

21

10

310

1110

250

226

24

13

310

7

1010

207

186

21

10

310

1190

216

194

22

11

310

10

1100

233

210

23

12

310

4. Монтаж технологического оборудования и трубопроводов водораспределительной системы

а) при гидравлической нагрузке 750 м3

1, 3г

5470

274

115

159

82

389

2а, 2в, 8в, 8д, 9

5720

313

138

175

98

389

2б, 8а, 8б, 8г

5710

303

132

171

94

389

6040

353

161

192

115

389

5

5610

274

115

159

82

389

7

5500

303

132

171

94

389

6860

313

138

175

98

389

10

6020

332

149

183

107

389

б) при гидравлической нагрузке 1000 м3

1, 3г

6490

324

136

188

97

461

2а, 2в, 8в, 8д, 9

6780

370

164

206

116

461

2б, 8а, 8б, 8г, 11а - 12в

6770

360

157

203

112

461

7160

418

191

227

136

461

5

6650

324

136

188

97

461

7

6520

360

157

203

112

461

8130

370

164

206

116

461

10

7140

394

177

217

126

461

в) при гидравлической нагрузке 1500 м3

1, 3г

8460

423

178

245

127

601

2а, 2в, 8в, 8д, 9

8840

484

213

271

152

601

2б, 8а, 8б, 8г

8830

468

204

264

146

601

9340

545

249

296

178

601

5

8670

423

178

245

127

601

7

8500

468

204

264

146

601

10600

484

213

271

152

601

10

9310

515

231

284

165

601

5. Сопутствующие строительные работы

а) при гидравлической нагрузке 750 м3

1, 3г, 5

102

50

50

-

-

91

2а, 2в, 8в, 8д, 9

113

60

60

-

-

91

2б, 7а - 8б, 8г

110

58

58

-

-

91

126

70

70

-

-

91

119

60

60

-

-

91

10

121

65

65

-

-

91

б) при гидравлической нагрузке 1000 м3

1, 3г, 5

124

61

61

-

-

111

2а, 2в, 8в, 8д, 9

137

73

73

-

-

111

2б, 7а - 8б, 8г

134

70

70

-

-

111

154

85

85

-

-

111

145

73

73

-

-

111

10

148

79

79

-

-

111

в) при гидравлической нагрузке 1500 м3

1, 3г, 5

169

83

83

-

-

851

2а, 2в, 8в, 8д, 9

188

100

100

-

-

151

2б, 7а - 8б, 8г

183

96

96

-

-

151

210

117

117

-

-

151

198

100

100

-

-

151

10

202

108

108

-

-

151

Районная цена №295

Градирня капельная с тремя секциями. Каркас стальной, обшивка деревянными щитами, ороситель и водоуловительные решетки деревянные, водосборный бассейн из монолитного железобетона (типовой проект 901-6-46)

Измеритель - 1 градирня

Районы

Прямые затраты, руб.

Нормативная условно-чистая продукция, руб.

В том числе, руб.

Затраты труда рабочих, чел.-ч

основная заработная плата рабочих

эксплуатация машин

всего

в том числе заработная плата рабочих, обслуживающих машины

1

2

3

4

5

6

7

СТРОИТЕЛЬНЫЕ РАБОТЫ

1. Подземная часть

1а, 1в, 3г

21900

2990

1300

1690

233

2370

1б, 1е

24200

2990

1300

1690

233

2370

23400

2990

1300

1690

233

2370

1д, 5а

22600

2990

1300

1690

233

2370

20000

2820

1300

1520

233

2370

2а, 9в

27200

3620

1560

2060

280

2370

24400

3500

1490

2010

268

2370

30800

3620

1560

2060

280

2370

32100

4170

1820

2350

326

2370

22300

3270

1300

1970

233

2370

7а, 76, 7г, 8а

23500

3250

1490

1760

268

2370

27800

3390

1490

1900

268

2370

25900

3250

1490

1760

268

2370

8в, 9а

26600

3550

1560

1990

280

2370

34400

3390

1490

1900

268

2370

8д, 9б

25200

3480

1560

1920

280

2370

33400

3620

1560

2060

280

2370

10а, 10в

27600

3650

1680

1970

303

2370

10б

28400

3650

1680

1970

303

2370

2. Надземная часть

1а, 1б, 1ж

35800

2209

1350

859

256

2540

1в, 1д, 1е, 5а

39400

2209

1350

859

256

2540

33700

2209

1350

859

256

2540

39400

2530

1620

910

307

2540

2б, 7в

35800

2448

1550

898

294

2540

2в, 8в

35800

2530

1620

910

307

2540

49500

2852

1890

962

358

2540

3г, 5б

41300

2209

1350

859

256

2540

7а, 7б

33900

2448

1550

898

294

2540

7г - 8б

40100

2448

1550

898

294

2540

47700

2448

1550

898

294

2540

8д, 9б

40300

2530

1620

910

307

2540

68100

2530

1620

910

307

2540

41 400

2530

1620

910

307

2540

48000

2530

1620

910

307

2540

10а

41 600

2686

1750

936

332

2540

10б

50800

2686

1750

936

332

2540

10в

48200

2686

1750

936

332

2540

Примечание. Затраты по конструктивным элементам строительных работ подземной части, монтажу металлоконструкций, видам электромонтажных и монтажных работ следует принимать по цене № 294.

БРЫЗГАЛЬНЫЕ

Районная цена № 296

Градирня брызгальная с двумя секциями. Каркас стальной, обшивка асбестоцементными листами, ороситель и водоуловительные решетки деревянные, водосборный бассейн из монолитного железобетона (типовой проект 901-6-46)

Измеритель - 1 градирня

Районы

Прямые затраты, руб.

Нормативная условно-чистая продукция, руб.

В том числе, руб.

Затраты труда рабочих, чел.-ч

основная заработная плата рабочих

эксплуатация машин

всего

в том числе заработная плата рабочих, обслуживающих машины

1

2

3

4

5

6

7

СТРОИТЕЛЬНЫЕ РАБОТЫ

1. Подземная часть

1а, 1в, 3г

15200

2090

900

1190

164

1650

1б, 1е

16800

2090

900

1190

164

1650

1г, 1д

16200

2090

900

1190

164

1650

14000

1970

900

1070

164

1650

2а, 9в

19000

2530

1080

1450

196

1650

17100

2460

1040

1420

188

1650

21400

2530

1080

1450

196

1650

22500

2920

1260

1660

229

1650

15700

2090

900

1190

164

1650

15600

2290

900

1390

164

1650

7а, 7б, 7г, 8а

16400

2280

1040

1240

188

1650

19400

2380

1040

1340

188

1650

18100

2280

1040

1240

188

1650

8в, 9а

18600

2480

1080

1400

196

1650

23900

2380

1040

1340

188

1650

8д, 9б

17600

2430

1080

1350

196

1650

23200

2530

1080

1450

196

1650

10а, 10в

19200

2560

1170

1390

213

1650

10б

19800

2560

1170

1390

213

1650

2. Надземная часть

1а, 1б, 1ж

19400

1838

1070

768

231

2000

1в, 1д, 1е, 5а

21000

1838

1070

768

231

2000

18600

1838

1070

768

231

2000

21300

2104

1290

814

278

2000

2б, 7в

19600

2042

1240

802

266

2000

2в, 8в

19800

2104

1290

814

278

2000

25900

2360

1500

860

324

2000

3г, 5б

21800

1838

1070

768

231

2000

7а, 7б

18800

2042

1240

802

266

2000

7г - 8б

21600

2042

1240

802

266

2000

24900

2042

1240

802

266

2000

8д, 9б

22000

2104

1290

814

278

2000

35600

2104

1290

814

278

2000

22500

2104

1290

814

278

2000

25300

2104

1290

814

278

2000

10а

22900

2237

1400

837

301

2000

10б

26800

2237

1400

837

301

2000

10в

25700

2237

1400

837

301

2000

Примечание. Затраты по конструктивным элементам строительных работ подземной части, монтажу металлоконструкций, видам электромонтажных работ и монтажных работ следует принимать по цене №292.

Районная цена № 297

Градирня брызгальная с двумя секциями. Каркас стальной, обшивка деревянными щитами, ороситель и водоуловительные решетки деревянные, водосборный бассейн из монолитного железобетона (типовой проект № 901-6-46)

Измеритель - 1 градирня

Районы

Прямые затраты, руб.

Нормативная условно-чистая продукция, руб.

В том числе, руб.

Затраты труда рабочих, чел.-ч

основная заработная плата рабочих

эксплуатация машин

всего

в том числе заработная плата рабочих, обслуживающих машины

1

2

3

4

5

6

7

СТРОИТЕЛЬНЫЕ РАБОТЫ

1. Подземная часть

1а, 1в, 3г

15200

2090

900

1190

164

1650

1б, 1е

16800

209Э

900

1190

164

1650

1г, 1д

16200

2090

900

1190

164

1650

14000

1970

900

1070

164

1650

2а, 9в

19000

2530

1080

1450

196

1650

17100

2460

1040

1420

188

1650

21400

2530

1080

1450

196

1650

22500

2920

1260

1660

229

1650

15700

2090

900

1190

164

1650

15600

2290

900

1390

164

1650

7а, 7б, 7г, 8а

16400

2280

1040

1240

188

1650

19400

2380

1040

1340

188

1650

18100

2280

1040

1240

188

1650

8в, 9а

18600

2480

1080

1400

196

1650

23900

2380

1040

1340

188

1650

8д, 9б

17600

2430

1080

1350

196

1650

23200

2530

1080

1450

196

1650

10а, 10в

19200

2560

1170

1390

213

1650

10б

19800

2560

1170

1390

213

1650

2. Надземная часть

1а, 1б, 1ж

22600

1503

885

618

183

1640

1в, 1д, 1е, 5а

24900

1503

885

618

183

1640

21400

1503

885

618

183

1640

2а, 8д, 9б

25200

1714

1060

654

220

1640

2б, 7в

22600

1665

1020

645

211

1640

2в, 8в

22700

1714

1060

654

220

1640

31200

1931

1240

691

257

1640

3г, 5б

26200

1503

885

618

183

1640

7а, 7б

25100

1665

1020

645

211

1640

7г - 8б

25300

1665

1020

645

211

1640

30100

1665

1020

645

211

1640

42800

1714

1060

654

220

1640

26200

1714

1060

654

220

1640

30200

1714

1060

654

220

1640

10а

26300

1823

1150

673

239

1640

10б

32000

1823

1150

673

239

1640

10в

30400

1823

1150

673

239

1640

Примечание. Затраты по конструктивным элементам строительных работ подземной части, монтажу металлоконструкций, видам электромонтажных и монтажных работ следует принимать по цене № 292.

Районная цена №298

Градирня брызгальная с тремя секциями. Каркас стальной, обшивка асбестоцементными листами, ороситель и водоуловительные решетки деревянные, водосборный бассейн из монолитного железобетона (типовой проект 901-6-46)

Измеритель - 1 градирня

Районы

Прямые затраты, руб.

Нормативная условно-чистая продукция, руб.

В том числе, руб.

Затраты труда рабочих, чел.-ч

основная заработная плата рабочих

эксплуатация машин

всего

в том числе заработная плата рабочих, обслуживающих машины

1

2

3

4

5

6

7

СТРОИТЕЛЬНЫЕ РАБОТЫ

1. Подземная часть

1а, 1в, 3г

21900

2990

1300

1690

233

2370

1б, 1е

24200

2990

1300

1690

233

2370

23400

2990

1300

1690

233

2370

1д, 5а

22600

2990

1300

1690

233

2370

20000

2820

1300

1520

233

2370

2а, 9в

27200

3620

1560

2060

280

2370

24400

3500

1490

2010

268

2370

30800

3620

1560

2060

280

2370

32100

4170

1820

2350

326

2370

22300

3270

1300

1970

233

2370

7а, 7б, 7г, 8а

23500

3250

1490

1760

268

2370

27800

3390

1490

1900

268

2370

25900

3250

1490

1760

268

2370

8в, 9а

26600

3550

1560

1990

280

2370

34400

3390

1490

1900

268

2370

8д, 9б

25200

3480

1560

1920

280

2370

33400

3620

1560

2060

280

2370

10а, 10в

27600

3650

1680

1970

303

2370

10б

28400

3650

1680

1970

303

2370

2. Надземная часть

1а, 1б, 1ж

28800

2570

1570

1000

303

2940

1в, 1д, 1е, 5а

31300

2570

1570

1000

303

2940

27500

2570

1570

1000

303

2940

2а, 8д

32000

2950

1880

1070

563

2940

2б, 7в

29000

2860

1810

1050

348

2940

2в, 8в

29400

2950

1880

1070

363

2940

38600

3330

2200

1130

424

2940

3г, 5б

32500

2570

1570

1000

303

2940

7а, 7б

27800

2860

1810

1050

348

2940

7г - 8б

32000

2860

1810

1050

348

2940

37200

2860

1810

1050

348

2940

53200

2950

1880

1070

363

2940

33400

2950

1880

1070

363

2940

32700

2950

1880

1070

363

2940

37700

2950

1880

1070

363

2940

10а

33900

3140

2040

1100

394

2940

10б

39900

3140

2040

1100

394

2940

10в

38200

3140

2040

1100

394

2940

Примечание. Затраты по конструктивным элементам строительных работ подземной части, монтажу металлоконструкций, видам электромонтажных и монтажных работ следует принимать по цене № 294.

Районная цена №299

Градирня брызгальная с тремя секциями. Каркас стальной, обшивка деревянными щитами, ороситель и водоуловительные решетки деревянные, водосборный бассейн из монолитного железобетона (типовой проект 901-6-46)

Измеритель - 1 градирня

Районы

Прямые затраты, руб.

Нормативная условно-чистая продукция, руб.

В том числе, руб.

Затраты труда рабочих, чел.-ч

основная заработная плата рабочих

эксплуатация машин

всего

в том числе заработная плата рабочих, обслуживающих машины

1

2

3

4

5

6

7

СТРОИТЕЛЬНЫЕ РАБОТЫ

1. Подземная часть

1а, 1в, 3г

21900

2990

1300

1690

233

2370

1б, 1е

24200

2990

1300

1690

233

2370

23400

2990

1300

1690

233

2370

1д, 5а

22600

2990

1300

1690

233

2370

20000

2820

1300

1520

233

2370

2а, 9в

27200

3620

1560

2060

280

2370

24400

3500

1490

2010

268

2370

30800

3620

1560

2060

280

2370

32100

4170

1820

2350

326

2370

22300

3270

1300

1970

233

2370

7а, 7б, 7г, 8а

23500

3250

1490

1760

268

2370

27800

3390

1490

1900

268

2370

25900

3250

1490

1760

268

2370

8в, 9а

26600

3550

1560

1990

280

2370

34400

3390

1490

1900

268

2370

8д, 9б

25200

3480

1560

1920

280

2370

33400

3620

1560

2060

280

2370

10а, 10в

27600

3650

1680

1970

303

2370

10б

28400

3650

1680

1970

303

2370

2. Надземная часть

1а, 1б, 1ж

32800

2168

1340

828

246

2510

1в, 1д, 1е

35800

2168

1340

828

246

2510

31000

2168

1340

828

246

2510

36200

2487

1610

877

295

2510

2б, 7в

32900

2405

1540

865

283

2510

2в, 8в

33000

2487

1610

877

295

.2510

45400

2797

1870

927

345

2510

3г, 5б

38000

2168

1340

828

246

2510

36600

2168

1340

828

246

2510

7а, 7б

31300

2405

1540

865

283

2510

7г - 8б

36800

2405

1540

865

283

2510

43800

2405

1540

865

283

2510

8д, 9б

37000

2487

1610

877

295

2510

62300

2487

1610

877

295

2510

38000

2487

1610

877

295

2510

44000

2487

1610

877

295

2510

10а

38300

2642

1740

902

320

2510

10б

46600

2642

1740

902

320

2510

10в

44300

2642

1740

902

320

2510

Примечание. Затраты по конструктивным элементам строительных работ подземной части, монтажу металлоконструкций, видам электромонтажных и монтажных работ следует принимать по цене № 294.

Рис. 4. Градирни с вентиляторами 3ВГ25 брызгальные с секциями площадью 24 м2 с каркасом из железобетонных элементов. Типовой проект 901-6-67.83 (к ценам № 300 - 303)

4. Градирни с вентиляторами 3ВГ25 брызгальные с секциями площадью 24 м2

Районная цена №300

Градирня брызгальная с двумя секциями. Каркас из сборных железобетонных элементов, обшивка, водоуловительные решетки и водонаправляющие щиты деревянные, водосборный бассейн сборно-монолитный (типовой проект 901-6-67.83)

Измеритель - 1 градирня

Районы

Прямые затраты, руб.

Нормативная условно-чистая продукция, руб.

В том числе, руб.

Затраты труда рабочих, чел.-ч

основная заработная плата рабочих

эксплуатация машин

всего

в том числе заработная плата рабочих, обслуживающих машины

1

2

3

4

5

6

7

РАЗДЕЛ I. СТРОИТЕЛЬНЫЕ РАБОТЫ

1. Подземная часть

1а, 1в, 5а

3320

477

163

314

48,3

295

1б, 1е

3590

477

163

314

48,3

295

1г, 1д

3440

477

163

314

48,3

295

2970

447

163

284

48,3

295

4010

573

196

377

57,9

295

3610

557

188

369

55,5

295

4600

573

196

377

57,9

295

4360

657

228

429

67,6

295

3120

477

163

314

48,3

295

3630

525

163

362

48,3

295

7а, 7б, 7г

3430

515

188

327

55,5

295

3840

539

188

351

55,5

295

3550

515

188

327

55,5

295

3720

515

188

327

55,5

295

3880

549

193

353

57,9

295

4640

539

188

351

55,5

295

3620

549

195

353

57,9

295

4440

573

193

377

57,9

295

9а, 9б

3780

561

195

365

57,9

295

4290

573

196

377

57,9

295

10а

4090

576

212

364

62,7

295

10б

4240

576

212

364

62,7

295

10в

4390

576

212

364

62,7

295

В том числе:

а) земляные работы

1, 3г, 5

86

86

32,8

53,2

22,1

67,1

2а, 2в, 8в, 8д - 9в

98

98

39,3

58,7

26,6

67,1

2б, 7а - 8б, 8г

95

95

37,7

57,3

25,5

67,1

108

108

45,9

62,1

31

67,1

10

103

103

42,6

60,4

28,8

67,1

б) транспортирование грунта

1а - 1е, 3г, 5а

180

180

-

180

-

-

150

150

-

150

-

-

2а, 2в,8е,9а, 9в

233

233

-

233

-

-

2б, 5б

227

227

-

227

-

-

275

275

-

275

-

-

7а, 7б, 7г - 8б

186

186

-

186

-

-

7в, 8в - 8д, 9б

209

209

-

209

-

-

10

215

216

-

216

-

-

в) монолитные бетонные и железобетонные конструкции

1а, 1в, 5

2120

164,7

114

50,7

15,2

202

1б, 1е

2350

164,7

114

50,7

15,2

202

1г, 1д

2200

164,7

114

50,7

15,2

202

1880

164,7

114

50,7

15,2

202

2а, 8в, 9в

2520

190,8

137

53,8

18,2

202

2310

185

132

53

17,5

202

2880

190,8

137

53,8

18,2

202

2940

216,8

160

56,8

21,3

202

2010

164,7

114

50,7

15,2

202

7а, 7б, 8а

2200

185

132

53

17,5

202

2600

185

132

53

17,5

202

2130

185

132

53

17,5

202

2450

185

132

53

17,5

202

3260

185

132

53

17,5

202

8д, 9б

2340

190,8

137

53,8

18,2

202

3100

190,8

137

53,8

18,2

202

2460

190,8

137

53,8

18,2

202

10

2630

204,3

149

55,3

19,8

202

г) сборные железобетонные конструкции

918

45,3

15,8

29,5

10,9

26,1

1б, 1в, 1д, 5а

953

45,3

15,8

29,5

10,9

26,1

982

45,3

15,8

29,5

10,9

26,1

1010

45,3

15,8

29,5

10,9

26,1

1ж, 3г

843

45,3

15,8

29,5

10,9

26,1

1140

50,6

19

31,6

13,1

26,1

2б, 7а, 7г, 8б

989

49,3

18,2

31,1

12,6

26,1

1400

50,6

19

31,6

13,1

26,1

1030

56

22,2

33,8

15,3

26,1

1200

45,3

15,8

29.5

10,9

26,1

7б, 7в

947

49,3

18,2

31,1

12,6

26,1

1050

49,3

18,2

31,1

12,6

26,1

8в, 9б

1080

50,6

19

31,6

13,1

26,1

1080

49,3

18,2

31,1

12,6

26,1

989

50,6

19

31,6

13,1

26,1

8е, 9а

1010

50,6

19

31,6

13,1

26,1

1430

50,6

19

31,6

13,1

26,1

10а

1150

53,3

20,6

32,7

14,2

26,1

10б

1260

53,3

20,6

32,7

14,2

26,1

10в

1470

53,3

20,6

32,7

14,2

26,1

2. Надземная часть

1а, 1б, 1г, 1ж

7110

297

148

149

51,9

251

1в, 1д, 3г, 5а

7550

297

148

149

51,9

251

7810

297

148

149

51,9

251

2а, 9б

8240

333

178

160

62,3

251

2б, 7а - 7в

7340

327

170

157

59,7

251

8450

338

178

160

62,3

251

8950

377

207

170

72,7

251

8710

297

148

149

51,9

251

7730

327

170

157

59,7

251

8а, 8б

8040

327

170

157

59,7

251

7670

338

178

160

62,3

251

8900

327

170

157

59,7

251

8д, 9а

8060

338

178

160

62,3

251

10900

338

178

160

62,3

251

10000

338

178

160

62,3

251

10а

8570

358

193

165

67,5

251

10б, 10в

9900

358

193

165

67,5

251

В том числе сборные железобетонные конструкции

1а, 1д, 5а

3730

212

106

106

38,9

171

1б - 1г

3820

212

106

106

38,9

171

4010

212

106

106

38,9

171

1ж, 3г

3490

212

106

106

38,9

171

2б, 9б

4360

240

127

113

46,7

171

2б, 7в, 7г

3880

234

122

112

44,7

171

4980

240

127

113

46,7

171

4080

269

148

121

54,5

171

4680

212

106

106

38,9

171

7а, 8а, 8б, 8г

4180

234

122

112

44,7

171

4030

234

122

112

44,7

171

8в, 8д, 8е

4210

240

127

113

46,7

171

4010

240

127

113

46,7

171

5300

240

127

113

46,7

171

10а

4510

255

138

117

50,6

171

10б

4820

255

138

117

50,6

171

10в

5300

255

138

117

50,6

171

РАЗДЕЛ II. МОНТАЖ МЕТАЛЛОКОНСТРУКЦИЙ

1, 3г, 5

1700

218,1

76,1

142

51,4

120

2а, 2в, 8в, 8д, 8е

1730

243,3

91,3

152

61,7

120

2б, 7а - 8б, 8г

1710

236,5

87,5

149

59,1

120

1780

268

106

162

72

120

9

1790

243,3

91,3

152

61,7

120

10

1940

255,9

98,9

157

66,8

120

РАЗДЕЛ III. ЭЛЕКТРОМОНТАЖНЫЕ РАБОТЫ

1, 3г, 5

136

73,5

45,6

27,9

11,4

79,6

2а, 2в, 8в, 8д - 9в

148

85

54,8

30,2

13,7

79,6

2б, 7а - 8б, 8г

145

82,1

52,5

29,6

13,1

79,6

161

96,4

63,9

32,5

16

79,6

10

155

90,6

59,3

31,3

14,8

79,6

В том числе:

а) монтаж электросилового оборудования

1, 3г, 5

86

48,4

31,9

16,5

6,7

54,8

2а, 2в, 8в, 8д - 9в

95

56,1

38,3

17,8

8

54,8

2б, 7а - 8б, 8г

92

54,1

36,7

17,4

7,7

54,8

103

63,9

44,7

19,2

9,4

54,8

10

99

59,9

41,5

18,4

8,7

54,8

б) электроосвещение

1, 3г, 5

50

25,1

13,7

11,4

4,6

24,8

2а, 2в, 8в, 8д - 9в

54

28,8

16,5

12,3

5,5

24,8

2б, 7а - 8б, 8г

53

27,9

15,8

12,1

5,3

24,8

59

32,4

19,2

13,2

6,4

24,8

10

56

30,6

17,8

12,8

6

24,8

РАЗДЕЛ IV. МОНТАЖ ОБОРУДОВАНИЯ

1. Монтаж технологического оборудования и трубопроводов водораспределительной системы

а) при гидравлической нагрузке 100 м3

1, 3г

894

44,7

18,8

25,9

13,4

63,4

2а, 2в, 8в, 8д, 9

933

51,1

22,5

28,6

16,1

63,4

2б, 8а, 8б, 8г

932

49,5

21,6

27,9

15,4

63,4

986

57,6

26,3

31,3

18,8

63,4

5

916

44,7

18,8

25,9

13,4

63,4

7

897

49,5

21,6

27,9

15,4

63,4

1120

51,1

22,5

28,6

16,1

63,4

10

983

54,3

24,4

29,9

17,4

63,4

б) при гидравлической нагрузке 150 м3/ч, 200 м3

1, 3г

968

43,4

20,3

28,1

14,5

68,7

2а, 2в, 8в, 8д, 9

1010

55,3

24,4

30,9

17,4

68,7

2б, 8а, 8б, 8г

1010

53,6

23,4

30,2

16,7

68,7

1070

62,3

28,5

33,8

20,3

68,7

5

992

48,4

20,3

28,1

14,5

68,7

7

972

53,6

23,4

30,2

16,7

68,7

1210

55,3

24,4

30,9

17,4

68,7

10

1060

58,9

26,4

32,5

18,9

68,7

в) при гидравлической нагрузке 250 м3

1, 3г, 5

1020

50,4

21,2

29,2

15,1

71,6

2а, 2в, 8в, 8д, 9

1050

57,6

25,4

32,2

18,1

71,6

2б, 8а, 8б, 8г

1050

55,8

24,3

31,5

17,4

71,6

1110

64,8

29,6

35,2

21,1

71,6

7

1010

55,8

24,3

31,5

17,4

71,6

1260

57,6

25,4

32,2

18,1

71,6

10

1110

61,2

27,5

33,7

12,5

71,6

2. Монтаж технологических трубопроводов водосборного бассейна

1, 3г, 5

66

13,9

7,3

6,6

2,1

11,7

2а, 2в, 8в, 8д, 9

69

15,8

8,8

7

2,5

11,7

2б, 7а - 8б, 8г

67

15,2

8,4

6,8

2,4

11,7

73

17,6

10,2

7,4

2,9

11,7

76

15,8

8,8

7

2,5

11,7

10

72

16,7

9,5

7,2

2,7

11,7

3. Сопутствующие строительные работы

а) при гидравлической нагрузке 100 м3/ч, 150 м3

1, 3г, 5

9

4,5

4,5

-

-

8,1

2а, 2в, 8в,8д, 9

10

5,4

5,4

-

-

8,1

2б, 7а - 8б, 8г

10

5,2

5,2

-

-

8,1

11

6,3

6,3

-

-

8,1

11

5,4

5,4

-

-

8,1

10

11

5,8

5,8

-

-

8,1

б) при гидравлической нагрузке 200 м3/ч, 2500 м3

1, 3г, 5

13

6,4

6,4

-

-

11,6

2а, 2в, 8е - 9в

15

7,7

7,7

-

-

11,6

2б, 7а - 8б, 8г

14

7,4

7,4

-

-

11,6

16

9

9

-

-

11,6

8в, 8д

14

7,7

7,7

-

-

11,6

10

16

8,3

8,3

-

-

11,6

4. Монтаж металлоконструкций, сопутствующий монтажу оборудования

1, 3г, 5

13

0,8

0,7

0,1

-

1

2а - 2в, 7, 8

13

0,9

0,8

0,1

-

1

13

1,1

1

0,1

-

1

9

14

0,9

0,8

0,1

-

1

10

15

1

0,9

0,1

-

1

Районная цена № 301

Градирня брызгальная с тремя секциями. Каркас из сборных железобетонных элементов, обшивка, водоуловительные решетки и водонаправляющие щиты деревянные, водосборный бассейн сборно-монолитный (типовой проект 901-6-67.83)

Измеритель - 1 градирня

Районы

Прямые затраты, руб.

Нормативная условно-чистая продукция, руб.

В том числе, руб.

Затраты труда рабочих, чел.-ч

основная заработная плата рабочих

эксплуатация машин

всего

в том числе заработная плата рабочих, обслуживающих машины

1

2

3

4

5

6

7

РАЗДЕЛ I. СТРОИТЕЛЬНЫЕ РАБОТЫ

1. Подземная часть

1а, 1в, 5а

4650

638

220

418

63,8

400

1б, 1е

5060

638

220

418

63,8

400

1г, 1д

4840

638

220

418

63,8

400

4160

598

220

378

63,8

400

5640

768

265

503

76,6

400

5080

745

254

491

73,4

400

6490

768

265

503

76,6

400

6150

881

309

572

89,3

400

4370

638

220

418

63,8

400

5070

702

220

482

63,8

400

7а, 7б

4820

689

254

435

73,4

400

5430

721

254

467

73,4

400

4760

689

254

435

73,4

400

4980

689

254

435

73,4

400

5250

689

254

435

73,4

400

5470

735

265

470

76,6

400

6590

721

254

467

73,4

400

5080

735

265

470

76,6

400

6300

768

265

503

76,6

400

9а, 9б

5300

751

265

486

76,6

400

6000

768

265

503

76,6

400

10а

5760

772

287

485

83

400

10б

5960

772

287

485

83

400

10в

6160

772

287

485

83

400

В том числе:

а) земляные работы

1, 3г, 5

116

116

43,2

72,6

29,7

88,5

2а, 2в, 8в, 8д - 9в

130

130

51,9

78,1

35,6

88,5

2б, 7а - 8б, 8г

126

126

49,7

76,3

34,1

88,5

145

145

60,5

84,5

41,6

88,5

10

138

138

56,2

81,8

38,6

88,5

б) транспортирование грунта

1а - 1е, 3г, 5а

241

241

-

241

-

-

200

200

-

200

-

-

2а, 2в, 8е, 9а, 9в

313

313

-

313

-

-

2б, 5б

305

305

-

305

-

-

369

369

-

369

-

-

7а, 7б, 7г - 8б

249

249

-

249

-

-

7в, 8в - 8д, 9б

281

281

-

281

-

-

10

289

289

-

289

-

-

в) монолитные бетонные и железобетонные конструкции

1а, 1в, 5

3040

221,3

156

65,3

19,6

277

1б, 1е

3400

221,3

156

65,3

19,6

277

1г, 1д

3180

221,3

156

65,3

19,6

277

2710

221,3

156

65,3

19,6

277

2а, 8в, 9в

3650

256,3

187

69,3

23,5

277

3340

248,3

180

68,3

22,5

277

4180

256,3

187

69,3

23,5

277

4260

292,2

219

73,2

27,4

277

2900

221,3

156

65,3

19,6

277

7а, 7б, 8а

3170

248,3

180

68,3

22,5

277

3770

248,3

180

68,3

22,5

277

3070

248,3

180

68,3

22,5

277

3540

248,3

180

68,3

22,5

277

4750

248,3

180

68,3

22,5

277

8д, 9б

3380

256,3

187

69,3

23,5

277

4510

256,3

187

69,3

23,5

277

3560

256,3

187

69,3

23,5

277

10

3820

274,2

203

71.2

25,4

277

г) сборные железобетонные конструкции

1220

60,4

21,1

39,3

14,6

34,8

1б, 1в, 1д, 5а

1270

60,4

21,1

39,3

14,6

34,8

1310

60,4

21,1

39,3

14,6

34,8

1340

60,4

21,1

39,3

14,6

34,8

1ж, 3г

1120

60,4

21,1

39,3

14,6

34,8

1530

67,5

25,3

42,2

17,5

34,8

2б, 7а, 7г, 8б

1320

65,8

24,3

41,5

16,7

34,8

1860

67,5

25,3

42,2

17,5

34,8

1370

74,7

29,6

45,1

20,4

34,8

1600

60,4

21,1

39,3

14,6

34,8

7б, 7в

1260

65,8

24,3

41,5

16,7

34,8

1400

65,8

24,3

41,5

16.7

34,8

8в, 9б

1440

67,5

25,3

42,2

17,5

34,8

1430

65,8

24,3

41,5

16,7

34,8

1320

67,5

25,3

42,2

17,5

34,8

8е, 9а

1350

67,5

25,3

42,2

17,5

34,8

1910

67,5

25,3

42,2

17,5

34,8

10а

1530

71,1

27,5

43,6

18,9

34,8

10б

1680

71,1

27,5

43,6

18,9

34,8

10в

1950

71,1

27,5

43,6

18,9

34,8

2. Надземная часть

1а, 1б, 1г, 1ж

9810

437

220

217

75,9

371

1в, 1д, 3г, 5а

10400

437

220

217

75,9

371

10800

437

220

217

75,9

371

2а, 9б

11400

496

264

232

91,1

371

2б, 7а - 7в

10200

482

253

229

87,3

371

11700

496

264

232

91,1

371

12400

556

308

248

106

371

12000

437

220

217

75,9

371

10700

482

253

229

87,3

371

8а, 8б

11200

482

253

229

87,3

371

10600

496

264

232

91,1

371

12300

482

253

229

87,3

371

8д, 9а

11 100

496

264

232

91,1

371

15000

496

264

232

91,1

371

13900

496

264

232

91,1

371

10а

11900

526

286

240

98,7

371

10б

13600

526

286

240

98,7

371

10в

13900

526

286

240

98,7

371

В том числе сборные железобетонные конструкции

1а, 1д, 5а

5140

320

162

158

58

262

1б - 1г

5260

320

162

158

58

262

5530

320

162

158

58

262

1ж, 3г

4800

320

162

158

58

262

6100

363

194

169

69,6

262

2б, 7в, 7г

5340

352

186

166

66,7

262

6920

363

194

169

69,6

262

5640

408

227

181

81,3

262

6460

320

162

158

58

262

7а, 8а, 8б

5740

352

186

166

66,7

262

5560

352

186

166

66,7

262

8в, 8е, 9б

5880

363

194

169

69,6

262

5830

352

186

166

66,7

262

5750

363

194

169

69,6

262

5530

363

194

169

69,6

262

7340

363

194

169

69,6

262

10а

6250

386

211

175

75,5

262

10б

6680

386

211

175

75,5

262

10в

7340

386

211

175

75,5

262

Раздел II. Монтаж металлоконструкций

1, 3г, 5

2020

266,9

95,9

171

62

150

2а, 2в, 8в, 8д, 8е

2060

299

115

184

74,5

150

2б, 7а - 8б, 8г

2040

291

110

181

71,4

150

2120

330

134

196

86,9

150

9

2130

299

115

184

74,5

150

10

2310

315

125

190

80,7

150

Раздел III. Электромонтажные работы

1, 3г, 5

180

97,4

60,6

36,8

15

106

2а, 2в, 8в, 8д - 9в

196

112,6

72,7

39,9

18

106

2б, 7а - 8б, 8г, 11а - 12в

192

108,6

69,6

39

17,2

106

213

127,7

84,8

42,9

21

106

10

205

120,1

78,7

41,4

19,5

106

В том числе:

а) монтаж электросилового оборудования

1, 3г, 5

117

65,4

43,1

22,3

9,1

74,1

2а, 2в, 8в, 8д - 9в

128

75,8

51,7

24,1

10,9

74,1

2б, 7а - 8б, 8г

125

73,3

49,6

23,7

10,5

74,1

139

86,3

60,4

25,9

12,7

74,1

10

133

81,1

56,1

25

11,8

74,1

б) электроосвещение

1, 3г, 5

63

31,9

17,4

14,5

5,9

31,5

2а, 2в, 8в, 8д - 9в

68

36,6

20,9

15,7

7,1

31,5

2б, 7а - 8б, 8г

67

35,6

20,1

15,5

6,8

31,5

74

41,3

24,4

16,9

8,3

31,5

10

72

39

22,7

16,3

7,7

31,5

РАЗДЕЛ IV. МОНТАЖ ОБОРУДОВАНИЯ

1. Монтаж технологического оборудования и трубопроводов водораспределительной системы

а) при гидравлической нагрузке 100 м3

1, 3г

1350

67,4

28,3

39,1

20,2

95,6

2а, 2в, 8в, 8д, 9

1410

76,9

33,9

43

24,2

95,6

2б, 8а, 8б, 8г

1400

74,5

32,5

42

23,2

95,6

1490

86,8

39,6

47,2

28,3

95,6

5

1380

67,4

28,3

39,1

20,2

95,6

7

1350

74,5

32,5

42

23,2

95,6

1690

76,9

33,9

43

24,2

95,6

10

1480

82

36,8

45,2

26,3

95,6

б) при гидравлической нагрузке 150 м3

1, 3г

1460

73,1

30,7

42,4

21,9

104

2а, 2в, 8в, 8д, 9

1520

83,5

36,8

46,7

26,3

104

2б, 8а, 8б, 8г

1520

81

35,3

45,7

25,2

104

1610

94,5

43

51,5

30,7

104

5

1500

73,1

30,7

42,4

21,9

104

7

1470

81

35,3

45,7

25,2

104

1830

83,5

36,8

46,7

26,3

104

10

1610

88,9

39,9

49

28,5

104

в) при гидравлической нагрузке 200 м3

1, 3г

1510

75,5

31,7

43,8

22,6

107

2а, 2в, 8в, 8д, 9

1580

86

38

48

27,1

107

2б, 8а, 8б, 8г

1570

83,5

36,4

47,1

26

107

1660

97,1

44,4

52,7

31,6

107

5

1550

75,5

31,7

43,8

22,6

107

7

1520

83,5

36,4

47,1

26

107

1890

86

38

48

27,1

107

10

1660

91,8

41,2

50,6

29,4

107

г) при гидравлической нагрузке 250 м3

1, 3г

1570

78,4

32,9

45,5

23,5

111

2а, 2в, 8в, 8д, 9

1640

89,6

39,5

50,1

28,2

111

2б, 8а, 8б, 8г

1640

86,8

37,9

48,9

27

111

1730

100,9

46,1

54,8

32,9

111

5

1610

78.4

32,9

45,5

23,5

111

7

1570

86,8

37,9

48,9

27

111

1990

89.6

39,5

50,1

28,2

111

10

1720

95,3

42,8

52,5

30,6

111

2. Монтаж технологических трубопроводов водосборного бассейна

1, 3г, 5

77

16,2

8,5

7,7

2,5

13,6

2а, 2в, 8в, 8д,9

80

18,5

10,2

8,3

3

13,6

2б, 8а, 8б, 8г

80

17,9

9,8

8,1

2,9

13,6

85

20,6

11,9

8,7

3,5

13,6

7

78

17,9

9,8

8,1

2,9

13,6

89

18,5

10,2

8,3

3

13,6

10

84

19,6

11,1

8,5

3,3

13,6

3. Сопутствующие строительные работы

а) при гидравлической нагрузке 100, 150 м3

1, 3г, 5

13

6,4

6,4

-

-

11,6

2а, 2в, 8е - 9в

15

7,7

7,7

-

-

11,6

2б, 7а - 8б, 8г

14

7,4

7,4

-

-

11,6

16

9

9

-

-

11,6

8в, 8д

14

7,7

7,7

-

-

11,6

10

16

8,3

8,3

-

-

11,6

б) при гидравлической нагрузке 200 м3/ч, 250 м3

1, 3г, 5

20

9,8

9,8

-

-

17,8

2а, 2в, 8в, 8д, 9

22

11,8

11,8

-

-

17,8

2б, 7а - 8б, 8г

22

11,3

11,3

-

-

17,8

25

13,8

13,8

-

-

17,8

23

11,8

11,8

-

-

17,8

10

24

12,8

12,8

-

-

17,8

4. Монтаж металлоконструкций, сопутствующий монтажу оборудования

1, 3г, 5

13

0,8

0,7

0,1

-

1

2а - 2в, 7, 8

13

0,9

0,8

0,1

-

1

13

1,1

1

0,1

-

1

9

14

0,9

0,8

0,1

-

1

10

15

1

0,9

0,1

-

1

Районная цена № 302

Градирня брызгальная с четырьмя секциями. Каркас из сборных железобетонных элементов, обшивка, водоуловительные решетки и водонаправляющие щиты деревянные, водосборный, бассейн сборно-монолитный (типовой проект 901-6-67.83)

Измеритель - 1 градирня

Районы

Прямые затраты, руб.

Нормативная условно-чистая продукция, руб.

В том числе, руб.

Затраты труда рабочих, чел.-ч

основная заработная плата рабочих

эксплуатация машин

всего

в том числе заработная плата рабочих, обслуживающих машины

1

2

3

4

5

6

7

РАЗДЕЛ I. СТРОИТЕЛЬНЫЕ РАБОТЫ

1. Подземная часть

1а, 1в, 5а

6170

1024

313

711

101

570

1б, 1е

6680

1024

313

711

101

570

1г, 1д

6400

1024

313

711

101

570

5530

951

313

638

101

570

7480

1237

376

861

122

570

6750

1202

360

842

117

570

8560

1237

376

861

122

570

8120

1422

439

983

142

570

5820

1024

313

711

101

570

6780

1139

313

826

101

570

7а, 7б, 7г

6400

1100

360

740

117

570

7160

1158

360

798

117

570

6610

1100

360

740

117

570

6920

1100

360

740

117

570

8в, 9а

7160

1208

376

832

122

570

8580

1158

360

798

117

570

6740

1179

376

803

122

570

8240

1237

376

861

122

570

6980

1179

376

803

122

570

7980

1237

376

861

122

570

10а

7610

1235

407

828

132

570

10б

7880

1235

407

828

132

570

10в

8160

1235

407

828

132

570

В том числе:

а) земляные работы

1, 3г, 5

208

208

78

130

54

159

2а, 2в, 8в, 8д - 9в

234

234

93

141

64

159

2б, 7а - 8б, 8г

228

228

90

138

62

159

261

261

109

152

75

159

10

247

247

101

146

70

159

б) транспортирование грунта

1а - 1е, 3г, 5а

434

434

-

434

-

-

361

361

-

361

-

-

2а, 2в, 8е, 9а, 9в

564

564

-

564

-

-

2б, 5б

549

549

-

549

-

-

665

665

-

665

-

-

7а, 7б, 7г - 8б

448

448

-

448

-

-

7в, 8в - 8д, 9б

506

506

-

506

-

-

10

521

521

-

521

-

-

в) монолитные бетонные и железобетонные конструкции

1а, 1в, 5

3820

299

206

93

28

363

1б, 1е

4240

299

206

93

28

363

1г, 1д

3980

299

206

93

28

363

3400

299

206

93

28

363

2а, 8в, 9в

4550

346

248

98

33

363

4170

334

237

97

32

363

5200

346

248

98

33

363

5310

393

289

104

39

363

3640

299

206

93

28

363

7а, 7б, 8а

3960

334

237

97

32

363

4690

334

237

97

32

363

3850

334

237

97

32

363

4420

334

237

97

32

363

5880

334

237

97

32

363

8д, 9б

4220

346

248

98

33

363

5590

346

248

98

33

363

4440

346

248

98

33

363

10

4750

369

268

101

36

363

г) сборные железобетонные конструкции

1680

83

29

54

20

48

1б, 1в, 5а

1740

83

29

54

20

48

1г, 1д

1780

83

29

54

20

48

1850

83

29

54

20

48

1ж, 3г

1550

83

29

54

20

48

2100

93

35

58

24

48

2б, 7а, 7г, 8б

1820

90

33

57

23

48

2560

93

35

58

24

48

1890

103

41

62

28

48

2200

83

29

54

20

48

7б, 7в

1740

90

33

57

23

48

1920

90

33

57

23

48

8в, 9б

1970

93

35

58

24

48

1970

90

33

57

23

48

1810

93

35

58

24

48

8е, 9а

1850

93

35

58

24

48

2620

93

35

58

24

48

10а

2110

98

38

60

26

48

10б

2320

98

38

60

26

48

10в

2690

98

38

60

26

48

2. Надземная часть

1а, 1г, 1ж

12500

538

269

269

94

455

12900

538

269

269

94

455

1в, 1д, 3г, 5а

13400

538

269

269

94

455

13900

538

269

269

94

455

2а, 9б

14600

610

323

287

112

455

2б, 7а - 7в

13100

592

309

283

108

455

15100

610

323

287

112

455

15900

682

376

306

131

455

15500

538

269

269

94

455

13700

592

309

283

108

455

8а, 8б

14400

592

309

283

108

455

13700

610

323

287

112

455

15800

592

309

283

108

455

8д, 9а

14300

610

323

287

112

455

19400

610

323

287

112

455

17800

610

323

287

112

455

10а

15200

647

350

297

122

455

10б

17400

647

350

297

122

455

10в

17800

647

350

297

122

455

В том числе: сборные железобетонные конструкции

1а, 1д, 5а

6580

386

194

192

71

314

1б - 1г

6740

386

194

192

71

314

7090

386

194

192

71

314

1ж, 3г

6150

386

194

192

71

314

7810

439

233

206

85

314

2б, 7в, 7г

6840

425

223

202

81

314

8860

439

233

206

85

314

7230

492

272

220

99

314

8280

386

194

192

71

314

7а, 8а, 8б, 8г

7400

425

223

202

81

314

7120

425

223

202

81

314

8в, 8е, 9б

7520

439

233

206

85

314

7370

439

233

206

85

314

7090

439

233

206

85

314

9410

439

233

206

85

314

10а

8000

465

252

213

92

314

10б

8550

465

252

213

92

314

10в

9410

465

252

213

92

314

РАЗДЕЛ II. МОНТАЖ МЕТАЛЛОКОНСТРУКЦИЙ

1, 3г, 5

2700

373

138

235

85

214

2а, 2в, 8в, 8д, 8е

2780

417

165

252

102

214

2б, 7а - 8б, 8г

2730

407

159

248

98

214

2840

462

193

269

119

214

9

2860

417

105

252

102

214

10

3110

439

179

,260

110

214

РАЗДЕЛ III. ЭЛЕКТРОМОНТАЖНЫЕ РАБОТЫ

1, 3г, 5

232

125,4

78

47,4

19,3

136

2а, 2в, 8в, 8д - 9в

253

145

93,7

51,3

23,2

136

2б, 7а - 8б, 8г

247

140,1

89,8

50,3

22,2

136

275

164,1

109

55,1

27

136

10

264

155,1

102

53,2

25,1

136

В том числе:

а) монтаж электросилового оборудования

1, 3г, 5

151

84,6

55,7

28,9

11,8

95,8

2а, 2в, 8в, 8д - 9в

165

98,1

66,9

31,2

14,2

95,8

2б, 7а - 8б, 8г

162

94,7

64,1

30,6

13,6

95,8

179

111,5

78

33,5

16,5

95,8

10

173

104,9

72,5

32,4

15,3

95,8

б) электроосвещение

1, 3г, 5

81

40,9

22,3

18,6

7,5

40,2

2а, 2в, 8в, 8д - 9в

87

46,8

26,8

20

9,0

40,2

2б, 7а - 8б, 8г

86

45,4

25,7

19,7

8,6

40,2

95

52,7

31,2

21,5

10,5

40,2

10

92

49,8

29

20,8

9,8

40,2

РАЗДЕЛ IV. МОНТАЖ ОБОРУДОВАНИЯ

1. Монтаж технологического оборудования и трубопроводов водораспределительной системы

а) при гидравлической нагрузке 100 м3

1, 3

1790

89,7

37,7

52

26,9

127

2а, 2в, 8в, 8д, 9

1880

102,6

45,2

57,4

32,3

127

2б, 8а, 8б, 8г

1870

99,4

43,3

56,1

31

127

1980

115,6

52,8

62,8

37,7

127

5

1840

89,7

37,7

52

26,9

127

7

1800

99,4

43,3

56,1

31

127

2250

102,6

45,2

57,4

32,3

127

10

1980

109,1

49

60,1

35

127

б) при гидравлической нагрузке 150 м3

1, 3

1950

97,4

40,9

56,5

29,2

138

2а, 2в, 8в, 8д, 9

2040

111,4

19,1

62,3

35

138

2б, 8а, 8б, 8г

2030

107,8

47

60,8

33,6

138

2150

125,4

57,3

68,1

40,9

138

5

2000

97,4

40,9

56,5

29,2

138

7

1960

107,8

47

60,8

33,6

138

2440

111,4

49,1

62,3

35

138

10

2140

118,5

53,2

65,3

38

138

в) при гидравлической нагрузке 200 м3

1, 3

2010

100,5

42,2

58,3

30,1

143

2а, 2в, 8в, 8д, 9

2100

114,8

50,6

64,2

36,1

143

2б, 8а, 8б, 8г

2100

111,2

48,5

62,7

34,6

143

2220

129,3

59,1

70,2

42,1

143

5

2060

100,5

42,2

58,3

30,1

143

7

2020

111,2

48,5

62,7

34,6

143

2520

114,8

50,6

64,2

36,1

143

10

2210

122

54,8

67,2

39,1

143

г) при гидравлической нагрузке 250 м3

1, 3

2090

104,3

43,8

60,5

31,3

148

2а, 2в, 8в, 8д, 9

2180

119,4

52,6

66,8

37,6

148

2б, 8а, 86, 8г

2180

115,6

50,4

65,2

36

148

2300

134,3

61,3

73

43,8

148

5

2140

104,3

43,8

60,5

31,3

148

7

2100

115,6

50,4

65,2

36

148

2620

119,4

52,6

66,8

37,6

148

10

2300

126,9

57

69,9

40,7

148

2. Монтаж технологических трубопроводов водосборного бассейна

1, 3г, 5

134

28,3

14,9

13,4

4,3

23,7

2а, 2в, 8в, 8д, 9

140

32,1

17,8

14,3

5,2

23,7

2б, 8а, 8б, 8г

139

31,1

17,1

14

4,9

23,7

148

35,9

20,8

15,1

6

23,7

7

136

31,1

17,1

14

4,9

23,7

155

32,1

17,8

14,3

5,2

23,7

10

147

34

19,3

14,7

5,6

23,7

3. Сопутствующие строительные работы

а) при гидравлической нагрузке 100 м3/ч, 150 м3

1, 3г, 5

19

9,4

9,4

-

-

17,1

2а, 2в, 8в, 8д, 9

21

11,3

11,3

-

-

17,1

2б, 7а - 8б, 8г

21

10,8

10,8

-

-

17,1

24

13,2

13,2

-

-

17,1

22

11,3

11,3

-

-

17,1

10

23

12,2

12,2

-

-

17,1

б) при гидравлической нагрузке 200 м3/ч, 250 м3

1, 3г, 5

28

13,7

13,7

-

-

24,8

2а, 2в, 8в, 8д, 9

31

16,4

16,4

-

-

24,8

2б, 7а - 8б, 8г

30

15,8

15,8

-

-

24,8

35

19,2

19,2

-

-

24,8

33

16,4

16,4

-

-

24,8

10

33

17,8

17,8

-

-

24,8

4. Монтаж металлоконструкций, сопутствующий монтажу оборудования

1, 3г, 5

26

1,6

1,4

0,2

0,1

2,1

2а, 2в, 9

27

2

1,7

0,3

0,1

2,1

2б, 7а - 8б, 8г

26

1,9

1,6

0,3

0,1

2,1

27

2,2

1,9

0,3

0,1

2,1

8в, 8д, 8е

26

2

1,7

0,3

0,1

2,1

10

30

2,1

1,8

0,3

0,1

2,1

Районная цена № 303

Градирня брызгальная с пятью секциями. Каркас из сборных железобетонных элементов, обшивка, водоуловительные решетки и водонаправляющие щиты деревянные, водосборный бассейн сборно-монолитный (типовой проект 901-6-67.83)

Измеритель - 1 градирня

Районы

Прямые затраты, руб.

Нормативная условно-чистая продукция, руб.

В том числе, руб.

Затраты труда рабочих, чел.-ч

основная заработная плата рабочих

эксплуатация машин

всего

в том числе заработная плата рабочих, обслуживающих машины

1

2

3

4

5

6

7

РАЗДЕЛ I. СТРОИТЕЛЬНЫЕ РАБОТЫ

1. Подземная часть

1а, 1в, 5а

7240

1200

470

830

117

675

1б, 1е

7840

1200

370

830

117

675

1г, 1д

7520

1200

370

830

117

675

6480

1115

370

745

117

675

8780

1454

444

1010

141

675

7920

1409

425

984

135

675

10100

1454

444

1010

141

675

9520

1668

518

1150

164

675

6820

1200

370

830

117

675

7950

1336

370

966

117

675

7а, 7б, 7г

7500

1290

425

865

135

675

8410

1358

425

933

135

675

7750

1290

425

865

135

675

8130

1290

425

865

135

675

8в, 9а

8410

1417

444

973

141

675

10100

1358

425

933

135

675

7910

1383

444

939

141

675

9700

1454

444

1010

141

675

8200

1383

444

939

141

675

9370

1454

444

1010

141

675

10а

8950

1448

481

967

153

675

10б

9260

1448

481

967

153

675

10в

9600

1448

481

967

153

675

В том числе:

а) земляные работы

1, 3г

248

248

96

152

63

197

2а, 2в, 8в, 8д - 9в

281

281

116

165

75

197

2б, 7а - 8б, 8г

273

273

111

162

72

197

313

313

135

178

88

197

10

296

296

125

171

82

197

б) транспортирование грунта

1а - 1е, 3г, 5а

510

510

-

510

-

-

425

425

-

425

-

-

2а, 2в, 8е, 9а, 9в

663

663

-

663

-

-

2б, 5б

646

646

-

646

-

-

782

782

-

782

-

-

7а, 7б, 7г - 8б

527

527

-

527

-

-

7в, 8в - 8д, 9б

595

595

-

595

-

-

10

612

612

-

612

-

-

в) монолитные бетонные и железобетонные конструкции

1а, 1в, 5

4450

342

239

103

31

421

1б, 1е

4960

342

239

103

31

421

1г, 1д

4640

342

239

103

31

421

3960

342

239

103

31

421

2а, 8в, 9в

5320

397

287

110

37

421

4870

383

275

108

36

421

6100

397

287

110

37

421

6190

451

335

116

43

421

4230

342

239

103

31

421

7а, 7б, 8а

4620

383

275

108

36

421

5490

383

275

108

36

421

4480

383

275

108

36

421

5160

383

275

108

36

421

6910

383

275

108

36

421

8д, 9б

4930

397

287

110

37

421

6560

397

287

110

37

421

5190

397

287

110

37

421

10

5550

424

311

ИЗ

40

421

г) сборные железобетонные конструкции

2000

98

34

64

24

57

1б, 1в, 1д, 5а

2070

98

34

64

24

57

2130

98

34

64

24

57

2190

98

34

64

24

57

1ж, 3г

1830

98

34

64

24

57

2490

110

41

69

28

57

2б, 7а, 7г, 8б

2140

106

39

67

27

57

3030

110

41

69

28

57

2240

121

48

73

33

57

2610

98

34

64

24

57

7б, 7в

2060

106

39

67

27

57

2280

106

39

67

27

57

8в, 9б

2340

110

41

69

28

57

2340

106

39

67

27

57

2150

110

41

69

28

57

8е, 9а

2200

110

41

69

28

57

3110

110

41

69

28

57

10а

2500

116

45

71

31

57

10б

2740

116

45

71

31

57

10в

3180

116

45

71

31

57

2. Надземная часть

1а, 1г, 1ж

15200

677

341

336

117

576

15800

677

341

336

117

576

1в, 1д, 3г, 5а

16400

677

341

336

117

576

16900

677

341

336

117

576

2а, 9б

17900

768

409

359

141

576

2б, 7а - 7в

16000

746

392

354

135

576

18400

768

409

359

141

576

19400

860

477

383

164

576

18900

677

341

336

117

576

16800

746

392

354

135

576

8а, 8б

17400

746

392

354

135

576

16700

768

409

359

141

576

19300

746

392

354

135

576

8д, 9а

17500

768

409

359

141

576

23500

768

409

359

141

576

21800

768

409

359

141

576

10а

18600

814

443

371

153

576

10б

21300

814

443

371

153

576

10в

21800

814

443

371

153

576

В том числе сборные железобетонные конструкции

1а, 1д, 5а

8120

494

250

244

90

405

1б - 1г

8310

494

250

244

90

405

8740

494

250

244

90

405

1ж, 3г

7590

494

250

244

90

405

9630

562

300

262

108

405

2б, 7в, 7г

8450

545

288

257

103

405

10900

562

300

262

108

405

8920

630

350

280

126

405

10200

494

250

244

90

405

7а, 8а, 8б

9080

545

288

257

103

405

8790

545

288

257

103

405

8в, 8д, 8е, 9б

9260

562

300

262

108

405

9220

545

288

257

103

405

8750

562

300

262

108

405

11600

562

300

262

108

405

10а

9870

596

325

271

117

405

10б

10500

596

325

271

117

405

10в

11600

596

325

271

117

405

РАЗДЕЛ II. МОНТАЖ МЕТАЛЛОКОНСТРУКЦИЙ

1, 3г, 5

3250

450

167

283

102

259

2а, 2в, 8в, 8д, 8е

3340

504

200

304

123

259

2б, 7а - 8б, 8г

3290

491

192

299

118

259

3420

558

234

324

143

259

9

3450

504

200

304

123

259

10

3750

531

217

314

133

259

РАЗДЕЛ III. ЭЛЕКТРОМОНТАЖНЫЕ РАБОТЫ

1, 3г, 5

291

157,8

98,5

59,3

24,2

172

2а, 2в, 8в, 8д - 9в

317

182,2

118

64,2

29

172

2б, 7а - 8б, 8г

311

176

113

63

27,8

172

345

207

138

69

33,9

172

10

332

194,6

128

66,6

31,5

172

В том числе:

а) монтаж электросилового оборудования

1, 3г, 5

196

109,6

72.2

37,4

15,3

124

2а, 2в, 8в, 8д - 9в

214

127,3

86,7

40,6

18,4

124

2б, 7а - 8б, 8г

209

122,7

83

39,7

17,6

124

233

144,5

101

43,5

21,4

124

10

224

135,9

93,9

42

19,9

124

б) электроосвещение

1, 3г, 5

96

48,2

26,3

21,9

8,9

47,5

2а, 2в, 8в, 8д - 9в

103

55,3

31,6

23,7

10,7

47,5

2б, 7а - 8б, 8г

101

53,5

30,3

23,2

10,2

47,5

112

62,3

36,8

25,5

12,5

47,5

10

108

58.8

34,2

24,6

11,6

47,5

РАЗДЕЛ IV. МОНТАЖ ОБОРУДОВАНИЯ

1. Монтаж технологического оборудования и трубопроводов водораспределительной системы

а) при гидравлической нагрузке 100 м3

1, 3

2250

112,4

47,2

65,2

33,7

160

2а, 2в, 8в, 8д, 9

2340

128,5

56,6

71,9

40,4

160

2б, 8а, 8б, 8г

2340

124,5

54,3

70,2

38,8

160

2480

144,7

66,1

78,6

47,2

160

5

2300

112,4

47,2

65,2

33,7

160

7

2260

124,5

54,3

70

38,8

160

2820

128,5

56,6

71,9

40,4

160

10

2470

136,5

61,3

75,2

43,8

160

б) при гидравлической нагрузке 150 м3

1, 3

2440

121,9

51,2

70,7

36,6

173

2а, 2в, 8в, 8д, 9

2540

139,4

61,4

78

43,9

173

2б, 8а, 8б, 8г

2540

135,1

58,9

76,2

42,1

173

2690

157

71,7

85,3

51,2

173

5

2500

121,9

51,2

70,7

36,6

173

7

2450

135,1

58,9

76,2

42,1

173

3060

139,4

61,4

78

43,9

173

10

2680

148,4

66,6

81,8

47,6

173

в) при гидравлической нагрузке 200 м3

1, 3г

2510

125,5

52,7

72,8

37,7

178

2а, 2в, 8в, 8д, 9

2620

143,7

63,3

80,4

45,2

178

2б, 8а, 8б, 8г

2620

139,2

60,7

78,5

43,4

178

2770

161,7

73,8

87,9

52,8

178

5

2570

125,5

52,7

72,8

37,7

178

7

2520

139,2

60,7

78,5

43,4

178

3150

143,7

63,3

80,4

45,2

178

10

2760

152,8

68,6

84,2

49

178

г) при гидравлической нагрузке 250 м3

1, 3г

2610

130,5

54,8

75,7

39,1

185

2а, 2в, 8в, 8д, 9

2720

149,2

65,8

83,4

46,9

185

2б, 8а, 8б, 8г

2720

144,5

63

81,5

45

185

2880

167,9

76,7

91,2

54,7

185

5

2670

130,5

54,8

75,7

39,1

185

7

2620

144,5

63

81,5

45

185

3270

149,2

65,8

83,4

46,9

185

10

2870

158,5

71,2

87,3

50,8

185

2. Монтаж технологических трубопроводов водосборного бассейна

1, 3г, 5

149

31,4

16,5

14,9

4,8

26,4

2а, 2в, 8в, 8д, 9

156

35,8

19,9

15,9

5,8

26,4

2б, 8а, 8б, 8г

155

34,6

19

15,6

5,5

26,4

165

40,1

23,2

16,9

6,7

26,4

7

151

34,6

19

15,6

5,5

26,4

172

35,8

19,9

15,9

5,8

25,4

10

164

37,8

21,5

16,3

6,2

26,4

3. Сопутствующие строительные работы

а) при гидравлической нагрузке 100 м3

1, 3г, 5

22

10,9

10,9

-

-

19,8

2а, 2в, 8в, 8д, 9

25

13,1

13,1

-

-

19,8

2б, 7а - 8б, 8г

24

12,6

12,6

-

-

19,8

28

15,3

15,3

-

-

19,8

26

13,1

13,1

-

-

19,8

10

26

14,2

14,2

-

-

19,8

б) при гидравлической нагрузке 150 м3

1, 3г, 5

23

11,3

11,3

-

-

20,6

2а, 2в, 9

26

13,6

13,6

-

-

20,6

2б, 7а - 8б, 8г

25

13

13

-

-

20,6

29

15,9

15,9

-

-

20,6

8в, 8д

25

13,6

13,6

-

-

20,6

27

13,6

13,6

-

-

20,6

10

27

14,7

14,7

-

-

20,6

в) при гидравлической нагрузке 200 м3/ч, 250 м3

1, 3г, 5

34

16,7

16,7

-

-

30,3

2а, 2в, 8в, 8д, 9

38

20

20

-

-

30,3

2б, 7а - 8б, 8г

37

19,2

19,2

-

-

30,3

42

23,4

23,4

-

-

30,3

40

20

20

-

-

30,3

10

40

21,7

21,7

-

-

30,3

4. Монтаж металлоконструкций, сопутствующий монтажу оборудования

1, 3 - 6

26

1,6

1,4

0,2

0,1

2,1

2а, 2в, 9, 12д

27

2

1,7

0,3

0,1

2,1

2б, 7а - 8б, 8г, 11а-12в

26

1,9

1,6

0,3

0,1

2,1

27

2,2

1,9

0,3

0,1

2,1

8в, 8д, 8е, 12г, 12е

26

2

1,7

0,3

0,1

2,1

10

30

2,1

1,8

0,3

0,1

2,1

Рис. 5. Автоматическая пневматическая насосная станция с установкой ВУ-5-30А. Типовой проект 820-3-29.83 (к цене № 304)

1 - асфальтобетон по уклону 20 - 50; 2 - железобетонная плита.

5. Автоматические пневматические насосные станции

Районная цена № 304

Автоматическая пневматическая насосная станция с установкой ВУ-5-30А (типовой проект 820-3-29.83)

Измеритель - 1 насосная станция

Районы

Прямые затраты, руб.

Нормативная условно-чистая продукция, руб.

В том числе, руб.

Затраты труда рабочих, чел.-ч

основная заработная плата рабочих

эксплуатация машин

всего

в том числе заработная плата рабочих, обслуживающих машины

1

2

3

4

5

6

7

РАЗДЕЛ I. СТРОИТЕЛЬНЫЕ РАБОТЫ

1а, 1в, 4б, 5а, 6а

1080

593,4

85,4

508

56,9

158

1б, 1е, 6в

1140

593,4

85,4

508

56,9

158

1г, 1д

1100

593,4

85,4

508

56,9

158

1ж, 3б

973

537,4

85,4

452

56,9

158

2а, 9а, 12е

1300

724

102

622

68,3

158

2б, 7в

1220

688,2

98,2

590

65,4

158

1430

724

102

622

68,3

158

1400

832

120

712

79,6

158

934

491,4

85,4

406

56,9

158

3в, 3г

1040

593,4

85,4

508

56,9

158

4а, 6б

1020

537,4

85,4

452

56,9

158

1220

684,4

85,4

599

56,9

158

7а, 7б, 7г, 12б

1100

626,2

98,2

528

65,4

158

8а, 11г - 11е

1140

626,2

98,2

528

65,4

158

8б, 11б

1160

626,2

98,2

528

65,4

158

8в, 9б

1260

678

102

576

68,3

158

1330

672,2

98,2

574

65,4

158

1200

678

102

576

68,3

158

8е, 9в

1340

724

102

622

68,3

158

10а

1290

704

111

593

74

158

10б, 10в

1340

704

111

593

74

158

11а

1410

706,2

98,2

608

65,4

158

11в

1200

626,2

98,2

528

65,4

158

12а

1030

570,2

98,2

472

65,4

158

12в

1070

570,2

98,2

472

65,4

158

12г

1090

599

102

497

68,3

158

12д

1170

599

102

497

68,3

158

В том числе:

а) земляные работы

1, 3 - 6

189

189

40

149

50,5

77,2

2а, 2в, 8в, 8д - 9в, 12г - 12е

207

207

48

159

60,6

77,2

2б, 7а - 8б, 8г, 11а - 12в

203

203

46

157

58,1

77,2

225

225

56

169

70,7

77,2

10

216

216

52

164

65,7

77,2

б) транспортирование грунта

1а - 1е, 3в, 3г, 4б, 5а, 6а, 6в

340

340

-

340

-

-

1ж, 3б, 4а, 6б

283

283

-

283

-

-

2а, 2в, 8е, 9а, 9в, 12е

442

442

-

442

-

-

2б, 5б, 11а

431

431

-

431

-

-

521

521

-

521

-

-

238

238

-

238

-

-

7а, 7б, 7г - 8б, 11б - 11е, 12б

351

351

-

351

-

-

7в, 8в - 8д, 9б

397

396

-

396

-

-

10

408

408

-

408

-

-

12а, 12в

295

295

-

295

-

-

12г, 12д

317

317

-

317

-

-

РАЗДЕЛ II. МОНТАЖ МЕТАЛЛОКОНСТРУКЦИЙ

1, 3, 5

112

8,9

8,4

0,5

0,2

14,6

2а, 2в, 8в, 8д, 8е, 12г - 12е

115

10,6

10,1

0,5

0,2

14,6

2б, 8а, 8б, 8г, 12а - 12в

115

10,2

9,7

0,5

0,2

14,6

120

12,4

11,8

0,6

0,2

14,6

4

109

8,9

8,4

0,5

0,2

14,6

6

116

8,9

8,4

0,5

0,2

14,6

7, 11

113

10,2

9,7

0,5

0,2

14,6

9

122

10,6

10,1

0,5

0,2

14,6

10

139

11,5

11

0,5

0,2

14,6

РАЗДЕЛ III. САНИТАРНО-ТЕХНИЧЕСКИЕ РАБОТЫ ПО ВЕНТИЛЯЦИИ

1, 4, 5

51

7,9

7,6

0,3

0,1

13,1

2а, 2в, 8в, 8д, 12г, 12д

55

9,5

9,2

0,3

0,1

13,1

2б, 8а, 8б, 8г, 11а - 12в

54

9,1

8,8

0,3

0,1

13,1

59

11

10,7

0,3

0,1

13,1

3, 6

53

7,9

7,6

0,3

0,1

13,1

7

52

9,1

8,8

0,3

0,1

13,1

67

9,5

9,2

0,3

0,1

13,1

9, 12е

57

9,5

9,2

0,3

0,1

13,1

10

61

10,2

9,9

0,3

0,1

13,1

РАЗДЕЛ IV. МОНТАЖ ЭЛЕКТРОСИЛОВОГО ОБОРУДОВАНИЯ

1. Монтажные работы

1, 3 - 6

249

78

58,6

19,4

7

94,5

2а, 2в, 8в, 8д - 9в, 12г - 12е

269

91,2

70,3

20,9

8,4

94,5

2б, 7а - 8б, 8г, 11а - 12в

267

88

67,4

20,6

8,1

94,5

284

104,3

82

22,3

9,8

94,5

10

284

97,7

76,1

21,6

9,1

94,5

2. Сопутствующие строительные работы

1а, 4а

41

14,3

13,7

0,6

0,2

27,9

45

14,3

13,7

0,6

0,2

27,9

1в, 1г, 3г, 4б, 5а

42

14,3

13,7

0,6

0,2

27,9

1д, 6а, 6б

43

14,3

13,7

0,6

0,2

27,9

47

14,3

13,7

0,6

0,2

27,9

1ж, 3а

39

14,3

13,7

0,6

0,2

27,9

2а, 9а

50

17,1

16,5

0,6

0,2

27,9

2б, 7в, 8б, 11а

49

16,4

15,8

0,6

0,2

27,9

2в, 8е

54

17,1

16,5

0,6

0,2

27,9

53

19,8

19,2

0,6

0,2

27,9

3б, 3в

40

14,3

13,7

0,6

0,2

27,9

5б, 6в

44

14,3

13,7

0,6

0,2

27,9

44

16,4

15,8

0,6

0,2

27,9

43

16,4

15,8

0,6

0,2

27,9

7г, 12а

42

16,4

15,8

0,6

0,2

27,9

8а, 11г

45

16,4

15,8

0,6

0,2

27,9

48

17,1

16,5

0,6

0,2

27,9

58

16,4

15,8

0,6

0,2

27,9

44

17,1

16,5

0,6

0,2

27,9

46

17,1

16,5

0,6

0,2

27,9

9в, 12д

47

17,1

16,5

0,6

0,2

27,9

10а

54

18,4

17,8

0,6

0,2

27,9

10б, 10в

51

18,4

17,8

0,6

0,2

27,9

11б, 11в, 11д, 11е, 12в

46

18,4

15,8

0,6

0,2

27,9

12б

41

16,4

15,8

0,6

0,2

27,9

12г

45

17,1

16,5

0,6

0,2

27,9

12е

53

17,1

16,5

0,6

0,2

27,9

3. Монтаж металлоконструкций, сопутствующий монтажу оборудования

1, 3 - 5

72

6,4

4,6

1,8

0,5

7

2а, 2в, 8в, 8д, 8е, 12г - 12е

74

7,4

5,5

1,9

0,7

7

2б, 7а - 8б, 8г, 11а - 12в

73

7,2

5,3

1,9

0,6

7

76

8,4

6,4

2

0,8

7

6

74

6,4

4,6

1,8

0,5

7

9

77

7,4

5,5

1,9

0,7

7

10

85

7,9

6

1,9

0,7

7

РАЗДЕЛ V. МОНТАЖ ГИДРОМЕХАНИЧЕСКОГО ОБОРУДОВАНИЯ И ТРУБОПРОВОДОВ

1, 3 - 6

112

47,1

36,4

10,7

2,7

59,8

2а, 2в, 8в, 8д, 9, 12г, 12д

122

54,8

43,7

11,1

3,2

59,8

2б, 7а - 8б, 8г, 11а - 12в

119

52,9

41,9

11

3,1

59,8

135

62,7

50,9

11,8

3,8

59,8

133

54,8

43,7

11,1

3,2

59,8

10

131

58,6

47,3

11,3

3,5

59,8

12е

127

54,8

43,7

11,1

3,2

59,8

Рис. 6. Автоматическая пневматическая насосная станция с установкой ВУ-10-80. Типовой проект 820-3-30.83 (к цене № 305)

1 - вентиляционная труба

Районная цена № 305

Автоматическая пневматическая станция с установкой ВУ-10-80 (типовой проект 820-3-30.83)

Измеритель - 1 насосная станция

Районы

Прямые затраты, руб.

Нормативная условно-чистая продукция, руб.

В том числе, руб.

Затраты труда рабочих, чел.-ч

основная заработная плата рабочих

эксплуатация машин

всего

в том числе заработная плата рабочих, обслуживающих машины

1

2

3

4

5

6

7

РАЗДЕЛ I. СТРОИТЕЛЬНЫЕ РАБОТЫ

1а, 1в, 4б,5а, 6а

1040

587

80

507

56,6

148

1б, 1е, 6в

1100

587

80

507

56,6

148

1г, 1д

1060

587

80

507

56,6

148

1ж, 3б

941

531

80

451

56,6

148

2а, 9а, 12е

1250

716,9

95,9

621

67,9

148

1180

698

92

606

65,1

148

1380

716,9

95,9

621

67,9

148

1360

823

112

711

79,3

148

901

485

80

405

56,6

148

3в, 3г

1,000

587

80

507

56,6

148

972

531

80

451

56,6

148

1180

678

80

598

56,6

148

997

531

80

451

56,6

148

7а, 7б, 7г

1060

619

92

527

65,1

148

1170

664

92

572

65,1

148

8а, 11г - 11е, 12б

1100

619

92

527

65,1

148

86, 11б

1130

619

92

527

65,1

148

8в, 96

1220

670,9

95,9

575

67,9

148

1270

664

92

572

65,1

148

1160

670,9

95,9

575

67,9

148

8е, 9в

1300

716,9

95,9

621

67,9

148

10а

1250

696

104

592

73,6

148

10б, 10в

1300

696

104

592

73,6

148

11а

1360

698

92

606

65,1

148

11в

1160

619

92

527

65,1

148

12а

994

563

92

471

65,1

148

12в

1030

563

92

471

65,1

148

12г

1050

591,9

95,9

496

67,9

148

12д

1130

591,9

95,9

496

67,9

148

РАЗДЕЛ II. МОНТАЖ МЕТАЛЛОКОНСТРУКЦИИ

1, 3, 5

142

10,7

9,8

0,9

0,3

16,5

2а, 2в, 8в, 8д, 8е, 12г - 12е

145

12,8

11,8

1

0,4

16,5

2б, 7а - 8б, 8г, 12а - 12в

144

12,3

11,3

1

0,3

16,5

151

14,8

13,7

1,1

0,4

16,5

4

138

10,7

9,8

0,9

0,3

16,5

6

146

10,7

9,8

0,9

0,3

16,5

9

154

12,8

11,8

1

0,4

16,5

10

174

13,8

12,8

1

0,4

16,5

11

142

12,3

11,3

1

0,3

16,5

РАЗДЕЛ III. САНИТАРНО-ТЕХНИЧЕСКИЕ РАБОТЫ ПО ВЕНТИЛЯЦИИ

1, 4, 5

42

7,3

7

0,3

0,1

12

2а, 2в, 8в, 8д, 12г, 12д

45

8,7

8,4

0,3

0,1

12

2б, 8а, 8б, 8г, 11

45

8,4

8,1

0,3

0,1

12

48

10,2

9,9

0,3

0,1

12

3, 6

43

7,3

7

0,3

0,1

12

7

43

8,4

8,1

0,3

0,1

12

53

8,7

8,4

0,3

0,1

12

9

47

8,7

8,4

0,3

0,1

12

10

49

9,4

9,1

0,3

0,1

12

12а - 12в

44

8,4

8,1

0,3

0,1

12

12е

46

8,7

8,4

0,3

0,1

12

РАЗДЕЛ IV. МОНТАЖ ЭЛЕКТРОСИЛОВОГО ОБОРУДОВАНИЯ

1, 3 - 6

275

85,9

64,5

21,4

7,7

104

2а, 2в, 8в, 8д - 9в, 12г - 12е

296

100,5

77,5

23

9,2

104

2б, 7а - 8б, 8г, 11а - 12в

294

96,8

74,2

22,6

8,9

104

313

114,9

90,4

24,5

10,8

104

10

313

107,7

83,9

23,8

10

104

РАЗДЕЛ V. МОНТАЖ ГИДРОМЕХАНИЧЕСКОГО ОБОРУДОВАНИЯ И ТРУБОПРОВОДОВ

1, 3 - 6

84

35

27,1

7,9

2

44,4

2а, 2в, 8в, 8д, 9, 12г, 12д

90

40,8

32,5

8,3

2,4

44,4

2б, 7а - 8б, 8г, 11а - 12в

88

39,4

31,1

8,3

2,3

44,4

100

46,7

37,9

8,8

2,8

44,4

99

40,8

32,5

8,3

2,4

44,4

10

98

43,8

35,2

8,6

2,6

44,4

12е

95

40,8

32,5

8,3

2,4

44,4

Примечание. Затраты по земляным работам, транспортированию грунта, сопутствующим строительным работам и работам по монтажу металлоконструкций разд. IV следует принимать по цене № 304.

Рис. 7. Насосные станции на трубчатых колодцах с горизонтальными насосами производительностью до 50 м3/ч. Типовой проект 820-3-31.83 (к цене № 306)

1 - вентиляционная труба

6. Насосная станция на трубчатых колодцах

Районная цена №306

Насосная станция на трубчатых колодцах с горизонтальными насосами производительностью до 50 м3/ч (типовой проект 820-3-31.83)

Измеритель - 1 насосная станция

Районы

Прямые затраты, руб.

Нормативная условно-чистая продукция, руб.

В том числе, руб.

Затраты труда рабочих, чел.-ч

основная заработная плата рабочих

эксплуатация машин

всего

в том числе заработная плата рабочих» обслуживающих машины

1

2

3

4

5

6

7

РАЗДЕЛ I. СТРОИТЕЛЬНЫЕ РАБОТЫ

1а, 1в - 1д, 3в, 3г, 4б, 5а, 6а

4820

3687

167

3520

358

317

1б, 1е, 6в

4960

3687

167

3520

358

317

1ж, 3б, 4а

4340

3267

167

3100

358

317

2а, 8е, 9а, 9в, 12е

5910

4531

201

4330

430

317

5620

4422

192

4230

412

317

6150

4531

201

4330

430

317

6530

5214

234

4980

501

317

3990

2937

167

2770

358

317

5660

4347

167

4180

358

317

4440

3267

167

3100

358

317

7а, 7б, 7г, 8а, 11г, 12б

4980

3842

192

3650

412

317

5400

4172

192

3980

412

317

8в, 11б, 11д, 11е

5100

3842

192

3650

412

317

8б, 9б

5600

4201

201

4000

430

317

5580

4172

192

3980

412

317

5440

4201

201

4000

430

317

10

5780

4338

218

4120

465

317

11а

6090

4422

192

4230

412

317

11в

5210

3842

192

3650

412

317

12а

4510

3432

192

3240

412

317

12в

4620

3432

192

3240

412

317

12г

4760

3621

201

3420

430

317

12д

5000

3621

201

3420

430

317

В том числе:

а) земляные работы

1, 3 - 6

1050

1043,7

65,7

978

340

135

2а, 2в, 8в, 8д - 9в, 12г - 12е

1130

1118,8

78,8

1040

408

135

2б, 7а - 8б, 8г, 11а - 12в

1120

1105,5

75,5

1030

391

135

1220

1201,9

91,9

1110

476

135

10

1180

1165,4

85,4

1080

442

135

б) транспортирование грунта

1а - 1е, 3в, 3г, 4б, 5а, 6а, 6в

2480

2480

-

2480

-

-

1ж, 3б, 4а, 6б

2070

2070

-

2070

-

-

2а, 2в, 8е, 9а, 9в, 12е

3230

3230

-

3230

-

-

2б, 5б, 11а

3150

3150

-

3150

-

-

3810

3810

-

3810

-

-

1740

1740

-

1740

-

-

7а, 7б, 7г - 8б, 11б - 11е, 12б

2570

2570

-

2570

-

-

7в, 8в - 8д, 9б

2900

2900

-

2900

-

-

10

2980

2980

-

2980

-

-

12а, 12в

2150

2150

-

2150

-

-

12г, 12д

2320

2320

-

2320

-

-

РАЗДЕЛ II. МОНТАЖ МЕТАЛЛОКОНСТРУКЦИЙ

1, 3, 5

37

3,3

2,3

1

0,3

3,5

2а, 2в, 8в, 8д, 8е, 12г - 12е

38

3,8

2,8

1

0,4

3,5

2б, 7а - 8б, 81, 12а - 12в

38

3,7

2,7

1

0,4

3,5

39

4,4

3,3

1,1

0 4

3,5

4

36

3,3

2,3

1

0 3

3,5

6

38

3,3

2,3

1

0 3

3,5

9

40

3,8

2.8

1

0 4

3,5

10

45

4

3

1

0 4

3,5

11

37

3,7

2,7

1

0 4

3,5

РАЗДЕЛ III. САНИТАРНО-ТЕХНИЧЕСКИЕ РАБОТЫ ПО ВЕНТИЛЯЦИИ

1, 4, 5

125

17

16

1

0,2

26,9

2а, 2в

134

20,4

19,3

1,1

0,3

26,9

134

19,5

18,4

1,1

0,3

26,9

149

23,6

22,5

1,1

0,3

26,9

3

130

17

16

1

0,2

26,9

6

133

17

16

1

0,2

26,9

7

128

19,5

18,4

1,1

0,3

26,9

8а, 8б, 8г, 11а - 12в

137

19,5

18,4

1,1

0,3

26,9

8в, 8д, 12г, 12д

138

20,4

19,3

1,1

0,3

26,9

165

20,4

19,3

1,1

0,3

26,9

9, 12е

145

20,4

19,3

1,1

0,3

26,9

10

155

22

20,9

1,1

0,3

26,9

РАЗДЕЛ IV. МОНТАЖ ЭЛЕКТРОСИЛОВОГО ОБОРУДОВАНИЯ

1. Монтажные работы

1, 3 - 6

255

79,9

60

19,9

7,1

96,8

2а, 2в, 8в, 8д - 9в, 12г - 12е

275

93,2

72

21,2

8,5

96,8

2б, 7а - 8б, 8г, 11а - 12в

274

90

69

21

8,2

96,8

291

106,6

84

22,6

9,9

96,8

10

291

99,9

78

21,9

9,2

96.8

2. Сопутствующие строительные работы

1а, 4

51

21,3

20,7

0,6

0,2

42,3

57

21,3

20,7

0,6

0,2

42,3

1в - 1д, 5а

53

21,3

20,7

0,6

0,2

42,3

60

21,3

20,7

0,6

0,2

42,3

1ж, 3в, 3г

48

21,3

20,7

0,6

0,2

42,3

2а, 8в, 8е

61

25,5

24,9

0,6

0,2

42,3

2б, 7в, 8б, 11д, 11е, 12в

60

24,5

23,9

0,6

0,2

42,3

2в, 9а

66

25,5

24,9

0.6

0,2

42,3

65

29,6

29

0,6

0,2

42,3

3а, 3б

47

21,3

20,7

0,6

0,2

42,3

5б - 6в

55

21,3

20,7

0,6

0,2

42,3

54

24,5

23,9

0,6

0,2

42,3

7б, 8а, 11г

56

24,5

23,9

0,6

0,2

42,3

7г, 12а

52

24,5

23,9

0,6

0,2

42,3

72

24,5

23,9

0,6

0,2

42,3

8д, 12г

55

25,5

24,9

0,6

0,2

42,3

9б, 9в, 12д

59

25,5

24,9

0,6

0,2

42,3

10а

72

27,6

27

0,6

0,2

42,3

10б

61

27,6

27

0,6

0,2

42,3

10в

63

27,6

27

0,6

0,2

42,3

11а

63

24,5

23,9

0,6

0,2

42,3

11б, 11в

58

24,5

23,9

0,6

0,2

42,3

12б

50

24,5

23,9

0,6

0,2

42,3

12е

73

25,5

24,9

0,6

0,2

42,3

3. Монтаж металлоконструкций, сопутствующий монтажу оборудования

1, 3 - 6

11

1,3

0,7

0,6

0,2

1,1

2а, 2в, 8в, 8д - 9в, 12г - 12е

11

1,5

0,8

0,7

0,2

1,1

2б, 7а - 8б, 8г, 11а - 12в

11

1,4

0,8

0,6

0,2

1,1

11

1,6

0,9

0,7

0,3

1,1

10

12

1,6

0,9

0,7

0,2

1,1

РАЗДЕЛ V. МОНТАЖ ГИДРОМЕХАНИЧЕСКОГО ОБОРУДОВАНИЯ И ТРУБОПРОВОДОВ

1, 3 - 6

289

121,3

93,8

27,5

6,9

154

2а, 2в, 8в, 8д, 9, 12г, 12д

314

140,8

112

28,8

8,3

154

2б, 7а - 8б, 8г, 11а - 12в

306

136,5

108

28,5

7,9

154

348

161,3

131

30,3

9,7

154

344

140,8

112

28,8

8,3

154

10

338

151,5

122

29,5

9

154

12е

328

140,8

112

28,8

8,3

154

7. Насосная станция с пожарными насосами

Рис. 8. Насосная станция с двумя пожарными насосами 6 МС-7 с приводом от электродвигателя и дизеля. Типовой проект 901-2-51 (к цене № 307)

Районная цена № 307

Насосная станция с двумя пожарными насосами 6МС-7 с приводом от электродвигателя и дизеля. Стены кирпичные, отопление центральное от теплосети (типовой проект 901-2-51)

Измеритель - 1 насосная станция

Районы

Прямые затраты, руб.

Нормативная условно-чистая продукция, руб.

В том числе, руб.

Затраты труда рабочих, чел.-ч

основная заработная плата рабочих

эксплуатация машин

всего

в том числе заработная плата рабочих, обслуживающих машины

1

2

3

4

5

6

7

РАЗДЕЛ I. СТРОИТЕЛЬНЫЕ РАБОТЫ

1. Подземная часть

2120

587

266

321

42,5

508

1б, 1е

2580

587

266

321

62,5

508

1в, 3г, 5а, 6а

2260

587

266

321

42,5

508

1г, 6в

2360

587

266

321

42,5

509

2510

587

266

321

42,5

508

1990

553

266

387

42,5

508

2а, 8в, 9а

2760

697

320

377

51

509

2500

688

306

382

48,9

508

3220

711

320

391

51

509

2960

820

373

447

59,5

508

2160

526

266

260

42,5

508

3б, 6б

2200

553

266

287

42,5

508

2220

587

266

321

42,5

508

2130

553

266

287

42,5

508

2170

587

266

321

42,5

508

2330

642

266

376

42,5

508

7а, 8а

2260

641

307

334

48,9

509

2210

641

307

334

48,9

509

2700

669

307

362

48,9

509

7г, 12б

2120

640

306

334

48,9

509

2570

641

307

334

48,9

509

3490

669

307

362

48,9

509

2490

684

320

364

51

509

3430

711

320

391

51

509

9б, 9в

2600

697

320

377

51

509

10а, 10б

2830

721

346

375

55,3

509

10в

2770

722

347

375

55,3

509

11а

2930

688

306

382

48,9

508

11б - 11е

2360

640

306

334

48,9

509

12а

2070

606

306

300

48,9

508

12в

2210

606

306

300

48,9

508

12г

2250

635

319

316

51

508

12д

2420

635

319

316

51

508

12е

2880

710

319

391

51

508

В том числе:

а) земляные работы

1, 3 - 6

222

222

150

72

28,5

298

2а, 2в, 8в, 8д - 9в, 12г - 12е

258

258

181

77

34,2

298

2б, 7а - 8б, 8г, 11а - 12в

249

249

173

76

32,7

298

294

294

211

83

39,9

298

10

276

276

196

80

37

298

б) транспортирование грунта

1а - 1е, 3в, 3г, 4б, 5а, 6а, 6в

204

204

-

204

-

-

1ж, 3б, 4а, 6б

170

170

-

170

-

-

2а, 2в, 8е, 9а, 9в, 12е

265

265

-

265

-

-

2б, 5б, 11а

258

258

-

258

-

-

312

312

-

312

-

-

143

143

-

143

-

-

7а, 7б, 7г - 8б, 11б - 11е, 12б

210

210

-

210

-

-

7в, 8в - 8д, 9б

238

238

-

238

-

-

10

244

244

-

244

-

-

12а, 12в

176

176

-

176

-

-

12г, 12д

190

190

-

190

-

-

в) фундаменты

1а, 4

1460

132,7

95,5

37,2

11,3

173

1б, 1е

1840

132,7

95,5

37,2

11,3

173

1в, 3г, 5

1570

132,7

95,5

37,2

11,3

173

1г, 6в

1640

133,1

95,9

37,2

11,3

173

1810

132,7

95,5

37,2

11,3

173

1360

132,7

95,5

37,2

11,3

173

2а, 8в, 9а

1920

155,5

116

39,5

13,6

174

1680

148,9

110

38,9

13

173

2290

155,5

116

39,5

13,6

174

2000

175,7

134

41,7

15,8

173

3а - 3в, 6а, 6б

1540

132,7

95,5

37,2

11,3

173

7а, 8а, 12в

1520

148,9

110

38,9

13

173

1490

149,9

111

38,9

13

174

1860

149,9

111

38,9

13

174

7г, 12а, 12б

1400

148,9

110

38,9

13

173

1800

149,9

111

38,9

13

174

2550

149,9

111

38,9

13

174

1710

155,5

116

39,5

13,6

174

2490

155,5

116

39,5

13,6

174

9б, 9в

1780

155,5

116

39,5

13,6

174

10а, 10б

1960

164,6

124

40,6

14,7

173

10в

1900

165,6

125

40,6

14,7

174

11а

2060

148,9

110

38,9

13

173

11б, 11в, 11д, 11е

1610

148,9

110

38,9

13

173

11г

1570

148,9

110

38,9

13

173

12г

1520

154,4

115

39,4

13,6

173

12д

1670

154,4

115

39,4

13,6

173

12е

2000

154,4

115

39,4

13,6

173

2. Надземная часть

1а, 3в, 4а

2610

274,1

212

62,1

19,7

376

1б, 1в, 5а, 6б

2750

274,1

212

62,1

19,7

376

3160

306,4

235

71,4

22,5

418

1д, 3г, 4б, 6а, 6в

2840

274,1

212

62,1

19,7

376

3280

274,1

212

62,1

19,7

376

1ж, 3а, 3б

2500

274,1

212

62,1

19,7

376

2а, 9а

3890

357,9

282

75,9

27

418

3470

309

244

65

22,7

376

4370

357,9

282

75,9

27

418

3280

367

297

70

27,6

376

3200

274,1

212

62,1

19,7

376

3320

344,8

270

74,8

25,9

418

3150

344,8

270

74,8

25,9

418

7в, 11е

3640

344,8

270

74,8

25,9

418

3220

344,8

270

74,8

25,9

418

8а, 8б, 11д

3500

344,8

270

74,8

25,9

418

3530

357,9

282

75,9

27

418

4060

344,8

270

74,8

25,9

418

3040

357,9

282

75,9

27

418

3640

357,9

282

75,9

27

418

3290

357,9

282

75,9

27

418

3720

357,9

282

75,9

27

418

10а

3460

343

275

68

25,6

376

10б

4010

383,2

305

78,2

29,3

418

10в

4180

383,2

305

78,2

29,3

418

11а

3620

309

244

65

22,7

376

11б, 11в

3080

309

244

65

22,7

376

11г, 12в

2940

309

244

65

22,7

376

12а

2660

309

244

65

22,7

376

12б

2760

309

244

65

22,7

376

12г

2820

320

254

66

23,6

376

12д

3060

320

254

66

23,6

376

12е

3170

320

254

66

23,6

376

В том числе:

а) стены наружные

1а, 1ж, 3б, 4а

1320

132,6

96,8

35,8

11,4

173

1б, 3в, 5а

1410

132,6

96,8

35,8

11,4

173

1в, 1д, 6в

1460

132,6

96,8

35,8

11,4

173

1800

165,2

120

45,2

14,2

216

1860

132,6

96,8

35,8

11,4

173

2290

192

144

48

17,1

216

2040

148,5

111

37,5

13,1

173

2560

192

144

48

17,1

216

1650

176,4

136

40,4

15,9

173

1290

132,6

96,8

35,8

11,4

173

3г, 5б

1700

132,6

96,8

35,8

11,4

173

1570

132,6

96,8

35,8

11,4

173

6а, 6б

1500

138,6

96,8

35,8

11,4

173

1970

185,3

138

47,3

16,3

216

7б, 7г

1800

185,3

138

47,3

16,3

216

2210

185,3

138

47,3

16,3

216

8а, 8б, 11д

2060

185,3

138

47,3

16,3

216

2040

192

144

48

17,1

216

2370

185,3

138

47,3

16,3

216

1620

192

144

48

17,1

216

8е, 9в

1940

192

144

48

17,1

216

2340

192

144

48

17,1

216

1780

192

144

48

17,1

216

10а

1810

165,2

126

39,2

14,8

173

10б

2220

205,4

156

49,4

18,5

216

10в

2340

205,4

156

49,4

18,5

216

11а

1820

148,5

111

37,5

13,1

173

11б

1560

148,5

111

37,5

13,1

173

11в

1640

148,5

111

37,5

13,1

173

11г

1520

148,5

111

37,5

13,1

173

11е

2130

185,3

138

47,3

16,3

216

12а, 12б

1390

148,5

111

37,5

13,1

173

12в

1600

148,5

111

37 5

13,1

173

12г

1490

154,1

116

38,1

13,6

173

12д

1710

154,1

116

38,1

13,6

173

12е

1600

154,1

116

38,1

13,6

173

б) покрытие

312

13,2

7,3

5,9

2,1

12,3

1б, 1в, 5а

322

13,2

7,3

5,9

2,1

12,3

338

13,2

7.3

5,9

2,1

12,3

327

13,2

7,3

5,9

2,1

12,3

350

13,2

7,3

5,9

2,1

12,3

290

13,2

7,3

5,9

2,1

12,3

391

15,1

8,8

6,3

2,6

12,3

2б, 7а, 7г, 11в, 11г, 12в

344

14,6

8,4

6,2

2,5

12,3

2в, 9в

476

15,1

8,8

6,3

2,6

12,3

360

17,1

10,3

6,8

3

12,3

3

284

13,2

7,3

5,9

2,1

12,3

4, 6а, 6б

302

13,2

7,3

5,9

2,1

12,3

405

13,2

7,3

5,9

2,1

12,3

372

13,2

7,3

5,9

2,1

12,3

7б, 8б, 12а

322

14,6

8,4

6,2

2,5

12,3

317

14,6

8,4

6,2

2,5

12,3

8а, 8г, 11д, 11е

358

14,6

8,4

6,2

2,5

12,3

368

15,1

8,8

6,3

2,6

12,3

8д, 8е, 12г

336

15,1

8,8

6,3

2,6

12,3

9а, 9б, 12д, 12е

350

15,1

8,8

6,3

2,6

12,3

10а

385

16,1

9,5

6,6

2,8

12,3

10б

447

16,1

9,5

6,6

2,8

12,3

10в

487

16,1

9,5

6,6

2,8

12,3

11а

530

14,6

8,4

6,2

2,5

12,3

11б

381

14,6

8,4

6,2

2,5

12,3

12б

372

14,6

8,4

6,2

2,5

12,3

в) кровля

1а, 1в, 4

437

59,9

48,7

11,2

3,3

87,1

1б, 1е, 5б

473

59,9

48,7

11,2

3,3

87,1

487

59,9

48 7

11,2

3,3

87,1

453

59,9

48,7

11,2

3,3

87,1

1ж, 3а, 3б, 3г

372

59,9

48,7

11,2

3,3

87,1

569

70,3

58,4

11,9

4

87,1

2б, 7г, 11в

477

67,7

56

11,7

3,8

87,1

645

70,3

58,4

11,9

4

87,1

531

80,6

68,1

12,5

4,7

87,1

3в, 5а

405

59,9

48,7

11,2

3,3

87,1

6

387

59,9

48,7

11,2

3,3

87,1

7а, 7б, 11г

489

67,7

56

11,7

3,8

87,1

7в, 8а

506

67,7

56

11,7

3,8

87,1

523

67,7

56

11,7

3,8

87,1

551

70,3

58,4

11,9

4

87,1

8г, 11а

609

67,7

56

11,7

3,8

87,1

8д, 12е

513

70,3

58,4

11,9

4

87,1

593

70,3

58,4

11,9

4

87,1

9а, 9б

538

70,3

58,4

11,9

4

87,1

625

70,3

58,4

11,9

4

87,1

10а

562

75,5

63,3

12,2

4,3

87,1

10б

621

75,5

63,3

12,2

4,3

87,1

10в

660

75,5

63,3

12,2

4,3

87,1

11б, 11д, 11е

540

67,7

56

11,7

3,8

87,1

12а

409

67,7

56

11,7

3,8

87,1

12б

465

67,7

56

11,7

3,8

87,1

12е

424

67,7

56

11,7

3,8

87,1

12г

436

70,3

58,4

11,9

4

87,1

12д

416

70,3

58,4

11,9

4

87,1

г) отделочные работы

46

26,4

25,2

1,2

0,4

42,6

1б, 1в, 1д, 1ж, 4, 5б

47

26,4

25,2

1,2

0,4

42,6

1г, 1е, 5а, 6

48

26,4

25,2

1,2

0,4

42,6

2а, 8д, 12г, 12д

53

31,5

30,3

1,2

0,5

42,6

2б, 7в, 8г, 11, 12б, 12в

54

30,2

29

1,2

0,5

42,6

2в, 8в, 9а, 9в

56

31,5

30,3

1,2

0,5

42,6

62

36,6

35,3

1,3

0,6

42,6

3

45

26,4

25,2

1,2

0,4

42,6

7а, 7б, 7г - 8б, 12а

51

30,2

29

1,2

0,5

42,6

64

31,5

30,3

1,2

0,5

42,6

55

31,5

30,3

1,2

0,5

42,6

10а

64

34,1

32,8

1,3

0,6

42,6

10б

59

34,1

32,8

1,3

0,6

42,6

10в

57

34,1

32,8

1,3

0,6

42,6

12е

59

31,5

30,3

1,2

0,5

42,6

РАЗДЕЛ II. МОНТАЖ МЕТАЛЛОКОНСТРУКЦИЙ

1, 3 - 5

181

17

6,4

10,6

3,7

10,2

2а, 2в, 8в, 8д, 8е, 12г - 12е

185

19

7,7

11,3

4,5

10,2

2б, 7а - 8б, 8г, 11а - 12в

184

18,6

7,4

11,2

4,3

10,2

190

21,1

9

12,1

5,2

10,2

6

185

17

6,4

10,6

3,7

10,2

9

191

19

7,7

11,3

4,5

10,2

10

208

20

8,3

11,7

4,8

10,2

РАЗДЕЛ III. ВНУТРЕННИЕ САНИТАРНО-ТЕХНИЧЕСКИЕ УСТРОЙСТВА

1. Санитарно-технические работы

1а - 1е, 3в, 5б

268

30,4

28,5

1,9

0,4

46,9

1ж, 3а, 3б, 3г - 5а, 6

251

29,5

27,7

1,8

0,4

45,5

2а, 2в, 8в, 8д, 9

278

36,2

34,2

2

0,5

46,9

2б, 8а, 8б, 8г, 11б - 11е

277

34,8

32,8

2

0,5

46,9

292

42

39,9

2,1

0,6

46,9

7

270

34,8

32,8

2

0,5

46,9

295

36,2

34,2

2

0,5

46,9

10

290

39,2

37.1

2,1

0,5

46,9

11а, 12а - 12в

259

33,6

31,8

1,8

0,4

45,5

12г, 12д

262

35

33,2

1,8

0,4

45,5

12е

269

35

33,2

1,8

0,4

45,5

В том числе:

а) центральное отопление

1а - 1е, 3в

225

26,3

24,5

1,8

0,4

39,8

1ж, 3а, 3б, 3г - 5а, 6

210

25,4

23,7

1,7

0,3

38,4

2а, 2в, 8в, 8д, 9

236

31,3

29,4

1,9

0,4

39,8

2б, 8а, 8б, 8г, 11б - 11е

235

30

28,1

1,9

0,4

39,8

248

36,3

34,3

2

0,5

39,8

230

26,3

24,5

1,8

0,4

39,8

7

229

30

28,1

1,9

0,4

39,3

248

31,3

29,4

1,9

0,4

39,8

10

248

33,7

31,8

1,9

0,5

39,8

11а, 12а - 12в

218

28,9

27,2

1,7

0,4

38,4

12г, 12д

220

30,1

28,4

1,7

0,4

38,4

12е

228

30,1

28,4

1,7

0,4

38,4

в) вентиляция

1, 3 - 6

41

4,1

4

0,1

0,1

7,1

2а, 2в, 8в, 8д, 9, 12г, 12д

42

4,9

4,8

0,1

0,1

7,1

2б, 8а, 8б, 8г, 11

42

4,7

4,6

0,1

0,1

7,1

44

5,7

5,6

0,1

0,1

7,1

7, 12г - 12в

41

4,7

4,6

0,1

0,1

7,1

47

4,9

4,8

0,1

0,1

7,1

10

42

5,3

5,2

0,1

0,1

7,1

12е

41

4,9

4,8

0,1

0,1

7,1

2. Сопутствующие строительные работы

1, 3 - 6

17

12,4

12,4

-

-

22

2а, 2в, 8в, 8д, 9, 12г - 12е

20

14,9

14,9

-

-

22

2б, 7а - 8б, 8г, 11а - 12в

19

14,2

14,2

-

-

22

23

17,3

17,3

-

-

22

21

14,9

14,9

-

-

22

10

22

16,1

16,1

-

-

22

РАЗДЕЛ IV. ЭЛЕКТРОМОНТАЖНЫЕ РАБОТЫ

1, 3 - 6

524

228,6

160

68,6

21,8

264

2а, 2в, 8в, 8д, 9, 12г - 12е

567

265

192

73

26,2

264-

2б, 7а - 8б, 8г, 11а - 12в

553

256

184

72

25,1

264

610

301,3

224

77,3

30,5

264

580

265

192

73

26,2

264

10

592

283,1

208

75,1

28,3

264

РАЗДЕЛ V. МОНТАЖ ТЕХНОЛОГИЧЕСКОГО ОБОРУДОВАНИЯ И ТРУБОПРОВОДОВ

1. Монтажные работы

1, 3 - 6

1720

441,2

358

83,2

28,9

601

2а, 2в, 8в, 8д, 9, 12г, 12д

1820

519

430

89

34,7

601

2б, 8а, 8б, 8г, 11а - 12в

1800

499,5

412

87,5

33,2

601

1970

595,8

501

94,8

40,5

601

7

1760

499,5

412

87,5

33,2

601

2020

519

430

89

34,7

601

10

1920

557,9

466

91,9

37,6

601

12е

1890

519

430

89

34,7

601

2. Сопутствующие строительные работы

1, 3 - 6

15

7,9

7,9

-

-

14,2

2а, 2в, 8в, 8д, 9, 12г - 12е

17

9,4

9,4

-

-

14,2

2б, 7а - 8б, 8г, 11а - 12в

16

9

9

-

-

14,2

19

11

11

-

-

14,2

18

9,4

9,4

-

-

14,2

10

18

10,2

10,2

-

-

14,2

3. Монтаж металлоконструкций, сопутствующий монтажу оборудования

1, 3, 5, 6

73

8,3

7,9

0,4

0,1

14,4

2а, 2в, 8в, 8д, 8е, 12г - 12е

75

10

9,5

0,5

0,2

14,4

2б, 8а, 8б, 8г, 11а - 12в

74

9,5

9,1

0,4

0,1

14,4

79

11,6

11,1

0,5

0,2

14,4

4

71

8,3

7,9

0,4

0,1

14,4

7

73

9,5

9,1

0,4

0,1

14,4

9

79

10

9,5

0,5

0,2

14,4

10

87

10,8

10,3

0,5

0,2

14,4

Рис.. 9. Очистные сооружения для сточных вод от мойки автомобилей с расходом до 1,5 л/с. Типовой проект 902-2-221 (к ценам № 308, 309)

II.ЦЕНЫ ПРЕЙСКУРАНТА НА СООРУЖЕНИЯ КАНАЛИЗАЦИИ

8. Очистные сооружения для сточных вод от мойки автомобилей с расходом воды до 1,5 и 3 л/с в сухих грунтах

Районная цена № 308

Очистные сооружения для сточных вод от мойки автомобилей с расходом воды до 1,5 л/с, прямоточные (типовой проект 902-2-221)

Измеритель - 1 сооружение

Районы

Прямые затраты, руб.

Нормативная условно-чистая продукция, руб.

В том числе, руб.

Затраты труда рабочих, чел.-ч

основная заработная плата рабочих

эксплуатация машин

всего

в том числе заработная плата рабочих, обслуживающих машины

1

2

3

4

5

6

7

РАЗДЕЛ I. СТРОИТЕЛЬНЫЕ РАБОТЫ

1а, 4б

3990

938

390

548

77,7

688

1б, 1д, 1е, 6а

4310

938

390

548

77,7

688

1в, 3в, 5а

4080

938

390

548

77,7

688

1г, 6в

4180

940

391

549

77,9

690

3730

879

389

490

77,6

686

2а, 9а, 9в

4880

1140

472

668

93,9

694

4670

1102

450

652

89,6

690

2в, 8е

5380

1140

472

668

93,9

694

5690

1311

548

763

109

690

3790

833

389

444

77,6

686

3б, 4а

3830

879

389

490

77,6

686

3870

937

389

548

77,6

686

4280

1031

391

640

77,9

690

4200

879

389

490

77,6

686

4140

1025

452

573

90

694

7б, 7г, 8а, 11г, 11е

4280

1023

451

572

89,8

692

7в, 11а

4800

1085

450

635

89,6

690

8б, 11б, 11в, 11д

4420

1023

451

572

89,8

692

8в, 9б

4560

1095

472

623

93,9

694

5550

1071

452

619

90

694

4400

1095

472

623

93,9

694

10а, 10б

5060

1151

510

641

102

692

10в

4930

1153

511

642

102

694

12а

3870

961

448

513

89,2

686

12б

3950

1019

448

571

89,2

686

12в

3990

961

448

513

89,2

686

12г, 12д

4170

1007

467

540

93,1

686

12е

5650

1133

467

666

93,1

686

В том числе:

а) земляные работы

1, 3 - 6

166

166

37

129

53,6

69,7

2а, 2в, 8в, 8д - 9в, 12г - 12е

185

185

45

140

64,4

69,7

2б, 7а - 8б, 8г, 11а - 12в

180

180

43

137

61,7

69,7

202

202

52

150

75,1

69,7

10

193

193

48

145

69,7

69,7

б) транспортирование грунта

1а - 1е, 3в, 3г, 4б, 5а, 6а, 6в

344

344

-

344

-

-

1ж, 3б, 4а, 6б

286

286

-

286

-

-

2а, 2в, 8е, 9а, 9в, 12е

446

446

-

446

-

-

2а, 5б, 11а

435

435

-

435

-

-

527

527

-

527

-

-

240

240

-

240

-

-

7а, 7б, 7г - 8б, 11б - 11е, 12б

355

355

-

355

-

-

7в, 8в - 8д, 9б

401

401

-

401

-

-

10

412

412

-

412

-

-

12а, 12в

298

298

-

298

-

-

12г, 12д

321

321

-

321

-

-

в) резервуар для сбора масла

1а, 1в, 1г, 3а, 3б, 3г - 4б

232

26,7

23,4

3,3

1,2

39,9

1б, 1д, 1е, 5б - 6в

245

26,7

23,4

3,3

1,2

39,9

222

26,7

23,4

3,3

1,2

39,9

2а, 9а

266

31,7

28,1

3,6

1,5

39,9

259

30,5

27

3,5

1,4

39,9

288

31,7

28,1

3,6

1,5

39,9

306

36,6

32,8

3,8

1,7

39,9

3в, 5а

237

26,7

23,4

3,3

1,2

39,9

7а, 12в

236

30,5

27

3,5

1,4

39,9

7б, 7г - 8б, 11г, 11е

243

30,5

27

3,5

1,4

39,9

267

30,5

27

3,5

1,4

39,9

8в, 8д, 9б6

252

31,7

28,1

3,6

1,5

39,9

298

30,5

27

3,5

1,4

39,9

295

31,7

28,1

3,6

1,5

39,9

273

31,7

28,1

3,6

1,5

39,9

10а, 10б

281

34,2

30,5

3,7

1,6

39,9

10в

276

34,2

30,5

3,7

1,6

39,9

11а

274

30,5

27

3,5

1,4

39,9

11б, 11в, 11д

250

30,5

27

3,5

1,4

39,9

12а, 12б

231

30,5

27

3,5

1,4

39,9

12г, 12д

244

31,7

28,1

3,6

1,5

39,9

12е

311

31,7

28,1

3,6

1,5

39,9

РАЗДЕЛ II. МОНТАЖ МЕТАЛЛОКОНСТРУКЦИЙ

1, 3, 5

39

3,5

1,8

1,7

0,5

2,9

2а, 2в, 8в, 8д, 8е, 12г - 12е

40

4

2,2

1,8

0,6

2,9

40

3,9

2,1

1,8

0,6

2,9

41

4,5

2,6

1,9

0,7

2,9

4

38

3,5

1,8

1,7

0,5

2,9

6

40

3,5

1,8

1,7

0,5

2,9

7а - 8б, 8г, 11а - 12в

39

3,9

2,1

1,8

0,6

2,9

9

41

4

2,2

1,8

0,6

2,9

10

44

4,2

2,4

1,8

0,7

2,9

РАЗДЕЛ III. МОНТАЖ ТЕХНОЛОГИЧЕСКОГО ОБОРУДОВАНИЯ И ТРУБОПРОВОДОВ

1. Монтажные работы

1, 3 - 6

281

77,3

55,7

21,6

6,7

92,8

2а, 2в, 8в, 8д, 9, 12г - 12е

299

89,7

66,8

22,9

8

92,8

2б, 7а - 8б, 8г, 11а - 12в

291

86,6

64

22,6

7,7

92,8

318

102,2

77,9

24,3

9,4

92,8

322

89,7

66,8

22,9

8

92,8

10

312

96

72,4

23,6

8,7

92,8

2. Сопутствующие строительные работы

1, 3 - 6

52

8,5

8,3

0,2

0,1

14,5

2а, 2в, 8в, 8д, 9, 12г - 12е

54

10,2

10

0,2

0,1

14,5

2б, 7а - 8б, 8г, 11а - 12в

54

9,8

9,6

0,2

0,1

14,5

57

11,8

11,6

0,2

0,1

14,5

58

10,2

10

0,2

0,1

14,5

10

56

11

10,8

0,2

0,1

14,5

3. Монтаж металлоконструкций, сопутствующий монтажу оборудования

1, 3 - 6

110

29,3

12,2

17,1

6,1

18,2

2а, 2в, 8в, 8д - 9в, 12г - 12е

115

33

14,7

18,3

7,3

18,2

2б, 7а - 8б, 8г, 11а - 12в

113

32,1

14,1

18

7

18,2

119

36,6

17,1

19,5

8,5

18,2

10

128

34,8

15,9

18,9

7,9

18,2

Районная цена № 309

Очистные сооружения для сточных вод от мойки автомобилей с расходом воды до 1,5 л/с с оборотным водоснабжением (типовой проект 902-2-221)

Измеритель - 1 сооружение

Районы

Прямые затраты, руб.

Нормативная условно-чистая продукция, руб.

В том числе, руб.

Затраты труда рабочих, чел.-ч

основная заработная плата рабочих

эксплуатация машин

всего

в том числе заработная плата рабочих, обслуживающих машины

1

2

3

4

5

6

7

РАЗДЕЛ I. СТРОИТЕЛЬНЫЕ РАБОТЫ

1а, 4б

4380

1109

427

682

94,1

753

1б, 1д, 1е, 6а, 6в

4700

1109

427

682

94,1

753

1в, 3в, 5а

14470

1109

427

682

94,1

753

4570

1115

431

684

94,8

760

4090

1034

426

608

93,9

750

2а, 9а, 9в

5360

1352

517

835

114

760

5120

1306

492

814

108

755

2в, 8е

5870

1352

517

835

114

760

6230

1553

599

954

132

755

4140

976

426

550

93 9

750

3б, 4а

4190

1034

426

608

93 9

750

4250

1107

426

681

93 9

750

4720

1228

428

800

94 4

755

4580

1034

426

608

93 9

750

4540

1208

495

713

109

760

7б, 8а, 11г, 11е

4690

1206

494

712

109

758

7в, 11а

5250

1284

492

792

108

755

7г, 8б, 11б, 11д

4790

1206

494

712

109

758

8в, 9б

5020

1293

517

776

114

760

6030

1267

495

772

109

760

4840

1293

517

776

114

760

10а, 10б

5550

1358

558

800

123

758

10в

5410

1360

560

800

123

760

11в

4870

1204

492

712

108

755

12а

4250

1126

489

637

108

750

12б

4350

1199

489

710

108

750

12в

4370

1126

489

637

108

750

12г, 12д

4570

1181

510

671

113

750

12е

6170

1342

510

832

113

750

В том числе:

а) земляные работы

1, 3 - 6

212

212

48

164

68,4

89,9

2а, 2в, 8в, 8д - 9в, 12г - 12е

236

236

58

178

82,1

89,9

2б, 7а - 8б, 8г, 11а - 12в

230

230

55

175

78,7

89,9

259

259

67

192

95,8

89,9

10

247

247

62

185

88,9

89,9

б) транспортирование грунта

1а - 1е, 3в, 3г, 4б, 5а, 6а, 6в

438

438

-

438

-

-

1ж, 3б, 4а, 6б

365

365

-

365

-

-

2а, 2в, 8е, 9а, 9в, 12е

569

569

-

569

-

-

26, 5б, 11а

554

554

-

554

-

-

671

671

-

671

-

-

306

306

 

306

 

 

7а, 7б, 7г - 8б, 11б - 11е, 12б

452

452

-

452

-

-

7в, 8в - 8д, 9б

511

511

-

511

-

-

10

525

525

-

525

-

-

12а, 12в

379

379

-

379

-

-

12г, 12д

408

408

-

408

-

-

в) водозаборная камера

1а, 1в, 4б, 5а, 6в

253

30,1

25,7

4,4

1,6

44,3

1б, 1г - 1е, 5б

268

31,1

26,3

4,8

1,7

45,5

234

29,5

25,3

4,2

1,6

43,7

2а, 2в, 9а, 9в

305

37,3

31,9

5.4

2,1

46,2

2б, 7в, 11а - 11в, 11д

285

34,8

29,9

4,9

1,9

44,9

340

41,6

36,3

5,3

2,3

44,9

3а, 3б, 3г, 4а

240

29,5

25,3

4,2

1,6

43,7

3в, 6а, 6б

258

30,1

25,7

4,4

1,6

44,3

7а, 11г

261

35,3

30,2

5,1

2

45,5

7б, 8б, 11е

273

35,9

30,6

5,3

2,1

46,2

7г, 8а

278

35,9

30,6

5,3

2,1

46,2

291

37,3

31,9

5,4

2,1

46,2

323

35,9

30,6

5,3

2,1

46,2

8д, 9б

278

37,3

31,9

5.4

2,1

46,2

327

37,3

31,9

5,4

2,1

46,2

10

312

39,5

34,2

5,3

2,3

45,5

12а, 12в

247

33,6

29,1

4,5

1,8

43,7

12б

255

33,6

29,1

4,5

1,8

43,7

12г, 12д

257

35

30,4

4,6

1,9

43,7

12е

345

35

30,4

4,6

1,9

43,7

Примечание. Затраты по устройству резервуара для сбора масла, монтажу металлоконструкций, технологического оборудования и трубопроводов следует принимать по цене № 308.

Рис. 10. Очистные сооружения для сточных вод от мойки автомобилей с расходом до 3 л/с. Типовой проект 902-2-222 (к ценам № 310, 311)

Районная цена310

Очистные сооружения для сточных вод от мойки автомобилей с расходом воды до 3 л/с, прямоточные (типовой проект 902-2-222)

Измеритель - 1 сооружение

Районы

Прямые затраты, руб.

Нормативная условно-чистая продукция, руб.

В том числе, руб.

Затраты труда рабочих, чел.-ч

основная заработная плата рабочих

эксплуатация машин

всего

в том числе заработная плата рабочих, обслуживающих машины

1

2

3

4

5

6

7

РАЗДЕЛ I. СТРОИТЕЛЬНЫЕ РАБОТЫ

1а, 3г

6960

1392

694

698

109

1220

1б, 1е, 6в

7700

1392

694

698

109

1220

1в, 3в, 4б, 5а

7290

1392

694

698

109

1220

1г, 1д, 6а

7510

1395

696

699

109

1230

6690

1323

693

630

108

1220

2а, 9а, 9в

8610

1681

838

843

131

1230

8170

1623

800

823

125

1230

9590

1681

838

843

131

1230

10100

1932

974

958

152

1230

3а, 3б, 4а

6900

1296

693

603

108

1220

7380

1501

695

806

109

1230

7450

1323

693

630

108

1220

7а, 7б, 7г

7500

1533

803

730

126

1230

7в, 11а

8700

1602

800

802

125

1230

7650

1533

803

730

126

1230

8б, 11б, 11в, 11д

8010

1531

802

729

126

1230

8330

1627

838

789

131

1230

10200

1587

803

784

126

1230

7890

1627

838

789

131

1230

9970

1681

838

843

131

1230

8080

1627

838

789

131

1230

10а, 10б

9020

1719

906

813

142

1230

10в

8760

1721

907

814

142

1230

11, 11е

7840

1531

802

729

126

1230

12а - 12в

7080

1489

796

693

125

1220

12г, 12д

7560

1523

831

692

130

1220

12е

10200

1671

831

840

130

1220

В том числе:

а) земляные работы

1, 3 - 6

194

194

42

152

62,7

79,8

2а, 2в, 8в, 8д - 9в,12г - 12е

215

215

51

164

75,3

79,8

2б, 7а - 8б, 8г, 11а - 12в

210

210

49

161

72,1

79,8

236

236

59

177

87,8

79,8

10

225

225

55

170

81,6

79,8

б) транспортирование грунта

1а - 1е, 3в, 3г, 4б, 5а, 6а, 6в

404

404

-

404

-

-

1ж, 3б, 4а, 6б

336

336

-

336

-

-

2а, 2в, 8е, 9а, 9в, 12е

525

525

-

525

-

-

2б, 5б, 11а

512

512

-

512

-

-

619

619

-

619

-

-

283

283

-

283

-

-

7а, 7б, 7г - 8б, 11б - 11е, 12б

417

417

-

417

-

-

7в, 8в - 8д, 9б

471

471

-

471

-

-

10

484

484

-

484

-

-

12а, 12в

350

350

-

350

-

-

12г, 12д

377

377

-

377

-

-

РАЗДЕЛ II. МОНТАЖ МЕТАЛЛОКОНСТРУКЦИЙ

1, 3 - 6

77

6,9

3,6

3,3

1

5,7

2а, 2в, 8в, 8д, 8е, 12г - 12е

78

7,9

4,3

3,6

1,2

5,7

2б, 7а - 8б, 8г, 11а - 12в

78

7,7

4,2

3,5

1,2

5,7

80

8,9

5,1

3,8

1,4

5,7

9

81

7,9

4,3

3,6

1,2

5,7

10

87

8,4

4,7

3,7

1,3

5,7

РАЗДЕЛ III. МОНТАЖ ТЕХНОЛОГИЧЕСКОГО ОБОРУДОВАНИЯ И ТРУБОПРОВОДОВ

1. Монтажные работы

1, 3 - 6

375

103,1

74,2

28,9

9

124

2а, 2в, 8в, 8д, 9, 12г - 12е

398

119,8

89,1

30,7

10,8

124

2б, 7а - 8б, 8г, 11а - 12в

389

115,7

85,4

30,3

10,4

124

424

136,5

104

32,5

12,6

124

430

119,8

89,1

30,7

10,8

124

10

416

128

96,5

31,5

11,7

124

2. Сопутствующие строительные работы

1, 3 - 6

56

8,9

8,7

0,2

0,1

15,1

2а, 2в, 8в, 8д, 9, 12г - 12е

58

10,6

10,4

0,2

0,1

15,1

2б, 7а - 8б, 8г, 11а - 12в

58

10,2

10

0,2

0,1

15,1

61

12,3

12,1

0,2

0,1

15,1

63

10,6

10,4

0,2

0,1

15,1

10

60

11,5

11,3

0,2

0,1

15,1

3. Монтаж металлоконструкций, сопутствующий монтажу оборудования

1, 3 - 6

114

29,3

12,2

17,1

6,1

18,2

2а, 2в, 8в, 8д - 9в, 12г - 12е

120

33

14,7

18,3

7,3

18,2

2б, 7а - 8б, 8г, 11а - 12в

118

32,1

14,1

18

7

18,2!

124

36,6

17,1

19,5

8,5

18,2

10

133

34,8

15,9

18,9

7,9

18,2

Примечание. Затраты по устройству резервуара для сбора масла следует принимать по цене № 308.

Районная цена №311

Очистные сооружения для сточных вод от мойки автомобилей с расходом воды до 3 л/с с оборотным водоснабжением (типовой проект 902-2-222)

Измеритель - 1 сооружение

Районы

Прямые затраты, руб.

Нормативная условно-чистая продукция, руб.

В том числе, руб.

Затраты труда рабочих, чел.-ч

основная заработная плата рабочих

эксплуатация машин

всего

в том числе заработная плата рабочих, обслуживающих машины

1

2

3

4

5

6

7

РАЗДЕЛ I. СТРОИТЕЛЬНЫЕ РАБОТЫ

1а, 3г

7580

1600

765

835

126

1350

1б, 1е, 6в

8350

1600

765

835

126

1350

1в, 3в, 4б, 5а

7920

1600

765

835

126

1350

1г, 1д, 6а

8160

1602

766

836

126

1350

1ж, 3а

7340

1481

763

718

126

1340

2а, 9а, 9в

9350

1934

924

1010

152

1360

8870

1870

882

988

145

1350

10400

1934

924

1010

152

1360

10900

2220

1070

1150

177

1350

3б, 4а

7520

1514

763

751

126

1340

8040

1736

767

969

126

1350

8070

1514

763

751

126

1340

7а, 7б, 7г

8150

1759

885

874

146

1360

7в, 11а

9430

1845

882

963

145

1350

8310

1759

885

874

146

1360

86, 11б, 11в, 11д

8700

1757

884

873

146

1350

9040

1870

924

946

152

1360

11000

1825

885

940

146

1360

8580

1870

924

946

152

1360

8е, 12е

10900

1930

920

1010

152

1350

8770

1870

924

946

152

1360

10а, 10б

9780

1973

998

975

165

1350

10в

9510

1976

1000

976

165

1360

11г, 11е

8520

1757

884

873

146

1350

12а - 12в

7710

1706

878

828

145

1340

12г, 12д

8200

1742

916

826

151

1340

В том числе:

а) земляные работы

1, 3 - 6

240

240

53

187

77,5

99,7

2а, 2в, 8в, 8д - 9в, 12г - 12е

266

266

64

202

93

99,7

2б, 7а - 8б, 8г, 11а - 12в

259

259

61

198

89,1

99,7

292

292

74

218

108

99,7

10

279

279

69

210

101

99,7

б) транспортирование грунта

1а - 1е, 3в, 3г, 4б, 5а, 6а, 6в

498

498

-

498

-

-

1ж, 3б, 4а, 6б

415

415

-

415

-

-

2а, 2в, 8е, 9а, 9в, 12е

647

647

-

647

-

-

2б, 5б, 11а

631

631

-

631

-

-

764

764

-

764

-

-

349

349

-

349

-

-

7а, 7б, 7г - 8б, 11б - 11е, 12б6

515

515

-

515

-

-

7в, 8в - 8д, 9б

581

581

-

581

-

-

10

598

598

-

598

-

-

12а, 12в

432

432

-

432

-

-

12г, 12д

465

465

-

465

-

-

в) водозаборная камера

1а, 1в, 3в - 4а

479

68

60,3

7,7

2,7

104

1б, 1г, 1е

509

69

61

8

2,8

105

1д, 5, 6

495

68

60,3

7,7

2,7

104

454

67,5

60

7,5

2,6

103

2а, 9а, 9в

562

82,3

73,5

8,8

3,4

106

2б, 8б, 11г, 11е

528

78,6

70,1

8,5

3,2

105

596

82,3

73,5

8,8

3,4

106

625

93,9

84,9

9

3,9

104

3а, 3б

465

67,5

60

7,5

2.6

103

488

67,5

60

7,5

2,6

103

7а, 7б, 12а - 12в

494

78

69,7

8,3

3,2

104

7в, 11б, 11в, 11д

548

78,6

70,1

8,5

3,2

105

7г, 8а

513

79,1

70,4

8,7

3,3

106

554

82,3

73,5

8,8

3,4

106

637

79,1

70,4

8,7

3,3

106

8д, 9б, 12д

522

81,1

72,7

8,4

3,3

104

8е, 12е

645

81,1

72,7

8,4

3,3

104

10

586

88,1

79,2

8,9

3,7

105

11а

575

76,9

69

7,9

3

103

12г

504

80

72

8

3,2

103

Примечание. Затраты по устройству резервуара для сбора масла следует принимать по цене № 308, а по монтажу металлоконструкций, технологического оборудования и трубопроводов - по цене № 310.

Рис. 11. Очистные сооружения для сточных вод от мойки автомобилей с расходом 10, 20 и 30 л/с при частичном оборотном водоснабжении. Типовой проект 902-2-171 (к ценам № 312 - 314)

9. Очистные сооружения для сточных вод от мойки автомобилей с расходом воды 10, 20 и 30 л/с в сухих грунтах при частичном оборотном водоснабжении

Районная цена №312

Очистные сооружения для сточных вод от мойки автомобилей с расходом воды 10 л/с при частичном оборотном водоснабжении, стены из сборных железобетонных панелей (типовой проект 902-2-171)

Измеритель - 1 сооружение

Районы

Прямые затраты, руб.

Нормативная условно-чистая продукция, руб.

В том числе, руб.

Затраты труда рабочих, чел.-ч

основная заработная плата рабочих

эксплуатация машин

всего

в том числе заработная плата рабочих, обслуживающих машины

1

2

3

4

5

6

7

РАЗДЕЛ I. СТРОИТЕЛЬНЫЕ РАБОТЫ

1а, 3в, 4б

19800

3380

1540

1840

380

2690

1б, 1г - 1е, 6в

21600

3390

1550

1840

382

2720

1в, 5а, 6а

20400

3380

1540

1840

380

2690

1ж, 3а, 3б, 3г

18800

3230

1520

1710

379

2660

2а, 8в

24600

4010

1900

2110

461

2780

2б, 8а, 8б, 11г

22400

3820

1800

2020

440

2750

28200

4060

1900

2160

461

2780

25800

4570

2160

2410

534

2720

4а, 6б

19900

3220

1520

1700

379

2660

22400

3600

1550

2050

381

2720

7а, 7б, 7г, 12б

21400

3700

1780

1920

439

2720

7в, 11б, 11в, 11д, 11е

23200

3780

1800

1980

440

2750

27100

3860

1820

2040

442

2780

8д, 9б

22600

3960

1900

2060

461

2780

8е, 9в, 12е

26200

4020

1860

2160

458

2720

24000

4060

1900

2160

461

2780

10а

25000

4120

2010

2110

495

2720

10б

26600

4170

2050

2120

500

2780

10в

27500

4170

2050

2120

500

2780

11а

28000

3840

1740

2100

436

2660

12а

20000

3520

1740

1780

436

2660

12в

21200

3520

1740

1780

436

2660

12г

21200

3680

1820

1860

454

2660

12д

23000

3680

1820

1860

454

2660

В том числе:

а) земляные работы

1, 3 - 6

388

388

94

294

121

180

2а, 2в, 8в, 8д - 9в, 12д - 12е

432

432

113

319

146

180

2б, 7а - 8б, 8г, 11а - 12в

421

421

108

313

139

180

475

475

132

343

170

180

10

454

454

123

331

158

180

б) транспортирование грунта

1а - 1е, 3в, 3г, 4б, 5а, 6а, 6в

789

789

-

789

-

-

1ж, 3б, 4а ,6б

658

658

-

658

-

-

2а, 2в, 8е, 9а, 9в, 12е

1030

1030

-

1030

-

-

2б, 5б, 11а

1000

1000

-

1000

-

-

1210

1210

-

1210

-

-

552

552

-

552

-

-

7а, 7б, 7г - 8б, 11б - 11е, 12б

816

816

-

816

-

-

7в, 8в - 8д, 9б

921

921

-

921

-

-

10

947

947

-

947

-

-

12а, 12в

684

684

-

684

-

-

12г, 12д

737

737

-

737

-

-

РАЗДЕЛ II. МОНТАЖ МЕТАЛЛОКОНСТРУКЦИЙ

1, 3 - 6

346

35

19

16

6

32

2а, 2в, 8в, 8д, 8е, 12г - 12е

354

40

23

17

7

32

2б, 7а - 8б, 8г, 11а - 12в

351

38

22

16

6

32

363

44

26

18

8

32

9

364

40

23

17

7

32

10

398

42

25

17

7

32

РАЗДЕЛ III. ВНУТРЕННИЕ САНИТАРНО-ТЕХНИЧЕСКИЕ УСТРОЙСТВА

1. Санитарно-технические работы по отоплению и вентиляции

1, 3 - 6

591

46

41

5

1

67

2а, 2в, 8в, 8д, 9, 12г - 12е

613

54

49

5

2

67

2б, 8а, 8б, 8г, 11а - 12в

607

52

47

5

2

67

635

62

57

5

2

67

7

594

52

47

5

2

67

681

54

49

5

2

67

10

630

58

53

5

2

67

2. Сопутствующие строительные работы

1, 3 - 6

6

6

6

-

-

12

2а, 2в, 8в, 8д, 8е, 9, 10, 12г - 12е

8

8

8

-

-

12

2б, 7а - 8б, 8г, 11а - 12в

7

7

7

-

-

12

9

9

9

-

-

12

РАЗДЕЛ IV. ЭЛЕКТРОМОНТАЖНЫЕ РАБОТЫ

1, 3 - 6

353

131,9

87

44,9

16,1

146

2а, 2в, 8в, 8д, 9, 12г - 12е

381

152,1

104

48,1

19,3

146

2б, 7а - 8б, 8г, 11а - 12в

371

147,3

100

47,3

18,5

146

408

173,3

122

51,3

22,5

146

395

152,1

104

48,1

19,3

146

10

399

162,8

113

49,8

20,9

146

В том числе:

а) электроосвещение

1, 3, 4

78

20,3

11,3

9

3,2

19

2а, 2в, 8в, 8д, 9, 12г, 12д

83

23,2

13,6

9,6

3,8

19

2б, 7а - 8б, 8г, 11а - 12в

81

22,5

13

9,5

3,7

19

89

26,2

15,9

10,3

4,5

19

5, 6

80

20,3

11,3

9

3,2

19

8е, 12е

88

23,2

13,6

9,6

3,8

19

10

88

24,7

14,8

9,9

4,2

19

б) монтаж электросилового оборудования

1, 3 - 6

274

111,5

75,6

35,9

12,9

127

2а, 2в, 8в, 8д, 9, 12г - 12е

296

129,3

90,8

38,5

15,5

127

2б, 7а - 8б, 8г, 11а - 12в

290

124,8

87

37,8

14,8

127

319

147,1

106

41,1

18,1

127

307

129,3

90,8

38,5

15,5

127

10

311

138,1

98,3

39,8

16,8

127

РАЗДЕЛ V. МОНТАЖ ТЕХНОЛОГИЧЕСКОГО ОБОРУДОВАНИЯ И ТРУБОПРОВОДОВ

1. Монтажные работы

1, 3 - 6

1960

539

388

151

47

646

2а, 2в, 8в, 8д, 9, 12г - 12е

2080

625

465

160

56,4

646

2б, 7а - 8б, 8г, 11а - 12в

2040

604

446

158

54,1

646

2220

712

543

169

65,8

646

2240

625

465

160

56,4

646

10

2180

669

504

165

61,1

646

2. Сопутствующие строительные работы

1, 3 - 6

243

42,1

29,4

12,7

4

48,8

2а, 2в, 8в, 8д, 9, 12г - 12е

252

48,8

35,3

13,5

4,8

48,8

2б, 7а - 8б, 8г, 11а - 12в

249

47,1

33,8

13,3

4,6

48,8

263

55,5

41,2

14,3

5,6

48,8

271

48,8

35,3

13,5

4,8

48,8

10

259

52,1

38,2

13,9

5,2

48,8

3. Монтаж металлоконструкций, сопутствующий монтажу оборудования

1, 3 - 6

819

142,9

78

64,9

22,9

119

2а, 2в, 8в, 8д - 9в, 12г - 12е

853

163,1

93,6

69,5

27,5

119

2б, 7а - 8б, 8г, 11а - 12в

837

158

89,7

68,3

26,4

119

874

183,1

109

74,1

32,1

119

10

939

172,8

101

71,8

29,8

119

Районная цена №313

Очистные сооружения для сточных вод от мойки автомобилей с расходом воды 20 л/с при частичном оборотном водоснабжении, стены из сборных железобетонных панелей (типовой проект 902-2-171)

Измеритель - 1 сооружение

Районы

Прямые затраты, руб.

Нормативная условно-чистая продукция, руб.

В том числе, руб.

Затраты труда рабочих, чел.-ч

основная заработная плата рабочих

эксплуатация машин

всего

в том числе заработная плата рабочих, обслуживающих машины

1

2

3

4

5

6

7

РАЗДЕЛ I. СТРОИТЕЛЬНЫЕ РАБОТЫ

1а, 3в, 4б, 5а

30200

5130

2320

2810

551

4030

1б, 1г - 1е, 6в

33000

5190

2370

2820

554

4130

1в, 6а

31200

5130

2320

2810

551

4030

1ж, 3а, 3б, 3г

28400

4870

2260

2610

550

3940

2а, 8в

37700

6230

2980

3250

669

4320

2б, 8а

34000

5890

2780

3110

639

4220

43400

6320

2980

3340

669

4320

39100

7060

3320

3740

775

4120

29700

4850

2260

2590

550

3940

34200

5540

2370

3170

553

4120

30700

4850

2260

2590

550

3940

7а, 7б, 7г, 12б

32700

5670

2720

2950

637

4130

7в, 11д, 11е

35600

5900

2850

3050

642

4320

8б, 11в, 11г

34400

5740

2780

2960

639

4220

41600

5990

2850

3140

642

4320

8д, 9б

34600

6140

2980

3160

669

4320

8е, 9в

40200

6320

2980

3340

669

4320

36800

6320

2980

3340

669

4320

10а

38300

6330

3080

3250

719

4120

10б

40600

6480

3220

3260

725

4320

10в

42000

6480

3220

3260

725

4320

11а

42700

5840

2600

3240

632

3940

11б

35700

5670

2720

2950

636

4120

12а

30100

5320

2600

2720

632

3940

12в

31700

5320

2600

2720

632

3940

12г

31900

5550

2720

2830

660

3940

12д

34200

5550

2720

2830

660

3940

12е

38800

6030

2720

3310

660

3940

В том числе:

а) земляные работы

1, 3 - 6

631

631

147

484

199

280

2а, 2в, 8в, 8д - 9в, 12г - 12е

701

701

177

524

239

280

2б, 7а - 8б, 8г, 11а - 12в

683

683

169

514

229

280

770

770

206

564

279

280

10

735

735

191

544

259

280

б) транспортирование грунта

1а - 1е, 3в, 3г, 4б, 5а, 6а, 6в

1300

1300

-

1300

-

-

1ж, 3б, 4а, 6б

1080

1080

-

1080

-

 

2а, 2в, 8е, 9а, 9в, 12е

1690

1690

-

1690

-

-

2б, 5б, 11а

1650

1650

-

1650

-

-

1990

1990

-

1990

-

-

910

910

-

910

-

-

7а, 7б, 7г - 8б, 11б - 11е, 12б

1340

1340

-

1340

-

-

7в, 8в - 8д, 9б

1520

1520

-

1520

-

-

10

1560

1560

-

1560

-

-

12а, 12в

1130

1130

-

1130

-

-

12г, 12д

1210

1210

-

1210

-

-

РАЗДЕЛ II. МОНТАЖ МЕТАЛЛОКОНСТРУКЦИЙ

1, 3 - 6

499

50

24

26

9

40

2а, 2в, 8в, 8д, 8е, 12г - 12е

510

57

29

28

11

40

2б, 7а - 8б, 8г, 11а - 12в

506

56

28

28

11

40

523

64

34

30

13

40

9

525

57

29

28

11

40

10

575

60

31

29

12

40

РАЗДЕЛ III. ВНУТРЕННИЕ САНИТАРНО-ТЕХНИЧЕСКИЕ УСТРОЙСТВА

1. Санитарно-технические работы по отоплению и вентиляции

1, 3 - 6

686

51

46

5

2

76

2а, 2в, 8в, 8д, 9, 12г, 12д

705

62

56

6

2

76

2б, 8а, 8б, 8г, 11а - 12в

703

59

53

6

2

76

738

71

65

6

2

76

7

689

59

53

6

2

76

790

62

56

6

2

76

10

732

66

60

6

2

76

12е

724

62

56

6

2

76

2. Сопутствующие строительные работы

1, 3 - 6

12

5,8

5,8

-

-

10,5

2а, 2в, 8в, 8д, 9, 12г - 12е

13

6,9

6,9

-

-

10,5

2б, 7а - 8б, 8г, 11а - 12в

13

6,6

6,6

-

-

10,5

15

8,1

8,1

-

-

10,5

14

6,9

6,9

-

-

10,5

10

14

7,5

7,5

-

-

10,5

РАЗДЕЛ IV. ЭЛЕКТРОМОНТАЖНЫЕ РАБОТЫ

1, 3 - 6

422

157,7

104

53,7

19,2

175

2а, 2в, 8в, 8д, 9, 12г - 12е

456

182,5

125

57,5

23

175

2б, 7а - 8б, 8г, 11а - 12в

443

176,5

120

56,5

22,1

175

487

207,4

146

61,4

26,9

175

472

182,5

125

57,5

23

175

10

477

195,5

136

59,5

25

175

В том числе:

а) электроосвещение

1, 3, 4

90

23,5

13,1

10,4

3,7

21,9

2а, 2в, 8в, 8д, 9, 12г, 12д

95

26,8

15,7

11,1

4,4

21,9

2б, 7а - 8б, 8г, 11а - 12в

93

25,9

15

10,9

4,3

21,9

102

30,1

18,3

11,8

5,2

21,9

5, 6

92

23,5

13,1

10,4

3,7

21,9

8е, 12е

101

26,8

15,7

11,1

4,4

21,9

10

101

28,5

17

11,5

4,8

21,9

б) монтаж электросилового оборудования

1, 3 - 6

331

134,6

91,3

43,3

15,5

153

2а, 2в, 8в, 8д, 9, 12г - 12е

358

156,4

110

46,4

18,6

153

2б, 7а - 8б, 8г, 11а - 12в

350

150,6

105

45,6

17,8

153

385

177,4

128

49,4

21,7

153

371

156,4

110

46,4

18,6

153

10

376

167

119

48

20,2

153

РАЗДЕЛ V. МОНТАЖ ТЕХНОЛОГИЧЕСКОГО ОБОРУДОВАНИЯ И ТРУБОПРОВОДОВ

1. Монтажные работы

1, 3 - 6

2780

764

550

214

66,7

917

2а, 2в, 8в, 8д, 9, 12г - 12е

2960

887

660

227

80

917

11а-12в

2880

857

633

224

76,7

917

3140

1011

771

240

93,4

917

3190

887

660

227

80

917

10

3090

950

716

234

86,7

917

2. Сопутствующие строительные работы

1, 3 - 6

444

70,8

52,8

18

5,6

87,7

2а, 2в, 8в, 8д, 9, 12г - 12е

459

82,5

63,4

19,1

6,7

87,7

2б, 7а - 8б, 8г, 11а - 12в

454

79,6

60,8

18,8

6,4

87,7

479

94,2

74

20,2

7,8

87,7

493

82,5

63,4

19,1

6,7

87,7

10

472

88,3

68,7

19,6

7,3

87,7

3. Монтаж металлоконструкций, сопутствующий монтажу оборудования

1, 3 - 6

1560

198,6

129

69,6

24,3

198

2а, 2в, 8в; 8д - 9в, 12г - 12е

1620

229,5

155

74,5

29,2

198

2б, 7а - 8б, 8г, 11а - 12в

1590

222,3

149

73,3

28

198

1650

260,3

181

79,3

34,1

198

10

1790

244,9

168

76,9

31,6

198

Районная цена №314

Очистные сооружения для сточных вод от мойки автомобилей с расходом воды 30 л/с при частичном оборотном водоснабжении, стены из сборных железобетонных панелей (типовой проект 902-2-171)

Измеритель - 1 сооружение

Районы

Прямые затраты, руб.

Нормативная условно-чистая продукция, руб.

В том числе, руб.

Затраты труда рабочих, чел.-ч

основная заработная плата рабочих

эксплуатация машин

всего

в том числе заработная плата рабочих, обслуживающих машины

1

2

3

4

5

6

7

РАЗДЕЛ I. СТРОИТЕЛЬНЫЕ РАБОТЫ

1а, 3в, 4б, 5а

37600

6000

2840

3160

635

4950

1б, 1г - 1е, 6в

40800

6090

2920

3170

638

5080

1в, 6а

38700

6000

2840

3160

635

4950

1ж, 3а, 3б, 3г

35200

5720

2770

2950

633

4830

2а, 8в

46700

7330

3680

3650

771

5330

2б, 8а, 11г

42300

6920

3440

3480

736

5200

53800

7420

3680

3740

771

5330

48500

8260

4080

4180

892

5070

36800

5690

2770

2920

633

4830

42300

6470

2920

3550

637

5070

38100

5690

2770

2920

633

4830

7а, 7б, 7г

40700

6850

3520

3330

739

5330

7в, 11д, 11е

44200

6950

3520

3430

739

5330

8б, 11в

43000

6760

3440

3320

736

5200

51700

7040

3520

3520

739

5330

8д, 9б

43000

7230

3680

3550

771

5330

8с, 9в

50000

7420

3680

3740

771

5330

45500

7420

3680

3740

771

5330

10а

47500

7430

3790

3640

829

5070

10б

50400

7640

3980

3660

836

5330

10в

52100

7640

3980

3660

836

5330

11а

52900

6820

3190

3630

728

4830

11б

44200

6670

3360

3310

733

5070

12а

37500

6250

3190

3060

728

4830

12б

40300

6490

3190

3300

728

4830

12в

39200

6250

3190

3060

728

4830

12г

39600

6520

3330

3190

759

4830

12д

42000

6520

3330

3190

759

4830

12е

48100

7030

3330

3700

759

4830

В том числе:

а) земляные работы

1, 3 - 6

678

678

156

522

214

297

2а, 2в, 8в, 8д - 9в, 12г - 12е

752

752

187

565

257

297

2б, 7а - 8б, 8г, 11а - 12в

733

733

179

554

246

297

826

826

218

608

299

297

10

788

788

202

586

278

297

б) транспортирование грунта

1а - 1е, 3в, 3г, 4б, 5а, 6а, 6в

1410

1410

-

1410

-

-

1ж, 3б, 4а, 6б

1170

1170

-

1170

-

-

2а, 2в, 8е, 9а, 9в, 12е

1830

1830

-

1830

-

-

2б, 11а

1780

1780

-

1780

-

-

2160

2160

-

2160

-

-

984

984

-

984

-

-

1780

1780

-

1780

-

-

7а, 7б, 7г - 8б, 11б - 11е, 12б

1450

1450

-

1450

-

-

7в, 8в - 8д, 9б

1640

1640

-

1640

-

-

10

1690

1690

-

1690

-

-

12а, 12в

1220

1220

-

1220

-

-

12г, 12д

1310

1310

-

1310

-

-

РАЗДЕЛ II. МОНТАЖ МЕТАЛЛОКОНСТРУКЦИЙ

1, 3 - 5

519

53

25

28

10

42

2а, 2в, 8в, 8д, 8е, 12г - 12е

534

60

30

30

12

42

2б, 7а - 8б, 8г, 11а - 12в

529

57

28

29

12

42

547

67

35

32

14

42

6

531

53

25

28

10

42

9

549

60

30

30

12

42

10

602

63

32

31

13

42

РАЗДЕЛ III. ВНУТРЕННИЕ САНИТАРНО-ТЕХНИЧЕСКИЕ УСТРОЙСТВА

1. Санитарно-технические работы по отоплению и вентиляции

1, 3 - 6

804

60

54

6

2

90

2а, 2в, 8в, 8д, 9, 12г, 12д

827

72

65

7

2

90

2б, 8а, 8б, 8г, 11а - 12в

824

69

63

6

2

90

865

83

76

7

3

90

7

808

69

63

6

2

90

925

72

65

7

2

90

10

858

78

71

7

2

90

12е

849

72

65

7

2

90

2. Сопутствующие строительные работы

1, 3 - 6

10

4,7

4,7

-

-

8,5

2а, 2в, 8в, 8д - 9в, 12г - 12е

11

5,6

5,6

-

-

8,5

2б, 7а - 8б, 8г, 11а - 12в

10

5,4

5,4

-

-

8,5

12

6,6

6,6

-

-

8,5

10

11

6,1

6,1

-

-

8,5

РАЗДЕЛ IV. ЭЛЕКТРОМОНТАЖНЫЕ РАБОТЫ

1, 3 - 6

496

188,5

125

63,5

22,7

210

2а, 2в, 8в, 8д, 9, 12г - 12е

536

217,9

150

67,9

27,2

210

2б, 7а - 8б, 8г, 11а - 12в

522

210,8

144

66,8

26,1

210

574

247,5

175

72,5

31,8

210

556

217,9

150

67,9

27,2

210

10

562

232,2

162

70,2

29,5

210

В том числе монтаж электросилового оборудования

1, 3 - 6

405

165,1

112

53,1

19

188

2а, 2в, 8в, 8д, 9, 12г - 12е

438

190,8

134

56,8

22,8

188

2б, 7а - 8б, 8г, 11а - 12в

429

185,1

129

56

21,9

188

472

217,7

157

60,7

26,6

188

454

190,8

134

56,8

22,8

188

10

461

203,8

145

58,8

24,7

188

РАЗДЕЛ V. МОНТАЖ ТЕХНОЛОГИЧЕСКОГО ОБОРУДОВАНИЯ И ТРУБОПРОВОДОВ

1. Монтажные работы

1, 3 - 6

3590

987

711

276

86,2

1180

2а, 2в, 8в, 8д. 9, 12г - 12е

3820

1147

853

294

103

1180

2б, 7а - 8б, 8г, 11а - 12в

3720

1108

818

290

99

1180

4060

1307

995

312

121

1180

4120

1147

853

294

103

1180

10

3990

1227

924

303

112

1180

2. Сопутствующие строительные работы

1, 3 - 6

648

100,3

76,3

24

7,5

127

2а, 2в, 8в, 8д, 9, 12г - 12е

670

117,1

91,6

25,5

9

127

2б, 7а - 8б, 8г, 11а - 12в

663

112,9

87,8

25,1

8,6

127

698

134

107

27

10,5

127

718

117,1

91,6

25,5

9

127

10

689

125,5

99,2

26,3

9,7

127

3. Монтаж металлоконструкций, сопутствующий монтажу оборудования

1, 3 - 6

1920

232,6

159

73,6

25,5

243

2а, 2в, 8в, 8д - 9в, 12г - 12е

2000

268,7

190

78,7

30,6

243

2б, 7а - 8б, 8г, 11а - 12в

1960

259,4

182

77,4

29,3

243

2040

305,8

222

83,8

35,7

243

10

2210

287,2

206

81,2

33,2

243

Примечание. Затраты по электроосвещению следует принимать по цене № 313.

Рис. 12. Помещение для бункера с осадком и емкостью для масла. Типовой проект 902-2-171 (к цене № 315)

Районная цена №315

Помещение для бункера с осадком и емкости для масла (типовой проект 902-2-171)

Измеритель - 1 сооружение

Районы

Прямые затраты, руб.

Нормативная условно-чистая продукция, руб.

В том числе, руб.

Затраты труда рабочих, чел.-ч

основная заработная плата рабочих

эксплуатация машин

всего

в том числе заработная плата рабочих, обслуживающих машины

1

2

3

4

5

6

7

РАЗДЕЛ I. СТРОИТЕЛЬНЫЕ РАБОТЫ

1а, 1в - 1д, 1ж, 3в

1690

242,9

213

29,9

8,5

374

1б, 1е, 3а, 3б, 3г, 5

1740

243

213

30

8,5

374

2а, 2в, 8в, 8д, 9б, 12д

1840

287,9

256

31,9

10,1

374

2б, 7в - 8а

1760

276,5

245

31,5

9,7

374

2020

332,2

298

34,2

11,8

374

4, 6

1800

242,9

213

29,9

8,5

374

7а, 7б

1720

276,3

245

31,3

9,7

374

8б, 12а

1830

276,2

245

31,2

9,7

374

8г, 11б - 11е, 12б

1950

276,4

245

31,4

9,7

374

2330

288,2

256

32,2

10,1

374

9а, 9в, 12г

1900

287,9

256

31,9

10,1

374

10а, 10в

2000

309,8

277

32,8

11

374

10б

2040

309,8

277

32,8

11

374

11а

2040

276,7

245

31,7

9,7

374

12в

1860

276

245

31

9,7

374

12е

2040

288,2

256

32,2

10,1

374

В том числе:

а) земляные работы

1, 3 - 6

9

9

9

-

-

18

2а, 2в, 8в, 8д - 9в, 12г - 12е

11

11

11

-

-

18

2б, 7а - 8б, 8г, 11а - 12в

10

10

10

-

-

18

13

13

13

-

-

18

10

12

12

12

-

-

18

б) транспортирование грунта

1а - 1е, 2, 3в, 3г, 4б, 5, 6а, 6в - 11, 12б

2

2

-

2

-

-

1ж, 3а, 3б, 4а, 6б, 12а, 12а, 12г, 12д

1

1

-

1

-

-

РАЗДЕЛ II. МОНТАЖ МЕТАЛЛОКОНСТРУКЦИЙ

1, 3 - 6

1360

110,5

43,3

67,2

24

67,6

2а, 2в, 8в, 8д, 8е, 12г - 12е

1390

124

52

72

28,8

67,6

2б, 8а, 8б, 8г, 12а - 12в

1380

120,6

49,8

70,8

27,6

67,6

1420

137,4

60,6

76,8

33,6

67,6

7, 11

1360

120,6

49,8

70,8

27,6

67,6

9

1430

124

52

72

28,8

67,6

10

1570

130,7

56,3

74,4

31,2

67,6

РАЗДЕЛ III. ВНУТРЕННИЕ САНИТАРНО-ТЕХНИЧЕСКИЕ УСТРОЙСТВА

1. Санитарно-технические работы по отоплению и вентиляции

1, 3 - 6

492

86,3

77,9

8,4

2,9

126

2а, 2в, 8в, 8д, 9, 12г - 12е

516

102,5

93,5

9

3,5

126

2б, 7а - 8б, 8г, 11а - 12в

510

98,4

89,6

8,8

3,3

126

532

118,6

109

9,6

4,1

126

556

102,5

93,5

9

3,5

126

10

523

110,3

101

9,3

3,8

126

2. Сопутствующие строительные работы

1, 3 - 6

50

9,4

9,2

0,2

0,1

15,9

2а, 2в, 8в, 8д, 9, 12г - 12е

53

11,3

11

0,3

0,1

15,9

2б, 8а, 8б, 8г, 11а - 12в

52

10,8

10,6

0,2

0,1

15,9

57

13,2

12,9

0,3

0,1

15,9

7

51

10,8

10,6

0,2

0,1

15,9

62

11,3

11

0,3

0,1

15,9

10

57

12,2

11,9

0,3

0,1

15,9

РАЗДЕЛ IV. ЭЛЕКТРОМОНТАЖНЫЕ РАБОТЫ (ЭЛЕКТРООСВЕЩЕНИЕ)

1, 3, 4

117

30,5

17

13,5

4,8

28,5

2а, 2в, 8в, 8д, 9, 12г, 12д

124

34,8

20,4

14,4

5,8

28,5

2б, 7а - 8б, 8г, 11а - 12в

122

33,8

19,6

14,2

5,5

28,5

133

39,2

23,8

15,4

6,7

28,5

5, 6

120

30,5

17

13,5

4,8

28,5

8е, 12е

132

34,8

20,4

14,4

5,8

28,5

10

132

37

22,1

14,9

6,2

28,5

РАЗДЕЛ V. МОНТАЖ ТЕХНОЛОГИЧЕСКОГО ОБОРУДОВАНИЯ И ТРУБОПРОВОДОВ

1. Монтажные работы

1, 3 - 6

644

177,6

128

49,6

15,5

213

2а, 2в, 8в, 8д, 9, 12г - 12е

685

205,7

153

52,7

18,6

213

2б, 7а - 8б, 8г, 11а - 12в

668

198,9

147

51,9

17,8

213

728

234,9

179

55,9

21,7

213

738

205,7

153

52,7

18,6

213

10

715

220,2

166

54,2

20,1

213

2. Сопутствующие строительные работы

1, 3 - 5

46

14,1

6,2

7,9

2,5

10,2

2а, 2в, 8в, 8д, 9, 12г, 12д

48

15,9

7,5

8,4

3

10,2

2б, 11а - 12в

48

15,4

7,1

8,3

2,9

10,2

52

17,6

8,7

8,9

3,5

10,2

6

47

14,1

6,2

7,9

2,5

10,2

7а - 8б, 8г

47

15,4

7,1

8,3

2,9

10,2

54

15,9

7,5

8,4

3

10,2

10

51

16,8

8,1

8,7

3,3

10,2

12е

50

15,9

7,5

8,4

3

10,2

3. Монтаж металлоконструкций, сопутствующий монтажу оборудования

1, 3 - 6

1030

173,7

110

63,7

19

172

2а, 2в, 8в, 8д - 9в, 12г - 12е

1080

199,5

132

67,5

22,8

172

2б, 7а - 8б, 8г, 11а - 12в

1060

193,5

127

66,5

21,9

172

1100

225,3

154

71,3

26,6

172

10

1180

212,4

143

69,4

24,7

172

Рис. 13. Очистные сооружения для сточных вод от мойки автомобилей с расходом 10, 20 и 30 л/с при оборотном водоснабжении. Типовой проект 902-2-172 (к ценам № 316 - 318)

10. Очистные сооружения для сточных вод от мойки автомобилей с расходом воды 10, 20 и 30 л/с при оборотном водоснабжении в сухих грунтах

Районная цена №316

Очистные сооружения для сточных вод от мойки автомобилей с расходом воды 10 л/с при оборотном водоснабжении, стены из сборных железобетонных панелей (типовой проект 902-2-172)

Измеритель - 1 сооружение

Районы

Прямые затраты, руб.

Нормативная условно-чистая продукция, руб.

В том числе, руб.

Затраты труда рабочих, чел.-ч

основная заработная плата рабочих

эксплуатация машин

всего

в том числе заработная плата рабочих, обслуживающих машины

1

2

3

4

5

6

7

РАЗДЕЛ I. СТРОИТЕЛЬНЫЕ РАБОТЫ

1а, 3в, 4б, 5а, 6а

20500

4180

1700

2480

452

2980

1б, 1г, 1е, 6в

22900

4230

1740

2490

454

3040

21100

4230

1740

2490

454

3030

21600

4230

1740

2490

454

3030

1ж, 3а, 3б

19000

3850

1670

2180

450

2920

2а, 8в, 12е

25800

4970

2090

2880

545

3040

2б, 8а

23400

4790

2040

2750

525

3100

28400

5140

2170

2970

550

3160

27000

5760

2430

3330

635

3030

19400

4140

1670

2470

450

2920

19800

3940

1670

2270

450

2920

22700

4560

1740

2820

454

3030

20400

3940

1670

2270

450

2920

7а, 7б, 7г, 11г

22600

4640

2040

2600

525

3100

7в, 8б, 11д, 11е

24200

4780

2080

2700

528

3160

8г, 11а

27900

4820

2000

2820

523

3040

8д, 9б

23800

4970

2170

2800

550

3160

27800

5140

2170

2970

550

3160

25000

5140

2170

2970

550

3160

26800

5140

2170

2970

550

3160

10а

25700

5130

2260

2870

590

3030

10б

27100

5240

2350

2890

596

3160

10в

27900

5240

2350

2890

596

3160

11б

23800

4600

2000

2600

522

3030

11в

23300

4600

2000

2600

522

3030

12а, 12в

20600

4300

1920

2380

518

2920

12б

21800

4500

1920

2580

518

2920

12г

21200

4490

2010

2480

540

2920

12д

21800

4490

2010

2480

540

2920

В том числе:

а) земляные работы

1, 3 - 6

591

591

129

462

191

243

2а, 2в, 8в, 8д - 9в, 12г - 12е

655

655

155

500

229

243

2б, 7а - 8б, 8г, 11а - 12в

639

639

148

491

219

243

719

719

181

538

267

243

10

687

687

168

519

248

243

б) транспортирование грунта

1а - 1е, 3в, 3г, 4б, 5а, 6а, 6в

1240

1240

-

1240

-

-

1ж, 3б, 4а, 6б

1030

1030

-

1030

-

-

2а, 2в, 8е, 9а, 9в, 12е

1610

1610

-

1610

-

-

2б, 5б, 11а

1570

1570

-

1570

-

-

1900

1900

-

1900

-

-

867

867

-

867

-

-

7а, 7б, 7г - 8б, 11б - 11е, 12б

1280

1280

-

1280

-

-

7в, 8в - 8д, 9б

1440

1440

-

1440

-

-

10

1490

1490

-

1490

-

-

12а, 12в

1070

1070

-

1070

-

-

12г, 12д

1160

1160

-

1160

-

-

РАЗДЕЛ II. МОНТАЖ МЕТАЛЛОКОНСТРУКЦИЙ

1, 3 - 6

597

58

30

28

10

50

2а, 2в, 8в, 8д, 8е, 12г - 12е

610

66

36

30

12

50

2б, 7а - 8б, 8г, 11а - 12в

605

63

34

29

12

50

625

74

42

32

14

50

9

627

66

36

30

12

50

10

685

70

39

31

13

50

РАЗДЕЛ III. ВНУТРЕННИЕ САНИТАРНО-ТЕХНИЧЕСКИЕ УСТРОЙСТВА

1. Санитарно-технические работы по отоплению и вентиляции

1, 3 - 6

855

156

142

14

4

227

2а, 2в, 8в, 8д, 9, 12г - 12е

895

186

171

15

5

227

2б, 7а - 8б, 8г, 11а - 12в

882

179

164

15

5

227

928

215

199

16

6

227

961

186

171

15

5

227

10

910

200

185

15

5

227

2. Сопутствующие строительные работы

1, 3 - 6

51

25

25

-

-

45,4

2а, 2в, 8в, 8д, 9, 12г - 12е

57

30

30

-

-

45,4

2б, 7а - 8б, 8г, 11а - 12в

55

28,8

28,8

-

-

45,4

63

35,1

35,1

-

-

45,4

60

30

30

-

-

45,4

10

61

32,5

32,5

-

-

45,4

РАЗДЕЛ IV. ЭЛЕКТРОМОНТАЖНЫЕ РАБОТЫ

1, 3 - 6

381

137

89,2

47,8

17,1

150

2а, 2в, 8в, 8д, 9, 12г - 12е

411

158,2

107

51,2

20,5

150

2б, 7а - 8б, 8г, 11а - 12в

399

152,7

102

50,7

20

150

438

179,6

125

54,6

23,9

150

426

158,2

107

51,2

20,5

150

10

430

168,9

116

52,9

22,2

150

В том числе:

а) электроосвещение

1, 3, 4

119

31

17,3

13,7

4,9

29

2а, 2в, 8в, 8д, 9, 12г, 12д

126

35,4

20,7

14,7

5,9

29

2б, 7а - 8б, 8г, 11а - 12в

124

34,3

19,9

14,4

5,6

29

135

39,9

24,2

15,7

6,9

29

5, 6

122

31

17,3

13,7

4,9

29

8е, 12е

134

35,4

20,7

14,7

5,9

29

10

134

37,8

22,5

15,3

6,4

29

б) монтаж электросилового оборудования

1, 3 - 6

260

106

71,9

34,1

12,2

121

2а, 2в, 8в, 8д, 9, 12г - 12е

281

122,6

86,2

36,4

14,6

121

2б, 7а - 8б, 8г, 11а - 12в

276

118,6

82,7

35,9

14

121

303

140

101

39

17,1

121

292

122,6

86,2

36,4

14,6

121

10

296

131,2

93,4

37,8

15,9

121

РАЗДЕЛ V. МОНТАЖ ТЕХНОЛОГИЧЕСКОГО ОБОРУДОВАНИЯ И ТРУБОПРОВОДОВ

1. Монтажные работы

1, 3 - 6

2020

554

399

155

48,4

666

2а, 2в, 8в, 8д, 9, 12г - 12е

2140

644

479

165

58,1

666

2б, 7а - 8б, 8г, 11а - 12в

2100

622

459

163

55,7

666

2280

733

559

174

67,8

666

2310

644

479

165

58,1

666

10

2240

689

519

170

62,9

666

2. Сопутствующие строительные работы

1, 3 - 6

165

34,3

21,9

12,4

3,9

36,4

2а, 2в, 8в, 8д, 9, 12г - 12е

172

39,5

26,3

13,2

4,7

36,4

2б, 7а - 8б, 8г, 11а - 12в

170

38,2

25,2

13

4,5

36,4

181

44,6

30,7

13,9

5,4

36,4

188

39,5

26,3

13,2

4,7

36,4

10

179

42

28,5

13,5

5

36,4

3. Монтаж металлоконструкций, сопутствующий монтажу оборудования

1, 3 - 6

731

131,9

68,7

63,2

22,4

105

2а, 2в, 8в, 8д - 9в, 12г - 12е

761

150,2

82,5

67,7

26,9

105

2б, 7а - 8б, 8г, 11а - 12в

747

145,7

79,1

66,6

25,8

105

780

168,4

96,2

72,2

31,4

105

10

836

159,4

89,4

70

29,2

105

Районная цена №317

Очистные сооружения для сточных вод от мойки автомобилей с расходом воды 20 л/с при оборотном водоснабжении, стены из сборных железобетонных панелей (типовой проект 902-2-172)

Измеритель - 1 сооружение

Районы

Прямые затраты, руб.

Нормативная условно-чистая продукция, руб.

В том числе, руб.

Затраты труда рабочих, чел.-ч

основная заработная плата рабочих

эксплуатация машин

всего

в том числе заработная плата рабочих, обслуживающих машины

1

2

3

4

5

6

7

РАЗДЕЛ I. СТРОИТЕЛЬНЫЕ РАБОТЫ

1а, 3в, 4б, 5а, 6а

28400

5000

2390

2610

522

4150

1б, 1г, 1е, 6в

30800

5070

2450

2620

525

4260

29300

5070

2450

2620

524

4250

30000

5070

2450

2620

524

4250

1ж, 3а, 3б

26400

4670

2330

2340

520

4050

2а, 8в

35400

6100

3090

3010

636

4470

2б, 11в, 11г

32000

5690

2820

2870

603

4250

39700

6180

3090

3090

636

4470

37100

6870

3430

3440

734

4250

26700

4940

2330

2610

520

4050

27600

4750

2330

2420

520

4050

31300

5380

2450

2930

524

4250

28500

4750

2330

2420

520

4050

7а, 7б, 7г

31000

5720

2960

2760

609

4470

7в, 8б, 11д, 11е

33400

5800

2960

2840

609

4470

8а, 11б

32800

5640

2890

2750

606

4360

8г, 11а

38900

5770

2820

2950

604

4260

8д, 9б

32800

6030

3090

2940

636

4470

38500

6180

3090

3090

636

4470

34500

6180

3090

3090

636

4470

37200

6180

3090

3090

636

4470

10а

35600

6190

3180

3010

681

4250

10б

37700

6370

3340

3030

689

4470

10в

38700

6370

3340

3030

689

4470

12а, 12в

28500

5210

2680

2530

598

4050

12б

30000

5400

2680

2720

598

4050

12г

29500

5430

2800

2630

624

4050

12д

30200

5430

2800

2630

624

4050

12е

36200

5850

2800

3050

624

4050

В том числе

а) земляные работы

1, 3 - 6

535

535

113

422

172

215

2а, 2в, 8в, 8д - 9в, 12г - 12е

593

593

136

457

206

215

2б, 7а - 8б, 8г, 11а - 12в

578

578

130

448

198

215

649

649

158

491

241

215

10

621

621

147

474

223

215

б) транспортирование грунта

1а - 1е, 3в, 3г, 4б, 5а, 6а, 6в

1140

1140

-

1140

-

-

1ж, 3б, 4а, 6б

954

954

-

954

-

-

2а, 2в, 8е, 9а, 9в, 12е

1490

1490

-

1490

-

-

2б, 5б, 11а

1450

1450

-

1450

-

-

1760

1760

-

1760

-

-

802

802

-

802

-

-

7а, 7б, 7г - 8б, 11б - 11е, 12б

1180

1180

-

1180

-

-

7в, 8в - 8д, 9б

1340

1340

-

1340

-

-

10

1370

1370

-

1370

-

-

12а, 12в

992

992

-

992

-

-

12г, 12д

1070

1070

-

1070

-

-

РАЗДЕЛ II. МОНТАЖ МЕТАЛЛОКОНСТРУКЦИЙ

1, 3 - 6

1040

101

45

56

20

74

2а, 2в, 8в, 8д - 9в, 12г - 12е

1080

113

53

60

24

74

2б, 7а - 8б, 8г, 11а - 12в

1060

110

51

59

23

74

1100

126

62

64

28

74

10

1200

120

58

62

26

74

РАЗДЕЛ III. ВНУТРЕННИЕ САНИТАРНО-ТЕХНИЧЕСКИЕ УСТРОЙСТВА

1. Санитарно-технические работы по отоплению и вентиляции

1, 3 - 6

1030

193

175

18

5

280

2а, 2в, 8в, 8д, 9, 12г - 12е

1080

229

210

19

6

280

2б, 7а - 8б, 8г, 11а - 12в

1060

220

202

18

6

280

1120

266

246

20

7

280

1160

229

210

19

6

280

10

1100

247

228

19

6

280

2. Сопутствующие строительные работы

1

42

26,9

26,9

-

-

47,6

2а, 2в, 8в, 8д, 9, 12г - 12е

48

32,3

32,3

-

-

47,6

2б, 7а - 8б, 8г, 11а - 12в

47

30,9

30,9

-

-

47,6

54

37,6

37,6

-

-

47,6

3 - 6

43

26,9

26,9

-

-

47,6

50

32,3

32,3

-

-

47,6

10

52

34,9

34,9

-

-

47,6

РАЗДЕЛ IV. ЭЛЕКТРОМОНТАЖНЫЕ РАБОТЫ

1, 3 - 6

463

169,5

111

58,5

21

186

2а, 2в, 8в, 8д, 9, 12г - 12е

500

195,8

133

62,8

25,2

186

2б, 7а - 8б, 8г, 11а - 12в

486

188,6

127

61,6

24,1

186

534

221,9

155

66,9

29,4

186

518

195,8

133

62,8

25,2

186

10

523

208,8

144

64,8

27,3

186

В том числе:

а) электроосвещение

1, 3, 4

128

33,4

18,6

14,8

5,3

31,2

2а, 2в, 8в, 8д, 9, 12г, 12д

135

38,2

22,3

15,9

6,4

31,2

2б, 7а - 8б, 8г, 11а - 12в

133

37

21,4

15,6

6,1

31,2

145

42,9

26

16,9

7,4

31,2

5, 6

131

33,4

18,6

14,8

5,3

31,2

8е, 12е

144

38,2

22,3

15,9

6,4

31,2

10

144

40,6

24,2

16,4

6,9

31,2

б) монтаж электросилового оборудования

1, 3 - 6

334

135,9

92,2

43,7

15,7

155

2а, 2в, 8в, 8д, 9, 12г - 12е

361

157,8

111

46,8

18,8

155

2б, 7а - 8б, 8г, 11а - 12в

353

152,1

106

46,1

18,1

155

389

179

129

50

22

155

374

157,8

111

46,8

18,8

155

10

379

168,4

120

48,4

20,4

155

РАЗДЕЛ V. МОНТАЖ ТЕХНОЛОГИЧЕСКОГО ОБОРУДОВАНИЯ И ТРУБОПРОВОДОВ

1. Монтажные работы

1, 3 - 6

3130

860

619

241

75

1030

2а, 2в, 8в, 8д, 9, 12г - 12е

3320

999

743

256

90

1030

2б, 7а - 8б, 8г, 11а - 12в

3240

964

712

252

86,3

1030

3530

1137

866

271

105

1030

3580

999

743

256

90

1030

10

3470

1069

805

264

98

1030

2. Сопутствующие строительные работы

1, 3 - 6

288

55,3

37,9

17,4

5,4

62,9

2а, 2в, 8в, 8д, 9, 12г - 12е

300

63,8

45,4

18,4

6,5

62,9

2б, 7а - 8б, 8г, 11а - 12в

296

61,7

43,5

18,2

6,2

62,9

315

72,5

53

19,5

7,6

62,9

326

63,8

45,4

18,4

6,5

62,9

10

311

68,2

49,2

19

7

62,9

3. Монтаж металлоконструкций, сопутствующий монтажу оборудования

1, 3 - 6

1360

175,3

109

66,3

23,3

167

2а, 2в, 8в, 8д - 9в, 12г - 12е

1400

201,9

131

70,9

28

167

2б, 7а - 8б, 8г, 11а - 12в

1380

195,8

126

69,8

26,8

167

1430

228,6

153

75,6

32,7

167

10

1550

215,3

142

73,3

30,4

167

Районная цена №318

Очистные сооружения для сточных вод от мойки автомобилей с расходом воды 30 л/с при оборотном водоснабжении, стены из сборных железобетонных панелей (типовой проект 902-2-172)

Измеритель - 1 сооружение

Районы

Прямые затраты, руб.

Нормативная условно-чистая продукция, руб.

В том числе, руб.

Затраты труда рабочих, чел.-ч

основная заработная плата рабочих

эксплуатация машин

всего

в том числе заработная плата рабочих, обслуживающих машины

1

2

3

4

5

6

7

РАЗДЕЛ I. СТРОИТЕЛЬНЫЕ РАБОТЫ

1а, 3в, 4б, 5а, 6а

39200

6830

3280

3550

699

5690

1б, 1г, 1е, 6в

42600

6920

3360

3560

703

5840

40400

6930

3370

3560

702

5840

41300

6930

3370

3560

702

5840

1ж, За, 36

36400

6360

3190

3170

697

5540

2а, 8в

48600

8350

4250

4100

851

6150

2б, 8а, 11в, 11г

44200

7880

3980

3900

812

5990

54900

8450

4250

4200

851

6150

51000

9400

4710

4690

983

5840

36800

6730

3190

3540

697

5540

38000

6470

3190

3280

697

5540

43200

7350

3370

3980

702

5840

39400

6470

3190

3280

697

5540

7а, 7б, 7г

42600

7820

4080

3740

816

6150

7в, 8б, 11д, 11е

45800

7930

4080

3850

816

6150

8г, 11а

53600

7890

3880

4010

808

5840

8д, 9б

45200

8240

4250

3990

851

6150

52900

8450

4250

4200

851

6150

47400

8450

4250

4200

851

6150

51300

8450

4250

4200

851

6150

10а

49100

8470

4380

4090

913

5840

10б

52000

8730

4610

4120

922

6150

10в

53400

8730

4610

4120

922

6150

11б

45400

7590

3870

3720

808

5840

12а, 12в

39300

7110

3670

3440

801

5540

12б

41400

7370

3670

3700

801

5540

12г

40700

7410

3830

3580

836

5540

12д

41600

7410

3830

3580

836

5540

12е

49700

7990

3830

4160

836

5540

В том числе:

а) земляные работы

1, 3 - 6

749

749

161

588

240

304

2а, 2в, 8в, 8д - 9в, 12г - 12е

829

829

193

636

288

304

2б, 7а - 8б, 8г, 11а - 12в

809

809

185

624

276

304

909

909

225

684

336

304

10

869

869

209

660

312

304

б) транспортирование грунта

1а - 1е, 3в, 3г, 4б, 5а, 6а, 6в

1580

1580

-

1580

-

-

1ж, 3б, 4а, 6б

1320

1320

-

1320

-

-

2а, 2в, 8е, 9а, 9в, 12е

2060

2060

-

2060

-

-

2б, 5б, 11а

2010

2010

-

2010

-

-

2430

2430

-

2430

-

-

1110

1110

-

1110

-

-

7а, 7б, 7г - 8б, 11б - 11е, 12б

1640

1640

-

1640

-

-

7в, 8в - 8д, 9б

1850

1850

-

1850

-

-

10

1900

1900

-

1900

-

-

12а, 12в

1370

1370

-

1370

-

-

12г, 12д

1480

1480

-

1480

-

-

РАЗДЕЛ II. МОНТАЖ МЕТАЛЛОКОНСТРУКЦИЙ

1, 3 - 5

1300

125

53

72

26

87

2а, 2в, 8в, 8д, 8е, 12г - 12е

1340

141

64

77

31

87

2б, 7а - 8б, 8г, 11а - 12в

1330

136

61

75

30

87

1370

156

74

82

36

87

6

1330

125

53

72

26

87

9

1370

141

64

77

31

87

10

1500

148

69

79

33

87

РАЗДЕЛ III. ВНУТРЕННИЕ САНИТАРНО-ТЕХНИЧЕСКИЕ УСТРОЙСТВА

1. Санитарно-технические работы по отоплению и вентиляции

1, 3 - 6

1680

326

294

32

9

468

2а, 2в, 8в, 8д, 9, 12г - 12е

1750

387

353

34

11

468

2б, 7а - 8б, 8г, 11

1720

372

339

33

10

468

1810

448

412

36

13

468

1880

387

353

34

11

468

10

1780

418

383

35

12

468

12а - 12в

1760

372

339

33

10

468

2. Сопутствующие строительные работы

1, 3 - 6

73

46,1

46,1

-

-

81,6

2а, 2в, 8в,8д, 9, 12г - 12е

83

55,3

55,3

-

-

81,6

2б, 7а - 8б, 8г, 11а - 12в

80

53

53

-

-

81,6

93

64,5

64,5

-

-

81,6

86

55,3

55,3

-

-

81,6

10

89

59,9

59,9

-

-

81,6

РАЗДЕЛ IV. ЭЛЕКТРОМОНТАЖНЫЕ РАБОТЫ

1, 3 - 6

601

220

144

76

27,2

242

2а, 2в, 8в, 8д, 9, 12г - 12е

650

254,4

173

81,4

32,6

242

2б, 7а - 8б, 8г, 11а - 12в

632

246,1

166

80,1

31,3

242

693

288,8

202

86,8

38,1

242

673

254,4

173

81,4

32,6

242

10

679

272,1

188

84,1

35,4

242

В том числе:

а) электроосвещение

1, 3, 4

162

42,1

23,5

18,6

6,6

39,4

2а, 2в, 8в, 8д, 9, 12г, 12д

171

48,1

28,2

19,9

7,9

39,4

2б, 7а - 8б, 8г, 11а - 12в

168

46,6

27

19,6

7,6

39,4

184

54

32,9

21,1

9,2

39,4

5, 6

166

42,1

23,5

18,6

6,6

39,4

8е, 12е

182

48,1

28,2

19,9

7,9

39,4

10

182

51,1

30,5

20,6

8,6

39,4

б) монтаж электросилового оборудования

1, 3 - 6

438

178,4

121

57,4

20,6

203

2а, 2в, 8в, 8д, 9, 12г - 12е

473

206,5

145

61,5

24,7

203

2б, 7а - 8б, 8г, 11а - 12в

463

199,5

139

60,5

23,7

203

510

234,6

169

65,6

28,8

203

491

206,5

145

61,5

24,7

203

10

498

220,6

157

63,6

26,8

203

РАЗДЕЛ V. МОНТАЖ ТЕХНОЛОГИЧЕСКОГО ОБОРУДОВАНИЯ И ТРУБОПРОВОДОВ

1. Монтажные работы

1, 3 - 6

4200

1156

832

324

101

1390

2а, 2в, 8в, 8д, 9, 12г - 12е

4470

1343

999

344

121

1390

2б, 7а - 8б, 8г, 11а - 12в

4360

1296

957

339

116

1390

4750

1524

1160

364

141

1390

4820

1343

999

344

121

1390

10

4670

1434

1080

354

131

1390

2. Сопутствующие строительные работы

1, 3 - 6

414

76,9

53,8

23,1

7,2

89,4

2а, 2в, 8в, 8д, 9, 12г - 12е

432

89,2

64,6

24,6

8,7

89,4

2б, 7а - 8б, 8г, 11а - 12в

426

86,1

61,9

24,2

8,3

89,4

452

101,4

75,4

26

10,1

89,4

468

89,2

64,6

24,6

8,7

89,4

10

447

95,3

70

25,3

9,4

89,4

3. Монтаж металлоконструкций, сопутствующий монтажу оборудования

1, 3 - 6

1980

219,3

150

69,3

24,3

230

2а, 2в, 8в, 8д - 9в, 12г - 12е

2050

254,2

180

74,2

29,1

230

2б, 7а - 8б, 8г, 11а - 12в

2020

244,9

172

72,9

27,9

230

2090

289

210

79

34

230

10

2270

271,6

195

76,6

31,5

230

Рис. 11. Очистные сооружения для сточных вод от мойки автомобилей с расходом воды 10 л/с при оборотном водоснабжении (вариант для строительства в мокрых грунтах). Типовой проект 902-2-297 (к цене № 319)

Очистные сооружения для сточных вод от мойки автомобилей с расходом воды 10, 20 и 30 л/с при оборотном водоснабжении в мокрых грунтах

Районная цена №319

Очистные сооружения для сточных вод от мойки автомобилей с расходом воды 10 л/с при оборотном водоснабжении при строительстве в мокрых грунтах, стены из сборных железобетонных панелей (типовой проект 902-2-297)

Измеритель - 1 сооружение

Районы

Прямые затраты, руб.

Нормативная условно-чистая продукция, руб.

В том числе, руб.

Затраты труда рабочих, чел.-ч

основная заработная плата рабочих

эксплуатация машин

всего

в том числе заработная плата рабочих, обслуживающих машины

1

2

3

4

5

6

7

РАЗДЕЛ I. СТРОИТЕЛЬНЫЕ РАБОТЫ

1а, 3в - 4а

27200

5010

2440

2570

487

4350

1б, 6в

29600

5120

2440

2680

487

4350

1в, 4б, 5а, 6а, 6б

28400

5010

2440

2570

487

4350

1г, 1д

28800

5120

2440

2680

487

4350

30700

5120

2440

2680

487

4350

1ж, 3а

25800

4810

2440

2370

487

4350

2а, 8в, 9а

32900

6030

2930

3100

585

4350

2б, 7в

31900

5860

2810

3050

560

4359

37400

6110

2930

3180

585

4350

36400

7020

3420

3600

682

4350

26300

4900

2440

2460

487

4350

30000

5480

2440

3040

487

4350

7а, 7б, 7г, 12б

29000

5610

2810

2800

560

4350

8а, 11б - 11е

30600

5610

2810

2800

560

4350

31100

5610

2810

2800

560

4350

37500

5790

2810

2980

560

4350

30100

5940

2930

3010

585

4350

8е, 12е

36300

6110

2930

3180

585

4350

30800

5940

2930

3010

585

4350

33900

6110

2930

3180

585

4350

10а, 10б

34800

6280

3180

3100

634

4350

10в

35400

6280

3180

3100

634

4350

11а

36100

5930

2810

3120

560

4350

12а

27500

5390

2810

2580

560

4350

12в

28200

5390

2810

2580

560

4359

12г, 12д

29500

5620

2930

2690

585

4359

В том числе:

а) земляные работы

1, 3 - 6

869

869

341

528

218

704

2а, 2в, 8в, 8д - 9в, 12г - 12е

981

981

409

572

261

704

2б, 7а - 8б, 8г, 11а - 12в

953

953

392

561

251

704

1090

1090

477

613

305

704

10

1040

1040

443

597

283

704

б) транспортирование грунта

1а - 1е, 3в, 3г, 4б, 5а, 6а, 6в

1340

1340

-

1340

-

-

1ж, 3б, 4а, 6б

1120

1120

-

1120

-

-

2а, 2в, 8е, 9а, 9в, 12е

1740

1740

-

1740

-

-

2б, 5б, 11а

1700

1700

-

1700

-

-

2060

2060

-

2060

-

-

940

940

-

940

-

-

7а, 7б, 7г - 8б, 11б - 11е, 12б

1390

1390

-

1390

-

-

7в, 8в - 8д, 9б

1570

1570

-

1570

-

-

10

1610

1610

-

1610

-

-

12а, 12в

1160

1160

-

1160

-

-

12г, 12д

1250

1250

-

1250

-

-

РАЗДЕЛ II. МОНТАЖ МЕТАЛЛОКОНСТРУКЦИЙ

1, 3 - 5

1580

102

35

67

24

55

2а, 2в, 8в, 8д, 8е, 12г - 12е

1620

114

42

72

29

55

2б, 7а - 8б, 8г, 11а - 12в

1600

111

40

71

28

55

1650

126

49

77

34

55

6

1620

102

35

67

24

55

9

1670

114

42

72

29

55

10

1860

119

45

74

32

55

РАЗДЕЛ III. ВНУТРЕННИЕ САНИТАРНО-ТЕХНИЧЕСКИЕ УСТРОЙСТВА

1. Санитарно-технические работы по отоплению и вентиляции

1, 3 - 6

480

73,7

68,3

5,4

1,4

109

2а, 2в, 8в, 8д, 9, 12г - 12е

502

87,6

81,9

5,7

1,7

109

2б, 7а - 8б, 8г, 11а - 12в

494

84,1

78,5

5,6

1,6

109

524

101,5

95,6

5,9

1,9

109

533

87,6

81,9

5,7

1,7

109

10

517

94,6

88,8

5,8

1,8

109

2. Монтаж санитарно-технического оборудования изделий и конструкций, стоимость которых включается в объем строительно-монтажных работ

1а - 1в, 1д - 1ж, 3 - 6

694

65

62

3

1

89

713

66

63

3

1

91

2а, 2в, 8в, 8д, 9

732

79

76

3

2

91

2б, 7, 11а - 11г, 12а - 12в

714

75

72

3

1

90

750

89

86

3

2

89

8а, 8б, 8г, 11д, 11е

726

76

73

3

1

91

775

79

76

3

2

91

10а

738

83

80

3

2

89

10б, 10в

755

85

82

3

2

91

12г - 12е

719

77

74

3

2

89

3. Сопутствующие строительные работы

1, 3 - 6

50

33

33

-

-

58

2а, 2в, 8в, 8д - 9в, 12г - 12е

60

39

39

-

-

58

2б, 7а - 8б, 8г, 11а - 12в

60

38

38

-

-

58

70

46

46

-

-

58

10

60

42

42

-

-

58

РАЗДЕЛ IV. ЭЛЕКТРОМОНТАЖНЫЕ РАБОТЫ

1, 3 - 6

727

276

181

95

33

300

2а, 2в, 8в, 8д, 9, 12г, 12д

779

320

218

102

40

300

2б, 7а - 8б, 8г, 11а - 12в

763

309

209

100

38

300

839

362

254

108

46

300

8е, 12е

804

320

218

102

40

300

10

822

341

236

105

43

300

В том числе:

а) электроосвещение

1, 3, 4

249

65

36

29

10

61

2а, 2в, 8в, 8д, 9, 12г, 12д

263

74

43

31

12

61

2б, 7а - 8б, 8г, 11а - 12в

259

73

42

31

12

61

282

83

51

32

14

61

5, 6

255

65

36

29

10

61

8е, 12е

280

74

43

31

12

61

10

280

78

47

31

13

61

б) монтаж электросилового оборудования

1, 3 - 6

323

131

89

42

15

150

2а, 2в, 8в, 8д, 9, 12г - 12е

350

153

107

46

18

150

2б, 7а - 8б, 8г, 11а -12в

342

148

103

45

17

150

376

173

125

48

21

150

363

153

107

46

18

150

10

368

163

116

47

20

150

в) монтаж оборудования автоматики

1, 3 - 6

152

80

56

24

8

90

2а, 2в, 8в, 8д - 9в, 12г - 12е

166

93

67

26

10

90

2б, 7а - 8б, 8г, 11а - 12в

162

90

64

26

9

90

181

105

78

27

11

90

10

174

99

73

26

10

90

РАЗДЕЛ V, МОНТАЖ ТЕХНОЛОГИЧЕСКОГО ОБОРУДОВАНИЯ И ТРУБОПРОВОДОВ

1. Монтажные работы

1, 3 - 6

1520

412,3

331

81,3

25

512

2а, 2в, 8в, 8д - 9в, 12г - 12е

1600

483,2

397

86,2

30

512

2б, 7а - 8б, 8г, 11а - 12в

1570

465

380

85

28,8

512

1680

554,2

463

91,2

35

512

10

1650

518,7

430

88,7

32,5

512

2. Монтаж металлоконструкций, сопутствующий монтажу оборудования

1, 3 - 6

760

100

94,6

5,4

1,6

151

2а, 2в, 8в, 8д, 8е, 12г - 12е

785

119,7

114

5,7

1,9

151

2б, 7а - 8б, 8г, 11а - 12в

778

114,6

109

5,6

1,8

151

816

138

132

6

2,2

151

9

806

119,7

114

5,7

1,9

151

10

869

128,8

123

5,8

2,1

151

Рис. 15. Очистные сооружения для сточных вод от мойки автомобилей с расходом воды 20 л/с при оборотном водоснабжении (вариант для строительства в мокрых грунтах). Типовой проект 902-2-298 (к цене № 320)

Районная цена №320

Очистные сооружения для сточных вод от мойки автомобилей с расходом воды 20 л/с при оборотном водоснабжении при строительстве в мокрых грунтах, стены из сборных железобетонных панелей (типовой проект 902-2-298)

Измеритель - 1 сооружение

Районы

Прямые затраты, руб.

Нормативная условно-чистая продукция, руб.

В том числе, руб.

Затраты труда рабочих, чел.-ч

основная заработная плата рабочих

эксплуатация машин

всего

в том числе заработная плата рабочих, обслуживающих машины

1

2

3

4

5

6

7

РАЗДЕЛ I. СТРОИТЕЛЬНЫЕ РАБОТЫ

1а, 3в - 4а

39600

6430

3260

3170

624

5700

1б, 6в

43200

6560

3260

3300

624

5700

1в, 4б, 5а, 6а, 6б

41200

6430

3260

3170

624

5700

1г, 1д

41900

6560

3260

3300

624

5700

44500

6560

3260

3300

624

5700

1ж, 3а

37400

6190

3260

2930

624

5700

2а, 8в, 9а

47800

7700

3910

3790

749

5700

2б, 8б, 11б, 11д, 11е

45200

7380

3750

3630

718

5700

54800

7810

3910

3900

749

5700

52900

8950

4560

4390

874

5700

38200

6300

3260

3040

624

5700

43500

6980

3260

3720

624

5700

7а, 7б, 7г, 12б

42200

7200

3750

3450

718

5700

46600

7410

3750

3660

718

5700

8а, 11в, 11г

44200

7200

3750

3450

718

5700

54900

7410

3750

3660

718

5700

8д, 12д

43600

7410

3910

3500

749

5700

8е, 12е

53100

7810

3910

3900

749

5700

44900

7600

3910

3690

749

5700

49700

7810

3910

3900

749

5700

10а, 10б

50600

8040

4240

3800

811

5700

10в

51800

8040

4240

3800

811

5700

11а

53000

7560

3750

3810

718

5700

12а, 12в

40500

6930

3750

3180

718

5700

12г

42500

7230

3910

3320

749

5700

В том числе:

а) земляные работы

1, 3 - 6

956

956

329

627

255

677

2а, 2в, 8в, 8д - 9в, 12г - 12е

1070

1070

394

676

306

677

2б, 7а - 8б, 8г, 11а - 12в

1040

1040

378

662

293

677

1190

1190

460

730

357

677

10

1130

1130

427

703

332

677

б) транспортирование грунта

1а - 1е, 3в, 3г, 4б, 5а, 6а, 6в

1570

1570

-

1570

-

-

1ж, 3б, 4а, 6б

1310

1310

-

1310

-

-

2а, 2в, 8е, 9а, 9в, 12е

2040

2040

-

2040

-

-

2б, 5б, 11а

1990

1990

-

1990

-

-

2410

2410

-

2410

-

-

1100

1100

-

1100

-

-

7а, 7б, 7г - 8б, 11б - 11е, 12б

1620

1620

-

1620

-

-

7в, 8в - 8д, 9б

1830

1830

-

1830

-

-

10

1880

1880

-

1880

-

-

12а, 12в

1360

1360

-

1360

-

-

12г, 12д

1460

1460

-

1460

-

-

РАЗДЕЛ II. МОНТАЖ МЕТАЛЛОКОНСТРУКЦИЙ

1, 3 - 6

1040

108

37

71

25

60

2а, 2в, 8в, 8д, 8е, 12г - 12е

1070

121

45

76

31

60

2б, 7а - 8б, 8г, 11а - 12в

1060

117

43

74

29

60

1100

133

52

81

36

60

9

1100

121

45

76

31

60

10

1220

126

48

78

33

60

РАЗДЕЛ III. ВНУТРЕННИЕ САНИТАРНО-ТЕХНИЧЕСКИЕ УСТРОЙСТВА

1. Санитарно-технические работы по отоплению и вентиляции

1, 3 - 6

629

81,7

75,4

6,3

1,7

121

2а, 2в, 8в, 8д, 9, 12г - 12е

658

97,1

90,4

6,7

2,1

121

2б, 8а, 8б, 8г, 11а - 12в

649

93,3

86,7

6,6

2

121

685

113

106

7

2,4

121

7

637

93,3

86,7

6,6

2

121

705

97,1

90,4

6,7

2,1

121

10

678

104,8

98

6,8

2,2

121

2. Монтаж санитарно-технического оборудования изделий и конструкций, стоимость которых включается в объем строительно-монтажных работ

1а - 1в, 1д - 1ж, 3 - 6

852

79

76

3

2

109

873

80

77

3

2

112

3а, 2в, 8в, 8д, 9

896

97

93

4

2

112

2б, 7, 11а - 11г, 12а - 12в

875

91

88

3

2

110

920

110

106

4

2

109

8а, 8б, 8г, 11д, 11е

889

92

89

3

2

112

948

97

93

4

2

112

10

914

103

99

4

2

110

12г - 12е

881

94

91

3

2

109

3. Сопутствующие строительные работы

1, 3 - 6

30

21

21

-

-

37

2а, 2в, 8в,8д - 9в, 12г - 12е

40

25

25

-

-

37

2б, 7а - 8б, 8г, 11а - 12в

40

24

24

-

-

37

40

30

30

-

-

37

10

40

27

27

-

-

37

РАЗДЕЛ IV. ЭЛЕКТРОМОНТАЖНЫЕ РАБОТЫ

1, 3 - 6

868

335

221

114

40

366

2а, 2в, 8в, 8д, 9, 12г - 12е

939

387

265

122

48

366

2б, 7а - 8б, 8г, 11а - 12в

912

374

254

120

46

366

1000

439

309

130

56

366

967

387

265

122

48

366

10

981

413

287

126

52

366

В том числе монтаж электросилового оборудования

1, 3 - 6

467

190

129

61

22

216

2а, 2в, 8в, 8д, 9, 12г - 12е

505

220

155

65

26

216

2б, 7а - 8б, 8г, 11а - 12в

494

212

148

64

25

216

544

252

181

71

31

216

524

220

155

65

26

216

10

531

236

168

68

29

216

РАЗДЕЛ V, МОНТАЖ ТЕХНОЛОГИЧЕСКОГО ОБОРУДОВАНИЯ И ТРУБОПРОВОДОВ

1. Монтажные работы

1, 3 - 6

2260

529

428

101

33

665

2а, 2в, 8в, 8д - 9в, 12г - 12е

2380

621

514

107

39,6

665

2б, 7а - 8б, 8г, 11а - 12в

2340

598

492

106

38

665

2490

714

600

114

46,2

665

10

2440

668

557

111

42,9

665

2. Монтаж металлоконструкций, сопутствующий монтажу оборудования

1, 3 - 6

1240

180,9

173

7,9

2,3

278

2а, 2в, 8в, 8д, 8е, 12г - 12е

1280

216,4

208

8,4

2,8

278

2б, 7а - 8б, 8г, 11а - 12в

1280

237,2

199

8,2

2,7

278

1340

251,8

243

8,8

3,3

278

9

1320

216,4

208

8,4

2,8

278

10

1420

233,6

225

8,6

3

278

Примечание. Затраты на электроосвещение и монтаж оборудования автоматики следует принимать по цене № 319.

Рис. 16. Очистные сооружения для сточных вод от мойки автомобилей с расходом воды 30 л/с при оборотном водоснабжении (вариант для строительства в мокрых грунтах). Типовой проект 902-2-299 (к цене № 321)

Районная цена№321

Очистные сооружения для сточных вод от мойки автомобилей с расходом воды 30 л/с при оборотном водоснабжении при строительстве в мокрых грунтах, стены из сборных железобетонных панелей (типовой проект 902-2-299)

Измеритель - 1 сооружение

Районы

Прямые затраты, руб.

Нормативная условно-чистая продукция, руб.

В том числе, руб.

Затраты труда рабочих, чел.-ч

основная заработная плата рабочих

эксплуатация машин

всего

в том числе заработная плата рабочих, обслуживающих машины

1

2

3

4

5

6

7

РАЗДЕЛ I. СТРОИТЕЛЬНЫЕ РАБОТЫ

1а, 3в, 4а

51900

9650

4900

4750

907

8600

1б, 1г, 6в

56200

9850

4900

4950

907

8600

1в, 4б, 5а, 6б

54000

9650

4900

4750

907

8600

1д, 6а

54800

9850

4900

4950

907

8600

58000

9850

4900

4950

907

8600

1ж, 3а

49200

9280

4900

4380

907

8600

2а, 8в, 9а

62800

11590

5880

5710

1090

8600

59700

11380

5630

5750

1040

8600

71400

11750

5880

5870

1090

8600

70000

13490

6860

6630

1270

8600

50100

9440

4900

4540

907

8600

51300

9850

4900

4950

907

8600

56900

10510

4900

5610

907

9600

7а, 7б, 7г, 12б

55600

10800

5630

5170

1040

8600

61100

11130

5630

5500

1040

8600

8а, 8б, 11б - 11е

58400

10800

5630

5170

1040

8600

71500

11130

5630

5500

1040

8600

57900

11420

5880

5540

1090

8600

8е, 12е

69400

11750

5880

5870

1090

8600

59300

11420

5880

5540

1090

8600

65300

11750

5880

5870

1090

8600

10а, 10б

66400

12090

6370

5720

1180

8600

10в

67900

12090

6370

5720

1180

8600

11а

68800

11380

5630

5750

1040

8600

12а

52800

10390

5630

4670

1040

8600

12в

54000

10390

5630

4670

1040

8600

12г, 12д

56500

10850

5880

4970

1090

8600

В том числе:

а) земляные работы

1, 3 - 6

1570

1570

596

974

400

1230

2а, 2в, 8в, 8д - 9в, 12г - 12е

1770

1770

720

1050

480

1230

2б, 7а - 8б, 8г, 11а - 12в

1720

1720

690

1030

460

1230

1970

1970

840

1130

560

1230

10

1870

1870

780

1090

520

1230

б) транспортирование грунта

1а - 1е, 3в, 3г, 4б, 5а, 6а, 6в

2460

2460

-

2460

-

-

1ж, 3б, 4а, 6б

2050

2050

-

2050

-

-

2а, 2в, 8е, 9а, 9в,12е

3200

3200

-

3200

-

-

2б, 5б, 11а

3120

3120

-

3120

-

-

3770

3770

-

3770

-

-

1720

1720

-

1720

-

-

7а, 7б, 7г - 8б, 11б - 11е, 12б

2540

2540

-

2540

-

-

7в, 8в - 8д, 9б

2870

2870

-

2870

-

-

10

2950

2950

-

2950

-

-

12а, 12в

2130

2130

-

2130

-

-

12г, 12д

2300

2300

-

2300

-

-

РАЗДЕЛ II. МОНТАЖ МЕТАЛЛОКОНСТРУКЦИЙ

1, 3 - 6

1160

115

39

76

28

63

2а, 2в, 8в, 8д, 8е, 12г - 12е

1180

129

47

82

33

63

2б, 7а - 8б, 8г, 11а - 12в

1170

125

45

80

32

63

1210

142

55

87

39

63

9

1210

129

47

82

33

63

10

1330

136

51

85

36

63

РАЗДЕЛ III. ВНУТРЕННИЕ САНИТАРНО-ТЕХНИЧЕСКИЕ УСТРОЙСТВА

1. Санитарно-технические работы по отоплению и вентиляции

1, 3 - 6

693

87,8

81,1

6,7

1,8

130

2а, 2в, 8в, 8д, 9, 12г - 12е

724

104,5

97,4

7,1

2,2

130

2б, 8а, 86, 8г, 11а - 12в

714

100,3

93,3

7

2,1

130

753

121,4

114

7,4

2,5

130

7

702

100,3

93,3

7

2,1

130

777

104,5

97,4

7,1

2,2

130

10

745

113,3

106

7,3

2,3

130

2. Монтаж санитарно-технического оборудования, изделий и конструкций, стоимость которых включается в объем строительно-монтажных работ

1, 3 - 6

859

79

76

3

2

110

2а, 2в, 8в, 8д, 9, 12г - 12е

889

94

91

3

2

110

2б, 7а - 8б, 8г, 11а - 12в

877

91

88

3

2

110

920

110

106

4

2

109

945

95

92

3

2

111

10

913

103

99

4

2

110

3. Сопутствующие строительные работы

1, 3 - 6

70

42

42

-

-

75

2а, 2в, 8в, 8д - 9в, 12г - 12е

80

51

51

-

-

75

2б, 7а - 8б, 8г, 11а - 12в

70

49

49

-

-

75

90

59

59

-

-

75

10

80

55

55

-

-

75

РАЗДЕЛ IV. ЭЛЕКТРОМОНТАЖНЫЕ РАБОТЫ

1, 3 - 6

1000

387

256

131

46

425

2а, 2в, 8в, 8д, 9, 12г - 12е

1090

447

307

140

55

425

2б, 7а - 8б, 8г, 11а - 12в

1060

432

294

138

53

425

1160

507

358

149

64

425

1120

447

307

140

55

425

10

1140

477

332

145

60

425

В том числе:

а) электроосвещение

1, 3 - 6

270

70

39

31

11

65

2а, 2в, 8в, 8д, 9, 12г, 12д

282

80

47

33

13

65

2б, 7а - 8б, 8г, 11а - 12в

278

78

45

33

13

65

303

89

54

35

15

65

8е, 12е

300

80

47

33

13

65

10

300

83

50

33

14

65

б) монтаж электросилового оборудования

1, 3 - 6

583

237

161

76

27

270

2а, 2в, 8в, 8д, 9, 12г - 12е

630

274

193

81

32

270

2б, 7а - 8б, 8г, 11а - 12в

617

265

185

80

31

270

678

312

225

87

38

270

653

274

193

81

32

270

10

662

293

209

84

35

270

РАЗДЕЛ V, МОНТАЖ ТЕХНОЛОГИЧЕСКОГО ОБОРУДОВАНИЯ И ТРУБОПРОВОДОВ

1. Монтажные работы

1, 3 - 6

3120

663

536

127

44

828

2а, 2в, 8в, 8д - 9в, 12г - 12е

3270

778

643

135

52,8

828

2б, 7а - 8б, 8г, 11а - 12в

3220

749

616

133

50,6

828

3410

896

751

145

61,6

828

10

3340

838

697

141

57,2

828

2. Монтаж металлоконструкций, сопутствующий монтажу оборудования

1, 3 - 6

1730

262,4

252

10,4

3,1

405

2а, 2в, 8в, 8д - 9в, 12г - 12е

1800

313,1

302

11,1

3,7

405

2б, 7а - 8б, 8г, 11а - 12в

1770

300,9

290

10,9

3,5

405

1860

364,7

353

11,7

4,3

405

10

1970

339,4

328

11Л

4

405

Примечание. Затраты на монтаж оборудования автоматики следует принимать по цене № 319.

Рис. 17. Нефтеловушки производительностью 5 л/с из сборных железобетонных панелей высотой 2,4 и 3,6 м для сточных вод, содержащих нефть. Типовой проект 902-2-157 (к ценам № 322, 323)

11. Нефтеловушки производительностью 5 л/с

Районная цена №322

Нефтеловушка производительностью 5 л/с из сборных железобетонных панелей высотой 2,4 м для сточных вод, содержащих нефть, с обогревом (типовой проект 902-2-157)

Измеритель - 1 нефтеловушка

Районы

Прямые затраты, руб.

Нормативная условно-чистая продукция, руб.

В том числе, руб.

Затраты труда рабочих, чел.-ч

основная заработная плата рабочих

эксплуатация машин

всего

в том числе заработная плата рабочих, обслуживающих машины

1

2

3

4

5

6

7

РАЗДЕЛ I. СТРОИТЕЛЬНЫЕ РАБОТЫ

1а, 3в, 4б

3100

768

298

470

72,8

529

1б, 1г, 1д, 6в

3300

768

298

470

72,8

529

1в, 5а, 6а

3180

768

298

470

72,8

529

3400

768

298

470

72,8

529

1ж, 3б

2960

724

298

426

72,8

529

3770

924

358

566

87,4

529

3500

896

343

553

83,7

529

4220

924

358

566

87,4

529

4070

1061

418

643

102

529

2950

688

298

390

72,8

529

3010

768

298

470

72,8

529

3040

724

298

426

72,8

528

3400

840

298

542

72,8

529

3150

724

298

426

72,8

529

7а, 7б, 7г, 12б

3290

833

343

490

83,7

529

3620

869

343

526

83,7

529

8а, 8б, 11г, 11е

3410

833

343

490

83,7

529

8в, 9а

3640

906

358

548

87,4

529

8г, 11а

4150

883

343

540

83,7

529

3440

888

358

530

87,4

529

8е, 12е

4000

924

358

566

87,4

529

3520

888

358

530

87,4

529

3920

924

358

566

87,4

529

10а

3860

934

388

546

94,7

529

10б, 10в

3990

934

388

546

94,7

529

11б, 11в, 11д

3480

833

343

490

83,7

529

12а

3100

789

343

446

83,7

529

12в

3170

789

343

446

83,7

529

12г

3290

825

358

467

87,4

529

12д

3370

825

358

467

87,4

529

В том числе:

а) земляные работы

2, 3 - 6

153

153

60,3

92,7

38,2

124

2а, 2в, 8в, 8д - 9в, 12г - 12е

172

172

72,3

99,7

45,9

124

2б, 7а - 8б, 8г, 11а - 12в

167

167

69,3

97,7

44

124

192

192

84

108

53,5

124

10

182

182

78

104

49,7

124

б) транспортирование грунта

1а - 1е, 3в, 3г, 4б, 5а, 6а, 6в

269

269

-

269

-

-

1ж, 3б, 4а, 6б

224

224

-

224

-

-

2а, 2в, 8е, 9а, 9в, 12е

349

349

-

349

-

-

2б, 5б, 11а

340

340

-

340

-

-

412

412

-

412

-

-

188

188

-

188

-

-

7а, 7б, 7г - 8б, 11б - 11е, 12б

278

278

-

278

-

-

7в, 8в - 8д, 9б

314

314

-

314

-

-

10

323

323

-

323

-

-

12а, 12в

233

233

-

233

-

-

12г, 12д

251

251

-

251

-

-

в) монолитные бетонные и железобетонные конструкции

1а, 3а, 3б, 3г, 5б

1380

152,8

132

20,8

6,3

228

1б, 1е, 6в

1550

152,8

132

20,8

6,3

228

1в, 3в, 4б, 5а, 6а, 6б

1460

152,8

132

20,8

6,3

228

1г, 1д

1500

152,8

132

20,8

6,3

228

1330

152,8

132

20,8

6,3

228

2а, 8в, 9в

1700

180,1

158

22,1

7,5

228

2б, 11б, 11е

1580

173,8

152

21,8

7,2

228

1960

180,1

158

22,1

7,5

228

1970

208,3

185

23,3

8,8

228

1420

152,8

132

20,8

6,3

228

7а, 7б, 8а

1500

173,8

152

21,8

7,2

228

1770

173,8

152

21,8

7,2

228

7г, 12б

1440

173,8

152

21,8

7,2

228

1660

173,8

152

21,8

7,2

228

2190

173,8

152

21,8

7,2

228

8д, 9б, 12д

1580

180,1

158

22,1

7,5

228

8е, 12е

2040

180,1

158

22,1

7,5

228

1670

180,1

158

22,1

7,5

228

10а, 10б

1780

194,7

172

22,7

8,2

228

10в

1740

194,7

172

22,7

8,2

228

11а

1810

173,8

152

21,8

7,2

228

11в - 11д

1620

173,8

152

21,8

7,2

228

12а, 12в

1390

173,8

152

21,8

7,2

228

12г

1520

180,1

158

22,1

7,5

228

г) сборные железобетонные конструкции

1а, 4, 6а, 6б

878

75,6

35,7

39,9

13,6

61,5

1б, 1в, 1д, 5а

917

75,6

35,7

39,9

13,6

61,5

946

75,6

35,7

39,9

13,6

61,5

1е, 6в

681

75,6

35,7

39,9

13,6

61,5

1ж, 3

831

75,6

35,7

39,9

13,6

61,5

1080

85,4

42,8

42,6

16,3

61,5

2б, 7а, 7г, 11г, 12в

959

83

41,1

41,9

15,6

61,5

2в, 9в

1260

85,4

42,8

42,6

16,3

61,5

1020

95,3

50

45,3

19

61,5

1090

75,6

35,7

39,9

13,6

61,5

7б, 7в, 8б, 12а

921

83

41,1

41,9

15,6

61,5

8а, 11д, 11е, 12б

1020

83

41,1

41,9

15,6

61,5

1040

85,4

42,8

42,6

16,3

61,5

8г, 11б

1060

83

41,1

41,9

15,6

61,5

959

85,4

42,8

42,6

16,3

61,5

8е - 9б, 12д, 12е

991

85,4

42,8

42,6

16,3

61,5

10а

1080

90,4

46,4

44

17,7

61,5

10б

1210

90,4

46,4

44

17,7

61,5

10в

1300

90,4

46,4

44

17,7

61,5

11а

1400

83

41,1

41,9

15,6

61,5

11в

989

83

41,1

41,9

15,6

61,5

12г

937

85,4

42,8

42,6

16,3

61,5

РАЗДЕЛ II. ОБОГРЕВ НЕФТЕЛОВУШКИ

1. Санитарно-технические работы

1, 3 - 6

113

15,7

14,8

0,9

0,2

23,3

2а, 2в, 8в, 8д - 9в, 12г - 12е

118

18,7

17,7

1

0,2

23,3

2б, 8а, 8б, 8г, 11а - 12в

117

18

17

1

0,2

23,3

122

21,7

20,7

1

0,3

23,3

7

115

18

17

1

0,2

23,3

10

121

20,2

19,2

1

0,2

23,3

2. Сопутствующие строительные работы

1, 3 - 6

4

2,5

2,5

-

-

4,4

2а, 2в, 8в, 8д, 9, 12г, 12д

4

3

3

-

-

4,4

2б, 7а - 8б, 8г, 11а - 12в

4

2,9

2,9

-

-

4,4

5

3,5

3,5

-

-

4,4

8е, 12е

5

3

3

-

-

4,4

10

5

3,2

3,2

-

-

4,4

РАЗДЕЛ III. ЭЛЕКТРОМОНТАЖНЫЕ РАБОТЫ (ЭЛЕКТРООСВЕЩЕНИЕ И ЗАЗЕМЛЕНИЕ)

1, 3 - 6

158

36,4

24,7

11,7

3,6

42,8

2а, 2в, 8в, 8д, 9, 12г, 12д

164

41,9

29,6

12,3

4,3

42,8

2б, 7а - 8б, 8г, 11а - 12в

163

40,6

28,4

12,2

4,1

42,8

176

47,5

34,5

13

5

42,8

179

41,9

29,6

12,3

4,3

42,8

10

174

44,8

32,1

12,7

4,7

42,8

12е

172

41,9

29,6

12,3

4,3

42,8

РАЗДЕЛ IV, МОНТАЖ ТЕХНОЛОГИЧЕСКОГО ОБОРУДОВАНИЯ И ТРУБОПРОВОДОВ

1. Монтажные работы

1, 3 - 6

768

260,6

208

52,6

21,4

307

2а, 2в, 8в, 8д, 9, 12г, 12д

815

307

250

57

25,7

307

2б, 7а - 8б, 8г, 11а-12в

799

295,9

240

55,9

24,6

307

889

353,3

292

61,3

30

307

906

307

250

57

25,7

307

10

868

330,1

271

59,1

27,8

307

12е

847

307

250

57

25,7

307

2. Сопутствующие строительные работы

1, 3 - 6

11

3,2

3,1

0,1

-

5,4

2а, 2в, 8в, 8д, 9, 12г, 12д

11

3,9

3,8

0,1

-

5,4

2б, 7а - 8б, 8г, 11а - 12в

11

3,7

3,6

0,1

-

5,4

12

4,5

4,4

0,1

-

5,4

8е, 12е

12

3,9

3,8

0,1

-

5,4

10

12

4,2

4,1

0,1

-

5,4

3. Монтаж металлоконструкций, сопутствующий монтажу оборудования

1, 3, 5

111

11,7

8,5

3,2

1

13,1

2а, 2в, 8в, 8д, 8е, 12г - 12е

114

13,5

10,1

3,4

1,3

13,1

2б, 12а - 12в

114

13,1

9,7

3,4

1,2

13,1

119

15,4

11,8

3,6

1,5

13,1

4

107

11,7

8,5

3,2

1

13,1

6

114

11,7

8,5

3,2

1

13,1

7а - 8б, 8г, 11

111

13,1

9,7

3,4

1,2

13,1

9

121

13,5

10,1

3,4

1,3

13,1

10

143

14,5

11

3,5

1,4

13,1

Районная цена № 323

Нефтеловушка производительностью 5 л/с из сборных железобетонных панелей высотой 3,6 м для сточных вод, содержащих нефть, с обогревом (типовой проект 902-2-157)

Измеритель - 1 нефтеловушка

Районы

Прямые затраты, руб.

Нормативная условно-чистая продукция, руб.

В том числе, руб.

Затраты труда рабочих, чел.-ч

основная заработная плата рабочих

эксплуатация машин

всего

в том числе заработная плата рабочих, обслуживающих машины

1

2

3

4

5

6

7

СТРОИТЕЛЬНЫЕ РАБОТЫ

1а, 3в, 3г, 4б

5040

1256

423

833

115

759

1б, 1г, 1д, 6в

5360

1256

423

833

115

759

1в, 5а, 6а

5190

1256

423

833

115

759

5500

1256

423

833

115

759

1ж, 3б

4820

1169

423

746

115

759

6090

1518

508

1010

138

759

5670

1475

486

989

133

759

6770

1518

508

1010

138

759

6680

1752

592

1160

162

759

4780

1099

423

676

115

759

4970

1169

423

746

115

759

5610

1395

423

972

115

759

5100

1169

423

746

115

759

7а, 7б, 7г, 12б

5380

1353

486

867

133

759

5810

1423

486

937

133

759

8а, 8б, 11в, 11г, 11е

5580

1353

486

867

133

759

8в, 9а

5910

1486

508

978

138

759

8г, 11а

6710

1449

486

963

133

759

5600

1451

508

943

138

759

8е, 9в, 12е

6500

1518

508

1010

138

759

5740

1451

508

943

138

759

10а

6210

1522

550

972

150

759

10б, 10в

6510

1522

550

972

150

759

11б, 11д

5690

1353

486

867

133

759

12а, 12в

5120

1266

486

780

133

759

12г, 12д

5410

1329

508

821

138

759

В том числе:

а) земляные работы

1, 3 - 6

278

278

98

180

74,6

202

2а, 2в, 8в, 8д - 9в, 12г - 12е

313

313

118

195

89,5

202

2б, 7а - 8б,8г, 11а - 12в

304

304

113

191

85,7

202

348

348

138

210

104

202

10

330

330

128

202

96,9

202

б) транспортирование грунта

1а - 1е, 3в, 3г, 4б, 5а, 6а, 6в

523

523

-

523

-

-

1ж, 3б, 4а, 6б

436

436

-

436

-

-

2а, 2в, 8е, 9а, 9в, 12е

680

680

-

680

-

-

2б, 5б, 11а

662

662

-

662

-

-

802

802

-

802

-

-

366

366

-

366

-

-

7а, 7б, 7г - 8б, 11б - 11е, 12б

540

540

-

540

-

-

7в, 8в - 8д, 9б

610

610

-

610

-

-

10

628

628

-

628

-

-

12а, 12в

453

453

-

453

-

-

12г, 12д

488

488

-

488

-

-

в) монолитные бетонные и железобетонные конструкции

1а, 3а, 3б, 3г, 5б

2080

219,5

189

30,5

9,2

326

1б, 1е

2350

219,5

189

30,5

9,2

326

1в, 3в, 4б, 5а, 6а, 6б

2190

219,5

189

30,5

9,2

326

1г, 1д, 6в

2260

219,5

189

30,5

9,2

326

2010

219,5

189

30,5

9,2

326

2а, 8в, 9в

2540

259,3

227

32,3

11

326

2б, 11б, 11д, 11е

2400

248,9

217

31,9

10,6

326

2910

259,3

227

32,3

11

326

3020

299,2

265

34,2

12,9

326

2140

219,5

189

30,5

9,2

326

7а, 7б, 8а

2260

248,9

217

31,9

10,6

326

7в, 11а

2680

248,9

217

31,9

10,6

326

2210

248,9

217

31,9

10,6

326

86

2490

248,9

217

31,9

10,6

326

3230

248,9

217

31,9

10,6

326

8д, 9б

2400

259,3

227

32,3

11

326

8е, 12е

3080

259,3

227

32,3

11

326

2510

259,3

227

32,3

11

326

10а, 10б

2680

279,2

246

33,2

12

326

10в

2610

279,2

246

33,2

12

326

10в, 11г

2430

248,9

217

31,9

10,6

326

12а, 12в

2090

248,9

217

31,9

10,6

326

12б

2160

248,9

217

31,9

10,6

326

12г, 12д

2310

259,3

227

32,3

11

326

г) сборные железобетонные конструкции

1а, 4, 6а, 6б

1560

92,4

43,7

48,7

16,2

74,5

1б, 1в, 1д, 5а

1630

92,4

43,7

48,7

16,2

74,5

1680

92,4

43,7

48,7

16,2

74,5

1е, 6в

1720

92,4

43,7

48,7

16,2

74,5

1ж, 3

1480

92,4

43,7

48,7

16,2

74,5

1890

104,3

52,4

51,9

19,5

74,5

2б, 7а, 7г, 8б, 11г, 12в

1700

101,3

50,2

51,1

18,7

74,5

2в, 9в

2240

104,3

52,4

51,9

19,5

74,5

1780

116,3

61,1

55,2

22,7

74,5

1950

92,4

43,7

48,7

16,2

74,5

7б, 7в, 12а

1630

101,3

50,2

51,1

18,7

74,5

8а, 11д, 11е

1780

101,3

50,2

51,1

18,7

74,5

1830

104,3

52,4

51,9

19,5

74,5

8г, 11б, 12б

1840

101,3

50,2

51,1

18,7

74,5

8д, 12д

1710

104,3

52,4

51,9

19,5

74,5

8е - 9б, 12е

1760

104,3

52,4

51,9

19,5

74,5

10а

1900

110,4

56,8

53,6

21,1

74,5

10б

2110

110,4

56,8

53,6

21,1

74,5

10в

2310

110,4

56,8

53,6

21,1

74,5

11а

2490

101,3

50,2

51,1

18,7

74,5

11в

1740

101,3

50,2

51,1

18,7

74,5

12г

1660

104,3

52,4

51,9

19,5

74,5

Примечание. Затраты по обогреву, электромонтажным работам, монтажу технологического оборудования и трубопроводов следует принимать по цене № 322.

Рис. 18. Нефтеловушки производительностью 10 л/с из сборных железобетонных панелей высотой 2,4 и 3,6 м для сточных вод, содержащих нефть. Типовой проект 902-2-158 (к ценам № 324, 325)

12. Нефтеловушки производительностью 10 л/с

Районная цена № 324

Нефтеловушка производительностью 10 л/с из сборных железобетонных панелей высотой 2,4 м для сточных вод, содержащих нефть, с обогревом (типовой проект 902-2-158)

Измеритель - 1 нефтеловушка

Районы

Прямые затраты, руб.

Нормативная условно-чистая продукция, руб.

В том числе, руб.

Затраты труда рабочих, чел.-ч

основная заработная плата рабочих

эксплуатация машин

всего

в том числе заработная плата рабочих, обслуживающих машины

1

2

3

4

5

6

7

РАЗДЕЛ I. СТРОИТЕЛЬНЫЕ РАБОТЫ

1а, 3в, 4б

4910

1121

488

633

106

857

1б, 1г, 1д, 6в

5220

1121

488

633

106

857

1в, 5а, 6а

5040

1121

488

633

106

857

5380

1121

488

633

106

857

1ж, 3а, 3б

4700

1044

488

556

106

857

5940

1340

586

754

127

857

5520

1299

562

737

122

857

6680

1340

586

754

127

857

6410

1536

684

852

148

857

4760

1121

488

633

106

857

4840

1066

488

578

106

857

5340

1209

488

721

106

857

4990

1066

488

578

106

857

7а, 7б, 7г, 8а, 12б

5260

1222

562

660

122

857

5740

1266

562

704

122

857

8б, 11б - 11е

5510

1222

562

660

122

857

8в, 9а

5770

1318

586

732

127

857

8г, 11а

6590

1283

562

721

122

857

5440

1295

586

709

127

857

8е, 12е

6360

1340

586

754

127

857

5560

1295

586

709

127

857

6180

1340

586

754

127

857

10а

6110

1366

635

731

138

857

10б, 10в

6320

1366

635

731

138

857

12а, 12в

4980

1167

562

605

122

857

12г

5230

1218

586

632

127

857

12д

5360

1218

586

632

127

857

В том числе:

а) земляные работы.

1, 3-6

194

194

80

114

46,9

163

2а, 2в, 8в, 8д - 9в, 12г - 12е

219

219

96

123

56,2

163

2б, 7а - 8б, 8г, 11а - 11в

213

213

92

121

53,9

163

244

244

112

132

65,6

163

10

232

232

104

128

60,9

133

б) транспортирование грунта

1а - 1е, 3в, 3г, 4б, 5а, 6а, 6в

332

332

-

332

-

-

1ж, 3б, 4а, 6б

276

276

-

276

-

-

2а, 2в, 8е, 9а, 9в, 12е

431

431

-

431

-

-

2б, 5б, 11а

420

420

-

420

-

-

509

509

-

509

-

-

232

232

-

232

-

-

7а, 7б, 7г - 8б, 11б - 11е, 12б

343

343

-

343

-

-

7в, 8в - 8д, 9б

387

387

-

387

-

-

10

398

398

-

398

-

-

12а, 12в

288

288

-

288

-

-

12г, 12д

310

310

-

310

-

-

в) монолитные бетонные и железобетонные конструкции

1а, 3а, 3б, 3г, 5б

2280

259,4

225

34,4

10,4

387

1б, 1е

2590

259,4

225

34,4

10,4

387

1в, 3в, 4б, 5а, 6а, 6б

2400

259,4

225

34,4

10,4

387

1г, 1д, 6в

2490

259,4

225

34,4

10,4

387

2200

259,4

225

34,4

10,4

387

2а, 8в

2830

306,4

270

36,4

12,4

387

2б, 11б, 11е

2620

293,9

258

35,9

11,9

387

3260

306,4

270

36,4

12,4

387

3250

353,5

315

38,5

14,5

387

2340

259,4

225

34,4

10,4

387

7а, 7б, 8а

2460

293,9

258

35,9

11,9

387

2930

293,9

258

35,9

11,9

387

2410

293,9

258

35,9

11,9

387

2740

293,9

258

35,9

11,9

387

3640

293,9

258

35,9

11,9

387

8д, 9б, 12д

2600

306,4

270

36,4

12,4

387

3410

306,4

270

36,4

12,4

387

9а, 9в

2780

306,4

270

36,4

12,4

387

10а, 10б

2960

329,5

292

37,5

13,5

387

10в

2880

329,5

292

37,5

13,5

387

11а

3000

293,9

258

35,9

11,9

387

11в - 11д

2670

293,9

258

35,9

11,9

387

12а - 12в

2320

293,9

258

35,9

11,9

387

12г

2510

306,4

270

36,4

12,4

387

12е

3330

306,4

270

36,4

12,4

387

г) сборные железобетонные конструкции

1а, 6а, 6б

1370

116,4

54,9

61,5

21

94,6

1б, 1в, 1д, 5а

1430

116,4

54,9

61,5

21

94,6

1470

116,4

54,9

61,5

21

94,6

1е, 6в

1520

116,4

54,9

61,5

21

94,6

1ж, 3

1290

116,4

54,9

61,5

21

94,6

1680

131,6

65,9

65,7

25,2

94,6

2б, 7а, 7г, 11г, 12в

1500

127,7

63,1

64,6

24,1

94,6

2в, 9в

1970

131,6

65,9

65,7

25,2

94,6

1580

146,8

76,9

69,9

29,4

94,6

4

1350

116,4

54,9

61,5

21

94,6

1700

116,4

54,9

61,5

21

94,6

7б, 7в, 8б

1440

127,7

63,1

64,6

24,1

94,6

8а, 11в, 11д, 11е

1560

127,7

63,1

64,6

24,1

94,6

1620

131,6

65,9

65,7

25,2

94,6

8г, 11б

1640

127,7

63,1

64,6

24,1

94,6

8д, 12г

1480

131,6

65,9

65,7

25,2

94,6

8е - 9б, 12д, 12е

1540

131,6

65,9

65,7

25,2

94,6

10а

1690

139,2

71,4

67,8

27,3

94,6

10б

1880

139,2

71,4

67,8

27,3

94,6

10в

2020

139,2

71,4

67,8

27,3

94,6

11а

2180

127,7

63,1

64,6

24,1

94,6

12а

1410

127,7

63,1

64,6

24,1

94,6

12б

1610

127,7

63,1

64,6

24,1

94,6

РАЗДЕЛ II. ОБОГРЕВ НЕФТЕЛОВУШКИ

1. Санитарно-технические работы

1, 3 - 6

226

31,4

29,5

1,9

0,4

46,6

2а, 2в, 8в, 8д - 9в, 12г - 12е

237

37,5

35,5

2

0,4

46,6

2б, 8а, 8б, 8г, 11а - 12в

235

35,9

34

1,9

0,4

46,6

244

43,4

41,4

2

0,5

46,6

7

230

35,9

34

1,9

0,4

46,6

10

241

40,4

38,4

2

0,5

46,6

2. Сопутствующие строительные работы

1, 3 - 6

8

4,9

4,9

-

-

8,6

2а, 2в, 8в, 8д - 9в,12г - 12е

9

5,9

5,9

-

-

8,6

2б, 11а - 12в

9

5,6

5,6

-

-

8,6

10

6,8

6,8

-

-

8,6

7а - 8б, 8г

8

5,6

5,6

-

-

8,6

10

9

6,3

6,3

-

-

8,6

РАЗДЕЛ III. ЭЛЕКТРОМОНТАЖНЫЕ РАБОТЫ .(ЭЛЕКТРООСВЕЩЕНИЕ И ЗАЗЕМЛЕНИЕ)

1, 3 - 6

168

38,6

26,2

12,4

3,9

45,5

2а, 2в, 8в, 8д, 9, 12г, 12д

175

44,7

31,4

13,3

4,7

45,5

2б, 7а - 8б, 8г, 11а - 12в

173

43,1

30,1

13

4,5

45,5

187

50,8

36,7

14,1

5,5

45,5

190

44,7

31,4

13,3

4,7

45,5

10

185

47,6

34

13,6

5,1

45,5

12е

183

44,7

31,4

13,3

4,7

45,5

РАЗДЕЛ IV. МОНТАЖ ТЕХНОЛОГИЧЕСКОГО ОБОРУДОВАНИЯ И ТРУБОПРОВОДОВ

1. Монтажные работы

1, 3 - 6

1490

506

404

102

41,4

594

2а, 2в, 8в, 8д, 9, 12г, 12д

1580

595

484

111

49,7

594

2б, 7а - 8б, 8г, 11а - 12в

1550

572

464

108

47,6

594

1720

683

565

118

58

594

1760

595

484

111

49,7

594

10

1680

639

525

114

53,8

594

12е

1640

595

484

111

49,7

594

2. Сопутствующие строительные работы

1, 3, 4

20

6,2

6

0,2

0,1

10,4

2а, 2в, 8в, 8д, 9, 12г, 12д

22

7,5

7,2

0,3

0,1

10,4

2б, 8а, 8б, 8г, 11а - 12в

22

7,2

6,9

0,3

0,1

10,4

24

8,8

8,5

0,3

0,1

10,4

5, 6

21

6,2

6

0,2

0,1

10,4

7

21

7,2

6,9

0,3

0,1

10,4

24

7,5

7,2

0,3

0,1

10,4

10

23

8,2

7,9

0,3

0,1

10,4

12е

23

7,5

7,2

0,3

0,1

10,4

3. Монтаж металлоконструкций, сопутствующий монтажу оборудования

1, 3, 5

221

23,3

16,9

6,4

2,1

26,1

2а, 2в, 8в, 8д,8е, 12г - 12е

228

27

20,2

6,8

2,5

26,1

229

26,1

19,4

6,7

2,4

26,1

236

30,8

23,6

7,2

2,9

26,1

4

214

23,3

16,9

6,4

2,1

26,1

6

228

23,3

16,9

6,4

2,1

26,1

7а - 8б, 8г, 11а - 12в

222

26,1

19,4

6,7

2,4

26,1

9

241

27

20,2

6,8

2,5

23,1

10

286

28,9

21,9

7

2,7

26,1

Районная цена №325

Нефтеловушка производительностью 10 л/с из сборных железобетонных панелей высотой 3,6 м для сточных вод, содержащих нефть, с обогревом (типовой проект 902-2-158)

Измеритель - 1 нефтеловушка

Районы

Прямые затраты, руб.

Нормативная условно-чистая продукция, руб.

В том числе, руб.

Затраты труда рабочих, чел.-ч

основная заработная плата рабочих

эксплуатация машин

всего

в том числе заработная плата рабочих, обслуживающих машины

1

2

3

4

5

6

7

СТРОИТЕЛЬНЫЕ РАБОТЫ

1а, 3в, 4б

7780

1776

656

1120

164

1160

1б, 1г, 1д, 6в

8200

1776

656

1120

164

1160

1в, 5а, 6а

7940

1776

656

1120

164

1160

8450

1776

656

1120

164

1160

1ж, 3б

7410

1666

656

1010

164

1160

9340

2148

788

1369

197

1160

8680

2075

755

1320

189

1160

10400

2148

788

1360

197

1160

10200

2459

919

1540

230

1160

7370

1576

656

920

164

1160

7520

1776

656

1120

164

1160

7630

1666

656

1010

164

1160

8520

1956

656

1300

164

1160

7810

1666

656

1010

164

1160

7а, 7б, 7г, 12б

8240

1925

755

1170

189

1160

7в, 11б

8880

1965

755

1210

189

1160

8а, 8б, 11в, 11г, 11е

8560

1925

755

1170

189

1160

8в, 9а

9060

2098

788

1310

197

1160

8г, 11а

10400

2045

755

1290

189

1160

8600

2058

788

1270

197

1160

8е, 9в, 12е

9920

2148

788

1360

197

1160

8790

2058

788

1270

197

1160

10а

9540

2154

854

1300

213

1160

10б, 10в

9920

2154

854

1300

213

1160

11д

8690

1925

755

1170

189

1160

12а, 12в

7820

1815

755

1060

189

1160

12г, 12д

8300

1898

788

1110

197

1160

В том числе:

а) земляные работы

1, 3 - 6

365

365

133

232

95,5

273

2а, 2в, 8в, 8д - 9в, 12г - 12е

410

410

160

250

115

273

2б, 7а - 8б, 8г, 11а - 12в

399

399

153

246

110

273

456

456

187

269

134

273

10

433

433

173

260

124

273

б) транспортирование грунта

1а - 1е, 3в, 3г, 4б, 5а, 6а, 6в

672

672

-

672

-

-

1ж, 3б, 4а, 6б

560

560

-

560

-

-

2а, 2в, 8е, 9а, 9в, 12е

874

874

-

874

-

-

2б, 5б, 11а

851

851

-

851

-

-

1030

1030

-

1030

-

-

470

470

-

470

-

-

7а, 7б, 7г - 8б, 11б - 11е, 12б

694

694

-

694

-

-

7в, 8в - 8д, 9б

784

784

-

784

-

-

10

806

806

-

806

-

-

12а, 12в

582

582

-

582

-

-

12г, 12д

627

627

-

627

-

-

в) монолитные бетонные и железобетонные конструкции

1а, 3а, 3б, 3г, 5б

3560

378,4

326

52,4

15,8

560

1б, 1е, 6в

3960

378,4

326

52,4

15,8

560

1в, 3в, 4б, 5а, 6а, 6б

3740

378,4

326

52,4

15,8

560

1г, 1д

3860

378,4

326

52,4

15,8

560

3440

378,4

326

52,4

15,8

560

2а, 8в, 9а, 9в

4340

446,6

391

55,6

19

560

2б, 11б, 11д, 11е

4100

429,8

375

54,8

18,2

560

4970

446,6

391

55,6

19

560

5160

514,7

456

58,7

22,2

560

3660

378,4

326

52,4

15,8

560

7а, 7б, 8а

3860

429,8

375

54,8

18,2

560

7в, 11а

4560

429,8

375

54,8

18,2

560

3780

429,8

375

54,8

18,2

560

4250

429,8

375

54,8

18,2

560

5500

429,8

375

54,8

18,2

560

8д, 9б

4080

446,6

391

55,6

19

560

8е, 12е

5260

446,6

391

55,6

19

560

10а, 10б

4560

481,2

424

57,2

20,6

560

10в

4450

481,2

424

57,2

20,6

560

11в, 11г

4160

429,8

375

54,8

18,2

560

12а, 12в

3580

429,8

375

54,8

18,2

560

12б

3700

429,8

375

54,8

18,2

560

12г, 12д

3940

446,6

391

55,6

19

560

г) сборные железобетонные конструкции

1а, 6а

2400

141

66,6

74,4

24,9

114

1б, 1в, 1д, 5а

2490

141

66,6

74,4

24,9

114

2560

141

66,6

74,4

24,9

114

1е, 6в

2640

141

66,6

74,4

24,9

114

1ж, 3

2260

141

66,6

74,4

24,9

114

2890

159,3

79,9

79,4

29,8

114

2б, 7а, 7г, 8б, 11г, 12в

2600

154,7

76,6

78,1

28,6

114

2в, 9в

3420

159,3

79,9

79,4

29,8

114

2710

177,6

93,3

84,3

34,8

114

4, 6б

2360

141

66,6

74,4

24,9

114

2980

141

66,6

74,4

24,9

114

7б, 7в, 12а

2480

154,7

76,6

78,1

28,6

114

8а, 11д, 11е

2720

154,7

76,6

78,1

28,6

114

2800

159,3

79,9

79,4

29,8

114

8г, 11б, 12б

2820

154,7

76,6

78,1

28,6

114

8д, 9а, 12д

2620

159,3

79,9

79,4

29,8

114

8е, 9б, 12е

2680

159,3

79,9

79,4

29,8

114

10а

2910

168,5

86,6

81,9

32,3

114

10б

3220

168,5

86,6

81,9

32,3

114

10в

3530

168,5

86,6

81,9

32,3

114

11а

3800

154,7

76,6

78,1

28,6

114

11в

2660

154,7

76,6

78,1

28,6

114

12г

2540

159,3

79,9

79,4

29,8

114

Примечание: Затраты по обогреву, электромонтажным работам, монтажу технологического оборудования и трубопроводов следует принимать по цене № 324.

Рис. 19. Нефтеловушки производительностью 20 л/с из сборных железобетонных панелей высотой 2,4 и 3,6 м для сточных вод, содержащих нефть. Типовой проект 902-2-159 (к ценам № 326, 327)

13. Нефтеловушки производительностью 20 л/с

Районная цена № 326

Нефтеловушка производительностью 20 л/с из сборных железобетонных панелей высотой 2,4 м для сточных вод, содержащих нефть, с обогревом (типовой проект 902-2-159)

Измеритель - 1 нефтеловушка

Районы

Прямые затраты, руб.

Нормативная условно-чистая продукция, руб.

В том числе, руб.

Затраты труда рабочих, чел.-ч

основная заработная плата рабочих

эксплуатация машин

всего

в том числе заработная плата рабочих, обслуживающих машины

1

2

3

4

5

6

7

РАЗДЕЛ I. СТРОИТЕЛЬНЫЕ РАБОТЫ

1а, 3в, 4

7260

1322

628

694

127

1100

1б, 1г, 1д, 6в

7730

1352

628

724

127

1100

1в, 5а, 6а, 6б

7430

1322

628

694

127

1100

7990

1352

628

724

127

1100

1ж, 3а

6900

1269

628

641

127

1100

8800

1612

754

858

152

1100

8150

1561

722

839

146

1100

9990

1612

754

858

152

1100

9540

1847

880

967

178

1100

3б, 3г

7020

1322

628

694

127

1100

7870

1448

628

820

127

1100

7а, 7б, 7г, 12б

7680

1478

722

756

146

1100

8520

1525

722

803

146

1100

8а, 11г

8010

1478

722

756

146

1100

86, 11б, 11в, 11д, 11е

8180

1478

722

756

146

1100

8в, 9а

8560

1588

754

834

152

1100

10000

1525

722

803

146

1100

8040

1564

754

810

152

1100

8е, 12е

9560

1612

754

858

152

1100

8240

1564

754

810

152

1100

9200

1612

754

858

152

1100

10а

9120

1651

817

834

165

1100

10б, 10в

9420

1651

817

834

165

1100

11а

9760

1561

722

839

146

1100

12а, 12в

7340

1418

722

696

146

1100

12г

7730

1480

754

726

152

1100

12д

7930

1480

754

726

152

1100

В том числе:

а) земляные работы

1, 3 - 6

190

190

67

123

50,2

136

2а, 2в, 8в, 8д - 9в, 12г - 12е

213

213

80

133

60,3

136

2б, 7а - 8б, 8г, 11а - 12в

207

207

77

130

57,8

136

236

236

93

143

70,3

136

10

225

225

87

138

65,3

136

б) транспортирование грунта

1а - 1е, 3в, 3г, 4б, 5а, 6а, 6в

359

359

-

359

-

-

1ж, 3б, 4а, 6б

299

299

-

299

-

-

2а, 2в, 8е, 9а, 9в, 12е

466

466

-

466

-

-

2б, 5б, 11а

454

454

-

454

-

-

550

550

-

550

-

-

251

251

-

251

-

-

7а, 7б, 7г - 8б, 11б - 11е, 12б

371

371

-

371

-

-

7в, 8в - 8д, 9б

419

419

-

419

-

-

10

431

431

-

431

-

-

12а, 12в

311

311

-

311

-

-

12г, 12д

335

335

 

335

 

 

в) монолитные бетонные и железобетонные конструкции

1а, 3а, 3б, 3г, 5б

3560

363

313

50

15,1

544

1б, 1е

4080

363

313

50

15,1

544

1в, 3в, 4а - 5а, 6а, 6б

3740

363

313

50

15,1

544

1г, 1д, 6в

3900

363

313

50

15,1

544

3420

363

313

50

15,1

544

2а, 8в, 9в

4400

429

376

53

18,1

544

2б, 11б, 11д, 11е

4120

412,3

360

52,3

17,3

544

5130

429

376

53

18,1

544

5150

494

438

56

21,1

544

7а, 7б, 8а

3860

412,3

360

52,3

17,3

544

4610

412,3

360

52,3

17,3

544

3760

412,3

360

52,3

17,3

544

4310

412,3

360

52,3

17,3

544

5740

412,3

360

52,3

17,3

544

8д, 9б, 12д

4080

429

376

53

18,1

544

8е, 12е

5340

429

376

53

18,1

544

4340

429

376

53

18,1

544

10а, 10б

4650

461,5

407

54,5

19,6

544

10в

4530

461,5

407

54,5

19,6

544

11а

4720

412,3

360

52,3

17,3

544

11в, 11г

4180

412,3

360

52,3

17,3

544

12а - 12в

3620

412,3

360

52,3

17,3

544

12г

3920

429

376

53

18,1

544

г) сборные железобетонные конструкции

1а, 4, 6а, 6б

2070

174,5

82,1

92,4

31,4

141

1б, 1в, 1д, 5а

2160

174,5

82,1

92,4

31,4

141

2240

174,5

82,1

92,4

31,4

141

1е, 6в

2320

174,5

82,1

92,4

31,4

141

1ж, 3

1960

174,5

82,1

92,4

31,4

141

2560

197,2

98,5

98,7

37,7

141

2б, 7а, 7г, 11г, 12в

2270

191,5

94,4

97,1

36,1

141

2в, 9в

3010

197,2

98,5

98,7

37,7

141

2410

220

115

105

43,9

141

2580

174,5

82,1

92,4

31,4

141

7б, 7в, 8б, 12а

2180

191,5

94,4

97,1

36,1

141

8а, 11в, 11д, 11е

2370

191,5

94,4

97,1

36,1

141

2470

197,2

98,5

98,7

37,7

141

8г, 11б

2500

191,5

94,4

97,1

36,1

141

2260

197,2

98,5

98,7

37,7

141

8е - 9б, 12д, 12е

2350

197,2

98,5

98,7

37,7

141

10а

2570

209

107

102

40,8

141

10б

2870

209

107

102

40,8

141

10в

3100

209

107

102

40,8

141

11а

3320

191,5

94,4

97,1

36,1

141

12б

2450

191,5

94,4

97,1

36,1

141

12г

2210

197,2

98,5

98,7

37,7

141

РАЗДЕЛ II. МОНТАЖ МЕТАЛЛОКОНСТРУКЦИЙ

1, 3 - 6

197

19,3

10

9,3

2,9

15,9

2а, 2в, 8в, 8д - 9в, 12г - 12е

202

21,8

12

9,8

3,4

15,9

2б, 7а - 8б, 8г, 11а - 12в

200

21,2

11,5

9,7

3,3

15,9

206

24,4

14

10,4

4

15,9

10

219

23,1

13

10,1

3,7

15,9

РАЗДЕЛ III. ОБОГРЕВ НЕФТЕЛОВУШКИ

1. Санитарно-технические работы

1, 3 - 6

277

41,3

39,1

2,2

0,4

61,6

2а, 2в, 8в, 8д - 9в, 12г - 12е

289

49,2

46,9

2,3

0,4

61,6

2б, 8а, 8б, 8г, 11а - 12в

287

47,1

44,9

2,2

0,4

61,6

299

57

54,7

2,3

0,5

61,6

7

281

47,1

44,9

2,2

0,4

61,6

10

295

53,1

50,8

2,3

0,5

61,6

2. Сопутствующие строительные работы

1, 3 - 6

12

7,7

7,7

-

-

13,6

2а, 2в, 8в, 8д - 9в, 12г - 12е

14

9,2

9,2

-

-

13,6

2б, 7а - 8б, 8г, 11а - 12в

13

8,8

8,8

-

-

13,6

16

10,8

10,8

-

-

13,6

10

15

10

10

-

-

13,6

РАЗДЕЛ IV. ЭЛЕКТРОМОНТАЖНЫЕ РАБОТЫ (ЭЛЕКТРООСВЕЩЕНИЕ И ЗАЗЕМЛЕНИЕ)

1, 3 - 6

281

64,7

43,9

20,8

6,5

76,2

2а, 2в, 8в, 8д, 9, 12г, 12д

293

74,7

52,6

22,1

7,8

76,2

2б, 7а - 8б, 8г, 11а - 12в

290

72,4

50,5

21,9

7,5

76,2

313

84,8

61,4

23,4

9,1

76,2

319

74,7

52,6

22,1

7,8

76,2

10

310

79,8

57

22,8

8,5

76,2

12е

306

74,7

52,6

22,1

7,8

76,2

РАЗДЕЛ V. МОНТАЖ ТЕХНОЛОГИЧЕСКОГО ОБОРУДОВАНИЯ И ТРУБОПРОВОДОВ

1. Монтажные работы

1, 3 - 6

1360

463,5

370

93,5

38

545

2а, 2в, 8в, 8д, 9, 12г, 12д

1450

545

444

101

45,6

545

2б, 7а - 8б, 8г, 11а - 12в

1420

526

426

100

43,7

545

1580

627

518

109

53,2

545

1610

545

444

101

45,6

545

10

1540

586

481

105

49,4

545

12е

1500

545

444

101

45,6

545

2. Сопутствующие строительные работы

1, 3 - 6

56

34,2

33,7

0,5

0,1

50,5

2а, 2в, 8в, 8д, 9, 12г, 12д

63

41

40,5

0,5

0,2

50,5

2б, 7а - 8б, 8г, 11а - 12в

61

39,3

38,8

0,5

0,2

50,5

71

47,7

47,2

0,5

0,2

50,5

67

41

40,5

0,5

0,2

50,5

10

68

44,3

43,8

0,5

0,2

50,5

12е

65

41

40,5

0,5

0,2

50,5

3. Монтаж металлоконструкций, сопутствующий монтажу оборудования

1, 3 - 5

434

38,7

27,5

11,2

3,6

42,7

2а, 2в, 8в, 8д, 8е, 12г - 12е

450

44,9

33

11,9

4,3

42,7

2б, 8а, 8б, 8г, 12а - 12в

446

43,3

31,6

11,7

4,1

42,7

462

51,1

38,5

12,6

5

42,7

6

449

38,7

27,5

11,2

3,6

42,7

7, 11

439

43,3

31,6

11,7

4,1

42,7

9

470

44,9

33

11,9

4,3

42,7

10

536

48,1

35,8

12,3

4,7

42,7

Районная цена № 327

Нефтеловушка производительностью 20 л/с из сборных железобетонных панелей высотой 3,6 м для сточных вод, содержащих нефть, с обогревом (типовой проект 902-2-159)

Измеритель - 1 нефтеловушка

Районы

Прямые затраты, руб.

Нормативная условно-чистая продукция, руб.

В том числе, руб.

Затраты труда рабочих, чел.-ч

основная заработная плата рабочих

эксплуатация машин

всего

в том числе заработная плата рабочих, обслуживающих машины

1

2

3

4

5

6

7

СТРОИТЕЛЬНЫЕ РАБОТЫ

1а, 3в, 4б

11200

1928

818

1110

177

1440

1б, 1г, 1д, 6в

11800

1928

818

1110

177

1440

1 в, 5а, 6а

11400

1928

818

1110

177

1440

12200

1928

818

1110

177

1440

1ж, 3а, 3б

10700

1785

818

967

177

1440

13500

2312

982

1330

212

1440

12400

2241

941

1300

203

1440

15200

2312

982

1330

212

1440

14700

2650

1140

1510

248

1440

10800

1928

818

1110

177

1440

11000

1828

818

1010

177

1440

12300

2088

818

1270

177

1440

11300

1828

818

1010

177

1440

7а, 7б, 7г, 12б

11900

2101

941

1160

203

1440

7в, 116

12800

2141

941

1200

203

1440

8а, 11г, 11е

12300

2101

941

1160

203

1440

8б, 11в, 11д

12600

2101

941

1160

203

1440

8в, 9а

13100

2272

982

1290

212

1440

8г, 11а

15100

2211

941

1270

203

1440

12400

2232

982

1250

212

1440

8е, 9в, 12е

14400

2312

982

1330

212

1440

12700

2232

982

1250

212

1440

10а

13800

2340

1060

1280

230

1440

10б, 10в

14400

2340

1060

1280

230

1440

12а, 12в

11200

2001

941

1060

203

1440

12г, 12д

12000

2082

982

1100

212

1440

В том числе:

а) земляные работы

1, 3 - 6

305

305

96

209

85,7

196

2а, 2в, 8в, 8д - 9в, 12г - 12е

342

342

115

227

103

196

2б, 7а - 8б, 8г, 11а - 12в

333

333

110

223

98,5

196

378

378

134

244

120

196

10

360

360

124

236

111

196

б) транспортирование грунта

1а - 1е, 3в, 3г, 4б, 5а, 6а, 6в

610

610

-

610

-

-

1ж, 3б, 4а, 6б

509

509

-

509

-

-

2а, 2в, 8е, 9а, 9в, 12е

794

794

-

794

-

-

2б, 5б, 11а

773

773

-

773

-

 

936

936

-

936

-

-

427

427

-

427

-

-

7а, 7б, 7г - 8б, 11б - 11е, 12б

631

631

-

631

-

-

7в, 8в - 8д, 9б

712

712

-

712

-

-

10

733

733

-

733

-

-

12а, 12в

529

529

-

529

-

-

12г, 12д

570

570

-

570

-

-

в) монолитные бетонные и железобетонные конструкции

1а, 3а, 3б, 3г, 5б

5400

524

449

75

22,6

778

1б, 1е

6100

524

449

75

22,6

778

1в, 3в, 4а - 5а, 6а, 6б

5640

524

449

75

22,6

778

1г, 1д, 6в

5860

524

449

75

22,6

778

5180

524

449

75

22,6

778

2а, 8в, 9в

6600

618,5

539

79,5

27,1

778

2б, 11б, 11в, 11д, 11е

6210

594,4

516

78,4

26

778

7560

618,5

539

79,5

27,1

778

7890

712

628

84

31,7

778

7а, 7б, 8а

5860

594,4

516

78,4

26

778

7в, 11а

6920

594,4

516

78,4

26

778

5720

594,4

516

78,4

26

778

6460

594,4

516

78,4

26

778

8390

594,4

516

78,4

26

778

8д, 9б

6200

618,5

539

79,5

27,1

778

8е, 12е

8030

618,5

539

79,5

27,1

778

6510

618,5

539

79,5

27,1

778

10а, 10б

6920

665,8

584

81,8

29,4

778

10в

6760

665,8

584

81,8

29,4

778

11г

6280

594,4

516

78,4

26

778

12а

5450

594,4

516

78,4

26

778

12б

5570

594,4

516

78,4

26

778

12в

5320

594,4

516

78,4

26

778

12г, 12д

5980

618,5

539

79,5

27,1

778

г) сборные железобетонные конструкции

1а, 4, 6а, 6б

3740

216

102

114

38

174

1а, 1в, 1д, 5а

3900

216

102

114

38

174

4010

216

102

114

38

174

1е, 6в

4140

216

102

114

38

174

1ж, 3

3530

216

102

114

38

174

4550

244

122

122

45,6

174

2б, 7а, 7г, 8б, 12в

4040

237

117

120

43,7

174

2в, 9в

5380

244

122

122

45,6

174

4260

273

143

130

53,2

174

4670

216

102

114

38

174

7б, 7в, 12а

3890

237

117

120

43,7

174

8а, 11д, 11е

4280

237

117

120

43,7

174

4400

244

122

122

45,6

174

8г, 11б, 12б

4430

237

117

120

43,7

174

8д, 12д

4100

244

122

122

45,6

174

8е - 9б, 12е

4200

244

122

122

45,6

174

10а

4580

259

133

126

49,4

174

10б

5070

259

133

126

49,4

174

10в

5570

259

133

126

49,4

174

11а

6000

237

117

120

43,7

174

11в, 11г

4140

237

117

120

43,7

174

12г

3970

244

122

122

45,6

174

Примечание. Затраты по монтажу металлоконструкций, обогреву, электромонтажным работам, монтажу технологического оборудования и трубопроводов следует принимать по цене № 326.

14. Нефтеловушки производительностью 30 л/с

Рис. 20. Нефтеловушки производительностью 30 л/с из сборных железобетонных панелей высотой 2,4 и 3,6 м для сточных вод, содержащих нефть. Типовой проект 902-2-160 (к ценам № 328, 329)

Районная цена №328

Нефтеловушка производительностью 30 л/с из сборных железобетонных панелей высотой 2,4 м для сточных вод, содержащих нефть, с обогревом (типовой проект 902-2-160)

Измеритель - 1 нефтеловушка

Районы

Прямые затраты, руб.

Нормативная условно-чистая продукция, руб.

В том числе, руб.

Затраты труда рабочих, чел.-ч

основная заработная плата рабочих

эксплуатация машин

всего

в том числе заработная плата рабочих, обслуживающих машины

1

2

3

4

3

6

7

РАЗДЕЛ I. СТРОИТЕЛЬНЫЕ РАБОТЫ

1б, 3в, 4

9560

1802

866

936

183

1500

1б, 1г, 1д, 6в

10200

1838

866

972

183

1500

1в, 5а, 6а, 6б

9780

1802

866

936

183

1500

10500

1838

866

972

183

1500

1ж, 3а, 3б

9150

1736

866

850

183

1500

2а, 8в

11400

2150

1040

1110

220

1500

2б, 8б, 11б - 11е

10800

2056

996

1060

210

1500

13100

2180

1040

1140

220

1500

12400

2490

1210

1280

256

1500

9260

1838

866

972

183

1500

10400

1956

866

1090

183

1500

7а, 7б, 7г, 8а, 12б

10200

2006

996

1010

210

1500

11100

2066

996

1070

210

1500

8г, 11а

12900

2086

996

1090

210

1500

8д, 9б, 12д

10600

2070

1040

1030

220

1500

12600

2180

1040

1140

220

1500

11200

2180

1040

1140

220

1500

9в, 12е

12200

2180

1040

1140

220

1500

10а

12000

2230

1120

1110

238

1500

10б, 10в

12400

2230

1120

1110

238

1500

12а, 12в

9710

1937

996

941

210

1500

12г

10200

2019

1040

979

220

1500

В том числе:

а) земляные работы

1, 3 - 6

229

229

81

148

60,4

165

2а, 2в, 8в, 8д - 9в, 12г - 12е

257

257

97

160

72,4

165

2б, 7а - 8б, 8г, 11а - 12в

250

250

93

157

69,4

165

285

285

113

172

84,5

165

10

271

271

105

166

78,5

165

б) транспортирование грунта

1а - 1е, 3в, 3г, 4б, 5а, 6а, 6в

433

433

-

433

-

-

1ж, 3б, 4а, 66

361

361

-

361

-

-

2а, 2в, 8е, 9а, 9в, 12е

563

563

-

563

-

-

2б, 5б, 11а

549

549

-

549

-

-

664

664

-

664

-

-

303

303

-

303

-

-

7а, 7б, 7г - 8б, 11б - 11е, 12б

448

448

-

448

-

-

7в, 8в - 8д, 9б

505

505

-

505

-

-

10

520

520

-

520

-

-

12а, 12в

375

375

-

375

-

-

12г, 12д

404

404

-

404

-

-

в) монолитные бетонные и железобетонные конструкции

1а, 3а, 3б, 3г, 5б

4260

431,6

370

61,6

18,6

645

1б, 1е

4890

431,6

370

61,6

18,6

645

1в, 3в, 4а - 5а, 6а, 6б

4480

431,6

370

61,6

18,6

645

1г, 1д, 6в

4680

431,6

370

61,6

18,6

645

4100

431,6

370

61,6

18,6

645

2а, 8в, 9в

5290

510,3

445

65,3

22,3

645

2б, 11б, 11д, 11е

4940

490,3

426

64,3

21,3

645

6160

510,3

445

65,3

22,3

645

6170

588

519

69

26

645

7а, 7б, 8а

4630

490,3

426

64,3

21,3

645

5530

490,3

426

64,3

21,3

645

4510

490,3

426

64,3

21,3

645

5170

490,3

426

64,3

21,3

645

6900

490,3

426

64,3

21,3

645

8д, 9б, 12д

4890

510,3

445

65,3

22,3

645

6470

510,3

445

65,3

22,3

645

5210

510,3

445

65,3

22,3

645

10а, 10б

5580

549,1

482

67,1

24,1

645

10в

5440

549,1

482

67,1

24,1

645

11а

5670

490,3

426

64,3

21,3

645

11в, 11г

5020

490,3

426

64,3

21,3

645

12а - 12в

4340

490,3

426

64,3

21,3

645

12г

4700

510,3

445

65,3

22,3

645

12е

6330

510,3

445

65,3

22,3

645

г) сборные железобетонные конструкции

1а, 4, 6а, 6б

2820

242

114

128

43,6

195

1б, 1в, 1д, 5а

2960

242

114

128

43,6

195

3050

242

114

128

43,6

195

1е, 6в

3170

242

114

128

43,6

195

1ж, 3

2660

242

114

128

43,6

195

3500

273

136

137

52,3

195

2б, 7а, 7г, 11г, 12в

3100

265

130

135

50,1

195

2в, 9в

4110

273

136

137

52,3

195

3290

305

159

146

61

195

3520

242

114

128

43,6

195

7б, 7в, 8б, 12а

2970

265

130

135

50,1

195

8а, 11в, 11д, 11е

3240

265

130

135

50,1

195

3370

273

136

137

52,3

195

8г, 11б

3420

265

130

135

50,1

195

3090

273

136

137

52,3

195

8е - 9б, 12д, 12е

3200

273

136

137

52,3

195

10а

3520

289

148

141

56,6

195

10б

3930

289

148

141

56,6

195

10в

4230

289

148

141

56,6

195

11а

4550

265

130

135

50,1

195

12б

3350

265

130

135

50,1

195

12г

3020

273

136

137

52,3

195

РАЗДЕЛ II. ОБОГРЕВ НЕФТЕЛОВУШК.И

1. Санитарно-технические работы

1, 3 - 6

317

49,1

46,7

2,4

0,4

73,7

2а, 2в, 8в, 8д - 9в, 12г - 12е

331

58,5

56

2,5

0,4

73,7

2б, 8а, 8б, 8г, 11а - 12в

329

56,2

53,7

2,5

0,4

73,7

342

68

65,4

2,6

0,5

73,7

7

322

56,2

53,7

2,5

0,4

73,7

10

338

63,2

60,7

2,5

0,5

73,7

2. Сопутствующие строительные работы

1, 3 - 6

16

10,4

10,4

-

-

18,4

2а. 2в, 8е - 9в, 12г, 12е

19

12,4

12,4

-

-

18,4

2б, 7а - 8б, 8г, 11а - 12в

18

11,9

11,9

-

-

18,4

21

14,5

14,5

-

-

18,4

8в, 8д, 12д

18

12,4

12,4

-

-

18,4

10

20

13,5

13,5

-

-

18,4

РАЗДЕЛ III. ЭЛЕКТРОМОНТАЖНЫЕ РАБОТЫ (ЭЛЕКТРООСВЕЩЕНИЕ И ЗАЗЕМЛЕНИЕ)

1, 3 - 6

310

71,2

48,3

22,9

7,1

83,9

2а, 2в, 8в, 8д, 9, 12г, 12д

322

82,2

57,9

24,3

8,5

83,9

2б, 7а - 8б, 8г, 11а - 12в

319

79,5

55,5

24

8,2

83,9

345

93,3

67,6

25,7

9,9

83,9

351

82,2

57,9

24,3

8,5

83,9

10

341

87,8

62,8

25

9,2

83,9

12е

337

82,2

57,9

24,3

8,5

83,9

РАЗДЕЛ IV. МОНТАЖ ТЕХНОЛОГИЧЕСКОГО ОБОРУДОВАНИЯ И ТРУБОПРОВОДОВ

1. Монтажные работы

1, 3 - 6

1430

486

388

98

39,8

571

2а, 2в, 8в, 8д, 9, 12г, 12д

1520

571

465

106

47,8

571

2б, 7а - 8б, 8г, 11а - 12в

1490

550

446

104

45,8

571

1660

657

543

114

55,8

571

1690

571

465

106

47,8

571

10

1620

614

504

110

51,7

571

12е

1580

571

465

106

47,8

571

2. Сопутствующие строительные работы

1, 3 - 6

61

34,9

34,3

0,6

0,2

51,4

2а, 2в, 8в, 8д, 9, 12г, 12д

68

41,8

41,2

0,6

0,2

51,4

2б, 7а - 8б, 8г, 11а - 12в

66

40,1

39,5

0,6

0,2

51,4

77

48,7

48,1

0,6

0,2

51,4

72

41,8

41,2

0,6

0,2

51,4

10

73

45,2

44,6

0,6

0,2

51,4

12е

70

41,8

41,2

0,6

0,2

51,4

3. Монтаж металлоконструкций, сопутствующий монтажу оборудования

1, 3 - 5

536

50,4

36

14,4

4,7

55,8

2а, 2в, 8в, 8д, 2е, 12г - 12е

556

58,5

43,1

15,4

5,6

55,8

8б, 8а, 86, 8г, 12а - 12в

552

56,5

41,4

15,1

5,4

55,8

573

66,6

50,3

16,3

6,5

55,8

6

556

50,4

36

14,4

4,7

55,8

7, 11

543

56,5

41,4

15,1

5,4

55,8

9

583

58,5

43,1

15,4

5,6

55,8

10

672

62,5

46,7

15,8

6,1

55,8

Примечание. Затраты по монтажу металлоконструкций следует принимать по цене № 326.

Районная цена № 329

Нефтеловушка производительностью 30 л/с из сборных железобетонных панелей высотой 3,6 м для сточных вод, содержащих нефть, с обогревом (типовой проект 902-2-160)

Измеритель - 1 нефтеловушка

Районы

Прямые затраты, руб.

Нормативная условно-чистая продукция, руб.

В том числе, руб.

Затраты труда рабочих, чел.-ч

основная заработная плата рабочих

эксплуатация машин

всего

в том числе заработная плата рабочих, обслуживающих машины

1

2

3

4

5

6

7

СТРОИТЕЛЬНЫЕ РАБОТЫ

1а, 3в, 4б

14600

2550

1090

1460

247

1910

1б, 1г, 1д, 6в

15400

2550

1090

1460

247

1910

1в, 5а, 6а

14800

2550

1090

1460

247

1910

15900

2550

1090

1460

247

1910

1ж, 3а

13800

2380

1090

1290

247

1910

17500

3050

1310

1740

296

1910

16200

2960

1260

1700

284

1910

19800

3050

1310

1740

296

1910

18900

3490

1530

1960

345

1910

14000

2430

1090

1340

247

1910

14000

2550

1090

1460

247

1910

4а, 6б

14600

2430

1090

1340

247

1910

16000

2750

1090

1660

247

1910

7а, 7б, 7г,12б

15400

2780

1260

1520

284

1910

7в, 11б

16600

2830

1260

1570

284

1910

8а, 8б, 11в, 11г, 11е

16000

2780

1260

1520

284

1910

8в, 9а

17000

3000

1310

1690

296

1910

19300

2880

1260

1620

284

1910

16000

2950

1310

1640

296

1910

8е, 9в, 12е

18600

3050

1310

1740

296

1910

16500

2950

1310

1640

296

1910

10а

18000

3110

1420

1690

321

1910

10б

18600

3110

1420

1690

321

1910

10в

19100

3110

1420

1690

321

1910

11а

19800

2960

1260

1700

284

1910

11д

16300

2780

1260

1520

284

1910

12а, 12в

14700

2660

1260

1400

284

1910

12г, 12д

15600

2770

1310

1460

296

1910

В том числе:

а) земляные работы

1, 3 - 6

376

376

118

258

106

242

2а, 2в, 8в, 8д - 9в, 12г - 12е

421

421

142

279

127

242

2б, 7а - 8б, 8г, 11а - 12в

410

410

136

274

121

242

466

466

166

300

148

242

10

444

444

154

290

137

242

б) транспортирование грунта

1а - 1е, 3в, 3г, 4б, 5а, 6а, 6в

753

753

-

753

-

-

1ж, 3б, 4а, 6б

628

628

-

628

-

-

2а, 2в, 8е, 9а, 9в, 12е

979

979

-

979

-

-

2б, 5б, 11а

954

954

-

954

-

-

1150

1150

-

1150

-

-

527

527

-

527

-

-

7а, 7б, 7г - 8б, 11б - 11е, 12б

778

778

-

778

-

-

7в, 8в - 8д, 9б

878

878

-

878

-

-

10

904

904

-

904

-

-

12а, 12в

653

653

-

653

-

-

12г, 12д

703

703

-

703

-

-

в) монолитные бетонные и железобетонные конструкции

1а, 3а, 3б, 3г, 5б

6390

616,5

525

91,5

27,6

913

1б, 1е

7240

616,5

525

91,5

27,6

913

1в, 3в, 4а - 5а, 6а, 6б

6680

616,5

525

91,5

27,6

913

1г, 1д, 6в

6940

616,5

525

91,5

27,6

913

6140

616,5

525

91,5

27,6

913

2а, 8в, 9в

7820

727

630

97

33,1

913

2б, 11б, 11в, 11д, 11е

7360

699,6

604

95.6

31,7

913

8990

727

630

97

33,1

913

9330

837

735

102

38,6

913

7а, 7б, 8а

6940

699,6

604

95,6

31,7

913

7в, 11а

8230

699,6

604

95,6

31,7

913

6770

699,6

604

95,6

31,7

913

7660

699,6

604

95,6

31,7

913

9990

699,6

604

95,6

31,7

913

8д, 9б

7340

727

630

97

33,1

913

8е, 12е

9520

727

630

97

33,1

913

7720

727

630

97

33,1

913

10а, 10б

8220

782,7

683

99,7

35,9

913

10в

8030

782,7

683

99,7

35,9

913

11г

7460

699,6

604

95,6

31,7

913

12а

6460

699,6

604

95,6

31,7

913

12б

6600

699,6

604

95,6

31,7

913

12в

6310

699,6

604

95,6

31,7

913

12г, 12д

7080

727

630

97

33,1

913

г) сборные железобетонные конструкции

1а, 6а, 6б

5140

301

142

159

52,9

240

1б, 1в, 1д, 5а

5360

301

142

159

52,9

240

5520

301

142

159

52,9

240

1е, 6в

5700

301

142

159

52,9

240

1ж, 3

4860

301

142

159

52,9

240

6260

340

170

170

63,4

240

2б, 7а, 7г, 8б, 12в

5560

330

163

167

60,8

240

2в, 9в

7420

340

170

170

63,4

240

5860

378

198

180

74

240

4

5080

301

142

159

52,9

240

6430

301

142

159

52,9

240

7б, 7в, 12а

5350

330

163

167

60,8

240

8а, 11д, 11е

5890

330

163

167

60,8

240

6060

340

170

170

63,4

240

8г, 11б, 12б

6100

330

163

167

60,8

240

8д, 12д

5640

340

170

170

63,4

240

8е - 9б, 12е

5780

340

170

170

63,4

240

10а

6310

359

184

175

68,7

240

10б

6990

359

184

175

68,7

240

10в

7680

359

184

175

68,7

240

11а

8270

330

163

167

60,8

240

11в, 11г

5700

330

163

167

60,8

240

12г

5460

340

170

170

63,4

240

Примечание. Затраты по монтажу металлоконструкций следует принимать по цене № 326, а по обогреву, электромонтажным работам, монтажу технологического оборудования и трубопроводов - по цене № 328.

Рис. 21. Нефтеловушки производительностью 45 л/с из сборных железобетонных панелей высотой 2,4 и 3,6 м для сточных вод, содержащих нефть. Типовой проект 902-2-161 (к ценам № 330, 331)

15. Нефтеловушки производительностью 45 л/с

Районная цена № 330

Нефтеловушка производительностью 45 л/с из сборных железобетонных панелей высотой 2,4 м для сточных вод, содержащих нефть, с обогревом (типовой проект 902-2-161)

Измеритель - 1 нефтеловушка

Районы

Прямые затраты, руб.

Нормативная условно-чистая продукция, руб.

В том числе, руб.

Затраты труда рабочих, чел.-ч

основная заработная плата рабочих

эксплуатация машин

всего

в том числе заработная плата рабочих, обслуживающих машины

1

2

3

4

5

6

7

РАЗДЕЛ I. СТРОИТЕЛЬНЫЕ РАБОТЫ

1а, 3в - 4б

11200

2110

990

1120

217

1720

1б, 1г, 1д, 6в

12000

2160

990

1170

217

1720

1в, 5а, 6а, 6б

11600

2110

990

1120

217

1720

12400

2160

990

1170

217

1720

1ж, 3а, 3б

10800

2030

990

1040

217

1720

13700

2560

1190

1370

260

1720

12700

2480

1140

1340

249

1720

15500

2560

1190

1370

260

1720

14700

2930

1390

1540

303

1720

12400

2300

990

1310

217

1720

7а, 7б, 7г, 12б

12000

2360

1140

1220

249

1720

13200

2430

1140

1290

249

1720

8а, 86, 11г, 11е

12500

2360

1140

1220

249

1720

8в, 9а

13400

2520

1190

1330

260

1720

8г, 11а

15300

2460

1140

1320

249

1720

12500

2490

1190

1300

260

1720

8е, 12е

14800

2560

1190

1370

260

1720

12800

2490

1190

1300

260

1720

14400

2560

1190

1370

260

1720

10а

14200

2630

1290

1340

282

1720

10б, 10в

14700

2630

1290

1340

282

1720

11б, 11в, 11д

12800

2360

1140

1220

249

1720

12а, 12в

11500

2270

1140

1130

249

1720

12г

12000

2360

1190

1170

260

1720

12д

12400

2360

1190

1170

260

1720

В том числе:

а) земляные работы

1, 3 - 6

279

279

96

183

74,4

196

2а, 2в, 8в, 8д - 9в, 12г - 12е

313

313

115

198

89,3

196

2б, 7а - 8б, 8г, 11а - 12в

304

304

110

194

85,6

196

346

346

134

212

104

196

10

329

329

124

205

96,7

196

б) транспортирование грунта

1а - 1е, 3в, 3г, 4б, 5а, 6а, 6в

534

534

-

534

-

-

1ж, 3б, 4а, 6б

445

445

-

445

-

-

2а, 2в, 8е, 9а, 9в, 12е

694

694

-

694

-

-

2б, 5б, 11а

676

676

-

676

-

-

819

819

-

819

-

-

374

374

-

374

-

-

7а, 7б, 7г - 8б, 11б - 11е, 12б

552

552

-

552

-

-

7в, 8в - 8д, 9б

623

623

-

623

-

-

10

641

641

-

641

-

-

12а, 12в

463

463

-

463

-

-

12г, 12д

498

498

-

498

-

-

в) монолитные бетонные и железобетонные конструкции

1а, 3а, 3б, 3г, 5б

4880

486,2

415

71,2

21,5

725

1б, 1е

5590

486,2

415

71,2

21,5

725

1в, 3в, 4а - 5а, 6а, 6б

5120

486,2

415

71,2

21,5

725

1г, 1д, 6в

5340

486,2

415

71,2

21,5

725

4690

486,2

415

71,2

21,5

725

2а, 8в, 9в

6040

573,5

498

75,5

25,7

725

2б, 11б, 11е

5630

551,4

477

74,4

24,7

725

7050

573,5

498

75,5

25,7

725

7060

660,8

581

79,8

30

725

7а, 7б, 8а

5290

551,4

477

74,4

24,7

725

6330

551,4

477

74,4

24,7

725

5150

551,4

477

74,4

24,7

725

5910

551,4

477

74,4

24,7

725

7900

551,4

477

74,4

24,7

725

8д, 9б, 12д

5600

573,5

498

75,5

25,7

725

8е, 12е

7320

573,5

498

75,5

25,7

725

5960

573,5

498

75,5

25,7

725

10а, 10б

6380

617,6

540

77,6

27,9

725

10в

6220

617,6

540

77,6

27,9

725

11а

6480

551,4

477

74,4

24,7

725

11в - 11д

5730

551,4

477

74,4

24,7

725

12а - 12в

4950

551,4

477

74,4

24,7

725

12г

5380

573,5

498

75,5

25,7

725

г) сборные железобетонные конструкции

1а, 4, 6а, 6б

3590

309

145

164

55,7

248

1б, 1в, 1д, 5а

3760

309

145

164

55,7

248

3880

309

145

164

55,7

248

1е, 6в

4030

309

145

164

55,7

248

1ж, 3

3390

309

145

164

55,7

248

4460

349

174

175

66,8

248

2б, 7а, 7г, 11г, 12в

3940

338

166

172

64,1

248

2в, 9в

5230

349

174

175

66,8

248

4190

389

203

186

78

248

4480

309

145

164

55,7

248

7б, 7в, 8б, 12а

3780

338

166

172

64,1

248

8а, 11в, 11д, 11е

4120

338

166

172

64,1

248

4290

349

174

175

66,8

248

8г, 11б

4350

338

166

172

64,1

248

3930

349

174

175

66,8

248

8е - 9б, 11д, 12е

4080

349

174

175

66,8

248

10а

4480

369

188

181

72,4

248

10б

5000

369

188

181

72,4

248

10в

5380

369

188

181

72,4

248

11а

5780

338

166

172

64,1

248

12б

4260

338

166

172

64,1

248

12г

3840

349

174

175

66,8

248

РАЗДЕЛ II. ОБОГРЕВ НЕФТЕЛОВУШКИ

1. Санитарно-технические работы

1, 3 - 6

357

57

54,3

2,7

0,4

85,7

2а, 2в, 8в, 8д - 9в, 12г - 12е

373

67,9

65,2

2,7

0,4

85,7

2б, 8а, 8б, 8г, 11а - 12в

371

65,1

62,4

2,7

0,4

85,7

386

78,8

76

2,8

0,5

85,7

7

364

65,1

62,4

2,7

0,4

85,7

10

380

73,4

70,6

2,8

0,5

85,7

2. Сопутствующие строительные работы

1, 3 - 6

19

11,9

11,9

-

-

21,1

2а, 2в, 8в,8д, 9, 12г, 12д

21

14,3

14,3

-

-

21,1

2б, 7а - 8б, 8г, 11а - 12в

21

13,7

13,7

-

-

21,1

24

16,7

16,7

-

-

21,1

8е, 12е

22

14,3

14,3

-

-

21,1

10

23

15,5

15,5

-

-

21,1

РАЗДЕЛ III. ЭЛЕКТРОМОНТАЖНЫЕ РАБОТЫ (электроосвещение и заземление)

1, 3 - 6

341

78,4

53,2

25,2

7,8

92,5

2а, 2в, 8в, 8д, 9, 12г, 12д

355

90,7

63,9

26,8

9,4

92,5

2б, 7а - 8б, 8г, 11а - 12в

352

87,6

61,2

26,4

9

92,5

380

102,8

74,5

28,3

10,9

92,5

387

90,7

63,9

26,8

9,4

92,5

10

376

96,7

69,2

27,5

10,1

92,5

12е

372

90,7

63,9

26,8

9,4

92,5

РАЗДЕЛ IV. МОНТАЖ ТЕХНОЛОГИЧЕСКОГО ОБОРУДОВАНИЯ И ТРУБОПРОВОДОВ

1. Монтажные работы

1, 3 - 6

1480

501

400

101

41,1

589

2а, 2в, 8в, 8д, 9, 12г, 12д

1570

590

480

110

49,3

589

2б, 7а - 8б, 8г, 11а - 12в

1540

568

460

108

47,3

589

1710

677

560

117

57,5

589

1740

590

480

110

49,3

589

10

1670

633

520

113

53,4

589

12е

1630

590

480

110

49,3

589

2. Сопутствующие строительные работы

1, 3 - 6

63

35,3

34,7

0,6

0,2

52

2а, 2в, 8в, 8д, 9, 12г - 12е

71

42,3

41,6

0,7

0,2

52

2б, 7а - 8б, 8г, 11а - 12в

68

40,6

39,9

0,7

0,2

52

79

49,3

48,6

0,7

0,2

52

75

42,3

41,6

0,7

0,2

52

10

76

45,8

45,1

0,7

0,2

52

3. Монтаж металлоконструкций, сопутствующий монтажу оборудования

1, 3 - 5

637

62,1

44,4

17,7

5,7

68,8

2а, 2в, 8в, 8д, 8е, 12г - 12е

663

72

53,2

18,8

6,9

68,8

2б, 8а, 8б, 8г, 12а - 12в

657

69,5

51

18,5

6,6

68,8

683

82,1

62,1

20

8

68,8

6

662

62,1

44,4

17,7

5,7

68,8

7, 11

646

69,5

51

18,5

6,6

68,8

9

696

72

53,2

18,8

6,9

68,8

10

807

77,1

57,7

19,4

7,5

68,8

Примечание. Затраты по монтажу металлоконструкций следует принимать по цене № 326.

Районная цена №331

Нефтеловушка производительностью 45 л/с из сборных железобетонных панелей высотой 3,6 м для сточных вод, содержащих нефть, с обогревом (типовой проект 902-2-161)

Измеритель - 1 нефтеловушка

Районы

Прямые затраты, руб.

Нормативная условно-чистая продукция, руб.

В том числе, руб.

Затраты труда рабочих, чел.

основная заработная плата рабочих

Затраты труда рабочих, чел.

Затраты труда рабочих, чел.

в том числе заработная плата рабочих, обслуживающих машины

1

2

3

4

5

6

7

СТРОИТЕЛЬНЫЕ РАБОТЫ

1а, 3в, 4б

17000

3010

1250

1760

294

2200

1б, 1г, 1д, 6в

18000

3010

1250

1760

294

2200

1в, 5а, 6а

17400

3010

1250

1760

294

2200

18600

3010

1250

1760

294

2200

1ж, 3а, 3б

16200

2790

1250

1540

294

2200

20500

3590

1500

2090

352

2200

18900

3490

1440

2050

338

2200

23200

3590

1500

2090

352

2200

22000

4130

1760

2370

411

2200

16300

3010

1250

1760

294

2200

16700

2860

1250

1610

294

2200

18800

3250

1250

2000

294

2200

17100

2860

1250

1610

294

2200

7а, 7б, 7г, 12б

18000

3270

1440

1830

338

2200

7в, 11б, 11д

19300

3340

1440

1900

338

2200

8а, 8б, 11в, 11г, 11е

18800

3270

1440

1830

338

2200

8в, 9а

19800

3530

1500

2030

352

2200

22600

3400

1440

1960

338

2200

18700

3470

1500

1970

352

2200

8е, 9в, 12е

21800

3590

1500

2090

352

2200

19200

3470

1500

1970

352

2200

10а

21100

3660

1630

2030

382

2200

10б

21900

3660

1630

2030

382

2200

10в

22400

3660

1630

2030

382

2200

11а

23300

3490

1440

2050

338

2200

12а, 12в

17200

3120

1440

1680

338

2200

12г

18000

3260

1500

1760

352

2200

12д

18400

3260

1500

1760

352

2200

В том числе:

а) земляные работы

1, 3 - 6

455

455

140

315

129

287

2а, 2в, 8в, 8д - 9в, 12г - 12е

509

509

168

341

154

287

2б, 7а - 8б, 8г, 11а - 12в

495

495

161

334

148

287

562

562

196

366

180

287

10

536

536

182

354

167

287

б) транспортирование грунта

1а - 1е, 3в, 3г, 4б, 5а, 6а, 6в

919

919

-

919

-

-

1ж, 3б, 4а, 6б

766

766

-

766

-

-

2а, 2в, 8е, 9а, 9в, 12е

1190

1190

-

1190

-

-

2б, 5б, 11а

1160

1160

-

1160

-

-

1410

1410

-

1410

-

-

643

643

-

643

-

 

7а, 7б, 7г - 8б, 11б - 11е, 12б

949

949

-

949

-

-

7в, 8в - 8д, 9б

1070

1070

-

1070

-

-

10

1100

1100

-

1100

-

-

12а, 12в

796

796

-

796

-

-

12г, 12д

857

857

-

857

-

-

в) монолитные бетонные и железобетонные конструкции

1а, 3а, 3б, 3г, 5б

7260

697

590

107

32,1

1030

1б, 1е

8240

697

590

107

32,1

1030

1в, 3в, 4а - 5а, 6а, 6б

7600

697

590

107

32,1

1030

1г, 1д, 6в

7900

697

590

107

32,1

1030

6980

697

590

107

32,1

1030

2а, 8в, 9в

8910

821

708

113

38,6

1030

2б, 11б, 11д, 11е

8360

791

679

112

37

1030

10200

821

708

113

38,6

1030

10600

946

826

120

45

1030

7а, 7б, 8а

7890

791

679

112

37

1030

9280

791

679

112

37

1030

7700

791

679

112

37

1030

8720

791

679

112

37

1030

11400

791

679

112

37

1030

8д, 9б

8360

821

708

113

38,6

1030

8е, 12е

10800

821

708

113

38,6

1030

8780

821

708

113

38,6

1030

10а, 10б

9360

883

767

116

41,8

1030

10в

9140

883

767

116

41,8

1030

11а

9480

791

679

112

37

1030

11в, 11г

8480

791

679

112

37

1030

12а, 12б

7420

791

679

112

37

1030

12в

7180

791

679

112

37

1030

12г, 12д

8060

821

708

113

38,6

1030

г) сборные железобетонные конструкции

1а, 6а, 6б

6170

385

181

204

67,8

308

1б, 1в, 1д, 5а

6460

385

181

204

67,8

308

6660

385

181

204

67,8

308

1е, 6в

6880

385

181

204

67,8

308

1ж, 3

5810

385

181

204

67,8

308

7610

435

217

218

81,3

308

2б, 7а, 7г, 8б, 12в

6700

422

208

214

77,9

308

2в, 9в

9070

435

217

218

81,3

308

7100

485

254

231

94,9

308

4

6100

385

181

204

67,8

308

7780

385

181

204

67,8

308

7б, 7в, 12а

6440

422

208

214

77,9

308

8а, 11д, 11е

7140

422

208

214

77,9

308

7350

435

217

218

81,3

308

8г, 11б, 12б

7400

422

208

214

77,9

308

8д, 12д

6810

435

217

218

81,3

308

8е - 9б, 12е

6980

435

217

218

81,3

308

10а

7670

459

235

224

88,1

308

10б

8520

459

235

224

88,1

308

10в

9370

459

235

224

88,1

308

11а

10100

422

208

214

77,9

308

11в, 11г

6900

422

208

214

77,9

308

12г

6590

435

217

218

81,3

308

Примечание. Затраты по монтажу металлоконструкций следует принимать по цене № 326; а по обогреву, электромонтажным работам, монтажу технологического оборудования и трубопроводов - по цене № 330.

ПРИЛОЖЕНИЕ 1
РАСПРЕДЕЛЕНИЕ ОТДЕЛЬНЫХ ЧАСТЕЙ ТЕРРИТОРИИ СССР ПО ТЕРРИТОРИАЛЬНЫМ РАЙОНАМ, ДЛЯ КОТОРЫХ РАЗРАБОТАНЫ ЦЕНЫ ПРЕЙСКУРАНТА

1-й территориальный район

Подрайон 1а

1. Брянская область

2. Владимирская   »

3. Калининская     »

4. Ленинградская »

5. Московская       »

6. Новгородская    »

7. Тульская            »

Подрайон 1б

1. Чувашская АССР

2. Горьковская область

3. Ивановская          »

4. Ярославская        »

Подрайон 1в

1. Башкирская АССР

2. Мордовская        »

3. Татарская           »

4. Белгородская область

5. Волгоградская       »

6. Воронежская          »

7. Куйбышевская       »

8. Курская                   »

9. Липецкая                »

10. Орловская            »

11. Пензенская           »

12. Саратовская         »

13. Тамбовская          »

14. Ульяновская         »

Подрайон 1г

1. Вологодская область

2. Кировская             »

3. Костромская         »

Подрайон 1д

1. Марийская АССР

2. Калужская область

3. Псковская          »

4. Рязанская          »

5. Смоленская       »

Подрайон 1е

Астраханская область

Подрайон 1ж

Белорусская ССР

2-й территориальный район

Подрайон 2а

Архангельская область (южнее Полярного круга)

Подрайон 2б

Карельская АССР

Подрайон 2в

Коми АССР (южнее Полярного круга)

Подрайон 2г

Мурманская область

3-й территориальный район

Подрайон 3а

Латвийская ССР

Подрайон 3б

Литовская ССР

Подрайон 3в

Эстонская ССР

Подрайон 3г

Калининградская область

4-й территориальный район

Подрайон 4а

Украинская ССР

Подрайон 4б

Молдавская ССР

5-й территориальный район

Подрайон 5а

1. Дагестанская                 АССР

2. Кабардино-Балкарская    »

3. Северо-Осетинская          »

4. Чечено-Ингушская           »

5. Краснодарский край

6. Ставропольский »

7. Ростовская область

Подрайон 5б

Калмыцкая АССР

6-й территориальный район

Подрайон 6а

Армянская ССР

Подрайон 6б

Азербайджанская ССР

Подрайон 6в

Грузинская ССР

7-й территориальный район

Подрайон 7а

Пермская область

Подрайон 7б

Свердловская область

Подрайон 7в

Удмуртская АССР

Подрайон 7г

1. Курганская область

2. Оренбургская   »

3. Челябинская    »

8-й территориальный район

Подрайон 8а

1. Алтайский край

2. Кемеровская область

3. Новосибирская   »

Подрайон 8б

Омская область

Подрайон 8в

Томская область (южнее 60-й параллели)

Подрайон 8 г

Тюменская область (южнее 60-й параллели)

Подрайон 8д

Красноярский край (южнее 60-й параллели) без Тувинской АССР)

Подрайон 8е

Тувинская АССР

9-й территориальный район

Подрайон 9а

Бурятская АССР

Подрайон 9б

Иркутская область (южнее 60-й параллели)

Подрайон 9в

Читинская Область

10-й территориальный район

Подрайон 10а

Приморский край

Подрайон 10б

Хабаровский край (южнее 55-й параллели)

Подрайон 10 в

Амурская область

11-й территориальный район

Казахская ССР

Подрайон 11а

Мангышлакская область

Подрайон 11б

1. Актюбинская область

2. Джамбулская         »

3. Кзыл-Ординская    »

4. Уральская               »

Подрайон 11в

1. Гурьевская область

2. Чимкентская     »

Подрайон 11г

1. Алма-Атинская область

2. Джезказганская       »

3. Талды-Курганская   »

Подрайон 11д

1. Восточно-Казахстанская область

2. Карагандинская область

3. Кокчетавская        »

4. Павлодарская        »

5. Северо-Казахстанская область

6. Тургайская область

7. Целиноградская    »

Подрайон 11е

1. Кустанайская область

2. Семипалатинская »

12-й территориальный район

Подрайон 12а

Узбекская ССР

1. Андижанская область

2. Бухарская                 »

3. Джизакская              »

4. Кашкадарьинская    »

5. Наманганская          »

6. Самаркандская область

7. Сырдарьинская        »

8. Сурхандарьинская   »

9. Ташкентская            »

10. Ферганская            »

11. Хорезмская            »

Подрайон 12б

Киргизская ССР

Подрайон 12в

Таджикская ССР

1. Кулябская область

2. Курган-Тюбинская область

3. Ленинабадская               »

4. Район республиканского подчинения

Подрайон 12г

Туркменская ССР

Подрайон 12д

Каракалпакская АССР

Подрайон 12е

Горно-Бадахшанская автономная область Таджикской ССР

Районы Крайнего Севера и местности, приравненные к ним, расположенные в границах действия ЕРЕР-84 и входящие в состав территориальных районов, для которых разработаны цены Прейскуранта

1. РАЙОНЫ КРАЙНЕГО СЕВЕРА

Мурманская область - за исключением г. Кандалакши с территорией, находящейся в административном подчинении Кандалакшского городского Совета народных депутатов.

Архангельская область - Ненецкий автономный округ южнее Полярного круга, г. Северодвинск с территорией, находящейся в административном подчинении Северодвинского городского Совета народных депутатов.

Коми АССР - г. Инта с территорией, находящейся в административном подчинении Интинского городского Совета народных депутатов, Усинский район.

Красноярский край - Северо-Енисейский район и территория Эвенкийского автономного округа южнее 60-й параллели.

2. МЕСТНОСТИ, ПРИРАВНЕННЫЕ К РАЙОНАМ КРАЙНЕГО СЕВЕРА

Мурманская область - г. Кандалакша с территорией, находящейся в административном подчинении Кандалакшского городского Совета народных депутатов.

Архангельская область - районы: Лешуконский, Мезенский и Пинежский.

Коми АССР - районы: Вуктыльский, Ижемский, Печорский, Сосногорский, Троицко-Печорский, Удорский и Усть-Цилемский; гг. Печора и Ухта с территорией, находящейся в административном подчинении Ухтинского городского Совета народных депутатов.

Тюменская область - Ханты-Мансийский автономный округ южнее 60-й параллели.

Томская область - районы: Бакчарский, Верхнекетский, Каргасокский, Колпашевский, Кривошеинский, Молчановский, Парабельский и Чаинский; г. Колпашево.

Красноярский край - районы: Богучанский, Енисейский, Кежемский, Мотыгинский; гг. Енисейск и Лесосибирск с территорией, находящейся в административном подчинении Лесосибирского городского Совета народных депутатов.

Иркутская область - районы: Бодайбинский, Братский, Казачинско-Ленский, Киренский, Мамско-Чуйский, Нижнеилимский, Усть-Илимский и Усть-Кутский; гг. Бодайбо, Усть-Илимск, Усть-Кут и Братск с территорией, находящейся в административном подчинении Братского городского Совета народных депутатов.

Бурятская АССР - Баунтовский и Северо-Байкальский районы.

Читинская область - районы: Каларский, Тунгиро-Олекминский и Тунгокоченский.

Амурская область - районы: Зейский, Селемджинский и Тындинский; гг. Зея и Тында с территорией, находящейся в административном подчинении Тындинского городского Совета народных депутатов.

Приморский край - районы: Дальнегорский, Кавалеровский, Ольгинский и Тернейский, рабочий поселок Восток Красноармейского района с территорией, находящейся в административном подчинении Востокского поселкового Совета народных депутатов; Богуславецкий, Вострецовский, Дальнекутский, Измайлихинский, Мельничный, Рощинский и Таежненский сельсоветы Красноармейского района.

Хабаровский край - районы: Ванинский, Верхнебуреинский, Комсомольский, Николаевский, им. Полины Осипенко, Советско-Гаванский, Солнечный, Тугуро-Чумиканский и Ульчский; гг. Амурск, Комсомольск-на-Амуре, Николаевск-на-Амуре и Советская Гавань; рабочий поселок Эльбан Амурского района с территорией, находящейся в административном подчинении Эльбанского поселкового Совета народных депутатов; Вознесенский и Падалинский сельсоветы Амурского района.


ПРИЛОЖЕНИЕ 2
ПОПРАВКИ К ЭЛЕМЕНТАМ ЗАТРАТ ПРИ ПРОИЗВОДСТВЕ ЗЕМЛЯНЫХ РАБОТ В ГРУНТАХ, ОТЛИЧАЮЩИХСЯ ОТ ПРИНЯТЫХ В ПРЕЙСКУРАНТЕ: (В ПРОЦЕНТАХ НА ИЗМЕРИТЕЛЬ ЦЕН)

 

Номера цен

Элементы затрат

Группа грунтов и их гидрогеологическое состояние

Водоотлив, м3/ч, до

 

I

II

III

IV

30

60

 

сухие

мокрые

сухие

мокрые

сухие

мокрые

сухие

мокрые

I группа

II группа

III и IV группы

I группа

II группа

III и IV группы

 

 

 

а

б

в

г

д

е

ж

з

и

к

л

м

н

о

 

278, 279, 307, 315

Основная заработная плата

+19

+28

-

+13

-1

+15

+50

+81

-

-

-

-

-

-

 

 

Эксплуатация машин

+5

+11

-

+6

-21

-17

-4

+2

+146

+104

+73

+180

+128

+90

 

 

Заработная плата рабочих, обслуживающих машины

+5

+11

-

+6

-21

-17

-4

+2

+221

+158

+110

+221

+158

+110

 

 

Затраты труда

+20

+29

-

+13

-8

+7

+25

+51

-

-

-

-

-

 

 

280 - 303

Основная заработная плата

-7

+34

-

+58

+41

+87

+111

+188

-

-

-

-

-

-

 

 

Эксплуатация машин

-11

+24

-

+54

+34

+69

+55

+95

-

-

-

-

-

-

 

 

Заработная плата рабочих, обслуживающих машины

-9

+25

-

+54

+35

+71

+55

+97

-

-

-

-

-

-

 

 

Затраты труда

-8

+34

-

+58

+42

+87

+113

+191

-

-

-

-

-

-

304 - 306

Основная заработная плата

-1

+7

-

+14

+17

+36

+87

+126

-

-

-

-

-

-

 

 

Эксплуатация машин

+2

+10

-

+8

-15

-7

+8

+18

+182

+154

+116

+223

+189

+142

 

 

Заработная плата рабочих, обслуживающих машины

+2

+10

-

+8

-14

-6

+10

+19

+273

+232

+174

+273

+232

+174

 

 

Затраты труда

-

+8

-

+14

+9

+27

+48

+79

-

-

-

-

-

-

 

308 - 314, 316 - 318

Основная заработная плата

-15

-

-

-

+44

-

+99

-

-

-

-

-

-

-

 

 

Эксплуатация машин

-1

-

-

-

+25

-

+59

-

-

-

-

-

-

-

 

 

Заработная плата рабочих, обслуживающих машины

-1

-

-

-

+25

-

+60

-

-

-

-

-

-

-

 

 

Затраты труда

-15

-

-

-

+38

-

+82

-

-

-

-

-

-

-

 

319 - 321

Основная заработная плата

-

-22

-

-

-

+4

-

+75

-

-

-

-

-

-

 

 

Эксплуатация машин

-

-13

-

-

-

-2

-

+29

-

-

-

-

-

-

 

 

Заработная плата рабочих, обслуживающих машины

-

-12

-

-

-

-1

-

+30

-

-

-

-

-

-

 

 

Затраты труда

-

-22

-

-

-

+2

-

+69

-

-

-

-

-

-

 

322 - 331

Основная заработная плата

-2

+60

-

+86

+27

+83

+65

+144

-

-

-

-

-

-

 

 

Эксплуатация машин

-1

+59

-

+77

+24

+72

+59

+121

-

-

-

-

-

-

 

 

Заработная плата рабочих, обслуживающих машины

-1

+61

-

+78

+24

+73

+58

+122

-

-

-

-

-

-

 

 

Затраты труда

-2

+59

-

+86

+24

+80

+56

+128

-

-

-

-

-

-

 

Примечания: 1. Поправки для мокрых грунтов разработаны исходя из усредненного соотношения объемов мокрых и сухих грунтов в котлованах и траншеях и не учитывают производство водоотливных работ. Затраты на производство водоотливных работ предусматриваются в сметах дополнительно: по ценам № 278, 279, 304 - 307, 315 путем применения поправок, приведенных в Графах «и - о», а по ценам № 280 - 303, 319 - 331 - в соответствии с калькуляциями, составленными на основании проектных данных о силе притока воды, продолжительности производства водоотливных работ и применяемых водоотливных средствах. 2. Настоящие поправки определяются в процентах от элементов затрат разделов земляных работ основных цен Прейскуранта. 3. При строительстве зданий и сооружений в скальных грунтах V - XI групп стоимость их разработки определяется по отдельному расчету с исключением при этом затрат по земляным работам, учтенных в Прейскуранте. 4. Поправки со знаком «+» к ценам Прейскуранта следует добавлять, а поправки со знаком «-» вычитать.


ПРИЛОЖЕНИЕ 3
КОЭФФИЦИЕНТЫ К ПОКАЗАТЕЛЯМ ПОДРАЗДЕЛА «ТРАНСПОРТИРОВАНИЕ ГРУНТА» ЦЕН ПРЕЙСКУРАНТА, УЧИТЫВАЮЩИЕ РАЗНИЦУ В ТАРИФЕ НА АВТОМОБИЛЬНЫЕ ПЕРЕВОЗКИ, МЕЖДУ ДЕЙСТВУЮЩИМИ В ОТДЕЛЬНЫХ ГОРОДАХ, РАЙОНАХ, ОБЛАСТЯХ, КРАЯХ И РЕСПУБЛИКАХ И ПРИНЯТЫМИ В ЦЕНАХ НАСТОЯЩЕГО ПРЕЙСКУРАНТА

№ п.п.

Наименования территориальных районов, областей, краев и республик

Коэффициенты

 

РСФСР

 

 

1-й территориальный район

 

1

Москва (при расчетах по сдельным тарифам за перевозки строительных материалов в пределах границ города)

0,8

2

Ленинград (при расчетах по сдельным тарифам за перевозки строительных материалов в пределах города)

0,9

3

Башкирская АССР

1,1

4

Марийская        »

1,25

5

Вологодская область

1,1

6

Кировская        »

1,1

 

5-й территориальный район

 

7

Дагестанская АССР (за исключением указанных ниже горных районов)

1,25

8

Агульский, Акушинский, Ахвахский, Ахтынский, Ботлихский, Гергебильский, Гумбетовский, Гунибский, Дахадаевский, Кулинский, Курахский, Лакский, Левашинский, Рутульский, Советский, Тляртинский, Унцукульский, Хунзахский, Цумадинский, Цунтинский и Чародинский районы Дагестанской АССР

1,6

 

6-й территориальный район

 

 

Армянская ССР

 

9

г. Алаверди, Амасийский, Варденисский, Гукасянский, им. Камо, Мартунинский, Мегринский, Ноемберянский, Разданский, Севанский, Туманянский и Шамшадинский районы

1,1

10

Азизбековский, Апаранский, Горисский, Ехегнадзорский, Кафанский и Сисианский районы

1,21

11

г. Джермук, Каджаран

1,31

 

Азербайджанская ССР

 

12

Гадрутский, Дашкесанский, Джульфинский, Кедабекский, Кельбаджарский, Лачинский, Лерикский, Ордубадский, Шаумяновский, Шахбузский, Шушинский и Ярдымлинский районы, расположенные в горных местностях, а также для колхозов и совхозов, приведенных в прил. 1 к Прейскуранту № 13-01-07 изд. 1981 г.

1,2

 

Грузинская ССР

 

13

гг. Тбилиси, Рустави, а также на территории Гардабанского района при перевозке грузов автомобилями грузоподъемностью до 10 т на расстояние до 5 км (указанный коэффициент не применяется в случае работы транспорта этих автохозяйств вне места их постоянного пребывания)

0,9

14

Все горные районы, расположенные св. 1300 м над уровнем моря

1,35

 

7-й территориальный район

 

 

РСФСР

 

15

Коми-Пермяцкий автономный округ Пермской области

1,44

 

11-й территориальный район

 

 

КазахскаяССР

 

16

г. Алма-Ата, Чимкентская область

0,9

17

Кокчетавская, Кустанайская, Павлодарская, Северо-Казахстанская, Тургайская и Целиноградская области

1,1

18

Кзыл-Ординская область

1,15

19

Гурьевская              »

1,2

20

Все местности горных районов, расположенные выше 1500 м над уровнем моря

1,25

 

12-й территориальный район

 

 

Узбекская ССР

 

21

г. Ташкент, Ферганская область

0,88

22

Хорезмская область

1,12

 

Киргизская ССР

 

23

Ала-Букинский, Джанги-Джольский, Токтогульский районы Ошской области и все местности горных районов, расположенные св. 1300 м над уровнем моря

1,2

24

Нарынская область

1,3

 

Таджикская ССР

 

25

гг. Исфара, Каракум, Канибадам, Ленинабад, Ура-Тюбе, Чкаловск и районы Аштский, Ганчинский, Зафарободский, Исфаринский, Канибадамский, Матчинский, Науский, Ура-Тюбинский и Ходжентский

0,88

 

Туркменская ССР

 

26

гг. Ашхабад, Красноводск, Мары и районы Ашхабадский, Векиль-Базарский, Гяурский, Марыйский

0,9

27

Достлукский, Керкинский, Кумя-Ургейчский, Кушкинский. Ленинский, Октябрьский, Тахта-Базарский, Халачский районы и полуостров Челекен

1,1

28

Гасан-Кулийский, Казанджикский, Кара-Калинский, Кизыл-Арватский, Кизыл-Атрекский, Ходжамбасский, Чаршангинский районы и тракт Ашхабад-Гаудан

1,2

29

Центральный, Юго-Восточный, Юго-Западный районы Кара-Кумов, трасса Кара-Кумского канала, Заунгузские пески, поселки и населенные пункты, подчиненные г. Небит-Даг.

1,3

Примечание. При изменении показателей подраздела «Транспортирование грунта» должны изменяться на такую же величину и показатели раздела «Подземная часть».

ПРИЛОЖЕНИЕ 4
ПОПРАВКИ К ЦЕНЕ №
278 ПРИ ИЗМЕНЕНИИ ГЛУБИНЫ ЗАЛОЖЕНИЯ СБОРНЫХ ФУНДАМЕНТОВ НА КАЖДЫЕ ±0,3 М (НА ИЗМЕРИТЕЛЬ ЦЕН)

Территориальные районы

Элементы затрат

прямые затраты, руб.

нормативная условно-чистая продукция, руб.

основная заработная плата рабочих, руб.

эксплуатация машин, руб.

заработная плата рабочих, обслуживающих машины, руб.

затраты труда рабочих, чел.-ч

1

2

3

4

5

6

7

330

55

14

41

14

24

1б, 1д

400

55

14

41

14

24

360

55

14

41

14

24

1г, 5б

450

56

14

42

14

25

430

55

14

41

14

24

1ж, 6б, 6в

270

53

13

40

14

24

2а, 9а, 9в

550

62

17

45

17

25

2б, 7б, 8а, 11б, 11д

450

60

16

44

16

25

670

62

17

45

17

25

560

67

19

48

20

24

3а, 3б, 3г, 5а

290

53

13

40

14

24

3в, 6а

350

53

13

40

14

24

4

310

53

13

40

14

24

7а, 8б, 11е

490

60

16

44

16

25

540

60

16

44

16

25

7г, 11в, 11г

430

59

16

43

16

25

8в,8д

490

62

17

45

17

25

610

60

16

44

16

25

600

62

17

45

17

25

430

62

17

45

17

25

10а

420

64

18

46

18

24

10б

500

65

18

47

18

25

10в

600

65

18

47

18

25

11а

400

58

15

43

16

24

12а

230

57

15

42

16

24

12б - 12в

330

57

15

42

16

24

12г - 12е

330

59

16

43

17

24

Примечания: 1. Поправка к районной цене разработана при изменении глубины заложения на каждые ±0,3 м и применяется в том случае, когда при привязке проекта к местным условиям глубина заложения фундамента отличается от принятой в ценах на ±0,2 м и более. 2. Поправка к районной цене учитывает изменения глубины заложения фундаментов только под наружными стенами, а при изменении глубины заложения фундаментов и под внутренними стенами, против принятых в типовом проекте, разница в стоимости оплачивается дополнительно. 3. Изменение массы, т, сборных бетонных и железобетонных конструкций фундаментов в связи с изменением глубины их заложения на каждые ±0,3 м следует принимать по следующей таблице:

Территориальные районы

Номера цен

278

1ж, 3а, 3б, 3г, 4, 5а, 6, 11а, 12

10,3

1а - 1в, 1д, 1е, 2б, 2г, 3в, 5б, 10а, 11б - 11г

13

1г, 2а, 2в, 7, 8, 9, 10б, 10в, 11д, 11е

15,8

ПРИЛОЖЕНИЕ 5
ПОПРАВКИ К ЦЕНЕ №
278 НА МОНТАЖ ОБОРУДОВАНИЯ ПРИ ДОЗИРОВАНИИ ГИПОХЛОРИТА НАТРИЯ ЭЖЕКТОРАМИ (НА ИЗМЕРИТЕЛЬ ЦЕН)

Районы

Прямые затраты, руб.

Нормативная условно-чистая продукция, руб.

В том числе, руб.

Затраты труда рабочих, чел.-ч

основная заработная плата рабочих

эксплуатация машин

всего

в том числе заработная плата рабочих, обслуживающих машины

1

2

3

4

5

6

7

1, 3 - 6

90

28

23

5

1

38

2а, 2в, 8в,8д - 9в, 12г - 12е

100

34

28

6

2

38

2б, 7а - 8б, 8г, 11а - 12в

100

31

26

5

2

38

110

38

32

6

2

38

10

100

36

30

6

2

38


ПРИЛОЖЕНИЕ 6
ПОПРАВКИ К ЦЕНАМ №
280 - 291 НА СТРОИТЕЛЬСТВО ГРАДИРЕН В РАЙОНАХ С СЕЙСМИЧНОСТЬЮ 7 - 8 БАЛЛОВ (НА ИЗМЕРИТЕЛЬ ЦЕН)

№ цен

Элементы затрат

Единица измерения

Территориальные районы

8д, 9

8е, 10в

10а, 10б

280, 284, 288

Прямые затраты

руб.

800

840

870

900

880

Нормативная условно-чистая продукция

»

159

187

187

199

207

Основная заработная плата рабочих

»

157

185

185

197

205

Эксплуатация машин

»

2

2

2

2

2

Заработная плата рабочих, обслуживающих машины

»

1

1

1

1

1

Затраты труда рабочих

чел.-ч

267

267

267

267

267

281, 285, 289

Прямые затраты

руб.

1120

1170

1220

1260

1230

Нормативная условно-чистая продукция

»

223

263

262

279

290

Основная заработная плата рабочих

»

221

260

259

276

287

Эксплуатация машин

»

2

3

3

3

3

Заработная плата рабочих, обслуживающих машины

»

1

1

1

1

1

Затраты труда рабочих

чел.-ч

374

374

374

374

374

282, 286, 290

Прямые затраты

руб.

1440

1510

1560

1630

1580

Нормативная условно-чистая продукция

»

287

337

337

358

372

Основная заработная плата рабочих

»

284

334

334

355

369

Эксплуатация машин

»

3

3

3

3

3

Заработная плата рабочих, обслуживающих машины

»

1

1

1

1

1

Затраты труда рабочих

чел.-ч

481

481

481

481

481

283, 287, 291

Прямые затраты

руб.

1770

1840

1910

1980

1940

Нормативная условно-чистая продукция

»

351

412

412

438

455

Основная заработная плата рабочих

»

347

408

408

434

451

Эксплуатация машин

»

4

4

4

4

4

Заработная плата рабочих, обслуживающих машины

»

1

1

1

1

2

Затраты труда рабочих

чел.-ч

588

588

588

588

588


ПРИЛОЖЕНИЕ 7
ПОПРАВКИ К ЦЕНЕ №
306 ПРИ ПРИМЕНЕНИИ НАСОСА, ОТЛИЧАЮЩЕГОСЯ ОТ УЧТЕННОГО В ПРЕЙСКУРАНТЕ (НА ИЗМЕРИТЕЛЬ ЦЕН)

Районы

Прямые затраты, руб.

Нормативная условно-чистая продукция, руб.

В том числе, руб.

Затраты труда рабочих, чел.

основная заработная плата рабочих

эксплуатация машин

всего

в том числе заработная плата рабочих, обслуживающих машины

1

2

3

4

5

6

7

А. ПРИ ПРИМЕНЕНИИ НАСОСА ЗКМ-6 ВМЕСТО УЧТЕННОГО КМ 8-18

РАЗДЕЛ I. САНИТАРНО-ТЕХНИЧЕСКИЕ РАБОТЫ ПО ВЕНТИЛЯЦИИ

1, 4, 5

91

5,7

3,9

1,8

0,2

6,1

2а, 2в

98

6,4

4,6

1,8

0,2

6,1

98

6,2

4,4

1,8

0,2

6,1

109

7,2

5,4

1,8

0,2

6,1

3

96

5,7

3,9

1,8

0,2

6,1

6

99

5,7

3,9

1,8

0,2

6,1

7а - 7в

92

6,2

4,4

1,8

0,2

6,1

94

6,2

4,4

1,8

0,2

6,1

8а, 8б, 8г, 11а - 12в

102

6,2

4,4

1,8

0,2

6,1

8в, 8д, 12г, 12д

102

6,4

4,6

1,8

0,2

6,1

125

6,4

4,6

1,8

0,2

6,1

9, 12е

108

6,4

4,6

1,8

0,2

6,1

10

116

6,8

5

1,8

0.2

6,1

РАЗДЕЛ II. МОНТАЖ ЭЛЕКТРОСИЛОВОГО ОБОРУДОВАНИЯ

1. Монтажные работы

1, 3 - 6

17

5,3

4

1,3

0,5

6,4

2а, 2в, 8в, 8д - 9в, 12г - 12е

18

6,3

4,8

1,5

0,6

6,4

2б, 7а - 8б, 8г, 11а - 12в

18

6

4,6

1,4

0,6

6,4

19

7,2

5,6

1,6

0,7

6,4

10

19

6,7

5,2

1,5

0,7

6,4

2. Сопутствующие работы по монтажу металлоконструкций

1, 2а - 2в, 3 - 9, 11, 12

5

0,6

0,3

0,3

0,1

0,5

2г, 10

5

0,7

0,4

0,3

0,1

0,5

РАЗДЕЛ III. ГИДРОМЕХАНИЧЕСКОЕ ОБОРУДОВАНИЕ

1, 3 - 6

336

140,9

109

31,9

8,1

178

2а, 2в, 8в, 8д, 9, 12г, 12д

363

164,1

130

34,1

10,3

178

2б, 7а - 8б, 8г, 11а - 12в

355

158,6

125

33,6

9,7

178

404

188,4

152

36,4

12,6

178

399

164,1

130

34,1

10,3

178

10

392

176,3

141

35,3

11,4

178

12е

380

164,1

130

34,1

10,3

178

Б. ПРИ ПРИМЕНЕНИИ НАСОСА КМ20-18а ВМЕСТО УЧТЕННОГО КМ 8-18

РАЗДЕЛ I. САНИТАРНО-ТЕХНИЧЕСКИЕ РАБОТЫ ПО ВЕНТИЛЯЦИИ

1, 4, 5

91

5,7

3,9

1,8

0,2

6,1

2а, 2в

98

6,4

4,6

1,8

0,2

6,1

98

6,2

4,4

1,8

0,2

6,1

109

7,2

5,4

1,8

0,3

6,1

3

96

5,7

3,9

1,8

0,2

6,1

6

99

5,7

3,9

1,8

0,2

6,1

7а - 7в

92

6,2

4,4

1,8

0,2

6,1

94

6,2

4,4

1,8

0,2

6,1

8а, 8б, 8г, 11а - 12в

102

6,2

4,4

1,8

0,2

6,1

8в, 8д, 12г,12д

102

6,4

4,6

1,8

0,2

6,1

125

6,4

4,6

1,8

0,2

6,1

9, 12е

108

6,4

4,6

1,8

0,2

6,1

10

116

6,8

5

1,8

0,3

6,1

РАЗДЕЛ II. ГИДРОМЕХАНИЧЕСКОЕ ОБОРУДОВАНИЕ

1, 3 - 6

84

35

27,1

7,9

2

44,4

2а, 2в, 8в, 8д, 9, 12г, 12д

90

41

32,5

8,5

2,6

44,4

2б, 7а - 8б, 8г, 11а - 12в

88

39,5

31,1

8,4

2,4

44,4

100

47

37,9

9,1

3,1

44,4

99

41

32,5

8,5

2,6

44,4

10

98

44

35,2

8,8

2,8

44,4

12е

95

41

32,5

8,5

2,6

44,4


ПРИЛОЖЕНИЕ 8
ПОПРАВКИ К ЦЕНАМ ПРИ СТРОИТЕЛЬСТВЕ ОТАПЛИВАЕМЫХ ЗДАНИЙ В МЕСТНОСТЯХ С ЗИМНЕЙ РАСЧЕТНОЙ ТЕМПЕРАТУРОЙ НАРУЖНОГО ВОЗДУХА, ОТЛИЧАЮЩЕЙСЯ ОТ ПРИНЯТОЙ В ПРЕЙСКУРАНТЕ (НА ИЗМЕРИТЕЛЬ ЦЕН)

Номера цен

Элементы затрат

Измеритель

Территориальные районы

10а

11в

12б

12е

10б

11д

10а

Зимняя расчетная температура наружного воздуха, °С

-20

-30

40

1

2

3

4

5

6

7

8

9

10

11

12

13

14

15

16

17

18

19

20

21

22

23

278

Прямые затраты

руб.

-1610

-1490

+1180

+1220

+1210

+1270

+1300

+1450

-1360

-1720

-1350

-1730

-1320

-1660

-1500

+1370

+1370

+1440

+1680

+1690

Нормативная условно-чистая продукция

»

-140

-127

+115

+115

+115

+115

+127

+131

-91

-106

-102

-106

-106

-113

-102

+91

+91

+91

+120

+113

Основная заработная плата рабочих

»

-88

-78

+68

+68

+68

+68

+78

+81

-62

-75

-71

-75

-75

-81

-71

+62

+62

+62

+87

+81

Эксплуатация машин

»

-52

-49

+47

+47

+47

+47

+49

+50

-29

-31

-31

-31

-31

-32

-31

+29

+29

+29

+33

+32

Заработная плата рабочих, обслуживающих машины

»

-20

-18

+16

+16

+16

+16

+18

+19

-9

-11

-11

-11

-11

-12

-11

+9

+9

+9

+13

+12

Затраты труда рабочих

чел.-ч

-122

-122

+122

+122

+122

+122

+122

+122

-113

-113

-113

-113

-113

-113

-113

+113

+113

+113

+113

+113

292, 293, 296, 297

Прямые затраты

руб.

-

-

-

-

-

-

-

-

-424

-574

-348

-501

-442

-573

-

+523

+391

+424

+534

+573

294, 295, 298, 299

То же

»

-

-

-

-

-

-

-

-

-625

-846

-512

-738

-651

-844

-

+771

+577

+625

+787

+843

300

»

»

-164

-

+73

-

-

+121

-

-

-

-

-

-

-

-

-

-

-

-

-

-

301

»

»

-242

-

+105

-

-

+178

-

-

-

-

-

-

-

-

-

-

-

-

-

-

302

»

»

-290

-

+129

-

-

+213

-

-

-

-

-

-

-

-

-

-

-

-

-

-

303

»

»

-350

-

+156

-

-

+258

-

-

-

-

-

-

-

-

-

-

-

-

-

-

307

Прямые затраты

»

-63

-56

+48

+47

+50

+53

+58

+56

-443

-565

-444

-573

-438

-549

-501

+442

+458

+468

+521

+575

Нормативная условно-чистая продукция

»

-1,3

-1,1

+1

+1

+1

+1

+1,1

+1,2

-33,2

-38,5

-37,1

-38,5

-38,5

-41,1

-37,1

+33,2

+33,2

+33,2

+43,8

+41,1

Основная заработная плата рабочих

»

-1,1

-0,9

+0,8

+0,8

+0,8

+0,8

+0,9

+1

-23,8

-28,5

-27,3

-28,5

-28,5

-30,9

-27,3

+23,8

+23,8

+23,8

+33,3

+30,9

Эксплуатация машин

»

-0,2

-0,2

+0,2

+0,2

+0,2

+0,2

+0,2

+0,2

-9,4

-10

-9,8

-10

-10

-10,2

-9,8

+9,4

+9,4

+9,4

+10,5

+10,2

Заработная плата рабочих, обслуживающих машины

»

-0,1

-0,1

+0,1

+0,1

+0,1

+0,1

+0,1

+0,1

-2,9

-3,4

-3,3

-3,4

-3,4

-3,7

-3,3

+2,9

+2,9

+2,9

+4

+3,7

Затраты труда рабочих

чел.-ч

-1,4

-1,4

+1,4

+1,4

+1,4

+1,4

+1,4

+1,4

-43,6

-43,6

-43,6

-43,6

-43,6

-43,6

-43,6

+43,6

+43,6

+43,6

+43,6

+43,6

308

Прямые затраты

руб.

-32

-37

+20

+19

+22

+25

+31

+44

-26

-32

-22

-26

-20

-27

-32

+25

+24

+24

+30

+32

Нормативная условно-чистая продукция

»

-3,9

-3,5

+3,2

+3,2

+3,2

+3,2

+3,5

+3,7

-3,2

-3,7

-3,5

-3,7

-3,7

-3,9

-3,5

+3,2

+3,2

+3,2

+4,1

+3,9

Основная заработная плата рабочих

»

-2,6

-2,3

+2

+2

+2

+2

+2,3

+2,4

-2

-2,4

-2,3

-2,4

-2,4

-2,6

-2,3

+2

+2

+2

+2,8

+2,6

Эксплуатация машин

»

-1,3

-1,2

+1,2

+1,2

+1,2

+1,2

+1,2

+1,3

-1,2

-1,3

-1,2

-1,3

-1,3

-1,3

-1,2

+1,2

+1,2

+1,2

+1,3

+1,3

Заработная плата рабочих, обслуживающих машины

»

-0,5

-0,4

+0,4

+0,4

+0,4

+0,4

+0,4

+0,4

-0,4

-0,4

-0,4

-0,4

-0,4

-0,5

-0,4

+0,4

+0,4

+0,4

+0,5

+0,5

Затраты труда рабочих

чел.-ч

-3,9

-3,9

+3,9

+3,9

+3,9

+3,9

+3,9

+3,9

-3,9

-3,9

-3,9

-3,9

-3,9

-3,9

-3,9

+3,9

+3,9

+3,9

+3,9

+3,9

309, 310

Прямые затраты

руб.

-42

-49

+27

+25

+29

+32

+41

+57

-35

-42

-29

-34

-26

-36

-43

+32

+32

+32

+40

+42

Нормативная условно-чистая продукция

»

-5,1

-4,6

+4,2

+4,2

+4,2

+4,2

+4,6

+4,8

-4,2

-4,8

-4,6

-4,8

-4,8

-5,1

-4,6

+4,2

+4,2

+4,2

+5,5

+5,1

Основная заработная плата рабочих

»

-3,4

-3

+2,6

+2,6

+2,6

+2,6

+3

+3,1

-2,6

-3,1

-3

-3,1

-3,1

-3,4

-3

+2,6

+2,6

+2,6

3,7

3,4

Эксплуатация машин

»

-1,7

-1,6

+1,6

+1,6

+1,6

+1,6

+1,6

+1,7

-1,6

-1,7

-1,6

-1,7

-1,7

-1,7

-1,6

+1,6

+1,6

+1,6

+1,8

+1,7

Заработная плата рабочих, обслуживающих машины

»

-0,6

-0,5

+0,5

+0,5

+0,5

+0,5

+0,5

+0,6

-0,5

-0,6

-0,5

-0,6

-0,6

-0,6

-0,5

+0,5

+0,5

+0,5

+0,6

+0,6

Затраты труда рабочих

чел.-ч

-5,2

-5,2

+5,2

+5,2

+5,2

+5,2

+5,2

+5,2

-5,2

-5,2

-5,2

-5,2

-5,2

-5,2

-5,2

+5,2

+5,2

+5,2

+5,2

+5,2

311

Прямые затраты

руб.

-53

-62

+34

+32

+36

+41

+51

+73

-44

-54

-37

-44

-34

-46

-54

+41

+40

+41

+51

+53

Нормативная условно-чистая продукция

»

-6,5

-5,9

+5,3

+5,3

+5,3

+5,3

+5,9

+6,1

-5,3

-6,1

-5,9

-6,1

-6,1

-6,5

-5,9

+5,3

+5,3

+5,3

+6,8

+6,5

Основная заработная плата рабочих

»

-4,3

-3,8

+3,3

+3,3

+3,3

+3,3

+3,8

+4

-3,3

-4

-3,8

-4

-4

-4,3

-3,8

+3,3

+3,3

+3,3

+4,6

+4,3

Эксплуатация машин

»

-2,2

-2,1

+2

+2

+2

+2

+2,1

+2,1

-2

-2,1

-2,1

-2,1

-2,1

-2,2

-2,1

+2

+2

+2

+2,2

+2,2

Заработная плата рабочих, обслуживающих машины

»

-0,8

-0,7

+0,6

+0,6

+0,6

+0,6

+0,7

+0,7

-0,6

-0,7

-0,7

-0,7

-0,7

-0,8

-0,7

+0,6

+0,6

+0,6

+0,8

+0,8

Затраты труда рабочих

чел.-ч

-6,6

-6,6

+6,6

+6,6

+6,6

+6,6

+6,6

+6,6

-6,6

-6,6

-6,6

-6,6

-6,6

-6,6

-6,6

+6,6

+6,6

+6,6

+6,6

+6,6

312

Прямые затраты

руб.

-267

-288

+197

+190

+207

+220

+255

+323

-228

-262

-209

-232

-203

-246

-264

+218

+216

+218

+263

+267

Нормативная условно-чистая продукция

»

-41

-37

+33

+33

+33

+33

+37

+38

-33

-38

-37

-38

-38

-41

-37

+33

+33

+33

+44

+41

Основная заработная плата рабочих

»

-36

-32

+28

+28

+28

+28

+32

+33

-28

-33

-32

-33

-33

-36

-32

+28

+28

+28

+39

+36

Эксплуатация машин

»

-5

-5

+5

+5

+5

+5

+5

+5

-5

-5

-5

-5

-5

-5

-5

+5

+5

+5

+5

+5

Заработная плата рабочих, обслуживающих машины

»

-2

-2

+1

+1

+1

+1

+2

+2

-1

-2

-2

-2

-2

-2

-2

+1

+1

+1

+2

+2

Затраты труда рабочих

чел.-ч

-48

-48

+48

+48

+48

+48

+48

+48

-48

-48

-48

-48

-48

-48

-48

+48

+48

+48

+48

+48

313

Прямые затраты

руб.

-661

-663

+539

+529

+556

+566

+624

+714

-573

-635

-566

-601

-569

-638

-637

+560

+560

+562

+668

+661

Нормативная условно-чистая продукция

»

-143

-127

+112

+112

+112

+112

+127

+132

-112

-132

-127

-132

-132

-143

-127

+112

+112

+112

+154

+143

Основная заработная плата рабочих

»

-134

-118

+103

+103

+103

+103

+118

+123

-103

-123

-118

-123

-123

-134

-118

+103

+103

+103

+144

+134

Эксплуатация машин

»

-9

-9

+9

+9

+9

+9

+9

+9

-9

-9

-9

-9

-9

-9

-9

+9

+9

+9

+10

+9

Заработная плата рабочих, обслуживающих машины

»

-3

-3

+3

+3

+3

+3

+3

+3

-3

-3

-3

-3

-3

-3

-3

+3

+3

+3

+4

+3

Затраты труда рабочих

чел.-ч

-176

-176

+176

+176

+176

+176

+176

+176

-176

-176

-176

-176

-176

-176

-176

+176

+176

+176

+176

+176

314

Прямые затраты

руб.

-866

-860

+713

+701

+734

+744

+815

+921

-751

-829

-748

-790

-755

-840

-831

+736

+736

+739

+877

+866

Нормативная условно-чистая продукция

»

-194

-172

+151

+151

+151

+151

+172

+179

-151

-179

-172

-179

-179

-194

-172

+151

+151

+151

+207

+194

Основная заработная плата рабочих

»

-182

-161

+140

+140

+140

+140

+161

+168

-140

-168

-161

-168

-168

-182

-161

+140

+140

+140

+195

+182

Эксплуатация машин

»

-12

-11

+11

+11

+11

+11

+11

+11

-11

-11

-11

-11

-11

-12

-11

+11

+11

+11

+12

+12

Заработная плата рабочих, обслуживающих машины

»

-4

-4

+3

+3

+3

+3

+4

+4

-3

-4

-4

-4

-4

-4

-4

+3

+3

+3

+5

+4

Затраты труда рабочих

чел.-ч

-239

-239

+239

+239

+239

+239

+239

+239

-239

-239

-239

-239

-239

-239

-239

+239

+239

+239

+239

+239

316

Прямые затраты

руб.

-485

-509

+373

+362

+389

+406

+462

+562

-417

-473

-394

-430

-388

-455

-476

+402

+400

+403

+483

+485

Нормативная условно-чистая продукция

»

-87

-78

+69

+69

+69

+69

+78

+81

-69

-81

-78

-81

-81

-87

-78

+69

+69

+69

+93

+87

Основная заработная плата рабочих

»

-79

-70

+61

+61

+61

+61

+70

+73

-61

-73

-70

-73

-73

-79

-70

+61

+61

+61

+85

+79

Эксплуатация машин

»

-8

-8

+8

+8

+8

+8

+8

+8

-8

-8

-8

-8

-8

-8

-8

+8

+8

+8

+8

+8

Заработная плата рабочих, обслуживающих машины

»

-3

-3

+2

+2

+2

+2

+3

+3

-2

-3

-3

-3

-3

-3

-3

+2

+2

+2

+3

+3

Затраты труда рабочих

чел.-ч

-105

-105

+105

+105

+105

+105

+105

+105

-105

-105

-105

-105

-105

-105

-105

+105

+105

+105

+105

+105

317

Прямые затраты

руб.

-764

-773

+616

+603

+636

+651

+722

+837

-660

-736

-647

-691

-648

-733

-738

+644

+643

+647

+769

+764

Нормативная условно-чистая продукция

»

-159

-142

+124

+124

+124

+124

+142

+147

-124

-147

-142

-147

-147

-159

-142

+124

+124

+124

+171

+159

Основная заработная плата рабочих

»

-148

-131

+114

+114

+114

+114

+131

+136

-114

-136

-131

-136

-136

-148

-131

+114

+114

+114

+159

+148

Эксплуатация машин

»

-11

-11

+10

+10

+10

+10

+11

+11

-10

-11

-11

-11

-11

-11

-11

+10

+10

+10

+12

+11

Заработная плата рабочих, обслуживающих машины

»

-4

-4

+3

+3

+3

+3

+4

+4

-3

-4

-4

-4

4

-4

-4

+3

+3

+3

+4

+4

Затраты труда рабочих

чел.-ч

-195

-195

+195

+195

+195

+195

+195

+195

-195

-195

-195

-195

-195

-195

-195

+195

+195

+195

+195

+195

318

Прямые затраты

руб.

-1060

-1060

+866

+850

+892

+907

+999

+1140

-917

-1020

-909

-964

-915

-1020

-1020

+898

+898

+902

+1070

+1060

Нормативная условно-чистая продукция

»

-232

-206

+181

+181

+181

+181

+206

+214

-181

-214

-206

-214

-214

-232

-206

+181

+181

+181

+249

+232

Основная заработная плата рабочих

»

-217

-192

+167

+167

+167

+167

+192

+200

-167

-200

-192

-200

-200

-217

-192

+167

+167

+167

+234

+217

Эксплуатация машин

»

-15

-14

+14

+14

+14

+14

+14

+14

-14

-14

-14

-14

-14

-15

-14

+14

+14

+14

+15

+15

Заработная плата рабочих, обслуживающих машины

»

-5

-5

+4

+4

+4

+4

+5

+5

-4

-5

-5

-5

-5

-5

-5

+4

+4

+4

+6

+5

Затраты труда рабочих

чел.-ч

-286

-286

+286

+286

+286

+286

+286

+286

-286

-286

-286

-286

-286

-286

-286

+286

+286

+286

+286

+286

319

Прямые затраты

руб.

-

-

-

-

-

-

-

-

-74

-79

-75

-79

-79

-83

-77

+74

+74

+74

+85

+83

320

То же

»

-

-

-

-

-

-

-

-

-133

-143

-136

-142

-142

-149

-139

+133

+133

+133

+152

+149

321

»

»

-

-

-

-

-

-

-

-

-251

-269

-255

-267

-267

-281

-261

+251

+251

+251

+287

+281

Примечания: 1. Поправки настоящего приложения учитывают изменения объемов работ по отдельным конструктивным элементам - стенам, утеплителям покрытий, отоплению и т. п. Эти поправки не учитывают изменения глубины заложения фундаментов (стоимость фундаментов в связи с изменением глубины заложения следует корректировать по прил. 4). 2. Поправки со знаком«+» к элементам затрат цен добавлять, а поправки со знаком «-» вычитать.

ПРИЛОЖЕНИЕ 9
ПОПРАВКИ К ПРЯМЫМ ЗАТРАТАМ ЦЕН ПРЕЙСКУРАНТА, УЧИТЫВАЮЩИЕ РАЗНИЦУ В ОПТОВЫХ ЦЕНАХ НА КИРПИЧ СТРОИТЕЛЬНЫЙ И СБОРНЫЕ БЕТОННЫЕ И ЖЕЛЕЗОБЕТОННЫЕ КОНСТРУКЦИИ, А ТАКЖЕ РАЗНИЦУ В СМЕТНЫХ ЦЕНАХ НА ОСТАЛЬНЫЕ МЕСТНЫЕ СТРОИТЕЛЬНЫЕ МАТЕРИАЛЫ, МЕЖДУ ДЕЙСТВУЮЩИМИ В ОТДЕЛЬНЫХ ОБЛАСТЯХ, КРАЯХ И РЕСПУБЛИКАХ И ПРИНЯТЫМИ В ПРЕЙСКУРАНТЕ (В РУБЛЯХ НА ИЗМЕРИТЕЛЬ ЦЕН)

 

№ п.п.

Наименование территориальных районов, областей, краев и республик

Номера цен

 

 

278

279, 306

280, 284, 288

281, 285, 289

282, 286, 290

283, 287, 291

300

 

1

2

3

4

5

6

7

8

9

 

А. На сборные бетонные и железобетонные конструкции

 

 

1-й территориальный район

 

 

 

 

 

 

 

 

 

РСФСР

 

 

 

 

 

 

 

 

1

Астраханская область

+450

+30

+960

+1390

+1840

+2270

+370

 

2

Башкирская АССР

-420

-70

-1100

-1590

-2110

-2590

-400

 

3

Белгородская, Волгоградская, Курская и Орловская области

+110

+10

+380

+550

+730

+900

+150

 

4

Брянская область

-10

-10

-140

-200

-270

-330

-30

 

5

Владимирская, Ленинградская и Тульская области

-140

-20

-500

-710

-950

-1160

-150

 

6

Вологодская область

-170

-20

-310

-450

-600

-730

-80

 

7

Воронежская      »

-70

-20

-190

-270

-350

-430

-60

 

8

Горьковская область, Чувашская АССР

-200

-30

-240

-350

-460

-570

-80

 

9

Ивановская область

+190

+30

+730

+1050

+1390

+1720

+300

 

10

Калининская    »

+300

+30

+1160

+1670

+2210

+2720

+400

 

11

Калужская       »

+130

+50

+800

+1160

+1530

+1880

+350

 

12

Кировская и Костромская области

+230

+40

+660

+950

+1250

+1550

+300

 

13

Куйбышевская область

-210

-40

-610

-870

-1150

-1400

-220

 

14

г. Ленинград

-520

-70

-1120

-1600

-2110

-2590

-380

 

15

Липецкая, Пензенская, Саратовская области, Мордовская АССР

+320

+40

+790

+1140

+1500

+1850

+320

 

16

Марийская АССР

+390

+80

+1540

+2220

+2940

+3620

+620

 

17

Московская область

-290

-40

-870

-1260

-1670

-2050

-300

 

18

Новгородская   »

+210

+30

+430

+620

+820

+1010

+200

 

19

Псковская           »

-330

-20

-360

-510

-690

-850

-100

 

20

Рязанская            »

-260

-

-170

-240

-330

-400

-30

 

21

Смоленская        »

+230

+60

+1000

+1450

+1910

+2360

+410

 

22

Тамбовская         »

+330

+40

+790

+1140

+1500

+1850

+320

 

23

Татарская АССР

+90

-

+200

+290

+380

+470

+100

 

24

Ульяновская область

+420

+50

+990

+1430

+1880

+2320

+390

 

25

Ярославская       »

+400

-60

-780

-1130

-1490

-1840

-270

 

 

Белорусская ССР

 

 

 

 

 

 

 

 

26

Брестская, Гомельская, Гродненская, Минская и Могилевская области

-120

-20

-350

-500

-660

-820

-120

 

27

Витебская область

+10

-

+30

+40

+60

+70

+30

 

 

2-й территориальный район

 

 

 

 

 

 

 

 

 

РСФСР

 

 

 

 

 

 

 

 

28

Архангельская область (южнее Полярного круга)

-90

-10

-180

-250

-340

-410

-50

 

29

Карельская АССР

+310

+40

+960

+1390

+1840

+2270

+390

 

30

Коми АССР (южнее Полярного круга)

-120

-10

-220

-320

-420

-520

-70

 

 

3-й территориальный район

 

 

 

 

 

 

 

 

31

Латвийская ССР, Литовская ССР, Эстонская ССР

-60

-10

-

-

-

-

-

 

32

Калининградская область

+70

+10

+150

+220

+290

+360

+80

 

 

4-й территориальный район

 

 

 

 

 

 

 

 

 

Украинская ССР

 

 

 

 

 

 

 

 

33

Волынская, Ворошиловградская, Кировоградская, Донецкая, Запорожская и Черниговская области

-80

-20

-

-

-

-

-

 

34

Днепропетровская, Киевская, Хмельницкая, Житомирская, Черкасская области, Молдавская ССР

-140

-20

-

-

-

-

-

 

35

Закарпатская область

+230

+40

-

-

-

-

-

 

36

Ивано-Франковская, Львовская, Одесская, Николаевская, Тернопольская, Херсонская, Черновицкая области

+60

+10

-

-

-

-

-

 

 

5-й территориальный район

 

 

 

 

 

 

 

 

 

РСФСР

 

 

 

 

 

 

 

 

37

Дагестанская АССР

+310

+60

+910

+1320

+1740

+2150

+350

 

38

Кабардино-Балкарская АССР, Ростовская область, Североосетинская АССР, Чечено-Ингушская АССР

+20

+10

+130

+180

+240

+290

+60

 

39

Калмыцкая АССР

-70

-10

-190

-270

-360

-440

-60

 

40

Краснодарский край

+230

+50

+710

+1030

+1360

+1670

+290

 

41

Ставропольский край

-250

-30

-690

-980

-1290

-1580

-260

 

 

6-й территориальный район

 

 

 

 

 

 

 

 

42

Азербайджанская ССР

-20

-10

-

-

-

-

-

 

43

Армянская             »

-90

-20

-

-

-

-

-

 

44

Грузинская            »

-

+30

-

-

-

-

-

 

 

РСФСР

 

 

 

 

 

 

 

 

 

7-й территориальный район

 

 

 

 

 

 

 

 

45

Курганская область

+470

+60

+750

+1080

+1430

+1760

+310

 

46

Оренбургская       »

+30

+20

-40

-60

-80

-90

+20

 

47

Пермская               »

-130

-10

-710

-1020

-1350

-1660

-290

 

48

Свердловская       »

-150

-20

-640

-930

-1230

-1510

-260

 

49

Удмуртская АССР

+420

+70

+1000

+1440

+1900

+2340

+360

 

50

Челябинская область

-440

-40

-970

-1400

-1840

-2270

-330

 

 

8-й территориальный район

 

 

 

 

 

 

 

 

51

Алтайский край. Новосибирская область

-10

+10

-120

-170

-220

-270

-20

 

52

Кемеровская область

-330

-30

-700

-1010

-1340

-1650

-240

 

 

53

Красноярский край (южнее 60-й параллели без Тувинской АССР)

-80

-10

-170

-240

-320

-390

-50

 

54

Омская область

-90

-10

-280

-400

-530

-650

-100

 

55

Томская      » (южнее 60-й параллели)

+240

+20

+460

+660

+870

+1070

+180

 

56

Тувинская АССР

+3300

+290

+5630

+8080

+10690

+13140

+1900

 

57

Тюменская область (южнее 60-й параллели)

+2530

+240

+3850

+5520

+7290

+8960

+1290

 

 

9-й территориальный район

 

 

 

 

 

 

 

 

58

Бурятская АССР

+580

+50

+1170

+1690

+2240

+2750

+450

 

59

Иркутская область (южнее 60-й параллели)

-120

+50

-150

-220

-290

-360

-60

 

60

Читинская область

-130

-10

-160

-220

-300

-360

-40

 

 

10-й территориальный район

 

 

 

 

 

 

 

 

61

Амурская область

-130

-10

-110

-170

-230

-290

-30

 

62

Приморский край

-250

-20

-630

-910

-1190

-1460

-220

 

63

Хабаровский край (южнее 55-й параллели)

+130

+100

+1040

+1480

+1960

+2400

+350

 

11-й территориальный район

 

 

 

 

 

 

 

 

 

Казахская ССР

 

 

 

 

 

 

 

 

64

Актюбинская и Кзыл-Ординская области

-190

-10

-

-

-

-

-

 

65

Алма-Атинская область

-310

-20

-

-

-

-

-

 

66

Восточно-Казахстанская и Карагандинская области

-240

-20

-

-

-

-

-

 

67

Гурьевская область

+1250

+60

-

-

-

-

-

 

68

Джамбулская и Уральская области

-20

+20

-

-

-

-

-

 

69

Джезказганская область

-150

-10

-

-

-

-

-

 

70

Кокчетавская, Павлодарская, Северо-Казахстанская и Тургайская области

+100

+10

-

-

-

-

-

 

71

Кустанайская область

+210

+10

-

-

-

-

-

 

72

Мангышлакская      »

-110

-20

-

-

-

-

-

 

73

Семипалатинская    »

-440

-60

-

-

-

-

-

 

74

Талды-Курганская »

-380

-30

-

-

-

-

-

 

75

Целиноградская область

-120

-10

-

-

-

-

-

 

76

Чимкентская         »

-340

-120

-

-

-

-

-

 

 

12-й территориальный район

 

 

 

 

 

 

 

 

 

Узбекская ССР

 

 

 

 

 

 

 

 

77

Андижанская, Наманганская и Самаркандская области

+20

-

-

-

-

-

-

 

78

Бухарская, Кашкадарьинская, Сырдарьинская, Хорезмская и Ферганская области

+230

+30

-

-

-

-

-

 

79

Джизакская и Сурхандарьинская области

-120

-30

-

-

-

-

-

 

80

Каракалпакская АССР

+120

+50

-

-

-

-

-

 

81

Ташкентская область

-240

-50

-

-

-

-

-

 

 

Киргизская ССР

 

 

 

 

 

 

 

 

82

Ошская область

-350

-60

-

-

-

-

-

 

83

Другие районы

-500

-80

-

-

-

-

-

 

84

Таджикская ССР

-250

-40

-

-

-

-

-

 

85

Туркменская ССР

+240

+50

-

-

-

-

-

 

 

Районы Крайнего Севера и местности, приравненные к ним, расположенные в границах действия ЕРЕР-84 РСФСР

 

 

 

 

 

 

 

 

 

1. Районы Крайнего Севера

 

 

 

 

 

 

 

 

 

2-й территориальный район

 

 

 

 

 

 

 

 

86

Архангельская область

+1410

+110

+2060

+2940

+3880

+4770

+700

 

87

Коми АССР

+180

+20

+340

+480

+640

+790

+100

 

88

Мурманская область

+1990

+230

+4530

+6490

+8580

+10550

+1550

 

 

8-й территориальный район

 

 

 

 

 

 

 

 

89

Красноярский край

+2080

+180

+3390

+4870

+6440

+7910

+1210

 

 

2. Местности, приравненные к районам Крайнего Севера

 

 

 

 

 

 

 

 

 

2-й территориальный район

 

 

 

 

 

 

 

 

90

Коми АССР

+180

+20

+340

+480

+640

+790

+100

 

 

8-й территориальный район

 

 

 

 

 

 

 

 

91

Красноярский край

+2080

+180

+3390

+4870

+6440

+7910

+1210

 

92

Томская область

+1740

+140

+2690

+3850

+5090

+6250

+930

 

93

Тюменская область

+4970

+440

+8330

+11950

+15800

+19420

+2680

 

 

9-й территориальный район

 

 

 

 

 

 

 

 

94

Бурятская АССР

+2080

+180

+3400

+4890

+6450

+7930

+1210

 

 

Иркутская область

 

 

 

 

 

 

 

 

95

г. Братск

+40

+60

+20

+20

+30

+40

+30

 

96

Бодайбинский район

+6420

+730

+11180

+16040

+21200

+26060

+3570

 

97

Другие районы

+1550

+180

+2220

+3180

+4190

+5150

+790

 

 

10-й территориальный район

 

 

 

 

 

 

 

 

98

Приморский край

+850

+110

+1600

+2290

+3030

+3720

+540

 

99

Хабаровский »

+130

+100

+1040

+1480

+1960

+2400

+540

 

Продолжение прил. 9

№ п. п.

Наименование территориальных районов, областей и республик

Номера цен

301

302

303

304, 305

307, 322

308 - 312

313

314

1

2

3

4

5

6

7

8

9

10

 

1-й территориальный район

 

 

 

 

 

 

 

 

 

РСФСР

 

 

 

 

 

 

 

 

1

Астраханская область

+520

+680

+830

+10

+70

+670

+1020

+1240

2

Башкирская АССР

-560

-740

-900

-30

-80

-690

-1130

-1420

3

Белгородская, Волгоградская, Курская и Орловская области

+210

+270

+330

-

+10

+140

+200

+240

4

Брянская область

-40

-50

-60

-

-20

-90

-190

-280

5

Владимирская, Ленинградская и Тульская области

-210

-270

-330

-10

-40

-300

-540

-710

6

Вологодская область

-110

-150

-180

-10

-40

-330

-530

-670

7

Воронежская     »

-80

-110

-130

-10

-20

-140

-240

-310

8

Горьковская область, Чувашская АССР

-110

-150

-180

-10

-20

-300

-410

-470

9

Ивановская область

+420

+540

+660

+10

+60

+450

+770

+1000

10

Калининская     »

+570

+740

+910

+10

+40

+300

+420

+490

11

Калужская         »

+490

+630

+770

+20

+50

+310

+550

+730

12

Кировская и Костромская области

+420

+540

+660

+20

+40

+430

+650

+800

13

Куйбышевская область

-310

-400

-490

-20

-40

-350

-590

-750

14

г. Ленинград

-520

-680

-830

-30

-100

-980

-1550

-1960

15

Липецкая, Пензенская, Саратовская области, Мордовская АССР

+450

+580

+710

+20

+50

+610

+940

+1160

16

Марийская АССР

+870

+1120

+1370

+30

+90

+640

+1070

+1380

17

Московская область

-420

-550

-670

-20

-70

-530

-910

-1170

18

Новгородская »

+280

+360

+440

+10

+20

+300

+420

+490

19

Псковская         »

-10

-190

-230

-10

-40

-540

-800

-960

20

Рязанская          »

-50

-60

-80

-

-30

-440

-630

-740

21

Смоленская      »

+580

+750

+910

+30

+70

+480

+830

+1090

22

Тамбовская       »

+450

+580

+710

+20

+60

+610

+940

+1160

23

Татарская АССР

+130

+170

+210

-

+10

+140

+200

+240

24

Ульяновская область

+540

+700

+860

+20

+70

+780

+1220

+1520

25

Ярославская     »

-380

-500

-610

-30

-60

-620

-930

-1120

 

Белорусская ССР

 

 

 

 

 

 

 

 

26

Брестская, Гомельская, Гродненская, Минская и Могилевская области

-170

-230

-280

-10

-20

-210

-330

-400

27

Витебская область

+40

+50

+60

-

-

-

+50

+60

 

2-й территориальный район

 

 

 

 

 

 

 

 

 

РСФСР

 

 

 

 

 

 

 

 

28

Архангельская область (южнее Полярного круга)

-70

-90

-110

-

-10

-100

-160

-200

29

Карельская АССР

+540

+710

+860

+20

+70

+650

+1060

+1360

30

Коми АССР (южнее Полярного круга)

-100

-130

-160

-10

-20

-140

-220

-270

 

3-й территориальный район

 

 

 

 

 

 

 

 

31

Латвийская ССР, Литовская ССР, Эстонская ССР

-

-

-

-

-10

-120

-200

-250

32

Калининградская область

+120

+150

+180

-

+10

+110

+180

+210

 

4-й территориальный район

 

 

 

 

 

 

 

 

 

Украинская ССР

 

 

 

 

 

 

 

 

33

Волынская, Ворошиловградская, Кировоградская, Донецкая, Запорожская и Черниговская области

-

-

-

-

-10

-110

-180

-220

34

Днепропетровская, Киевская, Хмельницкая, Житомирская, Черкасская области, Молдавская ССР

-

-

-

-10

-20

-220

-350

-430

35

Закарпатская область

-

-

-

+10

+50

+380

+610

+770

36

Ивано-Франковская, Львовская, Одесская, Николаевская Тернопольская, Херсонская, Черновицкая области

-

-

-

+10

+20

+100

+170

+220

 

5-й территориальный район

 

 

 

 

 

 

 

 

 

РСФСР

 

 

 

 

 

 

 

 

37

Дагестанская АССР

+490

+640

+780

+20

+70

+700

+1140

+1450

38

Кабардино-Балкарская АССР, Ростовская область, Североосетинская АССР, Чечено-Ингушская АССР

+80

+110

+130

+10

+10

+60

+120

+160

39

Калмыцкая АССР

-90

-110

-140

-

-10

-120

-180

-220

40

Краснодарский край

+400

+520

+630

+20

+50

+530

+850

+1090

41

Ставропольский край

-360

-460

-570

-10

-40

-430

-670

-820

 

6-й территориальный район

 

 

 

 

 

 

 

 

42

Азербайджанская ССР

-

-

-

-

-

-40

-50

-60

43

Армянская              »

-

-

-

-10

-20

-140

-230

-280

44

Грузинская              »

-

-

-

+10

+10

+70

+170

+240

 

РСФСР

 

 

 

 

 

 

 

 

 

7-й территориальный район

 

 

 

 

 

 

 

 

45

Курганская область

+430

+560

+690

+30

+50

+580

+860

+1060

46

Оренбургская     »

+30

+30

+40

+10

-10

-60

-160

-230

47

Пермская             »

-410

-530

-650

-

-40

-270

-450

-600

48

Свердловская     »

-370

-470

-580

-10

-30

-230

-400

-520

49

Удмуртская АССР

+500

+650

+790

+30

+80

+830

+1360

+1730

50

Челябинская область

-460

-600

-730

-10

-80

-660

-1110

-1420

 

8-й территориальный район

 

 

 

 

 

 

 

 

51

Алтайский край, Новосибирская область

-20

-30

-40

-

-20

-50

-120

-180

52

Кемеровская область

-340

-440

-540

-10

-50

-520

-860

-1100

53

Красноярский край (южнее 60-й параллели без Тувинской АССР)

-70

-90

-100

-

-10

-90

-140

-170

54

Омская область

-140

-180

-220

-

-10

-100

-150

-190

55

Томская область (южнее 60-й параллели)

+250

+320

+390

+10

+40

+210

+340

+420

56

Тувинская АССР

+2650

+3470

+4230

+120

+390

+3910

+6010

+7390

57

Тюменская область (южнее 60-й параллели)

+1800

+2360

+2870

+100

+270

+2860

+4330

+5270

 

9-й территориальный район

 

 

 

 

 

 

 

 

58

Бурятская АССР

+630

+820

+1000

+20

+90

+710

+1120

+1410

59

Иркутская область (южнее 60-й параллели)

-80

-100

-120

+20

-20

-150

-240

-310

60

Читинская область

-60

-80

-100

-10

-20

-150

-230

-280

 

10-й территориальный район

 

 

 

 

 

 

 

 

61

Амурская область

-40

-50

-60

-10

-20

-150

-230

-280

62

Приморский край

-300

-390

-470

-10

-40

-350

-510

-630

63

Хабаровский край (южнее 55-й параллели)

+490

+640

+780

+40

+70

+400

+810

+1110

 

11-й территориальный район

 

 

 

 

 

 

 

 

 

Казахская ССР

 

 

 

 

 

 

 

 

64

Актюбинская и Кзыл-Ординская области

-

-

-

 

-50

-300

-530

-680

65

Алма-Атинская область

-

-

-

-10

-50

-570

-890

-1110

66

Восточно-Казахстанская и Карагандинская области

-

-

-

-10

-40

-280

-460

-570

67

Гурьевская область

-

-

-

+10

+180

+2180

+3400

+4190

68

Джамбулская и Уральская области

-

-

-

-

-10

-140

-290

-390

69

Джезказганская область

-

-

-

-

-30

-290

-450

-570

70

Кокчетавская, Павлодарская, Северо-Казахстанская и Тургайская области

-

-

-

-

+20

+40

+70

+80

71

Кустанайская область

-

-

-

-

+30

+250

+400

+500

72

Мангышлакская »

-

-

-

-10

-40

-160

-240

-290

73

Семипалатинская »

-

-

-

-20

-70

-540

-860

-1080

74

Талды-Курганская »

-

-

-

-10

-40

-670

-1060

-1330

75

Целиноградская область

-

-

-

-

-20

-110

-170

-210

76

Чимкентская »

-

-

-

-60

-60

-410

-580

-700

 

12-й территориальный район

 

 

 

 

 

 

 

 

 

Узбекская ССР

 

 

 

 

 

 

 

 

77

Андижанская, Наманганская и Самаркандская области

-

-

-

-

-

+30

+40

+30

78

Бухарская, Кашкадарьинская, Сырдарьинская, Хорезмская и Ферганская области

-

-

-

+10

+60

+500

+770

+960

79

Джизакская и Сурхандарьинская области

-

-

-

-10

-20

-250

-400

-510

80

Каракалпакская АССР

-

-

-

+10

+150

+660

+1560

+2240

81

Ташкентская область

-

-

-

-20

-50

-460

-750

-950

 

Киргизская ССР

 

 

 

 

 

 

 

 

82

Ошская область

-

-

-

-20

-70

-740

-1170

-1480

83

Другие районы

-

-

-

-30

-90

-1020

-1610

-2020

84

Таджикская ССР

-

-

-

-20

-40

-470

-750

-930

85

Туркменская ССР

-

-

-

+20

+50

+540

+880

+1110

 

Районы Крайнего Севера и местности, приравненные к ним, расположенные в границах действия ЕРЕР-84

 

 

 

 

 

 

 

 

 

РСФСР

 

 

 

 

 

 

 

 

 

1. Районы Крайнего Севера

 

 

 

 

 

 

 

 

 

2-й территориальный район

 

 

 

 

 

 

 

 

86

Архангельская область

+980

+1290

+1560

+50

+150

+1690

+2560

+3120

87

Коми АССР

+140

+190

+230

+10

+20

+210

+330

+400

88

Мурманская область

+2170

+2840

+3450

+100

+300

+3210

+4920

+6050

 

8-й территориальный район

 

 

 

 

 

 

 

 

89

Красноярский край

+1690

+2200

+2680

+70

+250

+2500

+3840

+4720

 

2. Местности, приравненные к районам Крайнего Севера

 

 

 

 

 

 

 

 

 

2-й территориальный район

 

 

 

 

 

 

 

 

90

Коми АССР

+140

+190

+230

+10

+20

+210

+330

+400

 

8-й территориальный район

 

 

 

 

 

 

 

 

91

Красноярский край

+1690

+2200

+2680

+70

+250

+2500

+3840

+4720

92

Томская область

+1300

+1700

+2070

+60

+190

+2000

+3050

+3730

93

Тюменская    »

+3740

+4900

+5960

+200

+550

+5690

+8670

+10600

 

9-й территориальный район

 

 

 

 

 

 

 

 

94

Бурятская АССР

+1680

+2200

+2680

+70

+250

+2500

+3840

+4720

 

Иркутская область

 

 

 

 

 

 

 

 

95

г. Братск

+50

+60

+70

+30

-

+10

-

+20

96

Бодайбинский район

+4980

+6520

+7930

+280

+720

+7450

+11400

+13690

97

Другие районы

+1100

+1440

+1750

+80

+160

+1800

+2720

+3300

 

10-й территориальный район

 

 

 

 

 

 

 

 

98

Приморский край

+760

+990

+1210

+50

+120

+1440

+2210

+2690

99

Хабаровский »

+490

+640

+780

+50

+70

+400

+810

+1110

Продолжение прил. 9

Наименование территориальных районов, областей, краев и республик

Номера цен

316, 319

317

318, 321

320

323, 324

325, 326

327, 330

328

329

331

1

2

3

4

5

6

7

8

9

10

11

12

 

1-й территориальный район

 

 

 

 

 

 

 

 

 

 

 

РСФСР

 

 

 

 

 

 

 

 

 

 

1

Астраханская область

+510

+730

+1020

+810

+100

+160

+260

+200

+360

+450

2

Башкирская АССР

-660

-940

-1350

-1080

-130

-190

-320

-240

-450

-580

3

Белгородская, Волгоградская, Курская, Орловская, области

+80

+120

+170

+130

+20

+30

+40

+30

+60

+70

4

Брянская область

+190

-280

-390

-300

-40

-60

-90

-70

-130

-170

5

Владимирская, Ленинградская, Тульская области

-390

-560

-790

-620

-70

-110

-190

-140

-260

-340

6

Вологодская область

-330

-470

-650

-510

-70

-100

-170

-130

-230

-300

7

Воронежская     »

-160

-230

-310

-250

-30

-50

-80

-60

-120

-150

8

Горьковская область, Чувашская АССР

-130

-190

-270

-210

-30

-40

-70

-50

-100

-130

9

Ивановская область

+520

+760

+1060

+840

+100

+160

+270

+200

+380

+490

10

Калининская     »

+150

+210

+310

+250

+30

+50

+80

+60

+110

+140

11

Калужская        »

+400

+580

+810

+640

+80

+130

+210

+160

+300

+380

12

Кировская и Костромская области

+340

+480

+670

+530

+70

+100

+170

+130

+250

+320

13

Куйбышевская область

-360

-520

-740

-590

-70

-110

-180

-140

-250

-320

14

г. Ленинград

-900

-1310

-1810

-1430

-180

-280

-460

-360

-660

-850

15

Липецкая, Пензенская, Саратовская области, Мордовская АССР

+500

+720

+1010

+800

+100

+150

+260

+190

+370

+470

16

Марийская АССР

+680

+980

+1390

+1100

+140

+220

+360

+280

+500

+640

17

Московская область

-590

-840

-1200

-960

-110

-180

-280

-210

-400

-510

18

Новгородская »

+150

+210

+310

+250

+30

+50

+80

+60

+110

+140

19

Псковская        »

-360

-520

-730

-580

-70

-110

-180

-130

-250

-320

20

Рязанская область

-260

-370

-510

-410

-50

-80

-130

-90

-180

-230

21

Смоленская »

+570

+820

+1150

+910

+120

+190

+300

+230

4-420

+530

22

Тамбовская   »

+500

+720

+1010

+800

+100

+160

+260

+190

+370

+470

23

Татарская АССР

+110

+120

+170

+130

+20

+30

+40

+30

+60

+70

24

Ульяновская область

+670

+960

+1350

+1070

+130

+220

+340

+260

+480

+620

25

Ярославская     »

-430

-610

-880

-700

-90

-140

-220

-170

-300

-390

 

Белорусская ССР

 

 

 

 

 

 

 

 

 

 

26

Брестская, Гомельская, Гродненская, Минская, Могилевская области

-170

-240

-350

-280

-30

-50

-80

-60

-120

+150

27

Витебская область

+40

+50

+80

+60

+10

+10

+20

+10

+20

+30

 

2-й территориальный район

 

 

 

 

 

 

 

 

 

 

 

РСФСР

 

 

 

 

 

 

 

 

 

 

28

Архангельская область (южнее Полярного круга)

-80

-120

-170

-140

-20

-30

-40

-30

-60

-80

29

Карельская АССР

+670

+950

+1350

+1050

+130

+200

+340

+260

+480

+610

30

Коми АССР (южнее Полярного круга)

-110

-160

-230

-180

-20

-40

-60

-40

-80

-100

 

3-й территориальный район

 

 

 

 

 

 

 

 

 

 

31

Латвийская ССР, Литовская ССР, Эстонская ССР

-130

-180

-260

-200

-20

-40

-60

-50

-80

-110

32

Калининградская область

+80

+110

+170

+140

+20

+20

-40

+30

+50

+60

 

4-й территориальный район

 

 

 

 

 

 

 

 

 

 

 

Украинская ССР

 

 

 

 

 

 

 

 

 

 

33

Волынская, Ворошиловградская, Кировоградская, Донецкая, Запорожская и Черниговская области

-90

-130

+200

-160

-20

-30

-50

-40

-60

-80

34

Днепропетровская, Киевская, Хмельницкая, Житомирская и Черкасская области, Молдавская ССР

-190

-270

-380

-310

-40

-60

-90

-70

-130

-170

35

Закарпатская область

+350

+500

+710

+560

+70

+100

+170

+130

+240

+310

36

Ивано-Франковская, Львовская, Одесская, Николаевская, Тернопольская, Херсонская, Черновицкая области

+110

+160

+240

+190

+20

+30

+50

+40

+70

+90

 

5-й территориальный район

 

 

 

 

 

 

 

 

 

 

 

РСФСР

 

 

 

 

 

 

 

 

 

 

37

Дагестанская АССР

+690

+990

+1380

+1090

+130

+210

+350

+270

+500

+630

38

Кабардино-Балкарская АССР, Ростовская область, Северо-Осетинская АССР, Чечено-Ингушская АССР

+100

+140

+200

+160

+20

+30

+50

+30

+70

+90

39

Калмыцкая АССР

-90

-130

-190

-150

-20

-30

-50

-40

-70

-90

40

Краснодарский край

+520

+750

+1040

+830

+100

+160

+270

+200

+380

+490

41

Ставропольский    »

-340

-490

-710

-560

-70

-100

-170

-130

-240

-310

 

6-й территориальный район

 

 

 

 

 

 

 

 

 

 

42

Азербайджанская ССР

-20

-30

-40

-30

-

-10

-10

-10

-20

-20

43

Армянская ССР

-120

-170

-250

-200

-20

-40

-60

-50

-80

-110

44

Грузинская ССР

+170

+250

+350

+270

+30

+50

+70

+50

+120

+150

 

РСФСР

 

 

 

 

 

 

 

 

 

 

 

7-й территориальный район

 

 

 

 

 

 

 

 

 

 

45

Курганская область

+420

+600

+840

+660

+90

+140

+220

+180

+310

+400

46

Оренбургская »

-180

-250

-350

-270

-30

-50

-80 -

-60

-120

-150

47

Пермская »

-310

-450

-630

-500

-70

-110

170

-140

-240

-310

48

Свердловская »

-270

-380

-540

-420

-50

-80

-130

-100

-180

-230

49

Удмуртская АССР

+830

+1190

+1670

+1320

+160

+250

+420

+310

+590

+750

50

Челябинская область

-710

-1020

-1440

-1140

-130

+210

-350

-260

-490

-620

 

8-й территориальный район

 

 

 

 

 

 

 

 

 

 

51

Алтайский край, Новосибирская область

-120

-170

-240

-190

-20

-30

-60

-40

-80

-100

52

Кемеровская область

-530

-770

-1080

-860

-110

-160

-280

-210

-390

-500

53

Красноярский край (южнее 60-й параллели) (без Тувинской АССР)

-70

-100

-140

-110

-20

-20

-40

-30

-50

-70

54

Омская область

-80

-110

-160

-130

-20

-30

-40

-30

-60

-70

55

Томская область (южнее 50-й параллели)

+180

+260

+370

+290

+40

+60

+90

+80

+130

+160

56

Тувинская АССР

+3060

+4400

+6210

+4940

+600

+930

+1580

+1200

+2190

+2800

57

Тюменская область (южнее60-й параллели)

+280

+2990

+4240

+3370

+410

+630

+1070

+820

+1480

+1900

 

9-й территориальный район

 

 

 

 

 

 

 

 

 

 

58

Бурятская АССР

+630

+910

+1280

+1020

+130

+200

+330

+260

+460

+590

59

Иркутская область (южнее 60-й параллели)

-150

-220

-320

-250

-30

-50

-80

-60

-110

-130

60

Читинская область

-110

-160

-240

-190

-20

-40

-60

-50

-80

-100

 

10-й территориальный район

 

 

 

 

 

 

 

 

 

 

61

Амурская область

-110

-160

-240

-190

-20

-40

-60

-50

-80

-100

62

Приморский Край

-240

-330

-470

-370

-50

-90

-130

-110

-190

-240

63

Хабаровский край (южнее 55-й параллели)

+700

+1000

+1410

+1120

+130

+210

+340

+240

+470

+600

 

11-й территориальный район

 

 

 

 

 

 

 

 

 

 

 

Казахская ССР

 

 

 

 

 

 

 

 

 

 

64

Актюбинская и Кзыл-Ординская области

-360

-520

-740

-590

-70

-110

-180

-130

-250

-310

65

Алма-Атинская область

-490

-710

-1000

-790

-100

-160

-260

-190

-360

-460

66

Восточно-Казахстанская и Карагандинская области

-260

-360

-520

-400

-50

-80

-130

-100

-180

-220

67

Гурьевская область

+1800

+2590

+3660

+2910

+330

+550

+890

+640

+1230

+1570

68

Джамбулская и Уральская области

-250

-350

-500

-390

-60

-70

-120

-80

-170

-210

69

Джезказганская область

-260

-370

-520

-410

-50

-80

-140

-110

-190

-240

70

Кокчетавская, Павлодарская, Северо-Казахстанская и Тургайская области

+30

+40

+70

+60

+10

+10

+20

+20

+20

+30

71

Кустанайская область

+220

+320

+450

+360

+50

+70

+110

+80

+150

+190

72

Мангышлакская      »

-110

-160

-240

-190

-20

-40

-60

-50

-80

-100

73

Семипалатинская     »

-480

-690

-970

-770

-100

-160

-260

-210

-360

-460

74

Талды-Курганская   »

-600

-860

-1210

-960

-120

-190

-310

-230

-430

-550

75

Целиноградская      »

-80

-120

-170

-140

-20

-30

-40

-30

-60

-70

76

Чимкентская            »

-230

-320

-460

-360

-70

-110

-160

-160

-220

-290

 

12-й территориальный район

 

 

 

 

 

 

 

 

 

 

 

Узбекская ССР

 

 

 

 

 

 

 

 

 

 

77

Андижанская, Наманганская и Самаркандская области

-10

-20

-20

-10

-

-

-10

-10

-10

-10

78

Бухарская, Кашкадарьинская, Сырдарьинская, Хорезмская и Ферганская области

+410

+590

+830

+660

+80

+130

+220

+160

+300

+390

79

Джизакская и Сурхандарьинская области

-250

-360

-490

-390

-50

-80

-130

-90

-180

-230

80

Каракалпакская АССР

+1580

+2270

+3220

+2560

+280

+440

+760

+530

+1050

+1340

81

Ташкентская область

-460

-650

-920

-730

-90

-140

-230

-170

-320

-400

 

Киргизская ССР

 

 

 

 

 

 

 

 

 

 

82

Ошская область

-670

-970

-1350

-1070

-130

-220

-350

-270

-490

-620

83

Другие районы

-900

-1310

-1830

-1440

-180

-280

-470

-350

-660

-840

84

Таджикская ССР

-410

-590

-840

-660

-80

-120

-200

-140

-280

-360

85

Туркменская ССР

+520

+760

+1060

+830

+110

+160

+270

+210

+380

+480

 

Районы Крайнего Севера и местности, приравненные к ним, расположенные в границах действия ЕРЕР-84

 

 

 

 

 

 

 

 

 

 

 

РСФСР

 

 

 

 

 

 

 

 

 

 

 

1. Районы Крайнего Севера

 

 

 

 

 

 

 

 

 

 

 

2-й территориальный район

 

 

 

 

 

 

 

 

 

 

86

Архангельская область

+1240

+1790

+2530

+2010

+240

+370

+620

+470

+890

+1130

87

Коми АССР

+160

+240

+340

+260

+30

+50

+90

+70

+120

+150

88

Мурманская область

+2510

+3610

+5100

+4050

+490

+760

+1270

+980

+1790

+2300

 

8-й территориальный район

 

 

 

 

 

 

 

 

 

 

89

Красноярский край

+1960

+2810

+3980

+3160

+390

+600

+1000

+770

+1400

+1790

 

2. Местности, приравненные к районам Крайнего Севера

 

 

 

 

 

 

 

 

 

 

 

2-й территориальный район

 

 

 

 

 

 

 

 

 

 

90

Коми АССР

+170

+240

+340

+260

+30

+50

+90

+70

+120

+150

 

8-й территориальный район

 

 

 

 

 

 

 

 

 

 

91

Красноярский край

+1960

+2810

+3980

+3160

+390

+600

+1000

+770

+1400

+1790

92

Томская область

+1500

+2160

+3070

+2440

+290

+460

+760

+590

+1070

+1370

93

Тюменская    »

+4280

+6160

+8720

+6930

+840

+1290

+2160

+1670

+3060

+3910

 

9-й территориальный район

 

 

 

 

 

 

 

 

 

 

94

Бурятская АССР

+1960

+2810

+3980

+3160

+390

+600

+1000

+770

+1400

+1790

 

Иркутская область

 

 

 

 

 

 

 

 

 

 

95

г. Братск

+40

+50

+70

+50

+10

+10

+20

+10

+20

+30

96

Бодайбинский район

+5690

+8180

+11620

+9210

+1190

+1820

+2880

+2210

+4070

+5200

97

Другие районы

+1290

+1850

+2630

+2090

+270

+410

+650

+500

+920

+1180

 

10-й территориальный район

 

 

 

 

 

 

 

 

 

 

98

Приморский край

+1090

+1570

+2240

+1780

+220

+340

+530

+390

+760

+970

99

Хабаровский     »

+690

+1000

+1420

+1120

+140

+210

+380

+240

+470

+600


Продолжение прил. 9

№ п.п.

Наименование территориальных районов, областей, краев и республик

Номера цен

278

307

319

320, 321

1

2

3

4

6

6

Б. На кирпич строительный

 

1-й территориальный район

 

 

 

 

 

РСФСР

 

 

 

 

1

Башкирская АССР

-340

-110

-210

-240

2

Брянская область

+630

+210

+390

+450

3

Волгоградская и Смоленская области, Мордовская АССР

-310

-100

-190

-220

4

Вологодская и Тульская области

-280

-90

-180

-200

5

Ивановская область

+700

+230

+430

+500

6

Калининская и Орловская области

+1050

+340

+650

+750

7

Кировская область

+510

+170

+320

+360

8

Курская              »

-430

-140

-270

-300

9

Ленинградская »

-350

-120

-220

-250

10

Марийская АССР и Тамбовская область

+650

+220

+410

+470

11

Пензенская и Ульяновская области

+310

+100

+190

+220

12

Саратовская область

+580

+190

+360

+410

13

Чувашская АССР

+380

+120

+240

+270

14

Ярославская область

-460

-150

-290

-330

 

4-й территориальный район

 

 

 

 

 

Украинская ССР

 

 

 

 

15

Запорожская, Черновицкая области

+400

+130

+250

+290

16

Ивано-Франковская и Крымская области

-300

-100

-180

-210

17

Львовская область

-400

-130

-250

-290

18

Николаевская область

+270

+90

+170

+190

19

Полтавская         »

-350

-120

-210

-250

20

Херсонская        »

+540

+180

+330

+380

21

Черниговская     »

-560

-180

-350

-400

 

5-й территориальный район

 

 

 

 

 

РСФСР

 

 

 

 

22

Дагестанская АССР

+240

+100

+190

+220

23

Кабардино-Балкарская АССР и Северо-Осетинская         »

-290

-120

-230

-260

 

8-й территориальный район

 

 

 

 

24

Алтайский край

+1360

+480

+690

+790

25

Кемеровская область

-1150

-400

-580

-670

 

11-й территориальный район

 

 

 

 

 

Казахская ССР

 

 

 

 

26

Восточно-Казахстанская область

-820

-290

-410

-470

27

Гурьевская область

+470

+160

+290

+330

28

Джамбулская       »

-710

-230

-440

-510

29

Кзыл-Ординская »

+1020

+340

+640

+730

30

Кокчетавская и Целиноградская области

+680

+240

+350

+400

31

Семипалатинская область

-500

-180

-260

-290

32

Талды-Курганская и Уральская области

+520

+170

+320

+370

 

12-й территориальный район

 

 

 

 

 

Узбекская ССР

 

 

 

 

33

Кашкадарьинская и Сурхандарьинская области

+730

+320

+590

+680

34

Самаркандская область

-540

-230

-440

-510

35

Ташкентская           »

-220

-90

-180

-200

36

Ферганская             »

-700

-300

-560

-640

37

Хорезмская            »

+500

+210

+400

+460

 

Районы Крайнего Севера и местности, приравненные к ним, расположенные в границах действия ЕРЕР-84

 

 

 

 

 

РСФСР

 

 

 

 

 

1. Районы Крайнего Севера

 

 

 

 

38

Красноярский край

+3780

+1320

+1910

+2180

 

2. Местности, приравненные к районам Крайнего Севера

 

 

 

 

39

Красноярский край

+3780

+1320

+1910

+2180

40

Томская область

+1700

+600

+860

+980

41

Тюменская    »

+4380

+1530

+2210

+2530

42

Иркутская     »

+4970

+1740

+2510

+2880

 

10-й территориальный район

 

 

 

 

43

Приморский край

+2840

+930

+1770

+2020


Продолжение прил. 9

№ п.п.

Наименование территориальных районов, областей, краев и республик

Номера цен

278

279

280, 284, 288

281, 285, 289

282, 286, 290

283, 287, 291

292, 293, 296, 297

294, 295, 298, 299

1

2

3

4

5

6

7

8

9

10

В. На другие местные строительные материалы

 

1-й территориальный район

 

 

 

 

 

 

 

 

 

РСФСР

 

 

 

 

 

 

 

 

1

Башкирская АССР

-110

-240

-580

-820

-1090

-1330

-1420

-2070

2

Белгородская область

-10

+20

-

-

-

-

-

-

3

Брянская              »

+80

+250

+470

+660

+890

+1080

+1160

+1690

4

Владимирская     »

+10

+50

-

-

-

-

-

-

5

Волгоградская   »

-200

-160

-360

-510

-680

-830

-890

-1290

6

Вологодская       »

-160

-130

-310

-440

-590

-720

-770

-1120

7

Воронежская      »

-90

+20

-

-

-

-

-

-

8

Горьковская       »

-20

-20

-

-

-

-

-

-

9

Ивановская         »

+30

+30

-

-

-

-

-

-

10

Калининская        »

+120

+240

+570

+800

+1080

+1310

+1400

+2030

11

Калужская           »

-80

-20

-

-

-

-

-

-

12

Кировская           »

+260

+210

+500

+700

+940

+1140

+1200

+1780

13

Куйбышевская   »

-140

-130

-360

-510

-680

-830

-880

-1290

14

Ленинградская   »

-60

-130

-300

-430

-580

-700

-750

-1090

15

Липецкая             »

-210

-180

-360

-510

-680

-830

-890

-1290

16

Марийская АССР

+310

+340

+830

+1170

+1570

+1910

+2040

+2970

17

Мордовская АССР

+480

+390

+920

+1300

+1740

+2120

+2270

+3290

18

Московская область

+140

+120

+290

+410

+550

+660

+710

+1030

19

Новгородская    »

-20

-20

-

-

-

-

-

-

20

Орловская          »

-20

-30

-

-

-

-

-

-

21

Пензенская »

+140

+360

+920

+1300

+1740

+2120

+2260

+3290

22

Псковская »

-90

+50

-

-

-

-

-

-

23

Рязанская »

-80

-40

-

-

-

-

-

-

24

Саратовская »

+70

-

-

-

-

-

-

-

25

Тамбовская »

-30

+140

+430

+610

+820

+1000

+1060

+1550

26

Татарская АССР

+110

+20

-

-

-

-

-

-

27

Ульяновская область

+80

+200

+430

+610

+820

+1000

+1070

+1550

28

Чувашская АССР

+90

-20

-

-

-

-

-

-

29

Ярославская область

-50

-70

-360

-510

-680

-830

-890

-1300

 

3-й территориальный район

 

 

 

 

 

 

 

 

30

Латвийская и Литовская ССР

+90

+20

-

-

-

-

-

-

31

Калининградская область

-140

-160

-360

-510

-680

-820

-880

-1280

 

4-й территориальный район

 

 

 

 

 

 

 

 

 

Украинская ССР

 

 

 

 

 

 

 

 

32

Винницкая и Житомирская области

-

-30

-

-

-

-

-

-

33

Волынская область

+10

+30

-

-

-

-

-

-

34

Днепропетровская »

-20

-40

-

-

-

-

-

-

35

Донецкая                  »

-10

-20

-

-

-

-

-

-

36

Крымская                 »

+80

+90

-

-

-

-

+10

+10

37

Николаевская и Одесская области

+20

+50

-

-

-

-

-

-

38

Ровенская область

+20

+20

-

-

-

-

-

-

39

Черниговская   »

+30

+30

-

-

-

-

-

-

40

Молдавская ССР

+140

+60

-

-

-

-

-

-

 

5-й территориальный район

 

 

 

 

 

 

 

 

 

РСФСР

 

 

 

 

 

 

 

 

41

Дагестанская АССР

+240

+170

+420

+600

+800

+970

+1040

+1520

42

Кабардино-Балкарская АССР и Северо-Осетинская АССР

-10

-10

-

-

-

-

-

-

43

Краснодарский край

+20

+10

-

-

-

-

-

-

44

Ростовская область

-70

-

-

-

-

-

-

-

45

Ставропольский край

+160

+190

+350

+500

+670

+810

+870

+1260

 

6-й территориальный район

 

 

 

 

 

 

 

 

46

Азербайджанская ССР

-40

-10

-

-

-

-

-

-

47

Армянская ССР

+60

-

-

-

-

-

-

-

 

РСФСР

 

 

 

 

 

 

 

 

 

7-й территориальный район

 

 

 

 

 

 

 

 

48

Курганская область

+150

+320

+710

+1010

+1350

+1640

+1870

+2720

49

Оренбургская     »

+20

+60

-

-

-

-

-

-

 

8-й территориальный район

 

 

 

 

 

 

 

 

50

Алтайский край

+170

+70

-

-

-

-

-

-

51

Кемеровская область

-60

-110

-270

-380

-510

-620

-710

-1030

52

Новосибирская область

+10

-

-

-

-

-

-

-

 

11-й территориальный район

 

 

 

 

 

 

 

 

 

Казахская ССР

 

 

 

 

 

 

 

 

53

Восточно-Казахстанская область

-20

-60

-

-

-

-

-

-

54

Гурьевская область

+20

-

-

-

-

-

-

-

55

Джамбулская       »

+10

+10

-

-

-

-

-

-

56

Карагандинская    »

-

-20

-

-

-

-

-

-

57

Кзыл-Ординская »

+130

+20

-

-

-

-

-

-

58

Кустанайская        »

-

+20

-

-

-

-

-

-

59

Павлодарская       »

+10

+50

-

-

-

-

-

-

60

Северо-Казахстанская область

-10

-20

-

-

-

-

-

-

61

Семипалатинская               »

-

-40

-

-

-

-

-

-

62

Талды-Курганская             »

+80

+70

-

-

-

-

-

-

63

Тургайская                          »

+140

-

-

-

-

-

-

-

64

Уральская                           »

+40

+40

-

-

-

-

-

-

65

Целиноградская                 »

+20

+30

-

-

-

-

-

-

66

Чимкентская                      »

-90

-

-

-

-

-

-

-

 

12-й территориальный район

 

 

 

 

 

 

 

 

 

Узбекская ССР

 

 

 

 

 

 

 

 

67

Андижанская и Наманганская области

-70

-70

-

-

-

-

-

-

68

Бухарская, Кашкадарьинская и Сурхандарьинская области

+130

+160

-

-

-

-

+1070

+1550

69

Джизакская область

-40

+20

-

-

-

-

-

-

70

Самаркандская    »

-60

-30

-

-

-

-

-

-

71

Сырдарьинская   »

-20

+50

-

-

-

-

-

-

72

Ташкентская        »

-50

+40

-

-

-

-

-

-

73

Ферганская          »

-30

-100

-

-

-

-

-

-

74

Хорезмская         »

+160

+190

-

-

-

-

+1020

+1490

 

Таджикская ССР

 

 

 

 

 

 

 

 

75

Курган-Тюбинская область

+10

-180

-

-

-

-

-1200

-1740

 

Туркменская ССР

 

 

 

 

 

 

 

 

76

Ашхабадская область

-30

-120

-

-

-

-

-790

-1150

77

Красноводская     »

+30

+110

-

-

-

-

+730

+1060

78

Ташаузская           »

+50

+210

-

-

-

-

+1400

+2030

 

Районы Крайнего Севера и местности, приравненные к ним, расположенные в границах действия ЕРЕР-84

 

 

 

 

 

 

 

 

 

РСФСР

 

 

 

 

 

 

 

 

 

1. Районы Крайнего Севера

 

 

 

 

 

 

 

 

 

2-й территориальный район

 

 

 

 

 

 

 

 

79

Архангельская область

+470

+390

+820

+1170

+1560

+1900

+2010

+2930

80

Коми АССР

+430

+230

+380

+540

+730

+880

+940

+1380

 

Мурманская область

 

 

 

 

 

 

 

 

81

Печенгский район

+230

+190

+370

+520

+700

+860

+900

+1320

82

Терский          »

+250

+460

+270

+380

+510

+620

+660

+960

83

Другие районы

+180

+120

+270

+380

+510

+620

+660

+960

 

8-й территориальный район

 

 

 

 

 

 

 

 

84

Красноярский край

+1220

+1170

+2370

+3350

+4480

+5450

+6100

+8880

 

2. Местности, приравненные к районам Крайнего Севера

 

 

 

 

 

 

 

 

 

2-й территориальный район

 

 

 

 

 

 

 

 

 

Архангельская область

 

 

 

 

 

 

 

 

85

Лешуконский и Мезенский районы

+1860

+2280

+3970

+5610

+7500

+9130

+10520

+15320

86

Пинежский район

+1080

+820

+1410

+2000

+2670

+3250

+3590

+5230

 

Коми АССР

 

 

 

 

 

 

 

 

87

Ижемский, Троицко-Печорский и Усть-Цилемский районы

+260

+320

+180

+260

+340

+420

+440

+640

88

Удорский район

+230

+220

+180

+260

+340

+420

+440

+640

89

Другие районы

+210

+120

+180

+260

+340

+420

+440

+640

90

Мурманская область

+50

+200

-

-

-

-

-

-

 

8-й территориальный район

 

 

 

 

 

 

 

 

 

Красноярский край

 

 

 

 

 

 

 

 

91

Енисейский район

+1210

+1100

+1270

+3350

+4480

+5450

+6100

+8880

92

Другие районы

+660

+700

+1350

+1910

+2550

+3110

+3620

+5270

 

Томская область

 

 

 

 

 

 

 

 

93

Верхнекетский район

+380

+420

+260

+370

+500

+610

+890

+1290

94

Другие районы

+340

+270

+260

+370

+500

+610

+890

+1290

95

Тюменская область

+1580

+1040

+2350

+3320

+4440

+5400

+6170

+8980

 

9-й территориальный район

 

 

 

 

 

 

 

 

96

Бурятская АССР

+100

+150

+90

+130

+170

+210

+210

+300

 

Иркутская область

 

 

 

 

 

 

 

 

97

г. Братск

+690

+500

+1170

+1650

+2210

+2690

+3090

+4490

98

Бодайбинский район

+2470

+1900

+4460

+6300

+8440

+10260

+11810

+17190

99

Мамско-Чуйский »

+1410

+1050

+2400

+3390

+4540

+5520

+6370

+9270

100

Другие районы

+980

+900

+2060

+2910

+3890

+4730

+5460

+7940

101

Читинская область

+520

+460

+440

+620

+830

+1010

+1010

+1470

 

10-й территориальный район

 

 

 

 

 

 

 

 

102

Амурская область

+230

+240

+180

+260

+540

+420

+440

+640

103

Приморский край

+310

+500

+520

+730

+970

+1180

+1250

+1810

 

Хабаровский край

 

 

 

 

 

 

 

 

104

Верхнебуреинский и Тугуро-Чумиканский районы

+600

+290

+500

+700

+940

+1150

+1400

+2040

105

Им. Полины Осипенко и Ульчский районы

+610

+400

+500

+700

+940

+1150

+1400

+2040

106

Николаевский район

+770

+510

+750

+1050

+1410

+1710

+1990

+2900

107

г. Комсомольск-на-Амуре

+690

+370

+740

+1050

+1400

+1710

+1980

+2890

108

Другие районы

+730

+440

+740

+1050

+1410

+1710

+1990

+2890

Продолжение прил. 9

№ п.п.

Наименование территориальных районов, областей, краев и республик

Номера цен

300

301

302

303

304, 305, 315

306

307, 324

308, 309, 323

310, 311, 328

1

2

3

4

5

6

7

8

9

10

11

 

1-й территориальный район

 

 

 

 

 

 

 

 

 

 

РСФСР

 

 

 

 

 

 

 

 

 

1

Башкирская АССР

-240

-360

-440

-530

-30

-50

-290

-250

-550

2

Белгородская область

+10

+10

+10

+20

-

-10

-

-

-

3

Брянская               »

+210

+310

+380

+460

+20

+20

+240

+210

+460

4

Владимирская      »

+10

+10

+10

+20

-

+10

-

-

-

5

Волгоградская     »

-160

-230

-280

-340

-20

-30

-210

-170

-360

6

Вологодская        »

+130

-200

-240

-290

-20

-20

-170

-140

-310

7

Воронежская        »

+10

+10

+10

+20

-

-10

-10

-10

-20

8

Горьковская         »

-

-

-

+10

-

-20

-

-

-10

9

Ивановская           »

-

-10

-10

-10

-

+30

-

-

+10

10

Калининская         »

+240

+360

+440

+530

+30

+50

+290

+240

+540

11

Калужская             »

-

-

-

-

-

-

-10

-10

-10

12

Кировская             »

+210

+320

+390

+460

+30

+40

+280

+230

+500

13

Куйбышевская     »

-140

-210

-260

-310

-20

-20

-200

-160

-350

14

Ленинградская     »

-130

-200

-240

-290

-20

-20

-160

-130

-290

15

Липецкая               »

-150

-220

-270

-330

-30

-60

-200

-170

-370

16

Марийская АССР

+340

+510

+620

+750

+50

+60

+440

+370

+810

17

Мордовская АССР

+390

+580

+700

+850

+50

+70

+510

+420

+920

18

Московская область

+120

+170

+210

+260

+20

+30

+160

+130

+290

19

Новгородская      »

-

+10

+10

+10

-

-10

-

-

-

20

Орловская             »

-

-

-

-

-

-30

-

-

-10

21

Пензенская           »

+390

+590

+720

+860

+50

+40

+460

+390

+870

22

Псковская             »

-

-

-

-

-

-

-20

-10

-10

23

Рязанская              »

-

-10

-10

-10

-

+10

-20

-10

-10

24

Саратовская          »

+10

+20

+20

+30

-

-30

+20

+10

-

25

Тамбовская           »

+180

+270

+320

+390

+20

+10

+190

+180

+390

26

Татарская АССР

-

+10

+10

+10

-

+20

+20

+10

+20

27

Ульяновская область

+190

+280

+350

+420

+30

+40

+220

+180

+410

23

Чувашская АССР

-

-

-

+10

-

-20

+20

+10

+10

29

Ярославская область

-150

-220

-270

-330

-20

-20

-180

-160

-350

 

3-й территориальный район

 

 

 

 

 

 

 

 

 

30

Латвийская и Литовская ССР

-

-

-

-

+10

-

+20

-10

-

31

Калининградская область

-140

-200

-250

-300

-20

-10

-200

-170

-340

 

4-й территориальный район

 

 

 

 

 

 

 

 

 

 

Украинская ССР

 

 

 

 

 

 

 

 

 

32

Винницкая и Житомирская области

-

-

-

-

-

-

-

-

-

33

Волынская область

-

-

-

-

-

-

-

-

-

34

Днепропетровская »

-

-

-

-

-

-10

-

-

-

35

Донецкая                  »

-

-

-

-

-

-10

-

-

-

36

Крымская                 »

-

-

-

-

+20

+90

+10

-

-

37

Николаевская и Одесская области

-

-

-

-

-

+20

-

-

-

38

Ровенская область

-

-

-

-

-

+20

-

-

+10

39

Черниговская    »

-

-

-

-

+10

+30

-

-

+10

40

Молдавская ССР

-

-

-

-

-

+20

+30

-

+30

 

5-й территориальный район

 

 

 

 

 

 

 

 

 

 

РСФСР

 

 

 

 

 

 

 

 

 

41

Дагестанская АССР

+160

+240

+290

+350

+20

+20

+250

+200

+430

42

Кабардино-Балкарская АССР и Северо-Осетинская АССР

-

-

-

-

-

-10

-

-

-

43

Краснодарский край

-

-

-

-

-

+20

-

-

+10

44

Ростовская область

-

-

-

-

-

-

-20

+10

-20

45

Ставропольский край

+140

+200

+250

+300

+20

+40

+200

+140

+360

 

6-й территориальный район

 

 

 

 

 

 

 

 

 

46

Азербайджанская ССР

-

-

-

-

-

-20

-10

-

-10

47

Армянская ССР

-

-

-

-

+10

+30

+20

-

+20

 

РСФСР

 

 

 

 

 

 

 

 

 

 

7-й территориальный район

 

 

 

 

 

 

 

 

 

48

Курганская область

+300

+450

+540

+650

+40

+60

+360

+300

+680

49

Оренбургская »

-

+10

+10

+10

-

+20

-

-

+10

 

8-й территориальный район

 

 

 

 

 

 

 

 

 

50

Алтайский край

+10

+10

+20

+20

+10

+40

+30

+10

+30

51

Кемеровская область

-110

-170

-200

-240

-20

-30

-140

-120

-260

52

Новосибирская область

-

-

-

-

-

+10

-

-

-

 

11-й территориальный район

 

 

 

 

 

 

 

 

 

 

Казахская ССР

 

 

 

 

 

 

 

 

 

53

Восточно-Казахстанская область

-

-

-

-

-

-10

-

-

-

54

Гурьевская область

-

-

-

-

-

-

-

-

-

55

Джамбулская       »

-

-

-

-

-

+20

-

+10

+10

56

Карагандинская   »

-

-

-

-

-

-

-

-

-

57

Кзыл-Ординская »

-

-

-

-

-

+20

+30

-

+20

58

Кустанайская       »

-

-

-

-

-

-

-

-

-

59

Павлодарская      »

-

-

-

-

-

-10

-

-

-

60

Северо-Казахстанская область

-

-

-

-

-

-

-

-

-

61

Семипалатинская                »

-

-

-

-

-

-

-10

-

-

62

Талды-Курганская              »

-

-

-

-

+10

-

+20

-

-

63

Тургайская                           »

-

-

-

-

-

-

+30

-

+20

64

Уральская                            »

-

-

-

-

+10

+40

-

-

+20

65

Целиноградская                  »

-

-

-

-

-

+30

+10

-

+10

66

Чимкентская                        »

-

-

-

-

-

-

-20

-

-10

 

12-й территориальный район

 

 

 

 

 

 

 

 

 

 

Узбекская ССР

 

 

 

 

 

 

 

 

 

67

Андижанская и Наманганская области

-

-

-

-

-

-10

-20

-10

-

68

Бухарская, Кашкадарьинская и Сурхандарьинская области

-

-

-

-

+20

+30

+230

+200

+420

69

Джизакская область

-

-

-

-

-

+10

-10

-10

-

70

Самаркандская    »

-

-

-

-

-

-

-10

-10

-

71

Сырдарьинская   »

-

-

-

-

-

+30

-10

-

+10

72

Ташкентская        »

-

-

-

-

-

-

-10

-

-

73

Ферганская          »

-

-

-

-

-10

-30

-10

-

-10

74

Хорезмская         »

-

-

-

-

+30

+50

+230

+200

+420

 

Таджикская ССР

 

 

 

 

 

 

 

 

 

75

Курган-Тюбинская область

-

-

-

-

-30

-40

-220

-210

-470

 

Туркменская ССР

 

 

 

 

 

 

 

 

 

76

Ашхабадская область

-

-

-

-

-20

-20

-150

-140

-310

77

Красноводская    »

-

-

-

-

+20

+20

+140

+130

+280

78

Ташаузская           »

-

-

-

-

+30

+40

+270

+240

+550

 

Районы Крайнего Севера и местности, приравненные к ним, расположенные в границах действия ЕРЕР-84

 

 

 

 

 

 

 

 

 

 

РСФСР

 

 

 

 

 

 

 

 

 

 

1. Районы Крайнего Севера

 

 

 

 

 

 

 

 

 

 

2-й территориальный район

 

 

 

 

 

 

 

 

 

79

Архангельская область

+330

+500

+610

+730

+50

+90

+490

+320

+760

80

Коми АССР

+170

+250

+310

+370

+30

+60

+270

+200

+440

 

Мурманская область

 

 

 

 

 

 

 

 

 

81

Печенгский район

+150

+220

+270

+330

+30

+40

+220

+180

+390

82

Терский          »

+170

+250

+310

+380

+30

+60

+190

+130

+300

83

Другие районы

+110

+160

+200

+230

+20

+20

+170

+130

+290

 

8-й территориальный район

 

 

 

 

 

 

 

 

 

84

Красноярский край

+1030

+1530

+1870

+2250

+130

+240

+1340

+1090

+2400

 

2. Местности, приравненные к районам Крайнего Севера

 

 

 

 

 

 

 

 

 

 

2-й территориальный район

 

 

 

 

 

 

 

 

 

 

Архангельская область

 

 

 

 

 

 

 

 

 

85

Лешуконский и Мезенский районы

+1740

+2580

+3140

+3790

+250

+340

+2080

+1670

+3730

86

Пинежский район

+600

+880

+1070

+1290

+110

+120

+780

+570

+1280

 

Коми АССР

 

 

 

 

 

 

 

 

 

87

Ижемский, Троицко-Печорский и Усть-Цилемский районы

+110

+160

+200

+240

+20

+50

+140

+90

+200

88

Удорский район

+100

+140

+180

+220

+20

+40

+140

+90

+200

89

Другие районы

+90

+130

+160

+200

+20

+20

+130

+90

+200

90

Мурманская область

+20

+30

+30

+40

-

+20

+10

-

+10

 

8-й территориальный район

 

 

 

 

 

 

 

 

 

 

Красноярский край

 

 

 

 

 

 

 

 

 

91

Енисейский район

+1010

+1500

+1840

+2220

+130

+230

+1340

+1090

+2400

92

Другие районы

+620

+910

+1120

+1340

+80

+140

+730

+600

+1340

 

Томская область

 

 

 

 

 

 

 

 

 

93

Верхнекетский район

+180

+260

+320

+390

+20

+50

+210

+130

+310

94

Другие районы

+160

+240

+300

+360

+20

+30

+200

+130

+300

95

Тюменская область

+1000

+1490

+1820

+2190

+130

+210

+1370

+1090

+2410

 

9-й территориальный район

 

 

 

 

 

 

 

 

 

96

Бурятская АССР

+50

+80

+100

+120

+10

+50

+60

+50

+110

 

Иркутская область

 

 

 

 

 

 

 

 

 

97

г. Братск

+500

+740

+900

+1090

+70

+120

+660

+540

+1190

98

Бодайбинский район

+1890

+2800

+3420

+4120

+250

+410

+2490

+2020

+4470

99

Мамско-Чуйский »

+1020

+1510

+1840

+2210

+130

+240

+1360

+1100

+2420

100

Другие районы

+870

+1300

+1580

+1900

+120

+220

+1120

+920

+2040

101

Читинская область

+200

+300

+370

+440

+40

+120

+320

+240

+520

 

10-й территориальный район

 

 

 

 

 

 

 

 

 

102

Амурская область

+100

+150

+180

+220

+20

+70

+130

+90

+210

103

Приморский край

+220

+330

+410

+490

+30

+150

+300

+250

+550

 

Хабаровский край

 

 

 

 

 

 

 

 

 

104

Верхнебуреинский и Тугуро-Чумиканский районы

+230

+350

+420

+510

+40

+80

+320

+240

+530

105

Им. Полины Осипенко и Ульчский районы

+240

+360

+440

+530

+40

+80

+330

+240

+530

106

Николаевский район

+350

+520

+640

+770

+60

+140

+480

+360

+800

107

г. Комсомольск-на-Амуре

+340

+510

+620

+750

+50

+70

+470

+360

+770

108

Другие районы

+350

+520

+630

+760

+50

+100

+470

+360

+790

Продолжение прил. 9

№. п.п.

Наименование территориальных районов, областей, краев и республик

Номера цен

312

313

314

316

317

318

319

1

2

3

4

5

6

7

8

9

 

1-й территориальный район

 

 

 

 

 

 

 

 

РСФСР

 

 

 

 

 

 

 

1

Башкирская АССР

-920

-1480

-1890

-970

-1480

-2060

-1430

2

Белгородская область

-110

-150

-150

-40

-30

-30

-110

3

Брянская               »

+630

+1060

+1400

+760

+1190

+1680

+1020

4

Владимирская      »

+60

+100

+110

+40

+60

+80

+40

5

Волгоградская     »

-560

-940

-1200

-610

-940

-1320

-960

6

Вологодская        »

-510

-830

-1060

-540

-820

-1140

-860

7

Воронежская       »

-90

-130

-140

-30

-30

-40

-150

8

Горьковская        »

-170

-240

-240

-70

-70

-80

-150

9

Ивановская          »

+230

+310

+320

+90

+100

+110

+200

10

Калининская         »

+900

+1480

+1880

+980

+1490

+2070

+1390

11

Калужская            »

-20

-30

-40

-

-10

-20

-60

12

Кировская область

+790

+1310

+1670

+850

+1300

+1820

+1340

13

Куйбышевская »

-470

-760

-1000

-520

-810

-1140

-870

14

Ленинградская »

-490

-800

-10200

-530

-800

-1120

-740

15

Липецкая            »

-790

-1250

-1530

-710

-1040

-1430

-1150

16

Марийская АССР

+1240

+2010

+2590

+1320

+2030

+2840

+2100

17

Мордовская    »

+1440

+2370

+3040

+1530

+2350

+3290

+2470

18

Московская    »

+520

+850

+1070

+530

+800

+1110

+780

19

Новгородская   »

-90

-110

-100

-10

-

+20

-80

20

Орловская       »

-210

-300

-320

-100

-120

-150

-170

21

Пензенская      »

+1210

+2030

+2660

+1450

+2250

+3160

+2050

22

Псковская       »

-

-30

-50

-40

-60

-80

-60

23

Рязанская         »

+60

+70

+70

+30

+40

+40

-

24

Саратовская    »

-220

-260

-250

-50

-30

-10

-140

25

Тамбовская     »

+460

+770

+1040

+600

+940

+1340

+820

26

Татарская АССР

+130

+210

+240

+90

+120

+160

+170

27

Ульяновская область

+700

+1150

+1470

+770

+1170

+1620

+1070

28

Чувашская АССР

-160

-200

-200

-60

-60

-60

-60

29

Ярославская область

-560

-920

-1190

-630

-960

-1330

-900

 

3-й территориальный район

 

 

 

 

 

 

 

30

Латвийская и Литовская ССР

-

-

-

-

-

-

-

31

Калининградская область

-390

-660

-900

-490

-770

-1100

-800

 

4-й территориальный район

 

 

 

 

 

 

 

 

Украинская ССР

 

 

 

 

 

 

 

32

Винницкая и Житомирская области

+40

+50

+50

+20

+20

+20

+50

33

Волынская область

+10

+10

+10

-

-

-

-

34

Днепропетровская »

-110

-170

-180

-70

-90

-110

-80

35

Донецкая                  »

-50

-80

-90

-40

-50

-60

-40

36

Крымская                 »

+690

+1000

+1070

+350

+420

+510

+590

37

Николаевская и Одесская области

+110

+170

+180

+60

+80

+100

+90

38

Ровенская область

+150

+230

+250

+90

+110

+140

+130

39

Черниговская    »

+250

+380

+410

+150

+190

+240

+210

40

Молдавская ССР

+130

+200

+230

+60

+80

+100

+190

 

5-й территориальный район

 

 

 

 

 

 

 

 

РСФСР

 

 

 

 

 

 

 

41

Дагестанская АССР

+600

+1000

+1300

+660

+1030

+1440

+1130

42

Кабардино-Балкарская АССР и Северо-Осетинская АССР

-90

-130

-140

-40

-50

-70

-80

43

Краснодарский край

+200

+290

+310

+100

+120

+150

+180

44

Ростовская область

-20

-40

-50

-10

-20

-30

-80

45

Ставропольский край

+630

+1010

+1270

+610

+920

+1280

+1000

 

6-й территориальный район

 

 

 

 

 

 

 

46

Азербайджанская ССР

-180

-260

-270

-90

-100

-120

-190

47

Армянская                »

+260

+390

+420

+130

+160

+190

+280

 

РСФСР

 

 

 

 

 

 

 

 

7-й территориальный район

 

 

 

 

 

 

 

48

Курганская область

+1170

+1880

+2380

+1200

+1820

+2540

+1780

49

Оренбургская    »

+160

+240

+260

+80

+90

+110

+130

 

8-й территориальный район

 

 

 

 

 

 

 

50

Алтайский край

+290

+460

+500

+170

+210

+280

+320

51

Кемеровская область

-470

-750

-940

-470

-700

-970

-700

52

Новосибирская    »

+60

+90

+100

+30

+40

+50

+50

 

11-й территориальный район

 

 

 

 

 

 

 

 

Казахская ССР

 

 

 

 

 

 

 

53

Восточно-Казахстанская область

-70

-110

-110

-30

-40

-40

-50

54

Гурьевская область

-

-

-

-

-

-

+10

55

Джамбулская область

+120

+160

+170

+40

+40

+50

+110

56

Карагандинская             »

-10

-20

-30

-20

-30

-40

-

57

Кзыл-Ординская           »

+190

+290

+310

+100

+120

+150

+250

58

Кустанайская                 »

+10

+30

+30

+20

+30

+40

-

59

Павлодарская                »

-60

-110

-130

-70

-100

-130

-50

60

Северо-Казахстанская    »

-40

-60

-60

-20

-20

-20

-30

61

Семипалатинская           »

-20

-60

-70

-40

-70

-100

-

62

Талды-Курганская         »

+10

+20

+20

-

-

-

-

63

Тургайская                      »

+20

+40

+50

+10

+20

+30

+110

64

Уральская                       »

+340

+520

+560

+200

+250

+310

+280

65

Целиноградская            »

+210

+360

+410

+180

+250

+330

+160

66

Чимкентская                  »

-10

-30

-40

-10

-10

-20

-70

 

12-й территориальный район

 

 

 

 

 

 

 

 

Узбекская ССР

 

 

 

 

 

 

 

67

Андижанская и Наманганская области

-50

-100

-110

-40

-60

-80

-70

68

Бухарская, Кашкадарьинская и Сурхандарьинская области

+650

+1060

+1350

+700

+1060

+1480

+1130

69

Джизакская область

+100

+160

+180

+70

+90

+110

+40

70

Самаркандская     »

-

+10

+10

+20

+20

+30

-40

71

Сырдарьинская    »

+230

+340

+360

+120

+140

+170

+150

72

Ташкентская         »

-50

-80

-100

-40

-60

-80

-80

73

Ферганская           »

-210

-330

-360

-130

-170

-220

-160

74

Хорезмская          »

+800

+1280

+1600

+790

+1180

+1640

+1240

 

Таджикская ССР

 

 

 

 

 

 

 

75

Курган-Тюбинская область

-770

-1240

-1580

-810

-1220

-1710

-1150

 

Туркменская ССР

 

 

 

 

 

 

 

76

Ашхабадская область

-500

-800

-1020

-520

-800

-1110

-780

77

Красноводская    »

+470

+750

+950

+490

+740

+1030

+730

78

Ташаузская           »

+900

+1440

+1830

+940

+1420

+1980

+1410

 

Районы Крайнего Севера и местности, приравненные к ним, расположенные в границах действия ЕРЕР-84

 

 

 

-

 

 

 

 

РСФСР

 

 

 

 

 

 

 

 

1. Районы Крайнего Севера

 

 

 

 

 

 

 

 

2-й территориальный район

 

 

 

 

 

 

 

79

Архангельская область

+1420

+2350

+2950

+1450

+2190

+3030

+1860

80

Коми АССР

+860

+1440

+1790

+840

+1270

+1760

+1270

 

Мурманская область

 

 

 

 

 

 

 

81

Печенгский район

+640

+1050

+1340

+660

+1010

+1410

+990

82

Терский           »

+650

+1160

+1460

+710

+1080

+1500

+800

83

Другие районы

+470

+770

+980

+480

+740

+1030

+730

 

8-й территориальный район

 

 

 

 

 

 

 

84

Красноярский край

+4250

+7020

+8880

+4430

+6720

+9350

+6470

 

2. Местности, приравненные к районам Крайнего Севера

 

 

 

 

 

 

 

 

2-й территориальный район

 

 

 

 

 

 

 

 

Архангельская область

 

 

 

 

 

 

 

85

Лешуконский и Мезенский районы

+6220

+10130

+12860

+6510

+9890

+13780

+9870

86

Пинежский район

+2100

+3440

+4370

+2220

+3370

+4700

+3250

 

Коми АССР

 

 

 

 

 

 

 

87

Ижемский, Троицко-Печорский и Усть-Цилемский районы

+490

+840

+1020

+460

+700

+960

+620

88

Удорский район

+440

+760

+940

+450

+680

+940

+590

89

Другие районы

+370

+670

+850

+430

+650

+910

+560

90

Мурманская область

+120

+180

+180

+40

+50

+70

+70

 

8-й территориальный район

 

 

 

 

 

 

 

 

Красноярский край

 

 

 

 

 

 

 

91

Енисейский район

+4160

+6860

+8680

+4340

+6600

+9180

+6420

92

Другие районы

+2430

+4020

+5060

+2530

+3830

+5310

+3800

 

Томская область

 

 

 

 

 

 

 

93

Верхнекетский район

+620

+1040

+1290

+560

+850

+1180

+970

94

Другие районы

+520

+900

+1140

+530

+810

+1140

+910

95

Тюменская область

+3990

+6560

+8350

+4160

+6340

+8830

+6640

 

9-й территориальный район

 

 

 

 

 

 

 

96

Бурятская АССР

+450

+740

+860

+360

+510

+690

+460

 

Иркутская область

 

 

 

 

 

 

 

97

г. Братск

+2080

+3390

+4270

+2110

+3190

+4430

+3320

98

Бодайбинский район

+7640

+12410

+15690

+7780

+11790

+16400

+12470

99

Мамско-Чуйский район

+4290

+6940

+8720

+4260

+6430

+8920

+6910

100

Другие районы

+3700

+5960

+7470

+3670

+5520

+7650

+5820

101

Читинская область

+1390

+2240

+2690

+1180

+1730

+2360

+1640

 

10-й территориальный район

 

 

 

 

 

 

 

102

Амурская область

+690

+1140

+1360

+590

+860

+1160

+800

103

Приморский край

+1610

+2500

+2950

+1250

+1800

+2430

+1870

 

Хабаровский край

 

 

 

 

 

 

 

104

Верхнебуреинский и Тугуро-Чумиканский районы

+1130

+1830

+2240

+1030

+1520

+2100

+1860

105

Им. Полины Осипенко и Ульчский районы

+1100

+1780

+2190

+1000

+1490

+2050

+1810

106

Николаевский район

+1850

+3020

+3670

+1680

+2490

+3410

+2720

107

г. Комсомольск-на-Амуре

+1300

+2220

+2830

+1410

+2160

+3010

+2270

108

Другие районы

+1540

+2570

+3200

+1530

+2300

+3180

+2460

Продолжение прил. 9

№ п.п.

Наименование территориальных районов, областей, краев и республик

Номера цен

320

321

322

325

326

327, 330

329

331

1

2

3

4

5

6

7

8

9

10

 

1-й территориальный район

 

 

 

 

 

 

 

 

 

РСФСР

 

 

 

 

 

 

 

 

1

Башкирская АССР

-2210

-2760

-170

-390

-450

-630

-740

-860

2

Белгородская область

-130

-210

-

-

-

-10

-10

-10

3

Брянская               »

+1640

+1970

+140

+320

+380

+510

+610

+710

4

Владимирская область

+40

+70

-

-

-

-

-

-

5

Волгоградская     »

-1480

-1820

-110

-250

-300

-400

-480

-560

6

Вологодская        »

-1310

-1630

-100

-210

-250

-350

-410

-480

7

Воронежская        »

-180

-260

-

-10

-10

-10

-20

-20

8

Горьковская         »

-180

-300

-

-

-10

-10

-10

-20

9

Ивановская           »

+230

+400

-

+10

+10

+10

+20

+20

10

Калининская         »

+2160

+2690

+160

+380

+440

+600

+720

+840

11

Калужская            »

-80

-100

-

-

-10

-10

-10

-10

12

Кировская             »

+2050

+2540

+150

+340

+400

+560

+660

+760

13

Куйбышевская     »

-1360

-1640

-100

-240

-290

-390

-470

-540

14

Ленинградская     »

-1150

-1440

-90

-200

-240

-330

-390

-450

15

Липецкая               »

-1700

-2200

-110

-250

-300

-410

-490

-580

16

Марийская АССР

+3240

+4000

+240

+560

+660

+910

+1080

+1250

17

Мордовская    »

+3780

+4670

+270

+630

+750

+1030

+1220

+1420

18

Московская     »

+1180

+1490

+90

+200

+240

+330

+390

+450

19

Новгородская   »

-100

-160

-

-

-

-

-10

-10

20

Орловская        »

-200

-350

-

-10

-10

-10

-10

-20

21

Пензенская      »

+3250

+3940

+260

+610

+710

+970

+1160

+1340

22

Псковская        »

-80

-100

-

-

-10

-10

-10

-10

23

Рязанская         »

-

+40

-

-

-

-

-10

-10

24

Саратовская     »

-150

-310

-

-

-

-

-

-

25

Тамбовская      »

+1360

+1600

+120

+280

+320

+440

+530

+610

26

Татарская АССР

+210

+300

-

+10

+10

+20

+20

+30

27

Ульяновская область

+1660

+2060

+130

+290

+340

+470

+550

+640

28

Чувашская АССР

-60

-160

-

-

-

-

-

-

29

Ярославская область

-1400

-1740

-110

-240

-280

-390

-460

-540

 

3-й территориальный район

 

 

 

 

 

 

 

 

30

Латвийская и Литовская ССР

-30

-

-

-

-

-

-

-

31

Калининградская область

-1320

-1510

-100

-230

-280

-380

-450

-520

 

4-й территориальный район

 

 

 

 

 

 

 

 

 

Украинская ССР

 

 

 

 

 

 

 

 

32

Винницкая и Житомирская области

+50

+80

-

-

-

-

-

+10

33

Волынская область

-

-

-

-

-

-

-

-

34

Днепропетровская »

-100

-170

-

-

-

-10

-10

-10

35

Донецкая                  »

-40

-70

-

-

-

-

-

-

36

Крымская                 »

+690

+1170

+10

-

-

+40

+50

+70

37

Николаевская и Одесская области

+100

+170

-

-

-

+10

+10

+10

38

Ровенская область

+150

+260

-

-

+10

+10

+10

+20

39

Черниговская   »

+240

+410

-

+10

+10

+10

+20

+20

40

Молдавская ССР

+220

+350

-

+10

+20

+20

+30

+30

 

5-й территориальный район

 

 

 

 

 

 

 

 

 

РСФСР

 

 

 

 

 

 

 

 

41

Дагестанская АССР

+1740

+2120

+130

+290

+350

+480

+560

+660

42

Кабардино-Балкарская и Северо-Осетинская АССР

-90

-150

-

-

-

-

-10

-10

43

Краснодарский край

+200

+350

-

+10

+10

+10

+10

+20

44

Ростовская область

-80

-160

-

-

-10

-10

-20

-20

45

Ставропольский край

+1480

+1930

+100

+240

+290

+390

+470

+540

 

6-й территориальный район

 

 

 

 

 

 

 

 

46

Азербайджанская ССР

-220

-340

-

-

-

-10

-10

-10

47

Армянская                »

+330

+540

-

+10

+20

+20

+30

+30

 

РСФСР

 

 

 

 

 

 

 

 

 

7-й территориальный район

 

 

 

 

 

 

 

 

48

Курганская область

+2740

+3430

+210

+480

+560

+770

+910

+1060

49

Оренбургская    »

+160

+260

-

-

+10

+10

+10

+10

 

8-й территориальный район

 

 

 

 

 

 

 

 

50

Алтайский край

+390

+600

+10

+10

+20

+.30

+40

+40

51

Кемеровская область

-1070

-1360

-80

-180

-210

-290

-350

-400

52

Новосибирская   »

+60

+110

-

-

-

-

-

-

 

11-й территориальный район

 

 

 

 

 

 

 

 

 

Казахская ССР

 

 

 

 

 

 

 

 

53

Восточно-Казахстанская область

-60

-100

-

-

-

-

-

-

54

Гурьевская                              »

+30

-

-

-

-

-

-

-

55

Джамбулская                          »

+130

+220

-

-

-

+10

+10

+10

56

Карагандинская                      »

-

-

-

-

-

-

-

-

57

Кзыл-Ординская                    »

+270

+440

-

+10

+20

+20

+30

+30

58

Кустанайская                          »

-

-

-

-

-

-

-

-

59

Павлодарская                         »

-60

-100

-

-

-

-

-

-

60

Северо-Казахстанская          »

-30

-60

-

-

-

-

-

-

61

Семипалатинская                   »

-

-

-

-

-

-

-

-

62

Талды-Курганская                 »

-

-

-

-

-

-

-

-

63

Тургайская                              »

+110

+160

-

-

+10

+10

+20

+20

64

Уральская                               »

+330

+560

-

+10

+10

+20

+20

+30

65

Целиноградская                     »

+190

+320

-

-

+10

+10

+10

+20

66

Чимкентская                           »

-80

-120

-

-

-10

-10

-10

-20

 

12-й территориальный район

 

 

 

 

 

 

 

 

 

Узбекская ССР

 

 

 

 

 

 

 

 

67

Андижанская и Наманганская области

-90

-100

-

-

-

-

-

-

68

Бухарская, Кашкадарьинская и Сурхандарьинская области

+1740

+2100

+130

+290

+340

+470

+560

+640

69

Джизакская область

+40

+120

-

-

-

-

+10

+10

70

Самаркандская   »

-60

-40

-

-

-

-

-

-

71

Сырдарьинская   »

+170

+340

-

+10

+10

+10

+20

+20

72

Ташкентская       »

-90

-140

-

-

-

-

-

-10

73

Ферганская          »

-180

-310

-

-10

-10

-10

-10

-20

74

Хорезмская         »

+1880

+2330

+130

+290

+340

+470

+560

+650

 

Таджикская ССР

 

 

 

 

 

 

 

 

75

Курган-Тюбинская область

-1800

-2260

-140

-330

-380

-520

-630

-730

 

Туркменская ССР

 

 

 

 

 

 

 

 

76

Ашхабадская область

-1220

-1520

-90

-210

-250

-340

-410

-470

77

Красноводская    »

+1120

+1400

+90

+200

+230

+320

+380

+440

78

Ташаузская           »

+2190

+2720

+170

+380

+450

+610

+730

+840

 

Районы Крайнего Севера и местности, приравненные к ним, расположенные в границах действия ЕРЕР-84

 

 

 

 

 

 

 

 

 

РСФСР

 

 

 

 

 

 

 

 

 

1. Районы Крайнего Севера

 

 

 

 

 

 

 

 

 

2-й территориальный район

 

 

 

 

 

 

 

 

79

Архангельская область

+2810

+3600

+220

+520

+620

+850

+1000

+1160

80

Коми АССР

+1870

+2390

+120

+280

+350

+480

+570

+660

 

Мурманская область

 

 

 

 

 

 

 

 

81

Печенгский район

+1510

+1880

+110

+260

+320

+430

+510

+590

82

Терский район

+1190

-1-1510

+80

+190

+240

+330

+390

+450

83

Другие районы

+1110

+1370

+80

+190

+240

+320

+380

+440

 

8-й территориальный район

 

 

 

 

 

 

 

 

84

Красноярский край

+9810

+12310

+710

+1630

+1960

+2690

+3180

+3690

 

2. Местности, приравненные к районам Крайнего Севера

 

 

 

 

 

 

 

 

 

2-й территориальный район

 

 

 

 

 

 

 

 

 

Архангельская область

 

 

 

 

 

 

 

 

85

Лешуконский и Мезенский районы

+15180

+18880

+1130

+2610

+3050

+4200

+4980

+5770

86

Пинежский район

+4960

+6170

+390

+900

+1040

+1440

+1710

+1970

87

Ижемский, Троицко-Печорский и Усть-Цилемский районы

+900

+1160

+60

+130

+170

+230

+270

+310

88

Удорский район

+860

+1110

+60

+130

+170

+230

+260

+310

89

Другие районы

+820

+1040

+60

+130

+160

+220

+260

+310

90

Мурманская область

+80

+140

-

-

-

-

+10

+10

 

8-й территориальный район

 

 

 

 

 

 

 

 

 

Красноярский край

 

 

 

 

 

 

 

 

91

Енисейский район

+9740

+12200

+710

+1620

+1960

+2680

+3170

+3690

92

Другие районы

+5750

+7250

+400

+920

+1090

+1500

+1780

+2070

 

Томская область

 

 

 

 

 

 

 

 

93

Верхнекетский район

+1400

+1790

+90

+190

+240

+330

+390

+460

94

Другие районы

+1340

+1670

+90

+190

+240

+330

+390

+450

95

Тюменская область

+10050

+12510

+710

+1620

+1960

+2690

+3180

+3700

 

9-й территориальный район

 

 

 

 

 

 

 

 

96

Бурятская АССР

+620

+900

+30

+70

+90

+110

+140

+170

 

Иркутская область

 

 

 

 

 

 

 

 

97

г. Братск

+5020

+6300

+350

+800

+970

+1330

+1570

+1820

98

Бодайбинский район

+18890

+23670

+1330

+3040

+3640

+5010

+5910

+6880

99

Мамско-Чуйский район

+10410

+13120

+720

+1640

+1970

+2710

+3200

+3730

100

Другие районы

+8750

+11060

+610

+1400

+1670

+2290

+2710

+3150

101

Читинская область

+2330

+3130

+150

+330

+420

+580

+680

+790

 

10-й территориальный район

 

 

 

 

 

 

 

 

102

Амурская область

+1100

+1520

+60

+140

+170

+240

+280

+330

103

Приморский край

+2640

+3620

+160

+370

+450

+620

+740

+860

 

Хабаровский край

 

 

 

 

 

 

 

 

104

Верхнебуреинский и Тугуро-Чумиканский районы

+2700

+3480

+160

+360

+430

+600

+700

+820

105

Им. Полины Осипенко и Ульчский районы

+2640

+3380

+160

+350

+430

+590

+700

+820

106

Николаевский район

+3930

+5130

+230

+530

+650

+900

+1060

+1240

107

г. Комсомольск-на-Амуре

+3400

+4230

+220

+510

+630

+860

+1020

+1180

108

Другие районы

+3630

+4620

+230

+520

+640

+880

+1030

+1210

Примечания: 1. Поправки по п. «А» и «Б» следует принимать для областей, краев и республик, из которых ведутся поставки на стройку сборных бетонных и железобетонных конструкций и кирпича строительного. Если сборные бетонные и железобетонные конструкции и кирпич строительный поставляются на стройку из разных областей, краев и республик, то в смете следует применять поправку, определяемую как средневзвешенную, исходя из процентного соотношения объемов поставляемых сборных конструкций или кирпича строительного.

2. Поправки по п. «В» следует принимать для областей, краев и республик, в которых проектируется строительство сооружения.

3. Настоящие поправки определены по объемам местных строительных материалов (включая сборные бетонные и железобетонные конструкции) с учетом изменений конструктивных элементов сооружений в конкретных условиях отдельных областей, краев и республик, поэтому при составлении смет они не подлежат корректировке.

4. Поправки со знаком «+» следует прибавлять к прямым затратам цен Прейскуранта, со знаком «-» вычитать.


ПРИЛОЖЕНИЕ 10
ВЕДОМОСТЬ СТОИМОСТИ ОБОРУДОВАНИЯ, ПРЕДУСМОТРЕННОГО ТИПОВЫМИ ПРОЕКТАМИ, НО НЕ УЧТЕННОГО ПРЕЙСКУРАНТОМ

1. Стоимости оборудования определены в оптовых ценах, введенных в действие с 1/01-1982 г.

2. Стоимость производственного и хозяйственного инвентаря, инструмента и мебели определяется дополнительно в соответствии с утвержденными нормами затрат на приобретение инструмента, производственного и хозяйственного инвентаря и мебели для вновь возводимых зданий.

3. Монтаж оборудования, приведенного в настоящей ведомости, учтен Прейскурантом.

4. Показатели настоящей ведомости приведены в целом на объект, для которого разработаны цены Прейскуранта (количество в штуках или комплектах, стоимость в руб.).

№ п.п.

Наименование оборудования

Номера цен Прейскуранта

278

количество

стоимость

1

2

3

4

 

Технологическое оборудование

 

 

1

Насосы-дозаторы типа НД 100/10 с электродвигателями типа ВАО-071-4

3/3

1014/1014

2

Электролизеры графитовые типа ЭН-25 в комплекте с вентиляторами типа Ц-4-70 № 2,5 и насосами типа 2х-9к

3/2

13500/9000

 

Итого

-

14514/10014

 

Электрооборудование и оборудование автоматики

 

 

3

Кнопки управления типа ПКЕ-212

10

19

4

Пускатели магнитные типа ПМЕ-022

8

90

5

Пускатели магнитные типа ПМЕ-122

2

11

6

Шкафы распределительные типа СП-62-5/1

2

96

 

Итого

-

216

 

Всего

-

14730/10230

Примечание. До черты приведены стоимость и количество оборудования для производительности 2 кг хлора в час, за чертой - для производительности 1 кг хлора в час.


Продолжение прил. 10

№ п.п.

Наименование оборудования

Номера цен Прейскуранта

280, 284, 288

281, 285, 289

282, 286, 290

283, 287, 291

количество

стоимость

количество

стоимость

количество

стоимость

количество

стоимость

1

2

3

4

5

6

7

8

9

10

 

Вентиляторное оборудование

 

 

 

 

 

 

 

 

1

Вентиляторы типа 2ВГ50 с электродвигателями типа ВАСО 14-16-32

2

9540

3

14310

4

19080

5

23850

 

Итого

-

9540

-

14310

-

19080

-

23850

 

Оборудование водораспределительной системы

 

 

 

 

 

 

 

 

 

При гидравлической нагрузке 300 м3/ч

 

 

 

 

 

 

 

 

2

Задвижки типа 30ч6бр 250 мм

2

146

3

219

4

292

5

365

 

Итого

 

 

 

 

 

 

 

 

 

При гидравлической нагрузке 500 м3/ч

-

146

-

219

-

292

-

365

3

Задвижки типа 30ч6бр 300 мм

2

206

3

309

4

412

5

515

 

Итого

-

206

-

309

-

412

-

515

 

При гидравлической нагрузке 750 м3/ч

 

 

 

 

 

 

 

 

4

Задвижки типа 30ч6бр 400 мм

2

420

3

630

4

840

5

1050

 

Итого

-

420

-

630

-

840

-

1050

 

Электрооборудование

 

 

 

 

 

 

 

 

5

Посты управления взрывонепроницаемости типа КУ-93-ВЗГ

2

156

3

235

4

313

5

391

6

Трансформаторы типа ОСВ-0,25/0,5-Т

1

28

1

28

1

28

1

28

7

Трубы стальные водогазопроводные Ф 20 мм

-

13

-

17

-

22

-

26

8

Трубы стальные водогазопроводные Æ 25 мм

-

1

-

1

-

1

-

2

9

Трубы стальные водогазопроводные Æ 80 мм

-

100

-

111

-

122

-

133

10

Щиты станций управления типа ЩСУ

1

267

1

355

1

445

1

573

11

Щиты управления типа ЩУ

1

111

1

148

1

217

1

253

12

Щиты реле автоматики типа ЩРА

1

370

1

418

1

468

1

519

13

Прочее мелкое оборудование

-

6

-

7

-

8

-

9

 

Итого

-

1052

-

1320

-

1624

-

1934

 

Всего

 

 

 

 

 

 

 

 

 

При гидравлической нагрузке водораспределительной системы, м3/ч:

 

 

 

 

 

 

 

 

 

300

-

10738

-

15849

-

20996

-

26149

 

500

-

10798

-

15939

-

21116

-

26299

 

750

-

11012

-

16260

-

21544

-

26834


Продолжение прил. 10

№ п.п.

Наименование оборудования

Номера цен Прейскуранта

292, 294, 296, 298

293, 295, 297, 299

количество

стоимость

количество

стоимость

1

2

3

4

5

6

 

Вентиляторное оборудование

 

 

 

 

1

Вентиляторы типа 2ВГ70 с электродвигателями типа ВАСВ-15-23-34

2

15220

3

22830

 

Итого

-

15220

-

22830

 

Оборудование водораспределительной системы

 

 

 

 

 

При гидравлической нагрузке 750 м3/ч и 1000 м3

 

 

 

 

2

Задвижки типа 30ч6бр 300 мм

4

412

6

618

 

Итого

-

412

-

618

 

При гидравлической нагрузке 1500 м3

 

 

 

 

3

Задвижки типа 30ч6бр 400 мм

4

840

6

1260

 

Итого

-

840

-

1260

 

Электрооборудование и оборудование автоматики

 

 

 

 

4

Мосты электронные автоматические типа КСМ-3

1

112

1

112

5

Посты управления кнопочные типа КУ-93-ВЗГ

2

34

3

51

6

Регуляторы - сигнализаторы уровня типа ЭРСУ-3

1

54

1

54

7

Трансформаторы для наружной установки типа ОСВ-0,25/0,51

1

28

1

28

 

Трубы стальные водогазопроводные Æ, мм:

 

 

 

 

8

20

-

20

-

26

9

25

-

6

-

8

10

50

-

47

-

86

11

70

-

90

-

151

 

Щиты станций управления:

 

 

 

 

12

типа ЩСУ

1

760

1

1142

13

типа ЩУ

1

182

1

210

14

Щиты реле автоматики типа ЩРА

1

550

1

613

15

Прочее мелкое оборудование

-

40

-

51

 

Итого

-

1923

-

2532

 

Всего

 

 

 

 

 

При гидравлической нагрузке водораспределительной системы, м3/ч:

 

 

 

 

 

750 и 1000

-

17555

-

25980

 

1500

-

17983

-

26622

Продолжение прил. 10

№ п.п.

Наименование оборудования

Номера цен Прейскуранта

300

301

302

303

количество

стоимость

количество

стоимость

количество

стоимость

количество

стоимость

1

2

3

4

5

6

7

8

9

10

 

Технологическое оборудование

 

 

 

 

 

 

 

 

 

При гидравлической нагрузке водораспределительной системы 100 и 150 м3

 

 

 

 

 

 

 

 

1

Вентиляторы типа 3ВГ25 с электродвигателями типа ВАСО-10-19-16

2

2570

3

3855

4

5140

5

6425

 

Итого

-

2570

-

3855

-

5140

-

6425

 

При гидравлической нагрузке водораспределительной системы 200 и 250 м3

 

 

 

 

 

 

 

 

2

Вентиляторы типа 3ВГ25 с электродвигателями типа ВАСО-10-19-16

2

2570

3

3855

4

5140

5

6425

3

Задвижки типа 30ч6бр Æ 250 мм

2

146

3

219

4

292

5

365

 

Итого

-

2716

-

4074

-

5432

-

6790

 

Электрооборудование

 

 

 

 

 

 

 

 

4

Посты управления кнопочные типа ПК915-19131-54У2

2

12

3

17

4

23

5

29

5

Щиты типа Щ

1

337

1

418

1

577

1

654

6

Прочее мелкое оборудование

-

7

-

10

-

13

-

16

 

Итого

-

356

-

445

-

613

-

699

 

Всего

 

 

 

 

 

 

 

 

 

При гидравлической нагрузке водораспределительной системы, м3/ч:

 

 

 

 

 

 

 

 

 

100 и 150

-

2926

-

4300

-

5753

-

7124

 

200 и 250

-

3072

-

4519

-

6045

-

7489

Продолжение прил. 10

№ п.п.

Наименование оборудования

Номера цен Прейскуранта

304

305

306

количество

стоимость

количество

стоимость

количество

стоимость

1

2

3

4

5

6

7

8

 

Гидромеханическое оборудование

 

 

 

 

 

 

1

Насосы типа ВКС-1/16 с электродвигателями типа АОЛ2-22-4

1

156

1

156

1

156

2

Насосы типа КМ 8/18 с электродвигателями типа 4А80-А2

-

-

-

-

1

71

3

Счетчики типа ВТ-50

-

-

-

-

1

40

4

Установки типа ВУ-5-30А с гидроаккумуляторами

1

417

-

-

-

-

5

Установки типа ВУ-10-80

-

-

1

655

-

-

6

Электроуровнемер типа УЭ-75

-

-

-

-

1

46

7

Прочее мелкое оборудование

-

-

-

-

-

5

 

Итого

-

573

-

811

-

318

 

Электрооборудование

 

 

 

 

 

 

8

Пускатели магнитные типа ПМЕ-236

1

12

1

12

-

-

9

Реле механическое тепловое типа ТУ-25-03-1255-70

1

10

1

10

-

-

10

Счетчики типа САЧ-И672М

1

7

-

-

-

-

11

Счетчики типа САЧ-И 678

-

-

1

15

-

-

12

Шкафы управления

-

-

-

-

1

96

13

Ящики типа ЯА5110-03А 2Е

-

-

-

-

1

172

14

Ящики типа ЯА 9613-00А2

-

-

-

-

1

160

15

Ящики типа ЯА9614-00Б2

-

-

-

-

1

324

16

Прочее мелкое оборудование

-

-

-

-

-

5

 

Итого

-

29

-

37

-

757

 

Всего

-

602

-

848

-

1075

Продолжение прил. 10

№ п.п.

Наименование оборудования

Номер цены Прейскуранта

307

количество

стоимость

1

2

3

4

 

Технологическое оборудование

 

 

1

Баки

3

88

2

Дизели типа 6ч - 12/14

1

3605

3

Задвижки типа 30ч 6бр ф 250

2

146

4

Задвижки типа 30ч 906бр

1

227

5

Насосы типа 6МС - 7´2

2

1287

6

Тали ручные червячные, Q = 1 т

1

37

7

То же, Q = 3,2

1

62

8

Прочее мелкое оборудование

-

21

 

Итого

-

5473

 

Электрооборудование и оборудование автоматики

 

 

9

Реле давления типа РД - 8 т

2

48

10

Станции управления типа СУНО-3 насосными объектами

1

306

11

Щиты сигнализации типа ЩС

1

72

12

Щиты дистанционного управления типа ЩДУ пожарными насосами типа ЩШМ-1Д

1

55

13

Прочее мелкое оборудование

-

29

 

Итого

-

510

 

Всего

-

5983

Продолжение прил. 10

№ п.п.

Наименование оборудования

Номера цен Прейскуранта

308- 311

количество

стоимость

1

2

3

4

 

Технологическое оборудование

 

 

1

Краны гидравлические передвижные модели 423 М

1

121

2

Насосы типа НЦС с электродвигателями типа АОС-32-2

1

164

 

Всего

-

285


Продолжение прил. 10

№ п.п.

Наименование оборудования

Номера цен Прейскуранта

312

313

314

315

316

317

318

количество

стоимость

количество

стоимость

количество

стоимость

количество

стоимость

количество

стоимость

количество

стоимость

количество

стоимость

1

2

3

4

5

6

7

8

9

10

11

12

13

14

15

16

 

Технологическое оборудование

 

 

 

 

 

 

 

 

 

 

 

 

 

 

1

Гидроциклоны левого и правого исполнения типа ГЦ-35 К

-

-

-

-

-

-

2

460

-

-

-

-

-

-

2

Емкости гуммированные 1 м3

2

520

2

520

2

520

-

-

2

520

2

520

2

520

3

Краны гидравлические передвижные модели 423 М

1

121

1

121

1

121

-

-

1

121

1

121

1

121

4

Насосы типа 4к-8 с электродвигателями типа АО2-71-2

1

272

1

272

1

272

-

-

1

272

1

272

1

272

5

Насосы типа 1,5 К-6бр с электродвигателями типа АОЛ2-12-2

1

44

1

44

1

44

-

-

1

44

1

44

1

44

6

Насосы типа НДЭ-4 с электродвигателями типа АО2-41-4

1

275

1

275

1

275

-

-

-

-

1

275

1

275

7

Насосы типа НД-40/25 с электродвигателями типа ВАО-071-4

1

433

1

433

1

433

-

-

1

433

1

433

1

433

8

Насосы типа НД-630/10 с электродвигателями типа ВАО-21-4

1

540

1

540

1

540

-

-

1

540

1

540

1

540

9

Реакторы открытые типа РОР-630 вместимостью 0,63 м3

1

1450

1

1450

1

1450

-

-

1

1450

1

1450

1

1450

10

Тележки скребковые

1

271

2

542

3

813

-

-

1

271

2

542

3

813

 

Итого

-

3926

-

4197

-

4468

-

460

-

3651

-

4197

-

4468

 

Электрооборудование

 

 

 

 

 

 

 

 

 

 

 

 

 

 

11

Датчики температуры типа ДТКБ-53

-

-

-

-

-

-

-

-

1

22

1

22

2

44

12

Переключатели универсальные типа УП 5404-С71

-

-

-

-

-

-

-

-

3

37

3

37

5

54

13

Пункты распределительные типа ПР 9262-209

1

183

1

183

1

183

-

-

1

183

1

183

1

183

14

Пускатели магнитные типа ПА-432

1

35

1

35

1

35

-

-

1

35

1

35

1

35

15

Сигнализаторы уровня типа МЭСУ-1К

1

44

1

44

1

44

-

-

1

44

1

44

1

44

16

Щиты шкафные

1

231

1

269

1

362

-

-

1

211

1

281

1

351

17

Ящики типа ЯЗ161-23

1

33

1

33

1

33

-

-

1

33

1

33

1

33

18

Прочее мелкое оборудование

-

-

-

-

-

-

-

-

-

6

-

6

-

12

 

Итого

-

526

-

564

-

657

-

460

-

571

-

641

-

756

 

Всего

-

4452

-

4761

-

5125

-

460

-

4222

-

4838

-

5224

Продолжение прил. 10

№ п.п.

Наименование оборудования

Номера цен Прейскуранта

319

320

321

количество

стоимость

количество

стоимость

количество

стоимость

1

2

3

4

5

6

7

8

 

Сантехническое оборудование

 

 

 

 

 

 

1

Клапаны регулирующие с исполнительным механизмом типа 25ч 931нжМ Æ 20 мм и 25 мм

1

96

1

96

1

96

 

Итого

-

96

-

96

-

96

 

Технологическое оборудование

 

 

 

 

 

 

2

Баки для масла вместимостью 4 м3

1

189

1

189

1

189

3

Краны стреловые полноповоротные типа КЛ-1

1

600

1

600

1

600

4

Насосы типа 4к 6а с электродвигателями типа А2-72-2

1

322

1

322

1

322

5

Насосы типа ШФ2-25-1,4/4Б с электродвигателями типа АОМ-32-4

1

299

1

299

1

299

6

Насосы типа ГНОМ-10-10 с электродвигателями типа АОЛ-2-12-2В

1

73

1

73

1

73

7

Насосы типа НЦС-3 с электродвигателями типа АО2-32-2-М 101

1

185

1

185

1

185

8

Тележки скребковые

1

271

2

542

3

813

9

Прочее мелкое оборудование

-

14

-

14

-

14

 

Итого

-

1953

-

2224

-

2495

 

Электрооборудование и оборудование автоматики

 

 

 

 

 

 

10

Переключатели универсальные типа УП 5804-С71

1

19

2

38

3

57

11

Посты управления кнопочные типа ПКУ15-19,231.54У2

1

9

1

9

1

9

12

Посты управления кнопочные типа КУ123-12

3

12

3

12

3

12

13

Пункты распределительные типа ПР 9272-337

1

210

1

210

1

210

 

Пускатели магнитные типа:

 

 

 

 

 

 

14

ПАЕ-536

1

47

1

47

1

47

15

ПМЕ-132

3

21

3

21

3

21

16

ПМЕ-134

1

10

2

20

3

30

17

Регуляторы температуры типа ПТР-3-04

1

40

1

40

1

40

18

Регуляторы-сигнализаторы типа ЭРСУ-2 с датчиками типа ДЕ-4

2

100

2

100

2

100

19

Устройства терморегулирующие типа ТУДЭ-1

1

55

1

55

1

55

20

Устройства терморегулирующие типа ТУДЭ-4

1

55

1

55

1

55

21

Шкафы управления двухфидерные типа ШУ-5104-03В2

1

129

1

129

1

129

22

Шкафы управления

1

61

1

89

1

119

23

Щиты шкафные типа ЩЦМ

1

100

1

100

1

100

24

Ящики типа ЯЗ161-23

1

19

1

19

1

19

25

Прочее мелкое оборудование

-

11

-

13

-

13

 

Итого

-

898

-

957

-

1016

 

Всего

-

2947

-

3277

-

3607

Продолжение прил. 10

№ п.п.

Наименование оборудование

Номера цен Прейскуранта

322

323

324

325

326

327

328

329

330

331

количество

стоимость

количество

стоимость

количество

стоимость

количество

стоимость

количество

стоимость

количество

стоимость

количество

стоимость

количество

стоимость

количество

стоимость

количество

стоимость

 

Технологическое оборудование

 

 

 

 

 

 

 

 

 

 

 

 

 

 

 

 

 

 

 

 

1

Лебедки ручные типа ЛР-1

1

58

1

58

2

116

2

116

-

-

-

-

-

-

-

-

-

-

-

-

2

Лебедки ручные типа ЛР-1,25

-

-

-

-

-

-

-

-

2

82

2

82

2

82

2

82

2

82

2

82

3

Ролики чугунные в сборе Æ 280 мм

-

-

-

-

-

-

-

-

12

378

12

378

18

567

18

567

24

756

24

756

4

Устройства нефтесборные с ручным приводом Æ 300

1

312

1

312

1

623

1

623

2

862

2

862

2

862

2

862

2

862

2

862

 

Всего

-

370

-

370

-

739

-

739

-

1322

-

1322

-

1511

-

1511

-

1700

-

1700


ПРИЛОЖЕНИЕ 11
ВЕДОМОСТЬ ОБЪЕМОВ ИЗЛИШНЕГО, ОТВОЗИМОГО ВО ВРЕМЕННЫЙ ОТВАЛ И НЕДОСТАЮЩЕГО ГРУНТА, ПОДЛЕЖАЩЕГО УЧЕТУ ПРИ СОСТАВЛЕНИИ БАЛАНСА ЗЕМЛЯНЫХ РАБОТ В ЦЕЛОМ ПО СТРОИТЕЛЬНОЙ ПЛОЩАДКЕ (м3, НА ИЗМЕРИТЕЛЬ ЦЕН)

Номера цен

Территориальные районы

1ж, 3а, 3б, 3г, 4, 5а, 6, 11а, 12

1а - 1в. 1д, 1е, 2б, 2г, 3в, 5б, 10а, 11б - 11г

1г, 2а, 2в, 7 - 9, 10б, 10в, 11д, 11е

излишнего

недостающего

отвозимого во временный отвал

излишнего

недостающего

отвозимого во временный отвал

излишнего

недостающего

отвозимого во временный отвал

1

2

3

4

5

6

7

8

9

10

278

74

-

103

74

-

103

86

-

131

279

-

40

-

-

40

-

-

40

-

280, 284, 288

358

-

95

358

-

95

358

-

95

281, 285, 289

525

-

120

525

-

120

525

-

120

282, 286, 290

693

-

150

693

-

150

693

-

150

283, 287, 291

858

-

177

858

-

177

858

-

177

292, 293, 296, 297

1051

-

162

1051

-

162

1051

-

162

294, 295, 298, 299

1543

-

201

1543

-

201

1543

-

201

300

98

-

122

98

-

122

98

-

122

301

152

-

153

152

-

153

152

-

153

302

174

-

326

174

-

326

174

-

326

303

228

-

372

228

-

372

228

 

372

304, 305

15

-

307

15

-

307

15

-

307

306

-

41

-

-

41

-

-

41

-

307

244

-

88

244

-

88

244

-

88

308

77

-

288

77

-

288

77

-

288

309

85

-

373

85

-

373

85

-

373

310

138

-

315

138

-

315

138

-

315

311

153

-

397

153

-

397

153

-

397

312

444

-

529

444

-

529

444

-

529

313

810

-

833

810

-

833

810

-

833

314

1093

-

793

1093

-

793

1093

-

793

315

3

-

1

3

-

1

3

-

1

316

661

-

848

661

-

848

661

-

848

317

1186

-

498

1186

-

498

1186

-

498

318

1329

-

845

1329

-

845

1329

-

845

319

551

-

1003

551

-

1003

551

-

1003

320

1638

-

676

1638

-

676

1638

-

676

321

1355

-

1666

1355

-

1666

1355

-

1666

322

54

-

229

54

-

229

54

-

229

323

106

-

445

106

-

445

106

-

445

324

142

-

245

142

-

245

142

-

245

325

190

-

545

190

-

545

190

-

545

326

298

-

193

298

-

193

298

-

193

327

469

-

347

469

-

347

469

-

347

328

411

-

207

411

-

207

411

-

207

329

618

-

408

618

-

408

618

-

408

330

509

-

254

509

-

254

509

-

254

331

768

-

491

768

-

491

768

-

491

Примечание. Растительный грунт в объем излишнего грунта не включен, а при составлении смет на озеленение площадки, он должен учитываться в следующих объемах:

Номера цен

Растительный грунт, м3 (на измеритель цен)

Номера цен

Растительный грунт, м3 (на измеритель цен)

278, 312

27

310

43

279

9

311, 313

56

280, 284, 288, 316, 327

51

314

66

281, 285, 289

68

315

11

282, 286, 290

84

317

69

283, 287, 291

102

318

83

292, 293, 296, 297

125

319

89

294, 295, 298, 299

171

320

110

300, 324

30

321

146

301

40

322

25

302

50

323

36

303

60

325

42

304, 305

13

326

38

306

82

329

63

307

39

330

58

308

35

331

76

309, 328

47

 

 

ПРИЛОЖЕНИЕ 12
ПРИМЕР СОСТАВЛЕНИЯ ЛОКАЛЬНЫХ СМЕТ НА СТРОИТЕЛЬСТВО ЗДАНИЯ С ПРИМЕНЕНИЕМ ЦЕНЫ ПРЕЙСКУРАНТА

Исходные данные по составлению локальных смет на строительство электролизной установки с графитовыми электролизерами типа ЭН-25 производительностью 1 кг активного хлора в час стены кирпичные, отопление центральное от теплосети (типовой проект 901-3-76)

1. Наименование стройки

Строительство предприятия «Н»

2. Район строительства

г. «Б» Свердловской области (район 7б)

3. Районный коэффициент к заработной плате в районе строительства

1,2

4. Группа и влажность грунтов на площадке строительства

III группы, мокрые с водоотливом до 30 м3

5. Глубина заложения фундаментов здания, установленная в рабочих чертежах

1,9 м

6. Зимняя расчетная температура наружного воздуха в районе строительства

-40 °С

7. Место расположения заводов - поставщиков сборных бетонных и железобетонных конструкций и кирпича строительного

Свердловская область

8. Предельные нормы накладных расходов на строительные работы, установленные для подрядной строительной организации

-19,6 %

9. Норматив для определения величины нормативной условно-чистой продукции (НУЧП), содержащейся в предельных нормах накладных расходов на строительные работы

-35,6 %

10. Организация, занимающаяся транспортированием грунта

Автотранспортное предприятие, находящееся на балансе подрядной строительной организации


Строительство предприятия «Н»

(наименование стройки)

ЛОКАЛЬНАЯ СМЕТА № 1

на строительные работы подземной и надземной частей электролизной установки

(наименование работ и затрат, наименование объекта)

Основание: чертежи № 901-3-76                                           Сметная стоимость 19 тыс. руб.

Составлена в ценах 1984 г                                                      Нормативная условно-чистая продукция 3,36 тыс. руб.

                                                                                                   Нормативная трудоемкость 2265 чел.-ч

                                                                                                   Сметная заработная плата 1,73 тыс. руб.

№ п.п.

Шифр и № позиции норматива

Наименование работ и затрат, единица измерения

Количество

Стоимость единицы, руб.

Общая стоимость, руб.

Затраты труда рабочих, чел.-ч, не занятых обслуживанием машин

 

обслуживающих машины

 

Всего

основной заработной платы

эксплуатация машин

всего

основной заработной платы

эксплуатация машин

на единицу

всего

в том числе заработной платы

в том числе заработной платы

 

1

2

3

4

5

6

7

8

9

10

11

 

1

ПРЗС вк, вып. 5, районная цена № 278

Строительные работы по основной цене (подземная и надземная части), установка

1

13410

1172

660

191,6

13410

1172

660

191,6

1790

218

1790

218

 

2

Пр-т, прил. 2

Поправка к цене при производстве земляных работ в мокрых грунтах III группы с водоотливом до 30 м3/ч вместо учтенных сухих грунтов II группы, установка

 

 

 

 

 

 

 

 

 

 

 

а) к основной заработной плате 36,8´0,15 к затратам труда рабочих, не занятых обслуживанием машин 64,7´0,07

1

6

6

-

6

6

-

5

-

5

-

 

 

 

б) к эксплуатации машин 59,2(0,73-0,17) в том числе к заработной плате рабочих, обслуживающих машины 26,3(1,1-0,17) к затратам труда рабочих, занятых обслуживанием машин 24´1,44

1

33

-

33

24

33

-

33

24

-

30

-

30

 

3

Пр-т, прил. 4

Поправка к цене при заложении фундаментов на глубину 1,9 м вместо учтенной в Прейскуранте 2,2 м, установка

1

-450

-16

-44

-16

-450

-16

-44

-16

-25

-18

-25

-18

 

4

Пр-т, Техн. ч. п. 1.6, п. 2.2б К = 1,2 вместо 1,15

Поправка по заработной плате, руб.

-

-

-

59

50

9

9

-

-

 

 

5

Пр-т, Техн. ч. табл. 2, 3, п. 2.2д, прил. 4

Поправка к прямым затратам, учитывающая изменение стоимости перевозки кирпича строительного и сборных бетонных и железобетонных конструкций в связи с отклонением условий их транспортирования от учтенных, установка

1

-

-

1790

-

-

-

-

 

(10,7 - 8,6) (124 - 15,8 + 6,6 + 2,7) + (14,4 - 8,88) 27,4 + (12,8 - 5,13) (162 + 19,5) = 1790

 

6

Пр-т, прил. 9

Поправка к прямым затратам учитывающая разницу в оптовых ценах на сборные бетонные и железобетонные конструкции, установка

1

-

-

-150

-

-

-

-

 

 

 

Итого по пп. 1 - 6, руб.

 

 

 

14668

1212

658

209

-

2000

 

 

 

Нормативная условно-чистая продукция, руб.

-

-

-

-

(1870)

-

-

-

 

 

 

Накладные расходы на строительные работы 19,6 °/о, руб.

-

-

-

2881

-

-

-

-

 

 

 

(НУЧП - 35,6% суммы 1212+658), руб.

-

-

-

-

(666)

-

-

-

 

 

 

Нормативная трудоемкость чел.-ч., 0,092´2881

-

-

-

-

-

-

-

265

 

 

 

Сметная заработная плата, руб. 0,18´2881

-

-

-

-

519

-

-

-

 

 

 

Итого с накладными расходами, руб.

-

-

-

17579

1731

658

209

-

2265

 

(2536)

 

 

 

Плановые накопления 8%, руб.,

-

-

-

1406

-

-

-

-

 

 

 

(НУЧП - 44% суммы 1212+658), руб.

 

 

 

-

(823)

-

-

-

 

 

 

Итого по строительным работам, руб.

-

-

-

18985

1731

658

209

-

2265

 

 

 

Нормативная условно-чистая продукция, руб.

-

-

-

-

(3359)

-

-

-

 

 

 

Нормативная трудоемкость чел.-ч

-

-

-

-

-

-

-

2265

 

 

 

Сметная заработная плата руб.

-

-

-

-

1940

-

-

-

 

Строительство предприятия «Н»

           (наименование стройки)

ЛОКАЛЬНАЯ СМЕТА № 2

на монтаж металлоконструкций электролизной установки

(наименование работ и затрат, наименование объекта)

Основание: чертежи № 901-3-76                                                 Сметная стоимость 0,5 тыс. руб.

Составлена в ценах 1984 г.                                                           Нормативная условно-чистая продукция 0,09 тыс. руб.

                                                                                                         Нормативная трудоемкость 42 чел.-ч

                                                                                                         Сметная заработная плата 0,04 тыс. руб.

№ п.п.

Шифр и № позиции норматива

Наименование работ и затрат, единица измерения

Количество

Стоимость единицы, руб.

Общая стоимость, руб.

Затраты труда рабочих, чел.-ч, не занятых обслуживанием машин

обслуживающих машины

Всего

основной заработной платы

эксплуатация машин

всего

основной заработной платы

эксплуатация машин

на единицу

всего

в том числе заработной платы

в том числе заработной платы

1

2

3

4

5

6

7

8

9

10

11

1

ПРЗС вк, вып. 5, районная цена № 278

Монтаж металлоконструкций, установка

1

428

20

26,3

10

428

20

26,3

10

27,8

11

27,8

11

2

Пр-т, Техн. ч. п. 1.6, п. 2.26 К = 1,2 вместо 1,15

Поправка по заработной плате, руб.

-

-

-

1,3

0,9

0,4

0,4

-

-

 

 

Итого по п.п. 1, 2, руб.

 

 

 

429

20,9

26,7

10,4

-

38,8

 

 

Нормативная условно-чистая продукция, руб.

 

 

 

-

(47,6)

-

-

-

 

 

Накладные расходы на монтаж металлоконструкций 8,6%, руб.

 

 

 

37

-

-

-

-

 

 

(НУЧП - 41 % суммы 20,9 + 26,7), руб.

 

 

 

-

(19,5)

-

-

-

 

 

Нормативная трудоемкость, чел.-ч, 0,092´37

 

 

 

-

-

-

-

3,4

 

 

Сметная заработная плата, руб., 0,18´37

 

 

 

-

6,7

-

-

-

 

 

Итого с накладными расходами, руб.

 

 

 

466

27,6

26,7

10,4

-

42,2

(67)

 

 

Плановые накопления 8 %, руб.,

 

 

 

37

-

-

-

-

 

 

(НУЧП - 44 % суммы 27,6 + 26,7), руб.

 

 

 

-

(24)

-

-

-

 

 

Итого по монтажу металлоконструкций, руб.

 

 

 

503

27,6

26,7

10,4

-

-

 

 

Нормативная условно-чистая продукция, руб.

 

 

 

-

(91)

-

-

-

 

 

Нормативная трудоемкость, чел.-ч

 

 

 

-

-

-

-

42,2

 

 

Сметная заработная плата, руб.

 

 

 

-

38

-

-

-

Строительство предприятия «Н»

     (наименование стройки)

ЛОКАЛЬНАЯ СМЕТА № 3

на внутренние санитарно-технические устройства электролизной установки

(наименование работ и затрат, наименование объекта)

Основание чертежи (спецификация) № 901-3-76                               Сметная стоимость 2,38 тыс. руб.

Составлена в ценах 1984 г.                                                                    Нормативная условно-чистая продукция 0,55 тыс. руб.

                                                                                                                  Нормативная трудоемкость 377 чел.-ч

                                                                                                                  Сметная заработная плата 0,3 тыс. руб.

№ п.п.

Шифр и номер позиции норматива

Наименование работ и затрат, единица измерения

Количество

Стоимость единицы, руб.

Общая стоимость, руб.

Затраты труда рабочих, чел. -ч не занятых обслуживанием машин

 

всего

основной заработной платы

эксплуатации машин

в том числе заработной платы

всего

основной заработной платы

эксплуатации машин

в том числе заработной платы

обслуживающих машины

на единицу

всего

 

1

2

3

4

5

6

7

8

9

10

11

 

1

ПРЗС вк, вып. 5, районная цена № 278

1. Санитарно-технические работы (холодное водоснабжение, канализация, центральное отопление, вентиляция), установка

1

1880

210

17

4,3

1880

210

17

4,3

302

4,8

302

4,8

 

2

Пр-т, Техн. ч., п 1.6, п. 2.2б К = 1,2 вместо 1,15

Поправка по заработной плате, руб.

-

-

-

9

9

0,2

0,2

-

-

 

 

 

Итого по п.п. 1, 2, руб.

 

 

 

1889

219

17,2

4,5

-

307

 

 

 

Нормативная условно-чистая продукция, руб.

 

 

 

-

(236)

-

-

-

 

 

 

Накладные расходы на санитарно-технические работы13,3 %

 

 

 

251

-

-

-

-

 

 

 

(НУЧП - 63 % от суммы 219 + 17,2), руб.

 

 

 

-

(149)

-

-

-

 

 

 

Нормативная трудоемкость, чел.-ч, 0,092´251

 

 

 

-

-

-

-

23

 

 

 

Сметная заработная плата, руб., 0,18´251

 

 

 

-

45

-

-

-

 

 

 

Итого с накладными расходами, руб.

 

 

 

2140

264 (385)

17,2

4,5

-

330

 

 

 

Плановые накопления 8 %, руб.,

 

 

 

171

-

-

-

-

 

 

 

(НУЧП - 44 % от суммы 219 + 17,2), руб.

 

 

 

 

(104)

-

-

-

 

 

 

Итого по санитарно-техническим работам, руб.

 

 

 

2311

264

17,2

4,5

-

-

 

 

 

Нормативная условно-чистая продукция, руб.

 

 

 

-

(489)

-

-

-

 

 

 

Нормативная трудоемкость, чел.-ч

 

 

 

-

-

-

-

330

 

 

 

Сметная заработная плата, руб.

 

 

 

-

268

-

-

-

 

3

Пр-т, районная цена № 278

II. Сопутствующие строительные работы, установка

1

54

30

0,4

0,1

54

30

0,4

0,1

46,2

0,1

46,2

0,1

 

4

Пр-т, Техн. ч. п. 1.6, п. 2.2б К = 1,2 вместо 1,15

Поправка по заработной плате, руб.

-

-

-

1,3

1,3

-

-

-

 

 

 

Итого по п.п. 3, 4, руб.

 

 

 

55,3

31,3

0,4

0,1

-

46,3

 

 

 

Нормативная условно-чистая продукция, руб.

 

 

 

-

(31,7)

-

-

-

 

 

 

Накладные расходы на строительные работы 19,6 %

 

 

 

10,8

-

-

-

-

 

 

 

(НУЧП - 35,6 % суммы 31,3 + 0,4), руб.

 

 

 

-

(11,3)

-

-

-

 

 

 

Нормативная трудоемкость, чел.-ч, 0,092´10,8

 

 

 

-

-

-

-

1

 

 

 

Сметная заработная плата, руб., 0,18´10,8

 

 

 

-

1,9

-

-

-

 

 

 

Итого с накладными расходами, руб.

 

 

 

66,1

33,2 (43)

0,4

0,1

-

47,3

 

 

 

Плановые накопления 8 %, руб.

 

 

 

5,3

-

-

-

-

 

 

 

(НУЧП - 44% суммы 31,3 + 0,4), руб.

 

 

 

-

(13,9)

-

-

-

 

 

 

Итого по сопутствующим строительным работам, руб.

 

 

 

71,4

33,2

0,4

0,1

-

-

 

 

 

Нормативная условно-чистая продукция, руб.

 

 

 

-

(56,9)

-

-

-

 

 

 

Нормативная трудоемкость, чел.-ч

 

 

 

-

-

-

-

47,3

 

 

 

Сметная заработная плата, руб.

 

 

 

-

33,3

-

-

-

 

 

 

Итого по внутренним санитарно-техническим устройствам, руб.

 

 

 

2382

297

17,6

4,6

-

-

 

 

 

Нормативная условно-чистая продукция, руб.

 

 

 

-

(546)

-

-

-

 

 

 

Нормативная трудоемкость, чел-ч

 

 

 

-

-

-

-

377

 

 

 

Сметная заработная плата, руб.

 

 

 

-

302

-

-

-

 

Строительство предприятия «Н»

     (наименование стройки)

ЛОКАЛЬНАЯ СМЕТА № 4

на приобретение и монтаж электроосвещения, электросилового оборудования и автоматики электролизной установки (вариант _________________________________дозирования гипохлорита натрия насосами-дозаторами)_________________________________

(наименование объекта)

Основание: чертежи (спецификация) № 901-3-76                            Сметная стоимость 13,52 тыс. руб.

Составлена в ценах 1984 г.                                                                   В том числе:

                                                                                                            оборудования 11,02 тыс. руб.

                                                                                                            монтажных работ 2,5                                                                                                                  »

                                                                                                                 Нормативная условно-чистая продукция 1,44 тыс. руб.

                                                                                                                 Нормативная трудоемкость 1119 чел.-ч

                                                                                                                 Сметная заработная плата 0,84 тыс. руб.

№ п.п.

Шифр и номер позиции норматива

Наименование и характеристика оборудования и монтажных работ, единица измерения и масса единицы оборудования

Количество

Стоимость единицы, руб., оборудования

Общая стоимость, руб.

Затраты труда рабочих, чел -ч, не занятых обслуживанием машины

Общая масса оборудования, т, брутто

 

оборудования

всего

основной заработной платы

эксплуатация машин

обслуживающих машин

нетто

монтажных работ

в том числе заработной платы

на единицу

всего

 

1

2

3

4

5

6

7

8

9

10

11

12

 

1

ПРЗС вк, вып. 5 районная цена №278, прил.10

I. Монтаж электроосвещения, электросилового оборудования и автоматики, установка

1

10014

1680

10014

1680

604

136

53

923

59

923

59

-

 

2

Пр-т, Техн. ч., п. 1.6, п. 2.2б К = 1,2 вместо 1,15

Поправка по заработной плате, руб.,

-

-

-

28

26

2

2

-

-

-

 

3

«Указания по применению расценок на монтаж оборудования», п. 2.7

Косвенные расходы, руб.

-

-

-

3,7

-

-

-

-

-

 

 

 

Итого по п.п. 1 - 3, руб.

 

 

10014

1712

630

138

55

-

982

-

 

 

 

Нормативная условно-чистая продукция, руб.

 

 

-

-

(768)

-

-

-

-

 

 

 

Затраты по транспорту, заготовительно-складским расходам, таре, упаковке и комплектации 10014´0,1, руб.

 

 

1001

-

-

-

-

-

-

 

 

 

Всего

 

 

11015

1712

630

138

55

-

982

-

 

 

 

Накладные расходы 87 % от 630, руб.

 

 

-

548

-

-

-

-

-

 

 

 

(НУЧП - 32% 768), руб.

 

 

-

-

(246)

-

-

-

-

 

 

 

Нормативная трудоемкость 0,092´548, чел.-ч

 

 

-

-

-

-

-

50

-

 

 

 

Сметная заработная плата, 0,18´548, руб.

 

 

-

-

99

-

-

-

-

 

 

 

Итого, руб.

 

 

11015

2260

729

138

55

-

1032

-

 

 

 

Плановые накопления 8 %, руб.,

 

 

-

181

-

-

-

-

-

 

 

 

(НУЧП - 44% от 768), руб.

 

 

-

-

(338)

-

-

-

-

 

 

 

Итого по электромонтажным работам, руб.

 

 

11015

2441

729

138

55

-

1032

-

 

 

 

Нормативная условно-чистая продукция, руб.

 

 

-

-

(1352)

-

-

-

-

 

 

 

Нормативная трудоемкость, чел -ч

 

 

-

-

-

-

-

1032

-

 

 

 

Сметная заработная плата, руб.

 

 

-

-

784

-

-

-

-

 

4

ПРЗС вк, районная цена №278

II. Сопутствующие строительные работы, установка

1

-

47

-

47

47

-

86,1

-

86,1

-

-

 

5

Пр-т, Техн. ч., п 1.6, п. 2.2б К = 1,2 вместо 1,15

Поправка по заработной плате, руб.,

-

-

-

2

2

-

-

-

-

 

 

 

Итого по п.п. 4, 5, руб.

 

 

-

49

49

-

-

86,1

-

 

 

 

Нормативная условно-чистая продукция, руб.

 

 

-

-

(49)

-

-

-

-

 

 

 

Накладные расходы на строительные работы 19,6 %, руб.

 

 

-

10

-

-

-

-

-

 

 

 

(НУЧП - 35,6% от 49), руб.

 

 

-

-

(17)

-

-

-

-

 

 

 

Нормативная трудоемкость, 0,092´10, чел.-ч

 

 

-

-

-

-

-

0,9

-

 

 

 

Сметная заработная плата, 0,18´10, руб.

 

 

-

-

2

-

-

-

-

 

 

 

Итого с накладными расходами, руб.

 

 

-

59

51 (66)

-

-

87

-

 

 

 

Плановые накопления 8 %, руб.

 

 

-

5

-

-

-

-

-

 

 

 

(НУЧП - 44% от 49), руб.

 

 

-

-

(22)

-

-

-

-

 

 

 

Итого по сопутствующим строительным работам, руб.

 

 

-

64

51

-

-

87

-

 

 

 

Нормативная условно-чистая продукция, руб.

 

 

-

-

(88)

-

-

-

-

 

 

 

Нормативная трудоемкость чел.-ч

 

 

-

-

-

-

-

87

-

 

 

 

Сметная заработная плата, руб.

 

 

-

-

51

-

-

-

-

 

 

 

Итого по монтажу оборудования, руб.

 

 

11015

2505

780

-

-

1119

-

 

 

 

Всего по смете (гр. 6 + гр. 7), руб.

 

 

13520

 

 

 

Нормативная условно-чистая продукция, руб.

 

 

-

-

(1440)

-

-

-

-

 

 

 

Нормативная трудоемкость, чел -ч

 

 

-

-

-

-

-

1119

-

 

 

 

Сметная заработная плата, руб.

 

 

-

-

835

-

-

-

-

 

 

Строительство предприятия «Н»

     (наименование стройки)

ЛОКАЛЬНАЯ СМЕТА № 5

на приобретение и монтаж технологического оборудования и трубопроводов электролизной установки (вариант

__________________________дозирования гипохлорита натрия насосами-дозаторами)_________________________

(вид оборудования и работ, наименование работ, объекта)

Основание: чертежи (спецификация) № 901-3-76                              Сметная стоимость 13,39 тыс. руб.

Составлена в ценах 1984 г.                                                                     В том числе:

                                                                                                              оборудования 11,25 тыс. руб.

                                                                                                              монтажных работ 2,14 »

                                                                                                                   Нормативная условно-чистая продукция 0,94 тыс. руб.

                                                                                                                   Нормативная трудоемкость 677 чел.-ч

                                                                                                                   Сметная заработная плата 0,53 тыс. руб.

№ п.п.

Шифр и № позиции норматива

Наименование и характеристика оборудования и монтажных работ, единица измерения и масса единицы оборудования

Количество

Стоимость единицы, руб.,

Общая стоимость, руб.

Затрата труда рабочих, чел.-ч, не занятых обслуживанием машин

Общая масса оборудования, т, брутто

оборудования

всего

основной заработной платы

эксплуатация машин

монтажных работ

в том числе заработной платы

обслуживающих машины

нетто

на единицу

всего

1

2

3

4

5

6

7

8

9

10

11

12

1

ПРЗС вк, вып. 5, районная цена № 278, прил. 10

I. Монтаж технологического оборудования и трубопроводов, установка

1

10230

1540

10230

1540

420

85,2

25,2

610

28,3

610

28,3

-

2

Пр-т, Техн. ч., п. 1.6, п. 2.2б К = 1,2 вместо 1,15

Поправка по заработной плате, руб.

 

 

-

19

18

1

-

-

-

3

«Указания по применению расценок на монтаж оборудования», п. 2.7

Косвенные расходы, руб.

 

 

-

2

-

-

-

-

-

 

 

Итого по п.п. 1 - 3, руб.

 

 

10230

1561

438

86,2

26,2

-

638

-

 

 

Нормативная условно-чистая продукция, руб.

 

 

-

-

(524)

-

-

-

-

 

 

Затраты по транспорту, заготовительно-складским расходам, таре, упаковке, комплектации 10230´0,1, руб.

 

 

1023

-

-

-

-

-

-

 

 

Всего, руб.

 

 

11253

1561

438

86,2

26,2

-

638

-

 

 

Накладные расходы 80 % от 438, руб.

 

 

-

350

-

-

-

-

-

 

 

(НУЧП - 32% от 524), руб.

 

 

-

-

(168)

-

-

-

-

 

 

Нормативная трудоемкость, 0,092´350, чел.-ч

 

 

-

-

-

-

-

32

-

 

 

Сметная заработная плата, 0,18´350, руб.

 

 

-

-

63

-

-

-

-

 

 

Итого, руб.

 

 

11253

1911

501

86,2

26,2

-

670

-

 

 

Плановые накопления 8 %, руб.,

 

 

-

153

-

-

-

-

-

 

 

(НУЧП - 44% от 524), руб.

 

 

-

-

(231)

-

-

-

-

 

 

Итого по монтажу технологического оборудования и трубопроводов, руб.

 

 

11253

2064

501

86,2

26,2

-

670

-

 

 

Нормативная условно-чистая продукция, руб.

 

 

-

-

(923)

-

-

-

-

 

 

Нормативная трудоемкость, чел.-ч

 

 

-

-

-

-

-

670

-

 

 

Сметная заработная плата, руб.,

 

 

-

-

527

-

-

-

-

4

ПРЗС вк, районная цена №278

II. Сопутствующие строительные работы

 

 

-

2

0,6

-

0,9

-

0,9

-

-

5

Пр-т, Техн. ч., п. 1.6, п. 2.2б К = 1,2 вместо 1,15

Поправка по заработной плате

 

 

-

0,03

0,03

-

-

-

-

 

 

Итого по п.п. 4, 5, руб.,

 

 

-

2,03

0,63

-

-

-

-

 

 

Нормативная условно-чистая продукция, руб.

 

 

-

-

(0,63)

-

-

-

-

 

 

Накладные расходы на строительные работы 19,6 %, руб.

 

 

-

0,4

-

-

-

-

-

 

 

(НУЧП - 35,6 % от 0,63), руб.

 

 

-

-

(0,2)

-

-

-

-

 

 

Нормативная трудоемкость, 0,092´0,4, чел.-ч

 

 

-

-

-

-

-

0,04

-

 

 

Сметная заработная плата, 0,18´0,4, руб.

 

 

-

-

0,07

-

-

-

-

 

 

Итого с накладными расходами, руб.

 

 

-

2,43

0,7 (0,83)

-

-

0,94

-

 

 

Плановые накопления 8 %, руб.,

 

 

-

0,19

-

-

-

-

-

 

 

(НУЧП - 44 % от 0,63), руб.

 

 

-

-

(0,3)

-

-

-

-

 

 

Итого по сопутствующим строительным работам, руб.

 

 

-

2,62

0,7

-

-

0,94

-

 

 

Нормативная условно-чистая продукция, руб.

 

 

-

-

(1,13)

-

-

-

-

 

 

Нормативная трудоемкость, чел.-ч

 

 

-

-

-

-

-

0,94

-

 

 

Сметная заработная плата, руб.

 

 

-

-

0,7

-

-

-

-

6

ПРЗС вк, районная цена №278

III. Монтаж металлоконструкций, сопутствующий монтажу оборудования

1

-

-

59

3,2

2,4

0,8

4,6

1

4,6

1

-

7

Пр-т, Техн. ч., п. 1.6, п. 2.2б К = 1,2 вместо 1,15

Поправка по заработной плате, руб.

 

 

-

0,17

0,14

0,03

0,03

-

-

-

 

 

Итого по п.п. 6, 7, руб.

 

 

-

59,2

3,34

2,43

0,83

-

5,6

-

 

 

Нормативная условно-чистая продукция, руб.

 

 

-

-

(5,77)

-

-

-

-

 

 

Накладные расходы на монтаж металлоконструкций, 8,6 % руб.

 

 

-

5,1

-

-

-

-

-

 

 

(НУЧП - 41 % от 5,77), руб.

 

 

-

-

(2,37)

-

-

-

-

 

 

Нормативная трудоемкость, 0,092´5,1, чел.-ч

 

 

-

-

-

-

-

0,5

-

 

 

Сметная заработная плата, 0,18´5,1, руб.

 

 

-

-

0,92

-

-

-

-

 

 

Итого с накладными расходами, руб.

 

 

-

64,3

4,26

2,43

0,83

-

6,1

-

 

 

Плановые накопления 8 %, руб.

 

 

-

5,1

-

-

-

-

-

 

 

(НУЧП - 44% от 5,77), руб.

 

 

-

-

(2,54)

-

-

-

-

 

 

Итого по монтажу металлоконструкций, сопутствующему монтажу оборудования, руб.

 

 

-

69,4

4,26

2,43

0,83

-

6,1

-

 

 

Нормативная условно-чистая продукция, руб.

 

 

-

-

(10,7)

-

-

-

-

 

 

Нормативная трудоемкость, чел.-ч

 

 

-

-

-

-

-

6,1

-

 

 

Сметная заработная плата, руб.

 

 

-

-

4,26

-

-

-

-

 

 

Итого по монтажу технологического оборудования и трубопроводов, руб.

 

 

11253

2136

506

88,6

27

-

677

-

 

 

Всего по смете (гр. 6+7), руб.

 

 

13389

 

 

Нормативная условно-чистая продукция, руб.

 

 

-

-

(935)

-

-

-

-

 

 

Нормативная трудоемкость чел.-ч

 

 

-

-

-

-

-

677

-

 

 

Сметная заработная плата, руб.

 

 

-

-

533

-

-

-

-

Примечания: 1. Затраты труда рабочих, обслуживающих машины, (Тм), в локальных сметах № 1 - 5 гр. 10 в знаменателе определены по формуле  чел.-ч., где  - заработная плата рабочих, обслуживающих машины при выполнении земляных работ (гр. 6, разд. «а) земляные работы» в таблицах цен Прейскуранта); 1,44 - коэффициент перехода от заработной платы рабочих, обслуживающих машины, к затратам труда механизаторов;  - заработная плата рабочих, обслуживающих машины, при выполнении всех работ, кроме земляных (гр. 6 разделов в таблицах цен Прейскуранта); 1,29 - коэффициент перехода от заработной платы рабочих, обслуживающих машины, к затратам труда механизаторов; 2. Нормативная трудоемкость работ, учтенных накладными расходами (Тнр) в локальных сметах № 1 - 5, определена по формуле Тнр = 0,092´Мнр, чел.-ч, где Мнр - масса накладных расходов, принимаемая из строки «Накладные расходы» локальной сметы; 0,092 - коэффициент перехода от массы накладных расходов к затратам труда; 3. Сметная заработная плата рабочих, выполняющих работы за счет накладных расходов (Знр), в локальных сметах № 1 - 5, определена по формуле Знр = 0,18´Мнр, руб., где 0,18 - коэффициент перехода от массы накладных расходов к сметной заработной плате рабочих. Значение Мнр аналогично приведенному в п. 2 настоящего примечания. 4. Коэффициенты 1,44; 1,29, 0,092 и 0,18 приняты из «Методических указаний о порядке выделения в составе сметной документации на строительство предприятий, зданий и сооружений нормативной трудоемкости и заработной платы рабочих, занятых на строительно-монтажных работах», утвержденных постановлением Госстроя СССР от 30 декабря 1985 г. № 273. 5. В локальных сметах № 1 - 5 величина нормативной условно-чистой продукции приведена в скобках.


СОДЕРЖАНИЕ

ТЕХНИЧЕСКАЯ ЧАСТЬ. 2

I. Цены прейскуранта на здания и сооружения водоснабжения. 14

1. Электролизная установка. 14

2. Градирни с вентиляторами 2ВГ50 с секциями площадью 64 м2 26

Пленочные. 26

Капельные. 28

Брызгальные. 28

3. Градирни с вентиляторами 2ВГ70 с секциями площадью 192 м2 28

Капельные. 28

Брызгальные. 28

4. Градирни с вентиляторами 3ВГ25 брызгальные с секциями площадью 24 м2 28

5. Автоматические пневматические насосные станции. 28

6. Насосная станция на трубчатых колодцах. 28

7. Насосная станция с пожарными насосами. 28

II. Цены прейскуранта на сооружения канализации. 28

8. Очистные сооружения для сточных вод от мойки автомобилей с расходом воды до 1,5 и 3 л/с в сухих грунтах. 28

9. Очистные сооружения для сточных вод от мойки автомобилей с расходом воды 10, 20 и 30 л/с в сухих грунтах при частичном оборотном водоснабжении. 28

10. Очистные сооружения для сточных вод от мойки автомобилей с расходом воды 10, 20 и 30 л/с при оборотном водоснабжении

в сухих грунтах. 28

в мокрых грунтах. 28

11. Нефтеловушки производительностью 5 л/с. 28

12. Нефтеловушки производительностью 10 л/с. 28

13. Нефтеловушки производительностью 20 л/с. 28

14. Нефтеловушки производительностью 30 л/с. 28

15. Нефтеловушки производительностью 45 л/с. 28

Приложение 1 распределение отдельных частей территории ссср по территориальным районам, для которых разработаны цены прейскуранта. 28

Приложение 2 поправки к элементам затрат при производстве земляных работ в грунтах, отличающихся от принятых в прейскуранте. 28

Приложение 3 коэффициенты к показателям подраздела «транспортирование грунта» цен прейскуранта, учитывающие разницу в тарифе на автомобильные перевозки, между действующими в отдельных городах, районах, областях, краях и республиках и принятыми в ценах настоящего прейскуранта. 28

Приложение 4 поправки к цене № 278 при изменении глубины заложения сборных фундаментов на каждые ±0,3 м.. 28

Приложение 5 поправки к цене № 278 на монтаж оборудования при дозировании гипохлорита натрия эжекторами. 28

Приложение 6 поправки к ценам № 280 - 291 на строительство градирен в районах с сейсмичностью 7 - 8 баллов. 28

Приложение 7 поправки к цене № 306 при применении насоса, отличающегося от учтенного в прейскуранте. 28

Приложение 8 поправки к ценам при строительстве отапливаемых зданий в местностях с зимней расчетной температурой наружного воздуха, отличающейся от принятой в прейскуранте. 28

Приложение 9 поправки к прямым затратам цен прейскуранта, учитывающие разницу в оптовых ценах на кирпич строительный и сборные бетонные и железобетонные конструкции, а также разницу в сметных ценах на остальные местные строительные материалы, между действующими в отдельных областях, краях и республиках и принятыми в прейскуранте. 28

Приложение 10 ведомость стоимости оборудования, предусмотренного типовыми проектами, но не учтенного прейскурантом.. 28

Приложение 11 ведомость объемов излишнего, отвозимого во временный отвал и недостающего грунта, подлежащего учету при составлении баланса земляных работ в целом по строительной площадке. 28

Приложение 12 пример составления локальных смет на строительство здания с применением цены прейскуранта. 28




Яндекс цитирования



   Copyright © 2007-2026,  www.tehlit.ru.

[ ѓосты, стандарты, нормативы, инструкции, правила, строительные нормы ]