//
ТехЛит.ру
- крупнейшая бесплатная электронная интернет библиотека для "технически умных" людей.
WWW.TEHLIT.RU - ТЕХНИЧЕСКАЯ ЛИТЕРАТУРА

:: Алготрейдинг::


АЛГОТРЕЙДИНГ
шаг за шагом
с нуля по урокам!

Торговые роботы на PYTHON, BackTrader,
Pandas, Pine Script для TradingView. Связка с брокерами, телеграм и легкими приложениями.


ГОСПРОМАТОМНАДЗОР СССР

АТОМНЫЕ СТАНЦИИ.
СТАЛЬНЫЕ ЗАЩИТНЫЕ ОБОЛОЧКИ.
НОРМЫ РАСЧЕТА НА ПРОЧНОСТЬ

ПНАЭ Г-10-012-89

 

Москва 1990

Государственный комитет СССР

по надзору за безопасным ведением работ в промышленности и атомной энергетики

 

 

УТВЕРЖДЕНЫ

постановлением

Госатомэнергонадзора СССР

от 26.10.89 № 15

АТОМНЫЕ СТАНЦИИ. СТАЛЬНЫЕ ЗАЩИТНЫЕ ОБОЛОЧКИ. НОРМЫ РАСЧЕТА НА ПРОЧНОСТЬ

ПНАЭ Г-10-012-89

Москва 1990

Нормы содержат условные обозначения и основные определения, примеры разделения напряжений на категории и расчетные группы категорий напряжений, перечень основных нагрузок и воздействий, допускаемые напряжения, расчеты по выбору основных размеров, на статическую прочность, устойчивость, циклическую прочность, сопротивление разрушению, динамические воздействия и правила определения параметров пневматических испытаний.

Обязательны для всех министерств, ведомств, организаций и предприятий, проектирующих, конструирующих, изготавливающих и эксплуатирующих атомные электростанции, теплоцентрали, опытные и исследовательские ядерные реакторы и установки, подконтрольные Госпроматомнадзору СССР

Дата введения 01.09.90

УСЛОВНЫЕ ОБОЗНАЧЕНИЯ

Dа                                    - номинальный наружный диаметр цилиндрической или сферической части оболочки, мм;

D                                     - номинальный внутренний диаметр цилиндрической или сферической части оболочки, мм;

Dm                                    - средний диаметр цилиндрической или сферической части оболочки, мм;

d                                      - диаметр отверстия, мм;

SR                                    - расчетная толщина стенки, мм;

S                                      - номинальная толщина стенки, указанная в чертеже детали, узла или изделия, мм;

Sf                                     - фактическая толщина стенки, мм;

So                                     - минимальная расчетная толщина стенки при jd = 1 и С = 0, мм;

С = С1 + С2 + С3              - прибавка к толщине стенки, мм;

C1                                    - прибавка, учитывающая утонение стенки за счет минусового допуска, мм;

C2                                    - прибавка, учитывающая утонение стенки за счет всех видов коррозии за срок службы изделия, мм;

C3                                    - прибавка, компенсирующая возможное утонение полуфабриката при изготовлении, мм;

j                                      - расчетный коэффициент снижения прочности;

jd                                    - коэффициент снижения прочности оболочек с неукрепленным отверстием;

jc                                     - коэффициент снижения прочности оболочек с укрепленным отверстием;

jw                                    - коэффициент снижения прочности сварного шва;

H                                     - высота выпуклой части днища, мм;

jo                                    - номинальный допускаемый коэффициент снижения прочности;

[s]                                   - номинальное допускаемое напряжение, МПа;

[Pa]                                  - допускаемое наружное давление, МПа;

P                                      - расчетное давление, МПа;

T                                      - расчетная (средняя по толщине стенки) температура, °С;

                                - минимальное значение предела текучести при расчетной температуре, МПа;

RTm                                  - минимальное значение временного сопротивления при расчетной температуре, МПа;

n0,2                                   - коэффициент запаса прочности по пределу текучести;

nm                                     - коэффициент запаса прочности по временному сопротивлению;

Е                                      - модуль упругости при расчетной температуре, МПа;

d                                      - раскрытие трещины;

dc                                     - критическое раскрытие трещины;

Tk                                     - критическая температура хрупкости, °С;

Tko                                   - критическая температура хрупкости материала в исходном состоянии, °С;

DТT                                  - сдвиг критической температуры хрупкости вследствие температурного старения, °С;

DТN                                  - сдвиг критической температуры хрупкости вследствие циклической повреждаемости, °С;

Tn                                    - температура пневматических испытаний, °С,

Pn                                     - давление пневматических испытаний, МПа;

А                                     - относительное удлинение, %;

Z                                      - относительное сужение, %;

sа                                    - амплитуда напряжений без учета концентрации, МПа;

saF                                   - амплитуда напряжений с учетом концентрации, МПа;

Ke                                    - коэффициент концентрации напряжений;

[N]                                   - допускаемое число циклов нагружения;

nэ                                     - число циклов в процессе эксплуатации;

АС                                   - атомная станция;

СЗО                                 - стальная защитная оболочка;

ПНАЭ Г-7-002-86          - Нормы расчета на прочность оборудования и трубопроводов атомных энергетических установок;

ПНАЭ Г-7-008-89          - Правила устройства и безопасной эксплуатации оборудования и трубопроводов атомных энергетических установок.

1. ОСНОВНЫЕ ОПРЕДЕЛЕНИЯ

1.1. Категории напряжений

В элементах оболочек:

sm - общие мембранные напряжения, вызываемые действием механических нагрузок, нормальные к рассматриваемому сечению, равные среднему значению напряжений в данном сечении;

smL - местные мембранные напряжения - частный случай мембранных напряжений, действующих в пределах зоны, где напряжения превосходят 1,1 [s]; при этом размеры этой зоны не превышают 0,7 , и эта зона расположена на расстоянии не менее 1,7  по отношению к другой зоне, где напряжения превышают [s];

sb - общие изгибные напряжения, вызываемые действием механических нагрузок, меняющиеся от положительного значения до отрицательного по всему сечению оболочки, несамоуравновешенные по сечению;

sbL - местные изгибные напряжения, вызываемые действием механических нагрузок, самоуравновешенные по сечению оболочки (возникают от действия внутренних и внешних краевых сил и моментов);

sТ - общие температурные напряжения, возникающие от неравномерного распределения температур по объему рассчитываемого элемента или из-за различия коэффициентов линейного расширения материалов, приводящие в предельном случае к недопустимым остаточным изменениям формы и размеров конструкции;

sTL - местные температурные напряжения, возникающие из-за неравномерного распределения температур по объему рассчитываемого элемента или из-за различия коэффициентов линейного расширения материалов, которые не вызывают недопустимых остаточных изменений формы и размеров конструкции;

sк - напряжения компенсации, возникающие от стеснения температурных расширений и перемещений мест закрепления трубопроводов;

sкm - напряжения компенсации растяжения или сжатия;

sкb - напряжения компенсации изгиба;

tкs - напряжения компенсации кручения.

В болтах и шпильках:

smw - напряжения растяжения в болтах или шпильках, вызванные механическими нагрузками;

sbw - напряжения изгиба в болтах или шпильках, вызванные механическими нагрузками;

tкs - касательные напряжения в болтах или шпильках.

1.2. Расчетные группы категорий напряжений

В элементах оболочек:

(s)1 - группа приведенных напряжений, определяемых по составляющим общих мембранных напряжений;

(s)2 - группа приведенных напряжений, определяемая по суммам составляющих общих или местных мембранных и общих изгибных напряжений;

(s)RV - размах приведенных напряжений, определяемых по суммам составляющих общих или местных мембранных, общих и местных изгибных и общих температурных напряжений;

(saF)V - амплитуда приведенных напряжений, определяемых по суммам составляющих общих или местных мембранных, общих и местных изгибных, общих и местных температурных напряжений с учетом концентрации напряжений.

В болтах и шпильках:

(s)1w - средние напряжения по сечению болта или шпильки, вызванные механическими нагрузками;

(s)3w - средние напряжения растяжения по сечению болта или шпильки, вызванные механическими нагрузками и температурными воздействиями;

(s)4w - приведенные напряжения, определяемые по суммам составляющих средних напряжений растяжения по сечению болта или шпильки и изгибных напряжений, вызванных механическими нагрузками и температурными воздействиями, а также напряжений кручения.

1.3. Примеры разделения напряжений на категории (табл. 1.1)

Таблица 1.1

Разделение напряжений на категории и расчетные группы категорий, напряжений

Рассчитываемая зона

Вид нагружений

Категория определяемых напряжений

Расчетная группа категорий напряжений

Цилиндрическая часть оболочки (гладкая часть)

Внутреннее давление

Общие мембранные

(s)1

Внутреннее давление, весовая нагрузка и/или динамические воздействия

Общие (местные) мембранные + общие изгибные

(s)2

Внутреннее давление, весовая нагрузка, температурный перепад по образующей и/или динамические воздействия

Общие (местные) мембранные + общие изгибные + общие температурные

(s)RV

Внутреннее давление, весовая нагрузка, температурный перепад по образующей и толщине стенки и/или динамические воздействия

Общие (местные) мембранные + общие изгибные + общие температурные + местные температурные

(saF)V

Зоны соединения цилиндрической части оболочки

Внутреннее давление, весовая нагрузка и/или динамические воздействия

Общие мембранные

(s)1

с куполом (сферическая оболочка)

Внутреннее давление, весовая нагрузка, поля температур в цилиндрической части оболочки и куполе и/или динамические воздействия

Общие или местные мембранные

(s)2

Общие или местные мембранные + местные изгибные + общие температурные

(s)RV

Общие или местные мембранные + местные изгибные + общие и местные температурные + местные напряжения в зонах концентрации

(saF)V

Болты и шпильки фланцевых соединений и крышек

Внутреннее давление, затяг шпилек и/или динамические воздействия

Средние напряжения растяжения по сечению болта или шпильки

(s)1w

Внутреннее давление, затяг шпилек, температурные и/или динамические воздействия

Средние напряжения растяжения по сечению болта или шпильки, вызванные механическими нагрузками и температурными воз действиями

(s)3w

Средние напряжения растяжения по сечению болта или шпильки и общие изгибные напряжения, вызванные механическими на грузками и температурными воздействиями, а также напряжения кручения

(s)4w

Средние напряжения растяжения по сечению болта или шпильки и общие изгибные напряжения, вызванные механическими нагрузками и температурными воздействиями, напряжения кручения, местные напряжения с учетом концентрации в резьбе

(saF)w

Зона заделки цилиндрической или сферической оболочки

Внутреннее давление, весовая нагрузка и/или динамические воздействия

Местные мембранные

(s)2

Внутреннее давление, весовая нагрузка, поля температур в оболочке и заделке и/или динамические воздействия

Местные мембранные + местные изгибные + общие температурные

(s)RV

Местные мембранные + местные изгибные + общие температурные + местные температурные + местные напряжения в зонах концентрации

(saF)V

Эллиптическое днище или крышка

Внутреннее давление и/или динамические воздействия

Общие мембранные

(s)1

Внутреннее давление, весовая нагрузка и/или динамические воздействия

Общие мембранные + общие изгибные

(s)2

Внутреннее давление, весовая нагрузка, поле температур и/или динамические воздействия

Общие мембранные + общие изгибные + общие температурные

(s)RV

Общие мембранные + общие изгибные + общие температурные + местные температурные + местные напряжения в зонах концентрации

(saF)V

Компенсатор (сильфон, тор), зоны проходки

Внутреннее давление

Общие мембранные

(s)1

Внутреннее давление, перемещения трубопровода и места приварки к оболочке и/или динамические воздействия

Общие или местные мембранные + общие температурные + местные изгибные + местные напряжения в зонах концентрации

(saF)V

Зона приварки технологических проходок и врезки шлюза оболочки

Внутреннее давление и/или динамические воздействия

Местные мембранные

(s)2

Внутреннее давление, поля температур в оболочке и привариваемом элементе, усилия со стороны трубопровода и/или динамические воздействия

Местные мембранные + местные изгибные + общие температурные + напряжения от компенсации трубопровода

(s)RV

Местные мембранные + местные изгибные + общие температурные + местные температурные + напряжения от компенсации трубопровода + местные напряжения в зонах концентрации

(saF)V

2. ОБЩИЕ ПОЛОЖЕНИЯ

2.1. Настоящие нормы должны соблюдаться при проектировании СЗО.

2.2. СЗО является элементом локализующей системы безопасности оборудования и трубопроводов и предназначается для удержания в заранее определенных границах радиоактивных веществ с целью обеспечения требований действующих норм и правил по предотвращению опасного воздействия на население, персонал и окружающую среду как при нормальных условиях эксплуатации (НУЭ), так и при проектных авариях (ПА), рассматриваемых в проекте, а также при проектных (ПЗ) и максимальных расчетных (МРЗ) землетрясениях и различных динамических воздействиях.

2.3. СЗО должна выдерживать нагрузки при всех проектных режимах.

2.4. Параметры нагрузок на оболочку (давление, температура, внешние воздействия и др.), режимы эксплуатации (в том числе ПА) определяются техническим заданием на проектирование.

2.5. Нормы распространяются на расчет на прочность стальных защитных оболочек сферической формы и цилиндрической формы с полусферическим или торосферическим куполом и эллиптическим или торосферическим днищем.

2.6. В основу норм расчета на прочность положены те же основные принципы, что и в Нормах расчета на прочность оборудования и трубопроводов атомных энергетических установок. ПНАЭ Г-7-002-86.

2.7. В рамках настоящих норм выполняются:

1) выбор основных размеров СЗО;

2) поверочный расчет.

2.8. При выборе основных размеров в качестве основной нагрузки принимаются расчетные давление и температура, определяемые техническим заданием.

Расчетное давление должно приниматься не менее наибольшего избыточного давления, которое возникает в СЗО при ПА (разгерметизация оборудования или трубопровода, охватываемых СЗО).

Под расчетной температурой понимается наибольшая температура СЗО в процессе прохождения ПА.

2.9. При поверочном расчете учитывают все силовые и температурные нагрузки, действующие на СЗО, определяемые в соответствии с п. 2.4.

В рамках поверочного расчета выполняют:

1) расчет на статическую прочность;

2) расчет на сопротивление хрупкому разрушению;

3) расчет на устойчивость;

4) расчет на циклическую прочность;

5) расчет на динамические воздействия (сейсмические, от падения самолета, ударной волны, от летящих предметов и струй теплоносителя).

2.10. Настоящие нормы построены в предположении, что СЗО после нагружения в процессе ПА должна сохранять свою дальнейшую работоспособность.

2.11. При проведении поверочного расчета напряжения рассчитываются в предположении упругого поведения материалов и в том случае, если напряжения, определенные по расчету, превышают предел текучести материала. Эти напряжения пропорциональны упругопластической деформации в рассчитываемой точке. Условные упругие напряжения вместо упругопластических деформаций вводятся для удобства выполнения расчетов, принятых в инженерной практике.

2.12. Конструкция, изготовление и монтаж СЗО должны удовлетворять требованиям Правил устройства и безопасной эксплуатации оборудования и трубопроводов атомных энергетических установок. ПНАЭ Г-7-008-89.

3. МАТЕРИАЛЫ

3.1. Для изготовления СЗО используются материалы, приведенные в ПНАЭ Г-7-008-89. Для изготовления СЗО реакторных отделений с ВВЭР допускается использование толстолистовых сталей марок 09Г2С или 10ХСНД по ГОСТ 19282-73.

3.2. Сварные соединения деталей из указанных сталей должны выполняться в соответствии с нормативно-техническим документом "Оборудование и трубопроводы атомных энергетических установок. Сварка и наплавка. Основные положения. ПНАЭ Г-7-009-89" и отвечать требованиям, предъявляемым к I категории согласно нормативно-техническому документу "Оборудование и трубопроводы атомных энергетических установок. Сварные соединения и наплавки. Правила контроля. ПНАЭ Г-7-010-89".

3.3. Механические свойства основного металла и предел прочности сварных соединений сталей марок 09Г2С и 10ХСНД должны быть не ниже указанных в табл. 3.1. Требуемые механические свойства для металла шва должны быть не ниже приведенных в табл. 3.2. Для определения механических свойств при промежуточных температурах допускается использовать линейную интерполяцию.

Таблица 3.1

Требуемые механические свойства основного металла

Марка стали

Механические свойства

Температура, °С

20

50

100

150

200

250

300

10ХСНД

RTm, МПа

510

500

480

470

470

470

470

, МПа

390

370

350

325

315

315

315

А, %

19

16

16

16

16

16

14

Z, %

39

38

38

38

36

35

32

09Г2С

RTm, МПа

430

430

430

430

430

430

430

, МПа

245

235

235

225

215

215

196

А, %

21

20

20

18

16

16

16

Z, %

46

42

42

41

40

40

40

10ХСНД 09Г2С

Е, ГПа

210

207

205

202

200

197

196

Таблица 3.2

Требуемые механические свойства металла шва сварных соединений, выполняемых автоматической сваркой под флюсом

Основной металл

Марки применяемых сварных материалов

Температура

20 °С

300 °С

проволока

флюс

Rm, МПа

Rp0,2, МПа

А, %

Z, %

Rm, МПа

Rp0,2, МПа

А, %

Z, %

09Г2С

Св-08ГС

ФЦ-16

430

245

18

55

392

225

13

50

10ХСНД

СВ-08ГА

 

Св-10ГА

ОСЦ-45

АН-348А

АН-348АМ

510

390

18

35

470

315

14

30

Для материалов других марок следует использовать данные технических условий или стандартов, а при отсутствии в них необходимых сведений - данные, приведенные в нормативно-технических документах, в пп. 3.1 и 3.2.

3.4. В интервале температур от 0 до 150 °С для сталей, указанных в табл. 3.1, коэффициент линейного расширения а следует принимать равным 12-10-6 °С-1, а коэффициент Пуассона - равным 0,3.

4. НАГРУЗКИ И ВОЗДЕЙСТВИЯ

4.1. Во время монтажа и эксплуатации на СЗО могут действовать следующие нагрузки.

4.1.1. Нагрузки строительно-монтажного периода.

4.1.2. Нагрузки при нормальных условиях эксплуатации.

4.1.3. Нагрузки при проектных авариях (включая нагрузки от летящих предметов и струй теплоносителя).

4.1.4. Нагрузки при пневматических испытаниях оболочки.

4.1.5. Динамические нагрузки от сейсмических воздействий, падения самолета и воздушной ударной волны.

Примечание. Динамические нагрузки от падения самолета и воздушной ударной волны действуют на внешнюю железобетонную оболочку, а на СЗО передается динамический эффект от колебаний конструкций.

5. ДОПУСКАЕМЫЕ НАПРЯЖЕНИЯ

5.1. Допускаемые напряжения в зависимости от рассматриваемого расчетного случая и расчетной группы категории напряжений определяют по формуле

[(s)i] = hi[s],                                                                (5.1)

где [(s)i] - допускаемые напряжения; hi - коэффициент; [s] - номинальные допускаемые напряжения; i - индекс расчетной группы категории напряжений.

5.2. Номинальное допускаемое напряжение принимают равным наименьшему из следующих значений:

.                                                     (5.2)

5.2.1. При нагружении внутренним давлением принимают

nm = 1,85; n0,2 = 1,07.

5.2.2. При нагружении наружным давлением принимают

nm = 2,6; n0,2 = 2.

Окончательную проверку на устойчивость и корректировку (при необходимости) определенных по разд. 6 "Выбор основных размеров" толщин следует производить в соответствии с подразделом 7.3 "Расчет на устойчивость".

5.3. Номинальное допускаемое напряжение в болтах и шпильках от давления и усилий затяга принимают равным

[s]w = Rp0,2/n0,2, где n0,2 = 2.                                                     (5.3)

5.4. При определении номинальных допускаемых напряжений значения механических свойств следует принимать по данным государственных или отраслевых стандартов (ГОСТ или ОСТ) или технических условий (ТУ). Если в указанных документах отсутствуют требуемые значения, допускается использовать значения, приведенные в табл. 3.1, 3.2, а также в ПНАЭ Г-7-002-86.

5.5. Значения коэффициента hi приведены в табл. 5.1.

Таблица 5.1

Значения коэффициента hi

Расчетный случай

Группы приведенных напряжений

(s)l

(s)2

Проектная авария

1

1,30

Нормальные условия эксплуатации

0,7

1,0

5.6. Размах напряжений (s)RV не должен превышать значения [2,5 – (/RTm)]  и быть не более 2. При этом максимальные и минимальные (по абсолютной величине) значения напряжений, используемые при определении размаха напряжений, не должны превышать RTm.

5.7. Напряжения в болтах и шпильках, напряжения смятия и среза не должны превышать пределов, установленных ПНАЭ Г-7-002-86 (за исключением случаев динамических воздействий, указанных в настоящих нормах).

6. ВЫБОР ОСНОВНЫХ РАЗМЕРОВ

6.1. Общие положения

6.1.1. При выборе основных размеров расчетными нагрузками являются возникающие при нормальных условиях эксплуатации и проектных авариях:

1) внутреннее давление;

2) наружное давление.

6.1.2. При выборе основных размеров СЗО используют расчетное давление, расчетную температуру и допускаемое напряжение, определяемое по механическим свойствам материала при расчетной температуре.

6.1.3. Прибавку на коррозию для СЗО, выполняемых из сталей перлитного класса, следует принимать равной C2 = 1 мм.

Значение С1 принимается в соответствии с конструкторской документацией.

Значение С3 устанавливается конструкторской организацией по согласованию с предприятием-изготовителем.

6.2. Определение толщин стенок стальных защитных оболочек

6.2.1. Приведенные в данном подразделе формулы применимы для расчета цилиндрических и сферических элементов СЗО, а также выпуклых днищ, работающих под внутренним и наружным давлениями.

6.2.2. Расчетная толщина стенки выбирается по формуле

,                                                           (6.1)

где j может принимать значения jd, jc, jw в зависимости от фактора, вызывающего ослабление;

для цилиндрических элементов m1 = 2, m2 = 1;

для сферических элементов m1 = 4, m2 = 1;

для эллиптических днищ m2 = 4, m2 = D/2H

и отношение H/D (рис. 6.1) должно удовлетворять условию

0,2 £ H/D £ 0,5.                                                      (6.2)

Формулы применимы при (S - C)/D £ 0,1 для сферических, эллиптических и торосферических оболочек и при (S - C)/D £ 0,3 для цилиндрических.

6.2.3. Принимаемая номинальная толщина стенки должна удовлетворять условию

S ³ SR + C.                                                                 (6.3)

6.2.4. При выборе толщины листа или другого полуфабриката для изготовления СЗО конструкторская организация совместно с предприятием-изготовителем должна предусмотреть соответствующие технологические припуски для компенсации утонений при изготовлении, чтобы обеспечить толщину стенки элемента не менее расчетной с учетом прибавки С, и привести требуемую толщину заготовки в техническом проекте с последующим ее уточнением в рабочей документации.

Рис. 6.1. Эллиптическое днище

6.3. Коэффициенты снижения прочности и укрепление отверстий

6.3.1. Снижение прочности одиночным отверстием.

1. Одиночным считается отверстие, кромка которого удалена от кромки ближайшего отверстия на расстояние

,                                               (6.4)

где l - расстояние между центрами рассматриваемых отверстий.

2. Неукрепленным считается отверстие, не имеющее укрепления в виде штуцера с расчетной толщиной стенки, превышающей необходимую по расчету; приварной накладки; местного утолщения оболочки вокруг отверстия или отбортованного воротника (высаженной горловины), а также отверстие, в котором развальцовываются трубы.

3. Коэффициент снижения прочности цилиндрической и сферической оболочек или выпуклого днища, ослабленных неукрепленным одиночным отверстием, определяется по формуле

.                                                   (6.5)

Если при расчете получают, что jd ³ 1, следует принять jd = 1.

4. Диаметр отверстий d в расчетах принимается:

для круглых отверстий под развальцовку труб, под приварку штуцеров к оболочке и для отверстий, закрытых крышками, - равным диаметру отверстия в оболочках;

для некруглых отверстий с отношением размеров по осям симметрии не более 2:1 - равным наибольшему размеру в свету в продольном направлении для отверстий в цилиндрических оболочках и равным наибольшему размеру в свету в каждом направлении для сферических оболочек и днищ;

для круглых отверстий с пропущенным штуцером, соединенным с оболочкой сварным швом с полным проплавлением стенки, - равным внутреннему диаметру штуцера;

для отверстий с разными диаметрами по толщине стенки - равным условному диаметру, определяемому по формуле

                                               (6.6)

(обозначения показаны на рис. 6.2).

Рис. 6.2. Схема для определения условного диаметра отверстия

5. Наибольший допустимый диаметр неукрепленного одиночного отверстия в оболочках определяют по формуле

,                                               (6.7)

где

.                                                             (6.8)

6. Если диаметр отверстия d превышает допускаемый d0, то такое отверстие необходимо укрепить с помощью утолщенных штуцеров, приварных накладок, местного утолщения оболочки вокруг отверстия или комбинации из указанных способов. При этом площадь укрепляющих элементов сечений представляет собой сумму площадей поперечных сечений штуцеров Ash и утолщения оболочки вокруг отверстия Аn, используемых для укреплений, а также наплавленного металла приварки Аw:

SA = Ash + An + Aw.                                                     (6.9)

7. Площадь сечений укрепляющих элементов должна удовлетворять условию

SA ³ (d – d0)S0.                                                     (6.10)

8. Если для укрепления отверстия использование указанных выше способов недостаточно или нерационально по конструктивным соображениям, то толщину стенки оболочки следует увеличить, что приведет к соответствующим изменениям j0 и d0 уменьшению необходимой для укрепления площади SA.

9. Коэффициент снижения прочности стенки цилиндрической или сферической оболочек, а также выпуклого днища, ослабленных одиночным укрепленным отверстием, определяют по формуле

,                                      (6.11)

10. При необходимости укрепления одиночного отверстия до заданного значения коэффициента снижения прочности j  площадь укрепляющих элементов сечения может быть определена без вычисления допустимого диаметра отверстия согласно условию

.                                        (6.12)

11. Если укрепляющий элемент изготавливается из материала с меньшим значением [s], чем у материала оболочки, то определенную площадь этого укрепляющего элемента необходимо умножить на отношение номинальных допускаемых напряжений для материалов оболочки и укрепляющего элемента. Более высокое значение [s] у материала укрепляющего элемента, по сравнению с [s] для материала оболочки, в расчете не учитывается.

12. Площадь сечения укрепляющего штуцера (рис. 6.3) определяется:

для участка, расположенного снаружи оболочки (днища),

Ash = 2hs(Ss - S0s – Cs),                                                       (6.13)

для участка, расположенного внутри оболочки (днища),

Ash = 2hs(Ss - Cs).                                                             (6.14)

Рис. 6.3. Схема укрепляющих сечений

13. Высота укрепляющего участка штуцера должна приниматься не более, чем определяемая по формуле

.                                        (6.15)

14. Номинальная толщина стенки штуцера должна быть не более номинальной толщины стенки оболочки (днища).

15. Размеры сварных швов штуцеров должны удовлетворять условию

,                                                      (6.16)

(обозначения см. на рис. 6.3).

16. Формулы, приведенные в настоящем пункте, применимы при d/D £ 1,0 в цилиндрических оболочках и при d/D £ 0,5 в эллиптических, сферических и торосферических оболочках.

Приведенная методика определения площади укрепляющих сечений применима, если угол отклонения g оси штуцера от перпендикуляра к поверхности оболочки не превышает 0,26 рад.

6.3.2. Снижение прочности при ослаблении рядом отверстий.

1. Под рядом отверстий понимают отверстия, расстояние между кромками которых не превышает значения 2 .

2. Коэффициент снижения прочности при продольном ряде отверстий (рис. 6.4) в цилиндрических оболочках или при ряде любого направления в сферических оболочках jd определяется по формуле jd = (l - d)/l.

Рис. 6.4. Продольный ряд отверстий с одинаковым шагом

3. Коэффициент снижения прочности при окружном (поперечном) ряде отверстий (рис. 6.5) в цилиндрической оболочке определяют по формуле

.                                                           (6.17)

Рис. 6.5. Поперечный ряд отверстий с одинаковым шагом

4. При шахматном расположении отверстий (рис. 6.6) в цилиндрической оболочке определяют три значения коэффициента снижения прочности jd по формулам:

в продольном направлении

;                                                           (6.18)

в окружном (поперечном) направлении

;                                                             (6.19)

в косом направлении

                                                 (6.20)

В качестве расчетного коэффициента снижения прочности принимается меньшее из значений, полученных по формулам настоящего пункта.

Рис. 6.6. Шахматное расположение отверстий

5. Для коридорного расположения отверстий значение коэффициента снижения прочности принимается наименьшим из полученных значений для продольного и поперечного рядов отверстий.

6. При неодинаковых шагах между отверстиями (рис. 6.7) коэффициент снижения прочности принимается равным наименьшему значению коэффициента снижения прочности для каждой пары отверстий.

Рис. 6.7. Ряд отверстий с неодинаковым шагом

Диаметр отверстия принимается равным среднеарифметическому значению диаметров соседних отверстий в ряду.

7. Если несколько одиночных отверстий располагаются в одном направлении с рядом, то принимается наименьшее значение коэффициента снижения прочности из значений для одиночного и ряда отверстий.

8. Если ось ряда отверстий не пересекает центр одиночного отверстия; и если угол между осью ряда и прямой, соединяющей центр этого отверстия с центром соседнего, не превышает 0,26 рад, то при определении коэффициента снижения прочности это отверстие относится к ряду.

9. Если ось ряда проходит через некруглое отверстие, то за диаметр этого отверстия принимается наибольший размер, определяемый осью ряда или прямой, проходящей через центр некруглого отверстия с отклонением от ряда на угол до 0,26 рад.

10. Если каждое из отверстий, образующих ряд, имеет укрепляющие элементы, то коэффициент снижения прочности такого ряда определяется по формуле

.                                             (6.21)

11. При необходимости укрепления отверстий в ряду до заданного значения коэффициента снижения прочности площадь сечений укрепляющих элементов определяется согласно условию

.                                                  (6.22)

12. Площадь сечений укрепляющих штуцеров для оболочки, ослабленной рядом отверстий с различными по размерам штуцерами, принимается:

для участка, расположенного снаружи оболочки (днища),

Ash = hs1(Ss1 – S0s1 – Cs1) + hs2(Ss2 – S0s2 – Cs2);                            (6.23)

для участка, расположенного внутри оболочки (днища),

Ash = hs1(Ss1 – Cs1) + hs2(Ss2 – Cs2);                                       (6.24)

где индексы 1 и 2 относятся к двум соседним отверстиям.

6.3.3. Коэффициент снижения прочности сварных соединений.

1. Коэффициент снижения прочности стыковых сварных соединений jw выбирается в зависимости от объема дефектоскопического контроля по табл. 6.1.

Таблица 6.1

Значения коэффициентов снижения прочности стыковых сварных соединений

Объем радиографического или ультразвукового контроля, %

Коэффициент снижения прочности jw

100

1,0

50

0,9

25

0,85

10 и менее

0,8

2. Коэффициент снижения прочности кольцевых сварных соединений цилиндрических оболочек допускается принимать равным 1,0.

3. Если минимальное расстояние от края любого отверстия до оси сварного шва по направлению, перпендикулярному расчетному направлению

,                                      (6.25)

то коэффициент снижения прочности определяется как произведение коэффициента снижения прочности сварного соединения и коэффициента снижения прочности отверстия

j = jdjw или j = jсjw,                                               (6.26)

Если расстояние между осью сварного шва и краем ближайшего отверстия

,                                       (6.27)

то за расчетный коэффициент снижения прочности принимают минимальное значение jd, jc или jw.

6.4. Расчет болтов и шпилек

Минимальный диаметр болтов и шпилек узла уплотнения dmin, определенный по резьбе или стержню, должен быть не менее

,                                                 (6.28)

где Fш - усилие в болтах (шпильках) от механических нагрузок; z - число болтов (шпилек); [s] - допускаемое напряжение для болтов и шпилек.

7. ПОВЕРОЧНЫЙ РАСЧЕТ

7.1. Общие положения

7.1.1. Поверочный расчет проводят после выбора основных размеров рассчитываемых элементов.

7.1.2. При поверочном расчете используют номинальные размеры деталей и сборочных единиц.

7.1.3. Поверочный расчет проводят с учетом всех расчетных нагрузок и всех расчетных режимов эксплуатации. В один расчетный режим может быть включена группа режимов, если внешние нагрузки и температуры этих режимов не отличаются более чем на 5 % принятых при расчете значений.

7.1.4. Основными расчетными нагрузками являются:

внутреннее или наружное давление;

собственный вес СЗО;

усилия от реакции опор и трубопроводов;

температурные воздействия;

дополнительные нагрузки от масс, присоединенных к СЗО.

7.1.5. Основными расчетными режимами являются:

затяг болтов и шпилек;

стационарный режим работы СЗО;

переменные режимы, связанные с изменением состояния оборудования, заключенного в СЗО;

режим работы СЗО при ПА;

пневмоиспытания;

динамические воздействия.

7.1.6. Настоящими нормами не регламентируются методы определения перемещений, напряжений и деформаций рассчитываемых элементов.

Ответственность за выбор того или иного метода несет организация, выполнявшая расчет на прочность.

7.1.7. Приведенные напряжения при поверочном расчете определяют по теории наибольших касательных напряжений. Исключением является расчет на сопротивление хрупкому разрушению, при котором приведенные напряжения определяют по теории наибольших нормальных напряжений.

7.2. Расчет на статическую прочность

7.2.1. Порядок определения напряжений.

1. На основании предварительного анализа геометрической формы, условий закрепления, действующих нагрузок и температурных полей следует выбрать наиболее напряженные области рассчитываемой оболочки.

2. Для определения составляющих напряжений в рассчитываемых областях элемента конструкции выбирают одну из систем координат, например прямоугольную с осями х, у, z, цилиндрическую с осями q, r, z или сферическую с осями q, r, j, и фиксируют направление осей. Составляющие нормальных напряжений в соответствующих системах координат обозначают sx, sy, sz или sq, sr, sz, или sq, sr, sj, а составляющие касательных напряжений - txy, txz, tyz или tqr, tqz, trz, или tqr, tqj, trj. Для тонкостенных оболочек с S/r £ 0,2 радиальные напряжения (с индексом r) допускается не учитывать.

3. Путем упругого расчета определяют значения шести составляющих напряжений (три составляющих нормальных и три составляющих касательных напряжений) без учета концентрации для всех режимов нагружения.

4. По шести составляющим напряженного состояния определяют значения главных напряжений и условно присваивают им индексы i, j, k.

5. Получают зависимость изменения главных напряжений si; sj; sk для всей принятой последовательности режимов работы по времени.

6. Значения приведенных напряжений определяют для всех моментов времени, когда любое из главных напряжений достигает экстремального значения по формулам:

(sij)l = sil - sjl;

(sjk)l = sjl - skl;                                                     (7.1)

(sik)l = sil - skl, l = 1, 2, …, m.

7. При поверочном расчете на статическую прочность указанные в п. 6 приведенные напряжения определяют для категории общих мембранных напряжений (s)1, расчетной группы общих и местных мембранных напряжений и общих изгибных напряжений (s)2, а также находят размах общих и местных мембранных, общих и местных изгибных и общих температурных напряжений (s)RV.

8. Размах приведенных напряжений определяют как наибольшее из следующих значений:

                                              (7.2)

где (sij)max, (sjk)max, (sik)max - алгебраически максимальные, a (sij)min, (sjk)min, (sik)min - алгебраически минимальные напряжения для всего процесса изменения соответствующих приведенных напряжений.

Примечание. Во всех случаях

[(sij)max, (sjk)max, (sik)max] ³ 0;

[(sij)min, (sjk)min, (sik)min] £ 0                                            (7.3)

с учетом начального состояния, когда все напряжения равны нулю.

7.2.2. Допускаемые напряжения:

1. Напряжения расчетных групп категорий напряжений не должны превышать допускаемых, указанных в табл. 7.1 и п.п. 5.6 и 5.7.

Таблица 7.1

Допускаемые напряжения

Тип конструкции

Расчетный случай

Расчетные группы категорий напряжений

(s)l

(s)2

(s)lw

(s)3w

(s)4w

(s)RV

Элементы СЗО

Проектная авария

[s]

1,3[s]

-

-

-

(2,5 - /RTm), но не более 2

Нормальные условия эксплуатации

0,7[s]

[s]

-

-

-

(2,5 - /RTm), но не более 2

Болты и шпильки

Проектная авария

-

-

1,37[s]w

1,6[s]w

2,0[s]w

-

Нормальные условия эксплуатации

-

-

[s]w

1,3[s]w

1,7[s]w

-

Примечание. Выполнение требований табл. 7.1 по размахам напряжений (s)RV не является обязательным в тех случаях, когда возможное при эксплуатации искажение формы СЗО, связанное с невыполнением указанных требований, не может повлиять на нормальную эксплуатацию рассчитываемого узла (нет нарушения герметичности разъемных соединений, недопустимых деформаций сопрягаемых деталей и т.п.).

7.3. Расчет на устойчивость

7.3.1. Цилиндрическая СЗО.

7.3.1.1. Условия применения расчетных формул:

400 £ R/S £ 1000; 0,25 £ L/R £ 9.                                         (7.4)

7.3.1.2. Расчет на устойчивость цилиндрической оболочки, нагруженной всесторонним наружным давлением Р, следует заполнять по формуле

Р £ [Pa].                                                                  (7.5)

Допускаемое наружное давление цилиндрической оболочки определяется по формуле:

.                                                    (7.6)

Расчет на устойчивость цилиндрической оболочки, нагруженной наружным давлением и осевой нагрузкой, следует выполнять по формуле

,                                                         (7.7)

где s2m, s1m - соответственно сжимающие окружные и осевые общие мембранные напряжения; [s2]y, [s1]y - допускаемые из условия устойчивости, соответственно окружные и осевые общие мембранные сжимающие напряжения.

7.3.1.3. Допускаемые напряжения для гладкой цилиндрической оболочки:

1. Допускаемое окружное сжимающее напряжение определяется по формуле

,                                                      (7.8)

где s2kр - критическое окружное напряжение для идеальной цилиндрической оболочки при наружном давлении

s2kр = 0,92 Е (R/L) (S/R)3/2;                                                (7.9)

L - длина оболочки от заделки до сопряжения со сферическим куполом; Кр - коэффициент, учитывающий условия опирания торцов оболочки; при заделке одного края и сопряжении другого со сферическим куполом Кр = 1,5L/(L + 0,33R); при заделке одного края и свободном другом (в строительно-монтажный период) Кр = 0,6; С - коэффициент, учитывающий влияние несовершенств формы оболочки: С = 0,6; n2y - коэффициент запаса по устойчивости: n2y = 3,1.

2. Допускаемое осевое сжимающее напряжение определяется по формуле

,                                                     (7.10)

где s1кр - критическое меридианальное напряжение при осевом сжатии идеальной цилиндрической оболочки:

s1кр = 0,605 E(S/R);                                                   (7.11)

C - коэффициент влияния несовершенств формы:

C = 1/(1 + 4D/S) при 0 £ D/S £ 2,5, где                                 (7.12)

D - максимальное отклонение наружной поверхности оболочки относительно меридионального (прямолинейного) либо кольцевого (в виде дуги окружности) шаблона длиной не менее 8; при этом отклонение от номинального значения радиуса оболочки, измеренного относительно центра, не должно превышать 0,5 %;

n1y - коэффициент запаса по устойчивости;

n1y = 2,2.                                                (7.13)

7.3.1.4. Допускаемые напряжения для цилиндрической оболочки с кольцевыми ребрами.

1. Отношение высоты стенки ребра hр к толщине ребра tр не должно превышать величины

hp/tp £ аp,                                                    (7.14)

где ар = 0,35 для прямоугольного сечения ребра и ар = 0,75 для таврового сечения.

2. Допускаемое окружное сжимающее напряжение [s2]у определяют из условия устойчивости как всей оболочки (длиной L), так и на участке (длиной b) между ребрами, между заделкой и ребром, между ребром и сопряжением с куполом:

.                             (7.15)

Допускаемое напряжение из условия устойчивости всей оболочки определяют как [s2]уL = [s2]у по формуле (7.8), в которой

s2кр = 0,92 E(R/L)[K(S/R)]3/2,                                      (7.16)

где К - коэффициент жесткости оболочки, подкрепленной ребрами:

;                                                    (7.17)

I - эффективный момент инерции расчетного поперечного сечения ребра:

;                                          (7.18)

Ip - момент инерции поперечного сечения ребра относительно оси, проходящей через его центр тяжести параллельно образующей оболочки; l - расстояние между двумя соседними ребрами; А - площадь поперечного сечения ребра; е - расстояние между центром тяжести поперечного сечения ребра и срединной поверхностью оболочки; L - эффективная длина стенки оболочки, учитываемая при определении эффективного момента инерции:

;

tр - ширина поперечного сечения ребра в месте его приварки к оболочке.

Допускаемое напряжение из условия устойчивости участка оболочки с кольцевыми ребрами определяется как [s2]yb = [s2]y по формуле (7.8) с заменой L на длину участка, устойчивость которого проверяется.

При этом значение Кp принимают:

для участка между ребрами жесткости Кp = 1,1;

для участка между заделкой и ребром Кp = 1,25;

для участка между ребром и сопряжением оболочки со сферическим куполом Кp = 1,40b/(b + 0,33R).

Допускаемое из условия прочности общее мембранное окружное напряжение определяется по формуле

,                                                  (7.19)

где .

2. Допускаемое осевое сжимающее напряжение [s1]y определяется по формуле (7.10); при определении D должны соблюдаться условия подпункта 2 п. 7.3.1.3, но длина меридианального шаблона принимается не более расстояния между ребрами на участке, устойчивость которого рассматривается.

7.3.2. Сферическая СЗО.

7.3.2.1. Условия применения расчетных формул:

600 £ R/S £ 1500.                                                     (7.20)

7.3.2.2. Расчет на устойчивость сферической оболочки, нагруженной наружным давлением Р, следует выполнять по формуле

Р £ a].                                                            (7.21)

Допускаемое наружное давление [Р]у определяется по формуле

,                                                         (7.22)

где Ркр - верхнее критическое давление для идеальной замкнутой сферической оболочки:

Ркр = 1,21E(S/R)2;                                                 (7.23)

Ср - коэффициент, учитывающий влияние на устойчивость оболочки начальных несовершенств формы:

 при 0 £ D/S £ 2,5;                                     (7.24)

D - максимальное отклонение наружной поверхности оболочки от шаблона длиной не менее 8,85; при этом отклонение от номинального значения радиуса оболочки, измеренного относительно ее центра, не должно превышать 0,5 %; n - коэффициент запаса по устойчивости сферической оболочки:

nу = 2,6.

7.4. Расчет на циклическую прочность

7.4.1. Основной метод расчета на циклическую прочность изложен в ПНАЭ Г-7-002-86.

Для СЗО реакторов может применяться метод, который распространяется на те же материалы и диапазон температур, что и основной метод расчета на циклическую прочность. Данный метод не применим к многоцикловой усталости при числе циклов нагружения более 105.

Расчет на циклическую прочность проводится на основе данных об изменении напряжений, полученных по п. 7.2.1 для всей принятой последовательности режимов работы.

7.4.2. Определение напряжений и числа эксплуатационных циклов нагружения.

1. Для построения графика изменения напряжений без учета концентрации используют результаты, полученные по подп. 6 п. 7.2.1.

2. Для проведения расчета из трех зависимостей приведенных напряжений sij, sjk, sik получают одну зависимость, включающую последовательные полуциклы с максимальными размахами напряжений.

Если для момента времени l из экстремумов приведенных напряжений выбирают для построения искомой зависимости алгебраический максимум, то для следующего момента времени l + 1 выбирают алгебраический минимум экстремумов приведенных напряжений.

3. Цикл напряжений с наибольшим размахом выделяют из полученной по подп. 2 п. 7.4.2 зависимости

2(sа)max = smax - smin,                                                   (7.25)

где smax, smin - алгебраически наибольшее и наименьшее напряжения для всей зависимости изменения напряжений.

4. Другие циклы с меньшими амплитудами напряжений выделяют из оставшейся части зависимости по подп. 2 п. 7.4.2, руководствуясь подп. 3 п. 7.4.2, пока она не будет полностью исчерпана.

5. Амплитуду местного напряжения определяют по формуле

saF = Кejfsa,                                                           (7.26)

где Кe - коэффициент концентрации напряжений; jf - коэффициент, учитывающий влияние сварного шва с полным проплавлением (jf = 1,5). При отсутствии сварного шва jf = 1.

6. Коэффициенты концентрации напряжений определяют по рис. 7.1 в зависимости от отношения  и коэффициента концентрации напряжения в упругой области аs, определяемого по справочникам и принимаемого равным наибольшему значению по направлению кольцевых или меридианальных напряжений. Для резьб принимают аs = 5.

Рис. 7.1. Коэффициенты концентрации напряжений

Коэффициент концентрации напряжений может быть определен по следующим соотношениям:

 при ;                                                 (7.27)

 при

.                                                           (7.28)

Коэффициент Кe можно принимать одинаковым для всех циклов независимо от амплитуды и равным его значению для цикла с максимальной амплитудой.

7. Устанавливают число циклов, соответствующее каждому значению амплитуды за время эксплуатации конструкции, исходя из данных о повторяемости режимов работы и нагружения.

7.4.3. Проверка циклической прочности

Проверку циклической прочности проводят с использованием кривой усталости, приведенной на рис. 7.2.

Кривая усталости может применяться для сталей с  ³ МПа, Zт ³ 32 % при температурах до 350 °С.

Если элемент конструкции находится в контакте с рабочей средой, то ее влияние на кривые усталости должно учитываться дополнительно.

Проверка циклической прочности проводится в следующем порядке:

1. Принимают число циклов нагружения при максимальной амплитуде местных напряжений равным суммарному числу циклов с различными амплитудами, включая максимальную, , где l = 1, 2, ...; m - число типов циклов с различными амплитудами.

Циклы нагружений с амплитудой напряжения, меньшей, чем амплитуда напряжений по кривой усталости на рис. 7.2 при [N] = 106, не учитывают. Если выполняется условие  < [N], где [N] - допускаемое число циклов для максимальной амплитуды по кривой усталости на рис. 7.2, то условие циклической прочности удовлетворяется.

2. Если условие прочности по подп. 1 п. 7.4.3 не выполняется, то проверку прочности проводят с учетом циклов нагружения с максимальной амплитудой и меньшей ближайшей к максимальной.

Рис. 7.2. Расчетная кривая усталости для сталей с  ³ 400 МПа и ZТ ³ 32 % при температурах до 350 °С

Ожидаемое число циклов с максимальной амплитудой местных напряжений принимают равным фактическому nэ1 с учетом подп. 7 п. 7.4.2.

Число циклов, ближайших по амплитуде к максимальной, принимают равным суммарному числу циклов с другими значениями амплитуд, исключая циклы с максимальной амплитудой,

.                                                                   (7.29)

Определяют по кривой усталости на рис. 7.2 допускаемые числа циклов [N]1 и [N]2 для амплитуд максимальной и ближайшей к ней соответственно.

Если выполняется условие

,                                                     (7.30)

то удовлетворяется и условие циклической прочности.

При большом числе циклов с различной амплитудой аналогичные проверки прочности могут быть продолжены, если последнее условие не выполняется.

7.5. Расчет на сопротивление разрушению

7.5.1. Основными характеристиками материала, используемыми в расчете, являются критическое раскрытие трещины (КРТ) dс, предел текучести  и модуль упругости Е.

Основной зависимостью, используемой в расчете, является температурная зависимость допускаемого раскрытия трещины.

7.5.2. Сопротивление разрушению элементов конструкции считается обеспеченным, если для расчетных трещин, расположенных в любой зоне рассматриваемого элемента, при любых режимах эксплуатации выполняется условие

d £ [d],                                                                   (7.31)

где d - раскрытие в вершине расчетной трещины; [d] - допускаемое значение раскрытия трещины.

7.5.3. Раскрытие в вершине трещины определяется из выражений:

,                       (7.32)

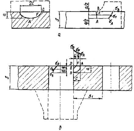
где Si - эквивалентные условно-упругие напряжения в зоне расположения трещины (с учетом остаточных сварочных напряжений); Мi - поправки, учитывающие геометрию и место расположения трещины; i - индекс, указывающий на точку фронта расчетной трещины, в которой определяется раскрытие трещины; а - глубина трещины.

7.5.4. Характеристические размеры расчетных трещин, напряжения и поправки Мi принимают в зависимости от рассматриваемых зон конструкции.

1. Для зон без концентрации напряжений, а также зон перехода жесткостей (соединение фланцев с цилиндрической частью корпуса, галтели и др.) в качестве расчетной принимают полуэллиптическую трещину (рис. 7.3, а) глубиной а = 0,25S с соотношением а/С = 2/3.

При линейном или близком к параболическому нелинейном законах изменения напряжений условные напряжения определяются из выражения (см. рис. 7.3, а)

S = 0,11 (3sA + 5sF + sB) + 0,4 (а/с) (0,38sA - 0,17sB - 0,21sF) -

- 0,28 (a/S) (1 - ) (sA - sB).                                  (7.33)

Поправку Mi принимают в виде

,                                       (7.34)

где N = [1 - (0,89 - 0,57 (a/S)1,5]3,25.                                                                                                                                              (7.35)

При a/S = 0,25 и а/с = 2/3 МA = 0,85.

2. Для зон и отверстий (присоединения патрубков, штуцеров, труб) в качестве расчетной принимают угловую трещину (рис. 7.3, б) с соотношением а/с = 1 глубиной а = 0,25S, но не более 0,25S1 (где S1 - толщина перемычки между соседними отверстиями).

Рис. 7.3. Расчетные трещины:

а - вне зон концентрации и в зоне перехода жесткостей; б - в зоне отверстий

Условные напряжения определяют из выражений

SA = 0,48sA + 0,47sF + 0,05sD;                                      (7.36)

SB = 0,48sB + 0,47sE + 0,05sD.                                        (7.37)

Поправки принимают в виде

MA = 0,8 [1 + 0,32 (a/S)2] [1 - 0,033 (а/С)1,5]-3,25;                         (7.38)

МB = 0,8 [1 - 0,033 (a/S1,5]-3,25                                       (7.39)

При a/S = 0,25 MA = 0,91; МB = 0,81.

Напряжения в рассматриваемой зоне оболочки определяются без учета трещин. Затем в эту зону "внедряется" трещина и для различных точек ее фронта устанавливаются напряжения sA, sB, sD, sE, sF.

7.5.5. Допускаемые значения раскрытия трещины [d]i в зависимости от температуры получают как огибающую двух кривых, определяемых по исходной температурной зависимости dc. Одну из этих кривых получают путем деления ординат температурной зависимости критического раскрытия трещины dc на коэффициент запаса прочности, другую - путем смещения исходной кривой вдоль оси абсцисс на величину температурного запаса DT.

Принимают:

для НУЭ (i = 1) nd = 2, DT = 30 °С;

для ПА (i = 2) nd = 1, DT = 0.

Температурные зависимости dc должны приниматься по данным аттестационных отчетов по материалам (основной металл, сварные соединения) с учетом условий эксплуатации.

Зависимости [d]i от приведенной температуры (Т - Тк) для сталей марок 10ХСНД и 09Г2С и их сварных соединений приведены на рис. 7.4 и 7.5.

Рис. 7.4. Температурная зависимость [d]1:

1 - сталь марки 09Г2С и ее сварное соединение;

1 - [d]1 = 0,012ехр[0,004(Т - Тк)] при (-100) £ (Т - Тк) £ 0 °С;

1 - [d]1 = 0,012ехр[0,04(Т - Тк)] при 0 < (Т - Тк) £ 100 °С;

2 - сталь марки 10ХСНД, основной металл;

2 - [d]1 = 0,012ехр[0,004(Т - Тк)] при (-100) £ (Т - Тк) £ 20 °С;

2 - [d]1 = 0,0055ехр[0,04(Т - Тк)] при 20 < (Т - Тк) £ 120 °С;

3 - сварное соединение стали марки 10ХСНД;

3 - [d]1 = 0,012ехр[0,004(Т - Тк)] при (-100) £ (Т - Тк) £ 0 °С;

3 - [d]1 = 0,012ехр[0,023(Т - Тк)] при 0 < (Т - Тк) £ 140 °С.

Рис. 7.5. Температурная зависимость [d]1:

1 - сталь марки 09Г2С и ее сварное соединение;

1 - [d]2 = 0,024ехр[0,004(Т - Тк)] при (-100) £ (Т - Тк) £ (-15) °С;

1 - [d]2 = 0,04ехр[0,04(Т - Тк)] при (-15) < (Т - Тк) £ 75 °С;

2 - сталь марки 10ХСНД, основной металл;

2 - [d]2 = 0,024ехр[0,004(Т - Тк)] при (-100) £ (Т - Тк) £ 10 °С;

2 - [d]2 = 0,017ехр[0,04(Т - Тк)] при 10 < (Т - Тк) £ 90 °С;

3 - cвaрнoe coeдинeниe стали марки 10ХСНД

3 - [d]2 = 0,024ехр[0,004(Т - Тк)] при (-100) £ (Т - Тк) £ 0 °С;

3 - [d]2 = 0,024ехр[0,023(Т - Тк)] при 0 < (Т - Тк) £ 140 °С.

При отсутствии температурных зависимостей dс для сталей других марок допускается для определения зависимостей dс от (Т - Тк) использовать пересчет температурных зависимостей К, приведенных в ПНАЭ Г-7-002-86, из соотношения

.                                                               (7.40)

7.5.6. Критическую температуру хрупкости (КТХ) материала определяют по формуле

Тк = Ткo + DTТ + DТN + DTF,                                               (7.41)

где Ткo - КТХ материала в исходном состоянии; DTТ - сдвиг КТХ вследствие температурного старения; DТN - сдвиг КТХ вследствие циклической повреждаемости; DTF - сдвиг КТХ вследствие влияния нейтронного облучения.

Указанные характеристики определяются в соответствии с требованиями ПНАЭ Г-7-002-86.

7.5.7. Расчет на сопротивление разрушению допускается не проводить, если толщина стенки рассматриваемого элемента СЗО удовлетворяет соотношению

,                                                             (7.42)

где значения dс принимают для минимальной температуры стенки в процессе эксплуатации; Тк - на конец эксплуатации; Rp0,2 и Rm - при температуре 20 °С.

7.6. Расчет на динамические воздействия

7.6.1. При выполнении расчета на динамические воздействия используют термины, определения и обозначения в соответствии с ПНАЭ Г-7-002-86.

7.6.2. Исходными данными для расчета служат динамические воздействия, характеризуемые акселерограммами или спектрами ответов для трех взаимно перпендикулярных направлений (вертикального и двух горизонтальных), а также нагрузки при НУЭ и ПА.

7.6.3. Динамические нагрузки определяют с учетом одновременного динамического воздействия в двух горизонтальных и вертикальном направлениях.

7.6.4. Расчет выполняют линейно-спектральным методом (по спектрам ответа) или методом динамического анализа (по акселерограммам). В случае, если первая собственная частота колебаний больше 20 Гц, расчет допускается выполнять статическим методом с умножением ускорений, полученных по спектру ответа, на коэффициент 1,3 для частот в диапазоне 20-33 Гц и на коэффициент 1,0 для частот более 33 Гц.

7.6.5. При отсутствии прямых данных допускается логарифмический декремент затухания принимать равным 0,12.

7.6.6. Определение напряжений и деформаций допускается проводить в предположении статического действия найденных по расчету динамических нагрузок.

7.6.7. Напряжения при динамических воздействиях должны удовлетворять требованиям табл. 7.2-7.5.

7.6.8. Для других динамических воздействий (ударная волна, падение самолета и др.) допускаемые напряжения принимаются как для сочетания НУЭ + МРЗ, при этом вместо МРЗ рассматриваются соответствующие динамические воздействия.

7.6.9. Деформации и перемещения СЗО при динамических воздействиях не должны превышать значений, определяемых зазорами между оболочкой и конструкциями, размещенными в ней.

7.6.10. Расчет на циклическую прочность проводят по подразд. 7.4.

Расчет допускается проводить, используя максимальную амплитуду напряжений, определенную с учетом воздействий НУЭ + ПЗ (или другого динамического воздействия вместо ПЗ).

Таблица 7.2

Сочетания нагрузок и допускаемые напряжения для СЗО при сейсмических воздействиях

Сочетание нагрузок

Расчетная группа категорий напряжений

Допускаемые напряжения

НУЭ + ПЗ

(ds)1

0,9[s]

(ds)2

1,2[s]

НУЭ + МРЗ

(ds)1

[s]

(ds)2

1,3[s]

ПА + ПЗ

(ds)1

[s]

(ds)2

1,3[s]

Таблица 7.3

Сочетания нагрузок и допускаемые напряжения для болтов и шпилек при сейсмических воздействиях

Сочетание нагрузок

Расчетная группа категорий напряжений

Допускаемые напряжения

НУЭ + ПЗ

(ds)mw

1,2[s]w

(ds)4w

2,0[s]w

НУЭ + МРЗ

(ds)mw

1,4[s]w

(ds)4w

2,2[s]w

ПА + ПЗ

(ds)mw

1,3[s]w

(ds)4w

2,2[s]w

Таблица 7.4

Сочетания нагрузок и допускаемые напряжения смятия при сейсмических воздействиях

Сочетание нагрузок

Категория напряжений

Допускаемые напряжения

НУЭ + ПЗ

(ds)s

1,8[s]

НУЭ + МРЗ

2,0[s]

ПА + ПЗ

2,0[s]

Таблица 7.5

Сочетания нагрузок и допускаемые напряжения среза при сейсмических воздействиях

Сочетание нагрузок

Категория напряжений

Допускаемые напряжения

в СЗО

в болтах и шпильках

НУЭ + ПЗ

(ts)s

0,4[s]

0,6[s]w

НУЭ + МРЗ

0,6[s]

0,7[s]w

ПА + ПЗ

0,5[s]

0,7[s]w

Указанный расчет допускается не проводить для элементов СЗО, имеющих суммарную повреждаемость (без учета динамических воздействий) от циклических нагрузок в процессе эксплуатации, не превышающую 0,8.

7.7. Пневматические испытания

7.7.1. Давление пневматических испытаний принимают равным

Pп = P[s]Тп/[s]Т,                                                       (7.43)

где [s]Тп - допускаемое напряжение при температуре пневматических испытаний.

7.7.2. Допускаемую температуру металла СЗО при пневматических испытаниях Тп определяют следующим образом:

согласно указаниям подразд. 7.5 находят наибольшее раскрытие трещины dmax из числа раскрытий трещин для различных зон СЗО при пневматических испытаниях;

по рис. 7.1 определяют значение Т1, соответствующее условию

dmax = 1,3[s]1;                                                             (7.44)

температуру Тп принимают равной не менее Т1. Если температура Т1 оказывается менее 10 °С, принимают Тп = 10 °С.

СОДЕРЖАНИЕ

Условные обозначения. 1

1. Основные определения. 2

1.1. Категории напряжений. 2

1.2. Расчетные группы категорий напряжений. 3

1.3. Примеры разделения напряжений на категории. 3

2. Общие положения. 5

3. Материалы.. 5

4. Нагрузки и воздействия. 6

5. Допускаемые напряжения. 6

6. Выбор основных размеров. 7

6.1. Общие положения. 7

6.2. Определение толщин стенок стальных защитных оболочек. 7

6.3. Коэффициенты снижения прочности и укрепление отверстий. 8

6.4. Расчет болтов и шпилек. 13

7. Поверочный расчет. 13

7.1. Общие положения. 13

7.2. Расчет на статическую прочность. 13

7.3. Расчет на устойчивость. 15

7.4. Расчет на циклическую прочность. 17

7.5. Расчет на сопротивление разрушению.. 19

7.6. Расчет на динамические воздействия. 22

7.7. Пневматические испытания. 23

 




Яндекс цитирования



   Copyright © 2007-2026,  www.tehlit.ru.

[ ѓосты, стандарты, нормативы, инструкции, правила, строительные нормы ]