//
ТехЛит.ру
- крупнейшая бесплатная электронная интернет библиотека для "технически умных" людей.
WWW.TEHLIT.RU - ТЕХНИЧЕСКАЯ ЛИТЕРАТУРА

:: Алготрейдинг::


АЛГОТРЕЙДИНГ
шаг за шагом
с нуля по урокам!

Торговые роботы на PYTHON, BackTrader,
Pandas, Pine Script для TradingView. Связка с брокерами, телеграм и легкими приложениями.


ГОСУДАРСТВЕННЫЙ СТАНДАРТ СОЮЗА ССР

ФЛАНЦЫ СОСУДОВ И АППАРАТОВ СТАЛЬНЫЕ ПРИВАРНЫЕ ВСТЫК ПОД ПРОКЛАДКУ ВОСЬМИУГОЛЬНОГО СЕЧЕНИЯ.

Конструкция и размеры.

ГОСТ 28759.4-90

ГОСУДАРСТВЕННЫЙ КОМИТЕТ СССР ПО УПРАВЛЕНИЮ КАЧЕСТВОМ ПРОДУКЦИИ И СТАНДАРТАМ

Москва

ГОСУДАРСТВЕННЫЙ СТАНДАРТ СОЮЗА ССР

ФЛАНЦЫ СОСУДОВ И АППАРАТОВ СТАЛЬНЫЕ
ПРИВАРНЫЕ ВСТЫК ПОД ПРОКЛАДКУ
ВОСЬМИУГОЛЬНОГО СЕЧЕНИЯ.

Конструкция и размеры.

Still butt welded flanges of vessels and apparatus
for gaskets of octangular sections.
Design and dimensions

ГОСТ
28759.4-90

Дата введения 01.01.92

Настоящий стандарт распространяется на стальные приварные встык фланцы сосудов и аппаратов диаметром от 400 до 1600 мм с условным давлением от 6,3 до 16,0 МПа при температуре рабочей среды от минус 70°С до плюс 540°С, предназначенные для работы в химической, нефтехимической, нефтеперерабатывающей и других отраслях промышленности.

Пределы применения фланцев в зависимости от материала и температуры должны соответствовать ГОСТ 28759.1.

Требования п. 1.2 в части показателей «Внутренний диаметр аппарата D, мм», D1, D2, D3, D4, D6, D7; п. 5 в части показателя «Внутренний диаметр аппарата D» настоящего стандарта являются обязательными, другие требования настоящего стандарта являются рекомендуемыми.

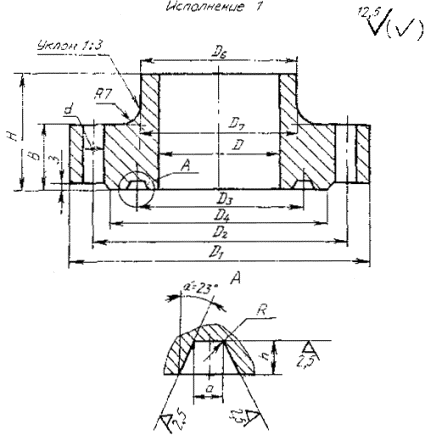
1. КОНСТРУКЦИЯ И РАЗМЕРЫ

1.1. Стандарт устанавливает конструкции фланцев следующих исполнений:

1 - под прокладку восьмиугольного сечения монометаллические;

2 - под прокладку восьмиугольного сечения наплавленные коррозионно-стойкой сталью.

1.2. Конструкция и размеры должны соответствовать:

на Ру 6,3 МПа - черт. 1, 2 и таблице,

на Ру 8,0 - Ру 16,0 МПа - черт. 3, 4 и таблице.

Черт. 1

Черт. 2

Черт. 3

Черт. 4

Размеры, мм

Внутренний диаметр аппарата D

D1

D2

D3

D4

D6

D7

b

H

h

a

R

d

Болты, шпильки

Давление условное, МПа

диаметр

количество

400

590

530

430

490

428

460

70

120

8

7

1,6

33

М30

20

6,3

620

555

475

516

436

472

135

24

8,0

630

565

526

442

484

76

155

10,0

715

630

578

462

526

104

220

12

10

46

М42

20

16,0

(450)

640

580

510

540

478

510

75

120

8

7

33

М30

6,3

675

610

525

571

488

528

72

145

9

24

8,0

690

625

586

496

642

84

170

10,0

775

690

638

518

586

110

235

13

12

2,4

46

М42

20

16,0

500

895

635

560

590

532

568

75

130

8

7

1,6

33

М30

24

6,3

735

670

575

631

542

586

76

155

10

9

28

8,0

750

685

646

550

602

88

185

10,0

840

755

703

576

652

115

255

15

13

2,4

46

М42

24

16,0

600

820

750

685

710

640

680

85

145

8

 

1,6

33

М30

28

6,3

845

780

675

741

648

698

175

12

9

32

8,0

885

810

762

658

718

102

210

40

М36

28

10,0

985

890

832

688

776

130

290

15

15

2,4

52

М48

24

16,0

700

945

875

785

825

744

792

95

165

8

9

1,6

40

М36

28

6,3

980

905

775

859

754

812

200

12

10

32

8,0

1020

935

883

766

832

116

240

46

М42

28

10,0

1140

1030

790

962

800

902

152

340

17

20

2,4

60

М56

24

16,0

800

1065

985

890

935

848

904

95

180

12

9

1,6

40

М36

30

6,3

1095

1020

875

974

860

924

106

225

13

12

2,4

8,0

1140

1055

1003

874

950

125

265

46

М42

32

10,0

1290

1170

910

1094

914

1030

175

390

19

23

70

М64

24

16,0

900

1180

1110

1025

1060

952

1020

105

205

12

9

1,6

40

М36

40

6,3

1230

1145

990

1093

968

1038

122

250

15

15

2,4

46

М42

36

8,0

1275

1180

1122

982

1064

145

295

 

52

М48

32

10,0

1485

1300

1015

1220

1028

1156

188

425

21

25

74

М68

28

16,0

1000

1300

1220

1070

1163

1056

1126

115

220

13

12

46

М42

40

6,3

1340

1255

1090

1203

1074

1152

130

270

16

16

8,0

1390

1295

1237

1090

1180

156

325

52

М48

36

10,0

1550

1425

1120

1345

1140

1280

200

460

22

26

74

М68

32

16,0

1100

1410

1330

1170

1275

1164

1236

125

230

13

12

2,4

46

М42

44

6,3

1475

1380

1190

1322

1180

1264

142

296

16

19

52

М48

40

8,0

1525

1420

1358

1198

1298

170

355

58

М52

36

10,0

1695

1560

1235

1472

1252

1404

222

500

23

29

32

М76

32

16,0

1200

1520

1440

1280

1385

1268

1346

130

245

15

13

46

М42

48

6,3

1590

1495

1290

1437

1286

1376

148

310

17

20

52

М48

44

8,0

1645

1535

1469

1304

1408

180

370

60

М56

40

10,0

1840

1695

1350

1603

1366

1532

238

545

25

31

86

М80

32

16,0

1300

1655

1565

1365

1485

1372

1456

135

260

15

13

52

М48

48

6,3

1700

1605

1400

1547

1392

1488

158

335

19

23

8,0

1760

1650

1584

1412

1524

194

400

58

М52

44

10,0

1400

1770

1675

1460

1610

1476

1562

155

285

16

16

2,4

58

М52

44

6,3

1825

1720

1500

1658

1498

1598

172

355

20

24

48

8,0

1890

1775

1703

1520

1640

205

425

66

М60

44

10,0

1500

1880

1785

1600

1720

1580

1672

155

290

16

19

58

М52

52

6,3

1950

1840

1610

1774

1604

1710

186

380

22

26

60

М56

48

8,0

2015

1895

1819

1628

1756

222

460

70

М64

44

10,0

1600

1990

1900

1705

1835

1686

1784

160

305

16

19

58

М52

56

6,3

2060

1950

1710

1884

1710

1820

196

410

22

26

60

М56

52

8,0

Примечание. Размеры, указанные в скобках, применять не рекомендуется.

Пример условного обозначения фланца для аппарата исполнения 1 диаметром 1200 мм на условное давление 6,3 МПа из стали 12Х18Н10Т.

Фланец 1-1200-63-12Х18Н10Т ГОСТ 28759.4-90

1.3. Технические требования по ГОСТ 28759.5.

1.4. Масса фланцев указана в приложении.

1.5. Прокладки по ГОСТ 28759.8.

ПРИЛОЖЕНИЕ
Справочное

Таблица массы фланцев

Внутренний диаметр аппарата D, мм

Масса, кг, не более

Давление условное, МПа

 

400

80,2

6,3

99,4

8,0

108,6

10,0

253,0

16,0

 

(450)

94,0

6,3

122,0

8,0

158,8

10,0

313,2

16,0

 

500

109,7

6,3

158,4

8,0

197,4

10,0

389,4

16,0

 

600

170,8

6,3

213,2

8,0

307,2

10,0

601,1

16,0

 

700

246,9

6,3

318,0

8,0

456,9

10,0

935,1

16,0

 

800

302,3

6,3

433,0

8,0

612,1

10,0

1363,1

16,0

 

900

426,9

6,3

613,5

8,0

857,2

10,0

1971,5

16,0

 

1000

541,0

6,3

761,3

8,0

1087,8

10,0

2230,5

16,0

 

1100

664,3

6,3

1001,5

8,0

1420,0

10,0

2897,4

16,0

 

1200

791,5

6,3

1194,7

8,0

1690,2

10,0

3716,0

16,0

 

1300

985,6

6,3

1435,2

8,0

2070,0

10,0

 

1400

1236,9

6,3

1744,2

8,0

2491,5

10,0

 

1500

1363,7

6,3

2138,1

8,0

3044,0

10,0

1600

1604,9

6,3

2482,6

8,0

Примечание. Размеры, указанные в скобках, применять не рекомендуется.

ИНФОРМАЦИОННЫЕ ДАННЫЕ

1. РАЗРАБОТАН И ВНЕСЕН Министерством тяжелого машиностроения СССР

2. РАЗРАБОТЧИКИ

Г.В. Мамонтов, А.Г. Вихман, С.И. Зусмановская, И.Е. Зейде, Б.С. Вольфсон, Н.П. Анисова, С.Н. Черкасова, А.М. Бубакин, Т.В. Булчинская, Т.Е. Бабкина, В.А. Заваров, В.И. Рачков, Н.С. Ананьева, Л.П. Перцев, В.В. Проголаев, В.В. Стогний, Л.П. Гапонова, Т.П. Голубова

3. УТВЕРЖДЕН И ВВЕДЕН В ДЕЙСТВИЕ Постановлением Государственного комитета СССР по управлению качеством продукции и стандартам от 29.11.90 № 2976

4. Срок проверки стандарта- 1997 г.

Периодичность проверки - 5 лет

5. ВЗАМЕН ОСТ 26-428-79

СОДЕРЖАНИЕ

 




Яндекс цитирования



   Copyright © 2007-2026,  www.tehlit.ru.

[ ѓосты, стандарты, нормативы, инструкции, правила, строительные нормы ]