//
ТехЛит.ру
- крупнейшая бесплатная электронная интернет библиотека для "технически умных" людей.
WWW.TEHLIT.RU - ТЕХНИЧЕСКАЯ ЛИТЕРАТУРА

:: Алготрейдинг::


АЛГОТРЕЙДИНГ
шаг за шагом
с нуля по урокам!

Торговые роботы на PYTHON, BackTrader,
Pandas, Pine Script для TradingView. Связка с брокерами, телеграм и легкими приложениями.


ВЕДОМСТВЕННЫЕ СТРОИТЕЛЬНЫЕ НОРМЫ

ИНСТРУКЦИЯ
ПО УСТРОЙСТВУ БЕЗРУЛОННОЙ ГИДРОИЗОЛЯЦИИ
ИЗ ЭМУЛЬСИИ ЭГИК С ИСПОЛЬЗОВАНИЕМ
МАЛОГАБАРИТНОЙ УСТАНОВКИ

ВСН 241-89

ОРДЕНА ЛЕНИНА ПРОЕКТНО-СТРОИТЕЛЬНОЕ ОБЪЕДИНЕНИЕ
ГЛАВМОССТРОЙ

Инструкция разработана лабораторией подземных сооружений НИИМосстрой (зав. лабораторией, канд. техн. наук Б. В. Ляпидевский; зав. сектором, канд. техн. наук М. И. Токарь; научный сотрудник А. Б. Вальницев).

Инструкция согласована с трестами Мосфундаментстрой № 3, Мосстрой № 17, Мосстрой № 7, отделом охраны труда и техники безопасности ПСО Главмосстрой, МНИИПОКОЗ, Управлением Моспроект № 1.

Ордена Ленина ПСО
Главмосстрой при мосстройкомитете

Техническое управление

Ведомственные строительные нормы

Инструкция по устройству безрулонной гидроизоляции из эмульсии ЭГИК с использованием малогабаритной установки

ВСН 241-89

Вводятся впервые

1. Общие положения

1.1. Настоящая инструкция составлена в соответствии и в развитие СНиП 3.04.01-87, содержит требования, предъявленные к производству работ по устройству безрулонной гидроизоляции из битумно-полимерной эмульсии ЭГИК внутренних помещений, а также наружной гидроизоляции зданий и сооружений с использованием малогабаритной установки.

1.2. Безрулонную гидроизоляцию из эмульсии ЭГКК устраивают по сухим и влажным горизонтальным, вертикальным и наклонным поверхностям. Наличие капельной влаги на поверхностях не допускается. При устройстве гидроизоляции на влажных поверхностях адгезионные свойства покрытия не снижаются.

1.3. Безрулонную гидроизоляцию выполняют путем нанесения эмульсии ЭГИК на изолируемые поверхности с помощью специальной установки. Готовое покрытие представляет собой слой сформировавшейся битумно-полимерной эмульсии, нанесенной на изолируемые поверхности.

1.4. Формирование гидроизоляционного покрытия происходит за счет коагуляции битумно-полимерной эмульсии и удаления воды.

Внесены
НИИМосстроем

Утверждены
Техническим управлением ПСО Главмосстроя
8 декабря 1989 г.

Срок введения
1 января 1990 г.

1.5. В качестве коагулянта используют водный раствор хлористого кальция.

1.6. Нанесение битумно-полимерной эмульсии и формирование безрулонного покрытия должно происходить при температуре воздуха не ниже +5 °С.

2. Материалы

2.1. Для устройства безрулонной гидроизоляции применяют битумно-полимерную эмульсию ЭГИК (эмульсия гидроизоляционная и кровельная), представляющую собой механическую смесь быстрораспадающейся битумно-полимерной эмульсии ББЭ (ТУ 400-24-113-78 с извещением № 3) с синтетическим латексом СКС-65 ГП (ГОСТ 10564-75).

Примечание: возможно применение латексов марок СКС-30 ШХП (ГОСТ 10265-78*); СКС-30ШР (ГОСТ 11808-76*); СКС-С (ТУ 38-103-230-79).

2.2. По внешнему виду эмульсия ЭГИК представляет собой однородную жидкость темно-коричневого цвета.

2.3. Эмульсия ЭГИК должна соответствовать требованиям ТУ 400-24-111-77 (с извещением № 4) «Битумно-полимерная эмульсия ЭГИК».

2.4. Хлористый кальций должен соответствовать требованиям ГОСТ 450-77*.

2.5. При устройстве безрулонного покрытия из эмульсии ЭГИК применяют 5 % раствор хлористого кальция первого сорта или 8 % раствор хлористого кальция второго сорта.

2.6. Раствор хлористого кальция представляет собой бесцветную жидкость, не имеющую посторонних примесей.

3. Приготовление эмульсии ЭГИК и раствора хлористого кальция

3.1. Эмульсию ЭГИК рекомендуется изготовлять на месте производства работ непосредственно перед выполнением безрулонного гидроизоляционного покрытия путем смещения в емкости из комплекта установки или другой чистой емкости эмульсии ББЭ, имеющей температуру не выше 40 °С, с латексом СКС-65ГП.

3.2. Эмульсия ББЭ и латекс СКС-65ГП поставляются на строительную площадку в специальных емкостях, которыми укомплектована установка, или в любых других емкостях, обеспечивающих герметичную перевозку и хранение компонентов.

3.3. Процесс изготовления эмульсии ЭГИК состоит в следующем. Эмульсию ББЭ из емкости переливают с процеживанием через сетку с ячеей 2´2 мм или в смесительную емкость. Затем в эмульсию ББЭ добавляют предварительно процеженное через сетку с ячеей 2´2 мм расчетное количество латекса (20 % от битумной эмульсии по массе). Смесь тщательно перемешивают до получения однородного цвета.

3.4. Хлористый кальций поставляется на строительную площадку в жидком виде или в гранулах. При поставке в жидком виде хлористый кальций заливают в специальную емкость из комплекта установки или в любую другую емкость, выполненную из химстойкого материала (нержавеющая или оцинкованная сталь, полиэтилен и т.д.), заполняя ее на треть объема. После этого в емкость добавляют холодную воду с таким расчетом, чтобы плотность раствора составляла 1,035-1,045 г/см3. При поставке хлористого кальция в гранулах сначала заливают воду в емкость, заполняя ее на одну треть. После этого засыпают хлористый кальций в количестве половины объема от объема залитой воды и раствор перемешивают до полного растворения гранул хлористого кальция. Затем доводят плотность раствора до 1,035-1,045 г/см3.

3.5. Перед заполнением рабочей емкости установки раствором хлористого кальция, его необходимо процедить через сетку с ячеей 1´1 мм.

4. Эксплуатация малогабаритной установки

4.1. Устройство безрулонной гидроизоляции из эмульсии ЭГИК следует производить малогабаритной установкой для нанесения эмульсии ЭГИК (проект СКВ Мосстрой № 5924) или аналогичной установкой.

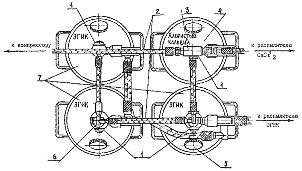
4.2. В комплект малогабаритной установки (рис. 1) входят: компрессор (1) для подачи сжатого воздуха; размещенные на тележке (2) емкости для эмульсии ЭГИК (3) и хлористого кальция (4); пистолет-распылитель (6) и соединительные трубопроводы (шланги) - (5).

Установку укомплектовывают емкостями для хранения эмульсии ББЭ, латекса, хлористого кальция, эмульгатора и солярки, смесительной емкостью, емкостью для дозировки латекса, ситами для процеживания.

Рис. 1. Общий вид установки для нанесения эмульсии ЭГИК:

1 - компрессор; 2 - тележки; 3, 4 - рабочие емкости для ЭГИК и для хлористого кальция (СаСl2); 5 - шланги; 6 - пистолет-распылитель

Техническая характеристика

Производительность (при толщине покрытия 2 мм), м2/час.

100

Расход сжатого воздуха, м3/час.

30

Рабочее давление, МПа

0,2 ¼ 0,4

Рабочие емкости установки:

 

для эмульсии ЭГИК, л

25

количество, шт.

3

для хлористого кальция, л

20

количество, шт.

1

Источник сжатого воздуха

Компрессор типа СО-7Б

Производительность, м3/час.

30

Давление сжатого воздуха, МПа

0,4 ¼ 0,6

Мощность электродвигателя, кВт

4

Напряжение, В

380

Масса, кг

-40

Емкость для перевозки и хранения, л

 

эмульсии ББЭ

40

латекса

40

хлористого кальция

40

эмульгатора

40

солярки

12

Емкость для дозировки латекса, л

7

Емкость для смешивания ББЭ и латекса, л

40

Примечание. Объем емкостей для хранения компонентов эмульсии и их количество может быть выбрано исходя из объемов и условий выполнения гидроизоляционных работ. В качестве емкостей для перевозки и хранения компонентов могут быть использованы стандартные фляги или бочки.

4.3. Рабочая емкость для ЭГИК и хлористого кальция представляет собой сварной цилиндрический сосуд со специфическим дном и крышкой. К крышке емкости приварена втулка и заливная горловина. Во втулку вставляют головку, имеющую два штуцера, один - для воздуха, другой - для рабочей жидкости. В головке смонтирован поворотный кран с рукояткой переключения. Переключатель крана осуществляет подачу воздуха либо в емкость, либо для продувки пистолета. При подаче воздуха в емкость происходит выход рабочей жидкости в пистолет. К внутренней части головки приварена заборная трубка, отстоящая от дна на 8-10 мм. Заливная горловина снабжена герметически закрывающейся крышкой, в которой смонтирован спускной клапан для выпуска воздуха.

4.4. Пистолет-распылитель (рис. 2) включает три параллельно расположенных и соединенных между собой патрубков: для подачи эмульсии ЭГИК (4), раствора хлористого кальция (коагулянта) (2) и сжатого воздуха (5). Каждый патрубок снабжен краном для регулировки подачи хлористого кальция (1), эмульсии (3) и воздуха (6). На концах патрубков (2) и (4) закреплены форсунки (7) и (8), обеспечивающие распыление эмульсии и коагулянта. Взаимное расположение форсунок на концах патрубков обеспечивают совмещение данной эмульсии и коагулянта на изолируемой поверхности и формирования гидроизоляционного покрытия.

Рис. 2. Общий вид пистолета-распылителя:

1 - кран регулировки расхода хлористого кальция; 2 - патрубок для подачи хлористого кальция; 3 - кран регулировки расхода ЭГИК; 4 - патрубок для подачи ЭГИК; 5 - патрубок для подачи воздуха; 6 - кран регулировки расхода воздуха; 7 - форсунка для распыления хлористого кальция; 8 - форсунка для распыления ЭГИК

4.5. При подготовке установки (рис. 3) к работе необходимо:

- подсоединить воздушный рукав (2) от компрессора к разъему крестовины (3);

- крестовину (3) с помощью штуцеров и шлангов присоединить к головкам (6) рабочих емкостей с ЭГИК и хлористым кальцием (4);

- соответствующие рукава пистолета-распылителя подсоединить к головкам рабочих емкостей и к крестовине;

- поставить поворотные краны (1) на продувку пистолета-распылителя;

- закрыть все краны пистолета;

- включить компрессор и убедиться в надежности соединения рукавов со штуцерами;

- открыть краны пистолета-распылителя и убедиться в свободном прохождении воздуха через форсунки, закрыть краны пистолета-распылителя;

- переключить поворотные краны для подачи воздуха в рабочие емкости и проверить работоспособность клапанов сброса воздуха из рабочих емкостей, находящихся на крышках заливных горловин (5);

- выключить компрессор, сбросить воздух из рабочих емкостей, переключить поворотные краны на продувку пистолета-распылителя.

Рис. 3. Схема соединения рабочих емкостей:

1 - поворотные краны; 2 - рукава для подачи воздуха; 3 - крестовина; 4 - рабочая емкость для хлористого кальция; 5 - заливная горловина; 6 - головка рабочей емкости; 7 - рабочие емкости для ЭГИК

4.6. Перед началом работ по устройству безрулонного покрытия из эмульсии ЭГИК необходимо:

- проверить все компоненты на соответствие требованиям технических условий и ГОСТов;

- заполнить рабочие емкости заранее процеженными эмульсией ЭГИК и раствором хлористого кальция;

- включить компрессор;

- на пистолете-распылителе открыть все краны, продуть пистолет-распылитель и соединительные рукава;

- закрыть краны на пистолете-распылителе, регулирующие подачу эмульсии ЭГИК и хлористого кальция, и одновременно переключить поворотные краны на головках рабочих емкостей на подачу воздуха в емкости;

- регулировкой расхода эмульсии и хлористого кальция добиться создания оптимальных факелов эмульсии и хлористого кальция и их совмещения.

Для прекращения нанесения эмульсии необходимо переключить одновременно поворотные краны на головках емкостей для продувки пистолета-распылителя, продуть пистолет-распылитель до полного освобождения рукавов от рабочих жидкостей.

Для перезарядки рабочих емкостей после продувки пистолета-распылителя необходимо выключить компрессор, стравить через клапаны воздух из емкостей, открыть заливные горловины и залить процеженные заранее рабочие жидкости.

4.7. По окончании работы слить эмульсию и хлористый кальций в емкости для хранения, переключить поворотные краны на продувку пистолета-распылителя и продувать в течение 10-15 минут. После продувки пистолет-распылитель опустить в емкость с соляровым маслом.

4.8. Два раза в месяц промывать эмульгатором рабочую емкость, рукава и канал пистолета-распылителя для подачи эмульсии. Для этого залить эмульгатор в рабочую емкость на 3-4 часа, включить компрессор и пропустить эмульгатор через рукав и канал пистолета-распылителя, сливая его в пустую емкость от эмульсии ЭГИК.

4.9. Установку для нанесения эмульсии ЭГИК обслуживает два человека - сопловщик-оператор и подсобный рабочий.

5. Технология устройства безрулонного гидроизоляционного покрытия

5.1. До устройства безрулонного гидроизоляционного покрытия изолируемые бетонные поверхности следует очистить от пыли и грязи (грязные места промываются водой, пыльные - продуваются сжатым воздухом). При наличии монтажных петель последние срезаются. Околы, раковины и трещины следует заделывать цементно-песчаным раствором марки М100.

5.2. Швы сборных железобетонных элементов, места примыкания других видов изоляции, узлы сопряжения конструкций и места у закладных деталей, до нанесения эмульсии ЭГИК, усиливаются рулонными гидроизоляционными материалами согласно проектным решениям.

5.3. До выполнения гидроизоляционных работ следует убедиться в том, что факелы распыляемых эмульсий и хлористого кальция совмещаются на изолируемой поверхности. Факел выходящей эмульсии должен быть под углом 70-90° к изолируемой поверхности, расстояние от нее до форсунок должна быть 0,8-1,2 м.

5.4. Эмульсий следует наносить на поверхности равномерными веерообразными движениями двумя слоями: первый слой толщиной 0,25-0,3 мм (грунтовка); второй слой, после высыхания первого до «отлипа», толщиной 4-6 мм (в сыром состоянии). После формирования покрытия толщина слоя составит 2-3 мм.

5.5. Нанесение эмульсии производят с постоянной скоростью во взаимоперпендикулярных направлениях. Одна захватка площадью 3-4 м покрывается слева-направо, затем сверху-вниз и т.д.

5.6. Покрытие считается сформировавшимся, если при нажатии на него (усилие около 1 кг/см ) на поверхности не появляются следы влаги.

5.7. Время формирования безрулонного покрытия зависит от температуры и влажности окружающего воздуха. В сухую погоду при температуре воздуха 20-25 °С формирование покрытия происходит за 4-6 часов, а в дождливую погоду при температуре воздуха 7-10 °С и влажности около 80 % - за 18-24 часа.

5.8. Гидроизоляцию из эмульсии ЭГИК необходимо защищать от механических повреждений после формирования покрытия, но не позднее двух суток после ее нанесения. Методы защиты покрытия должны выполняться в соответствии с проектом. Для полов внутренних помещений защита гидроизоляционного покрытия может выполняться устройством защитной стяжки из цементно-песчаного раствора. При устройстве наружных подземных сооружений гидроизоляции с последующей засыпкой их грунтом защита может выполняться асбоцементными листами или дренажными керамзитобетонными плитами (ТУ 400-1-213-83).

6. Контроль качества исходных материалов и безрулонного покрытия

6.1. Качество эмульсии ББЭ контролируют на соответствие техническим требованиям ТУ 400-24-113-78 «Эмульсия битумно-полимерная быстрораспадающаяся ББЭ».

6.2. Качество латекса СКС-65БП контролируют на соответствие техническим требованиям ГОСТ 105564-75.

Примечание. При использовании латексов других марок их качество контролируют на соответствие техническим требованиям соответствующих ГОСТов.

6.3. Качество эмульсии ЭГИК контролируют на соответствие техническим требованиям ТУ 400-111-77 «Битумно-полимерная эмульсия ЭГИК».

6.4. Качество хлористого кальция контролируют на соответствие техническим требованиям ГОСТ 450-77Х.

6.5. Контроль качества раствора хлористого кальция производят путем определения его плотности с помощью ареометра. Плотность раствора должна составлять 1,035-1,045 г/см3.

6.6. Качество безрулонного покрытия определяют визуально, после его формирования. Покрытие считается сформировавшимся, когда при нажатии на него (с усилием около 1 кг/см2) на поверхности не появляются следы влаги. Покрытие должно быть однородным, ровным, без пропусков, отслоений и вздутий.

6.7. Толщину слоя безрулонного покрытия измеряют толщинометром марки Н4 ГОСТ 577-68Х или толщинометром конструкции НИИМосстроя (рис. 4) (по три замера на каждые 100 м2 покрытия). Измерения производят следующим образом. Толщинометр, основой которого является штангенциркуль, опорной частью (2) устанавливают на покрытие. Держа одной рукой толщинометр за неподвижную часть (1) выдвигают щуп (3) до упора в бетон. По шкале штангенциркуля определяют толщину покрытия.

6.8. Обнаруженные дефекты безрулонного покрытия устраняют путем удаления при необходимости дефектного покрытия и нанесения дополнительного слоя эмульсии.

6.9. Приемку готового безрулонного покрытия из эмульсии ЭГИК оформляют актом на скрытые работы. При приемке работ представляют журнал по нанесению эмульсии, паспорта на эмульсии, ведомости замера толщины покрытия.

Рис. 4. Толщиномер НИИМосстроя:

1- неподвижная часть штангель-циркуля; 2- опорная часть; 3- щуп

7. Требования безопасности и противопожарные мероприятия

7.1. При производстве работ по устройству безрулонного покрытия из эмульсии ЭГИК необходимо выполнять требования следующих нормативных документов: СНиП III-4-80 «Техника безопасности в строительстве», раздел 8; «Изоляционные работы», раздел 15; «Кровельные работы»; «Правила по пожарной безопасности при производстве строительно-монтажных работ» (утверждены ГУПО МВД СССР 27.02.86 г.).

7.2. К работе по обслуживанию установки для нанесения эмульсии допускаются лица не моложе 18 лет, прошедшие (согласно приказу Минздрава СССР № 700-84) предварительный медицинский осмотр, признанные медицинской комиссией годными к данному виду работ, обученные и проинструктированные.

7.3. Для осуществления надзора за безопасной эксплуатацией и содержанием установки в исправном состоянии приказом по организации назначается ответственное лицо из числа инженерно-строительных работников.

7.4. Персонал, обслуживающий установку, должен быть снабжён брезентовой спецодеждой и каской с подшлемником. Сопловщик-оператор при нанесении эмульсии должен иметь защитные приспособления для лица - респиратор типа РПМ-62 и очки ПО-2. Взамен респиратора допускается использование марлевых повязок.

7.5. К эксплуатации допускаются установки, имеющие технический паспорт.

7.6. Прежде чем начать работу по нанесению эмульсии необходимо проверить в установке:

- исправность системы подачи воздуха, эмульсии и хлористого кальция;

- исправное состояние шлангов;

- наличие и исправность манометров;

- герметичность в местах соединения шлангов с ёмкостями, компрессором и пистолетом-распылителем.

7.7. Эмульсия ЭГИК и хлористый кальций пожаро- и взрывобезопасны.

7.8. При работе с эмульсией и раствором хлористого кальция необходимо строго соблюдать личную гигиену. По окончании работы, а также после случайного загрязнения необходимо тщательно вымыть руки. Битум, прилипший к коде, следует удалять с тканью, смазанной жирной мазью на основе ланолина, вазелина или касторового масла. Только в случае значительного загрязнения кожи рук и лица разрешается пользоваться вазелиновым маслом, нанесенным на хлопчатобумажную ветошь.

Запрещается для очистки кожи пользоваться растворителями (бензином, этилированным бензином, четкреххлористым углеродом и т.д.).

7.9. При работе на установке ЗАПРЕЩАЕТСЯ:

- допуск к установке посторонних лиц;

- работа при неисправных манометрах;

- открывание рабочих емкостей при включенном компрессоре;

- производить ремонтные и регулировочные работы в процессе нанесения эмульсии.

СОДЕРЖАНИЕ

 




Яндекс цитирования



   Copyright © 2007-2026,  www.tehlit.ru.

[ ѓосты, стандарты, нормативы, инструкции, правила, строительные нормы ]