//
ТехЛит.ру
- крупнейшая бесплатная электронная интернет библиотека для "технически умных" людей.
WWW.TEHLIT.RU - ТЕХНИЧЕСКАЯ ЛИТЕРАТУРА

:: Алготрейдинг::


АЛГОТРЕЙДИНГ
шаг за шагом
с нуля по урокам!

Торговые роботы на PYTHON, BackTrader,
Pandas, Pine Script для TradingView. Связка с брокерами, телеграм и легкими приложениями.


ГЛАВМОССТРОЙ при МОСГОРИСПОЛКОМЕ

ТЕХНИЧЕСКОЕ УПРАВЛЕНИЕ

УКАЗАНИЯ

НА БЕТОНИРОВАНИЕ В ЗИМНЕЕ ВРЕМЯ
ДОРОЖНЫХ ОСНОВАНИЙ ПОД
АСФАЛЬТОБЕТОННЫЕ ПОКРЫТИЯ В г. МОСКВЕ

(ВСН-20-68)

МОСКВА - 1969

Ордена Ленина Главное управление по жилищному и гражданскому
строительству в г. Москве

 

«Указания на бетонирование в зимнее время дорожных оснований под асфальтобетонные покрытия» выпускаются взамен «Временных технических указаний на бетонирование в зимнее время оснований трамвайных путей и дорожных оснований под асфальтобетонные покрытия», разработанных в 1954 г. Лабораторией дорожного строительства НИИМосстроя и утвержденных Техническим управлением Исполкома Моссовета. В настоящих Указаниях учтены замечания НИИЖБа (канд. техн. наук Б. А. Крылова), СОЮЗДОРНИИ (канд. техн. наук. В А Чернигова) и сектора зимних работ НИИМосстроя (канд. техн. наук. Я. Р. Бессера).

Указания разработаны в Лаборатории дорожного строительства НИИМосстроя (руководитель лаборатории Э. М. Гольдин) инженером К. Г. Зеленовым и согласованы с Главмосинжстроем, Управлением подземного строительства, отделом охраны труда Главмосстроя, Управлением благоустройства Мосгорисполкома и Мосинжпроектом. Замечания и предложения направлять по адресу:

Москва, В-192, 1-я Раменка, 40, НИИМосстрой, Лаборатория дорожного строительства.

Главное управление по жилищному и гражданскому строительству в г. Москве.

__________

Главмосстрой при Мосгорисполкоме

__________

Техническое управление

Ведомственные строительные нормы

ВСН 20-68

Указания на бетонирование в зимнее время дорожных оснований под асфальтобетонные покрытия в г. Москве

I. ОБЩИЕ УКАЗАНИЯ

1. Настоящие Указания распространяются на производство бетонных работ по устройству дорожных оснований под асфальтобетонные покрытия в зимних условиях.

Зимние условия охватывают период устойчивых отрицательных температур в зимние месяцы и период низких положительных и перемежающихся температур осенью и весной.

Примечание. Указания могут быть распространены на бетонирование сходных видов конструкций (отмостки, основания под полы подвалов и фундаменты и т.п.) с соблюдением технических требований, предъявляемых к этим конструкциям.

2. В соответствии с СНиПом III-B.1-62 (п. 6.1) Указания вступают в действие с наступлением среднесуточной температуры наружного воздуха ниже 5° и минимальной температуры ниже 0°. Учитывая однако специфические неблагоприятные условия твердения бетона в дорожном основании, высокие требования к его прочности и морозостойкости и одновременно крайне тяжелые условия работы при повышенной влажности грунтового основания осенью и весной, Главмосинжстрою и производственным управлениям Главмосстроя вменяется в обязанность ежегодно устанавливать срок начала действия Указаний и последовательность осуществления мероприятий по переходу на зимние условия я зависимости от погодных условий, времени производства работ и ввода объекта в эксплуатацию ранее того, как это оказано в п. 6.1 СНиПа III-B.1-62.

3. При понижении минимальной суточной температуры наружного воздуха до 5° следует применять бетонную смесь, приготовленную с подогревом воды и введением хлористого кальция, а уложенный в основание бетон укрывать немедленно вслед за скончанием бетонирования. Одновременно с этим осуществляется контроль за твердением бетона в конструкции в соответствии с настоящими Указаниями.

Составлены НИИМосстроем

Утверждены начальником Технического управления Главмосстроя Н. Егоровым
24.
VII. 1968 г.

Срок введения
1.
X. 1968 г.

4. При назначении строительных объектов для бетонирования в зимнее время следует руководствоваться:

а) необходимостью сдачи объекта в эксплуатацию в зимнее время;

б) соображениями использования имеющихся производственных мощностей и рабочей силы для удлинения периода производства строительных работ и устройства задела к предстоящему строительному сезону или другими соображениями, обоснованными соответствующими технико-экономическими расчетами.

Объекты зимнего бетонирования согласовываются с заказчиком и по представлению трестов утверждаются зам. начальника Главмосинжстроя и гл. инженерами производственных управлений Главмосстроя.

5. Для строительства следует назначать участки, удовлетворяющие следующим требованиям.

а) грунт под бетонным основанием не должен быть пылеватым, способным к пучинообразованиям;

б) грунт не должен содержать местных линз и прослоек, в которых могли бы скапливаться грунтовые воды.

Наиболее благоприятными для строительства в зимнее время являются песчаные и супесчаные грунты с низким (ниже глубины промерзания) расположением грунтовых вод, а также однородные суглинистые грунты без пылеватых и песчаных прослоек тоже с низким положением грунтовых вод.

6. Запрещается производить бетонные работы по устройству оснований при неоднородных суглинках, тяжелых глинах, насыпных неуплотненных грунтах и суглинках - в условиях высокого стояния грунтовых вод, а также на насыпях, выполненных текущей зимой.

7. Выполнять бетонные работы в зимних условиях разрешается только при наличии схем организации работ или технологических карт, которые должны быть составлены заблаговременно с учетом конкретных условий строительства и охватывать весь комплекс требующихся мероприятий (на заводе и строительном объекте) с четким графиком их выполнения.

8. При строительстве бетонных оснований под асфальтовые покрытия в зимнее время могут применяться:

а) метод термоса с введением ускорителей твердения и добавок, понижающих температуру замерзания;

б) метод бетонирования с прогревом уложенного бетона (электро- или паропрогрев, обогрев горячим песком), при котором также может вводиться хлористый кальций для ускорения твердения.

Названные методы в зависимости от обстоятельств могут применяться порознь или совместно;

в) метод холодного термоса с использованием бетона с противоморозными добавками («холодных» бетонов).

9. Метод бетонирования и режим выдерживания бетона до приобретения им требуемой прочности назначаются в соответствии с технологическими картами или схемой организации работ, составленными с учетом технико-экономических преимуществ в зависимости от времени укладки асфальтового бетона и открытия грузового движения, а также технических возможностей, которыми располагают завод-поставщик бетонной смеси и строительная организация. Для ориентировки при выборе метода бетонирования и назначении режима твердения могут служить рекомендации, приведенные в приложении 1. Выбранный метод бетонирования и режим твердения утверждаются гл. инженером треста.

Бетонные основания, построенные в зимнее время, должны в полной мере соответствовать тем же требованиям, которые предъявляются к ним в летнее время.

10. Принятый метод бетонирования должен обеспечивать получение прочности бетона к моменту замерзания не менее 50% от проектной прочности бетона и не ниже 100 кг/см2.

Примечание. За момент замерзания принимается момент начала образования кристаллов льда в уложенном бетоне. Для бетонов без противоморозных добавок температура замерзания условно принимается равной 0°, для бетонов с противоморозными добавками в зависимости от вида и концентрации этих добавок.

11. При укладке асфальтового бетона с уплотнением его катками бетон основания должен иметь прочность на сжатие не менее 140 кг/см2 (70 % марки).

Открытие тяжелого грузового движения, в том числе движения автобусов и троллейбусов, допускается только по достижении бетоном проектной прочности.

12. При заказе бетонной смеси и назначении режима твердения следует руководствоваться как температурой воздуха во время бетонирования, так и температурами, которые будут в начальный (15 дней) и последующий периоды твердения*. В зависимости от этих температур назначается утепление для поддержания в бетоне принятых в расчете температур твердения. Эти температуры называют расчетными.

__________

* По данным бюро прогнозов.

13. При назначении рабочего режима твердения, а также при установлении достигнутой бетоном прочности (в случаях бетонирования методом термоса с малыми концентрациями хлористых солей и с применением искусственного прогрева) расчеты следует производить, пользуясь графиками и таблицами, приведенными в приложении 2.

Исходными данными при подсчетах достигнутой прочности служат записи в журнале измерения температур, а также сведения, помещаемые в накладных (см. п. 21). Эти сведения используют также при разработке мероприятий по поддержанию заданного режима твердения бетона.

Влияние добавок хлористого кальция принимают согласно пп. 39-41, хлористого натрия - п. 43.

14. В случаях сомнения в достаточности выдерживания бетона по принятому режиму результаты подсчетов должны проверяться испытанием контрольных образцов, выдерживаемых в условиях конструкции.

Если прочность бетона в основании, подсчитанная, как указано выше, по результатам измерения температур и подтвержденная испытанием контрольных образцов, оказывается ниже требуемой, следует произвести подогрев бетона каким-либо из указанных (в разделе IV) способов.

II. ТРЕБОВАНИЯ К БЕТОНУ, БЕТОННОЙ СМЕСИ И МАТЕРИАЛАМ

15. Бетон, укладываемый в зимних условиях, по своим конечным свойствам, которые он приобретает по завершении твердения за период времени, эквивалентный 28-дневному твердению в нормальных условиях, должен быть таким же, что и бетон, укладываемый в обычных условиях, и по показателям физико-механических свойств соответствовать требованиям проекта и ГОСТа 8424-63 «Бетон дорожный».

16. Бетой дорожных оснований в возрасте 28 дней должен иметь:

а) прочность на сжатие (Rб-28) - 200 кГ/см2, на изгиб (Rб+28) - 30 кГ/см2;

б) в изломе - плотную однородную равномернозернистую структуру, водопоглощение - не свыше 5 % по весу;

в) водоцементное отношение бетонной смеси - не более 0,6 и бетонной смеси с противоморозными добавками - не более 0,5;

г) содержание цемента в «холодном» бетоне должно быть не менее 220 кг/м3 бетонной смеси;

д) бетон в возрасте 28 дней должен выдерживать стандартные испытания многократным попеременным замораживанием-оттаиванием в количестве 100 циклов (Мрз-100) без видимых следов разрушения, без потери в весе и снижения прочности по отношению к прочности бетона к моменту первого замораживания.

Примечание. В зависимости от особых обстоятельств для устройства оснований согласно проекту может применяться бетон иной марки (более или менее М-200); конструкция основания и целесообразность применения такой марки должны быть обоснованы соответствующими расчетами.

17. Подвижность (удобоукладываемость) бетонной смеси на месте укладки должна соответствовать бетоноукладочным средствам, которые применяют строители.

Бетонная смесь должна быть пластичной, при снятии конуса она должна равномерно оплывать. При уплотнении вибраторами осадка большого конуса на месте укладки должна быть в пределах 0,5-1,0 см, удобоукладываемость 20-30 сек.

Примечание. Размеры большого конуса: верхний диаметр 15 см, нижний - 30 см, высота - 45 см. При отсутствии большого конуса можно пользоваться обычным, удалив щебень крупнее 40 мм и разделив полученный результат на коэффициент 0,7.

18. К применению допускаются материалы и добавки, удовлетворяющие требованиям соответствующих ГОСТов и технических условий, а также ГОСТа 8424-63 «Бетон дорожный» и дополнительным требованиям, изложенным в «Указаниях на приготовление и поставку в зимних условиях бетонной смеси для строительства дорожных оснований под асфальтобетонные покрытия в г. Москве» (ВСН 19-68).

Для получения требуемой прочности в наиболее короткий срок и всемерного сокращения продолжительности ухода за уплотненным бетоном следует применять:

а) гидрофобный алитовый низкоалюминатный портландцемент марки не ниже 400 из клинкера с содержанием трехкальциевого силиката (C3S) 56-65 %, трехкальциевого алюмината (C3A) не более 6 %; и минеральной кремнеземистой добавкой - гранулированным шлаком.

Рекомендуется содержание шлака ограничивать 5-7 %*. При наличии возможности выбора предпочтение следует отдавать чисто клинкерному (бездобавочному) портландцементу. Портландцементы, содержащие в качестве минеральной добавки трепел, опоку, молотый песок, а также пуццолановые и шлаковые портландцементы, вследствие их медленного твердения при низких температурах и в связи с повышенными требованиями к дорожному бетону в отношении морозостойкости к применению в зимних условиях не допускаются.

_____________

* Гидрофобный портландцемент, соответствующий вышеизложенным требованиям, поставляет Белгородский цементный завод по техническим условиям НИИМосстроя (шифр ДСМ - Дорожное строительство Москвы) ТУ № СТУ6-07-101-61, утвержденным Совнархозом Белгородского экономического и административного района.

Допускаются к применению пластифицированные портландцементы и негидрофобные и портландцемента, отвечающие вышеизложенным требованиям, при условии введения гидрофобной добавки при изготовлении бетонной смеси.

Применение глиноземистого цемента и цементов, изготовленных на его основе, в холодных бетонах и бетонах с, хлористыми солями запрещается. Он допускается к применению только при термосном выдерживании бетона.

К применению допускаются цементы нележалые (за исключением гидрофобного портландцемента), имеющие указанную выше марку непосредственно перед их применением;

б) песок крупно- или среднезернистый (ГОСТы 8736-62 и 10268-62);

в) щебень - известняковый из плотных известняков прочностью не ниже 600 кГ/см2 (ГОСТы 8267-64 и 10268-62), а также из дробленого гравия (ГОСТ 10260-62). В бетонах марки 200 и выше применять в зимних условиях недробленый гравий не рекомендуется.

Наибольшая рекомендуемая крупность щебня (Днаиб) - 70 мм. Во избежание образования смерзшихся комьев щебень не должен содержать зерен мельче 5 мм свыше установленного ГОСТом максимума.

19. Применяемые материалы и состав бетонной смеси для зимних работ должны обеспечить при принятом, режиме твердения получение заданной марки бетона и требуемую ровность его к моменту оттаивания, а также укладки асфальтового бетона и открытия движения.

Лаборатория по заявке потребителей производит подбор состава бетонной смеси из подлежащих к применению материалов.

Для снижения водопотребности при назначении состава содержание песка в бетонной смеси следует ограничивать предельно малым, при котором смесь может быть хорошо уплотнена.

Расход цемента должен быть нормальным для применяемых марок цемента и бетона в летних условиях и может быть увеличен только при необходимости обеспечить допускаемое водоцементное отношение при возросшей водопотребности бетонной смеси в связи с выпуском ее с более высокой температурой на подогретых материалах.

20. Для обеспечения строительного объекта бетонной смесью нужных свойств и в потребных количествах на завод-поставщик заблаговременно подается плановая заявка, в которой должно быть указано: название СУ, наименование и адрес строительного объекта, наименование конструкции, наличие и характер армирования, проектная марка бетона по прочности и морозостойкости, подвижность (удобоукладываемость) бетонной смеси при укладке, потребное количество бетонной смеси и график завоза с указанием сменной потребности и интенсивности подачи, особые требования к материалам и составу бетонной смеси (температура бетонной смеси, добавки - противоморозные, ускорители твердения и др.).

Заявка, подается за подписью начальника или гл. инженера СУ.

Примечание. Заблаговременная подача заявки непосредственно заводу имеет целью упорядочить работу завода по приготовлению и отпуску бетонной смеси потребителю в точном соответствии с ее назначением. Подача указанной заявки не заменяет принятого порядка распределения продукции заводов потребителям.

21. На каждую машину отпущенной бетонной смеси завод-поставщик выдает накладную установленной формы (сопроводительный паспорт), в которой должно быть указано:

дата и время отпуска бетонной смеси;

объект и назначение бетонной смеси;

марка бетона;

осадка конуса, удобоукладываемость;

температура бетонной смеси в автомашине;

род и марка цемента, завод-поставщик;

расход цемента в кг/м3 бетонной смеси;

наименование и количество ускорителя твердения и других добавок в % от веса цемента (или воды);

№ партии контрольных образцов;

штамп ОТК завода.

Результаты испытания контрольных образцов завод сообщает потребителю по его требованию.

22. Прораб или лицо, ответственное за смену, на каждой накладной отмечает место укладки бетона, пикет и номер участка. Ответственный за укладку и режим твердения приведенные в накладной сведения заносит в журнал производства бетонных работ в зимних условиях.

Все накладные на уложенный бетон, а также результаты заводских испытаний контрольных образцов хранят как приложение к журналу производства бетонных работ и передают вместе с прочей документацией заказчику.

III. ПОДГОТОВКА ГРУНТОВОГО ОСНОВАНИЯ

23. На объектах, где намечено строительство бетонных оснований в зимних условиях, до наступления морозов для предупреждения промерзания грунт следует укрыть слоем опилок (толщиной 10-20 см), топливным шлаком или другими подручными материалами или отходами, которые должны сниматься непосредственно перед укладкой бетонной смеси.

Окончательную планировку основания также следует производить непосредственно перед бетонированием.

24. Укладку бетонной смеси производят по спрофилированному и уплотненному основанию. Пучинистые грунты должны быть заблаговременно заменены песчаными. Бетонную смесь следует укладывать на талое основание.

25. При укладке бетонной смеси, приготовленной с подогревом материалов, на замороженный грунт непосредственно перед бетонированием рассыпают подстилающий слой горячего песка толщиной 10-12 см температурой не ниже 80°.

26. При устройстве песчаного основания (если оно предусмотрено проектом) до наступления морозов песчаный слой следует отсыпать на 8-10 см ниже проектной отметки с тем, что недостающий песок будет рассыпан непосредственно перед укладкой бетона. При толщине распределяемого слоя песка менее 15 см его следует рассыпать на участке дневного (сменного) задела.

27. Земляное полотно, подготовленное до морозов, следует защитить от осеннего переувлажнения (например, распылением битумной эмульсии). Весьма целесообразно бетонные основания в зимнее время устраивать на подстилающем слое, обработанном (стабилизированном) в летнее время битумом или цементом.

28. Перед бетонированием грунтовое основание должно быть тщательно очищено от смерзшихся комьев грунта, льда и снега.

IV. БЕТОНИРОВАНИЕ

1. Укладка бетона

29. Производство бетонных работ в зимних условиях требует четкой продуманной организации и строгого соблюдения технологической дисциплины, координированной ритмичной подачи бетонной смеси, согласованной с техническими возможностями по ее укладке. При выдаче, транспортировке и укладке должны приниматься эффективные меры по сохранению тепла в бетонной смеси и предупреждению попадания в нее льда и снега.

30. Бетонная смесь с введением хлористых солей в малых концентрациях должна изготовляться на подогретых материалах (вода, песок, щебень) и выпускаться с завода с расчетом получения на объекте температуры бетона не ниже 15°.

Для перевозки такой смеси с завода к месту укладки должны применяться автосамосвалы, кузова которых снабжены отепляющими приспособлениями. Следует применять кузова, обогреваемые отходящими газами.

Бетонную смесь следует выгружать непосредственно в земляное корыто. После разгрузки кузов машины без промедления должен быть тщательно очищен от остатков бетонной смеси.

31. Укладка бетонной смеси должна производиться быстро с разравниванием ее сразу на всю толщину плиты и немедленным уплотнением вибраторами или специальными бетоноукладчиками. Распределение смеси тонкими слоями и перерывы в бетонировании не допускаются. В случаях вынужденной задержки с укладкой бетонную смесь следует держать укрытой Бетонная смесь объемом 1,5-1,7 м3 должна быть уложена в дело не более чем за 10-12 мин.

32. Перерывы в укладке могут быть допущены только в местах расположения проектных швов. При аварийном перерыве работ кромку уложенного бетона выравнивают и отделяют доской толщиной 4-5 см, поставленной на ребро и прочно закрепленной, или брусом. Особо тщательно следует уплотнять бетон около бортовой опалубки и швов.

33. В случае, когда укладываемая бетонная смесь соприкасается с уже холодным ранее уложенным бетоном, последний при возобновлении бетонирования должен быть отогрет горячим песком или другим способом на протяжении не менее 30 см от места сопряжения с новым бетоном и затем тщательно утеплен или перекрыт термоопалубкой, паровой рубашкой, горячим песком и т.п.

34. По мере укладки бетон, выдерживаемый по методу термоса, для защиты от потери влаги немедленно укрывают с боков и сверху рулонным материалом, а затем также с боков и сверху утепляют слоем опилок 20 см или равноценным слоем другого утеплителя с таким расчетом, чтобы в уложенном бетоне в течение суток (считая с момента укрытия) сохранялась температура не ниже 15° или в течение двух суток в среднем не ниже 7°.

Необходимую толщину утеплителя устанавливают расчетом (приложение 3).

В случае более раннего падения температуры бетона в конструкции его следует немедленно дополнительно обогреть. Возможность применения дополнительного подогрева должна быть заранее обеспечена.

Примечание. Взамен рулонного материала рекомендуется применять лак «Этиноль», образующий паро- и водонепроницаемую пленку на поверхности свежеуложенного бетона.

35. Утепление на бетоне следует сохранять до приобретения им прочности, при которой по оттаивании весной по нему может быть уложено асфальтобетонное покрытие и открыто тяжелое грузовое, в том числе автобусное и троллейбусное, движение.

В случае острой необходимости по остывании бетона до -2° утепление может быть снято, при этом рулонный материал должен быть оставлен, а поврежденный заменен. По рулонному материалу рассыпают талый негравелистый песок (или грунт) слоем не менее 5 см.

36. Утепление может быть снято только с разрешения главного инженера треста по согласованию с лабораторией.

37. Укладка бетона в снегопад запрещается.

2. Бетонирование с выдерживанием по методу термоса

38. Твердение бетона обеспечивается за счет запаса тепла в составляющих бетон материалах и поддерживания требуемой температуры бетона посредством укрытия его теплоизолирующими материалами, а также введения в его состав хлористого кальция и хлористого натрия для ускорения твердения и понижения температуры замерзания бетона.

Для понижения температуры замерзания бетона допускается также вводить нитрит натрия (азотистокислый натрий NaNO2). В зависимости от заданного режима твердения бетона в конструкции названные соли (CaCl2, NaCI, NaNО2) могут применяться порознь или совместно с тем однако, чтоб общее количество вводимых солей не превышало 5 % от веса воды (4-5 % от веса цемента). Типовые дозировки приведены в табл. 1.

39. При бетонировании дорожных оснований под асфальтовые покрытия в порядке задела следует применять метод термоса с введением в бетонную смесь, приготовляемую с обогревом материалов, солей хлористого кальция и хлористого натрия в малых концентрациях (5 % NaCl или 3 % CaCl2 плюс 5 % NaCl). Начав твердеть при положительной температуре не ниже 15° или двое суток при температуре не ниже 7°, эти бетоны продолжают твердеть и на морозе без снижения проектной прочности (при температурах не ниже расчетных).

Таблица 1

Типовые концентрации противоморозных добавок в бетонных смесях, приготавливаемых на обогреваемых материалах

Наименьшая (расчетная) температура твердения бетона

Содержание солей в % от веса воды затворения

NaCl

CaCl

NaNO2

общее содержание солей

-5°

3

-

2

5

-5°

5

-

-

5

-5°

-

-

5

5

-8°

-

3

5

8

-10°

5

3

-

8

Примечание. «Временные технические указания Главмосстроя на приготовление и применение в зимних условиях строительных растворов с добавкой нитрита натрия» (ВСН-22-65) рекомендуют применять растворы со следующим содержанием NaNO2 (в расчете на твердое вещество): при средней температуре наружного воздуха до -10° в количестве 7 % от веса цемента, минимальная температура раствора 10°; при температуре от -10° до -25° - в количестве 10 %, температура раствора не ниже 15°. Применение указанных концентрации нитрита натрия в бетонной смеси для дорожных основании допускается лишь в опытном порядке.

40. Добавка хлористого кальция как ускорителя твердения допускается в следующих (в расчете на безводную соль) количествах:

а) для неармированных и конструктивно армированных конструкций - не более 3 % от веса цемента;

б) для конструкций, армированных по расчету, - не более 2 % от веса цемента.

Примечания: 1. Допускаемая концентрация хлористого кальция уточняется лабораторией на пробных затворениях применяемого цемента.

2. Применение хлористого кальция не допускается при рабочей арматуре диаметром 4 мм и менее, в напряженно-армированных конструкциях, а также в случаях, указанных в п. 61.

41. Повышение прочности бетона, вызываемое добавкой хлористого кальция, показано в табл. 2. При подсчетах повышения прочности показатели прочности, определенные по графикам (см. приложение 2), умножаются на коэффициенты, приведенные в табл. 2.

Таблица 2

Относительная прочность бетона на портландцементе с добавкой хлористого кальция при температуре твердения 15-20°

(прочность бетона без добавки ускорителя принята за единицу)

Возраст бетона в днях

Добавки хлористого кальция в % от веса цемента

1

2

3

1

1,65

1,90

2,25

2

1,40

1,65

1,85

3

1,35

1,50

1,60

5

1,20

1,30

1,40

7

1,15

1,20

1,25

14

1,10

1,15

1,20

28

1,05

1,10

1,15

В случае твердения бетона при температурах от 5° до 0° приведенные коэффициенты ускорения твердения следует умножать на коэффициент 1,15, а при твердении в интервале температур от +3° до -3° - соответственно на коэффициент 1,25 (эти коэффициенты учитываются только на протяжении первых 20 дней твердения).

42. Поваренная соль понижает температуру замерзания бетона, вследствие чего бетон с добавкой соли твердеет и после того, как температура его опустилась ниже 0°.

Твердея при температуре наружного воздуха не ниже -5°, бетон, изготовленный на подогретых материалах с 5 %-ным раствором поваренной соли, достигает примерно в возрасте 7 дней - -35 %, 28 дней - 60-80 % от прочности в том же возрасте бетона, твердеющего в нормальных условиях, 100 % прочности бетон приобретает к 90-100 дням.

43. Поваренная соль ускоряет твердение и повышает прочность бетона. При учете влияния добавки поваренной соли, введенной в количестве 5 % от веса воды (около 3 % от веса цемента), на повышение прочности бетона, твердеющего при низких положительных температурах, разрешается принимать прочность бетона: в возрасте 2 дней - в размере 150 %, 3 дней – 135 % и 7 дней – 115 % от прочности бетона, твердеющего при одинаковых с наблюдавшимися температурах без добавки поваренной соли.

Примечание. Приведенные в пп. 41 и 43 коэффициенты повышения прочности бетона с хлористым кальцием и хлористым натрием могут применяться только по согласованию с лабораторией.

В тех случаях, когда при лабораторной проверке цемент не обнаруживает должного ускорения роста прочности, коэффициенты 1,15 и 1,25, как и приведенные в табл. 1, для хлористого кальция и 1,5, 1,35 и 1,15 для хлористого натрия - не применяются. В расчет принимаются коэффициенты (если они ниже указанных), полученные при лабораторной проверке применявшегося цемента.

44. При бетонировании по способу термоса укладываемая бетонная смесь должна иметь температуру, указанную в табл. 3

Таблица 3

Температура наружного воздуха, град

Минимальная температура бетонной смеси при вкладке ее в дело

в тихую погоду

в ветреную погоду

От 0 до -10°

15

20

От -11 до -15°

20

25

От -16 до -20°

25

30

Примечания: 1. Вследствие быстрого охлаждения бетонной смеси бетонирование при температуре ниже -15° не рекомендуется и может быть допущено лишь в особых случаях.

2. Приведенные в табл. 3 температуры рекомендуется проверять расчетом и затем в натуре (приложение 4).

3. Если за счет подогрева материалов на заводе не удается обеспечить выпуск бетонной смеси с требуемой температурой, может быть применен электроразогрев ее непосредственно на объекте перед укладкой. Работы с применением электроразогрева бетонной смеси на месте укладки выполняются по специальной инструкции.

3. Бетонирование с прогревом уложенного бетона

45. Твердение бетона происходит при положительной температуре, которая в течение всего периода, необходимого для достижения требуемой прочности, поддерживается в конструкции посредством паро- или электропрогрева, а также применения горячего песка (топливного шлака).

Для ускорения твердения, если нет противопоказаний, вводят также хлористый кальций в размере 2-3 % от веса цемента.

Учитывая малую толщину оснований при большой площади теплоотдачи, крайнюю трудоемкость и дороговизну обогрева, этот метод может применяться лишь в случае необходимости введения дорожных бетонных оснований в эксплуатацию в зимнее время.

Указанный метод следует применять как вспомогательный при методе термоса в случае, если температура бетона в основании падает ниже расчетной и не обеспечивается получение требуемой прочности к заданному сроку.

ПАРОПРОГРЕВ

40. Для прогрева уложенного бетона паром над бетонной плитой устраивают укрытие из брезента, легких фанерных или дощатых коробов. При этом между бетоном и укрытием оставляют зазор в 5-10 см, в который шлангами подается пар. Короба должны быть утеплены. Особое внимание следует обращать на утепление сопряжении коробов тепляка.

47. Температурный режим и продолжительность паропрогрева устанавливают в зависимости от поставленной задачи:

1) подогрев свежеуложенного бетона, выдерживаемого в условиях термоса, в случае преждевременного его остывания при укладке, когда создается угроза невозможности обеспечить твердение в соответствии с п. 34. В этом случае бетон подогревают до 15° и поддерживают эту температуру в течение суток, после чего пар отключают, а бетон оставляют твердеть под утеплением. Если же подогреть бетон до 15° не удается, то его подогревают до 8-10° и поддерживают температуру в течение 2 суток с таким расчетом, чтобы средняя температура бетона была не ниже 7°.

Надобность в подогреве уже твердеющего бетона может также возникнуть, когда вследствие резкого похолодания примененная теплозащита не в состоянии поддержать заданную температуру твердения и возникает опасность преждевременного падения температуры бетона ниже расчетной. В этом случае необходимо посредством подогрева поднять температуру бетона до положительных значений и поддерживать твердение до приобретения им требуемой прочности. Режим твердения (температура и продолжительность) устанавливается расчетом.

В связи с тем, что паропрогрев уже организован, следует посредством теплотехнического и соответственно технико-экономического расчета выяснить возможную целесообразность получения в бетоне прочности в размере 70 % для возможности укладки асфальтового бетона или 100 %, чтоб можно было открыть движение;

2) прогрев бетона для укладки асфальтового бетона и открытия грузового (или только легкового) движения в зимних условиях. Бетон прогревают до 35-40° и более (но не выше 50°) и в соответствии с расчетом поддерживают заданный режим твердения, имеющий целью получение в бетоне требуемой прочности к установленному сроку. При расчетах пользуются графиками, приведенными в приложении 2. При прогреве температуру бетона поднимают не более чем на 5° в час. По достижении заданной температуры рекомендуется пар подавать с небольшими перерывами, не допуская при этом понижения температуры под коробом более чем на 5°. Остывание должно вестись со скоростью, не превышающей 5° в час, до температуры 5°. Дальнейшее остывание осуществляется при выключенном паре под утеплением. При организации прогрева паром следует предусматривать необходимость удаления конденсата. Прогрев бетона следует выполнять под контролем лаборатории.

ЭЛЕКТРОПРОГРЕВ

48. Электропрогрев является рациональным и весьма технологичным средством создания необходимых температурных условий для получения требуемой прочности бетона в заданные сроки. Он может применяться как самостоятельно, так и в сочетании с методом термоса для подогрева бетонной смеси перед укладкой, разогрева уложенного бетона до требуемой температуры и, наконец, подогрева твердеющего бетона, когда примененная теплозащита не может обеспечить заданного режима.

В этом случае весьма рациональным является метод прогрева бетона посредством термоактивного слоя опилок (приложение 5).

Работы по электропрогреву должны выполняться в соответствии с «Руководством по электропрогреву бетонных и железобетонных конструкций и изделий» (Госстрой СССР, 1964). При проведении бетонных работ с электропрогревом должны строго соблюдаться правила техники безопасности, изложенные в названном руководстве.

49. Электропрогрев бетона дорожных оснований наиболее эффективен при укладке электродов по низу плиты, в этом случае наиболее полно используется выделяемое тепло, однако этот прием связан с потерей электродов.

Этот дефект можно устранить, если электроды использовать как арматуру с учетом ее при конструировании плиты, что может быть допущено только при низких температурах электропрогрева для предупреждения возможности понижения сцепления арматуры с бетоном.

В отдельных случаях при низкой температуре воздуха и уложенного бетона, когда создаваемого тепла недостаточно, бетон подогревают также с внешней поверхности посредством «плавающих» электродов из катанки диаметром 6-8 мм или полосовой стали шириной 20-50 мм, втапливаемых на половину сечения электрода.

50. Электропрогрев бетона в дорожных основаниях, толщина которых обычно не превышает 20-22 мм, может быть осуществлен и при одностороннем размещении полосовых электродов, располагаемых сверху. Необходимая равномерность температурного поля в бетоне достигается за счет применения небольших скоростей подъема температуры и хорошего утепления низа прогреваемой плиты.

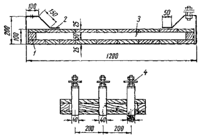
51. Для электропрогрева рекомендуется пользоваться инвентарными утепленными щитами из досок толщиной 2 см с нашивными электродами из полосовой стали шириной 2-5 см и выведенными клеммами (рис. 1).

Рис. 1. Конструкция инвентарного щита:

1 - рама из брусьев 5´5 см; 2 - стальная полоса 40´4 мм; 3 - опилки; 4 - болты 5/8 ² с гайками и шайбами или оконцеватели

В приложении 6 приведены формула и график, которые позволяют по заданным величинам: мощности (Р), толщины бетона (h0) и напряжения (u) подобрать расстояния между электродами (b) или, наоборот, по расстоянию между электродами (b) найти требуемое напряжение (u).

52. Электропрогрев бетона электродами с напряжением 120-220 В (но не выше) допускается только для неармированных бетонных оснований. В целях обеспечения равномерного прогрева, а также безопасности работ электропрогрев следует вести при низких напряжениях (51, 65, 87в). К моменту начала электропрогрева температура бетона должна быть не менее 5°.

53. Во избежание пересушивания при электропрогреве не следует температуру бетона поднимать выше 35°. При начинающемся высушивании открытую поверхность бетона следует увлажнять водой. Ток при этом должен быть обязательно отключен.

54. Для предупреждения возможности местного перегрева и короткого замыкания уложенные электроды должны быть надежно закреплены на своих местах.

55. По мере бетонирования, которое должно осуществляться участками не длиннее 3-4 м, электропрогрев включают с таким расчетом, чтобы поднять температуру бетона до 35°, после чего электропрогрев прекращают и бетон, тщательно укрытый, постепенно охлаждается с тем, чтобы к моменту остывания до -2° он имел требуемую техническими условиями прочность. Продолжительность и режим прогрева устанавливаются лабораторией в зависимости от температуры наружного воздуха и уложенного бетона.

56. В случае вынужденного, аварийного перерыва при применении электропрогрева следует прекращать бетонирование с таким расчетом, чтобы расстояние от рабочего шва до ряда электродов не превышало 10 см.

57. Бетон с установленными электродами укрывают опилками, не содержащими комьев снега и льда, толщиной слоя - не менее 15 см. Для предохранения от продувания опилки следует укрыть рулонным материалом или брезентом.

58. Охлаждение бетона после окончания прогрева должно протекать возможно медленнее со скоростью, не превышающей 5° в час. Для этого теплозащиту не снимают до тех пор, пока температура бетона не упадет до 5°, но не ранее достижения бетоном прочном и, заданной режимом твердения, при этом должны быть предусмотрены мероприятия по уходу за бетоном после оттаивания до приобретения им проектной прочности. Регулирование интенсивности остывания при паро- и электропрогреве должно осуществляться путем периодического изменения количества вводимого пара или включения тока.

ПРОГРЕВ ГОРЯЧИМ ПЕСКОМ

59. При невозможности применить электро- или паропрогрев допускается для прогрева бетона использование горячего песка или шлака.

Использование песка или топливного шлака в качестве теплоносителя при возможности его получения в потребных количествах и с достаточно высокой температурой является целесообразным способом подогрева бетона вследствие его простоты. Сущность этого способа заключается в следующем.

Нагретый в асфальтовых смесителях песок или топливный шлак доставляют на место в укрытых машинах и сваливают в кучу в непосредственной близости от места укладки бетонной смеси. Поверхность свежеуложенного бетона укрывают талым песком толщиной слоя 3-5 см, и затем по нему быстро ровным слоем толщиной 10-15 см распределяют горячий песок. После этого горячий песок тщательно укрывают утепляющими щитами, слоем шлака или опилок толщиной 10-15 см. При наличии ветра следует поверх опилок расстилать толь или другой рулонный материал, а обогреваемый участок обставлять щитами. Это мероприятие рекомендуется и при других способах обогрева.

Песок (или шлак) должен иметь на месте укладки температуру 100-150° и выше. Разравнивать его следует движками. Разбрасывать горячий песок лопатами запрещается. При расчетах теплоемкость песка следует принимать равной 0,2 ккал/кг×град.

4. Укладка и выдерживание бетонов с противоморозными добавками на необогреваемых материалах

60. Твердение холодного бетона происходит при отрицательных температурах бетона в конструкции. Это достигается приготовлением бетона на растворах с высокой (больше 8 % от веса воды) концентрацией солей хлористого натрия и хлористого кальция, применяемых совместно; такой бетон обычно готовится на необогреваемых материалах. Концентрации долевых растворов назначаются в зависимости от температуры, которая будет поддерживаться в конструкции в процессе твердения с учетом температур наружною воздуха, при которых будет происходить твердение бетона. Общее количество вводимых в бетонную смесь хлористых солей (хлористого кальция и хлористого натрия) не должно превышать 7 % от веса цемента, считая на безводные соли, или 15 % от количества воды затворения, включая воду в заполнителях. Допускается совместное применение хлористых солей с пластифицирующими добавками.

Количество добавок в зависимости от расчетной температуры твердения бетона назначается по табл. 4.

Таблица 4

Рекомендуемые количества противоморозных добавок

Расчетная температура твердения бетона в °С

Количество безводной соли в % от веса цемента и воды

NaCl

CaCl2

общее содержание солей

-5

5

3

-

5

3

-10

7

3,5

3

1,5

10

5

-15

6

3

9

4,5

15

7,5

Примечания: 1. В числителе указано количество добавок от веса воды (СНиП III-B. 1-52), в знаменателе - отвеса цемента («Руководство по применению бетонов с противоморозными добавками» НИИЖБ Госстроя, Москва, 1968*).

2. При температурах твердения бетона до -5 °С взамен хлористого натрия возможно применение хлористого кальция в количестве до 3 % от веса цемента (с учетом указаний п. 40).

3. Помимо указанных могут применяться и иные сочетания названных солей, проверенные в лабораторных и производственных условиях.

________________

* В дальнейшем эта работа называется «Руководство».

61. Применение бетонов с повышенным содержанием противоморозных добавок хлористых солей («холодных» бетонов) допускается в неармированных (бетонных) конструкциях и армированных конструктивной (нерасчетной) арматурой. Эти бетоны не допускаются в конструкциях, расположенных в зоне переменного уровня грунтовых вод, в конструкциях, находящихся в непосредственной близости к источникам тока высокого напряжения (в пределах до 100 м), и конструкциях с выпусками арматуры или выступающими закладными частями без специальных мер их защиты.

62. Применение «холодных» бетонов допускается только при создании таких условий твердения, при которых температура бетона в течение первых 15 суток твердения не упадет ниже -15°, а прочность бетона к моменту замерзания будет не менее 25% проектной прочности и не менее 50 кг/см2.

63. «Холодный» бетон твердеет при отрицательной температуре, предельно допустимой для незамерзающей жидкости примененной концентрации. В табл. 5 приведена кинетика роста прочности «холодного» бетона, изготовленного с применением хлористых солей, при твердении в условиях расчетных температур. Прочность дана в процентах от прочности бетона (на тех же материалах и того же состава, но без добавок солей) при твердении в нормальных условиях (в % от R28).

Таблица 5

Нарастание прочности бетона с противоморозными добавками на портландцементе

Вид добавки

Расчетная температура твердения бетона в град

Прочность в % от R28 при твердении на морозе через

7 дн.

14 дн.

28 дн.

90 дн.

Хлористые соли

-5

35

65

80

100

-10

25

35

45

70*

-15

15

25

35

50*

Примечания: 1. При использовании быстротвердеющих портландцементов приведенные величины умножаются на коэффициент 1,2, а смешанных (шлакопортландцемент), а также в случае сочетания противоморозных добавок с поверхностно-активными (ссб, мылонафт) или применения гидрофобного и пластифицированного портландцементов - на 0,8.

2. Интенсивность твердения бетона должна уточняться строительной лабораторией.

_______________

* 100 % прочности от R28 бетон приобретает в возрасте 180 дней.

При температуре «холодного» бетона выше 0° твердение его ускоряется, и он приобретает значительную прочность уже в возрасте 3-5 суток пребывания при положительной температуре.

64. Работы по устройству бетонных оснований с применением «холодных» бетонов выполняются в соответствии с общими правилами производства этих работ с учетом приведенных ниже дополнительных указаний:

а) бетонные смеси с высокими концентрациями хлористых солей (свыше 8 % от веса воды), изготавливаемые на неподогретых материалах, доставляются к месту укладки в машинах, оборудованных средствами защиты от попадания в бетонную смесь при перевозке воды или снега, а также от потери воды затворения. Обогрев кузова автомашины, а также утепление его не требуются;

б) основание должно быть подготовлено в соответствии с требованиями раздела IV. Допускается укладка бетона на промороженное основание (при непучинящих грунтах), устроенное и уплотненное в летнее время. Для выравнивания основания перед укладкой бетонной смеси применяют талый песок влажностью не выше 5% и толщиной слоя 5-8 см;

в) поверхность, на которую укладывается бетонная смесь, а также боковая опалубка должны быть очищены от снега и наледи. Обогрев ранее уложенного бетона в местах примыкания вновь укладываемого не требуется;

г) старый бетон в местах стыков и производственных (рабочих) швов должен быть очищен от цементной пленки и покрыт слоем цементно-песчаного раствора, соответствующего по составу раствору укладываемой бетонной смеси, который приготовляется на незамерзающей жидкости принятой концентрации.

65. Качество уплотнения имеет большее значение, поэтому бетонная смесь должна иметь требующуюся удобоукладываемость и поступать с осадкой конуса 0,5-1 см. В связи с загустеванием бетонная смесь должна быть уложена не позднее чем через 1,5 часа после выхода ее из бетономешалки.

66 Удобоукладываемость бетонной смеси с противоморозными добавками резко ухудшается с повышением температуры. Бетонная смесь может применяться при положительных температурах наружного воздуха: приготовленная на незамерзающей жидкости повышенной концентрации (15 % добавок от веса воды) при температуре не выше 2°, средней концентрации (до 10 % добавок от веса воды) - не выше 5°. Бетонная смесь с 5 % NaCl применяется как обычная бетонная смесь.

67. Температура бетонной смеси по выходе из бетономешалки должна быть не ниже -5°. Бетонная смесь при укладке не должна содержать частиц льда, снега и смерзшихся комьев материала.

68. «Холодный» бетон после укладки должен быть защищен от быстрого остывания, потери влаги, а также поступления ее извне в виде дождя или снега. По окончании уплотнения поверхность уложенного бетона выглаживают деревянными терками и укрывают плотной водонепроницаемой бумагой или другим рулонным материалом, а также картоном, фанерой с последующей засыпкой слоем сухого песка, грунта, опилок, шлака, соломенной резки, торфа или других подручных материалов; допускается утепление снегом

Взамен бумаги и толя могут применяться лак «этиноль», способный образовать паро- и водонепроницаемую пленку на поверхности свежеуложенного бетона, и после экспериментальной проверки - другие материалы, способные образовать такую пленку.

69. Дальнейшее твердение бетона происходит под указанной защитой в течение всего установленного срока твердения.

Выдерживание бетона под укрытием должно продолжаться в течение 15 суток до приобретения им указанной в п. 62 прочности и далее дополнительно в течение 10-15 суток (после достижения указанной прочности).

70. В случае понижения температуры «холодного» бетона в течение первых 15 суток после его укладки (до получения им прочности не менее 30 % от его марки) ниже расчетной, которая была принята при установлении концентрации незамерзающей жидкости, уложенный бетон необходимо утеплить. В качестве утепляющих материалов ориентировочно могут применяться сухие опилки толщиной слоя 10-15, сухой песок - 30-40, снег - 40-60 см. В таких условиях уложенный бетон должен выдерживаться в течение 15 суток после его укладки, как указано в п. 69. Необходимая толщина слоя перечисленных материалов устанавливается расчетом (см. приложение 3).

71. Взамен утепления при понижении температуры ниже расчетной можно сочетать выдерживание бетона по способу термоса с обогревом, что способствует ускорению твердения.

72. Понижение температуры твердеющего бетона в течение указанных 15 дней против предельной расчетной приводит к замедлению темпа роста прочности и к потере некоторой части конечной прочности. В силу оказанного, за состоянием утепления необходимо осуществлять тщательное наблюдение и своевременно исправлять повреждения.

73. В связи с замедленным ростом прочности «холодного» бетона должны применяться эффективные меры по защите его от механических повреждений.

74. В качестве противоморозных добавок при строительстве дорожных бетонных оснований в опытном порядке могут применяться также нитрит натрия - NaNO2 и поташ - KCO3.

Количество добавок поташа и нитрита натрия в зависимости от расчетной температуры твердения бетона назначается по табл. 6 («Руководство»).

Таблица 6

Рекомендуемые количества противоморозных добавок

Вид добавки

Количество безводной соли в % от веса цемента

расчетная температура твердения бетона в град

-5

-10

-15

-20

-25

Нитрат натрия

4-6

6-8

8-10

-

-

Поташ

5-6

6-8

8-10

10-12

12-15

Примечания: 1. Оптимальное количество поташа или нитрита натрия при данной температуре бетона при работе на холодных материалах назначается в зависимости от водоцементного отношения, а при работе на оттаянных или подогретых материалах - от типа цемента и его минералогического состава:

при работе на холодных материалах большее количество поташа и нитрита натрия следует вводить при в/ц > 0,45;

при использовании оттаянных или подогретых заполнителей меньшее количество поташа следует вводить в бетоны на быстротвердеющих цементах, а также на портландцементах, содержащих 7 % и более трехкальциевого алюмината; меньшее количество нитрита натрия рекомендуется вводить при изготовлении бетона на БТЦ или портландцементах с содержанием трехкальциевого алюмината до 7 %.

2. Концентрация раствора затворения (с учетом влажности заполнителей) не должна превышать эвтектическую (23 % для NaCl, 31 % для СаСl2, 40 % для К2СОз, 28 % для NaNO2).

Интенсивность роста прочности с названными добавками приведена в табл. 7.

Таблица 7

Нарастание прочности бетона с противоморозными добавками на портландцементах

Вид добавки

Расчетная температура твердения бетона в град

Прочность в % от R28 при твердении на морозе в возрасте

7 дн.

14 дн.

28 дн.

90 дн.

Нитрат натрия

-5

30

50

70

90

-10

20

35

55

70

-15

0

25

35

50

Поташ

-5

50

65

75

100

-10

30

50

70

90

-15

25

40

60

80

-20

25

40

55

70

-25

20

30

50

60

Примечания: 1. При использовании быстротвердеющих портландцементов приведенные величины умножаются на коэффициент 1,2, а смешанных (шлаковых или пуццолановых) - на 0,8.

2. При использовании нитрита натрия в виде жидкого продукта, а также при сочетании противоморозных добавок с поверхностно-активными (ссб, мылонафт) приведенные величины умножаются на коэффициент 0,8.

3. Интенсивность твердения бетона должна уточняться строительной лабораторией.

75. При применении в качестве противоморозных добавок нитрита натрия NaNO2 и поташа К2СО3 все изложенное выше в отношении «холодного» бетона с добавками хлористых солей сохраняет силу. В качестве специфических особенностей бетонной смеси с добавкой поташа следует указать на укороченные сроки схватывания. Поэтому бетонная смесь должна быстро укладываться в дело. Сроки схватывания обязательно проверяются лабораторией.

Для отдаления начала схватывания следует готовить бетон на холодных, но не смерзшихся заполнителях, вводить сульфитно-спиртовую барду.

Бетонные смеси с нитритом натрия имеют обычные сроки схватывания.

Применение «холодных» бетонов с добавкой нитрита натрия допускается при среднесуточной температуре наружного воздуха не ниже -10°, а поташа до -25°. Работы должны выполняться с строгим соблюдением мер техники безопасности.

V. УХОД ЗА БЕТОНОМ ЗИМОЙ И ВЕСНОЙ ПОСЛЕ ЕГО ОТТАИВАНИЯ

76. Для предохранения от преждевременного оттаивания во время оттепелей и вымораживания влаги бетон, уложенный в зимнее время, перед замораживанием закрывают негравелистым песком толщиной слоя не менее 5 см и поливают водой для образования ледяной корки или засыпают снегом.

77. Основания дорог, выполненные из бетона с поваренной солью одной или совместно с хлористым кальцием, в течение месяца после укладки бетона, а также во время оттепелей должны быть защищены от механического разрушения (движение транспорта и пешеходов). В местах пешеходного движения по бетонной плите должны устраиваться пешеходные деревянные мостки с перилами по всей длине, а в местах переезда должен быть уложен настил из досок толщиной 4-5 см.

78. Весной, с наступлением теплой погоды, необходимо поливать уложенный за зиму бетон. Бетон поливают по достижении им проектной прочности. Поливку прекращают не ранее 10-15 дней, считая с момента подъема среднесуточной температуры выше 0°. Песок убирают непосредственно перед укладкой асфальтобетона.

79. До достижения бетоном дорожных оснований 70 % проектной прочности проезд по нему легкового и грузового служебного транспорта, а также укладка асфальтобетона не допускаются.

VI. КОНТРОЛЬ КАЧЕСТВА БЕТОНА НА СТРОИТЕЛЬНОМ ОБЪЕКТЕ

80. При производстве бетонных работ в зимних условиях должен осуществляться особенно строгий контроль за качеством поступающего бетона, его укладкой и режимом твердения. Контроль включает:

а) проверку качества бетонной смеси, выпускаемой заводом, температуры, удобоукладываемости, а также заполнения сопроводительной накладной в соответствии с п. 21 настоящих Указаний;

б) непрерывное наблюдение за температурным режимом твердения бетона и принятие необходимых мер в случае его нарушения, изготовление и испытание контрольных образцов для оценки прочности уложенного в дело бетона;

в) проверку прочности бетона в конструкции посредством испытания контрольных образцов, твердевших в условиях конструкции;

г) получение из лаборатории завода-поставщика на уложенную бетонную смесь результатов испытания контрольных образцов, изготовленных на заводе и хранившихся в стандартных условиях, и внесение соответствующих поправок, учитывающих фактический температурный режим твердения бетона в конструкции.

81. При бетонировании для измерения температуры бетона делают отверстия (скважины) на глубину 5 и 15 см, а также на уровне подошвы конструкции. Скважины не менее одной на каждые 50 м2 дорожных оснований должны располагаться в местах наиболее неблагоприятного температурного режима твердения - в углах и по краям плиты - не далее 15 см от края плиты.

Каждую скважину нумеруют и наносят на прилагаемый к журналу производства бетонных работ план, где отмечают границы участка и время укладки (дата и час).

При измерении температуры термометр должен быть хорошо изолирован от влияния наружной температуры и находиться в скважине не менее 3 мин., если термометр без оправы, и не менее 4 мин., если термометр в металлической оправе.

Для повышения точности измерения в скважины при бетонировании вставляются закрытые с одного конца металлические трубки. Трубки заполняют отработанным машинным маслом, закрывают их деревянными или другими пробками.

82. Температуру в скважинах измеряют:

а) при выдерживании по способу термоса (включая и «холодные бетоны») 2 раза в сутки в дневную и вечернюю смены (примерно в 9 и 20 часов) по день падения температуры в бетоне до -2° и далее один раз до окончания выдерживания (по день наступления расчетной температуры) или достижения заданной прочности;

б) при паропрогреве - в первые 8 часов через 2 часа, в последующие 16 часов - через 4 часа, в остальное время прогрева и остывания не реже 1 раза в смену;

в) при электропрогреве - в первые 3 часа - каждый час, в остальное время - 3 раза в смену. Замеренные температуры заносятся в температурный лист (приложение 7).

83. Измерение температуры наружного воздуха (а также окружающей среды в случае пропаривания) должно производиться не реже 3 раз в сутки.

84. Допускается измерение температуры бетона термометрами сопротивления и термопарами.

85. В соответствии с приказом № 238 от 1963 г. по Главмосстрою о частоте, периодичности и звеньевой системе контроля указанные в п. 80, а, б, в проверки выполняются сменным лаборантом. Независимо от этого заведующему лабораторией треста вменяется в обязанность лично выполнять указанные проверки не реже 3 раз в неделю.

Вместе с этим каждому именному инженеру в свою смену надлежит лично присутствовать при указанных проверках прочности бетонов в контрольных образцах и температуры бетона в конструкции не реже 2 раз в неделю, главному инженеру СУ и главному инженеру треста - не реже 2 раз в месяц. Поименованные должностные лица обязаны всякий раз сделать соответствующую запись в журнале производства бетонных работ.

86. На месте укладки бетонной смеси (на строительном объекте) должен вестись журнал производства бетонных работ (приложение 8), в котором указывается: наименование объекта, дата, смена и время укладки, объем полученного и уложенного за смену бетона, номера сопроводительных паспортов, наименование завода-поставщика, способ укладки бетона, способ и время утепления, режим выдерживания бетона, температуры наружного воздуха, состояние погоды, атмосферные осадки, время снятия отепления, оценка бетонной смеси по внешним признакам, результаты испытания контрольных образцов (вписываются по мере получения), состав бетонной смеси, применяемые материалы и добавки с указанием концентрации, обнаруженные дефекты и принятые меры.

К журналу прикладываются накладные (сопроводительные паспорта) на полученную с завода бетонную смесь, результаты испытания заводских контрольных образцов, а также журнал измерения температуры бетонной смеси при доставке, перед укладкой и бетона в конструкции с указанием температур наружного воздуха во время измерения указанных температур.

Журнал производства работ подписывается начальником смены, начальником работ, заведующим лабораторией и главным инженером строительного управления.

VII. КОНТРОЛЬ ПРОЧНОСТИ БЕТОНА

87. Контроль прочности бетона осуществляется на заводе и на месте укладки бетона.

На бетонном заводе из выпускаемой бетонной смеси на обогреваемых материалах с введением добавки ежесменно должно изготовляться не менее одной партии из 6 контрольных образцов-близнецов на каждые 200 м3 и на каждую выпускаемую заводом марку или разновидность бетонной смеси для испытания в возрасте 7 и 28 дней. Образцы изготовляют на виброплощадке по 3 близнеца на каждый срок и хранят в стандартных условиях.

88. На строительном объекте в каждую смену, независимо от объема уложенного бетона, изготовляют не менее 6 контрольных образцов.

Образцы уплотняет на лабораторной виброплощадке, а при отсутствии ее - тщательным штыкованием и трамбованием с доведением плотности бетона в образце до плотности бетона в конструкции.

Примечание. Применять для уплотнения контрольных образцов производственные вибраторы запрещается.

89. Все образцы следует хранить на забетонированном основании укрытыми толем и засыпанными опилками толщиной слоя 25 см. Три из них испытывают при снятии утепления. Образцы испытывают после выдерживания их при комнатной температуре: размером 20´20´20 см - в течение 8 час. и размером 15´15´15 см - в течение 6 час. Три других образца, снятые с бетонного основания одновременно с предыдущими, хранят в условиях конструкции или в необогреваемых помещениях. Испытывают их при сдаче конструкции в эксплуатацию или через три месяца после наступления положительных температур, если грузовое движение до этого не открыто.

90. При бетонировании смесью с содержанием хлористых солей от 5 % и выше и при выдерживании основания методом термоса одновременно из той же смеси, кроме указанных выше 6 образцов, изготовляют (как указано в п. 88) дополнительно двенадцать образцов, которые хранят в условиях, одинаковых с конструкцией, и испытывают по 3 образца в возрасте 7 и 28 дней, при наступлении весеннего потепления и через три месяца после него

VIII. ТЕХНИКА БЕЗОПАСНОСТИ

91. Все работы по устройству бетонных оснований под асфальтобетонные покрытия в зимних условиях должны выполняться в соответствии с указаниями Строительных норм и правил (СНиП III-A. 11-62 «Техника безопасности в строительстве») и правил техники безопасности, изложенных в следующих документах:

«Руководстве по электропрогреву бетонных и железобетонных конструкций и изделий» (Госстрой СССР, М., 1964) - при производстве работ с применением электропрогрева;

«Руководстве по применению бетонов с противоморозными добавками» (НИИЖБ Госстроя СССР Москва 1968 г.) - в случае бетонирования с добавками хлористых солей кальция и натрия, нитрита натрия и поташа;

Технических указаниях на строительство цементобетонных дорожных покрытий в г. Москве (ВСН-6-67) Главмосстроя, а также настоящих Указаниях, составленных на основе перечисленных документов.

92. Строительные работы, осуществляемые по настоящим Указаниям, должны выполняться согласно проекту (типовому) производства работ, где должны содержаться конкретные решения по безопасному производству работ в зимних условиях.

93. Администрация строительства обязана обеспечивать рабочих спецодеждой и спецобувью соответствующих размеров, а также средствами индивидуальной защиты в соответствии с действующими нормами и характером производства работ.

Выдаваемые рабочим индивидуальные средства защиты должны быть проверены, а рабочие проинструктированы о порядке пользования ими.

Руководители работ (мастер, производитель работ) не должны допускать к работе лиц, не имеющих соответствующей спецодежды, спецобуви и средств индивидуальной защиты.

94. К работе по устройству монолитных бетонных оснований в зимних условиях допускаются лица не моложе 18 лет, прошедшие медицинский осмотр, вводный (общий) инструктаж по технике безопасности и инструктаж непосредственно на рабочем месте. Инструктаж должен также проводиться и при каждом-переходе на другую работу или при изменении условий работы. Проведение инструктажа оформляется документально.

95. На строительных объектах должны быть оборудованы санитарно-бытовые теплые помещения для обогрева рабочих в соответствии с СН 245-63 и гигиеническими требованиями Министерства здравоохранения СССР № 440-63 от 8 июля 1963 г.

96. Строительные объекты должны быть обеспечены аптечками с медикаментами и средствами для оказания первой помощи.

97. Работающие на строительном объекте должны быть обеспечены питьевой кипяченой или газированной водой.

98. Рабочие, обслуживающие вибраторы и занятые укладкой бетонной смеси, должны быть обеспечены резиновыми сапогами и перчатками и теплой одеждой в соответствии с действующими нормами.

99. К управлению машинами и механизмами, которые применяются при бетонировании, допускаются рабочие, прошедшие специальное обучение и имеющие удостоверения на право управления этими машинами и механизмами.

100. Перед началом работ надлежит проверить исправность машин, механизмов и электровибраторов и устранить замеченные недостатки.

101. Зона работ должна быть отделена стандартными ограждениями:

а) поперек дороги с обеих сторон устанавливают сплошные штакетные ограждения;

б) вдоль дороги устанавливают столбовые ограждения со шнуром.

102. На расстоянии 15 м от ограждения навстречу движению транспорта должны быть выставлены дорожные знаки: «Въезд запрещен», «Движение только направо» или «Движение только налево».

103. С наступлением темного времени суток и до утра зона работ должна быть освещена светильниками и сигнальными лампами красного цвета.

Наименьшая высота подвеса светильников 2,5-5 м при мощности лампы до 200 Вт и 3,5-10 м при мощности более 200 Вт.

Нормы искусственного освещения работ по устройству монолитного бетона основания - 1 лампа в 300 Вт на 120 кв. м.

104. При доставке бетонной смеси автосамосвалом необходимо соблюдать следующие правила:

а) в момент подхода самосвала все рабочие должны находиться на обочине, противоположной той, по которой происходит движение;

б) не разрешается подходить к самосвалу до полной его остановки, стоять у бункера укладчика и находиться под поднятым кузовом в момент разгрузки самосвала;

в) поднятые кузова следует очищать от налипших кусков бетона совковой лопатой или скребком с длинной рукояткой; нельзя ударять снизу по днищу кузова; рабочим, производящим очистку, надо стоять на земле. Стоять на колесах и бортах самосвала запрещается;

г) кузова автосамосвалов, перевозящих бетонную смесь, следует периодически очищать и промывать водой в специально отведенном и оборудованном для этого месте.

105. При уплотнении бетонной смеси электровибраторами надлежит соблюдать следующие требования:

а) работающих с вибраторами предварительно подвергать медицинскому освидетельствованию с периодическим переосвидетельствованием в сроки, установленные Министерством здравоохранения СССР;

б) рукоятки вибраторов снабжать амортизаторами, обеспечивающими амплитуду вибрации рукояток не выше норм для ручного электроинструмента;

в) до начала работ проверить исправность вибратора и корпус его заземлить. Общую исправность электровибратора проверяют пробной работой его в подвешенном состоянии в течение 1 мин, при этом нельзя опирать его в твердое основание;

г) для питания электровибраторов (от распределительного щитка) применять провода, заключенные в резиновые шланги;

д) не прижимать руками поверхностные вибраторы; ручное перемещение вибраторов во время уплотнения производить при помощи гибких тяг;

е) при перерывах в работе, а также при переходах бетонщиков с одного места на другое электровибраторы отключать;

ж) во избежание обрыва провода и поражения вибраторщиков током не перетаскивать вибратор за шланговый провод или кабель;

з) после работы вибраторы и шланговые провода очистить от бетонной смеси и грязи, насухо протереть, провода сложить в бухты и сдать в кладовую;

и) не обмывать вибраторы водой;

к) через каждые 30-35 мин вибратор выключать на 5-7 мин для охлаждения;

л) при работе с электровибраторами надевать резиновые перчатки и резиновые сапоги;

м) при укладке бетонной смеси с солями, обладающей повышенной электропроводностью, тщательно следить за тем, чтобы провода, подводящие ток к электровибраторам, не имели обнажении и повреждений.

106. При бетонировании дорожных бетонных оснований с применением электропрогрева надлежит соблюдать следующие требования:

1) работники, обслуживающие установки и ведущие работы по электропрогреву, должны:

пройти обучение безопасным методам работ под руководством опытного лица и проверку знаний квалификационной комиссией с отнесением к определенной квалификационной группе. Квалификационная группа подтверждается именным удостоверением установленной формы. Каждый работник должен иметь это удостоверение на руках;

пройти обучение практическим приемам освобождения попавшего под напряжение, приемам искусственного дыхания, правилам оказания первой помощи пострадавшему и правилам тушения пожара в электроустановках;

2) обслуживание участка электропрогрева в смену должно производиться не менее чем двумя лицами, одно из которых должно иметь квалификационную группу не ниже III и второе - не ниже II;

3) все электромонтеры и лица, занятые измерением температуры, снабжаются теплой одеждой, валенками с диэлектрическими галошами, а для обогрева обслуживающего персонала в непосредственной близости от места, где производится электропрогрев бетона, устанавливается временная отапливаемая будка;

4) все рабочие, обслуживающие электропрогрев бетона, должны быть снабжены резиновыми сапогами, и галошами. Все электромонтеры должны, кроме того, иметь диэлектрические перчатки. Ручки рабочего инструмента (пассатижи, кусачки и пр.) должны быть диэлектрическими;

5) перед употреблением резиновые сапоги и перчатки необходимо проверить визуально, а также на промокание. Перчатки можно проверить, закручивая открытый конец, - если при этом перчатки надуваются, они годны к употреблению;

6) состояние изоляции кабелей или проводов должно периодически проверяться визуально, а также с помощью мегометра. Сопротивление изоляции должно быть не менее 500 Ом;

7) захватки, на которых происходит электропрогрев, а также голые провода, находящиеся под напряжением, рекомендуется (а во время оттепелей обязательно) ограждать посредством временных ограждений; высота их должна быть не менее 1,25 м, а расстояние между прогреваемым бетоном или троллеями не менее 1,5 м;

8) при электропрогреве необходимо устанавливать указанные выше ограждения. Через каждые 5-10 м по периметру ограждения должны быть вывешены предупреждающие надписи и контрольные лампочки, загорающиеся одновременно с включением напряжения;

9) рабочие других специальностей, работающие непосредственно на участке электропрогрева или вблизи этого участка, должны быть предупреждены об опасности поражения током и тщательно проинструктированы. Посторонние лица не должны допускаться на участок электропрогрева бетона;

10) все голые токоведущие части трансформаторов и распределительных щитов должны быть защищены от случайных прикосновений и атмосферных осадков. Рубильники должны быть заключены в кожухи. Около трансформаторов и распределительных щитов должны быть установлены деревянные настилы на изоляторах, закрытые резиновыми ковриками. Предохранители должны иметь калиброванные плавки вставки;

11) механические нетоковедущие части оборудования для электропрогрева (корпуса трансформаторов, металлические каркасы распределительных щитов, броневая лента кабелей), могущие оказаться под напряжением, должны быть заземлены.

Учитывая возможную ненадежность заземления при передвижных установках в условиях промерзшего грунта, необходимо с целью увеличения надежности заземления нетоковедущих частей оборудования использовать нулевую фазу трехфазной силовой проводки в том случае, если заземлена нейтраль силового трансформатора. Воспрещается использовать в качестве заземляющего устройства при электропрогреве водопроводную сеть;

12) подключение напряжения к струнным и нашивным (стержневым) электродам должно производиться после окончания бетонирования и ухода укладчиков бетона.

Подключение групповых и одиночных стержневых электродов, а также накладных электродных панелей, устанавливаемых и укладываемых по ходу бетонирования, должно производиться сразу после их установки или укладки. Это необходимо для немедленного устранения возможных замыканий электродов с арматурой. Однако при этом допускается напряжение не более 50 В;

13) применение напряжения 220 и 380 В допускается в отдельных случаях для прогрева неармированных монолитных конструкций. В этом случае кроме выполнения основных требований необходимо заземлять нейтраль трансформатора, обслуживающего силовую сеть.

Запрещается использовать для электропрогрева напряжение свыше 380 В;

14) в сырую погоду и во время оттепели все виды электропрогрева на открытом воздухе должны быть прекращены;

15) прогреваемые электротоком участки должны находиться под круглосуточным наблюдением квалифицированных электромонтеров (не ниже III квалификационной группы) и в ночное время хорошо освещаться.

Пребывание людей на участках электропрогрева и выполнение каких-либо работ не разрешается, за исключением измерения температуры, которое должно выполняться квалифицированным персоналом с применением защитных средств (галоши или резиновые сапоги) и, по возможности, одной рукой.

Измерение температуры бетона с помощью технических термометров допускается при напряжении не более 110 В;

16) во время поливки бетона соляным раствором (с целью разогрева подмороженных участков) или водой напряжение должно быть выключено;

17) на участках электропрогрева и в местах установки оборудования для электропрогрева должны быть вывешены предупредительные плакаты и надписи: «Опасно», «Ток включен», а также правила оказания первой помощи при поражении электрическим током, номера телефонов и адреса для вызова скорой помощи.

При поражении кого-либо током, необходимо вызвать скорую помощь, а до ее прибытия принять необходимые меры по оказанию первой помощи пострадавшему.

Способы оказания первой помощи должны входить в программы занятий по технике безопасности с персоналом, обслуживающим работы по электропрогреву бетона;

18) монтажные работы по установке, раскреплению и пpиcoединению электродов к проводам токоразводящей сети должны быть произведены до бетонирования при выключенном напряжении;

19) во время бетонирования включающий рубильник должен находиться под замком; диэлектрическая рукоятка рубильника должна быть выведена наружу;

20) включение напряжения допускается только после окончания бетонирования, устройства температурных скважин, засыпки открытых поверхностей утеплителем и ухода с участка электропрогрева всех рабочих.

При односменной работе на участке рекомендуется включать напряжение только на время рабочих смен;

21) подключение групповых щитов (а также понижающих трансформаторов) к силовой сети и ремонт монтажной проводки должны производиться только после снятия напряжения в сети. Во время работ по подключению кабеля или проводов главный рубильник должен быть выключен и заперт на замок, а при отсутствии замка находиться под охраной;

22) при возникновении на участке электропрогрева пожара надо немедленно выключить напряжение. Для тушения пожара следует иметь наготове огнетушитель и ящики с песком, снабженные пожарными лопатами: заливать водой участок, находящийся под напряжением, запрещается;

23) в зоне электропрогрева применяются кабели типа КРПТ или изолированные провода типа ПРТ-500 (с дополнительной защитой проводов резиновым шлангом). Запрещается прокладывать провода непосредственно по грунту или слою опилок.

107. При бетонировании дорожных оснований с применением для обогрева бетона горячего песка (или шлака) рабочие, занятые распределением песка, должны быть снабжены брезентовыми брюками, рукавицами, защитными очками и теплой обувью на деревянной подошве.

ПРИЛОЖЕНИЯ


Приложение 1

СРОКИ ПРИОБРЕТЕНИИЯ БЕТОНОМ ДОРОЖНОГО ОСНОВАНИЯ ПРОЧНОСТИ 0,7 МАРКИ, ТРЕБУЕМОЙ ПРИ УКЛАДКЕ АСФАЛЬТОБЕТОННОГО ПОКРЫТИЯ, ПРИ РАЗЛИЧНЫХ ТЕМПЕЕРАТУРАХХ ТВЕРДЕНИЯ. МЕРОПРИЯТИЯ ПО ОБЕСПЕЧЕНИЮ ПРИНЯТОГО РЕЖИМА ТВЕРДЕНИЯ

№ строк

Ожидаемая температура воздуха в течение 15 дней после укладки бетона

Срок приобретения бетоном прочности 0,7 R28, дн.

Состояние грунта земляного полотна

Рекомендуемые мероприятия для обеспечения получения прочности 0,7 R28

Средняя температура твердения бетона tбср

Сроки приобретения бетоном прочности 0,7 R28, дн.

пределы

расчетная tнв

tбн к концу укладки

на заводе

на объекте

без документов

с введением хлористого кальция в % от веса цемента

град

дн.

1,5

2,0

1

³ 15°

15°

15°

8,5

талый

Выпуск бетонной смеси из расчета иметь к концу укладки tбсм ³ 15°

Твердение бетона под пароводонепроницаемой пленкой. К концу укладки tбсм ³ 15°

15°

9

5

4

2

+15° - (+10°)

12,5°

15°

10,5

талый

Выпуск бетонной смеси из расчета иметь к концу укладки tбсм ³ 15°

Твердение бетона под пароводонепроницаемой пленкой. К концу укладки tбсм ³ 15°

12,5°

11

6

5

3

+15° - (+5°)

10°

15°

12

талый

Выпуск бетонной смеси из расчета иметь к концу укладки tбсм ³ 15°

Твердение бетона под пароводонепроницаемой пленкой. К концу укладки tбсм ³ 15°

10°

12

7

6

4

+10° - (+5°)

7,5°

15°

14

талый

Выпуск бетонной смеси из расчета иметь к концу укладки tбсм ³ 15°

Твердение бетона под пароводонепроницаемой пленкой. К концу укладки tбсм ³ 15°

7,5°

14

9

8

5

+10° - (0°)

5°

15°

16

талый

Подогрев воды. tбсм к концу укладки 15°.

Введение хлористого кальция

tбсм к концу укладки не менее 15°. Укрытие толем в 1 слой, поверх него слой опилок не менее 4 см

7,5°

14

9

8

6

+5° - (0°)

2,5°

15°

19

талый

Подогрев воды. tбсм к концу укладки 15°.

Введение хлористого кальция

То же слой опилок не менее 6 см

7,5°

-

9

8

7

+2° - (-2°)

0°

15°

22

талый

Подогрев воды. tбсм к концу укладки 15°.

Введение хлористого кальция

То же слой опилок не менее 10 см

7,5°

-

9

8

8

0° - (-5°)

-2,5°

15°

15-20

талый

Подогрев воды. tбсм к концу укладки 15°.

Введение хлористого натрия 5-6 % от веса воды

То же слой опилок не менее 10 см

-5°*

-

-

-

9

-2° - (-7°)

-5°

5°

20-25

мерзлый

«Холодный бетон с комбинированной добавкой солей 3 % CaCl2 + 4 % NaCl от веса воды

Укрытие свежеуложенного бетона толем в 1 слой, поверх него опилки толщиной слоя согласно расчету, но не менее 10 см, а сверху слой толя для устранения продувания. Поверх мерзлого грунта термоподушка из талого сухого песка толщиной слоя 8-10 см.

10

-5° - (-10°)

-10°

2°

80-90

мерзлый

То же, комбинированная добавка солей 4 % CaCl2 + 7 % NaCl

11

-10° - (-15°)

-15°

-2°

120

мерзлый

То же, комбинированная добавка солей 4 % CaCl2 + 12 % NaCl

 

 

 

 

 

 

Сульфитно-спиртовая барда (Ссб) 0,1 % от веса цемента

12

ниже -15°

 

 

Бетонирование не рекомендуется, оно может производиться только в особых случаях с принятием специальных мер

* Срок приобретения бетоном прочности 0,7 R28 25-30 дн.

Примечания:

1. Хлористый кальций и его дозировка принимаются в зависимости от установленных сроков укладки асфальтобетонного покрытия.

2. При необходимости укладки асфальтового бетона ранее указанных сроков термосного выдерживания бетона или в ожидании понижения в последующем температуры воздуха ниже указанных в графе 2 следует применять искусственный прогрев бетона в конструкции (паро- или электропрогрев, прогрев горячим песком).

3. При учете коэффициента повышенной эффективности хлористого кальция при твердении бетона при низких положительных температурах приведенные в строках 5, 6, 7 сроки выдерживания могут быть снижены до 5 дней. Возможность этого должна быть подтверждена экспериментально для применяемого цемента.

4. Основой для оценки достигнутой прочности должны служить результаты измерения температур в конструкции и испытания контрольных образцов. В расчетах начальная температура бетона к концу укладки (строки 1-8) принята tбн = 15°.

5. В случае применения «холодного» бетона при понижении температуры воздуха ниже расчетной до истечения 30 дней с момента укладки усиливают (согласно теплотехническому расчету) утепление или осуществляют подогрев бетона электротоком посредством электродов, укладываемых поверх бетона в слое подкисленных опилок.

6. Применение «холодного» бетона допускается с ограничениями, предусмотренными СНиПом III-B.1-62, п. 6.29.

7. Для ускорения приобретения бетоном требуемой прочности допускается в опытном порядке применение электроразогрева бетонной смеси на объекте в специально оборудованных бункерах.

8. Для утепления бетона взамен опилок может применяться любой пригодный для этих целей материал с соответствующим пересчетом указанной толщины.

Рекомендуются к применению маты стекловатные и минераловатные прошивные с оболочкой из бумаги l = 0,040-0,05. В расчетах принят коэффициент теплопроводности опилок l = 0,08 ккал/м×ч×град. Для шевелина l = 0,045; шлака котельного сухого l = 0,14-0,250; соломита l = 0,070; песка сухого l = 0,50-2,0. По теплопроводности опилкам толщиной слоя 1 см соответствуют: маты минераловатные и стекловатные прошивные - 0,57 см, шевелин - 0,40 см, шлак котельный - 23 см, песок сухой - 24 см.

9. При понижении минимальной суточной температуры до +5° должен осуществляться систематический контроль за режимом твердения бетона. Во всех случаях в журнале производства бетонных работ фиксируется температура бетона в конструкции к концу укладки.

10. При бетонировании в зимних условиях должен применяться гидрофобный портландцемент. В случае применения негидрофобного портландцемента следует вводить гидрофобизующую добавку при приготовлении бетонной смеси.

11. При теплотехнических расчетах следует учитывать в прогнозе не только температуру воздуха, но также и температуру на почве: она зимой и весной обычно на несколько градусов ниже среднесуточной.


Приложение 2

ГРАФИКИ РОСТА ПРОЧНОСТИ БЕТОНА

Относительная прочность бетона на портландцементе марок 400-500 в % к R28

(рис. 2)

Средняя температура бетона в град

Срок твердения бетона в сутках

1

2

3

4

5

6

7

14

28

0

20

26

31

35

39

43

46

61

77

10

27

35

42

48

51

55

59

75

91

15

30

39

45

52

55

60

64

81

100

20

34

43

50

56

60

65

69

87

-

30

39

51

57

64

68

73

76

95

-

40

48

57

64

70

75

80

85

-

-

50

49

62

70

78

84

90

95

-

-

60

54

68

78

86

92

98

-

-

-

70

60

73

84

85

-

-

-

-

-

80

65

80

92

-

-

-

-

-

-

Рис. 2. График нарастания прочности бетона на портландцементе марок 400-500

Относительная прочность бетона на быстротвердеющем высокоактивном цементе в % от R28

(рис. 3)

Средняя температура бетона в град

Срок твердения бетона в сутках

1

2

3

4

5

6

7

8

14

0

27

39

45

50

55

62

65

71

95

5

30

42

51

60

67

74

80

86

-

10

36

51

60

69

77

85

92

100

-

15

40

55

68

79

89

99

-

-

-

20

45

62

75

90

-

-

-

-

-

30

54

73

90

-

-

-

-

-

-

Рис. 3. График нарастания прочности бетона на быстротвердеющем высокоактивном цементе (БТЦ)

Относительная прочность бетона на портландцементе марок 400-500 в % к R28

(рис. 4)

Средняя температура бетона в град

Срок твердения бетона в часах

4

8

12

16

20

24

28

32

36

40

44

48

0

6

10

13

15

18

20

21

22

24

25

25

26

10

9

14

18

21

24

27

29

30

32

33

34

35

15

10

16

21

24

28

30

32

34

35

37

38

39

20

12

19

24

28

31

34

36

38

40

41

42

43

30

14

22

28

32

36

39

42

44

46

48

50

51

40

16

25

32

37

41

44

46

0

52

54

55

57

50

19

29

35

41

45

49

52

54

56

58

60

62

60

23

34

40

46

50

54

57

60

62

64

66

68

70

26

36

44

50

56

60

63

65

68

70

72

73

80

30

41

49

55

60

65

69

71

74

76

78

80

Рис. 4. График нарастания прочности бетона на портландцементе марок 400-500

Относительная прочность бетона на быстротвердеющем высокоактивном портландцементе в % к R28

(рис. 5)

Средняя температура бетона в град

Срок твердения бетона в часах

4

8

12

16

20

24

32

36

40

44

48

60

72

0

15

19

21

22

26

27

32

35

38

39

42

45

 

10

17

21

25

30

34

36

42

45

49

51

56

60

 

15

18

22

28

32

37

40

46

49

54

55

62

68

 

20

19

25

31

36

40

45

50

53

58

62

68

75

 

30

22

28

38

44

49

54

61

65

71

74

82

90

 

40

25

32

45

52

58

63

72

77

81

88

98

-

 

50

28

35

52

60

67

73

84

88

83

-

-

-

 

60

32

41

59

68

75

82

94

98

-

-

-

-

 

70

35

46

65

75

84

92

-

-

-

-

-

-

 

80

41

53

71

82

92

-

-

-

-

-

-

-

 

Рис. 5. График нарастания прочности бетона на быстротвердеющем высокоактивном портландцементе (БТЦ)

Приложение 3

ТЕПЛОТЕХНИЧЕСКИЕ РАСЧЕТЫ ПРИ БЕТОНИРОВАНИИ ДОРОЖНЫХ ОСНОВАНИЙ С ВЫДЕРЖИВАНИЕМ ПО МЕТОДУ ТЕРМОСА И «ХОЛОДНОГО БЕТОНА»

При методе термоса температуру остывания бетонного покрытия и основания определяют по следующим формулам*:

____________

* Технические указания по строительству автомобильных дорог в зимних условиях (ВСН-120-65) Минтрансстроя СССР, М., 1966.

а) при учете экзотермического процесса:

Тt = Тнач ´ еt + L(1 - еt) + N(e-mt - еt);                                 (1)

б) без учета экзотермического процесса:

Тt = Тнач ´ еt + L(1 - еt)                                              (2)

где

 -1],  [°С],

 [°С],  [ккал/ч °С],

 [ккал/ч °С],

lу - коэффициент теплопроводности утеплителя, ккал/м ´ ч ´ град;

Fy, Fп - площади утеплителя и отсыпаемого перед бетонированием слоя талого песка под подошвой плиты принимаются при определении A1 и А2 равными 1 м2;

hу - толщина утеплителя, м;

hп - толщина слоя талого песка под подошвой плиты, отсыпаемого перед бетонированием, м;

Тt - температура бетона в °С через t часов твердения;

Тц - вес цемента в 1 м3 бетона, кг/м3;

Тв - температура воздуха, °С;

Тнач - начальная температура бетона, °С;

t - время твердения бетона;

В, m - параметры, характеризующие экзотермический процесс;

С - теплоемкость 1 м2 покрытия, ккал/°С;

Тг - температура грунта под термоподушкой (принимается равной 0 °С);

Vб - объем бетона в 1 м2 покрытия, м3.

Параметры В и m характеризуются тепловыделением 1 кг цемента в ккал при температуре 15°С.

Для портландцемента марки 500 принимается В = 0,76, для марки 400 В = 0,6; в обоих случаях m = 0,01. Если твердение бетона происходит от Тнач = 15° С до 0°, то значение параметра и следует уменьшить на 40-50 %.

Пример 1. Определить температуру бетонной плиты дорожного основания через 48 час. после бетонирования.

Исходные данные: начальная температура бетона Тнач = 15 °С, толщина уложенной на мерзлое основание термоподушки из сухого песка hу = 0,08 м; коэффициент теплопроводности сухого песка lп = 0,6; толщина утеплителя (опилки) hу = 0,2 м; коэффициент теплопроводности опилок lу = 0,1; теплоемкость (С) 1 м2 бетона толщиной 0,2 м равна 2400 ´ 1 ´ 0,2 ´ 0,27 = 129 ккал; цемент марки 400, В = 0,6: m = 0,01; твердение происходит от Тнач = 15 °С до 0°, В = 0,6 ´ 0,6 = 0,36; температура воздуха –5 °С

Определим коэффициенты К, L и N в формуле (1)*

ч-1 = 0,062 ч-1

 °С

 °С.

Тогда

** Т48 = 1,5 е-0,062×48 – 0,31 (1 - е-0,062×48) + 3,11 (е-0,01×48 – е-0,062×48) = 15 × 0,5079 - 0,31 (1 - 0,05079) + 3,11 (0,6188 - 0,05079) = 0,762 - 0,31 × 0,94921 + 3,11 × 0,56801 = 0,762 - 0,379 + 1,768 = 1,5 °С.

Если не учитывать экзотермическое тепло, то

Т48 = 1,5 е-0,062×48 - 0,31 (1 - е-0,062×48) = 0,762 - 0,379 = 0 × 4 °С.

Т60 = 1,5 е-0,062×60 - 0,31 (1 - е-0,062×60) = 15 × 0,02423 – 0,31 (1 – 0,02423) = 0,304 - 0,302 = 0,002 = 0 °С.

____________

* Утепление толем или другим рулонным материалом, расстилаемым по свежеуложенному бетону и поверх опилок (или другого утеплителя) для устранения продувания, в расчет не принимаем.

** Значение е для подстановки в формулу 1, 2 берут из таблицы математических справочников, напр. Бронштейн и Семендяев «Справочник по математике» М., 1959, отдел первый, табл. 10.

Из решения уравнения (1) видно, что скорость остывания бетонного покрытия определяется, прежде всего, теплоизоляционными свойствами утеплителя и термоподушки и начальной температурой бетона.

Тип и толщина утеплителя назначаются путем последовательного подбора соответствующих теплофизических характеристик, при которых в решениях уравнений (1) или (2) достигается требуемая скорость остывания бетона.

При бетонировании покрытия или основания по способу «холодного бетона» толщину утеплителя рассчитывают по формуле:

,

где:

; ;

hy, hб, hг - толщина слоев утеплителя, бетона и мерзлого грунта, м;

ly, lб, lг - коэффициенты теплопроводности соответственно утеплителя, бетона и мерзлого грунта (см. таблицу);

ап - коэффициент теплоотдачи от поверхности утеплителя к воздуху ккал/м2 ´ ч ´ град;

Тв - минимальная температура воздуха в течение 15 дней после укладки бетона, град. С;

Тб - заданная температура поверхности бетона.

В расчете следует принять значения Тв, Тб со знаком плюс.

В случае применения двухслойной или трехслойной утепляющей среды вместо hy определяется термическое сопротивление утеплителя Ry, удовлетворяющее заданной температуре поверхности бетона под утеплителем:

,                                                  (4)

где

Пример 2. Бетонирование осуществляется по способу «холодного бетона». Определить толщину утеплителя - опилок, если известно:

l = 0,08 ккал/м×ч×град; а = 20 ккал/м2×ч×град;

hг = 10 см; hб = 20 см;

lб = 1,5 ккал/м×ч×град;

Тв = -15°; Тб = -2°; lг = 1,42 ккал/м×ч×град.

По формуле (3) определим толщину утеплителя:

 м.

Расчетные физические показатели материалов-утеплителей

Наименование утеплителей

Плотность, кг/м3

Коэффициент теплопроводности, ккал/м×ч×град

Удельная теплоемкость, ккал/к×град

Сухой песок

1600

0,50

0,20

Древесная стружка плотная

300

0,10

0,60

Опилки древесные

250

0,08

0,60

Плиты древесноволокнистые

600

0,14

0,60

Известково-шлаковые плиты

1200

0,40

0,19

Картон обыкновенный

700

0,15

0,13

Рубероид, пергамин, толь

600

0,15

0,35

Снег свежевыпавший

200

0,09

0,50

Снег уплотненный

350

0,30

0,50

Снег при начале таяния

500

0,55

0,50

Камышит

400

0,12

0,35

Соломит

300

0,09

0,35

Шлак топливный

1000

0,25

0,18

Бетон

2350

1,5

0,27

Приложение 4

РАСЧЕТ ТЕПЛОПОТЕРЬ БЕТОНА ПРИ ПЕРЕВОЗКЕ

Величина тепловых потерь при перевозках бетонной смеси в автомобилях-самосвалах определяется по формуле

tбк = A × tбн + Btнв, где

tбк -температура бетонной смеси по окончании перевозки;

tбн -температура бетонной смеси при погрузке в транспортные средства;

tнв - температура наружного воздуха.

Значения коэффициента А и В даны в таблице.

Коэффициенты А и В для учета теплопотерь бетонной смеси при перевозке ее в автомобилях-самосвалах

Марка автомобиля-самосвала

Объем перевозимой бетонной смеси в м3

Коэффициент

Длительность перевозки в мин.

10

20

30

40

50

60

СМ-1

1

А

0,959

0,921

0,884

0,85

0,815

0,782

В

0,041

0,079

0,116

0,151

0,19

0,22

ЗИС-585

1,4

А

0,962

0,926

0,891

0,857

0,817

0,793

В

0,039

0,074

0,109

0,142

0,175

0,206

МАЗ-205

2

А

0,967

0,939

0,91

0,88

0,853

0,827

В

0,033

0,061

0,091

0,121

0,147

0,173

Приложение 5

ПРОГРЕВ БЕТОНА ПОСРЕДСТВОМ ТЕРМОАКТИВНОГО СЛОЯ ОПИЛОК*

____________

* При необходимости этот метод может быть применен и для оттаивания грунта.

Описываемый метод является разновидностью метода электропрогрева и может применяться при строительстве дорожных оснований как для прогрева свежеуложенного бетона, так и для подогрева твердеющего бетона, когда примененная теплозащита не может обеспечить заданного режима. Этот метод электропрогрева особенно ценен тем, что здесь устранена (при правильном его применении) опасность обезвоживания твердеющего бетона.

Существо метода заключается в следующем: поверх свежеуложенного (или уже затвердевшего) бетона расстилают пароводонепроницаемый рулонный материал (рубероид, толь, промасленную бумагу) и по нему рассыпают опилки толщиной слоя 15-20 см. Стержневые электроды укладывают после засыпки опилок через 30-40 см при напряжении 120-127 В и 50-60 см при напряжении 220 В на расстоянии не менее 8-10 см от поверхности бетона. При значительных объемах работ для удобства пользования электроды следует монтировать на щитах или рамах. Щиты укладывают поверх слоя опилок толщиной не менее 8-10 см, а рамы устанавливают по слою толя или другого рулонного материала, засыпают опилками и для уменьшения теплопотерь прикрывают сверху досками. Размеры щитов или рам устанавливаются из удобства пользования ими. При длине захватки 3-4 м площадь их может достигать 3,5 ´ 4 и 7 ´ 4 м.

Для обеспечения плотного соприкосновения производят тщательную подбивку опилок к электродам.

Опилки следует применять незасоренные. Особенно необходимо следить за тем, чтобы в опилки не попадали металлические части (металлическая стружка, обрезки и т.п.). Смерзшиеся комки опилок класть запрещается. Опилки рекомендуется перед употреблением просеять через сетку с ячейками 3 ´ 3 см.

Для повышения проводимости и интенсивности нагрева опилок они должны быть тщательно и равномерно смочены в растворе соли с концентрацией 0,2-0,5 %. Для этой цели могут быть применены растворы поваренной соли, хлористого кальция, сернокислого магния, сернокислого натрия и др. Эффективная с точки зрения нагрева влажность смоченных опилок, определяемая в процентах отношением количества раствора (в весовых единицах) к весу сухих опилок, должна быть не менее 100 %.

Количество раствора А (л), которое следует добавить на 1 м3 опилок, имеющих влажность W¢оп, подсчитывается по формуле:

,

где В - вес 1 м3 сухих опилок в кг;

W²оп - влажность опилок, омоченных в растворе.

Количество безводной (сухой) соли (кг) на 1 м3 опилок, которое должно быть растворено в воде для получения раствора данной концентрации, определяют по формуле:

,

где: h - концентрация раствора в %,

Wc - влажность соли в %.

При подсчетах вес 1 м3 сухих опилок принимают равным 220 кг.

Опилки должны быть равномерно смочены в растворе. Неравномерное смачивание сопровождается местными перегревами, что нарушает нормальное течение процесса твердения бетона.

Смачивание опилок следует производить до их распределения, оно может быть произведено одним из следующих способов:

а) при небольших количествах опилки можно смачивать в непосредственной близости к месту работ в ящиках с одновременным перемешиванием лопатами;

б) опилки перемешивают с раствором в барабане растворомешалки;

в) опилки насыпают (без утрамбовки) в заранее заготовленные баки, чаны и т. п., заливают раствором и выдерживают их в течение 6-8 часов. Чтобы опилки не всплывали и были полностью погружены в раствор, необходимо сверху прикрыть их деревянными щитами, на которые следует положить какой-либо груз (кирпичи, камни и т.п.). Температура раствора должна быть не менее 20-25°. Температура смоченных в растворе опилок перед включением тока - не ниже 5°. Если она близка к 0°, то опилки следует полить горячей водой. В случае замерзания опилок и прекращения тока в цепи необходимо их оттаять (при выключенном токе), для чего вдоль каждого электрода через каждые 1,5-2 м по его длине следует обильно полить горячим соляным раствором и образовать полоски между соседними электродами. Смоченные солевым раствором полоски опилок замкнут электрическую цепь, по которой потечет ток.

При высыхании опилки перестают проводить ток и прогрев прекращается. Для его возобновления опилки необходимо вновь увлажнить (при выключенном токе). Температуру бетона регулируют периодическим выключением тока и повторным увлажнением опилок. С целью снижения потребляемой мощности прогреваемый бетон следует разбивать на отдельные участки, чередуя их включение.

По окончании прогрева щит (или раму) переносят на другой подготовленный участок, а опилки оставляют на бетоне до остывания его и приобретения им заданной прочности. Интенсивность остывания бетона не должна превышать 5-6° в час.

Прогрев по описываемому методу конструкций, расположенных на влажном грунте, воспрещается.

При смачивании и доставке на место работ, а также при укладке опилок должны быть приняты меры против замерзания их.

Применение описываемого метода требует специальных противопожарных мер и должно быть согласовано с пожарной охраной.

Приложение 6

РАСЧЕТ МОЩНОСТИ ПРИ ЭЛЕКТРОПРОГРЕВЕ

Электрическая мощность при электропрогреве конструкции с односторонним размещением полосовых электродов равна:

 квт/м3, где

ho - толщина бетона, см;

а - ширина электрода, см;

b - расстояние между осями электродов, см;

u - напряжение, В;

r - удельное электрическое сопротивление - ом×см;

a - коэффициент, равный при трехфазном токе 1,5 и при однофазном - 2.

Рис. 6. Графики расчета прогрева бетона полосовыми электродами с односторонним расположением (r = 900 ом×см, ток трехфазный):

а - при толщине конструкции ho = 5 см; б - при толщине конструкции ho = 10 см; в - при толщине конструкции ho = 15 см; г - при толщине конструкции ho = 20 см

_________ - при ширине электродов 5 см

--------------- - при ширине электродов 2 см

Необходимые расчеты производят, пользуясь прилагаемыми графиками, построенными по приведенной формуле.

Приложение 7

Трест _____________________ СУ № ___________ Объект ______________________

Производитель работ ______________________________________________________

Ответственный за прогрев и выдерживание бетона ______________________________

ТЕМПЕРАТУРНЫЙ ЛИСТ № _______

прогрев бетона с ГК ______ до ГК ______

Уложено _________ м3 бетона. Паспорт № ______ завода ________________________

Марка бетона « ___ » на ________ цементе марки _________ завода ________________

Наименование добавки _________ содержание « ___ » в % от веса _________________

Бетон уложен ____________ 196_ г. контрольные образцы № партий _______________

прогрев бетона электро горячим начат « ___ » час. мин. ___ 196_ г.

паром песком

при температуре бетона ______________град.

Окончен « ___ » час. мин. ___ 196_ г. при температуре бетона _____________________

Способ отепления _________________________________________________________

Дата замера

Время замера

Температура наружного воздуха

Температура в скважинах

Средняя температура по скважинам

Контроль готовности

1

2

3

4

5

время от начала прогрева

средняя температура твердения

% прочности от марки бетона

 

 

 

 

 

 

 

 

 

 

 

 

 

 

 

 

 

 

 

 

 

 

 

 

 

 

 

 

 

 

 

 

 

 

 

 

 

 

 

 

 

 

 

 

 

 

 

 

 

 

 

 

 

 

 

 

 

 

 

 

 

 

 

 

 

 

 

 

 

 

 

 

Измерение температуры бетона закончено _______________ 196_ г. По окончании прогрева достигнута теоретическая прочность _______ % от прочности в возрасте 28 дней.

Прочность бетона в образцах, хранившихся в условиях конструкции: возраст ____________ дней ______ кг/см2

Отепление снято ___________________ 196_ г.

Примечание. Время следует указывать в 24-часовом исчислении.

Ответственный за прогрев и измерение температуры бетона

Производитель работ


Приложение 8

Трест ____________ СУ № _________________ Объект ___________________________________

Производитель работ _______ ответственный за выдерживание бетона _______________________

Наименование конструкции __________________________________________________________

СВОДНЫЙ ЖУРНАЛ ПРОГРЕВА И ВЫДЕРЖИВАНИЯ БЕТОНА

Начат « ___ » __________ 196_ г.               Окончен « ___ » __________ 196_ г.

№ п/п

Место укладки бетона (ГК сторона)

Объем бетона, м3

Дата укладка

Температура бетона

Период выдерживания бетона

Продолжительность

% теоретической прочности от R28

№ температурного листа

Прочность бетона по контрольным образцам нормального хранения

Примечание

при укладке

высшая при разогреве

средняя при остывании

начало

конец

разогрева

подогрева

остывания

№ образцов

возраст

кг/см2

 

 

 

 

 

 

 

 

 

 

 

 

 

 

 

 

 

 

 

 

 

 

 

 

 

 

 

 

 

 

 

 

 

 

 

 

 

 

 

 

 

 

 

 

 

 

 

 

 

 

 

 

 

 

 

 

 

 

 

 

 

 

 

 

 

 

 

 

 

 

 

 

 

 

 

 

 

 

 

 

 

 

 

 

 

 

 

 

 

 

 

 

 

 

 

 

 

 

 

 

 

 

 

 

 

 

 

 

 

 

 

 

 

 

 

 

 

 

 

 

 

 

 

 

 

 

Ответственный за выдерживание бетона

Производитель работ


СОДЕРЖАНИЕ

I. Общие указания. 1

Ii. Требования к бетону, бетонной смеси и материалам.. 3

Iii. Подготовка грунтового основания. 5

Iv. Бетонирование. 6

1. Укладка бетона. 6

2. Бетонирование с выдерживанием по методу термоса. 7

3. Бетонирование с прогревом уложенного бетона. 9

4. Укладка и выдерживание бетонов с противоморозными добавками на необогреваемых материалах. 11

V. Уход за бетоном зимой и весной после его оттаивания. 14

VI. Контроль качества бетона на строительном объекте. 15

VII. Контроль прочности бетона. 16

VIII. Техника безопасности. 16

ПРИЛОЖЕНИЯ.. 20

Приложение 1 Сроки приобретениия бетоном дорожного основания прочности 0,7 марки, требуемой при укладке асфальтобетонного покрытия, при различных темпеературахх твердения. Мероприятия по обеспечению принятого режима твердения. 21

Приложение 2 Графики роста прочности бетона. 23

Приложение 3 Теплотехнические расчеты при бетонировании дорожных оснований с выдерживанием по методу термоса и «холодного бетона». 25

Приложение 4 Расчет теплопотерь бетона при перевозке. 27

Приложение 5 Прогрев бетона посредством термоактивного слоя опилок. 28

Приложение 6 Расчет мощности при электропрогреве. 29

Приложение 7 Температурный лист. 30

Приложение 8 Сводный журнал прогрева и выдерживания бетона. 31

 




Яндекс цитирования



   Copyright © 2007-2026,  www.tehlit.ru.

[ ѓосты, стандарты, нормативы, инструкции, правила, строительные нормы ]