//
ТехЛит.ру
- крупнейшая бесплатная электронная интернет библиотека для "технически умных" людей.
WWW.TEHLIT.RU - ТЕХНИЧЕСКАЯ ЛИТЕРАТУРА

:: Алготрейдинг::


АЛГОТРЕЙДИНГ
шаг за шагом
с нуля по урокам!

Торговые роботы на PYTHON, BackTrader,
Pandas, Pine Script для TradingView. Связка с брокерами, телеграм и легкими приложениями.


ГОСУДАРСТВЕННЫЙ СТАНДАРТ СОЮЗА ССР

ШУРУПЫ

ОБЩИЕ ТЕХНИЧЕСКИЕ УСЛОВИЯ

ГОСТ 1147-80
(СТ СЭВ 2331-89)

ИПК ИЗДАТЕЛЬСТВО СТАНДАРТОВ

Москва

ГОСУДАРСТВЕННЫЙ СТАНДАРТ СОЮЗА ССР

ШУРУПЫ

Общие технические условия

Wood screws. General specifications

ГОСТ
1147-80

(СТ СЭВ 2331-89)

Дата введения 1982-01-01

Настоящий стандарт распространяется на шурупы класса точности В с потайной, полупотайной, полукруглой и шестигранной головками.

Стандарт полностью соответствует СТ СЭВ 2331-89.

(Измененная редакция, Изм. № 3).

1. ТЕХНИЧЕСКИЕ ТРЕБОВАНИЯ.

1.1. Шурупы должны изготовляться в соответствии с требованиями настоящего стандарта и требованиями размерных стандартов.

1.2. Шурупы должны изготовляться:

из углеродистых сталей марок 08 кп, 10 кп по ГОСТ 10702, ГОСТ 1050 и ГОСТ 5663;

из коррозионностойких сталей по ГОСТ 5632;

из латуни по ГОСТ 12920 и ГОСТ 15527.

По соглашению между изготовителем и потребителем допускается изготовлять шурупы из других материалов с механическими свойствами не ниже, чем у вышеуказанных материалов.

1.2.1. Настоящий стандарт устанавливает следующие условные обозначения материалов:

углеродистые стали ................................................... 0

коррозионностойкие стали ....................................... 2

латуни .......................................................................... 3

1.3. Шурупы следует изготовлять с покрытием либо без покрытия. Виды покрытий и их условные обозначения - по ГОСТ 1759.0.

(Измененная редакция, Изм. № 2).

1.3.1. Выбор толщины покрытий - по ГОСТ 9.303.

(Измененная редакция, Изм. № 3).

1.3.2. Технические требования к внешнему виду покрытий - по ГОСТ 9.301.

1.4. Поле допуска на диаметр стержня шурупа - h14, на длину стержня шурупа - js17.

Допуск параллельности стенок прямого шлица относительно оси стержня 0,0875 глубины прямого шлица.

Не установленные настоящим стандартом допуски размеров, отклонений формы и расположения поверхностей шурупов - по ГОСТ 1759.1 для изделий класса точности В.

(Измененная редакция, Изм. № 2).

1.4.1. (Исключен Изм. № 2).

1.5. Дефекты поверхности шурупов - по ГОСТ 1759.2. На поверхности шурупов также не допускаются:

риски, выводящие размеры шурупов за предельные отклонения;

наличие частично подрезанных, утолщенных и надорванных участков резьбы суммарной длиной, превышающей 10 % длины резьбы по винтовой линии;

ржавчина, не смываемая керосином.

(Измененная редакция, Изм. № 2).

1.6. На шурупах не допускаются:

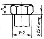
притупление ребер шестигранника к опорной поверхности более 0,25 высоты головки (черт. 10);

Черт. 10*

________________

* Черт. 1 - 9 исключены.

округление ребер шестигранника, выводящее диаметр описанной окружности за предельные отклонения;

скругление пояска головок шурупов, выводящее диаметры головок за предельное отклонение;

недопрессовка в виде среза вершины полукруглой и полупотайной головки, если диаметр площадки среза превышает 40 % номинального диаметра головки. Недопрессовка не должна выводить высоту головки за предельное отклонение;

при изготовлении головки со шлицем методом холодной высадки уменьшение минимального диаметра головки в направлении шлица, превышающее:

для шурупов с диаметром резьбы до 2 мм включ. - 0,3 мм;

для шурупов с диаметром резьбы от 2,5 до 5 мм включ. - 0,6 мм;

для шурупов с диаметром резьбы св. 5 мм - 0,7 мм;

при прорезке шлица - увеличение номинального диаметра головки по оси шлица, превышающее 0,1 мм;

утолщение диаметра стержня под головкой шурупов более:

0,05 мм на длине до 5 мм - для шурупов диаметром до 16 мм;

0,1 мм на длине до 8 мм - для шурупов диаметром 20 мм;

гладкая конусовидная часть между концом сбега и безрезьбовой частью у стержня (черт. 11), редуцированного под накатку резьбы, длиной более двух шагов резьбы;

недорез резьбы более двух шагов резьбы (для шурупов с резьбой до головки);

(Измененная редакция, Изм. № 2, 3).

Черт. 11

1.7. У шурупов с цилиндрической резьбовой частью последние 2 - 3 витка резьбы должны иметь неполную глубину профиля резьбы.

У шурупов, имеющих менее четырех витков резьбы, витки неполного профиля не должны превышать 30 % длины резьбовой части.

(Измененная редакция, Изм. № 3).

1.6а. Резьбовая часть шурупов изготовляется цилиндрической или конической и должна иметь на конце заостренную часть (буравчик). Для шурупов с конической резьбовой частью наибольший наружный диаметр резьбы должен быть равен номинальному диаметру шурупа.

Буравчик шурупа должен иметь не менее 1,5 витков резьбы. Притупление острия буравчика для шурупов диаметром до 5 мм включ. не должно превышать 20 % от диаметра стержня; для шурупов диаметром свыше 5 мм - 40 % от диаметра стержня.

1.7а. Резьба должна быть острой. Допускается следующее притупление и вершин резьбы шурупов (черт. 12а).

и £ 0,15(d - d2), где d, d2 - номинальные значения размеров резьбы.

Черт. 12а*

________________

* Черт. 12 исключен.

1.6а, 1.7а. (Введены дополнительно, Изм. № 3).

1.8. Условное обозначение шурупов должно выполняться в соответствии со схемой, приведенной в обязательном приложении.

2. ПРАВИЛА ПРИЕМКИ.

2.1. Правила приемки шурупов - по ГОСТ 17769 для изделий степени точности В (нормальной).

3. МЕТОДЫ КОНТРОЛЯ.

3.1. Контроль дефектов поверхности шурупов - по ГОСТ 1759.2.

(Измененная редакция, Изм. № 2).

3.2. (Исключен, Изм. № 2).

3.3. Контроль размеров, отклонения формы и расположения поверхностей - по ГОСТ 1759.1.

Форма основания прямого шлица не проверяется.

(Измененная редакция, Изм. № 2, 3).

3.4. Внешний вид и толщину покрытия проверяют по ГОСТ 9.302. Выбор метода проверки толщины покрытия по усмотрению предприятия-изготовителя. Толщина покрытия должна проверяться на головке шурупа.

3.5 - 3.10. (Исключены, Изм. №2).

3.11. Размер внутреннего диаметра нарезанной резьбы должен проверяться во впадинах витков полного профиля.

3.12. Для шурупов, изготовляемых холодной высадкой, допуски параллельности и перпендикулярности поверхностей, размеры радиусов, биение в заданном направлении, высоту сферы и конуса полупотайных головок, размеры резьбы и шероховатость поверхностей допускается не контролировать и должны обеспечиваться инструментом и технологией изготовления.

(Измененная редакция, Изм. № 3).

4. УПАКОВКА И МАРКИРОВКА.

4.1. Временная противокоррозионная защита, упаковка шурупов и маркировка тары - по ГОСТ 18160.

(Измененная редакция, Изм. № 2).

ПРИЛОЖЕНИЕ
Обязательное

СХЕМА УСЛОВНОГО ОБОЗНАЧЕНИЯ ШУРУПОВ

Шуруп

 

И-

 

d×

 

l

 

М

 

П

 

Т

 

ГОСТ

Наименование изделия

 

Исполнение

 

Диаметр изделия

 

Длина изделия

 

Условное обозначение материала

 

Условное обозначение покрытия

 

Толщина покрытия

 

Обозначение стандарта

Примечания:

1. Углеродистые стали и отсутствие покрытия в обозначении не указываются.

2. При изготовлении шурупов из материала, не указанного в настоящем стандарте, в условном обозначении необходимо указать марку материала.

3. Исполнение 1 допускается не указывать.

(Измененная редакция, Изм. № 2).

ИНФОРМАЦИОННЫЕ ДАННЫЕ

1. РАЗРАБОТАН И ВНЕСЕН Министерством черной металлургии СССР

РАЗРАБОТЧИКИ

И. Н. Недовизий, К. Г. Залялютдинов, В. Г. Вильде, И. В. Барышева, Р. В. Жирова

2. УТВЕРЖДЕН И ВВЕДЕН В ДЕЙСТВИЕ Постановлением Государственного комитета СССР по стандартам от 30.06.80 № 3274

3. Стандарт полностью соответствует СТ СЭВ 2331-89

4. ВЗАМЕН ГОСТ 1147-70

5. ССЫЛОЧНЫЕ НОРМАТИВНО-ТЕХНИЧЕСКИЕ ДОКУМЕНТЫ

Обозначение НТД, на который дана ссылка

Номер пункта

ГОСТ 9.301-86

1.3.2

ГОСТ 9.302-88

3.4

ГОСТ 9.303-84

1.3.1

ГОСТ 1050-88

1.2

ГОСТ 1759.0-87

1.3

ГОСТ 1759.1-82

1.4, 3.3

ГОСТ 1759.2-82

1.5, 3.1

ГОСТ 5632-72

1.2

ГОСТ 5663-79

1.2

ГОСТ 10702-78

1.2

ГОСТ 12920-67

1.2

ГОСТ 15527-70

1.2

ГОСТ 17769-83

2.1

ГОСТ 18160-72

4.1

6. Ограничение срока действия снято по протоколу № 7-95 Межгосударственного Совета по стандартизации, метрологии и сертификации (ИУС 11-95)

7. ПЕРЕИЗДАНИЕ (октябрь 1997 г.) с Изменениями № 2, 3, утвержденными июле 1988 г., мае 1990 г. (ИУС 2-88, 8-90)

СОДЕРЖАНИЕ

 




Яндекс цитирования



   Copyright © 2007-2026,  www.tehlit.ru.

[ ѓосты, стандарты, нормативы, инструкции, правила, строительные нормы ]