//
ТехЛит.ру
- крупнейшая бесплатная электронная интернет библиотека для "технически умных" людей.
WWW.TEHLIT.RU - ТЕХНИЧЕСКАЯ ЛИТЕРАТУРА

:: Алготрейдинг::


АЛГОТРЕЙДИНГ
шаг за шагом
с нуля по урокам!

Торговые роботы на PYTHON, BackTrader,
Pandas, Pine Script для TradingView. Связка с брокерами, телеграм и легкими приложениями.


ПРАВИТЕЛЬСТВО МОСКВЫ

МОСКОМАРХИТЕКТУРА

ПОСОБИЕ к МГСН 4.08-97

МАССОВЫЕ ТИПЫ
ФИЗКУЛЬТУРНО-ОЗДОРОВИТЕЛЬНЫХ УЧРЕЖДЕНИЙ

ВЫПУСК 1

Общие положения. Сооружения, приближенные к жилью.
Физкультурно-оздоровительные клубы микрорайонов.
Детско-юношеские спортивные школы

1999

ПРЕДИСЛОВИЕ.

1. Разработано МНИИП объектов культуры, отдыха, спорта и здравоохранения Москомархитектуры (арх. Емельянова И. А., Шабайдаш А. А.) при участии ЦНИИЭП жилища (канд. арх. Пересветов Е. В.), МегаПроекта (канд. арх. Акулина А. С.).

2. Подготовлено к изданию Управлением перспективного проектирования и нормативов Москомархитектуры (архитектор Шалов Л. А., инженер Щипанов Ю. Б.).

3. Согласовано с Комитетом физической культуры и спорта г. Москвы и УППиН Москомархитектуры.

4. Утверждено указанием Москомархитектуры от 27.12.99 г. № 52.

СОДЕРЖАНИЕ

Введение. 2

1. Область применения. 2

2. Основные положения. 2

3. Общие требования. 4

3.1. Требования к размещению физкультурно-оздоровительных учреждений. 4

3.2. Требования к участкам и территориям учреждений. 9

3.3. Требования к архитектурно-планировочным решениям. 11

3.4. Требования к конструктивным системам встроенных и встроенно-пристроенных физкультурно-оздоровительных учреждений. 14

4. Сооружения, приближенные к жилью. 14

4.1. Требования к архитектурно-планировочному решению учреждений. Функциональная схема комплекса. 14

4.2. Функциональные элементы комплексов. 15

5. Физкультурно-оздоровительные клубы микрорайонов. 16

5.1. Варианты функциональных схем комплексов. 16

5.2. Функциональные элементы комплексов. 16

6. Отделения детско-юношеских спортивных школ. 18

6.1. Требования к размещению, архитектурно-планировочной структуре, варианты функциональных схем отделений детско-юношеских спортивных школ. 18

6.2. Функциональные элементы отделений детско-юношеских спортивных школ. 19

7. Ссылки на нормативно-методические документы. 22

Приложение 1 Методика расчета количества отделений детско-юношеских спортивных школ. 22

Приложение 2 Примерный состав и площади помещений медико-восстановительного центра. 23

Приложение 3 Модель размещения физкультурно-оздоровительных учреждений на примере жилого района Аэропорт. 24

Приложение 4 Рекомендуемый состав и площади физкультурно-оздоровительных помещений, приближенных к жилью. 24

Приложение 5 Рекомендуемый состав и площади помещений физкультурно-оздоровительных клубов микрорайонов. 26

Приложение 6 Рекомендуемые площади помещений группы вестибюля, буфета, мест отдыха отделений детско-юношеских спортивных школ. 28

Приложение 7 Рекомендуемые площади помещений санитарно-гигиенического назначения отделений детско-юношеских спортивных школ. 28

Приложение 8 Рекомендуемые габариты и площади инвентарных крытых спортивных сооружений детско-юношеских спортшкол. 31

ВВЕДЕНИЕ.

Настоящее Пособие разработано в развитие основных положений МГСН 4.08-97 «Массовые типы физкультурно-оздоровительных учреждений». Положения Пособия распространяются на проектирование зданий и комплексов физкультурно-оздоровительного назначения, физкультурно-оздоровительных помещений, сооружений, функциональных блоков системы физкультурно-оздоровительного обслуживания жилых районов г. Москвы, в том числе включаемых в структуру жилых и общественных зданий.

Положения Пособия разработаны на основе результатов научно-исследовательских работ МНИИП объектов культуры, отдыха, спорта и здравоохранения, изучения передового отечественного и зарубежного опыта проектирования и строительства физкультурно-оздоровительных сооружений.

В Пособии приведены развернутые положения по организации сети, вариантам размещения и архитектурно-планировочной организации участков физкультурно-оздоровительных учреждений. Даны рекомендации по оптимальным вариантам интеграции массовых типов физкультурно-оздоровительных учреждений и их кооперированию с учреждениями других сфер обслуживания. Приведены функциональные схемы зданий учреждений, рекомендации по их планировочной организации и оборудованию отдельных функциональных элементов зданий. Приводятся ориентировочные составы и площади вспомогательных помещений различных учреждений.

В Пособии не рассматриваются положения действующих нормативных и рекомендательных документов, не требующих дополнения, разъяснения или уточнения исходя из специфических градостроительных или функционально-технологических требований к размещению и архитектурно-планировочной организации учреждений в условиях г. Москвы.

Структурно Пособие состоит из отдельных выпусков. Выпуски Пособия охватывают следующие типы учреждений:

- сооружения, приближенные к жилью, физкультурно-оздоровительные клубы микрорайонов, отделения детско-юношеских спортивных школ по распространенным видам спорта;

- физкультурно-оздоровительные центры жилых районов, комплексы физкультурно-рекреационных сооружений;

- специализированные любительские спортивные клубы.

В настоящем Выпуске 1 приводятся общие положения по проектированию физкультурно-оздоровительных учреждений, даются рекомендации по формированию сооружений приближенных к жилью, физкультурно-оздоровительных клубов микрорайонов, отделений детско-юношеских спортивных школ по распространенным видам спорта.

1. ОБЛАСТЬ ПРИМЕНЕНИЯ.

1.1. Пособие к МГСН 4.08-97 «Массовые типы физкультурно-оздоровительных учреждений» являются методическим документом по проектированию массовых типов физкультурно-оздоровительных учреждений жилых районов г. Москвы.

1.2. Положения Пособия следует использовать на различных стадиях градостроительного и архитектурно-строительного проектирования при определении структуры сети, потребности в сооружениях различных типов физкультурно-оздоровительных комплексов, вариантов их размещения, а также разработке их функциональных, объемно-пространственных и архитектурно-планировочных решений.

2. ОСНОВНЫЕ ПОЛОЖЕНИЯ.

2.1. Массовые типы физкультурно-оздоровительных учреждений относятся к системе физкультурно-спортивного обслуживания населения г. Москвы. Сеть массовых типов физкультурно-оздоровительных учреждений формируется в жилых районах города и включает учреждения местного (микрорайонного) и районного уровней обслуживания, служащие для повседневных и периодических физкультурно-оздоровительных занятий населения различных социально-демографических категорий.

2.2. К местному уровню обслуживания относятся следующие типы физкультурно-спортивной деятельности:

- повседневные самостоятельные и организованные физкультурно-оздоровительные занятия всех категорий населения, в т. ч. детско-подростковых, молодежных контингентов, престарелых и инвалидов различных нозологических групп по наиболее распространенным видам;

- повседневные физкультурно-рекреационные занятия детей и подростков.

К районному уровню обслуживания относятся:

- периодические организованные физкультурно-оздоровительные занятия всех социально-возрастных категорий населения;

- периодические организованные и самостоятельные физкультурно-рекреационные занятия, осуществляемые в природной среде, в т. ч. по ландшафтно-специфическим видам деятельности;

- начальная спортивная подготовка детей в возрасте 6 - 14 лет по распространенным видам спорта: волейболу, баскетболу, бадминтону, борьбе, боксу, легкой атлетике, лыжной подготовке, плаванию, настольному теннису, фигурному катанию, футболу, хоккею:

- занятия в системе клубного любительского спорта по наиболее популярным видам любительской спортивной деятельности: атлетической гимнастики, аэробики, шейпингу, бадминтону, биллиарду, борьбе, восточным единоборствам, оздоровительному бегу, теннису, мини-футболу;

- реабилитация средствами физической культуры лиц с ослабленным здоровьем и инвалидов.

2.3. Структура сети массовых типов физкультурно-оздоровительных учреждений представлена на рис. 1.

2.4. Нормативные требования к различным типам физкультурно-оздоровительных учреждений, размещенным в г. Москве приведены в МГСН 4.08-97. «Массовые типы физкультурно-оздоровительных учреждений».

2.5. Основные показатели, состав и площади помещений физкультурно-оздоровительных учреждений определяются заданием на проектирование с учетом специализации учреждений, рекомендуемых расчетных показателей и функциональной структуры учреждений, численности обслуживаемого населения, необходимой коммерческой эффективности учреждений.

2.6. Определение потребности в количестве отделений детско-юношеских спортивных школ, следует производить расчетом по демографическим данным детских возрастов. Рекомендуемая методика расчета количества отделений детско-юношеских спортшкол приведена в приложении 1.

2.7. Массовые типы физкультурно-оздоровительных учреждений должны обеспечивать социально-гарантированное обслуживание населения. Нормируемые МГСН 4.08-97 расчетные показатели площадей помещений учреждений массовых типов определяют необходимый минимум, обусловленный функционально-технологическими требованиями.

2.8. В целях повышения уровня комфортности и достижения коммерческой эффективности функционирования учреждений составы вспомогательных и сопутствующих помещений различных типов учреждений, рекомендуемые в МГСН 4.08-97, могут быть расширены за счет включения дополнительных помещений досугового обслуживания - гостиных, видеозалов, кинозалов, игротек, дискотек; предприятий питания - кафе, баров, ресторанов; предприятий бытового обслуживания - пунктов проката и ремонта спортинвентаря, парикмахерских, косметических салонов; предприятий розничной торговли; медико-восстановительных центров и отдельных помещений медицинского и оздоровительно-реабилитационного назначения; помещений методического назначения: конференц-залов, библиотек, видеотек и т. д.

При этом для встроенных, встроенно-пристроенных помещений действуют ограничения, изложенные в пункте 5.29. МГСН 4.08-97.

Примерный состав и площади помещений медико-восстановительного центра представлен в приложении 2. При проектировании конкретного объекта состав помещений определяется заданием на проектирование.

2.9. Расчетные показатели, составы физкультурно-спортивных сооружений и вспомогательных помещений кооперированных физкультурно-оздоровительных учреждений определяются заданием на проектирование с учетом требований МГСН 4.08-97 к каждому из кооперируемых учреждений. При кооперировании физкультурно-оздоровительных учреждений с учреждениями иного назначения следует учитывать также требования соответствующих отраслевых МГСН.

2.10. Допускается сокращение суммарной площади территорий участков, площади пола залов и физкультурно-оздоровительных помещений, зеркала воды плавательных бассейнов кооперируемых физкультурно-оздоровительных учреждений при условии обеспечения функционально-технологических требований к составам основных и вспомогательных помещений и требований к режиму проведения занятий в каждом из кооперируемых учреждений.

2.11. Кооперирование массовых типов физкультурно-оздоровительных учреждений с общеобразовательными школами рекомендуется для всех типов общеобразовательных школ. Для начальных школ рекомендуется ограничить состав сооружений для взаимосвязанного использования школьников и населения микрорайонов открытыми плоскостными сооружениями.

2.12. Рекомендуется проектировать встроенные, встроенно-пристроенные физкультурно-оздоровительные учреждения и отдельные встроенные и встроенно-пристроенные функциональные блоки физкультурно-оздоровительных учреждений общего пользования в многоквартирных жилых домах, в т. ч. в специализированных жилых домах, имеющих группы жилых квартир для инвалидов, одиноких престарелых и семей из двух престарелых.

3. ОБЩИЕ ТРЕБОВАНИЯ.

3.1. Требования к размещению физкультурно-оздоровительных учреждений.

3.1.1. Пространственная организация сети физкультурно-оздоровительных учреждений массовых типов определяется с учетом градостроительных условий, складывающихся на территории района, принятого режима регулирования застройки, характеристик существующей сети физкультурно-спортивных сооружений и учреждений культурно-бытового обслуживания, площади отдельных участков, выделяемых под строительство сооружений, емкости и ландшафтных характеристик озелененных территорий.

3.1.2. Нормативные требования к размещению физкультурно-оздоровительных учреждений массовых типов г. Москвы, определены МГСН 4.06-97. С их учетом рекомендуются следующие принципиальные варианты пространственной организации физкультурно-оздоровительных комплексов:

- Армирование комплексов крытых и открытых плоскостных сооружений, размещаемых на едином обособленном земельном участке в составе зоны общественного центра или озелененных территорий;

- рассредоточенное размещение сооружений комплекса на 2-х или нескольких обособленных земельных участках в составе зоны общественного центра или озелененных территорий; рассредоточенное размещение сооружений комплекса с включением сооружений в структуру жилой застройки, в т. ч. формирование встроенных и встроенно-пристроенных к жилью сооружений; территориальное и функциональное объединение различных физкультурно-оздоровительных учреждений на едином обособленном земельном участке;

- создание кооперированных учреждений с включением крытых физкультурно-оздоровительных сооружений общего пользования в структуру зданий иного функционального назначения.

3.1.3. Рекомендуемые варианты размещения физкультурно-оздоровительных комплексов различных типов, соответствующих характерным градостроительным ситуациям г. Москвы приведены в таблице 3.1.

3.1.4. Размещение отделений детско-юношеских спортивных школ в городской застройке г. Москвы рекомендуется производить с учетом градостроительных условий, складывающихся в различных районах города и видов спорта, культивируемых в отделениях.

Для размещения в районах центра и на примагистральных территориях районов сложившейся и новой застройки, характеризующихся высокой интенсивностью использования территорий рекомендуются отделения детско-юношеских спортшкол с минимальной площадью застройки - баскетбола, волейбола, борьбы, бокса, настольного тенниса, плавания.


Таблица 3.1.

Варианты размещения физкультурно-оздоровительных учреждений массовых типов
в различных градостроительных ситуациях г. Москвы.

Тип учреждения

Варианты размещения

Схема размещения физкультурно-оздоровительных сооружений

Рекомендуемые районы размещения

Местное обслуживание

 

 

 

Сооружения, приближенные к жилью

Вариант 1.

Включение встроенных физкультурно-оздоровительных помещений в жилые здания; размещение открытых сооружений в структуре жилой группы

Для всех типов градостроительных ситуаций

Вариант 2.

Объединение встроенных физкультурно-оздоровительных помещений с помещениями досугового назначения, размещение открытых» сооружений в структуре жилой группы

Для всех типов градостроительных ситуаций в домах, включающих блок первичного обслуживания

Физкультурно-оздоровительные клубы микрорайонов

Вариант 1.

Включение блока встроенно-пристроенных физкультурно-оздоровительных залов и помещений в жилое здание. Размещение оздоровительного бассейна в блок-пристройке к общеобразовательной школе. Размещение открытых сооружений:

а) в жилой зоне микрорайона;

б) на участке школы и в жилой зоне микрорайона.

Для районов центра, на примагистральных территориях срединной зоны и периферии, в районах сложившейся застройки и районах реконструкции пятиэтажного жилого фонда.

Вариант 2.

Компактное размещение физкультурно-оздоровительных залов, помещений и оздоровительного бассейна в блок-пристройке к общеобразовательной школе. Размещение открытых сооружений:

а) в жилой зоне микрорайона;

б) на участке школы и в жилой зоне микрорайона.

Для районов центра, на примагистральных территориях срединной зоны и периферии, в районах сложившейся застройки и районах реконструкции пятиэтажного жилого фонда.

Вариант 3.

Рассредоточенное размещение физкультурно-оздоровительных залов, помещений и оздоровительного бассейна клуба в блок-пристройках к 2-ум общеобразовательным школам. Размещение открытых сооружений: на участках школ и в жилой зоне микрорайона.

В микрорайонах районов сложившейся застройки и районах реконструкции пятиэтажного жилого фонда, включающих 2 - 3 школы.

Вариант 4.

Формирование комплекса взаимосвязанного обслуживания школьников и населения микрорайона на базе общеобразовательной школы нового типа с включением всех крытых сооружений в структуру школьного здания. Размещение открытых сооружений: основное спортивное ядро - на участке школы, игровые площадки - на территории микрорайона

Вновь застраиваемые территории зоны специализированного функционального назначения

Физкультурно-оздоровительные центры жилых районов

Вариант 1.

Компактное размещение крытых и открытых физкультурно-оздоровительных сооружений центра на едином обособленном участке общественной зоны

На вновь застраиваемых территориях.

Вариант 2.

Рассредоточенное размещение функционально обособленных групп физкультурно-оздоровительных сооружений центра на 2 - 3-х обособленных участках общественной зоны

В сложившихся районах, в районах реконструкции жилого фонда, в районах реконструкции пятиэтажного жилого фонда, при отсутствии участка для компактного размещения сооружений.

Вариант 3.

Рассредоточенное размещение встроенно-пристроенных функционально обособленных блоков физкультурно-оздоровительных сооружений в структуре жилой застройки. (Данный вариант рекомендуется также при формировании любительских спортклубов).

Для районов центра, на примагистральных территориях срединной зоны.

Отделения детско-юношеских спортивных школ

Вариант 1.

Компактное размещение сооружений отделения детско-юношеской спортшколы на обособленном участке общественной зоны.

На вновь застраиваемых территориях, в сложившихся районах, в районах реконструкции пятиэтажного жилого фонда.

Вариант 2.

Включение блока встроенно-пристроенных залов и помещений отделения в жилое здание. Размещение открытых сооружений: в жилой зоне микрорайона.

Для районов центра, на примагистральных территориях срединной зоны и периферии, в районах сложившейся застройки и районах реконструкции пятиэтажного жилого фонда.

Вариант 3.

Компактное размещение физкультурно-оздоровительных залов, помещений в блок-пристройке к общеобразовательной школе. Размещение открытых сооружений: на участке школы.

Для районов центра, на примагистральных территориях срединной зоны и периферии, в районах сложившейся застройки и районах реконструкции пятиэтажного жилого фонда.

Вариант 4.

Размещение сооружений отделения ДЮСШ в комплексе с физкультурно-оздоровительным центром жилого района. (Данный вариант рекомендуется также для любительских спортклубов)

На вновь застраиваемых территориях, в районах сложившейся застройки, при реконструкции существующих районных комплексов.

Комплексы физкультурно-рекреационных сооружений

Вариант 1.

Размещение физкультурно-рекреационных сооружений комплекса в структуре парков и озелененных территорий

Для всех градостроительных ситуаций, включающих парки и озелененные территории, пригодные для размещения сооружений.

Вариант 2.

Объединение физкультурно-рекреационных сооружений с отделениями ДЮСШ и любительскими спортклубами по ландшафтно-специфическим видам спортивных занятий.

Для всех градостроительных ситуаций, включающих парки и озелененные территории, пригодные для размещения сооружений.

Примечание. На схемах графы 3 настоящей таблицы приняты следующие сокращения:

СПЖ - сооружения, приближенные к жилью;

ФОКМ - физкультурно-оздоровительный клуб микрорайона;

ДЮСШ - детско-юношеская спортивная школа;

ФОЦЖР - физкультурно-оздоровительный центр жилого района;

КФР - комплекс физкультурно-рекреационных сооружений;

СПОРТКЛУБ - специализированный любительский спортивный клуб.


На межмагистральных территориях со средней интенсивностью использования территорий (районы сложившейся застройки), наряду с отделениями баскетбола, бадминтона, волейбола, борьбы, бокса, настольного тенниса, плавания, могут быть также размещены отделения хоккея, фигурного катания, тенниса.

Для межмагистральных территорий с низкой интенсивностью использования территорий (районы новой застройки) рекомендуется также размещение отделений легкой атлетики и футбола.

3.1.5. Видовая специализация любительских спортклубов в меньшей степени, чем специализация детско-юношеских спортшкол влияет на их размещение в структуре города. Спортклубы, по номенклатуре, приведенной в приложении 5 к МГСН 4.08-97, могут размещаться во всех районах города. Исключение составляют клубы тенниса и мини-футбола, формирование которых в районах центра рекомендуется осуществлять на участках существующих спорткомплексов.

3.1.6. Размещение учреждений физкультурно-оздоровительного назначения и отдельных функциональных блоков сооружений на участках общеобразовательных школ следует производить с учетом типа и вместимости школы, площади участка, состава школьных спортсооружений, а также численности населения градостроительного образования, сложившейся структуры сети спортсооружений, наличия территориальных резервов для строительства физкультурно-оздоровительных сооружений.

3.1.7. Допускается интеграция массовых типов физкультурно-оздоровительных учреждений с учебно-воспитательными комплексами, формируемыми в микрорайоне. Учебно-воспитательные комплексы объединяются на основе единой педагогической концепции в центр, включающий дошкольное учреждение, общеобразовательную школу и клубно-кружковые помещения для внешкольной деятельности. Последние могут быть сформированы в качестве интегрированных объектов с культурно-досуговыми элементами системы обслуживания жилых образований.

Рекомендуется следующая номенклатура учебно-воспитательных комплексов:

1) ясли - детский сад - начальная школа - открытые плоскостные сооружения физкультурно-оздоровительного клуба микрорайона - центр образования родителей;

2) основная школа (1, 2 ступеней) или средняя полная школа (1, 2, 3 ступени) - физкультурно-оздоровительный клуб микрорайона - клубно-кружковый блок;

3) основная или средняя (полная) школа - отделение детско-юношеской спортивной школы - клубно-кружковый блок;

4) средняя школа 3-ей ступени - отделение детско-юношеской спортивной школы (или сооружения районного физкультурно-оздоровительного центра) - клубно-кружковый блок1.

__________________

1 Основная школа 1, 2 ступеней рассчитана на обучение учащихся 1 - 9 классов, средняя полная школа 1, 2, 3 ступеней - 1 - 11 классов, средняя школа 3 ступени - 9 - 11 классов.

3.1.8. Размещение встроенных и встроенно-пристроенных в жилые здания физкультурно-оздоровительных учреждений и отдельных функциональных блоков физкультурно-оздоровительного назначения рекомендуется осуществлять с учетом назначения и транспортных характеристик улиц.

На общегородских и районных магистралях рекомендуется размещать встроенные и встроенно-пристроенные сооружения районного уровня обслуживания. Физкультурно-оздоровительные учреждения встроенные и встроенно-пристроенные в жилые дома и относимые к местному уровню обслуживания, рекомендуется размещать на жилых улицах и внутриквартальных проездах.

3.1.9. Подъезды и подходы к встроенно-пристроенным объектам физкультурно-оздоровительного назначения не допускается размещать на придомовой территории. Исключение составляют встроенные помещения физкультурно-оздоровительного назначения, приближенные к жилью.

3.1.10. Примеры вариантов размещения сооружений физкультурно-оздоровительных учреждений местного и районного уровней обслуживания в различных градостроительных ситуациях г. Москвы представлены на рис. 2 - 5.

Предложения по формированию комплексов первичного обслуживания в районе реконструкции 5-тиэтажного жилого фонда первого периода индустриального домостроения при полном сносе жилой застройки представлены на рис. 2.

Главными задачами реконструкции являлись формирование полноценной жилой и общественной среды и резкая интенсификация использования территории микрорайонов и жилых групп. Мероприятия по полной реконструкции группы 5-тиэтажных жилых домов включили надстройку (до 7 - 8 этажей), пристройку к торцам жилых домов объектов первичного обслуживания (на 1-ом и частично на 2-ом этаже) и жилых секций. Жилые дома имеют внутренние переходные связи с блоками обслуживания и не пересекаются с транспортными проездами.

3.1.11. Размещение физкультурно-спортивных сооружений района с учетом принципов взаимосвязанного обслуживания школьников и населения на примере района Чертаново Северное показано на рис 3 А. В районе сформирован центр, включающий две школы, плавательный бассейн и комплекс спортивных залов служащих для занятий школьников и населения района. Спортивные сооружения являются базой специализированной детско-юношеской школы Олимпийского резерва.

3.1.12. Пример размещения районного физкультурно-оздоровительного комплекса на обособленном участке общественной зоны жилого района, формирующего застройку Булатниковской ул. приведен на рис. 3 Б (Проект быстровозводимого блоксекционного физкультурно-оздоровительного центра выполнен в МНИИП объектов культуры, отдыха, спорта и здравоохранения.)

3.1.13. Примером организации массовой сети физкультурно-оздоровительных учреждений на примагистральной территории срединной зоны являются предложения по реконструкции и модернизации сети физкультурно-спортивного обслуживания муниципального района Аэропорт, имеющего к настоящему моменту утвержденный план градостроительного развития. В основу предложений положен вариант организации сети на базе рассредоточенного размещения сооружений местного и районного уровней обслуживания, наиболее оптимальный для рассматриваемого района, характеризующегося дефицитом свободных территорий.

Описание проектных предложений приводится в приложении 3. Схема организации объектов обслуживания, в том числе объектов комплексно модернизированной сети физкультурно-спортивного обслуживания представлена на рис. 3.4.1.

3.1.13. Проектные предложения по развитию сети спортсооружений в ряде сложившихся районов: района Боровского шоссе, Водного стадиона, Фестивальной улицы, приведены на рис. 4 - 5.

3.2. Требования к участкам и территориям учреждений.

3.2.1. В соответствии с требованиями МГСН-4.08-97 физкультурно-оздоровительные учреждения различных типов в зависимости от типа и градостроительной ситуации, могут размещаться на обособленных участках, быть запроектированы в составе жилых территорий, в составе озелененных территорий общего пользования, в составе участков общеобразовательных школ и кооперированных общественных учреждений.

3.2.2. Площадь участков массовых типов физкультурно-оздоровительных учреждений, размещаемых в различных градостроительных ситуациях, рекомендуется определять на основании дифференцированных градостроительных расчетных показателей, учитывающих интенсивность использования территорий в различных районах г. Москвы, приведенных в таблице 3.2.

3.2.3. Общими принципами проектирования земельных участков и территорий физкультурно-оздоровительных комплексов являются:

- организация функционального зонирования участков с учетом основных потоков посетителей и специфических требований, предъявляемых к размещению отдельных функциональных элементов комплексов;

- организация удобной взаимосвязи открытых плоскостных сооружений, размещаемых на участке комплекса, с вспомогательными помещениями;

- исключение пересечений путей следования потоков зрителей и потоков занимающихся;

- размещение открытых плоскостных сооружений с учетом необходимой ориентации, требуемых разрывов между жилыми и общественными зданиями и плоскостными сооружениями;

- проектирование необходимых ветрозащитных и шумозащитных насаждений и устройств;

- организация возможной блокировки открытых плоскостных сооружений с учетом их зимнего использования;

- обеспечения доступа инвалидам в учреждения общественного назначения в соответствии с требованиями ВСН 62-91*, а также оптимальной взаимосвязи зоны открытых сооружений для инвалидов и раздевальных, исключение пересечений пути следования инвалидов с оздоровительными трассами и потоками зрителей.

3.2.4. При проектировании районных физкультурно-оздоровительных учреждений - физкультурно-оздоровительных центров жилого района, отделений детско-юношеских спортшкол, специализированных любительских спортклубов на обособленных участках рекомендуется в зависимости от состава сооружений выделять следующие основные зоны:

- зона крытых сооружений;

- зона открытых плоскостных сооружений;

- хозяйственная зона;

- зона отдыха.

В отдельные зоны выделяются также открытые плоскостные сооружения для инвалидов; спортядра с трибунами для зрителей; открытый плавательный бассейн.

При наличии в составе комплекса полей с газонным покрытием рекомендуется предусматривать также зоны питомника газона.

3.2.5. Размещение зданий и сооружений физкультурно-оздоровительных учреждений массовых типов на озелененных территориях следует производить с учетом общей функциональной планировочной структуры территории, ее ландшафтных характеристик, оптимальной доступности отдельных зон и сооружений от остановок общественного транспорта.

3.2.6. Сооружения районных физкультурно-рекреационных комплексов и отделений детско-юношеских спортшкол по ландшафтно-специфическим видам спорта на озелененной территории могут быть размещены как компактно, так и рассредоточено.

3.2.7. Состав основных функциональных зон сооружений на озелененных территориях аналогичен составу рекомендуемому в пункте 3.2.4.

В зависимости от ландшафтных характеристик озелененной территории, физкультурно-рекреационный комплекс может также включать отдельную зону сооружений у водоема, зону горнолыжных склонов, зону оздоровительных трасс, детский физкультурно-рекреационный городок, павильоны игрового и физкультурно-оздоровительного назначения.

3.2.8. Сооружения с местами для зрителей, лыжные базы и велобазы, грелки катков массового катания, раздевальные открытых сооружений, пункты проката спортинвентаря, детский физкультурно-рекреационный городок, зону сооружений для инвалидов на озелененной территории рекомендуется располагать в пределах 5-минутной доступности от входа в парк или остановок общественного транспорта.

3.2.9. Сооружения, размещенные в микрорайонах, не обособляются на отдельном участке. Открытые плоскостные сооружения включаются в жилую зону и размещаются с учетом общего планировочного решения жилого образования, требуемых нормативных разрывов и рекомендуемой блокировки сооружений.

3.2.10. При интеграции физкультурно-оздоровительных учреждений с учреждениями других сфер обслуживания, в т. ч. с общеобразовательными школами, участок учреждения следует проектировать с учетом требований к зонированию интегрируемых учреждений.

На участке школы рекомендуется объединять открытые плоскостные сооружения школы и физкультурно-оздоровительного учреждения в одну зону.

3.2.11. На участках физкультурно-оздоровительных учреждений предусматривается озеленение. Для обособленных участков районных комплексов, в т. ч. районных физкультурно-оздоровительных центров, отделений детско-юношеских спортивных школ, любительских спортклубов, суммарная площадь озеленения участков определяется с учетом площади пограничных периметральных ветро- и пылезащитных полос, внутренних древесных, кустарниковых насаждений и газонов.

С учетом требований МГСН 4.08-97 к ширине периметральных ветрозащитных полос озеленения, равных 5 - 10 м, суммарная площадь озеленения участка должна составлять не менее 25 - 30 % от общей площади участка.

3.2.12. Для районных физкультурно-рекреационных комплексов и других учреждений, размещаемых в парках, процент озеленения не нормируется. В зависимости от варианта размещения физкультурно-оздоровительных учреждений в структуре парка, могут не предусматриваться собственные ветрозащитные полосы. В этих случаях проектируются технологически необходимые древесные и кустарниковые насаждения, разделяющие зоны и сооружения, или формирующие полосы безопасности пешеходных путей и визуальные ориентиры.

3.2.13. Технологически необходимое озеленение сооружений микрорайонного и районного уровня обслуживания, включенных в жилую застройку включается в общую норму озеленения микрорайона.

3.2.14. Для озеленения участков физкультурно-оздоровительных учреждений отбираются породы деревьев и кустарников, обладающих хорошими бактерицидными свойствами, способные защитить от ветра и пыли, обеспечивающие инсоляцию участка и не представляющие травматической опасности для занимающихся. Рекомендуется формировать газоны, лужайки с устойчивым травостоем, с целью их использования для рекреационных игр и отдыха занимающихся.

3.2.15. При наличии на участке районных комплексов специализированной зоны открытых плоскостных сооружений для инвалидов рекомендуется дополнительное озеленение зоны, шириной не менее 3,5 м, обеспечивающее как ветро- и шумозащиту, так и визуальную изоляцию зоны.

3.2.16. Благоустройство участков массовых типов физкультурно-оздоровительных учреждений проектируется с учетом требований ВСН 62-91*, а также Пособий и Рекомендаций - см. раздел 7 п.п. 6, 7, 14, 15 настоящего Пособия.

3.2.17. Схемы функционального зонирования участков физкультурно-оздоровительного центра жилого района и территории комплекса физкультурно-рекреационных сооружений, с учетом элементов благоустройства и оборудования участков, приспосабливаемых для использования инвалидами, представлены на рис 6.

Таблица 3.2.

Дифференцированные расчетные показатели площади территории физкультурно-оздоровительных учреждений гарантированного обслуживания жилых районов г. Москвы.

№ п.п.

Уровень обслуживания, тип комплекса

Расчетные показатели площади территории (м2/чел.) для районов с различной интенсивностью использования территорий

Высокой интенсивностью

Средней интенсивностью

Низкой интенсивностью

 

Местное обслуживание

0,55

0,67

0,77

1

Сооружения, приближенные к жилью

0,15

0,19

0,22

2

Физкультурно-оздоровительные клубы микрорайонов (подростковые, молодежные, семейные)

0,40

0,48

0,55

 

Районное обслуживание

0,79 - 0,81

1,01 - 1,16

1,20 - 1,65

3

Физкультурно-оздоровительные центры жилых районов

0,60

0,73

0,85

4

Детско-юношеские спортшколы по распространенным видам спорта

0,04 - 0,06

0,05 - 0,20

0,05 - 0,50

5

Комплексы физкультурно-рекреационных сооружений

0,15

0,23

0,30

 

Всего

1,34 - 1,35

1,68 - 1,83

1,97 - 2,24

Примечания.

1. В соответствии с МГСН 1.01-98 районы с высокой и очень высокой интенсивностью использования территорий составляют центральное ядро города, городские узлы, примагистральные территории и межмагистральные территории площадью до 500 га; районы со средней интенсивностью использования территорий - межмагистральные территории площадью 500 - 1000 га; низкой интенсивностью - межмагистральные территории с площадью свыше 1000 га.

2. Показатели площади территории детско-юношеских спортшкол уточняются с учетом специализации спортшкол, размещаемых в конкретных районах.

3.2.18. Примеры планировочных решений участков и территорий физкультурно-оздоровительных комплексов различных типов даются на рис. 7 - 9.

3.3. Требования к архитектурно-планировочным решениям.

3.3.1. Архитектурно-планировочные решения массовых типов физкультурно-оздоровительных учреждений определяются функционально-технологическими требованиями к осуществлению различных видов физкультурно-спортивных, физкультурно-оздоровительных, рекреационных занятий; сопутствующих видов деятельности, реализуемых различными группами посетителей; градостроительными условиями размещения комплексов; требованиями к интеграции физкультурно-оздоровительных учреждений с общественными учреждениями и жилыми зданиями.

3.3.2. Основные и вспомогательные помещения комплексов сооружений массовых типов физкультурно-оздоровительных учреждений, в зависимости от типа учреждений, уровня обслуживания, градостроительных условий размещения проектируются как:

- отдельно стоящие корпуса, объединяющие в своем составе все помещения учреждения;

- два или несколько отдельно стоящих корпусов, включающих функционально взаимосвязанные группы помещений;

- блоки помещений физкультурно-оздоровительных учреждений, размещаемые компактно или рассредоточено в структуре жилых зданий, в качестве встроенных, встроенно-пристроенных помещений нижних жилых этажей;

- блоки-пристройки к общеобразовательным школам;

- функциональные блоки помещений физкультурно-оздоровительного назначения в структуре кооперированных общественных зданий.

3.3.3. Для физкультурно-рекреационных комплексов, размещаемых в природной среде, рекомендуется проектирование помещений физкультурно-оздоровительного и игрового назначения, вспомогательных помещений открытых сооружений в виде отдельно стоящих павильонов.

3.3.4. Во всех вышеперечисленных вариантах крытые сооружения физкультурно-оздоровительных учреждений рекомендуется проектировать, основываясь на принципах функционального зонирования, в соответствии с технологическими требованиями функционально-технологических требованиях к проведению различных видов физкультурно-оздоровительных занятий, и сопутствующих видов деятельности.

3.3.5. Рассредоточенное размещение групп помещений физкультурно-оздоровительных учреждения в отдельных корпусах, функциональных блоках и павильонах допускается при обеспечении функциональной целостности группы. В корпус (функциональный блок) объединяются все помещения (основные и вспомогательные) необходимые для осуществления данного физкультурно-оздоровительного занятия и процесса подготовки к нему.

3.3.6. При размещении физкультурно-оздоровительного учреждения в едином объеме, в зависимости от его типа и состава основных и вспомогательных помещений, рекомендуется выделений следующих функциональных зон:

- группа помещений вестибюля с примыкающими к ней пунктами питания, помещениями для ожидания родителей и лиц сопровождающих инвалидов;

- группа физкультурно-оздоровительного (спортивного) зала (нескольких залов) с инвентарными, помещениями санитарно-гигиенического назначения, техническими службами;

- группа помещений бассейна, с инвентарными и помещениями санитарно-гигиенического назначения, комнатами дежурных инструктора и медсестры, лабораторией, техническими службами бассейна, а также - для учреждений районного уровня обслуживания - залом подготовительных занятий и детской ванной бассейна;

- раздевальные открытых сооружений;

- клубные помещения, помещения методического назначения, помещения досуга;

- медико-оздоровительный центр;

- административные помещения, инструкторские, бытовые помещения.

Детская ванна бассейна с собственными санитарно-гигиеническими помещениями может быть также выделена в отдельную группу.

3.3.7. При рассредоточенном размещении учреждения в отдельных корпусах или встраиваемых и пристраиваемых функциональных блоках рекомендуется объединять в отдельных блоках: а) группу физкультурно-оздоровительного зала (залов); б) группу плавательного бассейна; в) группу раздевальных открытых сооружений.

Помещения сопутствующих видов обслуживания: помещения медико-оздоровительного центра, помещения культурно-спортивных игр и помещения досуга, клубные комнаты, помещения торговли и бытового обслуживания могут рассредоточиваться в отдельных корпусах (блоках), включаться в один из корпусов (блоков); дублироваться с целью достижения коммерческой эффективности учреждения.

Раздевальные открытых сооружений в зависимости от ситуации могут быть также объединены с блоком залов или блоком бассейна.

3.3.8. Встроенные и встроенно-пристроенные к жилью функциональные блоки физкультурно-оздоровительных учреждений должны быть изолированы от жилых помещений, иметь собственные входы, эвакуационные выходы и вестибюльные группы помещений. Наличие внутренних связей с жилой зоной допускается для сооружений, приближенных к жилью, встроенных в специализированные жилые дома с квартирами для инвалидов. В блоке первичного обслуживания жилой группы рекомендуется единая вестибюльная группа для посетителей физкультурно-оздоровительной и культурно-досуговой зон блока.

3.3.9. Состав павильонов и зданий вспомогательных сооружений физкультурно-рекреационных комплексов следует принимать в соответствии с пунктом 5.8. МГСН 4.08-97.

3.3.10. Физкультурно-оздоровительные учреждения и отдельные функциональные блоки физкультурно-оздоровительных учреждений, размещаемые в структуре жилых зданий в качестве встроенных и встроенно-пристроенных помещений, следует проектировать с учетом требований МГСН 4.08-97 и МГСН 3.01-96.

3.3.11. Физкультурно-оздоровительные учреждения и отдельные функциональные блоки физкультурно-оздоровительных учреждений, размещаемые в первых этажах жилых домов, рекомендуется классифицировать следующим образом:

- встроенные - при расположении всех помещений в габаритах зданий с возможностью выступа за их пределы не более чем на 1,5 м со стороны продольного фасада и не более 6 м - со стороны торцов;

- встроенно-пристроенные - при расположении помещения в габаритах здания и в вынесенных за пределы габаритов объемов более чем на 1,5 м.

3.3.12. Рекомендуются следующие приемы архитектурно-планировочных решений встроенных и встроенно-пристроенных физкультурно-оздоровительных учреждений (представлены на рис.10 - 11):

1) встроенных:

- с расположением залов по всей ширине корпуса здания, а подсобных помещений - с торцов залов или в подвалах;

- с расположением залов на одной половине корпуса здания относительно продольной оси, а подсобных помещений - на другой (со стороны лестнично-лифтовых узлов;

2) встроенно-пристроенных:

- с выносом объемов залов и некоторых подсобных помещений вдоль фронта зданий со стороны магистрали;

- с выносом объемов залов и некоторых подсобных помещений со стороны дворов;

- с пристройкой объемов залов и некоторых подсобных помещений с торцов зданий.

3.3.13. Во всех вариантах встроенно-пристроенных решений складские и административно-бытовые помещения желательно размещать в цокольных этажах жилых домов (во встроенной части). Размещение данных помещений в подвалах допускается при соблюдении требований МГСН 3.01-96.

3.3.14. Выбор объемно-планировочного решения должен определяться типом встраиваемых в жилые дома физкультурно-оздоровительных учреждений, а также градостроительной ситуацией.

3.3.15. При реконструкции исторически сложившихся районов городов, ввиду дефицита территории и вследствие традиционно сложившейся небольшой ширины улиц, в жилых домах, расположенных на общегородских магистралях, на площадях и пешеходных улицах (в зонах общественных центров), целесообразно использовать встроенные решения или встроенно-пристроенные с выносом объемов залов в сторону дворов.

3.3.16. Приемы решений встроенно-пристроенных физкультурно-оздоровительных учреждений с выносом объемов залов вдоль фронта зданий, размещенных на магистралях с развитым профилем, рекомендуются для новых районов города с низкой интенсивностью использования территорий, обеспечивающей более свободную систему застройки улиц.

3.3.17. Встраивание небольших по площади физкультурно-оздоровительных помещений в жилые дома, размещенные во внутриквартальных пространствах, рекомендуется, как правило, проектировать без выступа за основные габариты зданий. При этом небольшие залы, можно пристраивать к торцам жилых домов с соблюдением требований МГСН 3. 01-96.

3.3.18. Проектирование всех типов физкультурно-оздоровительных учреждений должно вестись в соответствии с требованиями МГСН 4.08-97 п. 3.7 по обеспечению безбарьерной среды для маломобильных групп населения, включая инвалидов, пользующихся вспомогательными средствами передвижений, в т. ч. креслами-колясками.

Перечень помещений используемых инвалидами в различных физкультурно-оздоровительных учреждениях определяется заданием на проектирование или проектом в соответствии с п. 5.16 МГСН 4.08-97

3.3.19. При размещении помещений в двух и более уровнях их доступность для инвалидов должна быть обеспечена за счет устройства специальных подъемников лифтов и т. п. в соответствии с требованиями ВСН 62-91*.

3.3.20. Примеры объемно-планировочных решений крытых физкультурно-оздоровительных сооружений различных типов массовых физкультурно-оздоровительных учреждений приведены на рис. 12 - 17.

3.4. Требования к конструктивным системам встроенных и встроенно-пристроенных физкультурно-оздоровительных учреждений.

3.4.1. Физкультурно-оздоровительные учреждения с небольшими зальными помещениями для общефизической подготовки, ритмической гимнастики (аэробики); занятий инвалидов с поражением опорно-двигательного аппарата, для занятий с использованием тренажеров могут быть встроены в жилые здания с каркасными несущими конструкциями

3.4.2. Универсальные и специализированные спортивные и физкультурно-оздоровительные залы с пролетом более 9 м, плавательные бассейны с ваннами 25×12 (16) м и 16,6×6 м встроенно-пристроенных учреждений в жилых зданиях с каркасными несущими конструкциями рекомендуется размещать в пристраиваемых частях зданий.

3.4.3. В первых этажах монолитных, кирпичных, панельных жилых домов рекомендуется размещать функциональные блоки физкультурно-оздоровительных учреждений, включающие небольшие зальные помещения для основной и атлетической гимнастики, биллиарда, настольного тенниса, оздоровительных занятий, в т. ч. с использованием тренажеров, а также вспомогательные помещения универсальных и специализированных спортивных залов, плавательных бассейнов, открытых плоскостных сооружений, расположенных в пристраиваемой части зданий или на прилегающей территории.

3.4.4. Физкультурно-оздоровительные учреждения с зальными помещениями могут проектироваться встроенными в многофункциональные общественно-жилые и другие комплексы, наряду с различными учреждениями и предприятиями обслуживания. При этом учреждения с крупными зальными помещениями требуют использования большепролетных каркасных, стальных, стеновых и железобетонных монолитных и других конструкций.

Встраивание подобных учреждений в жилые дома допускается для зданий большой градостроительной значимости, при наличии соответствующих обоснований и целесообразно при устройстве нежилых этажей здания в виде так называемого «монолитного стола».

3.4.5. Приемы конструктивных решений встроенно-пристроенных помещений физкультурно-оздоровительного назначения представлены на рис. 18.

4. СООРУЖЕНИЯ, ПРИБЛИЖЕННЫЕ К ЖИЛЬЮ.

4.1. Требования к архитектурно-планировочному решению учреждений. Функциональная схема комплекса.

4.1.1. Комплекс сооружений приближенных к жилью включает открытые плоскостные сооружения и помещения физкультурно-оздоровительного назначения, размещаемые в многоквартирных жилых домах.

4.1.2. Состав, площади и другие показатели комплекса сооружений приближенных к жилью определяются заданием на проектирование с учетом рекомендаций Приложений 1.2. МГСН 4.08-97. Данные рекомендации не распространяются на специализированные жилые дома для инвалидов и престарелых и студенческие общежития.

4.1.3. Основные и вспомогательные помещения физкультурно-оздоровительного назначения комплекса, в соответствии с требованиями МГСН 4.08-97, следует размещать в одном уровне во встроенных помещениях 1-го нежилого этажа жилого здания. Размещение помещений физкультурно-оздоровительного назначения в цокольных этажах допускается при ограничении на использование помещений детьми, соблюдении требований к освещенности, кратности обмена воздуха, принимаемых в соответствии с пособием к СНиП 2.08.02-89 и определяется заданием на проектирование или проектом.

4.1.4. Физкультурно-оздоровительные учреждения, приближенные к жилью включают следующие функциональные группы помещений:

- группу помещений вестибюля;

- помещение физкультурно-оздоровительных занятий с инвентарной и вспомогательными помещениями санитарно-гигиенического назначения (раздевальными, санузлами и душевыми);

- административно-хозяйственные помещения.

4.1.5. В блоке первичного обслуживания помещения физкультурно-оздоровительного назначения могут быть объединены с помещениями отдыха и самодеятельных занятий и детской комнатой.

При расширенном составе блока первичного обслуживания в него может быть включена библиотека, клубные помещения, игровые помещения для детей, гостиная.

4.1.6. Схема функционально-пространственной организации физкультурно-оздоровительных помещений, приближенных к жилью, дается на рис. 19.

4.2. Функциональные элементы комплексов.

4.2.1. Помещения физкультурно-оздоровительного назначения.

Основные помещения физкультурно-оздоровительного назначения сооружений приближенных к жилью рассчитаны на многофункциональное использование. Занятия в помещениях могут проводиться индивидуально и малыми группами до 10 человек (до 5 - 6 человек - для инвалидов).

Контингенты занимающихся, тип занятий, их видовая структура, состав оборудования определяются заданием на проектирование или проектом.

В помещениях физкультурно-оздоровительного назначения рекомендуется проводить следующие виды занятий: основная гимнастика; общефизическая подготовка, в т. ч. с использованием тренажерной техники; настольный теннис; элементы спортивных игр; аэробика. Наряду с физкультурно-оздоровительными занятиями, помещения могут быть использованы для проведения танцев.

Инвалидами могут осуществляться следующие занятия: основная гимнастика; общефизическая подготовка, в т. ч. с использованием тренажеров; настольный теннис, подвижные игры; занятия по ритмике для лиц с дефектами зрения.

Помещения для физкультурно-оздоровительных занятий инвалидов и оборудование проектируются с учетом положений соответствующих рекомендаций - раздел 7, п. 6 настоящего Пособия.

Для занятий общефизической подготовкой с использованием тренажерной техники в помещениях физкультурно-оздоровительного назначения, приближенных к жилью, рекомендуется устанавливать следующие типы тренажеров: велотренажер «Здоровье», гребные тренажеры; тренажеры вращения, тренажер многоцелевой «Стенка», тренажер «Ритм», тренажеры для бега.

Для занятий общефизической подготовкой инвалидов наряду с перечисленными типами тренажеров рекомендуются тренажеры для тренировки в ходьбе, станок хореографический с зеркалом для отработки движений, специализированные аппараты механотерапии (при организованных занятиях специализированных терапевтических групп).

Схемы размещения оборудования в помещениях физкультурно-оздоровительного назначения при различных вариантах их использования представлены на рис. 20 - 21.

4.2.2. Вспомогательные помещения.

Рекомендуемые площади вспомогательных помещений входной группы, санитарно-гигиенического назначения и административно-хозяйственных помещений приведены в приложении 4 настоящего пособия.

Доступ инвалидов предусматривается во все группы помещений за исключением помещений хозяйственного назначения.

Общие раздевальные рекомендуется проектировать с оборудованием, приспособленным для использования инвалидами, в соответствии с Рекомендациями - см. раздел 7. п. 6. настоящего Пособия. Допускается проектировать раздевальные с хранением одежды на крючках.

При проведении индивидуальных и самоорганизуемых занятий допускается не предусматривать отдельного помещения инструктора. В данном случае рекомендуется увеличение площади административного помещения до 12,0 - 15,0 м.

Учитывая малую общую вместимость сооружений приближенных к жилью, рекомендуется хранение верхней одежды открытым способом на вешалке, размещенной в вестибюле, или непосредственно, в раздевальных.

Зона хранения верхней одежды проектируется с учетом доступа инвалидов к вешалке. Ширина зоны не менее 1,5 м.

В вестибюле рекомендуется предусматривать место дежурного администратора и площадь для родителей сопровождающих детей и лиц, сопровождающих инвалидов.

4.2.3. Открытые плоскостные сооружения.

Состав и площади открытых сооружений, приближенных к жилью определяются заданием на проектирование в соответствии с требованиями МГСН 4.08-97.

Допускается сокращение нормативного разрыва между открытыми плоскостными сооружениями и жилыми зданиями при размещении площадок со стороны глухих торцов жилых зданий до 10-ти м.

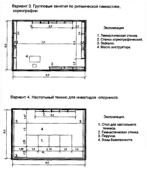
Варианты планировочных схем блоков физкультурно-оздоровительных сооружений для обслуживания жилых групп с численностью 1,0 - 1,5 тыс. чел. и 1,6 - 2,5 тыс. чел., включающих комплексную физкультурно-оздоровительную площадку и площадку (площадки) настольного тенниса представлены на рис. 22 - 23. Габариты площадки настольного тенниса позволяют использовать их для занятий инвалидов с поражением опорно-двигательного аппарата.

Комплексная площадка проектируется из двух частей: площадки для игр и основной гимнастики и площадки с устройствами для гимнастических упражнений. Площадка проектируется с учетом зон безопасности и обеспечивает занятия как инвалидов с поражением опорно-двигательного аппарата (основную гимнастику и игры с мячом), так и занятия остального населения (спортивные игры: в 1-ом варианте - бадминтон, во 2-ом - бадминтон и волейбол). Площадка для волейбола имеет уменьшенные размеры за счет допустимого сокращения ширины забегов. Площадка с устройствами для гимнастических упражнений предназначена в основном для игр и гимнастических занятий детей средних и старших возрастов.

5. ФИЗКУЛЬТУРНО-ОЗДОРОВИТЕЛЬНЫЕ КЛУБЫ МИКРОРАЙОНОВ.

5.1. Варианты функциональных схем комплексов

5.1.1. Комплекс сооружений физкультурно-оздоровительных клубов микрорайонов включает открытые плоскостные сооружения, зал и помещения физкультурно-оздоровительных занятий, бассейн оздоровительного плавания. Расчетные показатели клубов следует принимать по приложениям 2 - 3 к МГСН 4.08-97, рекомендуемый состав сооружений - по приложению 10 к МГСН 4.08-97.

5.1.2. В структуре клубов выделяются следующие основные функциональные группы помещений:

- группа помещений вестибюля;

- блок зала и физкультурно-оздоровительного помещения с вспомогательными помещениями санитарно-гигиенического назначения (раздевальными и душевыми), инвентарными;

- блок плавательного бассейна с вспомогательными помещениями санитарно-гигиенического назначения (раздевальными, душевыми), комнатами дежурного инструктора и медсестры, лабораторией;

- группа клубных помещений;

- инструкторские, административно-хозяйственные и бытовые помещения;

- раздевальные открытых сооружений;

- технические помещения и эксплуатационные службы.

5.1.3. Принципиальные варианты архитектурно-планировочных решений клубов базируются на компактном и рассредоточенном размещении основных функциональных групп помещений.

Функционально-технологическая схема помещений физкультурно-оздоровительных клубов при их компактном размещении в блок-пристройке к общеобразовательной школе представлена на рис. 24.

5.1.4. Схемы функциональных блоков физкультурно-оздоровительного клуба при их рассредоточенном размещении представлены на рис. 25.

5.2. Функциональные элементы комплексов.

5.2.1. Физкультурно-оздоровительные залы и помещения.

Состав физкультурно-оздоровительных залов и помещений физкультурно-оздоровительных клубов микрорайонов рекомендуется принимать в соответствии с приложением 10 МГСН 4.08-97 (1).

Физкультурно-оздоровительные залы микрорайонных клубов являются многофункциональными сооружениями.

В зависимости от расстановки оборудования в физкультурно-оздоровительных залах могут осуществляться следующие виды занятий:

- общефизическая подготовка (в т. ч. общефизическая подготовка инвалидов различных категорий) с использованием гимнастического оборудования и тренажерной техники;

- ритмическая и женская оздоровительная гимнастика; отработка элементов борьбы, спортивные игры (волейбол и бадминтон), отработка элементов баскетбола, тенниса, ручного мяча, подвижные игры.

Расстановку оборудования для различных видов занятий рекомендуется производить с учетом принципиальных схем планов помещений для физкультурно-оздоровительных занятий представленных в приложении 8 Пособия к СНиП 2. 08. 03-89* - см раздел 7, п. 5 настоящего Пособия.

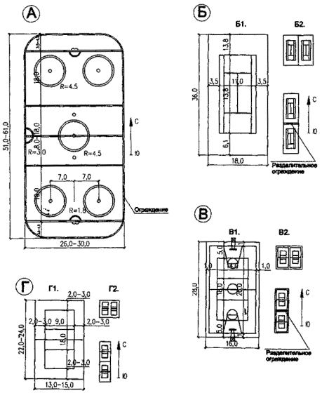
Вариант расстановки оборудования в зале ОФП 18×9м с учетом занятий инвалидов-опорников представлен на рис. 26.

Схема расстановки оборудования в помещении настольного тенниса аналогична схеме, приведенной на рис. 21.

5.2.2. Бассейны.

Крытые бассейны физкультурно-оздоровительного клуба микрорайона предназначены для осуществления физкультурно-оздоровительных занятий по плаванию и купания различных категорий населения, в т. ч. инвалидов различных нозологических групп. Состав обслуживаемых контингентов уточняется заданием на проектирование или проектом.

Рекомендуемые параметры ванн и залов бассейнов с учетом требований к проведению физкультурно-оздоровительных занятий инвалидов, в т. ч. к минимальной ширине обходных дорожек, представлены в таблице 5.1.

Таблица 5.1.

Рекомендуемые параметры ванн и залов бассейнов физкультурно-оздоровительных клубов микрорайонов.

Тип ванны

Габариты ванны в плане, м

Глубина ванны, м

Габариты зала бассейна, м

Пропускная способность, чел.

Примечания

Физкультурно-оздоровительная

16,6×6

1,2 - 1,45

24×12; h = 5,4

18

Ширина зала определяется планировочным решением

16,6×8

1,2 - 1,45

24×12; h = 5,4

24

Ванны оздоровительного плавания рекомендуется проектировать с «пенным корытцем» - бортом, выступающим над уровнем воды на 0,30 - 0,35 м.

Ванны с заглубленной обходной дорожкой допускается проектировать в случае проведения в ванне терапевтических занятий с инвалидами и лицами с ослабленным здоровьем. Тип проводимых в ванне занятий рекомендуется определять в задании на проектирование. Требования к проектированию терапевтической ванны следует принимать по соответствующим рекомендациям - см. раздел 7, п. 6 настоящего Пособия.

Вариант планировочной схемы ванны оздоровительного плавания 16,6×6 м, с учетом физкультурно-оздоровительных занятий инвалидов-опорников представлен на рис. 26. В мелкой части ванны предусмотрен стационарный спуск - пологая лестница с поручнями с двух сторон на высоте 0,9 м, запроектированная вне основных контуров ванны. Рекомендуемая минимальная ширина проступей - 0,3 м. Высота подступенков - 0,14 м. В глубокой части ванны - заглубленные вертикальные лестницы. Для спуска инвалидов с поражением опорно-двигательного аппарата предусматриваются подъемники. Со стороны входов в зал бассейна из раздевальных, используемых инвалидами, ширина обходной дорожки должна быть не менее 4-х м. Увеличение ширины обходной дорожки с одного из торцов бассейна до 5,4 м позволяет разместить стационарные места с подогревом и площадку для разминки 6×4 м. В зале бассейна предусматриваются места для хранения колясок, поручни вдоль стен зала на высоте 0,9 м. В ванне по контуру - поручни.

Варианты организации нестационарных спусков в ванну бассейна представлены на рис. 27. Варианта спуска определяется заданием на проектирование или проектом с учетом типа ванны и средств передвижения инвалидов к ванне бассейна. При использовании инвалидной коляски желоб для спуска в оздоровительную ванну рекомендуется устанавливать на уровне сиденья коляски - 0,5 м. При использовании тележки - желоб устанавливается на уровне обходной дорожки. Наряду с желобами для спуска в воду инвалидов с поражением опорно-двигательного аппарата рекомендуется использовать подъемники различных типов (механические, гидравлические, пневматические)

5.2.3. Вспомогательные помещения.

Состав и площади вспомогательных помещений вестибюльной группы, помещений физкультурно-оздоровительных залов, помещений бассейна оздоровительного плавания, раздевальных открытых сооружений, буфета, группа клубных помещений и помещений досуга физкультурно-оздоровительных клубов микрорайонов с различной численностью обслуживаемого населения при компактном размещении всех функциональных блоков клуба определяется заданием на проектирование или проектом в соответствии с приложением 5.

Площади инструкторских, административно-хозяйственных помещений, бытовых помещений рекомендуется принимать с учетом требований МГСН 4.08-97.

В графе 6 приложения 5 настоящего Пособия приводятся также требования к вместимости помещений вестибюльной группы, требования к высоте физкультурно-оздоровительных залов, залов ванн бассейнов, помещений физкультурно-оздоровительных занятий, требования к оборудованию, к учету использования помещений инвалидами. Вспомогательные помещения, используемые инвалидами, рекомендуется проектировать с учетом требований ВСН 62-91* и Рекомендаций - см. раздел 7, п.п. 6, 7. настоящего Пособия.

При наличии в микрорайоне открытых плоскостных сооружений, используемых в зимнее время для устройства катка массового катания, вестибюльную группу помещений рекомендуется проектировать с учетом организации грелки катка.

При рассредоточенном размещении функциональных блоков залов и бассейнов, площади вестибюльной группы помещений отдельных блоков рекомендуется определять с учетом единовременной пропускной способности крытых спортсооружений, включенных в блок, и показателей, заданных в справочных пособиях к СНиП 2.08.02-89* - см. раздел 7, п.п. 4, 7 настоящего Пособия.

Вместимость раздевальных открытых сооружений определяются заданием на проектирование или проектом.

Площади технических помещений и эксплуатационных служб определяются по заданию на проектирование:

5.2.4. Открытые плоскостные физкультурно-спортивные сооружения.

Открытые плоскостные сооружения физкультурно-оздоровительных клубов микрорайонов предназначены для самостоятельных и организованных физкультурно-оздоровительных занятий всех категорий населения микрорайона. Габаритные схемы сооружений представлены на рис. 28 - 30.

6. ОТДЕЛЕНИЯ ДЕТСКО-ЮНОШЕСКИХ СПОРТИВНЫХ ШКОЛ.

6.1. Требования к размещению, архитектурно-планировочной структуре, варианты функциональных схем отделений детско-юношеских спортивных школ.

6.1.1. Номенклатура функциональных блоков встроенно-пристроенных к жилью отделений ДЮСШ и блоков-пристроек и отделений ДЮСШ к общеобразовательным школам определяется на основании требований МГСН 3.01-96 и МГСН 4.08-97 с учетом условий размещения отделений в различных районах г. Москвы.

6.1.2 Комплекс сооружений детско-юношеских спортшкол включает открытые плоскостные и крытые спортивные сооружения, в т. ч. специализированные спортивные и тренажерные залы, бассейн с учебно-тренировочной ванной. Состав спортивных сооружений отделения определяется заданием на проектирование с учетом культивируемых в отделении видов спорта на основе рекомендаций приложения 13 МГСН 4.08-97.

Рекомендуемые показатели крытых спортивных сооружений специализированных отделений школ приведены в таблице 6.1.

6.1.3. Отделения ДЮСШ по хоккею и фигурному катанию рекомендуется проектировать: 1) в качестве комплекса, включающего открытое плоскостное спортивное сооружение (поле для хоккея и фигурного катания) и блок вспомогательных помещений; 2) в качестве крытого тренировочного катка с искусственным льдом. Вариант архитектурно-планировочного решения определяется заданием на проектирование с учетом требований к уровню подготовки занимающихся.

6.1.4. Для размещения в центральных районах города рекомендуется следующая номенклатура функциональных блоков встроенно-пристроенных отделений ДЮСШ - отделения баскетбола, волейбола, борьбы, бокса, бадминтона, настольного тенниса.

6.1.5. Для блоков-пристроек отделений ДЮСШ к общеобразовательным школам рекомендуется следующая номенклатура отделений: баскетбола, волейбола, борьбы, бокса, бадминтона, настольного тенниса, плавания, фигурного катания и хоккея1.

1 В данном случае имеются в виду отделения фигурного катания и хоккея, функционирующие на базе открытых плоскостных сооружений. При этом в блок-пристройках размещаются вспомогательные помещения.

6.1.6. Встроенно-пристроенные функциональные блоки детско-юношеских спортивных школ рекомендуется размещать в 1 - 2-ом этажах жилых зданий. Размещение в цокольном этаже отделений, работающих с детьми младшей и средней возрастной группы, не допускается.

6.1.7. Встроенные помещения отделений настольного тенниса со специализированным залом 30×15 м допускается размещать в зданиях с минимальной сеткой опор 6×6 м. При встраивании в жилые здания высоту спортзала настольного тенниса допускается уменьшать до высоты жилого этажа при соблюдении требований МГСН 4.08-97, п. 5.13.

6.1.8. В структуре отделений детско-юношеских спортивных школ выделяются следующие основные функциональные группы помещений:

- группа помещений вестибюля с примыкающим к ней буфетом;

- группа специализированных крытых спортивных сооружений с вспомогательными помещениями санитарно-гигиенического назначения, инвентарными, тренажерными или дополнительными тренировочными залами;

- помещения методического назначения;

- медицинский кабинет;

- инструкторские, административные и бытовые помещения;

- помещения эксплуатационные служб, технические помещения.

6.1.10. Основные функциональные связи между отдельными группами и помещениями внутри функциональных групп представлены на рис. 31 - 33. На рис. 31 А дана функциональная схема отделения детско-юношеской спортшколы по баскетболу и волейболу, включающая один зал. Аналогичная схема у всех отделений по игровым видам спорта (за исключением тенниса и футбола/хоккея), а также у отделений борьбы и бокса. На рис. 31 Б представлена функциональная схема отделения по теннису, включающего в состав спортивных сооружений 4 специализированных зала тенниса.

На рис. 32 дана функционально-технологическая схема отделения по плаванию.

На рис. 33 А представлена функциональная схема отделений хоккея и фигурного катания - на базе крытого катка с искусственным льдом, рис. 33 Б - на базе открытых плоскостных спортивных сооружений.

6.1.11. Отделения детско-юношеских спортшкол не предназначены для спортивной подготовки детей-инвалидов. Для обеспечения разовых посещений инвалидами детско-юношеских спортшкол рекомендуется оборудовать вход, вестибюльную группу помещений, помещения питания в соответствии с требованиями ВСН-62-91*. Рекомендуется также обеспечить доступ инвалидов в спортивные залы для просмотра тренировок и соревнований.

6.2. Функциональные элементы отделений детско-юношеских спортивных школ.

6.2.1. Спортивные сооружения.

В соответствии с технологическими требованиями к осуществлению учебно-тренировочной деятельности спортивные залы, плавательные бассейны, открытые плоскостные сооружения различных отделений детско-юношеских спортшкол являются специализированными спортивными сооружениями.

Высоту, разметку, требования к оборудованию спортивных залов рекомендуется принимать в соответствии со Справочным пособием к СНиП 2.08-89* - см. раздел 7, п. 5 настоящего Пособия, требования к проектированию учебно-тренировочной ванны бассейна - в соответствии со Справочным пособием к СНиП 2.08-89* - см. раздел 7, п. 8 настоящего Пособия.

Вариант схемы расстановки оборудования в зале настольного тенниса, размещаемом во встроенном помещении с промежуточными опорами представлен на рис. 37.

Варианты схем расстановки оборудования в тренажерных залах отделения по легкой атлетике и боксу во встроенных помещениях с промежуточными опорами даны на рис. 38.

Крытый каток с искусственным льдом для занятий отделений детско-юношеских спортшкол рекомендуется проектировать как универсальное учебно-тренировочное сооружение с ледовой ареной 61×30 м для тренировок по хоккею и фигурному катанию без стационарных трибун для зрителей.

Строительные размеры, пропускную способность зала катка следует принимать в соответствии с таблицей 2, требования к конструктивному решению катка - в соответствии с п.п. 3.35, 3.36 Справочного пособия к СНиП 2.08.02-89* - см. раздел 7, п. 5 настоящего Пособия.

6.2.2. Вспомогательные помещения отделений детско-юношеских спортшкол.

Различные отделения детско-юношеских спортшкол включают вспомогательные помещения, параметры которых не зависят от специализации отделения, а также помещения, состав и площади которых зависят от единовременной пропускной способности сооружений отделения и культивируемого вида спорта.

Состав помещений методического назначения, медицинского назначения, административных и хозяйственных помещений спортшкол одинаков для всех отделений. Он включает:

- методические помещения: методический кабинет (учебный класс) площадью не менее 30 м2, комнату хранения учебных пособий площадью 6 - 8 м;

- медкабинет площадью 12 - 15 м2;

- административные помещения: кабинет директора школы площадью 9 - 12 м2; служебное помещение сотрудников - 9 - 12 м2;

- кладовую хранения уборочного инвентаря, площадью 4 м , (для отделения тенниса - 16 м2).

Вестибюльная группа помещений, примыкающие к ней помещения питания, помещения отдыха идентичны по составу для всех отделений детско-юношеских спортшкол. Площади помещений вестибюльной труппы определяются единовременной пропускной способностью сооружений. Рекомендуемый состав и минимальные площади помещений вестибюльной группы для различных отделений представлен в приложении 6.


Таблица 6.1.

Рекомендуемые показатели крытых спортивных сооружений отделений детско-юношеских спортивных школ.

№ п.п.

Культивируемый вид спорта

Рекомендуемые показатели

Единовременная пропускная способность крытых сооружений, чел.

Площадь спортивных залов на единицу единовременной пропускной способности, м2/чел.

Площадь плавательных бассейнов на единицу единовременной пропускной способности, м2/чел.

Площадь катков с искусственным льдом на единицу единовременной пропускной способности, м2/чел.

1.

Баскетбол

24

22,9

-

-

2.

Бадминтон

24

27,0

-

-

3.

Волейбол

24

22,9

-

-

4.

Борьба

24

22,9

-

-

5.

Бокс

24

18,3

-

-

6.

Легкая атлетика (бег, прыжки)

48

3,1

-

-

1.

Плавание

48

6х)

8,8

-

8.

Настольный теннис

24

18,8

-

-

9.

Теннис

24

108

-

-

10.

Фигурное катание (на открытом сооружении)

48

3,0х)

-

-

11.

Футбол/хоккей (на открытом сооружении)

32

3,1ххх)

-

-

12.

Фигурное катание (на крытом катке с искусственным льдом)

48

3,0хх)

-

38,1

13.

Хоккей (на крытом катке с искусственным льдом)

32

3,1ххх)

-

60,6

х) Дается показатель зала подготовительных занятий;

хх) Дается показатель зала хореографии;

ххх) Дается показатель тренажерного зала.


В отделениях детско-юношеских спортивных школ проектируются раздевальные двух типов: общие и командные. Командные раздевальные рекомендуется проектировать при залах отделений ДЮСШ по волейболу, баскетболу, при крытом катке с искусственным льдом используемом для занятий ДЮСШ по хоккею и фигурному катанию. При спортсооружениях остальных отделений рекомендуется проектировать общие раздевальные.

Площадь мест для переодевания в общих раздевальных различных отделений детско-юношеских спортшкол рекомендуется определять с учетом возрастной структуры занимающихся.

Рекомендуемые минимальные площади помещений санитарно-гигиенического назначения различных отделений представлены в приложении 7, габариты и площади инвентарных - в приложении 8 .

Площадь инструкторских определяется численностью тренерского состава.

Для всех отделений, кроме отделения по плаванию, проектируются одна общая инструкторская из расчета 2,5 м2 на 1 тренера (но не менее 9 м).

В отделении по плаванию проектируется мужская и женская инструкторские, площадью не менее 9 м2.

В отделениях по хоккею рекомендуется предусматривать не менее 8-ми помещений для сушки спортивной одежды и обуви минимальной площадью 7 - 10 м, связанных непосредственно с раздевальными или находящихся на пути к ним.

Площадь бытовых помещений рабочих определяется заданием на проектирование или проектом в соответствии с численностью рабочих одной смены с учетом п. 3.72 Справочного пособия к СНиП 2.08.02-89* - см. раздел 7, п. 5 настоящего Пособия и п. 3.52 Справочного пособия к СНиП 2.08.02-89* - см. раздел 7, п. 6 настоящего Пособия.

При коммерческом использовании крытого учебно-тренировочного катка отделений детско-юношеских спортшкол по хоккею и фигурному катанию состав вспомогательных помещений катка рекомендуется проектировать с учетом п. 3.67 Справочного пособия к СНиП 2.08.02-89* - см. раздел 7, п. 5 настоящего Пособия.

7. ССЫЛКИ НА НОРМАТИВНО-МЕТОДИЧЕСКИЕ ДОКУМЕНТЫ.

1. МГСН 4.08-97 «Массовые типы физкультурно-оздоровительных учреждений».

2. ВСН 62-91* «Проектирование среды жизнедеятельности с учетом потребностей инвалидов и маломобильных групп населения».

3. МГСН 1.01-98 «Временные нормы и правила проектирования и застройки г. Москвы. (Сводная редакция)».

4. МГСН 3.01-96. «Жилые здания».

5. Справочное пособие «Проектирование спортивных залов, помещений для физкультурно-оздоровительных занятий и крытых катков с искусственным льдом» (к СНиП 2.08.02-89х)).

6. «Рекомендации по проектированию окружающей среды зданий и сооружений с учетом потребностей инвалидов и других мало-мобильных групп населения. Выпуск 13. Общественные здания и сооружения. Физкультурно-оздоровительные сооружения». М., 1995.

7. «Рекомендации по проектированию окружающей среды, зданий и сооружений с учетом потребностей инвалидов и других маломобильных групп населения. Выпуск 12. Общественные здания и сооружения. Спортивные сооружения». М.,1995.

8. Справочное пособие «Проектирование бассейнов» (к СНиП 2.08. 02-89х)).

При разработке положений настоящего Пособия использовались также следующие нормативно-методические документы: «Рекомендации по проектированию окружающей среды, зданий и сооружений с учетом потребностей инвалидов и других маломобильных групп населения. Выпуск 1. Общие положения». 1995, «Рекомендации по проектированию окружающее среды, зданий и сооружений с учетом потребностей инвалидов и других маломобильных групп населения. Выпуск 2. Градостроительные требования» М., 1995, «Пособие по комплексному проектированию окружающее среды для людей с физическими ограничениями. Выпуск 1. Элементы городской среды» М.,1995, Пособие по комплексному проектированию окружающей среды для людей с физическими ограничениями. Выпуск 2. Элементы зданий» М., 1997.

Приложение 1.

Методика расчета количества отделений детско-юношеских спортивных школ.

Расчет количества отделений детско-юношеских спортивных школ рекомендуется производить по формуле:

К - количество отделений детско-юношеских спортивных школ, размещаемых в различных градостроительных образованиях (административный округ, жилой район);

А - численность обслуживаемого населения;

Д - демографический показатель обслуживаемой возрастной группы;

n - уровень охвата обслуживаемой возрастной группы отделениями детско-юношеских спортшкол;

а - рекомендуемое количество систематически занимающихся в отделениях (в соответствии с приложением 4 МГСН 4.08-97).

Приложение 2.

Примерный состав и площади помещений медико-восстановительного центра.

№ п.п.

Наименование помещения

Площадь помещения, м2

Примечание

1.

Блок помещений фотария и залов лечебной физкультуры

 

 

1.1.

Кабинет врача

12,0

 

1.2.

Приемная

12,0

 

1.3.

Процедурная

15,0

 

1.4.

Кабинет механотерапии

35,0 - 40,0

 

1.5.

Кабинет лечебной гимнастики

15,0

Для индивидуальных занятий

1.6.

Зал лечебной гимнастики

30,0

На группу из 5 человек

1.7.

Кабинет тестирования с физической нагрузкой

20,0

1

1.8.

Кабинет аутотренинга

40,0

 

1.9.

Кабинет электро- и светолечения, в т.ч.:

 

Состав оборудования и количество кушеток устанавливается заданием на проектирование

- индивидуальные кабины с кушетками;

4,5 - 5,0 на кушетку

- помещение для обработки прокладок

5,0

1.10.

Санузел (мужской, женский)

5,0×2

 

1.11.

Комната персонала

9,0 - 15,0

Площадь уточняется заданием на проектирование с учетом штатного расписания

1.12.

Кладовая грязного и чистого белья

4,0 + 4,0

 

1.13.

Кладовая уборочного инвентаря

4,0

 

2.

Блок массажных, сауны, кабинетов гидропатии**

 

 

2.1.

Массажная***, в т. ч.:

 

Количество массажных устанавливается заданием на проектирование, не менее одной массажной проектируется с учетом обслуживания инвалидов-опорников

 

- помещение массажной;

12,0 - 16,0*

 

- раздевальная;

6,0

 

- душевая на 2 сетки

5,0

2.2.

Сауна *** в т. ч.:

 

Количество камер сухого жара устанавливается заданием на проектирование

2.2.1.

- камера сухого жара на 6 человек;

12,0

2.2.2.

- комната отдыха;

15,0

2.2.3.

- пульт управления;

2,0

2.2.4.

- микробассейн;

16,0

2.2.5.

- раздевальная сауны , в т. ч.:

 

 

- места для переодевания;

12,0

 

- душевые при раздевальных на 3 сетки;

5,0

 

- туалет (с умывальником в шлюзе);

6,0

2.2.6.

- кладовая грязного и чистого белья;

9,0

2.2.7.

- комната персонала сауны с кладовой

12,0

2.3.

Кабинет гидропатии в т. ч.:

 

Состав душевых установок: душ циркулярный, душ дождевой, душ восходящий, душ «шарко»

 

- кафедра на 4 душевых установки;

30,0

 

- раздевальные душевого зала

10,0

2.4.

Кабинет подводного массажа

24,0

 

* Большее значение показателя - для массажной, запроектированной с учетом обслуживания инвалидов-опорников.

** Помещения массажных, сауны, помещений гидропатии рекомендуется выделять в отдельный функциональный блок помещений и изолировать от кабинетов электро-, светолечения.

*** Помещения сауны и массажной рекомендуется также предусматривать при раздевальных крытых физкультурно-оздоровительных сооружений.

Примечание. Вестибюльная группа помещений проектируется общей для функционального блока медико-восстановительного центра и блоков физкультурно-оздоровительных сооружений с учетом их суммарной пропускной способности.

Приложение 3.

Модель размещения физкультурно-оздоровительных учреждений на примере жилого района Аэропорт.

Модель размещения объектов физкультурно-оздоровительного назначения разработана на примере группы смежных кварталов жилого района Аэропорт с общей численностью населения 10,0 тыс. чел.

Помещения физкультурно-оздоровительного назначения, приближенные к жилью, размещаются в качестве встроенных функциональных блоков в первых этажах реконструируемых жилых зданий.

Объем потребности в спортзалах физкультурно-оздоровительного клуба микрорайона суммируется с дефицитом потребности в школьных залах и размещается в виде блок-пристройки на участке общеобразовательной школы. Рекомендуемые габариты зала 36×18 м обеспечивают широкую номенклатуру проводимых в нем занятий, в том числе и для коммерческого использования.

В данной группе кварталов предлагается также разместить на участке школы типа МЮ блок-пристройку бассейна оздоровительного плавания для осуществления взаимосвязанного обслуживания населения данного жилого образования, всего муниципального района и школьников близлежащих школ. Габариты ванны бассейна рекомендуется принять равными 25×11 м.

Дефицит спортзалов районного уровня обслуживания предлагается восполнить за счет строительства универсального зала 42×24 м и двух специализированных залов 24×12 м рассредоточенных в блоках-пристройках в жилой застройке трех реконструируемых кварталов района Аэропорт. Дефицит открытых сооружений может быть частично восполнен оборудованием площадок с сокращенными габаритами непосредственно в жилой зоне кварталов, организацией трасс оздоровительного бега, использованием открытых площадок существующих общеобразовательных школ и открытых плоскостных сооружений близлежащих общегородских спорткомплексов. Схема размещения объектов представлена на рис. П.3.1.

Экспликация.

1. Общеобразовательная школа.

2. Блок первичного обслуживания.

3. Блок-пристройка спортзала 36×18 м.

4. Блок-пристройка спортзала 24×12 м.

5. Блок-пристройка бассейна 25×11 м.

Рис. П.3.1. Пример организации взаимосвязанного обслуживания школ и населения жилого района «Аэропорт» физкультурно-оздоровительными объектами.

Приложение 4

Рекомендуемый состав и площади физкультурно-оздоровительных помещений, приближенных к жилью.

№ п.п.

Наименование помещений

Численность населения жилой группы, тыс. чел.

Примечание

1,0 - 1,5

1,6 - 2,5

Площадь помещения, м2

Площадь помещения, м2

1.

Группа помещений вестибюля

 

 

Проектируется с учетом использования инвалидами

1.1.

Вестибюль, всего,

22,5

26,0

 

в т. ч.

 

 

 

- вешалка для хранения одежды открытым способом;

4,0

6,0

 

- место дежурного администратора;

3,0

3,0

 

- площадь для родителей, сопровождающих детей, и лиц, сопровождающих инвалидов

3,5

5,0

1.2.

Туалет (мужской и женский)

 

Итого

32,5

36,0

 

2.

Группа помещений физкультурно-оздоровительного назначения

 

 

 

2.1.

Помещения физкультурно-оздоровительного назначения

40,0

60,0

 

2.2.

Инвентарная

8,0

8,0

 

2.3.

Раздевальные общие (мужские и женские) в т.ч.

 

 

Проектируются с учетом использования инвалидами

2.3.1.

Места для переодевания

 

 

Хранение одежды на крючках

 

- на 4 места;

-

В раздевальных устанавливается 1 ножная ванна, 1 сушилка для волос

 

- на 5 мест

-

2.3.2.

Душевые

 

 

 

 

- на 1 сетку;

-

1

 

- на 2 сетки

-

 

2.3.3

Санузел (с умывальником в шлюзе)

Устанавливается 1 унитаз, 1 умывальник

2.3.4.

Места для хранения колясок

3,0

5,0

 

 

Итого

83,0

117,0

 

3.

Группа административно-хозяйственных помещений

 

 

 

3.1.

Административное помещение

9,0

9,0

 

3.2.

Хозяйственная кладовая

6,0

6,0

 

3.3.

Кладовая учебного инвентаря

4,0

4,0

 

3.4.

Инструкторская

9,0

9,0

 

 

Итого

28,0

28,0

 

 

Всего

143,5

177,0

 


Приложение 5

Рекомендуемый состав и площади помещений физкультурно-оздоровительных клубов микрорайонов.

№ п.п.

Наименование помещения

Численность населения микрорайона, тыс. чел.

Примечание

5,0 - 10,0

11,0 - 15,0

16,0 - 20,0

Площади помещения, м2

Площади помещения, м2

Площади помещения, м2

1.

Группа помещений вестибюля

 

 

 

Все помещения для посетителей проектируется с учетом использования инвалидами

1.1.

Вестибюль, в т. ч. площадь для родителей, сопровождающих детей, и лиц сопровождающих инвалидов

54,0

71,0

95,0

Площадь вестибюля рассчитана на 100 % вместимости крытых и 50 % открытых сооружений (не считая оздоровительных трасс)

1.2

Гардероб верхней одежды

10,0

10,0

10,0

Площадь гардероба рассчитана на 100 % вместимости залов, 200 % - бассейнов, 50 % вместимости открытых сооружений.

1.3

Туалет общий (мужской и женский)

 

1.4

Касса

3,0

3,0

3,0

 

1.5

Регистратура

5,0

5,0

5,0

 

 

Итого:

82,0

99,0

123,0

 

2.

Группа помещений физкультурно-оздоровительных залов

 

 

 

 

2.1.

Физкультурно-оздоровительные залы

 

 

 

 

 

- 18×9м;

162,0

-

-

Высота зала 4,8 м.

 

- 18×15м;

-

270,0

-

Высота зала 4,8 м.

 

- 24×15 м;

-

-

360,0

Высота зала 6,0 м. .

2.2.

Инвентарная залов

15,0

18,0

18,6

Минимальная высота помещения - 2,7

2.3.

Помещение настольного тенниса (9×6 м)

54,0

54,0

54,0

Минимальная высота помещения - 2,7

2.4.

Помещения тренажерной техники

40,0

60,0

12,0

 

2.5.

Раздевальные залов общие (мужские и женские) в т. ч.

 

 

 

 

2.5.1.

- места для переодевания:

 

 

 

Предусматривается хранение одежды на крючках; в раздевальных устанавливаются:

 

- на 16 мест (13 при занятиях инвалидов в зале ОФП)

-

-

1 ножная ванна; 2 сушилки для волос - в женской, 1 в мужской раздевальной;

 

- на 23 места (18 при занятиях инвалидов в зале ОФП)

-

-

2 ножные ванны; 3 сушилки для волею в женской, 2 - в мужской раздевальной

 

- на 30 мест (22 при занятиях инвалидов в зале ОФП)

 

 

2 ножные ванны; 3 сушилки для волос в женской, 2 - в мужской раздевальной

2.5.2

Душевые:

 

 

 

 

 

- на 4 сетки

-

-

2 душевых кабины проектируются с учетом использования инвалидами колясочниками

 

- на 5 сеток

-

-

3 душевых кабины проектируются с учетом использования инвалидами колясочниками

 

- на 6 сеток

-

-

4 душевых кабины проектируются с учетом использования инвалидами колясочниками

2.5.3.

Санузлы (с умывальником в шлюзе)

В санузлах устанавливаются: 1 унитаз в женском санузле; 1 унитаз, 1 писсуар в мужском санузле.

 

Итого

357,0

516,0

586,0

 

3.

Группа помещений бассейна оздоровительного плавания

 

 

 

 

3.1.

Зал оздоровительного плавания - ванны 16,6×6 м -  зал 24×12 м

288,0

-

-

Минимальная высота зала ванны 5,4 м

 

ванны 16,6×8 м-зал 24×15м

 

360,0

360,0

 

3.2.

Инвентарная ванны

6,0

6,0

6,0

 

3.3.

Комната дежурного инструктора

8,0

8,0

8,0

Предусматривается выход непосредственно на обходную дорожку

3.4.

Комната дежурной медсестры

12,0

12,0

12,0

Предусматривается выход непосредственно на обходную дорожку

3.5.

Лаборатория химического и бактериологического анализа воды

8,0

8,0

8,0

 

3.6.

Раздевальные бассейна общие (мужские и женские), в т.ч.

 

 

 

 

3.6.1.

Места для переодевания:

 

 

 

Предусматривается хранение одежды в двухъярусных шкафах; в раздевальных устанавливаются:

 

- на 9 мест (в т. ч. 50 % для инвалидов, использующих кресла-коляски);

-

-

-1 ножная ванна, 1 сушилка для волос;

 

- на 12 мест (в т. ч. 50 % для инвалидов, использующих кресла-коляски);

-

-1 ножная ванна, 1 сушилка для волос в мужской раздевальной, 2- в женской.

3.6.2.

Душевые:

 

 

 

 

 

- на 3 сетки

-

-

2 душевые кабины проектируются с учетом использования инвалидами - колясочниками.

 

- на 4 сетки

-

2 душевые кабины проектируются с учетом использования инвалидами - колясочниками.

3.6.3.

Санузлы (с умывальником в шлюзе)

В санузлах устанавливаются: 1 унитаз в женском санузле; 1 унитаз, 1 писсуар - в мужском

3.6.4.

Места для хранения кресел-колясок

4,0

6,0

6,0

 

 

Итого

418,0

514,0

514,0

 

4.

Раздевальные открытых сооружений общие (мужские и женские) в т. ч.:

 

 

 

На 50 % единовременной пропускной способности открытых сооружений

4.1.

Места для переодевания

 

 

 

 

 

- на 20 мест;

-

-

1 ножная ванна, 1 сушилка для волос в мужской, 2 - в женской раздевальной

 

- на 31 место;

-

-

2 ножные ванны, 2 сушилки для волос в мужской, 3 - в женской раздевальной

 

- на 41 место

-

-

3 ножные ванны; 3 сушилки для волос в мужской, 5 - в женской раздевальной

4.2.

Душевые:

 

 

 

 

 

- на 4 сетки;

-

-

 

 

- на 7 сеток

-

-

 

 

- на 9 сеток

-

-

 

4.3.

Санузлы (с умывальником в шлюзах) мужские и женские

-

-

В женском санузле устанавливаются 2 унитаза; в мужском - 1 унитаз

-

В женском санузле устанавливается 2 унитаза; в мужском - 1 унитаз, 1 писсуар

 

Итого:

83,0

126,5

160,5

 

5.

Буфет

36,0

45,0

52,0

Предусматривается по заданию на проектирование, как предприятие быстрого обслуживания.

6.

Группа клубных помещений, помещений досуга

 

 

 

 

6.1.

Помещение клуба

40,0

40,0

40,0

 

6.2.

Вспомогательное помещение клуба

20,0

20,0

20,0

 

6.3.

Места отдыха занимающихся

24,0

30,0

38,0

На 15 % вместимости крытых сооружений.

6.4.

Игротека

20,0

20,0

20,0

Предусматривается по заданию на проектирование.

 

Итого:

104,0

110,0

118,0

 

7.

Пункт проката спортинвентаря

15,0

15,0

15,0

 

 

Всего:

1095,0

1425,5

1568,5

 

х) Вестибюльная группа помещений в зимнее время используется как грелка катка массового катания.

хх) При расчете площади вестибюльной группы помещений и раздевальных открытых сооружений, единовременная пропускная способность открытых сооружений принята равной соответствующему показателю Приложения 10 МГСН 4.08-97.

Приложение 6.

Рекомендуемые площади помещений группы вестибюля, буфета, мест отдыха отделений детско-юношеских спортивных школ.

№ п.п.

Наименование помещения

Площадь помещений для отделений, м2

Примечание

Баскетбола, бадминтона, волейбола, борьбы, бокса, настольного тенниса, тенниса

Легкой атлетики, фигурного катания

Футбола, хоккея

Плавания

1.

Группа помещений вестибюля *)

 

 

 

 

Все помещения проектируются с учетом использования инвалидами

1.1.

Вестибюль;

24,0

48,0

32,0

48,0

При организации отдельного помещения для ожидания родителей площадь вестибюля для всех отделений принимается не менее 20 м2

 

в т. ч. площадь для родителей, сопровождающих детей.

12,0

24,0

16,0

24,0

1.2.

Гардероб верхней одежды

10,0

10,0

10,0

15,0

 

1.3.

Туалет (мужской и женский)

5,0 + 5,0

5,0 + 5,0

5,0 + 5,0 1

5,0 + 5,0

 

1.4.

Регистратура

-

-

-

4,0

 

 

Итого:

44,0

68,0

52,0

77,0

 

2.

Буфет **)

16,0

25,0

20,0

25,0

Стойка буфета, обеденные места, умывальник, проектируется с учетом использования инвалидами

3.

Помещения отдыха занимающихся - игротека

24,0

24,0

24,0

24,0

 

*} При использовании бассейна отделения ДЮСШ по плаванию для оказания платных услуг населению в вестибюльной группе помещений предусматривается касса площадью 4 м2.

**) Площадь буфета, наличие помещения для мойки посуды, других подсобных помещений уточняется заданием на проектирование с учетом принятой технологии реализации питания.

Приложение 7.

Рекомендуемые площади помещений санитарно-гигиенического назначения отделений детско-юношеских спортивных школ.

№ п.п.

Наименование помещений

Специализация отделения, возраст занимающихся

Площадь помещения, м2

Примечание

1.

Раздевальные залов и открытых сооружений, мужские и женские, в т. ч.

 

 

Хранение одежды в двухъярусных шкафах

1.1.1.

Места для переодевания;

 

 

В помещении устанавливается:

- на 12 мест;

а) бадминтон, теннис

1 умывальник, 1 ножная ванна, 2 сушилки для волос в женской, 1 - в мужской раздевальной;

6) борьба, бокс, настольный теннис (дети 10 - 14 лет);

1 умывальник, 1 ножная ванна, 2 сушилки для волос в женской, 1 - в мужской раздевальной;

1. 1.2.

- на 24 места;

а) фигурное катание (на открытом сооружении, дети 6 - 10 лет);

1 умывальник, 2 ножные ванны, 2 сушилки для волос в мужской, 3 - в женской раздевальной;

б) легкая атлетика (дети 10 - 14 лет);

1 умывальник, 2 ножные ванны, 2 сушилки для волос в мужской, 3 - в женской раздевальной;

1.1.3.

- на 25 мест

Футбол, хоккей (на открытом сооружении, дети 10 - 14 лет)

1 умывальник, 2 ножные ванны, 2 сушилки для волос в каждой раздевальной

1.2.

Душевые

 

 

 

1.2.1,

- на 3 сетки

Бадминтон, теннис, борьба, бокс, настольный теннис

 

 

- на 4 сетки

Фигурное катание (на открытом сооружении), легкая атлетика, футбол, хоккей (на открытом сооружении)

 

1.3.

Санузлы (с умывальником в шлюзе)

Для всех вышеперечисленных отделений

Устанавливается 1 унитаз, 1 писсуар в мужском санузле, 1 унитаз - в женском

2.

Раздевальные командные, в т. ч.:

 

 

Хранение одежды в двухъярусных шкафах

2.1.

Места для переодевания

 

 

В помещениях устанавливается:

2.1.1.

- на 20 мест

Волейбол, баскетбол

- 20 шкафов в каждой раздевалке, 1 мойка для ног, 1 умывальник, 1 сушилка для волос;

2.1.2.

- на 25 мест

Хоккей, фигурное катание (на крытом катке с искусственным льдом)

- 25 шкафов в каждой раздевалке, 1 мойка для ног, 1 умывальник, 1 сушилка для волос, кабина для точки коньков 4 м2

2.2.

Душевая на 4 сетки

Волейбол, баскетбол

 

2.3.

Санузел (с умывальником в шлюзе)

Хоккей, фигурное катание (на крытом катке с искусственным льдом)

Устанавливается 1 унитаз

3.

Раздевальные бассейна общие, мужские и женские, в т. ч.:

Плавание

 

Хранение одежды в двухъярусных шкафах.

3.1.

Места для переодевания на 24 места

 

В помещении устанавливается 1 умывальник, 2 мойки для ног, 3 сушилки для волос в мужской, 2 - в женской раздевальной

3.2.

Душевая на 8 сеток

 

 

3.3.

Санузлы (с умывальником в шлюзах)

 

В помещении устанавливается 1 унитаз, 1 писсуар в мужском санузле; 1 унитаз в женском


Приложение 8.

Рекомендуемые габариты и площади инвентарных крытых спортивных сооружений детско-юношеских спортшкол.

№ п.п.

Наименование сооружения

Площадь зала, м2

Габариты инвентарной, м

Площадь инвентарной, м2

1.

Игровой зал

 

 

 

 

- баскетбола; волейбола;

450,0

6,0×4,0

24,0

 

- бадминтона;

648,0

6,0×4,0

24,0

 

- тенниса;

648,0

6,0×4,0

24,0

 

- настольного тенниса;

450,0

6,0×4,0

24,0

2.

Зал борьбы

450,0

3,0×3,0

9,0

3.

Зал бокса

280,0

3,0×2,5

7,0

4.

Зал хореографии

144,0

3,0×2,0

6,0

5.

Бассейн с учебно-тренировочной ванной 25×12 м

630,0

4,0×2,5

10,0

6.

Зал подготовительных занятий бассейна

288,0

4,0×3,0

12,0

7.

Учебно-тренировочный каток с искусственным льдом (арена 61×30 м) м

2376,0

-

24,0 - 36,0 *)

*) Площадь уточняется заданием на проектирование.

Рис. 1. Система физкультурно-оздоровительных учреждений районного и местного уровней обслуживания.

Рис. 2. Пример пристройки комплекса первичного обслуживания к многосекционным жилым домам и новому дому башенного типа.

Рис. 3. Примеры размещения физкультурно-оздоровительных сооружений в различных градостроительных ситуациях г. Москвы. А. Жилой район Чертаново Северное. Размещение районных физкультурно-оздоровительных сооружений в структуре интегрированного школьного центра. Б. Жилой район Бирюлево Западное. Размещение районного физкультурно-оздоровительного блоксекционного центра на обособленном участке. (Проект МНИИП объектов культуры, отдыха, спорта, здравоохранения).

Рис. 4. Примеры размещения физкультурно-оздоровительных » сооружений в различных градостроительных ситуациях г. Москвы. А. Боровское шоссе. Использование школьного спортядра жителям жилой группы. Б. Боровское шоссе. Формирование встроенно-пристроенных блоков первичного обслуживания и физкультурно-оздоровительного клуба микрорайона на базе общеобразовательной школы.

Рис. 5. Примеры размещения физкультурно-оздоровительных сооружений в различных градостроительных ситуациях г. Москвы. А. Водный стадион. Пристройка к общеобразовательной школе блока спортзала детско-юношеской спортшколы. Б. Фестивальная ул. Формирование встроенно-пристроенных блоков первичного обслуживания и рассредоточенное размещение блок-пристроек крытых спортивных сооружений микрорайона на участках общеобразовательных школ.

Рис. 6. Состав функциональных зон территорий физкультурно-оздоровительных учреждений и элементов благоустройства, приспосабливаемых для использования инвалидами. А. Обособленный участок физкультурно-оздоровительного центра жилого района. Б. Комплекс физкультурно-рекреационных учреждений в структуре озелененной территории.

Рис. 7. Размещение комплекса физкультурно-оздоровительных сооружений микрорайона на участке школы.

Экспликация

1. Корпус крытых сооружений физкультурно-оздоровительного центра.

2. Здание культурного центра.

3. Территория парка.

4. Спортивное ядро.

5. Открытые плоскостные спортсооружения.

6. Зона открытых сооружений для инвалидов.

7. Резервная территория.

Рис. 8. Пример планировки территории физкультурно-оздоровительного центра жилого района, размещенного на обособленном участке, смежно с территорией парка и культурным центром. (Проектное предложение МНИИП объектов культуры, отдыха, спорта, здравоохранения).

Рис. 9. Пример рассредоточенного размещения функциональных зон комплекса на территории парка. Рекреационный центр «Развлечения под крышей» парка округа Маттлербуш. (ФРГ).

Рис. 10. Приемы архитектурно-планировочных решений встроенных и встроенно-пристроенных физкультурно-оздоровительных учреждений.

Рис. 11. Приемы размещения помещений для физкультурно-оздоровительных занятий в жилых домах при каркасном решении первых этажей. Пристройка залов со стороны: А) - магистрали и двора; (вынос -9 м); Б) - двора (вынос -18 м); В) - двора и торца зданий (вынос-18 м).

1 - внутренний двор

2 - полный комплекс обслуживания (магазины, рестораны, кафетерий)

3 - школа-интернат

4 - помещения спортивного комплекса (залы для игр, плавательные бассейны, спортядро)

5 - жилые дома террасного типа

6 - лодочная станция

Рис. 12. Малоэтажный жилой комплекс под Берлином.

Экспликация

1 - вестибюль

4 - помещения санитарно-гигиенического назначения

2 - зал ОФП

5 - клубные помещения

3 - зал спортигр

6 - административные помещения

Рис. 13. Примеры решения встроенно-пристроенных учреждений обслуживания в жилой застройке г. Москвы. Физкультурно-оздоровительный клуб микрорайона на 10 - 20 тыс. чел. (Проектные предложения (МНИИП объектов культуры, отдыха, спорта, здравоохранения).

Экспликация

1 - вестибюль

5 - помещения санитарно-гигиенического назначения

2 - зал ОФП

6 - клубные помещения

3 - зал спортигр

7 - административные помещения

4 - зал борьбы

 

Рис. 14. Примеры решения встроенно-пристроенных учреждений обслуживания в жилой застройке г. Москвы. Встроенно-пристроенные спортивные залы районного уровня обслуживания. (Проектные предложения (МНИИП объектов культуры, отдыха, спорта, здравоохранения).

Экспликация.

1 - 4.Помещения бытового обслуживания.

8. Помещения санитарно-гигиенического назначения.

5. Административные помещения.

9. Массажная.

6. Вестибюль спортивно- оздоровительного комплекса

10. Медкабинет.

7. Физкультурно-оздоровительный зал.

11. Сауна.

Рис. 15. Примеры решения встроенно-пристроенных учреждений обслуживания в жилой застройке г. Москвы.

Жилой дом И-1279 в сборно-монолитных конструкциях с двумя нежилыми этажами. (МНИИТЭП, Москва).

Экспликация

1 .Трансформируемые спортивные залы.

4. Раздевальные.

2. Инвентарные.

5. Охраняемый гардероб.

3. Душевые.

6. Вестибюль.

Рис. 16. Пример архитектурно-планировочного решения корпуса крытых физкультурно-оздоровительных сооружений районного уровня обслуживания. Спортивный павильон на ул. Пришвина (Москва).

А. Фасад. Б. План.

Экспликация.

1. Роликодром

2. Корпус физкультурно-рекреационного центра.

3. Теннисный центр.

4. Павильоны раздевальных открытых сооружений

5. Хозблок.

6. Открытые плоскостные сооружения

Рис. 17. Пример рассредоточенного размещения крытых сооружений физкультурно-оздоровительного центра жилого района на едином обособленном участке общественной зоны. Проект реконструкции стадиона «Фрезер», Москва.

Рис. 18. Приемы конструктивных решений встроенно-пристроенных помещений физкультурно-оздоровительного назначения, размещаемых в 1-х этажах жилых зданий.

Рис. 19. Функциональная схема блока физкультурно-оздоровительных помещений, приближенных к жилью.

Рис. 20. Варианты оборудования физкультурно-оздоровительного помещения, приближенного к жилью.

Рис. 21. Варианты оборудования в физкультурно-оздоровительном помещении, приближенном к жилью.

Экспликация.

А). Комплексная физкультурно-оздоровительная площадка:

1. Разметка площадки для бадминтона (15×8м).

2. Площадка для основной гимнастики и игры в мяч инвалидов-опорников.

3. Зоны безопасности.

4. Устройства для гимнастических упражнений:

а) структуры для лазания;

б) рукоход;

в) разновысокие перекладины;

г) шведская стенка;

д) бревна-балансиры;

Б). Площадка для настольного тенниса.

В). Зеленые насаждения

Рис. 22. Блок открытых физкультурно-оздоровительных сооружений, приближенных к жилью. Вариант 1.

Экспликация.

А). Комплексная физкультурно-оздоровительная площадка:

1. Разметка площадки для бадминтона (15×8м).

2. Разметка площадки для волейбола с уменьшенными габаритами (20×11 м).

3. Площадка для основной гимнастики и игры в мяч инвалидов-опорников (15×8м).

4. Зоны безопасности.

5. Устройства для гимнастических упражнений:

а) структуры для лазания;

б) рукоход;

в) разновысокие перекладины;

г) шведская стенка;

д) бревна-балансиры.

Б). Площадки для настольного тенниса.

В). Зеленые насаждения.

Рис. 23. Блок открытых физкультурно-оздоровительных сооружений, приближенных к жилью. Вариант 2.

Экспликация помещений

1. Вестибюль, гардероб. 2. Раздевальные, душевые залов. 3. Зал физкультурно-оздоровительных занятий. 4. Инвентарная. 5. Тренажерный зал. 6. Помещение настольного тенниса. 7. Раздевальные бассейна. 8. Душевые бассейна. 9. Семейные раздевальные инвалидов. 10. Ванна оздоровительного плавания. 11. Комната дежурного инструктора. 12. Комната дежурной медсестры. 13. Эксплуатационные службы. 14. Клубная комната. 15. Детская игровая. 16. Холл-комната отдыха. 17. Администрация. 18. Тренерская. 19. Бытовые помещения. 20. Хозяйственная кладовая. 21. Туалет. 22. Буфет. 23. Пункт проката спортинвентаря. 24. Регистратура, касса. 25. Раздевальные открытых сооружений. 26. Инвентарная открытых спортсооружений. 27. Технические помещения .28. Лаборатория.

Рис. 24. Функциональная схема физкультурно-оздоровительного клуба микрорайона.

Экспликация помещений

1. Вестибюль, гардероб. 2. Раздевальные, душевые залов. 3. Зал физкультурно-оздоровительных занятий. 4. Инвентарная. 5. Тренажерный зал. 6. Помещение настольного тенниса. 7. Раздевальные бассейна. 8. Душевые бассейна. 9. Семейные раздевальные инвалидов. 10. Ванна оздоровительного плавания. 11. Комната дежурного инструктора. 12. Комната дежурной медсестры. 13. Эксплуатационные службы. 14. Клубная комната. 15. Детская игровая. 16. Холл-комната отдыха. 17. Администрация. 18. Тренерская. 19. Бытовые помещения. 20. Хозяйственная кладовая. 21. Туалет. 22. Буфет. 23. Пункт проката спортинвентаря. 24. Регистратура, касса. 25. Раздевальные открытых сооружений. 26. Инвентарная открытых спортсооружений. 27. Технические помещения. 28. Лаборатория.

Рис. 25. Схемы функциональных блоков физкультурно-оздоровительного клуба микрорайона при их рассредоточенном размещении. А. Блок физкультурно-оздоровительного зала. Б. Блок плавательного бассейна. В. Блок раздевальных открытых сооружений.

Экспликация.

1. Гимнастическая стенка.

9. Ковер.

2. Тренажер «Стенка».

10. Снаряды гимнастические подвесные.

3. Тренажер «Гребля».

11. Рукоход.

4. Тренажер «Ритм».

12. Гимнастическая стенка.

5. Место инструктора.

13. Гимнастическая скамейка.

6. Дорожка для бега.

14. Зеркало.

7. Велотренажер «Здоровье».

15. Станок пристенный

8. Станок напольный для упражнений в ходьбе.

 

Рис. 26. Вариант оборудования зала общефизической подготовки (18×9м) физкультурно-оздоровительного клуба микрорайона с учетом занятий инвалидов-опорников.

Рис. 27. А. Планировочная схема зала ванны бассейна оздоровительного плавания 16,6×6м с учетом занятий инвалидов. Б. Стационарные спуски в ванну бассейна. Б.1. Лестница в мелкой части бассейна. Б.2. Лестница в глубокой части бассейна. В. Варианты устройства поручней для инвалидов.

Рис. 28. Варианты организации спусков инвалидов в физкультурно-оздоровительную и терапевтические ванны. Переносные устройства. А. Терапевтическая ванна с заглубленной обходной дорожкой. А.1. Переносной желоб. А.2. Переносная лестница. А.3. Переносное сиденье для спуска с пересаживанием на борт бассейна. Б. Рычаговый подъемник. В. Физкультурно-оздоровительная ванна с бортом на уровне обходной дорожки. В.1. Переносной желоб. В.2. Переносная лестница.

Рис. 29. Открытые плоскостные сооружения физкультурно-оздоровительных клубов микрорайонов. А. Хоккейная площадка. Б. Площадка для тенниса. Б.1. Габаритная схема. Б.2. Варианты блокировки. В. Площадка комбинированная для баскетбола и волейбола. В.1. Габаритная схема. В.2. Варианты блокировки. Г. Площадка для волейбола. Г.1. Габаритная схема. Г.2. Варианты блокировки.

Рис. 30. Открытые плоскостные сооружения физкультурно-оздоровительных клубов микрорайонов. А. Площадка для бадминтона. А.1. Габаритная схема. А.2. Варианты блокировки. Б. Площадки для подвижных игр: Б.1. - крокета; Б.2. - софтбола; Б.3. - ринг-тенниса; Б.4. - малого тенниса; Б.5. - стенбола; Б.6. - спиральбола; Б.7 - для игры в кегли.

Экспликация помещений

1. Вестибюль, гардероб.

10. Хозяйственная кладовая.

2. Раздевальные командные.

11. Бытовые помещения.

3. Зал спортивных игр 30×18м.

12. Медкабинет.

4. Инвентарная.

13. Туалет.

5. Тренажерный зал.

14. Буфет.

6. Методический кабинет.

15. Холл /комната отдыха.

7. Комната хранения учебных пособий.

16. Раздевальные общие.

8. Тренерская.

17. Технические помещения.

9. Администрация.

18. Зал спортивных игр 36×18м.

Рис 31. Функциональные схемы специализированных отделений детско-юношеских спортшкол. А. Отделение баскетбола/ волейбола. Б. Отделение тенниса.

Экспликация помещений

1. Вестибюль, гардероб.

12. Методический кабинет.

2. Раздевальные.

13. Хранение учебных пособий.

3. Душевые.

14. Тренерская.

4. Зал подготовительных занятий.

15. Администрация.

5. Учебно-тренировочная ванна 25×16 м.

16. Бытовые помещения.

6. Инвентарная.

17. Хозяйственная кладовая.

7. Комната дежурной медсестры.

18. Буфет.

8. Комната дежурного инструктора.

19. Туалет.

9. Лаборатория.

20. Холл /комната отдыха.

10. Технические помещения.

21. Медкабинет.

11. Эксплуатационные службы.

22. Кладовая уборочного инвентаря.

Рис. 32. Функциональная схема отделения детско-юношеской спортшколы по плаванию.

Экспликация помещений

1. Вестибюль, гардероб.

11. Комната хранения учебных пособий.

2. Раздевальные командные.

12. Администрация.

2а. Раздевальные общие.

13. Инструкторская.

3. Тренировочный каток с искусственным льдом.

14. Бытовые помещения.

4. Инвентарная.

15. Хозяйственная кладовая.

5. Тренажерный зал.

16. Медицинский кабинет

6. Зал хореографии.

17. Буфет.

7. Помещения сушки одежды хоккеистов.

18. Туалет.

8. Индивидуальная точка коньков.

19. Холл/комната отдыха.

9. Помещение стоянок машин для ухода за льдом.

20. Инвентарная открытых сооружений.

10. Методический кабинет.

21. Технические помещения.

Рис. 33. Функциональные схемы специализированных отделений детско-юношеских спортшкол. А. Отделение хоккея, фигурного катания на базе крытого катка с искусственным льдом. Б. Отделения хоккея/футбола, фигурного катания на базе открытых плоскостных сооружений.

Экспликация

1. Игровая площадка.

2 .Столы для настольного тенниса.

3. Тренажеры.

4 .Гимнастическая стенка.

5. Разделительное ограждение.

Рис. 34. Пример размещения специализированного зала настольного тенниса отделения ДЮСШ в помещении с промежуточными опорами.

Экспликация

1. Помост тяжелоатлетический тренировочный.

9. Гири спортивные.

2. Стойки для приседания со штангой.

10. Стеллажи для дисков.

3. Штанга тяжелоатлетическая тренировочная.

11. Стеллажи для штанг

4. Скамья для жима лежа.

12. Стеллажи для гантелей.

5. Гимнастическая стенка.

13. Устройство для развития мышц спины.

6. Груша боксерская набивная.

14. Тренажеры «Гребля».

7. Зеркало.

15. Тренажер для развития брюшного пресса.

8. Груша на платформе.

 

Рис. 35. Примеры размещения специализированных залов отделений ДЮСШ в помещениях с промежуточными опорами. А. Тренажерный зал отделения легкой атлетики. Б. Тренажерный зал отделения бокса.




Яндекс цитирования



   Copyright © 2007-2026,  www.tehlit.ru.

[ ѓосты, стандарты, нормативы, инструкции, правила, строительные нормы ]